VSX-322-K - Récepteur audio-vidéo PIONEER - Notice d'utilisation et mode d'emploi gratuit
Retrouvez gratuitement la notice de l'appareil VSX-322-K PIONEER au format PDF.
| Intitulé | Détails |
|---|---|
| Type de produit | Récepteur AV (Amplificateur audio-vidéo) |
| Caractéristiques techniques principales | 5.1 canaux, puissance de 100 W par canal (6 ohms) |
| Alimentation électrique | AC 230 V, 50/60 Hz |
| Dimensions approximatives | 430 x 151 x 329 mm |
| Poids | 7.2 kg |
| Compatibilités | HDMI, USB, Bluetooth, compatibilité avec divers formats audio |
| Fonctions principales | Décodage Dolby TrueHD, DTS-HD Master Audio, mode ECO, réglage automatique du son |
| Entretien et nettoyage | Nettoyer avec un chiffon doux, éviter les produits chimiques agressifs |
| Pièces détachées et réparabilité | Réparabilité limitée, pièces disponibles via le service après-vente |
| Sécurité | Ne pas exposer à l'humidité, respecter les instructions d'installation |
| Informations générales utiles | Vérifier la compatibilité avec les autres équipements audio-vidéo avant l'achat |
FOIRE AUX QUESTIONS - VSX-322-K PIONEER
Questions des utilisateurs sur VSX-322-K PIONEER
Le récepteur audio/vidéo Pioneer VSX-322-K ne dispose pas de fonctionnalité Bluetooth intégrée. Par conséquent, il n'est pas possible d'utiliser directement une clé USB Bluetooth avec cet appareil pour la lecture ou la transmission audio.
Pour ajouter une fonctionnalité Bluetooth à votre récepteur, voici les étapes à suivre :
1. Vérifiez la compatibilité de l'adaptateur Bluetooth
- Choisissez un adaptateur Bluetooth externe conçu pour la transmission audio.
- Assurez-vous que l'adaptateur peut se connecter via une entrée audio compatible avec votre récepteur (par exemple, entrée AUX ou RCA).
2. Connectez l'adaptateur Bluetooth au récepteur
- Branchez l'adaptateur Bluetooth à l'entrée audio appropriée du VSX-322-K.
- Alimentez l'adaptateur si nécessaire (certains modèles nécessitent une alimentation externe ou USB).
3. Appairez vos appareils Bluetooth
- Mettez l'adaptateur Bluetooth en mode appairage en suivant les instructions fournies avec l'adaptateur.
- Sur votre smartphone, tablette ou autre source Bluetooth, recherchez et sélectionnez l'adaptateur pour établir la connexion.
4. Sélectionnez l'entrée audio adéquate sur le récepteur
- Utilisez la télécommande ou les boutons du VSX-322-K pour sélectionner l'entrée à laquelle l'adaptateur est connecté.
- Vous pouvez désormais écouter le son transmis via Bluetooth sur votre récepteur.
En résumé, une clé USB Bluetooth ne peut pas être utilisée directement avec le Pioneer VSX-322-K. Il est nécessaire d'ajouter un adaptateur Bluetooth externe connecté à une entrée audio pour bénéficier de la fonctionnalité Bluetooth.
Téléchargez la notice de votre Récepteur audio-vidéo au format PDF gratuitement ! Retrouvez votre notice VSX-322-K - PIONEER et reprennez votre appareil électronique en main. Sur cette page sont publiés tous les documents nécessaires à l'utilisation de votre appareil VSX-322-K de la marque PIONEER.
MODE D'EMPLOI VSX-322-K PIONEER
Décovrez les nombreux avantages offerts en enregistrant votre produit en ligne maintainant sur http://www.pioneer.fr (ou http://www.pioneer.eu).
Mode d'emploi
IMPORTANT

Ce symbole de l'éclair, placé dans un triangle équilatéral, a pour but d'attirer l'attention de l'utiliser sur la présence, à l'intérieur du coffret de l'apparéil, de "tensions dangereuses" non isolées d'une grande suffisante pour représentier un risque d'électrocution pour les étres humains.
ATTENTION
DANGER D ELECTROCUTION NE PAS OUVIR
ATTENTION :
POUR EVITER TOUT RISQUE
D'ÉLECTROCUTION, NE PAS ENLEVER LE COUVERCLE (NI LE PANNEAU ARRÈRIÉ).
AUCUNE PIECE RÉPARABLE PAR L'UTILISATEUR NE SE TROVÉ À L'INTERIEUR. CONFIER TOUT ENTRETIEN À UN PERSONNEL QUALIFIÉ UNIQUEMENT.

Ce point d'exclamation, placé dans un triangle équilatéral, a pour but d'attirer l'attention de l'utilisateur sur la présence, dans les documents qui accompagnent l'appareil, d'explications importantes du point de vue de l'exploitation ou de l'entretien.
D3-4-2-1-A1_Fr
AVERTISSEMENT
Cet apparéil n'est pas étanchè. Pour éviter les risques d'incendie et de décharge électrique, ne place pres de lui un recipient rempli d'eau, tel qu'un vase ou un pot de fleurs, et ne l'expose pas à des gouttes d'eau, des éclaboussures, de la pluïe ou de l'humidité.
D3-4-2-1-3_A1_Fr
AVERTISSEMENT
Avant de brancher l'appareil pour la première, lisez attentivement la section suivante.
La tension de l'alimentation électrique disponible varie selon le pays ou la région. Assurez-vous que la tension du secteur de la région où l'appareil sera utilisé correspond à la tension requise (par ex. 230 V ou 120 V), indiquée sur le panneau arrêté.
D3-4-2-1-4*A1Fr
AVERTISSEMENT
Pour évider les risques d'incendie, ne place aucune flamme nue (telle qu'une bougie allumée) sur l'appareil.
D3-4-2-1-7a_A1_Fr
Milieu de fonctionnement
Température et humidité du milieu de fonctionnement : De +5^ à +35^ (de +41^ à +95^ ); Humidité relative inférieure à 85% (orifices de ventilation non obstrués)
N'installez pas l'appareil dans un endroit mal ventilé ou un lieu soumis à une forte humidité ou en plein soleil (ou à une forte lumière artificielle).
D3-4-2-1-7c*A1Fr
Ce produit est destiné à une utilisation domestique générale. Toutpe panne du a une utilisation autre qu'a des fins privées ( comme une utilisation a des fins commerciales dans un restaurant, dans un autocar ou sur un bateau) et qui nécessite une réparation sera aux frais du client, même pendant la période de garantie.
K041_A1_Fr
PRECAUTION DE VENTILATION
Lors de l'installation de l'appareil, veillez à laisser un espace suffisant autour de ses parois de manière à améliorer la dissipation de chaleur (au moins 40 cm sur le dessus, 20 cm à l'arrête et 20 cm de chaque côte).
AVERTISSEMENT
Les fentes et ouvertures du coffret sont prévues pour la ventilation, pour assurer un fonctionnement stable de l'appareil et pour éviter sa surchauffe. Pour éviter les risques d'incendie, ne bouchez jamais les ouvertures et ne les recouvre pas d'objects, tels que journaux, nappes ou rideaux, et n'utilise pas l'appareil posé sur un tapis écais ou un lit.
D3-4-2-1-7b*A1_Fr

Information à destination des utilisateurs sur la collecte et l'élimination des équipements et batteries usages
(Marquage pour les)
équipements

Ces symboles qui figurent sur les produits, les emballages et/ou les documents d'accompagnement significant que les équipements électriques et électroniques et batteries usages ne doivent pas être jetsés avec les déchets menagers et font l'objet d'une collecte sélective.
Pour assurer l'énèvement et le traitement appropriés des produits et batteries usages, merci de les returner dans les points de collecte sélectiveabilités conformément à la législation locale en vigueur.
(Exemples de marquage pour les batteries


Pb
En respectant les circuits de collecte selective mis en place pour ces produits, vous contribuerez à economiser des ressources précieuses et à prévenir les impacts négatifs eventuels sur la santé humaine et l'environnement qui pourrait résultat d'une mauvaise gestion des déchets.
Pour plus d'information sur la collecte et le traitement des produits et batteries usages, veillez contacter votre municipalité, votre service de gestion des déchets ou le point de vente chez qui vous avez acheté ces produits.
Ces symboles ne sont valables que dans les pays de l'Union Européenne. Pour les pays n'appartenant pas à l'Union Européenne :
Si vous souhaitez jeter ces articles, veuillez contacter les autorités ou revendeurs locaux pour connaître les méthodes d'élimination appropriées.
K058a_A1_Fr
Si la fiche d'alimentation secteur de cet appeareil ne convient pas à la prise secteur à utiliser, la fiche doit être remplaçée par une appropriée. Ce remplacement et la fixation d'une fiche secteur sur le cordon d'alimentation de cet appeareil doivent être effectuels par un personnel de service qualifié. En cas de branchement sur une prise secteur, la fiche de coupure peut provoquer une sérieuse décharge électrique. Assurez-vous qu'elle est éliminée correctement après sa dépose.
L'appareil doit être déconnecté en débranchant sa fiche secteur au niveau de la prise murale si vous prévoyez une période prolongée de non'utilisation (par exemple avant un départ en vacances).
D3-4-2-2-1a_A1_Fr
ATTENTION
L'interrupteur ① STANDBY/ON de cet apparéil ne coupe pas complètement celui-ci de sa prise secteur. Comme le cordon d'alimentation fait office de dispositif de déconnexion du secteur, il devra être débranché au niveau de la prise secteur pour que l'apparéil soit complètement hors tension. Par conséquent, veillez à installer l' apparéil de telle manière que son cordon d'alimentation puisse être facilement débranché de la prise secteur en cas d'accident. Pour éviter tout risque d'incendie, le cordon d'alimentation sera débranché au niveau de la prise secteur si vous prévoyez une période prolongée de non utilisation (par exemple avant un départ en vacances). D3-4-2-2a* A1_Fr
Nous you remercions pour cet achat d'un produit Pioneer. Nous you demandons de dire soigneusement ce mode d'emploi ; you serez ainsi a même de faire fonctionner l'appareil correctement. Apre s avoir lu ce mode d'emploi, conservez-le en lieu sur pour pouvoir le consulter ulterieurement.
Table des matieres
Preparatifs 5
Vérification des accessoires livrés avec l'appareil 5
Installation du récepteur 5
Organigramme des réglages sur le récepteur 5
01 Commandes et affichages Panneau frontal 6
Afficheur 7
Télécommande 8
Mise en place des piles 9
Portee de la télécommande 9
02 Raccordement de votre équipement
Installation des enceintes 10
Conseils d'installation des enceintes 10
Raccordement des enceintes 11
Raccordez les enceintes surround arriere 11
Raccordements des cables. 12
Cables HDMI 12
A propos de HDMI 12
Cables audio analogiques 13
Cables audio numériques 13
Cables video. 13
A propos du raccordement des sorties video. 13
Raccordement d'un téléviseur et de peripheriques de lecture. 14
Connexion au moyen de l'interface HDMI 14
Raccordement d'un équipement depourvu de borne HDMI 14
Raccordement d'un récepteur satellite ou d'un boitier décodeur numérique. 15
Raccordement d'autres appeareils audio 15
Raccordement des antennes. 15
Utilisation des antennes externes 16
Branchement du récepteur 16
03 Lecture de base
Désactivation du mode d'affichage de
demonstration 17
Lecture d'une source 17
Selection du signal d'entrée audio 17
Pour écouter la radio 18
Amélioration du son FM 18
Mémorisation de stations prérgliées 19
Pour écouter les stations prérgliées 19
Attribution de noms aux stations preréglées 19
Introduction au RDS. 19
Recherche de programmes RDS. 20
Affichage d'informations RDS. 20
Faire un enregistrement audio 20
04 Écoute de votre système
Choix du mode d'écoute 21
Lecture en mode Auto 21
Écoute de sonorités d'ambiance 21
Utilisation des effets surround avances 22
Utilisation des modes Stream Direct 22
Utilisation de la fonction Sound Retriever. 22
Un meilleur son grâce à la fonction Phase Control. 22
Utilisation du traitement de canal surround arrête 23
Réglage de la fonction Up Mix 23
Réglage des options audio 23
05 Menu de configuration du système
Utilisation du menu de configuration du système. 25
Le menu Speaker Setup 25
Réglage des enceintes 25
X.Over 26
Niveau de canal. 26
Distance des enceintes 26
Le menu Auto Power Down 26
Le menu FL Demo Mode. 26
06 Fonction ARC (Audio Return Channel)
Configuration de ARC. 27
Avant d'utiliser la fonction ARC. 27
07 Informations supplémentaires
Guide de dépannage 28
Généralités 28
HDMI 29
Informations importantes concernant la liaison HDMI 29
Réinitialisation de l'unité principale 29
Nettoyage de I'appareil 29
Spcifications 30
Preparatifs
Vérification des accessoires livrés avec l'appareil
Veuillez vérifier que les accessoires suivants sont livrés avec l'appareil :
- Telecommande
- Piles à anode sèche AAA IEC R03 (pour vérifier le bon fonctionnement du système) x 2
Antenne cadre AM
Antenne filaire FM
Cordon d'alimentation - Carte de garantie
- Guide rapide
- Ce mode d'emploi (CD-ROM)
Installation du récepteur
- Lors de l'installation de l'appareil, assurez-vous que ce dernier est posé sur une surface plane et stable.
N'installez pas l'appareil dans les endroits suivants : - sur un télévisuer couleur (les images à l'écran pourrait être déformées)
- à proximé d'une platine à cassettes (ou d'un apparéil qui produit un champ magnétique). Le son pourrait s'en trouver affecté.
- à la lumière directe du soleil
-à l'humidité - à des températures extrêmes
- en présence de vibrations ou autres mouvements
- à la poussière
- à la fumée ou aux émanations graisseuses (cuisine par ex.)
Organigramme des réglages sur le récepteur
Cet apparéil est un récepteur AV à part entière représentant un grand nombre de fonctions et de prises. Il peut être utilisé facilement lorsque les raccordements et les réglages mentionnés ci-dessous ont été effectuels.
Les couleurs des étapes ont la signification suivante :
Réglage nécessaire
Réglage à effectuer si nécessaire
1 Raccordement des enceintes
L'emplacement des enceintes aura un effet déterminant sur la qualité du son.
Installation des enceintes (page 10)
Raccordement des enceintes (page 11)

2 Raccordement des composants
Pour bénéficier du son surround, vous doivent raccorder le lecteur Blu-ray Disc/DVD au récepteur à l'aide d'une connexion numérique.
- À propos du raccordement des sorties video (page 13)
Raccordement d'un téléviseur et de périhériques de lecture (page 14) - Raccordement des antennes (page 15)
- Branchement du récepteur (page 16)

3 Mise sous tension
Assurez-vous d'avoir bien raccordé la sortie video du télévisuer au récepteur. Veuillez consulter le mode d'emploi du télévisuer en cas deoute.

4 Permet de préciser la taille et le nombre d'enceintes raccordées
Réglage des enceintes (page 25)
5 Le menu FL Demo Mode (page 26)
(Pour activer ou désactiver la démonstration sur l'affichage du panneau avant.)
Utilisation de la fonction Audio Return Channel (page 27)
(Lorsque lteleviseur connecte pend en charge la fonction HDMI Audio Return Channel.)

6 Lecture d'une source (page 17)
- Sélection du signal d'entrée audio (page 17)
- Choix du mode d'écoute (page 21)

7 Réglage des préférences de son
- Utilisation de la fonction Sound Retriever (page 22)
- Un meilleur son grâce à la fonction Phase Control (page 22)
- Utilisation du traitement de canal surround arrêté (page 23)
- Réglage de la fonction Up Mix (page 23)
- Réglage des options audio (page 23)
- Le menu Speaker Setup (page 25)
Panneau frontal


1 Cadran INPUT SELECTOR
Permet de selectionner une source d'entrée (page 17).
2 Touches de commande du récepteur
SPEAKERS - Utilisez cette touche pour utiliser ou non le système d'enceintes. Lorsque SP OFF est sélectionné, aucun son n'est émis par les enceintes connectées à cet apparueil.
DIMMER - Obscurcit ou eclaircit l'affichage. Quatre étapes sont nécessaires pour commander la luminosité.
DISPLAY - Permet de sélectionner l'écran de cet apparéil. Vous pouvez vérifier le mode d'entrée, le volume sonore ou le nom de l'entrée en sélectionnant une source d'entrée.
3 Afficheur alphanumericique
Voir la section Afficheur à la page 7.
4 Touches de commande du tuner
BAND - Permet de naviguer entre les bandes de signaux radio AM, FM ST (stéréo) et FM MONO (page 18).
TUNER EDIT - Permet, en combinaison avec les touches TUNE ↑/↓. PRESET ←/→ et ENTER de ménoriser et de nommer les stations pour pouvoir les rappeler par la suite (page 18).
TUNE ↑/↓ - Ces touches servent à atteindre la fréquence radio voulue (page 18).
PRESET / - Ces touches permitten de selectionner des stations de radio preréglées (page 19).
5 Capteur
Reçoit les signaux provenant de la télécommande (voir la section Portée de la télécommande à la page 9).
6 Témoin HDMI
Clignote lorsqu'un composant HDMI est raccordé; s'allume lorsque ce composant est connecté (page 14).
7 Cadran MASTER VOLUME
8 STANDBY/ON
9 Voir la section PHONES
Permet de raccorder un casque. Lorsque le casque est branché, les enceintes ne fournissantaucen son.Lorsqu'un casque est utilisé,seuls les modes d'excoute PHONES SURSTEREO ou STEREO ALC sont disponibles.
10 Touches de mode d'écoute
AUTO SURROUND/STREAM DIRECT - Permet d'alterner entre les modes de lecture Auto surround (page 21) et Stream Direct (page 22).
ALC/STANDARD SURRE - Ces touches permottent d'utiliser le écodage standard et de permuter entre les modes Pro Logic II, Pro Logic Ix et NEO:6, ainsi que d'utiliser le mode de contrôle automatique du niveau (page 21).
ADVANCED SURROUND - Permet de naviguer entre les divers modes surround (page 22).
STEREO - Appuyez pour selectionner la lecture stereo (page 21).
11 SOUND RETRIEVER
Appuyez sur cette touche pour restaurer un son de qualite CD vers des sources audio compresses (page 22).
Afficheur
12 PHASE
S'allume lorsque la touche Phase Control est selectionnée (page 22).
13 AUTO
S'allume lorsque I'option Auto Surround est selectionnée (page 21).
14 Voyants du syntoniseur
RDS - S'allume lors de la réception d'une émission RDS (page 19).
ST - S'allume lors de la réception d'une émission FM stéreo en mode stéreo automatique (page 18).
TUNE - S'allume lors de la reception d'une émission radio Normale.
PRESET - Indique si une station radio prégrée est enregistrée ou appelée.
MEM - Clignote lorsqu'une station radio est enregistrree.
kHz/MHz-S'allume lorsque I'affichage alphanumérique indique la fréquence de la station radio AM/FM en cours de réception.
15 Indicateur d'enceinte
Indique si le système d'enceintes est utilisé ou non (page 6).
SPA signifie que les enceintes sont connectees.
SP signifie que les enceintes sont coupées.
16 Voyant du minuteur de veille
S'allume lorsque le récepteur est en mode minuterie de veille (page 8).
17 Voyant des informations prerégliées ou du signal d'entrée
Indique le nombre de prépréglage du syntoniseur ou le type de signal d'entrée, etc.
18 Afficheur alphanumericique
Affiche diverses informations sur le système.
19 Voyants DTS
DTS - S'allume lorsqu'une source comptant des signaux audio DTS encodés est détectée.
HD - S'allume lorsqu'une source comptant des signaux audio DTS-EXPRESS ou DTS-HD encodés est détectée.
ES-S'allume pour indiquer que le decodage DTS-ES est activé.
96/24 - S'allume lorsqu'une source importante des signaux audio DTS 96/24 encodés est détectée.
NEO:6 - S'allume pour indiquer un traitement NEO:6 lorsque l'un des modes NEO:6 du récepteur est activé (page 21).
20 Voyants Dolby Digital
D D - S'allume lorsqu'un signal Dolby Digital encode est detecté.
D D+ -S'allume lorsqu'une source comptant des signaux audio Dolby Digital Plus encodés est détectée.
DOHD - S'allume lorsqu'une source compétant des signaux audio Dolby TrueHD encodés est détectée.
EX-S-allume pour indiquer que le decodage Dolby Digital EX est activé.
DPLII(x) - S'allume pour indiquer que le decodage Pro Logic II/Pro Logic Ix est activé (consultez la section Ecoute de sonorités d'ambiance à la page 21 pour plus d'informations à ce sujeit).
21 ADV.S.
S'allume lorsque l'un des modes Advanced Surround a été sélectionné (pour plus d'informations, voir à la section voir Utilisation des effets surround avances à la page 22).
22 Indicateurs de SIGNAL SELECT
DIGITAL - S'allume lorsqu'un signal audio numérique est sélectionné. C lignote lorsqu'un signal audio numérique est sélectionné et que l'entrée audio sélectionnée n'existe pas.
HDMI - S'allume lorsqu'un signal HDMI est selectionné.
Clignote lorsqu'un signal HDMI est selectionné et que l'entrée HDMI selectionné n'est pas.
23 Voyant Up Mix/ DIMMER
S'allume lorsque la fonction Up Mix est activée (ON) (voir la page 23). S'allume également lorsque DIMMER est désélectionné.
24 DIR.
S'allume lorsque le mode DIRECT ou PURE DIRECT est seLECTIONné (page 22).
Telekomande

Les codes de la télécommande sont prerégès pour les produits Pioneer si vous souhaïez commander d'autres apparèls. Les régliages ne peuvent pas être modifiés.
1 SLEEP
Appuyez sur cette touche pour modifier le décal qui s'écoule avant que le récepteur ne passée en mode veille (30 min - 60 min - 90 min - Off). Vous pouvez vérifier le temps restant avant le passage en mode veille en appuyant une fois sur la touche SLEEP.
2 念 RECEIVER
Cette touche permet d'allumer le récepteur et de le méttre en veille.
3 RECEIVER
Pour attribuer la télécommande au contrôle du récepteur (permé de sélectionner les commandes blanches au-dessus des touches numerotées (MIDNIGHT, etc.)). Utilisez également cette touche pour configurer le son surround (page 25) ou les paramètres audio (page 23).
4 INPUT SELECT
Servent à seLECTIONner la source d'entrée (page 17).
5 Touches de fonction d'entrée
Pour sélectionner la source d'entrée de ce récepteur (page 17). Ceci permet de commander d'autres équipements. Pioneer avec la télécommande.
- La touche ADAPTER, PORTABLE n'est pas utilisée sur cet apparéil.
6 Touches de commande du récepteur
PHASE - Permit d'activer/de désactiver la correction de phase (page 22).
S.RETRIEVER - Appuyez sur cette touche pour restaurer un son de qualite CD vers des sources audio compressées (page 22).
SIGNAL SEL - Appuyez pour sélectionner le signal audio d'entrée de l'équipment à partir duquel vous souhaitez effectuer la lecture (page 17).
7 Touches de mode d'écoute
AUTO/DIRECT - Permet d'alterner entre les modes de lecture Auto surround (page 21) et Stream Direct (page 22).
STEREO - Appuyez pour sélectionner la lecture stéreo (page 21).
ALC/STANDARD - Ces touches permettent d'utiliser le décodage standard et de permuter entre les modes Pro Logic II, Pro Logic IIx et NEO:6, ainsi que d'utiliser le mode de contrôle automatique du niveau (page 21).
ADV SURR - Permet de naviguer entre les divers modes surround (page 22).
Appuyez d'abord sur BD pour acceder au menu :
BD MENU* - Permet d'afficher le menu des disques Blur ray.
8 Touches de Configuration du système et de commande d'autres composants
Pour utiliser les touches de commande suivantes, appuyez d'abord sur la touche de fonction d'entrée correspondante (BD, DVD, etc.).
Appuyez d'abord sur RECEIVER pour acceder au menu :
AUDIO PARAMETER - Permet d'acceder aux options Audio (page 23).
SETUP - Appuyez pour acceder au menu de configuration du système (page 25).
RETURN - Permet de confirmer et de quitter l'écran du menu affchéé.
Appuyez d'abord sur BD, DVD ou sur DVR/BDR pour acceder au menu :
TOP MENU - Permet d'afficher le menu "supérieur" d'un Blu-ray Disc/DVD.
HOME MENU - Permet d'afficher l'écran HOME MENU.
RETURN - Permet de confirmer et de quitter l'écran du menu affchéé.
MENU - Permet d'afficher le menu TOOLS du lecteur de disques Blu-ray.
Appuyez d'abord sur TUNER pour acceder au menu :
TUNER EDIT - Pour memoriser des stations afin d'y acceder facilement (page 18). Permet aussi de changer le nom des stations ménorisées (page 19).
BAND - Permit de naviguer entre les bandes de signaux radio AM, FM ST (stéreo) et FM MONO (page 18).
PTY SEARCH - Permet de recherche des programmes de type RDS (page 19).
9 / / / (TUNE / , PRESET / ), ENTER
Utilissez les touches fléchées pour régler votre système de son surround (page 25). Elle permet aussi de commander les menus/options Blu-ray Disc/DVD.
Les touches TUNE ↑/↓ permettent de rechercher une fréquence radio et les touches PRESET ←/→ seront à rechercher une station de radio prégrée (page 19).
10 Touches de commande de composants
Les touches principales (▶, ■, etc.) sont utilisées pour commander un composant après l'avoir sélectionné à l'aide des touches de fonction d'entrée.
Voupez acceder aux commandes se trouant au-dessus de ces touches après avoir selectionné la touche de source d'entrée correspondante (BD, DVD, DVR/BDR ou CD). Ces touches fonctionnent égallement comme décrit ci-dessous. Appuyez d'abord sur RECEIVER pour acceder au menu :
BASS - / + TRE - / + - Pour ajuster les fréquences graves et les fréquences aigués.
- Ces commandes sont déactivées lorsqu'le mode d'écoute est rédigé sur DIRECT ou sur PURE DIRECT.
- Lorsque le réglage des enceintes avant est défini sur SMALL et que la X.OVER est définié au-dessus de 150Hz , le niveau du canal de subwoofer peut être ajusté à l'aide de la touche BASS -/+ (page 26).
11 Touches numériques et commandes pour d'autres composants
Les touches numériques permettent d'acceder directement à une fréquence radio (page 18) ou aux pistes d'un CD, etc. Elles permettent aussi d'acceder à d'autres fonctions après avoir appuyé sur la touche [RECEIVER]. (Par exemple, MIDNIGHT, etc.)
HDD, DVD, VCR* – Ces touches permettent de naviguer entre les commandes du disque dur, du DVD et du VCR pour les enregistrateurs HDD/DVD/VR.
SB CH - Appuyez sur cette touche pour sélectionner le mode ON, AUTO, ou OFF pour le canal surround arrêté (page 23).
CH SELECT - Appuyez sur cette touche plusieurs fois pour sélectionner un canal, puis sur LEV + / - pour régler le niveau sur (page 26).
LEV +/- — Ces touches permettant d'ajuster le niveau des canaux.
MIDNIGHT - Permet de sélectionner le mode d'écoute.
Midnight ou Loudness (page 24).
SPEAKERS - Utilisez cette touche pour utiliser ou non le système d'enceintes. Lorsque SP OFF est sélectionné, aucun son n'est émis par les enceintes connectées à cet appeareil.
DIMMER - Obscurcit ou éclaircit l'affichage. Quatre étapes sont nécessaires pour commander la luminosité.
12 SOURCE
Permet demettre sous tension ou hors tension des equipements DVD/DVR Pioneer lorsque la source d'entree BD,DVD,DVR/BDR ou CD est selectionnee a I'aide des touches de fonctions d'entree.
13 Touches TV CONTROL
These touches of commande peuvent être utilisées uniquement avec les téléviseurs Pioneer.
- Cette touche permet d'allumer et d'éteindre le télévisseur.
INPUT - Permit de sélectionner le signal d'entrée du téléviseur.
CH + / - Permet de selectionner les chaines.
VOL + / - Permet d'ajuster le volume de votre téléviseur.
DTV/TV* - Permet de basculer entre les modes d'entrée
Télévision numérique et TV analogue pour les
televiseurs Pioneer.
14 MASTER VOLUME + / -
Permet de régler le volume d'écoute.
15 MUTE
Permet de couper/restaurer le son.
16DISP
Permet de scélectionner l'écran de cet apparéil. Vous pouvez vérifier le mode d'écoute, le volume sonne ou le nom de l'entrée en scélectionnant une source d'entrée.
17 SHIFT
Appuyez sur cette touche pour acceder aux commandes 'encadrées' (situées au-dessus des touches) de la télécommande. Ces touches sont indiquées par un astérisque (*) dans cette section.
Mise en place des piles

Les piles de la télécommande fournies avec l'appareil permettent d'effectuer les premières opérations ; il est possible qu'elles ne duront pas très longtemps. Nous recommendons l'usage de piles alcalines, dont la durée de vie est supérieure.
ATTENTION
- Une mauvaise utilisation des piles peut provoquer des accidents tels que fuites ou explosions. Veuillez observer les recommendations suivantes:
-N'utilise jamais des piles neuves et usagées dans le même apparéel.
- Insérez les piles en respectant les indications de polarité situées à l'intérieur du boitier.
- Des piles de même forme peuvent avoir des voltages différents. N'utilise jamais des piles de voltage différent dans le même apparil.
-Au moment d'éliminer les piles usagées, veuillez respecter les réglementations gouvernementales ou les recommendations publiques relatives à la protection de l'environnement en vigueur dans sans leur pays ou région.
-N'utilise ni ne conservez les piles sous la luziere directe du soleil ou dans un endroit excessivement chaud, comme une voiture ou a proximite d'un apparéil de chauffage. Les piles risqueraient de fuir, de surchauffer, d'explorer ou de s'enflammer. Ceci pourrait aussi réduire la durée de vie et les performances des piles.
AVERTISSEMENT
Gardez les piles hors de la portée des bébées et des enfants. En cas d'ingestion accidentelle, veuillage contacter immeditatement un médecin.
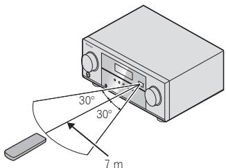
Portée de la télécommande
La télécommande ne fonctionnera pas correctement :
- Si des obstacles se trouvent entre la télécommande et le capteur de télécommande du récepteur.
- Si le capteur de télécommande est exposé à la lumière directe du soleil ou à un éclairage fluorescent.
- Si le récepteur se trouve à proximité d'un apparéil qui émet des rayons infrarouges.
- Si le récepteur recoit simultanément des signaux en provenance d'une autre télécommande à infrarouges.

Raccordement de votre équipement
Installation des enceintes
Un système surround de type 5.1 peut être obtenu en connectant les enceintes avant gauche et droite (L/R), l'enceinte centrale (C), les enceintes surround gauche et droite (SL/SR) et le subwoofer (SW).
De plus, à l'aide d'un amplificateur externe, vous pouvez connecter les enceintes surround arrêté gauche et droite (SBL/SBR) pour obtenir un système surround de type 7.1.
- Vous pouvez aussi connecter une enceinte surround arrêté (SB) afin d'obtenir un système surround à 6.1 canaux.
PourTEL 1.
Système surround à 5.1 canaux :

Système surround à 6.1 canaux : a

Système surround à 7.1 canaux : a

a. Cette disposition est possible uniquement lorsqu'l'amplificateur supplémentaire est raccordé à l'appareil et que les enceintes surround arrriere sont raccordées à l'amplificateur. Pour plus de détails, voir la section Raccordez les enceintes surround arrière à la page 11.
Conseils d'installation des enceintes
L'emplacement des enceintes dans la piece d'écoute a une grande influence sur la qualité du son obtenu. Les conseils suivants vous permetront d'obtenir le meilleur son avec votre système.
- Le caisson de basses peut être placé sur le sol. L'idéal est de placer les autres enceintes au niveau de vos oreilles en position d'écoute. Il est déconseilé deposer les enceintes sur le sol (à l'exception du caisson de graves) ou de les installer très haut en position murale.
- Pour厥miner un effet stéroy optimal, écartez les enceintes avant de 2 à 3 mètres en les plaçant à égale distance du télévisée.
- Si vous prévoyez de placer les encéintes à côté d'un télévisueur à écran cathodique, utilisez des enceintes protégées contre les interférences electromagnétiques, ou placez les enceintes à une distance suffisante de l'écran.
- Si vous utilisez une enceinte centrale, placez les enceintes avant à un angle plus grand. Sinon, placez-les à un angle plus etroit.
- Placez l'enceinte centrale au-dessus ou en dessous du téléviseur de sorte que le son du canal central semble provenir de l'écran du téléviseur. Assurez-vous également que l'enceinte centrale ne traverse pas la ligne formée par le bord d'attaque des enceintes avant gauche et droite.
- Il vaut moins placer les enceintes de manière à réaliser un angle ouvert vers la position d'écoute. L'angle dépend de la taille de la pièce. Utilisez un angle inférieur pour les pièces plus grandes.
- Les enceintes surround et surround arrêté doivent être placées 60 cm à 90 cm plus haut que vos oreilles et légèrement inclinées vers le bas. Assurez-vous que les enceintes ne sont pas face à face. Pour les signaux DVD-Audio, les enceintes doivent être plus rapprochées de l'auditeur que lors de la lecture sur un apparéil de cinéma à domicile.
- Si les enceintes surround ne peuvent pas etre placees directement a coté de la position d'excite dans un systeme à 7.1 canaux, l'effect surround pourra etre amélioré en déactivant la fonction Up Mix (voir la section Réglage de la fonction Up Mix à la page 23).
- Essayez de placer les enceintes surround à la même distance de la position d'écoute que les enceintes avant et centrale. Sinon, l'effect de son surround sera affaibli.
ATTENTION
Assurez-vous que toutes les enceintes sont correctement installées. Ceci permet non seulement d'améliorer la qualité du son, mais aussi de réduire les risques de dommages ou de blessures, en empêchant les enceintes d'être renversées ou de tomber en cas de chic externe ou de secousse telle qu'un tremblement de terre.
Important
- Vous doivent disposer d'un amplificateur supplémentaire pour racorder les enceintes surround arrirée. Raccordez l'amplificateur supplémentaire aux sorties Surr Back PRE OUT de cet appeareil et raccordez les enceintes surround arrirée à l'amplificateur supplémentaire (voir la section Raccordez les enceintes surround arrirée à la page 11).
Raccordement des enceintes
Le récepteur fonctionnera avec seulement deux enceintes stéreo (les enceintes avant sur le schéma), mais il est recommendé d'en utiliser au moins trois ; une configuration complète de huit enceintes est cependant idéale pour la production du son surround.
Vérifie que l'enceinte droite est raccordée à la borne droite (R) et que l'enceinte gauche est raccordée à la borne gauche (L). Assurez-vous également que les bornes positifs et négatifs (+/-) du récepteur sont reliées aux bornes positifs et négatifs des encéintes.
Vous pouvez utiliser des enceintes ayant une impédance nominal comprise entre 6 Ω et 16 Ω. Assurez-vous que tous les branchements ont été effectuels correctement avant de raccorder cet apparéil au secteur.
Branchement des fils nus
Borres des enceintes avant :
1 Torsadez ensemble les brins de fil dénudés.
2 Librez la borne de l'enceinte et inserez-y le fil.
3 Refermez la borne.
Bornes de l'enceinte centrale et des enceintes surround:
1 Torsadez ensemble les brins de fil dénudés.
2 Poussez sur les languettes pour les ouvrir et insérer le fil dénudé.
3 Relâchez les languettes.
1

10 mm

3

1

10 mm

3


ATTENTION
- Les bornes des haut-parleurs sont sous une tension DANGEREUSE. Pour éviter tout risque de décharge électrique lors du branchement et du débranchement des cables de haut-parleur, débranche le cordon d'alimentation avant de toucher des parties non isolées.
Assurez-vous que tous les brins de fil dénudés du cable d'enceinte sont torsadés ensemble et insérés complètement dans la borne de l'enceinte. Si une partie du fil d'enceinte exseste entre en contact avec le panneau arrêté, l'alimentation peut être coupée par mesure de sécurité.
Raccordez les enceintes surround arrêté
Raccordez les sorties SURR BACK PRE OUT de l'appareil et un amplificateur supplémentaire afin d'ajouter une enceinte surround arrêté.
- Vous pouvez également racorder l'amplificateur supplémentaire aux sorties Pre Out de canal surround arrirre pour ajouter une seule enceinte. Dans ce cas, connectez l'amplificateur à la borne gauche (L (Single)) uniquement.

Amplificateur de canal surround arriere
Raccordements des câbles
Veillez à ne pas piar les cables par dessus l'appareil. Dans ce cas, le champ magnétique produit par les transformateurs de l'appareil pourrait provoquer le renflement des enceintes.

Important
- Avant un raccordement ou une modification de raccordement, metze l'appareil hors tension et débranche le cordon d'alimentation de la prise secteur.
- Avant de débrancher le cordon d'alimentation, mettez l'appareil en veille.
Cables HDMI
Les signaux video et audio peuvent être transmis simultanément via un seul cable. Dans le cas où le lecteur et le téléviser sont connectés via cet apparil, utilisez des cables HDMI pour les deux connexions.

Veillez a raccorder la borne dans le sens qui convient.
Remarque
- Reglez le paramètre HDMI (voir la section Réglage des options audio à la page 23) sur THRU (THROUGH) et le signal d'entrée (voir la section Sélection du signal d'entrée audio à la page 17) sur HDMI si vous souhaitetz entendre la sortie audio HDMI de votre téléviseur ou téléviseur à écran plat (aucun son ne sera transmis par ce récepteur).
- Si le signal video n'apparait sur votre téléviseur, essayez d'ajuster les réglages de la résolution de votre composant ou écran. Notez que certains composants (par exemple les consoles de juste video) ont des résolutions qui ne peuvent pas être affichées. Dans ce cas, utilisez une connexion composite (analogique).
Lorsque le signal video HDMI est 480i, 480p, 576i ou 576p, il est impossible de receivevoir le son Multi Ch PCM et HD.
A propos de HDMI
La liaison HDMI transfère des signaux video numériques non compressés de même que la plupart des signaux audio compatibles avec le composant raccordé, par exemple les signaux des DVD-Video, DVD-Audio, Dolby Digital Plus, Dolby TrueHD, DTS-HD Master Audio (voir ci-dessous pour les restrictions), CD-Video/Super VCD et CD.
Ce récepteur intégre une Interface Multimédia Haute Définition (HDMI®).
Il prend en charge les fonctions suivantes lorsque les liaisons HDMI sont utilisées.
- Transfert numérique de video non compressée (contenu protégé par le HDCP (1080p/24, 1080p/60, etc.))
Transmission de signal 3D - Transfert des signaux Deep Color
- Transfert de signaux x.v.Color
Audio Return Channel (reportez-vous à la section Fonction ARC (Audio Return Channel) à la page 27) - Entrée de signaux audio numériques PCM linéaires multicanaux (192 kHz ou inférieur) jusqu'à 8 canaux
- Entrée des signaux audio numériques aux formats suivants:
-Dolby Digital, Dolby Digital Plus, DTS, Son à début élève (Dolby TrueHD, DTS-HD Master Audio), DVD-Audio, CD, Video CD, Super VCD.
Remarque
- Utilisez un cable HDMI haute vitesse. L'utilisation d'un cable HDMI de type autre que HDMI haute vitesse peut cause des dysfonctionsnements.
- L'utilisation d'un cable HDMI équipé d'un égaliseur intégré peut provoquer des dysfonctionnements.
- Les options 3D, Deep Color, x.v.Color signal transfer et Audio Return Channel sont uniquement disponibles lorsqu'un composant compatible est connecté.
- La transmission du signal audio numérique HDMI nécessite plus de temps pour être reconnaue. C'est jusqu'à, une coupure de son peut se produit au moment où l'on change de format audio ou lance la lecture.
- Le fait demettre en marche ou d'arrer le périhérique connecté à la borne HDMI OUT de cet apparéil, ou de déconnecter/connector le cable HDMI pendant la lecture peut produit des bruits parasites ou même interrompè le signal audio.
Les termes HDMI et HDMI High-Definition Multimedia Interface ainsi que le logo HDMI sont des marques commerciales ou des marques déposées de HDMI Licensing, LLC aux États-Unis et dans d'autres pays.
"X.v.Color" et X.v.Color sont des marques commerciales de Sony Corporation.
Cables audio analogiques
Utilisez des cables phono stéreo RCA pour racorder les apparèils audio analogiques. Ces cables sont le plus souvent rouges et blancs ; les fiches rouges doivent être raccordées aux bornes R (côté droit) et les fiches blanches aux bornes L (côté gauche).

Cables audio numériques
Les cables audio numériques coaxiaux ou les cables optiques disponibles dans le commerce doivent être utilisés pour raccorder les apparèels numériques au récepteur.

Remarque
- Lors du raccordement de cables optiques, faites attention à ne pas endommager le cache qui protège la prise optique lors de l'insertion de la fiche.
- Pour ranger le cable optique, l'enrouler sans le serrer.
Vous pourriez endommager le cable en l'enroulant de façon trop serrée. - Vous pouvez également utiliser un cable video RCA standard pour les raccordements numériques coaxiaux.
Cables video
Cables video RCA standard
Ces cables sont courument utilisés pour les raccordements video et ils sont utilisés pour le raccordement à des bornés video en composantes. Les fiches jaunes les distinguent des cables audio.

À propos du raccordement des sorties video
Ce récepteur ne compte pas de convertisseur video. Si vous utilisez des cables HDMI pour raccorder un équipement en entrée, le même type de cable doit etre utiliser pour le raccordement du téléviseur.
Les signaux des entrées videoanalogiques (composite) de cet apparéil ne seront pas transmis par la sortie HDMI OUT.

Raccordement d'un téléviseur et de périphériques de lecture
Connexion au moyen de l'interface HDMI
Si vous ave un composant équipé d'une prise HDMI ou DVI (avec HDCP) (Lecteur Blu-ray Disc, etc.), vous pouvez le raccorder à ce récepteur à l'aide d'un cable HDMI disponible dans le commerce.
- La connexion et/ou le réglage suivant est nécessaire pour écouter le son du téléviseur par l'intermédiaire du récepteur.
-Si le téléviseur ne prend pas en charge la fonction HDMI Audio Return Channel, connectez le récepteur et le téléviseur à l'aide de câbles audio ( comme indiqué).
-Si le télévisuer prend en charge la fonction HDMI Audio Return Channel, le son du télévisuer est envoye vers le recepteur via la prise HDMI et il n'est alors pas nécessaire de connecter un cable audio. Dans ce cas, reglez l'option ARC sur ON dans le menu de configuration HDMI SET (voir la section Configuration de ARC à la page 27).

Raccordement d'un équipement depourvu de borne HDMI
Ce schéma montre les connexions d'un téléviseur et d'un lecteur DVD (ou autre équipement de lecture) dépourvus de borne HDMI à cet apparéil.


Remarque
- Pour écouter le son d'un lecteur DVD connecté à ce récepteur via un cable optique ou un cable coaxial, commutez d'abord l'entrée sur DVD, puis utilisez la touche SIGNAL SEL pour sélectionner le signal audio C1 (COAXIAL1) (voir la section Sélection du signal d'entrée audio à la page 17).
Raccordement d'un récepteur satellite ou d'un boîtier décodeur numérique
Les récepteurs satellites et par cable, ainsi que les symtoniseurs de téléviseur numérique terrestre sont tous des exemples de ce que I'on appelle boitiers décodeurs.
- Si le décodeur ou le composant video possède aussi une sortie HDMI, vous pouvez également la raccorder. Pour plus d'information à ce sujet, voir la section Connexion au moyen de l'interface HDMI à la page 14.

Remarque
- Pour écouter le son d'un composant source connecté à ce récepteur via un cable coaxial ou un cable optique, commutez d'abord l'entrée sur CD/SAT, puis utilisez la touche SIGNAL SEL pour sélectionner le signal audio C1 (COAXIAL1) ou O1 (OPTICAL1) (voir la section Sélection du signal d'entrée audio à la page 17).
Raccordement d'autres apparéils audio
Le nombre et le type de raccordement dépendant des appeareils que vous désrez raccorder. Suivez les étapes cï-dessous pour raccorder un lecteur CD-R, MD, DAT, un magnétophone ou tout autre apparéil audio.
- Pensez à raccorder les apparèils numériques aux prises fémelles audio analogiques si vous désírez enregistrer à partir d'apparèils numériques (lecteur MD par ex.) vers des apparèims analogiques et reciproquement.

Remarque
- Pour écouter le son d'un lecteur CD connecté à ce récepteur via un cable optique, commutez d'abord l'entrée sur CD-R, puis utilisez la touche SIGNAL SEL pour selectionner le signal audio 01 (OPTICAL1) (voir la section Sélection du signal d'entrée audio à la page 17).
Raccordement des antennes
Raccordez l'antenne cadre AM et l'antenne filaire FM comme indiqued ci-dessous. Pour améliorer la réception et la qualité du son, raccordez les antennes externes (voir la section Utilisation des antennes externes à la page 16).

1 Poussez sur les languettes pour les ouvr, puis insérez complètement un fil dans chaque borne avant de relâcher les languettes pourmettre en place les fils de l'antenne AM.
2 Reliez l'antenne cadre AM au pied joint.
Pour relier le pied à l'antenne, courbez-le dans le sens indiqué par la flèche (fig. a), puis attachez le cadre sur le pied (fig. b).
3 Placez l'antenne AM sur une surface plane en l'orientant vers une direction qui offre la(Meilleure reception.
4 Raccordez l'antenne filaire FM à la prise d'antenne FM. Pour deGXmeurs résultats, déroulez l'antenne FM et fixez-la sur un mur ou sur un encadrement de porte. Tendez-la, elle ne doit pasetre enroulée.
Pour améliorer la réception FM
Utilizés un connecteur de type PAL (non fournir) pour raccorder une antenné FM externe.

Pour améliorer la réception AM
Connectez un fil recouvert de vinyle de 5 à 6 metres de long à la borne d'antenne AM sans déconnecter l'antenna cadre AM fournie.
Pour obligner laCOMMENCE RECEPTION possible, fixez ce fil métallique horizontalement, à l'extérieur.

Branchement du récepteur
Ne raccorde le récepteur au secteur qu'après y avoir connecté tous les composants, y compris les haut-parleurs.

ATTENTION
Tenez le cordon d'alimentation par sa prise lorsqu'vous le manipulez. Ne débranchez pas l'appareil en tirant sur le cordon et ne touchez jamais le cordon d'alimentation avec les mains mouillées; vous pourriez provoquer un court-circuit ou prendre un chic électrique. Ne placez pas l'apparile, un meuble ou tout autre object sur le cordon d'alimentation, et évitez de le pincer de toute autre manière. Ne faites jamais de nœud dans le cordon et ne le liez jamais avec d'autres cables. Les cordons d'alimentation doivent être acheminés de façon à ce qu'on ne puisse pas marcher dessus. Un cordon d'alimentation endommage peut provoquer un incendie ou un chic électrique. Vérifiez l'état du cordon de temps à autre. Si le cordon est endommage, demandez-en le remplacement après du service après-vente agree Pioneer le plus proche.
N'utiliseaucunautercordonda'alimentationqueelui fouri avec cet apparell.
- N'utilise pas le cordon d'alimentation fourni à d'autres fins que celles décrites ci-après.
- Lorsque le récepteur n'est pas utilisé durant une longue période (par ex. pendant les vacances), il est recommandé de le débrancher, en retirant le connecteur d'alimentation de la prise murale.
Remarque
Lorsque ce récepteur est relié à une prise secteur, un processus d'initialisation HDMI de 2 à 10 secondes commence. Durant celui-ci il n'est pas possible d'effectuer d'autres opérations. Le témoin HDMI clignote sur l'afficheur du panneau avant pendant l'initialisation, et vous pouvètre le récepteur sous tension lorsque le clignotement a cessé. Lorsque l'options ARC du menu de configuration HDMI est régée sur OFF, vous pouvèsauter cette procédure. Pour plus de détails, voir la section Fonction ARC (Audio Return Channel) à la page 27.
1 Enfichez le cordon d'alimentation fourni dans la prise AC IN à l'arrête du récepteur.
2 Enfichez I'autre extrémité dans une prise électrique.
Chapitre 3: Lecture de base
Déactivation du mode d'affichage de démonstration
Diverses informations (de démonstration) s'affichent sur le panneau avant lorsque le récepteur ne fonctionne pas. Il est possible de désactiver ce mode d'affichage. Pour plus de détails, voir la section Le menu FL Demo Mode à la page 26.
Lecture d'une source
Voici les instructions de base pour dire une source (telle qu'un DVD) avec votre système home cinema.


1 Allumez les composants de votre système et votre récepteur.
Allumez en premier lieu l'équipment de lecture (par exemple, un lecteur DVD), votre télévisueur et le caisson de graves (si vous en ave un), puis le récepteur (appuyez sur ° RECEIVER).
2 Commutez l'entrée TV sur l'entrée qui est connectee a ce récepteur.
Par exemple, si vous connectez ce récepteur aux prise VIDEO de votre télévisuer, voirlez à ce que l'entrée scéléctionné soit VIDEO.
3 Utilizez les touches de fonctions d'entree pour selectionner la fonction d'entree souhaitee.
-
L'entrée du récepteur commute et vous pourrez alors utiliser d'autres composants via la télécommande. Pour faire fonctionner ce récepteur, appuyez d'abord sur la touche (RECEIVER) de la télécommande, puis appuyez sur la touche voulue.
-
La source d'entrée peut aussi être sélectionnée à l'aide des touches INPUT SELECT de la télécommande, ou du bouton rotatif INPUT SELECTOR. Dans ce cas, la télécommande ne permutera pas les modes de fonctionnement.
Si vous sélectionnez la source d'entrée correcte et qu'aucun son n'est émis, sélectionnez le signal d'entrée audio pour la lecture (voir la section Sélection du signal d'entrée audio cédssous).
4 Appuyez sur AUTO/DIRECT pour sélectionner AUTO SURROUND, puis lancez la lecture de la source.
Si vous lisez un disque DVD enregistré en Dolby Digital ou DTS surround, l'utilisation d'une connexion audionumérique doit vous permettre de profiter du son surround. Si vous lisez à partir d'une source stéreo ou si la connexion audio est une connexion analogique, le son ne sera émis que par les enceintes avant gauche et droite en mode d'écoute par défaut.
Il est possible de voir l'affichage sur le panneau avant, que la lecture en mode surround s effectue correctement ou non.
Si vous utilisez une enceinte surround arrriere, D+PLIIx s'affiche pendant la lecture des signaux Dolby Digital à 5.1 canaux et DTS+NEO:6 s'affiche pour la lecture des signaux DTS à 5.1 canaux.
Si vous n'utilise pas d'enceinte surround arrere, DOD s'affiche pour la lecture de signaux Dolby Digital.
Si l'affichage ne correspond pas aux signaux présents et au mode d'écoute, vérifiez les liaisons et les réglages.
Remarque
- Vous devrez peut-être vérifier les réglages de sortie audio numérique de que le lecteur DVD ou de votre récepteur satellite numérique. Celui-ci doit être régèle pour générer du son Dolby Digital, DTS et 88,2 kHz/96 kHz PCM (2 canaux); s'il existe une option pour son MPEG, active-la pour convertir le son MPEG en PCM.
- Selon votre lecteur DVD ou vos disques sources, il se peut que vous n'obteniez qu'un son analogue 2 canaux (stéreo). Dans ce cas, si vous désírez un son surround multicanaux, l'appareil doit être place en mode d'écoute multicanaux.
5 Utilizez le bouton rotatif MASTER VOLUME pour régler le volume sonore.
Coupez le volume de votre téléviseur pour que le son provienne intégralement des enceintes connectées à ce récepteur.
Selection du signal d'entrée audio
Le signal d'entrée audio peut être sélectionné pour chaque source d'entrée. Une fois le signal d'entrée audio réglé, il sera appliquée à chaque fois que vous sélectionnez la source d'entrée à l'aide des touches de fonctions d'entrée.

- Appuyez sur la touche SIGNAL SEL pour sélectionner le signal d'entrée audio correspondant au composant source. Chaque pression sur la touche fait defiler les options suivantes:
- H - Permet de Sélectionner un signal HDMI. Vous pouvez désigné le nombre d'entreprises (B, DVD, DVR/ADR et CD/ SAT. Pour ce qui est le nombre des autres entretres, vous ne pouvez pas désigné le nombre d'entreprises (B).
Lorsque I'option HDMI (voir la section Reglage des options audio a la page 23) est reglee sur THRU, le son est transmis par le téléviseur non pas par ce recepteur. - C1/01 - Permet de sélectionner l'entrée numérique. La valeur C1 peut de sélectionner l'entrée coaxiale 1 et la valeur 01 peut de-selectionner l'entrée audio optique 1.
- A - Permet de sélectionner les entrées analogiques. Lorsque H (HDMI) ou C1/O1 (numérique) est可以选择 et que l'entree audio selectionnnee n'est pas fournie, I'option A (analogique) est automatiquement selectionné.
(A l'exception de I'entree BD, DVR/BDR.)
Remarque
- Pour l'entrée TV, seule l'options A (analogique) ou C1/O1 (numérique) peut être sélectionnée. Cependant, lorsque l'option ARC est activée (ON) dans le menu de configuration HDMI SET. L'entrée est définie sur H (HDMI) et elle ne peut pas être modifiée.
En mode H (HDMI) ou C1/O1 (numérique), D3 s'allume lorsqu'un signal Dolby Digital est recu, et DTS s'allume lorsqu'un signal DTS est recu.
Lorsque H (HDMI) est selectionné, les voyants A et DIGITAL sont éteints (voir page 7).
Lorsque le mode d'entree numerique (cable optique ou coaxial) est selectionnee, cet appeareil peut dire uniquement les formats de signaux numeriques Dolby Digital, PCM (32kHz a96 kHz) et DTS (y compris le format DTS 96 kHz/24 bits). Les signaux compatibles via les bornes HDMI sont les suivants: Dolby Digital, DTS, PCM (frequences d'echantillonnage de 32kHz a192 kHz), Dolby TrueHD, Dolby Digital Plus, DTS-EXPRESS, DTS-HD Master Audio and DVD-Audio (192 kHz compris).Avec d'autres formats de signaux numeriques,reglez sur A (analogique).
- Un bruit numérique peut se produit lorsqu'un lecteur de LD ou de CD compatible avec le format DTS lit un signal analogue. Pour éviter le bruit, réaliserez les connexions numériques adéquates (page 13) et réglez l'entrée de signal sur C1/O1 (numérique).
- Certains lecteurs de DVD n'emettent pas de signaux DTS. Pour de plus amples informations à ce sujet, consultez le mode d'emploi fourni avec votre lecteur de DVD.
- Ce produit n'est pas compatible avec le décodage DSD. Sur le récepteur, réglez la sortie sur PCM pour生存 des disques SACD sur un lecteur compatible avec le format SACD. Pour plus d'informations, veiliez consultier le Manuel d'utilisation du lecteur.

Astuce
- Pour bénéficiaze de l'image et/ou du son des équipements connectés sur les différentes prises, Sélectionnez la source de la manière indiquée ci-après.

Pour écouter la radio
Les étapes suivantes décrivent la façon de régler les bandes FM et AM à l'aide de la recherche automatique et des fonctions de réglage manuel. Lorsque vous avez régé une station, vous pouvez en memoriser la fréquence pour y acceder ultérieurement—voir Ménorisation de stations prégées à la page 19 pour obtenir de plus amples informations à ce sujet.

1 Appuyez sur TUNER pour selectionner le syntoniseur.
2 Utilisiez BAND pour changer la bande (FM ou AM), si nécessaire.
Chaque pression de la touche fait commuter la bande entre FM (stéreo ou mono) et AM.
3 Pour régler une station de radio.
Une station peut être réglée de trois façon différentes :
Réglage automatique
Pour rechercher des stations sur la bande actuellément selectionnée, appuyez sur les touches TUNE / et maintenez les enforcées pendant une seconde environ. Le recepteur lance la recherche de la station suivante et s'arrête à chaque détction de station. Répétez cette opération pour couver d'autres stations.
Réglage manuel
Pour modifier la fréquence d'un pas à la fois, appuyez sur la touche TUNE ↑/↓.
Réglage rapide
Appuyez sur la touche TUNE ↑/↓ et maintainez-la enforcée pour lancer le réglage rapide. Relâchez la touche à la fréquence souhaïée.
Amélioration du son FM
Si le voyant TUNE ou ST ne s'allume pas lors du réglage d'une station FM à cause d'un signal faible, réglez le récepteur sur le mode de réception mono.
- Appuyez sur la touche BAND pour sélectionner FM MONO.
Ceci devrait vous permettre d'obtenir une qualité sonore acceptable.
Mémorisation de stations préregliées
Si vous écoutez souvent une station de radio, il peut être pratique d'enregistrer sa fréquence dans le récepteur afin de pouvoir y acceder facilement lorsque vous le souhaitez. Ceci vous évite d'avoir à rechercher la fréquence chaque fois que vous désírez écouter cette station. Cet apparéil peut ménoriser jusqu'à 30 stations.


1 Réglez une station que vous souhaitez ménoriser. Pour plus d'information à ce sujet, voir la section Pour écouter la radio à la page 18.
2 Appuyez sur la touche TUNER EDIT. L'écran affiche PRESET, puis un MEM clignotant et une station prérgée.
3 Appuyez sur la touche PRESET / pour sélectionner la station préregée que vous désirez.
Pour cela, vous pouvez aussi utiliser les touches numériques.
4 Appuyez sur la touche ENTER.
Le numero prérgé ce sèse de clignoter et le récepteur mémoire la station.
Remarque
-
Si le récepteur reste déconnecté de la prise secteur pendant plus d'un mois, les stations de radio ménorisées seront perdues et devront être reprogrammées.
-
Les stations radio sont mémorisées en mode stéreo.
Lorsqu'une station est mémorisée en mode FM MONO, l'indication ST apparait néanmoins lorsque la station est rappelée.
Pour écouter les stations prérégliées
Vou devez ménoriser des stations prérigées pour avoir accès à cette fonction. Si vous n'avez pas encore ménorisé de stations prérigées, voir la section Ménorisation de stations prérigées au-dessus.
-
Appuyez sur la touche PRESET pour sélectionner la station préregée que vous désirez.
-
Vous pouvez aussi utiliser les touches numériques sur la télécommande pour rappeler la station prérgée.
Attribution de noms aux stations préregliées
Pour facilitier l'identification, vous pouvez attribuer un nom à toutes vos stations préregliées.
1 Choisissez la station prerégée que vous désirez nommer.
Voir la section Pour écouter les stations prêrgées au-dessus pour le détaïl à ce sujet.
2 Appuyez deux fois sur TUNER EDIT.
Le curseur se trouvant au premier caractère clignote sur l'écran.
3 Saisissez le nom que vous désirez donner à la station.
Le nom peut Compter jusqu'à huit caractères.
Utilisé les touches PRESET pour sélectionner la position du caractère.
- Utilisez les touches TUNE ↓/↓ pour sélectionner les caractères.
- Le nom est mémorisé lorsque vous appuyez sur ENTER.
Astuce
- Pour effacer le nom d'une station, suivez les étapes 1 et 2, puis appuyez sur ENTER lorsque l'écran est vide. Appuyez sur TUNER EDIT lorsque l'écran est vide afin de conserver l'ancien nom.
- Une fois que vous avez attribué un nom à une station prérégliée, appuyez sur DISP pour afficher le nom. Si vous voulez afficher de nouveau la fréquence, appuyez à plusieurs reprises sur Disp.
Introduction au RDS
Le système RDS (système de radiocommunication de données) est utilisé par la plupart des stations de radio FM pour fournir aux auditeurs différents types d'informations—notamment le nom de la station et le type d'émissions diffusées.
L'une des fonctions du système RDS permet d'effectuer une recherche par type de programme. Par exemple, vous pouvez rechercher une station qui diffuse une émission ayant pour type de programme JAZZ.
Voupeuz rechercher les types de programmes suivants :
NEWS - Informations
AFFAIRS - Analyse de l'actualité
INFO- Informations d'ordre général
SPORT-Sport
EDUCATE - Education
DRAMA - Pièces radiophoniques, etc.
CULTURE-Culture nationale ou régionale, theatre, etc.
SCIENCE - Science et technologie
VARIED-Habituellesprogrammes de discussion,quiz ou entretiens.
POP M - Musique pop
ROCK M - Musique rock
EASY M - Écoute aisé
LIGHT M - Musique classique 'Légère'
CLASSICS - Musique classique 'sérieue'
OTHER M - Musique ne correspondant à aucune des catégories ci-dessus
WEATHER-Bulletins météorologiques
FINANCE - Rapports de bourse, commerce, ventes, etc.
CHILDREN -Programmes pour enfants
SOCIAL - Affaires sociales
RELIGION -Programmes religieux
PHONE IN - Opinion publique par téléphone
TRAVEL - Voyages et vacances, plott qu'announces de circulation routière
LEISURE - Loisirs et hobbies
JAZZ - Jazz
COUNTRY - Musique country
NATION M - Musique
populaire dans une autre
langue que l'anglais
OLDIES - Musique populaire des années 50 et 60
FOLK M - Musique folk
DOCUMENT - Documentaires
Remarque
- De plus, il existe trois autres types de programme : ALARM, ALARMTST, et NO TYPE. ALARM et ALARMTST sont utilisés pour diffuser des announcements d'urgence. NO TYPE apparait lorsqu'un type de programme ne peut pas être trouvez.


Recherche de programmes RDS
Voupeuz recherche un type de programme repertorié cidesus.
1 Appuyez sur TUNER puis sur BAND pour sélectionner la bande FM.
- La fonction RDS n'est possible que dans la bande FM.
2 Appuyez sur la touche PTY SEARCH.
SEARCH apparait sur I'afficheur.
3 Appuyez sur PRESET / pour selectionner le type de programme à écouter.
4 Appuyez sur la touche ENTER pour lancer la recherche du type de programme.
Le système commence à rechercher les stations radio prérigées qui correspondent au type de programme souhaite et arrêté la recherche dés qu'il en trouve une. Répéteze cette opération pour couver d'autres stations.
Si NO PTY est affiché, cela signifie que le tuner n'a pas pu couver le type de programme que vous cherchiez au moment de la recherche.
- RDS n'effectue la recherche que parmi les stations prérgéées. Si aucune station n'a été régée, ou si le type de programme n'a pas pu être trouve parmi les stations prérgéées, NO PTY est affché. FINISH signifie que la recherche est terminée.
Affichage d'informations RDS
La touche DISP permet d'afficher les différents types d'informations RDS disponibles.
- Appuyez sur DISP pour plus d'informations sur le système RDS.
Chaque pression fait changer I'affichage dans I'ordre suivant :
Mode d'ecoute
Volume principal
- Radio Text (RT) - Messages envoyés par la station de radio. Par exemple, une station de radio interactive propose un nombre de téléphone comme données RT.
- Program Service Name (PS) - Nom de la station de radio.
- Program Type (PTY) - Indique le type de programme en cours de diffusion.
- Fréquence actuelle du symtoniseur (FREQ)
Remarque
- Si des parasites sont captés pendant que RT défilé sur l'affichage, certains caractères peuvent s'afficher de façon incorrecte.
- Si vous Voyez NO TEXT dans l'affichage RT, cela signifie qu'aucune donnée RT n'est transmise par la station. L'affichage bascule automatiquement sur I'ecran de données PS (en cas d'absence de données PS, I'indication NO NAME apparait).
L'affichage PTY peut indiquer NO PTY.
Faire un enregistrement audio
Vous pouvez faire un enregistrement audio à partir du tuner intégré, ou d'une source audio raccordée au récepteur (un lecteur CD, par ex.).
Seuls les signaux audio entrés sur ce récepteur via les entrées audio analogiques peuvent être enregistrrés. Les signaux entrés via un cable HDMI ou un cable audio numérique (optique/coaxial) ne peuvent pas être enregistrrés (pour plus d'informations, voir la section Raccordement d'autres appeare/ils audio à la page 15).

1 Utilisez les touches de fonctions d'entrée pour selectionner l'entrée à enregistrer.
L'entrée du récepteur commute et vous pourrez alors utiliser d'autres composants via la télécommande.
- La source d'entrée peut aussi être sélectionnée à l'aide des touches INPUT SELECT de la télécommande, ou du bouton rotatif INPUT SELECT.
2 Sélectionnez le signal d'entrée audio (si nécessaire).
Appuyez sur SIGNAL SEL et sélectionné les entrées analogiques (A) pour le composant source que vous pouze enregistrer (reportez-vous à la page 17 pour plus de détails).
3 Préparez la source que vous désirez enregistrer.
Réglez la station de radio, chargez le CD, etc.
4 Préparez l'appareil enregistreur.
Insérez une cassette vierge, un disque MD, etc. dans l'appareil d'enregistrement et réglez les niveaux d'enregistrement.
Consultez le mode d'emploi de l'appareil enregistreur en cas de doute sur la fonction d'enregistrement.
5Lancez I'enregistrement,uis lancez la lecture de la source.
Remarque
Le volume, la balance, la tonalité (graves, aigus, contour) du récepteur, et les effets surround n'ont aucune influence sur le signal d'enregistrement.
Chapitre 4: Écoute de votre système
Choix du mode d'écoute
Votre récepteur dispose d'une variété de modes d'écoute pour s'adapter aux différents formats audio. Choisissez le mode d'écoute correspondant à la configuration/disposition des enceintes ainsi qu'à la source.
- Lors de l'écoute d'une source, appuyez de manière répetée sur la touche de sélection du mode d'écoute pour désirer le mode voulu.


- Le mode d'écoute sélectionné est affché sur le panneau avant.

Important
- Les modes d'écoute et de nombreuses fonctions décrites dans la presente section peuvent ne pas être disponibles en fonction de la source, des paramètres et de l'état actuels du récepteur.
Lecture en mode Auto
AUTO/ DIRECT

AUTO SURROUND

La fonction AUTO SURROUND correspond à l'option d'écoute en mode direct la plus simple. Grâce à cette fonction, le récepteur détecte automatiquement le type de source que vous écoutez et sélectionné un mode de lecture multicanaux ou stéreo selon les besoin.
- Appuyez plusieurs fois sur la touche AUTO/DIRECT jusqu'à ce que AUTO SURROUND s'affiché brièvement (le format de décodage ou de lecture apparaître ensuite).
Vérifie les indicateurs de format numérique sur l'afficheur pour suivre le traitement de la source.
Remarque
- Les formats surround stéreo (matériels) sont décodés, selon le cas, en NEO:6 CINEMA ou DOLBY PLIIx MOVIE (reportez-vous à la section Écoute de sonorités d'ambiance ci-dessous pour de plus amples informations sur les formats de décodage).
Écoute de sonorités d'ambiance
ALC/STANDARD
ST
ALC/ TANDARD SURR
Ce récepteur permet d'écouter n'importe qu'elle source en son surround. Toutefois, les options disponibles dépendront de la configuration de vos enceintes et du type de source que vous écoutez.
- Si la source présente un encodage Dolby Digital, DTS ou Dolby Surround, le format de décembre ajusté sera automatiquement sélectionné et apparaitra sur l'afficheur.
Si vous scélectionnez le mode de contrôle automatique du niveau STEREO ALC, le récepteur ajusté le niveau de lecture en fonction du niveau de la source sociale enregistrée sur un lecteur audio portable.
En sélectionnant STEREO, vous écoutez la source sur les encéintes avant gauche et droite uniquement (et évientuellesment sur le caisson de graves en fonction des réglages de vos enceintes). Les sources multicanaux Dolby Digital et DTS sont remixedes en stéro.
Les modes suivants offrent un son surround de base pour les sources stéroy et multicaux.
Notes explicatives
Non : Non connectées / Oui : Connectées / Deux : Deuxenceintes sont connectées / - : Connectées ou non
| Types de modes surround | Sources appropriées | Enceinte(s) surround arrière |
| Sources à deux canaux | ||
| STEREO ALC | Voir ci-dessus. | - |
| DOLBY PLIIx MOVIE | Films | Ouia |
| DOLBY PLII MOVIE | Non | |
| DOLBY PLIIx MUSICb | Musique | Ouia |
| DOLBY PLII MUSICb | Non | |
| DOLBY PLIIx GAME | Jeux vidés | Ouia |
| DOLBY PLII GAME | Non | |
| NEO:6 CINEMAc | Films | - |
| Types de modes surround | Sources appropriées | Enceinte(s) surround arrêté |
| NEO:6 MUSICc | Musique | - |
| DOLBY PRO LOGIC | Films ancients | - |
| Décodage brutd | Aucun effet ajusté | - |
| STEREOe | Voir ci-dessus. | - |
| Sources à canaux multiples | ||
| STEREO ALC | Voir ci-dessus. | - |
| DOLBY PLIIx MOVIE | Films | Deuxa |
| DOLBY PLII MOVIE | Non | |
| DOLBY PLIIx MUSICb | Musique | Oui |
| DOLBY PLII MUSICb | Non | |
| DOLBY DIGITAL EX | Films/Musique | Oui |
| DTS-ES | Films/Musique | Oui |
| DTS NEO:6 | Films/Musique | Oui |
| Décodage brutd | Aucun effet ajusté | - |
| STEREOe | Voir ci-dessus. | - |
a. Si le traitement de canal surround arrêté (page 23) est désélectionné ou si les enceintes surround arrêté sont régliées sur NO, DOLBY PLIIx devient DOLBY PLII (son à 5.1 canaux).
b. You could've plus réglier les effets C.WIDTH, DIMEN, et PNRM. (voir la section Réglage des options audio à la page 23).
c. You pouze aussi regler l'effet C.IMG (voir la section Reglage des options audio à la page 23).
d. Ce mode peut être sélectionné uniquement lorsque le traitement des canaux surround arrêté (page 23) est désactivé.
e. - Vous pouze selectionner le mode STEREO à l'aide du bouton STEREO de la télécommande.
- L'audio est produit selon vos réglages surround et vous pouvez toujours utiliser les fonctions Midnight, Loudness, Phase Control, Sound Retriever et Tone.
Remarque
- Pour les modes offrant un son 6.1 canaux, le même signal est diffusé sur les deux einceintes surround arrêté.
Utilisation des effets surround avances

ADVANCED
SUBROUND

La fonction surround avancé permet de créé différents effets surround. Essayez différents modes sur différentes bandes sonores pour déterminer le mode que vous préférez.
| ACTION | Conçu pour les films d'action avec des pistes dynamiques. |
| DRAMA | Conçu pour les films où les dialogues sont différents. |
| ENT.SHOW | Adapté aux sources musicales. |
| ADVANCED GAME | Convient pour les yeux video. |
| SPORTS | Convient pour les programmes sportifs. |
| CLASSICAL | Offre un son digne d'une grande salle de concert. |
| ROCK/POP | Crée le son d'un concert en direct pour la musique rock et/ou pop. |
| UNPLUGGED | Convient aux sources musicales acoustiques. |
| EXT.STEREO | Restitue un son multicanaux à partir d'une source stéréo et utilise toutes les enceintes. |
| F.S.S.ADVANCE(Surround avant perfectionné) | Permet de créé des effets sonores naturels de type surround en utilisant seulement les enceintes avant et le caisson de basses (subwoofer).Utilisez ce mode pour obtenir un effet sonore surround riche au point central de convergence de la sortie du son des enceintes avant gauche et droite.Enceinte avant gauche Enceinte avant droite |
| PHONES SURR | Lors d'une écoute avec un casque, vous pouvez Obtir un effet surround global. |
Utilisation des modes Stream Direct
AUTO/DIRECT
DIRECT

AUTO SURROUND
STREAM DIRECT

Les modes Stream Direct permettent de reproductive une source de la manière la plus fidèle possible. Toutes les fonctions de traitement de signal non nécessaires sont contournées.
AUTO SURROUND
Voir la section Lecture en mode Auto à la page 21.
DIRECT
Les paramètres (configuration des enceintes, niveaux des voies, distance des enceintes) définis dans le menu de configuration manuelle des enceintes
Speaker sont appliqués à la source, ainsi que les paramètres dual mono. La source est reproductive avec le nombre de voies que compte le signal.
Phase Control, Sound Delay, Auto Delay, LFE Attenuate et Center image sont disponibles.
PURE DIRECT
Les sources analogiques et PCM sont reproduites sansTraitement numérique.
Utilisation de la fonction Sound Retriever
Lorsque des données audio sont suprimées lors de la compression, la qualité du son est souvent animordrie du fait de l'inégalité de l'image sonore. La fonction Sound Retriever a recours à une nouvelle technologie DSP pour restaurer un son de qualité CD vers des sources audio compressées à 2 canaux en rétablissant la pression sonore et en issant les artefacts dentelés restants après la compression.

- Appuyez sur la touche S.RETRIEVER pour sélectionner ou désélectionner le rétablisseur de son S.RTV (Sound Retriever).
Remarque
- L'option Sound Retriever s'applique uniquement aux sources à 2 canaux.
Un meilleur son grâce à la fonction Phase Control
La fonction de contrôle de phase de ce récepteur utilise les mesures de correction de phase pour garantir que votre source sonore arrive en phase en position d'écoute, empêchant ainsi toute déformation et/ou coloration indésirable du son.
La technologie Phase Control garantit une reproduction cohérente du son, grâce à l'utilisation de la correspondance de phase qui permet d'obtenir une image sonore optimale à la position d'écoute. La fonction Phase Control est activée par défaut et nous vous recommendons de la laisser activée pour tous les types de source sonore.

- Appuyez sur la touche PHASE pour activer ou désactiver la fonction P.CTL (Phase Control / Contrôle de phase).
Remarque
- La correspondence de phase est un facteur très important, qu'il est nécessaire de prendre en compte pour obtenir une reproduction sonore de qualité. Si deux ondes sont 'en phase', elles montent et descendent ensemble, ce qui augmente l'amplitude, la clarté et la présence du signal sonore. Si la créée d'uneonde rejoint un creux, le son n'est plus en phase, résultat en une image sonore de mauvaise qualité.
- Si votre caisson de base compte un commutateur de commande de phase, réglez-le sur le signe plus (+) (ou 0^ ). L'effet réellement obtenu lorsque PHASE CONTROL est régé sur ON sur ce récepteur dépend toutefos du type de caisson de base utilisé. Réglez votre caisson de base de manière à optimiser l'effet. Il est égalément recommandé de réorienter ou de déplacer le caisson de basses.
- Réglez le commutateur du filtré passée-bas intégré de votre caisson de basses sur OFF. Si ce réglage ne peut pas été effectué sur le caisson de basses, réglez la fréquence de coupure sur une valeur plus élevé.
- Si la distance des enceintes n'est pas regléé correctement, l'effet Phase Control risque de ne pas être optimisé.
- Le mode Phase Control ne peut pas être régé sur ON dans les cas suivants :
-Lorsque le mode PURE DIRECT est selectionné;
-Lorsqu'un casque est branché.
Utilisation du traitement de canal surround arrêté
Vous pouvez indiquer au récepteur d'utiliser automatique le décodage 6.1 ou 7.1 pour les sources 6.1 encodées (par exemple, Dolby Digital EX ou DTS-ES) ou vous pouvez désirir d'utiliser systématique le décodage 6.1 ou 7.1 (par exemple, avec les supports 5.1 encodés). Avec les sources 5.1 encodées, un canal surround arrêté est général, mais le son peut semble better dans le format 5.1 pour lequel il a été initialement encode (dans ce cas, vous pouvez simplement déslectionner le traitement de canal surround arrêté).
- Dans un système surround 7.1 canaux, les signaux audio qui ont subi un décodage de type matériel par traitement du canal surround arrêté, avec ajust de la fonction Up Mix, sont transmis par les enceintes surround arrêté.


- Appuyez sur RECEIVER, puis sur SB CH à maintes reprises pour faire défilier les options de canal surround arrêté.
Chaque pression sur cette touche fait defiler les options suivantes :
- SB ON - Le décodage matriciel utilisé pour générer la composante surround arrêté à partir de la composante surround est activé.
- SB AUTO - Le décodage matériel utilisé pour générer la composante surround arrirée à partir de la composante surround est activé automatiquement. Le décodage matériel n'est effectué que si des signaux surround arrirée sont détectés dans les signaux d'entrée.
- SB OFF - Le décodage matriciel utilisé pour générer la composante surround arrêté à partir de la composante surround est déactivé.
Réglage de la fonction Up Mix
Dans un système surround à 7.1 canaux dont les enceintes surround sont placeés directement sur les côtes de la position d'écoute, le son surround des sources importante 5.1 canaux sont restituees par les côtes. La fonction Up Mix mixe le son des enceintes surround avec celui des enceintes surround arrirée afin que le son surround sorte en diagonale vers l'arrière, comme cela devrait être le cas.
- La fonction Up Mix s'avere d'une grande efficacité lorsque les enceintes du système surround à 7.1 canaux sont configurées comme recommendé dans l'exemple de la page 10.
- Selon les positions des enceintes et la source sonore, il ne sera pas toujours possible d'obtenir de bons résultats. Dans ce cas, définièsez le réglage sur OFF.


1 Mettez le récepteur en mode de veille.
2 Tout en maintainant enforcé PRESET sur le panneau avant, maintenez STANDBY/ON enforcé pendant environ deux secondes.
UP MIX: OFF apparait et la fonction Up Mix est déactivée. Pour activer cette fonction, effectuez à nouveau les étapes 1 et 2.
- Lorsque la fonction est activée (ON),levoyant 串 (UpMix) du panneau avant s'allume.
Remarque
- Réglez sur ON independamment de ce réglage lors de la lecture de signaux DTS-HD.
- Peut être réglé automatiquement sur OFF, même lorsqu'il est réglé sur ON, selon le signal d'entrée et le mode d'écoute.
Réglage des options audio
Voussoupiezacteurdesreglagessupplémentairespourleson surle menu des AUDIOPARAMETER.Siellesne sontpas expressionemarquées comme telles,les options pardéfaut arenpresentées en gras.
Important
- Notez que si un réglage n'apparait pas dans le menu AUDIO PARAMETER, c'est qu'il n'est pas disponible du fait de la source, des paramétres et de l'état actuels du récepteur.


1 Appuyez sur RECEIVER, puis sur AUDIO PARAMETER.
2 Utilisez les touches ↑/↓ pour sélectionner le paramètre que vous souhaitez ajuster.
Selon l'etat ou le mode du récepteur, certaines options peuvent ne pas être disponibles. Consultez le tableau ci-dessous pour en savoir plus et ce sujeet.
3 Utilisé les touches / pour configurer le paramètre sélectionné.
Consultez le tableau ci-dessous pour connaître les options disponibles pour chaque réglage.
4 Appuyez sur la touche RETURN pour valider la sélection et quitter le menu.
| Réglage / Fonction | Option(s) |
| S DELAY (Sound Delay) | 0,0 à 9,0 (images) |
| Certsains moniteurs peuvent partager un léger retard lors de la retransmission video, de sorte que la bande sonore est légrement désynchronisée par rapport à l'image. Cette fonction permet d'ajouter un peu de retard pour resynchroniser le son et l'image. | 1 seconde = 25 images (PAL)Réglage par défaut : 0.0 |
| MIDNIGHT/LOUDNESSa | M/L OFF |
| MIDNIGHT permet de profiter d'un veritable effet surround à faible volume pour les films. | MIDNIGHT |
| LOUDNESS permet d'obtenir un bon rendu des graves et des aigus lors de l'écoute de sources musicales à faible volume. | LOUDNESS |
| S.RTV (Sound Retriever)b | OFF |
| Lorsque des donnéesées audio sont supprimées lors de la compression, la qualité du son est souvent amoindrie du fait de l'inégalité de l'image sonore. La fonction Sound Retriever a recours à une nouvelle technologie DSP pour restaurer un son de qualité CD vers des sources audio compressées à 2 canaux en réabillisant la pression sonore et en lissant les artéfacts dentelés restants après la compression. | ON |
| DUAL MONOC | CH1 – Seul le canal 1 est entendu |
| CH2 – Seul le canal 2 est entendu | |
| CH1 CH2 – Les deux canaux sont entendus sur les enceintes avant | |
| F.PCM (PCM fixe) | OFF |
| Cette option est utile si vous constaziez un certain retard avant que la fonction OFF ne reconnaissse le signal PCM d'un CD, par exemple. | ON |
| Si vous sélectionnez ON, du bruit peut être émis au cours de la lecture de sources non-PCM. Si cela pose problème, sélectionnez un autre signal d'entrée. | |
| DRC (Dynamic Range Control) | AUTOd |
| Permet de régler le niveau de la plage dynamique des bandes son optimisées pour Dolby Digital, DTS, Dolby Digital Plus, Dolby TrueHD, DTS-HD et DTS-HD Master Audio ( cette fonction peut être utile pour l'écoute d'un son surround à faible volume). | MAX |
| MID | |
| OFF |
| Réglage / Fonction | Option(s) |
| LFE ATT (Attenuation LFE) | 0 (0 dB) |
| Certaines sources audio Dolby Digital et DTS incluant des tonalités extrémement graves. | 5 (-5 dB) |
| Réglez l'attenuateur LFE de façon à évitier que les tonalités extrémement graves conduits une distortion du son émis par les enceintes. | 10 (-10 dB) |
| L'attenuateur LFE n'a appliqué pas de limitation lorsqu'il est régisé sur 0 dB (valeur recommendée). Lorsqu'il est régisé sur -15 dB, l'attenuateur LFE applique une limitation équivalente à cette valeur. Lorsque OFF est sélectionné, aucun son n'est transmis par le canal LFE. | 15 (-15 dB) |
| 20 (-20 dB) | |
| ** (OFF) | |
| HDMI (Audio HDMI) | AMP |
| Permet de spécifique l'acheminement du signal audio HDMI: sortie sur ce récepteur (AMP) ou sur un télévisuer (THRU). Lorsque THRU est sélectionné, aucun son n'est émis par ce récepteur. | THRU |
| A.DLY (Auto Delay)e | OFF |
| Cette fonction corrige automatiquement le retard entre le son et l'image entre les composants raccordés avec un cable HDMI. Le délambda d'attente audio est paramétré en fonction de l'état opérationnel de l'écran raccordé avec un cable HDMI. La durée du retard video s'ajuste automatiquement en fonction de la durée du retard audio. | ON |
| C.WIDTH (Largeur centrale)f | 0 à 7Réglage par défaut : 3 |
| (Disponible uniquement si une enceinte centrale est raccordée)Étre tire le canal central entre les enceintes avant droite et.gauche ; le son émis semble être plus large (réglages plus hauts) ou au contraire plus étroit (réglages plus bas). | |
| DIMEN (Dimension)f | -3 à +3Réglage par défaut : 0 |
| Règle la balance du son surround de l'avant vers l'arrière ; le son émis semble être plus éloyigné (réglages négatifs) ou au contraire plus proche (réglages positifs). | |
| PNRM. (Panorama)f | OFF |
| Permet d'étendre la configuration stéréophonique à l'avant de façon à inclure les enceintes surround pour créé un effet sonore 'en boucle'. | ON |
| Réglage / Fonction | Option(s) |
| C.IMG (Image centrale)9(Disponible uniquement si une enceinte centrale est raccordée) | 0 à 10Réglage par défaut : 3(NEO:6 MUSIC),10 (NEO:6 CINEMA) |
| Ajustez l'image centrale afin de creator un effet stéroye plus large avec les voix. Ajustez l'effect de 0 (tous les canaux centraux envoyés vers les enceintes avant diopte et gauche) à 10 (caux centraux envoyés vers l'enceinte centrale uniquement). |
a. Les options MIDNIGHT/LOUDNESS peuvent être modifiées à tout moment à l'aise de la touche MIDNIGHT.
b. You could modifier à tout moment la fonction Sound Retriever à l'aide de la touche S.RETRIEVER.
c. Ce réglage fonctionné uniquement pour des bandes son en mode mono double Dolby Digital et DTS.
d. Le réglage initial AUTO est disponible uniquement pour les signaux Dolby TrueHD. Sélectionnez MAX ou MID pour les autres signaux que Dolby TrueHD.
e. Cette fonction est disponible uniquement lorsque l'écran connecté prend en charge la capacité de synchronisation audio/vidente automatique ('synchronisation labiale') pour HDMI. Si le délambda d'attente paramétré automatiquement ne vous convient pas, réglez A.DLY sur OFF et ajustez le délambda d'attente manuellement. Pour plus de détails sur la fonction de synchronisation labiale de votre écran, contactez directement cette fabricant.
f. Disponible uniquement avec les sources à 2-canaux en mode DOLBY PLII MUSIC.
g. Uniquemlement lors de I'ecoute de sources a 2 canaux en mode NEO:6 CINEMA ou NEO:6 MUSIC.
Chapitre 5: Menu de configuration du système
Utilisation du menu de configuration du système
La section suivante déscrit de façon détaillée comment effectuer les réglages adaptés à votre propre utilisation du récepteur et comment régler chaque système d'enceintes séparément selon vos exigences.

Important
- Si un casque est branché sur le récepteur, débranchez-le.


1 Appuyez sur la touche RECEIVER pourmettre le récepteur sous tension.
2 Appuyez sur RECEIVER, puis sur SETUP.
Le menu de configuration du système s'affiche sur le panneau avant. Utilise les touches / / et ENTER de la télécommande pour naviguer dans les écans et selectionner des options de menu. Appuyez sur RETURN pour confirmer et quitter le menu en cours.
- Appuyez sur la touche SETUP à tout moment pour sortir du menu System Setup.
3 Sélectionnéz le réglage que vous souhaïez ajuster.
- SP SETUP
-SP SET - Permet de préciser la taille et le nombre d'enceintes raccordées (voir ci-dessous).
-X.OVER -Definit les fréquences qui seront envoyées vers le subwoofer (page 26).
- CH LEVEL - Permet d'ajuster l'équilibre général de toute système d'enceintes (page 26).
-SP DISTN - Permet de préciser la distance de vos enceintes par rapport à la position d'écoute (page 26).
- HDMI SET - Ce réglage doit être configuré en cas d'utilisation de la fonction ARC (Reportez-vous à la section Configuration de ARC à la page 27).
- APD - Permet de mêtre automatiquement le récepteur hors tension lorsqu'il n'a pas été utilisé pendant plusieurs heures (voir la section Le menu Auto Power Down à la page 26).
- FL DEMO - Pour configurer l'affichage de la démonstration sur le panneau avant (voir la section Le menu FL Demo Mode à la page 26).
Le menu Speaker Setup
Ce récepteur permet d'effectuer des réglages précis pour optimier l'impact du son surround. Ces réglages ne doivent être effectuels qu'une seule fois (sauf si vous souhaitez modifier l'emplacement de votre système d'enceintes actuel ou ajouter de nouvelles enceintes).
Réglage des enceintes
Utilisez ce réglage pour définir la configuration des enceintes (taille, nombre d'enceintes).
1 À l'aide des touches ↑/↓, Sélectionnez 'SP SETUP' dans le System Setup, puis appuyez sur ENTER.
2 À l'aide des touches ↑/↓, Sélectionnez 'SP SET' dans le SP SETUP, puis appuyez sur ENTER.
3 À l'aide des touches ↑/↓, Sélectionnez le jeu d'enceintes que vous souhaitez régler, puis Sélectionnez une taille d'enceinte.
Utilisés pour séLECTIONner la taille (et le nombre) de chaque des enceintes suivantes :
-
F (Avant) - Sélectionnez LARGE si vos enceintes avant réproduisient fidèlement les basses fréquences ou si vous n'avez pas raccordé de caisson de graves. Sélectionnez SMALL pour envoyer les basses fréquences au caisson de graves.
C (Centre) - Sélectionné LARGE si votre encinte centrale reproduit fidèlement les basses fréquences ou SMALL pour envoyer les basses fréquences aux autres encentes ou au caisson de graves. Si vous n'avez pas raccordé d'enceinte centrale, désissez NO (le canal central est envoy vers les autres encentes). -
S (Surround) - Sélectionnez LARGE si vos enceintes surround arrrière produit fidèlement les basses fréquences. Sélectionnez SMALL pour envoyer les fréquences graves vers les autres enceintes ou le subwoofer. Si vous n'avez pas connecté d'enceintes surround, choisissez NO (le son des canaux surround est envoyé vers les autres enceintes).
- SB (Surround arrrière) - Sélectionnez le nombre d'enceintes surround arrrière que vous possedez (une (X1), deux (X2) ou zéro). Sélectionnez L (LARGE) si vos enceintes surround reproduisent de façon fidèle les fréquences graves. Sélectionnez S (SMALL) pour envoyer les fréquences graves vers les autres enceintes ou le subwoofer. Si vous n'avez pas raccordé d'enceintes surround arrrière, sélectionnez NO.
-Si vous ne seLECTIONnez qu'une seule enceinte surround arrriere, assurez-vous que I amplificateur supplémentaire est raccordé à la borne PRE OUT L (Single).
- SW (Subwoofer) - Les signaux LFE et les basses fréquences des canaux régles sur SMALL sont généres par le caisson de graves lorsqu'YES est sélectionné (voir les remarques ci-dessous). Choisissez le réglage PLUS si vous souhaitez que le caisson de graves émette les basses en continu ou si vous souhaitez des basses plus profundes (les basses fréquences normalement émises par les enceintes avant et centrale sont également acheminées vers le caisson de graves). Si vous n'avez pas raccordé de caisson de graves, choisissez NO (les basses fréquences sont générées par d'autres enceintes).
4 Lorsque vous avez terminé, appuyez sur RETURN. Vouseturnez au menu Speaker Setup.
Remarque
- Si vous sélectionné SMALL pour les enceintes avant, le caisson de graves se règle automatiquement sur YES. De plus, si les enceintes avant sont régliées sur LARGE (L), les enceintes centrale, surround et surround arrêté ne peuvent pas être régliées sur SMALL. Dans ce cas, toutes les fréquences graves sont envoyées vers le subwoofer.
- Si les enceintes surround sont régées sur NO, les enceintes surround arrêté sont automatiquement régées sur NO.
- Si vous avez un caisson de graves et que vous aimeez que les basses rassortent, il peut paraitre logique de selectionner LARGE pour vos enceintes avant et PLUS pour le caisson de graves. Cependant, cette selection peut ne pas repondre parfaitement à vos attentes en
màière de production des graves. En fonction de l'emplacement de vos enceintes dans la pièce, vous pouvez en fait remarquer une diminution de la quantité des graves en raison de l'annulation des basses fréquences. Dans ce cas, essayez de modifier la position ou la direction des enceintes. Si les résultats ne vous satisfont pas, écoutez la réponse en basses en réglant sur PLUS et YES ou en réglant alternatively les enceintes avant sur LARGE et SMALL, et laissez vos oreilles désirir la meilleure option. Si vous rencontres des difficultés, l'option la plus simple consiste à envoyer toutes les basses au caisson de graves en sélectionnant SMALL pour les enceintes avant.
X.Over
- Réglage par défaut : 100Hz
Ce réglage déterminée la coupure entre les basses lues par les enceintes réglées sur LARGE, ou par le caisson de graves, et les basses lues par les enceintes réglées sur SMALL. Il déterminée également la fréquence de transition pour les basses du canal LFE. - Pour plus d'informations sur la taille des enceintes et leur sélection, voir la section Réglage des enceintes à la page 25.
1 À l'aide des touches ↑/↓, Sélectionnez 'SP SETUP' dans le System Setup, puis appuyez sur ENTER.
2 À l'aide des touches ↑/↓, Sélectionnez 'X.OVER' dans le SP SETUP, puis appuyez sur ENTER.
3 Utilisez les touches / pour selectionner le point de coupure de fréquences.
Les fréquences qui se trouvent en-dessous de ce point de coupure seront envoyées vers le subwoofer (ou les enceintes LARGE).
4 Lorsque vous avez terminé, appuyez sur RETURN.
Vouretournez au menu Speaker Setup.
Niveau de canal
En utilisant les réglages du niveau de canal, vous pouvez ajuster l'équilibre général de votre système d'enceintes, facteur essentiel à la configuration d'un système home cinema.

ATTENTION
- Les tonalités de test utilisées dans la configuration du système sont générées à un volume élevé.
1 À l'aide des touches ↑/↓, Sélectionnez 'SP SETUP' dans le System Setup, puis appuyez sur ENTER.
2 À l'aide des touches ↑/↓, Sélectionnez 'CH LEVEL' dans le SP SETUP, puis appuyez sur ENTER.
3 Utilisz / pour sélectionner une option de configuration.
T. TONE M - Déplacez manuellement les tonalités de test d'une enceinte à l'autre et ajustez les différents niveaux de canal.
T. TONE A - Ajuste les niveaux de canal en suivant le déplacement automatique des tonalités de tests d'une encinte à l'autre.
4 Confirmez l'option de configuration selectionnée.
Les tonalités de test commencent lorsque vous ave appuyé sur ENTER. Lorsque le volumeauraatteintle niveau de réference, des tonalités de test seront émises.
5 Reglez le niveau de chaque canal à l'aide des touches /
Si vous avez selectionné T. TONE M, utilisez ↑/↓ pour changer d'enceinte. La configuration T. TONE A lancera l'émission de tonalités d'essay dans l'ordre suivant (en fonction de votre configuration d'enceintes):
$$ \mathrm {L} \rightarrow \mathrm {C} \rightarrow \mathrm {R} \rightarrow \mathrm {S R} \rightarrow \mathrm {S B R} \rightarrow \mathrm {S B L} \rightarrow \mathrm {S L} \rightarrow \mathrm {S W} $$
Réglé le niveau de chaque enceinte pendant l'émission de la tonalité d'essay.
Remarque
- Si vous utilisez un compteur de niveau de pression acquistque (SPL),effectez les releves de la position d'ecoute principale et reglez le niveau de chaque enceinte sur 75 dB SPL (pondération C/lecture lente).
- La tonalité d'essaye du subwoofer est émise à faible volume. Il se peut que vous devzie effectuer un nouveau réglage si l'essaye a été réalisé avec une veritable bande son.
6 Lorsque vous avez terminé, appuyez sur RETURN.
Vouretournez au menu Speaker Setup.

Astuce
- Vous pouvez modifier les niveaux des canaux à tout moment en appuyant sur RECEIVER, puis sur CH SELECT et LEV +/- de la télécommande. Vous pouvez également appuyer sur CH SELECT et utiliser ↑/↓ pour sélectionner le canal, puis utiliser ←/→ pour ajuster les niveaux des canaux.
Distance des enceintes
Pour que votre système affiche une belle profondeur et une séparation ideale, vous doivent préciser la distance séparant les enceintes et leur position d'écoute. Le recepteur peut alors ajouter le retard nécessaire pour obtenir un son surround correct.
1 À l'aide des touches ↑/↓, Sélectionnez 'SP SETUP' dans le System Setup, puis appuyez sur ENTER.
2 À l'aide des touches ↑/↓, Sélectionnez 'SP DISTN' dans le SP SETUP, puis appuyez sur ENTER.
3 Utilizez / pour sélectionner l'enceinte pour laquelle vous désirez alors régler la distance.
Utilize les touches pour régler la distance de chaque enceinte par sauf de 0,1 m.
4 Lorsque vous avez terminé, appuyez sur RETURN.
Vouretournez au menu Speaker Setup.
Le menu Auto Power Down
Ce menu permet demettre le récepteur hors tension après une durée définie d'inactivité de plusieurs heures.
- Réglage par défaut : 6 hours
1 À l'aide des touches ↑/↓, Sélectionnez 'APD' dans le System Setup, puis appuyez sur ENTER.
2 Définissee la durée d'inactivité avant la mise hors tension.
- Utilisez les touches / pourCHOIR entre les valeurs 2, 4,6 heures ou OFF (mise hors tension automatique deactivée).
3 Lorsque vous avez terminé, appuyez sur RETURN.
Vos returnez au menu de configuration du système.
Le menu FL Demo Mode
Permut de définir si les démonnations doivent s'afficher sur le panneau avant ou non.
- Réglage par défaut : ON
1 À l'aide des touches ↑/↓, Sélectionnez 'FL DEMO' dans le System Setup, puis appuyez sur ENTER.
2 Utilisez les touches / pour activer (ON) ou désactiver (OFF) l'affichage des démonstrations.
3 Lorsque vous avez terminé, appuyez sur RETURN.
Vouseturne au menu de configuration du système.
Chapitre 6: Fonction ARC (Audio Return Channel)
Si vous t'élevateur prend en charge la fonction ARC, raccordez le téléviseur et le récepteur à l'aide d'un cable HDMI, ce qui permettra d'enter le signal audio du téléviseur sur la prise HDMI sans avoir besoin d'utiliser un cable audio. Réglez l'option ARC sur ON dans le menu de configuration HDMI SETUP lors de l'utilisation de cette fonction.

Important
- Pour utiliser la fonction ARC, raccordez les équipements à l'aide d'un Câble HDMI haute vitesse. L'utilisation d'autres types de cable HDMI peut provoquer des dysfonctionnements.
Configuration de ARC
1 Appuyez sur la touche RECEIVER pourmettre le récepteur sous tension.
2 Appuyez sur RECEIVER, puis sur SETUP.
Le menu de configuration du système s'affiche sur le panneau avant. Utilisez les touches / / et ENTER de la télécommande pour naviguer dans les écranes et sélectionner des options de menu. Appuyez sur RETURN pour confirmer et quitter le menu en cours.
- Appuyez sur la touche SETUP à tout moment pour sortir du menu System Setup.
3 À l'aide des touches ↑/↓, Sélectionnez 'HDMI SET' dans le System Setup, puis appuyez sur ENTER.
4 Utilisez les touches / pour selectionner le réglage 'ARC' voulu.
Lorsqu'un téléviseur prenatal en charge la fonction HDMI Audio Return Channel est connecte au recepteur, le son du téléviseur peut etre entree via la prise HDMI.
- ON - Le son du téléviseur est entre via la prise HDMI.
- OFF - Le son du téléviseur est entree via les prises d'entree audio autres que HDMI.
5 Lorsque vous avez terminé, appuyez sur RETURN.
Vouretournez au menu de configuration du système.
Avant d'utiliser la fonction ARC
Avant d'utiliser la fonction ARC, mettz le téléviseur et cet apparéel en mode veille (STANDBY) après avoir raccordé l' apparéuil au téléviseur. Mettz ensuite sous tension (ON) l' apparéuil puis le téléviseur, dans ce ordre. Pour utiliser la fonction ARC, après avoir raccordé cet apparéuil au téléviseur à l'aide d'un cable HDMI, vous nevez seLECTIONner l'entrée du téléviseur sur le mode d'entrée requis pour la connexion utilisée avec cet apparéil. Vous pouze ensuite seLECTIONner une chaîne/ émission de télévision.

Important
- Il se peut que la fonction ARC ne soit pas utilisable même lorsque les conditions ci-dessus sont remplies. Dans ce cas, pour écouter le signal audio du téléviseur, raccordez cet apparéuil au téléviseur à l'aide d'un cable audio.
- La fonction CEC (Consumer Electronic Control) peut s'activer lorsqu la fonction ARC est utilisée (ON), ce qui provoque la mise sous tension et hors tension successive de l'appareil et le basculement d'une entree a I'autre. Etant donne que cet appeareil ne garantit pas le
fonctionnement synchronisé de la fonction CEC, nous vous recommendons de désactiver (OFF) la fonction Control HDMI sur le lecteur connecté. Il se peut que cet apparéil ne fonctionne pas correctement si la fonction Control HDMI est activée (ON) sur le lecteur. Pour plus d'informations, consultez le Manuel d'utilisation de l'équipment concerné. Si cette méthode ne fonctionné pas, désactiver (OFF) la fonction ARC.
Dans ce cas, pour écouter le signal audio du téléviseur, raccordez cet apparéil au téléviseur à l'aide d'un cable audio.
En outre, cet apparéil ne garantit pas le fonctionnement synchronisé de la télécommande du téléviseur pour régler le volume (et pour couper le son). Dans ce cas, réglez le volume (et toupez le son) directement depuis l' apparéil.
- Mettez l'appareil hors tension et débranchez le cordon d'alimentation de la prise secteur avant de raccorder d'autres équipements ou de modifier les branchements de cet apparéil. Lorsque toutes les connexions sont effectuees, branchez le connecteur du cordon d'alimentation dans la prise secteur.
- Si le cordon d'alimentation est branché lorsque la fonction ARC activée (ON), l'appareil met entre 2 et 10 secondes pour initiaiser la connexion HDMI. Cet appareil ne peut pas et être utilisé pendant la phase d'initialisation. Pendant l'initialisation, l'indicateur HDMI clignote sur l'affichage. Mettez l'apparéil sous tension une fois que l'indicateur HDMI cesse de clignoter.
Chapitre 7: Informations supplémentaires
Guide de dépannage
Souvent, les opérations incorrectes sont interprétées comme des problèmes et des dysfonctionnements. Si vous estime que cet apparèil ne fonctionne pas correctement, vérifie les points ci-dessous. Inspectez les autres apparèils électriques raccordés au récepteur car quelquefois, le problème provient d'un autre apparèil. Si le problème ne peut pas être résolu grâce à la liste de contrôle ci-dessous, consultez le service après-venture Pioneer indépendant agrée le plus proche pour effectuer la réparation.
- Si l'appareil ne fonctionne pas normalement en raison d'effets extérieurs comme l'électricité statique, débranche la fiche d'alimentation de la prise de courant et rebranche-la pour revenir aux conditions normales de fonctionnement.
Généralités
Impossible de mettre l'appareil sous tension.
→Débranche la fiche d'alimentation de la prise murale, et rebranche-la.
→ Veiliez à ce qu'aucun brin de fil d'enceinte lâché ne touche le panneau arrrière. Ceci pourrait provoquer la coupure automatique du récepteur.
Le récepteur s'éteint brusquement.
Lorsque la fonction Auto Power Down est activée, l'apparil se met hors tension automatiquement lorsqu'il n'est pas utilisé pendant plusieurs heures. Vérifie le réglage de la fonction de mise hors tension automatique Auto Power Down (voir la section Le menu Auto Power Down à la page 26).
→Aprés environ une minute,pendant laqu'elle vous ne pourrez pas allumer l'appareil, rallumez le récepteur. Si le message persisté,appelez le service après-vente agréé Pioneer.
L'appareil se met automatiquement sous/hors tension et permute d'une entree à l'autre. (Lorsque la fonction ARC est activee)
La fonction CEC (Consumer Electronic Control) peut s'activer lorsqu'la fonction ARC est utilisée (ON), ce qui provoque la mise sous tension et hors tension successive de l'apparoit et le basculement d'une entree a I'autre. Etant nxdue que cet apparitee ne garantit pas le fonctionnement synchronise de la fonction CEC, desactivez (OFF) la fonction Control HDMI sur le lecteur connecte.
Si cette méthode ne fonctionne pas, désactivez (OFF) la fonction ARC. Dans ce cas, pour écouter le signal audio du téléviseur, raccordez cet apparéil au téléviseur à l'aide d'un cable audio.
Aucun son n'est émis lorsqu'une fonction d'entrée est sélectionné.
Utilisez le bouton rotatif MASTER VOLUME pour augmenter le volume.
Appuyez sur la touche MUTE de la télécommande pour désactiver la sourdine.
Réglez SIGNAL SEL sur H (HDMI), C1/O1 (numérique) ou A (analogique) selon le type de connexion utilisé (voir page 17).
Assurez-vous que l'appareil est raccordé correctement (voir la section Raccordement de vous équipement à la page 10).
Vérifiez les paramètres de sortie audio du composant source.
→ Reportez-vous au mode d'emploi fourni avec l'équipment source.
Aucune image n'est émise lorsqu'une fonction d'entrée est sélectionné.
Assurez-vous que l'appareil est raccordé correctement (voir la section Raccordement de vous équipement à la page 10).
Utilisez des cables video de même type pour raccorder l'équipement source et le téléviseur à ce récepteur (voir la section À propos du raccordement des sorties video à la page 13).
L'entrée video sélectionné sur le monitateur télé est incorrecte. Référoyez-vous au mode d'emploi fourni avec votre téléviseur.
Aucun son ne sort du caisson de grave.
Assurez-vous que le subwoofer est sous tension.
La source Dolby Digital ou DTS que vous écoutez peut ne pas avoir de canal LFE.
Changez le réglage du subwoofer sur YES ou PLUS, comme indiqué à la section Configuration des enceintes, Réglage des enceintes à la page 25.
Régles la fonction LFE ATT (Attenuation LFE), désigne en page 24, sur la valeur LFEATT 0 ou LFEATT 5.
Aucun son n'est émis des enceintes surround ou centrale.
Raccordez les enceintes correctement (voir page 11).
Vérifiez les réglages des enceintes (voir la section Réglage des enceintes à la page 25).
Vérifie les niveaux des enceintes (voir la section Niveau de canal à la page 26).
La fonction Phase Control semble n'avoir aucun effet audible.
Le cas échéant, vérifie que le commutateur du filtrte passebas de votre caisson de basses (subwoofer) est déactivé, ou que le point de coupure du filtrte est régèle sur la fréquence la plus élevé. Si votre caisson de basses (subwoofer) possède un paramètre de PHASE réglez-le sur 0^ (ou, selon le matériel, sur la position qui permet d'obtenir un son d'ensemble optimal).
Verifiez que le paramètre de distance des enceintes est correctement défini pour chaque enceinte (consultez la section Distance des enceintes à la page 26).
Bruit considerable lors de la radiodiffusion.
Raccordez l'antonne (page 15) et reglez sa position de façon à obtenir une bonne reception.
Éloignez tous les cables détachés des bornes d'antenne et des fils électriques.
Déroulez le fil de l'antenna filaire FM, place-le de façon à obtaining une bonne réception et fixeze-l sur un mur (ou raccordez-le à une antenné FM extérieure).
Raccordez une antennae AM interne ou externe supplémentaire (voir page 16).
→ Éteignez les apparèels qui provoquent des interférences ou éloigez-les du récepteur (ou placez les antennes le plus loin possible des apparèels qui provoquent des interférences).
Les stations émettrices ne peuvent pas être sélectionnées automatiquement.
Raccordez une antennene externe (voir la section page 16).
Émission de bruit pendant la lecture d'une platine à cassettes.
→ Éloignez la platine à cassettes de votre récepteur jusqu'à disparition du bruit.
Lors de la lecture d'un logiciel avec le systeme DTS, aucun son n'est émis ou seuil du bruit est émis.
Assurez-vous que les réglages du lecteur sont corrects et/ou que la sortie du signal DTS est activée. Consultez le mode d'emploi fourni avec votre lecteur de DVD.
Impossible de faire fonctionner la télécommande.
Remplacez les piles (voir la section page 9).
Faibles fonctionner la télécommande jusqu'à une distance de 7 m, dans un angle de 30^ du capteur de la télécommande (voir la page 9).
→ Eliminéz tout obstacle ou faite-la fonctionner d'une autre position.
→ Évitez d'exposer le capteur de la télécommande du panneau frontal à la lumière directe.
L'afficheur est nombre ou eteint.
Appuyez sur la touche DIMMER de la télécommande à plusieurs reprises pour revenir au réglage par défaut.
L'affichage du panneau avant change et affiche différentes informations sans raison apparente.
Ceci se produit car le mode démonstration est activé. Pour quitter le mode démonstration et revenir au mode d'affichage initial, appuyez sur n'importe quelette touche, ou bien déactivé le mode démonstration en configurant l'options FL DEMO sur OFF (voir la section Le menu FL Demo Mode à la page 26).
L'indication TEMP s'affiche et le volume est abaisé.
La température à l'intérieur de l'appareil a dépassé la valeur admissible. Essayez de déplacer l'appareil pour obtenir une meilleure ventilation (voir page 2).
Abaissez le volume.
HDMI
Pas d'image ou de son.
→ Si le problème persististe lorsque vous connectez directement cette composant HDMI à votre moniter, reportez-vous au manuel du composant ou du moniter ou prenez contact avec le service après-vente du fabricant.
Pas d'image.
Les signaux video qui sont entrés sur la borne video analogue ne peuvent pas être sortis au niveau de la borne HDMI. Les signaux qui sont entrés sur la borne HDMI ne peuvent pas être sortis au niveau de la borne video analogue. Utilise des câbles d'entrée et de sortie de même type.
Il est possible que les paramètres de sortie du composant source soient configurés de manière telle que le format video transmis est impossible à afficher. Modifiez les paramètres de sortie de la source, ou effectuez les connexions à l'aide des prises video composite.
→ Ce récepteur est compatible HDCP. Vérifiez si les composants raccordés sont également compatibles HDCP. Si ce n'est pas le cas, raccordez-les à l'aide des prises videoe composite.
→ Selon le composant source connecté, ce dernier peut ne pas fonctionner avec ce récepteur (meme s'il est compatible HDCP). Dans ce cas, connecté la source au récepteur à l'aide des prises video composite.
Si aucune image video n'apparait sur votre téléviseur, essayez d'ajuster la résolution, le paramètre Deep Color ou d'autres paramétres sur votre équipement.
Pour obtenir des signaux Deep Color, utilisez un cable HDMI (cable HDMI haute vitesse) pour relier ce recepteur à un composant ou à un téléviseur représentant la fonction Deep Color.
Pas de son ou arrêt soudain du son.
Vérifie que le réglage Audio Parameter est régisé sur HDMI AMP/THRU (voir page 23).
Si le composant est un apparéil DVI, utilisez une connexion distincte pour l'audio.
La transmission du signal audio numérique HDMI nécessite plus de temps pour être reconne. C'est pour quoi, une coupure de son peut se produit au moment où l'on change de format audio ou lance la lecture.
→Le fait demettre en marche ou d'arrerter le periphérique connecté à la borne HDMI OUT de cet apparéil, ou de déconnecter/connecter le cable HDMI pendant la lecture peut produit des bruits parasites ou même interrompè le signal audio.
Informations importantes concernant la liaison HDMI
Dans certains cas, il ne sera peut'être pas possible d'acheminer les signaux HDMI via ce recepteur (ceci dépend du composant HDMI que vous connectez - contrôle les informations du fabricant concernant la compatibilité HDMI).
Si vous ne receivez pas correctement les signaux HDMI (du composant) via ce récepteur, essayez la configuration suivante para la connexion.
Configuration
Raccordez votre composant HDMI directement à l'écran par un cable HDMI. Utilisez ensuite la liaison la plus pratique (une liaison numérique est recommendée) pour envoyer le signal audio au récepteur. Reportez-vous au mode d'emploi pour de plus amples informations sur les liaisons audio. Réglez le volume de l'écran au minimum lorsque vous utilise cette configuration.
Remarque
- Selon celui-ci, la sortie audio peut être limitée au nombre de canaux disponibles sur l'écran raccordé (par exemple, le signal audio sera réduit à 2 canaux si l'écran ne présente qu'un son stéreo).
- Si vous souhaitez changer de source d'entrée, vous devrez modifier les fonctions à la fois sur le récepteur et sur l'écran.
- Étant donné que le son de l'écran est coupé lorsque la connexion HDMI est utilisé, vous doivent regardier le volume de l'écran chaque fois que vous changez de source d'entrée.
Réinitialisation de l'unité principale
Respectez cette procédure pour rétablit les réglages d'usine du récepteur. Utilisez les commandes du panneau frontal pour ce faire.
1 Mettez le récepteur en mode de veille.
2 Tout en maintainant la touche BAND enforcée, appuyez sur la touche STANDBY/ON pendant deux secondes environ.
3 Lorsque RESET? apparait à l'écran, appuyez sur AUTO SURROUND/STREAM DIRECT.
OK? apparait sur I'afficheur.
4 Appuyez sur ALC/STANDARD SURR pour confirmer.
OK apparait à l'écran pour indiquer que le récepteur a été réinitialisé à ses paramètres d'usine par défaut.
Important
- Lorsque la fonction ARC est activée (ON), vous ne pourrait peut-être pas effectuer l'initialisation de l'appareil. Dans ce cas, désactiver la fonction ARC ou mettez hors tension tous les équipements connectés avant demettre cet apparéil hors tension (OFF) ou en voille (STANDBY), puis effectez l'initialisation une fois que l'indicateur HDMI n'est plus affchéé.
Nettoyage de I'appareil
- Utilisé un chiffon doux et sec pour essayer la poussière et la saleté.
- Lorsque la surface est sale, essuyez-la avec un chiffon doux bien essore, préalablement trempe dans un détergent neutre dilué dans cinq ou six volumes d'eau, puis essuyez de nouveau avec un chiffon sec. N'utilise pas de cire ou de produit nettoyant pour meubles.
- N'utilisez jamais de diluants, de benzine, d'insecticides ou autres produits chimiques qui pourrait corroder la surface de l'appelé.
Spécifications
Section audio
Puisance nominale de sortie
0.06% (20 Hz à 20 kHz, 8 Ω, 50 W/ch)
Réponse en fréquence (mode LINE Pure Direct)
10 Hz à 70 kHz dB
Impedance garantie des enceintes. 6Ω à 16Ω
Entrée (Sensibilité/Impédance)
LINE. 200 mV/47 kΩ
Sortie (Niveau/Impedance)
REC 200 mV/2,2 kΩ
Rapport signal/bruit (IHF, court-circuité, réseau A)
LINE. 98 dB
Section video
Niveau des signaux
Composite. 1 Vp-p (75 Ω)
Section symtoniseur
Gamme de fréquences (FM) 87,5 MHz à 108 MHz
Entrée antenne (FM) 75Ω asymétriques
Gamme de frequencies (AM) 531 kHz à 1602 kHz
Antenne (AM) . Antenne cadre
Section Entrée/Sortie numériques
Borne HDMI .Type A (19 broches)
Type de sortie HDMI . 5V, 100 mA
Divers
Puissance requise. .CA 220 V a 230 V,50 Hz/60 Hz
Consummationelectrique 180W
En mode de veille 0,45 W
(Fonction ARC: OFF)
Dimensions externes
435mm L × 168mm H × 362,5mm P
Poids (sans emballage) 7,5 kg
Pièces fournies
Télécommande 1
Piles à anode sèche (AAA IEC R03). 2
Antenne cadre AM 1
Antenne fil FM. 1
Carte de garantie. 1
Cordon d'alimentation
Guide rapide
Ce mode d'emploi (CD-ROM)
Remarque
- Les specifications sont valables pour une alimentation de 230 V.
- Les specifications et la conception sont sujétées à de possibles modifications sans préavis, suite à des améliorations.

DOLBY
TRUEHD
Fabrique sous licence de Dolby Laboratories. Les termes
« Dolby», « Pro Logic » et « Surround EX», ainsi que le single double D sont des marques commerciales de Dolby Laboratories.

dts+D
Master Audio
Fabriqué sous licence sous couvert des brevets U.S. N: 5,956,674; 5,974,380; 6,226,616; 6,487,535; 7,212,872; 7,333,929; 7,392,195; 7,272,567 et d'autres brevets U.S. et mondeaux émis et en cours d'enregistrement. DTS et le symbole sont des marques déposées, et DTS-HD, DTS-HD Master Audio et les logos DTS sont des marques commerciales de DTS, Inc. Logiciel inclus dans ce produit. © DTS, Inc. Tous droits réservés.
http://www.pioneer.fr
http://www.pioneer.eu
Tous droits de reproduction et de traduction réservés.
PIONEER CORPORATION
1-1, Shin-ogura, Saiwai-ku, Kawasaki-shi, Kanagawa 212-0031, Japan
Notice Facile