MODE D'EMPLOI RSA1UTWP SAMSUNG
Manuel de l'utilisateur
FR
imaginez les possibilités
Merci d'avoir acheté un produit Samsung.
Pour bénéficier d'une assistance technique plus complète, enregistrez votre produit sur
www.samsung.com/global/register
fonctions de votre nouveau réfrigérateur
FONCTIONS PRINCIPALES DE VOTRE NOUVEAU RÉFRIGÉRATEUR
Votre réfrigérateur Samsung Side-By-Side réfrigérateur Side-By-Side de Samsung dispose de nombreux espaces de rangement innovants et de fonctions permettant de réduire la consommation d'énergie.
- CHARNIÈRES CACHÉES ET INTERRUPUTEUR DE PORTE
Les charnières recouvertes et les interrupteurs de porte cachés permettent d'offrir une belle vue de face propre et stylisée.
- Coolselect Duo (en option)
Le CoolSelect Duo vous permet deCHOISIR entre les modes viande ou legume en fonction de vos besoins. En mode Vande, la charcuterie et la viande restent juteuses et fraîches. En mode Légume, l'humidité optimale est maintainue pour les fruits et legumes, transformant le compartment en veritable casier à legumes afin de conserver vos fruits et legumes frais plus longtemps. Vous ne possédez plus que des alimentés au top de leur fraîcheur.
AFFICHAGE DEL NOIR
La luxueuse fenêtre noire renforce le design propre et stylisé.
Avis CE
Ce produit a été conçu en conformité avec la Directive relative aux basses tensions (2006/95/CE), la Directive de compatibilité electromagnétique (2004/108/CE) et la Directive d'écoconception (2009/125/CE) implémentée par la Réglementation CE N° 643/2009 de l'Union Européenne
SAMSUNG
Veuillez notes les numéroes de modèle et de série de votre réfrigérateur. Ceux-ci sont indiqués sur la paroi gauche de l'appareil.
N^ de modele.
N^o de série.
consignes de sécurité
consignes de sécurité


- Veuillez tire attentivement ce manuel et le conserver plus une utilisation ultérieure avant d'utiliser l'appareil.
- Ce manuel étant commun à plusieurs modèles, les caractéristiques de votre réfrigérateur peuvent l'égarement différer de celles représentées ci-dessous.
PICTOGRAMMES DE DANGER ET D'AVERTISSEMENT UTILISÉS
| A VERTISSEMENT | Indique la présence d'un risque de mort ou de blessures graves. |
| A ATTENTION | Indique la présence d'un risque de blessure corporelle ou de dégât matériel. |
AUTRES PICTOGRAMMES UTILISÉS
| Action interdite. |
| Démontage interdit. |
| Contact interdit. |
| Consigne à respecter. |
| Coupure de l'alimentation électrique de l'appareil. |
| Mise à la terre de l'appareil pour éviter une électrocution. |
| Réparation à effectuer par un professionnel. |
Ces pictogrammes visent à éviter toute blessure aux utilisateurs de l'appareil.
Veuillez respecter ces consignes.
Après les avoir lues attentivement, veuillez les conserver pour toute consultation ultérieure.
- Avant toute utilisation, cet apparéil doit être correctement installé et positionné conformément aux instructions fournies.
- Utilisez cet apparéil uniquement dans le but pour lequel il a été créé, conformément aux instructions fournies dans ce mode d'emploi.
- Toute réparation doit être effectuee par un professionnelnel qualifié.
- Selon le modele, cet appeareil peut utiliser du fluide frigorigène de type R600a ou R134a. Pour connaître le type de fluide utilisé, consultez l'étiquette apposée sur le compresseur à l'arrête de l'appareil ou la plaque signalétique à l'intérieur du réfrigerateur.

- Dans le cas du réfrigérant R600a, il s'agit d'un gaz naturel à haute compatibilité avec l'environnement, c'est-à-dire cependant qu'il est aussi un combustible. Lors du transport et de l'installation de l'appareil, veillez à n'endommager aucune piece du circuit de réfrigération.
- Toute fuite pourrait enflammer le fluide frigorigène ou provoquer des lésions oculaires. Si vous détectez une fuite, n'utiliseaucun objet susceptible de produit une flamme ou une étincelle et aéréz la piece pendant plusieurs minutes.
consignes de sécurité
AVERTISSEMENT
CONSIGNES DE SECURITE IMPORTANTES
! AVERTISSEMENT
-
N'installez pas le réfrigerateur dans une piece humide ou un endroit où il est susceptible d'entrée en contact avec l'eau.
-
Un défaut d'iso1ation des composants électriques pourrait entraîner une électrocution ou un incendie.
-
N'installez pas le réfrigerateur dans un endroit directement exposé au soleil ou à proximité d'une source de chaleur (cuisinière, radiateur, etc.).
-
Prévoyez suffisamment d'espace pour pouvoir installer le réfrigérateur sur une surface plane.
-
Si le réfrigérateur n'est pas de niveau, le système de réfrigération peut ne pas fonctionner correctement.
-
Ne branche pas cet apparéil sur une multiprise. Le réfrigérateur doit toujours être branché sur une prise électrique individuelle délivrant une tension conforme à la valeur indiquée sur la plaque signalétique de l' apparéil.
-
Ainsi, votre apparéil fonctionnera dans les mêlures conditions et vous évitez tout risque de surcharge des circuits électriques et d'incendie.
-
Ne débranchez jamais le réfrigérateur en tirant sur le cordon d'alimentation. Pour le débrancher
correctement, tenez fermement la fiche d'alimentation et retirez-la de la prise secteur.
- Un cordon d'alimentation abîné peut provoquer des courts-circuits, des incendies ou des chocs électriques.
Assurez-vous que la fiche n'est pas écrasée ou n'a pas été endommagée en installing la face arrière de votre(APpeuil trop prés du mur.
- Évitez de plier le cordon d'alimentation de manière excessive ou de le coincer sous un meuble lourd.
- Voups pourriez provoquer un incendie.
- Tout cordon endommagé ou dénudé doit être immédiatement remplace ou réparé par le fabricant ou par un technicien qualifié.
N'utilisz jamais un cordonprésentant des craquelures ou des signes d'usure.
- S'il est endommagé, faites-le immédiatement replacer par le fabricant ou un technicien qualifié.
- Lorsque vous déplacez le réfrigérateur, veillez à ne pas écraser ou endommager le cordon d'alimentation.
- Si vos mains sont mouillées, essuyez-les avant de raccorder l'appareil au secteur.
- Avant tout travail de nettoyage ou de réparation, débranchez le réfrigérateur.
Utilisez un chiffon sec pour nettoyer la fiche d'alimentation.
Retirez la poussière et les corps étrangers des broches.
-
Une fiche mal entretenue peut provoquer un incendie.
-
Si le réfrigerateur est débranché, attendez au moins dix minutes avant de le rebrancher.
- Si la prise secteur est mal fixée au mur, ne branchez pas la fiche d'alimentation.
- Il y aurait risque de chocolélectrique ou d'incendie.
- Une fois l'appareil installé, la prise d'alimentation doit être facilement accessible. consignes de sécurité

L'appareil doit etre mis à la terre.
- Vous doivent restorer le réfrigerateur à la terre afin d'éviter les chutes de puissance ou les chocs électriques dus aux fuites de courant de votre apparéil.

- N'utilise jamais de conduites de gaz, de lignes téléphoniques ou de paratonnerre comme point de mise à la terre.
-
Une mise à la terre incorrecte peut créé un risque d'électrocution.
-
Ne démontez, ni ne réparez jamais le réfrigérateur vous-même.
- Vous pourriez déclencher un incendie, provoquer un dysfonctionnement et/ou vous blesser.
- Si vous détectez une odeur anormale ou de la fumée, débranchez immédiatement la prise d'alimentation et contactez le centre technique Samsung Electronics le plus proche.
- Veillez à ne pas obstruer les orifices de ventilation internes et externes.
- N'utilisez aucun moyen mécanique, ni toute autre méthode autre que celles recommandées par le fabriquant pour accélérer le dégivrage.
Veillez à ne pas abimer le circuit de réfrigération.
- Ne placez pas et n'utilise pas d'appareils electriques à l'intérieur du réfrigérateur/ congelateur, sauf s'ils sont préconisés par le fabricant.
L'utilisation de l'appareil n'est pas prévue pour les personnes (y compris les enfants) ayant des capacités physiques, sensorielles ou mentales réduites, ou manquant d'expérience et de connaissance, sauf si elles sont sous la surveillance d'une personne responsable de leur sécurité ou quelles ont été instruées sur l'utilisation de l'appareil par cette dernière.
- Les enfants doivent être surveillés afin de s'assurer qu'ils ne jouent pas avec l'appareil.
- Ne laissez pas les enfants seendra à la porte. Ils risqueraient de se blesser.
-
Ne touchez jamais les parois interieures du congélateur, ni les produits et alimentés qui y sont conservés avec les mains mouillées.
-
Des gelures pours sa former.
-
En cas d'inutilisation prolongée du réfrigerateur, débranchez la prise d'alimentation.
- Un problème d'iso1ation pourrait engendrer un incendie.
- Évitez deposer des objets sur le réfrigerateur.
- Quand vous ouvrez ou reférer les portes, ces objets poursaient chuter et provoquer des dommages corporels ou matériels.
Consignes de sécurité

ATTENTION
- Cet apparéil a été créé dans l'unique but de conserver des alimentés dans un environnement domestique.
- Nous vous conseillons de respecter les péries de conservation indiqués.
Reportez-vous
aux instructions correspondantes
- Afin d'éviter que les bouteilles ne tombent, il est conseilé de les regrouper entre elles.
- Ne placez pas de boissons gazeuses ou pétillantes dans le congélateur
-
Ne replissez pas le réfrigerateur d'aliments de façon exagérée.
-
L'ouverture de la porte pourrait provoquer une chute de denrées ou de plats susceptibles de vous blesser ou d'endommager l'appareil.
-
Ne placez pas de bouteilles ou de recipients en verre dans le congélateur.
-
Une fois le contenu congelé, le verre peut se briser et provoquer des blessures.
-
Ne vaporisez pas de gaz inflammable à proximé de l'appareil.
-
Il y aurait risque d'explosion ou d'incendie.
-
Evitez d'asperger directement de l'eau à l'intérieur ou à l'extérieur de l'appareil.
-
Il y aurait risque de chocoléctrique ou d'incendie.
-
N'entreposez pas de substances volatiles ou inflammables à l'intérieur de l'appareil.
-
Le stockage d'essence, de solvant, d'alcool, d'éther, de GPL ou d'un autre produit similaire pourrait provoquer une explosion.
-
En cas d'inutilisation prolongée, veuillez vider le réfrigérateur et l'éteindre.
-
Ne recongelez pas des produits alimentaires décongelés.
-
N'entreposez pas de substances pharmaceutiques, d'équipements scientifiques ou de produits sensibles aux variations de température, dans le réfrigérateur.
-
Les produits nécessitant un contrôle de température rigoureux ne doivent pas'être stockés dans cet apparéil.
-
Évitez deposer un récipient d'eau sur le réfrigérateur.
-
En cas déclaboussures, vous pourriez vous électrocuter ou provoquer un incendie.
consignes de sécurité
Consignes de nettoyage
- Ne passez pas vos doigs subs ou l'appareil.
Les bords coupants pourraient provoquer des dommages corporels.
- N'introduisez jamais vos doigs ni aucun objet dans l'orifice du distributeur d'eau ou la conduite d'éjection de glace.
Vous pourriez vous blesser ou endommager le système de distribution.
- Pour nettoyer la fiche d'alimentation, utilisez un chiffon sec et retirez la poussière et les corps étrangers présents dans les broches.
Une fiche mal entretenue peut provoquer un incendie.
- Si le réfrigerateur est débranché, attendez au moins cinq minutes avant de le rebrancher.
Consignes de mise au rebut
- Avant de vous débarrasser de votre réfrigérateur, retirez les portes, les joints de portes et les mécanismes de fermetre afin d'éviter qu'un infant ou un animal ne reste enfermé à l'intérieur de l'appareil.
- Laissez les clayettes en place pour empêcher les enfants de rentrer dans l'appareil.
- Selon le modele, cet apparéil peut utiliser du fluide frigorigène de type R600a ou R134a. Pour connaître le type de fluide utilisé, consultez l'étiquette apposée sur le compresseur à l'arrière de l' apparéil ou la plaque signalétique à l'intérieur du réfrigerateur. Si l' apparéil contient un gaz inflammable (fluide frigorigène R600a), contactez les autorités locales pour connaître la méthode de mise au rebut adaptée.
- Cet apparéil contient également une mousse isolante en cyclopentane. Les gaz contenus dans le matériel ouIsant doivent etre éliminés selon une procEDURE spécifique.Contactez les autorités locales pour connaître la procédure de mise au rebut adaptée a ce type de produit.Avant la mise au rebut,verifiez que les tuyaux situés à l'arriere de I'appareil sont en bon état.L'ouverture des tuyaux doit s'effectuer dans un lieu aéré.

En cas de coupure d'alimentation, essayez de contacter votre fournisseur d'électricité pour connaître la durée approximative de la panne.
En cas de coupure de courant inférieure à 2 heures, la température de votre apparéil resterainchangée.
Youdevez cependant minimiser le nombre d'ouvertures de portes.
Si la coupure se prolonge au-delà de 24 heures, retirez tous les alimentés congelés.
Si les portes sont équipées de verrous ou de serrures, conservez les clés hors de portée des enfants et tenez-les à l'écart de l'appareil afin d'éviter que les enfants ne restent enfermés à l'intérieur.
Astuces pour économiser l'énergie
- Installez l'appareil dans une piece froide, sèche et suffisamment aérée. Assurez-vous que l'appareil ne soit pas exposé aux rayons directs du se et ne le placez jamais près de sources de chaleur (radiateurs par exemple
- N'obturez jamais les orifices ou grilles d'aération de l'appareil.
- Laissez refroidir les aliments chauds avant de les placer dans l'appareil.
- Placez les alimentés à décongeler dans le réfrigérateur.
Voussupportezaisiutiliserla bassetempereaturedesalimentsencore congelés pour réfrigerer les aliments contenus dans le réfrigérateur.
- Ne laissez pas la porte de l'appareil ouverte trop longtemps lorsque vous y mettez ou en retirez des alimentents. Moins la porte est ouverte longtemps, moins la glace se forme dans le congélateur.
- Laissez un espace suffisant tout autour de l'appareil au moment de l'installation. Ceci vous permettra de réduire sa consommation d'énergie.
consignes de sécurité
Conseils supplémentaires pour un usage correct

- Àprous l'installation,attendez 2 heures avant d'utiliser l'appareil.
-
Afin de garantir des performances optimes :
-
Ne plaquez pas les alimentes contre les orifices situés au fond de l'appareil. Vous risqueriesz d'empêcher la circulation de l'air dans le conGPLateur.
-
Emballez les alimentents correctement ou placez dans des recipients hermétiques avant de lesmettre au réfrigérateur ou au conGPLateur
-
Ne placez pas les alimentes à congefer à côté d'aliments déjà congelés.
-
Ne placez pas de boissons gazeuses ou pétillantes dans le congélateur
- Respectez la fréquence de stockage maximale et les dates de péremption des produits congelés.
- Si vous vous absentez pendant moins de 3 semaines, il n'est pas nécessaire de débrancher l'appareil. Si vous vous absentez plus de 3 semaines, videz le réfrigérateur. Débranchez-le, nettoyez-le et essuyez-le.
- En cas de coupure de courant inférieure à 2 heures, la température de votre apparéil restera inchangée. Vous doivent minimier le nombre d'ouvertures de portes. Si la coupure se prolonge au-delà de 24 heures, retirez tous les-aliments congelés.
- Si une clé est fournie avec l'appareil, gardez-la hors de portée des enfants et tenez-la à l'écart de l'appareil.
L'appareil peut fonctionner de manière irrégulière (décongélation eventuelle de son contenu ou température devenue trop élevé dans le congelateur) s'il est restépendant une période prolongée au-dessous de la limite inférieure de la plage de températures pour laquelle il a été concu.
- Évitez les denrées facilement périsibles à basse température (les bananes ou les melons, par exemple).
Veillez à replacer le bac à glaçons correctement afin d'obtenir des performances optimes.
- Voiture appareil est équipé d'un système de dégivrage automatique. Par conséquent, chaque dégivrage manuel n'est requis.
- La hausse de température constatée durant le dégivrage est conforme aux normes ISO en vigueur. Toutefois, pour prévenir une augmentation excessive de la température des aliments congelés lors de la décongélation de l'appareil, alors emballez les aliments congelés dans plusieurs couches de papier (par ex. du papier journal).
- Toute augmentation de la température des alimentents congelés au cours du dégivrage peut raccourcir leur durée de stockage.

Hygiène des alimentés
Nettoyez regulierement l'intérieur du réfrigérateur à l'aide d'un détergent doux n'oxydant pas les parties métalliques (ex.: eau tiège additionné de liquide pour vaisse).
Puis désinfectez les surfaces nettoyées à l'aide d'une solution aquese à base d'acide acétique ou d'acide citrique ou d'un désinfectant disponible dans le commerce et adapte aux dispositifs de refroidissement (avant de l'appliquer sur les parties métalliques, effectuez un test sur une partie non visible).
Retirez les emballages (ex. : les cartons contenant les pots de yaourt) avant de ranger les aliments dans le réfrigérateur.
- Afin d'éviter que la température à l'intérieur du réfrigerateur ne soit trop élevé, laissez refroidir les alimentés cuinisés à l'extérieur jusqu'à ce qu'il socrient à température ambiente. N'ouvre pas inutillement la porte et ne la laissez pas ouverte plus longtemps que nécessaire. Placez les alimentés de manière à permettre la circulation de l'air.
- Afin d'éviter la contamination des alimentés entre eux, enroulez-les dans du film alimentaire ou stockez-les dans des boîtes hermétiques.
Lors de la préparation de plats, touchez-les avec les mains propres uniquement. Avant de pré parer un autre plat, lavez-vous les mains plusieurs fois. Lavez-vous les mains avant de manger également.
- Nettoyez vos ustensiles de cuisine (cuillères, planches à découvert, couteaux, etc.) avant de les réutiliser.
Table des matières
9 Installation de votre réfrigérateur side-by-side
9 Préparation de l'installation
10 Démontage des portes du réfrigérateur
13 Montage des portes du réfrigérateur
16 Mise à niveau du réfrigérateur
17 Installation de votre réfrigérateur side-by-side
17 RÉalisation de réglages mineurs sur les portes
18 Vérification de l'alimentation en eau (en option)
19 Installation de l'alimentation en eau
22 Fonctionnement de votre réfrigérateur side-by-side
22 Réglage du réfrigérateur
23 Fonctionnement du réfrigérateur
24 Utilisation de l'afficheur numérique
25 Réglage de la température
26 Utilisation du distributeur d'eau et de glace
27 Clayettes et bacs
28 Rangement des aliments
30 CoolSelect Duo (en option)
31 Démontage des accessoires du congélateur
32 Démontage des accessoires du réfrigérateur
33 Nettoyage du réfrigerateur
34 Remplacement des ampoules
35 Utilisation des portes
36 Dépannage
Installation de votre réfrigérateur side-by-side
Préparation de l'installation
Félicitations! Vous venez d'acquérir un réfrigerateur Side-By-Side de Samsung. espérons que ses fonctions innovantes répondront à toutes vos attentes.
Choix du lieu d'installation
La pièce doit disposer d'une arrivée d'eau.
- La pierce ne doit pas etre exposée à la lumière du soleil.
- Le sol de la pièce doit être parfaitement horizontal.
- La piece doit offrir un espace suffisant pour l'ouverture des portes du réfrigérateur.
- Prévoyez suffisamment d'espace pour pouvoir installer le réfrigérateur sur une surface plane.
-
Si le réfrigérateur n'est pas de niveau, le système de réfrigération peut ne pas fonctionner correctement.
-
Espace total requis pour l'utilisation. Voir les illustrations ci-dessous.



- Prévoyez un espace suffisant tout autour de l'appareil lors de son installation. Vous réduirez ainsi sa consommation électricque et vos factures d'électricité.
- N'installez pas l'appareil dans une piece ou la température est inférieure à 50^ ( 10^ ).
- Débranchez la ligne d'arrivée d'eau AVANT de démonter la porte du congélateur. Voir la section "Débranchement de la ligne d'arrivée d'eau" pour éciter tout dégât.
Si nécessaire, vous pouvez démonter les portes du réfrigérateur pour faciliter son transport.
1. Démontage de la plinthe avant
Ouvrez les portes du congélateur et du réfrigérateur puis dévisse la plinthe.

Débranchement de la ligne d'arrivée d'eau
- Demontez la ligne d'arrivée d'eau en appuyant sur la bague du raccord ① et en tirant sur la ligne d'arrivée d'eau ②.

Ne coupez pas la conduite d'eau. Retirez-la delicatement du raccord.
Installation de votre réfrigérateur side-by-side
2. Démontage de la porte du congélateur
Veuillez vérifier les points ci-dessous.
- Soulevez la porte de façon parfaitement verticale afin de ne pas endommager les charnières.
- Faites attention à ne pas pincer le tuyau de l'eau et le faisceau de fils dans la porte.
-
Posez les portes sur une surface protégée pour éviter de les rayer ou de les endommager.
-
Fermez la porte du congélateur, retirez le capot de la charnière supérieure ① à l'aide d'un tournevis puis débranchez liélicitatement les câbles ②.

- Retirez les vis ③ de la charnière et la vis de terre ④, puis démontez la charnière supérieure ⑤. Veillez à maintainir fermement la porte lorsque vous la démontez

- Dégagez la porte de la charnière inférieure ⑥ en la boulevant verticalément ⑦.

Démontage de la porte du réfrigérateur
- Avec la porte fermée, retirez le capot de charnière supérieure ① à l'aide d'un tournevis.

- Retirez les vis ② de la charnière et la vis de terre ③ , puis démontez la charnière supérieure ④ . Veillez à maintainir fermement la porte lorsque vous la démontez

- Dégagez la porte de la charnière inférieure ⑤ en la boulevant verticalement ⑥.

Installation de votre réfrigérateur side-by-side
Montage des portes du réfrigérateur
Une fois le réfrigérateur correctement installé, remettez les portes en place.
Montage de la porte du concélateur
- Insérez la tige ③ de la charnière supérieure dans l'orifice de l'angle de la porte du congélateur ④. Assurez-vous que les troughs de la charnière supérieure ⑤ et de l'armoire 6 sont alignés. Remettez les vis de la charnière ⑦ et la vis de terre ⑧ en place.

- Rebranche les câbles.

- Remettez le capot ⑨ en place sur la charnière supérieure ⑩ et vissez-le.

Montage de la porte du réfrigérateur
- Enclenchez la porte du réfrigérateur ③ sur la charnière inférieure ④.

- Insérez la tige ⑤ de la charnière supérieure dans l'orifice de la charnière ⑥. Assurez-vous que les trous de la charnière supérieure ⑦ et de l'armoire ⑧ sont alignés. Remettez les vis de la charnière ⑨ et la vis de terre ⑩ en place.

- Remettez le capot ① en place sur la charnière supérieure ⑫ et vissez-le.

Installation de votre réfrigérateur side-by-side
Montage de la ligne d'arrivée d'eau
- Insérez la conduite ① dans le raccord ②.

Montage de la plinthe avant
Avant de fixer la plinthe, assurez-vous que le raccord ne presente aucune fuite. Placez la plinthe avant en vissant les trois vis, comme indiqué sur la figure.

Une fois les portes installées, vous devez vous assurer que le réfrigerateur est parfaitement de niveau avant de procéder aux derniers régliages. Si le réfrigerateur n'est pas de niveau, les portes ne pourront pas été correctement ajustées.

La façade du réfrigerateur peut également être ajustée.
La porte du congélateur est plus basse que celle du réfrigérateur
Insérez un tournevis à lame plate dans l'encoche du Pied, tournez-le dans le sens des aiguilles d'une montre ou à l'inverse pour niverer le conGPLateur.

La port du congelasteur est plus haute que celle du réfrigérateur
Insérez un tournevis à lame plate dans l'encoche du Pied, tournez-le dans le sens des aiguilles d'une montre ou à l'inverse pour niveler le réfrigérateur.


Si vous nevez effectuer des réglages précis, reportez-vous à la section suivante.
Installation de votre réfrigérateur side-by-side
Réalisation de réglages mineurs sur les portes
Avant toute chose, vérifie que le réfrigerateur est de niveau. Si nécessaire, reportez-vous à la section précédente.

La procédure de réglage est valable pour les deux cas. Ouvrez les portes et réglez-les l'une après l'autre, comme indiqué ci-dessous:
- Dévissez l'écrou ① de la charnière inférieure jusqu'à ce qu'il attaigne l'extrémité du boulon ②.


Quand vous déverrouillez l'écrou ①, assurez-vous d'utiliser la clé Allen fournie ③ pour desserrer le verrou ② dans le sens inverse des aiguilles d'une montre. Vous devriez pouvoir dévisser l'écrou ① avec vos doigts.
- Réglez la hauteur des portes en faisant pivoter le boulon ② vers la gauche ou vers la droite


Si vous pivotez vers la gauche , la porte monte.
- Àpres avoir régèle les portes, tournez l'écrou ① vers la gauche ≅ jusqu'à ce qu'il arrive en butée sur le boulon. Serrez le boulon à l'aide de la clé ③ pour bloquer le boulon ①.


Si Iécrou n'est pas correctement bloqué, le boulon risque de se desserrer.
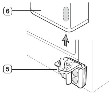
Vérification de l'alimentation en eau (en option)
Votre nouveau réfrigérateur Samsung est équipé d'un distributeur d'eau. Par mesure d'hygiene, les particules étrangères sont retenues par un filtre à eau. Cependant, ce filtre ne stérisile pas l'eau et ne détruit pas les micro-organismes. Vous devez alors vous procurer un système de purification d'eau. Pour garantir le fonctionnement de la fabrique de glace, une pression d'eau de 138 à 862 Kpa est nécessaire. Cette pression permet de replir un gobelet de 170 cc en 10 secondes. Si la pression d'eau est insuffisante (inférieure à 138 Kpa), vous devez installer une pompe de supression. Assurez-vous que le réservoir d'eau se remplit correctement. Pour ce faire, actionnez le levier du distributeur jusqu'à ce que l'eau s'écoule.

Les kits d'installation de l'arrivée d'eau sont inclus avec l'appareil. Vous les trouvez dans le compartment congestion.
INSTALLATION DE L'ALIMENTATION EN EAU
Composants pour l'installation des tuyaux d'arrivée d'eau.

Fixations et vis des tuyaux d'eau

Joints des tuyaux

Tuyau d'eau

Colliers de fixation du contrôle

Filtre
Raccordement au réseau d'alimentation en eau
Raccordement du tuyau d'arrivée d'eau sur le robinet à l'aide du raccord.
- Fermez le robinet d'arrivée d'eau principal.
- Vissez le raccord "A" sur le robinet. Note :
ATTENTION
Le tuyau d'eau doit être raccordé sur une conduite d'eau froide. Si vous le raccordez au tuyau d'eau chaude, cela peut cause un dysfonctionnement du filtré.
NOTE SUR LA GARANTIE
L'installation de cette ligne d'eau n'est pas couverte par la garantie du fabricant du réfrigérateur/ congélateur ou de l'appareil à glaçons. Suivez soigneusement ces instructions afin de minimiser le risque d'une grave fuite d'eau.
Remarque:
Si le raccord ne s'adapte pas sur le robinet, adressez-vous au service après-vente le plus proche pour vous procurer les raccords ajustats.

Installation de votre réfrigérateur side-by-side
Choix de l'emplacement où vous souhaitez installer
le filtrre (modèle avec filtrre)
- Si vous souhaitez relier l'entrée et la sortie d'eau du filtre pendant l'installation de celui-ci, reportez-vous à la figure de référence ci-contre.
- Mesurez la distance entre le filtre et le robinet d'eau froide. Coupez le tuyau relié au filtre de façon à obtenir la longueur nécessaire.

Elimination des résidus évventuels dans le filtrte (modèle avec filtré)
- Ouvrez le robinet d'eau principal et vérifie que l'eau coule par le tuyau d'eau à l'entrée du contrôle.
- Si l'eau ne coule pas par le tuyau, vérifie que le robinet est bien ouvert.
- Laissez le robinet ouvert jusqu'à ce que de l'eau propre en sorte et que tout résidu ayant pu s'accumuler pendant la fabrication soit évacué.

Fixation des embases du contrôle.
Tenez les embases de fixation du filtré à la bonne position (sous l'évier par exemple) et vissez-les fermement aux points de fixation.

Fixation du contrôle.
Fixez le filtré dans sa position, comme illustré sur la figure ci-contre.

Raccordement du tuyau d'arrivée d'eau sur le réfrigérateur.
- Retirez le capot du compresseur à l'arrête du réfrigérateur.
- Raccordez le tuyau d'arrivée d'eau sur la soupape, comme illustré sur la figure.
- Une fois raccordé, vérifie qu'il n'este aucuneuite.
Dans le cas contraire, recommencez le raccordement.
- Remontez le capot du compresseur à l'arrête du réfrigérateur.

Fixation du tuyau d'eau.
- A l'aide des colliers "A", fixez le tuyau sur la face arrêté du réfrigérateur.
- Une fois le tuyau d'eau fixé, assurez-vous qu'il n'est pas trop pié, ni pince ou écrasé.

Installation de votre réfrigérateur side-by-side
Purge du système d'alimentation en eau après installation du filtré.
- Ouvrez l'alimentation en eau principale et fermez le robinet d'arrivée d'eau.
- Laissez couler l'eau du distributeur jusqu'à ce que celle-ci devienne parfaitement claire (approx. 1L). Cette opération permet de nettoyer le circuit d'alimentation en eau et d'en evacuer l'air.
- Repetez cette opération autant de fois que nécessaire.
- Ouvrez la porte du réfrigerateur et assurez-vous que le filtre ne présente aucuneuite.

Une fois le filtré remplace, il est possible que l'eau sorte brievement par à-coups du distributeur. Ce phénomène est dû à la présence de bulles d'air dans le circuit. En原則, ceci ne doit pas perturber le fonctionnement du distributeur.
Vérification du niveau d'eau dans le bac à glaçons (en option)
- Soulevez la fabrique de glace et retirez-la delicatement du congélateur.
- Si vous appuyez sur le bouton Test pendant 1,5 seconde, le bac à glaçons se remplit d'eau une fois que le bac à glaçons a été tourné. Vérifiez que le niveau d'eau est correct (voir l'illustration ci-dessous).
Si le niveau est trop bas, les glaçons seront trop petits. Ceci est d' à un problème de pression d'eau insuffisante. Le réfrigerateur n'est pas en cause.

Fabrique de glace

Fonctionnement de votre réfrigérateur side-by-side
RéGLAGE DU RÉFRIGÉRATEUR
Maintenant que vous nouveaux réfrigérateur est en place, vous pouvez procéder au réglage de celui-ci et découvert toutes ses fonctions.
Lorsque vous aurez suivi toutes les étapes ci-dessous, votre réfrigérateur devrait être entierement opérationnel. Si ce n'est pas le cas, vérifie l'alimentation électrique ou consultez la section Dépannage de ce mode d'emploi. Pour plus d'informations, contactez le service après-vente de votre revendeur Samsung Electronics.
- Installé le réfrigerateur dans une piece appropriée, en prévoyant suffisamment d'espace tout autour de l'appareil. Reportez-vous aux instructions d'installation.
- Àpès avoir raccordé le réfrigérateur au secteur, assurez-vous que les ampoules s'allument à l'ouverture des portes.
- Sélectionnez la température la plus BASSE et patientez une heures. Le conGPLateur doit être légément réfrigéré et le moteur doit tourné réquillement.
- Plusieurs heures sont nécessaires à l'appareil pour atteindre sa température de fonctionnement normal.
Lorsque la température est suffisamment BASSE, vous pouvez ranger vos alimentés et vos boissons dans le réfrigérateur.

| ① | CONGÉLATION RAPIDE | Permet de congefer rapidement les alimentés placés dans le concélateur. Cette fonction est utile pour congefer rapidement des dénées périssables ou abaisser la température du concélateur si celle-ci est trop élevé (si vous avez laissé la porte ouverte, par exemple). |
| ② | TOUCHE FREEZER | Appuyez sur la touche Freezer pour régler la température du concélateur. Celle-ci peut être comprise entre -14°C (8°F) et -25°C (-14°F). |
| ③ | TOUCHE DE FABRICATION DE GLACE | Permet de lancer la fabrication de glaçons ou de glace piée, ou de l'arrêter. |
| ④ | TOUCHE DE REMPLACEMENT DU FILTRE | Lorsque vous remplacez le filtre, maintenez cette touche enforcée pendant 3 secondes pour remettre le système à zéro. |
| ⑤ | TOUCHE VACANCES | Appuyez sur cette touche lorsque vous nevez vous absenter, ou lorsque vous n'avez pas besoin d'utiliser le réfrigérateur. Lorsque le réfrigérateur est hors-service, le voyant correspondant s'éteint tandis que levoyant Vacation s'allume.
Si vous mettez le réfrigérateur hors-service, il est conseilé de le vider et de laisser la porte fermée. |
| ⑥ | FONCTION VERROUILLAGE ENFANTS | En appuyant simultanément sur les touches VACANCES et FRIGO pendant 3 secondes, toutes les touches seront bloquées. Le levier du distributeur d'eau et le levier des glaçons ne fonctionneront pas non plus. Pour annuler cette fonction, appuyez de nouveau sur ces 2 touches pendant 3 secondes. |
| ⑦ | TOUCHE FRIDGE | Appuyez sur la touche Fridge pour régler la température du réfrigérateur. Celle-ci peut être comprise entre 1°C et 7°C (34°F et 45°F). |
Fonctionnement de votre réfrigérateur side-by-side
UTILISATION DE L'AFFICHEUR NUMÉRIQUE
La valeur numérique de la partie Freezer correspond à la température du conGPLateur.
La valeur numérique de la partie Fridge correspond à la température du réfrigérateur.

Congélation rapide

Cette icône apparait lorsque vous activez la fonction Power Freeze. La fonction Power Freeze permet d'accélérer la production de glace. Pour ce faire, appuyez sur la touche Power Freeze. Pour désactiver la fonction Power Freeze, appuyez une nouvelle fois sur la touche.

Lorsque vous utilisez cette fonctionne, la consommation d'énergie du réfrigerateur augmente. Cette fonction doit être activée au moins 24 heures avant demettre une grande quantité d'aliments dans le compartment congélateur.
Indicateur du filtré
Ce voyant s'allume lorsque vous devez remplacer le filtrte. Le remplacement du filtrte doit s'effectuer tous les 6 mois environ.
Après avoir remplaced le filtré (voir page 18 pour les instructions), maintenez la touche Ice Type enforcée pendant 3 secondes pour que levoyant s'éteigne.
Cevant se rallumera au bout de 6 mois lorsque vous devrez replacer le filtr.
Si vous n'utilise pas le filtre à eau, appuyez sur la touche Ice On/Off pendant plus de 5 secondes. Levoyant du filtre et l'indication Filter Change s'éteignent.
Verrouillage enfants
Cette icône s'allumera lorsque vous activez la fonction en appuyant simultanément sur les touches VACANCES et FRIGO pendant 3 secondes.
Appuyez de nouveau sur ces deux touches pendant 3 secondes pour remettre en fonction.
Glaçons, glace pilée et arrêt de la fabrique de glace.
Utilisez le panneau de commande pour lancer la production de glaçons ou de glace pilée. Si vous ne souhaitez pas utiliser le distributeur de glace, arrêtez la fabrique de glace pour éviter toute consommation inutil d'eau et d'électricité. Levoyant Ice type indique le type de glace produit.
Type de glace

Glaçons


Pilée

Pas de glace
RÉGLAGE DE LA TEMPERATURE
Réglage de la température du congélateur Vous pouvez selectionner une température comprise entre -14°C (8°F) et -25°C (-14°F). Appuyez sur la touche Freezer jusqu'à ce que la température désirée s'affiche. Notez que certains alimentés, tels que les glaces, peuvent commencer à fondre à partir de -16°C (4°F).
Chaque pression sur la touche permet de régler la température entre -14^ ( 8^ ) et -25^ (-14^) . Lorsque la température de -14^ ( 8^ ) est sélectionnée, toute pression sur la touche permet de repasser à la température de -25^ (-14^) .
Une fois le réglage effectué, la température du congélateur s'affiche au bout de cinq secondes.
Cette valeur changera progressivement jusqu'à ce que la température sélectionnée soit atteinte.
Réglage de la température du réfrigerateur Vous pouvez sélectionner une température comprise entre 7^ (45^) et 1^ (34^) . Appuyez sur la touche Fridge jusqu'à ce que la température désirée s'affiche.
Les gardes en haut et en bas dans le congélateur de ce modèle sont les deux sections étoiles, afin que la température dans les deux sections étoiles soit légèrement plus élevé que dans l'autre compartment congestionelateur.
La température se règle de la même façon que pour le congélateur.
Appuyez sur la touche Fridge pour régler la température désirée. Une fois le réglage effectué, la température du réfrigerateur va changer progressivement jusqu'à ce que la valeur sélectionnée soit atteinte. La température est indiquée sur l'afficheur numérique.

L'ouverture fréquence des portes ou la présence d'aliments tièdes ou chauds dans l'appareil peut entraîner une hausse de la température à l'intérieur du congeilateur ou du réfrigérateur. Dans ce cas, l'afficheur numérique clignote. L'afficheur s'arrête de clignoterès que le congeilateur et le réfrigérateur retrouvent leur température d'origine.
Si ce n'est pas le cas, vous devrez réinitialiser le réfrigérateur. Débranchez l'appareil, puis rebranchez-le au bout de 10 minutes.
Fonctionnement de votre réfrigérateur side-by-side
UTILISATION DU DISTRIBUTEUR D'EAU ET DE GLACE
Appuyez sur la touche Ice Type pour selectionner le type de glace désiré.

La glace est produit sous forme de glaçons. Lorsque vous seLECTIONnez Crushed, la fabrique de glace broie les glaçons pour faire de la glace pilée.
Distributeur de glace
Placez un verre sous le distributeur et appuyez delicatement sur la manette. Placez correctement le verre sous le distributeur pour éviter toute projection de glace.

Utilisation du distributeur d'eau
Placez un verre sous le distributeur et appuyez delicatement sur la manette. Placez correctement le verre sous le distributeur pour éviter toute projection d'eau.


-
N'introduisez jamais vos doigs, vos mains ni aucun autre objet dans la réserve ou le bac à glace.
-
Vous pourriez vous blesser ou endommager le système de distribution.
- N'introduisez jamais vos doigs ni aucun object dans l'orifice du distributeur d'eau.
- Vous risqueriez de vous blesser.
Utilisez uniquement la fabrique de glace fournie avec le réfrigerateur.
- Le raccordement à une arrivée d'eau doit être effectué par un technicien qualifié.
Pour faire marcher correctement la machine à glaçons, il vous faut une pression d'eau de 138 à 862 Kpa.

-
Si vous n'utilise pas le distributeur d'eau et de glace pendant une période prolongée, fermez le robinet d'arrivée d'eau.
-
Vous éviterez ainsi tout risque de fuite.
-
Essuyez toute trace d'humidité à l'intérieur de l'appareil et laissez les portes ouvertes.
- Vous éviterez ainsi l' apparition d'odeurs et de moisissures.

Congélateur

Réfrigerateur
Fonctionnement de votre réfrigérateur side-by-side
RANGEMENT DES ALIMENTS
Rangement des alimentés dans le congélateur
Votre nouveau réfrigérateur Side-By-Side de Samsung dispose de nombreux espaces de rangement et de multiples fonctions. Différents compartments sont prévus afin que vos alimentés conservent toute leur fraîcheur plus longtemps. Afin d'éviter la propagation des odeurs, n'oubliez pas de placer vos alimentés dans des emballages aussi hermétiques que possible.

Pour obtenir plus d'espace, il est possible de-retirer le tiroir(s) du concélateur, sauf le tiroir en bas du concélateur et les compartments de la glace (pour les modèles RSA1S***, RSA1N***,RSA1V***e t RSA1W***) car cela n'afecte pas les caractéristiques thermiques et mécaniques. Un volume de stockage déclaré du compartment de stockage des denrées congelezés est calculée avec ces composants reliés.

Pour optimiser la consommation d'énergie du réfrigérateur, laissez toujours les étagères, tiroirs et paniers dans leur position d'origine.
Rangement des alimentés dans le congélateur
| ① CONDUITE D'ÉJECTION DE GLACE
AVERTISSEMENT | N'introduisez jamais vos doigs, vos mains ni aucun autre objet dans la conduite d'éjection ou le bac à glace. Vous pourriez vous blesser ou endommager le système de distribution. |
| ② CLAYETTES | Permettent de ranger tous types d'aliments congelés. |
| ③ BALCONNETS | Permettent de ranger de petits alimentents emballés. |
| ④ TIROIRS | Permettent de ranger de la viande ou des-aliments secs.
Les alimentents doivent être correctement emballés ou rangés dans des
réciPIents hermétiques. |
Rangement des alimentés dans le réfrigérateur
| ⑤ CLAYETTES | En prince incassables. Permettent de ranger tous types d'aliments et de boissons.
Les marques circulaires pouvant apparaitre sur les clayettes sont normales. Vous pouvez les faire disparaître à l'aide d'un chiffon humide. |
| ⑦ CASIER À CEUFS | Permet de ranger les oeufs.
Pour faciliter l'accès, placez le CASIER À CEUFS sur la clayette. |
| ⑧ COOLSELECT DUO (EN OPTION) | Permet de préserver le goût et la fraîcheur des alimentés.
Vous pouvez y conserver du fromage, de la viande, de la volaille, du poisson et les alimentés que vous consommez régulièrement.. |
| ⑨ BAC À FRUITS ET LÉGUMES | Permet aux fruits et aux légumes de conserver toute leur fraîcheur. Un système électronique contrôle en permanence le taux d'humidité à l'intérieur du bac. |
| ⑩ BAC À PRODUITS LAITIERS | Permet de conserver les produits laitiers (beurre, margarine, yaourts, crème). |
| ⑪ BALCONNETS | Permettent de conserver les alimentés volumineux (briques de lait, bouteilles et autres recipients). |
| ⑫ PORTE-BOUTEILLE (EN OPTION) | Peut être utilisé pour ranger les objets les plus utilisés, comme les canettes et les en-cas, afin de permettre l'accès à ces objets sans ouvrir la porte du réfrigérateur. |

Rangez les bouteilles de manière à ce qu'elles ne tombent pas à l'ouverture de la porte du réfrigérateur.

- En cas d'inutilisation prolongée, veuillez vider le réfrigerateur et l'éteindre. Essuyez toute trace d'humidity à l'intérieur de l'appareil et laissez les portes ouvertes. Ceci permet d'éviter l' apparition d'odeurs et de moisissures.
- En cas d'inutilisation prolongée du réfrigerateur, débranchez la prise d'alimentation.
- Un problème d'isolement pourrait engendrer un incendie.
Fonctionnement de votre réfrigérateur side-by-side
UTILISATION DU COOLSELECT DUO (EN OPTION)
Le COOLSELECT Duo est concu dans le but de rendre votre vie occupée un petit peu plus facile.
Viande
Lorsque MEAT est selectionné, la température du CoolSelect Duo est adaptée pour la conservation de la viande ou du jambon en y faisant entre le froid du congélateur. Cette fonction aide également à conserver la viande ou le jambon frais plus longtemps.

Légumes
Lorsque VEGETABLE est sélectionné, la température du CoolSelect Duo est adaptée pour la conservation des fruits ou des légumes en fermant l'air froid provenant du congealateur. Cette fonction aide également à conserver les fruits et les légumes frais plus longtemps.


Lorsque MEAT ou VEGETABLE sont en fonctionnement, retirez les aliments que vous ne poulez PAS affecter hors du tiroir.
DÉMONTAGE DES ACCESSOIRES DU CONGÉLATEUR
Les accessoires du congélateur sont facies à démonter et à nettoyer.
- Tirez la Clayette en verre vers vous jusqu'à ce qu'elle arrive en butée. Puis soulevez-la pour la retirer.

Si elle ne possède pas de crochet à l'arrête pour éviter de basculer, une clayette doit être placée à fond dans une position correcte disposant des butées de clayette comme illustré. Dans le cas contraire, la clayette peut tomber du réfrigerateur.

- Maintenez le Balconnet des deux mains, puis souvevez-le.

- Ouvrez le Tiroir en plastique et soulevez-le.

- Soulevez la Reserve de glace et tirez-la vers vous.

- Ouvrez les portes du concélateur et du réfrigérateur, puis dévissez la Plinthe avant. Une fois les vis retirees, démonze la plinthe. Pour remonter la plinthe, remettez-la en place puis revissez-la.


Ne retirez pas la plinthe en forçant.
Vous risqueriez de I'endommager et de vous blesser.
Fonctionnement de votre réfrigérateur side-by-side
DÉMONTAGE DES ACCESSOIRES DU RÉFRIGÉRATEUR
- Tirez la Clayette en verre vers vous jusqu'à ce qu'elle arrive en butée. Puis soulevez-la pour la retirer.

Si elle ne possède pas de crochet à l'arrière pour éviter de basculer, une clayette doit être placée à fond dans une position correcte disposant des butées de clayette comme illustré. Dans le cas contraire, la clayette peut tomber du réfrigerateur.



- Appuyez sur les ergots de chaque côté du Bac à fruits et légumes puis tirez celui-ci vers vous. En le maintainant d'une main, soulevez-le pour le retarder.

- Maintenez le Balconnet grande contenance des deux mains, puis soulevez-le delicatement.


Avant de procéder au démontage d'un accessoire, déplacez-les alimentés qui risqueraient de vous génér.
Si possible, retirez tous les aliments afin de réduire le risque d'accidents.
Fonctionnement de votre réfrigérateur side-by-side
NETTOYAGE DU RÉFRIGÉRATEUR
Le nettoyage régulier de votre réfrigérateur Side-By-Side de Samsung vous permettra de prolonger sa durée de vie. En outre, vous empêcherez l' apparition d'odeurs et la prolifération de bacteries.
Nettoyage de l'intérieur
Nettoyez les parois et les accessoires avec un détergent doux, puis essuyez-les à l'aide d'un chiffon doux. Pour faciliter le nettoyage, vous pouvez-retirer les tiroirs et les clayettes. Essuyez-les soigneusement avant de les remettre en place.
Nettoyage de l'extérieur
Nettoyez le panneau de commande et l'afficheur numérique à l'aide d'un chiffon propre.
Ne projetez pas d'eau sur la surface du réfrigerateur lorsque vous le nettoyez. Humidifiez simplement votre chiffon. Ceci vous permettra de nettoyer plus efficacement le réfrigerateur. Les portes, poignées et surfaces de l'appareil doivent être nettoyées à l'aide de détermagent et d'un chiffon doux, puis essuyées avec un chiffon doux. Pour que votre réfrigerateur conserve son aspect d'origine, nous vous conseillons de lustrer l'extérieur une à deux fois par an.




AVERTISSEMENT
N'utilisez pas de benzène, de solvant ou de Clorox™ pour le nettoyage.
Vous risqueriez d'endommager la surface de l'appareil ou de provoquer un incendie.

Nettoyage des joints de porte
Si les joints sont encrassés, les portes risquent de ne pas se fermer correctement, entrainant une perte d'efficacité du réfrigerateur. Nettoyez-les régulièrement à l'aide de détergent doux et d'un chiffon humide. Puis, essuyez-les à l'aide d'un chiffon doux.

ATTENTION
Ne projetez pas d'eau sur le réfrigerateur lorsque celui-ci est raccordé au secteur. Vous risqueriez de provoquer un chic électrique. N'utilise pas de benzène, de solvant ou de détergent pour voiture.
Nettoyage du Bar Maison
Nettoyez les distributeurs d'eau et de glace à l'aide d'un chiffon humide. Puis, essuyez-les à l'aide d'un chiffon doux.

Fonctionnement de votre réfrigérateur side-by-side
Ne remplacez pas la DEL vous-même. Veuillez contacter le personnel de r'éparation spécialisé si nécessaire.
Assurez-vous que la nouvelle DEL est identique à l'ancienne.
Ne cassez pas le couvercle de la lampe.
UTILISATION DES PORTES
Les portes du réfrigerateur sont équipées d'un système d'ouverture et de fermeture destiné à garantir l'étanchéité de l'appareil.
Lorsque vous ouvre la porte, celle-ci se bloque à un certain moment. Elle restera ouverte même si vous la relâchez. Si la porte est entrouverte, celle-ci se fermera automatiquement.
dépannage
| PROBLÈME | SOLUTION |
| Le réfrigérateur ne fonctionne pas du tout ou il ne refroidit pas suffisamment | Vérifiez que la prise électrique soit correctement branchée.La température induquée sur le panneau de commande est-elle correctement régée? Abaissez la température.Lé réfrigerateur est-il en contact direct avec les rayons du soleil ou proche d'une source de chaleur?L'arrière de l'appareil est-il placé trop pres du mur? Est-il correctement ventilé? |
| Les alimentés à l'intérieur du réfrigérateur sont congélés | La température induquée sur le panneau de commande est-elle correctement régée? Augmentez la température.La température de la piece n'est-elle pas trop BASSE?Avez-vous place des produits à force teneur en eau dans les parties les plus froides du réfrigérateur? Rangez ces produits dans le réfrigérateurplatz où que de les conserver dans le tiroir CoolSelect Duo™.. |
| L'appareil émet des bruits inhabituels. | Assurez-vous que l'appareil est de niveau et stable.L'arrière de l'appareil est-il place trop près du mur? Est-il correctement ventilé?Des objets sont-ils tombés derrière ou sous l'appareil?Vous entendez des claquement à l'intérieur du réfrigérateur. Ce bruit est normal et résultat de la dilatation ou de la rétraction des différents accessoires à l'intérieur du réfrigérateur. |
| Les angles avant et les côtses de l'appareil sont chauds. Des gouttelettes de condensation se forment. | Ce phénomène s'explain que par la présence de systèmes anticondensation installés dans les angles avant de l'appareil.La porte du réfrigérateur est-elle entrouverte? La condensation peut apparaître lorsque la porte reste ouverte pendant une durée prolongée. |
| Le distributeur de glace ne fonctionne pas. | Avez-vous attendu 12 heures après l'installation de systèmes anticondensation en eau avant demettre en route la fabrique de glace?L'alimentation en eau est-elle branchée et le robinet est-il ouvert?La fabrique de glace est-elle arrêtée? Assurez-vous que la production de glaçons ou de glace piée est activée.Le réservoir de glace est-il rempli?La température du congealateur est-elle trop élevé? Abaissez la température du congealateur. |
| Un bruit d'écoulement d'eau est perceptible. | Cela est normal. Le bruit est dû à la circulation du liquide frigorigène dans le réfrigérateur. |
| Une odeur anormale se dégage de l'intérieur du réfrigérateur. | Des aliments sont-ils avariés?Placez les aliments, tels que le poisson, dans des compartments hermétiques.Nettoyez régulièrement votre congealateur et jetez tout aliment avarié ouprésentant des traces suspects. |
| Du livre se forme sur les parois du congealateur. | L'orifice de ventilation est-il obstrué? Veillez à ce que l'air circule librely.Laissez un espace suffisant entre les aliments pour permettre à l'air de circuler.La porte du congealateur est-elle correctement fermée? |
| Le distributeur d'eau ne fonctionne pas. | L'alimentation en eau est-elle branchée et le robinet est-il ouvert?Le tuyau d'acciviée d'eau est-il écrasé ou courbé?Assurez vous que tuyau n'est pas obstrué.L'eau du réservoir est-elle gelée en raison d'une température trop basse dans le réfrigérateur?Augmentez la température. |
Français

Elimination du produit (Déchet d'Équipement Électrique et Électronique)
(Applicable dans l'Union Européenne et dans les autres pays Européens disposant de systèmes de collecte sélective)
Ce symbole qui apparait sur le produit, les accessoires ou la documentation indique que le produit et ses accessoires électroniques (par ex., chargeur, casque, cable USB) ne doivent pas été jetés dans les ordures menagères lorsqu'ils arrivent en fin de vie. Pour éviter de porter préjudice à l'environnement ou à la santé humaine par l'élimination incontrélée de ces déchets, veuillez les séparer des autres types de déchets et les recycler de façon responsable pour favoriser la réutilisation durable des ressources matérielles.
Les particuliers sont invités à contacter le distributeur leur ayant vendu l'appareil ou à se renseigner auprès de leur mairie afin de recycler ces produits en respectant l'environnement.
Les entreprises sont invitees à contacter leur fournisseur et à consulter les conditions de leur contrat d'achat. Ce produit et ses accessoires électroniques ne doit pas être éliminé avec les autres déchets commerciaux.
MEMO
MEMO
SAMSUNG
Question ou commentaires ?
| COUNTRY | CALL | OR VISIT US ONLINE AT |
| CANADA | 1 -800-SAMSUNG (7267864) | www.samsung.com/ca |
| MEXICO | 01 -800-SAMSUNG (7267864) | www.samsung.com/mx |
| U.S.A | 1-800-SAMSUNG(726-7864) | www.samsung.com/us |
| AUSTRIA | 0810-SAMSUNG(7267864, €0.07/min) | www.samsung, com/at |
| ARGENTINE | 0800-333-3733 | www.samsung.com/ar |
| BRAZIL | 0800-124-421/4004-0000 | www.samsung.com/br |
| CHILE | 800-SAMSUNG(726-7864) | www.samsung.com/cl |
| COSTA RICA | 0-800-507-7267 | www.samsung.com/latin |
| COLOMBIA | 01-8000112112 | www.samsung.com.co |
| EL SALVADOR | 800-6225 | www.samsung.com/latin |
| GUATEMALA | 1-800-299-0013 | www.samsung.com/latin |
| JAMAICA | 1-800-234-7267 | www.samsung.com/latin |
| PANAMA | 800-7267 | www.samsung.com/latin |
| PUERTO RICO | 1-800-682-3180 | www.samsung.com/latin |
| REP. DOMINICA | 1-800-751-2676 | www.samsung.com/latin |
| TRINIDAD & TOBAGO | 1-800-SAMSUNG(726-7864) | www.samsung.com/latin |
| VENEZUELA | 1-800-100-5303 | www.samsung.com/latin |
| ECUADOR | 1-800-10-7267 | www.samsung.com/latin |
| BELGIUM | 02 201 2418 | www.samsung.com/be |
| CZECH REPUBUC | 800 - SAMSUNG (800-726786) | www.samsung.com/cz |
| DENMARK | 70 70 19 70 | www.samsung.com/dk |
| FINLAND | 030 - 6227 515 | www.samsung.com/fi |
| FRANCE | 01 4863 0000 | www.samsung.com/fr |
| GERMANY | 01805 - SAMSUNG(7267864, €0.14/Min) | www.samsung.de |
| HUNGARY | 06-80-SAMSUNG(7267864) | www.samsung.com/hu |
| ITALIA | 800-SAMSUNG(7267864) | www.samsung.com/it |
| LUXEMBOURG | 261 03 710 | www.samsung.com/lu |
| NETHERLANDS | 0900 - SAMSUNG(7267864, € 0.10/Min) | www.samsung.com/nl |
| NORWAY | 815-56 480 | www.samsung.com/no |
| POLAND | 0-801 - 1 SAMSUNG (172678)/022 - 607 -93-33 | www.samsung.com/pl |
| PORTUGAL | 808 20 - SAMSUNG(7267864) | www.samsung, com/pt |
| SLOVAKIA | 0800 - SAMSUNG(7267864) | www.samsung.com/sk |
| SPAIN | 902 - 1 - SAMSUNG (902 172 678) | www.samsung.com/es |
| INDIA | 33030 8282/1800-29-3232/02-689-3232 /1800 266 8282 | www.samsung.com/in |
| AUSTRALIA | 1300 362 603 | www.samsung.com/au |
| SWEDEN | 0771 726 7864 (SAMSUNG) | www.samsung, com/se |
| U.K | 0845 SAMSUNG(7267864) | www.samsung.com/uk |
| EIRE | 0818 717 100 | www.samsung.com/ie |
| SWITZERLAND | 0848 - SAMSUNG(7267864, CHF0.08/min) | www.samsung.com/ch |
| RUSSIA | 8-800-555-55-55 | www.samsung.ru |
| UKRAINE | 0-800-502-000 | www.samsung.ua www.samsung.com/ua.ru |
| INDONESIA | 0800-112-8888/021-5699-7777 | www.samsung.com/id |
| MALAYSIA | 1800-88-9999 | www.samsung.com/my |
| PHILIPPINES | 1800-10-SAMSUNG (7267864) | www.samsung.com/ph |
| SINGAPORE | 1800-SAMSUNG (7267864) | www.samsung.com/sq |
| VIETNAM | 1 800 588 889 | www.samsung, com/vn |
| THAILAND | 1800-29-3232/02-689-3232 | www.samsung.com/th |
| SOUTH AFRICA | 0860 726 7864 (SAMSUNG) | www.samsung.com/za |
| U.A.E | 800-SAMSUNG (726-7864)/8000-4726 | www.samsung. com/ae |