RS61782GDSP - Réfrigérateur SAMSUNG - Notice d'utilisation et mode d'emploi gratuit
Retrouvez gratuitement la notice de l'appareil RS61782GDSP SAMSUNG au format PDF.
| Type de produit | Réfrigérateur combiné |
| Capacité totale | 500 litres |
| Dimensions approximatives | 1780 x 912 x 734 mm |
| Poids | 100 kg |
| Classe énergétique | A+ |
| Type de froid | Froid ventilé |
| Fonctions principales | Fonction No Frost, contrôle de la température, éclairage LED |
| Entretien et nettoyage | Nettoyage régulier des surfaces, dégivrage automatique |
| Pièces détachées et réparabilité | Disponibilité de pièces détachées auprès du service après-vente Samsung |
| Sécurité | Système de verrouillage de porte, protection contre les surcharges électriques |
| Compatibilités | Compatible avec les accessoires Samsung pour réfrigérateurs |
| Alimentation électrique | 220-240 V, 50 Hz |
FOIRE AUX QUESTIONS - RS61782GDSP SAMSUNG
Téléchargez la notice de votre Réfrigérateur au format PDF gratuitement ! Retrouvez votre notice RS61782GDSP - SAMSUNG et reprennez votre appareil électronique en main. Sur cette page sont publiés tous les documents nécessaires à l'utilisation de votre appareil RS61782GDSP de la marque SAMSUNG.
MODE D'EMPLOI RS61782GDSP SAMSUNG
Réfrigérateur Mode d'emploi
Planet
First
100%
Recycled Paper
Ce manuel est en papier recyclé à 100% .
Français
Imaginez les possibilités
Merci d'avoir acheté un produit Samsung.
Pour bénéficier d'une assistance technique
plus complete, enregistrez votre produit sur :
Fonctions de votre nouveau réfrigérateur
Appareil en pose libre
SAMSUNG
Consignes de sécurité
CONSIGNES DE SECURITÉ
- Avant d'utiliser l'appareil, veuillez dire ce mode d'emploi en intégralité et le conserver à un endroit sur à proximé du réfrigerateur afin de pouvoir le consulter ultérieurement.
Utilisez cet apparéil uniquement dans le but pour lequel il a été conçu, conformément aux instructions de ce mode d'emploi. Cet apparéil ne doit pas être utilisé par des personnes (y compris des enfants) dont les capacités physiques, sensorielles ou mentalles sont diminuées ou qui n'ont pas l'expérience ou les connaissances nécessaires, sauf si elles sont placées sous la surveillance d'une personne responsable de leur sécurité ou si cette personne leur a communiqué les instructions nécessaires pour utiliser le réfrigérateur. - Les averissements et les importantes consignes de sécurité figurant dans ce mode d'emploi ne couvent pas toutes les conditions et situations qui peuvent eventulement se presenter. Il vous incombe de faire preuve de bon sens, de vigilance et de précaution lors de l'installation, de la maintenance et de l'utilisation de votre réfrigerateur.
- Les consignes d'utilisation suivantes étant communes à plusieurs modèles, les caractéristiques de votre réfrigerateur peuvent lègérer différer de celles décrites dans le present mode d'emploi et il est possible que certains pictogrammes ne s'appliquent pas à votre apparéil. Si vous avrez des questions ou des problèmes, contactez votre centre technique le plus proche ou consultez le site www.samsung.com pour toute aide et information.
Précautions et pictogrammes de sécurité importants :
| DANGER | Risques ou mauvaises manipulations pouvant provoquer des blessures graves ou la mort. |
| ATTENTION | Risques ou mauvaises manipulations pouvant provoquer des blessures légères ou des dommages matériels. |
| Ne tentez RIEN. | |
| Ne démonzez RIEN. | |
| Ne touche à RIEN. | |
| ★ | Suivez consciencieusement les consignes. |
| → | Débranche la fiche d'alimentation de la prise secteur. |
| = | Assurez-vous que l'appareil est mis à la terre afin d'éviter toute électrocution. |
| ○ | Contactez le centre technique pour avoir de l'aide. |
| ○ | Remarque. |
Ces pictogrammes visent à préserver les utilisateurs de l'appareil de tout risque de blessure. Nous vous prions de respecter scrupuleusement ces instructions.
Après avoir lu cette section, conservez-les pour pouvoir la consulter ultérieurement.
Avis CE
Ce produit a ete concu en conformite avec la Directive relative aux basses tensions (2006/95/CE), la Directive de compatibilite electromagnetique (2004/108/CE) et la Directive d'ecoconception 2009/125/CE) implementee par la Reglementation CE N° 643/2009 de l'Union Européenne

AVERTISSEMENTS IMPORTANTS POUR LE TRANSPORT ET L'INSTALLATION

-
Lors du transport et de l'installation de l'appareil, veillez à n'endommager aucune piece du circuit de réfrigération.
-
Le fluide frigorigène qui fuit de la tuyauterie peut provoquer des brûlures ou des blessures aux yeux. Si vous détectez uneuite, n'utilise aucun objet susceptible de produit une flamme ou une étincelle. Aérez la pièce dans laquelle se trouve l'appareil pendant plusieurs minutes.
- Pour évier la formation d'un mélange gaz-air inflammable en cas de fuite du circuit de réfrigération, installez l'appareil dans une piece dont la surface est adaptée à la quantité de fluide frigorigène utilisée.
- Ne mettez jamais en service un apparéil endommagé. En cas de doute, contactez votre revendeur. Pour la pièce dans laquelle le réfrigerateur est installé, il convient de tener compte de ce qui suit : 1m³ pour 8 g de fluide frigorigène R600a. La quantité de fluide frigorigène dans votre réfrigerateur est indiquée sur la plaque signalétique située à l'intérieur de ce dernier.
2_. consignes
DANGER
CONSIGNES DE SÉCURITÉ IMPORTANTES POUR L'INSTALLATION

-
N'installez pas le réfrigerateur dans une piece humide ou un endroit en contact avec l'eau.
-
Un défaut d'isolation des composants électriques peut entraîner une électrocution ou un incendie.
- Ne placez pas l'appareil dans un endroit exposé au rayonnement direct du soleil ou à proximité d'une source de chaleur (cuisinière, radiateur, etc.).
- Ne branche pas cet apparéil sur une multiprise. Le réfrigerateur doit toujours être branché sur une prise électrique individuelle délivrant une tension conforme à la valeur indiquée sur la plaque signalétique de l' apparéil.
- Ainsi, votre apparéil fonctionnera dans des conditions optimes et vous évitez tout risque de surcharge des circuits électriques, de surchauffe des fils et donc, tout risque d'incendie.
- Si la prise secteur est mal fixée au mur, ne branchez pas la fiche d'alimentation.
- Vous risqueriez de vous électrocuter ou de provoquer un incendie.
- N'utilisez jamais un cordon représentant des craquelures ou des signes d'usure.
- Evitez de plier le cordon d'alimentation de manière excessive ou de le coincer sous un meuble lourd.
N'utilise pas d'aerosols a proximite du refrigerateur. - L'utilisation d'aérosols à proximé du réfrigérateur peut provoquer une explosion ou un incendie.

-
Avant toute utilisation, veillez à installer et positionner correctement l'appareil, conformément aux instructions.
-
Connectez la fiche d'alimentation correctement avec le cordon vers le bas.
- Si la fiche est connectée à l'envers, le cable peut se trouver coupé ou provoquer un incendie ou une électrocution.
Assurez-vous que la fiche n'est pas écrasée ou n'a pas ete endommagee en plaant l'arriere du refrigerateur trop pres du mur. - Lorsque vous déplacez le réfrigerateur, veillez à ne pas écraser ou endommager le cordon d'alimentation.
- Cela pourrait provoquer un incendie.
- Une fois l'appareil installé, la prise d'alimentation doit être facilement accessible.

- Le réfrigerateur doit être mis à la terre.
-
Vous doivent restre le réfrigerateur à la terre afin d'empêcher toute dissipation de puissance ou toute electrocution engendree par une fuite de courant de l'appareil.
-
Ne reliez jamais la borne de terre de l'appareil à une conduite de gaz, une ligne téléphonique ou une tige de paratonnerre.
- Une mise à la terre incorrecte peut provoquer une électrocution.

-
Si le cordon d'alimentation est endommagé, faites-le immédiatement replacer par le fabricant ou un technicien qualifié.
-
Le fusible du réfrigerateur doit être remplaced par un technicien qualifié ou une société de maintenance.
- Si ce n'est pas le cas, il existe un risque d'électrocution ou de blessures.

CONSIGNES D'INSTALLATION

Veiliez a ne pas obstruer les orifices de ventilation internes et externes ou la structure de montage.
- Àprous l'installation,attendez 2 heures avant d'utiliser l'appareil.
CONSIGNES DE SÉCURITÉ IMPORTANTES POUR L'UTILISATION

-
Ne raccordez pas l'appareil au secteur avec les mains mouillées.
-
Évitez deposer des objets sur le réfrigérateur.
- L'ouverture ou la fermeture de la porte pourrait provoquer la chute de ces objets, vous blesser et/ou endommager l'appareil.
- Évitez de poser des objets replis d'eau sur le réfrigérateur.
- En cas d'éclaboussures, vous pourriez vous électrocuter ou provoquer un incendie.
- Ne laïsez pas les enfants jouer avec la porte.
- Sinon, il existe un risque de blessures graves.
- Ne laïsez pas les enfants sans surveillance lorsque les portes du réfrigerateur sont ouvertes et ne les laïsez pas entre dans le réfrigerateur.
- Les enfants pouraient se retrouver enfermés et être victimes de blessures graves dues à la basse température.
- N'introduisez jamais vos doigs ni aucun objet dans l'orifice du distributeur d'eau.
- Sinon, vous pourriez vous blesser ou endommager le système de distribution.
- N'entreposez pas de substances volatiles ou inflammables, telles que du benzène, du solvant, de l'alcool, de l'éther ou du GPL dans le réfrigerateur.
- Le stockage ou d'un autre produit similaire peut provoquer une Explosion.

-
N'entreposez pas de médicaments, d'équipements scientifiques ou de produits sensibles aux basses températures dans le réfrigérateur.
-
Les produits nécessitant un contrôle strict de la température ne doivent pas être stockés dans cet apparéil.
- Ne placez ou n'utilise pas d'appareils électriques à l'intérieur du réfrigerateur, sauf si ces derniers sont recommendés par le fabricant.
- N'utilise pas de sèche-cheveux pour secher l'intérieur du réfrigerateur. Ne place pas de bougie allumée dans le réfrigerateur pour éliminer les mauvaises odeurs.
- Cela risqueraisit de provoquer une électrocution ou un incendie.
- Ne touche pas les parois internes du congealateur ou les produits qui y sont entreprises avec les mains mouillées.
- Des gelures pourraient se former.
- N'accélérez pas le processus de dégivrage à l'aide d'appareils ou de méthodes autres que ceux recommendés par le fabricant.
- N'endommagez pas le circuit de réfrigération.

-
Cet apparéil a été concu dans l'unique but de conserver des alimentés dans un environnement domestique.
-
Afin d'éviter que les bouteilles ne tombent, il est conseilé de les regrouper.
- Si vous déetectez une fuite de gaz, n'utilise chaque objet susceptible de produit une flamme ou une étincelle. Aérez la piece dans laquelle se trouve l'appareil pendant plusieurs minutes.
Utilisez uniquement les DEL fournies par le fabricant ou des techniciens qualifiés. - Les enfants doivent être surveillés afin de s'assurer qu'ils ne jouent pas avec l'appareil et/ou ne montent pas dans celui-ci.

-
Ne tentez pas de démonter ou de réparer le réfrigerateur de vous-même.
-
Vous risquez de déclencher un incendie, de provoquer un dysfonctionnement et/ou de vous blesser. En cas de dysfonctionnement, veuillez contacter les techniciens qualifiés.

- Si l'appareil émet un bruit bizrarre, une odeur de brûlé ou de fumée, débranchez
immédiatementla fiche d'alimentation et contactez voitré centre technique le plus proche.
- Sinon, il existe un risque d'électrocution ou d'incendie. Veillez à ne pas obstruer les orifices de ventilation internes et externes ou la structure de montage.
-
Si vous rencontres des difficultés lors du remplacement de l'ampoule, contactez des techniciens qualifiés.
-
Si le produit est doté de DEL, ne tentez pas de démonter vous-même le cache de l'ampoule, ni la DEL.
- Contactez les techniciens qualifiés les plus proches de chez vous.
- En présence de poussière ou d'eau à l'intérieur du réfrigerateur, débranchez la fiche d'alimentation et contactez votre centre technique Samsung Electronics.
- Cela risquérait de provoquer un incendie.

CONSIGNES D'UTILISATION

- Afin de garantir des performances optimes :- Ne placez pas les alimentes trop pres des
orifices situés au fond de l'appareil. Vous risquieriez d'empecher la circulation de l'air dans le réfrigerateur. - Emballez les alimentents correctement ou placez les dans des recipients hermétiques avant de lesmettre au réfrigerateur.
- Ne placez pas de boissons gazeuses ou pétillantes dans le congélateur. Ne placez pas de bouteilles ou de recipients en verre dans le congélateur.
- En gelant, le verre peut se casser et provoquer des blessures ou endommager l'appareil.
- Ne détournez pas le réfrigerateur de sa fonction d'origine et ne le modifies pas.
- Toute modification risque de provoquer des blessures et/ou des dommages matériels. Les modifications apportées à cet apparéil par une tiance partie ne sont pas couvertes par la garantie Samsung et Samsung rejette toute responsabilité en cas de problèmes et de dommages resultant des modifications approtesés par cette tiance partie.
- N'obstruez pas les orifices de ventilation.
- Si les orifices de ventilation sont obstrués, notamment avec un sac en platsique, il est possible que le réfrigerateur refroidisse trop. Si la période de refroidissement dure trop longtemps, le filtré à eau peut casser et provoquer uneuite d'eau.
- Ne placez pas les alimentes à congelier à côté d'aliments déjà congelez.
- Respectez scrupuleusement les durées de conservation maximales et les dates de péremption de vos alimentés congelés.
- Remplissez le réservoir, le bac à glaçons, les glaçons uniquement avec de l'eau potable.
- Utilisez unquielement l'appareil à glaçons fourni avec le réfrigérateur.
- Le raccordement à une arrivée d'eau doit être effectué par un technicien qualifié. Utilisez uniquement une arrivée d'eau potable.
- Pour garantir le bon fonctionnement de l'appareil à glaçons, une pression d'eau de 138 ~ 862 kpa (1,4~8,8 kgf/cm³) est nécessaire.
4_ consignes
ATTENTION
CONSIGNES DE NETTOYAGE ET DE MAINTENANCE

-
Ne vaporisez pas directement d'eau à l'intérieur ou sur l'extérieur du réfrigerateur.
-
Vous risqueriez de vous électrocuter ou de provoquer un incendie.
- Ne vaporisez pas de gaz inflammable à proximé du réfrigérateur.
- Vous pouriez provoquer une explosion ou un incendie.
- Ne vaporisez pas de produits nettoyants directement sur l'afficheur.
- Les lettres figurant sur l'afficheur peuvent disparaître.
- Retirez la poussière et les corps étrangers des broches. Mais pour nettoyer la fiche d'alimentation, utilisez un chiffon sec et retirez la poussière et les corps étrangers présents sur les broches.
- Vous risqueriez de vous électrocuter ou de provoquer un incendie.
- N'introduisez jamais vos doigs ni aucun objet dans l'orifice du distributeur d'eau ou la conduite d'éjection de la glace.
- Vous pourriez vous blesser ou endommager l'appareil.

- Débranchez le réfrigérateur avant toute opération de nettoyage et de maintenance.
DANGER
CONSIGNES DE SÉCURITÉ IMPORTANTES POUR L'UTILISATION

-
Avant la mise au rebut, vérifie que les tuyaux situés à l'arrière de l'appareil sont en bon état.
-
Selon le modele, cet appeareil peut utiliser du fluide frigorigène de type R600a ou R134a. Pour connaître le type de fluide utilisé dans votre réfrigerateur, consultez l'étiquette apposoé sur le compresseur, à l'arrête de l'appareil, ou la plaque signalétique située à l'intérieur du réfrigerateur. Si l'appareil contient un gaz inflammable (fluide frigorigène R600a), contactez les autorités locales pour connaître la méthode de mise au rebut adaptée. Cet appeareil contient également une mousse isolante en cyclopentane. Les gaz contenus dans le matériel isolant doivent être éliminés selon une méthode spécifique.
Contactez les autorités locales pour connaître la procédure de mise au rebut adaptée à ce type de produit. Avant la mise au rebut, vérifie que les tuyaux situés à l'arrière de l'appareil sont en bon état. L'ouverture des tuyaux doit s'effectuer dans un lieu aéré.
- Si l'appareil contient du fluide frigorigène à l'isobutane (R600a), sachez qu'il s'agit d'un gaz naturel ecologique, mais également inflammable. Lors du transport et de l'installation de l'appareil, veillez à n'endommager aucune piece du circuit de réfrigération.
- Avant de vous débarrasser de cet apparéil ou d'autres réfrigerateurs, retirez les joints de la porte/ des portes, les loquets afin d'éviter que les enfants ou les animaux ne s'y retrouvent enfermés. Laissez les clayettes en place pour empêcher les enfants de rentrer dans le réfrigerateur. Les enfants doivent être surveillées afin de s'assurer qu'ils ne jouent pas avec l'ancien apparéil.
- Jetez l'emballage du produit en respectant les normes écologiques en vigueur.

CONSEILS SUPPLEMENTAIRES POUR UNE BONNE UTILISATION
- En cas de coupure de courant, contactez votre fournisseur d'électricité pour connaître la durée approximative de la panne.
- La plupart des coupures de courant réparées en une ou deux heures n'aura aucune conséquence sur la température de votre réfrigerateur. Vous doivent cependant ouvrir les portes le moins souvent possible lorsque le courant est coupé.
- S'il est prévu que la coupure de courant dure plus de 2 heures, retirez toute la glace présente dans le bac à glace.
- Si la coupure devait se prolonger au-delà de 24 heures, retirez tous les alimentés congelés.
- Si les clés sont fournies avec le réfrigerateur, maintenez-les hors de la portée des enfants et éloignée de l'appareil.
- Il se peut que l'appareil fonctionne de manière anormale (température devenue trop élevé dans le réfrigerateur) s'il est resté pendant une période prolongée au-dessous de la limite inférieure de la plage de températures pour laquelle il a été consu.
- Évitez de stocker des denrées facilement périsibles à basse température (les bananes ou les melons, par exemple).
- Voitre appareil est équipé d'un système de dégivrage automatique, ce qui vous évite d'effectuer un dégivrage manuel.
- La hausse de température constatée durant le dégivrage est conforme aux normes ISO en vigueur. Pour éviter la décongélation des alimentés pendant le dégivrage du réfrigerateur, emballezles dans plusieurs couches de papier journal.
- Toute hausse de température durant le dégivrage peut réduire la durée de conservation des aliments.
Conseils pour economiser de l'énergie
- Installez l'appareil dans un endroit sec et bien aéré. Veillez à ce qu'il ne soit pas exposé au rayonnement direct du soleil ou installé à proximité d'une source de chaleur (par exemple un radiateur).
- N'obstruez jamais les fentes ou les grilles de ventilation de l'appareil.
- Laissez refroidir les alimentes chauds avant de lesmettre dans le réfrigerateur.
- Placez les alimentés congelés dans le réfrigerateur afin de les décongeler. Vous pourrait ainsi utiliser leurasse température pour refroidir des alimentés présents dans le réfrigerateur.
- Lorsque vous manipuez des alimentés dans le réfrigerateur, ne laissez pas la porte ouverte trop longtemps. Plus la durée d'ouverture est courte, moins la quantité de glace formée dans le congealteur est importante.
- Nettoyez régulierement l'arrière de votre réfrigerateur. La poussière augmente sa consommation.
- Ne baissez pas inutillement la température interieure.
- Vérifiez que le système d'évacuation de l'air à la base et à l'arrière du réfrigerateur n'est pas obstrué.
- Laissez un espace suffisant tout autour de l'appareil au moment de l'installation. Ceci vous permettra de réduire sa consommation d'énergie.

HYGIÈNE DES ALIMENTS
- Nettoyez régulièrement l'intérieur du réfrigerateur à l'aide d'un détergent doux n'oxydant pas les parties métalliques (ex.: eau tiège additionné de liquide pour vaisselle). Puis désinfectez les surfaces nettoyées à l'aide d'une solution aquareuse à base d'acide acétique ou d'acide citrique ou d'un désinfectant disponible dans le commerce et adapté aux dispositifs de refroidissement (avant de l'appliquer sur les parties métalliques, effectuez un test sur une partie non visible).
- Retirez les emballages (ex.: les cartons contenant les pots de yaourt) avant de ranger les alimentés dans le réfrigerateur.
- Afin d'éviter que la température à l'intérieur du réfrigerateur ne soit trop élevé, laissez refroidir les alimentents cuisinés à l'extérieur jusqu'à ce qu'ils soient à température ambiente. N'ouvre pas inutillement la porte et ne la laissez pas ouverte plus longtemps que nécessaire. Placez les alimentents de manière à permettre la circulation de l'air.
- Afin d'éviter la contamination des alimentés entre eux, enroulez- les dans du film alimentaire oustockez- les dans des boîtes hermétiques.
- Lors de la préparation de plats, touchez- les avec les mains propres uniquement. Avant de préparer un autre plat, lavez- vous les mains plusieurs fois. Lavez-vous les mains avant de manger également.
- Nettoyez vos ustensiles de cuisine (cuillères, planches à découper, couteaux, etc.) avant de les réutiliser.

Sommaire
INSTALLATION DE VOTRE RÉFRIGÉRATEUR SIDE-BY-SIDE
FONCTIONNEMENT DE VOTRE RÉFRIGÉRATEUR SIDE-BY-SIDE 16
DÉPANNAGE 22
6_. consignes
Installation de votre réfrigérateur Side-By-Side
PREPARATION DE L'INSTALLATION
Félicitations! Vous venez d'acquerir un réfrigerateur Side-By-Side de Samsung. Nous espérons que ses fonctions innovantes répondront à toutes vos attentes.
Choix du lieu d'installation
- La piece doit disposer d'une arrivée d'eau.
- La pierce ne doit pas etre exposée a la luziere du soleil.
- Le sol de la pierce doit être parfaitement horizontal.
- La pierce doit offrir un espace suffisant pour l'ouverture des portes du réfrigerateur.
- Un espace minimum est requisagleur de l'appareil.Voir les illustrations ci-dessous.
Assurez-vous de pouvoir déplacer l'ordinate librement pour des besoin de maintenance et d'entretien.



performances,veuillez
fixer l'entretoise a l'arriere de l'appareil lors de l'installation du réfrigerateur. Cela améliore les performances du réfrigerateur.
Méthode de montage
- Retirez l'entretoise emballée de la barre de retenue la plus BASSE du réfrigérateur.
- Contrôlez l'emplacement de montage à l'arrière du réfrigérateur comme indiqué sur l'image.
- Situez l'emplacement de montage de l'entretoise et posez l'entretoise sur la plaque arriere du réfrigerateur.
Déplacement de votre réfrigérateur
Afin de ne pas endommager le sol, assurez-vous que les pieds avant de mise à niveau sont reliés (au-dessus du sol). Reportez-vous à la section "Mise à niveau du réfrigerateur" (page 11). Afin de protégier l'état de surface du sol, placez une feuille de protection sous le réfrigerateur, comme le carton d'emballage par exemple.


Pendant l'installation, à l'occasion d'une réparation ou en cas de nettoyage de l'arrêtre du réfrigerateur, tirez et replacez l'apareil en le déplacant sur une ligne droite.

installation_7
DÉMONTAGE DES PORTES DU RÉFRIGÉRATEUR
Si nécessaire, vous pouvez démonter les portes du réfrigérateur pour faciliter son transport.
1. Démontage de la plinthe avant
Ouvrez les portes du congelateur et du réfrigérateur, puis dévisse la plinthe.

Débranchement de la conduite d'arrivée d'eau
- Appuyez sur le raccord ① et tirez la conduite d'arrivée d'eau ② dans le sens opposé.

2. Démontage de la porte du congélateur
Veuiliez respecter les recommendations suivantes.
- Soulevez la porte de façon parfaitement verticale af n de ne pas endommager les charnières.
Veillez a ne pas pincer la conduite d'eau et le faisceau de cables de la porte. -
Posez les portes sur une surface protégée afin d'éviter de les rayer ou de les endommager.
-
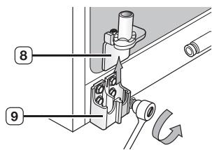
Fermez la porte du congélateur, retirez le capot de la charnière supérieure ① à l'aide d'un tournevis puis débranche délicatement les cables ②.

- Retirez les vis 3 de la charniere et la vis de terre 4 puis demontez la charniere supérieure 5. Veillez a maintainir fermement la porte lorsque vous la demontez.

- Dégagez la porte de la charnière inférieure 6 en la boulevant verticalement 7

Veillez à ne pas pincer la conduite d'eau et le faisceau de cable de la porte.
- Retirez délicatement la charnière inférieure 8 de son support 9

8 installation
Démontage de la porte du réfrigérateur
- Fermez la porte et retirez le capot de la charnière supérieure ① à l'aide d'un tournevis.

- Retirez les vis 2 de la charnière et la vis de terre 3 puis demontez la charnière supérieure 4. Veillez à maintainir fermement la porte lorsque vous la démontez.

- Dégagez la porte de la charnière inférieure 5 en la boulevant verticalement 6

- Retirez dangaclement la charriere inferieure 7 de son support 8

MONTAGE DES PORTES DU RÉFRIGÉRATEUR
Une fois le réfrigerateur correctement installé, remettez les portes en place.
Montage de la porte du congélateur
- Remettez la porte du congélateur en place en insérant la conduite ① dans l'angle inférieur de la portepuis dans l'orifi ce de la charniere inférieure ② .Tirez delicatement la conduite vers le bas afin qu'elle soit parfaitement tendue.

- Insérez la tige 3 de la charnière supérieure dans l'orifice ce de l'angle de la porte du congélateur 4
Assurez-vous que les trous de la charnière supérieure 5 et de l'armoire 6 sont alignés. Remettez les vis de la charnière 7 et la vis de terre 8 en place.
Rebranche les câbles.

- Remettez le capot 9 en place sur la charniere supérieure 10 et vissez-le.

Montage de la porte du réfrigérateur
- Insérez la charnière inférieure ① dans son support ②.

- Placez la porte du réfrigerateur 3 sur la charnière inférieure 4

- Insérez la tige 5 de la charnière supérieure dans l'orifi ce de la charnière 6. Assurez-vous que les trouss de la charnière supérieure 7 et de l'armoire 8 sont alignés. Remettez les vis de la charnière 9 et la vis de terre 10 en place.

- Remettez le capot en place sur la charniere supérieure et vissez-le.

10 installation
Montage de la conduite d'arrivée d'eau
- Insérez la conduite 2 dans le raccord 1

- Le tuyau d'eau doit être inséré jusqu'àu centre du coupleur transparent afin d'eviter toute fuite d'eau au niveau du distributeur.
- Insérez les deux brides dans l'emplacement prévu à cet effet et vérifie que chaque bride maintainiel fermement le tuyau.

Ne coupez pas la conduite d'eau. Retirez-la delicatement du raccord.
Montage de la plinthe avant
Avant de fi xer la plinthe, assurez-vous que le raccord ne presente aucuneuite. Vissez la plinthe comme indiquedans l'illustration.
MISE A NIVEAU DU RÉFRIGÉRATEUR
Une fois les portes installedes, vous nevez vous assurer que le réfrigerateur est parfaitement de niveau avant de procesder aux derniers régles. Si le réfrigerateur n'est pas de niveau, les portes ne pourront pas etre correctement ajustées.

La façade du réfrigerateur peut également être ajustée.
La porte du congelateur est plus basse que celle du réfrigerateur
À l'aide d'un tournevis plat, faites pivoter la molette de réglage vers la gauche ou vers la droite pourmettre le concélateur à niveau.

La porte du congélateur est plus haute que celle du réfrigérateur
À l'aide d'un tournevis plat, faites pivoter la molette de réglage vers la gauche ou vers la droite pourmettre le réfrigerateur à niveau.


Si vous devez effectuer des réglages précis, reportez-vous à la section suivante.
RéGLAGE PRECIS DE L'ALIGNEMENT DES PORTES
Avant toute chose, vérifi ez que le réfrigérateur est de niveau. Si nécessaire, reportez-vous à la section précédente.

La procédure de réglage est valable dans les deux cas. Ouvrez les portes et régliez-les l'une après l'autre comme indiqué ci-dessous :
1. Devissez
l'écrou 1 de la charrière inférieure jusqu'à ce qu'il attigne l'extrémité du boulon 2.


Lorsque vous dévissez l'écrou ①, assurez-vous d'utiliser la clé fournie ③ pour débloquer le boulon ②. Vous pouvez ensuite dévisser l'écrou ① à la main.
- Reglez la hauteur des portes en tournant le boulon ② vers la gauche ou la droite


Si you pivotez le boulon vers la gauche la porte monte.
3. Une fois les
réglages
effectués,
tournez l'écrou
1 vers la
gauche
jusqu'à ce qu'il arrive en butée sur le boulon. Serrez le boulon à l'aide de la clé 3 pour bloquer le boulon 1.


Si Iécrou n'est pas correctement bloqué, le boulon risque de se desserrer.
CONTRÔLE DE L'ARRIVÉE D'EAU DU DISTRIBUTEUR (EN OPTION)
Votre nouveau réfrigerateur Samsung est équipé d'un distributeur d'eau. Par mesure d'hygiene, les particules étrangères sont retenues par un filtré à eau. Cependant, ce filtré ne sterilise pas l'eau et ne détruit pas les micro-organismes. Vous devez alors vous procurar un système de purifi cation d'eau. Pour garantir le fonctionnement de l'appareil à glaçons, une pression d'eau de 138 à 862 kPa est nécessaire. Cette pression permet de replir un gobelet de 170 cc en 10 secondes. Si la pression d'eau est insuffisante (inférieure à 138 kPa), vous devez installer une pompe de surpression. Assurez-vous que le réservoir d'eau se remplit correctement. Pour ce faire, actionnez le levier du distributeur jusqu'à ce que l'eau s'écoule. Lorsque vous utilisez le distributeur d'eau, de légers bruits peuvent être générés par l'acciviée d'eau.

Le kit d'installation de l'arrivée d'eau est fourni avec l'appareil. Vous le trouvrez dans le compartment congestion.
UTILISATION DE LA MACHINE À GLAÇONS
(RS77*)
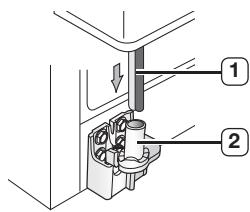
Pour retarder le bac à glaçons
-Tenezla poignee comme indiquepar la figure 1.
-Tirez tout doucement la partie inférieure.
- Retirez lentement le bac à glace.
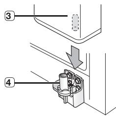
Pour remettre le bac à glaçons en place
- Remontez-le dans le sens inverse du démontage.
- Poussez fermement le bac jusqu'au son « Clic »
- Si le bac en glace ne se met pas correctement en place, tournez de 90 degrès la poignée d'entrainment située à l'arrière et remontez-le comme indiqué par la figure 2.
Fonctionnement normal
- Tous lessons que yousentendez lorsquela machinea glacea fait tomber de la glacedans le bac font partie dufonciennement normal.
- Ne pas distribuer de glace pendant une longue période peut provoquer des bouchons de glace dans le bac à glace. Retirez la glace résiduelle et videz le bac.

Figure 1

Figure 2

- Lors de la descente des glaçons, vérifie si des glaçons ne sont pas coincés dans le goulet et retirez-les si nécessaire.
- Le premier lot de glaçons risque d'être petit en raison de l'air present dans le tuyau après le raccordement, l'air encore present sera finalement purgé durant l'utilisation normale.

- Si ICE OFF clignote sur le panneau d'affchage, reinsérez le bac et/ou assurez-vous qu'il est installé correctement.
- Quand la porte est ouverte, le distributeur de glace et d'eau ne fonctionne pas.
- Si vous fermez fortement la porte, vous pouriez renverser de l'eau de la machine à glace.
- Pour éviter de faire tomber le bac à glace, utilisez vos deux mains pour le démonter.
- Pour éviter de vous blesser, assurez-vous de nettoyer la glace ou les traces d'eau qui auraient pu tomber sur le sol.
- Ne laïsez pas les enfants se pendre à distributeur de glace ou au bac. Ils pourrait se blesser.
- Assurez-vous de ne pas placer vos main ni aucun objet dans la chute de glace. Ceci pourrait provoquer des blessures ou endommager des pièces mécaniques.
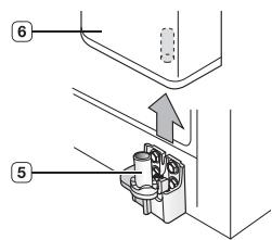
Vérification du niveau d'eau dans le bac à glaçons (RS7572,RS7567)
- Soulevez l'appareil à glaçons et retirez-le délicatement du congélateur.
- Si vous appuyez sur le bouton Test, le bac à glaçons se remplit d'eau. Vérifiez que le niveau d'eau est correct (voir l'illustration ci-dessous). Le niveau d'eau est trop bas, les glaçons seront trop petits. Ceci est dû à un problème de pression d'eau insuffisante. Le réfrigerateur n'est pas en cause.

appareilàglaçons

12 installation
INSTALLATION DE L'ALIMENTATION EN EAU
Pour le modele intérieur
Accessoires pour l'installation des tuyaux d'arrivee d'eau.

Branchement de l'arrivée d'eau
- Tout d'abord, fermez l'arrivée d'eau principale.
- Repérez la conduite d'eau potable froide la plus proche.
- Suivez les instructions d'installation de l'arrivée d'eau.


- Àpres avoir raccordé la conduite d'eau au filtré, réactive chez leur distributeur principal d'eau et laissez couler environ un litre d'eau pour nettoyer et amorcer le filtré.
Raccordement du tuyau d'arrivée d'eau sur le réfrigerateur
- Demontez le tuyau d'arrivee d'eau, retirez le bouchon et mettez I'ecrou de serrage en place.
-
Raccordez le tuyau du réfrigerateur au kit d'installation de l'acciviée d'eau fourni.
-
Vissez l'écrou sur le raccord. Les deux éléments doivent être correctement serrés.
- Ouvrez l'arrivée d'eau et vérifi ez la présence de fuites.





Le réfrigerateur doit impérativement être raccordé à une arrivée d'eau potable. Pour réparer ou démonter l'arrêté d'eau, découverte le tube sur 6,5 mm afin que celui-ci s'ajuste parfaitement et ne présente aucuneuite.
DANGER Avant toute utilisation, vous nevez vérifier qu'il n'y ait aucuneuite aux endroits mentionnés.
- La garantie Samsung ne couvre pas l'installation de la conduite d'arrivée d'eau.
- Cette opération reste à la charge du client, sauf si son coût est inclus dans le prix de vente.
- Pour effectuer cette installation, veuillez faire appel à un plombier ou à un installeréur qualifié.
- En cas de fuites dues à une installation incorrecte, veuillage contacter vous installateur.



INSTALLATION DU DISTRIBUTEUR D'EAU
Pour le modeleextérieur
Composants pour l'installation des tuyaux d'arrivée d'eau.

Connectez la conduite d'eau au coupleur et au robinet
- Fermez le robinet d'eau principal
- Connectez le coupleur « A » au robinet
ATTENTION
Le tuyau d'eau doit être raccordé sur une conduite d'eau froide.
Si vous le raccordez à une conduite d'eau chaude, cela peut entraîner un dysfonctionnement du purificateur.
NOTE SUR LA GARANTIE
L'installation de cette conduite d'eau n'est pas couverte par la garantie du fabricant du réfrigerateur/ congeilateur ou de l'appareil a glacons. Suivez soigneusement ces instructions afin de minimiser le risque d'une grave fuite d'eau.
REMARQUE :
Si le raccord ne s'emboite pas sur le robinet, adressez-vous au service après-vente le plus proche pour vous procurer les raccords adéquats.
Choix de l'emplacement où vous souhaitez installer le purificateur (modèle avec purificateur)
- Si vous souhaitez raccorder l'entrée et la sortie d'eau du purificateur pendant l'installation de celuici, reportez-vous à la figure de référence ci-contre.
- Mesurez la distance entre le purificateur et le robinet d'eau froide. Coupelez tuyau relié au purificateur de façon à obtenir la longueur nécessaire.

Procedure de remplacement
- Coupez l'arrivée d'eau.
- Marquez le sens du flux sur le filtré.
- Insérez le tuyau d'arrivée d'eau dans l'entrée du filtre jusqu'au bout.


Note: veuillez vous assurez que la coupe est bien droite et non pas oblique, autrement vous aurez des fuites.
- Une fois le tuyau inséré, serrer fermement les clips Les clips fixent le tuyau.



- Ouvrez l'arrivée d'eau et contrôle la présence de fuites En cas de fuites, repéze les étapes 1, 2, 3, 4. Si les fuites persistent, cessez d'utiliser le produit et contactez votre revendeur.
- Rincez le filtre pendant au moins 5 minutes avant de l'utiliser.
14 installation
Élimination des résidus évventuels dans le purificateur (modèle avec purificateur)
- Ouvrez le robinet d'eau principal et vérifie que l'eau coule à travers le tuyau d'arrivée d'eau du purificateur.
- Si ce n'est pas le cas, vérifie si le robinet est bien ouvert.
- Laissez le robinet ouvert jusqu'à ce que de l'eau propre en sorte et que tout résidu ayant pu s'accumuler pendant la fabrication soit evacué.

Fixation du clip de fermeture de l'épurateur
- Tenez le clip de fermeture de l'épurateur dans la position appropriée (sous l'évier par ex.) et fixez-le solidement en place avec les vis.

Fixation du purificateur
Fixez le purificateur comme indiqué sur la figure cicontre.

Raccordement du tuyau d'arrivée d'eau sur le réfrigerateur
- Retirez le capot du compresseur situé à l'arrête du réfrigerateur.
- Raccordez le tuyau d'arrivée d'eau sur la soupape comme indiqué sur la figure.
- Une fois raccordé, vérifie qu'il n'existe aucune fuite. Dans le cas contraire, recommencez le raccordement.
- Remontez le capot du compresseur du réfrigérateur.

Fixation du tuyau d'eau
- A l'aide des colliers de fixation, fixez le tuyau sur la paroi arrriere du réfrigerateur.
- Une fois le tuyau fixé, assurez-vous que celui-ci n'est ni trop pié, ni pince ou écrase.

Purge du système d'alimentation en eau après installation du filtré
- Ouvrez l'alimentation en eau principale et fermez le robinet d'arrivée d'eau.
- Laissez couler l'eau du distributeur jusqu'à ce que celle-ci devienne parfaitement claire (environ 1litre). Cette opération permet de nettoyer le circuit d'alimentation en eau et d'en evacuer l'air.
- Répéteze cette opération autant de fois que nécessaire.
- Ouvrez la porte du réfrigerateur et assurez-vous que le filtrne ne présente aucuneuite.
Une fois le filtré remplace, il est possible que l'eau sorte brièvement par à-coups du distributeur.
Ce phénomène est dû à la présence de bulles d'air dans le circuit. En principe, ceci ne doit pas perturber le fonctionnement du distributeur.
Fonctionnement de votre réfrigérateur Side-By-Side
FONCTIONNEMENT DU RÉFRIGÉRATEUR
PANNEAU DE COMMANDE / AFFICHEUR NUMÉRIQUE

MODELE DE SELECTION DU REFROIDISSEMENT

MODELE DU DISTRIBUTEUR

MODELE NORMAL
| 1 CONGÉLATION RAPIDE | Permet de congelier rapidement les alimentés placés dans le congelateur. Cette fonction est utilisé pour congelier rapidement des denrées périsables ou abaisser la température du congelateur si celle-ci est trop élevée (si vous avez laissé la porte ouverte, par exemple). |
| 2 TEMPERATURE DU CONGÉLATEUR | Appuyez sur la touche Freezer pour régler la température du congelateur. Celle-ci peut être comprise entre -15°C (6°F) et -23°C (-10°F). |
| 3 APPAREIL À GLAÇONS | Permet de lancer la fabrication de glacons ou de glace pilée, ou de l'arrêter. |
| 4 | REEMPLACEMENT DU FILTRÉ | Lorsque vous remplacez le filtre, maintainez cette touche enfoncée pendant 3 secondes pour remettre le système à zéro. |
| 5 | FONCTION VACANCES | Appuyez sur cette touche lorsque vous nevez vous absenceur ou que vous n'avez pas besoin d'utiliser le réfrigérateur. Lorsque le réfrigérateur est hors service, le voyageant correspondant s'étéint tandis que le voyageant Vacation s'allume.Si vous mettez le réfrigérateur hors service, il est conseillé de le vider et de laisser la portefermée. |
| 6 | VERROUILAGE ENFANT | En appuyant simultanément sur les touches Vacances et Frigopendant trois secondes, toutes les touches seront bloquées. Le levier du distributeur d'eau et le levier des glaçons ne fonctionneront pas non plus. Pour annuler cette fonction, appuyez de nouveau sur ces deux touches pendant trois secondes. |
| 7 | TEMPÉRATURE DU RÉFRIGÉRATEUR | Appuyez sur la touche Fridge pour régler la température du réfrigérateur. Celle-ci peut être comprise entre 1°C et 7°C. |
| 8 | FONCTION D'OUVERTURE DE LA PORTE | 1. Si la portedu réfrigérateur ou du congelateur est ouverte, l'icône « Door Open » (Porte ouverte) s'allume.2. Si l'étaqui généraune une alarmé liée à la porteadsat saufait car la portedu réfrigérateur ou du congelateur est ouverte, l'icône « Door Open » (Porte ouverte) clignote. |
Lorsque you utilisez l'options Congélation Intense, la consommation énergétique du réfrigérateur augmente.
N'oubliez pas de désactiver cette option si vous n'en avez pas besoin et de ramener le congélateur au réglage initial de la température. Si vous voulez congeler une grande quantité d'aliments, activez la fonction Congélation Intense au moins 20 heures à l'avance.
16_fonctionnement
RéGLAGE DE LA TEMPERATURE
RéGLAGE DE LA TEMPERATURE DU CONGÉLATEUR
Voupez selectionner une températe comprise entre -15^ (6^) and -23^ (-10^) . Appuyez sur la touche Freezer jusqu'à ce que la températe désirée s'affiche. Notez que certains alimentents, tels que les glaces, peuvent commencer à fondre à partir de -16^ (4^) . Chaque pression sur la touche permet d'augmenter la températe par palier entre -15^ (6^) et -23^ (-10^) . Lorsque la températe de -14^ (8^) est selectionnée, une nouvelle pression sur la touche permit de repasser à la températe de -23^ (-10^) .
Une fois le réglage effectué, la température du concélateur s'affiche au bout de cinq secondes.
Cette valeur changera progressivement jusqu'à ce que la température sélectionnée soit atteinte.
Sur ce modele,les compartments du concélateur correspondant aux compartments deux étoiles ; la température des compartments deux étoiles est donc légèrement plus froide que celle régnant dans l'autre compartment du concélateur.
RéGLAGE DE LA TEMPERATURE DU RÉFRIGÉRATEUR
Vouss拨vez selectionner une tempereature comprise entre 7^ et 1^. Appuyez sur la touche Fridge jusqu'à ce que la tempereature désirée s'affiche. La tempereature se regle de la meme facon que pour le congelateur.
La température se règle de la même façon que pour le conGPLateur.
Appuyez sur la touche Fridge pour régler la température du réfrigerateur. Une fois le réglage effectué, la température du réfrigerateur changera progressively jusqu'à ce que la valeur seLECTIONnée soit atteinte.
La température est indiquée sur l'afficheur numérique.
L'ouverture fréquence des portes ou la présence d'alments tièdes ou chauds dans l'appareil peut entraîner une hausse de la température à l'intérieur du congrélateur ou du réfrigerateur. Dans ce cas, l'afficheur numérique clignote. L'afficheur s'arrête de clignoterès que le congrélateur et le réfrigerateur retrouvent leur température d'origine. Si ce n'est pas le cas, vous devrez réinitialiser le réfrigerateur. Débranchez l'appareil, puis rebranchez-le au bout de 10 minutes.
UTILISATION DU DISTRIBUTEUR D'EAU ET DE GLACE
Appuyez sur la touche ice Type pour selectionner le type de glace désiré.

Initialement, la glace est produit sous forme de glaçons.
La glace pilée est obtenue par broyage de ces glaçons dans l'appareil à glaçons.
Distributeur de glace
Placez un verre sous le distributeur et appuyez delicatement sur la manette.
Placez correctement le verre sous le distributeur pour éviter toute projection de glace.
Distributeur d'eau
Placez un verre sous le distributeur et appuyez delicatement sur la manette.
Placez correctement le verre sous le distributeur pour éviter toute projection d'eau.

- N'introduisez jamais vos doigts, vos mains ni aucun autre objet dans la conduite d'éjection ou le bac à glace.
- Vous pourriez vous blesser ou endommager le système de distribution.
N'introduisez jamais vos doigts ni aucun objet dans l'orifi ce du distributeur d'eau. - Vous risqueriez de vous blesser.
Utilisez uniquement l'appareil à glaçons fourni avec le réfrigerateur. - Le raccordement à une arrivée d'eau doit être effectué par un technicien qualifié. Utilisez uniquement une arrivée d'eau potable.

- Une pression d'eau de 138 ~ 862 kPa est nécessaire pour garantir le bon fonctionnement de l'appareil à glaçons.
- Si vous n'utilise pas le distributeur d'eau et de glace pendant une période prolongée, fermez le robinet d'arrivée d'eau.
- Vous évitezez ainsi tout risque de fuite.
- Essuyez toute trace d'humidité à l'intérieur de l'appareil et laissez les portes ouvertes.
- Vous évitezerez ainsi l' apparition d'odeurs et de moisissures.


18_fonctionnement

Pour dispose de davantage de place,
vous pouvez-retirer les tiroir supérieurs du
congélateur. Le volume de rangement du
congélateur est calculé sans ces tiroirs.

Pour dégager de l'espace, vous pouvez ranger des alimentés avec le Guard FRE-UPP au lieu du bac à glace.
Si vous déposez le bac à glace, "ICE OFF" se met à clignoter sur le panneau d'affichage.

GUARD FRE-UPP (en option, seulement sur certains modèles)
TIROIR COOL SELECT ZONE™ (EN OPTION)
Refroidissement rapide

- Cette fonction est exclusive au compartment CoolSelect Zone™.
- Elle permet de refroidir jusqu'à trois cassettes de boisson en une heures.
- Pour annuler cette fonction, appuyez une nouvelle fois sur la touche "Quick Cool". La température du compartment CoolSelect Zone™ revient à son niveau précédent.
- Lorsque la fonction de refroidissement rapide prend fin, le réglage "Cool" est automatiquement sélectionné.
Décongélation

- Une fois décongelés, les alimentés doivent être consommésrapidement.
- Lors de la décongélation, les alimentés sont soumis à des flux d'air chaud et froid dans le compartment CoolSelect Zone™.
- Vous pouvez selectionner une durée de décongélation appropriée (4, 6, 10 ou 12 heures) en fonction du poids des alimentés.
- Une fois la décongélation terminée, le compartment CoolSelect Zone™ revient en mode de refroidissement normal.
- Une fois décongelés, les alimentents ne sont pas humides et restent fermes.
Voussous pouvez ainsi les découvert plus facilemer - Pour annuler la fonction de décongélation, appuyez sur n'importe celle touche à l'exception de la touche "Thaw".
- Les durées de décongélation de la viande et du poisson sont indiquées ci-dessous (pour des portions de 2,5 cm d'épaisseur environ).
| DURÉE | POIDS |
| 4 heures | 363 g |
| 6 heures | 590 g |
| 10 heures | 771 g |
| 12 heures | 1000 g |

La durée de décongélation peut varier en fonction de la taille et de l'épaisseur des portions. Les poids indiqués ci-dessus représentent le poids total des alimentés stockés dans le compartment CoolSelect Zone™. Exemple : La durée de décongélation de 400 g de boeuf et 600g de poulet est de 10 heures.

Avant d'enclencher la fonction de décongélation, retirez du compartment CoolSelect Zone™ les alimentés ne devant pas être décongelés.
Fonction Zero Zone (0^)

- Si vous sélectionné "Zero Zone", la température du compartment CoolSelect Zone™ Painter est maintainue à 0^ , qu'elle que soit la température définitie pour le réfrigerateur.
- Cette fonction permet de conserver les alimentes fragiles (viandes, poissons, ...) plus longtemps.
Refroidissement normal

- Si vous sélectionné "Cool", la température du compartment sera identique à celle du réfrigerateur, comme indiqué sur le panneau d'affichage numérique principal et sur celui du compartment.
- Le compartment CoolSelect Zone™ permet d'augmenter la capacité du réfrigerateur.

La durée de refroidissement varie selon les boissons.

Avant d'utiliser la fonction "Quick Cool",
vous doivent vider le compartment
CoolSelect Zone™.
DÉMONTAGE DES ACCESSOIRES DU CONGÉLATEUR
Les accessoires du congelateur sont facies à démonter et à nettoyer.
- Tirez la clayette en verre vers vous jusqu'à ce qu'elle arrive en butée.
Puis soulevez-la délicatement pour la retirer.

- Saisissez le balconnet des deux mains, puis soulevez-le delicatement.

- Ouvrez le tiroir en plastique et souvezez-le.

-
Bac à glace (congélateur)
Soulevez le bac à glace et tirez-le doucement vers vous. -
Attrapez la poignée tel qu'indiqué ci-contre.
- Soulevez légèrement la partie inférieure.
- Retirez doucement le bac à glace.

Ne retirez pas la plinthe en forçant.
Vous risqueriez de l'endommager et de vous bleisser.
DÉMONTAGE DES ACCESSOIRES DU RÉFRIGÉRATEUR
- Tirez la clayette anti-salissures vers vous jusqu'à ce qu'elle arrive en butée. Puis soulevez-la délicatement pour la retirer.

- Appuyez sur les ergots situés de chaque côté du bac à fruits et légumes, puis tirez celui-ci vers vous. En le maintainant d'une main, soulevez-le pour le retarder.

- Saisissez le balconnet grande contenance des deux mains, puis soulevez-le delicatement.

Avant de procéder au démontage d'un accessoire, déplacez les aliments qui risqueraient de vous génere. Si possible, retirez tous les aliments afin de réduire le risque d'accident.
Pour optimiser la consommation d'énergie du réfrigérateur, laissez toujours les étagères, tiroirs et paniers dans leur position d'origine (voir page 18).
20_fonctionnement
NETTOYAGE DU RÉFRIGÉRATEUR

N'utilise pas de benzene, de solvant ou de CloroxTM.
Vous risqueriez d'endommager la surface de l'appareil ou de provoquer un incendie.

Ne projetez pas d'eau sur le réfrigerateur lorsqu'celui ci est branché. Vous risqueriez de vous électrocuter. N'utilise pas de benzène, de solvant ou de détermagent pour voiture.
REEMPLACEMENT DE L'AMPOULE

Pour le remplacement d'ampoules LED, veuillez contacter un réparateur/agréé.
REEMPLACEMENT DU FILTRÉ À EAU

Pour éviter tout risque de dégats des eaux pour vos biens, N'UTILISEZ PAS de filtres à eau de marque générique dans votre réfrigerateur SAMSUNG. UTILISEZ DES FILtres DE LA MARQUE SAMSUNG UNIQUEMENT. SAMSUNG ne pourrait pas être tenu pour légalement responsable de dommages quels quils soient, y compris, mais sans y'être limité, les dommages causés à des biens en raison d'une fuite d'eau provenant de l'utilisation de filtre à eau de marque générique. Les réfrigerateurs Samsung ont été conçus pour fonctionner UNIQUEMENT AVEC DES FILTRES À EAU SAMSUNG.
Levoyantdutfitteraeauessallume lorsquela cartouche du fittre a besoin d'etre remplacée.Lorsquelevoyantindicateurdutfittrespassaurogue,ilindiqu qu'ilfaut changerle fittre.Neanmoins,vous dispossezd'uncertain délaivant que le fittre ne soit complètement hors d'utilafin queyoupuissiezleremplacer.Pourdisposer en permanenced'une eau parfaitementpure,nousvous conseillons de remplacer le fittredesque nécessaire.

- Retirez le filtré à eau de son compartment et collez l'étiquette de remplacement sur le filtré, comme indiqué sur l'illustration.
-
Comptez six mois à partir de la date actuelle et collez l'étiquette correspondante sur le filtré. Par exemple, si vous installez le filtré en mars, placez l'étiquette "SEP" pour vous rappeler de le changer en septembre. En principe, la durée de vie d'un filtré est de 6 mois.
-
Dévissez le bouchon.
- Retirez le bouchon du nouveau filtre, puis retirez l'ancien filtre.
- Mettez le nouveau filtré en place dans son logement. Faites pivoter le filtré à 90^ vers la gauche jusqu'à ce que le verrou et la fl éche soient alignés. Assurez-vous que ces dessins soient correctement alignés. Ne serrez pas trop le filtré.

- Lorsque le contrôle est en place, maintenez la touche ice Type enfoncée pendant 3 secondes pour remettre le système à zéro.
- Enfin, laissez couler l'eau du distributeur jusqu'à ce que celle-ci devienne parfaitement claire (environ 1 litre).

Une fois le filtré remplace, il est possible que l'eau sorte brièvement par à-coups du distributeur. Ce phénomène est dû à la présence de bulles d'air dans le circuit. En principe, ceci ne doit pas perturber le fonctionnement du distributeur.
Commande de cartouches de rechange
Voupsousvezcommanderdes cartouchedeserechange.
Pour ce faire, contactez notre revendeur Samsung.
Dépannage
| PROBLÈME | SOLUTION |
| L'appareil ne fonctionne pas du tout ou la température interieure est trop élevé. | Assurez-vous que la fiche d'alimentation est correctement branchée.La température indiquée sur le panneau de commande est-elle correctement régée? Abaissez la température.L'apparil est-il installé en plein soleil ou à proximé d'une source de chaleur? L'arrête de l'apparil est-il place trop près du mur? Est-il correctement ventilé? |
| Les alimentés placés à l'intérieur du réfrigerateur sont congélés. | La température indiquée sur le panneau de commande est-elle correctement régée? Augmentez la température.La température du compartment est-elle trop BASSE?Avez-vous place des produits à force teneur en eau dans les parties les plus friodes du réfrigerateur ? Rangez ces produits dans le réfrigerateur jusqu'à que de les conserver dans le tiroir Cool Select Zone™. |
| L'apparil émet des bruits inhabituels. | Assurez-vous que l'apparil est de niveau et stable.L'arrière de l'apparil est-il place trop près du mur? Est-il correctement ventilé?Des objets sont-ils tombés derrière ou sous l'apparil?L'apparil peut émettre des craquements. Ce bruit résultat de la dilatation ou de la rétraction des différents accessoires à l'intérieur du réfrigerateur. |
| Les angles avant et les côtsés de l'apparil sont chauds. Des gouttelettes de condensation se forment. | Ce phénomène s'explainque par la présence de systèmes anti-condensation installés dans les angles avant de l'apparil.La porte du réfrigerateur est-elle entrouverte? De la condensation peut apparaître lorsque la porte reste ouverte pendant une durée prolongée. |
| Le distributeur de glace ne fonctionne pas. | Avez-vous attendu 12 heures après l'installation de l'alimentation en eau avant demettre en route l'apparil à glaçons?L'alimentation en eau est-elle branchée et le robinet est-il ouvert?L'apparil à glaçons est-il arrêté? Assurez-vous que la production de glaçons ou de glace piée est activée.Le réseau de glace est-il rempli?La température du congelateur est-elle trop élevé? Abaissez la température. |
| Un bruit d'écoulement d'eau est perceptible. | Ceci est normal. Le bruit est dû à la circulation du liquide frigorigène dans le réfrigerateur. |
| L'intérieur de l'apparil dégage des odeurs. | Des alimentents sont-ils avariés?Placez les alimentents qui dégagent une forte odeur (par ex. le poisson) dans des emballages hermétiques.Nettoyez régulièrement votre congelateur et jetez tout alimentant avarié ouprésentant des traces suspectes. |
| Les parois du congelateur sont couvertes de givre. | L'orifice de ventilation est-il obstrué? Veillez à ce que l'air circule librement.Laissez suffisamment d'espace entre les alimentents pour permettre à l'air de circuler.La porte du congelateur est-elle correctement fermée? |
| Le distributeur d'eau ne fonctionne pas. | L'alimentation en eau est-elle branchée et le robinet est-il ouvert?Le tuyau d'acciviée d'eau est-il écrasé ou emmélé? Assurez-vous que tuyau n'est pas obtrué.L'eau du réservoir est-elle gelée en raison d'une température trop basse dans le réfrigerateur? Augmentez la température. |
22_dépannage
memo
Limites de température ambiente
Ce réfrigerateur est donc pour fonctionner dans les températures ambiantes correspondant à la classe de température indiquée sur la plaque signalétique de l'appareil.
| Classe | Symbole | Plage de température ambiente (°C) |
| Tempérée Élargie | SN | de +10 à +32 |
| Tempérée | N | de +16 à +32 |
| Subtropicale | ST | de +16 à +38 |
| Tropicale | T | de +16 à +43 |

Les températures interieures de l'appareil peuvent varier sous l'effet de facteurs tel que la pierce où il se trouve, la température ambiente et la fréquence d'ouverture de la porte. Ces facteurs peuvent être compensés en réglant une température appropriée.s.

Français
Lesbons gestes de mise au rebut de ce produit
(Déchets d'équipements électriques etlectroniques)
(Applicable dans les pays de l'Union Européenne et dans d'autres pays européens pratiquant le tri sélectif)
Ce symbole sur le produit, ses accessoires ou sa documentation indique que ni le produit, ni ses accessoires électroniques usages (chargeur, casque audio, cable USB, etc.) ne peuvent être jetés avec les autres déchets menagers. La mise au rebut incontrolée des déchets représentant des risques environnementaux et de santé publique, veuillusé séparer vos produits et accessoires usages des autres déchets. Vous favoriserez ainsi le recyclage de la matière qui les compose dans le cadre d'un développement durable.
Les particuliers sont invités à contacter le magasin leur ayant vendu le produit ou à se renseigner auprès des autorités locales pour connaître les procédures et les points de collecte de ces produits en vue de leur recyclage.
Les entreprises et professionnels sont invités à contacter leurs fournisseurs et à consuluter les conditions de leur contrat de vente. Ce produit et ses accessoires ne peuvent être jétés avec les autres déchets professionnelles et commerciaux.
Comment contacter Samsung dans le monde
Si vous avez des suggestions ou des questions concernant les produits Samsung,
veuillage contacter le Service Consommateurs Samsung.
Samsung Service Consommateurs 66 rue des Vannes
BP 50116 - Villepinte -95950 ROISSY cedex France
0148630000
www.samsung.com/fr
SAMSUNG


Koelkast
Gebruiksaanwijzing
Planet
First
100%
Recycled Paper
Notice Facile