RS61782GDSP - Koelkast SAMSUNG - Gratis gebruiksaanwijzing en handleiding
Vind de handleiding van het apparaat gratis RS61782GDSP SAMSUNG in PDF-formaat.
Download de handleiding voor uw Koelkast in PDF-formaat gratis! Vind uw handleiding RS61782GDSP - SAMSUNG en neem uw elektronisch apparaat weer in handen. Op deze pagina staan alle documenten die nodig zijn voor het gebruik van uw apparaat. RS61782GDSP van het merk SAMSUNG.
GEBRUIKSAANWIJZING RS61782GDSP SAMSUNG
Deze handleiding is gemaakt van 100% gerecycled papier.
Netherlands
stel u de möglichkheden voor
Hartelijk dank voor de aanschaf van dit Samsung-product.
Voor aanvullende service(Int) u uw product registeren op de
www.samsung.com/register
SAMSUNG
Vrijstaand Toestel
Veiligheidsinformationie
VEILIGHEIDSINFORMATIE
- Lees voordat u het apparaat in gebruik neemt deze gebruiksaanwijzing zorgvuldig door en bewaar deze voor toekomstig gebruik.
- Gebruik deze koelkast uitsluitend voor de doeleinden waarvoorde ze ontworpen is, zoals beschreven in de gebruiksaanwijzing. Het is Niet de bedoeling dat het apparaat worden gebruikt door mensen (incl. kinderen) met een lichamelijke, zintuiglijke of geestelijkmente handicap, of met gemreb aan ervaring en kennis, tenzij zich het apparaat gebruiken onder leiding of volgens de aanwijzingen vanemand die verantwoordelijk is voor hun veiligheid.
- Waarschuwingen en Belangrijke Veiligheidsinstrumentes in deze gebruiksaanwijzing hunnen Niet alle möglichke omstandigheden en situatuies bespreken die zich zonden hunnen voordoen. Het behoort tot uw verantwoordelijkheid om gezond verstand, voorzichtigheid en zorg aan de dag te leggen bij de installmentatie, het onderhouden en de werkung van uw apparaat.
- Omdat onderstaande instructies over verschilende modellen gaan, können de kenmerken van uw koelkast iTs verschillen van de koelkasten die in deze gebruiksaanwijzig beschreiben+zijn en+zijn misschien Niet alle waarschuwingssymbolen van toepassing. Indien u vragen of moeilijkheden heeft, neem dan contact op met uw dichtstbijznde servicecenter of vind online help en informatie op www.samsung.com.
Belangrijke verilgheidssymbolen en voorzorgsmaatregelen :
| WAARSCHUING | Gevaren of onveilige handelingen die tot ernstige persoonlijke verwondingen of de dooduren leiden. |
| VOORZORG | Gevaren of onveilige handelingen die tot lichte persoonlijke verwondingen of materièle schadeuren leiden. |
| Probeer dit NIET. | |
| Demonteer dit NIET. | |
| Raak dit NIET aan. | |
| Volg de richtlijnen zorgvuldig op. | |
| Trek de stekker uit de wandcontactdoos. | |
| Zorg ervoor dat het apparaat geaard is om elektrische schokken te voorkomen. | |
| Neem voor hulp contact op met het servicecenter. | |
| Noot. |
Deze waarschuwingstekens worden gebrukt ter voorkoming van lichamelijk letsel bij u en anderen. Volg deze zorgvuldig op.
Nadat u de gebruiksaanwijzing hebt gelezen, bewaart u deze op een veilige plaats voor toekomstig gebruik.
CE-kennisgeving
Dit product voldoet aan de Low Voltage Directive (2006/95/EC), de Electromagnetic Compatibility Directive (2004/108/EC) en de Eco-Design Directive (2009/125/EC) geimplienteerd door voorschrift (EC) No 643/2009 van de Europese Unie.
BELANGRIJKEWARSCHUWINGSSYMBOLENVOR VEROVER EN RUIMTE

Jedens het vervoer van de koelkast dient u op te letten dat geen onderdelen van het pelcircuit beschadigd raken.
- Koelmiddel dat UIT de buizen loopt, is ontbrandhaar en kan oogletsels verroorzaken. Vermijd in geval van lekkage open vuur of möglichke ontstekingsbronnen en ventileer de ruimte waar de koelkast is geplaatst enkele minutes.
- Ter Voorkoming van de vorming van een ontvlambaar luchtgasmengselen bij een lek in het koelcircuit, dient de afmeting van de ruimte waarin de koelkast geplaatst worden, afgestemde teijken op de gebruekte hoeveelheid koelmiddel.
- Zet een apparaat dat tekenen van beschadiging vertoont nooit aan. Raadpleeg bij twijfel uw leverancier. De ruimte dient 1m^3 groot te+zijn voor iedere 8g R600a koelmiddel in het apparaat. De hoeveelheid koelmiddel in uw koelkast worden aangegeven op de identificatieplaat aan de binnenkant.
2_veltigheidsinformatie
BELANGRIJKE WAARSCHUWINGSSYMBOLEN VOR INSTALLATIE

-
Plaats de koelkast Niet in een vochtige ruimte of op een plaat waar hij nat zou+kunnen worden.
-
Beschadiging van de isolatie van elektrische onderdelen kan een elektrische schok of brand veroorzaken.
- Plaats deze koelkast Niet in direct zonlicht en stel hem Niet bloat aan warmtebronnen, radiatoren of andere hittebronnen.
- De koelkast要去 altijd worden aangesloten op een eigien stopcontact waarvan het voltage overeenkomt met dat van het typeplaatie.
- Hierdoor is een goede werkking verzekerd en wordt overbelasting van de elektricitetskabels in huis, die bij oververhitting brand könnenveroorzaken, voorkomen.
- Steek geen stekker in een loszittende wandcontactdoors.
- Dit kan brand of elektrische schokken veroorzaken.
- Gebruik geen snoer met scheuren of schuurschade over de lenghte of aan een van de uiteinden.
- Zorg dat de netkabel Niet sterk worden gebogen enplaats er geen zware producten op.
- Gebruik geen spuitbussen in de buurt van de koelkast.
- Het gezbruik van spuitbussen in de buurt van een koelkast kan een ontploffing of brand veroorzaken.

-
Deze koelkast dient voör het gebruik op de juiste wijze volgens de instructies in de gebruiksaaanwijzing te worden aangesloten en geplaatst.
-
Steek de stekker op de juiste manier in de wandcontactdoos verwijl het snoer maar beneden hangt.
- Als u de stekker omgekeerd in de wandcontactdoos steekt, kan de draad afbreken. Dit kan brand of elektrische schokken veroorzaken.
- Let erop dat de netstekker Niet worden platgedrukt of beschadigd door de achterkant van de koelkast.
- Let erop dat u tijdens het verplaatsen de koelkast Niet over het snoer schuift of het snoer op andere wijze beschadigt.
- Ditveroorzaakt brandgevaar.
- Plaats het apparaat zo, dat de stekker bereikbaar blijft.

-
De koelkast要去 worden geaard.
-
De koelkast要去 worden geaard ter
voorkoming van lekspanning of elektrische schokken als gevolg van lekstromen van de koelkast.
- Gebruik nooit gasleidingen, telefoondraden of andere potentièle blikksemafleiders voor aardig.
- Onjuist gebruik van de aardstekker kan leiden tot elektrische schokken.

-
Als het netsnoer beschadigd is, dient dit onmiddelijk door de fabrikant of het servicecenter verrangen te worden.
-
De zekering van de koelkast要去 door een erkende technicus of het servicecenter verzangen worden.
- Doet u dit Niet, dan kan dit leiden tot elektrische schokken of personlijk letsel.

VOORZORGSYMBOLEN VOR INSTALLATIE

- Zorg dat de ventilatieopening in de behuizing of de inbouwstructuur van het apparaat vrij van obstakels blijft.
- Laat het apparaat na installmentie 2(uur rusten.
BELANGRIJKE

WAARSCHUWING
- Steek de stekker Niet met natte handen in het stopcontact.
- Bewaar geen artikelen boven op de koelkast.
- Wonneer u de deur opent, können deze voorwerpen van de koelkast vallen en persoonlijk letsel en/of materièle schade veroorzaken.
- Plaats geen bak water bovenop de koelkast.
- Als er water over de koelkast loopt, kan dit leiden tot brand of elektrische schokken.
- Let erop dat kinderen Niet aan de deur gaan hangen.
- Doet u dit Niet, dan kan dit tot persoonlijk letse leiden.
- Laat de deuren van de koelkast Niet open wanner er geen toezicht is en LAST kinderen nicht in de koelkast klauteren.
- Er bestaat gevaar dat de kinderen vast komen te zitten en ook voor persoonlijk letsel omwille van de lage temperatuur.
- Steek nooit uw vingers of een voorwerp in de opening van de waterdispenser.
- Doet u dit wel, dan kan dit persoonlijk letsel of materièle schade veroorzaken.
- Plaats geen vluchtige oflicht ontvlambare substanties zoals benzeen, verdunners, zuivere alcohol, ether of LPG in de koelkast.
-
Het bewaren van dergelijkke producten geeft explosiegevaar.
-
Bewaar geen medicijnen, chemisch materiaal of andere temperatuurgevoelige producten in de koelkast.
- Producten die een strikte temperatuurbehearsing vereisen, möglichn nicht in de koelkast bewaar worden.
- Plaats of gebruik geen elektrische apparatuur in de koelkast, tenzij deze aanbevolen worden door de fabrikant.
- Gebruik geen haardroger om de binnenzijde van de koelkast te drogen. Plaats geen aangestoken kaars in de koelkast om slechte geuren te verwijden.
- Dit kan elektrische schokken of brand veroorzaken.
- Raak de wanden van de vriezer of de daarin opgeslagen producten Niet met natte handen aan.
- Dit kan tot bevriezing van de handen leiden.
- Gebruik geen mechanische apparatuur of andere gereedschappen die nicht door de fabrikant worden aanbevolen om het ontdoopproces te bespoedigen.
- Beschadig het koelcircuit Niet.

-
Dit product isuitsluitend bestemd voor het bewaren van voedingswaren in een huishoudelijk omgeving.
-
Flessen moeten zich naast elkaar worden geplaatst, zodate zich er Niet uit+kunnen vallen.
Vermijd in geval van gaslekken open vuur of mogelijkke ontstekingsbronnen en ventilier de ruimte waarin het apparaat is geplaatst enkele Minutes. - Gebruik alleen de LED-lampjes die door de fabrikant of het servicecenter geleverd zijn.
U moet erop toezien dat kinderen het apparaat nicht als spellegood gebruiken.

- Demonteer of reparateer de koelkast Niet zich.
- Dit kan leiden tot brand, storingen en/of persoonlijk letsel. Bij storing moet u contact opnemen met uw servicecenter.

-
Wanner het apparaat een vreemd lawaai maakt, een brand- of rookgeur afgeeft, trek de stekker dan onmiddelijk uit het stopcontact en neem contact op met uw dichtstbijzijnde servicecenter.
-
Doet u dit nicht, dan kan dit leiden tot elektrische schokken of brandgevaar. Zorg dat de ventilatieopening in de behuizing of de inbouwstructeur van het apparatusaat vrij van obstakels blijft.
- Wanneru problemen hebt met het verwangen van de lamp, neemt u contact op met uw servicecenter.
-
Als het product is uitgerust met een LED-lamp, demonteer het afterschermkapje en de LED-lamp dan Niet zich.
4_veltigheidsinformatie -
Neem contact op met uw servicecenter.
-
Als zich stof of water in de koelkast bevindt, trekt u de stekker uit het stopcontact en neemt u contact op met het Samsung Electronics servicecenter.
-Hiermeevoorkomtubrand.

VOORZORGSYMBOLEN VOOR GEBRUIK

-
Voor een optimaal gebruik van uw koelkast :
-
Leg voedingswaren nicht te dicht bij de ventilatieopengen aan de achterkant van het apparaat, waar dit de vrij luchtcirculatie in de koelkast kan belemmeren.
- Verpak de voedingswaren goed of plaats ze in vacuum dozen voordat u ze in de koelkast legt.
- Plaats geen koolzuurhoudende dranken in de vriezer. Doe geen flessen of glazen potten in de vrieze
- Als gevolg van het bevriezen van de inhoud kan het glas breken en persoonlijk letsel veroorzaken.
- Breng geen wijzigingen in de werkking van de koelkast of de koelkast zich aan.
- Wijzigingen of aanpassingen hunnen persoonlijk letsel en/of materiele schade veroorzaken. Wijzigingen of aanpassingen door derden uitgevoerd op dit apparaat worden nicht gedekt door de Samsung-garantie, noch kan Samsung verantwoordelijk gesteld worden voor veiligheidsproblemen en schade die voortvloeituit wijzigingen aangebracht door derden.
- Sluit de luchtgaten nicht af.
- Wanner de luchtgaten afgesloten worden, vooral met een plastic zak, kan de koelkast overkoeld worden. Wanner.Deze koelperiode te lang duurt, kan de waterfilter stuk gaan en een lek veroorzaken.
- Plaats/New in te vriezen voedingswaren nicht naast reeds ingevrøren voeding.
- Houd u aan de maximale houdbaarheidsperiode die geldt voor ingevroen voedingswaren.
Vul het waterreservoir, de ijslade, de waterblokjes alleen met drinkbaar water. - Gebruik alleen de ijsmaker die bij de koelkast is meegeleverd.
- De watertoevoer waar de koelkast dient alleen door een erkendevakman te worden geinstalleerd/aangesloten en alttijd te worden aangesloten op een drinkwatertoevoer.
- Om de ijismaker correct te latent werken, is een waterdruk van 138 ~ 862 kpa(1.4 ~ 8.8 kgf/cm³) vereist.
Voorzorg
VOORZORGSYMBOLEN VOOR REINIGING EN ONDERHOUD

- Spuit Niet meteen water gegen de binnen-of buitenkant van de koelkast.
- Dit kan brand of elektrische schokken verzoorzaken.
- Gebruik geenlicht ontvlambare gassen in debuurt van de koelkast.
- Dit kan explosie of brand veroorzaken.
- Spuit reinigingsmiddlesen nicht rechtsstreeks op het display.
- Afgedrukte letters op het display können loskomen.
- Verwijder vuil of stof tussen de pennen van de stekker. Gebruik nooit een natte of vochtige doek voor het schoonmaken van de stekker, verwijder vreemd materiaal of stof van de contactpennen.
- Dit kan brand of elektrische schokken verzoorzaken.
- Steek nooit uw vingers of een voorwerp in de opening van de waterdispenser.
- Dit kan persoonlijk letsel of materiele schadeveroorzaken.

- Trek de stekker steeds uit het stopcontact vooraleer te reinigen of onderhonden.

WAARSCHUWING
WAARSCHUWINGSSYMBOLEN VOOR VERWIJDERING

-
Controller voordat u de koelkast weggooit of er geen leidingen aan dechterzijde van de koelkast beschadigd+zijn.
-
R600a of R134a worden gebruikt als koelmiddel. Raadpleeg het compressoretiek op de weiterijde en het typeplaatje in de koelkast om te controleren welk koelmiddel voor uw koelkast要去 worden gebruikt. Wanner dit product ontvlambaar gas bevat (koelmiddel R600a),client u contact op te nemen met deplaatselijkke instanties voor een veilige afvalverwerking.
Cyclopentaan wordt gebruikt als geblazen gas voor isolatiedoeleinden.
Voor gassen in isolatiematerialiaal is een speciale afvalverwerking vereist.
Neem contact op met deplaatselijke instanties voor de afvalverwerking van dit product.
Controleer, voordat u de apparaten weggooit, of er geen leidingen aan dechterzijde beschadigd zich. De buizen要去en in de open ruimte worden gesloopt.
- Dit apparaat bevat isobutaan koelmiddel (R600a), een natuurlijk en uiterst milieuvriendelijk gas, datECHter ook brandhaar is. Tijdens het vervoer van de koelkast dient u erop te letten dat geen onderdelen van het koelcircuit beschadigd raken.
- Wanner u deze of andere koelkasten wil afvoeren, dienen deuren, deurstrips en veersloten te worden verwijderd, zodat kinderen of dieren er nicht in opgesloten können rake.
Laat de legplateaus op hun plaats zodate kinderen er nicht gemakkelijk in können klimmen.
U moet erop toezien dat kinderen het apparaat nicht als spellegood geleruiken.
- Gieveve de verpakkingsmaterialen van dit product op een milieuvriendelijke wijze af te voeren.

- In geval van een stroomstoring belt u hetplaatselijke energiebedrijf om te vragen hoe lang het gaat duren.
- De meeste stroomstoringen die binnen 1 à 2ieur opgeheven zijn, zullen de temperatuur in de koelkast Niet beinvloeden.
U要去elier bij een stroomonderbreking het openen van de deur beperken.
- Als de stroomstoring langer dan 2=uur duurt, verwijdert u alle ijtsuit de ijsemmer.
- Mocht de stroomuitval langer dan 24 uur duren, dan moet u alle ingevroren levensmiddelen verwijderen.
- Wanner een slot op de koelkast zit, moet de sleutel buiten het bereik van kinderen blijven en Niet vlak in de buurt van het apparaat opgeborgen worden.
- Het apparaat functioneert möglich slecht (een te hoge temperatuur in de koelkast) wonneer het gedurende langereijd op eenplaats staat met een omgevingstemperatuur die lager is dan gewenst.
- Niet geschikt voor voedingsmiddelen die op lage temperatuur snel aan bederf onderhevig zijn,zoals bananen en meloenen.
Uw koelkast kan nicht bevriezen.
Dit betekent dat u hem nicht zicht te ontdooien.
Dit gebeurt automatisch. - Temperatuurstijging tijdens het ontdooien is conform de ISO-normen.
Wanner u tijdens het ontdooien van de koelkast wilt voorkomen dat de temperatuur te sterk stijgt, kunt u de ingevroren voedingswaren in diverse lagen krantenpapier wikkelen.
- Een temperatuurstijging van ingevroren voedingswarenijdens het ontdooien kan de bewaartijd verkorten.
Tips voor energiebesparing
- Plaats de koelkast in een koele, droge ruimte met voldoende ventilatie.
Zorg ervoor dat de koelkast Niet in de de volle zon staat enplaats hem nooit te zich naast een warmtebron (zoals een radiator bijvoorbeeld).
- Blokker nooit de ventilatieopeningen of roovers van de koelkast.
- Laat warme voedingswaren afkoelen, alvorens deze in de koelkast te leggen.
- Plaats ingevroen voedingswaren in de koelkast om te ontdooien.
U kunt de lage temperatuur van de ingevroen producten gebruiken om de andere voedingswaren in de koelkast af te koelen.
- Laat de koelkastdeur Niet te lang open wanner u voedseluit de koelkast haalt of erin legt.
Hoe korter u de deur openlaat, des te minder ijs zich in de vriezer zal vormen.
- Reinig de weiterzijde van de koelkast regelmatig.
Stof doet het energieverbruik toenemen. - Stel geen koudere temperatuur in dan nodig is.
- Zorg voor voldoende luchtafvoer aan de onderzijde en dechterwand van de koelkast.
Sluit geen luchtopeningen af.
- Plaats de koelkast zo dat er vrije ruimte is aan de rechter-, linker-,性和en boenzijde.
Het stroomverbruik neemt hierdoor af, wat kosten bespaart.
Inhoud
UW SIDE-BY-SIDE KOELKAST PLATSEN
BEDIENING VAN DE SAMSUNG SIDE-BY-SIDE KOELKAST 16
6_veltigheidsinformatie
Uw side-by-side koelkast inrichten
VOORBEREIDINGEN VOOR DE INSTALLATIE VAN DE KOELKAST
Gefeliciteerd met de aankoop van uw Samsung side-by-side koelkast. Wij hopen dat u zult genieten van de veile innoverende kenmerken en functies die deze十几年e koelkast te bieden heeft.
De beste plaatskiezen voor de koelkast
- Kies een plaat's die gemakkelijk bereikbaar is voor de waterleiding.
- Kies een plaat voor uw koelkast Niet worden blootgesteld aan direct zonlicht.
- Selecteer een plaat met een vloer die waterpas (of bijna waterpas) is.
- Kies een plaat met voldoende ruimte voor het openen van de koelkastdeuren.
- Een koelkast in gebruik moet vrijstaan. Raadpleeg tekening en afmetingen hieronder.
- Zorg ervoor dat het apparaat bij onderhoud of service vrij beweegbaar is.



de koelkast hetCUSstuk
vast aan de zichterkant van het apparaat om de
prestaties te verbeteren. De prestaties van de
koelkast worden verbeterd.
Montagemethode
- Neem het verpakte tussenstuk uit de laagste houder van de koelkast.
- Controller de bevestigingslocatie aan de awhilekant van de koelkast op de afbeelding
- Zoek de bevestigingslocatie van het tussenstuk op de achterkant van de koelkast.
Het verplaatsen van uw koelkast
Om beschadigingen van de vloer te voorkomen要去 u erop letten dat de stelvoeten omhooggedraaid zijn (boven de vloer). Raadpleeg "De koelkast waterpas zetten" in de gebruksaanwijzing (op pagina 11). Ter bescheming van de voerafwerking plaatst u een beschemingslaag, zoals verpakkingskarton, onder de koelkast.

Voorzorg
Bij het aansluiten, onderhonden of reinigen achter de koelkast, moet u de kast recht maar voren trekken en weerrecht maar achtereren zettenals u klaar bent.

inrichten_7
VERWIJDEREN VAN DE KOELKASTDEUREN
Als uw ingang Niet groot genoeg is om de koelkast door te vervoeren,kest u de deuren verwijderen.
1. De Voorplint verwijderen
Open erst de deuren van de vriezer en koelkast en verwijder daarna de Voorplint door de drie schroevenaar links te draaien.

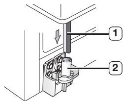
De waterleiding ontkoppelen van de koelkast
- Verwijder de waterleiding door op de aansluiting 1 te drukken en de waterleiding 2 weg te trekken.

2. De vriezerdeur verwijderen
Enkele dingen vooraf
- Let erop dat u de deurrechtstandig optilt, zodat descharnieren nicht verbuigen of breken.
- Let op dat u waterleidingen en draadbuizen van de deur nicht afklemt
-
Plaats deuren op een beveiligd oppervlak om krassen of schade te voorkomen.
-
Als de vriezerdeur is gesloten, verwijdert u de bovenscharnierkap [1] met een schroevendraier en ontkoppelt daarna de draden door deze voorzichtig los te trekken [2].

- Verwijder de scharnierschroeven 3 en de basisschroef 4 door maar links te draaien, en verwijder de bovenscharnier 5. Let erop dat de deur Niet op u valt als u deze weghaalt.

- Haal daarna de deur van de onderscharnier 6 door de deur voorzichtigrecht op te tillen 7

Let op dat u waterleidingen en draadbuizen van de deur Niet afklemt
- Haal de onderscharnier 8 uit de pen in 9 door de onderscharnier voorzichtig omhoog te tillen.

8_inrichten
De koelkastdeur verwijderen
- Met gesloten deur verwijdert u de bovenscharnierkap met een schroevendraier.

- Verwijder de scharnierschroeven 2 en de basisschroef 3 door maar links te draaien, en verwijder daarna de bovenscharnier 4 . Let erop dat de deur Niet op u valt als u deze verwijdert.

- Haal de deuruitdeonderscharnier5 door de deur voorzichtigrecht op te tilen 6

- Haal de onderscharnier 7 uit de pen in 8 door de onderscharnier voorzichtig omhoog te tillen.

OPNIEUW AANBRENGEN VAN DE KOELKASTDEUREN
Zodra u uw koelkast veilig op deplaats van bestemming hebt neergezet, Kunt u de deuren terugplaatsen.
De vriezerdeur opnieweplaatsen
- Plaats de vriezerdeur terug door de slang ① terug te plaatsen in de onderhoek van de deur en daarna in het gat van de onserscharnier ② Duw de slang voorzichtig terug, zatat die recht ligt zonder knikken of bochten.

- Breng de bovenscharnieras aan door het gat in de hoek van de vriezerdeur 3 aan door het gat in de hoek van de vriezerdeur 4. Let erop dat de scharnier waterpas isussen het bovenscharniergat 5 en het gat van de kast 6 en bevestig de scharnierschroeven 7 en basissschroef 8 opnieuw door zeaar rechts vast te draaien. De draden opnieuw verbinden.

- Plaats de voorrand van de bovenscharnierkap 9 aan de voorkant van de bovenscharnier 10 en maak deze vast met de schroef.

inrichten_9
De koelkastdeuren opniewu bevestigen
- Duw de onderscharnier 1 werk terug op de onderste scharnierpen 2 .

- Breng het gat in de hoek van de koelkastdeur 3 boven de onserscharnier 4

- Breng de bovenscharnieras 5 door het gat van de scharnier 6. Let erop dat de scharnier waterpas isussen het bovenscharniergat 7 en het gat bovenop de kast 8. Bevestig daarna opnieuw de scharnierschroeven 9 en de basisschroef 10 door maar rechts vast te draaien.

- Plaats het voorstuk van de bovenscharnierkap 11 aan de voorkant van de bovenscharnier 12 en maak vast met de schroef.

10_inrichten
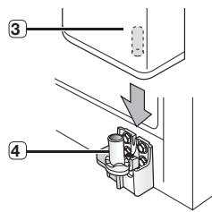
De waterleiding opniewu bevestigen
- Breng de waterleiding 2 in de aansluiting 1 .

- De waterleiding moet volledig in het midden van de transparante koppeling worden geplaatst om te voorkomen dat er water lekt.
- Plaats de 2 klemmen (in het installmentiekapket) en controllerer of elke klem de leiding stevig omklemt.

Zaag de waterleiding Niet af. Scheidt deze voorzichtig van de aansluiting.
De voorplint opnieuw bevestigen
Voordat u de kap bevestigt, controleert u de wateraansluiting op lekkage.
Plaats de voorplint terug door de drie schroevenaar rechts vast te draaien, zoals aangegeven in de figuur.
DE KOELKAST WATERPAS ZETTEN
Nu de deuren weir in de koelkast zitten, moet u zorgen dat de koelkast waterpas staat.
Als de koelkast Niet waterpas staat, zullen de deuren nooit helemaal gelijk vallen.

De voorkant van de koelkast kan ook worden aangepast.
Als de vriezerdeur lager is dan de koelkastdeur
Plaats een platte schroevendraier in de inkeping op de poot, draai met de klok mee of gegen de klok in om de vriezer waterpas tezetten.

Schroevendraaier
Als de vriezerdeur hoger uitkomt dan de koelkastdeur
Plaats een platte schroevendraier in de inkeping op de Poot, draai met de klok mee of gegen de klok in om de koelkast waterpas te zetten.

Schroevendraier

Wij verwijzen maar de volgende paragraaf voor de Beste manier om zeerkleine aanpassingen aan de deuren aan te brengen.
KLEINE AANPASSINGEN AAN DE DEUREN
Vergeet Niet dat de koelkast waterpas moet staan om de deuren precies gelijk te lately vallen
Als u hierbij hulp nodig hebt, lees dan de vorige paragraaf over het waterpas zetten van de koelkast.

In beiden gevallen is de werkwijze om de deuren opgelijke hoogte te brengen hetzelfde. Open de deuren en pas ze als volgt, een voor een, aan :
- Schroef de moer
1 los van de onderscharnier tot aan de bovenkant van de bout 2


Let bij het
losdraaien van de moer 1, op dat u de geleverde inbussleutel 3 gebruikt om de moer 2 segende klok in los te draiaien. Daarna要去 u de moer 1 met uw vingers hunnen losdraaien.
- Pas het hoogteverschil tussen de deuren aan door de bout 2) maar rechts of maar links te draaien.



Als u waar rechts, draait komt de deur maar boven.
- Na het bijstellenden van de deuren, draait u de moer
1aar rechts tot aan het onderstuk

van de bout, daarna draait u de bout wee aan met de inbussleutel 3 zodat de moer op+zijn plaats komt 1.

Als u de moer nicht goed vastdraait, kan de bout losraken.
DE WATERDISPENSERLEIDING CONTROLEREN (WORDT ALLEEN GELEVERD BIJ BEPAALDE KOELKASTMODELLEN)
De waterdispenser is slechts een van de handige functies van uwieve Samsung koelkast. Het waterfilter verwijdert vreeimde deeltjes uit het water, wat de gezondheid ten goede komt. De filter steriliseertECHTERN en vermietigt ook geen micro-organismes. Als u dit wilt, moet u een waterzuiveringssystema aanschaffen. Een waterdruk van 1,4 -8,6 bar is nodig om de ijsmaker goed te latent werkeren. Onder normale omstandigheden kan een papieren beker van 170 cc in 10 seconden worden genvuld. Als de koelkast is geinstalleerd in een zone met lage waterdruk (onder 138 Kpa), kunt u een boosterpomp installeren ter compensatie voor de lage druk. Let erop dat het waterreservoir in de koelkast goed genvuld is. Hiertoe moet u de waterdispenserhendel indruken totdat het water uit de opening loopt. Wanneer de waterkoeler worden gebruikt, kan de toevoer van water wat geluid produceren.

Waterleiding installmentkits worden met het toestel geleverd. Deze vindt u in de vriezerlade.
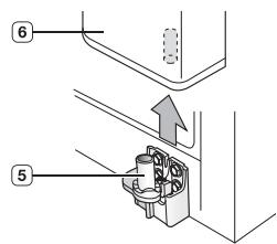
DE IJSMACHINE GEBRUIKEN
(RS77*)
Het verwijderen van de ijsbak
- Houd de handgreep vast zoals aangegeven in afbeelding 1.
Trek het onderste gedeelte iets omhoog. - Til de ijsemmer voorzichtigelijk uit de houder.
Het terugplaatsen van de ijsbak
- Plaats alles in omgeekerde volgorde terug.
- Druk de ijsemmer stevig aan tot u een klikgeluid hoort.
- Wanner u de ijsemmer nicht gemakkelijk terug kutplaatsen, drauit u de hendel aan de achterkant een halve slag (90^) en plaast u de emmer terug zoals aangegeven in afbeelding 2.
Normaal Gebruik
- Alle geluiden die u hoort
wanner de ijsmaker ijs in de emmer deponeert, behoren tot de normale werkung. - Wanneer u een pau段时间, lang geen ijrs uit de ijssautomaat, gezruikt, hunnen in de ijsemmer ijsklompen ontstaan. Verwijder het resterende ijrs en ernaak de emmer leeg.
- Als er geen ijis uit de machine** komt moet u controlenen of er ijis vastzit in de leiding en dit verwijderen.
12_inrichten

Afbeelding 1

Afbeelding 1

- De eerste ijsklontjes konnen Klein+zijn doordat er na aansluiting nog lucht in de leidingen zit, die bij normala gebruik na enigeijd vanzelf worden verdrongen.

Als u op het displayenster de tekst ICE OFF (Usmaker uitgeschakelijk) ziet,plaats de ijsemmer dan opnieuw in de houder en/of controllerer of de emmer op de juiste wijze is bevestigd.
- Wanner de deur open is, werkdt de ijs- en waterautomaat Niet.
- Als u de deur hard dichtslaat, kan er water over de ijsmaker worden geknoeid.
-Houd de ijsemmer bij het uitnemen aktijd met\
beide handen vast om te voorkomen dat hij valt.
- Om uitglieden te voorkomen moet u ervoor zorgen dat ijs en water dat op de grond is gevallen alsijd worden verwijderd.
- Voorkom dat kinderen aan de ijsautomaat of de ijsemmer gaan hangen.
Hierdoor konnen ze gewond raken.
- Kom nooit met uw handen of een voorwerp in de ijsgoot. Hierdoor Aunt u gewond raken of kennen mechanische onderdelen beschadigd worden.
Controleer de hoeveelheid water voor de ijslade. (RS7572,RS7567)
- Til de ijsmakemmer op en haal deze voorzichtiguit de vriezer.
- Als u op de Test-knop drukt, worden de ijsblokjesbak gewuld met water via de waterkraan. Controller of de hoeveelheid water juist is (zie afbeelding hieronder).
Als het waterpeil te laag is, worden de ijsblokjes Klein. Dit is een waterdrukprobleem veroorzaakt door de hoofdwaterleiding, Niet door de koelkast.

IJsmaker



DE WATERDISPENSERLEIDING AANLEGGEN
Bij model met interne leiding Onderdelen voor waterleiding installmentie

De watertoevoer aansluten
- Schakel eerst de hoofdkraanuit.
- Bepaal de positie van de dichtst bijzijnde drinkwaterleiding.
- Volg de installment-instructions van de watertoevoer in de installmentiekit.


- Nadat u de waterleiding aangesloten heeft op de waterfilter, schakelt u de hoofdkraan waar in en-Laat u ongeveer 1 liter water stromen om de waterfilter te reinigen en te ijken.
De waterleiding op de koelkast aansluiten
- Verwijder de kap van de watertoevoer en draai de drukbout op de waterleiding van de koelkast, nadat u deze hebt losgemaakt van de bestaande waterleiding.
-
Sluit zowel de waterleiding van de koelkast als de watertoevoer van de meegeleverde kit aan.
-
Draai de drukbout vast op de drukfitting. Let erop dat er geen opening:tussen beiden onderdelen is.
- Zet het water aan en controller op lekkages.

De waterleiding alleen op een drinkwaterbron aansluiten.
Als u de waterleiding moet repareren of demonteren, zaagt u 6,5 mm van de plastic buis om een vlakke, lekvrije aansluiting te verkrijgen.
Controlleroor voor gebruik op mogelijkke lekkages op deze plekken. Voorzorg
Samsung Garantie dekt nicht de WATERLEIDING INSTALLATIE.
- Dit worden UITgevoerd op kosten van de klant behaveve indien de verkoopprijs installmentekosten bevat.
- Neem contact op met een Loodgieter of Erkende Installateur indien er installmentatie nodig is.
- Neem contact op met een installmenteur indien een waterlekkage veroorzaakt worden door onjuiste installmentie.

WATERTOEVOER DISPENSER PLAATSEN
Bij model met externe leiding Onderdelen voor waterleiding installmentie

Sluit de waterleiding aan met koppelstuk en kraan.
- Sluit de hoofdkraan.
- Sluit koppelstuk "A" aan op de kraan.
LET OP
De waterslang moet worden aangesloten op de koudwaterleiding. Bij aansluiting oap de warmwaterleiding werkket het zuiveringsmechanisme Niet goed.
GARANTIE INFORMATIE
Plaatsing en gebruik van de watertoevoer valt zich onder de fabrieksgarantie van de koel/vriescombinatie of de ijsmaker. Volg deze aanwijzingen zorgvuldig op. Daarmee verwleint u het risico van waterschade.
NB:
Als het koppelstuk Niet op uw kraan past, adviseren wij u contact op te nemen met een geauthoriserde dealer voor het juiste aanslui materialiaal.
Kies deplaats waar de waterzuivering moet komen (model met waterzuivering)
- Zie de illustratie "LOSMAKEN" als u de watertoevoer en -afvoer van de waterzuivering tijdens installmenteuit elkaar wilt halen.
- Meet eerst de afstand:tussen de waterzuivering en de waterkraan en snij daarna de waterslang van de waterzuivering op de juiste lenghte af.

Vervangingsfuncties
- Schakel watertoevoeruit.
- Let op de Stroomrichting op het filter.
- Plaats watertoevoerslang in de ingangkant van het filter totdat de slang stopt.



Opmerking: Snij de waterslangrecht af. Een schuin afgesneden waterslang kan lekkevoorzaken.
- Na het insteken van de slang, vergrendelt u de clip. De clip houdt de slang op de plek.



- Schakel het water in en controllerer op lekkages.
Indien er lekkages optreden, herhaalt u stappen 1, 2, 3, 4. Indien de lekkage blijft, stopt u gebruik en belt u uw winkelier op voor assistentie. - Spoel filter 5 minuten voor gebruik.
14_inrichten
Maak de waterzuivering van binnen schoon (model met waterzuivering)
- Open de hoofwaterkraan en controller of er water door de waterslangaar de afvoerwaterzuivering stroomt.
- Als er geen water door de slang stroomt, contrôleert u of de kraan open staat en het ventiel open is.
- Laat de kraan open totdat er schoon water uit komt en al het vuil dat zichijdens fabricage heeft opgehoopt verdwenen is.

Bevestig de vergrendelclip van het zuiveringstoestel
- Houd de vergrendelclip van het zuiveringstoestel in de juiste stand (onder het aanrecht bijvoorbeeld), en bevestig met een schroef.

Bevestig de waterzuivering
- Bevestig de waterzuivering, zoals aangegeven in de illustratie rechts.

Waterslang op de koelkast aansluiten
- Verwijder het kapje van de compressor uit de koelkast.
- Sluit de waterslang op het ventiel aan (zie illustratie).
- Na de slang aangesloten te hebben, contrôleert u of hij nergens lekt (zo ja, sluit de slang opnieuw aan).
- Zet het kapje van de compressor terug in de koelkast.

Waterslang bevestigen
- Bevestig de slang met klem "A" gegen de muur of dechterkant van de koelkast.
- Als de slang goed vast zit, controleert u of de slang nicht ingedeukt of beschadigd is.

Achtergebleven deeltjes in de waterleiding verwijderen nadat u het filter hebt aangebracht.
- Zet de hoofdwatertoevoer AAN en zet de kraan van de waterleiding UIT.
- Laat water door de dispenser lopen tot het water helder is (circa 1 liter). Dit reinigt het watertoevoersystem en verwijdert luchtuit de leidingen.
- Extra doorspoelen kan in sommige situations moodzakelijk zijn.
- Open de koelkastdeur en let erop dat er geen water ut het waterfilter lekt.
Een pas geinstalleerd filterpatroon kan tot gevolg hebben dat er korteijd water UIT de waterdispenser spuit. Dit komt door lustc in de leiding. Het mag geen probleem voor de werkig opleveren.
Bediening van de SAMSUNG side-by-side koelkast
DE KOELKAST BEDIEN
HET BEDIENINGSPANEL GEBRUIKEN / DE DIGITALE DISPLAY GEBRUIKEN

Cool Select Model

Dispenser Model

Normaal Model
| 1 POWER FREEZE KNOP | Versnelt de tiled om produit in te vriezen. Dit is handig als u nel produit die sterk aan bederf onderhevig zijn要去 invrieken of als de temperatuur n de vriezer sterk gestegen is (bijvoorbeeld als de deur open is blijven staan). |
| 2 FREEZER KNOP | Druk op de Freezer knop om de vriezer in te stellen op de door u gewenste temperatuur. U kunt de temperatuur instellen:tussen -15°C (6°F) en -23°C (-10°F). |
| 3 ICE TYPE KNOP | Gebruik zeche knop om te kiezen:tussen Cubed (Blokjes), Crushed (Gemalen) of om de ijsfunctie uit te schaken. |
| 4 FILTER CHANGE KNOP | Als u de filter verwangent, drukt u 3 seconden op deze knop om het filterschema opnieuw in te stellen. |
16_bediening
| 5 VACATION KNOP | Wanner u op vakantie of zakenreis bent, of wanner u de koelkast Niet gebrukt, drukt u op de vakantieknop. Wanner u de vakantieknop selecteert om de koelkast uit te schaken, gaat de LED automatisch over van koeling maar vakantie. Het worden sterk aanbevolen om alle etenswaren uit de koelkast te verwijderen en de deur nicht open te laten wanner u de Vakantie functie kiest. |
| 6 KINDERSLOTFUNTIE | Door gewelijkijdig 3 seconden op de Vakantie knop en de Vriezer knop te drukken, worden alle knoppen vergrendeld. De water-en ijsdispenserhendel werken ook nicht. Om deze functie te annuleren drukt u opnieuw 3 seconden op deze twee knappen. |
| 7 FRIDGE KNOP | Druk op de Fridge knop om de koelkast op de gewenste temperatuur in te stellen. U kurz de temperatuur instellen:tussen 1°C en 7°C. |
| 8 FUNCITIE DEUR OPEN | 1. Als de deur van de koelkast of de vriezer open is, brandt de indicator "Door Open" (Deur open). 2. Als een deuralarm worden gegeneerd doordat de deur van de koelkast of de vriezer open is, gaat de indicator "Door Open" (Deur open) knipperen. |

Als u Power Freeze inschakelt, gebrukt uw koelvriescombinatieeernergie.
Schakel de optie Power Freeze uit als u deze nicht nodig heb't en schakel de diepvriezer dan terug maar de oorspronkelijk ingestelde temperatuur.
Als u een groe hoeveelheid levensmiddelen wilt invriezen, schakel de Power Freeze functie dan ten minste 20 uu van tevoren in.
De vriezetemperatuur kan worden ingesteld:tussen -15°C (6°F) en -23°C (-10°F) afhankelijk van uw persoonlijke behoeften. Druk meermalen op de
Freezer knop tot de gewenste temperatuur in het display verschijnt. Denk eraan dat levensmiddelen zoals ijs bij -16°C (4°F) smelten.
De temperatuurdisplay begint bij -15°C (6°F) en -23°C (-10°F). Als het display -14°C (8°F) bereikt, gaat hij verdier bij -23°C (-10°F). Vij seconden nadat de neue temperatuur is ingesteld verschijnt de huidige vriezertemperatuur waar in het display.
Het getal verandert darüber als de vriezer zich aan de neue temperatuur aanpast.

De deurvakken in dit model zijn twee sterren, behalte het bovenste. De temperatuur in vakken met twee sterren is iota hoger dan in de overige vriesvakken.
De koelkasttemperatuur kan worden ingesteld tussen 7^ en 1^ afhankelijk van uw persoonlijke behoeften. Druk meermalen op de Fridge knop tot de gewenste temperatuur in het display verschijnt. Het regelen van de koelkasttemperatuur koelkast werkt net als voor de vriezer.
Druk op de Fridge knop om de koelkast op degewenste temperatuur in te stellen.
Na enkele seconden stigt of daalt de temperatuur van de koelkast maar de zojuist ingestelde temperatuur.
Dit worden weergegeven in het digitale display.

De temperatuur van vriezer of koelkast kan stijgen als de deuren te vaak worden geopend, of als een große hoeveelheid lauw of warm eten in koelkast/vriezer worden geplaatst.
Hierdoor kan het digitale display gaan knipperen.
Zodra vriezer en koelkast waar hun normala ingestelde temperatuur hebben bereikt, stopt het knipperen.
Als het display blijt knipperen, moet u waarschijnlijk de koelkast "resetten".
Haal de stekker uit het stopcontact, wacht circa 10 Minutes en doe de stekker er wee in.
DE IJS-EN KoudwaterDispenser GEBRUKEN
Druk op de Ice Type knop om het type ijs te selecteren.


IJs worden in blokjes gemaakt.
Als u "Crushed" selecteert, maalt de ijsmaker de ijsblokjes tot gemalen ijs.
IJsdispenser
Plaats uw glas onder de ijtsuitgang en druk voorzichtig met uw glas gegen de ijdsdispenserhendel. Let erop dat het glas zich onder de dispenser bevindt om te voorkomen dat het ijjs eruit schiet.
De waterdispenser gebruiken
Plaats een glas onder de wateruitgang en druk voorzichtig met uw glas gegen de waterdispenserhendel.
Let erop dat het glas zich onder de dispenser bevindt om te voorkomen dat het water eruit spat.

Steek geen vingers, handen of ongeschikte voorwerpen in opening of ijsmaakemmer.
- Dit kan persoonlijk letsel of materielle schade veroorzaken.
- Steek nooit uw vingers of een voorwerp in de opening van de waterdispenser.
- Dit kan letsel veroorzaken.
- Gebruik alleen de ijsmaker die bij de koelkast is meegeleverd.
- De watertoevoer maar de koelkast dient alleen door een erkende vakman te worden geinstalleerd/aangesloten en.altijd te worden aangesloten op een drinkwatertoevoer.
- Om de ijsmakerJUST te gebruiken, is een waterdruk van 138~862 Kpa psi vereist.

- Als u lang opvakantie of zakenreis bent en de water-of ijsdispensers Niet gebruikt, sluit dan de waterkraan.
- Er kan lekkage optreden.
Veeg overtollig vocht van de binnenkant en waar de deuren open.
Voor meer ruimte kurz u de bovenste vrieslade verwijden. Dit heeft geen invloed op de thermische en mechanische eigenschappen.
O m ruimte te winnen kurz u, in plaats van de ijsemmer te gebruiken, levensmiddelen in de Guard FRE-UPP bewaren.
Wanner u de ijsemmer verwijdert, knippert de tekst ICE OFF op het display.

GUARD FRE-UPP (word alleen gevenderb iBJ pepaalde pkoelkastmodellen)
DE COOLSELECT ZONE™ LADE GEBRUKEN (WORDT ALLEEN GELEVERD BIJ BEPAALDE KOELKASTMODEllen)
Quick Cool

- U(Int)k de Quick Cool functie gebruiken voor de CoolSelect ZoneTM.
- Door de "Quick Cool" functie{kunnen 1 tot 3 flessen drank binnen 60 minutes gekoeld worden.
- Druk om deze functie uit te schakelen opniew op de "Quick Cool" knop. De temperatuur van de CoolSelect Zone™ keert terug南非 voorgaande temperatuur.
- Wanner de "Quick Cool" functie beëindigid is, keert het terug maar de "Cool" temperatuurinstelling.
Thaw (Ontdooien)

- Door druipen en kwaliteitsaantasting van vlees, neemt de versheid van etenswaren af.
- Wanner "Thaw" geseleerd is, circuleert er afwisselend warme en koude lucht in de CoolSelect Zone™ Lade.
- Afhankelijk van het gewicht van het vlees, kan de dooitijd ingesteld worden op 4uur, 6uur, 10uur en 12uur.
- Wanner de "Thaw" ontdooitijd.beeinigld is,keert het scherm van de CoolSelect Zone™ terug maar de "chill" koelstatus.
- Wanner de "Thaw" ontdooitijd beeingid is, druipt er geen vleessap van het vlees en bevindt het zich in een halfbevroren toestand, zDat het eenvoudig gesneden kan worden.
- Druk om deze optie uit te schakelen op een willekeurige knop, behalte de "Thaw" knop.
- De ontdooitijden van vlees en vis zijn hieronder bij benadering aangegeven.
(Op basis van vlees van 2,5 cm dikte)
| ONTDOOITIJD | GEWICHT |
| 4 uu | 363g (0,8lb) |
| 6 uu | 590g (0,59kg) |
| 10 uu | 771g (0,77kg) |
| 12 uu | 1.000g (1,00kg) |

Afhankelijk van de afmeting en de dikte van het vlees en de vis, kan de dooitijd varieren. Het bovenstaande gewicht staat voor het totale voedselgewicht in de CoolSelect Zone™ Lade. Voorbeeld : De totale dooitijd voor 400g bevroren biefstuk en 600g bevrorenkip bedraagt 10研究成果

Voor de "Thaw" optie,Client het in de CoolSelect ZoneTM Lade bewaarde voedsel verwijderd te worden.
Zero Zone (0^)

- Wanner "Zero Zone" geselecteerd is, worden de temperatuur van de CoolSelect Zone™ Lade op 0^ gehonden, ongeacht de ingestelde temperatuur van de koelkast.
- Dankzij de "Zero Zone" temperatuur blijven vlees en vis longer vers.
Cool

- Wanner "Cool" geselecteerd is, is de temperatuur hetzelfde als de ingestelde temperatuur van de koelkast. Het digitale scherm toontdezelfdetemperatuur als die van het bedieningspaneel.
- De CoolSelect Zone™ Lade bildet een extra koelruimte.

Afhankelijk van de drank, kan de koeltijd variieren.

Voor de "Quick Cool" optie, dient het in de CoolSelect Zone™ Lade bewaarde voedsel verwijderd te worden.
DE VRIEZERACCCESOIRES VERWIJDEREN
Reinigen en opbergen van de binnenkant van de vriezer is snel gebeurd.
- Verwijder de glasplaat door de plaat zo ver mogetelijk uit te trekken.
Til hem daarna voorzichtig op en verwijder hem.

- Verwijder het deurvak door het met beiden handen vast te honden en het daarna voorzichtig op te tillen.

- Verwijder de plastic lade door deze uit te trekken en iets op te tillen.

- IJsemmer (vriezer)
Verwijder de ijsmakeremmer door deze op te tillen en eruit te trekken.
- Pak de hendel zoals aangegeven in de figuur
- Licht het lage gedeelte iets op
Haal de ijsemmer er langzaam UIT


Zet geen kracht als u de plint verwijdert.
De plint kan breken wat lichamelijk letsel kanveroorzaken.
DE KOELKASTACCESOIRES VERWIJDEREN
- Verwijder de morsvrijde glasplaat door deze zo ver mogelijk uit te trekken. Til hem daarna voorzichtig op en verwijder hem.

- Verwijder de Groente- & Fruitlade door op deinspringingen te drukken aan de linker en rechtter
binnenzijde van het deksel van de groentebak/droogbak en haal hem eruit door maar voren te trekken. Houd de lade met een hand vast,licht hem ie's op,terwijl u hem maar voren trekt en haal hem uit de koelkast.

- Verwijder het deurvak voor litterpakken door het met beiden handen vast te houden en het daarna voorzichtig op te tillen.

Voordat u accessoires verwijdert, dient u erop te letten dat er geen voedingswaren in de weg staan.
Zo möglich verwijdert u de voedingswaren allemaal om risico op oncegvallen te voorkomen.
Dit product gaat het meest efficien mt energie om als u alle schappen, laden en manden op de oorspronkelijke positieaat, zoals weergegeven in de illustratie op pagina (18).
20_bediening
DE KOELKAST REINIGEN
GAEN benzeen, verdunker of bleekmiddel voor het reinigen gebruiken. Deze producten kuren het oppervlak beschadigen en brandgevaar opleveren.
Spuit geen water gegen de koelkast als de stekker in het stopcontact zit, odomdat dit elektrische schokken kan veroorzaken. Reining de koelkast Niet met benzeen, verdunner of autoreinigingsmiddel vanwege brandgevaar.
LAMP VERVANGEN
Wanner u een LED-lampje wiltervangen, neemt u contact op met de onderhoudsdienst.
HET WATERFILTER VERVANGEN
! Gaebruik in uw SAMSUNG koel/vriescombinatie NOOIT merkloze waterfilters om het risico van waterschade aan uw bezittingen te voorkomen. GEBRUIK ALLEEN WATERFILTERS VAN HET MERK SAMSUNG. SAMSUNG is Niet wettelijk aansprakelijk voor schade, waaronder tevens begrenpelen materièle schade, door wateroverlast als gevolg van het gebruik van een merkloos waterfilter. SAMSUNG koel/vriescombinations়uiTSLUITEND GESCHIKT voor SAMSUNG waterfilters.
Het "Filter Indicator"-lampjeaatu weten wanner het tijd is om uw waterfilterpatroon te verrangen. Als het controleampje van het filter rood wordt is het tijd om het filter te verrangen.
Om u tijd te gehen een新模式 filter aan te schaffen, gaat het oranje lampje branden vlak voordat de huidige filter要去 worden verrangen.
Door de filter op vrij de venvangen zorgt u voor het meest frisse, schone water UIT uw koelkast.
-
Haal de waterfilter uit het vak enplaats een maandcontrolesticker op de filter, zoals aangegeven.
-
Plaats een sticker op de filter gedateerd op zes maanden in de toekomst. Bijvoorbeeld als u de waterfilter in maart hebt verrangen, staat u de "SEP" (september)-sticker op de filter om u eraan te herinneren deze in september te verrangen. Normale levensduur van de filter is ca. 6 maanden.
-
Verwijder daarna de vaste kap doordezenaar links te draaien.
- Haal de bescherming van het neue filter en verwijder het oude filter.
- Plaats het neue filter in de filterbehuizing. Draai de waterfilter daarna voorzichtig 90^ haar rechts tot deze in lijn is met het teken
op het deksel, nu is de filter vergrendeld.
Let erop dat de indicator zich in lijn met de
blokkeerpositie befindt. Niet te vast draaien.

- Zodra u hiermeeCLAar bent, houdt u de Ice Type knop 3 seconden ingedrukt om het filterschema opnieuw in te stellen.
- Tenslotte spoelt u 1 liter water door de waterdispenser. Gooi dit water weg. Let erop dat het water helder is voordat u het drinkt.

Een pas geinstalleerd filterpatroon kan tot gevolg hebben dat er korteijd water uit de waterdispenser spuit.
Dit komt door lustch in de leiding. Het mag geen probleem voor de werkig opleveren.
Bestellen van verrangende filters
Voor reserve waterfilterpatronen=kunt u terecht bij uw Samsung-leverancier.
Probleem oplossen
| PROBLEM | OPLOSSING |
| De koelkast werkthelemaal Niet of koelt Niet voldoende. | • Controller of de stekker correct op het stopcontact is aangesloten. • Is de temperatuur op het display correct ingesteld? Probeer een lagere temperatuur. • Staat de koelkast in direct zonlicht of te dicht bij een warmtebron? • Staat de achechterkant van de koelkast te dicht bij de muur en kan的那一arom de lucht Niet goed circuleren? |
| De voedingswaren in de koelkast�zijn bevroren | • Is de temperatuur op het display correct ingesteld? Probeer een hogere temperatuur. • Is de temperatuur in de kamer te laag? • Hebt u voedingswaren met een hoog watergehalte in het koudste gedeelte van de koelkast geplaatst? Probeer deze producten te verplaatsen maar het hoofdruimte van de koelkast en LAST ZZE Niet in de CoolSelect Zone™ lade staan. |
| U hoor vremeinde geluiden. | • Controller of de vloer waterpas en stabel is. • Staat de achechterkant van de koelkast te dicht bij de muur en kan的那一arom de lucht Niet goed circuleren? • Is er iets acheter of onder de koelkast gezallen? • U hoor een tikkend geluid van binnenuit de koelkast. Dit is normal. Het komt oùdat verschillende onderden samentrekken of uitzetten door de temperatuur in de koelkast. |
| De voorste hoeken en zijkanten van de kast�zijn warm; er treedt condens op. | • De warmte worden gedeeltelijkveroorzaakt door anti-condensators die+zijn geinstalleer in de voorste hoeken van de koelkast ter voorkoming van condensvorming. • Staat de koelkastdeur op een kier? Er kan condensvorming optreden als de deur langereijd open blijft staan. |
| Er komt geen ijssuit de dispenser | • Hebt u 12aar na installmentie van de waterleiding gewacht met aanzetten van de ijsmaker? • Is de waterleiding aangesloten en staat de afsluitkraan open? • Hebt u de ijsfunctie handmatig uitgeschakeld? Let erop dat ijstype is ingesteld op Cubed of Crushed. • Is er ijssin de ijsruihte? • Is de temperatuur van de vriezer te hoog? Probeer de vriezertemperatuur te verlagen. |
| U hoor borrelen in de koelkast. | • Dit is normal. Het borrelen wordenveroorzaakt door koelvloeistof die door de koelkast circuleert. |
| Er hangt een onaangename geur in de koelkast | • Is er eten gemorst? • Let erop dat sterk ruikende voedingswaren (bijvoorbeeld: vis) luchtdicht worden verpakt. • Maak uw koelkast regelmatifig schoon en gooij bedorven of verdacht voedsel weg. |
| De wanden van de vriezer vriezen aan. | • Is de ventilator geblokkeerd? Verwijder eventuale voorwerpen die de vrij luchtdoorstroming obstruieren. • Zorg dat er genoeg ruimte is:tussen opgeslagen voedingswaren, zodat er voldoende ventilatie is • Is de vriezerdeur goed gesloten? |
| Waterdispenser werkthiet. | • Is de waterleiding aangesloten en staat de afsluitkraan open? • Is de waterleiding verbogen of ingedeukt? Zorg ervoor dat de buizen Niet afgefneild worden. • Is het waterreservoir bevroren, doordat de koeltemperatuur te laag is? Selecteer een hogere instelling op de hoofddisplay. |
22_Probleem oplossen
memo
Limieten omgevingstemperatuur
Deze koelkast is ontworpen om in omgevingstemperatuur te functioneren gespecifi- ceerd in de temperatuurklasse aangegeven op het typeplaatje.
| Klasse | Symbol | Bereik omgevingstemperatuur (°C) |
| Uitgebrecht gematigd | SN | +10 tot +32 |
| Gematigd | N | +16 tot +32 |
| Subtropisch | ST | +16 tot +38 |
| Tropisch | T | +16 tot +43 |

Interne temperaturen kuren worden beinvloed door factoren als deplaats van de koelkast, de omgevingsttemperatuur en hoe vaak de koelkast geopend en gesloten worden. Pas de temperatuur zover aan als nodig is om deze factoren te compenseren.
Netherlands

Correcte verwijdering van dit product (elektrische & elektronische afvalapparatuur)
Dit merkteken op het product, de accessoires of het informatiematerialiaal duidt erop dat het product en+zijn elektronische accessoires (bv. lader, headset, USB-kabel) Niet met ander huishoudelijk afval verwijderd mogen worden aan het einde van hun gebruiksduur. Om mogelijk schade aan het milieu of menselijke gezondheid door ongecontroleerde afvalverwijdering te voorkomen, moet u deze artikelen van andere soorten afval scheiden en op een verantwoorde manier recyclen, zatat het duurzame hergebruik van materiaalbronnen worden bevorderd.
Huishoudelijk gebruikers要去 contact opnemen met de winkel waar ze dit product hebben gekocht of met de gemeente waar ze waren om te vernemen waar en hoe ze deze artikelen milieuvriendelijk kannen lately recyclen.
Zakelijkge gebruikers要去 contact opnemen met hun leverancier en de algemene voorwaarden van de koopovereenkomst nalezen. Dit product en zijn elektronische accessoiresogeniet met ander bedrijfsafval voor verwijdering worden gemengd.
NETHERLANDS
TEL. 0900-SAMSUNG (0900-7267864) (0,10/Min)
www.samsung.com/nl
Samsung Electronics Benelux B.V. Olof Palmestraat 10, Delft postbus 681, 2600 AR Delft
LUXEMBURG
TEL.26103710
www.samsung.com/lu
Samsung Electronics Benelux B.V. Medialaan 501800 Villoorde Belgium
BELGIUM
TEL. 0032 (0)2 201 24 18
Notice-Facile