TG L4B - Plaque de cuisson LISTO - Notice d'utilisation et mode d'emploi gratuit
Retrouvez gratuitement la notice de l'appareil TG L4B LISTO au format PDF.
| Type d'appareil | Table de cuisson gaz |
| Nombre de foyers | 4 |
| Type de gaz | Gaz naturel ou gaz propane |
| Allumage | Allumage électronique |
| Matériau de la surface | Acier inoxydable |
| Commandes | Manettes rotatives |
| Sécurité | Thermocouple de sécurité |
| Dimensions (L x P) | Non précisé |
| Puissance totale | Non précisé |
| Type d'installation | Encastrable |
| Couleur | Acier inoxydable |
| Accessoires inclus | Grilles en fonte |
| Garantie | Non précisé |
| Normes | Conforme aux normes de sécurité européennes |
FOIRE AUX QUESTIONS - TG L4B LISTO
Questions des utilisateurs sur TG L4B LISTO
0 question sur cet appareil. Repondez a celles que vous connaissez ou posez la votre.
Poser une nouvelle question sur cet appareil
Téléchargez la notice de votre Plaque de cuisson au format PDF gratuitement ! Retrouvez votre notice TG L4B - LISTO et reprennez votre appareil électronique en main. Sur cette page sont publiés tous les documents nécessaires à l'utilisation de votre appareil TG L4B de la marque LISTO.
MODE D'EMPLOI TG L4B LISTO
Notice d'utilisation
Table de cuisson gaz
TG L4b
&TG L4i
CONSIGNES DE SECURITE 2
CHARACTERISTIQUES TECHNIQUES 3
DESCRIPTION DE L'APPAREIL 3
INSTALLATION 4
- Encastrement de la table de cuisson 4
- Fixation de la table de cuisson 4
- Aération de la piece 5
- Raccordement au gaz 6
- Branchement électrique 8
UTILISATION 9
REGLAGE DU RALENTI 10
REEMPLACEMENT DES INJECTEURS 10
ENTRETIEN & NETTOYAGE 11
CONSIGNES DE SECURITE
Important : Les conditions de réglage de cet apparéil sont mentionnées dans cette notice.

POUR ÉVITER TOUT DANGER, L'INSTALLATION, LES RACCORDEMENTS, LA MISE EN SERVICE ET LA MAINTENANCE DE VOTRE APPAREIL DOIVENT ÉTRE EFFECTUÉS UNIQUÉMENT PAR UN PROFESSIONNEL QUALIFIÉ, CONFORMÉMENT AUX NORMES DE SECURITÉ ET AUX LOIS EN VIGUEUR. NE TENTEZ JAMAIS DE RÉPARER L'APPAREIL VOUS-MÉME.
N'utilisez jamais la table de cuisson comme chauffage d'appoint : Risque d'intoxication au monoxyde de carbone et de surchauffe de l'appareil.
Afin d'empêcher des risques d'explosion et d'incendie, ne stockez pas et n'utilise pas d'essence ni d'autres vapeurs ou produits inflammbables (produits de nettoyage, bombe aerosol par exemple) ou d' éléments imbibés de produits inflammables à proximé de la table de cuisson.
Important: L'installation ou l'utilisation de cet appeareil d'une façon incorrecte peuvent cause des dommages aux personnes, animaux ou biens. Le fabricant decline toute responsabilité en cas d'installation ou d'utilisation ne respectant pas les règles en vigueur.
- Avant l'installation s'assurer que les conditions de distribution locale (nature du gaz et pression du gaz) et le réglage de l'appareil sont compatibles.
- Les conditions de réglage de cet apparéil sont inscrites sur la plaque signalétique.
- Cet apparéil n'est pas raccordé à un dispositif d'évacuation des produits de la combustion. Il doit être installé et raccordé conformément aux règes d'installation en vigueur. Une attention particulière sera accordée aux dispositions applicables en matière de ventilation.
Stockez tous les bouteilles propagate à l'extérieur de l'habitation, sous abri. - Remplacez tout raccordement de connexion gaz (tuyau couple, tuyau flexible...) dés que la date limite d'utilisation est dépasse.
- Notre apparéil est destiné à un usage domestique uniquement. Ne l'utilise pas à des fins commerciales ou industrielles ou pour d'autres buts que ceux pour lesquels il a été créé.
- Cet apparéil n'est pas destiné à être utilisé par des enfants ou des personnes dont les capacités physiques, sensorielles ou mentales, ou le manque d'expérience et de connaissance les empêchent d'utiliser l' apparéil sans risque lorsqu'ils sont sans surveillance ou en l'absence d'instruction d'une personne responsable qui puisse leur assurer une'utilisation de l' apparéil sans danger.
- Il convient de surveiller les enfants pour s'assurer qu'ils ne jouent pas avec l'appareil. Assurez-vous qu'ils ne peuvent pas manipuler les commandes.
Veillez à ne pas toucher les grilles et les brûleurs quand vous utilisez la table de cuisson. Ces zones sont extrémement chaudes et peuvent provoquer des brûlures graves.
Tenez les enfants à distancependant le fonctionnement : la table de cuisson et les recipients s'échauffent et peuvent rester chauds longtemps après l'arrêt de l'appareil.
Veillez à ne pas toucher les supports de casseroles et les brûleurs quand vous utilisez la table de cuisson. Ces zones sont extrémement chaudes et peuvent provoquer des brûlures graves.
N'utilisez jamais votre table de cuisson à vide (sans récipient dessus).
Assurez-vous que les manettes sont toujours en position « arrêt » lorsque l'appareil n'est pas utilisé.
- N'utilise pas de réciements instables ou déformés : ils peuvent se renverser et provoquer un accident.
- Ne posez rien sur la table de cuisson (papiers, livre de recettes, tissus, etc.) même si celle-ci n'est pas en fonctionnement. Une mise en route accidentelle pourrait provoquer un incendie.
- Si vous utilisez un apparéil électrique à proximé de votre table de cuisson, veillez à ce que le cable d'alimentation de cet apparéil électrique ne soit pas en contact avec la surface chaude de la table.
Veillez à ne pas laisser sans surveillance de l'huile ou de laGRAisse sur le feu.
Ces instructions ne sont valables que pour le pays de destination spécifique dans le paragraphe « CHARACTERISTIQUES TECHNIQUES »
CHARACTERISTIQUES TECHNIQUES
CATEGORIE II 2E+3+ FR
Alimentation : 230- 240 V ~ 50/60Hz
Dimensions hors tout (Hauteur x Largeur x Profondeur) : 87 mm x 580 mm x 500 mm
Dimensions découpe (Hauteur x Largeur x Profondeur): - mm x 560 mm x 480 mm
Sécurité coupe gaz : thermocouples
- Qn Gaz naturel = 7.50 kW
- Qn GPL = 545 g/h (G30)
536 g/h (G31)
Pays de destination : FRANCE
G 30 - BUTANE = 28-30mbar
G 31 - PROPANE = 37mbar
G 20-G25-NATUREL = 20-25mbar
DESCRIPTION DE L'APPAREIL

- Brûleur rapide 3000 W
- Brûleur semi rapide 1750 W
- Brûleur auxiliaire 1000 W
- Grille en acier émailé amovible 2 faux
- Manette commande brûleur n°3
- Manette commande brûleur n°1
- Manette commande brûleur n°2 (droite)
- Manette commande brûleur n°2 (gauche)
INFORMATIONS TECHNIQUES A L'ATTENTION DE L'INSTALLATEUR

L'installation, les réglages, les remplacements éventuels des composants et l'entretien des robinets mentionnés dans cette notice doivent être effectués exclusivement par du personnel qualifié.
Une mauvaise installation peut provoquer des accidents aux personnes et animaux ainsi que des dégats matériels qui ne sont pas imputables au constructeur.
1. Encastrement de la table de cuisson

Après avoir enlevé l'emballage externe et interne des différentes pieces mobiles, assurez-vous que la table est intacte. En cas de doute, n'utilise pas l'appareil et contactez le service après-vente de votre magasin revendeur.
Les éléments de l'emballage (carton, sachets, polystyrene expansé, clous...) ne doivent pas être laissés à la portée des enfants car ils représentent des risques potentiels de danger.
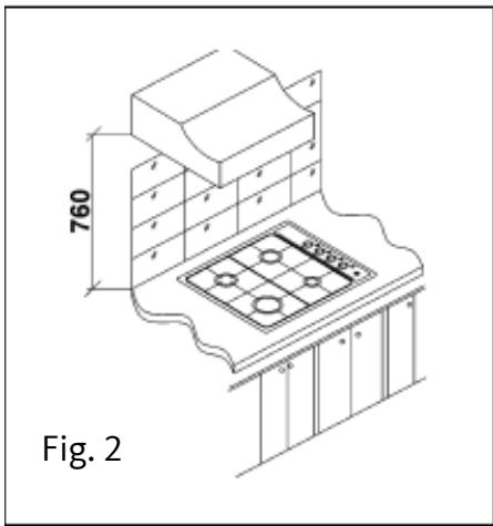
Pour l'encastrement de la plaque, la découpe du plan de travail doit être réalisée suivant les dimensions exprimées en millimétres indiquées dans le tableau ci-dessous et la fig. 1. Veiliez à respecter les distances obligatoires entre la table, les parois latérales, postérieures et supérieures (voir fig. 2).

Dimensions à respecter pour l'encastrement (en mm)
| A | B | C | D | E |
| 560 | 480 | 65 | 62 | 65 |

Consignes importantes d'installation
Le panneau arrêté et les surfaces adjacentes entourant la table de cuisson doivent résister à un échauffement de 65 K.
Le plan de travail doit résister à une température d'au moins 150^ pour éviter que le revêtement ne se décolle.
L'installation de l'appareil doit être effectue conformément aux normes en vigueur.
2. Fixation de la table de cuisson
Les surfaces cachées peuvent avoir des bords tranchants. Soyez très prudent lors du contact avec les parties arrêté et en-dessous de la table de cuisson.
La table est équipée d'un joint en mousse pour éviter toute infiltration de liquide dans le meuble. Pour appliquer correctement ce joint, veuilles suivre les indications ci-après :
- Retirez les grilles et les brûleurs.
- Retournez la table de cuisson avec précaution.
- Positionnez correctement le joint en mousse fourni (fig. 3) sur le pourtour extérieur du cadre de la table de cuisson. Les extrémités des bandes doivent coïncider sans se chevaucher.
- Placez ensuite la table dans le trou pratique sur le plan de travail puis replacez les brûleurs, les chapeaux des brûleurs et les grilles.
INFORMATIONS IMPORTANTES POUR L'INSTALLATEUR
Pour fixer la plaque sur le plan de travail, utilisez les étriers de fixation fournis, comme indiqué sur le dessin (fig. 4). Pour ce faire, vous doivent introduire l'étrier (S) dans la base ouverte (H) (fig.4) et serrer la vis (F) en ne vissant pas trop fort. Vous évitez ainsi la déformation du caisson et le mauvais fonctionnement de l'appareil. En cas de non respect de ces consignes, le constructeur ne pourra être tenu responsable des dommages causés suite à une mauvaise manipulation.
Dans le cas où le plan de travail a une épaisseur inférieure à 35 mm, les étriers devront être montés dans le sens inverse (voir fig. 5) en faisant attention à visser la vis (F) avec précaution.

FIG.4

FIG.5
3. Aération de la piece
Le local où est installée la plaque de cuisson doit être ventilé en permanence pour garantir le bon fonctionnement de l'appareil. La quantité d'air nécessaire est celle utilisée par la combustion des gaz et par la ventilation de la piece dont le volume devra être au moins de 20m^3 . L'aération naturelle directe doit être assurée par des ouvertures permanentes, d'une section minimum de 100cm^2 (Cf. fig. 6) aménagées sur les parois extérieures de la piece. Il ne doit pas être possible d'obstruer ces ouvertures. L'aération indirecte est également admise en prélevant l'air d'un local adjacent. Dans ce cas, respectez formellement les normes en vigueur.
Recommendations
L'installation de l'appareil et l'aération du local où l'appareil sera installé doit respecter les règlements en vigueur, les normes d'installation et les dispositions applicables en matière d'aération.
L'utilisation d'un apparéil de cuisson à gaz produit de la chaleur et de l'humidité dans le local où il est installé. Il est donc impératif d'assurer une bonne aération de la pierce : les ouvertures d'aération naturelle (fig. 6) doivent toujours être libres et le dispositif mécanique d'aération (hotte d'aspiration ou ventilateur électrique fig. 7 et fig. 8) doit être en marche.
Une utilisation intensive et prolongée de l'appareil peut nécessiter une aération supplémentaire, par exemple l'ouverture d'une fenêtre ou bien l'augmentation de la puissance de l'aspiration mecanique (si elle est prévue).
(*) ENTREE D'AIR



Emplacement et évacuation des produits de la combustion
Les tables de cuisson doivent toujours évacuer les produits de la combustion dans des hottes reliées à des conduits débouchant directement à l'extérieur (Cf. fig. 7). Lorsqu'il n'est pas possible de monter une hotte vous pouvez utiliser un ventilateur installé sur la fenêtre ou sur une paroi donnant vers l'extérieur, dans le respect des normes en vigueur sur l'aération de lapiece. Ce dispositif sera mis en marche en même temps que l'appareil (Cf. fig. 8).
4. Raccordement au gaz
Votre table est configurée d'origine pour fonctionner en gaz naturel (G20 - 20mbar).

Le raccordement au gaz doit être exécuté par un technicien spécialisé qui respects la ses locales en vigueur.

Le tuyau flexible ou couple doit être installé de manière à ce qu'il ne puisse être en contact. Une partie mobile du module d'encastrement et qu'il ne passé pas dans un endroit ne susceptible d'être encombre.

Un raccord droit avec joint spécifique est monté d'origine sur l'appareil. Il ne doit pas etreonté. Il permet d'assurer une liaison conforme aux exigences des normes en vigueur entre areil et le dispositif d'alimentation en gaz.
4.1. Gaz distribué par canalisation fixe, réseau gaz naturel

AVERTISSEMENT: Le raccordement avec un tuyau couple est le的一部分 interdit.
Les raccordements possibles sont :
1) raccordement à l'aide d'un tuyau rigide à embout mécanique vissable (filetage type G1/2) avec interposition d'un joint spécifique gaz fourni (si celui-ci n'est pas intégré d'origine au flexible);

2) raccordement par tuyau flexible ou tube flexible avec armature métallique à embout mécanique suivant les normes en vigueur.
Le tuyau flexible doit être conforme à la norme NF D 36 121 ou NF D 36 103 ou NF D 36 100.
Le tuyau doit être raccordé directement sur le raccord droit (voir figure ci-dessus).
Le raccord de connexion au gaz a un filetage du type G ½.
Un contrôle de tous les éléments de raccordement sera obligatoirement effectué en fin d'opération de branchement.
4.2. Gaz distribué par bouteille butane/propane
Un détendeur-declencheur conforme à la norme NF D 36-303 peut tener lieu de robinet de commande. Ce dernier permet de couper l'alimentation en gaz lorsque l'appareil n'est pas utilisé.
Les raccordements possibles sont :
1) raccordement à l'aide d'un tuyau rigide à embout mécanique vissable (appellation norme gaz G1/2) avec interposition d'un joint spécifique gaz fourni.
2) raccordement par tuyau flexible ou tube flexible avec armature métallique à embout mécanique suivant les normes en vigueur.
Le tuyau flexible doit être conforme à la norme NF D 36 125 ou XP D 36-112.
Le tuyau doit être raccordé directement sur le raccord droit (voir figure ci-contre).
Le raccord de connexion au gaz a un filetage du type G 12 .

3) raccordement sur une installation existante.
Un tuyau couple équipé de ses colliers de serrage (a) conforme à la norme XP D 36-110 peut être utilisé. Dans ce cas, il est nécessaire de monter préalablement sur le raccord droit de la table l'about (b) fourni avec les accessoires, sans oublier d'interposer le joint spécifique gaz (c) entre l'about et l'appareil.
Le tuyau flexible doit rester accessible sur toute sa longueur et doit'être remplaced avant sa date limite d'utilisation (inscrite sur le tuyau).


Attention : L'usage d'un tuyau couple est interdit au propane.

Stockez toujours les bouteilles propagated à l'extérieur de l'habitation, sous abri.

Après l'opération de raccordement au gaz, contrôle l'étanchéité de tous les raccords de l'eau et du savon ou avec une solution moussante spécifique. Ne jamais utiliser des mes pour vérifier les fuites de gaz.
Rappels pour les tuyaux flexibles de longueur maximum de 2 mètres :
- Evitez que le tuyau ne soit coince ou écrase.
- Evitez les efforts de traction et de torsion.
- Evitez tout contact avec des corps pointus, à vivir arête, etc.
- Evitez tout contact avec des parties dont la température dépasse de plus de 70K la température ambiente.
- Assurez-vous qu'ils peuvent être vérifiés sur toute leur longueur.
5. Branchement électrique

Le branchement de l'appareil au réseau électrique doit être réalisé par une personne spécialisée, connaissant les normes de sécurité et la législation en vigueur. L'appareil est fourni d'origine avec un cable d'alimentation muni d'une prise secteur.
Les données techniques et les conditions de branchement électrique sont indiquées sur la plaque signalétique de l'appareil.
N'utilise pas de rallonges, multiprises secteur ni d'adaptateurs car cela pourrait donner lieu à une surchauffe des branchements électriques.
Avant d'effectuer le branchement, vérifiez si :
- La prise murale de l'habitation est dotée d'une mise à la terre efficace et conforme à la réglementation en vigueur.
- La ligne électrique est équipée d'un fil de terre jaune-vert correctement raccardée au circuit de terre du réseau électrique de l'habitation.
- Assurez-vous que votre ligne électrique est équipée d'un disjoncteur omnipolaire ayant une distance d'ouverture entre les contacts d'au moins 3 mm.
Branchez directement la prise secteur de la table sur la prise murale
La prise secteur doit demeurer accessible une fois la table de cuisson installée.
Si le cable d'alimentation de cet apparéil est endommagé, il doit être remplace par un cable représentant les mêmes caractéristiques que celui d'origine (voir tableau ci-dessous), adapté à la puissance et à la température requise (Température maximum admissible: 90^ ), disponible auprès de votre revendeur ou de son service après-vente.
Caracteristiques du cable d'alimentation :
| Alimentation monophasée 220 - 240 V | ||
| Type d'appareil | Type de cable | Section |
| Table de cuisson gaz | H05 VV - F | 3 x 0,75 mm² |
| TG L4i | ||
| TG L4b | ||
-
ATTENTION: En cas de remplacement du cordon d'alimentation, l'installeur devra prévoir un conducteur de terre plus long de 2 cm environ par rapport aux deux autres conducteurs (phase et neutre) (cf. fig. 9) et il devra aussi respecter les consignes concernant le branchement au niveau du bornier électrique de la plaque.
-
fil jaune/vert : mise à la terre
- fil bleu : neutre « N »
- fil marron : phase « L »


Un pictogramme indiquant le brûleur associé est sérigraphié (ex: ) sur le bandeau de commandes. Ouvrez le robinet général d'arrivée du gaz ou de la bouteille, puis allumez les brûleurs comme suit:
1. Allumage des brûleurs
1) Pour allumer l'un des brûleurs, tournez vers la gauche la manette correspondant au brûleur sélectionné et placez-la sur la position de puissance maximum.
2) Appuyez sur la manette et relâchéz-la dés que le brûleur s'est allumé.
3) Maintenez la manette enfoncée 10 secondes supplémentaires afin de laisser le temps à la flamme de chauffer le thermocouple.

Note : Si le brûleur s'éteint après avoir relâché la manette, repêtez toute l'opération.
4) Reglez la flamme de façon à obtenir l'intensité désirée.
- Toutes les positions de fonctionnement doivent être choses entre le maximum et le minimum et jamais entre le maximum et le point de fermeture.
- Il est conseillé de ne pas allumer de brûleur si le chapeau n'est pas correctement positionné.
2. Choix du brûleur
Ne pas utiliser des recipients à base concave ou convexe, Utilisez toujours des ustensiles ayant la partie inférieure plate et dont le fond est suffisamment grand pour couvrir le brûleur. Si vous utiliser des ustensiles ayant des dimensions inférieures, une partie de la flamme peut être à découvert et provoquer des risques d'incendie.

Pour obtenir un rendement optimal avec une consommation minimum de gaz, respectez les conseils ci-après :
- Utilisez des casseroles appropriées à la taille de chaque type de brûleur (voir le tableau suivant).
- Pour réduire la puissance de chauffe, tournez la manette sur la position Minimum (petite flamme fig. 10).
- Mettez toujours des couvercles sur vos cassetoles.
| Brûleurs | Puissances (W) | Casseroles (cm) |
| Rapide | 3000 | 20 - 22 |
| Semi-rapide | 1750 | 16 - 18 |
| Auxiliaire | 1000 | 10 - 14 |
Par mesure de sécurité, après utilisation, n'oubliez pas de fermer le robinet de commande générale du gaz ou le robinet de la bouteille de gaz butane/propane.
En cas de panne d'électricité, vous pouvez allumer des brûleurs à l'aide d'une allumette.

Avant toute intervention, votre table de cuisson doit être déconnectée de l'alimentation électrique et gaz.
Au terme des opérations de réglage ou de préréglage, les scellages évientels doivent être rétablis par le technicien.
Le réglage de l'air primaire sur nos brûleurs n'est pas nécessaire.
Réglage du "Ralenti":
- Allumez le brûleur et placez le bouton sur la position "Minimum" (petite flamme fig. 10).
- Otez le bouton (M) (fig. 11) du robinet fixé par une simple pression sur la tige de ce dernier puis, otez le joint afin de pouvoir acceder aux vis de réglage sur le coté du robinet.
- A l'aide d'un tournevis très fin (C) (fig. 11) tournez vers la droite ou vers la gauche la vis de réglage jusqu'à ce que la flamme du brûleur soit correctement réglée au "Minimum".

Assurez-vous qu'en passant rapidement de la position "Maximum" à la position "Minimum" la flamme ne s'éteint pas.
A noter que ce réglage doit être effectué qu'avac des brûleurs fonctionnant au gaz naturel. Avec les brûleurs fonctionnant au gaz Butane/Propane, la vis doit être serrer à fond.
REplacement DES INJECTEURS

Les brûleurs s'adaptent aux différents gaz en montant les injecteurs correspondants. Pour cela, il est nécessaire d'enlever les chapeaux des brûleurs ainsi que les couronnés et, au moyen d'une clé droite (B), de dévisser l'injecteur (A) (Cf. fig. 12) et de le remplacer par un injecteur correspondant au gaz utilisé.
Veillez à serrer correctement les injecteurs.

Après l'opération de changement des injecteurs, le technicien devra procéder au réglage des brûleurs suivant le descriptif du chapitre REGLAGES. Il devra également sceller les organes de réglage ou de préréglage évventuels, et replacer l'étiquette présente sur l'appareil par cette qui correspond au nouveau réglage de gaz effectué. Cette étiquette se trouve dans le sachet qui contient les injecteurs.
Disposition des bruleurs
Pour facilititer l'opération, le tableau ci-dessous presente l'ensemble des caractéristiques des différents gaz.
| BRULEURS | GAZ | PRESSION D'EXERCICE | DIAMETRE INJECTEUR | DEBIT THERMIQUE (W) | ||
| N° | DENOMINATION | mbar | 1/100 mm | MIN. | MAX. | |
| 1 | RAPIDE | G 30 BUTANE | 28-30 | 88 | 800 | 3000 |
| G 31 PROPANE | 37 | 88 | 800 | 3000 | ||
| G 20-G25-NATUREL | 20-25 | 132 | 800 | 3000 | ||
| 2 | SEMIRAPIDE | G 30 BUTANE | 28-30 | 68 | 550 | 1750 |
| G 31 PROPANE | 37 | 68 | 550 | 1750 | ||
| G 20-G25-NATUREL | 20-25 | 109 | 550 | 1750 | ||
| 3 | AUXILIAIRE | G 30 BUTANE | 28-30 | 51 | 450 | 1000 |
| G 31 PROPANE | 37 | 51 | 450 | 1000 | ||
| G 20-G25-NATUREL | 20-25 | 76 | 450 | 1000 | ||
ENTRETIEN & NETTOYAGE
Avant toute opération d'entretien, débranchez l'appareil et coupez l'alimentation générale du gaz.
N'utilisez que des produits du commerce non corrosifs ou non inflammables. Toute projection d'eau ou de vapeur est proscrite afin d'éviter le risque d'électrocution.
Ne nettoyez pas la table de cuisson alors qu'elle est encore chaude. Certains produits nettoyants produit des vapeurs nocives lorsqu'ils sont appliqués sur une surface chaude. Les linges ou éponges mouillés peuvent cause des brûlures par la vapeur.
Ne pas utiliser de nettoyeur à jet de vapeur chaude. Cela risquerait d'endommager la sécurité de l'appareil.
NETTOYAGE
Aprèsutilisation,procédezau nettoyage devoitrappeil.
- Attendez que la table de cuisson soit complètement froide.
- Enlevez les grilles, les chapeaux des brûleurs et les couronnes.
- Lavez les grilles, les chapeaux des brûleurs et les couronnées avec de l'eau chaude et un détergent doux.
- Nettoyez la surface de la table de cuisson et les boutons du panneau de commande à l'aide d'une éponge légèrement humide et d'un détergent doux. Les boutons sont également amovibles pour un nettoyage plus approfondi.

Veillez à ne faire pénétrer aucun liquide à l'intérieur de la plaque de cuisson.

Ne pas nettoyer les grilles au lave-vaisse.
- ÀpRES le nettoyage, replacez les boutons, les couronnes, les chapeaux des brûleurs et les grilles correctement.
ACCES AUX COMPOSANTS
Pour acceder aux composants situés à l'intérieur de la table de cuisson, retirez les manettes ainsi que toutes les parties mobiles du plan (grilles, chapeaux, couronnnes).
Retirez les 8 vis (V) qui maintainent les 4 brûleurs (voir fig. 13).
On accède aux composants électriques et aux robinets en enlevant le plan supérieur de table.

GRAISSAGE DES ROBINETS (voir fig. 14)
Si la manipulation d'un robinet devient difficile, vous devez le graisser en suivant les instructions ci-après:
- Demontez le corps du robinet.
- Nettoyez le cône et son logement au moyen d'un chiffon imbibé de diluant.
- Graissez légèrement le cône avec de la graissse spéciale.
- Introduisez le cône, bougez-le plusieurs fois, démontez-le à nouveau, enlevez laGRAISSSE superflue et assurez-vous que les trous de passage du gaz ne sont pas obturés.
- Remontez toutes les pièces dans l'ordre inverse du démontage.
- Pour assurer une étanchéité parfaite entre le corps et la rampe, changez-le joint d'étanchéité.
- Contrôlez avec soit l'étanchéité parfaite de l'appareil. L'emploi d'une flamme est interdit.


Attention:
Ce logo apposse sur le produit signifie qu'il s'agit d'un apparéil dont le traitement en tant que déchet rentre dans le cadre de la directive 2002/96/CE du 27 janvier 2003, relative aux déchets d'équipements électriques et électroniques (DEEE).
La présence de substances dangereuses dans les équipements électriques et électroniques peut avoir des effets potentiels sur l'environnement et la santé humaine dans le cycle de retraitement de ce produit.
Ainsi, lors de la fin de vie de cet apparéil, celui-ci ne doit pas être débarrassé
avec les déchets municipaux non triés.
En tant que consommateur final, votre role est primordial dans le cycle de réutilisation, de recyclage et les autres formes de valorisation de cet équipement électrique etlectronique. Des systèmes de reprise et de collecte sont mis à votre disposition par les collectivités locales (déchetteries) et les distributeurs.
Vous ave l'obligation d'utiliser les systèmes de collecte selective mise à votre disposition.
Conditions de garantie :
Ce produit est garanti contre toute défaillance résultat d'un vice de fabrication ou de matériel. Cette garantie ne couvre pas les vices ou les dommages résultat d'une mauvaise installation, d'une utilisation incorrecte, ou de l'usure normale du produit. La durée de garantie est spécifiée sur la facture d'achat.


CE 0051
51BU3888
SOURCING & CREATION
CRT LESQUIN,
F-59273 FRETIN
Catégorie: II2E+3+ FR
Fabrique en Turquie
Notice Facile