DS-2000 - Télescope MEADE - Notice d'utilisation et mode d'emploi gratuit
Retrouvez gratuitement la notice de l'appareil DS-2000 MEADE au format PDF.
| Intitulé | Description |
|---|---|
| Type de produit | Télescope astronomique |
| Caractéristiques techniques principales | Optique réflecteur, ouverture de 200 mm, focale de 1000 mm |
| Alimentation électrique | Alimentation 12V, adaptateur secteur inclus |
| Dimensions approximatives | Hauteur : 1,2 m, Largeur : 0,6 m, Profondeur : 0,6 m |
| Poids | Environ 10 kg |
| Compatibilités | Compatible avec divers accessoires astronomiques Meade |
| Type de batterie | Batterie rechargeable 12V (non incluse) |
| Tension | 12V DC |
| Puissance | Non spécifiée |
| Fonctions principales | Observation astronomique, astrophotographie |
| Entretien et nettoyage | Nettoyer les optiques avec un chiffon doux, vérifier les vis et les connexions régulièrement |
| Pièces détachées et réparabilité | Pièces détachées disponibles via le service client Meade |
| Sécurité | Ne pas regarder directement le soleil, utiliser des filtres appropriés pour l'observation solaire |
| Informations générales | Idéal pour les astronomes amateurs, garantie de 2 ans |
FOIRE AUX QUESTIONS - DS-2000 MEADE
Questions des utilisateurs sur DS-2000 MEADE
0 question sur cet appareil. Repondez a celles que vous connaissez ou posez la votre.
Poser une nouvelle question sur cet appareil
Téléchargez la notice de votre Télescope au format PDF gratuitement ! Retrouvez votre notice DS-2000 - MEADE et reprennez votre appareil électronique en main. Sur cette page sont publiés tous les documents nécessaires à l'utilisation de votre appareil DS-2000 de la marque MEADE.
MODE D'EMPLOI DS-2000 MEADE
Télescopes à réfraction et à réflexion série DS-2000 avec AutostarMD 497

MEADE.COM


MEADE®

AVENTISSEMENT!
N'employez jamais votre téléscope Meade ^MD DS2000 ^MD pour regarder le Soleil! Regarder le Soleil directement ou à sa proximité causera des léasons instantanées et irréversibles à votre œil. Les léasons aux yeux sont souvent sans douleur, donc l'observateur ne recoit pas d'advertissement tant que le dommage ne soit fait. Ne dirigez pas le téléscope vers ou pres du Soleil. Ne regardez pas dans le téléscope ou le SmartFinderMD quand il pivote. Les enfants ne doivent observer que sous la surveillance d'unadulte.
Les téléscopes à réfraction utilisent une grande lentille de focalisation en tant qu'élement principal de collecte de lumière Les refracteurs de Meade, pour tous les modèles et ouvertures, incluent des lentilles de focalisation achromatiques (2 éléments) de façon à réduire ou virtuellement éliminer la fausse couleur (aberration chromatique), produitant l'image télécopique lorsque la luzère passé à travers les lentilles.
Les téléscopés à réflexion utilisent un miroir concave principal de collecte de lumière pour former l'image. Dans un reflecteur du type Newtonien, la luzière est réfléchie par un petit miroir plat secondaire situé sur le côte du tube principal, permettant l'observation de l'image.

Télescope à réfraction à 2 éléments Lentille de focalisation Dans le téléscope à réfraction, la lumière est collectée par des lentilles de focalisation à 2 éléments et est focalisée à F.

A l'opposé, le téléscope à réflexion utilise un miroir concave pour cet objectif.
SOMMAIRE
Guide de démarriage rapide 4
Fonctions du téléscope 6
Fonctions de l'Autostar 9
Demarrage 11
Contenu 11
Assemblage du téléscope 11
Chercheur à point rouge (Red Dot) 12
Alignement du recherche 13
Choix de l'oculaire 13
Lentille de Barlow 13
Observation 14
Observations par rotation manuelle du téléscope 14
Observations terrestres 14
Observation à l'aide douches de commande de l'Autostar .... 14
Vitesses de rotation, observation de la Lune 15
Observations Astronomiques 15
Suivi automatique des objets célestes 15
Position Alt/Az originale 16
Rotation grace aux menus de l'Autostar 16
Initialisation de l'Autostar 16
Observation d'une étoile en utilisant le suivi automatique 17
Alignement facile (a deux étoiles) 17
Alignement Alt/Az à deux étoiles 19
Alignement Alt/Az à une étoile 19
Pointage vers Saturne (GO TO) 19
Utilisation de la visite guidée 19
Opération de base de l'Autostar 20
Exercices de navigation avec l'Autostar 20
Saisie de chiffres et de textes dans l'Autostar 21
Navigation avec l'Autostar 21
Réglage de la vitesse d'un message dérouulant 21
Menu set Options de menus 22
Arborescence complete du menu de l'Autostar 22
Menu des objets 22
Menu des événements 23
Glossaire des menus, fonctions d'utilité 24
Menu de réglages 25
Fonctions avancées d'Autostar 28
Ajouter des sites d'observation 28
Rédiger votrepropresiteguidee 30
Points de repère 32
Identifier 33
Explorer 34
Accessoires optionnels 35
Entretien du téléscope 36
Collimation 36
Solutions Meade pour les clients 38
Specifications 39
Annexe A: Coordonnées célestes 41
Reperage du pole celeste 41
Annexe B: Chercher un objet dans la base de données 42
Annexe C: Observation des satellites 43
Annexe D:Exercice de I'entrainement motorisé 44
Annexe E: Remplacement des piles 45
Annexe F:Réglage manuel de l'heure et de la date 45
Astronomie de base 46
PRUDENCE
Installez les piles avec soin dans leur compartment, dans l'orientation indiquée par l'illustration du compartment. Suivez les précautions du fabricant de piles. N'installez pas les piles en envers et ne mélangez pas de nouvelles piles avec des usages. Ne mélangez pas les types de piles. Si ces précautions ne sont pas respectées, les piles peuvent éclater, prendre feu, ou fuir. Une installation incorrecte des piles annule votre garantie Meade.
Si vous utilisez votre Telescope DS Astro pour la première fois, vous pouvez lire le "Guide de démarrage rapide" à la page 4 avant d'effectuer une lecture approfondie de ce Mode d'emploi.
MD et MC Le nom et le logo "Meade" sont déposés et enregistrés auprès de l'office américain des brevets et dans les principaux pays dans le monde. Tous droits réservés.
MC « LPI » et « Tonight's Best" (Le meilleur de cette nuit) sont des marques de commerce de La société Meade Instruments.
Brevets:
E-U.6,392,799
Autres brevets en attente
© 2007 La société Meade Instruments. Tous droits réservés. Les specifications sont sujettes à changer sans prévis.
GUIDE DE DEMARRAGE

- Dépliez le trépied: Retirer le trépied de la boîtecadeau et déposez-le à la verticale. Écartez les pattes doucement jusqu'à l'ouverture complète. Attachez le plateau porte-accessoires au trépied. Glissez les boulons à travers le plateau et les bras d'entretoise. Vissez les écrous à ailettes sur les boulons.

- Attacher l'assemblage du bras de montage: Fixez l'assemblage du bras de montage sur la base du trépied. Enfilez la molette de blocage en l'introduisant par le dessous du sommet du trépied dans l'assemblage du bras de montage. Serrez fermement, sans plus. Ne serrez pas trop. Durant une observation, vous pouvez avoir besoin de desserrer cette molette pour faire tourner la monture avec le tube optique sur l'axe horizontal (voir étape 6 ci-dessous).

- Retirer le tube optique des colliers de serrage Ce collier est expedié attaché au tube optique. Les colliers doivent être retirés afin de le fixer au sommet du bras de la monture. Desserrez le bouton de blocage du collier jusqu'à ce que vous puissiez ouvrir le les colliers. Retirer le tube optique des colliers de serrage.

- Oter les 4 vis situées sur l'axe du bras de montage: Repérez les quatre vis sur l'axe du bras de montage. Enlevez-les avec un tournevis cruciforme (tête Philips).
- Fixez le collier au bras de montage: Alignez le collier avec l'axe du bras de montage. Un guide est prévu pour s'encastrer dans une concavité prévue pour lui sur l'axe du bras. Alignez-les et faites glisser le collier contre l'axe du bras. Les quatre perforations du collier et du bras prévues pour les vis d'accoupling seront alors automatiquement alignées. Replacez les quatre vis, que vous avez oétées dans l'étape 4, dans les filetages d'accoupling tel que démontré dans le diagramme ci-dessus.

- Attacher et équilibrer le tube optique: Replacez le tube optique dans le collier. Serrez la molette de serrage du collier juste assez pour qu'elle tienne le tube l'achement; ne serrez pas la molette de serrage du collier pour l'instant. Faites le glisser en avant ou en arrriere jusqu'à couver la position où il restera horizontal (sans s'abraisser ni d'un côté, ni de l'autre). Serrez la molette de blocage du collier jusqu'à ce qu'elle soit ferme aux doigs.


7a. Fixer le prisme diagonale à 90^ (modèles à réfraction, voir l'intérieur de la couverture avant): Tirez sur et retirez le cache-poussière du porte oculaire (A). Glissez le tube du prisme diagonal (B) dans le tube porte oculaire du téléscope et serrez les vis de blocage (C) à la pression des doigs uniquement pour le retenir.
7b. Insérez l'oculaire: Sortez l'oculaire de 25 mm ou 26 mm fourni (D) de sa boîte et glissez-le dans le prisme diagonal (pour les modèles à réfraction; voir Fig. 7a) ou directement dans le porte oculaire (pour les modèles à reflecteur. Voir Fig. 7b). Serrez les vis de blocage (F) au doigt seulement. Retirez le cache-poussière de l'extrémité du tube optique. Utilisez les boutons de focalisation (E) pour effectuer la mise au point des objets.

8. Insérez les piles: Ouvrez le comportement à piles en soulevant le couvercle et retirez le module porte piles. Retirez le porte-piles du comportement et souveze soignement le connecteur 9V du comportement. Chaque fois que vous remplacez les piles, préservez les fils en débranchant ce connecteur 9v avant de les enlever. Insérer huit piles de type AA dans le porte-piles orientées comme indiqué sur les schémas sur le porte-piles. Branchez le connecteur de 9 V au portepile. Replacez soigneusement le portepiles dans son comportement. Refermez le couvercle.

9. Connectez l'Autostar: Vérifiez que l'interrupteur (H) du panneau de contrôle est en position OFF. Branchez le cordon du contrôle Autostar dans le port HBX (I). Allumez le panneau de contrôle; la diode rouge s'allume quand il est sous tension.

10. Vous pouvez alors utiliser les touches fléchéées (move) pour pivoter le téléscope vers le haut, le bas, la droite ou la gauche. Pour désirer changer la vitesse de rotation, appuyez sur une touche numérique. « 9 » est la plus rapide et « 1 » la plus lente. Voir les pages 15 et 16 pour plus d'information.

11. Vision le long du tube: Pour viser un objet, visez le long du tube dans sa direction. Pratique l'utilisation des touches en flèche de l'Autostar afin de centrer un objet
Si vous désirez attacher le chereur à point rouge, reportez-vous à la page 12. Si vous désirez initiaiser Autostar, reportez-vous à la page 16.
Si vous désirez aligner le téléscope, reportez-vous à la page 17. Si vous désirez utiliser l'Autostar pour vous rendre à (GOTO) Saturne, reportez-vous à la page 19.

Fig. 1: Télescope série DS-2000.
Fig. 1c (encadré): Panneau de commande de l'ordinateur. (A) Port de la commande à distance; (B) Voyant d'alimentation; (C) Interrupteur d'activation; (D) Port auxiliaire.
Les fonctions des téléscopes de la série DS-2000 sont quasimentidentiques.Certainesfonctions de votretelescope peuventsembler différentes,ouetre disposéesdifféremment comparé acellesde l'illustration,mais les fonctionnalitésdes fonctions sont lesmêmes.
FONCTIONS DUTÉLESCOPE
Prenez le temps de vous familiariser avec toutes les commandes avant de commencer vos observations à travers le téléscope.
Molette de mise au point: Permet la rotation fine du tube de focalisation du téléscope afin réaliser des mises au point précises des images. Tournez cette molette dans le sens horaire pourmettre au point sur des objets distants et en sens antihoraire pourmettre au point sur des objets rapprochés.
Porte-oculaire: Maintiennent l'oculaire en place. Sur les modèles à réfraction, il retient aussi en place le prisme diagonal à 90^
3 Prisme diagonal à 90^ (refractor models only): Holds the eyepiece upright for easy viewing. Results in an upright, but reversed viewing of land objects. See 3, Fig. 1d.
Molette du portec-oculaire: Serrent l'oculaire en place. Serrez sans excès.
Oculaire: Placez l'oculaire fourni dans le porte oculaire (telescope à réflexion seulement) ou le prisme diagonal à 90^ (telescope à refraction seulement, 3, Fig. 1) et serrez le en place à l'aide la vis de serrage (4, Fig. 1).
6 Vis de blocage de la mise au point: Conque pour empêcher la rotation du tube de focalisation quand un accessoire lourd, comme uneamera, est attaché à l'assemblage de focalisation. Pour l'observation normale avec un oculaire et le prisme diagonal, il n'est pas nécessaire d'utiliser cette vis de serrage.
Viseur à point rouge et support de montage: Permet de centerer plus facilement les objets qu'avc l'oculaire principal du telescope, qui a un champ de vision plus etroit. Glissez l'interrupteur sur le cote du viseur à point rouge afin d'activer l'appareil et changer l'intensite du point rouge.
8 Vis d'alignement du viseur à point rouge: Ajustez ces vis de manière à aligner le viseur. Voir page 12 pour plus d'information.
Boussole avec niveau à bulle incorpore: La boussole vous aidera à tracer le nord. Le niveau à bulle peut servir àmettre le tube optique à niveau lors du réglage de la Position de base.
10 Cercle de réglage et blocage de la déclinaison
A) Cercle de réglage de la déclinaison: Indique la coordonnée de déclinaison (vertical) (A, Fig. 1b).
B) Blocage de la declinaison: Contrôle la rotation manuelle verticale du téléscope.
Tourner cette molette dans le sens antihoraire déverrouille le téléscope, qui peut être incliné à la main sur l'axe vertical. Tourner la molette de declinaison dans le sens horsaire (serrée au droit) empêche la rotation manuelle du téléscope et engage l'embrayage de l'entrainment motorisé vertical pour être contrôle par l'Autostar (B, Fig. 1b).
11 Pare buée: Réduit la formation de rosée sur l'objet principal du téléscope (modèle à refraction seulement).
12 Cache poussière: Tirer pour-retirer le Cache poussière du devant de la lentille du téléscope.
Note: Le Cache poussière doit être replaced et l'alimentation coupée au téléscope après chaque session d'observation. Vérifiez que toute la rosée qui a pu s'accumuler pendant la session d'observation se soit evaporée avant de replacer le cache poussière.
Tube optique: Le composant optique principal qui collecte la luziere des objets distants et la mene jusqu'au point focal pour l'observation avec un oculaire.
14 Molette de blocage du collier: Doit estre serree fermement aux doigs pour tener le tube optique solidement en place.
15 Collier: Tient le tube optique en place. Se fixe au sommet du bras de montage (16, fig. 1)
16 Bras de montage et son axe: Tient l'assemblage du tube optique. Se fixe au sommet du trépied (23, fig. 1).

. Regarder le Soleil directement ou a proximate causera des lesions instantanees et irrereversibles a vaueeil. Ne dirigez pas le telescope vers ou prese du Soleil. Ne regardez pas dans le telescope ou le SmartFinderMD quand il pivote.
17 Panneau de contrôle de l'ordinateur (Fig. 1c)
A. Port HBX pour la commande à distance Branchez y la commande à distance Autostar No. 494 (modèles AT) ou la commande électronique (modèles EC) dans ce port.
B. DEL: Levoyant rouge d'alimentation s'allume quand la commande a distance et a l'entrainment motorisé du téléscope sont sous tension.
C. Interrupteur d'alimentation: Appuyez sur "ON" pour allumer ou "OFF" pour eteindre le panneau de commande et l'Autostar.
Note: Enlevez toujours les piles si elles ne doivent pas'être employées pendant une longue période de temps.
D. Port auxiliaire (AUX): Fournit une connexion pour tous les accessoires Meade optionnels. Voir ACCESSOIRES OPTIONNELS.
Boulons de fixation du Plateau à accessoires: Vissez les écrous aïés pour attacher le plateau au trépied. Voir page 11 pour plus d'information.
Note: Il n'est pas nécessaire de retarder le plateau chaque fois que vous repliez le trépied. Le plateau est concu pour être relié avec les pattes.
19 Plateau porte accessoires: Porte les oculaires supplémentaires, la commande à distance Autostar, et d'autres accessoires. 20
20 Entretoises de support interieur (3): Pour rendre le trépied plus sûr et stable.
21 Blocage des jambes du trépied (3): Soulevez le levier de blocage pour desserrer la section interieure d'une jamba de trépied et la faire coulisser jusqu'à la hauteur désirée. Appuyez sur ce levier pour bloquer la jambe en place.
Jambes du trpied: Doivent etre ecartees autant que possible pour obtenir une assise stable et sure.
23 Sommet du trépied: Soutient le bras de montage en place (16, fig. 1).
24 Cercle de réglage de l'azimuth: Indique les coordonnées en azimuth (horizontales).
Compartment pour piles - installez les huit piles de type AA fournies dans ce compartment. Voir page 12 pour plus d'information.
Molette de serrage de la base (non visible dans la photo) - fixe le bras de montage à la base au sommet du trépied. Desserrez-la avant toute rotation du tube optique sur l'axe horizontal. Voir page 11 pour plus d'information.

Fig. 2: Commande à distance Autostar DS 2000 No. 494.

. Regarder le Soleil directement ou a proximate causera des lesions instantanees et irrereversibles a toue ie. Ne dirigez pas le telescope vers ou prese du Soleil. Ne regardez pas dans le telescope ou le SmartFinderMD quand il pivote.
FONCTIONS DE L'AUTOSTAR
Visitez le cosmos en appuyant simplement sur un bouton
Contrôlez votre système série DS-2000 à l'aide de l'Autostar fourni en équipement standard. Presque toutes les fonctions s'effectuent par une simple pression sur une de ses touches. Les fonctions principales de l'Autostar sont:
Rotation automatique de l'instrument vers n'importe lequel des 30,000 objets célestes stockés dans sa base de données ou vers n'importe quel objet céleste dont les coordonnées ont ete saisis manuellement.
Faites une visite guidée des mêleurs objets célestes à voir à n'importe qu'elle nuit donnée de l'année.
- Téléchargez les révisions les plus récentes des données et du logiciel concernant les satellites à partir du site Web de Meade (www.meade.com) et partagez des logiciels avec d'autres encouriastes d'Autostar. (Requière le logiciel No. 505 AstroFinderMC et l'ensemble de cable de connexion optionnels. Voir ACCESSOIRES OPTIONNELS, page 16.)
- ContrôlezVote DS-2000 à l'aide de votre ordinateur personnel en utilisant l'interface RS-232.
Accedez à un glossaire de termes astronomiques.
- Calculez quel oculaire utiliser pour le visonnement optimal de l'objet céleste.
NOTE: L'Autostar n'exige pas de piles ; les piles du téléscope fournissent l'alimentation pour l'Autostar.
Le toucher doux des touches de l'Autostar est conçu pour donner une sensation de toucher positif. L'afficheur à cristaux liquides (ACL) est rétro-éclairé avec une lumière DEL rouge (Diode electrolytuminescente) permettant le visionnement facile à la noirceur. L'afficheur rétro-éclairé, la disposition des touches et la base de données séquentielle rendent l'Autostar extrément convivial.
1 Afficheur DEL à deux lignes: Fournit une interface entre l'Autostar et le téléscope.
Ligne supérieure: Inscrit la catégorie primaire ou l'article de menu.
Ligne inférieure: Contient une option de menu ou une information sur un objet ou le sujet, selon la fonction en cours
Touche ENTRE: Accede, de façon sequentielle, au menu suivant ou au niveau suivant de données dans la base de données de l'Autostar. Voir SE DEPLACER PARMI LES MENUS DE L'AUTOSTAR, à la page 17 et DESCRIPTION DES MENUS ET OPTIONS DE MENUS DE L'AUTOSTAR à la page 16.
NOTE: Si vous appuyez sur ENTRER pour deux secondes ou plus et relâchéz la touche, Autostar émettra alors un bip et affichera « ENTRER pour Sync » (ENTER to Sync). "ENTRER pour Sync" est seulement applicable après avoir aligné le DS 2000 et qu'il est dirigé vers un object. Si "ENTRER pour Sync" est affchéé par erreur, appuyez sur "MODE" pour revenir à l'écran précédent. Voir Haute Préciension, page 16, pour plus de détails sur cette fonction.
3 MODE Key: Touche MODE: Pour revenir au menu précédent ou au niveau de données precedent dans la base de données de l'Autostar, jusqu'àu niveau supérieur, « Sélectionner article: Objet » (Select Article: Objet). La touche "MODE" est l'équivalent de la touche "Esc" (ESCAPE) d'un ordinateur.
NOTE: Une pression sur la touche « MODE » quand l'écran affiche le menu "Select Item" ( Sélectionner article) ramène Autostar à l'écran de niveau supérieur « Select Item:Object » ( Sélectionner article: Objectif).
NOTE: une pression sur la touche "MODE" pendant deux secondes ou plus, les informations concernant le téléscope deviennent accessibles à l'aide des touches de défilament (7, Fig. 2); p.ex.:
- Les coordonnées (astronomiques) d'Ascension droite et de Déclinaison (page 16).
- Les coordonnées d'Altitude (vertical) et d'Azimuth (horizontal).
- L'heure locale et l'Heure Sidérale Locale (LST), l'état du chronométrage et d'alarme. Appuyez sur "MODE" à nouveau pour returner au menu précédent.
4 Touche GO TO: Pivote (déplace) le téléscope selon les coordonnées de l'objet liéSENTement sélectionné. Tant qu'il pivote, l'opération peut être interrompue en appuyant sur n'importe qu'elle touche sauf "GO TO". Une nouvelle pression sur GO TO réactive le déplacement vers l'objet.
5 Touches fléchéées: Pivotez le téléscope dans une direction spécifique (en haut, en bas, à gauche et à droite), à une des neuf vittesses différentes. La sélection parmi les vittesses est expliquée dans "Vitesses de rotation" à la page 16. Les fonctions suivantes sont également disponibles par les touches fléchéées:
. Regarder le Soleil directement ou a proximite causera des lesions instantanee et irreversibles ao titre ne dirigez pas le telescope vers ou pres du Soleil. Ne regardez pas dans le telescope ou le SmartFinderMD quand il pivote.
DEFINITION: Partout dans ce manuel, vous remarquerez le terme « Alt/Az ». Alt/Az (abréviation de Altazimut) est tout simplement l'une des méthodes employées pour déplacer le téléscope vers le haut et le bas et d'un côté à l'autre. Alt/Az est une des nombreuses méthodes utilisées par les astronomes amateurs pour repérer les objets célestes.

Fig. 3 Attachez le panier au trépied: vissez les vis à ailettes aux boulons (vue du dessous).

Fig 4. Les coussinets permettent à la monture de se déplacer en douceur.

Fig 5. Fixez le bras de montage au sommet du trépied.
- Saisie des données: Les touches fléchées vers le haut et le bas permettent d'afficher les lettres de l'alphabet et les chiffres. La touche fléchée vers le bas commence par la dette "A" et la touche ver le haut commence par le chiffre "9". Les touches fléchées gauche et droite sont employées pour déplacer le curseur clignotant vers la gauche et à droite à travers l'écran à cristaux liquides.
- Alignment Alt/Az: Utilisez les touches fléchées vers le haut et le bas pour déplacer le téléscope verticalément vers le haut et le bas. La touche fléchée gauche fait tourner le téléscope horizontally dans le sens antihoraire, alors que la touche fléchée droite le tourne dans le sens horaire.
6 Touches numériques: La saisie des touches 0 - 9 change les vitesses de rotation (voir Vitesse de rotation à la page 16). La touche « 0 » allume et estint aussi la lampe utilisé rouge sur le dessus de la commande à distance.
7 Touches de défillement: Accède les options de la base de données à partir d'un menu choisi. Le menu s'affiche sur la première ligne de l'écran. Les options dans le menu s'affichent les unes après les autres sur la deuxième ligne. Appuyez sur les touches de défillement pour vous déplacer parmi les options. Maintenez appuyée la touche de défillement pour vous déplacer rapidement parmi les options. Ces touches de défillement permettent aussi de faire défilier les lettres de l'alphabet et les chiffres.
NOTE: La touche de défillement vers le bas et la touche fléchée vers le bas permettant d'avancer parmi l'alphabet et les chiffres (A à Z, 0 à 9). La touche de défillement vers le haut et la touche fléchée vers le haut font défilier en reculons (Z à A et 9 à 0).
? Touche: Accede le fichier « Aide ». « Aide » fournit de l'information sur l'écran concernant la marche à suivre pour accomplir quelque tâche qui estprésentement active. Appuyez continuèlement sur la touche « ? » pendant que vous suivez les invites sur l'écran, afin d'acceder aux détails des fonctions de l'Autostar contenues dans les menus. Le système d'Aide est essentièlement un Mode d'emploi sur l'écran.
Si vous avez une question à propos d'une opération d'Autostar, p.ex.: concernant l'INITIALISATION ou l'ALIGNEMENT, maintenez la touche « ? » appuyée et suivez les directives qui défilent sur la deuxieme ligne de l'écran ACL. Quand un mot apparait entre [parentheses], appuyez sur ENTRE pour avoir accès au Glossaire Autostar. Une définition ou des informations plus détaillées s'affichent. Appuyez sur « MODE » pour returner à l'affichage d'aide Autostar défilant.
Une fois satisfait de l'Aide fournie, appuyez sur « MODE » pour returner à l'affichage d'origine et continuer la procédure可以选择.
9 Port du cable torsade: Branchez une extrémité du cable torsade du Autostar dans ce port (11, Fig. 2) qui se trouve au bas de la commande à distance Autostar.
10 Câble torsadé: Branchez une extrémité du cable torsadé dans le port HBX (13A, Fig. 1) du panneau de commande de l'ordinateur du téléscope.
11 Port RS-232: Branchez le cable RS-232 dans l'Autostar pour telécharger les fonctions telles que « Téléchargement » ou « Clone ». Voir les pages 28 et 29 pour plus d'information.
Baladeuse: Utilisez cette lampe rouge intégrée pour illuminer les cartes d'étoiles et les accessoires sans perdre votre vision de nuit.

Join an Astronomy Club articipez à un club d'astronomie, allez à une foure d'étoiles
Une façon amusante d'apprendre l'astronomie est de participer à un club d'astronomie. Consultez votre quotidien local, école, bibliothèque, ou revendeur de téléscopes afin de découvert r'sil existe un club dans cette région. Dans le réunions du club, vous rencontresrez des enthesiastes de l'astronomie avec qui vous poursyrenz partager vos découvertes. Les clubs sont des endroits excellents pour apprendre plus en observant le ciel, pour découvert r où sont les Seedleurs sites d'observation, et pour comparer vos connaissances concernant les téléscopes, les oculaires, les trépieds et ainsi de suite. Souvent, les membres des clubs sont d'excellents astro-photographes. Non seulement pourrez-vous voir des exemple de leur art, mais vous poursyrenz possiblement apprendre de nouveaux « trucs du métier » que vous poursyrenz essayer sur toute téléscope DS-2000. Plusieurs groupes tiennent régulièrement des Foires d'étoiles dans lesquelles vous poursyrenz voir et observer à l'aide de plusieurs téléscopes différents et d'autres pieces d'équipements astronomiques. Les publications telles que Sky & Telescope and Astronomy imprint des cédules pour plusieurs Foires d'étoiles étant tenues aux États-Unis et au Canada.

Fig. 6: Attachez le collier sur le bras de montage.

Fig. 7: Attachez et balancez le tube optique.

Fig. 8a: Glissez l'oculaire dans le support à

Fig. 8b: Appuyez sur la languette de relâchement pour détacher l'oculaire du support.
DÉMARRAGE
Contenu
Préparation du téléscope pour les premières observations ne requière que quelques minutes. En ouvrant la boîte d'emballage, prenez note attentivement de tous les éléments indiqués qui se trouvent dans votre boîtecadeau.
Assemblage du téléscope
L'instrument se fixe au sommet du trépied. Sa monture est montée suivant un format "Altazimuth" (Altitude-Azimuth ou vertical-horizontal). Dans cette configuration, le téléscope se déplace de haut en bas et de chaque côté.
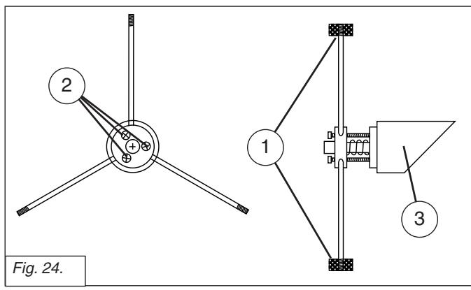
- Dépliez le trépied: après avoir retiré le trépied de son carton d'expédition, placez le trépied en position verticale, avec les pieds vers le bas et avec le trépied toujours en position reférmé, écartez doucement ses jambes jusqu'à la position complètement ouvertes.
- Attachez le plateau porte accessoires au trépied: Placez le plateau (19, Fig. 1) par-dessus l'entretoise de support interne qui contient deux trous pour boulons. Alignez les trous pour boulons du plateau avec ceux de l'entretoise. Gillessez les deux boulons fournis à travers les dessus des trous de boulons (18, fig. 1) et serrez-les avec les vis à ailettes appliquées en dessous du plateau (Fig. 3). Serrez sans excès. Note: Il n'est pas nécessaire de démonter le plateau chaque fois que vous repliez le trépied à la fin d'une session d'observation - desserrez seulement la molette de verrouillage centrale du plateau.
- Trois coussins: Il y a trois coussins sur la base du trépied (23, Fig. 1) et trois coussins sur l'assemblage du bras de montage (16, Fig. 1). Les coussins aident l'assemblage du bras de montage de se déplacer facilement à l'intérieur du sommet. Voir Fig. 4. Ceci est indiqué uniquement pour informer l'usager du téléscope; l'usager n'a pas besoin d'ajuster les coussins qui sont préinstallés.
- Fixez l'assemblage du bras de montage sur la base du trépied: Placez l'assemblage du bras de montage sur la base du trépied et continue à le tenir dans l'assemblage du bras. Avec l'autre main, serrez la molette de blocage (26, fig. 1) en l'introduisant par le dessous du sommet du trépied à travers la base et dans l'assemblage du bras de montage. Serrez fermement, sans trop serrer. Durant une observation, vous pourriez devoir de desserer cette molette pour faire tourner le bras de montage avec le tube optique sur l'axe horizontal (voir étape 8).
- Retirer le tube optique des colliers de serrage: Ce collier est expédié attaché au tube optique. Vous doivent restorer les colliers avant de les fixer sur le bras de montage. Desserrez la molette de blocage du collier (14, fig. 1) jusqu'à ce qu vous puissiez ouvrir le collier. Séparez-le du tube optique (13, fig. 1) des anneaux du collier.
- Oter les 4 vis situées sur l'axe du bras de montage: Repérez les quatre vis sur l'axe du bras de montage. Enlevez-les avec un tournevis cruciforme (tête Philips). Mettez les vis de côté.
- Fixez le collier au bras de montage: Alignez le collier avec l'axe du bras de montage. Un guide est prévu pour s'encastrer dans une concavité prévue pour lui sur l'axe du bras. Alignez-les et faites glisser le collier contre l'axe du bras. Les quatre perforations du collier et du bras prévues pour les vis d'accoupling seront alors automatiquement alignées. Replacez les quatre vis mises de côté avec le tournevis Phillips (Fig. 6). Un guide et une concavité servent de butées de blocage pour le téléscope de façon à ce qu'il ne frappe pas la base, ou ne dépasse pas environ 90^ d'altitude quand il est commandé par la commande à distance Autostar.
- Attacher et équilibrer le tube optique: Replacez le tube optique dans le collier. Serrez la molette de serrage du collier juste assez pour qu'il tienne le tube sans le bloquer; ne serrez pas trop la molette du collier pour l'instant. Faites-le glisser en avant ou en arrriere jusqu'à trouver la position où il restera horizontal (sans s'abaisser ni d'un côté, ni de l'autre). Serrez la molette de blocage du collier jusqu'à ce qu'elle soit ferme aux doigts. Voir Fig. 7. Réglez la longueur des jambes du trépied pour une hauteur d'observationcomfortable à l'aide des verrous de pattes (21, fig. 1).
- Fixez le viseur à point rouge: Le viseur est muni d'une fixation du type glisser-en-place pour une fixation aisée. Glissez tout simplement le viseur dans le support jusqu'à ce qu'il clique en place. Pour détacher le support, appuyez vers le bas sur la languette de relâchement rapide du support et retirez le support en le glissant. Voir Fig. 8a et 8b.
- Insérez l'oculaire: sortez l'oculaire fourni (3, fig. 9) de sa boîte et placez-le dans le prisme diagonal (modèle à réfraction; 1, fig. 9) ou directement dans le porte-oculaire (modèle à réflexion; 2, fig. 10). Serrez les vis de serrage (2 et 4, fig. 9, modèle à réfraction seulement) fermement, sans plus. Serrez les vis de serrage (3 et 4, fig. 10, modèle à réfraction seulement) fermement, sans plus.

. Regarder le Soleil directement ou a proximate causera des lesions instantanees et irrereversibles a toue cel. Ne dirigez pas le telescope vers ou pre s du Soleil. Ne regardez pas dans le telescope ou le SmartFinderMD quand il pivote.


Fig. 9: Attachez le prisme diagonal (1), serrez les vis de serrage (2), inserez l'oculaire (3), serrez les vis de serrage de l'oculaire (4) (modèles à réfraction).
Fig. 10: Insérez l'oculaire (1) dans le porte-oculaire (2), serrez la vis de serrage de l'oculaire (3) (modèle à réflexion). models).


Fig. 11: Insérez huit piles type AA à l'intérieur du compartment à piles. (1) Compartiment à piles (2) Porte-piles (3) connecteur 9V. Insérez huit piles type AA à l'intérieur du compartment à piles. (1) Compartiment à piles (2) Porte-piles (3) connecteur 9V.
Fig. 12: Branchez l'Autostardans le port HBX.
- Insérez les piles: le compartment pour piles (1, Fig. 11) est situé dans la partie supérieure de la base de l'entrainment. Ouvrez le compartment à piles en boulevant le couvercle et retirez le module porte-piles.
Retirez le portepiles du compartment et soulevez soigneusement le connecteur 9V du compartment. Evitez de detacher accidentellement les fils des piles de la base. Chaque fois que vous remplacez les piles, préservez les fils en débranchant ce connecteur 9v avant desteroler les piles. Inserer huit piles de type AA dans le portepiles orientees comme indiqued sur les schémas dans les fentes a piles du portepiles. Branchez le connecteur de 9 V au portepile. Replacez soigneusement le portepiles dans son compartment. Replacez le couvercle.
PRUDENCE: Installee les piles avec soin dans leur compartment, dans l'orientation indiquée par l'illustration du compartment. Suivez les précautions du fabricant de piles. N'installez pas de vieilles piles et ne mélangez pas de nouvelles piles avec des piles usagées. Ne mélangez pas les types de piles. Si ces précautions ne sont pas respectées, les piles peuvent éclater, prendre feu, ou fuir. Une installation incorrecte des piles annule votre garantie Meade. Enlevez toujours les piles si elles ne doivent pas être employées pendant une longue période de temps.
- Connectez l'Autostar: assurez-vous que l'interrupteur du panneau de contrôle est dans la position désactivé "OFF". Branchez le cable torsadé de la commande Autostar dans le port HBX. Allumez l'interrupteur d'alimentation; la Dél rouge s'allume quand le panneau est sous tension. Voir Fig. 12.
NOTE: L'Autostar n'exige pas de piles; les piles du téléscope fournissent l'alimentation pour l'Autostar.
- Œtez le cache poussière: retirez le cache poussière (12, Fig.1) de l'assemblage du tube optique (13, fig. 1).
L'assemblage du téléscope de base est maintainant terminé.
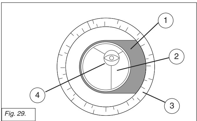
Le Viseur à Point Rouge
Parce que son champ de vision est relativement étroit, il est parfois difficile de localiser et de center des objets en observant à travers le téléscope principal. Le Viseur à point rouge (Fig. 13) projette un petit point rouge qui permet de facilement repérer les objets. Quand le Viseur à point rouge et le tube optique sont alignés, ils pointent tous deux vers la même position céleste. L'objet repéré dans le viseur se trouve donc dans l'oculaire du téléscope principal.
Mise au point du Viseur à point rouge:
Il est conseilé de réaliser les étapes 1 à 4 de la présente procédure pendant la journée, et l'étape 5 pendant la nuit.
- Desserrez l'anneau de blocage de la base du trépied (26, fig. 1) et le blocage d'Altitude (10, Fig. 1), jusqu'à permettre au téléscope de se déplacer librement.
- Si ce n'est pas déjà fait, placez un oculaire à faible puissance (p.ex.: 25mm) dans le prisme diagonal du téléscope principal (3, Fig. 10 et pointez le téléscope vers un objet facilement identifiable (p.ex.: le sommet d'un poteau téléphonique ou d'une enseigne). Tournez la molette de mise au point (1, Fig. 1) pourmettre l'image au point dans l'oculaire. Centrez l'objet avec précision.
- Resserrez l'anneau de blocage de la base du trépied (26, fig. 1) et le blocage d'Altitude (10, Fig. 1), jusqu'à ce que le téléscope cesse de se déplacer pendant cette procédure.
- Glissez le Sélecteur d'intensité vers la droite afin d'allumer le Viseur à point rouge (ON) (en changeant la position du sélecteur, vous changez l'intensité du point rouge; voir Fig. 13). Regarde à travers le viseur: Tournez les deux vis d'alignement du viseur (8, Fig. 1) jusqu'à ce que les deux points rouges pointent précisément vers le même objet qui est centré dans l'oculaire. Le viseur point rouge est maintainant aligné avec le téléscope.
- Vérifiez cet alignment sur un objet céleste, tel que la Lune ou une étoile brillante, et effectuez toutes raffinements nécessaires.
Choix de l'oculaire
La fonction de l'oculaire est de grossir les images qui se forment au foyer du téléscope. Chaque oculaire a une longueur facale exprimée en millimetres, ou « mm ». Plus sa longueur facale sera faible, plus son grossissement sera élevé. Par exemple, un oculaire d'une longueur facale de 9 mm offre un grossissement plus importante que celui d'un oculaire d'une longueur facale de 25 mm.
Votre instrument est fourni avec un oculaire 25 mm ou 26mm qui donne un champ de vision large, comfortable et offre une haute résolution optique. Debutez toujours vos observations à l'aide de cet

. Regarder le Soleil directement ou a proximite causera des lesions instantanees et irrereversibles a toue cel. Ne dirigez pas le telescope vers ou preu du Soleil. Ne regardez pas dans le telescope ou le SmartFinderMD quand il pivote.

Fig. 13: Gillesz le Selecteur d'intensité vers la croite afin d'allumer le Viseur à point rouge (ON) (en changeant la position du selecteur, vous changez l'intensité du point rouge.
oculaire. Les oculaires de faible puissance offrent un champ de vision plus large et des images plus contrastées et un repos pour l'oeil durant les longues sessions d'observation. Àpès avoir repéré un objet et l'avoir centré dans l'oculaire, essayez de changer à un oculaire plus puissant afin d'agrandir l'image.
NOTE: Les conditions d'observation peuvent varier fortement d'une nuit à l'autre et d'un site à l'autre. La turbulence atmosphérique peut, même par nuit apparentment claire, déformer les images. Si l'image semble floue et mal définie, utilisez un oculaire de plus faible puissance afin d'obtenir une image plus précise.
La puissance ou grossissement du téléscope est déterminé par la longueur fisque du téléscope et la longueur fisque de l'oculaire employé. Pour calculer le grossissement d'un oculaire, divisez la longueur fisque du téléscope par la longueur fisque de l'oculaire. Par exemple, si vous utilisez un oculaire de 25mm avec un DS-2000 modèle DS-2114S. Recherche la longueur fisque du DS-2411S dans SPECIFICATIONS: DS-2114S, page 32.
La longueur fiscale indiquée est 1000mm.
Longueur locale du téléscope divisée par Longueur locale de l'oculaire = Puissance de l'oculaire.
La puissance de l'oculaire, ou le grossissement est donc 40X (approximativement).
Lentille de Barlow
Certains téléscopes de Meade incluent un multiplicateur de puissance appelée Lentille de Barlow. Celle-ci consiste en une lentille montée dans un tube long de 4po (10,16cm). The Barlow double ou triple la puissance comparée à celle obtenue uniquement avec un oculaire. Dans l'exemple ci-dessus, un oculaire de 25mm resultant en un grossissement de 40X avec in téléscope DS 2114S produit le double, soit 80X , lorsqu'il est utilisé en konjection avec une lentille Barlow 2X . Pour utiliser une lentille Barlow, insérez-la dans le prisme diagonal (modèle à réfraction seulement) ou dans le porto-oculaire, suivi par l'oculaire. power is doubled to 80X . To use the Barlow, insert it into the diagonal prism (refractor models only) or eyepiece holder, followed by the eyepiece.
in téléscope DS 2114S produit le double, soit 80X, lorsqu'il est utilisé en konjection avec une lentille Barlow 2X. Pour utiliser une lentille Barlow, insérez-la dans le prisme diagonal (modèles à réfraction seulement) ou dans le porte-oculaire, suivi par l'oculaire. in téléscope DS 2114S produit le double, soit 80X, lorsqu'il est utilisé en konjection avec une lentille Barlow 2X. Pour utiliser une lentille Barlow, insérez-la dans le prisme diagonal (modèles à réfraction seulement) ou dans le porte-oculaire, suivi par l'oculaire.


Fig. 15: Les oculaires.

. Regarder le Soleil directement ou a proximite causera des lesions instantanees et irrereversibles a toue cel. Ne dirigez pas le telescope vers ou preu du Soleil. Ne regardez pas dans le telescope ou le SmartFinderMD quand il pivote.
Note importante: : lorsque vous regardez à travers l'oculaire du téléscope, l'image peut semble étrange au début.
Si vous telscope est a refraction, les objets apparaitront dans le bon sens vertical, mais seront inverses de gauche à droite. Ceci ne fera pas de différence lors de l'observation d'objets astronomiques, et en fait, tous les téléscopes astronomiques représentent les images de façon inversée.
Pour l'observation terrestre, un Prisme d'érection à 450 optionnel de Meade est disponible pour corriger l'image (dans le bon sens vertical et de gauche à droite) Voir ACCESSOIRES OPTIONNELS à la page 28, ou consultez le catalogue de téléscopes de Meade.
Il n'y a pas de façon de corriger l'image pour les téléscopes à réflexion - l'image apparaitra en envers et inversée de gauche à droite.
OBSERVING
Observation par déplacement manuel
Si vous souhaitez observer un object terrestre éloigné, comme le sommet d'une montagne ou un oiseau, dirigez simplement l'instrument dans sa direction et observez dans l'oculaire.
- Desserrez la molette de serrage sous la base du trépied (26, fig. 1) et la molette d'Altitude (6, fig. 1) de façon à ce que le téléscope puisse être déplacé facilement.
- Pointez votre téléscope vers une plaque de rue, des montagnes, des arbres, ou toute autre structure. Employez votre Viseur à point rouge comme aide au pointage.
- Centrez l'objet dans le Viseur à point rouge, puis dans l'oculaire du téléscope principal. Quand l'objet est centré dans votre oculaire, resserrez les molettes de serrage de la base et de l'altitude. Pratiquer la mise au point sur ces objets avec la molette (1, fig. 1).
- Une fois que vous aurez bien maitrisé le déplacement et la mise au point de votre téléscope, essayez des sujets plus difficiles comme un oiseau ou un train en déplacement.
Voussousquessalso observer des etoiles et des objets celestes avec cette methode,mais youns noterez alors quils derrivent lentement dans le champ de I'oculaire.Cemouvement est causé par la rotation de la Terre.En yous familiarisant avec la commande a distance d'Autostar,you pourrez compenser cette derive avec son menu de suivi automatique dans le menu de reglage d'Autostar (voir "SUIVIAUTOMATIQUED'UN OBJECTA VITESSESIDERALE",page 15),ouaI'aide de la fonction"GO TO"de I'Autostar(voir"POINTAGE VERS SATURNE",page 19).
Observation terrestre
Les téléscopes à réfraction DS-2000 ont une excellente résolution pour l'observation terrestre alors que les téléscopes à réflexion sont conçus principalement pour les observations astronomiques. L'observation terrestre d'objects se fait le long de la surface de la terre à travers des vagues de chaleur. Ces vagues de chaleur dégradent souvent la qualité de l'image. Des oculaires de faibles puissances, comme le 25 mm, grossissant moins ces vagues de chaleur que les oculaires plus puissants. Donc, les oculaires moins puissants offrent des images plus stables, et de meilleure qualité. Si l'image est floue ou mal définie,CHOISSEZ un oculaire de puissance inférieure, sur lequel les vagues de chaleur auront moins d'effet sur la qualité de l'image. Observependant les premières heures du matin, avant que la terre soit rechauffee, offre de更好地 conditions qu'a la fin de I'a pres-midi.
Observation à l'aide des touches fléchées de l'Autostar
Voussoupiezobserver des sujets terrestres ou des objets célestes et déplacer l'instrument à I'aide des touches fléchéées de I'Autostar.
- Serrez la molette d'altitude (10, fig. 1) et la molette de la base du trépied (26, Fig. 1).
- Vérifiez que l'interrupteur d'alimentation de l'Autostar est dans la position désactivé « OFF ». Branchez l'Autostar dans le port HBX du panneau de commande.
- Basculez l'interrupteur d'alimentation à la position activé « ON ». L'Autostar s'allume et un message de Protection des droits d'auteurs (Copyright) s'affiche brièvement, suivi d'un court bip. L'Autostar prend alors un moment pourmettre le système en marche.
- Un message s'affiche averitant de ne pas regarder le soleil. Pour confirmer que vous avez lu et compris ces instructions, appuyez sur la touche indiquée par l'Autostar afin d'indiquer que vous avez lu et compris le message.
- Les touches fléchées sont maintenant activées. Appuyez sur les touches fléchées (5, Fig. 2) afin de pivoter (déplacer) le téléscope vers le bas, le haut, la droite ou la gauche.
- Appuyez sur une touche numérique (8, fig. 2) pour changer la vitesse de rotation du téléscope. Chaque fois que vous appuyez sur un chiffre de 1 à 9, la vitesse changera. Voir « VOTESSES DE ROTATION », page 15, pour plus d'information.
- Visez un objet avec le Viseur à point rouge (7, fig. 1), pour repérer un objet et pratiquer l'utilisation des touches fléchéées de l'Autostar pour centrer un objet dans le champ de vision de l'oculaire.
- Utilisez la molette de mise au point du téléscope (1, fig. 1) pourmettre l'image de I'objet au point.

. Regarder le Soleil directement ou a proximate causera des lesions instantanees et irrereversibles a toue cel. Ne dirigez pas le telescope vers ou prese du Soleil. Ne regardez pas dans le telescope ou le SmartFinderMD quand il pivote.
NOTE: N'observe pas à travers l'oculaire ni le viseur pendant qu'il se déplace rapidement. Les enfants ne doivent observer que sous la surveillance d'un adulte.
CONSEIL: Quand un message défile sur l'écran, appuyez et maintenez appuyée la touche fléchée vers le haut pour augmenter la vitesse de défilement et appuyez et maintenez appuyée la touche fléchée bers le bas pour diminuer la vitesse de défilament.
Vitesses de rotation
L'Autostar a neuf vitesses de déplacements, directement proportionnelles à la vitesse sidérale (voir « Suivi automatique des objets célestes » ci-dessous pour retrouver une définition de la « vitesse sidérale ») et qui ont été calculées pouraccomplir des fonctions spécifiques. L'appui sur une touche numérique change la vitesse de rotation, qui s'affiche pendant environ deux secondes sur l'écran de l'Autostar. Les neuf vitesses disponibles sont:
■ Numéro 1 = 2x = 2 fois la vitesse sidérale (0.5 arc-min/sec ou 0.008°/sec)
Numéro 2 = 8x = 8 fais la vitesse sidérale (2 arc-min/sec ou 0.033^ /sec)
Numéro 3 = 16X = 16 fois la vitesse sidérale (4 arc-min/sec ou 0.067°/sec)
Numéro 4 = 32x = 32 fois la vitesse sidérale (8 arc-min/sec ou 0.067^ /sec)
Numéro 5 = 64x = 64 fois la vitesse sidérale (16 arc-min/sec ou 0.067^ /sec)
Numéro 6 = 0.5° = 120 fois la vitesse sidérale (30 arc-min/sec ou 0.067°/sec)
Numéro 7 = 1°/s = 240 fois la vitesse sidérale (60 arc-min/sec ou 1°/sec)
Numéro 8 = 2°/s = 480 fois la vitesse sidérale (120 arc-min/sec ou 2°/sec)
Numéro 9 = Maxi = (vitesse maximum possible, dépend de la capacité des piles)
Vitesses 1, 2, ou 3: les plus utilisées pour un excellent centrage des objets dans le champ de vision des oculaires de grande puissance, comme un oculaire de 12mm ou un 9mm .
Vitesses 4, 5, ou 6: permettent le centrage des objets dans le champ de vision avec un oculaire de faible à moyenne puissance, comme le 25mm.
Vitesses 7 ou 8: les plus utilisées pour un centrage grossier des objets dans l'oculaire.
Speed 9: Déplace le téléscope rapidement d'un point dans le ciel à un autre.
Observation de la Lune
Dirigez votre instrument vers la Lune (Elle ne sera pas visible chaque nuit) et pratique-vous à utiliser touches fléchéées et les vitesses de rotation afin de voir ses différentes caractéristiques. La Lune possède de nombreuses caractéristiques intéressantes, incluant des créatures, chaînes de montagnes, et lignes de falles. Le meilleur moment pour voir la Lune est pendant ses phases de croissant ou de demi-lune. La lumière du soleil la frappe alors à un angle mettant en valeur ses reliés. On ne voit aucune ombre pendant une pleine Lune, faisant que la surface excessivement brillante apparait plate et peu intéresse. Pensez à utiliser un filtre lunaire à densité neutre pour observer la Lune. Non seulement il attenue la brillance de la Lune, il améliore le contraste, représentant une image plus dramatique.
Observation Astronomique
Employé comme instrument astronomique, votre téléscope a de nombreuses capacités optiques et electromécaniques. C'est dans les applications astronomiques que son haut niveau de performance optique est le plus visible.
Suivi automatique d'un objet
Avec la rotation terrestre sous le ciel nocturne, toute la voute céleste semble se déplacer d'Est en Ouest. La vitesse à laquelle les étoiles semblent se déplacer est appelée vitesse sidérale. Vous pouvez régler votre téléscope pour qu'il tourne à la vitesse sidérale et qu'il "suive automatique" les étoiles et les autres objets célestes. S'il ne suit pas les objets astronomiques à la vitesse sidérale, ceux-ci dériveront hors du champ de vision de l'oculaire. Cette fonction garde automatique un objet plus ou moins centré dans le champ de vision du téléscope.
Pour suivre les objets, vous devez d'abordmettrele telscope en position originale,puis initiaiser I'Autostar et的选择ir « Cibles > Astronomiques » dans le menu de Reglage du telscope. Vous nevez aussi apprendre à vous servir du pavé numérique de l'Autostar de façon à vous déplacer parmi les menus d'Autostar.


Fig. 16: Position Alt/Az originale.
Fig. 17: Cercle de réglage et blocage de l'altitude.
DEFINITION:
L'initialisation est une procedure qui assure que l'Autostar fonctionne correctement. La première fois que vous utilisez Autostar, il ne connait toujours pas ou se trouve l'emplacement du site d'observation.
Pendant la procEDURE,
vous entrez
l'emplacement du site
d'observation. Autostar
utilise cette information
pour calculer
précisément
l'emplacement des
objets célestes (teils que
les étoiles et planées)
et pour déplacer le
telescope correctement.
Position « Alt/Az » Originale
- Desserrez le blocage d'altitude du téléscope (voir Fig. 16 et 17).
- Mettez le tube optique à niveau. Retirez l'oculaire et insérez la Boussole/Niveau à bulle dans le porte-oculaire. Basculez le tube jusqu'à ce que la bulle soit centré dans le cercle de la boussole.
Méthode alternative: Mettez le tube optique à niveau. Alignez le 0o sur le cercle de réglage d'altitude (Fig. 17) avec le pointeur triangulaire.
- Serrez le blocage d'altitude (Fig. 17) fermement, sans plus.
- Desserrez la molette de serrage de la base du trépied (26, fig. 1). Avec la Boussole/Niveau à bulle dans le porto-oculaire, alignez la ligne nord-sud avec votre tube optique.
- Déplacez ensuite le tube jusqu'à ce que l'aiguille de la boussole indique le Nord.
- Resserrez la molette de serrage de la base du trépied (26, fig. 1). Appuyez sur « Enter » de la commande à distance Autostar.
Naviguer à travers les menus de l'Autostar
L'arborescence de l'Autostar est prévue pour une navigation rapide et facile.
Appuyez sur la touche ENTRER pour descendre parmi les niveaux de menu de l'Autostar.
Appuyez sur la touche « MODE » pour remonter au niveau de menu supérieur.
Appuyez sur les touches de défilament pour vous déplacer parmi les options disponibles à chaque niveau.
Appuyez sur les touches fléchées pour entrer des caractères et des chiffres.
The touches fléchéées seront aussi à déplacer le téléscope.
Initialisation de l'Autostar
Cette section déscrit commentitialiser l'Autostar. Effectuez cette procEDURE la première fois que vous l'utilisez l'Autostar ou après avoir effectué une REINITIALISATION (voir REINITIALISATION, page 27).
- Serrez les molettes: Serrez la molette d'altitude (10, fig. 1) et la molette de la base du trépied (26, Fig. 1).
-
Branchez l'Autostar: Vérifiez que l'interrupteur d'alimentation de l'Autostar est dans la position désactivé « OFF ». Branchez l'Autostar dans le port HBX du panneau de commande.
-
Allumez l'Autostar: Basculez l'interrupteur d'alimentation à la position activé « ON »
- Avertissement Soleil: Un message s'affiche averissant de ne pas regarder le soleil. Pour confirmer que vous avez lu et compris ces instructions, appuyez sur la touche indiquée par l'Autostar afin d'indiquer que vous avez lu et compris le message.
- Contournement du démarriage: Le menu de Démarriage affiche un message défilant. Appuyez sur "ENTRER" (2, fig. 2) pour contourer le tutorial d'aide.
- Heure avancée: L'écran suivant demande l'objet de l'heure avancée.
Appuyez sur une des touches de défilament afin de changer entre les réglages « YES » et « NO ». Lorsque le réglage désiré apparait, appuyez sur ENTRER. NOTE: quand plusieurs options sont disponibles dans un menu, l'option sélectionnée est d'habitude affichée en premier et mise en évidence par la flèche vers la droite (>).
- Reglez votre emplacement ou votre Code Postal: L'écran de localisation s'affiche. Cet affichage vous demande si vous voulez désirir un code postal de votre emplacement d'observation or l'emplacement (c.a.d. en entrant la ville et l'état/province et pays de votre emplacement d'observation). Appuyez la flèche vers le haut pour sélectionner l'options code postal (Zip) ou pour entra r la ville et état/province/pays.
a. Si vous choisissez l'option code postal (Zip), le « 0 » le plus à la gauche est mis en évidence. Utilisez la touche numérique pour saisir les chiffres. Lorsque vous entrez un chiffre, le prochain chiffre sera mis en évidence. Entrez le prochain chiffre. Répéteze ce processus jusqu'à ce que les 5 chiffres du code postal soient saisis. Appuyez ENTRER:
b. Si vous avez besoin l'option Emplacement, le prochain écran vous demande d'entrer le pays ou l'etat/province (défilés en ordre alphétique) du site d'observation.
NOTE IMPORTANTE
Autostar demande le code postal ou le Pays/État/Province et l'information du modele de téléscope une seule fois lors de l'activation de l'Autostar. Si vous poulez changer cette information, employez les options « Site » et « Modèle de téléscope » (Telescope Model) du menu d'activation de l'Autostar. Voir pages 26 et 27 pour plus d'information.
NOTE IMPORTANTE
Pendant le suivi automatique, utilisez seulement les seules touches fléchéées pour déplacer l'télescope. Une fois le téléscope en position Alt/Az d'origine, ne desserrez pas les blocages du téléscope (10 et 26, fig. 1), et ne déplacez pas la base ou l'alignment manuellement.
Employez les touches de défilament pour faire défilier la liste des pays, états et provinces. Appuyez sur ENTRER quand le bon emplacement s'affiche. L'écran suivant demande de désir la ville (défilée en ordre alphétique) la plus proche du site d'observation. Employez les touches de défilament pour faire défilier la liste des villes. Appuyez sur ENTRER quand la bonne ville s'affiche à l'écran.
- Autostar demande alors le numéro de modele de téléscope. Employez les touches de défilament pour passer à travers la base de données des modèles. Appuyez sur ENTRER pour saisir votre numéro de modele lorsqu'il s'affiche.
- L'initialisation du système est complétée. La fonction Alignment facile démarre automatiquement après avoir initiaisé le panneau de commande.
Observation d'une étoile à l'aide de la fonction de suivi automatique
Dans cet exemple, les touches fléchéées de l'Autostar servent à pointer vers une étoile, et ensuite, la capacité de suivi automatique maintain le'étoile centré dans l'oculaire de votre téléscope.
- Régler la position originale: Mettez le tube optique à niveau et pointez le vers le nord. Assurez-vous que le blocage d'altitude (10, fig. 1) et la molette de blocage de la base du trépied (26, Fig. 1) soient solides, tel que décrit précédement.
- Branchez l'Autostar: Vérifiez que l'interrupteur d'alimentation de l'Autostar est dans la position désactivé « OFF ». Branchez l'Autostar dans le port HBX du panneau de commande.
- Allumez l'Autostar: Basculez l'interrupteur d'alimentation à la position activé « ON »
- Avertissement Soleil: Un message s'affiche avertissant de ne pas regarder le soleil. Pour confirmer que vous avez lu et compris ces instructions, appuyez sur la touche indiquée par l'Autostar afin d'indiquer que vous avez lu et compris le message.
- Sélectionnez l'heure avancée: Réglez l'heure avancée, si demandé.
- Sélectionner Configurations (Setup): Option d'alignement du viseur: Appuyez sur « MODE » (3, fig. 2). « Configurations: Aligner » s'affiche.
- Sélectionner Configurations: Option Cibles: appuyez à plusieurs reprises sur la touche de défillement vers le bas, jusqu'à l'affichage de « Configurations > Cibles ». Appuyez ensuite sur ENTRE (2, fig. 2).
- Sélectionner les Cibles: Option Astronomique:"Cibles: terrestres » s'affiche. Appuyez sur une des touches de défilament (6 ou 7, fig. 2). "Cibles: Astronomiques » s'affiche.
- Repérer une étoile brillante: Utilisez les touches fléchéées (5, fig. 2) pour repérer une étoile brillante dans le ciel nocturne. Utilisez également du viseur (7, fig. 1) pour vous aider à vous aligner vers l'étoile. Vous pouvez désirer n'importe que cette étoile non-obstruée et brillante pour les buts de cet exemple. Employez les touches fléchéées de l'Autostar pour la centrer dans l'oculaire.
- Pour commencez le suivi: une fois l'etoile centree, appuyez sur ENTRER pour selectionner « Astronomique ». Les moteurs de suivi du telescope s'engagent alors. Les moteurs de suivi peuvent prender plusieurs secondes pour commencer le suivi. Lorsquils I'auront fait, il pourrait etre nécessaire de centerer I'etoile de nouveau dans I'oculaire. Les moteurs maiantiendront ensuite I'etoile que vous avez可以选择 au centre de I'oculaire. Si vous foulez suivre une autre etoile, employer les touches flechees pour tournier le telescope vers elle. Centrez-la. Les moteurs maiantiendront ensuite I'etoile au centre de I'oculaire.
- Pour cesser le suivi: Appuyez ENTRER: « Configurations: Aligner » s'affiche. Appuyez ENTRER: "Cibles: Astronomiques » s'affiche. Appuyez une fois sur une des touches de défilament. "Cibles: Terrestres » s'affiche. Appuyez ENTRER: Le suivi est alors désactivé.
Alignement facile (à deux étoiles)
La façon la plus rapide et la plus facile de repérer les objets avec la fonction GO TO d'Autostar est d'utiliser Alignment facile (Easy Align). Autostar désit automatiquement deux étoiles dans sa base de données pour la procédure Alignment facile. Pendant la procédure, l'Autostar déplace le téléscope vers la première étoile d'alignment. L'usager se fait demander de vérifier que le télécope est dirigé vers l'étoile choses et de centrer cette étoile dans l'oculaire. Ce processus se repête avec une seconde étoile pour achever l'alignment.

. Regarder le Soleil directement ou a proximate causea des lesions instantanees et irreversibles a toue ie. Ne dirigez pas le telescope vers ou prese du Soleil. Ne regardez pas dans le telescope ou le SmartFinderMD quand il pivote.
NOTE: Avant d'aligner le téléscope, vérifie en premier que l'Autostar a eté initiaisée (voir page 16). Voir "Naviguer à travers les menus de l'Autostar", page 16, si vous poulez apprendre à utiliser les touches de l'Autostar.
Alignement facile de votre téléscope
Si vous venez d'appliquer la tension à votre Autostar, exécutez les étapes 1 à 3. Si vous avez déjà exécuté la procédure d'initialisation, reportez-vous à l'étape 4.
- Avertissement Soleil - Appuyez sur la touche recommandaee par Autostar pour accepter.
- Demarrage - Appuyez sur ENTRER pour continuer.
- Heure avancée - Sélectionnez « Oui » ou « Non » puis appuyez sur ENTRER.
- Écran d'options d'alignement - « Configuration: Alignment » s'affiche. Appuyez ENTRE:
- Sélectionnez Alignment - « Alignment: Facile » s'affiche. Appuyez ENTRE:
- Fixez la position Alt/AZ originale - Autostar vous incite alors àmettre le téléscope dans l'alignement Alt/Az de la position originale. Voir « Fixer position originale Alt/Az », page 16.
- Fixer l'Alignment - Autostar besoin alors deux étoiles sur lesquelles s'aligner. Lorsque le téléscope tourne vers la première étoile d'alignement, elle n'apparaître pas nécessairement dans le champ de vision de l'oculaire. L'étoile d'alignement devrait être facilement reconnaissable et être la plus brillante dans le secteur céleste vers lequel le téléscope est pointé. Utilisez les touches fléchées pour déplacer le téléscope jusqu'à ce que l'étoile soit visible et centrefee dans l'oculaire. Appuyez sur ENTRER: Répétez la procédure pour la deuxième étoile d'alignement.
Lorsque la procédure aura été effectuee correctement, « Alignment réussi » (Alignment Successful) s'affiche. Si l'Autostar n'affiche pas ce message, effectuez la procédure de nouveau.
NOTE: Autostar repère les étoiles d'alignement basé sur la date, l'heure et l'emplacement saisi. Les étoiles d'alignement peuvent changer d'une nuit à l'autre.
Tout ce qui est requis de l'observateur est de centerer l'étoile sélectionnée dans l'oculaire lorsqu'il en recoit l'invite.
NOTE: La touche « GO TO » vous permet aussi d'effectuer la « Recherche en spirale » (Spiral Search). Une recherche en spirale est utile lorsque le téléscope tourne vers un objet, mais l'objet n'est pas visible dans l'oculaire après que le téléscope aura fini sa recherche.
(Ceci arrivare parfais键盘 la procEDURE d'alignement). Appuyez sur « GO TO » lorsque la rotation est terminée et que le téléscope commence à tourner en spirale à très basse vitesse autour du secteur de recherche. Regardez à travers l'oculaire et lorsque l'objet devient visible, appuyez sur « MODE » pour arreter la recherche en spirale. Utilisez ensuite les touches fléchéées pour centrer l'objet.
Deux autres méthodes d'alignement sont disponibles à l'observateur: Deux étoiles et Une étoile. Ces méthodes sont inclues au cas où l'observateur préfééré désoir se propres étoiles d'alignement.
Alignement Alt/Az à deux étoiles
L'alignment à deux étoiles requière une certaine connaissance du ciel nocturne. L'alignment à deux-étoiles est identique à

à l'alignement facile (Easy: Align) (voir Alignmentnement facile à deux étoiles, ci-dessus), sauf que Autostar affiche une base de données d'étoiles brillantes et deux étoiles sont choses par l'observateur pour l'alignement à partir de la base de données. Il vous est recommendé de désirir des étoiles avec lesquelles vous étés familier à partir de cette base de données pour essayer cette méthode la première fois ou la méthode d'alignement à une étoile (One-Star Alignment).
Alignement Alt/Az à une étoile
L'alignement Alt/Az sur une étoile requière aussi une certaine connaissance du ciel nocturne. L'alignement à Une-étoile est identique à l'alignement facile (Easy: Align) voir Alignment facile à deux étoiles ci-dessus), excepté qu'Autostar affiche une base de données d'étoiles brillantes et une étoile est可以选择 par l'observateur à partir de cette base de données.
NOTE IMPORTANTE: L'exactitude de l'alignement à une étoile, à la différence de l'alignement à deux étoiles, dépend beaucoup de l'horizontalité de l'installation du téléscope, et de la précision de son pointage vers le Nord. L'Alignment à deux étoiles est donc plus sur et plus précis que l'alignement à une étoile.
Pointage vers Saturne
Après l'exécution de la procédure d'alignement facile, le moteur commence fonctionner et le téléscope est aligné pour toute une nuit d'observations. Les objets restent dans le champ de vision de l'oculaire malgré la rotation de la Terre sous la voûte céleste.
NOTE IMPORTANTE: Une fois aligné, employez seulement la fonction "GO TO" ou les touches fléchéées pour déplacer le téléscope. Ne desserrez pas les blocages du téléscope (10 et 26, fig. 1) et ne déplace pas la base manuellement, sinon l'alignement sera perdu.
Cet exercice démontre comment sélectionner un corps céleste (Saturne) à observer dans la base de données de l'Autostar.
NOTE: Saturne n'est pas visible toute l'année et vous pourriez avoir àCHOISIR un autre objet de la base de données de l'Autostar; cependant, la procEDURE decrite ci-dessous, reste la meme;choisissez simplement un objet different dans I'etape 3.
- ÀpRES l'alignement du téléscope, sélectionnez un objet (Select Item: Object) s'affiche. Appuyez sur ENTRE:
- Objet: système solaire (Object: Solar System) s'affiche. Appuyez sur ENTRER:
- « Système solaire: Mercure » (Solar system: Mercury). Continuez à appuyer sur la touche de défilament jusqu'à l'affichage de « System Solaire: Saturne » (Solar System: Saturn).
- Appuyez sur ENTRER: « En calcul » (Calculating) s'affiche. Ensuite « Saturne » et ses coordonnées célestes s'affichent. Notez que les coordonnées de Saturne (ou des autres planêtes) changent pendant l'année.
- Appuyez sur "GO TO". « Rotation vers Saturne... » (Saturn: Slewing... » s'affiche et le téléscope tourne jusqu'à ce qu'il trouve Saturne. Vous pourriez devoir utiliser les touches fléchéées pour centrer Saturne précisé dans l'oculaire. L'Autostar entraîne alors automatiquement le téléscope pour qu'il « suive » Saturne (ou un autre objet que vous aurez besoin); c.à.d. Saturne demeure centré dans l'oculaire.
Effectuer une visite guidée
Cet exemple démontré d'utilisation de la visite guidée « Le meilleur de la"Soirée » (Tonight's Best).
- Àpres l'observation de Saturnne, appuyez deux fois sur « MODE », pour réafficher « Sélectionner Article: Objet » (Select Article: Objet).
- Appuyez deux fois sur la touche de défilament vers le bas. « Sélection Article: tour guidé » (Select Article: Guided Tour) s'affiche.
- Appuyez sur ENTRER: "Tour Guidé: Le meilleur de la nuit » (Guided Tour: Tonight's Best) s'affiche. Appuyez sur ENTRER:
NOTE: si vous poulez essayer d'autres Visites guidées, appuyer sur la touche de défilament vers le bas pour défiler la liste des autres可以选择 de tours. Quand le tour que vous pouze s'affiche, appuyez sur ENTRER.
- « Le meilleur de la nuit: en recherche » (Tonight's Best: Searching...) s'affiche. Àpres le calcul, « Le meilleur de la nuit: Jupiter » (Tonight's Best: Jupiter) s'affiche.
- Appuyez sur "MODE" pour returner à la liste des tours. Appuyez sur les touches de défilament pour parcourir la liste. Appuyez sur "ENTRER" quand s'affiche le nom du prochain objet que vous pouze observer.
- Appuyez sur et tenez "MODE" pendant deux secondes pour quitter le menu de Visites guidées.

Fig. 18: Une des plus belles visions célestes.
NOTE: Des objets
chaque fois différents
peuvent être montrés
pour une nuit donnée.
Appuyez sur ENTRER
afin d'afficher
l'information sur l'objet.
Appuyez sur GO TO
pour déplacer le
telescope vers l'objet.

. Regarder le Soleil directement ou a proximate causera des lesions instantanees et irrereversibles a toue cel. Ne dirigez pas le telescope vers ou prese du Soleil. Ne regardez pas dans le telescope ou le SmartFinderMD quand il pivote.

Fig. 19: L'univers d'Autostar Les six catégories principales listedes dans le menu Sélectionner Article d'Autostar.
Il est important de comprendre que lechioix des menus est proposé selon une boucle (Fig. 20). Cela signifie qu'appuyer sur les touches de défilament (7, fig. 2) ouvre un cycle d'options disponibles dans une catégorie donnée, qui returne toujours à la première option. La touche de défilament vers le haut circule à travers les options dans l'ordre inverse. Notez que cette capacité est une façon rapide de se rendre à une option qui est pres du bas de la liste. L'exemple suivant démontré cette capacité.
Example:
Pour naviguer vers le menu « Sélectionner Article: Configuration » (Select Item: Setup) pendant que le menu « Sélectionner Article: Objet » (Select Item: Object) est affchéé:
- Appuyez quatre fois sur la touche de défilament vers le bas ou une fois sur la touche vers le haut.
L'Autostar affiche deux lignes d'informations. La ligne supérieure montre le niveau de menu actuel. La deuxième ligne montre une option qui peut etre choses a ce niveau de menu. Certaines options sont des choix qui activent le niveau de menu inférieur. Les touches de défilament font defiler la liste des options disponibles, en affichant une option a la fois.
Quand l'option désirée est affichée à la deuxième ligne, appuyez sur la touche ENTRER pour désir cette option et descendre d'un niveau de menu.
Appuyez sur la touche MODE pour quitter un niveau (p.ex.: si une mauvaise option est可以选择 par erreur).

Fig. 20: Menu en configuration circulaire.

Fig. 21: Niveau d'Autostar
NOTE IMPORTANTE: Quelque soit le nombre de niveaux dans Autostar, chaque appui sur la touche MODE déplace la sélection d'un niveau vers le haut, jusqu'au niveau le plus haut de « Sélectionner Article » est atteint. Une fois au niveau « Sélectionner Article », appuyez sur MODE pour returner au niveau de menu le plus élevé « Sélectionner Article: Obj }.
Exercice de Navigation dans l'Autostar
Pour démontré le fonctionnement de la structure des menus de l'Autostar, l'exercice de calcul suivant des heures du coucher du Soleil, vous permettra de projeter une séance d'observation en soitée.

. Regarder le Soleil directement ou a proximite causera des lesions instantanees et irrereversibles a toue cel. Ne dirigez pas le telescope vers ou preu du Soleil. Ne regardez pas dans le telescope ou le SmartFinderMD quand il pivote.
Note: Pour exécuter un calcul précis, Autostar doit être correctement initiaisé à la date, heures et emplacement actuel du site d'observation. Pour saisir les informations date, heures et emplacement actuel, voir INITIALISATION DE L'AUTOSTAR, page 17, avant de continuer cet exercice.
Calcul de l'heure du coucher de Soleil:
- Appuyez plusieurs fois sur la touche "MODE", jusqu'à l'affichage de « Sélectionner Article: Objet ».
- Appuyez sur la touche de défilament vers le bas, pour afficher l'option « Événement » du menu « Sélectionner Article »
- Appuyez sur la touche ENTRER pour valider l'option Événement et descendre jusqu'à ce que le niveau "Événement > Lever du Soleil" soit affchéé.
Appuyez sur la touche de défilament vers le bas, pour afficher l'option « Coucher de soleil » du menu « Événement »
- Appuyez sur la touche ENTRER pour confirmer le choix « Coucher de soleil » et descendre d'un autre niveau.
- Autostar calcule l'heure du coucher de soleil à cette date, heures et ce site. Autostar affiche alors les résultats du calcul.
- Appuyez une fois sur MODE pour remonter les niveaux d'Autostar. Le niveau immédiatement supérieur est le menu Événement.
- Appuyez sur MODE de nouveau pour remonter d'un autre niveau. Ceci est le niveau du haut, « Sélectionner Article »
- Appuyez à nouveau sur "MODE" pour remonter jusqu'àu niveau de départ "Sélectionner Article: Object".
Saisie de données dans l'Autostar
Pour saisir chiffres et textes:
a) Utilisez les touches numériques pour entrer les chiffres, ou
b) les touches fléchées pour parcourir les chiffres de 0 à 9, et les lettres de l'alphabet. La touche fléchée vers le bas commence par la lecture « A »; la touche fléchée vers le haut commence par le chiffre « 9 »
Pour déplacer le curseur à travers l'écran:
utilisiez les touches fléchéées droite ou gauche (5, fig. 2) pour déplacer le curseur vers la droite ou la gauche sur l'écran.
Appuyez sur la touche ENTRER quand l'information désirée a été saisie.
Naviguer parmi les menus d'Autostar
L'arborescence d'Autostar est prévue pour une navigation rapide et facile:
Appuyez sur la touche ENTRE pour descendre les niveaux de menu de l'Autostar.
Appuyez sur la touche MODE (3, fig. 2) pour remonter au niveau de menu supérieur.
Appuyez sur les touches de défilament pour faire défilier les options ou la liste
Appuyez sur les touches fléchéées pour déplacer le curseur sur l'écran.
Appuyez sur la touche d'aide « ? » pour avoir accès à l'aide en ligne.
Réglage de la vitesse de défilament d'un message
Appuyez et maintenez appuyée la touche fléchée vers le haut pour augmenter la vitesse de défilament d'un message à l'écran.
Appuyez et maintenez appuyée la touche fléchée vers le bas pour diminuer la vitesse de défilament d'un message à l'écran.

. Regarder le Soleil directement ou a proximate causera des lesions instantanees et irrereversibles a toue cel. Ne dirigez pas le telescope vers ou pre s du Soleil. Ne regardez pas dans le telescope ou le SmartFinderMD quand il pivote.
CONSEIL:: Quand plusieurs options sont disponibles dans un menu, I'option selectionnée est d'habitude affichée en premier et mise en evidence par une flèche pointant à la droite (>)
MENUS ET OPTIONS DE MENUS
Menu Obj
Presque toutes les observations avec Autostar seront effectuees a l'aide du menu de categorie Objet. (NOTE: Les exceptions incluent la Visite guidee et la vue d'ensemble des Points de repere.
Voir ALLER À SATURNE, page 20, pour un exemple d'observation à l'aide du menu Objet. Voir aussi UTILISER LE TOUR GUIDÉ, page 20.
Plusieurs catégories de menu Autostar contiennent des bases de données. Une base de données Autostar est une liste d'objets qu'on peut défilier, tels que les étoiles, planètes, comètes, nèbuleuses, et ainsi de suite. Quand on sélectionne un de ces objets de la base de données, Autostar déplace le téléscope (s'il est correctement aligné) et le pointe à l'objet sélectionné.
Les options du Menu objets incluent:
Système solaire est une base de données de huit planétes (la terre n'est pas incluse) en ordre à partir du Soleil, suivie par la Lune, les astéroïdes et les cométes.
Constellation est une base de données des 88 constellations des hémisphères nord et sud. Lorsque cette option de menu est可以选择 et le nom de la constellation apparait sur la première ligne de l'écran, appuyez sur GO TO une fois pour faire afficher le nom de l'étoile la plus brillante de la constellation sur la deuxième ligne. Appuyez sur GO TO une seconde fois pour tourner le téléscope vers cette étoile. Utilisez les touches de défilament pour circuler parmi la liste d'étoiles dans al constellation, de la plus brillante à la plus obscure.
Ciel Distant est la base de données en dehors du Systeme Solaire tel que les nèbuleuses, les amas d'étoiles, les galaxies et les quasars.
Étoiles est la base de données des étoiles listée selon différentes catégories tel que leur nom, double, variable, ou rapprochée.
Satellite est la base de données des objets en orbite autour de la Terre tel que la Station Spatiale Internationale, le téléscope dans l'espace Hubble, les satellites du Système de Positionnement Global (GPS), et les satellites en orbites géosynchronisées.






Fig. 22: Arborescence completé du menu de l'Autostar

AVERTISSEMENT! N'employez jamais votre téléscope Meade DS2000 pour regarder le Soleil ! Regarder le Soleil directement ou à sa proximité causera des léasons instantanées et irréversibles à votre œil. Les léasons aux yeux sont souvent sans douleur, donc l'observateur ne reçoit pas d'avertissement tant que le dommage ne soit fait. Ne dirigez pas le téléscope vers ou pres du Soleil. Ne regardez pas dans le téléscope ou le viseur quand il se déplace. Les enfants ne doivent observer que sous la surveillance d'unadulte.
Objets de l'usage permet à l'usage de définir et d'enregistrer en mémoire des objets du Ciel. Distant ayant un intérêt spécifique qui ne sont pas actuellément dans la base de données d'Autostar. Voir Annexe D pour plus d'information.
Reprises terrestres enregistrre les points terrestres intéressants dans al base de données permanente d'Autostar.
NOTE IMPORTANTE: pour utiliser la fonction Repères terrestres, le téléscope doit être situé et aligné exactement comme il l'était lorsque le Repère terrestre a été ajouté à la base de données.
■ Sélectionner: Pour sélectionner un Repère terrestre dans la base de données (voir AJOUT cédssous), choisissez l'option « Sélectionner » et défilez à travers la liste. Appuyez sur ENTRE pour sélectionner un Repère terrestre, puis appuyez sur GO TO et le téléscope se déplacera vers cet object.
Ajout: Pour ajouter un Repere terrestre, choisissez l'option « Ajouter » (Add). Entrez le nom du Repere terrestre. Reperez et centrez le Repere terrestre dans l'oculaire, et appuyez ensuite sur ENTRER.
Identité est une fonction excitant pour un observateur qui veut SCRuter le ciel nocturne et commencer l'exploration. Avres avoir aligné le telescope correctement, utilisez les touches flachées d'Autostar pour SCRuter le ciel. Ensuite, suivez la procedure suivante:
NOTE IMPORTANTE: Utilisez uniquement les touches fléchées pour déplacer le téléscope pendant la procédure d'Identification. Ne desserrez pas les blocages du téléscope et ne déplacez pas la base, sinon l'alignement sera perdu.
- Lorsqu'un objet désiré est visible dans l'oculaire, appuyez MODE continuellement jusqu'à ce que « Sélectionner Article: Obj » (Select Item: Object) s'affiche. Appuyez sur ENTRE pour sélectionner ce menu.
- Défilez à travers les options menu Object jusqu'à ce que « Obj: Identité » (Object: Identity) s'affiche.
- Appuyez sur ENTRE: Autostar fouille la base de données pour l'identé de l'objet étant observé.
- Si le téléscope n'est pas directement positionné sur un objet de la base de données d'Autostar, l'objet le plus rapproché dans la base de données est localisé et affché sur l'écran. Appuyez sur GO TO et le téléscope se déplacera vers l'objet.
Menu Événements
Le menu Événements donne accès aux dates et heures des événements astronomiques. La base de données des événements inclut:
"Lever" et "Coucher du Soleil": calcul de l'heure où le Soleil se lève et se couche à la date actuelle. Calculez les heures du lever et du coucher de Soleil à d'autres dates en entrant une nouvelle date dans le menu « Configuration: Date ». Voir DATE, page 26.
"Lever" et "Coucher de Lune": calcule les heures du lever et du coucher de la lune à la date actuelle. Calculez les heures du lever et du coucher à d'autres dates en entrant une nouvelle date dans le menu « Configuration: Date ». Voir DATE, page 26.
Phases de Lune: affiche la date et l'heure des prochains pleine et nouvelle Lune, et des premier et troisieme quartiers de Lune.
Pluie de météorites: fournit l'information sur les pluies de météorites à venir, tels que les Perséides, les Léonides, etc. Indique aussi les dates des pluies et quand elles atteindre leur maximum.
NOTE: Les météorites se déplacent rapidement dans une grande partie du ciel et sont d'habitude nouveaux observées à l'eel nu.
Éclipses solaires: Listes les Éclipses solaires à partir, leur date, leur type (totale, annulaire ou partielle) et l'emplacement et l'heure des premiers et derniers contacts de l'ombre de la Lune. Employez les touches de défilament vers le haut et le bas pour afficher les données disponibles. Souvenez-vous de ne jamais employer de lunette astronomique ni de téléscope pour regarder le Soleil! Voir l'AVERTISSEMENT à la gauche.
Éclipses Lunaires: liste les éclipses lunaires à partir de leur date et leur type d'éclipse (totale, partielle, pénombre). Employez les touches de défilament vers le haut et le bas pour afficher les données disponibles.
Équinoxé d'Automne" et Équinoxe Printemps calculent l'heure et la date de l'équinoxe d'automne ou de printemps de l'année en cours.
Solstice d'hiver et Solstice d'été calculent l'heure et la date du Solstice d'hiver ou d'été de l'année en cours.

. Regarder le Soleil directement ou a proximate causera des lesions instantaneees et irreversibles ao titre ne dirigez pas le telescope vers ou pres du Soleil. Ne regardez pas dans le telescope ou le SmartFinderMD quand il pivote.
Menu Glossaire
Le menu "Glossaire" fournit une liste alphabetique de définitions et descriptions pour des termes astronomiques communs et les fonctions de l'Autostar. On y accede directement par le menu Glossaire, ou par les mots d'hypertexte incorporeés dans l'Autostar. Un mot d'hypertexte est un mot [entre crochets], que l'on trouve souvent dans la fonction d'Aide de l'Autostar ou en lisant un message défilant comme la description d'une planete ou d'une étoile. Appuyez sur ENTRER chaque fois qu'un mot d'hypertexte est à l'écran, et l'Autostar vous amène directement à ce mot dans le glossaire.
Pour les retrouver directement à partir du menu Glossaire, utilisez les touches de défilament pour parcourir l'alphabet. Appuyez sur ENTRERA à la dette souhaitee. Faites defiler jusqu'à l'objet souhaité, puis appuyez sur ENTRER pour dire la description.
Menu Utilaires
Ce menu donne accès à plusieurs fonctions supplémentaires de l'Autostar, y compris un compte-à-rebours et une alarme. Les fonctions Utilitaires incluent:
Minuteur qui pilote le compte à rebours. Cette fonction est utile pour les fonctions telles que l'astrographie et le suivi des satellites. Voir OBSERVER LES SATELLITES, page 42. Pour utiliser le Minuteur, appuyez sur ENTRER etCHOISSEZ ensuite « RÉGLER » (SET) ou « Marche/Arrêt » (Start/Stop).
Régler (Set): Saisissez la durée du compte à rebours, en heures, minutes et secondes, et appuyez sur ENTRER.
Marche/Arrêt (Start/Stop): Active le Minuteur défini précédemment. Employez les touches de défilament pour basculer entre « Marche » et « Arrêt » (On et Off). Quand "Marche" s'affiche, appuyez sur ENTRER pour activer le compte à rebours. L'arrêt du minuteur est signalé par quatre bips et le minuteur est désactivé.
Alarme permet deCHOISIR I'horaire d'un signal de rappel. Pour employer I'Alarme, appuyez sur ENTRER ; choisissez ensuite entre « Regler (Set) et « Marche/Arrêt » (Start/Stop).
Régler (Set): Saisissez le moment ou l'alarme doit sonner, en heures, minutes et secondes et appuyez ensuite sur ENTRER.
Marche/Arrêt (Start/Stop): Active l'alarme définie précédemment. Employez les touches de défilament pour basculer entre « Marche » et « Arrêt » (On et Off). Quand « Marche » (On) s'affiche, appuyez sur ENTRER pour activer l'alarme. Lorsque l'heure de l'alarme arrive, Autostar émet un bip. Appuyez sur ENTRER pour désactiver l'alarme.
Calcul Oculaire: Calcule les informations sur l'oculaire en fonction du téléscope auquel l'Autostar est connecté.
Champ de vision: Défilez la liste d'oculaires disponibles. Lorsqu'un oculaire est choisi, son champ de vision est calculé.
Grossissement: Défilez la liste d'oculaires disponibles. Lorsque l'oculaire est choisi, son grossissement est calculé.

Suggestions: Autostar calcule et suggere le meilleur oculaire pour l'observation, basé sur le téléscope et l'objet étant observé.
■ Avertissement Soleil: active ou désactive l'affichage du message d'avertissement sur le Soleil.
Démarrage: active ou désactive l'affichage du message de démarrage.
Réglage de luminosite: Règle l'intensité lumineuse de l'affichage à l'aide des touches de défilament. Réglez, puis appuyez sur ENTRER.
Contrast Adj: règle le contraste de l'affichage avec les touches de défilament. Réglez, puis appuyez sur ENTRER.
NOTE: Cette fonction est habituèlement utile que par temps très froid.
Bip: Active ou désactive l'émission de bips sonores.
Fonction Sommeil est un économiseur d'énergie qui permet d'eteindre l'Autostar et le téléscope sans perdre son alignement. Avec « Fonction Sommeil » sélectionnée, appuyez sur ENTRE pour activer la fonction de Sommeil. L'Autostar s'esteint, mais son horloge interne continue à fonctionner. Appuyez sur n'importe qu'elle touche, sauf ENTRE, pour reactiver l'Autostar et le téléscope.
Fonction Parking n'est utile que si l'télescope n'est pas déplace entre les séances d'observation. Alignez le téléscope, et employez ensuite cette fonction. La prochaine fois qu'il est mis sous tension, saississez juste la date et l'heure -aucun alignement n'est requis. Appuyez sur ENTRER cause le pointage du téléscope vers sa position de "Parking" prédéterminée. Une fois garé, I'écran demande de l'éteindre.
NOTE IMPORTANTE Lorsque l'option « Étendu du parking » est besoin et que l'affichage vous demande d'éteindre l'alimentation du téléscope, Autostar est incapable de returner au fonctionnement sans couper l'alimentation et la rétablit.
Embobinage de cordons, fait que si cette fonction est activée (On), le téléscope se déplacera de façon à ne pas enrouler les cordons attachés autour de votre assemblage du téléscope. « Désactivé » (Off) est la valeur par défaut.
Menu de configuration
Le menu Configuration (Setup) a pour fonction première d'aligner le téléscope (Voir ALIGNNEMENT FACILE, page 19). Il offre cependant de nombreuses autres particularités, incluant:
Date pour changer la date dans l'Autostar. Cette fonction est utile pour vérifier les événements passés ou à partir. Par exemple,CHOISSEZ une date située trois mois dans l'avirn. Puis cochez le menu « Sélection Article: Événement » (Select Item: Event) pour l'heure du coucher de soleil à cette date. Voir ACCESSOIRES OPTIONNELS, page 24.
Heure pour changer l'heure de l'Autostar. L'heure est une donnée critique pour que l'Autostar calculé les lieux et les événements. L'heure peut être régée en mode 24 heures (militaire) en selectionnant l'option "vide" qui suit les options "AM" et "PM".
Décalage Horaire sert à activer ou désactiver l'heure avancée.
NOTE: L'heure avancée peut porter de différents noms dans différentes régions du monde. Vérifiez l'heure locale pour vérifier.
Télescope donne accès à plusieurs options, incluant
Modèle: Vous permet d'indiquer le modele de votre téléscope à l'Autostar.
Longueur Focale: Affiche la longueur fisque du téléscope selectionné.
Rapport Az et Rapport Alt: Rapport Az (Azimut) et Alt (Altitude) refère aux rapportés d'engrenages des moteurs du téléscope. Ne changez pas ces valeurs.
Az Pourcentage: Vous permet de changer le « retour de manivelle » (backlash) azimuthal. c.a.d. la façon dont les flèches déplacent le téléscope le long de l'axe azimuthal (horizontal). Si vous saississez une valeur proche de 100, le tube se déplacera plus rapidement (il répond immédiatement à 100% ) lorsque vous appuierez sur une touche fléchée et tourne le tube plus rapidement. Si vous saississez une valeur proche de 0, il prendra plus de temps lorsque vous tenez la touche fléchée et déplace donc le tube plus lentement. Experimentez avec cette option. Changez cette valeur jusqu'à trouser celle qui vous convient.
Note: Les informations sur l'heure et la date sont maintaines par une horloge interne de haute précision, qui et reglee à l'usine et maintaine par une pile au lithium de longue durée. Remplace al pile au lithium par une pile au lithium CR2023. La pile se trouve dans le compartment à piles. Les deux piles sont disponibles de Meade, de magasins photographiques ou d'autres endroits qui vendent des piles.

. Regarder le Soleil directement ou a proximate causera des lesions instantanees et irrereversibles a Your eil. Ne dirigez pas le telescope vers ou pre s du Soleil. Ne regardez pas dans le telescope ou le SmartFinderMD quand il pivote.
Table 1:Fuseau Horaire Decalage.
| Fuseau Horaire | Décalage |
| Atlantique | -4 heures |
| Est | -5 heures |
| Centrale | -6 heures |
| Montagnes | -7 Hours |
| Pacifique | -8 heures |
| Hawaii | -10 heures |
■ Alt Pourcentage: Change les déplacements en altitude comme l'option Az Pourcentage ci-dessus change les déplacements en azimuth.
Formation de l'entrainment: Entrainée les moteurs en altitude et azimuth pour pointer les objets avec plus de précision. Si vous éprouvrez des problèmes avec l'exactitude du pointage, suivez la procédure décrite dans « ANNEXE F: FORMER L'ENTRAJINEMENT », page 43, afin d'assurer la précision du pointage et du suivi.
Taux de Suivi: Change la vitesse à laquelle le téléscope suit les objets dans le ciel.
a. Sidéral: le réglage par défaut de la vitesse de suivi; sidéral est le taux standard auquel les étoiles se déplacent d'Est en Ouest en raison de la rotation de la Terre.
b. Lunaire:CHOISSEZ cette option pour suivre correctement la Lune pendant les longues séances d'observation.
c. Personnelé (Custom): Permet la saisie d'un taux de suivi personnelisé.
Inversion D/G: Inverse les fonctions des touches fléchées gauche et droite (la touche de droite déplace alors le téléscope vers la gauche, et réciropquement).
Inverse HAUT/BAS: Inverse les fonctions des touches fléchées haut et bas: la touche supérieure déplace le téléscope vers le bas, et reciproquement.
■ Calibration Moteur: Si les moteurs du téléscope semble avoir un problème, utilisez cette option pour les tester avant de faire une Réinitialisation (RESET). Cette option est aussi employée lorsque l'Autostar est déplacee entre téléscopes, pour aligner les caractéristiques d'Autostar avec celles de I'autre téléscope Meade. Pour calibrer les moteurs, selectionnez cette option et appuyez ENTRER.
Haute Précision: Cette fonction de pointage de haute précision sert à mieux pointer les objets célestes faibles (p.ex.: nèbuleuses ou galaxies); Autostar se déplace vers une étoile brillante à proximé et affiche « ENTRER pour synchroniser ». Centrez l'étoile dans l'oculaire, appuyez ensuite sur ENTRER. Le téléscope returnera alors à l'objet souhaité.
Cibles commute entre cibles astronomiques et cibles terrestres. Si vous choisissez « Astronomique », le moteur de suivi est activé et les objets célestes restent centrés dans le champ de vision de l'oculaire. Si vous choisissez « Terrestre », le moteur de suivi s'éteint. Pour apprendre à suivre un objet automatiquement, voir page 18.
Site fournit un accès à plusieurs options incluant:
■ Sélectionner: Affiche le site d'observation actuellément sélectionné. Utilisez les touches de défillement pour faire défiler tous les sites disponibles (voir Ajout, ci-dessous). Appuyez ensuite sur ENTRER quand le site youlu s'affiche. Employez cette option quand vous changez à un site géographique différent.
Ajout: Vous permet d'ajouter jusqu'à six nouveaux sites d'observation à la base de données. Parcourez la liste Pays/États. Appuyez sur ENTRER quand le site que vous pouze ajouter s'affiche. Choisissez alors la ville désirée de la même manière.
Supprimer: Supprime un site stocké dans la base de données.
■ Modifier: Modifie le site selectionné, incluant: le nom, la latitude, longitude et fuseau horsaire. Le fuseau horsaire refère au décalage par rapport au Temps du Méridien de Greenwich (TMG). Les usagers à l'ouest de Greenwich, Angleterre utilisent les heures « - » et ceux à l'est les heures « + ». Pour les États-Unis, recherche le décalage d'heure dans la table ci-dessous.
NOTE: l'Autostar compte pour les changements d'heure, si désiré. Voir Menu de Configuration. Voir Heure avancée, page 27.
Nom: L'usager peutCHOISIR son nom et prcnom à l'aide des touches fléchées vers le haut et le bas pour circuler à travers l'alphabet. Utilisez les touches fléchées gauche et droite pour vous déplacer dans le texte. Appuyez sur ENTRE R quand vous avez fini.
- A dresse: à l'aide des touches fléchées vers le haut et le bas, saisissez votre adresse (rue, ville, état et code postal). Appuyez sur ENTRER quand vous avez fini.
Téléchargement transfère des informations en provenance d'un ordinateur individuel ou d'un autre

. Regarder le Soleil directement ou a proximate causera des lesions instantanees et irrereversibles a vaueeil. Ne dirigez pas le telescope vers ou prese du Soleil. Ne regardez pas dans le telescope ou le SmartFinderMD quand il pivote.
Autostar. Pendant l'opération, le message d'advertisement « En téléchargement, ne pas eteindre » apparait.
NOTE: Le téléchargement exige le logiciel optionnel Astrofinder 505 et un ensemble de cable de connexion. Voir le feuillet d'instructions qui vient avec la trousse pour plus d'information sur le téléchargement. Voir aussi ACCESSOIRES OPTIONNELS, page 37.
Clone télécharge aussi l'information d'une commande à distance Autostar à un autre. Trois options sont disponibles:
- Catalogues: Envoie uniquement les informations définies par l'usage, telles que les orbites des satellites ou les données de comités à un autre Autostar.
- Logiciel: Envoie uniquement le logiciel opérationnel de base de l'Autostar. Ceci est utile si un usager a telécharge une nouvelle version du logiciel Autostar du site Web de Meade (www.meade.com) et vous en passer une copie du logiciel à ses amis.
Tout: une copie de toute l'information définie par l'usage et du logiciel Autostar sont envoyés à l'autre Autostar.
Statistiques fournit les données statistiques de base concernant l'Autostar, incluant:
- Caracteres libres: Indique l'espace mémoire libre pour les objets définis par l'usager.
Version: Indique la version actuelle du logiciel Autostar.
Réinitialiser (RESET): Réinitialise complètement l'Autostar. La majorité des valeurs entées dans les menus redeviennent celles par défaut de l'usine. Autostar requière l'initialisation de nouveau après une Réinitialisation avant de procéder à des observations. Voir INITIALISER AUTOSTAR, page 17.

FONCTIONS AVANÇÉES DE L'AUTOSTAR
Avant d'essayer les exemples dans cette section, familiarisez-vous avec les opérations de base de l'Autostar décrites ci-dessus dans ce manuel. Les exemples suivants assume que vous avez des connaissances de base de l'Autostar et que vous comprende comment naviguer parmi les menus ou les options de menu, et comment entraîre des chiffres et du texte. IL assume aussi que vous avez initiaisé l'Autostar et avoir placé le téléscope dans la position « Originale » (lorsqu'approprié).
Ajouter des sites d'observation
Si vous planifiez d'observer à l'aide d'Autostar à plusieurs sites géographiques, vous pouvez enregistrer jusqu'à six sites d'observation dans al mémoire d'Autostar afin de simplifier la configuration de votre téléscope. Effectuez ces procédures à l'aide des options Site (Ajout, Sélection, Supprimer, Modifier) du menu Configuration.
Pour ajouter un site à la liste de sites définis par l'usage:
Dans cet exemple, vous choisirez une ville et l'ajouterez à la liste. Vous sélectionnerez alors le site afin de l'activer.
- Naviguer au menu « Configuration: Site ». Appuyez sur ENTRE:
- Défilez à travers les options jusqu'à ce que « Site: Ajouter » s'affiche. Appuyez sur ENTRER:
- Parcourez la liste Pays/États. Appuyez sur ENTRER quand le site que vous voulez ajouter s'affiche.
- Parcourez la liste des villes. Appuyez sur ENTRER quand la ville que vous pouze ajouter s'affiche. Le Site est maintainant ajouté à la base de données. Vous pouze ajouter 5 sites en utilisant cette méthode (le sixieme site est celui que vous avez entrependant le processus d'initialisation).
- PourCHOISIR un site, naviguez a « Configuration: SeLECTION ». Appuyez sur ENTRER: Parcourez la liste des sites. Lorsque le site désiré apparait, appuyez sur ENTRER.
Pour modifier un Site:
Dans cette procédure, vous entrez un emplacement qui n'est pas disponible dans la base de données de l'Autostar en modifiant les données d'un siteavoisinant. Vous modifierez le nom de l'emplacement, la latitude, longitude et le fuseau hora. Vous selectionnerez alors le site afin de I'activer. Vous devrez fournir la latitude et la longitude de votre emplacement pour effectuer la procEDURE.
- En ajoutant l'option Ajout,CHOISSEZ un site sur la liste qui est la plus pres de votre site d'observation et appuyez sur ENTRE pour que le site soit ajouté à votre liste de sites d'observation. Choisir un site déjà sur la liste (comparé à utiliser la fonction « Personnelisée ») rend la modification plus facile, puisque le faisceau horsaire pourrait devoir être changé.
- Défilez vers Site: Modifier et appuyez ENTRER. « Modifier: Nom » apparait. Appuyez sur ENTRER:
- Le nom du site que vous venez d'ajouter à votre liste s'affiche; s'il ne l'affiche pas, défilez vers celui-ci.
- En utilisant les touches fléchéées, modifie le nom du site de façon à ce qu'il reflènte le nombre de votre emplacement d'observation. Appuyez sur ENTRE: « Modifier: Nom » apparait de nouveau.
- Appuyez sur la touche de défilament vers le bas et « Modifier: Latitude » apparait. Appuyez sur ENTRER:
- À l'aide des touches numériques, saisissez la latitude de votre site d'observation et appuyez sur ENTRER. « Modifier: Latitude » apparait de nouveau.
- Appuyez sur la touche de défilament vers le bas et « Modifier: Longitude » apparait.
- À l'aide des touches numériques, saississez la longitude de votre site d'observation et appuyez sur ENTRER. « Modifier: Longitude » apparait de nouveau.
- Appuyez sur la touche de défilament vers le bas et « Modifier: Fuseau horsere » apparait. Appuyez sur ENTRER: (Si le site choisi dans la liste dans l'etape 1 est dans le même fuseau horsaire que le site étant modifié, appuyez simplement sur ENTRER de nouveau pour progresser vers la prochaine étape. Le « fuseau horsere » refère au décalage par rapport au Temps du Méridien de Greenwich (TMG). Les usagers à l'ouest de Greenwich, Angleterre utilisent les heures « - » et ceux à l'est les heures « + ». Pour les États-Unis, recherche le décalage d'heure dans la Table 1 de décalages.

. Regarder le Soleil directement ou a proximate causera des lesions instantanees et irrereversibles a toue cel. Ne dirigez pas le telescope vers ou pre s du Soleil. Ne regardez pas dans le telescope ou le SmartFinderMD quand il pivote.
Créer votre propre visite guidée
Lorsque vous avez sélectionné un Tour Guidé, l'Autostar tourne le téléscope vers une liste prédéterminée d'objets et affiche les informations concernant chaque objet, telles que le type d'objet, l'emplacement de la constellation, coordonnées A.D. et Dec. et ainsi de suite. Autostar contient quelques Tours Guidés qui ont été programmes à l'usine. Mais il est aussi possible pour un observateur de creator un Tour Guidé personnelisé.
Un tour est simplement un fjichier de texte ASCII qui contient la liste des directions et des descriptions.
Chaque ligne d'un tour est soit une ligne de commentaire, un commande ou une description.
Ce dont vous aurez besoin:
- Un Ordinateur Personnel (PC) ayant un éditeur de texte ou un logiciel de traitement de texte déjà installé (le tour doit être enregistré en tant que fichier « texte seulement » ou en tant que fichier « Texte MS-DOS »).
- La trousse de câblage Meade 505 pour le téléchargement de l'information du tour vers la commande à distance Autostar.
Modes de Tours
Les objets choisis pour une liste de tour sont selectionnés à partir de la base de données d'Autostar ou en entrant les coordonnées A.D. et Dec. Le tour est presenté en utilisant un de deux modes:
Mode Automatique: le titre d'un objet apparaît sur la première ligne et un texte descriptorif apparaît sur la ligne 2.
Mode Interactif: le tour apparaît sur la première ligne de l'afficheur Autostar et le nom de l'objet apparait si la ligne 2. Pour afficher la ligne descriptive dans ce mode, l'usager doit appuyer sur ENTRER.
Ligne de Commentaire contient de l'information dans le programme du tour qui n'est pas affichée, tel que l'auteur, l'historique de révision, les droits d'auteur, etc. Tous les commentaires débutent par un caractère barre oblique « / » dans la colonne 1 de la ligne. Par exemple:
/ Objets Extrêmes
/ © 2007 La société Meade téléscopes.
Ligne de Commande
Cette ligne contient les commandes de programmation, incluant: Les coordonnées A.D. et DÉC, une chaîne de caractères, une chaîne descriptive, et un mot clé.
RA: Entrez l'Ascension Droite (AD) d'un objet dans le format qui suit: HH:MM:SS. P.ex.: 18:51:05
Dec: Entrez la Déclinaison d'un objet dans le format qui suit: DDdMMmSSs. P.ex.: -06d15m00s
Chaine du Titre: Le texte à l'intérieur d'une chaine de Titre est affiché en tant que Titre de l'objet. Une chaine de Titre peut contenir jusqu'à 16 caractères et doit être entourée d'apostrophes. Par exemple: « M64 » or « Mon étoile fav. »
En mode interactif, le titre apparait sur la ligne 2 jusqu'à ce que la touche ENTRER soit sélectionnée. En mode automatique, ou après la sélection du mode automatique, la chaine de titre apparait sur la ligne 1 pendant que la description défile sur la ligne 2.
Mots clés: Actions à exécuter pendant un tour. Autostar reconnaît les mots clés suivants:
| TITLE | TEXT | USER | NGC |
| IC | SAO | MESSIER | CALDWELL |
| PLANET | MOON | SATELLITE | ASTEROID |
| COMET | LUNAR ECLIPSE | METEOR SHOWER | DEEP SKY |
| CONSTELLATION STAR | LANDMARK | DEFINE | |
| PICK ONE/PICK END | AUTO SLEW ON/OFF | #END |
Chaine descriptive: Description d'un objet. Doit etre encadrd'apostrophes. Si la description est plus longue qu'une ligne, chaque ligne doit etre terminée par une apostrophe et un retour obligatoire. Debutez la prochaine ligne de description par une apostrophe.
Si les apostrophes doivent être affichées dans la description sur l'écran, utilisez deux apostrophes au début et à la fin de la phrase désirée. Par exemple: "La nèbuleuse Orion est considérée ["stupéfiante]"

. Regarder le Soleil directement ou a proximate causera des lesions instantanees et irrereversibles a toue cel. Ne dirigez pas le telescope vers ou prese du Soleil. Ne regardez pas dans le telescope ou le SmartFinderMD quand il pivote.
Rédigier votre propre visite guidée
En utilisant les commandes listées ci-dessus, vous pouvez创建工作 un tour personnalisé. Placer le mot AUTO SELECT au début d'une ligne de commande active le Mode Automatique et, s'il est sélectionné, Autostar recherche automatiquement et trouve l'objet indiqué.
La liste qui suit est une liste de lignes de commandes, incluant les mots clés et les chaînes nécessaires:
TITLE
Title (le titre) doit être le premier mot clé dans le tour après des lignes de commentaires si applicable et être 15 caractères ou moins.
Autostar affiche ce titre lorsque le « Tour Guidé » est sélectionné à partir des menus.
Par exemple: TITLE "Vie d'étoile"
TEXT "chaine de titre" "chaine descriptive"
Cette commande vous permet d'afficher la ligne de texte et de description.
USER ra dec "chaine de titre" "chaine descriptive"
Cette commande vous permet d'acceder à un objet spécifique y attribuant votre propre description. Entrez USER, puis le RA (Ascension Droite) et DEC (déclinaison) de l'objet désiré, et son titre et description. Utilisez le format décrit dans la section Ligne de Commande.
Les commandes qui suivent spécifique les objets qui sont déjà dans la base de données de l'Autostar. Si ces commandes suivent une commande AUTO SELECT, les titres d'objects s'affichent sur la ligne 1 et les descriptions défilent à travers la ligne 2.
N'ajoutez pas une chaîne descriptive après les commandes suivantes; ces commandes accédent les objets qui ont une description existante dans la base de données de l'Autostar.
NGC xxx
Entrez NGC suivi par le numéro de Nouveau Catalogue Général désiré et Autostar fournira à l'usager une description de l'objet à partie de la base de données. Par exemple: NGC 4256
ICxxxx
Entrez IC suivi par le numero d'indexe de Catalogue et Autostar désiref fournira à l'usager une description de l'objet à partie de la base de données. Par exemple: IC 1217
SAOxxxxxxxx
Entrez SAO suivi par le numero SAO désiré et Autostar fournira à l'usage une description de l'objet à partir de la base de données. Par exemple: SAO 30200
Messier xxx
Entrez MESSIER suivi par le numéro Messier désiré et Autostar fournira à l'usage une description de l'objet à partie de la base de données. Par exemple: M 101
CALDWELL xxx
Entrez CALDWELL suivi par le numero Caldwell désiré et Autostar fournira à l'usage une description de l'objet à partie de la base de données. Par exemple: CALDWELL 17
PLANET "nom"
Saisissez PLANET suivi du nom de la planete désirée encadrée d'apostrophes. Autostar fournit à l'usage la description de la planete sélectionnée à partir de sa base de données. Par exemple: PLANET "Pluto"
MOON
Cette commande accede à l'information concernant la Lune à partir de la base de données d'Autostar.
SATELLITE "nom"
Saisissez SATELLITE suivi du nom du satellite désiré, encadré d'apostrophes. Autostar affiche l'information sur le satellite à partir de sa base de données. Par exemple: SATELLITE: "Intl Space Stn"
ASTEROID "nom"
Saisissez ASTEROID suivi du nom de l'astéroïde désiré, encadré d'apostrophes. Autostar affiche l'information sur l'astéroïde à partir de sa base de données. Par exemple: ASTEROID: "Ceres"
. Regarder le Soleil directement ou a proximate causera des lesions instantanees et irrereversibles a toue cel. Ne dirigez pas le telescope vers ou prese du Soleil. Ne regardez pas dans le telescope ou le SmartFinderMD quand il pivote.
LUNAR ECLIPSE
Si LUNAR ECLIPSE fait parti de votre tour guidé, Autostar vérifie sa base de données chaque fois que le tour est activé afin de voir si l'éclipse lunaire est visible cette soit. Si aucune eclipse ne sera visible, l'option est ignorée et le tour procèle avec le prochain objet.
METEOR SHOWER
Si METEOR SHOWER (Pluie de météorites) fait partir de votre tour guidé, Autostar vérifie sa base de données chaque fois que le tour est activé afin de voir si la pluie de météorite sera visible cette soit. Si aucune pluie de météorites ne sera visible, l'option est ignorée et le tour procède avec le prochain objet.
DEEP SKY "nom"
Saisissez DEEP SKY suivi du nom de l'objet désirée encadré d'apostrophes. Par exemple: DEEP SKY "Small Magellanic Cloud"
CONSTELLATION "nom"
Saisissez CONSTELLATION suivi du nom de la constellation désirée, encadré d'apostrophes. Par exemple: CONSTELLATION "Leo Major"
STAR "nom"
Saisissez STAR suivi du nom de l'étoile désirée, encadré d'apostrophes. Par exemple: STAR "Vega"
LANDMARK az alt "titre" "description"
Entrez l'Azimut (az) pour l'objet déséré dans le format qui suit: xxxdxmmxxs. Par exemple: 123d27m00s. Entrez l'altitude pour l'objet déséré dans le format qui suit: xxdxmmxxs.
Ensuite, saisissez la chaîne de titre et la chaîne descriptive entre apostrophes. Par exemple:
LANDMARK 123d27m00s 57d20m20s "Repere ter 1" "Coin nord de l'immeuble d'habitation"
PICK ONE / PICK END
Ces deux énoncés servent à encadrer une liste d'articles parmi lesquels Autostar peut désirpendant le tour. Autostar commence par le haut de la liste PICK ONE et affiche le premier objet de la liste qui est par-dessus l'horizon et ignore les autres.
Cet énoncé est utile pour développer des tours qui peuvent être représentés toute l'année. Pour chaque type d'objet que vous désirez utiliser pour illustrer dans votre tour,CHOISSEZ 10 à 12
exemples espacés à travers une gamme d'ascensions droites. Cadrez-les dans des énoncés PICK ONE / PICK END. Un exemple actuellément possible s'affiche pour l'usage. Par exemple AUTO SELECT TEXT "Amas Globulaire" "Les Amas Globulaires sont de gigantesques boules d'étoiles."
"Elles contiennent 50,000 à 100,000 étoiles et sont situées en periphérique de notre"
"Galaxie."
PICK ONE
AUTO SELECTMESSIER13
AUTO SELECTMESSIER15
AUTO SELECTMESSIER92
AUTO SELECTMESSIER4
AUTO SELECTMESSIER68
AUTO SELECT NGC 1234
AUTO SELECT TEXT "Aucune disponible" "Mes excuses. Il n'y a pas d'Amas Globulaires"
"brillants visibles pour le moment.
PICK END
AUTO SLEW ON / AUTO SLEW OFF
Lorsque la rotation automatique est activée (AUTO SLEW ON) pendant un tour, l'Autostar tourne automatiquement le téléscope vers les objets avant d'afficher la description. Cette fonction est utile lors de la conception de tours dans lesquels certains objets sont requis. Par exemple, un professeur d'astronomie pourrait avoir besoin d'étudiants qui observent six objets, quatre desquels sont automatiquement alignés par Autostar pendant le tour. Les étudiants auraient à manuellement tourner le téléscope pour les deux derniers objets. Il placerait alors

. Regarder le Soleil directement ou a proximate causera des lesions instantanees et irrereversibles a toue cel. Ne dirigez pas le telescope vers ou pre s du Soleil. Ne regardez pas dans le telescope ou le SmartFinderMD quand il pivote.
une commande AUTO SLEW ON avant le premier objet requis et AUTO SLEW OFF après le quatrième objet.
END
Pour terminer un tour, la commande #END sur une ligne séparée à la toute fin du tour.
Télécharger les tours
Une fois qu'un tour a eté écrit et enregistré dans un fichier ASCII (enregistré soit en tant que fichier « texte seulement » ou fichier « texte MS-DOS »), téléchargez-le dans l'Autostar en utilisant l'utilitaire de mise à date de l'Autostar qui exécute sur votre PC. Lorsque les tours sont téléchargés dans la commande à distance, Autostar examine la programmation. S'il ne comprend pas la terminologie utilisée pour le tour, il marque les zones questionnables et les affiche dans une fenêtre flash sur l'écran de votre PC. Effectuez les corrections nécessaires et essayez le téléchargement de nouveau. Voir le feuillet d'instruction livre avec votre Trousse de câblage 505 pour plus d'information concernant le téléchargement de données et l'interface avec l'Autostar.
Repères terrestres (Landmarks)
Cette option de menu permet de définir et d'enregistrer des objets terrestres dans la base de données de Repères terrestres (Landmarks). Premièrement, trouvez un Repère terrestre à ajouter en mémoire à l'aide de l'option « Repère terrestre: Ajouter » (Landmark: Add). Pour voir un Repère terrestre,utilisez l'option « Repère terrestre: Sélectionner » (Landmark: Select). Les Repères terrestres peuvent aussi être vus en utilisant l'option « Vue d'ensemble des Repères terrestres » (Landmark Survey) dans le menu « Utilitaires » (Utilities).
Pour ajouter un Repere terrerestre dans la base de données:
Dans cette procédure, vous enregistrrez l'emplacement des Repères terrestres dans la mémoire de l'Autostar.
- Réglez le téléscope à la position d'origine. Notez que pour référence future où le téléscope est situé et si vous avez aligné le téléscope,quelle méthode d'alignement est utilisé.
NOTE IMPORTANTE: pour utiliser la fonction Repères terrestres, le téléscope doit être situé et aligné exactement comme il l'était lorsque le Repère terrestre a été ajoute à la base de données. - Affichez l'option menu « Configuration: Cibles » (Setup: Targets). Choisissez « Terrestres » et appuyez ENTRER. « Configuration: Cibles » s'affiche de nouveau. Choiser cette option désactive le suivi pour les objets astronomiques et n'est pas utile pour l'observation d'objets terrestres tels que ceux dans la base de données de Repères terrestres. Assurez-vous de changer cette option à « Astronomique » lorsque vous désirerez voir les objets célestes de nouveau.
- Appuyez sur MODE une fois. Sélection Article: configuration » s'affiche.4. Appuyez sur la touche de défillement vers le bas et « Sélection Article: Objects" s'affiche. Appuyez sur ENTRER: « Objet: système solaire » (Object: Solar System) s'affiche.
- Appuyez deux fois sur la touche de défilament vers le bas et « Objet: Repères terrestres » s'affiche. Appuyez sur ENTRER: « Repères terrestres: Sélectionner » (Landmarks: Select) s'affiche.
- Appuyez une fois sur la touche de défilament vers le bas. « Repère terrestre: Ajouter » (Landmark: Add) s'affiche. Appuyez sur ENTRER:
- « Repère terrestre Nom » s'affiche. Utilisant les touches fléchéées, entrez le nom pour le Repère terrestre que vous désirez ajouter à la base de données. Une fois fini, appuyez sur ENTRER.
- « Centrer Repère terrerestre. Appuyez sur ENTRER » s'affiche: Utilisant uniquement les touches fléchées (ne déplacez pas le téléscope manuellement), déplacez le téléscope au Repère terrerestre désiré et centrez l'objet dans l'oculaire. Appuyez sur ENTRER: Cet objet est maintainant enregistré en mémoire.
- « Repère terrestre: Ajouter » (Landmark: Add) s'affiche. Si vous désirez ajouter plus de Repères terrestres, repétez les étapes 5 à 7.
Pour sélectionner un Repère terrestre de la base de données:
- Assurez-vous que le téléscope est situé et aligné exactement comme il l'était lorsque le Repère terrestre désiré a été enregistré en mémoire.
- Affichez le menu « Repère terrestre: Sélectionner » (Landmark: Select) de nouveau. Appuyez sur ENTRER:

. Regarder le Soleil directement ou a proximate causera des lesions instantanees et irrereversibles a toue cel. Ne dirigez pas le telescope vers ou prese du Soleil. Ne regardez pas dans le telescope ou le SmartFinderMD quand il pivote.
- Utilisez les touches de défilament pour faire défilier la liste des objets que vous avez préalablement ajoutés. Lorsque l'objet désiré apparait, appuyez sur « ENTRER » pour sélectionner l'objet. Utilisez les touches de défilament pour défilier à travers l'information d'emplacement concernant l'objet, si désiré. Appuyez sur GO TO pour déplacer le téléscope vers l'objet.
- Appuyez sur MODE pour quitter.
Pour creer un ensemble de Points de repères
Cette procédure permet d'exécuter un tour d'objets entrés dans l'options de menu « Objet: Repère terrerestre » - remarquez que la Vue d'ensemble des Repères terrestres fonctionnera seulement si vous avez entrez les objets dans le menu de Repères terrestres.
- Naviguez vers « Utilitaires: Vue d'ensemble des Repères terrestres » (Utilities: Landmark Survey) et appuyez ENTER.
- « Vue d'ensemble des Repèires terrestres: en déplacement... » (Landmark Survey: Slewing...) s'affiche. Le téléscope se déplace vers le premier objet sur la vue d'ensemble et affiche le nom de l'objet.
- Appuyez sur MODE pour arreter l'examen. Appuyez sur ENTRER pour redémarrer l'examen au premier objet de la vue d'ensemble.
Pour vérifier la quantité de mémoire disponible dans l'Autostar.
Autostar a une quantité limite de mémoire. Une fois que vous commence à enregistrer des Repères terrestres et d'autres morceaux d'information dans Autostar, vous commencerez à consommer la mémoire. Cette procédure vous permet de vérifier combien de mémoire demeure disponible.
- Naviguer au menu « Configuration: Statistiques » (Setup: Statistics) et appuyez ENTRE.
- « Statistiques: 37,2K Car. Libres » (Statistics: 37.2K Char Free) s'affichera. C'est la quantité de mémoire qui est encore disponible pour l'usage.
Identifier
Cette procédure vous permet d'utiliser Autostar pour identifier des objets que vous avez trouvés dans le ciel à l'aide des touches fléchéées. Si les objets ne sont pas dans la base de données d'Autostar, Autostar affichera l'information concernant un objet dans sa base de données qui est le plus pres de cette dans votre requête.
NOTE IMPORTANTE pour que cette fonction opère correctement, vous doivent d'abord régler le téléscope dans la position d'origine et initialiser l'Autostar. Si vous déplacez le téléscope physiquement après l'initialisation, cette fonction ne fonctionnera pas correctement.
Dans cette procédure, vous centrerez un objet que vous désirez faire identifier par Autostar dans le centre de l'oculaire et utiliserez le menu « Identifier » pourTRAquer l'information concernant I'objet or I'objet le plus pres dans al base de données de I'Autostar.
- Centrez l'objet que vous désirez faire identifier dans l'oculaire du téléscope.
- Naviguer au menu « Objet: Identierer » (Objetc: Identify) et appuyez ENTRER.
- « En recherche... » (Searching...) s'affiche. Lorsqu'Autostar compte ses calculs, le nom de l'objet le plus pres s'affiche.
- Appuyez sur la touche de défilament pour afficher l'information sur l'objet. Autostar affiche une partie ou toute l'information qui suit concernant l'objet à chaque appui sur la touche de défilament.
Nom commun ou au Catalogue de l'objet
Nom commun ou au Catalogue de l'objet
Type d'objet
Ascension droite
Déclinaison
Constellation
Grossissement
Taille
Message défilant
Example:
Messier 107, NGC6171, Nébuleuse Orion, etc
Amas globulaire, Nébuleuse, Trou noir, etc.
16:32:4
13^03'
Virgo, Orion, etc.
3
2
Cet Amas Globulaire est à 10 000 années away....
Explorer
Ce menu permet de rechercher les objets à l'aide de certains paramètres, comme dans un engin de recherche. « Modifier les paramètres » vous permet de régler divers paramètres pour la recherche, et « Démarrer la recherche » (Start Search) démarre la recherche. Une recherche typique pourrait être faite de la façon suivante:
- Sélectionnez le menu Object « Explorer ». Appuyez sur ENTRER: « Explorer: Demarrer recherche » (Browse: Start Search) s'affiche.
- Appuyez sur une des touches de défilament et « Explorer: Modifier paramètres » (Browse: Edit Parameters) apparait. Appuyez sur ENTRER:
- « Modifier Paramétres: Plus grands (mins) » (Edit Parameters: Largest (mins)) s'affiche. « Mins » veut dire minutes d'arc. Appuyez sur ENTRER:
- Plus grands (mins) » (Largest (mins)) et la valeur s'affichent. Utilisant les touches numériques, entrez les minutes d'arc. Autostar recherche des objets allant jusqu'à cette taille sans plus. Appuyez sur ENTRER:
- « Modifier Paramètres: Plus grands (mins) » (Edit Parameters: Largest (mins)) s'affiche de nouveau. Appuyez sur la touche de défilament vers le bas. « Modifier Paramètres: Plus petits (mins) » (Edit Parameters: Smallest (mins)) s'affiche. Entrez la valeur de la plus petite taille d'objet qu'Autostar recherche dans la base de données. Continuez avec « Plus brillant », « Plus pâle», et « Élévation minimum » utilisant les procédures décrites dans les étapes 3 et 4.
- Àprou « Élévation minimum », « Type d'objet » s'affichent. Appuyez sur ENTRER: « +Trou noir » (+Black Hole) s'affiche. Si vous ne voulez pas de Trous noirs dans votre recherche, appuyez sur ENTRER et le « + » se changera en « - ». Appuyez sur les touches de défilament pour atteindre l'article suivant. « +Nébuleuse Diffuse » (+Diffuse Nebula) s'affiche. Continuez à défilier à travers la liste et appuyez sur ENTRER si vous désirez modifier le « + » and « - » ou vice-versa.
- Àpres avoir défilé jusqu'au dernier article dans al liste de « Types d'objets », appuyez sur MODE deux fois et la touche de défilament une fois. « Explorer: Demarrer recherche » (Browse: Start Search) s'affiche. Appuyez sur ENTRER: « Recherche démarre: Suivante » (Start Search: Next) s'affiche. Appuyez sur ENTRER: Autostar recherche dans la base de données et affiche le premier objet qui rencontres les paramètres de recherche entrés. Appuyez sur les touches de défillement pour afficher l'information sur l'objet. Appuyez sur MODE et « Recherche démarre: Suivante » (Start Search: Next) s'affiche de nouveau. Appuyez sur ENTRER et le prochain article qui rencontres les paramètres s'affiche. Répétré la procédure pour afficher tous les objets.
- Appuyez sur MODE continuellement pour quitter ce menu.
DS2000 TIPS
Regardez dans le futuro
Le menu de date d'Autostar est beaucoup plus qu'un menu de configuration de la date actuelle; avec celui-ci, vous pouvez regarder loin dans le futurou ou apprendre sur les événements passés. L'Autostar peut calculer la date et l'heure d'événements et, mis à part les éclipses, les événements passés aussi (base sur le système de calendrier actuel). P'ex. le lever de soleil le 6 mars 2043 AD, ou l'équinoxe vernal en 1776 AD. Pour utiliser cette fonction, entrez la data désirée dans le menu de configuration et Sélectionnez une option dans le menu des Événements.
Autostar peut calculer les dates et heures de levers de Soleil, couchés de Soleil, levées de Lune, couchés de Lune, Phases de la Lune, Éclipses Solaires et Lunaires (pour les prochains 100 ans), les pluies de météorites, les équinoxes et solstices, et les minimums d'Algol.
Un vaste assortment d'accessoires professionnels sont disponibles pour la série DS-2000 de téléscopes. La qualité supérieur de ces accessoires est bien adaptée à la qualité de l'instrument lui-même. Consultez le Catalogue Général Meade ou meade.com pour les détails complets sur ces accessoires et d'autres.
Oculaires: Pour les grossissements plus et moins élevés, la série Meade 4000 Super Plössl (SP) fournit l'imagerie à haute résolution avec tous les modèles de téléscopes DS-2000. Une sélection utile inclut les oculaires SP 15mm et SP 12,4mm.
No. 126 2x Lentille Barlow (1.25 po): Double la puissance de chaque oculaire tout en maintainant une excellente correction d'image. Par exemple, un oculaire de 9mm utilisé avec le modele DS-2060 produit une puissance de 78X ; lorsqu'utilisé en konjection avec les lentilles Barlow No. 126, le même oculaire produit 156X .
No. 937 Miroir diagonal 2 po: Oculaires a gros baril de 2 po (p.ex. MH 50mm ci-dessous) permet de larges champs de vision impossibles à accomplir avec les oculaires de plus petit diamètre. Les dispositifs de mise au point de tous les téléscope de la série DS-2000, sauf les modèles DS-02060, incluent un porte-oculaire de 2 po afin d'accepter le Miroir Diagonal No. 937 extra-gros, qui en return accepte les oculaires ayant un diamètre de 2 po. Un adaptateur est inclus pour permettre l'utilisation d'oculaires standards ayant un baril de 1,25 po dans le Miroir Diagonal de 2 po. (Notez que le No. 937 est seulement requis pour les téléscopes DS-2000 à réfraction (p.ex. DS-2070, etc.); les téléscopes DS-2000 à réflexion (p.ex. DS02114S) ne requirent pas de miroir pour utiliser les oculaires de 2 po.)
MH 50mm Oculaire à champ large (diamètre optique 2 po): Idéal pour le balayage spectaculaire à basse puissance des champs d'étoiles dans la Voie Lactée ou pour étudier une nébuleuse large diffuse, l'oculaire à champ large MH 50mm est un accessoire très désirable pour tous les téléscopés de la série DS-2000 (excepté les modèles DS-2060, qui ne peuvent pas accepter les oculaires à gros baril). Sur le DS-2070 par exemple, l'oculaire MH 50mm produit un champ de vision actuel de 2.5o à 14X. Sur les DS-2000 refracteurs, utilisez avec le Miroir Diagonal No. 937.
No. 928 Prisme d'érection à 45^ : La diagonal à 90o produit par les réfracteurs de la série DS-2000 produit une image en endroit, mais renversée de gauche à droit pour l'observation de sujets terrestres. The Prisme d'érection 45o No. 928 oriente l'image correctement pour les applications terrestres et produit un angle comfortable d'observation de 45o. Destiné aux réfracteurs seulement.
Adaptateur deamera: Les téléscopes de la série DS-2000 peuvent être utilisés pour la photographie à travers le téléscope de la Lune et des planétes or des objets célestes. Pour la photographique à projection à travers l'oculaire avec n'importe quel de ces téléscopes, utilisez l'adaptateur deamera de base (1,25 po).
No. 1240 Mise au point électrique: S'attache facilement et rapidement à n'importe quel modele DS-2000 pour la mise au point douce, sans vibration. Chaque dispositif de mise au point inclut les vitesses ordinaires et micro-fines. La commande à distance de l'équipement standard accepte une batterie 9V (fournie par l'usager), en alternative, le dispositif peut être opéré à travers la Commande Électronique ou la Commande à Distance Autostar.
No. 506 AstroFinderMC Logiciel et ensemble de cable de connexion: Affiche plus de 15,000 merveilles célestes - galaxies, nébuleuses, amas d'étoiles, étoiles et planêtes - sur votre PC, permettant même les novices de repérer et d'identifier les objets à observer avec le téléscope ou à imprimer les cartes stellaires pour usage dans les sessions d'observation. Opère sur les ordinateurs à base de Windows MC. La trousse de cables de connexion permet la connexion de n'importe quel téléscope DS-2000, Autostar et PC pour le téléchargement de nouveaux logiciels pour l'Autostar ou pour la mise à date de satellites terrestres ou d'autres positions célestes. La trousse est incluse avec le logarithie AstroFinder.
Oculaire Électronique MC: Maintenant, tout le monde peut facilement partager les vues de L'oculaire - la Lune, les planêtes, les étoiles et les objets terrestres - sur un écran de télévision et permet de connecter directement sur des moniteurs, enregistreurs à cassettes, caméscopes. Ce dispositif d'imagerie CMOS monochrome facile à installer et à utiliser offre l'ajustement intégré du contraste pour les diverses conditions astronomiques et conditions d'éclairage terrestre.
La suite Autostar avec Meade LPI MC (Dispositif d'imagerie lunaire plantaire) convertit le téléscope DS-2000m, Autostar et votre PC en un instrument astronomique encore plus puissant et facile à utiliser. Capturez des images spectaculaires de la Lune, des planêtes et des objets loutains, et aussi des objets terrestres la première fois que vous sortirrez. Avec le logiciel de mise au point assistée CEil Magique (Magic-Eye), la suite de logiciel Autostar inclut l'imagerie et les outils de planétarium. Inclut un cable pour connecter votre téléscope à votre PC.
ENTRETIEN DUTÉLESCOPE
Votre telescope DS-2000 est un instrument optique de précision conqu pour produces une vie entiere d'observations enrichissantes. S'il reoit l'entretien et le respect merité par un instrument de précision. Your telescope aura rarement, voire même jamais besoin de service à l'usine. Les consignes d'entretien incluent:
a. Évitez de nettoyer les surfaces optiques du téléscope; un peu de poussière sur le devant de la lentille correctrice du télécope cause virtuellement aucune dégradation de la qualité de l'image et ne devrait pas été considérée comme une raison de nettoyer les lentilles.
b. Lorsque c'est absolument nécessaire, la poussière sur la lentille avant devrait être enlevée par le passage léger d'une Brosse en poils de chameau ou soufflée à l'aide d'une seringue d'oreille (disponible à la pharmacie). NE PAS utiliser de nettoyant commercial de lentilles photographiques.
c. Les matériaux organiques (p.ex. empreintes digitales) sur la lentille avant peuvent etre nettoyees à l'aide d'une solution de 3 parties d'eau distillée pour 1 partie d'alcool isopropylique. Vous pouvez aussi ajouter 1 goutte de savon biodégradable par pinte de solution. Utilisez des papiers mouchoirs blancs doux et faites des passes douces et courtes. Changez souvent le mouchoir.
PRUDENCE Ne pas utiliser des mouchoirs impregnés de senteur ou de lotion sinon les surfaces optiques pourrait être endommagées.
d. Si le téléscope est utilisé dehors dans des nuits humides, il en résultatra probabilité de la condensation d'eau sur les surfaces du téléscope. Malgré qu'un tel dépôt de condensation n'endommagera pas normalement le téléscope, il est recommendé que le téléscope en entier soit essuyé avec un chiffon sec avant de préparer le téléscope pour le transport. Par contre, n'essuyez pas les surfaces optiques. Plutôt, laissez le téléscope reposer pour un certain temps dans un endroit interieur chaud, de façon à ce que les surfaces optiques poussent secher sans contact.
e. Si vous telescope ne sera pas utilise pour une longue période, disons un mois ou plus, il est recommandé de retarder els piles du telescope. Les piles laissées dans le telescope pour une longue période pourraient couler, causant du dommage aux circuits électroniques du telescope.
f. Ne laissiez pas le téléscope à l'intérieur d'une voiture scellede pendant les journées chaudes de I'été; les températures ambantes excessives pourraient endommager la lubrification interne du téléscope et la circuiterie électronique.
Collimation
Les téléscope à réfraction DS-2000 sont alignés optiquement (collimation) à l'usine avant la livraison, et il n'est jamais nécessaire de refaire la collimation de l'optique de ces modèles. Les téléscopés à réfraction Meade modèles DS-2114mm et DS-2130mm sont aussi alignés à l'usine, mais pourrait occasionnellement requérir un réalignment, particulièrement si le téléscope a subi un traitement difficilependant la livraison. Avant d'utiliser un de ces modèles pour la première fois, vérifie l'alignement de l'optique tel que décrit dans cette section. Un bon alignment optique est essentiel pour la performance du téléscope, et de toute façon, la procédure d'alignement n'est pas difficile à suivre.
Les systèmes optiques des téléscopes DS-2000 de Meade incluent les pieces suivantes: miroir primaire (1, Fig. 23); miroir secondaire (2, Fig. 23); port-miroir secondaire (3, Fig. 23); aube de miroir secondaire (4, Fig. 23) et (1, Fig. 24); vis d'inclinaison du miroir principal (5, Fig. 23). L'image du téléscope est portée à la mise au point à (6, Fig. 23).
- Confirmation de l'alignement - pour confirmer l'alignement optique, regardez le long du tube de traction de focalisation (1, Fig. 26) avec l'oculaire retire. Le cote du tube de traction de focalisation cadre les réflexions du miroir primaire (2, Fig. 26), le miroir secondaire (3, Fig. 26), les trois aubes (araignée) (4, Fig. 26) portant le miroir secondaire, et l'oeil de l'observateur (5, Fig. 26). Avec les optiques correctement alignées, toutes ces réflexions apparaissent concentriques (centrées) tel que démontré dans la Fig. 26. Tout déviation de la concentricité de n'importe qu'elle pièce du téléscope à vue d'oeil requière un ajustement au porte-miroir secondaire (Fig. 24) et/ou à la cellule du miroir primaire (Fig. 25), tel que décrit ci-dessous.
- Ajustements de l'aube du miroir secondaire: Si le miroir secondaire (1, Fig. 27) est à la gauche ou droite du centre à l'intérieur du tube de traction (2, Fig. 27), desserrez légarement

. Regarder le Soleil directement ou a proximite causera des lesions instantanees et irrereversibles a toue cel. Ne dirigez pas le telescope vers ou preu du Soleil. Ne regardez pas dans le telescope ou le SmartFinderMD quand il pivote.







les trois boutons d'ajustement/blocage (1, Fig. 24) situés à l'extérieur de la surface du tube principal et glissez le système du port-miroir secondaire en entier vers le haut ou le bas dans les trou s fente du tube principal jusqu'à ce que le miroir soit centredans le tube de traction. Si le miroir secondaire (1, Fig. 27) est par-dessus ou par-dessous le centre à l'intérieur du tube de traction, vissez ver l'intérieur un des trois boutons d'ajustement/blocage (1, Fig. 24) tout en dévissant un autre de ces boutons. Effectuez uniquement l'ajustement de deux boutons à la fois jusqu'à ce que le miroir secondaire apparaissé tel que dans la Fig. 28.
-
Ajustements du port-miroir secondaire: Si le miroir secondaire (1, Fig. 28) est centré dans le tube de traction (2, Fig. 28), mais que le miroir primaire est seulement partiellement visible dans la réflexion (3, Fig. 28), les trois vis en croix (tête Phillips) d'inclinaison du miroir secondaire (2, Fig. 24) dévaient être légèrement dévisées au point où le port-miroir secondaire (3, Fig. 24) peut tourner autour de l'axe parallelle au tube principal. Saisissez le port-miroir secondaire (evitez de toucher la surface du miroir!) avec votre main et tournez-le jusqu'à de que, regardant à travers le tube de traction, vous puissiez voir le miroir primaire se centrer le mistricqu'au sa Meilleure position possible, vissez les trois vis à tête Phillips (2, Fig. 24) pour bloquer la position rotationnelle. Ensuite, si nécessaire, effectuez les ajustements aux trois vis à tête Phillips pour raffiner l'angle d'inclinaison du miroir secondaire, jusqu'à ce que le miroir principal puisse être vu centré à l'intérieur de la réflexion du miroir. Avec le miroir secondaire ainsi aligné, l'image à travers le tube de traction apparait comme dans Fig. 29.
-
Ajustements du miroir primaire: Si le miroir secondaire (1m Fig. 29) et la réflexion du miroir principal (2, Fig. 29) apparait centree dans le tube de traction (3, Fig. 29), mais la réflexion de votre øeil et la réflexion du miroir secondaire (4, Fig. 29) apparaissent decentrees, alors l'inclinaison du miroir primaire requiere un ajustement, utilisant les vis a tete Phillips du miroir principal (3, Fig. 25). Ces vis d'inclinaison du miroir principal sont situées derriere le miroir principal, à l'extrémité inférieure tu tube principal. Voir Fig. 25. Avant d'ajuster les vis d'inclinaison du miroir principal, dévissez au préalable par plusieurs tours (utilisez soit une clé hexagonale ou des pince) les trois vis de blocage à tete hexagonale (2, Fig. 25) qui sont situées sur la surface arrière de la cellule du miroir primaire et qui alterment autour de la circonférence de la cellule avec trois vis a tete Phillips. Ensuite, par essais progressifs, tournez les vis Phillips du miroir principal (3, Fig. 25) jusqu'à ce que vous développiez un sens de chaque direction tourner chaque vis pour centrer la réflexion de votre øeil dans le tube de traction. (Un assistant est utile pour cette opération). Avec votre øeil centré tel que démontré dans Fig. 26, tournez les trois vis de blocage à tete hexagonale (2, Fig. 25) pour bloquer l'angle d'inclinaison du miroir principal.
Le système optique du téléscope est maintainant aligné, ou collimate. Cette collimation devrait être réverifiée de temps en temps, avec de légers ajustement (selon les étapes 1m 2 et/ou 3 ci-dessus) effectuees au besoin pour maintenir les optiques bien alignées.
Si vous avez des questions concernant votre téléscope DS-2000, contactez le Département de Solutions aux Clients de Meade Instruments à:
Telephone: (800) 626-3233
Telephone: (800) 626-3233
Les heures de Solution aux Consommateurs sont 8:00 AM à 5:00 PM heures du Pacifique, du lundi au vendredi. Dans le cas peu probable que votre téléscope DS-2000 aurait besoin de service à l'usine ou de réparations, écrivez ou appelez le Département de Solutions aux Clients de Meade avant de returner le téléscope à l'usine, donnant les détails pertinents complets sur la nature du problème, ainsi que votre nom, adresse et numéro de téléphone de jour. La grande majorité des questions de service peuvent être résolues par téléphone, évitant le return du téléscope à l'usine.

. Regarder le Soleil directement ou a proximite causera des lesions instantanees et irrereversibles a Your cie. Ne dirigez pas le telescope vers ou prese du Soleil. Ne regardez pas dans le telescope ou le SmartFinderMD quand il pivote.
SPÉCIFICATIONS
Conception optique du DS-2060. Réfracteur
Ouverture utile claire 60mm
Longueur Focale 700mm
Rapport de focalisation f/117
Puisance de resolution 19 arc secs
Puisance maxi 200X
Monture . Bras motorise unique Alt-Az
Alignment Altazimut
Vitesses de rotation 1x sidéral à 55^ /sec en 9 incréments
Trépied Aluminium, pleine longueur; ajustable avec
.. plateau d'accessoires
Dimensions du tube optique 25" x 27"
Piles (fournies par I'usager) 8 x AA
Version Autostar No. 494 commande à distance
Conception optique du DS-2070. Réfracteur
Ouverture utile claire 70mm
Longueur Focale 700mm
Rapport de focalisation .f/10
Puisance de resolution 16 arc secs
Puisance maxi 250X
Monture . Bras motorise unique Alt-Az
Alignement Altazimut
Vitesses de rotation 1x sidéral à 55^ /sec en 9 incréments
Trépied Aluminium, pleine longueur; ajustable avec
.. plateau d'accessoires
Dimensions du tube optique 30" x 27"
Piles (fournies par I'usager) 8 x AA
Version Autostar .No. 494 commande a distance
Conception optique du DS-2080. Réfracteur
Ouverture utile claire 80mm
Longueur Focale 900mm
Rapport de focalisation .f/113
Puisance de resolution 14 arc secs
Puisance maxi 275X
Monture . Bras motorise unique Alt-Az
Alignment Altazimut
Vitesses de rotation 1x sidéral à 55^ /sec en 9 incréments
Trépied Aluminium, pleine longueur; ajustable avec
plateau d'accessoires
Dimensions du tube optique 325" x 34"
Piles (fournies par l'usager) 8 x AA
Version Autostar .No. 494 commande a distance
Conception optique du DS-2090. Réfracteur
Ouverture utile claire 90mm
Longueur Focale 800mm
Rapport de focalisation . f/88
Puisance de resolution 13 arc secs
Puisance maxi 300X
Monture . Bras motorise unique Alt-Az
Alignment Altazimut
Vitesses de rotation 1x sidéral à 55^ /sec en 9 incréments
Trépied Aluminium, pleine longueur; ajustable avec
plateau d'accessoires
Dimensions du tube optique 35" x 31"
Piles (fournies par l'usager) 8 x AA
Version Autostar . No. 497 commande a distance
| Conception optique du DS-2102 | Réfracteur |
| Ouverture utile claire | .90mm |
| Longueur Focale | .800mm |
| Rapport de focalisation | f/77 |
| Puisance de résolution | 13 arc secs |
| Puisance maxi | .300X |
| Monture | Bras motorisé unique Alt-Az |
| Alignement | Altazimut |
| Vitesses de rotation | 1x sidéral à 55°/sec en 9 incréments |
| Trépied | Aluminium, pleine longueur; ajustable avec plateau d'accessoires |
| Dimensions du tube optique | .35" x 31" |
| Piles (fournies par l'utiler) | .8 x AA |
| Version Autostar | No. 497 commande à distance ( |
| Conception optique du DS-2114 | Réflector |
| Ouverture utile claire | 114mm |
| Longueur Focale | 910mm |
| Rapport de focalisation | f/8 |
| Puisance de résolution | 10 arc secs |
| Puisance maxi | 325X |
| Monture | Bras motorisé unique Alt-Az |
| Alignement | Altazimut |
| Vitesses de rotation | 1x sidéral à 55°/sec en 9 incréments |
| Trépied | Aluminium, pleine longueur; ajustable avec plateau d'accessoires |
| Dimensions du tube optique | 55" x 34" |
| Piles (fournies par l'usager) | 8 x AA |
| Version Autostar | No. 494 commande à distance |
| Conception optique du DS-2114S | Réflector |
| Ouverture utilis claire | 114mm |
| Longueur Focale | 1 000mm |
| Rapport de focalisation | f/88 |
| Puisssance de résolution | 10 arc secs |
| Puisssance maxi | 325X |
| Monture | Bras motorisé unique Alt-Az |
| Alignement | Altazimut |
| Vitesses de rotation | 1x sidéral à 55°/sec en 9 incréements |
| Trépied | Aluminium, pleine longueur; ajustable avec plateau d'accessoires |
| Dimensions du tube optique | 55" x 18" |
| Piles (fournies par l'usager) | 8 x AA |
| Version Autostar | No. 494 commande à distance |
| Conception optique du DS-2130 | Réflector |
| Ouverture utile claire | 130mm |
| Longueur Focale | 1 020mm |
| Rapport de focalisation | f/79 |
| Puisance de résolution | .09 arc secs |
| Puisance maxi | .350X |
| Monture | Bras motorisé unique Alt-Az |
| Alignement | Altazimut |
| Vitesses de rotation | .1x sidéral à 55°/sec en 9 incréments |
| Trépied | Aluminium, pleine longueur; ajustable avec plateau d'accessoires |
| Dimensions du tube optique | .57" x 38" |
| Piles (fournies par l'utiler) | .8 x AA |
| Version Autostar | No. 494 commande à distance |
| Conception optique du DS-2130S | .Réflecteur |
| Ouverture utile claire | .127mm |
| Longueur Focale | .1 000mm |
| Rapport de focalisation | .f/79 |
| Puisance de résolution | .09 arc secs |
| Puisance maxi | .350X |
| Monture | .Bras motorisé unique Alt-Az |
| Alignement | .Altazimut |
| Vitesses de rotation | .1x sidéral à 55°/sec en 9 incrément |
| Trépied | .Aluminium, pleine longueur; ajustable avec plateau |
| .d'accessoires | |
| Dimensions du tube optique | .57" x 18" |
| Piles (fournies par l'utiler) | .8 x AA |
| Version Autostar | .No. 494 commande à distance |
ANNEXA
Coordonnées célestes
Il est utile de comprendre comment repérer les objets célestes pendant qu'ils se déplacent dans le ciel.
Un système de coordonnées célestes a été créé qui projette une sphère imaginaire autour de la Terre sur laquelle les étoilessemblent être placees. Ce système de cartographie est similaire au système de latitude et longitude des cartes de la surface de la Terre.
En cartographiant la surface de la Terre, les lignes de longitude sont dessinées entre les Pôles Nord et Sud. et les lignes de latitude sont dessinées dans une direction est-oust, parallèle à l'équateur de la Terre. Similairement, Des lignes imaginaires ont été dessinées pour former une grille de latitude et de longitude sur la sphère céleste. Ces lignes sont Déclinaison.
La carte céleste contient aussi deux pôles et un équateur comme la carte de la Terre. Les pôles de ce système de coordonnées sont définis comme les points où les pôles nord et sud de la Terre (c.à.d. l'axe de la Terre), si étendus à l'infini, croisserait la sphère céleste. Donc, le Pôle Céleste Nord (1, Fig.30) est le point dans le ciel où l'extension du Pôle Nord croise la sphère céleste. Ce point dans le ciel se trouve très pres de l'Étoile Polaire, Polaris. L'équateur céleste (2, Fig. 30) est une projection de l'équateur de la terre sur la sphère céleste.
Donc, comme la position d'objects sur la surface de la terre peuvent être identifiés par latitude et longitude, les objets célestes peuvent aussi utiliser l'Ascension Droite et la Déclinaison. Par exemple, vous pouvez identifier Los Angeles, Californie par la latitude +34o) et longitude (118o). De façon similaire, vous pouvez identifier la constellation Ursa Majeure (la Grande Ourse) par son Ascension Droite (11 hr) et sa déclinaison (+50o).
- Ascension droite (A.D. ou R.A. en Anglais): Cette version céleste de la longitude est mesure en unités d'heures (hr), minutes (min) et secondes (sec) sur une horloge de 24 heures ( comme les faisceaux heures de la Terre sont déterminés selon les lignes de longitude). La ligne « zéro » a été arbitrairement choisi comme passant à travers la constellation Pegasus - uneASF de Méridien Greenwich cosmique. Les coordonnées A.D. varient de 0min 0sec à 23hr 59min 59sec. Il existe 24 lignes primaires de A.D., situées à intervalles de 15 degrés le long de l'équateur céleste. Les objets situés plus loin vers l'est de la line de grille A.D. zéro (Ohr 0min 0sec) portent des coordonnées plus élevées.
- Déclinaison (Altitude): Cette version céleste de la latitude est mesure en degrés, minutes et secondes (p.ex. 15^27'33'' ). Les déclinaisons (Déc.) au nord de l'équateur céleste sont indiquées avec un (+) (p.ex. la Déc. du pôle Nord céleste est +90o). Les déclinaisons (Déc.) au sud de l'équateur céleste sont indiquées avec un (-) (p.ex. la Déc. du pôle Sud céleste est -90o). Tout point sur l'équateur céleste (tel que les constellations Orion, Vierge, Verseau) sont dites avoir une Déclinaison de zéro, représentée comme 0o 0' 0".
Reperage du pole céleste
Pour obtenir la position de base d'un site d'observation, prenez note d'ou le Soleil de lève (Est) et se couche (Ouest) chaque jour. Suite à l'arrivée de la noirceur au site, faites face au Nord en pointant
votre épaule gauche vers le coucher de Soleil. Pour pointer précisément au pôle, trouvez l'Étoile Polaire (Polaris) en utilisant la Grande Ours comme guide (Fig. 31).
NOTE IMPORTANTE Pour la majorité des exigences d'observation astronomique, les réglages approximatifs sont acceptables. Ne laissez pas l'attention exagérée à l'alignement précis du téléscope interferer avec votre jouissance de base avec votre instrument.

Fig. 31: Repérage de Polaris
ANNEXE B
Utilisez Autostar pour couver des objets qui ne sont pas dans la base de données
CONSEIL: Saisir les coordonnées A.D. et Dec. d'un objet sans utiliser les menus: Si vous ne foulez pas naviguer à travers les menus, la méthode plus directe d'entrée les coordonnées est d'appuyer sur la touche MODE et la tener pour deux secondes ou plus. Les coordonnées A.D. et Dec. s'affichent. Appuyez sur GO TO. La « Position de l'objet » et ses coordonnées célestes s'affichent. Saisissez les coordonnées A.D. et Dec. de tout objet célesté en utilisant le pavé numérique, écrivant par-dessus les coordonnées représentent affichées. Aussitôt que les coordonnées sont entreés, Autostar tourne le téléscope vers les coordonnées. Remarquez que le téléscope doit être initialisé et placé dans la position Alt/Az d'origine (voir page 16) pour que cette procédure s'exécuté correctement. Par contre, si vous désírez enregistrer les coordonnées d'un objet en mémoire, utiliser la méthode décrite dans le texte à la dette.
Malgré que Autostar contient une base de données de plus que 1 400 objets célestes (étoiles, nébuleuses, etc.) que vous pouze observer, vous pourriez évientuèlement désirer voir des objets qui ne sont pas dans la base de données. Autostar offre une fonction qui vous permet de saisir les coordonnées A.D. et Dec. dans l'option « Usager: Objects » (User: Objects) du menu Objet et permet de tourner automatiquement le téléscope vers les coordonnées entrées par l'usager.
Pour utiliser cette option, vous devez en premier retrouver les coordonnées A.D. et Dec. de l'objet or des objets que vous désirez observer. Visitez la bibliothèque locale, les magasins d'informatique, les librairies, les CD-ROMs, l'Internet ou les publications (telles que Sky & Telescopeor Astronomy), afin de couver les coordonnées d'objets célestes. Les objets/coordonnées que vous entrez feront parti de votre propre base de données, appelée « Objects usager).
Pour saisir les coordonnées d'un objet dans l'option « Usager: Objects » (User: Objects) du menu Objets:
- Assurez-vous qu'Autostar a bien eté initiaisé et que le téléscope a eté aligné.
- Àpres l'alignement du téléscope, « Sélectionner Article: Objet » s'affiche. (Si nécessaire, utilisez les touches de défilament pour défilier parmi les menus, tel qu'expliqué aparavant, afin de couver la position). Appuyez sur ENTRER:
- « Objet: Système Solaire » (Object: Solar System) s'affiche. Continuez à appuyer sur la touche de défilament vers le haut jusqu'à l'affichage de « Objet: Objet Usager » (Object: User Object) et appuyez ENTRETR.
- « Obj usager: Sélectionner » (User Object: Select) s'affiche. Appuyez une fois sur la touche de défillement vers le bas. « Obj usager: Ajouter » (User Object: Add) s'affiche. Appuyez sur ENTRER:
- « Nom » (Name) s'affiche sur la ligne du dessus ainsi qu'un curseur clignotant sur la deuxieme ligne. Utilisez les touches fléchées, tel que déscrit aparavant, pour saisir le nom de l'objet que vous désirez ajouter à la base de données. Une fois fini, appuyez sur ENTRER.
- « Asc. Droite: 00.00.0" » s'affiche. Utilisez le pavé numérique pour saisir les chiffres de la coordonnée de l'Ascension Droite de votre object. Une fois fini, appuyez sur ENTRER.
- « Déclinaison: +00o.00' » s'affiche. Utilisez le pavé numérique pour saisir les chiffres de la coordonnée de la Déclinaison de votre object. Si nécessaire, utilisez les touches de défilament pour changer le « + » en « - ». Une fois fini, appuyez sur ENTRER.
- Autostar you invite alors à saisir la taille de l'objet. Cette étape est optionnelle. Utilisez le pavé numérique pour entrer la taille (en arc-minutes), si vous le désirez, et appuyez sur ENTRER pour procéder au prochain affichage. Si vous ne désirez pas entrer cette information, appuyez simplement sur ENTRER.
- Autostar vous invite alors à saisir le grossissement de l'objet. Cette étape est optionnelle. Utilisez le pavé numérique pour entrer cette information, si vous le désirez, et appuyez sur ENTRER pour procéder au prochain affichage. « Objet usager: Ajouter » (User Object: Add) s'affiche de nouveau.
Pour vous rendre à un objet saisi par l'usage
Dans cette procédure, vous désirez un objet parmi la liste des Objects Usager et GO TO pour vous y rendre.
- Avec « Obj Usager: Ajouter » (User Object: Add), appuyez une fois sur la touche de défilament vers le haut. « Obj Usager: Sélectionner » (User Object: Select) s'affiche. Appuyez sur ENTRER:
- Utilisez les touches de défilament (si nécessaire) pour défiler vers l'objet désiré. Appuyez sur ENTRER:
- Le nom de l'objet et les coordonnées d'Ascension Droite et Déclinaison s'affichent.
- Appuyez sur GO TO et le téléscope se déplacera vers l'objet.
ANNEXE C
Observation des satellites
Dans cette procédure, vous prépareriez votre téléscope pour observer un passage de satellite.
- Naviguer au menu « Objet: Satellite » (Setup: Satellite) et appuyez ENTRER.
- Employez les touches de défilament pour faire défilier la liste des satellites.
- Sélectionnez un satellite de la liste et appuyez sur ENTRE.
- « En calcul... » (Calculating...) puis « En poursuite... » (Tracking...) s'affichent. Si le satellite fera un passage, « Repéré » (Located) s'affichera.
- Appuyez sur les touches de défilament pour afficher l'information sur le passage: aos - acquisition du signal et los - perte du signal. Si vous soustrayez aos de los, vous pouvez calculer la période que le satellite sera visible. L'information sur l'emplacement s'affiche aussi.
- « Alarme » (Alarm) s'affiche suite à l'information sur l'emplacement. Appuyez sur ENTRER et Autostar règle automatiquement l'alarme qui sonnera une minute avant l' apparition cédulée du satellite. Vous pouvez returner aux observations régulières jusqu'à ce qu l'alarme sonne.
- Lorsque l'alarme sonnera, returnez au menu Satellite et appuyez sur les touche de défilament jusqu'à ce que le satellite désiré soit sur la ligne supérieure de l'afficheur.
- Appuyez sur GO TO. Autostar tourne le téléscope vers l'endetroit où le satellite devrait apparaitre. L'entraînement motorisé s'arrête et le décompte s'affiche.
NOTE: Si la position d'apparition cédulée du satellite est obstruée (c.à.d. par un édifice, arbre ou colline), appuyez sur ENTRER et Autostar commence à tourner le téléscope le long de la trajectorie du satellite. Lorsque la trajectorie dépasse l'obstruction, appuyez sur ENTRER de nouveau pour arrêté le téléscope, puis continuez cette procédure.
- Lorsqu'il restera environ 20 secondes dans le décompte, débutez l'observation à travers le viseur du téléscope attendant que le satellite entre dans le champ de vision.
- Lorsque le satellite entre dans le champ de vision, appuyez sur ENTRER. Le téléscope commence à suivre le satellite.
- Utilisez les touches fléchées d'Autostar pour centrer l'objet dans le viseur, puis regardez à travers l'oculaire pour voir l'objet.
Les orbites des satellites changent et de nouveaux satellites (incluant la Navette Spatiale) sont lancés. Visitez le site Web de Meade (www.meade.com) environ une fois par mois pour obtenir les information mises à date et les instructions sur comment télécharger ces données à l'Autostar. Si les paramétres orbitaux datent de plus d'un mois, le passage du satellite pourrait ne pas avoir lieu à l'heure prédite par l'Autostar. Le téléchargement requière le logiciel No. 506 AstroFinderMC et l'ensemble de cable de connexion optionnels. Voir ACCESSOIRES OPTIONNELS, page 28.)
NOTE: L'Observation des satellites est un défi excitant. La majorité des satellites sont en orbite basse, voyageant à environ 28 160 km/h (17 500 mph). Lorsqu'ils sont visibles, ils se déplacent rapidement à travers le ciel et sont seulement dans le champ de vision pour quelques minutes, requérant que Autostar tourne le téléscope rapidement. La meilleure observation pres s du lever ou le coucher de Soleil lorsque le ciel est encoreASF. L'observation dans le milieu de la nuit peut cause des problèmes puisque le satellite peut passer par-dessus, mais il ne sera pas visible parce qu'il est dans l'ombre de la terre.
APPENDIX D
Training the Drive
Formez les moteurs du téléscope en utilisant Autostar. Effectuez cette procEDURE si vous subissez des problèmes de précision de pointage. Fig. 32 fournit une esquisse de la procEDUREplete de Formation de I'entrainement motorisé.
NOTE: Utilisez un objet terrestre, tel qu'un poteau téléphonique ou un lampadaire pour former l'entrainment.
Complétez cet exercice une fois tous les 3 à 6 mois pour maintainir le plus haut niveau de précision de pointage.
Remplacer la pile du viseur avec une pile lithium CR2032. La pile se trouve dans la partie inférieure du viseur. Pour sorting la pile, il faudra peut-être utiliser un ongle ou la pointe d'un tournevis placé sous la pile pour la glisser.
Remplacer la pile de l'horloge interne avec une pile lithium CR2032. La pile se trouve dans le compartment à piles.
Les deux piles sont disponibles de Meade, de magasins photographiques ou d'autres endroits qui vendent des piles.
ANNEXE F
Comment régler la data manuellement au 6 mars 2007:
- Appuyez sur l'interrupteur (On/Off) du panneau de commande.
- Appuyez le bouton recommendé par le panneau de commande afin de confirmer que l'Avertissement Soleil a bien été lu et compris. Appuyez sur ENTRER pour contourner le message de Demarrage.
- Continuez à appuyer sur MODE jusqu'à ce que « Sélection Article: Objet » (Select Item: Object) s'affiche.
- Continuez à appuyer sur la touche de défillement jusqu'à l'affichage de « Sélectionner Article: Configuration » (Select Item: Setup) s'affiche. Appuyez sur ENTRER:
- Continuez à appuyer sur la touche de défilament jusqu'à l'affichage de « Configuration: Date » (Setup: Date). Appuyez sur ENTRER:
- « Entrer Data: 01-JAN-2003 » s'affiche. « 0 » est mis en évidence par le curseur clignotant. Appuyez sur la touche fléchée droite afin d'avancer à la position suivante.
- « 1 » est maintainant mis en évidence. Appuyez dur la touche numérique « 6 »
- « JAN » est maintainant mis en évidence. Appuyez sur la touche de défilament vers le haut jusqu'à ce que « MAR » soit affché. Appuyez sur la touche fléchée droite afin d'avancer à la position suivante.
- « 2 » est maintainant mis en évidence. L'affichage de date affiche maintainant « 06 MAR 2003 ». Appuyez sur la touche fléchée droite trois fois jusqu'à ce que 3 soit mis en évidence.
- Appuyez dur la touche numérique « 7 ». Appuyez sur ENTRE: La date est maintainant saisie.
Comment régler l'heure manuellement à 11:30 PM:
Si vous venez tout juste de régler la date, « Configurer:» Date » (Setup: Date) s'affiche. Appuyez sur la touche fléchée vers le bas une fois et « Configurer: Heure » (Setup: Time) s'affiche. Procedez ensuite à l' étape 6 ci-dessous. Si vous n'avez pas encore allumé le panneau de commande, commencez à l' étape 1.
- Appuyez sur l'interrupteur (On/Off) du panneau de commande.
- Appuyez le bouton recommendé par le panneau de commande afin de confirmer que l'Avertissement Soleil a bien été lu et compris. Appuyez sur ENTRER pour contourner le message de Demarrage.
- Continuez à appuyer sur MODE jusqu'à ce que « Sélection Article: Objet » (Select Item: Object) s'affiche.
- Continuez à appuyer sur la touche de défillement jusqu'à l'affichage de « Sélectionner Article: Configuration » (Select Item: Setup) s'affiche. Appuyez sur ENTRER:
- Continuez à appuyer sur la touche de défilament jusqu'à l'affichage de « Configuration: Heure » (Setup: Time) s'affiche. Appuyez sur ENTRER:
- « Entrer Heure: 08:00:00AM » s'affiche. Le « 0 » le plus à la gauche est mis en évidence. Appuyez dur la touche numérique « 1 »
- « 8 » est maintainant mis en évidence. Appuyez dur la touche numérique « 1 »
- « 0 » est maintainant mis en évidence. Appuyez dur la touche numérique « 3 »
- L'affichage de l'heure présente maintainant « 11:30:00AM ». Appuyez sur la touche fléchée droite jusqu'à ce que « AM » soit mis en évidence. Appuyez sur une des touches de défilament jusqu'à ce que « PM » soit affché. Appuyez sur ENTRER: L'heure est maintainant saisie.

. Regarder le Soleil directement ou a proximate causera des lesions instantanees et irrereversibles a toue cel. Ne dirigez pas le telescope vers ou prese du Soleil. Ne regardez pas dans le telescope ou le SmartFinderMD quand il pivote.
ASTRONOMIE DE BASE
Au début du 17è siècle, le scientifique italien Galilée, à l'aide d'un téléscope plus petit que le modele DS 2000, le tourna vers le ciel au lieu de regarder les arbres et montagnes distants. Ce qu'il a vu, et ce qu'il a réalisé concernant ce qu'il a vu, a changé à tout jamais la façon que l'humanité pense à l'univers. Imaginez comment il avait se sentir d'être le premier humain à voir les Lunes tourner autour de la planete Jupiter ou de voir les changements de phase de Venus! À cause de cette observation, Galilée a réalisé correctement le déplacement de la Terre et la position du Soleil, et ce faisant, a donné naissance à l'astronomie moderne. Tout de même, le téléscope de Galilée était rudimentaire; il ne pouvait pas désigner les anneaux de Saturne.
Les découvertes de Galilée ont établi la fondation de la compréhension du déplacement et de la nature des planètes, des étoiles et des galaxies. Construisant sur cette fondation, Henriette Leavitt détermina comment mesurer la distance aux étoiles, Edwin Hubble nous a donné un aperçu de l'origine possible de l'univers, Albert Einstein a démélé la relation cruciale entre le temps et la lumière, et les astronomes du 21è siècle découvertment maintain des planètes autour des étoiles en dehors de notre système solaire. Presque tous les jours, utilisant des sucesseurs sophistiqués du téléscope de Galilée, les téléscope tels que le téléscope dans l'espace Hubble et le téléscope à rayons-x Chandra, de plus en plus de mystères de l'univers sont sondés et compris. Nous vivons dans l'âge d'or de l'astronomie.
Différente des autres sciences, l'astronomie ouvre ses portes `a la contribution des amateurs. Une grande partie des connaissances que nous possédons sur les comètes, les pluies de météorites, la Lune et le système solaire proviennent des observations faite par des astronomomes amateurs. Alors, lorsque vous regardez à travers votre téléscope DS-2000, souvenez-vous de Galilée. Pour lui, les téléscope n'était pas uniquement fait de vitre et de métal, mais只想 tout que chose de plus - une fenêtre par laquelle le cœur battant de l'univers pouvait être observé.
Glossaire Autostar
Assurez-vous d'utiliser la fonction de Glossaire d'Autostar. Le menu « Glossaire » (Glossary) fournit une liste alphabetique de définitions et descriptions pour des termes astronomiques commun. On y accede directement par le menu Glossaire, ou par les mots d'hypertexte incorporeés dans l'Autostar. Voir « MENU GLOSSAIRE», page 24, pour plus d'information.
Objets dans l'espace
La liste ci-dessous indique quelques-uns des nombreux objets astronomiques qui peuvent être给你们 à l'aide du téléscope de la série DS-2000.
La Lune
La lune est, en moyenne, à une distance de 380 000 km (239 000 miles) de la Terre et s'observe le最喜欢 pendant le croissant ou la demi-phase lorsque la lumière du Soleil frappe la surface de la Lune à un angle. Cela projette des ombrages et ajoute de la profondeur à l'observation (Fig. 34). On ne voit aucune ombre pendant une pleine Lune, faisant que la surface excessivement brillante apparait plate et peu intéressante. Pensez à utiliser un filtre lunaire à densité neutre pour observer la Lune. Non seulement il attenue la brillance de la Lune, il améliore le contraste, représentant une image plus dramatique. Des détails brillants peuvent être observés sur la Lune, incluant les crateres et les mers lunaires, décrites ci-dessous.
Les cratères sont des impacts ronds de météorites qui couvrent la majorité de la surface de la Lune. Sans atmosphere sur la Lune, aucunes conditions atmosphériques n'existent, donc les météorites sont la seule force d'érosion. Dans ces conditions, les cratères lunaires peuvent subsister pendant des millions d'années.
Les Mers sont des régions unies et sombres éparpillées partout sur la surface lunaire. Ces zones sombres sont d'anciens bassins d'impacténormes qui on est rémplis de lave à partir de l'intérieur de la Lune par le profondeur et la force des impacts de météorites et comètes. Douze astronomutes du programme Apollo ont laissé leurs empreintes de botte sur la Lune dans les années 1960 et 1970. Par contre, aucun téléscope sur la Terre peut voir ces empreintes de pied ou n'importe quels autres objets. En fait, le plus petit object lunaire qui peut être vu avec le plus gros téléscope sur la Terre mesurent environ un demi mile de diamètre.
Planêtes
Les planêtes changent de position dans le ciel puisqu'elles sont en orbite autour du Soleil. Pour repérer une planete une journee ou un mois donné, consultez votre revue astronomique mensuelle, telle que Sky et Telescopeor Astronomy. Vous pouvez aussi consulter Autostar pour de l'information concernant les planêtes. Naviguer au menu « Objet: Système Solaire » (Object: Solar System) et défilez la liste des planêtes. Lorsqu'une planete qui vous intérèse s'affiche, appuyez sur ENTRER. Utilisez les touches de défilament pour afficher tout sur la planete, tel que les coordonnées de la

Fig. 34: La Lune. Remarquez les ombrages profonds dans les créatures.

. Regarder le Soleil directement ou a proximate causera des lesions instantanees et irrereversibles a toue cel. Ne dirigez pas le telescope vers ou pre s du Soleil. Ne regardez pas dans le telescope ou le SmartFinderMD quand il pivote.

Fig. 35: Jupiter et ses quatre plus grosses lunes. Les lunes peuvent etre observees dans une position différente chaque nuit.

Fig. 36:: Saturne a la structure d'anneaux la plus grande dans notre système solaire.

Fig. 37: Les Pleiades est un des amas d'étoiles les plus beaux.
a planete, et les heures de son lever et coucher.(Conseil: entrez une date dans le Menu Date et vous pourrez déterminer si la/les planete(s) sera /seront visible(s) pendant la nuit de la date entree en vérifier les heures du lever et du coucher. La liste ci-dessous indique les meilleures planetes à observer a travers les téléscopes de la série DS-2000.
Venus est environ neuf dixièmes du diamètre de la Terre. Alors que Venus tourne autour du Soleil, les observateurs peuvent la voir passer ses phases (croissant, demié, pleine) tout comme celles de la Lune. Le disque de Venus apparait blanc puisque la lumière solaire est reflèchie par la couche épaisse de nuages qui masquent complètement les détails de la surface.
Mars est environ la moitié du diamètre de la Terre, et apparait à travers le téléscope comme un petit disque rouge-orange. Il est possible de voir un soupçon de blanc d'une des capotes polaires de la planete. Approximativement toutes les deux années, quand Mars est le plusprés de l'orbite de la Terre, des détails additionnels et des coloris sur la surface de la planete peuvent devenir visibles.
Fig. 35: Jupiter et ses quatre plus grosses lunes. Les lunes peuvent etre observees dans une position differente chaque nuit.
Jupiter est la plus grossse planete dans le système solaire et a un diamètre 11 fois plus grand que celui de la Terre. La planete apparait comme un disque avec des lignes fonçées étendues sur la surface. Ces lignes sont des bandes de nuages dans l'atmosphère. Quatre des 16 lunes de Jupiter (Io, Europe, Ganymède et Castillo) peuvent être vues comme des points lumineux similaire à des étoiles en utilisant même le plus petit grossissement. Ces lunes sont en orbite autour de Jupiter ce qui fait que le nombre de lunes visibles une nuit donnée change alors qu'elles tournent autour de la planete géante.
Fig. 36: Saturne a la structure d'anneaux la plus grande dans notre système solaire.
Saturne a un diamètre neuf fois plus gros que celui de la Terre et apparait plus petit, un disque rond avec des anneaux s'étendant sur chaque côte. En 1610, Galilée, la première personne à observer Saturne à travers un téléscope, ne comprendait pas que ce qu'il voyait était des anneaux. Plutôt, il croyait que Saturne avait des « oreilles ». Les anneaux de Saturne sont composés de milliards de particules de glace variant entre la taille d'un grain de poussière à celle d'une maison. La division majeure dans les anneaux de Saturne, appelée la Division de Cassini, est occasionnellement visible.
Titan, la plus grosse des 18 lunes de Saturne peuvent aussi être vues en tant qu'objets brillants comme des étoiles pres de la planete.
Objets distants utilisez les cartes d'étoiles pour repérer les constellations, étoiles individuelles et objets lointains. Des exemple d'objets lointains sont presentés ci-dessous:
Les Étoiles sont de gros objets gazeux qui s'illuminent eux-mêmes par fusion nucléaire dans leur cœur. À cause de leurs vastes distances de notre système solaire, les étoiles apparaisent comme des points de lumière, quelque soit la grandeur du téléscope.
Les Nébuleuses sont de vastes nuages interstellaires de gaz et de poussière ou les étoiles se forment. La plus impressionnante de celles-ci est la Grande Nébuleuse d'Orion (M42), une nèbuleuse diffuse qui apparait comme un nuage gris faible et vaporeux. M42 est à 1600 années lumières de la Terre.
Fig. 37: Les Pléiades est un des amas d'étoiles les plus beaux.
Les Amas Galactiques Ouverts sont des regroupements de jeunes étoiles, toutes récemment formées à partir de la même nébuleuse diffuse. Les Pléiades est un Amas Galactique Ouvert à 410 années lumières de la Terre (Fig. 37).
Les Constellations sont de gros motifs imaginaires d'étoiles que les anciennes civilisations croyaient être des équivalents célestes d'objects, animaux, personnes, ou Dieux. Ces motifs sont trop gros pour être vus à travers le téléscope. Pour apprendre les constellations, commencez par les groupements facibles, tels que la Grande Ourse et Ursa Majeurs. Ensuite, utilisez une carte d'étoiles pour explorer partout dans le ciel.
Les Galaxies sont de gros assemblages d'étoiles, de nèbuleuses et d'amas d'étoiles qui sont retenus par gravité. La forme la plus commune est la spirale ( comme celle de la Voie Lactée), mais les galaxies ne sont pas tous elliptiques, ou même de taches. La galaxie Andromède (M31) est la galaxie en spirale la plus proche de la notre. Cette galaxie apparait flou et en forme de cigare. Elle est à 2,2 million d'années lumières dans la constellation Andromède, situées entre la gros « W » de Cassiopée et le gros carré de Pégasse.
GARANTIE LIMITEE DE MEADE
Chaque téléscope Meade, viseur de reperteage et accessoires de telescope sont garantis par la societe Meade Instruments (Meade) contre tous vices des matieres aux et de fabrication pendant UN AN a partir de la date de l'achat original aux Etats-Unis et au Canada. Meade reparera ou replacera a sa discrétion un produit ou l'une de ses pieces juges defectueux par Meade, à la condition que la pièce ou le produit defectueux soient returnés à Meade, fret payé d'avance, accompagnés d'une preuve d'achat. La presente garantie est destinée uniquement au premier acheteur et elle est incessorible. Les produits Meade non achetés en Amérique du Nord ne sont pas couverts par cette garantie, mais plutôt par des garanties distinctes données par les distributeurs internationaux de Meade.
Nombre RGA obligatoire: Avant de returner le produit ou la piece, il faut demander à Meade un nombre d'autorisation pour les produits rendus (RGA en angeais), soit par écrit, soit en composant le 1+ (800) 626-3233. Chaque piece ou produit returné doit être accompagné d'une déclaration écrite décrivant la nature de la défaillance pour laquelle le produit/la piece sont returnés, le nom, l'adresse et le nombre de téléphone du propriétaire.
La presente garantie est nulle et sans effet en cas d'utilisation ou manipulation abusives, de réparations non autorisées (achvees ou non), ou si un usage normal est la cause de la dépréciation du produit. Meade ne pourrait être tenue responsable de tout dommage spécial, indirect ou accidentel, ni de perte de bénéfices pour manquement à la presente garantie. Toute garantie tacite qui ne peut être exclue est limitée par les Presents à une période d'un an à compter de la date d'achat au détail d'origine.
Cette garantie vous donne des droits spécifiques. Vous pouvez avoir d'autres droits, lesquels varient selon la Proving ou l'Etat.
Meade se reserve le droit de changer les caractéristiques des produits ou d'abandonner la fabrication de ceux-ci sans avis préalable. Cette garantie remplace toutes garanties antérieures de produits Meade.
Notice Facile