CD32X - Lecteur CD externe AOPEN - Notice d'utilisation et mode d'emploi gratuit
Retrouvez gratuitement la notice de l'appareil CD32X AOPEN au format PDF.
| Type d'appareil | Ordinateur |
| Composant | Lecteur de CD-ROM |
| Interface | IDE |
| Emplacement | 5,25 pouces |
| Connexion alimentation | Connecteur alimentation PC standard |
| Connexion audio | Câble audio analogique 4 broches |
| Mode maître/esclave | Réglage maître/esclave nécessaire |
| Installation | Fixation par vis de montage |
| Compatibilité | Non précisé |
| Vitesse de lecture | Non précisé |
| Capacité | Non précisé |
| Dimensions | Standard 5,25 pouces |
| Type de câble IDE | Câble IDE avec bord rouge pour broche 1 |
| Alimentation | Connecteur alimentation 4 broches |
| Installation logicielle | Non précisé |
FOIRE AUX QUESTIONS - CD32X AOPEN
Questions des utilisateurs sur CD32X AOPEN
0 question sur cet appareil. Repondez a celles que vous connaissez ou posez la votre.
Poser une nouvelle question sur cet appareil
Téléchargez la notice de votre Lecteur CD externe au format PDF gratuitement ! Retrouvez votre notice CD32X - AOPEN et reprennez votre appareil électronique en main. Sur cette page sont publiés tous les documents nécessaires à l'utilisation de votre appareil CD32X de la marque AOPEN.
MODE D'EMPLOI CD32X AOPEN
1 Installation du lecteur de cd-rom
Avant tout, mettez votre système hors tension. Suivez les étapes ci-dessous pour installer le lecteur de CD-ROM.
- Retirez le capot de votre système. Reportez-vous au manuel d'utilisation de votre système.
- Ajustez les cavaliers Maître/Esclave au dos du lecteur de CD-ROM si nécessaire. (Le réglage par défaut de l'usine sur le mode esclave ne devrait normalement pas avoir été changé. Consultez la Section 4 pour des informations complémentaires.)
- Insérez le lecteur de CD-ROM dans un emplacement 5,5 pouces libre. Fixez le lecteur au cadre de l'emplacement à l'aide des vis de montage (comprises dans l'emballage du lecteur). Reportez-vous au manuel d'utilisation de votre système sur la méthode d'installation d'un lecteur.
- Branchez un connecteur d'alimentation libre du PC dans le connecteur d'alimentation sur l'arête du lecteur de CD-ROM.
- Branchez un connecteur IDE libre du PC dans le connecteur d'interface IDE du lecteur.
NOTE: Le bord rouge du câble IDE correspond à la broche 1 de l'interface IDE sur le lecteur de CD-ROM. Si vous avez une carte son, vous pouvez également connecter un câble audio analogue à 4 e la carte son.
Si vous avez un péripérisque audio numérique, vous pouvez également connecter un cable audio numérique à 2 broches au connecteur sortie son de votre lecteur de CD-ROM et au connecteur entrée audio du péripérisque audio numérique.
- Fermez le châssis du système et mettez le système sous tension.
2 Installation des pilotes de cd-rom
L'emballage du lecteur de CD-ROM contient l'utilitaire d'installation. Cet utilitaire installe les pilotes de CD-ROM nécessaires pour que le lecteur de CD-ROM fasse interaction avec votre ordinateur. La disquette d'installation des pilotes contient les fichiers suivants :
AOATAPI. SYS - INSTALL. EXE - README. TXT - READMEJ. TXT
NOTE: Le fichier INSTALL. EXE détecte automatiquement le langage d'environnement du système.
Pour DOS et windows 3.1
Pour installer les pilotes sous DOS ou Windows 3.1 :
- Insérez la disquette d'installation dans votre lecteur de disquettes 3,5 pouces et faites-en le lecteur actif.
INSTALL EHTIF
- Suivez les instructions à l'écran pour compléter l'installation.
Le programme d'installation crée un réseau (C:\CDROM) qui contient les pilotes de CD-ROM. Il modifie également les fichiers AUTOEXEC.BAT et CONFIG.SYS en ajoutant les lignes qui suivent :
CONFIG. SYS
DEVICE=C:\CDROM\AOATAPI.SYS /D:IDECD000 LASTDRIVE=N
Autoexec. BAT
C:\DOS\MSCDEX.EXE /D: IDECD000
Modification des paramètres après l'installation
Pour reconfigurer les paramètres du pilote de CD-ROM, utilisez un éditeur de texte (tel que EDIT. COM) pour modifier les lignes de commande DEVICE= et LASTDRIVE= dans les fichiers CONFIG. SYS et AUTOEXEC. BAT. Redémarrez ensuite votre ordinateur.
Modification de fichier CONFIG. SYS et activation de la fonction DMA
Ajoutez la ligne suivante dans votre fichier CONFIG. SYS :
DEVICE = <PATH>\AOATAPI.SYS /D:<DEVICE_NAME> [/zzzz] [/P:xxx,yy]
est le nom du fichier MSCDEX qui sera utilisé pour couvrir le pilote de périphérique. La taille maximum de est de 8 caractères.
L'option [/zzzz] en forme de caractère spécifique la fonction DMA, la fonction Ultra-DMA, ou la fonction Bus Master DMA. Veuillez vous reporter au fichier README.TXT pour de plus amples détails.
Par example :
DEVICE=C:\CDROM\AOATAPI.SYS /D:IDECD000 /DMA /P:1F0,14
Si votre carte système prend en charge la fonction Bus Master DMA, l'option /DMA définit la fonction Bus Master DMA
L'option /P: spécifie l'adresse de port E-S et le niveau d'IRQ. Le nombre xxx en forme hexadécimale spécifie l'adresse de port E-S (telle que 1F0, 170, 1E8, ou 168), et yy spécifie le niveau d'IRQ (tel que 14, 15, 11, ou 10 en décimal).
NOTE : Si vous n'êtes pas familiarisé avec les paramètres de Port E-S ou de niveau d'IRQ, n'utilisez pas l'option /P:.
Après avoir modifié CONFIG.SYS, réinitialisez le système.
Consultez le fichier README.TXT pour les informations les plus récentes pour l'installation des pilotes.
Pour les environnements windows 95 et windows NT
Windows 95 et Windows NT détecte automatiquement le nouveau lecteur de CD-ROM et charge le pilote de périphérique approprié. Cependant il est possible que Windows ne détecte pas parfois le lecteur de CD-ROM. Vous devez alors installer les pilotes manuellement.
Pour installer les pilotes manuellement :
- Cliquez sur l'icône Panneau de contrôle dans Poste de travail, et cliquez sur Ajout de périphérique. La fenêtre Assistant ajout de nouveau matériel apparaît.
- Le programme procède à une recherche automatique du nouveau lecteur de CD-ROM et charge le pilote approprié.
Pour os/2 warp
Sous OS/2 Warp, sélectionnez l'option CD-ROM non listed. Cette option prend en charge les lecteurs de CD-ROM ATAPI. APRÈS avoir sélectionné cette option, OS/2 détecte automatiquement le lecteur de CD-ROM.
3 Utilisation du lecteur cd-rom
Dans la plupart des cas, les applications logiciel qui utilisent les lecteurs de CD-ROM contrôlent leurs opérations directement. Cependant vous pouvez contrôler le lecteur manuellement en utilisant les contrôles du panneau avant.

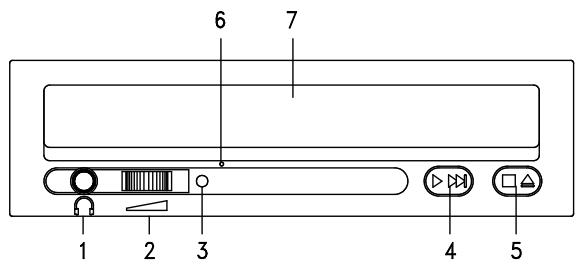
1. Prise du casque stéréo
La prise de casque 3,5 mm vous permet d'écouter des disques compact audio par l'intermédiaire d'un casque stéréo.
2. Contrôle du volume
Le contrôle du volume est un bouton rotatif qui vous permet de contrôler le niveau du son depuis la prise du casque.
3. DEL d'alimentation/occupé
Le DEL d'alimentation/occupé s'allume quand le lecteur de CD-ROM est accédé. Le DEL clignote lors d'une opération de recherche.
4. Bouton d'écoute/saut
Le bouton d'écoute/saut vous permet d'écouter ou de sauter un morceau sur un disque compact audio.
5. Bouton de chargement/éjection
Le bouton de chargement/éjection ouvre le plateau du CD motorisé pour charger etsteroler les disques. Quand un au disque compact audio est lu, l'appui sur le bouton arrête la lecture.
6. Trou d'éjection d'urgence
Le trou d’éjection d’urgence vous permet d’ouvrir le plateau du disque lorsque le système n’est pas alimenté (cette fonction n’est disponible qu’à partir du lecteur vitesse 32x).
7. Plateau du disque
Le plateau du disque s'ouvre et se ferme pour le chargement et le retrait des disques compacts.
4 Option d'éjection d'urgence
L'option d'éjection d'urgence permet à l'utilisateur d'ouvrir manuellement le plateau du disque lors d'un problème d'alimentation.
Procédez comme suit pour ouvrir manuellement le plateau du disque.
- Trouvez le petit trou au-dessous du plateau du disque. Appuyez doucement dans le trou trois fois avec une aiguille ou un trombone.
- Lorsque le plateau s'ouvre, tirez sur le plateau et retirez le disque du lecteur de CD-ROM.

Si votre lecteur de CD-ROM n'a pas de trou d'éjection d'urgence, procédez comme suit :
- Trouvez le bord inférieur du plateau du disque. Ouvrez doucement le plateau du disque avec un tournevis.
- Lorsque le plateau s'ouvre, retirez simplement le disque du lecteur de CD-ROM.
NOTE: Ne faites cela que si c'est absolument nécessaire. Cette procédure peut endommager le plateau du CD.
5 Réglage du cavalier
Cette section présente le réglage du cavalier sur le lecteur et donne la liste des configurations des broches pour chacun des connecteurs sur le panneau arrière.
Le cavalier est à l'arrière du lecteur de CD-ROM. Ce cavalier détermine le fonctionnement de votre lecteur de CD-ROM. La figure et le tableau ci-après montrent les quatre réglages possibles du cavalier et leurs fonctions.
Utilise CSEL
Maitre
Esclave
Esclave
| Réglage du cavalier | Fonction |
| C | Utilise CSEL |
| M | Maitre |
| S | Esclave |
| None | Esclave |
Le cavalier du lecteur est pré-réglé sur la broche S. Ce qui peut dire que le lecteur est réglé comme esclave. Dans ce cas, votre disque dur devrait être le lecteur maître. Pour changer le réglage du cavalier, retirez le capuchon du cavalier et insérez-le sur la broche pour la fonction désirée.
6 Questions
Si vous avez des questions sur le lecteur de CD-ROM, veuillez visiter ce site web :
http://www.aopen.com.tw
Ce site web fournit une foire aux questions sur notre produit.
Notice Facile