FI22/10BH - Réfrigérateur-congélateur REX - Notice d'utilisation et mode d'emploi gratuit
Retrouvez gratuitement la notice de l'appareil FI22/10BH REX au format PDF.
| Type de produit | Réfrigérateur |
|---|---|
| Caractéristiques techniques principales | Réfrigérateur combiné avec congélateur, technologie No Frost |
| Alimentation électrique | 220-240 V, 50 Hz |
| Dimensions approximatives | Hauteur : 185 cm, Largeur : 60 cm, Profondeur : 65 cm |
| Poids | 75 kg |
| Compatibilités | Compatible avec les accessoires de rangement standard |
| Type de batterie | Non applicable |
| Tension | 220-240 V |
| Puissance | 150 W |
| Fonctions principales | Réfrigération, congélation, contrôle de température électronique |
| Entretien et nettoyage | Nettoyage régulier des surfaces intérieures et extérieures, dégivrage si nécessaire |
| Pièces détachées et réparabilité | Disponibilité des pièces détachées auprès du fabricant |
| Sécurité | Classe énergétique A++, protection contre les surcharges électriques |
| Informations générales utiles | Garantie de 2 ans, consommation annuelle d'énergie : 250 kWh |
FOIRE AUX QUESTIONS - FI22/10BH REX
Questions des utilisateurs sur FI22/10BH REX
0 question sur cet appareil. Repondez a celles que vous connaissez ou posez la votre.
Poser une nouvelle question sur cet appareil
Téléchargez la notice de votre Réfrigérateur-congélateur au format PDF gratuitement ! Retrouvez votre notice FI22/10BH - REX et reprennez votre appareil électronique en main. Sur cette page sont publiés tous les documents nécessaires à l'utilisation de votre appareil FI22/10BH de la marque REX.
MODE D'EMPLOI FI22/10BH REX
Il est très important que cette notice d'utilisation soit gardée avec l'appareil pour toute future consultation. Si cet apparéil avait été vendu ou transféré à une autre personne, assurez-vous que la notice d'utilisation suivie l' apparéil, de façon à ce que le nouvel utilisateur puisse être informé du fonctionnement de celui-ci et des avertissements relatifs.
Si cet apparéil, muni de fermeture magnétique, doit être employé pour en remplaçer un autre avec une fermeture à ressort, nous vous conseillons de rendre celle-ci inutilisable avant de mettre l'ancien apparéil de côté. Cela dans le but d'éviter que des enfants puissant s'y renfermer et se mettre ainsi en danger de mort. Ces avertissements sont disponibles pour votre sureté et pour celle d'autrui. Nous vous prions donc de bien pouvoir les dire attentivement avant d'installer et d'utiliser l' apparéil.
Sûreté
- Cét apparéil a été concu pour être utilisé par des femmes. Veillezdonc à ce que les enfants n'y touchent pas ou qu'ils ne l'utilisent pas comme un jouet.
- Débranche toujours la prise de courant avant de procéder au nettoyage interieur et extérieur de l'appareil et au remplacement de la lampe d'éclairage (pour les appareils qui en sont équipés).
- Ne consommez pas certains produits tels que les batonnets glacés dés leur sortie de l'appareil; la température très basse à laquelle ils se trouvent peut provoquer des brûlures.
- Cet apparéil est lourd. Faites attention lors du déplacement.
- Faites très attention lorsque vous déplacez l'appareil afin de ne pas endommager des parties du circuit de réfrigerant et ainsi d'éviter le risque de fuites de liquide.
L'appareil ne doit pas etre situé a proximite de radiateurs ou cuisinières à gaz. - Evitez une exposition prolongée de l'appareil aux rayons solaires.
- Il doit y avoir une circulation d'air suffisante à la partie arrrière de l'appareil et il faut éviter tout endommagement du circuit réfrigérant.
- Seulement pour congélateurs (sauf modèles encastrés): un emplacement optimal est la cave.
- Ne pasmettre d'instrumentselectriques à l'intérieur de l'appareil (sorbettiere, par exemple),à moins que le fabricant ne les aitapprovés.
Service/Réparation
-
Une éventuelle modification à l'installation électrique de votre maison qui devait été nécessaire pour l'installation de l'appareil ne devra être effectuee que par du personnel qualifie.
Il est dangereux de modifier ou d'essayer de modifier les caractéristiques de cet apparéil. -
Cet apparéil contient des hydrocarbures dans son circuit de réfrigérant; l'entretien et la recharge ne doit donc être effectués que par du personnel autorisé.
- En cas de panne, n'essayez pas de réparer l'appareil vous-même. Les réparations effectuees par du personnel non qualifié peuvent provoquer des dommages. Contactez le Service ÀpRES-Vente le plus proche et n'exigez que des pieces détachées originales.
Installation
Assurez-vous, après avoir installé l'appareil, que celui ne repose pas sur le cable d'alimentation. Important: en cas de dommage au cable d'alimentation, il faudra le replacer avec un cable spécial ou un ensemble disponibles chez le fabricant ou le service technique après-vente.
- L'appareil se réchauffe sensibilment au niveau du condenseur et du compresseur. Veillez à ce que l'air circule librement tout autour de l'appareil. Une ventilation insuffisante entrainerait un mauvais fonctionnement et des dommages sur l'appareil. Suivez les instructions données pour l'installation.
- A cause du système de transport, l'huile contenue dans le compresseur pourrait s'écouler dans le circuit réfrigérant. Attendez 2 heures au moins avant de brancher l'appareil pour permettre à l'huile de refluer dans le compresseur.
Utilisation
- Les réfrigerateurs et/ou congélateurs menagers sont destinés uniquement à la conservation et/ou congélation des alimentés et des boissons.
Pour le bon fonctionnement de votre apparéil, la température ambiente du local doit être comprise entre +18^ et +43^ (Classe T); +18^ et +38^ (Classe ST); +16^ et +32^ (Classe N); +10^ et +32^ (Classe SN); La classe d'appartenance est indiquée sur la plaque signalétique.
ATTENTION: En dehors des températures ambientes indiquées par la classe climatique d'appartenance de ce produit, il est obligatoire de respecter les indications suivantes: lorsque la température ambiente descend sous la valeur minimum, la température de conservation du compartmenting concélateur peut ne pas être garantie; il est donc conseillé de consommer les produits que ce dernier contient au plus vite.
- Un produit décongelé ne doit jamais être recongelé.
- Suívez les indications du fabricant pour la conservation et/ou congélation des alimentés.
- Dans tous les apparciels de réfrigération et congélation il y a des surfaces qui se couvrent de givre. Suivant le modele, ce givre peut être éliminé automatiquement (dégivrage automatique) ou bien manuellement.
- N'essayez jamais d'enlever le givre avec un objet métallique, vous risqueriez d'endommager irréparablement l'évaporateur. N'employez pour cela que la spatule en plastique livrée avec l'appareil.
- De même, ne décollez jamais les bacs à glace avec un couteau ou tout autre objet tranchant.
- Ne placez ni bouteilles ni boîtes de boissons gazeuses dans le congélateur/compartment à basse température, elles pourraient exploser.

Protection de l'environnement
Cet apparéil ne contient pas, dans son circuit de réfrigérant et ses matières isolantes, de gaz réfrigérant nocifs à la couche d'ozone. L' apparéil ne doit pas être mis au rebut avec les ordures urbaines et la ferraille. Il faut éviter d'endommager le circuit de réfrigérant, surtout à l'arrête de l' apparéil, pres de l'échéateur thermique. Vous pouvez vous renseigner sur les centres de ramassage auprès de votre bureau municipal. Les matérielles utilisés dans cet apparéil identifiés par le symbole sont recyclables.
RENSEIGNEMENTS POUR L'ELIMINATION DES MATÉRIAUX D'EMBALLAGE
Tous les matériaux et les accessoires utilisés pour emballer nos grands électroménagers, sauf ceux qui sont en bois recyclables et peuvent donc se récapürer.
Voici ce que nous vous conseillons:
- Déposez les emballages en papier, en carton et en carton ondulé aux endroits prévus pour le ramassage de ce genre de matériel.
- Mettez les pièces en plastique dans les conteneurs prévus à cet effet. Si ce genre de conteneurs n'existent pas encore à l'endetroit où vous habitez, vous pouvez éliminer les matérielux en question en les mettant dans les ordures menagères.
Pour les emballages de matieres plastiques recyclables, par example:
Les exemples reportent les symboles suivants:



PE pour polyéthylène** 02 = ^ PE-HD; 04 = ^ PE-LD
PP pour le polypropylene
PS pour le polystyrene
PIÉCES EN MATIÈRE PLASTIQUE
Pour faciliter l'élimination et :ou le recyclage des matériaux, la plupart des pieces de l'appareil ont une contrémarque qui en facilitate l'identification.



SOMMAIRE
Avertissements et consels importants 28
Renseignements pour l'élimination des matériaux d'emballage 29
Utilisation 30
Nettoyage 30
Utilisation du congélateur - Mise en service 30
Réglage de la température 30
Congélation 32
Conservation des produits surgelés 32
Glaçons 32
Décongélation 32
Réfrigération 33
Eléments modulables 33
Balconnets 33
Conseils 34
Conseils pour la réfrigeration 34
Conseils pour la congélation 34
Conseils pour la surgélation 34
Entretien 35
Nettoyage 35
Arrêt prolongé 35
Remplacement de I'ampoule 35
Dégivrage 35
Anomalie de fonctionnement 36
Informations techniques 37
Installation 37
Emplacement 37
Branchementélectrique 37
Réversibilité des portes 38
Instructions pour I'encastrement 38
Conditions de garantie 42
UTILISATION
Nettoyage
L'appareil étant convenablement installé, nous vous conseillons de le nettoyer soigneusement avec de l'eau tiède savonneuse, pour enlever l'odeur caractéristique de «neuf».

N'utilise pas de produits abrasifs, de poudre à récurer ni d'éponce métallique.
Mise en service
Branchez la prise de courant et ouvrez la porte
Tournez le bouton du thermostat dans le sens des aiguilles d'une montre au-delà de la position «O» (arrêt).
L'appareil est ainsi en état de fonctionnement.
Réglage de la température
La température est régée automatiquement et peut être augmentée (moins froid) en tournant le bouton vers les numérores les plus bas ou bien diminuée (plus froid) en le tournant vers les numérores les plus elevés. En tout cas, l'exacte position doit être repréée en considérant que la température interne dépend des facteurs suivants:
- température ambiente;
fréquence d'ouverture des portes; - quantité d'aliments conservés;
- emplacement de l'appareil.
Une position moyenne est la plus indiquée.
Pour arrêté le fonctionnement, placez l'indicateur du bouton en correspondance du symbole «O».

Important
Si le thermostat est régé sur la position de froid maximum, lorsque la température ambiente est élevé et que l'appareil est plein, il est possible que le compresseur fonctionne en régime continu. Dans ce cas, il y a un risque de formation excessive de givre sur la paroi postérieure à l'intérieur de l'appareil. Pour éviter cet inconvenient, placez le thermostat sur une position moins élevée, de façon à permettre un dégivrage automatique et, par conséquent, des économies de courant.
Congélation
Le compartmentengélateur portele sile
normalisé 4 étoiles Il vous permet de congefer des denrées fraîches et de conserver des produits surgelés et congelés, d'un mois a un an, suivant la nature du produit.
Pour conçeler les alimentés frais il n'est pas nécessaire de régler le thermostat sur une position différente de cette employée en fonctionnement normal.
Toutefois, si vous désirez congeler plus rapidement.
vous pouvez régler le thermostat sur une position
plus froide en veillant a ce que la temperature n
descende pas en dessous de 0^ dans le
cmpartiment réfrigérateur.
Dans ce cas il faudra ramener le thermostat sur une position moins froide.
Conservation des produits surgelés
A la première mise en fonctionnement ou après un arrêt prolongé faites fonctionner l'appareil pendant deux heures au moins, avec le bouton du thermostat sur la position de froid maximum. Ramenez ensuite le thermostat sur une position moyenne.
Comment utiliser ce compartment au mieux: si l'on doit ranger de grandes quantités d'aliments, on peut enlever de l'appareil tous les tiroirs ou les paniers et placer directement les alimentés sur les clayettes refroidissantes en faisant attention à ne pas dépasser la limite de charge se trouvant sur le côte du compartment supérieur (la où il est prévu).

Attention
En cas de décongélation accidentelle, par exemple en cas de coupure de courant, si la période d'interruption est supérieure à la valeur du "autonomie, en cas de panne" indiquée dans le tableau des données techniques, il sera nécessaire de consommer rapidement les alimentés ou de les cuisiner aussiôt et de les recongeler (àpRES qu'ils ont refroidi)..
Décongélation
Avant d'être utilisés, les alimentés congelés ou surgelés doivent être décongelés dans le réfrigerateur ou à température ambiente, selon le temps dont on dispose pour cette opération.
S'il s'agit de produits minces ou divisés, placez-les directement à cuire: dans ce cas le temps de cuisson sera plus long.
Glaçons
L'appareil est équipé d'un ou de plusieurs bacs à glace pour faire des glaçons. Il faut replir ces bacs d'eau potable et les placer dans le conGPLateur.
N'employez pas d'objet métallique pour décoller les bacs à glace.
Réfrigération
Pour obtenir le meilleur rendement du compartment réfrigérateur:
- n'introduisez pas d'aliments encore chauds ou de liquides en évaporation dans la cuve;
- couvrez les aliments, surtout s'ils sont aromatiques;
- placez les denrées de façon à ce que l'air puisse circuler tout autour.
Éléments modulables
Les glissières se trouvant sur les parois de la cuve permettent de positionner les clayettes à différentes hauteurs, selon vos besoin.
Pour une(Meilleure)utilisationde l'espace yous pouvez superposer les demi-tabletes anterieures aux demittablettes posterieures.

Balconnets
Il est possible de modifier en hauteur des balconnets sur la contre-porte selon vos besoin et le volume des denrées à stocker. Pour les enlever, poussez-les vers le haut.


i CONSEILS
Conseils pour la réfrigeration
Où placer les denrées?
Viandes (de toutes sortes): enveloppez-la dans des sachets en plastique et placez-la sur la tablette en verre au-dessus du(des) bac(s) à légumes.
La période de conservation est de 1 à 2 jours au maximum.
Aliments cuits, plats froids, etc.: placez-les, bien couverts, sur une clayette.
Fruits et légumes: bac(s) à légumes (une fois nettoyés).
Beurre et fromage: enveloppez-les soigneusement dans des feuilles d'aluminium ou de polyéthylène et mettez-les dans les casiers appropriés.
Lait en bouteille: à placer dans l'un des balconnets de la contreporte.
Bananes, pommes de terre, oignon et ail ne doit pas etre coloces dans le refrigerateur, sils ne sont pas conditionnés.
Conseils pour la congélation
Règles à respecter pour la congélation:
- le pouvoir max. de congélation par 24 heures figure sur la plaque signalétique;
- le processus de congélation prend 24 heures. Il vaut mieux ne pas ajouter d'autres alimentés à congeler pendant ce laps de temps;
les produits destinés à la congélation doivent être frais, bien nettoyés et d'excellente qualité; - préparez de petites portions, de façon à faciliter la congélation et à permettre de ne décongeler que la quantité nécessaire;
- enveloppez les denrées dans du papier d'aluminium ou de polythène, en éliminant les bulles d'air et en fermant bien les paquets;
- évitez de placer des produits à congefer en contact avec des denrées déjà entreprises, pour éviter d'enlever la température;
- les alimentés maigres se conservent比较好 et plus longtemps que les gras; le sel réduit la durée de conservation:
- ne consommez pas les bâtonnets glacés toute de suite après les avoir sortis du congélateur. La température très BASSE à laquelle ils se trouvent peut provoquer des brûlures:
-
indiquez sur chaque paquet la date de congélation, afin de pouvoir contrôler le temps d'entreposage;
-
sur la contreporte ou sur la fiche (lorsqu'il y en a une), il y a des dessins d'animaux et de denrées alimentaires auxquels correspondent des mois (en chiffres), indiquant le temps de conservation à partir du moment de la congélation;
- ne placez ni bouteilles ni boîtes de boissons gazeuses dans le congélateur, car elles pourraient éclater.
Conseils pour la surgélation
Comment utiliser ce compartment au比较好:
- vérifie que les alimentents aient bien été conservés en magasin;
assurez-vous que le transport, du moment de l'achat jusqu'à celui de la mise en place dans le compartment, dure le moins longtemps possible; - évitez d'ouvrir trop souvent la porte et ne la laissez ouverte que le temps nécessaire.
Il convient de faire très attention, car les aliments dégelés, ne peuvent être recongelés. - Ne dépassez jamais la date limite d'utilisation généralement marquee sur les paquets.

Débranche l'appareil avant toute opération.
Attention
Cet apparéil contient des hydrocarbures dans son circuit de réfrigeration; l'entretien et la recharge ne doit donc être effectués que par du personnel autorisé.
Nettoyage
N'utilisez jamais d'objets métalliques pour nettoyer l'appareil; vous risquez de l'endommager.
Nettoyez périodiquement l'intérieur de votre apparéil avec de l'eau tiède et du bicarbonate de soude.
Rincez et séchez soigneusement.
Remplacement de l'ampoule

Pour remplacer l'ampoule
- Débranche l'appareil;
- Dévissez la vis de fixation du plafonnier;
- Décrochez la partie mobile en exerçant une pression sur celle-ci comme indiqué sur la figure;
- Dévissez l'ampoule et remplacez-la par un modelesemblable.
Dégivrage
Le dégivrage du compartment réfrigérateur s'effectue automatiquement, à chaque arrêt du compresseur. L'eau de dégivrage est evacuée dans un bac situé à l'arrière de l'appareil où elle s'évapore.
Nous recommendons de nettoyer périodiquement l'orifice d'écoulement de l'eau de dégivrage se trouvant dans la partie centrale de la gouttière du compartment réfrigerateur afin d'éviter que l'eau, en débordant, ne coule sur les denrées stockées dans la cuve. Utilisez à cet effet le bâttonnet se trouvant dans l'orifice.
Dans le congélateur, par contre, il faut éliminer le givre à chaque fois qu'il y a une couche épaisse qui s'est formée (de 4 mm environ), en se servant de la spatule en plastique qui est livrée avec l'appareil. Pendant que l'on effectue cette opération, il n'est pas nécessaire de couper le courant ou d'enlever
Arrêt prolongé
Lorsque l'appareil doit rester à l'arrêt pendant un certain temps, prenez les précautions suivantes:
débranchez la prise de courant;
video l'appareil;
dégivrez-le et nettoyez-le à fond;
laissez les portes entrouvertes pour faire circuler de l'air, de façon à éviter les mauvaises odeurs.


les denrées qui se trouvent dans le compartment. Pour effectuer un dégivrage complet procédez de la manière suivante:
- tournez le bouton du thermostat sur la position «O» ou débranchez l'appareil;
- enveloppez les denrées dans plusieurs feuilles de papier journal et conservez-les dans un endroit frais;
- maintenez la porte ouverte,utiliz es spatule comme gouttiere et placez-la dans la partie centrale, en bas, de I'appareil, placez au-dessous une cuvette pour receivevoir I'eau de dégivrage.
- épongez et séchez soigneusement les parois et le fond; conservez la spatule pour toute utilisation future.
- ramenez le bouton du thermostat sur la position désirée ou rebranchez l'appareil.
- ÀpRES 2-3 heures de fonctionnement l'appareil est à nouveau prét à la conservation des produits surgelés.

Important:
Pour cette opération n'utilisez jamais d'objet métallique qui risquerait de déterminer l'appareil.
N'utilise jamais de dispositifs mécaniques ou autres moyens artificiens pour accélérer le dégivrage, à part desquels préconisés.
L'élévation de température des denrées congelezées peut diminuer leur durée de conservation.

ANOMALIE DE FONCTIONNEMENT
Si I'appareil marche mal, il faut contrcler
- si la fiche est bien branchée à la prise de courant et si l'interrupteur est étéint;
- s'il n'y a pas de panne de courant;
- si les commandes sont bien dans la bonne position;
- s'il y a des traces d'eau au fond du compartment et si l'orifice d'écoulement de l'eau de dégivrage est bouché (voir chapitre "Dégivrage").
Une fois que tous ces contrôle ont eté effectués, si l'anomalie de fonctionnement continue, adressez-vous au Service Àpres-Vente le plus proche.
Pour que l'intervention soit plus rapide, au moment de l'appoint, il vaut mieux indiquer le code du modele et le numero d'immatriculation, qui se trouvent sur le certificat de garantie ou sur la plaque d'immatriculation placée à l'intérieur de l'appareil, à gauche et en bas.
INFORMATIONS TECHNIQUES
| Classe énergétique | A |
| Capacité nette en litres du réfrigérateur | 210 |
| Capacité nette en litres du congélateur | 70 |
| Consommation d'énergie en kWh/24h | 0,87 |
| Consommation d'énergie en kWh/année | 318 |
| Pouvoir de congélation en kg/24h | 4 |
| Autonomie, en cas de panne, heures | 20 |
Tous les renseignements techniques sont indiqués sur la plaque signalétique qui se trouve sur le côte gauche de l'appareil.
INSTALLATION
Emplacement
Placez de préférence votre apparéil loin d'une source de chaleur (chauffage, ciisson ou rayons solaires trop intenses).
Pour l'encastrement rapportez - vous aux instructions relatives ci-jointes.
Branchement électrique
Contrôlez, avant de brancher l'appareil, que le voltage et la fréquence indiqués sur la plaque signalétique correspondant à ceux de votre réseau.
Tolerance admise: ± 6%
Pour l'adaptation de l'appareil à des voltages différents, l'adjonction d'un autotransformateur d'une puissance ajustée est indispensable.
Il faut absolument brancher l'appareil à une prise de terre qui marche.
C'est pour cela que la prise du cable d'alimentation est munie d'un contact prévu exprès. Si la prise de courant du réseau domestique n'est pas branchée à la terre, branchez l'appareil à une prise de terre à part, conformément aux normes en vigueur, en vous adressant à un technicien spécialisé.
Le fabricant decline toute responsabilité, si cette norme de prévention des accidents n'est pas respectée.
CE-Cet apparéil est conforme aux Directives Communautaires suivantes:
-
87/308 CEE du 2.6.87 concernant la suppression des interférences radio-électriques
-
73/23 CEE 19/02/73 (Basse Tension) et modifications successives;
-
89/336 CEE 03/05/89 (Compatibilité Electromagnétique) et modifications successives.

L'appareil doit pouvoir être débranché du secteur; il est donc nécessaire que la fiche reste accessible une fois que l'installation est terminée.
Instructions pour l'encastrement Réversibilité des portes

Ouverture à droite
Enlevez les pivots (P) et (P1)du côté gauche

Instructions pour l'encastrement
Dimensions de la niche
Hauteur 1780 mm
Profondeur 550 mm
Largeur 560 mm
La porte de l'appareil a eté immobilisée pour le transport au moyen de pivots. Enlevez le pivot supérieur et inférieur conformément au sens d'ouverture de la porte.
Pour des raisons de sécurité, la ventilation doit être prévue comme indiqué ci-contre.
Attention: veillez à ne pas obstruer les ouvertures de ventilation.
Il est également nécessaire que la niche soit équipée d'un conduit d'aération ayant les mesures suivantes:
profondeur 50 mm
largeur 540 mm
Ouverture à gauche
Otez (P) des deux côtés. Enlevez la porte.
DémonTZe la charniere du milieu (A) et remontez-la sur l'autre côté. Remontez la porte et (P) sur le côte gauche. Demontez (P1) du côté croit.


Gillesz l'appareil dans la niche.
Poussez à fond jusqu'au contact de la butée (A) avec le meuble.
Si après l'opération déscribe au point précédent devait rester une fissure entre l'appareil et le meuble, appliquer sur la butée (A) le joint livre à cet effet.
Ouvrez la porte et appuyez l'appareil contre le meuble de cuisine, du côté opposé aux charnières. Fixez l'appareil à l'aide des 4 vis fournies. Appliquez la grille d'aération (C) et le couvre-chemrière (D).
Appliquez le joint à pression, entre l'appareil et le meuble.
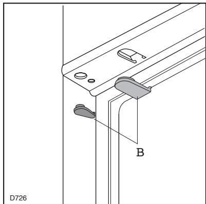
Appliquez les caches (B) sur les ailettes des butées et dans les trous des charnières.





Posez les guides (A) à l'intérieur de la porte du meuble, en haut et en bas, et repérez la position des trous extérieurs.
Après avoir préparé les troux, vissez les guides avec les vis de 3,5x16 mm sur la porte du meuble.

Ouvrez la porte de l'appareil et celle du meuble, de 90^ environ.
Placez les équres au-dessus des guides. Tenez la porte de l'appareil en même temps que celle du meuble et marquez les trous.

Enlevez les équres et faites des trous de 0 2 mm. Remettez les équres au-dessus des guides et vissez le tout avec les vis fournies en accessoires(3,5x16 mm). Pour aligner la portedu meuble, si cela est nécessaire, utilisez le jeu trough a boutonnière.

En cas de fixation latérale de l'appareil au meuble colonne, desserrez les vis des équcherres (D) et déplacez celles-ci d'après la Fig. Fixez à nouveau. Appliquez le couvercle(E).

En cas d'anomalie de fonctionnement, le vendeur de votre apparéil est le premier habilité à intervenir. A défaut (déménagement de votre part, fermeture du magasin où vous avez effectué l'achat...), veuillez consulter le Service Conseil Consommateurs qui vous communiquera alors l'adresse d'un Service ÀpRES-Vente.
En cas d'intervention sur votre apparéil, exigez du Service ÀpRES-VENTE les Pièces de Rechange certifiées Constructeur.

Service Conseil Consommateurs BP 50142 - 60307 SENLIS CEDEX Tél.: 03 44 62 29 99
Dans le souci d'une amélioration constante de nos produits, nous nous réservons le droit d'apporter à leurs caractéristiques toutes modifications liées à l'évolution technique (décret du 24.03.78).
Garantie contractuelle
Pendant 1 an à compter de la mise en service, le constructeur replacera les pieces défectueuses, sauf dans les cas prévus au chapitre “Réserves”.
Pour l'application de cette garantie, vous doivent adresser au distributeur qui vous a vendu l'appareil et luiprésenter le Certificat de Garantie. En complément, le Distributeur Vendeur pourra ou non prendre à sa charge les frais de main d'oeuvre, ainsi que les frais de déplacement et de transport, selon les conditions de vente qu'il pratique.
Reserves:
Nous attirons votre attention sur le fait que cette garantie ne pourrait etre appliquée:
- si les déteriorations proviennent d'une cause étrangère à l'appareil (chocs, variations anormales de la tension électrique, etc.)
ou du non-respect des conditions d'installation ou d'utilisation indiquées dans cette Notice d'Utilisation, fausse manoeuvre, négligence, installation défectueuse ou non conforme aux règles et prescriptions imposées par les organismes de distribution de l'Electricité, de l'Eau, du Gaz, etc.
- si l'utilisateur a apporté une modification sur le matériel ou enlevé les marques ou numeros de série.
- si une réparation a été effectue par une personne non agrée par le constructeur ou le vendeur.
- si l'appareil a ete utilise a des fins commerciales ou industrielles ou pour d'autres buts que des buts menagers pour lesquels il a ete concu.
- si l'appareil a été acheté ou réparé hors du territoire français.
Garantie légale
Les dispositions de la garantie contractuelle ne sont pas exclusives du bénéfice, au profit de l'acheteur, de la garantie légale pour defaults et vices cachés, la dite garantie s'appliquant en tout état de cause dans les conditions des articles 1641 et suivants du Code Civil.
SERVICE APRES-VENTE
En cas d'anomalie de fonctionnement, le vendeur de votre apparéil est le premier habilité à intervenir.À défaut (déménagement de votre part, fermeture du magasin où vous avez effectué l'achat ..., veuillez consulter le Service Conseil Consommateurs qui vous communiquera alors l'adresse d'un ServiceAprès Vente.
En cas d'intervention sur votre apparéil exigez du Service Àpès Vente les Pièces de Rechange Certifiées Constructeur.

Plaque signalétique
En appelant un Service Àpreès Vente, indiquez-lui le modele, le numero de produit et le numero de sériede l'appareil. Ces indications figurent sur la plaque signalétique située sur votre apparéil.

CES CONDITIONS DE GARANTIE NE SONT PAS APPLIQUEESPOUR LES APPAREILS ACHETES EN FRANCE.
CONDITIONS DE GARANTIE - SERVICE APRES-VENTE
En cas d'appoint en garantie aux fins de reparation gratuite, l'original de la facture d'achat correspondante ou la quittance doit etre produit ou envoye avec l'appareil a reparer.
Conditions générales de garantie
1 Le fabricant accorde un an de garantie sur l'appareil mentionné sur la facture d'achat correspondante, à valorir à partir de la date d'achat. Si une panne se produit pendant cette période pour causes de défauts de matériel et/ou de fabrication l'acheteur a droit à une réparation gratuite.
1a Pour les aspirateurs concus pour un usage menager, la période de garantie generale est de deux ans. Les accessoires sont soumis à une usure directe; ces articles de consommation sont en conséquence exclus de la garantie.
2 Le fabricant accorde un an de garantie sur les réparations effectuees par son service apres-vente et sur les matieres neuves montees a cette occasion, la garantie prenant cours a partir de la date de réparation. Si une panne se produit pendant cette période, et est la consquence directe des travaux de réparations effectues ou de la matière nouvelle montee a cette occasion, l'acheteur a droit a une réparation gratuite. L'execution des réparations ne prolonge pas la période generale de garantie couvrant I'ensemble de I'appareil.
3 Les interventions du service après-vente au domicile ne se font que pour les apparêils de grandes dimensions difficiles à transporter tels -tue: lave-linge, sèche-linge, lave-vaisselle, réfrigerateurs, congélateurs-armoires ou bahuts, fours, cusinières et apparêils encastrés.
3a Le principe illustré au point 3 ci-dessus vaut également pour les réfrigérateurs de caravane pourvu que l'endetroit où se trouve l'appareil soit situé à l'intérieur des frontières nationales et soit accessible normalement par des routes ouvertes à la circulation. En outre, au moment de l'intervention, l'appareil et son propriété ou son remplaçant dûment autorisé doivent êtreopsisents sur le lieu d'intervention convenu.
4 Si d'après l'avis du fabricant, l'appareil repris au point 3 ci-dessus doit être transporte à l'atelier du service après-vente, ce transport s'effectuera de la façon établie par le fabricant, aux frais, risques et péris de ce dernier.
5 Tous les apparêils non mentionnés sous les points 3 et 3a, sensi que les apparêils qui possèdent les caractéristiques de fonctionnement concernées, mais dont le transport est facile, doivent être envoyés franco a l'adresse du service après-vente ou y'êtreprésentés. Pendant la période de garantie générale, le renvoi s'opère aux frais du fabricant.
6 Si un defaulted se produit pendant la période de garantie générale et que l'appareil n'est pas réparable, celui-ci sera remplace gratuitement.
Extensions de la garantie
7 Pour les motocompresseurs de réfrigerateurs/congélateurs (à l'exclusion du relais de démarriage et du disjoncteur thermique) il est accordé une période de garantie dégressive en mesure de 20% par an, laquelle court 5 années après la date d'achat de l'appareil mentionné sur la facture d'achat correspondante, avec réparation entièrement gratuite pendant la période de garantie générale. Àpres la période de garantie générale, les frais de déplacement, de main-d'oeuvre et des pieces éventuelles seront mises en compte.
Exclusions de la garantie
8 L'exécution gratuite des travaux de réparation et/ou de remplacement définis aux points y relatifs qui precedent ne s'applique pas si:
- aucune facture d'achat ou quittance sur laquelle apparait au moins la date d'achat et l'identification de l'appareil ne peut etre presentee ou n'a ete envoyee avec l'appareil a reparer;
- l'appareil est utilisé pour d'autres buts que des buts menagers pour lesquels l'appareil a été concu;
- l'appareil n'a pas ete installed, manipulé, ou utilise conformément aux indications figurant dans les prescriptions diinstallation ou la notice d'utilisation;
- l'appareil a ete reparé ou modifie de façon inappropriée par des personnes non qualifiées.
8a Si l'appareil a ete encastré, sous-encastré, suspendu ou placé de maniere telle que le temps nécessaire pour son enlèvement et son encastrement prend au total plus de trente minutes, les frais supplémentaires occasionnés seront facturés à son propriétaire.
8b Les déteriorations dues à un encastrement anormal réalisé avec le consentement du propriete d'un appeareil ne peuvent pas etre réclamées au fabricant, ni a son service après-vente.
8c Les déteriorations, telles que rayures, chocs ou rupture d' éléments amovibles ou démontables, qui n ont pas été rapportées au fabricant au moment de la livraison, ne rentrent pas dans la garantie.
Avis important
Cet apparéil a été conçu de manière selle que la sécurité en soit garantie. Des réparations inappropriées peuvent toutefoismettre cette sécurité en danger. Pour obtenir cette sécurité et pour prévenir également tous dommages évventuels, il est conseilé de faire exécuter les réparations exclusivement par des personnes qui possèdent les qualifications professionnelles requises. Nous vous conseillons de faire exécuter vos réparations et/ou vos vérifications par votre vendeur ou par le SERVICE ELGROEP et de n'exiger que des pieces DISTRIBUTPARTS d'origine.


Belgique


Bergensesteenweg 719
1520 Halle (Lembeek)
Dépannages à domicile:
Tel.: 02-3630444
Fax: 02-3630400
Pieces detached:
Tel.: 02-3630555
Fax: 02-3630500
Telex: 22915 eluxbe
Luxembourg/Luxemburg


3, Route d'Arlon
L-8009 Strassen
Dépannages à domicile:
Kundendienst:
Tel.: 453350
Fax:458434
Pièces détachées:
Ersatzteile:
Tel.: 453350
Fax:458434
Notice Facile