IWZW - Manuel d'utilisation de véhicule INFINITI - Notice d'utilisation et mode d'emploi gratuit
Retrouvez gratuitement la notice de l'appareil IWZW INFINITI au format PDF.
| Type de produit | INFINITI IWZW |
| Caractéristiques techniques principales | Technologie avancée, matériaux de haute qualité |
| Alimentation électrique | Non spécifié |
| Dimensions approximatives | Non spécifié |
| Poids | Non spécifié |
| Compatibilités | Non spécifié |
| Type de batterie | Non spécifié |
| Tension | Non spécifié |
| Puissance | Non spécifié |
| Fonctions principales | Non spécifié |
| Entretien et nettoyage | Non spécifié |
| Pièces détachées et réparabilité | Non spécifié |
| Sécurité | Non spécifié |
| Informations générales utiles | Non spécifié |
FOIRE AUX QUESTIONS - IWZW INFINITI
Questions des utilisateurs sur IWZW INFINITI
0 question sur cet appareil. Repondez a celles que vous connaissez ou posez la votre.
Poser une nouvelle question sur cet appareil
Téléchargez la notice de votre Manuel d'utilisation de véhicule au format PDF gratuitement ! Retrouvez votre notice IWZW - INFINITI et reprennez votre appareil électronique en main. Sur cette page sont publiés tous les documents nécessaires à l'utilisation de votre appareil IWZW de la marque INFINITI.
MODE D'EMPLOI IWZW INFINITI
INFINITI est fière de vous compter parmi sa clientèle sans cette croissantane. Nous vous livrons ce vehicule en toute confiance. En effet, il a été construit selon les méthodes de fabrication les plus modernes et les normes de qualité les plus strictes.
Ce manuel a été concu pour vous aider à comprendre le fonctionnement et l'entretien de votre vehicule afin que vous puissiez profiter d'une conduite/agréable sur de nombreux kilomètres (milles). Veuillez lire attentivement ce manuel avant de conduire votre vehicule pour la première fois.
Les détails relatifs aux garanties de votre vehicule sont stipulés dans un Livret de garantie distinct. Le « Guide du service et de l'entretien INFINITI » explique en détails les programmes d'entretien et de réparation de votre vehicule. De plus, le livret « Customer Care/Lemon Law » fourni séparément (États-Unis uniquement) vous expliquera comment résoudre tous les problèmes susceptibles de se produit avec votre vehicule, et vous explique vos droits en ce qui concerne la loi en vigueur dans votre État sur les vehicules défectueux.
Votre concessionnaire INFINITI est celui qui connait le mieux votre vehicule. En cas de besoin, ou pour toute question, le personnel se fera unPLAIN de vous aider et demettre à votre service les ressources disponibles.
De plus, le livre « Customer Care and Lemon Law » fourni séparément vous expliquera comment résoudre tous les problèmes susceptibles de se produit avec votre vehicule, et vous explique vos droits en ce qui concerne la loi en vigueur dans votre État en ce qui concerne les vehicules défectueux.
INFINITI s'engage à ce que vous profitiez pleinement de votre vehicule et ce, aussi longtemps que vous en étés propriétaire. Si vous souhaitez obtenir des renseignements concernant votre vehicule ou votre concessionnaire INFINITI, veuillez contacter notre Service de la protection du consommateur en composant le numéro 1 800 662-6200. Pour Hwai, composez le 1 808 836-0888 (pour Oahu). Au Canada, veuillez composer le 1 800 361-4792.
LISEZ D'ABORD PUIS CONDUISEZ EN TOUTE SECURITE
Avant de prendre la route au volant de votre vehicule pour la première fois, nous vous recom-mandons de dire attentivement le present Manuel du conducteur. Il vous permettra de vous famili-riser avec les commandes et les exigences d'entretien de votre vehicule et vous aidera a profiter de ce dernier en toute sécurité.

AVERTISSEMENT
RENSEIGNEMENTS IMPORTANTS EN MATIÈRE DE SECURITÉ - RAPPELS DE SECURITÉ!
Respectez ces règles élémentaires de conduite afin d'assurer votre sécurité et votre comport de même que ceux de vos passagers!
- Ne conduisez JAMAIS sous l'influence de l'alcohol ou de drogues.
- Respectez TOUJOURS les limites de vitesse indiquées et ne roulez jamais plusrapidement que ne le permettent lesconditions de conduite.
Utilisez TOUJOURS les ceintures de sécurité et des dispositifs de retenue pour enfant appropriés. Les enfants de moins de douze ans doivent être assis sur le siège arrière.
LORS DE LA LECTURE DE CE MANUEL
- Indiquez TOUJOURS aux occupants du vehicule comment utiliser correctement les différents dispositifs de sécurité.
- Lisez TOUJOURS les consignes primordiales de sécurité fournies dans le present manuel du conducteur.
La marque est inscrite au début des chapitres/rubriques correspondant aux descriptions spécifiques applicables aux modeles à quatre roues motrices.
Comme dans le cas de tout autre vehicule ayant des fonctions destinées à la conduite hors route, une conduite inappropriée de votre vehicule à quatre roues motrices peut entrainer une perte de maitrise ou un accident. Assurez-vous de dire la rubrique « Mesures de sécurité de conduite » du chapitre « Demarrage et conduite » duprésent manuel.
CONDUITE HORS ROUTE ET SUR CHAUSSÉES PAVÉES
Le centre de gravité de votre vehicule est plus élevé que celui des voitures de tourisme ordinaires afin de répondre à des besoin de conduite hors route; son comportement routier est donc différent. Comme pour tout autre vehicule de ce type, une conduite inappropriée peut mener à une perte de maîtrise ou à un accident.
Assurez-vous de dire les rubriques « Précautions de conduite sur route et hors route», « Pour éviter les collisions et les renversements » et « Mesures de sécurité de conduite » du chapitre « Démarriage et conduite » duprésent manuel.
MODIFICATION DE VOTRE VEHICULE
Ce vehicule ne doit pas etre modifie. Toute modification peut comprometter ses performances, sa sécurité ou sa durabilité,voire enfreindre les reglementations gouvernementales.De plus,les dommages ou problemes de rendement resultant de telles modifications ne sont pas couverts par les garanties INFINITI.
Le present manuel du conducteur contient des renseignements qui s'appliquent à toutes les options disponibles pour ce modele. Par conséquent, certains de ces renseignements peuvent ne pas s'appliquer à votre vehicule.
Toute l'information ainsi que toutes les caractéristiques et les illustrations contenues dans le present manuel étaient exactes au moment de l'impression. INFINITI se réserve le droit de modifier les specifications ou la conception du vehicule, sans prévis ni obligation de sa part.
Plusieurs symboles sont utilisés dans ce manuel.
Ils ont les significations suivantes :

AVERTISSEMENT
Ce terme est utilisé pour indiquer la présence d'un risque qui pourrait cause la mort ou des blessures graves. Pour éviter ou réduire ce risque, les directives fournies doivent être suivies à la dette.

ATTENTION
Ce terme est utilisé pour indiquer l'existence d'un risque de blessures légères ou moyennement graves, ou de dommages au vehicule. Pour éviter ou réduire ce risque, les directives fournies doivent être soigneusement suivies.

Ce symbole signifie « Ne faites pas ceci » ou « Ne laissez pas ceci se produit »


Si vous Voyez un de ces symboles dans une illustration, cela signifie que la flèche pointe vers l'avant du vehicule.




Les flèches d'une illustration similaires à celles-ci indiquent un mouvement ou une action.




Les flèches d'une illustration similaires à celles-ci sont destinées à attirer l'attention du lecteur sur un élément de l'illustration.
MISE EN GARDE CONCERNANT LA PROPOSITION 65 DE LA CALIFORNIE

AVENTISSEMENT
L'Etat de la Californie reconnait que les gaz d'échéppement des vehicules, certains de leurs constituents et certains composants du vehicule contiennent ou émettent des substances chimiques pouvant cause le cancer de même que des malformations congenitales ou d'autres léasons de l'appareil reproducteur. De plus, l'Etat de la Californie reconnait que certains liquides contenus dans le vehicule et certains produits provenant de l'usure des composants contiennent ou émettent des substances chimiques pouvant cause le cancer de même que des malformations congenitales ou d'autres léasons de l'appareil reproducteur.

INFINITI
© 2003 NISSAN NORTH AMERICA, INC. GARDENA, CALIFORNIA
Tous droits réservés. Aucune partie de ce manuel du conducteur ne peut être reproduite ou mise en mémoire dans un système de saisie de données, ou transmise sousquelque forme ou parquelque moyen que ce soit, électronique, mécanique, photocopie, enregistrement ou autre, sans l'autorisation écrite préalable de Nissan North America, Inc., Gardena, Californie, États-Unis.
Table des matières
Table des matieres illustrée
Sécurité — sièges, ceintures de sécurité et coussins gonflables
Commandes et instruments
Vérifications et réglages avant le démarrage
Écran d'affichage, chauffage, climatisation et chaine stéréophonique
Démarrage et conduite
En cas d'urgence
Aspect et entretien
Entretien et interventions du propriétaire
Données techniques et information au consommateur
Index
0
1
2
3
4
5
6
7
8
9
10
0 Table des matières illustrée
Coussins gonflables, ceintures de sécurité et dispositifs de retenue pour infant 0-2
Avantextérieur 0-3
Arriere extérieur 0-4
Habitacle 0-5
Planche de bord. 0-6
Emplacements du compartmente moteur. 0-8
Témoins 0-9
COUSSINS GONFLABLES, CEINTURES DE SECURITE ET DISPOSITIFS DE RETENUE POUR ENFANT

LI0040
- Ceintures de sécurité de la banquette de troisisième rangée (p. 1-35)
- Ceintures de sécurité de la deuxième rangée (p. 1-35)
- Rideaux gonflables lateraux et coussins gonflables en cas de renversement (p. 1-14)
- Ceintures de sécurité avant (p. 1-35)
- Coussins gonflables avant (p.1-14)
- Sièges (p. 1-2)
- Capteur de poids du passager (p.1-23)
- Prétendeurs de ceintures de sécurité (p. 1-30)
- Coussins gonflables lateraux (P. 1-14)
- Dispositif LATCH (points d'ancrage inférieurs et sangle d'ancrage pour siège d'enfant) (p. 1-64)
- Sangle d'ancrage supérieure (p. 1-66) Pour obtenir les détails de fonctionnement, reportez-vous aux numérores de pag indiqués entre parenthèses.

- Capot moteur (p. 3-11)
- Commande de lave-glace et d'essuie-glaces de pare-brise (p. 2-26)
- Pare-brise (p. 8-20)
- Glaces électriques (p. 2-50)
- Serrures de portières, telecommande, clés (p. 3-3, 3-5, 3-2)
- Rétroviseurs (p. 3-20)
- Pression des pneus (p. 9-12)
- Pneu à plat (p. 6-2)
- Chaines antidérapantes (p. 8-40)
- Remplacement des ampoules (p. 8-30)
- Interrupteur des phares (p. 2-28)
- Interrupteur des phares antibrouillards et des clignotants (p. 2-33, p. 2-28)
- Crochets de remorquage (p. 6-14)
Pour obtenir les détails de fonctionnement, reportez-vous aux numéries de page indiqués entre parenthèses.

- Porte-bagages (p. 2-49)
- Chargement du vehicule (p. 9-13)
- Hayon vitré (p. 3-16)
- Lave-glace de lunette arrête (p.2-27)
- Camera de marche arrriere (p.4-11)
- Attelage de remorque (p.9-17)
- Déverrouillage du hayon (p. 3-11)
- Système de sonar arrêté (p.2-36)
- Remplacement des ampoules (p. 8-30)
- Déflecteurs à commande électrique (p.2-52)
- Bouchon de replissage de carburant, recommendations relatives au carburant (p. 3-16, p. 9-3)
- Volet d'accès au réservoir de carburant (p. 3-16)
- Verrou pour la sécurité des enfants (p.3-5)
- Hayon vitre (p. 3-16)
Pour obtenir les détails de fonctionnement, reportez-vous aux numéries de page indiqués entre parentheses.

- Ventilation arrête (p. 4-14)
- Rangement (p. 2-39)
- Système audiovisuel mobile (selon l'équipement du vehicule) (p. 4-33)
- Toit ouvrant (selon l'équipement du vehicule) (p. 2-53)
- Lampes de lecture (p. 2-56)
- Pare-soleil (p. 3-19)
- HomeLink® (p. 2-57)
- Boite à gants (p. 2-39)
- Sièges (p. 1-2)
- Portegobelets (p. 2-43)
- Aire de rangement des bagages (p. 2-46)
Pour obtenir les détails de fonctionnement, reportez-vous aux numérios de page indiqués entre parenthèses.

- Ventilation du conducteur, centrale et du passager (p. 4-14)
- Interrupteur des phares et des clignotants (p. 2-28)
- Commandes de la chaine stéreo du volant de direction (p. 4-29)
- Réglage de la convergence des phares (p. 2-31)
- Commande de luminosité du tableau de bord (p. 2-32)
- Coussin gonflable avant cotoleducteur et avertisseur sonore (p. 1-14, p. 2-34)
- Instruments, jauges et témoins (p. 2-4, 2-13)
- Interrupteurs principal et de réglage du régulateur de vitesse adaptatif (selon l'équipement du vehicule) et interrupteurs principal et de réglage du régulateur de vitesse (p. 5-17, p.5-19)
- Commande de lave-glace et d'essuie-glace de pare-brise et de lunette arriere (p. 2-26, 2-27)
- Contacteur d'allumage (p. 5-8)
-
Dispositif d'aide à la navigation* (p. 4-2)
-
Commandes du dispositif d'aide à la navigation* (p. 4-2)
- Commandes de la chaine audio (p. 4-19)
- Coussin gonflable avant côté passager (p. 1-14)
- Boite à gants (p. 2-40)
- Commandes de climatisation (p. 4-15)
- Feux de détresse (p. 2-33)
- Prise de courant (p. 2-37)
- Commutateur de siege chauffant (p. 2-34)
- Interrupteur du mode de remorquage (p. 2-36)
- Commutateur de neutralisation du système de contrôle dynamique du vehicule (p. 2-35)
- Levier sélecteur (p. 5-11)
- Montre (p. 2-37)
- Témoin d' état de fonctionnement du coussin gonflable du passager (p. 1-25)
- Interrupteur de passage en mode 4 roues motrices (selon l'equipement du vehicule) (p. 5-43)
-
Commande du volant de direction inclinable (p. 3-18)
-
Commutateur de neutralisation du système de sonar arrêté (p. 2-36)
- Commande de réglage de position de pédales (p. 3-18)
- Interrupteur de fermeture et d'ouverture de hayon (p. 3-11)
*: Consultez le Manuel d'utilisation du système de navigation.
Pour obtenir les détails de fonctionnement, reportez-vous aux numérios de page indiqués entre parenthèses.
EMPLACEMENTS DU COMPARTIMENT MOTEUR

- Batterie (p. 8-15)
- Boite de fusibles et fils-fusibles (p. 8-24)
- Jauge à l'huile de boîte de vitesses (p. 8-12)
- Bouchon de remplissage d'huile moteur (p. 8-9)
- Réservoir de liquide de frein (p. 8-14)
- Réservoir du liquide de lave-glace du pare-brise (p. 8-14)
- Filtre à air (p. 8-18)
- Bouchon du radiateur (p. 8-8)
- Réservoir du liquide de la direction assistée (p. 8-13)
- Jauge à l'huile moteur (p. 8-9)
- Réservoir du liquide de refroidissement (p. 8-8)
Pour obtenir les détails de fonctionnement, reportez-vous aux numérios de page indiqués entre parentheses.
| Témoin | Nom | Page |
| ABS ou (ABS) | Témoin des freins antiblocage | 2-14 |
| AT CHECK | Témoin de vérification de la boîte de vitesses automatique | 2-14 |
| ATP | Témoin de position de stationnement de la boîte de vitesses automatique (modèles 4x4) | 2-14 |
| BRAKE ou (1) | Témoin de frein | 2-15 |
| Témoin | Nom | Page |
| - + | Témoin de charge | 2-16 |
| CK SUSP | Témoin d’anomalie de la suspension | 2-16 |
| CRUISE | Témoin d’anomalie du régulateur de vitesse adaptatif (orange) (selon l'équipement du vehicule) | 2-16 |
| CRUISE | Témoin d’anomalie de la fonction de prévision (orange) (selon l'équipement du vehicule) | 2-16 |
| Témoin | Nom | Page |
| Témoin de por-tière ouverte | 2-16 | |
| Témoin de basse pression de l'huile moteur ou de température élevé du liquide de refroidisse-ment du moteur | 2-16 | |
| 4WD | Témoin d'anomalie du mode 4 roues motrices (modèle 4x4) | 2-17 |
| Témoin de ni-veau de carbu-rant bas | 2-17 | |
| Témoin de basse pression des pneus | 2-17 | |
| Témoin de bas niveau de liquide lave-glace de pare-brise | 2-19 | |
| Témoin et ca-rillon des ceintu-res de sécurité | 2-19 | |
| Témoin du cous-sin gonflable | 2-19 |
| Témoin | Nom | Page |
| P | Témoin de position de gamme de la boîte de vites-ses automatique | 2-20 |
| CRUISE | Témoin de l'interrupteur principal du régulateur de vitesse (vert) | 2-20 |
| CRUISE | Témoin de l'interrupteur marche-arrêt du régulateur de vitesse adaptatif (vert) (selon l'équipement du vehicule) | 2-20 |
| Témoin | Nom | Page |
| SET | Témoin de commande de réglage du réguleur de vi-tesse | 2-20 |
| SET | Témoin de commande de réglage du réguleur de vi-tesses adaptatif (selon l'équipement du vehicule) | 2-20 |
| Géographie | Témoin de passage en mode 4 roues motrices (modèle 4x4) | 2-20 |
| OFF ou ×2 | Témoin d'état de fonctionnement du cous-sin gonflable du passager avant | 2-20 |
| = | Témoin de fais-ceaux route (bleu) | 2-21 |
| SERVICE ENGINE SOON | Témoin d’anomalie (MIL) | 2-21 |
| Témoin de sé-curité (NVIS) | 2-21 | |
| SLIP | Témoin de dé-rapage | 2-22 |
| Témoin | Nom | Page |
| 4LO | Témoin de position de gamme 4LO de la boîte de transfert (modèle 4X4) | 2-22 |
| ←→ | Témoins des clignotants et des frais de détresse | 2-22 |
| VDC OFF | Témoin de neutralisation du système de contrôle dynamique du vehicule | 2-22 |
MÉMENTO
1 Sécurité — sièges, ceintures de sécurité et coussins gonflables
Sièges 1-2
Réglage des sièges avant à réglage electrique 1-3
Réglage des fauteuils de capitaines de la deuxième rangée 1-4
Réglage de la banquette de deuxième rangée (selon l'équipement du vehicule) 1-6
Réglage de l'appuie-tête 1-8
Accoudoirs 1-9
Sièges adaptables. 1-9
Dispositif de protection complémentaire. 1-14
Précautions concernant le dispositif de protection complémentaire 1-14
Étiquettes d'ajretissement concernant les coussins gonflables. 1-32
Témoin du coussin gonflable 1-33
Ceintures de sécurité 1-35
Précautions concernant l'utilisation des ceintures de sécurité 1-35
Sécurité des enfants 1-38
Femmes enceintes. 1-39
Personnes blessées 1-39
Ceinture de sécurité à trois points avec enrouleur 1-39
Rallonges de ceinture de sécurité 1-46
Entretien des ceintures de sécurité 1-46
Dispositifs de retenue pour enfant 1-47
Précautions concernant les dispositifs de retenue pour enfant 1-47
Installation sur les fauteuils capitaines de deuxieme rangée 1-49
Installation sur la banquette de deuxieme rangée (selon l'equipement du vehicule). 1-53
Installation sur la banquette de troisieme rangée 1-58
Système LATCH (points d'ancrage inférieurs et sangle d'ancrage pour siège d'enfant) 1-64
Dispositif de retenue pour enfant avec sangle d'ancrage supérieure 1-66
Installation sur le siège du passager avant 1-69


ARS1152

AVERTISSEMENT
-
Ne prenez pas place dans un vehicule si le dossier de votre siège est incliné. Ceci peut s'avérer très dangereux. Dans cette position, le baudrier de la ceinture de sécurité n'est pas appuyé contre votre corps. En cas d'accident, vous pourriez être projeté contre le baudrier et subir des blessures graves au cou ou à une autre partie de votre corps. Vous pourriez également glisser sous la ceinture sous-abdominale et subir des blessures internes graves.
-
Lorsque le vehicule roule, le dossier de votre siège devrait être en position verticale, de façon à vous offrir la meilleure protection possible. Asseyez-vous toujours au fond du siège et voirlez à ce que votre ceinture de sécurité soit bien ajustée. Consultez la rubrique « Précautions concernant l'utilisation des ceintures de sécurité » plus loin dans le present chapitre.

RéGLAGE DES SIÉGES AVANT À RÉGLAGE ÉLECTRIQUE
A VERTISSEMENT
- La conduite d'un vehicule exige toute votre attention : ne reglez donc pas votre siège pendant que le vehicule roule. Le siège pourrait se déplacer brusquement et vous pourriez perdre la maitrise du vehicule.
WRS0163
- Ne laisses pas d'enfants sans surveillance dans un vehicule. Ils pourraient actionner les commutateurs ou les commandes par megarde. Des enfants laissés sans surveillance dans un vehicule pourraient être victimes d'un grave accident.
Conseils relatifs à l'utilisation
-
Le moteur du siècle à commande électrique est équipé d'un circuit de protection contre les surcharges à réinitialisation automatique. Si le moteur s'arrête durant le fonctionnement, attendez 30 secondes, puis activez l'interrupteur de nouveau.
-
N'actionnez pas l'interrupteur du siège à réglage électrique pendant une longue période si le moteur ne tourne pas. La batterie pourrait se décharger.
Pour connaître le fonctionnement du positionneur automatique, consultez la rubrique « Positionneur automatique » du chapitre « Vérifications et réglages avant le démarrage »
Réglage longitudinal
Pour déplacer le siège vers l'avant ou vers l'arrière à la position désirée, déplacez la commande vers l'avant ou l'arrière.
Inclinaison du dossier
Pour incliner le dossier à l'angle désiré, déplacez la commande d'inclinaison vers l'arrière. Pour redresser le dossier, déplacez la commande vers l'avant, tout en vous penchant vers l'avant. Le dossier reprend alors sa position verticale.
La fonction d'inclinaison permet le réglage du dossier pour des occupants de tailles différentes, ce qui facilité le réglage de la ceinture de sécurité (consultez la rubrique « Précautions concernant l'utilisation des ceintures de sécurité » plus loin dans ce chapitre). De plus, le dossier peut être incliné pour permettre aux occupants de seposer lorsque le vehicule est arrêté.

Commande de réglage de la hauteur du siège
Pour régler l'angle et la hauteur du coussin de siège, déplacez l'extrémité avant ou arrière de la commande vers le haut ou vers le bas.

Commande de réglage du support lombaire du siècle (siège du conducteur)
Le siège du conducteur peut procurar un support lombaire au conducteur. Déplacez la commande vers l'avant ou vers l'arrière pour régler le support lombaire du dossier du siège.

RéGLAGE DES FAUTEUILS DE CAPITAINES DE LA DEUXIÈME RANGÉE
Inclinaison du dossier
Pour incliner le dossier du siècle, tirez le levier vers le haut, puis adossez-vous contre le dossier.
La possibilité de modifier l'inclinaison du dossier de siège permet de régler ce dernier en fonction de la taille des occupants et facilité ainsi le réglage de la ceinture de sécurité (consultez la rubrique « Précautions concernant l'utilisation des ceintures de sécurité » plus loin dans ce chapitre). De plus, le dossier peut être incliné de
façon à permettre aux occupants de se reposer lorsqu'le vehicule est à l'arrêt.

AVERTISSEMENT
- Àprous le réglage, faites balancer douce-ment le siège vers l'avant et vers l'arrière pour vous assurer qu'il est bien verrouillé en place.
-
Ne prenez pas place dans un vehicule si le dossier de votre siege est incliné. Ceci peut s'avérer très dangereux. Dans cette position, le baudrier de la ceinture de sécurité n'est pas appuyé contre votre corps. En cas d'accident, vous pourriez être projeté contre le baudrier et subir des blessures graves au cou ou à une autre partie de votre corps. Vous pourriez également glisser sous la ceinture sous-abdominale et subir des blessures internes graves.
-
Lorsque le vehicule roule, le dossier de votre siège devrait être en position verticale, de façon à vous offrir la(Meilleure) protection possible. Asseyez-vous tous jours au fond du siège et veiliez a ce que votre ceinture de sécurité soit bien ajustée.Consultez la rubrique « Précautions concernant l'utilisation des ceintures de sécurité » plus loin dans le present chapitre.

Basculement des fauteuils pour faciliter l'accès à la troisième rangée
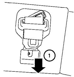
Les fauteuils capitaines de deuxieme rangée peuvent basculer pour faciliter l'accès à la banquette de troisieme rangée. Pour acceder à la banquette de troisieme rangée ①, soulevez le levier de blocage situé dans le coin supérieur du dossier d'un fauteuilcapitaine de deuxieme rangée et rabattez le dossier du siège vers l'avant en angle par rapport à la base du siège. Le dossier du siège sera ainsi déverrouillé et pourrait être inclinéversl'avant.

Puis ② soulevez le coin inferieur de la base du siège et inclinez le fauteuil capitaine de deuxieme rangée vers l'avant. Pour sortir de la banquette de troisieme rangée, soulevez le meme levier de blocage et rabattez le dossier du siège vers I'avant sur la base du siège.Soulevez ensuite la base du siège et inclinez-la vers I'avant.

Sièges extérieurs
RéGLAGE DE LA BANQUETTE DE DEUXIÈME RANGÉE (selon l'équipement du vehicule)
Inclinaison du dossier
Pour incliner le dossier du siècle, tirez le levier vers le haut, puis adossez-vous contre le dossier.
La possibilité de modifier l'inclinaison du dossier de siège permet de régler ce dernier en fonction de la taille des occupants et ainsi faciliter le réglage de la ceinture de sécurité (consultez la rubrique « Précautions concernant l'utilisation des ceintures de sécurité » plus loin dans ce
chapitre). De plus, le dossier peut être incliné de façon à permettre aux occupants de se reposer lorsque le vehicule est à l'arrêt.

AVERTISSEMENT
- Àprouve le réglage, faites balancer doucément le siège vers l'avant et vers l'arrête pour vous assurer qu'il est bien verrouillé en place.
-
Ne prenez pas place dans un vehicule si le dossier de votre siege est incliné. Ceci peut s'avérer très dangereux. Dans cette position, le baudrier de la ceinture de sécurité n'est pas appuyé contre votre corps. En cas d'accident, vous pourriez être projeté contre le baudrier et subir des blessures graves au cou ou à une autre partie de votre corps. Vous pourriez également glisser sous la ceinture sous-abdominale et subir des blessures internes graves.
-
Lorsque le vehicule roule, le dossier de votre siège devrait être en position verticale, de façon à vous offrir la meilleure protection possible. Asseyez-vous toujours au fond du siège et voirlez à ce que votre ceinture de sécurité soit bien ajustée. Consultez la rubrique « Précautions concernant l'utilisation des ceintures de sécurité » plus loin dans le present chapitre.

Basculement des fauteuils pour faciliter l'accès à la troisième rangée
Les sièges extérieurs de la banquette de deuxième rangée peuvent basculer vers l'avant pour facilitier l'accès à la banquette de troisisième rangée. Pour acceder à la banquette de troisisième rangée ①, soulevez le levier de blocage situé dans le coin supérieur du dossier de la banquette de deuxième rangée et rabattez le dossier du siège vers l'avant en angle par rapport à la base du siège. Le dossier du siège sera ainsi déverrouillé et pourrait être incliné vers l'avant.

Puis ② soulevez le coin inférieur de la base du siège et inclinez le siège extérieur de la banquette de deuxieme rangée vers l'avant. Pour sortir de la banquette de troisieme rangée, soulevez le même levier de blocage et rabattez le dossier du siège vers l'avant sur la base du siège. Soulevez ensuite la base du siège et inclinez-la vers l'avant.

AVERAGEMENT
Les appuié-tête doivent être régles correctement car ils peuvent assurer une protection non négligeable contre les blessures en cas d'accident. Ne les retirez pas. Vérifiéz le réglage de votre appuié-tête si une autre personne a utilisé le siège avant vous.
RéGLAGE DE L'APPUIE-TÊTE
Pour rehausser l'appuie-tête, tirez-le vers le haut. Pour l'abaisser, maintenez le bouton de verrouillage enforcé, puis poussez l'appuie-tête vers le bas.
Les appuiè-tête des banquettes de deuxième et troisisième rangiées sont amovibles. Les appuiè-tête des sièges avant ne sont pas amovibles.

Réglez la hauteur de l'appuie-tête pour que son centre soit au niveau du milieu de l'oreille.

WRS0368


LRS0341
ACCOUDOIRS
Pour utiliser les accoudoirs des sièges, abaissez les en position d'utilisation.
Accoudoir régiable du siège du conducteur (selon l'équipement du vehicule)
Pour utiliser l'accoudoir régiable du siège du conducteur, abaissez-le en position d'utilisation. Reglez l'accoudoir à la position désirée en le soulevant à la hauteur voulue, puis en le relâchant. Pour régler l'accoudoir dans une position plus BASSE, soulevez l'accoudoir en position de rangement, puis tirez-le en position d'utilisation et reglez la hauteur souhaitation.
SIÉGES ADAPTABLES

AVERTISSEMENT
-
Ne laïsez personne prendre place dans l'aire de chargement ou sur les sièges arrrière lorsque ces derniers sont rabattus. En cas de collision, si les personnes qui s'y trouvent ne sont pas retenues correctement, elles risquent de subir des blessures graves ou mortelles.
-
Ne laïsez jamais un passager s'asseoir à une autre place qu'un siège muni d'une ceinture de sécurité. Assurez-vous que tous les passagers de votre vehicule ont pris place sur un siège et qu'ils ont bien boucé leur ceinture de sécurité.
- Ne rabattez pas les sièges arrêté si des passagers se trouvent aux environs des sièges ou si des bagages reposent sur les sièges.
- Les appuiè-tête doivent être réglicés correctement car ils peuvent assurer une protection non négligeable contre les blessures en cas d'accident. Quelle que soit la raison pour laquelle les appuiè-tête ont été逝rés, assurez-vous de toujours les remettre en place et de les ajuster correctement.
- Si vous retirez les appuie-tête de leur emplacement pour quelques raison que ce soit, assurez-vous de les ranger correctement afin d'eviter qu'ils causent des blessures ou des dommages au vehicule en cas d'arrêt brusque ou d'accident
Lorsque you redressez les dossiers des sièges en position verticale, assurez-vous qu'ils soient bien verruillés. S'ils ne sont pas correctement verruillés en place, les passagers pourraient être blessés en cas d'accident ou d'arrêt brusque.
Fixez tous les bagages solidement pour éviter qu'ils glissant ou se déplacent. N'empirez pas les bagages plus haut que les dossiers de sièges. En cas d'arrêt brusque ou de collision, les bagages non retenus pourraient blesser les occupants du vehicule.
Basculement du dossier du siège du passager avant
Pour rabattre le dossier du siège du passager avant afin d'accroître l'espace de chargement disponible aux fins de transport d'objets longs :
① Reculez le siège le plus possible. Soulevez le levier d'inclinaison,itué sur le côte extérieur du siège, puis rabattez autant que possible le dossier du siège vers l'avant. Soulevez ensuite le levier de blocage situé dans le coin supérieur du dossier pour déverrouiller le dossier du siège.

Lorsque le dossier du siège est dégagé, vous pouvez rabattre le dossier du siège du passager avant sur le coussin de siège.
3. Pour remettre le siège du passager avant en position normale, soulevez le dossier du siège et poussez-le jusqu'à la position relevante. Soulevez ensuite le levier d'inclinaison et inclinez le dossier du siège à une position appropriée. Relâchéz le levier pour verrouiller le dossier du siège.

AVERTISSEMENT
- Si vous repliez le dossier du siècle du passager avant pour accommoder de longs objets, assurez-vous que ces objets sont correctement fixés et qu'ils ne sont pas dans les alentours immédiats d'un coussin gonflable. En cas d'accident, un coussin gonflable qui se déploie peut projeter l'objet sur un occupant du vehicule. Ceci peut causeur de graves blessures ou la mort. Fixez les objets loin de la zone de déploiement des coussins gonflables. Consultez la rubrique « Précautions concernant le dispositif de protection complémentaire » figurant plus loin dans ce chapitre.
- Ne laïsez personne prendre place dans l'aire de chargement ou sur le siège du passager avant lorsque ce siège est rabattu. Les personnes se trouvant dans ces espaces pourraient subir de graves blessures en cas d'accident ou d'arrêt brusque.

Basculement des fauteuils de capitaines de la deuxieme rangée
Afin d'accroître la superficie de l'aire de charge-ment, il est possible de rabattre les fauteuils decapitaines de la deuxieme rangée de la façon suivante:
① Retirez la console centrale de la deuxième rangée. Consultez la rubrique « Retrait de la console » du chapitre « Commandes et instruments » du present manuel. Tirez vers l'avant la courroie située au centre du cousin de siege, puis rabattez le coussin de siege vers l'avant du vehicule.

② Soulevez ensuite le levier d'inclinaison pour rabattre vers l'avant le dossier du siège.

③ Un panneau de tapis peut être déplié vers l'arrête du vehicule.

4 Les panneaux de tapis fournissent un plancher d'aire de chargement uniforme lorsque les sièges de la troisième rangée sont rabattus. Inversez cette procédure pour ramener en position normale les fauteuils de capitaines de la deuxième rangée. Assurez-vous de bien relever le dossier du siège à une position verticale et de pousser le coussin de siège en place vers le bas.

Basculement de la banquette de la deuxieme rangée (selon l'equipement du vehicule)
Pour rabattre le dossier de la banquette de deuxieme rangée afin d'accroître la superficie de l'aire de chargement :
① Tirez vers l'avant la courroie située au centre de chaque coussin de siège, puis rabattez vers l'avant chaque coussin de siège du vehicule.

② Soulevez ensuite le levier d'inclinaison situé sur le côté des sièges extérieurs pour rabattre les dossiers des sièges extérieurs. Pour rabattre le dossier du siège central, tirez vers le haut la courroie située sur le bord du coussin du siège central, puis rabattez vers l'avant le dossier de siège du vehicule.

③ Un panneau de tapis à l'arrière de chaque siege peut être déplié vers l'arrière du vehicule.

(4) Le panneau de tapis fournit un plancher d'aire de chargement uniforme lorsque les sièges de troisisième rangée sont rabattus.
5. Pour remettre les sièges extérieurs de la banquette de deuxième rangée en position normale, inversez la procédure pour les sièges extérieurs.
- Pour remettre le siège central en position normale, tirez la courroie à l'arrière de la base du siège tout en soulevant le dossier du siège. Poussez ensuite le coussin de siège en place. Assurez-vous de bien relever le dossier du siège à une position verticale et de pousser le coussin de siège en place vers le bas.

Basculement de la banquette de troisième rangée
Pour rabattre le dossier de la banquette de troisieme rangée afin d'accroître la superficie de l'aire de chargement :
Detachez la ceinture de sécurité centrale et les bouches et fixez-les à la base de l'enrouleur. Consultez à cet effet la rubrique « Rangement de la ceinture de sécurité centrale de la banquette arrrière » plus loin dans ce chapitre. Soulevez ensuite le levier de blocage situé au centre du dossier du siège et rabattez-le vers l'avant sur la base du siège.
Pour remettre le dossier de la banquette de troisieme rangee en position normale, relevez-le, puis poussez-le vers l'arriere jusqu'à ce qu'il s'enclenche en place.
AVERAGEMENT
- Une fois les dossiers des sièges arriré en position normale, assurez-vous d'attacher la languette d'accouplement de la ceinture de sécurité centrale.
- Ne détache pas le connecteur de ceinture de sécurité arrêté centrale sauf lorsque le siège arrêté est replié.
- Lorsque vous bouclez le connecteur de ceinture de sécurité arrêté centrale, assurez-vous que les dossiers des sièges sont correctement verrouillés en position et que le connecteur de ceinture de sécurité arrêté centrale est bien fixé.
- Si le connecteur de ceinture de sécurité arrrière centrale et les dossiers des sièges ne sont pas bien fixés à leurs positions correctes, cela peut cause de graves blessures en cas d'accident ou de freinage brusque.
DISPOSITIF DE PROTECTION COMPLEMENTAIRE
PRECAUTIONS CONCERNANT LE DISPOSITIONIF DE PROTECTION COMPLEMENTaire
Ce chapitre sur le dispositif de protection complémentaire (SRS) contient des renseignements importants au sujet des coussins gonflables avant des cotsés conducteur et passager (dispositif de coussin gonflable perfectionné INFINITI), des coussins gonflables latéraux, des rideaux gonflables latéraux, des coussins gonflables en cas de renversement et des ceintures de sécurité à prétenueur.
Coussins gonflables avant : Le dispositif de coussin gonflable perfectionné INFINITI aide à amortir le chic transmis à la tête et au thorax du conducteur et du passager avant pendant certains types de collisions frontales.
Coussins gonflables lateraux:ils aident a amortir le chic transmis à la poitrine du conducteur et du passager avant lors de certains types de collisions laterales. Les coussins gonflables lateraux sont concus pour se déployer du cote ou le vehicule subit la collision.
Rideaux gonflables latéraux et coussins gonflables en cas de renversement : ces dispositifs aident à amortir le chic transmis à la tête des occupants des sièges extérieurs avant et arrrière lors de certains types de collisions latéra
les ou de renversements. Les rideaux gonflables lateraux sont concus pour se déployer du côte ou le vehicule subit la collision. En cas de renversement, les rideaux gonflables lateraux sont concus pour se déployer et rester gonflés pendant une courte période.
Ces dispositifs de retenue complémentaires sont concus pour compléter la protection fournie par les ceintures de sécurité en cas d'accident; ils ne sont enaucun cas destinés àles remplacer. Les ceintures de sécurité doivent tous jours etre portées correctement;de plus,le conducteur doit ettre assis aune distance appropriée du volant,et lui et le passager doivent se tenir suffisamment éloignés de la planche de bord et des moulres des portières.Consultez la rubrique « Ceintures de sécurité » plus loin dans ce chapitre pour connaître les directives et les précautions concernant l'utilisation des ceintures de sécurité.
Les coussins gonflables ne peuvent se déployer que si la le contacteur d'allumage est à la position ON (marche) ou START (démarrage).
Le témoin du coussin gonflable s'allume une fois la clé de contact tournée à la position ON (marche). Si le dispositif est opérationnel, le témoin du coussin gonflable s'éteint après environ sept secondes.


WRS0031
AVERAGEMENT
-
Les coussins gonflables avant ne se déploient habituèlement pas en cas d'impact lâteral, d'impact arrêté, de capotage ou de collision frontale mineure. De plus, le coussin gonflable avant du côte passager ne se déploie pas si le témoin lumineux associé est allumé. Consultez la rubrique «Coussin gonflable du passager avant et témoin d'état » plus loin dans la présente section. Bouclez toujours votre ceinture de sécurité afin de réduire les risques de blessures et la gravité de celles-ci en cas d'accident.
-
Les ceintures de sécurité et les coussins gonflables avant sont plus efficaces lorsque les occupants du vehicule sont aussi bien droit au fond de leur siege. Les coussins gonflables avant se déploient avec beaucoup de puissance. Meme en présence des coussins gonflables évolues INFINITI, si vous n'êtes pas correctement retenu, si vous étés penché vers l'avant, tournée de côte ou assis dans toute autre position inadéquate, vous augmentez les risques de blessures graves ou mortelles en cas d'accident. Le coussin gonflable avant
peut également vous inflier des blessures graves ou mortelles si vous ETES appuyé sur son compartment lorsque le coussin se déploie. Assurez-vous d'avoir le dos bien appuyé contre le dossier de votre siège et de régler ce dernier aussi loin que possible du volant ou de la planche de bord, sans que cela ne nuise à votre comport ou à la conduite. Bouclez toujours leur ceinture de sécurité.
- Les boucles des ceintures de sécurité du conducteur et du passager avant sont équipées de capteurs qui permettent de détecter si les ceintures de sécurité sont bouclées ou non. Advenant une collision, le dispositif évolué des coussins gonflables détecte la gravité de l'impact et active le déploiement des sacs en fonction de l'utilisation des ceintures de sécurité. Lors d'un accident, les risques de blessures et la gravité de celles-ci sont accrus lorsque les occupants n'ont pas boucé correctement leur ceinture.
Le siège du passager avant est équipé d'un capteur de classification de l'occupant (capteur de poids) qui dé-sactive le coussin gonflable du passager dans certaines conditions. Seul ce siège est équipé d'un tel capteur. Lors d'un accident, les risques de blessures et la gravité de celles-ci sont accrus lorsque les occupants n'ont pas boucé correctement leur ceinture ou qu'ils ne sont pas assistés adequatement. Consultez la rubrique « Coussin gonflable du passager avant et témoin de fonctionnement » plus loin dans ce chapitre.
- Tenez le volant par son pourtour extérieur. Si vous mettez vos mains à l'intérieur du cercle du volant, vous augmentez les risques qu'elles soient blessées en cas de déploiemment de votre coussin gonflable.



AVERTISSEMENT
Assurez-vous que les enfants sont tous jours correctement retenus pendant que le vehicule roule, et ne les laissez jamais partager les mains ou la tete par la fenetre. Ne voyagez jamais en tenant un enfant sur vos genoux ou dans vos bras. Quelques exemples de positions dangereuses à ne pas adopter dans un vehicule en mouvement sont illustrés ici.

ARS1042



AVERTISSEMENT
- S'ils ne sont pas correctement retenus, les enfants peuvent subir des blessures graves, voir mortelles, lors du déploissement des coussins gonflables avant, latéraux ou des rideaux gonflables lateraux avec protection contre le renversement. Dans la mesure du possible, les enfants de moins de 12 ans doivent être assis et correctement retenus sur le siège arrêté.


AVERAGEMENT
- Bien que ce vehicule soit muni du dispositif de coussins gonflables perfectionné INFINITI, n'orientez jamais vers l'arrière un siège d'enfant posé sur le siège du passager avant. Un coussin gonflable qui se déploie peut inf linker à votre enfant des blessures graves, voire mortelles. Pour de plus amples renseignements, consultez la rubrique « Dispositifs de retenue pour infant » plus loin dans le present chapitre.

Ne vous appuyez pas contre les portières ou les glaces.
AVERAGEMENT
Coussins gonflables latéraux, rideaux gonflables latéraux et coussins gonflables en cas de renversement :
Le coussin gonflable latorial et le rideau gonflable latorial avec protection contre le renversement ne se déploient habituèlement pas en cas d'impact frontal, d'impact arrêté ou de collision latorale mineure. Bouclez toujours votre ceinture de sécurité afin de réduire les risques de blessures et la gravité de celles-ci en cas d'accident.

Ne vous appuyez pas contre les portières ou les glaces.

Ne vous appuyez pas contre les portières ou les glaces.
A VERTISSEMENT
- Les ceintures de sécurité, les coussins gonflables latéraux et les rideaux gonflables latéraux avec protection contre le renversement sont plus efficaces lorsque les occupants du vehicule sont aussi bien droits au fond de leur siège. Les coussins gonflables latéraux et les rideaux gonflables se déploient avec beaucoup de puissance. Ne laissez personne placer ses mains, ses jambes ou son visage à proximé d'un coussin gonflable latorial, c'est-à-dire sur le côté du dossier du siège avant ou pres des glissières latérales du toit. Ne permettez à chaque occupant assis à l'avant ou aux places extérieures arrrière du vehicule de sortir la main par l'ouverture de la glace ni de s'appuyer contre les portières. Les illustrations montrent des exemples de positions dangereuses à éviter dans un vehicule en mouvement.

WRS0363
AVERAGEMENT
-
Ne tenez pas le dossier du siège avant lorsque vous estes assis sur un siège de la banquette de la deuxième rangée. Vous pourriez etre blesse grievement en cas de deploiement du coussin gonfable latorial. Soyez particulièrement prudent lorsque vos passagers sont des enfants; ceux-ci doivent etre retenus correctement en tout temps. Les illustrations montrent des exemples de positions dangereuses a ne pas adopter dans un vehicule en mouvement.
-
N'installez pas de housses sur les dossiers des sièges avant. Elles pourraient entraver le déploiement des coussins gonflables latéraux.


1-22 Sécurité — sièges, ceintures de sécurité et coussins gonflables
- Modules des rideaux gonflables latéraux et des coussins gonflables en cas de renversement
- Rideaux gonflables lateraux et coussins gonflables en cas de renversement
- Unité de capteur de diagnostic
- Modules des coussins gonflables avant
- Capteur de zone de collision
- Module de commande du capteur depoids du passager
- Capteur de poids du passager
- Capteurs des bocles de ceinture de sécurité
- Enrouleur pretendeur
- Capteurs périhériques
- Modules des coussins gonflables latéraux
Dispositif de coussin gonflable perfectionné INFINITI (sièges avant)
Ce vehicule est muni d'un dispositif de coussin gonflable perfectionné INFINITI destiné à protégger le conducteur et le passager avant. Ce dispositif a été concu pour répondre aux conditions d'homologation établies conformément à la réglementation en vigueur aux États-Unis. Son utilisation est également autorisée au Canada. Toutefois, les renseignements, précautions et
avertissements stipulés dans ce manuel s'appliquent toujours et doivent être suivis.
Le coussin gonflable avant du conducteur est situé au centre du volant de direction. Le coussin gonflable avant du passager est monté dans la planche de bord, au-dessus de la boîte à gants. Les coussins gonflables avant sont conçus pour se déployer lors d'une collision frontale de forte intensité; leur déploiation est toute fois possible si les forces provoquées par un另一种 type de collision s'assimilant à celles d'une collision frontale grave. Il est possible qu'ils ne se déployent pas lors de certains types de collisions frontales. Les dommages au vehicule (ou l'absence de dommages) ne constituent pas nécessairement un indice du bon fonctionnement des coussins gonflables avant.
Le dispositif de coussin gonflable perfectionné INFINITI possède des modules de gonflage à deux étapes. Il surveille l'information fournie par le capteur de zone de collision, le module de détction et de diagnostic, les capteurs des boucles des ceintures de sécurité, le capteur de poids du passager et le capteur de tension de la ceinture de sécurité du siège du passager. Le générateur de gaz s'active en fonction de la gravité de la collision et de l'utilisation de la ceinture de sécurité du conducteur. Pour le passager avant, sont également pris en compte le poids du passager ou d'un objecte placé sur le siège ainsi que la
tension exercée sur la ceinture de sécurité. Selon l'information reçue par les capteurs, il est possible qu'un seul coussin gonflable avant se déploie lors d'une collision; une telle situation dépend de la gravité de l'impact et du fait que les occupants avant portent ou non leur ceinture de sécurité. De plus, il est possible que le coussin gonflable du passager avant se désactive automatiquement dans certaines conditions, selon l'importance du poids détecté sur le siège du passager ou la façon dont la ceinture est utilisée. Si le coussin gonflable du passager avant est désactivié, le témoin de fonctionnement du coussin gonflable du passager s'allume pour le confirmer. Pour obtenir plus de détails à ce sujet, consultez la rubrique « Coussin gonflable du passager avant et témoin de fonctionnement » plus loin dans ce chapitre. Le déploiement d'un seul coussin gonflable avant n'indique pas un mauvais fonctionnement du système.
Si vous avez des questions concernant le dispositif de coussins gonflables de votre vehicule, veuillez communiquer avec INFINITI ou avec toute concessionnaire INFINITI. Si, en raison d'un handicap physique, vous souhaitez faire modifier votre vehicule, veuillez communiquer avec INFINITI. Les renseignements sur les personnes-ressources sont fournis au début du present Manuel du conducteur.
Le déploiement d'un coussin gonfable avant est accompagné d'un bruit fort, suivi d'une émission de fumée. Cette fumée n'est pas nocive et n'indique pas la présence d'un incendie. Il est cependant recommandé d'éviter de l'inhaler, car elle peut cause une irritation de la gorge et une sensation d'étouffement. Les personnes qui souffrent de problèmes respiratoires doivent respirier de l'air frais aussi tôt que possible.
Les coussins gonflables avant, lorsqu'ils sont combinés au port des ceintures de sécurité, aient à amortir le choc transmis au visage et au thorax des occupants des sièges avant. Ils peuvent contributor à sauvier des vies et à réduire les risques de blessures graves. Cependant, le déploiation d'un coussin gonflable avant peut causeer des éraflues au visage ou d'autres blessures. Les coussins gonflables avant n'offrent aucune protection à la partie inférieure du corps.
Meme si votre vehicule est muni du dispositif de coussin gonflable perfectionné INFINITI, les ceintures de sécurité doivent toujours être portées correctement; le conducteur et le passager avant doivent être assis avec le dossier de siège relevé à la verticale, et positionner leur siège aussi loin que pratiquement possible du volant de direction et de la planche de bord. Les coussins gonfables avant se déploientrapidement pour protégger les occupants des sièges avant. De ce fait, le risque de blessures occasionnées par la puissance du
déploiement des coussins gonflables avant peut être accru si l'occupant se trouve trop pres du module du coussin gonflable avant, ou encore, s'il est appuyé contre le module au moment du déploiement.
Une fois déployés, les coussins gonflables avant se dégonflect rapidement.
Les coussins gonflables avant ne peuvent se déployer que si le contacteur d'allumage est à la position ON (marche) ou START (démarrage).
Le témoin du coussin gonflable s'allume une fois la clé de contact tournée à la position ON (marche). Si le dispositif est opérationnel, le témoin du coussin gonflable s'eteint après environ sept secondes.

LRS0351

LRS0316
Coussin gonflable du passager avant et témoin de fonctionnement
AVERAGEMENT
Le coussin gonflable du passager avant est concu pour se désactiver automatiquement en presence de certaines conditions. Lisez attentivement cette section pour en apprendre plus a propos de son fonctionnement. L'utilisation appropriée du siège, de la ceinture de sécurité et des dispositifs de retenue pour enfant est essentielle pour assurer efficacement la protection des occupants. Le fait de ne pas suivre les directives relatives à l'utilisation des sièges, des ceintures de sécurité et des dispositifs de retenue pour enfant stipulées dans ce manuel peut augmenter les risques de blessures et la gravité de celles-ci en cas d'accident.
Témoin de fonctionnement
Le témoin d'etat du coussin gonflable du passagger avant ( 0r ou 2 ) est situé sous les commandes de température. Il s'allume pour indiquer que le coussin gonflable du passagier avant est désactivé et qu'il ne pourra pas se déployer dans l'eventualité d'une collision. Le témoin s'allume également si le siège du passagger avant est inoccupé ou en d'autres cas énu
mérés dans ce chapitre. Le témoin de fonctionnement du coussin gonflable du passager avant s'allume une fois la clé de contact tournée à la position ON (marche) et s'éteint après environ sept secondes si le système est opérationnel.
Coussin gonflable du passager avant
Le coussin gonflable du passager avant est concu pour se désactiver automatiquement lorsque le vehicule est utilisé dans les conditions décrites ci-dessous, conformément à la réglementation en vigueur aux États-Unis. Si le cousin gonflable du passager avant est désactivié, il ne se déploiera pas en cas d'accident. Le cousin gonflable du conducteur et les autres cousins gonflables du vehicule ne font pas partie de ce système.
La déactivation du coussin gonflable vise à réduire les risques de blessures ou de mort pouvant être provoqués par son déploiement lorsqu'un passager particulier occupe ce siège, par exemple un infant. Certains capteurs sont conçus spécifique pour répondre à cette réglementation.
L'un de ces capteurs analyse le poids de l'occupant (capteur de poids du passager). Ce capteur est logé sous le coussin du siège du passager avant et permet de détecter la présence d'un occupant ou d'un objet quelconque selon le signal de poids reçu. Il fonctionne de pair
avec les capteurs de tension de ceinture décrits plus loin. Par exemple, si un enfant est assis sur le siège du passager avant, le dispositif de coussin gonflable perfectionné est concu pour désactiver le coussin gonflable du passager avant, conformément à la réglementation en vigueur. De plus, si le siège en question accueille un dispositif de retenue pour enfant conforme à la réglementation, le poids de ce dispositif ainsi que celui de l'enfant sont détectés et peuvent faire en sorte de désactiver le coussin gonflable. Le fonctionnement du capteur de poids est tributaire des capteurs de tension de ceinture de sécurité du passager avant.
Les capteurs de tension de la ceinture de sécurité du passager avant peuvent détecter si la ceinture est bouclée ou non, et contrôler la tension de la ceinture, par exemple si la ceinture est en mode de blocage automatique (mode de dispositif de retenue pour enfant). De par la nature des signaux reçus, soit le poids détecté sur le siège du passager avant, soit la tension exercée sur la ceinture, le dispositif de coussin gonflable perfectionné NiSSAN decide si le coussin gonflable du passager avant doit être désactivié ou non, tel que l'exige la réglementation.
Les occupants adultes du siege du passager avant qui s'assoient correctement et qui utilisent leur ceinture comme indiquedans ce manuel ne devraient pas provoquer la désactivation auto
matique du coussin gonflable du passager avant. Pour les adultes de petite taille, il peut etre dé-sactivé. Aussi, si I'occupant reussit a soustraire son poids du coussin de siege, en adoptant par exemple une position deviant de la verticale, en s'assoyant sur le rebord du siege ou dans toute autre position pouvant déjour le capteur, ce dernier pourrait désactiver le coussin gonflable. Ce serait également le cas si la ceinture de sécurité etait incorrectement utilisée en mode de blocage automatique (mode de dispositif de retenue pour enfant). Assurez-vous d'être toujours bien assis et de porter convenablement la ceinture de sécurité pour assurer la(Meilleure) protection possible que garantissent la ceinture et le coussin gonflable.
INFINITI recommande d'asseoir les enfants de moins de douze ans à l'arrière et de veiller à ce que leur ceinture soit bien bouclée. INFINITI recommande également l'utilisation d'un dispositif de retenue pour infant ou d'un rehausseur correctement installé sur un siège arrêté. Si cela n'est pas possible, le capteur de poids du passager et les capteurs de ceinture de sécurité sont concus pour désactiver le coussin gonflable du passager avant (voir les explication ci-dessus) en fonction de certains dispositifs de retenue pour infant, et ce, afin d'être conformes aux réglementations. Si le dispositif de retenue pour infant n'est pas correctement fixé ou que le mode de
blocage automatique de la ceinture de sécurité (mode de dispositif de retenue pour enfant) n'est pas correctement utilisé, le dispositif de retenue pour enfant pourrait se renverser ou se déplacer dans un accident ou lors d'un arrêt d'urgence. Une telle'utilisation pourrait également provoquer le déploiement non programme du coussin gonflable du passager avant. Pour vous assurer de bien utiliser et d'instructor correctement votre dispositif de retenue pour enfant, consultez la rubrique « Dispositifs de retenue pour enfant » plus loin dans ce chapitre.
Si le siège du passager avant est inoccupé et que la ceinture de sécurité n'est pas bouclée, le coussin gonflable du passager avant est concu pour ne pas se déployer en cas de collision. Toutefois, si vous placez des objets assez lourds sur le siège, le coussin gonflable pourrait se déployer en cas de collision en raison de la détction de poids par le capteur de détction de poids du passager. D'autres conditions pouraient également déclencher le déploiemment du coussin gonflable, telles qu'un infant se tenant debout sur le siège, ou deux enfants occuant ce même siège, ce qui serait contraire aux directives figurant dans ce manuel. Assurez-vous que tous les occupants du vehicule, incluant vous-même, soient correctement assis et que les ceintures de sécurité soient bien bouclées.
Le témoin de fonctionnement du coussin gonflable du passager vous permet de vérifier si le coussin gonflable du passager avant s'est dé-sactivé automatiquement. Pour ce faire, il s'allume pour indiquer que le coussin gonflable du passager avant est dé-sactivé lorsque le siège du passager avant est inoccupé.
Lorsqu'un adulte occupe le siège du passager avant et que le témoin d'etat du sac gonflable s'allume, indiquant que le coussin gonflable est désactivé, il est possible que cette personne soit unadulte de petite taille, qu'elle soit mal assise sur le siège ou qu'elleporte sa ceinture de sécurité incorcorrectement. Si vous avez fixé un dispositif de retenue pour infant sur le siège avant et que le témoin de fonctionnement ne s'allume pas (indiquant que le coussin gonflable pourrait se déployer en cas de collision), itestpossiblequeledispositifde retenue pour infant ou la ceinture de sécurité soient mal utilisés.Dans un tel cas, repositionné le dispositif de retenue pour infant et vérifie si la ceinture est bien bouclée.Sinon, faites asseoir la personne ou l'enfant sur un siège arrrière.
Si le dispositif de coussin gonflable avant presente une anomalie, le témoin de fonctionnement du coussin gonflable du passager avant (ou 空 _ 2 ^ ),itué sous les commandes de température s'allume, et le témoin du dispositif de protection complémentaire ,itué dans le
combiné des instruments au centre du tableau de bord, clignote. Faites inspector le système par un concessionnaire INFINITI.
Autres précautions concernant les cousins gonflables avant
AVERAGEMENT
- Ne déposez pas d'objets sur le coussin du volant de direction ou sur la planche de bord. Ne déposez pas non plus d'objets entre les occupants et le volant ou la planche de bord. De tels objets pourrait se transformer en de dangereux projectiles et provoquer des blessures en cas de déploement du coussin gonflable avant.
- Plusieurs éléments des coussins gonflables avant seront chauds dans les instantssuivant le déploiemest des coussins. Ne les touche pas, sous peine de vous inflige de graves brûlures.
-
Il ne faut faire aucune modification non approuvée aux composants ou au cablage des coussins gonflables. Ceci vise à empêcher que les coussins gonflables se déploient de façon fortuite ou que leur circuit soit endommagé.
-
N'apportez aucune modification non autorisée au circuit électrique, à la suspension ou à la structure avant de votre vehicule. Une telle action pourrait prométre le fonctionnement des cousins gonflables avant.
-
Toute modification des coussins gonflables avant peut entraîner de graves blessures. Ces modifications comprend les modifications apportées au volant de direction et à la planche de bord, notamment l'installation d'équipement ou d'accessoires sur le rembourse du volant de direction et sur la planche de bord, ou encore l'avout de garnitures supplémentaires autour des coussins gonflables.
-
La modification ou l'alteration du siège du passager avant peut entrainer des blessures graves. Par exemple, ne modifiez pas les sièges avant en y installer des articles sur leur assise, ou en leur ajoutant d'autres garnitures, comme des housses de sièges. De plus, ne placez aucun objet sous le siège du passager avant ou entre l'assise du siège et le dossier. Ces objets pouraient empêcher le bon fonctionnement du système de classification de l'occupant (capteur de poids).
- Aucune modification non approuvée ne doit être apportée aux composants ou auCablage du système de ceintures de sécurité. Cela pourrait nuire au fonctionnement du dispositif des coussins gonflables avant. Toute alteration du système de ceintures de sécurité peut entrainer des blessures graves.
L'entretien du dispositif de coussins gonflables avant et d'autres dispositifs situés à proximé doit être effectué par un concessionnaire INFINITI. L'installation de tout dispositif électrique doit également être effectué par un concessionnaire INFINITI. Le câblage du dispositif de protection complémentaire (SRS) ne doit être ni modifié, ni débranché. Le dispositif de coussins gonflables ne devrait pas être exposé à des instruments d'essai électrique ou sondes non autorisés.
- Un pare-brise fissure doit être remplaced dans les plus brefs déliés dans un atelier de réparation qualifié. En effet, une telle condition du pare-brise peut nuire au déploiemment des coussins gonflables.
- Les connecteurs du faisceau électrique du dispositif de protection complémentaire (SRS) sont facilement identifiables par leurs couleurs jaune et orange.
Si vous revendezez votre vehicule, nous vous demandons d'informer l'acheteur de la presence du dispositif de coussins gonflables avant et de lui indiquer les chapitres s'y rapportant dans le present Manuel du conducteur.

Dispositif de coussins gonflables latéraux, de rideaux gonflables latéraux et de coussins gonflables en cas de renversement
Les coussins gonflables latéraux sont situés dans la partie latorale externe du dossier des sièges avant. Les rideaux gonflables latéraux et les coussins gonflables en cas de renversement sont situés dans les trois longerons du toit. Ils ont été concus pour répondre aux directives facultatives visant à réduire les risques de blessures aux occupants des places extérieures. Toutefois, les renseignements, précautions et averissements stipulés dans ce manuel
s'appliquent toujours et doivent être suivis. Les coussins et les rideaux gonflables latéraux et les coussins gonflables en cas de renversement sont concus pour se déployer lors d'une collision latérale de forte intensité; leur déploiement est toutefois possible si les forces provoquées par un autre type de collision s'assimilent à celles d'une collision latérale grave. Ils sont concus pour se déployer du côte où le vehicule subit la collision. Il est possible qu'ils ne se déployant pas lors de certains types de collisions latérales.
Les rideaux gonflables latéraux et les coussins gonflables en cas de renversement sont également concus pour se déployer lors de certains types des collisions avec renversement ou de situations de renversement imminent.
Les dommages au vehicule (ou l'absence de dommages) ne constituent pas nécessairement un indice du bon fonctionnement des coussins et des rideaux gonflables lateraux.
Le déploiement d'un des coussins ou rideaux gonflables latéraux est accomplé d'un bruit puissant, suivi d'une émission de fumée. Cette fumée n'est pas nocive et n'indique pas la présence d'un incendie. Il est cependant recommandé d'éviter de l'inhaler, car elle peut cause une irritation de la gorge et une sensation d'étouffement. Les personnes qui souffrent de
problèmes respiratoires doivent respirer de l'air frais aussiôt que possible.
Les coussins gonflables latéraux, lorsqu'ils sont combinés au port des ceintures de sécurité, aident à amortir le choc transmis au thorax des occupants des sièges avant. Les rideaux gonflables latéraux et les coussins gonflables en cas de renversement aident à amortir le choc transmis à la tête des occupants des sièges extérieurs avant et arrêté de toutes les rangiées de sièges. Ils peuvent contribuer à sauver des vies et à réduire les risques de blessures graves. Cependant, le déploiement d'un coussin ou d'un rideau gonflable létal peut cause des éraflues ou d'autres types de blessures.
Les ceintures de sécurité doivent toujours être portées correctement; le conducteur et le passagier avant doivent être assis avec le dossier de siège relevé à la verticale, et aussi loin que possible du coussin gonfable léseral. Les passagers des sièges arriréo doivent être assis aussi loin que possible des moulures des portières et des longerons de toit. Les coussins et les rideaux gonflables latéraux se déploient rapidement pour protégger les occupants. De ce fait, le risque de blessures occasionnées par la puissance du déploiement des coussins et des rideaux gonflables latéraux peut être accru si l'occupant du siège se trouve trop pres de ces modules, ou encore, s'il est appuyé contre ces modules au moment du
déploiement. Une fois déployés, les coussins et les rideaux gonflables latéraux se dégonflent.
Les coussins et les rideaux gonflables latéraux et les coussins gonflables en cas de renversement ne peuvent se déployer que lorsque le contacteur d'allumage est à la position ON (marche) ou START (démarriage).
Le témoin du coussin gonflable s'allume une fois la clé de contact tournée à la position ON (marche). Si le dispositif est opérationnel, le témoin du coussin gonflable s'éteint après environ sept secondes.
AVERAGEMENT
-
Ne déposez pas d'objets près des doussiers des sièges avant. De plus, ne déposez pas d'objets (parapluiè, sac, etc.) entre la garniture de la porte avant et le siège avant. De tels objets pouraient se transformer en de dangereux projectiles et provoquer des blessures en cas de déploiement du coussin gonflable latéral.
-
Plusieurs éléments du système des coussins gonflables latéraux, des rideaux gonflables et des rideaux gonflables latéraux avec protection contre le renversement seront très chauds tout de suite après le déploiement des coussins et des rideaux. N'y touche pas, sans quoi vous pourriez vous inflige de graves brûlures.
- Aucune modification non approuvée ne doit être apportée aux composants ou au câblage des coussins gonflables latéraux et des rideaux gonflables. Ceci vise à empêcher que les coussins gonflables latéraux et les rideaux gonflables se déploient de façon fortuite, ou que leurs circuits soient endommagés.
-
N'apportez aucune modification non autorisée au circuit électrique, à la suspension ou aux panneaux lateraux de votre vehicule. Vous pourriez, de cette façon, compromètre le fonctionnement des rideaux gonflables.
-
Toute modification des coussins gonflables latéraux peut entrainer de graves blessures. Par exemple, ne modifie pas les sièges avant en y installer des accessoires à proximate des dossiers ou des garnitures supplémentaires, comme des housses de sièges, autour des coussins gonflables latéraux.
-
Les interventions sur les rideaux gonflables ou à proximé de ces dispositifs devraient être effectuées par un concessionnaire INFINITI. L'installation de tout dispositif électrique doit également être effectuee par un concessionnaire INFINITI. Les faisceaux de cablage du dispositif de protection complémentaire* (SRS) ne doivent être ni modifiés, ni débranchés. Les coussins gonflables latéraux et les rideaux gonflables ne devraient pas été exposés à des instruments d'essai électrique ou à des son-des non autorisés.
-
Les connecteurs de faisceau électrique du dispositif de protection complémentaire (SRS) sont jaunes ou orange pour facilitier leur identification.
Si vous revendeziez your vehicule, nous youdemandons d'informer l'acheteur de la presence
des dispositifs de coussins et de rideaux gonflables lateraux et de lui indiquer les chapitres s'y rapportant dans le present Manuel du conducteur.
Ceintures de sécurité à prétendeur (pour les sièges avant)

AVERTISSEMENT
- La ceinture de sécurité à pretendeur ne peut pas être réutilisée après avoir été activée. Elle doit être replacée au complet, l'enrouleur et la boucle y compris.
- En cas de collision frontale, si un préteur de ceinture de sécurité n'est pas activé, faites-le vérifier par votre concessionnaire INFINITI et, s'il y a lieu, faites-le replacer.
-
Il ne faut faire aucune modification non approuvée aux composants ou au cablage des ceintures de sécurité à prétendeur. Ceci vise à empêcher que les ceintures de sécurité à prétendeur soient activées de façon fortuite, ou que leur fonctionnement soit alteré. L'alteration du dispositif des ceintures de sécurité à prétendeur peut entrainer des blessures graves.
-
Les interventions sur les prétendeurs de ceintures de sécurité ou à proximité de ceux-ci devraient être effectuees par un concessionnaire INFINITI. L'installation de tout dispositif electrique doit également etreffectuee par un concessionnaire INFINITI. Le systeme de ceintures de sécurité a pretendeur ne devrait pas etre exposé a des instruments d essai electrique ou a des sondes non autorisés.
- Si vous devezmettre au rebut un pretendeur de ceinture de sécurité ou envoyer le vehicule à la ferraille, adressez-vous à un concessionnaire INFINITI. Les méthodes correctes de mise au rebut d'un pretendeur de ceinture de sécurité sont expliquées dans le manuel d'entretien INFINITI approprié. L'application d'une méthode incorrecte de mise au rebut pourrait cause des blessures.
Les ceintures de sécurité à prétenée des sièges avant s'activent en même temps que les coussins gonflables avant et les rideaux gonflables. Utilisées conjointement avec l'enrouleur, elles se tendent lorsqu'elle vehicule subit certains types de collisions, aidant ainsi à retenir les passagers des sièges avant.
Le pretendeur est intégré au boîtier de l'enrouleur de la ceinture de sécurité. Ces ceintures de sécurité sont utilisées de la même façon que les ceintures conventionnelles.
Lorsque la ceinture de sécurité à préteneur se déclenché, de la fumée est produit et un bruit puissant peut se faire entendre. Cette fumée n'est pas nocive et n'indique pas la présence d'un incendie. Il est cependant recommendé d'éviter de l'inhaler, car elle peut causeur une irritation de la gorge et une sensation d'étouffement. Les personnes qui souffrent de problèmes respiratoires doivent respirer de l'air frais aussiôt que possible.
Suite au déclenchement des pretendeurs de ceinture de sécurité, les limiteurs de force librent la sangle de ceinture, s'il y a lieu, afin de réduire la pression exercée sur le thorax.
Lorsque la clé de contact est tournée à la position ON (marche) ou START (démarriage), le témoin du coussin gonfable ne s'allume pas, clignote par intermittence ou s'allume pendant sept secondes et demeure allumé si une anomalie est détectée dans le système des prétendeurs. Le cas échéant, les ceintures de sécurité à prétendeur pouraient ne pas fonctionner correctement. Elles doivent être vérifiées et réparées. Confiez votre vehicule au concessionnaire INFINITI le plus proche.
Si vous revendez vos vehicule, nous vous demandons d'informer l'acheteur de la presence des ceintures de sécurité à pretendeur et de lui indiquer les chapitres s'y rapportant dans le present Manuel du conducteur.

- Étiquettes d'avertissement concernant les coussins gonflables
- Étiquette d'ajretissement relative aux coussins gonflables lateraux
ÉTIQUETTES D'AVERTISSEMENT CONCERNANT LES COUSSINS GONFLABLES
Des étiquettes d'ajretissement à propos des coussins gonflables avant et des rideaux gonflables lateraux sont placées dans le vehicule aux endroits illustrés.

LRS0100
TÉMOIN DU COUSSIN GONFLABLE
Le témoin du coussin gonflable, identifié par le pictogramme sur le tableau de bord, sur-veille l'etat des circuits des dispositifs de coussins gonflables avant, de coussins gonflables lateraux, de rideaux gonflables lateraux et de coussins gonflables en cas de renversement, de même que des ceintures de sécurité à prétendeur. Les circuits surveillés par le témoin du coussin gonflable sont les capteurs de diagnostic, le capteur de zone de collision, les capteurs périhériques, le capteur de renversement, les modules des coussins gonflables avant et lateraux, les modules des rideaux gonflables, les
ceintures de sécurité à prétendeur de même que tout le cablage connexe.
Lorsque la clé de contact est tournée à la position ON (marche) ou START (démarriage), le tímein du coussin gonflable s'allume pendant environ sept secondes puis s'éteint. Ceci indique que le dispositif est opérationnel.
Les dispositifs des coussins gonflables avant, des coussins gonflables lateraux, des rideaux gonflables et des ceintures de sécurité à prétendeur doivent être vérifiés et réparés si l'une des situations suivantes se produit :
- le témoin du coussin gonflable reste allumé après la période initiale d'environ sept secondes;
- le témoin du coussin gonflable clignote par intermittence;
- le témoin du coussin gonflable ne s'allume pas du tout.
La presence d'une de ces conditions peut promètre le fonctionnement des coussins gonflables avant, des coussins gonflables lateraux, des rideaux gonflables lateraux et des ceintures de sécurité à prétendeur. Faites vérifier et réparer ces dispositifs Confiez votre vehicule au concessionnaire INFINITI le plus proche.

AVERTISSEMENT
L'activation du témoin des coussins gonflables peut indiquer que les dispositifs des coussins gonflables avant, des coussins gonflables latéraux, des rideaux gonflables ou des ceintures de sécurité à prétenueur ne fonctionneront pas en cas d'accident.
Méthode de réparation et de remplacement
Les coussins gonflables avant, les coussins gonflables lateraux, les rideaux gonflables lateraux et les ceintures de sécurité à prétendeur sont concus pour n'être actifs qu'une seule fois. En guise de rappel, à moins qu'il ne soit endommagé, le témoin du coussin gonflable reste allumé après l'activation de l'un ou l'autre de ces systèmes. La réparation et le remplacement d'un des éléments du dispositif de protection complémentaire ne doivent être confiés qu'à un concessionnaire INFINITI.
Assurez-vous que la personne chargee d'effectuer un entretien sur le vehicule est informee de la presence de coussins gonflables avant, de coussins gonflables lateraux, de rideaux gonflables lateraux, de ceintures de sécurité a pretendeur et de pieces connexes a ces dispositifs. La clé de contact doit alwaysetre gardée a
la position LOCK (verrouillage) lors de toute intervention effectue dans le compartmentois-. teur ou dans l'habitacle.
AVERAGEMENT
- Lorsqu'un coussin gonflable avant, un coussin gonflable latorial ou un rakeau gonflable latorial s'est déployé, le module de coussin gonflable ne fonctionne plus et doit être replacé. Si l'un des coussins gonflables avant se déploie, les ceintures de sécurité à préten-deur activées doivent également être replacées. Le Replacement de module de coussin gonflable et de dispositif des ceintures de sécurité à préten-deur doit être effectué par un concessionnaire INFINITI. Le module de coussin gonflable et le système de ceintures de sécurité à prétendeur ne peuvent être réparés.
-
Si l'avant ou les côtés du vehicule sont endommages, les coussins gonflables avant et lateraux ainsi que les rideaux gonflables et le système de ceintures de sécurité à prétenueur devraient être inspector par un concessionnaire INFINITI.
-
Si vous doivent accorder un cousin gonflable ou un préteindreur de ceinture de sécurité, ou envoyer le vehicule à la ferraille, adressez-vous à un concessionnaire INFINITI. Les méthodes correctes de mise au rebut de coussins gonflables et de préteindeurs de ceinture de sécurité sont expliquées dans le manuel d'entretien INFINITI approprié. L'application d'une méthode incorrecte de mise au rebut peut cause des blessures.
CEINTURES DE SECURITE


PRECAUTIONS CONCERNANT L'UTILISATION DES CEINTURES DE SECURITE
Les probabilités de blessures ou de mort en cas d'accident et la gravité des blessures peuvent être considérablement réduites lorsque vous étés bien positionné et bien adossé au dossier de siège, et que votre ceinture de sécurité est correctement bouclée. INFINITI conseille vivement à tous les occupants du vehicule de boucler leur ceinture de sécurité en tout temps pendant la conduite, même si la place qu'ils occupent est équipée d'un coussin gonflable.
Le port de la ceinture de sécurité pendant la conduite est obligatoire presque partout au Canada et aux États-Unis.

A VERTISSEMENT
- Tous les occupants du vehicule doivent toujours boucler leur ceinture de sécurité. Àpres avoir pris place sur la banquette arrêté, les enfants doivent être correctement attachés et, si nécessaire, installés dans un dispositif de retenue pour enfant.

AVERAGEMENT
- La ceinture de sécurité doit être serrée correctement. Le fait de ne pas respecter cette consigne peut réduire l'efficacité de tout le dispositif de protection et accroître les risques de blessures et la gravité de celles-ci en cas d'accident. Le port incorrect d'une ceinture de sécurité peut entrainer des blessures graves voire mortelles.


AVERTISSEMENT
-
Faites toujours passer le baudrier sur votre épaulé et en travers de votre poitrine. Ne faites jamais passer la ceinture de sécurité derrière votre dos, sous votre bras ou sur votre cou. La ceinture de sécurité ne doit pas reposer sur votre visage ni sur votre cou et elle ne doit pas tomber de leur épaulé.
-
Placez la ceinture sous-abdominale aussi bas et aussi serrer que possible AUTOUR DES HANCHES, ET NON AU NIVEAU DE LA TAILLE. Une ceinture sous-abdominale placée trop haut peut augmenter les risques de blessures internes en cas d'accident.
Assurez-vous que la languette de la ceinture de sécurité est solidement attachée à la boucle appropriée. - Ne portez pas une ceinture de sécurité bouclée à l'envers ou dont la sangle estvrillée car elle ne pourrait pas vous protégérer aussi efficacement.
- Ne permette pas à plus d'une personne de s'attacher à la même ceinture de sécurité.
- Le nombre de passagers à bord du vehicule ne doit jamais dépasser le nombre de ceintures de sécurité.
-
Si le témoin des ceintures de sécurité reste allumé alors que le moteur tourne, que toutes les portes sont fermées et que toutes les ceintures de sécurité sont bouclées, il est possible que le circuit soit défectueux. Faites inspector le système par un concessionnaire INFINITI.
-
Lorsqu'un coussin gonflable avant, un coussin gonflable latorial ou un rideau gonflable latorial s'est déployé, le module de coussin gonflable ne fonctionne plus et doit être remplaced. Si l'un des coussins gonflables avant se déploie, les ceintures de sécurité à préten-deur activées doivent également être remplacées. Le replacement de module de coussin gonflable et de dispositif des ceintures de sécurité à préten-deur doit être effectué par un concessionnaire INFINITI. Le module de coussin gonflable et le système de ceintures de sécurité à prétendeur ne peuvent être réparés.
-
Le retrait et l'installation des composants du dispositif des ceintures de sécurité à prétenduur doivent être effectués par un concessionnaire INFINITI.
-
Àprouse une collision, toutes les ceintures de sécurité, y compris les enrouleurs et le matériel de fixation, doivent être inspectées par un concessionnaire INFINITI. INFINITI commande de replacer toutes les ceintures de sécurité qui était en service au moment d'une collision, à moins que celle-ci n'ait été mineure, que les ceintures n'aient subi notamment dommage apparent et qu'elles fonctionnent encore correctement. Les ceintures de sécurité inutilisées au moment d'une collision doivent également être inspectées et replacées si des dommages ou un mauvais fonctionnement ont été décelés.
- Tous les dispositifs de retenue pour enfant et le matériel de fixation doivent être inspectés après une collision. Respectez toujours les directives d'inspection et de remplacement fournies par le fabricant du dispositif de retenue pour enfant que vous utilisez dans votre vehicule. Le dispositif de retenue pour enfant doit être replacé s'il est endommagé.
SECURITE DES ENFANTS
La contribution des adultes est nécessaire à la protection des enfants. Ceux-ci doivent être retenus ajustement.
Le dispositif de retenue adequat varie en fonction de la taille de l'enfant. En règle générale, les bébés âgés d'environ un an et moins et pesant moins de 9 kg (20 lb) doivent être placés dans un dispositif de retenue pour infant orienté vers l'arrière. Des dispositifs de retenue pour infant orientés vers l'avant sont disponibles pour les enfants qui sont trop grands pour les dispositifs orientés vers l'arrière.
AVERAGEMENT
Les bébés et les enfants requiennent une protection particulière. Les ceintures de sécurité du vehicule peuvent ne pas s'adapter correctement à leur petite talle. Le baudrier peut passer trop pres de leur visage ou de leur cou. La ceinture sous-abdominale peut ne pas s'adapter à leurs hanches. En cas d'accident, une ceinture de sécurité mal ajustée peut être la cause de blessures graves ou mortelles. Utilisez toujours des dispositifs de retenue pour infant appropriés.
L'utilisation de dispositifs de retenue homologues est obligatoire pour les bébées et les jeunes en
fants, et ce, dans toutes les provinces ou territori-ires au Canada et dans tous les États américain. Reportez-vous à la rubrique « Dispositifs de retenue pour enfant » plus loin dans ce chapitre.
Il existe aussi plusieurs types de dispositifs de retenue concus pour des enfants plus grands et qui offrent une protection maximale.
INFINITI commande de faire asseoir les enfants de moins de douze ans sur un siège arrrière et de s'assurer qu'ils sont correctement retenus. Selon les statistiques sur les accidents, les enfants sont plus en sécurité s'ils sont correctement retenus sur un siège arrrière que sur le siège avant. Cette consigne est particulièrement importante, du fait que votre vehicule est équipé d'un dispositif de protection complémentaire (cousins gonflables) pour le siège du passager avant. Reportez-vous à la rubrique « Dispositif de protection complémentaire » figurant plus haut dans ce chapitre.
Bébes et jeunes enfants
INFINITI recommende d'installer les bébés et les jeunes enfants dans un dispositif de retenue pour enfant conforme aux normes de sécurité des vehicules automobiles canadiens (au Canada) ou aux normes du Federal Motor Vehicle Safety Standards (aux États-Unis). Choisissez un dispositif de retenue pour enfant adapté à votre
vécicule et suivez toujours les directives du fabri-cant concernant son installation et son'utilisation.
Enfants plus âgés
Les enfants qui sont trop grands pour prendre place dans un dispositif de retenue pour enfant doivent etreassis sur le siege et retenus par les ceintures de sécurité du vehicule.
Si le baudrier du siège sur lequel l'enfant prend place passé sur son visage ou son cou, l'utilisation d'un rehausseur (disponible sur le marché) peut remédier à cette situation. Le rehausseur doit élever l'enfant de sorte que le baudrier repose au centre de l'épaule. La ceinture sous-abdominale doit être placee bas sur les hanches. Le rehausseur doit être adapté au siège du vehicule et porter une étiquette certissant son homologation aux normes de sécurité des vehicules automobiles canadiens (au Canada) ou aux normes du Federal Motor Vehicle Safety Standards (aux États-Unis). Lorsque l'enfant a grandi et que le baudrier ne passes plus sur ou pres de son visage et son cou, l'utilisation du rehausseur n'est plus nécessaire.
AVERAGEMENT
Ne laisseriez jamais les enfants voyager debout ou a genoux sur un siège, et ne leur permettez jamais l'accès à l'aire de chargement lorsque le vehicule est en mouvement. En cas d'accident ou d'arrêt brusque, les enfants peuvent subir des blessures graves et même mortelles.
FEMMES ENCEINTES
INFINITI recommende aux femmes enceintes de porter leur ceinture de sécurité. Ajustez bien votre ceinture de sécurité et voirlez à ce que la portion sous-abdominale soit placee aussi bas que possible sur vos hanches, et non sur notre taillie. Placez le baudrier sur votre epaule et en travers de votre poitrine. Ne faites jamais passer la ceinture a trois points sur votre abdomen. Toute autre recommendation particuliere peut vous etre fournie par votre medecin.
PERSONNES BLESSEES
INFINITI recommende aux personnes blessées de porter leur ceinture de sécurité. Veuillez consultier votre médecin pour toute autre Recommendation particulière.
CEINTURE DE SECURITE A TROIS POINTS AVEC ENROLLEUR
AVERAGEMENT
- Tous les occupants du vehicule doivent toujours boucler leur ceinture de sécurité.
- Ne prenez pas place dans un vehicule si le dossier de votre siege est incliné. Ceci peut s'avérer très dangereux. Dans cette position, le baudrier de la ceinture de sécurité n'est pas appuyé contre votre corps. En cas d'accident, vous pourriez être projeté contre le baudrier et subir des blessures graves au cou ou à une autre partie de votre corps. Vous pourriez également glisser sous la ceinture sous-abdominale et subir des blessures internes graves.
- Lorsque le vehicule roule, le dossier de votre siège devrait être en position verticale, de façon à vous offrir la(Meilleure) protection possible. Asseyez-vous多年来 au fond du siège et voirlez à ce que votre ceinture de sécurité soit bien ajustée.
Bouclage des ceintures de sécurité
- Reglez le siège. Consultez la rubrique « Sièges » plus haut dans ce chapitre.

Tirez lentement la ceinture de sécurité hors de l'enrouleur et inserez la languette dans la boucle jusqu'à ce que vous entendiez un déclic et que vous sentiez la languette se verrouiller.
L'enrouleur est concu pour se bloquer en cas de freinage brusque ou de collision. Si elle est tirée lentement, la ceinture de sécurité peut etre déroulée et procurer une certaine liberté de mouvement lorsquevous etes assis sur le siège.

③ Placez la ceinture sous-abdominale bas sur les hanches et bien ajustée, tel qu'illustré.
④ Ramenez le baudrier vers l'enrouleur pour éliminer le jeu de la ceinture. Assurez-vous que le baudrier passse sur votre épaulé et sur votre poitrine.
La ceinture de sécurité du passager avant et les ceintures de sécurité à trois points arrirere sont equipées d'un mecanisme de verrouillage pour l'installation d'un dispositif de retenue pour enfant. Ce mecanisme est appelé mode de blocage automatique ou mode de dispositif de retenue pour enfant.
Lorsque le mode de blocage automatique est activé, la ceinture de sécurité ne peut plus être tirée, à moins que la languette de la ceinture de sécurité ne soit détachée de la boucle et que la ceinture ne soit complètement rétractée. Une fois rétractée, la ceinture de sécurité revient au mode de blocage d'urgence. Pour de plus amples renseignements, reportez-vous à la rubrique « Dispositifs de retenue pour enfant » plus loin dans ce chapitre.
Le mode de blocage automatique ne doit être utilisé que pour l'installation d'un dispositif de retenue pour enfant. Lors de l'utilisation normale de la ceinture de sécurité par un passager, le mode de blocage automatique ne doit pas être activé. Dans le cas contraire, la tension de la ceinture de sécurité pourrait s'avérer inconfortable pour le passager qui la porte. Ce mode a également une incidence sur le fonctionnement du coussin gonflable du passager avant. Consultez la rubrique « Coussin gonflable du passager avant et tímoin de fonctionnement » plus haut dans ce chapitre.
AVERAGEMENT
Les dossiers de siège doivent être complètement verrouillés lorsque les occu-pants du vehicule attachent leur ceinture. Ceux-ci pourraient etre blesses en cas d'accident ou d'arrêt soudain.

Débouclage des ceintures de sécurité
① Pour déboucler la ceinture de sécurité, appuyez sur le bouton de la boucle. La ceinture de sécurité se rétracte automatiquement.
Vérification du fonctionnement des ceintures de sécurité
Les enrouleurs des ceintures de sécurité sont concus pour bloquer la ceinture de sécurité dans les deux cas suivants :
- lorsque la ceinture de sécurité est tirée rapi-dement hors de l'enrouleur;
- lorsque le vehicule ralentit brusquement.
Pour vous assurer du bon fonctionnement des ceintures de sécurité, vérifiez-les de la façon suivante.
- Saisissez le baudrier et tirez-le rapidement vers l'avant. L'enrouleur doit se verrouiller et bloquer la ceinture de sécurité.
Si l'enrouleur ne se verrouille pas durant cette verification ou si vous avez des questions au sujet du fonctionnement des ceintures de sécurité, adressez-vous à un concessionnaire INFINITI.

Centre de la banquette de troisieme rangée
La ceinture de sécurité centrale de la banquette de troisieme rangee dispose d'une languette d'accouplement ① et d'une languette de ceinture ②. La languette d'accouplement et la languette de ceinture doivent toutes deux etre solidement bloquées pour assurer le bon fonctionnement de la ceinture.

AVERAGEMENT
- Bouclez toujours la languette du connecteur et la ceinture de sécurité dans l'ordre indiqué.
Assurez-vous toujours que la languette du connecteur et la languette de la ceinture de sécurité sont bien bouclées lors de l'utilisation de la ceinture de sécurité. Ne l'utilise pas avec seulement la languette de la ceinture de sécurité bouclée. Ceci peut cause de graves blessures en cas d'accident ou de freinage brusque.



LRS0432
Rangement de la ceinture de sécurité centrale de la banquette de troisieme rangée
Lorsque you replies la banquette de troisieme rangée, you pouvez laisser la ceinture de secu-rite centrale arriere s'enrouler dans une position de rangement de la façon suivante :
① Libérrez la languette d'accoupling en insérant un objet semble à une clé dans la boucle d'accoupling A.
② Laissez la ceinture de sécurité se rétracter à la base de l'enrouleur.
③ Glissez la languette de ceinture de sécurité dans sa pochette en tissu de sorte qu'elle repose à plat. Fixez ensuite la languette d'accoupling à la base de l'enrouleur.

AVENTISSEMENT
- Ne détached pas le connecteur de ceinture de sécurité arrêté centrale sauf lorsque le siège arrêté est replié.
-
Lorsque vous bouclez le connecteur de ceinture de sécurité arrêté centrale, assurez-vous que les dossiers des sièges sont correctement verrouillés en position et que le connecteur de ceinture de sécurité arrêté centrale est bien fixé.
-
Si le connecteur de ceinture de sécurité arrrière centrale et les dossiers des sièges ne sont pas bien fixés à leurs positions correctes, cela peut causeur de graves blessures en cas d'accident ou de freinage brusque.



Bouclage de la ceinture de sécurité centrale de la banquette de troisieme rangée
Assurez-vous que la languette d'accoupling et la languette de la ceinture de sécurité centrale de la banquette de troisieme rangée sont bouclées. Detachez-les seulement si vous souhaitez rabattre la banquette arriere.
Pour attacher la boucle :
1 Libérez la languette d'accoupling de la base de l'enrouleur.
② Sortez la languette de ceinture de sécurité de saPOCHETE en tissu.
③ Tirez sur la ceinture de sécurité et engagez-la dans la boucle jusqu'au déclic.
La languette d'accoupling et la boucle de ceinture sont repérés comme suit : > et <.
La languette d'accoupling de la ceinture de sécurité centrale s'attache uniquement à la boute d'accoupling de la ceinture de sécurité centrale.
Pour connaître la bonne façon de boucler la ceinture, consultez la rubrique « Bouclage de la ceinture de sécurité » plus haut dans ce chapitre.

AVERTISSEMENT
- Ne détache pas le connecteur de ceinture de sécurité arrière centrale sauf lorsque le siège arrière est replié.
- Lorsque vous bouclez le connecteur de ceinture de sécurité arrêté centrale, assurez-vous que les dossiers des sièges sont correctement verrouillés en position et que le connecteur de ceinture de sécurité arrêté centrale est bien fixé.
- Si le connecteur de ceinture de sécurité arrrière centrale et les dossiers des sièges ne sont pas bien fixés à leurs positions correctes, cela peut cause de graves blessures en cas d'accident ou de freinage brusque.

LRS0242
Sièges extérieurs avant et de la banquette de deuxième rangée
Réglage de la hauteur du baudrier (pour les sièges extérieurs avant et de deuxième rangée)
La hauteur de l'ancrage du baudrier doit être réglée à la position convenant le mieux à la talle de l'occupant du siècle. (Reportez-vous à la rubrique « Précautions concernant l'utilisation des ceintures de sécurité » figurant plus haut dans ce chapitre. Pour procéder au réglage, tirez ① le bouton de réglage et déplacez l'ancrage du baudrier ② jusqu'à la position désirée, de sorte que la sangle passée au centre de l'épaule. La ceinture
de sécurité ne doit pas reposer sur votre visage ni sur votre cou et elle ne doit pas tomber de votre épale. Relâchez le bouton de réglage pour verruillon l'ancrage du baudrier en place.
AVERAGEMENT
- Àprous le réglage,relâchéz le bouton de réglage et essayez de déplacer l'ancrage du baudrier vers le haut et vers le bas pour vous assurer qu'il est bien bloqué.
- La hauteur de l'ancrage du baudrier doit être régée à la position qui vous convient le mistroux. Le fait de ne pas respecter cette consigne peut réduire l'efficacité de tout le dispositif de protection et accroître les risques de blessures et la gravité de celles-ci en cas d'accident.
RALLONGES DE CEINTURE DE SECURITE
Si la corpulence de la personne ou si la position de conduite rendent le port normal de la ceinture de sécurité impossible, une rallonge de ceinture de sécurité peut etre utiliser. La rallonge de ceinture de sécurité allonge la ceinture d'environ 20~cm 8 po) et peut etre utiliser aussi bien par le conducteur que par le passager avant. Si vous avez besoin d'une rallonge de ceinture de sécurité, adressez-vous a un concessionnaire INFI-NITI.
AVERAGEMENT
- Seules doivent être utilisées sur les ceintures de sécurité INFINITI les rallonges de ceintures de sécurité INFINITI, produit par le fabricant qui a conçu les ceintures de sécurité d'origine.
-
Les adultes et les enfants qui peuvent utiliser la ceinture de sécurité standard ne doivent pas utiliser de rallonge car son'utilisation superflue pourrait entraîner des blessures graves en cas d'accident.
-
N'utilisez jamais de rallonge de ceinture de sécurité pour installer un dispositif de retenue pour enfant. Si le dispositif n'est pas correctement attaché, l'enfant pourrait être blessé grièvement en cas de collision ou d'arrêt brusque.
ENTRETIEN DES CEINTURES DE SECURITE
- Pour nettoyer les sangles des ceintures de sécurité, utilisez une solution de savoir doux ou toute solution recommandee pour le nettoyage des revêtements de siège ou des carpettes. Essuyez-les ensuite avec un chiffon et laïsez-les secher à l'ombre. Ne laïsez pas les ceintures de sécurité se rétracter avant qu'elle soient complètement séches.
- Si de la saleté s'accumule dans le guide du baudrier des ancrages de ceinture de sécurité, celle-ci pourrait se rétracter plus lentement. Essuyez le guide du baudrier avec un chiffon propre et sec.
- Vérifiez régulièrement le bon fonctionnement des ceintures de sécurité et des pièces métalliques, telles que les bouches, les languettes, les enrouleurs, les cables flexibles et les ancrages. Si vous constatéz la présence de pièces desserrées
ou de sangles usées, entaillées ou autrement endommagées, vous doivent procéder au remplacement complet de l'ensemble de ceinture de sécurité.
DISPOSITIFS DE RETENUE POUR ENFANT

PRECAUTIONS CONCERNANT LES DISPOSITIFS DE RETENUE POUR ENFANT
A VERTISSEMENT
- Les bébés et les jeunes enfants doivent toujours être assist dans un dispositif de retenue pour infant ajustat lors de trajets en voiture. Un enfant qui n'est pas correctement installé dans un dispositif de retenue peut être blessé grièvement ou être tué.

AVERAGEMENT
-
Ne voyagez jamais avec un bébé ou un jeune enfant sur les genoux. Meme l'adulte le plus fort n'est pas en mesure de lutter contre les forces en jeu lors d'un impact sérieux. L'enfant pourrait être écrasé entre l'adulte et les parois interieures du vehicule. N'utilise jamais la même ceinture de sécurité pour vous-même et votre enfant.
-
N'installez jamais de dispositif de retenue pour enfant orienté vers l'arrière sur le siège du passager avant. L'impact d'un cousin gonfable qui se déploie peut infilger des blessures graves ou mortelles à votre enfant. Installez le dispositif de retenue pour enfant orienté vers l'arrière sur le siège arrière seulement.
- INFINITI recommende que les disposits de retenue pour enfant soient installés sur le siège arrêté. Selon les statistiques sur les accidents, les enfants sont plus en sécurité s'ils sont correctement retenus sur un siège arrêté que sur le siège avant.
- Un dispositif de retenue pour enfant mal installé peut entraîner de graves blessures ou la mort de l'enfant en cas d'accident.
En règle générale, les dispositifs de retenue pour enfant sont concus pour être installés au moyen de la partie sous-abdominale de la ceinture de sécurité à trois points. De plus, ce vehicule est équipé d'un système d'ancrage inférieur universal pour dispositifs de retenue pour enfant, appelé « système LATCH » (points d'ancrage inférieurs et sangle d'ancrage pour siège d'enfant). Certains dispositifs de retenue pour enfant in
client deux fixations rigides ou montées sur une sangle qui peuvent être attachées à ces points d'ancrage inférieurs. Pour obtenir plus de détails à ce sujet, reportez-vous à la rubrique « Système LATCH » (points d'ancrage inférieurs et sangle d'ancrage pour siège d'enfant) plus loin dans ce chapitre.
Plusieurs fabricants offrent des dispositifs de retenue pour bébés et pour jeunes enfants de différentes tailles. Lorsque vous désisissez un dispositif de retenue pour enfant, il est essentiel de tener compte des points suivants :
ne choisissez qu'un dispositif de retenue pour enfant portant une etiquette certifiant son homologation à la norme de sécurité 213 des vehicules automobiles canadiens (au Canada) ou à la norme de sécurité 213 des Federal Motor Vehicle Safety Standards (aux États-Unis);
- vérifie que le dispositif de retenue pour enfant s'adapte correctement à votre vehicule et qu'il est compatible avec le siège et le système de ceinture de sécurité;
- si le dispositif de retenue pour enfant est compatible avec votre vehicule, placez votre enfant dans le dispositif et vérifie-en les divers réglages pour vous assurer qu'il est bien adapté à la taille de votre enfant. Res
pectez toujours toutes les directives fournies.
L'utilisation de dispositifs de retenue homologues est obligatoire pour les bébés et les jeunes enfants, et ce, dans toutes les provinces et territorioires du Canada ainsi que partout aux États-Unis.
AVERAGEMENT
- Une mauvaise utilisation du dispositif de retenue pour enfant accroit les risques que l'enfant et les autres occupants du vehicule soient blessés, de même que la gravité des blessures subies.
-
Respectez toutes les instructions fournies par le fabricant concernant l'installation et l'utilisation du dispositif de retenue pour infant. Lors de l'achat d'un tel dispositif, assurez-vous qu'il est adapté à votre infant et au vehicule. Il est possible que certains types de dispositif de retenue pour infant ne convennent pas à votre vehicule.
-
Si le dispositif de retenue pour infant n'est pas fixé correctement, les risques que l'enfant soit blessé en cas d'accident ou d'arrêt brusque sont beaucoup plus élevés.
- Les dossiers de siège doivent être régles pour s'adapter au dispositif de retenue pour infant dans une position la plus proche de la verticale.
-
Àprouvavoir fixéledispositifderetenue pour enfant,vérifiez-leavant d'yasseoir un enfant.Inclinez-led'un cote et de l'autre.Essayez de le tirer vers l'avant et assurez-vous que la ceinture de sécurité le maintient en place correctement. Le dispositif de retenue ne doit pas se déplacer de plus de 2,5cm.S'il est mal fixé,resserrezla ceinturede sécuritéau besoin,ou installezle disposifurun autre siègepuisverifiez-lede nouveau.
-
Dans le cas d'un dispositif de retenue pour enfant orienté vers l'avant, assurez-vous que le baudrier ne passé pas dans le visage ou sur le cou de l'enfant. Si c'est le cas, faites passer le baudrier derrière le dispositif. Si vous doivent installer un dispositif de retenue pour enfant orienté vers l'avant sur le siège avant, consultez la rubrique « Installation sur le siège du passager avant » plus loin dans leprésent chapitre.
- Lorsqu'il n'est pas utilisé, assurez-vous que le dispositif de retenue pour enfant installé dans votre vehicule est retenu par une ceinture de sécurité afin d'eviter qu'il soit projeté en cas d'arrêt soudain ou d'accident.

ATTENTION
Rappelez-vous qu'un dispositif de retenue pour enfant laissé dans un vehicule fermé peut devenir très chaud. Vérifiez la surface et les boucles du siège avant d'y déposer votre enfant.
INSTALLATION SUR LES FAUTEUILS CAPITAINES DE DEUXIÈME RANGÉE

AVENTISSEMENT
- La ceinture de sécurité à trois points de votre vehicule est équipée d'un enrouleur à mode de blocage automatique que vous doivent utiliser lorsque vousinstallez un dispositif de retenue pour enfant.
- Le dispositif de retenue pour enfant ne peut pas etre fixe solidement si le mode de blocage de I'enrouleur n'est pas utilise.Le dispositif de retenue risque de se renverser ou de se detacher en cas d'arrêt brusque ou d'accident,et I'enfant pourrait alors etre blessé.

Orienté vers l'avant - étape 1
Dispositif de retenue orienté vers l'avant
Si vous souhaitez fixer un dispositif de retenue pour infant sur un fauteuil capitaine de deuxieme rangée, faites comme suit :
- Placez le dispositif de retenue pour infant sur le siège. Vous pouvez l'orienter vers l'avant, selon la taille de l'enfant. Reglez l'appuie-tête à sa hauteur maximale. Respectez toujours toutes les directives fournies par le fabricant du dispositif.

Oriente vers l'avant - étape 2
- Faites passer la languette de la ceinture de sécurité au travers du dispositif de retenue pour enfant et insérez-la dans la boucle jusqu'à ce que vous entendiez un déclic et que vous sentiez la languette se verrouiller.
Assurez-vous de suivre les directives du fabricant pour savoir comment faire passer la ceinture de sécurité derrière le dispositif de retenue.

Orienté vers l'avant - étape 3
- Tirez sur le baudrier jusqu'à ce que la ceinture soit complètement sortie. L'enrouleur de la ceinture de sécurité passée alors en mode de blocage automatique (mode pour dispositif de retenue pour enfant). Une fois la ceinture de sécurité complètement rétractée, elle returne au mode de blocage d'urgence.

Oriente vers l'avant - étape 4
- Laissez la ceinture de sécurité se rétractor. Tirez sur le baudrier pour éliminer tout jeu de la sangle.

Oriente vers l'avant - étape 5
- Avant de placer l'enfant dans le dispositif, essayez de faire basculer ce dernier vers la droite et vers la gauche, puis tirez-le vers l'avant pour vous assurer qu'il est correctement fixé. Il ne doit pas se déplacer sur plus de 25 mm (1 po).
-
Vérifiez que l'enrouleur est bien en mode de blocage automatique en essayant de tirer la ceinture de sécurité hors de l'enrouleur. Si vous ne pouvez tirer davantage de sangle hors de l'enrouleur, ce dernier est en mode de blocage automatique.
-
Assurez-vous que le dispositif est fixé soliderment chaque fois que vous prévoyez l'utiliser. Si la ceinture n'est pas verrouillée, repêze les étapes 3 à 6.
Lorsque le dispositif de retenue pour enfant est retire du vehicule et que la ceinture de sécurité se rétracte complètement dans l'enrouleur, le mode de blocage automatique (mode pour dispositif de retenue pour enfant) est désactivé.

Orientévers l'arrière-étape 1
Dispositif de retenue orienté vers l'arrête
Si vous souhaitez fixer un dispositif de retenue pour infant sur un fauteuil capitaine de deuxieme rangée, faites comme suit :
- Placez le dispositif de retenue pour infant sur le siège. L'orientation du dispositif de retenue pour infant varie en fonction du type de dispositif et de la taille de l'enfant. Respectez toujours toutes les directives fournies par le fabricant du dispositif.

Orientévers l'arrière-étape 2
- Faites passer la languette de la ceinture de sécurité au travers du dispositif de retenue pour enfant et insérez-la dans la boucle jusqu'à ce que vous entendiez un déclic et que vous sentiez la languette se verrouiller.
Assurez-vous de suivre les directives du fabricant pour savoir comment faire passer la ceinture de sécurité derrière le dispositif de retenue.

Orientévers l'arrière-étape 3
- Tirez sur le baudrier jusqu'à ce que la ceinture soit complètement sortie. L'enrouleur de la ceinture de sécurité passée alors en mode de blocage automatique (mode pour dispositif de retenue pour infant). Une fois la ceinture de sécurité complètement rétractée, elle returne en mode de blocage d'urgence.

Orientévers l'arrière-étape 4
- Laissez la ceinture de sécurité se rétractor. Tirez sur le baudrier pour éliminer tout jeu de la sangle.

Orientévers l'arrière-étape5
- Avant de placer l'enfant dans le dispositif, essayez de faire basculer ce dernier vers la droite et vers la gauche, puis tirez-le vers l'avant pour vous assurer qu'il est correctement fixé. Il ne doit pas se déplacer sur plus de 25 mm (1 po).
-
Vérifiez que l'enrouleur est bien en mode de blocage automatique en essayant de tirer la ceinture de sécurité hors de l'enrouleur. Si vous ne pouvez tirer davantage de sangle hors de l'enrouleur, ce dernier est en mode de blocage automatique.
-
Assurez-vous que le dispositif est fixé solidement chaque fois que vous prévoyez l'utiliser. Si la ceinture n'est pas verrouillée, repêze les étapes 3 à 6.
Lorsque le dispositif de retenue pour enfant est rétré du vehicule et que la ceinture de sécurité se rétracte complètement dans l'enrouleur, le mode de blocage automatique (mode pour dispositif de retenue pour enfant) est désactivé.
INSTALLATION SUR LA BANQUETTE DE DEUXIÈME RANGÉE (selon l'équipement du vehicule)
AVERAGEMENT
- La ceinture de sécurité à trois points de votre vehicule est équipée d'un enrouleur à mode de blocage automatique que vous doivent utiliser lorsque vousinstallez un dispositif de retenue pour enfant.
- Le dispositif de retenue pour infant ne peut pas etre fixe solidement si le mode de blocage de I'enrouleur n'est pas utilise. Le dispositif de retenue risque de se renverser ou de se detacher en cas d'arrêt brusque ou d'accident, et I'enfant pourrait alors etre blessé.

Oriente vers l'avant (sièges extérieurs) — étape 1

Orienté vers l'avant (siège central) — étape 1
Dispositif de retenue orienté vers l'avant
Si vous souhaitez fixer un dispositif de retenue pour enfant sur la banquette de deuxieme rangée, faites comme suit :
- Placez le dispositif de retenue pour enfant sur le siège. Vous pouvez l'orienter vers l'avant, selon la taille de l'enfant. Reglez l'appuie-tête à sa hauteur maximale. Respectez toujours toutes les directives fournies par le fabricant du dispositif.

Orienté vers l'avant - étape 2
- Faites passer la languette de la ceinture de sécurité au travers du dispositif de retenue pour enfant et insérez-la dans la boucle jusqu'à ce que vous entendiez un déclic et que vous sentiez la languette se verrouiller.
Assurez-vous de suivre les directives du fabricant pour savoir comment faire passer la ceinture de sécurité derrière le dispositif de retenue.

Orienté vers l'avant - étape 3
- Tirez sur le baudrier jusqu'à ce que la ceinture soit complètement sortie. L'enrouleur de la ceinture de sécurité passée alors en mode de blocage automatique (mode pour dispositif de retenue pour infant). Une fois la ceinture de sécurité complètement rétractée, elle returne au mode de blocage d'urgence.

Oriente vers l'avant - étape 4
- Laissez la ceinture de sécurité se rétracter. Tirez sur le baudrier pour éliminer tout jeu de la sangle.

Oriente vers l'avant - étape 5
- Avant de placer l'enfant dans le dispositif, essayez de faire basculer ce dernier vers la droite et vers la gauche, puis tirez-le vers l'avant pour vous assurer qu'il est correctement fixé. Il ne doit pas se déplacer sur plus de 25 mm (1 po).
-
Vérifiez que l'enrouleur est bien en mode de blocage automatique en essayant de tirer la ceinture de sécurité hors de l'enrouleur. Si vous ne pouvez tirer davantage de sangle hors de l'enrouleur, ce dernier est en mode de blocage automatique.
-
Assurez-vous que le dispositif est fixé solidement chaque fois que vous prévoyez l'utiliser. Si la ceinture n'est pas verrouillée, repêze les étapes 3 à 6.
Lorsque le dispositif de retenue pour enfant est rétré du vehicule et que la ceinture de sécurité se rétracte complètement dans l'enrouleur, le mode de blocage automatique (mode pour dispositif de retenue pour enfant) est désactivé.

Orienté vers l'arrière (sièges extérieurs) — étape 1

Oriente vers l'arriere (siège central) — étape 1
Dispositif de retenue orienté vers l'arrière
Si vous souhaitez fixer un dispositif de retenue pour infant sur la banquette de deuxieme rangée, faites comme suit :
- Placez le dispositif de retenue pour enfant sur le siège. L'orientation du dispositif de retenue pour enfant varie en fonction du type de dispositif et de la taille de l'enfant. Respectez toujours toutes les directives fournies par le fabricant du dispositif.

Orientévers l'arrière-étape 2
- Faites passer la languette de la ceinture de sécurité au travers du dispositif de retenue pour enfant et insérez-la dans la boucle jusqu'à ce que vous entendiez un déclic et que vous sentiez la languette se verrouiller.
Assurez-vous de suivre les directives du fabricant pour savoir comment faire passer la ceinture de sécurité derrière le dispositif de retenue.

Orientévers l'arrière-étape3
- Tirez sur le baudrier jusqu'à ce que la ceinture soit complètement sortie. L'enrouleur de la ceinture de sécurité passée alors en mode de blocage automatique (mode pour dispositif de retenue pour enfant). Une fois la ceinture de sécurité complètement rétractée, elle returne en mode de blocage d'urgence.

Orientévers l'arrière-étape 4
- Laissez la ceinture de sécurité se rétractor. Tirez sur le baudrier pour éliminer tout jeu de la sangle.

Orientévers l'arrière-étape5
- Avant de placer l'enfant dans le dispositif, essayez de faire basculer ce dernier vers la droite et vers la gauche, puis tirez-le vers l'avant pour vous assurer qu'il est correctement fixé. Il ne doit pas se déplacer sur plus de 25 mm (1 po).
-
Vérifiez que l'enrouleur est bien en mode de blocage automatique en essayant de tirer la ceinture de sécurité hors de l'enrouleur. Si vous ne pouvez tirer davantage de sangle hors de l'enrouleur, ce dernier est en mode de blocage automatique.
-
Assurez-vous que le dispositif est fixé solidement chaque fois que vous prévoyez l'utiliser. Si la ceinture n'est pas verrouillée, repêze les étapes 3 à 6.
Lorsque le dispositif de retenue pour enfant est retire du vehicule et que la ceinture de sécurité se rétracte complètement dans l'enrouleur, le mode de blocage automatique (mode pour dispositif de retenue pour enfant) est désactivé.
INSTALLATION SUR LA BANQUETTE DE TROISIÈME RANGÉE

AVERTISSEMENT
- La ceinture de sécurité à trois points de votre vehicule est équipée d'un enrouleur à mode de blocage automatique que vous doivent utiliser lorsque vousinstallez un dispositif de retenue pour enfant.
-
Le dispositif de retenue pour infant ne peut pas etre fixe solidement si le mode de blocage de I'enrouleur n'est pas utilise. Le dispositif de retenue risque de se renverser ou de se detacher en cas d'arrêt brusque ou d'accident, et l'enfant pourrait alors etre blessé.
-
Lors de l'installation d'un système de dispositif de retenue pour enfant à l'arrière au centre, la languette du connecteur et la languette de la boucle de la ceinture de sécurité arrêté centrale doivent être correctement bouclées. Reportez-vous à la rubrique « Bouclage de la ceinture de sécurité arrêté centrale » plus haut dans cette section.

Oriente vers l'avant (sièges extérieurs) — étape 1

Oriente vers l'avant (siège central) — étape 1
Dispositif de retenue orienté vers l'avant
AVERAGEMENT
Les dispositifs de retenue pour enfant orientés vers l'avant peuvent être installés dans toutes les positions de siège de la banquette de troisième rangée. Toutefois, de tels dispositifs nécessitant l'utilisation d'une sangle d'ancrage supérieure peuvent être installés dans la position centrale de la banquette de troisième rangée. N'installez pas un dispositif de retenue pour enfant orienté vers l'avant qui nécessite l'utilisation d'une sangle d'ancrage supérieure dans une position extérieure en tentant de fixer la sangle au point d'ancrage central de la banquette de troisième rangée.
Si vous souhaitez fixer un dispositif de retenue pour infant sur la banquette de troisieme rangée, faites comme suit :
- Placez le dispositif de retenue pour enfant sur le siège. Vous pouvez l'orienter vers l'avant, selon la taille de l'enfant. Reglez l'appuie-tête à sa hauteur maximale. Respectez toujours toutes les directives fournies par le fabricant du dispositif.

Orienté vers l'avant - étape 2
- Faites passer la languette de la ceinture de sécurité au travers du dispositif de retenue pour enfant et insérez-la dans la boucle jusqu'à ce que vous entendiez un déclic et que vous sentiez la languette se verrouiller.
Assurez-vous de suivre les directives du fabricant pour savoir comment faire passer la ceinture de sécurité derrière le dispositif de retenue.

Oriente vers l'avant - étape 3
- Tirez sur le baudrier jusqu'à ce que la ceinture soit complètement sortie. L'enrouleur de la ceinture de sécurité passée alors en mode de blocage automatique (mode pour dispositif de retenue pour enfant). Une fois la ceinture de sécurité complètement rétractée, elle returne au mode de blocage d'urgence.

Oriente vers l'avant - étape 4
- Laissez la ceinture de sécurité se rétractor. Tirez sur le baudrier pour éliminer tout jeu de la sangle.

Oriente vers l'avant - étape 5
-
Avant de placer l'enfant dans le dispositif, essayez de faire basculer ce dernier vers la droite et vers la gauche, puis tirez-le vers l'avant pour vous assurer qu'il est correctement fixé. Il ne doit pas se déplacer sur plus de 25 mm (1 po).
-
Vérifiez que l'enrouleur est bien en mode de blocage automatique en essayant de tirer la ceinture de sécurité hors de l'enrouleur. Si vous ne pouvez tirer davantage de sangle hors de l'enrouleur, ce dernier est en mode de blocage automatique.
-
Assurez-vous que le dispositif est fixé sol-dement chaque fois que vous prévoyez l'utiliser. Si la ceinture n'est pas verrouillée, repêze les étapes 3 à 6.
Lorsque le dispositif de retenue pour enfant est rétré du vehicule et que la ceinture de sécurité se rétracte complètement dans l'enrouleur, le mode de blocage automatique (mode pour dispositif de retenue pour enfant) est désactivé.

Orienté vers l'arrière (sièges extérieurs) — étape 1
Dispositif de retenue orienté vers l'arrière
Si vous souhaitez fixer un dispositif de retenue pour enfant sur la banquette de troisieme rangée, faites comme suit :
- Placez le dispositif de retenue pour enfant sur le siège. L'orientation du dispositif de retenue pour enfant varie en fonction du type de dispositif et de la taille de l'enfant. Respectez toujours toutes les directives fournies par le fabricant du dispositif.

Oriente vers l'arriere (siège central) — étape 1

Orientévers l'arrière-étape 2
- Faites passer la languette de la ceinture de sécurité au travers du dispositif de retenue pour enfant et insérez-la dans la boucle jusqu'à ce que vous entendiez un déclic et que vous sentiez la languette se verrouiller.
Assurez-vous de suivre les directives du fabricant pour savoir comment faire passer la ceinture de sécurité derrière le dispositif de retenue.

Orienté vers l'arrière - étape 3
- Tirez sur le baudrier jusqu'à ce que la ceinture soit complètement sortie. L'enrouleur de la ceinture de sécurité passée alors en mode de blocage automatique (mode pour dispositif de retenue pour infant). Une fois la ceinture de sécurité complètement rétractée, elle returne en mode de blocage d'urgence.

Orientévers l'arrière-étape 4
- Laissez la ceinture de sécurité se rétractor. Tirez sur le baudrier pour éliminer tout jeu de la sangle.

- Assurez-vous que le dispositif est fixé sol-dement chaque fois que vous prévoyez l'utiliser. Si la ceinture n'est pas verrouillée, repêze les étapes 3 à 6.
Lorsque le dispositif de retenue pour enfant est rétré du vehicule et que la ceinture de sécurité se rétracte complètement dans l'enrouleur, le mode de blocage automatique (mode pour dispositif de retenue pour enfant) est désactivé.
Orientévers l'arrière-étape5
- Avant de placer l'enfant dans le dispositif, essayez de faire basculer ce dernier vers la droite et vers la gauche, puis tirez-le vers l'avant pour vous assurer qu'il est correctement fixé. Il ne doit pas se déplacer sur plus de 25 mm (1 po).
- Vérifiez que l'enrouleur est bien en mode de blocage automatique en essayant de tirer la ceinture de sécurité hors de l'enrouleur. Si vous ne pouvez tirer davantage de sangle hors de l'enrouleur, ce dernier est en mode de blocage automatique.

Emplacements des points d'ancrage du système LATCH des fauteuils de capitaines de la deuxième rangée
SYSTÉME LATCH (points d'ancrage inférieurs et sangle d'ancrage pour siège d'enfant)

Étiquettes des points d'ancrage du système LATCH des fauteuils de capitaines de la deuxième rangée

Emplacements des points d'ancrage du système LATCH de la banquette de deuxieme rangée (selon l'équipement du vehicule)

Étiquettes des points d'ancrage du système LATCH de la banquette de deuxième rangée (selon l'équipement du vehicule)

AVERTISSEMENT
- N'attachez les dispositifs de retenue pour infant compatibles avec le système de points d'ancrage inférieurs pour sièges d'enfant (LATCH) qu'aux emplacements indiqués. Si un dispositif de retenue pour infant n'est pas fixé correctement, votre infant pourrait être sérieusement blessé, voir tué en cas d'accident.
Le système de points d'ancrage inférieurs (LATCH) a ete concu pour résister uniquement aux charges imposées par des dispositifs de retenue pour infant installés correctement. Les points d'ancrage inférieurs ne doivent en aucun cas etre utilisés avec des ceintures de sécurité ou des baudriers pour adults.
Certsains dispositifs de retenue pour enfant incluent deux fixations rigides ou montées sur une sangle qui peuvent être attachées à deux points d'ancrage inférieurs se trouvant à certaines places dans le vehicule. Ce système est connu sous le nom de système LATCH (points d'ancrage inférieurs et sangle d'ancrage pour siege d'enfant). Ce système est aussi désigné sous les noms d'ISOFIX ou de système conforme à la norme ISOFIX. Grace à ce système, il n'est pas nécessaire d'utiliser une ceinture de sécurité du vehicule pour fixer le dispositif de retenue pour enfant. Notre vehicule est équipé de points d'ancrage spéciaux concus spécialement pour les dispositifs de retenue pour enfant compatibles avec le système LATCH. Verifiez si votre dispositif de retenue pour enfant compte une étiquette indiquant qu'il est compatible avec le système LATCH. Cette information peut aussi être fournie dans le manuel accompagnant le dispositif de retenue pour enfant. Si vous possé
dez un tel dispositif de retenue pour enfant, referez-vous à l'illustration pour connaître l'emplacement des points d'ancrage inférieurs aux positions de siege qui peuvent etre utilisés pour fixer le dispositif.
Les ancrages du système LATCH sont situés derrière le coussin de siège, après du dossier du siège. Une étiquette indiquant la position des ancrages du système LATCH est apposée sur le dossier du siège.
Les dispositifs de retenue pour infant compatibles avec le système LATCH requiennent en général l'utilisation d'une sangle d'ancrage supérieur. Reportez-vous à la rubrique « Dispositif de retenue pour infant avec sangle d'ancrage supérieur » plus loin dans ce chapitre pour connaître les directives d'installation.
Lorsque vous installez un dispositif de retenue pour enfant, lisez et suivez les directives expliquées dans ce manuel, de même que celles fournies avec le dispositif de retenue pour enfant.
Lorsque vous fixez un dispositif de retenue pour enfant compatible avec le système LATCH aux points d'ancrage inférieurs, suivez les étapes décrites ci-après :
A VERTISSEMENT
Inspectez les ancrages inférieurs en insérant vos doigs dans la zone de l'ancrage inférieur pour vous assurer que le système à points d'ancrage inférieurs (LATCH) n'est pas obstrué par une sangle de ceinture de sécurité ou par le matériel du coussin de siège. Le dispositif de retenue pour enfant ne sera pas fixé solidement si les ancrages du système à points d'ancrage inférieurs sont obstrués.
- Pour fixer le dispositif de retenue pour infant compatible avec le système LATCH, insérez les fixations du système LATCH du dispositif de retenue dans les points d'ancrage du siège. Si le dispositif est équipé d'une sangle d'ancrage supérieure, reportez-vous à la rubrique « Dispositif de retenue pour infant avec sangle d'ancrage supérieure » plus loin dans ce chapitre pour connaître les directives d'installation.
-
Avant de placer l'enfant dans le dispositif, essayez de faire basculer ce dernier vers la droite et vers la gauche, puis tirez-le vers l'avant pour vous assurer qu'il est correctement fixé. Il ne doit pas se déplacer sur plus de 2,5 cm (1 po).
-
Assurez-vous que le dispositif est fixé soliderment chaque fois que vous prévoyez l'utiliser.
DISPOSITIONIF DE RETENUE POUR ENFANT AVEC SANGLE D'ANCRAGE SUPERIEURE
Si vous disposif de retenue pour enfant est equipope d'une sangle d'ancrage supérieure, celle-ci doit etre fixe au point d'ancrage fourni qui se trouve derriere le disposifit.
AVERAGEMENT
Les points d'ancrage pour dispositifs de retenue pour infant ne sont prevus que pour résister aux charges appliquées par des dispositifs de retenue pour infant correctement installés. En aucun cas ils ne doivent être utilisés avec les ceintures de sécurité ou les baudriers pouradultes.
Fixez d'abord le dispositif de retenue pour enfant à l'aide de la ceinture de sécurité ou du système LATCH (sièges extérieurs de la banquette de deuxieme rangée seulement), selon le cas.
Pour les places extérieures de la banquette de deuxieme rangée seulement, reglez l'appuie-tete à sa hauteur maximale et passez la sangle d'ancrage supérieure entre l'appuie-tete et le dessus du dossier du siège. Fixez la sangle
d'ancrage au point d'ancrage de la sangle situé sur le plancher, directement derrière le siège. La position centrale de la banquette de deuxieme rangée n'est pas équipée d'un point d'ancrage supérieur.
Pour les fauteuils capitaines de deuxieme rangée (selon l'équipement du vehicule), réglez l'appuiétête à sa hauteur maximale et passez la sangle d'ancrage supérieure entre l'appuie-tête et le dessus du dossier du siège. Fixez la sangle d'ancrage au point d'ancrage de la sangle situé sur le plancher, directement derrière le siège.
La position centrale de la banquette de troisième rangée est la position qui peut utiliser une sangle d'ancrage supérieur. La position centrale de la banquette de troisième rangée n'est pas munie d'un appuie-tête. Placez la sangle d'ancrage supérieur sur le dessus du dossier de siège et fixez-la au support d'ancrage, tel qu'illustré plus loin dans ce chapitre. Serrez la sangle, conformément aux directives du fabricant, pour-retirer tout jeu de celle-ci.

AVERTISSEMENT
Sur la banquette de troisieme rangée, un dispositif de retenue pour enfant qui nécessite l'utilisation d'une sangle d'ancrage supérieure ne peut etre instalé qu'a la position centrale. Ne I'installez pas à une position extérieure, en tirant la sangle d'ancrage jusqu'à la position centrale.

Pour un meilleur ajustement de votre dispositif de retenue pour enfant, consultez les directives d'installation appropriées du present chapitre ainsi que celles du fabricant.
Emplacements des points d'ancrage
Les points d'ancrage, situés sur le plancher, se trouvent derrière les fauteuils de capitaines de la deuxieme rangée, ou derrière les places extérieures seulement pour la banquette de deuxieme rangée (selon l'équipement du vehicule), et sur le plancher de l'aire de chargement, derrière la place centrale de la banquette de troisieme rangée, tel qu'illustré.
Si vous avez des questions concernant l'installation sur le siège arrêté d'un dispositif de retenue pour enfant avec sangle d'ancrage supérieure, adressez-vous à votre concessionnaire INFINITI.

Etiquette
Des ouvertures sont prévues dans le tapis pour faciliter l'accès aux points d'ancrage pour les fauteuils capitaines de deuxième rangée ou la banquette de deuxième rangée et sont identifiées par l'étiquette illustrée.

Fauteuils capitaines de deuxieme rangée
- Sangle d'ancrage supérieure
- Point d'ancrage

Banquette de deuxieme rangée (selon l'équipement du vehicule)
- Sangle d'ancrage supérieure
- Point d'ancrage

Étiquette de la banquette de troisieme rangée

Banquette de troisième rangée
- Sangle d'ancrage supérieure
- Point d'ancrage

INSTALLATION SUR LE SIÉGE DU PASSAGER AVANT

AVERTISSEMENT
- N'installez jamais de dispositif de retenue pour enfant orienté vers l'arrière sur le siège du passager avant. Les coussins gonflables avant se déploient avec beaucoup de force. En cas d'accident, le cousin gonflable avant peut frapper violament le dispositif de retenue pour enfant orienté vers l'arrière et votre enfant pourrait subir des blessures graves et même mortelles.

-
INFINITI recommende que les dispos-sits de retenue pour enfant soient installés sur le siège arrêté. Toutefois, si vousdez absolumentinstaller un dispositif de retenue pour enfant oriente vers l'avant sur le siège du passager avant, déplacez le siège le plus loin possiblevers l'arrière.De plus,assurez-vous que levoyant d'etat de sac gonflable du passager avant est allumé pour confirmer la neutralisation du sac gonflable.Pour obtenir des détails a ce sujet, consultez la rubrique « Sac gonflable du passager avant et indicateur d'etat »plus tout dans ce chapitre.
-
Un dispositif de retenue pour enfant muni d'une sangle d'ancrage supérieur ne doit pas etre instalé sur le siège du passager avant.
- La ceinture de sécurité à trois points de votre vehicule est équipée d'un enrouleur à mode de blocage automatique que vous doivent utiliser lorsque vousinstallez un dispositif de retenue pour enfant.
- Le dispositif de retenue pour infant ne peut pas etre fixe solidement si le mode de blocage de I'enrouleur n'est pas utilise. Le dispositif de retenue risque de se renverser ou de se detacher en cas d'arrêt brusque ou d'accident; l'enfant pourrait alors etre blesse. Ce mode a également une incidence sur le fonctionnement du coussin gonflable du passager avant. Consultez la rubrique « Coussin gonflable du passager avant et témoin d'etat » plus tout dans la presente section.

Oriente vers l'avant - étape 1
Si vous nevez installer un dispositif de retenue pour enfant sur le siège avant, suivez les étapes décrites ci-dessous :
- Placez le dispositif de retenue pour enfant sur le siège du passager avant. Le dispositif ne doit être orienté que vers l'avant. Reculez le siège au maximum. Reglez l'appuie-tête à sa hauteur maximale. Respectez toujours toutes les directives fournies par le fabricant du dispositif de retenue pour enfant. Les dispositifs de retenue pour bébés doivent être orientés vers l'arrière; par conséquent, ils ne doivent jamais être installés sur le siège avant.

Oriente vers l'avant - étape 2
- Faites passer la languette de la ceinture de sécurité au travers du dispositif de retenue pour enfant et insérez-la dans la boucle jusqu'à ce que vous entendiez un déclic et que vous sentiez la languette se verrouiller.
Assurez-vous de suivre les directives du fabricant pour savoir comment faire passer la ceinture de sécurité derrière le dispositif de retenue.

Oriente vers l'avant - étape 3
- Tirez sur le baudrier jusqu'à ce que la ceinture soit complètement sortie. L'enrouleur de la ceinture de sécurité passée alors en mode de blocage automatique (mode pour dispositif de retenue pour enfant). Une fois la ceinture de sécurité complètement rétractée, elle returne en mode de blocage d'urgence.

Oriente vers l'avant - étape 4
- Laissez la ceinture de sécurité se rétracter légèrement. Tirez sur le baudrier pour éliminer tout jeu de la sangle.

Oriente vers l'avant - étape 5
- Avant de placer l'enfant dans le dispositif, essayez de faire basculer ce dernier vers la droite et vers la gauche, puis tirez-le vers l'avant pour vous assurer qu'il est correctement fixé. Il ne doit pas se déplacer sur plus de 2,5 cm (1 po).
-
Vérifiez que l'enrouleur est bien en mode de blocage automatique en essayant de tirer la ceinture de sécurité hors de l'enrouleur. Si vous ne pouvez tirer davantage de sangle hors de l'enrouleur, ce dernier est en mode de blocage automatique.
-
Assurez-vous que le dispositif est fixé solidement chaque fois que vous prévoyez l'utiliser. Si la ceinture de sécurité n'est pas verrouillée, repêze les étapes 3 à 6.
- Mettez le contact. Le témoin de fonctionnement du coussin gonfable du passager dévait afficher « OFF » (ou 2). Si le témoin ne s'allume pas, il est possible que le système soit défectueux. Placez le dispositif de retenue pour infant sur un autre siège. Faites inspecter le système par un concessionnaire INFINITI.
Lorsque le dispositif de retenue pour enfant est rétré du vehicule et que la ceinture de sécurité se rétracte complètement dans l'enrouleur, le mode de blocage automatique (mode pour dispositif de retenue pour enfant) est désactivé.
MÉMENTO
2 Commandes et instruments
Planche de bord. 2-2
Instruments et indicateurs de bord. 2-4
Indicateur de vitesse et compteur
kilométrique. 2-5
Comptes-tours. 2-6
Indicateur de températe du liquide de
refroidissement. 2-6
Indicateur de carburant. 2-7
Manomètre de pression d'huile moteur 2-7
Voltmetre 2-8
Jauge de température de l'huile pour boîte
de vitesses automatique 2-8
Affichage de la température extérieure et de la
boussole 2-9
Affichage de la tempéature extérieure 2-9
Affichage de la boussole 2-10
Témoins et carillons de rappel sonore 2-13
Vérification des ampôules 2-14
Témoins d'alerte. 2-14
Témoins 2-20
Rappels sonores 2-23
Systèmes de sécurité 2-23
Système de sécurité du vehicule 2-23
Système antidémarrage du vehicule INFINITI. 2-25
Commande d'essuie-glaces et de lave-glace de
pare-brise 2-26
Fonctionnement de l'interrupteur 2-26
Commande d'essuie-glace et de lave-glace de
lunettearriere 2-27
Interrupteur de dégivreur de lunette arrête et de
rétrouviseur extérieur 2-28
Interrupteur des phares et des clignotants. 2-28
Phares au xénon. 2-28
Interrupteur des phares 2-29
Phares de jour (Canada seulement). 2-31
Commande de luminosité du tableau de
bord 2-32
Commutateur des phares antibrouillards 2-33
Interrupteur des feu de détresse. 2-33
Avertisseur sonore. 2-34
Sièges chauffants 2-34
Commutateur d'arrêt de la régulation dynamique du
vécicule (VDC) 2-35
Commutateur de désactivation du système d'aide
au stationnement 2-36
Interrupteur du mode de remorquage 2-36
Montre 2-37
Réglage de l'heure. 2-37
Prise d'alimentation 2-37
Rangement 2-39
Plateaux derangement de la planche de bord 2-39
Compartment de rangement de la console 2-39
Boite a gants. 2-40
Range-lunettes. 2-41
Vide-POCHES 2-41
Vide-poches du dossier de siège. 2-42
Console au pavillon 2-42
Portetasses 2-43
Console centrale de banquette de deuxieme rangée (selon l'equipement du vehicule). 2-45
Bac de rangement de l'aire de chargement 2-46
Crochets pour bagages 2-47
Filetd'arrimage. 2-48
Porte-bagages 2-49
Glaces 2-50
Glaces electriques. 2-50
Deflecteurs d'air electriques 2-52
Toit ouvrant (selon l'equipement du vehicule) 2-53
Toit ouvrant automatique 2-53
Éclairage interieur 2-55
Lampe de la console. 2-56
Lampes individuelles. 2-56
Lampes de lecture. 2-56
Éclairage de l'aire de chargement 2-57
Télécommande universelle HomeLink 2-57
Programmation de la telecommande universelleHomeLink 2-58
Programmation de la télécommande
HomeLink® pour le Canada. 2-60
Utilisation de la télécommande universelle HomeLink® 2-60
Diagnostic des problèmes de
programmation. 2-60
Pour effacer la programmation des touches HomeLink® 2-61
Reprogramming d'une seule touche
HomeLink® 2-61
Si voiture vehicule est volé 2-61

2-2 Commandes et instruments
- Bouches d'air du conducteur, centrale et du passager (p. 4-14)
- Interrupteur des phares et des clignotants (p. 2-28)
- Commandes de la chaine stéreo du volant de direction (P. 4-29)
- Commande de réglage de la convergence des phares (p. 2-31)
- Commande de luminosité du tableau de bord (p. 2-32)
- Coussin gonflable avant coto conducteur/vertisseur sonore (p. 1-14, p. 2-34)
- Instruments, jauges et témoins (p. 2-4, 2-13)
- Interrupteurs principal et de réglage du régulateur de vitesse et interrupteurs principal et de réglage du régulateur de vitesse adaptatif (son l'équipement du vehicule) (p. 5-17, p.5-19)
- Commande de lave-glace et d'essuie-glace de pare-brise et de lunette arriere (P. 2-26, p. 2-27)
- Contacteur d'allumage (p. 5-8)
-
Dispositif d'aide à la navigation* (p. 4-2)
-
Commandes du dispositif d'aide à la navigation* (p. 4-2)
- Commandes de la chaine stéreo (p. 4-19)
- Coussin gonflable avant côté passager (p. 1-14)
- Boite à gants (p. 2-40)
- Commandes de climatisation (p. 4-15)
- Feux de détresse (p. 2-33)
- Prise d'alimentation (p. 2-37)
- Commutateur de siege chauffant (p. 2-34)
- Interrupteur du mode de remorquage (p. 2-36)
- Interrupteur de neutralisation du système de contrôle dynamique du vehicule (P. 2-35)
- Levier selecteur (P. 5-11)
- Montre (p. 2-37)
- Témoin de fonctionnement du coussingonflable du passager (p. 1-25)
- Interrupteur de passage en mode quatre roues motrices (selon l'equipement du vehicule) (p. 5-43)
-
Commande du volant de direction inclinable (p. 3-18)
-
Interrupteur du système de sonar arriere (p. 2-36)
- Interrupteur de réglage de position de pédales (P. 3-18)
- Commutateur de fermeture et ouverture de hayon (p. 3-11)
*: Consultez le Manuel d'utilisation du système de navigation.
Voyez les nombres de page indiqués entre parentheses pour connaître les détails de fonctionnement.
INSTRUMENTS ET INDICATEURS DE BORD

- Témoins d'advertissement/de fonctionnement
- Indicateur de température d'huile pour boîte de vitesses automatique (selon l'équipement du vehicule)
-
Compte-tours
-
Voltmetre
- Indicateur de vitesse
-
Indicateur de carburant
-
Compteur kilométrique/compteur journalier double, indicateur de position de la boîte de vitesses automatique, thé-moin de passage en quatre roues motrices (selon l'équipement du vehicule)
- Manometre de pression d'huile moteur
- Indicateur de température du liquide de refroidissement
LIC0649
2-4 Commandes et instruments

LIC0650
- Indicateur de vitesse
- Affichage du compteur kilométrique/ compteur journalier double
- Touche de modification
COMPTEUR KILOMÉTRIQUE
Indicateur de vitesse
L'indicateur de vitesse affiche la vitesse du vehicule en kilometres à l'houre (km / h) et en milles à l'heure (mi/h).
Compteur kilométrique/compteur journalier double
Le compteur kilométrique et le compteur journalier double s'affichent lorsque le contacteur d'allumage est à la position ON (marche).
Le compteur kilométrique indique la distance totale parcourue par le vehicule.
Le compteur journalier double permet d'enregistrer la distance parcourue lors de voyages individuels.

LIC0542
Modification de l'affichage
Enforcez la touche de modification pour afficher les éléments suivants :
Compteur journalier A Compteur journalier B Compteur kilométrique seulment
Réinitialisation du compteur journalier
Pour réinitialiser le compteur journalier, enforcez la touche de modification pendant plus d'une seconde.

LIC0651
COMPTE-TOURS
Le compte-tours indique le régime du moteur en tours par minute (tr/min). Ne laissez pas le moteur atteindre la zone rouge ①.

ATTENTION
Lorsque l'aiguille du compte-tours (ré-gime du moteur) s'approche de la plage rouge, passez à un rapport supérieur. Vous pouvez causer de graves dommages au moteur si vous persistez à le faire tourner lorsque l'aiguille se trouve dans la plage rouge.

INDICATEUR DE TEMPERATURE DU LIQUIDE DE REFROIDISSEMENT
Cet indicateur affiche la température du liquide de refroidissement du moteur. La température du liquide de refroidissement est dans la plage normale ① lorsque l'aiguille de l'indicateur se trouve dans la zone illustrée.
La température du liquide de refroidissement varie selon la température extérieure et les conditions de conduite.

ATTENTION
Si l'indicateur de bord affiche une tempé rature du liquide de refroidissement du moteur au-dessus de la plage normale, arrêtez le vehiculeès qu'il est possible de le faire en toute sécurité. Si vous continuez de rouler alors que le moteur surchauffe, vous risquez d'endommager sérieusement le moteur. Consultez la rubrique « En cas de surchauffe de votre vehicule » du chapitre « En cas d'urgence » pour connaître les mesures à prendre immédiatement.

LIC0657
INDICATEUR DE CARBURANT
L'indicateur de carburant indique le niveau de carburant approximatif dans le réservoir.
Les freinages, les virages, les accélérations ainsi que la conduite dans une pente peuvent faire bouger légrement l'aiguille de l'indicateur.
L'iguille de l'indicateur descend jusqu'au repère E (vide) lorsque la clé de contact est tournée à la position OFF (arrêt).
Le témoin de bas niveau de carburant s'allume lorsque le réservoir ne contient plus qu'une faible quantité de carburant.
Remplissez le réservoir de carburant de votre vehicule avant que l'iguille de l'indicateur n'atteigne le repere E (vide).
Le pictogramme indique que la trappe du réservoir de carburant du vehicule se trouve du cote conducteur.
ATTENTION
- En cas de panne sèche, le témoin d'anomalie SERVICE ENGINE peut s'allumer. Faites le plein dés que possible. Le témoin devrait s'éteindre après quelques déplacements. Si le témoin reste allumé même après quelques déplacements, faites inspector le vehicule par un concessionnaire INFINITI.
- Pour plus de détails, consultez la rubrique « Témoin d'anomalie (MIL) » plus loin dans leprésent chapitre.

LIC0653
MANOMÉTRE DE PRESSION D'HUILE MOTEUR
Le manomètre indique la pression d'huile du système de lubrification du moteur pendant que le moteur tourne. Lorsque le régime moteur est élevé, la pression d'huile moteur est aussi élevée. Lorsqu'il est bas, le manomètre indique une pression d'huile basse.

ATTENTION
- Cet indicateur n'est pas conscience pour afficher un bas niveau d'huile moteur. Utilisez la jauge pour vérifier le niveau d'huile. (Reportez-vous à la rubrique « Huile moteur » dans le chapitre « Entretien et interventions du propriétaire ».)
- Si l'aiguille de la jauge ne correspond pas au niveau d'huile moteur, faites inspector le vehicule par un concessionnaire INFINITI. Le fait de continuer à conduire le vehicule dans de telles circonstances peut endommager gravement le moteur.

LIC0654
VOLTMÉTURE
Lorsque la clé de contact est tournée à la position ON (marche), le voltmètre indique la tension de la batterie. Lorsque le moteur tourne, il indique la tension de la généatrice.
Lorsque le moteur est lancé, la lecture baisse sous la plage normale. Si le voltmètre n'indique pas la plage normale de tension (11 à 15 volts)
① lorsque le moteur tourne, cela peut indiquer une anomalie du système de charge du vehicule. Faites inspector le système par un concessionnaire INFINITI.

LIC0655
JAUGE DE TEMPERATURE DE L'HUILPE POUR BOITE DE VITESSES AUTOMATIQUE
Lorsque la clé de contact est tournée à la position ON (marche), cette jauge indique la température de l'huile de la boîte de vittesses automatique. La température de l'huile de la boîte de vittesses automatique est dans la plage normale ① lorsque la jauge indique la zone illustrée.
AFFICHAGE DE LA TEMPERATURE EXTERIEURE ET DE LA BOUSSOLE
ATTENTION
- Cet indicateur n'est pas conscience pour afficher un bas niveau d'huile de la boite de vitesses automatique. Utilisez la jauge pour vérifier le niveau d'huile. (Reportez-vous à la rubrique « Huile pour boite de vitesses automatique à 5 rapports » dans le chapitre « Entretien et interventions du propriétaire ».)
- Si laJAuge indique unetempérature de l'huile de la boite de vitesses automatique au-dessus de la plaque normale, arrêtez le vehicule des qu'il est securitaire de le faire. Faites inspector le vehicule par un concessionnaire INFINITI. Le fait de continuer à conduire le vehicule peut endommager gravement la transmission.
Ce dispositif offre les fonctions suivantes :
- mesure du magnétisme terrestre et indication du cap directionnel du vehicule;
- indication de la température de l'air extérieur;
- indication de la présence possible de verglas sur la route.

Type A
AFFICHAGE DE LA TEMPERATUREEXTÉRIEURE
Une fois le contact établi, appuyez sur le bouton de mode (1) pour modifier l'affichage de la façon suivante: ^ ^ OFF (arrêt) ^ .
- Si la température extérieure chute sous le point de congélation, l'écran affiche ICE (glace).
- Si la température extérieure se situe entre 55^ et 70^ (130°F et 158°F), l'écran affiche 55^ (130°F).

Type B
Si la température extérieure se situe entre -30^ et -40^ (-22°F et -40°F), l'écran affiche -30^ (-22°F).
- Si la température extérieure est inférieure à -40^(-40^) , l'écran indique seulement — —. Cette condition est normale.
- Le capteur de température extérieure est situé à l'avant du radiateur. L'état de la route, la chaleur du moteur, la direction du vent et d'autres conditions de conduite peuvent avoir un impact sur le fonctionnement du capteur. Celui-ci peut donc indiquer une température différente de la température ex
terieure reelle ou de cette affichee sur divers panneaux.
- L'affichage de la température ne changera pas tant que le vehicule roulera à moins de 20km / h (12 mi/h).
- Si le contact est coupé depuis moins de deux heures et que la température extérieure est supérieure à la dernière valeur de température détectée, l'écran affichera cette dernière à l'établissement du contact.
AFFICHAGE DE LA BOUSSOLE
Une fois le contact établi, appuyez sur le bouton de mode ① pour afficher la boussole. La flèche ② indique la direction.
N : nord
E:est
S:sud
W: ouest
Si la boussole affiche « CAL», effectuez trois cercles complets avec votre vehicule à moins de 8 km/h (5 mi/h) pour étaillonner la boussole.
Voupeuz également etalonner la boussole en conduisant votre vehicule en effectuant votre trajet quotidien. La boussole sera etalonnée une fois que vous aurez complete trois cercles.

Procedure de modification de la déclinaison
La différence entre le nord magnétique et le nord géographique est connue sous le nom de déclinaison. Dans certaines régions, cette différence peut être suffisamment élevée pour entraîner des lectures de boussole erronées. Suívez ces directives pour régler la déclinaison de votre zone, le cas échéant.
- Maintenez enforcé le bouton de mode pendant environ dix secondes. Le numéro de zone utilisé par la boussole s'affiche à l'écran.
-
Localisez votre emplacement actuel sur la carte de la zone. Reportez-vous à l'illustration. Enregistrez le numero de zone.
-
Appuyez plusieurs fois sur le bouton de mode pour afficher tous les numérores de zone jusqu'à ce que le numéro souhaïté apparaisse à l'écran. Une fois la touche relâchée, la direction du vehicule s'affiche à l'écran au bout de quelques secondes.
Affichage errone de la direction du vehicule
- Lorsque l'affichage est en fonction, mainte-nez enforcé le bouton de mode pendant environ huit secondes. Le numero de zone utilisé par la boussole s'affiche à l'écran.
- Appuyez sur le bouton jusqu'à l'obtention du bon numéro de zone, puis relâchez-le.
- L'affichage revient au mode normal de la boussole si,aucun bouton n'est enforcé dans les quelques secondes.
- Si le vehicule change de zone, vous doivent reprendre les étapes 1 à 3. Consultez le tableau.
- Si, malgré plusieurs réglages, l'indication de la boussole tend à dévier peu après, faites vérifier la boussole par un concessionnaire/agréé.
L'indication de la boussole peut s'avérer inexacte lorsqu'vous franchissez un tunnel ou si vous parcours présente des pentes
particulierement raides. (L'indication de la boussole se rétablit lorsque le vehicule roule de nouveau dans une zone dont le géomagnétisme est stabilisé.)
- La boussole peut indiquer une direction erronée si un aimant se trouve dans la console au pavillon ou à proximé de celle-ci, ou si le vehicule roule dans une zone où le magnétisme terrestre est perturbé.
ATTENTION
N'installez pas de porte-skis, d'antenne, etc., sur le vehice à l'aide d'aimants, sous peine de nuire au fonctionnement de la boussole.
TÉMOINS ET CARILLONS DE RAPPEL SONORE

VÉRIFICATION DES AMPOULES
Lorsque toutes les portières sont fermées, serrez le frein de stationnement et tournez la clé de contact à la position ON (marche) sans démarrer le moteur. Les témoins suivants s'allument :

BRAKE






4WD
Les témoins suivants s'allument brievement, puis s'éteignent :
ABS
4LO






VDC OFF
Si un des témoins mentionnés ne s'allume pas, il est possible que son ampoule soit brûlée ou qu'un des circuits électriques de votre vehicule soit ouvert. Faites réparer le système électrique de votre vehicule le plus rapidement possible.
TEMOINS D'ALERTE
ABS


Témoin de freins antiblocage
L'activation de ce témoin pendant que le moteur tourne peut indiquer une anomalie du système antiblocage de votre vehicule. Faites inspectoré le système par un concessionnaire INFINITI.
Éteignez le moteur de votre vehicule, puis redémarrez-le en tournant la clé de contact
lentement (si vous tournez la clé rapidèment, le témoin des freins antiblocage peut rester allumé même si ceux-ci fonctionnent normalement). Si le témoin demeure allumé, faites vérifier le système par un concessionnaire INFINITI.
En présence d'une anomalie du système, la fonction antiblocage des freins est inopérante, mais le système de freinage standard de votre vehicule demeure fonctionnel.
Si le témoin s'allume pendant que vous roulez, faites inspectorer votre vehicule par un concessionnaire INFINITI.
AT CHECK
Témoin de vérification de la boîte de vitesses automatique
Ce témoin s'allume pendant deux secondes environ lorsque le contacteur d'allumage est tourné à la position ON (marche). Si le témoin clignote pendant environ huit secondes, cela peut indiquer un fonctionnement inadéquat de la boîte de vitesses. Faites inspector et réparer la boîte de vitesses par un concessionnaire INFINITI, s'il y a lieu.
ATP
Témoin de stationnement de boîte de vitesses automatique (modèles 4x4)

AVERTISSEMENT
- Si le témoin ATP est allumé, cela signifiè que la position de stationnement (P) de la boîte de vitesses automatique n'est pas engagée et que la boîte de transfert est au point mort (N).
-
Lorsque vous stationnez le vehicule, assurez-vous que le témoin de seLECTION 4WD est allumé, et que le frein de stationnement est serré. Si l'interrupteur de seLECTION des quatre roues motrices n'est pas placé à 2WD, AUTO, 4H ou 4LO, le vehicule risque de se déplacer de façon inopinée, entrainant ainsi de graves blessures ou des dommages matériels importants.
-
Tous les modes quatre roues motrices: Le témoin peut s'allumer lorsque le contacteur d'allumage est à la position ON (marche) et que le levier sélecteur de la boîte de vitesses automatique est mis en position de stationnement tout en changeant la boîte de transfert entre les modes 4H et 4LO. Pour éteindre le témoin de fonctionnement de stationnement qui s'allume, réglez à nouveau le commutateur 4WD à la position 2WD (deux roues motrices), AUTO (automatique), 4H (quatre roues motrices gamme haute) ou 4LO (quatre roues motrices gamme basse). (Avant de régler le commutateur 4WD en position 4LO ou de la position 4LO à la position 4H, placez le levier sélecteur de boîte de vitesses automatique en position N [point mort].) Déplacez le levier sélecteur à la position P (stationnement), assurez-vous que le témoin 4WD est allumé et que le témoin de fonctionnement de stationnement est étéint.
Ce témoin indique que la boîte de vitesses automatique n'est pas en fonction de stationnement. Si le levier sélecteur de la boîte de transfert n'est pas placé dans une position de marche alors que le levier de la boîte de vitesses automatique est
en position P (stationnement), la boîte de vitesse ne sera pas en prise et les roues motrices ne seront pas bloquées.



Témoin de frein
Les systèmes de frein de stationnement et de frein de conduite sont tous deux reliés à ce témoin.
Lorsque la clé de contact est tournée à la position ON (marche), ce témoin s'allume pour indiquer que le frein de stationnement est serré ou que le niveau de liquide de frein est bas. S'il s'allume alors que le moteur tourne et que le frein de stationnement n'est pas serré, immobilisez votre vehicule et suivez les procédures décrites cïddssous :
- Vérifiez le niveau de liquide de frein. Ajoutez la quantité de liquide de frein requise. Reportez-vous à la rubrique « Liquide de frein et d'embrayage » du chapitre « Entretien et interventions du propriétaire » du pré-sent manuel.
- Si le niveau du liquide de frein est ajustat, rendez-vous chez un concessionnaire INFI-NITI pour faire inspector le circuit de frei-nage de votre vehicule.

AVERTISSEMENT
- Si le témoin de frein est allumé, esta peut indiquer une défaillance du circuit de freinage. Il peut alors être dangereux de conduire votre vehicule. Si vous juge que vous pouze poursuivre toute route sans danger, conduisez prudiment jusqu'à la station-service la plus proche pour y faire effectuer les réparations nécessaires. Sinon, faites remorquer votre vehicule.
- Le fait d'enforcer la pédale de frein lorsque le moteur est à l'arrêt ou que le niveau de liquide de frein est bas peut entrainer une augmentation de la distance de freinage, de la course de la pédale et des efforts requis pour freiner.
- Si le niveau du liquide de frein se situe sous le repère MINIMUM ou MIN du réservoir de liquide de frein, ne conduise pas le vehicule tant que le circuit de freinage n'a pas été inspecté par un concessionnaire INFINITI.

Témoin de charge
L'activation de ce témoin pendant que le moteur tourne peut indiquer une anomalie du système de charge de votre vehicule. Coupez le contact et vérifie la couroie de l'alternateur de votre vehicule. Si la couroie est desserrée, cassée ou absence, ou si le témoin demeure allumé, rendez-vous des que possible chez un concessionnaire INFINITI.

ATTENTION
Ne conduisiez pas votre vehicule si la courroie de l'alternateur est desserrée, rompue ou manquante.

Témoin d'anomalie de la suspension
Ce témoin indique une anomalie de la suspENSION à réglage automatique.
Pour obtenir de plus amples renseignements, consultez la rubrique « Mise sur cric du vehicule et retrait du pneu endommagé » du chapitre « En cas d'urgence » duprésent manuel.

Témoin d'anomalie du régula-teur de vitesse adaptatif (orange, selon l'équipement du vehicule)
Ce témoin s'allume en cas d'anomalie du régulator de vitesse adaptatif.

Témoin d'anomalie de la fonction de prévision (orange, selon l'équipement du vehicule)
Ce témoin s'allume en cas d'anomalie du système d'assistance au freinage (avec fonction de prévision).

Témoin de portière ouverte
Ce témoin s'allume lorsqu'une des portières du vehicule est mal fermée alors que la clé de contact est tournée à la position ON (marche).

Témoin de basse pression de l'huile moteur/de température élevée du liquide de refroidissement du moteur
Ce témoin s'allume lorsque la pression d'huile moteur du vehicule est basse ou que la températe du liquide de refroidissement est élevé.
Si ce témoin clignote ou s'allume en présence de conditions de conduite normales, immobilisez votre vehicule dans un endroit sur en bordure de la route, coupez le contact et laissez le moteur se refroidir. Si le témoin demeure allumé une fois que vous avez vérifié l'huile et le liquide de refroidissement, arrêtez le moteur immédiatement et adressez-vous à un concessionnaire INFINITI ou tout autre atelier de réparation autorisé.
Ce témoin n'est pas concu pour indiquer un bas niveau d'huile moteur ou de liquide de refroidissement. Vérifiez le niveau d'huile au moyen de la jauge et vérifiez le niveau de liquide de refroidissement du réservoir. Consultez la rubrique « Huile moteur » et « Vérification du niveau de liquide de refroidissement » du chapitre « Entretien et interventions du propriétaire » du pré-sent manuel. Consultez aussi la rubrique « Si le moteur surchauffe » du chapitre « En cas d'urgence »
ATTENTION
- Le fait de laisser le moteur tourner alors que le témoin de pression d'huile moteur est allumé peut très rapidement provoquer de graves dommages au moteur. De tels dommages ne sont pas couverts par la garantie. Mettez le moteur à l'arrêt des qu'il vous est possible de le faire en toute sécurité.
- Si l'indicateur de bord affiche une température du liquide de refroidissement du moteur au-dessus de la plage normale, arrêtez le vehicule des qu'il est possible de le faire en toute sécurité. Si vous continuez de rouler alors que le moteur surchauffe, vous risquez d'endommager sérieusement le moteur. Consultez la rubrique « En cas de surchauffe de votre vehicule » du chapitre « En cas d'urgence » pour connaître les mesures à prendre immédiatement.
4WD
Témoin des quatre roues mo-trices (modèle 4x4 )
Le témoin des quatre roues motrices s'allume lorsque la clé de contact est tournée à la position ON (marche). Il s'éteint peu après que le moteur ait été démarre.
Si le moteur ou le vehicule ne fonctionne pas correctement, le témoin reste allumé ou clignote. Consultez la rubrique « Témoin des quatre roues motrices » du chapitre « Démarrage et conduite »
ATTENTION
- Si le témoin s'allume ou clignote pendant la conduite, faites inspectorer votre vehicule dés que possible par un concessionnaire INFINITI.
-
Ne conduisez pas sur des chaussées sèches en position 4H ou 4LO. Si le témoin de quatre roues motrices s'allume lorsque vous conduisez sur des chaussées sèches :
-
en position AUTO (automatique) ou 4H, déplacez le levier du mode quatre roues motrices au mode deux roues motrices ;
-
en position 4LO, immobilisez le vehicule, placez le levier selecteur de la boite de vitesses automatique au point mort (N), puis placez l'interrupteur de selection des quatre roues motrices à la position 2WD.
-
Si le témoin demeure allumé une fois l'opération précédente effectue, faites inspectorer votre vehiculeès que possible par un concessionnaire INFINITI.

Témoin de bas niveau de carburant
Ce témoin s'allume lorsque le réservoir de carburant de votre vehicule ne contient plus qu'une faible quantité de carburant. Vous devez procéder au ravaittement de votre vehicule des que possible et, de préférence, avant que l'aiguille de la jauge de carburant n'atteigne le repère E (vide). Lorsque l'aiguille de la jauge atteint le repère E (vide), le réservoir de carburant de votre vehicule ne contient plus qu'une petite réserve de carburant.

Témoin de basse pression des pneus
Après l'établissement du contact, le témoin s'allume pendant environ une seconde.
Ce témoin s'allume lorsque la pression des pneus est basse.
Le système d'ajretissement de basse pression des pneus de INFINITI est un système de contrôle de la pression des pneus. Il surveille la pression de tous les pneus, à l'exception du pneu de la roue de secours. Lorsque le témoin de
basse pression des pneus est allumé, un ou plusieurs de vos pneus sont insuffisamment gonflés. Vous nevez vous arrêter et vérifier vos pneusès que possible, et les gonfler à la pression appropriée indiquée sur l'étiquette d'information des pneus du vehicule. La conduite sur un pneus sensiblement dégonflé fait surchauffer le pneu, ce qui peut entraîner une défaillance du pneu. Un pneu insuffisamment gonflé réduit aussi l'économie de carburant et la durée de vie de la bande de roulement du pneu, et peut avoir des conséquences négatives sur le comportement routier et le freinage. Chaque pneu, incluant celui de la roue de secours, devrait être vérifiée une fois par mois à froid et gonflé à la pression préconisée sur l'étiquette du vehicule et dans le manuel du conducteur.
La pression de gonflage recommende peut également être trouvée sur l'étiquette des pneus et d'information sur la charge.
Avertissement de basse pression des pneus
Si le vehicule est conduit avec des pneus dont la pression de gonflage est très BASSE (inférieure à 193 kPa [28 lb/po2]), le tímoin s'allume et le carillon retentit pendant dix secondes environ. Si vous choisissez l'écran de pression de gonflage des pneus, le message PNEU À PLAT s'affichera.
Pour obtenir de plus amples renseignements, consultez la rubrique « Système d'ajretissement de绊se pression des pneus » du chapitre « Démarriage et conduite » et la rubrique « Système d'ajretissement de绊se pression des pneus » du chapitre « En cas d'urgence ». Vous pouvez aussi vérifier la pression des quatre pneus à partir de l'écran d'affichage. Consultez la rubrique « Information sur la pression des pneus » du chapitre « Écran d'affichage, système de chauffage, de climatisation et chaine audio » du réseau manuel.
AVERAGEMENT
-
Si le témoin ne s'allume pas lorsque la clé est tournée à la position ON (marche) du contacteur, faites inspectorer votre vehicule des que possible par un concessionnaire INFINITI.
-
Si le témoin s'allume pendant la conduite, évitez les manoeuvres de direction soudaines ou les freinages brusques, réduisez votre vitesse, rangez-vous en bordure de la route dans un endroit sécuritaire et immobilisez le vehicule dés que possible. Yourve vehicule pourrait subir des dommages importants et vous pourriez avoir un accident entrainant des blessures graves. Vérifiez la pression de tous les pneus. Effectuez un réglage de pression A FROID, tel que spécifié sur l'étiquette des pneus et d'information sur la charge, pour ainsi désactiver le témoin d'avertissement de basse pression. Si le témoin s'allume encorePENDANT LA conduite après le réglage de pression des pneus, il se peut qu'un des pneus soit creve. Si tel est le cas, remplacez cette roue par une roue de secours aussiot que possible.
-
Lorsqu'une roue de secours est installee ou qu'une roue est remplacede, la pression des pneus ne s'affiche pas et le systeme d'advertisement de basse pression des pneus ne fonctionne pas. Communique avec votre concessionnaire INFINITI des que possible pour proceder au remplacement des pneus ou a la reinitialisation du systeme.
ATTENTION
- Le système d'advertissement de basse pression des pneus ne remplace pas la vérification régulière de la pression de vos pneus. Vérifiez régulièrement la pression des pneus de votre vehicule.
- Il se peut que le système d'advertissement de basse pression des pneus ne fonctionne pas correctement lorsque le vehicule est conduit à une vitesse inférieure à 32 km/h (20 mi/h).
Assurez-que des pneus de la taille spécifiée sont installés correctement aux quatre roues de votre vehicule.

Témoin de bas niveau de li- quide de lave-glace
Ce témoin s'allume lorsque le niveau de liquide de lave-glace de pare-brise de votre vehicule est bas. Ajoutez la quantité de liquide de lave-glace de pare-brise requise. Consultez le chapitre « Entretien et interventions du propriétaire » du present manuel.

Témoin et carillon des ceintu-ures de sécurité
Ce témoin et ce carillon s'activent pour rappeler aux occupants du vehicule de boucler leur cein-
ture. Le témoin s'allume dés que la clé de contact est tournée à la position ON (marche) ou START (démarriage) et reste allumé jusqu'à ce que le conducteur boucle sa ceinture. Le carillon retient au même moment pendant environ sept secondes, à moins que le conducteur n'ait boucle sa ceinture de façon ajustate.
Consultez la rubrique « Ceintures de sécurité » du chapitre « Sécurité - Sièges, ceintures de sécurité et coussins gonflables » pour connaître les précautions relatives à l'utilisation des ceintures de sécurité.

Témoin du coussin gonflable
Lorsque la clé de contact est tournée à la position ON (marche) ou START (démarriage), le tímein du coussin gonflable s'allume pendant environ sept secondes puis s'éteint. Ceci indique que le dispositif est opérationnel.
Si l'une des conditions suivantes se produit, vous ne devez vous rendre chez un concessionnaire INFINITI pour faire réparer les dispositifs des coussins gonflables avant, des coussins gonflables latéraux, des rideaux gonflables latéraux, des coussins gonflables en cas de renversement et des ceintures de sécurité à prétenueur de votre vehicule :
- le témoin du coussin gonflable reste allumé après la période initiale d'environ sept secondes;
- le témoin du coussin gonflable clignote par intermittence;
- le témoin du coussin gonflable ne s'allume pas du tout.
Le dispositif de retenue complémentaire (sacs gonflables) et les ceintures de sécurité à prétendeur risquent de mal fonctionner s'ils n ont pas été vérifiés et réparés. Pour de plus amples renseignements, consultez la rubrique « Dispositif de protection complémentaire » du chapitre « Sécurité - Sièges, ceintures de sécurité et coussins gonflables » du réseau manuel.

AVERTISSEMENT
L'activation du témoin des coussins gonflables peut indiquer que les dispositifs des coussins gonflables avant, des coussins gonflables lateraux, des rideaux gonflables et de protection contre le rensevement ou des ceintures de sécurité à pretendeur ne fonctionneront pas en cas d'accident.
TEMOINS

Témoin de position de gamme de la boîte de vitesses automatique
Le témoin indique la position du levier sélecteur de la boîte de vitesses automatique lorsque la clé de contact est tournée à la position ON (marche). Consultez la rubrique « Conduite du vehicule » du chapitre « Démarrage et conduite » du présence manuel.

Témoin de commande principale du régulateur de vitesse
Ce témoin s'allume lorsque l'interrupteur principal du régulateur de vitesse est enforcé. Il s'éteint lorsque l'interrupteur principal est enforcé de nouveau. L'activation de ce témoin indique que le régulateur de vitesse est en état de marche.

Témoin de l'interrupteur ON/OFF du régulateur de vitesses adaptatif (vert; selon l'équipement du vehicule)
Ce témoin s'allume lorsque l'interrupteur principal ON/OFF (marche-arrêt) du régulateur de vitesse adaptatif est enforcé. Il s'éteint lorsque l'interrupteur principal ON/OFF est enforcé de
nouveau. Lorsque le témoin de l'interrupteur principal ON/OFF est allumé, le régulateur de vitesse adaptatif est en fonction.

Témoin de commande de réglage du régulateur de vitesse
Ce témoin s'allume lorsque la vitesse du vehicule est commandée par le régulateur de vitesse. Si le témoin clignote pendant que le moteur de votre vehicule tourne, cela peut indiquer une anomalie du régulateur de vitesse. Faites inspecter le système par un concessionnaire INFINITI.

Témoin d'interrupteur de ré-glage du régulateur de vitesse adaptatif (sonl'équipement du vehicule)
Ce témoin s'allume lorsque la vitesse du vehicule est commandée par le mode de vitesse de croisière classique (vitesse stable) du régulateur de vitesse adaptatif.

Témoin de passage en mode quatre roues motrices (modèle 4x4)
Le témoin devrait s'éteindre après une seconde lorsque le contacteur d'allumage est tourné à la position ON (marche).
Pendant que le moteur tourne, le témoin de passage en mode quatre roues motrices indiquera la position sélectionnée par l'interrupteur de passage en mode quatre roues motrices.
Le témoin de passage en mode quatre roues motrices peut clignoter lors du changement d'un mode d'entrainment à un autre.



Témoin d'etat du coussin gonflable du passager avant
Le témoin de fonctionnement du coussin gonflable du passager avant (ou _2 ) s'allume et le coussin gonflable du passager avant est désacté en fonction de l'utilisation du siège du passager avant.
Pour obtenir plus de détails sur le témoin de fonctionnement du coussin gonflable du passagger avant, consultez la rubrique « Coussin gonflable du passager avant et témoin de fonctionnement » du chapitre « Sécurité — Sièges, ceintures de sécurité et coussins gonflables » du present manuel.

Témoin de faisceaux route (bleu)
Ce témoin bleu s'allume lorsque les feu de faisceau route sont allumés et s'éteint lorsque les feu des croisements sont sélectionnés.
Le témoin de faisceau route s'allume également lorsque le signal de dépassement est activé.

Témoin d'anomalie
Un témoin d'anomalie qui s'allume et reste allumé ou clignote pendant que le moteur tourne peut indiquer une anomalie du dispositif antipollution.
Ce même témoin peut également s'allumer et rester allumé si le bouchon de replissage du réservoir de carburant est desserré ou manquant, ou si le réservoir de carburant de votre vehicule est presque vide. Assurez-vous que le bouchon de replissage du réservoir de carburant de votre vehicule a été installé et serré fermement et que le réservoir de carburant contient au moins onze litres (trois gallons US) de carburant.
Le témoin SERVICE DE SERVICE DOIT S'eteindre après quelques cycles de conduite s'il n'existe aucune autre anomalie du dispositif antipollution.
Fonctionnement
Le témoin d'anomalie s'allume lorsque l'une des situations suivantes se produit :
-
le témoin d'anomalie reste allumé – une défectuosité du dispositif antipollution a été décelée. Vérifiez le bouchon de replissage du réservoir de carburant. Si le bouchon de replissage du réservoir de carburant est desserré ou manquant, serrez-le ou installez-le et poursuivez votre route. Le témoin SERVICE SERVICE ENSOON doit s'éteindre après quelques cycles de conduite. Si le témoin SERVICE RENAL SOON reste allumé après quelques trajets, faites inspectoristevez vécicule par un concessionnaire INFINITI. Il n'est pas nécessaire de faire remorquervez vécicule pour vous rendre chez le concessionnaire.
-
le témoin d'anomalie clignote - un raté du moteur susceptible d'endommager le dispositif antipollution de votre vehicule a été décelé. Pour éviter les dommages au dispositif antipollution de votre vehicule ou pour réduire la gravité de ceux-ci:
-
ne conduisez pas à des vitesses supérieures à 72 km/h (45 mi/h);
- evitez les accelerations et les decelerations brusques;
- évitez les pentes très raides;
- dans la mesure du possible, réduisez la charge transportée ou remorquée par votre vehicule.
Il est possible que le témoin d'anomalie)cesse de clignoter et demeure allumé. Faites inspector le vehicule par un concessionnaire INFINITI. Il n'est pas nécessaire de faire remorquer votre vehicule pour vous rendre chez le concessionnaire.

ATTENTION
Le fait de continuer à conduire le vehicule en omettant de faire inspector ou réparer (au besoin) le dispositif antipollution, peut compromètre sa maniabilité et sa consommation de carburant, et accroître les risques de dommages au dispositif antipollution.

Témoin de sécurité (système antidémarrage du vehicule INFINITI)
Ce témoin clignote lorsqué le contacteur d'allumage se trouve à la position LOCK (verrouillage), OFF (arrêt) ou ACC (accessoires). Ce témoin indique si le système de sécurité du vehicule est fonctionnel.
Pour plus de détails, consultez la rubrique « Système de sécurité » plus loin dans ce chapitre.
SLIP Témoin SLIP (témoin de dérapage)
Ce témoin clignote lorsque le système d'antipatinage à l'accelération limite le patinage des roues. Le clignotement de ce témoin peut indiquer des conditions de dérapage. Le cas échéant, adaptez votre conduite en conséquence.
Il s'allume également lorsque vous tournez la clé de contact à la position ON (marche). Il s'éteint après deux secondes si le système est en fonction. Si le témoin ne s'allume pas ou s'éteint, rendez-vous chez un concessionnaire INFINITI pour faire vérifier le dispositif antipatinage de votre vehicule.
Le système fonctionne dans toutes les positions du levier selecteur de la boîte de vitesses, mais il peut effectuer une montée de vitesses seulement jusqu'à la position la plus élevée indiquée par le levier selecteur.
4LO Témoin de position de gamme 4LO du transfert (modèle 4x4)
Le témoin devrait s'éteindre après une seconde lorsque le contacteur d'allumage est tourné à la position ON (marche).
Ce témoin s'allume lorsque l'interrupteur de passage en mode quatre roues motrices est mis à la position 4LO avec la clé de contact à la position ON (marche).
Si l'interrupteur de passage en mode quatre roues motrices est regle en position 4LO et que le témoin clignote, arrêtez le vehicule, conduisez lentement vers l'avant et le témoin s'allumera.
Pour changer entre 4H et 4LO, arrêtez le vehicule, mettez le levier sélecteur de boîte de vittesses automatique à la position N (point mort), puis poussez l'interrupteur de passage en mode quatre roues motrices et réglez-le sur 4LO ou 4H.
La boîte de transfert peut subir des dommages si vous réglez l'interrupteur pendant la conduite.
Vous ne pouvez pas déplacer l'interrupteur de passage en mode quatre roues motrices entre 4H et 4LO à moins que le vehicule ne soit arrêté et que le levier sélecteur de la boîte de vitesses automatique ne soit au point mort. Assurez-vous que le témoin de position de gamme 4LO du transfert s'allume lorsque vous reglez l'interrupteur de passage en mode quatre roues motrices à 4LO.
Le témoin peut clignoter lors du changement d'un mode d'entrainment à un autre.
Témoins des clignotants et des feués de détresse
Le témoin gauche ou droit (selon le cas) clignote lorsqu'la commande de clignotant est activée.
Les deux tímoins clignotent lorsqu l'interrupteur des feués de détresse est enforcé.
VDC OFF Témoin de neutralisation du système de contrôle dynamique du vehicule
Ce témoin s'allume lorsqu'l'interrupteur de neutralisation du système de contrôle dynamique du vehicule est enforcé à la position OFF (hors fonction) pour indiquer que le système de contrôle dynamique du vehicule ne fonctionne pas.
Pour rétablit le fonctionnement normal du système, appuyez de nouveau sur l'interrupteur de neutralisation du système de contrôle dynamique du vehicule ou faites redémarrer le moteur. Consultez la rubrique « Système de contrôle dynamique du vehicule » du chapitre « Demarrage et conduite » duprésent manuel.
Le témoin du système de contrôle dynamique du vehicule s'allume également lorsque vous tournez la clé de contact à la position ON (marche). Il s'éteint après deux secondes si le système est en fonction. Si le témoin reste allumé ou qu'il s'allume en même temps que le témoin SLIP
SYTÉMES DE SÉCURITÉ
(indicateur de dérapage) pendant la conduite, faites inspector le système de contrôle dynamique de votre vehicule chez un concessionnaire INFINITI.
Il est possible que le fonctionnement du système de contrôle dynamique du vehicule entraine une légere vibration ou des bruits lorsque vous démarrez le vehicule ou que vous accélérez; il s'agit là d'une condition normale.
RAPPELS SONORES
Signal d'avertissement des indicateurs d'usure de plaquettes de freins
Les indicateurs d'usure de plaquettes de freins avant peuvent émettre un signal d'advertissement sonore. Lorsqu'une plaquette de frein avant doit être remplacee, l'indicateur correspondant émet un raclement aigu pendant la conduite, et ce, que la pédale de frein soit enforcée ou non. Faites vérifier les freins de votre vehicule le plus tot possible si les indicateurs d'usure des freins émettent un tel bruit.
Carillon de rappel de clé dans le contacteur d'allumage
Un carillon retentit si vous ouvrez la portiere du conducteur alors que la clé se trouve dans le contacteur d'allumage. Retirez la clé du contacteur d'allumage avant de quitter votre vehicule.
Carillon de rappel des phares allumés
Si les phares ou les yeux de stationnement du vehicule sont allumés, et que le contacteur est tourné à la position OFF (arrêt), un carillon retient lorsque vous ouvrez la portière du conducteur.
Éteignez les phares avant de quitter votre vehicule.

Votre vehicule possede deux types de systèmes de sécurité :
- Système de sécurité du vehicule
- Système antidémarrage du vehicule INFI-NITI
SYSTEME DE SECURITE DU VEHICULE
Le système de sécurité du vehicule émet des signaux d'alarme visuels et sonores lorsque celui un ou quelque chose entre en contact avec les pieces du vehicule.
Comment armer le système de sécurité de votre vehicule
- Fermez toutes les glaces et le toit ouvrant (selon l'équipement du vehicule).
REMARQUE :
Le système peut être mis en voir comme si les glaces et le toit ouvrant sont ouverts.
- Retirez la clé du contacteur d'allumage.
- Fermez toutes les portières. Verrouillez toutes les portières. Les portières peuvent etre verrouillées au moyen de la clé, de l'interrupteur de verrouillage électrique des portières ou de la télécommande.
Fonctionnement de la télécommande :
- Enforcez le bouton de la télé-commande. Toutes les portières se verruillent. Les frais de détresse clignotent deux fois et l'avertisseur sonore émet un bip pour confirmer le verrouillage de toutes les portières;
- si la touche est enforcée alors que les portières sont déjà toutes verrouillées, leselseif de détresse clignotent deux fois et l'avertisseur sonore émet un bip pour indiquer que les portières sont déjàverrouillées.
L'avertisseur sonore peut émettre un bip ou rester silencieux. Consultez la rubrique « Systèmes électroniques du vehicule » du chapitre « Écran d'affichage, chauffage et climatiseur et chaine stéreophonique » plus loin dans ce manuel.
- Assurez-vous que le témoin s'allume. Le témoin demeure allumé pendant environ 30 secondes. Cela indique que le système de sécurité du vehicule est préarmé. Le système passse automatiquement en phase armée après environ 30 secondes. Le témoin commence alors à clignoter une fois toutes les trois secondes. Si, pendant la période de 30 secondes au cours de laquelle le système est préarmé, une portière est déverrouillée au moyen de la clé ou de la télécommande ou si la clé de contact est tournée à la position ACC (accessoires) ou ON (marche), le système ne pourrait pas s'armer.
-
Il est possible que le système ne s'arme pas si la clé est tournée lentement lors du verrouillage de la portière. De plus, si la clé est tournée au-delà de la position verticale vers la position de déverrouillage, le système peut se désarmer une fois la clé retiree. Si le témoin n'est pas resté allumé pendant 30 secondes, déverrouillez la portière et verrouillez-la de nouveau.
-
Mème lorsque le conducteur et des passagers se trouvent dans le vehicule, le système se met en veille si toutes les portières sont fermées et verrouillées, et que la clé de contact est à la position OFF (arrêt).
Activation du système de sécurité du vehicule
L'alarme déclenchée par le système de sécurité du vehicule implique les éléments suivants :
- les phares clignotent et l'avertisseur sonore retentit par intermittence;
- l'alarme s'eteint automatiquement après environ 45 secondes. Par contre, si qu'elle chose ou quelqu'un entre en contact avec le vehicule, elle s'active de nouveau. L'alarme est neutralisée si vous déverrouillez une des portières avec la clé du vehicule ou si vous appuyez sur la touche de la télécommande.
L'alarme s'active si :
- une portière est ouverte sans utiliser la clé ou la télécommande (meme si la portière est déverrouillée à l'aide de la commande de verrouillage interieure ou de l'interrupteur de verrouillage électrique des portières).
- le capot est ouvert.
Comment neutraliser l'alarme
L'alarme ne s'arrête que si vous ouvrez une des portières avec la clé du vehicule ou que vous appuyez sur la touche de la télécommande.
SYSTÉME ANTIDÉMARRAGE DU VÉHICULE INFINITI
Le système antidémarrage du vehicule INFINITI empêche le démarrage du moteur si une clé non programmée pour ce système INFINITI est utilisée.
Si une clé programmée INFINITI est utilisé, mais que le moteur refuse toujours de démarrer (par exemple, en présence d'interférences causées par une autre clé similaire, par un dispositif pour poste de péage automatisé ou par un dispositif de paiement automatique se trouvant sur votre porte-clés), procédez de la façon suivante:
- Laissez le contacteur d'allumage à la position ON (marche) pendant environ cinq secondes.
- Tournez-le ensuite à la position OFF (arrêt) ou LOCK (verrouillage) et attendez environ cinq secondes.
-
Repetez les étapes 1 et 2.
-
Tentez à nouveau de faire démarrer le moteur au moyen de votre clé programme du système antidémarrage INFINITI, tout en tenant le dispositif ayant causé des interférences à l'écart.
Si le moteur refuse toujours de démarrer, INFINITI vous recommende de placer votre clé programmée INFINITI sur un autre porte-clés afin d'éviter les interférences causées par les autres dispositifs.
Énoncé relat à l'article 15 des règlements de la FCC pour le système antidémarrage du vehicule INFINITI (CONT ASSY - IMMO-BILIZER, ANT ASSY - IMMOBILIZER)
Ce dispositif est conforme à l'article 15 des règlements de la FCC et au règlement RSS-210 d'Industrie Canada. Son utilisation est soumise aux conditions suivantes :
(1) ce dispositif ne doit cause aucune interfequence nuisible et (2) il doit pouvoir accepter toutes les interférences, y compris les interférences qui peuvent l'activer de façon inopinée.
TOUTE MODIFICATION D'UN DISPOSITIF NON CONFORME AUX NORMES DU FABRICANT PEUT ANNULER LE DROIT DE L'UTILISATEUR DE DISPOSER D'UN TEL ÉQUIPEMENT.

Témoin de sécurité
Le témoin de sécurité clignote lorsque le contacteur d'allumage se trouve à la position LOCK (verrouillage), OFF (arrêt) ou ACC (accessoires). Cette fonction indique que le système antidémarrage du vehicule INFINITI est en fonction.
Si ce témoin reste allumé lorsque la clé de contact est tournée à la position ON (marche), cela indique que le système antidémarrage du vehicule INFINITI est défectueux.
Si ce témoin reste allumé ou si le moteur refuse de démarrer, rendez-vous chez un concessionnaire INFINITI des que possible pour faire réparer le système antidémar-
COMMANDE D'ESSUIE-GLACES ET DE LAVE-GLACE DE PARE-BRISE
rage de votre vehicule INFINITI. Veuillez apporter toutes les clés programmes INFINITI que vous possédez lorsque vous vousprésentez chez un concessionnaire INFINITI pour faire réparer ce système.

FONCTIONNEMENT DE L'INTERRUPTEUR
Les essuie-glaces et le lava-glace de pare-brise fonctionnent lorsque le contacteur d'allumage est à la position ON (marche).
Poussez le levier vers le bas pour actionner les essuie-glaces aux réglages suivants :
1 Intermittent - le fonctionnement intermittent se regle en tournant le bouton vers A (cycles plus longs) ou B (cycles plus courts). Les cycles d'interrimittance varient également en fonction de la vitesse du vehicule. (Par exemple, si la vitesse du vehicule est élevé, les cycles d'interrimittance seront plus courts.)
REMARQUE :
Vous pouze désactiver ou reactiver la fonction de durée des cycles d'interrmittence asservis à la vitesse du vehicule. Consultez la rubrique « Systèmes électroniques du vehicule » du chapitre « Écran d'affichage, chauffage et climaiteur et chaine stéreophonique » plus loin dans ce manuel.
Basse vitesse - fonctionnement continu des essuie-glaces à basse vitesse
③ Haute vitesse - fonctionnement continu des essuie-glaces à haute vitesse
Poussez le levier vers le haut ④ pour obtenir un seul cycle de balayage.
Tirez le levier vers vous ⑤ pour actionner le lave-glace. Les essuie-glaces exécuteront égallement plusieurs cycles de balayage.
COMMANDE D'ESSUIE-GLACE ET DE LAVE-GLACE DE LUNETTE ARRIÈRE
A VERTISSEMENT
Lorsque la température est inférieure à 0 °C (32 °F), le liquide de lave-glace risque de geler sur le pare-brise et de vous obstruer la vue, ce qui peut entrainer un accident. Faites fonctionner le dégivreur pour réchauffer le pare-brise avant de le nettoyer.
ATTENTION
- N'actionnez pas le lave-glace pendant plus de 30 secondes.
- N'actionnez pas le lave-glace si le réservoir de liquide de lave-glace est vide.
- Ne replisssez pas le réservoir de liquide de lave-glace avec des concentrates non dilués. Les éclaboussures de certains concentrates de liquide de lave-glace au methanol peuvent tacher la calandre de façon permanente lors du replissage du réservoir de liquide de lave-glace.
- Mélangez le concentré de liquide de lave-glace avec de l'eau conformément aux recommendations du fabricant avant de verser le mélange dans le réservoir de liquide de lave-glace de votre vehicule. N'effectuez pas ce mélange dans le réservoir même.

LIC0468
L'essuie-glace et le lave-glace de lunette arrerène fonctionnent que lorsque le contact est mis.
Tournez la commande dans le sens des aiguilles d'une montre (à partir de la position OFF [arrêt]) pour actionner l'essuie-glace.
① Intermittent - fonctionnement intermittent (non régliable)
(2) Basse vitesse - fonctionnement continu des essuie-glaces à basse vitesse
Poussez le levier vers l'avant ③ pour actionner le lave-glace. Les essuie-glaces executeront égallement plusieurs cycles de balayage.
AVERAGEMENT
Lorsque la température est inférieure à 0^ (32^) , le liquide de lave-glace risque de geler sur la vitre et de vous obstruer la vue. Faites fonctionner le dégivreur pour réchauffer la lunette arrêté avant d'utiliser le lave-glace arrêté.
ATTENTION
- N'actionnez pas le lave-glace pendant plus de 30 secondes.
- N'actionnez pas le lave-glace si le réseauoir de liquide de lave-glace est vide.
- Ne replissez pas le réservoir de liquide de lave-glace avec des concentrates non dilués. Les éclaboussures de certains concentrates de liquide de lave-glace au methanol peuvent tacher la calandre de façon permanente lors du replissage du réservoir de liquide de lave-glace.
- Mélangez le concentré de liquide de lave-glace avec de l'eau conformément aux recommendations du fabricant avant de verser le mélange dans le réservoir de liquide de lave-glace de votre vehicule. N'effectuez pas ce mélange dans le réservoir même.
INTERRUPTEUR DE DÉGIVREUR DE LUNETTE ARRÈIRE ET DE RÉTROVISEUR EXTERIEUR

LICO487
Pour dégiver la lunette arrête et les rétroviseurs extérieurs :
Faites démarrer le moteur et tournez l'interrupteur de dégivrage de lunette arrêté dans le sens des aiguilles d'une montre. Le témoin de dégivreur de lunette arrrière s'allume sur l'écran d'affichage. Tournez l'interrupteur dans le sens des aiguilles d'une montre de nouveau pourmettre le dégivreur hors fonction.
Le dégivreur de lunette arrête s'eteint automatiquement environ 15 minutes après son activation.
ATTENTION
Lors du nettoyage de la paroi interieure de la lunette arriere, prenez soit de ne pas égratigner ni endommager le dégivreur.
INTERRUPTEUR DES PHARES ET DES CLIGNOTANTS
PHARES AU XÉNON
AVERTISSEMENT HAUTE TENSION
- Des phares au xénon allumés produit une haute tension. Ne tentez jamais de les modifier ni de les démonter, car vous pourriez prendre un choc électrique. Faites toujours replacer vos phares au xénon chez un concessionnaire INFINITI.
- Les phares au xénon éclairant beaucoup plus que les phares traditionnels. S'ils sont mal orientés, ils peuvent avoirgler temporairement le conducteur du vehicule qui arrive en sens inverse ou celui du vehicule qui vous precede et provoquer un grave accident. Si vos phares sont mal orientés, rendez-vous immédiatement chez un concessionnaire INFINITI pour y faire corriger le problème.
La luminosité et la couleur d'un phare au xénon varient légrement lors de l'activation. Elles se stabilisent toutefois rapidement.
- Les féquentes activations et désactivations d'un phare au xénon ont pour effet de réduire la durée de vie de ce
dernier. Il est généralement déconseilé d'eteindre les phares pendant de courtes périodes (par exemple, lorsque le vehicule est immobilisé à un feu de signalisation). Les phares au xénon ne s'activent pas lorsque les phares de jour sont allumés (Canada seulement). Ceci permet d'éviter de raccourcir la durée de vie des phares au xénon.
Lorsque l'ampoule d'un phare au xénon est sur le point de griller, sa luminosité est réduite de façon radicale, elle prend une teinte rougeâtre ou clignote. Si une ou plusieurs de ces conditions sont générées, communiquez avec un concessionnaire INFINITI.

INTERRUPTEUR DES PHARES
Eclairage
① Les feu des stationnement avant, les feu arrière, l'éclairage de la plaque d'immatriculation et l'éclairage de la planche de bord s'allument lorsque l'interrupteur est placé à la position DQ.
(2) Les phares s'allument et les autres feuels demeurent allumés lorsqu'l'interrupteur est placé à la position

Commande automatique des phares
Le système de commande automatique des phares permet d'établier l'activation et la désactivation automatiques des phares. La commande automatique des phares peut :
- allumer les phares, les feu de stationnement avant, les feu arrêté et l'éclairage de la plaque d'immatriculation et du tableau de bord lorsqu'il faitASFRE;
- étéindre tous les feuels lorsqu'il fait jour;
- laisser tous les feuels allumés jusqu'à 180 secondes après avoir tourné le contacteur d'allumage à la position OFF (arrêt) alors que toutes les portières sont fermées.
REMARQUE :
Le degré de sensibilité de la commande automatique des phares ainsi que la temporisation de l'extinction des phares sont réglibres. Consultez la rubrique « Systèmes électroniques du vehicule » du chapitre « Écran d'affichage, chauffage et climatiseur et chaine stéréophonique » plus loin dans ce manuel.
Pour activer la commande automatique des phaires :
- Tournez l'interrupteur à la position AUTO ①.
- Tournez la clé de contact à la position ON (marche).
- Le système de commande automatique des phares allume et eteint automatiquement les phares.
Si le contacteur d'allumage est tourné à la position OFF (arrêt) et qu'une portière est ouverte et demeure ouverte, les phares demeurent allumés pendant cinq minutes. Mais si une autre portière est ouverte pendant ce décai, le temporisateur se réinitialise.
Pour désactiver la commande automatique des phares, tournez l'interrupteur à la position OFF (hors fonction) éqq ou 。
Assurez-vous qu'aucun objet n'est déposé sur la cellule photoélectrique de commande automatique des phares, située à l'extrémité de la planche de bord. La cellule photoélectrique contrôle le système de commande automatique des phares; siquelque chose la recouvre, elle assimilé l'absence de lumière ainsi provoquée à une condition nocturne et réagit en activant les phares. Une telle situation pourrait entraîner la décharge de la batterie de votre vehicule si vous stationnez ce dernier avec le moteur à l'arrêt et le contacteur d'allumage à la position ON (marche).

Sélection de la fonction de faisceaux route
1 Pour selectionner la fonction de faisceaux route, poussez le levier vers l'avant. Les faisceaux route et le témoin s'allument.
② Ramenez le levier vers l'arrière pour selec-tionner les yeux de croissement.
③ Les faisceaux route sont actifs et désactifs lorsque vous tirez puis relâchéez le levier.
Système antidécharge de la batterie
Si le contacteur d'allumage est à la position OFF (arrêt) alors que l'interrupteur des phares se
trouvé à la position éddé ou ① , les phares demeureront allumés pendant cinq minutes.
Suivant la coupure automatique des phares lorsqu'en position 三 四 ou 日 ,les phares s'allumeront de nouveau pendant cinq minutes si l'interrupteur des phares est placé à la position OFF (arrêt) puis de nouveau à la position 三 四 ou 日

ATTENTION
Assurez-vous de tournier le commutateur d'éclairage à la position d'arrêt lorsque vous quittez le vehicule pour une période prolongée, sinon la batterie se décharger.
- Ne laïsez jamais le commutateur d'éclairage activé lorsque vous prévoyez laisser le moteur à l'arrêt pendant une période prolongée, et ce, même si les phares s'éteignent automatiquement.

LIC0662
Réglage de la convergence des phares
Selon le nombre d'occupants et la charge transporte par le vehicule, l'axe d'éclairage des phares peut être plus élevé que souhaite. Si vous empruntez un parcours montagneux, vos phares risquent de se réfléchir directement dans le rétroviseur d'un vehicule roulant devant vous ou de pointer sur le pare-brise d'un vehicule circulant en sens inverse. L'axe d'éclairage des phares peut être abaisse au moyen de la commande de convergence.
Plus les numéroes inscrits sur la commande sont élevés, plus l'axe des phares s'abaisse.
Lorsque vous roulez à vide sur une route sans pente, Sélectionnéz la position 0.

AVERTISSEMENT
Les phares au xénon émettent une lumière beaucoup plus brillante que les phares ordinaires. Si la lumière émise par des phares au xénon atteint le rétroviseur du vehicule qui précède ou le pare-brise d'une voiture arrivant en sens inverse, les conducteurs de ces vehicules peuvent être incommodés par l'intensité de cette lumière. Utilisez le commutateur de réglage des phares pour abaiser l'axe des faisceaux lumineux. Pour de plus amples renseignements, reportez-vous à la rubrique « Phares au xénon » plus tout dans ce chapitre.
PHARES DE JOUR (Canada tableau)
Les phares s'allument automatiquement à intensité réduite si le frein de stationnement est desseré lors du démarrage du moteur. Les phares de jour fonctionnent lorsque l'interrupteur des phares se trouve à la position OFF (hors fonction) ou à la position D. Tournez l'interrupteur des phares à la position D pour obtenir une intense d'éclairage maximal destinée à la conduite de nuit.
Les phares de jour ne s'allument pas lors du démarrage du moteur si le frein de stationnement est serré. Ils s'allument lorsque le frein de stationnement est desserré. Ces phares restent allumés jusqu'à ce que le contacteur d'allumage soit tourné à la position OFF (arrêt).

AVENTISSEMENT
Les feuux arrirée de votre vehicule sont hors fonction lorsque les phares de jour sont allumés. Vous devez allumer les phares de votre vehicule à la brunante. Le fait de ne pas respecter cette directive peut entrainer un accident causant des blessures à vous-même et à autreui.

LIC0392
COMMANDE DE LUMINOSITE DU TABLEAU DE BORD
La commande de luminosité du tableau de bord fonctionne lorsque l'interrupteur des phares se trouve à la position ou AUTO (avec les phares automatiques actifs).
Tournez cette commande pour régler l'intensité d'éclairage du tableau de bord lorsque vous confuisez de nuit.

COMMANDE DES CLIGNOTANTS
Clignotants
① Déplacez le levier de la commande des clignotants vers le haut ou vers le bas pour indiquer la direction du virage. Les clignotants s'arrêtent automatiquement lorsque vous complètez votre virage.
Signal de changement de voie
Pour signaler votre intention de changer de voie, déplacez le levier vers le haut ou vers le bas jusqu'à ce que le clignotant s'active, mais sans enclencher le levier.
INTERRUPTEUR DES FEUX DE DÉTRESSE

COMMUTATEUR DES PHARES ANTIBROULLARDS
Pour allumer les phares antibrouillard, tournez l'interrupteur des phares à la position 日 , puis tournez l'interrupteur des phares antibrouillard à la position . Pour les eteindre, tournez l'interrupteur des phares antibrouillard à la position OFF (arret).
Le contact doit être mis pour assurer le fonctionnement des phares antibrouillard.

Si, en raison d'une urgence, vousdezvezimmobiliserroustationnervotrechicule,appuyezsur cet interrupteur pour signalervoirentionaux conducteurs des autres voitures.Tous les clignontants devoitrvhiculeserontaissactivés.
AVERAGEMENT
-
Si vous nevez vous arreter en cas d'urgence, stationnez le vehicule aussi loin que possible de la route.
-
N'actionnez pas les feuels de détresse lorsque vous roulez sur l'autoroute, à moins que des circonstances inhabituelles ne vous forcent à conduire votre vehicule à une vitesse très lente qui pourrait s'avérer dangereuse pour les autres automobilistes.
- Les clignotants ne fonctionnent pas lorsque les yeux de détresse sont actifs.
Les yeux de détresse de votre vehicule fonctionnement, et ce, qu'elle que soit la position du contacteur d'allumage.
L'utilisation des feuels de détresse pendant la conduite est prohibée dans certains États.
VERTISSEUR SONORE
SIÉGES CHAUFFANTS

LIC0663
Pour actionner l'avertisseur sonore de votre vehicule, appuyez sur le rembourse central du volant de direction.
AVERAGEMENT
Ne tentez pas de démonter l'avertisseur sonore. Une telle action pourrait comprommettre le fonctionnement du coussin gonflable avant. Toute modification au dispos-itif du coussin gonflable avant peut avoir pour consquence des blessures graves en cas d'accident.

LICO469
Les sièges avant etieux de la deuxième rangée sont chauffés par des dispositifs de chauffe intégrés.
- Démarrez le moteur.
- Appuyez sur les parties (bas) ou (élevé) de l'interrupteur pour aug- menter ou réduire la température au niveau désiré. Le témoin de l'interrupteur acté s'allume.
Le dispositif de chauffage est contrôle par un thermostat, qui active ou désactive automatiquement le dispositif de chauffage. Le témoin reste allumé tant que l'interrupteur se trouve à la position de marche.
- Assurez-vous de placer l'interrupteur à la position hors fonction lorsqu'le siège est suffisamment chaud ou que vous quittez le vehicule.

ATTENTION
- Nutilisez pas le dispositif de chauffage du siège pendant de longues périodes ou si personne n'y a pris place.
- Ne déposez rien sur le siège qui puisse isoler la chaleur ( comme une couverture, un coussin, une housse de siège, etc.) et entrainer la surchauffe du siège.
- Ne déposez pas d'objets durs ou lourds sur le siège et ne perfirez pas celui-ci avec une broche ou un autre objet similaire. Ceci pourrait endommager le dispositif de chauffage du siège.
- Tout liquide renversé sur le siège chauffant doit être nettoyé immidiatement avec un chiffon sec.
-
N'utilisez jamais d'essence, de benzine, de solvant ou de produit similaire pour nettoyer les sièges.
-
En cas d'anomalie ou si le siège chauffant ne fonctionne pas, placez l'interrupteur en position d'arrêt et faites vérifier le dispositif par votre concessionnaire INFINITI.
- La batterie peut se décharger si le dispositif de chauffage des sièges est activé alors que le moteur ne tourne pas.
COMMUTATEUR D'ARRÉT DE LA RÉGULATION DYNAMIQUE DU VEHICULE (VDC)

WIC0534
Le vehicule doit etre conduit avec le systeme de contrrole dynamique du vehicule activé dans la plupart des conditions de conduite.
Si le vehicule est enlisé dans de la boue ou la neige, le système de contrôle dynamique du vehicule réduit la puissance du moteur afin de réduire le patinage des roues. Le régime du moteur restera bas, même si l'accelérateur est complètement enforcé. Si une puissance maximale est requise pour libérer un vehicule embourbé, dé-sactivez le système de contrôle dynamique du vehicule.
Pour désactiver le système de contrôle dynamique du vehicule, appuyez sur l'interrupteur VDC OFF. Le témoin [OFF] s'allume alors.
Pour reactiver le système, appuyez de nouveau sur la touche « VDC OFF » ou faites redémarrer le moteur. Consultez la rubrique « Système de contrôle dynamique du vehicule » du chapitre « Démarriage et conduite »
COMMUTATEUR DE DÉSACTIVATION DU SYSTEME D'AIDE AU STATIONNEMENT

LICO471

AVERTISSEMENT
Bien que pratique, le système de sonar arrrière ne remplace pas les procédures déequates et sécuritaires de recul du vehicule. Regardez toujours à l'arrête avant de faire marche arrrière pour vous assurer que la voie est libre Reculez toujours VOIRE vehicule lentement.
Le système de sonar arrêté se met en fonction lorsqu'le levier sélecteur se trouve en position R (marche arrêté) et que le contact est mis.
Lorsque les capteurs détectent un obstacle dans une zone d'un rayon de 1,8 m (6 pi) à partir du pare-chocs arrêté, un avertisseur sonore retentit.
Le système de sonar arrêté peut être désactivé en appuyant sur le contacteur de neutralisation. Lorsque le système est neutralisé, le témoin du contacteur s'allume. Appuyez de nouveau sur le contacteur pour activer le système. Le témoin s'éteindra.
Le système est automatiquement activé chaque fois que le contact est mis.
Consultez la rubrique « Système de sonar arrêté » du chapitre « Démarrage et conduite »
INTERRUPTEUR DU MODE DE REMORQUAGE

LIC0594
Le mode de remorquage devrait ettreutilise lorsque you tractez une remorque lourde ou transportez une charge importante.L'utilisation du mode remorquage en d'autres temps peut entrainer des passages de vitesse inutiles et accroître la consommation de carburant.
Appuyez sur l'interrupteur du mode de remorquage pour activer ce mode. Le témoin sur l'interrupteur du mode de remorquage s'allume lorsque ce mode est sélectionné. Appuyez de nouveau sur l'interrupteur du mode de remorquage pour annuler ce mode.
MONTRE
Le mode de remorquage est automatiquement annulé lorsque la clé de contact est tournée à la position OFF (arrêt).
Pour obtenir de plus amples renseignements, consultez la rubrique « Mode de remorquage » du chapitre « Données techniques et information au consommateur » plus loin dans ce manuel.

Si la batterie est débranchée, l'heure indiquée par la montre sera inexacte. Vous nevez alors la régler de nouveau.
RéGLAGE DE L'HEURE
Tournez le bouton de réglage pour régler l'heure.
PRISE D'ALIMENTATION

Rangée avant
Les prises de courant de votre vehicule seront à brancher des accessoires électriques tels que les téléphones cellulaires.
Les prises de courant situées du côte conducteur de la planche de bord et dans l'aire de chargement sont alimentées directement par la batterie du vehicule.
Les prises de courant situées du côte passager de la planche de bord et celles de la deuxieme rangiée sont alimentées uniquement lorsque la clé de contact se trouve à la position ACC (accessoires) ou ON (marche).

Deuxieme rangée
Ouvrez le capuchon d'une prise de courant pour pouvoir l'utiliser.

ATTENTION
- La prise et la fiche peuvent devenir chaudes pendant ou immédiatement après l'utilisation.

Aire de chargement
- Seules quelques prises d'alimentation sont conçues pour recevoir un allumecigare. N'utilisez aucune autre prise de courant pour alimenter un allumecigare accessoire. Pour de plus amples renseignements, consultez votre concessionnaire INFINITI.
- N'utilisez pas d'accessoires dont la puissance est supérieure à 12 V, 120 W (10 A). N'utilisez pas d'adaptateurs doubles et ne branchez pas plus d'un accessoire électrique sur la même prise.
Utilisez les prises de courant seulement lorsque le moteur tourne afin d'eviter de décharger la batterie du vehicule.
- Évitez d'utiliser les prises de courant lorsque le climatiseur, le dégivre ou les phares sont en fonction.
- Avant de brancher ou de débrancher une prise, assurez-vous que l'accessoire électrique utilisé est étéint.
- Enforcez la prise le plus loin possible. Si un contact ajustat n'est pas établi, la prise peut surchauffer ou le fuse de température interne peut griller.
Assurez-vous que le bouchon est fermé lorsqu'elles ne l'utilise pas. Évitez tout contact de la prise avec de l'eau.
RANGEMENT

Plateau latorial
PLATEAUX DE RANGEMENT DE LA PLANCHE DE BORD

AVERTISSEMENT
Ne déposez pas d'objets tranchants sur les plateaux afin d'éviter les blessures en cas d'accident ou d'arrêt brusque.
Les tapis de caoutchouc peuvent être retirés pour le nettoyage.
COMPARTIMENT DE RANGEMENT DE LA CONSOLE

AVERTISSEMENT
La conduite du vehicule exige toute votre attention : n'utilisez donc pas le compartment de la console centrale en conduisant.

Plateaux de compartment de rangement de la console

Compartment de rangement de la console
Pour ouvrir le couvercle du compartment de la console ② , tirez sur le levier ①

Serrure du compartment de la console
Utilisez la clé principale pour verrouiller ① ou déverrouiller ② le compartment de la console.

BOITE A GANTS
Pour ouvrir la boîte à gants, tirez sur la poignée.

AVENTISSEMENT
Pour prévenir les blessures en cas d'accident ou d'arrêt brusque, la boite à gants devrait toujours être fermée lorsque le vehicule est en mouvement.

RANGE-LUNETTES
Pour ouvrir le range-lunettes de soleil, appuyez sur son couvercle et relâchéz-le.

AVERTISSEMENT
La conduite du vehicule exige toute votre attention : ne rangez donc pas vos lunettes de soleil dans le range-lunettes en conduisant.

ATTENTION
-
Ne l'utilise pas pour déposer autrechose que des lunettes de soleil.
-
Ne laïsez pas de lunettes de soleil dans le range-lunettes si vous stationnez votre vehicule au soleil. La chaleur pourrait les endommager.

VIDE-POCHES

VIDE-POCHES DU DOSSIER DES SIÈGE
Le vide-poches du dossier de siege estitué derrière le siege du conducteur. Des cartes routières peuvent y'être rangees.

Petit bac CONSOLE AU PAVILLON

Bac moyen
Bacs de rangement

AVERTISSEMENT
Pour prévenir les blessures en cas d'accident ou d'arrêt brusque, les bacs de rangement doivent toujours être fermés lorsque le vehicule est en mouvement.
Pour ouvrir un bac de rangement, appuyez sur le bouton.
Rabattez le couvercle vers le haut pour le referrer.

Grand bac

Avant

Réglable
PORTE-TASSES
Soulevez le couvercle des portetasses avant pour les ouvrir.
Pour les refermer, abaissez le couvercle.

AVENTISSEMENT
La conduite du vehicule exige toute votre attention : n'utilisez donc pas le portetasse en conduisant.

ATTENTION
- Évitez de démarrer ou de freiner brusquement lorsque le porte-tasse est utilisé, car le liquide pourrait se renverser. Si le liquide est chaud, votre passager et vous pourriez être brûlés.
- Ne déposez que des tasses faites de matérieliaux couples dans le porte-tasse. Des objets durs pourraient vous infliger des blessures en cas d'accident.
Placez le bras du porte-tasse régliable de sorte que la tasse soit maintainue fermement.

Deuxieme rangée (a l'arriere de la console avant)
Abaissez le couvercle pour ouvrir les portetasses de deuxieme rangée (à l'arriere de la console avant). Pour les referrer, relevez le couvercle.

Console arrrière (selon l'equipement du vehicule)

Banquette de deuxieme rangée (selon l'équipement du vehicule)

Troisieme rangée

Porte-bouteille
ATTENTION
N'utilisez pas le support à bouteille pour retenir d'autres types d'objets qui pouraient être projetés dans le vehicule et infilger des blessures aux occupants en cas de freinage brusque ou d'accident.

CONSOLE CENTRALE DE BANQUETTE DE DEUXIÈME RANGÉE (selon l'équipement du vehicule)
Pour ouvrir le couvercle du compartment de la console, tirez sur le levier.

Pour réinstaller le compartment de la console centrale de banquette de deuxieme rangée :
- Faites glisser le compartment de la console sur la base, vers l'arrière du vehicule.
- Poussez le compartment de la console vers le bas pour le verrouiller en place.
- Remettez le plateau du porte-tasse.

BAC DE RANGEMENT DE L'AIRE DE CHARGEMENT
Pour ouvrir le bac de rangement de l'aire de chargement, tirez la languette vers le bas et retirez le couvercle.
Retrait du compartment de la console centrale de banquette de deuxieme rangée
Pour-retirerle compartmentde la console centraledebanquette de deuxieme rangée:
① Soulevez le plateau du portetasse.
② Tirez sur la poignée pour incliner le组成部分 de la console.
③ Tirez le compartment de la console vers l'avant du vehicule et sortez-le.

Pour acceder à l'espace de rangement du plancher, appuyez sur ① pour relever la poignée, puis tirer la poignée ② vers le haut pour soulever le panneau de l'aire de chargement.
CROCHETS POUR BAGAGES
Les crochets pour bagages peuvent etre utilisés pour fixer solidement les bagages à l'aide de cordes ou d'autres types de sangles.
AVERAGEMENT
Fixez solidement tous les bagages à l'aide de cordes ou de sangles afin d'eviter qu'ils glissent ou se déplacent. N'empirez pas les bagages plus haut que la hauteur des dossiers de siège. En cas d'arrêt brusque ou de collision, les objets non retenus sont susceptibles de se transformer en projectiles et pourraient cause des blessures.
Utilisez des cordes et des crochets ajustés pour attacher les bagages.
- Ne laïsez personne prendre place dans l'aire de chargement lorsque le vehicule est en mouvement. Il est très dangereux de voyager dans l'aire de chargement d'un vehicule. Les personnes s'y trouvant sont beaucoup plus susceptibles de subir des blessures graves ou mortelles en cas de collision.
- Ne laïsez jamais un passager s'asseoir à une place autre qu'un siège muni d'une ceinture de sécurité.
Assurez-vous que tous les occupants de votre vehicule ont pris place sur un siège et qu'ils portent correctement leur ceinture de sécurité.

Garniture laterale
Lorsque you accrochez des cordes, n'applique pas une charge supérieure à 25 kg (55 lb) à un crochet A ou 20 kg (44 lb) à un crochet B .

Crochets de plancher
N'applique pas une charge de plus de 50kg (110 lb) à un crochet.

FILED'ARRIMAGE
Le filet d'arrimage empêche les bagages de se déplacer hors de l'aire de chargement lorsque le vehicule roule.
Pour installer le filet d'arrimage, attachez-en les crochets aux dispositifs de retenue.
Pour le retirer, détachez les crochets du fillet d'arrimage des dispositifs de retenue.

LIC0628

AVERTISSEMENT
Fixez tous les bagages solidement pour éviter qu'ils glissant ou se déplacent. N'empirez pas les bagages plus haut que les dossiers de sièges. En cas d'arrêt brusque ou de collision, les bagages non retenus pourraient blesser les occupants du vehicule.
Assurez-vous de fixer les quatre crochets aux agrafes. La charge retenue par le filet ne doit pas dépasser 13,6 kg (30 lb) sinon ce dernier risque de se décrocher.

LIC0593
PORTE-BAGAGES
La charge du porte-bagages doit toujours être répartie uniformément. Ne chargez pas plus de 91 kg (200 lb) sur le porte-bagages complet A. Si une traversse arrêté additionnelle (selon l'équipement du vehicule) est installée, la capa
citede charge maximale pour le portebagages arreré (8 est de 56 kg (125 lb).Assurez-vous de ne pas dépasser le poids nominal brut du vehicule (PNBV) ou le poids technique maximal sous essieu (PTME avant et arrière).Les specifications relatives au PNBV et au PTME sont stipulées sur l'étiquette d'homologation (située sur le

Porte-bagages arrêté avec traverse additionnelle
(selon l'équipement du vehicule)
montant de portiere du conducteur). Reportez-vous au chapitre « Données techniques et information au consommateur » figurant plus loin dans ce manuel pour obtenir des renseignements à propos des PNBV et PTMC.
La traverse arrrière peut être déplacée vers l'avant ou vers l'arrière. Relevez les leviers de verrouillage ① et reglez la traverse à la position désirée. Abaissez les leviers de verrouillage. Placez les bagages sur les barres et fixez-les à l'aide d'une corde attachée aux anneaux ②. Ne place pas de bagages sur les longerons lateraux et
GLACES
n'attachez pas la corde directement aux longerons lateraux. Assurez-vous toujours que les leviers de verrouillage sont abaisSES pour que la traverse soit bien fixée en place. N'utilise pas les anneaux dans un but autre que de fixer des bagages.

AVERTISSEMENT
Fixez solidement tous les bagages à l'aide de cordes ou de sangles afin d'eviter qu'ils glissant ou se déplacent. En cas d'arrêt brusque ou de collision, les objets non retenus sont susceptibles de se transformer en projectiles et pourrait cause des blessures.

ATTENTION
Soyez prudent en installer des articles sur la galerie de toit ou en les enlevant. Si vous ne pouvez soulever sans effort les articles et les déposer sur la galerie de toit, utilisez une échelle ou un tabouret.
GLACES ÉLECTRIQUES
AVERAGEMENT
Assurez-vous que tous vos passagers ont les mains, les bras, etc. à l'intérieur du vehicule lorsqu'il est en mouvement et avant de relever les glaces. Servez-vous du commutateur de verrouillage des glaces pour empêcher l'utilisation imprévue des lève-glaces électriques.
- Ne laisses pas d'enfants sans surveillance dans un vehicule. Ils pourraient actionner par mégarde les commutateurs ou les commandes de lève-glace et se retrouver coincés dans l'ouverture d'une des glaces. Des enfants laissés sans surveillance dans un vehicule pouraient être victimes d'un grave accident.
Les glaces electriques peuvent etre activées lorsque le contacteur d'allumage est tourné a la position ON (marche) ou dans les 45 secondes suivant la coupure du contact (position OFF). L'alimentation des glaces electriques est toutefois neutralisée si la portiere du conducteur ou du passager est ouverte durant cette période d'environ 45 secondes.

- Bouton de verrouillage des glaces
- Bouton de verrouillage/déverrouillage des portières
- Interrupteur de commande automatique du (:é du passager avant
- Interrupteur de commande automatique de la glace cote passager arrêté droit
- Interrupteur de commande automatique de la glace cote passager arriere gauche
- Interrupteur automatique cote conduc-. teur
Commande des glaces électriques du côte conducteur
Le bloc de commande du côte conducteur est équipé d'interruteurs permettant d'ouvrir ou de fermer les glaces des passagers avant et arrêté.
Appuyez sur un des interrupteurs et tenez-le enfoncé pour ouvrir une glace. Tirez et maintenez l'interrupteur vers le haut pour refermer la glace. Pour interrompre l'ouverture ou la fermeture d'une glace, relâchéz simplement l'interrupteur.

Commande de glace électrique du côté passager avant
Seule la glace électric du passager avant peut être activée au moyen de cette commande. Pour ouvrir la glace, appuyez sur l'interrupteur et tenez-le enforcé ①. Tirez l'interrupteur vers le haut pour referrer la glace ②.
Verrouillage des glaces des passagers
Seule la glace côté conducteur peut être ouverte ou fermée lorsque le bouton de verrouillage des glaces est enforcé. Pour désactiver la fonction de verrouillage des glaces, enforcez de nouveau ce bouton.

Commandes des glaces électriques arrêté
Les commandes des glaces électriques arriré de droite et de gauche permettent d'ouvrir la glace électrique du passager correspondante. Pour ouvrir la glace, appuyez sur l'interrupteur et tenez-le enforcé ①. Tirez l'interrupteur vers le haut pour reférer la glace ②.

LIC0410
Fonctionnement automatique
Pour ouvrir complètement une glace dotée du fonctionnement automatique, appuyez sur l'interrupteur de glace (seul le côte conducteur est illustré) vers le bas jusqu'àu deuxieme cran, puis relâchez-le; vous n'avez pas besoin de le maintainir enforcé. La glace s'ouvre complètement. Pour interrompre l'ouverture de la glace, tirez l'interrupteur vers le haut.
Pour fermer complètement une glace automatique, tirez l'interrupteur correspondant vers le haut jusqu'au deuxieme cran, puis relâchéz-le; vous n'avez pas besoin de le maintainir en position.
Fonction d'inversion automatique
La fonction d'inversion automatique peut etre activée lorsqu'une glace se ferme en mode de fonctionnement automatique.
La fonction d'inversion automatique peut également être activée par un impact ou une charge ayant le même effet qu'un object coïncé dans l'ouverture de la glace, selon l'environnement ou les conditions de conduite.
AVERAGEMENT
Les glaces poursuivient leur course sur une courte distance qui peut ne pas etre décelée avant d'atteindre leur fermeture complete. Assurez-vous donc que rien ne se trouve dans l'ouverture des glaces (par exemple, les mains des passagers, etc.) avant de les fermer.
Si l'unité de commande décèle la présence d'un objet coince dans l'ouverture d'une glace à commande automatique pendant que celle-ci remonte, la glace s'abaisse immidiatement.

WIC0675
DEFLECTEURS D'AIRELECTRIQUES
Utilisez l'interrupteur des déflecteurs situé sur la console au pavillon pour ouvrir ou fermer les déflecteurs à commande électrique. Les déflecteurs ne peuvent pas être actionnés séparément.
Pour ouvrir les déflecteurs à commande électrique, appuyez sur le côte OPEN (ouvrir) de l'interrupteur et maintenez-le enforcé.
Pour fermer les déflecteurs à commande électrique, appuyez sur le côte CLOSE (fermer) de l'interrupteur et maintenez-le enforcé.
TOIT OUVRANT (selon l'équipement du vehicule)
Les déflecteurs à commande électrique peuvent être activés lorsqu'la clé de contact est tournée à la position ON (marche) ou dans les 45 secondes environ suivant la coupure du contact (position OFF). L'alimentation des déflecteurs à commande électrique est toutfois neutralisée si la portière du conducteur ou du passager avant est ouverte durant ce-delai de 45 secondes.

TOIT OUVRANT AUTOMATIQUE
Le toit ouvrant fonctionne seulement lorsque la clé de contact se trouve à la position ON (marche). Le toit ouvrant peut fonctionner pendant environ 45 secondes, et ce, même si la clé de contact est à la position ACC (accessoires) ou OFF (arrêt). L'alimentation du toit ouvrant électrique est toute fois neutralisée si la portière du conducteur ou du passager est ouverte durant cette période de 45 secondes.
Ouverture et fermeture du toit ouvrant
Appuyez sur l'interrupteur vers la position d'ouverture ③ pour ouvrir le toit ouvrant complètement.
Appuyez sur l'interrupteur vers la position de fermeture ④ pour fermer le toit ouvrant complètement.
Pour ouvrir ou fermer le toit ouvrant partiellement, appuyez sur l'interrupteur vers l'une des positions ⑤ pendant que le toit ouvrant s'ouvre ou se ferme, pour l'arreter à la position désirée.
Inclinaison du toit ouvrant
Pour incliner le toit ouvrant vers le haut, poussez l'interrupteur d'inclinaison à la position d'inclinaison UP (haut) ①. Si le toit ouvrant est ouvert, il se fermera automatiquement et s'inclinera vers le haut.
Pour incliner le toit ouvrant vers le bas, poussez l'interrupteur d'inclinaison à la position d'inclinaison DOWN (bas) ②.
Réinitialisation de l'interrupteur coulissant de tout ouvrant
L'interrupteur coulissant ne fonctionnera plus après le débranchement d'une des bornes de la batterie, s'il y a eu coupure de l'alimentation ou lorsque certaines anomalies sont détectées. Observe les procédures de réinitialisation suivantes afin de restaurer le fonctionnement normal du toit ouvrant.
- Si le couvercle du toit ouvrant est ouvert, appuyez sur l'interrupteur d'inclinaison à plusieurs reprises vers la position d'inclinaison vers le bas (2) pour fermer le couvercle complètement.
- Finalement, appuyez sur l'interrupteur d'inclinaison et maintenez-le enforcé pendant plus de deux secondes vers la position d'inclinaison vers le bas ② pour revenir à la position initiale du couvercle.
Le toit ouvrant fonctionnera alors normalement.
Fonction d'inversion automatique (lors de la fermetre ou de l'inclinaison du toit ouvrant)
L'inversion automatique peut semettre en fonction si la commande automatique de fermeture ou d'inclinaison vers le bas du toit ouvrant est activée alors que la clé de contact est à la position ON (marche) ou dans les 45 secondes suivant le déplacement de la clé de contact à la position OFF (arrêt).
La fonction d'inversion automatique peut également être activée par un impact ou une charge ayant le même effet qu'un objet se trouvant dans la trajectory du toit ouvrant, selon l'environnement ou les conditions de conduite.
AVERAGEMENT
Certaines zones très limitées et très rapprochées de la position de fermeture complète ne bénéficient pas de la fonction de détction. Assurez-vous donc que rien ne se trouve dans l'ouverture du tout ouvrant (par exemple, les mains des passagers, etc.) avant de le fermer.
Lors de la fermeture
Si l'unité de commande décèle la présence d'un objet dans la trajectory du toit ouvrant vers l'avant, celui-ci inversera immédiatement sa course.
Lors de l'inclinaison vers le bas
Si l'unité de commande décèle la présence d'un objet dans la trajectory du toit ouvrant vers le bas, celui-ci s'inclinera immidiatement vers le haut.
Si la fonction d'inversion automatique se dérègle et produit l'ouverture ou l'inclinaison répétée du toit ouvrant vers le haut, maintenez la pression sur l'interrupteur d'inclinaison vers le bas dans les cinq secondes suivant ces symptômes et le toit ouvrant se refermera graduèlement. Dans ce cas, assurez-vous qu'aucun object n'entrave la course du toit ouvrant.
A VERTISSEMENT
- En cas d'accident, vous pourriez être éjecté du vehicule par le toit ouvrant si celui-ci est ouvert. Bouclez toujours les ceintures de sécurité et utilisez des dispositifs de retenue pour infant.
- Ne laïsez personne se tenirABOUT ou passer une partie de son corps par l'ouverture du toit ouvrant pendant que le vehicule roule ou pendant que vous fermez le toit ouvrant.
ATTENTION
- Retirez les gouttes d'eau, la neige, la glace ou le sable du toit ouvrant avant de l'ouvrir.
- Ne déposez pas d'objets lourds sur le toit ouvrant ou à proximité de ce dernier.
Pare-soleil
Glissez le pare-soleil vers l'avant ou vers l'arrière pour l'ouvrir ou le fermer.
Si le toit ouvrant ne se ferme pas
Faites vérifier et réparer le toit ouvrant de votre vehicule par un concessionnaire INFINITI.
ÉCLAIRAGE INTÉRIEUR

L'éclairage interieur est régi par un interrupteur à trois positions. L'éclairage fonctionné, et ce, qu'elle que soit la position du contacteur d'allumage.
L'éclairage interieur s'allume,quelle que soit la position des portières, lorsque l'interrupteur est mis en fonction ①. L'éclairage s'eteint après environ 30 minutes, à moins que la clé de contact ne soit tournée à la position ACC (accessoires) ou ON (marche).
Lorsque l'interrupteur se trouve à la position commande par les contacteurs de porte (2), les éclairages interieur et au sol restent allumés pendant environ 30 secondes, lorsque :
- les portières sont déverrouillées à l'aide de la télécommande ou de l'interrupteur de verrouillage électrique des portières lorsque toutes les portières sont fermées et que le contacteur d'allumage est en position OFF (arrêt);
- la portière du conducteur est ouverte puis reférmée sans que la clé de contact se trouve dans le contacteur d'allumage;
- la clé est retiree du contacteur d'allumage lorsque toutes les portieres sont fermées.
L'éclairage s'eteint pendant la temporisation de 30 secondes si :
- la portière du conducteur est verrouillée au moyen de la télécommande, d'une clé ou de l'interrupteur de verrouillage électrique des portières;
- le contacteur d'allumage est tourné à la position ON (marche).
L'éclairage interieur ne s'allume pas, et ce, peu importe la position des portieres, lorsque l'interrupteur est mis hors fonction ③. L'éclairage au sol s'allume lorsqu'une des portieres du passager avant ou des passagers arrêté est ouverte.
Lorsque les portières sont ouvertes, l'éclairage s'éteint automatiquement dans un début de 30 minutes pour éviter d'épuiser la batterie.
REMARQUE :
L'éclairage de l'espace pour les jambes et du seuil de porte s'allume à l'ouverture des portières du conducteur et du passager, peu importe la position de l'interrupteur d'éclairage interieur. Lorsque les portières sont ouvertes, cet éclairage s'éteint automatiquement dans un décal de 30 minutes environ pour éviter d'épuiser la batterie.

ATTENTION
Ne l'utilise pas pendant de longues périodes lorsque le moteur est arrêté car la batterie pourrait se décharger.
LAMPES INDIVIDUELLES

LAMPE DE LA CONSOLE
La lampe de la console ① s'allume chaque fois que les feuels de stationnement ou les phares sont allumés.
La luminosité de la lampe de la console peut être réglée à l'aide de la commande de luminosité.

Les lampes individuelles de la console au pavillon peuvent pivoter sur 360 degrés. Pour allumer ces lampes, appuyez sur le bouton correspondant. Appuyez de nouveau sur le bouton pour éteindre la lampe.
LAMPES DE LECTURE

Pour allumer les lampes de lecture, enforcez les interrupteurs correspondants. Enforcez les interrupteurs de nouveau pour eteindre ces lampes.

ATTENTION
Ne l'utilise pas pendant de longues périodes lorsque le moteur est arrêté car la batterie pourrait se décharger.
ÉCLAIRAGE DE L'AIRE DE CHARGEMENT

La lampe de l'aire de chargement est dotée d'un interrupteur à trois positions. Pour l'utiliser, mettez l'interrupteur à la position désirée.
ON (en fonction): la lampe est allumée.
Position normale (au centre): la lampe s'allume à l'ouverture d'une des portières ou lorsque le vehicule est déverrouillé à l'aide de la télécommande. La lampe s'eteint dans un-delai de 30 secondes après que toutes les portières sont refermées.
OFF (hors fonction): la lampe ne s'allume pas, peu importe la position des portieres, que celles-ci soient verrouillées ou non
TELECOMMANDE UNIVERSELLE HOMELINK®
La télécommande universelle HomeLink® est un dispositif pratique qui combine jusqu'à trois télécommandes en une seule.
La télécommande universelle HomeLink®:
- peut faire fonctionner la plupart des dispositifs à fréquence radio comme les portes de garages, les portails, l'éclairage de la maison et du bureau, les serrures de portes d'entrée et les systèmes de sécurité;
- est alimentée par la batterie de votre vehicule et ne requiert pas de piles individuelles. La programmation de la télécommande HomeLink® n'est pas perdue lorsque votre batterie est débranchée ou qu'elle se décharge.
Une fois vous telécommande universelle HomeLink®programmée, conservez la telécommande originale à des fins de programmation ultérieure (p. ex., achat de nouveaux vehicules). Si vous vendez votre vehicule, la programmation de votre telécommande universelle HomeLink® doit être effacée à des fins de sécurité. Reportez-vous à la rubrique « Programmation de la telécommande universelle HomeLink® » plus loin dans ce chapitre pour obtenir des renseignements supplémentaires.

AVERTISSEMENT
-
N'utilisez pas la télécommande universelle HomeLink® avec un ouvre-porte de garage qui n'est pas équipé des fonctions d'arrêt d'urgence et de marche arrrière telles qu'exigées par les normes de sécurité fédérales. (Ces normes s'appliquent aux modèles d'ouvre-portes de garages fabriqués après le 1^er avril 1982). Un ouvre-porte de garage qui ne peut pas déceler la présence d'un objet se trouvant sous la porte pendant la fermeture, s'immobiliser automatiquement et faire ensuite marche arrrière, n'est pas conforme aux normes de sécurité fédérales couramment en vigueur. L'utilisation d'un tel ouvre-porte de garage accroit les risques de blessures sérieuses ou mortelles.
-
Pendant la procédure de programmation, la porte de votre garage ou la barrière de sécurité s'ouvre et se ferme (si vous utilisez la télécommande dans les limites de son champ d'action). Assurez-vous que rien ni personne ne se trouve dans le champ de la porte de garage, de la barrière de sécurité, etc. que vous actionnez en programmant la télécommande.
- Coupe le moteur de votre vehicule pour procéder à la programmation de la télécommande HomeLink®.

Type A
PROGRAMMATION DE LA TÉLECOMMANDE UNIVERSELLE HOMELINK®
- Maintenez d'abord les deux touches HomeLink extérieures enfoncées (pour effacer la mémoire) jusqu'à ce que le témoin ① se mette à clignoter lentement (après vingt secondes). Relâchéz les deux touches.
- Maintenez l'extrémité de votre télécommande portative à une distance de 25 à 75 mm (1 à 3 po) de la surface de la télécommande universelle HomeLink®.

Type B
- Utilisez vos deux mains pourmaintenire en foncees simultanement la touche HomeLink' que vous souhaitez programme et celle de la telecommande portative.
NE relâchez PAS les touches avant d'avoir completé l'étape 4.

Type A
- Maintenez les deux touches enforcées jusqu'à ce que le témoin HomeLink® clignote d'abord lentement, puis plus rapidement. Cette procédure pourrait durer jusqu'à 90 secondes. Les deux touches peuvent être relachées lorsque le témoin clignote rapidement. Le clignotement rapide indique que la programmation a été effectue avec succès. Pour activer une porte de garage ou tout autre dispositif programmable, maintenez la touche programmée HomeLink® enforcée et relâchéez-la dés que le dispositif s'actionne.

Type B
-
Le témoin HomeLink clignote rapidement pendant deux secondes et demeure allumé par la suite lorsque le système HomeLink a détecté le signal de « code tournant » d'ouvre-porte de garage. Vous devrez ensuite passer aux étapes suivantes pour compléter la programmation du système HomeLink®, ce qui pourrait impliquer l'utilisation d'une échelle et l'aide d'une seconde personne.
-
Appuyez sur le bouton de programmation « Smart » ou « Learn » du moteur de l'ouvreporte de garage pour activer le mode d'apprentissage. Ce bouton se trouve normalment prés du fil d'antenne suspendu au moteur. Si le fil débouché sous la lentille de l'éclairage, vous devrez retarder cette lentille pour atteindre le bouton de programmation.
REMARQUE :
Une fois que vous aurez appuyé sur le bouton de programmation du moteur d'ouvreporte et l'aurez relachué, et que le témoin d'apprentissage se sera allumé, vous ne disposez que de 30 secondes pour effectuer l'étape 7. La contribution d'une seconde personne est fortement recommandée pour accomplir cette étape.
-
Dans les 30 secondes suivant l'activation du bouton de programmation de l'ouvre-porte de garage, appuyez fermement sur la touche HomeLink® que vous venez de programmer et relâchez-la rapidement. Appuyez jusqu'à trois fois sur la touche HomeLink® pour compléter la procédure d'apprentissage.
-
La touche de votre système HomeLink® devrait maintainant être programmée. (Pour programmer le reste des touches HomeLink® afin d'actionner d'autres portes ou barrières, n'effectuez que les étapes 2 à 8.)
REMARQUE :
Ne repétez pas l'étépe 1, à moins que vous ne souhaiétiez effacer tous les programmes relatifs aux autres touches HomeLink®.
Si vous ave des questions au sujet de la programmation des touches de votre système HomeLink®, ou que vous éprouvez des problèmes au cours de la programmation, consultez le site Web de HomeLink à l'adresse suivante: www.homelink.com, ou composez le 1800662-6200.
PROGRAMMATION DE LA TÉLECOMMANDE HOMELINK® POUR LE CANADA
Avant 1992, les règlements du ministère des Communications du gouvernement du Canada exigeaient l'interruption de la transmission des télécommandes portatives après deux secondes. Pour programmermer votre télécommande portative dans la télécommande HomeLink®, continue d'appuyer sur la touche de la télécommande universelle HomeLink® (consultez les étapes
2 à 4 de la rubrique « Programmation de la télécommande universelle HomeLink® » et appuyez successivement (en mode « cycle ») sur vos télémandes portatives toutes les deux secondes jusqu'à ce que le témoin clignote rapidement (ceci indique la réussite de la programmation).
REMARQUE :
Si vous programmesz un ouvre-porte de garage ou un autre dispositif du même type, il est conseilé de débrancher le dispositif pendant le processus de « cyclage » afin d'éviter d'endommager ses composants.
UTILISATION DE LA TÉLECOMMANDE UNIVERSELLE HOMELINK®
Une fois programmee, la telecommande universelle HomeLink® peut etre utilise pour actionner une portede garage ou tout autre dispositif similaire. Pour ce faire, enoncez et relachez simplementla touche programmée correspondante de la telecommande universelle HomeLink®.Le meoin amber s'allume pendant la transmission du signal.
DIAGNOSTIC DES PROBLEMES DE PROGRAMMATION
Si la télécommande HomeLink® ne reconnaît pasrapidement les codes d'une télécommande portative :
- remplacez les piles de la télécommande portative;
- placez la télécommande portative devant la télécommande HomeLink®, en tenant l'extrémité où se trouve la pile à l'écart de la surface de la télécommande HomeLink®;
- appuyez simultanément sur les touches des deux télécommandes, sans les relâcher;
- maintenez l'extrémité de votre télécommande portative à une distance de 25 à 75 mm (1 à 3 po) de la surface de la télécommande universelle HomeLink®. Maintenez la télécommande dans cette position pendant quinze secondes. Si ce délièn'est pas suffisant pour programmer la télécommande HomeLink®, essayez de tener la télécommande dans une autre position en gardant le tímoin en vue en tout temps.
Si les problèmes de programmation persistent, veuillez communiquer avec le Service de la protection du consommateur INFINITI. Les numéro
de téléphone pour joindre ce service sont inscrits dans l'avant-propos de ce manuel.
POUR EFFACER LA PROGRAMMATION DES TOUCHES HOMELINK®
Il n'est pas possible d'effacer la programmation d'une touche individuelle. Pour effacer toute programmation antérieure, appuyez sur les deux touches extérieures de la télécommande et maintenez-les enforcées jusqu'à ce que le moyen clignote (environ 20 secondes), puis relâchéz-les.
REPROGRAMMATION D'UNE SEULE TOUCHE HOMELINK®
Pour reprogrammer une touche HomeLink® déjà programmée, procédez comme suit :
- Appuyez sur la touche du canal désiré de la télécommande universelle HomeLink et maintenez-la enforcée. Ne relâchéz pas la touche avant d'avoir complété l' étape 4.
-
Lorsque le témoin commence à clignoter lentement (après 20 secondes), placez la télécommande portative à une distance de 25 à 75 mm (1 à 3 po) de la surface de la télécommande HomeLink®.
-
Appuyez sur la touche de la télécommande portative et maintenez-la enfoncée.
- Le témoin HomeLink® clignote lentement, puis rapidement. Dés que le témoin clignote rapidement, relâché les deux touches.
La touche de la télécommande universelle HomeLink® est maintainant reprogrammée. Le nouveau dispositif peut être activé en,enfantant la touche HomeLink® qui vient tout juste d'être programmée. Cette procédure n'a pas d'impact sur les autres touches programmes de la télécommande HomeLink®.
SI VOTRE VÉHICULE EST VOLÉ
Si vous vécicule est volé, vous nevez changer les codes de tout dispositif à code non tournant déjàprogrammé dans la télécommande HomeLink Consultez le mode d'emploi de chacun des disposits programmés ou communique avec les fabricants ou les concessionnaires de ces disposits pour obtenir plus de renseignements à ce sujeit.
Vous devrez intégrer ces nouveaux renseignements à la programmation de la télécommande universelle HomeLink® lorsque votre vehicule sera retrouvé.
Avis de la FCC :
Ce dispositif est conforme aux normes de la section 15 des règlements de la FCC. Son fonctionnement est soumis aux deux conditions suivantes : (1) ce dispositif ne doit causer aucune interférence nuisible, et (2) il doit pouvoir accepter toutes les interférences, y compris celles qui peuvent l'activer de façon inopinée.
Ce dispositif a ete teste et est conforme aux normes de la FCC et du DOC/MDC. Le droit de l'utiliseur de disposer d'un tel equipement pourrait etre revoque si des modifications non conformes a ce qui a ete approuve par le fabricant sont apportees.
DOC:ISTC1763K1313
FCC I.D. CV2V67690
MÉMENTO
3 Vérifications et réglages avant le démarrage
Clés 3-2
Clés du système antidémarrage INFINITI 3-2
Portieres 3-3
Verrouillage au moyen d'une clé 3-3
Verrouillage au moyen de la commande de verrouillage interieure 3-4
Verrouillage au moyen de l'interrupteur de verrouillage électrique des portières 3-4
Verrouillage des portières arrêté au moyen du dispositif de sécurité pour infant. 3-5
Système d'entrée sans clé à télécommande 3-5
Comment utiliser le système d'entrée sans clé à télécommande 3-6
Remplacement de la pile 3-9
Capot. 3-11
Porte arriere 3-11
Utilisation du hayon à commande électrique . 3-12
Interrupteur de neutralisation. 3-15
Déverrouillage de la porte arrière 3-15
Hayon vitre 3-16
Trappe du réservoir de carburant 3-16
Bouchon de replissage de carburant. 3-16
Volant de direction. 3-18
Fonctionnement du volant inclinable 3-18
Réglage de position de pédale. 3-18
Pare-soleil 3-19
Miroirs de courtoisie 3-20
Retroviseurs 3-20
Rétroviseur anti-éblouissement interieur automatique 3-20
Rétroviseurs extérieurs 3-21
Positionneur automatique. 3-22
Fonction de mémorisation 3-22
Fonction d'entrée/de sortie 3-23
Fonctionnement du système 3-24


LPD0281
- Deux clés principales (noires) avec puce de transpondeur et symbole chromé sur l'une des faces
- Clé de sûreté (noire) avec puce de transpondeur
- Plaque avec numero de clé
- Puce du transpondeur
Lorsque you prenez possession des clés de votre vehicule, vous receivez également une plaque portant le numéro de votre clé. Prenez le número de clé de la plaque en note et conservez-le dans un endroit sur ( comme votre portefeuille), et non dans votre vehicule. Si vous égarez vos clés, rendez-vous chez un conces-
sionnaire INFINITI avec ce numero pour en obtenir des copies. Il est très important que vous conserviez le numero de clé apparaisant sur la plaque puisque INFINITI ne conserve pas de registres des nombres de clés de ses vehicules.
Vous n'aurez besoin de ce numero que si vous perdez toutes les clés de votre vehicule et qu'il n'est plus possible de se servir d'une de vos clés pour en tirer des copies. Si vous possédez encore une clé, vous pouvez en faire faire des copies chez votre concessionnaire INFINITI.
CLÉS DU SYSTÉME ANTIDÉMARRAGE INFINITEI
Seules les clés principales ou de suturet programmes dans la mémoire du système antidémarrage de votre vehicule INFINITI peuvent être utilisées. Ces clés contiennent une puce de transpondeur.
Toutes les serrures de la voiture peuvent etre déverrouillées ou verrouillées au moyen de la clé principale.
La clé de sûreté ne peut pas être utilisée pour ouvrir la serrure de la console.
Si vous préteze votre vehicule à quelqu'un, mais ne voulez pas que cette personne ait accès à vos objets personnels, remettez-lui une clé de suturet.
Ne laisses jamais ces clés dans votre vehicule.
Clés supplémentaires ou de remplacement
Lorsque vous avez une clé, il n'est pas nécessaire de fournir le numéro de clé si vous désirez vous procurer une clé supplémentaire associée au système antidémarrage INFINITI. Vote concessionnaire peut vous procurer un double de leur clé. Vous pouvez utiliser jusqu'à cinq clés associées au système antidémarrage INFINITI. Vote devriez appporter toutes les clés du système INFINITI que vous possèdez lorsque vous给您présentez chez un concessionnaire INFINITI pour les faire programme. La raison justifiant cette exigence est que la programmation effectuee efface la mémoire de tous les codes de clés enregistrres antérieurement dans le système antidémarrage du vehicule INFINITI. Une fois la programmation complétée, les composants du système reconnaîtront seulement les clés INFINITI qui ont été mises en mémoire dans le système pendant la procédure de programmation. Si vous omettez de remettre des clés à votre concessionnaire au moment de la programmation, celles-ci ne pourront plus être utilisées pour démarrer toute vehicule.
Ne laissez jamais la clé associée au système antidémarrage, contenant un transmetteur électrique, entre en contact avec de l'eau salée. Ceci pourrait compromettre le fonctionnement du système.
3-2 Vérifications et réglages avant le démarrage

AVERTISSEMENT
- Gardez toujours les portières verrouillées pendant que vous conduisez. Utilisé en combinaison avec les ceintures de sécurité, le verrouillage des portières offre une sécurité accrue en cas d'accident en empêchant l'éjection des passagers hors du vehicule. Cette précaution a aussi pour but de prévenir l'ouverture accidentelle des portières par des enfants ou d'autres personnes et d'empêcher toute intrusion indésirable dans le vehicule.
- Avant d'ouvrir une portière, observer la circulation routière et tenez-vous loin des vehicules qui s'approchent.
- Ne laisses pas d'enfants sans surveillance dans un vehicule. Ils pourraient actionner les commutateurs ou les commandes par megarde. Des enfants laissés sans surveillance dans un vehicule pourraient être victimes d'un grave accident.

Côté conducteur
VERROUILAGE AU MOYEN D'UNE CLÉ
Le système de verrouillage électrique des portières vous permet de verrouiller ou de déverrouiller toutes les portières en même temps.
Pour verrouiller toutes les portières, tournez la clé vers l'avant ① du vehicule.
Pour déverrouiller la portière du conducteur, tournez la clé vers l'arrière ② du vehicule une fois. Pour déverrouiller toutes les portières ④, ramènez la clé à la position de point mort ③ (la position d'ou la clé peut être retiree et insérée) à partir de la position précédente et tournez-la de
nouveau vers l'arrête dans un décai de cinq secondes.
Ouverture et fermeture des glaces
Vou puevez ouvrir et fermer les glaces à fonctionnement automatique en même temps que vous actionnez la clé sur la portière du conducteur.
- Pour ouvrir les glaces, tournez la clé sur la portière du conducteur vers l'arrière du vehicule pendant plus d'une seconde une fois la portière déverrouillée.
- Pour fermer les glaces, tournez la clé sur la portière du conducteur vers l'avant du vehicule pendant plus d'une seconde une fois la portière verrouillée.
Le mouvement des glaces s'arrête lorsque la clé est relachée.

Verrouillage de l'intérieur VERROUILLAGE AU MOYEN DE LA COMMANDE DE VERROUILLAGE INTÉRIÉURE
Pour verrouiller la portiere sans utiliser la clé, déplacez la commande de verrouillage interieure à la position de verrouillage ①, puis fermez la portière.
Déplacez la commande interieure à la position de déverrouillage pour déverrouiller la portière sans utiliser la clé ②.

Interrupteur de serrure de portiere VERROUILAGE AU MOYEN DE L'INTERRUPTEUR DE VERROUILAGE ÉLECTRIQUE DES PORTIERES
Poussez l'interrupteur de verrouillage électric de la portière (côté conducteur ou passager avant) à la position de verrouillage ① pour verrouiller toutes les portières sans l'aide de la clé. Assurez-vous de ne pas laisser vos clés dans le vehicule lorsque vous utilise cette méthode pour verrouiller les portières.
Pour déverrouiller toutes les portières sans utilise la clé, poussez l'interrupteur de verrouillage
électrique des portières (côté conducteur ou passager avant) à la position de déverrouillage ②.
Protection de verrouillage
Lorsque vous placez l'interrupteur de verrouillage électrique des portières (côté conducteur ou passager avant) en position de verrouillage alors que la clé se trouve dans le contacteur d'allume et qu'une portière est ouverte, toutes les portières se verrouillent puis se déverrouillent automatiquement. Ceci permet d'éviter que les clés soient oublées à l'intérieur du vehicule lors du verrouillage.
3-4 Vérifications et réglages avant le démarrage
SYSTÉME D'ENTRÉE SANS CLÉ À TÉLECOMMANDE

VERROUILAGE DES PORTIERES ARRIÈRE AU MOYEN DU DISPOSITIF DE SECURITE POUR ENFANT
Le dispositif de sécurité pour infant empêche l'ouverture accidentelle des portières arrêté, plus particulièrement lorsque de jeunes enfants ont pris place dans le vehicule.
Les leviers de verrouillage du dispositif de sécurité pour enfant sont situés sur le rebord des portières arrêté.
Les portières arrirée ne peuvent être ouvertes que de l'extérieur lorsque les leviers sont en position de verrouillage.
La télécommande vous permet de verrouiller et de déverrouiller toutes les portières, d'allumer l'éclairage interieur et l'éclairage au sol et d'activer l'alarme de détresse à partir de l'extérieur du vehicule.
Certaines fonctions de la télécommande, comme le retentissement de l'avertisseur sonore, sont réglibres. Consultez la rubrique « Mise au silence de l'avertisseur sonore » plus loin dans ce chapitre et « Écran d'affichage, chauffage et climaiteur et chaine audio » plus loin dans ce manuel.
Assurez-vous de ne pas laisser vos clés dans le vehicule avant de verrouiller les portières.
La télécommande peut fonctionner à une distance maximale d'environ 10 m (33 pi) du vehicule. Toutefois, elle peut varier en fonction des conditions environnantes du vehicule.
Voupeuvez utiliser jusqu'à cinq télécommandes pour un vehicule. Pour obtenir des renseignements relatifs à l'achat et à l'utilisation de télécommandes supplémentaires, communiquez avec un concessionnaire INFINITI.
La télécommande ne fonctionnera pas si :
- la pile est décharge;
- la distance entre le vehicule et la télécommande est supérieure à 10 m (33 pi).
L'alarme de détresse ne s'active pas lors que la clé se trouve dans le contacteur d'allumage.

ATTENTION
Les conditions et les circonstances susceptibles d'endommager la télécommande sont enumeratedres ci-dessous:
- La télécommande ne doit pas entraire en contact avec de l'eau.
- Ne laisses pas tomber la télécommande.
- Ne frappez pas la télécommande brusquement sur un autre objet.
- Si une télécommande est perdue ou volée, INFINITI vous recommende d'effacer le code d'identification de cette télécommande. Vous empêcherez ainsi toute personne non autorisée d'utiliser la télécommande pour déverrouiller le vehicule. Pour obtenir des renseignements relatifs à la procédure d'effacement, veuillez consulter un concessionnaire INFINITI.
Si vous telécommande est perdue ou voïlée, NISSAN vous recommend d'effacer le code d'identification de cette dernière. Vous éviterez ainsi une utilisation non autorisée de la telécommande pour déverrouiller le vehicule. Communiquez avec un concessionnaire NISSAN pour obtenir des renseignements concernant la procédure à utiliser pour effacer le code.

COMMENT UTILISER LE SYSTÉME D'ENTRée SANS CLE À TÉLÉCOMMANDE
Verrouillage des portières
- Fermez toutes les glaces de votre vehicule.
- Retirez la clé du contacteur d'allumage.
- Fermez le capot et toutes les portières.
-
Enforcez le bouton de la télécommande. Toutes les portieres se verrouillent. Les feu des detresse clignotent deux fois et l'avertisseur sonore emet un bip pour confirmer le verrouillage de toutes les portieres.
-
Si le bouton est enforcé alors que les portières sont toutes verrouillées, les yeux de détresse clignotent deux fois et l'avertisseur sonore émet un bip pour indiquer que les portières sont déjà verrouillées.
Si une portiere est ouverte et que vous appuyez sur le bouton 1, les portieres se verrouillent mais l'avertisseur sonore ne retentit pas et les feux de detresse ne clignotent pas.
L'avertisseur sonore peut émettre un bip ou rester silencieux. Consultez la rubrique « Mise au silence de l'avertisseur sonore » plus loin dans ce chapitre et « Écran d'affichage, chauffage et climatisationur et chaine stéréophonique » plus loin dans ce manuel.

Déverrouillage des portières
Enoncez le bouton de la télécommande une fois.
- Seule la portiere du conducteur se déverrouille.
- Les feu des detresse clignotent une fois lorsqu'toutes les portieres sont complètement fermées et que la clé de contact se trouve à une position autre que la position ON (marche).
L'éclairage interieur et l'éclairage au sol s'allument et le temporisateur d'éclairage s'active pendant 30 secondes si
l'interrupteur d'éclairage se troue à la position commande par les contacteurs de portières et que la clé de contact est dans une position autre que ON (marche).
Enoncez de nouveau le bouton 2 de la télécommande dans les cinq secondes qui suivent.
- Toutes les portières se déverrouillent.
- Les feu de détresse clignotent une fois si toutes les portières sont complètement fermées.
Vou puez eteindre l'éclairage interieur sans attendre le délambda de 30 secondes en inserant la clé dans le contacteur d'allumage et en la tournant à la position ON (marche) ou START (démarriage), en verrouillant les portières au moyen de la télécommande ou en mettant hors fonction l'interrupteur de l'éclairage interieur.
Dispositif de reverrouillage automatique
Lorsque le bouton de la télécommande est enforcé, toutes les portières se verrouillent automatiquement dans un-delai d'une minute, à moins qu'une des opérations suivantes ne soit effectue:
-
une portière est ouverte;
-
une clé est insérée dans le contacteur d'allumage et tournée de la position OFF à la position ON.
Ouverture des glaces
Vou puez ouvr les glaces à fonctionnement automatique simultanément à l'aide de la télécommande.
Pour ouvrir la glace, enforcez le bouton de la télécommande pendant plus de trois secondes une fois que toutes les portieres sont déverrouillées.
Les glaces des portieres s'abaissent pendant que vous enforcez le bouton de la télécommande.
Les glaces des portières ne peuvent pas etre fermées au moyen de la télécomme.
Couplage de la télécommande aux fonctions de mémorisation du positionneur automatique
Si le vehicule est équipé du positionneur automatique, la télécommande peut être couplée aux fonctions de réglage méorisé.
Consultez la rubrique « Positionneur automatique » plus loin dans ce chapitre.

LPD0243
Utilisation du hayon à commande électrique
Maintenez le bouton de la télécommande enforcé pendant une demi-seconde pour ouvrir ou fermer le hayon. Les yeux de détresse clignotent et un carillon retentit pour indiquer que la séquence d'ouverture ou de fermetre a début.
Le mouvement du hayon s'inverse immédiatement durant une commande d'ouverture ou de fermeture électrique si vous appuyez sur le bouton de la télécommande. Un carillon retentit pour confirmer l'inversion de mouvement du hayon.
Pour plus de détails, consultez la rubrique « Hayon » plus loin dans ce chapitre.

LPD0211
Utilisation de l'alarme de détresse
Si vous vous trouvez à proximé de votre vehicule et que vous croyez être en danger, vous pouvez activer l'alarme de détresse en,enfantant le bouton de la télécommande pendant plus d'une demi-seconde.
L'alarme de détresse et les phares s'activent alors pendant 25 secondes.
L'alarme de détresse est neutralisée lorsque :
ellearetentipendant25seconds;ou
- un des boutons de la télécommande est enforcé.

LPD0262
Mise au silence de l'avertisseur sonore
Voussupportezneutraliserla fonctionde signalsonore émispar l'avertisseur au moyen de latélécommandesisiyouseledésirez.
Pour neutraliser cette fonction : appuyez simultanement sur les boutons et et maintenez-les enforcés pendant au moins deux secondes.
Les feu de détresse clignotent alors trois fois pour confirmer que la fonction de signal sonore a eté neutralisée.
Pour activer cette fonction: appuyez sur les boutons 1 et 2 et maintenez-les en foncés une fois de plus pendant au moins deux secondes.
Les feu des detresse clignotent une fois et l'avertisseur sonore émet un bip pour confirmer le rétablissement de cette fonction.
La neutralisation de la fonction de signal sonore n'entraine pas la mise au silence de l'avertisseur en cas de déclenchement de l'alarme.
Utilisation de l'éclairage interieur
Appuyez une fois sur le bouton de la télécommande pour allumer l'éclairage interieur et l'éclairage au sol (salon l'équipement du vehicule).
L'éclairage interieur peut être éteint, sans devoir attendre le début habituel de 30 secondes, en insérant la clé dans le contacteur d'allumage, en verrouillant les portières au moyen de la télécommande ou en mettant le bouton de l'éclairage interieur à la position OFF (arrêt).



LPD0214
REEMPLACEMENT DE LA PILE
Pour remplacer la pile de la télécommande, procedez comme suit :
① Ouvrez le couvercle de la telecommande a l'aide d'une piece de monnaie.
② Retirez la pile usagée.
③ Installez la pile neuve en plaçant le côte marquéd'un « + » vers le bas.
Pile recommandée : Sanyo CR2025 ou l'équivalent.
④ Refermez solidement le couvercle de la télécommande.
5. Appuyez sur le bouton 1 , puis sur le bouton 2 deux ou trois fois pour vous assurer que la télécommande fonctionne.
Si la pile est retiree de la telecommande pour toute autre raison que pour la replacer, repetez I'etape 5.
- Les piles mises au rebut de façon inadéquate peuvent avoir des effets néfastes sur l'environnement. Consultez toujours les règlements en vigueur dans votre localité concernant l'élimination des piles.
- La télécommande est donc pour ré-sister à l'eau; toute fois, si elle entre en contact avec de l'eau, sechez-la immédiatement en l'essayant.
- La portée opérationnelle de la télécommande est d'environ 10 m (33 pi) à partir du vehicule. La portée de la télécommande peut varier en fonction des conditions environnantes du vehicule.
Avis de la FCC :
Toute modification non conforme aux normes du fabricant peut annuler le droit de l'utilisateur de disposeur d'un tel équipement.
Ce dispositif est conforme à l'article 15 des règlements de la FCC et au règlement RSS210 d'Industrie Canada.
L'utilisation de ce dispositif est soumise aux conditions suivantes : (1) ce dispositif ne doit cause aucune interférence nuisible, et (2) il doit accepter toutes les interférences, y compris celles qui peuvent l'activer de façon inopinée.

① Tirez la poignée de déverrouillage de la serrure du capot située sous la planche de bord, côte conducteur. Le capot s'entrouvre légèrement.
② Du bout des doigs, soulevez le levier situé à l'avant du capot et ouvre le capot, tel qu'illustré.
Pour referrer le capot, abaissez-le doucement et assurez-vous qu'il se verrouille correctement.
LPD0282
AVERAGEMENT
Assurez-vous que le capot de votre vehicule est bien fermé et correctement verrouillé avant de prendre la route. Si cette vérification n'est pas faite, le capot pourrait s'ouvrir et cause un accident.
- Si vous Voyez de la vapeur ou de la fumée s'échapper du compartment moteur, n'ouvre pas le capot car vous pourriez subir des blessures.

AVERTISSEMENT
Assurez-vous que la portiere arrêté est bien fermée afin d'éviter qu'elle ne s'ouvre accidentellement pendant que le vehicule roule.
- Ne conduisez pas lorsque le hayon est ouvert. Les gaz d'échéppement nocifs pourraient alors pénétrer dans l'habitacle. Consultez la rubrique « Gaz d'échéppement » du chapitre « Démarriage et conduite » de ce manuel.

Interrupteur de montant arrêt
UTILISATION DU HAYON À
COMMANDE ÉLECTRIQUE

AVENTISSEMENT
Assurez-vous que rien ne se trouve dans la trajectory de fermeture de la porte arrête (par exemple, les mains des passagers, etc.) avant de la fermer.

LPD0283
Interrupteur de la planche de bord
- Ne laisses pas d'enfants sans surveillance dans un vehicule. Ils pourraient actionner les commutateurs ou les commandes par megarde. Des enfants laissés sans surveillance dans un vehicule pourraient être victimes d'un grave accident.
REMARQUE :
Afin de pouvoir ouvrir, fermer ou inverser le sens de fonctionnement du hayon à commande électrique, vous doivent placer le levier sélecteur en position P (stationnement). De plus, le hayon à commande électrique ne fonctionnera pas si la tension de la batterie est trop faible.
Ouverture electrique
Le hayon s'ouvre complètement et automatiquement à partir de sa position de fermeture en six secondes environ. La fonction d'ouverture électrique est disponible à partir de la télécommande, de l'interrupteur de la planche de bord ou de la poignée d'ouverture extérieure. Les feuels de détrresse clignotent et un carillon retent pour indiquer que la série d'ouverture a début.
Le hayon peut etre ouvert a partir de l'interrupteur de la planche de bord ou de la telecommande, meme lorsque le vehicule est verrouillé. Le hayon se déverrouille et s'ouvre de façon distincte. Une fois le hayon refermé, il sera verrouillé ou déverrouillé en fonction de I'etat des autres serrures du vehicule.
-
Le bouton de la télécommande doit être maintenu enforcé pendant une demi-seconde avant que le hayon ne commence à s'ouvrir.
-
Le hayon doit être déverrouillé afin de pouvoir l'ouvoir au moyen de la poignée extérieure.
- L'interrupteur de montant arrêt ne peut être utilisé pour ouvrir le hayon.
Un carillon retentit si le levier sélecteur est déplaced hors de la position P (stationnement) durant l'ouverture électrique du hayon.
Fermeture électrique
Le hayon à commande électrique se referme automatiquement à partir de sa position de pleine ouverture jusqu'en position secondaire. Lorsque le hayon atteint cette position secondaire, le moteur de fermeture finale s'engage et tire le hayon jusqu'à l'engagement du loquet principal. La fermeture électrique du hayon prend environ huit secondes. La fonction de fermeture électrique est disponible à partir de la télécommande, de l'interrupteur de la planche de bord ou de celui du montant arrière. Les feuces de détresse clignotent et un carillon retentit pour indiquer que la séquence de fermeture a début.
- Si la poignée d'ouverture extérieure du hayon est actionnée alors que le moteur de fermeture finale est engagé, ce dernier se désengage et libre le loquet.
Le bouton de la télécommande doit etremaintenu enforcé pendant une demi
seconde avant que le hayon ne commence a se fermer.
- L'interrupteur de montant arrêté ne commande la fermeture du hayon que si l'interrupteur de neutralisation n'est pas en position d'activation.
Inversion
Le mouvement du hayon peut être inversé immédiatement durant une commande d'ouverture ou de fermeture électrique en appuyant sur le bouton de la télécommande, sur l'interrupteur de la planche de bord ou sur celui du montant arrière, ou si la poignée extérieure est relevant. Un carillon retentit pour confirmer l'inversion de mouvement du hayon.
Inversion automatique
Si le hayon rencontres un obstacle lors de sa course d'ouverture ou de fermeture, un carillon retentit et le hayon inverse automatiquement sa course pour reprendre sa position de pleine ouverture ou de pleine fermeture. Si le hayon rencontres un second obstacle, il s'immobilise et le moteur d'entrainment se désengage. Le hayon passée alors en mode manuel.
Chaque côté du hayon est muni d'une bande anti-pincement. Si la bande détecte un obstacle durant la fermeture du hayon, ce dernier inverse sa course et s'ouvre complètement.
REMARQUE :
Si la bande anti-pincement est endomma-gee ou retiree, le mode de fermeture elec-trique ne fonctionnera plus.
A VERTISSEMENT
Certaines zones très limitées et très rapprochées de la position de fermeture complète des glaces ne bénéficient pas de la fonction de détention. Assurez-vous donc au préalable que rien ne se trouve dans la trajectory de fermeture des glaces (par exemple, les mains des passagiers, etc.).

Mode manuel
Si le mode de fermeture électrique n'est plus disponible, le hayon peut etre utiliser en mode manuel. Le mode de fonctionnement electrolyque du hayon pourrait ne pas etre disponible si I'interrupteur de neutralisation est en position d'activation, si le hayon a rencontre plusieurs obstacles au cours d'un seul cycle de fermeture ou d'ouverture, ou si la tension de la batterie est trop faible.
Pour ouvrir le hayon manuellement, tirez sur la poignée extérieure.
Pour refermer le hayon, abaissez-le et poussez-le fermement vers le bas.

Mode sécurité :
Si les étais pneumatiques du hayon ① perdent de leur pression, le mode sécurité du hayon a commande électrique est activé. Lorsque le mode sécurité est activé, le hayon se ferme lentement. Un carillon continu retentit jusqu'à ce que le hayon soit complètement abaisse. Le hayon est ensuite tiré en position fermée, puis verrouillé par un moteur.
Le hayon à commande électricne ne peut pas être ouvert à l'aide des interrupteurs lorsqu'le mode sécurité est actif.
La fonction d'inversion automatique reste active lorsque le hayon se ferme en mode sécurité.
Contactez votre concessionnaire INFINITI avant de réutiliser le hayon.

ATTENTION
- N'actionnez pas le hayon électrique s'il ne reste pas ouvert ou s'il se referme inopinément pendant que le carillon d'advertissement retentit. Les verins à gaz du hayon peuvent être dépressurisés. Faites inspector le hayon par un concessionnaire INFINITI.
- N'activez pas la porte arrêté électrique si un ou les deux potelets au gaz de la porte sont逝és. La porte arrêté ou les mécanismes de la porte arrêté électrique pourrait alors être endommages.

LPD0248
INTERRUPTEUR DE NEUTRALISATION
Appuyez sur l'interrupteur vers la position CANCEL pour désactiver l'interrupteur de montant arrrière et la poignée extérieure. Le hayon peut encore être ouvert et fermé en utilisant l'interrupteur de la planche de bord et le bouton de la télécommande.
DEVERROUILLAGE DE LA PORTE ARRIÈRE
AVERAGEMENT
Assurez-vous que la portiere arrêté est bien fermée afin d'éviter qu'elle ne s'ouvre accidentellement pendant que le vehicule roule.
- Ne conduisez pas lorsque le hayon est ouvert. Les gaz d'échéppement nocifs pourraient alors pénétrer dans l'habitacle. Consultez la rubrique « Gaz d'échéppement » du chapitre « Démarriage et conduite » de ce manuel.
ATTENTION
-
N'actionnez pas le hayon électrique s'il ne reste pas ouvert ou s'il se referme inopinément pendant que le carillon d'advertissement retentit. Les vérins à gaz du hayon peuvent être dépressurisés. Faites inspector le hayon par un concessionnaire INFINITI.
-
N'activez pas la porte arrêté électricque si un ou les deux potelets au gaz de la porte sont逝és. La porte arrêté ou les mécanismes de la porte arrêté électricque pourrait alors être endommagés.
HAYON VITRÉ

Déverrouillage du hayon à commande électrique
Hayon à commande électrique
Si le hayon ne peut etre ouvert au moyen de l'interrupteur ou de la telecommande en raison d'une batterie decharge,observe les proceduresuivantes:
- Retirez le couvercle situé sur la face interne du hayon.
- Poussez le levier vers le haut pour déverrouiller le hayon.

Pour ouvrir, tirez sur la petite poignée extérieure pour déverrouiller le hayon vitre, puis relevez le hayon vitre. Pour refermer le hayon vitre, abaissez-le et poussez-le fermement vers le bas.
REMARQUE :
Le hayon doit être déverrouillé avant d'ouvrir le hayon vitré.
TRAPPE DU RÉSERVOIR DE CARBURANT

BOUCHON DE REMPLISSAGE DE CARBURANT
Le bouchon de replissage de carburant est de type à cliquet. Pour enlever le bouchon, tournez-le dans le sens contraire des aiguilles d'une montre. Pour le serrer, tournez-le dans le sens des aiguilles d'une montre jusqu'à ce qu'il émette des déclics.
Placez le bouchon de replissage de carburant sur le support de bouchon ① pendant le replissage.
A VERTISSEMENT
- L'essence est une substance extrémement inflammable qui peut aussi être hautement explosive dans certaines conditions. Vous pourriez subir des brûlures ou des léasons graves en cas d'utilisation ou de manipulation incorrecte. Lorsque vous faites le plein d'essence, arrêtez toujours le moteur, ne fumez pas et tenez toute flamme ouétincelle loin du vehicule.
Le carburant peut etre sous pression. Devissez le bouchon d'un tiers de tour et s'il y a un sifflement,attendez qu'il s'arrête avant de continuer;,' cela vous evitera d'être atteint et blessé par du carburant qui pourrait gicler. Retirez ensuite le bouchon. -
Ne tentez pas de continuer à replir le réservoir de carburant lorsque le pistolet du distributeur d'essence s'éteint automatiquement. Le surréplissage pourrait faire déborder le réservoir, faire giclér le carburant et provoquer un incendie.
-
Remplacez toujours un bouchon de replissage de carburant par un bouchon de même type que le bouchon d'origine. En effet, celui-ci est muni d'une soupape de sureté intégrée nécessaire au fonctionnement ajustat du circuit d'alimentation et au dispositif antipollution. L'utilisation d'un bouchon non ajustat peut entrainer une défaillance importante ainsi que des blessures. Une telle'utilisation peut également provoquer l'activation du moyen d'anomalie.
- Ne versez jamais de carburant dans le corps de papillon pour tenter de démarrer votre vehicule.
- Ne replisssez pas de carburant un contenant portatif dans un vehicule ou une remorque car l'électricité statique pourrait provoquer une explosion des liquides, vapeurs ou gaz inflammables. Pour réduire les risques de blessures graves ou mortelles lors du replissage de carburant d'un contenant portatif :
- Placez toujours le contenant sur le sol pour le replir.
-
N'utilisez pas de dispositifs électroniques pendant le replissage.
-
Gardez le pistolet du distributeur d'essence en contact avec le contenant pendant le remplissage.
- Utilisez uniquement un contenant à carburant portatif pour liquide inflammable homologué.
ATTENTION
- Si du carburant a été renversé sur la carrosserie du vehicule, rincez-le immédiatement avec de l'eau pour éviter des dégats à la peinture.
- Serrez jusqu'à ce que le bouchon du réservoir de carburant fasse entendre un déclic. Le tímoin d'anomalie SERVICE ENGINE SOON peut s'allumer si le bouchon du réservoir est mal serré. Si tel est le cas, ou si vous avez oublé de replacer le bouchon, serrez ou replaces le bouchon et poursuivez votre route. Le tímoin ENGINE SOON désplaces. Si le tímoin ENGINE RESTE allumé après quelques déplacements, faites inspectorer toute vehicule par un concessionnaire INFINITI.
VOLANT DE DIRECTION
Pour plus de détails, consultez la rubrique « Témoin d'anomalie (MIL) » du chapitre « Commandes et instruments » dans leprésent manuel.

FONCTIONNEMENT DU VOLANT INCLINABLE
Appuyez sur l'interrupteur ① pour régler le volant de direction vers le haut ou vers le bas ②, tel que désiré.

AVERTISSEMENT
Ne reglez pas le volant de direction pendant que vous conduisez. Vous pourriez perdre la maitrise de votre vehicule et causer un accident.
RéGLAGE DE POSITION DE PÉDALE

Les pédales d'accélérateur et de frein peuvent être régles en fonction de vos préférences.
Utilisez l'interrupteur du pédalier pour déplacer les pédales d'accéléateur et de frein vers l'avant ① ou vers l'arrière ②. Le réglage du pédalier est uniquement possible lorsque :
- le contacteur d'allumage est en position OFF (arrêt) ou ACC (accessoires);
- le contacteur d'allumage est en position ON (marche) et le levier selecteur est en position P (stationnement).
Les pédales d'accélérateur et de frein ne peuvent être régées individuellement.
PARE-SOLEIL

ATTENTION
Ne réglez pas le pédalier en laissant votre pied reposer sur les pédales.

① Pour éliminer l'éblouissement frontal, abaissez le pare-soleil principal.
Pour éliminer l'éblouissement létal, déga-gez le pare-soleil principal de son support central et faites-le pivoter sur le côte.
Pour eliminer l'éblouissement frontal et latéral, abaissez le pare-soleil auxiliaire.
(4) Faites glisser la rallonge du pare-soleil vers l'intérieur ou vers l'extérieur au besoin.

ATTENTION
- Ne tentez pas de ranger le pare-soleil avant de l'avoir replaced à sa position initiale.
- Rangez le pare-soileil principal après avoir range la rallonge et la partie inférieure du pare-soileil.
- Ne tirez pas brusquement sur la rallonge du pare-soileil vers le bas.
RETROVISEURS

MIROIRS DE COURTOISIE
Pour utiliser le miroir de courtoisie, abaissez le pare-soileil et levez le volet du miroir. Le miroir de courtoisie s'éclaire lorsque vous ouvrez son couvercle.

- Position AUTO (automatique)
- Position OFF (arret)
- Témoin AUTO (automatique)
- Capteur (à l'arrière du miroir)
- Capteur
RÉTROVISEUR ANTI-EBBLOUISSEMENT INTÉRIEUR AUTOMATIQUE
La surface refléchissante du rétroviseur interieur se modifie automatiquement en fonction de l'intensité lumineuse des phares du vehicule qui vous suit.
L'éblouissement provoqué par les phares du vehicule qui vous suit est réduit lorsque l'interrupteur du rétroviseur interieur est à la position AUTO (automatique). Le témoin AUTO du rétroviseur s'allume. Le rétroviseur interieur fonctionne normalement lorsque son interrupteur est à la position OFF (arrêt).
N'accrochez pas d'objet et n'appliquez pas de nettoyant à vitres sur le capteur. Cela pourrait réduire la sensibilité du capteur et nuir à son fonctionnement.

RÉTROVISEURS EXTERIEURS
Les rétroviseurs extérieurs à commande à distance fonctionnent uniquement lorsque le contacteur d'allumage se trouve à la position ACC (accessoires) ou ON (marche).
Déplacez le petit interrupteur ① pour selectionner le rétroviseur de gauche ou de croite. Reglez chaque rétroviseur à la position désirée à l'aide du grand interrupteur ②.
AVERAGEMENT
- Les objets qui apparaissent dans le rétroviseur extérieur du côte passager sont plus proches qu'ils ne le semble. Soyez prudent lorsque vous vous déplacez vers la croite. L'utilisation exclusive de ce rétroviseur pourrait cause un accident. Servez-vous du rétroviseur interieur ou jetez un coup d'eel pardessus votre épaule afin d'évaluer correctement la distance qui vous sépare des objets.
- Ne réglez pas les miroirs pendant que vous conduisez. Vous pourriez perdre la maitrise de votre vehicule et causer un accident.
Rétroviseurs chauffants
Les rétroviseurs extérieurs sont équipés d'un dispositif de chauffage qui permet desterolir la buée, le givre ou la glace qui s'y trouve afin d'améliorer la visibilité. Pour plus de détails, consultez la rubrique « Interrupteur des rétroviseurs chauffants » du chapitre « Commandes et instruments » du present manuel.

Rétroviseurs extérieurs rabattables
Tirez le rétroviseur extérieur vers la portière pour le rabattre.
POSITIONNEUR AUTOMATIQUE
Le positionneur automatique possede deux fonctions:
- Fonction de mémorisation
- Fonction d'entrée/de sortie

FONCTION DE MÉMORISATION
Le positionneur automatique peut memoriser deux positions de siège du conducteur, de volant de direction, de pédalier et des rétroviseurs externiers. Pour enregistrer les préférences, observer les procédures suivantes.
- Déplacez le levier sélecteur de la boite de vitesses automatique à la position P (stationnement).
-
Mettez le contact.
-
Reglez la position du siège du conducteur, du volant de direction, du pédalier et des rétroviseurs extérieurs selon vos préférences en actionnant manuellement chacun des commutateurs de réglage. Pour obtenir plus de détails, consultez la rubrique « Sièges » du chapitre « Sièges, ceintures de sécurité et coussins gonflables » ainsi que les rubriques « Pédalier réglable » et « Rétroviseurs extérieurs » plus haut dans ce chapitre.
Au cours de cette étape, ne tournez pas le contacteur d'allumage vers d'autres positions que ON (marche).
- Appuyez sur la touche SET (réglage) et, dans les cinq secondes, enforcez complètement la touche de mémoire 1 ou 2 pendant au moins une seconde.
Le témoin de la touche de mémoire choisis s'allumera pendant environ cinq secondes. Une fois le témoin esteint, les positions selectionnées sont enregistrées dans la mémoire correspondante (1 ou 2).
Si l'enregistrement est repris sur la même touche, les préférences de position déjà enregistrées sont effacées.
Couplage de la télécommande à une position méorisée
La procédure décrite ci-dessous permet de coupler la télécommande aux positions méorisées.
- Observe les étapes suivantes pour enregistrer une position en mémoire.
- Alors que le témoin de la touche de mémoire choisis s'allume pendant environ cinq secondes, appuyez sur le bouton de la télécommande. Le témoin clignote. Lorsqu'il s'éteint, la télécommande a mémorisé la position de réglage.
Alors qu'il n'y a pas de clé dans le contacteur d'allumage, appuyez sur le bouton de la télécommande. Le siège du conducteur, le volant de direction, le pédalier et les rétroviseurs extrieurs se déplaceront selon les positions méorises.
Confirmation des préférences
- Mettez le contact et appuyez sur la touche SET (réglage). Si la mémoire principale est vide, le témoin s'allumera pendant environ une demi-seconde. Si la mémoire principale a enregistré les préférences, le témoin s'allumera pendant environ cinq secondes.
- Si le cable de la batterie est débranché, ou si le fusible du circuit grille, la mémoire sera
effacée. Dans un tel cas, il faudra régler de nouveau les positions souhaitées en observant les procédures suivantes.
- Ouvrez puis fermez la portiere du conducteur plus de deux fois alors que le contacteur d'allumage est à la position LOCK (verrouillage).
- Reglez de nouveau les positions tel que décrites précédemment.
Sélection des préférences de position mémorisées
- Déplacez le levier sélecteur de la boite de vitesses automatique à la position P (stationnement).
- Mettez le contact.
- Maintenez la touche de mémoire 1 ou 2 totally enforcée pendant au moins une seconde.
Le siège du conducteur, le volant de direction, le pédalier et les rétroviseurs extérieurs se déplaceront selon les positions méorisées pendant que le témoin clignote, puis ce dernier demeurera allumé pendant environ cinq secondes.
FONCTION D'ENTRÉE/DE SORTIE
Ce système permet de déplacer automatiquement le siège du conducteur lorsque le levier sélecteur de la boîte de vitesses automatique est en position P (stationnement). Cette caractéristique permet au conducteur d'avoir plus facilement accès au siège.
Le siège du conducteur se déplace vers l'arrière lorsque :
- la portière du conducteur est ouverte et que la clé de contact est tournée à la position LOCK (verrouillage);
- la clé de contact est tournée de la position ACC (accessoires) à la position LOCK (verrouillage), alors que la portière du conducteur est ouverte et que le levier sélecteur de la boîte de vitesses automatique est à la position P (stationnement).
Le siège du conducteur reprend sa position initiale lorsque :
- la clé est insérée dans le contacteur d'allumage;
- la portiere du conducteur est fermée alors que la clé est à la position LOCK (verrouillage);
- la clé de contact est tournée de la position ACC (accessoires) à la position ON (mar
che) et que le levier sélecteur de la boite de vitesses automatique est à la position P (stationnement).
Il est possible de régler la fonction d'entrée/de sortie ou de la désactiver. Consultez la rubrique « Systèmes électroniques du vehicule » du chapitre « Écran d'affichage, chauffage et climatisationur et chaîne stéropheonomique » du présence manuel.
FONCTIONNEMENT DU SYSTÉME
Le système de positionneur automatique ne fonctionne pas ou cesse de fonctionner lorsque :
- le vehicule roule à une vitesse supérieure à 7 km/h (4 mi/h);
- deux (ou plus) des touches de mémoire sont simultanément enforcées alors que le positionneur automatique est en fonction;
- le commutateur de réglage du siège du conducteur est actionné alors que le positionneur automatique est en fonction;
- la touche de mémoire 1 ou 2 n'est pas enforcée pendant au moins une seconde;
le siège est déjà régèle à la position mémori-see; - la touche de mémoire ne correspond à aucune position du siècle.
Il est possible de régler le système de positionneur automatique ou de le désactiver. Consultez la rubrique « Systèmes électroniques du vehicule » du chapitre « Écran d'affichage, chauffage et climatiseur et chaîne stéropheonomique » du pré sent manuel.
3-24 Vérifications et réglages avant le démarrage
MÉMENTO
4 Écran d'affichage, chauffage, climatisation et chaine stéréophonique
Touches du bloc de commande — avec dispositif
de navigation. 4-2
Noms des composants. 4-3
Utilisation du bouton de navigation et de la touche « ENTER » 4-3
Utilisation de la touche « PREV » 4-3
Configuration de I'ecran de demarrage. 4-3
Utilisation de la touche « TRIP » 4-4
Utilisation de la touche « SETTING » 4-6
Touche 4-11
Écran de rétrovisée
(selon l'equipement du vehicule) 4-11
Interpretation des lignes affichées à l'écran 4-12
Réglage de l'écran. 4-13
Conseils relatifs à l'utilisation 4-13
Bouches d'air 4-14
Appareil de chauffage et climatisationur
(a commande automatique) 4-15
Fonctionnement automatique 4-15
Fonctionnement manuel 4-16
Commande de système arrêté 4-17
Conseils relatifs à l'utilisation 4-17
Climatiseur arrive 4-18
Commandes 4-18
Entretien du climatiseur 4-18
Chaine stéreophonique 4-19
Radio 4-19
Réception radio FM. 4-19
Réception radio AM 4-19
Réception radio par satellite (selon l'équipement du vehicule) 4-20
Précautions concernant l'utilisation de la chaine audio 4-20
Radio AM-FM-SAT avec changeur de disques compacts 4-23
Entretien et nettoyage des disques compacts. 4-29
Interrupteur de commande audio sur le volant de direction
(selon l'equipement du vehicule) 4-29
Commandes de la chaine stéreo à l'arrière 4-31
Antenne 4-32
Système audiovisuel mobile INFINITI
(selon l'équipement du vehicule) 4-33
Commandes du lecteur de disques video
numériques (DVD). 4-34
Télécommande. 4-35
Lecture d'un disque videoe numérique (DVD) 4-37
Entretien et soin. 4-41
Manipulation de vos disques DVD 4-41
Telephone de voiture ou radio BP 4-43
TOUCHES DU BLOC DE COMMANDE - AVEC DISPOSITIF DE NAVIGATION

AVERTISSEMENT
- Il est recommandé au conducteur de ne pas modifier la position des commandes de chauffage/climatisation et d'affichage durant la conduite afin de ne pas être distrait.
- Ne pas démonter ou modifier ce système, sous peine d'accidents, d'incendie ou de chocolélectrique.
- Ne pas utiliser ce système en cas de situation anormale telle qu'un écran bloqué ou une absence de son. L'utilisation du système en dépit de telles conditions pourrait cause un accident, un incendie ou un choc électrique.
- Si vous remarquez la présence d'un corps étranger dans le matériel du dispositif d'aide à la navigation, si vous renversez du liquide dans le dispositif ou si de la fumée ou une odeur inhabituelle se dégage du dispositif, éteignez-le immédiatement et communiquèz avec le concessionnaire INFI-NITI le plus près. Sinon, il y a risque d'accident, d'incendie ou de chocolélectrique.


LHA0388
Assurez-vous que le moteur tourne lorsque vous utilise ce système.
Si vous utilisez le système alors que le moteur est à l'arrêt (contacteur à la position ON (marche) ou ACC (accessoires) pendant une longue période, vous épiserez la batterie et il sera impossible de démarrer le moteur.
Symboles de reférence :
Touche « ENTER » (entrer) — Cette touche est située sur le bloc de commande.
Touche « Display » (Affichage) — Cette touche est une touche de seLECTION à l'écran. Vous pouvez passer à la fonction suivante en utilisant cette touche.
NOMS DES COMPOSANTS
- Commande de luminosite / (p. 4-11)
- Touche PREV (précedent) (p. 4-3)
- Bouton de navigation et touche ENTER (entrer) (p. 4-3)
- Touche SETTING (réglage) (p. 4-6)
- Touche de l'ordinateur de conduite TRIP (compteur journalier) (p. 4-4)
- Touche DEST (destination)*
- Touche ROUTE (itinétaire)*
- Touche MAP (carte routière)*
-
Touche GUIDE VOICE (guidage vocal)*
-
Touche de zoom arrête*
-
Touche de zoom avant*
-
Consultez le mode d'emploi du dispositif d'aide à la navigation distinct pour obtenir des rensei
gnements sur les touches de commande du dispositif d'aide à la navigation.
UTILISATION DU BOUTON DE NAVIGATION ET DE LA TOUCHE « ENTER »
Choisissez un élément de l'affichage à l'aide du bouton de navigation et enforcez la touche « EN-TER » pour lemettre en fonction.
UTILISATION DE LA TOUCHE « PREV »
Cette touche exécuté deux fonctions.
- Elle permet de revenir à l'affichage précédente (annulation).
Si vous enforcez la touche « PREV » pendant la configuration, cette dernière est annulée ou l'affichage revient à l'écran précédent.
- Elle met fin à la configuration.
Si vous enforcez cette touche une fois la configuration complétée, cette dernière recommence et l'affichage revient au mode de chauffage et de climatisation ou au mode audio et à l'écran Navigation.
CONFIGURATION DE L'ÉCRAN DE DEMARRAGE
L'advertissement LANCEMENT DU SYSTÉME s'affiche à l'écran lorsque le contacteur d'allumage est tourné à la position ACC (accessoires) ou ON (marche). Lisez l'advertissement et selectionnez « I AGREE » (J'accpe, en angeis) ou la touche « ENTER » (en français), puis enforcez la touche « ENTER »
Si la touche « ENTER » n'est pas enforcée, le dispositif d'aide à la navigation ne passé pas à l'affichage de l'étape suivante.
Si vous n'enforcez pas la touche et n'executez aucune commande dans les écrans INFO. ROUTIERE, REGLAGE ou LANCEMENT pendant plus d'une minute, l'écran INFO. ROUTIERE s'affiche automatiquement.
Consultez le Mode d'emploi du dispositif d'aide à la navigation distinct pour procéder à l'étape suivante.

UTILISATION DE LA TOUCHE « TRIP »
Les modes suivants s'affichent à l'écran lorsque la touche « TRIP » est enforcée.
Message d'advertissement (s'il y a lieu) INFO. ROUTIERE 1 (Temps écoulé, Distance parcourue, Vitesse moyenne) INFO. ROUTIERE 2 INFO. CONSOMM. D'ESSENCE (consommation moyenne, Dist. avant réservoir vide) INFO. SUR L'ENTRETIEN (Huile moteur, Permutation pneus) OFF.

Éléments Info. routière 1, Info. routière 2 et de consommation de carburant
Selectionnez la touche « Initialiser » à l'aide du bouton de navigation et enforcez la touche « EN-TER » ou la touche « TRIP » pendant plus d'une seconde et demie environ pour réinitialiser les éléments Info. routiere 1, Info. routiere 2 et INFO. CONSOMM. D'ESSENCE.

Éléments d'entretien
Vou puez regler les intervalles de changement de l'huile moteur et de permutation des pneus.
Pour afficher le réglage d'intervalle d'entretien, sélectionné la touche « Huile moteur » ou « Permutation des pneus » à l'aide du bouton de navigation, puis enforce la touche « EN-TER ».

Pour régler l'intervalle d'entretien, Sélectionnez la touche « Programme d'entretien » à l'aide du bouton de navigation et poussez cette dernière vers la croite ou vers la gauche.
Pour réinitialiser l'intervalle d'entretien, Sélectionnez la touche « Initialiser » à l'aide du bouton de navigation, puis enforcez la touche « ENTER »
Pour afficher automatiquement INFO. SUR L'ENTRETIEN lorsque la distance entre est atteinte, selectionnez la touche « Avis d'informations sur l'entretien » , puis enforcez la touche « ENTER »


Information sur la pression des pneus (selon l'équipement du vehicule)
L'écran affiche « **psi » pendant que le système mesure la pression des pneus. Àpres quelques cycles de conduite, la pression de chacun des pneus s'affiche de façon aléatoire.
L'ordre d'affichage de pression des pneus ne correspond pas à l'ordre réel de position des pneus.
La pression des pneus augmente ou diminue en fonction de la chaleur engendreee par les conditions de la route et la temperature.
Si la pression devient trop faible, un message s'affiche à l'écran :
PNEU A PLAT — faible pression d'air dans le pneu.
A VERTISSEMENT
Lorsqu'une roue de secours est installee ou qu'une roue est remplacede, la pression des pneus ne s'affiche pas et le systeme d'avertissement de basse pression des pneus ne fonctionne pas. Communiquez avec votre concessionnaire INFINITI des que possible pour proceder au remplacement des pneus ou a la reinitialisation du systeme.

UTILISATION DE LA TOUCHE « SETTING »
L'écran RÉGLAGE s'affiche lorsque la touche « SETTING » est enforcée.
Réglage de l'affichage des réglages
L'écran RÉGLAGE DE L'AFFICHAGE s'affiche lorsque la touche « SETTING » est enforcée, que la touche « Affichage » est SéLECTIONNée à l'écran et que la touche « ENTER » est enforcée.
Luminosite/contraste/fond de carte
Pour régler la luminosité et le contraste de l'écran, sélectionnez la touche « Brightness/contrast » (luminosité/contraste), puis enforcez la touche « ENTER». Vous pouvez ensuite utiliser le bouton de navigation pour régler la luminosité pour qu'elle soit plus faible ou plus grande, et le contraste pour qu'il soit supérieur ou inférieur. Consultez le Mode d'emploi du dispositif d'aide à la navigation distinct pour obtenir des renseignements sur la fonction Fond de carte.
Extinction de l'affichage
Enforcez la touche « SETTING » et scélectionné les touches « affichage » et « affichage Off » pour éteindre l'écran. Le tímoin « affichage Off » devient alors amberé. L'écran s'active de nouveau lorsqu'une touche de mode est enforcée alors qu'il est étéint. L'écran s'eteint automatiquement cinq secondes après la fin d'une commande dans l'affichage de la carte routière en mode audio, de chauffage et de climatisation, REGLAGES ou VEHICLE INFO (renseignements sur le vehicule).
Enoncez la touche « SETTING » et scélectionné les touches « affichage » et « affichage Off », puis réglez l'activation de l'écran en,enfantant la touche « ENTER » pour allumer l'écran.
Réglage de l'affichage en mode audio ou de chauffage et climatisation
Choisissez la touche « Audio » ou « HVAC » (chauffage et climatisation) qui s'affiche au bas de l'écran à l'aide du bouton de navigation. La condition de réglage des modes Audio ou HVAC s'affiche normalement à l'écran. Pour revenir à l'écran de réglage, enforcez la touche « SETTING » ou la touche « PREV »
SYST. ELECTRONIQUE DU VEHICULE
Régier la position du siècle en sortant.
Relever le valant en contant du vehicule
Chauri la du rote rnducteur en premier pur le teleguidique.
Hépunspe par le kluxon
LHA0259
Systèmes électroniques du vehicule
L'écran SYST. ELECTRONIQUE DU VEHICULE s'affiche lorsque la touche « Systèmelectronique du vehicule » est seLECTIONnée à l'aide du bouton de navigation et que la touche « ENTER » est enforcée.
Pour régler les conditions de fonctionnement des divers systèmes électroniques, Sélectionnez l'élément applicable à l'aide du bouton de navigation et enforcez la touche « ENTER ». Le témoin, dans la case à la gauche de l'élement sélectionné, s'allume et s'eteint en alternance chaque fois que la touche « ENTER » est enforcée.
SYST. ELECTRONIQUE DU VEHICULE
Réponse par le clignotant
Verrouillage et déverrouillage
Durée de return automatique au verrouillage
Plus count < 1 min >Plus longtemps
Sensibilité crépusculaire des phares automatiques
<□ > + fort
Temps d'extinction des phares automatiques
Plus count < 45 sec Plus longtemps
LHA0381
Le témoin est allumé — ACTIVÉ
Le témoin est étéint - DÉSACTIVÉ

Régler la position du siège en sortant du vehicule
Lorsque cette option est activée, le siège du conducteur se déplace automatiquement et revient à sa position initiale pour facilititer l'entrée et la sortie du vehicule.
Relever le volant en sortant du vehicule :
Lorsque cette fonction est activée, la colonne de direction s'incline automatiquement et revient à sa position initiale pour faciliter l'entrée et la sortie du vehicule.
Commande de séquence de déverrouillage des portes à distance du conducteur
Cette option vous permet de selectionner la portiere qui sera déverrouillée en premier lors de l'activation du déverrouillage :
Only the driver's door (portiere du conducteur seulment) All the doors (toutes les portieres)
Réponse par le klaxon :
Cette touche vous permet de selectionner le mode d'avertisseur sonore qui se presente lorsque le bouton de verrouillage ou de déverrouillage de la télécommande est enforcé.
REMARQUE :
Si vous changez le mode d'advertisseur sonore ou le mode de clignotement des feu xà l'aide de la télécommande, le mode ne sera pas changé avec l'affichage. Utilisez la télécommande pour revenir au mode precedent, puis réactivez la commande de l'affichage.
Réponse par le clignotant :
Cette touche vous permet de selectionner le mode de clignotement des feu des detresse qui se presente lorsque le bouton de verrouillage ou de déverrouillage de la télécommande est enforcé.
REMARQUE :
Si vous changez le mode d'advertisseur sonore ou le mode de clignotement des feu xà l'aide de la télécommande, le mode ne sera pas changé avec l'affichage. Utilisez la télécommande pour revenir au mode precedent, puis réactivez la commande de l'affichage.
Durée de retard automatique au verrouillage
Cette touche vous permet de régler le liéai qui s'écoule avant le reverrouillage automatique des portières.
Sensibilité crépusculaire des phares automatiques
Cette touche vous permet de régler la sensibilité des phares automatiques.
- Plus bas - moins sensible; les phares automatiques mettront plus de temps à s'allumer quand le capteur des phares détectera moins de lumière ambiente.
- Plus haut - plus sensible; les phares automatiques mettront moins de temps à s'allumer quand le capteur des phares détectera moins de lumière ambiente.
Temps d'extinction des phares automatiques
Cette touche vous permet de régler le liéai qui s'écoule avant l'extinction des phares automatiques après avoir quitté le vehicule.
Essuie-glace à cadence de balayage selon la vitesse
Cette touche vous permet d'activer ou de désactiver la fonction intermittente des essuie-glaces asservis à la vitesse.
Initialisation des paramètres électroniques du vehicule
Lorsque cette touche est selectionnée et activée à l'aide de la touche « ENTER», tous les réglages exécutés par les systèmes électroniques du vehicule reviennent à leurs valeurs par défaut.

Réglage du système
Langue/unity
L'écran Langue/Unité s'affiche lorsque la touche « Language/Unit » est selectionnée et que la touche « ENTER » est enforcée.
Langue:anglais ou français
Unité: É.-U. — mille, °F, mille au gallon
Métrique — km, °C, L/100 km
Vous pouze selectionner la langue et l'unité à l'aide du bouton de navigation et de la touche « ENTER » .

Montre
Réglage de l'heure :
Selectionnez la touche « HEURES » ou « MINUTES » et déplacez le bouton de navigation vers la droite ou vers la gauche pour régler l'heure.
L'heure change etape par etape.
Une fois le réglage complètement, enforcez la touche « PREV »

Réglage de l'heure avancée :
Utilisez la touche « Heure avancée » pour régler la montre à l'heure avancée.
ON (en fonction): l'heure affichée avance d'une heures.
OFF (hors fonction): l'heure actuelle est affichée.

Réglage de l'heure dans le système de répération par satellites :
Sélectionnez la touche « Réglage automatique »
L'heure se réinitialise à l'heure du système de repérage par satellites.

Selection du fuseau hora :
- Sélectionnez la touche « Choiser la zone hora »
L'écran ZONE HORAIRE s'affiche.

2. Sélectionnez une des zones suivantes selon l'emplacement où vous vous trouvez.
- Pacifique
Rocheuses - Centre
Est
Atlantique - Terre-Neuve
Après la sélection, l'écran REGLAGE DE L'HORLOGE s'affiche.
L'heure du système de reperteage par satellites (heure manuelle) qui correspond à la zone selec tionnée s'affiche à l'écran. La zone du Pacifique est établie en tant que valeur initiale (par défaut).
Réglage du bip
Un bip sonore se fait entendre lorsqu'une touche de la chaîne audio est enforcée si cette option est activée.
TOUCHE 1
Pour modifier la luminosité de l'éclairage, enforcez la touche t . L'affichage passe en mode de jour ou de nuit si vous enforcez la touche de nouveau. Ensuite, poussez le bouton de navigation vers la gauche ou vers la droite pour régler la luminosité.
Si aucune commande n'est utilisée pendant dix secondes ou que la touche « PREV » est enforcée, l'affichage revient au réglage précédent.
ÉCRAN DE RÉTROVISEE (selon l'équipement du vehicule)
Lorsque le levier sélecteur est place en position R (marche arrière), l'écran affiche une vue prise à partir de l'arrière du vehicule.

AVERTISSEMENT
- Bien que pratique, laamera de surveillance arrêté ne remplace pas une procédure appropriée de conduite en marche arrêté. Avant de faire marche arrêté, assurez-vous toujours que la voie est libre. Reculez toujours lentement.
- Ce système aide le conducteur à déceler la présence d'objets immobiles de grande taille pour prévenir l'endommagement du vehicule. Il ne détectera pas les petits objets qui se trouvent sous le pare-chocs et il peut ne pas détecter les objets qui se trouvent très après du pare-chocs ou au sol.
-
La distance entre les objets telle qu'observée au moyen de laamera de surveillance arrêté diffère de la distance réelle puisqu'une lentille à grand angle est utilisé. Les objets tels que vus par laamera de surveillance arrêté apparaissent inversés par rapport à ce qui est visible dans le rétroviseur interieur ou extérieur.
-
Ne déposez rien devant l'objet de laamera arrêté. Laamera arrêté est montée pres de l'éclairage de la plaque d'immatriculation.
- Si de l'eau sous pression est utilisée pour le nettoyage du vehicule, assurez-vous de ne pas diriger le jet pres de laamera. Autrement, de l'eau pourrait pénérer dans laamera et y causeur de la condensation sur la lentille, une défectuosité, un incendie ou un chocolélectrique.
- Ne frappez jamais sur laamera; il s'agit d'un instrument de précision. Vous pourriez ainsi causer une défaillance ou des dommages susceptibles de provoquer un incendie ou un choc électrique.

ATTENTION
Laamera est recouverte d'un couvercle de plastique. Évitez de rayer le couvercle lorsque vous enlevez la poussière ou la neige qui s'y trouve.
INTERPRETATION DES LIGNES AFFICHEES A L'ECRAN
L'écran affiche des lignes qui indiquent le dégagement du vehicule et la distance entre le parechocs et des obstacles potentiels.

Ces lignes offrent un point de reference permettant d'évaluer la distance des objets. Les lignes et couleurs qui s'affichent à l'écran indiquent les distances par rapport à la ligne arrêté du parechocs ① illustrée.
A 0,5 m (1,5 pi) rouge
B 1 m (3 pi) jaune
C 2m(7pi) vert
D 3m (10 pi)vert
Les lignes indicate du dégagement du vehicule sont plus espacées que le dégagement réel.
RéGLAGE DE L'ÉCRAN
Pour modifier la qualité d'affichage de l'écran, consultez la rubrique UTILISATION DU BOUTON « RÉGLAGE » du réseau chapitre.
- S'il est difficile de discerner à l'écran les objets qui se trouvent à l'arrière du vehicule, par exemple dans une zone ombragée, appuyez sur le bouton « ENTER » pour rendre ces objets plus visibles.
Pour modifier la brillance, appuyez de nouveau sur le bouton « ENTER», coupe le contact ou passez en marche arrière et attendez 10 secondes.
CONSEILS RELATIFS À L'UTILISATION
- Lorsque le levier sélecteur est placé en position R (marche arrière), l'affichage courant à l'écran est automatiquement replacé par celui de laamera de marche arrière. Toutefois, la radio peut demeurer en fonction.
- Il pourrait y avoir un-delai entre le positionnement du levier selecteur en position R (marche arrière) et l'affichage à l'écran de l'information transmise par laamera de marche arrière. Les objets peuvent apparaitre temporairement déformé jusqu'à ce que l'écran affiche toute l'information obtenu de
laamera de marche arrrière. Lorsque le levier sélecteur est déplace hors de la position R (marche arrrière), il est possible que l'écran ne réponde pas immédiatement. Les objets à l'écran pourraient être déformés jusqu'à ce qu'ils soient entièrement affichés.
- Si la température ambiente est très élevée ou très BASSE, l'affichage des objets pourrait sembler flou. Cette condition est normale.
- Lorsqu'une lumière intense pénétre directement dans laamera, les objets pouraient ne pas s'afficher clairément.
- Des lignes verticales pourraient se superposer aux objets affichés à l'écran. Ces lignes sont causées par une lumière trop intense réfléchie par le pare-chocs. Cette condition est normale.
- L'écran pourrait papilloter s'il est soumis à un éclairage fluorescent. Cette condition est normale.
- La couleur des objets affichée par laamera de marche arrière pourrait ne pas être fidèle.
-
Lorsque le contraste entre les objets est faible, par exemple la nuit, la brillance pour rait ne pas changer malgré l'utilisation du bouton « ENTER »
-
Les objets peuvent s'afficher de manière imprecise lorsqu'ils se trouvent dans une zone obscure ou lorsqu'il fait nuit.
- Si laamera de marche arrrière est obstruée par la saleté, la pluie ou la neige, il se peut que l'écran n'affiche pas les objets. Nettoyez laamera.
- N'utilisez pas d'alcool, de benzène ou de diluant pour nettoyer laamera. Vous pourriez decolorer la lentille. Nettoyez laamera à l'aide d'un chiffon humecté d'une solution d'eau et de produit de nettoyage doux, puis essuyez avec un chiffon sec.
- N'endommagez pas laamera, car l'affichage pourrait etre alteré.
- N'applique pas de cire automobile sur la lentille de laamera. Éliminez la cire excédante à l'aide d'un chiffon propre humecté d'une solution d'eau et de produit de nettoyage doux.
BOUCHES D'AIR

Réglez la direction de l'air sortant par les bouches des côtés conducteur et passager ①, par les bouches centrales ② et par les bouches des sièges de passagers arrêté ③ et ④ en déplacant le curseur ou les ailettes des bouches d'air.
APPAREIL DE CHAUFFAGE ET CLIMATISEUR (à commande automatique)





LHA0418
- Commande de température côte con ducteur
- Boutons de commande du ventilateur et bouton de désactivation du système
- Commande de dégivre de pare-brise et de lunette arrête
- Bouton de mode et bouton AUTO (mode automatique)
- Commande de température côte passager
- Bouton de marche-arrêt du climatisation et bouton de recirculation de l'air
- Commande arrêté de vitesse du ventilateur
8. Commande arrêté de température

AVERTISSEMENT
- La fonction de refroidissement du climatiseur ne peut etre activee que lorsque le moteur tourne.
-
Par temps chaud et ensoleillé, la température de l'habitacle peut rapidement s'élever au point de provoquer des léasons graves, voir mortelles, à une personne ou à un animal enfermé dans le vehicule. Ne laissez pas seuls dans votre vehicule des enfants ou des adults handicapés, ou des animaux.
-
N'utilisez pas le mode de recirculation d'air pendant de longues périodes puisque l'air de l'habitacle pourraitvenir vicié et les glaces pourraient s'embauer.
- Évitez de déplacer les commandes du chauffage ou de la climatisation lorsque vous conduisez et ce, afin de porter toute votre attention à la conduite.
Pourmettreleclimatiseuren marche,demarrezlemoteur et activez les commandes appropriées.
FONCTIONNEMENT AUTOMATIQUE
Refroidissement ou chauffage (automatique)
Ce mode, qui sert à maintainir une température constante, peut normalement être utilisé tout au long de l'année. Un contrôle automatique est également exercé sur la répartition de l'air et la vitesse du ventilateur.
- Pour l'activer, appuyez sur le bouton AUTO (automatique). (La mention « AUTO » s'affiche.)
-
Pour régler la température au niveau désiré, tournez la commande de température vers la gauche ou vers la droite. Les températures des côtés conducteur et passager peuvent être régées séparément.
-
Reglez la commande de température à environ 24 °C (75 °F) en mode de fonctionnement normal.
- La température ambiente de l'habitacle sera maintainue automatiquement. Un contrôle automatique est également exercé sur la répartition de l'air, la vitesse du ventilateur et la mise en marche du climatiseur.
Dégivrage ou désembuage déshumidi fié
- Tournez la commande de dégivreur arrrière vers la gauche. L'écran affiche l'icone de dégivrage.
- Pour régler la température au niveau désiré, tournez la commande de température vers la gauche ou vers la droite.
- Enforcez la commande manuelle du ventilateur et reglez-la à la position maximale pour faire fondre rapidement la glace sur les parois extérieures des vitres.
- Appuyez sur le bouton AUTO (automatique) pour revenir au mode automatique dés que la glace a disparu du pare-brise.
- Si la commande de dégivrage est activée, le climatiseur est automatiquement mis en fonction si la température extérieure est supérieure à 2 °C (36 °F). Si le système
est en mode dégivre pendant plus d'une minute, le climatiseur continue de fonctionner jusqu'à ce que la commande du ventilateur soit tournée à la position OFF (arrêt) ou que le contact soit coupé, même si la commande de la direction de l'air est à une position autre que . L'air est alors déshumidifié pour empêcher la formation de buée sur le pare-brise. La recirculation de l'air est désactivée automatiquement et l'air extérieur pénétre dans l'habitacle pour accélérer le désembavage.
Vitesse du ventilateur
Pour régler manuellement la vitesse du ventilateur, enonceze le bouton vers le haut ou vers le bas.
Pour revenir à la commande automatique de vitesse du ventilateur, enforcez le bouton AUTO (automatique).
Recirculation de l'air
Pour faire recirculer l'air dans l'habitacle, enfoncé le bouton de recirculation. Appuyez sur le bouton AUTO (automatique) pour revenir au mode automatique.
La commande de recirculation de l'air ne s'active pas lorsque le climatiseur est en mode DEF (dégivrage).
Commande de direction de l'air
La commande manuelle de direction de l'air MODE permet de faire circuler l'air par les bouches suivantes :

L'air circule par les bouches d'air centrales et extérieures de la planche de bord.

L'air circule par les bouches d'air centrales et extérieures de la planche de bord ainsi que par les bouches d'air du plancher.

L'air circule principalement par les bouches d'air du plancher.

L'air circule par le dégivreur ainsi que par les bouches d'air du plancher.
Désactivation du système
Maintenez la commande du ventilateur enforcée jusqu'à l'arrêt du système.


LHA0356
COMMANDE DE SYSTÉME ARRIÈRE
Vou puez regler le système de climatisation pour les passagers arriré à l'aide des boutons du bloc de commande principal. Les passagers avant peuvent contrôler les fonctions du système arrière en plaçant les commandes à une position autre que « R »
CONSEILS RELATIFS À L'UTILISATION
- Un délambda d'au plus 150 secondes peut s'écouler avant que l'air ne commence à circuler par les bouches d'air du plancher si la température du liquide de refroidissement et la température extérieure sont basses. Ceci ne constitue pas une défectuosité. L'air commence à circuler normalement par les bouches d'air du plancher une fois que le liquide de refroidissement s'est rechauffé.

Le capteur d'ensoleillement ①, situé au milieu de la planche de bord, favorise le maintain d'une température constante. Ne déposez rien sur le capteur ou à proximité de celui-ci.
CLIMATISEUR ARRIÈRE
Pour utiliser le climatiseur arrêté, le moteur doit être en marche et le système de climatiseur avant doit être en fonction.
Le climatiseur arrrière peut etre mis en/hors fonction a partir du bloc de commande avant. Si la commande du ventilateur arrriere est reglee a (0), le climatiseur est mis hors fonction. Si la commande est reglee a une vitesse quelconque du ventilateur, l'air s'échappe par les bouches d'air arrriere au débit correspondant. Si la commande du ventilateur arrriere est reglee a (R), les passagers arrriere peuvent contrcler la vitesse du ventilateur qui leur est specifquement assigné.
Le climatiseur arrêté est fonctionnel uniquement lorsque le climatiseur avant fonctionne.

COMMANDES
Commande du ventilateur
La commande du ventilateur ① est utilisée pourmettre en/hors fonction le ventilateur en plus d'enregler la vitesse.
Commande de la température
La commande de température ② permet aux passagers arrêté de régler la température et la répartition de l'air.
ENTRETIEN DU CLIMATISEUR
Le climatiseur de votre vehicule INFINITI utilise un frigorigène ecologique.
Ce type de frigorigène n'est pas nocif pour la couche d' ozone.
L'entretien du climatiseur de votre vehicule INFINITI nécessite l'utilisation d'un équipement de remplissage et d'un lubrifiant spéciaux. L'utilisation de frigorigènes ou de lubrifiants non adéquats endommagera sérieusement leur climatiseur. Consultez la rubrique « Recommandations relatives au frigorigène et au lubrifant utilisés dans le climatiseur » du chapitre « Données techniques et information au consommateur »
Votre concessionnaire INFINITI possede les connaissances requises pour effectuer l'entretien du climatiseur « ecologique » de votre vehicule.

AVERTISSEMENT
Le climatiseur contient du frigorigène haute pression. Afin d'eviter les blessures, il est essentiel que toute intervention faite sur le climatiseur soit effectuee par un technicien qualifie qui dispose de I'equipement adequat.
CHAINE STÉRÉOPHONIQUE
RADIO
Tournez la clé de contact à la position ACC (accessoires) ou ON (marche), puis appuyez sur le bouton PUSH POWER/VOLUME (marche-arrêt/volume) pour allumer la radio. Tournez la clé de contact à la position ACC si vous souhaitez écouter la radio lorsque le moteur est arrêté.
La qualité de la réception radio varie selon la puissance du signal émis, la distance de l'émetteur radio, la présence d'immeubles, de points, de montagnes ou de tout autre facteur externe. Les variations occasionnelles de la qualité de réception sont en général causées par de tels facteurs.
L'utilisation d'un téléphone cellulaire dans le vehicule ou à proximé de celui-ci peut comprometter la qualité de la réception radio.
Réception radio
La radio de votre vehicule INFINITI compte de circuits électroniques de pointe destinés à améliorer la qualité de la réception radio. Ces circuits sont concus pour accroître la plage de la réception de même que la qualité de cette-ci.
Cependant, certaines caractéristiques générales propres aux fréquences radio AM et FM peuvent compromètre la qualité de la réception radio
Dans un vehicule qui roule, et ce, peu importe la qualite de I'equipement utilise. Ces caractéristiques sont normales dans une zone de reception donnée et n'indiquent pas un probleme de fonctionnement de la radio de votre vehicule INFINITI.
Les conditions de réception radio changent constamment du fait du déplacement du vehicule. Les immeubles, les montagnes, la distance de la source du signal et l'interférence causée par les autres vehicules peuvent compromètre la qualité de la réception. Vous trouvez cédous une description des facteurs qui peuvent compromètre la réception radio dans votre vehicule.
RÉCEPTION RADIO FM
Portée : en mode FM monophonique (un seul canal), la portée de la bande FM se situe généralement entre 40 et 48 kilomètres (25 à 30 milles) et est légèrement supérieure à la portée offerte par le mode FM stéreo. Des facteurs externes peuvent parfois nuir à la réception du signal émis par une station FM, et ce, même si celle-ci se trouve à moins de 40 kilomètres (25 milles). La puissance du signal FM est directement proportionnelle à la distance entre l'émetteur et le récepteur. Les signaux FM suivant une trajectory en ligne droite etprésentant des
caracteristiquessemblablesa cellesde la lumiere.Parexample,ilsserontreflechispardesobjets.
Affaiblissement et dérivé : lorsque la distance qui sépare votre vehicule de l'émetteur de la station s'accroit, les signaux auront tendance à s'affaïblir ou à dériver.
Parasites and battement : lorsqu'il y a interfERENCE du signal causée par des immeubles, des montagnes ou par la position de l'antenne (cette situation se produit généralement à une plus grande distance de l'émetteur de la station), des parasites ou des battements peuvent être percus. Vous pouvez atténuer ces bruits en réglant le bouton des aiguus pour réduire ces derniers.
Réception par trajets multiples : en raison des caractéristiques de réflexion des signaux FM, des signaux directs et reflèchis atteignent le réceputeur en même temps. Les signaux peuvent se neutraliser mutuellement et cause un battement ou une perte momentanée du son.
RéCEPTION RADIO AM
Les signaux AM, du fait de leur BASSE fréquence, peuvent contourner des objets et rebondir sur le sol. De plus, les signaux rebondissent sur l'ionosphere et reviennent vers la terre. Ces ca
ractéristiques font que les signaux AM sont aussi sujets à des interférences lors de leur trajet de l'émetteur au récepteur.
Baisse d'intensité: ce phénomène se produit lorsque le vehicule passée sous un viaduc ou dans des zones comportant beaucoup d'immeubles élevés. Il peut également se produit pendant plusieurs secondes lors de turbulences ionosphériques, et ce, même dans des endroits dépourvus d'obstacles.
Parasites : ils sont causés par les orages, les lignes d'alimentation électrique, les enseignes électriques et même les faux de circulation.
RéCEPTION RADIO PAR SATELLITE (selon l'équipement du vehicule)
La radio par satellite peut ne pas fonctionner adequately lorsqu'elle est installee pour la première fois ou si la batterie a ete remplacede. Cette condition est normale.Assurez-vous que voitre vehicule est a l'ecart de tout edifice metallique ou de grande taille et attendez au moins dix minutes, avec la radio par satellite activee, pour recevoir toutes les données nécessaires.
Si la radio par satellite en option et son antennenont pas ete installes et que I'abonnement au service par radio satellite XMou SIRIUS n'est pas en vigueur, aucune reception radio par satel
lite ne sera possible et la mention « NO SAT » (pas de réception satellite) s'affichera.
Le rendement de la radio par satellite peut être compromis si des bagages transportés sur le porte-bagages du toit bloquent le signal satellite de la radio.
Évitez autant que possible de déposer des bagages sur l'antenne de réception satellite.

PRECAUTIONS CONCERNANT L'UTILISATION DE LA CHAINE AUDIO
Lecteur de disque compact
- N'utilise que des disques compacts ronds de haute qualité, d'un diamètre de 12 cm (4,7 pouces) et identifiés par le logo « COMPACT disc DIGITAL AUDIO » (sur le disque ou l'emballage).
- Par temps froid ou pluvieux, le lecteur peut mal fonctionner en raison de l'humidité ambiente. Si tel est le cas, retirez le disque compact du lecteur et déshumidifiez ou aéréz ce dernier.
- Le lecteur peut sauter des pistes lorsque vous conduisez sur une route cahoteuse.
- Il est possible que le lecteur de disque compact ne fonctionne pas lorsque la température de son compartment est très élevé. Laissez refroidir le compartment pour en abaiser la température avant d'utiliser le lecteur.
- N'exposez pas le disque compact directement aux rayons du soleil.
-
Les disques compacts en mauvais état, sales, rayés ou couverts de traces de doigts peuvent ne pas fonctionner correctement.
-
Les disques compacts suivants peuvent ne pas fonctionner ajustement:
disques compacts de contrôle par duplication (CCCD);
disques compacts inscriptibles (CDR);
disques compacts réinscriptibles (CD-RW).
- N'utilise pas les disques compacts suivants, car ils peuvent provoquer un mauvais fonctionnement du lecteur de disque compact :
disques de 8 centmétres (3,1 pouces) avec un adaptateur;
disques compacts qui ne sont pas ronds;
disques compacts portant une éti- quette en papier;
disques compacts déformés, rayés ou dont les rebords ne sont pas réguliers.

- Touche REAR AV (commandes audio arrêté)
- Touche de commande des haut-parleurs
- Touche LOAD (chargement)
- Fente de chargement de disque compact
- Touche d'éjection de disque compact
- Bouton PUSH POWE (marche-arrêt/volume)
- Touches de selection des stations et des disques compacts (1 à 6)
- Bouton PUSH AUDIO (commande audio) et TUNE/CHANNEL (syntonisation/canal) (BASS [graves], MID [moyens], TREB [aiguës], FAD [équilibre avant-àrrière] et BAL [balance gauche-droite])
*Si la radio par satellite en option et son antennene n'ont pas ete installes et que I'abonnement au service par radio satellite XMou SIRIUSTm n'est pas en vigueur, aucune reception radio par satellite ne sera possible et la mention *NO SAT" (pas de reception satellite) s'affichera.
4-22 Écran d'affichage, chauffage, climatisationur et chaine stéréophonique
RADIO AM-FM-SAT AVEC CHANGEUR DE DISQUES COMPACTS
Fonctionnement principal de la chaîne audio
Bouton POWER/VOLUME (marche-arrêt/volume) :
Tournez la clé de contact à la position ACC (accessoires) ou ON (marche), puis appuyez sur le bouton POWER/VOLUME alors que le système est étant pour activer le mode (radio ou lecteur de disque compact) qui était en fonction au moment de la dernière mise hors fonction du système.
Pour eteindre le système, appuyez sur le bouton POWER/VOLUME.
Tournez le bouton POWER/VOLUME pour régler le volume.
Votre vehicule est équipé d'une châne audio avec commande de volume asserv à la vitesse (SSV). Cette fonctionnalité règle le volume de la châne audio en fonction de la vitesse à laquelle vous conduisez.
Bouton AUDIO (BASS, MIDRANGE, TREBLE, FADE, BALANCE et SSV)
Appuyez sur le bouton AUDIO pour modifier le mode sélectionné comme suit :
BASS MID TREBLE FADE BALANCE SSV
Appuyez sur le bouton AUDIO jusqu'à ce que le mode désiré s'affiche à l'écran (BASS, MID, TREBLE, FADE ou BALANCE) pour régler les graves, les tonalités moyennes, les aigués, l'équilibre avant-arrête et la balance gauche-droite. Tournez le bouton de syntonisation pour régler le niveau des graves et des aigués. Vous pouvez également utiliser le bouton de syntonisation pour régler les modes d'équilibre avant-arrête et de balance gauche-droite. L'équilibreur avant-arrête regle le niveau sonore entre les haut-parleurs avant et arrêté et la balance gauche-droite règle le niveau du sonore entre les haut-parleurs droit et gauche.
Tournez le bouton de syntonisation vers la droite ou vers la gauche pour faire passer le mode de volume asservi à la vitesse à OFF (hors fonction), LOW (bas), MID (moyen) ou HIGH (elevé).
Une fois la qualité sonore établie au niveau dé-siré, appuyez sur le bouton AUDIO de façon répetée jusqu'à ce que l'affichage du mode radio ou lecteur de disque compact apparaisse de
nouveau. Autrement, l'affichage du mode radio ou lecteur de disque compact se rétablit après environ dix secondes.
Affichage du texte du mode de lecteur de disque compact
Appuyez sur le bouton AUDIO jusqu'à ce que la mention « Display Mode » (mode d'affichage) s'affiche pour modifier le texte affchépendant la lecture d'un disque compact.
Tournez le bouton de syntonisation dans un délambda de deux secondes. Le texte se modifie comme suit :
Numero de piste Titre de piste Titre de disque Numero de piste
Affichage textuel de la radio par satellite (selon l'équipement du vehicule):
Appuyez sur le bouton AUDIO jusqu'à ce que la mention « Display Mode » (mode d'affichage) s'affiche pour modifier le texte affchépendant l'écoute de la radio par satellite.
Tournez le bouton de symtonisation dans un délambda de deux secondes. Le texte se modifie comme suit :
Numero de fréquence Nom de la bande de fréquences Artiste Titre Numero de fréquence
Touche PAUSE/MUTE
Enforcez la touche PAUSE/MUTE pour interrompre la sortie audio ou pour la mesure en sourdine.
Enoncez de nouveau la touche PAUSE/MUTE pour la rétabir.
Fonctionnement de la radio AM-FMSAT
Sélection de la bande de fréquences AMFM-SAT
Appuyez sur la touche de selection de bande FM-AM ou SAT pour modifier la selection de la façon suivante :
AM FM ou SAT (Satellite, selon l'équipement du vehicule)
Si la touche de selection de bande AM-FM-SAT est enforcée alors que le contacteur d'allumage est à la position ACC (accessoires) ou ON (marche), la radio s'allume et symponise la dernière station écoutee.
La dernière station est également syntonisée lorsque vous enforcez le bouton marche-arrêt et de commande du volume en position ON (en fonction).
Si la radio par satellite en option et son antennenont pas ete installes et que I'abonnement au service par radio satellite XM ou SIRIUS n'est
pas en vigueur, aucune réception radio par satellite ne sera possible et la mention « NO SAT » (pas de réception satellite) s'affichera.
Si la touche de selection de bandes de fréquences AM-FM-SAT est enforcée pendant la lecture d'un disque compact, la lecture est automatiquement interrompue et la dernière station de radio écoutee est syntonisée.
L'indicateur de bande FM stéreo (ST) est allumé pendant la réception FM stéreo. Lorsque le signal d'émission stéreo faiblit, la radio passa automatique d'une réception stéreo à une réception monophonique.


Touche TUNE (syntonisation)
AVERAGEMENT
La conduite du vehicule exige toute votre attention : ne tentez donc pas de syntoniser une station radio en conduisant.
Pour symponiser manuellement la radio, enforcez la touche TUNE (« ou ») ou tournez le bouton de syntonisation vers la droite ou vers la gauche.
Pour faire defiler les stations rapidement, enoncez l'une ou l'autre des touches « ou « pendant plus d'une seconde et demie.


Syntonisation par recherche
Enforcez la touche SEEK/TRACK (ou ) pendant moins d'une seconde et demie pour symponiser les fréquences, des plus élevées aux plus basses ou vice-versa, et pour vous arrêté à la prochaine station de radio.
Syntonisation par balayage :
Enonceze la touche ou pendant plus d'une seconde et demie pour vous arreter à chaque station de radio pendant cinq secondes. Appuyez de nouveau sur la touche pendant cette période de cinq secondes pour arreter la syntonisation par balayage; la radio restera à cette station. Si la touche ou n'est pas enforcée dans un déali de cinq secondes, la syntonisation par balayage passé à la station suivante.
Opérations de mise en mémoire des stations
Vouspouvezmettre en mémoire jusqu'à18 stations des bandesAM,FM et SAT(satellite, selon l'équipement du vehicule) à l'aide des touches de mise en mémoire de préseLECTIONsA,B et C,en combinant les stations AM et FM auchoix.
-
Choisissez la bande de préseLECTIONs A, B ou C à l'aide de la touche de mise en mémoire de préselections correspondante.
-
Sélectionnéz la station désirée à l'aide de la syntonisation manuelle, par recherche ou par balayage. Appuyez et maintenez enforcée une des touches de mise en mémoire des stations (1 à 6) jusqu'à ce qu'un bip se fasse entendre.
- L'indicateur de bande s'allume ensuite et le son est rétabli. La mise en mémoire est maintainant complétée.
- D'autres stations peuvent être mises en mémoire (en les assignant à autres touches de sélection) en procédant de la même manière.
Si le cable de la batterie est débranché ou que le fusible de la radio grille, la mémoire de la radio est désactivée. Si tel est le cas, repêze la procédure de mise en mémoire des stations désirées.
Système RDS (système de radiocommunication de données)
Le système RDS (Radio Data System) est un service de données encodées à l'intérieur d'une programmation radiophonique standard offerte par certaines stations de la bande FM ou de la bande SATELLITE (RDS n'est pas disponible sur la bande AM). Actuellement, la plupart des stations RDS se trouvent dans les grandes villes, mais plusieurs stations envisagent maintainant de diffuser des données RDS.
Le système RDS peut afficher :
- l'indicatif d'applé de la station, par exemple, « WHFR 98,3 »;
- le nom de la station, par exemple, « The Groove »;
- le type de musique ou de programmation, par exemple, « Classique», « Country » ou « Rock »;
- les rapportes de circulation routière concernant les retards et les travaux routiers.
Si une station diffuse de l'information RDS, I'icone RDS s'affiche.
Touche PTY (type de programmation)
La touche PTY (type de programmation) permet de rechercher un type de programmation. Le nombre de stations pouvant transmettre de l'information RDS est limite dans certaines religions. Plusieurs stations ne transmettent que les individats d'appele et les fréquences.
Les résultats d'une recherche ou d'un balayage par type de programmation peuvent alors etre limites.
Lorsque la touche PROG/RPT est enforcée pendant plus d'une seconde et demie en mode FM ou SAT (selon l'équipement du vehicule), le nom du type de programmation de la station
syntonisee s'affiche. Si le code de données du type de programmation est nul ou que les données sont illisibles, la mention NONE (aucun) s'affiche a l'écran.
Pour modifier le type de programmation :
- Appuyez sur la touche PROG/RPT (programmation/repetition).

- Appuyez sur la touche TUNE (ou ) pourCHOISIR un type de programme spécifique.Reportez-vous a l'illustration.
La mention « SEEK, SCAN? » s'affiche à l'écran.
Syntonisation par recherche :
- Une fois qu'un type de programmation est selectionné, enforcez la touche SEEK (« ou ») pendant moins d'une seconde et demie dans un déali de dix secondes. La syntonisation des stations qui correspondent au type de programmation selectionné débute alors. Si la touche SEEK n'est pas enforcée dans un déali de dix secondes, le mode PTY est annulé.
Syntonisation par balayage :
- Enforcez la touche ou pendant plus d'une seconde et demie pour syntoniser les stations qui correspondent au nom de type de programmation selectionné et vous arrêté à chacune des stations de radio pendant cinq secondes. Appuyez de nouveau sur la touche pendant cette période de cinq secondes pour arrêté la syntonisation par balayage; la radio restera à cette station. Si la touche ou n'est pas enforcée dans un délié de cinq secondes, la syntonisation par balayage passée à la station suivante.
Fonctionnement du changeur de disques compacts
ATTENTION
- N'insérez pas de force un disque compact dans la fente du lecteur ou du changeur de disques compacts. Vous pourriez endommager le disque compact ou le changeur/lecteur.
- Ne tentez pas d'insérer un disque compact lorsquè le volet de chargement est fermé, car vous pourriez endommager le disque ou le changeur de disques compacts.
Tournez la clé de contact à la position ACC (accessoires) ou ON (marche), puis insérez le disque compact dans la fente; l'étiquette doit être orientée vers le haut. Le disque compact entre automatiquement dans le lecteur et la lecture commence. Pour insérer un disque, enforcez d'abord la touche LOAD (chargement).
Si la radio est déjà en fonction, elle s'interrrompt automatiquement pour permettre la lecture du disque compact.
Si le système a eté mis hors fonction pendant la lecture d'un disque compact, la lecture reprendra en,enfantant le bouton POWER/VOLUME.
Touche LOAD (chargement) :
Enforcez la touche LOAD pendant moins d'une seconde et demie pour insérer un disque compact dans le chargeur. Sélectionnez la fente de chargement en,enfantant la touche de selection de chargement de disque compact appropriée (1 à 6),puis insérez le disque compact.
Enforcez la touche LOAD pendant plus d'une seconde et demie pour insérer six disques compacts dans le chargeur.
Les numérores correspondant aux fentes (1 à 6) s'allument à l'écran lorsque les disques compacts sont charges.
Bouton du lecteur de disque compact
Si la touche CD est enforcée alors qu'un disque compact est chargé et que le lecteur est hors fonction, ce dernier se met en fonction et la lecture du disque débute.
Si la touche CD est enforcée alors qu'un disque compact est charge et que la radio est en fonction, celle-ci s'eteint automatiquement pour permettre la lecture du disque compact.


REW (rebobinage) et FF (avance rapide):
Si la touche (rebobinage) ou (avance rapide) est enforcée pendant la lecture du disque compact, la lecture se poursuit en
mode d'avance rapide ou de rebobinage. Lorsque le bouton est relaché, la lecture du disque compact reprend à la vitesse normale.
Si la touche CD est enforcée alors qu'un disque compact est chargé et que le lecteur est hors fonction, ce dernier se met en fonction et la lecture du disque débute.
Lorsque la touche CD est enforcée alors qu'un disque est chargé et que la radio est allumée ou que la lecture d'une cassette est en cours, la radio s'eteint ou la lecture de la cassette est interrompue automatiquement pour permettre la lecture du disque compact.


SEEK/TRACK (recherche/piste)
Si le bouton est enforcé pendant moins d'une seconde et demie pendant la lecture d'un disque compact, la lecture de la piste en cours reconnence du début. Enforcez la commande plusieurs fois pour reculer des plusieurs pistes. Le lecteur de disque compact recule d'un nombre de sélections correspondant au nombre de fois où la touche a été enforcée.
Si le bouton est enforcé pendant moins d'une seconde et demie pendant la lecture d'un disque compact, la lecture de la piste suivante commence. Enforcez la commande plusieurs fois pour avancer de plusieurs pistes. Le lecteur
de disque compact avance d'un nombre de sélections correspondant au nombre de fois où la touche a été enforcée. (Après avoir atteint la dernière piste du disque compact, la lecture reprend à la première piste.)
Si le bouton ou est enforcé pendant plus d'une seconde et demie, chaque piste est lue pendant environ dix secondes. Pour interrompre la lecture, enforcez le bouton de nouveau.
Touches de sélection des disques compacts
Pour écouter un autre disque compact charge, enforcez une touche de selection de disque compact (1 à 6).
RPT (répétition)
Lorsque la touche PROG/RPT est enforcée pendant la lecture du disque compact, le modele de lecture peut etre modifie comme suit :
ALL DISC RPT (répetition de tous les disques) 1 DISC RPT (répetition d'un disque) 1 TRACK RPT (répetition d'une piste) ALL DISC RDM (répetition aléatoire de tous les disques) 1 DISC RDM (répetition aléatoire d'un disque) ALL DISC RPT (répetition de tous les disques).
ALL DISC RPT (répetition de tous les disques) : tous les disques charges sont répetés.
1 DISC RPT (répetition d'un disque) : le disque en cours de lecture est répété.
1 TRACK RPT (répetition d'une piste): la piste en cours de lecture est répetée.
ALL DISC RDM (lecture aléatoire de tous les disques): les pistes de tous les disques sont lues dans un ordre aléatoire.
1 DISC RDM (lecture aléatoire d'un disque) : les pistes du disque en cours de lecture sont lues dans un ordre aléatoire.
Touche REAR AV (commandes audio arrêté) (types B et D seulement)
Appuyez sur la touche REAR AV pendant moins d'une seconde et demie pourmettre en fonction le système audio des passagers arriere. Le message « REAR CONT ON » (commande arriere activée) est affiche.Appuyez de nouveau sur cette touche pourmettrele système hors fonction.Le message « REAR CONT OFF » (commande arriere désactivée) est affiché.Si le vehicule n'est pas équipèd'un système audio arrière, I'ecran affiche « REAR AV N/A » (sytème audio arrrière non disponible).
Lorsque la touche REAR AV est enforcée pendant plus d'une seconde et demie alors qu'un DVD est chargé dans le système audiovisuel pour passagers arrêté, celui-ci se met en fonction.
Si la touche REAR AV est enforcée pendant plus d'une seconde et demie alors qu'un DVD est chargé et qu'une autre source audio est en fonction, cette autre source s'eteint automatiquement pour permettre la lecture du DVD.
Touche
(commande des hautparleurs) (types B et D,)seulement
Appuyez sur cette touche pour désactiver les haut-parleurs arrêté et activer les écouteurs. Appuyez de nouveau sur cette touche pour réactiver les haut-parleurs arrêté et désactiver les écouteurs.

Ejection du disque
Disque en cours de lecture :
- enonceze le numéro correspondant à la fente (1 à 6) du disque désiré et enonceze la touche . Le disque compact est éjecté. Si le disque n'est pas retire dans un délié de quinze secondes, il est charge de nouveau (sauf dans le cas des disques d'un diamètre de 8 cm).
Tous les disques :
- appuyez sur la touche et maintenez-la enforcée pendant plus d'une seconde et demie. Les disques compacts sont éjectés un à la fois. La séquence compte
d'éjection sera annulée si un disque n'est pas retire dans un délambda de 15 secondes ou si la touche est enforcée de nouveaupendant la séquence.
Si cette touche est enforcée pendant la lecture d'un disque compact, ce dernier est ejecté et le mode précédent est remis en fonction.
Témoin CD IN (disque compact charge)
Les numeros de fentes (1 à 6) s'allument si des disques compacts ont ete chargés.

ENTRETIEN ET NETTOYAGE DES DISQUES COMPACTS
- Tenez un disque compact par ses rebords. Ne pliez pas le disque compact et n'en touchez jamais la surface.
- Lorsqu'ils ne sont pas utilisés, gardez toujours les disques compacts dans leur boîtier de rangement.
-
Pour nettoyer un disque compact, essuyez sa surface avec un chiffon propre et doux, en allant du centre vers le rebord extérieur du disque. N'essuyez pas le disque compact par un mouvement circulaire.
-
N'utilise pas de nettoyeur à disque conventionnel ou d'alcool destiné à une utilisation industrielle.
- Un disque compact neuf peut désenter des rebords interieur et extérieur irréguliers. Attenuez ces irrégularités en passant le bord d'un stylo ou d'un crayon sur les rebords interieur et extérieur du disque compact, comme illustré.

- Touche VOL (commande du volume)
- Touche MODE
- Touche POWER (marche/arrêt)
- Touche TUNE (syntonisation)
INTERRUPTEUR DE COMMANDER AUDIO SUR LE VOLANT DE DIRECTION (salon l'équipement du vehicule)
La châne audio peut être activée à l'aide des commandes du volant de direction.
Touche POWER (marche/arrêt)
Tournez la clé de contact à la position ACC (accessoires) ou ON (marche) et appuyez sur la touche POWER (marche/arrêt) pour allumer ou éteindre la chaîne audio.
Touche MODE
Appuyez sur la touche de mode pour modifier le mode dans l'ordre suivant : DVD (selon l'équipement du vehicule), AM, FM, SAT (selon l'équipement du vehicule) et CD.
Touche VOL (commande du volume)
Enforcez la portion supérieure ou inférieure de cette touche pour augmenter ou pour réduire le volume.


Syntonisation
Changement de station mémorisée (radio):
Enforcez la commande de syntonisation ou pendant moins d'une seconde et demie pour modifier la fréquence radio.
Syntonisation par recherche (radio) :
Enforcez la commande de syntonisation ou pendant plus d'une seconde et demie pour rechercher la station precedente ou suivante.
FF, REW (avance rapide, rebobinage rapide):
Enoncez la commande de syntonisation ( ou ) pendant moins d'une seconde et demie pour revenir au début de la piste en cours de lecture ou pour passer à la piste suivante. Enoncez la commande plusieurs fois pour revenir en arrrière ou avancer de plusieurs pistes.
Pour interrompree la fonction d'avance rapide ou de rebobinage, enforcez la touche ou de nouveau pendant moins d'une seconde et demie.
Pendant la lecture d'un disque compact du chargeur (selon l'équipement du vehicule), enforcez la touche de syntonisation (ou) pendant plus d'une seconde et demie pour passer d'un disque à l'autre dans le chargeur.
Changement de station mémorisée (radio)
Enforcez la commande de syntonisation ou pendant moins de 1,5 seconde pour passer à la prochaine station mise en mémoire.
Syntonisation par recherche (radio)
Enforcez la commande de syntonisation ou pendant plus de 1,5 seconde pour rechercher la station precedente ou suivante.
Piste suivante/precedente (disque compact)
Enforcez la commande de syntonisation ou pendant moins de 1,5 seconde pour revenir au début de la piste en cours de lecture ou pour passer à la piste suivante. Enforcez la commande plusieurs fois pour revenir en arrêté ou avancer de plusieurs pistes.
Ce système recherche les pauses entre les pistes. Il est possible que le système omette de s'arrêter à l'endetroit désiré ou prévu en présence d'un intervalle dans une piste ou en l'absence d'intervalle entre les pistes.
Changement de disque (selon l'équipement du vehicule)
Enforcez la commande de syntonisation ou pendant plus de 1,5 seconde pour passer au disque precedent ou suivant.

LHA0322
- Touche VOL (commande de volume)
- Touche MODE
- Touche de commande des haut-parleurs
- Touche NEXT (station suivante)
-
Touche SEEK (recherche)
-
Prises pour écouteurs
-
Fenêtre de l'émetteur infrarouge des écouteurs*
-
Les émetteurs rouges sont visibles lorsqu'les écouteurs sont en fonction.
COMMANDES DE LA CHÂINE STÉRÉO À L'ARRÊIRE
Appuyez sur la touche REAR AV du bloc de commande avant de la radio pour activer les commandes audio arrrière. Appuyez de nouveau sur la touche pour désactiver les commandes arrrière.
Le symbole des écouteurs s'affiche sur l'écran avant lorsque les commandes audio arrêtre sont activées. Deux prises pour écouteurs sont destinées à l'usage des passagers arrêtre.
Les commandes de volume arrirè ne sont destinées qu'à l'augmentation du volume déjà réglé au moyen de la commande de volume avant.
Deux casques d'écoute à infrarouge sont fournis si le vehicule est muni du système audiovisuel mobile. Les casques d'écoute portatifs sont pour la plupart compatibles avec les commandes audio arrêté.
Les passagers arrirée qui désactivent les hautparleurs arrirée au profit des casques d'écoute peuventCHOISIR un media autre que celui écoutedepar les passagers avant. Ainsi, les passagers arrirépeuvent écouter la radio tandis que lespassagers avant font de même, écoutent un disque compact ou encore la radio par satellite.
Touche VOL (commande de volume)
Cette touche permet aux passagers arrêté de régler le volume sonore des écouteurs.

Commande des haut-parleurs
Appuyez sur cette touche pour désactiver les haut-parleurs arrriere et activer les écouteurs. Appuyez de nouveau sur cette touche pour réactiver les haut-parleurs arrriere et désactiver les écouteurs.
Touche MODE
La touche de selection de mode permet aux passagers arrirée de désir entre les bandes AM et FM, le lecteur de disque compact, le lecteur DVD et une source auxiliaire (AUX). Les médias disponibles sont indiqués sur le bloc de commande audio arrière. Lorsqu'un média est selectionné, le symbole correspondant s'allume sur le bloc de commande.
Touche SEEK (recherche)
Lorsque la bande AM ou FM est selectionnée, la touche SEEK permet aux passagers arrriere de rechercher les stations precedentes ou suivantes sur la bande de fréquences donnée.
Lorsque le mode disque compact est selec-tionné, la touche SEEK permet aux passagers
arrière de selectionner les pistes precedentes et suivantes sur le disque compact.
Touche NEXT (station suivante)
Lorsque la touche NEXT est enforcée alors que la chaine est en mode AM ou FM, la radio passé à la prochaine station préréglée.
La touche NEXT est inactive lorsque la radio est en mode de réception satellite ou lorsque l'appareil lit un DVD ou un disque compact.
ANTENNE
Antenne de lunette arrête
Le circuit de l'antenne est imprimé dans les glaces des deux cots des sièges arrêté.

ATTENTION
- Ne placez pas de pellicule métallisée après des glaces du conducteur et du passager et n'y attachez pas de pieces métalliques. Ces articles pourraient nuire à la réception radio ou être une source de bruit.
Lors du nettoyage de la paroi interieure des glaces du conducteur et du passager, prenez soin de ne pas égratigner ni endommager l'antenne. Essuyez légèrement avec un chiffon doux et humide le long de l'antenne.
SYSTÉME AUDIOVISUEL MOBILE INFINITI (selon l'équipement du vehicule)


AVERTISSEMENT
- Le système audiovisuel mobile est destiné uniquement à l'usage des passagers arrêté.
- Afin de garder toute son attention sur la route, le conducteur ne doit pas tenter de régler le système audiovisuel mobile tout en conduisant.

ATTENTION
L'écran de verre de l'affichage à cristaux liquides peut se briser s'il est frappé par un objet dur ou tranchant. Si l'écran de verre se brise, ne touche pas à la matière cristalline liquide qui s'en échappe car cette-ci contient une faible quantité de mercure. En cas de contact avec la peau, lavez immédiatement au savon et à l'eau.
Utilisez un chiffon humide et doux pour nettoyer les composants du système audiovisuel mobile. N'utilisez pas de solvants ni de détergents liquides.
- Ne tentez pas d'utiliser le système lorsque les conditions de température sont extrêmes, soit inférieures à -20 °C (-4 °F) ou supérieures à 70 °C (158 °F).
- Afin d'éviter la décharger la batterie de votre vehicule, ne laissez pas le système en marche pendant plus de 15 minutes sans avoir fait demarrer le moteur.

LHA0316
- Touche d'éjection
- Logement du DVD
- Touche ENTER (entrer)
- Touche POWER (marche/arrêt)
- Touche MODE
- Prises d'entrée
- Touche d'arrêt
- Touche de lecture/pause
- Touche MENU
- Touche DISP (affichage du menu)
- Touches de navigation
COMMANDES DU LECTEUR DE DISQUES VIDEO NUMÉRIQUES (DVD)

- Touche PWR (marche-arrêt)
- Touche d'arrêt
- Touches Piste ou chapitre suivant et Piste ou chapitre precedent
- Touche TITLE (titre)
-
Touche ENTER (entrer)
-
Touche DISP (affichage du menu)
- Touche MODE
- Touche SUBT (sous-titrage)
- Touche AUDIO
- Touche ANGLE (angle de camera)
- Touche CLEAR (effacer)
- Touche de pause
- Touche de lecture
- Touche avance-rebobinage rapide
- Touche MENU
- Touches de navigation
- Touche BACK (retour en arrêté)
- Clavier numérique
TELECOMMANDE

ÉCRAN RELEVABLE
La partie inférieure de l'écran retable est munie d'un récepteur de télécommande ①.

ATTENTION
L'écran de verre de l'affichage à cristaux liquides peut se briser s'il est frappé par un objet dur ou tranchant. Si l'écran de verre se brise, ne touche pas à la matière cristalline liquide qui s'en échappe car cette-ci contient une faible quantité de mercure. En cas de contact avec la peau, lavez immédiatement au savon et à l'eau.
- Vous pouvez faire pivoter l'écran vers le bas pour le regarder, et vers le haut pour le ranger. Assurez-vous de bien le verrouiller dans le boitier lorsque vous le rangez.

Écouteurs

Commande ON/OFF (mise en/hors fonction)
Appuyez sur cette touche pourmettre les écouteurs en/hors fonction.
Commande VOL (volume)
Tournez la commande de volume pour régler le volume des écouteurs.
En l'absence de signal sonore, les écouteurs s'éteignent automatiquement après un-delai de 30 secondes. Pour éviter d'épuiser les piles, coupez l'alimentation des écouteurs non utilisés.
REMARQUE :
Pour un rendement optimal des écouteurs infrarouges, augmentez le volume du système audio arrêté au maximum et réglez le volume des écouteurs infrarouges à l'aide de la commande de volume des écouteurs. Un volume bas sur le système audio arrêté peut causeer des parasites dans les écouteurs infrarouges.
LECTURE D'UN DISQUE VÉDÉ NUMÉRIQUE (DVD)
ATTENTION
Utilisez le lecteur de DVD uniquement lorsque le moteur tourne. La batterie peut se décharger si vous faites fonctionner le lecteur de DVD pendant de longues périodes alors que le moteur est à l'arrêt.
- Il ne faut jamais soumettre le système à l'humidité. Une humidité excessive telle que cette provoquée par des liquides renversés peut causeur un dysfonctionnement du système.
- Afin de garder toute son attention sur la route, le conducteur ne doit pas utiliser d'écouteurs en conduisant.
- Si vous utilisez des disques compacts video, vous ne peut garantir toutes les fonctionnalités offertes par tous les formats de ce type de disque compact.
Le lecteur DVD permet d'écouter des DVD video, des disques compacts video et des disques compacts audio à l'aide des écouteurs. Les passagers des sièges arrêt都可以 profiter du système audio de façon dissociée du système avant.
Appuyez sur la touche REAR AV du bloc de commande avant pendant plus d'une seconde et demie pour écouter le lecteur DVD au moyen des haut-parleurs.
Une pression sur la touche du bloc de commande avant active ou désactive les haut-parleurs arrirée.
Il est possible d'activer le lecteur DVD au moyen de la télécommande.
Les écouteurs sont de type sans fil et l'usage d'un cordon est inutil. Presque toutes les places assises du siècle arrêté vous permettent d'utiliser les écouteurs. (Les écouteurs ne fonctionnent toute fois pas à partir des sièges avant.)
Touche PWR (marche/arrêt)
Tournez le contacteur d'allumage à la position ACC (accessoires) ou ON (marche) et appuyez sur la touche PWR pour allumer ou éteindre le lecteur DVD.
Insérez le DVD dans le logement du lecteur, étiquette vers le haut. Le DVD entre automatique-ment dans le logement du lecteur.
Si le lecteur DVD est hors fonction et qu'on y insere un DVD, le lecteur se met automatiquement en fonction.
ATTENTION
Ne forcez pas en introduisant un disque compact dans la fente, sous peine d'endommager l'appareil.
Touche MODE
Appuyez sur la touche MODE pour sélectionner les sources audio/video entre les entrées DVD et AUX (prises sur la face avant : rouge = entrée audio de droite, blanc = entrée audio de gauche, et jaune = entrée video).
Une fois le mode AUX sélectionné, la mention « AUX » s'affiche dans le coin supérieur gauche de l'écran pendant quatre secondes.
Pour utiliser les prises d'entrée, consultez la rubrique « Prises d'entrée auxiliaires » dans ce chapitre.

Lorsque la touche de lecture/pause de l'appareil ou la touche de lecture de la télécommande est enforcée, la lecture commence.
En mode de lecture, le message s'affiche brievement dans le coin supérieur gauche de l'écran.

Appuyez sur les touches d'avance/reboinage rapide pour avancer ou reculer cinq fois plusrapidement que la vitesse normale de lecture.
Appuyez de nouveau sur les touches d'avance/reboinage rapide ou sur la touche de lecture pour reprendre la vitesse normale de lecture.

Touche NEXT CHAPTER/PREVIOUS CHAPTER (chapitre suivant/chap precedent) (telec mande seulement):
Une pression sur la touche (chapitre suivant) pendant la lecture du DVD fait avancer le lecteur au début du programme suivant. Enforcez la commande plusieurs fois pour avancer de plusieurs pistes. Le lecteur de DVD avance d'un nombre de sélections correspondant au nombre de fois ou la touche a ete enfoncée. Une pression sur la touche (chapitre precedent) fait reprende la lecture au début du programme en cours. Enforcez la commande plusieurs fois pour reculer de plusieurs pistes. Le DVD recule d'un nombre de sélections correspondant au nombre de fois ou la touche a ete enfoncée.

Touchede pause
Lorsque la touche de lecture/pause de l'appareil ou que la touche de pause de la télécommande est enforcée, le lecteur marque une pause sur le disque. En mode de pause, le lecteur affiche II dans le coin supérieur gauche de I'écran jusqu'à ce qu'un autre mode soit sélectionné.

Touchedarret
Appuyez sur la touche d'arrêt pour cesser la lecture du média. La mention s'affiche dans le coin supérieur gauche de l'écran pendant quatre secondes et la dernière position de lecture du disque est mémorisée. Lorsque la touche de lecture est de nouveau enfoncée, l'appareil reprend la lecture du disque à l'endroit où elle avait été interrompue.
Si la touche d'arrêt est de nouveau enforcée lorsque l'appareil est en mode d'arrêt, la mémoire de position de lecture s'efface. Ainsi, la dernière position est ignorée et la prochaine lecture se fait à partir du menu de titre, ou au tout début du disque.

Touche d'éjection
Le DVD est ejecté lorsqu la touche d'éjection est enforcée et qu'un DVD est charge.
Après avoir enforcé la touche d'éjection, le symbole s'affiche dans le coin supérieur gauche de l'écran pendant quatre secondes.
Si un DVD n'est pas charge, l'écran affiche « NO DISC » (pas de disque).
Si le DVD n'est pas retire de la fente dans les 25 secondes suivant son éjection, il est rechargé dans l'appareil pour assurer sa protection.
Si la touche DISP est enforcée pendant plus de deux secondes, le menu d'affichage apparait à l'écran.
- Le menu d'affichage demeure à l'écranpendant dix secondes si aucune touche n'est activée.
Utilisez les touches de navigation pour parcourir le menu d'affichage et la touche EN-TER pour selectionner l'option的选择。
- Si la touche DISP de l'appareil est maintenue enforcée pendant plus de deux secondes, le menu d'affichage est réinitialisé et raméné à ses valeurs de base (Appareil seul).
Si la touche DISP de l'appareil est maintainue enforcée pendant plus de deux secondes, les renseignements relatifs au chapitre/temps écoulé du média s'afficheront au bas de l'écran. Si vous enforcez de nouveau cette touche pendant plus de deux secondes, ces renseignements s'effaceront de l'écran (Appareil seulement).
Touches de navigation
Lorsque le média est en mode de lecture, les touches de navigation (haut, bas, gauche et droite) possèdent les fonctions suivantes :
piste/chapitre suivant, piste/chapitre precedent, avance rapide et rebobinage rapide, alors que s'affichent respectivement , , et pendant quatre secondes dans le coin supérieur gauche de l'écran. (Appareil seulement).
Lorsque le média est en mode de PAUSE, les TOUCHES DE NAVIGATION (haut, bas, gauche et droite) permettent les fonctions suivantes : piste/chapitre suivant, piste/chapitre précédent et avance lente, alors que s'affichent respectivement , et une flèche de défilament vers l'avant pendant quatre secondes dans le coin supérieur gauche de l'écran (Appareil seulement).
Lorsque le média est en mode de menu, les touches de navigation permettent de naviguer vers le haut, le bas, la gauche et la droite dans le menu.
Lorsque le menu de commande est affché, les touches de navigation permettent de naviguer vers le haut, le bas, la gauche et la droite dans le menu.
Touche ENTER (entrer)
En mode de menu, appuyez sur la touche ENTER pour selectionner l'option du menu.
Dans le menu d'affichage, appuyez sur la touche ENTER pour selectionner les options à modifier, selon les directives fournies à l'écran.
Touche MENU
Si le média est en mode de lecture et que la touche MENU est enforcée, le menu DVD s'affiche à l'écran. Utilisez les touches de navigation pour parcourir le menu et la touche ENTER pour sélectionner l'option chooser.
Appuyez de nouveau sur la touche MENU pour revenir au mode de lecture.
Touche TITLE (titre) (telecommande seulement)
Appuyez sur la touche TITLE pour revenir à l'endetroit du titre sur le DVD.
Appuyez de nouveau sur la touche TITLE pour reprendre la lecture au point d'arrêt précédent.
Touche BACK (précepted) (telecommande seulement):
Appuyez sur la touche BACK pour quitter le menu courant et revenir au menu précédent.
Touche SUBTITLE (sous-titre) (telecommande seulement):
Appuyez sur la touche SUBTITLE pour afficher le menu de seLECTION des sous-titres.
Appuyez plusieurs fois sur la touche SUBT pour passer d'un sous-titre à l'autre.
Touche AUDIO (telecommande seulement)
Appuyez sur la touche AUDIO pour afficher le menu audio.
Appuyez plusieurs fois sur la touche AUDIO pour passer d'une piste audio à l'autre.
Touche ANGLE (telecommande seulement):
Appuyez sur la touche ANGLE pour afficher le menu d'angle deamera.
Appuyez plusieurs fois sur la touche ANGLE pour consulter tous les angles disponibles.
Touche CLEAR (effacer) (telécommande seulement):
Appuyez sur la touche CLEAR pour effacer toutes les entrées numériques, si celles-ci ont ete activees avant l'expiration du delai de trois secondes.
CLAVIER NUMÉRIQUE (0 à 9 et ≥ 10) (telé-commande seulement):
Utilisez le clavier numérique pour acceder directement aux chapitres, titres et pistes du disque en entrant leur valeur numérique.
La touche « ≥10 » permet d'entrée des nombres équivalents ou supérieurs à 10, composés d'un maximum de trois caractères et correspondant aux valeurs des chapitres, titres et pistes du disque.
Une activation repétée des touches numériques aura pour effet de déplacer vers la gauche les nombres déjà entrés.
Les valeurs des chapitres, titres et pistes du disque seront automatiquement selectionnées (pourvu qu'elles correspondent au contenu du disque) si aucune autre touche n'est enforcée avant l'expiration du-delai de trois secondes.
Il est possible d'annuler les valeurs des chapitres, titres et pistes du disque déjà entrees en appuyant sur la touche CLEAR avant l'expiration duIELai de trois secondes.
Vouspouvezutilisercesfonctionsuniquementsi leDVDenestpourvu.
Prises d'entrée auxiliaires
Les prises d'entrée auxiliaires sont situées sur le panneau de commande. Les appareils compatibles avec ce système, tels lesiaux video, camescopes et lecteurs video portables, peuvent etre branchés aux prises auxiliaires.
Les prises auxiliaires possedent un code de couleur pour facilitier leur identification.
Jaune - entrée video
- Blanc - entrée audio, canal de gauche
- Rouge - entrée audio, canal de droite
ENTRETIEN ET SOIN
Utilisez un chiffon non pelucheux légarement humide pour nettoyer les surfaces externes de votre système audiovisuel mobile INFINITI. (surface du lecteur DVD, écran, télécommande, etc.).
ATTENTION
- N'utilisez pas de solvants ni de solutions nettoyantes pour nettoyer le lecteur de videocassettes.
- N'appliquez pas une force excessive sur l'écran d'affichage.
- Évitez de toucher ou d'égratigner l'écran d'affichage car vous risquez de le salir ou de l'endommager.
- Ne tentez pas d'utiliser le système lorsque les conditions de température sont extrêmes, soit inférieures à -20 °C (-4 °F) ou supérieures à 70 °C (158 °F).
- Ne tentez pas demettre le systeme en marche dans des conditions d'humidite extremes (moins de 10% ou plus de 75% ).




LHA0049
MANIPULATION DE VOS DISQUES DVD
ATTENTION
- Tenez un DVD par ses rebords. Ne touchez jamais la surface du disque.
-
Pour nettoyer un disque compact, essayez sa surface avec un chiffon propre et doux, en allant du centre vers le rebord extérieur du disque. N'essayez pas le disque compact en effectuant un mouvement circulaire.
-
N'utilisezeldom produit de nettoyage pour disque conventionnel, benzine, diluant ou alcool à usage industriel.
- Un disque compact neuf peut partager des rebords interieur et extérieur irregulariers. Vous pouvez eliminer ces irregularités en passant le coto d'un stylo ou d'un crayon le long des rebords interieur et extérieur du disque, tel qu'illustré.
- Ne tentez jamais d'utiliser un DVD fissure, déformé ou réparé à l'aide d'un adhésif. Sinon, vous pourriez endomager l'appareil.
- Manipulez les DVD avec soin pour éviter de les souiller ou de les abîmer. Dans le cas contraire, les signaux pourrait être lus de façon incorrecte.
- Évitez d'écrire, de dessiner ou d'apposer quoi que ce soit sur les faces du DVD.
- N'exposez pas le DVD à la lumière directe du soleil, à la chaleur ou à l'humidité.
- Lorsquils ne sont pas utilisés, gardez toujours les disques dans leur boîtier de rangement.
- N'apposez pas d'étiquette et n'écrivez pas sur les surfaces du DVD.

Remplacement des piles de la télécommande et des écouteurs
Remplacez les piles comme suit :
- Ouvrez le couvercle.
- Remplacez les piles.
- Piles de type AA (telecommande)
- Piles de type AAA (écouteurs)
Assurez-vous que les symboles et qui figurent aux extrémités des piles correspondant bien à ceux indiqués à l'intérieur du组成部分 des piles.

- Refermez solidement le couvercle de la télécommande.
Si les piles sont retirees pour toute autre raison que le remplacement, assurez-vous de bien referrer le couvercle.
- Si vous prévoyez de ne pas utiliser la télécommande pendant un certain temps, retirez-en les piles.
-
Il est nécessaire de remplacer les piles de la télécommande lorsque son fonctionnement n'est possible que lorsqu'elle est très rapproche du lecteur DVD ou qu'elle ne fonctionne plus.
-
Attention de ne pas toucher aux bornes des piles.
- Les piles mises au rebut de façon inadéquate peuvent nuir à l'environnement. Consultez toujours les règlements en vigueur dans votre localité concernant l'élimination des piles.
- Au moment de changer les piles, prenez garde de ne pas exposer la télécommande ou les écouteurs à la poussière ou à l'huile.
Avis de la FCC :
Le droit de l'utilisateur de disposer d'un tel équipement pourrait être révoqué si des modifications non conformes à ce qui a été approvée par le fabricant sont apportées. Ce dispositif est conforme à l'article 15 des règlements de la FCC et au réglement RSS-210 d'Industrie Canada. Son utilisation est soumise aux deux conditions suivantes : (1) ce dispositif ne doit causeure的最后一inférence nuisible, et (2) il doit accepter toutes les interférences, y compris celles qui peuvent l'activer de façon inopinée.
TELEPHONE DE VOITURE OU RADIO BP
Si vous installez un poste de radio BP ou amateur, ou un téléphone de voiture dans votre vehicule INFINITI, assurez-vous de respecter les précautions suivantes pour éviter que de tels accessoires ne compromettent le fonctionnement du circuit d'injectionlectronique multipoint et d'autres composants électroniques.

AVENTISSEMENT
- La conduite d'un vehicule exige toute l'attention du conducteur: ce dernier ne devrait donc pas utiliser son téléphone cellulaire lorsqu'il est au volant. Les lois de certaines régions interdisent l'utilisation d'un téléphone cellulaire en conduisant.
- Si vous devez téléphoner en conduitsant, il est vivement recommancedutiliser le mode « mains libres » de leur téléphone cellulaire (selon l'équipement du vehicule). Faites preuve d'une grande prudence en tout temps et concentrez-vous sur la conduite du vehicule.
- Si vous tenez une conversation pendant que vous conduisez et que vous avez besoin de prendre des notes, quitter la route et arrêtez votre vehicule dans un lieu sur avant de le faire.
ATTENTION
- L'antenne doit être placee aussi loin que possible du module de commande du moteur.
Veiliez a ce qu'il y ait au moins 20 cm (8 po) entre le fil de l'antenne et le faisceau d'injection electronique multipoint. Faites passer le fil de l'antenne loin de tout faisceau. - Procedez au réglage du rapport d'onde stationnaire de l'antenne conformément aux directives du fabricant.
- Branchez le fil de masse du chassin de radio BP à la carrosserie.
- Pour plus de détails à ce sujet, consultez un concessionnaire INFINITI/agréé.
5 Demarrage et conduite
Précautions pour le démarrage et la conduite. 5-2
Gaz d'échéppement (monoxyde de carbone) 5-2
Catalyseur à trois voies. 5-3
Précautions de conduite sur route et hors route. 5-3
Système d'ajretissement de masse pression des pneus 5-4
Pour éviter les collisions et les renversements 5-5
Consommation d'alcool/de drogues et conduite. 5-6
Consignes de sécurité pour la conduite 5-6
Contacteur d'allumage 5-8
Boite de vitesses automatique 5-8
Positions de la clé de contact 5-9
Système antidémarrage INFINITI 5-9
Avant de démarrer le moteur 5-10
Demarrage du moteur. 5-10
Conduite du vehicule 5-11
Mode de protection du moteur 5-11
Boite de vitesses automatique 5-12
Frein de stationnement. 5-16
Régulateur de vitesse 5-17
Précautions relatives à l'utilisation du régulateur de vitesse. 5-17
Fonctionnement du régulateur de vitesse. 5-18
Régulateur de vitesse adaptatif
(selon l'equipement) 5-19
Sélection de mode du régulateur de vitesse adaptatif. 5-19
Mode Contrôle d'intervalle. 5-20
Mode Classique (vitesse stable) du régulateur de vitesse. 5-36
Assistance au freinage (AVEC FONCTION DE
PREVISUALISATION) (dans les modeles munis du
Régulateur de vitesse adaptatif) 5-39
Assistance au freinage 5-39
Fonction de prévision 5-39
Période de rodage. 5-42
Réduction de la consommation de carburant 5-42
4x4 Utilisation du mode quatre roues motrices ..5-43
Procedures de changement de position de la boite de transfert 5-43
Techniques de stationnement 5-50
Direction assistée 5-51
Circuit de freinage. 5-51
Précautions relatives au freinage 5-51
Système antiblocage (ABS) 5-52
Système de contrôle dynamiques du vehicule (VDC). 5-54
Système de sonar arrêté (selon l'équipement du vehicule) 5-55
Conduite partempstfroid. 5-57
Déblocage d'une serrure de portière gelée 5-57
Antigel 5-57
Batterie 5-57
Vidange du circuit de refroidissement. 5-57
Pneus. 5-57
Équipement hivernal 5-58
Conduite sur la neige ou sur la glace 5-58
PRECAUTIONS POUR LE DEMARRAGE ET LA CONDUITE
A VERTISSEMENT
- Par temps chaud et ensoleillé, la température de l'habitacle peut rapidement s'élever au point de provoquer des léasons graves, voir mortelles, à une personne ou à un animal enfermé dans le vehicule. Ne laissez pas seuls dans votre vehicule des enfants ou des adultes handicapés, ou des animaux.
Fixez solidement tous les bagages à l'aide de cordes ou de sangles afin d'eviter qu'ils glissent ou se déplacent. N'empilez pas les bagages plus haut que la hauteur des dossiers de siège. En cas d'arrêt brusque ou de collision, les objets non retenus sont susceptibles de se transformer en projectiles et pourraient cause des blessures.
GAZ D'ÉCHAPPEMENT (monoxyde de carbone)
AVERAGEMENT
-
Évitez d'inhaler les gaz d'échéppement, car ils contiennent de l'oxyde de carbone, une substance incolore et inodore. L'oxyde de carbone est un produit dangereux qui peut cause des événouissements, voire entrainer la mort.
-
Si vous pensez que des gaz d'échémpement pénétrent dans le vehicule, conduisez avec toutes les fenêtres complètement ouvertes et faites vérifier le vehicule dans les plus brefs déliés.
- Ne faites pas tourner le moteur dans un endroit fermé tel qu'un garage.
-
Ne stationnez jamais votre vehicule en laissant le moteur en marche, et ce, peu importe la durée de votre absence.
Pour prévenir la pénetration de gaz d'échéappement dans l'habitacle, la portière et les déflecteurs arrêt ne doivent pas été ouverts lorsque le vehicule est en mouvement. Si vousdez absolument conduire avec la portière ou un déflecteur arrêt ou entrouvert, prenez les précautions suivantes: -
Ouvrez toutes les glaces.
-
Tournez la commande de recirculation de l'air à la position d'arrêt et celle du ventilateur à la position de vitesse élevée, pour faire circuler l'air.
-
Si vous doivent passer des cables électriques ou d'autres connexions de remorque par le joint du hayon ou par la carrosserie, suivez les recommendations du fabricant sur les précautions à prendre pour éviter la déténération de monoxyde de carbone dans le vehicule.
- Une vérification du système d'échévement et de la carrosserie doit être effectuee par un mecanicien qualifié lorsque :
a. Le vehicule est soulevé pour l'entretien.
b. Vous croyez que des vapeurs d'échévement penètrent dans l'habitacle.
c. Vous avez noté un changement au niveau du bruit émis par le système d'échéppement.
d. À la suite d'un accident, le système d'échévement, le soubassement ou l'arrière du vehicule ont subi des dommages.
CATALYSEUR À TROIS VOIES
Le système d'échémpement de votre vehicule contient un dispositif antipollution appelé catalyseur à trois voies. Afin de favoriser la réduction des polluants contenus dans les gaz d'échémpement, ces derniers sont brûlés dans le catalyseur à trois voies à des températures très élevées.
A VERTISSEMENT
- Les gaz d'échéppement et le système d'échéppement sont très chauds. Eloiignez les personnes, les animaux et les matières inflammables des composants du système d'échéppement.
- N'immobilisez pas et ne stationnez pas votre vehicule sur une surface recouverte de matieres inflammables comme du gazon sec, deieux papiers ou des chiffons. Ces matieres pourraient s'enflammer et provoquer un incendie.
ATTENTION
-
N'utilisez pas d'essence au plomb. Les dépôts généres par l'essence au plomb compromettent considérablement la capacité du catalyseur trifonctionnel à réduire les émissions polluantes.
-
Faites régulièrement effectuer des mises au point de votre moteur. Des défectuosités au niveau de l'allumage, de l'injection de carburant ou des circuits électriques peuvent laisser pénétrez du carburant trop riches dans le convertisseur catalytique à trois voies et faire surchauffer celui-ci. Il ne faut pas continuer à conduirre votre vehicule si le moteur a des ratés ou si vous remarque une nette perte de rendement ou d'autres anomalies de fonctionnement. Faites vérifier votre vehiculeès que possible chez un concessionnaire INFINITI.
- Évitez de conduire le vehicule lorsque le niveau de carburant est très bas. Une panne sèche peut provoquer des ratios du moteur et endommager le catalyseur trifonctionnel.
- Ne faites pas tournier le moteur de votre vehicule à un régime trop élevé pendant qu'il se rechauffe.
- Ne tentez pas de faire demarrer le moteur de votre vehicule en poussant ce dernier ou en le remorquant.
PRECAUTIONS DE CONDUITE SUR ROUTE ET HORS ROUTE
Le taux de renversement des vehicules utilaitaires est beaucoup plus élevé que celui des autres vehicules.
Gracé à leur garde au sol plus élevé que celle des voitures de tourisme, les vehicules utilisaires peuvent effectuer une grande variété d'applications sur route et hors route. Par le fait même, ils ont un centre de gravité plus élevé que celui des vehicules ordinaires. Un des avantages queprocure la garde au sol plus élevé de ces vehicules est une meilleure visibilité de la route perpettant d'anticiper les problèmes. Par contre, les vehicules utilisaires ne sont pas conçus pour prendre les virages aussi rapidement que les vehicules à deux roues motrices conventionnels; pas plus d'ailleurs que les voitures sport surbaissées sont conçues pour faire face avec succès aux conditions hors route. Dans la mesure du possible, évitez les virages brusques à grande vitesse. Comme dans le cas de tout autre vehicule de ce type, une conduite inappropriée peut mener à une perte de maîtrise et à un renversement. En cas de renversement, les risques de blessures mortelles sont accrus pour les personnes qui n'ont pas boucé leur ceinture.
Assurez-vous de dire toutes les consignes de sécurité stipulées plus loin dans le present chapitre.
SYSTÉME D'AVERTISSEMENT DE BASSE PRESSION DES PNEUS
Ce vehicule est équipé d'un système d'advertissement de basse pression des pneus. Il surveille la pression de tous les pneus, à l'exception du pneu de la roue de secours. Lorsque le témoin de basse pression des pneus est allumé, un ou plusieurs de vos pneus sont insuffisamment gonflés. Ce système montre également la pression de chaque pneu à l'écran d'affichage (sauf pour la roue de secours) grâce à un signal transmis à partir des capteurs montés sur chaque roue.
Le système d'ajretissement de basse pression des pneus ne s'active que si la vitesse du vehicule est supérieure a 32km / h (20 mi/h). De plus, ce système peut ne pas détecter la chute soudaine de la pression d'un pneu (par exemple, la crevaison d'un pneu pendant la conduite).
La pression des pneus augmente ou diminue en fonction de la chaleur engendree par les conditions de fonctionnement du vehicule et par la tempereature exterieure. Une temperature exterieureassepeut refroidir l'air a I'intérieur dupneu,ce qui peut causer une diminution de la pression de gonflage du pneu.Cela peut faire s'allumer le temoin d'avertissement de basse pression des pneus.
Si le témoin s'allume lorsque la température ambiante est BASSE, comme indiqué ci-dessus, vérifie la pression des pneus des quatre roues. Effectuez un réglage de pression A FROID, tel que spécifique sur l'étiquette des pneus et d'information sur la charge, pour ainsi désactiver le témoin d'avertissement de basse pression.
Vérifiez féquèment les valeurs de pression de gonflage des pneus à l'écran d'affichage et réglez ajustaté la pression de chaque pneu. (L'ordre d'affichage de la pression des pneus ne correspond pas à l'ordre réel de position des pneus.) Consultez la rubrique « Information sur la pression de gonflage des pneus » du chapitre « Écran d'affichage, système de chauffage, de climatisation et chaine audio » du chapitretraitant de la surveillance de la pression des pneus. Si vous choisissez l'écran de pression de gonflage des pneus, le message PNEU À PLAT s'affichera.
Témoin de basse pression des pneus
Si le vehicule est conduit avec une pression de gonflage des pneus très BASSE (inférieure à 193 kPa [28 psi]), le témoin d'ajretissement de BASSE pression des pneus s'allume et le carillon retentit pendant environ dix secondes. Si vous désissez l'écran de pression de gonflage des pneus, le message PNEU À PLAT s'affichera.
Pour plus de détails sur ces avertissements, consultez la rubrique « Témoins et rappels sonores »
du chapitre « Instruments et commandes » et « Information sur la pression des pneus » du chapitre « Écran d'affichage, système de chauffage, de climatisation et chaîne audio »
A VERTISSEMENT
- Si le témoin d'advertissement de basse pression des pneus clignote pendant la conduite, évitez les manoeuvres de direction soudaines ou les freinages brusques, réduisez votre vitesse, rangez-vous en cordure de la route dans un endroit sécuritaire et immobilisé avec le vehicule des que possible. Notre vehicule pourrait subir des dommages importants et vous pourriez avoir un accident entrainant des blessures graves. Vérifiez la pression de tous les pneus. Effectuez un réglage de pression à FROID, tel que spécifique sur l'étiquette des pneus et d'information sur la charge, pour ainsi désactiver le témoin d'advertissement de basse pression. Si un pneu est à plat, remplaceze-le par un pneu de secours lorsque possible. (Pour de plus amples renseignements sur le changement d'un pneu à plat, voir « Pneu à plat » dans la section « En cas d'urgence »).
5-4 Demarrage et conduite
- Lorsqu'une roue de secours est installee ou qu'une roue est remplacede, la pression des pneus ne s'affiche pas et le systeme d'advertisement de basse pression des pneus ne fonctionne pas. Communiquez avec votre concessionnaire INFINITI des que possible pour proceder au remplacement des pneus ou a la reinitialisation du systeme.
- N'injectezaucun produit d'étanchéité pour pneu,liquide ou en aerosol,dans les pneus; le fonctionnement des capteurs de pression des pneus pourrait s'enrouver compromis.

ATTENTION
N'installez pas de pellicule métallisée ou d'autre piece en métal (antenne, etc.) sur les glaces. Cela pourrait cause une mauvaise réception des signaux des capteurs de pression des pneus, et le système d'advertissement de basse pression des pneus ne fonctionnerait pas correctement.
Avis de la FCC :
Le droit de l'utilisateur de disposer d'un tel équipement pourrait être révoqué si des modifications non conformes à ce qui a été approvée par le fabricant sont apportées.
Ce dispositif est conforme à l'article 15 des règlements de la FCC et au règlement RSS-210 d'Industrie Canada.
L'utilisation de ce dispositif est soumise aux conditions suivantes : (1) ce dispositif ne doit causer aucune interférence nuisible, et (2) il doit accepter toutes les interférences, y compris celles qui pourrait l'activer de façon inopinée.
POUR ÉVITER LES COLLISIONS ET LES RENVERSEMENTS

AVENTISSEMENT
Si ce vehicule n'est pas manoeuvre de façon prudente et sécurité, une perte de maitrise du vehicule ou un accident peut en résultat.
Faites preuve de vigilance et conduisez prudement en tout temps. Respectez le code de la route. Évitez les habitudes de conduite dangereuses, telles que les vitesses excessives, les virages à haute vitesse et les coups de volant,
puisqu'elles poursraient vous faire perdre la maitrise de votre vehicule. Comme c'est le cas pour tout autre vehicule, la perte de la maitrise de votre vehicule peut entrainer une collision avec des objets ou d'autres vehicules. Le vehicule peut également se renverser, particulièrement si la perte de maitrise entraine un dérapage létalé. Évitez de conduire lorsque vous étés fatigué et restez attentif en tout temps. Ne conduisez jamais si vous étés sous l'influence de l'alcool ou de drogues (incluant les médicaments avec ou sans ordonnance qui causent de la somnolence). Bouclez toujours votre ceinture de sécurité, tel que stipulé dans le chapitre « Sécurité – Sièges, ceintures de sécurité et coussins gonflables » du present manuel et exigez que les autres passagers de votre vehicule fassent de même.
Les ceintures de sécurité contribuent à réduire les risques de blessures en cas de collision ou de renversement. En cas de renversement, les risques de blessures ou de mort sont accrus pour les personnes n'avant pas bouclé leur ceinture ou l'avant bouclée incorrectement.
Ne conduisez jamais lorsque vous étés sous l'influence de l'alcool ou de la drogue. La présence d'alcool dans le sang réduit la coordination des mouvements, augmente le temps de réaction et fausse le jugement. Si vous conduisez après avoir consommé de l'alcool, vous augmentez vos risques d'être impliqué dans un accident avec blessures. De plus, l'alcool pourrait accroître la gravité de vos blessures en cas d'accident.
INFINITI s'engage à construire des vehicules sécuritaires. Toutefois, même le vehicule le plus sécuritaire peut représenter un danger si son conducteur a consommé de l'alcool avant de prendre la route. Chaque année, des milliers de personnes sont blessées ou tuées dans des accidents impliquant des conducteurs qui ont consommé de l'alcool. Meme si les lois relatives aux quantités d'alcool pouvant être consommées différènt selon les territoires, il est évident que l'alcool a des effets différents d'une personne à l'autre, effets sous-estimés par la plupart desgens.
N'oubliez pas que l'alcool et la conduite ne font pas bon menage. Cela s'applique également aux drogues (médicaments avec ou sans ordnance et drogues illégales). Ne prenez jamais le volant si vos capacities de conduite sont compromises par l'alcool, les drogues ou par toute condition physique susceptible de modifier votre comportement au volant.
CONSIGNES DE SECURITE POUR LA CONDUITE
La conception de votre vehicule INFINITI vous permet de l'utiliser sur la route ou hors route. Cependant, contrairement aux vehicules hors route conventionnels, votre vehicule INFINITI est concu principalement pour une utilisation dans le cadre des loisirs; évitez donc de traverser des nappes d'eau ou de boue profondes.
N'oubliez pas qu'il est plus difficile de rouler sur de mauvaises routes ou de se dégager de la neige ou de la boue profonde avec un vehicule à deux roues motrices qu'avac un vehicule à quatre roues motrices.
Veuillez respecter les consignes suivantes :

AVERTISSEMENT
- Lorsque vous roulez hors route, conduisez prudemment et évitez les zones dangereuses. Chaque occupant du vehicule doit être correctement assis et porter sa ceinture de sécurité. De cette façon, vos passagers et vous serez bien retenus lorsque le vehicule roule en terrain accidenté.
- Ne conduisez pas perpendiculairement à une pente raide. Montez ou descendez-la ploutot de front. Les vehicules tout-terrain peuvent se renverser plus facilement sur les côtes que vers l'avant ou vers l'arrière.
- Certaines pentes peuvent s'avérer trop raides pour votre vehicule. Si vous tentez de les monter, le moteur de votre vehicule risque de caler. Si vous tentez de les descendre, il se peut que vous ne soyez pas en mesure de contrôle Your vitesse. Si vous tentez de les traverser perpendicularvement, votre vehicule risque de se renverser.
-
Ne passes pas d'un rapport à un autre lorsque vous descendez une pente car vous pourriez perdre la maitrise de votre vehicule.
-
Faites preuve de vigilance lorsque vous conduisiez jusqu'au sommet d'une pente. L'autre versant peut être très abrupt ouprésenter d'autres dangers qui risquent de causeur un accident.
- Si le moteur cale dans une côte abrupte ou si vous ne pouvez pas vous rendre jusqu'en haut, n'essayez jamais de faire demi-tour. Voiture vehicule risque de se renverser. Engagez toujours la marche arrrière (R) pour recules en ligne droite, et utilisez les freins pour maîtriser de votre vitesse.
- Si vous freinez de façon intensive en descente, les freins peuvent finir par s'échauffer et s'évanourir, ce qui peut contribuer à vous faire perdre la maitrise du vehicule et avoir un accident. Servez-vous des freins avec modération et utilisez plutôt un rapport de vitesse inférieur pour ralentir le vehicule.
-
Des bagages mal fixés peuvent être projétés lors de la conduite en terrain accidenté. Fixez fermement tous les bagages charges et ce, afin d'éviter qu'ils ne soient projétés vers l'avant et que vos passagers et vous ne subissiez des blessures.
-
Afin d'éviter de rehausser excessively le centre de gravité du vehicule, ne dépassez pas la capacité de charge prévue du porte-bagages et répartissez la charge uniformément. Installez les bagages lourds dans l'aire de chargement en les poussant vers l'avant du vehicule et en évitant le plus possible de les empiler. N'équipez pas votre vehicule de pneus plus larges que ceux recommends dans ce manuel, car des pneus trop larges pourraient provoquer un capotage de votre vehicule.
- Ne tenez pas votre volant de direction par son rebord interieur ou par ses branches lorsque vous conduisez hors route. Le volant de direction pourrait bouger soudainement et vous blesser les mains. Tenez-le plout par son rebord extérieur.
-
Avant de démarrer le vehicule, assurez-vous que le conducteur et tous les passagers ont bouclé leur ceinture de sécurité.
-
Réduisez votre vitesse en présence de forts vents lateraux. Étant donné que votre vehicule INFINITI a un centre de gravité plus élevé, il est plus susceptiblé de réagir à de tels vents. En conduitant moins vite, vous conservez une meilleure maïtrise de votre vehicule.
- Ne conduisez pas dans des conditions qui exigent de dépasser la capacité nominale des pneus et ce, même lorsque le mode quatre roues motrices est engagé.
L'accelération rapide, les virages serrés ou les freinages brusques peuvent vous faire perdre la maitrise de votre vehicule. - Autant que possible, évitez les virages brusques, surtout à grande vitesse. Voitre vehicule INFINITI à quatre roues mo-trices possède un centre de gravité plus élevé qu'un vehicule à deux roues mo-trices. Il n'est donc pas conscience pour prendre des virages à la même vitesse qu'un vehicule classique à deux roues mo-trices. Si vous ne tenez pas compte de cette différence, vous pourriez perdre la maitrise du vehicule qui pourrait alors se returner.
CONTACTEUR D'ALLUMAGE
Utilisez toujours des pneus des mêmes type, dimensions, marque, construction (à carasse diagonale, à carasse diagonale ceinturée ou à carasse radiale) et dessin de bande de roulement sur les quatre roues. Installez des chaînes antidérapantes sur les roues arrêtère lorsque vous roulez sur des routes glissantes, et conduisez prudemment.
Assurez-vous de vérifier les freins juste après avoir conduit dans la boue ou dans l'eau. Pour en savoir davantage sur les freins mouillés, consultez la rubrique « Circuit de freinage » plus loin dans ce chapitre.
- Évitez de stationner votre vehicule sur des côtes abruptes. Si vous sortez du vehicule et que celui-ci roule vers l'avant, vers l'arrière ou de côté, vous pourriez être blessé.
- Des entretiens plus féuents seront nécessaires si, en conduite hors route, du sable, de la boue ou de l'eau atteint la hauteur des moyex des roues de votre vehicule. Consultez la section « Entretien périodique » du « Guide d'entretien et de réparation INFINITI »

WSD0041
BOITE DE VITESSES AUTOMATIQUE
Le verrouillage du contacteur d'allumage des vehicules équipés d'une boîte de vitesses automatique est concu pour éviter que la clé de contact soit tournée à la position LOCK (verrouillage) et retiree avant que le levier sélecteur soit place en position P (stationnement).
Assurez-vous que le levier sélecteur de votre vehicule est à la position P (stationnement) avant de-retirer votre clé du contacteur d'allumage.
Si le levier selecteur n'est pas remis à la position P (stationnement), la clé de contact ne peut pas être déplacee à la position LOCK (verrouillage).
S'il vous est impossible de tourner la clé de contact à la position LOCK (verrouillage), procédez aux étapes suivantes pour la retirer du contacteur.
- Déplacez le levier sélecteur à la position P (stationnement).
- Tournez la clé de contact légèrement vers la position ON (marche).
- Placez-la ensuite à la position LOCK (verrouillage).
- Retirez la clé.
Vous ne pouvez pas déplacer le levier sélecteur de la position de stationnement (P) vers une autre position lorsque la clé de contact est à la position OFF (arrêt) ou lorsqu'elle est retiree du contacteur.
Vous pouvez déplacer le levier sélecteur si le contacteur d'allumage est à la position ACC (accessoires). Ceci vous permet de déplacer le vehicule en cas de décharge de la batterie. Vous pouvez également déplacer le levier sélecteur si la pédale de frein est enforcée alors que le contacteur d'allumage se trouve à la position ON (marche).
Entre les positions LOCK (verrouillage) et ACC (accessoires) se trouve une position OFF (arrêt). La position d'arrêt est indiquée
par le chiffre 1 sur le barillet du contacteur. Le volant n'est pas verrouillé lorsque le contacteur est à la position OFF (arrêt).
Le volant doit être tourné d'un huitité de tour dans le sens des aiguilles d'une montre à partir de la position verticale pour être verrouillé.
Tournez la clé à la position LOCK (verrouillage) pour verrouiller le volant de direction. Retirez la clé. Pour le déverrouiller, insérez la clé et tournez-la doucement tout en déplaçant légèrement le volant.
AVERAGEMENT
Il ne faut jamais-retirer la clé ni la tournier à la position de verrouillage (LOCK) lorsque le vehicule est en mouvement,car cela aurait pour effet de bloquer le volant de direction. Vous risqueriez alors de perdre la maitrise de votre vehicule et de vous infilger des blessures graves, en plus de causer des dommages au vehicule.
POSITIONS DE LA CLÉ DE CONTACT
LOCK (verrouillage) : position de stationnement normale (0)
OFF (hors fonction) : (inutilisé) (1)
ACC (accessores) : (2)
Dans cette position, les accessoires, comme la radio, peuvent etre actives meme si le moteur ne tourne pas.
ON (en fonction) : position de fonctionnement normale (3)
Dans cette position, le système d'allumage et les accessoires electriques sont mis en fonction.
START (démarrage) : (4)
Cette position lance le moteur. Relâchez la clé dés que le moteur démarre. La clé de contact revient automatiquement à la position ON (marche).
SYSTÉME ANTIDÉMARRAGE INFINITI
Le système antidémarrage INFINITI empêche le démarrage du moteur si une clé non programmée pour le système INFINITI est utilisé.
Il est possible que vous n'arriviez pas à faire démarrer le moteur de votre vehicule, même si une clé programme pour votre système antidémarrage INFINITI est utilisée. Cette situation peut être attribuable à des interférences causées par une autre clé similaire, un dispositif pour poste de péage automatisé ou un dispositif de paiement automatique accroché à votre porte-clefs. Dans un tel cas, adoptez les procédures suivantes :
- Laissez le contacteur d'allumage à la position ON (marche) pendant environ cinq secondes.
- Tournez-le ensuite à la position OFF (arrêt) ou LOCK (verrouillage) et attendez environ cinq secondes.
- Repetez les étapes 1 et 2.
- Tentez à nouveau de faire démarrer le moteur tout en tenant le dispositif ayant causé des interférences à l'écart de votre clé programme du système antidémarrage INFINITI.
Si cette procédure vous permet de faire démarrer le moteur, INFINITI vous recommende de placer votre clé programme INFINITI sur un porte-clés distinctafin d'eviter les interférences causées par les autres dispositifs.
AVANT DE DÉMARRER LE MOTEUR
DÉMARRAGE DU MOTEUR
Assurez-vous que rien ni personne ne se trouve a proximé de votre vehicule.
- Vérifiez les niveaux de l'huile moteur, du liquide de refroidissement, du liquide de frein ainsi que du liquide de lave-glace aussi frequentlyment que possible ou, au minimum, à chaque ravitationnement.
- Vérifiez la propriété de toutes les glaces et de tous les phares.
- Vérifiez l'aspect et la condition des pneus en procédant à une inspection visuelle. Assurez-vous également que la pression de gonflage est ajustée.
- Verrouillez toutes les portières.
- Placez les sièges et réglez les appuie-tête.
- Ajustez les rétroviseurs interieur et extérieurs.
- Bouclez votre ceinture de sécurité et demandez à tous les autres occupants du vehicule de faire de même.
- En tournant la clé de contact à la position ON (marche) (3), vérifie le fonctionnement des témoins. Reportez-vous à la rubrique « Témoins et carillons de rappel sonore » du chapitre « Commandes et instruments » duprésent manuel.
- Serrez le frein de stationnement.
- Déplacez le levier sélecteur à la position P (stationnement) ou N (point mort). La position de stationnement est recommende.
Vou ne pouvez pas déplacer le levier sélecteur de votre vehicule de la position P (stationnement) vers une autre position lorsque la clé de contact est à la position OFF (arrêt) ou lorsqu'elle est retiree du contacteur.
Le démarreur est concu de telle sorte qu'il ne peut être activé lorsque le levier sélecteur est engagé dans un ou l'autre des rapportés de conduite.
-
Pour démarrer le moteur, tournez la clé de contact à la position START (démarriage), et ce, sans appuyer sur la pédale d'accéléateur. Relâchéz la clé lorsque le moteur démarre. Si le moteur démarre, mais refuse de tourner, repêtez la procédure décrite ci-dessus.
-
Lorsque le démarrage de votre moteur est très difficile par temps très froid ou lors du redémarrage, enforcez légèrement la pedale d'accelérateur (environ au tiers de sa course) et maintenez-la dans cette position, puis lancez le moteur. Relâchez la clé et la pedale d'accelérateur dés que le moteur démarre.
-
S'il est très difficile de démarrer le moteur parce que vous l'avez noyé, appuyez sur la pédale d'accéléateur à fond et maintenez-la enforcée. Lancez le moteur pendant cinq à six secondes. Relâchez la pédale d'accéléateur. Pour démarrer le moteur, tournez la clé de contact à la position START (démarrage), et ce, sans appuyer sur la pédale d'accéléateur. Relâchez la clé lorsque le moteur démarre. Si le moteur démarre, mais refuse de tourner, repêzez la procédure déscrie ci-dessus.
ATTENTION
N'actionnez pas le démarreur pendant plus de 15 secondes à la fois. Si le moteur ne démarre pas, foupez le contact et attendez dix secondes avant de tenter un nouveau démarriage; sinon, vous pourriez endommager le démarreur.
- Àpres le démarrage, laissez le moteur tourner au ralenti pendant au moins 30 secondes. Ne faites pas tourner le moteur de votre vehicule à un régime trop élevé pendant qu'il se réchauffe. Conduisez d'abord à vitesse moderation sur une courte distance, plus particulièrement s'il fait froid.
CONDUITE DU VEHICULE
Par temps froid, laissez le moteur tourner de deux à trois minutes au moins avant de l'arrêt. Le démarriage et l'arrêt du moteur sur une courte période peuvent rendre le vehicule plus difficile à démarrer.
MODE DE PROTECTION DU MOTEUR
Le moteur comporte un mode de protection pour réduire les risques de dommages si la température du liquide de refroidissement devient trop élevé (par exemple, lors de l'ascension de pentes abruptes avec de lourdes charges par température élevé, en tractant une remorque). Lorsque la température du moteur atteint un certain niveau :
- la jauge de température du liquide de refroidissement se déplacera vers la position H;
- la puissance du moteur pourra être réduite;
- la fonction de refroidissement du climatiseur pourra être automatiquement désactivée durant une courte période (le ventilateur continuera à fonctionner).
La puissance du moteur, et dans certaines conditions, la vitesse du vehicule diminuenceront. La vitesse du vehicule peut etre controlee par I'accelerateur, mais le vehicule peut ne pas accelerer a la vitesse souhaitee. La boite de vittesses effectuera une retrogradation ou un passage ascendant lorsque les points de changement de vitesse déterminés sont atteints. Vous pouvez également effectuer les passages manuellement.
À mesure que les conditions de conduite changent et que la température du liquide de refroidissement du moteur diminue, la vitesse du vehicule peut être augmentée en utilisant l'accéléateur, et la fonction de refroidissement du climatiseur sera automatiquement remise en marche.
Si:
- La température du liquide de refroidissement du moteur n'est pas abaissée.
- La fonction de refroidissement du climatieur ne s'active pas.
- Si le témoin d'ajretissement de la pression d'huile moteur/température élevée du liquide de refroidissement du moteur s'allume, cela peut indiquer une défectuosity. Conduisez le vehicule à l'écart de la route dans un endroit sécuritaire et laissez le moteur se refroidir. Si, après avoir vérifié l'huile et le liquide de refroidissement, le témoin demeure allumé, ne poursuive pas votre route et faites appel à un concessionnaire INFINITI.
Le témoin d'anomalie pourra également s'allumer. Si seul ce témoin demeure allumé, alors vous n'avez pas à faire remorquer votre vehicule, mais faites quand même inspector le système dés que possible par un concession-
naire INFINITI. Consultez la rubrique « Témoin d'anomalie » au chapitre « Témoins d'ajretissement » du précédent manuel.

AVERTISSEMENT
Une surchauffe peut entrainer une réduction de la puissance du moteur et de la vitesse du vehicule. Une vitesse inférieure à celle de la circulation fait augmenter les risques de collision. Soyez particulièrement prudent pendant la conduite. Dirigez votre vehicule vers un emplacement sécuritaire de l'accotement. Laissez le moteur revenir à sa température normale de fonctionnement. Consultez la rubrique « En cas de surchauffe » de la section « En cas d'urgence » duprésent manuel.

ATTENTION
Le fait de laisser le moteur tourner alors que le témoin de pression d'huile moteur est allumé peut très rapidement provoquer de graves dommages au moteur. De tels dommages ne sont pas couverts par la garantie. Mettez le moteur à l'arrêt des qu'il vous est possible de le faire en toute sécurité.
BOITE DE VITESSES AUTOMATIQUE

AVERTISSEMENT
- N'enforcez pas l'accelérer lorsqu'vous passez des positions P (stationnement) ou N (point mort) aux positions R (marche arrrière) ou L (gamme basse). Ne relachte la pédale de frein qu'une fois le levier sélecteur en position. Le fait de ne pas respecter ces directives peut entraîner une perte de maitrise du vehicule et causer un accident.
- Le régime de ralenti d'un moteur froid est élevé : faites preuve de prudence lorsque vous engagez une vitesse en marche avant ou en marche arrière avant que le moteur ne se soit rechauffé.
- Ne déplacez jamais le levier en position de stationnement (P) ou de marche arrière (R) lorsque le vehicule est en mouvement. Ceci pourrait cause un accident.

ATTENTION
- Lorsque vous arrêtez le vehicule en côte, ne retenez pas le vehicule en position en,enfantant la pedale d'accéléateur. Utilisez只不过 la pedale de frein.
- Ne rétrogradez pas brusquement sur une chaussée glissante. Vous pourriez alors perdre la maitrise de votre vehicule.
La boite de vitesses automatique du vehicule est commandee electroniquement, ce qui garantit son bon fonctionnement et un rendement maximal.
Voutrouverezauxpageesuivanteslesproceduresdefonctionnementrecommendeespource type deboite de vitesses.Pourobtenirunrendementmaximaldevotrevehiculeetprofiterau maximumde saconduite,suivecescprocedures.
Démarrage du vehicule
- Enforcez complètement la pédale de frein avant de tenter de déplacer le levier sélecteur de la position P (stationnement) après le démarrage du moteur.
-
En gardant la pédale de frein enforcée, déplacez le levier sélecteur dans une position de conduite.
-
Relâchez la pédale de frein, puis laïssez le vehicule entamer graduèlement son déplacement.
La conception de la boîte de vitesses automatique de votre vehicule exige que la pédale de frein SOIT enforcée avant de permettre le déplacement du levier de la position P (stationnement) vers un rapport de conduite lorsque le contacteur d'allumage se trouve à la position ON (marche).
Vou ne pouvez pas déplacer le levier sélecteur de la position P (stationnement) vers un autre rapport lorsque le contacteur d'allumage est à la position LOCK (verrouillage), OFF (arrêt) ou ACC (accessoires) ou lorsque la clé est retiree du contacteur.

Pour déplacer le levier sélecteur :
: changer de vitesse tout en enforcant la pédale de frein
: changer de vitesse sans enforcer complètement la pédale de frein
Changement des vitesses
Après avoir démarré le moteur, enoncez à fond la pedale de frein et déplacez le levier sélecteur de la position P (stationnement).

AVERTISSEMENT
Serrez le frein de stationnement si le levier sélecteur est en prise alors que le moteur ne tourne pas. Sinon, le vehicule risque de se déplacer ou de rouler inopinément et entrainer de graves blessures ou des dommages matériels importants.
Si la clé est tournée à la position OFF (arrêt) ou ACC (accessoires) pour quelles raison que ce soit lorsque le vehicule est au point mort ou dans toute position de marche avant, la clé de contact ne peut pas être tournée à la position LOCK (verrouillage) et retiree du contacteur d'allumage. Déplacez le levier selecteur à la position P (stationnement), puis tournez la clé à la position LOCK (verrouillage).
P (stationnement)
Cette position du levier sélecteur est utilisé lors du stationnement ou du démarrage du vehicule. Assurez-vous que le vehicule est complètement immobilisé. La pédale de frein doit être enforcée avant de déplacer le levier sélecteur du point mort ou de toute position de marche avant vers la position P (stationnement). Serrez le frein de stationnement. Serrez d'abord le frein de stationnement avant de déplacer le levier sélecteur à la position P (stationnement) si vous nevez vous stationner dans une pente.
R (marche arrrière)
ATTENTION
Choisissez cette position uniquement lorsque le vehicule est stationné.
Cette position est utilisée pour reculer. Assurez-vous que votre vehicule est totalement immobilisé avant de déplacer le levier sélecteur en position R (marche arrière). La pédale de frein doit être enforcée avant de déplacer le levier sélecteur de la position P (stationnement), du point mort ou de toute position de marche avant vers la position R (marche arrière).
Il ne s'agit pas d'une position de marche avant ou de marche arrrière. Vous pouvez toute fois démarrer le moteur de votre vehicule dans cette position. Si le moteur de votre vehicule cale pendant que vous roulez, vous pouvez déplacer le levier sélecteur de ce dernier à la position N (point mort), puis redémarrer.
Position D (marche avant)
Cette position est utilisé pour la conduite normale en marche avant.
Quatrième vitesse (4)
Engagez le levier dans cette position lorsque l'utilisation du frein moteur peut constituer un avantage dans la montée ou la descente de longues pentes.
Ne déplacez pas le levier sélecteur de votre vehicule à la position 4 si vous roulez à des vitesses supérieures à celles indiquées ci-dessous et ne dépassez pas les vitesses suivantes lorsque le levier sélecteur de votre vehicule se trouve à la position 4.
4H:
100 km/h (62 mi/h)
4LO:
50 km/h (31 mi/h)
Troisieme vitesse (3)
Engagez le levier dans cette position lorsque l'utilisation du frein moteur peut constituer un avantage dans la montée ou la descente de longues pentes.
Deuxieme vitesse (2)
Cette position est utilisé pour gravir une pente ou pour augmenter le frein moteur en descente.
Ne déplacez pas le levier sélecteur de votre vehicule à la position 2 si vous roulez à des vitesses supérieures à celles indiquées ci-dessous et ne dépassez pas les vitesses suivantes lorsque le levier sélecteur de votre vehicule se trouve à la position 2.
2WD et AUTO :
115 km/h (71 mi/h) sans mode de remorquage
100 km/h (62 mi/h) avec mode de remorquage
4H:
100 km/h (62 mi/h)
4LO:
50 km/h (31 mi/h)
Première vitesse (1)
Cette position est utilisé pour la conduite à basse vitesse dans des pentes très raides, dans la neige, le sable ou la boue, ou pour obtenir un frein moteur maximal dans des descentes abruptes.
Ne déplacez pas le levier sélecteur de votre vehicule à la position 1 si vous roulez à des vitesses supérieures à celles indiquées ci-dessous et ne dépassez pas les vitesses suivantes lorsque le levier sélecteur de votre vehicule se trouve à la position 1.
2WD et AUTO :
70 km/h (43 mi/h) sans mode de remorquage
60 km/h (37 mi/h) avec mode de remorquage
4H:
70 km/h (43 mi/h) sans mode de remorquage
60 km/h (37 mi/h) avec mode de remorquage
4LO:
50km / h (31 mi/h)

LSD0090
Déverrouillage du levier de vitesse
Vou ne pouvez pas déplacer le levier sélecteur de la position P (stationnement) si la batterie de votre vehicule est déchargée, et ce, même si la pédale de frein est enforcée.
Pour déplacer le levier sélecteur, déverrouillez le levier de vitesse. Vous pouvez déplacer le levier sélecteur en position N (point mort). Toutefois, le volant de direction demeure verrouillé jusqu'à ce que le contacteur d'allumage soit déplace à la position ON (marche). Ceci vous permet de déplacer le vehicule en cas de décharge de la batterie.
Pour déverrouiller le levier de vitesse, suivez les procédures décrites ci-dessous:
- Tournez la clé de contact à la position LOCK (verrouillage) et retirez la clé.
- Serrez le frein de stationnement.
- Retirez le couvercle de déverrouillage du levier de vitesse, tel qu'illustré.
- Insérez un petit tournevis dans la fente de déverrouillage du levier et poussez-le vers le bas.
- Déplacez le levier sélecteur à la position N (point mort), tout en maintainant la commande de déverrouillage du levier vers le bas.
- Tournez la clé de contact à la position ON (marche) pour déverrouiller le volant de direction. Le vehicule peut maintainer être conduit normalement.
S'il vous est impossible de dégager le levier sélecteur de la position P (stationnement), faites inspector la boîte de vitesses automatique dés que possible par un concessionnaire INFINITI.
AVERAGEMENT
Si le levier sélecteur ne peut pas être déplace hors de la position de stationnement (P) lorsque le moteur tourne et que la pédale de frein est enforcée, il est possible que les feuels d'arrêt ne fonctionnent pas. Des feuels d'arrêt défectueux peuvent cause un accident avec blessures à vous-même et à d'autres personnes.
Retrogradation de l'accelérer en position D (marche avant) —
Enoncez la pedale d'accelerateur au plancher si vous doivent effectuer un dépassement ou gravir une pente raide. La boite de vitesses rétrograda dans un rapport inférieur correspondant à la vitesse du vehicule.
Protection totale
Lorsque le dispositif de protection totale s'active, la boite de vitesses sera verrouillée à l'un des rapportes de marche avant selon les conditions.
Il est possible que le dispositif de protection totale s'active en presence de conditions de conduite extrêmes, telles qu'un patinage excessif des roues suivi d'un freinage brusque. Le dispositif peut s'activer même si tous les circuits électriques fonctionnent ajustement. Dans ce cas, tour
nez la clé de contact à la position OFF (arrêt) et attendez trois secondes. Tournez ensuite la clé à la position ON (marche). Le fonctionnement normal du vehicule devrait se rétablit. Si ce n'est pas le cas, rendez-vous chez un concessionnaire INFINITI pour faire vérifier et, s'il y a lieu, réparer la boîte de vitesses de votre vehicule.
AVERAGEMENT
Assurez-vous que le frein de stationnement est complètement desseré avant de démarrer. Sinon, cela risque de causeur une défaillance des freins et d'entrainer un accident.
- Ne desserrez pas le frein de stationnement de l'extérieur du vehicule.
- N'utilisez pas le levier de vitesses comme frein de stationnement pour garder le vehicule immobile. Lorsque vous stationnez votre vehicule, assurez-vous que le frein de stationnement est bien serré.
- Ne laisses pas d'enfants sans surveillance dans un vehicule. Ils pourraient desserrer le frein de stationnement et provoquer un accident.
RÉGULATEUR DE VITESSE

Pour le serrer : enoncez fermement le frein de stationnement.
Pour le relâcher :
- Serrez le frein à pédale fermement.
- Déplacez le levier sélecteur à la position P (stationnement).
- Appuyez de nouveau fermement sur le frein de stationnement pour le se desserrer.
- Assurez-vous que le témoin de frein est étant avant de prendre la route.

- Interrupteur ACCEL/RES (acceleration/reprise)
- Interrupteur COAST/SET (vitesse/ réglage de croisière)
- Interrupteur ON/OFF (marche-arrêt)
- Interrupteur CANCEL (annulation)
PRECAUTIONS RELATIVES À L'UTILISATION DU RÉGULATEUR DE VITESSE
Le régulateur de vitesse cesse de fonctionner automatiquement s'il est defectueux. Le témoin de réglage (SET) du tableau de bord
clignote pour signaler la défectuosité au conducteur.
- Si le témoin SET clignote, désactive le régulateur de vitesse au moyen de l'interrupteur principal et faites inspector le dispositif chez un concessionnaire INFINITI.
- Si l'interrupteur principal du régulateur de vitesse est activé et que vous enforcez l'un des interrupteurs ACCEL/RES (accléRATION/reprise), COAST/SET (vitesse/réglage de croisière) ou CANCEL (annulation) (ces interrupteurs sont situés sur le volant), il est possible que le témoin SET (réglage) se mette à clignoter. Suivez les procédures décrites ci-dessous pour régler le régulateur de vitesse ajustement.

AVERTISSEMENT
N'utilisez pas le régulateur de vitesse dans les conditions suivantes :
- Lorsqu'il est impossible de maintainir la vitesse programmée.
- Lorsque la circulation est dense ou que sa vitesse varie.
-
Sur les routes montagneuses ou sinueuses.
-
Sur les routes glissantes (pluie, neige, glace, etc.).
- Dans des endroits très venteux.
Vous pourriez ainsi perdre la maitrise de voitre vehicule et avoir un accident.
FONCTIONNEMENT DU RÉGULATEUR DE VITESSE
Lorsque le régulateur de vitesse est en fonction, vous pouvez conduire à des vitesses variant entre 48 et 144 km/h (30 et 90 mi/h) sans devoir garder votre pied sur la pédale d'accéléateur.
Pour activer le régulateur de vitesse, appuyez sur l'interrupteur principal. Le témoin du régulateur (CRUISE) du tableau de bord s'allume alors.
Pour étabrir une vitesse de croisière, accélerez à la vitesse désirée, appuyez sur l'interrupteur COAST/SET (vitesse de croisière/réglage) et relâchez-le. Le témoin de réglage (SET) du tableau de bord s'allume alors. Relâchez la pédale d'accéléateur. Le vehicule continue à rouler à la vitesse可以选择.
-
Si vous devez dépasser un autre vehicule, appuyez sur l'accéléateur. Le vehicule revient à la vitesse préréglée dés que vous relâchez la pédale.
-
Lorsque vous montez ou descendez une pente raide, il est possible que le vehicule ne puisse pas maintainir la vitesse régée. Ne mettez pas le régulateur en fonction si vous doivent conduire dans une telle situation.
Pour annuler le réglage d'une vitesse, utilise une des trois méthodes suivantes :
- enforcez le bouton CANCEL (annulation) - le témoin de réglage (SET) du tableau de bord s'éteint;
- appuyez sur la pédale de frein - le tímoin de réglage (SET) du tableau s'éteint;
- mettez l'interrupteur principal du régulateur de vitesse hors fonction. Les témoins du régulateur (CRUISE) et de réglage (SET) du tableau de bord s'éteignent.
Le régulateur de vitesse cesse de fonctionner automatiquement et le témoin SET du tableau de bord s'éteint si :
- vous enfontez la pédale de frein tout en appuyant sur l'interrupteur ACCEL/RES (acceleration/reprise) ou SET/COAST (réglage/vitesse de croisière). La vitesse préreglee est supprimée de la mémoire;
-
la vitesse du vehicule est réduite de plus de 13 km/h (8 mi/h) par rapport à la vitesse régée;
-
vous déplacez le levier sélecteur à la position N (point mort).
Pour étabrir une vitesse de croisière plus rapide, utilisez une des trois méthodes suivantes:
- appuyez sur l'accélérateur. Enforcez l'interrupteur COAST/SET (vitesse de croisière/réglage) et relâchéze-l'une fois que le vehicule a atteint la vitesse désirée;
- enoncez l'interrupteur RES/ACCEL (reprise/accelération) et maintenez-le enonce. Relâchéz-le lorsque le vehicule atteint la vitesse désirée;
- appuyez sur l'interrupteur RES/ACCEL (reprise/accelération) et relâchéz-le. La vitesse de votre vehicule augmente d'environ 1,6 km/h (1 mi/h) chaque fois que vous appuyez sur ce bouton.
Pour étabrir une vitesse de croisière plus lente, utilisez une des trois méthodes suivantes :
- appuyez légèrement sur la pédale de frein, enoncez l'interrupteur COAST/SET (vitésse de croisière/réglage) et relâchez-le une fois que le vehicule a atteint la vitesse désirée;
- enoncez l'interrupteur COAST/SET (vitesse de croisière/reglage) et maintenez-le
RÉGULATEUR DE VITESSE ADAPTATIF (selon l'équipement)
enforcé. Relâchez l'interrupteur une fois que le vehicule a ralenti jusqu'à la vitesse désïrée;
- appuyez sur l'interrupteur COAST/SET (vitesse de croisière/réglage) et relâchez-le. La vitesse de votre vehicule diminue d'environ 1,6 km/h (1 mi/h) chaque fois que vous appuyez sur ce bouton.
Pour rétablit une vitesse régée antérieurement, appuyez sur l'interrupteur RES/ACCEL (reprise/accelération) et relâchez-le. Lorsque la vitesse du vehicule dépasse 48 km/h (30 mi/h), la dernière vitesse de croisière régée est rétablie.
Le régulateur de vitesse adaptatif garde avec le vehicule qui precede une distance programmée en fonction de la vitesse de ce vehicule, ou mainiert votre vitesse sélectionnée si la route est dégagée.
Le régulateur de vitesse adaptatif comporte deux modes de fonctionnement : le mode Contrôle d'intervalle, qui permet de conserver un intervalle programme entre votre vehicule et le vehicule qui vous precede, et un mode Classique (vitesse stable), qui permet de maintainir votre vitesse de croisière sur une route dégagée.
AVERAGEMENT
Conduisez toujours prudemment et soyez vigilant lorsque l'un ou l'autre des régulateurs de vitesse est en fonction. Vous dévez dire le manuel du conducteur et bien le comprendre avant d'utiliser le régulateur de vitesse. Il ne faut pas s'en remettre au régulateur de vitesse pour éviter les accidents ou pour régler la vitesse du vehicule en situation d'urgence. Vous pourriez subir des blessures graves, voire mortelles. Le régulateur de vitesse doit être utilisé uniquement lorsque les conditions de la route et de la circulation le permettent.

Mode Contrôle d'intervalle
SELECTION DE MODE DU RÉGULATEUR DE VITESSE ADAPTATIF
En appuyant sur l'interrupteur ON/OFF (marche-arrêt) ①, vous pouvez désirer entre le mode Contrôle d'intervalle ou le mode Classique (vitesse stable).
Si vous appuyez brievement sur l'interrupteur ON/OFF (marche-arrêt), le mode Contrôle d'intervalle est automatiquement activé. Le témoin vert CRUISE du régulateur de vitesse s'allume au tableau de bord.

Mode Classique (vitesse stable)
Si vous optez pour le mode Classique (vitesse stable), maintenez l'interrupteur ON/OFF ② enforcé plus de 1,5 seconde.
Lorsqu'un mode de régulation de vitesse est choisi et activé, il n'est pas possible, en cours d'utilisation, de basculer vers l'autre mode. Pour changer de mode, appuyez de nouveau sur le bouton ON/OFF, puis réactive le système.
AVERAGEMENT
- Le régulateur de vitesse classique (à vitesse fixe) n'émet aucun signal pour vous aviser que la distance entre votre vehicule et celui qui vous précédé est insuffisante. Ce mode ne détecte pas la présence d'un vehicule à l'avant et ne peut donc détecter la distance entre les deux vehicules.
- Vous éviterez les accidents en portant une attention particulière à la distance qui sépare votre vehicule de celui qui se trouve devant vous.
- Vérifiez toujours le réglage affiché à l'écran du régulateur de vitesse intelligent.
Pour les détails concernant le mode Contrôle d'intervalle du régulateur de vitesse adaptatif, consultez la description qui suit. Pour les détails concernant le mode Classique (vitesse stable), reportez-vous à la page 5-36.
MODE CONTRÔLÉ D'INTERVALLE
Le mode Contrôle d'intervalle maintient automatiquement la distance programmée entre votre vehicule et le vehicule suivi, en fonction de sa vitesse, et maintient votre vitesse programmée lorsque la route est dégagée.
Gracau regulateur de vitesse adaptatif, le conducteur peut adapter automatiquement sa vitesse en fonction des vehicules qui le precedent, sans pour cela intervenir constamment sur le réglage de vitesse tel qu'il serait nécessaire avec un régulateur de vitesse classique.
Ce système permet d'optimiser votre conduite lorsque vous suivez un autre vehicule qui circule dans la même voie et dans la même direction que vous. Si le capteur de distance detecte un vehicule qui se déplace devant vous à une vitesse inférieure à la vente, le système réduit automatiquement votre vitesse de façon à conserver une distance programmée entre votre vehicule et celui qui précède. Le système commande automatique l'accéléateur et applique les freins (jusqu'à 25% de la puissance de freinage) s'il y a lieu.
La portée avant du capteur est d'environ 120 m (390 pi).
A VERTISSEMENT
-
Ce dispositif a eté concu pour aider le conducteur. Il ne s'agit pas d'un dispositif de prévention des collisions. La responsabilité d'être vigilant, de conduire prudèment et de maitriser son vehicule en tout temps incombe au conducteur.
-
Ce système est destiné principalement à une utilisation sur des routes droites, sèches, à circulation libre et faible L'utilisation de ce système n'est pas recommandée pour la conduite urbaine ou dans les zones de traffic intense.
- Ce système ne s'adapte pas automatiquement aux conditions de la route. Il doit être utilisé quand la circulation est fluide. N'utilise pas le système si les routes sont sinueuses, si la chaussée est glacée, sous une pluie intense ou dans le brouillard.
Dans la plupart des cas, le capteur de distance ne peut détecter :
- les vehicules immobilisés ou qui se déplacent très lentement;
les piétons ou autres objets sur la chaussée;
les vehicules venant en sens inverse dans la même voie de circulation; - les motocyclettes ou scooters circulant à l'écart sur la même voie.
Ce système ne pourra pas automatiquement freiner votre vehicule jusqu'à un arrêt complet.
Le système se désactive automatiquement et une alarme sonore retentit si la vitesse chute a moins de 32km / h (20 mi/h). Également, le système se désengage sous le seuil de coupure de 32km / h (20 mi/h), ou au-delà de la vitesse maximale préreglee.
Le régulateur de vitesse adaptatif exécuté les actions suivantes lorsque le levier sélecteur est en position D (marche avant).
- Si vous ne suivez aucun vehicule, le système maintient la vitesse programmée par le conducteur. Le conducteur peut programmermer une vitesse comprise entre 40 km/h et 144 km/h (25 mi/h et 90 mi/h).
- Si vous suivez un vehicule, le régulateur de vitesse adaptatif modifie votre vitesse dans une plage comprise entre 32km / h (20 mi/h) et la vitesse programmée, afin de suivre le vehicule qui precede et deMAINNER la distance selectionnee par le conducteur.
- S'il n'y a plus de vehicule devant vous, le système laissez votre vehicule accelerer et maintainir la vitesse programmée.

AVERTISSEMENT
-
Comme une limite est imposée au rendement de la fonction de contrôle de la distance, vous ne devez jamais vous fier uniquement au régulateur de vitesse intelligent. Ce système ne peut pallier à une conduite imprudente, au manque de vigilance ou d'attention, pas plus qu'il ne peut atténuer les inconveniens causés par la pluie, le brouillard et le mauvais temps. Appuyez sur la pédale de frein pour réduire la vitesse de votre vehicule de manière à conserver une distance sécuritaire, en tenant compte de la distance entre votre vehicule et celui qui vous précédé, et des conditions environnantes.
-
Bien que le fonctionnement des freins soit commandé par le système, celui-ci n'immobilise pas automatiquement le vehicule. Si la vitesse du vehicule diminue à moins de 32km / h (20 mi/h), le régulateur de vitesse intelligent est automatiquement déactivé et un signal sonore retentit. (La commande des freins est également neutralisée).
-
Certaines conditions de route ou climatiques pourraient empêcher le système de détecter un vehicule devant vous. Pour éviter les accidents, n'utilise jamais le régulateur de vitesse intelligent en présence des conditions suivantes :
- Sur des routes à circulation dense ou sur les routes sinueuses.
- Sur des chaussées glissantes comme sur la glace, la neige, etc.
- Par mauvais temps (pluie, brouillard, neige, etc.). (Quand les essuie-glace de pare-brise fonctionnent à bas régime [position LO] ou à haut régime [position HI], le régulateur de vitesse intelligent est désacté automatiquement).
- Si une lumière intense (par exemple, au lever ou au coucher du soleil) rayonne directement sur la partie avant du vehicule.
- Quand la pluie, la neige ou le gravier adhère sur le capteur du dispositif.
- Dans les pentes abruptes (le vehicule pourrait dépasser la vitesse établie et un freinage liéquent pourrait faire surchauffer les freins).
-
Sur les routes en terrain valonné.
-
Lorsque les conditions de circulation forcent des accelérations et des décalérations féquentes qui nuisent au maintient d'une distance appropriée entre les vehicules.
- Lorsque vous tractez une remorque, le système pourrait ne pas détecter un vehicule qui roule devant vous. N'utilisez pas le régulateur de vitesse intelligent.
- Dans certaines conditions de route ou de circulation, un vehicule ou un objet peut entrer inopinement dans la zone de détction du capteur et cause l'activation automatique des freins. Il sera alors nécessaire d'utiliser l'accéléateur pour régler la distance qui vous sépare des autres vehicules. Soyez toujours attentif et évitez d'utiliser le régulateur de vitesse intelligent dans des situations non recommandées dans la presente section.

Utilisation du régulateur de vitesse adaptatif
Soyez toujours attentif à la conduite de votre vehicule et préta intervenir afin de conserver une distance de sécurité appropriée. Dans certains cas, le régulateur de vitesse adaptatif pourrait ne pas être en mesure de maintainir la distance programmée entre les vehicules (distance de suivi) ou la vitesse de croisière可以选择.
Le régulateur de vitesse adaptatif utilise un capteur ① situé devant le vehicule, lequel peut dé-tector les vehicules suivis. Le capteur détecte généralement les signaux refléchis par les reflecteurs du vehicule suivi. Le régulateur de vitesse
adaptatif pourrait ne pas etre en mesure de maintenir la distance programmée si le capteur ne peut détecter le reflecteur du vehicule suivi, comme dans les cas suivants :
- le reflecteur est place trop haut sur le vehicule (par exemple une remorque, etc.);
- le reflecteur est masqué par la saleté, la neige ou les projections de la route;
- la neige ou les projections de la route provenant d'autres vehicules nuisent à la « sensibilité » du capteur;
- les fumées d'échévement ou autres fumées denses (fumées noires) provenant d'autres vehicules nuisent à la « sensibilité » du capteur;
- les reflecteurs du vehicule qui precede sont absents, endommages ou masqués;
des bagages trop lourds se trouvent sur la banquette arriere ou dans l'aire de charge. ment de votre vehicule; - vous tractez une remorque, etc.
Le régulateur de vitesse adaptatif peut détector automatiquement un capteur sale ou obstrué. Si le système détecte que le capteur n'est pas suffisamment propre, il se désactive automatiquement. Si le capteur est recouvert de glace, d'un sac en vinyle transparent, etc., le régulateur
de vitesse adaptatif pourrait ne pas détecter cette condition. Ainsi, le système pourrait ne pas se désactiver et ne pas être en mesure de maintainir la distance programmée. Nettoyez le capteur de façon périodique.
Le régulateur de vitesse adaptatif est concu pour maintenir une distance programmée entre les vehicules et s'adapter à la vitesse d'un vehicule plus lent qui précède; le système ralentit le vehicule au besoin. Toutefois, le régulateur de vitesse adaptatif ne peut appliquer que 25% de la puissance totale de freinage du vehicule. Ainsi, le régulateur de vitesse adaptatif ne doit être utilisé que lorsque les conditions de la circulation permettent de conserver une vitesse à peu pres constante, ou qu'elles nécessitant des corrections de vitesse progressives. Lorsqu'un vehicule se déplace soudainement dans votre voie, ou s'il Freine brusquement, la distance entre les vehicules pourrait diminuer, car le système ne pourrait pas vous ralentir assezrapidement. Dans ce cas, le régulateur de vitesse adaptatif déclenchera une alarme sonore et fera clignoter l'affichage afin d'attirer l'attention du conducteur et de l'inciter à prendre les mesures nécessaires. Consultez la rubrique « Avertissement de proximé», plus loin dans ce chapitre.
Le régulateur de vitesse adaptatif ne peut pas maitriser parfaitement la vitesse du vehicule ou vous prévenir de la présence d'un vehicule immo
bilisé ou qui se déplace très lentement. Vous nevez préter toute l'attention nécessaire à la conduite de votre vehicule afin de conserver une distance de sécurité lorsque vous approached d'un poste de péage ou d'une zone d'embouteillage.

La zone de détction du capteur du régulateur de vitesse adaptatif est limitée. Le vehicule suivi doit se trouver dans la zone de détction du régulateur de vitesse adaptatif afin que ce dernier puissance maintainir la distance programmée et s'ajuster à la vitesse du vehicule suivi.
Le vehicule suivi pourrait se couver hors de la zone de détction en raison de sa position dans la voie empruntée. Les motocyclettes et scooters pouraient ne pas etre détectes dans votre propre voie sils circulent trop loin du centre de la voie. Le vehicule qui precede et qui change de voie pourrait se couver hors de la zone de détction jusqu'acce qu'ilatteigne le milieu de la voie. Dans ce cas,le régulateur de vitesse adap
LSD0106
tatif pourrait vous avertir en faisant clignoter le témoin du système ou par le biais du carillon. Le conducteur devra peut-être intervenir afin de conserver la distance appropriée.

LSD0107
Lorsque you empruntez certains types de routes, le capteur du régulateur de vitesse adaptatif pourrait détecter un vehicule sur une voie adjacente, ou ne pas détecter temporairement un vehicule qui vous precede sur la même voie. Celaaurait pour effet de ralentir ou d'accelérer le vehicule. Ces conditions se manifestent généralement sur un parcours sineux ou montagneux, a l'entrée ou a la sortie d'un virage, sur une route etroite ou dans une zone de travaux. De plus, la capacité de détction du système pourrait être modifiée par les conditions de conduite de votre vehicule (changements de cap ou position particuliere sur la voie de circulation) ou par son etat (par exemple, si votre vehicule est endommagé). Dans ce cas, le régulateur de vitesse adap
tatif pourrait vous avertir inopinement par l'allumage du témoin ou par le biais du carillon. Le conducteur devra peut-être intervenir afin de conserver la distance appropriée.

Si vous roulez à vitesse de croisière sur l'autoroute et que vous approchez d'un vehicule plus lent, le régulateur de vitesse adaptatif tentera de régler votre vitesse par rapport à l'autre vehicule et de maintainir la distance programmée. Si le vehicule suivi change de voie ou quitter l'autoroute, le régulateur de vitesse adaptatif fera accélérer votre vehicule jusqu'à ce qu'il attigne sa vitesse programmée. Soyez vigilant pendant que le vehicule accélère pour atteindre sa vitesse programmée.
Lorsque you empruntez un parcours sineux ou montagneux, il est possible que le vehicule ne puisse pas maintainir la vitesse programmée. Dans une telle situation, désactive le régulateur de vitesse adaptatif.

LSD0109
Interrupteur du régulateur de vitesse adaptatif
Le système est commandé par un interrupteur principal ON/OFF (marche-arrêt) et quatre interrupteurs de commande tous regroupés sur le volant.
- Interrupteur ON/OFF (marche-arrêt) : interrupteur principal qui permet d'activer le système.
-
Interrupteur ACCEL/RES (acceleration-reprise) : rappelle la vitesse programmée ou augmente la vitesse progressivement.
-
Interrupteur CANCEL (annulation): désactive le système et garde en mémoire la vitesse programmée.
- Interrupteur COAST/SET (vitesse-réglage de croisière): programme la vitesse de croisière souhaïée ou réduit la vitesse progressivement.
- Commutateur de distance : modifie la longueur de l'intervalle selon trois réglages : long, moyen ou court.

Affichage du régulateur de vitesse adaptatif
L'affichage se trouve sous le compte-tours.
- Témoin d'anomalie du régulateur de vitesse adaptatif (orange)
Le témoin s'allume en cas de défaillance du régulateur de vitesse adaptatif. - Témoin de détction du vehicule suivé Indique si le système détecte un vehicule qui vous précédé.

CRUISE CRUISE
LSD0111
Affichage de vérification du système
- Indicateur de distance programme
Affiche la distance entre vehicules programmée au moyen du commutateur de distance.
- Indique la position de votre vehicule
- Témoin de l'interrupteur ON/OFF (marche-arrêt) (vert)
Indique que l'interrupteur ON/OFF est en position de marche.
- Indicateur de vitesse programmée
Indique la vitesse programmée du vehicule.
Dans les modeles canadiens, la vitesse s'affiche en km/h.
À l'endettement du contact, l'affichage s'allume tel qu'illustré afin de contrôler l'état des ampoules, puis s'éteintès que le moteur démarre.

LSD0112
Utilisation du mode Contrôle d'intervalle
Pour activer le régulateur de vitesse, appuyez sur l'interruuteur ON/OFF (marche-arrêt) ①. Le témoin CRUISE (vert) ainsi que les indicateurs de distance et de vitesse programmes s'allument et le système passé en mode d'attente de réglage.

ATTENTION
Pour éviter que le système ne s'enclenché par inadvertance, placez toujours à l'arrêt l'interrupteur ON/OFF (marche/arrêt) du régulateur de vitesse intelligent lorsque vous n'utilise pas le régulateur.

Pour programmer une vitesse de croisière, accelérez à la vitesse désirée, appuyez sur l'interrupteur COAST/SET, puis relâchéze-ile. (l'indicateur de détction du vehicule suivi et les indicateurs de distance et de vitesse programmes s'allument.) Relâchéz la pedale d'accélérateur. Le vehicule maintain la vitesse programmée. Le témoin vert CRUISE demeure allumé au tableau de bord.
Le régulateur de vitesse adaptatif ne peut être régèle dans les conditions suivantes, même si l'interrupteur COAST/SET a été enforcé :
- lorsque la vitesse du vehicule se situe hors de la plage de vittesses possibles, soit entre 40 ~km / h et 144 ~km / h (25 mi/h à 90 mi/h);
- lorsque le levier sélecteur n'est pas en position D (marche avant);
- lorsque la pédale de frein est enforcée;
- lorsque l'interrupteur ACCEL/RES est enforcé sans que la vitesse de croisière ait est programmesée;
- lorsque les essuie-glaces fonctionnent, en vitesse basse ou haute;
- lorsque le frein de stationnement est serré;
- lorsque le système de contrôle dynamique du vehicule est désactivé.

Affichage du système lorsqu'un vehicule vous precede

CRUISE
LSD0130
Affichage du système lorsqu'aucun vehicule vous precede
Fonctionnement du système
AVERAGEMENT
En règle générale, le système règle la distance qui vous sépare du vehicule devant vous en accéléant ou en décéléant automatiquement, en fonction de la vitesse à laquelle roule ce vehicule. Il faut toute fois appuyer sur l'accéléateur ou sur la pédale de frein pour bien régler la vitesse de votre vehicule quand vous doivent accélérer, par exemple pour changer de voie, ou encore quand vous doivent freiner pour conserver une distance sécuritaire en cas de freinage ou de changement de voie d'un vehicule devant vous. Soyez toujours vigilant lorsque vous utilisez le régulateur de vitesse intelligent.
Le conducteur programme la vitesse souhaitation en fonction des conditions de la route. Le régulateur de vitesse adaptatif maintain la vitesse programmée, à la façon d'un régulateur de vitesse classique, tant qu'il ne détecte pas d'autres vehicules sur la même voie.
Le régulateur de vitesse adaptatif affiche la vitesse programmée par le conducteur. Le témoin vert CRUISE du régulateur de vitesse s'allume au tableau de bord.
Detection d'un vehicule :
Lorsqu'un vehicule est detecté dans votre voie de circulation, le régulateur de vitesse adaptatif ralentit vous vehicule en agissant sur la commande d'accéléateur et sur les freins afin de faire correspondre votre vitesse à celle du vehicule suivi qui circule plus lentement. Le système adapte ensuite la vitesse de votre vehicule à celle du vehicule qui vous précéde afin de conserver l'intervalle programme entre les vehicules.
Les feu d'arrêt du vehicule s'allument et la pedale de frein s'enforce lorsque le régulateur de vitesse adaptatif actionne les freins.
ATTENTION
Ne place jamais votre pied sous la pédale de frein quand le frein est activé par le régulateur de vitesse intelligent. Notre pied pourrait rester coincé sous la pédale.
Lorsque le système detecte un vehicule devant levote, l'indicateur de detection de vehiculesallume.Le regulateur de vitesse adaptatif affiche également la vitesse programmée et la distance selectionnee.
Non-detection d'un vehicule :
Lorsque le système ne détecte plus un vehicule, il fait accélérer votre vehicule graduèlement
jusqu' à l'atteinte de la vitesse préalablement programmée. Le régulateur de vitesse adaptatif maintainent ensuite cette vitesse.
Lorsque le système ne detecte plus de vehicule, l'indicateur de detection de vehicule s'eteint.
Lorsqu'un vehicule apparait devant vous alors que vous etes en phase d'acceleration à la vitesse programmée ou à toute autre période de fonctionnement du régulateur de vitesse adaptatif, le système revoit automatiquement l'intervalle entre les vehicules.

CRUISE
LSD0115
Pour doubler un autre vehicule, appuyez sur l'accéléateur et contournez le vehicule qui vous precede. L'indicateur de vitesse programmée clignote lorsque le vehicule dépasse la vitesse programmée. L'indicateur de détction de vehicule s'éteint lorsque le champ de détction devant le vehicule est libre. Dès que vous relâchez l'accéléateur, le vehicule reprend sa vitesse programmée. Le témoin vert CRUISE s'allume au tableau de bord.
Meme si votre vehicule circule à la vitesse programmée dans le régulateur de vitesse adaptatif, appuyez sur l'accelérateur pour augmenterrapidement votre vitesse lorsque la situation l'exige.
Changement de la vitesse programmée
Pour annuler le réglage d'une vitesse programmee,utilisez l'une des méthodes suivantes:
- Appuyez sur l'interrupteur CANCEL (annulation). L'indicateur de vitesse programmée s'eteint.
- Effleurez la pédale de frein. L'indicateur de vitesse programmée s'éteint.
- Mettez l'interrupteur ON/OFF en position d'arrêt. Le témoin de l'interrupteur ON/OFF et l'indicateur de vitesse programmée s'éteignent.
Pour programmer une vitesse de croisière plus élevé, utilisez l'une des méthodes suivantes :
- appuyez sur l'accélérateur. Enforcez l'interrupteur COAST/SET (vitesse de croisière/réglage) et relâchéze-l'une fois que le vehicule a atteint la vitesse désirée;
-
maintenez enforcé l'interrupteur ACCEL/RES. La vitesse programmée augmente d'environ 5 km/h (5 mi/h pour les États-Unis).
-
appuyez brievement sur l'interrupteur ACCEL/RES. La vitesse du vehicule augmente d'environ 1km / h (1 mi/h pour les États-Unis) chaque fois que vous appuyez sur cet interrupteur.
Pour programmer une vitesse de croisière plus lente, utilisez l'une des méthodes suivantes:
- appuyez légrement sur la pédale de frein, enforcez l'interrupteur COAST/SET (vitesse de croisière/réglage) et relâchez-le une fois que le vehicule a atteint la vitesse désirée;
- enforcé l'interrupteur COAST/SET (vitesse de croisière/réglage) et maintenez-le enforcé. La vitesse programmée diminue d'environ 5 km/h (5 mi/h pour les États-Unis).
- appuyez brievement sur l'interrupteur COAST/SET. La vitesse programmée diminue d'environ 1km / h (1 mi/h pour les États-Unis) chaque fois que vous appuyez sur cet interrupteur.
Pour reprendre une vitesse programmée antérieurement, appuyez sur l'interrupteur RES/ACCEL, puis relâchez-le. Dès que la vi
tesse du vehicule dépasse 40km / h (25 mi/h), la dernière vitesse de croisière programmée est reprise.

Changement de distance programmée à maintainir avec le vehicule qui precede
La distance par rapport au vehicule qui precede peut etre changée en tout temps lorsque les conditions de circulation le permettent.
Chaque pression sur l'interrupteur de distance modifie la distance programmée selon les trois réglages disponibles, dans l'ordre suivant : longue, moyenne et courte.
| Distance | Affichage | Distance approximative ä 100 km/h (60 mi/h) [m (pi)] |
| Longue | 50 MPH CRUISE | 60 (195) |
| Moyenne | 50 MPH CRUISE | 40 (130) |
| Courte | 50 MPH CRUISE | 30 (90) |
LSD0117
- La distance de suivi change selon la vitesse du vehicule. Plus la vitesse du vehicule est élevée, plus la distance de suivi est longue.
- Dès la coupure du contact, la distance de suivi passes automatique au réglage de distance longue. (Chaque fais que le moteur est redémarré, le réglage initial passée automatique au réglage de distance longue.)
- Le témoin vert (CRUISE) s'allume sur la planche de bord.
Avertissement de proximité
Si la distance de suivi diminue lorsque le vehicule qui precede decélére rapidement ou si un vehicule se glisse soudainement devant vous, le système averit le conducteur au moyen d'un carillon ou de l'affichage du régulateur de vitesse adaptatif. Utilisez la pedale de frein pour decélérer et maintainir une bonne distance de sécurité dans les cas suivants :
- lorsque le carillon retentit;
- lorsque l'indicateur de détction du vehicule suivi et l'indicateur de vitesse programmée clignotent.
Le carillon pourrait ne pas retenter lorsque la distance de suivi entre vehicules est trop courte. Exemples :
les vehicules roulent à la même vitesse et la distance entre eux ne change pas;
- le vehicule suivi roule plus vite et la distance entre les vehicules augmente;
- la pédale d'accélérateur est enforcée, annulant le fonctionnement du système;
- un vehicule se glisse tout pres devant vous.
Le carillon ne retentira pas lorsque vous Vehiclecule s'approchera d'un vehicule en stationnement ou qui roule au pas.

REMARQUE :
Le carillon de proximé pourrait restentir et l'affichage du système se mettre à clignoter lorsque le capteur du régulateur de vitesse adaptatif détecte certains reflecteurs ① pouvant se couver sur des vehicules circulant sur d'autres voies ou sur le bas côté de la route. Cela aurait pour effet de ralentir ou d'accélérer le vehicule. Le capteur du régulateur de vitesse adaptatif pourrait détecter ces reflecteurs lorsque le vehicule emprunte une route sinueuse ou montagneuse, ou l'entrée ou la sortie d'un virage. Le capteur du régulateur de vitesse adaptatif pourrait également détecter certains reflecteurs sur une route étroite ou au passage d'une zone de travaux. Dans ce cas, le conducteur devra peut-être intervenir afin de conserver la distance de suivi appropriée.
De plus, la capacité de détction du système pourrait être modifiée par les conditions de conduite de votre vehicule (changements de cap ou position particulière sur la voie de circulation) ou par son état (par exemple, si votre vehicule est endommagé).
Annulation automatique
Dans les conditions suivantes, un carillon retentit et la commande du régulateur de vitesse est automatiquement annulée :
- lorsque la vitesse du vehicule chute à moins de 32 km/h (20 mi/h);
- lorsque le levier sélecteur est déplace hors de la position D (marche avant), incluant le mode de changement de vitesse manuel;
- lorsque les essuie-glaces fonctionnent, en vitesse basse ou haute;
- lorsque le frein de stationnement est serré;
- lorsque le système de contrôle dynamique du vehicule est désactisé;
- lorsque le système de contrôle dynamique du vehicule fonctionne.

Témoins d'avertissement et affichage
Condition A
Le carillon retentit et le fonctionnement du régulateur de vitesse adaptatif est automatiquement annulé dans les conditions ci-après. Le témoin du régulateur de vitesse (CRUISE) s'allume sur la planche de bord. Une partie de l'affichage du système s'allume ou clignote, rendant le réglage impossible :
- lorsque le système de contrôle dynamique du vehicule est désactivé;
-
lorsque le système de contrôle dynamique du vehicule fonctionne;
-
lorsqu'une roue patine;
- lorsqu'une lumière vivie (par exemple, le soleil, etc.) est reflèchie directement devant le vehicule.
Marché à suivre :
Lorsque les conditions décrites ci-dessus ne sont plus générées, désactiver le système à l'aide de l'interrupteur ON/OFF du régulateur de vitesse adaptatif. Réactivé le régulateur de vitesse adaptatif pour utiliser le système.

CRUISE CRUISE
LSD0120
Condition B
Lorsque la lentille du capteur n'est pas propre, rendant impossible la détction du vehicule qui precede, le régulateur de vitesse adaptatif se désactive automatiquement.
Le carillon retentit, le témoin d'anomalie du régulateur de vitesse adaptatif (orange) s'allume et l'indicateur de distance programmée clignote.
Marché à suivir :
si le témoin d'anomalie du régulateur de vitesse adaptatif s'allume, essayez d'immobiliser votre vehicule en toute sécurité, puis coupe le moteur.
Nettoyez les parties souillées du capteur à l'aide d'un chiffon doux et tentez d'effectuer à nouveaux les réglages.
CRUISE
CRUISE
LSD0121
Condition C
Si le régulateur de vitesse adaptatif ne fonctionne pas comme il se doit, le carillon retentit et le témoin d'anomalie du système (orange) s'allume.
Marché à suivir :
si le témoin d'anomalie du régulateur de vitesse adaptatif s'allume, essayez d'immobiliser votre vehicule en toute sécurité. Coupez le moteur et refaites les réglages.
S'il n'est pas possible d'effectuer les réglages ou si le témoin demeure allumé, le système est probablement défectueux. Bien que la conduite du vehicule demeure
sécurities dans des conditions normales, faites inspectorer votre vehicule par un concessionnaire INFINITI.

Précautions relatives à la manipulation du capteur
Le capteur du régulateur de vitesse adaptatif ① est situé sous le pare-chocs avant.
Observe les précautions suivantes afin d'assurer le bon fonctionnement du régulateur de vitesse adaptatif :
- gardez toujours la lentille du capteur propre. Essuyez delicatement les parties souillées à l'aide d'un chiffon doux afin de ne pas endommager le capteur;
ne soumettez la zone entourant le capteur aeldom chic; ne touchez pas ou ne retirez
pas la vis qui se trouve sur le capteur. En effet, vous pourriez provoquer une panne du système ou son mauvais fonctionnement. Si la surface de montage du capteur est déformée à la suite d'un accident, adressé-vous à votre concessionaire INFINITI.
- n'apposez aucune étiquette (y compris des étiquettes transparentes) et n'installez aucun accessoire près du capteur. en effet, vous pourriez provoquer une panne du système ou son mauvais fonctionnement.
MODE CLASSIQUE (vitesse stable) DU RÉGULATEUR DE VITESSE
Ce mode vous permet de rouler à des vitesses se situant entre 40~km / h et 144~km / h (25 mi/h et 90 mi/h) sans devoir garder votre pied sur la pédale d'accéléateur.

AVERTISSEMENT
-
Le régulateur de vitesse classique (à vitesse fixe) n'émet aucun signal pour vous enviser que la distance entre votre vehicule et celui qui vous précède est insuffisante. Ce mode ne détecte pas la présence d'un vehicule à l'avant et ne peut donc détecter la distance entre les deux vehicules.
-
Vous éviterez les accidents en portant une attention particulière à la distance qui sépare votre vehicule de celui qui se trouve devant vous.
- Vérifiez toujours le réglage affiché à l'écran du régulateur de vitesse intelligent.
- N'utilisez pas le régulateur de vitesse classique (à vitesse fixe) si vous conduissez en présence des conditions suivantes :
- Lorsqu'il est impossible de maintainir la vitesse programmée.
Lorsque la circulation est dense ou que sa vitesse varie. - Sur les routes montagneuses ou sinueuses.
- Sur les routes glissantes (pluie, neige, glace, etc.).
- Dans des endroits très venteux.
Vous pourriez ainsi perdre la maitrise de voitre vehicule et avoir un accident.

Affichage et interrupteurs relatifs au mode Classique (vitesse stable) du régulateur de vitesse
L'affichage se trouve sous le compte-tours.
- Affichage du régulateur de vitesse adaptatif
- Témoin d'anomalie du régulateur de vitesse adaptatif (orange)
Le témoin s'allume en cas d'anomalie du régulateur de vitesse adaptatif. -
Témoin de l'interrupteur ON/OFF (marche-arrêt) (vert)
Indique que l'interrupteur ON/OFF est en position de marche. -
Témoin de l'interrupteur de réglage de vitesse de croisière
Ce témoin s'allume lorsque la vitesse du vehicule est commandeé par le mode de vitesse de croisière classique (vitesse stable) du régulateur de vitesse adaptatif.
- Interrupteur ACCEL/RES (accelération-reprise):
rappelle la vitesse programmée ou augmente la vitesse progressivement.
- Interrupteur COAST/SET (vitesse-réglage de croisière):
programme la vitesse de croisière souhai-tée, réduit la vitesse graduèlement.
- Interrupteur ON/OFF (marche-arrêt): interrupteur principal qui permet d'activer le système
- Interrupteur CANCEL (annulation): désactive le système et garde en mémoire la vitesse programmée.

Mode de vitesse de croisière classique (vitesse stable)
Si vous optez pour le mode de vitesse de croisière classique (vitesse stable), mainte-nez l'interrupteur ON/OFF (marche-arrêt) ① en-foncé pendant plus de 1,5 seconde.
Lorsque l'interrupteur ON/OFF est enforcé,
l'affichage du régulateur de vitesse adaptatif et le
témoin CRUISE (vert) s'allument au tableau de
bord. Si vous maintainez l'interrupteur ON/OFF
enforcé pendant plus de 1,5 seconde,
l'affichage du régulateur de vitesse adaptatif
s'eteint. Le témoin CRUISE demeure allumé.
Vous pouvez maintainant programmerme votre vi
tesse de croisière. Appuyez de nouveau sur l'interrupteur ON/OFF pour désactiver complètement le système.
Lorsque vous coupez le contact, le système se désactive automatiquement. Pour utiliser à nouveau le régulateur de vitesse adaptatif, appuyez sur l'interrupteur ON/OFF (mode Contrôle d'intervalle) ou maintenez-le enforcé (mode de vitesse de croisière classique).

ATTENTION
Pour éviter que le système ne s'enclenché par inadvertance, placez toujours à l'arrêt l'interrupteur ON/OFF (marche/arrêt) du régulateur de vitesse intelligent lorsque vous n'utilise pas le régulateur.
Pour programmer une vitesse de croisière, accélérez à la vitesse désirée, appuyez sur l'interrupteur COAST/SET puis relâchez. (Le têmoin SET s'allume.) Relâchez la pedale d'accéléateur. Le vehicule maintain le vitesse programmée.
- Si vous devez dépasser un autre vehicule, appuyez sur l'accéléateur. Le vehicule reprend sa vitesse programmée des que vous relâchez l'accéléateur.
Lorsque you montez ou descendez une pente raide, il est possible que le vehicule ne
puisse pas maintainir la vitesse régée. N'utilisez pas le régulateur de vitesse adaptatif dans une telle situation.
Pour annuler une vitesse programmée, utilisez l'une des trois méthodes suivantes :
- Appuyez sur l'interrupteur CANCEL. Le moyen SET s'eteint.
- Effleurez la pédale de frein. L'indicateur de réglage s'éteint.
- Mettez l'interrupteur ON/OFF hors fonction. Les témoins CRUISE et SET s'éteignent.
Pour programmer une vitesse de croisière plus élevé, utilisez l'une des trois méthodes suivantes :
- appuyez sur l'accélérateur. Enforcez l'interrupteur COAST/SET (vitesse de croisière/réglage) et relâchéze-le une fois que le vehicule a atteint la vitesse désirée;
- maintenez enfoncé l'interrupteur ACCEL/RES. Relâchez-le lorsque le vehicule atteint la vitesse désirée;
- appuyez brièvement sur l'interrupteur ACCEL/RES. La vitesse de votre vehicule augmente d'environ 1,6 km/h (1 mi/h) chaque fois que vous appuyez sur cet interrupteur.
Pour programmer une vitesse de croisière plus BASSE, utilisez l'une des trois méthodes suivantes :
- appuyez légrement sur la pédale de frein, enforcez l'interrupteur COAST/SET (vitesse de croisière/réglage) et relâchez-le une fois que le vehicule a atteint la vitesse désirée;
- enoncez l'interrupteur COAST/SET (vitesse de croisière/reglage) et maintenez-le enforce. Relâchez l'interrupteur lorsque le vehicule ralentit jusqu'à la vitesse désirée;
- appuyez brievement sur l'interrupteur COAST/SET. La vitesse de votre vehicule diminue d'environ 1,6 km/h (1 mi/h) chaque fois que vous appuyez sur cet interrupteur.
Pour programmer une vitesse régée antérieurement, appuyez sur l'interrupteur ACCEL/RES et relâchez. Dès que la vitesse du vehicule dépasse 40 km/h (25 mi/h), la dernière vitesse de croisière programmée est rétable.
Annulation automatique
Dans les conditions suivantes, un carillon retentit et la commande du régulateur de vitesse est automatiquement annulée :
- lorsque la vitesse du vehicule est réduite de plus de 13km / h (8 mi/h) par rapport à la vitesse régée;
- lorsque la vitesse du vehicule chute à moins de 32 km/h (20 mi/h);
- lorsque le levier sélecteur est déplace hors de la position D (marche avant);
- le frein de stationnement est serré;
- lorsque le système de contrôle dynamique du vehicule fonctionne (sauf le système ABS, qui fonctionne avec le régulateur de vitesse adaptatif).
CRUISE CRUISE
LSD0121
Témoin
Si le régulateur de vitesse adaptatif ne fonctionne pas comme il se doit, le carillon retentit et le témoin d'anomalie du système (orange) s'allume.
Marché à suivir :
si le témoin d'anomalie du régulateur de vitesse adaptatif s'allume, essayez d'immobiliser votre vehicule en toute sécurité. Coupez le moteur et refaites les réglages.
S'il n'est pas possible d'effectuer les réglages ou si le témoin demeure allumé, le système pourrait être défectueux. Malgré que la conduite du vehicule demeure sécu
ritaire dans des conditions normales, faites-le vérifier par un concessionnaire INFINITI.
ASSISTANCE AU FREINAGE (AVEC FONCTION DE PREVISUALISATION) (dans les modèles munis du Régulateur de vitesse adaptatif) ASSISTANCE AU FREINAGE
Lorsque la force appliquée sur la pédale de frein dépasse un certain degré, la fonction d'assistance au freinage s'active et générale une force de freinage supérieur à celle d'un servo-frein conventionnel, même avec une légère pression sur la pédale.

AVERTISSEMENT
Le dispositif d'aide au freinage n'est destiné qu'à faciliter l'activation des freins; il ne s'agit pas d'un système de prévention des collisions. La responsabilité d'être vigilant, de conduire prudemment et de maitriser son vehicule en tout temps incombe au conducteur.
FONCTION DE PREVISION
Lorsque la fonction de prévision déetecte une situation de freinage d'urgence par l'analyse de la distance et de la vitesse relative du vehicule qui vous précède dans la même voie, le système applique une pré-pression de freinage avant même que le conducteur n'appuie sur la pédale de frein, afin de faciliter la manoeuvre de freinage en réduisant le jeu de la pédale de frein.
Le système ne s'active pas si la vitesse du vehicule est d'environ 32km / h (20 mi/h) ou moins.
L'action de pré-pression cette dans les conditions suivantes:
a. le conducteur appuie sur la pedale d'accelerateur ou sur la pedale de frein;
b. le conducteur n'appuie pas sur la pedale d'accélérateur ou sur la pedale de frein dans un délié d'environ une seconde.

LSD0124
Le capteur ne détecte pas :
a. les piétons ou les objets sur la chaussée;
b. les vehicules venant en sens inverse dans la même voie de circulation;
c. les motocyclettes ou scooters circulant à l'écart sur la même voie, tel qu'illustré.

AVERTISSEMENT
- La fonction de visionnement est destinée uniquement à aider le conducteur; il ne s'agit pas d'un dispositif de prévention des collisions. Bien que le fonctionnement des freins soit commandé par le système, celui-ci ne réduit pas automatiquement la vitesse du vehicule. La responsabilité d'être vigilante, de conduire prudemment et de maitriser son vehicule en tout temps incombe au conducteur.
-
Comme une limite est imposée au rendement de la fonction de visionnement, vous ne devez jamais vous fier uniquement à ce système. Ce système ne peut pallier à une conduite imprudente, au manque de vigilance ou d'attention, pas plus qu'il ne peut atténuer les inconvenients causés par la pluie, le brouillard et le mauvais temps. Appuyez sur la pédale de frein pour réduire la vitesse du vehicule de manière à conserver une distance sécuritaire.
-
Certaines conditions de route ou climatiques pourraient empêcher le système de détecter un vehicule devant vous. La fonction de visionnement peut ne pas fonctionner correctement en présence des conditions suivantes. Il sera toute fois possible de conduire le vehicule dans des conditions normales et l'aide au freinage fonctionnera normalement.
- Quand la pluie, la neige ou le gravier adhère sur le capteur du dispositif.
- Si une lumière intense (par exemple, au lever ou au coucher du soleil) rayonne directement sur la partie avant du vehicule.
- Sur des routes sinueuses ou montagneuses, le capteur pourrait ne pas détecher temporairement un vehicule qui se trouve dans la même voie, ou détecer des objets ou des vehicules qui se trouvent dans une autre voie.
-
La position du vehicule dans la voie pourrait mener le capteur à ne pas dé-tector temporairement un vehicule qui se trouve dans la même voie, ou à dé-tector des objets ou des vehicules qui se trouvent dans une autre voie.
-
Quand la fonction de visionnement est active, la pédale de frein peut bouger légèrement et émettre un petit bruit. Cette situation est normale.
CRUISE
LSD0125
Témoins d'advertissement et affichage
Si la fonction de prévision ne fonctionne pas comme il se doit, le carillon retentit et le témoin d'anomalie du système (orange) s'allume.
Marché à suivir :
si le témoin d'anomalie s'allume, essayez d'immobiliser votre vehicule en toute sécurité. Coupez le moteur et refaites les réglages.
Si le témoin demeure allumé, il est possible que la fonction de prévision ne fonctionne pas correctement (les freins sont fonctionnels). Bien que la conduite du vehicule demeure sécuritaire dans des conditions
PERIODDERODAGE
normales, faites-le inspector par un concessionnaire INFINITI.
Précautions concernant le capteur de fonction de prévision
Le capteur de fonction de prévision, également utilisé pour le régulateur de vitesse adaptatif, est situé sous le pare-chocs avant.
Observe les précautions suivantes afin d'assurer le bon fonctionnement de la fonction de prévision :
- gardez toujours la lentille du capteur propre. Essuyez delicatement les parties souillées à l'aide d'un chiffon doux afin de ne pas endommager le capteur.
- ne soumettez àaucun chic lac zone entourant le capteur;ne touche pas ou ne retirez pas la vis du capteur;En effet, vous pouriez provoquer une panne du système ou son mauvais fonctionnement. Si la surface de montage du capteur est déformée comme a la suite d'un accident, faites appel a votre concessionnaire INFINITI.
- n'apposez aucune étiquette (incluant des étiquettes transparentes) et n'installez aucun accessoire près du capteur. En effet, vous pourriez provoquer une panne du système ou son mauvais fonctionnement.
ATTENTION
Afin d'obtenir un rendement maximal de votre moteur, d'en assurer la fiabilité et de lui permettre la(Meilleure consommation d essence possible, suivez les recommendations ci-apres pendant les premiers 2000km 1200 mi).Si vous ne suivez pas ces recommandations, vous risquez de réduire la durée de vie utile de leur moteur ainsi que ses performances.
- Évitez de conduire à des vitesses constantes (rapides ou lentes) sur une période prolongée et ne faites pas tournier le moteur de votre vehicule à plus de 4000 tr/min.
- N'effectuez pas d'accélération à plein régime dans quelles rapport que ce soit.
- Evitez les démarrages rapides.
- Évitez les freinages brusques dans la mesure du possible.
- Ne tractez pas de remorque pendant les premiers 800km (500 mi) de conduite de votre vehicule. Vous pourriez endommager le moteur, les essieux ou d'autres pieces de votre vehicule.
RéDUCTION DE LA CONSOMMATION DE CARBURANT
- Accélérez progressivement et sans à-coup. Maintenez votre vitesse de croisière en conservant une position de pédaule d'accéléateur constante.
Conduisez à des vitesses modérées sur l'autoroute. La conduite à haute vitesse augmente la consommation de carburant. - Évitez les arrêts et les freinages inutiles.
Conserve une distance sécuritaire entre vous et les autres vehicules.
Assurez-vous que la gamme de vitesses可以选择 correspond bien aux conditions de la route. Sur les routes planes, passez aux rapports supérieurs aussi rapidement que possible. - Évitez de laisser le moteur de votre vehicule tourner inutillement au ralenti.
- Faites régulièrement effectuer des mises au point de votre moteur.
- Suivez le programme d'entretien périodique recommendé.
Assurez-vous que les pneus sont gonflés à la pression appropriée. Des pneus dont la pression de gonflage est insuffisante s'usent plus rapidement et augmentent la consommation de carburant.
4x4 UTILISATION DU MODE QUATRE ROUES MOTRICES
Assurez-vous que le réglage de la géométrie des roues avant est ajustat. Un mauvais réglage de la géométrie des roues entraîne une réduction de la durée de vie des pneus et une augmentation de la consommation de carburant.
L'utilisation du climatiseur entraine une augmentation de la consommation de carburant. Utilisez le climatiseur seulement lorsque cela s'avere nécessaire.
- Il est plus économique demettreleclimaitseur en fonction et de laisser les glaces fermées pour diminuer la résistance lorsquevous conduisez à des vitesses élevées.
- Utilisez la position 4H ou 4L seulement lorsque cela s'avere nécessaire. Le fonctionnement en mode quatre roues mo-trices augmente la consommation de carburant.
ATTENTION
- Ne conduisez pas sur des chaussées sèches en position 4H ou 4LO. La conduite du vehicule sur des surfaces sèches dans les modes 4H ou 4LO est plus bruyante et peut entraîner une usure prématurée des pneus en plus d'accroître la consommation de carburant.
Si le témoin de quatre roues motrices s'allume alors que vous conduisez sur des chaussées sèches :
- en position 4H, placez l'interrupteur de seLECTION des quatre roues motrices à la position 2WD.
- en position 4LO, immobilisez le vehicule, placez le levier selecteur de la boite de vitesses automatique au point mort (N), puis placez l'interrupteur de selection des quatre roues motrices à la position 2WD.
Faites inspectorer votre vehicule chez un concessionnaire INFINITI dés que possible.
PROCÉDURES DE CHANGEMENT DE POSITION DE LA BOITE DE TRANSFERT
Le système à quatre roues motrices à quatre positions (AUTO [automatique], 2WD [deux roues motrices], 4H [quatre roues motrices gamme haute] et 4LO [quatre roues motrices gamme basse]) vous permet de selectionner le mode désiré selon les conditions de conduite.
Méthode de passage en mode deux roues motrices (2WD) ou quatre roues motrices (4WD):
| Position d'interrupteur de passage en mode 4WD | Roues entrainées | Témoin | Conditions d'utilisation | Méthode de passage en mode 4WD | |
| Passage en mode 4WD | Position 4LO du transfert | ||||
| AUTO | Roues arrêtée ou quatre roues | Pour la conduite sur des routes pavées ou glis-santes | Déplacez l'interrupteur 4WD.2WD <> AUTO <> 4HLe témoin de passage en mode 4WD affichera la posi-tion engagée de la boîte de transfert.IL N'EST PAS NÉCESSAIRES DE METTRÉ LE LEVIER SÉLECTIONUR DE LA BOîTE DE VITESSES AUTO-MATIQUE EN POSITION N POUR CETTE OPÉRATION. PROCEDEDÀ CETTE MANÇÉUVRE LORS-QUE VOUS CONDUISEZ EN LIGNE DROITE. | ||
| 2WD | Roues arrêtée | Pour la conduite sur des routes sèches et pa-vées (mode économique) ou lors de contrôlés d'inspection et d'entretien à l'aide d'un dyà-momètre | |||
| 4H | Quatre roues | Pour la conduite sur des routes rocheuses, sablonneuses ou enneigées | |||
| Point mort | *1Peut clignoter | Le point mort désenclemente le verrouillage mé-canique de stationnement de la boîte de vites-ses automatique, ce qui permettra au vehicule de rouler librement. Ne laissez pas la position du transfert au point mort.*2 | 1. Arrêtez le vehicule.2. Déplacez le levier sélecteur de la boîte de vites- ses automatique à la position N (point mort).3. Poussez l'interrupteur de passage en mode qua- tre roues motrices et règlez-le sur 4LO ou 4H. VOUS NE POUVEZ PAS DÉPLACER L'INTERRUPTEUR DE PASSAGE EN MODE QUATRE ROUES MOTRICES DE LA BOîTE DE TRANSFERT ENTRE 4H ET 4LO (OU DE 4LO À 4H), À MOINS QUE LE VEHICULE SOIT ARRÊTÉ ET QUE LE LE-VIER SÉLECTIONEUR DE LA BOîTE DE VITESSES AU-TOMATIQUE SOIT AU POINT MORT. *3 | ||
| 4LO | Quatre roues | Allumé | Lorsque la puissance et la traction maximales sont requises (par exemple : sur des pentes raides ou des routes rocheuses, sablonneuses ou boueuses) | ||
1: le témoin de position de gamme 4LO du transfert peut clignoter. Arrêtez-vous de régler l'interrupteur de passage en mode quatre roues motrices après que le levier sélecteur de la boîte de vitesses automatique est mis en position N (point mort). Si le témoin continue de clignoter après la méthode de passage en mode quatre roues motices de la page précédente, conduisez lentement sans manœuvres brusques pendant un moment. Le témoin s'allumera ou s'éteindra.
- Évitez de prendre un virage serré ou de démarrer brusquement lors du passage en mode 4LO. Sinon, les pignons peuvent grincer, causant des dommages au système d'entrainment.
*2 : lors du passage en mode 4LO (ou en le quittant), le contact doit être mis et le moteur du vehuel doit tourner pour que le changement de gamme ait lieu et que les temoins (temoin de passage en mode quatre roues motrices et témoin de position de gamme 4LO) fonctionnel. Sinon, le changement de gamme n'aura pas lieu et aucin des temoins ne s'allumnera, ni ne clignotera.
3: Assurez-vous que le témoin de position de gamme 4LO du transfert s'allume lorsque vous reglez l'interrupteur de passage en mode quatre roues motrices à 4LO.
L'interrupteur de passage en mode quatre roues motrices de la boite de transfert est utilisé pour selectionner le mode deux roues motrices ou quatre roues motrices selon les conditions de conduite. Quatre types de modes d'entrainment sont disponibles : AUTO (automatique), 2WD (deux roues motrices), 4H (quatre roues motrices gamme haute) et 4LO (quatre roues motrices gamme basse).
L'interrupteur de passage en mode quatre roues motrices commande l'opération de la boîte de transfert électroniquement. Tournez l'interrupteur pour passer à chaque mode : 2WD (deux roues motrices), AUTO (automatique), 4H (quatre roues motrices gamme haute) et 4LO (quatre roues motrices gamme basse).
Voudevez pousser l'interrupteur pour selectionner 4LO et le vehicule DOIT estre arrete tout en ayant le levier selecteur de boite de vitesses automatique en position N (point mort) pour passer en mode 4LO ou pour le quitter.
AVERAGEMENT
Au moment de stationner votre vehicule, serrez le frein de stationnement avant de couper le contact, assurez-vous que le témoin 4 roues motrices est allumé et que le témoin de fonctionnement de stationnement est étéint. Sinon le vehicule pourrait bouger de façon imprévue même si le levier de boite de vitesse automatique est en position P.
ATTENTION
- Ne faites jamais passer l'interrupteur de seLECTION 4WD de la position 4LO à 4H pendant que vous conduisez.
- La position 4H procure plus de traction. Évitez de rouler trop vite car cela accroît la consommation de carburant et la température de l'huile en plus de risquer d'endommager les composants de la transmission. Il est recommendé de ne pas dépasser une vitesse de 100km / h (62,5 mi/h) en mode 4H.
-
La position 4L procure le maximum de puissance et de traction. Évitez de conduire trop vite puisque la vitesse maxi-male à cette position est d'environ 50km / h (31 mi/h).
-
Faites passer l'interrupteur de selection 4WD à la position 2WD, AUTO ou 4H lorsque vous conduisez en ligne droite. Ne faites pas passer l'interrupteur de selection 4WD lorsque vous tournez ou que vous reculez.
- Ne faites pas passer l'interrupteur de seLECTION 4WD aux positions 2WD, AUTO ou 4H si vous conduisez dans une pente très raide. Utiliser le frein moteur et les rapportes de vitesse inférieurs (D1 ou D2) en situation de freinage moteur.
- Ne faites pas passer l'interrupteur de selection 4WD aux positions 2WD, AUTO ou 4H si les roues arrirere patinent.
-
N'utilisez pas les modes 4H et 4LO lorsque vous conduisez sur des chaussées sèches à revétement dur. En mode 4H ou 4LO, la conduite sur des chaussées sèches à revétement dur est plus bruyante et peut entraîrer une usure prematurée des pneus. INFINITI commande l'utilisation du mode 2WD ou AUTO dans de telles conditions.
-
Le boitier de transfert 4WD ne peut être commuté entre les positions 4H et 4LO lorsque la température ambiante est BASSE et le témoin de transfert de la position 4LO risque de clignoter même lorsque l'interrupteur de seLECTION 4WD est actionné. ÀpRES avoir parcouru une certaine distance, vous pourrez commuter la boite de transfert 4WD entre les positions 4H et 4LO.
Pour la conduite sur des routes cahoteuses :
- réglez l'interrupteur de passage en mode quatre roues motrices à la position AUTO, 4H ou 4LO;
- conduizee prudemment selon les conditions de la route.
Lorsque le vehicule est coince:
- place des pierres ou des planches de bois sous les pneus pour aider à libérer le vehicule;
- réglez l'interrupteur de passage en mode quatre roues motrices à la position 4H ou 4LO;
- s'il est difficile de libérer le vehicule, avancez et recules pour donner un mouvement de balancement au vehicule;
ATTENTION
- Ne faites pas patiner les pneus inutillement. Les pneus s'enforceront dans la boue, compliquant ainsi le dégagement du vehicule.
- Évitez de passer les rapportes lorsqu'le moteur tourne à haute vitesse car cette pourrait en cause des défaillances.
Fonctionnement de l'interrupteur de passage en mode quatre roues motrices

LSD0093
- Mettez l'interrupteur de passage en mode quatre roues motrices à la position 2WD (deux roues motrices), AUTO (automatique), 4H (quatre roues motrices gamme haute) ou 4LO (quatre roues motrices gamme basse), selon les conditions de conduite.
-
Avec l'interrupteur à la position AUTO, la distribution du couple aux roues avant et arrrière change automatiquement, selon les conditions de la route [proportions; 0 : 100 (2WD) → 50 : 50 (4WD)]. Ceci améliore la stabilité de conduite.
-
Si l'interrupteur de passage en mode 4 roues motrices est actionné dans un virage, en accélération ou en décelération, ou que le contact est coupé en mode AUTO, 4H ou 4LO, une secousse peut être dessentie. Cette condition n'est pas anormale.
- Lorsque le vehicule est arrêté après un virage, vous pouvez dessentir une légère secousse après que le levier sélecteur est mis à la position N (point mort) ou P (stationnement). Ceci se produit parce que l'embrayage du transfert est reliéré et n'indique pas une anomalie.
ATTENTION
- Faites passer l'interrupteur de selection 4WD à la position 2WD, AUTO ou 4H lorsque vous conduisez en ligne droite. Ne faites pas passer l'interrupteur de selection 4WD lorsque vous tournez ou que vous reculez.
-
N'actionnez pas l'interrupteur de selection 4WD lorsque vous étes engagédans une pente très raide. Utiliser le frein moteur et les rapport de vitesse inférieurs (D1 ou D2) en situation defreinage moteur.
-
N'actionnez pas l'interrupteur de selection 4WD lorsque les roues arrêtent.
- Avant de faire passer l'interrupteur de selection 4WD de la position 2WD ou AUTO à la position 4H, assurez-vous que la vitesse du vehicule est inférieure à 100km / h (62,5 m/h). Autrement, vous risque d'endommager le système 4WD.
- Ne faites jamais passer l'interrupteur de seLECTION 4WD de la position 4LO à 4Hpendant que vous conduisez.
- Le régime de ralenti est élevé pendant le rechauffement du moteur. Soyez particulièrement prudent au démarrage ou lorsque vous conduisez sur des surfaces glissantes alors que l'interrupteur de seLECTION 4WD est en position AUTO.
Témoin de passage en mode quatre roues motrices

LSD0094
Le témoin de passage en mode quatre roues motrices est situé dans l'affichage du compteur kilométrique.
Le témoin devrait s'eteindre après une seconde lorsque le contacteur d'allumage est tourné à la position ON (marche).
Pendant que le moteur tourne, le témoin de passage en mode quatre roues motrices indiquera la position sélectionnée par l'interrupteur de passage en mode quatre roues motrices.
Le témoin de passage en mode quatre roues motrices peut clignoter lors du changement d'un mode d'entrainment à un autre. Une fois le
changement de mode complété, le témoin de passage en mode quatre roues motrices s'allume. Si le témoin ne s'allume pas immédiatement, assurez-vous que rien ni personne ne se trouve à proximité de votre vehicule, puis conduisez le vehicule en ligne droite, accéléré, ralentissez ou passez en marche arrêté avant de change l'interrupteur de passage en mode quatre roues motrices.
- Si le témoin des quatre roues motrices s'allume, le témoin des quatre roues motrices s'éteint.

ATTENTION
- Lorsque l'interrupteur de selection est place en position AUTO et que la températe ambiente est BASSE, le témoin de l'interrupteur 4WD peut indiquer 4H. Dans une telle situation, les quatre roues sont mues puisque le couple est distribué en fonction de la position 4H. Soyez prudent car le vehicule pourrait devenir difficile à faire tourner. Lorsque le vehicule est en mouvement, le témoin d'interrupteur 4WD devrait passer à l'indication AUTO.
Si, à basse température, le témoin d'interrupteur 4WD passes en mode 2WD au moment de la commutation vers le mode AUTO ou 4H, le mode 2WD peut être engagé en raison d'une défaillance du système d'entrainment. Si le témoin ne revient pas à la normale et que le témoin d'advertissement 4WD s'allume, faites inspector le système par le concessionnaire INFINITI le plus pres.
Témoin des quatre roues motrices
| Témoin | S'allume ou cli-gnote quand : |
| S'allume | Il y a une anomalie du système à qua-ter roues motrices |
| Clignote rapi-dement | L'huile de la boîte de transfert sur-chauffe. |
| Clignote len-tement | La différence de rotation des roues est élevé. |
Le témoin des quatre roues motrices est situé dans les instruments de bord.
Le témoin des quatre roues motrices s'allume lorsque le contacteur d'allumage est tourné à la position ON (marche). Il s'éteint peu après que le moteur ait été démarré.
Si une anomalie se produit dans le système à quatre roues motrices lorsque le contacteur d'allumage est à la position ON (marche), le témoin reste allumé ou clignote.
Si le témoin des quatre roues motrices s'allume, le témoin de passage en mode quatre roues motrices s'eteint.
Une surchauffe de l'huile de boite de transfert fait clignoter le témoin rapidement (environ deux fois par seconde). Si le témoin clignote rapidement pendant le fonctionnement, arrêtez le vehicule immédiatement dans un endroit sur. Si le témoin s'éteint après un moment, vous pouvez reprendre la conduite.
Une grande différence entre les diamètres des roues avant et arrière fera clignoter le témoin lentement (environ une fois toutes les deux secondes). Réglez l'interrupteur de passage en mode quatre roues motrices à la position 2WD et conduisez lentement.

ATTENTION
- Si le témoin s'allume, clignote lentement durant le fonctionnement, ou rapidement après que vous ayez arrêté le vehicule momentanément, faites inspectorer votre vehicule des que possible par un concessionnaire INFINITI.
- Évitez de commuter entre les positions 4H et 4LO lorsque le témoin d'ajretissement 4WD s'allume.
-
Lorsque le témoin s'allume, le mode 2WD peut être activé même si l'interrupteur de selection 4WD est en position AUTO ou 4H. Soyez particulièrement prudent pendant la conduite. En cas de défaillance des pieces correspondantes, le mode 4WD ne sera pas activé même si l'interrupteur de selection 4WD est activé.
-
Ne conduisez pas sur des chaussées sèches en position 4H ou 4LO. La conduite du vehicule sur des surfaces sèches dans les modes 4H ou 4LO est plus bruyante et peut entraîner une usure prematurée des pneus en plus d'accroître la consommation de carburant.
Si le témoin de quatre roues motrices s'allume alors que vous conduisez sur des chaussées sèches :
- en position AUTO (automatique) ou 4H, déplacez le levier du mode quatre roues motrices au mode deux roues motrices;
-
en position 4LO, immobilisez le vehicule, placez le levier selecteur de la boite de vitesses automatique au point mort (N) tout en appuyant sur la pédale de frein, puis déplacez l'interrupteur de selection des quatre roues motrices au mode 2WD.
-
Si le témoin demeure allumé une fois l'opération précédente effectue, faites inspectorer votre vehiculeès que possible par un concessionnaire INFINITI.
-
Si vous poursuivez la conduite alors que le témoin d'rapidissement clignote rapidement, vous endommagerez la boîte de transfert.


AVENTISSEMENT
-
N'immobilisez pas et ne stationnez pas votre vehicule sur une surface recouverte de matieres inflammables comme du gazon sec, de vaiss papiers ou des chiffons. Ces matieres pourraient s'enflammer et provoquer un incendie.
-
Les procédures de stationnement sécuritaire exigent que le frein de stationnement soit serré et que le levier selecteur soit place en position de stationnement (P). Le fait de ne pas respecter ces directives peut causeur un déplacement inopiné du vehicule et entrainer un accident. Assurez-vous que le levier de vitesses a été pousse aussi loin que possible vers l'avant et qu'il ne peut pas être déplace, à moins d'enforcer la pédale de frein.
-
Ne laïsez jamais votre vehicule sans surveillance lorsque le moteur tourne.
-
Ne laisses pas d'enfants sans surveillance dans un vehicule. Ils pourraient actionner les commutateurs ou les commandes par megarde. Des enfants laissés sans surveillance dans un vehicule poursaient etre victimes d'un grave accident.
-
Serrez fermement le frein de stationnement.
- Déplacez le levier sélecteur à la position P (stationnement).
- En cas de stationnement en pente, les suggestions de positionnement des roues illustrées ci contre peuvent s'avérer très utiles pour éviter que votre vehicule se déplace dans une voie de circulation.
- DESCENTE ABRUPTE AVEC TROTTOIR : (A)
Tournez les roues vers le trottoir et déplacez le vehicule vers l'avant jusqu'à ce que la roue se trouvant du côte du trottoir effleure celui-ci.
PENTE RAIDE AVEC TROTTOIR:
Tournez les roues dans le sens contraire du trottoir et déplacez le vehicule vers l'arrière jusqu'à ce que la roue se trouvant du côte du trottoir effleure celui-ci.
DIRECTION ASSISTÉE
- DESCENTE OU PENTE RAIDE SANS TROTTOIR: ©
Tournez les roues vers le bord de la route de maniere à ce que le vehicule s'éloigne du centre de la route s'il se déplace.
- Tournez le contacteur d'allumage à la position LOCK (verrouillage) et retirez la clé.
La direction assistée facilité la maniabilité de votre vehicule par le biais d'une pompé hydraulique entrainée par le moteur.
Elle yous permit de conserver la maitrise de votrec vehicule advenant l'arrêt du moteur ou le bris de la courroie d'entrainement. Toutefois, la direction assistee exige des efforts plus importants dans les virages serrés et a basse vitesse.
AVERAGEMENT
Si le moteur ne tourne pas ou s'il est coupé pendant la conduite, l'assistance à la direction ne fonctionnera pas. Il sera donc beaucoup plus difficile de tourner le volant.
CIRCUIT DE FREINAGE
Le circuit de freinage de votre vehicule compte des deux circuits hydrauliques distincts. En cas de défectuosité d'un des circuits, deux des roues conservent leur capacité de freinage.
Freins assistés par dépression
La dépression du moteur est utilisé par le servôfrein pour faciliter le freinage. Vous pouvez immobiliser le vehicule à l'aide de la pédale de frein en cas d'arrêt du moteur. Toutefois, la distance de freinage sera plus longue et vous devrez appliquer une pression plus importante sur la pédale de frein.
Utilisation des freins
Ne laisses pas votre pied reposer sur la pédale de frein en conduisant. Cette situation pourrait entraîner la surchauffe des freins, l'usure prématurée des garnitures et des plaquettes de freins ainsi qu'une réduction de la distance pouvant être parcourue par litre (gallon) d'essence.
Réduisez votre vitesse et rétrogradez avant de descendre une pente raide ou longue pour éviter l'usure prématurée et la surchauffe des freins. Le rendement des freins pourrait être compromis s'ils surchauffent et vous pourriez ainsi perdre la maitrise de votre vehicule.
A VERTISSEMENT
- Soyez prudent en freinant, en accélérant ou en rétrogradant sur chaussenée glissante. Les freinages ou accélérations brusques pourraient faire patiner les roues et entraîner un accident.
- Si le moteur ne tourne pas ou s'il est coupé pendant la conduite, l'assistance au freinage ne fonctionnera pas. Il sera donc plus difficile de freiner.
Freins mouillés
Les freins peuvent etre mouillés lors du nettoyage du vehicule ou si vous roulez dans l'eau. La distance de freinage sera plus longue et il est possible que votre vehicule tire d'un cote de la route lors du serrage des freins.
Conduisez vous vehicule à une vitesse sécuritaire tout en,enfantant légèrement la pedale de frein pour faire secher les freins. Continuez jusqu'à ce que les freins fonctionnent normalement.Evitez de conduire votre vehicule à des vitesses élevées si le fonctionnement des freins n'est pas satisfaisant.
Rodage du frein de stationnement
Les segments du frein de stationnement doivent être « rods » lorsque l'effect de freinage est
amoindi ou lors de leur remplacement ou de celui du tambour/disques, et ce, afin d'assurer une performance de freinage maximale.
Cette intervention est désrite dans le Manuel de réparation du vehicule et peut être effectue chez un concessionnaire INFINITI.
SYSTEME ANTIBLOCAGE (ABS)
Le fonctionnement des freins est regi par le système antiblocage des roues. Ceci permet d'eviter le blocage des roues en cas de freinage brusque ou de freinage sur une chaussée glissante. Le système fait varier la pression du liquide de frein selon la vitesse de rotation de chaque roue décelée afin d'eviter leur blocage et leur patinage. En empêchant les roues de se bloquer, le système aide le conducteur à conserver la maitrise de son vehicule et contribue à réduire au minimum les risques de dérapage et de patinage sur chaussée glissante.
Utilisation du système
Enforcez la pedale de frein et maintenez-la en foncée.
AVERAGEMENT
Ne pomperez pas la pédale de frein. Cette manoeuvre pourrait avoir pour résultat d'accroître les distances de freinage.
Fonctionnement normal
Le système antiblocage ne fonctionne pas si la vitesse de votre vehicule est inférieure à 5 à 10 km/h (3 à 6 mi/h). (La vitesse varie selon l'état de la route.)
Le système antiblocage contrôle la reaction des roues pendant que vous conduisez afin d'éviter qu'elles se bloquent en cas de freinage brusque ou de freinage sur une chaussée glissante. Les problèmes liés à une direction ardue et au dérapage du vehicule causés par le blocage des roues sont ainsi réduits. Le système commandelectroniquement la pression appliquée à chacun des freins selon le taux de rotation décelé au niveau des roues. Le fonctionnement du système antiblocage entraine généralement une légère vibration de la pédale de frein ainsi que des bruits. En cas de freinage brusque, cette vibration et ces bruits confirment le bon fonctionnement du système; vous ne devez pas vous en inquieter. Toutefois, une sensation de pulsation peut indiquer que les conditions routières sont dangereuses et que la conduite requiert une attention particulière.
Fonction d'autodiagnostic
Le système antiblocage comprend des capteurs électroniques et des solenoides hydrauliques contrôls par un ordinateur. Une fonction de
diagnostic intégrée à cet ordinateur met le système à l'essai chaque fois que vous démarrez le moteur et que vous roulez à BASSE VITESSE en marche avant ou en marche arrière. Il est possible qu'un bruitsemblable à un « ploc » se fasse entendre et que vous ressentiez une pulsation dans la pedale de frein au moment de l'execution de l'autodiagnostic. Cette condition est normale et n'est enaucun cas la manifestation d'une defectuosite.L'ordinateur met le système antiblocage hors fonction et allume le témoin des freins antiblocage sur la planche de bord lorsqu'il décèle la presence d'une defectuosite.Le fonctionnement du système antiblocage est alors neutralisé et votre vehicule utilise le circuit de freinage standard.
Meme si une defectuosite du système antiblocage se presente et que ce derniercke de fonctionner, vous pouvez toujours utiliser le freinage standard de votre vehicule. En cas de defectuosite du système antiblocage, le témoin des freins antiblocage s'allume.
Si ce témoin s'allume pendant l'autodiagnostic ou la conduite, rendez-vous chez un concessionnaire INFINITI pour faire réparer votre vehicule.
AVERAGEMENT
- Le système antiblocage est un dispositif sophistique, mais il ne peut toutefois pas prévenir les accidents provoqués par une conduite imprudente ou dangereuse. Il peut vous aider à conserver la maitrise du vehicule lors d'un freinage sur chaussée glissante. Néanmoins, même si votre vehicule est équipé de ce dispositif, vousdezvezvousrappler que la distance de freinage est plus longue sur chaussée glissante que sur une surface normale. Les distances de freinage peuvent également être plus longues sur des routes cahoteuses, récovertes de gravier ou enneigées, ou encore, lorsque vousutilizezdeschaines antidérapantes.Le type et l'état des pneus de votre vehicule peuvent également nuire à l'efficacité du freinage. Conservez toujours une distance sécuritaire entre votre vehicule et celui qui le precede.En bout de ligne,le conducteur est toujours responsable de sa propre sécurité ainsi que de celle d'autrui.
Le type et l'etat des pneus de votre vehicule peuvent également nuire à l'efficacité du freinage.
- Lorsque vous remplacez vos pneus, installez des pneus de la taille spécifiée aux quatre roues.
Assurez-vous d'installer une roue de secours qui correspond aux specifications de taille et de type figurant sur l'étiquette des pneus et d'information sur la charge. Pour obtenir des renseignements concernant l'emplacement de l'étiquette des pneus, consultez la rubrique « Étiquette des pneus et d'information sur la charge » du chapitre « Données techniques et information au consommateur » du précédent manuel.
- Consultez la rubrique « Roues et pneus » du chapitre « Entretien et interventions du propriétaire » de ce manuel.
SYTÉME DE CONTROLÉ DYNAMIQUES DU VÉHICULE (VDC)
Lorsque vous accélérez ou que vous conduisiez sur des surfaces glissantes, les pneus peuvent patiner ou glisser. Les capteurs du système de contrôle dynamique du vehicule détectent ces mouvements et reglent la force de freinage de même que le couple du moteur pour améliorer la stabilité du vehicule.
- Le témoin SLIP (indicateur de dérapage) du tableau de bord clignote lorsque le système de contrôle dynamique du vehicule (VDC) est activé.
- Le témoin SLIP clignote aussi lorsque seul le dispositif antipatinage du système de contrôle dynamique du vehicule (TCS) est activé.
- Si ce témoin clignote, ceci indique que votre vehicule est en condition de dérapage. Assurez-vous d'adapter votre vitesse et la conduite à ces conditions. Consultez les rubriques « Témoin SLIP » et « Témoin de neutralisation du système de contrôle dynamique du vehicule » du chapitre « Instruments et commandes »
- Témoin
Si une anomalie survient dans le système, les témoins SLIP et vDC s'allument au tableau de bord.
Tant que ces témoins sont allumés, la fonction antipatinage est annulée.
Le système de contrôle dynamique du vehicule comprend un dispositif antipatinage par freinage pour améliorer la traction du vehicule. Le dispositif antipatinage par freinage fonctionne lorsqu'une des roues motrices dérape sur une surface glissante. Le dispositif antipatinage par freinage freine la roue qui dérape, ce qui transmet la puissance d'entrainment à l'autre roue motrice. Si le système de contrôle dynamique du vehicule est désactivé au moyen du contacteur de déactivation du système de contrôle dynamique, toutes les fonctions du système de contrôle dynamique du vehicule et du dispositif antipatinage sont neutralisées. Le dispositif antipatinage par freinage et le système de freins antiblocage fonctionnent même si le système de contrôle dynamique du vehicule est déactivé. Si le dispositif antipatinage par freinage est activé, le témoin SLIP (indicateur de dérapage) clignote et un bruit sourd peut être entendu ou une pulsation peut être ressentie dans la pédale de frein. Ceci est normal.
Pendant que le système de contrôle dynamique du vehicule fonctionne, une pulsation peut être reassertion dans la pédale de frein et il est possible que vous entendiez une vibration ou un bruit provenant du comportement moteur. Ceci est normal et indique que le système de contrôle dynamique du vehicule fonctionne correctement.
Une fonction de diagnostic intégrée à l'ordinateur met le système à l'essayaire chaque fois que vous démarrez le moteur et que vous roulez à basse vitesse en marche avant ou en marche arrière. Lorsque l'autodiagnostic est en cours d'exécution, un bruit sourd peut être entendu ou une pulsation peut être dessentie dans la pédale de frein. Ceci est normal et n'est pas un signe de défectuosité.

AVERTISSEMENT
Le système de contrôle dynamique du vehicule a ete concu pour ameliorer la tenue de route du vehicule mais il ne peut empêcher les accidents causés par des manoeuvres brusques de la direction a vitesse elevée ou par une conduite imprudente et dangereuse.Réduisez notre vitesse et soyez particulièrement prudent lorsque vous conduisez ou virez sur chaussée glissante. Conduisez prudemment en tout temps.
SYSTÉME DE SONAR ARRIÈRE (selon l'équipement du vehicule)
- Si les pièces associées aux freins, telles que les plaquettes de freins, les disques et les étriers, ne sont pas des modèles standard ou si elles sont extrémement déteriorées, le système de contrôle dynamique du vehicule ne fonctionnera pas de façon ajustée et le témoin de désactivation du système s'allumera.
-
Ne modifies pas la suspension du vehicule. Si des composants de la suspENSION tels que les amortisseurs, les jambes, les ressorts, les barres stabilisatrices ou les coussinets ne sont pas approvés par INFINITI aux fins d'utilisation sur votre vehicule, ou sils sont extrémement déteriorés, le système de contrôle dynamique du vehicule peut ne pas fonctionner ajustement. La tenue de route du vehicule pourrait s'en trouver affectée et le moyen du système de contrôle dynamique du vehicule pourrait s'allumer.
Le système de contrôle dynamique du vehicule peut ne pas fonctionner ajustement ou son的身影ne peut s'allumer lorsque vous conduisez sur une surface très inclinee, par exemple dans un virage relevé. Ne conduisez pas sur ce type de route. -
Si vous montez des roues ou des pneus autres que ceux recommendés, le système de contrôle dynamique du vehicule ne fonctionnera pas correctement et le témoin de désactivation du système s'allumera.
- Sur des routes enneigées, le système de contrôle dynamique du vehicule ne remplace pas l'utilisation de pneus d'hiver ni de chaînes antidérapantes.

AVERAGEMENT
- Regardez toujours à l'arrière avant de reculer. Le système d'aide au stationnement ne remplace pas des procédures de recul sécuritaires et appropriées.
-
Lisez et assurez-vous de bien comprendre les limitations relatives au système d'aide au stationnement de cette section. Une météo défavorable peut nuir au fonctionnement du système d'aide au stationnement; en promuttre le rendement ou provoquer involontairement son activation.
-
Ce système n'est pas consçu pour prévenir les contacts avec des objets de petite taille ou mobiles.
- Ce système aide le conducteur à déceler la présence d'objets immobiles de grande taille pour prévenir l'endommagement du vehicule. Il ne détectera pas les petits objets qui se trouvent sous le pare-chocs et il peut ne pas détecter les objets qui se trouvent très après du pare-chocs ou au sol.
- Un mauvais alignement ou une déformation du carénage du pare-chocs arrêté resultant d'un accident peut cause le dysfonctionnement de la zone de détention, ce qui se manifesterait par le déclenchement de fausses alarmes ou par l'incapacité du système d'évaluer correctement la distance qui sépare le vehicule des obstacles.
Le système de sonar arrêté déclenché un signal avertisseur pour alerter le conducteur de la présence d'un obstacle pres du pare-chocs arrêté lorsque le levier sélecteur se trouve à la position R (marche arrière). Ce dispositif peut être inopérant lorsque le vehicule se déplace à une vitesse supérieure à 5 km/h (3 mi/h) et il peut ne pas détecter certains obstacles angulaires ou mobiles.
Le système de sonar arrêté détecte des obstacles dans une zone d'un rayon jusqu'à 1,8 m (6 pi) à partir du pare-chocs arrêté; cette distance de détction est moindre aux extrémites du pare-chocs (pour connaître les distances de détction approximatives, consultez les illustrations). Le système de sonar arrêté fait retardir le signal avertisseur à une fréquence de plus en plus élevée à mesure que le vehicule se rapproche de l'obstacle pour retardir de façon continue lorsque l'obstacle est à moins de 25 cm (10 po) du pare-chocs. Si le système de sonar arrêté détecte un obstacle immobile (ou s'éloignant) à une distance supérieure à 25 cm (10 po) du côté du vehicule, il ne fait retardir le signal avertisseur que pendant trois secondes. Lorsque le système détecte l'approche d'un obstacle, le signal retient de nouveau.
Le système de sonar arrêté se met automatique-ment en fonction lorsque le levier sélecteur se trouve à la position R (marche arrêté) et que le contact est mis. Le contacteur de neutralisation du système de sonar arrêté, situé sur le tableau de bord, permet au conducteur d'activer ou de désactiver le système. Pour désactiver le système de sonar arrêté, le contact doit être établi. Un témoin sur le contacteur s'allume lorsque le système est désactivé. Si le témoin s'allume alors
que le système de sonar arrêté n'est pas désactivé, il est possible que le système soit défectueux.
Veillez à ce que les capteurs du système de sonar arrrière (situés sur le carénage du pare-chocs arrrière) ne soient pas obstrués par de la saleté, de la neige ou de la glace (ne nettoyez pas les capteurs avec des objets tranchants). Si les capteurs sont obstrués, la précision du système de sonar arrrière sera compromise.
Applique du dégivreur dans les trous de serrure des portières pour éviter le gel des serrures. En cas de gel d'une des serrures, chauffez la clé avant de l'insérer dans le trou de la serrure.
ANTIGEL
En hiver, procédez à une vérification de l'antigel de votre vehicule lorsque des températures inférieures à 0^ (32°F) sont prévues afin de vous assurer qu'il procure une protection ajustée. Pour plus de détails, consultez la rubrique « Circuit de refroidissement du moteur » du chapitre « Entretien et interventions du propriétaire » du present manuel.
BATTERIE
Si la batterie n'est pas complètement chargée, le liquide qu'elle contient peut geler par temps extrémement froid et endommager la batterie. La batterie doit faire l'objet de vérifications régulières pour que son rendement soit maintainu au niveau maximal. Pour plus de détails, consultez la rubrique « Batterie » du chapitre « Entretien et interventions du propriétaire » du present manuel.
VIDANGE DU CIRCUIT DE REFROIDISSEMENT
Si vous vécuicide est demeure à l'extérieur sans antigel, le circuit de refroidissement, incluant le bloc-moteur, doit être vidange. Remplissez le vase d'expansion avant de reprendre la route. Pour obtenir des détails, consultez la rubrique « Vidange du liquide de refroidissement » du chapitre « Entretien et interventions du propretaire » duprésent manuel.
PNEUS
-
Les bandes de roulement des pneus d'ETÉ sont conçues pour offrir un rendement supérieur sur les chaussées sèches. Toutefois, la neige et la glace nuisent considérablement à leur rendement. Si vous devez conduire sur des chaussées enneigées ou glacées, INFINITI vous recommende de faire poser des pneus BOUE - NEIGE ou des pneus TOUTES SAISONS sur les quatre roues. Vous pouvez obtaining des renseignements relatifs aux types, aux tailles, aux cotes de vitesse et à la disponibilité des pneus auprès d'un concessionnaire INFINITI.
-
Des pneus cloutes peuvent etre utilisés pour bénéficier d'une adherence accrue sur chaussée glacée.Toutefois,l'utilisation de tels pneus est prohibée dans certains Etats americains de meme que dans certaines provinces du Canada.Consultez les reglements en vigueur dans votre localite, dans l'Etat ou la province ou vous residez avant d'installer ce type de pneu sur votre vehicule.
Sur chaussée sèche ou mouillée, les capacités de patinage et d'adhérence d'un pau d'hiver cloute peuvent être inférieures à celles d'un pau d'hiver qui ne l'est pas.
- Vous pouvez également utiliser des chaînes antidéraptantes.
L'utilisation de chaînes antidérapantes peut être prohibée dans certaines localités. Consultez les règlements en vigueur dans votre localité avant d'installer des chaînes antidérapantes sur les pneus de votre vehicule. Si vous installez des chaînes antidérapantes, assurez-vous qu'elles sont de la dimension appropriée et suivez les directives stipulées par leur fabricant. N'utilise que des chaînes de catégorie « S » SAE. Les chaînes de catégorie S sont destinées aux vehicules dont l'espace des passages de roue est limité. Les vehicules sur lesquels les chaînes
de type « S » peuvent être installées répondent au débutement minimal requis (entre l'organe de suspension du vehicule ou de la caisse le plus proche du pneu) pour permettre l'installation d'un dispositif antidérapant pour l'hiver (chaînes antidérapantes ou cables). Le débutement minimal requis est déterminé en fonction des pneus d'origine posés à l'usine. L'utilisation de chaînes d'une autre catégorie peut endommager votre vehicule. Lorsque recommends par le fabricant, utilisez des tendeurs de chaînes pour vous assurer que les chaînes tiennent bien en place. Les maillons inutilisés de la chaire doivent être solidement fixés ou retirés afin d'éviter qu'ils heures les ailes ou le soubassment et qu'ils les endommagent. Si possible, évitez de charger votre vehicule à sa capacité maximale lorsque vous utilisez des chaînes antidérapantes et conduisez plus lentement. Sinon, les chaînes peuvent endommager leur vehicule et compromètre sa tenue de route et son rendement.
N'installez jamais de telles chaînes sur des roues de secours. Les chaînes antidérapantes ne doivent pas être utilisées sur chausse sèche.
ÉQUIPEMENT HIVERNAL
Nous vous recommendons de placer les articles suivants dans votre vehicule durant l'hiver.
- Un gratoir et une Brosse à poils raides pour retarder la glace et la neige se trouvant sur les glaces et les essuie-glaces de votre vehicule.
- Un panneau plat et robuste que vous pouvez déposer sous le cric de votre vehicule pour lui donner un soutien ferme.
- Une pelle pour dégager votre vehicule d'un banc de neige.
- Un contenant de liquide de lave-glace supplémentaire.
CONDUITE SUR LA NEIGE OU SUR LA GLACE

AVERTISSEMENT
- La présence de verglas (0^[32^]) et de pluie verglaçante, de neige très froide ou de glace peut rendre la route glissante et la conduite difficile. Dans ces conditions, l'adhérence du vehicule à la route sera réduite. Évitez de rouler sur une route verglacée avant que du sable ou du sel de voirie ait est répandu.
- Peu imports the conditions, condusiez prudemment. Accélérez et ralentissez en douceur. Les accélérations et décalérations brusques n'auront pour effet que de réduire davantage l'adhérence des roues motrices.
- Dans ces conditions, prévoyez une distance d'arrêt plus longue et commencer à freiner plus tout que sur une chausse sèche.
-
Sur des chaussées glissantes, maintenance une plus grande distance entre vous-véhicule et celui qui le précède.
-
Faites preuve de vigilance lorsque vous conduissez sur une route couverte de plaques de glace refléchissante. Meme les routes qui semble dégagées peuvent être parsemées de plaques de glace aux endroits ombragés. Si tel est le cas, freinez avant de rouler sur la plaque. Ne freinez pas sur la glace et évitez les coupes de volant.
- N'utilisez pas le régulateur de vitesse lorsque le vehicule roule sur une chaussee glissante.
- La neige peut emprisonner des gaz d'échéppement nocifs sous votre vehicule. Dégagez la neige accumulée autour du tuyau d'échéppement et autour du vehicule.
MÉMENTO
6 En cas d'urgence
Pneu à plat 6-2
Système d'ajretissement de basse pression
des pneus 6-2
Remplacement d'un pneu a plat. 6-2
Demarrage-secours. 6-8
Demarrage en poussant. 6-10
Si le moteur surchauffe. 6-11
Remorquage de votre vehicule 6-12
Méthodes de remorquage recommendées
par INFINITI. 6-13
Dégagement d'un vehicule immobilisé 6-14
SYSTÉME D'AVERTISSEMENT DE BASSE PRESSION DES PNEUS
Ce vehicule est équipé d'un système d'ajretissement de basse pression des pneus. Il surveille la pression de tous les pneus, à l'excequence du pneu de la roue de secours. Lorsque le témoin de basse pression des pneus est allumé, un ou plusieurs de vos pneus sont insuffisamment gonflés. Ce système montre également la pression de chaque pneu à l'écran d'affichage (sauf pour la roue de secours) grâce à un signal transmis à partir des capteurs montés sur chaque roue. Si le vehicule est conduit avec un pneu dont la pression de gonflage est très BASSE (inférieure à 193 kPa [28 lb/po²]), le système d'ajretissement de basse pression des pneus s'active et vous prévient par le biais du témoin d'affissement de basse pression des pneus. Le système ne s'active que si la vitesse du vehicule dépasse 32 km/h (20 mi/h). Pour obtenir plus de détails, consultez la rubrique « Témoins et rappels sonores » au chapitre « Instruments et commandes », « Information sur la pression de gonflage des pneus » du chapitre « Écran d'affichage, système de chauffage, de climatisation et chaine audio » et « Système d'ajretissement de basse pression des pneus » du chapitre « Démarrage et conduite »
AVERAGEMENT
-
Si le témoin d'advertissement de basse pression des pneus clignote pendant la conduite, évitez les manœuvres de direction soudaines ou les freinages brusques, réduisez votre vitesse, rangez-vous en cordure de la route dans un endroit sécurité et immobilisé chez vos vehiculeès que possible. Notre vehicule pourrait subir des dommages importants et vous pourriez avoir un accident entrainant des blessures graves. Vérifiez la pression de tous les pneus. Effectuez un réglage de pression à FROID, tel que spécifique sur l'étiquette des pneus et d'information sur la charge, pour ainsi désactiver le témoin d'advertissement de basse pression. Si un pneu est à plat, remplacez-le par un pneu de secours lorsque possible.
-
Lorsqu'une roue de secours est installée ou qu'une roue est remplacée, la pression des pneus ne s'affiche pas et le système d'advertisement de basse pression des pneus ne fonctionne pas. Communiquez avec votre concessionnaire INFINITI des que possible pour proceder au remplacement des pneus ou à la réinitialisation du système.
- N'injectezaucun produit d'étanchéité pour pneu,liquide ou en aérosol,dans les pneus; le fonctionnement des capteurs de pression des pneus pourrait s'enrouver compromis.
REEMPLACEMENT D'UN PNEU À PLAT
Si l'un de vos pneus est à plat, procédez aux étapes décrites ci-dessous:
Immobilisation du vehicule
- Déplacez votre vehicule en bordure de la route lorsqu'il s'avere prudent de le faire et immobilisez-le aussi loin que possible de la circulation.
-
Allumez les yeux de détresse de votre vehicule.
-
Stationnez votre vehicule sur une surface plane et serrez le frein de stationnement. Placez le levier selecteur à la position P (stationnement).
- Coupe le contact.
- Ouvrez le capot pour signaler votre présence aux autres conducteurs et indiquer au service de dépannage que vous avez besoin d'aide.
- Demandez à tous les occupants de descendre du vehicule et de se tener dans un endroit s ur, à l'ecart de la circulation et du vehicule.
A VERTISSEMENT
Assurez-vous que le frein de stationnement est correctement serré et que la boîte de vitesses automatique est à la position de stationnement (P).
- Ne tentez jamais de changer un pneu si votre vehicule est stationné dans une pente ou sur une surface glacée ou glissante. Ceci est très dangereux.
- Ne tentez jamais de changer un pneu si votre vehicule se trouve à proximé de la circulation. Attendez qu'on viennent vous dépanner.
- Lorsqu'une roue de secours est instalée ou qu'une roue est remplacée, la pression des pneus ne s'affiche pas et le système d'advertissement de basse pression des pneus ne fonctionne pas. Communiquez avec votre concessionnaire NiSSAN aussitot que possible pour proceder au remplacement des pneus ou à la réinitialisation du système.

Blocage des roues
Pour empêcher le vehicule de se déplacer lorsqu'il est mis sur cric, placez des butées de la taille appropriée ① à l'avant et à l'arrière de la roue diagonalement opposée à cette dont le pneu est à plat ②.
A VERTISSEMENT
Assurez-vous de bloquer la roue car le vehicule peut se déplacer et cause des blessures.
Retrait de la roue de secours et des outils du coffre
- Retirez la trousse d'outillage du cric de l'espace de rangement du plancher de l'aire de chargement.
- Retirez le couvercle du bac de rangement de l'aire de chargement.

3. Devissez et retirez le cric.

4. Assemblez les deux parties de la tige du cric. Trouvez l'ouverture ovale au-dessus du centre de la plaque d'immatriculation. Passez l'extrémité en T de la tige du cric par l'ouverture et dirigez-la vers le treuil de la roue de secours situé directement audessus de celle-ci.

ATTENTION
N'insérez pas la tige du cric en position verticale puisqu'elle est conçue pour être insérée de biais tel qu'illustré.

- Insérez l'extrémité carree de la tige du cric dans le trou carré du démonte-roue afin de former une poignée.
- Insérez l'extrémité en T de la tige du cric dans l'ouverture en T du treuil de la roue de secours. Appliquez une pression afin de dévelopir la tige du cric dans le treuil de la roue de secours et tournez-la dans le sens inverse des aiguilles d'une montre pour abaiser la roue de secours.
- Une fois la roue de secours totalement abaissée, retirez la chaine de retenue du dessous du vehicule et glissez la roue de secours sous l'arrière du vehicule.
ATTENTION
Assurez-vous de center la plaque de suspension de la roue de secours sur la jante avant de soulever la roue de secours.
Mise sur cric du vehicule et retrait du pneu endommagé
AVERAGEMENT
- Ne vous glissez jamais sous un vehicule si ce dernier n'est soutenu que par un cric.
Utilisez seulement le cric fourni avec votre vehicule pour soulever ce dernier. Ne l'utilisez pas pour soulever un autre vehicule. Ce cric a ete concu exclusivement pour soulever votre vehicule lorsque vous nevez remplacer une roue. - N'utilisez que les points de levage identifiés. N'utilisez aucune autre partie de votre vehicule comme point de levage.
- Ne soulevez jamais le vehicule plus que nécessaire.
-
N'installez jamais de bloc sur ou sous le cric.
-
Ne faites pas démarrer ou tournier le moteur alors que le vehicule est sur le cric. Le vehicule pourrait se déplacer. Cette consigne s'applique particulièrement aux vehicules équipés d'un différentiel à glissement limité.
- Ne mettez jamais un vehicule sur cric si des passagers se trouvent encore à l'intérieur.
- Ne démarrez jamais le moteur d'un vehicule dont une ou plusieurs roues ne touchent pas le sol. Le vehicule pourrait alors se déplacer.
Prenoz soit de toutes vous reférer aux illustrations pour les points de mise en place et de levage correspondant à votre modele de vehicule et au type de cric utilisé.
Lisez attentivement l'étiquette d'avertissement fixée au cric et les directives suivantes :
- Au moyen du démonte-roue, desserrez chaque écrou de roue d'un tour ou deux dans le sens contraire des aiguilles d'une montre.
Attendez que le pneu ne touche plus le sol pour-retirer les écrous de roue.
REMARQUE :
Avant demettrele vehicule sur cric, assurez-vous que la clé de contact est à la position OFF (arrêt).Si le vehicule est souleve avec la clé de contact à la position ON marche),la suspension à réglage automatique (salon l'équipement du vehicule) se désactivera après 60 secondes. Pour réinitialiser la suspension à réglage automatique, mettez et coupez le contact une fois.



WCE0097
- Placez le cric directement sous le point de levage, tel qu'illustré, de manière à ce que le contact entre le dessus du cric et le vehicule se fasse au point de levage. Les points de levage sont indiqués par des flèches estampées sur le côté du cadre.
Le cric devrait reposer sur une surface ferme et plane.


LCE0087
- Installez la tige du cric assemblée sur le cric, tel qu'illustré.
- Tenez fermement le levier et la tige du cric pour soulever le vehicule. Soulevez prudemment le vehicule jusqu'à ce que le pneu endommagé ne touche plus le sol.
- Retirez les écrous de roue, puis la roue.

WCE0063
Installation de la roue de secours
La roue de secours est conçue pour être utilisée en cas d'urgence seulement. Consultez les directives spécifiques de la rubrique « Roues et pneus » du chapitre « Entretien et interventions du propriétaire » du present manuel.
- Nettoyez toute trace de boue ou de saleté de la surface se trouvant entre la roue et le moyeu.
-
Installez soigneusement la roue de secours et serrez les écrous de la roue à la main.
-
Au moyen du démonte-roue, serrez les écrous de la roue en alternance et uniformément, tel qu'illustré, jusqu'à ce qu'ils soient solidement fixés en place.
- Abaissez lentement le vehicule jusqu'à ce que le pneu touche le sol. Serrez ensuite les écrous de roue fermement au moyen du démonthe-roue, selon la séquence illustrée. Abaissez le vehicule complètement.

AVERTISSEMENT
- Si des écrous de roue inappropriés sont utilisés ou si les écrous sont mal serrés, la roue pourrait se desserrer ou se détacher, ce qui pourrait cause un accident.
- N'applique pas d'huile ni deGRAISSESur les goujons ou les ecrous de rouce,car ils pourraient se desserrer.
Resserrez les écrous des roues du vehicule après avoir parcouru une distance de 1000km (600 mi), après une crevaison, etc. Au moyen d'une clé dynamométrique, serrez les écrous de roue au couple spécifique des que possible.
DÉMARRAGE-SECOURS
Couple de serrage des écrous de roues :
133 N·m (98 Ib-pi)
Les écrous de roue doivent être serrés au couple spécifique en tout temps. Il est conseilé de serrer les écrous de roue au couple spécifique chaque fois qu'une lubrification est requise.
Réglez la pression de gonflage de vos pneus À FROID.
Les pneus de votre vehicule sont considérés FROIDS si votre vehicule est stationné depuis trois heures ou plus ou qu'il a été conduit sur une distance de moins de 1,6 km (1 mi).
Les pressions des pneus A FROID sont stipulées sur l'étiquette des pneus apposa- see à l'intérieur du couvercle de la boite a gants.
- Rangez la roue dont le pneu est creve et l'équipement de levage dans votre vehicule de façon sécuritaire.
AVERAGEMENT
Assurez-vous que la roue de secours et le cric sont toujours correctementrangés après leur utilisation. Ces articles peuvent se transformer en projectiles dangereux en cas d'accident ou lors d'un freinage brusque.
La roue de secours ne doit etre utiliser qu'en cas d'urgence.Consultez les directives specifiques de la rubrique « Roues et pneus » du chapitre « Entretien et interventions du propriete » de ce manuel.
Les directives et précautions ci-dessous doivent être lues attentivement lorsque vous utilisez une batterie d'appoint pour faire demarrer le moteur de votre vehicule.
AVERAGEMENT
- Un démarrage-secours mal effectué peut faire sauter la batterie et cause des blessures graves ou la mort. Voitre vehicule pourrait également être endommagé.
- La batterie dégage en permanence de l'hydrogène qui est un gaz explosif. N'approche pas d'étincelles ni de flâme de la batterie.
- Evitez tout contact d'électrolyte avec les yeux, la peau, les vêtements ou les surfaces peintes. L'électrolyte est une solution d'acide sulfurique corrosive qui peut cause de graves brûlures. Si de l'électrolyte entre en contact avec un des éléments mentionnés précédement, rincez immidiatement à l'eau la zone affectée.
-
Gardez la batterie hors de la portée des enfants.
-
La batterie d'appoint doit être calibrée à 12 volts. L'utilisation d'une batterie mal calibrée peut endommager votre vehicule.
- Portez toujours des lunettes de sécurité (par exemple, des lunettes de travail à coques ou des lunettes de protection industrielles) et enlevez vos bagues, bracelets métalliques et tout autre bijou lorsque vous effectuez une intervention sur la batterie ou à proximité de cette-ci. Ne vous penchez pas audessus de la batterie lors d'un démarrage-secours.
- Ne tentez pas d'effectuer un démarrage secs lorsque votre batterie est gelée. Celle-ci pourrait explodeer et cause de graves blessures.
- Voiture vehicule est équipé d'un ventilateur de refroidissement du moteur automatique qui peut s'activer à n'importe quel moment. Éloignez-en vos mains ainsi que tout autre objet.



AVERAGEMENT
Suivez toujours les instructions suivantes.
Sinon, vous risque d'endommager le circuit de charge et de causeur de graves blessures.
- Si la batterie d'appoint se trouve dans un autre vehicule, placez les deux vehicules de maniere à ce que leurs batteries respectives soient à proximé l'une de l'autre.
Veillez toutefois à ce que les vehicules ne se touchent pas.
- Serrez le frein de stationnement. Placez le levier selecteur à la position P (stationnement). Éteignez tous les circuits électriques non essentiels (éclairage, chauffage, climatisation, etc.).
- Retirez les bouchons d'aération de la batterie (selon l'équipement du vehicule). Couvrez les orifices ainsi exposés d'un nouveaux chiffon pour réduire les risques d'explosion.
- En respectant la série illustrée, branchez les cables volants (A, B, C, D).
ATTENTION
Assurez-vous de tousjours brancher la borne positive (+) à la borne positive (+) , et la borne négative (-) à un point de masse de la carrosserie (par exemple, à un boulon de fixation de jambe, à un support de levage du moteur, etc.) et non pas à la borne négative de la batterie.
Assurez-vous que les câbles volants n'entrent pas en contact avec des pièces mobiles du compartment moteur et que les cosses des câbles ne touchent aucune autre piece métallique.
- Faites démarrer le moteur du vehicule d'appoint et laissez-le tourner pendant quelques minutes.
- Maintenez le régime moteur du vehicule d'appoint à environ 2000 tr/min et faites demarrer le moteur du vehicule en panne.
ATTENTION
N'actionnez pas le démarreur pendant plus de dix secondes. Si le moteur ne démarre pas au premier essai, coupez le contact et attendez de trois à quatre secondes avant de réessayer.
- Une fois le moteur en marche, débranchez prudèment le cable négatif, puis le cable positif de la batterie.
- Remettez les bouchons d'aération en place (selon l'équipement du vehicule). Jetez le因为他们 chiffon utilisé pour couvir la batterie puisqu'il peut avoir été contaminé par de l'électrolyte corrosif.
A VERTISSEMENT
Les vehicules équipés d'une boite de vitesses automatique ne peuvent pas etre demarrés en les poussant ou en les remorquant L'une ou I'autre de ces manoeuvres risquerait d'endommager la boite de vitesses ou le vehicule.
SI LE MOTEUR SURCHAUFFE
AVERAGEMENT
- Arrêtez votre vehicule si le moteur surchauffe. En effet, une surchauffe prolongée pourrait endommager le moteur ou y provoquer un incendie.
- Ne retirez jamais le bouchon du radiateur ou du réservoir de liquide de refroidissement de votre vehicule lorsque le moteur est chaud, car vous pourriez vous brûler. En effet, dans une telle situation, de l'eau chaude sous pression jaillit et peut cause de graves blessures.
- N'ouvre pas le capot si de la vapeur s'en échappe.
En cas de surchauffe de votre vehicule (la lecture de l'indicateur de température sera extrémement élevé et le témoin de pression d'huile moteur/tempsérature élevé du liquide de refroidissement s'allumera) ou si vous décelez une perte de puissance du moteur de votre vehicule ou des bruits inhabituels, etc., procédez aux étapes suivantes.
- Déplacez votre vehicule en cordure de la route dans un endroit sur, serrez le frein de stationnement et placez le levier selecteur à la position P (stationnement).
Ne coupez pas le contact.
- Éteignez le climatiseur. Ouvrez toutes les glaces, déplacez la commande du chauffage ou du climatiseur à la chaleur maximale et la commande du ventilateur à la vitesse maxi-male.
-
Sortez du vehicule. Avant d'ouvrir le capot, vérifiez, visuellement et en cherchant à déceler des bruits, si de la vapeur ou du liquide de refroidissement s'échappe du radiateur. (Si de la vapeur ou du liquide de refroidissement s'échappe du radiateur, coupez le moteur.) Ne pas ouvrir le capot davantage tant que de la vapeur ou du liquide de refroidissement est visible.
-
Ouvrez le capot.
AVERAGEMENT
Si de la vapeur ou de l'eau s'échappe du moteur, tenez-vous à l'écart pour éviter tout risque de brûture.
- Procedez à une inspection visuelle des courroies d'entrainment pour vérifier si elles sont endommagées ou desserrées. Assurez-vous également que le ventilateur de refroidissement fonctionne. Il ne doit y avoir aucune fuite d'eau provenant des durites de radiateur et du radiateur. Coupez le contact si vous remarquez une fuite de liquide de refroidissement, l'absence ou le relachement de la courroie de la pompe à eau ou si le ventilateur de refroidissement n'est pas en marche.
AVERAGEMENT
Faites preuve de prudence lorsque vous vous penchez sur un moteur en marche pour éviter que vos mains, cheveux, bijoux ou vêtements ne soient happés par les courroies ou les pales du ventilateur de refroidissement du moteur. Le ventilateur de refroidissement du moteur peut semettre en marche à n'importe quel moment lorsque la température du liquide de refroidissement est élevé.
REMORQUAGE DE VOTRE VEHICULE
- Une fois le moteur refroidi mais toujours en marche, vérifie le niveau de liquide de refroidissement du réservoir. Au besoin, ajoutez du liquide de refroidissement dans le réservoir. Rendez-vous chez un concessionnaire INFINITI pour y faire réparer votre vehicule.
Les règlements en vigueur dans la localité, la province ou le territoire (l'État, aux États-Unis) où vous vivez doivent être respectés lors du remorquage de votre vehicule. L'utilisation d'équipement de remorquage inadéquat pourrait endommager votre vehicule. Vous pouze obtenir des directives relatives au remorquage auprès de votre concessionnaire INFINITI. Généralement, le personnel des services de remorquage locaux connait bien les lois et les procédures relatives au remorquage. INFINITI vous recommende donc de faire appel à un service de remorquage pour vous assurer que le remorquage est effectué adéquatement et pour éviter d'endommager votre vehicule. Il peut s'avérer utile de demander au responsable du service de remorquage de dire attentivement les précautions suivantes:

AVENTISSEMENT
- Ne voyagez jamais dans un vehicule qui est remorqué.
- Ne vous glissez jamais sous un vehicule soulevé par une dépanneuse.

ATTENTION
- Lors du remorquage, assurez-vous que la boite de vitesses, les essieux, la direction et le groupe motopropulseur fonctionnent bien. Si une de ces unités est endommagée, vous nevez utiliser des chariots de remorquage.
- Installez toujours des chaînes de sécurité avant le remorquage.
Pour obtenir plus de détails concernant le remorquage de votre vehicule derrière un vehicule récreatif, consultez la rubrique « Remorquage à plat » du chapitre « Données techniques et information au consommateur » duprésent manuel.



ACE1037
MÉTHODES DE REMORQUAGE RECOMMANDÉES PAR INFINITI
Modèles deux roues motrices
INFINITI recommende de faire remorquer votre vehicule avec les roues motrices arrirere soulevees ou sur un camion-plateau (remorquage intégral), tel qu'illustré.
ATTENTION
- Ne remorquez jamais un vehicule equipope d'une boite de vitesses automatique avec les roues arrirée ou les quatre roues au sol (que le vehicule soit remorqué par l'avant ou par l'arrière), car les dommages à la boite de vitesses qui pourrait en résultat nécessiteraient des réparations courteuses. Si un remorquage du vehicule avec les roues avant soulevées est nécessaire, prenez toujours soin d'installer des chariots de remorquage sous les roues arrirée.
-
Lors du remorquage d'un vehicule équipé d'une boîte de vitesses automatique dont les roues avant touchent le sol ou reposent sur des chariots de remorquage :
-
Tournez la clé de contact à la position OFF et redresse le volant de direction au moyen d'une corde ou d'un accessoire similaire. Ne bloquez jamais le volant de direction en tournant la clé de contact à la position de verrouillage. Vous risqueriez d'endommager le mecanisme de blocage de la direction.
Si la vitesse ou la distance à parcourir doivent absolument dépasser ces limites, retirez l'arbre de transmission avant le remorquage pour ne pas endommager la boîte de vitesse.





WSD0097
Modèles quatre roues motrices
INFINITI recommende de faire remorquer votre vehicule à l'aide de chariots porte-roues ou sur un camion-plateau (remorquage intégral), tel qu'illustré.

ATTENTION
- Lorsque vous remorquez un modele 4 roues motrices, ne laissez jamais les roues en contact avec la route; vous risqueriez de causeurs des dommages graves et couteux à la boite de transfert et à la transmission.

LCE0096
DEGAGEMENT D'UN VEHICULE IMMOBILISE

AVERTISSEMENT
- Ne restez pas à proximé d'un vehicule immobilisé.
- Ne faites pas patiner vos pneus à vitesse élevée. Ils pourraient exploser et causer de graves blessures. Des pièces de votre vehicule poursraient également surchauffer et être endommagées.
ATTENTION
- Vous ne pouvez installer des chaînes ou des cables de remorquage que sur les éléments de la structure principale de votre vehicule ou sur les anneaux d'attelage (selon l'équipement). Sinon, vous risquez d'endommager la carrosserie de votre vehicule.
L'anneau d'attelage (selon l'équipement) doit être utilisé seulement aux fins de dégagement d'un vehicule coincide dans le sable, la neige, la boue, etc. Il ne doit pas être utilisé seul pour remorquer un vehicule sur une longue distance. - Une force considérable s'exercé sur l'anneau d'attelage lorsque celui-ci est utilisé pour libérer un vehicule coince. Tirez toujours en ligne droite sur l'anneau.
- Tirez toujours les câbles à partir de l'avant ou de l'arrête du vehicule.
-
Les dispositifs de traction doivent être utilisés de façon à ne pas entraîre en contact avec les éléments de la suspension, de la direction, des freins ou du circuit de refroidissement.
-
L'utilisation de dispositifs de traction tels que des cordes ou des sangles en toile est déconseillée aux fins de remorquage ou de dégagement d'un vehicule immobilisé.
Si vous vécique est enlisé dans le sable, la boue, la neige ou la glace, utilisez la procédure suivante:
- Désactivez le système de contrôle dynamique du vehicule (selon l'équipement du vehicule).
- Assurez-vous que rien ni personne ne se trouve devant ou derrière votre vehicule.
- Tournez le volant de gauche à droite pour dégager la zone entourant les roues avant.
-
Procedez à une manoeuvre de va-et-vient avec votre vehicule.
-
Passez de la position R (marche arrière) à la position D (marche avant).
- Appuyez au minimum sur l'accelerateur afin de maintainir le mouvement de va-et-vient.
-
Relâchez l'accélérateur avant de passer de la position R (marche arrêté) à la position D (marche avant).
-
Ne faites pas patiner les roues à plus de 55 km/h (35 mi/h).
-
Si, après quelques tentatives, vous n'arrivez pas à dégager votre vehicule, faites appel à un service de dépannage professionnel.
MÉMENTO
7 Aspect et entretien
Nettoyage des surfaces extérieures du vehicule. 7-2
Lavage 7-2
Cirage 7-2
Pour faire disparaitre les taches 7-3
Soubassement 7-3
Vitres 7-3
Roues en alliage d'aluminium 7-3
Pièces chromées 7-3
Nettoyage des surfaces interieures du vehicule . 7-4
Tapis. 7-4
Ceintures de sécurité 7-5
Protection contre la corrosion. 7-5
Facteurs les plus courants contribuant à
la corrosion d'un vehicule. 7-5
Facteurs environnementaux influençant
la corrosion 7-5
Pour protégéur vosvré vehicule contre
la corrosion 7-5
NETTOYAGE DES SURFACESEXTÉRIÉURES DU VÉHICULE
Pour conserver l'aspect neuf de votre vehicule, vous doivent en assurer l'entretien de façon appropriée.
Pour protégger les surfaces peintes, veuillez laver.
votre vehicule ds que possible :
- après une averse pour éviter des dommages potentiels causés par les pluies acides;
- après avoir conduit le long de la mer;
- lorsque des substances comme de la suie, des fuentes d'oiseau, de la sève d'arbre, des particules métalliques ou des insectes se déposent sur les surfaces peintes;
- lorsque de la poussière ou de la boue s'accumule sur la carrosserie.
Dans la mesure du possible, stationnez votre vehicule dans un garage ou un endroit couvert.
Si le vehicule doit etre stationné à l'extérieur, laissiez-le à l'ombre ou recouvre-les d'une housse pour le protégger.
Prenez soit de ne pas rayer les surfaces peintes en installerant ou en retardant la housse.
LAVAGE
Lavez le vehicule à grande eau avec une éponge humide. Lavez le vehicule soigneusement avec une solution d'eau propre et tiège (ja mais chaude) et de savon doux, de savon spécial pour automobile ou de détergent liquide pour la vaisse à usage domestique.
ATTENTION
- Ne lavez pas votre vehicule avec des produits d'entretien menager puisants, des détergents chimiques forts, de l'essence ou des solvants.
- Ne lavez pas votre vehicule en plein soleil ou lorsque la carrosserie est chaude car en sechant, l'eau pourrait en tacher la surface.
- Évitez d'utiliser des chiffons à tissage serré ou rugueux, tels que les gants de lavage. Enlevez avec soin les plaques de boue ou autres corps étrangers pour éviter de rayer ou d'abimer les surfaces pointes du vehicule.
Rincez abondament le vehicule avec de l'eau propre.
Le sel d'épandage affecte particulièrement les rebords interieurs, les joints et les replis des portières, les charnières et le capot. Par consé
quent, ces endroits doivent etre lavés régulierement.Assurez-vous que les orifices d'ecoulement du bord inférieur des portieres ne sont pas obstrués.Lavez au jet d'eau le dessous de la carrosserie et les passages de roue pour detacher les accumulations de boue et eliminer toute trace de sel d'épandage.
Une peau de chamois humide peut etre utilisee pour essuyer la carrosserie et eviter la formation de taches d'eau.
CIRAGE
Un cirage régulier protège les surfaces peintes et conserve l'aspect neuf du vehicule. Àpres le ci- rage, il est recommendé de polir les surfaces afin d'éliminer toute accumulation résiduelle de cire et pour donner un aspect lustré à la carrosserie.
Un concessionnaire INFINITI peut vous aider à désirer le produit approprié.
- Ne cirez votre vehicule qu'après l'avoir bien lavé. Suivez les directives fournies sur le contenant de cire.
- N'utilise pas de cire contenant des substances et composés abrasifs ou des agents nettoyants qui risquent d'endommager le fini de votre vehicule.
- Si la carrosserie est difficile à polir, utilisez un produit pour enlever les dépôts de goudron, puis cirez le vehicule de nouveau.
Un polissage à la machine ou un polissage trop prolongé sur un fini de peinture transparent peut ternir le fini ou y laisser des marques spiralées.
POUR FAIRE DISPARAÎTRE LES TACHES
Les taches de goudron et d'huile, la poussière industrielle, les insectes et la sève d'arbre peuvent provoquer des dommages irréversibles sur les surfaces peintes ou y laisser des traces indélébiles; voirlez à les nettoyerès que possible. Des produits de nettoyage spéciaux sont disponibles chez toute concessionnaire INFINITI ou dans tout magasin d'accessoires automobiles.
SOUBASSEMENT
Dans les régions où du sel d'épandage est utilisé pendant l'hiver, il est nécessaire de laver le sou-bassement régulierement. Les accumulations de saletés et de sel qui s'y forment peuvent cause sa corrosion ainsi que celle de la suspension. Avant le début de l'hiver et au printemps, vérifie la couche de protection inférieure et, au besoin, appliquez-en de nouveau.
VITRES
Utilisez du nettoie-vitres pour enlever la pellicule de saleté et de poussière qui s'est formée sur les vitres. Il est normal qu'une pellicule se forme lorsque le vehicule est stationné directement au soleil. L'utilisation de nettoie-vitres avec un chiffon doux éliminera rapidement cette pellicule.
ATTENTION
N'utilisiez jamais d'outils acérés, de nettoyants abrasifs ou de désinfectants à base de chlore pour nettoyer la paroi interieure des glaces. Ils pourraient endomager les conducteurs électriques, les éléments de l'antenne radio ou ceux du dégivreur de lunette arrière.
ROUES EN ALLIAGE D'ALUMINIUM
Lavez les roues régulierement, particulièrement en hiver, si vous habitez dans une région où du sel d'épandage est utilisé. S'ils ne sont pas enlevés, les dépôts de sel d'épandage peuvent décolorer les roues.
PIECES CHROMÉES
Nettoyez régulierement toutes les pieces chromées avec un produit à polir pour chrome non-abrasif pour préserver leur fin lustré.
NETTOYAGE DES SURFACES INTÉRIÉURES DU VÉHICULE
De temps à autre, utilisez un aspirateur ou une Brosse douce pour dépoussierer les garnitures interieures, les pieces en plastique et les sièges. Essuyez les surfaces en vinyle et en cuir avec un chiffon propre et préalablement humecté dans une solution de savon doux, puis essuyez-les avec un linge sec. Avant d'utiliser unquelconque produit protecteur pour tissus, lisez les recommendations du fabricant. Certains protecteurs pour tissus contiennent des produits chimiques qui peuvent tacher ou décolorer le tissu des sièges.
Utilisez un chiffon humecté uniquement d'eau pour nettoyer le verre de protection de la jauge et des indicateurs de bord.

ATTENTION
- N'utilisez jamais de benzine, de solvant ni aucun produit semblable.
-
Les petites particules de saleté peuvent s'avérer abrasives et endommager les surfaces en cuir; elles doivent donc être retirées rapidement. N'utilise pas de savon pour le cuir, de produits à polir, d'huiles, de nettoyants liquides, de solvants, de déterments ou de nettoyants à base d'ammoniaque puisqu'ils peuvent endommager le fini naturel du cuir.
-
N'utilisez jamais de produits destinés à protégger les tissus, à moins que leur utilisation ne soit recommandée par le fabricant.
- N'utilisez pas de produits nettoyants pour le verre ou le plastique sur le verre protecteur des indicateurs et instruments de bord. Ces produits pourraient endommager le verre protecteur.
TAPIS
L'utilisation de tapis d'origine INFINITI peut contributor à dévelopir la moquette de votre vehicule en bon état et à faciliter le nettoyage de l'habitacle. Quel que soit le type de tapis utilisé, assurez-vous qu'il est adapté à toute vehicule et qu'il est correctement placé côté conducteur afin de ne pas entraver le mouvement des pédales. Les tapis doivent être nettoyés régulièrement et replacés en cas d'usure excessive.

Crocket de positionnement de tapis (côté conducteur uniquement)
Ce vehicule est équipé d'un crochet de fixation avant qui sert à placer le tapis. Les tapis INFINITI ont été spécialement conçus pour votre vehicule. Le tapis du côte conducteur est muni d'un trou d'eellet. Installes le tapis en insérant le crochet de fixation dans le trou de l'eellet correspondant et en le centrant dans l'espace pour les jambes, sur le plancher du vehicule.
Vérifiez régulierement les tapis pour vous assurer qu'ils sont bien placeés.
PROTECTION CONTRE LA CORROSION
CEINTURES DE SECURITE
Les ceintures de sécurité peuvent être nettoyées en les essuyant avec une éponge préalablement humectée dans une solution de savon doux. Laissez les ceintures de sécurité secher complètement à l'ombre avant de les utiliser. Consultez la rubrique « Entretien des ceintures de sécurité » du chapitre « Sécurité - sièges, ceintures de sécurité et coussins gonflables » du présence manuel.

AVERTISSEMENT
Ne laïsez pas les ceintures de sécurité se rétractor dans l'enrouleur si elles sont mouillées. N'applique JAMAIS d'agent de blanchiment, de teinture ou de solvant chimique en guise de nettoyant sur les ceintures de sécurité puisque ces produits pouraient affaibir considérablement les sangles.
FACTEURS LES PLUS COURANTS CONTRIBUANT À LA CORROSION D'UN VÉHICULE
- Accumulation de boue et de débris humides sur des sections des panneaux de la carrosserie, dans des cavités ainsi qu'à d'autres endroits du vehicule.
- Dommages à la peinture et aux autres enduits protecteurs causés par du gravier et des éclats de caillou ou des dommages consécutifs à des accrochages mineurs.
FACTEURS ENVIRONNEMENTAUX INFLUENÇANT LA CORROSION
Humidité
L'accumulation de sable, de boue et d'eau sur le soubassement du vehicule peut accelerer le processus de corrosion. Les revêtements de plancher humides ne secheront pas complètement s'ils sont laissés dans le vehicule; ils doivent donc être retirés pour facilitier leur séchage et éviter la formation de corrosion sur le plancher.
Humidité relative
La corrosion est accelérée :
-
dans les régions où l'humidité relative est élevé;
-
dans les régions où les températures restent au-dessus du point de congélation;
- dans les régions où il y a de la pollution atmosphérique;
- dans les régions où du sel d'épandage est utilisé.
Température
Les températures élevées accélèrent la corrosion des pièces qui ne sont pas bien aérées.
Pollution atmosphérique
La pollution industrielle, la presence de sel dans l'air dans des régions côtières et l'utilisation massive de sel d'épandage accéléré le processus de corrosion. Le sel d'épandage accélère aussi la désagrogation des surfaces peintes.
POUR PROTÉGER VOTRE VÉHICULE CONTRE LA CORROSION
- Lavez et cirez fréquement votre vehicule pour le garder propre.
-
Examine tous le vehicule pour déceler tout dommage mineur à la peinture et effectuez les réparations nécessairesès que possible.
-
Évitez toute accumulation d'eau dans les portières en vous assurant que les trous d'écoulement du bord inférieur des portières ne sont pas obtrués.
- Vérifiez le soubassement du vehicule pour y déceler toute accumulation de sable, de boue ou de sel. Le cas échéant, lavez-le à l'eau dés que possible.
ATTENTION
- Ne vous servez JAMAIS d'un boyau d'arrosage pour enlever la poussière, le sable ou d'autres résidus de l'habitacle. Utilisez plutôt un aspirateur ou un balai.
- Ne laisses pas les composants électroniques situés à l'intérieur du vehicule entre en contact avec de l'eau ou d'autres liquides risquant de les endommager.
Les produits chimiques utilisés pour déglacer les routes sont extrémement corrosifs. Ils accélèrent la corrosion et la détérioration des composants du soubassement, comme le système d'échéppement, les canalisations de carburant et de frein, les câbles de frein, le plancher et les ailes.
En hiver, le soubassement doit etre laveregulierement.
Dans certaines régions, une protection additionnelle contre la rouille et la corrosion peut s'avérer nécessaire; consultez un concessionnaire INFI-NITI pour plus de détails.
8 Entretien et interventions du propriétaire
Exigences d'entretien 8-2
Entretien general 8-3
Explication des points d'intervention relatifs à l'entretien général 8-3
Précautions d'entretien. 8-5
Points de vérification dans le compartmentement moteur.... 8-7
Circuit de refroidissement du moteur 8-8
Vérification du niveau de liquide de refroidissement 8-8
Vidange du liquide de refroidissement 8-9
Huile moteur 8-9
Vérification du niveau d'huile moteur 8-9
Vidange d'huile moteur. 8-10
Remplacement du filtré à huile 8-12
Huile pour boite de vitesses automatique à 5 rapports. .8-12
Liquide de direction assistee. 8-13
Liquide de frein. 8-13
Liquide de frein. 8-14
Liquide de lave-glace 8-14
Réserveur de liquide de lave-glace 8-14
Batterie 8-15 Demarrage-secours. 8-16
Courroies d'entrainment. 8-16
Bougies d'allumage. 8-17
Remplacement des bougies d'allumage 8-17
Filtre a air. 8-18
Microfiltre de l'habitacle 8-18
Balais d'essuie-glace du pare-brise. 8-20
Nettoyage 8-20
Remplacement 8-20
Frein de stationnement et pédale de frein. 8-23
Vérification du frein de stationnement 8-23
Vérification de la pedale de frein. 8-23
Servofrein 8-24
Fusibles 8-24
Remplacement de la pile de la télécommande 8-27
Éclairage 8-28
Phares 8-28
Eclairage extérieur et interieur. 8-29
Roues et pneus 8-33
Pression des pneus. 8-33
Marquage des pneus 8-36
Types de pneus 8-39
Chaines antidérapantes 8-40
Remplacement des roues et des pneus 8-40
EXIGENCES D'ENTRETIEN
Votre nouveau vehicule INFINITI a ete concu de maniere a ne necessiter qu'un entretien minimal a des intervalles eloignes, ce qui vous permit de gagner du temps et d'economiser de l'argent. Toutefois, certaines vérifications quotidiennes et regulières sont nécessaires pour maintainir votre vehicule INFINITI en bon etat mecanique et assuer un rendement optimal du dispositif antipollution.
Vouaves la responsabilité,à titre de propriete du vehicule,de youss assurer que I'entretien genereal et I'entretien periodique de voirc vehicule sont effectués.
En tant que propriétaire, vous étés la seule personne en mesure de vous assurer qu'un entretien approprié de votre vehicule est effectué. Vous jouez donc un role crucial dans le processus d'entretien.
Entretien periodique
Vous trouvrez une liste pratique des points d'intervention facultatifs et obligatoires ainsi qu'une description de l'opération d'entretien correspondante dans votre exemplaire du « Guide du service et de l'entretien INFINITI ». Vous doivent consulter ce guide pour vous assurer que les vérifications nécessaires au bon fonctionnement de votre vehicule INFINITI sont effectuees a intervalles reguliers.
Entretiengénéral
L'entretien général comprend les points d'intervention relatifs à l'entretien quotidien. Il sont essentiels au bon fonctionnement du vehicule. Vous doivent effectuer ces opérations d'entretien régulierement, tel que prescrit.
Des connaissances sommaires en mécanique et l'utilisation de quelques outils de mécanique automobile suffisent pour effectuer les vérifications d'entretien général.
Vou puez effectuer ces vérifications ou inspections vous-meme, consulter un technician qualifie ou vous rendre chez un concessionnaire INFINITI.
Où aller lorsque des réparations sont nécessaires
Si vous véchicule requiert un entretien ou s'il fonctionne mal, rendez-vous chez un concessionnaire INFINITI qui procédera à une inspection et à une mise au point des systèmes et dispositifs de votre vehicule.
Les techniciens INFINITI sont des spécialistes qui reçoivent une formation exhaustive. Ils bénéficient en outre d'une formation continue par le biais de bulletins techniques, de conseils et de programmes de perfectionnement offerts par les concessionnaires. Ils sont pleinement qualifiés pour procéder à des interventions sur les vehicu
les INFINITI et possèdent toutes les compétences nécessaires pour réparer votre vehicule.
Voupeau faite appel aux membre du personnel du service apres ventedes concessionnaires agreees INFINITI en toute confiance;ils travaillereont de la façon la plus efficace et economique possible tout en respectant les exigences d'entretien de voitre vehicule.
8-2 Entretien et interventions du propriétaire
ENTRETIERGENÉRAL
Tel que prescrit dans ce chapitre, un entretien général de votre vehicule doit etre effectue reguIerlement lorsque vous l'utilisez normalement. Si vous decelez des odeurs, des vibrations ou des bruits inhabituels, recherchez la source du probleme ou rendez-vous chez un concessionnaire INFINITI pour y faire vérifier votre vehicule dans les plus brefs délais. De plus, si vous croyez que votre vehicule doit etre réparé, assurez-vous d'en aviser le personnel de votre concessionnaire INFINITI.
Conformez-vous aux « Précautions d'entretien » dans ce chapitre lorsque vous doivent effectuer des vérifications ou des interventions sur votre vehicule.
EXPLICATION DES POINTS D'INTERVENTION RELATIFS À L'ENTRETIEN GÉNÉRAL
Des détails supplémentaires sur les points d'intervention marqués d'un astérisque (*) sont fournis plus loin dans ce chapitre.
À l'extérieur du vehicule
Les points d'intervention numérés ici doivent être vérifiés de temps à autre, à moins d'indication contraire.
Portières et capot Assurez-vous qu'ils fonctionnent bien. Assurez-vous également que
toutes les serrures se verrouillent correctement. Lubrifiez les charnières, les verrous, les goupilles de verrouillage, les rouleaux et les biellettes au besoin. Assurez-vous que le loquet secondaire maintain le capot fermé lorsque le loquet principal est dégagé.
Vérifiez féquèmment la lubrification de ces éléments si vous conduisez sur des routes sur lesquelles du sel et d'autres matières corrosives ont été repandus.
Phares* Nettoyez les phares régulierement. Assurez-vous que les phares, deux d'arrêt, deux arrrière, clignotants et autres deux feu fonctionnent correctement et qu'ils sont fixés solidement. Verifiéz également le réglage des phares.
Écrous de roue* Assurez-vous que tous les écrous sont en place et qu'ils sont bien serrrés lors de la verification des pneus. Serrez-les au besoin.
Permutation des pneus* Une permutation des pneus doit être effectuee tous les 12 000 kilometres (7 500 milles).
Pneus* Vérifiez souvent la pression de gonflage des pneus de votre vehicule au moyen d'un manometre et vérifiez-la toujours avant tout long trajet. Au besoin, reglez la pression des pneus, y compris celle de la roue de secours, au niveau
spécífie. Vérifiez les pneus avec soin pour y dé-celer toute trace de dommages, de coupures ou d'usure excessive.
Réglage de la géométrie et équilibrage des roues Si vous avez l'impression que votre vehicule tire d'un côté lorsque vous conduisez sur une route droite et sans relief, ou si vous notez une usure inégale ou excessive des pneus de votre vehicule, un réglage de la géométrie des roues peut s'avérer nécessaire. Si vous sentez des vibrations au niveau du volant de direction ou du siège de votre vehicule lorsque vous conduisez à vitesse normale sur l'autoroute, un équilibrage des roues peut s'avérer nécessaire.
- Consultez la rubrique « Renseignements importants concernant la sécurité des pneus » du Livret de renseignements sur la garantie pour plus d'information.
Pare-brise Le pare-brise doit être nettoyé régulierement. Vérifiez au moins tous les six mois s'il y a des fissures ou d'autres dommages. Si le pare-brise est endommagé, faites-le réparer dans un atelier de réparation qualifié.
Balais d'essuie-glace de pare-brise* Si vous constatiez que les balais d'essuie-glace fonctionnement mal, vérifie s'ils sont fissures ou usés.
À l'intérieur du vehicule
Les points d'intervention enumeratedes ci-dessous doivent faire l'objet de vérifications régulières, par exemple, lors des opérations d'entretien périodique, du nettoyage du vehicule, etc.
Des détails supplémentaires sur les points d'intervention marqués d'un astérisque sont fournis plus loin dans ce chapitre.
Pédale d'accélérateur Assurez-vous que la pedale d'accélérateur s'enforce en douceur, librement et sans effort. Gardez la carbette loin de la pedale.
Position P (stationnement) de la boite de vitesses automatique Dans une pente assez prononcée, assurez-vous que le vehicule reste immobilisé, sans que vous ayez besoin d'appliquer les freins, lorsque le levier sélecteur est à la position P (stationnement).
Pédale de frein et servofrein* Assurez-vous que la pédale de frein fonctionne librement et que la distance qui la sépare du plancher est ajustée lorsqu'on l'enforce complètement. Vérifie le fonctionnement du servofrein. Assurez-vous de maintainir la carbette à l'écart de la pédale.
Freins Assurez-vous que le vehicule ne derives pas lorsque les freins sont serrés.
Frein de stationnement* Assurez-vous que la course du levier est adequate et que celui-ci fonctionne bien. Pour ce faire, immobilisez le vehicule dans une pente raide et serrez seulement le frein de stationnement pour maintainir le vehicule en position.
Sièges Vérifiez les commandes de position des sièges, comme les dispositifs de réglage des sièges et d'inclinaison des dossiers, etc., pour vous assurer qu'ils fonctionnent bien et qu'ils se verrouillent correctement dans toutes les positions. Assurez-vous que les appuie-tête se déplacent librement vers le haut et vers le bas et qu'ils se bloquent correctement (selon l'équipement du vehicule) dans toutes les positions de verrouillage.
Ceintures de sécurité Assurez-vous que toutes les pieces des ceintures de sécurité (p. ex., les bouches, les ancrages, les regleurs et les enrouleurs) fonctionnent correctement et librement et qu'elles sont bien installées. Verifiez les sangles des ceintures de sécurité pour vous assurer qu'elles ne sont pas coupées, effilochées, usées ou endommagées.
Volant de direction Prenez note de tout changement dans le fonctionnement de la direction : par exemple, une course morte du volant excessive, une direction rigide ou des bruits inusités.
Témoins et carillons Assurez-vous que tous les temoins et carillons fonctionnent bien.
Essuie-glaces et lave-glace de pare-brise* Assurez-vous que les essuie-glaces et le laveglace fonctionnent bien et que les essuie-glaces ne laissent pas de traces sur le pare-brise.
Dégivreur de pare-brise Assurez-vous que l'air circule librement par les bouches de dégiavage et que le débit d'air est ajustat lorsque le chauffage ou la climatisation est en fonction.
Sous le capot et sous le vehicule
Les points d'intervention enumerated ci-dessous doivent etre verifiés regulierement (p.ex.,chaque fois que vous vérifie I'huile moteur ou que vous faites le plein de carburant).
Batterie* Vérifiez le niveau d'électrolyte dans chacun des éléments de la batterie. Il doit se trouver entre les repères MAX et MIN. Vérifiez frequentlyment le niveau d'électrolyte de la batterie si vous conduisez votre vehicule par temps très chaud ou dans des conditions difficiles.
Niveau de liquide de frein* Assurez-vous que le niveau de liquide de frein se trouve entre les repères MIN et MAX du réservoir.
Niveau de liquide de refroidissement* Attendez que le moteur soit froid pour vérifier le niveau de liquide de refroidissement.
8-4 Entretien et interventions du propriétaire
PRECAUTIONS D'ENTRETIEN
Courroies d'entrainment du moteur* Assurez-vous que les courroies d'entrainment du moteur ne sont pas éraillées, usées, fendillées ou huileuses.
Niveau d'huile moteur* Vérifiez le niveau d'huile moteur lorsque votre vehicule est immobilisé sur une surface plane et que le moteur est à l'arrêt. Attendeze que l'huile se dépose dans le carter d'huile (plus de dix minutes).
Système d'échévement Assurez-vous que les supports du système d'échévement ne sont pas desserrés et que le système n'est pas fissured ou perforé. Si le système d'échévement de votre vehicule émet un son inhabituel ou dégage une oedur de gaz d'échéament, rendez-vous des que possible chez un concessionnaire INFI-NITI pour le faire inspector. Consultez l'ajretissement relatif à l'oxyde de carbone dans le chapitre « Démarrage et conduite » duprésent manuel.
Fuites de liquide Immobilisez votre vehicule et, après un certain temps, vérifie la présence de fuites de carburant, d'huile, d'eau ou autres liquides. Il est normal que de l'eau s'égoutte du climatiseur après son utilisation. Si vous décelez des fuites ou des vapeurs d'essence, recherchez la source du problème et faites réparer votre vehicule immédiatement.
Niveau de liquide de direction assistée* et canalisations Coupez le contact et attendez que le liquide de direction assistée refroidisse avant d'en vérifier le niveau. Assurez-vous que les canalisations sont bien raccordées et qu'elles sont exemples de fuites, de fissures, etc.
Radiateur et durites Verifiez l'avant du radiateur et retirez-en la saleté, les insectes, les feuilles, etc. qui s'y sont accumulés. Assurez-vous que les durites du radiateur ne sont pas fissurerées, déformées, pourries ou desserrées.
Soubasement Le soubasement de votre vehicule entre fréquemment en contact avec des substances corrosives comme celles qui sont répandues sur une chaussée glacée ou utilisées pour contrôler la poussière. Il est très important de-retirer ces substances du soubasement; si non le plancher, le chassis, les canalisations de carburant et le système d'échéappement pourraient rouiller. À la fin de l'hiver, rincez le soubasement soignement avec de l'eau pour décoller les plaques de boue et de saleté accumulées. Consultez le chapitre « Aspect et entretien » du present manuel.
Liquide de lave-glace de pare-brise*
Assurez-vous qu'il y a suffisamment de liquide de lave-glace dans le réservoir.
Faites toujours preuve de prudence lorsque vous procédez à une inspection ou à un entretien de votre vehicule afin d'éviter de subir de graves blessures ou d'endommager votre vehicule. Les précautions générales suivantes doivent être respectées à la dette.

AVERTISSEMENT
- Stationnez le vehicule sur une surface plane, serrez le frein de stationnement et bloquez les roues pour empêcher le vehicule de se déplacer. Déplacez le levier sélecteur à la position de stationnement (P).
Assurez-vous que la clé de contact est à la position OFF ou LOCK avant de procédé à tout remplacement ou réparation de pieces. - Ne laïsez jamais le moteur ou les faisceaux des composants associés à la boîte de vitesses automatique débranchés lorsque le commutateur d'allumage est tourné à la position de marche (ON).
-
Ne branchez ou débranchez jamais la batterie ni aucun autre composant transistorisé lorsqu'elle commutateur d'allumage est à la position de marche (ON).
-
Voiture vehicule est équipé d'un ventilateur de refroidissement du moteur automatique qui peut s'activer à n'importe quel moment sans averissement, même si la clé de contact est à la position d'arrêt et que le moteur ne tourne pas. Pour éviter des blessures, débranchez toujours le cable négatif de la batterie avant d'effectuer une intervention pres du ventilateur.
- Si vous nevez travailler sur un moteur en marche, n'approche pas vos mains, vos vêtements, vos cheveux ni vos outils des ventilateursurs, courroies et autres pièces mobiles.
- Il est recommendé d'enlever ou de fixer en place tout vêtement ample avant de travailler sur votre vehicule. Retirez aussi votre montre, vos bagues et vos autres bijoux.
- Lorsque vous travailliez sur votre vehicule, portez toujours des lunettes de protection.
-
Si vous devez faire tourner le moteur dans un espace clos comme un garage, assurez-vous que l'endetroit est correctement ventilé et que les gaz d'échéppement peuvent s'évacuer.
-
Ne vous glissez jamais sous un vehicule si ce dernier n'est soutenu que par un cric. Si une intervention sous le vehicule s'avere nécessaire, utilisez des trêtaux pour le soutenir.
- Tenez loin du réservoir de carburant et de la batterie les cigarettes ou cigares allumés, de même que toute flamme ou source d'étincelles.
- Sur les modèles munis d'un moteur à essence à système d'injectionlectronique multipoint, l'entretien du filtré et des canalisations à carburant doit être effectué par un concessionnaire INFINITI car la pression dans ces canalisations est très élevée, même lorsque le moteur est à l'arrêt.
ATTENTION
-
Ne procédez à aucune intervention sous le capot lorsque le moteur est chaud. Arrêtez le moteur et attendez qu'il refroidisse.
-
Evitez tout contact avec de l'huile moteur ou du liquide de refroidissement usés. La mise au rebut inadéquate d'huile moteur, de liquide de refroidissement du moteur ou de tout autre liquide utilisé dans un vehicule peut nuire à l'environnement. Respectez toujours la réglementation locale en ce qui concerne la mise au rebut de liquides utilisés dans un vehicule.
Le present chapitre fournit des directives relatives aux interventions qui peuvent etre aisement effectuees par le propriete.
Voupez également vous procurer un Manuel de réparation INFINITI d'origine. Consultez la rubrique « Pour commander le Manuel du conducteur ou le Manuel de réparation » du chapitre « Données techniques et information au consommateur » de ce manuel.
Rappelez-vous que des interventions incomplètes ou inadéquates peuvent engendrer des problèmes de fonctionnement ou des émissions d'échéancement excessives et comprometter la couverture de garantie de votre vehicule. Dans le doute, rendez-vous chez un concessionnaire INFINITI pour y faire inspectorer cette vehicule.
POINTS DE VÉRIFICATION DANS LE COMPARTIMENT MOTEUR

- Batterie
- Boite de fusibles/fils-fusibles
- Jauge d'huile pour boite de vitesses
- Bouchon de replissage d'huile moteur
- Réservoir de liquide de frein
- Réservoir de liquide de lave-glace de pare-brise
- Filtre à air
- Bouchon du radiateur
- Réservoir de liquide de direction assistée
- Jauge d'huile moteur
- Réservoir du liquide de refroidissement
REMARQUE :
Le capot a eté soulevé pour permettre uneDMAEUEIDNIE identification visuelle des pièces.
0413
CIRCUIT DE REFROIDISSEMENT DU MOTEUR
Le circuit de refroidissement du moteur a eté rempli à l'usine d'une solution d'antigel toutes saisons de haute qualité. L'ajout d'additifs dans le circuit de refroidissement est inutile puisque cette solution d'antigel contient des inhibiteurs de rouille et de corrosion.

AVERTISSEMENT
- Ne retirez jamais le bouchon du radiateur ou du réservoir de liquide de refroidissement lorsque le moteur est chaud. Attendez que le moteur et le radiateur refroidssent. Du liquide à haute pression pourrait s'échapper du radiateur et provoquer des brûlures graves. Pour des détails sur les précautions à prendre, consultez la rubrique « Si le moteur surchauffe » du chapitre « En cas d'urgence » duprésent manuel.
- Le radiateur est équipé d'un bouchon taré. Pour éviter d'endommager le moteur, utilisez uniquement un bouchon de radiateur d'origine NiSSAN.
| Température extérieure jusqu'à | Antigel d'origine NISSAN longue du-lée ou l'équivalent | Eau démi-néralisée ou distillée | |
| °C | °F | ||
| -35 | -30 | 50 % | 50 % |

ATTENTION
Lorsque vous remplacez l'antigel ou que vous en ajoutez, assurez-vous d'utiliser l'antigel longue durée d'origine NiSSAN (de couleur verte) ou un antigel équivalent dont le mélange contient 50% d'antigel et 50% d'eau déminéralisée ou distilled. L'utilisation de solutions antigel autres types ou couleurs, comme l'antigel orange, peut endommager le circuit de refroidissement du moteur de votre vehicule.

VÉRIFICATION DU NIVEAU DE LIQUIDE DE REFROIDISSEMENT
Attendez que le moteur soit froid pour vérifier le niveau de liquide de refroidissement dans le réservoir. Si le niveau est inférieur au repère MIN, ajoutez du liquide jusqu'à ce qu'il attigne le repère MAX. Si le réservoir est vide, attendez que le moteur soit froid et vérifie le niveau de liquide de refroidissement dans le radiateur. Si la quantité de liquide de refroidissement dans le radiateur est insuffisante, replisssez ce dernier jusqu'à l'orifice de replissage et ajoutez égallement du liquide dans le réservoir jusqu'à au repère MAX.
HUILE MOTEUR
Le réservoir de liquide de refroidissement est sous pression. Lors de l'installation du bouchon, serrez-le jusqu'à ce qu'un cliquetis se fasse entendre.
Faites vérifier le circuit de refroidissement de votre vehicule chez un concessionnaire INFINITI si vous devez y ajouter fréquement du liquide de refroidissement.
VIDANGE DU LIQUIDE DE REFROIDISSEMENT
Un concessionnaire INFINITI peut proceder à la vidange du liquide de refroidissement du moteur. Cette procEDURE d'entretien est décrite dans le Manuel de réparation INFINITI.
Des procédures d'entretien inadéquates peuvent compromètre le rendement du dispositif de chauffage et entrainer une surchauffe du moteur.
A VERTISSEMENT
-
Ne remplacez jamais le liquide de refroidissement de votre vehicule lorsque le moteur est chaud car vous pourriez vous brûler.
-
Ne retirez jamais le bouchon du radiateur ou du réservoir de liquide de refroidissement lorsque le moteur est chaud. Du liquide à haute pression pourrait s'échapper du radiateur et provoquer des brûlures graves.
- Évitez tout contact direct du liquide de refroidissement usé sur la peau. Si tel est le cas, lavez immédiatement l'endetroit affecté avec du savon ou du détergent pour les mains.
- Gardez le liquide de refroidissement hors de la portée des enfants et des animaux.
Le liquide de refroidissement doit être mis au rebut de façon ajustée. Consultez les règlements en vigueur dans votre localité.

VÉRIFICATION DU NIVEAU D'HUILE MOTEUR
- Stationnez votre vehicule sur une surface plane et serrez le frein de stationnement.
- Demarrez le moteur et laissez-le tournier au ralenti jusqu'à ce qu'ilatteigne sa tempéra-ture de fonctionnement.
- Coupe le contact. Attendez que l'huile se dépose dans le carter d'huile (plus de dix minutes).
- Retirez la jauge et essuyez-la. Insérez-la ensuite dans son tube jusqu'au fond.

LDI0371
- Retirez-la de nouveau et vérifie le niveau d'huile. Celui-ci doit se couver entre les repères H (élevé) et L (bas) B. Il s'agit du niveau d'huile normal. Si le niveau d'huile est inférieur au repère L A, retirez le bouchon de replissage d'huile et versez de l'huile dans l'orifice. Le niveau ne doit jamais dépasser le repère H C.
- Vérifiez de nouveau le niveau d'huile au moyen de la jauge.
L'ajout d'huile entre les opérations d'entretien périodique ou pendant la pé
riode de rodage est normal si vous conduissez votre vehicule dans des conditions difficiles.
ATTENTION
Le niveau d'huile doit être vérifié périodiquement. Le fait de laisser le moteur tourner lorsque la quantité d'huile est insuffisante peut entrainer des dommages au moteur qui ne seraient pas couverts par la garantie.

VIDANGE D'HUILE MOTEUR
- Stationnez votre vehicule sur une surface plane et serrez le frein de stationnement.
- Demarrez le moteur et laissez-le tournier au ralenti jusqu'à ce qu'ilatteigne sa tempéra-ture de fonctionnement, puis foupez le contact.
- Tournez le bouchon de replissage d'huile dans le sens contraire des aiguilles d'une montre pour le prisoner.
-
Déposez un grand bac de vidange sous le bouchon de vidange.
-
Retirez le bouchon de vidange à l'aide d'une clé en le tournant dans le sens contraire des aiguilles d'une montre et vidangez l'huile complètement.
Si le filtré à huile doit être changé, retirez-le et remplacez-le maintainant. Consultez la rubrique « Remplacement du filtré à huile » plus loin dans ce chapitre.
AVERAGEMENT
- Des contacts prolongés et répétés avec de l'huile moteur usagée peuvent entraîner le cancer de la peau.
- Évitez tout contact direct de la peau avec de l'huile usageé. Le cas échéant, lavez soigneusement la zone affectée avec du savon ou avec un détergent pour les mains aussitôt que possible.
- Gardez l'huile moteur usagée hors de la portée des enfants.
ATTENTION
Prenoz soit de ne pas vous brûler, car l'huile moteur peut être brûlante.
L'huile usagée doit être mise au rebut de façon ajustée.
- Consultez les règlements en vigueur dans votre localité.
- Nettoyez et réinstallé le bouchon de vidange ainsi qu'une nouvelle rondelle. Au moyen d'une clé, vissez fermement le bouchon de vidange. N'utilise pas une force excessive.
Couple de serrage du bouchon de vidange :
29 à 39 N·m (22 à 29 lb·pi)
- Ajoutez l'huile moteur recommendée dans l'orifice de replissage d'huile, puis replaces le bouchon de replissage d'huile en le serrer fermement.
Reportez-vous à la rubrique « Contenances, carburant et lubrifiants recommends » du chapitre « Données techniques et information au consommateur » de ce manuel pour connaître les contenances de vidange et de replissage.
Ces contenances varient selon la tempéra-ture de l'huile et la durée de vidange. Utilisez ces specifications à titre de référence seul. Utilisez toujours la jauge pour déterminer le bon niveau d'huile dans le réservoir.
- Demarrez le moteur. Vérifiez qu'il n'y a aucune fuite autour du bouchon de vidange et du filtré à huile. Dans le cas contraire, réparez la fuite.
- Coupe le contact et attendez plus de dix minutes. Vérifiez de nouveau le niveau d'huile au moyen de la jauge. Ajoutez de l'huile moteur au besoin.

REEMPLACEMENT DU FILTRE À HUILE
- Stationnez votre vehicule sur une surface plane et serrez le frein de stationnement.
- Coupez le contact.
- Déposez un grand bac de vidange sous le filtre à huile.
- Desserrez le filtré à huile au moyen d'une clé pour filtré à huile en tournant dans le sens inverse des aiguilles d'une montre. Retirez ensuite le filtré en le tournant à la main.
ATTENTION
Prenoz soit de ne pas vous brûler, car l'huile moteur peut être brûlante.
- Essuyez la surface de montage du filtré à huile avec un chiffon propre.
Assurez-vous d'enlever tout reste de joint d'étanchéité usé de la surface de montage du moteur. - Enduisez le joint du nouveau filtré d'huile moteur propre.
- Serrez le filtré à huile jusqu'à ce qu'une faible résistance soit perché, puis serrez-le de deux tiers de tour.
- Demarrez le moteur et vérifie qu'il n'y a aucune fuite autour du filtré à huile. Dans le cas contraire, réperez la fuite.
- Coupe le contact et attendez plus de dix minutes. Vérifiez le niveau d'huile. Ajoutez de l'huile moteur au besoin.
HUILE POUR BOITE DE VITESSES AUTOMATIQUE À 5 RAPPORTS
Consultez votre concessionnaire INFINITI pour obtenir de l'aide si une verification ou un remplacement doit être effectué.
AVERAGEMENT
Utilisez seulement de l'huile pour boite de vitesses automatique Nissan Matic « J » d'origine. N'y mélangez pas autres huiles.
L'utilisation d'une huile pour boite de vitesses automatique autre que l'huile Nissan Matic « J » d'origine aura une incidence négative sur l'agrement de conduite et sur la durée de vie de la boite de vitesses; en outre, la boite de vitesses automatique pourrait s'en couver endommagée, ce qui ne serait pas couvert par la garantie limite de vehicule neuf INFINITI.
Le type d'huile pour boite de vitesses automatique préconise pour votre vehicule se trouve également sur l'étiquette d'advertissement appossee dans le compartment moteur.
LIQUIDE DE DIRECTION ASSISTÉE

WDI0256
Le niveau de liquide de direction assistée doit être vérifié en utilisant le niveau maximal de la plaque de températures élevées (HOT MAX) du réservoir lorsque la temperature du liquide se situe entre 50^ et 80^ ( 122^ et 176^ ) ou encore, en utilisant le niveau maximal de la plaque de températures froides (COLD MAX) du réservoir lorsque la temperature du liquide se situe entre 0^ et 30^ ( 32^ et 86^ ).
Si le niveau de liquide est inférieur au repere MIN, ajoutez du liquide d'origine NISSAN PSF. Pour ce faire, retirez le bouchon et versez le liquide dans l'orifice.
ATTENTION
- NE REMPLISSEZ PAS LE RÉSERVOIR AU-DELÀ DE SA CAPACITÉ.
Utilisez l'huile recommende NiSSAN PSF d'origine ou I'équivalent.
LIQUIDE DE FREIN
Pour obtenir plus de détails concernant les spécifications du liquide de frein, consultez la rubrique « Contenances, carburant et lubrifiants recommandés » du chapitre « Données techniques et information au consommateur » duprésent manuel.
A VERTISSEMENT
N'utilise que du liquide frais provenant d'un contenant scelled. L'utilisation de liquide usage, de qualite inférieure ou contaminé pourrait endommager le circuit de freinage. L'utilisation de liquides inadéquats peut endommager le circuit de freinage et comprometre la capacité de freinage du vehicule.
ATTENTION
Ne renversez pas ce liquide sur les surfaces peintes. Il endommagera la peinture. Si du liquide est renversé, nettoyez immidiatement la surface avec de l'eau.
LIQUIDE DE LAVE-GLACE

LIQUIDE DE FREIN
Vérifiez le niveau de liquide de frein dans le réservoir. Si le niveau de liquide est inférieur au repère MIN ou si le témoin de frein s'allume, ajoutez du liquide de frein d'origine NISSAN ou du liquide DOT 3 équivalent jusqu'au repère MAX. Faites vérifier le circuit de votre vehicule chez un concessionnaire INFINITI si vous nevez y ajouter féquèment du liquide de frein.

RÉSERVOIR DE LIQUIDE DE LAVE-GLACE
Remplissez le réservoir de liquide de lave-glace périodiquement. Ajoutez du liquide de lave-glace lorsque le témoin s'allume.
Pour replir le réservoir de liquide de lave-glace, retirez le bouchon du réservoir et versez le liquide de lave-glace dans l'orifice du réservoir.
Ajoutez un solvant pour lave-glace pour obtenir de plusieurs résultats de nettoyage. En hiver, ajoutez un antigel pour lave-glace. Suivez les directives du fabricant concernant les proportions du mélange.
Remplissez le réserve plus souvent lorsque les conditions de conduite exigent d'utiliser une grande quantité de liquide de lave-glace.
Du liquide de lave-glace concentré nettoyant NiSSAN d'origine avec antigel ou l'équivalent est recommendé.

ATTENTION
- Ne remplacez pas l'antigel du moteur par une solution de liquide de lave glace. Ceci pourrait endommager les surfaces peintes du vehicule.
- Ne replisssez pas le réservoir de liquide de lave-glace avec des concentrates non dilués. Les éclaboussures de certains concentrates de liquide de lave-glace au methanol peuvent tacher la calandre de façon permanente lors du replissage du réservoir de liquide de lave-glace.
- Mélangez le concentré de liquide de lave-glace avec de l'eau conformément aux recommendations du fabricant avant de verser le mélange dans le réservoir de liquide de lave-glace de votre vehicule. N'effectuez pas ce mélange dans le réservoir même.
BATTERIE
Assurez-vous que la surface de la batterie est propre et sèche en tout temps. Nettoyez toute trace de corrosion au moyen d'une solution de bicarbonate de soude et d'eau.
Assurez-vous que les raccordements des bornes sont propres et bien serrés.
- Si vous prévoyez ne pas utiliser votre vehicule pendant une période de 30 jours ou plus, débranchez le cable négatif de la borne de la batterie pour empêcher cette dernière de se décharger.

AVERTISSEMENT
-
N'exposez pas la batterie à une flamme ou à des étincelles. L'hydrogène générale par la batterie est un gaz explosif. Évitez tout contact de l'électrolyte avec vos yeux, votre peau, vos vêtements ou les surfaces peintes du vehicule. Évitez de vous froter les yeux si vous avez manipulé une batterie ou un bouchon de batterie. Lavez-vous soignement les mains. En cas de contact de l'électrolyte avec vos yeux, votre peu ou vos vêtements, rincez immeditament à l'eau la zone affectée pendant au moins 15 minutes et consultez un meDECIN.
-
Ne conduisez pas votre vehicule si le niveau d'électrolyte est bas. Un bas nivoau d'électrolyte peut augmenter la charge exercée sur la batterie et ainsi générer de la chaleur, réduire la durée utile de la batterie et, dans certains cas, provoquer une explosion.
- Portez toujours des lunettes de sécurité et enlevez tous vos bijoux lorsqu'elles you effectuez une intervention sur la batterie ou à proximé de cette-ci.
- Les cosses et bornes de la batterie ainsi que les accessoires connexes contiennent du plomb et des composés de plomb. Lavez-vous les mains après les avoir manipulés.
- Gardez la batterie hors de la portée des enfants.

1. Retirez les bouchons de la batterie au moyen d'un tournevis, tel qu'illustré. Servez-vous d'un chiffon pour protégger le boîtier de la batterie.
COURROIES D'ENTRAJINEMENT

- Vérifiez le niveau de liquide de chaque éléments; si vous neces ajouter du liquide, ne versez que de l'eau distilled pour élever le niveau jusqu'àu bas de l'orifice de replissage. Ne dépassez pas ce niveau.
Vérifiez féquèment le niveau d'électrolyte de la batterie si vous conduisez votre vehicule partemps très chaud ou dans des conditions difficilles.
DÉMARRAGE-SECOURS
Si un démarrage-secours est requis, consultez la rubrique « Démarrage-secours » du chapitre « En cas d'urgence » de ce manuel. Si le moteur refuse de démarrer après avoir utilisé cette méthode, il est peut-être nécessaire de replacer la batterie. Adressez-vous à un concessionnaire INFINITI.

- Pompe de liquide de direction assistée
- Vilebreguin
- Alternatneur
- Climatisationur
- Pompe à eau
- Ventilateur de refroidissement

AVERTISSEMENT
Assurez-vous que la clé de contact est à la position OFF ou LOCK. Sinon, le moteur peut semettre inopinément en marche.
BOUGIES D'ALLUMAGE
- Procedez à une inspection visuelle des courroies pour vous assurer qu'elles ne sont pas usées, coupées, effilochées ou desserrées. Si les courroies sont en mauvais état ou détenues, faites-les replacer ou régler chez un concessionnaire INFINITI.
- Faites vérifier l'etat et la tension des courroies de votre vehicule aux intervalles pres-crits dans le « Guide du service et de l'entretien INFINITI »

WDI0005
Bougies à electrodes au platine
Comme les bougies à electrodes au platine dur- rent plus longtemps que les bougies conventionnelles,elles n'ont pas besoin d'être remplacées aussi fréquemment.Suivez le programme d'entretien,mais ne réutilisez jamais des bougies usées en les nettoyant ou en les réglant à nouveau.
- Remplacez toujours les bougies de votre vehicule par des bougies recommandées ou équivalentes.

AVERTISSEMENT
Assurez-vous que le moteur est arrêté, que le contact est coupé à l'allumage et que le frein de stationnement est bien serré.

ATTENTION
Assurez-vous d'utiliser la bonne douille pour retarder les bougies d'allumage. Une douille inadéquate peut endommager les bougies d'allumage.
Consultez votre concessionnaire INFINITI pour obtenir de l'aide si un remplacement doit etreffectue.

Le filtré à air ne doit pas être nettoyé et réutilisé. Vous doivent remplaçer le filtré à air de votre vehicule selon les intervalles d'entretien stipulés dans le « Guide du service et de l'entretien INFINITI » Lorsque vous remplacez le filtré, essuyez l'intérieur du boîtier et le couvercle du filtré à air avec un chiffon humide.
Pour retirer le filtré à air :
① Desserrez la vis.
② Débranche le connecteur électrique.
③ Poussez sur les attaches et retirez le couvercle du filtré à air. Retirez le filtré à air.
AVERAGEMENT
- En faisant fonctionner le moteur lorsque le filtrte à air est retire, vous risquez de vous brûler ou de brûler d'autres personnes. Le filtrte à air ne nettoie pas seulement l'air, il permet également d'arrêter les flammes en cas de ratés du moteur. Si le filtrte à air est retire et que le moteur a des ratés, vous risquez des brûlures. Ne conduisez pas votre vehicule lorsque le filtrte à air est retire et soyez prudent lorsque vous devez effector des interventions sur le moteur dépourvu de filtré à air.
- Il ne faut jamais verser de carburant dans le corps de papillon ni tenter de faire demarrer le moteur lorsque le filtré à air est retire, car vous pourriez vous infliger des blessures graves.
MICROFILTRE DE L'HABITACLE
Le microfiltre de l'habitacle retient la poussière en suspension et les particules de pollen, et il réduit également la pénetration de certaines odeurs indésirables dans l'habitacle. Le filtre est situé derrière la boîte à gants. Consultez le « Guide du service et de l'entretien INFINITI » pour connaître les intervalles de remplacement de ce filtre.
Suivez la méthode de remplacement du filtre décrite ci-après :

1. Retirez les deux vis inférieures de la boite a gants.

2. Ouvrez la boîte à gants, puis retirez les quatre vis supérieures de la boîte à gants. Il n'est pas nécessaire de retarder les deux vis de la gâche de la boîte à gants. Retirez la boîte à gants du tableau de bord pour acceder au couvercle du microfiltre de l'habitacle.

3. Retirez le boulon du couvercle de filtré et retirez le couvercle de filtré.

REMARQUE :
Les filtres sont identifiés par des flèches de passage d'air. L'extrémité du filtré ou se trouve la flèche doit être orientée vers l'arrière du vehicule. Les flèches devraient être dirigeées vers le bas.
- Insérez le premier filtré dans le boîtier, puis faites-le glisser vers la droite. Insérez le second filtré dans le boîtier.
- Installes le couvercle de filtré.
- Installé le volet de la boîte à gants.
BALAIS D'ESSUIE-GLACE DU PARE-BRISE
- Notez la date du remplacement et replissez la petite étiquette de remplacement avant de l'approser sur le volet de la boite à gants.
NETTOYAGE
Si le lava-glace ne réussit pas à nettoyer le pare-brise de votre vehicule ou si un des balais d'essuie-glace fonctionne mal, des dépôts de cire ou d'autres matières se sont peut-être accumulés sur le balai d'essuie-glace ou sur le pare-brise.
Nettoyez l'extérieur du pare-brise avec une solution de lave-glace ou du détergent doux. Le pare-brise est propre si l'eau n'y-perle pas lorsque vous le rincez à l'eau claire.
Nettoyez chaque balai d'essuie-glace avec un chiffon trempe dans une solution de lave-glace ou dans du détergent doux. Rincez ensuite les balais d'essuie-glace avec de l'eau propre. Si la propriété de votre pare-brise n'est toujours pas satisfaisante après avoir nettoyé les balais et utilisé les essuie-glaces, remplacez les balais.

ATTENTION
Des balais d'essuie-glace usés peuvent endommager le pare-brise et nuire à la visibilité du conducteur.

REEMPLACEMENT
Remplacez les balais d'essuie-glace lorsqu'ils sont usés.
- Écartez du pare-brise le bras d'un des essuie-glaces.
② Poussez la languette de déblocage, puis tirez le balai vers le bas, parallèlement au bras d'essuie-glace, pour l'enlever.
③ Retirez le balai d'essuie-glace. -
Insérez le nouveau balai d'essuie-glace sur le bras jusqu'à ce qu'il s'enclença.
-
Tournez le balai d'essuie-glace de sorte que le petit creux soit dans la cannelure.

ATTENTION
- Àprouv avoir remplace les balais, remet- tez les bras d'essuie-glace à leur position d'origine; sinon, vous pourriez les endommager en ouvrant le capot.
Assurez-vous que les balais d'essuie-glace sont en contact avec la glace; si ce n'était pas le cas, les bras des essuie-glaces risqueraient d'être endommagés par la pression du vent.

Si vous cirez la surface du capot, assurez-vous que la cire ne penètre pas dans les gicleurs de lave-glace ①. Un colmatage ou un mauvais fonctionnement du lave-glace de pare-brise pourrait en résultat. Si de la cire penètre dans le giclaur, retirez-la au moyen d'une aiguille ou d'une petite épingle ②.

Balai d'essuie-glace de lunette arrête
① Écartez de la lunette arrête le bras de l'essuie-glace.
Poussez le balai d'essuie-glace sur le bras d'essuie-glace et faites-le pivoter jusqu'à ce qu'il soit dégagé.
③ Insérez un nouveau balai sur le bras d'essuie-glace et fixez-le en place.
FREIN DE STATIONNEMENT ET PEDALE DE FREIN

VÉRIFICATION DU FREIN DE STATIONNEMENT
Poussez fermement le frein de stationnement vers le bas en partant de la position de déblocage. Si le nombre de déclics émis par le levier ne correspond pas aux specifications stipulées, rendez-vous chez un concessionnaire INFINITI.
- De 3 à 4 déclics doivent être émis sous une force de traction de 196 N (44 lb).

VÉRIFICATION DE LA PÉDALE DE FREIN
Vérifiez la distance A entre la surface supérieure de la pédale et le plancher de métal pendant que le moteur tourne. Si la distance constatée dépasse la valeur spécifiée, consultez un concessionnaire INFINITI.
Distance A : sous une pression de 490 N (110 lb)
90 mm (3 1/2 po) ou plus
Freins auto-reglables
Les freins à disque avant et arrrière se reglent automatiquement chaque fois que vous enforcez la pédale de frein.

AVERAGEMENT
Faites vérifier le circuit de freinage de votre vehicule chez un concessionnaire INFINITI si la pédale de frein ne revient pas à sa hauteur normale.
Indicateurs d'usure de plaquettes de frein
Les plaquettes des freins à disque de votre vehicule sont équipées d'indicateurs d'usure sonores. Si une plaquette de frein doit être remplacede, l'indicateur d'usure émet un bruit de raclage ou un crissement aigu lorsque le vehicule roule. Le bruit se fait entendre que la pédale de frein soit enforcée ou non. Si les indicateurs d'usure des freins émettent un son, faites vérifier les freins de leur vehicule le plus tout possible.
Des crissements, des sifflements ou d'autres bruits occasionnels provenant des freins peuvent se faire entendre dans certaines conditions de conduite ou climatiques. Il est normal d'entendre
à l'occasion des bruits de frein lors de freinages légers ou modérés et cette condition ne compromèt en rien le fonctionnement ou le rendement du circuit de freinage de votre vehicule.
Une inspection adequate des freins doit etre effectuee aux intervalles prescrits.
Pour de plus amples renseignements sur les procédures d'inspection des freins, consultez l'information qui s'y rapporte dans le « Guide du service et de l'entretien INFINITI »
SERVOFREIN
Vérifiez le fonctionnement du servifrein comme suit :
- Avec le moteur à l'arrêt, enforcez et relâchez la pédale de frein plusieurs fois. Lorsque le mouvement de la pédale (course) est le même d'un serrage à l'autre, passez à l'étape suivante.
- Tout en,enfantant la pedale de frein,demarreze le moteur.La pedale devrait s'abaisser légèrement.
-
Avec la pédale de frein enforcée, foupez le contact. Gardez la pédale enforcée pendant environ 30 secondes. La hauteur de la pédale ne devrait pas changer.
-
Laissez le moteur tourner pendant une minute sans enforcer la pédale de frein, puis coupez le contact. Enforcez la pédale de frein plusieurs fois. Chaque pression exerçée sur la pédale réduit graduèlement sa course à mesure que la dépression s'échappe du servofrein.
Si les freins de votre vehicule ne fonctionnent pas correctement, rendez-vous chez un concessionnaire INFINITI pour les faire inspector.
FUSIBLES

COMPARTIMENT MOTEUR

ATTENTION
N'utilissez jamais un fusible d'une intensité nominale supérieure ou inférieure à cette qui est spécifiée sur le couvercle de la boite à fusibles. Ceci pourrait endomager le circuit électrique ou cause un incendie.
Lorsqu'un des accessoires électriques de votre vehicule ne fonctionne pas, vérifie si le fusible correspondant est grillé.
- Assurez-vous que le contacteur d'allumage et l'interrupteur des phares sont à la position d'arrêt (OFF).
- Ouvrez le capot.
- Retirez le couvercle de la boite à fusibles en poussant la languette, puis en le soulevant.
- Au moyen de l'extracteur de fusible, retirez le fusible. L'extracteur de fusible est situé dans le centre du bloc de fusibles dans l'habitacle.


WDI0200
- Si le fusible est grillé, remplacez-le par un fusible neuf.
- Si le fuse ble neuf grille egalement, rendez-vous chez un concessionnaire agree INFI-NITI pour faire inspecter et reparer le circuit electrique de votre vehicule.
Fils-fusibles
Si des accessoires electriques de votre vehicule ne fonctionnent pas alors que les fusibles correspondants sont en bon etat, vérifie les fil-fusibles. Si un des fil-fusibles a fondu, remplaceze-le par un fil-fusible d'origine NISSAN.

LDI0381
HABITACLE

ATTENTION
N'utilissez jamais un fusible d'une intensité nominale supérieure ou inférieure à cette qui est spécifiée sur le couvercle de la boite à fusibles. Ceci pourrait endomager le circuit électrique ou cause un incendie.
Lorsqu'un des accessoires électriques de votre vehicule ne fonctionne pas, vérifie si le fusible correspondant est grillé.
- Assurez-vous que le contacteur d'allumage et l'interrupteur des phares sont à la position d'arrêt (OFF).
- Tirez le couvercle de la boite à fusibles pour le retarder.
- Au moyen de l'extracteur deFuseible,retirez le fuseible.
- Si le fusible est grillé, remplacez-le par un fusible neuf.
-
Appuyez sur le couvercle de la boite à fusibles pour le réinstaller.
-
Si le fuse ble neuf grille egalement, rendez-vous chez un concessionnaire agreé INFI-NITI pour faire vérifier et réparer le circuit électrique de votre vehicule.
REEMPLACEMENT DE LA PILE DE LA TÉLECOMMANDE

Pour remplaçer la pile de la télécommande, procédez comme suit :
① Ouvrez le couvercle de la télécommande à l'aide d'une piece de monnaie.
② Retirez la pile usagée.
③ Installee la pile neuve en plaçant le côte marquéd'un « + » vers le bas.
Pile recommende : Sanyo CR2025 ou l'équivalent.
④ Refermez solidement le couvercle de la télé-commande.
5. Appuyez sur le bouton de verrouillage, puis sur le bouton de déverrouillage deux ou trois fois pour vérifier que la télécommande fonctionne.
Si la pile est retiree de la telecommande pour toute autre raison que pour la replacer, repetez l'etape 5.
- Les piles mises au rebut de façon inadéquate peuvent avoir des effets néfastes sur l'environnement. Consultez toujours les règlements en vigueur dans votre localité concernant l'élimination des piles.
- La télécommande est concise pour résister à l'eau; toute fois, si elle entre en contact avec de l'eau, sechez-la immédiatement en l'essuyant.
- La portée opérationnelle de la télécommande est d'environ 10 m (33 pi) à partir du vehicule. La portée de la télécommande peut varier en fonction des conditions environnantes du vehicule.
D0136
ÉCLAIRAGE
Avis de la FCC :
Toute modification non conforme aux normes du fabricant peut annuler le droit de l'utilisateur de disposeur d'un tel équipement.
Ce dispositif est conforme à l'article 15 des règlements de la FCC et au règlement RSS-210 d'Industrie Canada.
L'utilisation de ce dispositif est soumise aux conditions suivantes : (1) ce dispositif ne doit cause aucune interférence nuisible, et (2) il doit accepter toutes les interférences, y compris celles qui peuvent l'activer de façon inopinée.
PHARES
Remplacement de l'ampoule du phare au xénon

AVENTISSEMENT

HAUTE TENSION
Les phares au xénon produit une tension élevée lorsqu'ils sont allumés. Ne tentez jamais de les modifier ni de les démonter, car vous pourriez prendre un choc électrique. Faites toujours replacer vos phares au xénon chez un concessionnaire NiSSAN. Pour obtenir des renseignements supplémentaires à ce sujet, consultez la rubrique « Interrupteur des phares et des clignotants » du chapitre « Commandes et instruments »
Remplacement de l'ampoule du phare halogène
Le phare est de type à bloc optique semi-étanche et utilise une ampoule de phare replacable (halogène). Puisque le remplacement de l'ampoule exige le retrait le bloc optique du vehicule, consultez un concessionnaire INFINITI.

ATTENTION
L'ampoule halogène contient du gaz halogène sous haute pression. L'ampoule risque de se briser si vous la laissez tomber par terre ou si vous rayez son enveloppe de verre.
- Ne touche pas l'enveloppe de verre de l'ampoule lorsque vous la manipuez.
- NE TOUCHEZ PAS À L'AMPOULE.
- L'ampoule de rechange doit porter le même numéro et avoir la même puissance que l'ampoule d'origine.
Wattage
desfeuxdecroissement:35
no d'ampoule : D2R*
Wattage
des feuix de faisceau route : 60
no d'ampoule : 9005*
*: Consultez toujours le service des pieces d'un concessionnaire INFINITI pour Obtir l'information la plus recente concernant les pieces de rechange.
- Ne laïsez pas un reflecteur de phare sans ampoule pendant une longue période puisque la poussière, l'humidité et la fumée pourrait pensérer dans le bloc optique et ALTERER le rendement du phare.
- Il n'est pas nécessaire de régler la convergence des phares après avoir remplatz l'ampoule. Si le réglage de la convergence des phares se révèle nécessaire, adressez-vous à un concessionnaire INFINITI.
ÉCLAIRAGE EXTERIEUR ET INTÉRIEUR
| Élément | Wattage (W) | Ampoule n° |
| Phare | ||
| Faisceau route | 60 | HB3/9005 |
| Feu de croisement | 35 | D2R |
| Stationnement | 7 | 3057K et 916 |
| Feu de position latéral | 7 | 916 |
| Phare antibrouillard avant* | 55 | H3 |
| Clignotant* | 21 | 7440 |
| Éclairage au sol | 8 | 906 |
| Éclairage interieur/lampes de lecture | 8 | - |
| Lampes individuelles | 5 | 2GL T2P |
| Espace pour les jam-bes | 3.4 | 158 |
| Éclairage de la boîte à gants | 3.4 | 158 |
| Éclairage de miroir de courtoisie | 1.32 | - |
| Lampe de marchepied | 3.8 | 194 |
| Éclairage de l'air de chargement | 7 | 28 |
| Élément | Wattage (W) | Ampoule n° |
| Feu d'arrêt surélevé* | (DEL) | - |
| Feu combiné arrrière | ||
| Feu arrrière/feu d'arrêt* | (DEL) | - |
| Feu de recul* | (DEL) | - |
| Clignotant | 27 | 3156K pin-tes |
| Éclairage de la plaque d'immatriculation* | - | - |
*: Consultez un concessionnaire INFINITI pour les pieces de rechange.
Consultez toujours le service des pieces d'un concessionnaire INFINITI pour obtenir l'information la plus recente concernant les pieces de rechange.

- Éclairage interieur/lampe de lecture
- Lampes individuelles avant
- Lampe de marchepied
- Éclairage au sol
- Feu d'arrêt surélevé
- Éclairage de l'aire de chargement
- Clignotants arrête
- Phare
- Phare antibrouillard

Procedures de remplacement
Tous les autres feuux ou phares sont de type A, B, C ou D. Lorsque vous doivent remplanter l'ampoule d'un de ces feuels, retirez d'abord la vitre de protection ou le couvercle.

Indique le retrait de l'ampoule
Indique la pose de l'ampoule

Éclairage interieur/lampes de lecture
Utilisez un chiffon ① pour protégger l'intérieur du boîtier de lampe.

Lampes individuelles - Type A
Utilisez un chiffon ① pour protégger l'intérieur du boîtier de lampe.

Miroir de courtoisie
Utilisez un chiffon ① pour protégger l'intérieur du boîtier de lampe.

Lampe de marchepied
Utilisez un chiffon ① pour protégger l'intérieur du boîtier de lampe.

Éclairage au sol
Utilisez un chiffon ① pour protégger l'intérieur du boîtier de lampe.

Éclairage de l'aire de chargement
Utilisez un chiffon ① pour protégger l'intérieur du boîtier de lampe.
ROUES ET PNEUS

Clignotants arrirée
En cas de crevaison, consultez le chapitre « En cas d'urgence » du present manuel.
PRESSION DES PNEUS
Système d'ajretissement de basse pression des pneus
Ce vehicule est équipé d'un système d'avertissement de basse pression des pneus. Il surveille la pression de tous les pneus, à l'exception du pneu de la roue de secours. Lorsque le témoin de basse pression des pneus est allumé, un ou plusieurs de vos pneus sont insuffisamment gonflés. Ce système montre égallement la pression de chaque pneu à l'écran d'affichage (sauf pour la roue de secours) grâce à un signal transmis à partir des capteurs montés sur chaque roue.
Le système d'ajretissement de basse pression des pneus ne s'active que si la vitesse du vehicule est supérieure a 32km / h (20 mi/h). De plus, ce système peut ne pas détecter la chute soudaine de la pression d'un pneu (par exemple, la crevaison d'un pneu pendant la conduite).
Pour de plus amples renseignements, consultez la rubrique « Témoins d'rapidissement de basse pression des pneus » au chapitre « Instruments et commandes », « Information sur la pression des pneus » du chapitre « Écran d'affichage, système
de chauffage, de climatisation et chaine audio » et « Pneu à plat » du chapitre « En cas d'urgence »
Pression de gonflage des pneus
Vérifiez souvent la pression des pneus de votre vehicule (sans oublier le pneu de secours) et vérifie-la toujours avant un long trajet. La pression de gonflage des pneus recommendée est indiquée sur l'étiquette des pneus et d'information sur la charge sous la rubrique « Pression de gonflage à froid recommandaee » L'étiquette des pneus et d'information sur la charge est apposée sur le pied milieu du coto conducteur. Les pressions de gonflage des pneus devraient etre vérifiees regulierement,car :
- la plupart des pneus perdent naturellement un peu d'air avec le temps;
- les pneus peuvent perdre de l'air soudainent s'ils passent sur des nids de poule ou autres objets, ou si le vehicule heurte une cordure de trottoir lors du stationnement.
Les pressions de gonflage des pneus devraient etre verifiées quand les pneus sont froids. Les pneus sont considérés FROIDS si votre vehicule est stationné depuis trois heures ou plus ou s'il a parcouru moins de 1,6 kilomètre (1 mille) à vitesse moderée.
Une pression inadéquate des pneus, incluant un sous-gonflage, peut réduire leur durée de vie et nuir à la tenue de route de votre vehicule.

AVENTISSEMENT
- Des pneus mal gonflés peuvent éclater et causer un accident.
L'indice de charge du vehicule est indi- qué sur l'étiquette des pneus et d'information sur la charge. Ne chargez pas votre vehicule au-delà de sa capacité. La surcharge de votre vehicule peut réduire la durée de vie des pneus, compromètre le fonctionnement sur du vehicule par une défaillance préma-turée des pneus ou par un comporte-ment routier défavorable et provoquer des accidents graves. Une charge dépassant la capacité spécifiée peut égalément entrainer une défaillance des autres composants du vehicule. -
Avant d'entrepreneure un long trajet ou chaque fois que le vehicule est lourdement chargé, vérifie la pression de gonflage des pneus au moyen d'un manomètre pour vous assurer qu'elle correspond à la Specification préconisée.
-
Ne conduisez pas votre vehicule à des vitesses supérieures à 137 km/h (85 mi/h) s'il n'est pas équipé de pneus hauteures performances. En effet, une défaillance des pneus pourrait se produit, ce qui entraîrerait une perte de maïtrise du vehicule et des blessures.
- Pour plus d'information relatives aux pneus, consultez la rubrique « Renseignements importants concernant la sécurité des pneus » ou « Renseignements concernant la sécurité des pneus » du Livret de renseignements sur la garantie.

LDI0392
Étiquette des pneus et d'information sur la charge (pour les États-Unis)
1 Nombre de places : le nombre maximum d'occupants pouvant prendre place dans le vehicule.
② Limité de capacité de charge du vehicule : Reportez-vous à « Information sur la charge » du chapitre « Données techniques et information au consommateur »
③ Taille du pneu d'origine : la taille des pneus installés à l'origine sur le vehicule, à l'usine.
4 Pression de gonflage à froid recommandaee : gonflez les pneus à cette pression lorsquils sont froids. Les pneus sont considérés FROIDS si votre vehicule est stationné depuis trois heures ou plus ou s'il a parcouru moins de 1,6 kilomètre (1 mille) à vitesse moderée. La pression de gonflage à froid recommandaee est déterminée par le fabri-cant afin de minimiser l'usure des pneus et de fournir le meilleur comportement routier selon le PNBV du vehicule.
⑤ Taille des pneus : consultez la rubrique « Marquage des pneus » figurant plus loin dans ce chapitre.
⑥ et ⑦ Taille de la roue de secours ou taille de la roue de secours compacte (salon l'équipement du vehicule).

LDI0393
Vérification de la pression des pneus
- Retirez le capuchon de la tige de soupape du pneu.
- Appuyez sur le manomètre droit sur la tige de soupape. N'appuyez pas trop fort et ne pousse pas la tige de soupape vers le coto, sinon de l'air s'échappera. Si le sifflement d'air s'échéppant du pneu est entendu lors de la vérification de la pression, replacez le manomètre afin d'éliminer la fuite.
-
Retirez le manomètre.
-
Lisez la pression du pneu sur la tige du manomètre et comparez-la a la Specification indiquée sur l'étiquette des pneus et d'information sur la charge.
- Gonflez le pneau au besoin. Si le pneau est trop gonflé, appuyez brièvement sur le pointeau de la tige de soupape à l'aide de l'extrémité de la tige du manomètre pour relâcher la pression. Reverifiez la pression et ajoutez ou relâchéz de l'air au besoin.
- Installez le capuchon de la tige de soupape.
- Vérifiez la pression de tous les autres pneus, incluant la roue de secours.
| Taille | Pression de gonflage à froid | |
| Avant Pneu d'origine | P285/70R17 P265/70R18 | 240 kPa, 35 lb/ po2 |
| Arrière Pneu d'origine | P285/70R17 P265/70R18 | 240 kPa, 35 lb/ po2 |
| Roue de secours | P285/70R17 P265/70R18 | 240 kPa, 35 lb/ po2 |

MARQUAGE DES PNEUS
La loi federale aux États-Unis requiert que les fabricants de pneus placent une information standardisée sur le flanc de tous les pneus. Cette information identifie et déscrit les caractéristiques principales du pneu et fournit également le nombre d'identification du pneu (TIN) pour l'homologation des normes de sécurité. Le nombre d'identification du pneu est utilisé pour identifier le pneu en cas de rappel.

WDI0395
(1) Taille du pneu (exampie : P215/65R15 95H)
- P: le « P » indique que le pneu est concu pour les vehicules de tourisme.
- Nombre à trois chiffres : ce nombre indique la largeur en millimètres du pneau à partir du bord des flancs.
- Nombre à deux chiffres : ce nombre, connu sous le nom de rapport d'aspect, indique le rapport entre la hauteur et la largeur du pneu.
- R: le « R » identifie un pneur radial.
-
Nombre à deux chiffres : ce nombre est le diamètre de la roue ou de la jante en pouces.
-
Nombre à deux ou à trois chiffres : ce nombre indique l'indice de charge du pneu. Ceci est une indication du poids que chaque pneu peut supporter. Cette information peut ne pas être trouvée sur tous les pneus, car elle n'est pas requise par la loi.
- Vitesse nominale du pneu : vous ne devriez pas conduire le vehicule à une vitesse supérieure à la vitesse nominale du pneu.
DOT XX XX XXX XXXX
DOT 1
XX 2
XX 3
XXX 4
XXX 5
XXXX
一
6
(2) Numéro d'identification du pneu (TIN) pour un pneu neuf (exemple : DOT XX XX XXX XXXX)
- DOT : Abréviation de « Department Of Transportation » (Ministère du transport des États-Unis). Le symbole peut être placé au-dessus, au-dessous ou à la gauche ou à la droite du nombre d'identification du pneu.
- Code de deux chiffres : identification du fabricant.
- Code de deux chiffres: taille du pneu.
- Code de trois chiffres : code du type de pneu (optionnel).
- Code de trois chiffres : date de fabrication.
WDI0396
- Quatre chiffres représentant la semaine et l'année de fabrication du pau. Par exemple, le nombre 3103 représenté la 31e semaine de l'année 2003. Si ces nombres n'apparaissent pas, recherche-les sur l'autre blanc du pau.
(3) Composition et matériel des plis du pineu
Le nombre de pris ou de couches de tissu enduit de caoutchouc dans le pneu. Les fabricants de pneus doivent aussi indiquer les matériaux du pneu, incluant l'acid, le nylon, le polyester et autres.
(4) Pression de gonflage Tmaxale permise
Ce chiffre indique la pression d'air maximale pouvant etre appliquee au pneu. Ne depassez jamais la pression de gonflage maximale permise.
(5) Charge nominale maximale
Ce chiffre indique la charge maximale en kilogrammes et en livres pouvant etre transporteee par le pneu. Lorsque vous remplacez les pneus du vehicule, utilisez toujours un pneu ayant la meme charge nominale maximale que les pneus installés a l'usine.
(6) État « sans,chambre à air » (Tubeless) ou « avec chambre à air » (Tube type)
Indique si le pneu requiert une chambre à air (« Tube type ») ou non (« Tubeless »).
(7) Le mot « radial »
Le mot « radial » estprésent si le pneu a une structure radiale.
(8) Fabricant ou marque
Le nom de fabricant ou la marque est indiqué(e).
Autre terminologie concernant les pneus
En plus des nombreux termes définis dans ce chapitre, le « flanc extérieur prévu » est (1) le flanc blanc, celui quiporte un lettrage blanc ou qui indique le fabricant, la marque ou le nom du modele moulé en relief par rapport à la même indication sur l'autre flanc du pneu, ou (2) le flanc
extérieur d'un pneu asymétrique dont un côté en particulier devant toujours faire face vers l'extérieur lorsque monté sur un vehicule.
TYPES DE PNEUS

AVERTISSEMENT
-
Lorsque vous remplacez ou changez les pneus de votre vehicule, assurez-vous que les quatre pneus sont du même type (par exemple, pneus d'etre, pneus quatre saisons ou pneus d'hiver) et de la même construction. Un concessionnaire INFINITI pourrait vous donner des renseignements relatifs au type, à la taille, à l'indice de vitesse et à la disponibilité des différents pneus. Les pneus de rechange peuvent avoir un indice de vitesse inférieur à celui des pneus installés en usine et, par conséquent, ne pas pouvoir s'adapter à la vitesse maximale de votre vehicule. Ne dépassez jamais la vitesse de l'indice de vitesse maximale d'un pneu.
-
Pour plus d'information relatives aux pneus, consultez la rubrique « Rensignements importants concernant la sécurité des pneus » ou « Rensignements concernant la sécurité des pneus » du Livret de renseignements sur la garantie.
Pneus toutes saisons
Certains modèles de vehicules INFINITI sont équipés de pneus toutes saisons; ces pneus offrent un bon rendement tout au long de l'année, même sur une chaussée enneigée ou glacée. Les mots ALL SEASON ou les lettres « M&S » que l'on retrouve sur le flanc des pneus identifient ce type de pneu. Les pneus d'hiver offrent une meilleure adherence dans la neige que les pneus toutes saisons et ils peuvent être更好地 adaptés au climat de certaines régions.
Pneus d'été
Certains modèles de vehicules INFINITI sont équipés de pneus d'été; ceux-ci offrent un rendement supérieur sur chaussée sèche. La neige et la glace nuisent considérablement au rendement des pneus d'été. L'indice d'adhérence identifié par les lettres « M&S » n'apparait pas sur le flanc des pneus d'été.
Si vous nevez conduire sur une route enneigée ou glacée, INFINITI vous recommende de poser des pneus d'HIVER ou des pneus TOUTES SAI-SONS sur les quatre roues.
Pneus d'hiver
Si vous installez des pneus d'hiver sur votre vehicule, assurez-vous que leur dimension et la charge maximale qu'ils peuvent porter sont les mêmes que celles des pneus d'origine. Sinon, les caractéristiques de sécurité et la tenue de route de votre vehicule pourrait être compromises.
Les pneus d'hiver ont généralement une cote de vitesse inférieure à celle des pneus installés en usine et ils risquent de ne pas s'adapter à la vitesse maximale que peut atteindre votre vehicule. Ne dépassez jamais la cote de vitesse maxi-male d'un pneu.
Si vous installez des pneus d'hiver sur votre vehicule, la dimension, la marque, la construction et le dessin de la bande de roulement doivent être identiques sur les quatre pneus.
Des pneus cloutés peuvent être utilisés pour bénéficier d'uneadhérence accrue sur chaussée glacée. Toutefois, l'utilisation de tels pneus est prohibée dans certains États américain de même que dans certaines provinces du Canada. Consultez les règlements en vigueur dans notre localité, dans l'État ou la province où vous résidez
avant d'installer ce type de pneu sur votre vehicule. Sur chaussée sèche ou mouillée, les capacités de patinage et d'adhérence d'un pneu d'hiver cloute peuvent être inférieures à celles d'un pneu d'hiver qui ne l'est pas.
CHÂINES ANTIDÉRAPANTES
L'utilisation de chaînes antidérapantes peut être prohibée dans certaines localités. Consultez les règlements en vigueur dans votre LOCALité avant d'installer des chaînes antidérapantes sur les pneus de votre vehicule. Si vous installez des chaînes antidérapantes, assurez-vous qu'elles sont de la bonne dimension pour vos pneus et suivez les directives d'installation fournies par le fabricant des chaînes. N'utilise que des chaînes de catégorie « S » SAE. Les chaînes de catégorie S sont destinées aux vehicules dont l'espace des passages de roue est limité. Les vehicules sur lesquels les chaînes de type « S » peuvent être installées répondant au débattement minimal requis (entre l'organe de suspension du vehicule ou de la caisse le plus proche du pneu) pour permettre l'installation d'un dispositif antidérapant pour l'hiver (chaînes antidérapantes ou cables). Le débattement minimal requis est déterminé en fonction des pneus d'origine posés à l'usine. L'utilisation de chaînes d'une autre catégorie peut endomager votre vehicule. Lorsque recommendé par le fabricant, utilisez des tendeurs de chaînes pour vous assurer que les
chaines tiennent bien en place. Les maillons inutilisés de la chaîne doivent être solidement fixés ou rétrés afin d'éviter qu'ils heures les ailes ou le soubassement et qu'ils les endommagent. Si possible, évitez de charger votre vehicule à sa capacité maximale lorsque vous utilisez des chaînes antidérapantes et conduisez plus lentement. Sinon, les chaînes peuvent endommager votre vehicule et promprommetse sa tenue de route et son rendement.
N'installez les chaînes antidérapantes que sur les roues arrrière; de telles chaînes ne doivent jamais être installées sur les roues avant.
Les chaînes antidérapantes ne doivent pas être utilisées sur chaussée sèche. Les contraintes excessives engendrées par la conduite d'un vehicule dans de telles conditions peuvent cause des dommages aux divers mécanismes du vehicule.
Seul le mode deux roues motrices doit etre utilise sur des routes pavees sèches.

REEMPLACEMENT DES ROUES ET DES PNEUS
Permutation des pneus
INFINITI recommende de permuter les pneus tous les 12000km (7 500 mi).
Consultez la rubrique « Pneu à plat » du chapitre « En cas d'urgence » duprésent manuel pour connaître les procédures de remplacement des pneus.
Au moyen d'une clé dynamométrique, serrez les écrous de roue au couple spécifique des que possible.
Couple de serrage des écrous de roues :
133 N·m (98 Ib-pi)
Les écrous de roue doivent être serrés au couple spécifique en tout temps. Nous recom-mandons le serrage des écrous de roue au couple spécifique à chaque permutation des pneus.

AVERTISSEMENT
- Àprouv avoir procédé à la permutation des pneus, vérifiez et réglez la pression de gonflage des pneus.
- Resserrez les écrous des roues du vehicule après avoir parcouru une distance de 1 000 km (600 mi), après une crevaison, etc.
- La roue de secours ne fait pas partie des roues à permuter.
- Pour plus d'information relatives aux pneus, consultez la rubrique « Rensignements importants concernant la sécurité des pneus » ou « Rensignements concernant la sécurité des pneus » du Livret de renseignements sur la garantie.

WDI0259
- Indicateur d'usure
- Repère
Usure et endommagement des pneus

AVERTISSEMENT
-
Les pneus de votre vehicule doivent être vérifiés périodiquement pour y dé-celer la présence d'usure, de fissures, de gonflement ou d'objets coincés entre les sculptures. En présence d'une usure importante, de fissures, de gonflement ou de coupures profundes, le ou les pneus doivent être replacés.
-
Les pneus d'origine sont munis d'indicateurs d'usure incorporeés dans les bandes de roulement. Lorsqu'ils deviennent visibles, les pneus doivent être replacés.
- Une réparation incorrecte de la roue de secours peut entrainer des blessures graves. Si la roue de secours doit être réparée, adressez-vous à un concessionnaire INFINITI.
- Pour plus d'information relatives aux pneus, consultez la rubrique « Rensignements importants concernant la sécurité des pneus » ou « Rensignements concernant la sécurité des pneus » du Livret de renseignements sur la garantie.
Remplacement des roues et des pneus
Lorsque you remplacez un pneu, utilisez un pneu dont la dimension, le dessin de bande de roulement, la cote de vitesse et la capacité de charge sont similaires à ceux du pneu d'origine. Les types et les dimensions de pneus recommendés sont indiqués sous la rubrique « Roues et pneus » du chapitre « Données techniques et information au consommateur » duprésent manuel.
A VERTISSEMENT
L'utilisation de pneus autres que ceux qui sont recommandés ou l'utilisation mixte de pneus de marque ou de construction (diagonale, ceinturée, radiale) diverses, ou dont les sculptures de bandes de roulement différent, peut nuir à la conduite, au freinage, au comportement routier, à la garde au sol, au jeu entre la carrosserie et les pneus, au jeu des chaines antidérapantes, à l'étalonnage de l'indicateur de vitesse, à la convergence des phares ainsi qu'à la hauteur du pare-chocs. Certains de ces effets peuvent cause des accidents et entrainer des blessures graves.
-
Si les roues doivent être changées pour chaque raison que ce soit, remplacez les toujours par des roues au déport identique. Des roues au déport différent peuvent entrainer une usure prematurée des pneus, promètement les caractéristiques du comportement routier et/ou interférer avec les disques et tambours de frein. Cette interférence peut réduire l'efficacité du freinage ou entrainer une usure prematurée des plaquettes et segments de freins. Consultez la rubrique « Roues et pneus » du chapitre « Données techniques et information au consommateur » duprésent manuel pour connaître les dimensions de déport des roues.
-
Lorsqu'une roue de secours est installee ou qu'une roue est remplacede, la pression des pneus ne s'affiche pas et le systeme d'advertisement de basse pression des pneus ne fonctionne pas. Communiquez avec votre concessionnaire INFINITI des que possible pour proceder au remplacement des pneus ou a la reinitialisation du systeme.
-
N'installez pas de roues ou de pneus déformés sur votre vehicule, même s'il ont été réparés car ceux-ci peuvent presenter des dommages structurels et entraîner une défaillance soudaine.
L'utilisation de pneus rechapés est déconseillée. - Pour plus d'information relatives aux pneus, consultez la rubrique « Rensignements importants concernant la sécurité des pneus » ou « Rensignements concernant la sécurité des pneus » du Livret de renseignements sur la garantie.
Équilibrage des roues
Des roues mal équilibrées peuvent nuire à la tenue de route du vehicule et réduire la durée de vie des pneus. Un balourd des roues peut se produit, même si le vehicule est utilisé régulièrement. C'est pourquoit les roues doivent être équilibrées tel que recommendé.
Les roues doivent etre retirees du vehicule pour effectuer I'equilibrage. Sinon, le vehicule pourrait subir des dommages mecaniques.
- Consultez la rubrique « Renseignements importants concernant la sécu
rité des pneus » du Livret de renseignements sur la garantie pour plus d'information.
Soin des pneus
- Pour que les roues conservent un bel aspect, lavez-les lorsque vous lavez votre vehicule.
- Nettoyez la face interieure des roues lorsqu'elles sont retirees ou lorsque vous nettoyez le soubassement du vehicule.
- Ne lavez pas les roues avec des nettoyants abrasifs.
- Inspectez régulierement les jantes des roues pour y déceler des traces d'enfencements ou de corrosion. De telles conditions pourraient entraîner une perte de pression ou une mauvaise étanchée au niveau des talons de pneu.
- Si vous conduisiez dans des régions où du sel est repandu sur les routes durant l'hiver, INFINITI vous recommende de protéger les roues de votre vehicule à l'aide d'une cire automobile.
MÉMENTO
9 Données techniques et information au consommateur
Contenances, carburants et lubrifiants
recommendés. 9-2
Recommendations concernant le carburant. 9-3
Recommendations relatives à l'huile moteur et au filtré à huile 9-5
Indice de viscosité SAE commande 9-6
Recommendations relatives au frigorigène et à la lubrification du climatiseur 9-7
Specifications. 9-8
Moteur. 9-8
Roues et pneus 9-9
Dimensions et poids 9-9
Voyages ou immatriculation du vehicule à l'étranger .9-10 Identification du vehicule .9-10
Plaque du numero d'identification du vehicule (NIV). 9-10
Numéro d'identification du vehicule (numéro du chassis) 9-10
Numéro de série du moteur. 9-11
Étiquette d'homologation FMVSS 9-11
Étiquette de contrôle des émissions 9-11
Étiquette des pneus et d'information sur la charge 9-12
Étiquette des caractéristiques du climatiseur .9-12
Installation de la plaque d'immatriculation avant . .9-12
Information concerning le chargement du vehicule....9-13
Expressions. 9-13
Capacité de charge du vehicule. 9-13
Arrimage de la charge. 9-15
Conseils pour le chargement 9-16
Mesure des poids 9-16
Traction d'une remorque. 9-17
Limits maximales de charge. 9-17
Tableau des caractéristiques/charges de remorquage. 9-19
Sécurité du remorquage. 9-19
Remorquage à plat 9-26
Chasse-neige. 9-27
Classification uniforme de qualite de pneus. 9-27
Garantie relative au dispositif antipollution. 9-28
Défauts compromettant la sécurité (É.-U. seulement). 9-29
Préparation aux contrôles d'inspection et d'entretien 9-29
Pour commandier le manuel du conducteur ou le manuel de réparation. 9-30
En cas de collision. 9-31
CONTENANCES, CARBURANTS ET LUBRIFIANTS RECOMMANDÉS
Les contenances indiquées ci-dessous sont approximatives. Les contenances de replissage réelles peuvent varier légèrement. Lors du replissage, suivez la méthode décrite dans le chapitre « Entretien et interventions du propriétaire » afin de déterminer les contenances dééquates.
| Contenance (approximative) | Liquides, huiles and lubricants recommendés | |||
| Mesures américaines | Mesures impériées | Litres | ||
| Carburant | 28 gallon | 23 1/4 gallon | 105.8 | Essence sans plomb dont l'indice d'octane est d'au moins 91 (IOR 96)*1 |
| Huile moteur*7Vidange et replissageAvec changement de filtré àhuile | 6 1/2 pintes | 5 1/2 pintes | 6.2 | • Marque d'homologation API*2 *3• catégory SL de l'API, à économie d'énergie*2 *3• catégory GF-III*2 *3 de l'ILSAC |
| Sans changement de filtré àhuile | 6 1/4 pintes | 5 1/4 pintes | 5.9 | |
| Circuit de refroidissementAvec un réservoir | 15 1/4 pintes | 12 5/8 pintes | 14.4 | 50 % d'antigel d'origine NiSSAN longue durée ou l'équivalent50 % d'eau déminéralisée ou distilée |
| Huile pour boîte de vitesses automatiqueLiquide de direction assistée (PSF) | Remplissez jusqu'àu niveau adéquat selon les directives du chapitre « En-tretien et interventions du propriétaire » . | Huile pour boîte de vitesses automatique NiSSAN Matic « J » d'origine*4Liquide de direction assistée d'origine NiSSAN PSF ou l'équivalent.*8Liquide de frein NiSSAN d'origine de très haute tenue*5 ou l'équivalent DOT 3 (no 116 FMVSS US) | ||
| Liquide de frein | ||||
| Graissse universelle | — | — | — | NLGI no 2 (à base de savon de lithium) |
| Frigorigène du système de climatisation | — | — | — | HFC-134a (R-134a)*6 |
| Lubrifiants du système de climatisation | — | — | — | Lubrifiant de climatiseur NiSSAN de type DH-PS ou l'équivalent*6 |
| Liquide de boîte de transfert | 2 3/8 pintes | 2 pintes | 2.2 | Huile pour boîte de vitesses automatique NiSSAN Matric « D » d'origine (zone continentale des États-Unis et Alaska) ou huelle pour boîte de vitesses automatique NiSSAN (Canada)*8 |
| Huile pour engrenages de commande finale avant | 3 3/8 chopines | 2 7/8 chopines | 1.6 | API GL-5, viscosité SAE 80W-90*9 |
| Huile pour engrenages de commande finale arrêté | 3-3/4 chopine | 3-1/8 chopine | 1.75 | API GL-5, viscosité SAE 80W-90*9 |
| Liquide de lave-glace (partagé entre le pare-briseet la lunette de hayon) | 1 1/4 gallon | 1 gallon | 4.5 | Liquide de lave-glace concentré nettoyant NiSSAN d'origine avec antigel ou l'équivalent |
1 : Pour obtenir plus de détails à ce sujet, consultez la rubrique « Recommendations relatives au carburant »
2 : Pour obtenir plus de détails à ce sujet, consultez la rubrique « Recommandations relatives à l'huile moteur et au filtré à huile »
3 : Pour obtenir plus de détails à ce sujet, consultez la rubrique « Indice de viscosité SAE recommandé pour l'huile moteur »
*4 : L'utilisation d'une hule pour boite de vitesses automatique autre que l'hulee Nissan Matic « J « d'origine aura une incidence négative sur le fonctionnement et la durée de vie de la boite de vitesses; la boite de vitesses automatique pourrait s'en couter endomaggage, ce qui ne serait pas couvert par la garantie de vehicule neuf INFINITI.
5: Disponible dans la zone continentale des États-Unis, chez un concessionnaire INFINITI.
6: Pour obtenir plus de détails à ce sujet, consultez la rubrique « Étiquette des caractéristiques du climatiseur »
7 : Pour obtenir plus de détails à ce sujet, consultez la rubrique « Vidange d'huile moteur »
8 : Au Canada, il est possible d'utiliser du liquide pour boîte de vitesses automatique d'origine NISSAN, du liquide DEXRON™ III/MERCON™ ou l'équivalent.
9 : Sous des climats chauds, la viscosité SAE 90 convient à des températures ambiantes de plus de 0^ C( 32^ F) .
9-2 Données techniques et information au consommateur
RECOMMANDATIONS CONCERNANT LE CARBURANT
Utilisez un supercarburant sans plomb à indice d'octane de 91 ou plus (indice d'octane recherche de 96).
S'il vous est impossible de vous procurer du supercarburant, vous pouvez utiliser de l'essence ordinaire sans plomb à indice d'octane de 87 ou plus (recherche d'indice d'octane de 91) en tenant compte toutefois des précautions suivantes :
ne replissiez le réservoir que partiellement avec de l'essence ordinaire sans plomb, puis ajoutez-y du super sans plomb dsque possible;
- évitez la conduite à pleins gaz, la traction de remorques et les accélérations brusques.
ATTENTION
- L'utilisation de carburant autre que celui qui est prescrit pourrait nuir au fonctionnement du dispositif antipollution et avoir une incidence sur la couverture offerte par la garantie.
- N'utilisez en aucune circunstance de l'essence au plomb dans votre vehicule car vous pourriez endommager le catalyseur trifonctionnel.
Essence reformulée
Certains fournisseurs de carburant produit des essences reformulées. Celles-ci sont spécialement conçues pour réduire l'émission de gaz d'échéppement polluants par les vehicules. INFI-NITI encourage les projets visant à réduire la pollution et vous recommende l'utilisation de ces essences, si celles-ci sont disponibles dans toute région.
Essence contenant des substances oxygénées
Certaines stations-services vendent de l'essence contenant des substances oxygénées telles que l'éthanol, le MTBE (methyl-tert-butyléther) et le methanol, bien que leur présence dans le carburant ne soit pas toujours clairément indiquée. INFINITI déconseille l'utilisation de carburants dont la teneur en substances oxygénées et la compatibilité avec votre vehicule INFINITI ne peuvent pas être facilement déterminées. En cas de doute, adressez-vous au gérant de la station-service.
Si vous utilisez une essence contenant des substances oxygénées, veuillez prendre les précautions énoncées ci-dessous, car l'utilisation de ce type de carburant peut compromètre le rendement du vehicule ou cause des dommages au circuit d'alimentation :
- l'essence doit être du carburant sans plomb avec un indice d'octane égal ou supérieur à celui recommendé pour l'essence sans plomb;
- si une essence oxygénée est utilisée, sa teneur en substances oxygénées ne doit pas dépasser 10% (sauf les mélanges de methanol). Le MTBE peut cependant atteindre une teneur de 15% ;
- si un mélange contenant du méthanol est utilisé, sa teneur ne doit pas dépasser 5% de méthanol (alcohol méthylique, alcohol de bois). Ce mélange doit aussi contenir une quantité suffisante de cosolvants et d'inhibiteurs de corrosion adéquats. Une mauvaise concentration de ces ingrédents peut entraîner des dommages au circuit d'alimentation ou compromètre le rendement du vehicule. Pour l'instant, nous ne disposons pas de suffisamment de données pour nous assurer que tous les mélanges de méthanol convennent aux vehicules INFINITI.
Si des problèmes surgissant (calage du moteur ou démarrage difficile lorsque le moteur est chaud) après avoir utilisé des mélanges oxygé
nées, utilisez alors une essence ne contenant pas de substances oxygénées ou à faible teneur en MTBE.
Prenoz soit de ne pas renverser d'essence lorsque vous faites le plein. L'essence contenant des substances oxygénées peut endommager la peinture.
Additifs de carburant
INFINITI déconseille l'utilisation de tout additif de carburant (p. ex., nettoyant d'injecteur de carburant, remonteur d'octane, suppresseur de dépôt de soupape d'admission, etc.) vendu sur le marché. La majorité de ces additifs concus pour éliminer les dépôts degomme, de vernis ou autres peuvent containir des solvants actifs ou des ingrédients similaires qui peuvent nuire au circuit d'alimentation et au moteur.
A propos de l'indice d'octane
Dans la plupart des régions d'Amérique du Nord, you'vez utiliser de l'essence sans plomb avec un indice d'octane de 91 ou plus. Cependant, you pouze aussi utiliser de l'essence sans plomb avec un indice d'octane aussi bas que 85 dans des régions en haute altitude (plus de 1219 m [4000 pi]) comme le Colorado, le Montana, le Nouveau-Mexique, l'Utah, le Wyoming, le nordest du Nevada, le sud de l'Idaho, l'ouest du
Dakota du Sud, l'ouest du Nebraska et les régions du Texas situées directement au sud du Nouveau-Mexique.
L'utilisation d'une essence dont l'indice d'octane est inférieur à celui qui est mentionné précédemment peut entrainer des « cognements » forts et persistants (le « cognement » est un bruit de cliquetis métallique). S'il est de forte intense, ce cognement peut finir par endommager le moteur. Si un cognement persistent est audible, et ce, en dépit de l'utilisation d'essence à l'index d'octane spécifique, ou si un cognement régulier est perçu à vitesse constante sur des routes planes, faites inspectorer votre vehicule par un concessionnaire INFINITI. Le fait de ne pas corriger cette situation constitue un usage abusif du vehicule pour lequel INFINITI se dégage de toute responsabilité.
Un calage incorrect de l'allumage peut causeur un cognement, l'auto-allumage ou une surchauffe du moteur qui, à leur tour, peuvent accroître la consommation de carburant ou endommager le moteur. Si vous notez la presence de l'un de ces symptômes, faites inspecter votre vehicule par un concessionnaire INFINITI.
Cependant, un léger cognement peut être brievement perçu à l'accelération ou dans
les montées. Cette situation est normale, car sous condition de charge élevé du moteur, vous obtenez un meilleur rendement du carburant lorsqu'il y a brièvement un léger cognement.
9-4 Données techniques et information au consommateur

Repère d'homologation API

Symbole API service
WT10082
RECOMMANDATIONS RELATIVES À L'HUILÉ MOTEUR ET AU FILTRE À HUILÉ
Sélection de l'huile moteur appropriée
Le choix d'une huile moteur de qualité et de viscosité correctes est essentiel pour assurer la durabilité et le rendement du moteur. INFINITI recommende l'utilisation d'une huile à faible coefficient de friction (de type à economie d'énergie) de façon à réduire la consommation de carburant et à economiser l'énergie. N'utilise qu'une huile identifiée par le label de qualité spécifique; l'utilisation d'une huile non homologuee pourrait endommager le moteur.
N'utilisez que des huiles moteur homologuees par l'API (American Petroleum Institute). Ce type d'huile remplace les catégories API SG, SH ou SJ et a economie d'énergie II.
Si aucune huile moteur portant la MARQUE D'HOMOLOGATION DE L'API n'est disponible, utilisez alors une huile moteur de catégorie SL de l'API, à economie d'énergie. Vous pouvez également utiliser une huile moteur avec la désignation unique SL, ou combinée à d'autres catégories (SL/CF, par exemple), si aucune huile moteur portant la MARQUE D'HOMOLOGATION DE L'API n'est disponible. Une huile moteur ILSAC de catégorie GF-III peut aussi être utilisée.
INFINITI recommende l'utilisation d'huiles minérales. Cependant, ces huiles doivent être conformes aux indices de qualité API et de viscosité SAE préconisés pour votre vehicule.
Additifs d'huile
INFINITI déconseille l'utilisation d'additifs pour huile. L'utilisation d'un additif d'huile est superflue lorsque le bon type d'huile est utilisé et que la périodicité d'entretien est respectée.
N'utilisez jamais une huile usagee ou susceptible deContainir des corps etrangers.
Viscosité de l'huile
La viscosité ou l'épaissur de l'huile moteur varie selon la température. Il est donc important de sélectionner la viscosité de l'huile moteur en fonction des Températures auxquelles le vehicule sera utilisé, et ce, jusqu'à la prochaine vidange d'huile. Le tableau « Indice de viscosité SAE recommandé » indique les viscosités d'huile moteur recommandées en fonction des Températures ambiantes prévues. Le choix d'une huile moteur à la viscosité autre que cette recommandée peut cause deravés dommages au moteur.
Choix du bon filtré à huile
Votre vehicule neuf INFINITI est muni d'un filtré à huile NISSAN d'origine de qualité supérieure. Lors du remplacement, utilisez un filtré NISSAN
d'origine ou l'équivalent pour les motifs stipulés dans « Intervalles de changement »
Intervalles de changement
Les intervalles de changement d'huile moteur et de filtré à huile pour votre moteur sont déterminés en fonction de l'utilisation d'huiles et de filtres de la qualité spécifique. Le fait d'utiliser une huile moteur et un filtré de moindre qualité ou de dépasser les intervalles de changement peut réduire la vie utile du moteur. Tout dommage au moteur causé par un entretien incorrect, ou par l'utilisation d'une huile de viscosité inadéquate ou d'un filtré de mauvaise qualité, n'est pas couvert par la garantie de vehicule neuf INFINITI.
Votre moteur a ete rempli a l'usine d'une huiile moteur de qualite supérieure. Il n'est pas necessaire de vidanger I'huile moteur avant le premier intervalle recommande. Les intervalles de vidange d'huile moteur et de remplacement du filtrer variant selon I'utilisation que vous faites du vehicule.
Si vous utilisez votre vehicule dans les conditions suivantes, vous devrez vidanger l'huile moteur et replacer le filtre plus fréquement:
- trajets repétés sur de courtes distances par temps froid;
-
conduite sur des routes poussièresuses;
-
périodes de ralenti prolongées;
- traction d'une remorque.
9-6 Données techniques et information au consommateur

INDICE DE VISCOSITE SAE RECOMMANDÉ
L'huile de viscosité SAE 5W-30 est préféable pour toutes les températures. Les huiles de viscosité SAE 10W-30 ou SAE 10W-40 peuvent être utilisées si la
température ambiente est supérieure à -18 °C (0 °F).
RECOMMANDATIONS RELATIVES AU FRIGORIGENE ET À LA LUBRIFICATION DU CLIMATISEUR
Le climatiseur de votre vehicule INFINITI utilise du frigorigène HFC-134a (R-134a) et du lubricifiant « Huile de climatiseur NISSAN » de type DH-PS ou des produits strictement équivalents.

ATTENTION
L'utilisation de tout autre frigorigène ou lubricifant causera des dommages graves au système de climatisation. Tous les composants de ce dernier devront alors être replacés.
Le frigorigène HFC-134a (R-134a) de votre vehicule INFINITI ne nuit pas à la couche d' ozone. Bien que ce frigorigène n'ait pas d'impact sur l'atmosphère, la recupération et le recyclage du frigorigène lors de l'entretien d'un climatiseur automobile sont obligatoires en vertu de certains règlements gouvernementaux. Un concessionnaire INFINITI dispose de techniciens qualifiés et de l'équipement nécessaire à la recupération et au recyclage du frigorigène de votre climatiseur.
Pour proceder à l'entretien de votre climatisationur, adressez-vous à un concessionnaire INFINITI.
SPECIFICATIONS
MOTEUR
| Modèle | VK56DE | |
| Type | Essence, 4 cycles, double arbre à cames en tête | |
| Disposition des cylindres | 8 cylindres, bloc en V, incliné à 90° | |
| Alésage x course | po (mm) | 3,858 x 3,622 (98 x 92) |
| Cylindrée | po3 (cm3) | 338,78 (5 552) |
| Séquence d'allumage | 1-8-7-3-6-5-4-2 | |
| Régime de ralenti | ||
| Boîte de vitesses automatique (à la position « N » [point mort]) | Consultez l'étiquette d'information du dispositif antipollution apposée sous le capot. | |
| Calage de l'allumage (degré avant le PMH au ralenti) | ||
| % de CO au ralenti | ||
| Normale | PLFR5A-11 | |
| Bougie d'allumage | Chaude | PLFR4A-11 |
| Froide | PLFR6A-11 | |
| Écartement des bougie d'allumage (nominal) | po (mm) | 0,043 (1,1) |
| Commande de l'arbre à cames | Chaîne de distribution | |
L'allumage commande de ce vehicule est conforme aux exigences du Reglement sur le matériel brouilleur du Canada.
ROUES ET PNEUS
| Roues | 18 x 8J |
| Pneus | P265/70R18 |
| Roue de secours | Classique |
DIMENSIONS ET POIDS
| Longueur hors tout | po (mm) | 206.9(5,255) |
| Largeur hors tout | po (mm) | 78.8(2,001) |
| Hauteur hors tout | ||
| Deux roues motrices avec porte-bagages | po (mm) | 77.8(1,977) |
| Quatre roues motrices avec porte-bagages | po (mm) | 78.7(1,998) |
| Voie avant | po (mm) | 67.9(1,725) |
| Voie arrêté | po (mm) | 67.9(1,725) |
| Empattement | po (mm) | 123.2(3,130) |
| Poids nominal brut du vehicule | lb (kg) | Consultez l'étiquette d'homologation FMVSS sur le pied milieu du côté conducteur (entre les portières avant et latérique du côté conducteur). |
| Poids technique maximal sous essieu (PTME) | ||
| Avant | lb (kg) | |
| Arrière | lb (kg) |
VOYAGES OU IMMATICULATION DU VEHICULE À L'ÉTRANGER
IDENTIFICATION DU VÉHICULE
Si vous prévoyez conduire votre vehicule INFINITI dans un autre pays, assurez-vous d'abord que vous y trouvrez du carburant convenant au moteur de votre vehicule.
L'utilisation d'un carburant à l'indice d'octane trop bas peut endommager le moteur. Tous les vehicules à essence doivent utiliser de l'essence sans plomb. Évitez donc de conduirer votre vehicule dans des régions ou des pays où le carburant ajustat n'est pas disponible.
Il peut être nécessaire de modifier votre vehicule afin de le rendre conforme aux lois et réglementations locales s'il doit être immatriculé dans un autre pays, province, État ou district.
Les lois et reglementations régissant le contrôle des émissions du vehicule et les normes de sécurité des vehicules varient selon le pays, la province, l'Etat ou le district. Par conséquent, les specifications requises pour un vehicule peuvent être différentes.
Lorsqu'un vehicule doit'être immatriculé dans un autre pays, province, État ou district, les frais de modification, de transport et d'immatriculation sont à la charge du propriétaire. INFINITI décline toute responsabilité à cet égard.

PLAQUE DU NUMERO D'IDENTIFICATION DU VEHICULE (NIV)
La plaque du numero d'identification du vehicule (NIV) est fixée à l'endetroit illustré. Ce numero identifie votre vehicule et il est requis lors de l'immatriculation du vehicule.

NUMERO D'IDENTIFICATION DU VEHICULE (numéro du chassin)
Le numero d'identification du vehicule (NIV) est situé à l'endetroit illustré.

NUMERO DE SÉRIE DU MOTEUR
Le numero estgrave sur le moteur a l'endetroit illustré.

ÉTIQUETTE D'HOMOLOGATION FMVSS
L'étiquette d'homologation FMVSS (Federal Motor Vehicle Safety Standard) est apposée à l'endetroit illustré. Elle présente des renseignements importants relatifs au vehicule, tels que: le poids nominal brut du vehicule (PNBV), le poids technique maximal sous essieu (PTME), le mois et l'année de fabrication, le numero d'identification du vehicule (NIV), etc. Lisez attentivement cette étiquette.

ÉTIQUETTE DE CONTROLE DES ÉMISSIONS
L'étiquette de contrôle des émissions est apposa- see à l'endetroit illustré.

ÉTIQUETTE DES PNEUS ET D'INFORMATION SUR LA CHARGE
La pression de gonflage à froid des pneus est indiquée sur l'étiquette des pneus et d'information sur la charge. L'étiquette est appossee à l'endetroit illustré.

ÉTIQUETTE DES
CARACTERISTIQUES DU
CLIMATISEUR
L'étiquette des caractéristiques du climatiseur est apposée à l'endetroit illustré.
INSTALLATION DE LA PLAQUE D'IMMATICULATION AVANT

Pour installer la plaque d'immatriculation avant, suivez les étapes décrites ci-dessous :
1 Percez des trou s à l'emplacement marqué (petite dépression) dans la garniture en plastique, au moyen d'une mèche de 5 mm (0,20 po). N'appliqué qu'une légère pression sur la perceuse. Utilisez les deux vis fournies pour fixer le support de plaque d'immatriculation.
Fixez la plaque d'immatriculation au moyen de deux boulons M6-14 mm.
Couple de serrage des boulons de la plaque d'immatriculation : 5,10 à 6,37 N-m (3,8 à 4,7 Ib-pi)
INFORMATION CONCERNANT LE CHARGEMENT DU VEHICULE
A VERTISSEMENT
- Il est extrémement dangereux de prendre place dans l'aire de chargement d'un vehicule lorsque celui-ci est en marche. En cas d'accident, les personnes qui s'y trouveraient seraient beaucoup plus susceptibles de subir des blessures graves et d'être tuées.
- Ne laïsez jamais un passager s'asseoir à une place autre qu'un siège muni d'une ceinture de sécurité.
Assurez-vous que tous les occupants de votre vehicule ont pris place sur un siège et qu'ils portent correctement leur ceinture de sécurité.
EXPRESSIONS
Avant de charger votre vehicule, il est important de vous familiariser avec la terminologie suivante :
- poids à vide (poids réel du vehicule) - poids du vehicule complenant : l'équipement standard et offert en option, les liquides, les outils de secours et la roue de secours. Ce poids ne comprend pas les passagers et les bagages.
-
PTAC (poids total autorisé en charge) - poids à vide du vehicule plus le poids combiné des passagers et des bagages.
-
PNBV (poids nominal brut du vehicule) - poids total maximal (vehicule charge) spécifié pour le vehicule.
- PTME (poids technique maximal sous essieu) - poids maximal (vehicule charge) spécifique pour l'essieu avant ou arrêté.
CAPACITÉ DE CHARGE DU VÉHICULE
Ne dépassez pas la limite de capacité de charge de votre vehicule identifiée par le « Poids combiné des passagers et des bagages » sur l'étiquette d'information sur les pneus et la charge. Ne dépassez pas le nombre d'occupants identifié parle « Nombre de passagers » sur l'étiquette d'information sur les pneus et la charge.
Pour obtenir le « poids combiné des passagers et des bagages », additionnez le poids de tous les occupants, puis ajoutez le poids total des bagages. Des exemples sont disponibles ci-dessous.

- Si votre vehicule est utilisé pour tracter une remorque, une certaine charge de la remorque sera transférée à votre vehicule. Consultez ce manuel pour déterminer comment ceci réduit la capacité de charge disponible pour la charge et les bagages de votre vehicule.
Avant de démarrer avec un vehicule charge, assurez-vous que votre vehicule n'excède pas le poids nominal brut (PNBV) ou le poids technique maximal sous essieu (PTME) spécifiés.
WTI0091

Crochets d'arrimage de pavillon d'aire de chargement
ARRIMAGE DE LA CHARGE
Des crochets d'arrimage sont situés dans l'aire de chargement aux endroits illustrés. Les crochets d'arrimage peuvent être utilisés pour fixer solidement les bagages à l'aide de cordes ou d'autres types de sangles.
Lorsque you arrimez un chargement, assurez-vous que la charge totale appliquee un crochet de plastique A ne depasse pas 15 kg ou 245 N (25 Ib), ou alors 20 kg ou 196 N (44 Ib) dans le cas des crochets de plastique B.
Assurez-vous que la charge totale appli- quée sur chaque crochet n'excède pas 50kg 110 lb) lorsque vous arrimez des bagages à un crochet en métal du plancher.

Crochets d'arrimage de plancher d'aire de chargement

AVERTISSEMENT
Fixez solidement tous les bagages à l'aide de cordes ou de sangles afin d'eviter qu'ils glissent ou se déplacent. N'empirez pas les bagages plus haut que la hauteur des dossiers de siège. En cas d'arrêt brusque ou de collision, les objets non retenus sont susceptibles de se transformer en projectiles et pourraient causeurs des blessures.
Veiliez a ne pas dépasser le PNBV (poids nominal brut du vehicule) ou le PTME (poids technique maximal sous essieu) avant et arrêté lorsque vous chargez votre vehicule. Si vous dépassez ces specifications, des pieces peuvent se briser, les pneus peuvent s'user prematurément et la tenue de route peut être compromise au point de vous faire perdre la maitrise de votre vehicule et causer des blessures.
CONSEILS POUR LE CHARGEMENT
Le PTAC ne doit pas dépasser le PNBV ou le PTME spécifiés sur l'étiquette d'homologation FMVSS.
- Ne chargez pas l'essieu avant et arrrière jusqu'à la limite du PTME. Le PNBV serait alors dépasse.
AVERAGEMENT
Fixez solidement tous les bagages à l'aide de cordes ou de sangles afin d'eviter qu'ils glissent ou se déplacent. N'empirez pas les bagages plus haut que la hauteur des dossiers de siège. En cas d'arrêt brusque ou de collision, les objets non retenus sont susceptibles de se transformer en projectiles et pourraient cause des blessures.
Veiliez a ne pas dépasser le PNBV (poids nominal brut du vehicule) ou le PTME (poids technique maximal sous essieu) avant et arrêté lorsque vous chargez votre vehicule. Si vous dépassez ces specifications, des pieces peuvent se briser, les pneus peuvent s'user prematurément et la tenue de route peut être compromise au point de vous faire perdre la maitrise de votre vehicule et causer des blessures.
- La surcharge peut non seulement diminuier la durée de vie du vehicule et des pneus, mais elle peut aussi rendre le vehicule dangereux et demander de plus longues distances de freinage. Ceci peut occasionally une défaillance prematurée des pneus pouvant entraîner un accident grave et des blessures. Les défaillances causées par les surcharges ne sont pas couvertes par la garantie de votre vehicule.
MESURE DES POIDS
Fixez solidement les articles susceptibles de se déplacer afin d'éviter des changements de poids qui pouraient nuir à l'équilibre de votre vehicule. Arrétez-vous dans un endroit qui possède une balance lorsque votre vehicule est charge et faites-y peser les roues avant et arrrière séparément afin de déterminer la charge sur les essieux. La charge sur les essieux avant ou arrrière ne doit pas excéder le poids technique maximal combiné (PTMC). La charge totale sur les essieux ne doit pas excéder le poids nominal brut du vehicule (PNBV). Ces mesures de poids sont indiquées sur l'étiquette d'homologation de votre vehicule. Si les charges de votre vehicule excédent ces mesures, déplacez ou retirez des bagages pour que leur poids se situe en何处 des limites de charge préconisées.
TRACTION D'UNE REMORQUE
A VERTISSEMENT
Surcharger la remorque ou la charger de façon inadéquate peut avoir des conséquences négatives sur le comportement routier, sur le freinage et sur le rendement de votre vehicule, et peut ainsi cause des accidents.
ATTENTION
- Ne tractez pas de remorque ni de charges lourdes sur les premiers 800 km (500 mi) parcoursus avec votre vehicule. Vous pourriez endommager le moteur, les essieux ou d'autres pieces de votre vehicule.
- Sur les premiers 800km (500 mi), lorsque vous tirez une remorque, ne dépassez pas 80km/h (50 mi/h) et ne démarrez pas à plein régime. Le moteur et les autres pieces du vehicule peuvent ainsi être mieux rods alors qu'ils sont en charge.
Votre vehicule a ete concu principalement pour le transport de passagers et de bagages. La traction d'une remorque impose des contraintes additionnelles au moteur, à la transmission, à la direction, au circuit de freinage ainsi qu'aux autres systèmes du vehicule.
Un guide de remorquage, INFINITI Trailer Towing Guide, est disponible chez tout concessionnaire INFINITI (aux États-Unis uniquement). Ce guide fournit l'information nécessaire sur la capacité et l'équipment spécial de remorquage requis.
LIMITES MAXIMALES DE CHARGE
Charges maximales de remorque
Ne tractez jamais une remorque dont la charge dépasse les valeurs spécifiées dans le Tableau des caractéristiques/charges de remorquage plus loin dans ce chapitre. La charge totale de la remorque est égale au poids de la remorque plus le poids de sa charge.
- Une remorque équipée d'un circuit de freinage DOIT est utilisé si vous remorquez des charges de 454 kg (1 000 lb) et plus.
Le poids technique maximal combiné (PTMC) ne doit pas dépasser la valeur spécifique dans le tableau des caractéristiques/charges de remorquageprésenté plus loin dans ce chapitre.
Le poids technique maximal combiné (PTMC) correspond au poids combiné du vehicule qui tire la remorque (incluant les passagers et les bagages) et de la charge totale de la remorque. Une charge de remorquage supérieure à la limite spécifique ou l'utilisation d'un équipement de traction
de remorque inadéquat peut compromètre le comportement routier, le freinage et le rendement du vehicule.
La capacité de remorquage n'est pas seulement liée aux charges maximales de la remorque; elle dépend aussi des endroits où vous projetez tracter une remorque. Des charges de remorque acceptables pour la conduite sur autoroute peuvent devoir être réduites sur des routes de montagne ou dans des situations où l'adhérence est réduite (par exemple, sur des rampses de mise à l'eau glissantes).
Les conditions de température peuvent également affecter le remorquage. Par exemple, la traction d'une remorque lourde par temps chaud sur des montées peut afferter le rendement du moteur et causer une surchauffe. Le mode de protection du moteur, qui aide à réduire les risques de dommages au moteur, pourrait s'activer et réduire automatiquement la puissance du moteur. La vitesse du vehicule peut diminuer lorsque la charge est élevée. Planifiez votre voyage soignexeusement, enPNANT compte de la charge du vehicule et de la remorque, ainsi que les conditions de température et de la route.

AVENTISSEMENT
Une surchauffe peut entrainer une réduction de la puissance du moteur et de la vitesse du vehicule. Une vitesse inférieure à celle de la circulation fait augmenter les risques de collision. Soyez particulièrement prudent pendant la conduite. Dirigez votre vehicule vers un emplacement sécuritaire de l'accotement. Laissez le moteur revenir à sa température normale de fonctionnement. Consultez la rubrique « En cas de surchauffe » de la section « En cas d'urgence » duprésent manuel.

ATTENTION
Les dommages causés par l'application de méthodes inadéquates de remorquage ne sont pas couverts par les garanties INFINITI. Un guide de remorquage INFINITI contenant des renseignements relatifs aux capacités de remorquage et à l'équipement spécial requis est disponible auprès des concessionnaires INFINITI (seulément aux États-Unis).

Poids total de la remorque
Poids au timon

Poids au timon x 100 = 9 à 11% Poids total de la remorque
CA0009
Charge sur le timon
Lorsque vous utilisez un attelage porteur ou a distribution de charge, le timon doit porter entre 10 et 15 pour cent de la charge totale de la remorque, tout en respectant les limites maximales de charge sur le timon indiquées dans le Tableau des caractéristiques/charges de remorquage suivant. Si la charge sur le timon est trop élevé, déplacez la charge dans la remorque.

Poids total en charge du vehicule

TI1012M
Poids total autorisé en charge/poids technique maximal sous essieu
Le poids total autorisé en charge du vehicule ne doit pas dépasser le poids nominal brut du vehicule (PNBV) indiqué sur l'etiquette d'homologation FMVSS. Le poids total autorisé en charge est égal au poids total du vehicule vide, des passagers, des bagages, de l'attelage, de la charge sur le timon et de tout autre équipement en option. De plus, le poids technique maximal sous essieu avant ou arrière (PTME) ne doit pas dépasser le PTME indiqué sur l'etiquette d'homologation FMVSS.
TABLEAU DES CHARACTERISTIQUES/CHARGES DE REMORQUAGE
| États-Unis et Canada | ||
| Deux roues motrices | Quatre roues motrices | |
| Capacité de remorquage*1 | 4 128 kg (9 100 lb) | 4 128kg (9 100 lb) |
| Charge sur le timon | 413 kg (910 lb) | 413 kg (910 lb) |
| Poids techni-que maximal combiné (PTMC) | 6 622 kg (14 599 lb) | 6 713 kg (14 799 lb) |
*1 : les valeurs de capacité de remorquage sont calculées en partant d'un vehicule de base avec conducteur ainsi que toutes les options requises pour atteindre la capacité. Les passagers, la charge et l'équipement facultatif additionnels ajouteront du poids au vehicule et réduiront la capacité de remorquage maximale de votre vehicule.
REMARQUE :
Exige l'attelage répartiteur de poids.
SECURITE DU REMORQUAGE Attelage de remorque
Votre vehicule peut etre equipe d'un ensemble de remorquage en option. L'ensemble de remorquage comprend un attelage de type recepteur monte sur le cadre. Cet attelage est prevu pour la capacité de remorquage maximale de ce vehicule lorsque I'equipement de remorquage approprié est utilisé. Sélectionnez un attelage à boule et une boule d'attelage appropriés prévus pour votre vehicule et la remorque à tracter. Des attelages à boule INFINITI d'origine et des boules d'attelage sont disponibles chez sua vie concessionnaire INFINITI.
Si vous véchicule n'est pas équipé de l'ensemble de remorquage en option, vérifie la capacité de remorquage de l'attelage du pare-chocs de votre vehicule ou de l'attelage de type récepteur monté sur le cadre. Choisissez un attelage convenant aussi bien à yours vehicule qu'à la remorque. Un attelage de remorque INFINITI d'origine est disponible auprès de toute concessionnaire INFINITI. Assurez-vous que l'attelage de remorque est solidement fixé au vehicule pour éviter qu'un balancement inopiné de la remorque, provoqué par des vents lateraux, des routes à la surface irrégulière ou l'air déplace par les camions, cause des blessures ou des dommages matériels.

AVERTISSEMENT
- Les composants d'attelage de remorque ont des valeurs nominales de poids spécifique. Voitre vehicule peut etre en mesure de tracter une remorque plus lourde que la valeur nominale de poids des composants de l'attelage. Ne dépassez jamais la valeur nominale de poids des composants de l'attelage, car cela peut cause de graves blessures ou des dommages matériels importants.
Bouled'attelage
Selectionnez une boule d'attelage de taille et de valeur nominale de poids appropriées pour votre remorque :
- la taille de boule d'attelage requise est estampée sur la plupart des coupleurs de remorque. La plupart des boules d'attelage ont également leur taille estampée sur la boule;
- selectionnez la boule d'attelage appropriée selon le poids de la remorque;
-
le diamètre du goujon fileté de la boule d'attelage doit correspondre au diamètre du trou du support de boule. La différence de taille du goujon de la boule d'attelage et du trou du support de boule ne doit pas dépasser 1,5 mm (1/16 po);
-
le goujon filtré de la boule d'attelage doit être assez long pour être correctement fixé au support de boule. Il devrait y avoir au moins deux filets visibles sous la rondelle frein et l'écrou.
Support de boule
La boule d'attelage est fixée au support de boule et le support de boule est inséré dans le récepteur d'attelage. Sélectionnez un support de boule de classe appropriée selon le poids de la remorque. De plus, le support de boule devrait être sélectionné de sorte que le timon soit parallèle à la route.
Attelages porteurs de charge
Un support de boule porteur de charge est concu pour porter toute la charge sur le timon et le poids brut directement sur le support de boule et sur le récepteur.
Attelage à distribution de charge
Ce type d'attelage s'appelle aussi « attelage correcteur d'assiette » ou « attelage à équilibrage de charge ». Un ensemble de barres se fixe au support de boule et à la remorque afin de distribuer la charge du timon (poids de l'attelage) de votre remorque. Plusieurs vehicules ne peuvent pas porter toute la charge du timon de certaines remorques et il faut transférer une partie de la
charge du timon au cadre, donc sur les roues avant. Ceci donne plus de stabilité au vehicule tracteur.
Une autre raison d'utiliser un support de boule à distribution de charge est pour atteindre la charge nominale sur votre récepteur. La plupart des récepteurs ont une estimation de charge d'un poids brut de 2 273 kg (5 000 lb), de charge sur le timon de 227 kg (500 lb) et une estimation de distribution de charge d'un poids brut de 4 545 kg (10 000 lb), de charge sur le timon de 455 kg (1 000 lb). Ceci signifie que si un support de boule à distribution de charge n'est pas utilisé, le récepteur est seulement concu pour porter 2 273 kg (5 000 lb).
Lorsque vous attelez une remorque à l'aide d'un attelage à distribution de charge, consultez toujours les instructions fournies par le fabricant de l'attelage.
- Stationnez le vehicule vide sur une surface plane. Une fois le contact établi et toutes les portières fermées, laissez votre vehicule stationnaire pendant quelques minutes pour lui permettre de semettre au niveau.
-
Mesurez la hauteur d'un point de reference sur les pare-chocs avant et arrière au centre du vehicule.
-
Attelez la remorque au vehicule, puis reglez les répartiteurs d'attelage de sorte que la hauteur des pare-chocs soit entre 0 et 13mm (0 et 1/2 po) de la hauteur de reférence mesurée à l'étape 2. Le pare-chocs arrêté ne doit ne doit pas dépasser la hauteur mesurée à l'étape 2.

AVERTISSEMENT
Réglez correctement l'attelage à distribution de charge pour que l'arrière du parechocs ne soit pas plus haut que la hauteur de référence mesurée lorsque la remorque est attelée. Si le pare-chocs arrêté est plus haut que la hauteur de référence mesurée, le vehicule peut avoir un comportement routier imprévisible ce qui peut provoquer une perte de la maîtrise du vehicule et cause de graves blessures ou des dommages matériels importants.
Dispositif de contrôle de roulis
Les dispositifs de contrôle de roulis sont utilisés pour aider à contrôler les effets des coups de volant, des rafales de vent et du balancement causé par d'autres vehicules. Assurez-vous que le dispositif de contrôle de roulis est compatible avec le circuit de freinage de la remorque.
Attelage de classe I
L'équipement d'attelage de remorque de classe I (récepteur, support de boule et boule d'attelage) peut être utilisé pour tracter des remorques d'un poids maximal de 909kg (2 000 lb).
Attelage de classe II
Un équipement d'attelage de remorque de classe II (récepteur, support de boule et boule d'attelage) peut être utilisé pour tracter des remorques d'un poids maximal de 1510 kg (3500 lb).
Attelage de classe III
Un équipement d'attelage de remorque de classe III (récepteur, support de boule et boule d'attelage) peut être utilisé pour tracter des remorques d'un poids maximal de 2 272 kg (5 000 lb).
Attelage de classe IV
Un équipement d'attelage de remorque de classe IV (récepteur, support de boule et boule d'attelage) peut être utilisé pour tracter des remorques d'un poids maximal de 4 545 kg (10 000 lb). Un attelage à distribution de charge devrait être utilisé pour tracter les remorques pesant plus de 2 272 kg (5 000 lb).
Votre vehicule peut etre equipe de l'equipement d'attelage de remorque de classe IV prevu pour un poids maximal de 4 545 kg (10 000 lb), mais il n'est capable de tracter qu'une remorque dont le poids maximal est indiquedans le tableau des caractéristiques/charges de remorquaperesente precedemment dans ce chapitre.
ATTENTION
- Des attelages spéciaux, qui comportent des renforts de cadre, doivent être utilisés pour tirer une charge dont le poids est supérieur à 907 kg (2 000 lb). Des attelages, des supports d'attelage et des boules d'attelage d'origine INFINITI concus pour les camions légers et les vehicules utilisaires sport sont disponibles auprès d'un concessionnaire INFINITI.
L'attelage ne doit pas etre fixe au parechocs amortisseur ni de telle sorte qu'ilnuise au fonctionnement de ce dernier. - N'utilisez pas d'attelages montés sur l'essieu.
-
Ne modifies pas le système d'échévement, le circuit de freinage ni:aucun autre système de votre vehicule lors de l'installation d'un attelage de remorque.
-
Afin de réduire les risques de dommages supplémentaires à votre vehicule en cas de collision arrière, retirez, dans la mesure du possible, l'attelage et le récepteur lorsque vous ne les utilisez pas.
- Àprouv avoir retire l'attelage, scellez les trous des boulons pour empêcher que les gaz d'échéppement, l'eau ou la poussière ne pénétre dans l'habitacle.
- Vérifiez périodiquement les boulons de montage de l'attelage de remorque pour vous assurer qu'ils sont installés correctement.
Lors du remorquage avec la boule d'attelage monté sur le pare-chocs arrrière, ne prenez pas de virages serrés. La remorque peut entrer en contact avec le pare-chocs et cause des dommages au pare-chocs ou à la remorque.
Pression de gonflage des pneus
Lorsque you tractez une remorque, gonflez les pneus du vehicule à la pression à froid recommandée sur l'étiquette des pneus.
L'etat des pneus de la remorque, les dimensions, la charge nominale et la pression de
gonflage doit être conformes aux spécifications du fabricant de la remorque et des pneus.
Chaines de sécurité
Installez toujours des chaînes de sécurité adéquates entre votre vehicule et la remorque. Les chaînes doivent être croisées et attachées à l'attelage, et non au pare-chocs ou à l'essieu du vehicule. Les chaînes de sécurité peuvent être fixées au pare-chocs si la boule d'attelage est installée sur le pare-chocs. Laissez suffisamment de jeu pour permettre au vehicule de prendre les virages.
Éclairage de remorque
Les feuels de la remorque doivent être conformes aux réglementations fédérales, provinciales et locales. Pour obtenir de l'aide en ce qui a trait à l'installation des feuels de remorque, communiquez avec un concessionnaire INFINITI. Les vehicules équipè du groupe remorquage optionnel sont dotés d'un faisceau de câblage pour remorque à 7 broches. Si votre remorque est munie d'un connecteur plat à 4 broches, un adaptateur sera nécessaire pour raccorder les feuels de la remorque au vehicule. Les adaptateurs sont disponibles dans les magasins de pieces d'auto et chez les détaillants d'attelage.
Freins de remorque
Si vous remorque est équipée d'un circuit de freinage, assurez-vous qu'il est conforme aux réglementations fédérales, provinciales et locales et qu'il est installé correctement.
AVERAGEMENT
Ne fixez jamais un circuit de freinage de remorque directement sur le circuit de freinage de votre vehicule.
Commande de freins électriques de remorque

Example
Une remorque munie de freins électriques pour rait nécessiter la pose d'une commande de freins électriques disponible sur le marché.
Votre vehicule possede un connecteur et un faisceau de cablage de raccordement specialament adaptable a la pose de commandes de freins electriques du marché.
Pour installer le faisceau de cablage de raccordement des freins electriques, effectuez les etapes suivantes :
- Ouvrez la portiere du conducteur. Reculez le siège le plus possible.

2. Serrez le frein de stationnement afin d'acceder au connecteur du faisceau de cablage de raccordement.

3. Recherche le connecteur du faisceau de câblage de raccordement qui se trouve sous la partie inférieure de la planche de bord. Le connecteur est rattaché au faisceau de câblage ① à l'aide d'un ruban adhésif, tel qu'illustré.
- Le connecteur est identifié par une étiquette blanche portant l'inscription « Electric brake connector ».
Affectation des couleurs du faisceau de câblage de raccordement des freins électriques.
| COULEUR DU FIL | REMARQUE |
| ROUGE/VERT | Contacteur de feu d'accès à la commande des freins électriques de remorque. |
| NOIR | Masse de la commande des freins électriques (-). |
| BRUN/BLANC | Sortie commutée de la commande des freins électriques de remorque. |
| ROUGE/BLEU | Éclairage de la commande des freins électriques de remorque. |
| ROUGE | Alimentation B+ de la commande des freins électriques de remorque. |

- Retirez le ruban adhesif et branchez le connecteur de faisceau de cablage de raccordement au connecteur ②.
- Desserrez le frein de stationnement.
- Installez la commande des freins électriques de remorque selon les directives du fabri-cant.
Conseils préalables à la traction d'une remorque
Assurez-vous que votre vehicule reste de niveau après qu'une remorque chargee ou dechargee a eted fixe au timon. Ne prenez pas la route si voite vehicule est anormale
ment incliné vers l'avant ou vers l'arrière.
Vérifièez les points suivants : charge portée sur le timon, surcharge de la remorque, usure de la suspension ou toute autre cause possible.
- Attachez toujours les objets dans la remorque pour éviter qu'ils se déplacent pendant la conduite.
- Chargez la remorque de façon à ce qu'environ 60 % de la charge soit vers l'avant et 40 % vers l'arrière.
- Vérifiez votre attelage, la pression des pneus de la remorque, la pression des pneus du vehicule, le fonctionnement des yeux de la remorque et les écrous de roue de la remorque à toutes les fois que vous attelez une remorque au vehicule.
Assurez-vous que vos rétroviseurs sont conformes à toutes les réglementations fédérales, provinciales et locales. S'ils ne le sont pas, installez les rétroviseurs exigés pour la traction de remorque avant de prendre la route.
Conseils sur la traction d'une remorque
Pour vous habituer à conduire avec une remorque et comprendre le comportement du vehicule
Dans une telle situation, entrainez-vous à prendre des virages, à freiner et à reculer dans un endroit dégagé. La traction d'une remorque nuit légèrement à la stabilité de la direction et au rendement des freins.
- Attachez toujours les objets dans la remorque pour éviter qu'ils se déplacent pendant la conduite.
- Évitez les démarrages, les accelerations ou les arrêts brusques.
- Évitez de prendre un virage serré ou de changer brusquement de voie.
- Conduisez toujours le vehicule à une vitesse moderation.
- Lorsque vous recULEz, maintainez la partie inférieure du volant d'une main. Déplacez votre main dans la direction où vous souhaitez que la remorque se dirige. Effectuez de petites corrections et recULEz lentement. Si possible, demandez à quelqu'un de vous guider lorsque vous recULEz.
- Lorsque vous vous stationnez, calez toujours les roues du vehicule et de la remorque. Évitez de stationner le vehicule dans une pente; cependant, si cela est absolument nécessaire, calez d'abord les roues, serrez le frein de stationnement, puisengagez le levier sélecteur en position P (stationnement).
Si le levier selecteur est mis à la position P (stationnement) avant de bloquer les roues et de serrer le frein de stationnement, la boîte de vitesses peut subir des dommages.
Lorsque you descende une côte, rétrogradez à un rapport inférieur et utilisez le frein moteur. Lorsque you montez une longue côte, rétrogradez la boîte de vitesses à un rapport inférieur et ralentissez afin de réduire les risques de surcharge ou de surchauffé du moteur. Cependant, en descendant de longues pentes raides, ne restez pas en première si vous roulez à plus de 56 km/h (35 mi/h) ou en deuxieme vitesse si vous roulez à plus de 93 km/h (58 mi/h).
- Si la température du liquide de refroidissement est trop élevé pendant que le climatiseur fonctionne, éteignez le climatiseur. Pour dissiper la chaleur du liquide de refroidissement plus rapidement, ouvre les glaces du vehicule, placez la commande du ventilateur à la vitesse maximale et réglez la commande de température à la position de chauffage maximal.
- La traction d'une remorque augmente la consommation de carburant.
- Évitez de tracter une remorque pendant les premiers 805km (500 mi) de votre vehicule.
Durant les premiers 800km (500 milles) de remorquage, ne conduisez pas a plus de 80~km / h 50 mi/h).
- Faites faire l'entretien périodique de votre vehicule plus frequentlyment qu'aux intervalles spécifiés dans le « Guide d'entretien et de réparation INFINITI »
- Dans un virage, les roues de la remorque sont plus proches de l'intérieur du virage que celles du vehicule. Pour compenser, prenez les virages plus larges.
- Les vents lateraux et les routes à la surface irrégulière ont un impact sur la maniability d'un vehicule avec remorque, et peuvent causer un balancement du vehicule. Lorsque des camions vous dépassent, le vehicule peut être déstabilisé par des changements soudains des vents lateraux. Si le vehicule se met à balancer latéralement, tenez fermement le volant de direction, gardez la direction droit devant et ralentissez immédiatement (mais graduèlement). Cette manœuvre aidera à stabiliser le vehicule. N'augmentez jamais la vitesse.
- Faites preuve de prudence lorsque vous dépassez un vehicule. La distance de dépassement d'un vehicule est considérablement plus longue lorsque vous tractez une remorque. N'oubliez pas que la longueur de la
remorque doit également dépasser l'autre vehicule avant que vous puissiez changer de voie en toute sécurité.
- N'utilisez pas la surmultipliee afin de保守er un frein moteur adequat et d'assurer un meilleur rendement du circuit de charge.
- Évitez de freiner trop longtemps ou trop féquement. Les freins pourraient surchauffer, réduisant ainsi leur efficacité.
- Augmentez la distance qui vous sépare du vehicule devant vous lorsque vous tirez une remorque afin de compenser pour la plus grande distance de freinage requise. Anticipez les arrêts et freinez graduelflement
- N'utilisez pas le régulateur de vitesse lorsqu'youtirez une remorque.
- Certains états et certaines provinces ont des limites de vitesse spécifiques pour les vehicules qui tirent des remorques. Respectez les limites de vitesse locales.
- Vérifiez votre attelage, les connexions du faisceau de cablage de la remorque et les écrous de roue de la remorque après 80 km (50 milles) de trajet et à chaque pause.
- Lorsque vous étés immobilisé dans la circulation pour de longues périodes par temps
chaud, placez la transmission en position P (stationnement).
Lors de la traction d'une remorque, l'huile pour engrenages de commande finale doit être replacée et l'huile de la boite de vitesses doit être vidangée plus fréquement. Consultez le chapitre « Entretien et interventions du propriétaire » du present manuel pour obtenir de plus amples renseignements.
Mode de remorquage
Le mode de remorquage devrait ettreutilisé lorsque vous tractez une remorque lourde ou transportez une charge importante. Appuyez sur la touche de remorquage pour activer le mode de remorquage.Le témoin de remorquage s'allume sur le tableau de bord lorsque le mode de remorquage est selectionné.Appuyez de nouveau sur la touche de remorquage pour annuler le mode de remorquage.Le mode de remorquage est automatiquement annulé lorsque la clé de contact est tournée à la position OFF (arrêt).
Le mode de remorquage :
-
réduit les changements de rapportes de la boîte de vitesses lorsque vous tractez une remorque ou transportez une charge;
-
fournit la même sensation de passage des vitesses au conducteur lorsque le vehicule tracte une remorque.
Le mode de remorquage devrait ettreutilise lorsque le poids du vehicule et de la remorque constitue au moins 75% du poids technique maximal combiné (PTMC) du vehicule. Le mode de remorquage est surtout utile pour les conditions de conduite suivantes lorsque vous tractez une remorque lourde ou transportez une lourde charge:
- terrain valonné;
- traffic discontinu;
- parcs de stationnement pleins.
La conduite du vehicule en mode de remorquage sans tracter de remorque ou sans transporter de lourde charge, ou en tractant une remorque légère ou en transportant une charge légère ne causera pas de dommages. Cependant, l'économie de carburant peut être réduite et la sensation des caractéristiques de conduite de la transmission et du moteur peut être différente.
Lors de la traction d'une remorque, l'huile pour engrenages de commande finale doit être replacée et l'huile de la boite de vitesses doit être vidangée plus fréquement. Consultez le chapitre « Entretien et
interventions du propriétaire » duprésent manuel pour obtenir de plus amples renseignements.
REMORQUAGEÀPLAT
Le remorquage de votre vehicule avec les quatre roues au sol est parfois appelé « remorquage à plat ». Cette méthode est quelles utilisée pour remorquer un vehicule derrière un vehicule de présence, comme une autocaravane.

ATTENTION
- Si vous ne respectez pas ces directives, vous pourriez endommager gravement la boîte de vitesses.
- Lorsque vous remorquez votre vehicule à plat, tirez-le vers l'avant, jamais vers l'arrière.
- NE remorquez JAMAIS un vehicule equipope d'une boite de vitesses automatique avec les quatre roues au sol (remorquage à plat). Une telle action ENDOMMAGERAIT les organes de la boite de vitesses, car celle-ci ne serait pas lubrifiée ajustement.
CHASSE-NEIGE
- Pour obtenir des renseignements relatifs aux procédures de remorquage d'urgence, consultez la rubrique « Méthodes de remorquage recommandées par INFINITI » de la section « En cas d'urgence » duprésent manuel.
Boite de vitesses automatique
Pour remorquer un vehicule équipé d'une boîte de vitesses automatique, vous DEVEZ utiliser un diabolo ajustat sous les roues motrices. Suivez toujours les recommendations du fabricant du diabolo utilisé.
AVERAGEMENT
N'utilisez pas ce vehicule pour le déneige-ment. L'installation d'un chasse-neige peut comprometter le comportement routier du vehicule. Vous risqueriez alors de perdre la maitrise de votre vehicule et de vous infilger des blessures graves, en plus de cause des dommages au vehicule.
CLASSIFICATION UNIFORME DE QUALITE DE PNEUS
Indices de qualité du DOT (Department of Transportation): en plus des classifications enumeratedes ci-dessous, tous les pneus des voitures de tourisme doivent se conformer aux exigences fédérales relatives à la sécurité.
Selon le cas, l'indice de qualite est indiqued sur le flanc du pau, entre I'epaulement de la bande de roulement et la largeur de section maximale du pau. Par exemple :
Usure de la bande de roulement
L'indice d'usure de la bande de roulement est une estimation comparative établie en fonction du taux d'usure du pau testé dans des conditions contrôlées, sur des parcours d'essay conformes aux normes gouvernementales. Par exemple, un pau dont l'indice est 150 aura une résistance à l'usure une fois et demie (1 1/2) supérieure, sur la piste d'essay gouvernementale, à un pau dont l'indice est 100. Cependant, cet indice est tout a fait relatif : la performance du pau dépend des conditions de conduite réelles et peut varier considérablement selon les habitudes de conduite, les pratiques en matière d'entretien, l'état de la route et les conditions climatiques.
TractionssAA,A,BetC
Les indices d'adherence, du plus élevé au plus bas, sont AA, A, B et C. Ces indices représentent la capacité du pneu de s'arrêter sur une chaussee mouillée dans des conditions contrôlees sur des surfaces d'essai d'asphalte et de béton. Un pneu portant l'indice C peut avoir une adhérence médiocre.
A VERTISSEMENT
L'indice d'adhérence des pneus de votre vehicule a été établi à partir d'essais d'adhérence lors d'un freinage en ligne droite et il ne comprend pas les caractéristiques d'accélération, de virage, d'aquplanage ou d'adhérence de pointe.
Température A, B et C
Les indices de température sont A (la plus élevée), B et C. Ils représentent la résistance d'un peu à la chaleur et sa capacité à dissiper la chaleur lorsque mis à l'essay dans des conditions spécifiques contrôlées en laboratoire. Des températures élevées constantes peuvent cause une dégradation du matériel du peu et réduire la durée de vie du peu. Des Températures trop élevées peuvent entraîner une crevaison. L'indice C correspond au rendement minimal des pheus de voitures de tourisme exigé, conformément à la norme fédérale n^0 109 concernant la sécurité
des vehicules automobiles. Les indices A et B représentent un rendement plus élevé que le minimum exigé par la loi, lors d'essais réalisés en laboratoire.
AVERAGEMENT
L'indice de température pour ce type de pneus est établi en fonction d'un pneu correctement gonflé et sans surcharge. Des conditions extrêmes telles que des vitesses excessives du vehicule, un sousgonflage des pneus ou une charge excessive, prises séparément ou combinées, peuvent provoquer l'échauffement et la défaillance des pneus.
Votre vehicule INFINITI est couvert par les garanties du dispositif antipollution suivantes :
Aux États-Unis
- Garantie contre les défauts du dispositif antipollution
- Garantie de fonctionnement du dispositif antipollution
Les détails de ces garanties, ainsi que les autres garanties applicables au vehicule, sont fournis dans le Livret d'information sur la garantie livre avec votre vehicule INFINITI. Si vous n'avez pas reçu ce livre ou si vous l'avez perdu, écrire à l'adresse suivante pour enutenir un :
- INFINITI Division
Service de la protection du consommateur Boite postale 47038
Gardena, Californie, ETATS-UNIS 90247-6838
DEFAUTS COMPROMETTANT LA SÉCURITÉ (E.-U. seulement)
PREPARATION AUX CONTROLES D'INSPECTION ET D'ENTRETIEN
Au Canada
Garantie du système antipollution
Les détails de ces garanties, ainsi que les autres garanties applicables au vehicule, sont fournis dans le Livret d'information sur la garantie livre avec votre vehicule INFINITI. Si vous n'avez pas reçu ce livre ou si vous l'avez perdu, écrire à l'adresse suivante pour enutenir un :
- Nissan Canada Inc. 5290 Orbitor Drive Mississauga (Ontario) L4W 4Z5
Si vous craignez qu'une défectuosité de votre vehicule puisse entraîner un accident, des blessures ou la mort, informez-en immédiatement la National Highway Traffic Safety Administration (NHTSA) et INFINITI.
Si la NHTSA recoit des plaintes similaires, elle peut ouvrir une enquête, au terme de laquelle elle peut ordonner le lancement d'une campagne de rappel et de service, si elle détermine qu'un défaut compromettant la sécurité touche un groupe de vehicules. Toutefois, la NHTSA ne peut pas intervenir dans le cas d'un différend entre le client et son concessionnaire ou INFINITI.
Pour communiquer avec la NHTSA,appelez sans fais la ligne directe sur la sécurité automobile au 1888327-4236, ou ecriviez a l'adresse suivante:NHTSA,U.S.Department of Transportation,Washington,D.C.,ETATS-UNIS 20590.Laligne directe permet egressement d'obtenir d'autres renseignements relatifs à la sécurité automobile.
Vou puevez avertir INFINITI de tout probleme concernant votre vehicule en communiquant sans frais avec le Service de la protection du consommateur, au 1-800-662-6200.
A Hawai, composez le 1 808 836-0888.
La réglementation de certaines provinces canadiennes et de certains États américain exige que votre vehicule soit en condition « prét » pour les contrôles d'inspection et d'entretien du dispositif antipollution.
Le vehicule est en condition « prét » après certains types de cycle de conduite. En général, la condition « prét » est obtenue lors de l'utilisation normale du vehicule.
Si un composant du groupe motopropulseur est réparé ou si la batterie est débranchée, le vehicule peut être réinitialisé à une condition « non prét ». Avant le contrôle d'inspection et d'entretien, conduissez le vehicule comme suit pour vous assurer qu'il est en condition « prét ». Si vous ne pouvez pas ou ne foulez pas le faire, un concessionnaire INFINITI peut se charger de le faire pour vous.

AVERTISSEMENT
Conduisez toujours d'une façon sécuritaire et prudente selon la circulation routière et respectez en tout temps les règlements du code de la route.
- Demarrez le moteur lorsque l'aiguille de l'indicateur de températe du liquide de refroidissement est sur C. Laissez le moteur tourner au ralenti jusqu'à ce que l'aiguille de l'indicateur soit entre C et H (température normale de fonctionnement).
- Accélérez jusqu'à 88 km/h (55 mi/h), puis relâchéz soudainement la pedale d'accélérateur; n'appuyez pas sur la pedale pendant au moins six secondes.
- Appuyez rapidement sur la pedale d'accelerateur pendant un moment, puis conduisez le vehicule à une vitesse de 86 à 96 km/h (53 à 60 mi/h) pendant au moins cinq minutes.
- Arrétez le vehicule.
- Accélérez jusqu'à 55 km/h (35 mi/h) et maintenez cette vitesse pendant 20 secondes.
- Repetez les étapes 4 et 5 au moins trois fois.
- Accélérez jusqu'à 88 km/h (55 mi/h) et maintenez cette vitesse pendant au moins trois minutes.
-
Arrêtez le vehicule. Placez le levier selecteur de boite de vitesses en position P (stationnement) ou N (point mort).
-
Coupez le contact.
-
Repetez les étapes 1 à 8 au moins une fois de plus.
S'il y a eu une interruption entre les étapes 1 à 7, repêzez l'objet precedant l'interruption. Tout mode de conduite sécuritaire est acceptable entre les étapes. N'arrêtez pas le moteur tant que l'objet 7 n'est pas complétée.
POUR COMMANDER LE MANUEL DU CONDUCTEUR OU LE MANUEL DE RÉPARATION
Un manuel de réparation INFINITI d'origine est la meilleure source d'information pour l'entretien et la réparation de votre vehicule. Le manuel contient les schémas électriques, les illustrations et toutes les étapes détaillées des procédés de diagnostic et de réglage. Ce manuel est également utilisé par les techniciens formés en usine qui travaillent chez votre concessionnaire INFINITI. Des manuels du conducteur d'origine INFINITI ainsi que des manuels de réparation et du conducteur d'origine INFINITI pour des vehicules INFINITI plus anciens sont également disponibles.
Aux Etats-Unis
Pour connaître les prix courants et la disponibilité des manuels de réparation INFINITI d'origine à partir de l'année-modèle 2000, communiquez avec :
Pour connaître les prix courants et la disponibilité des manuels de réparation INFINITI d'origine pour les années-modeles 1999 et antérieures, adressez-vous à un concessionnaire INFINITI ou communiquez avec :
DDS Distribution Service, Ltd.
20770 Westwood Road
Strongsville, OH, ETATS-UNIS 44136
1800 247-5321
Pour obtenir les prix courants et la disponibilité des Manuels du conducteur INFINITI d'origine pour l'année-modèle 2004 et les modèles antérieurs, consultez un concessionnaire INFINITI ou communiquez avec :
DDS Distribution Service, Ltd.
20770 Westwood Road
Strongsville, OH, ETATS-UNIS 44136
1800 247-5321
Au Canada
Pour acheter un manuel de réparation ou un manuel du conducteur INFINITI d'origine, adressé-vous à votre concessionnaire INFINITI. Pour connaître le numéro de téléphone et l'adresse d'un concessionnaire INFINITI après de votre domicile, veuillez appeler le Centre d'information INFINITI au 1-800-361-4792; un représentant INFINITI bilingue pourra vous renseigner.
Des manuels de réparation et du conducteur INFINITI d'origine pour des vehicules INFINITI plus ancients sont également disponibles.
EN CAS DE COLLISION
Des accidents peuvent se produit. Dans cette éventualité peu probable, il y a certains renseignements importants que vous doivent.
Plusieurs compagnies d'assurance autorisent automatiquement l'utilisation de pieces de réparation autres que des pieces d'origine, et ce, afin de réduire les coûts.
Insistez sur la nécessité d'utiliser des pieces de réparation de carrosserie INFINITI d'origine!
Si vous foulez que votre vehicule soit réparé avec des pieces d'origine fabriquées selon les spécifications rigoureuses d'INFINITI, et si vous foulez que votre vehicule dure et garde sa valeur de revente, la solution est simple. Demandez à votre compagnie d'assurance et à votre atelier de réparation de n'utiliser que des pieces de réparation INFINITI d'origine. INFINITI ne garantit que les pieces INFINITI d'origine, et la garantie ne s'applique pas aux dommages causés par des pieces autres que des pieces d'origine.
L'utilisation de pieces INFINITI d'origine contribue à garantir votre sécurité, à préserver la couverture de votre garantie et à maintainir la valeur de revente de votre vehicule. De même, si vous louez votre vehicule, l'utilisation de pieces INFINITI d'origine peut limiter les frais d'usure inutiles à la fin de leur contrat.
INFINITI conçoit les capots avec les zones de déformation de façon à éviter que le capot déforce le pare-brise en cas d'accident. Les pieces qui ne sont pas d'origine (imitations) risquent de ne pas assurer ces protections intégrées. De plus, les pieces qui ne sont pas d'origine affichent souvent des signes d'usure, de rouille et de corrosion prematurées.
Pourquoi prendre des risques?
Dans plus de 40 États américain, la loi exige que vous soyez informé si des pieces autres que des pieces d'origine sont utilisées pour réparer votre vehicule. Certains États ont même adopté des lois limitant l'utilisation, par les compagnies d'assurance, de pieces qui ne sont pas d'origine lors de la réparation d'un vehicule sous garantie. Ces lois visent à vous protégérer et vous pouvez donc y avoir recours.
C'est-vous droit!
MÉMENTO
10 Index
A
Alimentation Prise d'alimentation. .2-37
Antenne 4-32
Antivol (système antidémarrage du vehicule INFINITI), démarrage du moteur . . .2-25, 5-9
Antivol (système antidémarrage du vehicule Nissan), démarrage du moteur 3-2
Appuie-tete. 1-8
Assistée Direction assistee. .5-51 Liquide de direction assistee. .8-13
Automatique Conduite avec une boite de vitesses automatique. .5-11
Déverrouillage du levier sélecteur de boîte de vitesses . . . . . . . . . . . . . . . . . . . . . . . . . . . . . . . . . . . . . . . . . . . . . . . . . . . . . . . . . . . . . . . . . . . . . . . . . . . . . . . . . . .
Interrupteur automatique de glace
electrique 2-52
Positionneur automatique 3-22
Témoin de position de gamme de la boîte de vitesses automatique .2-20
Avant de démarrer le moteur. .5-10
Avertissement
Coussin gonflable du passager et témoin de fonctionnement 1-25
Témoin de bas niveau de carburant . . .2-17
Témoin de charge de la batterie . . . . . .2-16
Témoin de faible pression des pneus. .2-17
Témoin de frein 2-15
Témoin de frein antiblocage 2-14
Témoin de niveau de lave-glace bas. 2-19
Témoin de portemal fermée. 2-16
Témoin des ceintures de sécurité 2-19
Témoin des quatre roues motrices. 2-17
Avertisseur sonore 2-34
B
Bac de rangement. 2-42, 2-46
Bagages (reportez-vous à Information concernant le chargement du vehicule). . . .9-13
Batterie .8-15 Temoin de charge. .2-16
Boite a gants 2-40
Boite de vitesses Conduite avec une boite de vitesses automatique. .5-11
Déverrouillage du levier sélecteur . . . . .5-15
Bon de commande du manuel de réparation .9-30
Bon de commande du manuel du conducteur .9-30
Bouches d'air 4-14
Bouchon de carburant. .3-16
Boussole electronique. 2-9
Boutons du panneau de commande
Avec système de navigation. 4-2
C
Camera de surveillance arriere. . . . . . . .4-11
Carburant Bouchon de replissage de carburant .3-16
Contenances, carburants et lubricifants recommandés. .9-2
Economie de carburant. .5-42
Jauge de carburant. 2-7
Indice d'octane du carburant 9-4
Trappe du réservoir de carburant . . . . .3-16
Trappe du réservoir de carburant etbouchon de replissage de carburant . .3- 16
Carillons, rappels sonores 2-23
Casier de console. 2-39, 2-45
Catalyseur trifonctionnel. .5-3
Ceinture de sécurité à prétendeur. 1-30
Ceinture de sécurité centrale arrriere 1-42
Ceintures de sécurité
À trois points, avec enrouleur 1-39
Bébes et jeunes enants 1-38
Ceinture de sécurité 1-42
Ceinture de sécurité à prétendeur. 1-30
Ceintures de sécurité. 1-35
Entretien des ceintures de sécurité . . . .1-46
Femmes enceintes 1-39
Personnes blessées 1-39
Précautions concernant l'utilisation des
ceintures de sécurité 1-35
Rallonges de ceinture de sécurité. 1-46
Réglage de la hauteur du baudrier. 1-45
Sécurité des enfants 1-38
Chaine stéreophonique. 4-19
Changeur de disques compacts. 4-26
Commandes de la chaine stéreo à l'arrête. .4-31
Interrupteur de commande de la chaine stéreo du volant de direction 4-29
Radio 4-19
Radio AM/FM/SAT avec changeur de disques compacts .4-23
Changement des vitesses Boite de vitesses automatique. .5-13
Charge (reportez-vous à Information concernant le chargement du vehicule). . . .9-13
Chargeur de disques compacts (Voir Chaine stéropheonique) 4-26
Chauffage Climatisationurarriere .4-18
Commandes du chauffage et du climatiseur. .4-15
Fonctionnement du chauffage. .4-16
Classification uniforme de qualite de pneus .9-27
Clé. 3-2
Climatiseur Climatiseur arriere 4-18
Commandes du chauffage et du climatiseur. .4-15
Étiquette des caractéristiques du climatiseur. .9-12
Entretien du climatiseur. 4-18
Recommendations concernant le frigorigène et la lubrification du climatiseur . . . . . .9-7
Climatiseur arriere 4-18
Commande Commande d'essuie-glace et de lave-glace de pare-brise. 2-26
Commande de dégivreur
Commande de dégivreur de lunette
arrière et de rétroviseur extérieur 2-28
Commande de dégivre du lunette arrête et de rétroviseur extérieur 2-28
Commande de lave-glace Commande de lave-glace et d'essuie-glace de pare-brise. .2-26 Commandes d'essuie-glace et de lave-glace de lunette arrriere. .2-27
Commande de luminosité Planche de bord .2-32
Commande deluminosité du tableau de bord .2-32
Commande des clignotants (reportez-vous à Interrupteur des phares et commande des clignotants) 2-28, 2-32
Commande des rétroviseurs extérieurs . . . .3-21
Commandedesssue-glace et delave-glacedepare-brise. .2-26
Commandes
Climatiseur arrêté 4-18
Commandes de la chaîne stéroy à l'arrière .4-31
Commandes de la chaine stéreo (volant de direction). 4-29
Commandes du chauffage et du climatiseur. .4-15
Commandes de la chaine stéreo à l'arrière. .4-31
Commutateur Commutateur de désactivation du système de sonar arrêté. 2-36
Commutateur de désactivation du système de sonar arrêté . . . . . . . . . . . . . . . . . . . . . . . . . . . . . . . . . . . . . . . . . . . . . . . . . . . . . . . . . . . . . . . . . . . . . . . . . . . . . . . . . . . . . . .
Compartment de rangement de lunettes. . .2-41
Comptes-tours. 2-6
Compteurjournalier. 2-5
Compteur kilométrique. 2-5
Conduite Conduite avec une boite de vitesses automatique. .5-11
Conduite par temps froid. .5-57
Précautions à prendre lors du démarrage et de la conduite . . . . . . . . . . . . . . . . . . . . . . . . . . . . . . . . . . . . . . . . . . . . . . . . . . . . . . . . . . . . . . . . . . . . . . . . . . . . . . . . . . . .
Conduite par temps froid. .5-57
Contacteur
Réglage de la convergence des phares. .2-31
Contacteur d'allumage. .5-8
Contenances, carburants et lubricifants
recommendés. .9-2
Courroies d'entrainment 8-16
Courroies (reportez-vous à Courroies d'entrainment) .8-16
Coussin gonflable (reportez-vous à Dispositif de protection complémentaire) 1-14
Coussins gonflables Avant (voir Coussins gonflables avant) . .1- 23
Coussins gonflables avant 1-23
Coussins gonflables avant (voir Dispositif de protection complémentaire) 1-23
Coussins gonflables latraux (voir Coussins gonflables latraux et rideau gonfable contre le renversement) 1-28
Crochet de placement de carbette .7-4
Crocket pour bagages. 2-47
Crochets Crochet pour bagages. .2-47
D
Défauts compromettant la sécurité (É.-U.) .9-29
Dégagement d'un vehicule immobilisé. .6-14, 7-2
Démarriage
Avant de démarrer le moteur. .5-10
Demarrage du moteur .5-10
Demarrage en poussant .6-10
Demarrage-secours .6-8
Précautions à prendre pour le démarrage et la conduite . . . . . . . . . . . . . . . . . . . . . . . . . . . . . . . . . . . . . . . . . . . . . . . . . . . . . . . . . . . . . . . . . . . . . . . . . . . . . . . . . .
Demarrage en poussant .6-10
Demarrage-secours .6-8
Detresse Etiquettes d'advertissement (pour SRS) .1-32
Interrupteur de feu des detresse. 2-33
Système de sécurité du vehicule 2-23
Témoin de coussin gonflable 1-33, 2-19
Témoins et rappels sonores 2-13
Déverrouillage de la porte arrête 3-15
Déverrouillage du capot 3-11
Déverrouillage du levier de vitesse 5-15
Dimensions des roues et des pneus 9-9
Dimensions et poids 9-9
Dimensions et poids du vehicule 9-9
Direction Direction assistée. .5-51
Liquide de direction assistée. . . . . . .8-13
Volant inclinable. 3-18
Dispositif de protection complémentaire
Précautions à propos du dispositif de
protection complémentaire. 1-14
Etiquettes d'avertissement et d'information 1-32
Dispositif de protection complémentaire (coussins gonflables). 1-14
Dispositif de retenue pour enfant avec sangle d'ancrage supérieure 1-66
Dispositifs de retenue pour infant .1-38, 1-47, 1-64
Emplacements des points d'ancrage pour la sangle d'ancrage supérieur 1-67
Précautions relatives aux dispositifs de retenue pour enfant. 1-47
Dispositifs de retenue pour infant ISOFIX . .1-64
E
Éclairage
Ampoules . .8-28
Coussin gonflable du passager et témoin de fonctionnement. 1-25, 2-21
Eclairage interieur. 2-55
Feu de freinage (reportez-vous à Feu d'arrêt). . . . . . . .8-29
Interrupteur des phares et commandedes clignotants. .2-28
Lampes de lecture 2-56
Lampes individuelles .2-56
Remplacement d'ampoule . .8-29
Témoin de charge. 2-16
Témoin de niveau de lave-glace bas. 2-19
Témoin de sécurité. 1-25, 2-21
Témoins et rappels sonores . . . . . . . . . . . . . . . . . . . . . . . . . . . . . . . . . . . . . . . . . . . . . . .
Vérification d'ampoule/tableau de bord. .2-14
Éclairage de l'aire de chargement. . . . . . .2-57
Eclairage interieur. 2-55
Economie de carburant. .5-42
Écouteurs (voir Système audiovisuel mobile INFINITI) 4-36
Écran (voir Système audiovisuel mobile INFINITI). 4-35
Electrique
Déflecteurs d'air électriques 2-52
Glaces arriere electriques .2-51
Glaces électriques 2-50
Verrouillage electrique des portes. 3-4
Etiquette d'avertissement de SRS. 1-32
Étiquette de renseignements importants sur le vehicule. .9-11
Étiquette d'homologation FMVSS . . . . . .9-11
Etiquette d'information du dispositif antipollution. .9-11
Etiquettes
Etiquette des caractéristiques du climatiseur. .9-12
Étiquette d'homologation F.M.V.S.S. 9-11
Etiquette d'information du dispositif antipollution. .9-11
Étiquettes d'ajretissement (pour SRS) . .1-32
Numéro de série du moteur 9-11
Plaque de numero d'identification du vehicule (NIV) .9-10
Étiquettes d'ajretissement concernant . . . .1-32
Étiquettes d'avertissement concernant les coussins gonflables. 1-32
Emplacement des points d'ancrage. 1-67
Entretien
A l'extérieur du vehicule . .8-3
A l'intérieur du vehicule .8-4
Entretien des ceintures de sécurité . . . .1-46
Entretien general. .8-3
Précautions d'entretien 8-5
Sous le capot et sous le vehicule . . . . . .8-4
F
Entretien du climatiseur. 4-18
Entretien et nettoyage des disques compacts .4-29
Entretien general. 8-3
Essuie-glaces Balais d'essuie-glace. .8-20 Commande d'essuie-glace et de lave-glace de pare-brise .2-26 Interrupteurs d'essuie-glace et de lave-glace de lunette arriere .2-27
Feud'arrêt. .8-29
Feux de détresse (reportez-vous à Interrupteur des feuels de détresse). 2-33
Filetd'arrimage. .2-48
Fils-fusibles .8-25
Filtre de boitier de filtrer a air. .8-18
Fonctions dynamiques du vehicule (VDV). .5-54 Freins
Assistance au freinage (du Regulateur de vitesse adaptatif) .5-39
Circuit de freinage 5-51
Feu de freinage (reportez-vous à Feu d'arrêt). . . . . . . .8-29
Freins auto-reglables. .8-23
Indicateurs d'usure de frein. . . . .2-23, 8-23
Liquide de frein . .8-13
Pédale de frein 8-23
Servofrein .8-24
Système antiblocage (ABS) 5-52
Témoin de frein 2-15
Utilisation du frein de stationnement. . . .5-16
Vérification du frein de stationnement. . .8-23
Freins auto-reglables. .8-23
Fusibles 8-24
G
Garantie relative au disposifit antipollution. .9-28
Gaz d'échéppement (Oxyde de carbone) 5-2
Glaces Deflecteurs d'air electriques. 2-52
Glaces arriere electriques .2-51
Glaces electriques .2-50
Verrouillage des glaces cote passagers. .2-51
Glaces arriere electriques 2-51
H
Hayon vitre .3-16
Huile Changement du filtré à huile. . . . . . . .8-12
Contenances, carburants et lubricifants recommandés. .9-2
Huile moteur .8-9
Recommendations concerning l'huile moteur et le filtré à huile 9-5
Vérification du niveau d'huile moteur . . . .8-9
Vidange d'huile moteur. .8-10
Viscosité de l'huile moteur. .9-5
1
Identification du vehicule. .9-10
Immaticulation du vehicule à l'étranger. . . .9-10
Indicateur de températe
Indicateur de températe du liquide de refroidissement. 2-6
Indicateur de vitesse. 2-5
Indicateurs
Comptes-tours. 2-6
Compteurjournalier.2-5
Compteur kilométrique. 2-5
Indicateur de températe du liquide de refroidissement. 2-6
Indicateur de vitesse. 2-5
Jauge de température de l'huile pour boîte de vitesses automatique. 2-8
Manometre de pression d'huile moteur. . .2-7
Niveau de carburant 2-7
Voltmetre 2-8
Indice d'octane (reportez-vous à Indice d'octane du carburant). .9-4
Information concernant le chargement du vehicule .9-13
Instruments et jauges 2-4
Instruments et indicateurs de bord Commande de luminosite du tableau de bord. .2-32
Interrupteur
Interrupteur de dégivreur de lunette arrière et des rétroviseurs extérieurs. 2-28
Interrupteur de neutralisation de contrôle dynamique du vehicule. .2-35
Interrupteur de verrouillage électric des portières. .3-4
Interrupteur des phares antibrouillard . . .2-33
Interrupteur des phares automatique 2-29
Interrupteur des phares et commande des clignotants 2-28
Interrupteur de commande du système audio
du volant de direction. 4-29
Interrupteur de deux de détresse. 2-33
Interrupteur de neutralisation de contrôle
dynamique du vehicule. 2-35
Interrupteur des phares antibrouillard . . . . .2-33
Interrupteur des phares automatique 2-29
Interrupteur des phares et commande des
clignotants. 2-28
Interrupteur du mode de remorquage. . . . .2-36
Interrupteurs
Contacteur d'allumage. .5-8
Interrupteur automatique de glace
electrique 2-52
Interrupteur de feu des detresse. 2-33
Interrupteurs d'essuie-glace et de
lave-glace de lunette arriere . 2-27
Interrupteurs d'essuie-glace et de lave-glace
de lunette arriere .2-27
J
Jauge de température de l'huile pour boîte de
vitesse automatique. 2-8
L
Lampes de lecture 2-56
Lampes individuelles. 2-56
Liquide de refroidissement
Changement du liquide de
refroidissement. .8-9
Contenances, carburants et lubriciants
recommendés. 9-2
Indicateur de température du liquide de
refroidissement. 2-6
Vérification du niveau de liquide de
refroidissement . 8-8
Liquides
Contenances, carburants et lubriciants
recommendés. 9-2
Huile moteur .8-9
Liquide de direction assistée. .8-13
Liquide de frein .8-13
Liquide de refroidissement. 8-8
M
Manometre de pression d'huile moteur. 2-7
Microfiltred'habitacle. .8-18
Miroir de courtoisie. .3-20
Miroirs
Miroir de courtoisie. .3-20
Montre. 2-37
(modules avec dispositif d'aide à la
navigation) 4-9
(modules sans dispositif d'aide à la
navigation). 2-36
Moteur
Avant de démarrer le moteur. . . . . . . .5-10
Changement du filtré à huile . . . . . . . .8-12
Changement du liquide de
refroidissement. .8-9
Circuit de refroidissement du moteur . . . .8-8
Contenances, carburants et lubriciants
recommendés. 9-2
Demarrage du moteur .5-10
Huile moteur .8-9
Indicateur de température du liquide de
refroidissement. 2-6
Numéro de série du moteur 9-11
mateur et le filtré à huile 9-5
Specifications du moteur 9-8
Verification du niveau de liquide de
refroidissement. .8-8
Vérification du niveau d'huile moteur . . . .8-9
Vidange d'huile moteur. .8-10
Viscosité de l'huile moteur. 9-5
N
Nettoyage de l'intérieur et de l'extérieur du vehicule . . . . . . . . . . . . . . . . . . . . . . . . . . . . . . . . . . . . . . . . . . . . . . . . . . . . . . . . . . . . . . . . . . . . . . . . . . . . . . . . . . . .
Numéro d'identification du vehicule (NIV) (Numéro du chassis). .9-10
0
Ouvre-porte de garage, telecommande universelle Homelink® 2-57
P
Pare-soleil. .3-19
Période de rodage 5-42
Phares
Interrupteur des phares antibrouillard . . .2-33
Phares de jour (Canada seulement). 2-31
Phares, réglage de la convergence 2-31
Plaque de numero d'identification du vehicule (NIV). .9-10
Plaque d'immatriculation Installation de la plaque d'immatriculation 9-12
Plateau derangement 2-39
Pneu à plat . .6-2
Pneus
Chaines antidérapantes .8-40
Classification uniforme de qualités de
pneus .9-27
Dimensions des roues et des pneus . . .9-9
Étiquette des pneus 9-12
Permutation des pneus. .8-40
Pneu à plat . 6-2
Pression des pneus. .8-33
Rouede secours. .6-4
Roues et pneus. .8-33
Types de pneus. .8-39
Poids (reportez-vous à Dimensions et poids) .9-9
Porte arrriere. .3-11
Porte-bagages 2-49
Porte-bagages (reportez-vous à Portebagages de toit) .2-49
Portetasses. 2-43
Positionneur, automatique 3-22
Pour commander le manuel du conducteur ou le manuel de réparation. .9-30
Précautions
Précautions à prendre pour le démarriage et la conduite 5-2
Précautions à propos du dispositif de protection complémentaire 1-14
Précautions concernant l'utilisation des ceintures de sécurité 1-35
Précautions de conduite sur route et hors route. .5-3
Précautions d'entretien 8-5
Précautions relatives aux dispositifs de retenue pour enfant. 1-47
Préparation aux contrôles d'inspection et d'entretien. .9-29
Pression des pneus Témoin de basse pression des pneus. .2-17
Protection contre la corrosion. 7-5
R
Radio Changeur de disques compacts. .4-26
Commandes de la chaine stéreo à l'arrête. .4-31
Interrupteur de commande de la chaine stéréo du volant de direction 4-29
Telephone de voiture ou radio BP . . . . .4-43
Range-lunettes 2-41
Range-lunettes de soleil .2-41
Rangement 2-39
Compartment de rangement de pavillon. 2-42
Rangement des bagages (consultez l'information concernant le chargement du vehicule). 2-46
Rappels sonores 2-23
Réduction de la consommation de carburant 5-42
Réglage de la convergence, phares. 2-31
Réglage de la hauteur du baudrier. 1-45
Réglage de position de la pédale 3-18
Réglage de position de pédale 3-18
Réglage des sièges
Banquettes de la deuxième rangée. . . .1-6
Fauteuil capitaine de la第二种e rangée. .1-4
Réglage des sièges avant à réglage
électrique. . . .1-3
Réglage du fauteuil capitaine (2e rangée) . . .1-4
Réglage du fauteuil capitaine de la deuxième rangée. 1-4
Regulateur de vitesse. 5-17
Régulateur de vitesse adaptatif Assistance au freinage. .5-39
Rétroviseur anti-éblouissement interieur automatique. .3-20
Rétroviseurs
Commande des rétroviseurs extérieurs. .3-21
Rétroviseur anti-éblouissement interieur automatique .3-20
Retroviseursextérieurs. .3-21
Rétroviseurs extérieurs 3-21
Recommendations concernant le réfrigérant. .9-7
Remorquage Modèles à deux roues motrices. . . . . .6-13
Modèles à quatre roues motrices . . . . .6-14
Remorquage à l'aide d'une dépanneuse. .6-12
Remorquage du vehicule avec les quatre roues. .9-26
Remorquage d'une remorque 9-17
Tableau des caractéristiques/charges de remorquage . . . . . . . . . . . . . . . . . . . . . . . . . . . . . . . . . . . . . . . . . . . . . . . . . . . . . . . . . . . . . . . . . . . . . . . . . . . . . . . . . . . .
Remplacement d'ampoule . .8-29
Remplacement de la pile (reportez-vous à Systeme de verrouillage/déverrouillage sans clé à télécommande) .3-9, 8-27
Remplacement des bougies d'allumage 8-17
Rideaux gonflables lateraux et coussin gonflable contre le renversement 1-28 Roues et pneus .8-33
s
Sécurité
Ceintures de sécurité pour enfants . . .1-47
Défains compromettant la sécurité
(E.-U.) . . .9-29
Verrouillage de portière arrêté à dispositif de sécurité pour enfant . . .3-5
Serrures Serrures de portiere .3-3 Verrouillage de portiere arrriere a disposifit de sécurité pour enfant .3-5 Verrouillage electrique des portes. .3-4
Serrures de portiere .3-3
Sièges Positionneur automatique .3-22 Réglage .1-2 Sièges avant .1-2 Sièges chauffants. 2-34
Sièges avant .1-2
Sièges chauffants.2-34
Stationnement Stationnement/stationnement en pente.5-50
Utilisation du frein de stationnement.5-16
Vérifiguration du frein de stationnement.8-23
Surchauffe Si notre vehicule surchauffe .6-11
Système LATCH (ancrages et fixations inférieures pour siège d'enfant) .1-64
Système antiblocage (ABS) .5-52
Système antidémarrage .3-2,5-9
Système antidémarrage du vehicule INFINITI. .2-25, 5-9
Système antidémarrage du vehicule Nissan .3-2
Système audiovisuel mobile INFINITI 4-33
Système d'alarme (reportez-vous à Système de sécurité du vehicule) 2-23
Système d'advertissement de faible pression des pneus. 5-4
Système de sécurité (système antidémarrage du vehicule INFINITI), démarrage du moteur . . .2-25, 5-9
Système de sécurité du vehicule. .2-23, 2-25, 5-9
Système de sécurité du vehicule (système antidémarrage du vehicule Nissan), démarrage du moteur. .3-2
Système de sécurité (système antidémarrage du vehicule Nissan), démarrage du moteur. .3-2
Système de verrouillage/déverrouillage sans clé à télécommande. .3-5
Système de verrouillage/déverrouillage sans clé à télécommande (reportez-vous à Système d'entrée sans clé à télécommande). .3-5
T
Tableau de bord . . . . . . . . . . . . . . . . . . . . . . . . . . . . . . . . . . . . . . . . . . . . . . . . . . . . . . . . . Télecommande Télecommande universelle HomeLink®.2-57
Telekommande universelle HomeLink® 2-57
Telekommande (voir Système audiovisuel mobile INFINITI). 4-35
Telephone de voiture ou radio BP . . . . . . .4-43
Témoin
Témoin de coussin gonflable . . .1-33, 2-19
Témoin de faible pression des pneus . . .2-17
Témoin d'anomalie du moteur (reportez-vous à
Témoin d'anomalie). .2-21
Témoin d'anomalie (MIL) .2-21
Témoin de bas niveau de carburant. 2-17
Témoin de coussin gonflable. 1-33, 2-19
Témoin de faible pression des pneus . . . . .2-17
Témoin de niveau de lave-glace bas. . . . . .2-19
Témoin de portière ouverte. 2-16
Témoin de sécurité. 1-25, 2-21
Témoin des ceintures de sécurité . . . . . . . . . . . . . . . . . . . . . . . . . . . . . . . . . . . . . . . . . . . . . . . . . . . . . . . . . . . . . . . . . . Témoin des freins antiblocage . . . . . . . . . . . . . . . . . . . . . Témoin des anticoagulants.
Témoin des quatre roues motrices. 2-17
Témoin du coussin gonflable 1-33, 2-19
Témoins d'alerte. .2-13
Témoins et rappels sonores (reportez-vous à
Témoins et rappels sonores). .2-13
Toit ouvrant 2-53
V
Vérification d'ampoule/tableau de bord. . . .2-14 Verrouillage
Déverrouillage de la porte arrête 3-15 Verrouillage de portière arrêté à dispositif de sécurité pour infant 3-5
Videodisque numérique (DVD). .4-33
Vide-poches. .2-41
Vide-poches de dossier de siège 2-42 Volant inclinable. .3-18 Voltmetre .2-8
Voyages ou immatriculation du vehicule à l'étranger .9-10
Voyages (reportez-vous à Immatriculation de
votre vehicule a I'etranger) .9-10
MÉMENTO
INFORMATION POUR STATIONS- SERVICE
CARBURANT RECOMMANDÉ :
Utilisez un supercarburant sans plomb à indice d'octane de 91 ou plus (indice d'octane recherche de 96).
S'il vous est impossible de vous procurer du supercarburant, vous pouvez utiliser de l'essence ordinaire sans plomb à indice d'octane de 87 ou plus (indice d'octane recherche de 91) en tenant compte toute fois des précautions suivantes :
ne replissee le réservoir que partiellement avec de l'essence ordinaire sans plomb, puis ajoutez-y du super sans plomb ds que possible;
- évitez la conduite à pleins gaz et les accéléations brusques.

ATTENTION
- L'utilisation de carburant autre que celui qui est prescrit pourrait nuire au fonctionnement du dispositif antipollution et avoir une incidence sur la couverture offerte par la garantie.
- N'utilisez en aucune circonstance de l'essence au plomb dans votre vehicule car vous pourriez endommager le catalyseur trifonctionnel.
Consultez la rubrique « Contenances et carburants/lubrifiants recommends » du chapitre « Données techniques et information au consommateur » pour obtenir plus de détails à ce sujet.
HUILE MOTEUR RECOMMANDEE
- Marque d'homologation API
- Catégorie SL de l'API, à économie d'énergie
- Categorie GF-III de l'ILSAC
- 5W-30 de viscosité recommende
Consultez la rubrique « Recommendations relatives à l'huile moteur et au filtré à huile » du chapitre « Données techniques et information au consommateur » dans leprésent manuel.
PRESSION DE GONFLAGE DES PNEUS À FROID
Voir l'étiquette des pneus et d'information sur la charge.
MÉTHODE DE RODAGE RECOMMANDÉE POUR UN VÉHICULE NEUF
Pendant les premiers 2000 km (1 200 mi) d'utilisation du vehicule, suivez les recommendations décrites sous la rubrique « Période de rorage » du chapitre « Démarriage et conduite » dans leprésent manuel. Ces recommandations assureront la fiabilité et l'économie d'utilisation de votre vehicule neuf. Si vous ne suivez pas ces recommandations, vous pouriez provoquer des dommages à votre vehicule ou réduire la vie utile de votre moteur.

WGS0021
- Liquide de refroidissement 8-8
- Batterie 8-15
- Liquide de direction assistée 8-13
- Huile pour boite de vitesses automatique 8-12
- Chauffage et climatisation 4-15; chaîne stéréophonique 4-19
- Coussin gonflable côte passager 1-14
- Roue de secours 6-2
- Serrure de portiere arriere 9-13
- Bouchon de replissage de carburant 3-16; recommendations concernant le carburant 9-3
- Ceintures de sécurité 1-35
- Serrures de portière 3-3
- Coussin gonflable du conducteur 1-14
- Déverrouillage du capot 3-11
- Instruments et indicateurs de bord 2-4
- Liquide de frein 8-14
- Huile moteur 8-9
- Liquide de lave-glace 8-14
Notice Facile