MCE5626.1E - Plaque de cuisson JUNO - Notice d'utilisation et mode d'emploi gratuit
Retrouvez gratuitement la notice de l'appareil MCE5626.1E JUNO au format PDF.
| Type d'appareil | Plaque de cuisson |
| Nombre de foyers | 4 |
| Type de foyer | Électrique |
| Commande | Manuelle |
| Matériau de la surface | Verre céramique |
| Dimensions (L x P) | Non précisé |
| Puissance totale | Non précisé |
| Sécurité | Arrêt automatique |
| Indicateur de chaleur résiduelle | Oui |
| Couleur | Noir |
| Installation | Encastrable |
| Type d'alimentation | Électrique |
| Compatible avec batterie de cuisine | Standard |
| Garantie | Non précisé |
| Accessoires inclus | Non précisé |
FOIRE AUX QUESTIONS - MCE5626.1E JUNO
Questions des utilisateurs sur MCE5626.1E JUNO
0 question sur cet appareil. Repondez a celles que vous connaissez ou posez la votre.
Poser une nouvelle question sur cet appareil
Téléchargez la notice de votre Plaque de cuisson au format PDF gratuitement ! Retrouvez votre notice MCE5626.1E - JUNO et reprennez votre appareil électronique en main. Sur cette page sont publiés tous les documents nécessaires à l'utilisation de votre appareil MCE5626.1E de la marque JUNO.
MODE D'EMPLOI MCE5626.1E JUNO
Instructions de montage et d'utilisation
D
GB
F


Instructions de montage et d'utilisation
Français 15-21
Vue d'ensemble des plaques de cuisson 22/23
Instructions à respecter et à conserver.

Réglettes à douille sur l'objet de commande Attention! Les couleurs de fiches doivent correspondre à celles des réglettes à douille! Aucune inversion n'est tolérée!

*Quand les fiches sont disponibles

Instructions de montage et de branchement électrique
Le branchement électrique doit être réalisé par un professionnel qualifié connaissant parfaitement les prescriptions de pose pour se conformer aux normes courantes (Allemagne: VDE, Autriche: OVE, Suisse: SEV, France: NF etc....). Il est particulièrement recommendé de respecter strictement ces prescriptions ainsi que le règlement locale en matière d'installations electriques. L'appareil doit être équipé avec une installation séparatrice effective sur tous les pôles avec une ouverture de contact de 3 mm sur place.
Il est indispensable également de se conformer aux instructions de montage du four à encastrer ou du tableau de commande combiné à la table de cuisson.
Respecter les consignes suivantes:
① Contrôler la conformité des éléments chauffants et la puissance connecté au four ainsi qu'au tableau de commande.
Les renseignements nécessaires au montage figurent sur la plaque fixée à la partie inférieure de l'appareil et au verso de cette instruction.
L'iso1ation des éléments sous tension et des éléments neutres doit etre assurer en cours de montage, par exemple en installing un fond intermediaire.
② Les tables de cuisson ou tables vitro-céram à fiches individuelles sont branchées au tableau de commande par des règlettes à douille de coloris distincts.
Les tables de cuisson ou tables vitro-céram avec fiche groupée ne doivent être branchées qu'à la douille correspondante sur le tableau de commande (voir ill.).
Conseils de sécurité
En cas d'anomalie, de bris, d'éclat ou de fissure quelconques,mettre immediatement l'appareil «hors tension»,c'est-à-dire,le débrancher en retardant les fusibles correspondants du coupe-circuit blinde.


Instructions de montage pour éviers combinés
- Le four ou le sous-meuble doit être mis à niveau et glissé, avec la table de cuisson en place, sous l'évier combiné ou le plan de travail jusqu'à ce qu'il soit parfaitement dans l'alignement des autres meubles.
- A l'avant de la table de cuisson de l'évier combiné se trouve un rail de fixation régiable vers l'avant ou vers l'arrière. Il est muni de trous pour être assemblé avec le bandeau de fixation métallique, par dessus du boîtier de branchement au four, à l'aide des vis jointes à l'appareil.
L'évier combiné est mis de niveau à l'aide de la cornière d'appui frontale à hauteur régable. La cornière doit reposer exactement sur la paroi latérale du four ou du sous-meuble.
- Il faut alors vérifier et corriger la position de plaques de cuisson à l'aide du niveau à bulle. S'il n'est pas installé de four ou de tableau de commande sous la table de cuisson, il est nécessaire de laisser un vide de 5cm sous les plaques de cuisson, par exemple en montant un fond intermédiaire. Les cables doivent être posés de manière à ne pas risquer d'être endommages ou touchés. Les commandations des normes NF doivent être respectées strictement lors du montage.
Tout tiroir place sous le fond intermédiaire ne doit containir ni bombe aerosol ni tout autre produit inflammable.
Attention!
Les plaques de cuisson et leur environnement chauffent en cours de cuisson. Tenir les enfants éloignés!
Avant mise en service des plaques, se conformer impérativement aux conseils d'utilisation et d'entretien de la notice.



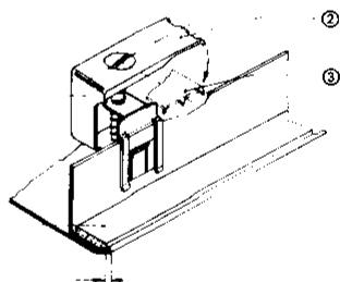
Conseils de montage par patte de fixation
① Poser la table de cuisson dans la découpe du dessus de travail, serrer la vis tout en maintainant la patte de fixation (avec le pouce) à la verticale.
② Serrer les pattes de fixation en croix.
③ Pour les tables de travail en carrelage, charger la dé-coupe avec des fourreaux en bois d'environ 3 mm.
Pour des découvertes circulaires, utiliser des fourreaux en bois de 3 × 25 épaissérud de la table de travail.
Réaliser des découvertes de dimensions supérieures en tenant compte des fourreaux en bois utilisés.
Fixation a agrafes sous la table de cuisson
Engager le crampon dans le plan de travail à légers coupés de marteau et le bloquer.
① = Etrier detension
③ = Position fixée
② = Position lâche
④ = Joint

①


III.1
III. 2


III. 3
Montage et pose des tables et cuisson à encastrer avec plaques de cuisson
Préparatifs à effectuer pour la pose: ill. 1
1. Découpe du plan de travail
Pour les tables de cuisson de forme spéciale,proceder à la découvert en utilisant un gabarit de découvert. Tables de cuisson de forme droite: dimension hors tout-20 mm.
Example:
Dim. table de cuisson = B × T = 580 × 510 ~mm
Découpe plan de travail = B₁ × T₁ = 560 × 490 mm
Les plaques de cuisson doivent toujours être positionnées au centre de l'appareil du dessous. Toujours placer le plan de dépose sur la droite.
Pour des raisons thermiques, prévoir und écart de sécurité d'au-moins 50 mm avec les meubles places juste à côté, p. e. avec les armoires hauteurs. (Découpe du plan de travail.)
Montage et pose des plans de cuisson vitrocéramiques à encastrer
Preparatifs a effectuer pour la pose, ill. 2 + 3
1. Découpe du plan de travail
Pour les tables de cuisson de forme spéciale, proceder à la découvert en utilisant un gabarit de découvert. Tables de cuisson de forme droite: dimensions de découvert comme décrites ci-dessus.
Si la table de cuisson est encastree dans les meubles d'a-cote (voir ill. 2 + 3 ), incorporer également a cet endroit une plaque intermédiaire à au-moins 10~mm . Pour les plans de travail de 40~mm d'épaissur, il n'est pas nécessaire de découvert les parois du sousmeuble. Pour des raisons thermiques, prévoir un écart de sécurité d'au-moins 35~mm avec les meubles places a cotoé, p. e. avec les armoires hautees. (Découpe du plan de travail.)
Ces variantes d'installation sont conformes aux exigences de la classe de feu catégorie Y.
2. Pose de la table de cuisson
Vérifier le bon état de la bande d'étanchéité collée endessous de la table de cuisson et s'assurer qu'elle n'est pas endommagée et qu'elle adhére parfaitement; la repositionner évientuèlement.
Pour les plans de travail revétus de carreaux céramiques, procéder à une étanchéification supplémentaire avec un matériel d'etanchêteSouple.
Il serait bon de sceller également les surfaces de découvertes des tables et foyers de cuisson à encastrer (couche protectrice hydrofuge).
Pour des raisons de sécurité, cette étanchéification supplémentaire est également recommandée pour tous les autres plans de travail.
Placer la table de cuisson dans la découvert de façon à ce que les plaques ou zones de cuisson automatiques se trouvent à l'avant.
Tournier la vis des éléments de fixation vers la droite jusqu'à ce que la griffe s'agrippe dans le plan de travail (ill. 1, page 17).
Utilisation
Avant de la mise en service
Les plaques de cuisson (pas avec les plaques vitro-ceramiques) sans marmites doivent etre branchées chacune a tour de role pendant 3 minutes,thermostat à sa position max. (La couche anti-corrosion fond et degage une legere odeur.) Une durée plus longue n'est pas nécessaire et pourrait endommager les plaques. La lampe temoin indique que l'appareil est en service. Elle rappèle de débrancher I'appareil.
Il ne faut pas utiliser des recipients en matière plastique ou des feuilles d'aluminium.
Table vitro-céram:
L'utilisation de la table vitro-céram est décrite dans votre notice d'emploi du four.
Zone de maintainien au chaud:
La lampe témoin thermique signale les zones de cuisson chaudes et permet également un usage rationnel de l'énergie.
La lampe témoin reste allumé tant qu'une zone est encore chaude et ne s'éteint que lorsqu'elle est à 40^ .
Attention! Four à minuterie:
Si les zones de cuisson automatique sont actionnées par l'intermédiaire d'une minuterie, la lampe témoin thermique s'allume avant, pendant et après le temps de cuisson.
Elle rappelle qu'une cuisson est ou était programmée quand la minutesie a ete programmee sur et quand la temperature des zones de cuisson est descendue a 40^ ,la lampe temoin thermique s'teigne.
Si la table de cuisson est munie d'un interrompeur pour utilisation facultative de la zone à deux cycles, disposez de cet interrompeur avant la mise en service de la zone correspondante. Le règlement et l'interruption s'effectuent moyonnant l'interrompeur du four.
Pour l'utilisateur
Instructions d'utilisation plaques de cuisson ou zones de cuisson
Il ne faut poser sur les plaques de cuisson et les éléments chauffants à rayonnement que des ustensiles de cuisine à fond plat et résistant. Les ustensiles devraient correspondre aux normes DIN 44904.
Des fonds de marmites mal culottés provoquent des temps de cuisson prolongés et une consommation d'énergie supérieur à la normale.
Pour les préparations nécessitant, entre autre, de hautees temperatures de cuisson (par ex.: les fritures), l'usage de marmites à fond plat et épais est recommandé.
La ciisson sans couvercle occasionne la perte plus grande d'énergie et de temps. L'usage du couvercle est donc fortement recommandé.
Les zones de cuisson des plaques vitro-ceramiques sont clairement marqués, et les dimensions des marmites doivent les couvir intégralement.
L'eau salée et les fonds de marmites humides détiertoiren les plaques de cuisson. Les plaques doivent toujours être séches parfaitement.
La lampe témoin s'allume dés qu'une plaque ou élément de cuisson est en fonction.
Conseil
N'oubliez pas que les graisses et huiles surchauffées peuvent flamber. La cuisson d'aliments avec des matieresGRAISSES doit doncetre étroitementsurveillée.
Pour les tables avec plaques de cuisson ou chauffants à rayonnement responsable ou non un four, veiller, lors du branchement d'appareils électriques à la prise de courant du four ou toute autre prise à proximité, à ce que le cable n'entre jamais en contact avec une plaque chaude ou soit pris dans la porte du four chaud.
Attention!
Les plaques de cuisson et leur voisinage chauffent en cours d'utilisation. Il est recommandé de tener les enfants éloignés.




Consignes de sécurité
Pour des raisons de sécurité, ne déposezaucun object sur la plaque et n'utilise pas de recipients en matière plastique ou de la feuille d'aluminium pour la préparation des repas.
En cas de défaillance ou de bris, éclats ou fissures quellesques, la table doit être mise hors circuit, c'est à dire que la table doit être débranchée, par exemple, en retardant les fusibles du coupe-circuit bliné.
La partie inférieure de l'appareil se trouvant sous la zone de maintien à température chauffe également en cours d'utilisation. Il est donc recommandé de n'y stocker aucun objet sensible à la chaleur (par exemple, dans un tiroir).
Charges thermiques et mécaniques
Votre table CERAN résiste aux charges thermiques. Le froid comme la chaleur ne lui occasionne aucun dégât.
Votre table de cuisson vitro-céram ne se détirioreras pas non plus si vous y laissez tomber occasionnellement une grossse marmite. Par contre, la chute d'objets pointus, tels que salière, flacons d'assaisonnement peut être préjudiciable.
Conseils de nettoyage et d'entretien
Evier combiné, table de cuisson
(surface en acier inoxydable)
Pour que la surface en acier inoxydable soit toujours propre, elle doit être nettoyée et entretenue régulièrement. L'éclat de l'acier inoxydable reste intact pendant des années à condition de nettoyer l'évier combiné avec un produit d'entretien spécial inox courant (tel que Stahlfix). Ne pas utiliser des abrasifs.
Verser le produit en petite quantite sur un chiffon bien humide et frottier soigneusement. Rincer avec un torchon mouillé et essuyer avec un torchon doux, sec et absorbant. Les taches d'eau sont évites.
Plaques de cuisson
Pour nettoyer les plaques de cuisson, n'utiliser enaucun cas des objets tranchants ou pointus. Il est recommendé d'essuyer immidiatement tout ecoulement avec un chiffon humide. Si vous utilisez un abrasif, passer ensuite un produit d'entretien (par ex.: Coloelectrol, etc...).
Les contacts à palpeur des plaques automatiques doivent être manipulés avec précaution. En cas de souillure, les net-
toyer soigneusement avec un chiffon légèrement imbibé d'un produit d'entretien pour métaux.
Attention! L'humidite et la saleté ne doivent pénétrer enaucun cas dans les circuits interieurs de la plaque.
Tables de cuisson à encastrer émaillées
Pour ces tables, n'utiliser que des produits d'entretien menagers doux. Jamais d'abrasifs qui pouraient occasionner des rayures dont nous ne pourrions etre tenus pour responsables.
Dans le cadre de leur utilisation quotidienne avec des accessoires durs, des rayures ou des places mates peuvent apparaître. Des éclats d'email peuvent également se produit à l'occasion d'un choc.
De tels incidentes ne peuvent non plus nous etre imputés.
Le dépôt prolongé de taches de fruits sur les surfaces émailles occasionne également des auroëles. Un nettoyage immédiat est donc vivement conseillé.
Tables de cuisson vitro-céram
Nettoyez régulierement la table vitro-céram quand elle est tiède ou froide et évitez la cuisson repétée des souillures.
- Ne pas utiliser de produits rugieux ou agressifs comme ceux employés, par exemple, pour le nettoyage des grilles et des jours, les abrasifs, les éponges à recycler.
- La surface peut également être rayée par le frottement d'une marmite dont le fond est souillé de terre ou de sable à l'occasion du nettoyage de légumes.
- Les casseroles et poèles peuvent compter des fonds à stries ou arêtes occasionnant des rayures ou des traces en glissant à la surface de la table CERAN. Ceci est valable, en particulier, pour les batteries en fonte.
- Tenir éloigné de la surface de cuisson tout ce qui risque de fondre comme le plastique, la feuille d'aluminium et, surtout, le sucre ou les alimentés à base de sucre. Si celui que chose venait a fondre malgré tout, intervenez immédiatement avec une lame de rasoir sur la plaque encore chaude pour éviter d'endommager la surface.
- Les dégats dus au sucre ou aux alimentés sucrés peuvent être évités en passant régulièrement ou occasionnellement, avant manipulation de ce type d'ingredients, un produit à base de silicone (Collo Profi).
Ce dernier dépose sur la table CERAN un léger film silicone, non seulement protecteur, mais brillant lisse, inalterable aux taches d'eau et aux souillures. Ce film protecteur ne résiste, cependant pas indéfiniment aux haute temperatures de la zone de cuisson et il est recommendé de renouveler féquèment l'application du produit.
Nous preconisons, à cet effet:
le papier absorbant ou un chiffon propre une raclette à lame de rasoir un produit nettoyant à base d'alcool comme Stahlfix ou similaire ou un produit à base de silicone (Collo profi)
Suivant le degré de souillure:
- pour les souillures légères, un coup d'éponce humide suffit
- les souillures résistantes et incrustées s'éliminent facilement à la lame de rasoir.
- Les traces de calcaire et d'eau, les taches de graisse et les empreintes de métal se nettoient avec le produit à base de silicone (Collo profi) ou du Stahlfix ou similaire.
Tous ces produits garantissant un bon nettoyage.
Leur utilisation à bon escient conservera à votre surface de cuisson CERAN un aspect irréprochable.
Il est indispensable de faire disparaître totalement toute trace de produit d'entretien par un rincege minutieux (meme si ce n'est pas spécifique sur le mode d'emploi), car tout dépôt subsistant pourrait occasionner des dégats à la cuisson suivante. Terminer en essuyant avec un chiffon sec et propre.
Que faire...?
Si un nettoyant chimique seul ne suffit pas?
Utilisez la raclette à lame de rasoir.
Si des colorations métalliques apparaissent à la longue? C'est que vous n'avez pas utilisé le produit d'entretien adapté. A ce stade, les traces ne pourront être éliminées que difficilement à l'aide du produit alcoolisé ou du Stahlfix.
Si la surface comporte des traces de rayures ou un aspect gaufré?
Ces défauts d'aspect, du à des frottenements répetés ou à des substances fondues, ne disparaitron plus. Mais ils ne modifiient nullement le bon fonctionnement de votre table de cuisson.
Si des taches sombres apparaiscent?
Si le nettoyage avec un produit à base d'alcool s'avere insuffisant, il s'agit vraiemblablement de taches dues à des alterations de revêtements consécutives à l'utilisation de marmites à fond rugueux ou de produits d'entretien inadaptés.
Si une résistance est en surchauffe ou, au contraire, ne chauffe pas assez?
Il s'agit, sans dout, d'une défectuosité du régulateur de température situé en-dessous de la surface de cuisson CERAN.
Adresse-vous au service après-vente du constructeur.
| Kochplatten Kochzonen | Hotplates Cooking zones | Plaques de cuisson Zones de cuisson |
| 1 Kochplatte 18 cm Ø | 1 Hotplate 18 cm diam. | 1 Plaque de cuisson Ø 18 cm |
| 2 Kochplatte 14,5 cm Ø | 2 Hotplate 14,5 cm diam. | 2 Plaque de cuisson Ø 14,5 cm |
| 3 Kochplatte 18 cm Ø | 3 Hotplate 18 cm diam. | 3 Plaque de cuisson Ø 18 cm |
| 4 Kochplatte 14,5 cm Ø | 4 Hotplate 14,5 cm diam. | 4 Plaque de cuisson Ø 14,5 cm |
| 5 Strahlheizkörper 14,5 cm Ø | 5 Radiant heating element 14,5 cm diam. | 5 Élement thermique à rayon Ø 14,5 cm |
| 6 Strahlheizkörper 18 cm Ø | ||
| 7 Strahlheizkörper 26 × 16 cm | 6 Radiant heating element 18 cm diam. | 6 Élement thermique à rayon Ø 18 cm |
| 8 Strahlheizkörper 21 cm Ø | 7 Radiant heating element 26 × 16 cm | 7 Élement thermique à rayon 26 × 16 cm |
| 9 Halogenheizkörper 14,5 cm Ø | ||
| 10 Strahlheizkörper 21/12 cm Ø | 8 Radiant heating element 21 cm diam. | 8 Élement thermique à rayon Ø 21 cm |
| 11 Strahlheizkörper 34 × 14 cm | 9 Halogen heating element 14,5 cm diam. | 9 Élement thermique à l'halogène Ø 14,5 cm |
| 12 Halogenheizkörper 18 cm Ø | ||
| 13 Strahlheizkörper 21 cm Ø | 10 Radiant heating element 21/12 cm diam. | 10 Élement thermique à rayon Ø 21/12 cm |
| 14 Strahlheizkörper 25 × 14 cm | 11 Radiant heating element 34 × 14 cm | 11 Élement thermique à rayon 34 × 14 cm |
| 15 Strahlheizkörper 18/12 cm Ø | ||
| 16 Zusatzschalter | 12 Halogen heating element 18 cm diam. | 12 Élement thermique à l'halogène Ø 18 cm |
| 17 Restwärmeanzeige | 13 Radiant heating element 21 cm diam. | 13 Élement thermique à rayon Ø 21 cm |
| 14 Radiant heating element 25 × 14 cm | 14 Élement thermique à rayon 25 × 14 cm | |
| 15 Radiant heating element 18/12 cm diam. | 15 Élement thermique à rayon Ø 18/12 cm | |
| 16 Additional switch | 16 B换句话说 complémentaire | |
| 17 Residual heat indication | 17 Témoin de la chaleur résiduelle |

















EM 600

EHM 6× 5 / EHM5× 5

Combinaison table de cuisson/évier

EK10×6


Typenschild Type Plate Plaque de type
Voutrouvez ces indications et les
réferences du service après-vente sur
la partie inférieure de l'appareil et au
verso de ces instructions de montage.
Kundendienst
Lorsque you faites appel à notre ServiceAprès-Vente,veuillezdonnerle type exact de votre plaque a encastrer.Cesnumbersontestampillés dans le cadre ci-dessus.
Notice Facile