JSI5462B - Lave-vaisselle JUNO - Notice d'utilisation et mode d'emploi gratuit
Retrouvez gratuitement la notice de l'appareil JSI5462B JUNO au format PDF.
| Type d'appareil | Lave-vaisselle |
| Capacité | 12 à 15 couverts |
| Nombre de programmes | 5 à 7 programmes |
| Consommation d'eau | 10 à 15 litres par cycle |
| Consommation énergétique | Classe A à A++ |
| Niveau sonore | 45 à 50 dB |
| Type d'installation | Encastrable ou pose libre |
| Type de séchage | Condensation |
| Type de commande | Électronique ou mécanique |
| Départ différé | Oui |
| Protection anti-fuite | Oui |
| Dimensions (HxLxP) | Non précisé |
| Poids | Non précisé |
| Couleur | Blanc ou inox |
| Accessoires inclus | Panier à couverts, supports réglables |
FOIRE AUX QUESTIONS - JSI5462B JUNO
Téléchargez la notice de votre Lave-vaisselle au format PDF gratuitement ! Retrouvez votre notice JSI5462B - JUNO et reprennez votre appareil électronique en main. Sur cette page sont publiés tous les documents nécessaires à l'utilisation de votre appareil JSI5462B de la marque JUNO.
MODE D'EMPLOI JSI5462B JUNO
A l'intention de l'utilisateur
3
Description de l'appareil 4
Le bandeau de commandes 5
Mise en service 6
L'adoucisseur d'eau 6
Le produit de rangage 8
Le produit de lavage 9
Chargement de votre apparéil 10
Rangement de la vaiselle 10
Réglage en hauteur du panier supérieur 11
Nos conseils 12
Programmes de lavage 13
Comment faire votre vaisselle 14
Entretien 15
Nettoyage interieur 15
Nettoyage du filtré central 15
Nettoyage du grand filtré 15
Nettoyageextérieur 16
En cas d'absence prolongée 16
Précautions contre le gel 16
Déplacement de l'appareil 16
En cas d'anomalie de fonctionnement 17
Sécurités anti-inondation 18
Service après-vente 18
A l'intention de l'installateur
Instructions pour l'installation 19
Caracteristiques techniques 19
Raccordement d'eau 20
Évacuation d'eau 21
Raccordement électrique 21
Encastrement 22
Ajustement de la hauteur de
I'appareil 22
Application du panneau de porte 23
Installation du protecteur anti-buee 24
Fixation aux meubles adjacents 24
Réglage du balancement de la porte 24
Adaption du socle 25
Guide pour l'utilisation de ce mode d'emploi
Voutrouverez les symboles suivants dans le texte pour vous guider dans les instructions:
! Avertissements et conseils importants
1.2.3. Instructions pas à pas
i Conseils d'utilisation
Avertissements et conseils importants
Il est très important que cette notice d'utilisation soit conservée avec l'appareil pour toute future consultation. Si cet apparéil avait été vendu ou transféré à une autre personne, assurez-vous que la notice d'utilisation suivie l' apparéil de façon à ce que l'utilisateur puisse être informé du fonctionnement de celui-ci des averissements s'y rapportant.
Ces averissements sont disponibles pour votre sécurité et pour celle d'autrui. Nous vous prions donc de bien pouvoir les dire attentivement avant d'instructor et d'utiliser l'appareil.
Installation
Cet apparéil est lourd. Faites attention lors du déplacement.
Il est dangereux de modifier ou d'essayer de modifier les caractéristiques de cet apparéil.
Assurez-vous, après avoir installé l'appareil, que celui-ci ne repose pas sur le cable d'alimentation.
Tous travaux electriques nécessaires à l'installation de l'appareil ne seront confiés qu'à un electricien qualifié.
Tous travaux hydrauliques nécessaires à l'installation de l'appareil ne seront confiés qu'à un plombier qualifié.
Sécurité des enfants
- Cet apparéil a été concu pour être utilisé par desadultes. Veillezdonc à ce que les enfants n'y touchent pas ou qu'ils ne utilisent pas comme un jouet.
Il faut donc garder les emballages hors de la portée des enfants.
Il faut donc garder les produits de lavage dans un endroit sur, hors de la portée des enfants.
Conseils d'utilisation
-
Les ustensiles qui ont eté en contact avec de l'essence, peinture, débris d'accier ou de fer, produits chimiques corrosifs, acides ou alcalins ne doivent pas etre lavés dans votre apparéil.
N'ouvre pas la porte de votre lave-vaiselle quand celui-ci est en marche. Arrêtez-le toujours avant.
N'utilisez que des produits de lavage prévus pour des lave-vaisselle menagers.
Fermez toujours la porte après avoir chargé ou sorti la vaisse. Une porte ouverte représentée toujours un danger. -
Ne vous appuyez pas et ne vous asseyez pas sur la porte de l'appareil lorsqu'elle est ouverte.
- Débranchetzoudours la prise de courant et fermez le robinet d'eau après l'utilisation de l'appareil.
- Faites particulièrement attention lorsque vous nettoyez le fond de la porte et les charnières parce que les extrémités métalliques peuvent occasionner des blessures.
Cet apparéil doit être réparé par un service agréé avec des pieces détachées d'origine.
En cas de panne, n'essayez jamais de réparer votre apparéil vous-même. Les réparations effectues par du personnel non qualifié peuvent provoquer des dommages ou de graves dérèglements.
Protection de l'environnement
Tous les matériaux marqués par le symbole sont recyclables.
Pour qu'ils puissant être récapurées (recyclés), il est nécessaire de les déposer dans les déchetteries prévues à cet effet (renseignez-vous auprès des autorités locales).
- Quand votre apparéil devient trop vieux et que vous ne voulez plus vous en servir, ayez soin de la rendre inutilisable avant de vous en débarrasser. Les enfants risquent de s'enfermer dans le lave-vaisselle, ce qui risque demettre leur vie en danger. Débranchez la prise et décrochez le cable d'alimentation. Mettez la fermeture de la porte hors service de façon à ce que personne ne puisse s'y enfermer.
- Participez à la protection de l'environnement en utilisant les moyens autorisés pour vous débarrasser de votre apparéil usage.
- Réglage adoucisseur
- Guide de porte
- Butée panier supérieur
- Balanciers de porte
- Bouchon réservesel
- Bras inférieur
- Réserve produit de lavage
- Bandeau de commandes
-
Plaque signalétique
-
Réserve produit de rinceage
- Grand fille
- Filtre central
- Bras supérieur
- Panier supérieur
Le bandeau de commandes

1. Voyant Marche/Arrêt
Il s'allume lorsque la touche Marche/Arrêt est enclenchée et s'éteint à la fin du programme lorsque la touche Marche/Arrêt est ressortie.
2. Touche Marche/Arrêt
L'enclenchement de cette touche permet le départ du programme de lavage.
Quand le programme de lavage est terminé, l'appareil s'arrête automatiquement. Faites resortir la touche Marche/Arrêt pourmettre l'appareil hors tension.
3. Poignée de porte
Il suffit de la pousser pour fermer la porte. Pour ouvrir la porte poussez légèrement la poignée vers le haut et tirez-la vers vous.
4. Repère de début de programme
5. Sélecteur programmes
Il vous permet de sélectionner le programme de lavage désiré.
Tournez-le vers la droite (dans le sens des aiguilles d'une montre) jusqu'à ce que le repère de début de programme sur le sélecteur coïncide avec le programme choisi.
6. Guide programmes de lavage
C'est un guide récapitulatif du tableau "Programmes de lavage" qui vous aidera dans lechioix quotidien des programmes.
Mise en service
Avant d'utiliser votre lave-vaisselle pour la première fois:
- Assurez-vous que les raccordements électrique et hydraulique soient conformes aux instructions d'installation
- réglez l'adoucisseur d'eau
- replissee le réservoir du sel
- mettez du produit de rinceage dans le réservoir prévu à cet effet
L'adoucisseur d'eau
Suivant les localités, l'eau contient une quantité variable de sels calcaires et minéraux.
Plus la teneur en sels est élevé et plus l'eau est "dure".
Le lave-vaisselle est muni d'un adoucisseur et, utilisant du sel regénérant spécial pour lave-vaisselle, il fournit une eau depourvue de calcaire (adouce) pour les opérations de lavage.
L'adoucisseur peutTRAitter une eau ayant unedureteatteignant120°TH et possede niveaux deréglage.
Yououpouvez demandlerdegréde durete de voireeau àlaCompagnie Locale desEaux.
L'adoucisseur est réglé d'origine au niveau 2.
Vous pouvez sélectionner un niveau de réglage différent de celui qui a été prévu en usine.
Réglage de l'adoucisseur:
Au moyen d'un tournevis, amener le repere du sélecteur situé dans le coin supérieur droit de la machine sur la position désirée.
| Dureté de l'eau | Niveau | Emploi sel régissant | ||
| °dH degrés allemands | °TH degrés français | PPM (Parts par millions) | ||
| <4 | <7 | 0-80 | 0 | NON OUI |
| 5-11 | 8-25 | 81-200 | 1 | OUI |
| 12-22 | 26-40 | 201-400 | 2 | OUI |
| 23-34 | 41-60 | 401-600 | 3 | OUI |
| 35-50 | 61-90 | 601-900 | 4 | OUI |
| 51-67 | 90-120 | 901-1200 | 5 | OUI |

Remplissage du réservoir de sel
Si la durée de votre eau correspond au niveau 0, il n'est pas nécessaire d'utiliser de Sel régénérant, ni d'effectuer de réglage car elle est déjà douce.
Utilisez régulièrement le sel régéranger à partir du niveau 1.

N' utiliser que du sel spécifique pour lavevaisselle.
N'importequeltype de sel qui n'est specifiquementdestinéauxlave-vaisselle, spécialementlesel finde cuisine, provoque des dégats à l'adoucisseur.
Le replissage du réserve doit être effectué juste avant de commencer un programme de lavage, à l'exclusion du programme "Lavage d'attente", ceci afin d'éviter que d'eventuels grains de sel ou de l'eau salée ne provoquent la formation de rouille.
pour replir le réservoir:
- Dévissez et oter le bouchon du réservoir.
- Versez environ un litre d'eau dans le réservoir (ceci n'est indispensable que la première fois).
- A l'aide de l'entonnoir livre avec l'appareil, versez dans le réservoir 1.5 à 1.8 kg de sel.
Le réservoir de sel contient toujours de l'eau. Il est donc normal que celle-ci déborde lorsque vous versez du sel dans ce réservoir.
- Revissez soigneusement le bouchon en vous assurant qu'il n'y ait pas de sel sur le filetage et sur le joint.
- Revisser hermétiquement le bouchon.
Le bouchon du réservoir de sel comporte en son centre un indicateur de salinité. Lorsqu'un repère vert n'est plus visible, la quantité de sel est insuffisante; vous devez replir le réservoir.


Le produit de rinçage
Ce produit évite que l'eau ne reste sur la vaisse sous forme de gouttelettes laissant des taches blanches après séchage.
L'admission du produit de rincege se fait automatiquement au moment du dernier rincege.
Le réservoir situé à l'intérieur de la porte peut contenir environ 110 ml de produit de rinçage, quantité suffisante pour 16 à 40 programmes de lavage, en fonction de la dose programmée.
Remplissage du réservoir de produit de rençage:
- Ouvrez le réservoir en tournant le bouchon (A) vers la gauche.
- Versez le produit de rinceage dans la goulotte de replissage, jusqu'à ce que le réservoir soit plein. Le témoin (B) situé à gauche présente alors une colorationASFRE.
- Lorsque le témoin (B) apparait clair, replisssez le réservoir.
Refermez bien le bouchon
Ne versez jamais de produit de lavage dans le réservoir de produit de rinçage.
Le liquide qui s'est eventuèlement écoulé hors du réservoir pendant le remplissage doit être soigneusement nettoyé à l'aide d'un papier absorbant, ceci afin d'éviter une importante formation de mousse au lavage suivant.
Dosage du produit
Selon les résultats de lavage obtenus, vous reglerez la dose de produit en agissant sur le/selecteur à 6 positions (C) situé à l'intérieur de la goulotte de replissage (position 1 dose minimum, position 6 dose maximum).
Démarrez sur la position 3.
Augmentez graduelles la dose si vous observez sur la vaiselle des gouttes d'eau ou des taches de calcaire; diminuez la dose au contraire si vous notez la présence de rayures blanchâtres.



Le produit de lavage
i N'utilise que des produits de lavage pour des lave-vaisselle menagers.
Pour replir le bac à détergent, procéder comme suit:
- Ouvrir le distributeur situé à l'avant de la contre-porte, si le couvercle est fermé actionner le cliquet de fermeture (D).
-
Ajouter le détergent en suivant les recommendations données dans le "Programmes de lavage". Les produits de lavage n'était pas tous identiques, consulter également les instructions figurant sur les emballages. Pour bien doser le produit, il y a deux repères à l'intérieur du bac:
-
MIN = 15ml
-
MAX = 30 ml
-
Refermer le couvercle.
- Ajoutez de toute façon une petite dose de produit au-dessus du couvercle du bac pour tous les programmes avec un prélavage, en suivant les instructions du tableau "Programmes de lavage".
Nos you rappelons que le produit de lavage ne pourra garantir une propre completé s'il est employé en quantité insuffisante; s'il est employé en excès, il n'amélioreras pas les résultats et constituya un gaspillage. Ne pas excéder dans l'emploi de produit de lavage pour contribuer à la limitation de la pollution de l'environnement.
Dans le cas des nouveaux produits de lavage compacts, avec un degré d'alcali réduit; qu'il est possible de trouver maintainant dans le commerce, les substances difficilement dégradables sont replacées par des enzymes natureles, qui ne polluent pas l'environnement).
Lorsqu'on lave de la vaisselle avec des produits compacts ne contenant pas de phosphates, il vaut mieux replir l'adoucisseur de sel, même lorsque la durete de l'eau est de 7^ . Autrement, cela pourrait empêcher la vaisselle de briller.


Chargement de votre apparéil
Rangement de la vaisse
Avant de placer la vaisselle dans l'appareil, débarrasssez-la de tous les déchets alimentaires qui boucheraient les filtres et réduiraient l'efficacité du lavage.
i Ne lavez pas en machine de la vaisselle de petite dimension qui pourrait facilement sorting des paniers.
Tirez les paniers pour y charger la vaisse.
Le panier inférieur
Le panier inférieur est destiné à receivevoir les casseroles, les couvercles, les assiettes (jusqu'à 27 cm de diamètre), les saladiers, les couverts, etc. Les plats et les grands couvercles seront disposés de préférence autour du panier, de manière à ne pas:géné la rotation du bras supérieur.


Le panier à couverts
Les couteaux longs placés verticalement constituent un danger potentiel.
Les couverts et utensiles longs (louches) ou tranchants, comme les couteaux à découverter, doivent être placés horizontally dans le panier supérieur.
Faites attention lorsque vous chargez ou sortez des objets tranchants comme des couteaux.
On placera les couverts dans le petit panier amovible, les manches tournés vers le bas.
Si ces derniers traversent le fond du panier et risquent de génér la rotation du bras inférieur, returnez-les.
Intercalez les cuillères entre les autres couverts pour éviter qu'elles ne s'emboitent.
Les couverts en argent ont tendance à noircir s'ils sont mélangés à des couverts en inox.
Séparez l'argenterie des autres métaux.
Disposez-les dans le panier à couverts, séparés des autres.

Le panier supérieur
Le panier supérieur est prévu pour receivevoir des assiettes (à dessert, soucoupes, plates et creuses jusqu'à 24 cm de diamètre), des saladiers, des tasses et des verres.
Les verres à pied peuvent être suspendus aux portes-tasses.
Disposez les pièces en quinconce au-dessus et au-dessous du support à tasses rabattable, afin que l'eau puisse bien asperger toutes les parties. L'étrier peut être relevé pour maintainir les pièces hautes.
Il est préférible de ranger les objets légers (recipients en plastique) dans le panier supérieur et de les disposer de façon à ce qu'ils ne se retournent pas.

Avant de fermer la porte, assurez-vous que les bras puissant tourner librement.
Réglage en hauteur du panier supérieur
Si vous nevez laver des assiettes très grandes (plus de 27 et jusqu'à 31 cm de diamètre) vous pouvez les/disposer dans le panier inférieur après avoir placé dans la position la plus haute le panier supérieur.
Pour cela:
- Tournez vers l'extérieur les butées avant (A) du panier supérieur, puis otez le panier.
- Glissez le panier dans la position la plus haute et remettez les butées (A) dans la position d'origine.

Après cette opération, il ne sera pas possible de ranger dans le panier supérieur des assiettes ayant plus de 20 cm de diamètre et d'utiliser les portes-tasses.
Pour remettre le panier en place, attrapez les côtés latéraux, tirez de nouveau vers le haut, puis laïsez le panier redescendre lentement, en le soutenant légèrement.

Fermez toujours la porte après avoir chargé ou sorti la vaisselle. Une porte ouverte représentée toujours un danger.



Nos consels
Pour economiser de l'énergie
Rangez la vaisselle sale dans les paniers immédiatement après usage. Ne procédez au lavage que lorsque la machine est complètement chargée.
Effectuez éventuelles le programme
«Lavage d'attente» (voir le tableau
«Programmes de lavage») pour éviter que les résidus ne sechent trop avant le lavage complet.
Il est inutile de passer au préalable la vaisselle sous l'eau courante.
Sélectionnez un programme économique en présence de vaisselle peu sale, en suivant les indications reportées dans le tableau
"Programmes de lavage".
Pour obtenir les valeurs résultats de lavage
Les casseroles contenant des alimentents attachés ou brûlés doivent faire l'objet d'un trempage préalable.
Disposez toujours les casseroles, les tasses, les verres, etc., tournés vers le bas.
Inclinez légèrement les objets bombés pour faciliter le passage de l'eau.
En évitant le contact entre les pieces de vaisselle, on obtendra de更好地 résultats de lavage.
Nous conseillons de laisser la porte de l'appareil entrouverte en fin de programme pour permettre le séchage naturel de la vaisse.
Attendez quelques minutes avant de sorting la vaisse; vous obtiendrez de plusieurs résultats de sechage.
Videz d'abord le panier inférieur, puis celui du dessus; vous évitezez ainsi que la vaisselle du panier supérieur goutte sur la vaisselle du panier inférieur.
Vaisse non indiquée pour le lavage en lave-vaisselle
La vaisselle suivante n'est pas indiquée pour le lavage en lave-vaisselle (bien qu'elle soit vendue comme pouvant etre lavée en machine):
- Les couverts avec manche en bois ou en corne ou constitués d' éléments collés
- Les couverts en bronze
- Les casseroles avec manche en bois
- Les objets en aluminium
- Les objets en cristal
- Cristal
- Objets en plastique
- Porcelaines anciennes ou peintes à la main
Certaines décorations ne sont pas garanties pour résister au lavage en machine et peuvent perdre leurs couleurs.
Les objets en cristal et en plastique, si leur lavage en machine n'est pas garanti, devront etre lavés à la main.
Certaines qualités de verre peuvent devenir opaques après de nombreux lavages en machine.
Les couverts en argent ont tendance à noircir s'ils sont mélangés à des couverts en inox. Disposez-les dans le panier porte-couverts, séparés des autres.
Les objets en fer ou en fonte peuvent rouiller et tacher d'autres pièces de vaisselle.
L'aluminium a tendance à noircir, le cuivre, l'étain et le laiton ont tendance à se tacher.
En cas de doute, prenez contact avec le fabricant de l'objet.
Au moment ou vous achetez de la nouvelle vaisselle, vérifie si elle est indiquée pour le lavage en machine.
Programmes de lavage
| Programme | Degré de salissure et type de vaiselle | Position départprogrammateur | Touché àenforcer | Doses conseilléesde produit de lavage | Descriptiondu cycle | |
| dans Ireseauir | sur lecouvercledu réservoir | |||||
| 1* 65° Intensiv-Programm(Intensif 65°) | Très sale.Casseroles etvaisselle variée | 65° Intensiv | MarcheArrêt | 25 g | 5 g | Prélavage à l'eau froideLavage à 65°C1 rincege à froid1 rincege à 65°CSéchage à l'air chaud |
| 265° Normal-Progr.ohne Vorspülen(Normal 65° sans prélavage) | Normalement sale.Casseroles etvaisselle variée | 65° Normal | MarcheArrêt | 25 g | / | Lavage à 65°C1 rincege à froid1 rincege à 65°CSéchage à l'air chaud |
| 3** 65° Quick-Programm(Rapide 65°C) | Légèrement sale.Vaiselle variéevaisselle pourbuffets | 65° Quick | MarcheArrêt | 25 g | / | Lavage 65°C1 rincege à froid1 rincege à 65°C |
| 4Vorspül-Programm(Lavage d'attente) | Tous types desalissures.Chargement partieldevant être complétéplus tard dans lajournée. | Vorspül | MarcheArrêt | / | / | 1 rincege à froid,(pour éviter que lesrésidus d'aliments ne sèchent sur lavaisse). |
* Pour Instituts d'Essais conformément IEC 436/DIN 44990
- Programme 1 (65° Normal-Programm) avec produit de lavage type A;
- Sélecteur du produit de rincege sur la position 3.
- Capacité standard de 12 couverts;
- Dose de produit conseillée: 25 g dans le réservoir 5 g sur le couvercle du réservoir.
** C'est un programme spécial qui permet de laver, en peu de temps (52 mn. environ), un chargement complet d'assiettes, verres, et vaisselle peu sale (sauf les cassetoles) en permettant leur utilisation immédiate.
Comment faire votre vaissselle
1. Vérifiez la propriété des filtres
Vérifier qu'ils soient propres et correctement positionnés (voir paragraphe "Entretien")
2. Effectuez le contrôle des réservoirs de sel et de produit de rinceage
3. Disposez la vaisselle dans l'appareil
Débarrasssez la vaiselle des résidus alimentaires.
Tirez le panier inférieur et placez-y casseroles, assiettes et couverts.
Tirez le panier supérieur et placey assiettes, verres, tasses etc...
Poussez les paniers à l'intérieur de la machine.
4. Assurez-vous que les bras de lavage ne sont pas génés dans leur rotation.
5. Dosez le produit de lavage
Versez la dose correcte de produit de lavage dans le distributeur, suivant les indications du tableau "Programmes de lavage".
6. Refermez le couvercle du distributeur de produit de lavage
7. Fermez la porte du lavevaisselle
8. Sélectionnez le programme
Tournez le sélecteur dans le sens des aiguilles d'une montre, jusqu'à ce que le repère sur le sélecteur coïncide avec le programme choisi.
9. Mettez le lave-vaisselle en marche
Appuyez sur la touche "Marche/Arrêt"; le voyant de fonctionnement s'allume et le programme commence
Si vous foulez interrompre le programme en cours, faites ressortir la touche "Marche/Arrêt".
Pour remettre l'appareil en fonctionnement, appuyez de nouveau sur la touche; le programme reprendra où il a eté interrompu.
10. Fin de programme
Le lave-vaisselle s'arrête automatiquement.
11. Arrêt du lave-vaisselle
Pour éteindre l'appareil appuyez sur la touche "Marche/Arrêt".
Lorsque le programme est terminé, il est recommandé de débrancher l'appareil et de couper l'arrivée d'eau.
En général, il est conseillé de ne pas ouvrir la porte lorsque le lave-vaisselle est en fonction; si vous deviez quand même le faire, un dispositif de sécurité provoque l'arrêt de l'appareil.
Attention N'ouvrez pas la portependant la phase dechauffage:carde I'eau chaude pourraitvousélabousser.
Une attention particulière doit être prise lorsqu vous ouvrez la portependant la phase de chauffage ouimmédiatement après la fin duprogramme, de la vapeur brûlantepourrait s'échapper.
Entretien
Nettoyage interieur
Nettoyez les joints d'étanchéité de la porte et les distributeurs de produit de lavage et de rinçage avec un chiffon humide.
Tous les trois mois, effectuez un programme de lavage à 65^ sans vaisselle et avec du produit de lavage.
Nettoyage du filtré central
(après chaque lavage)
Les résidus d'aliments peuvent s'accumuler dans le filtrre central (A) et il faut les éliminer périodiquement en rinzant le filtrre sous l'eau courante.
Pour sorting le filtré central:
- il suffit de le prisoner à l'aide de la poignée.
Une fois le nettoyage effectué, remontez le filtre dans son emplacement d'origine, en poussant jusqu'à ce qu'il soit bien engagé.
Nettoyage du grand filtré
(Tous les deux mois)
Si nécessaire nettoyez le grand filtré (B) des deux côts, sous l'eau courante et en vous aidant d'une petite brosse.
Pour lesorting le grand filtré:
- Œtez le bras rotatif en le tirant vers haut.
- Tournez la colonne (C) de 90^ en sens inverse des aiguilles d'une montre, puis sortez le contrôle.
- Pour remonter le filtré, inversez les opérations ci-dessus.
- Assurez-vous que le filtré est dans la position correcte, la poignée du filtré doit être positionnée vers l'avant de l'appareil.

N'utilisez jamais le lave-vaisselle sans filtrres.
Un positionnement incorrect des filtres entraine de mauvais résultats de lavage.
Le nettoyage des filtrres est indispensable pour que l'appareil marche de façon optimale.


Nettoyage extérieur
Nettoyez régulierrement les surfaces extérieures de l'appareil et le bandeau de commande avec un chiffon doux humide et, si nécessaire, uniquement avec des détergents doux. N'employez jamais de produits abrasifs ou de solvants (acétone, trichloréthylène, etc...).
En cas d'absence prolongée
Si vous ne doivent pas utiliser l'appareil pendant un certain temps, il est conseillé de :
- Débrancher la prise de courant et couper l'arrivée d'eau.
- Remplir le réservoir de produit de rinceage.
- Laisser la porte entrouverte pour éviter la formation de mauvaises odeurs.
- Laissez l'intérieur de l'appareil propre.
Précautions contre le gel
Evitez de placer l'appareil dans un local où la température est inférieure à 0^ .
Si cela était le cas, vidangez l'appareil, fermez le robinet d'arrivée d'eau, débranchez le tuyau d'arrivée d'eau et videz-le.
Déplacement de l'ordinateil
Si vous devez déplacer l'appareil (lors d'un déménagement, etc...):
- Débranchez-le;
- Fermez le robinet d'arrivée d'eau;
- Retirez les tuyaux d'arrivée d'eau et de décharge;
- Tirez l'appareil hors de sa niche ainsi que les tuyaux.
Evitez, si possible, de trop incliner l'appareil pendant le transport.
En cas d'anomalie de fonctionnement
Certaines anomalies de fonctionnement peuvent dépendre d'opérations d'entretien non correctes ou d'oubli, et il est possible d'y remédier facilement sans avoir recours à un technicien.
Si vous constatiez une anomalie de fonctionnement, reportez-vous au texte ci-dessous avant de faire appel au Service ÀpRES-Vente. Dans la majorité des cas, vous pourrez y remédier vous-même.
| Symptôme | Solution |
| La machine ne démarre pas | ■ La porten est pas bien fermée.■ L'appareil n'est pas bien branché.Enoncez bien la prise dans la fiche.Absence de courant à la prise. |
| L'eau n'arrive pas à la machine | ■ Le robinet est fermé.Coupure générale d'eau.Let tuyau d'arrivée est pié.Redresser le tuyau.Let filtre dans le tuyau d'arrivée est obstrué.Nettoyez le filtre dans l'extrémité du tuyau d'arrivée. |
| Les filtres sont bouchés | ■ Nettoyez les filtres (voir «Entretien». |
| ■ Les bras de lavage ne torrent pas. Assurez-vous que la vaissselle est chargée correctement. | |
| La machine n'évacue pas l'eau | ■ Le tuyau d'évacuation est pié.Redresser le tuyau.L'évier est peut être bloqué. Eliminer ce qui bloque l'évier.La ballonge du tuyau d'évacuation ne convient pas.Suivez attentivement les instructions de branchement pour l'évacuation.L'évacuation au mur est sans ventilation. |
| Trop de bruit pendant le lavage | ■ Les pièces de vaissselle se cognent entre elles.Les bras de lavage touchent la vaissselle. |
| La porte se ferme difficilement | ■ Le lave-vaissselle n'est pas de niveau ou n'a pas été correctement encastré. |
| La vaissselle n'est pas propre | ■ Les paniers sont trop charges.La vaissselle n'est pas correctement placée.Les bras de lavage sont bloqués.Les trous des bras sont obstrués.Les filtres sont bouchés.Les filtres ne sont pas bien mis en place.Le produit de lavage n'est pas bien dosé ou ne convient pas.Le produit de lavage est devenu dur ou il est de mauvaise qualité.Le bouchon du réservoir de sel n'est pas bien fermé.Le programme de lavage ne convient pas au type de salissure. |
| Traces de calcaire | ■ Absence de produit de rinceage ou quantité insuffisante.Manque de sel régérangerant ou le réglage de l'adoucisseur ne correspond pas à la durée de l'eau. |
| Vaissselle mal séchée | ■ La vaissselle est restée trop longtemps dans l'appareil. |
Si à la suite de ces contrôle, le mauvais fonctionnement persististe, adressez-vous au ServiceAprès-Vente en indiquant le defaulted observé, le modele de l'appareil (Mod.), le numero du produit (Prod. No.) et le numero de fabrication (Ser. No.) inscrits sur la plaque signalétique, située sur le cote croit de la porte de votre lave-vaisselle.
Sécurités anti-inondation
La machine est munie de deux systèmes de sécurité supplémentaires anti-inondation ayant les caractéristiques suivantes:
- Place sur le tuyau d'arrivée d'eau (voir «Raccordement d'eau»), il intervient en cas de rupture du tuyau d'arrivée en bloquant le passage de l'eau. Il est actif même lorsque la machine est eteinte.
- Place sur le fond de la machine, il intervient en cas de fuites d'eau à l'intérieur de la machine. Il est actif pendant le fonctionnement de la machine.
Pour la réparation de la machine, faites appel au Service ÀpRES-Vente.
Service après-venture

Cet apparéil doit être réparé par un personnel autorisé, et des pieces détachées d'origine doivent uniquement être utilisées. Dansaucun cas vous ne devriez essayer de réparer la machine vous-même.Des réparations effectuées par des personnes inéxpérimentées peuvent provoquer des dommages ou de graves dérèglements.Contactez le service après-vente le plus proche.
Exigez toujours des pieces détachées d'origine.

Instructions d'installation

Tous travaux électriques nécessaires à l'installation de l'appareil ne seront confiés qu'à unElectricien qualifié

Tous travaux hydrauliques nécessaires à l'installation de l'appareil ne seront confiés qu'à un plombier qualifié.
\section*{Caracteristiques techniques}
| DIMENSIONS | Largeur Hauteur Profondeur max. Profondeur max. avec porte ouverte | 59.6 cm 81.8 - 87.8 cm 57 cm 111.4 cm |
| TENSION/FREQUENCY | 230 V - 50 Hz | |
| PUISSANCE ABSORBEE MOTEUR LAVAGE | 200 W | |
| PUISSANCE ABSORBEE ELEMENT | ||
| CHAUFFANT | 2100 W | |
| PUISSANCE TOTALE | 2300 W | |
| PRESSION DE L'EAU D'ALIMENTATION | Min. Max. | 50 kPa (0.5 bar) 800 kPa (8 bar) |
| CAPACITÉ (COUVERTS STANDARD IEC) | 12 | |
| CONSOMMATIONS: | Eau Electricité | 22 l 1.5 kW/h |
Enlever tout emballage avant d'instructor l'appareil.
Placez l'appareil, si possible, à proximé d'une arrivée d'eau (robinet) et d'une évacuation.
Raccordement d'eau
Ce lave-vaisselle peut être alimenté en eau froide ou chaude jusqu'à 60^ max.
Nous vous conseillons néanmoins le raccordement à une arrivée d'eau froide.
Contrôlez que la pression de l'eau d'alimentation n'excède pas les valeurs indiquées dans les caractéristiques techniques.
Votre société de distribution d'eau peut vous renseigner sur la pression de l'eau de votre région.
L'extrémité du tuyau raccordée à l'appareil peut être orientée selon les besoins, il suffit de désserrer le collier de fixation.
Evitez toute piure ou étranglement du tuyau qui pourrait empêcher ou ralentir le passage de l'eau.
Si l'appareil est branché à des conduites neuves ou n'avant pas été utilisées depuis un certain temps, laisser couler l'eau pendant quelques minutes avant de brancher le tuyau d'acciviée d'eau. Vous évitez ainsi que des dépôts de sable ou de rouille puissant obstruer le petit filtre placé dans le tuyau d'acciviée.
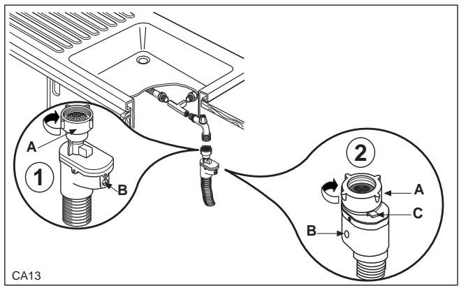
Branchez le tuyau à un robinet avec un raccord de 3/4 ou à une prise d'eau à branchement rapide (Press Block).
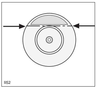
Ce tuyau est muni d'un dispositif de sécurité qui bloque l'entrée de l'eau dans la machine en cas de rupture, par usure, du tuyau interieur.
L'inconvénient est signalé par l' apparition d'un signe rouge à la fenêtre (B - ① ②).
Dans ce cas, fermez le robinet d'eau et faites changer le tuyau.
Remarque:
Uniquement pour tuyau de replissage muni de levier de sécurité qui empêche le tuyau de se dévisser ②.
Pour détacher le tuyau de replissage, appuyez sur le levier jaune de sécurité (C) et faites tourné la bague dans le sens inverse des aiguilles d'une montre.
Vissez correctement l'embout du tuyau (A) pour éviter les fuites d'eau.

Évacuation d'eau
L'extrémité du tuyau d'évacuation peut être branchée:
- Au siphon de l'évier, en la fixant éventuellesment avec un collier.
- A une évacuation murale pourvue d'une ventilation spéciale, ayant un diamètre interieur d'au moins 4 cm.
Le branchement pour l'évacuation doit se couver à une hauteur comprise entre 30 cm (minimum) et 100 cm (maximum) du sol.
Le tuyau d'évacuation peut être orienté indifféremment vers la droite ou vers la gauche.
Evitez les pliures et les étranglements du tuyau qui pourrait empêcher ou ralentir l'écoulement de l'eau.
Une éventuelle rallonge du tuyau d'évacuation ne devra pas être supérieure à 2 mètres et son diamètre interieur devra être égal à celui du tuyau de l'appareil.
Faites passer la rallonge sur le sol et ne la faites monter que pres de la vidange.
De même, les raccords utilisés pour le branchement doivent avoir un diamètre interieur non inférieur à celui du tuyau d'évacuation.
Raccordement électrique
Ce lave-vaisselle ne peut être branché qu'en monophase 230 V - 50Hz.
Vérifiez que votre compteur et les fusibles peuvent supporter l'intensité absorbée par la machine, compte tenu des autres apparèils électriques branchés.
Utilisez un socle de prise de courant compteant une borne de mise à la terre, qui doit être obligatoirement raccordée conformément aux normes en vigueur.
Le branchement devra être exécuté en respectant les normes en vigueur.
Notre responsabilité ne saurait etre engagée, en cas d'accidents ou incidents provoqués par une mise à la terre inexistante ou defectueuse.


Cet apparéil est conforme aux Directives Communautaires suivantes: - 73/23/CEE du 19/02/73 (concernant laasse tension) et modifications successives; - 89/336/CEE du 03/05/89 (concernant la compatibilité electromagnetique) et modifications successives.
Encastrement
Ce lave-vaisselle a eté concu pour être encastrésous en évier ou un plan de travail.
Il est nécessaire de prévoir un espace pour le passage du cable d'alimentation et des tuyaux d'alimentation et d'évacuation d'eau, afin qu'ils ne soient pas pliers.
Débranche l'appareil avant toute intervention.
Les cotes d'encastrement doivent etre celles indiquées dans le croquis.
Le haut de la niche peut se trouver entre 820 et 880 mm de hauteur, par rapport au sol, puisque le lave-vaisselle est muni de pieds réglibres qui permettent d'en faire varier la hauteur (60 mm maximum).
Ajustement de la hauteur de l'appareil
Une bonne mise à niveau est indispensable pour une parfaite fermeture et l'étanchéité de la porte. Dévissez ou vissez les pieds régables, afin demettre parfaitement l'appareil d'aplomb.
Pour ajuster la hauteur procedede comme suit:
- Serrer ou désserrer les deux pieds avant.
- Pour ajuster le pied arrêté visser ou dévisser l'écrou que vous trouvrez au milieu de la plinthe.
Un coussinet est également disponibles pour faciliter le glissement de l'appareil dans sa niche ou son retrait.
Fixer le coussinet en le pressant sous le pied arrêté.
Si nécessaire, il est possible de réduire les dimensions du coussinet en le croquant en suivant le trait.
Laissez un espace de 2 mm entre le dessus de l'appareil et le meuble ou l'évier.
Une mise à niveau correcte est essentielle pour assurer une bonne fermeture et une bonne étanchéité de la porte. Lorsque l'appareil est correctement nivélé, la porte ne cognera pas contre les balanciers de porte situés de part et d'autre de la carrosserie.


Application du panneau de porte
La porte de ce lave-vaiselle a eté concue pour l'application d'un panneau en bois ayant les dimensions suivantes:
Largeur 596 mm
Hauteur 604 mm
Épaisseur 20 mm max.
Poids 2 à 7.5 kg max.
La hauteur du panneau dépend de celle du socle des meubles adjacents.
Attention
Ne dépassez pas la hauteur maximum indiquée, autrement vous ne pourrez pas ouvrir complètement la porte, car le panneau buterait contre le socle du meuble de la cuisine.
Il est possible de régler la hauteur du tableau de commande du lave-vaisselle à celle des tiroirs des meubles voisins pour un parfait alignement esthétique.
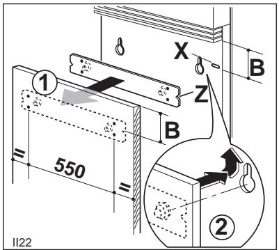
Enlevez un ou plusieurs intercalaires, situés en dessous du bandeau de commande, jusqu'à ce que la hauteur désirée soit atteinte. Fixez les intercalaires comme indiqué dans la figure, à l'aide de deux vis 4 x 40.
Préparez le panneau comme suit:
Mesurez la distance (B) entre la partie inférieure du bandeau de commande (ou des intercalaires) et les trouss à boutonnere (X) sur la porte.
Marquez la même distance (B) sur le panneau et positionnéla traversé métallique à cette hauteur, en correspondance de la ligne Médiane (point Z).
Maintenez la traverse à une distance égale des bords du panneau de chaque côté.
Marquez sur le panneau les positions des quatre vis de fixation. Percez avec un foret de 0 2 x 12 et fixez la traversse avec des vis 3,5 x 16.
Introduisez les deux pivots de la traverse dans les trous à boutonnière de la porte.
La position optimale une fois atteinte, ouvrez la porte et fixez le panneau à l'aide de deux vis 4 x 40 en utilisant les trous de la contreporte.



Installation du protecteur anti-buée
Fixez le protecteur en tôle sous le plan de travail, à la partie avant de la niche du lave-vaisselle, à l'aide de vis 3.5 x 16.

Fixation aux meubles adjacents
Pour éviter le renversement du lave-vaisselle, il doit être attaché au plan de travail ou aux meubles adjacents/ou murs au moyen d'équres. Insérer les deux équres dans la fente prévue à cet effet sur la partie supérieure du lave-vaisselle comme indiqué dans le croquis.
Fixer les équérres au plan de travail ou au meuble adjacent au moyen de vis 3.5 x 16 en utilisant les trous supérieurs ou latéraux.

Réglage du balancement de la porte
La porte est bien équilibrée lorsqu'elle reste ouverte dans n'importe celle position.
Le réglage du balancement de la porte doit être fait quand le panneau décoratif est placé.
Visser ou dévisser jusqu'à ce l'équilibre soit atteint.
- Panneau lourd: tourner dans le sens hora.
- Panneau léger: tourner dans le sens contraire.
Après avoir équilibré la porte, positionné les deux caches (livrés avec l'appareil) sur l'emplacement des balanciers de porte.


Adaptation du socle
Pour permettre l'ouverture complète de la porte il pourrait être nécessaire de découvert le socle du meuble.
Sur la base des cotes (a) et (b) (voir croquis) vous pourrez tirer du tableau ci-dessous la hauteur (x) de l'ouverture à pratiquer dans le socle.


Hauteur (a)^*
| Profondeur (b)* | 170 | 160 | 150 | 140 | 130 | 120 | 110 | 100 | 90 |
| 40 | 136 | 131 | 125 | 118 | 110 | 100 | 93 | 85 | |
| 50 | 135 | 131 | 125 | 118 | 110 | 102 | 92 | 85 | |
| 60 | 137 | 132 | 125 | 118 | 110 | 102 | 94 | 85 | |
| 70 | 138 | 134 | 128 | 120 | 110 | 104 | 95 | 85 | |
| 80 | / | 139 | 130 | 124 | 115 | 105 | 98 | 88 | |
| 90 | / | / | 138 | 129 | 120 | 110 | 100 | 90 | |
| 100 | / | / | / | 135 | 125 | 115 | 105 | 95 |

Notice Facile