JSI1341W - Lave-vaisselle JUNO - Notice d'utilisation et mode d'emploi gratuit
Retrouvez gratuitement la notice de l'appareil JSI1341W JUNO au format PDF.
| Type d'appareil | Lave-vaisselle |
| Capacité | 12 à 15 couverts |
| Nombre de programmes | 5 à 7 programmes |
| Consommation d'eau | 10 à 15 litres par cycle |
| Consommation d'énergie | 0,9 à 1,2 kWh par cycle |
| Niveau sonore | 45 à 55 dB |
| Type d'installation | Encastrable ou pose libre |
| Type de séchage | Condensation |
| Classe énergétique | Non précisé |
| Type de commande | Manuelle ou électronique |
| Affichage | Non précisé |
| Protection anti-fuite | Oui |
| Départ différé | Oui |
| Panier supérieur réglable | Oui |
| Matériau intérieur | Acier inoxydable |
| Dimensions (HxLxP) | Non précisé |
FOIRE AUX QUESTIONS - JSI1341W JUNO
Questions des utilisateurs sur JSI1341W JUNO
Le message de maintenance affiché sur votre appareil JUNO JSI1341W indique généralement qu'une intervention d'entretien est nécessaire pour assurer son bon fonctionnement. Ce message peut apparaître pour plusieurs raisons, notamment :
- Filtre obstrué : Un filtre sale ou bouché peut empêcher l'appareil de fonctionner correctement.
- Problème de drainage : Un tuyau de drainage plié ou obstrué peut empêcher l'évacuation de l'eau.
- Accumulation de saletés : Des dépôts dans les joints ou compartiments peuvent perturber le fonctionnement.
Pour résoudre ce message, vous pouvez suivre ces étapes :
- Vérifiez et nettoyez le filtre : Retirez le filtre, nettoyez-le soigneusement sous l'eau et remettez-le en place.
- Contrôlez le tuyau de drainage : Assurez-vous qu'il n'est ni plié ni bouché.
- Nettoyez l'appareil : Passez un chiffon humide sur les joints et les compartiments pour éliminer toute saleté.
- Redémarrez l'appareil : Éteignez-le, patientez quelques minutes, puis rallumez-le pour réinitialiser le message.
Si le message de maintenance persiste après ces vérifications, il est recommandé de contacter un service technique qualifié pour un diagnostic plus approfondi.
Téléchargez la notice de votre Lave-vaisselle au format PDF gratuitement ! Retrouvez votre notice JSI1341W - JUNO et reprennez votre appareil électronique en main. Sur cette page sont publiés tous les documents nécessaires à l'utilisation de votre appareil JSI1341W de la marque JUNO.
MODE D'EMPLOI JSI1341W JUNO
Avertissements et conseils importants 17
Installation 18
Emplacement, mise à niveau, évacuation d'eau, raccordement d'eau 18
Raccordement electrique 18
Utilisation 19
Le bandeau de commande 19
L'adoucisseur d'eau, replissage du réservoir de sel, contrôle de la réserve de sel 20
Le produit de rinceage, le produit de lavage 21
Rangement de la vaisselle dans l'appareil, utilisation des paniers inférieur et supérieur 22
Réglage en hauteur du panier supérieur 23
Nos consels 23
Programmes de lavage 24
Comment faire votre vaisselle 25
Entretien .page 26
Nettoyage des filtres centraux, nettoyage du grand filtré, nettoyage interieur et extérieur 26
En cas d'absence prolongée, précautions contre le gel, si vous déménagez 26
En cas d'anomalie de fonctionnement 27
Encastrement 28
CHARACTERISTIQUES TECHNIQUES
| DIMENSIONS | Largeur Hauteur Profondeur max. Profondeur max. avec porte ouverte | 44,6 cm 81,8 ÷ 87,8 cm 57 cm 115 cm |
| TENSION/FREQUENCY | 220-230 V / 50 Hz | |
| PUISSANCE ABSORBEE MOTEUR LAVAGE | 200 W | |
| PUISSANCE ABSORBEE ELEMENT CHAUFFANT | 2800 W | |
| PUISSANCE TOTAL | 3000 W | |
| PRESSION DE L'EAU D'ALIMENTATION | Min. Max. | 5 N/cm² 80 N/cm² |
| CAPACITÉ (COUVERTS STANDARD IEC) | 8 | |
| CONSOMMATIONS | Eau Electricité | 17 l 1,1 kWh |

Cet apparéil est conforme aux Directives Communautaires suivantes:
- 73/23/CEE du 19/02/73 (concernant laasse tension) et modifications successives;
- 89/336/CEE du 03/05/89 (concernant la compatibilité électromagnétique) et modifications successives.
Il est très important que cette notice d'utilisation soit gardée avec l'appareil pour toute future consultation. Si cet apparéil avait été vendu ou transféré à une autre personne, assurez-vous que la notice d'utilisation suive l' apparéil de façon à ce que l'utilisateur puisse être informé du fonctionnement de celui-ci.
Ces averissements sont disponibles pour votre sécurité et pour celle d'autrui. Nous vous prions donc de bien pouvoir les dire attentivement avant d'insteller et d'utiliser l'appareil.
A la réception de l'appareil, nous vous prions de faire les «réserves d'utilisation » en présence du livreur (dégats esthetiques par exemple).
Cet apparéil a été concu pour être utilisé par des femmes. Veillezdonc à ce que les enfants n'y touchent pas ou qu'ils ne l'utilisent pas comme un jouet.
Il est dangereux de modifier ou d'essayer de modifier les caractéristiques de cet apparéil.
■ Si l'installation électrique de votre habitation nécessite une modification pour le branchement de votre apparéil, faites appel à un électricien qualifié.
Tous travaux hydrauliques nécessaires à l'installation de l'appareil ne seront confiés qu'à un plombier qualifié.
Assurez-vous, après avoir installé l'appareil, que celui-ci ne repose pas sur le cable d'alimentation.
Débranchez toujours la prise de courant et fermez le robinet d'eau après l'utilisation de l'appareil.
N'ouvre pas la porte de votre lave-vaiselle quand celui-ci est en marche. Arrêtez-le toujours avant.
- Ne touchez pas l'objet chauffant pendant ou immédiatement après la fin d'un programme de lavage.
Si vous appeareil est encastrable, il est nécessaire de le fixer au dessous du plan de travail de la cuisine (reportez-vous aux indications de la notice d'utilisation).
Fermez toujours la porte après avoir charge ou sorti la vaisse. Une porte ouverte représenté toujours un danger.
■ Notre lave-vaisselle n'a eté concu que pour le lavage de la vaisse de menage. Les ustensiles qui ont eté en contact avec de l'essence, peinture, débris d'accier ou de fer, produits chimiques corrosifs, acides ou alcalins ne doivent pas etre lavés dans votre apparéil.
N'introduisez pas dans votre lave-vaisselle d'articles qui ne sont pas certifiés pour le lavage en machine, tels que couverts à manche en bois, en corne, en ivoire, en argent, porcelain décorée de motifs fragiles, objets en bois ou en plastique, etc.
- Séparez toujours l'argenterie des autres métaux, car elle noircit à cause d'un procédé d'électrolyse.
En cas de panne, n'essayez jamais de réparer votre apparéil vous-même. Les réparations effectuees par du personnel non qualifié peuvent provoquer des dommages ou de graves dérèglements.
- Contactez le Service ÀpRES-Vente le plus proche et exigez toujours des pieces détachées d'origine.
Si vous procédez à la mise à la casse de votre apparéil, veillez àmettre hors d'usage ce qui pourrait représententer un danger: coupez le cable d'alimentation et les tuyaux au ras de l' apparéil et déteriorez le dispositif de fermeture de la porte.
Emplacement
Placez l'appareil, si possible, à proximé d'une arrivée d'eau (robinet) et d'une évacuation.
Ce lave-vaisselle a ete concu pour etre encastré sous un evier ou un plan de travail. Pour les instructions concernant I'encastrement reportez-vous au paragraphe correspondant.
Mise à niveau
Une bonne mise à niveau est indispensable pour une parfaite fermeture et l'étanchéite de la porte.
Dévissez ou vissez les pieds réglibres, afin demettre parfaitement l'appareil d'aplomb.
Evacuation d'eau
L'extrémité du tuyau d'évacuation peut être branchée: au siphon de l'évier, en la fixant eventuèlement avec un collier;
à une évacuation murale pourvue d'une mise à l'air, ayant un diamètre interieur d'au moins 4 cm.
Le branchement pour l'évacuation doit se couver à une hauteur comprise entre 30 cm (minimum) et 100 cm (maximum) du sol.
Le tuyau de évacuation peut être orienté indifféremment vers la droite ou vers la gauche.
Evitez les piures et les étranglements du tuyau qui pouraient empêcher ou ralentir l'écoulement de l'eau.
Une éventuelle rallonge du tuyau d'évacuation ne devra pas être supérieure à 2 mètres et son diamètre interieur devra être égal à celui du tuyau de l'appareil.
De même, les raccords utilisés pour le branchement doivent avoir un diamètre intéérieur non inférieur à celui du tuyau d'évacuation.

Faites passer la rallonge sur le sol et ne la faites monter que pres de la vidange.
Raccordement d'eau
Ce lave-vaisse peut être alimenté en eau froide ou chaude jusqu'à 60^ max.
Nous vous conseillons néanmoins le raccordement à une arrivée d'eau froide.
Branchez le tuyau à un robinet avec un raccord de 3/4'' ou à une prise d'eau à branchement rapide (press block).

Ce tuyau est muni d'un dispositif de sécurité qui bloque l'entrée de l'eau dans la machine en cas de rupture, par usure, du tuyau interieur. L'inconvenient est signalé par l' apparition d'un signe rouge à la fenêtre (B). Dans ce cas, fermez le robinet d'eau et faites changer le tuyau.
Vissez correctement l'embout du tuyau (A) pour éviter les fuites d'eau. Contrôlez que la pression de l'eau d'alimentation n'excède pas les valeurs indiquées dans les caractéristiques techniques.
Evitez toute piure ou étranglement du tuyau qui pourrait empêcher ou ralentir le passage de l'eau.
Remarque: l'extrémité du tuyau raccordée à l'appareil peut être orientée selon les besoin, il suffit de desserrer le collier de fixation.

Revissez-le bien pour éviter les fuites d'eau.
Si l'appareil est branchée à des conduites neuves ou n'avant pas ete utilisées pendant un certain temps, il est conseilé de faire couler de I'eau pendant quelsques minutes avant de brancher le tuyau d'accive d'eau.
You evitezez ainsi que des
dépôts de sable ou de rouille puissant obstruer le petit filtré placé dans le tuyau d'arrivée.
Raccordement électrique
Ce lave-vaisselle ne peut être branché qu'en monophase 220-230 V - 50 Hz.
Vérifiez que votre compteur et les fusibles peuvent supporter l'intensité absorbée par la machine, compte tenu des autres appareils électriques branchés.
Utilisez un socle de prise de courant compteant uneborne de mise à la terre, qui doit être obligatoirement raccordée conformément aux normes en vigueur.
Le branchement devra estre exécuté en respectant les normes en vigueur.
Notre responsabilité ne saurait être engagée, en cas d'accidents ou incidents provoqués par une mise à la terre inexistante ou défectueuse.
Le bandeau de commande

1 Voyant lumineux de «machine sous tension»
Il s'allume après avoir appuyé sur la touche marche/ arrêt (2), en indiquant que la machine est sous tension.
2 Touche Marche/Arrêt
Mise en marche
L'enclement de cette touche permet le départ du programme de lavage.
Arrêt
Quand le programme de lavage est terminé, la machine s'arrête automatiquement.
Faites ressortir la touche marche/arrêt: l'appareil est mis hors tension.
Avant de selectionner un programme ou de changer un programme en cours, mettez l'appareil hors tension en appuyant sur la touche marche/arrêt.
Il s'allume quand la réserve de sel est épuisée pour vous rappeler qu'il faut replir le réservoir.
3 Guide programmes de lavage
C'est un guide récapitulatif du tableau des programmes de lavage qui vous aidera dans lechioix quotidien des programmes.
4 Poignée de porte
Il suffit de la pousseur pour fermer la porte.
Pour ouvrir la porte poussez légèrement la poignée vers le haut et tirez-la vers vous.
5 Sélecteur programmes
Il vous permet de sélectionner le programme de lavage désiré. Tournez le/selecteur vers la droite jusqu'à ce que le repère sur le bouton coincide avec le numéro du programmeChoisi.
6 Indicateur de déroulement du programme
Il vous indique continuèlement dansquelle phase de lavage se trouve votre apparéil.
Chaque phase est représentée par un symbole:

Prélavage - Attente

Lavage

Rinçage à froid

Rinçage à chaud

Sechage à l'air chaud
L'adoucisseur d'eau
Suivant les localités, l'eau contient une quantité variable de sels calcaires et mineraux. Ceux-ci se déposent sur la vaisse en y laissant des taches et des dépôts blanchâtres.
Plus la teneur en sels est élevé et plus l'eau est «dure». Le lave-vaisselle est muni d'un adoucisseur qui avec du sel regénérant spécial pour lave-vaisselle, fournit une eau dépourvue de calcaire (adouce) pour les opérations de lavage.
Vous pouvez demander le degré de durée de votre eau à la Compagnie Locale des Eaux.
L'adoucisseur peut traiter une eau ayant une «durete» atteignant 90^.H. et possede 5 niveaux de réglage. Sur le tableau suivant vous trouvez le niveau correspondant à votre eau et les indications sur les opérations de réglage nécessaires:
| Niveau | Dureté de l'eau | Emploi Sel régénérant | Réglage de l'adoucisseur | Réglage sur la machine | |
| °dH degrés allem. | °TH degrés français | ||||
| 1 | 0-7 | 0-14 | ** NON | NON | NON |
| *2 | 8-21 | 15-39 | OUI | NON | NON |
| 3 | 22-28 | 40-50 | OUI | OUI | NON |
| 4 | 29-39 | 51-70 | OUI | NON | OUI |
| 5 | 40-50 | 71-90 | OUI | OUI | OUI |
^ = Degre hydrotimétrique.
L'adoucisseur est regle d'origine au niveau 2 qui est le plus courant.
Si vous utilise des détergents sans phosphates (contenant des enzymes), introduisez du sel à partir du degré de dureté de 4^ dH ( 7^ T.H.).
Niveau 1
Si vous eau apparient au niveau 1, il n'est pas nécessaire d'utiliser de sel regénérant, ni d'effectuer de réglage car elle est déjà douce.
Niveau 3 et 5 (Réglage de l'adoucisseur)
Si vous eau apparient au niveau 3 ou 5, précédez de la manière suivante:

enlevez le panier inférieur, devissez et otez le bouchon du réservoir de sel placé sur le fond de la cuve;
à l'aide d'un tournevis ou d'un couteau tournez le sélecteur à deux positions de la position - à la position +.
Attention:
Nous vous conseillons d'effectuer cette opération lors de la mise en service de votre lave-vaisse.
Niveaux 4 et 5 (Réglage sur l'appareil)
Si vous eau apparient au niveau 4 ou 5, percez la membrane (A) qui se trouve sur la partie frontale de la machine, côte supérieur à gauche.

Note: Avec une durée de l'eau de niveau 5, les deux réglages doivent être effectués.
A partir du niveau 2, utilisez régulierement le sel regénérant en suivant les indications qui figurent au paragraphe suivant.
Remplissage du réservoir de sel
Utilisez uniquement du sel spécial pour lave-vaissette. D'autres types de sel contiennent certaines substances qui pourraient peu à peu rendre inefficace votre adoucisseur.
Enlevez le panier inférieur, dévissez et otez le bouchon du réservoir.
Remplissez d'eau le réservoir

A l'aide de l'entonnoir prévu à cet effet, replisssez le réservoir avec 1kg environ de sel spécial pour lave-vaiselle. Revissez soigneusement le bouchon en vous assurant qu'il n'y ait pas de résidus de sel sur le filetage et sur le joint.
Contrôle de la réserve de sel
Par la suite, il suffit d'ajouter périodiquement du sel dans le réservoir. Pour vous le rappeler, le lave-vais-selle est pourvu d'un indicateur vert situé sur le bouchon du réservoir à sel; quand l'indicateur n'est plus visible, il est nécessaire d'ajouter du sel.
Le réservoir du sel contient toujours de l'eau. Il est tout à fait normal que celle-ci déborde lors du replis sage du sel.
Ne faites jamais fonctionner chez lave-vaisselle sans Sel regénérant.
Important: Le replissage du réservoir doit être effectué juste avant de commencer un programme de lavage, à l'exclusion du programme d'attente, ceci afin d'éviter que d'eventuels grains de sel ou de l'eau salée ne favorisent la formation de rouille.
Le produit de rinceage
Ce liquide rend la vaissele plus brillante et facilitite le séchage.
Il est introduit automatiquement pendant le rinceage chaud.
Le réservoir situé à l'intérieur de la porte peut contenir environ 110ml de produit de rincege, quantité suffisante pour 16 à 40 programmes de lavage, en fonction de la dose programmée.
Remplissage du réservoir de produit de rinçage
Ouvrez le réservoir en tournant le bouchon (A) vers la gauche.
Versez le produit de rinceage dans la goulotte de replissage, jusqu'à ce que le réserve soit complètement plein. L'indicateur (B) se trouvant sur le côté devra être souvent.
Refermez bien le bouchon
Le liquide qui s'est eventuellement écoulé hors du réservevoir pendant le replissage doit être soigneusement nettoyé à l'aide d'un papier absorbant, ceci afin d'éviter une importante formation de mousse au lavage suivant.
Quand l'indicateur devient plus clair, il faut ajouter du produit de rincege (70-80 ml environ).
Réglage de la dose
Le réglage de la dose dépend du brillant que l'on a atteint et du degré de séchage, autrement dit des résultats de lavage obtenus. Pour régler la dose de liquide, il suffit de se servir du/selecteur à 6 positions (C), qui se trouve à l'intérieur de la goulotte de replissage. Etant donné que la position 1 correspond au minimum de dose et la position 6 au maximum, partez de la position 3.

A l'aide de la pointe d'un couteau (ou d'un tournevis), augmentez graduelflement la dose si vous observez sur la vaisselle des gouttes d'eau ou des taches de calcaire; diminuez la dose au contraire si vous notez la presence de rayures blanchâtres.
Ne versez jamais de produit de lavage dans le réservoir de produit de rincege.
Le produit de lavage
Les produits de lavage en poudre, liquides ou en tablettes que vous devrez utiliser sont ceux spécifiques pour lave-vaisselle menager.
Avant de commencer tout programme de lavage, à l'exclusion du programme "Lavage d'attente", versez le produit de lavage dans le distributeur situé à l'avant de la contreporte.
Pour l'ouvrir il suffit de pouvoir le cliquet de fermeture (D). La quantité de produit à utiliser dépend du degré de saleté et de la quantité de vaisse l a laver.
Il vaut moins respecter les quantités indiquées sur le tableau de programmes.

A l'intérieur du distributeur, il y a des indications pour les doses sur lesquelles se baser;
$$ \begin{array}{l} - \text {M I N} = 1 5 \mathrm {m l} \ - \text {M A X} = 3 0 \mathrm {m l} \ \end{array} $$
Après avoir rempli le distributeur de produit, refermez le couvercle.

Si le programme prévoit un prélavage, il faut ajouter une petite dose de détermagent d'environ 5g = 1 / 2 cuiller sur le couvercle du distributeur, en plus de ce qui se trouve déjà à l'intérieur.
A la fin de tout programme de lavage, le couvercle est ouvert, prét pour une nouvelle utilisation.
Les produits de lavage n'exceptant pas tous identiques, consultez également les instructions figurant sur les emballages.
Nous vous rappelons que le produit de lavage ne pourra garantir une propriété complète s'il est employé en quantité insuffisante; s'il est employé en excès, il n'amélioreras pas les résultats et constituya un gaspillage.
Ne pas excéder dans l'emploi de produit de lavage pour contribuer à la limitation de la pollution de l'environnement.
Détergents sans phosphates (contenant des enzymes)
Ces nouveaux déterments ne contenant ni phosphates ni substances blanchissantes à base de chlore, bien qu'ils soient «écologiques» sont plus sensibles à la durée de l'eau par rapport aux déterments traditionnels. C'est pour cette raison qu'il faut introduire du sel dans l'adoucisseur à partir de 4^ dH ( 7^ TH) pour éviter des dépôts calcaires sur la vaisse et sur la cuve afin d'obtenir un résultat de lavage optimum.
Rangement de la vaisselle dans l'appareil
Tirez les paniers pour y charger la vaisse.
Avant de placer la vaisselle dans l'appareil, débarrasssez-la de tous les déchets alimentaires qui boucheraient les filtres et réduiraient l'efficacité du lavage.
Utilisation du panier inférieur
Le panier inférieur est destiné à receivevoir les casser-roles, les couvercles, les assiettes (jusqu'à 27 cm de diamètre), les saladiers, les couverts, etc. qui devront êtrerangésd'aprèsles figures.


Les plats et les grands couvercles seront disposés de préférence autour du panier, de manière à ne pas génér la rotation du bras supérieur.
On placera les couverts dans le petit panier amovible, les manches tournés vers le bas.
Si ces derniers traversent le fond du panier et risquent de générer la rotation du bras inférieur, returnez-les.
Intercalez les cuillers avec les autres couverts pour éviter qu'elles ne s'emboitent.
Séparez l'argenterie des autres métaux.
Utilisation du panier supérieur
Le panier supérieur est prévu pour receivevoir des as-siettes (à dessert, soucoupes, plates et creuses jusqu'à 24 cm de diamètre), des saladiers, des tasses et des verres qui seront disposés comme indiqué dans les figures. Les verres à pied peuvent être suspendus aux portes-tasses.


Ne lavez pas en machine de la vaisselle de petite dimension qui pourrait facilement sorting des paniers.

Attention
Ne recouvre pas de vaiselle la buse d'alimentation en eau du bras supérieur.
Avant de fermer la porte, assurez-vous que les bras puissant tournier librement.
Réglage en hauteur du panier supérieur
Si vous nevez laver des assiettes très grandes (plus de 27 et jusqu'à 31 cm de diamètre) vous pouze les/disposer dans le panier inférieur après avoir placé dans la position la plus haute le panier supérieur.
Pour cela:
Tournez vers l'extérieur les butées avant (A) du panier supérieur, puis otez le panier.

Gillesz le panier dans la position la plus haute et remètEZ les butées (A) dans la position d'origine. ÀpRES cette opération, il ne sera pas possible de ranger dans le panier supérieur des as-siettes ayant plus de 20 cm de diamètre et d'utiliser les portetasses.
NOS CONSEILS
Pour obtenir les valeurs résultats de la vage
Disposez toujours les casseroles, les tasses, les verres, etc., tournés vers le bas.
Inclinez légèrement les objets bombés pour facilititer le passage de l'eau.
Les cassetoles contenant des alimentés attachés ou brûlés doivent faire l'objet d'un trempage préalable.
Les ustensiles et couverts longs comme louches, grands couteaux, etc., doivent être disposés horizontally de préférence dans le panier supérieur.
En évitant le contact entre les pieces de vaisselle, on obtienda de plusieurs résultats de lavage.
Il est préférible de ranger les objets légers (réciements en plastique) dans le panier supérieur et de les dispos-ser de façon à ce qu'ils ne se retournent pas.
Pour économiser eau, courant, temps
Il est inutile de passer au préalable la vaisse sous l'eau courante.
Rangez la vaisselle sale dans les paniers immédiatement après usage. Ne procédez au lavage que lorsque la machine est complètement remplie.
Effectuez eventuèlement le programme d'attente (voir le tableau programmes) pour éviter que les résidus sèchent trop avant le lavage complet
Ne lavez pas dans votre lave-vaisselle:
Les couverts ou la vaisselle avec manche en bois ou en corne ou constitués d' éléments collés avec des résines non résistantes à l'eau chaude; objets d'artisanat, objets en bois, porcelaines ancienne ou peintes à la main.
Certaines décorations ne sont pas garanties pour résister au lavage en machine et peuvent perdre leurs couleurs.
Si le cristal et la vaisselle en plastique ne sont pas garantis pour le lavage en machine, il est préférible de les laver à la main. Sinon, nous conseillons de les-disposer dans le panier supérieur et de désir un programme délicat.
Certaines qualités de verre peuvent devenir opaques après de nombreux lavages en machine.
Les couverts en argent ont tendance à noircir s'ils sont mélangés à des couverts en inox. Disposez-les dans le panier porte-couverts, séparés des autres.
Les objets en fer ou en fonte peuvent rouiller et tacher d'autres pieces de vaisse.
L'aluminium a tendance à noircir le cuivre, l'étain et le laiton ont tendance à se tacher.
Attention:
Ne lavez pas en machine de la vaiselle de petite dimension qui pourrait sortir des paniers.
Au moment d'un nouvel achat de vaisse- le:
Sachez que les décorars des pieces en faïence ou porcelainne cuits sous émail sont absolument inattaquables, à la différence des décorars cuits sur émail dont les coloris peuvent à la longue s'atténuer.
De même, certaines pieces décorées à l'or peuvent être maintainant lavées en machine. Ces pieces doivent porter la garantie du fabricant.
Choisissez des pieces à fond plat pour éviter toute retenue d'eau (verres, tasses, bols...).
Recommendation: Si vous achetez de la vaisselle, assurez-vous qu'elle soit garantie pour le lavage en machine.
Programmes de lavage
| Programme | Type de vaisselle | Quantité de résidus Type de salissure | Position départprogrammateur | Touché àappuyer | Doses conseilléesde produit de lavage | Descriptiondu cycle | Valeurs indicatives deconsommation *** | |||
| dans leréservoir | sur le couvercle du réservoir | Duréedu programmeen min. | Consommation d'énergiekWh | Consommationd'eaulitres | ||||||
| * ProgrammeNormal 65° | Casseroles Vaissellevariee | Résidus normaux ou abondants,mème séchés, et/ou contenantde l'amidon (ex. pâtes, riz,semoule, pommes de terre, oeuf,saues, rôtis). | 3 | 10 | 2 cuillers àdessertrases(20 g) | 1/2 cuillerà dessert(5 g) | Prélavage à l'eau froideLavage à 65°C1 rincege à froid1 rincege à 65°CSechage à l'air chaud | 64 | 1,1 | 17 |
| ** ProgrammeRapidé 65° | VaissellevarieeVaisselle pourbuffets | Peu de résidus, même séchés,contenant de l'amidon (ex. pâtes,riz, semoule, pommes de terre,oeuf, saues, rôtis). | 1 | 10 | cuiller àdessertbombée(15 g) | / | Lavage à 65°C1 rincege à froid1 rincege à 65°C | 42 | 1,0 | 16 |
| Lavaged'attente(trempage) | Chargement partiel de vaisselledevant être complété au repassuivant. Pour ce programme,pas de produit de lavage. | 2 | 10 | / | / | 1 rincege à froid (pouréviter que les résidusd'aliments ne sechant sur la vaisselle). | 10 | 0,1 | 11 | |
Pour Instituts d'Essais conformément IEC 436/DIN 44990.
- * Programme Normal avec prélavage; d'assiettes, verres et vaissele peu sale (sauf les casseroles) en favorisant leur utilisation immédiate. Vu la brievété du programme la phase de séchage est supprimée.
- Dose de produit conseillée: 20 g dans le réserveir
5 g sur le couvercle du réservoir *** Ces données ont une valeur indicative et dépendent de la pression et de la température de l'eau ainsi que des variations de tension électrique.
Comment faire votre vaisse
1 Vérifiez la propriété des filtrés
(voir paragraphe «Entretien»)
2 Effectuez le contrôle du sel et du produit de rinceage (voir paragraphe correspondant)
3 Dispossez la vaisselle dans la machine
Débarrasssez la vaiselle des d'échets alimentaires.
Tirez le panier inférieur et placez-y cassetoles, assiettes et couverts.
Tirez le panier supérieur et placez-y assiettes, verres, tasses, etc...
Poussez les paniers à l'intérieur de la machine.
Assurez-vous que les bras rotatifs ne soient pas génés dans leur mouvement.
4Dosez le produit de lavage
Versez la dose correcte de produit de lavage dans le distributeur, suivant les indications du tableau de programmes et fermez le couvercle.
Fermez la portedu lave-vaisselle.
5 Sélectionnez le programme
Tournez le bouton du sélecteur dans le sens des aiguilles d'une montre, jusqu'à ce que le repère corresponde avec le numéro du programme choisi.

6 Mettez en marche
Enoncez la fiche dans la prise de courant.
Ouvrez le robinet de l'eau.
Appuyez sur la touche 1: le programme commence.
Si vous voulez l'interrompre à n'importe quel moment, appuyez à nouveau sur la touche.
Pour remettre l'appareil en fonctionnement, appuyez de nouveau sur la touche 1; le programme reprendra où il a ete interrompu.
7 Fin de programme
La machine s'arrête automatiquement.
Pour éteindre l'appareil appuyez sur la touche marche/arrêt.
Fermez le robinet d'arrivée d'eau.
Ouvrez la porte et attendez quelques minutes avant devoir la vaisselle: vous évitez de vous brûler et le séchage sera complété dans de nombreures conditions.
Videz d'abord le panier inférieur, puis celui du dessus: vous éviterez ainsi que des gouttes du panier supérieur ne tombent sur la vaissele du panier inférieur.
Attention
En général, nous déconseillons l'ouverture de la portependant le fonctionnement de l'appareil; de toute façon, un dispositif de sécurité arrêté la machine au moment de l'ouverture.
Si vous doivent ouvrir la porte pendant le fonctionnement, éteignez toujours l'appareil au préalable, en appuyant sur la touche 口 .
Nettoyage des filtrres centraux (Après chaque lavage)
Débarrasssez les filtres centraux (B) et (C) de leurs impuretés en les passant sous l'eau courante et en vous aidant d'une petite brosse.
Les filtres (B) et (C) se retirent ensemble en tirant l'entonnoir central vers le haut, dégagez ensuite le filtré (C) en pressant simultanément les deux ailettes (D).


Une fois le nettoyage effectué, réinsérez les filtres en les poussant jusqu'à ce qu'ils soient bien engagés dans leur logement.
Nettoyage du grand filtré (Régulièrement)
Nettoyez le filtré (A) des deux côtés, en le passant sous l'eau courante, et en vous aidant d'une petite brosse.
Pour l'enlever, o'tez le bras inférieur en appuyant sur les deux ailettes (E) et tournez dans le sens contraire des aiguilles d'une montre l'embout de fixation (F), puis dégagez le tout. Remontez le filtre en effectuant les opérations inverses.

Attention:
N'utilisez jamais le lave-vaisselle sans filtres. Un positionnement incorrect des filtres entraine de mauvais résultats de lavage.
Un mauvais entretien des filtres peut diminuer l'efficacité du lavage.
Nettoyage interieur et extérieur (Périodiquement)
Nettoyez les joints d'étanchéité de la porte et les distributeurs de produit de lavage et de rincege avec un chiffon humide.(ne pas utiliser de détergent).
Contrôlez que les trous des bras rotatifs ne sont pas obstrués.
Pour ǒtez le bras rotatif inférieur appuyez sur les deux ailettes laterales qui le fixent à la base.
Pour effectuer le nettoyage des buses du bras rotatif supérieur tirez vers vous le panier supérieur; de cette maniere vous pourrez facilement acceder au bras rotatif. Si vous volez l'enlever, dégagez l'entonnoir central en appuyant sur les deux ailettes laterales et dévissez la collier de fixation. Nettoyez le bras rotatif et replacez-le dans son logement.
N'utilisez jamais le lave-vaisselle sans bras rotatifs.
Une ou deux fois par an, effectuez un programme de lavage sans vaisselle, avec du produit de lavage ou mistréux encore avec un des produits spéciaux pour l'entretien des lave-vaisselle, disponibles dans le commerce.
Nettoyez régulièrement les surfaces extérieures de l'appareil et le bandeau de commande avec un chiffon doux humide et, si nécessaire, uniquement avec des détergents doux. N'employez jamais de produits abrasifs ou de solvants (acétone, trichloréthylène, etc...).
En cas d'absence prolongée
Débranche la prise de courant et coupe l'arrivée d'eau.
Remplissez le réservoir de produit de rincege.
Laissez la porte entrouverte pour éviter la formation de mauvaises odeurs.
Laissez l'intérieur de l'appareil propre.
Précautions contre le gel
Evitez de placer l'appareil dans un local où la températe est inférieure à 0^ .
Si cela était le cas, vidangez l'appareil, fermez le robinet d'arrivée d'eau, débranchez le tuyaux d'arrivée d'eau et videz-le.
Si vous déménagez
Evitez, si possible, de trop incliner l'appareil pendant le transport.
La fabrication de votre apparéil a fait l'objet de nombreuses vérifications. Cependant, si vous constatEZ une anomalie de fonctionnement consultez le texte ci-dessous. Dans la majorité des cas, vous pourrez y rémedier vous-même.
La machine ne démarre pas
La porte est mal fermée.
L'appareil n'est pas branche.
Coupure d'électricité.
Fusible défectueux.
Touche Marche/Arrêt non enclenchée ou programme non sélectionné.
L'eau n'arrive pas lors de la mise en marche
Robinet d'eau fermé.
Coupure générale d'eau.
Le tuyau d'arrivée d'eau est plie.
Le petit filtré du tuyau d'arrivée d'eau est obstrué.
L'eau reste dans la machine
Le tuyau de vidange est plie.
L'évier est bouché.
La rallonge du tuyau d'évacuation ne convient pas.
Il n'y a pas d'entrée d'air à l'extrémité du tuyau de vidaige.
La vaisse n'est pas propre
Les paniers sont trop charges.
La vaisse n'est pas correctement placée.
Les bras de lavage sont bloqués.
Les trous des bras sont obstrués.
L'entonnoir de passage de l'eau au centre du panier supérieur est obstrué par la vaisse.
L'extrémité du tuyau de vidange est immergee.
Les filtres sont bouchés.
Les filtres ne sont pas bien mis en place.
Le distributeur de produit de lavage est mal fermé.
Le produit de lavage n'est pas bien dosé ou ne convient pas, il est périmé ou est devenu dur, ou il est de mauvaise qualité.
Le bouchon du réservoir de Sel n'est pas bien fermé.
Le programme de lavage ne convient pas au type de salissure.
Traces de calcaire
Manque de Sel regénérant ou le réglage de l'adoucisseur ne correspond pas à la durée de l'eau.
Absence de produit de rinceage ou quantité insuffisante.
Trop de bruit pendant le lavage
Les pièces de vaisselle se cognent entre elles.
Les bras de lavage touchent la visselle.
Vaisse mal sechée
La vaisse est restée trop longtemps dans l'appareil, porte fermée, après le cycle de lavage.
Vaisse à fond incurve mal positionnée.
La porte se ferme difficilement
Le lave-vaisse n'est pas de niveau ou n'a pas ete correctement encastre.
Si à la suite de ces contrôle, le mauvais fonctionnement persististe, adressez-vous au ServiceAprès-Vente en indiquant le défaut observé, le modele de l'appareil (Mod.),le numero du produit (Prod.No.) et le numero de fabrication (Ser.No.) inscrits sur la plaque signalétique, située sur le cote droit de la porte de votre lavevaisselle.

Sécurités anti-inondation
La machine est munie de deux systèmes de sécurité supplémentaires anti-inondation ayant les caractéristiques suivantes:
- Place sur le tuyau d'arrivée d'eau (voir branchement d'eau), il intervient en cas de rupture du tuyau d'arrivée en bloquant le passage de l'eau. Il est actif même lorsque la machine est eteinte.
- Place sur le fond de la machine, il intervient en cas de fuites d'eau à l'intérieur de la machine. Il est actif pendant le fonctionnement de la machine.
Pour la réparation de la machine, faites appel au ServiceAprès-Vente.
Les cotes d'encastrement doivent etre celles indiquees dans la figure.


La hauteur de l'appareil peut varier de 6 cm grâce aux pieds réglabes. Réglez la hauteur de l'appareil entre 820 et 880 mm en agissant sur les pieds réglabes.
Laissez un espace de 2 mm entre le dessus de l'appareil et le meuble ou l'évier.
Encastrement
Les opérations nécessaires pour l'encastrement de l'appareil se trouvent aussi sur le moule que contient l'emballage.
Débranche l'appareil avant toute intervention.
Placez l'appareil dans la niche d'encastrement.
Il est nécessaire de prévoir un espace pour le passage du cable d'alimentation et des tuyaux d'alimentation et d'évacuation d'eau, afin qu'ils ne soient pas pliers.
Application du panneau de porte
La port de ce lave-vaisselle a ete conque pour l'application d'un panneau en bois ayant les dimensions suivantes:
largeur 446 mm
hauteur 594 mm max
épaisseur 20 mm max
poids 1,5a6kgmax
La hauteur du panneau dépend de celle du socle des meubles adjacents.
Attention:
Ne dépassez pas la hauteur maximum indiquée, autrement vous ne pourrez pas ouvrir complètement la porte, car le panneau cognerait contre le socle du meuble de la cuisine.
Il est possible de régler la hauteur du tableau de commande du lave-vaisselle à celle des tiroirs des meubles voisins pour un parfait alignement esthétique.
Enlevez un ou plusieurs intercalaires, situés en dessous du tableau de commande, jusqu'à ce que la hauteur désirée soit atteinte. Fixez les intercalaires comme indiqué dans la figure, à l'aide de deux vis 4,2 x 38.

Préparez le panneau comme suit:

Mesurez la distance (B) entre la partie inférieure du tableau de commande (ou des intercalaires) et le trou à boutonnière (X) sur la porte.
Marquez la même distance (B) sur le panneau et positionnez la traversé métallique à cette hauteur, en correspondence de la ligne Médiane (point Z).
Maintenez la traversé à une distance égale des bords du panneau de chaque coté.
Marquez sur le panneau les positions des quatre vis de fixation. Percez avec un foret de 2 x 12 et fixez la traversse avec des vis 3,5 x 16.
Introduisez les deux pivots de la traverse dans les trouss à boutonnière de la porte.

Soulevez le panneau au niveau du bandeau de commande: la position optimale une fois atteinte, ouvre la porte et fixez le panneau à l'aide de deux vis 4 x 40 en utilisant les trous de la contreporte.
Fixation au plan de travail

Fixezl'appareil au plan de travail à l'aide de deux vis 3,5 × 16 , comme indiquédans la figure au point (A).
Attention: Le lave-vaisselle doit être assure contre le renversement. Veillez donc à ce que les éléments auxquels il est attaché soient bien ancrés à une structure fixe (mur, meubles adjacents).
Pendant l'assemblage, faites attention à ne pas percer les côtés de l'appareil, pour ne pas endomager les composants hydrauliques.
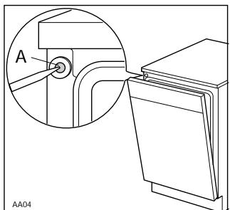
Réglage du balancement de la porte
La portè est bien équilibrée lorsqu'elle reste ouverte dans n'importe celle position.
Après l'application du panneau de revêtement un réglage du balancement de la porte peut s'avérer nécessaire.

Pour effectuer cette opération, vous doivent agir sur les deux vis antérieures.
Ouvrez la porte, enlevez les deux caches et serrez ou desserrez les deux vis.
De cette manière, la force de traction des reissorts d'équilibrage de la porte augmente ou diminue.
Replacez les caches.
Attention: Le poids du panneau doit etre de 6 kg max; dans le cas contraire il ne sera plus possible de balancer la porte.
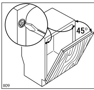
Mise à niveau
Assurez-vous que la porte ferme bien, sans frottier sur les côtes. Dans le cas contraire mettez la machine à niveau en vissant ou dévissant légèrement les pieds avant jusqu'à obtenir la fermeture optime de la porte.

Adaptation du socle
Pour permettre l'ouverture complete de la porte il pourrait etre nécessaire de discoverper le socle du meuble.

Sur la base des cotes (a) et (b) (voir croquis) vous pourrez tirer du tableau ci-dessous la hauteur (X) de l'ouverture à pratiquer dans le socle.

Notice Facile