13120 STANDING CALF - Équipement de musculation CYBEX INTERNATIONAL - Notice d'utilisation et mode d'emploi gratuit
Retrouvez gratuitement la notice de l'appareil 13120 STANDING CALF CYBEX INTERNATIONAL au format PDF.
| Type de produit | Machine de musculation pour les mollets debout |
| Caractéristiques techniques principales | Conception robuste, poids ajustable, plateforme antidérapante |
| Dimensions approximatives | Longueur : 120 cm, Largeur : 70 cm, Hauteur : 150 cm |
| Poids | Poids total : 150 kg |
| Utilisation | Destinée à l'entraînement des muscles des mollets, adaptée pour les salles de sport et les utilisateurs à domicile |
| Entretien et nettoyage | Nettoyer régulièrement avec un chiffon humide, vérifier les vis et les boulons pour assurer la sécurité |
| Pièces détachées et réparabilité | Disponibilité de pièces de rechange auprès du fabricant, facilité de réparation |
| Sécurité | Utiliser avec des chaussures appropriées, respecter les poids maximums recommandés, vérifier l'état de la machine avant utilisation |
| Informations générales | Garantie de 2 ans, poids maximum utilisateur : 180 kg |
FOIRE AUX QUESTIONS - 13120 STANDING CALF CYBEX INTERNATIONAL
Questions des utilisateurs sur 13120 STANDING CALF CYBEX INTERNATIONAL
0 question sur cet appareil. Repondez a celles que vous connaissez ou posez la votre.
Poser une nouvelle question sur cet appareil
Téléchargez la notice de votre Équipement de musculation au format PDF gratuitement ! Retrouvez votre notice 13120 STANDING CALF - CYBEX INTERNATIONAL et reprennez votre appareil électronique en main. Sur cette page sont publiés tous les documents nécessaires à l'utilisation de votre appareil 13120 STANDING CALF de la marque CYBEX INTERNATIONAL.
MODE D'EMPLOI 13120 STANDING CALF CYBEX INTERNATIONAL
Guide du propriété et de l'entretien
Systèmes d'entrainment de la force
Numero de piece 13120-999-2 C

VR1® Standing Calf
Guide du propriétaire et de l'entretien
Systèmes d'entrainment de la force
Numero de piece 13120-999-2 C
Sécurité 1-1
Consignes et pratiques de sécurité 1-2
Autocollants averissement/mise en garde . . 1- 3
Activités régulières de maintenance 1-6
Choisir l'exercice approprié 1-6
2 Exercices
Usage prévu 2-1
Instructions 2-1
3 Service clientèle
Contact. 3-1
Commandede pieces 3-1
Autorisation de回头 de matériel (ARM). 3-3
Pièces endomagées 3-3
4 Assemblage 4-1
5 Entretien
Procedures quotidiennes 5-1
Procedures hebdomadaires 5-4
Procedures annuelles 5-6
Réglage du cable 5-6
Environnement 5-7
Entreposage 5-7
6-Service. 6-1
1 - Sécurité
Sécurité
Lire soigneusement le manuel d'instructions avant d'assembler, d'entretenir ou d'utiliser l'équipement.
Il incorme au propriétaire de l'installation et/ou de l'équipement la responsabilité de communiquer aux utilisateurs l'utilisation appropriée de l'équipement et de passer en revue toutes les étiquettes.

AVERTISSEMENT: Le non-respect de ces mesures de sécurité peut entraîner des blessures graves:
Mesures de sécurité pour l'utilisateur
- Passer une visite Médicale avant de commencer un programme d'exercice physique.
- Lire et comprendre les étiquettes d'advertisement ainsi que le manuel de l'utilisateur avant de commencer les exercices. Se procurer les instructions avant toute utilisation. i
- Tenir le corps et les vêtements à l'écart des pieces mobiles.
- Inspector l'équipement avant toute utilisation. NE PAS utiliser si l'équipement est endommagé ou inopérable.
- NE PAS essayer de réparer un équipement cassé ou bloqué. Avertir le personnel.
- Utiliser l'équipement uniquement pour la fonction à laquelle il est destiné. NE PAS modifier l'équipement.
Veiller à ce que la goupille du poids soit totalement insérée. Utiliser uniquement la goupille fournie par le fabricant. En cas de doute, demander de l'assistance. - Ne jamais placer de poids en position élevée. NE PAS utiliser l'équipement dans cet état. Consulter le personnel pour toute assistance.
- Les enfants sont interdits près de ces équipements. Les adolescents doivent être surveillés.
- NE PAS utiliser si les protections sont absentes ou endommagées.
- NE PAS utiliser d'haltères ou autres poids incrémentaux, sauf ceux fournis par le fabricant.
- Inspector les cables, les courroies et les connexions avant toute utilisation. NE PAS utiliser si les composants sont usés, effilochés ou endommages.
- NE PAS enlever les étiquettes de l'équipment. Remplacer toute étiquette endommagée.
- Arrête de faire de l'exercice si vous vous sentez mal à l'aise,étourdi ou ressentez des douleurs pendant l'exercice.Consulter un medecin.
Mesures de sécurité pour les installations de conditionnement physique
Lire soigneusement le manuel d'instructions avant d'assembler, d'entretenir ou d'utiliser l'équipement.
Fixer chaque équipement au sol à l'aide des trous d'ancrage fournies avec les équipements.
REMARQUE: Cybex n'est pas responsable de l'ancrage de l'équipement. Consulter un entrepreneur professionnel.
REMARQUE: Utiliser une boulonnerie ayant un minimum de 500 lb de capacitéélasticité (boulons 3/8 po de qualité 2 ou supérieure).
REMARQUE: Si les pieds/le cadre n'entrent pas en contact avec la surface, NE PAS les tirer avec la boulonnerie. Caler les pieds ou le cadre qui ne seraient pas en contact avec la surface à l'aide de rondelles plates.
- S'assurer que chaque machine est configurée et utilisée sur une surface solide de niveau. Ne pas installer l'équipement sur une surface irrégulière.
Sassurer que tous les utilisateurs sont correctement formés au bon usage de l'équipement.
Sassurer qu'il y a suffisamment de place pour acceder à l'équipment et l'utiliser en toute sécurité.
Effectuer regulierement des vérifications d'entretien sur l'équipement. En outre, faire parti culièrement attention aux zones à haut risque d'usure, y compris (mais sans en exclure d'autres) les câbles, poulies, courroies et poignées. - Remplacer immédiatement les composants usés ou endommages. S'il est impossible de replacer immédiatement les composants usés ou endommages,mettre l'équipment hors service tant qu'il n'est pas réparé.
Utiliser uniquement les composants fournis par Cybex pour effectuer l'entretien/les réparations de I'équipement. - Consigner dans un journal toutes les activités de maintenance.
- Inspector les cables, les couroies et les connexions avant toute utilisation. NE PAS utiliser si les composants sont usés, effilochés ou endommages.
REMARQUE: Il incombe à l'utilisateur/du propriété ou lw technicien de l'installation de conditionnement physique de s'assurer que la maintenance est effectue régulière.
Consignes et pratiques de sécurité
Cybex recommende que tout l'équipment de conditionnement physique soit utilisé sous surveillance. L'équipment doit se couver dans un endroit où l'accès est contrôle. La responsabilité de ce contrôle incombe au propriétaire. C'est le propriété qui déterminera l'envergure du contrôle.
Il incorme à l'acheteur/utilisateur des produits Cybex de litre et de comprendre le contenu du guide du propriétaire, ainsi que les étiquettes d'avertissement, et de former tant les utilisateurs finals que le personnel de supervision à l'utilisation appropriée de l'équipement.
UTILISATION APPROPRIÉE :
N'utilisez l'appareil que tel que decrit dans le guide. La non-observation des instructions appropriées pourrait entrainer des blessures.
Ne appuyez pas contre l'appareil ou ou ne le tirez pas au niveau du chassin, de la pile de poids ou autre composant, que l'appareil soit arrêté ou en marche. Les utilisateurs ou les tiers (personnes à proximité) pourrait être blessés par suite d'une utilisation inappropriée.
N'utilisez pas l'appareil s'il ne se trouve pas sur une surface saine et de niveau ou s'il n'est pas installé correctement.
Prévoyez un périmètre de sécurité adéquat entre l'appareil, les murs et le restant de l'équipment afin d'assurer un espace suffisant pour permettre aux apparèils de fonctionner et aux utilisateurs de s'entraîner de façon appropriée.
FIXATION DE L'ÉQUIPEMENT :
Les pieds de l'appareil sont pourvus de trous qui facilitent son ancrage au sol. Cybex commande vivement de fixer solidement l'équipement sur une surface saine et de niveau afin d'éliminer les risques de mouvement, de basculement ou de chute dus à une utilisation inappropriée de l'équipement.
- Cette surface saine et de niveau ne devrait pas dévier de plus de 1/8 po (0,21 cm) à 10 pi (3,04 m) ou tel que définit et requis par les codes locaux du bâtiment et de l'architecture.
- L'ancrage de l'équipement doit être exécuté par un entrepreneur qualifié et/agree.
- Les trous d'ancrage se trouvent sur les pieds du chassin. Tous les trous d'ancrage doivent etre utilisés lors de la fixation de I'équipement au sol.
- En raison de la grande variété de type de sols sur lesquels les apparciels peuvent être fixés ou installés, déterminez la méthode d'ancrage et les dispositifs de fixation utilisés auprès d'un entrepreneur qualifié et agréé.
- Une force minimum de tirage de 220 lb/100 kg est requise à chaque position d'ancrage.
- N'utilisez pas l'appareil tant qu'il n'a pas ete correctement ancre.
MAINTENANCE:
La maintenance préventive permet à l'équipment de fonctionner correctement et réduit le risque de blessure. Execuéz les activités de maintenance décrites dans le guide.
CONFORMITE AUX NORMES :
Les produits Cybex se conforment aux normes ASTM et EN applicables ou les dépassent.

Autocollants d'avertissement/mise en garde
Les autocollants d'avertissement indiquent une situation potentiellement dangereuse, qui, si elle n'est pas evitée, pourrait entraîner des blessures graves voire la mort.
Les autocollants de mise en garde (Attention) signalent une situation potentiellement dangereuse qui, si elle n'est pas évitée, risque d'entrainer des blessures légères ou moyennes.
Les autocollants d'ajretissement/mise en garde utilisés sur l'équipement sont illustrés ci-dessous. Les diagrammes après les autocollants indiquent l'emplacement de chaque autocollant.



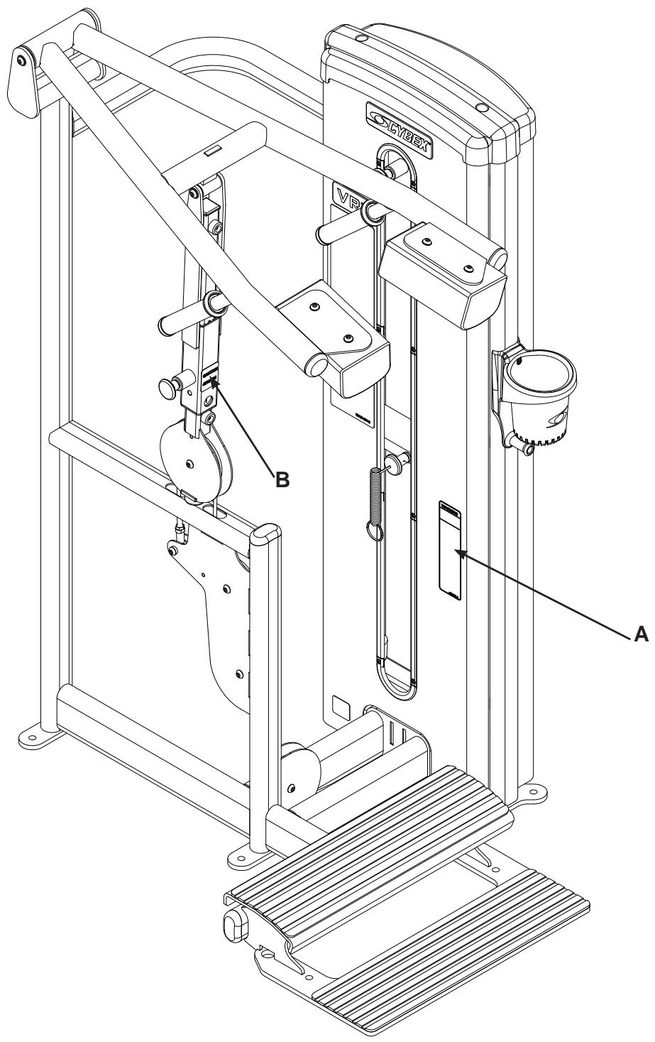
Standing Calf - 13120
Description
Réf.
A. Étiquette d'advertissement 4605-381-2
B. Autocollant de mise en garde 4510-321-2
Activités régulières d'entretien
Des activités d'entretien préventif doivent être exécutées pourmaintenir un fonctionnement normal de vosétéquipement. Il est recommandé de tener un journal de toutes les actions d'entretien pour rester informé des activités d'entretien préventif. Pour de plus amples informations sur l'entretien préventif, reportez-vous au Chapitre 5 qui inclut entre autres :
Quotidiennement
- Nettoyez les revêtements.
Hebdomadairement
- Inspectez tous les écrous et boulons. Resserrez si besoin.
- Inspectez tous les cables et toutes les courroies pour détecter les traces de dommage ou d'usure (voir le chapitre 5). Si un cable ou une couroie sont usés ou endommages, n'utilise pas l'équipement tant que le cable ou la couroie n'ont pas été remplacés.
- Effectuez un contrôle pour détecter les poignées, les maillons et les étiquettes usés. Remplacez immédiatement toutes les pieces usées.
- Inspectez pour deceler toutes poignées lâches ou usées. Remplacez immédiatement toutes poignées lâches ou usées.
- Inspectez les piles de poids pour garantir un alignment et un fonctionnement appropriés. Rectifiez immédiatement l'alignement ainsi que les problèmes de fonctionnement.
- Lubrifiez les tiges guides uniquement à l'aide d'une huile pour moteur d'automobile.
Annellement
- Remplacez tous les cables et les courroies au moins une fois par an.
Choisir l'exercice approprié
Avant de commencer les exercices, lisez et comprendez leurs premisés sur la carte et dans le chapitre 2.
2 - Exercice
Utilisation prévue
Cet équipement a ete prevu pour favoriser ou amelierer l'aptitude physique generale et l'exercice. Il s'agit d'un équipement à usage commercial.
Instructions
Avant d'utiliser cet apparéil, assurez-vous de生存 et de bien comprendre toutes les instructions et mises en garde. Reportez-vous au chapitre 1, Sécurité, du Guide du contrôle ou consultez le personnel sur place.
MUSCLES SOLLCITES

Muscle gastrocnémien, muscle soléaire

DEBUT
FIN

REMARQUE: Exercice effectué : Flexion plantaire
REMARQUE : Tous les points de réglage de l'appareil comportent des poignées ou des boutons jaunes.
REMARQUE : Pour le « réglage » et le « mouvement », reportez-vous à la page suivante.
Réglage
- Placez les avant-pieds sur le repose-pieds supérieur, en les écartant dans le prolongement de vos hanches.
- Reglez les coussins d'épaule de façon à pouvoir comfortably étirer les mollets
Movement
- Appuyez sur le repose-pieds avec vos avant-pieds en soulevant les orteils.
3 - Service à la clientèle
Contact
Heures ouvrables de notre service téléphonique : de 8 h 30 à 18 h (heure normale de l'Est) du lundi au vendredi.
Les clients de Cybex vivant aux Etats-Unis peuvent contacter le Service à la catégorie de Cybex en composant le 888 462 9239.
Les clients de Cybex vivant hors des Etats-Unis peuvent contacter le Service à la clientèle de Cybex par téléphone au 508 533 4300 ou par fax au 508 533 5183.
Informez-vous sur le Web à www.cybexinternational.com ou par e-mail à techhelp@cybexintl.com.
Commande de pieces
Faxez vos commandes au 1 508 533 5183. Pour parler à un représentant du service à la clientèle, composez le 888 462 9239 (pour les clients vivant aux Etats-Unis) ou le 508 533 4300 (pour les clients vivant hors des Etats-Unis). Vous pouvez aussi nous contacter par e-mail à techhelp@cybexintl.com
Le fait d'avoir les renseignements suivants à portée de la main aidera nos représentants Cybex à moins vous servir.
- Numéro de série de l'unité
- Nom du produit
Le numero de série de l'unité et le nom du produit figurent sur l'autocollant du numero de série.
Reportez-vous au chapitre 6 pour repérer l'emplacement exact du numero de série.
Description de la pièce
- Numéro de la pièce
Les descriptions et les numéroes de piece sont fournis au chapitre 6 de ce guide.
- Adresse d'expédition
- Nom de la personne-ressource
En plus de votre adresse d'expédition et du nom de votre personne-ressource, votre numéro de compte est également utile, bien qu'il ne soit pas obligatoire.
Autorisation de回头 de matériel (ARM)
Le système d'Autorisation de回头 de matériel (ARM) déscrit les procédures à suivre lorsque vous renvoyez du matériel aux fins de remplacement, de réparation ou d'obtention de crédit. Ce système permet de s'assurer que le matériel renvoyé est correctement traité et analysé. Suivez minutieusement les procédures suivantes.
Pour toutes questions concernant la garantie, contactez notre distributeur Cybex autorisé. Vote distributeur Cybex vous demandera, le cas échéant, une autorisation de回头 de matériel de Cybex. Enaucun cas les pieces ou l'équipment défectueux ne seront acceptés par Cybex sans l'ARM appropriée et une étiquette de Service de回头 automatisé (SRA).
- Pour tout回头 d'article défectueux, contactez l'assistance téléphonique du service à la clientèle indiqué ci-haut.
- Fournissez au technician une description détaillée du problème que vous éprouvez ou du défaut de l'article que vous souhaitez renvoyer.
- Fournissez le numéro de modulo et de série de votre équipement VR1.
- A la discrétion de Cybex, le technicien peut vous demander de renvoyer le(s) pièce(s) défectueuses à Cybex afin de les évaluer aux fins de réparation ou de remplacement. Le technicien vous attribuera un numéro d'ARM et vous enverra une étiquette de SRA. L'étiquette de SRA et le numéro d'ARM doivent visiblement figurer sur l'extérieur du paquet contenant le(s) articles(s) renvoyés. Dans le paquet contenant le(s) pièce(s), joignez la description du problème, le numéro de série de l'équipement VR1 et le nom et l'adresse du propriétaire.
- Envoyez le paquet à Cybex par UPS.
REMARQUE: La marchandise renvoyée sans numero d'ARM indiqué sur l'extérieur du paquet et les envois contre remboursement ne seront pas acceptés par le service de réception de Cybex.
Le matériel endommagé pendant le transport ne devrait pas être renvoyé aux fins d'obtention de crédit. La responsabilité de ces dommages incombe au transporteur (UPS, Federal Express, entreprise de
Pieces endommagées
camionnage, etc.)
Dommages apparents - Sur réception de votre colis, vérifie minutieusement tous les articles. Tout dommage constaté lors d'une vérification visuelle doit être note sur la facture de fret et signé par le préposé du transporter. La non-observation de cette consigne entraînera le refus des transporteurs d'honorer leur réclamation. Le transporter doit vous fournir tous les formulaires à replir pour ce type de réclamation.
Dommages dissimulés - Les dommages qui ne sont pas constatés lors de la vérification visuelle à la réception du colis mais plus tard doivent être signalés au transporter dès que possible. Dès que le dommage est constaté, une demande doit être soumise par écrit ou par téléphone au transporter lui demandant d'effectuer une inspection du matériel dans les dix jours suivant la date de livraison. Conservez tous les contenants et le matériel d'emballage car ils seront requis lors du processus d'inspection. Le transporter vous fournira un rapport d'inspection ainsi que les formulaires nécessaires pour déposer une réclamation pour dommage dissimulé. La responsabilité relative à la réclamation pour dommage dissimulé incombe au transporter.
Cette page est intentionnellement laissée vierge
4 - Assemblage
Outils requis
- Clé Allen de 7/32 po
- Clé de 3/4 po ou clé à douille
Marteau - Chasse-goupille de 3/16 po
REMARQUE: Cette procédure requiert deux personnes.
REMARQUE: Il incombe au propriétaire de l'établissement ou de l'équipement de s'assurer qu'un espace suffisant est maintainu autour de chaque apparéil afin d'assurer la sécurité de l'utilisation et du passage.
REMARQUE: Reportez-vous aux diagrammes de reférence du chapitre 6.
- Assurez-vous de dire attentivement et de bien comprendre toutes les instructions avant d'assembler ce produit.
- Vérifiez si vous avez reçu la configuration appropriée.
A. Vérifiez si vous avez reçu l'appareil dans la couleur que vous avez commandée.
B. Vérifiez si vous avez reçu la pile de poids voulue. Vérifiez si vous avez reçu le guide du propriétaire approprié.
C. Vérifiez si vous avez reçu la feuille de garantie.
- Déplacez l'appareil jusqu'à l'emplacement souhaité.
REMARQUE: Si les piles de poids doivent être enlevées avant de déplacer l'appareil jusqu'à l'emplacement prévu, passez à l'étape 7.
REMARQUE: Si les piles de poids doivent être installées, passez à l'étape 8.
4. Enlevez les pieds d'expédition.

Avertissement : Faites preuve d'une extrème prudence lorsque vous retirez les cônes d'expédition et les pieds d'installation. La non-observation de cette commandeption peut entraîner des blessures.
A. En vous faisant aider, enlevez avec précaution chaque support d'expédition en forme de cône (standard) au moyen de la clé à douille ou de la clé de 3/4 po.
B. Placez avec précaution les pieds en caoutchouc (fournis avec l'appareil) sur chaque pied du chassin.
REMARQUE: Il est important d'exécuter régulièrement les activités d'inspection et d'entretien sur votre équipement. Pour de plus amples renseignements sur les procédures d'inspection et d'entretien, consultez le Guide du professionnelcy CBEX VR1. Si vous ne disposez pas du Guide du professionnelcy CYBEX ou en cas de questions ou de préoccupations, contactez le Service à la clientèle CYBEX.
5. Ancrez solidement l'appareil au sol.
A. Fixez solidement l'appareil au sol à l'aide des trous d'ancrage prévus sur chaque apparéil.
REMARQUE : Cybex ne peut être tenue responsable de l'ancrage de l'équipement au sol. Consultez un professionnel.
REMARQUE: Utilisez des dispositifs de fixation ayant une capacité de traction minimum de 227 kg (500 lb) (boulons de 3/8 po, calibre 2 au minimum).
REMARQUE: Si les pieds/chàssis n'entrent pas en contact avec la surface, NE LES TIREZ PAS par les pieces d'ancrage. Calez le pied ou le chàssis qui n'est pas en contact avec la surface à l'aide de rondelles plates.
6. Vérifiez si l'appareil fonctionne correctement.
7. Enlevez les plaques de poids.
A. A l'aide d'une clé Allen de 7/32 po, retirez les deux vis de blocage à tête ronde fixant le capot supérieur au chassin. Reportez-vous à la figure 1.

Figure 1
B. Enlevez le capot supérieur et les vis de blocage à tête ronde et mettez-les de côte.
C. Soulevez le capot avec précaution et dégagez-le de l'appareil.
D. Faites glisser le capuchon de la tige guide à ressort vers le bas, en direction de la tige, jusqu'à ce qu'il soit dégagé du chassin. REMARQUE: Le capuchon de la tige guide est à ressort.
E. Relâchéz lentement la prise du capuchon de la tige guide. Reportez-vous à la figure 2. REMARQUE: Le capuchon de la tige guide comprend un ressort de pression qui s'échappe si la prise n'est pas reliâchéée lentement.

Figure 2
F. Enlevez le capuchon de la tige guide et le ressort et mettez-les de côté.
G. Répétez les étapes 4D à 4F pour l'autre tige guide.
H. A l'aide du chasse-goupille de 3/16 po, enlevez avec précaution la goupille cylindrique qui fixe l'extrémité du cable au connecteur de poids supérieur. Reportez-vous à la figure 3.
I. Penchez avec précaution les tiges guides légèrement vers l'extérieur. REMARQUE: Une pression excessive sur les tiges guides peut endommager les capuchons des tiges guides inférieures.

Figure 3
J. Faites glisser le poids supérieur vers le haut et hors de l'appareil et mettez-le de côté avec précaution.
K. Nettoyez les tiges guides sur toute leur longueur. Graissez d'une légère couche d'huile moteur de poids moyen.
L. Demandez à un assistant de tener les tiges guides à la verticale.
M. Enlevez avec précaution chaque plaque de poids et mettez-les de côté.
8. Installation des plaques de poids.
A. Demandez à un assistant de tener les tiges guides à la verticale.
B. Alignez avec précaution les plaques de poids (retirées à l' étape 7L) sur les tiges guides et abaissez lentement chaque plaque. REMARQUE: Installé les plaques de poids dans l'ordre inverse de leur retrait effectué à l' étape 7L. REMARQUE: Lorsque vous installez les plaques de poids, positionnez les de sorte que les larges bords des bagues soient orientés vers le haut et les bords étroits des bagues soient orientés vers le bas. Reportez-vous aux figures 4A et 4B.

Figure 4A

Figure 4B
Guide du propretaire du Cybex VR1
C. Répétez les étapes 8A et 8B pour chaque plaque de poids.
D. Faites glisser avec précaution le poids supérieur (retiré à l'étape 7J) sur les tiges guides.
9. Acheminement du cable.
A. Vérifiez si le cable passage par le dessus du support de poulie et acheminez-le jusqu'au connecteur du poids supérieur.
B. Tirez fermement le cable et fixez-le en place à l'aide de la goupille cylindrique retiree a I'etape 7H.
C. Placez la goupille de la pile de poids dans chaque plaque pour vérifier si l'installation est adequate.
D. Sans selectionner de resistance, deplacez le poids supérieur vers le haut et vers le bas (pour simuler le fonctionnement normal).
E. Demandez à un assistant de vérifier si le cable se déplace sans a-coups et s'achemie droit du support de poulie au dessus du connecteur de plaque supérieur.
10. Installez la tôle de protection arrière.
A. Avec précaution, mettez la tôle de protection en place.
B. Fixez le capot supérieur en place à l'aide des deux vis de blocage à tête ronde retirees à l'etape 7A.
11. Executez les étapes 4 et 5.
5 - Entretien
Toutes les activités d'entretien préventif doivent être exécutées régulièrement. L'entretien routinier favorise le fonctionnement sans problème et en toute sécurité de tout le matériel Cybex Strength Systems.
REMARQUE: Cybex n'est pas responsable de l'exécution des activités régulières d'inspection et d'entretien sur vos apparêils. Formez tout le personnel à l'inspection et à l'entretien de l'équipement ainsi qu'à la déclaration et au rapport d'accident. Des représentants Cybex se tiennent à votre disposition pour répondre par téléphone à toutes questions ou préoccupations évientuelles.

REMARQUE: Les inspections et les réparations ne doivent être effectuées que par du personnel formé.
Cybex annulera la garantie en cas d'utilisation de pieces de rechange non-Cybex.
Proédures quotidiennes
- Revêtement - Essuyez les revêtements conformément aux commandations indiquées ci-dessous pour enlever les taches superficielles ou plus persistantes.
Taches superficieles
- Appliquez un chiffon doux imbibé d'une solution composée de 10% de liquide à vaisseille et d'eau chaude.
Au besoin, appliquez une solution composée de produit nettoyant liquide et d'eau à l'aide d'une brousse à poils doux. Essuyez les résidus avec un chiffon imbibé d'eau.
Guide du propriété du Cybex VR1
Taches plus persistantes
- Trempez un chiffon blanc doux dans une solution composée de 10% d'eau de Javel (hypochlorite de soude) et de 90% d'eau. Frottez doucement. Rincez avec un chiffon imbibé d'eau pour enlever la concentration d'eau de Javel.
Au besoin, vous pouvez utiliser de l'eau de Javel pure. - Laissez l'eau de Javel imprégner la partie tachée ou appliquez un chiffon imbibé pendant 30 minutes environ. Rincez à l'aide d'un chiffon imbibé d'eau afin d'enlever toute concentration d'eau de Javel restante.
Autre méthode pour les taches plus persistantes
- Trempez un chiffon doux blanc dans de l'alcool à friction et frottez doucement. Rincez avec un chiffon imbibé d'eau afin d'enlever toute concentration d'alcohol à friction restante.
REMARQUE : Pour restaurer le lustre, vous pouvez appliquer une légere couche de cire à meubles. Appliquez pendant 30 secondes, puis faites lustrer à l'aide d'un chiffon blanc et propre.
Veuillez observer rigoureusement les consignes suivantes
En cas d'utilisation de puissants produits de nettoyage, tel que l'alcool à friction ou l'eau de Javel, il est recommandé de tester le produit sur un endroit dissimulé. D'autres produits de nettoyage peuvent containir des dissolvants puissants ou inconnus et leur formule peut être modifiée sans préavis par le fabricant. Si vous souhaitez utiliser d'autres produits de nettoyage, essayez-les avec précaution dans un endroit dissimulé afin de déterminer s'ils pourrait endommager le revêtement. N'utilise jamais de solvants ou nettoyants puissants destinés à l'usage industriel. Pour nettoyer les zones tachées, il est recommandé d'utiliser un chiffon blanc doux. Évitez d'utiliser de l'essuie-tout.
Les produits de nettoyage peuvent etre dangereux/irritants pour la peau, les yeux, etc. Mettez des gants et des lunettes de protection. N'inhalez ou n'avalez aucun produit de nettoyage. N'exposez pas la zone adjoiningete ou les vetements au produit de nettoyage. Utilisez le produit de nettoyage dans un endroit bien ventilé. Observe toutes les mises en garde du fabricant. CYBEX et ses fournisseurs ne peuvent etre tenus responsables des blessures ou des dommages resultant de l'utilisation, appropriée ou non appropriée, des produits de nettoyage.
- Chassis - Nettoyez tous les éléments de chassis à l'aide d'une solution douce composée d'eau chaude et de savon pour laver les vehicules. Assurez-vous de laisser secher complètement. EVITEZ tous produits de nettoyage à base d'acide ou de chlore ainsi que les produits à base d'abrasifs qui pouraient rayer ou endommager l'équipement.
- Chrome - Nettoyez les tubes chromés en commençant avec un produit à polir le chrome, puis appliquez une couche de cire pour vehicule. Il est recommendé d'utiliser des nettoyants neutres dont la teneur en pH est de 5,5 à 8,5. Assurez-vous de laisser secher complètement. EVITEZ tous produits de nettoyage à base d'acide ou de chlore ainsi que les produits à base d'abrasifs qui pourrait rayer ou endommager l'équipement.
4. Consignes pour le nettoyage du panneau frontal :
Pour appliquer les nettoyants, laver et rincer, utilisez des chiffons doux propres.
- Àprous l'application du produit, rincez à l'eau chaude.
N'utilisez pas d'abrasifs ou de produits à haute teneur d'alcalin.
- Ne laisses pas les nettoyants agir pendant de longues périodes, lavez immédiatement.
N'appliquez pas les nettoyants à la lumière directe du soleil ou à des températures élevées.
N'utilisez pas de grattoirs, racloirs ou rasoirs.
- Ne nettoyez pas avec de l'essence.
Produits de nettoyage et déterments compatibles :
- Formule 409
Top Job
Joy
Palmolive - Windex avec ammoniac D
Pour minimiser les rayures fines ou capillaires :
Pour aider à combler les rayures, appliquez un produit à polir doux pour vehicules et enlevez-le avec un chiffon doux et propre.
Produits à polir conseillés :
- Inspectez tous les écrous et boulons pour déceler tout desserrage. Serrez au besoin.
- Inspectez tous les cables pour deceler toute usure et tous dommages eventuels ou problèmes de tension. Lors de l'inspection des cables, passez le doigt sur les cables, et vérifiez tout particulièrement s'ils ne plient pas, notamment aux points de raccordement.

AVERTISSEMENT : Remplacez immédiatement tous les cables usés. Les conditions suivantes peuvent signaler l'usure d'un cable :
Une déchirure ou une fissure dans la gaine du cable, qui expose le cable. Reportez-vous à la figure 1.

Figure 1.
- Une déformation du cable. Reportez-vous à la figure 2.

Figure 2.
- Une gaine vrillée. Reportez-vous à la figure 3.

Figure 3.
- Une gaine de cable étirée, amincie. Reportez-vous à la figure 4.

Figure 4.
- Inspectez les barres et les poignées afin de détecter toute trace d'usure, en prétant une attention particulière aux points de connexion.
Remplacez immédiatement toutes les poignées usées.

MISE EN GARDE : Remplacez immédiatement toutes les poignées usées. N'utilise pas l'équipement s'il reste moins de 3,17 mm (1/8 po) de matériel sur le bord. Reportez-vous à la figure 5.

Figure 5
- Inspectez les mousquetons pour vérifier s'ils se verrouillent correctement (si ce n'est pas le cas, ils sont usés).
Remplacez immédiatement tous les mousquetons usés.
- Inspectez les poignées pour vérifier si elles sont lâches ou usées.
Remplacez immédiatement toutes poignées lâches ou usées.
- Inspectez toutes les étiquettes pour vous assurer qu'elles sont lisibles, y compris les cartes d'instruction et les autocollants d'avertissement et de mise en garde.
Remplacez immédiatement toutes les étiquettes usées.
- Inspectez toutes les piles de poids pour vérifier si elles sont bien alignées et si elles fonctionnent correctement.
Corrigez immédiatement tous les problèmes d'alignment et de fonctionnement.
- Nettoyez les tiges guides de poids sur toute leur longueur. Graisses d'une légère couche d'huile moteur de poids moyen.
Proédures annuelles
- Remplacez tous les câbles au moins une fois par an.
Réglage du cable
Trois types de réglage de la tension de cable sont effectuels sur les Cybex Strength Systems :
- Réglage à contre-écrou - Ce type de réglage utilise un contre-écrou et un écrou de réglage de la tension à l'extrémité du coinceur mécanique flexible et constitue le réglage principal. L'autre extrémité de cable comprend généralement un réglage à goupille cylindrique. Reportez-vous aux figures 6 et 7.
- Réglage à embout à rotule - Ce type de réglage utilise une vis à chapeau à tête creuse qui fixe un palier à embout de cable à l'appareil. Le principal réglage consiste à tourner ce palier à embout. L'autre extrémité du cable se règle généralement au moyen d'une goupille cylindrique. Reportez-vous aux figures 7 et 8.
- Réglage à goupille cylindrique - Ce type de réglage utilise une goupille cylindrique et une série de trous menages dans le connecteur de poids supérieur de la pile de poids. Reportez-vous à la figure 8.

Figure 6

Figure 7

Figure 8
Environnement
Electricité statique - Selon la région, l'air sec peut générer de l'électricité statique, tout particulièrement en hiver. Vous avez peut-être remarqué que le fait de marcher sur de la moquette puis de toucher un objet metallique suffit à creator de l'électricité statique. Il en va de même lorsque vous utilisez votre apparéil. Vous pourriez dessentir un chocol en raison de l'électricité statique accumulée sur votre corps et du trajet de la décharge à travers l' apparéil. Le cas échéant, vous voudrez peut-être augmenter suffisamment le niveau d'humidité à l'aide d'un humidificateur.
Humidité - L'équipement est conçu pour fonctionner normalement dans un environnement dont le niveau d'humidité relative se situe entre 30 et 75 %.
REMARQUE : N'installez pas ou n'utilisez pas l'appareil dans un endroit où le niveau d'humidité est très élevé, par exemple à proximé d'un bain de vapeur, d'un sauna, d'une piscine interieure ou à l'extérieur. Une exposition excessive à la vapeur, au chlore et/ou au brome peut endommager l'électronique ainsi que d'autres pieces de l'appareil.
Température - L'appareil est donc pour fonctionner normalement dans un environnement où la température ambiente est de 50^ ( 10^ ) à 104^ ( 40^ ).
Entreposage
Humidity - L'appareil peut être expédé et entreposé dans un environnement dont le niveau d'humidité relative se situe entre 10 % et 90 %.
REMARQUE: N'entreposez pas et n'utilisez pas l'appareil dans une zone très humide, par exemple à proximé de bains de vapeur, d'un sauna, d'une piscine interieure ou à l'extérieur. Une exposition excessive à la vapeur, au chlore et/ou au brome pourrait avoir des conséquences néfastes sur l'électronique ainsi que sur d'autres pieces de l'appareil.
Température - L'appareil peut être expédié et entreprises dans un environnement où la température ambiente se situe entre 32 °F (0 °C) et 140 °F (60 °C).
Cette page est intentionnellement laissée vierge.
6 - Service
Se reporter aux listedes de pieces détachées, aux diagrammes de vue éclatée et aux schémas d'acheminement des courroies et des câbles des pages suivantes.

PRECAUTIONS
Pour l'entretien, utilisez uniquement les pieces de rechange Cybex. Le non-respect de cette recommandation peut des blessures.
REMARQUE : Toutes les inspections et réparations doivent être effectuées exclusivement par du personnel dûment formé.
Cybex annulera la garantie si des pieces de rechange non-Cybex sont utilisées.
Cette page est intentionnellement laissée vierge.
STANDING CALF
PRODUCT NO. 13120
Notice Facile