PGX - Système de microphone sans fil SHURE - Notice d'utilisation et mode d'emploi gratuit
Retrouvez gratuitement la notice de l'appareil PGX SHURE au format PDF.
| Type de produit | Microphone sans fil |
| Caractéristiques techniques principales | Fréquence de fonctionnement : 518 - 542 MHz, Modulation : FM, Réponse en fréquence : 50 Hz - 15 kHz |
| Alimentation électrique | Piles AA (1,5 V), autonomie d'environ 8 heures |
| Dimensions approximatives | Récepteur : 210 x 44 x 160 mm, Émetteur : 240 x 50 x 50 mm |
| Poids | Récepteur : 1,2 kg, Émetteur : 0,2 kg |
| Compatibilités | Compatible avec les systèmes de sonorisation professionnels et les équipements audio |
| Type de batterie | Pile alcaline AA |
| Tension | 1,5 V |
| Puissance | 10 mW (max) |
| Fonctions principales | Transmission sans fil, réglage de fréquence automatique, indicateur de niveau de batterie |
| Entretien et nettoyage | Nettoyer le microphone avec un chiffon doux, éviter l'exposition à l'humidité |
| Pièces détachées et réparabilité | Disponibilité de pièces de rechange pour les composants principaux |
| Sécurité | Utiliser uniquement des piles recommandées, éviter les environnements humides |
| Informations générales utiles | Idéal pour les présentations, concerts et événements en direct |
FOIRE AUX QUESTIONS - PGX SHURE
Questions des utilisateurs sur PGX SHURE
0 question sur cet appareil. Repondez a celles que vous connaissez ou posez la votre.
Poser une nouvelle question sur cet appareil
Téléchargez la notice de votre Système de microphone sans fil au format PDF gratuitement ! Retrouvez votre notice PGX - SHURE et reprennez votre appareil électronique en main. Sur cette page sont publiés tous les documents nécessaires à l'utilisation de votre appareil PGX de la marque SHURE.
MODE D'EMPLOI PGX SHURE
La nouvelle espèce de systèmes sans fil shure
Créé pour les musiciens et présentateurs actifs qui en plus gèrent leur propre son, le système PGX sans fil de Shure améliore le spectacle et simplifie la mise en service.
Grâce à des innovations telles que la sélection automatique des fréquences et le réglage automatique de l'émetteur, le système sans fil est plus rapide et complètement sans soucis. Les systèmes PGX comprennent maintenant la compression-expansion de référence audio brevetée de Shure qui leur permet de fournir un son clair et cristallin d'une qualitéigne de la confiance des ingénieurs du son professionnels.
PGX propose un besoin de 8 systèmes et des systèmes sans fil à l'épreuve des tournées pour micros pour guitare, instrument et voix — notamment les microphones voix SM58® légendaires. En sans fil, le besoin qui SONNE le moins est le plus simple : celui du leader du concert en direct.
Table des matières
Composants des systèmes 12
Caractéristiques du récepteur PGX4. 13
Panneau frontal. 13
Panneau arrière 13
Émetteur à main PGX2 14
Changement des piles 14
Réglage du gain 14
Émetteur de poche PGX1 15
Port de l'émetteur de poche 15
Changement des piles 15
Réglage du gain 15
Mise en service d'un système unique. 16
Mise en service de systèmes multiples. 17
Sélection manuelle des fréquences (récepteur seulement) 17
Dépannage 18
Verrouillage et déverrouillage des commandes 18
Couleur chromatique 19
Pièces de rechange. 20
Tous les systèmes comprennent
- Récepteur PGX4
- 2 piles AA
- Bloc d'alimentation
- Guide d'utilisation
Les systèmes pour chanteur comprennent
- Capsule de microphone (choix entre PG58, SM58®, SM86 et Beta 58A®) Émetteur à main PGX2
- Pince de microphone
Les systèmes à micro-cravate, à microphone de casque et d'instrument complètent
Émetteur de poche PGX1 - Microphone (choix entre WL93, WH20 et Beta 98H/CTM)
Les systèmes pour guitare comprennent
- Émetteur de poche PGX1
- Câble de guitare de fiche 1/4 po à mini-connecteur à 4 broches
Panneau frontal

1 DEL audio
Indique l'intensité du signal audio d'entrée : vert pour normal, jaune pour fort, rouge pour pointe.
2 Écran à DEL
Voir "Mise en service d'un système unique" à la page 16.
Bouton canal
Voir "Mise en service d'un système unique" à la page 16.
4 DEL prêt
Un témoin vert indique que le système est prêt à l'emploi.
5 Port infrarouge (IR)
Diffuse un signal IR vers l'émetteur.
Bouton sync
Appuyer dessus pour synchroniser les fréquences de l'émetteur et du récepteur.
Panneau arrêté

1 Jack d'adaptateur c.a. Dispositif de fixation du cordon de l'adaptateur
3 Jack de sortie microphone symétrique XLR 4 Jack de sortie asymétrique 1/4 po
Émetteur à main PGX2


Témoin d'alimentation / infrarouge (IR) / coupure du son
| Vert | Prêt |
| Vert clignotant | Commandes verrouillées (voir page 16) |
| Jaune | Coupure du son activée |
| Rouge clignotant | Transmission IR en cours |
| Rouge allumé en permanence | Énergie de la pile presque épuisée |
| Rouge s'allumant par impulsions au démarrage | Énergie de la pile épuisée (il faut changer les piles pour pouvoir allumer l'émetteur) |
| Rouge s'allumant par impulsions après la synchronisation | Émetteur et récepteur incompatibles; contacter le revendeur Shure |
2 Interrupteur marche-arrêt / coupure du son
Appuyer et maintenir enfoncé pour permettre en marche ou arrêter. Appuyer et relâcher pour activer ou désactiver la coupure du son.
3 Port IR
Reçoit le faisceau infrarouge permettant de synchroniser les fréquences. Lorsque l'on utilise de multiples systèmes, seul un port IR d'émetteur doit être exposé à la fois.
Changement des piles
- L'autonomie estimée des piles alcalines est d'environ 8 heures.
- Lorsque le témoin de l'émetteur s'allume en rouge, les piles doivent être remplacées immédiatement, comme indiqué sur la droite.

Réglage du gain
- Pour accéder à l'interrupteur de réglage du gain, dévisser la capsule du microphone.
- Deux réglages de gain existent sur le PGX2. Déplacer le sélecteur de l'interrupteur à l'aide d'une pointe de stylo ou d'un petit tournevis.
0 dB : Spectacles vocaux d'ambiance et normaux. -10 dB : À utiliser uniquement si l'audio est distordu à cause de niveaux de voix élevés.


Émetteur de poche PGX1


Témoin d'alimentation / infrarouge (IR) / coupure du son
| Vert | Prêt |
| Vert clignotant | Commandes verrouillées (voir page 16) |
| Jaune | Coupure du son activée |
| Rouge clignotant | Transmission IR en cours |
| Rouge allumé en permanence | Énergie de la pile presque épuisée |
| Rouge s'allumant par impulsions au démarrage | Énergie de la pile épuisée (il faut changer les piles pour pouvoir allumer l'émetteur) |
| Rouge s'allumant par impulsions après la synchronisation | Émetteur et récepteur incompatibles; contacter le revendeur Shure |
2 Interrupteur marche-arrêt / coupure du son
Appuyer et maintenir enfoncé pour mettre en marche ou arrêter. Appuyer et relâcher pour activer ou désactiver la coupure du son.
3 Jack d'entrée à 4 broches du microphone 4 Port IR
Reçoit le faisceau infrarouge permettant de synchroniser les fréquences. Lorsque l'on utilise de multiples systèmes, seul un port IR d'émetteur doit être exposé à la fois.
Interrupteur de réglage du gain (voir ci-dessous)
Port de l'émetteur de poche
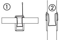
- Accrocher l'émetteur à une ceinture ① ou glisser une sangle de guitare dans l'attache de l'émetteur ② comme illustré. Pour une ceinture, faire glisser l'émetteur jusqu'à ce que la ceinture soit appuyée contre la base de l'attache.

Changement des piles
L'autonomie estimée des piles alcalines est d'environ 8 heures. Lorsque le témoin de l'émetteur s'allume en rouge, les piles doivent être remplacées immédiatement, comme indiqué sur la gauche.

Réglage du gain
- Il y a trois réglages de gain sur le PGX1 :
- mic : Microphone 0 : Guitare -10 : À utiliser uniquement si l'audio est distordu à cause de niveaux d'entrée élevés
Mise en service d'un système unique
Dans toute installation sans fil, chaque paire émetteur-récepteur doit être réglée à la même fréquence ou au même canal. Le système sans fil PGX utilise la mise en service automatique de l'émetteur pour synchroniser les canaux de l'émetteur et du récepteur.
Remarque : les appareils émetteurs tels que les téléphones portables et les radios bidirectionnelles, et les appareils numériques tels que les lecteurs de CD et les processeurs d'effet, peuvent perturber les transmissions audio sans fil. Garder les émetteurs et récepteurs PGX à distance de ce type d'appareils et d'autres sources potentielles de parasites.
1. Sélection automatique des fréquences
Appuyer sur le bouton canal et le relâcher. Ceci balaie les fréquences à la recherche d'un canal inutilisé et règle le récepteur sur ce canal.
L'écran à DEL affiche le canal actuel


Appuyer sur le bouton canal pour rechercher un canal inutilisé
channel
Le système recherche le canal disponible le plus clair

2. Mise en service automatique de l'émetteur
Ouvrir le compartiment pile de l'émetteur pour exposer le port infrarouge (IR) (voir pages 14 et 15).
Lorsque le port IR de l'émetteur est exposé en face du récepteur, appuyer sur sync.

Quand le témoin prêt du récepteur s'allume, le système est prêt à l'emploi. Fermer la porte du compartiment pile de l'émetteur.
Mise en service de systèmes multiples
Voir le guide des fréquences et canaux inclus pour plus de renseignements sur les canaux compatibles.
Les installations de systèmes multiples nécessitent l'utilisation de groupes et de canaux. Dans le panneau à DEL, le chiffre de gauche indique le groupe actuel et celui de droite le canal actuel.
le chiffre de gauche est le groupe


le chiffre de droite est le canal
Procédure comme suit lorsque l'on utilise de multiples systèmes PGX dans une seule installation :
- Mettre tous les récepteurs en marche et tous les émetteurs sur arrêt.
- S'assurer que le nombre de groupe est le même sur tous les récepteurs. Si nécessaire, utiliser la sélection manuelle des fréquences (décrite ci-dessous) pour régler tous les récepteurs sur un groupe unique.
- Effectuer la procédure de sélection automatique des fréquences sur le premier récepteur (voir page 16).
- Mettre en marche le premier émetteur.
- Effectuer la procédure de mise en service automatique de l'émetteur (voir page 16).
Laisser l'émetteur en marche. Répéter les étapes précédentes pour chaque système.

S'assurer que seul un port IR d'émetteur est exposé lorsque l'on synchronise un système.
Sélection manuelle des fréquences (récepteur seulement)
Pour sélectionner manuellement un groupe ou un canal, appuyer sans relâcher sur le bouton canal. L'affichage alterne entre le numéro de groupe et le numéro de canal.

Relacher le bouton canal quand l'un de ces numéros est affiché pour faire clignoter ce numéro.
Appuyer sur le bouton canal quand l'un de ces numéros clignote pour augmentation la valeur de un.
pour changer la valeur du groupe, relâcher le bouton canal lorsque le premier chiffre affiche...

... puis appuyer sur le bouton canal pour augmenter la valeur.
pour changer la valeur du canal, relâcher le bouton canal lorsque le second chiffre affiche...

... puis appuyer sur le bouton canal pour augmenter la valeur.
Pour activer un groupe ou canal nouvellement sélectionné, attendre simplement que le numéro s'arrête de clignoter.
Dépannage
| Problème | État du tímeoin | Solution |
| Son faisible ou inexistant | Témoin d'alimentation de l'émetteur allumé, DEL des récepteurs allumées | • Effectuer la mise en service automatique de l'émetteur (voir page 16) • Vérifier tous les branchements de la sonorisation |
| DEL du récepteur éteinte | • S'assurer que l'adaptateur c.a. est correctement branché dans une prise électrique et dans le connecteur d'entrée c.c. du panneau arrêté du récepteur • S'assurer que la prise électrique c.a. fonctionne et fournit la tension correcte | |
| Témoin d'alimentation de l'émetteur allumé ou clignotant en rouge | • Remplacer les piles de l'émetteur • Si le tímeoin continue à clignoter en rouge après le changement des piles, il se peut que l'émetteur et le récepteur aient des bandes de fréquences incompatibles. Contacter le revendeur Shure pour obtenir de l'aide. | |
| Témoin d'alimentation de l'émetteur éteint | • Allumer l'émetteur • S'assurer que les bornes + et - des piles correspondant aux bornes de l'émetteur • Insérer des piles neuves | |
| Distorsion ou salves de parasites indésirables | • Éliminer toutes les sources proches de parasites haute fréquence (lecteurs de CD, ordinateurs, effets numériques, systèmes de contrôle par écouteur interne, etc.) • Changer le récepteur et l'émetteur pour lesmettre à une fréquence différente • Réduire le niveau de gain de l'émetteur • Remplacer les piles de l'émetteur • Si l'on utilise de systèmes multiples, changer la fréquence d'un des systèmes actifs | |
| Le niveau de distorsion augmenteprogressivement | Témoin d'alimentation de l'émetteur allumé ou clignotant en rouge | • Remplacer les piles de l'émetteur |
| Niveau sonore différent de celui d'une guitare ou d'un microphone câblé(e) ou variable selon les guitares utilisées | • Régler le gain de l'émetteur selon le besoin | |
| Impossible d'allumer l'émetteur | Témoin de l'émetteur clignotant en rouge | • Remplacer les piles de l'émetteur |
Verrouillage et déverrouillage des commandes
Le verrouillage des commandes du système empêche de couper le son ou de changer de canal accidentellement durant le spectacle.
Émetteur
Pour verrouiller les commandes : l'émetteur étant éteint, maintenir enfoncé le bouton de mise sous tension Ⓞ jusqu'à ce que la DEL verte clignote (±5 secondes).
Pour déverrouiller les commandes : l'émetteur étant allumé, maintenez enfoncé le bouton de mise sous tension jusqu'à ce que la DEL verte clignote (±5 secondes).
Récepteur
Pour verrouiller le canal : maintenir le bouton canal jusqu'à ce que les numéros clignotent (±10 secondes).
Pour déverrouiller le canal : maintenir le bouton canal jusqu'à ce que les numéros clignotent (±5 secondes).
Caractéristiques
| Système | Plage de fonctionnement | 100 m (300 pi)Remarque : la portée réelle dépend de l'absorption et de laréflexion des signaux HF, ainsi que des parasites |
| Réponse en fréquence audio+/- 2 dB | Minimum : 45 HzMaximum : 15 kHz(La fréquence du système global dépend de l'élement microphone utilisé.) | |
| Distorsion harmonique totaleRéf. +/-33 kHz de déviation, 1 kHzde tonalité | 0,5 %, typique | |
| Gamme dynamique | >100 dB, pondéré en A | |
| Plage de températures defonctionnement | -18 °C (0 °F) à +50 °C (+122 °F)Remarque : les caractéristiques de la pile peuvent limiter cette plage | |
| Polarité audio de l'émetteur | Une pression positive sur le diaphragme du microphone (ou une tension positive appliquée à la pointe du jack téléphone WA302)produit une tension positive à la broche 2 (par rapport à la broche 3 de la sortie basse impédance) et la pointe de la sortie haute impédance de 1/4 po. | |
| PGX1Émetteur depoche | Niveau d'entrée audio | -10 dBV maximum lorsque le gain est régisé en position « mic »+10 dBV maximum lorsque le gain est régisé à 0 dB+20 dBV maximum lorsque le gain est régisé à -10 dB |
| Plage de réglage de gain | 30 dB | |
| Impédance d'entrée | 1 MΩ | |
| Sortie de l'émetteur RF | 30 mW maximum (dépend des réglementations applicables dans le pays) | |
| Dimensions | 108 mm H x 64 mm L x 19 mm P (4,25 x 2,50 x 0,75 po) | |
| Poids | 81 grammes (3 oz) sans les piles | |
| Boîtier | Boîtier en polycarbonate moulé | |
| Alimentation | 2 piles alcalines ou rechargeables de taille AA | |
| Autonomie des piles | >8 heures (pile alcaline) | |
| PGX2Émetteur àmain | Niveau d'entrée audio | +2 dBV maximum en position -10 dB-8 dBV maximum en position 0 dB |
| Plage de réglage de gain | 10 dB | |
| Sortie de l'émetteur RF | 30 mW maximum (dépend des réglementations applicables dans le pays) | |
| Dimensionsy compris la capsule SM58 | 254 mm x 51 mm de diamètre (10 x 2 po) | |
| Poids | 290 grammes (10,2 oz) sans les piles | |
| Boîtier | Poinée et réceptacle des piles en PC/ABS moulé | |
| Alimentation | 2 piles alcalines ou rechargeables de taille AA | |
| Autonomie des piles | >8 heures (pile alcaline) | |
| PGX4Récepteur | Dimensions | 40 mm H x 181 mm L x 104 mm P (1,6 x 7,125 x 4,1 po) |
| Poids | 327 g (11,5 oz) | |
| Boîtier | ABS | |
| Niveau de sortie audioRéf. +/-33 kHz de déviation avec 1 kHz de tonalité | Connecteur XLR (dans 600 Ω de charge) : -19 dBVConnecteur 1/4 po (dans 3000 Ω de charge) : -5 dBV | |
| Impédance de sortie | Connecteur XLR : 200 Ω1/4Connecteur 1/4 po : 1 kΩ | |
| Sortie XLR | Impédance symétriqueBroche 1 : Masse (blindage du cable)Broche 2 : AudioBroche 3 : Non audio | |
| Sensibilité | -105 dBm pour 12 dB SINAD, typique | |
| Suppression de la fréquence-image | >70 dB, typique | |
| Alimentation | 12-18 V c.c. à 150 mA, provenant d'un bloc d'alimentation externe |
Pièces de rechange
| Tous systèmes | Adaptateur de pied de microphone (PGX2) | WA371 |
| Mallette de transport | 94A8429 | |
| Propre à chaque système | Adaptateur c.a. (120 V c.a., 60 Hz) | PS20 |
| Adaptateur c.a. (230 V c.a., 50/60 Hz, Europlug) | PS20E | |
| Adaptateur c.a. (230 V c.a., 50/60 Hz, Royaume-Uni) | PS20UK | |
| Adaptateur c.a. (100 V c.a., 50/60 Hz) | PS20J | |
| Adaptateur c.a. (220 V c.a., 50 Hz, Chine) | PS20CHN | |
| Capsule PG58 avec grille | RPW108 | |
| Capsule SM58 avec grille (PGX2/SM58) | RPW112 | |
| Capsule SM86 avec grille (PGX2/SM86) | RPW114 | |
| Capsule BETA 58 avec grille (PGX2/BETA 58) | RPW118 | |
| Grille argent mat (PGX2/SM58) | RK143G | |
| Grille argent mat (PGX2/SM86) | RPM226 | |
| Grille argent mat (PGX2/BETA 58) | RK265G | |
| Attache pour ceinture | 44A8030 | |
| Accessoires en option | Grille noire (PGX2/BETA 58) | RK323G |
| Sac à glissière (PGX1) | 26A13 | |
| Sac à glissière (PGX2) | 26A14 | |
| Plateau de rack universal | URT |
Les transmetteurs modèle Shure PGX1 et PGX2 :
Type accepté sous FCC partie 74 (FCC ID: « DD4SLX1 » et « DD4SLX2 »). Certifié par IC au Canada sous RSS-123 et RSS-102 (« IC: 616A-SLX1 » et « IC: 616A-SLX2 »). Conforme aux exigences essentielles de la directive européenne R&TTE 99/5/CE (ETSI EN 300 422, partie 1 et 2, ETSI EN 301 489, partie 1 et 9) et sont autorisés à porter la marque CE.
Le récepteur modèle Shure PGX4 :
Autorisé aux termes de la clause de Déclaration de conformité de la FCC section 15B. Certifié par IC au Canada sous RSS-123 (« IC: 616A-PGX4 »). Conforme aux exigences essentielles de la directive européenne R&TTE 99/5/CE (ETSI EN 300 422, partie 1 et 2, ETSI EN 301 489, partie 1 et 9) et sont autorisés à porter la marque CE.
Les blocs d'alimentation PS20E et PS20UK :
Conforme aux spécifications IEC 60065 et sont autorisés à porter la marque CE.
Autorisation d'utilisation : Une licence officielle d'utilisation de ce matériel peut être requise dans certains pays. Consulter les autorités compétentes pour les exigences possibles.
Ce matériel radio est prévu pour une utilisation en spectacles musicaux professionnels et applications similaires.
Notice Facile