OP86871A - Four électrique ASKO - Notice d'utilisation et mode d'emploi gratuit
Retrouvez gratuitement la notice de l'appareil OP86871A ASKO au format PDF.
| Type de produit | Four encastrable |
| Capacité | 70 litres |
| Alimentation électrique | 230 V |
| Dimensions approximatives | 60 x 60 x 55 cm |
| Poids | 35 kg |
| Type de cuisson | Convection naturelle et ventilée |
| Fonctions principales | Gril, cuisson à la vapeur, cuisson par convection |
| Matériau de la cavité | Émail facile à nettoyer |
| Température maximale | 250 °C |
| Entretien et nettoyage | Nettoyage par catalyse et par vapeur |
| Pièces détachées et réparabilité | Disponibilité des pièces détachées assurée |
| Sécurité | Verrouillage de sécurité, porte froide |
| Compatibilités | Compatible avec les cuisines encastrées standards |
| Accessoires inclus | Grille, plat à rôtir |
FOIRE AUX QUESTIONS - OP86871A ASKO
Téléchargez la notice de votre Four électrique au format PDF gratuitement ! Retrouvez votre notice OP86871A - ASKO et reprennez votre appareil électronique en main. Sur cette page sont publiés tous les documents nécessaires à l'utilisation de votre appareil OP86871A de la marque ASKO.
MODE D'EMPLOI OP86871A ASKO
Merci d'avoir besoin ce produit de qualité fabriqué par ASKO. Nous espérons qu'il répondra à vos attentes et satisfera vos besoines pendant de nombreuses années. Le design scandinave associe des lignes nettes, des fonctionnalités adaptées au quotidien et une excellente qualité. Ce sont les caractéristiques essentielles de tous nos produits et c'est pour cela que le monde entier les apprécié.

Notice d'utilisation
FOUR ÉLECTRIQUE À PYROLYSE
Nos you remercions de la confiance que you nous avez manifestee en achetant un appeareil de notre marque.
Nous vous fournissons une notice détaillée qui vous facilititera l'utilisation de cet apparéil et vous permettra de vous familiariserrapidement avec lui.
Vérifiez d'abord que l'appareil n'a subi aucun dommage durant le transport. Si vous constatze une quelconque avarie, veuilles contacter immédiatement le détaillant chez qui vous l'avez achetié ou l'entreprise régional dont il provient. Vous trouvrez le numéro de téléphone sur la facture ou le bon de livraison.
La notice d'installation et de raccordement est fournie séparément.
La notice d'utilisation est également disponible sur notre site web :
www.asko.com / < http://www.asko.com />

Information importante

Conseil, remarque
SOMMAIRE
FOUR ÉLECTRIQUE À PYROLYSE 4
CHARACTERISTIQUES TECHNIQUES 4
BANDEAU DE COMMANDES (SELON LE MODELE) 7
CONSIGNES DE SECURITÉ 8
AVANT DE RACCORDER LE FOUR 9
AVANT LA PREMIÈRE UTILISATION 10
LES ETAPES DE LA CUISSON (1 A 6) 11
ÉTAPE 2 : SELECTION DU MODE DE CUISSON 12
ÉTAPE 3 : SELECTION DES RÉGLAGES 13
ÉTAPE 4: SELECTION DES FONCTIONS COMPLEMENTAIRES 15
ÉTAPE 5 : DÉMARRAGE DE LA CUISSON 16
ÉTAPE 6:ARRÉT DU FOUR 16
DESCRIPTION DES MODES DE CUISSON & TABLEAUX DE CUISSON 17
NETTOYAGE ET ENTRETIEN 31
NETTOYAGECONVENTIONNELDUFOUR 31
NETTOYAGE AUTOMATIQUE DU FOUR -PYROLYSE 32
DÉMONTAGE ET NETTOYAGE DES GRADINS EN FIL 34
NETTOYAGE DE LA VOUTE DU FOUR 35
DÉMONTAGE ET REMONTAGE DE LA PORTE DU FOUR 36
DÉMONTAGE ET REMONTAGE DES VITRES DE LA PORTE 37
REEMPLACEMENT DE L'AMPOULE 38
GUIDE DE DÉPANNAGE 39
MISE AU REBUT 40
TESTS DE CUISSON 41
(LA DESCRIPTION DU FOUR ET DE SON ÉQUIPEMENT DÉPEND DU MODELE)
L'illustration représenté l'un des modèles encastrables. Cette notice a été rédigée pour plusieurs modèles ayant des équipements différents ; il est donc possible qu'elle décrive des fonctions et des accessoires qui ne sont pas disponibles sur votre apparéil.

CHARACTERISTIQUES TECHNIQUES (SELON LE MODELE)
| XXXXXX | 220-240V ~ | Pnmax : 3.5 kW | X |
| TYPE:XXXXXX | 220V-240V, 50/60Hz | TN XXXN | |
| N° D'ARTICLE: N° DE SÉRIE:XXXXXX |
La plaque signalétique indiquant les principales caractéristiques techniques est apposée à l'intérieur du four. Elle est visible lorsque la porte est ouverte.
GRADINS EN FIL
Les gradins en fil permettent de cuire les préparations sur 5 niveaux (veuillez notes que les niveaux/gradins (ou glissières) sont numerotés de bas en haut).
Les gradins 4 et 5 sont destinés à la cuisson au grill.
GLISSIERES TÉLESCOPIQUES
Les glissières téléscopiques peuvent être installées aux 2ème, 3ème et 4ème niveaux. Il existe différents jours de glissières téléscopiques extractibles (selon le modulo) :
- trois paires partiellement extensibles, ou
- une paire totalement extensible et deux paires partiellement extensibles, ou
- trois paires totalement extensibles.
INTERRUPTEUR SUR LA PORTE DU FOUR
Lorsqu'on ouvre la portedu four durant la cuisson, l'interrupteur désactive les résistances et le ventilateur ; il les remet en marche lorsqu'on refere la porte.
VENTILATEUR DE REFROIDISSEMENT
L'appareil est équipé d'un ventilateur qui refroidit la carrosserie et le bandeau de commandes.
ACTIVITÉ PROLONGÉE DU VENTILATEUR DE REFROIDISSEMENT
Le ventilateur fonctionne encore quelques instantss apres l'arrêt du four pour accélérer le refroidissement de I'appareil. (La durée de I'activité prolongée du ventilat-. theur dépend de la température qui règne au centre de I'enceinte).
ÉQUIPEMENTS ET ACCESSOIRS DU FOUR

Avant de lancer le nettoyage par pyrolyse, enlevez tous les accessoires du four.
La GRILLE est prévue pour la cuisson au grill. Vous pouvez aussi y poser les plats, cocottes ou moulés contenant les préparations à cuire.


La grille comporte un taquet de sécurité. Il faut donc la soulever légèrement à l'avant pour la sortir du four.
La PLAQUE À PÂTISSERIE est prévue pour la cuisson des gâteaux.

Le PLAT MULTI-USAGE PROFOND sert à la cuisson de la viande et des gâteaux contenant beaucoup de liquide. Vous pouvez aussi l'utiliser en tant que lechefrite pour recueillir laGRAisse des alimentéscisant directement sur la grille.


Lorsque vous cuisez vos préparations dans le plat multige, ne le placez jamais sur le premier gradin, en bas du. Vous pouvez le mettre au premier niveau uniquement qu'il vous sert de lechefrite durant la cuisson au grill ou a la che.
LÉCHEFRITE ET PLAQUE À PÂTISSERIE PYROLYSABLES
Ces deux ustensiles sont renflés au milieu et peuvent être nettoyés par pyrolyse.
Vous doivent insérer la grille, la plaque à pâtisserie, le plat en verre et la lèchefrite dans l'espace situé entre les deux fils formant le gradin.

Si vous four est équipé de glissières téléscopiques extensibles, faites d'abord coulibser une paire de glissières (la gauche et la droite) hors du four, puis posez la grille ou la plaque à pâtisserie sur les deux glissières. Ensuite, poursze l'ensemble à l'intérieur du four avec votre main, aussi loin que possible.


Refermez la porte du four lorsque les glissières scopiques sont bien enforcées jusqu'au fond.
#
Durant la cuisson, l'appareil et certains de ses éléments accessibles sont très chauds. Mettez des gants de cuisine ou utilisez une manique.

NOTE:
Les icônes des modes de cuisson peuvent être situées sur le sélecteur de fonction ou sur le bandeau (selon le modele). Les touches réagiront moins si vous les effleurez avec une surface large de votre doigt. Chaque fois que vous en touchez une, un bip retentit.
VEUILLEZ LIRE ATTENTIVEMENT CETTE NOTICE ET GARDEZ-LA À PORTÉE DE MAIN POUR LA CONSULTER ULTÉRIEUREMENT.
Les enfants à partir de 8 ans et les personnes à capacités physiques, sensorielles ou mentales réduites ou manquant d'expérience ou de connaissances peuvent utiliser cet apparéil à condition de rester sous la surveillance d'unadulte responsable, d'avoir reçu des instructions préalables sur la manière de s'en servir en toute sécurité, et d'avoir compris les risques auxquels ils s'exposent. Ne laissez pas les enfants jouer avec l' apparéil; surveillez-les s'ils précédent à son nettoyage ou à son entretien.
ATTENTION: durant la cuisson, le four et certains de ses éléments accessibles peuvent être brûlants. Faites très attention à ne pas toucher les résistances. Surveillance en permanence les enfants de moins de 8 ans.
Durant la cuisson, le four est très chaud. Faites très attention à ne pas toucher les résistances.
ATTENTION : durant la cuisson, certains éléments accessibles du four peuvent être brûlants. Faites très attention à ne pas toucher les résistances et empêchez les enfants de s'approcher du four.
Utilisez exclusivement la sonde thermométrique recommandée pour ce four.
ATTENTION : avant de remplacer l'ampoule, mettez l'appareil hors tension afin de prévenir tout risque de chic électrique.
Pour nettoyer le four, n'utilise pas de détergents abrasifs ou de raclettes métalliques tranchantes qui pouraient rayer sa surface ou son revêtement protecteur en émail. Ces dommages pourrait entraîner des fêtres sur le verre.
Ne nettoyez jamais le four avec un apparéil à vapeur ou à haute pression, car cela pourrait produit un choc électrique.
L'appareil n'est pas prévu pour fonctionner avec un programmeur externe ou des systèmes de commandes spéciaux.
L'appareil est destiné à un usage domestique. Ne vous en servez pas à d'autres fins, par exemple pour chauffer la pierce, sécher les animaux (de compagnie ou autres), le papier, les textiles, les plantes aromatiques, etc. car cela pourrait entraîner des blessures ou un risque d'incendie.
L'appareil doit être raccordé au réseau électrique exclusivement par un professionnelnel qualifié.
Les interventions et réparations effectuees par des personnes peu compétentes peuvent provoquer des blessures ou endommager l'appareil. Confiez toute intervention à un professionnel.
Si vous utilisez d'autres apparéils électriques à proximité de l'enceinte de cuisson, veillez à ce que leur cordon d'alimentation ne se coince pas entre la cavité et la portedu four, car cela pourrait entraîrner un court-circuit. Parconsequent, maintenance les cordons secteur des autres apparéils à une distance convenable.
Ne tapissez pas le four avec une feuille d'aluminium et évitez de poser des plats ou des mouses directement sur la sole. En empêchant l'air de circuler, la feuille d'aluminium nuirait à une cuisson convenable et abîmerait le revêtement en émail.
Lorsque le four est en service, la porte chauffe. Pour améliorer la protection et réduire la température de la face externe de la porte, une troisième vitre a été intégrée (uniquement sur certains modèles).
Les charnières de la porte du four peuvent s'abîmer en cas de surcharge ; ne posez aucun récipient lourd sur la porte ouverte et ne vous y appuyez pas quand vous nettoyez l'intérieur du four. Ne montez pas sur la porte ouverte et ne laissez pas les enfants s'y asseoir dessus.
Veillez à ce que les fentes d'airations ne soient jamais recouvertes ni obstruées de chaque façon que ce soit.
Si le cordon secteur est endommagé, il faut le faire replacer – afin d'éviter tout danger – par le fabricant ou un technicien du service après-venture.
Sécurité d'utilisation du four durant la pyrolyse
Avant d'activer la fonction de nettoyage automatique par pyrolyse, retirez la grille, le tournebroche, le plat en verre, la sonde thermométrique et tous vos plats et moules qui ne font pas partie de l'équipement du four.
L'extérieur du four est très chaud durant la pyrolyse. Risque de brûlure! Ne laissez pas les enfants s'approcher de l'appareil.
Avant de lancer le nettoyage par pyrolyse, lisez et respectez scrupuleusement les consignes figurant dans le chapitre Nettoyage et entretien qui explique comment utiliser correctement cette fonction en toute sécurité.
Ne placez jamais rien sur la sole du four.
Les résidus d'aliment, les éclaboussures de graisse et de jus peuvent s'enflammer pendant la pyrolyse.
Risque d'incendie! Retirez les plus gros débris avant de lancer le nettoyage par pyrolyse.
N'essayez pas d'ouvrir la porte du four lorsque la pyrolyse est en cours.
Assurez-vous qu'aucun résidu n'obstrue la fente dans laquelle s'encliquette le crochet de fermeture, car cela pourrait empêcher le verrouillage automatique de s'enclencher lors de la pyrolyse.
En cas de coupure d'électricité durant le nettoyage par pyrolyse, le programme s'interrompt au bout de deux minutes, mais la porte du four reste verrouillée. Elle se déverrouille environ 30 minutes après le rétablissement du courant, indépendamment du fait que le four ait refroidi ou non entre-temps.
Ne touchez aucun élément métallique de l'appareil durant le nettoyage par pyrolyse!
Il est possible que l'intérieur du four et les accessoires pyrolysables se décolorent légèrement et ternissent un peu durant le nettoyage.
AVANT DE RACCORDER LE FOUR

Lisez attentivement la présente notice d'utilisation avant de raccorder l'appareil.
Les réparations ou réclamations résultat d'une'utilisation ou d'un raccordement non conforme ne sont pas couvertes par la garantie.
AVANT LA PREMIÈRE UTILISATION
Après réception de l'appareil, videz entièrement le four sans oublier les éléments utilisés pour le transport.
Nettoyez tous les accessoires à l'eau chaude additionnée d'un détergent usuel. N'employez pas de produits abrasifs.
Lorsque le four chauffe pour la première fois, il dégagé l'odeur caractéristique d'un produit neuf. Aérez bien la piece lors de la première utilisation.
Dès que le four est raccordé au réseau électrique, ou après une coupure de courant prolongé, 12 :00 clignote sur l'écran et une icône s'allume. Mettez l'horloge à l'heure.

1 Réglez d'abord les minutes en tournant le BOUTON DE RÉGLAGE (-12 +) ; le curseur se positionne ensuite sur les heures.
Le réglage est sauvégardi au bout de trois secondes.

Si vous tournez rapidement le bouton vers la droite a gauche, les heures et minutes défileront plus vite.

2 Validez en effleurant DéPART/STOP. Si vous n'appuyez sur aucune touche durant les trois secondes qui suivent, votre réglage sera enregistré automatiquement.

Le four fonctionnera même si vous n'avoz pas mis l'horloge à l'heure. Toutefois, les fonctions du programmateur ne seront pas disponibles (voir le chapitre : Réglage des fonctions du programmateur).
Au bout de quelques minutes, le four passse en mode Veille.
MODIFICATION DU RÉGLAGE DE L'HorLOGE
Voussouspoucezmodifierleréglagede l'horloge siaucune fonction duprogrammateur n'est en cours. Pourregler l'heure,effleurez la touche L.Validez en effleurant DEPART/STOP.
ÉTAPE 2 : SELECTION DU MODE DE CUISSON


Tournez le sélecteur (vers la droite ou la gauche) pour sélectionner un MODE DE CUISSON (voir le tableau des programmes).
L'icone du mode sélectionné apparait à l'écran.
- Vos pouvez rectifier vos régles pendant la cuisson.
| MODE | DESCRIPTION | TEMPÉRATURE PRÉCONISée (°C) |
| MODES DE CUISSON | ||
| »|||| | PRÉCHAUFFAGE RAPIDEUtilisez cette fonction pour faire chauffer le four le plus rapidement possible à la température désirée. Cette fonction ne convient pas à la cuisson. Lorsque l'appareil a atteint la température voulue, il s'accrite de chauffer. | 160 |
| — | CONVECTION NATURELLELes résistances de VOûte (en haut) et de sole (en bas) chauffent simultanément et la chaleur irradié à l'intérieur du four en se répartissant régulièrement. La cuisson des viandes ou des gâteaux n'est possible que sur un seul niveau à la fois. | 200 |
| ▼▼ | GRILSeul le grill (qui est un élément du grill double) est en marche. Ce mode de cuisson sert à faire griller les toasts, garnis ou non, et les petites saucisses. | 240 |
| ▼▼ | GRIL DOUBLELa résistance de VOûte et le grill sont en marche. La chaleur provient directement du grill installé en haut du four. Le fonctionnement simultané de la résistance de VOûte permet d'augmenter l'effet de la chaleur. Ce mode de cuisson sert à faire griller la viande, les toasts (garnis ou non) et les saucisses en petites quantités. | 240 |
| ▼▼ | GRIL VENTILLELe grill infrarouge et le ventilateur fonctionnent simultanément. Ce mode est rundout adapté à la cuisson des grosses pieces de viande et des volailles, sur un seul niveau. Il est aussi conseillé pour les gratins. | 170 |
| ● | CHALEUR TOURNANTE ET SOLELa résistance de sole fonctionné en même temps que le ventilateur et la résistance circulaire. Ce mode convient bien aux pizzas, aux pâtisseries contenant beaucoup de liquide, aux gâteaux aux fruits, à la pâte confectionnée avec de la levure boulangère et à la pâte brisée. La cuisson est possible sur plusieurs niveaux à la fois. | 200 |
| ● | CHALEUR TOURNANTELa résistance circulaire et le ventilateur fonctionnent simultanément. Le ventilateur situé au fond du four fait circuler autour du roti ou du gâteau la chaleur produit par la résistance circulaire. Ce mode convient à la cuisson des viandes ou des gâteaux sur plusieurs niveaux à la fois. | 180 |
| ● | SOLE VENTILLECe mode convient à la cuisson des gâteaux à la levure boulangère qui ne gonfluent pas beaucoup et à la stérisisation des conserves de fruits et légumes. | 180 |
| SSS | CHAUFFE-PLATSUtilisez cette fonction pour chauffer les plats et les assiettes (ou les tasses) avant de servir vos convives. Les alimentés resteront chauds plus longtemps dans les assiettes. | 60 |
| ECO | CUISSON ECO1)Ce mode optimise la consommation d'électricitépendant la cuisson.On l'utilise pour cuire la viande à rôtir et les pâtisseries. | 180 |
| P | PYROLYSELa fonction PYROLYSE permet de nettoyer automatiquement l'intérieur du four en le portant à très haute température (460°C environ); les éclaboussures de graisse et autres salissures sont ainsi carbonisées et réduites en cendres. | - |
| *△ | DéCONGÉLATIONL'air circule sans que les résistances fonctionnent. Seul le ventilateur est actif. Cette fonction sert à la décongélation lente des surgelés. | - |
ÉTAPE 3: SELECTION DES RÉGLAGES
Chaque mode de cuisson comporte un réglage par défaut que vous pouvez rectifier.
Pour modifier les réglages, effleurez la touche correspondante (avant d'appuyer sur la touche DÉPART/STOP). Quelques réglages ne sont pas disponibles avec certains programmes ; dans ce cas, un signal sonore vous prévient.

1 Sélectionnez le MODE DE CUISSON. L'odore du mode sélectionné apparait à l'écran et la TEMPERATURE PRÉRÉGLEE clignote.

Effleurez la TOUCHETEMPÉRATURE. Tournez le BOUTON DE RÉGLAGE (- + ) etCHOisissez la température désirée.

Pour certains modes de cuisson, la température est limite à une valeur maximale.
Dès que vous avez activé le four avec la touche DÉPART, l'icone °C clignote sur l'écran jusqu'à ce que la température réglée soit atteinte.
FONCTIONS DU PROGRAMMATEUR
Tournez d'abord le SELECTIONEUR DE FONCTION, puis reglez la température. Appuyez plusieurs fois sur la touche PROGRAMMATEUR pour selectionner l'icone voulue.
L'icone correspondant à la fonction sélectionnée s'allume, et l'hour qu'il est possible de régler pour le départ/ la fin de cuisson clignote sur l'écran. Les autres icones sont peu lumineuses.
Pour lancer la cuisson, effleurez la touche DÉPART/STOP. Le temps ÉCOULE s'affiche.

Affichage des fonctions du programmeur

Réglage de la durée de cuisson
Ce paramétrage permet de régler le temps pendant lequel le four va chauffer (durée de cuisson). Pour régler la durée de cuisson, réglez d'abord les minutes, puis les heures. L'icone et le temps de cuisson apparaissent à l'écran.


Réglage du département différé
Avec ce paramétrage, vous pouvez spécifier la durée de cuisson et l'heure à laquelle vous préparation devra être cuite (heure de fin de cuisson). Vérifiez si l'horloge est à l'heure.
Example :
Heure du jour : midi
Durée de cuisson : 2 heures
Heure de fin de cuisson désirée : 18 heures.
Tout d'abord reglez la DUREE DE FONCTIONNEMENT (2 heures). En appuyant de nouveau sur la touche HORLOGE selectionnez la FIN DE FONCTIONNEMENT. À l'afficheur commence à clignoter la somme de l'heure actuelle et de la durée de fonctionnement du four (14:00).
Réglez l'heure de la fin de fonctionnement (18:00).
Appuyez sur DÉPART pour lancer l'opération. Leprogrammateur attend l'houre convenable avant de faire partir la cuisson et l'icone s'allume. Le four se met en marche automatiquement (à 16 heures) et s'éteint à l'heure réglée (18 heures).

Réglage du compte-minutes
Vou puez utilise le compte-minutes independament de la cuisson au four. Le reglage maximum est de 24 heures. Durant la derniere minute du compte à rebours, le temps qui s'ecoule s'affiche en secondes.

À l'expiration du temps régle, le four s'arrête automatiquement (fin de cuisson) et un signal sonore retentit ; vous chez l'interrompre en effleurant une touche quelconque, sinon il s'arrêtera tout seul au bout d'une minute.
Yououpuvezannuler tous les parametrages duprogrammateur enreglant la duréea"0".
Au bout de quelques minutes, l'appareil passe en mode veille.
ÉTAPE 4 : SELECTION DES FONCTIONS COMPLÉMENTAIRES

Pour activer ou désactiver une fonction, effleurez la touche correspondante ou une combinaison de touches.
- Quelques fonctions ne sont pas disponibles avec certains modes de cuisson ; dans ce cas, un signal sonore vous prévient.

SECURITE ENFANTS
Pour activer cette fonction, effleurez la touche SÉCURITÉ ENFANTS. L'icône "cle" s'allume à l'écran. Pour désactiver la sécurité enfants, effleurez à nouveau la même touche. L'icône s'éteint.
Si vous activez la sécurité enfants quand aucune des fonctions du programmateur n'est active (seule l'horloge est affichée), le four ne fonctionnera pas.
Si vous activez la sécurité enfants après avoir reglé une fonction du programmeur, le four fonctionnera normalement, mais il ne sera pas possible de modifier ses réglages.
Quand la sécurité enfants est active, vous ne pouvez pas besoinir un autre mode de cuisson ni une autre fonction complémentaire. Vous pouvez uniquement arreter la cuisson en tournant le selecteur sur "0".
La sécurité enfants reste active après l'arrêt du four. Vous devrez la désactiver avant de vous servir à nouveau de l'appareil.

ÉCLAIRAGE DU FOUR
L'éclairage interieur s'allume automatiquement lorsque vous ouvrez la porte ou que vous mettez le four en marche.
Lorsque la cuisson est terminée, l'éclairage reste allumé une minute de plus.
Vou pouve allumer ou eteindre l'éclairage interieur en effleurant la touche ÉCLAIRAGE.
5sek ℃
SIGNAL SONORE
Voupouvez regler le volume du signal sonore lorsqu'aucune fonction du programmateur n'est active (seule l'heure du jour est affichee).
Appuyez 5 secondes sur la touche TEMPERATURE. Deux barres lumineuses s'affichent à l'écran. Tournez le BOUTON DE RÉGLAGE (÷ +) pour sélectionner l'un des trois volumes sonores qui vous convient (une, deux ou trois barres). Voitre réglage est sauvégardé automatiquement au bout de trois secondes et l'heure du jour s'affiche à nouveau.
5sek
RéDUCTION DU CONTRASTE DE L'ÉCRAN
Le sélecteur de fonction doit être sur "0".
Appuyez 5 secondes sur la touche ÉCLAIRAGE. Deux barres lumineuses apparaissent à l'écran. Tournez le BOUTON DE RÉGLAGE (-/+) pour réduire le contraste (une, deux ou trois barres). Vote réglage est sauvégardi automatiquement au bout de trois secondes.
+
VEILLE
L'écran peut s'eteindre automatiquement au bout de dix minutes s'il ne vous est pas utile.
Pour eteindre I'ecran, appuyez simultanement sur les touches CLé + PROGRAMMATEUR. Si une fonction du programmateur est active, le message "OFF" (eteint) et l'icone du PROGRAMMATEUR apparaisent à I'ecran pour vous indiquer qu'une fonction est en cours.

Après une coupure de courant ou l'arrêt de l'appareil, le réglage des fonctions complémentaires ne reste que quelques minutes en mémoire. Lors du rétablissement du courant ou de la remise en marche de l'appareil, toutes les fonctions complémentaires reviennent à leur réglage par défaut, sauf le volume du signal sonore et la sécurité enfants.
ÉTAPE 5 : DÉMARRAGE DE LA CUISSON
Pour lancer la cuisson, appuyez quelques instants sur la touche DÉPART/STOP.

Pour eteindre le four, tournez le SELECTEUR DE FONCTION sur la position "0".


Lorsque la cuisson est terminée et que le four est arrêté, l'écran affiche la température décroissant jusqu'à ce qu'elle soit descendue à 50^ .
Tous les réglages du programmateur restent en pause quelques instants, puis sont annulés. L'horloge affiche l'heure du jour. Au bout de quelques minutes, l'appareil passé en mode Veille.
DESCRIPTION DES MODES DE CUISSON & TABLEAUX DE CUISSON
Si la préparation que vous désirez cuir ne figure pas dans les tableaux de cuisson, reportez-vous à un plat similaire. Dans ces tableaux, les informations sont données pour la cuisson sur un seul niveau.
Nous vous indiquons une plage de températures préconisées. Choisissez d'abord le réglage le plus bas et augmentez-le plus tard si vous trouvez que votre préparation n'est pas assez dorée.
Les durées de cuisson indiquées sont des estimations et peuvent varier en fonction de certaines conditions.
L'astérisque (*) signifie qu'il faut préchauffer le four en sélectionnant le programme ajustat.
Préchauffez seulement le four si vous recette le précise. Le préchauffage d'un four vide consomme élément d'énergie. Vous pouvez en économiser en faisant cuire plusieurs pizzas ou divers gâteaux l'un après l'autre, car le four sera déjà chaud.
Choisissez de préférence des plats et moulés de couleur souvent, émailés ou à revêtement de silicone, car ces sont d'excellents conducteurs de la chaleur.
Si vous utilisez du papier sulfurisé, assurez-vous qu'il résiste aux températures élevées.
La cuisson des grosses pieces de viande ou des gâteaux générale pouvant de la condensation, et la portedu four peut se recouvrir de buée. C'est un phénomène normal sans influence sur le fonctionnement deI'appareil. Une fois la cuisson terminée, il faudra toute fois bien essuyer la porte et la vitre du four.
Éteignez le four 10 minutes avant la fin de la cuisson pour utiliser la chaleur résiduelle et economiser ainsi de l'électricité.
Ne laïsez pas refroidir les alimentents dans le four fermé afin d'éviter la formation de buée.
MODES DE CUISSON
PRECHAUFFAGE RAPIDE
sss
Utilisez cette fonction lorsque vous voulez préchauffer rapidement le four à une température précise. Cette option n'est pas adaptée à la cuisson des alimentés.

Tournez le SELECTEUR DE FONCTION sur l'icone Préchauffage rapide.
La TEMPERATURE PRÉRÉGLÉE s'affiche. Vous pouvez la rectifier.

Le four commence à chaufferès que vous l'avoz mis en marche. L'icone °C clignote sur l'écran. Lorsque le four a atteint la température régée, le préchauffage est terminé et un signal sonore retentit ; vous pouvez l'interr compromise en effleurant une touche quelconque, sinon il s'arrête automatiquement au bout d'une minute.
CONVECTION NATURELLE

La chaleur des résistances de sole et de voute irradie à l'intérieur de l'enceinte en se répartissant uniformément.

Cuisson de la vande
Utilisez des plats émailés, en pyrex, en terre cuite ou en fonte. Les plats en acier inoxydable ne sont pas recommendés car ils reflèchissent trop la chaleur.
Ajoutez autant de liquide que nécessaire en cours de cuisson pour que la viande ne brule pas. Retournez le rôti durant la cuisson. Il gardera son jus si vous le couvrez.
| Type d'aliment | Poids (g) | Gradin (à partir du bas) | Température (°C) | Durée de cuisson (min.) |
| VIANDE | ||||
| Rôti de porc | 1500 | 2 | 190-200 | 120-130 |
| Épaule de porc | 1500 | 2 | 190-200 | 120-140 |
| Roulade de porc | 1500 | 2 | 190-200 | 120-140 |
| Rôti de viande hachée | 1500 | 2 | 200-210 | 60-70 |
| Rôti de bœuf | 1500 | 2 | 190-210 | 120-140 |
| Rosbif, bien cuit | 1000 | 2 | 200-210 | 40-60 |
| Roulade de veau | 1500 | 2 | 180-200 | 90-120 |
| Gigot d'agneau | 1500 | 2 | 190-200 | 100-120 |
| Cuisses de lapin | 1500 | 2 | 190-200 | 100-120 |
| Cuisseau de chevreuil | 1500 | 2 | 190-200 | 100-120 |
| POISSON | ||||
| Poisson à l'étouffé | 1000 | 2 | 210 | 50-60 |
Cuisson des pâtisseries
Ne cuisez les gâteaux que sur un seul niveau et utilisez des moulés de couleurs sombres. Les moulés clairs réfléchissant la chaleur et les gâteaux ne dorent pas. Posez toujours les moulés sur la grille. Œtez-la si vous utilisez la plaque à pâtisserie livrée avec l'appareil. Le préchauffage diminue le temps de cuisson.
| Aliment | Gradin (à partir du bas) | Température (°C) | Durée de cuisson (min.) |
| PÂTISSERIES | |||
| Soufflé aux légumes | 2 | 190-200 | 30-35 |
| Soufflé sucré | 2 | 190-200 | 30-35 |
| Petits pains* | 2 | 200-220 | 30-40 |
| Pain* | 2 | 180-190 | 50-60 |
| Pain blanc* | 3 | 180-190 | 45-55 |
| Pain au sarrasin* | 3 | 180-190 | 45-55 |
| Pain complet* | 3 | 180-190 | 45-55 |
| Pain de seigle* | 3 | 180-190 | 45-55 |
| Pain à l'épeautre* | 3 | 180-190 | 45-55 |
| Gâteau aux noix | 2 | 180 | 55-55 |
| Génoise* | 3 | 160-170 | 25-30 |
| Gâteau au fromage blanc | 2 | 170-180 | 65-75 |
| Petits fours / Cupcakes | 3 | 170-180 | 25-30 |
| Petits gâteaux à la levure boulangère | 3 | 200-210 | 25-30 |
| Chaussons au chou (Pirojki)* | 3 | 200-210 | 25-30 |
| Tarte aux fruits | 3 | 140-190 | 90 |
| Meringues | 3 | 120 | 90 |
| Problème | Conseil |
| Le gâteau est-il cuit ? | • Enforcez une brochette en bois dans sa partie la plus épaisse. Si la pâte n'attache pas à la brochette, le gâteau est cuit. |
| Le gâteau s'est affaisé ? | • Vérifiez la recette. • Mettez moins de liquide la prochaine fois. • Notez la durée de pétissage si vous utilisez un mixer ou un blender. |
| Le fond du gâteau n'est pas assez cuit ? | • Choisissez un moule ou une plaque à pâtisserie de couleurASF. • Placez le moule ou la plaque au niveau inférieur et utilisez la sole en fin de cuisson. |
| Les gâteaux mous ne sont pas assez cuits ? | • Réduisez la température et augmentez la durée de cuisson. |

N'insérez pas la l'échéfte profonde sur le premier gradin.



GRIL DOUBLE, GRIL
Lorsque vous préparez des grillades avec le grill double, la résistance de VOûte et le grill installé en haut du four sont en marche.
En mode Gril normal, seul le petit grill (qui est un élément du grill double) est en marche.

4
2
Prechauffez le grill infrarouge pendant 5 minutes.
Surveillance la cuisson en permanence, la viande peut brûler en raison de la haute température.
En éliminant la graisse contue dans les alimentes, le grill est un mode de cuisson diététique particulièrement bien adapté aux saucisses, tranches de viande et poisson (steaks, côtelettes, escalopes, filets et darnes de saumon); il permet aussi de préparer des toasts.
Si vos grillades cuisent directement sur la grille, huilez-la pour que les alimentes n'y attachent pas et insérez-la sur le 4ème gradin. Placez la lèchefrite au 1er ou 2ème niveau. Lorsque vous cuisez de la viande dans un plat, voirlez à ce qu'il y ait toujours assez de liquide dans le fond pour qu'elle ne brûle pas. Retournez-la durant la cuisson.
Après chaque utilisation du grill, nettoyez le four, les accessoires et ustensiles.
Tableau de cuisson au grill - petit grill
| Type d'aliment | Poids (g) | Gradin (à partir du bas) | Température (°C) | Durée de cuisson (min.) |
| VIANDE | ||||
| Bifteck, saignant | 180 g /piece | 4 | 240 | 18-21 |
| Échine de porc | 180 g /piece | 4 | 240 | 18-22 |
| Côtelette/escalope | 180 g /piece | 4 | 240 | 20-22 |
| Saucisses | 100 g /piece | 4 | 240 | 11-14 |
| PAIN GRILLÉ | ||||
| Toasts | / | 4 | 240 | 3-4 |
| Toasts garnis | / | 4 | 240 | 5-7 |
Tableau de cuisson au grill - grill double
| Type d'aliment | Poids (g) | Gradin (à partir du bas) | Température (°C) | Durée de cuisson (min.) |
| VIANDE | ||||
| Bifteck, saignant | 180 g / pièce | 4 | 240 | 14-16 |
| Bifteck, bien cuit | 180 g / pièce | 4 | 240 | 18-21 |
| Échine de porc | 180 g / pièce | 4 | 240 | 19-23 |
| Côtelette/escalope | 180 g / pièce | 4 | 240 | 20-24 |
| Escalope de veau | 180 g / pièce | 4 | 240 | 19-22 |
| Saucisses | 100 g / pièce | 4 | 240 | 11-14 |
| Rôti de viande hachée (Leberkase) | 200 g / pièce | 4 | 240 | 9-15 |
| POISSON | ||||
| Darnes/filets de saumon | 600 | 3 | 240 | 19-22 |
| PAIN GRILLÉ | ||||
| 6 tranches de pain blanc* | / | 4 | 240 | 1,5-3 |
| 4 tranches de pain multicéréale* | / | 4 | 240 | 2-3 |
| Toasts garnis* | / | 4 | 240 | 3,5-7 |
Lorsque vous cuisez de la viande dans un plat, veillez à ce qu'il y ait toujours assez de liquide dans le fond pour qu'elle ne brule pas. Retournez-la durant la cuisson.
Quand you preparez une truite, essuyez-la avec du papier absorbant. Assaisonnez le poisson à l'intérieur, huiiez l'extérieur et placez-le sur la grille. Ne le returnez pas durant la cuisson.

Lors de la cuisson au grill infrarouge, la porte du four doit toujours être fermée.
Le grill, la grille et les autres accessoires sont brûlants pendant la cuisson au grill. Par conséquent, mettez des gants de cuisine et utilisez une pince à barbecue.
GRIL VENTILLE

Le grill infrarouge et le ventilateur fonctionnent
simultanément. Ce mode convient à la cuisson de la
viande, du poisson et des légumes.
(Voir la description et les conseils pour la cuisson au grill)



| Aliment | Poids (g) | Gradin (à partir du bas) | Température (°C) | Durée de cuisson (min.) |
| VIANDE | ||||
| Canard* | 2000 | 2 | 150-170 | 80-100 |
| Rôti de porc | 1500 | 2 | 160-170 | 60-85 |
| Épaule de porc | 1500 | 2 | 150-160 | 120-160 |
| Jambonneau | 1000 | 2 | 150-160 | 120-140 |
| Moitié de poulet | 600 | 2 | 180-190 | 25 (1ère face)20 (2ème face) |
| Poulet* | 1500 | 2 | 210 | 60-65 |
| POISSON | ||||
| Truite | 200 g/pièce | 2 | 170-180 | 45-50 |
CHALEUR TOURNANTE ET SOLE

La résistance de sole, la résistance circulaire et le ventilateur fonctionnent en même temps. Ce mode convient aux pizzas et tartes aux fruits.
(Voir la description et les conseils pour la cuisson en convection naturelle)

2
| Aliment | Gradin (à partir du bas) | Température (°C) | Durée de cuisson (min.) |
| Gâteau au fromage blanc, pâté brisée | 2 | 150-160 | 65-80 |
| Pizza* | 2 | 200-210 | 15-20 |
| Quiche lorraine, pâté brisée | 2 | 180-200 | 35-40 |
| Tarte aux pommes, pâté à la levure boulangère | 2 | 150-160 | 35-40 |
| Strudel aux pommes, pâté filo | 2 | 170-180 | 45-65 |
Cuisson avec la sonde thermométrique
Ce mode de cuisson permet de régler la température souhaïée au cœur de la viande. Le four reste actif jusqu'à ce que la température à cœur soit atteinte. Cette dernière est mesure par la sonde.



1 Retirez l'obturator métallique qui protège la prise (elle se trouve à l'entrée du four, dans le coin en haut à droite, sur le panneau lésral).
2 Branchez la fiche de la sonde dans la prise, puis piquez la sonde dans la viande (si une fonction duprogrammateur est en cours, elle sera annulée).

3 Tournez le SELECTIONEUR DE FONCTION sur Chaleur tournante et sole. L'icône correspondante s'affiche à l'écran, ainsi que la température pré régée la température de la sonde, et la température régée. Effleurez la touche DÉPART.

Durant la cuisson, l'écran affiche alternatively la température réelle et la température régée pour le four. Vous pouvez l'ajuster pendant l'opération.
Quand la valeur cible de la température à cœur est atteinte, la ciisson s'arrête.
Un signal sonore retentit ; vous pouvez l'interrompe en effleurant une touche qualconque, sinon il s'arrête automatiquement au bout d'une minute. L'horloge apparait de nouveau à l'écran.
Lorsque la cuisson est terminée, remettez l'obturator métallique sur la prise de la sonde thermométrique.
#
Utilisez uniquement la sonde thermométrique prévue pour votre four. Veillez à ce qu'elle ne touche pas la résistance durant la cuisson. Lorsque la cuisson est terminée, la sonde est extrémement chaude. Faites attention à ne pas vous brûler.
CHALEUR TOURNANTE

La résistance circulaire et le ventilateur fonctionnent simultanément. Le ventilateur situé au fond du four fait circuler autour du roti ou du gâteau la chaleur produit par la résistance circulaire.

Cuisson de la vande
Utilisez des plats émailés, en pyrex, en terre cuite ou en fonte. Les plats en acier inoxydable ne sont pas recommendés car ils reflèchissent trop la chaleur.
Ajoutez autant de liquide que nécessaire en cours de cuisson pour que la viande ne brule pas. Retournez le rôti durant la cuisson. Il gardera son jus si vous le couvrez.
| Aliment | Poids (g) | Gradin (à partir du bas) | Température (°C) | Durée de cuisson (min.) |
| VIANDE | ||||
| Rôti de porc, avec couenne | 1500 | 2 | 170-180 | 140-160 |
| Poitrine de porc | 1500 | 2 | 170-180 | 120-150 |
| Poulet entier | 1200 | 2 | 180-190 | 60-80 |
| Canard | 1700 | 2 | 160-170 | 120-150 |
| Oie | 4000 | 2 | 150-160 | 180-200 |
| Dinde | 5000 | 2 | 150-170 | 180-220 |
| Blancs de poulet | 1000 | 2 | 180-190 | 70-85 |
| Poulet farci | 1500 | 2 | 170-180 | 100-120 |
Cuisson des pâtisseries
Le préchauffage est recommandé.
Vou puez cuire les biscuits et gâteaux individuels sur plusieurs plaques à pâtisserie à la fois, positionnées à différents niveaux (2ème et 3ème).
Le temps de cuisson differe souvent d'un niveau à l'autre, même si les plaques à pâtisserie utilisées sont identiques. Les biscuits se trouvant sur la plaque du haut peuvent être cuits avant ceux qui sont positionnés plus bas.
Placez toujours les mouses sur la grille. Si vous utilise la plaque à pâtisserie fournie, enlevez la grille.
Pour que les gâteaux individuels ciusent de la meme facon, veiliez à leur donner la meme taill.
| Aliment | Gradin (à partir du bas) | Température (°C) | Durée de cuisson (min.) |
| PÂTISSERIES | |||
| Gâteau | 2 | 150-160 | 45-60 |
| Génoise | 2 | 150-160 | 25-35 |
| Crumble | 2 | 160-170 | 25-35 |
| Gâteau aux fruits, pâte à génoise | 2 | 150-160 | 45-65 |
| Gâteau aux prunes | 2 | 150-160 | 35-60 |
| Biscuit roulé, pâte à génoise * | 2 | 160-170 | 15-25 |
| Tarte aux fruits, pâte brisée | 2 | 160-170 | 50-70 |
| Challah (pain brioché tressé) | 2 | 160-170 | 35-50 |
| Strudel aux pommes | 2 | 170-180 | 40-60 |
| Brioche fourée à la confiture | 2 | 170-180 | 30-35 |
| Pizza * | 2 | 190-210 | 25-45 |
| Biscuits, pâte brisée | 3 | 150-160 | 15-25 |
| Biscuits, faits avec une poche à douille | 3 | 150-160 | 15-28 |
| Petits gâteaux, à la levure boulangère | 3 | 170-180 | 20-35 |
| Petits gâteaux, pâte filo | 3 | 170-180 | 20-30 |
| Gâteau à la crème | 3 | 180-190 | 25-45 |
| PRODUITS SURGELÉS | |||
| Strudel aux pommes et au fromage frais | 3 | 170-180 | 50-70 |
| Gâteau au fromage blanc | 3 | 160-170 | 65-85 |
| Pizza | 3 | 170-180 | 20-30 |
| Frites à cuire au four | 3 | 170-180 | 20-35 |
| Croquettes à cuire au four | 3 | 170-180 | 20-35 |
| Yaourts | 3 | 40 | 240 |

N'insérez pas la l'échefrite profonde sur le gradin n^1 .
SOLE VENTILÉE

Ce mode convient à la cuisson des gâteaux à la
levure boulangère qui ne gonflent pas beaucoup et
à la sterilisation des conserve de fruits et légumes.
Choisissez le second gradin à partir du bas et une plaque
à pâtisserie peu profonde pour que l'air chaud puisse
circular au-dessus de la préparation.

2
| Aliments à stériser | Gradin (à partir du bas) | Température (°C) | Durée de cuisson (min.) |
| FRUITS | |||
| Fraisés | 2 | 180 | 20-30 |
| Fruits à noyau | 2 | 180 | 25-40 |
| Compote | 2 | 180 | 25-40 |
| LÉGUMES | |||
| Cornichons au vinaigre | 2 | 180 | 25-40 |
| Haricots verts/carottes | 2 | 180 | 25-40 |
CONSERVES
Préparez les alimentés et les bocaux comme à votre habitude. Prenez des bocaux avec couvercle en verre et joint en caoutchouc. N'utilise pas de bocaux à vis avec couvercle en métal. Les bocaux doivent être de la même taille, replis des mêmes ingrédients que vous tasserez bien, et fermés hermétiquement.
Versez environ un litre d'eau chaude (autour de 70^ ) dans la l'échéfte et placez-y 6 bocaux de 1 litre. Insérez la l'échéfte sur le second gradin.
Surveillance la sterilisation. Quand le jus à l'intérieur des bocaux commence à frémir, suivez les instructions figurant dans le tableau ci-dessous.
| Aliments à stérisier | Quantité (litre) | T = 170 - 180 °C jusqu'àu début de l'ébullition (min.) | Début de l'ébullition | Temps de repos au four (min.) |
| FRUITS | ||||
| Fraisés | 6 x 1 litre | 40-55 | Arrêté le four | 25 |
| Fruits à noyau | 6 x 1 litre | 40-55 | Arrêté le four | 30 |
| Compote | 6 x 1 litre | 40-55 | Arrêté le four | 35 |
| LÉGUMES | ||||
| Cornichons au vinaigre | 6 x 1 litre | 40-55 | Continuer | 30 |
| Haricots verts/carottes | 6 x 1 litre | 40-55 | 60 min. à 120°C | 30 |
ECO
CUISSON ECO
La résistance circulaire et le ventilateur fonctionnent simultanément. Le ventilateur situé au fond du four fait circuler autour du roti ou du gâteau la chaleur produit par la résistance circulaire.

3
| Préparation | Gradin (à partir du bas) | Température (°C) | Durée de cuisson (min.) |
| VIANDE | |||
| Rôti de porc, 1 kg | 3 | 190 | 140-160 |
| Rôti de porc, 2 kg | 3 | 190 | 150-180 |
| Rôti de bœuf, 1,5 kg | 3 | 200 | 120-140 |
| POISSON | |||
| Poisson entier, 200 g/piece | 3 | 190 | 40-50 |
| Filet de poisson, 100 g/piece | 3 | 200 | 25-35 |
| PÂTISSERIES | |||
| Gâteaux individuels faits avec une poche à douille* | 3 | 170 | 20-25 |
| Petits fours / cupcakes | 3 | 180 | 25-30 |
| Biscuit roulé, pâté à généoise | 3 | 180 | 15-25 |
| Tarte aux fruits, pâté brisée | 3 | 180 | 55-65 |
| LÉGUMES | |||
| Pommes de terre au gratin | 3 | 180 | 40-50 |
| Lasagnes | 3 | 190 | 40-50 |
| SURGELES | |||
| Frites, 1 kg | 3 | 210 | 25-40 |
| Médailons de poulet, 0,7 kg | 3 | 210 | 25-35 |
| Bâtonnets de poisson, 0,6 kg | 3 | 210 | 20-30 |

N'insérez pas la l'échefrite profonde sur le gradin n^1 .
DECONGÉLATION

Dans ce mode, l'air circule sous l'action du ventilateur sans que les résistances chauffent.
Voussupportezutilisercefonction pourdecongelerlespâtisseriesa la crème fraîche ou àla crème au beurre,les gâteaux et viennoiseries,le pain et les fruits surgelés.

Tournez le SÉLECTIONTEUR DE FONCTION sur Décongélation. La durée de l'opération s'affiche ; vous pouvez la rectifier. Appuyez sur la touche DÉPART.
Dans la plupart des cas, il est recommendé desterolir les alimentes de leur emballage (n'oubliez pas d'enlever les attaches metalliques).
Lorsque la moitié du temps de déconnégation s'est écoulée, returnez les morceaux, séparez-les s'ils adhérent entre eux et remuez-les.

Avant de procéder au nettoyage, mettez le four hors tension et laissez-le complètement refroidir.
Les enfants ne doivent pas nettoyer l'appareil ou effectuer des tâches d'entretien sans surveillance.
Surfaces en aluminium
Nettoyez ces surfaces avec un détergent liquide non abrasif destiné à l'aluminium. Versez un peu de produit sur une éponge humide, enlevez les souillures, puis rincez à l'eau. N'appliquez pas le produit directement sur l'aluminium.
N'utilisez jamais de nettoyants agressifs ou d'éponges gratantes.
Les surfaces en aluminium ne doivent jamais entrairen contact avec les produits en aérosol destinés au nettoyage des jours.
Éléments de façade en inox
(Sur certains modèles)
Nettoyez les surfaces avec un détergent léger et une éponge douce qui ne raye pas. N'utilise pas de nettoyants agressifs ni de produits solvants, sinon vous pourriez endommager l'inox.
Surfaces laquées et pieces en plastique
(Sur certains modèles)
Ne nettoyez pas les touches, les boutons, la poignée du four, les étiquettes et la plaque signalétique avec des détergents abrasifs, des éponges grattantes, de l'alcool ou des nettoyants à base d'alcool.
Enlevez immédiatement les taches avec un chiffon doux humidifié à l'eau afin de ne pas endommager la surface. Vous pouze aussi utiliser des accessoires et produits de nettoyage spécifique destinés à ce type de surface ; dans ce cas, suivez les instructions de leurs fabricants respectifs.

- Les surfaces en aluminium ne doivent jamais entrairen contact avec les produits en aérosol destinés au nettoyage des jours, car elles seraient irrémédiablementendommagées de façon très visible.
Portedoufour
La porte est fixée au four et n'est pas amovible. Il ne faut donc pas essayer de la démonter.
NETTOYAGECONVENTIONNELDUFOUR
Vous pouvez nettoyer les taches résistantes en suivant la méthode standard (avec des déterments et aérosols pour fours). Enlevez soigneusement tout résidu du produit lors du rinceage.
Nettoyez le four et ses accessoires après chaque utilisation pour que les salissures ne s'incrustent pas. Les éclaboussures degraisse s'éliminent très bien avec de l'eau chaude et du détergent quand le four est encore tiède.
Pour enlever les taches récalcitrantes, utilisez les détersifs ordinaires destinés aux fours. Rincez ensuite à l'eau claire afin d'enlever toute trace de nettoyant. N'utilisez jamais de détergents agressifs, abrasifs, de détachants ou de produits antirouille, ni dépônges grattantes, etc.
Nettoyez les accessoires (grille, plaque à pâtisserie, l'echefrite, etc.) avec de l'eau chaude additionné de détergent.
Le four, les parois du moule, la plaque à pâtisserie et la l'échefrite comportent un revêtement en émail qui rend les surfaces lisses et résistantes. Ce revêtement spécial facilité le nettoyage à température ambiente.
NETTOYAGE AUTOMATIQUE DU FOUR - PYROLYSE
Dans des conditions d'utilisation moyenne du four, nous vous recommendons de proceder une fois par mois au nettoyage par pyrolyse afin que la cavité du four reste propre et exemple d'anciennes taches de graisse et de salissures.
Après la pyrolyse, des décolorations mineures peuvent apparaître autour de la porte. Vous pouvez les éliminer facilement avec une éponge et un peu de détergent.
Avant de lancer la pyrolyse, passez un chiffon humide sur les parois de la cavity et sur les accessoires qui sont entre nettoyés dans le four.
Les débris d'aliments et laGRAISSSE peuvent s'enflammer pendant la pyrolyse. Risque d'incendie!

Avant de procéder au nettoyage par pyrolyse, attendez que le four refroidisse et enlevez tous les équipements et accessoires qui sont à l'intérieur, y compris les glissières téléscopiques.
- Selon le modele
Si des gradins spéciaux en fil ont eté livrés avec l'appareil, installezles à la place des glissières téléscopiques avant de lancer la pyrolyse.



1 Tournez le SELECTEUR DE FONCTION sur "P". L'intensité et la durée du nettoyage apparaissent à l'écran.
Pour selectionner l'intensité de nettoyage désirée, effleurez la touche TEMPERATURE et tournez le BOUTON DE RÉGLAGE (- / + )
3 Pour votre sécurité, la porte du four se verrouille… automatiquement au bout d'un certain temps. L'icone "cle" apparait a l'écran.
Il est possible qu'une odeur désagréable se dégage pendant la pyrolyse. ÀpRES la pyrolyse, il y a un peu de cende dans le bas du four et des résidus de taches sur les bords. Quand le four a refroidi, nettoyez tous les résidus avec un chiffon humide et une éponge non gratante. Essuyez la portedu four et les surfaces adjacentes au joint. Ne frottez pas le joint.

N'essayez pas d'ouvrir la porte du four lorsque le nettoyage automatique par pyrolyse est en cours, car le programme pourrait s'interrompre ; risque de brûlure !
NETTOYAGE DES ACCESSOIREPS PYROLYSABLES DANS LE FOUR (selon le modele)
De temps en temps, vous pouvez utiliser le programme Pyrolyse pour nettoyer dans le four la plaque à pâtisserie et la lèchefrite fournies (voir le chapitre Équipements et accessoires du four). Ceci fait, lavez-les à l'eau chaude avec du détergent, essuyez-les avec un torchon et insérez-les sur les 2ème et 3ème gradins. Ne placez pas la plaque à pâtisserie ou la lèchefrite sur le 1er gradin, en bas.
Il est possible que l'intérieur du four, la plaque à pâtisserie et la lèchefrite se décolorent légèrement et ternissant un peu durant la pyrolyse.
Si vous nettoyez aussi les plaques à pâtisserie et l'echefrites lors de la pyrolyse, il est possible que la sole du four ne soit pas tout à fait propre à la fin de l'opération.
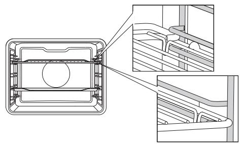
DÉMONTAGE ET NETTOYAGE DES GRADINS EN FIL
Utilisez exclusivement des détergents conventionnels pour nettoyer les gradins.


Enlevez les vis avec un tournevis.
2 Tirez les gradins hors des trous situés sur la paroi arrrière.

Lorsque le nettoyage est terminé, revissez les gradins à la paroi avec un tournevis.
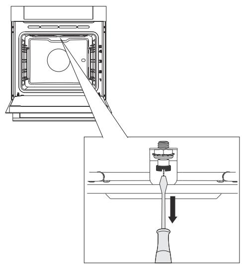
NETTOYAGE DE LA VOUTE DU FOUR
La résistance du petit grill peut se rabattre pour faciliter le nettoyage de la VOUE du four. Avant de nettoyer l'appareil, retirez la plaque à pâtisserie, la lèchefrite et les gradins.


Pour rabattre le gril, enlevez la vis située à l'avant, en haut du four.
N'utilisez jamais le grill quand il est rabattu.

Avant de proceder au nettoyage, déconnectez le four du réseau électrique.
Les résistances doivent être froides, sinon vous pourriez vous brûler.
DÉMONTAGE ET REMONTAGE DE LA PORTE DU FOUR


1 Ouvrez tout d'abord la porte (aussi loin qu'elle peut aller).
2 Soulevez délicatement les pieces qui retiennent les charnières et tirez la porte vers vous.
3 Refermez doucement la porte jusqu'à un angle de 45 degrés (par rapport à sa position fermée) puis soulevez-la et retirez-la complètement.
Pour remettre la porte en place, précédez dans l'ordre inverse. Si elle ne s'ouvre ou ne se referme pas correctement, vérifie que les encoches des charnières sont bien alignées avec leur contrepartie.

Lorsque vous remontez la porte, veillez à ce que les pièces qui retiennent les charnières soient placées correctement dans leur logement. Dans le cas contraire, la charnière principale qui est actionnée par un ressort très puissant pourrait se dégager à tout moment. Risques de blessures!
PORTE À OUVERTURE AMORTIE (sur certains modèles)
La porte du four est équipée d'un dispositif qui atténue la pression d'ouverture à partir d'un angle de 75 degrés.
PORTE A FERMETURE AMORTIE (sur certains modèles)
La porte du four est équipée d'un dispositif qui atténue la pression de fermeture à partir d'un angle de 75 degrés. Il permet une fermetre facile, en silence et en douceur. Lorsqu'elle atteint un angle de 15 degrés par rapport à sa position fermée, il suffit de pousser légèrement la porte pour qu'elle finisse de se fermer automatiquement.

Si vous fermez la porte trop brusquement, l'effet du dispositif est réduit ou annulé pour des raisons de sécurité.
VERROU DE LA PORTE (sur certains modèles)
Pour ouvrir le verrou, poussez-le doucement vers la droite avec le pouce et tirez simultanément la porte vers vous.

Lorsque vous refermez la porte du four, le verrou revient automatiquement dans sa position initiale.
DÉMONTAGE ET REMONTAGE DES VITRES DE LA PORTE
On peut aussi nettoyer la face interne des vitres, mais il faut d'abord les retirer de la porte. Démontez la porte du four (voir le chapitre "Démontage et remontage de la porte du four").



1 Soulevez légèrement les supports situés sur les côtes droit et gauche de la porte (repère 1 sur le support) et retirez-les de la vitre (repère 2 sur le support).
Saisissez la vitre par le bas, puis soulevez-la jusqu'à ce qu'elle soit dégagée des supports et enlevez-la.
Pour enlever la troisième vitre (uniquement sur certains modèles) soulevez-la et retirez-la. Enlevez aussi les joints en caoutchouc qui sont sur la vitre.
Pour remettre les vitres en place, procédez dans l'ordre inverse. Les repères (demi-cercles) tracés sur la porte et sur la vitre doivent coïncider.
REEMPLACEMENT DE L'AMPOULE
Les ampôules sont considérées comme des consommables et ne sont donc pas couvertes par la garantie. Avant de changer l'ampoule, enlevez la lèchefrite, la plaque à pâtisserie, la grille et les gradins.
Utilisez un tournevis plat.
Ampoule halogène: G9, 230 V, 25 W.


1Avec un tournevis plat, soulevez le couvercle de l'ampoule et enlevez-le.
NOTE: veillez à ne pas rayer l'émail.
2 Enlevez l'ampoule halogène et remplacez-la par une neue.
Protégez-vous les mains pour éviter les brûlures.
| Problème | Cause |
| Les touches ne répondent pas, l'affichage reste figé. | Déconnectez l'appareil du réseau électrique pendant quelques minutes (retirez le fusible ou désarmez le disjoncteur), puis reconnectctez le four et remettez-le en marche. |
| Les fusibles de l'installation sautent souvent. | Contactez un électricien. |
| L'éclairage du four ne fonctionne pas. | Remplacez l'ampoule en suivant les instructions du chapitre Nettoyage et Entretien. |
| Les pâtisseries ne sont pas bien cuites. | Avez-vous sélectionné la température et le mode de cuisson qui convennent? Avez-vous bien fermé la porte du four? |
| Un code d'erreur s'affiche (E1, E2, E3, etc.) | Une erreur s'est produit dans le module électronique. Déconnectez l'appareil du réseau électrique pendant quelques minutes, puis reconnectctez-le et mettez l'horloge à l'heure. Si l'erreur continue de s'afficher, contactez un technicien du service après-vente. |
Si vous ne parvenez pas à résoudre le problème après avoir suivi les conseils ci-dessus, contactez le service après-vente/agree. Toutefois, les réparations ou réclamations résultat d'un raccordement ou d'une utilisation non conforme ne sont pas couvertes par la garantie. Dans ce cas, le coût de l'intervention est à la charge du client.

Avant toute réparation, déconnectez l'appareil du réseau électrique en enlevant leFuse ou en débranchant la prise secteur.
MISE AU REBUT

Cet apparéil est emballe dans des matérielles écologiques qui peuvent être recyclés, remis au service de la propriété ou détruits sans nuire à l'environnement. Les matérielles
d'emballage sont pourvus dans ce but du marquage approprié.
Le symbole de la poubelle barrée figure sur le produit ou sur son emballage en application de la directive européen 2002/96/CE sur les Déchets d'Équipement Électrique et Électronique (DEEE). Cette directive sert de règlement cadre à la reprise, au recyclage et à la valorisation des apparèils menagers usagés dans toute l'Europe.
Ce produit ne peut donc être jeté avec les ordures ménagères, mais doit faire l'objet d'une collecte sélective. Lorsque vous ne l'utiliserez plus, remettez-le à un service de ramassage spécialisé ou à une déchéterie – municipale ou privée – quiTRAITE les DEEE ; vous contribuerez ainsi à éviter des conséquences néfastes pour la santé et l'environnement.
Pour tout renseignement sur la mise au rebut et le recyclage de ce produit, veuilles contacter la mairie ou le service de la propriété de votre commune, ou encore le magasin dans lequel vous l'avez acheté.
Nous nous réservons le droit de modifier cette notice d'utilisation sans préavis et vous prions de nous excuser des erreurs qui auraient pu s'y glisser.
Les tests de cuisson ont eté réalisés conformément à la norme européenne EN 60350-1.
Cuisson conventionnelle
| Préparation | Équipement | Gradin (à partir du bas) | Mode de cuisson | Température (°C) | Durée de cuisson (min.) |
| Biscuits – Un seul niveau* | Plaque à pâtisserie émaillée | 3 | 140 - 150 | 25-30 | |
| Biscuits – deux niveaux* | Plaque à pâtisserie émaillée | 2 et 3 | 140 - 150 | 25-30 | |
| Biscuits – trois niveaux | Plaque à pâtisserie émaillée | 2, 3, 4 | 140 - 150 | 25-30 | |
| Petits fours / Cupcakes – un seul niveau | Plaque à pâtisserie émaillée | 3 | 140 - 150 | 30-40 | |
| Petits fours / Cupcakes – deux niveaux | Plaque à pâtisserie émaillée | 2 et 3 | 140 - 150 | 30-40 | |
| Petits fours / Cupcakes – trois niveaux | Plaque à pâtisserie émaillée | 2, 3, 4 | 140 - 150 | 30-40 | |
| Gâteau | Moule métallique rond sur la grille | 2 | 160 - 170 | 20-25 | |
| Tarte aux pommes | Moule métallique rond sur la grille | 2 | 180 | 45 |
- Préchauffage 10 minutes.
Grill
| Préparation | Équipement | Gradin (à partir du bas) | Mode de cuisson | Température (°C) | Durée de cuisson (min.) |
| Toast* | Grille | 4 | ▼▼▼ | 240 | 1:10-1:20 |
| Galette de viande hachée (pljeskavica)* | Grille + l'échefrite | 4 | ▼▼▼ | 240 | 20-25 |
- Préchauffage 10 minutes.
Notice Facile