DA 55.1 - Hotte aspirante THERMA - Notice d'utilisation et mode d'emploi gratuit
Retrouvez gratuitement la notice de l'appareil DA 55.1 THERMA au format PDF.
| Type d'appareil | Hotte aspirante |
| Modèle | Non précisé |
| Puissance d'aspiration | Non précisé |
| Niveaux de vitesse | 3 |
| Type de filtre | Filtre à graisse métallique |
| Éclairage | Lampe halogène |
| Type de commande | Interrupteur mécanique |
| Matériau | Acier inoxydable |
| Largeur | 60 cm |
| Hauteur | Non précisé |
| Profondeur | Non précisé |
| Niveau sonore | Non précisé |
| Type d'installation | Murale |
| Fonction recyclage | Oui |
| Consommation électrique | Non précisé |
| Poids | Non précisé |
FOIRE AUX QUESTIONS - DA 55.1 THERMA
Questions des utilisateurs sur DA 55.1 THERMA
0 question sur cet appareil. Repondez a celles que vous connaissez ou posez la votre.
Poser une nouvelle question sur cet appareil
Téléchargez la notice de votre Hotte aspirante au format PDF gratuitement ! Retrouvez votre notice DA 55.1 - THERMA et reprennez votre appareil électronique en main. Sur cette page sont publiés tous les documents nécessaires à l'utilisation de votre appareil DA 55.1 de la marque THERMA.
MODE D'EMPLOI DA 55.1 THERMA
Veuillez lire attentivement ce mode d'emploi. Observez avant tout le chapitre "Règles de sécurité".
Conservez ce mode d'emploi afin de pouvoir le consul-ter ultérieurement, et remettez-le à l'éventuel propriétaire ultérieur de l'appareil.

Ce triangle d'avertissement et/ou les termes de signalisation "Attention!", "Prudence!" soulignent des indications qui sont importantes pour votre sécurité ou pour la capacité de fonctionnement de l'appareil. Ils doivent impérativement être respectés.
- Ce symbole vous guide pas à pas dans la manipulation de cet appareil.
- ...
- ...

Ce symbole précède des informations complémentaires concernant la manipulation et l'utilisation pratique de cet appareil.

Ce symbole signale des conseils et des indications relatifs à l'utilisation économique et écologique de l'appareil.
Ce mode d'emploi contient des indications permettant d'éliminer soi-même des pannes qui pourraient éventuellement survenir. Voir chapitre "Que faire si..."
Si ces indications ne devaient pas suffire, vous avez deux points de consultation chez lesquels on pourra vous aider:
- Le point de service après-vente à proximité de chez vous (voir chapitre "Service après-vente") ou

Vous y recevez une réponse à chaque question concernant l'équipement ou l'utilisation de votre appareil. Bien entendu, vos désirs, suggestions ou critiques sont également bienvenus. Notre objectif est de poursuivre l'amélioration de nos produits et prestations de services au profit de notre clientèle.
- En cas de problèmes techniques, notre service après-vente se tient à tout moment à votre disposition (vous trouvez les adresses et numéros de téléphone au chapitre "Service après-vente").
Veuillez également prendre en considération le chapitre "Service".
Après vous avez pris connaissance du mode d'emploi, nous vous prions de renvoyer la carte de garantie remplie au service après-vente à Mägenwil.
Règles de sécurité 18
Sécurité électrique 18 Sécurité pour les enfants 18 Sécurité durant l'utilisation 18 Sécurité lors du nettoyage 18
Élimination 19
Éliminer le matériel d'emballage 19 Consignes d'élimination 19
Votre hote d'aspiration 20
Vue de dessus de l'appareil 20
Avant la première utilisation 20
Premier prénéttoyage 20
Manipulation et régulation de la hotte d'aspiration 21
Mise en marche 21 Déclencher 21 Éclairage 21
Nettoyage et entretien 22
Nettoyage extérieur 22 Nettoyage du filtre métallique 22 Nettoyage de l'espace de filtration 22
Instructions d'installation 24
Règles de sécurité 24 Montage 24 Description du montage 25 Raccordement électrique / alimentation 27 27 Prescriptions, normes, directives 27
Service 28
Avant de faire appel au service après-vente 28 Voulez-vous solliciter le service après-vente 28
Service après-vente 44
Point de vente de rechange 44 Garantie 44
Règles de sécurité
La sécurité de cet appareil est conforme à la réglementation reconnue en matière de technique ainsi qu'aux prescriptions de sécurité applicables. Néanmoins, nous estimons devoir vous familiariser avec les consignes de sécurité suivantes.
L'observation de ce mode d'emploi, ainsi que des instructions d'installation, est la condition préalable à notre engagement de garantie.
Sécurité électrique
Vérifier si la hotte d'aspiration n'a pas subi de dommages de transport. Un appareil endommagé ne peut en aucun cas être installé. En cas de sinistre, veuillez vous adresser à votre fournisseur.
La hotte d'aspiration ne doit jamais être mise en service, si le câble d'alimentation ou le cache de commande est endommagé.
Ne jamais retirer la fiche de la prise en saisissant le câble, mais saisir au contraire la fiche elle-même.
Avant de procéder à la mise en service, assurez-vous que la tension nominale et le type de courant indiqués sur la plaque signalétique concordent avec la tension de secteur et le type de courant disponibles au lieu d'installation. Pour la protection électrique nécessaire, voir les instructions d'installation.
Les réparations doivent être effectuées exclusivement par l’un de nos points de service après-vente. En outre, il faut toujours utiliser des pièces de rechange originales.
Les transformations ou modifications sur la hotte d'aspiration ne sont pas autorisées pour des raisons de sécurité.
En cas de dérangements, mettre l'appareil hors circuit, puis retirer la fiche de la prise de courant.
Ne jamais retirer la fiche de la prise en saisissant le câble, mais saisir au contraire la fiche elle-même.
Sécurité pour les enfants
Les éléments d'emballage (par ex. feuilles, styropor) peuvent représenter un danger pour les enfants. Risque d'étouffement!
Tenir les éléments d'emballage hors de portée des enfants.
Sécurité durant l'utilisation
N'utiliser la hotte d'aspiration que pour évacuer l'air au niveau de la cuisinière. Si l'appareil est utilisé à d'autres fins que celles prévues, ou s'il est mal manipulé, le fabricant ne pourrait être tenu responsable des dommages éventuels.
Il est interdit de flamber sous l'appareil, que ce soit à l'arrêt ou en marche (risque d'incendie).
Ne jamais utiliser la hotte d'aspiration sans filtre à graisses.
Si vous deviez vendre l'appareil ou le remettre à un tiers, veillez alors à ce que l'appareil soit remis complet avec cette notice, afin que le nouvel utilisateur puisse s'informer sur le mode de travail de l'appareil.
Si vous laissez la hotte d'aspiration sans surveillance durant une période prolongée, par ex. pendant les vacances, assurez-vous que tous les interrupteurs se trouvent sur la position ARRET.
Sécurité lors du nettoyage
Nettoyer régulièrement le filtre à graisses. En cas d'en-crassement trop important, il y a risque d'incendie.
Entretenez et nettoyez régulièrement la hotte d'aspiration. Vous évitez ainsi les coûteuses interventions du service après-vente. Observez en outre le chapitre «Nettoyage et entretien».
Éliminer le matériel d'emballage

Tous les éléments d'emballage sont recyclables, et les feuilles et parties en mousse dure doivent être marquées de manière appropriée.
Éliminez correctement, s. v. p., le matériel d'emballage et les éventuels appareils anciens.
Veuillez observer les règlements nationaux et régionaux ainsi que le marquage du matériel (séparation du matériel, ramassage des déchets, dépôts de matières valables).
Consignes d'élimination

L'appareil ne doit pas être enlevé avec les déchets domestiques.
Vous pouvez obtenir des renseignements sur les dates de passage ou les points de collecte auprès du service de nettoyage urbain local ou de l'administration communale.

Attention! Veuillez rendre inutilisables les anciens appareils ayant fini de servir, avant de les éliminer, sectionner le câble d'alimentation.
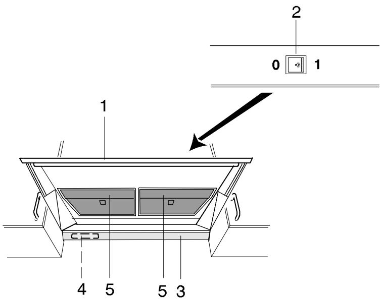
Vue de dessus de l'appareil
1 Tiroir 2 Interrupteur à balançoire lumière 3 Lumière 4 Plaque signalétique 5 Filtre métallique

Premier prénettoyage
Nettoyer les parties extérieures au moyen d'un chiffon imbibé d'une solution de lavage douce, afin d'éliminer les éventuelles traces de fabrication.

Attention! Ne pas employer de détergents agressifs ou abrasifs! La surface pourrait en être endommagée.
Mise en marche
Pour enclencher l'aspiration, il faut sortir complètement le tiroir.
Déclencher
Pour déclencher l'aspiration, il faut sortir complètement le tiroir.
Éclairage
L'éclairage de la lumière se fait avec le balancier du milieu de l'interrupteur à bascule.
Le balancier se trouve sur la position où la lumière s'allume. Si l'interrupteur se trouve sur position «0», la lumière est éteinte.


Remplacement des lampes
- Interrupteur à balançoire, levier sur la position 0.
Couper le courant de la hotte. (tirer la fiche ou dévisser le fusible.)
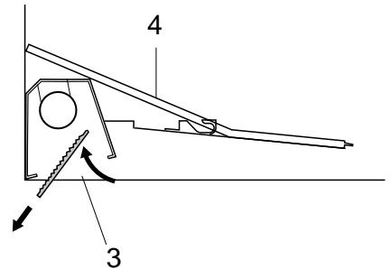
- Soulever le cache de lampe et le retirer à l'arrière vers le bas.

Lors du remplacement de la lampe, utiliser le même modèle (lampe à flamme 25W E14).
- Si nécessaire, nettoyer le cache de lampe dans une solution de lavage douce, et bien sécher. Remettre en place en introduisant l'avant vers le haut puis en rentrant l'arrière.

Veuillez observer que la surface lisse du cache de lampe doit être à l'extérieur.


Nettoyage et entretien

Prudence! Ne pas employer de détergents agressifs, de brosses, dépons rayantes ou de la poudre à recycler.
Nettoyage extérieur
Nettoyer les organes extérieurs avec une solution de lavage douce.
Nettoyage du filtre métallique

Attention! La non-observation de ces instructions de nettoyage peut générer un risque d'incendie!
Retirer le filtre métallique
- Soulever le filtre métallique (5) en exerçant à l'arrière une pression vers le haut, puis le retirer vers l'avant.
Nettoyer le filtre métallique
- Laver le filtre métallique (5) dans le lave-vaisselle ou dans une solution de lavage pour vaisse, toutes les 2 à 4 semaines, puis rincer à chaud et bien laisser sécher.

Disposer le filtre dans le lave-vaisselle de façon à ce que l'eau puisse s'écouler correctement.

Un changement de couleur des filtres est normal, leur fonction n'est cependant pas affectée.
Remettre en place le filtre métallique
- Engager le filtre métallique (5) à l'arrêt en y exerçant une pression vers le haut, puis l'encliqueter à l'avant.
Nettoyage de l'espace de filtration
Nettoyer l'espace de filtration avec une solution de lavage douce, à chaque remplacement ou nettoyage de filtres métalliques.


| Dérangement | Cause | Solution |
| Hotte ne fonctionne pas. | - mesure hors l'évacuation d'air | - zentrale Abluft überprüfen{lassen |
| - tiroir n'est pas sorti | - tirer le tiroir | |
| Pas de lumière | - pas de courant électrique | - vérifier si la protection est en ordre (fusible) est en ordre |
| Pas de luzière | - vérifier si le cable d'alimentation est bien enchisé | |
| - lampe incandescente défectueuse | - replacer la lampe incandescente | |
| Il y a une forte dépression dans la pièce. | - portes et fenêtres fermant très bien | - ouvrir la porte ou les fenêtres, mais toute fois pas à proximité immediatés des foyers. |
| Dégagement de fumée quand la cheminée est en service. | - dépression | - monter une vanne pour aménée d'air externe |
| Encrassement trop rapide du filtre Salissure importante du boîtier de la hotte Graisses et dépôts sur le meuble Encrassement trop rapiède au filtre Salissure importante du boîtier de la hotte | - hotte s'enclenché trop tard - bouillir de l'eau sans avoir enclenché la hotte | - enclencher à temps la hotte |
| - il règne une dépression trop forts dans la pièce | - rendre possible l'alimentation en air | |
| Salissures importantes à l'arrête des filtres et dans les conduites d'évacuation d'air | - il règne une dépression trop forts dans la pièce | - rendre possible l'alimentation en air |
| Formation d'eau de condensation sur le tiroir Puisance d'aspiration insuffisante | Haute résistance à l'air dû à: - un tuyau d'évacuation d'air ayant un diamètre trop petit, - un tuyau d'évacuation d'air mal monté. | - utiliser un tuyau d'évacuation d'air de 125 mm de diamètre - mistroux monter le tuyau d'évacuation d'air |

Les appareils endommagés ne doivent pas être utilisés. En cas de dérangement ou de défectuosité, veuillez déclencher les protections ou les dévisser.

Ne procéder à aucune intervention sur l'appareil. Des travaux effectués de manière non conforme peuvent être la cause de dommages matériels et corporels.
Si ces conseils ne vous permettent pas d'éliminer les dérangements ou les défectuosités, veuillez vous adresser au service après-vente.
Règles de sécurité

Attention! La distance de sécurité entre la surface de cuisson et la hotte doit être de 50 cm pour les foyers électriques, et d'au moins 70 cm pour les cuisinières à gaz.
En cas d'intervention du service, l'appareil doit être coupé du secteur, retirer la fiche de courant.
Il faut observer scrupuleusement les directives générales sur l'exploitation d'appareils électriques, les prescriptions du fournisseur d'électricité compétent, ainsi que les indications contenues dans ces instructions d'installation.
Montage

Attention! Il faut assurer une ventilation suffisante, si la hotte et des appareils fonctionnant avec une énergie non électrique sont utilisés en même temps.
En outre, il faut observer les réglementations de la police cantonale du feu.
Exigences relatives à la conduite d'air d'évacuation
diamètre 125 mm tube d'air d'évacuation à paroi lisse - pose optimale offrant la résistance à l'air la plus petite possible.

Attention! Si ces exigences ne sont pas observées, le débit d'air baissera.
Réglage du volume d'air désiré:
- Déterminer le volume d'air nécessaire sur la base des données de l'installation d'évacuation d'air.
- Le réglage se fait selon le diagramme ci-contre, en ouvrant la vanne d'étranglement.
Montage avec armoire à condiments hauteur 635 mm (5/6), neuve et montage avec armoire à condiments hauteur 508 mm (4/6) avec la porte 635 mm (5/6), marché de remplacement.
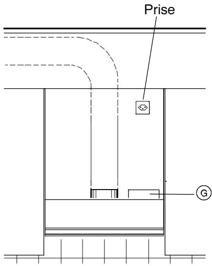
fig.2 Prise
fig.3
fig.4
Ouverture de la vanne d'étranglement



Description du montage

Prudence! Avant de monter la hotte d'aspiration, il faut déposer les coins en polystyrène expansé dans les parois latérales et les filtres (voir chapitre «Nettoyage et entretien»).

Prudence! Les vis et les chevilles sont conçues pour une épaisseur de la paroi de 16mm au minimum

Prudence! La hotte d'aspiration doit être fixée dans le meuble au moyen de 6 vis ainsi que les doigts de fixation prescrits (I, II), respectivement 2 × à droite et 2 × à gauche.
- Percez les trous dans le meuble, à droite et à gauche, au moyen d'un gabarit de perçage.
- Fixer la cheville (I) avec une vis.
Montage dans une armoire supérieure
a Tracer les languettes à l'avant et à l'arrière. b Casser et extraire les languettes à partir du haut.
Montage entre deux armoires supérieures

Pour le montage entre deux armoires supérieures, ne pas retirer la languette.




- Soulever la hotte d'aspiration jusqu'au niveau du doigt, puis la glisser dans le guidage/support (selon flèche).
- Tout de suite après l'encliquetage, procéder immédiatement au vissage du doigt (II) de fixation.

Prudence! Doigt de fixation selon détail A (chanfrein pour la tête de vis).

Après la fixation latérale de la hotte de ventilation, celle-ci doit être fixée en plus vers le haut.
- Fixer la hotte de ventilation à travers les deux trous à l'armoire supérieure avec les deux vis (4x20) fournies avec l'équipement.
- Enficher la fiche du câble de raccordement dans la prise de courant appropriée.

Prudence! La fiche doit être accessible après le montage. 7. Pousser le boîtier de lampe (selon la flèche) contre la paroi.




Raccordement électrique / alimentation

Attention! Le raccordement électrique doit être effectué par un installateur concessionnaire.

Prudence! La fiche doit être accessible après le montage.
Il faut prévoir une prise de courant du type 12 ou 13. La longueur du câble de raccordement est d'environ 1 m.
Lors du remplacement de la ligne de raccordement, il faut prévoir un type de câble équivalent au moins à H05RR-F (Nombre de pièce 375 043 200).
Installation d'une vanne externe d'échappement d'air
Il y a la possibilité de faire installer une vanne externe d'amnée d'air par un spécialiste électricien.
L'ouverture (B) dans le couvercle (G), avec arrêt de traction, est prévue pour raccorder un câble externe. Raccordement au moyen d'un connecteur AMP 6,3 x 0,8 mm sur les bornes numéros 5, N, E, et selon le type de vanne sur L (en permanence sous tension).


Encombrement
Hauteur totale 183 mm
Hauteur d'appareil visible 49 mm
Largeur 548 mm
Profondeur 320 mm
Profondeur avec tiroir ouvert 520 mm
Distance minimale par rapport à la surface de cuisson
Foyer électrique 500 mm
Foyer au gaz 700 mm
Tension de raccordement
230 V ~ 50 Hz
Puissance absorbée
Le service après-vente Thermo met un personnel qualifié à la disposition de ses clients.
Avant de faire appel au service après-vente
Assurez-vous que vous n'avez fait aucune erreur de manipulation.
Contrôlez votre hotte d'aspiration «Que faire si...».
Vous pouvez solliciter le service après-vente
- Notez les indications suivantes que vous trouvez sur la plaque signalétique de votre appareil:
- Numéro de série
- Désignation de modèle
- N° de produit
- Veuillez toujours indiquer ces données si :
- vous demandez l'intervention du service après-vente
- vous commandez des pièces de rechange ou des accessoires
- vous avez des questions d'ordre technique
La plaque signalétique se trouve dans le boîtier de la lampe.
- Notez minutieusement vos observations, vous simplifiez ainsi l'analyse préliminaire et le travail de nos techniciens.
- Composez le numéro de service 0848 848 999. Notre appel sera automatiquement dévié vers le point de service le plus proche.
- Soyez là lorsque le technicien se présentera à votre domicile, car il a besoin d'informations.


L'utilisateur final de tout produit acheté et utilisé en Suisse, bénéficie d'une garantie complète d'une année à partir de la date de livraison. La facture ou le justificatif d'achat correspondant fait foi en la matière.
Le service d'information téléphonique de thermo
Lundi à vendredi de 09.00 - 12.00 Uhr
Pour renseignements, conseils et «astuces» concernant l'utilisation de vos appareils ménagers.
Une prestation de service à votre disposition chaque jour pour toutes questions touchant aux appareils ménagers.
Appelez ThermoPhon par exemple pour:
- renseignements rapides concernant l'utilisation des appareils
- conseils judicieux pour l'entretien et les soins à apporter aux appareils ménagers
- «Astuces» utiles pour la cuisson en général, la cuisson au four, l'aération, la réfrigération et le rinçage
- conseils compétents pour le choix d'un appareil correspondant à vos désirs
Notice Facile