FHWC3655LS - Ventilateur de fenêtre FRIGIDAIRE - Notice d'utilisation et mode d'emploi gratuit
Retrouvez gratuitement la notice de l'appareil FHWC3655LS FRIGIDAIRE au format PDF.
| Type de produit | Hotte de cuisine |
| Caractéristiques techniques principales | Hotte murale, 36 pouces, finition en acier inoxydable |
| Alimentation électrique | 120 V, 60 Hz |
| Dimensions approximatives | 91,4 cm (L) x 50,8 cm (P) x 30,5 cm (H) |
| Poids | Environ 15 kg |
| Compatibilités | Compatible avec les systèmes d'évacuation à conduit et à recirculation |
| Type de filtre | Filtres à charbon et filtres métalliques lavables |
| Tension | 120 V |
| Puissance | Jusqu'à 600 CFM (pieds cubes par minute) |
| Fonctions principales | Éclairage LED, plusieurs vitesses d'extraction, fonctionnement silencieux |
| Entretien et nettoyage | Filtres lavables au lave-vaisselle, nettoyage de la surface en acier inoxydable avec des produits doux |
| Pièces détachées et réparabilité | Filtres et pièces de rechange disponibles auprès du fabricant |
| Sécurité | Protection contre la surchauffe, conforme aux normes de sécurité électrique |
| Informations générales utiles | Garantie limitée de 1 an, installation recommandée par un professionnel |
FOIRE AUX QUESTIONS - FHWC3655LS FRIGIDAIRE
Questions des utilisateurs sur FHWC3655LS FRIGIDAIRE
0 question sur cet appareil. Repondez a celles que vous connaissez ou posez la votre.
Poser une nouvelle question sur cet appareil
Téléchargez la notice de votre Ventilateur de fenêtre au format PDF gratuitement ! Retrouvez votre notice FHWC3655LS - FRIGIDAIRE et reprennez votre appareil électronique en main. Sur cette page sont publiés tous les documents nécessaires à l'utilisation de votre appareil FHWC3655LS de la marque FRIGIDAIRE.
MODE D'EMPLOI FHWC3655LS FRIGIDAIRE
Guide d'utilisation et d'entretien
26 Trouver des informations
Table des matières
Veuillez lore et conserver ce manuel 26
Conservez-le à des fins de réference rapide 26
Consignes de sécurité importantes 26-28
Spécifications électriques 28
Conditions prévues d'utilisation 29
Pièces fournies 29
Installation de la hotte 30-34
Fonctionnement 35
Nettoyage et maintenance 35-36
Informations techniques 36
Dépannage 36
Protection de l'environnement 36
Informations sur la garantie 37
Veuillez litre et conserver ce manuel
Nous vous remercions d'avoir choisi Frigidaire, la nouvelle marque haut de gamme d'appareils menagers. Ce manuel d'utilisation et d'entretien s'inscrit dans le cadre de notre engagement envers la satisfaction des clients et la qualité des produits pendant toute la durée de vie de votre nouvel apparéil.
Votre achat représenté à nos yeux le début d'une relation. Afin que nous puissions rester à votre service, veuillesz utiliser cette page pour consigner toute information importante concernant le produit.
Conservez-le à des fins de réference rapide
Date d'achat
Numéro de modele
Numéro de série

REMARQUE
L'enregistrement de votre apparéil auprès de Frigidaire nous permet de mistrés vous servir. Vous pouvez l'enregistrer en ligne sur le site Internet www.frigidaire.com ou en nous envoyant la carte d'enregistrement de votre produit par la poste.
Questions?
Pour bénéficier du service d'assistance téléphonique sans frais aux Etats-Unis : 1-800-944-4044 ou au Canada : 1-800-265-8352
Pour le service d'assistance en ligne et tout renseignement sur Internet relatif à la production, visitez http://www.frigidaire.com
Consignes de sécurité importantes
N'essayez pas d'installer ou de faire fonctionner cet apparéil avant d'avoir lu les consignes de sécurité de ce guide. Les éléments de ce manuel ayant un rapport avec la sécurité sont signalés par les inscriptions Danger, Avertissement ou Attention selon le type de risque.
Définitions
Ceci est un symbole d'alerte de sécurité. Il permet de vous avertir de dangers potentiels de blessures personnelles. Conformez-vous à tous les messages de sécurité qui suivent ce symbole afin d'eviter une situation pouvant entrainer des blessures ou la mort.

DANGER
DANGER indique une situation dangereuse imminente qui, si elle n'est pas évitée, peut entrainer la mort ou des blessures graves.

AVERTISSEMENT
AVERTISSEMENT indique une situation potentiellement dangereuse qui, si elle n'est pas évitée, peut entrainer la mort ou des blessures graves.

ATTENTION
ATTENTION indique une situation potentiellement dangereuse qui, si elle n'est pas evitée, peut entrainer des blessures mineures ou légères.
Consignes de sécurité importantes

IMPORTANT
Indique une information importante mais non liée à un danger, relative à l'installation, au fonctionnement ou a la maintenance.
Sécurité des enfants
Matériaux d'emballage :
- Les cartons recouverts d'un tapis, d'un couvre-lit ou d'une feuille de plastique peuvent former une chambre étanche et faire suffoquer un enfant.
- Retirez le film de protection qui recouvre l'appareil avant de lemettre en service.
- Détruirez ou recyclez le carton de l'appareil, les sacs en plastique, ainsi que tout autre matériel d'emballage externe immédiatement après avoir déballé l'appareil. Les enfants ne doivent jamais jouer avec ces articles.
Danger de suffocation!

IMPORTANT
LISEZ ATTENTIVEMENT CES INSTRUCTIONS AVANT D'INSTALLER ET D'UTILISER CE MATÉRIEL.
L'INSTALLATION DOIT SE CONFORMER A TOUTES LES RÉGLEMENTATIONS LOCALES.
IMPORTANT : Conservez ces instructions pour l'inspecteur électrique.
INSTALLATEUR : Remettez les instructions de l'appareil au propriétaire.
PROPRIÉTAIRE : Conserve ces instructions pour consultation ultérieure.

DANGER
Coupez toujours l'électricité au niveau du secteurpendantl'installationetlamaintenance, par exemple lors du remplacement d'une ampoule.

AVERTISSEMENT
Afin de réduire le risque d'incendie, de chocolélectrique ou de blessures corporelles, suivez ces instructions :
- POUR UTILISATION RÉSIDENTIELLE UNIQUEMENT.
Utilisez uniquement cet apparéil dans le cadre prévu par le fabricant. Si vous avez des questions, veuilles contacter le fabricant. - La pose de la hotte et les travaux d'électricité doivent être effectuels par des personnes qualifiées en respectant tous les codes & normes applicables, y compris ceux ayant trait à la résistance au feu.
Pour éviter les refoulements, l'apport d'air doit être suffisant de manière à brûler et à evacuer, parle conduit defumée(cheminée), les gaz produits par les apparêils à combustibles. Respectez les directives du fabricant de l'appareil de chauffage et les normes de sécurité, notamment celles publiées par la National Fire Protection Association (NFPA), la American Society for Heating, les Refrigeration and Air Conditioning Engineers (ASHRAE) et les codes des autorités locales. - Lors de la découpe ou du perçage d'un mur ou d'un plafond, veillez à ne pas endommager le câblage électrique ou autres équipements non apparents (ex. conduites de gaz).
- Les systèmes d'évacuation doivent toujours décharger l'air à l'extérieur.

AVERTISSEMENT
- Avant d'entretenir ou de nettoyer l'appareil, coupez le courant au niveau de la boîte à fusible et verrouillez cette dernière pour éviter qu'on remette le courant accidentellement. Lorsque la boîte à fusible ne peut être verrouillée, appliquer un message d'advertissement bien visible sur cette dernière.

ATTENTION
Pour ventilation générale uniquement. NE L'UTILISEZ PAS pour aspirer des matières ou des vapeurs dangereuses ou explosives.
28 Consignes de sécurité importantes

ATTENTION
Pour réduire le risque d'incendie et évacuer correctement l'air, veillez à acheminer l'air aspiré par un conduit jusqu'à l'extérieur (pas dans un grenier, sous la maison, dans un garage ou dans un espace fermé).
Consignes de sécurité importantes

AVERTISSEMENT
Pour réduire les risques d'incendie, utilisez seulement des conduits en acier. Installez cette hotte en respectant toutes les exigences spécifiées.

AVERTISSEMENT
Afin de réduire le risque d'incendie ou de choc électrique, ne raccordez aucun type de variateur de vitesse à semi-conducteurs externe à votre hotspot.

AVERTISSEMENT
Pour réduire le risque d'incendie d'un plan de cuisson :
- Ne laïsez jamais les unités de la surface sans surveillance lors de températures élevées. Les ébullitions provoquent de la fumée et des débordement qui peuvent prendre feu. Chauffez les huiles lentement sur les degrés bas et moyen.
- Mettez toujours la hotter n FONCTION (ON) lorsque vous cuisez à températe élevé ou lorsque vous cuisinez des plats flambés (c'est à dire Crêpes Suzette, Cherries Jubilee, Peppercorn Beef Flambé).

AVERTISSEMENT
- Nettoyez féquèment les ventilateurs.
Ne laissez pas laGRAISSÉS'accumuler sur le ventilateur ou le filtré. - N'utilise pas la hotte sans les filtres àGRAISSE, ou si les filtres sont trop gras.
Utilisez des casseroles de dimension appropriée. Utilisez toujours une batterie de cuisine adaptée à la dimension des éléments de surface.

AVERTISSEMENT
NE SOULEVEZ JAMAIS UNE CASSEROLE EN FLAMMES – vous pourriez vous bruler.

AVERTISSEMENT
Observez les consignes suivantes de manière à réduire les risques de blessures corporelles en cas d'incendie causé par de lagraiss sur le plan de cuisson :
- Étouffez les flammes à l'aide d'un couvercle étanche, d'une tôle à biscuits ou d'un plateau en métal puis éteignez le brûleur. Faites attention de ne pas vous bruler. Si les flammes ne s'éteignent pas immédiatement, quitterz les lieux et appeler le service des incendies.
- Ne soulevez jamais une casserole en flammes - vous pourriez vous bruler.
-
N'utilise pas d'eau, ni de lings ou de serviettes mouillés – une violente Explosion de vapeur pourrait survenir.
Utilisez un extincteur uniquement si : -
Vous savez qu'il est de classe ABC et vous connaisssez déjà son mode de fonctionnement.
- L'incendie n'est pas très important et ne se propage pas.
- Vous avez deja appelé les pompiers.
- Vous pouvez combattre l'incendie en faisant dos à une sortie.

ATTENTION
Laissez toujours les grilles de sécurité et les filtres en place. Sans la présence de ces derniers, les parties aspirantes pouraient attirer les cheveux, les doigts ou les vêtements.
Specifications électriques

IMPORTANT
Respectez l'ensemble des codes et ordonnances en vigueur.
Il est de la responsabilité du client de :
- contacter un installateur électrique qualifié.
- de veiller à ce que l'installation électrique soit ajusté et conforme au National Electrical Code, ANSI/NFPA 70, ou au CSA Standards C22.1-94, Canadian Electrical Code, Part 1 and C22.2 No.0-M91-latest edition**, ainsi qu'à tous les codes et ordonnances locaux.
Si le code le permet et que vous utilisez un fil de mise à la terre distinct, il est recommendé de faire vérifier le chemin du fil par un électricien.
- Ne pasmettre à la terre à une conduite de gaz.
- Consultez un électricien qualifié si vous n'êtes pas certain que la hotte est mise à la terre correctement.
- N'installez pas un fusible dans le circuit neutre ou le circuit de mise à la terre.

IMPORTANT
Conservez les instructions d'installation pour l'inspecteur électrique.
La hotte doit être connectée uniquement avec du fil en cuivre.
Il faut raccorder la hotte directement à une boîte à fusible ou à un disjoncteur par l'entremise d'une canalisation électrique en métal.
Le calibre de fil doit être conforme aux exigences du National Electrical Code ANSI/NFPA 70 (dernière édition), ou du CSA Standards C22.1-94, Canadian Electrical Code Part 1 and C22.2 No.0-M91 - (dernière édition**, ainsi qu'à tous les codes et ordonnances locaux.
Il faut prévoir un connecteur de canalisation approvéd par l'UL ou la CSA à chaque extrémité de la canalisation d'alimentation (À la hotte et à la boîte de jonation).
Voussouspoucezobtenirunexemplairedesnormes indiqueesenyouaddressantà:
- La National Fire Protection Association Batterymarch Park Quincy, Massachusetts 02269
** La CSA International 8501 East Pleasant Valley Road Cleveland, Ohio 44131-5575
Alimentation :
120V 60 Hz, 15 ou circuit de derivation 20 A
Conditions prévues d'utilisation
- Notre hotte est uniquement prévue pour l'aspiration. Cette hotte n'est pas recommandee pour l'utilisation sur des grills internes. Ne l'utilisez pas pour aspirer des matieres ou des vapeurs dangereuses ou explosives.
Pèces fournies
| N° | Pièce | Qté | |
| 1 | Hotte de cuisine | 1 | |
| 2 | Cheminée inférieure et cheminée supérieure | 1 + 1 | |
| 3 | Bride supérieure | 1 | |
| 4 | Bride inférieure | 1 | |
| 5 | Collet | 1 | |
| 6 | Kit de recirculation (accessoires en option) FHWRKT55LS | 1 | |
| 7 | Ampoule 20 W, 120 V~, GU10 (pré-assemblée) | 2 | |
| 8 | Longue-vis (4 mm x 32 mm) | 8 | |
| 9 | Prise murale | 8 | |
| 10 | Vis courte (4 mm x 12 mm) | 4 | |
| 11 | Vis à bois (4 mm x 50 mm) | 4 | |
| 12 | Vis en acier inoxydable (3,5 mm x 10 mm) | 2 | |
| 13 | Vis courte (3,5 mm x 8 mm) | 2 | |
| 14 | Kit de cheminée d'extension 10' (accessoires optionnels) FW10EX55LS | 1 | |
| 15 | Modèle de montage (au pochoir) | 1 |
30 Installation de la hotte
Installation de la hotte

IMPORTANT
Il est recommendé que l'installation soit effectuee par deux personnes. Conformez-vous à la procEDURE décrite dans les consignes de montage.

Preparation
- Déterminez l'emplacement exact de la hotte de cuisine.
- Planifiez le circuit d'évacuation des fumées vers l'extérieur (fig. ③).
- Planifiez la connexion électrique avant l'installation afin que les cables electriques ne soient pas visibles.
- Emplacement du câblage domestique : La boite de jonction est située en haut à droite de la hotter. Le câblage doit pénétrer dans le mur arrêté au moins 20" au-dessus du bas de la hauteur d'installation, et dans un intervalle de 3-3/8" à 4-3/4" du côté droit de l'axe central (fig. ①/②).


- Choisissez le circuit le plus court et le plus droit possible pour les gains de ventilation.
-
La percée dans le mur doit être effectué par un professionnel avant l'installation de la hotte. Tenez compte de la longueur du flexible d'aspiration lorsque vous effectuez la percée d'un mur. Le flexible d'aspiration doit atteindre le bord extérieur du mur. Important! Si le flexible d'aspiration mène à un mur extérieur, installez une bouche de décharge murale ou de toit avec un saturateur à au niveau de l'ouverture extérieure (non fournie). Peut être installé par un professionnel qui effectue une percée dans le mur.
-
Si une cheminée est en fonction dans la même piece, demandez à un ramoneur quelles sont les règlementations en vigueur avant derialcder à l'installation.
- Si vous étés en location, vous devez obtenir l'accord de votre propriété.
- Prudence! Pour que la hotter fournisse une performance optimale, installez-la au-dessus du milieu de la zone de cuisson.
- Les accessoires suivants (non fournis) sont nécessaires au montage de la hotte :
Conduit d'évacuation
→ Perceuse à moteur forêts 3/16 “ et 1/8”
Tournevis
Niveau
Détector de cable
Ruban de mesure
Bande adhésive

fig. ②
Instructions d'installation du conduit d'évacuation
- Pour des raisons de sécurité, veiller à acheminer l'air aspiré par un conduit jusqu'à l'extérieur (pas dans un grenier, sous la maison, dans un garage ou dans un espace fermé).
- Les gains de ventilation doivent être aussi courtes et droites que possibles.
- Les courbures de conduits (coudes et raccords) réduisent le flux d'évacuation d'air.
- La superposition de coudes et les profils en « S » diminuent fortement les performances de l'appareil et ne sont pas recommandés.
- Un court morceau de tuyau placé directement à la sortie de la hotte donne les membres résultats.
- Le raccord entre le conduit et le corps de la hotte et les autres raccords doivent être le plus droits
possibles.
Utilisez un conduit circulaire ajustat de 6".
- Les conduits métalliques circulaires flexibles doivent être utilisés uniquement lorsqu'il n'existe aucune autre possibilité de conduit. Limitez l'utilisation à de courts tronçons et soyez attentif à ne pas écraser le flexible lors des courbures.

Examples de conduits ou de recirculation de l'air possibles
Chute de toit avec


Protection de paroi laterale

Unité de recirculation
Installation de la hotte au mur (fonctionnement de l'aspiration)

IMPORTANT
La hotte est très lourde. Une structure et un support ajustats sont indispensablees pour tous les types d'installation.
Installation de la charpente de la hotte
- En cas de mur sec, marquez les emplacements des trous de vis.
- Enlevez suffisamment de mur sec pour exposer 2 montants verticaux à l'emplacement des trous indiqué sur le modele. Installez deux supports horizontally d'au moins 1'' × 6'' entre les montants de mur au bas et au haut de l'emplacement d'installation des trous de montage supérieurs (fig. ④).
- Le support horizontal doit être à la même hauteur que le côté de la chambre des montants. Utilisez des tasseaux dérrière les deux côts du support pour fixer les montants du mur.
- Réinstallé la cloison sèche et effectuez la finition.

fig. ④
Ouverture de min. 8 - 1 / 2'' pour réseau de gains

IMPORTANT
La charpente doit être en mesure de supporter une charge de 100 livres (45 kg).
Étape 1:
Veillez à n'endommager aucun cable ou tuyau (par examples conduits d'eau, de gaz, électriques; testez les zones possibles avec un détecteur de cables).
- En utilisant le modele fourni (15), marquez et percez 8 troughs dans le mur. Percez les troughs selon les distances mesurées à partir du diagramme (fig. ⑤).
- Bride supérieure/inférieure (3, 4): insérez 4 prise murales (9) dans les 4 trous percés.
- Hotte (1): L'installation dépend du type de mur:
| Type de mur | Attaches nécessaires |
| Bois | Aucune prise murale (9) nécessaire |
| Briques/béton | 4 prises murales (9) |
32 Installation de la hotte

Distance souhaitatione d'une hotte au dessus d'un plan de cuisson de 36" de hauteur
| Hauteur du plafond | |||
| 8 pieds | 9 pieds | 10 pieds *1 | |
| A*2 | A*2 | A*2 | |
| 26”*3 | 27-5/16” | ||
| 27”*3 | 28-5/16” | 28-5/16” | |
| 28”*3 | 29-5/16” | 29-5/16” | 29-5/16” |
| 29”*3 | 30-5/16”*4 | 30-5/16” | 30-5/16” |
| 30”*3 | 31-5/16”*4 | 31-5/16” | 31-5/16” |
| 31”*3 | 32-5/16”*4 | 32-5/16” | 32-5/16” |
| 32”*3 | 33-5/16”*4 | 33-5/16” | 33-5/16” |
| 33” | 34-5/16” | 34-5/16” | |
| 34” | 35-5/16” | 35-5/16” | |
| 35” | 36-5/16” | 36-5/16” | |
^1 : avec un kit d'extension de cheminée de 10 pouces (non fourni) FW10EX55LS (14). Veuillez appeler Frigidaire au 1.800.944.9044 pour commander ce kit.
^2 : « Dimension A » sur la carte représentée la hauteur depuis le haut du plan de cuisson jusqu'à l'emplacement des vis de montage inférieures.
^3 : Hauteur de montage recommandée.
^4 : Le kit de recirculation ne peut pas etre installé.
Étape 2 :
- Installez la hotte (1) avec des vis à bois ou des longues-vis selon le type de mur :
| Type de mur | Vis nécessaires |
| Bois | 4 vis à bois (11) |
| Briques/béton | Briques/béton (8) |
- Insérez 2 vis (8 ou 11) en haut, mais ne les insérez pas entièrement (fig. ⑧). Montez la hotte (1) au mur et serrez les vis. Insérez et serrez les 2 vis restantes au bas de la hotte (fig. ⑥/⑦).
- Attachez le collet (5) à la hotte (1). Fixez à l'aide de 2 vis courtes (8) (fig. ⑨).





REMARQUE
Il arrive que de l'adhésif éponge recouvre les trous. Si les trous sont situés derrière de l'adhésif éponge, insérez simplement la vis à travers l'adhésif éponge.
Étape 3 :
Montez les brides supérieures et inférieure (3, 4) sur le mur. Fixez à l'aides 4 peux de vis longues restantes (8). Les encoches de la bride inférieure doivent faire face au plafond (fig. 10).
- Attachez le conduit d'évacuation. Dans l'exemple ci-dessous, un tuyau d'évacuation des fumées avec conduit métallique circulaire a été utilisé. La connexion étanche du conduit d'évacuation peut ensuite être améliorerée avec du ruban adhésif. Cela garantit une étanchéité totale et qu'aucune vapeur de graisse ne s'échappera du conduit (fig. ⑪).


Connexions électriques

IMPORTANT
Danger de chocolélectrique ! Tous les raccordement doivent être effectuels par une personne compétente en se conformant aux règlementations locales en vigueur en matière de câblage et de construction. En cas de doute, consultez un électricien qualifié.

IMPORTANT
Coupez toujours l'électricité au niveau du secteur pendant l'installation et la maintenance, par exemple lors du remplacement d'une ampoule. Il est recommendé dePTRirer le fusible ou de couper le disjoncteur du tableau de distribution.
Étape 4 :
- Desserrez les 2 vis courtes de la boite de jonction (fig. 12).

- Connectez les cables positif, neutre et à la terre aux terminaux respectifs. Le cable à la terre est déjà pré-assemblé à la boite de jonction pour la mise à la terre (fig. ⑬).

Montez la boite de jonction sur la hotte à l'aide de 2 vis courtes (13) (fig. ⑭).

Étape 5:
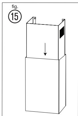
- Insérez la cheminée supérieure (2) dans la cheminée inférieure (3) du haut vers le bas (fig. ⑮).
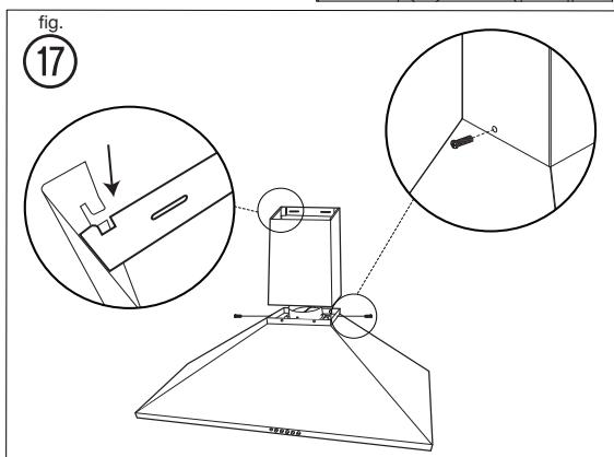
Montez la cheminée inférieure (2) sur la hotte (1). - Placez la patte, qui a une inclinaison de 90 degrés, dans la bride inférieure et montez le trou de vis sur la bride inférieure (4) (fig. 16/17).
Fixez-la avec 2 vis (12) (fig. ⑰).



- Tirez la cheminée supérieure (2) vers le haut afin qu'elle corresponde au trou de la vis de la bride supérieure. Montez la bride supérieure (3) à l'aide de 2 vis laterales (10) (fig. ⑱).
34 Installation de la hotte


ATTENTION
Risque de blessure. Certains angles de la hotte sont pointus.
! Fonctionnement de l'évacuation
- Lors de l'évacuation, la hotte enlève l'air de la piece. Si d'autres sources de feu nécessitant l'air environnant pour leur combustion fonctionnent dans la même piece (par exemple apparéil de chauffage au gaz, à l'huile, au charbon), l'oxygène dont ils ont besoin est retire. Les flammes poursraient alors êtreétouffées et du gaz pourrait s'échapper, ou les fumées poursraient revenir dans la piece.
- Afin de garantir un fonctionnement sur, les portes et les fenêtres doivent être équipées d'ouvertures qui ne peuvent pas être fermées, afin d'assurer un approvisionnement frais d'air de combustion. Cela empêche les fumées issues des combustions de revenir dans la pierce.
- Lorsque del'estimation des mesures nécessaires, prenez toujours en compte l'ensemble du système de ventilation de la maison.
- Ne fixez jamais la hotte à un conduit de ventilation, à une piece ou à une cheminée sur bouclier. Ne laissez pas l'air extrait de la piece se propager dans un conduit dans lequel de l'air chaud circule. L'air extrait doit être uniquement décharge vers l'extérieur par un conduit d'évacuation séparé destiné uniquement à la hotte d'aspiration.
- En mode extraction, l'air de la pierce est enlevé par la hotte. Veillez à ce que les mesures de ventilation adéquates soient toujours prises. La hotte supprime les odeurs de la pierce mais pas la vapeur.
-
La pièce doit être suffisamment ventilée lorsque la hotte est utilisé en même temps que d'autres apparêils brulant du gaz ou d'autres combustibles (ne s'applique pas aux apparêils qui déchargent l'air uniquement dans la pièce).
-
L'air ne doit pas être déchargé dans un conduit utilisé pour evacuer les fumées provenant d'appareils de combustion de gaz ou d'autres combustibles (ne s'applique pas aux apparêils qui déchargent l'air uniquement dans la piece).
Fonctionnement de la recirculation de l'air
- Air de recirculation : Les fumées de la cuisine sont supprimées, et après avoir été purifiées elles sont à nouveau injectées dans la piece par les ouvertes de la ventilation supérieure. La purification s'effectue au moyen du filtre àGRAisse en métal. Il est n'est pas nécessaire de pratiquer une percée dans le mur pour la recirculation de l'air.
Installation de la hotte au mur en mode recirculation
- Le fonctionnement de la hotte en mode recirculation nécessite une unité de recirculation, modèle no. FHWRKT55LS. Veuillez appeler Frigidaire au 1.800.944.9044 pour commander ce kit.
- Suivez les étapes 1 à 4 du chapitre Installation de la hotte au mur (Aspiration).
- Pour installer l'unité de recirculation (6), perceze 2 troughs supplémentaires dans le mur. Utilisez le modele compris dans le kit de recirculation pour pouvoir la positionner correctement.
Fixez l'unité de recirculation (6) au mur au moyen de 2 produits de vis longues (8) et de prises murales (9) (fig. ⑲). - Attachez la conduite d'évacuation d'air au bas de l'unité de recirculation (6).
- Suivez l' étape 5 du sous chapitre Installation de la hotte au mur (Aspiration).

FR

- Retirez les filtres àGRAISSÉ et posez des filtres à charbon sur les deux côts latéraux de la soufflerie à moteur. Remettez en place les filtres àGRAISSÉ (fig. 20).
Fonctionnement
- Appuyez sur un des boutons de vitesse ( / / ) pourmettre l'appareil sous tension.
| Bouton | Fonction |
| o | Appuyez sur le bouton o pour éteindre l'appareil (la lapse témoin est allumée lorsque l'appareil est en fonction). |
| • | Appuyez sur le bouton • pour une vitesse faible. |
| •• | Appuyez sur le bouton •• pour une vitesse moyenne. |
| ••• | Appuyez sur le bouton ••• pour une vitesse élevé. |
| •••• | Appuyez sur le bouton ••• pour allumer les lumières. Appuyez à nouveau sur ce bouton pour éteindre les lumières. |
Pour un meilleur rendement

REMARQUE
L'utilisation continue de la hotte pendant la cuisson permet de rendre la cuisine comfortable et moins humide.
Cela réduit également les odeurs de cuisson et l'accumulation de graisses qui obligent à nettoyer fréquement.
- Mettez la hotter en rote avant de commencer la cuisson.
- Nettoyez régulierement les filtrés (voir Nettoyage et maintenance ci-dessous).
Utilisez une vitesse faible pour une utilisation normale et une vitesse plus élevée pour les odeurs ou les fumées intenses.
Nettoyage et maintenance
Nettoyage

DANGER
Coupez toujours l'électricité au niveau du secteur pendant l'installation et la maintenance, par exemple lors du remplacement d'une ampoule.

REMARQUE
L'efficacité de la hotte dépend de la propreté de l'admission et des filtres. Ne laissez pas laGRAisse s'accumuler sur la hotte ou le filtré.
- Nettoyez l'appareil à la fréquence suivante :
| Régulièrement | Utilisez un chiffon doux humidifié avec de l'eau légèrement savonnexe ou un détergent de nettoyage menager. N'utilise jamais de tampons métalliques, de matériaux chimiques, abrasifs, ou de Brosse à poils durs pour nettoyer l'appareil. |
| Une fois par mois | Filtre métallique àGRAisse:Le filtre recueille la graisse,la fumée et la poussière,et il a donc un impact direct sur l'efficacité de la hotte.Si le filtre n'st pas nettoyé,le résidu deGRAisse (potentiellement inflammable)sature le filtre.Nettoyez-le avec du détergent de nettoyage menager.Le filtre peut être mis au lave-vaisselle.Unité de recirculation:nettoyez les ouvertures de ventilation au sommet. |
| tous les 4 à 6 mois | Filtres àcharbon:Si le modele n'est pas déchargé vers l'extérieur,l'air recircule à travers les filtres à charbon jétables qui aident à supprimer la fumée et les odeurs.Les filtres àcharbon ne peuvent pas être nettoyés,ils doivent être replacés régulierement(en fonction de l'utilisation de la hotte).REMARQUE:Ne rincez pas et ne mettez pas les filtres àcharbon dans un lave-vaisselle.REMARQUE:Les filtres àcharbon ne sont pas fournis avec la hotte.Veuillez appeler Frigidaire au 1.800.944.9044 pour commander ce kit.Lorsque vous appelez notre service clientèle,ayez toujours à portée de main le numéro de modele de votre hotte. |
FR

IMPORTANT
Nettoyez le filtré une fois par mois pour éviter les risques d'incendie.
Maintenance
- Entretien par l'utilisateur - Ne réparer et ne remplacez aucune piece de l'appareil sauf indication contraire dans le guide. Toutes les autres opérations d'entretien doivent être confiées à un technicien qualifié.
Replacement des ampôules
- Éteignez l'appareil et débranchez l'alimentation.
- Vous doivent tout d'abord-retirer le filtré àGRAISSE en métal pour remplaçer l'ampoule (7).
Tirez la serrure vers le bas (fig. ②2). - Pivotez et sortez une ampoule ou les deux des son/leur support, et remplacez-la/les par une/des nouvelle(s) ampoule(s) du même type (GU10, 20 W, 120V ) (fig. ②③ / ②④ ).
- Remettez le filtré àGRAISSÉ en métal à sa place et vérifie s'il est bien fixé.




Informations techniques
Alimentation : 120 ~V , 60 ~Hz
Consommation d'énergie : 520 W
Type d'ampoule 2x20W,120V\~
(type:GU10)
Cable d'alimentation 18 AWG
(Amer. Wire Gauge)
300V ,105^
Dépannage
| Problème | Cause | Solution |
| Vibrations excessives. | L'appareil n'est pas fixé correctement aux brides. | Descendez l'appareil et vérifiez s'il est correctement fixé. |
| Le ventilateur est endommagé. | Éteignez l'appareil. Les réparations doivent être effectuées uniquement par du personnel qualifié. | |
| Le moteur du ventilateur n'est pas fixé correctement. | ||
| La lumière est allumée, mais le ventilateur ne fonctionne pas. | Le ventilateur est bouché. | |
| Le moteur est endommagé. | ||
| La lumière et le ventilateur ne fonctionnent pas. | L'ampoule est cassée. | Remplacez-la par une ampoule de la bonne puissance. |
| Problème de connexion électrique. | Vérifiez la connexion électrique avec un électricien. | |
| L'aspiration n'est pasonne. | La distance entre l'appareil et la zone de cuisson est trop grande. | Réajustez la distance (page 7, fig. ⑤ et tableau ci-dessous). |
| Le filtre métallique àGRAISSSE est sale. | Nettoyez les filtres (voir Nettoyage et maintenance). |
Protection de l'environnement

Les déchets électriques ne doivent pas être éliminés avec les déchets menagers. Lorsque les infrastructures existent, recyclez les déchets. Renseignez-vous auprès des autorités locales ou de votre revendeur pour obtenir des informations à ce sujet.
Informations sur la garantie
Votre apparéil est couvert par une garantie limitée d'un an. Pendant un an à partir de la date d'achat originale, Electrolux assumera les coûts des réparations ou du remplacement des pièces de cet apparéil qui présente un défaut de fabrication ou de matériel, si cet apparéil est installé, utilisé et entretenu selon les instructions fournies avec celui-ci.
Exclusions
Cette garantie ne couvre pas ce qui suit :
1. Les produits dont le nombre de série original a été enlevé, modifié ou qui n'est pas facilement déterminable.
2. Les produits qui ont eté transférés de leur propriétaire initia à une autre partie ou qui ne sont plus aux États-Unis ou au Canada.
3. La rouille à l'intérieur ou à l'extérieur de l'appareil.
4. Les produits vendus « tels quels » ne sont pas couverts par cette garantie.
5. Les alimentés perdus en raison de pannes du réfrigérateur ou du congélateur.
6. Les produits utilisés dans les établissements commerciaux.
7. Les appeals de service qui ne concernent pas un malfonctionnement, un défaut de fabrication ou un vice de matériel ou pour les apparciels qui ne font pas l'objet d'un usage domestique ou qui ne sont pas utilisés conformément aux instructions fournies.
8. Les appeals de service pour vérifier l'installation de votre apparéil ou pour obtenir des instructions sur la façon d'utiliser votre apparéil.
9. Les frais qui rendent l'appareil accessible pour une réparation, par exemple enlever des garnitures, les armoires, les étagères, etc. qui ne faisient pas partie de l'appareil lorsqu'il a quitté l'usine.
10. Les appeals de service au sujet de la réparation ou du remplacement des ampoules, des filtres à air, des filtres à eau, d'autre matériel ou des boutons, poignées ou autres pieces esthétiques.
11. Les frais supplémentaires, y compris, sans s'y limiter, les appeals de service après les heures normales de bureau, le week-end ou les jours fériés, les droits et péages, les frais de conveyage ou les frais de déplacement pour les appeals de service dans des endroits isolés, notamment l'Etat de l'Alaska.
12. Les dommages causés au fini de l'appareil ou à la maison pendant l'installation, y compris, sans s'y limiter, aux planchers, aux armoires, aux murs, etc.
13. Les dommages causés par : des réparations faites par des techniciens non autorisés; l'utilisation de pieces autres que les pieces Electrolux d'origine qui n ont pas été obtenues par l'entremise d'un réparateur autorisé; ou les causes étrangères comme l'abus, l'alimentation électrique inadéquate ou les cas de force majeure.
USA
1.800.944.9044
Notice Facile