HOP & BOP - Support pour enceinte FOCAL - Notice d'utilisation et mode d'emploi gratuit
Retrouvez gratuitement la notice de l'appareil HOP & BOP FOCAL au format PDF.
| Intitulé | Description |
|---|---|
| Type de produit | Enceinte sans fil portable |
| Caractéristiques techniques principales | Son haute-fidélité, technologie Bluetooth, compatibilité avec les assistants vocaux |
| Alimentation électrique | Batterie rechargeable intégrée |
| Dimensions approximatives | 20 cm x 10 cm x 10 cm |
| Poids | 1,5 kg |
| Compatibilités | Compatible avec tous les appareils Bluetooth |
| Type de batterie | Batterie lithium-ion |
| Tension | 5V |
| Puissance | 20W |
| Fonctions principales | Lecture de musique, appels mains libres, contrôle vocal |
| Entretien et nettoyage | Essuyer avec un chiffon doux, éviter les produits chimiques agressifs |
| Pièces détachées et réparabilité | Disponibilité limitée des pièces, consulter le service après-vente pour réparations |
| Sécurité | Ne pas exposer à l'eau, éviter les températures extrêmes |
| Informations générales | Idéale pour une utilisation en extérieur, autonomie de 10 heures |
FOIRE AUX QUESTIONS - HOP & BOP FOCAL
Questions des utilisateurs sur HOP & BOP FOCAL
0 question sur cet appareil. Repondez a celles que vous connaissez ou posez la votre.
Poser une nouvelle question sur cet appareil
Téléchargez la notice de votre Support pour enceinte au format PDF gratuitement ! Retrouvez votre notice HOP & BOP - FOCAL et reprennez votre appareil électronique en main. Sur cette page sont publiés tous les documents nécessaires à l'utilisation de votre appareil HOP & BOP de la marque FOCAL.
MODE D'EMPLOI HOP & BOP FOCAL
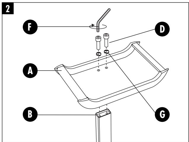
Fixing of the parts / Fixation des éléments
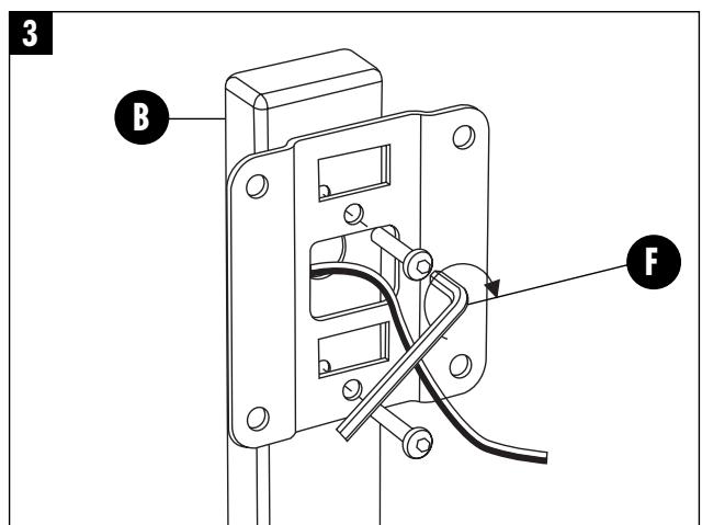
Insert the cable inside the stand (B) through the holes, and place the eylets (E). Seal the stand with top cap (C).

Insérez le cable dans le pied (B) au travers des 2 trous puis le passacable (E). Obturer le haut du pied avec le manchon (C fourni).
Assembly the base (A) and the stand (B) with screw (D). Using the hex key (F) supplied.

Assemblez la base du pied (A) au pied (B) à l'aide des vis (D) et de la cef Allen (F) fournies.
Assembly the Polyfix system with supplied with Sib XL on stand (B) as indicated. Used screws (D) and hex key (F) supplied.

Fixez la plaque de fixation Polyfix fournie avec Sib XL sur le pied (B) comme indiqué. Utiliser les vis (D) et la cef Allen (F) fournies.
Vertical or horizontal mode using.

Utilisation de Sib XL en mode vertical ou horizontal.
Notice Facile