DZ55.1 - Hotte aspirante THERMA - Notice d'utilisation et mode d'emploi gratuit
Retrouvez gratuitement la notice de l'appareil DZ55.1 THERMA au format PDF.
| Type d'appareil | Hotte aspirante |
| Modèle | Non précisé |
| Dimensions (L x P x H) | Non précisé |
| Matériau | Acier inoxydable / Métal |
| Type d'installation | Murale |
| Débit d'air | Non précisé |
| Niveaux de puissance | 3 vitesses |
| Éclairage | Oui, lampe intégrée |
| Filtre | Filtre à graisse métallique |
| Mode d'évacuation | Évacuation extérieure ou recyclage |
| Niveau sonore | Non précisé |
| Commande | Manuelle ou électronique |
| Puissance électrique | Non précisé |
| Couleur | Acier inoxydable |
| Accessoires inclus | Non précisé |
| Garantie | Non précisé |
FOIRE AUX QUESTIONS - DZ55.1 THERMA
Questions des utilisateurs sur DZ55.1 THERMA
0 question sur cet appareil. Repondez a celles que vous connaissez ou posez la votre.
Poser une nouvelle question sur cet appareil
Téléchargez la notice de votre Hotte aspirante au format PDF gratuitement ! Retrouvez votre notice DZ55.1 - THERMA et reprennez votre appareil électronique en main. Sur cette page sont publiés tous les documents nécessaires à l'utilisation de votre appareil DZ55.1 de la marque THERMA.
MODE D'EMPLOI DZ55.1 THERMA
Veuillez dire attentivement ce mode d'emploi. Observe avant tout le chapitre "Règles de sécurité".
Conserve ce mode d'emploi afin de pouvoir le consul-ter ultérieurement, et remettez-le à l'éventuel propriétaire ultérieur de l'appareil.

Ce triangle d'advertissement et/ou les termes de signalisation "Attention!", "Prudence!" soulignant des indications qui sont importantes pour votre sécurité ou pour la capacité de fonctionnement de l'appareil. Ils doivent impérativement être respectés.
-
Ce symbole vous guide pas à pas dans la manipulation de cet apparéil.
-
...
-
...

Ce symbole précède des informations complémentaires concernant la manipulation et l'utilisation pratique de cet apparéil.

Ce symbole signale des conseils et des indications relatifs à l'utilisation économique et écologique de l'appareil.
Ce mode d'emploi contient des indications permettant d'éliminer soi-même des pannes qui pouraient évientuèlement survenir. Voir chapitre "Que faire si ..."
Si ces indications ne devaient pas suffire, vous avez deux points de consultation chez lesquels on pourra vous aider:
- Le point de service après-vente à proximité de chez vous (voir chapitre "Service après-vente") ou

Vous y receivez une réponse à chaque question concernant l'équipement ou l'utilisation de votre apparéil. Bien entendu, vos désirs, suggestions ou critiques sont également bienvenus. Notre objectif est de poursuivre l'amélioration de nos produits et prestations de services au profit de notre clientèle.
- En cas de problèmes techniques, notre service après-vente se tient à tout moment à votre disposition (vous trouvezez les adresses et numérores de téléphone au chapitre "Service après-vente").
Veuillez également prendre en considération le chapitre "Service".
Apres vous avez pris connaissance du mode d'emploi, nous vous prions, de renvoyer la carte de garantie remplie le service après-vente à Mägenwil.
Tables des matieres
Règles de sécurité 18
Sécurité électriche 18
Sécurité pour les enfants 18
Sécurité durant l'utilisation 18
Sécurité lors du nettoyage 18
Elimination 19
Eliminer le matériel d'emballage 19
Consignes d'élimination 19
Votrerhote d'aspiration 20
Vue de dessus de l'appareil 20
Avant la première utilisation 20
Premier prénetoyage 20
Manipulation et regulation de la hotte d'aspiration 21
Mise en marche 21
Déclencher 21
Eclairage 21
Remplacement des lampes 21
Nettoyage et entretien 22
Nettoyageextérieur 22
Nettoyage du filtré métallique 22
Nettoyage de l'espace de filtration 22
Que faire si 23
Instructions d'installation 24
Règles de sécurité 24
Montage 24
Description du montage 25
Raccordement electrique / alimentation 27
27
Prescriptions,normes, directives 27
Service 28
Avant de faire appel au service après-vente 28
Voussoulez solliciter le service après-venture 28
Service après-vente 44
Point de vente de rechange 44
Garantie 44
ThermaPhon 45
Règles de sécurité
La sécurité de cet apparéil est conforme à la réglementation reconnaue en matière de technique ainsi qu'aux prescriptions de sécurité applicables. Néanmoins, nous estimons devoir vous familiariser avec les consignes de sécurité suivantes.
L'observation de ce mode d'emploi, ainsi que des instructions d'installation, est la condition préalable à notre engagement de garantie.
Sécurité électrique
Vérifier si la hotte d'aspiration n'a pas subi de dommages de transport. Un apparéil endommagé ne peut enaucun cas être installé. En cas de sinistre, veuillez vous adresser à votre fournisseur.
La hotte d'aspiration ne doit jamais être mise en service, si le cable d'alimentation ou le cache de commande est endommagé.
Ne jamais-retirer la fiche de la prise en saississant le câble, mais saisir au contraire la fiche elle-même.
Avant de procéder à la mise en service, assurez-vous que la tension nominale et le type de courant indiqués sur la plaque signalétique concordent avec la tension de secteur et le type de courant disponibles au lieu d'installation. Pour la protection électrique nécessaire, voir les instructions d'installation.
Les réparations doivent être effectuées exclusivement par l'un de nos points de service après-vente. En outre, il faut toujours utiliser des pieces de rechange originales.
Les transformations ou modifications sur la hotte d'aspiration ne sont pas autorisées pour des raisons de sécurité.
En cas de dérangements,mettre l'appareil hors circuit, puis retirer la fiche de la prise de courant.
Ne jamais-retirer la fiche de la prise en saississant le câble, mais saisir au contraire la fiche elle-même.
Sécurité pour les enfants
Les éléments d'emballage (par ex. feuilles, styropor) peuvent représenter un danger pour les enfants. Risque d'étouffement!
Tenir les éléments d'emballage hors de portée des enfants.
Sécurité durant l'utilisation
N'utiliser la hotte d'aspiration que pour évacuer l'air au niveau de la cusinière. Si l'appareil est utilisé à d'autres fins que celles prévues, ou s'il est mal manipulé, le fabricant ne pourrait être tenu responsable des dommages éventuels.
Il est interdit de flamber sous l'appareil, que ce soit à l'arrêt ou en marche (risque d'incendie).
Ne jamais utiliser la hotte d'aspiration sans filtré à graisses.
Si vous deviez vendre l'appareil ou le remettre à un tiers, veillez alors à ce que l'appareil soit remis complet avec cette notice, afin que le nouvel utiliseur puisse s'informer sur le mode de travail de l'appareil.
Si vous laissez la hotte d'aspiration sans surveillance durant une période prolongée, par ex. pendant les vacances, assurez-vous que tous les interrupteurs se trouvent sur la position ARRET.
Sécurité lors du nettoyage
Nettoyer régulierement le filtré àGRAISSES, en cas d'en-crassement trop important, il y a risque d'incendie.
Entretenez et nettoyez régulièrement la hotte d'aspiration. Vous évitez ainsi les coûteuses interventions du service après-vente. Observe en outre le chapitre «Nettoyage et entretien».
Elimination
Eliminer le matériel d'emballage

Tous les éléments d'emballage sont recyclables, et les feuilles et parties en mousse dure doivent être marquées de manière appropriée.
Eliminez correctement, s. v. p., le matériel d'emballage et les évventuels appareils anciens.
Veuillez observer les règlements nationaux et régionales ainsi que le marquage du matériel (separation du matériel, ramassage des déchets, dépôts de matières valables).
Consignes d'élimination

L'appareil ne doit pas etre enleve avec les déchets domestiques.
Vous pouvez obtenir des renseignement sur les dates de passage ou les points de collecte auprès du service de nettoyage urbain local ou de l'administration communale.

Attention! Veuillez rendre inutilisables les anciers apparèils ayant fini de servir, avant de les éliminer, sectionner le cable d'alimentation.
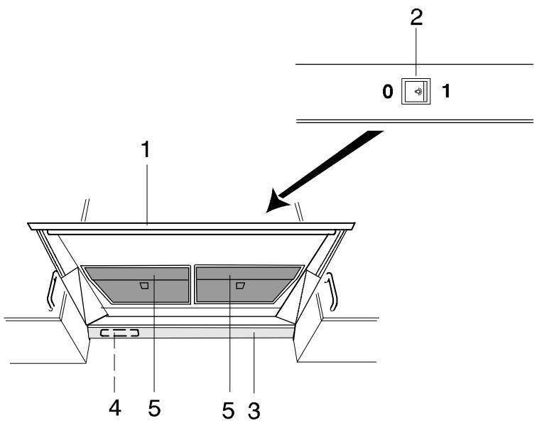
Votre hotte d'aspiration
Vue de dessus de l'ordinateil
1 Tiroir
2 Interrupteur à balançoire luiere
3 Lumière
4 Plaque signalétique
5 Filtre métallique

Avant la première utilisation
Premier prénettoyage
Nettoyer les parties extérieures au moyen d'un chiffon imbibé d'une solution de lavage douce, afin d'éliminer les évventuelles traces de fabrication.

Attention! Ne pas employer de détergents agressifs ou abrasifs! La surface pourrait en être endommagée.
Manipulation et régulation de la hotted'aspiration
Mise en marche
Pour enclencher l'aspiration il faut sortir complètement le tiroir.
Déclencher
Pour déclencher l'aspiration il faut sortir complètement le tiroir.
Eclairage
L'enclement de la lumière se fait avec le balancier du milieu de l'interrupteur à bascule.
Le balancier se trouve sur la position la lumière s'allume. Si l'interrupteur se trouve sur position «0» la lumière est eteinte.
0


1
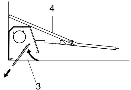
Remplacement des lampes
- Interrupteur à balançoire luiere sur la position 0.
Couper le courant de la hotte. (Tirer la fiche ou dévisser le fusible.)
- Soulever le cache de lampe et le retirer à l'arrière vers le bas.

Lors du remplacement de la lampe, utiliser le même modele (lampe à flamme 25W E14).
- Si nécessaire, nettoyer le cache de lampe dans une solution de lavage douce, et bien secher. Remettre en place en introduisant l'avant vers le haut puis en rentrant l'arrière.

Veuillez observer que la surface lisse du cache de lampe doit etre à l'extérieur.


Nettoyage et entretien

Prudence! Ne pas employer de détergents agressifs, de brosses, déponges rayantes ou de la poudre à recycler.
Nettoyage extérieur
Nettoyer les organes extérieurs avec une solution de lavage douce.
Nettoyage du filtre métallique

Attention! La non-observation de ces instructions de nettoyage peut générer un risque d'incendie!
Retirer le filtré métallique
- Soulever le filtrtre métallique (5) en exerçant à l'arrière une pression vers le haut, puis le retarder vers l'avant.
Nettoyer le filtré métallique
- Laver le filtre métallique (5) dans le lave-vaisselle ou dans une solution de lavage pour vaisse, toutes les 2 à 4 semaines, puis rincer à chaud et bien laisser sécher.

Disposer le filtré dans le lave-vaiselle de façon à ce que l'eau puisse s'écouler correctement.

Un changement de couleur des filtres est normal, leur fonction n'est cependant pas affectée.
Remetre en place le filtrre metallique
- Engager le filtrtre métallique (5) à l'arrête en y exerçant une pression vers le haut, puis l'encliqueter à l'avant.
Nettoyage de l'espace de filtration
Nettoyer l'espace de filtration avec une solution de lavage douce, à chaque remplacement ou nettoyage de filtres métalliques.


5

| Dérangement | Cause | Solution |
| Hotte ne fonctionne pas. | - mesure hors l'évacuation d'air | - zentrale Abluft überprüfen{lassen |
| - tiroir n'est pas sorti | - tirer le tiroir | |
| Pas de lumière | - pas de courant électrique | - vérifier si la protection est en ordre (fusible) est en ordre |
| Pas de luzière | - vérifier si le cable d'alimentation est bien enchché | |
| - lampe incandescente défectueuse | - replacer la lampe incandescente | |
| Il y a une forte dépression dans la pièce. | - portes et fenêtres fermant très bien | - ouvrir la porte ou les fenêtres, mais toute fois pas à proximité immediatés des foyers. |
| Dégagement de fumée quand la cheminée est en service. | - dépression | - monter une vanne pour aménée d'air externe |
| Encrassement trop rapide du filtre Salissure importante du boîtier de la hotte Graisses et dépôts sur le meuble Encrassement trop rapiède au filtre Salissure importante du boîtier de la hotte | - hotte s'enclenché trop tard - bouillir de l'eau sans avoir enclenché la hotte | - enclencher à temps la hotte |
| - il règne une dépression trop forts dans la pièce | - rendre possible l'alimentation en air | |
| Salissures importantes à l'arrête des filtres et dans les conduites d'évacuation d'air | - il règne une dépression trop forts dans la pièce | - rendre possible l'alimentation en air |
| Formation d'eau de condensation sur le tiroir Puisance d'aspiration insuffisante | Haute résistance à l'air dû à: - un tuyau d'évacuation d'air ayant un diamètre trop petit, - un tuyau d'évacuation d'air mal monté. | - utiliser un tuyau d'évacuation d'air de 125 mm de diamètre - mistroux monter le tuyau d'évacuation d'air |

Les apparèils endommagés ne doivent pas être utilisés. En cas de dérangement ou de défectuosité, veuilté déclencher les protections ou les dévisser.

Ne procéder à aucune intervention sur l'appareil. Des travaux effectuels de manière non conforme peuvent être la cause de dommages matériels et corporels.
Si ces conseils ne vous permettent pas d'éliminer les dérangements ou les défectuosités, veuillez vous adresser au service après-venture.
Instructions d'installation
Règles de sécurité

Attention! La distance de sécurité entre la surface de cuisson et la hotte doit être de 50 cm pour les foyers électriques, et d'au moins 70 cm pour les cusinières à gaz.
En cas d'intervention du service l'appareil doit être coupé du secteur,steroler la fiche de courant.
Il faut observer scrupuleusement les directives générales sur l'exploitation d'appareils électriques, les prescriptions du fournisseur d'électricité compétent, ainsi que les indications continues dans ces instructions d'installation.
Montage

Attention! Il faut assurer une ventilation suffisante, si la hotte et des apparèils fonctionnant avec une énergie non électrique sont utilisés en même temps.
En outre, il faut observer les réglementations de la police cantonale du feu.
Exigences relatives à la conduite d'air d'évacuation
diametre 125 mm
tube d'air d'évacuation à paroi lisse
- pose optimale offrant la résistance à l'air la plus petite possible.

Attention! Si ces exigences ne sont pas observées, le débit d'air baissera.
Réglage du volume d'air désiré:
- Determiner le volume d'air nécessaire sur la base des données de l'installation d'évacuation d'air.
- Le réglage se fait selon le diagramme ci-contre, en ouvrant la vanne d'étranglement.
Montage avec armoire à condiments hauteur 635 mm (5/6), neue et montage avec armoire à condiments hauteur 508 mm (4/6) avec la porte 635 mm (5/6), marché de remplacement.

fig.2
Prise

fig.3

fig.4

Ouverture de la vanne d'étranglement



Description du montage

Prudence! Avant de monter la hotte d'aspiration, il faut déposer lescoins en polystyrene expansé dans les parois latérales et les filtres (voir chapitre «Nettoyage et entretien»).

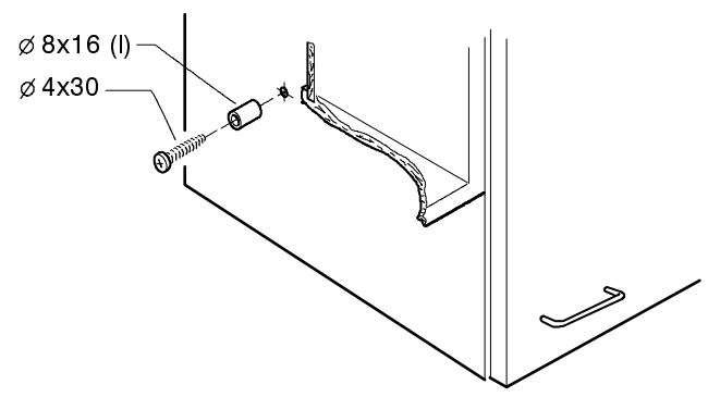
Prudence! Les vis et les chevilles sont conçues pour une épaissur de la paroi de 16mm au minimum

Prudence! La hotte d'aspiration doit'être fixée dans le meuble au moyen de 6 vis ainsi qu'avez les doigts de fixation prescrits (I, II), respectivement 2 × à droite et 2 × à gauche.
- Pointer les trouss dans le meuble, à droite et à gauche, au moyen d'un gabarit de perçage.
- Fixer la cheville (I) avec une vis.
Montage dans une armoire supérieurie
a Tracer les languettes à l'avant et à l'arrière.
b Casser et extraire les languettes à partir du haut.
Montage entre deux armoires supérieures

Pour le montage entre deux armoires supérieures, ne pas-retirer la languette.




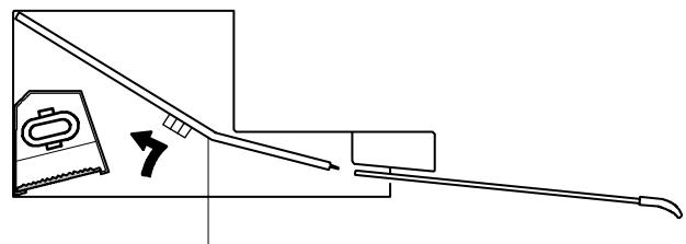
- Soulever la hotte d'aspiration jusqu'àu niveau du doigt, puis la glisser dans le guidage/support (selon flèche).
- Tout de suite après l'encliquetage, procéder immédiatement au vissage du doigt (II) de fixation.

Prudence! Doigt de fixation selon détail A (chanfrein pour la tête de vis).

Après la fixation latérale de la hotte de ventilation celle-ci doit être fixée en plus vers le haut.
- Fixer la hotte de ventilation à travers les deux trous à l'armoire supérieure avec les deux vis (4x20) fournies avec l'équipement.
- Enficher la fiche du cable de raccordement dans la prise de courant appropriée.

Prudence! La fiche doit être accessible après le montage.
7. Pousser le boîtier de lampe (selon la flèche) contre la paroi.




Raccordement électrique / alimentation

Attention! Le raccordement électrique doit être effectué par un installateur concessionnaire.

Prudence! La fiche doit être accessible après le montage.
Il faut prévoir une prise de courant du type 12 ou 13. La longueur du cable de raccordement est d'environ 1m
Lors du remplacement de la ligne de raccordement, il faut prévoir un type de cable équivalent au moins à H05RR-F (Nombre de piece 375 043 200).
Installation d'une vanne externe d'amnéé d'air
Il y a la possibilité de faire installer une vanne externe d'amnéée d'air par un spécialiste électricien.
L'ouverture (B) dans le couvercle (G), avec arrêt de traction, est prévue pour raccorder un cable externe. Raccordement au moyen d'un connecteur AMP 6,3 x 0,8 mm sur les bornes numeros 5, N, E, et selon le type de vanne sur L (en permanence sous tension).


techniques
Encombrement
| Hauteur totale | 183 mm |
| Hauteur d'appareil visible | 49 mm |
| Largeur | 548 mm |
| Profondeur | 320 mm |
| Profondeur avec tiroir ouvert | 520 mm |
Distance minimale par rapport à la surface de cuisson
| Foyer électrique | 500 mm |
| Foyer au gaz | 700 mm |
Tension de raccordement
230 V ~ 50 Hz
Puisance absorbée
| Puisance totale | 50 W |
| Puisance max. de la lampe | 2x25 W |
Poids total 6.000 Kg
Le service après-vente Thermo met un personnel qualifié à la disposition de ses clients.
Avant de faire appel au service après-vente
Assurez-vous que vous n'avez fait aucune erreur de manipulation.
Contrôlez votre hotte d'aspiration «Que faire si . . .».
Vous foulez solliciter le service après-vente
-
Notez les indications suivantes que vous trouvez sur la plaque signalétique de votre apparéil:
-
Numéro de série
- Désignation de modele
-
N^ de produit
-
Veuillez toujours indiquer ces données si:
-
vous demandez l'intervention du service après-vente
- vous commandez des pieces de rechange ou des accessoires
- vous avez des questions d'ordre technique
La plaque signalétique se trouve dans le boîtier de la lampe.
- Notez minutieusement vos observations, vous simplifiez ainsi l'analyse préliminaire et le travail de nos techniciens.
- Composez le numéro de service 0848 848 999. Notre appel sera automatiquement dévié vers le point de service le plus proche.
- Soyez là lorsque le technician seprésentera à votre domicile, car il a besoin d'informations.


L'utilisateur final de tout produit acheté et utilisé en Suisse, bénéficié d'une garantie complète d'une année à partir de la date de livraison. La facture ou le justificatif d'achat correspondant fait FOI en la matière.
Garanzia
Le service d'information téléphonique de Thermo
Lundi à vendredi de 09.00 - 12.00 Uhr
Pour renseignements, conseils et «astuces» concernant l'utilisation de vos apparèils menagers.
Une prestation de service à votre disposition chaque jour pour toutes questions touchant aux apparciels menagers.
Appelez ThermoPhon par exemple pour:
- renseignements rapides concernant l'utilisation des apparèils
- conseils judicieux pour l'entretien et les soins à apporter aux apparèils menagers
- «astuces» utiles pour la cuisson en général, la cuisson au four, l'aération, la réfrigération et le rinçage
- conseils compétents pour le choix d'un apparéil correspondant à vos désirs
Notice Facile