F3SP-U3P-TGR - Capteur de sécurité industriel OMRON - Notice d'utilisation et mode d'emploi gratuit
Retrouvez gratuitement la notice de l'appareil F3SP-U3P-TGR OMRON au format PDF.
| Type de produit | Capteur de proximité capacitif |
| Caractéristiques techniques principales | Capteur capacitif, détection sans contact, haute sensibilité |
| Alimentation électrique | 24 VCC |
| Dimensions approximatives | 50 x 30 x 15 mm |
| Poids | 150 g |
| Compatibilités | Compatible avec divers systèmes d'automatisation |
| Type de batterie | Non applicable (alimentation externe) |
| Tension | 24 VCC |
| Puissance | Consommation faible, adaptée à des applications industrielles |
| Fonctions principales | Détection de proximité, activation de dispositifs, contrôle de processus |
| Entretien et nettoyage | Nettoyage régulier avec un chiffon doux, éviter les produits abrasifs |
| Pièces détachées et réparabilité | Disponibilité de pièces de rechange, facilité de réparation par des techniciens qualifiés |
| Sécurité | Conforme aux normes de sécurité électrique, protection contre les courts-circuits |
| Informations générales utiles | Vérifier la compatibilité avec les systèmes existants avant l'achat |
FOIRE AUX QUESTIONS - F3SP-U3P-TGR OMRON
Questions des utilisateurs sur F3SP-U3P-TGR OMRON
0 question sur cet appareil. Repondez a celles que vous connaissez ou posez la votre.
Poser une nouvelle question sur cet appareil
Téléchargez la notice de votre Capteur de sécurité industriel au format PDF gratuitement ! Retrouvez votre notice F3SP-U3P-TGR - OMRON et reprennez votre appareil électronique en main. Sur cette page sont publiés tous les documents nécessaires à l'utilisation de votre appareil F3SP-U3P-TGR de la marque OMRON.
MODE D'EMPLOI F3SP-U3P-TGR OMRON
Capteur de sécurité à faisceau unique et contrôleur
Série E3FS avec
F3SP-U3P-TGR et F3SP-U5P-TGR


Caractéristiques
Le E3FS est un capteur de sécurité à faisceau unique de type 2 consq pour être utilisé avec les unités de contrôle F3SP-U3P-TGR et F3SP-U5P-TGR.
Faisceau unique de sécurité (E3FS)
1) Jusqu'à la catégorie 2 (EN 954-1)
ESPE type 2 et AOPD type 2
Homologué par TÜV Product Service

2) Haute protection contre l'eau IP67 (IEC 60529) 3) Capteur de petite taille M18 x 65 mm 4) 4 modèles disponibles Boftier en plastique (avec type câblé et type à connecteur) Boftier en laiton (avec type câblé et type à connecteur)
- Contrôleur d'occultation pour capteur de sécurité à faisceau unique
Fonctions d'occultation intégrées
Entrées d'occultation
Fonction override
Sortie de lampe d'occultation
Fonction de verrouillage et entrée test / réinitialisation
2) 2 modèles disponibles
Unité 2 faisceaux (F3SP-U3P-TGR)
Unité 4 faisceaux (F3SP-U5P-TGR)
Contrôleur de petite taille
Unité 2 faisceaux, L = 22,5mm
Unité 4 faisceaux, L = 45 mm
Informations pour commander
Capteurs de sécurité à faisceau unique (type 2) Série E3FS-10B4
| Présentation | Matériau du boîtier | Distance de fonctionnement | Modèle | ||
| Plastique | 0 à 10 m | Type câblé | E3FS-10B4 | ||
| Type à connecteur | E3FS-10B4-P1 | ||||
| Laiton nickelé | Type câblé | E3FS-10B4-M | |||
| Type à connecteur | E3FS-10B4-M1-M | ||||
Contrôleur pour capteurs de sécurité à faisceau unique Série F3SP-UxP Accessoires
| Présentation | Capteurs | Contacts de sortie | Largeur | Modèle |
| TECHNOGR ORICAMORAD | 1 à 2 capteurs de sécurité à faisceau unique | 2 NO 2,5 A | 22,5 mm | F3SP-U3P-TGR |
| TECHNOGR ORICAMORAD | 1 à 4 capteurs de sécurité à faisceau unique | 45 mm | F3SP-U5P-TGR |
Lampe d'occultation
| Présentation | Modèle |
| F39-A11 |
Ampoule de maintenance
| Présentation | Caracteristiques | Modèle |
| 24 Vc.c. 3 W E14 | F39-A11MB |
Capteurs Série E3FS-10B4
| Méthode de détention | Barrage | |
| Contrôleur | F3SP-U3P-TGR, F3SP-U5P-TGR | |
| Tension d'alimentation | 24 Vc.c. ±10 % (ondulation p-p 10 % max.) | |
| Angle d'ouverture effectif | ±5° (à 3 m) | |
| Consommation | Emetteur: 50 mA max. Récepteur: 25 mA max. | |
| Portée | 10 m | |
| Objet à détector standard | Objet opaque: 11 mm min. de diamètre | |
| Temps de réponse | 2,0 ms (E3FS uniquement) Temps de réponse du contrôleur = Temps de réponse du système | |
| Sortie de contrôlele | Sortie transistor PNP, courant de charge: 100 mA max., tension résiduelle: 2 V max. (sauf pour la chute de tension due à l'utilisation d'une rallonge) | |
| Entrée test (Emetteur) | 21,5 à 24 Vc.c.: émetteur OFF (courant source: 3 mA max.) Ouvert ou 0 à 2,5 V: émetteur ON (courant de fuite: 0.1 mA max.) | |
| Temps de réinitialisation de l'alimentation | 100 ms | |
| Intensité lumineuse ambiente | Lampe à incandescence: 3 000 lx max. (intensité lumineuse sur la surface du récepteur) Lumière du soleil: 10 000 lx max. (intensité lumineuse sur la surface du récepteur) | |
| Température ambiente | Fonctionnement: -10 °C à 55 °C, stockage: -30 °C à 70 °C (sans givrage ni condensation) | |
| Humidité ambiente | Fonctionnement: 35 à 85%, stockage: 35 à 95% (sans givrage ni condensation) | |
| Résistance d'isolation | 20 MΩ min. (à 500 Vc.c.) | |
| Rigidité diélectrique | 1 000 Vc.a. 50 / 60 Hz 1 min | |
| Résistance aux vibrations | Dysfonctionnement | 10 à 55 Hz, amplitude double: 1,5 mm, 2 h dans chacune des directions X, Y et Z |
| Limits de fon-tionnement | 10 à 55 Hz, amplitude double: 0,7 mm, 50 min dans chacune des directions X, Y et Z | |
| Résistance aux chocs | Dysfonctionnement | 500 m / s² (environ 50 G), 3 fois dans chacune des directions X, Y et Z |
| Limits de fon-tionnement | 100 m / s² (environ 10 G), 1 000 fois dans les directions X, Y et Z | |
| Classe de protection | IP67 (norme IEC) | |
| Source lumineuse | LED infrarouge | |
| Voyants de fonctionnement | Emetteur: émission (orange) Récepteur: sortie ON (vert), sortie OFF (rouge) | |
| Protection | Protection contre court-circuit de sortie, protection contre polarité inverse | |
| Poids (avec emballage) | E3FS-10B4 2M (boftier en résine ABS): environ 150 g pour 1 ensemble (poids sans le cable): environ 55 g) E3FS-10B4-M1-M (boftier métallique): environ 125 g pour 1 ensemble | |
| Norme applicable | IEC61496-1, EN61496-1 ESPE Type 2 (Equipement de protection electro-sensible) IEC 61496-2, EN 61496-2 AOPD Type 2 (Appareils de protection optoelectroniques actifs) | |
| Accessoires | Emetteur, récepteur, quatre écrous de montage et un manuel d'instructions | |
Plage de fonctionnement parallèle
Plage d'interférences mutuelles
Taux de gain d'excess
Série F3SP-U
Contrôleurs
| F3SP-U3P | F3SP-U5P | |
| Nombre de capteurs | 1 à 2 capteurs de sécurité à faisceau unique | 1 à 4 capteurs de sécurité à faisceau unique |
| Largeur | 22,5 mm | 45 mm |
| Entrée d'occultation | 2 entrées | 4 entrées |
| Fonctions liées à la sécurité | Fonction override Connexion de lampe d'occultation Système de verrouillage (réinitialisation automatique ou manuelle) | |
| Tension d'alimentation | 24 Vc.c. ±10 % | |
| Consommation | 420 mA max. | |
| Contacts de sortie | 2 NO 2,5 A (protection par fusibles), 115 Vc.a. max. | 2 NO 2,5 A (protection par fusibles), 250 Vc.a. max. |
| Voyants | 6 voyants d'état et de diagnostic. | |
| Degré d'étanchéité | IP20 | |
| Bornier | Bornes à 16 vis, bornier am divisible avec 4 broches | Bornes à 32 vis, bornier am divisible avec 4 broches |
| Temps de réponse | ≤30 ms | |
| Température ambiente | Fonctionnement: -10 à +55 °C | |
| Matériau du boîtier | Plastique, montage sur rail DIN | |
| Poids | 0,3 kg | |
Instructions de fonctionnement
Circuit de sortie
| Modèle | Méthode de connexion | Transistor de sortie | Circuit de sortie |
| E3FS-10DB4 2M | Connectez le cable rose et le cable marron | ON lorsque la lumière est incidente (Light-ON) | Voyant d'etat ON Voyant d'etat OFF Marron (1) Rose (2) (Sélection de mode) Noir (4) (Sortie de contrôle) 12 à 24 Vc.c. |
| E3FS-10DB4-P1 | Rouge Circuit principal Résistance max. Charge Bleu (3) | ||
| E3FS-10DB4-M 2M | |||
| E3FS-10DB4-M1-M | |||
| Circuit du récepteur | Connectez le cable rose et le cable bleu | ON lorsque la lumière est interrompue (Dark-ON) | Voyant d'etat ON Voyant d'etat OFF Marron (1) Rose (2) (Sélection de mode) noir (4) (Sortie de contrôle) 12 à 24 Vc.c. |
| Rouge Circuit principal Résistance max. Charge Bleu (3) | |||
| E3FS-10LB 2M | Marron (1) (contrôle externe) 12 à 24 Vc.c. | ||
| E3FS-10LB-P1 | |||
| E3FS-10LB-M 2M | |||
| E3FS-10LB-M1-M | |||
| Circuit de l'émetteur | |||
Histogramme
Mode de sortie et histogramme
| Connexion du récepteur | Connectez Rose (2) à Marron (1) | Connectez Rose (2) à Bleu (3) | |
| Mode de sortie | ON si incidente (Light ON) | ON si interrompue (Dark ON) | |
| Lumière incidente Lumière interrompue | |||
| Voyant | Vert Rouge | ||
| Sortie de contrôle | ON OFF | ||
| Charge (Relais) | ON OFF | ||
Histogramme d'émission
| Histogramme | ||
| Entrée test | ON OFF | |
| Emission lumière | ON OFF | |
| Voyant | ON OFF | |
F3SP-U3P réinitialisation manuelle (cat. 2) AVERTISSEMENT : Les deux contacts de sécurité OUT1 et OUT2 doivent être branchés. Lorsque la machine a un seul circuit de verrouillage, connecter les deux contacts ouverts en série. AVERTISSEMENT : L'alimentation des capteurs de sécurité doit provenir de la même source que le F3S-U3P-TGR.
Réglage des interrupteurs DIP
| Fonction | ON | OFF | |
| 4 | Non utilisé | -------- | -------- |
| 3 | Activation d'occultation | Occultation du capteur 1 uniquement | Occultation des deux capteurs |
| 2 | Durée d'occultation | Infini | 60 secondes |
| 1 | Mode de réinit. | Réinit. automatique | Réinit. manuelle |
Les éléments soulignés indiquent les réglages par défaut (réglages d'usine).
ON OFF Réglage d'origine
F3SP-U5P réinitialisation manuelle (cat. 2)
Capteur 2 (ou 4) AVERTISSEMENT : Les deux contacts de sécurité OUT1 et OUT2 doivent être branchés. Lorsque la machine n'a qu'un seul circuit de verrouillage, connecter les deux contacts ouverts en série.
Réglage des interrupteurs DIP
| Fonction | ON | OFF | |
| 4 | Non utilisé | -------- | -------- |
| 3 | Activation d'occultation | Les entrées d'occultation A-B agissant sur le capteur 1. Les entrées d'occultation C-D agissant sur le capteur 2. Les capteurs 3-4 continuant de fonctionner | Les entrées d'occultation A-B agissant sur les capteurs 1 et 2. Les entrées d'occultation C-D agissant sur les capteurs 3 et 4. |
| 2 | Durée d'occultation | Infini | 60 secondes |
| 1 | Mode de réinit. | Réinit. automatique | Réinit. manuelle |
Les éléments soulignés indiquent les réglages par défaut (réglages d'usine).

Câblage de sortie commune
2 charges
1 charge
Avertissement
Le module d'entrées pour capteurs de sécurité à faisceau unique d'Omon (module B1) de la série F3SX est le seul contrôleur pouvant être utilisé avec le E3FS-10B4.

(type 2). Le fonctionnement normal n'est pas garanti en cas d'utilisation d'un autre contrôleur de capteur à faisceau unique.
Le capteur ne peut pas être utilisé dans un système de sécurité si l'entrée de sélection de mode du récepteur de capteur de sécurité à faisceau unique est reliée sur la borne 0V, car

Le capteur passe ON lorsque la lumière est interrompue (Dark ON). Connectez l'entrée de sélection de mode sur la borne 24 Vc.c. si le capteur doit passer ON lorsque la lumière est incidente (Light ON).
Distance de sécurité
La distance de sécurité représentée la distance minimale devant être maintenue entre le capteur et une partie dangereuse de la machine pour arrêter la machine avant que quelqu'un ou quelque chose ne l'atteigne. La distance de sécurité est calculée en fonction de l'équation suivante quand une personne se déplace perpendiculairement à la zone de détention du capteur.
Distance de sécurité (S) = Vitesse d'intrusion dans la zone de détention (K)
Temps de réponse total pour la machine et le capteur (T)
- Distance supplémentaire calculée en fonction de la capacité de détention du capteur (C)
La distance de sécurité varie selon les normes nationales et les normes individuelles de la machine. L'équation est par ailleurs différente si la direction d'intrusion n'est pas perpendiculaire à la zone de détention du capteur. Veillez à vous reporter aux normes associées.
Ici, T = T1 + T2 + T3, où
T1 = Temps d'arrêt maximal de la machine (s)
T2 = Temps de réponse du capteur (s)
(ON à OFF : 2,0 ms pour le E3FS)
T3 = Temps de réponse du F3SP (s)
(ON à OFF : voir le temps de réponse)
Le temps d'arrêt maximal d'une machine correspond au temps écoulé entre la réception du signal d'arrêt du F3SP et l'arrêt complet des éléments dangereux.
Avertissement
Mesurez le temps d'arrêt maximal réel de la machine et vérifiez-le régulièrement.

Référence : Méthode de calcul de la distance de sécurité selon la norme européenne EN 999 (intrusion perpendiculaire à la zone de détention)
Les valeurs K et C sont les suivantes pour les capteurs de sécurité à faisceau unique :
1) Utilisation d'un seul capteur de sécurité à faisceau unique (l'évaluation des risques indique qu'un seul faisceau suffit)
K = 1600mm / s
C=1200mm
Hauteur du faisceau à partir du sol ou d'une surface de référence : 750 mm (recommandation EN 999)
2) Installation de plusieurs capteurs de sécurité à faisceau unique à des hauteurs différentes
K = 1600mm / s
C=850mm
Les hauteurs de faisceau indiquées dans le tableau suivant correspondent aux recommandations EN 999.
| Nbre de faisceaux | Hauteur à partir de la surface de référence (exemple : sol) |
| 2 | 400 mm, 900 mm |
| 3 | 300 mm, 700 mm, 1 100 mm |
| 4 | 300 mm, 600 mm, 900 mm, 1 200 mm |
Remarque: Consultez les manuels d'instructions F3SN / F3SH pour plus d'informations sur les barrières de sécurité et les capteurs de sécurité multifaisceau.
Prévention des interférences mutuelles
Respectez les points suivants lors de l'installation afin d’éviter toute interférence entre des capteurs de sécurité à faisceau unique ou entre des capteurs et des barrières de sécurité.
- Prévoyez un espace approprié entre les capteurs lors de l'installation (consultez le manuel d'instructions fourni avec le E3FS).
- Utilisez des plaques de déviation pour séparer les capteurs.
- Placez les émetteurs et les récepteurs en alternance lors de l'installation (voir la figure ci-dessous).
Emetteur
Recepteur
Emetteur
Récepteur
Vérifiez la présence d'interférences mutuelles entre les capteurs de sécurité à faisceau unique ou les barrières de sécurité connectés aux mêmes unités de contrôle ou à des unités différentes avant de finaliser la mise en place et de lancer le fonctionnement normal.
Avertissement
En cas d'installation de plusieurs barrières de sécurité, capteurs de sécurité multifaisceau et capteurs de sécurité à faisceau unique, prenez les mesures nécessaires

pour éviter les interférences mutuelles. À défaut, la détection risque d'échouer et de graves blessures peuvent en résulter.
Remarque : Toutes les unités sont des millimètres sauf indication contraire
Boîtier en plastique
Type cable:
E3FS-10LB
E3FS-10DB4


Boîtier métallique
Type cable :
E3FS-10LB-M
E3FS-10DB4-M


Type à connecteur :
E3FS-10LB-P1
E3FS-10DB4-P1


Type à connecteur :
E3FS-10LB-M1-M
E3FS-10DB4-M1-M


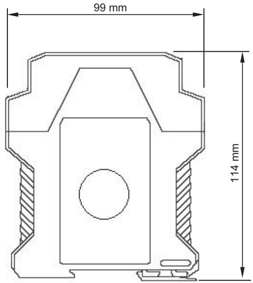
Contrôleur
F3SP-U3P et F3SP-U5P


| Modèle | A |
| F3SP-U3P-TGR | 22,5 mm |
| F3SP-U5P-TGR | 45 mm |
TOUTES LES DIMENSIONS INDIQUEES SONT EN MILLIMETRES.
Pour convertir les millimètres en pouces, multipliez par 0,03937. Pour convertir les grammes en onces, multipliez par 0,03527.
Cat. No. E25E-FR-02
Notice Facile