FISHEASY 2 PORTABLE - Sondeur de poisson portable EAGLE - Notice d'utilisation et mode d'emploi gratuit
Retrouvez gratuitement la notice de l'appareil FISHEASY 2 PORTABLE EAGLE au format PDF.
| Intitulé | Valeur / Description |
|---|---|
| Type de produit | Sondeur de pêche portable |
| Caractéristiques techniques principales | Écran LCD couleur, affichage des profondeurs, détection des poissons, affichage de la température de l'eau |
| Alimentation électrique | Fonctionne avec des piles (non incluses) |
| Dimensions approximatives | Dimensions compactes pour un transport facile |
| Poids | Léger, idéal pour une utilisation en extérieur |
| Compatibilités | Compatible avec divers types de cannes à pêche |
| Type de batterie | Piles AA (quantité variable selon l'utilisation) |
| Tension | 1.5V par pile |
| Puissance | Consommation faible pour une utilisation prolongée |
| Fonctions principales | Détection des poissons, affichage de la profondeur, alarme de poisson |
| Entretien et nettoyage | Essuyer avec un chiffon doux, éviter l'eau sur les composants électroniques |
| Pièces détachées et réparabilité | Réparabilité limitée, pièces de rechange disponibles auprès du fabricant |
| Informations générales | Idéal pour les pêcheurs amateurs et professionnels, facile à utiliser |
FOIRE AUX QUESTIONS - FISHEASY 2 PORTABLE EAGLE
Questions des utilisateurs sur FISHEASY 2 PORTABLE EAGLE
Le sondeur de poisson portable EAGLE FISHEASY 2 PORTABLE présente plusieurs caractéristiques clés qui en font un outil pratique et efficace pour les pêcheurs :
- Écran : Écran LCD couleur offrant une bonne visibilité des données même en plein soleil.
- Portabilité : Conception légère et compacte, facile à transporter pour une utilisation en déplacement.
- Profondeur de détection : Capable de mesurer des profondeurs allant jusqu'à 45 mètres, adapté à diverses conditions de pêche.
- Technologie sonar : Utilise un sonar à onde sonore pour détecter la présence de poissons et les structures sous-marines.
- Modes d'affichage : Plusieurs modes disponibles pour visualiser la profondeur, la température de l'eau, et la localisation des poissons.
- Alimentation : Fonctionne avec des piles, ce qui permet une utilisation en extérieur sans besoin d'une source d'alimentation électrique.
- Fréquence sonar : Sonar haute fréquence de 200 kHz pour une meilleure résolution et détection précise des poissons.
Ces caractéristiques rendent le FISHEASY 2 PORTABLE adapté aux pêcheurs souhaitant localiser facilement les poissons dans différentes conditions d'eau.
Téléchargez la notice de votre Sondeur de poisson portable au format PDF gratuitement ! Retrouvez votre notice FISHEASY 2 PORTABLE - EAGLE et reprennez votre appareil électronique en main. Sur cette page sont publiés tous les documents nécessaires à l'utilisation de votre appareil FISHEASY 2 PORTABLE de la marque EAGLE.
MODE D'EMPLOI FISHEASY 2 PORTABLE EAGLE
Echo-sondeur de profondeur et Deteur de Poissons Installation et Fonctionnement
Copyright © 2002 Eagle Electronics Tout Droits Réservés.
Eagle® est une marque déposée de Eagle Electronics Marine-Tex™ est une marque déposée de Illinois Tool Works Inc.
Eagle Electronics peut juger nécessaire de modifier ou demettre fin à nos polices d'assurances, à nos réglementations et à nos offres spéciales à tout moment. Nous nous réservons le droit de le faire sans avis de notification. Tous les dispositifs et les caractéristiques peuvent faire l'objet de modifications sans préavis. Tous les écrans de ce manuel sont simulés.
Pour obtenir des manuels d'utiliser Gratis et ou autres informations, visitez notre site internet: www.eaglesonar.com
Eagle Electronics P.O.Box 669 Catoosa,OK USA 74015 Imprimé aux États-Unis.
Table des Matieres
Introduction 1
Informations Techniques 3
Installation du Transducteur 3
Outils et Matériel Recommendés 4
Selectionner l'Emplacement du Transducteur 5
A Quel Niveau Devez-Vous Installer le Transducteur? ......... 6
Assemblage et Montage du Transducteur sur le Tableau Arrière.... 7
Installation sur un Moteur à la Trainé (Trolling Motor) .... 14
Orientation du Transducteur et Repertoire du Poisson. 15
Installation à l'Intérieur de la Coque. 16
Capeurs de Vitesse/Temperature 18
Installation du Capterur de Vitesse. 22
Branchements 23
Installation du Sondeur: 24
Installation dans le Tableau de Bord 24
Installation sur Support 25
-
Pwr/Clear (Mise en Marche/Vider L'écran) 31
-
Menu Up (Permet de Dérouler le Menu Vers le Haut)
-
Menu Down (Permet de Descendre dans le Menu) 32
-
Touches Fléchées 32
Memoire 32
32
Affichage-Fenetre Principale. 33
Défilément de L'image (Arrêt et Mise en Marche) 34
Modes D'affichage 35
Graphique Entier (Full Chart) 35
Graphique Divise (Split Chart) 36
Affichage de la Double-Fréquence (Dual-Frequency)
(Seafinder 240DF Uniquement) 36
Grand Affichage Numérique (Large Digital) 38
Portee (Range) 38
Zoom 39
Sensibilité (Sensitivity) 41
Bande Grise - Grayline 43
Reperage des Poissons - Fish I.D. ^TM 44
FishTrackTM 46
FishRevealTM 47
Vitesse de Défilament (Scroll Speed) et HyperScroll™ 48
ASP^TM (Advanced Signal Processing :
Traitement Avancé des Signaux) 49
Alarmes 51
Alarme de Poisson (Fish Alarm) 51
Alarmes de Profondeur (Depth Alarms) 51
Alarme de Bas-Fond (Shallow Alarm) 52
Alarme de Haut-Fond (Deep Alarm) 52
Réglage du Systeme (System Setup) 53
Retro-Eclairage (Backlights) 54
Contraste. 54
Unités de Mesure de la Profondeur. 55
Unités de Mesure de la Température 56
Unités de Mesure de la Vitesse et de la Distance Parcoursue...... 56
Remise à Zéro de la Distance Parcourue (Reset Distance Log)...... 57
Fonction de Prééglage (Preset Unit). 57
Informations Systeme (System Info) 58
Réglage Graphique (Chart Setup) 59
Recherche de Limite (Limit Search) 60
Fréquence (Changement de la Fréquence du Transducteur)
(Seafinder 240DF Uniquement) 61
Taille des Données Numériques. 62
Échelles (Scales) 63
Dépannage 65
Renseignements sur le service et garantie 69
Introduction
Merci d'avoir besoin le sonar Eagle®! Notre apparéil est un sondeur de haute définition destiné aux pêcheurs amateurs et professionnels. Tous les sonars Eagle possèdent un mode automatique qui détecte et donne une image du fond, de sa structure, du poisson, et davantage - dés sa sortie de l'emballage. Il vous suffit simplement de l'allumer en appuyant sur la touche (PWR).
Cependant, si vous souhaitez régler votre apparéil, veuillez appuyer sur la touche MENU UP. La gamme des produits FishEasy™ 2 possède différentes fonctions que vous pourrez contrôler grâce au menu déroulant (touche avec les flèches) et aux touches Menu.
Pour commencer, veuillez vous reporter à la section concernant l'installation de votre sonar Eagle. Elle contient les instructions relatives au montage du sonar, du transducteur et de tout autres accessoires en option, tel que le capteur de vitesse.
Nous vous conseillons de suivre les recommendations d'installation décrites dans ce manuel afin d'obtenir des résultats optimaux lors de l'utilisation de votre sonar Eagle. Une mauvaise installation peut entrainer de nombreux problèmes, particulièrement dans le cas où le transducteur n'avait pas été correctement monté.
Après avoir lu les instructions, procédez à l'installation de votre apparéil et de ses accessoires. Lisez ensuite le reste du manuel. Le plus vous en saurez sur l'utilisation de votre sonar, le plus vous obtiendrez de bons résultats.
N'hésitez pas à utiliser la fonction de Simulation. Elle vous permettra de vous familiarisez avec votre sonar avant sa première utilisation dans l'eau. Et pensez à garder votre manuel à portée de mains lors de vos sorties, vous pourrez ainsi le consulter à tout moment.
Informations Techniques: Gamme des Produits Fish Easy 2 Informations generales
Dimensions du
boitier: 5.2" H x 5.4" W x 2.6" D (13,2 cm H x 13,6 cm L x 6,6 cm P), étanche; usable dans de l'eau salée.
Affichage: 4.0" (10,2cm) en diagonal; Haute définition Film SuperTwist LCD.
Résolution: 240 (vert.) x 160 (horiz.) pixels; 38,400 pixels au total.
Éclairage: Rétro-éclairage du clavier et de l'écran pour une utilisation nocturne.
Alimentation: 10 à 17 volts DC.
Puisance
consommée: 300 mA éclairage éteint; 400 mA éclairage en fonction.
Sauvegarde des
réglages:.... Les paramètres de réglage du sondeur ne sont pas perdus quand celui-ci est mis hors tension.
Sonar
fréquence: 200kHz (ou 50/200 kHz - SeaFinder uniquely).
Transducteur: Un transducteur Skimmer est joint à votre sondeur. Les modèles à fréquence unique ont un angle de 20^ ; les modèles à double fréquences ont un angle de 35^ / 12^ . Les deux modèles offre un large cône de détention du poisson allant jusqu'à 60^ avec des paramètres de haute sensibilité.
Transducteurs pour la gamme des produits FishEasy™ 2:
FishEasyTM 2: HS-WSX Skimmer®
FishEasy™ 2T: HST-WSX Skimmer®
FishEasy™ 2 Portable: PT-WSX Skimmer®
SeaFinder™ 240DF: HST-WSU Skimmer®
Émetteur: Puisance 1500 watts crête à crête (typique); 188 watts RMS (typique).
Profondeur: 224 metres maximum; 390 metres à 50kHz (SeaFinder 240 DF uniquely). La profondeur sonnée dépend de l'installation et de la configuration du transducteur, de la composition du fond et de l'etat de l'eau. Cependant l'appareil donnera de plusieurs résultats dans une eau douce plutôt que dans une eau salée.
Affichage de
la profondeur:............ Affichage numérique continu.
Alarmes audibles: ......... Haut-fond/bas-fond/poisson.
Details du fond:.... Oui.
Fenetre Zoom
partagée 2x: Oui.
Température
de surface: .... Oui, avec capteur de température extérieur en option, capteur combiné de température et de vitesse, ou transducteur avec température intégrée.
Enregistrement de la vitesse
et de la distance: ....... Oui, avec le capteur de vitesse optionnel.
Les différences modèles de la gamme des produits Fish Easy 2
Le FishEasy 2, modulo de base, possède un transducteur à fréquence unique. Le FishEasy 2T possède un transducteur avec capteur de température intégré. Le FishEasy 2 Portable comprend une valise portable pour sondeur avec adaptateur piles et support de transducteur ventouse (le sondeur devient portable et indépendant du courant électrique). Enfin, le SeaFinder 240 DF est le seul modulo à posseder une transducteur à double fréquence, complenant également un capteur de température intégré.
AVERTISSEMENT!
Entreposez votre apparéil à une température comprise entre -20^ et +75^ . Un entreposeage prolongé à des températures supérieures ou inférieures à celles indiquées ci-dessus peut endommager l'écran de visualisation à cristaux liquides. Ce type de dégât n'est pas couvert par la garantie. Pour plus d'informations, veuillez contacter le Service Clientèle de l'entreprise; vous trouvez les numérios de téléphone correspondants à la fin de votre manuel.
Installation du transducteur
Ces instructions vous permettront demettre en place votre transducteur Skimmer® sur un travers (sonde pour tableau arrière), sur un moteur à la traine, ou à l'intérieur de la coque. Ces instructions concernent le montage des transducteurs Skimmer à fréquence unique et à double fréquence. Nous vous conseillons de dire attentivement ces instructions avant de proceder à l'installation de votre matériel.
Les transducteurs Skimmer à fréquence unique nécessitant généralement un support de montage en acier inoxydable en une seule piece. Les transducteurs bi-fréquences nécessitant quant à eux un support de montage en plastique en deux pieces. Enfin, le montage sur un moteur à la traine nécessite un support en plastique en une seule piece, avec une courroie ajustable.
Tous ces supports de montage aident à prévenir tout endommagement dans le cas où le transducteur hourterait un objet lorsque le bateau est en marche. Si le transducteur est effectivement touché, le support peut ainsi facilement être repositionné sans outils.
Suivant le dispositif de raccords de votre sonar, il est possible que le cable d'alimentation de ce dernier soit rattaché au cable de votre transducteur. Si c'est le cas, installez le transducteur avant de brancher le cable d'alimentation à une source. Reportez-vous aux instructions concernant le branchement du cable d'alimentation plus loin dans ce manuel.
Lisez attentivement les instructions avant de procéder à l'installation de votre matériel. Déterminnez qu'elle position de montage convient à votre embarcation. Soyez particulièrement vigilant si vous decide d'installer le transducteur à l'intérieur de la coque, car une fois la résine époxyde appliquée, le transducteur ne peut généralement pas être retire.
Rappelez-vous que l'installation du transducteur constitue la partie la plus critique de l'installation d'un sonar.
Outils et Matériel Recommendés
Si vous choisissez de faire passer le cable par le travers, vous aurez besoin d'une mèche de diamètre 16mm. Tout montage sur le travers nécessite l'utilisation d'un composé de calfatage de haute qualité audressus et en-dessous de la ligne de flottaison. De plus, pour les types d'installations suivants, nous vous recommendons les outils et les matérieliaux ci-dessous (ces matérieliaux ne sont pas fournis):
Installation d'un transducteur à fréquence unique sur le tableau arrêté
Outils recommends: deux clefs universelles (à ouverture variable), perceuse, mèche #29 (3,5mm), tournevis à tête plate. Matériel: aucun.
Installation d'un transducteur à double fréquence sur le tableau arrêté
Outils: Deux clefs universelles, perceuse, mèche #20 (4mm), tournevis à tête plate. Matériel: 4 vis à bois en acier inoxydable #12, de 2,5cm de long.
Installation d'un transducteur à fréquence unique sur un trolling motor
Outils: Deux clefs universelles, tournevis à tête plate. Matériel: attaches plastiques pour les câbles.
Installation d'un transducteur à l'intérieur de la coque
Outils: Ceux-ci peuvent varier en fonction de la composition de votre coque. Adressez vous au fabricant de votre bateau pour plus d'informations. Matériel: papier de verre grain 100 et résine époxyde deonne qualité.
Sélectionner l'emplacement du transducteur
- Le transducteur doit être installé à un endroit où le débit de l'eau sera le plus régulier possible. Si vous choisissez d'insteller le transducteur à l'intérieur de la coque, vous devrez vous assurez que l'emplacement choisi sera constamment immergé. Si le transducteur n'est pas placé au niveau d'une eau en mouvement uni et constant, les perturbations causées par les bulles d'air et les turbulences se traduiront à l'écran du sonar par des interférences (apparition de lignes et de points) dés que le bateau se mettra en mouvement.
REMARQUE:
Certains bateaux en aluminium, avec des lisses ou des membrules externes à la coque, créé de grandes quantités de turbulences lorsqu'ils sont lancés à grande vitesse. Ces bateaux sont généralement équipés de puissants moteurs hors-bord capables de les propulser à des vitesses supérieures à 35 mph (55km/h environ). Sur ce genre de bateaux, c'est généralement entre les membrules les plus proches du moteur que le transducteur sera le mieux installé.
-
Le transducteur doit si possible être orienté de façon à ce que son endroit pointe directement vers le bas.
-
Si le transducteur est installé sur le tableau, assurez-vous qu'il n'entravera pas le remorquage ou le halage du bateau. De plus, ne l'installez pas à moins d'un pied (31,5 centimètres environ) du plus bas élément du moteur. Cette précaution permettra de limiter les interférences causées par l'action des hélices (bulles d'air).
-
Si c'est possible, évitez de faire passer le cable du transducteur à proximé d'une autre installation électrique du bateau. Des bruits électriques parasites provenant du cablage du moteur, des pompes de drain et des aérateurs peuvent en effet être traduits à l'écran. Soyez prudent lorsqu'vous faites passer le cable du transducteur à proximé de ces fils électriques.
AVERTISSEMENT: Bloquez le cable du transducteur contre le tableau a proximé du transducteur. Ceci empêchera le transducteur de pénétrer la coque en cas de chic à grande vitesse.


Les bonnes et les mauvaises positions pour l'installation du transducteur.
Àquel niveaudevez-vousinstalllerletransducteur?
Dans la plupart des cas, nous vous conseillons d'installer votre transducteur Skimmer de façon à ce que sa ligne Médiane soit au même niveau que le fond de la coque du bateau. Cela vous assurera généralement un début régulier de l'eau et une protection contre les chocs.

Alignez la ligne mediane du transducteur avec le fond de la coque. Un transducteur bi-fréquences est représenté à gauche et un transducteur à fréquence unique est représenté à droite.
Néanmoins, il sera parfois nécessaire de réajuster la position du transducteur, un peu plus haut ou un peu plus bas. (Les fentes générées sur les supports de montage vous permettent de desserrer les vis et de faire glisser le transducteur). Si vous perdez féquèment le
signal de fond lorsque vous naviguez à grande vitesse, le transducteur sort probablement de l'eau au contact de vagues ou lorsque vous traversez un sillage. Déplacez légèrement le transducteur vers le bas pour empêcher que cela se reproduise. Si vous croisez ou pêchez dans des zones riches en édifices rocheux, votre transducteur peut égalementment se heurter. Si vous le souhaitez, vous pouvez remontez légèrement le transducteur pour plus de protection.
Il existe deux extrêmes que nous vous conseillons d'éviter. La première est de ne jamais laisser le bord du support de montage descendre plus bas que le fond de votre coque. La deuxième est de ne jamais laisser le fond - l'endroit - du transducteur s'élever plus haut que le fond de votre coque.
Installation à l'intérieur de la coque et installation sur le tableau.
Généralement, l'installation du transducteur à l'intérieur de la coque donne d'excellents résultats à grande vitesse, et une bonne, voir excellente, lecture en profondeur. Il n'este aucun risque de chic avec des objets flottants. Le transducteur ne peut être heures ou arraché lors de la mise à quoi ou du chargement.
Cependant, l'installation à l'intérieur de la coque compte également quelques inconvenients. Tout d'abord, il arrive qu'il y ait perte de sensibilité, même au travers des mêilles coques. Ce phénomène varie d'une coque à l'autre, et même entre différentes installations sur une même coque. Ce phénomène est du aux différentes structures et constructions de la coque.
De plus, l'angle du transducteur ne peut pas être ajusté pour un repréage optimal des poissons (visibles à l'écran sous forme d'arcs). Ce peut être un problème concernant les coques dont l'avant se soulève à l'arrêt ou à vitesses lentes. Si vous pensez que les signaux peuvent franchir la coque de manière satisfaisante, veuillez alors suivre la procédure d'installation de votre transducteur dans la coque désrite plus loin dans ce manuel.
ASSEMBLAGE ET MONTAGE DU TRANSDUCTEUR SUR LE TABLEAU ARRIÈRE
La meilleure façon d'installer ce type de transducteur est tout d'abord d'assembler toutes les pieces qui le composent, et de placer le support du transducteur sur le tableau en vous assurant que vous pouvez déplacer le transducteur de façon à ce qu'il reste parallèle au sol.
Les instructions suivantes varient parfois en fonction du support de montage correspondant à votre type de transducteur. Les Skimmers à
fréquence unique sont accompaniesés de support en acier inoxydable une piece, et les Skimmers bi-fréquence de support de montage en plastique deux pieces. Suivez les instructions correspondant à votre modele.
1. Assemblage du support
Support une pièce: Enoncez les deux petits rochets en plastique sur les côtsés du support en métal, comme le montre l'illustration suivante. Remarquez que des lettres sont gravées sur chaque rochet. Placez chaque rochet avec la lecture « A » alignée sur la marque (point) présente sur le support en métal. Cette position ajuste grossièrement l'angle du transducteur pour un tableau de 14^ . La plupart des tableaux de hors-bord et de bateaux propulsés par l'arrête ont un angle de 14^ .

Alignez les rochets au support.
B. Support deux pièces: Enoncez deux rochets sur les côtés du support en plastique, ainsi que deux autres sur chacun des côtés du transducteur, comme le montre les illustrations suivantes. Remarquez la présence de lettres inscrites sur chaque rochet.
Alignez la dette « A » de chaque rochet avec la marque présente sur le support. Placez les Rochets sur le transducteur avec la dette « A » alignée avec la position 12 heures sur la queue du transducteur. Cette position ajuste grossièrement l'angle du transducteur pour un travers de 14^ . La plupart des travers de hors-bord et de bateaux propulsés par l'arrête ont un angle de 14^ .

Insérez et alignez les rochets.

Ajoutez les rochets au support et au transducteur.
2. Aligner le transducteur sur le tableau.
A. Support une pièce: Glissez le transducteur entre les deux rochets. Glissez temporairement le boulon à travers l'assemblage et maintenez le tout contre le tableau. En regardant le transducteur de côté, vérifie qu'il puisse être ajusté de façon à être parallèle au sol. Si c'est le cas, alors la position « A » est la bonne pour votre coque.
Si le transducteur n'est pas parallèle au sol, retirez le transducteur et les rochets du support. Placez les rochets avec la dette « B » alignée avec la marque présente sur le support.
Remontez le transducteur et le support et placez-les contre le tableau. De nouveau, vérifie que le transducteur peut être déplaceafin d'être parallèle au sol. Si c'est le cas, reportez-vous à l'étape 3A.
Sinon, repêzez l' étape 2A en utilisant une dette d'alignment différente jusqu'à ce que le transducteur soit correctement placé sur le tableau.

Insérez le boulon et vérifie la position du transducteur sur le tableau.
B. Support deux pieces: Assemblez le transducteur et le support comme le montre la figure ci-dessous. Glissez temporairement le boulon à travers l'assemblage mais ne reisserrez pas encore l'écrou. Maintenez l'ensemble contre le tableau. En regardant le transducteur de côté, vérifie qu'il puisse être ajusté de façon à être parallèle au sol. Si c'est le cas, alors la position « A » est la bonne pour votre coque.
Si le transducteur n'est pas parallèle au sol, retirez le transducteur et les rochets du support. Placez les rochets avec la dette « B » alignée avec la marque presente sur le support. Placez-les avec la dette « B » alignée avec la position 12 heures de la queue du transducteur.
Remontez le transducteur et le support et placez-les contre le tableau. De nouveau, vérifie que le transducteur peut être déplacec afin d'être parallèle au sol. Si c'est le cas, reportez-vous à l'etape 3B. Sinon, repetez l'etape 2B en utilisant une dette d'alignement différente jusqu'à ce que le transducteur soit correctement place sur le travers.

Assemblez le transducteur et le support.
3. Assemblage du transducteur.
A. Support une piece: Une fois que vous aurez déterminé la bonne position pour les rochets, assemblez le transducteur et le support comme le montre l'image suivante. Ne resserrez pas encore l'écrou autobloquant.

Assemblez le transducteur et le support.
B. Support deux pieces: Une fois que vous aurez déterminé laonne position pour les rochets, assemblez le transducteur et lesupport comme le montre l'imagde de I'etape 2B. Ne reisserrez pasencore I'ecrou autobloquant.
4. Perçage
Maintenez l'assemblage du support et du transducteur contre le tableau. Le transducteur doit être approximativement parallèle au sol. La ligne Médiane du transducteur doit être au même niveau que le fond de la coque. Ne faites pas dépasser le support de la coque!
Marquez sur le tableau l'emplacement du centre de chaque fente pour le montage des vis. Vous percerez un trou à chacune de ces positions.
Percez les trou. Pour le support une pièce, utilisez la mèche #29 (pour les vis #10). Pour le support deux pièces, utilisez la mèche #20 (pour les vis #12).

Positionné le transducteur sur le tableau et marquez l'emplacement des trous. Vue du côté gauche et vue du dessus à droite
5. Fixation du transducteur sur le tableau.
A. Support une pièce: Retirez le transducteur du support et ré-assemblez le tout en faisant passer le cable dans le support et par dessus le boulon à vis, comme l'illustrent les figures ci-dessous.

Pour le Skimmer à fréquence unique, faites passer le cable par dessus le boulon et à travers le support. Vue du côté gauche et vue du dessus à droite
Pour les deux types de support: Fixez le transducteur sur le tableau. Faites glisser le transducteur vers le haut ou vers le bas jusqu'à ce qu'il soit correctement aligné avec le fond de la coque. Resserrez les vis du support et enduirez-les d'un produit de calfatage.
Ajustez la position du transducteur de façon à ce qu'il soit parallè le au sol et desserrez l'écrou jusqu'à ce qu'il entre en contact avec la bague la plus à l'extérieur. Resserrez alors encore d'un quart de tour. Ne serrez pas trop l'écrou autobloquant! En effet, le transducteur ne pourrait alors plus « rebondir » si il heures un objet dans l'eau.

Alignez la ligne mediane du transducteur avec le fond de la coque et fixez le transducteur au tableau. Vue arrêté du Skimmer bi-fréquence.
- Faites passer le cable du transducteur à travers ou par dessus le tableau arrêté jusqu'à votre sondeur. Assurez-vous que le cable du transducteur ne soit pas trop tendu, donnez-lui du mou. Si c'est possible, évitez de faire passer le cable du transducteur à proximité d'une autre installation électrique du bateau. Des bruits ELECTriques parasites provenant du câblage du moteur, des pompes de drain, de radio VHF (hyperfréquence) et des aérateurs peuvent en effet être traduits à l'écran. Soyez prudent lorsque vous faites passer le cable du transducteur à proximité de ces fils ELECTriques.
AVERTISSEMENT:
Bloquez le cable du transducteur contre le travers à proximé du transducteur. Ceci empêchera le transducteur de pénétrer la coque en cas de chic à grande vitesse.
Si vous nevez pearcher un trou dans le tableau pour y faire passer le raccord, la taille du trou requise est de 1,6cm.
Attention:
Si vous percez un trou dans le tableau pour le cable, assurez-vous qu'il se situe au-dessus de la ligne de flottaison. Une fois l'installation terminée, bouchez convenablement le trou avec le même produit de calfatage que celui utilisé pour les vis.
- Procedez à un essai pour tester le matériel et visualiser les résultats. Si vous perdez le signal du fond, ou si des interférences apparaissent à l'écran, essayez de faire glisser le support du transducteur vers le bas. Le transducteur se retrouve ainsi positionné plus profondément dans l'eau, soit au-dessous des turbulences à l'origine des interférences. Ne descendez jamais le support plus bas que le niveau du fond de la coque!
INSTALLATION SUR UN MOTEUR À LA TRÂINE (TROLLING MOTOR)
(concerne les transducteurs à fréquence simple uniquement)
- Fixez le support TMB-S au transducteur, comme l'illustrre la figure suivante; utilisez le matériel fourni avec le transducteur (remarque: la rondelle dentée est fournie avec le TMB-S).

Fixez le support de montage du moteur au transducteur
- Glissez la courroie de serrage fournie avec le TMB-S dans la fente du support et enroulez-la autour du moteur. Positionnez le transducteur de façon à ce qu'il pointe directement vers le bas quand le moteur sera à l'eau. Resserrez bien la courroie.
- Faites passer le cable du transducteur le long de l'axe du moteur. Utilisez des cordons en plastique (non fournis) pour attacher le cable du transducteur à l'arbre du moteur. Assurez-vous que le cable est suffisamment détendu pour que le moteur puisse tournier librement. Amenez le cable jusqu'àu sondeur, le transducteur est alors prêt à l'emploi.

Transducteur installé sur un moteur, vue de côte
ORIENTATION DU TRANSDUCTEUR ET REPÉRAGE DU POISSON
Si vous ne visualisez pas de bons repérages de poissons à l'écran (arcs), il est possible que le transducteur ne soit pas parallèle au sol lorsque le bateau est à l'arrêt ou marche à vitesse très lente.

Transducteur orienté trop en arrête
Transducteur orienté trop en avant


Orientation appropriée
Orientation du transducteur et conséquences sur le repérage du poisson
Si seule la deuxième partie de l'arc de repréage est visible (inclinaison vers le bas de gauche à droite), alors l'avant du transducteur est trop haut et doit être descendu. Si seule la première partie de l'arc de repréage est visible (arrière du signal, inclinaison vers le haut de gauche à droite), alors l'avant du transducteur est trop bas et doit être relevé.
REMARQUE:
Nettoyez périodiquement la surface du transducteur avec de l'eau et du savon pour-retirer toute pellicule d'huile susceptible de se déposer. L'huile et la saleté qui peuvent se déposer à la surface du transducteur réduiront sa sensibilité et peuvent également ALTERER son fonctionnement.
INSTALLATION À L'INTÉRIEUR DE LA COQUE
L'installation du transducteur dans une coque en fibre de verre doit se faire au niveau d'une zone où la résine, ou les matériaux séparant les couches de fibre de verre, soient dépourvus de bulles d'air. Le signal du sonar doit traverser une fibre de verre compacte. Une installation réussie du transducteur peut se faire sur des coques avec des matériaux flottables (tels que contre-plaqué, balsa, mousse) présents entre les couches de fibre de verre, à condition que ceux ci soient retirés de la zone可以选择 pour l'installation.

Fixez le transducteur à la coque au niveau d'une portion compacte avec de la résine époxyde
Par exemple, certains fabricants (mais pas tous) utilisent une première couche de fibre de verre, puis une couche de balsa, et enfin une deuxieme couche de fibre de verre. Retirer la couche interne de fibre de verre et la couche de balsa permet demettre a jour la couche externe de fibre de verre. Le transducteur peut alors etre enduit d'epoxyde et instalé directement sur la couche externe de fibre de verre. Avres le traitement par époxyde, la coque est rendue etanche et de structure saine. Rappelez-vous que le signal du sonar doit traverser une fibre de verre compacte. Toute bulle d'air presente dans la fibre de verre ou dans la résine époxyde réduira ou éliminera les signaux du sonar.
AVERTISSEMENT:
Ne retirezaucunmatériaudévortecoqueinterneà moinsd'enconnaitresacomposition.Unmauvais meulage ou découpagedevotrecoquepeutentrainerdesérieux dégatsquipourraient coulervotrerebateu. Contactezvotre revendeurouvoitréfactancourtqu'ilvous confirmeles caractéristiquesdevotrecoque.
Pour désirir la position appropriée à l'installation de votre transducteur, ancrez votre bateau dans une eau de 60 pieds (environ 20m)de profondeur. Ajoutez un peu d'eau à la cale de votre bateau. Branchez le transducteur au sonar, allumez-le, et maintainez le transducteur à l'extérieur de la coque du bateau. Ajustez la sensibilité et réglez les commandes jusqu'à ce qu'un second écho du fond soit visible à l'écran. (Vous devrez êtrendre les modes automatique et ASP). Ne modifies plus les commandes une fois qu'elle auront été fixées.
Sortez ensuite le transducteur de l'eau et placez le dans l'eau de la cale du bateau. Observe le signal du sonar afin de voir s'il y a une diminution perceptible de la sensibilité. Le deuxième signal du fond peut disparaître et le signal du fond peut perdre de son intensité.
Déplacez le transducteur afin de tracer le meilleur emplacement. Si la commande de sensibilité doit être fortement augmente pour compenser, alors le transducteur doit être monté à l'extérieur de la coque. Si ce n'est pas le case, marquer l'emplacement où la transmission est la meilleure et suivez les instructions des pages suivantes pour l'installation du transducteur.

Positions d'installation du transducteur dans la coque pour un fonctionnement à grande ou à faible vitesse.
Installation dans la coque
- Assurez-vous que la zone可以选择 est propre, seche et dépourvue d'huile ou de graisse. Poncez au papier de verre la surface dégagée de
la coque et celle du transducteur. La surface de la coque doit être bien plate de façon à ce que l'intégralité de la surface du transducteur soit en contact avec elle.


Enduisez de résine époxyde

Fixation du transducteur à la coque.
- Suivez les instructions inscrites sur l'emballage de la résine, et mélangez-la parfaitement. Ne mélangez pas trop rapidement, car des bulles pourraient se former dans la résine. Appliquez en une petite quantité sur le transducteur, comme illustré ci-dessus, et étendez également une petite quantité de résine sur la zone de la coque qui a été ponçée.
Placez le transducteur sur la résine en le tournant et en le tordant, de façon à éliminer toute bulle d'air présente sous la surface du transducteur. Le transducteur doit être parallète à la coque, avec une quantité minimale de résine entre le transducteur et la coque. Une fois que l'époxyde est sèche, achemieze le cable jusqu'àu sondeur.
Capeurs de Vitesse/Température
La gamme des produits FishEasy peut accepter jusqu'à deux capteurs de température, servant à surveiller la température à la surface de l'eau, dans le vivier ou bien à d'autres endroits. Ces éléments peuvent accepter un capteur de vitesse qui peut déterminer la vitesse et la distance parcoursue. Néanmoins, vous ne pouvez utiliser qu'un accessoire à la fois. Si vous désirez utiliser un capteur de vitesse et un capteur de température en même temps, vous aurez besoin d'un apparéil combiné.
REMARQUE:
Le FishEasy 2T et le SeaFinder 240DF possèdent des transducteurs avec capteur de température intégré. Le SeaFinder possède également un capteur de vitesse. Si vous possèdez un autre modèle et que vous désírez accürir un capteur de vitesse ou un capteur de température, reportez-vous aux Informations sur la Commande des Accessoires à la fin de ce manuel.
Si un deuxième capteur de température est utilisé, ce doit être le modele TS-2U. Ce modèle possède une « adresse » électronique donnée qui lui permet d'être reconnu en tant que second capteur. L'affichage de deux températures se fait uniquement en affichage graphique entier. La page numérique n'affichera que la température mesurée par le premier capteur.

Écran en graphique entier (Full Chart) affichtant deux températures. Consultez les schémas suivants pour visualiser des exemples de combinaisons de capteurs et de connections des cables.

Sondeur avec capteur de température extérieur. Sonde dépourvue de capteur de température intégré.

Sondeur avec capteur extérieur de températe et de vitesse combinées. Transducteur sans capteur de températe.

Sondeur avec second capteur extérieur de température. Transducteur avec capteur primaire de température intégré.

Sondeur avec capteur extérieur de vitesse. Transducteur avec capteur de température intégré.
Installation du capteur de vitesse.
Si vous souhaitez acquérir un capteur en option pour votre sondeur, reportez-vous aux Informations sur la Commande des Accessoires à la fin de ce manuel. Les instructions suivantes décrivent l'installation du capteur de vitesse.
Les outils recommendés pour l'installation complrennet : une perceuse, une mèche de diamètre 16mm, une mèche de diamètre 3mm, un tournevis. Le matériel requis comprend: 4 vis à bois en acier inoxydable #8 (2cm de long), un produit de calfatage de haute qualité.
Choisissez un emplacement pour l'installation du capteur sur le tableau arrêté de votre bateau où le débit de l'eau est le plus régulier. N'installez pas le capteur derrière les membrules ou les lisses. Elles agissant sur la circulation de l'eau et peuvent creator des turbulences. Assurez vous que le capteur restera immergé lorsque le bateau sera en mouvement. Assurez vous également que le capteur ne généra pas la remorque du bateau. Généralement, le capteur est installé à un pied (30 centimètres environ) de la ligne Médiane du tableau.
Après avoir déterminé l'emplacement idéal, placez le capteur sur le tableau. La partie inférieure du support doit se trouver au même niveau que le fond de la coque. En utilisant le capteur comme un patron, marquer l'emplacement des troughs que vous percerez pour chaque vis (quatre troughs, soit deux marques par fente). Percez des troughs de 3mm de diamètre, un pour chaque extrémité de chaque fente.
Fixez le capteur à la coque à l'aide de vis à bois en acier inoxydable #8 (non fournies). Assurez-vous que le capteur est au même niveau que le fond de la coque, serrez les vis et enduirez les d'un produit de calfatage de haute qualité.

Perspective arrêté montrant l'emplacement idéal pour installer le capteur de vitesse.

Installation du capteur : vue de côte (gauche) et vue arrête (droite).
Si la base du tableau est arrondie, comblez le jeu entre le tableau et le capteur avec du produit de calfatage pour assurer une circulation d'eau régulière.
Acheminez le cable du capteur au travers ou par dessus le tableau jusqu'àu sondeur. Si c'est nécessaire, percez un trou dans la coque pour y faire passer le raccord. La taille requise du trou est de 16mm de diametre.
Attention:
Si vous percez un trou dans la coque pour le cable, assurez-vous qu'il se situe au-dessus de la ligne de flottaison. Une fois l'installation terminée, bouchez convenablement le trou avec le même produit de calfatage que celui utilisé pour les vis.
Le capteur de vitesse est à prisent prét à l'emploi. Branchez le capteur à la prise pour les accessoires située à l'arrête du sondeur. Si vous avez des questions concernant l'installation de votre capteur, veuillez contacter votre revendeur.
BRANCHEMENTS
(pour les montages permanents uniquement)
L'appareil est alimenté par une batterie de 12 Volts. Vous pouvez relier le cable à une barre accessoire ou d'alimentation (ou directement à la batterie). Si vous utilisez une barre accessoire et que vous rencontres des problèmes d'interférences électriques, reliez directement le cable d'alimentation à la batterie. Si le cable fourni n'est pas assez long, raccordez-y un fil isolé de calibre #18.

Branchement des sonars de la gamme FishEasy 2 (branchement direct à la batterie).
Si possible, éloignez le cable d'alimentation de tout autre installation électrique, particulièrement celle du moteur. Cette précaution fournira une meilleure isolation aux interférences electriques. Le cable d'alimentation est composé de deux fils, un rouge et un noir. Le fil rouge est positif, le fil noir est négatif. Assurez-vous que le porte-fusible soit relié au fil rouge aussi presque que possible de la source d'alimentation.
Par exemple, si vous nevez etendre le cable d'alimentation à la batterie ou au à la barre d'alimentation, reliez une extrémité du porte-fusible directement à cette dernière. Ceci protégera à la fois le sondeur et le cable d'alimentation en cas de court-circuit. Le fusible utilisé est de 3 Ampères.
AVERTISSEMENT:
N'utilisez pas cet apparéil sans un fusible de 3 Ampères relié au cable d'alimentation! Le manquement à cette règle annulera votre garantie.
Cet apparéil est équipé d'une protection à la polarité inverse. Il ne subiraaucun dommage si les fils électriques sont branchés à l'envers. Cependant, l' apparéil ne fonctionnera pas tant que les fils ne seront pas correctement branchés.
INSTALLATION DU SONDEUR: Dans le tableau de bord, avec support ou portable
Vous pouvez installer votre sonar sur votre tableau de bord avec le support fourni. Il peut également être installé dans le tableau avec le kit de montage FM-4 en option.
Installation dans le tableau de bord
La figure suivante montre les dimensions à respecter pour le montage dans le tableau de bord. Le matériel adaptateur pour le montage dans
le tableau de bord comprend un patron pour le découvert de ce dernier ainsi que les directions complètes d'installation sur la page d'instruction 988-0147-44.

Patron pour l'installation des sonars de la gamme FishEasy 2 dans le tableau de bord. Remarque : l'illustration ci-dessus n'est pas représentée à l'échelle. Un patron à l'échelle est disponible gratuitement sur notre site internet www.eaglesonar.com.
Si vous utilisez le support de suspension fourni, vous serez peut etre interessed par l'adaptateur du support pivotant GBSA-1 en option. Il permet de convertir le support de suspension de l'appareil en un montage pivotant qui peut etre utilisé sur le tableau de bord ou pour des positions de montages aériennes. Les instructions pour l'installation dans le tableau de bord et le montage pivotant sont fournis avec le matériel adaptateur.
Installation sur support
Installez l'appareil à un endroit pratique et accessible, et assurez-vous qu'il soit possible de l'incliner de façon à obtenir le meilleur angle de visibilité. Les orifices à la base du support permettent l'insertion de vis à bois ou de boulons.


Illustration de face(à gauche) et de côte(à droite) décrivant les dimensions des sondeurs de la gamme FishEasy 2 montés sur le support à cardan.
Au besoin, posez du contre-plaqué sur l'arrière des panneaux minces pour renforcer le tableau de bord. Assurez-vous qu'il soit possible de relier les câbles d'alimentation et du transducteur derrière l'appareil.
Percez un trou de 25.4mm de diamètre dans le tableau de bord pour y faire passer les cables d'alimentation et du transducteur. Nous vous conseillons de percer ce trou directement sous le support de suspension. De cette façon, le support peut recouvrir le trou et retenir les cables, pour une installation soignée. Certains clients préférent cependant installer le support à côté du trou prévu pour le passage des cables. C'est une question de préférence.
Insérez le cable du transducteur dans le trou, vers le haut et faites-y descendre l'extrémité dénudée du cable d'alimentation.
Si vous le souhaitez, vous pouvez combler le trou au moyen d'un bon produit de calfatage marin (certains commercçants vendent des caches pour dissimuler l'ouverture). Quelque soit le type d'installation que vous choisisrez, assurez-vous que vous laisssez suffisamment de mou aux cables pour pouvoir incliner ou pivoter le boîtier du sondeur. Si vous choisissez de replir le trou avec un produit de calfatage, positionnez correctement les fils sous le tableau de bord en prénant soin de leur laisser suffisamment de mou avant d'appliquer le produit.
Avant de positionner le support, maintenez les câbles sous le tableau de bord. Glissez le support de façon à dissimuler le trou, et presssez fermement l'arrière de la base du support contre les câbles de manière à lesMAININER en place contre le bord de l'orifice. Fixez le support au tableau de bord.
Attachez le boîtier du sondeur en utilisant les vis et les rondelles fournies. Glissez les rondelles de caoutchouc sur les vis et insérez-les dans les emboîtements prévus, sans les serrer. Glissez le boîtier dans le support avec les rondelles en caoutchouc à l'extérieur des bras du support. Inclinez le boîtier avec l'orientation voulue, et resserrez fermement les vis.
Comme beaucoup de produits Eagle, les sonars de la gamme FishEasy peuvent être utilisés de manière portative grâce au boîtier d'alimentation portable PPP-13 en option. En réalité, l'ensemble portatif FishEasy comprend le PPP-13 et le matériel nécessaire pour une utilisation portable du transducteur.
Le boîtier d'alimentation et les transducteurs portatif ou flottant élargissant les possibités d'utilisation de votre sonar. Vous pouvez ainsi utiliser votre sonar FishEasy 2 ou FishEasy 2 Portable sur votre bateau, l'emmener avec vous une fois le bateau à quoi, l'utiliser pour pécher sur la glace, ou comme second sonar sur le bateau d'un ami.
L'ensemble PPP-113 comprend le bloc d'alimentation, l'adaptateur pour piles et le transducteur amovible. Les piles ne sont pas fournies. Le bloc d'alimentation comprend un compartment de rangement pour votre transducteur. Ce boîtier peut être utilisé avec 8 piles alcalines ou bien avec une batterie rechargeable 12V en option.
Pour utiliser le bloc d'alimentation, installez simplement les piles et attachez le sondeur à son support. Branchez le cable d'alimentation et le cable du transducteur.
Attachez le sondeur au support grâce aux rondelles et aux vis fournies.
Installation du boîtier d'alimentation
Les outils recommendés pour l'installation complrennent un tournevis plat à encoches et deux clefs universelles. L'illustration suivant vous montre la disposition appropriée pour le montage des rondelles.

Pour un montage sûr, attachez le boîtier du sondeur au support du bloc d'alimentation avec les vis et les rondelles fournies, comme décrit ci-dessus.
Pose des Files
Dégagez le loquet présente au devant de l'étui à piles. Ouvrez le compartmenté à piles et installez soit une batterie rechargeable, soit huit piles, dans l'adaptateur prévu à cet effet. Pour un fonctionnement de plus longue durée, nous vous conseillons d'utiliser des piles alcalines.
Après avoir installé les piles, refermez l'étui et branchez le cable d'alimentation du sondeur dans la prise prévue à cet effet.
Après avoir installé les piles, refermez l'étui et branchez le cable d'alimentation du sondeur dans la prise prévue à cet effet.
Allumez le sonar. S'il ne fonctionne pas, assurez-vous que les piles sont bien installées et en contact avec leurs bornes respectives. Vérifiez également que les raccords sont correctement branchés. Le fil rouge du cable d'alimentation doit être branché à la borne rouge de l'adaptateur et le fil noir du cable d'alimentation doit être branché à la borne noire de l'adaptateur.
Si l'appareil ne fonctionne toujours pas, vérifie la tension des piles. La plupart des plaintes que nous receivevons à propos de l'appareil portable résultat de l'utilisation de piles usées. Assurez-vous que les piles que vous achetez soient bien neuves. Retirez toujours les piles de leur compartment avant de ranger l'appareil car les piles usées peuvent fuir et corroder les contacts en métal de l'adaptateur.

Installez les piles dans l'adaptateur du boîtier d'alimentation.
Par temps froid, l'efficacité des piles sèches diminue avec la température. Nous vous conseillons de conserver le sonar et ses piles dans un endroit chaud avant leur utilisation.
Si les piles se déchargent, vous pouvez parfois les rechargez en les plaçant dans une piece chaude ou à l'intérieur d'une voiture. Le moyen est cependant de les remplacer par des piles qui ont été gardées au chaud.
AVERTISSEMENT:
Ne réchauffez jamais les piles à l'aide d'une source brûlante, d'une flamme, ou d'une source directe d'air chaud pour éviter tout risque d'incendie ou d'explosion.
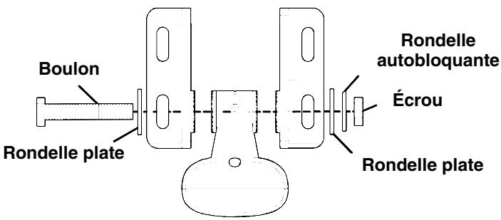
Assemblage du transducteur portatif
Assemblez le transducteur et son support comme illustré ci-dessous. Fixez le transducteur au support à l'aide des pieces d'assemblage fournies.
Assurez-vous qu'il y ait dans le support une rondelle de chaque côté du transducteur. Glissez l'autre rondelle à l'extrémité du boulon et enfilez l'écrou.
Vissez la ventouse sur le support à l'aide de la vis et de la rondelle plate fournies. Passez la corde de nylon dans le trou situé au-dessus du
support. Lors de l'utilisation du transducteur, attachez la seconde extrémité de la corde de nylon au bateau. Ainsi vous ne perdrez pas le transducteur s'il se détache du bateau.

Assemblage du transducteur portatif: perspective arrêté (à gauche) et vue de côté (à droite)
Prenez soit de nettoyer la coque à l'emplacement où vous désirez installer la ventouse. Placez le transducteur sur la coque comme le montre la figure ci-dessous. Ne laissez pas le support descendre plus bas que le fond de la coque, car la pression de l'eau combinée à la vitesse pourrait arracher la ventouse.
Humectez la ventouse, et pressez-la contre la coque aussi fermement que possible. Attachez la corde de nylon au bateau et acheminez le cable du transducteur jusqu'au sondeur. Youre apparéil portatif est à présent prét à l'emploi.

Transducteur portatif installé sur le tableau du bateau.
REMARQUE:
Pour un fonctionnement optimum, le transducteur doit être ajusté de façon à être parallele au sol. Pour plus d'information sur ce sujet, reportez-vous à la section concernant l'Orientation du Transducteur et le Repérage du Poisson.
Fonctionnement
CLAVIER
L'appareil émet un son quand vous appuyez sur une touche. Cela signifie que l'appareil a accepté votre commande. Les nombres inscrits sur l'illustration suivante correspondant aux touches expliquées cédssous:

Sonar Eagle FishEasy 2, vue de face, écran et clavier.
1. PWR/CLEAR (mise en marche/vider l'écran)
Cette touche apparait dans le manuel comme la touche PWR. Appuyez sur cette touche pour allumer l'appareil ou pour effacer les menus affichés à l'écran et revenir à la fenêtre principale.
REMARQUE:
Vous devez maintainir la touche PWR appuyée pendant environ 5s pour eteindre l'appareil.
2. MENU UP (permiet de dérouler le menu vers le haut)
3. MENU DOWN (permét de descendre dans le menu)
Ces touches apparaissent dans le manuel comme les touches MENU UP et MENU DOWN. (Sur certains apparèils, ces touches peuvent apparaître respectivement comme les touches MENU FWD ou MENU REV). La plupart du temps, les instructions exigent que vous appuyiez sur l'une de ces touches, dans ce cas elles seront définies dans le manuel par le simple mot MENU. Généralement, lorsque nous employons le terme MENU, vous pouvez simplement presser sur la touche MENU UP.
Les touches de menu vous permettent d'acceder à la plupart des fonctions de votre sondeur. La touche MENU UP permit de monter ou d'avancer dans les menus, et la touche MENU DOWN permit de descendre ou de reculer dans les menus. Pour visionner le premier menu, appuyez simplement sur une des touches MENU. Pour visionner les autres menus, appuyez à plusieurs reprises sur une des touches MENU.
4. TOUCHES FLECHÉES
Ces touches apparaissent dans le manuel comme les touches DOWN ARROW (flèche du bas) et UP ARROW (flèche du haut). Utilisez ces touches afin d'ajuster toutes les fonctions du sondeur.
MÉMOIRE
Cet apparéil est équipé d'une mémoire permanente qui conserve tous les réglages de l'utilisateur, même lorsque l' apparéil est débranché. Elle ne nécessite ni n'utilise aucune alimentation de secours, vous n'aurez donc jamais à vous souciez des piles de rechange.
MENUS
Cet apparéil utilise les menus pour vous permettre l'accès aux fonctions et aux caractéristiques du sonar. Le nom des menus et des réglages apparaisent dans le manuel en petites lettres capitales, telle que SENSITIVITY (SENSIBILITE), qui correspond au menu concernant la sensibilité de l'appareil. Les touches menus accédent à ces fonctions, vous permettant d'adapter votre sondeur à vos besoin et aux conditions extérieures. Pour quitter le menu que vous visualisez et pour accédez à un autre, il vous suffit d'appuyer sur la touche MENU à plusieurs reprises. Pour effacer un menu de l'écran et revenir à la fenêtre principale, presse la touche PWR.
Les menus change selon le mode utilisé. Des messages peuvent apparaître dans les boîtes de menu, ou de nouveaux menus peuvent apparaître, selon les sélections faites précédemment.

L'écran affiche un menu typique, le menu de la vitesse de défilament (Scroll Speed).
AFFICHAGE - Fenêtre Principale
Les lumières clignotent pendant environ 10 secondes lorsque vous allumez votre apparéil. Le menu du rétro-éclairage apparait en premier à l'écran. Pour allumer les lumières, pressez la flèche du haut (UP ARROW). Si vous ne pressez aucune touche, le menu disparaître après quelques secondes. Si vous ne désirez pas attendre, pressez la touche PWR pour effacer les menus de l'écran.
Une fois que le sondeur est allumé et que le menu du rétro-éclairage a disparu, l'écran de visualisation affiche la page, ou mode, en graphique entier. Le dispositif Fish I.D. ^TM est étèint. La portée en profondeur est visible sur une échelle de profondeur à droite de l'écran. Sur l'écran cédssous, la portée est de 60 pieds et la profondeur du fond est de 33.2 pieds

Fenêtre principale, page/modegraphique entier.
DéFILEMENT DE L'IMAGE (arrêt et mise en marche)
En fonctionnement normal, le graphique visible à l'écran défile de droite à gauche. Vous pouvez stopper le défilingement de l'image, notamment lorsque vous souhaitez vous arrêtez plus longuement sur une zone pour l'étudier plus particulièrement. Pour arrêter ou redémarrer le défilingement, pressez une touche MENU jusqu'à ce que le menu CHART (GRAPHIQUE) apparaissé à l'écran. Utilisez les touches flèchées pour selectionner les réglages souhaités, et pressez la touche PWR pour sortir du menu.


Menu Graphique. L'image défile normalement à gauche (Run). L'image est arrêtée à droite (Stop) et un message d'advertissement « Stop » s'affiche en haut à droite de l'écran.
MODES D'AFFICHAGE
La gamme des FishEasy 2 possède trois modes, ou affichages (Pages), différents: Affichage Graphique Entier (Full Chart Page), Graphique Divisé (Split Chart) et Grand Affichage Numérique (Large Digital Page). Le modèle SeaFinder 240DF possède également un affichage double fréquence (Dual Frequency Page).


Le menu d'affichage vous permet de selectionner le type d'affichage que vous souhaitez. Menu des modèles de la gamme FishEasy (à gauche) et Menu du SeaFinder 240DF (à droite).
Pour sélectionner un mode d'affichage différent, pressez la touche MENU jusqu'à ce que le menu PAGE apparaisse à l'écran. Pressez la flèche du haut ou la flèche du bas pour sélectionner le mode voulu. (L'écran change lorsque vous naviguez dans le menu). Lorsque l'affichage que vous désirez est sélectionné, pressez la touche PWR pour sortir du menu.
GRAPHIQUE ENTIER (FULL CHART)
Ce mode affiche tous les échos qui défilent sur l'écran. C'est le mode par défaut utilisé lors de la mise sous tension initiale du sonar. Le signal de fond défile à l'écran de droite à gauche. Les échelles de profondeur à droite de l'écran permettent de déterminer facilement la profondeur à laquelle se situant les poissons, les structures rocheuses, et les autres cibles. La ligne en haut de l'écran représentée la surface. La profondeur du fond (déterminée par le sonar numérique) s'affiche dans le coin supérieur gauche de l'écran.

Graphique Entier affichant la profondeur en haut de l'écran et la vitesse en bas.
Si un capteur de vitesse ou de température en option est connecté à votre sonar, des affichages numériques de la vitesse et/ou de la température apparaitront également à l'écran.
Ce mode divise l'écran en deux. La partie droite de l'écran affiche une vue normale de la structure sous-marine, de la surface jusqu'àu fond. La partie gauche de l'écran affiche une portion agrandie (zoomée) de la fenêtre de droite. Un message précisant l'agrandissement, tel que « 2X», apparait en bas de la fenêtre de gauche.

Affichage en Graphique divisé avec une vue normale à droite et une vue zoomée à gauche.
AFFICHAGE DE LA DOUBLE-FRÉQUENCY (DUAL-FREQUENCY)
Ce mode d'affichage permet de visualiser les données provenant du transducteur à 50kHz dans la fenêtre de gauche et les données provenant du transducteur à 200kHz dans la fenêtre de droite. Toutes
les autres fonctions et caractéristiques de ce mode d'affichage sont les même que celles de l'Affichage en Graphique Entier.

Affichage de la double-fréquence en graphique divisé, avec la fréquence de 50kHz à gauche, et celle de 200kHz à droite.
Vous pouvez ajuster la sensibilité pour chacune des fenêtres. Pour modifier la sensibilité de la fenêtre de droite (200kHz), pressez la touche MENU jusqu'à ce que le menu SENSE 200K apparaisse. Pressez la touche du haut pour augmenter la sensibilité ou la flèche du bas pour la réduire. Une fois la sensibilité réglée, sortez du menu en pressant la touche PWR. Pour modifier la sensibilité de la fenêtre de gauche (50kHz), procédex de la même manière en utilisant le menu SENSE 50K.


Affichage de la double fréquence en graphique divisé. Réglage de la sensibilité pour la fréquence de 50kHz à gauche et de 200kHz à droite.
GRAND AFFICHAGE NUMERIQUE (LARGE DIGITAL)
Ce mode d'affichage permet de visualiser toutes les informations chiffrées sur une même fenêtre. La profondeur est affichée en haut de l'écran, suivie de la température, de la vitesse et de la distance parcourue.
REMARQUE:
La température, la vitesse et la distance sont mesurées par un capteur de température et/ou de vitesse. Il s'agit d'un équipement optionnel qui dépend du modèle de sonar dont vous avez fait l'acquisition.

Grand Affichage Numérique.
PORTEE (RANGE)
Lors de la mise sous tension initiale, l'appareil ajuste automatiquement la portée en profondeur en fonction des conditions extérieures. De cette façon, le signal de fond demeure constamment affiché dans la partie inférieure de l'écran. Vous pouvez passer en mode manuel afin de sélectionner une nouvelle portée.
Pour cela, pressez la touche MENU jusqu'à ce que le menu RANGE apparaisse à l'écran. Utilisez les touches fléchées pour sélectionner la portée voulue. Lorsque vous avez terminé, pressez la touche PWR pour sortir du menu.

Menu de selection de la portée.
Les portées suivantes sont disponibles sur cet apparéil:
10, 15, 20, 30, 40, 60, 80, 100, 150, 200, 300, 500, 800 et 1 000 pieds.
ZOOM
Le zoom permet d'agrandir tous les échos visuaisés à l'écran. Le zoom 2X multiplie par deux la taille des échos à l'écran; le zoom 4X multiplie par quatre la taille des échos.

Ecran de Zoom, montrant le menu de réglage du Zoom et l'indicateur de l'échelle (2X) au coin supérieur droit de l'écran.
Pour agrandir l'image affichée à l'écran, pressez sur la touche MENU jusqu'à ce que le menu ZOOM apparaissé. Utilisez les touches fléchées pour sélectionner le zoom que vous désirez appliquer à l'image (2X ou 4X), pressez ensuite la touche PWR pour sortir du menu.
Lorsque l'image est agrandie, un indicateur apparait au coin supérieur droit de l'écran. Il permet de vous rappelez que vous utilisez un zoom et vous indique l'agrandissement appliqué à l'image.
Pour revenir à l'écran pleine grandeur, pressez la touche MENU jusqu'à
ce que le menu Zoom apparaissé. Utilisez les touches fléchées pour selectionner OFF, puis pressez la touche PWR pour sortir du menu.
Remarque Importante :
Votre apparéil peut se concentrerrapidement sur n'importe qu'elle portion de la colonne d'eau par simple pression sur l'une des touches fléchéées. Le Zoom panoramicque vous permet de naviguer rapidement de haut en bas et de vous déplacez le long de la colonne d'eau, obtenant ainsi une image agrandie à différentes profondeurs. En « pointant»vous zoom sur différentes portions de l'image pendant que celle-ci défile, vous pouvez ainsi obtenir un gros-plan de bonne qualité de la structure sous-marine.
Pour utiliser le zoom panoramicque, régler manuellement la portée (voir page 39) etCHOISSEZ un agrandissement de 2X ou de 4X. Pressez ensuite simplement les flèches du haut ou du bas pour faire un panoramicique de la colonne d'eau vers le haut ou vers le bas.

Fig. 1

Fig. 2

Fig. 3
Dans 34 pieds d'eau, avec la portée fixée manuellement à 60 pieds, l'appareil affiche la totalité de la colonne d'eau dans la figure 1. Pour observer la zone plus attentivement, faites demi-tour et suivez lentement votre sillage pour la sonder à nouveau. Agrandissez l'image quatre fois (4X), pressez la flèche du bas pour visualiser les six poissons présents le long de la corniche, puis pressez la flèche du haut pour remonter la colonne d'eau et visualiser les quatre poissons menacant le banc d'amorcees.
REMARQUE:
Lorsque you utilisez l'appareil en mode automatique pour la Portée, le Zoom agrandira toujours les échos visibles à proximité du fond, car la portée fixée automatiquement permet un affichage constant du fond dans la partie inférieure de l'écran. Si vous utilisez l'appareil avec une portée fixée manuellement, ce sont les échos présents au milieu de l'écran qui seront agrandis. Par exemple, avec une portée
fixée manuellement à 100 pieds, votre écran affiche une colonne d'eau allant de zéro en haut de l'écran à 100 pieds en bas de l'écran, en passant par 50 pieds au milieu. Si vous sélectionnez un Zoom avec un agrandissement 2X, l'écran affichera la colonne d'eau présente entre zéro et 50 pieds, avec 25 pieds au milieu de l'échelle. Si vous sélectionnez un Zoom avec un agrandissement 4X, l'écran affichera la colonne d'eau présente entre 13 pieds et 39 pieds environ, avec 25 pieds toujours au milieu de l'échelle.
SENSIBILITÉ (SENSITIVITY)
La sensibilité contrôle l'aptitude de l'appareil à capter les échos. Si vous souhaitez visualiser plus de détails, essayer d'augmenter la sensibilité petit à petit. L'écran peut parfois être encombre de signaux parasites. Dans ce cas, diminuer la sensibilité peut permettre de réduire les bruits et de visualiser les échos de poissons les plus forts, si des poissonns sont présents. Lorsque vous reglez la sensibilité, vous pouvez observer la différence à l'écran simultanément.


Fig. 3

Fig. 2
Fig. 4

Ces figures montrent l'affichage d'une même zone avec des sensibilities différentes. Fig.1 : Sensibilité à 87%, Sensibilité Automatique typique du mode automatique. Fig.2 : Sensibilité régée à 50%. Fig.3 : Sensibilité régée à 20%. Fig.4 : Sensibilité régée à 100%.
Vous pouvez régler le niveau de sensibilité que vous soyez en mode Automatique ou en mode Manuel. La méthode d'ajustement est la même, mais les résultats obtenus seront légèrement différents.
Ajuster la sensibilité en mode automatique revient au même que d'ajuster la vitesse d'une voiture en appuyant sur la pédale d'accélération lorsque le contrôleur de vitesse fonctionne. Vous pouze accélérer, mais lorsque vous relâchez la pédale d'accélération, le contrôleur de vitesse empêche automatiquement la voiture de descendre à une vitesse inférieure à la vitesse minimum fixée par le conducteur. Le mode automatique de votre apparéil vous permettra d'augmenter la sensibilité jusqu'à 100% , mais il limitera votre sensibilité minimum. Cela vous empêchera de trop diminuer la sensibilité et permettra un repréage automatique du fond. Lorsque vous ferez des réglages en mode automatique, l'appareil continuea de suivre le fond et procèdera à des réglages mineurs du niveau de sensibilité, en tendant à rester aux alentours du niveau de sensibilité que vous aurez fixé.
Ajuster la sensibilité en mode Manuel revient au même que d'ajuster la vitesse d'une voiture dépourvue de contrôleur de vitesse - vous avec le contrôle total de la vitesse de la voiture. Le mode manuel de votre apparéil vous permet de régler la sensibilité de 100% (maximum) à 0% (minimum). Selon la nature de l'eau et du fond, le signal de fond peut disparaître complètement de l'écran lorsque vous réduisez la sensibilité à environ 20% ou moins!
Essayer d'ajuster la sensibilité en mode automatique et en mode manuel pour vous familiarisez avec cette commande.


Ecrans de réglage de la Sensibilité. Menu permettant de désir entre le mode automatique et le mode manuel à gauche. Menu permettant le réglage de la sensibilité à droite.
Réglage de la sensibilité:
Presse la touche MENU jusqu'à ce que le menu SENSITIVITY ADJUSTMENT apparaisse à l'écran. Utilisez la flèche du haut pour augmenter la sensibilité et la flèche du bas pour la réduire. Lorsque le réglage est effectué, pressez la touche PWR pour sortir du menu.
Le niveau de sensibilité apparait en pourcentage dans la fenêtre du menu. Vous pouze instantanément visualiser les effets du réglage de la sensibilité sur les échos affichés à l'écran. Une tonalité est émise lorsque vous atteignez le niveau maximum ou minimum de sensibilité.
REMARQUE:
Si vous souhaitez régler la sensibilité en Mode Manuel, désactiver tout d'abord la Sensibilité Automatique: pressez la touche MENU jusqu'à ce que le menu SENSITIVITY AUTOMATIC/MANUAL apparaisse à l'écran. Utilisez la flèche du bas pour selectionner MANUAL, puis pressez la touche PWR pour sortir du menu. Pour ajuster la sensibilité, suivez les étapes déjà décrites ci-dessus pour le réglage en mode automatique.
BANDE GRISE - GRAYLINE
La bande grise Grayline® permet de désigner les échos faibles des échos prononçés. Cette fonction fait apparaitre en gris les cibles excédant une valeur donnée. On peut ainsi différencier un fond dur d'un fond mou. Un fond mou, boueux ou couvert d'herbes, par exemple, renvoie un signal faible accompagné d'une bande grise étroite ou inexistante. Un fond dur renvoie un signal puissant produitant une bande grise plus large.
Si vous visualisez deux signaux de même intensité, l'un avec du gris et l'autre sans, la cible accompagnée de la bande grise renvoie l'echo le plus fort. On peut ainsi désigner les herbes des arbres sur le fond, ou les poissons des structures.
La Grayline est ajustable. Cet apparéil est régle par défaut à 69% . Puisque la bande grise varie selon la puissance des échos, une modification de la sensibilité peut nécessiter un niveau de Grayline différent. Le niveau choisi par le sonar lors de sa mise sous tension initiale convient habituèlement à la plupart des conditions. Familiarisez-vous avec votre apparéil pour déterminer le réglage idéal de la bande grise, adapté à votre utilisation.
Pour régler la Grayline, pressez la touche MENU jusqu'à ce que le menu GRAYLINE apparaisse.
Utilisez la flèche du haut pour augmenter le niveau ou la flèche du bas pour le réduire. La fenêtre du menu affiche le réglage du niveau en pourcentage. Le réglage est également visible sur les échos qui défilent à l'écran. Une tonalité est émise lorsque vous atteignez le niveau maximum ou le niveau minimum. Pressez la touche PWR pour sortir du menu.



Menu Grayline à gauche. Au centre, une étroite bande grise indique la présence d'un fond mou, probablement constitué de boue ou de sable. A droite, une bande grise plus large indique la présence d'un fond dur, rocheux.
REPÉRAGE DES POISSONS - FISH I.D.
Le dispositif de represse des poissons ("Fish I.D.") identifie des cibles répondant à certains critères tels que les poissons. Le micro-ordonateur analyse tous les échos et elimine les parasites présents en surface, les thermoclines et autres signaux indésirables. Dans la plupart des cas, les cibles restantes sont uniquement des poissons.
Le dispositif de repréage affiche à l'écran l'emplacement des poissonns au moyen de symboles qui remplacent les échos actuels en forme d'arc. Il existe trois tailles de symboles : petit, moyen et gros. La taille du symbole indique les tailles relatives des cibles repérées. En d'autres termes, un petit symbole apparait à l'écran lorsqu'un petit poisson est repéré, un symbole de taille moyenne apparait lorsqu'un poisson de taille moyenne est repéré, et ainsi de suite.


A gauche, visualisation de la structure sous-marine en mode normal. A droite, affichage du menu Fish I.D. et mise en marche du dispositif.
Le Fish I.D. permet au novice de reconnaître plus facilement un signal provenant d'unoisson lorsqu'il en voit un. Cependant, le repérage desoissons par les symboles uniquement est limité.
Le Fish I.D. permet au novice de reconnaître plus facilement un signal provenant d'unoisson lorsqu'il en voit un. Cependant, le repérage desoissons par les symboles uniquement est limité.
Pour visualiser ce qui se trouve sous votre bateau avec un maximum de détails, nous vous recommendons de désactiver le Fish I.D. et d'apprendre à interprétez les signaux que vous observez.
Il est possible que vous visualisiez des symboles Fish I.D. à l'écran alors qu'il n'y a en réalitéaucun poisson.L'inverse est également vrai.Le Fish I.D. peut effectivement manquer des poissons qui sont présents. Cela signifie-t-il que le dispositif est en panne?Non -il interprête simplement les retours de signaux de manière spécifique afin de facilititer la lecture à l'écran.Rappelez-vous:le Fish I.D. est un des outils que nous mettons à votre disposition pour que vous puissiez analyser les signaux que vous receivez, de façon à posseder le plus d'informations possibles pour le repération du poisson.Ce dispositif, ainsi que d'autres, peut vous permettre de « voir » clairement ce qui se trouve sous notre bateau dans de nombreuses situations différentes.Usesez l'appareil avec et sans le Fish I.D. pour vous habituez à ce dispositif.Le Fish I.D. est désactivé par défaut sur cet apparéil.
Le Fish I.D. est d'autant plus pratique lorsque vous ne vous trouvez pas à proximité de l'écran du sondeur. Vous pouvez dans ce cas activer le Fish I.D. et l'alarme. Quand un poisson passera sous votre bateau, vous pourrait ainsi l'entendre grâce à l'alarme!
Le Fish I.D. peut également s'avérer très pratique lorsque vous désírez éliminez certains détails rassemblés par votre apparéil. Par exemple, il peut aider à réduire l'encombrement de bulles suspendues causées par l'action des vagues ou par le sillage du bateau.
Pour allumer le Fish I.D., pressez la touche MENU jusqu'à ce que le menu FISH ID apparaisse à l'écran. Pressez la flèche du haut pour sélectionner ON, puis pressez la touche PWR. Pour le désactiver, repêze les mêmes étapes, mais utilisez la flèche du bas pour sélectionner OFF.
FISHTRACKTM
La fonction de FishTrack™ indique la profondeur du poisson lorsqu'un symbole apparait à l'écran. Pour l'allumer, pressez la touche MENU jusqu'à ce que le menu Fish ID apparaisse. Utilisez la flèche du haut pour sélectionner Track ON, puis pressez la touche PWR. Pour l'eteindre, repétéze les mêmes étapes, mais utilisez la flèche du bas pour sélectionner OFF. (Si vous souhaitez désactiver la fonction de FishTrack tout en continuant à utiliser le Fish I.D., pressez la flèche du bas pour sélectionner ON, puis pressez la touche PWR.) Rappelez-vous, la fonction de FishTrack fonctionne uniquement lorsque le repérage des poissons (Fish I.D.) est activé.

Menu FISH ID et repérage de poisson avec la fonction FishTrack activée. Le poisson se trouve à 44 pieds de profondeur.
FISHREVEALTM
Lorsque des retours de signaux sont visibles à l'écran, la fonction FishReveal™ repère les cibles cachées par les bruits de surface, les thermoclines, les lits d'herbes ou par d'autres abris, à l'aide de 10 niveaux de gris différents.
En fonctionnement normal (fonction FishReveal désactivée), les échos les plus faibles apparaissent en noir à l'écran, et les plus forts apparaissent en gris clair. Puisque tous les échos faibles apparaissent en noir, les échos de poissons se détachent bien du fond blanc. L'inconvénient est que tous les échos faibles - tels que les thermoclines - sont également accentués. Ce qui peutrenalre le repérage des poissons difficile au niveau des thermoclines ou d'autres abris.


A gauche, affichage du menu Chart Mode. La fonction FishReveal est désactivée et l'écran se trouve en mode normal. A droite, La fonction FishReveal est activée, en mode standard.
Il existe deux modes pour la fonction FishReveal : standard ou inversé. En mode standard, les échos les plus faibles sont blancs et les échos les plus forts sont noirs. Le niveau de gris des autres échos est proportionnel à la force du signal.
En mode Inversé, les échos les plus faibles sont noirs et les échos les plus forts sont blancs. Une fois de plus, le niveau de gris des autres échos est proportionnel à la force du signal. Dans les deux cas, le contrôle de la bande grise déterminée la gamme du noir au blanc.


A gauche, mode Standard. A droite, mode Inversé.
Pour activer la fonction FishReveal, pressez la touche MENU DOWN jusqu'à ce que le menu CHART SETUP apparaissé, puis appuyez sur la flèche du haut. Pressez la touche MENU DOWN jusqu'à ce que le menu CHART MODE apparaissé. Utilisez la flèche du bas pour sélectionner le mode que vous souhaitez. Pressez la touche PWR pour sortir du menu. Pour revenir en mode normal, repêze les étapes décrites ci-dessus, mais sélectionnez NORMAL avant de sortir du menu.
VITESSE DE DÉFILEMENT (SCROLL SPEED) ET HYPERSCROLL™
La vitesse à laquelle les échos défilent à l'écran est appelée vitesse de défilament. Elle est réglée à 60% par défaut sur cet apparéil. Ce taux convient à quasiment toutes les conditions de pêche, c'est pourquoi nous vous conseillons de ne pas le changer.
Cependant, vous devrez peut être modifier la vitesse de défilament lorsque vous serez à l'arrêt ou à la dérive. Vous pourrez parfois obtenir deicieures images en réduisant la vitesse de défilament jusqu'à ce qu'elle soit égale à la vitesse à laquelle vous vous déplacez en travers du fond.
Passer à une vitesse de défilament supérieure à 60% peut être utile lorsqu'elles vous ne déplacez à grande vitesse. Tout réglage supérieur à 60% active la fonction HyperScroll™ de l'appareil. Ce dispositif permet aux échos de défilier à un très grande vitesse, offrant une mise à jour maximum à l'écran.
Si vous étés au mouillage, que vous pêchez sur la glace ou depuis un quai, réglez la vitesse de défilament sur 20% . Si vous dérivez lentement, essayer une vitesse de 40% . Lorsque vous étés à l'arrêt et
qu'unoisson entre dans le cône de détction du sonar, l'image apparait à l'écran sous la forme d'une longue ligne et non pas d'un arc. En réduisant la vitesse de défilament, la ligne se raccourcira et ressemblera davantage à un signal habituel.


À gauche, menu Scroll Speed régle par défaut à 60% . A droite, menu Scroll Speed avec fonction HyperScroll activée.
Si vous vous déplacez rapidement, essayer de régler l'HyperScroll à 80 ou à 100% . Lorsque vous utilisez la fonction HyperScroll, vous devez également réduire manuellement la sensibilité pour obtenir de plusieurs résultats. Selon l'état de l'eau, un second signal de fond et un grand nombre de parasites peuvent apparaître à l'écran lorsque l'HyperScroll est activé. Si cela se produit, réduisez simplement la sensibilité à un niveau où les bruits sont éliminés. Lorsque vous désactivez l'HyperScroll, vous pouvez régler la sensibilité à son niveau initial.
Ajustez la vitesse de défilament en pressant sur la touche MENU jusqu'à ce que le menu SCROLL SPEED apparaisse à l'écran. Utilisez la flèche du haut pour l'augmenter et la flèche du bas pour la diminuier. Pressez la touche PWR pour sortir du menu.
Pour rétablit la vitesse initiale, repétez les étapes décrites ci-dessus, mais utilisez les touches fléchéées pour régler la vitesse de défilament à 60% avant de sortir du menu.
ASPTM (Advanced Signal Processing: Traitement avancé des signaux)
La fonction ASPTM est un système d'élimination des signaux parasites intégré au sonar. Il évalue constamment les effets de la vitesse du bateau, des conditions de l'eau et des interférences électriques et
procure automatiquement, dans la plupart des cas, la(Meilleure visualisation possible à l'écran.
La fonction ASP élimine efficacement les signaux parasites. Pour le sonar, les signaux parasites (ou bruit) sont des signaux indésirables. Ils sont causés par des sources électriques ou mécaniques telles que les pompes de drain, les installations électriques et les systèmes d'allumage du moteur, les bulles d'air circulant à la surface du transducteur, et mêmes les vibrations provenant du moteur. Dans tous les cas, les signaux parasites peuvent produit des interférences à l'écran.
Le dispositif d'élimination des signaux parasites ASP est particulièrement utile car il vous permet de conduire votre bateau à n'importe qu'elle vitesse sans avoir à ajuster la sensibilité ou d'autres paramètres.

Menu d'Elimination du Bruit (Noise Reject).
La fonction ASP possède quatre réglages différents – étèint, faible, moyen et élevé. A la mise sous tension initiale, l'antiparasitage est réglé au niveau faible. Si vous observez des niveaux élevés de signaux parasites, réglez l'ASP à un niveau moyen ou élevé. Cependant, si le bruit persististe, nous vous suggérons de retrouver la source à l'origine des interférences et de prendre les mesures nécessaires pour régler le problème,只不过 que d'utiliser constamment la fonction ASP en mode élevé.
Vous pourrait parfoisCHOISIR de ne pas utiliser l'ASP.Ceci vous permettra de visionner tous les échos avant quils ne soient traités par la fonction ASP.
Pour modifier le réglage de l'ASP, pressez la touche MENU DOWN jusqu'à ce que le menu NOISE REJECT apparaisse à l'écran. Utilisez les touches fléchéées pour sélectionné le niveau que vous désirez, puis pressez la touche PWR pour sortir du menu.
ALARMES
L'appareil possède deux types d'alarmes différents, une alarme pour les poissons, et une pour la profondeur.
Alarme de poisson (Fish Alarm)
L'alarme de poisson émet une tonalité lorsqu'un symbole de poisson apparait à l'écran. Cette alarmé est activée par défaut, mais la fonction Pourmettre le dispositif de repérage des poissons (Fish I.D.) en route, pressez la touche MENU jusqu'à ce que le menu Fish ID apparaisse à l'écran. Utilisez la flèche du haut pour selectionner ON, puis pressze la touche PWR.
Pour désactiver l'alarme sans éteindre le repérage des poissons, pressez la touche MENU DOWN jusqu'à ce que le menu FISH ALARM apparaissée. Utilisez la flèche du bas pour sélectionner OFF, puis pressez la touche PWR pour sortir du menu. Repéteze ces étapes pour réactiver l'alarme, mais utilisez la flèche du haut pour sélectionner ON avant de quitter le menu.

Menu de l'Alarme pour poisson.
Alarmes de profondeur (Depth Alarms)
Les alarmes de profondeur sont déclenchées uniquement par le signal du fond. Aucun autre écho ne peut les activer. Elles se composent d'une alarme pour les eaux peu profondes et d'une alarme pour les eaux profondes. L'alarme pour les eaux peu profondes émet un signal sonore lorsque la profondeur du fond devient inférieure à la valeur fixée pour
le déclenchement de l'alarme. L'alarme pour les eaux profondes émet un signal sonore lorsque la profondeur du fond est supérieure à cette fixée pour l'alarme. Les deux alarmes se reglent de la même manière, mais à travers des menus différents.
Alarme de Bas-Fond (Shallow Alarm)
Pour régler la profondeur de cette alarme, pressez la touche MENU DOWN à plusieurs reprises jusqu'à ce que le menu SHALL OW ALARM apparaisse.

Menu de l'Alarme de Bas-Fond.
Utilisez la flèche du haut pour augmenter la profondeur de l'alarme ou la flèche du bas pour la diminuer. Le nombre visible dans la fenêtre du menu correspond au réglage actuel de l'alarme. Une fois que vous aurez atteint le réglage que vous désirez, pressez la touche PWR pour sortir du menu. Lorsque la profondeur du fond sera inférieure à la profondeur fixée pour l'alarme, un signal sonore sera émis et un message apparaître à l'écran.
Appuyez sur la flèche du haut pour arrêté l'alarme. Le signal sonore sera émis de nouveau lorsque l'alarme de bas-fond sera réactivée.
Pour désactiver l'alarme, presse la touche MENU DOWN à plusieurs reprises jusqu'à ce que le menu SHALLow ALARM apparaissé à l'écran. Appuyez sur la flèche du bas jusqu'à ce que les mots OFF FEET apparaissent, puis presse la touche PWR pour sortir du menu.
Alarme de Haut-Fond (Deep Alarm)
Pour régler l'alarme, pressez la touche MENU DOWN à plusieurs reprises jusqu'à ce que le menu DEEP ALARM apparaissé à l'écran.
Utilisez la flèche du haut pour augmenter la profondeur de l'alarme ou la flèche du bas pour la diminuer. Le nombre visible dans la fenêtre du menu correspond au réglage actuel de l'alarme. Une fois que vous aurez atteint le réglage que vous désirez, pressez la touche PWR pour sortir du menu. Lorsque la profondeur du fond sera supérieure à la profondeur fixée pour l'alarme, un signal sonore sera émis et un message apparaitra à l'écran.

Menu de l'Alarme de Haut-Fond.
Appuyez sur la flèche du haut pour arrêté l'alarme. Le signal sonore sera émis de nouveau lorsque l'alarme de haut-fond sera réactivée.
Pour désactiver l'alarme, pressez la touche MENU DOWN à plusieurs reprises jusqu'à ce que le menu DEEP ALARM apparaissé à l'écran. Appuyez sur la flèche du bas jusqu'à ce que les mots OFF FEET apparaisent, puis pressez la touche PWR pour sortir du menu.
RÉGLAGE DU SYSTÉME (SYSTEM SETUP)
Pour personneliser l'affichage de votre apparéil, pressez la touche MENU DOWN jusqu'à ce que le menu SYSTEM SETUP apparaïssé à l'écran, puis appuyez sur la flèche du haut. Les fenêtres de contraste, d'unités de mesure et de température, et les informations concernant le système sont toutes contrôlees par ce menu. Le menu du Contraste apparait en premier. Pressez l'une des touches MENU (UP ou DOWN) pour naviguer dans les menus. Lorsque vous aurez terminé, pressez la touche PWR pour sorting.

Menu de Réglage du Systeme.
RéGLAGES DE L'AFFICHAGE RÉTRO-ÉCLAIRAGE (BACKLIGHTS)
L'écran est rétro-éclairé pour une utilisation nocturne. Pour allumer ou êtreindre le rétro-éclairage, presse la touche MENU à plusieurs reprises jusqu'à ce que le menu BACK LIGHT apparaitse. Appuyez sur la flèche du haut pour allumer l'éclairage ou sur la flèche du bas pour l'éteindre.

Menu du Rétro-Eclairage (Backlight).
CONTRASTE
Le contraste est régliable de façon à pouvoir s'adapter aux conditions d'éclairage extérieures. Cela vous permettra de regarder l'écran avec différents angles ou à différents moments de la journée. Le contraste est réglo par défaut à 50 pour cent.
Pour modifier le contraste, pressez la touche MENU DOWN jusqu'à ce que le menu SYSTEM apparaisse à l'écran, appuyez sur la flèche du haut pour que le menu CONTRAST apparaisse. Pour réduire le contraste, utilisez la flèche du bas. Utilisez la flèche du haut pour l'augmenter. Le petit graphique qui s'affiche dans la fenêtre du menu indique le niveau
de contraste. Vous pourrez également visualiser le changement à l'écran. Lorsque vous atteignez les limites maximale ou minimale de réglage, un signal sonore est émis pour vous en informer. Pressez la touche PWR pour sortir du menu.

Menu du Contraste.
UNITÉS DE MESURE DE LA PROFONDEUR
Cet apparéil peut afficher la profondeur en Pieds, en Brasses ou bien en Mètres.
Pour changer d'unité de mesure, pressez la touche MENU DOWN jusqu'à ce que le menu SYSTEM apparaissse à l'écran, appuyez sur la flèche du haut, puis pressez la touche MENU jusqu'à ce que le menu DEPTH apparaissse. Utilisez les touches fléchéées pour sélectionner l'unité que vous souhaitez, puis pressez la touche PWR pour sortir du menu.

Le Menu de la Profondeur (Depth) vous permet de selectionner l'unité de mesure dans laquelle la profondeur s'affichera à l'écran.
UNITÉS DE MESURE DE LA TEMPERATURE
Cet appeareil peut afficher la température en degrés Fahrenheit ou bien en degrés Celsius (si un capteur de température estprésent). Pour modifier l'unité de mesure, pressez la touche MENU DOWN jusqu'à ce que le menu SYSTEM apparaissée à l'écran. Appuyez sur la flèche du haut, puis pressez la touche MENU jusqu'à ce que le menu TEMPERATURE apparaisse. Utilisez les touches fléchéées pour selectionner l'unité de mesure que vous désirez, puis pressez la touche PWR pour sortir du menu.

Choix de l'unité de mesure dans le menu de la Température.
UNITS DE MESURE DE LA VITESSE ET DE LA DISTANCE PARCOURUE
La vitesse et la distance parcourue peuvent être affichées en miles (MPH - Miles per Hour), en miles marin (nœuds), ou en Métrique (Kilomètres par Heure), si un capteur de vitesse est installé. Pour changer l'unité de mesure, pressez la touche MENU DOWN jusqu'à ce que le menu SYSTEM apparaisse à l'écran. Appuyez sur la flèche du haut, puis pressez la touche MENU jusqu'à ce que le menu SPEED/LOG apparaisse. Utilisez les touches fléchées pour selectionner l'unité de mesure souhaitée, et pressez ensuite la touche PWR pour sorting du menu.

Menu de la Vitesse (Speed).
REMISE À ZERO DE LA DISTANCE PARCOURUE (RESET DISTANCE LOG)
Vous pouvez remettre la distance parcourue à zéro avec cette fonction. Pressez la touche MENU DOWN jusqu'à ce que le menu SYSTEM apparaissée à l'écran, puis appuyez sur la flèche du haut. Pressez sur MENU jusqu'à ce que le menu RESET LOG apparaissée. En appuyant sur la flèche du haut, l'enregistrement se remettra à zéro. Pressez la touche PWR pour sortir du menu.

Menu de remise à zéro de l'enregistrement de la distance parcourue.
FONCTION DE PRÉRÉGLAGE (PRESET UNIT)
Cette commande est utilisée pour redonner à toutes les fonctions, options et paramètres leur valeur par défaut. Elle est utile lorsque vous avez modifié plusieurs paramètres et que vous souhaitez que l'appareil retrouvance un fonctionnement automatique de base.
Presse la touche MENU DOWN jusqu'à ce que le menu SYSTEM apparaissé, puis appuyez sur la flèche du haut. Pressez sur MENU DOWN jusqu'à ce que le menu PRESET UNIT apparaissé. Appuyez sur la flèche du haut et l'appareil s'éteindra automatiquement et réinitialisera tous les paramètres. Rallumez l'appareil en pressant la touche PWR.

Le menu de préréglage redonne à l'appareil tous les paramètres reçus à l'usine.
INFORMATIONS SYSTÉME (SYSTEM INFO)
Pour visualiser les informations concernant le système d'exploitation, pressez la touche MENU DOWN jusqu'à ce que le menu SYSTEM apparaisse à l'écran, puis appuyez sur la flèche du haut. Pressez la touche MENU DOWN jusqu'à ce que la fenêtre SYSTEM INFO apparaisse. Appuyez sur PWR pour sortir du menu.

Écran d'Informations Systeme.
SIMULATEUR (SIMULATOR)
Cet apparéil est muni d'un simulator intégré qui affiche un signal de fond et des signaux de poissons virtuels. Cette fonction vous permet d'utiliser votre apparéil comme si vous étiez sur l'eau; toutes les options et fonctions de l' apparéil sont utilisables. Un message apparaît occasionallyment pour vous rappelez que le simulator est activé.
Pour utiliser le simulator, pressez la touche MENU DOWN à plusieurs reprises jusqu'à ce que le menu SYSTEM apparaisse à l'écran, puis appuyez sur la flèche du haut. Pressez la touche MENU DOWN jusqu'à ce que le menu SIMULATOR apparaisse. Appuyez à présent sur la flèche du haut pour l'activer, et pressez la touche PWR pour sortir du menu. Repétéz les mêmes étapes pour le désactiver, ou éteignez et rallumez simplement l'appareil.

Menu du Simulateur.
REMARQUE:
Si vous allumer votre sondeur avant d'avoir installé le transducteur, l'appareil peut entraer en mode démo (démonstration). Les mots « demo mode » clignotent en haut de l'écran et l'appareil fonctionne quasiment comme en mode de simulation. Contrairement au simulator, le mode démo sert de démonstration uniquement, et s'arrête automatiquement dés que vous rallumerez le sondeur après avoir installé le transducteur. Le simulator quant à lui continue a de fonctionner normalement.
RÉGLAGE GRAPHIQUE (CHART SETUP)
Le menu de Réglage Graphique vous permet de personneliser davantage votre affichage. La taille de l'affichage de la profondeur, de la température, de la vitesse et de la distance parcourue peut être
personnalisée grâce à ce menu. Les échelles de profondeur à droite de l'écran peuvent être modifiées, et la fonction FishReveal peut être désactivée.
Pour acceder à la liste des menus du Réglage Graphique, pressez la touche MENU DOWN jusqu'à ce que le menu CHART SETUP apparaissée à l'écran. Appuyez sur la flèche du haut et utilisez ensuite les touches fléchées pour naviguer dans les différents menus du réglage graphique.

Menu de Réglage Graphique.
RECHERCHE DE LIMITE (LIMIT SEARCH)
La fonction de Recherche de Limite permet de maintainir un affichage avec un maximum de détails lorsque vous vous déplacezrapidement dans des eaux profondes (200 pieds environ). Lorsque la Recherche de Limité est activée, elle empêche le sonar numérique de passer outre la portée en profondeur fixée par le sonar.
La Recherche de Limité empêche pour cela le sonar numérique de réduire la vitesse d'émission des ondes sonores pendant qu'il recherche et déetecte automatiquement le fond. Cette fonction est désactivée par défaut, ce qui devrait convenir à la plupart des situations de pêche en eau douce. Un bateau lancé à grande vitesse avec une vitesse d'émission des ondes sonores lente (due à la profondeur importante du fond) peut réduire la vitesse de régénération des images à l'écran. Ceci provoquera une réduction de la quantité des détails affichés à l'écran. Essayez d'utiliser cette commande uniquement lorsque vous vous trouvez en eau profonde et que vous vous déplacez à grande vitesse, et observerz la réduction des détails affichés à l'écran. Lorsque la fonction
Recherche de Limité est activée, le sonar numérique limititera sa recherche du fond à la gamme de profondeur que vous aurez fixée pour votre sonar (portée).
REMARQUE:
Activer la Recherche de Limite peut parfois faire perdre le signal de fond au sonar. La profondeur numérique clignotera si c'est le cas.
La portée en profondeur doit être en mode manuel pour pouvoir utiliser la fonction de Recherche de Limité. Pour passer du mode automatique au mode manuel, pressez la touche MENU jusqu'à ce que le menu RANGE apparaissée à l'écran. Utilisez les touches fléchéées pour sélectionner la portée que vous désirez. Lorsque vous avez terminé, pressez la touche PWR pour sortir du menu.
Presse ensuite la touche MENU DOWN jusqu'à ce que le menu CHART SETUP apparaissée à l'écran, puis appuyez sur la flèche du haut pour acceder à la liste des fonctions proposées, parmi lesquelles figure le menu LIMIT SEARCH. Appuyez sur la flèche du haut pour l'activer puis pressez la touche PWR pour sortir.

Menu de la recherche de limite.
Pour désactiver la fonction de Recherche de Limite, repêze les mêmes étapes mais appuyez sur la flèche du bas pour sélectionner Off. N'oubliez pas de remettre la portée en profondeur en mode automatique. Ceci restaurera l'aptitude du sonar numérique à détecter automatiquement le fond.
FRéQUENCY (Changement de la fréquence du transducteur) (SeaFinder 240DF uniquement)
Le transducteur SeaFinder 240DF fonctionne avec les fréquences 200kHz et 50kHz . La fréquence de 200kHz offre un cône de détction de 12^ et la fréquence de 50kHz offre un cône de détction de 36^ .
La fréquence par défaut est de 200kHz , ce qui est le mieux adapté à une'utilisation en eau peu profonde (300 pieds environ et moins). Cette fréquence est la meilleure dans environ 80% des cas de péche sportive en eau douce ou salée. Lorsque vous naviguez en eau salée également profonde, de 300 à 500 pieds ou plus, la fréquence de 50kHz sera la mieux adaptée.
Le transducteur 200kHz yous procurera deilleurs details et une
meilleure definition, mais une pénétration réduite en profondeur. Le
transducteur 50kHz offrira une lecture plus en profondeur, mais un peu
moins de détails et une moins bonne definition. (Rappelez-vous que
tous les sonars offrent généralement une(Meilleure lecture en
profondeur dans une eau douce plutot que dans une eau salée).
Il existe une exception commune à ces règles générales. Certains pécheurs sur lacs d'eau douce (ou sur l'océan) utilisant des downriggers aiment les visualiser à l'écran du sonar. Dans la plupart de ces cas, vous observerez l'utilisation d'une fréquence de 50kHz car le côte de détction plus large leur permet de visualiser l'appat.

Menu de la Fréquence avec 200kHz sélectionné.
Pour modifier la fréquence, pressez la touche MENU DOWN jusqu'à ce que le menu CHART SETUP apparaissée à l'écran, puis appuyez sur la flèche du haut pour acceder à la liste des fonctions proposées. Presssez la touche MENU UP jusqu'à ce que le menu FREQUENCY apparaissée. Appuyez sur la flèche du bas pour sélectionner 50 kHz, puis pressez la touche PWR pour sortir du menu. Pour revenir à 200kHz, repêze les mêmes étapes, mais appuyez sur la flèche du haut pour sélectionner 200 kHz.
TAILLE DES DONNÉES NUMERIQUES: PROFONDEUR, TEMPERATURE, VITESSE ET DISTANCE PARCOURUE
La taille des nombres affichés pour la profondeur, la température, la vitesse et la distance parcourue peut être modifiée individuellement
pour chaque donnée. Trois tailles sont proposées. L'affichage numérique peut également être activé ou désactivié.
Pour modifier l'une de ces options, pressez la touche MENU DOWN jusqu'à ce que le menu CHART SETUP apparaisse à l'écran, puis appuyez sur la flèche du haut. Utilisez les touches MENU pour naviguer dans la liste et afficher le menu que vous souhaitez, puis utilisez les touches fléchéées pour selectionner la taille des nombres que vous désirez ou pour désactiver l'affichage numérique. Pressez la touche PWR pour sortir des menus.




Menu pour le changement de taille des données numériques.
ÉCHELLES (SCALES)
L'échelle de profondeur à la droite de l'écran peut être désactivée. Elle est activée par défaut.


Menu des Echelles, avec l'échelle en mode activé (à gauche) et désactivé (à droite). Lorsque l'échelle est désactivée, seules les limites supérieure (upper) et inférieure (lower) sont affichées (ici zéro et 60).
Pour désactiver l'échelle, pressez la touche MENU DOWN jusqu'à ce que le menu CHART SETUP apparaissé à l'écran, puis appuyez sur la flèche du haut. Pressez la touche MENU DOWN jusqu'à ce que le menu SCALES apparaissé, puis appuyez sur la flèche du bas pour sélectionner UPPER LOWER ONLY. Pressez la touche PWR pour sortir du menu.
Pour réactiver l'échelle, pressez la touche MENU DOWN jusqu'à ce que le menu CHART SETUP apparaissée à l'écran, puis appuyez sur la flèche du haut. Pressez la touche MENU DOWN jusqu'à ce que le menu SCALES apparaissée, puis appuyez sur la flèche du haut pour sélectionner SHOW INTERMEDIATE. Pressez la touche PWR pour sortir du menu.
Dépannage
Si vous appeareil refuse de fonctionner ou si vous avez besoin d'assistance technique, veuilles consulter cette section de dépannage avant de contacter le service clientèle de l'usine. Cela pourrait vous éviter de returner votre apparéil pour qu'il soit réparé. Pour nous contacter, reportez-vous à la première page de ce manuel.
L'appareil ne s'allume pas:
- Vérifiez le raccordement du cable d'alimentation au niveau de l'appareil. Vérifiez également les fils.
- Assurez-vous que le cable d'alimentation soit bien branché. Le fil rouge doit être branché à la borne positive de la batterie et le fil noir à la borne négative ou à la masse.
- Vérifiez le fusible.
- Mesurez la tension de la batterie au niveau du connecteur d'alimentation de l'appareil. Celle-ci devrait etre d'au moins 11 volts. Si ce n'est pas le cas, le cablage de l'appareil est defectueux, les bornes de la batterie ou les fils au niveau des bornes sont corrodés ou la batterie est déchargee.
L'appareil fonctionne uniquement en mode démo :
- Le transducteur n'est pas branché ou a été débranché. Pour quitter le mode démo, assurez-vous que le transducteur soit bien branché avant d'allumer l'appareil.
L'affichage se fige, s'immobilise ou fonctionne par a-coupes :
- Des parasites électriques provenant du moteur de l'embarcation, du moteur de traine ou d'un accessoire peuvent provoquer des interférences au niveau du sonar. Il peut s'avérer utile d'acheminer à nouveau les cables d'alimentation et du transducteur loin des autres fils de l'embarcation. Relief le cable d'alimentation du sonar directement à la batterie只想 que de le faire passer par un portefusible ou par un interrupteur d'allumage.
- Vérifiez si le cable du transducteur présente des ruptures, des coupures ou des fils coincés.
- Vérifiez les câbles du transducteur et d'alimentation. Assurez-vous qu'ils soient tous deux bien branchés à l'appareil.
Écho de fond faible, lectures numériques irrégulières, ouaucun signal de poisson:
- Assurez-vous que le transducteur soit bien orienté vers le bas. Nettoyez la surface du transducteur. L'huile, la saleté et le carburant
peuvent former une pellicule, réduisant ainsi son efficacité. Si le transducteur est installé à l'intérieur de la coque, il ne doit être séparé de l'eau que par une seule couche de fibre de verre et il doit être bien fixé à la coque. N'utilise JAMAIS l'adhésif en caoutchouc silicone RTV ni la résine époxyde Marine-Tex™.
-
Des parasites électriques provenant du moteur du bateau peuvent nuire au sonar, le forçant ainsi à augmenter sa discrimination ou sa fonction d'antiparasitage. L'appareil peut alors éliminer de l'affichage des signaux plus faibles tels que ceux des poissons ou même因为他们 des structures.
-
La profondeur de l'eau peut excéder la capacité de l'appareil à couver le fond. L'affichage numérique clignotera continuèlement si le sonar ne peut pas repérer le signal de fond en mode automatique. Il peut également indiquer une portée dont les limites excédent largement la profondeur de l'eau dans laquelle vous vous trouvez. Dans ce cas, mettez l'appareil en mode manuel, indiquez une portée plus réaliste (de 0 à 100 pieds par exemple) et augmentez la sensibilité. Un signal de fond devrait apparaitre lorsque vous naviguerez en eau moins profonde.
-
Vérifiez la tension de la batterie. Si celle-ci diminue, la puissance de l'émetteur diminue également, réduisant la capacité de l'appareil à repérer le fond ou les cibles.
Disparition de l'écho de fond à grandes vitesses, affichage numérique irrégulier ou écho de fond faible lorsque l'embarcation est en mouvement:
-
Le transducteur peut se couver en eau turbulente. Il doit être placé à un endroit où la circulation de l'eau est régulière afin de permettre au sonar de fonctionner à n'importe qu'elle vitesse. Les bulles d'air prsentes dans l'eau perturbent les signaux du sonar, réduisant ainsi sa capacité à repérer le fond ou les autres cibles. Le terme technique de ce phénomène est la cavitation.
-
Les parasites électriques provenant du moteur de l'embarcation peuvent nuire au sonar, le forçant à augmenter sa discrimination ou sa fonction d'antiparasitage. L'appareil peut alors éliminer de l'affichage les signaux plus faibles tels que ceux des poissons ou mêmes ceux des structures. Essayez des bougies à résistance ou éloignez le cable d'alimentation du sonar et le cable du transducteur des autres fils électriques de l'embarcation.
Aucun arc de poissons ne s'affiche lorsque le repérage des poissons (Fish I.D.) est désactivé:
-
Assurez-vous que le transducteur soit dirigé bien droit vers le bas. Il s'agit du problème le plus souvent lorsqu'un arc partiel est affchéé.
-
La sensibilité n'est peut être pas suffisamment élevé. Voteille ne peut afficher un arc de poisson que s'il reçoit l'echo du poisson depuis son entrée dans le ccone de détction jusqu'à sa sortie. Si la sensibilité n'est pas assez élevé, l'appareil ne montre le poisson que lorsqu'il se trouve au centre du ccone de détction.
-
Utilisez le zoom. II est beaucoup plus facile de visualiser des arcs de poissons sur une portée réduite. Par exemple, vous aurez beaucoup plus de chance de voir des arcs de poissons sur une portée de 30 à 60 pieds que sur une portée de 0 à 60 pieds. Les cibles sont en effet agrandies et l'affichage montre beaucoup plus de détails.
-
L'embarcation doit se déplacer lentement pour que les arcs de poissons soient visibles. Si le bateau est immobile, les poissons demeurer dans le cône de détction, apparaisent à l'écran sous forme de lignes horizontales rectilignes.
BRUITS PARASITES
Les parasites électriques représentent une part importante des problèmes liés à l'utilisation du sonar. Ceux-ci apparaissent habituèlement à l'écran sous forme de motifs aléatoires, de lignes ou de points éc pars. Dans les cas extrêmes, l'écran peut être complètement recouvert de points noirs, l'appareil peut fonctionner de façon irrégulière ou ne pas fonctionner du tout.
Pour éliminer ou réduire les effets des parasites électriques, essayez tout d'abord d'en déterminer la cause. Avec le bateau immobile sur l'eau, placez tout le matériel électrique hors tension. Assurez-vous que le moteur est également étant. Allumez votre sonar, puis désactiver le système d'élimination des parasites [connu sous le nom de fonction ASP (Advanced Signal Processing)]. Un signal de fond constant devrait apparaitre à l'écran. Placez à présent chaque élément électrique du bateau sous tension et observez à l'écran son effet sur le sonar. Par exemple, actionnez la pompe de drain et vérifie si des parasites apparaisent à l'écran du sonar. Si aucun parasite n'apparait, arrêtez la pompe et activez ensuite le poste de radio VHF (hyperféquences). Procedez ainsi avec tout le matériel électrique, en observant pour chaque élément son effet sur l'écran du sonar et en le plaçant ensuite hors tension.
Si vous détectez des parasites avec l'un des éléments électriques, moteur, pompes ou radio, essayez d'isoler le problème. Vous pouvez habituèlement acheminer à nouveau le cable d'alimentation et le cable du transducteur du sonar loin des fils provoquant ces interférences. Les cables d'antenne de radio VHF produit des parasites lors de la transmission; assurez-vous que les fils du sonar en soient éloignés.
Peut-être devrez-vous relier le cable d'alimentation du sonar directement à la batterie pour l'isoler des autres fils de l'embarcation.
Si le matériel électrique ne fait pas apparaitre de parasites à l'écran du sonar, assurez-vous que tous les éléments électriques du bateau sont hors tension, à l'exception du sonar, et mettez le moteur en marche. Augmentez le régime en restant au point mort. Si des parasites apparaisent à l'écran, le problème pourrait se situer au niveau des bougies, de l'alternateur ou des fils du compte-tours. Essayez d'utiliser des bougies à résistance, des filtres d'alternateur ou acheminez le cable d'alimentation du sonar loin des fils du moteur. On peut une fois de plus éliminer ces problèmes en reliant le cable d'alimentation directement à la batterie. Assurez-vous d'utiliser le fusible en ligne fourni avec cet apparéil pour relier le cable d'alimentation à la batterie
Lorsque aucun parasite n'apparait à l'écran après tout ces essais, le bruit provient alors probablement de la cavitation. Plusieurs débutants ou amateurs procéderont à une installation rapide du sonar qui fonctionnera parfaitement en eau peu profonde ou lorsque le bateau sera à l'arrêt. Dans la plupart des cas, le problème dépend de l'emplacement et/ou de l'angle d'orientation du transducteur. La face du transducteur doit être soumise à un début d'eau constant et ce à n'importe qu'elle vitesse. Consultez le manuel d'utilisation du transducteur pour connaître la position d'installation ideale.
EAGLE ELECTRONICS, INC GARANTIE COMPLETE DE UN AN
"Nous" ou "notre" désigne EAGLE ELECTRONICS, INC, fabricant de ce produit. "Vous" ou "votre" désigne l'acheteur original de ce produit, en tant qu'article de consommation pour un usage personnel, familial ou menager.
Nous garantissons ce produit contre toute défectuosité ou tout mauvais fonctionnement concernant les matériaux et la fabrication et contre toute non-conformité de ce produit aux specifications inscrites et ce, pour une durée de un an (1) à partir de la date d'achat original. NOUS NE FORMULONS AUCUNE GARANTIE EXPRESSE NI REprésentATION DE QUELQUE SORTE QUE CE SOIT CONCERNANT CE PRODUIT. Vos recours durant cette garantie seront offerts dans la mesure où vous pourrez montrer d'une manière raisonnable que toute défectuosité ou tout mauvais fonctionnement concernant les matériaux ou la fabrication ou que toute non-conformité aux specifications écrites du produit sont survenus durant la période de un an suivant la date d'achat original, laquelle doit être justifiée par un reçu de vente dated. Le cas échéant, les apparciels seront soit réparés sans frais, soit replacés par un produit neuf identique ou visiblement équivalent, à notre guise, dans un délai raisonnable après la réception du produit. Néanmoins, si la défectuosité, le mauvais fonctionnement ou la non-conformité persistaient après un nombre raisonnable de tentatives de répartitions de notre part, vous pourrez opter pour le remplacement sans frais ou le remboursement du produit. CES RÉPARATION, REMPLACEMENT OU REMBOURSEMENT (DéCRITS CI-HAUT) CONSTITUENT LE RECOURS EXCLUSIF À VOTRE DISPOSITION POUR LES DÉFECTUOSITÉS, LE MAUVAI SFUNCTIONNEMENT OU LA NON-CONFORMITE DU PRODUIT OU POUR Toute PERTE OU TOUT ENDOMMAGEMENT RÉSULTANT D'UNE RAISON QUELCONQUE. EN AUCUN CAS, NOUS NE SERONS RESPONSABLES ENVERS QUICONQUE DE TOUT ENDOMMAGEMENT SPECIAL, INDIRECT OU ACCESSOIRE DE QUELQUE SORTE QUE CE SOIT.
Certaines États n'autorisent pas l'exclusion ni la restriction des dommages indirects ou accessoires, par conséquent, les restrictions ou exclusions précédentes peuvent ne pas s'appliquer.
Cette garantie NE s'applique PAS dans les circonstances suivantes: (1) lorsque les réparations du produit ou le service après-vente ont été faits par une autre personne que nous; (2) lorsque le produit a été connecté, installé, combiné, modifié, régle ou manipulé d'une manière autre que celle précisée dans nos directives fournies avec le produit; (3) lorsque le numéro de série a été effacé, modifié ou retireé ou, (4) lorsque toute défectuosité, tout problème, toute perte ou tout dommage résultat d'accident, d'abus, de négligence, d'inattention ou de tout manquement à accorder un service après-vente raisonnable et nécessaire conformément aux directives du manuel du propriétaire pour le produit.
Nous nous réservons le droit de modifier ou d'améliorer nos produits de temps en temps sans contracter l'obligation d'installer de telles améliorations ou modifications sur le matériel ou sur les articles préalablement fabriqués.
Cette garantie vous accorde des droits spécifiques légaux, mais vous pouvez avoir d'autres droits qui varient selon les États.
RAPPEL: Vous doivent conserver le reçu de vente comme preuve de la date d'achat original advenant qu'un service sous garantie soit nécessaire.
EAGLE ELECTRONICS, INC. PO BOX 669, CATOOSA, OK 74015 (800) 324-1354
Obtention de Service... ...dans les É-U.:
Nous soutenons votre investissement dans des produits de qualité grâce à un service rapide et spécialisé et à des pieces de rechange authentiques Lowrance. Si vous étés dans les É-U. et vous avez des questions, veuillez contacter le service à la clientèle de l'usine au numéro sans frais indiqué ci-dessous. Vous devez envoyer l'appareil à l'usine pour du service sous garantie. Veuillez appeler l'usine avant d'envoyer l'appareil. Le numéro de série de l'appareil vous sera demandé (indiqué ci-dessus). Utilisez le numéro sans frais suivant:
800-324-1356
Du lundi au vendredi 8h à 20h Heure Centrale
Lowrance Electronics peut juger nécessaire de changer ou d'interrompre nos politiques d'expéditions, règlement et offres spéciales à tout moment. Nous nous réservons le droit de procéder ainsi sans avis.
...dans le Canada:
Advenant que vous nécessitiez des réparations ou vous avez besoin d'assistance technique, veuillez contacter le service à la clientèle de l'usine. Avant de returné votre modèle défectueux contacter le service à la clientèle de Lowrance au numéro sans frais indiqué ci-dessous. Un technicien pourrait être en mesure de résoudre le problème, ce qui vous éviterait de nous returner l'appareil.
800-661-3983 905-629-1614 (lignede directe)
Du lundi au vendredi 8h à 20h Heure de l'est
...dehors le Canada et les É-U.:
Si vous nécessitez des réparations, contactez le commercant dans le pays d'acquisition de l'appareil. Pour localisé le commercant le plus proche veuilles consulter notre site web www.lowrance.com et cherchez la section Dealer Locator.
Commande d'Accessoires Informations
Pour commander des accessoires Eagle tels que des câbles d'alimentation ou de transducteurs, veuillez contacter:
1) Notre revendeur maritime local ou un magasin d'électronique. La plupart des revendeurs manipulant de l'equipement électronique maritime ou d'autres matériels électroniques pourront vous assister dans l'acquisition de ces articles.
Pour localiser un revendeur Eagle pres de chez vous, visitez notre site internet, www.eaglesonar.com et recherchez Dealer Locator. Vous pouvez également consulter directement votre annuaire téléphonique.
2) Pour les clients Américains: LEI Extras Inc., PO Box 129, Catoosa, OK 74015-0129
Téléphonez au 1-800-324-0045 ou visitez notre site internet www.lei-extras.com.
3) Les clients Canadiens peuvent écrire à l'adresse suivante:
Lowrance/Eagle Canada, 919 Matheson Blvd. E. Mississauga, Ontario L4W2R7 ou envoyer un fax au 905-629-3118.
Information pour Envoi
S'il s'avéré nécessaire de renvoyer un produit pour réparation ou pour échange, vous doivent tout d'abord receivevoir un numéro d'autorisation de renvoi de la part du Service Clientèle. Les produits expériés sans une autorisation de renvoi ne seront pas acceptés. Veuillez observer les conseils suivants pour le renvoi de votre article:
- Utilisez toujours le conteneur et le matériel de replissage d'origine dans lesquels votre produit était emballé.
- Assurez toujours votre colis contre la perte et les dommages pouvant survenir pendant l'envoi. Eagle n'assume aucune responsabilité pour les produits perdus ou endommagés pendant leur transit.
- Pour des essais appropriés, joignez une courte note à votre article pour déscrie le problème que vous rencontres. Assurez-vous d'y joindre votre nom, l'adresse de renvoi et un numéro de téléphone où vous joindre pendant la journée.
Visitez notre site Web:

www.eaglesonar.com

Une Pêche Extraordinaire, Simplifié.
Eagle Pub. 988-0143-701
Imprimé aux États-Unis 120402
© Copyright 2002
Tout Droits Réservés
Eagle Electronics
Notice Facile