XT19H42YT - Tracteur tondeuse POULAN - Notice d'utilisation et mode d'emploi gratuit
Retrouvez gratuitement la notice de l'appareil XT19H42YT POULAN au format PDF.
| Type d'appareil | Tondeuse autoportée |
| Modèle | Non précisé |
| Type de moteur | Essence |
| Largeur de coupe | Non précisé |
| Hauteur de coupe | Réglable |
| Transmission | Hydrostatique ou mécanique |
| Capacité du réservoir | Non précisé |
| Nombre de roues | 4 |
| Type de roues | Pneumatiques |
| Siège | Avec dossier |
| Poids | Non précisé |
| Utilisation recommandée | Pelouses de taille moyenne à grande |
| Accessoires compatibles | Non précisé |
| Système de coupe | Disques rotatifs |
| Frein | Non précisé |
| Garantie | Non précisé |
FOIRE AUX QUESTIONS - XT19H42YT POULAN
Téléchargez la notice de votre Tracteur tondeuse au format PDF gratuitement ! Retrouvez votre notice XT19H42YT - POULAN et reprennez votre appareil électronique en main. Sur cette page sont publiés tous les documents nécessaires à l'utilisation de votre appareil XT19H42YT de la marque POULAN.
MODE D'EMPLOI XT19H42YT POULAN
Lisez soigneusement le manuel suivez tous les averissements et les instructions de sécurité. Les blessures sérieues peuvent en résultat si vous ne lisez pas ces averissements et instructions de sécurité.
Portez toujours des lunettes de sécurité lors de l'utilisation.
Visitez notre site web: www.poulan-pro.com

AVERTISSEMENT: Débranchez toujours le fil de bougie d'allumage et pour prévenir les démarriages accidentels, posez-le de telle façon qu'il ne puisse pas entraer en contact avec la bougie d'allumage lors de l'installation, du transport, des ajustements ou des réparations.

AVERTISSEMENT: Ne descendez pas les pentes à point mort, vous pourriez perdre la commande du tracteur.

AVERTISSEMENT: Remorquez seulement les accessoires recommandees par et selon les specifications du fabricant de votre tracteur. Utilisez votre bon sens pendant que vous remorquez. Operez seulement avec la vitesse la plus réduite pendant que vous allez sur une pente. Il est dangereux d'avoir un chargement trop lourd pendant que vous opérez sur une pente. Les pneus peuvent détruire la traction avec la terre et vous faire perdre la commande de votre tracteur.

AVENTISSEMENT:
Les gaz d'échévement et certains composants des vehicules contiennent ou émettent des.
Des produits chimiques reconnus dangereux par l'Etat de la Californie, parce que cancérigènes ou teratogènes ou responsables d'autres troubles de la reproduction.

AVERTISSEMENT:
Les bornes des batteries, ainsi que toutes les bornes et leurs accessoires contenant du plomb, des dérivés du plomb ou des produits chimiques à base de plomb, sont reconnus dangereux par l'État de la Californie,icieque que cancérigènes ou teratogenes ou responsables d'autres troubles de la reproduction. Lavez-vous soigneusement les mains après les avoir touchés.
I. FONCTIONNEMENT GÉNÉRAL
- Veuillez tire, comprendre et suivre les instructions que vous trouvrez sur la machine et dans le manuel avant de commencer.
- Ne mettez ni vos mains ni vos pieds à proximé des parties tournantes ou sous la machine. Les orifices d'évacuation doivent être toujours libres.
- Seuls les adultes responsables doivent être autorisés à utiliser la machine.
- Débarrasssez la zone des objets comme les pierres, les jouets, les fils de fer, etc.. susceptibles d'être prélevés et projétées par les lames.
- Vérifiez si personne ne stationne dans la zone avant de commencer. Si quelqu'un pénétre dans la zone arrêté la machine.
- Ne portez jamais de passager.
- Ne tondez pas en marche arrière, sauf en cas de nécessite absolue. Regardez toujours vers le bas et vers l'arrière avant et pendant la marche arrière.
- Ne dirigez jamais le matériel de recharge vers qui que ce soit. Evitez de décharger le matériel contre un mur ou un obstacle. Le matériel risque de rebondir vers l'opérateur. Arrêtez les lames lorsque vous traverse des allées gravillonnées.
- Ne faites pas fonctionner la machine si le ramasse herbe, la protection de l'évacuation ou les autres dispositifs de sécurité ne sont en place et en bon état.
-
Ralentissez avant de tourner,
-
Ne laissez jamais la machine en marche sans surveillance. Arrêtes toujours les lames, tirez le frein à main, arrêtez le moteur et enlevez les clés avant de descendre.
- Dégagez les lames lorsqu'vous ne tonde pas. Arrêtez le moteur et attendes que tous les éléments soient complètement arrêtés avant de nettoyer la machine ou d'enlever le ramasse herbe ou de libérer la protection de l'évacuation,
- Ne faites marcher la machine que le jour ou à la lumière artificielle,
- Ne faites pas marcher la machine si vous estre sous l'influence de I'alcool ou de drogues.
- Faites attention à la circulation si vous opèrez à proximité d'une route ou si vous la traversez.
- Faites très attention lorsque vous chargez la machine sur un camion ou une remorque.
- Portez toujours des lunettes de protection lorsque vous utilisez la machine.
- Les statistiques montrent que les accidents provoqués par des tondeuses autoportées sont plus fréquents chez les opérateurs de plus de 60 ans. Ces personnes doivent évaluier leur capacité de conduire une tondeuse en garantissant un niveau de sécurité ajustat à eux-mêmes et aux autres.
- Respectez les recommendations du fabricant au niveau des poids des roues et des contrepoids.
- Libérez la machine des brins d'herbe, des feuilles ou autres débris accumulés susceptibles de toucher le tuyau d'échémpement ou les parties chaudes du moteur et de brûler. Ne laissez pas le bas de la tondeuse cisailleer des feuilles ou d'autres débris susceptibles de s'accumuler. Nettoyez l'huile et le carburant eventuèlement versé avant d'utiliser ou de ranger la machine. Laissez la machine refroidir avant de la ranger.
II. FONCTIONNEMENT DANS LES PENTES
Les pentes sont très souvent à l'origine de pertes de contrôle et de tonneaux, susceptibles de provoquer de graves blessures, même mortelles. Soyez très prudent lorsque vous opérez dans les pentes. Si vous n'étés pas en mesure d'affronter les pentes ou si vous vous sentez mal à l'aise, ne les tondez pas.
- Tondez les pentes en montant et en descendant, jamais transversalement.
- Faites attention aux trouss, aux ornieres, aux bosses ou autres objets cachés. La machine risque de capoter sur les sols inégaux. L'herbe haute peut cacher des obstacles.
- Sélectionnez une vitesse sol faible afin de ne pas devoir ralentir ou changer de vitesse dans les pentes.
- Ne tondez pas sur l'herbe humide. Les pneus risquent de mal adhérer.
Laissez toujours la machine embrayée lorsque vous descendez une pente. Ne mettez jamais au point mort dans les descentes.
- Evitez d'effectuer les démarrages, arrêtés ou virages dans les pentes. Si les pneus n'adhérent plus, dégagez les lames et procédez lentement vers le bas de la pente.
- Dans les pentes n'effectuez que des mouvements lents et progressifs. Ne changez jamais brusquement de vitesse ou de direction afin de ne pas faire culbuter la machine.
- Faites très attention lorsque vous utilisez la machine avec un ramasse herbe ou d'autres accessoires ; ils risquent de nuiré à la stabilité de la machine. Ne l'utilisez pas sur les pentes très raides.
N'essayez pas de stabiliser la machine en mettant un pied à terre. - Ne tondez jamais à proximé des ravins, des fossés ou des talus. La machine risque de culbuter à l'improviste par-dessus bord ou de précipiter si le bord s'éboule.
III. ENFANTS
Des accidents tragiques peuvent avoir lieu si l'opérateur ne fait pas très attention en présence d'enfants. Les enfants sont souvent très attirés par la machine et par la tonte. Ne croyez jamais que les enfants restent immobiles à l'endroit où vous venez de les laisser.
- Les enfants doivent se tener hors de la zone de tonte et sous la supervision d'un adulte responsable, autre que l'opérateur.
- Faites très attention et éteignez le moteur si un enfant pénétre dans la zone.
- Regardez toujours s'il n'y a pas d'enfants en bas âge vers le bas et vers l'arrière avant et pendant la marche arrière.
- Ne transportez jamais d'enfant même si les lames ne tournent pas. Ils pourraient tomber et se blesser gravement ou généré le fonctionnement de la machine. Les enfants qui ont déjà été transporteésAAParavant risquent de se précipiter dans la zone de toute pour faire un autre tour et d'être renversés par la machine.
- Ne laissez jamais les enfants utiliser la machine.
- Faites très attention à proximé des angles morts, des arbustes, des arbres ou d'autres objets susceptibles de cacher un enfant à la vue.
IV. REMORQUAGE
- Ne remorque qu'avac un vehicule concu pour l'attelage. N'accroche z'appareil remorqué qu'au crochet d'attelage.
- Suivez les recommendations du fabricant quant aux limites de poids des apparciels remorqués et au remorquage dans les pentes.
- Ne laissez jamais les enfants ou d'autres personnes à bord des apparèils remarqués.
- Dans les pentes, le poids de l'appareil remorqué risque de provoquer une perte de traction ou de contrôle
- Circulez lentement en maintainant les distances pour vous arrêté.
V. ENTRETIEN
MANIPULATION SûRE DE L'ESSENCE
Manipuez l'essence avec une prudence extrémeafin d'éviter les blessures personnelles et les dégats matériels. L'essence est extrémement inflammable et les vapeurs sont explosives.
- Eteignez les cigarettes, les cigares, les pipes et toutes les autres sources d'inflammation.
N'utilisez que des recipients d essence homologues.
Il est strictement interdit d'otier le capuchon du carburant ou d'ajouter du carburant lorsque le moteur est en marche. Laissez le moteur refroidir avant de faire le plein. - Ne faites jamais le plein à l'intérieur.
- Ne rangez jamais la machine ou le recipient du carburant dans un endroit en présence d'une flamme libre, d'étincelles ou d'une flamme pilote, comme par exemple un chauffe-eau ou d'autres apparéils.
- Ne replissez jamais les recipients dans un vehicule ou un camion ou une remorque ayant un revêtement en plastique. Placez toujours les recipients au sol, loin du vehicule, avant de les replir.
- Déchargez les apparèils à essence du camion ou de la remorque et faites le plein au sol. Si cela est impossible, faites le plein avec un écipient portable只不过 qu'avec une pompe.
- Laissez la buse au contact du bord du réservoir d'essence ou de l'ouverture du réseau jusqu'à la fin de l'opération de replissage. N'utilise pas de dispositif de verrouillage de la buse ouverte.
-
Si du carburant tombe sur vos vêtements, changez-les immédiatement.
-
Ne faites jamais déborder le réservoir. Remettez le capuchon de gaz en place et serrez solidement.
ENTRETIEN GÉNÉRAL
- Ne faites jamais fonctionner la machine dans un endroit clos.
- Tous les écrous et les boulons doivent être bien serrés pour que l'appareil fonctionne en condition de sécurité.
- Ne bricolez jamais les dispositifs de sécurité. Vérifiez régulièrement leur bon fonctionnement.
- Libérez la machine des brins d'herbe, des feuilles ou autres débris accumulés susceptibles de toucher le tuyau d'échévement ou les parties chaudes du moteur et de brûler. Nettoyez l'huile ou le carburant versés et éliminez les débris imbibés de carburant. Laissez la machine refroidir avant de la ranger.
- Si vous heurtez un objet, arrêtez et inspectez la machine. RépAREZ-la au besoin avant de redémarrer.
N'effectuez jamais ni réglages, ni réparations avec le moteur en marche. - Vérifiez frequentlyment les éléments du ramasse herbe et la protection l'évacuation et remplacez-les avec les pieces recommandées par le fabricant, en cas de besoin.
- Les lames de la tondeuse sont affuées. EnveloppEZ les lames ou portez des gants et faites très attention pendant les opérations d'entretien.





- Vérifiez fréquèment le fonctionnement du frein. Effectuez les opérations de réglage et d'entretien requises.
- Conservez et remplacez au besoin les autocollants de sécurité et d'instruction.
- Vérifiez si personne ne stationne dans la zone avant de commencer. Si quelqu'un pénétre dans la zone arrêtez la machine.
- Ne portez jamais de passager.
- Ne tondez pas en marche arrière, sauf en cas de nécessite absolue. Regardez toujours vers le bas et vers l'arrière avant et pendant la marche arrière.
- Ne transportez jamais d'enfant même siles lames ne tournent pas. Ils peuvent tomber et se blesser gravement ou généré le fonctionnement de la machine. Les enfants qui ont déjà été transporteésAAParavant risquent de se précipiter dans la zone de toute pour faire un autre tour et d'être renversés par la machine.
- Les enfants doivent se tenir hors de la zone de tonte et sous la supervision d'un adulte responsable, autre que l'opérateur.
- Faites très attention et éteignez le moteur si un enfant pénétre dans la zone.
- Regardez toujours s'il n'y a pas d'enfants en bas âge vers le bas et vers l'arrière avant et pendant la marche arrière.
- Tondez les pentes en montant et en descendant (15° maxi), jamais transversalement.
- Sélectionnez une vitesse sol faible afin de ne pas devoir ralentir ou changer de vitesse dans les pentes.
- Evitez d'effectuer les démarrages, arrêtés ou virages dans les pentes. Si les pneus n'adhérent plus, dégaze les lames et procédez lentement vers le bas de la pente.
Si la machine s'arrête en montée, dégagez les lames, engagez la marche arrière et reculez lentement. - N'effectuez pas de virage dans les pentes si cela n'est pas strictement nécessaire, et dans ce cas tournez lentement et progressivement dans la descente.
SPÉCIFICATIONS DE PRODUIT
| Capacité et le type d'essence: | 2,5 Gallons L'essence sans plomb normale |
| Type d'huile(API-SG-SL): | SAE 30 (supérieure de 32°F/0°C) SAE 5W-30 (inférieure de 32°F/0°C) |
| Capacité d'huile: | Avac un filtré 3.5 Pintes Sans filtré 3 Pintes |
| Bougie d'allumage:(Écart: 0,030 po/76 mm) | Champion RC12YC |
| Vitesse de marche | Marche en avant: 5,5/8,9 Marche en arrière: 2,4/3,9 |
| Système dechargeement: | 3 amps de batterie 5 amps des phares |
| Batterie: | AMP/HR: 28 MIN. CCA: 230 DIMENSION: U1R |
| Couple de rotation auboulon de lame: | 45-55 ft.-lbs. (61-75 N/m) |
FÉLICITATIONS pour votre achat. Ce tracteur Il a été concu, perfectionné, et fabriqué pour assurer un rendement et suturet maximum.
S'il survient d'un problème que vous ne peuvent pas résoudre, contactez le centre d'entretien autorisé le plus proche. Vous y trouvrez des techniciens qualifiés équipés des outils appropriés pour faire l'entretien et la réparation de ce tracteur.
Veuillez tire et conserver ce manuel. Les instructions qu'il contient vous permettront de monter, et d'entretenir correctement votre tracteur. Observe toujours les "REGLES DE SECURITE".
RESPONSABILITÉS DU CLIENT
- Lisez et observerz les règles de sécurité.
- Suivez un programme régulier d'entretien, et d'utilisation du tracteur.
- Suivez les instructions dans les sections Entretien et Entreposage de ce manuel du propriétaire.
AVERTISSEMENT: Ce tracteur est équipé d'un moteur à combustion interne et il ne doit pas être utilisé sur ou pres d'un terrain couvert d'arbres, d'arbrisseaux, ou d'herbe si le système d'échéappement n'est pas muni d'un pare-étincelles qui rencontre les exigences des lois locales applicables. Quand un pare-étincelles est utilisé, il doit être maintainu en bon etat de fonctionnement par l'opérateur.
Un pare-étincelles pour le silencieux est disponible au centre d'entretien autorisé le plus proche (Voir la section PIECES DE RECHANGE de ce manuel).
SOMMAIRE
RÉGLES DE SECURITÉ 2
SPECIFICATIONS DE PRODUIT 4
RESPONSABILITIES DU CLIENT 4
MONTAGE 5
UTILISATION 7
GUIDE D'ENTRETIEN 14
ENTRETIEN 14
RéVISION ET RÉGLAGES 18
ENTREPOSAGE 24
GUIDE DE DÉPANNAGE 25
GARANTIE 27
PIÉCES NON MONTÉES

(2) Clés

Tube de Vidange

Guide-pente
MONTAGE
Votre nouveau tracteur a ete monted a l'usine sauf les pieces qui ne sont pas montees pour l'expedition.
Quand on utilise l'expression "DROITE" ou "GAUCHE", elle signifie la droite ou la gauche à partir de la position derrière le volant de direction.
POUR SORTIR LE TRACTEUR DU CARTON
DEBALLEZ LE CARTON
- Enlevez toutes les pieces détachées et les petites boîtes contenant les pieces du carton.
- Couper le long des lignes pointillées sur les quatre surfaces de carton. Enlever les panneaux situés à chaque bout etétendre à plat les panneaux des côtes.
Vérifiéz s'il y a des pieces détachées et conservey-les.
VÉRIFIER LA BATTERIE (Voir la Fig. 1)
Levez le fond du siege à la position elevée.
- Si cette batterie est mise en service après le mois ou l'année indiquée sur l'étiquette (étiquette localisée entre les bornes), chargez la batterie pour un minimum d'une heures à 6-10 amps.
(Voir "BATTERIE" dans la section Entretien de ce manuel).

FIG. 1
AJUSTEZ LE SIÈGE (Voir la Fig. 2)
Assoyiez-vous sur le siège.
- Soulevez le levier de réglage (a) et glissez le siège jusqu'à ce que vous soyez dans une position comfortable qui vous permet d'appuyer complètement sure la pédale d'embrayage/frein.
- Relâchéz du levier pour assurer le siège en position.

FIG. 2
REMARQUE: Procidez comme suit pour retarder le tracteur de la palette en le faisant rouler ou en le conduisant.
AVENTISSEMENT: avant le démarrage, nous vous prions de litre, comprendre et suivre toutes les instructions dans la section Fonctionnement de ce manuel d'instructions. S'assurer que le tracteur soit place dans une zone bien aérée. S'assurer qu'il n'y a aucune personne ou objet.
POURRETIRERLETRACTEURDELAPALETTE EN LE FAISANT ROULER (Voir la section fonctionnement pour connaître l'emplacement et la fonction des commandes.)
- Placez le levier de levage d'accessoire à la position la plus haute.
- Appuyez sur la pédale de frein/embrayage pour dégager le frein de stationnement.
- Déplacez la commande de roue libre à la position roue libre pour débrayer la transmission. (Voir “POURTRANSPORTER” dans la section fonctionnement de ce manuel).
Retirez le tracteur hors de la palette en le faisant rouler.
- Enlevez le frettage qui tient le déflecteur de décharge contre le tracteur.
POUR RETIRER LE TRACTEUR DE LA PALETTE EN LE CONDUISANT (Voir la section fonctionnement pour connaître l'emplacement et la fonction des commandes.)
S'assurer d'avoir terminé toute phase d'assemblage.
Vérifiez le niveau de l'huile du moteur et replísez le réservoir d'essence.
- Placer le contrôle de la roue libre en position "transmission enclenchée".
- S'asseoir sur le siège, pressez la pédale de frien/embrayage et appliquer le frein de stationnement.
- Placez le levier de vitesse en position neutre (N).
- Placer le dispositif du levier du levage d'accessoire dans la position la plus haute.
- Retirez la clé du sac et démarrez le moteur (voir "POUR DEMARRER" dans la section Fonctionnement de ce manuel). Àpres le démarrage du moteur, déplacer la commande des gaz au point mort.
- Débloquez le frein de stationnement.
- Déplacez lentement le levier de vitesse vers l'avant et diriger lentement le tracteur hors de la palette.
- Appliquer le frein pour arrêté le tracteur, actionner le frein de stationnement et placez le levier vitesse au neutre.
- Tournez la clé à “Stop”.
Continuez selon les instructions suivantes.
VERIFIER LA PRESSION DES PNEUS
Les pneus de votre tracteur ont été surgonflés à l'usine pour l'expédition. La pression de pneu correcte est importante pour lesassageurs résultats de toute.
Réduisez la pression à l'intérieur des pneus à la valeur en PSI indiquée sur ceux-ci.
VERIFIER SI LA TONDEUSE EST DE NIVEAU
Pour les meilleurs résultats de tonte, le boitier de tondeuse doit être correctement nivele. Rêférez-vous à la section “POUR NIVELER LE BOITIER DETONDEUSE” dans la section Entretien et Réglages de ce manuel.
VÉRIFIÉR SITOUTES LES COURROIES SONT CORRECTEMENT EN PLACE
Référez-vous aux figures qui sont illustrées pour le remplacement des courroies d'entrainment de lame de tondeuse et des courroies de déplacement dans la section Entretien et Réglages de ce manuel. Assurez-vous que toutes les courroies soient correctement en position dans les guides-courroie.
VÉRIFIER LE SYSTème DE FREIN
Après vous être familiarisé avec le fonctionnement de votre tracteur, vérifie si les freins fonctionnent correctement. (Voir « POUR VÉRIFIER LES FREINS » dans la section Entretien et Réglages de ce manuel.)
LISTE DE CONTROLLE
AVANT D'UTILISER VOTRE TRACTEUR, NOUS VOULONS NOUS ASSURER QUE VOUS RECEVREZ LE MEILLEUR RENDEMENT DE CE PRODUIT DE QUALITE ET QUE VOUS EN SEREZ SATISFAIT.
LISEZ LA LISTE DE CONTROLE:
Toutes les instructions ont ete execuiles.
Il n'y a pas de pieces détachées dans le carton.
La batterie a ete correctement preparée et chargée.
√ Le siège a été ajusté à une position comfortable et il a été serré à fond.
Tous les pneus ont ete correctement gonflés. (Les pneus ont ete surgonflés pour l'expedition.)
Assurez-vous que le carter de tondeuse ait etecorrectement nivelé du devant à l'arriere/d'un cote à l'autre pour obtenir les meilleurs résultats. (Les pneus doivent etre correctement gonflés pour le nivlement.)
✓ Verifiez la tondeuse et les courroies d'entrainment. Assurez-vous qu'elles soient engagées sur les poulies et à l'intérieur de tous les guides-courroie.
Vérifiez le câblage. Assurez-vous que toutes les connexions soient bien attachées et que les fils soient correctement serrés.
Avant de conduire le tracteur, assurez-vous que la commande de la roue libre soit à la position de "transmission engagée" (Référez-vous aux sections de "POUR TRANSPORTER" dans le Manuel et l'Opérateur).
PENDANT QUE VOUS APPRENEZ À UTILISER VOTRE TRACTEUR, FAITES ATTENTION AU:
Niveau d'huile de moteur.
Réservoir d'essence (remplid essence sans plomb normale, fraîche, et propre).
Avant de démarrer le moteur, assurez-vous que vous comprendiez la fonction et l'emplacement de toutes les commandes.
Assurez-vous que le système de frein fonctionne sans risque.
Vérifiez si le Système de présence de l'opérateur et le Système de fonctionnement en marche arrière (ROS) fonctionnent correctement (Cf. les chapitres Fonctionnement et Entretien de ce manuel).
Il est important de purger la transmission avant de démarrer votre tracteur pour la première fois. Suivez les instructions correctes pour le démarrage et la purge de la transmission (Référez-vous aux sections de “POUR DEMARRER LE MOTEUR” et “PURGER LATRANSMISSION” dans le Manuel et l'utilisateur).
UTILISATION
Ces symboles peuvent se montrer sur votre tracteur ou dans les publications fournies avec le produit. Apprenez et comprendez la signification des symboles.


ROUE LIBRE (Seulement pour les mod les)

Le manquement à suivre les instructions de sécurité pourrait résultat en de sérieses blessures ou même la mort. Le symbole d'alerte à la sécurité est utilisé pour identifier les informations de sécurité à propos des risques, qui peuvent avoir pour résultatsats la mort, de sérieses blessures et/ou endommager votre propriété.
DANGER indique un risque qui, s'il n'est pas évité, aura comme conséquence la mort ou des blessures sérieuses.
AVERTISSEMENT indique un risque qui, s'il n'est pas évité, pourrait avoir comme conséquence la mort ou des blessures sérieuses.
ATTENTION indique un risque qui, s'il n'est pas évité, pourrait cause des blessures mineures ou modérées.
ATTENTION lorsqu'il est utilisé sans le symbole d'alerte, indique une situation qui pourrait résultat en un endommagement du tracteur et/ou du moteur.
SURFACES CHAUDES indique un risque qui, s'il n'est pas évité, pourrait avoir comme conséquence la mort, des blessures sérieues et/ou l'endommagement de la propriété.
FEU indique un risque qui, s'il n'est pas évité, pourrait avoir comme conséquence la mort, des blessures sérieues et/ou l'endommagement de la propriété.
UTILISATION
CONNAISSEZ VOTRE TRACTEUR
AVANT D'UTILISER VOTRE TRACTEUR, LISEZ CE MANUEL DE PROPRIETAIRE ET LES REGLES DE SECURITE
Comparez les illustrations ci-dessous a celles de votre tracteur afin de vous familiariser avec l'emplacement des différentes commandes et avec les reglages. Gardez ce manuel pour reference .
FIG. 3

Nos tracteurs conforment aux normes de sécurité de l'American National Standards Institute.
(A) LEVIER DE LEVAGE D'ACCESSOIRE - permet de soulever et de baisser le carter de tondeuse ou les autres accessoires montés au tracteur.
(B) PÉDALE DE FREIN - permet de débrayer la transmission, d'arrêter le tracteur et de démarrer le moteur.
(C) LEVIER DU FREIN DE STATIONNEMENT - bloque la pédale de frein/embrayage en position de frein (BRAKE).
(D) COMMANDE DES GAZ/ETRANGLEUR - permet de démarrer le moteur et de commander la vitesse de moteur
(E) LEVIER DE LEVAGED'ACCESSIONE -est utilisé pour engager les lames de tondeuse ou les autres accessoires montés sur le tracteur.
(G) COMMUTATEUR DU SYSTème DE PRÉSENCE DE L'OPÉRATEUR (ROS) POSITION "ON" - Permet le fonctionnement de la plate-forme de faucheuse ou de tout autre attachment actionné tandis qu'à l'envers.
(H) L'INTERUPTEUR DES LUMIÈRES - permet d'allumer/étéindre les phares du tracteur.
(J) LEVIER DE COMMANDE DE DÉPACEMENT- permet de désir la vitesse et la direction du tracteur.
(M) COMMANDE DE LA ROUE LIBRE - débraye la transmission pour le transport ou le remorquage du tracteur quand le moteur ne fonctionne pas.
UTILISATION

L'utilisation d'un tracteur présente le risque de projection des particules dans les yeux qui peuvent cause des blessures sérieuses. Portez toujours des lunettes de sécurité ou une visière pendant que vous utilisez, ou que vous faites des réglages ou des réparations au tracteur. Nous recommendons des lunettes de sécurité ou un masque large de sécurité porté au-dessus des lunettes.
POUR ENGAGER LE FREIN DE STATIONNEMENT (Voir la Fig. 4)
Votre tracteur est muni d'un interrupteur de détction de présence d'opérateur. Le moteur s'arrête, si l'opérateur quitte le siège sans engager le frein de stationnement lorsque le moteur marche.
- Appuyez à fond sur la pédale de frein/embrayage à la position de frein (BRAKE).
- Tirez sur levier du frein de stationnement (H) et tenez-le, relâchez la pression sur la pédale de frein/d'embrayage (D), puis relâchez le levier du frein de stationnement. La pédale devrait rester à la position de frein (BRAKE). Assurez-vous que le frein de stationnement retienne le tracteur sans risque.

FIG. 4
POUR ARRÊTER (Voir la Fig. 5)
LAMES DE TONDEUSE -
Pour arreter les lames de tondeuse, bougez levier d'embrayage d'accessoire à la position "Désengagée" (※)


LEVIER
D'ACCCROCHAGE à LA POSITION "ENGAGE"
FIG. 5

L'LEVIERE
D'ACCHOCHAGE A LA POSITION "DISENGAGED"
ENTRAJINEMENT -
Pour arrêté l'entrainment, abaisser complètement, la pédale d'embrayage/frein d'accessoire à la position "Frein".
- Déplacez le levier de changement (J) de vitesse à la position point mort.
MOTEUR -
- Placez la manette des gaz (D) en position intermédiaire (entre rapide et lent).
REMARQUE: Si vous outiliez de placer la manette en position intermédiaire, vous risquez de provoquer un "retour de flames".
- Tournez la clé (F) de contact à la position coupée STOP et enlevez-la. Enlevez toujours la clé de contact quand vous quittez le tracteur pour empêcher l'emploi non autorisé.
N'utilisez pas le starter (N) pour arreter le moteur.
IMPORTANT: SILE CONTACT D'ALLUMAGE EST LAISSI À UNE AUTRE POSITION QUE OFF, LA BATTERIE SI DECHARGERA (À PLAT).
REMARQUE: Quand le tracteur marche au ralenti, les gaz d'échévement d'un moteur chaud peut encauseur des dommages au gazon. Pour éviter les dommages, foupez toujours le moteur quand vous aurez arrêtez le tracteur sur le gazon.

ATTENTION: Arrêtez toujours le tracteur complètement, comme décrit ci-dessus, avant de quitter le tracteur; de vider le ramasse-herbe, etc.

FIG. 6
POUR UTILISER LA COMMANDE DES GAZ - D (Voir la Fig. 6)
Utilisez toujours le moteur à pleine vitesse (rapide).
- Faire fonctionner le moteur à une vitesse inférieure à sa vitesse maximalé (rapide) réduit l'efficacité du moteur (D).
- Une pleine vitesse (rapide) permet une(Meilleure performance de la tondeuse.
POUR AVANCER ET POUR RECULER (Voir la Fig. 7)
La direction et la vitesse de déplacement sont commandées par le levier de changement de vitesse (J).

FIG. 7
- Démarrez le tracteur avec le levier de commande de déplacement à la position point mort (N).
- Déclenchez le frein de stationnement.
- Relâchez lentement le levier de commande de déplacement à la position désirée.
POUR RÉGLER LA HAUTEUR DE COUPE DE LA TONDEUSE (Voir la Fig. 8)
La position du levier d'accrochage (B) détermine la hauteur de la tonte.

FIG. 8
- Placez le levier d'accrochage dans la rainure correspondant à la hauteur désirée.
- Faites glisser la languette (T) à la hauteur de tonte désirée à titre de rappel. Excellent lors de la prochaine utilisation.
La plage de réglage de la hauteur de coupe est environ de 3,81 cm (1-1/2 po.) à 10,16 cm (4 po.). Les hauteurs sont mesurées du terrain à l'extrémité de la lame quand le moteur ne marche pas. Ces hauteurs sont approximatives et elles pourraient changer à cause des conditions du terrain, de la hauteur de l'herbe et des types d'herbe qui sont tondus.
La pelouse doit être tandue à 6,35 cm (2-1/2 po.) pendant la saisson fraîche et à plus de 7,62 cm (3 po.) pendant la saison chaude. Tondez souvent pour lesassageurs résultats.
Pour le meilleur rendement, si l'herbe mesure plus de 15,24 cm (6 po.), vous devez la tondre deux fois. La première fois laissez-la plutôt longue; et la deuxième fois à la hauteur désirée.
POUR RÉGLER LES ROUES DE JAUGE (Voir la Fig. 9)
Les roues sont bien régliées quand elles se trouvent légrement au-dessus du sol lorsque la tondeuse est à la hauteur de coupe désirée. Dans ce cas, les roue gardent le carter en place pour prévenir le dégazonnement de la plupart des terrains.
REMARQUE: Réglez les roues quand le tracteur est sur un terrain plat.
- Réglez la tondeuse à la hauteur de coupe désirée (Voyez la section de “POUR RÉGLER LA HAUTEUR DE COUPE DE LA TONDEUSE” dans la section fonctionnement de ce manuel).
- Quand la tondeuse est à désirée pour la hauteur de coupe désirée, les roues devraient être montées légèrement audressus du sol. Installez la roue dans le trou approprié. Serrez à fond.
- Répétez de l'autre côté. Installez la roue dans le même trou réglable.

FIG.9
POUR UTILISER LA TONDEUSE
Votre tracteur est muni d'un interrupteur de détction de présence d'un opérateur. Le moteur s'arrête si l'opérateur essaire de quitter le siège pendant que le moteur fonctionne et que l'embrayage d'accessoire est engagé. Vous doivent rester bien assis au milieu du siège pour éviter que le moteur hésite ou s'arrête quand le tracteur est utilisé sur un terrain accidenté ou des collines.
- Sélectionnez la hauteur de tonte désirée à l'aide du levier d'accrochage.
- Engagez les lames de tondeuse en déplaçant la commande d'embrayage d'accessoire à la position embrayée (ENGAGED).
POUR ARRÊTER LES LAMES DE TONDEUSE -
Déplacez la commande d'embrayage d'accessoire à la position débrayée (DISENGAGED).

ATTENTION: N'utilisezpas la tondeuse sans le deflecteur ou sans le ramasse-herbe s'il y a lieu.

FIG. 10
UTILISATION
SYSTEME DE FONCTIONNEMENT EN MARCHÉ ARRÊRÈRE (ROS)
Votre tracteur est équipé d'un Système de fonctionnement en marche arrêté (ROS). Si l'opérateur tente de circuler en marche arrêté avec l'embrayage de l'accessoire engagé il provoquera l'arrêt du moteur à moins que la cléf d'allumage soit place dans la position ROS "ON".
A VERTISSEMENT: Il est fortement déconseilé de faire recycler avec l'embrayage de l'accessoire de tonte engagé. L'opérateur ne doitmettre le ROS sur ON, pour pouvoir recycler avec l'embrayage de l'accessoire engagé, que s'il l'estime réellement nécessaire pour repositionner la machine avec l'accessoire engagé. Ne tonde pas en marche arrêté à moins qu'absoluty nécessaire.
UTILISATION DU SYSTEME DE FONCTIONNEMENT EN MARCHE ARRÈRE
N'utilisez que si vous étés certain qu'aucun enfant ou tiers n'est present sur la surface à tandre.
- Placez le levier de vitesse au point mort (N).
- Avec le moteur en marche, introduisez la clé dans le commutateur ROS et faites-la tourner en sens anti-horaire sur ON.
- Regardez vers le bas et vers l'arrière avant de reculer.
- Déplacez lentement le levier de vitesse sur la marche arrière (R) pour commencer le mouvement.
Lorsque l'utilisation du ROS n'est plus nécessaire, faites tourner la clé de contact en sens horsaire sur ON.

ROS SUR ON

POSITION DE MOTEUR ON
POUR UTILISER DANS LES PENTES

AVERTISSEMENT: N'utilise jamais le tracteur dans les côtes de plus de 15^ . Ne le conduisez jamais en travers des surfaces en pente.
Choisissez la vitesse la plus lente avant de commencer à monter ou descendre une côte.
- Évitez de changer la vitesse ou d'arrête dans une côte.
- S'il est absolument nécessaire d'arreter, enforcez rapidement la pédale de frein/embrayage jusqu'à sa position de freinage. Engagez le frein de stationnement.
- Déplacez le levier de la commande de déplacement à la position point mort (N).
IMPORTANT: LE LEVIER DE COMMANDE DE DÉPLACEMENT NE REVIENT PAS À LA POSITION POINT MORT (N) QUAND LA PEDALE DE FREIN/EMBRAYAGE EST ENFONCEE.
Pour redémarrer, dégagez lentement le frein de stationnement et la pédale de frein/embrayage.
- Déplacez lentement le levier de commande de déplacement à la position la plus lente.
Virez toujours très progressivement.
POUR TRANSPORTER LE TRACTEUR (Voir les Fig. 3 et 11)
Quand vous poussez ou remorquez le tracteur, assurez-vous que la transmission soit désengrenée en déplaçant la commande de roue libre à la position à roue libre. La commande de roue libre est située sur la barre d'attelage arrière du tracteur.
- Soulevez le mécanisme de levage d'accessoire à la position la plus haute avec la commande de levage d'accessoire.
Tirez la commande de roue libre au-dehors et vers le bas à l'intérieur de la rainure et relâchéz-la pour qu'elle soit à la position désengagée. - Ne remorquez ou poussez jamais votre tracteur à une vitesse de plus de 3,21 km/h (2 mph).
- Pour réengrener la transmission, inversez le procédé cï-dessus.
REMARQUE: Pour protégé le capot des dommages pendant le transport de votre tracteur sur un camion ou une remorque, assurez-vous que le capot soit fermé et fixé au tracteur. Utilisez les moyens appropriés (corde, cable, etc.).

TRANSMISSION ENGAGEE

TRANSMISSION DÉSENGAGÉE
FIG. 11
POUR REMORQUER DES CHARRETTES ET AUTRES ACCESSOIRES
Remorquez seulement les accessoires recommendés, dans les specifications du fabricant de votre tracteur. Faites preure de jugement lorsque vous remorquez un accessory. Il est dangereux de remorquer des chargements trop lourds dans une pente. Les pneus peuvent perdre de l'adherence avec le terrain et vous faire perdre la mairise de votre tracteur.
UTILISATION
AVANT DE DÉMARRER LE MOTEUR
VÉRIFIER LE NIVEAU D'HUILE DU MOTEUR
Ce moteur a eté rempli à l'usine avec l'huile d'été avant l'expédition.
- Stationnez le tracteur sur un terrain plat avant de vérifier le niveau d'huile du moteur.
- Enlevez le bouchon de replissage d'huile avec la jauge d'huile et nettoyez-la, remettez-la en place et serrez à fond le bouchon. Attendez quelques secondes puis enlevez-la pour déterminer le niveau d'huile. Si nécessaire, remplissez avec l'huile jusqu'à la marque pleine (FULL) sur la jauge d'huile. N'en mettez pas trop.
Pour facilitier le démarrage pendant l'hiver, vous devriez changer l'huile. (Voir le "Tableau de Viscosité d'Huile" dans la section de Entretien de ce manuel.)
Pour changer l'huile de moteur, voir la section Entretien de ce manuel.
REEMPLIR LE RÉSERVOIR D'ESSENCE
- Remplissez le réservoir d'essence. Remplissez le réservoir d'essence jusqu'au fond de son goulot de replissage. N'en mettez pas trop. Utilisez de l'essence sans plomb, régulière, fraîche, et propre avec un indice d'octane au moins 87. (L'utilisation d'essence sans plomb tend à réduire les dépôts de calamine et d'oxyde de plomb et prolonge la vie des soupapes). Ne mélangez pas l'huile avec l'essence. Pour que l'essence utilisée soit fraîche, achetez des quantilés qui peuvent être utilisées dans les trente jours suivant l'achat.

ATTENTION: Essuyez toujours l'huile ou l'essence renversée. Vous ne devez jamais emmagasin, repandre ou utiliser de l'essence pres d'une flamme nue.
IMPORTANT: POUR ASSURER UN BON DEMARRAGE PAR TEMPS FROID (SOUS LES 32^ / 0^ ), VOUS DEVEZ UTILISER DE L'ESSENCE FRAICHE, PROPRE ET SPECIALE D'HIVER.
ATTENTION: L'expérience indique que les combustibles melangés avec l'alcool (appeles gasohol ou utilisant l'éthanol ou le methanol) peuvent attirer l'humidité qui cause la séparation et la formation d'accide pendant l'entreposage. Le gaz acide peut avarier le système d'essence d'un moteur pendant l'entreposage. Pour éviter les problèmes de moteur, le système d'essence doit être vidange avant tout l'entreposage de 30 jours ou plus. Vidangez le réservoir d'essence, démarrez le moteur et laissez-le fonctionner jusqu'à ce que les conduites de combustible et le carburateur soient vides. Utilisez del'essence fraîche la saison suivante. Reportez-vous aux instructions sur l'entreposage pour les autres renseignements. N'utilise jamais de produits de nettoyage de moteur ou de carburateur dans le réservoir d'essence sinon des dommages permanents pourraient être causés.
POUR DÉMARRER LE MOTEUR (Voir la Fig. 3)
Si vous démarrez le moteur pour la première fois ou si le moteur est sans essence, il faudra plus de temps pour déplacer l'essence du réservoir au moteur.
Assurez-vous que la commande roue libre soit dans la position d'engrenage engagée.
- Asseyez-vous sur le siège, enforcez la pédale d'embrayage/ frein et engageze le frein de stationnement.
- Mettez le levier de commande de déplacement à la position point mort (N).
- Déplacez l'embrayage d'accessoire à la position débrayée (DISENGAGED).
- Déplacez le levier de la commande des gaz à la position étrangleur.
REMARQUE: Avant de commencer, lisez les instructions suivantes.
- Insérez et tournez la clé dans le sens des aiguilles d'une montre à la position de démarriage (START) et relâchez la clé dés que le moteur démarre. N'utilise pas le démarreur sans interruptions pendant plus de quinze secondes par minute. Si le moteur ne démarre pas après quelques essais, déplacez la commande des gaz à la position rapi de attendez quelques minutes et essayez encore. Si le moteur ne démarre pas après quelques essais, déplacez la commande des gaz à la position étrangleur et essayez encore.
DÉMARRAGE PAR TEMPS CHAUD (50°F et plus)
- Quand vous démarrez le moteur, déplacez la commande de gaz lentement à la position rapide.
- Alors maintainant, les accessoires et la commande d'entrainment peuvent être utilisés. Si le moteur ne peut pas accepter cette charge, démarrez-le une autre fois et permettez qu'il seCHAFFEpendant une minute en utilisant l'étrangleur comme décrit ci-haut.
DÉMARRAGE PAR TEMPS FROID (50°F et moins)
- Quand vous démarrez le moteur, faites-le marcher avec la commande d'entrainment dans la position étrangleur jusqu'à ce que le moteur rechauffe et commence à marcher mal. Une fois que ceci commence, déplacez immidiatement la commande des gaz à la position rapide. Il faut de quelques secondes à quelques minutes pour que le moteur se chauffe, selon la température.
RéCHAUFFEMENT DE LA TRANSMISSION AUTOMATIQUE
- Avant de conduire le tracteur l'hiver, la transmission doit être chauffée comme suit:
Assurez-vous que le tracteur soit garé sur un terrain plat.
- Placez le levier de commende de déplacement dans la position point mort. Relâchez le frein de stationnement et permétez que l'embrayage/frein returne dans la position d'opération.
- Permetez que la transmission de réchauffe pendant une minute. Ceci peut être fait pendant le temps d'échauffe mention.
- Les accessoires peuvent etres utilisés pendant le temps d'échauffement du moteur après que la transmission soit chaude.
REMARQUE: Le mélange de carburant demandera un réglage pour obtenir le meilleur rendement du moteur si les altitudes sont supérieures de 914,4 mètres (3000 pi) ou si les températures sont froides (inférieures de 32^ / 0^ ). Consultez la section “Pour Régler le Carburateur” dans la section Entretien et Réglages de ce manuel.
UTILISATION
PURGER LATRANSMISSION

ATTENTION: N'engagez jamais ou ne dégagez jamais le levier de la roue libre pendant que le moteur fonctionne.
Pour assurer l'utilisation correcte et le rendement, il est recommandé que la transmission soit purgé avec d'utiliser le tracteur pour la première fois. Ce procédé enlèvera l'air emprisonné à l'intérieur de la transmission qui se développementait pendant l'expédition de votre tracteur.
IMPORTANT: SIVOTRETRANSMISSIONDOITÉTRE RETIRÉE POUR L'ENTRETIEN OU LE REMPLACEMENT,ELLE DEVRAIT ÉTRE PURGEE APRES LA REINSTALLATION ET AVANT D'UTILISER LE TRACTEUR.
- Placez le tracteur sur une superficie nivelée, libre de tout object et ouverte, avec le moteur couper et le frein de stationnement mis en place.
- Débrayez la transmission en mettant la commande de la roue libre dans la position de la dégagé (Référez-vous à la section de “POUR TRANSPORTER” dans cette section de ce manuel).
- Lorsque vous vous asseyez sur le siège du tracteur, démarrez le moteur. ÀpRES que le moteur marche, déplacez la commande des gaz à la position lente. Avec le levier de la commande de déplacement dans la position point mort (N), débrayez lentement la pédale de frein/embrayage.

ATTENTION: À tout moment, au cours de l'étape 4, il peut y avoir du mouvement des roues d'entrainment.
- Déplacez le levier de la commande de déplacement à la position de marche avant et tenez-le pendant cinq (5) secondes. Déplacez le levier à la position de marche arrrière et tenez-le pendant cinq (5) secondes. Répétez ce procédé trois (3) fois.
- Déplacez le levier de la commande de déplacement à la position point mort (N). Coupez le moteur et engagez le frein de stationnement.
- Embrayez la transmission en déplaçant la commande de la roue libre en position de marche (Référez-vous à la section de “POUR TRANSPORTER” dans cette section de ce manuel).
Lorsque you you asseyez sur le siège du tracteur, démarrez le moteur. ÀpRES que le moteur marche, déplacez la commande des gaz à la position de demi-vitesse (1/2). Avec le levier de la commande de déplacement dans la position point mort (N), débrayez lentement la pedale de frein/embrayage. - Déplacez lentement le levier de la commande de déplacement à la position de marche avant et ensuite quand le tracteur rouge environ de 150 cm (5 pieds), déplacez lentement le levier à la position de marche arrière. Àprous que le tracteur rouge environ de 150 cm (5 pieds), retournez le levier de la commande de déplacement à la position point mort (N). Répétez ce procédé trois (3) fais.
Votre transmission est maintainant purgé et prét pour l'utilisation normale.
CONSEILS DETONDRE
Assurez-vous que votre tondeuse soit correctement nivelée pour le meilleur rendement. (Voir la section de "Pour Niveler le carter de Tondeuse" sous Entretien et Reglages de ce manuel).
- Vous doivent utiliser le côté gauche de la tondeuse pour la taille.
Conduisez de manière à ce que l'herbe coupée soit déversée sur la zone qui a été tondue. La zone coupée doit est située à la droite du tracteur. Vous obtiendrez ainsi une coupe plus uniforme et une meilleure répartition de l'herbe coupée.
Pour tondre une grande surface, on vous conseille de commencer par tourner a droite, de façon a ce que l'herbe ne soit pas deversée sur les arbustes, les clôtres, les allées, etc. Àpres un ou deux tours, tondez en sens inverse en tournant à gauche jusqu'à ce que le travail soit acheve (Voir la Fig. 12).

FIG. 12
- Si le gazon est très haut, il faut le tondre deux fois pour réduire la charge et la possibilité du incendie de l'herbe seche. La première fois, reglez l'appareil pour une coupe assez haute. La deuxième passée doit se faire à la hauteur désirée.
- Ne tondez pas l'herbe quand elle est mouillée. L'herbe mouillée bloquera la tondeuse. Laissez secher l'herbe avant de tandre.
- Tondeitzousjouresacla commande des gaza plein gaz pour assurer le meilleur rendement de tondre et le déchargement correct du matieriau. Choisissez une vitesse de course quidonne le meilleur rendement de la tondeuse et la meilleure coupe.
- Quand vous utilisez les accessoires,CHOisissez toujours une vitesse de course qui convient au terrain et a l'accessoire utilisé.
| GUIDE D'ENTRETIEN | Avant chaque usage | Toutes les 8 heures | Toutes les 25 heures | Toutes les 50 heures | Toutes les 100 heures | Chaque saisson | Avant l'entrepose | |
| TRACTEUR | Vérifiez le système de frein | ✓ | ✓ | |||||
| Vérifiez la pression des pneus | ✓ | ✓ | ||||||
| Vérifiez le système de présence d'opérateur et le système del ROS. | ✓ | |||||||
| Vérifiez l'intégrité des systèmes de fixation | ✓ | ✓ | ✓ | |||||
| Affiez/Remplacez les lames de tondeuse | ✓3 | |||||||
| Tableau de lubrification | ✓ | ✓ | ||||||
| Vérifiez le niveau de batterie | ✓4 | |||||||
| Nettoyez la batterie et les bornes | ✓ | ✓ | ||||||
| Vérifiez le refroidissement de transmission | ✓ | |||||||
| Vérifiez L'Unisson De Faucheuse | ✓ | |||||||
| Vérifiez les courroies trapzodales | ✓ | |||||||
| MOTOR | Vérifiez le niveau d'huile du moteur | ✓ | ✓ | |||||
| Remplacez l'huile du moteur (avec un filtr) | ✓1,2 | ✓ | ||||||
| Remplacez l'huile du moteur (sans filtr) | ✓1,2 | ✓ | ||||||
| Nettoyez le filtr à air | ✓2 | |||||||
| Nettoyez le tamis à air | ✓2 | |||||||
| Inspectez le silencieux/Pare-étincelles | ✓ | |||||||
| Remplacez le filtr d'huile (si muni d'un) | ✓1,2 | |||||||
| Nettoyez les ailettes de refroidissement | ✓2 | |||||||
| Remplacez la bougie d'allumage | ✓ | ✓ | ||||||
| Remplacez la cartouche en papier du filtr à air | ✓2 | |||||||
| Remplacez le filtr d'essence | ✓ | |||||||
1- Changez-les plus souvent quand le tracteur fonctionne avec un chargement lourd ou pendant les températures ambantes élevées.
2- RépAREz plus souvent si les conditions sont poussiereuses ou sales.
LES RECOMMANDATIONS GENÉRALES
La garantie pour ce tracteur ne couvre pas les éléments qui ont ete sujets soit a un abus ou a des négligences de la part de I'opérateur. Pour conserver une garantie complète, l'utilisateur doit maintainir le tracteur tel que précisé dans ce manuel.
Quelques ajustements sont nécessaires périodiquement pour maintenir correctement votre tracteur.
Tous les réglages dans la section Etretien et Réglages de ce manuel devraient être vérifiés au moins une fois par saisson.
- Une fois par an, remplacez la bougie d'allumage, nettoyez ou remplacez le filtré à air, et vérifie la lame et les courroies pour les signes d'usure. Une nouvelle bougie d'allumage et un nouveau filtré à air propre assurent la présence d'un mélange air/essence correct et ainsi permet à votre moteur de marcher mistroux et de durer plus longtemps.
AVANT CHAQUE UTILISATION
Vérifiez le niveau d'huile de moteur.
- Vérifiez le fonctionnement du système de frein.
Vérifiez la pression des pneus.
- Vérifiez que le système de présence d'opérateur et ROS fonctionnement bien.
Vérifiez l'intégrité des systèmes de fixation.
3- Remplacez plus souvent les lames en cas d'utilisation sur un terrain sablonneux.
4- Pas exigé si equipoce avec une batterie sans entretien.
TABLEAU DE LUBRIFICATION

① LUBRIFIANT À TOUT USAGE
② RÉFÉRZ-VOUS À LA SECTION ENTRETIEN SOUS MOTEUR
IMPORTANT: NE METTEZ NI HUILE NI GRAISSE SUR LES POINTS DE PIVOT QUI ONT LES PALIERS EN NYLON. LES LUBRIFIANTS QUI ATTIRENT LA POUSSIÈRE ET LES SALETES DIMINUENT LA DURABILITE DE CES PALIERS A LUBRIFICATION AUTOMATIQUE. SI VOUS PENSEZ QU'ILS DOIVENT ÉTRÉ LUBRIFIÉS, UTILISEZ SEULEMENT ET AVEC MODÉRATION UN LUBRIFIANT SEC, EN PoudRE DE TYPE GRAPHITE.
TRACTEUR
Observez toujours les régles de sécurité quand vous faites l'entretien.
FONCTIONNEMENT DU FREIN
À vitesse normale et sur une surface de niveau en ciment ou pavée, si plus de 5 pieds (1,5 mètre) sont nécessaires pour arrêtier le tracteur, vous doivent faire vérifier les freins. (Voir "POUR VÉRIFIER LES FREINS" dans la section Entretien et Réglages de ce manuel.)
PNEUS
Assurez-vous de conserver une pression d'air adequate à l'intérieur des pneus (voir la valeur en PSI indiquée sur ceux-ci).
Assurez-vous que vos pneus ne soient pas en contact avec de l'essence, de l'huile ou des produits chimiques insecticides qui pourrait endommager le caoutchouc.
- Évitez les souches, les pierres, les ornières profondes, les objets tranchants et les autres dangers qui pouraient cause des dégats aux pneus.
REMARQUE: Pour boucher les crevaisons de pneus et pour prévenir les pneus à plat à cause des fuites, un enduit d'échéité de pneu peut être acheté chez votre fournisseur de pieces. L'endetrit empêche le pnere de poursir ou de se corroder.
SYSTEME DE PRESENCE DE L'OPÉRATEUR ET SYSTEME DE FONCTIONNEMENT EN MARCHE ARRÊRÈRE (ROS)
Vérifiez si les systèmes de présence de l'opérateur, de marche arrêté et de verrouillage fonctionnement correctement. Si vous tracteur ne fonctionne pas de la façon décrite, réparez-le immédiatement.
- Le moteur ne démarre pas sauf si la pédale d'embrayage/ frein est appuyée à fond est la commande de l'embrayage de l'accessoire est dégagée.
VERIFIEZ PRÉSENCE DE L'OPÉRATEUR
- Si l'opérateur quitte le poste de conduite, lorsque le moteur est en marche, sans tirer le frein de parking, le moteur s'arrête.
- Si l'opérateur quitte le poste de conduite, lorsqu'il'embrayage est engagé et le moteur en marche, le moteur s'arrête.
- L'embrayage de l'accessoire ne doit jamais fonctionner sauf si l'opérateur est au volant.
VÉRIFIEZ SYSTÉME DE FONCTIONNEMENT EN MARCHE ARRÊRÉ (ROS)
- Sil opérateur tentedecreculer, lorsquelemoteur est en marche avec le commutateur d'allumage sur ON est l'embrayage engagé, le moteur s'arrête.
- Si l'opérateur tente de reculer, lorsque le moteur est en marche avec le commutateur d'allumage sur la position ON du système de fonctionnement en marche arrière (ROS) est l'embrayage engagé, le moteur ne s'arrête PAS.

ROS SUR ON

POSITION DE MOTEUR ON (OPÉRATION NORMALE)
ENTRETIEN DES LAMES
Pour deromeurs résultats, les lames de la tondeuse doivent etre bien affuées. Remplacez les lames usées, déformées ou endommagées.

DANGER: N'utilise que les lames de rechange autorisée par le fabricant de votre tondeuse. L'usage d'une lame n'avant pas été autorisée par le fabricant de votre tondeuse est dangereux et risquè d'endommager votre tondeuse et d'annuler sa garantie.
ENLEVER LA LAME (Voir la Fig. 13)
- Rellevez la tondeuse le plus haut possible pour avoir aux lames.
REMARQUE: Protégez vos mains avec des gants et/ou enveloppez la lame dans un linge écais.
- Enlevez le boulon de lame en le tournant dans le sens contraire des aiguilles d'une montre.
- Installez la nouvelle lame ou la lame affilée avec l'emboute "GRASS SIDE" faisant face à la terre.
IMPORTANT: Pour assurer l'assemblage ajustat, alignez le trou du centre de lame avec L'étoile du mandrin
- Installez et serrez le boulon de lame solidement (couple detorsion 45-55 pieds par livre).
IMPORTANT: Le boulon spécial de lame est soumis à un traitement à la chaleur.

FIG. 13
BATTERIE
Votre tracteur est muni d'un système de chargement de batterie qui est suffisant pour l'usage normal. Pourtant, le chargement périodique de la batterie avec un chargeur d'auto prolongera la durabilité.
- Conserve la batterie et les bornes propres.
- Conservez les boulons de batterie serrés.
- Conservez les petits orifices de ventilations ouverts.
- Rechargez la batterie à raison de six ampères pendant une période d'une (1) heures.
REMARQUE: L'équipement d'origine de batterie de votre tracteur ne nécessite pas d'entretien. N'essayez pas d'ouvrir ou d'enlever les bouchons ou couvercles. Il n'est pas nécessaire de vérifier ou d'ajouter plus d'électrolyte.
POUR NETTOYER LA BATTERIE ET LES BORNES:
La présence de corrosion ou de saleté sur la batterie et les bornes peut cause les "fuites" de puissance.
- Enlevez le protecteur des bornes.
- Premièrement débranchez le cable de batterie NOIR et ensuite le cable de batterie ROUGE et enlevez la batterie du tracteur.
ENTRETIEN
Rincez la batterie avec l'eau fraîche, et séchez-la.
- Nettoyez les bornes et les bouts des cables de batterie avec une Brosse métallique jusqu'à ce qu'ils brillent.
Enduisez les bornes avec laGRAisse ou le petrolatum.
- Réinstallé la batterie (Voir "REPLACER LAB BATTERIE" dans la section ENTRETIEN ET REGLAGES de ce manuel).
COURROIES TRAPÉZOIDALES
Vérifiez les courroies trapézoidales pour la dépréciation et l'usage après les 100 heures d'utilisation. Remplacez-les si nécessaire. Les courroies ne sont pas régiables. Remplacez les courroies si elles glissant à cause de l'usage.
REFROIDISSEMENT DE LA TRANSMISSION
Le ventilateur et les ailettes de refroidissement de la transmission devraient etre conserves propres pour assurer le refroidissement correct.
N'essayez pas de nettoyer le ventilateur ou la transmission pendant que le moteur fonctionne ou pendant que la transmission soit chaude.
- Inspectez le ventilateur de refroidissement pour s'assurer que les lames de ventilateur soient propres et intactes.
- Inspectez les ailettes de refroidissement pour la saleté, l'herbe coupée et les autres matériaux. Pour empêcher de l'avarie aux joints d'étanchéité, n'utilise pas l'air comprimé ou le pulverisateur à haute pression pour nettoyer les ailettes de refroidissement.
FLUIDE MOTEUR DE LA TRANSMISSION
La transmission a été scelledé à l'usine et l'entretien de fluide n'est pas exigé pour la durabilité de la transmission. Si la transmission fuit ou doit être réparée, contactez votre centre d'entretien autorisé le plus-Proche.
MOTEUR
LUBRIFICATION
Utilisez seulement l'huile détergente de qualité supérieure de classification API SF-SJ. Choisissez le degré de viscosité SAE de l'huile selon la température d'utilisation prévue.

FIG. 14
REMARQUE: Bien que les huiles de multiviscosité (5W30, 10W30 etc.) améliorent le démarriage par temps froid, ces huiles de multiviscosité augmentent la consommation d'huile quand elles sont utilisées à plus de 0^ / 32^ . Vérifiez le niveau d'huile de moteur plus féquement pour éviter d'endommager le moteur de l'utilisation avec un niveau d'huile bas.
Changez l'huile toutes les 50 heures d'opération ou au moins une fois par an si le tracteur est utilisé moins de 50 heures par ans.
Vérifiez le niveau d'huile du carter-moteur avant de démarrer le moteur et toutes les huit (8) heures d'utilisation. Serrez le bouchon de replissage d'huile avec la jauge d'huile chaque fois que vous vérifiez le niveau d'huile.
POUR CHANGER L'HUILE DE MOTEUR
(Voir la Fig. 15) -
Déterminez la gamme de températures prévue avant le changement d'huile. Toute l'huile doit avoir la classification API SG-SL.
Assurez-vous que le tracteur soit stationné sur un terrain plat.
L'huile se vidangera plus librement quand elle est chaude.
Recueilz l'huile dans un recipient approprié.
- Enlevez le bouchon de replissage d'huile avec la jauge d'huile. Ne permettez pas que des saletés entrent dans le moteur quand vous changez l'huile.
- Enlevez le bouchon jaune du raccord inférieur de la soupape de vidange et installez le tube de vidange sur le raccord fileté.

FIG. 15
- Déverrouille la soupape de vidange en poussant vers l'intérieur et en tournant dans le sens contraire des aiguilles d'une montre.
Pour ouvrir, tirez sur la soupape de vidange. - Àpres que l'huile se soit écoulée complètement, serrez et verrouillez la soupape de vidange en poussant vers l'intérieur et en tournant dans le sens des aiguilles d'une montre jusqu'à ce que la cheville soit en position verrouillée comme montré.
- Retirez le tube de vidange et remettez le bouchon sur le raccord inférieur de la soupape de vidange.
- Remplissez le moteur avec l'huile dans le tube de la jauge de replissage d'huile. Versez lentement. N'en mettez pas trop. Voir la section de "SPECIFICATIONS DU PRODUIT" pour la capacité approximative.
Utilisez le calibre du bouchon de replissage d'huile avec la jauge d'huile pour vérifier le niveau d'huile. Assurez-vous que la jauge d'huile soit serrée à fond pour obtenir une indication correcte du niveau d'huile. Maintenez le niveau d'huile à la marque pleine (FULL) de la jauge d'huile. Serrez à fond le bouchon sur le tube quand vous avez fini.
NETTOVER LET TAMIS D'AIR
Le tamis d'air doit être libre de saleté et de balle de céréale pour évider d'endommager le moteur à cause du surchauffage. Nettoyez-le avec une Brosse en fer ou de l'air compré pour enlever toutes les saletés, la paille, et les fibres degomme séchés.
FILTRÉ À AIR
Votre moteur ne fonctionne pas correctement avec un filtre à air sale. Nettoyez le filtre à air plus souvent si utilisé dans les endroits très poussièux ou sales. Voir le manuel du moteur.
FILTRE D'HUILE DE MOTEUR
Remplacez le filtré d'huile de moteur chaque saisson ou tous les deux (2) changements d'huile si le tracteur a été utilisé plus de 100 heures dans une (1) année.
SILENCIEUX
Inspectez le silencieux et le pare-étincelles (s'il y a lieu) et remplacez-les. Ils pourraient creer des risques d'incendie et/ou d'endommagement.
BOUGIE D'ALLUMAGE
Remplacez les bougies d'allumage au début de chaque saison de toute ou après toutes les 100 heures d'utilisation selon qui se présente en premier. Pour le type de bougie d'allumage et le réglage d'écartement, reférez-vous à la section de "SPECIFICATIONS DU PRODUIT" de ce manuel.
FILTRE D'ESSENCE INSTALLLE EN LIGNE (Voir la Fig. 16)
Le filtré d'essence devrait être remplaced au moins chaque saison. Si le filtré d'essence est bouché et obstrue l'écoulement d'essence au carburateur, il faut le replacer.
- Quand le moteur est froid, enlevez le filtré et bouchez les tronçons de conduite d'essence.
- Posez le nouveau filtré dans la conduite d'essence avec la flèche foinant vers le carburateur.
Assurez-vous qu'il n'y ait pas de fuites de la conduite d'essence et que les brides de serrage soient bin placées.
Nettoyez immédiatement l'essence renversée.

FIG. 16
NETTOYAGE
- Nettoyez le moteur, la batterie, le siège, et la finition, etc. de toutes les matières étrangères.
- Conservez la propriété de la finition et des roues en enlevant soigneusement l'essence, l'huile etc.
- Protégez les surfaces peintes avec une cire d'auto.
Nous ne recommendons pas l'utilisation d'un tuyau d'arrosage ou d'un système de lavage sous pression pour nettoyer notre tracteur, à moins que le moteur et la transmission soient recouverts pour éviter l'infiltration de l'eau à l'intérieur. Si de l'eau s'infiltré à l'intérieur du moteur ou de la transmission, ceci abrégera la durée de vie de votre tracteur. Utiliser de l'air compressé ou une souffleuse à feuilles pour enlever le gazon, les feuilles ainsi que les débris de votre tracteur et de votre tondeuse.
- Appuyez sur la pédale de frein/embrayage et engagez le frein de stationnement.
- Placez le levier de la commande de mouvement en position point mort (N).
- Placez l'embrayage d'accessoire en position débrayée (DISENGAGED).
Tournez la clé de contact à la position d'arrêt (STOP) et enlevez-la.
Assurez-vous que les lames et toutes les pieces tournantes se soient arrêtées. - Débranche le cable de bougie d'allumage et posez-le de telle façon qu'il ne puisse pas ENTER en contact avec la bougie d'allumage.
TRACTEUR
POUR ENLEVER LA TONDEUSE
(Voir la Fig. 17)
- Placez l'embrayage d'accrochage à la position « DISENGAGED ».
- Abaissez le levier le levage à sa position la plus bajo.
Enlevez la courroie de la poulie d'embrayage (M). - Enlevez le ressort de retenue(K), dégagez le collier (L) et poussez le guide (P) de logement hors du support.
-
Enlevez le ressort d'embrayage de tondeuse (Q) du bras d'embrayage de tondeuse (R).
-
Enlevez la bielle avant (E) de la tondeuse - retirez le ressort-arrêtoir et la rondelle.
- En commençant d'un côté ou de l'autre de la tondeuse, désengagez le bras de suspension (A) de la tondeuse du chàssis et la bielle de levage arrêté (C) du support arrêté de la tondeuse (D) - retirez les ressorts-arrétoirs et les rondelles.
Allez de l'autre cotoé de la tondeuse et désengagez le bras de suspension et la bielle arrière.

ATTENTION: Àprous avoir désengageés bielles, le levier d'accrochage possède un mécanisme à ressort. Tenez fermement le levier lorsqu'vous changez sa position.


FIG. 17
Glissez la tondeuse du dessous du tracteur.
IMPORTANT: Si un accessoire autre que le carter de tondeuse doit être monté sur le tracteur, enlevez les raccord avant (E) et les raccords arrêté (C).
INSTALLER LATONDEUSE ET LA COURROIE D'ENTRAINEMENT (Voir les Figs. 18-21)
Assurez-vous que le tracteur se trouve sur une surface de niveau et actionnez le frein de stationnement.
- Abaissez le levier de levage à sa position la plus BASSE.

ATTENTION: Le levier possède un mécanisme à ressort. Tenez fermement le levier le levage, abaissez-le lentement et enclenchez-le à sa position la plus BASSE.
REMARQUE: Assurez-vous que les bras de suspension latéraux de la tondeuse (A) pointent vers l'avant avant de glisser la tondeuse sous le tracteur.
Glisser la tondeuse sous le tracteur, jusqu'à ce qu'elle soit au centre de celui-ci.
FIXEZ LES BRAS DE SUSPENSION LATERAUXS DE LA TONDEUSE AU CHASSIS - Placez l'orifice du bras sur la tige (B) à l'extérieur du chassinis du tracteur et fixez solidement à l'aide d'une rondelle et d'un ressort-arrêtoir.
- Répétez de l'autre côté du tracteur.

FIG. 18
ATTACHEZ LES BIELLES ARRÈRES (C) - Soulevez le coin arrêté de la tondeuse et positionné la rainure du bras sur la tige du support arrêté de la tondeuse et fixez fermement à l'aide d'une rondelle et d'un ressort-arrêtoir.
- Répétez de l'autre côté du tracteur.

FIG. 19
FIXEZ LA BIELLE AVANT (E) - Commencez à la gauche du tracteur. Insérez l'embout de l'assemblage de la bielle dans l'orifice avant du support de suspension avant du tracteur (F) et fixez fermement à l'aide d'un ressort-arrêtoir (G) par l'orifice de la bielle situé derrière le support.
- Insérez l'autre embout de la bielle (E) dans l'orifice du support avant de la tondeuse (H) et fixez fermement à l'aide d'une rondelle et d'un ressort-arrêtoir (J).

FIG. 20
- Poussez la guide du carter du cable d'embrayage (P) dans le support, glissez le collier sur la guide (L) et fixez-le avec le grands ressort de retenue(K).
- Accrochez le dessort d'embrayage de tondeuse (Q) le trou dans un bras d'embrayage de tondeuse (R).
- Installez la courroie sur la poulie de moteur (M).
IMPORTANT : Assurez-vous que la courroie est bien en place dans les sillons des poulies de la tondeuse.

FIG. 21
- Soulevez le levier de levage à sa position la plus haute.
- Si nécessaire, ajustez les roues de réglage avant d'utiliser la tondeuse, tel que montré dans la section Fonctionnement de ce manuel.
RéVISION ET RÉGLAGES
POUR AJUSTER LE NIVEAU LA TONDEUSE
Assurez-vous que les pneus soient gonflés jusqu'à la pression en PSI indiquée sur ceux-ci. S'ils sont trop ou pas assez gonflés, ceci peut afferter l'apparace de votre pelouse et vous faire croire que votre tondeuse n'est pas ajustée correctement.
AJUSTEMENT LATERAL VISUEL (Voir la Fig. 22)
Assurez-vous que vos pneus soient gonflés ajustement. Si vous pelouse ne semble pas coupée de façon uniforme, déterminez quel côté de la tondeuse coupe plus bas.
REMARQUE: Vous pouvez soulever le côte abaisse de la tondeuse ou abaiser le côte surelevé, tel que désiré.
Allez du coto ou un ajustement est nécessaire.
- À l'aide d'une clé ajustable ou de 3/4 , tournez l'écrou de réglage de la bielle de levage (A) vers la gauche pour abaiser la tondeuse, ou vers la droite pour la soulever.

FIG. 22
REMARQUE: Chaque tour complet de l'écrou de réglage modifie la hauteur de la tondeuse d'environ 3/16".
- Vérifiez l'ajustement en tandant de la pelouse non coupée et en vérifier sont appearance. Faites un autre ajustement si nécessaire, jusqu'à ce que vous soyez satisfait du résultat.
AJUSTEMENT LATERAL DE PRECISION (Voir la Fig. 23)
Assurez-vous que vos pneus sont adéquatement gonflés, puis stationné le tracteur sur un terrain de niveau ou une entrée de cour.

ATTENTION: Les lames sont tranchantes.
Protégéz vos mains en portant des gants ou en enveloppant les lames d'un tissu épais.
- Soulevez la tondeuse à sa position la plus haute.
D'un coto et de I'autre de la tondeuse, placez la lame de cote et mesurez la distance (A) du bord inférieur de la lame jusqu'au sol. La distance devrait etre la meme des deux cotés.
Si un ajustement est nécessaire, voyagez les étapes des instructions Ajustement visuel ci-dessus. - Vérifiez de nouveau les mesures, ajustez si nécessaires jusqu'à ce que les deux côtés soient égaux.

FIG. 23
AJUSTEMENT AVANT/ARRIÈRE
(Voir les Figs. 24 et 25)
IMPORTANT : La plateforme doit être au même niveau d'un côté et de l'autre.
Pour obtenir de plusieurs résultats, les lames de la tondeuse doivent être ajustées de sorte que la pointe avant est 1/8 à 1/2 inférieure à la pointe arrêté lorsque la tondeuse est à sa position la plus élevé.

ATTENTION: Les lames sont tranchantes. Protégez vos mains en portant des gants ou en enveloppant les lames d'un tissu écais.
- Soulevez la tondeuse à sa position la plus haute.
- Placez n'importe qu'elle lame de façon à ce que la pointe soit vers l'avant. Mesurez la distance (B) au sol à la pointe avant et la pointe arrêté de la lame.
Si la pointe avant de la lame n'est pas de 1 / 8 à 1 / 2 plusasse que la pointe arrriere,allez a l'avant du tracteur. - À l'aide d'une clé ajustable ou de 11/16", dévissez l'écrou de serrage (A) pour dépasser l'écrou de réglage (B).
- À l'aide d'une clé ajustable ou de 3/4", faites tourner l'écrou de réglage de la bielle avant (B) dans le sens horaire (visser) pour soulever l'avant de la tondeuse ou dans le sens antihoraire (dévisser) pour abaiser l'avant de la tondeuse.
REMARQUE : Chaque tour complet de l'écroude réglage modifie la hauteur de la tondeuse d'environ 1/8".
- Vérifiez de nouveaux les mesures, ajustez si nécessaire jusqu'à ce que la pointe avant de la lame est 1/8 à 1/2 inférieure à la pointe arrière.
- Maintenez l'éçrou de réglage en place avec la clé et serrez le contre-écrou fermement contre l'éçrou de réglage.

FIG. 24

Desserrez le contre-écrou A d'abord.
FIG. 25
RéVISION ET RÉGLAGES
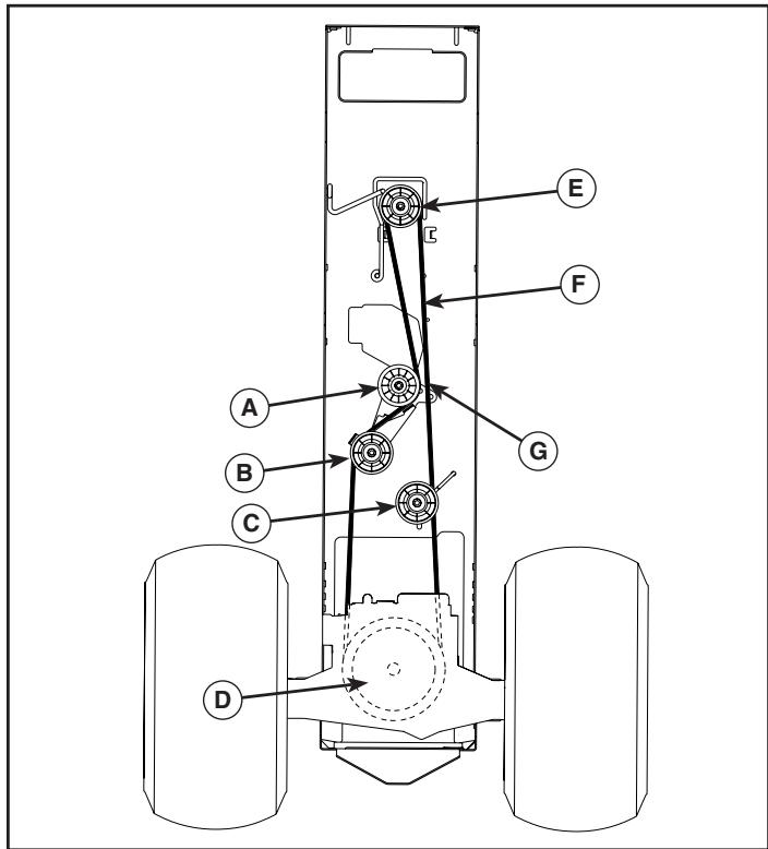
POUR REMPLACER LA COURROIE D'ENTRAJINEMENT DE LA LAME DE LA TONDEUSE (Voir la Fig. 26)
RETIRER LA COURROIE D'ENTRAJINEMENT DE LA TONDEUSE
- Stationnez le tracteur sur une surface de niveau. Actionnez le frein de stationnement.
- Abaissez le levier le levage à sa position la plus bajo.
- Retirez la terre et l'herbe pouvant s'être accumulé autour des mandrins et sur la surface des plateaux supérieur.
- Retirez la courroie de la poulie de moteur (M), les deux pouilies des mandrins (R) et toutes les pouilies de tension (S).
INSTALLATION DE LA COURROIE D'ENTRAJINEMENT DE LA TONDEUSE
- Installez la couroie autour des pouilies des mandrins (R) et autour des pouilies de tension (S) tel que montré.
- Installez la couroie sur la poulie de moteur (M).
IMPORTANT: Assurez-vous que la courroie est bien en place dans les sillons des poulies de la tondeuse.
- Soulevez le levier de levage à sa position la plus haute.

FIG. 26
POUR VÉRIFIER LES FREINS
À vitesse normale et sur une surface de niveau en ciment ou pavée, si plus de 5 pieds (1,5 mètre) sont nécessaires pour arrêtier le tracteur, vous nevez faire vérifier les freins.
You pouze également vérifier les freins ainsi :
- Stationnez le tracteur sur une surface de niveau en ciment ou pavée, abaissez complètement la pédale de frein/ d'embrayage et actionné le frein de stationnement.
- Désenclenchéz la transmission en plaçant le contrôle de roue libre à la position « transmission disengaged » (transmission désenclenchéée). Tirez sur le contrôle de roue libre et placez-le dans la rainure et relâchéze-le de façon à ce qu'il soit dans la position désenclenchéée.
Les roues arrirée doivent être bloquées et déraper lorsque vous tentez de pousser le tracteur vers l'avant. Si les roues arrirée tournent, les freins doivent être vérifiés. Communiquez avec ou un centre d'entretien professionnel.
POUR REMPLACER LA COURROIE D'ENTRAINEMENT (Voir la Fig. 27)
Stationnez le tracteur sur une surface de niveau. Actionnez le frein de stationnement. En cas de besoin, un autocollant servant de guide à l'installation de la courroie se trouve sur le dessous du repose-pied gauche.
RETIBER LA COURBOIE
- Retirez la tondeuse (voir « POUR ENLEVER LA TONDEUSE » dans la présente section du manuel).
REMARQUE: Jetez un œil sur l'ensemble de la courroie et la position de tous les guides et dispositifs de retenue.
- Retirez la couroie de la poulie de tension fixe (A) et la poulie d'embrayage (B).
Retireez la couroie de la poulie de tension centrale (C). - Tirez la couroie libre vers l'arrière du tracteur. Retirez soignement la couroie de la poulie d'entrée de la transmission vers le haut et sur les lames du ventilateur (D).
- Déroulez la courroie de la poulie motrice vers le bas (E).
- Faites glisser la couroie vers l'arrière du tracteur, à l'extérieur de la plaque de direction (F) et retirez-la du tracteur.
INSTALLATION DE LA COURROIE -
- Installez une nouvelle courroie en partant de l'arrière du tracteur vers l'avant, sur la plaque de direction (F) et au-dessus de l'arbre de la pédale de frein/d'embrayage (G).
Tirez la courroie vers l'avant du tracteur et enroulez-la de et de la poulie motrice (E). - Tirez la courroie vers l'arrière du tracteur. Enroulez soignement la courroie sous le sur la poulie d'entrée (D). Assurez-vous que la courroie est bien à l'intérieur du dispositif de retenue.
- Installez la couroie sur la poulie de tension centrale (C).
- Faites passer la couroie dans la poulie de tension fixe (A) et la poulie d'embrayage (B).
Assurez-vous que la courroie est bien en place dans les rainures des poulies, ainsi que les guides et les dispositifs de retenue. - Installez la tondeuse (voir « POUR INSTALLER LA TONDEUSE » dans la présente section du manuel).

FIG. 27
Le pincement et le carrossage de la roue avant sont déterminés lors de la fabrication de votre tracteur et sont normaux. Ces caractéristiques ne peuvent être ajustées. Si vous tracteur a subi des dommages ayant affecté le pincement/carrossage de la roue avant, communiquez avec ou un centre d'entretien professionnel.
POUR ENLEVER LES ROUES POUR LES RÉPARATIONS (Voir la Fig. 28)
Fixes solidement des cales sous I'essieu.
- Enlevez le couvre-essieu, la bague de retenue et les rondelles pour permettre l'enlèvement de la roue (la roue arrière contient une clé carrée - ne la perdez pas).
- RépAREz le pneu et rassemblez-le.
- Sur les roues arrêté seulement: alignez les rainures dans le moyeu de roue arrêté et l'essieu. Insérez la clé carree.
- Réinstallée les rondelles et insérez à fond la bague de retenue dans la rainure d'essieu.
- Réinstallée le couvre-essieu.
REMARQUE: Pour boucher les crevaisons de pneus et pour prévenir les pneus à plat à cause des fuites, vous pouves acteter un obturator pour pneu chez votre dépositaire de péces. Ect obturator prévent aussi l'asséchéement et la corrosion du pneu.

FIG. 28
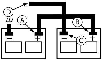
POUR DEMARRER LE MOTEUR AVEC UNE BATTERIE FAIBLE (Voir la Fig. 29)

AVERTISSEMENT: Les batteries au plomb et à l'acide produit des gaz explosifs. Gardez les étincelles, les flammes, les cigarettes, etc. loin des batteries. Portez toujours des lunettes protectrices lorsque vous âtes pré d'une batterie.
Si votre batterie est trop faible pour démarrer le moteur, elle devrait être rechargée. (Voir "BATTERIE" dans la section Entretien de ce manuel).
Si vous utilisez des "câbles de survoltage" pour un démarrage d'urgence, voici le procédé à suivre:
IMPORTANT: VOTRE TRACTEUR EST MUNI D'UN SYSTÉME DE 12 VOLTS. L'AUTRE VÉHICULE DOIT AUSSI AVOIR UN SYSTÉME DE 12 VOLTS. N'UTILISEZ PAS LA BATTERIE DU TRACTEUR POUR DEMARRER LES AUTRES VÉHICULES.
POUR ATTACHER LES CÂBLES DE DEMARRAGE -
- Branchez chaque extrémité du cable ROUGE à la borne (A-B) POSITIVE (+) de chaque batterie (en faisant bien attention de ne pas court-circuiter contre le chassis).
- Branchez une extrémité du cable NOIR à la borne (C) NÉGA-TIVE (-) de la batterie complètement chargée.
- Branchez l'autre extrémité du cable NOIR (D) au châssis mis à la masse. Maintenez les cables loin du réservoir d'essence et de la batterie.
POUR ENLEVER LES CÂBLES, RENVERSEZ LES PROCÉDURES -
- Débranche première le cable NOIR du chassin et ensuite de la batterie chargée complètement.
- Débranche ensuite le cable ROUGE des deux batteries.

BATTERIE FAIBLE OU DECHARGEE
BATTERIE ENTIÈRÉMENT CHARGÉE
FIG. 29
AVERTISSEMENT: Necourt-circuitez pas les bornes de batterie par permettre qu'une clé ou autres objets entrent en contacte avec les deux bornes a la même fois. Avant d'installer la batterie, enlevez tous les bijoux, lesbracelets de montre, les bagues métalliques, etc.
Au début la borne positive doit être branchée pour prévenir les étincelles d'une mise à la masse accidentelle.
Levez la bac du siege à la position élevée.
- Premièrement débranchez le cable de batterie NOIR et ensuite le cable de batterie ROUGE et enlevez la batterie du tracteur.
- Installez la nouvelle batterie avec les bornes dans la même place comme celle batterie.
Premièrement branchez le cable de batterie ROUGE à la borne positive (+) avec un boulon Hétécrou à taquets comme montré. Serrez à fond. Glissez la couverture borne au-dessus de la borne
- Branchez le cable de masse de batterie NOIR à la borne négative (-) avec le boulon H et écrou à taquets qui restent. Serrez à fond.

FIG. 30
POUR REMPLACER L'AMPOULE DES PHARES
Soulevez le capot.
- Dégagez de la douille d'ampoule de l'orifice à l'arrière de la calandre.
- Réinstallez l'ampoule dans la douille et poussez à fond la douille d'ampoule dans l'orifice à l'arrière de la calandre.
- Fermez le capot.
VERROUS ET RELAIS
Un cablage desserré ou avarie peut être la cause du mauvais fonctionnement, de l'arrêt ou du non-demarrage du tracteur.
- Vérifiez le câblage. Voir le schéma du câblage électrique dans la section Pièces de Rechange.
POUR REMPLACER LE FUSIBLE
Remplacez par un fusible enchachieable de type automobile, de 20A. Le portefusible est situé directement derrière le tableau de bord.
POUR ENLEVER LE CAPOT ET LA CALANDRE (Voir la Fig. 31)
Soulevez le capot.
- Débranchez le connecteur des cables des phares.
- Placez-vous au devant le tracteur. Empoignez le capot et les panneaux latéraux, inclinez-le un peu vers le moteur et soulevez-le du tracteur.
Pour le réinstaller, inversez les étapes ci-dessus.

FIG. 31
MOTEUR
POUR RÉGLER LE CÂBLE DE LA COMMANDE DES GAZ
La commande des gaz a été prérégée à l'usine et un réglage ne devrait pas été nécessaire. Si un réglage est nécessaire, voir le manuel du moteur.
POUR RÉGLER LA COMMANDE DU STARTER
La commande du starter a eté prérégée à l'usine et un réglage ne devrait pas etre nécessaire. Si un réglage est nécessaire, voir le manuel du moteur.
POUR RÉGLER LE CARBURATEUR
Votre carburateur n'est pas reglable. Si vous moteur ne fonctionné pas correctement à cause des problèmes avec le carburateur, veuillez apporter la tondeuse à gazon au centre d'entretien autorisé le plus proche pour faire la réaration et/ou le réglage.
Préparez immédiatement votre tracteur pour d'entreposage à la fin de la saison ou si le tracteur ne sera pas utilisé pendant une période de 30 jours ou plus.

AVERTISSEMENT: N'entreposez jamais le tracteur dans un bâtiment lorsque le réservoir contiens d'essence où les vapeurs pouraient parvenir à une flamme nue ou une étincelle. Permettez le moteur de refroidir avant de l'entreposer dans une enceinte.
TRACTEUR
Enlevez la tondeuse du tracteur quand vous l'entreposez pour l'hiver. Quand la tondeuse doit être entreprisespendant une longue période de temps, nettoyez-la à fond, enlevez toutes la saleté, laGRAISE, les feuilles, etc. Entreposez le tracteur dans un endroit propre et sec.
- Nettoyez le tracteur entier (voir à la section de Nettoyage dans la section Entretien de ce manuel).
- Inspectez, et si nécessaire, remplacez les courroies (Référez-vous aux instructions de remplacement de la courroie dans la section de Entretien et Réglages de ce manuel).
- Lubrifiez comme illustré dans la section Entretien de ce manuel.
Assurez-vous que tous les écrous, les boulons, et les vis soient bien fixés. Vérifiez toutes les pieces mobiles pour l'avarie, le bris, et l'usure. Remplacez-les si nécessaire. - Retouche toutes les surfaces peintes si elles se sont rouillées ou éraflées; sablez légarement au papier émeri avant de peindre.
BATTERIE
Chargez complètement la batterie avant d'entreposer.
Il est parfois nécessaire de recharger la batterie après une longue période d'entreposage.
Pour éviter la corrosion et les fuites de puissance pendant une longue période d'entreposage, les cables de batterie devraient être débranchés et la batterie devrait être nettoyée à fond (référez-vous à la section de "NETTOYER LA BATTERIE ET LES BORNES" dans la section Entretien de ce manuel).
- Àprous le nettoyage, laissez débrancher les cables et mettez les où ils ne puissant pas enter en contact avec les bornes de batterie.
- Si la batterie est enlevée du tracteur pour l'entreposage, ne mettez pas la batterie directement sur une superficie bétonnée ou humide.
MOTEUR
SYSTEME D'ESSENCE
IMPORTANT: C'EST TRÉS IMPORTANT D'ÉVITER LA FORMATION DES DEPÔTS DE GOMME DANS LE CARBURATEUR, LE FILTRÉ D'ESSENCE, LE TUYAU D'ESSENCE OU LE RÉSERVOIR D'ESSENCE PENDANT L'ENTREPOSAGE. L'EXPERIENCE DEMONTRE QUE LES CARBURANTS qui sont MÉLANGES AVEC DE L'ALCOOL (ETHANOL OU METHANOLET PARFOIS APPELESGASOHOL) PEUVENT ATTIRER L'HUMIDITE QUI CAUSE LA SEPARATION ET LA FORMATION D'ACIDE PENDANT L'ENTREPOSAGE. L'ESSENCE ACIDE peut AVARIER LE SYSTème DE CARBURANT DU MOTEUR PENDANT L'ENTREPOSAGE.
- Vidangez le réservoir d'essence en mettant en marche le moteur et le laissant courir jusqu'à ce que les conduites d'essence et le carburateur soient vides.
- N'utilise jamais les produits spéciaux pour nettoyer le moteur et le carburateur dans le réserve d'essence. L'emploi de ces produits pourrait cause des dégats permanents.
Utilisez de l'essence fraîche l'année suivante.
REMARQUE: Un stabilisateur d'essence est une option acceptable pour minimiser la formation des dépôts degomme de carburant pendant l'entreposage. Ajoutez le stabilisateur à l'essence dans le réservoir d'essence ou dans le bidon de carburant. Suivez toujours le dosage de mélange inscrit sur le bidon de stabilisateur. Laissez tourner le moteur pendant au moins 10 minutes après avoir ajouté le stabilisateur pour lui permettre d'atteindre le carburateur. Ne vidangez pas le réservoir d'essence et le carburateur si le stabilisateur d'essence est utilisé.
HUILE DE MOTEUR
Vidangez l'huile ( quand le moteur est chaud) et remplacez avec de l'huile de moteur fraîche. (Voir la section "MOTEUR" dans la section Entretien de ce manuel).
CYLINDRE(S)
Enlevez la(s) bougie(s) d'allumage.
- Versez une once (29 ml) d'huile par l'orifice(s) de bougie d'allumage dans le(s) cylindre(s).
- Tournez la clé d'allumage à la position de démarriage (START) pendant quelques secondes pour répartir l'huile.
- Remplacez avec une nouvelle bougie d'allumage.
INFORMATION SUPPLEMENTaire
- Ne conservez pas d'essence d'une saisson à l'autre.
- Remplacez le bidon d'essence s'il commence à rouiller. La présence de rouille et/ou la saleté dans l'essence causera des problèmes.
- Entreposez le tracteur à l'intérieur, si possible, et couvre-le pour le protégé de la poussière et de la saleté.
- Couvre le tracteur avec une couverture perméable. N'utilise pas une couverture en plastique. Le plastique obtrue la circulation d'air et permet la formation de condensation qui fera rouiller le tracteur.
IMPORTANT: NE COUVREZ JAMAIS LE TRACTEUR QUAND LE MOTEUR ET LES ENDROITS D'ECHAPPEMENT SONT ENCORE CHAUDS.
GUIDE DE DÉPANNAGE
| PROBLÈME | CAUSE | CORRECTION |
| Le moteur refuse de démarrer | 1. Sans essence.2. Le moteur n'est pas démarré à froid correctement.3. Le moteur est noyé.4. Mauvaise bougie d'allumage.5. Batterie faible ou à plat.6. Filtrée à air sale.7. Filtrée d'essence sale.8. Il y a de l'eau dans l'essence.9. Le câblage est lâche ou endommagé.10. Le carburateur demande un réglage.11. Les soupapes de moteur demandent un réglage. | 1. Remplissez le réservoir d'essence.2. Référez-vous à la section "POUR DÉMARRER LE MOTEUR" dans la section fonctionnement.3. Attendeez quelques minutes avant d'essayer de démarrer.4. Remplacez la bougie d'allumage.5. Rechargeze ou remplacez la batterie.6. Nettoyez/remplacez le filtre à air.7. Remplacez le filtre d'essence.8. Vidangez l'essence du réservoir et du carburateur, remplacez le réservoir d'essence avec de l'essence fraîche, et remplacez le filtre d'essence.9. Vérifiéz tout le câblage.10. Voyez la section "Pour Régler le Carburateur" dans la section Entretien et Réglages.11. Contactez un centre d'entretien autorisé. |
| Démarrage difficile | 1. Filtrée à air sale.2. Mauvaise bougie d'allumage.3. Batterie faible ou à plat.4. Filtrée d'essence sale.5. L'essence sale ou zeroes.6. Le câblage est lâche ou endommagé.7. Le carburateur demande un réglage.8. Les soupapes de moteur demandent un réglage. | 1. Nettoyez/remplacez le filtre à air.2. Remplacez la bougie d'allumage.3. Rechargeze ou remplacez la batterie.4. Remplacez le filtre d'essence.5. Vidangez l'essence du réservoir d'essence et remplacez avec de l'essence fraîche.6. Vérifiéz tout le câblage.7. Voyez la section "Pour Régler le Carburateur" dans la section Entretien et Réglages.8. Contactez un centre d'entretien autorisé. |
| Moteur ne tourne pas au ralenti | 1. La pédale de frein n'est pas baisseée.2. L'embrayage d'accessoire est à la position embrayée.3. Batterie faible ou à plat.4. Fusible saute.5. Les bornes de batterie sont corrodées.6. Le câblage est lâche ou endommagé.7. Le contacteur d'allumage est défectueux.8. Le soléroïde ou le démarreur est défectueux.9. L'interrupteur qui detecte la présence du conduc-teur est défectueux. | 1. Appuyez sur la pédale de frien.2. Débrayez l'embrayage d'accessoire.3. Rechargeze ou remplacez la batterie.4. Remplacez le fusible.5. Nettoyez les bornes de batterie.6. Vérifiéz tout le câblage.7. Vérifiéz/remplacez le contacteur d'allumage.8. Vérifiéz/remplacez le soléroïde ou le démarreur.9. Contactez un centre d'entretien autorisé. |
| Il y a un déclic mais le moteur ne démarré pas | 1. Batterie faible ou à plat.2. Les bornes de batterie sont corrodedes.3. Le câblage est lâche ou endommagé.4. Le soléroïde ou le démarreur est défectueux. | 1. Rechargez ou remplacez la batterie.2. Nettoyez les bornes de batterie.3. Vérifiéz tout le câblage.4. Vérifiéz/remplacez le soléroïde ou le démarreur. |
| Le moteur manque de puissance | 1. Vous tondez trop d'herbe/là vitesse de la tondeuse est trop rapide.2. La commande des gaz est à la position étrangleur.3. Il y a une accumulation d'herbe, de feuilles, et de débris sous la tondeuse.4. Filtrée à air sale.5. Niveau d'huile bas/huile sale.6. La bougie d'allumage est défectueuse.7. Filtrée d'essence sale.8. L'essence sale ou zeroes.9. Il y a de l'eau dans l'essence.10. Un fil lâche sur la bougie d'allumage.11. Tamis d'air du moteur/ailettes sont sales.12. Silencieux sale ou encrasse.13. Le câblage est lâche ou endommagé.14. Le carburateur demande un réglage.15. Les soupapes du moteur demandent un réglage. | 1. Mettez en position de coupe plus haute ou réduisez la vitesse.2. Réglez la commande des gaz.3. Nettoyez dessous du boitier de tondeuse.4. Nettoyez/remplacez le filtre à air.5. Vérifiéz le niveau d'huile/changez l'huile.6. Nettoyez, ajustez l'ecartement ou remplacez la bougie d'allumage.7. Remplacez le filtre d'essence.8. Vidangez l'essence du réservoir d'essence et remplacez le réservoir avec de l'essence fraîche.9. Vidangez l'essence du réservoir et du carburateur, remplacez le réservoir avec de l'essence fraîche, et remplacez le filtre d'essence.10. Branchedez et serrez le fil de bougie d'allumage.11. Nettoyez le tamis d'air du moteur/ailettes.12. Nettoyez/remplacez le silencieux.13. Vérifiéz tout le câblage.14. Voyez la section "Pour Régler le Carburateur" dans la section Entretien et Réglages.15. Contactez un centre d'entretien autorisé. |
| Vibrations excessives de la tondeuse | 1. La lame est usée, tordue, ou lâche.2. Un mandrin de lame est tordu.3. Des pièces sont lâches ou endommagées. | 1. Remplacez la lame. Serrez à fond le boulon de lame.2. Remplacez le mandrin de lame.3. Serrez les pièces lâches. Remplacez les pièces endommagées. |
GUIDE DE DÉPANNAGE
| PROBLÈME | CAUSE | CORRECTION |
| La tondeuse (ou son accessoire) s'arrête lorsque le tracteur passen en marche arrêté | 1. Système de fonctionnement en marche arrêté (ROS) est sur OFF n'est pas sur ON | 1. Tournez le ROS sur ON. |
| Le moteur marche lorsque le conducteur quitté le siège avec l'embrayage d'accossoire engagé | 1. Le système qui déetecte la présence du conducteur est défectueux. | 1. Vérifiez le câblage, les interrupteurs et les connexions. Si le problème n'est pas corrugé, contactez un centre d'entretien autorisé. |
| Coupe inégale | 1. La lame est usée, tordue ou lâche.2. Le carter de tondeuse n'est pas équilibré.3. Il y a une accumulation d'herbe, de feuilles, et de débris sous la tondeuse.4. Un mandrin de lame est tordu.5. Les trouès d'évent du carter de tondeuse sont obstrués par l'accumulation de l'herbe, de feuilles, et de débris autour des mandrins. | 1. Remplacez la lame. Serrez le boulon de lame.2. Nivelez le carter de tondeuse.3. Nettoyez dessous du boîtier de tondeuse.4. Remplacez le mandrin de lame.5. Nettoyez les faces de mandrin pour ouvrir les trouès d'event. |
| Les lames de tondeuse ne tournent pas | 1. Une obstruction dans le mécanisme d'embrayage.2. La courroie d'entrainment de tondeuse est usée ou endommagée.3. Galet-tendeur grippé.4. Un mandrin de lame grippé. | 1. Enlevez l'obstruction.2. Remplacez la courroie d'entrainment de tondeuse.3. Remplacez le galet-tendeur.4. Remplacez le mandrin de lame. |
| Mauvaise décharge de l'herbe | 1. La vitesse de moteur est trop lente.2. La vitesse de course est trop rapide.3. Herbe humide.4. Le carter de tondeuse n'est pas équilibré.5. La pression des pneus est basse ou inégale.6. La lame est usée, tordue ou lâche.7. Il y a une accumulation d'herbe, de feuilles, et de débris sous la tondeuse.8. La courroie d'entrainment de tondeuse est usée.9. Les lames n' ont pas été correctement montées.10. Les mauvaises lames ont été montées.11. Les trouès d'évent du carter de tondeuse sont obstrués par l'accumulation d'herbe, de feuilles, et de débris autour des mandrins. | 1. Déplacez la commande des gaz dans la position rapipe (FAST).2. Changez à une vitesse plus lente.3. Laissez secher l'herbe avant de tandre.4. Nivelez le carter de tondeuse.5. Vérifiez la pression des pneux.6. Remplacez la lame ou affiez-la. Serrez le boulon de lame.7. Nettoyez dessous du boîtier de tondeuse.8. Remplacez la courroie d'entrainment de tondeuse.9. Réinstallé les lames avec le bord tranchant vers le bas.10. Remplacez les lames avec les lames commandées dans ce manuel.11. Nettoyez les faces de mandrin pour ouvrir les trouès d'event. |
| Les phares n'allument pas (si muni) | 1. L'interrupteur est dans la position d'arrêt (OFF).2. Ampoule(s) ou lampe(s) grillées.3. L'interrupteur des phares est défectueux.4. Le câblage est lâche ou endommagé.5. Fusible saute. | 1. Mettez l'interrupteur dans la position marche (ON).2. Remplacez l'ampoule(s) ou lampe(s).3. Vérifiez/remplacez l'interrupteur des phares.4. Vérifiez le câblage et les connexions.5. Remplacez le fusible. |
| La batterie ne charge pas | 1. Mauvais élément(s) de la batterie.2. Mauvaises connexions du cable.3. Régulateur défectueux (si muni d'un).4. Alternateur défectueux. | 1. Remplacez la batterie.2. Vérifiez/remplacez toutes les connexions.3. Remplacez le régulateur.4. Remplacez l'auternet. |
| Une perte d'entrainment | 1. La commande de la roue libre est en position dégagée.2. Courroie d'entrainment de déplacement est usagée, endommagée, ou cassée.3. Air emprisonné dans la transmission pendant le transport ou le réglage. | 1. Mettez la commande de la roue libre en position engagée.2. Remplacez la courroie d'entrainment de déplacement.3. Purgez la transmission. |
| Pétarade au silencieux quand le moteur est coupé (OFF). | 1. La commande des gaz de moteur n'est pas dans la position intermédiaire (entre rapide et lent) avant de couper le moteur. | 1. Déplacez la commande des gaz dans la position intermédiaire (entre rapide et lent) avant de couper le moteur. |
GARANTIE LIMITÉE
Le Fabricant garantit à l'acheteur initial que son produit tel que manufactured est libre de défaut de matière et d'ouvrage. Pendant deux (2) ans, à compter de la date d'achat de la part de l'acheteur initial, nous réparerons ou replacerons à notre choix, notamment, toute piece, sur laquelle nous estimerons qu'il existe un défaut de matière ou d'ouvrage. Cette garantie est soumise aux limitations et exceptions suivantes:
- Cette garantie ne couvre pas le moteur, la transmission/composants de transmission pas fabriqués par EHP, la batterie (sauf comme mentionnée ci-dessous) ou les pieces detachées. Veuillez-vous consulter la garantie applicable du fabricant des articles.
- L'acheteur est responsable des frais du transport de tous les équipements actionnés par moteur ou les accessoires. L'acheteur est responsable des frais aussi du transport de toutes les pieces (couvertes par cette garantie) soumis pour le remplacement à moins que Electrolux Home Products demande à l'acheteur de renvoyer les pieces.
- Garantie de la batterie: Pour les produits équipés d'une batterie, nous remplacerons, gratuitemment, toute batterie estimée defectuese pendant les quatre-vingt-dix (90) jours initiaux suivant l'achat. Aprees quatre-vingt-dix (90) jours, nous échangergons la batterie, le cout pour vous estre 1/12 du prix d'une nouvelle batterie pour chaque mois complet a compter de la date d'achat initiale. La batterie doit etre entretenue selon les directives données dans la documentation appropriee.
- La période de garantie applicable aux produits proposés en location ou à des fins commerciales est limitée à quatre-vingt-dix (90) jours à compter de la date d'achat initiale.
- Cette garantie ne s'applique qu'aux produits correctement montés, régles, utilisés et entretenus conformément aux instructions données dans la documentation appropriée. Cette garantie ne s'applique pas aux produits qui ont été modifiés, utilisés incorrectement, abusés, mal assemblés, mal installés ou avaries lors de la livraison ou usage normal.
- Exclusions: Les courroies, les lames, les adaptateurs de lame, l'usage normal, les réglages normaux, la visserie standard, et l'entretien normal sont exclus de cette garantie.
- En cas de problème entrant dans le cadre de cette garantie, veuillez-vous returner votre machine à un concessionnaire autorisé.
Si vous auriez aucune question sans response concernant cette garantie, s'il vous plaît contactez:
en nous donnant le numéro du modele, le numéro de série, la date d'achat de votre machine ainsi que l'adresse du concessionnaire autorisé chez qui vous l'avez acheté.
CETTE GARANTIE NE COUVRE AUCUN DOMMAGE INCIDENTEL OU CONSEQUENT ET Toute GARANTIE IMPLICITE EST LIMITÉE AUX MÉMES PÉRIODES PRÉCISEES ICI POUR LES GARANTS EXPLICITES DU FABRICANT. Certaines localités ne permettent aucune restriction des dommages conséquents ou de la durée d'une garantie implicite et; par conséquent, il se pourrait que les restrictions et exclusions énoncées ci-dessus ne s'appliquent pas à vous. Cette garantie vous donne droits légaux spécifiques et vous pouvez aussi jour d'autres droits d'un endroit à un autre.
Cette garantie est une garantie limitée comme définie dans la loi Magnuson-Moss Act de 1975.

GUIDE SUGGÈRE POUR L'ÉVALUATION DES PENTES AFIN D'AMéliORER LA SECURITE D'UTILISATION

AVERTISSEMENT: Pour éviter de vous blesser gravement, utilisez votre tracteur parallelement à la pente, jamais transversalement. N'affrontez pas de pentes de plus de 15 degrés. Effectuez les virages graduallement afin d'éviter le renversement ou la perte de contrôle. Soyez extrément prudent quand vous changez de directions sur les pentes.
- Pliez cette page suivant les pointillées, comme précédemment.
- Tenez cette page devant vous, avec le côté gauche parallele à un tronc d'arbre ou à tout autre structure verticale.
- Regardez à travers la pliure dans la direction de la pente que vous entendez mesurer.
- Comparez l'angle de la pliure avec la pente de la colline.
PoulanPRO
L'ENTRETIEN ET
LES PIECES DE RECHANGE
Ce produit, concu avec les soins les plus attentifs, est fabriqué en accord avec des standards stricts. Comme pour tous les produits avec des parties mobiles, il peut être nécessaire pendant la durabilité de votre machine d'effectuer des ajustements ou le remplacement de certaines pieces.
Pour les pieces de rechange et l'entretien, contactez notre concessionnaire autorisé: appelez 1-800-849-1297
Pour les pieces de rechange, ayez pres de vous:
A. Numéro du modele/Référence numéro du manufacturer
B. Description de la pierce
Pour l'assistance technique: appelez 1-800-829-5886
Pour un manuel de pieces, allez à notre site web: www.poulan-pro.com/support.asp
N.B.: Electrolux Home Products assure la distribution des pieces de rechange et l'entretien de ses produits par l'intérimédiaire des concessionnaires et des distributeurs agréés; par conséquent toute demande de pieces ou d'entretien doit être adressée directement au distributeur agréé le plus proche. La philosophie de Electrolux Home Products est d'améliorer en permanence la gamme complète de ses produits. Si les caractéristiques ou l'apparce de votre outil sont différentes de celles décrites dans ce Manuel, contactez S.V.P. votre concessionnaire pour les informations et l'assistance concernant les mises à jour.
Notice Facile