C7350N - Imprimante laser couleur OKI - Notice d'utilisation et mode d'emploi gratuit
Retrouvez gratuitement la notice de l'appareil C7350N OKI au format PDF.
| Intitulé | Description |
|---|---|
| Type de produit | Imprimante couleur laser |
| Résolution d'impression | 1200 x 1200 dpi |
| Vitesse d'impression | Jusqu'à 30 pages par minute (ppm) |
| Capacité de papier | 250 feuilles (bac principal), 100 feuilles (bac multi-usages) |
| Formats de papier pris en charge | A4, A5, A6, B5, C5, DL, et plus |
| Connectivité | USB 2.0, Ethernet, Wi-Fi (en option) |
| Compatibilité système d'exploitation | Windows, macOS, Linux |
| Dimensions approximatives | 400 x 450 x 300 mm |
| Poids | Environ 20 kg |
| Consommation électrique | 350 W (impression), 50 W (veille) |
| Niveau sonore | 46 dB (impression) |
| Entretien et nettoyage | Nettoyage régulier des rouleaux et des surfaces internes recommandé |
| Pièces détachées et réparabilité | Accessibilité des toners, tambours et pièces internes pour maintenance |
| Garantie | 1 an (options d'extension disponibles) |
| Sécurité | Certifications CE, RoHS |
| Fonctions principales | Impression, impression recto verso (en option) |
FOIRE AUX QUESTIONS - C7350N OKI
Téléchargez la notice de votre Imprimante laser couleur au format PDF gratuitement ! Retrouvez votre notice C7350N - OKI et reprennez votre appareil électronique en main. Sur cette page sont publiés tous les documents nécessaires à l'utilisation de votre appareil C7350N de la marque OKI.
MODE D'EMPLOI C7350N OKI
Pour obtenir les informations les plus récentes, visitez le site http://my.okidata.com
Titre du document et référence
C7350/7550
Guide de l'Utilisateur pour Windows
P/N 59366002
Stipulation d'exonération
Tous les efforts ont été déployés afin que l'information contenue dans ce document soit complète, exacte et à jour. Le fabricant n’assume aucune responsabilité pour les conséquences causées par des erreurs au-delà de son contrôle. Le fabricant ne peut pas non plus garantir que des modifications au logiciel et au matériel effectuées par les autres fabricants et mentionnées dans ce document n’affecteront pas l’applicabilité du contenu de l’information. Les mentions de produits de logiciel développés par les autres sociétés ne constituent pas nécessairement l’endorsement du fabricant.
Toutes les mesures ont été prises pour que le présent document soit précis et qu'il vous apporte une aide précieuse ; toutefois, il n'est pas possible pour le fabricant de garantir, de façon expresse ou implicite, la précision et l'intégralité des renseignements contenus dans le présent document.
Les pilotes et les guides les plus récents sont offerts sur les sites Web :
http://www.okidata.com et http://my.okidata.com.
Information sur les droits d'auteur
Copyright © 2004. Tous droits réservés.
Première édition, septembre 2004
Révision 1.00
Rédigé et produit par le Service des publications et de la formation Oki Data.

En tant que partenaire du programme ENERGY STAR, le fabricant a déterminé que ce produit est conforme aux directives d'Energy Star en matière d'efficacité énergétique.
Ce produit est conforme aux exigences des directives 89/336/EEC
(EMC) et 73/23/EEC (LVD), telles que modifiées où cela est applicable, sur le rapprochement des lois des États membres concernant la compatibilité électromagnétique et la basse tension.
Marques commerciales
OKI, Oki Data, OkiLAN, MICROLINE, OKIPAGE, et OKIOFFICE sont des marques déposées de Oki Electric Industry Company, Ltd.
Adobe, ATM, PostScript et Type Manager sont des marques de commerce de Adobe Systems, Inc. qui peuvent être enregistrées dans certains territoires, États ou provinces.
Apple, Macintosh et Mac OS sont des marques déposées de Apple Computers Inc. Energy Star est une marque d'United States Environmental Protection Agency. Epson est une marque déposée de Seiko Epson Corporation (SEC), aux États-Unis et/ou dans d'autres pays.
Hewlett-Packard, HP et LaserJet sont des marques déposées de Hewlett-Packard Company.
IBM est une marque déposée de International Business Machines Corp.
LINUX est une marque déposée de Linus Torvalds.
Microsoft, MS-DOS et Windows sont des marques déposées de Microsoft Corporation.
Windows et Windows NT sont des marques déposées ou marque de commerce aux États-Unis et/ou dans d'autres pays.
Word Perfect est une marque déposée de Corel Corporation.
ZIP Code est une marque déposée de United States Postal Service.
D'autres noms de produits et noms de fabricants sont des marques déposées ou marques déposées de leur propriétaire.
Mentions 17
Modèles d'imprimantes et fonctions 18 Tableau sommaire. 18 Descriptions 19
Utilisation de ce manuel 20
Utilisation en ligne 21 Impression de pages 22
Mise en route 23
Déballage 23 Pilotes, Utilitaires, Manuels 24
Exigences des grammages 25 Exigences des espaces 25
Éléments de l'imprimante 26
Extérieure 26 l'intérieur 27 Arriere 28
Installation 29
Retirer les matériaux d'emballage 29. Toner 34.
Installation 34 TONER LOW (TONER BAS) ou CHANGE TONER (CHANGER
DE TONER) 39
TONER SAVE MODE (MODE ÉCONOMIE TONER) 40 Impression noire 41
Chargement du papier. 42
Bac 1. 42 En-têtes 47 Enveloppes 48 PAS DE PAPIER 49
Option Bac (Alimentation du papier) 52
Chemins d'impression. 53
face vers le haut (Droit) [Face up] 53 Face vers le bas (Face Down) 54 alimentation manuelle 55
Energie. 56
Brancher le câble secteur 56 POWER SAVE Mode (Mode d'économie d'énergie) 57 Eteignez l'imprimante 59
Séquence de fermeture 59
Interfaces 62
Diagramme d'emplacement 62 Parallèle 63 USB 63 Réseau 63
Tableau de commande (Panneau Avant) 64
Voyants et affichage 64 Boutons 65 Langue d'affichage : Changement 67
Ajuster la couleur. 77
Ajuster l'intensité de la couleur (Ajustement fin des primaires) 77
Impression de la mire couleur. 78 Exemple : La mire couleur 79 Exemple : Régler la magenta 80
Paramètres de l'imprimante (Paramètres du menu) 82
Pour imprimer une liste des paramètres courants : 82 (MenuMap) 82 Modifier ses paramètres de l'imprimante. 83 Remise aux paramètres d'usine par défaut. 84 Listes de menus de l'utilisateur et paramètres disponibles 85
Pilotes d'imprimante 117
Choix d'un pilote d'imprimante 118 Mémoire supplémentaire 119 PostScript uniquement 119
Disque dur interne 120
PostScript 120 PCL 121
Bacs à papier supplémentaires. 122
PostScript. 122 PCL. 123
Unité Duplex 124
PostScript. 124 PCL. 125
Alimentation du papier, format et support 126
Paramètres par défaut 126
PostScript. 126
PCL 131
Utilitaire Network Printer Status 136
(État de l'imprimante réseau) 136
Utilisation. 137
Facteurs affectant l'apparition des tirages 138
Couleurs d’un modèle c. celle d’une imprimante 139
Conditions de visualisation 140
Paramètres couleur du pilote d'imprimante. 140
Options du moniteur 141
Mode d’affichage de la couleur du logiciel 142
Type de papier 142
Colorimétrie 143
Choix d'une méthode 143
RVB ou CMJN 144
Concordance des images photographiques 145
Concordance des couleurs spécifiques 146
Impression de couleurs vives. 147
Pilote PCL. 148
Nuancier de couleurs 151
Pilote PostScript 152
OKI Color Control (Contrôle couleur OKI) 154
PostScript Color Control (Contrôle couleur PostScript) 156
Utilisation des profils ICC. 159
Colorimétrie ICM de Windows 162
Pages multiples sur une seule feuille 164
(Impression N-up (N par page)) 164
PostScript. 164
PCL. 165
Formats de page personnels. 167
PostScript. 167
PCL 171
Résolution d'impression 175
PCL ou PostScript 175
Impression duplex 177
Impression recto verso
sur les deux côtés d'une page 177
PostScript. 177
PCL. 180
Impression de livrets. 183
PostScript. 183
PCL. 185
Impression de filigranes 187
Préquement 187
Assemblage. 189
PCL ou PostScript 189
Tirage d'épreuve 190
PCL ou PostScript 190
Impression Sécurisée 194
Impression Confidentielle 194
PCL ou PostScript 194
Enregistrement sur le disque dur 198
PCL ou PostScript 198
Impression de posters 203
Plaquiemement 203
Pilotes d'imprimante 205
Choix d'un pilote d'imprimante 206
Mémoire supplémentaire 207
PostScript uniquement 207
Disque dur interne 209
PostScript. 209
PCL 210
Bacs à papier supplémentaires. 211
PostScript. 211
PCL 212
Unité Duplex 213
PostScript 213
PCL 214
Alimentation du papier, format et support 215
Paramètres par défaut 215
PostScript. 215
PCL 220
Utilitaire Network Printer Status 225
(État de l'imprimante réseau) 225
Utilisation 226
Facteurs affectant l'apparition des tirages 227
Couleurs d'un moniteur c. celle d'une imprimante 228
Conditions de visualisation 229
Paramètres couleur du pilote d'imprimante 229
Options du moniteur 230
Mode d’affichage de la couleur du logiciel 231
Type de papier 231
Colorimétrie 232
Choix d'une méthode 232
Généralités 232
RVB ou CMJN 233
Concordance des images photographiques 234
Concordance des couleurs spécifiques 235
Impression de couleurs vives. 236
Pilote PCL 237
Nuancier de couleurs 240
Pilote PostScript 241
OKI Color Control (Contrôle couleur OKI) 243
PostScript Color Control (Contrôle couleur PostScript) 245
Utilisation des profils ICC. 248
Colorimétrie ICM de Windows 251
Pages multiples sur une seule feuille 253
(Impression N-up (N par page)) 253
PostScript 253
PCL 254
Formats de page personnels. 256
PostScript 256
PCL 260
Résolution d'impression 265
PCL ou PostScript 265
Impression duplex 266
sur les deux côtés d'une page) 266
PostScript 266
PCL 269
Impression de livrets. 272
PostScript 272
PCL 275
Impression de filigranes 277
PCL uniquement 277
Assemblage. 279
PCL ou PostScript 279
Tirage d'épreuve 281
PCL ou PostScript 281
Impression Sécurisée 286
Impression Confidentielle 286
PCL ou PostScript 286
Enregistrement sur le disque dur 291
PCL ou PostScript 291
Impression de posters 296
Peuquelquechose 296
Pilotes d'imprimante 298
Choix d’un pilote d’imprimante 299
Mémoire supplémentaire 300
PostScript uniquement 300
Disque dur interne 302
PostScript ou PCL 302
Bacs à papier supplémentaires. 303
PostScript ou PCL 303
Unité Duplex 304
PostScript ou PCL 304
Alimentation du papier, format et support 305
Paramètres par défaut 305
PostScript ou PCL 305
Utilitaire Network Printer Status 309
(État de l'imprimante réseau) 309
Utilisation. 310
Facteurs affectant l'apparence des tirages 311
Couleurs d'un moniteur c. celle d'une imprimante 312
Conditions de visualisation 313
Paramètres couleur du pilote d'imprimante 313
Options du moniteur 314
Mode d’affichage de la couleur du logiciel 315
Type de papier 315
Colorimétrie 316
Choix d'une méthode 316
Généralités 316
RVB ou CMJN 317
Concordance des images photographiques 318
Concordance des couleurs spécifiques 319
Impression de couleurs vives 320
Pilote PCL 321
Nuancier de couleurs 324
Pilote PostScript 325
OKI Color Control (Contrôle couleur OKI) 328
PostScript Color Control (Contrôle couleur PostScript) 330
Utilisation des profils ICC 333
Colorimétrie ICM de Windows 335
Pages multiples sur une seule feuille 337
(Impression N-up (N par page)) 337
PostScript 337 PCL 339
Formats de page personnels. 341
PostScript 341 PCL 345
Résolution d'impression 350
PCL ou PostScript 350
Impression duplex 352
Impression recto verso (sur les deux côtés d'une page) 352 PostScript ou PCL 352
Impression de livrets. 355
PCL et Windows Me uniquement 355
Impression de filigranes 358
PostScript 358 CL 360
Assemblage 362
PCL ou PostScript 362
Substitution de polices 363
PostScript uniquement 363
Tirage d'épreuve 364
PCL ou PostScript 364
Impression Sécurisée 369
pressionConfidentielle 369 PCL ou PostScript 369
Enregistrement sur le disque dur 374
PCL ou PostScript 374
Impression de posters 379
Préquement 379
Pilotes d'imprimante 381 Choix d'un pilote d'imprimante 382 Mémoire supplémentaire 383 PostScript uniquement 383 Disque dur interne 384 PostScript 384 PCL 385 Bacs à papier supplémentaires. 386 PostScript 386 PCL 387 Unité Duplex 388
PostScript. 388
PCL 389
Alimentation du papier, format et support 390
Paramètres par défaut 390
PostScript 390
PCL 394
Utilitaire Network Printer Status 399
(État de l'imprimante réseau) 399
Utilisation. 400
Facteurs affectant l'apparence des tirages 401
Généralités 401
Couleurs d'un moniteur c. celle d'une imprimante 402
Conditions de visualisation 403
Paramètres couleur du pilote d'imprimante. 403
Options du moniteur 404
Mode d’affichage de la couleur du logiciel 405
Type de papier 405
Colorimétrie 406
Choix d'une méthode 406
Généralités 406
RVB ou CMJN 407
Concordance des images photographiques 408
Concordance des couleurs spécifiques 409
Impression de couleurs vives. 410
Pilote PCL. 411
Nuancier de couleurs 414
Pilote PostScript 416
OKI Color Control (Contrôle couleur OKI) 418
PostScript Color Control (Contrôle couleur PostScript). 420
Pages multiples sur une seule feuille 423
(Impression N-up (N par page)) 423
PostScript. 423
PCL 424
Formats de page personnels. 426
PostScript. 426
PCL 431
Résolution d'impression 436
PCL ou PostScript 436
Impression duplex 438
sur les deux côtés d'une page) 438
PostScript. 438
Restrictions d'usage 438
Modifier les paramètres lors de l'impression d'un travail......439
Modifier les paramètres pour tous les travaux 441
PCL 442
Restrictions d'usage 442
Modifier les paramètres lors de l'impression d'un travail......443
Modifier les paramètres pour tous les travaux 444
PCL ou PostScript 450
Tirage d'épreuve 451
PCL ou PostScript 451
Restrictions d'usage 451
Utilisation 452
Impression d'exemplaires 454
Suppression d'exemplaires 455
Impression Sécurisée 456
(L'impression de Documents Confidentiels) 456
PCL ou PostScript 456
Restrictions d'usage 456
Utilisation 457
Impression 460
Suppression de travaux d'impression confidentiels 461
Enregistrement sur le disque dur 462
PCL ou PostScript 462
Restrictions d'usage 462
D'enregistrer temporairement les travaux d'impression.463
Impression d'exemplaires 465
Suppression d'exemplaires. 466
Impression de posters 467
Peuquelquechose 467
Maintenance 469
Ajout de papier 469
Changement de la cartouche de toner. 473
Changement du tambour photoconducteur. 482
Changement de la courroie de transfert 485
Remplacement de l'unité de fusion 491
Nettoyage des DEL. 494
Résolution des problèmes 499
Messages affichés 499 La liste de Messages 499 Astérisque (*) répétitives 503
Bourrage de papier 504
Vidage. 504 Exemples. 516 Le bourrage de papier a été supprimé mais l'imprimante n'imprime pas. 517
Problèmes de qualité d'impression 518
Bandes : blanches 518 Bandes : noires. 518
Le bord des lettres est estompé. 519 Impression claire. 520
Éclaircissement graduel longitudinal 520 Éclaircissement graduel par endroits. 520 Impression à peine visible 520 Ombres à peine visibles sur des sections non imprimées. 521
Le toner s'en va en passant l'impression 521. L'impression est déformée ou incorrecte avec une connexion parallèle. 521
Problèmes parallèle 522
Mode de transmission parallèle 522 Impossible de configurer la connexion parallèle 523 L'impression est déformée ou incorrecte avec une connexion parallèle. 524
Problèmes USB 525
Impossible de configurer la connexion USB. 525 Impossible d'imprimer 526
Erreur d'application ou de protection générale. 527 Changement de format de papier demandé. 528 Mise sous tension mais l'imprimante ne se met pas en ligne. 529 L'imprimante fait un bruit étrange. 529 L'imprimante met longtemps à lancer l'impression. 530 L'impression est lente. 531 Le traitement de l'impression ne commence pas. 531 Le traitement de l'impression s'annule. 531
Accessoires 532
Mémoire supplémentaire 533
Quand installer 533
Disponible à la page 533
Installation 534
Disque Dur Interne 540
Généralités 540
Installation 540
Initialiser automatiquement 544
Initialiser manuellement 544
Unité Duplex 545
Installation 545
Bacs à papier supplémentaires. 546
Installation 546
Consommables 554
Toner. 554
Tambour Photoconductor 554
Unité de fusion 555
Courroie de transfert 555
Support d'impression OKI 556
OKI SynflexTM (SynflexMC) 556
Étanche et indéchirable 556
(papier à épreuve blanc brillant) 556
(carte de première qualité) 556
OKI Premium Color Transparencies 557
OKI Premium Envelopes 557
(Enveloppes de première qualité) 557
Options par défaut règles à l'usine 558
Menu imprimer 558
Menu papier 559
Menu couleur 560
Menu configuration système 561
Menu d'emulation PCL (Windows uniquement) 562
Menu d'émulation PPR (Windows uniquement) 563
Menu d'emulation FX (Windows uniquement) 564
Menu parallèle (Windows uniquement) 565
Menu USB 566
Menu réseau. 567
Menu mémoire 568
Menu maintenance du disque 569
Menu de réglage du système 570
Menu maintenance. 571
Utilitaire "COLOR SWATCH" 572
(Nuancier de couleurs) 572
Généralités 572
Chargement de l'utilitaire 573
Création de nuanciers de couleurs personnalisés 575
Utilitaire "PDF print direct" 577
Généralités 577
Exigences d'Usage 577
Utilisation 578
(Gestionnaire des unités de mémoire pour Windows) 580
Généralités 580
Sommaire des fonctions 581
Installation 582
Obtenir de l'aide. 583
Aide en ligne 583
Lancement de l'utilitaire 583
L'Administrateur de réseau fonctionne 585
Généralités 585
Notes et Avertissements 586
Lancement de l'utilitaire 587
Définition d'un mot de passe d'administration. 587
Création de formulaires 588
PostScript 588
PCL 595
Impression de la liste de fichiers 605
Dans Storage Device Manager 605
dans panneau de commande (avant) 605
Consultation et suppression des fichiers 606
HDD Print Jobs (Travaux d'impression du disque dur) 606
Disque dur interne 606
Mémoire flash de l'imprimante 606
Suppression des fichiers 608
Afficher les ressources 608
Disque dur interne 608
Mémoire flash de l'imprimante 608
Superpositions 610
Quels sont les Overlays? 610
Quand utiliser Superpositions. 610
Exemple d'utilisation des superpositions : 610 Créer fichiers pour superpositions 611 Restrictions d'usage 612 Windows 2000 et XP : PCL. 614 Windows 2000 : PCL. 615 Windows Me/98/95 : PCL 618 Windows Me/98/95 : PostScript 622 Windows NT 4.0 : PCL 626 Windows NT 4.0 : PostScript 632
Utilitaire de comptabilisation des travaux d'impression
Introduction 636 Présentation 638
Exemple de réseau 638
Exigences concernant le système d'exploitation 639
Serveur (Windows Tableau). 639 Ordinateurs clients (Windows ou Macintosh) 639
Installation 640
L'utilitaire de comptabilisation 640 Logiciel client 640
Capacités du logiciel serveur 643
Pour chaque client, vous pouvez : 643 Pour chaque imprimante, vous pouvez : 644 Pour les journaux d'impression, vous pouvez : 645
Nom d'utilisateur par rapport à ID compte 646
User Name [Nom d'utilisateur] 646 Account ID [ID compte] 646
Logiciel serveur 648
Lancement du logiciel serveur 648 Menus déroulants du logiciel serveur 650 Configuration de l'envoi automatique de courriel 657
Définition des groupes d'imprimantes 659
Enregistrement des imprimantes. 661 Modification des paramètres d'une imprimante enregistrée......677 Définition des ID comptes 679 Journaux d'impression. 694
Logiciel client 709
Lancement du logiciel client. 710 Définition d'un nom d'utilisateur et d'une ID compte 710
Vérification de l'état des imprimantes d'un réseau 713 Dépannage 719 Problèmes connus et solutions 721 Désinstallation 722
Désinstallation du logiciel serveur. 722
Désinstallation du logiciel client 723
Types d'utilisateurs 725
Utilisateurs invités 725
Utilisateurs standard 725
Administrateurs 725
Scénarios d'utilisation typiques 726
Exigences système 727
Logiciel serveur 727
Logiciel client 727
Informations supplémentaires 727
(État de l'imprimante réseau) 728
Présentation 728
Installation 728
Lancement 729
Vérification de l'état d'une imprimante 731
Utilitaire LPR OKI 732
Présentation 732
Installation 732
Informations supplémentaires 733
Avertissement
Cette indication donne des informations supplémentaires complétant le texte, et susceptibles de vous aider à utiliser et comprendre le produit.
Attention!
Cette indication donne des informations supplémentaires à respecter pour éviter des dysfonctionnements de la machine.
Avertissement!
Cette indication donne des informations supplémentaires à respecter pour éviter tout risque d'accident corporel.
Important!
Un message important est indiqué comme ceci, et fournit des informations supplémentaires pour éviter des problèmes potentiels.
Félicitations pour avoir choisi cette imprimante en couleur !
Dans ce chapitre, vous trouverez un récapitulatif des principales fonctions de votre imprimante.
Suivi de quelques conseils d'utilisation du Guide de l'utilisateur pour tirer parti de votre imprimante.
Tableau sommaire
| Modèle | Resolution | Vitesse d'impression | Carte réseau | Unité Duplex | Mémoire | Disque dur |
| C7350n | 600 x 1200 dpi | 24 ppm colora | Standard | Option | 192 MB | Option |
| C7350hdn | 600 x 1200 dpi | 24 ppm colora | Standard | Standard | 320 MB | 20 GB standard |
| C7550n | 1200 x 1200 dpi | 24 ppm colora | Standard | Option | 192 MB | Option |
| C7550hdn | 1200 x 1200 dpi | 24 ppm colora | Standard | Standard | 320 MB | 20 GB standard |
a. 26 ppm monochrome
Descriptions
- Technologie numérique monopasse assurant la haute qualité, la rapidité et la fiabilité de l'impression.
- Manutention polyvalente du papier
- avec un bac à papier standard de 530 feuilles
- un bac multifonction standard de 100 feuilles pour le papier cartonné, les enveloppes, etc.
- charge maximale de 1690 feuilles avec le second bac et le troisième bac optionnels.
- Lecteur de disque durhaute capacité de 20 Go (en standard sur les modèles hdn, optionnels pour les autres).
- Commutation d'interface automatique
- USB
- Parallèle bidirectionnelle haute vitesse (IEEE-1284)
- entre les interfaces réseau par l'entremise de la carte d'interface réseau interne
- Écologique: Le mode avancé d'économie d'énergie minimise la consommation électrique et permet de réduire la quantité de toner usage provenant du tambour et de la cartouche de toner.
- Ajustement automatique de l'équilibrage des couleurs : afin d'assurer un tirage régulier, la machine réalise un contrôle systématique des couleurs lors de sa mise sous tension, lors de l'ouverture et de la fermeture du capot supérieur et ajuste automatiquement l'équilibrage des couleurs. Elle peut être même programmée pour ajuster l'équilibrage des couleurs durant les longs tirages.
- Détection automatique de support : détecte le grammage du support passant par l'imprimante puis ajuste automatiquement la température de fusion, la vitesse (au besoin) et la tension de transfert afin de garantir une bonne fusion et la qualité de l'impression.
- Impression Duplex pour un tirage recto-verso rapide et fiable (en standard sur les modèles hdn, optionnelle pour tous les autres modèles).
Utilisation de ce manuel
Ce manuel vous guidera logiquement dans le déballage, la configuration et le fonctionnement de votre imprimante. Ce manuel pour vous permettre de tirer parti de ses nombreuses fonctions avancées.
Il donne également
des directives de dépannage et des directives de maintenance - instructions permettant d'ajouter des accessoires optionnels
La réduction du Guide de l'utilisateur est basée sur un modèle d'imprimante. Elle est encouragée par des illustrations/captures d'écran correspondantes. Elles s'appliquent au modèle que vous installez.
Les informations contenues dans ce manuel sont complétées par le service complet d'assistance en ligne relatif au pilote d'imprimante.
Utilisation en ligne
Ce manuel est destiné à être lu à l'écran au moyen de Adobe Acrobat Reader.
Utilisez les outils d’exploration et de visualisation fournis dans Acrobat;
Les informations spécifiques sont accessibles de deux façons :
- Dans la liste de signets en bas, à gauche de l’écran, cliquez sur la rubrique qui vous intéresse pour vous y rendre directement.
Si les signets ne sont pas disponibles, utilisez le Sommaire.
- Dans la liste des signets, cliquez sur Index pour vous y rendre directement.
Si les signets ne sont pas disponibles, utilisez le Sommaire.
Cherchez le terme requis dans l'index alphabétique et cliquez sur le numéro de page correspondant pour vous rendre directement à la page concernée.
Impression de pages
Il est possible d'imprimer l'ensemble du livre, des pages ou des sections particulières.
Les graphiques en mode trait contenus dans ce manuel sont de type PostScript.
Par conséquent, si vous prévoyez d'imprimer des parties de ce manuel, CHOISSEZ le pilote PostScript. Sinon, les graphiques en mode trait ne s'imprimeront qu'à une basse résolution.
La procédure est la suivante :
- Dans la barre d'outils, sélectionner File (Fichier) puis Print (Imprimer) ou appuyez sur les touches CTRL + P.
- Choisissez les pages que vous souhaitez imprimer :
a. [Tout], pour l'ensemble du manuel. b. [Page active] pour la page affichée actuellement à l'écran. c. [Pages...] et [à] pour la plage de pages que vous spécifiez en entrant les numéros de page.
- Cliquez sur [OK].
Avertissement!
Cette imprimante pèse 48 kg (106 lbs).
Il faut 2 personnes pour soulever l'imprimante en toute sécurité.
Déballez l'imprimante
Conservez tous les emballages. Utilisez-les pour faciliter le transport.
Choisissez un endroit approprié pour l'imprimante.
Vérifiez si vous possédez toutes les pièces nécessaires pour continuer.

- l'imprimante
- cartouches de toner (4) [cyan, magenta, jaune et noir]
- cable secteur
- documentation : Guide d'installation, Guide d'installation des logiciels, Livret sur les informations de réglementation et de sécurité
- un produit nettoyant pour les lentilles des diodes électroluminescentes (pas d'illustration)
- des sacs en plastique opaques (pas d'illustration)
- CD(s) [pas d'illustration]
Pilotes, utilitaires, manuels
Les disques CD-ROM fournis avec votre imprimante contiennent le logiciel suivant :
Pilotes
Utilitaires couleur
Utilitaires réseau
Manuels
Exigences des grammages
Placez l'imprimante sur une surface plate suffisamment importante et solide pour soutenir l'imprimante.
Avertissement!
Cette imprimante pèse 48 kg (106 lbs). Il faut 2 personnes pour soulever l'imprimante en toute sécurité.
Exigences des espaces
Il doit y avoir un espace suffisant autour de l'imprimante pour pouvoir accéder à l'imprimante et assurer sa maintenance.

Extérieure
- Capot supérieur
- Tableau de commande
- Cran d'arrêt du capot supérieur
- Bac multifonction (alimentation manuelle)
- Rallonge du support papier
- Guides du papier
- Capot avant
- Bac à papier
- Indicateur de niveau de papier
- Interrupteur général

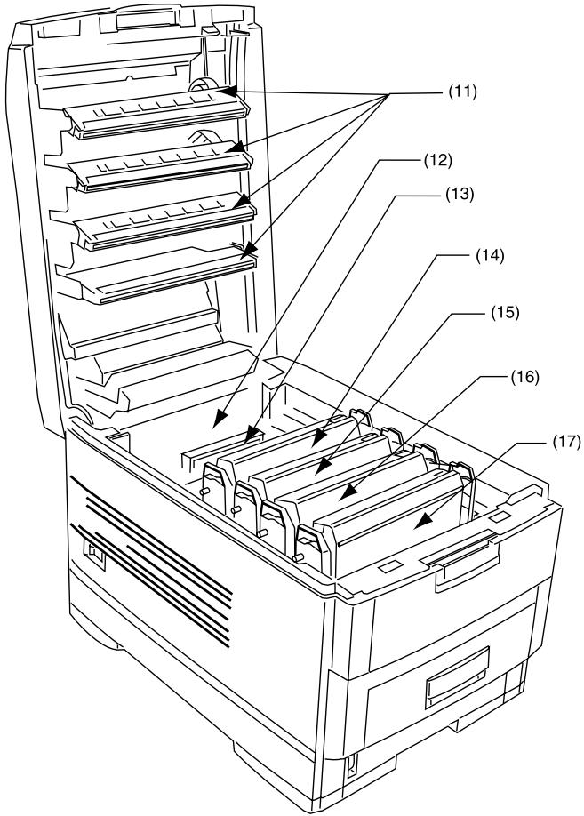
L'intérieur
- Rampe de diodes électroluminescentes (4)
- Cylindre d'évacuation
- Unité de fusion
- Tambour photoconducteur et cartouche de toner (cyan)
- Tambour photoconducteur et cartouche de toner (magenta)
- Tambour photoconducteur et cartouche de toner (jaune)
- Tambour photoconducteur et cartouche de toner (noir)

Arrière
- Prise d'alimentation
- Bac à papier - sortie arrière
- Interfaces et logement pour carte optionnelle
- Connecteur d'interface USB
- Connecteur d'interface parallèle
- Carte d'interface réseau

Installation
Avant de raccorder cette imprimante à un ordinateur et au secteur,
- de l'emballage d'expédition doivent être retirées
- Il convient d'installer les cartouches de toner
- et d'introduire le papier dans le bac à papier.
Retirer les matériaux d'emballage
- Retirez le ruban adhésif et l'emballage de l'imprimante.
- Ouvrez le capot supérieur en utilisant la manette de déverrouillage.

- Retirez, par derrière la rampe de diodes électroluminescentes (DEL), le support des DEL situé dans le capot supérieur.

- Sortez le tambour d'image noir de l'imprimante. Placez-le sur une surface plane.

Attention!
- Ne jamais exposer les tambours photoconducteurs à la lumière pendant plus de 5 minutes.
- Toujours tenir le tambour photoconducteur par les extrémités.
- Ne jamais exposer directement les tambours photoconducteurs à la lumière du soleil.
- Ne jamais toucher la surface verte du tambour.
- Retirez les pellicules de protection des quatre tambours photoconducteurs.


- Reposez le tambour d'image noir dans l'imprimante (1). Énoncez la languette (2) à l'intérieur et retirez les plaques d'obturation de tambour photoconducteur.
- Répétez les étapes 4 à 6 pour chacun des tambours d'image.

Avertissement!
Il convient de prendre de très grandes précautions lors de la manutention de la cartouche de toner.
- Ne pas inspirer ou avaler le toner et éviter tout contact avec les yeux car il peut être nocif.
- Le toner peut également tacher les mains et les vêtements.
- Consultez les fiches techniques santé-sécurité (FTSS) du livre sur les informations de réglementation et de sécurité pour plus d'information.
- Retirez les quatre cartouches de toner couleur de leur emballage.
- Agitez plusieurs fois les cartouches de toner puis.

- Tenant la cartouche comme illustré. Retirez la pellicule.

- Retirez le dispositif de verrouillage situé derrière la manette couleur.

- Introduisez chaque cartouche de toner dans le tambour photoconducteur, à gauche d'abord, en enclenchant la goupille de position du tambour dans le trou de la cartouche de toner. Assurez-vous que la couleur de la cartouche de toner correspond à celle du tambour photoconducteur!

- Enlevez doucement la cartouche de toner, en enclenchant la goupille d'arrêt dans la cannelure du tambour photoconducteur.

- Poussez doucement la manette couleur vers l'arrière de la machine jusqu'à ce qu'elle ne puisse plus avancer. Cette action permet de libérer le toner dans le tambour photoconducteur.
Attention!
La manette devrait se déplacer facilement. Si une résistance est ressentie, arrêtez. Appuyez sur la cartouche de toner pour bien la fixer en place avant de continuer.

- Répétez le processus pour chaque cartouche de toner.
EnPNANT SOIN DE FAIRE CORRENDRE LA COUleur de toner avec la couleur du tambour.
- Fermez le capot supérieur.

TONER LOW (TONER BAS) ou changer de TONER
Après avoir installé les nouvelles cartouches de toner, le message TONER LOW (TONER BAS) ou CHANGE TONER (CHANGER DE TONER) apparait à l'affichage. Si ce message ne disparaît pas après l'impression de quelques pages, réinstallez la cartouche de toner appropriée.
TONER SAVE mode (mode économie TONER)
Utilisez Économie Toner pour maximiser la durée de vie de la cartouche des toners.
Économie Toner est activée ou désactivée dans Print Menu (Menu d'impression).
Activée ou désactivée
- Appuyez sur ONLINE. OFFLINE (HORS LIGNE) s'affiche.
- Appuyez à plusieurs reprises sur MENU jusqu'à ce que PRINT MENU (MENU D'IMPRESSION) s'affiche.
- Appuyez sur SELECT.
- Appuyez à plusieurs reprises sur ITEM (+ ou -) jusqu'à ce que TONER SAVE (ÉCONOMIE TONER) s'affiche.
- Appuyez VALUE (VALEUR) (+ ou -) jusqu'à ce que l'état souhaitée s'affiche.
ON (ACTIVÉ): Économie Toner activé (doit être activé).
OFF (ARRÊT [DÉSACTIVÉ]): Économie Toner désactivé (alimentée).
- Appuyez sur SELECT.
Un astérisque (*) s'affiche à côté de l'état effectué.
- Si vous avez terminé, appuyez sur ONLINE. ONLINE s'affiche.
Impression noire
Votre imprimante imprime le noir de couleur de deux façons:
- Noir composite
- Noir Vrai
Noir composite
Les toners cyan, jaune, magenta et noir peuvent ensuite être combinés pour créer une noir composite.
Utilisez noir composite pour l'impression des photographies.
Noir vrai
Uniquement du toner noir est également utilisée pour imprimer noir vrai.
Utilisez noir vrai pendant l'impression de texte et de graphiques.
Paramètre imprimante (menu): noir vrai
Noir Vrai est activée ou arrêt (désactivée) sur la PCL Emulation Menu (Menu d'émulation PCL).
Ce paramètre s'applique uniquement en mode PCL.
Activée ou arrêt les fonctions
- Appuyez sur ONLINE. OFFLINE (HORS LIGNE) s'affiche.
- Appuyez à plusieurs reprises sur MENU jusqu'à ce que PCL EMUL MENU (MENU D'ÉMUL PCL) s'affiche.
- Appuyez sur SELECT.
- Appuyez à plusieurs reprises sur ITEM (+ ou -) jusqu'à ce que TRUE BLACK (NOIR VRAI) s'affiche.
- Appuyez VALUE (VALEUR) (+ ou -) jusqu'à ce que l'état souhaitée s'affiche.
ON (ACTIVÉ): Noir Vrai activé (doit être activé).
OFF (ARRÊT [DÉSACTIVÉ]): Noir Vrai désactivé (alimentée).
- Appuyez sur SELECT.
Un astérisque (*) s'affiche à côté de l'état effectué.
- Si vous avez terminé, appuyez sur ONLINE. ONLINE s'affiche.
Important!
Pour empêcher les bourrages de papier :
- Ne laissez aucun espace entre le papier et les guides du papier et la butée arrête.
- Ne remplissez pas trop le bac à papier. La charge du bac dépend du type de papier et du grammage. (max. 550 feuilles de 20-lb. US Bond—75 g/m²—papier).
- N'y placez pas du papier abîmé.
- Ne chargez pas, en même temps, du papier dont le format, la qualité ou l'épaissur diffère.
- Ne retirez pas le bac à papier durant l'impression.
- Fermez doucement le bac à papier.
1. Sortez le bac à papier.

- Chargement du papier.
- Ajustez les guides du papier et la butée arrière au format de papier utilisé.


- Un bac à papier inférieur ne peut être utilisé pour l'impression si aucun bac à papier n'a été inséré au-dessus.

- Fermez doucement le bac à papier.

En-têtes
- Chargez le papier à en-tête face en dessous (pour le portrait et le paysage).

Enveloppes
- Chargez les enveloppes ou le papier à en-tête, face en dessus, comme l'indique l'illustration pour le portrait et le paysage :

PAS de PAPIER
Utiliser le papier du bac disponible prochain
(Commutation automatique de bac)
Quand un bac à papier manque de papier, l'imprimante passe automatiquement au bac à papier suivant approvisionné en papier
- plusieurs bacs à papier sont installés et
- CHANGEMENT DE BAC AUTO est activé. Ce cadre est dans le Print Menu (Menu d'impression).
Consultez "Modifier ses paramètres de l'imprimante" à la page 83.
Si un bac en papier manque du papier pendant un travail d'impression, l'imprimante peut utiliser le papier de la source en papier, disponible et proche (le bac).
C'est ce qu'on appelle Commutation automatique de bac.
Vous spécifiez aussi l'ordre dans lequel les bacs en papier sont utilisés pendant la Commutation automatique de bac.
Les paramètres d'origine sont :
Commutation automatique de bac est ON (OUI).
SEQUENCE BAC est BAS
Activée ou arrêt les fonctions
- Appuyez MENU jusqu'à ce que PRINT MENU (MENU D'IMPRESSION) s'affiche.
- Appuyez sur SELECT.
- Appuyez à plusieurs reprises sur ITEM (+ ou -) jusqu'à ce que AUTO TRAY SWITCH (COMMUTATION AUTO BAC) s'affiche.
- Appuyez VALUE (VALEUR) (+ ou -) jusqu'à ce que la état souhaitation s'affiche.
- Appuyez sur SELECT.
- Appuyez sur ONLINE. L'imprimante se remet en ligne. ONLINE s'affiche.
Ordre d'alimentation
- Assurez-vous AUTOMATIC TRAY SWITCHING (COMMUTATION AUTO BAC) est activée. Consultez "Activée ou arrêt les fonction" la page 50.
- Appuyez sur MENU jusqu'à ce que PRINT MENU (MENU D'IMPRESSION) s'affiche.
- Appuyez sur SELECT.
- Appuyez à plusieurs reprises sur ITEM (+ ou -) jusqu'à ce que TRAY SEQUENCE (SEQUENCE BAC) s'affiche.
- Appuyez sur VALUE (VALEUR) (+ ou -) pour sélectionner un mode.
Les choix sont Bas, Haut, Bac d'alimentation du papier
Le paramètre d'origine est : Bas
- Appuyez sur SELECT.
- Appuyez sur ONLINE. L'imprimante se remet en ligne. ONLINE s'affiche.
Option bac (alimentation du papier)
- Si les paramètres de l'imprimante diffèrent de ceux de l'ordinateur, l'impression devient alors impossible. Un message d'erreur s'affiche.
- Les options suivantes de l'imprimante seront uniquement d'indication. La sélection des options Alimentation du papier, Mise en page est requise dans certains logiciels.

- Appuyez sur ONLINE. OFFLINE (HORS LIGNE) s'affiche.
- Appuyez à plusieurs reprises sur MENU jusqu'à ce que PRINT MENU (MENU D'IMPRESSION) s'affiche.
- Appuyez sur SELECT.
- Appuyez à plusieurs reprises sur ITEM (+ ou -) jusqu'à ce que PAPER FEED (BAC PAR DÉFAUT) s'affiche.
- Appuyez sur VALUE (VALEUR) (+ ou -) jusqu'à ce que l'option requise Alimentation du papier s'affiche
- Appuyez sur SELECT.
Un astérisque (*) apparaît en regard de l'option sélectionnée. Alimentation du papier.
- Si vous avez terminé, appuyez sur ONLINE. ONLINE s'affiche.
Attention!
Ne pas ouvrir ou fermer la sortie arrêtée du papier durant l'impression, ce qui entraînerait un bourrage de papier.
Toujours utiliser l'empileuse arrêtée (face vers le haut) [Droit sortie du papier alimenté] pour le papier épais (papier cartonné, etc...)
Pour l'impression face en dessus (droit d'alimentation du papier), assurez-vous que la sortie arrière du papier est ouverte et que la rallonge du support du papier est sortie.
Le papier sortira alors par le couvercle de l'imprimante.
- Le papier est empilé dans l'ordre inverse d'impression.
- La charge du bac à papier est d'environ 100 feuilles, en fonction du grammage.

Attention!
Ne pas ouvrir ou fermer la sortie arrêtée du papier durant l'impression, ce qui entraînerait un bourrage de papier.
Toujours utiliser l'empileuse arrêtée (face vers le haut) [Droite sortie du papier alimenté] pour le papier épais (papier cartonné, etc...)
Pour l'impression face en dessous, veillez à ce que la sortie arrière du papier soit fermée
Le papier sort par le haut de l'imprimante.
- Le papier est empilé dans l'ordre d'impression.
- La charge du bac à papier est d'environ 500 feuilles, en fonction du grammage.
Attention!
Ne pas ouvrir ou fermer la sortie arrière du papier durant l'impression, ce qui entraînerait un bourrage de papier.
- Ouvrez le bac multifonction. Déployez les guides d'alimentation du papier.

- Chargez le papier.
- Chargez le papier face vers le haut [Face up].
- Ajustez les guides du papier au format du papier utilisé.
- Ne dépassez pas la ligne de repère Papier plein (environ 100 feuilles, en fonction du grammage).
- Chargez les enveloppes ou le papier à en-tête, face en dessus, comme l'indique l'illustration.



Avertissement!
Assurez-vous que l'interrupteur marche/arrêt de l'imprimante soit hors tension avant de brancher le câble secteur.
- Raccordez le câble secteur (1) à la prise de l'imprimante.
- Raccordez le câble secteur à la prise de terre du secteur.

- Mettez l'imprimante SOUS TENSION au moyen de l'interrupteur général (2).
- L'imprimante va exécuter sa succession d'opérations de mise en route et d'initialisation.
Lorsque l'imprimante est prête, le voyant READY (PRÊT) s'allume et reste allumé (vert)
ONLINE s'affiche.
POWER SAVE mode (mode d'économie d'énergie)
Utilisez Mode d'économie d'énergie pour éviter de tourner de l'imprimante.
Si vous DEVEZ tourner de l'imprimante, vous devez exécuter une série de fermetures. Consultez "Unité de disque a été installé" la page 60.
Mode d'économie d'énergie est activée ou désactivée du Menu Maintenance.
Vous pouvez choisir la longueur du chronomètre l'imprimante "les attentes" avant d'entrer le Mode d'économie d'énergie.
Consultez également "Power Save Delay Time (Délai de gestion énergétique)" sous "Menu Configuration du système" à la page 97.
Activée ou arrêt les fonctions
- Appuyez sur ONLINE. OFFLINE (HORS LIGNE) s'affiche.
- Appuyez à plusieurs reprises sur MENU jusqu'à ce que MAINTENANCE MEN (MENU MAINTENANCE) s'affiche.
- Appuyez sur SELECT.
- Appuyez à plusieurs reprises sur ITEM (+ ou -) jusqu'à ce que POWER SAVE (ÉCONOMIE D'ÉNERGIE) s'affiche.
- Appuyez VALUE (VALEUR) (+ ou -) jusqu'à ce que la catégorie souhaitée s'affiche.
ENABLE (ACTIVÉ): Économie Énergie est activée.
DISABLE (DÉSACTIVÉ): Économie Énergie est désactivée.
- Appuyez sur SELECT.
Un astérisque (*) apparaît en regard de l'option sélectionnée. 7. Si vous avez terminé, appuyez sur ONLINE. ONLINE s'affiche.
Régler le "i'attente" l'intervalle
- Assurez-vous que du Économie Énergie est activé. Voir la procédure précédente.
- Appuyez à plusieurs reprises sur MENU jusqu'à ce que SYSTEM CONFIG MENU (MENU CONFIGURATION SYSTÈME) s'affiche.
- Appuyez sur SELECT.
- Appuyez à plusieurs reprises sur ITEM (+ ou -) jusqu'à ce que POWER SAVE DELAY TIME s'affiche.
- Appuyez VALUE (VALEUR) (+ ou -) jusqu'à ce que la état souhaitée s'affiche.
- Appuyez sur SELECT.
Un astérisque (*) apparait en regard de l'option sélectionnée.
- Si vous avez terminé, appuyez sur ONLINE. ONLINE s'affiche.
Énergie
Eteignez l'imprimante
Séquence de fermeture
Unité de disque dur non installée
Attention!
- NE JAMAIS arrêter l'imprimante durant l'impression.
- Après avoir mis l'imprimante HORS TENSION, attendez au moins 10 secondes avant de la remettre SOUS TENSION.
Ce délai permet de faire chuter le niveau de puissance interne.
L'imprimante risque de mal fonctionner si elle est remise sous tension trop tôt.
Séquence de fermeture
Unité de disque a été installée
Attention!
- NE JAMAIS arrêter l'imprimante durant l'impression.
- Si le disque dur optionnel a été installé, la procédure ci-après DOIT ÉTRE SUIVIE avant l'arrêt. Pour protéger les données enregistrées sur le disque dur.
- Nous vous conseillons de suivre cette procédure, à chaque arrêt de l'imprimante, quelles qu'en soient les raisons.
- Après avoir mis l'imprimante HORS TENSION, attendez au moins 10 secondes avant de la remettre SOUS TENSION.
Ce délambda peut faire chuter le niveau de puissance interne.
L'imprimante risque de mal fonctionner si elle est remise sous tension trop tôt.
Utilisez Mode d’économie d’énergie pour éviter de tourner de l'imprimante.
Refer to "POWER SAVE Mode (Mode d'économie d'énergie)" la page 57.
Si vous DEVEZ tourner de l'imprimante :
- Appuyez à plusieurs reprises sur MENU jusqu'à ce que SHUTDOWN MENU (MENU D'EXTINCTION) s'affiche
- Appuyez sur SELECT.
- Appuyez de nouveau sur SELECT pour exécuter la série d'arrêt.
- Lorsque PLEASE POWER OFF SHUTDOWN COMPLETED (ÉTEIGNEZ-ETEINDRE MACHINE SVP EXTINCTION TERMINÉ) s'affiche, utiliser l'interrupteur (on-off) pour mettre l'imprimante hors tension.
Attendez au moins 10 secondes avant de la remettre SOUS TENSION.
Ce délambda permet de faire chuter le niveau de puissance interne. L'imprimante risque de mal fonctionner si elle est remise sous tension trop tôt.
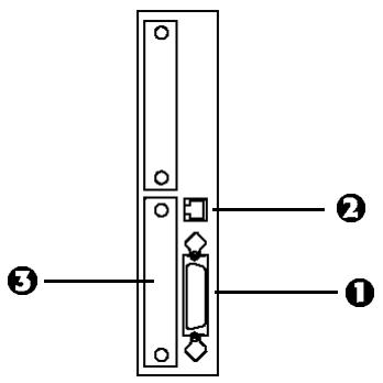
Diagramme d'emplacement

Trois interfaces sont disponibles pour l'imprimante :
- Parallele
- USB
- Réseau
Parallèle
Pour une connexion directe au PC.
Ce port requiert un câble parallèle bidirectionnel (conforme à la norme IEEE 1284).
Pour la connexion à un PC exécutant Windows 98 ou une version supérieure (non pas Windows 95 mis à niveau à la version Windows 98) ou Macintosh.
Ce port exige un câble conforme à USB version 1.1 ou supérieure.
- Le fonctionnement d'une imprimante n'est pas assuré si un périphérique précédent en charge la connexion USB est connecté en concurrence à d'autres périphériques offrant cette même compatibilité.
- Lorsque vous connectez plusieurs imprimantes du même type, elles sont indiquées par * (2), * (3), etc. Ces nombres dépendent de l'ordre de connexion ou de mise sous tension de chaque imprimante.
Réseau
Pour le branchement du câble réseau
L'autorisation de l'administrateur est requise lors de l'installation d'une imprimante sur un réseau.
Consultez le Guide d'installation des logiciels imprimé pour obtenir plus d'informations sur
- les connections de l'interface
- l'installation des pilotes d'imprimante
- l'installation des logiciels réseau
Vous pouvez également accéder à http://my.okidata.com pour consulter/télécharger un exemplaire du Guide d'installation des logiciels ou pour obtenir les plus récentes informations sur votre imprimante.

Attention
Voyant rouge. (1)
Allumé : signale une demande d'attention. L'impression se poursuivra.
Clignote : demande d'attention. L'impression s'arrêtera.
Prêt
Voyant vert. (2)
Allumé: prêt à recevoir des données.
Éteint : pas prêt à recevoir des données
Clignote : signale le traitement des données ou une erreur.
Affichage
s'affiche (3)
- l'état d'impression
- options du menu en mode menu
- messages d'erreur
Schéma et explications

- Bascule entre ONLINE (EN LIGNE) ou OFFLINE (HORS LIGNE).
- Lorsque vous sélectionnez le mode Menu, l'imprimante repasse à l'état ONLINE (EN LIGNE).
- Lorsqu'un PAPER SIZE ERROR (ERREUR FORMAT DE PAPIER) s'affiche, appuyez pour forcer l'imprimante à imprimer.
- Appuyez sur ce bouton pour annuler un travail d'impression.
Menu
- Appuyez brièvement sur ce bouton pour passer en mode MENU.
Appuyez de nouveau brièvement sur ce bouton pour sélectionner le menu suivant.
- Appuyez pendant plus de 2 secondes pour faire défiler les différents menus.
Schéma et explications

- Appuyez brièvement sur ce bouton pour passer à l'option suivante du menu.
- Appuyez brièvement sur ce bouton pour retourner à l'option précédente du menu.
- Appuyez brièvement sur ce bouton pour passer au paramètre suivant de chaque option de menu.
- Appuyez brièvement sur ce bouton pour retourner au paramètre précédent de chaque menu.
- Appuyez brièvement sur ce bouton pour Sélectionner le menu, une option ou un paramètre.
Langue d'affichage : changement

- Appuyez sur ONLINE. OFFLINE (HORS LIGNE) s'affiche.
- Appuyez à plusieurs reprises sur MENU jusqu'à ce que SYSTEM CONFIG MENU s'affiche.
- Appuyez sur SELECT.
- Appuyez à plusieurs reprises sur ITEM (+ ou -) jusqu'à ce que LANGUAGE s'affiche.
- Appuyez VALUE (VALEUR) (+ ou -) jusqu'à ce que l'état souhaitée s'affiche.
- Appuyez sur SELECT.
Un astérisque (*) apparaît en regard de l'option sélectionnée.
- Si vous avez terminé, appuyez sur ONLINE. ONLINE s'affiche.
Sélection
Si vous utilisez des bacs à papier,
- L'option Format de papier ne doit être sélectionnée que pour les formats de papier personnels.
Les formats de papier standards sont reconnus automatiquement si vous avez sélectionné CASSETTE SIZE (FORMAT BAC).
CASSETTE SIZE (FORMAT BAC) [paramètre par défaut] pour EDIT SIZE (ÉDITER FORMAT) depuis le Print Menu (Menu Impression)
Consultez "Modifier ses paramètres de l'imprimante" page 83.
2 Lorsque vous utilisez le bac multifonction (alimentation manuelle), l'option Format de papier doit être sélectionnée. 3 Si les paramètres de l'imprimante diffèrent de ceux de l'ordinateur, l'impression devient alors impossible. Un message d'erreur s'affiche. 4 Les options suivantes de l'imprimante servent uniquement d'indication. La sélection des options Alimentation du papier, Mise en page est requise dans certains logiciels.
Sélection

- Appuyez sur ONLINE. OFFLINE (HORS LIGNE) s'affiche.
- Appuyez à plusieurs reprises sur MENU jusqu'à ce que PRINT MENU s'affiche.
- Appuyez sur SELECT.
- Appuyez à plusieurs reprises sur ITEM (+ ou -) jusqu'à ce que EDIT SIZE (ÉDITER FORMAT) s'affiche.
- Appuyez sur VALUE (VALEUR) (+ ou -) jusqu'à ce que l'état souhaitée s'affiche.
- Appuyez sur SELECT. Un astérisque (*) apparaît en regard de l'option sélectionnée.
- Si vous avez terminé, appuyez sur ONLINE. ONLINE s'affiche.
- Avant d'imprimer le fichier, sélectionnez les paramètres de papier appropriés du pilote d'imprimante.
Type d'alimentation, sortie, et duplex (recto verso) optionnelles
Le format du papier, grammage, et du type de support déterminant :
- la sélection de l'entrée et de la sortie du papier
- la sélection à imprimer et du mode d'impression
- La sélection c-à-d simplex (recto seulement) ou duplex (recto-verso)
L'impression recto est aussi su comme l'impression simplex.
Reportez-vous aux tableaux suivants.
| Format de papier | Alimentation | Sortie | |||
| Bac 1 | Bac 2 Bac 3 | MP Bac Manuel | Arrière (Face en dessus) Straight-Through | Haut (Face en dessous) | |
| A4 | S, Da | S, Da | Sa | S, Da | S, Da |
| A5 | S, Da | S, Da | Sa | S, Da | S, Da |
| A6 | Sa | b | Sa | Sa | b |
| B5 | S, Da | S, Da | Sa | S, Da | S, Da |
| Lettre | S, Da | S, Da | Sa | S, Da | S, Da |
| L'égal (330.2 mm / 13 in) | S, Da | S, Da | Sa | S, Da | S, Da |
| L'égal (355.6 mm / 14 in) | S, Da | S, Da | Sa | S, Da | S, Da |
| Executive | S, Da | S, Da | Sa | S, Da | S, Da |
| Enveloppes | b | b | Sa | Sa | b |
| Custom c | b | b | Sa | Sa | b |
a. S = c · a · d simple (recto seulement) D = Duplex (recto-verso). b. Indisponible c. Largeur: 3 à 8.5 pouce (76.2 à 215.9 mm)
Hauteur: 5 à 14 pouce (127 à 356.6 mm)
Doit être rédefini dans un pilote d'imprimante avant d'imprimer
Attention!
Si le type et le poids du support ne sont pas correctement définis,
- la qualité d'impression peut alors être déterminée et
- le rouleau de fusion endommagé.
1 Si les paramètres de l'imprimante diffèrent de ceux de l'ordinateur, l'impression devient alors impossible. Un message d'erreur s'affiche. 2 Les options suivantes de l'imprimante servent uniquement d'indication. La sélection des options Alimentation du papier, Mise en page est requise dans certains logiciels.
Sélectionnez

Votre imprimante détecte automatiquement le type et le poids en papier.
Pour annuler ces cadres :
- Appuyez sur ONLINE. OFFLINE (HORS LIGNE) s'affiche.
- Appuyez à plusieurs reprises sur MENU jusqu'à ce que MEDIA MENU s'affiche
- Appuyez sur SELECT.
- Appuyez sur ITEM (+ ou -) jusqu'à ce que MEDIA TYPE (TYPE PAPIER) ou MEDIA WEIGHT (POIDS PAPIER) pour le bac requis s'affiche.
- Appuyez sur VALUE (VALEUR) (+ ou -) jusqu'à ce que l'état souhaitée s'affiche.
- Appuyez sur SELECT.
Un astérisque (*) apparait en regard de l'option sélectionnée.
- Si vous avez terminé, appuyez sur ONLINE. ONLINE s'affiche.
- Avant d'imprimer le fichier, sélectionnez le format de papier correct depuis le pilote d'imprimante avant d'imprimer le fichier.
Type d'alimentation, sortie, et duplex (recto verso) optionnelles
Le format du papier, grammage, et du type de support déterminant :
- la sélection de l'entrée et de la sortie du papier
- la sélection à imprimer et du mode d'impression
- La sélection c-à-d simplex (recto seulement) ou duplex (recto-verso)
L'impression recto est aussi sue comme l'impression simplex.
Consultez dans le tableau suivant.
| Grammage du papier | Grammage du support | Alimentation | Sortie | |||
| Bac 1 | Bac 2/Bac 3 | Bac multi- fonction (Manuel) | Arrière (Face en dessus) Droit | Haut (Face en dessous) | ||
| Papier bond US (métrique) | ||||||
| 64 g/m2(17 lb.) | Léger | Sa | Sa | Sa | Sa | Sa |
| 68 à 71 g/m2(18 à 19 lb.) | Moyen-Léger | Sa | Sa | Sa | Sa | Sa |
| 75 à 90 g/m2(20 à 24 lb.) | Moyen | S, Da | S, Da | Sa | S, Da | S, Da |
| 91 à 104 g/m2(25 à 27 lb.) | Moyen-Lourd | S, Da | S, Da | Sa | S, Da | S, Da |
| 105 à 122 g/m2(28 à 32 lb.) | Lourd | b | b | Sa | Sa | Sa |
| 123 à 203 g/m2(33 à 54 lb.) | Ultra-Lourd | b | b | Sa | Sa | b |
| Transparents : Grammage ignoré | ||||||
| Type de support = Transparent | b | Sa | b | Sa | Sa | b |
| Étiquettes | ||||||
| d'épaissceu 0,1 à 0,17 mm (.004 à .007 in.) | Moyen-Lourd | b | b | Sa | Sa | b |
| d'épaissceu 0,17 à 0,2 mm (.007 à .008 in.) | Ultra-Lourd | b | b | Sa | Sa | b |
a. S = c · · d simplex (recto seulement); D = Duplex (recto-verso). b. Indisponible.
Papier (support)
Papier
Attention!
Le support doit pouvoir résister à 446 °F (230 °C) pendant 0,2 seconde.
- Pour obtenir la liste des supports recommandés,
Guide de référence pratique ou
http://my.okidata.com.
- Le papier doit être rangé à plat, au sec, à l'écart de la lumière du soleil et des sources de chaleur.
- N'utilisez pas du papier humides, abîmés ou cornés. L'utilisation de papier texturé ou fortement vergé
a. aura une incidence grave sur la durée de vie du tambour photoconducteur b. On aura une impression de mauvaise qualité.
Il est possible d'améliorer la qualité de l'impression en faisant passer le paramètre de l'option Support à 'Ultra-Lourd'.
- réduira la vitesse de tirage
- ne vous permettra pas d'utiliser l'option duplex
- N'utilisez pas du papier lisse, brillant ou glacé.
- N'utilisez pas le papier à en-tête très gaufré, le papier très rugueux ou le papier qui présente une différence importante de grains entre les deux faces.
- N'utilisez pas du papier avec des perforations, des découpes ou des bords irréguliers.
- N'utilisez pas du papier carbone, du papier autocopiant, du papier photosensible, du papier piézosensible ou du papier thermosensible.
- N'utilisez pas du papier recyclé
Attention!
Le support doit pouvoir résister à 446 °F (230 °C) pendant 0,2 seconde.
Utilisez uniquement des enveloppes recommandées (OKI 52206301 et 52206302 : Consultez "Support d'impression OKI" la page 556). - Les enveloppes doivent être rangées à plat, au sec, à l'écart de la lumière du soleil et des sources de chaleur. - N'utilisez pas des enveloppes avec des fenêtres. - N'utilisez pas des enveloppes avec des fermoires métalliques. - N'utilisez pas des enveloppes avec des rabats autocollants. - N'utilisez pas du papier et des enveloppes humides, abîmés ou cornés.
Attention!
Le support doit pouvoir résister à 446 °F (230 °C) pendant 0,2 seconde.
- Pour obtenir la liste des supports recommandés, consultez
Guide de référence pratique
http://my.okidata.com.
- N'utilisez pas de support conçu pour les imprimantes laser ou les copieurs couleur.
- Les étiquettes doivent couvrir entièrement la feuille de support.
- La feuille de support ou le support adhésif ne doit pas être exposé(e) à une partie quelconque de l'imprimante.
Important!
- Dans la plupart des cas, l'utilisation de l'ajustement fin des primaires n'est pas nécessaire. L'imprimante a été optimisée pour l'impression couleur au niveau de ses paramètres par défaut.
- Dès que vous modifiez ces paramètres, ils restent validés jusqu'à ce qu'ils soient de nouveau modifiés.
- Pour restaurer les paramètres par défaut, effectuez les étapes suivantes pour régler chaque valeur à 0 (zéro).
Vous pouvez utiliser le menu de l'imprimante pour régler l'intensité d'une couleur spécifique en modifiant les tons clairs, les tons moyens et les tons foncés à l'aide d'une mire couleur.
- Pour augmenter l'intensité de la couleur, sélectionnez un réglage supérieur positif (défaut = 0, maximum = +3).
- Pour diminuer l'intensité de la couleur, sélectionnez un réglage supérieur négatif (défaut = 0, maximum = -3).
Impression de la mire couleur
Lorsque vous utilisez l'utilitaire de comptabilisation des travaux d'impression (Print Job Accounting), il n'est pas possible d'imprimer lorsque "Local Print" (Impression locale) est réglé sur "No printing" (pas d'impression) ou "No color printing" (pas d'impression couleur).
- Assurez-vous que du papier de format lettre est chargé dans l'imprimante.
- Appuyez à plusieurs reprises sur MENU jusqu'à ce que COLOR MENU (MENU COULEUR) s'affiche.
- Appuyez à plusieurs reprises sur ITEM (+ ou -) jusqu'à ce que COLOR TUNING (AJUSTEMENT FIN DES PRIMAIRES) s'affiche.
- Appuyez sur SELECT. La mire couleur s'imprime.
Ajuster l'intensité de la couleur (ajustement fin des primaires)
Exemple de la mire couleur

Exemple: régler la magenta
Pour régler l'intensité de la couleur magenta :
- Impression de la mire couleur. Consultez "Impression de la mire couleur" à la page 78
- Réglez les tons clairs de la couleur magenta.
a. Appuyez à plusieurs reprises sur ITEM (+ ou -) jusqu'à ce que MAGENTA HIGHLIGHT nn (TONS CLAIRS MAGENTA nn) s'affiche. b. Appuyez VALUE (VALEUR) (+ ou -) jusqu'à ce que la état souhaitée s'affiche (par exemple, +3). c. Appuyez sur SELECT. Un astérisque (*) apparaît en regard de l'option sélectionnée.
- Réglez des tons moyens de la couleur magenta.
a. Appuyez à plusieurs reprises sur ITEM (+ ou -) jusqu'à ce que MAGENTA MID-TONE nn (TONS MOYENS MAGENTA nn) s'affiche. b. Appuyez VALUE (VALEUR) (+ ou -) jusqu'à ce que l'état souhaitée s'affiche (par exemple, +3). c. Appuyez sur SELECT. Un astérisque (*) apparaît en regard de l'option sélectionnée.
- Réglez des tons foncés de la couleur magenta.
a. Appuyez à plusieurs reprises sur ITEM (+ ou -) jusqu'à ce que MAGENTA DARK nn (TONS FONCÉS MAGENTA nn) s'affiche. b. Appuyez VALUE (VALEUR) (+ ou -) jusqu'à ce que l'état souhaitée s'affiche (par exemple, +3). c. Appuyez sur SELECT. Un astérisque (*) apparaît en regard de l'option sélectionnée.
- Appuyez sur le bouton ON LINE pour sauvegarder les nouveaux paramètres et ramener l'imprimante à l'état En ligne.
- Imprimez depuis votre application.
- Répétez les étapes ci-dessus jusqu'à ce que vous obtieniez l'intensité de couleur désirée.
Pour régler l'intensité des couleurs cyan, jaune et noir, substituez le nom de la couleur appropriée dans les étapes ci-dessus.
Pour imprimer une liste des paramètres courants :

Imprimez la liste de menus (Menu Map) pour imprimer une liste des paramètres courants.
- Assurez-vous que le bac à papier contient du papier.
- Appuyez à plusieurs reprises sur MENU jusqu'à ce que INFORMATION MENU (MENU INFORMATION) s'affiche.
- Appuyez sur SELECT. PRINT MENU MAP (IMPRIMER LES MENUS) s'affiche.
- Appuyez sur SELECT.
- Le menu s'imprime.
Paramètres de l'imprimante (paramètres du menu) modifier ses paramètres de l'imprimante

- Appuyez à plusieurs reprises sur MENU jusqu'à ce que le menu souhaité s'affiche.
- Appuyez sur SELECT.
- Appuyez à plusieurs reprises sur ITEM (+ ou -) jusqu'à ce que la état souhaitée s'affiche.
- Appuyez VALUE (VALEUR) (+ ou -) jusqu'à ce que la état souhaitée s'affiche.
- Appuyez sur SELECT.
Un astérisque (*) apparaît en regard de l'option sélectionnée.
- Si vous avez terminé, appuyez sur ONLINE. ONLINE s'affiche.

Attention!
Quand vous remettez à l'état initial l'imprimante (le menu), les cadres aux défauts d'usine, tout utiliser défini (personnalisé) les cadres de menu sont perdus!
Pour les listes des paramètres par défaut, consultez "Options par défaut réglées à l'usine" la page 558.
- Appuyez à plusieurs reprises sur MENU jusqu'à ce que MAINTENANCE MENU s'affiche.
- Appuyez sur SELECT.
- Appuyez à plusieurs reprises sur ITEM (+ ou -) jusqu'à ce que EEPROM RESET s'affiche.
- Appuyez sur SELECT.
L'EEPROM initialise. Ceci remet à l'état initial les cadres de menu de tout l'utilisateur à défauts d'usine.
Quand vous remettez à l'état initial l'imprimante (le menu), les cadres aux défauts d'usine, tout utilisateur défini (personnalisé) les cadres de menu sont perdus!
- Si vous avez terminé, appuyez sur ONLINE. ONLINE s'affiche.
Listes de menus de l'utilisateur et paramètres disponibles
Les paramètres d'imprimante disponibles sont indiqués dans les tableaux suivants. Chaque table est un menu séparé.
Les paramètres par défaut de l'imprimante sont en gras.
Menu imprimer les travaux
Affiché seulement si un disque dur est installé. Les paramètres par défaut de l'imprimante sont en gras.
| Option | Paramètre | Description |
| ENTER PASSWORD ENTREZ LE MOT DE PASSE (ENTRER MOT DE PASSE) | **** | Définit le mot de passer au moyen de quatre chiffres (0~9). Cette option est également affichée même si MENU OP (OP MENU) “Toute CATEGORIES” (ALL CATEGORY) est DÉSACTIVÉE (SANS) dans le menu Admin. |
| SELECT JOB SéLECTIONNER UN TRAVAIL (SELECTIONNER JOB) | Pas de travail, Tous les travaux, Nom du fichier entre 1 et nn | Sélectionne le travail d'impression pour l'impression sécurisée. Cette option est également affichée même si MENU OP MENU) “Toute CATEGORIES” (ALL CATEGORY) est DÉSACTIVÉE (SANS) dans le menu Admin. |
Les paramètres par défaut de l'imprimante sont en gras.
Menu Informations
| Option | Paramètre | Description |
| PRINT MENU MAP | Exéçuter | Imprime le menu |
| IMPRIMER LES MENUS | ||
| PRINT FILE LIST | Exéçuter | Imprime la liste de fichiers de travaux. |
| IMPRIMER LA LISTE DE FICHIERS (IMPRIMER LISTE FICHIERS) | ||
| PRINT PCL FONT | Exéçuter | Imprime la liste de polices PCL. |
| IMPRIMER LA POLICE PCL (IMPRIMER POLICES PCL) | ||
| PRINT PS FONT | Exéçuter | Imprime la liste de polices PostScript. |
| IMPRIMER LA POLICE PS (IMPRIMER POLICES PS) | ||
| PRINT IBM PPR FONT | Exéçuter | Imprime la liste de polices IBM PPR. |
| PRINT EPSON FX FONT | Exéçuter | Imprime une liste de polices Epson FX. |
| IMPRIMER LA POLICE EXPSON FX | ||
| PRINT DEMO1 | Execute | Imprime la page de démonstration. |
| IMPRIMER DEMO1 | ||
| PRINT ERROR LOG | Exéçuter | Imprime le journal de consignation des erreurs. |
| IMPRIMER LE JOURNAL DES ERREURS (IMPRIMER ERROR LOG) |
Menu test d'impression
Les paramètres par défaut de l'imprimante sont en gras.
| Option | Paramètre | Description |
| PRINT ID CHECK | Exéçuter | Imprime la combinaison de contrôle de code pour détecter son inexactitude. |
| PATTERN | Affché seulement si le "MENU TEST IMPRESSION du Menu Maintenance du système est ACTIVÉ . | |
| IMPRIMER LA COMBINAISON DE CONTRÔLÉ DE CODE | ||
| (IMPRIMER TEST TAMBOURS) |
Menu arrêt
Les paramètres par défaut de l'imprimante sont en gras.
| Option | Paramètre | Description |
| SHUTDOWN | Exécuter | Arrêt la série de démarrage de l'imprimante. Recommendé lorsque le disque dur est installé pour prévenir la perte de données. |
| START | Arrêt du démarrage | |
| ARRÊT DU DÉMARRAGE | ||
| (ARRET MACHINE) |
Menu imprimer
Les paramètres par défaut de l'imprimante sont en gras.
| Option | Paramètre | Description |
| COPIES (EXEMPLAIRES) | 1 à 999 | Définit le nombre d'exemplaires. |
| DUPLEX | Activé, Désactivé | Spécifie l'impression recto-verse (duplex) si l'unité duplex optionnelle est installée. |
| BINDING (RELIURE) | Bord long, Bord court | Définit la reliure pour l'impression duplex. Affiché seulement si duplex est activé. |
| PAPER FEED ALIMENTATION DU PAPIER (BAC PAR DÉFAUT) | Bac 1, Bac 2, Bac 3, Bac multifonction | Sélectionne la source d'alimentation du papier. Bac 2 et Bac 3 affichés seulement s'ils sont installés. |
| CHANGEMENT AUTOMATIQUE DE BAC (CHANGEMENT DE BAC AUTO) | Activé, Désactivé | Passage automatique au bac suivant si le bac utilisé est vide. |
| ORDRE DE SELECTION DES BACS (SEQUENCE CHANGEMENT BACS) | Bas, Haut, Bac d'alimentation du papier | Spécifie l'ordre prioritaire de commutation entre Sélection automatique de bac et Changement automatique de bac. |
Menu imprimer
Les paramètres par défaut de l'imprimante sont en gras.
| Option | Paramètre | Description |
| UTILISATION DU BAC MF | Bac normal, Bac haute priorité, Alimentation en cas de non-concordance, Ne pas utiliser | Spécifie l'utilisation du bac multifonction. Comme bac normal : (Sélection/Changement de bac) Utiliser comme bac normal. Bac haute priorité : (Valable avec Sélection de bac uniquement). Si du papier existe dans le bac multifonction et l'options Duplex n'est pas spécifiée, l'imprimante utilise le bac multifonction. En cas de non-concordance du papier (c-à-d., le format du papier/le type de support ne concorde pas aux données d'impression), une demande de papier est émise au bac multifonction. Si l'impression Duplex est requise, un bac spécifique est utilisé au lieu du bac multifonction. N'utilise pas ce bac. Malgré la sélection automatique des bacs activée, le bac multifonction ne sera pas utilisé. Lorsque aucun bac multifonction n'est défini dans Paper Feed (Alimentation support), l'imprimante agit comme lorsque Normal Tray (Bac ordinaire) est sélectionné.. |
| CONTRÔLÉ DU SUPPORT (VERIF FORMAT PAPIER) | Activer, Désactiver | Active/Désactive le contrôle, par l'imprimante, de la concordance du format de papier à celui du bac. Seuls les formats standards sont contrôlés. |
| CONTRÔLÉ DU TRANSPARENT | Auto, Désactiver | Activer/Désactiver la fonction de détention automatique du transparent. (Utilisé pour la découvert en cas de fausse détention du détecteur). |
| RÉSOLUTION (RESOLUTION) | C7350: 600 x 1200 ppp C7550: 1200 ppp, Fast 1200 ppp, 600 ppp | Sélectionne la résolution d'impression. |
Menu imprimer
Les paramètres par défaut de l'imprimante sont en gras.
| Option | Paramètre | Description |
| MODE D'ÉCONOMIE DU TONER (MODE ECONOMIE DE TONER) | Activé, Désactivé | Activé: Active le mode Économie de toner.Désactivé: Désactive le mode Économie de toner. |
| VITESSE MONOCHROME (VITESSE IMPRESSION MONO) | Auto; Vitesse Couleur; Vitesse normale | Sélectionne la vitesse d'impression monochrome.Auto: imprime à la vitesse la plus appropriée au traitement de la page. Couleur: imprime toujours à la vitesse d'impression couleur.Normal: Imprime toujours à la vitesse d'impression monochrome. |
| ORIENTATION | Portrait; Paysage | Définit l'orientation de la page pour l'impression. |
| LIGNE PAR PAGE | 5 à 128 (60) | Définit le nombre de lignes qui peuvent être imprimées sur une page. |
| ÉDITION FORMAT (EDITOR FORMAT) | Format du bac ;Letter ; Executive ;Legal 14 ; Legal 13,5 ;Legal 13 ; A4 ; A5 ;A6 ; B5 ; Personnel ;Enveloppe Com-9;Enveloppe Com-10;Enveloppe Monarch*;Enveloppe DL ;Enveloppe C5 ;Enveloppe C4*Utilisez l'alimentation côté court.. | Le format du bac est sélectionné lorsque vous utilisez le papier de format standard du bac à papier.Edition format n'est utilisée que lors de l'impression du format d'une seule page sur un format de papier différent. Par exemple, pour l'impression de A6 sur A4 ;seLECTIONnez A6 dans Édition format mais le papier se trouvant actuellement dans le bac à papier est de format A4.non valider en mode PostScript. |
Menu support
Les paramètres par défaut de l'imprimante sont en gras.
| Option | Paramètre | Description |
| BAC 1TYPE DE SUPPORT | Standard ; En-tête ; Transparent ; Velin ; Papier recyclé ; Papier cartonné ; Papier rugueux | Sélectionne le type de papier pour le bac 1. |
| BAC 1GRAMMAGE DU SUPPORT | Auto ; Léger ; Moyen-Léger ; Moyen ; Moyen-Lourd ; Lourd ; Ultra-Lourd | Définit le grammage du papier pour le bac 1. |
| BAC 2TYPE DE SUPPORT | Standard ; En-tête ; Velin ; Papier recyclé ; Papier cartonné ; Papier rugueux. | Sélectionne le type de papier pour le bac 2. (Affiché seulement s'il est installé). |
| BAC 2GRAMMAGE DU SUPPORT | Auto ; Léger ; Moyen-Léger ; Moyen ; Moyen-Lourd ; Lourd ; Ultra-Lourd | Définit le grammage du papier pour le bac 2. (Affiché seulement s'il est installé). |
| BAC 3TYPE DE SUPPORT | Standard ; En-tête ; Velin ; Papier recyclé ; Papier cartonné ; Papier rugueux. | Sélectionne le type de papier pour le bac 3. (Affiché seulement s'il est installé). |
| BAC 3GRAMMAGE DU SUPPORT | Auto ; Léger ; Moyen-Léger ; Moyen ; Moyen-Lourd ; Lourd ; Ultra-Lourd | Définit le grammage du papier pour le bac 3. (Affiché seulement s'il est installé). |
| BAC MULTIFONCTION - FORMAT DU PAPIER (DIMENSION PAPIER BAC MF) | A4 ; A5 ; A6 ; B5 ; Legal 14 ; Legal 13 ,5 ; Legal 13 ; Letter ; Executive ; Personnel ; Enveloppe Com-9; Enveloppe Com-10 ; Enveloppe Monarch ; Enveloppe DL ; Enveloppe C5 ; Enveloppe C4 | Définit le format du papier pour le bac multifonction. |
| BAC MULTIFONCTION - TYPE DE SUPPORT (TYPE PAPIER BAC MF) | Standard ; En-tête ; Transparent ; Étiquettes ; Velin ; Papier recyclé ; Papier cartonné ; Papier rugueux ; Type d'utilisateur 1 à 5 | Sélectionne le type de papier pour le bac multifonction. |
Menu support
Les paramètres par défaut de l'imprimante sont en gras.
| Option | Paramètre | Description |
| BAC MULTI-FONCTION - GRAMMAGE DU SUPPORT (GRAMMAGE PAPIER BAC MF) | Auto ; Léger ; Moyen-Léger ; Moyen ; Moyen-Lourd ; Lourd ; Ultra-Lourd | Définit le grammage du papier pour le bac multifonction. |
| UNITÉ DE MESURE | pouces, millimètres | Définit les unités de mesure pour le format de papier personnel. |
| DIMENSION X (LARGEUR) | 3 pouces à 8,5 pouces (76 mm à 216 mm) | Définit les dimensions du papier personnel. Le format du papier du bac multifonction doit être régle sur Personnel pour que ces dimensions soient valables. |
| DIMENSION Y (HAUTEUR) | 5 pouces à 47,2 pouces (11 pouces) (127 mm à 1200 mm) | Définit les dimensions du papier personnel. Le format du papier du bac multifonction doit être régle sur Personnel pour que ces dimensions soient valables. |
Menu couleur
Les paramètres par défaut de l'imprimante sont en gras.
| Option | Paramètre | Description |
| MODE DENSITÉAUTOMATIQUE(MODE DENSITEAUTOMATIQUE) | Auto ; Manuel | Définit le mode automatique ou manuel de l'ajustement de la densité et de la compensation de la courbe de réponse du tonerAuto : L'ajustement de la densité est exécuté automatiquement dans des conditions spécifiées et reflêté dans la compensation de la courbe de réponse du toner.Manuel : L'imprimante ne commande pas l'exécution de l'ajustement de la densité. Consultez "Ajuster la Couleur" la page 77 |
| AJUSTER LA DENSITÉ(AJUSTER DENSITE) | Exécuter | Si EXÉCUTER est sélectionnée, l'imprimante ajustera immédiatement la densité et reflètera cet ajustement dans la compensation de la CRT. L'ajustement de la densité doit être exécuté lorsque l'imprimante est inactive. Il peut être erroné s'il est exécuté lorsque l'imprimante est dans un autre état. |
| RéGLAGE DE LA COULEU(AJUSTEMENT FIN DESPRIMAIRES) | Configurationd'impression | Imprime la configuration, ce qui permet à l'utilisateur d'ajuster la CRT. Cette fonction est inutillehabituellesment parce que la CRT est ajustée automatiquement aux niveaux recommends par l'ajustement de la densité et la compensation de la CRT Cettefonction permet d'ajuster la CRT conformément à vos exigences, par le biais du menu de réglage TONS CLAIRS, TONS MOYENS et TONS FONCÉS, pour chacune des couleurs CMJN. Consultez "Ajuster la Couleur" la page 77 |
| CYAN, MAGENTA,JAUNE OU NOIR TONS CLAIRS | 0, +1, +2, +3, -3, -2,-1 | Ajuste les TONS CLAIRS (zone claire) de la CRT cyan, magenta, jaune ou noir.Plus indique une intensité plus foncée et moins une intensité plus claire. |
Menu couleur
Les paramètres par défaut de l'imprimante sont en gras.
| Option | Paramètre | Description |
| TONS MOYENS CYAN, MAGENTA, JAUNE OU NOIR | 0, +1, +2, +3, -3, -2, -1 | Ajuste les TONS MOYENS de la CRT cyan, magenta, jaune ou noir. Plus indique une intensité plus fonçée et moins une intensité plus claire. |
| TONS FONCÉS CYAN, MAGENTA, JAUNE OU NOIR | 0, +1, +2, +3, -3, -2, -1 | Ajuste les TONS FONCÉS de la CRT cyan, magenta, jaune ou noir. Plus indique une intensité plus fonçée et moins une intensité plus claire. |
| DARKNESS CYAN, MAGENTA, JAUNE OU NOIR | 0, +1, +2, +3, -3, -2, -1 | Ajuste la densité du moteur Cyan, Magenta, Jaune ou Noir. Les paramètres Darkness de chaque valeur CMJN se traduisent par des décalages ou ajouts aux corrections réalisées par le biais de la fonction Ajuster Densité/Compensation de la CRT. |
| AJUSTER LE CADRAGE (CALAGE MANUEL) | Exécuter | Lorsque le menu est sélectionné, l'imprimante réalise un Ajustement automatique du cadrage. Doit être exécuté lorsque l'imprimante est à l'état inactif (Cadrage automatique désactivé). |
| AJUSTEMENT PRÉCIS DU CADRAGE CYAN | 0, +1, +2, +3, -3, -2, -1 | Réalise un ajustement précis du cadrage de l'image en cyan, magenta ou jaune par rapport au noir dans le sens horizontal. L'ajustement se traduit par un décalage ou ajustaux corrections réalisées par le biais de la Correction automatique du cadrage des couleurs. Le réglage des valeurs est effectué par increments de 0,026 mm. Par exemple: si le papier est déplacecvers le haut - l'augmentation d'une valeur (+), fait baisser l'image, de façon correspondante. |
| AJUSTEMENT PRÉCIS DU CADRAGE MAIGNTA | 0, +1, +2, +3, -3, -2, -1 | |
| AJUSTEMENT PRÉCIS DU CADRAGE JAUNE | Désactivé; Euroscale | L'imprimante possède son propre générateur de simulation quadrichrome. Cette fonction n'est activée que pour les travaux en langage PostScript. |
| SIMULATION D'ENCRE | Désactivé; Euroscale | L'imprimante possède son propre générateur de simulation quadrichrome. Cette fonction n'est activée que pour les travaux en langage PostScript. |
Menu couleur
Les paramètres par défaut de l'imprimante sont en gras.
| Option | Paramètre | Description |
| LIMITE D'ENCRAGE | Foncé ; Moyen ; Clair | Sélectionne le seul d'épaissur de la couche de toner. Si le papier s'enroule lors de l'impression en mode FONÇÉ, sélectionnez MOYEN ou CLAIR. Ce mode permet parfois de réduire l'enroulement du papier. |
| DENSITÉ 100 % CMJ (DENSITE CMY100%) | Désactiver ; activer | Sélectionne activer/désactiver le tirage d'une densité totale, par rapport à la compensation de la CRT de densité 100 % CMJ. La fonction Compensation CRT régule habituellement la densité d'impression appropriée ; ainsi, le tirage d'une densité totale n'est pas toujours activé. La sélection de ACTIVER permit un tirage d'une densité totale. Lors de l'impression même, les valeurs de CRT sont également régliées par la Colorimétrie. Cette fonction est utilisée pour des besoin spécifiques ; par exemple, pour spécifique la couleur pour l'espace couleur CMJN dans PS. |
Menu configuration du système
Les paramètres par défaut de l'imprimante sont en gras.
| Option | Paramètre | Description |
| DÉLAI DE MISE EN VEILLE (POWER SAVE DELAY TIME) | 5 min; 15 min; 30 min; 60 min; 240 min. | Règle la temporisation de mise en veille de l'imprimante. |
| ÉMULATION (EMULATION) | Émulation automatique; PCL; IBM PPR III XL; Epson FX; Adobe PostScript | Sélectionne le langage d'émulation de l'imprimante. Remarque: les seuls langages d'imprimante qui peuvent être sélectionnés sont ceux autorisés dans la section Émulation du menu Maintenance. |
| USB PROTOCOLE PS (USB PS-PROTOCOL) | ASCII RAW | Spécifie le mode du protocole de communication des données PostScript (PS) depuis le port USB. (En mode RAW, Ctrl-T n'est pas valable.) |
| RéSEAU PROTOCOLE PS (NETWORK PS-PROTOCOL) | ASCII RAW | Spécifie le mode du protocole de communication des données PostScript (PS) depuis le réseau. (En mode RAW, Ctrl-T n'est pas valable.) |
| AVERTISSEMENT DE SUPPRESSION (AVERTSSEMENT FACULTATIF) | Activé; Travail | Émulation PCL: Règle le déliel avant la suppression des messages d'erreur. Si le paramètre est Activé, cliquez sur Supprimer l'erreur pour l'afficher. Si le paramètre est Travail, l'erreur reste affichée jusqu'à la réception du travail d'impression. Émulation du PS: Les messages d'erreur ne sont affichés que durant le travail, indépendamment du paramètre sélectionné. |
| REPRISE AUTOMATIQUE ((INHIBER ERREUR)) | Activé, Désactivé | Règle l'imprimante de façon à assurer sa reprise automatique après un dépassement de capacité de mémoire ou un engagement de tirages. |
| DÉLAI MANUEL(TIMEOUT MANUEL) | 60 s; 30 s; Désactivé | Rège le déliel entre la demande d'introduction de papier et l'annulation du travail d'impression en cas de non-alimentation du papier. Option valable uniquement en mode PostScript. |
Menu configuration du système
Les paramètres par défaut de l'imprimante sont en gras.
| Option | Paramètre | Description |
| DÉLAI D'ATTENTE (ATTENTE OPERATEUR (PS)) | Désactivé; 5 s à 300 s (40 s) | Règle le délai entre la réception du dernier octet de données et l'éjection automatique de la page. Option valable uniquement en mode PCL.En mode PS, le travail sera annulé. |
| TONER BAS (TONER LOW) | Continuer ;Arrêter | Si le paramètre est réglé sur CONTINUER, l'impression se poursuit lorsque Toner bas s'affiche. Si le paramètre est réglé sur Arrêter, l'imprimante se met en mode déconnecté lorsque Toner bas s'affiche. |
| REPRISE APRès BOURRAGE (REPRISE SUR BOURRAGE) | Activé, Désactivé | Active/Désactive la reprise de l'impression après la suppression d'un bourge de papier. Si le paramètre est réglé sur Désactivé, le travail d'impression en cours lors du bourge de papier sera annulé après la suppression du bourge. Si le paramètre est réglé sur Activé, le travail d'impression reprendra après la suppression du bourge. |
| RELEVÉ D'ERRÉURS (RAPPORT ERREUR (PS)) | Activé ; Désactivé | Si le paramètre est réglé sur Activé, un relevé d'erreurs est imprimé lorsqu'une erreur interne se produit. Option valable uniquement en mode PostScript. |
| LANGUE (LANGUAGE) | Anglais ;Allemand ; Français ;Italien ;Espagnol ;Suédois ;Norvégien ;Danois ;Néerlandais ;Turc ; Portugais ;Polonais | Sélectionne la langue d'affichage de l'imprimante. |
Les paramètres par défaut de l'imprimante sont en gras.
Émulation PCL
| Option | Paramètre | Description |
| POLICES | Résident; DIMMO; Télécharge | Séléctionne l'emplacement de la police PCL utilisée. DIMMO ne s'affiche que si la carte de polices DIMM ROM existe dans son logement. Télécharge n'apparaît que si les polices ont été téléchargées vés l'imprimante. |
| N° DE POLICE (POLICE NO.) | I000, C001, S001 | Définit le numéro de police PCL. I = Interne (police résidente); I000 = Courier. C = Police stockée dans la mémoire flash de l'imprimante. S = Police logicielle télécharge, stockée sur le disque dur interne de l'imprimante. S'applique uniquement aux imprimantes ayant un disque dur installé. |
| LARGEUR DE POLICE (DENSITE POLICE) | 0,44 cpp à 99,99 cpp [en incrémentes de 0,01 cpp] (10,00 cpp) | Rôle le nombre de caractères par pouce. Affiché seulement si la police est une police vectorielle, à espacement non proportionnel. |
| HAUTEUR DE POLICE (TAILLE POLICE) | 4,00 pt à 999,75 pt [en incrémentes de 0.25 pt] (12,00 pt) | Rôle le corps de caractère de la police. Affiché seulement si la police est une police vectorielle, à espacement proportionnel. |
Émulation PCL
Les paramètres par défaut de l'imprimante sont en gras.
| Option | Paramètre | Description |
| JEU DE SYMBOLES (TABLE DE CHARACTERES) | PC-8, PC-8 Dan/Nor, PC-8 TK, PC-775, PC-850, PC-852, PC-855, PC-857 TK, PC-858, PC-866, PC-869, PC-1004, Pi Font, Plska Mazvia, PS Math, PS Text, Roman-8, Roman-9, Roman Ext, Serbo Croat1, Serbo Croat2, Spanish, Ukrainian, VN Int'l, VN Math, VN US, Win 3.0, Win 3.1 Blt, Win 3.1 Cyr, Win 3.1 Grk, Win 3.1 Heb, Win 3.1 L1, Win 3.1 L2, Win 3.1 L5, Wingdings, Dingbats MS, Symbol, OCR-A, OCR-B, HP ZIP, USPSFIM, USPSSTP, USPSZIP, Bulgarian, CWI Hung, DeskTop, German, Greek-437, Greek-437 Cy, Greek-928, Hebrew NC, Hebrew OC, IBM-437, IBM-850, IBM-860, IBM-863, IBM-865, ISO Dutch, ISO L1, ISO L2, ISO L5, ISO L6, ISO L9, ISO Swedish1, ISO Swedish2, ISO Swedish3, ISO-2 IRV, ISO-4 UK, ISO-6 ASC, ISO-10 S/F, ISO-11 Swe, ISO-14 JASC, ISO-15 Italia, ISO-16 Por, ISO-17 Spa, ISO-21 Ger, ISO-25 Fre, ISO-57 Chi, ISO-60 Nor, ISO-61 Nor, ISO-69 Fre, ISO-84 Por, ISO-85 Spa, Kamenicky, Legal, Math-8, MC Text, MS Publish, PC Ext D/N, PC Ext US, PC Set1, PC Set2 D/N, PC Set2 US, | Sélectionne un jeu de symboles PCL. |
| LARGEUR D'IMPRESSION A4 (LARGEUR D'IMP A4) | 78 colonnes ; 80 colonnes | Si vous imprimez un document en formatlettre sur une feuille de format A4, paramétrz à 80 colonnes. Cette option condense l'impression pour qu'elle s'adapte sur la feuille A4 légèrement plus étroîte sans modifier les fins de lignes.. |
Émulation PCL
Les paramètres par défaut de l'imprimante sont en gras.
| Option | Paramètre | Description |
| SAUT DE PAGE | Désactivé ; Activé | Sélectionnez ON (OUI) si vous ne désirez pas imprimer les pages blanches; mode PCL. |
| BLANCHE (SUPPRIMER PAGES BLANCHES) | ||
| FONCTION CR (CR FONCTION) | CR ; CR+LF | Règle la fonctionnalité à la réception du code CR en mode PCL. |
| FONCTION LF (LF FONCTION) | LF ; LF+CR | Règle la fonctionnalité à la réception du code LF en mode PCL. |
| MARGE D'IMPRESSION (MARGE IMPRESSION) | Normal ; 1/5.POuce ; 1/6.POuce | Règle la zone non imprimable (marge). |
| VRAI NOIR | Activé, Désactivé | PCL uniquement : Permet d'utiliser ou non le noir composite (mélange CMJN) ou le noir pur (noir seulement) pour la couleur noire (100 %) dans les données d'image. OFF (NON) = Noir composite (CMJN). Permet d'obtenir les salariés résultats lorsque des photographies sont imprimées. ON (OUI) = Noir pur (toner noir uniquement). Permet d'obtenir les salariés résultats pendant l'impression de texte et de graphiques. |
Les paramètres par défaut de l'imprimante sont en gras.
Émulation PPR
| Option | Paramètre | Description |
| AJUSTER LA LARGEUR DU STYLO (PEN WIDTH ADJUST) | Activé, Désactivé | Dans PCL, lors de la mise sous tension, cette option met en valeur la largeur du stylo pour améliorer l'apparance des lignes dont la largeur minimale a été spécifiée. |
| NÔMBRE DE CARACTERES (CHARACTER PITCH) | 10 CPP ; 12 CPP; 17 CPP ; 20 CPP; PROPORTIONNEL | Spécifie le nombre de caractères dans l'émulation PPR d'IBM. |
| POLICE CONDENSEE (FONT CONDENSE) | 12 CPP – 20 CPP; 12 CPP – 12 CPP | Spécifie 12 CPP pour le mode Condense |
| JEU DE CARACTERES (CHARACTER SET) | JEU 1 ; JEU 2 | Spécifie un jeu de caractères. |
Émulation PPR
Les paramètres par défaut de l'imprimante sont en gras.
| Option | Paramètre | Description |
| JEU DE SYMBOLES(SYMBOL SET) | PC-8, PC-8 Dan/Nor, PC-8 TK, PC-775, PC-850,PC-852, PC-855, PC-857TK, PC-858, PC-866,PC-869, PC-1004, Pi Font,Pliska Mazvia, PS Math,PS Text, Roman-8,Roman-9, Roman Ext,Serbo Croat1, Serbo Croat2, Spanish,Ukrainian, VN Int'l, VNMath, VN US, Win 3.0,Win 3.1 Blt, Win 3.1 Cyr,Win 3.1 Grk, Win 3.1 Heb,Win 3.1 L1, Win 3.1 L2,Win 3.1 L5, ISO Swedish1,ISO Swedish2, ISOSwedish3, ISO-2 IRV,ISO-4 UK, ISO-6 ASC,ISO-10 S/F, ISO-11 Swe,ISO-14 JASC, ISO-15 Ita,ISO-16 Por, ISO-17 Spa,ISO-21 Ger, ISO-25 Fre,ISO-57 Chi, ISO-60 Nor,ISO-61 Nor, ISO-69 Fre,ISO-84 Por, ISO-85 Spa,Kamenicky, Legal, Math-8,MC Text, MS Publish, PCExt D/N, PC Ext US, PCSet1, PC Set2 D/N, PCSet2 US, Bulgarian, CWIHung, DeskTop, German,Greek-437, Greek-437 Cy,Greek-928, Hebrew NC,Hebrew OC, IBM-437,IBM-850, IBM-860,IBM-863, IBM-865, ISODutch, ISO L1, ISO L2,ISO L5, ISO L6, ISO L9 | Spécifie un jeu de symboles. |
| LETTRE 0STYLE (LETTER0 STYLE) | Désactiver ; Activer | Spécifie le style qui remplace 9BHpar la dette o et 9DH par un zéro. |
| CARACTÈREZÉRO (ZEROCHARACTER) | Normal; Barré | Spécifie l' état du zéro : barré ou nonbarré. |
| INTERLIGNAGE(LINE PITCH) | 6 LPI ; 8 LPI | Spécifie l'interlignage. |
| SAUT DE PAGEBLANCHE(SUPPRIMERPAGESBLANCHES) | Désactivé ; Activé | Active/Désactive l'éjection d'unepage blanche.Inedisponible pour l'impressionduplex. |
Émulation PPR
Les paramètres par défaut de l'imprimante sont en gras.
| Option | Paramètre | Description |
| FONCTION CR (CR FONCTION) | CR ; CR+LF | Règile la fonctionnalité à la réception du code CR. |
| FONCTION LF (LF FONCTION) | LF ; LF+CR | Règile la fonctionnalité à la réception du code LF. |
| LONGUEUR DE LIGNE (LINE LENGTH) | 80 COLONNES ; 136 COLONNES | Spécifie le nombre de caractères par ligne. |
| LONGUEUR DE LA FEUILLE (FORM LENGTH) | 11 POUCES ; 11,7POUCES12 POUCES | Spécifie la longueur de la feuille de papier. |
| POSITION SUPÉRIEURE (TOF POSITION) | 0,0 POUCES ; - 1,0POUCES | Spécifie la distance d'impression depuis le bord supérieur de la feuille de papier. |
| MARGE GAUCHE (LEFT MARGIN) | 0,0 POUCES ; - 1,0POUCES | Spécifie la distance d'impression depuis le bord gauche de la feuille de papier. |
| TENIR DANS LA LETTRE (FIT TO LETTER) | Désactiver ; Activer | Règile le mode d'impression permettant de faire entre 11 pouces (66 lignes) de données dans la zone imprimable de format LETTRE. |
| HAUTEUR DU CARACTÈRE (HAUTEUR DE TEXTE) | Identique ; Diff | Règile la hauteur d'un caractère. IDENTIQUE : Hauteur identique, indépendamment du CPP. DIFF : La hauteur du caractère varie en fonction du CPP. |
Émulation FX
Les paramètres par défaut de l'imprimante sont en gras.
| Option | Paramètre | Description |
| NÔMBRE DE CARACTERIS (CHARACTER PITCH) | 10 CPP; 12 CPP; 17 CPP; 20 CPP; PROPORTIONNEL | Spécífie le nombre de caractères dans cette émulation. |
| JEU DE CARACTERES (CHARACTER SET) | JEU 1; JEU 2 | Spécífie un jeu de caractères. |
| JEU DE SYMBOLES (SYMBOL SET) | PC-8, PC-8 Dan/Nor, PC-8 TK, PC-775, PC-850, PC-852, PC-855, PC-857 TK, PC-858, PC-866, PC-869, PC-1004, Pi Font, Plska Mazvia, PS Math, PS Text, Roman-8, Roman-9, Roman Ext, Serbo Croat1, Serbo Croat2, Spanish, Ukrainian, VN Int'l, VN Math, VN US, Win 3.0, Win 3.1 Blt, Win 3.1 Cyr, Win 3.1 Grk, Win 3.1 Heb, Win 3.1 L1, Win 3.1 L2, Win 3.1 L5, ISO Swedish1, ISO Swedish2, ISO Swedish3, ISO-2 IRV, ISO-4 UK, ISO-6 ASC, ISO-10 S/F, ISO-11 Swe, ISO-14 JASC, ISO-15 Italia, ISO-16 Por, ISO-17 Spa, ISO-21 Ger, ISO-25 Fre, ISO-57 Chi, ISO-60 Nor, ISO-61 Nor, ISO-69 Fre, ISO-84 Por, ISO-85 Spa, Kamenicky, Legal, Math-8, MC Text, MS Publish, PC Ext D/N, PC Ext US, PC Set1, PC Set2 D/N, PC Set2 US, Bulgarian, CWI Hung, DeskTop, German, Greek-437, Greek-437 Cy, Greek-928, Hebrew NC, Hebrew OC, IBM-437, IBM-850, IBM-860, IBM-863, IBM-865, ISO Dutch, ISO L1, ISO L2, ISO L5, ISO L6, ISO L9 | Spécífie un jeu de symboles. |
| LETTRE 0 STYLE (LETTER 0 STYLE) | Déscientiver ; Activer | Spécífie le style qui remplace 9BH par la dette o et 9DH par un zéro. |
Émulation FX
Les paramètres par défaut de l'imprimante sont en gras.
| Option | Paramètre | Description |
| CARACTÈREZÉRO (ZEROCHARACTER) | Normal; Barré | Spécifie l'état du zéro : barré ou non barrré. |
| INTERLIGNAGE(LINE PITCH) | 6 LPI ; 8 LPI | Spécifie l'interlignage. |
| SAUT DE PAGEBLANCHE(SUPPRIMERPAGESBLANCHES) | Désaktivé ; Activé | Sélectionnez ON (OUI) si vous ne désirez pas imprimer les pages blanchesIndisponible pour l'impression duplex. |
| FONCTION CR(CR FONCTION) | CR ; CR+LF | Règle la fonctionnalité à la réception du code CR. |
| FONCTION LF(LF FONCTION) | LF ; LF+CR | Règle la fonctionnalité à la réception du code LF. |
| LONGUEUR DE LIGNE (LINE LENGTH) | 80 COLONNES ;136 COLONNES | Spécifie le nombre de caractères par ligne. |
| LONGUEUR DE LA FEUILLE FORMLENGTH) | 11 POUCES ;11,7 POUCES12 POUCES | Spécifie la longueur de la feuille de papier. |
| POSITIONSUPÉRIEURE(TOF POSITION) | 0,0 POUCE – 1,0POUCEen incrémentede 0,01 po | Spécifie la distance d'impression depuis le bord supérieur de la feuille de papier. |
| MARGEGAUCHÉ (LEFTMARGIN) | 0,0 POUCE – 1,0POUCE en incrémentede 0,01 po | Spécifie la distance d'impression depuis le bord gauche de la feuille de papier. |
| AJUSTER À LALETTR (FIT TOLETTER) | Désactiver ; Activer | Règle le mode d'impressionpermettant de faire entrer 11 pouces(66 lignes) de données dans la zone imprimable de format LETTRE. |
| HAUTEUR DU CARACTÈRE(HAUTEUR DE TEXTE) | Identique ; Diff | Règle la hauteur d'un caractère,IDENTIQUE : Hauteur identique,indépendamment du CPP.DIFF : La hauteur du caractère varie en fonction du CPP. |
Menu parallèle
Les paramètres par défaut de l'imprimante sont en gras.
| Option | Paramètre | Description |
| PARALLÈLE | Activer, Désactiver | Sélectionne l'interface parallele (Centronics). |
| BI-DIRECTIONNEL | Activer, Désactiver | Sélectionne la communication bidirectionnelle. |
| ECP | Activer, Désactiver | Sélectionne le mode ECP. |
| LARGEUR ACK(ACK WIDTH) | Narrow (0,5μs);Medium (1,0 μs); Wide(3,0 μs) | Définit la largeur du signal REP en réception compatible:NARROW (COURT) = 0,5 μS MEDIUM (MOYEN) = 1,0 μS WIDE (LONG) = 3,0 μS |
| SYNCHRO ACK/BUSY (ACK/BUSY TIMING) | ACK-in-Busy;ACK-while-Busy | Règle l'odore de sortie pour ACK et BUSY durant la réception.ACK IN BUSY: BUSY=LOW à la fin de l'impulsion ACK.ACK WHILE BUSY: BUSY=LOW au milieu de l'impulsion ACK. |
| I-PRIME | 3 micro-s ; 50 micro-s ;Désactiver | Règle ou désactive le signal i-Prime. |
| RéCEPTIONHORS LIGNE(OFFLINERECEIVE) | Activer, Désactiver | Si Activer est sélectionné, cette fonction maintainant la réception sans changer le signal d'interface, même en cas de message d'alerte.La liaison reste ouverte même si le bouton Offline du tableau de commande est enforcé.L'interface émet un signal BUSY seulement si la mémoire-tampon de réception est pleine ou si un appel pour intervention est lancé. |
Menu USB
Les paramètres par défaut de l'imprimante sont en gras.
| Option | Paramètre | Description |
| USB | Activer, Désactiver | Sélectionne l'interface USB. |
| RéINITIALISATION À CHAUD (SOFT RESET) | Activer, Désactiver | Sélectionne l'utilisation de la commande Réinitialisation à chaud. |
| RéCEPTION HORS LIGNE (OFFLINE RECEIVE) | Activer, Désactiver | Si Activer est sélectionné, cette fonction mainient la réception sans changer le signal de liaison, même en cas de message d'alerte. La liaison reste ouverte même si le bouton Offline du tableau de commande est,enforcé. L'interface émet un signal BUSY seulement si la mémoire-tampon de réception est pleine ou si un appel pour intervention est lancé. |
Menu réseau
Les paramètres par défaut de l'imprimante sont en gras.
| Option | Paramètre | Description |
| TCP/IP | Activer, Désactiver | Sélectionne le protocole TCP/IP. |
| NETWARE | Activer, Désactiver | Sélectionne le protocole Netware. |
| ETHERTALK | Activer, Désactiver | Sélectionne le protocole EtherTalk. |
| NETBEUI | Activer, Désactiver | Sélectionne le protocole NetBEUI. |
| TYPE DE TRAME | Auto; 802.2; 802.3 Ether-II; snap | Sélectionne le type de trame Ethernet. |
| DHCP/BOOTP | Activer, Désactiver | Active/Désactive DHCP/BOOTP automatique. |
| RARP | Activer, Désactiver | Active/Désactive RARP automatique. |
| ADRESSE IP | xxx.xxx.xxx.xxx | Configure l'adresse IP |
| SUBNET MASK (MASQUE DE SOUS-RESEAU) | xxx.xxx.xxx.xxx | Configure le masque de sous-réseau. |
| ADRESSE PASSENELLE | xxx.xxx.xxx.xxx | Configure l'adresse de la passerelle. |
| PARAMÈTRES D'IMPRIMANTE | Activé, Désactivé | Permet de sélectionner l'impression du mappyage menu réseau. ON (OUI) = Lorsque l'imprimante quatre le mode menu, le document MenuMap (Liste des menus) réseau indiquant les résultats des autodiagnostics et des paramètres est imprimé. |
| INITIALISER (INITIALISATION) | Activé, Désactivé | Permet de sélectionner l'impression du mappyage menu réseau. ON (OUI) = Lorsque l'imprimante quatre le mode menu, le document MenuMap (Liste des menus) réseau indiquant les résultats des autodiagnostics et des paramètres est imprimé. |
Menu mémoire
Les paramètres par défaut de l'imprimante sont en gras.
| Option | Paramètre | Description |
| TAILLE BUFFER RÉCEPTION | Auto ; 0,5 Mo ; 1 Mo ; 2 Mo ; 4 Mo ; 8 Mo ; 16 Mo ; 32 Mo | Règle la capacité de la mémoire-tampon de réception, en fonction de la capacité de la mémoire installée dans l'imprimante. |
| ENREGISTREME NT DES RESSOURCES (RESOURCE SAVE) | Auto ; 0,5 Mo ; 1 Mo ; 2 Mo ; 4 Mo ; 8 Mo ; 16 Mo ; 32 Mo | Règle la capacité de l'antémémoire de polices, en fonction de la capacité de la mémoire installée dans l'imprimante. |
| INITIALISATION FLASH | Exécuter | Initialise la mémoire flash si elle est installée. |
| REDÉFINIR LA CAPACITÉ DE LA MÉMOIRE FLASH PS (PS FLASH RESIZE) | 0 % [n,n MO] À 90 % [n,n MO], en incrémentes de 10 % | Change la capacité de la mémoire flash. « n.n » indique la taille courante en Mo.. NOTE : Des données spéciales sont enregistrées dans la mémoire flash. Une specifications totale est donc impossible. |
Attention!
Le menu Maintenance disque peut être utilisé pour initialiser le disque dur interne de l'imprimante, pour réassigner le contenu des partitions ou reformater les partitions.
Il est recommandé que la maintenance disque soit effectuée par l'administrateur du système ou par une personne ayant les connaissances requises à cette fin.
Les paramètres par défaut de l'imprimante sont en gras.
Maintenance disque
| Option | Paramètre | Description |
| INITIALISER DISQUE DUR | Exécuter | Partitionne le disque dur et formate chaque partition. (Offché seulement si un disque dur est installé) |
| PARTITION SIZE (TAILLE PARTITION) | nnn% / mmm% / xxx% | Permet de définir l'utilisation des partitions du disque dur : nnn = Commune mmm = PCL xxx = PS Plage pour chaque partition : 1 % à 98 % en incrémentes de 1 %. nnn + mmm + xxx = 100 % |
| FORMATAGE DISQUE DUR | Common; PCL; PS | Formate la partition spécifique. |
Menu de réglage du système
Les paramètres par défaut de l'imprimante sont en gras.
| Option | Paramètre | Description |
| AJUSTER X (X ADJUST) | 0,00 mm; +0,25 à +2,0 mm; 2,0 à 0,25 mm en incréments de 0,25 mm | Ajuste la position d'impression totale horizontally par incréments de 0,25. |
| AJUSTER Y (Y ADJUST) | 0,00 mm; +0,25 à +2,0 mm; 2,0 à 0,25 mm en incréments de 0,25 mm | Ajuste la position d'impression totale verticallement par incréments de 0,25. |
| AJUSTER X DUPLEX (DUPLEX X ADJUST) | 0,00 mm; +0,25 à +2,0 mm; 2,0 à 0,25 mm en incréments de 0,25 mm | Ajuste horizontally le position d'impression totale de la face à imprimer, par incréments de 0,25. en incréments de 0,25 mm |
| AJUSTER Y DUPLEX (DUPLEX Y ADJUST) | 0,00 mm; +0,25 à +2,0 mm; 2,0 à 0,25 mm en incréments de 0,25 mm | Ajuste verticallement la position d'impression totale de la face à imprimer, par incréments de 0,25. en incréments de 0,25 mm |
| BAC 1 LEGAL 14 | Legal 14; Legal 13,5 | Règle le format du papier Legal du bac 1. |
| BAC 2 LEGAL 14 | Legal 14; Legal 13,5 | Règle le format du papier Legal du bac 2. (S'affiche seulement si le bac 2 est installé.) |
| BAC 3 LEGAL 14 | Legal 14; Legal 13,5 | Règle le format du papier Legal du bac 3. (S'affiche seulement si le bac 3 est installé.) |
| ID# BAC 2 PCL (PCL BAC2 ID#) | 1 59 (5) | Règle le bac 2 pour l'émulation PCL. (S'affiche seulement si le bac 2 est installé.) |
| ID# BAC 3 PCL (PCL BAC3 ID#) | 1 59 (20) | Règle le bac 3 pour l'émulation PCL. (S'affiche.–justement si le bac 3 est installé.) |
| ID# BAC MULTIFONCTION PCL (PCL MP TRAY ID#) | 1 59 (4) | Règle le bac multifonction pour l'émulation PCL. |
Menu de réglage du système
Les paramètres par défaut de l'imprimante sont en gras.
| Option | Paramètre | Description |
| HEX DUMP | Exécuter | Si l'imprimante n'est pas sollicitée pendant un-delai donné, elle passes au mode de gestion énergétique.Consultez également « Power Save Delay Time » sous « Menu » System Config. " (Config. système) » à la page 45. |
Les paramètres par défaut de l'imprimante sont en gras.
Menu Maintenance
| Option | Paramètre | Description |
| RAZ EEPROM | Exécuter | Initialise la mémoire EEPROM pour chaque unité. |
| ENREGISTERER MENU (SAUVER CONFIGURATION) | Exécuter | Enregistrres les options actuelles du menu. |
| RéTABLIR (RAPPELER) | Exécuter | Restaure les options enregistrées du menu. (S'affiche uniquement si les options du menu ont été enregistrées). |
| MISE EN VEILLE (ÉCONOMIE D'ENERGIE) | Activer, Désactiver | Si l'imprimante n'est pas sollicitée pendant un-delai donné, elle passe au mode de gestion énergétique. Consultez également « Power Save Delay Time » sous « Menu '' System Config. '' (Config. système) » à la page 45. |
| PARAMÈTRE NOIR DU PAPIER (PAPER BLACK SETTING) | 0; +1; +2; -2; -1 | Normalement non utilisé. |
| PARAMÈTRE COULEUR DU PAPIER (PAPER COLOUR SETTING) | 0; +1; +2; -2; -1 | Normalement non utilisé. |
| PARAMÈTRE NOIR DU TRANSPARENT (TRANSPR BLACK SETTING) | 0; +1; +2; -2; -1 | Normalement non utilisé. |
| PARAMÈTRE COULEUR DU TRANSPARENT (TRANSPR COLOUR SETTING) | 0; +1; +2; -2; -1 | Normalement non utilisé. |
Les paramètres par défaut de l'imprimante sont en gras.
Menu Utilisation
| Option | Paramètre | Description |
| NOMBRE TOTAL DE PAGES | nnnnnnn | Indique le nombre total de pages imprimées. |
| BAC 1 NBRE DE PAGES (NÔMBRE TOTAL PAGES BAC1) | nnnnnnn | Indique le nombre de pages imprimées depuis le bac 1. |
| BAC 2 NBRE DE PAGES (NÔMBRE TOTAL PAGES BAC2) | nnnnnnn | Indique le nombre de pages imprimées depuis le bac 2. Affché si le bac 2 optionnel est installé. |
| BAC 3 NBRE DE PAGES (NÔMBRE TOTAL PAGES BAC3) | nnnnnnn | Indique le nombre de pages imprimées depuis le bac 3. Affché si le bac 3 optionnel est installé. |
| BAC MULTIFONCTION - NBRE DE PAGES (NÔMBRE TOTAL PAGES BACMF) | nnnnnnn | Indique le nombre de pages imprimées depuis le bac multifonction. |
| NBRE DE PAGES COULEUR (NÔMBRE DE PAGES COULEUR) | nnnnnnn | Nombre de pages imprimées en couleur. |
| NBRE DE PAGES MONOCHROME S (NÔMBRE DE PAGES MONO.) | nnnnnnn | Nombre de pages imprimées monochromes. |
| UTILISATION DU TAMBOUR NOIR (TAMBOUR NOIR) | nnn% restant | Indique le taux restant d'utilisation du tambour photoconducteur noir. |
Menu d'utilisation
Les paramètres par défaut de l'imprimante sont en gras.
| Option | Paramètre | Description |
| UTILISATION DU TAMBOUR CYAN (TAMBOUR CYAN) | nnn % restant | Indique le taux restant d'utilisation du tambour photoconducteur cyan. |
| UTILISATION DU TAMBOUR MAGENTA (TAMBOUR MAGENTA) | nnn % restant | Indique le taux restant d'utilisation du tambour photoconducteur magenta. |
| UTILISATION DU TAMBOUR JAUNE (TAMBOUR JAUNE) | nnn % restant | Indique le taux restant d'utilisation du tambour photoconducteur jaune. |
| UTILISATION DE LA COURROIRE (COURROIRE DE TRANSFERT) | nnn % restant | Indique le taux restant d'utilisation de la courroie. |
| UTILISATION DE L'UNITÉ DE FUSION (FOUR) | nnn % restant | Indique le taux restant d'utilisation du cylindre de l'unité de fusion. |
| TONER NOIR | 15K = xxx %; 5K = xxx % | Indique le taux restant de toner noir. |
| TONER CYAN | 15K = xxx %; 5K = xxx % | Indique le taux restant de toner cyan. |
| TONER MAGENTA | 15K = xxx % 5K = xxx % | Indique le taux restant de toner magenta. |
| TONER JAUNE | 15K = xxx %; 5K = xxx % | Indique le taux restant de toner jaune. |
Windows XP pilotes d'imprimante
Consultez le Guide d'installation des logiciels imprimé pour obtenir plus d'informations sur l'installation des pilotes d'imprimante.
Choix d'un pilote d'imprimante
Votre imprimante est livrée avec les pilotes Windows pour PCL et PostScript (PS). Vous pouvez installer l'un d'eux ou les deux si vous le souhaitez. Le choix du pilote dépend de l'application.
- Si vous utilisez les polices TrueType et vous n'imprimez pas de graphiques PostScript (y compris les fichiers ".eps"), CHOisissez le pilote PCL. Il sera plus performant et vous donnera des résultats.
- Si vous utilisez les polices PostScript ou si vous imprimez des graphiques PostScript, CHOISSEZ le pilote PostScript. Dans ce cas, l'impression sera plus rapide et la qualité d'impression des graphiques sera optimale.
Les graphiques en mode trait contenus dans ce manuel sont de type PostScript. Par conséquent, si vous prévoyez d'imprimer des parties de ce manuel, CHOISSEZ le pilote PostScript. Sinon, les graphiques en mode trait ne s'imprimeront qu'à une basse résolution.
Si vos applications varient tellement qu'aucun des deux pilotes ne semble couvrir tous vos besoins, vous pouvez installer les deux. Si vous installez les deux pilotes, il suffit de sélectionner le même port d'imprimante (LPT1 ou Port réseau) durant l'installation.
Ensuite, sélectionnez comme pilote Windows par défaut, celui que vous prévoyez d'utiliser la plupart du temps. La plupart des applications vous permettent de choisir une imprimante différente dans la boîte de dialogue d'impression, de façon à ce que vous puissiez effectuer un tirage, en utilisant l'autre pilote, lorsque vous en avez besoin.
Postscript uniquement
Certaines options, notamment la mémoire supplémentaire, l'unité duplex (recto verso) et les bacs supplémentaires, peuvent être installées sur l'imprimante.
La capacité de la mémoire du pilote d'imprimante PostScript de Windows doit être modifiée de la façon suivante :
- Cliquez sur Start [Démarrer] → Settings [Paramètres] → Printers and Faxes [Imprimantes et télécopieurs].
- Mettez en surbrillance le nom de l'imprimante et cliquez sur Fichier puis sur Propriétés.
- Cliquez sur l'onglet Device Settings [Options du dispositif].
- Sous Installable Options (Options installables), cliquez sur Memory Configuration (Configuration mémoire), puis sélectionnez la mémoire dans la liste déroulante correspondant à la mémoire installée dans l'imprimante, tel qu'indiqué dans le document MenuMap (liste des menus) (pour générer ce document, consultez “Paramètres de l'imprimante (Paramètres du menu)” à la page 82)

- Cliquez sur [OK]. Fermez la boîte de dialogue Printers and Faxes (Imprimantes et télécopieurs).
Disque dur interne
Certaines options, notamment la mémoire supplémentaire, l'unité duplex (recto verso) et les bacs supplémentaires, peuvent être installées sur l'imprimante.
- Cliquez sur Start [Démarrer] → Settings [Paramètres] → Printers and Faxes [Imprimantes et télécopieurs].
- Mettez en surbrillance le nom de l'imprimante et cliquez sur Fichier puis sur Propriétés.
- Cliquez sur l'onglet Device Settings [Options du dispositif].
- Dans Installable Options [Options installables], clique sur Hard Disk [Disque dur], et sélectionnez Installed [Installé].

- Cliquez sur [OK]. Fermez la boîte de dialogue Printers and Faxes (Imprimantes et télécopieurs).
Disque dur interne
Certaines options, notamment la mémoire supplémentaire, l'unité duplex (recto verso) et les bacs supplémentaires, peuvent être installées sur l'imprimante.
- Cliquez sur Start [Démarrer] → Settings [Paramètres] → Printers and Faxes [Imprimantes et télécopieurs].
- Mettez en surbrillance le nom de l'imprimante et cliquez sur Fichier puis sur Propriétés.
- Cliquez sur l'onglet Device Settings [Options du dispositif]. Cochez Printer Hard Disk [Disque dur d'imprimante].

- Cliquez sur [OK]. Fermez la boîte de dialogue Printers and Faxes (Imprimantes et télécopieurs).
Bacs à papier supplémentaires
Certaines options, notamment la mémoire supplémentaire, l'unité duplex (recto verso) et les bacs supplémentaires, peuvent être installées sur l'imprimante.
- Cliquez sur Start [Démarrer] → Settings [Paramètres] → Printers and Faxes [Imprimantes et télécopieurs].
- Mettez en surbrillance le nom de l'imprimante et cliquez sur Fichier puis sur Propriétés.
- Cliquez sur l'onglet Device Settings [Options du dispositif]. Dans Installable Options [Options installables], cliquez sur Available Trays [Bac disponible] et sélectionnez le nombre de bacs installés (bac multifonction non inclus).

- Cliquez sur [OK]. Fermez la boîte de dialogue Printers and Faxes (Imprimantes et télécopieurs).
Bacs à papier supplémentaires
Certaines options, notamment la mémoire supplémentaire, l'unité duplex (recto verso) et les bacs supplémentaires, peuvent être installées sur l'imprimante.
- Cliquez sur Start [Démarrer] → Settings [Paramètres] → Printers and Faxes [Imprimantes et télécopieurs].
- Mettez en surbrillance le nom de l'imprimante et cliquez sur Fichier [Fichier] puis sur Propriétés [Propriétés].
- Cliquez sur l'onglet Device Settings [Options du dispositif]. Faites passer le nombre de Available Trays [Bac disponible] (bac multifonction non inclus)

- Cliquez sur [OK]. Fermez la boîte de dialogue Printers and Faxes (Imprimantes et télécopieurs).
Unité duplex
Certaines options, notamment la mémoire supplémentaire, l'unité duplex (recto verso) et les bacs supplémentaires, peuvent être installées sur l'imprimante.
- Cliquez sur Start [Démarrer] → Settings [Paramètres] → Printers and Faxes [Imprimantes et télécopieurs].
- Mettez en surbrillance le nom de l'imprimante et cliquez sur Fichier [Fichier] puis sur Propriétés [Propriétés].
- Cliquez sur l'onglet Device Settings [Options du dispositif]. Dans Installable Options [Options installables], cliquez sur Duplex [Duplex], et sélectionnez Install [Installé].

- Cliquez sur [OK]. Fermez la boîte de dialogue Printers and Faxes (Imprimantes et télécopieurs).
Unité duplex
Certaines options, notamment la mémoire supplémentaire, l'unité duplex (recto verso) et les bacs supplémentaires, peuvent être installées sur l'imprimante.
- Cliquez sur Start [Démarrer] → Settings [Paramètres] → Printers and Faxes [Imprimantes et télécopieurs].
- Mettez en surbrillance le nom de l'imprimante et cliquez sur Fichier puis sur Propriétés.
- Cliquez sur l'onglet Device Settings [Options du dispositif]. Cochez Duplex Unit [Unité Duplex optionnelle].

- Cliquez sur [OK]. Fermez la boîte de dialogue Printers and Faxes (Imprimantes et télécopieurs).
Paramètres par défaut
Le paramètre par défaut de ces options est Automatique.
Si les paramètres d'imprimante sélectionnés manuellement diffèrent de ceux sélectionnés dans le pilote d'imprimante, l'imprimante n'imprimera pas et l'affichage indiquera un message d'erreur.
Les instructions suivantes du pilote de l'imprimante seront uniquement indicatives. La sélection des options Alimentation du papier, Format et Support est requise dans le logiciel (Mise en page).
- Cliquez sur Start [Démarrer] → Settings [Paramètres] → Printers and Faxes [Imprimantes et télécopieurs].
- Cliquez avec le bouton droit de la souris sur le nom de l'imprimante et sélectionnez Printing Preferences (Options d'impression).

Important!
Si vous utilisez un support épais, des transparents, des enveloppes ou des étiquettes, assurez-vous d'ouvrir la sortie arrière avant de lancer l'impression :

- Cliquez sur l'onglet Paper/Quality (Support/Qualité). Sous Tray Selection (Sélection des bacs), sélectionnez l'alimentation support dans la liste déroulante Paper Source (Source support).

- Cliquez sur le bouton Advanced [Avancé].
- Sous Support/Sortie, sélectionnez le format de support dans la liste déroulante Format support.

- Sous Document Options (Options document) → Printer Features (Caractéristiques imprimante), cliquez sur Media Type (Type de support) et sélectionnez le support dans la liste déroulante.
- Cliquez deux fois sur [OK]. Fermez la boîte de dialogue Printers and Faxes (Imprimantes et télécopieurs).

Paramètres par défaut
Le paramètre par défaut de ces options est Automatique.
Si les paramètres d'imprimante sélectionnés manuellement diffèrent de ceux sélectionnés dans le pilote d'imprimante, l'imprimante n'imprimera pas et l'affichage indiquera un message d'erreur.
Les instructions suivantes du pilote de l'imprimante seront uniquement indicatives. La sélection des options Alimentation du papier, Format et Support est requise dans le logiciel (Mise en page).
- Cliquez sur Start [Démarrer] → Settings [Paramètres] → Printers and Faxes [Imprimantes et télécopieurs].
- Cliquez avec le bouton droit de la souris sur le nom de l'imprimante et sélectionnez Printing Preferences (Options d'impression).
- Dans l'onglet Setup (Configuration), sous Media (Support), sélectionnez le format de support requis dans la liste déroulante Size (Format).

- Sélectionnez l'option d'alimentation du papier requise dans Source [Source].

- Lorsqu'un bac à papier est sélectionné, le champ Weight (Grammage) s'affiche.
- Sélectionnez le grammage du papier requis dans Weight [Grammage].

Si Printer Setting [Option Imprimante] est sélectionnée, assurez-vous que l'imprimante a été réglée sur le bon type de support.
- Cliquez sur Paper Feed Options [Options d'alimentation du papier] et faites les autres sélections requises, puis cliquez sur [OK].

- Cliquez deux fois sur [OK]. Fermez la boîte de dialogue Printers and Faxes (Imprimantes et télécopieurs).
Important!
Si vous utilisez un support épais, des transparents, des enveloppes ou des étiquettes, assurez-vous d'ouvrir la sortie arrière avant de lancer l'impression :

État de l'imprimante réseau
- Disponible uniquement pour les connexions réseau TCP/IP.
L'utilitaire Network Printer Status (État de l'imprimante réseau) est disponible s'il a été installé par l'administrateur du système. Lorsqu'il est installé, la boîte de dialogue Properties [Propriétés] du pilote d'imprimante compte les modifications suivantes :
- un nouvel onglet Status [État] est ajouté
- Un bouton Option [Option] est ajouté dans l'onglet Device Option [Options du dispositif].
Cet usage permet de visualiser (mais de ne pas modifier) l'état des dispositifs suivants dans l'onglet Status [État]:
- bacs à papier installés et supports assignés à ceux-ci. - taille totale et pourcentage utilisé du disque/mémoire.
- pourcentage de toner restant.
Important!
Si vous avez sélectionné Automatic Status Update [Mise à jour automatique de l'État] dans l'onglet Status [État], le pilote interroge automatiquement l'imprimante pour obtenir les plus récentes informations d'État chaque fois que vous ouvrez la boîte de dialogue Properties [Propriétés]. Cela peut entraîner un décalage lors de l'ouverture de la boîte de dialogue Propriétés. Pour éviter cela, utilisez le bouton Update Status [Mettre l'État à jour] de Status [État] pour mettre à jour manuellement les informations d'État affichées.
Cette section explique comment configurer l'impression couleur et comment utiliser les fonctions de l'imprimante, notamment :
Pages multiples sur une seule feuille : voir page 164 - Formats de page personnels : voir page 167 - Résolution d'impression : voir page 175 - Impression duplex : voir page 177 - Impression de livrets : voir page 183 - Impression de filigranes : voir page 187 - Assemblage : voir page 189 - Tirage d'épreuve : voir page 190 - Impression Sécurisée : voir page 194 - Enregistrement sur le disque dur : voir page 198 - Impression de posters : voir page 203
La plupart des applications permettent d'accéder aux propriétés de l'imprimante depuis le dialogue d'impression du document.
Facteurs affectant l'apparence des tirages
Les pilotes PCL et PostScript livrés avec cette imprimante fournissent plusieurs commandes permettant de modifier la couleur imprimée sur papier. Les paramètres par défaut Auto suffiront pour un usage général et donneront de bons résultats pour la plupart des documents.
La plupart des applications ont leurs propres paramètres couleur qui remplaceront les paramètres existants dans le pilote d'imprimante. Reportez-vous à la documentation de votre logiciel pour toutes précisions sur le mode de gestion des couleurs de cette application.
Si vous souhaitez ajuster manuellement les paramètres couleur de votre pilote d'imprimante, sachez que la reproduction des couleurs est un sujet complexe et qu'il faut tenir compte de nombreux facteurs. Certains des facteurs les plus importants sont indiqués ci-dessous.
- Les différences de reproduction entre la gamme des couleurs d'un moniteur et celle d'une imprimante
- Conditions de visualisation
- Paramètres couleur du pilote d'imprimante
- Options du moniteur Mode d'affichage de la couleur du logiciel
- Type de papier
Couleurs d'un moniteur c. celle d'une imprimante
Les différences de reproduction entre la gamme des couleurs d'un moniteur et celle d'une imprimante
- Ni une imprimante ni un moniteur ne peut reproduire toute la gamme des couleurs visibles à l'œil nu. Chaque dispositif est limité à une certaine gamme de couleurs. En outre, une imprimante ne peut reproduire toutes les couleurs affichées à l'écran d'un moniteur et vice versa.
- Les deux périphériques utilisent des technologies très différentes pour représenter la couleur. Un moniteur utilise les luminophores rouge, vert et bleu (RGB) (ou affichage à cristaux liquides), une imprimante utilise les toners ou les encres cyan, jaune, magenta et noir (CMJN).
- Un moniteur peut afficher des couleurs très vives telles que les rouges et bleus intenses et celles-ci peuvent être reproduites aisément sur n'importe quelle imprimante utilisant un toner ou de l'encre. De façon similaire, certaines couleurs (certains jaunes par exemple) peuvent être imprimées mais ne peuvent être affichées avec précision à l'écran d'un moniteur. Cette disparité entre les moniteurs et les imprimantes est souvent la principale raison pour laquelle les couleurs sur papier ne concordent pas avec celles affichées à l'écran.
Conditions de visualisation
Une épreuve peut paraître très différente dans différentes conditions d'éclairage. Par exemple, les couleurs d'une épreuve peuvent sembler différentes lorsque vous les regardez à côté d'une fenêtre éclairée par le soleil ou sous l'éclairage fluorescent standard d'un bureau.
Paramètres de couleur du pilote d'imprimante
Les paramètres du pilote relatifs au réglage manuel de la couleur peuvent modifier l'apparence d'une épreuve. Il existe plusieurs options disponibles pour faciliter la concordance des couleurs sur papier avec celles affichées à l'écran. Ces options sont décrites plus loin dans les sections du Manuel de l'utilisateur.
Options du moniteur
Les commandes de luminosité et de contraste de votre moniteur peuvent modifier l'apparence de votre document à l'écran. En outre, la température des couleurs de votre moniteur influe sur l'apparence "chaude" ou "froide" des couleurs à l'écran.
Plusieurs des options de colorimétrie font référence à la température de la couleur de votre moniteur. De nombreux moniteurs modernes permettent d'ajuster la température de la couleur à l'aide du panneau de configuration du moniteur.
Plusieurs options sont proposées sur un moniteur type :
- 5000 k
Option la plus chaude ; éclairage tirant sur le jaune, utilisation spécifique dans l'art graphique.
- 6500 k
Plus froid ; se rapproche de l'éclairage à la lumière du jour.
9300 k
Option froide ; l'option par défaut pour de nombreux moniteurs et postes de télévision.
\(k = \text{degrés Kelvin, une mesure de la température}\)
Mode d'affichage de la couleur du logiciel
Certaines applications graphiques telles que Corel Draw ou Adobe Photoshop peuvent afficher la couleur d’une manière différente des applications de bureautique telles que Microsoft Word. Pour plus d’informations, consultez l’aide en ligne de votre application ou le manuel d’utilisation.
Type de papier
Le type de papier utilisé peut également influer considérablement sur la couleur imprimée. Par exemple, un tirage sur du papier recyclé peut sembler plus terne que sur un papier glacé spécialement élaboré.
Colorimétrie choix d'une méthode
Ces méthodes sont proposées uniquement à titre d'indication. Vos résultats varieront en fonction de l'application que vous utilisez pour l'impression. Certaines applications réinitialiseront les paramètres de colorimétrie du pilote d'imprimante sans le signaler.
Il n'y a aucune façon correcte d'obtenir une bonne concordance entre l'affichage du document à l'écran de votre moniteur et sa version imprimée. Il existe de nombreux facteurs en jeu pour obtenir des couleurs précises et reproductibles.
Toutefois, les directives suivantes peuvent vous aider à obtenir de bons résultats d'impression en couleur. Nous proposons plusieurs méthodes, en fonction du type de document que vous imprimez.
- le format le plus courant [RGB]
- applications graphiques et de PAO professionnelle [CMYK]
- images photographiques
- couleurs spécifiques (par exemple, le logo d'une entreprise)
- Impression de couleurs vives
RVB Ou CMJN
Les directives permettant de choisir une méthode de colorimétrie distinguant les deux codages : Rouge, Vert, Bleu (RVB) et Cyan, Magenta, Jaune, Noir (CMJN).
De façon générale, la plupart des documents que vous imprimez seront dans le format RVB. C'est le format le plus courant ; si vous ne connaissiez pas le codage couleur de votre document, supposez que c'est le RVB.
Les documents CMJN ne sont pris en charge habituellement que dans les applications graphiques et de PAO professionnelle.
Concordance des images photographiques
En général, la colorimétrie OKI est un bon choix. Sélectionne une méthode de colorimétrie qui convient à votre moniteur.
RVB Ou CMJN
Si vous imprimez des images photographiques depuis une application graphique telle que Adobe Photoshop, vous pouvez peut-être utiliser un tirage logiciel pour simuler l'image imprimée à l'écran de votre moniteur. À cette fin, vous pouvez utiliser les profils ICC fournis puis effectuer un tirage en vous servant d'eux comme Espace d'impression (Espace de sortie).
Concordance des couleurs spécifiques
(Par exemple, le logo d'une entreprise)
- Colorimétrie OKI et option sRVB (Pilote PCL ou PS).
- Colorimétrie PostScript en utilisant l'option Colorimétrie absolue.
- Utilisez l'utilitaire Nuancier de couleurs pour imprimer une charte de nuanciers RVB et entrez les valeurs RVB désirées dans le sélectionneur de couleurs de votre application (PS uniquement).
RVB Ou CMJN
- Si vous effectuez des tirages depuis une application graphique telle que Adobe Photoshop, vous pouvez peut-être utiliser un tirage logiciel pour simuler l'image imprimée à l'écran de votre moniteur. À cette fin, vous pouvez utiliser les profils ICC fournis par OKI puis effectuer un tirage en vous servant d'eux comme Espace d'impression (ou Espace de sortie) (PS uniquement).
- Vous pouvez également utiliser la colorimétrie PostScript en sélectionnant l'option Colorimétrie absolue.
Impression de couleurs vives
- Utilisez la Colorimétrie OKI en sélectionnant les options Moniteur 6500k Vivid, sRVB ou Appareil photo numérique (PCL ou PS).
RVB Ou CMJN
- Utilisez la Colorimétrie PostScript en sélectionnant l'option Saturation
Pilote PCL
Les options de colorimétrie du pilote PCL peuvent être utilisées pour faire correspondre les couleurs sur papier à celles affichées à l’écran de votre moniteur.
De par leur conception, les options couleur du pilote PCL ne sont valables qu'avec le codage RVB.
Pour les tirages CMJN, nous vous conseillons d'utiliser le pilote PostScript.
Pour régler manuellement les options de concordance des couleurs dans le pilote PCL :
- Cliquez sur Start [Démarrer] → Settings [Paramètres] → Printers and Faxes [Imprimantes et télécopieurs].
- Cliquez avec le bouton droit de la souris sur le nom de l'imprimante et sélectionnez Printing Preferences (Options d'impression).
- Cliquez sur l'onglet Couleur.

- Sous Color Mode (Mode couleur), cliquez sur Manual Color (Couleur manuelle).
- Sous Color Setting (Configuration couleur), cliquez sur Natural (Naturelle).

- Choisissez l'une des options suivantes :
Moniteur (6500K) perceptuel
Optimisée pour l'impression de photographies lorsque vous utilisez un moniteur dont la température des couleurs est de 6500 K.
Moniteur (6500K) vivid
Optimisée pour l'impression de couleurs vives lorsque vous utilisez un moniteur dont la température des couleurs est de 6500 K. Idéale pour les graphiques professionnels.
Moniteur (9300K)
Optimisée pour l'impression de photographies lorsque vous utilisez un moniteur dont la température des couleurs est de 9300 K.
Appareil photo numérique
Optimisée pour l'impression de photographies prises avec un appareil photo numérique. Cette option a tendance à produire des épreuves aux couleurs plus claires et plus vives. Pour certaines photographies, les autres options peuvent être plus performantes, en fonction des sujets et des conditions de prise de vue.
Optimisée pour faire correspondre des couleurs spécifiques, telles que la couleur du logo d'une entreprise.
Les couleurs de la gamme de l'imprimante sont imprimées sans modification ; les couleurs modifiées sont seulement celles qui sont en dehors de la gamme de l'imprimante.
- Définissez tout autre paramètre requis en consultant l'aide en ligne pour obtenir de l'aide.
- Lorsque terminé, cliquez sur OK et fermez la boîxe de dialogue Printing Preferences (Options d'impression).
Nuancier de couleurs
Vous pouvez les utiliser pour sélectionner des couleurs spécifiques dans les applications qui vous permettent de définir vos propres valeurs RVB.
La fonction Nuancier de couleurs d'impression vous permet d'imprimer des chartes qui contiennent une gamme de couleurs types. Les valeurs correspondantes RVB (Rouge, Vert, Bleu) sont indiquées sous chaque couleur type.
Voici un exemple d'utilisation de la fonction nuanciers de couleurs d'impression :
Vous souhaitez imprimer un logo dans une teinte particulière de rouge. Suivez les étapes ci-après :
- Cliquez sur Start [Démarrer] → Settings [Paramètres] → Printers and Faxes [Imprimantes et télécopieurs].
- Cliquez avec le bouton droit de la souris sur le nom de l'imprimante et sélectionnez Printing Preferences (Options d'impression).
- Cliquez sur l'onglet Color [Couleur].
- Cliquez sur le bouton Color Swatch (Tableau de nuanciers) pour imprimer des échantillons des tableaux de nuanciers.
- Imprimez un nuancier de couleurs puis sélectionnez la teinte de rouge qui est la mieux adaptée à vos besoins. Prenez note de la valeur RVB indiquée sous la teinte de votre choix.
- À l'aide du sélectionneur de couleurs de votre programme, entrez les valeurs RVB relevées à l'étape 5 et modifiez le logo de cette couleur.
La couleur RVB affichée à l'écran de votre moniteur ne concorde pas nécessairement avec celle du nuancier de couleurs sur papier. Le cas échéant, cette non-concordance est due à la différence de reproduction des couleurs entre le moniteur et l'imprimante.
Choix d'une méthode
Le pilote PostScript offre plusieurs méthodes de contrôle de la couleur sur papier, soit par l'imprimante.
Pour régler manuellement les options de concordance des couleurs dans le pilote postscript :
- Cliquez sur Start [Démarrer] → Settings [Paramètres] → Printers and Faxes [Imprimantes et télécopieurs].
- Cliquez avec le bouton droit de la souris sur le nom de l'imprimante et sélectionnez Printing Preferences (Options d'impression).
- Cliquez sur l'onglet Color [Couleur].

- Sous Color Mode (Mode couleur), Sélectionnez la méthode à utiliser dans la liste déroulante Color Control Method (Méthode de contrôle couleur) :
a. Contrôle couleur OKI
C'est le système de colorimétrie propre à OKI et s'applique uniquement au codage RVB.
b. PostScript Color Control (Contrôle couleur PostScript)
Elle utilise les dictionnaires des rendus des couleurs PostScript intégrés à l'imprimante et s'applique aux codages RVB et CMJN.
c. Utilisation du profil ICC
Cette méthode de concordance des couleurs RVB est similaire à celle de Windows ICM. Consultez "Utilisation des profils ICC" page 159.
d. No Color Matching (Aucune concordance couleur)
Utilisez cette option pour désactiver toute concordance des couleurs de l'imprimante.
e. Impression en échelle de gris
Cette option permet d'imprimer tous les documents en monochrome.
OKI color control (contrôle couleur OKI)
C'est le système de colorimétrie propre à OKI et s'applique uniquement au codage RVB.
Deselectez la méthode à utiliser dans la liste déroulante sous Color Setting (Configuration couleur):

Pilote postscript OKI color control (contrôle couleur OKI)
Moniteur (6500k) Perceptuel
Optimisée pour l'impression de photographies lorsque vous utilisez un moniteur dont la température des couleurs est de 6500 K.
Moniteur (6500k) Vivid
Optimisée pour l'impression de couleurs vives lorsque vous utilisez un moniteur dont la température des couleurs est de 6500 K. Idéale pour les graphiques professionnels.
Moniteur (9300k)
Optimisée pour l'impression de photographies lorsque vous utilisez un moniteur dont la température des couleurs est de 9300 K.
Appareil photo numérique
Optimisée pour l'impression de photographies prises avec un appareil photo numérique. Cette option a tendance à produire des épreuves aux couleurs plus claires et plus vives. Pour certaines photographies, les autres options peuvent être plus performantes, en fonction des sujets et des conditions de prise de vue.
Optimisée pour faire concorder des couleurs spécifiques, telles que la couleur du logo d'une entreprise.
Les couleurs de la gamme de l'imprimante sont imprimées sans modification; les couleurs modifiées sont seulement celles qui sont en dehors de la gamme de l'imprimante.
Contrôle couleur postscript
Elle utilise les dictionnaires des rendus des couleurs PostScript intégrés à l'imprimante et s'applique aux codages RVB et CMJN.
Sélectionnez le type de rendu dans la liste déroulante Rendering Intent (Objectif de rendu).

Intentions de rendu
Lors de l'impression d'un document, une conversion se produit de l'espace couleur du document vers l'espace couleur de l'imprimante. Les intentions de rendu sont essentiellement un ensemble de règles qui déterminent le mode de conversion des couleurs.
Les intentions de rendu fournies par le pilote d'imprimante sont indiquées ci-dessous :
Choix optimal pour un usage général.
- Perceptuel
Choix optimal pour imprimer des photographies. Comprime la gamme source dans la gamme de l'imprimante tout en maintenant l'apparence globale d'une image. L'apparence globale d'une image peut être modifiée étant donné que toutes les couleurs sont décalées ensemble.
- Saturation
Choix optimal pour imprimer les couleurs lumineuses et saturées si vous ne vous souciez pas juste de la précision des couleurs. C'est donc le choix recommandé pour les graphiques, les tableaux, les schémas, etc... Établit une correspondance entre les couleurs entièrement saturées dans la gamme source et celles de la gamme de l'imprimante.
Colorimétrie relative
Convient au tirage d'images couleur CMJN sur une imprimante de bureau. Ressemble beaucoup à la colorimétrie absolue, excepté que la fonction compare le blanc de la source au blanc (généralement) du papier, c-à-d, à la différence de la colorimétrie absolue, cette fonction tente de tenir compte du blanc du papier.
Colorimétrie absolue
Option optimale pour imprimer les teintes et les couleurs unies, telles que les logos d'entreprise, etc... Fait concorder exactement les couleurs communes aux deux dispositifs et sélectionne les couleurs équivalentes les plus proches pour celles extérieures à la gamme. Essaie d'imprimer le blanc tel qu'il apparaît à l'écran. Le blanc de l'écran d'un moniteur est souvent très différent du blanc du papier, ce qui peut produire des dominances de couleur, particulièrement dans les parties plus claires d'une image.
Colorimétrie choix d'une méthode
Pilote PostScript Utilisation des profils ICC
PostScript uniquement
- S'applique uniquement au codage RVB.
Cette option offre une méthode de concordance des couleurs RVB similaire à la concordance ICM de Windows. Son principal avantage par rapport à la colorimétrie ICM de Windows est qu'elle offre une méthode d'impression en utilisant les profils d'entrée et de sortie. La colorimétrie ICM de Windows permet seulement de désir des profils de sortie.
Les profils d'entrée (un appareil photo numérique, par exemple) fournissent des informations sur la couleur dans le dispositif d'origine qui était utilisé pour saisir les données de l'image et les afficher. Par exemple, un dispositif d'entrée pourrait être un scanner, un appareil photo numérique ou un moniteur.
Les profils de sortie (l'imprimante, par exemple) donnent des informations sur le dispositif que vous utilisez pour l'impression.
La fonction Utilisation des profils ICC permet de sélectionner un profil d’entrée et un profil de sortie. Elle utilise ces deux profils pour générer un DRC (Dictionnaire des rendus de couleurs) qui est utilisé pour faire correspondre les couleurs aussi étroitement que possible.
Cette fonction n'est pas peut-être pas valable dans tous les programmes d'application. Toutefois, les options d'impression des nombreuses applications graphiques professionnelles offrent une fonction similaire permettant de définir un espace couleur source (entrée) et un espace couleur d'impression (sortie).
Définition des profils ICC
- Cliquez sur Start [Démarrer] → Settings [Paramètres] → Printers and Faxes [Imprimantes et télécopieurs].
- Cliquez avec le bouton droit de la souris sur le nom de l'imprimante et sélectionnez Printing Preferences (Options d'impression).
- Cliquez sur l'onglet Color [Couleur].
- Sous Color mode (Mode couleur), sélectionnez Using ICC Profile (Utilisation du profil ICC) dans la liste déroulante Color Control Method (Méthode de contrôle couleur).

- Cliquez sur le bouton New (Nouveau).

- Sélectionnez profil d'entrée (Input profile) et le profil de sortie (Output profile) dans les listes déroulantes sous Select ICC profile (Sélectionner profil ICC).
- Sélectionnez l'objet de rendu (Rendering Intent) et le type de rendu et entrez un nom pour le profil ; cliquez ensuite sur OK. Le nouveau nom s'affiche dans la liste déroulante Setting Name (Nom du paramètre) sous ICC Profile Setting (Paramètre de profil ICC).
- Répétez les étapes 5-7 pour chacun des profils ICC que vous désirez définir.
- Cliquez sur OK, puis fermez la boîte de dialogue Printers and Faxes (Imprimantes et télécopieurs).
Pilote postscript colorimétrie ICM de windows
- ICM est le système de gestion des couleurs intégré à Windows. S'applique uniquement au codage RVB.
- peut être associé avec le pilote PCL ou PS.
L'ICM de Windows utilise les profils ICC pour votre moniteur et votre imprimante ; ces profils décrivent les couleurs que votre dispositif peut développer. Les profils ICC peuvent être associés à votre imprimante par le biais de l'onglet Gestion des couleurs du pilote d'imprimante.
En fonction du mode d'installation du pilote d'imprimante, les profils couleur sont peut-être déjà associés au pilote.
Pour associer les profils couleur ICC au pilote d'imprimante :
- Cliquez sur Start [Démarrer] → Settings [Paramètres] → Printers and Faxes [Imprimantes et télécopieurs].
- Mettez en surbrillance le nom de l'imprimante et cliquez sur Fichier puis sur Propriétés.
- Cliquez sur l'onglet Color Management [Gestion des couleurs].
- Sous "Color Profiles currently associated with this printer ["Profils de couleurs associés actuellement avec cette imprimante"], vous devez apercevoir les noms des profils qui correspondent à votre modèle d'imprimante. Si aucun profil n'est associé au pilote, cliquez sur "Add..." ["Ajouter"] et repêrez les profils ICC pour votre imprimante.
ICM de Windows utilise les informations existant dans ces profils pour convertir les couleurs de vos documents en couleurs que l'imprimante peut reproduire. Le mode de conversion peut être réglé.
par le biais de la gestion des intentions de rendu ICM dans le pilote d'imprimante.
OKI fournit également une solution de colorimétrie autre que ICM de Windows : l'option Colorimétrie en utilisant la fonction Profils ICC. Elle est similaire à ICM de Windows mais offre plusieurs autres fonctionnalités :
Pages multiples sur une seule feuille
- Ouvrez le fichier dans l'application et sélectionnez File (Fichier) Print (Imprimer).
- Dans la boîte de dialogue Print (Imprimer), cliquez sur le pilote PS approprié dans l'onglet General (Général), puis cliquez sur le bouton Préférences (Préférences).
- Sélectionnez le nombre de pages par feuille dans Pages par feuille.
- Cliquez sur [OK]. Cliquez ensuite sur Imprimer.

Pages multiples sur une seule feuille
- Ouvrez le fichier dans l'application et sélectionnez File (Fichier) Print (Imprimer).
- Dans la boîte de dialogue Print (Imprimer), cliquez sur le pilote PS approprié dans l'onglet General (Général), puis cliquez sur le bouton Préférences (Préférences).
- Sélectionnez le nombre de pages requis par feuille dans Mode de finition.

- Cliquez sur le bouton Options [Options], Sélectionnez la Page Borders [Bordure de Page], la Page Layout [Mise en Page] et les Bind Margin [Marges] que vous désirez. Cliquez sur [OK].
- Cliquez sur [OK]. Cliquez ensuite sur Print (Imprimer).

Formats de page personnels
Un format personnalisé peut être défini dans le pilote PostScript.
Les pages au format personnel ne peuvent être imprimées qu’à partir du bac multifonction (alimentation manuelle). Il est possible de sélectionner manuellement le paramètre Format de papier personnel de l’option Imprimante pour le bac multifonction, avant de procéder à l'impression.
Largeur : 3,5 po à 8,5 po [89 mm à 216 mm] - Longueur : 5 po à 14 po [127 mm à 356 mm].
- Ouvrez le fichier dans l'application et sélectionnez File (Fichier) → Print (Imprimer).
- Dans la boîte de dialogue Imprimer, cliquez sur le pilote PS approprié dans l'onglet Général, puis cliquez sur le bouton Préférences.
Important!
Si vous utilisez un support épais, des transparents, des enveloppes ou des étiquettes, assurez-vous d'ouvrir la sortie arrière avant de lancer l'impression :

- Cliquez sur l'onglet Paper/Quality (Support/Qualité).
Sous Tray Selection (Déselection des bacs), dans la liste déroulante Paper Source (Source support), sélectionnez Multi-Purpose Tray (Bac multifonction)

- Entrez la largeur (Width) et la longueur (Height) du support personnalisé.
Largeur:3,5poa8,5po[89mma216mm] - Longueur: x 5 po à 14 po [127 mm à 356 mm].
- Sélectionnez la direction d'alimentation support (Paper Feed Direction).
- Long Edge First (Côté long d'abord) = Support alimenté par le côté long
- Short Edge First (Côté court d'abord) = Support alimenté par le côté court
- Long Edge First (flipped) (Côté long d'abord (inversé)) = Réservé pour utilisation future
- Short Edge First (flipped) (Côté court d'abord (inversé)) = Réservé pour utilisation future
- Cliquez trois fois sur [OK]
- Cliquez sur Print (Imprimer).
Formats de page personnels
PCL
Il est possible de définir 32 formats de page personnels.
Les pages au format personnel ne peuvent être imprimées qu’à partir du bac multifonction (alimentation manuelle). Il est possible de sélectionner manuellement le paramètre Format de papier personnel de l’option Imprimante pour le bac multifonction, avant de procéder à l'impression.
Largeur:3,5poa8,5po[89mma216mm] - Longueur: x 5 po à 14 po [127 mm à 356 mm].
Important!
Si vous utilisez un support épais, des transparents, des enveloppes ou des étiquettes, assurez-vous d'ouvrir la sortie arrière avant de lancer l'impression :

- Ouvrez le fichier dans l'application et sélectionnez File (Fichier) → Print (Imprimer).
- Dans la boîte de dialogue Print (Imprimer), cliquez sur le pilote PCL approprié dans l'onglet General (Général). Cliquez sur le bouton Preferences (Préférences).
- Dans l'onglet Setup (Configuration), sous Media (Support), sélectionnez User Defined Size (Format défini par l'utilisateur) dans la liste déroulante Size (Format).
La boîte de dialogue Set Free Size (Définir format) s'ouvre.

Un message d'advertisement peut s'afficher pour indiquer un conflit. Le cas échéant, cliquez sur OK pour que le pilote puisse effectuer automatiquement les modifications requises pour résoudre le conflit.
- Sélectionnez l'unité (Unit). Entrez ensuite la largeur (Width) et la longueur (Length).
Largeur : 3,5 po à 8,5 po [89 mm à 216 mm] - Longueur : 5 po à 14 po [127 mm à 356 mm].
- Cliquez sur [OK].
- User Defined Size (Format défini par l'utilisateur) s'affiche dans la liste Size (Format) de l'onglet Setup (Configuration).
Pour enregistrer les paramètres pour un usage ultérieur :
- Cliquez sur Paper Feed Options [Options d'alimentation du papier], cliquez ensuite sur Custom Size [Format personnel].
- Sélectionnez l'unité (Unit). Entrez les informations appropriées dans Width [Largeur] et Height [Hauteur] et attribuez un nom à votre document dans Name [Nom].
- Cliquez sur Add [Ajouter].
- Cliquez sur [OK]. Le format de page personnel est ajusté au bas de la liste Format de papier.
- Cliquez sur [OK].
- Cliquez ensuite sur Print (Imprimer).
PCL ou postscript
- Les présentes directives indiquent comment modifier les paramètres lors de l'impression d'un travail. Pour modifier les paramètres afin que ces derniers soient utilisés pour tous les travaux (paramètres par défaut):
- Cliquez sur Démarrer → Paramètres → Imprimantes et télécopieurs.
- Cliquez avec le bouton droit de la souris sur le nom de l'imprimante désiré, puis sélectionnez Properties (Propriétés).
- Suivez l' étape 3 ci-dessous et les étapes suivantes. La fenêtre pour définir les paramètres par défaut compte des onglets supplémentaires.
- Ouvrez le fichier dans l'application et sélectionnez File (Fichier) → Print (Imprimer).
- Dans la boîte de dialogue Print (Imprimer), cliquez sur le pilote approprié dans l'onglet General (Général), puis cliquez sur le bouton Preferences (Préférences).
- Cliquez sur l'onglet Job Options (Options de travail).
- Sélectionnez la résolution d'impression requise dans Quality [Qualité d'impression].


- Sélectionnez Toner Saving [Économie de toner] le cas échéant.
- Cliquez sur [OK]. Cliquez ensuite sur Print (Imprimer).
Impression duplex (impression recto verso) sur les deux côtés d'une page
Restrictions d'usage
L'unité duplex (optionnelle) doit être installée sur l'imprimante et activée, avant de procéder à l'impression duplex.
Les tirages Duplex ne peuvent être effectués que sur
- du papier de format standard,
- dont le grammase est compris entre 75 et 105g / m² (20 et 28 lb. US Bond).
- Le papier doit être chargé dans le bac à papier, la face à imprimer en dessus.
- Utilisez n'importe lequel des bacs (bac 1, bac 2 et bac 3 optionnels ou bac multifonction) pour l'impression recto verso.
Le bac multifonction ne peut pas être utilisé pour l'impression duplex.
Pour modifier les paramètres afin que ces derniers soient utilisés pour tous les travaux (paramètres par défaut) :
- Cliquez sur Start [Démarrer] → Settings [Paramètres] → Printers and Faxes [Imprimantes et télécopieurs].
- Cliquez avec le bouton droit de la souris sur le nom de l'imprimante désiré.
- Sélectionnez Properties (Propriétés).
- Suivez l'objet 3 ci-dessous et les étapes suivantes. La fenêtre pour définir les paramètres par défaut compte des onglets supplémentaires.
Utilisation
- Ouvrez le fichier dans l'application et sélectionnez File (Fichier) → Print (Imprimer).
- Dans la boîte de dialogue Print (Imprimer), cliquez sur le pilote PostScript dans l'onglet General (Général), puis cliquez sur le bouton Preferences (Préférences).
- Dans l'onglet Layout (Disposition), sous Print on Both Sides (Duplex) (Imprimer des deux côtés (recto verso)), sélectionnez Flip on Long Edge (Réflexion côté long) ou Flip on Short Edge (Réflexion côté court).
- Cliquez sur [OK]. Cliquez ensuite sur Print (Imprimer).

Impression duplex (impression recto verso) sur les deux côtés d'une page
PCL
Restrictions d'usage
L'unité duplex (optionnelle) doit être installée sur l'imprimante et activée, avant de procéder à l'impression duplex.
Les tirages Duplex ne peuvent être effectués que sur
- du papier de format standard,
- dont le grammase est compris entre 75 et 105g / m² (20 et 28 lb. US Bond).
- Le papier doit être chargé dans le bac à papier, la face à imprimer en dessus.
- Utilisez n'importe lequel des bacs (bac 1, bac 2 et bac 3 optionnels ou bac multifonction) pour l'impression recto verso.
Le bac multifonction ne peut pas être utilisé pour l'impression duplex.
Pour modifier les paramètres afin que ces derniers soient utilisés pour tous les travaux (paramètres par défaut) :
- Cliquez sur Start [Démarrer] → Settings [Paramètres] → Printers and Faxes [Imprimantes et télécopieurs].
- Cliquez avec le bouton droit de la souris sur le nom de l'imprimante désiré.
- Sélectionnez Properties (Propriétés).
- Suivez l'objet 3 ci-dessous et les étapes suivantes. La fenêtre pour définir les paramètres par défaut compte des onglets supplémentaires.
Utilisation
- Ouvrez le fichier dans l'application et sélectionnez File (Fichier) → Print (Imprimer).
- Dans la boîte de dialogue Print (Imprimer), cliquez sur le pilote PCL dans l'onglet General (Général). Cliquez sur le bouton Preferences (Préférences).
- Dans l'onglet Setup (Configuration), sous 2-Sided Printing (Impression recto verso), sélectionnez Long Edge (Côté long) ou Short Edge (Côté court).
- Cliquez sur [OK]. Cliquez ensuite sur Imprimer.

Impression de livrets
- L'unité duplex optionnelle doit être installée sur l'imprimante et activée avant de procéder à l'impression de livrets.
- Non offerte pour certaines connexions réseau : consultez le fichier d'aide.
- Certains logiciels ne prennant peut-être pas en charge l'impression de livrets.
- Le paramètre croître à gauche permet d'imprimer un livre se lisant de droite à gauche, comme c'est le cas pour certaines langues.
Important!
L'impression de livre en utilisant le pilote PostScript est restreinte à deux pages par feuille.
par exemple:
- l'impression d'un livre de 5,5 po x 8,5 po sur une feuille de 8,5 po x 11 po
- l'impression d'un document de 8,5 po x 11 po sur une feuille de 11 po x 17 po
- Ouvrez le fichier dans l'application et sélectionnez File (Fichier) → Print (Imprimer).
- Dans la boîte de dialogue Print (Imprimer), cliquez sur le pilote PostScript dans l'onglet General (Général), puis cliquez sur le bouton Preferences (Préférences).
- Dans l'onglet Layout (Disposition), sous Pages Per Sheet (Pages par feuille), sélectionnez Booklet (Livret) dans la liste déroulante.

Impression de livrets
- L'unité duplex optionnelle doit être installée sur l'imprimante et activée avant de procéder à l'impression de livrets.
- Non offerte pour certaines connexions réseau : consultez le fichier d'aide.
- Certains logiciels ne prennant peut-être pas en charge l'impression de livrets.
- Le paramètre croît à gauche permet d'imprimer un livre se lisant de droite à gauche, comme c'est le cas pour certaines langues.
- Ouvrez le fichier dans l'application et sélectionnez File (Fichier) → Print (Imprimer).
- Dans la boîte de dialogue Print (Imprimer), cliquez sur le pilote PCL dans l'onglet General (Général). Cliquez sur le bouton Preferences (Préférences).
- Dans l'onglet Setup (Configuration), sous Finishing Mode (Mode de finition), dans la liste déroulante, Sélectionnez Booklet (Livret).

- Cliquez sur le bouton Options. Définissez ensuite au besoin les valeurs Signature, 2pages (2 pages), Right to Left (Droite à gauche) et Bind Margin (Marge de reliure). Consultez l'aide en ligne pour plus d'informations. Cliquez sur OK.
- Cliquez sur [OK]. Cliquez ensuite sur Print (Imprimer).

Impression de filigranes
- Ouvrez le fichier dans l'application et sélectionnez File (Fichier) → Print (Imprimer).
- Dans la boîte de dialogue Print (Imprimer), cliquez sur le pilote PCL dans l'onglet General (Général). Cliquez sur le bouton Preferences (Préférences).
- Dans l'onglet Job options (Options de travail), clique sur Watermark (Filigrane).
- Sélectionnez un filigrane dans Watermark [la liste figurant dans Filigrane].

Pour créer un nouveau filigrane ou modifier un filigrane existant,
- Cliquez sur le bouton New [Nouveau] ou Edit [Édition].

- Tapez le texte requis. Sélectionnez la taille de caractère, l'angle, etc. à utiliser.
- Cliquez sur [OK]. Le nouveau filigrane s'affiche dans la liste Watermark (Filigrane).
- Cochez First Page only [Première page uniquement] si le filigrane doit être imprimé sur la première page du document.
- Cliquez deux fois sur [OK].
- Cliquez ensuite sur Print (Imprimer).
PCL ou postscript
L'assemblage peut être effectué, qu'un disque dur ait été installé ou non. Toutefois, l'installation d'un disque dur permet d'obtenir une performance supérieure.
Important
Si le logiciel utilisé comporte une option Assembler, nous vous recommandons d'utiliser uniquement une seule option Assembler pour éviter des conflits lors de l'impression, c-à-d., assembler dans le logiciel ou assembler dans le pilote d'imprimante.
Les instructions suivantes permettent de sélectionner l'assemblage par le biais d'un pilote d'imprimante.
- Ouvrez le fichier dans l'application et sélectionnez File (Fichier) → Print (Imprimer).
- Dans la boîte de dialogue Print (Imprimer), cliquez sur le pilote approprié dans l'onglet General (Général), puis cliquez sur le bouton Preferences (Préférences).
- Dans l'onglet Job Options (Options de travaux), sous Job Type (Type de travail), entrez le nombre d'exemplaires requis et - uniquement lorsque l'application ne comporte pas d'options d'assemblage - sélectionnez Collate (Assembler).
- Cliquez sur [OK]. Cliquez ensuite sur Imprimer.
PostScript Driver
PCL Driver
Utilisation
Tirage d'épreuve permet d'imprimer un seul exemplaire d'un document pour le vérifier avant d'en imprimer plusieurs exemplaires.
- L'imprimante doit être poursuivie d'un disque dur interne pour pouvoir mettre le travail d'impression en file d'attente avant l'impression définitive.
- Si la mémoire du disque dur est insuffisante pour assurer le volume de données en file d'attente, DISK FULL [DISQUE PLEIN] s'affiche et un seul exemplaire est imprimé.
- Si le logiciel utilisé comporte une option Assembler, elle doit être invalidée, de façon à ce que la fonction Tirage d'épreuve s'exécute correctement.
- La fonction Tirage d'épreuve n'est peut-être pas disponible dans certains logiciels.
- Ouvrez le fichier dans l'application et Sélectionnez File (Fichier) → Print (Imprimer).
- Dans la boîte de dialogue Print (Imprimer), cliquez sur le pilote approprié dans l'onglet General (Général). Cliquez sur le bouton Preferences (Préférences).
- Entrez le nombre d'exemplaires. Le cas échéant, sélectionnez Collate (Assembler) (pilote PostScript uniquement).
PostScript Driver PCL Driver

- Dans Job Type [Type de travail], sélectionnez Proof and Print [Tirage d'épreuve].
- Entrez un nom de travail comptant 16 caractères dans Job Name Setting [Nom de travail]. Cochez au besoin Request Job Name for each print job [Demande de nom de travail pour chaque travail d'impression].
PostScript Driver
PCL Driver
- Entrez un code d'identification personnel à quatre chiffres, en utilisant des caractères numériques compris entre 0000 et 7777. Cliquez sur [OK].
- Cliquez sur [OK]. Cliquez ensuite sur Print (Imprimer). Imprimez le document depuis le logiciel utilisé ; un seul exemplaire du document est imprimé pour être vérifié.
- Une fois la vérification terminée, vous pouvez imprimer ou supprimer les autres exemplaires (s'ils sont incorrects), en suivant les procédures indiquées ci-dessous.
Impression d'exemplaires
- Appuyez sur le bouton MENU pour accéder au PRINT JOBS MENU (MENU IMPRIMER TRAVAUX) et appuyez sur le bouton SELECT.
- Entrez le code personnel en utilisant les boutons du tableau de commande de l'imprimante.
- Appuyez sur le bouton VALUE jusqu'à ce que ALL JOBS (TOUS LES TRAVAUX) ou le nom du travail requis s'affiche.
- Appuyez sur le bouton SELECT pour sélectionner le travail d'impression et imprimez les autres exemplaires du document.
Une autre méthode d'impression ou de suppression des copies de document restantes consiste à utiliser l'utilitaire Storage Device Manager (Gestionnaire des unités de mémoire).
Pour plus d'informations, consultez l'aide en ligne pour Storage Device Manager.
Suppression d'exemplaires
- Appuyez sur le bouton MENU pour accéder au PRINT JOBS MENU (MENU IMPRIMER TRAVAUX). Appuyez sur le bouton SELECT.
- Entrez le code personnel en utilisant les boutons du tableau de commande de l'imprimante.
- Appuyez sur le bouton VALUE jusqu'à ce que ALL JOBS (TOUS LES TRAVAUX) ou le nom du travail requis s'affiche.
- Appuyez sur le bouton CANCEL pour supprimer les autres exemplaires du document.
- Lorsque le message de validation suppression apparaît, validez-le en appuyant sur le bouton SELECT.
Une autre méthode d'impression ou de suppression des copies de document restantes consiste à utiliser l'utilitaire Storage Device Manager (Gestionnaire des unités de mémoire).
Pour plus d'informations, consultez l'aide en ligne pour Storage Device Manager.
PCL ou postscript
L'impression sécurisée ou l'impression avec des mots de passe permet de protéger les documents confidentiels sur les imprimantes qui sont partagées avec d'autres utilisateurs.
- L'imprimante doit être poursuivie d'un disque dur interne pour pouvoir mettre le travail d'impression en file d'attente avant l'impression définitive.
- Si la mémoire du disque dur est insuffisante pour contenir le volume de données en file d'attente, DISQUE PLEIN s'affiche et un seul exemplaire est imprimé.
- Si le calculi italiisé compte une option Assembler, elle doit être invalidée, de façon à ce que la fonction Impression sécurisée s'exécute correctement.
- La fonction Impression sécurisée n'est peut-être pas disponible dans certains logiciels.
- Ouvrez le fichier dans l'application. Sélectionnez File (Fichier) → Print (Imprimer).
- Dans la boîte de dialogue Imprimer, cliquez sur le pilote approprié dans l'onglet Général. Cliquez sur le bouton Préférences.
- Dans Job Type [Type de travail], sélectionnez Secure Print [Impression sécurisée].
Si vous avez déjà stocké un document sur le disque dur à l'aide de la fonction d'impression sécurisée et que ce document n'a pas été imprimé, cliquez sur le bouton PIN (NIP) et entrez un nouveau nom de travail.
- Entrez un nom de travail comptant 16 caractères dans Nom de travail.
Cochez au besoin Request Job Name for each print job [Demande de nom de travail pour chaque travail d'impression].
PostScript Driver
PCL Driver
- Entrez un code d'identification personnel à quatre chiffres, en utilisant des caractères numériques compris entre 0000 et 7777. Cliquez sur [OK].
- Entrez le nombre d'exemplaires. Le cas échéant, sélectionnez Collate (Assembler).
PostScript Driver
PCL Driver
- Cliquez sur [OK]. Cliquez ensuite sur Print (Imprimer). Imprimez le document depuis le logiciel utilisé pour permettre le travail d'impression en file d'attente sur le disque dur de l'imprimante.
- Vous pouvez imprimer et supprimer le travail d'impression en suivant la procédure indiquée ci-dessous.
L'impression à l'imprimante
- Appuyez sur le bouton MENU pour accéder au PRINT JOBS MENU (MENU IMPRIMER TRAVAUX) et appuyez sur le bouton SELECT.
- Entrez le code personnel en utilisant les boutons du tableau de commande de l'imprimante.
- Appuyez sur le bouton VALUE jusqu'à ce que ALL JOBS (TOUS LES TRAVAUX) ou le nom du travail requis s'affiche.
- Appuyez sur le bouton SELECT. Le document s'imprime puis est effacé du disque dur de l'imprimante.
Une autre méthode d'impression ou de suppression des copies de document restantes consiste à utiliser l'utilitaire Storage Device Manager (Gestionnaire des unités de mémoire).
Pour plus d'informations, consultez l'aide en ligne pour Storage Device Manager.
Suppression de travaux d'impression confidentiels
- Appuyez sur le bouton MENU pour accéder au PRINT JOBS MENU (MENU IMPRIMER TRAVAUX) et appuyez sur le bouton SELECT.
- Entrez le code personnel en utilisant les boutons du tableau de commande de l'imprimante.
- Appuyez sur le bouton VALUE jusqu'à ce que ALL JOBS (TOUS LES TRAVAUX) ou le nom du travail requis s'affiche.
- Appuyez sur le bouton CANCEL pour sélectionner le travail d'impression et le supprimer de l'imprimante.
Une autre méthode d'impression ou de suppression des copies de document restantes consiste à utiliser l'utilitaire Storage Device Manager (Gestionnaire des unités de mémoire).
Pour plus d'informations, consultez l'aide en ligne pour Storage Device Manager.
PCL ou postscript
La fonction Enregistrer sur le disque dur (mise en file d'attente des travaux) permet d'enregistrer temporairement les travaux d'impression sur le disque dur avant de les imprimer. Cette fonction est utile pour les formulaires, les notes génériques, le papier à lettres, etc.
- L'imprimante doit être poursuivie d'un disque dur interne pour pouvoir mettre le travail d'impression en file d'attente avant l'impression définitive.
- Si la mémoire du disque dur est insuffisante pour contenir le volume de données en file d'attente, DISQUE PLEIN s'affiche et un seul exemplaire est imprimé.
- Si le logiciel utilisé comporte une option Assembler, elle doit être invalidée, de façon à ce que la fonction Enregistrer sur le disque dur s'exécute correctement.
- La fonction Enregistrer sur le disque dur n'est peut-être pas disponible dans certains logiciels.
- Ouvrez le fichier dans l'application. Sélectionnez File (Fichier) → Print (Imprimer).
- Dans la boîte de dialogue Print (Imprimer), cliquez sur le pilote approprié dans l'onglet General (Général). Cliquez sur le bouton Preferences (Préférences).
- Dans Job Type [Type De Travail], Sélectionnez Store to HDD [Enregistrer sur le disque dur].


Si vous avez déjà stocké un document sur le disque dur à l'aide de la fonction d'impression sécurisée et que vous désirez en stocker un autre, cliquez sur le bouton PIN (NIP) et entrez un nouveau nom de travail.
- Entrez un nom de travail de 16 caractères dans Job Name [Nom de Travail] et cochez au besoin Request Job Name for each print job [Demande de nom de travail pour chaque travail d'impression].
PostScript Driver
PCL Driver
- Entrez un code d'identification personnel à quatre chiffres, en utilisant des caractères numériques compris entre 0000 et 7777. Cliquez sur [OK].
- Entrez le nombre d'exemplaires (Copies) à imprimer, puis sélectionnez au besoin Collate (Assembler).
- Cliquez sur [OK]. Cliquez ensuite sur Print (Imprimer). Imprimez le document depuis le logiciel utilisé pour permettre le travail d'impression en file d'attente sur le disque dur de l'imprimante.
- Vous pouvez imprimer et supprimer le travail d'impression en suivant la procédure indiquée ci-dessous.
Impression d'exemplaires
- Appuyez sur le bouton MENU pour accéder au PRINT JOBS MENU (MENU IMPRIMER TRAVAUX) et appuyez sur le bouton SELECT.
- Entrez le code personnel en utilisant les boutons du tableau de commande de l'imprimante.
- Appuyez sur le bouton VALUE jusqu'à ce que ALL JOBS (TOUS LES TRAVAUX) ou le nom du travail requis s'affiche.
- Appuyez sur le bouton SELECT et imprimez du document.
Une autre méthode d'impression ou de suppression des copies de document restantes consiste à utiliser l'utilitaire Storage Device Manager (Gestionnaire des unités de mémoire).
Pour plus d'informations, consultez l'aide en ligne pour Storage Device Manager.
Suppression d'exemplaires
- Appuyez sur le bouton MENU pour accéder au PRINT JOBS MENU (MENU IMPRIMER TRAVAUX) et appuyez sur le bouton SELECT.
- Entrez le code personnel en utilisant les boutons du tableau de commande de l'imprimante.
- Appuyez sur le bouton VALUE jusqu'à ce que ALL JOBS (TOUS LES TRAVAUX) ou le nom du travail requis s'affiche.
- Appuyez sur le bouton CANCEL [ANNULER] pour supprimer les autres exemplaires du document.
- Lorsque le message de confirmation Suppression apparait, validez-le en appuyant sur le bouton SELECT.
Une autre méthode d'impression ou de suppression des copies de document restantes consiste à utiliser l'utilitaire Storage Device Manager (Gestionnaire des unités de mémoire).
Pour plus d'informations, consultez l'aide en ligne pour Storage Device Manager.
Impression de posters
Cette option vous permet de configurer et d'imprimer des posters. Ce processus divise une page document en plusieurs parties. Chaque partie est imprimée agrandie sur une page. Ces pages distinctes peuvent ensuite être combinées pour former une affiche.
L'impression de posters n'est disponible qu'avec un pilote d'imprimante PCL.
- Ouvrez le fichier dans l'application et sélectionnez File (Fichier) → Print (Imprimer).
- Dans la boîte de dialogue Imprimer, cliquez sur le pilote PCL dans l'onglet Général. Puis cliquez sur le bouton Préférences.
- Dans Setup [Configuration], dans Finishing Mode [Mode définition], Sélectionnez PosterPrint [Impression de posters].

- Cliquez sur Options... [Options] et saisissez les paramètres de configuration du poster.

- Cliquez deux fois sur [OK].
- Cliquez ensuite sur Print (Imprimer).
Pilotes d'imprimante
Consultez le Guide d'installation des logiciels imprimé pour obtenir plus d'informations sur l'installation des pilotes d'imprimante.
Choix d'un pilote d'imprimante
Votre imprimante est livrée avec les pilotes Windows pour PCL et PostScript (PS). Vous pouvez installer l'un d'eux ou les deux si vous le souhaitez. Le besoin du pilote dépend de l'application.
- Si vous utilisez les polices TrueType et vous n'imprimez pas de graphiques PostScript (y compris les fichiers ".eps"), CHOisissez le pilote PCL. Il sera plus performant et vous donnera des résultats.
- Si vous utilisez les polices PostScript ou si vous imprimez des graphiques PostScript, CHOISSEZ le pilote PostScript. Dans ce cas, l'impression sera plus rapide et la qualité d'impression des graphiques sera optimale.
Les graphiques en mode trait contenus dans ce manuel sont de type PostScript. Par conséquent, si vous prévoyez d'imprimer des parties de ce manuel, CHOISSEZ le pilote PostScript. Sinon, les graphiques en mode trait ne s'imprimeront qu'à une basse résolution.
Si vos applications varient tellement qu'aucun des deux pilotes ne semble couvrir tous vos besoins, vous pouvez installer les deux. Si vous installez les deux pilotes, il suffit de sélectionner le même port d'imprimante (LPT1 ou Port réseau) durant l'installation.
Ensuite, sélectionnez comme pilote Windows par défaut, celui que vous prévoyez d'utiliser la plupart du temps. La plupart des applications vous permettent de choisir une imprimante différente dans la boîte de dialogue d'impression, de façon à ce que vous puissiez effectuer un tirage, en utilisant l'autre pilote, lorsque vous en avez besoin.
Postscript uniquement
Certaines options, notamment la mémoire supplémentaire, l'unité duplex (recto verso) et les bacs supplémentaires, peuvent être installées sur l'imprimante.
Avant d'utiliser l'imprimante, ces options doivent être activées dans le ou les pilotes d'imprimante. Cette étape n'est requise qu'une seule fois.
La capacité de la mémoire du pilote d'imprimante PostScript de Windows doit être modifiée de la façon suivante :
- Cliquez sur Start [Démarrer] → Settings [Paramètres] → Printers [Imprimantes].
- Mettez en surbrillance le nom de l'imprimante et cliquez sur Fichier. Cliquez sur Propriétés.
- Cliquez sur l'onglet Device Settings [Options du dispositif].
- Sous Installable Options (Options installables), clique sur Memory Configuration (Configuration mémoire).
Sélectionnez la quantité de mémoire dans la liste Change 'Memory Configuration' Setting (Modifier le paramètre)
Configuration mémoire) correspondant à la quantité de mémoire installée dans l'imprimante, tel qu'indiqué dans le document MenuMap (Liste des menus).
Pour générer ce document, consultez “Paramètres de l'imprimante (Paramètres du menu)” page 82.
- Cliquez sur [OK]. Fermez la boîte de dialogue Printers (Imprimantes).

Disque dur interne
Certaines options, notamment la mémoire supplémentaire, l'unité duplex (recto verso) et les bacs supplémentaires, peuvent être installées sur l'imprimante.
Avant d'utiliser l'imprimante, ces options doivent être activées dans le ou les pilotes d'imprimante. Cette étape n'est requise qu'une seule fois.
- Cliquez sur Start [Démarrer] → Settings [Paramètres] → Printers [Imprimantes].
- Mettez en surbrillance le nom de l'imprimante. Cliquez sur File [Fichier] puis sur Properties [Propriétés].
- Cliquez sur l'onglet Device Settings [Options du dispositif].
- Dans Installable Options (Options installables), clique sur Hard Disk (Disque dur) et sélectionnez Installed (Installé).
- Cliquez sur [OK]. Fermez la boîte de dialogue Printers (Imprimantes).

Disque dur interne
Certaines options, notamment la mémoire supplémentaire, l'unité duplex (recto verso) et les bacs supplémentaires, peuvent être installées sur l'imprimante.
Avant d'utiliser l'imprimante, ces options doivent être activées dans le ou les pilotes d'imprimante. Cette étape n'est requise qu'une seule fois.
- Cliquez sur Start [Démarrer] → Settings [Paramètres] → Printers [Imprimantes].
- Mettez en surbrillance le nom de l'imprimante. Cliquez sur File [Fichier] puis sur Properties [Propriétés].
- Cliquez sur l'onglet Device Settings [Options du dispositif]. Cochez [Disque dur d'imprimante].
- Cliquez sur [OK]. Fermez la boîte de dialogue Imprimantes.

Bacs à papier supplémentaires
Certaines options, notamment la mémoire supplémentaire, l'unité duplex (recto verso) et les bacs supplémentaires, peuvent être installées sur l'imprimante.
Avant d'utiliser l'imprimante, ces options doivent être activées dans le ou les pilotes d'imprimante. Cette étape n'est requise qu'une seule fois.
- Cliquez sur Start [Démarrer] → Settings [Paramètres] → Printers [Imprimantes].
- Mettez en surbrillance le nom de l'imprimante. Cliquez sur File [Fichier] puis sur Properties [Propriétés].
- Cliquez sur l'onglet Device Settings [Options du dispositif]. Dans Installable Options [Options installables], cliquez sur Available Trays [Bac disponible]. Sélectionnez le nombre de bacs installés (bac multifonction non inclus) dans la liste déroulante.
- Cliquez sur [OK]. Fermez la boîte de dialogue Imprimante.

Bacs à papier supplémentaires
Certaines options, notamment la mémoire supplémentaire, l'unité duplex (recto verso) et les bacs supplémentaires, peuvent être installées sur l'imprimante.
Avant d'utiliser l'imprimante, ces options doivent être activées dans le ou les pilotes d'imprimante. Cette étape n'est requise qu'une seule fois.
- Cliquez sur Start [Démarrer] → Settings [Paramètres] → Printers [Imprimantes].
- Mettez en surbrillance le nom de l'imprimante. Cliquez sur File [Fichier] puis sur Properties [Propriétés].
- Cliquez sur l'onglet Device Settings [Options du dispositif]. Faites passer le nombre de bacs à papier installés actuellement (not including the Multi-purpose tray).
- Cliquez sur [OK]. Fermez la boîte de dialogue Printer (Imprimante).

Unité duplex
Certaines options, notamment la mémoire supplémentaire, l'unité duplex (recto verso) et les bacs supplémentaires, peuvent être installées sur l'imprimante.
Avant d'utiliser l'imprimante, ces options doivent être activées dans le ou les pilotes d'imprimante. Cette étape n'est requise qu'une seule fois.
- Cliquez sur Start [Démarrer] → Settings [Paramètres] → Printers [Imprimantes].
- Mettez en surbrillance le nom de l'imprimante. Cliquez sur File [Fichier] puis sur Properties [Propriétés].
- Cliquez sur l'onglet Device Settings [Options du dispositif]. Dans Installable Options (Options installables), assurez-vous que Duplex (Recto verso) est défini sur Installed (Installé).
- Cliquez sur [OK]. Fermez la boîte de dialogue Printers (Imprimantes).

Unité duplex
Certaines options, notamment la mémoire supplémentaire, l'unité duplex (recto verso) et les bacs supplémentaires, peuvent être installées sur l'imprimante.
Avant d'utiliser l'imprimante, ces options doivent être activées dans le ou les pilotes d'imprimante. Cette étape n'est requise qu'une seule fois.
- Cliquez sur Start [Démarrer] → Settings [Paramètres] → Printers [Imprimantes].
- Mettez en surbrillance le nom de l'imprimante. Cliquez sur File [Fichier] puis sur Properties [Propriétés].
- Cliquez sur l'onglet Device Settings [Options du dispositif].
- Cochez Duplex Option Unit [Unité Duplex optionnelle].
- Cliquez sur [OK]. Fermez la boîte de dialogue Imprimantes.

Alimentation du papier, format et support paramètres par défaut
Le paramètre par défaut de ces options est Automatique.
Si les paramètres d'imprimante sélectionnés manuellement diffèrent de ceux sélectionnés dans le pilote d'imprimante, l'imprimante n'imprimera pas et l'affichage indiquera un message d'erreur.
Certaines options, notamment la mémoire supplémentaire, l'unité duplex (recto verso) et les bacs supplémentaires, peuvent être installées sur l'imprimante.
Avant d'utiliser l'imprimante, ces options doivent être activées dans le ou les pilotes d'imprimante. Cette étape n'est requise qu'une seule fois.
Les instructions suivantes du pilote de l'imprimante seront uniquement indicatives. La sélection des options Alimentation du papier, Format et Support est requise dans le logiciel (Mise en page).
- Cliquez sur Start [Démarrer] Settings [Paramètres] Printers [Imprimantes].
- Cliquez avec le bouton droit de la souris sur le nom de l'imprimante. Sélectionnez Printing Preferences (Options d'impression).
Important!
Si vous utilisez un support épais, des transparents, des enveloppes ou des étiquettes, assurez-vous d'ouvrir la sortie arrière avant de lancer l'impression :

- Cliquez sur l'onglet Paper/Quality (Support/Qualité). Sous Tray Selection (Sélection des bacs), dans la liste déroulante Paper Source (Source support), sélectionnez l'alimentation support.

- Cliquez sur le bouton Advanced [Avancé]
- Sous Support/Sortie, Sélectionnez le format de support dans la liste déroulante Format support.

- Sous Document Options (Options document) → Printer Features (Caractéristiques imprimante). Cliquez sur Media Type (Type de support) et sélectionnez le support dans la liste déroulante.
- Cliquez deux fois sur [OK]. Fermez la boîte de dialogue Printers (Imprimantes).

Alimentation du papier, format et support
Le paramètre par défaut de ces options est Automatique.
Si les paramètres d'imprimante sélectionnés manuellement diffèrent de ceux sélectionnés dans le pilote d'imprimante, l'imprimante n'imprimera pas et l'affichage indiquera un message d'erreur.
Les instructions suivantes du pilote de l'imprimante seront uniquement indicatives. La sélection des options Alimentation du papier, Format et Support est requise dans le logiciel (Mise en page).
- Cliquez sur Start [Démarrer] → Settings [Paramètres] → Printers [Imprimantes].
- Cliquez avec le bouton droit de la souris sur le nom de l'imprimante. Sélectionnez Printing Preferences (Options d'impression).
- Dans l'onglet Setup (Configuration), sous Media (Support), sélectionnez le format de support requis dans la liste déroulante Size (Format).

- Sélectionnez l'option d'alimentation du papier requise dans Source [Source].

Lorsqu'un bac à papier est sélectionné, le champ Weight (Grammage) s'affiche.
- Sélectionnez le grammage du papier requis dans Weight [Grammage].

Si Printer Setting [Option Imprimante] est sélectionnée, assurez-vous que l'imprimante a été réglée sur le bon type de support.
- Cliquez sur Paper Feed Options [Options d'alimentation du papier] et faites les autres sélections requises, puis cliquez sur [OK].

- Cliquez deux fois sur [OK]. Fermez la boîte de dialogue Printing Preferences (Options d'impression).
Important!
Si vous utilisez un support épais, des transparents, des enveloppes ou des étiquettes, assurez-vous d'ouvrir la sortie arrière avant de lancer l'impression :
Pour l'impression face vers le haut (droit), assurez-vous que le bac de sortie arrêté face vers le haut est ouvert et que le guide papier est déployé.
- Le papier est empilé en ordre inverse
- Une capacité de bac allant jusqu'à 100 feuilles, dépendant du grammage du papier.

État de l'imprimante réseau
- Disponible uniquement pour les connexions réseau TCP/IP.
L'utilitaire Network Printer Status (État de l'imprimante réseau) est disponible s'il a été installé par l'administrateur du système. Lorsqu'il est installé, la boîte de dialogue Properties [Propriétés] du pilote d'imprimante compte les modifications suivantes :
- un nouvel onglet Status [État] est ajouté
- Un bouton Option [Option] est ajouté dans l'onglet Device Option [Options du dispositif].
Cet utilitaire permet de visualiser (mais de ne pas modifier) l'état des dispositifs suivants dans l'onglet Status [État]:
- bacs à papier installés et supports assignés à ceux-ci. - taille totale et pourcentage utilisé du disque/mémoire.
- pourcentage de toner restant.
Important!
Si vous avez sélectionné Automatic Status Update [Mise à jour automatique de l'État] dans l'onglet Status [État], le pilote interroge automatiquement l'imprimante pour obtenir les plus récentes informations d'État chaque fois que vous ouvrez la boîte de dialogue Properties [Propriétés]. Cela peut entraîner un décalage lors de l'ouverture de la boîte de dialogue Propriétés. Pour éviter cela, utilisez le bouton Update Status [Mettre l'État à jour] de Status [État] pour mettre à jour manuellement les informations d'État affichées.
Utilisation
La plupart des applications permettent d'accéder aux propriétés de l'imprimante depuis le dialogue d'impression du document.
Cette section explique comment configurer l'impression couleur et comment utiliser les fonctions de l'imprimante, notamment :
Pages multiples sur une seule feuille : voir page 253 - Formats de page personnels : voir page 256 - Résolution d'impression : voir page 265 - Impression duplex : voir page 266 - Impression de livrets : voir page 272 - Impression de filigranes : voir page 277 - Assemblage : voir page 279 - Tirage d'épreuve : voir page 281 - Impression Sécurisée : voir page 286 - Enregistrement sur le disque dur : voir page 291 - Impression de posters : voir page 296
Facteurs affectant l'apparence des tirages
Les pilotes PCL et PostScript livrés avec cette imprimante fournissent plusieurs commandes permettant de modifier la couleur imprimée sur papier. Les paramètres par défaut Auto suffiront pour un usage général et donneront de bons résultats pour la plupart des documents.
La plupart des applications ont leurs propres paramètres couleur qui remplaçeront les paramètres existants dans le pilote d'imprimante. Reportez-vous à la documentation de votre logiciel pour toutes précisions sur le mode de gestion des couleurs de cette application.
Si vous souhaitez ajuster manuellement les paramètres couleur de votre pilote d'imprimante, sachez que la reproduction des couleurs est un sujet complexe et qu'il faut tenir compte de nombreux facteurs. Certains des facteurs les plus importants sont indiqués ci-dessous.
- Les différences de reproduction entre la gamme des couleurs d'un moniteur et celle d'une imprimante
- Conditions de visualisation
- Paramètres couleur du pilote d'imprimante
- Options du moniteur Mode d'affichage de la couleur du logiciel
- Type de papier
Couleurs d'un moniteur c. celle d'une imprimante
Les différences de reproduction entre la gamme des couleurs d'un moniteur et celle d'une imprimante
- Ni une imprimante ni un moniteur ne peut reproduire toute la gamme des couleurs visibles à l'œil nu. Chaque dispositif est limité à une certaine gamme de couleurs. En outre, une imprimante ne peut reproduire toutes les couleurs affichées à l'écran d'un moniteur et vice versa.
- Les deux périphériques utilisent des technologies très différentes pour représenter la couleur. Un moniteur utilise les luminophores rouge, vert et bleu (RGB) (ou affichage à cristaux liquides), une imprimante utilise les toners ou les encres cyan, jaune, magenta et noir (CMJN).
- Un moniteur peut afficher des couleurs très vives telles que les rouges et bleus intenses et celles-ci peuvent être reproduites aisément sur n'importe quelle imprimante utilisant un toner ou de l'encre. De façon similaire, certaines couleurs (certains jaunes par exemple) peuvent être imprimées mais ne peuvent être affichées avec précision à l'écran d'un moniteur. Cette disparité entre les moniteurs et les imprimantes est souvent la principale raison pour laquelle les couleurs sur papier ne concordent pas avec celles affichées à l'écran.
Conditions de visualisation
Une épreuve peut paraître très différente dans différentes conditions d'éclairage. Par exemple, les couleurs d'une épreuve peuvent sembler différentes lorsque vous les regardez à côté d'une fenêtre éclairée par le soleil ou sous l'éclairage fluorescent standard d'un bureau.
Paramètres de couleur du pilote d'imprimante
Les paramètres du pilote relatifs au réglage manuel de la couleur peuvent modifier l'apparence d'une épreuve. Il existe plusieurs options disponibles pour faciliter la concordance des couleurs sur papier avec celles affichées à l'écran. Ces options sont décrites plus loin dans les sections du Manuel de l'utilisateur.
Options du moniteur
Les commandes de luminosité et de contraste de votre moniteur peuvent modifier l'apparence de votre document à l'écran. En outre, la température des couleurs de votre moniteur influe sur l'apparence "chaude" ou "froide" des couleurs à l'écran.
Plusieurs des options de colorimétrie font référence à la température de la couleur de votre moniteur. De nombreux moniteurs modernes permettent d'ajuster la température de la couleur à l'aide du panneau de configuration du moniteur.
Plusieurs options sont proposées sur un moniteur type :
- 5000 k
Option la plus chaude ; éclairage tirant sur le jaune, utilisation spécifique dans l'art graphique.
- 6500 k
Plus froid ; se rapproche de l'éclairage à la lumière du jour.
9300 k
Option froide ; l'option par défaut pour de nombreux moniteurs et postes de télévision.
\(k = \text{degrés Kelvin, une mesure de la température}\)
Mode d'affichage de la couleur du logiciel
Certaines applications graphiques telles que Corel Draw ou Adobe Photoshop peuvent afficher la couleur d’une manière différente des applications de bureautique telles que Microsoft Word. Pour plus d’informations, consultez l’aide en ligne de votre application ou le manuel d’utilisation.
Type de papier
Le type de papier utilisé peut également influer considérablement sur la couleur imprimée. Par exemple, un tirage sur du papier recyclé peut sembler plus terne que sur un papier glacé spécialement élaboré.
Généralités
Ces méthodes sont proposées uniquement à titre d'indication. Vos résultats varieront en fonction de l'application que vous utilisez pour l'impression. Certaines applications remplaceront les paramètres de colorimétrie du pilote d'imprimante sans le signaler.
Il n'y a aucune façon correcte d'obtenir une bonne concordance entre l'affichage du document à l'écran de votre moniteur et sa version imprimée. Il existe de nombreux facteurs en jeu pour obtenir des couleurs précises et reproductibles.
Toutefois, les directives suivantes peuvent vous aider à obtenir de bons résultats d'impression en couleur. Nous proposons plusieurs méthodes, en fonction du type de document que vous imprimez.
- le format le plus courant [RGB]
- applications graphiques et de PAO professionnelle [CMYK]
- images photographiques
- couleurs spécifiques (par exemple, le logo d'une entreprise)
- Impression de couleurs vives
RVB Ou CMJN
Les directives permettant de choisir une méthode de colorimétrie distinguant les deux codages : Rouge, Vert, Bleu (RVB) et Cyan, Magenta, Jaune, Noir (CMJN).
De façon générale, la plupart des documents que vous imprimez seront dans le format RVB. C'est le format le plus courant ; si vous ne connaissiez pas le codage couleur de votre document, supposez que c'est le RVB.
Les documents CMJN ne sont pris en charge habituellement que dans les applications graphiques et de PAO professionnelle.
Concordance des images photographiques
En général, la colorimétrie OKI est un bon choix. Sélectionne une méthode de colorimétrie qui convient à votre moniteur.
RVB Ou CMJN
Si vous imprimez des images photographiques depuis une application graphique telle que Adobe Photoshop, vous pouvez peut-être utiliser un tirage logiciel pour simuler l'image imprimée à l'écran de votre moniteur. À cette fin, vous pouvez utiliser les profils ICC fournis par OKI puis effectuer un tirage en vous servant d'eux comme Espace d'impression (Espace de sortie).
Concordance des couleurs spécifiques
(Par exemple, le logo d'une entreprise)
RVB uniquement
Colorimétrie OKI et option sRVB (Pilote PCL ou PS). Colorimétrie PostScript en utilisant l'option Colorimétrie absolue. - Utilisez l'utilitaire Nuancier de couleurs pour imprimer une charte de nuanciers RVB et entrez les valeurs RVB désirées dans le sélectionneur de couleurs de votre application (PS uniquement).
RVB Ou CMJN
- Si vous effectuez des tirages depuis une application graphique telle que Adobe Photoshop, vous pouvez peut-être utiliser un tirage logiciel pour simuler l'image imprimée à l'écran de votre moniteur. À cette fin, vous pouvez utiliser les profils ICC fournis par OKI puis effectuer un tirage en vous servant d'eux comme Espace d'impression (ou Espace de sortie) (PS uniquement).
- Vous pouvez également utiliser la colorimétrie PostScript en sélectionnant l'option Colorimétrie absolue.
RVB uniquement
- Utilisez la Colorimétrie OKI en sélectionnant les options Moniteur 6500k Vivid, sRVB ou Appareil photo numérique (PCL ou PS).
RVB Ou CMJN
- Utilisez la Colorimétrie PostScript en sélectionnant l'option Saturation
Pilote PCL
Les options de colorimétrie du pilote PCL peuvent être utilisées pour faire correspondre les couleurs sur papier à celles affichées à l’écran de votre moniteur.
De par leur conception, les options couleur du pilote PCL ne sont valables qu'avec le codage RVB.
Pour les tirages CMJN, nous vous conseillons d'utiliser le pilote PostScript.
Pour régler manuellement les options de concordance des couleurs dans le pilote PCL :
- Cliquez sur Start [Démarrer] → Settings [Paramètres] → Printers [Imprimantes].
- Cliquez avec le bouton droit de la souris sur le nom de l'imprimante. Sélectionnez Printing Preferences (Options d'impression).
- Cliquez sur l'onglet Couleur.

- Sous Color Mode (Mode couleur), cliquez sur Manual Color (Couleur manuelle).
- Sous Color Setting (Configuration couleur), cliquez sur Natural (Naturelle).

- Choisissez l'une des options suivantes :
Moniteur (6500K) perceptuel
Optimisée pour l'impression de photographies lorsque vous utilisez un moniteur dont la température des couleurs est de 6500 K.
Moniteur (6500K) vivid
Optimisée pour l'impression de couleurs vives lorsque vous utilisez un moniteur dont la température des couleurs est de 6500 K. Idéale pour les graphiques professionnels.
Moniteur (9300K)
Optimisée pour l'impression de photographies lorsque vous utilisez un moniteur dont la température des couleurs est de 9300 K.
Appareil photo numérique
Optimisée pour l'impression de photographies prises avec un appareil photo numérique. Cette option a tendance à produire des épreuves aux couleurs plus claires et plus vives. Pour certaines photographies, les autres options peuvent être plus performantes, en fonction des sujets et des conditions de prise de vue.
Optimisée pour faire correspondre des couleurs spécifiques, telles que la couleur du logo d'une entreprise.
Les couleurs de la gamme de l'imprimante sont imprimées sans modification ; les couleurs modifiées sont seulement celles qui sont en dehors de la gamme de l'imprimante.
- Définissez tout autre paramètre requis en consultant l'aide en ligne pour obtenir de l'aide.
- Lorsque terminé, cliquez sur OK. Fermez la boîte de dialogue Printing Preferences (Options d'impression).
Nuancier de couleurs
Vous pouvez les utiliser pour sélectionner des couleurs spécifiques dans les applications qui vous permettent de désirer vos propres valeurs RVB.
La fonction Nuancier de couleurs d'impression vous permet d'imprimer des chartes qui contiennent une gamme de couleurs types. Les valeurs correspondantes RVB (Rouge, Vert, Bleu) sont indiquées sous chaque couleur type.
Voici un exemple d'utilisation de la fonction nuanciers de couleurs d'impression :
Vous souhaitez imprimer un logo dans une teinte particulière de rouge. Suivez les étapes ci-après :
- Cliquez sur Start [Démarrer] → Settings [Paramètres] → Printers [Imprimantes].
- Cliquez avec le bouton droit de la souris sur le nom de l'imprimante. Sélectionnez Printing Preferences (Options d'impression).
- Cliquez sur l'onglet Color [Couleur].
- Cliquez sur le bouton Color Swatch (Tableau de nuanciers) pour imprimer des échantillons des tableaux de nuanciers.
- Imprimez un nuancier de couleurs puis sélectionnez la teinte de rouge qui est la plus adaptée à vos besoins. Prenez note de la valeur RVB indiquée sous la teinte de votre choix.
- À l'aide du sélectionneur de couleurs de votre programme, entrez les valeurs RVB relatives à l'étape 5 et modifiez le logo de cette couleur.
La couleur RVB affichée à l'écran de votre moniteur ne concorde pas nécessairement avec celle du nuancier de couleurs sur papier. Le cas échéant, cette non-concordance est due à la différence de reproduction des couleurs entre le moniteur et l'imprimante.
Choix d'une méthode
Le pilote PostScript offre plusieurs méthodes de contrôle de la couleur sur papier, soit par l'imprimante.
Pour régler manuellement les options de concordance des couleurs dans le pilote postscript :
- Cliquez sur Start [Démarrer] → Settings [Paramètres] → Printers [Imprimantes].
- Cliquez avec le bouton droit de la souris sur le nom de l'imprimante. Sélectionnez Printing Preferences (Options d'impression).
- Cliquez sur l'onglet Color [Couleur].

- Sous Color Mode (Mode couleur), dans la liste déroulante Color Control Method (Méthode de contrôle couleur) sélectionnez la méthode à utiliser :
a. Contrôle couleur OKI
C'est le système de colorimétrie propre à OKI et s'applique uniquement au codage RVB.
b. PostScript Color Control (Contrôle couleur PostScript)
Elle utilise les dictionnaires des rendus des couleurs PostScript intégrés à l'imprimante et s'applique aux codages RVB et CMJN.
c. Utilisation du profil ICC
Cette méthode de concordance des couleurs RVB est similaire à celle de Windows ICM. Consultez “Utilisation des profils ICC” on page 248.
Colorimétrie ICM de Windows
ICM est le système de gestion des couleurs intégré à Windows. S'applique uniquement au codage RVB. Peut être associé avec le pilote PCL ou PS.
e. No Color Matching (Aucune concordance des couleurs)
Utilisez cette option pour désactiver toute concordance des couleurs de l'imprimante.
f. Impression en échelle de gris
Cette option permet d'imprimer tous les documents en monochrome.
OKI color control (contrôle couleur OKI)
C'est le système de colorimétrie propre à OKI et s'applique uniquement au codage RVB.
Sélectionnez la méthode à utiliser dans la liste déroulante sous Color Setting (Configuration couleur).

Moniteur (6500K) perceptuel
Optimisée pour l'impression de photographies lorsque vous utilisez un moniteur dont la température des couleurs est de 6500 K.
Moniteur (6500K) vivid
Optimisée pour l'impression de couleurs vives lorsque vous utilisez un moniteur dont la température des couleurs est de 6500 K. Idéale pour les graphiques professionnels.
Moniteur (9300K)
Optimisée pour l'impression de photographies lorsque vous utilisez un moniteur dont la température des couleurs est de 9300 K.
Appareil photo numérique
Optimisée pour l'impression de photographies prises avec un appareil photo numérique. Cette option a tendance à produire des épreuves aux couleurs plus claires et plus vives. Pour certaines photographies, les autres options peuvent être plus performantes, en fonction des sujets et des conditions de prise de vue.
Optimisée pour faire correspondre des couleurs spécifiques, telles que la couleur du logo d'une entreprise.
Les couleurs de la gamme de l'imprimante sont imprimées sans modification; les couleurs modifiées sont seulement celles qui sont en dehors de la gamme de l'imprimante.
Contrôle couleur postscript
Elle utilise les dictionnaires des rendus des couleurs PostScript intégrés à l'imprimante et s'applique aux codages RVB et CMJN.
Sélectionnez le type de rendu dans la liste déroulante Rendering Intent (Objectif de rendu).

Intentions de rendu
Lors de l'impression d'un document, une conversion se produit de l'espace couleur du document vers l'espace couleur de l'imprimante. Les intentions de rendu sont essentiellement un ensemble de règles qui déterminent le mode de conversion des couleurs.
Les intentions de rendu fournies par le pilote d'imprimante sont indiquées ci-dessous :
Choix optimal pour un usage général.
- Perceptuel
Choix optimal pour imprimer des photographies. Comprime la gamme source dans la gamme de l'imprimante tout en maintenant l'apparence globale d'une image. L'apparence globale d'une image peut être modifiée étant donné que toutes les couleurs sont décalées ensemble.
- Saturation
Choix optimal pour imprimer les couleurs lumineuses et saturées si vous ne vous souciez pas juste de la précision des couleurs. C'est donc le choix recommandé pour les graphiques, les tableaux, les schémas, etc... Établit une correspondance entre les couleurs entièrement saturées dans la gamme source et celles de la gamme de l'imprimante.
Colorimétrie relative
Convient au tirage d'images couleur CMJN sur une imprimante de bureau. Ressemble beaucoup à la colorimétrie absolue, excepté que la fonction compare le blanc de la source au blanc (généralement) du papier, c-à-d, à la différence de la colorimétrie absolue, cette fonction tente de tenir compte du blanc du papier.
Colorimétrie absolue
Option optimale pour imprimer les teintes et les couleurs unies, telles que les logos d'entreprise, etc... Fait concorder exactement les couleurs communes aux deux dispositifs et sélectionne les couleurs équivalentes les plus proches pour celles extérieures à la gamme. Essaie d'imprimer le blanc tel qu'il apparaît à l'écran. Le blanc de l'écran d'un moniteur est souvent très différent du blanc du papier, ce qui peut produire des dominances de couleur, particulièrement dans les parties plus claires d'une image.
Utilisation des profils ICC
- S'applique uniquement au codage RVB.
Cette option offre une méthode de concordance des couleurs RVB similaire à la concordance ICM de Windows. Son principal avantage par rapport à la colorimétrie ICM de Windows est qu'elle offre une méthode d'impression en utilisant les profils d'entrée et de sortie. La colorimétrie ICM de Windows permet seulement de désir des profils de sortie.
Les profils d'entrée (un appareil photo numérique, par exemple) fournissent des informations sur la couleur dans le dispositif d'origine qui était utilisé pour saisir les données de l'image et les afficher. Par exemple, un dispositif d'entrée pourrait être un scanner, un appareil photo numérique ou un moniteur.
Les profils de sortie (l'imprimante, par exemple) donnent des informations sur le dispositif que vous utilisez pour l'impression.
La fonction Utilisation des profils ICC permet de sélectionner un profil d’entrée et un profil de sortie. Elle utilise ces deux profils pour générer un DRC (Dictionnaire des rendus de couleurs) qui est utilisé pour faire correspondre les couleurs aussi étroitement que possible.
Cette fonction n'est pas peut-être pas valable dans tous les programmes d'application. Toutefois, les options d'impression des nombreuses applications graphiques professionnelles offrent une fonction similaire permettant de définir un espace couleur source (entrée) et un espace couleur d'impression (sortie).
Utilisation des profils ICC
- Définition des profils ICC : cliquez sur Start [Démarrer] → Settings [Paramètres] → Printers [Imprimantes].
- Cliquez avec le bouton droit de la souris sur le nom de l'imprimante. Sélectionnez Printing Preferences (Options d'impression).
- Cliquez sur l'onglet Color [Couleur].
- Sous Color Mode (Mode couleur), dans la liste déroulante Color Control Method (Méthode de contrôle couleur) sélectionnez Using ICC Profile (Utilisation des profils ICC):

- Cliquez sur le bouton New (Nouveau).

- Sous Select ICC profile (Sélectionner profil ICC), dans les listes déroulantes, sélectionnez profil d'entrée (Input profile) et le profil de sortie (Output profile).
- Sélectionnez l'objet de rendu (Rendering Intent) et le type de rendu et entrez un nom pour le profil. Cliquez ensuite sur OK. Le nouveau nom s'affiche dans la liste déroulante Setting Name (Nom du paramètre) sous ICC Profile Setting (Paramètre de profil ICC).
- Répétez les étapes 5-7 pour chacun des profils ICC que vous désirez définir.
- Cliquez sur OK. Fermez la boîxe de dialogue Printers (Imprimantes).
Pilote postscript colorimétrie ICM de windows
- ICM est le système de gestion des couleurs intégré à Windows.
- S'applique uniquement au codage RVB.
- peut être associé avec le pilote PCL ou PS.
L'ICM de Windows utilise les profils ICC pour votre moniteur et votre imprimante ; ces profils décrivent les couleurs que votre dispositif peut reproduire. Les profils ICC peuvent être associés à votre imprimante par le biais de l'onglet Gestion des couleurs du pilote d'imprimante.
En fonction du mode d'installation du pilote d'imprimante, les profils couleur sont peut-être déjà associés au pilote.
Pour associer les profils couleur ICC au pilote d'imprimante :
- Cliquez sur Start [Démarrer] → Settings [Paramètres] → Printers [Imprimantes].
- Mettez en surbrillance le nom de l'imprimante. Cliquez sur File [Fichier] puis sur Properties [Propriétés].
- Cliquez sur l'onglet Color Management [Gestion des couleurs].
- Sous "Color Profiles currently associated with this printer ["Profils de couleurs associés actuellement avec cette imprimante"], vous devez apercevoir les noms des profils qui correspondent à votre modèle d'imprimante. Si aucun profil n'est associé au pilote, cliquez sur "Add..." ["Ajouter..."] et repérez les profils ICC pour votre imprimante.
ICM de Windows utilise les informations existant dans ces profils pour convertir les couleurs de vos documents en couleurs que l'imprimante peut reproduire. Le mode de conversion peut être
réglé par le biais de la gestion des intentions de rendu ICM dans le pilote d'imprimante.
L'option Colorimétrie en utilisant la fonction Profils ICC fournit également une solution de colorimétrie autre que ICM de Windows. Elle est similaire à ICM de Windows mais offre plusieurs autres fonctionnalités.
Pages multiples sur une seule feuille
- Ouvrez le fichier dans l'application. Sélectionnez File (Fichier) → Print (Imprimer).
- Dans la boîte de dialogue Print (Imprimer), dans l'onglet General (Général), cliquez sur le pilote PS approprié. Cliquez sur l'onglet Layout (Disposition).
- Dans Pages per Sheet [Pages par feuille], sélectionnez le nombre de pages par feuille.
- Cliquez Imprimer

Pages multiples sur une seule feuille
- Ouvrez le fichier dans l'application. Sélectionnez File (Fichier) → Print (Imprimer).
- Dans la boîte de dialogue Print (Imprimer), dans l'onglet General (Général), cliquez sur le pilote PCL approprié. Cliquez sur l'onglet Setup (Configuration).
- Dans Finishing Mode [Mode de finition], sélectionnez le nombre de pages requis par feuille.

- Cliquez sur Options [Options]. Sélectionnez la Page Borders [Bordure de Page], la Page Layout [Mise en Page] et les Bind Margin [Marges] que vous désirez.
- Cliquez sur [OK].
- Cliquez sur Print (Imprimer).

Formats de page personnels
Les pages au format personnel ne peuvent être imprimées qu’à partir du bac multifonction (alimentation manuelle). Il est possible de sélectionner manuellement le paramètre Format de papier personnel de l’option Imprimante pour le bac multifonction, avant de procéder à l'impression.
Plagede
Largeur: 3,5 po à 8,5 po [89 mm à 216 mm]
Longueur: 5 po à 14 po [127 mm à 356 mm]
- Ouvrez le fichier dans l'application. Sélectionnez File (Fichier) → Print (Imprimer).
- Dans la boîte de dialogue Print (Imprimer), dans l'onglet General (Général), cliquez sur le pilote PS approprié.
- Cliquez sur le bouton Paper/Quality (Papier/Qualité).
Important!
Si vous utilisez un support épais, des transparents, des enveloppes ou des étiquettes, assurez-vous d'ouvrir la sortie arrière avant de lancer l'impression.

- Sous Tray Selection (Sélection des bacs), dans la liste déroulante Paper Source (Source support), sélectionnez Multi-Purpose Tray (Bac multifonction).

- Entrez la largeur (Width) et la longueur (Height) du support personnalisé.
Largeur: 3,5 po à 8,5 po [89 mm à 216 mm] - Longueur: 5 po à 14 po [127 mm à 356 mm]
- Sélectionnez la direction d'alimentation support (Paper Feed Direction). Cliquez sur [OK].
- Long Edge First (Côté long d'abord) = Support alimenté par le côté long Short Edge First = media feeds in short edge first
- Short Edge First (Côté court d'abord) = Support alimenté par le côté court.
- Long Edge First (flipped) (Côté long d'abord (inversé)) = Réservé pour utilisation future.
- Cliquez sur [OK].
- Cliquez sur Print (Imprimer).
Formats de page personnels
PCL
Il est possible de définir 32 formats de page personnels.
Les pages au format personnel ne peuvent être imprimées qu’à partir du bac multifonction (alimentation manuelle). Il est possible de sélectionner manuellement le paramètre Format de papier personnel de l’option Imprimante pour le bac multifonction, avant de procéder à l'impression.
Largeur : 3,5 po à 8,5 po [89 mm à 216 mm] - Longueur : 5 po à 14 po [127 mm à 356 mm]
Important!
Si vous utilisez un support épais, des transparents, des enveloppes ou des étiquettes, assurez-vous d'ouvrir la sortie arrière avant de lancer l'impression.

- Ouvrez le fichier dans l'application. Sélectionnez File (Fichier) → Print (Imprimer).
- Dans la boîte de dialogue Print (Imprimer), dans l'onglet General (Général), cliquez sur le pilote PCL approprié.
- Cliquez sur le bouton Preferences (Préférences).
- Sous Media (Support), dans la liste déroulante Size (Format), sélectionnez User Defined Size (Format défini par l'utilisateur). La boîte de dialogue Set Free Size (Définir format) s'ouvre.
Un message d'avertissement peut s'afficher pour indiquer un conflit. Le cas échéant, cliquez sur OK pour que le pilote puisse effectuer automatiquement les modifications requises pour résoudre le conflit.

- Sélectionnez l'unité (Unit). Entrez ensuite la largeur (Width) et la longueur (Length).
Largeur: 3,5 po à 8,5 po [89 mm à 216 mm] - Longueur: 5 po à 14 po [127 mm à 356 mm]

- Cliquez sur OK.
- User Defined Size (Format défini par l'utilisateur) s'affiche dans la liste Size (Format) de l'onglet Setup (Configuration).
Pour enregistrer les paramètres pour un usage ultérieur :
- Cliquez sur Paper Feed Options [Options d'alimentation du papier].
- Cliquez ensuite sur Custom Size [Format personnel].
- Sélectionnez l'unité (Unit).
- Entrez les informations appropriées dans Width [Largeur] et Height [Hauteur].
- Attribuez un nom à votre document dans Name [Nom].
- Cliquez sur Add [Ajouter].

- Cliquez sur [OK]. Le format de page personnel est ajusté au bas de la liste Format de papier.
- Cliquez sur [OK].
- Cliquez sur Print (Imprimer).
PCL ou postscript
Pour modifier les paramètres afin que ces derniers soient utilisés pour tous les travaux (paramètres par défaut) :
- Cliquez sur Démarrer → Paramètres → Imprimantes et télécopieurs.
- Cliquez avec le bouton droit de la souris sur le nom de l'imprimante désiré.
- Sélectionnez Propriétés.
- Suivez l' étape 3 ci-dessous et les étapes suivantes. La fenêtre pour définir les paramètres par défaut compte des anglets supplémentaires.
- Ouvrez le fichier dans l'application. Sélectionnez File (Fichier) → Print (Imprimer).
- Dans la boîte de dialogue Print (Imprimer), dans l'onglet General (Général), cliquez sur le pilote PS approprié.
- Cliquez sur l'onglet Job Options (Options de travail).
- Dans Quality [Qualité d'impression], sélectionnez la résolution d'impression requise.


- Sélectionnez Toner Saving [Économie de toner] le cas échéant.
- Cliquez sur Print (Imprimer).
Restrictions d'usage
L'unité duplex (optionnelle) doit être installée sur l'imprimante et activée, avant de procéder à l'impression duplex.
Les tirages Duplex ne peuvent être effectués que sur
- du papier de format standard,
- dont le grammase est compris entre 75 et 105g / m²
- Le papier doit être chargé dans le bac à papier, la face à imprimer en dessus.
- Utilisez n'importe lequel des bacs (bac 1, bac 2 et bac 3 optionnels ou bac multifonction) pour l'impression recto verso.
- Le bac multifonction ne peut pas être utilisé pour l'impression duplex.
Pour modifier les paramètres afin que ces derniers soient utilisés pour tous les travaux (paramètres par défaut) :
- Cliquez sur Start [Démarrer] → Settings [Paramètres] → Printers [Imprimantes].
- Cliquez avec le bouton droit de la souris sur le nom de l'imprimante désiré. Sélectionnez Properties (Propriétés).
- Suivez l'objet 3 ci-dessous et les étapes suivantes. La fenêtre pour définir les paramètres par défaut compte des onglets supplémentaires.
Utilisation
- Ouvrez le fichier dans l'application. Sélectionnez File (Fichier) → Print (Imprimer).
- Dans la boîte de dialogue Imprimer, dans l'onglet Général, cliquez sur le pilote PS approprié.
- Cliquez sur le bouton Layout (Disposition).
- Sous Print on Both Sides (Duplex) (Imprimer des deux côtés (recto verso)), sélectionnez Flip on Long Edge (Réflexion côté long) ou Flip on Short Edge (Réflexion côté court).
- Cliquez sur Print (Imprimer).

(Impression recto verso sur les deux côtés d'une page)
PCL
Restrictions d'usage
L'unité duplex (optionnelle) doit être installée sur l'imprimante et activée, avant de procéder à l'impression duplex.
Les tirages Duplex ne peuvent être effectués que sur
- du papier de format standard,
- dont le grammase est compris entre 75 et 105g / m²
- Le papier doit être chargé dans le bac à papier, la face à imprimer en dessus.
- Utilisez n'importe lequel des bacs (bac 1, bac 2 et bac 3 optionnels ou bac multifonction) pour l'impression recto verso.
- Le bac multifonction ne peut pas être utilisé pour l'impression duplex.
Pour modifier les paramètres afin que ces derniers soient utilisés pour tous les travaux (paramètres par défaut) :
- Cliquez sur Start [Démarrer] → Settings [Paramètres] → Printers [Imprimantes].
- Cliquez avec le bouton droit de la souris sur le nom de l'imprimante désiré. Sélectionnez Properties (Propriétés).
- Suivez l'objet 3 ci-dessous et les étapes suivantes. La fenêtre pour définir les paramètres par défaut compte des onglets supplémentaires.
Utilisation
- Ouvrez le fichier dans l'application et sélectionnez File (Fichier) → Print (Imprimer).
- Dans la boîte de dialogue Imprimer, approprié dans l'onglet Général, cliquez sur le pilote PCL.
- Cliquez sur l'onglet Setup (Configuration).
- Dans 2-Sided Printing (Impression recto verso), sélectionnez Long Edge (Côté long) ou Short Edge (Côté court).
- Cliquez sur Imprimer.

Impression de livrets
- L'unité duplex optionnelle doit être installée sur l'imprimante et activée avant de procéder à l'impression de livrets.
- Non offerte pour certaines connexions réseau : consultez le fichier d'aide.
- Certains logiciels ne prennant peut-être pas en charge l'impression de livrets.
- Le paramètre croître à gauche permet d'imprimer un livre se lisant de droite à gauche, comme c'est le cas pour certaines langues.
Important!
L'impression de livre en utilisant le pilote PostScript est restreinte à deux pages par feuille.
par exemple:
- l'impression d'un livre de 5,5 po x 8,5 po sur une feuille de 8,5 po x 11 po
- l'impression d'un document de 8,5 po x 11 po sur une feuille de 11 po x 17 po
- Ouvrez le fichier dans l'application. Sélectionnez File (Fichier) → Print (Imprimer).
- Dans la boîte de dialogue Imprimer, dans l'onglet Général, cliquez sur le pilote PS approprié.
- Cliquez sur le bouton Layout (Disposition).

- Sous Print on Both Sides (Duplex) (Imprimer des deux côtés (recto verso)), sélectionnez Flip on Short Edge (Réflexion côté court).
- Cliquez sur Print (Imprimer).

Impression de livrets
- L'unité duplex optionnelle doit être installée sur l'imprimante et activée avant de procéder à l'impression de livrets.
- Non offerte pour certaines connexions réseau : consultez le fichier d'aide.
- Certains logiciels ne prennant peut-être pas en charge l'impression de livrets.
- Le paramètre croisé à gauche permet d'imprimer un livre se lisant de droite à gauche, comme c'est le cas pour certaines langues.
- Ouvrez le fichier dans l'application. Sélectionnez File (Fichier) → Print (Imprimer).
- Dans la boîte de dialogue Print (Imprimer), dans l'onglet General (Général), cliquez sur le pilote PCL approprié.
- Cliquez sur l'onglet Setup (Configuration).
- Sous Finishing Mode (Mode de finition), dans la liste déroulante, sélectionnez Booklet (Livret).

- Cliquez sur le bouton Options.
- Définissez ensuite au besoin les valeurs Signature, 2 pages, Droit à gauche et Marge de reliure.
Consultez l'aide en ligne pour plus d'informations.
- Cliquez sur OK.
- Cliquez sur Print (Imprimer).

Impression de filigranes
- Ouvrez le fichier dans l'application.
- Sélectionnez File (Fichier) → Print (Imprimer).
- Dans la boîte de dialogue Print (Imprimer), dans l'onglet General (Général), cliquez sur le pilote PCL approprié.
- Cliquez sur l'onglet Job Options (Options de travail).
- Cliquez sur Watermark (Filigrane).
- Sélectionnez un filigrane dans Watermark [la liste figurant dans Filigrane].

Pour créer un nouveau filigrane ou modifier un filigrane existant,
- Cliquez sur le bouton New [Nouveau] ou Edit [Édition].

- Tapez le texte requis. Sélectionnez la taille de caractère, l'angle, etc. à utiliser.
- Cliquez sur [OK]. Le nouveau filigrane s'affiche dans la liste Watermark (Filigrane).
- Cochez First Page only [Première page uniquement] si le filigrane doit être imprimé sur la première page du document.
- Cliquez sur [OK].
- Cliquez sur Print (Imprimer).
PCL ou postscript
L'assemblage peut être effectué, qu'un disque dur ait été installé ou non. Toutefois, l'installation d'un disque dur permet d'obtenir une performance supérieure.
Important
Si le logiciel utilisé comporte une option Assembler, nous vous recommandons d'utiliser uniquement une seule option Assembler pour éviter des conflits lors de l'impression, c-à-d., assembler dans le logiciel ou assembler dans le pilote d'imprimante.
Les instructions suivantes permettent de sélectionner l'assemblage par le biais d'un pilote d'imprimante.
- Ouvrez le fichier dans l'application.
- Sélectionnez Fichier (Fichier) → Imprimer (Imprimer).
- Dans la boîte de dialogue Print (Imprimer), dans l'onglet General (Général), cliquez sur le pilote approprié. Cliquez sur l'onglet Job Options (Options de travail).
- Dans l'onglet Job Options (Options de travaux), sous Job Type (Type de travail), entrez le nombre d'exemplaires requis. Uniquement lorsque l'application ne comporte pas d'options d'assemblage - Sélectionnez Collate (Assembler).


PCL ou postscript
Tirage d'épreuve permet d'imprimer un seul exemplaire d'un document pour le vérifier avant d'en imprimer plusieurs exemplaires.
- L'imprimante doit être poursuivie d'un disque dur interne pour pouvoir mettre le travail d'impression en file d'attente avant l'impression définitive.
- Si la mémoire du disque dur est insuffisante pour assurer le volume de données en file d'attente, DISK FULL [DISQUE PLEIN] s'affiche et un seul exemplaire est imprimé.
- Si le logiciel utilisé comporte une option Assembler, elle doit être invalidée, de façon à ce que la fonction Tirage d'épreuve s'exécute correctement.
- La fonction Tirage d'épreuve n'est peut-être pas disponible dans certains logiciels.
- Ouvrez le fichier dans l'application.
- Sélectionnez File (Fichier) → Print (Imprimer).
- Dans la boîte de dialogue Print (Imprimer), dans l'onglet General (Général), cliquez sur le pilote approprié.
- Cliquez sur l'onglet Job Options (Options de travail).
- Entrez le nombre d'exemplaires.
Le cas échéant, sélectionnez Collate (Assembler).


- Dans Job Type [Type de travail], Sélectionnez Proof and Print [Tirage d'épreuve].
- Entrez un nom de travail comptant 16 caractères dans Job Name Setting [Nom de travail].
Cochez au besoin Request Job Name for each print job [Demande de nom de travail pour chaque travail d'impression].
- Entrez un code d'identification personnel à quatre chiffres, en utilisant des caractères numériques compris entre 0000 et 7777.
- Cliquez sur [OK].


- Cliquez sur Print (Imprimer).
Imprimez le document depuis le logiciel utilisé.
Un seul exemplaire du document est imprimé pour être vérifié.
- Une fois la vérification terminée, vous pouvez imprimer ou supprimer les autres exemplaires (s'ils sont incorrects)
En suivant les procédures indiquées ci-dessous.
Impression d'exemplaires
- Appuyez sur le bouton MENU pour accéder au PRINT JOBS MENU (MENU IMPRIMER TRAVAUX) et appuyez sur le bouton SELECT.
- Entrez le code personnel en utilisant les boutons du tableau de commande de l'imprimante.
- Appuyez sur le bouton VALUE jusqu'à ce que ALL JOBS (TOUS LES TRAVAUX) ou le nom du travail requis s'affiche.
- Appuyez sur le bouton SELECT pour sélectionner le travail d'impression et imprimez les autres exemplaires du document.
Une autre méthode d'impression ou de suppression des copies de document restantes consiste à utiliser l'utilitaire Storage Device Manager (Gestionnaire des unités de mémoire).
Pour plus d'informations, consultez l'aide en ligne pour Storage Device Manager.
Suppression d'exemplaires
- Appuyez sur le bouton MENU pour accéder au PRINT JOBS MENU (MENU IMPRIMER TRAVAUX) et appuyez sur le bouton SELECT.
- Entrez le code personnel en utilisant les boutons du tableau de commande de l'imprimante.
- Appuyez sur le bouton VALUE jusqu'à ce que ALL JOBS (TOUS LES TRAVAUX) ou le nom du travail requis s'affiche.
- Appuyez sur le bouton CANCEL pour supprimer les autres exemplaires du document.
- Lorsque le message de validation suppression apparaît, validez-le en appuyant sur le bouton SELECT.
Une autre méthode d'impression ou de suppression des copies de document restantes consiste à utiliser l'utilitaire Storage Device Manager (Gestionnaire des unités de mémoire).
Pour plus d'informations, consultez l'aide en ligne pour Storage Device Manager.
PCL ou postscript
L'impression sécurisée ou l'impression avec des mots de passe permet de protéger les documents confidentiels sur les imprimantes qui sont partagées avec d'autres utilisateurs.
- L'imprimante doit être poursuivie d'un disque dur interne pour pouvoir mettre le travail d'impression en file d'attente avant l'impression définitive.
- Si la mémoire du disque dur est insuffisante pour contenir le volume de données en file d'attente, DISQUE PLEIN s'affiche et un seul exemplaire est imprimé.
- Si le logiciel utilisé comporte une option Assembler, elle doit être invalidée, de façon à ce que la fonction Impression sécurisée s'exécute correctement.
- La fonction Impression sécurisée n'est peut-être pas disponible dans certains logiciels.
- Ouvrez le fichier dans l'application.
- Sélectionnez File (Fichier) → Print (Imprimer).
- Dans la boîte de dialogue Print (Imprimer), dans l'onglet General (Général), cliquez sur le pilote approprié.
- Cliquez sur l'onglet Job Options (Options de travail).
- Dans Job Type [Type de Travail], Sélectionnez Secure Print [Impression Sécurisée].
Si vous avez déjà stocké un document sur le disque dur à l'aide de la fonction d'impression sécurisée et que ce document n'a pas été imprimé, cliquez sur le bouton PIN (NIP) et entrez un nouveau nom de travail.
- Entrez un nom de travail comptant 16 caractères dans Job Name [Nom de Travail]. Cochez au besoin Request Job Name for each print job [Demande de nom de travail pour chaque travail d'impression].
- Entrez un code d'identification personnel à quatre chiffres, en utilisant des caractères numériques compris entre 0000 et 7777.
- Cliquez sur [OK].


- Entrez le nombre d'exemplaires.
Le cas échéant, sélectionnez Collate (Assembler).


- Cliquez sur Print (Imprimer). Imprimez le document depuis le logiciel utilisé.
- Une fois la vérification terminée, vous pouvez imprimer ou supprimer les autres exemplaires (s'ils sont incorrects). En suivant les procédures indiquées ci-dessous.
Impression de travaux
- Appuyez sur le bouton MENU pour accéder au PRINT JOBS MENU (MENU IMPRIMER TRAVAUX)
- Appuyez sur le bouton SELECT.
- Entrez le code personnel en utilisant les boutons du tableau de commande de l'imprimante.
- Appuyez sur le bouton VALUE jusqu'à ce que ALL JOBS (TOUS LES TRAVAUX) ou le nom du travail requis s'affiche.
- Appuyez sur le bouton SELECT. Le document s'imprime puis est effacé du disque dur de l'imprimante.
Une autre méthode d'impression ou de suppression des copies de document restantes consiste à utiliser l'utilitaire Storage Device Manager (Gestionnaire des unités de mémoire).
Pour plus d'informations, consultez l'aide en ligne pour Storage Device Manager.
Suppression de travaux
- Appuyez sur le bouton MENU pour accéder au PRINT JOBS MENU (MENU IMPRIMER TRAVAUX).
- Appuyez sur le bouton SELECT.
- Entrez le code personnel en utilisant les boutons du tableau de commande de l'imprimante.
- Appuyez sur le bouton VALUE jusqu'à ce que ALL JOBS (TOUS LES TRAVAUX) ou le nom du travail requis s'affiche.
- Appuyez sur le bouton CANCEL pour sélectionner le travail d'impression et le supprimer de l'imprimante.
Une autre méthode d'impression ou de suppression des copies de document restantes consiste à utiliser l'utilitaire Storage Device Manager (Gestionnaire des unités de mémoire).
Pour plus d'informations, consultez l'aide en ligne pour Storage Device Manager.
Emmagasiner un document
La fonction Enregistrer sur le disque dur (mise en file d'attente des travaux) permet d'enregistrer temporairement les travaux d'impression sur le disque dur avant de les imprimer. Cette fonction est utile pour les formulaires, les notes génériques, le papier à lettres, etc.
- L'imprimante doit être pourvue d'un disque dur interne pour pouvoir mettre le travail d'impression en file d'attente avant l'impression définitive.
- Si la mémoire du disque dur est insuffisante pour contenir le volume de données en file d'attente, DISQUE PLEIN s'affiche et un seul exemplaire est imprimé.
- Si le logiciel comporte une option Assembler, elle doit être invalidée, de façon à ce que la fonction Enregistrer sur le disque dur s'exécute correctement.
- La fonction Enregistrer sur le disque dur n'est peut-être pas disponible dans certains logiciels.
- Ouvrez le fichier dans l'application.
- Sélectionnez File (Fichier) → Print (Imprimer).
- Dans la boîte de dialogue Print (Imprimer), dans l'onglet General (Général), cliquez sur le pilote approprié.
- Cliquez sur l'onglet Job Options (Options de travail).
- Sélectionnez ensuite Store to HDD (Enregistrer sur le disque dur).
- Entrez le nombre d'exemplaires requis. Le cas échéant, cochez la case Collate (Assembler).


Si vous avez déjà stocké un document sur le disque dur à l'aide de la fonction d'impression sécurisée et que vous désirez en stocker un autre, cliquez sur le bouton PIN (NIP) et entrez un nouveau nom de travail.
- Entrez un nom de travail comptant 16 caractères dans Nom de travail
- Cochez au besoin Request Job Name for each print job [Demande de nom de travail pour chaque travail d'impression].
- Entrez un code d'identification personnel à quatre chiffres. Utilisant des caractères numériques compris entre 0000 et 7777.
PostScript Driver
PCL Driver
- Cliquez sur OK.
- Cliquez sur Print (Imprimer).
Le document est stocké sur le disque dur.
Peut être imprimé sur demande, ou supprimé.
Utilisant la procédure suivante.
Impression d'exemplaires
- Appuyez sur le bouton MENU pour accéder au PRINT JOBS MENU (MENU IMPRIMER TRAVAUX) et appuyez sur le bouton SELECT.
- Entrez le code personnel en utilisant les boutons du tableau de commande de l'imprimante.
- Appuyez sur le bouton VALUE jusqu'à ce que ALL JOBS (TOUS LES TRAVAUX) ou le nom du travail requis s'affiche.
- Appuyez sur le bouton SELECT et imprimez du document.
Une autre méthode d'impression ou de suppression des copies de document restantes consiste à utiliser l'utilitaire Storage Device Manager (Gestionnaire des unités de mémoire).
Pour plus d'informations, consultez l'aide en ligne pour Storage Device Manager.
Suppression d'exemplaires
- Appuyez sur le bouton MENU pour accéder au PRINT JOBS MENU (MENU IMPRIMER TRAVAUX) et appuyez sur le bouton SELECT.
- Entrez le code personnel en utilisant les boutons du tableau de commande de l'imprimante.
- Appuyez sur le bouton VALUE jusqu'à ce que ALL JOBS (TOUS LES TRAVAUX) ou le nom du travail requis s'affiche.
- Appuyez sur le bouton CANCEL [ANNULER] pour supprimer les autres exemplaires du document.
- Lorsque le message de confirmation Suppression apparait, validez-le en appuyant sur le bouton SELECT.
Une autre méthode d'impression ou de suppression des copies de document restantes consiste à utiliser l'utilitaire Storage Device Manager (Gestionnaire des unités de mémoire).
Pour plus d'informations, consultez l'aide en ligne pour Storage Device Manager.
Impression de posters
Cette option vous permet de configurer et d'imprimer des posters. Ce processus divise une page document en plusieurs parties. Chaque partie est imprimée agrandie sur une page. Ces pages distinctes peuvent ensuite être combinées pour créer une affiche.
L'impression de posters n'est disponible que avec un pilote d'imprimante PCL.
- Ouvrez le fichier dans l'application.
- Sélectionnez File (Fichier) → Print (Imprimer).
- Dans la boîte de dialogue Print (Imprimer), approprié dans l'onglet General (Général), cliquez sur le pilote PCL.
- Cliquez sur l'onglet Setup (Configuration).
- Dans Mode de finition, Sélectionnez Impression de posters.

- Cliquez sur Options... [Options] et saisissez les paramètres de configuration du poster.
- Cliquez sur [OK].
- Cliquez sur Print (Imprimer).

Windows me/98/95 pilotes d'imprimante
Consultez le Guide d'installation des logiciels imprimé pour obtenir plus d'informations sur l'installation des pilotes d'imprimante.
Choix d'un pilote d'imprimante
Votre imprimante est livrée avec les pilotes Windows pour PCL et PostScript (PS). Vous pouvez installer l'un d'eux ou les deux si vous le souhaitez. Le choix du pilote dépend de l'application.
- Si vous utilisez les polices TrueType et vous n'imprimez pas de graphiques PostScript (y compris les fichiers ".eps"), CHOISSEZ le pilote PCL. Il sera plus performant et vous donnera des résultats.
- Si vous utilisez les polices PostScript ou si vous imprimez des graphiques PostScript, CHOISSEZ le pilote PostScript. Dans ce cas, l'impression sera plus rapide et la qualité d'impression des graphiques sera optimale.
Les graphiques en mode trait contenus dans ce manuel sont de type PostScript. Par conséquent, si vous prévoyez d'imprimer des parties de ce manuel, CHOISSEZ le pilote PostScript. Sinon, les graphiques en mode trait ne s'imprimeront qu'à une basse résolution.
Si vos applications varient tellement qu'aucun des deux pilotes ne semble couvrir tous vos besoins, vous pouvez installer les deux. Si vous installez les deux pilotes, il suffit de sélectionner le même port d'imprimante (LPT1 ou Port réseau) durant l'installation.
Ensuite, sélectionnez comme pilote Windows par défaut, celui que vous prévoyez d'utiliser la plupart du temps. La plupart des applications vous permettent de choisir une imprimante différente dans la boîte de dialogue d'impression, de façon à ce que vous puissiez effectuer un tirage, en utilisant l'autre pilote, lorsque vous en avez besoin.
Postscript uniquement
Certaines options, notamment la mémoire supplémentaire, l'unité duplex (recto verso) et les bacs supplémentaires, peuvent être installées sur l'imprimante.
Avant d'utiliser l'imprimante, ces options doivent être activées dans le ou les pilotes d'imprimante. Cette étape n'est requise qu'une seule fois.
La capacité de la mémoire du pilote d'imprimante PostScript de Windows doit être modifiée de la façon suivante :
- Cliquez sur Start [Démarrer] → Settings [Paramètres] → Printers [Imprimantes].
- Mettez en surbrillance le nom de l'imprimante. Cliquez sur File [Fichier] puis sur Properties [Propriétés].
- Cliquez sur l'onglet Device Settings [Options du dispositif].
- Sous Installable Options (Options installables), indiquez la quantité de mémoire installée dans l'imprimante, tel qu'indiqué dans le document MenuMap (Liste des menus).
Pour générer ce document, consultez les "Paramètres de l'imprimante (Paramètres du menu)" à la page 82.

- Pour indiquer la quantité de mémoire d'imprimante utilisable, cliquez sur le bouton MEMORY... (MÉMOIRE...). Le pilote règle automatiquement la taille de la mémoire cache de polices selon l'option mémoire sélectionnée sous « INSTALLÉE ».
- Cliquez deux fois sur [OK].

Disque dur interne
Certaines options, notamment la mémoire supplémentaire, l'unité duplex (recto verso) et les bacs supplémentaires, peuvent être installées sur l'imprimante.
Avant d'utiliser l'imprimante, ces options doivent être activées dans le ou les pilotes d'imprimante. Cette étape n'est requise qu'une seule fois.
- Cliquez sur Start [Démarrer] → Settings [Paramètres] → Printers [Imprimantes].
- Mettez en surbrillance le nom de l'imprimante. Cliquez sur File [Fichier] puis sur Properties [Propriétés].
- Dans Device Settings (Options du dispositif), cochez la case Printer Hard Disk (Disque dur d'imprimante).
- Cliquez sur [OK].
PostScript Driver
PCL Driver
Postscript ou PCL
Certaines options, notamment la mémoire supplémentaire, l'unité duplex (recto verso) et les bacs supplémentaires, peuvent être installées sur l'imprimante.
Avant d'utiliser l'imprimante, ces options doivent être activées dans le ou les pilotes d'imprimante. Cette étape n'est requise qu'une seule fois.
- Cliquez sur Start [Démarrer] → Settings [Paramètres] → Printers [Imprimantes].
- Mettez en surbrillance le nom de l'imprimante. Cliquez sur File [Fichier] puis sur Properties [Propriétés].
- Dans l'onglet Device Settings (Options du dispositif), indiquez le nombre de bacs installés (Available Trays) (bac multifonction non inclus).
- Cliquez sur [OK].
PostScript Driver
PCL Driver
Postscript ou PCL
Certaines options, notamment la mémoire supplémentaire, l'unité duplex (recto verso) et les bacs supplémentaires, peuvent être installées sur l'imprimante.
Avant d'utiliser l'imprimante, ces options doivent être activées dans le ou les pilotes d'imprimante. Cette étape n'est requise qu'une seule fois.
- Cliquez sur Start [Démarrer] → Settings [Paramètres] → Printers [Imprimantes].
- Mettez en surbrillance le nom de l'imprimante. Cliquez sur File [Fichier] puis sur Properties [Propriétés].
- Cliquez sur l'onglet Device Settings [Options du dispositif]. Cochez la case Duplex Unit (Unité Duplex).
- Cliquez sur [OK].
PostScript Driver
PCL Driver
Postscript ou PCL
Le paramètre par défaut de ces options est Automatique.
Si les paramètres d'imprimante sélectionnés manuellement diffèrent de ceux sélectionnés dans le pilote d'imprimante, l'imprimante n'imprimera pas et l'affichage indiquera un message d'erreur.
Les instructions suivantes du pilote de l'imprimante seront uniquement indicatives. La sélection des options Alimentation du papier, Format et Support est requise dans le logiciel (Mise en page).
- Cliquez sur Start [Démarrer] → Settings [Paramètres] → Printers [Imprimantes].
- Mettez en surbrillance le nom d'imprimante approprié. Cliquez sur File (Fichier), puis sur Properties (Propriétés).
- Cliquez sur l'onglet Setup (Configuration).
PostScript Driver
PCL Driver
- Sélectionnez le format de support requis sous Size (Format).
- Sélectionnez l'option d'alimentation du papier requise dans Source [Source].
- Lorsqu'un bac à papier est sélectionné, le champ Type ou Weight (Grammage) s'affiche.
- Sélectionnez le grammage du papier requis dans Type (PostScript)
Si Printer Setting [Option Imprimante] est sélectionnée, assurez-vous que l'imprimante a été réglée sur le bon type de support.
- Cliquez sur Paper Feed Options [Options d'alimentation du papier].
Important!
Si vous utilisez un support épais, des transparents, des enveloppes ou des étiquettes, assurez-vous d'ouvrir la sortie arrière avant de lancer l'impression :

- Faites les autres sélections requises.
- Cliquez sur [OK].
- Cliquez sur [OK] fermez la boîte de dialogue Printer (Imprimante).
PostScript Driver
PCL Driver
État de l'imprimante réseau
- Disponible uniquement pour les connexions réseau TCP/IP.
L'utilitaire Network Printer Status (État de l'imprimante réseau) est disponible s'il a été installé par l'administrateur du système. Lorsqu'il est installé, la boîte de dialogue Properties [Propriétés] du pilote d'imprimante compte les modifications suivantes :
- un nouvel onglet Status [État] est ajouté
- Un bouton Option [Option] est ajouté dans l'onglet Device Option [Options du dispositif].
Cet usage permet de visualiser (mais de ne pas modifier) l'état des dispositifs suivants dans l'onglet Status [État]:
- bacs à papier installés et supports assignés à ceux-ci.
- taille totale et pourcentage utilisé du disque/mémoire.
- pourcentage de toner restant.
Important!
Si vous avez sélectionné Automatic Status Update [Mise à jour automatique de l'État] dans l'onglet Status [État], le pilote interroge automatiquement l'imprimante pour obtenir les plus récentes informations d'État chaque fois que vous ouvrez la boîte de dialogue Properties [Propriétés]. Cela peut entraîner un décalage lors de l'ouverture de la boîte de dialogue Propriétés. Pour éviter cela, utilisez le bouton Update Status [Mettre l'État à jour] de Status [État] pour mettre à jour manuellement les informations d'État affichées.
Windows me/98/95 utilisation
La plupart des applications permettent d'accéder aux propriétés de l'imprimante depuis le dialogue d'impression du document.
Cette section explique comment configurer l'impression couleur et comment utiliser les fonctions de l'imprimante, notamment :
Pages multiples sur une seule feuille : voir page 337 - Formats de page personnels : voir page 341 - Résolution d'impression : voir page 350 - Impression duplex : voir page 352 - Impression de livrets : voir page 355 - Impression de filigranes : voir page 360 - Assemblage : voir page 362 - Substitution de polices : voir page 363 - Tirage d'épreuve : voir page 364 - Impression Sécurisée : voir page 369 - Enregistrement sur le disque dur : voir page 374 - Impression de posters : voir page 379
Facteurs affectant l'apparence des tirages
Les pilotes PCL et PostScript livrés avec cette imprimante fournissent plusieurs commandes permettant de modifier la couleur imprimée sur papier. Les paramètres par défaut Auto suffiront pour un usage général et donneront de bons résultats pour la plupart des documents.
La plupart des applications ont leurs propres paramètres couleur qui remplaceront les paramètres existants dans le pilote d'imprimante. Reportez-vous à la documentation de votre logiciel pour toutes précisions sur le mode de gestion des couleurs de cette application.
Si vous souhaitez ajuster manuellement les paramètres couleur de votre pilote d'imprimante, sachez que la reproduction des couleurs est un sujet complexe et qu'il faut tenir compte de nombreux facteurs.
Certains des facteurs les plus importants sont indiqués ci-dessous
- Les différences de reproduction entre la gamme des couleurs d’un moniteur et celle d’une imprimante
- Conditions de visualisation
- Paramètres couleur du pilote d'imprimante
- Options du moniteur Mode d'affichage de la couleur du logiciel
- Type de papier
Couleurs d'un moniteur c. celle d'une imprimante
Les différences de reproduction entre la gamme des couleurs d'un moniteur et celle d'une imprimante
- Ni une imprimante ni un moniteur ne peut reproduire toute la gamme des couleurs visibles à l'œil nu. Chaque dispositif est limité à une certaine gamme de couleurs. En outre, une imprimante ne peut reproduire toutes les couleurs affichées à l'écran d'un moniteur et vice versa.
- Les deux périphériques utilisent des technologies très différentes pour représenter la couleur. Un moniteur utilise les luminophores rouge, vert et bleu (RGB) (ou affichage à cristaux liquides), une imprimante utilise les toners ou les encres cyan, jaune, magenta et noir (CMJN).
- Un moniteur peut afficher des couleurs très vives telles que les rouges et bleus intenses et celles-ci peuvent être reproduites aisément sur n'importe quelle imprimante utilisant un toner ou de l'encre. De façon similaire, certaines couleurs (certains jaunes par exemple) peuvent être imprimées mais ne peuvent être affichées avec précision à l'écran d'un moniteur. Cette disparité entre les moniteurs et les imprimantes est souvent la principale raison pour laquelle les couleurs sur papier ne concordent pas avec celles affichées à l'écran.
Conditions de visualisation
Une épreuve peut paraître très différente dans différentes conditions d'éclairage. Par exemple, les couleurs d'une épreuve peuvent sembler différentes lorsque vous les regardez à côté d'une fenêtre éclairée par le soleil ou sous l'éclairage fluorescent standard d'un bureau.
Paramètres de couleur du pilote d'imprimante
Les paramètres du pilote relatifs au réglage manuel de la couleur peuvent modifier l'apparence d'une épreuve. Il existe plusieurs options disponibles pour faciliter la concordance des couleurs sur papier avec celles affichées à l'écran. Ces options sont décrites plus loin dans les sections du Manuel de l'utilisateur.
Options du moniteur
Les commandes de luminosité et de contraste de votre moniteur peuvent modifier l'apparence de votre document à l'écran. En outre, la température des couleurs de votre moniteur influe sur l'apparence "chaude" ou "froide" des couleurs à l'écran.
Plusieurs des options de colorimétrie font référence à la température de la couleur de votre moniteur. De nombreux moniteurs modernes permettent d'ajuster la température de la couleur à l'aide du panneau de configuration du moniteur.
Plusieurs options sont proposées sur un moniteur type :
- 5000 k
Option la plus chaude ; éclairage tirant sur le jaune, utilisation spécifique dans l'art graphique.
- 6500 k
Plus froid ; se rapproche de l'éclairage à la lumière du jour.
9300 k
Option froide; l'option par défaut pour de nombreux moniteurs et postes de télévision.
\( k = \text{degrés Kelvin, une mesure de la température} \)
Mode d'affichage de la couleur du logiciel
Certaines applications graphiques telles que Corel Draw ou Adobe Photoshop peuvent afficher la couleur d’une manière différente des applications de bureautique telles que Microsoft Word. Pour plus d’informations, consultez l’aide en ligne de votre application ou le manuel d’utilisation.
Type de papier
Le type de papier utilisé peut également influer considérablement sur la couleur imprimée. Par exemple, un tirage sur du papier recyclé peut sembler plus terne que sur un papier glacé spécialement élaboré.
Colorimétrie choix d'une méthode généralités
Ces méthodes sont proposées uniquement à titre d'indication. Vos résultats varieront en fonction de l'application que vous utilisez pour l'impression. Certaines applications remplaceront les paramètres de colorimétrie du pilote d'imprimante sans le signaler.
Il n'y a aucune façon correcte d'obtenir une bonne concordance entre l'affichage du document à l'écran de votre moniteur et sa version imprimée. Il existe de nombreux facteurs en jeu pour obtenir des couleurs précises et reproductibles.
Toutefois, les directives suivantes peuvent vous aider à obtenir de bons résultats d'impression en couleur. Nous proposons plusieurs méthodes, en fonction du type de document que vous imprimez.
- le format le plus courant [RGB]
- applications graphiques et de PAO professionnelle [CMYK]
- images photographiques
- couleurs spécifiques (par exemple, le logo d'une entreprise)
- Impression de couleurs vives
RVB Ou CMJN
Les directives permettant de choisir une méthode de colorimétrie distinguant les deux codages : Rouge, Vert, Bleu (RVB) et Cyan, Magenta, Jaune, Noir (CMJN).
De façon générale, la plupart des documents que vous imprimez seront dans le format RVB. C'est le format le plus courant ; si vous ne connaissiez pas le codage couleur de votre document, supposez que c'est le RVB.
Les documents CMJN ne sont pris en charge habituellement que dans les applications graphiques et de PAO professionnelle.
RVB uniquement
En général, la colorimétrie OKI est un bon choix. Sélectionne une méthode de colorimétrie qui convient à votre moniteur.
RVB Ou CMJN
Si vous imprimez des images photographiques depuis une application graphique telle que Adobe Photoshop, vous pouvez peut-être utiliser un tirage logiciel pour simuler l'image imprimée à l'écran de votre moniteur. À cette fin, vous pouvez utiliser les profils ICC fournis puis effectuer un tirage en vous servant d'eux comme Espace d'impression (Espace de sortie).
Concordance des couleurs spécifiques
(Par exemple, le logo d'une entreprise)
RVB uniquement
Colorimétrie OKI et option sRVB (Pilote PCL ou PS). - Colorimétrie PostScript en utilisant l'option Colorimétrie absolue. - Utilisez l'utilitaire Nuancier de couleurs pour imprimer une charte de nuanciers RVB et entrez les valeurs RVB désirées dans le sélectionneur de couleurs de votre application (PS uniquement).
RVB Ou CMJN
- Si vous effectuez des tirages depuis une application graphique telle que Adobe Photoshop, vous pouvez peut-être utiliser un tirage logiciel pour simuler l'image imprimée à l'écran de votre moniteur. À cette fin, vous pouvez utiliser les profils ICC fournis par OKI puis effectuer un tirage en vous servant d'eux comme Espace d'impression (ou Espace de sortie) (PS uniquement).
- Vous pouvez également utiliser la colorimétrie PostScript en sélectionnant l'option Colorimétrie absolue.
RVB uniquement
Utilisez la Colorimétrie OKI en sélectionnant les options Moniteur 6500k Vivid, sRVB ou Appareil photo numérique (PCL ou PS).
RVB Ou CMJN
Utilisez la Colorimétrie PostScript en sélectionnant l'option Saturation
Pilote PCL
Les options de colorimétrie du pilote PCL peuvent être utilisées pour faire correspondre les couleurs sur papier à celles affichées à l’écran de votre moniteur.
De par leur conception, les options couleur du pilote PCL ne sont valables qu'avec le codage RVB.
Pour les tirages CMJN, nous vous conseillons d'utiliser le pilote PostScript.
Pour régler manuellement les options
- Cliquez sur Start [Démarrer] → Settings [Paramètres] → Printers [Imprimantes].
- Mettez en surbrillance le nom d'imprimante approprié. Cliquez sur File (Fichier), puis sur Properties (Propriétés).
- Cliquez sur l'onglet Color [Couleur].

- Sous Mode couleur, clique sur Couleur manuelle.
Sous Color Setting (Configuration couleur), clique sur Natural (Naturelle).

Pilote PCL
- Choisissez l'une des options suivantes :
Moniteur (6500K) perceptuel
Optimisé pour l'impression de photographies lorsque vous utilisez un moniteur dont la température des couleurs est de 6500 K.
Moniteur (6500K) vivid
Optimisé pour l'impression de couleurs vives lorsque vous utilisez un moniteur dont la température des couleurs est de 6500 K. Idéale pour les graphiques professionnels.
Moniteur (9300K)
Optimisé pour l'impression de photographies lorsque vous utilisez un moniteur dont la température des couleurs est de 9300 K.
Appareil photo numérique
Optimisé pour l'impression de photographies prises avec un appareil photo numérique. Cette option a tendance à produire des épreuves aux couleurs plus claires et plus vives. Pour certaines photographies, les autres options peuvent être plus performantes, en fonction des sujets et des conditions de prise de vue.
Optimisée pour faire correspondre des couleurs spécifiques, telles que la couleur du logo d'une entreprise.
Les couleurs de la gamme de l'imprimante sont imprimées sans modification ; les couleurs modifiées sont seulement celles qui sont en dehors de la gamme de l'imprimante.
- Définissez tout autre paramètre requis en consultant l'aide en ligne pour obtenir de l'aide.
- Lorsque terminé, cliquez sur OK. Fermez la boîte de dialogue Printing Preferences (Options d'impression).
Nuancier de couleurs
Vous pouvez les utiliser pour sélectionner des couleurs spécifiques dans les applications qui vous permettent de désirer vos propres valeurs RVB.
La fonction Nuancier de couleurs d'impression vous permet d'imprimer des chartes qui contiennent une gamme de couleurs types. Les valeurs correspondantes RVB (Rouge, Vert, Bleu) sont indiquées sous chaque couleur type.
Voici un exemple d'utilisation de la fonction nuanciers de couleurs d'impression :
Vous souhaitez imprimer un logo dans une teinte particulière de rouge. Suivez les étapes ci-après :
- Cliquez sur Start [Démarrer] → Settings [Paramètres] → Printers [Imprimantes].
- Mettez en surbrillance le nom d'imprimante approprié.
- Cliquez sur File (Fichier).
- Cliquez sur Properties (Propriétés).
- Cliquez sur l'onglet Color [Couleur].
- Cliquez sur le bouton Color Swatch (Tableau de nuanciers) pour imprimer des échantillons des tableaux de nuanciers.
- Imprimez un nuancier de couleurs puis sélectionnez la teinte de rouge qui est la plus adaptée à vos besoins.
- Prenez note de la valeur RVB indiquée sous la teinte de votre choix.
- À l'aide du sélectionneur de couleurs de votre programme, entrez les valeurs RVB relevées à l'étape 5. Modifiez le logo de cette couleur.
La couleur RVB affichée à l'écran de votre moniteur ne concorde pas nécessairement avec celle du nuancier de couleurs sur papier. Le cas échéant, cette non-concordance est due à la différence de reproduction des couleurs entre le moniteur et l'imprimante.
Généralités
Le pilote PostScript offre plusieurs méthodes de contrôle de la couleur sur papier, soit par l'imprimante.
Certaines des options de colorimétrie ne s'appliquent qu'à certains types de codages des couleurs. Le tableau ci-dessous indique les options de colorimétrie proposées dans le pilote PostScript, et les types de codages auxquels elles s'appliquent.
| Option de colorimétrie | Codage RVB | Codage CMJN |
| Colorimétrie OKI | Oui | Non |
| Colorimétrie PostScript | Oui | Oui |
| Colorimétrie ICM de Windows a | Oui | Non |
| Utilisation des profils ICC | Oui | Non |
a. Pas Windows NT 4
Pour régler manuellement les options
- Cliquez sur Start [Démarrer] → Settings [Paramètres] → Printers [Imprimantes].
- Mettez en surbrillance le nom d'imprimante approprié.
- Cliquez sur File (Fichier).
- Cliquez sur Propriétés.
- Cliquez sur l'onglet Color [Couleur].

- Sélectionnez la méthode à utiliser dans la liste déroulante Color Control Method (Méthode de contrôle couleur) sous Color Mode (Mode couleur):
a. OKI Color Control (Contrôle couleur OKI)
C'est le système de colorimétrie propre à OKI.
S'applique uniquement au codage RVB.
b. PostScript Color Control (Contrôle couleur PostScript)
Elle utilise les dictionnaires des rendus des couleurs PostScript intégrés à l'imprimante.
S'applique aux codages RVB et CMJN.
c. Utilisation du profil ICC
Cette méthode de concordance des couleurs RVB est similaire à celle de Windows ICM.
Consultez "Utilisation des profils ICC" à la page 333.
Colorimétrie ICM de Windows
ICM est le système de gestion des couleurs intégré à Windows. S'applique uniquement au codage RVB. Peut être associé avec le pilote PCL ou PS.
Consultez "Colorimétrie ICM de Windows" à la page 335.
e. No Color Matching (Aucune concordance couleur)
Utilisez cette option pour désactiver toute concordance des couleurs de l'imprimante.
f. Impression en échelle de gris
Cette option permet d'imprimer tous les documents en monochrome.
OKI color control (contrôle couleur OKI)
C'est le système de colorimétrie propre à OKI et s'applique uniquement au codage RVB.
Désélectionnez le type à utiliser dans la liste déroulante « COLOR SETTING » (CONFIGURATION COULEUR):

Moniteur (6500K) perceptuel
Optimisé pour l'impression de photographies lorsque vous utilisez un moniteur dont la température des couleurs est de 6500 K.
Moniteur (6500K) vivid
Optimisée pour l'impression de couleurs vives lorsque vous utilisez un moniteur dont la température des couleurs est de 6500 K. Idéale pour les graphiques professionnels.
Moniteur (9300K)
Optimisée pour l'impression de photographies lorsque vous utilisez un moniteur dont la température des couleurs est de 9300 K.
Appareil photo numérique
Optimisée pour l'impression de photographies prises avec un appareil photo numérique. Cette option a tendance à produire des épreuves aux couleurs plus claires et plus vives. Pour certaines photographies, les autres options peuvent être plus performantes, en fonction des sujets et des conditions de prise de vue.
Optimisée pour faire correspondre des couleurs spécifiques, telles que la couleur du logo d'une entreprise.
Les couleurs de la gamme de l'imprimante sont imprimées sans modification; les couleurs modifiées sont seulement celles qui sont en dehors de la gamme de l'imprimante.
Contrôle couleur postscript
Elle utilise les dictionnaires des rendus des couleurs PostScript intégrés à l'imprimante et s'applique aux codages RVB et CMJN.
Sélectionnez le type de rendu dans la liste déroulante Rendering Intent (Objectif de rendu).

Intentions de rendu
Lors de l'impression d'un document, une conversion se produit de l'espace couleur du document vers l'espace couleur de l'imprimante. Les intentions de rendu sont essentiellement un ensemble de règles qui déterminent le mode de conversion des couleurs.
Les intentions de rendu fournies par le pilote d'imprimante sont indiquées ci-dessous :
Choix optimal pour un usage général.
- Perceptuel
Choix optimal pour imprimer des photographies. Comprime la gamme source dans la gamme de l'imprimante tout en maintenant l'apparence globale d'une image. L'apparence globale d'une image peut être modifiée étant donné que toutes les couleurs sont décalées ensemble.
- Saturation
Choix optimal pour imprimer les couleurs lumineuses et saturées si vous ne vous souciez pas juste de la précision des couleurs. C'est donc le besoin recommandé pour les graphiques, les tableaux, les schémas, etc... Établit une correspondance entre les couleurs entièrement saturées dans la gamme source et celles de la gamme de l'imprimante.
Colorimétrie relative
Convient au tirage d'images couleur CMJN sur une imprimante de bureau. Ressemble beaucoup à la colorimétrie absolue, excepté que la fonction compare le blanc de la source au blanc (généralement) du papier, c-à-d, à la différence de la colorimétrie absolue, cette fonction tente de tenir compte du blanc du papier.
Colorimétrie absolue
Option optimale pour imprimer les teintes et les couleurs unies, telles que les logos d'entreprise, etc... Fait correspondre exactement les couleurs communes aux deux dispositifs et sélectionne les couleurs équivalentes les plus proches pour celles extérieures à la gamme. Essaie d'imprimer le blanc tel qu'il apparaît à l'écran. Le blanc de
l’écran d’un moniteur est souvent très différent du blanc du papier, ce qui peut produire des dominances de couleur, particulièrement dans les parties plus claires d’une image.
Utilisation des profils ICC
- S'applique uniquement au codage RVB.
Cette option offre une méthode de concordance des couleurs RVB similaire à la concordance ICM de Windows. Son principal avantage par rapport à la colorimétrie ICM de Windows est qu'elle offre une méthode d'impression en utilisant les profils d'entrée et de sortie. La colorimétrie ICM de Windows permet seulement de désir des profils de sortie.
Les profils d'entrée (un appareil photo numérique, par exemple) fournissent des informations sur la couleur dans le dispositif d'origine qui était utilisé pour saisir les données de l'image et les afficher. Par exemple, un dispositif d'entrée pourrait être un scanner, un appareil photo numérique ou un moniteur.
Les profils de sortie (l'imprimante, par exemple) donnent des informations sur le dispositif que vous utilisez pour l'impression.
La fonction Utilisation des profils ICC permet de sélectionner un profil d’entrée et un profil de sortie. Elle utilise ces deux profils pour générer un DRC (Dictionnaire des rendus de couleurs) qui est utilisé pour faire correspondre les couleurs aussi étroitement que possible.
Cette fonction n'est pas peut-être pas valable dans tous les programmes d'application. Toutefois, les options d'impression des nombreuses applications graphiques professionnelles offrent une fonction similaire permettant de définir un espace couleur source (entrée) et un espace couleur d'impression (sortie).
Installation
- Cliquez sur Start [Démarrer] → Settings [Paramètres] → Printers [Imprimantes].
- Mettez en surbrillance le nom d'imprimante approprié
- Cliquez sur File (Fichier).
- Cliquez sur Properties (Propriétés).
- Cliquez sur l'onglet Color (Couleur).
- Sous Color Mode (Mode couleur), dans la liste déroulante Color Control Method (Méthode de contrôle couleur), sélectionnez Using ICC Profile (Utilisation du profil ICC).
- Cliquez sur le bouton New (Nouveau).
- Sous Select ICC profile (Sélectionner profil ICC), dans les listes déroulantes sélectionnez profil d'entrée (Input profile) et le profil de sortie (Output profile).
- Sélectionnez l'objet de rendu (Rendering Intent). Type de rendu et entrez un nom pour le profil. Cliquez ensuite sur OK. Sous ICC Profile Setting (Paramètre de profil ICC), le nouveau nom s'affiche dans la liste déroulante Setting Name (Nom du paramètre).
- Répétez les étapes 5-7 pour chacun des profils ICC que vous désirez définir.
- Cliquez sur OK. Fermez ensuite la boîte de dialogue Printers (Imprimantes).
Pilote postscript colorimétrie ICM de windows
- ICM est le système de gestion des couleurs intégré à Windows. S'applique uniquement au codage RVB.
- peut être associé avec le pilote PCL ou PS.
L'ICM de Windows utilise les profils ICC pour votre moniteur et votre imprimante ; ces profils décrivent les couleurs que votre dispositif peut reproduire. Les profils ICC peuvent être associés à votre imprimante par le biais de l'onglet Gestion des couleurs du pilote d'imprimante.
En fonction du mode d'installation du pilote d'imprimante, les profils couleur sont peut-être déjà associés au pilote.
Pour associer les profils couleur ICC au pilote d'imprimante :
- Cliquez sur Start [Démarrer] → Settings [Paramètres] → Printers [Imprimantes].
- Mettez en surbrillance le nom d'imprimante approprié
- Cliquez sur File (Fichier).
- Cliquez sur Properties (Propriétés).
- Cliquez sur l'onglet Color Management (Gestion des couleurs).
- Sous "Color Profiles currently associated with this printer" ["Profils de couleurs associés actuellement avec cette imprimante"], vous devez apercevoir les noms des profils qui correspondent à votre modèle d'imprimante.
Si aucun profil n'est associé au pilote, cliquez sur "Add..." ["Ajouter..."] et repérez les profils ICC pour votre imprimante.
ICM de Windows utilise les informations existant dans ces profils pour convertir les couleurs de vos documents en couleurs que l'imprimante peut reproduire. Le mode de conversion peut être
réglé par le biais de la gestion des intentions de rendu ICM dans le pilote d'imprimante.
L'option Colorimétrie en utilisant la fonction Profils ICC fournit également une solution de colorimétrie autre que ICM de Windows.
Elle est similaire à ICM de Windows mais offre plusieurs autres fonctionnalités :
Pages multiples sur une seule feuille
- Ouvrez le fichier dans l'application.
- Sélectionnez Fichier (Fichier) → Imprimer (Imprimer).
- Dans la boîte de dialogue Print (Imprimer), cliquez sur le pilote PS approprié puis.
- Cliquez sur Properties (Propriétés) ou Setup (Configuration) ou l'option équivalente de l'application utilisée.
- Dans l'onglet Setup (Configuration), sous N-up (N par page), sélectionnez le nombre de pages requis par feuille.
- Cliquez sur [OK].
- Cliquez sur Imprimer.

- Cliquez sur le bouton Unprintable Area (Zone non imprimable).
- Définissez les paramètres de marge.
10. Cliquez sur [OK].
![OKI C7350N - Cliquez sur [OK]. - 1](/content/2025/01/163161/images/441b77d69567d8ab0473d85ae30a4aa8c0c60c07e3c006780633dbfccf9519bd.jpg)
- Cliquez sur [OK]. Imprimez ensuite le document.
Pages multiples sur une seule feuille
- Ouvrez le fichier dans l'application. Sélectionnez File (Fichier) → Print (Imprimer).
- Dans la boîte de dialogue Print (Imprimer), cliquez sur le pilote PCL approprié.
- Cliquez sur Properties (Propriétés) ou Setup (Configuration) ou l'option équivalente de l'application utilisée.
- Dans l'onglet Setup (Configuration), sous Finishing Mode (Mode de finition), sélectionnez le nombre de pages requis par feuille.

- Cliquez sur le bouton Options [Options].
- Sélectionnez la Page Borders [Bordure de Page], la Page Layout [Mise en Page] et les Bind Margin [Marges] que vous désirez.
- Cliquez sur [OK].
- Cliquez sur [OK]. Imprimez ensuite le document.

Formats de page personnels
Il est possible de définir au plus trois formats de papier personnels.
Les pages au format personnel ne peuvent être imprimées qu’à partir du bac multifonction (alimentation manuelle). Il est possible de sélectionner manuellement le paramètre Format de papier personnel de l’option Imprimante pour le bac multifonction, avant de procéder à l'impression.
Largeur : 3,5 po à 8,5 po [89 mm à 216 mm] - Longueur : 5 po à 14 po [127 mm à 356 mm]
- Assurez-vous que le chemin de sortie est ouvert :
- Ouvrez le fichier dans l'application et sélectionnez File (Fichier) → Print (Imprimer).
- Dans la boîte de dialogue Print (Imprimer), cliquez sur le pilote PS approprié.
- Cliquez sur Properties (Propriétés) ou Setup (Configuration) ou l'option équivalente de l'application utilisée.
Important!
Si vous utilisez un support épais, des transparents, des enveloppes ou des étiquettes, assurez-vous d'ouvrir la sortie arrière avant de lancer l'impression :

- Cliquez sur l'onglet Setup (Configuration).
- Sous Media (Support), dans la liste déroulante Size (Format), sélectionnez Custom Page 1 (Page personnalisée 1), Custom Page 2 (Page personnalisée 2) ou Custom Page 3 (Page personnalisée 3).

- Cliquez sur le bouton Custom Size [Format personnel].

- Tapez le nom requis pour le format de papier personnel dans le cadre Paper name [Nom du papier].
- Entrez la largeur et la longueur Plage de
Largeur: 3,5 po à 8,5 po [89 mm à 216 mm] - Longueur: 5 po à 14 po [127 mm à 356 mm]
- Sélectionnez Transverse [Transverse] si vous souhaitez faire tourner l'image de 90 degrés.
- Cliquez sur [OK].
- Assurez-vous que le nom du format personnalisé est affiché dans la liste Size (Format).
- Cliquez sur [OK] et fermez la boîte de dialogue d'imprimante.
- Imprimez ensuite le document.
Formats de page personnels
PCL
Il est possible de définir 32 formats de page personnels.
Les pages au format personnel ne peuvent être imprimées qu’à partir du bac multifonction (alimentation manuelle). Il est possible de sélectionner manuellement le paramètre Format de papier personnel de l’option Imprimante pour le bac multifonction, avant de procéder à l'impression.
Largeur : 3,5 po à 8,5 po [89 mm à 216 mm] - Longueur : 5 po à 14 po [127 mm à 356 mm]
Important!
Si vous utilisez un support épais, des transparents, des enveloppes ou des étiquettes, assurez-vous d'ouvrir la sortie arrière avant de lancer l'impression :

- Ouvrez le fichier dans l'application.
- Sélectionnez File (Fichier) → Print (Imprimer).
- Dans la boîte de dialogue Print (Imprimer), cliquez sur le pilote PCL approprié.
- Cliquez sur Properties (Propriétés) ou Setup (Configuration) ou l'option équivalente de l'application utilisée.
- Cliquez sur l'onglet Setup (Configuration).
- Sous Media (Support), dans la liste déroulante Size (Format), puis sur User Defined (Défini par l'utilisateur).
La boîte de dialogue Set Free Size (Définir format) s'ouvre.
Un message d'avertissement peut s'afficher pour indiquer un conflit. Le cas échéant, cliquez sur OK pour que le pilote puisse effectuer automatiquement les modifications requises pour résoudre le conflit.
- Sélectionnez l'unité (Unit).
- Entrez ensuite la largeur (Width) et la longueur (Length). Plage de
Largeur: 3,5 po à 8,5 po [89 mm à 216 mm] - Longueur: 5 po à 14 po [127 mm à 356 mm]
- Cliquez sur OK.
- User Defined Size (Format défini par l'utilisateur) s'affiche dans la liste Size (Format) de l'onglet Setup (Configuration).

Pour enregistrer les paramètres pour un usage ultérieur :
- Cliquez sur Paper Feed Options [Options d'alimentation du papier].
- Cliquez sur Custom Size [Format personnel].
- Entrez les informations appropriées dans Width [Largeur] et Height [Hauteur].
- Attribuez un nom à votre document dans Name [Nom].
- Cliquez sur Add [Ajouter].

- Cliquez deux fois sur [OK]. Le format de page personnel est ajusté au bas de la liste Format de papier.
- Cliquez sur [OK] et fermez la boîte de dialogue d'imprimante.
- Imprimez ensuite le document.
Changer pour un travail d'impression
Pour modifier les paramètres afin que ces derniers soient utilisés pour tous les travaux (paramètres par défaut) :
- Cliquez sur Start [Démarrer] → Settings [Paramètres] → Printers [Imprimantes].
- Cliquez avec le bouton droit de la souris sur le nom de l'imprimante désiré, puis sélectionnez Properties (Propriétés).
- Suivez l' étape 3 ci-dessous et les étapes suivantes. La fenêtre pour définir les paramètres par défaut comporte des onglets supplémentaires.
- Ouvrez le fichier dans l'application.
- Sélectionnez File (Fichier) → Print (Imprimer).
- Dans la boîte de dialogue Print (Imprimer), cliquez sur le pilote PCL approprié.
- Cliquez sur Properties (Propriétés) ou Setup (Configuration) ou l'option équivalente de l'application utilisée.
- Cliquez sur l'onglet Job Options (Options de travail).
- Sélectionnez la résolution d'impression requise dans Quality [Qualité d'impression].
- Sélectionnez Toner Saving [Économie de toner] le cas échéant.
- Cliquez sur [OK].
- Cliquez ensuite sur Print (Imprimer).


L'unité duplex (optionnelle) doit être
- installée sur l'imprimante et activée, et
- avant de procéder à l'impression duplex.
- du papier de format standard,
- dont le grammase est compris entre 75 et 105g / m²
- Le papier doit être chargé dans le bac à papier, la face à imprimer en dessus.
- Utilisez n'importe lequel des bacs (bac 1, bac 2 et bac 3 optionnels ou bac multifonction) pour l'impression recto verso.
- Le bac multifonction ne peut pas être utilisé pour l'impression duplex.
- L'impression duplex ne peut pas être utilisée si le Poids en papier est réglé à Ultra Heavy (Très lourd).
Consultez Papier (Support), "Grammage et Type" à la page 71.
- Impression duplex ne peuvent pas etre utiliser si le White Page Skip (SAUTER PAGELBANCHE) sont ACTIVÉ.
Consultez "SAUT DE PAGE BLANCHE (SUPPRIMER PAGES BLANCHES)" à la page 101 (Emulation PCL), page 103 (Emulation PPR), et page 106 (Emulation FX).
Pour modifier les paramètres afin que ces derniers soient utilisés pour tous les travaux (paramètres par défaut) :
- Cliquez sur Start [Démarrer] → Settings [Paramètres] → Printers [Imprimantes].
- Cliquez avec le bouton droit de la souris sur le nom de l'imprimante désiré.
- Sélectionnez Propriétés.
- Suivez l'objet 3 ci-dessous et les étapes suivantes. La fenêtre pour définir les paramètres par défaut compte des onglets supplémentaires.
Utilisation
- Ouvrez le fichier dans l'application
- Sélectionnez File (Fichier) → Print (Imprimer).
- Dans la boîte de dialogue Print (Imprimer), cliquez sur le pilote approprié.
- Cliquez sur Properties (Propriétés) ou Setup (Configuration) ou l'option équivalente de l'application utilisée.
- Dans l'onglet Setup (Configuration), sous 2-Sided Printing (Impression recto verso), sélectionnez Long Edge Binding (Reliure côté long) ou Short Edge Binding (Reliure côté court).
- Cliquez sur [OK]. Imprimez ensuite le document.


PCL et windows me uniquement
- Disponible uniquement pour le système d'exploitation Windows Me (non disponible pour Windows 98 ou 95).
- Offert uniquement pour le pilote d'imprimante PCL
- L'unité duplex optionnelle doit être installée sur l'imprimante et activée avant de procéder à l'impression de livrets.
- Mais non offert pour certaines connexions réseau ; consultez le fichier d'aide.
- Certains logiciels ne prenant peut-être pas en charge l'impression de livrets.
- Le paramètre droite à gauche permet d'imprimer un livre se lisant de droite à gauche, comme c'est le cas pour certaines langues.
- Ouvrez le fichier dans l'application.
- Sélectionnez File (Fichier) → Print (Imprimer).
- Dans la boîte de dialogue Print (Imprimer), cliquez sur le pilote PCL approprié.
- Cliquez sur Properties (Propriétés) ou Setup (Configuration) ou l'option équivalente de l'application utilisée.
- Dans l'onglet Setup (Configuration), sous Finishing Mode (Mode de finition), dans la liste déroulante Sélectionnez Booklet (Livret).

- Cliquez sur le bouton Options.
- Définissez ensuite au besoin les valeurs Signature, 2 pages, Droite à gauche et Marge de reliure.
Consultez l'aide en ligne pour plus d'informations.
- Cliquez sur OK.
- Cliquez sur [OK]. Imprimez ensuite le document.

Impression de filigranes
- Ouvrez le fichier dans l'application.
- Sélectionnez File (Fichier) → Print (Imprimer).
- Dans la boîte de dialogue Print (Imprimer), cliquez sur le pilote PS approprié.
- Cliquez sur Properties (Propriétés) ou Setup (Configuration) ou l'option équivalente de l'application utilisée.
- Dans Select a watermark [Filigrane], sélectionnez un filigrane dans la liste figurant

Pour créer un nouveau filigrane ou modifier un filigrane existant :
- Appuyez sur le bouton New [Nouveau] ou Edit [Édition].
- Tapez le texte requis.
- Sélectionnez la taille de caractère, l'angle, etc. à utiliser.

- Cliquez sur [OK].
- Dans Print watermark [Imprimer le filigrane], sélectionnez l'emplacement et le mode d'impression du filigrane.
- Cliquez deux fois sur [OK].
- Imprimez ensuite le document.
Impression de filigranes
- Ouvrez le fichier dans l'application.
- Sélectionnez File (Fichier) → Print (Imprimer).
- Dans la boîte de dialogue Print (Imprimer), cliquez sur le pilote PCL approprié.
- Cliquez sur Propriétés (Propriétés) ou Configuration (Configuration) ou l'option équivalente de l'application utilisée.
- Dans l'onglet Job options (Options de travail), clique sur Watermark (Filigrane).
La boîte de dialogue « Watermark » (Filigrane) s'affiche.
- Sélectionnez un filigrane dans Watermark [la liste figurant dans Filigrane].

Pour créer un nouveau filigrane ou modifier un filigrane existant,
- Cliquez sur le bouton New [Nouveau] ou Edit [Édition].

- Tapez le texte requis.
- Sélectionnez la taille de caractère, l'angle, etc. à utiliser.
- Cliquez sur [OK].
Le nouveau filigrane s'affiche dans la liste Watermark (Filigrane).
- Si le filigrane doit être imprimé sur la première page du document, cochez First Page only [Première page uniquement].
- Cliquez deux fois sur [OK].
- Imprimez ensuite le document.
PCL ou postscript
L'assemblage peut être effectué, qu'un disque dur ait été installé ou non. Toutefois, l'installation d'un disque dur permet d'obtenir une performance supérieure.
Important
Si le logiciel utilisé comporte une option Assembler, nous vous recommandons d'utiliser uniquement une seule option Assembler pour éviter des conflits lors de l'impression, c-à-d., assembler dans le logiciel ou assembler dans le pilote d'imprimante.
Les instructions suivantes permettent de sélectionner l'assemblage par le biais d'un pilote d'imprimante.
- Ouvrez le fichier dans l'application.
- Sélectionnez File (Fichier) → Print (Imprimer).
- Dans la boîte de dialogue Print (Imprimer), cliquez sur le pilote PCL approprié.
- Cliquez sur Properties (Propriétés) ou Setup (Configuration) ou l'option équivalente de l'application utilisée.
- Dans l'onglet Job Options (Options de travaux), sous Job Type (Type de travail), entrez le nombre d'exemplaires requis. Uniquement lorsque l'application ne comporte pas d'options d'assemblage - Sélectionnez Collate (Assembler).


- Cliquez sur [OK]. Imprimez ensuite le document.
Postscript uniquement
- Cliquez sur Start [Démarrer] → Settings [Paramètres] → Printers [Imprimantes].
- Cliquez avec le bouton droit de la souris sur le pilote PS approprié.
- Cliquez sur Properties (Propriétés) ou Setup (Configuration) ou l'option équivalente de l'application utilisée.
- Cliquez sur l'onglet Fonts (Polices).
- Sélectionnez le type de substitution de police parmi les options offertes.
Pour des informations, consultez l'écran d'aide en ligne.
- Cliquez sur OK pour valider les nouveaux paramètres et fermer la boîte de dialogue Properties (Propriétés).

Utilisation
Tirage d'épreuve permet d'imprimer un seul exemplaire d'un document pour le vérifier avant d'en imprimer plusieurs exemplaires.
- L'imprimante doit être pourvue d'un disque dur interne pour pouvoir mettre le travail d'impression en file d'attente avant l'impression définitive.
- Si la mémoire du disque dur est insuffisante pour assurer le volume de données en file d'attente, DISK FULL [DISQUE PLEIN] s'affiche et un seul exemplaire est imprimé.
- Si le logiciel utilisé comporte une option Assembler, elle doit être invalidée, de façon à ce que la fonction Tirage d'épreuve s'exécute correctement.
- La fonction Tirage d'épreuve n'est peut-être pas disponible dans certains logiciels.
- Ouvrez le fichier dans l'application et sélectionnez File (Fichier) → Print (Imprimer).
- Dans la boîte de dialogue Print (Imprimer), cliquez sur le pilote approprié.
- Cliquez sur Properties (Propriétés) ou Setup (Configuration) ou l'option équivalente de l'application utilisée.
- Cliquez sur l'onglet Job Options (Options de travail).
- Entrez le nombre d'exemplaires.
- Le cas échéant, sélectionnez Collate (Assembler).


- Dans Job Type [Type de travail], Sélectionnez Proof and Print [Tirage d'épreuve].
- Entrez un nom de travail comptant 16 caractères dans Job Name Setting [Nom de travail].
- Cochez au besoin Request Job Name for each print job [Demande de nom de travail pour chaque travail d'impression].


- Entrez un code d'identification personnel à quatre chiffres. Utilisez des caractères numériques compris entre 0000 et 7777.
- Cliquez sur [OK].


- Cliquez sur [OK] pour fermer la boîte de dialogue Propriétés.
- Imprimez ensuite le document.
Imprimez le document depuis le logiciel utilisé.
Un seul exemplaire du document est imprimé pour être vérifié.
- Une fois la vérification terminée, vous pouvez imprimer ou supprimer les autres exemplaires (s'ils sont incorrects), en suivant les procédures indiquées ci-dessous.
Impression d'exemplaires
- Appuyez sur MENU pour accéder au PRINT JOBS MENU (MENU IMPRIMER TRAVAUX).
- Appuyez sur SELECT.
- Entrez le code personnel en utilisant les boutons du tableau de commande de l'imprimante.
- Appuyez sur VALUE jusqu'à ce que ALL JOBS (TOUS LES TRAVAUX) ou le nom du travail requis s'affiche.
- Appuyez sur SELECT pour sélectionner le travail d'impression et imprimez les autres exemplaires du document.
Une autre méthode d'impression ou de suppression des copies de document restantes consiste à utiliser l'utilitaire Storage Device Manager (Gestionnaire des unités de mémoire).
Pour plus d'informations, consultez l'aide en ligne pour Storage Device Manager.
Suppression d'exemplaires
- Appuyez sur MENU pour accéder au PRINT JOBS MENU (MENU IMPRIMER TRAVAUX).
- Appuyez sur SELECT.
- Entrez le code personnel en utilisant les boutons du tableau de commande de l'imprimante.
- Appuyez sur VALUE jusqu'à ce que ALL JOBS (TOUS LES TRAVAUX) ou le nom du travail requis s'affiche.
- Appuyez sur le bouton CANCEL pour supprimer les autres exemplaires du document.
- Lorsque le message de validation suppression apparaît, validez-le en appuyant sur le bouton SELECT.
Une autre méthode d'impression ou de suppression des copies de document restantes consiste à utiliser l'utilitaire Storage Device Manager (Gestionnaire des unités de mémoire).
Pour plus d'informations, consultez l'aide en ligne pour Storage Device Manager.
Utilisation
L'impression sécurisée ou l'impression avec des mots de passe permet de sortir les documents confidentiels sur les imprimantes qui sont partagées avec d'autres utilisateurs.
- L'imprimante doit être poursuivie d'un disque dur interne pour pouvoir mettre le travail d'impression en file d'attente avant l'impression définitive.
- Si la mémoire du disque dur est insuffisante pour contenir le volume de données en file d'attente, DISQUE PLEIN s'affiche et un seul exemplaire est imprimé.
- Si le calculateur compte une option Assembler, elle doit être invalidée, de façon à ce que la fonction Impression sécurisée s'exécute correctement.
- La fonction Impression sécurisée n'est peut-être pas disponible dans certains logiciels.
- Ouvrez le fichier dans l'application.
- Sélectionnez File (Fichier) → Print (Imprimer).
- Dans la boîte de dialogue Print (Imprimer), cliquez sur le pilote approprié.
- Cliquez sur Properties (Propriétés) ou Setup (Configuration) ou l'option équivalente de l'application utilisée.
- Cliquez sur l'onglet Job Options (Options de travail).
Si vous avez déjà stocké un document sur le disque dur à l'aide de la fonction d'impression sécurisée et que ce document n'a pas été imprimé, cliquez sur le bouton PIN (NIP) et entrez un nouveau nom de travail.
- Entrez le nombre d'exemplaires requis.
- Le cas échéant, cochez la case Collate (Assembler).
- Dans Job Type [Type De Travail], Sélectionnez Secure Print [Impression Sécurisée].
- Entrez un nom de travail comptant 16 caractères dans Job Name [Nom De Travail].
- Cochez au besoin Request Job Name for each print job [Demande de nom de travail pour chaque travail d'impression].


- Entrez un code d'identification personnel à quatre chiffres, en utilisant des caractères numériques compris entre 0000 et 7777. Cliquez sur [OK].


- Cliquez sur [OK] pour fermer la boîte de dialogue Propriétés.
- Imprimez ensuite le document. Imprimez le document depuis le logiciel utilisé.
- Vous pouvez imprimer. Supprimer le travail d'impression en suivant la procédure indiquée ci-dessous.
Impression
- Appuyez sur MENU pour accéder au PRINT JOBS MENU (MENU IMPRIMER TRAVAUX).
- Appuyez sur SELECT.
- Entrez le code personnel en utilisant les boutons du tableau de commande de l'imprimante.
- Appuyez sur VALUE jusqu'à ce que ALL JOBS (TOUS LES TRAVAUX) ou le nom du travail requis s'affiche.
- Appuyez sur SELECT
Le document s'imprime puis est effacé du disque dur de l'imprimante.
Une autre méthode d'impression ou de suppression des copies de document restantes consiste à utiliser l'utilitaire Storage Device Manager (Gestionnaire des unités de mémoire).
Pour plus d'informations, consultez l'aide en ligne pour Storage Device Manager.
Suppression
- Appuyez sur le bouton MENU pour accéder au PRINT JOBS MENU (MENU IMPRIMER TRAVAUX).
- Appuyez sur le bouton SELECT.
- Entrez le code personnel en utilisant les boutons du tableau de commande de l'imprimante.
- Appuyez sur le bouton VALUE jusqu'à ce que ALL JOBS (TOUS LES TRAVAUX) ou le nom du travail requis s'affiche.
- Appuyez sur le bouton CANCEL pour sélectionner le travail d'impression et le supprimer de l'imprimante.
Une autre méthode d'impression ou de suppression des copies de document restantes consiste à utiliser l'utilitaire Storage Device Manager (Gestionnaire des unités de mémoire).
Pour plus d'informations, consultez l'aide en ligne pour Storage Device Manager.
Conserver le document
La fonction Enregistrer sur le disque dur (mise en file d'attente des travaux) permet d'enregistrer temporairement les travaux d'impression sur le disque dur avant de les imprimer. Cette fonction est utile pour les formulaires, les notes génériques, le papier à lettres, etc.
- L'imprimante doit être pourvue d'un disque dur interne pour pouvoir mettre le travail d'impression en file d'attente avant l'impression définitive afin de permettre le spooling du travail avant son impression finale.
- Si la mémoire du disque dur est insuffisante pour contenir le volume de données en file d'attente, DISQUE PLEIN s'affiche et un seul exemplaire est imprimé.
- Si le logiciel utilisé comporte une option Assembler, elle doit être invalidée, de façon à ce que la fonction Enregistrer sur le disque dur s'exécute correctement.
- La fonction Enregistrer sur le disque dur n'est peut-être pas disponible dans certains logiciels.
- Ouvrez le fichier dans l'application.
- Sélectionnez File (Fichier) → Print (Imprimer).
- Dans la boîte de dialogue Print (Imprimer), cliquez sur le pilote approprié.
- Cliquez sur Properties (Propriétés) ou Setup (Configuration) ou l'option équivalente de l'application utilisée.
- Cliquez sur l'onglet Job Options (Options de travail).


Si vous avez déjà stocké un document sur le disque dur à l'aide de la fonction d'impression sécurisée et que vous désirez en stocker un autre, cliquez sur le bouton PIN (NIP) et entrez un nouveau nom de travail.
- Sous Job Type (Type de travail), sélectionnez Store to HDD (Stocker sur disque dur).
- Entrez le nombre d'exemplaires requis.
- Le cas échéant, cochez la case Collate (Assembler).
- Entrez un nom de travail comptant 16 caractères dans Job Name [Nom De Travail].
- Cochez au besoin Request Job Name for each print job [Demande de nom de travail pour chaque travail d'impression].
PostScript Driver
PCL Driver
- Entrez un code d'identification personnel à quatre chiffres, en utilisant des caractères numériques compris entre 0000 et 7777.
- Cliquez sur [OK].
PostScript Driver
PCL Driver
- Cliquez sur [OK] pour fermer la boîte de dialogue Propriétés.
- Imprimez ensuite le document. Imprimez le document depuis le logiciel utilisé.
- Vous pouvez imprimer et supprimer le travail d'impression en suivant la procédure indiquée ci-dessous.
Impression d'exemplaires
- Appuyez sur le bouton MENU pour accéder au PRINT JOBS MENU (MENU IMPRIMER TRAVAUX),
- Appuyez sur le bouton SELECT.
- Entrez le code personnel en utilisant les boutons du tableau de commande de l'imprimante.
- Appuyez sur le bouton VALUE jusqu'à ce que ALL JOBS (TOUS LES TRAVAUX) ou le nom du travail requis s'affiche.
- Appuyez sur le bouton SELECT et imprimez du document.
Une autre méthode d'impression ou de suppression des copies de document restantes consiste à utiliser l'utilitaire Storage Device Manager (Gestionnaire des unités de mémoire).
Pour plus d'informations, consultez l'aide en ligne pour Storage Device Manager.
Suppression d'exemplaires
- Appuyez sur le bouton MENU pour accéder au PRINT JOBS MENU (MENU IMPRIMER TRAVAUX).
- Appuyez sur le bouton SELECT.
- Entrez le code personnel en utilisant les boutons du tableau de commande de l'imprimante.
- Appuyez sur le bouton VALUE jusqu'à ce que ALL JOBS (TOUS LES TRAVAUX) ou le nom du travail requis s'affiche.
- Appuyez sur le bouton CANCEL [ANNULER] pour supprimer les autres exemplaires du document.
- Lorsque le message de confirmation Suppression apparait, validez-le en appuyant sur le bouton SELECT.
Une autre méthode d'impression ou de suppression des copies de document restantes consiste à utiliser l'utilitaire Storage Device Manager (Gestionnaire des unités de mémoire).
Pour plus d'informations, consultez l'aide en ligne pour Storage Device Manager.
Impression de posters
Cette option vous permet de configurer et d'imprimer des posters. Ce processus divise une page document en plusieurs parties. Chaque partie est imprimée agrandie sur une page. Ces pages distinctes peuvent ensuite être combinées pour créer une affiche.
L'impression de posters n'est disponible que avec un pilote d'imprimante PCL.
- Ouvrez le fichier dans l'application.
- Sélectionnez File (Fichier) → Print (Imprimer).
- Dans la boîte de dialogue Print (Imprimer), cliquez sur le pilote PCL approprié.
- Cliquez sur Properties (Propriétés) ou Setup (Configuration) ou l'option équivalente de l'application utilisée.
- Cliquez Setup [Configuration].
- Dans Finishing Mode [Mode de finition], Sélectionnez PosterPrint [Impression de posters].

- Cliquez sur Options... [Options].
- Saisissez les paramètres de configuration du poste.

- Cliquez deux fois sur [OK].
- Cliquez sur [OK].
- Imprimez ensuite le document.
Pilotes d'imprimante
Consultez le Guide d'installation des logiciels imprimé pour obtenir plus d'informations sur l'installation des pilotes d'imprimante.
Choix d'un pilote d'imprimante
Votre imprimante est livrée avec les pilotes Windows pour PCL et PostScript (PS). Vous pouvez installer l'un d'eux ou les deux si vous le souhaitez. Le besoin du pilote dépend de l'application.
- Si vous utilisez les polices TrueType et vous n'imprimez pas de graphiques PostScript (y compris les fichiers ".eps"), CHOISSEZ le pilote PCL. Il sera plus performant et vous donnera des résultats.
- Si vous utilisez les polices PostScript ou si vous imprimez des graphiques PostScript, CHOISSEZ le pilote PostScript. Dans ce cas, l'impression sera plus rapide et la qualité d'impression des graphiques sera optimale.
Les graphiques en mode trait contenus dans ce manuel sont de type PostScript. Par conséquent, si vous prévoyez d'imprimer des parties de ce manuel, CHOISSEZ le pilote PostScript. Sinon, les graphiques en mode trait ne s'imprimeront qu'à une basse résolution.
Si vos applications varient tellement qu'aucun des deux pilotes ne semble couvrir tous vos besoins, vous pouvez installer les deux. Si vous installez les deux pilotes, il suffit de sélectionner le même port d'imprimante (LPT1 ou Port réseau) durant l'installation.
Ensuite, sélectionnez comme pilote Windows par défaut, celui que vous prévoyez d'utiliser la plupart du temps. La plupart des applications vous permettent de choisir une imprimante différente dans la boîte de dialogue d'impression, de façon à ce que vous puissiez effectuer un tirage, en utilisant l'autre pilote, lorsque vous en avez besoin.
Postscript uniquement
Certaines options, notamment la mémoire supplémentaire, l'unité duplex (recto verso) et les bacs supplémentaires, peuvent être installées sur l'imprimante.
Avant d'utiliser l'imprimante, ces options doivent être activées dans le ou les pilotes d'imprimante. Cette étape n'est requise qu'une seule fois.
La capacité de la mémoire du pilote d'imprimante PostScript de Windows doit être modifiée de la façon suivante :
- Cliquez sur Start [Démarrer] → Settings [Paramètres] → Printers [Imprimantes].
- Mettez en surbrillance le nom de l'imprimante.
- Cliquez sur File [Fichier] puis sur Properties [Propriétés].
- Cliquez sur l'onglet Device Settings [Options du dispositif].
- Sous Installable Options (Options installables), cliquez sur Memory Configuration (Configuration mémoire).
- Sélectionnez la mémoire dans la liste déroulante correspondant à la mémoire installée dans l'imprimante, tel qu'indiqué dans le document MenuMap (Liste des menus).
Pour générer ce document, voir « Paramètres de l'imprimante (Paramètres du menu) » page 82.
- Cliquez sur [OK]. Fermez la boîte de dialogue Imprimante.

Disque dur interne
Certaines options, notamment la mémoire supplémentaire, l'unité duplex (recto verso) et les bacs supplémentaires, peuvent être installées sur l'imprimante.
Avant d'utiliser l'imprimante, ces options doivent être activées dans le ou les pilotes d'imprimante. Cette étape n'est requise qu'une seule fois.
- Cliquez sur Start [Démarrer] → Settings [Paramètres] → Printers [Imprimantes].
- Mettez en surbrillance le nom de l'imprimante.
- Cliquez sur Fichier puis sur Propriétés.
- Cliquez sur l'onglet Device Settings [Options du dispositif].
- Dans Installable Options (Options installables), assurez-vous que Hard Disk (Disque dur) est défini sur Installed (Installé).
- Cliquez sur [OK]. Fermez la boîte de dialogue Imprimante.

Disque dur interne
Certaines options, notamment la mémoire supplémentaire, l'unité duplex (recto verso) et les bacs supplémentaires, peuvent être installées sur l'imprimante.
Avant d'utiliser l'imprimante, ces options doivent être activées dans le ou les pilotes d'imprimante. Cette étape n'est requise qu'une seule fois.
- Cliquez sur Start [Démarrer] → Settings [Paramètres] → Printers [Imprimantes].
- Mettez en surbrillance le nom de l'imprimante.
- Cliquez sur Fichier puis sur Propriétés.
- Cliquez sur l'onglet Device Settings [Options du dispositif].
- Cochez Printer Hard Disk [Disque dur d'imprimante].
- Cliquez sur [OK]. Fermez la boîte de dialogue Printer (Imprimante).

Bacs à papier supplémentaires
Certaines options, notamment la mémoire supplémentaire, l'unité duplex (recto verso) et les bacs supplémentaires, peuvent être installées sur l'imprimante.
Avant d'utiliser l'imprimante, ces options doivent être activées dans le ou les pilotes d'imprimante. Cette étape n'est requise qu'une seule fois.
- Cliquez sur Start [Démarrer] → Settings [Paramètres] → Printers [Imprimantes].
- Mettez en surbrillance le nom de l'imprimante.
- Cliquez sur Fichier puis sur Propriétés.
- Cliquez sur l'onglet Device Settings [Options du dispositif].
- Dans Installable Options [Options installables], clique sur Available Trays [Bac disponible].
- Sélectionnez le nombre de bacs installés (bac multifonction non inclus) de la liste « Change "Available Tray" Setting » (Modifier le paramètre "Bac disponible").
- Cliquez sur [OK]. Fermez la boîte de dialogue Printer (Imprimante).

Bacs à papier supplémentaires
Certaines options, notamment la mémoire supplémentaire, l'unité duplex (recto verso) et les bacs supplémentaires, peuvent être installées sur l'imprimante.
Avant d'utiliser l'imprimante, ces options doivent être activées dans le ou les pilotes d'imprimante. Cette étape n'est requise qu'une seule fois.
- Cliquez sur Start [Démarrer] → Settings [Paramètres] → Printers [Imprimantes].
- Mettez en surbrillance le nom de l'imprimante.
- Cliquez sur Fichier puis sur Propriétés.
- Cliquez sur l'onglet Device Settings [Options du dispositif].
- Faites passer le nombre de Available Trays [Bac disponible] (bac multifonction non inclus).
- Cliquez sur [OK]. Fermez la boîte de dialogue Printer (Imprimante).

Unité duplex
Certaines options, notamment la mémoire supplémentaire, l'unité duplex (recto verso) et les bacs supplémentaires, peuvent être installées sur l'imprimante.
Avant d'utiliser l'imprimante, ces options doivent être activées dans le ou les pilotes d'imprimante. Cette étape n'est requise qu'une seule fois.
- Cliquez sur Start [Démarrer] → Settings [Paramètres] → Printers [Imprimantes].
- Mettez en surbrillance le nom de l'imprimante.
- Cliquez sur Fichier puis sur Propriétés.
- Cliquez sur l'onglet Device Settings [Options du dispositif].
- Dans Installable Options [Options installables], assurez-vous que Duplex (Recto verso) est défini sur Installed (Installé).
- Cliquez sur [OK]. Fermez la boîte de dialogue Printer (Imprimante).

Unité duplex
Certaines options, notamment la mémoire supplémentaire, l'unité duplex (recto verso) et les bacs supplémentaires, peuvent être installées sur l'imprimante.
Avant d'utiliser l'imprimante, ces options doivent être activées dans le ou les pilotes d'imprimante. Cette étape n'est requise qu'une seule fois.
- Cliquez sur Start [Démarrer] → Settings [Paramètres] → Printers [Imprimantes].
- Mettez en surbrillance le nom de l'imprimante.
- Cliquez sur Fichier puis sur Propriétés.
- Cliquez sur l'onglet Device Settings [Options du dispositif].
- Cochez Duplex Unit [Unité Duplex optionnelle].
- Cliquez sur [OK]. Fermez la boîte de dialogue Imprimante.

Paramètres par défaut
Le paramètre par défaut de ces options est Automatique.
Si les paramètres d'imprimante sélectionnés manuellement diffèrent de ceux sélectionnés dans le pilote d'imprimante.
L'imprimante n'imprimera pas et l'affichage indiquera un message d'erreur.
Les instructions suivantes du pilote de l'imprimante seront uniquement indicatives. La sélection des options Alimentation du papier, Format et Support est requise dans le logiciel (Mise en page).
- Cliquez sur Start [Démarrer] → Settings [Paramètres] → Printers [Imprimantes].
- Cliquez avec le bouton droit de la souris sur le nom de l'imprimante.
- Sélectionnez Documents Defaults (Valeurs par défaut du document).
Important!
Si vous utilisez un support épais, des transparents, des enveloppes ou des étiquettes, assurez-vous d'ouvrir la sortie arrêtée avant de lancer l'impression :
Pour l'impression face vers le haut (droite), assurez-vous que le bac de sortie arrêté face vers le haut est ouvert et que le guide papier est déployé.
Le papier est empilé en ordre inverse - Une capacité d'un bac allant jusqu'à 100 feuilles, dépendant du grammage du papier.

- Dans l'onglet Advanced (Avancé), sous Document Options (Options du document) → Paper/Output (Support/Sortie) cliquez sur Paper Source (Source support).
- Dans la liste déroulante Change 'Paper Source' Setting (Modifier le paramètre Source support) sélectionnez l'alimentation support.

- Cliquez sur Paper Size (Format support).
- Dans la liste déroulante Change 'Paper Size' Setting (Modifier le paramètre Format support) sélectionnez le format.

- Cliquez sur Media Type (Type de support).
- Dans la liste déroulante Change 'Media Type' Setting (Modifier le paramètre Type de support), sélectionnez le support.
- Cliquez deux fois sur [OK]. Fermez la boîte de dialogue Printer (Imprimante).

Paramètres par défaut
- Cliquez sur Start [Démarrer] → Settings [Paramètres] → Printers [Imprimantes].
- Cliquez avec le bouton droit de la souris sur le nom de l'imprimante.
- Sélectionnez Documents Defaults (Valeurs par défaut du document).
- Dans l'onglet Setup (Configuration), sous Media (Support), dans la liste déroulante Size (Format), Sélectionnez le format de support requis.

- Dans Source [Source], Sélectionnez l'option d'alimentation du papier requise.

- Lorsqu'un bac à papier est sélectionné, le champ Weight (Grammage) s'affiche.
- Sélectionnez le grammage du papier requis dans Weight [Grammage].

Si Printer Setting [Option Imprimante] est sélectionnée, assurez-vous que l'imprimante a été réglée sur le bon type de support.
Si une boîte de dialogue s'affiche et indique un conflit de paramètres, cliquez sur OK pour que le pilote effectue automatiquement toute modification requise pour régler le conflit.
- Cliquez sur Paper Feed Options [Options d'alimentation du papier] et faites les autres sélections requises.
- Cliquez sur [OK].

- Cliquez deux fois sur [OK]. Fermez la boîte de dialogue « Default » (Défaut).
Important!
Si vous utilisez un support épais, des transparents, des enveloppes ou des étiquettes, assurez-vous d'ouvrir la sortie arrière avant de lancer l'impression :
Pour l'impression face vers le haut (droit), assurez-vous que le bac de sortie arrêté face vers le haut est ouvert et que le guide papier est déployé.
- Le papier est empilé en ordre inverse
- Une capacité de bac allant jusqu'à 100 feuilles, dépendant du grammage du papier.

État de l'imprimante réseau
- Disponible uniquement pour les connexions réseau TCP/IP.
L'utilitaire Network Printer Status (État de l'imprimante réseau) est disponible s'il a été installé par l'administrateur du système. Lorsqu'il est installé, la boîte de dialogue Properties [Propriétés] du pilote d'imprimante compte les modifications suivantes :
- un nouvel onglet Status [État] est ajouté
- Un bouton Option [Option] est ajouté dans l'onglet Device Option [Options du dispositif].
Cet usage permet de visualiser (mais de ne pas modifier) l'état des dispositifs suivants dans l'onglet Status [État]:
- bacs à papier installés et supports assignés à ceux-ci. - taille totale et pourcentage utilisé du disque/mémoire.
- pourcentage de toner restant.
Important!
Si vous avez sélectionné Automatic Status Update [Mise à jour automatique de l'État] dans l'onglet Status [État], le pilote interroge automatiquement l'imprimante pour obtenir les plus récentes informations d'État chaque fois que vous ouvrez la boîte de dialogue Properties [Propriétés]. Cela peut entraîner un décalage lors de l'ouverture de la boîte de dialogue Propriétés. Pour éviter cela, utilisez le bouton Update Status [Mettre l'État à jour] de Status [État] pour mettre à jour manuellement les informations d'État affichées.
Utilisation
La plupart des applications permettent d'accéder aux propriétés de l'imprimante depuis le dialogue d'impression du document.
- comment configurer l'impression couleur et
- Comment utiliser les fonctions de l'imprimante, notamment :
Les caractéristiques de l'imprimante sont couvertes dans cette section.
Pages multiples sur une seule feuille : voir page 423 - Formats de page personnels : voir page 426 - Résolution d'impression : voir page 436 - Impression duplex : voir page 438 - Impression de livrets : voir page 445 - Impression de filigranes : voir page 448 - Assemblage : voir page 450 - Tirage d'épreuve : voir page 451 - Impression sécurisée : voir page 456 - Enregistrement sur le disque dur : voir page 462 - Impression de posters : voir page 467
Généralités
Les pilotes PCL et PostScript livrés avec cette imprimante fournissent plusieurs commandes permettant de modifier la couleur imprimée sur papier. Les paramètres par défaut Auto suffiront pour un usage général et donneront de bons résultats pour la plupart des documents.
La plupart des applications ont leurs propres paramètres couleur qui remplaçeront les paramètres existants dans le pilote d'imprimante. Reportez-vous à la documentation de votre logiciel pour toutes précisions sur le mode de gestion des couleurs de cette application.
Si vous souhaitez ajuster manuellement les paramètres couleur de votre pilote d'imprimante, sachez que la reproduction des couleurs est un sujet complexe et qu'il faut tenir compte de nombreux facteurs. Certains des facteurs les plus importants sont indiqués ci-dessous.
Certains des facteurs les plus importants sont indiqués ci-dessous
- Les différences de reproduction entre la gamme des couleurs d’un moniteur et celle d’une imprimante
- Conditions de visualisation
- Paramètres couleur du pilote d'imprimante
- Options du moniteur Mode d'affichage de la couleur du logiciel
- Type de papier
Couleurs d'un moniteur c. celle d'une imprimante
Les différences de reproduction entre la gamme des couleurs d'un moniteur et celle d'une imprimante
- Ni une imprimante ni un moniteur ne peut reproduire toute la gamme des couleurs visibles à l'œil nu. Chaque dispositif est limité à une certaine gamme de couleurs. En outre, une imprimante ne peut reproduire toutes les couleurs affichées à l'écran d'un moniteur et vice versa.
- Les deux périphériques utilisent des technologies très différentes pour représenter la couleur. Un moniteur utilise les luminophores rouge, vert et bleu (RGB) (ou affichage à cristaux liquides), une imprimante utilise les toners ou les encres cyan, jaune, magenta et noir (CMJN).
- Un moniteur peut afficher des couleurs très vives telles que les rouges et bleus intenses et celles-ci peuvent être reproduites aisément sur n'importe quelle imprimante utilisant un toner ou de l'encre. De façon similaire, certaines couleurs (certains jaunes par exemple) peuvent être imprimées mais ne peuvent être affichées avec précision à l'écran d'un moniteur. Cette disparité entre les moniteurs et les imprimantes est souvent la principale raison pour laquelle les couleurs sur papier ne concordent pas avec celles affichées à l'écran.
Conditions de visualisation
Une épreuve peut paraître très différente dans différentes conditions d'éclairage. Par exemple, les couleurs d'une épreuve peuvent sembler différentes lorsque vous les regardez à côté d'une fenêtre éclairée par le soleil ou sous l'éclairage fluorescent standard d'un bureau.
Paramètres de couleur du pilote d'imprimante
Les paramètres du pilote relatifs au réglage manuel de la couleur peuvent modifier l'apparence d'une épreuve. Il existe plusieurs options disponibles pour faciliter la concordance des couleurs sur papier avec celles affichées à l'écran. Ces options sont décrites plus loin dans les sections du Manuel de l'utilisateur.
Options du moniteur
Les commandes de luminosité et de contraste de votre moniteur peuvent modifier l'apparence de votre document à l'écran. En outre, la température des couleurs de votre moniteur influe sur l'apparence "chaude" ou "froide" des couleurs à l'écran.
Plusieurs des options de colorimétrie font référence à la température de la couleur de votre moniteur. De nombreux moniteurs modernes permettent d'ajuster la température de la couleur à l'aide du panneau de configuration du moniteur.
Plusieurs options sont proposées sur un moniteur type :
- 5000 k
Option la plus chaude ; éclairage tirant sur le jaune, utilisation spécifique dans l'art graphique.
- 6500 k
Plus froid ; se rapproche de l'éclairage à la lumière du jour.
9300k
Option froide ; l'option par défaut pour de nombreux moniteurs et postes de télévision.
\( k = \text{degrés Kelvin, une mesure de la température} \)
Mode d'affichage de la couleur du logiciel
Certaines applications graphiques telles que Corel Draw ou Adobe Photoshop peuvent afficher la couleur d’une manière différente des applications de bureautique telles que Microsoft Word. Pour plus d’informations, consultez l’aide en ligne de votre application ou le manuel d’utilisation.
Type de papier
Le type de papier utilisé peut également influer considérablement sur la couleur imprimée. Par exemple, un tirage sur du papier recyclé peut sembler plus terne que sur un papier glacé spécialement élaboré.
Colorimétrie choix d'une méthode
Ces méthodes sont proposées uniquement à titre d'indication. Vos résultats varieront en fonction de l'application que vous utilisez pour l'impression. Certaines applications réplacerezont les paramètres de colorimétrie du pilote d'imprimante sans le signaler.
Généralités
Il n'y a aucune façon correcte d'obtenir une bonne concordance entre l'affichage du document à l'écran de votre moniteur et sa version imprimée. Il existe de nombreux facteurs en jeu pour obtenir des couleurs précises et reproductibles.
Toutefois, les directives suivantes peuvent vous aider à obtenir de bons résultats d'impression en couleur.
Nous proposons plusieurs méthodes, en fonction du type de document que vous imprimez.
Certains des facteurs les plus importants sont indiqués ci-dessous
- Les différences de reproduction entre la gamme des couleurs d'un moniteur et celle d'une imprimante
- Conditions de visualisation
- Paramètres couleur du pilote d'imprimante
- Options du moniteur Mode d'affichage de la couleur du logiciel
- Type de papier
RVB Ou CMJN
Les directives permettant de choisir une méthode de colorimétrie distinguant les deux codages : Rouge, Vert, Bleu (RVB) et Cyan, Magenta, Jaune, Noir (CMJN).
De façon générale, la plupart des documents que vous imprimez seront dans le format RVB. C'est le format le plus courant ; si vous ne connaissiez pas le codage couleur de votre document, supposez que c'est le RVB.
Les documents CMJN ne sont pris en charge habituellement que dans les applications graphiques et de PAO professionnelle.
RVB uniquement
En général, la colorimétrie OKI est un bon choix. Sélectionne une méthode de colorimétrie qui convient à votre moniteur.
RVB Ou CMJN
Si vous imprimez des images photographiques depuis une application graphique telle que Adobe Photoshop, vous pouvez peut-être utiliser un tirage logiciel pour simuler l'image imprimée à l'écran de votre moniteur. À cette fin, vous pouvez utiliser les profils ICC fournis par OKI puis effectuer un tirage en vous servant d'eux comme Espace d'impression (Espace de sortie).
Concordance des couleurs spécifiques (par exemple, le logo d'une entreprise)
Colorimétrie OKI et option sRVB (Pilote PCL ou PS). Colorimétrie PostScript en utilisant l'option Colorimétrie absolue. - Utilisez l'utilitaire Nuancier de couleurs pour imprimer une charte de nuanciers RVB et entrez les valeurs RVB désirées dans le sélectionneur de couleurs de votre application (PS uniquement).
RVB Ou CMJN
- Si vous effectuez des tirages depuis une application graphique telle que Adobe Photoshop, utiliser la colorimétrie PostScript en sélectionnant l'option Colorimétrie absolue.
RVB uniquement
- Utilisez la Colorimétrie OKI en sélectionnant les options Moniteur 6500k Vivid, sRVB ou Appareil photo numérique (PCL ou PS).
RVB Ou CMJN
- Utilisez la Colorimétrie PostScript en sélectionnant l'option Saturation
Pilote PCL
Les options de colorimétrie du pilote PCL peuvent être utilisées pour faire correspondre les couleurs sur papier à celles affichées à l’écran de votre moniteur.
De par leur conception, les options couleur du pilote PCL ne sont valables qu'avec le codage RVB.
Pour les tirages CMJN, nous vous conseillons d'utiliser le pilote PostScript.
Pour régler manuellement les options couleur dans le pilote PCL :
- Cliquez sur Start [Démarrer] → Settings [Paramètres] → Printers [Imprimantes].
- Cliquez avec le bouton droit de la souris sur le nom de l'imprimante.
- Sélectionnez Document Defaults (Valeurs par défaut du document).
- Cliquez sur l'onglet Color [Couleur].

- Sous Mode couleur, clique sur Couleur manuelle
- Sous Color Setting (Configuration couleur), clique sur Natural (Naturelle).

- Choisissez l'une des options suivantes :
Moniteur (6500K) perceptuel
Optimisée pour l'impression de photographies lorsque vous utilisez un moniteur dont la température des couleurs est de 6500 K.
Moniteur (6500K) vivid
Optimisée pour l'impression de couleurs vives lorsque vous utilisez un moniteur dont la température des couleurs est de 6500 K. Idéale pour les graphiques professionnels.
Moniteur (9300K)
Optimisée pour l'impression de photographies lorsque vous utilisez un moniteur dont la température des couleurs est de 9300 K.
Appareil photo numérique
Optimisée pour l'impression de photographies prises avec un appareil photo numérique. Cette option a tendance à produire des épreuves aux couleurs plus claires et plus vives. Pour certaines photographies, les autres options peuvent être plus performantes, en fonction des sujets et des conditions de prise de vue.
Optimisée pour faire correspondre des couleurs spécifiques, telles que la couleur du logo d'une entreprise.
Les couleurs de la gamme de l'imprimante sont imprimées sans modification ; les couleurs modifiées sont seulement celles qui sont en dehors de la gamme de l'imprimante.
- Définissez tout autre paramètre requis.
Consultez l'aide en ligne pour obtenir de l'aide.
- Lorsque terminé, cliquez sur OK.
Fermez la boîte de dialogue Document Defaults (Valeurs par défaut du document).
Nuancier de couleurs
Vous pouvez les utiliser pour sélectionner des couleurs spécifiques dans les applications qui vous permettent de définir vos propres valeurs RVB.
La fonction Nuancier de couleurs d'impression vous permet d'imprimer des chartes qui contiennent une gamme de couleurs types. Les valeurs correspondantes RVB (Rouge, Vert, Bleu) sont indiquées sous chaque couleur type.
Voici un exemple d'utilisation de la fonction :
Vous souhaitez imprimer un logo dans une teinte particulière de rouge. Suivez les étapes ci-après :
- Cliquez sur Start [Démarrer] → Settings [Paramètres] → Printers [Imprimantes].
- Cliquez avec le bouton droit de la souris sur le nom de l'imprimante.
- Sélectionnez Documents Defaults (Valeurs par défaut du document).
- Cliquez sur l'onglet Color [Couleur].
- Cliquez sur le bouton Color Swatch (Tableau de nuanciers) pour imprimer des échantillons des tableaux de nuanciers.
- Imprimez un nuancier de couleurs puis sélectionnez la teinte de rouge qui est la plus adaptée à vos besoins. Prenez note de la valeur RVB indiquée sous la teinte de votre choix.
- À l'aide du sélectionneur de couleurs de votre programme, entrez les valeurs RVB relevantes à l'étape 5 et modifiez le logo de cette couleur.
La couleur RVB affichée à l'écran de votre moniteur ne concorde pas nécessairement avec celle du nuancier de couleurs sur papier. Le cas échéant, cette non-concordance est due à la différence de reproduction des couleurs entre le moniteur et l'imprimante.
Choix d'une méthode
Le pilote PostScript offre plusieurs méthodes de contrôle de la couleur sur papier, soit par l'imprimante.
Pour régler manuellement les options :
- Cliquez sur Start [Démarrer] → Settings [Paramètres] → Printers [Imprimantes].
- Cliquez avec le bouton droit de la souris sur le nom de l'imprimante.
- Sélectionnez Documents Defaults (Valeurs par défaut du document).
- Cliquez sur l'onglet Color [Couleur].

- Sous Color Mode (Mode couleur), dans la liste déroulante Color Control Method (Méthode de contrôle couleur), sélectionnez la méthode à utiliser :
a. OKI Color Control (Contrôle couleur OKI)
C'est le système de colorimétrie propre à OKI.
S'applique uniquement au codage RVB.
b. PostScript Color Control (Contrôle couleur PostScript)
Elle utilise les dictionnaires des rendus des couleurs PostScript intégrés à l'imprimante.
S'applique aux codages RVB et CMJN.
c. No Color Matching (Aucune concordance des couleurs)
Utilisez cette option pour désactiver toute concordance des couleurs de l'imprimante.
d. Impression en échelle de gris
Cette option permet d'imprimer tous les documents en monochrome.
OKI color control (contrôle couleur OKI)
C'est le système de colorimétrie propre à OKI et s'applique uniquement au codage RVB.
Déclarez la méthode à utiliser dans la liste déroulante Configuration couleur:

Moniteur (6500K) perceptuel
Optimisée pour l'impression de photographies lorsque vous utilisez un moniteur dont la température des couleurs est de 6500 K.
Moniteur (6500K) vivid
Optimisée pour l'impression de couleurs vives lorsque vous utilisez un moniteur dont la température des couleurs est de 6500 K. Idéale pour les graphiques professionnels.
Moniteur (9300K)
Optimisée pour l'impression de photographies lorsque vous utilisez un moniteur dont la température des couleurs est de 9300 K.
Appareil photo numérique
Optimisée pour l'impression de photographies prises avec un appareil photo numérique. Cette option a tendance à produire des épreuves aux couleurs plus claires et plus vives. Pour certaines photographies, les autres options peuvent être plus performantes, en fonction des sujets et des conditions de prise de vue.
Optimisée pour faire correspondre des couleurs spécifiques, telles que la couleur du logo d'une entreprise.
Les couleurs de la gamme de l'imprimante sont imprimées sans modification; les couleurs modifiées sont seulement celles qui sont en dehors de la gamme de l'imprimante.
Contrôle couleur postscript
Elle utilise les dictionnaires des rendus des couleurs PostScript intégrés à l'imprimante et s'applique aux codages RVB et CMJN.
Dans la liste déroulante Rendering Intent (Objectif de rendu), sélectionnez le type de rendu.

Intentions de rendu
Lors de l'impression d'un document, une conversion se produit de l'espace couleur du document vers l'espace couleur de l'imprimante. Les intentions de rendu sont essentiellement un ensemble de règles qui déterminent le mode de conversion des couleurs.
Les intentions de rendu fournies par le pilote d'imprimante sont indiquées ci-dessous :
Choix optimal pour un usage général.
- Perceptuel
Choix optimal pour imprimer des photographies. Comprime la gamme source dans la gamme de l'imprimante tout en maintenant l'apparence globale d'une image. L'apparence globale d'une image peut être modifiée étant donné que toutes les couleurs sont décalées ensemble.
- Saturation
Choix optimal pour imprimer les couleurs lumineuses et saturées si vous ne vous souciez pas juste de la précision des couleurs. C'est donc le choix recommandé pour les graphiques, les tableaux, les schémas, etc... Établit une correspondance entre les couleurs entièrement saturées dans la gamme source et celles de la gamme de l'imprimante.
Colorimétrie relative
Convient au tirage d'images couleur CMJN sur une imprimante de bureau. Ressemble beaucoup à la colorimétrie absolue, excepté que la fonction compare le blanc de la source au blanc (généralement) du papier, c-à-d, à la différence de la colorimétrie absolue, cette fonction tente de tenir compte du blanc du papier.
Colorimétrie absolue
Option optimale pour imprimer les teintes et les couleurs unies, telles que les logos d'entreprise, etc... Fait correspondre exactement les couleurs communes aux deux dispositifs et sélectionne les couleurs équivalentes les plus proches pour celles extérieures à la gamme. Essaie d'imprimer le blanc tel qu'il apparaît à l'écran. Le blanc de
l’écran d’un moniteur est souvent très différent du blanc du papier, ce qui peut produire des dominances de couleur, particulièrement dans les parties plus claires d’une image.
Pages multiples sur une seule feuille
- Ouvrez le fichier dans l'application.
- Sélectionnez File (Fichier) → Print (Imprimer).
- Dans la boîte de dialogue Print (Imprimer), cliquez sur le pilote PS approprié.
- Cliquez sur Properties (Propriétés) ou Setup (Configuration) ou l'option équivalente de l'application utilisée.
- Dans l'onglet Advanced (Avancé), sous Document Options (Options du document) → Layout (Disposition), cliquez sur N-UP (N par page).
- Dans la liste Change 'N-UP' Setting (Modifier le paramètre N par page), sélectionnez le nombre de pages par feuille.

- Cliquez sur [OK]. Imprimez ensuite le document.
Pages multiples sur une seule feuille
- Ouvrez le fichier dans l'application.
- Sélectionnez File (Fichier) → Print (Imprimer).
- Dans la boîte de dialogue Print (Imprimer), cliquez sur le pilote PCL approprié.
- Cliquez sur Properties (Propriétés) ou Setup (Configuration) ou l'option équivalente de l'application utilisée.
- Dans Mode de finition, Sélectionnez le nombre de pages requis par feuille.

- Cliquez sur le bouton Options [Options].
- Sélectionnez la Page Borders [Bordure de Page], la Page Layout [Mise en Page] et les Bind Margin [Marges] que vous désirez.
- Cliquez sur [OK].
- Cliquez sur [OK]. Imprimez ensuite le document.

Formats de page personnels
Un format personnalisé peut être défini dans le pilote PostScript.
Les pages au format personnel ne peuvent être imprimées qu’à partir du bac multifonction (alimentation manuelle). Il est possible de sélectionner manuellement le paramètre Format de papier personnel de l’option Imprimante pour le bac multifonction, avant de procéder à l'impression.
Largeur: 3,5 po à 8,5 po [89 mm à 216 mm] - Longueur: 5 po à 14 po [127 mm à 356 mm]
- Ouvrez le fichier dans l'application.
- Sélectionnez File (Fichier) → Print (Imprimer).
- Dans la boîte de dialogue Print (Imprimer), cliquez sur le pilote approprié.
- Cliquez sur Properties (Propriétés) ou Setup (Configuration) ou l'option équivalente de l'application utilisée.
Important!
Si vous utilisez un support épais, des transparents, des enveloppes ou des étiquettes, assurez-vous d'ouvrir la sortie arrêtée avant de lancer l'impression :
Pour l'impression face vers le haut (droite), assurez-vous que le bac de sortie arrêté face vers le haut est ouvert et que le guide papier est déployé.
Le papier est empilé en ordre inverse - Une capacité d'un bac allant jusqu'à 100 feuilles, DEPENDiendo del grammage du papier.

- Dans l'onglet Advanced (Avancé), sous Document Options (Options du document) → Paper/Output (Support/Sortie), cliquez sur Paper Source (Source support)

- Dans la liste déroulante Change 'Paper Source' Setting (Modifier le paramètre Source support), sélectionnez Multi-Purpose Tray (Bac multifonction).
- Cliquez sur Paper Size (Format support).
- Dans la liste déroulante Change 'Paper Size' Setting (Modifier le paramètre Format support), sélectionnez Postscript Custom Page Size (Format de page personnalisé Postscript).

- Cliquez sur le bouton Edit Custom Paper (Modifier le format personnalisé).

- Entrez la largeur (Width) et la longueur (Height) du support personnalisé.
Plagede
Largeur: 3,5 po à 8,5 po [89 mm à 216 mm] - Longueur: 5 po à 14 po [127 mm à 356 mm]
- Sélectionnez la direction d'alimentation du support (Paper Feed Direction).
- Long Edge First (Côté long d'abord) = Support alimenté par le côté long
- Short Edge First (Côté court d'abord) = Support alimenté par le côté court
- Long Edge First (flipped) (Côté long d'abord (inversé)) = Réservé pour utilisation future.
- Short Edge First (flipped) (Côté court d'abord (inversé)) = Réservé pour utilisation future.
- Cliquez deux fois sur [OK]
- Imprimez ensuite le document.
Formats de page personnels
PCL
Il est possible de définir 32 formats de page personnels.
Les pages au format personnel ne peuvent être imprimées qu’à partir du bac multifonction (alimentation manuelle). Il est possible de sélectionner manuellement le paramètre Format de papier personnel de l’option Imprimante pour le bac multifonction, avant de procéder à l'impression.
Largeur : 3,5 po à 8,5 po [89 mm à 216 mm] - Longueur : 5 po à 14 po [127 mm à 356 mm]
Important!
Si vous utilisez un support épais, des transparents, des enveloppes ou des étiquettes, assurez-vous d'ouvrir la sortie arrière avant de lancer l'impression :
Pour l'impression face vers le haut (droite), assurez-vous que le bac de sortie arrêté face vers le haut est ouvert et que le guide papier est déployé.
Le papier est empilé en ordre inverse - Une capacité de bac allant jusqu'à 100 feuilles, dépendant du grammage du papier.

- Ouvrez le fichier dans l'application.
- Sélectionnez File (Fichier) → Print (Imprimer).
- Dans la boîte de dialogue Print (Imprimer), cliquez sur le pilote PCL approprié.
- Cliquez sur Properties (Propriétés) ou Setup (Configuration) ou l'option équivalente de l'application utilisée.
- Dans l'onglet Setup (Configuration), sous Media (Support), dans la liste déroulante Size (Format), Sélectionnez User Defined Size (Format défini par l'utilisateur).
La boîte de dialogue Set Free Size (Définir format) s'ouvre.

Un message d'advertisement peut s'afficher pour indiquer un conflit. Le cas échéant, cliquez sur OK pour que le pilote puisse effectuer automatiquement les modifications requises pour résoudre le conflit.
- Sélectionnez l'unité (Unit).
- Entrez ensuite la largeur (Width) et la longueur (Length). Plage de
Largeur: 3,5 po à 8,5 po [89 mm à 216 mm] - Longueur: 5 po à 14 po [127 mm à 356 mm]
- Cliquez sur [OK].
- De l'onglet Setup (Configuration), dans la liste Size (Format), s'affiche User Defined Size (Format défini par l'utilisateur).
Pour enregistrer les paramètres pour un usage ultérieur :
- Cliquez sur Paper Feed Options [Options d'alimentation du papier], Cliquez sur Custom Size [Format personnel].
- Sélectionnez l'unité (Unit). Entrez les informations appropriées dans Width [Largeur] et Height [Hauteur] et attribuez un nom à votre document dans Name [Nom].
- Cliquez sur Add [Ajouter].
- Cliquez deux fois sur [OK]. Le format de page personnel est ajusté au bas de la liste Format de papier.
- Cliquez deux fois sur [OK].
- Imprimez ensuite le document.
Modifier pour un travail d'impression
Pour modifier les paramètres afin que ces derniers soient utilisés pour tous les travaux (paramètres par défaut) :
- Cliquez sur Start [Démarrer] → Settings [Paramètres] → Printers [Imprimantes].
- Cliquez avec le bouton droit de la souris sur le nom de l'imprimante désiré.
- Sélectionnez Propriétés.
- Suivez l'objet 3 ci-dessous et les étapes suivantes. La fenêtre pour définir les paramètres par défaut compte des ontlets supplémentaires.
- Ouvrez le fichier dans l'application et sélectionnez File (Fichier) Print (Imprimer).
- Dans la boîte de dialogue Print (Imprimer), cliquez sur le pilote approprié.
- Cliquez sur Properties (Propriétés) ou Setup (Configuration) ou l'option équivalente de l'application utilisée.
- Cliquez sur l'onglet Job Options (Options de travail).
- Sélectionnez la résolution d'impression requise dans Quality [Qualité d'impression].
PostScript Driver
PCL Driver
- Sélectionnez Toner Saving [Économie de toner] le cas échéant.
- Cliquez sur [OK].
- Imprimez ensuite le document.
Impression duplex (impression recto verso sur les deux côtés d'une page)
PostScript Restrictions d'usage
L'unité duplex (optionnelle) doit être
- installée sur l'imprimante et
- activée avant de procéder à l'impression duplex.
- du papier de format standard,
- dont le grammase est compris entre 75 et 105g / m²
- Le papier doit être chargé dans le bac à papier, la face à imprimer en dessus.
- Utilisez n'importe lequel des bacs (bac 1, bac 2 et bac 3 optionnels) pour l'impression recto verso.
- Le bac multifonction ne peut pas être utilisé pour l'impression duplex.
- L'impression duplex ne peut pas être utilisée si le Poids en papier est réglé à Ultra Heavy (Très lourd).
Consultez Papier (Support), "Grammage et Type" à la page 71.
- Impression duplex ne peuvent pas etre utiliser si le White Page Skip (SAUTER PAGEBLANCHE) sont ACTIVE.
Consultez "SAUT DE PAGE BLANCHE (SUPPRIMER PAGES BLANCHES)" à la page 101 (Emulation PCL), page 103 (Emulation PPR), et page 106 (Emulation FX).
Modifier les paramètres lors de l'impression d'un travail
Pour modifier les paramètres afin que ces derniers soient utilisés pour tous les travaux (paramètres par défaut).
- Ouvrez le fichier dans l'application et sélectionnez File (Fichier) → Print (Imprimer).
- Dans la boîte de dialogue Print (Imprimer), cliquez sur le pilote PS approprié puis cliquez sur Properties (Propriétés) ou Setup (Configuration) ou l'option équivalente de l'application utilisée.
- Dans l'onglet Advanced (Avancé), sous Document Options (Options du document) → Layout (Disposition), cliquez sur 2-Sided Printing (Impression recto verso) puis
- sélectionnez Long Edge Binding (Reliure côte long) ou Short Edge Binding (Reliure côte court).
- Cliquez sur [OK]. Imprimez ensuite le document.

Modifier les paramètres pour tous les travaux
Pour modifier les paramètres afin que ces derniers soient utilisés pour tous les travaux (paramètres par défaut).
Pour modifier les paramètres afin que ces derniers soient utilisés pour tous les travaux (paramètres par défaut):
- Cliquez sur Start [Démarrer] → Settings [Paramètres] → Printers [Imprimantes].
- Cliquez avec le bouton droit de la souris sur le nom de l'imprimante désiré.
- Sélectionnez Properties (Propriétés).
Suivez l'étape ci-dessous et les étapes suivantes.
La fenêtre pour définir les paramètres par défaut compte des onglets supplémentaires.
- Dans l'onglet Setup (Configuration), sous 2-Sided Printing (Impression recto verso), sélectionnez Long Edge (Côté long) ou Short Edge (Côté court).
- Cliquez sur [OK]. Imprimez ensuite le document.
L'unité duplex (optionnelle) doit être
- installée sur l'imprimante et
- activée avant de procéder à l'impression duplex.
- du papier de format standard,
- dont le grammase est compris entre 75 et 105g / m².
- Le papier doit être chargé dans le bac à papier, la face à imprimer en dessus.
- Utilisez n'importe lequel des bacs (bac 1, bac 2 et bac 3 optionnels) pour l'impression recto verso.
- Le bac multifonction ne peut pas être utilisé pour l'impression duplex.
- L'impression duplex ne peut pas être utilisée si le Poids en papier est réglé à Ultra Heavy (Très lourd).
Consultez Papier (Support), "Grammage et Type" à la page 71.
- Impression duplex ne peuvent pas etre utiliser si le White Page Skip (SAUTER PAGEBLANCHE) sont ACTIVE.
Consultez "SAUT DE PAGE BLANCHE (SUPPRIMER PAGES BLANCHES)" à la page 101 (Emulation PCL), page 103 (Emulation PPR), et page 106 (Emulation FX).
Modifier les paramètres lors de l'impression d'un travail
- Ouvrez le fichier dans l'application.
- Sélectionnez File (Fichier) → Print (Imprimer).
- Dans la boîte de dialogue Print (Imprimer), cliquez sur le pilote PCL approprié.
- Cliquez sur Properties (Propriétés) ou Setup (Configuration) ou l'option équivalente de l'application utilisée.
- Dans l'onglet Setup (Configuration), sous 2-Sided Printing (Impression recto verso), sélectionnez Long Edge (Côté long) ou Short Edge (Côté court).
- Cliquez sur [OK]. Imprimez ensuite le document.

Modifier les paramètres pour tous les travaux
Pour modifier les paramètres afin que ces derniers soient utilisés pour tous les travaux (paramètres par défaut).
Pour modifier les paramètres afin que ces derniers soient utilisés pour tous les travaux (paramètres par défaut):
Pour modifier les paramètres afin que ces derniers soient utilisés pour tous les travaux (paramètres par défaut):
- Cliquez sur Start [Démarrer] → Settings [Paramètres] → Printers [Imprimantes].
- Cliquez avec le bouton droit de la souris sur le nom de l'imprimante désiré.
- Sélectionnez Properties (Propriétés). Suivez l'étape ci-dessous et les étapes suivantes.
La fenêtre pour définir les paramètres par défaut compte des onglets supplémentaires.
- Dans l'onglet Setup (Configuration), sous 2-Sided Printing (Impression recto verso), sélectionnez Long Edge (Côté long) ou Short Edge (Côté court).
- Cliquez sur [OK]. Imprimez ensuite le document.
Impression de livrets
- L'unité duplex optionnelle doit être installée sur l'imprimante et activée avant de procéder à l'impression de livrets.
- Non offerte pour certaines connexions réseau : consultez le fichier d'aide.
- Certains logiciels ne prennant peut-être pas en charge l'impression de livrets.
- Le paramètre croître à gauche permet d'imprimer un livre se lisant de droite à gauche, comme c'est le cas pour certaines langues.
Utilisation
- Ouvrez le fichier dans l'application.
- Sélectionnez File (Fichier) → Print (Imprimer).
- Dans la boîte de dialogue Print (Imprimer), cliquez sur le pilote PCL approprié.
- Cliquez sur Properties (Propriétés) ou Setup (Configuration) ou l'option équivalente de l'application utilisée.
- Dans l'onglet Setup (Configuration), sous Finishing Mode (Mode de finition), dans la liste déroulante, Sélectionnez Booklet (Livret).

- Cliquez sur le bouton OPTIONS.
- Définissez ensuite au besoin les valeurs Signature, 2 pages, Droite à gauche et Marge de reliure.
Consultez l'aide en ligne pour plus d'informations.
- Cliquez sur OK.
- Cliquez sur OK.
- Cliquez ensuite sur Print (Imprimer).

Impression de filigranes
- Ouvrez le fichier dans l'application.
- Sélectionnez File (Fichier) → Print (Imprimer).
- Dans la boîte de dialogue Print (Imprimer), cliquez sur le pilote PCL approprié.
- Cliquez sur Propriétés (Propriétés) ou Configuration (Configuration) ou l'option équivalente de l'application utilisée.
- Dans l'onglet Job options (Options de travail), clique sur Watermark (Filigrane).
- Dans Watermark [la liste figurant dans Filigrane], sélectionnez un filigrane.

Pour créer un nouveau filigrane ou modifier un filigrane existant,
- Cliquez sur le bouton New [Nouveau] ou Edit [Édition].

- Tapez le texte requis. Sélectionnez la taille de caractère, l'angle, etc. à utiliser.
- Cliquez sur [OK]. Le nouveau filigrane s'affiche dans la liste Watermark (Filigrane).
- Cochez First Page only [Première page uniquement] si le filigrane doit être imprimé sur la première page du document.
- Cliquez deux fois sur [OK].
- Imprimez ensuite le document.
PCL ou postscript
L'assemblage peut être effectué, qu'un disque dur ait été installé ou non. Toutefois, l'installation d'un disque dur permet d'obtenir une performance supérieure.
Important
Si le logiciel utilisé comporte une option Assembler, nous vous recommandons d'utiliser uniquement une seule option. Assembler pour éviter des conflits lors de l'impression, c-à-d., assembler dans le logiciel ou assembler dans le pilote d'imprimante.
Les instructions suivantes permettent de sélectionner l'assemblage par le biais d'un pilote d'imprimante.
- Ouvrez le fichier dans l'application.
- Sélectionnez File (Fichier) → Print (Imprimer).
- Dans la boîte de dialogue Print (Imprimer), cliquez sur le pilote approprié.
- Cliquez sur Properties (Propriétés) ou Setup (Configuration) ou l'option équivalente de l'application utilisée.
- Dans l'onglet Job Options (Options de travaux), sous Job Type (Type de travail), sélectionnez le nombre d'exemplaires requis.
- Uniquement lorsque l'application ne compte pas d'options d'assemblage, sélectionnez Collate (Assembler).
- Cliquez sur [OK]. Imprimez ensuite le document.


PCL ou postscript restrictions d'usage
Tirage d'épreuve permet d'imprimer un seul exemplaire d'un document pour le vérifier avant d'en imprimer plusieurs exemplaires.
- L'imprimante doit être poursuivie d'un disque dur interne pour pouvoir mettre le travail d'impression en file d'attente avant l'impression définitive.
- Si la mémoire du disque dur est insuffisante pour assurer le volume de données en file d'attente, DISK FULL [DISQUE PLEIN] s'affiche et un seul exemplaire est imprimé.
- Si le logiciel utilisé comporte une option Assembler, elle doit être invalidée, de façon à ce que la fonction Tirage d'épreuve s'exécute correctement.
- La fonction Tirage d'épreuve n'est peut-être pas disponible dans certains logiciels.
Utilisation
Tirage d'épreuve permet d'imprimer un seul exemplaire d'un document pour le vérifier avant d'en imprimer plusieurs exemplaires.
- Ouvrez le fichier dans l'application.
- Sélectionnez File (Fichier) → Print (Imprimer).
- Dans la boîte de dialogue Print (Imprimer), cliquez sur le pilote approprié
- Sélectionnez Imprimer dans un fichier.
- Cliquez sur Properties (Propriétés) ou Setup (Configuration) ou l'option équivalente de l'application utilisée.
- Dans l'onglet Job options (Options de travail), dans Job Type [Type de travail], Sélectionnez Proof and Print [Tirage d'épreuve].
- Entrez un nom de travail comptant 16 caractères dans Job Name Setting [Nom de travail].
- Cochez au besoin Request Job Name for each print job [Demande de nom de travail pour chaque travail d'impression].
PostScript Driver
PCL Driver
- Entrez un code d'identification personnel à quatre chiffres, en utilisant des caractères numériques compris entre 0000 et 7777.
- Cliquez sur [OK].
- Entrez le nombre d'exemplaires.
- Le cas échéant, cochez la case Collate (Assembler) (pilote d'impression PostScript uniquement).


- Cliquez sur [OK].
- Imprimez ensuite le document.
Un fichier d'impression du document est créé et stocké sur le disque dur.
Un seul exemplaire du document est imprimé pour être vérifié.
- Une fois la vérification terminée, vous pouvez imprimer ou supprimer les autres exemplaires (s'ils sont incorrects).
En suivant les procédures indiquées ci-dessous.
PCL ou postscript impression d'exemplaires
- Appuyez sur le bouton MENU pour accéder au PRINT JOBS MENU (MENU IMPRIMER TRAVAUX) et appuyez sur le bouton SELECT.
- Entrez le code personnel en utilisant les boutons du tableau de commande de l'imprimante.
- Appuyez sur le bouton VALUE jusqu'à ce que ALL JOBS (TOUS LES TRAVAUX) ou le nom du travail requis s'affiche.
- Appuyez sur le bouton SELECT pour sélectionner le travail d'impression et imprimez les autres exemplaires du document.
Une autre méthode d'impression ou de suppression des copies de document restantes consiste à utiliser l'utilitaire Storage Device Manager (Gestionnaire des unités de mémoire).
Pour plus d'informations, consultez l'aide en ligne pour Storage Device Manager.
Suppression d'exemplaires
- Appuyez sur le bouton MENU pour accéder au PRINT JOBS MENU (MENU IMPRIMER TRAVAUX) et appuyez sur le bouton SELECT.
- Entrez le code personnel en utilisant les boutons du tableau de commande de l'imprimante.
- Appuyez sur le bouton VALUE jusqu'à ce que ALL JOBS (TOUS LES TRAVAUX) ou le nom du travail requis s'affiche.
- Appuyez sur le bouton CANCEL pour supprimer les autres exemplaires du document.
- Lorsque le message de validation suppression apparait, validez-le en appuyant sur le bouton SELECT.
Une autre méthode d'impression ou de suppression des copies de document restantes consiste à utiliser l'utilitaire Storage Device Manager (Gestionnaire des unités de mémoire).
Pour plus d'informations, consultez l'aide en ligne pour Storage Device Manager.
PCL ou postscript restrictions d'usage
L'impression sécurisée ou l'impression avec des mots de passe permet de protéger les documents confidentiels sur les imprimantes qui sont partagées avec d'autres utilisateurs.
- L'imprimante doit être poursuivie d'un disque dur interne pour pouvoir mettre le travail d'impression en file d'attente avant l'impression définitive.
- Si la mémoire du disque dur est insuffisante pour contenir le volume de données en file d'attente, DISQUE PLEIN s'affiche et un seul exemplaire est imprimé.
- Si le logiciel utilisé comporte une option Assembler, elle doit être invalidée, de façon à ce que la fonction Impression sécurisée s'exécute correctement.
- La fonction Impression sécurisée n'est peut-être pas disponible dans certains logiciels.
Impression sécurisée
- Ouvrez le fichier dans l'application.
- Sélectionnez File (Fichier) → Print (Imprimer).
- Dans la boîte de dialogue Print (Imprimer), cliquez sur le pilote approprié.
- Sélectionnez Print to File (Imprimer dans un fichier).
- Cliquez sur Properties (Propriétés) ou Setup (Configuration) ou l'option équivalente de l'application utilisée.
- Dans Job Type [Type de travail], Sélectionnez Secure Print [Impression sécurisée].
Si vous avez déjà stocké un document sur le disque dur à l'aide de la fonction d'impression sécurisée et que ce document n'a pas été imprimé, cliquez sur le bouton PIN (NIP) et entrez un nouveau nom de travail.
- Entrez un nom de travail comptant 16 caractères dans Job Name [Nom de Travail]
- Cochez au besoin Request Job Name for each print job [Demande de nom de travail pour chaque travail d'impression].
PostScript Driver
PCL Driver
- Entrez un code d'identification personnel à quatre chiffres, en utilisant des caractères numériques compris entre 0000 et 7777.
- Cliquez sur [OK].
- Entrez le nombre d'exemplaires.
- Le cas échéant, cochez la case Collate (Assembler).
PostScript Driver
PCL Driver
- Cliquez sur [OK].
- Imprimez ensuite le document. Un fichier d'impression du document est créé et stocké sur le disque dur.
- Vous pouvez imprimer et supprimer le travail d'impression. En suivant les procédures indiquées ci-dessous.
Impression sécurisée
- Appuyez sur le bouton MENU.
- Accéder au PRINT JOBS MENU (MENU IMPRIMER TRAVAUX)
- Appuyez sur le bouton SELECT.
- Entrez le code personnel en utilisant les boutons du tableau de commande de l'imprimante.
- Appuyez sur le bouton VALUE jusqu'à ce que ALL JOBS (TOUS LES TRAVAUX) ou le nom du travail requis s'affiche.
- Appuyez sur le bouton SELECT. Le document s'imprime puis est effacé du disque dur de l'imprimante.
Une autre méthode d'impression ou de suppression des copies de document restantes consiste à utiliser l'utilitaire Storage Device Manager (Gestionnaire des unités de mémoire).
Pour plus d'informations, consultez l'aide en ligne pour Storage Device Manager.
Suppression de travaux d'impression confidentiels
- Appuyez sur le bouton MENU pour accéder au PRINT JOBS MENU (MENU IMPRIMER TRAVAUX) et appuyez sur le bouton SELECT.
- Entrez le code personnel en utilisant les boutons du tableau de commande de l'imprimante.
- Appuyez sur le bouton VALUE jusqu'à ce que ALL JOBS (TOUS LES TRAVAUX) ou le nom du travail requis s'affiche.
- Appuyez sur le bouton CANCEL pour sélectionner le travail d'impression et le supprimer de l'imprimante.
Une autre méthode d'impression ou de suppression des copies de document restantes consiste à utiliser l'utilitaire Storage Device Manager (Gestionnaire des unités de mémoire).
Pour plus d'informations, consultez l'aide en ligne pour Storage Device Manager.
PCL ou postscript restrictions d'usage
La fonction Enregistrer sur le disque dur (mise en file d'attente des travaux) permet d'enregistrer temporairement les travaux d'impression sur le disque dur avant de les imprimer. Cette fonction est utile pour les formulaires, les notes génériques, le papier à lettres, etc.
- L'imprimante doit être poursuivie d'un disque dur interne pour pouvoir mettre le travail d'impression en file d'attente avant l'impression définitive.
- Si la mémoire du disque dur est insuffisante pour contenir le volume de données en file d'attente, DISQUE PLEIN s'affiche et un seul exemplaire est imprimé.
- Si le logiciel utilisé comporte une option Assembler, elle doit être invalidée, de façon à ce que la fonction Enregistrer sur le disque dur s'exécute correctement.
- La fonction Enregistrer sur le disque dur n'est peut-être pas disponible dans certains logiciels.
D'enregistrer temporairement les travaux d'impression
- Ouvrez le fichier dans l'application et sélectionnez File (Fichier) → Print (Imprimer).
- Dans la boîte de dialogue Print (Imprimer), cliquez sur le pilote approprié.
- Sélectionnez Print to File (Imprimer dans un fichier).
- Cliquez sur Properties (Propriétés) ou Setup (Configuration) ou l'option équivalente de l'application utilisée.
- Sélectionnez Store to HDD [Enregistrer sur le disque dur].
PostScript Driver
PCL Driver
Si vous avez déjà stocké un document sur le disque dur à l'aide de la fonction d'impression sécurisée et que vous désirez en stocker un autre, cliquez sur le bouton PIN (NIP) et entrez un nouveau nom de travail.
- Entrez un nom de travail comptant 16 caractères dans Nom de travail.
- Cochez au besoin Request Job Name for each print job [Demande de nom de travail pour chaque travail d'impression].


- Entrez un code d'identification personnel à quatre chiffres, en utilisant des caractères numériques compris entre 0000 et 7777.
- Cliquez sur [OK].
- Entrez le nombre d'exemplaires requis.
- Le cas échéant, cochez la case Collate (Assembler).
- Cliquez sur OK.
- Imprimez ensuite le document. Un fichier d'impression du document est créé et stocké sur le disque dur.
- Vous pouvez imprimer et supprimer le travail d'impression. En suivant les procédures indiquées ci-dessous.
Impression d'exemplaires
- Appuyez sur le bouton MENU pour accéder au PRINT JOBS MENU (MENU IMPRIMER TRAVAUX) et appuyez sur le bouton SELECT.
- Entrez le code personnel en utilisant les boutons du tableau de commande de l'imprimante.
- Appuyez sur le bouton VALUE jusqu'à ce que ALL JOBS (TOUS LES TRAVAUX) ou le nom du travail requis s'affiche.
- Appuyez sur le bouton SELECT et imprimez du document. 5.
Une autre méthode d'impression ou de suppression des copies de document restantes consiste à utiliser l'utilitaire Storage Device Manager (Gestionnaire des unités de mémoire).
Pour plus d'informations, consultez l'aide en ligne pour Storage Device Manager.
Suppression d'exemplaires
- Appuyez sur le bouton MENU pour accéder au PRINT JOBS MENU (MENU IMPRIMER TRAVAUX) et appuyez sur le bouton SELECT.
- Entrez le code personnel en utilisant les boutons du tableau de commande de l'imprimante.
- Appuyez sur le bouton VALUE jusqu'à ce que ALL JOBS (TOUS LES TRAVAUX) ou le nom du travail requis s'affiche.
- Appuyez sur le bouton CANCEL [ANNULER] pour supprimer les autres exemplaires du document.
- Lorsque le message de confirmation Suppression apparait, validez-le en appuyant sur le bouton SELECT.
Une autre méthode d'impression ou de suppression des copies de document restantes consiste à utiliser l'utilitaire Storage Device Manager (Gestionnaire des unités de mémoire).
Pour plus d'informations, consultez l'aide en ligne pour Storage Device Manager.
Impression de posters
Cette option vous permet de configurer et d'imprimer des posters. Ce processus divise une page document en plusieurs parties. Chaque partie est imprimée agrandie sur une page. Ces pages distinctes peuvent ensuite être combinées pour créer une affiche.
L'impression de posters n'est disponible que avec un pilote d'imprimante PCL.
- Ouvrez le fichier dans l'application.
- Sélectionnez File (Fichier) → Print (Imprimer).
- Dans la boîte de dialogue Print (Imprimer), cliquez sur le pilote PCL approprié.
- Cliquez sur Properties (Propriétés) ou Setup (Configuration) ou l'option équivalente de l'application utilisée.
- Cliquez Setup [Configuration], dans Finishing Mode [Mode de finition], sélectionnez PosterPrint [Impression de posters].

- Cliquez sur Options... [Options].
- Saisissez les paramètres de configuration du poste.
- Cliquez deux fois sur [OK].
- Imprimez ensuite le document.

Important!
Pour empêcher les bourrages de papier
- Ne laissez aucun espace entre le papier et les guides du papier et la butée arrêté.
- Ne remplissez pas trop le bac à papier. La charge dépend du type de papier et du grammage (530 feuilles de 75 g/m²). N'y placez pas du papier abimé.
- Ne mélangez pas en même temps du papier dont le format, la qualité ou l'épaisseur diffère.
- Ne retirez pas le bac à papier durant l'impression.
L'affichage à cristaux liquides signale la baisse du nombre de feuilles de papier de n'importe quel bac à papier au-dessous de 30 feuilles.
- Retirez le bac à papier.
- Enlevez les feuilles de papier restantes.
- Regarnissez le bac d'une rame de feuilles de papier au plus (530 feuilles max. - un paquet de papier ordinaire de 20 lb [75 g/m2] contient 500 feuilles), puis reposez les feuilles restantes dans
l'étape 2 ci-dessus (le papier le plus ancien est ainsi utilisé en premier, ce qui évite des bourrages de papier).

- Vérifiez si les guides du papier et la butée arrêtent sont réglés au format de papier utilisé.


- Fermez doucement le bac à papier.
- S'il est installé, un bac à papier inférieur ne peut être utilisé pour l'impression si aucun bac à papier n'a été inséré au-dessus.

Changement de la cartouche de toner
Après avoir installé la nouvelle cartouche de toner, le message TONER LOW [TONER BAS] ou CHANGE TONER [CHANGER DE TONER] disparaît de l'affichage. Cependant, il ne disparaît pas parfois avant que l'impression ne soit terminée. Si le message reste affiché, réinstallez la cartouche de toner.
Lorsque le niveau de la cartouche de toner est bas, TONER *** BAS s'affiche au tableau de commande (*** est le nom de la couleur).
Si l'impression se poursuit sans que la cartouche de toner ne soit changée, CHANGER TONER *** s'affiche et l'impression est annulée. En fonction du milieu d'utilisation, l'impression peut devenir pâle avant l'affichage du message.
À ce stade, enlevez la cartouche du toner et vérifiez si elle est vide. Le cas échéant, la cartouche de toner doit être remplacée.
Une cartouche de toner permet d'imprimer environ 10.000 pages, à une densité d'impression de 5%. La première cartouche de toner installée dans un nouveau tambour photoconducteur doit être replacée avant que ce nombre n'ait été atteint parce que la cartouche de toner doit remplir un nouveau tambour photoconducteur.
Avertissement!
Il convient de prendre de très grandes précautions lors de la manutention de la cartouche de toner.
- Ne pas inspirer ou avaler le toner et éviter tout contact avec les yeux car il peut être nocif.
- Le toner peut également tacher les mains et les vêtements.
Consultez les fiches techniques santé-sécurité (FTSS) du livre sur les informations de réglementation et de sécurité pour plus d'informations.
- Mettez l'imprimante hors tension.
- Ouvrez le capot supérieur.

- Vérifiez l'étiquette couleur de la cartouche de toner à replacer.
- Déplacez aussi loin que possible le levier bleu (1), situé à droite de la cartouche de toner, dans la direction indiquée par la flèche.
- Retirez la cartouche de toner (2) en bougeant d'abord l'extrémité de la cartouche comportant le levier pour la dégager du tambour d'image.

Important!
Jetez la cartouche de toner conformément à la réglementation locale.
- Retirez le toner de leur emballage et retirez le dispositif de verrouillage situé derrière la manette de déverrouillage des cartouches de toner couleur.

- Agitez plusieurs fois la nouvelle cartouche de toner.
Enlevez la pellicule de protection en tenant la cartouche horizontalement.

Attention!
Le retrait du ruban expose la zone de distribution du toner. Ne touchez pas au levier bleu de déverrouillage de la cartouche avant de l'avoir installée dans le tambour d'image. Lorsque le levier est déplacé à ce moment-là, le toner fuit de la cartouche.
- Introduisez la nouvelle cartouche de toner dans le tambour photoconducteur, à gauche d'abord, en enclenchant la goupille de position du tambour dans le trou de la cartouche de toner.

- Enlevez doucement la cartouche de toner, en enclenchant la goupille de verrouillage dans la rainure du tambour photoconducteur.

- Poussez doucement la manette couleur vers l'avant, jusqu'au bout. Cette action permet de libérer le toner dans le tambour photoconducteur.

- Essuyez doucement la surface des DEL avec du produit nettoyant pour lentilles de DEL ou un mouchoir à papier doux.

Attention!
Ne pas utiliser d'alcool méthylique ou d'autres solvants, ce qui abîmerait la surface de la lentille.
- Fermez le capot supérieur.

Après avoir installé la nouvelle cartouche de toner, le message TONER LOW [TONER BAS] ou CHANGE TONER [CHANGER DE TONER] disparaît de l'affichage. Cependant, il ne disparaît pas parfois avant que l'impression ne soit terminée. Si le message reste affiché, réinstallez la cartouche de toner.
Changement du tambour photoconducteur
Au terme de la durée prédéfinie d'utilisation du tambour photoconducteur, *** CHANGE DRUM [CHANGEZ LE TAMBOUR] s'affiche au tableau de commande (est le nom de la couleur). Si l'impression se poursuit sans que la cartouche de toner ne soit remplaçée, CHANGE *** IMAGE DRUM [*** CHANGEZ LE TAMBOUR (CHANGER TAMBOUR)] s'affiche et l'impression est annulée.
Changez la cartouche de toner et nettoyez les DEL lorsque vous remplacez le tambour photoconducteur.
Un tambour photoconducteur permet d'imprimer environ 23.000 feuilles de format lecture. Ce calcul est basé sur la consommation d'un bureau type, dont 20% des travaux d'impression sont des e-mails d'une page, 30% sont des documents de 3 pages et 50% sont des tirages de 15 pages ou plus.
Attention!
- Ne jamais mettre le tambour photoconducteur à la lumière pendant plus de 5 minutes et ne jamais l'exposer directement à la lumière du soleil.
- Ne jamais toucher la partie verte dans le tambour photoconducteur.
- Mettez l'imprimante hors tension.
- Ouvrez le capot supérieur.

- Enlevez la cartouche de toner de la façon suivante :

- Vérifiez la couleur du tambour photoconducteur de remplacement et enlevez son emballage.
- Retirez la pellicule de protection du nouveau tambour photoconducteur.


- Installez le nouveau tambour photoconducteur dans son emplacement correspondant dans l'imprimante.

- Enforcez la languette (1) à l'intérieur et retirez la plaque d'obturation du tambour photoconducteur.

- Installez une cartouche de toner neuve. Consultez "Changement de la cartouche de toner" à la page 473.
- Fermez le capot supérieur.
Changement de la courroie de transfert
Au terme de la durée prédéfinie d'utilisation de la courroie de transfert, CHANGE BELT UNIT [CHANGER COURROIE TRANSFERT] s'affiche au tableau de commande. Cependant, ce calcul est basé sur un travail d'impression standard de trois feuilles. L'impression de feuilles uniques réduit la durée prédéfinie d'utilisation de la courroie de transfert.
- Mettez l'imprimante hors tension.
- Ouvrez le capot supérieur.

- Retirez le support ainsi que les quatre tambours photoconducteurs et les cartouches de toner de l'imprimante.

- Ramenez la manette de verrouillage (1).
- Utilisez les manettes (2 et 3), enlevez l'ancienne courroie de transfert de l'imprimante.

- Enlevez la nouvelle courroie de transfert de son emballage.
- En utilisant les manettes (2 et 3), alignez les goupilles (4) sur les rainures (5) et introduisez la nouvelle courroie de transfert dans l'imprimante.

- Déplacez la manette de verrouillage (1) vers la partie frontale de l'imprimante en veillant à ce qu'elle enclenche la courroie de transfert dans sa position.
- Installez le support ainsi que les quatre tambours photoconducteurs et les cartouches de toner dans l'imprimante.

- Fermez le capot supérieur.

Avertissement!
L'unité de fusion est brûlante après l'impression. Toujours utiliser la manette lors de son extraction.
Au terme de la durée prédéfinie d'utilisation de l'unité de fusion, CHANGE FUSER UNIT [CHANGER FOUR] s'affiche au tableau de commande.
L'unité de fusion permet d'imprimer environ 60.000 feuilles de format A4.
- Mettez l'imprimante hors tension.
- Ouvrez le capot supérieur.

- Déplacez les deux leviers de verrouillage (1) vers l'arrière de l'imprimante pour déverrouiller l'unité de fusion.
- Utilisez la poignée pour sortir l'unité de fusion de l'imprimante.

- Déballiez l'unité de fusion neuve.
- Retirez le ruban adhésif à chaque extrémité. Lorsque le ruban est retiré, les leviers aux deux extrémités de l'unité de fusion devraient se placer en position de verrouillage.
- En utilisant la poignée (2), installez l'unité de fusion neuve dans l'imprimante.
Assurez-vous que les deux leviers de verrouillage à ressort (1) verrouillent l'unité de fusion en place.

- Fermez le capot supérieur.

Attention!
Ne pas utiliser d'alcool méthylique ou d'autres solvants, ce qui abîmerait la surface de la lentille.
Nettoyez les DEL lorsque
- L'impression n'est pas nette, des lignes blanches apparaissent
- le texte est estompé.
- Mettez l'imprimante hors tension.
- Ouvrez le capot supérieur.

- Essuyez doucement la surface des DEL avec du produit nettoyant pour lentilles de DEL ou un mouchoir à papier doux.

- Fermez le capot supérieur.

Transport de l'imprimante
Cette imprimante est un appareil de précision. Si vous la transportez sans emballage de protection, elle risque de subir des dégâts mécaniques.
- Éteignez l'imprimante.
- Déconnectez le câble secteur et le câble de liaison de l'imprimante ; retirez tout le papier des bacs à papier.
- Ouvrez le capot supérieur. Retirez les quatre tambours photoconducteurs.

- Fermez l'ouverture de chaque tambour photoconducteur. De chaque cartouche de toner correspondante avec du ruban adhésif plastique (1) pour éviter que le toner ne se répande durant le transport.

- Reposez les quatre tambours photoconducteurs et les cartouches de toner correspondantes dans l'imprimante.
- Placez l'imprimante dans sa boîte d'emballage d'origine. Fermez la boîte avec du ruban adhésif.
Messages affichés
L'affichage à cristaux liquides du tableau de commande.
L'affichage indique l'état de l'imprimante et signale un problème d'imprimante.
Les messages d'erreur et d'état figurent ci-dessous avec la signification de chaque message.
La liste de messages
La liste de Messages
| Message affchéé | Signification | |
| 1 | ***** DRUM NEAR LIFE [**** DURÉE TAMBOUR PRESQUE TERM.] | Le tambour d'impression a presque atteint la fin de sa durée utile d'utilisation. (***** indique la couleur) |
| 2 | ***** EMPTY [**** VIDE] | Indique que le bac **** est vide. Le bac multifonction est le bac 0. |
| 3 | ***** NEAR END [**** PRESQUE FIN] | Le support dans le bac **** sélectionnée est presque épuisé. (**** indique le bac à papier) |
| 4 | ***** TONER LOW [TONER **** BAS] | Le toner est bas (**** indique la couleur). |
| 5 | ***** TONER SENSOR ERROR [**** ERREUR CAPTEUR TONER] | Erreur relative au détecteur de toner (**** indique la couleur). Faire une demande d'intervention. |
| 6 | BELT UNIT MISSING [COURR. TRANS. MANQUANTE] | Absence de couroie de transfert. |
| 7 | CANCELLING JOB [ANNULATION TRAVAIL] | Annulation du travail actuel. |
| 8 | CENTRO I/F ERROR [ERREUR I/F PARALLELE] | Erreur d'interface Centronics (interface parallaxle). |
| 9 | CHANGE **** IMAGE DRUM [CHANGER TAMBOUR **** ] | Changer le tambour photoconducteur (**** indique la couleur). |
| 10 | CHANGE BELT UNIT [CHANGER COURROIE TRANSFERT] | Changer la couroie de transfert. |
La liste de Messages
| Message affchéé | Signification |
| 11 CHANGE FUSER UNIT [CHANGER FOUR] | Changer l'unité de fusion. |
| 12 CHANGE PAPER TO **** [CHANGER PAPIER POUR ****] | Le format du papier et/ou le type de sup- port doit être changé (**** indique le for- mat ou le type de support). |
| 13 CHECK **** [ VÉRIFIEZ **** ] | Vérifiez le bac **** et assurez-vous qu'il n'y a pas de bourrage. Le bac multifonction est le bac 0. |
| 14 CHECK BELT UNIT [VÉRIFIER COURROIRE DE TRANSFERT] | Vérifier s'il n'y a pas bourage de papier et si l'installation est correcte au niveau de la courroie de transfert, etc... |
| 15 CHECK DUPLEX [VERIFIER DUPLEX] | Vérifier s'il n'y a pas bourage de papier et si l'installation est correcte au niveau de l'unité Duplex, etc... |
| 16 CHECK FUSER UNIT [VÉRIFIER FOUR] | Vérifier s'il n'y a pas bourage de papier et si l'installation est correcte au niveau de l'unité de fusion, etc... |
| 17 CHECK IMAGE DRUM [VERIFIER TAMBOUR] | Vérifier si le tambour photoconducteur est installé correctement, etc... La couleur sera indiquée. |
| 18 COLLATE FAIL [ERREUR ASSEMBLAGE] | L'assemblage de multiples exemplaires a échoué. |
| 19 COLOR ADJUSTING [CALAGE COULEUR EN COURS] | Ajustement de la rampe de DEL de façon à ce que les couleurs ne se chevauchent pas en se décalant. |
| 20 COLOR BALANCE ADJUST [AJUSTMNT BALANCE COULEUR] | Ajuster l'équilibrage des couleurs. |
| 21 COMMUNICATION ERROR [ ERREUR DE COMMUNICATIONS ] | Une erreur de communication avec l'ordi- nateur s'est produit. |
| 22 DATA ARRIVE [RÉCEPTION DONNÉES] | Les données ont été reçues mais le traite- ment n'a pas encore commencé. |
| 23 DATA PRESENT [ATTENTE DONNÉES] | Les données non imprimées restent dans la mémoire-tampon. Attente des données suivantes. |
| 24 DISK FILE OPERATION FAILED [ ÉCHEC D'OPÉRATION FICHIER DISQUE] | Erreur d'utilisation du disque dur. |
| 25 DISK FILESYSTEM IS FULL [SYSTEME DE FICHIER PLEIN] | Disque dur/mémoire flash plein(e). |
La liste de Messages
| Message affchéé | Signification |
| 26 DISK FULL [DISQUE PLEIN] | Le disque dur interne est plein. |
| 27 EEPROM INITIALIZIZE ERROR [ERREUR INITIALISATION EEPROM] | Faire une demande d'intervention. |
| 28 EMPTY [VIDE] | Indique que le bac à papier est vide. |
| 29 ERROR POSTSCRIPT [ERREUR POSTSCRIPT] | Une erreur PostScript s'est produit. |
| 30Fatal ERROR [FATAL ERROR (ERREUR FATALE)] | Faire une demande d'intervention. |
| 31 FUSER UNIT MISSING [FOUR MANQUANT] | Absence de l'unité de fusion. |
| 32 INSTALL ADDITIONAL MEMORY [INSTALLER PLUS DE MÉMOIRE RAM] | Mémoire supplémentaire requise avant l'impression possible du travail. |
| 33 INSTALL NEW IMAGE DRUM [INSTALLER NOUVEAU TAMBOUR] | Installer un nouveau tambour photocon-ducteur. La couleur sera indiquée. |
| 34 INSTALL NEW TONER [INSTALLER NOUVEAU] TONER | Installer une cartouche de toner neue. La couleur sera indiquée. |
| 35 INSTALL PAPER CASSETTE [INSTALLER BAC PAPIER] | Installer le bac à papier. Le bac à papier sera indiqué. |
| 36 INVALID DATA [DONNÉES INCORRECTES] | Les données sont incorrectes. |
| 37 LOAD CHARGER | Charger le bon format/type de papier. Le format/type sera indiqué. |
| 38 MEDIA MISMATCH [SUPPORT NON CONFORME] | Le type de papier sélectionné par le biais du menu ne correspond pas à celui envoyé par l'intémédiaire du pilote. |
| 39 NETWORK ERROR ERREUR RÉSEAU | Erreur du réseau. |
| 40 OFF-LINE [HORS LIGNE] | Indique l'état déconnecté. |
| 41 ON-LINE [EN LIGNE] | Indique l'état connecté. |
La liste de Messages
| Message affchéé | Signification | |
| 42 | OPEN UPPER COVER [OUVRIR CAPOT SUPERIEUR] | Ouvrir le capot supérieur. |
| 43 | PAPER JAM [BOURRAGE PAPIER] | Un bourrage papier s'est produit |
| 44 | PAPER SIZE ERROR [ERREUR FORMAT DE PAPIER ] | Indique un format de papier non valide |
| 45 | PLEASE POWER OFF [ ETEINDRE ] | L'imprimante doit être mise hors tension à la suite d'une initiaisation du disque/flash. |
| 46 | POWER SAVE [ÉCONOMIE D'ENERGIE] | L'imprimante est en mode Veille. |
| 47 | PRINTING [IMPRESSION] | Les données sont en cours d'impression. |
| 48 | PROCESSING [EN TRAITEMENT] | Les données sont en cours de traitement. |
| 49 | RAM CHECK [CONTROLE RAM] | La mémoire vivie est en train d'être con-trélée après la mise sous tension de l'imprimante. |
| 50 | REGISTRATION ADJUST TEST [TEST DE RÉGLAGE DE CADRAGE ] | Contrôle du réglage du cadrage en cours. |
| 51 | REGISTRATION ERROR [ERREUR CALAGE] | Une erreur s'est produit lors de la configu-ration du cadrage. |
| 52 | REMOVE THE PAPER [ENLEVER PAPIER] | Indique l'utilisation de papier inadéquat. |
| 53 | SERVICE CALL [APPELER MAINTENANCE] | Une grave erreur s'est produit. Faire une demande d'intervention. |
| 54 | SHUTDOWN [EXTINCTION] | Lance la procédure d'arrêt pour protégger le système de fichiers sur le disque dur. |
| 55 | SIZE MISMATCH [DIM. PAPIER INCOHÉRENTE] | Changer le papier etCHOISSEZ du papier de format/type correct. |
| 56 | STACKER FULL [BAC RECEPTION PLEIN] | L'empileuse est pleine. Retirer le papier. |
| 57 | UNSUITABLE SIZE [DIM. PAPIER NON ADAPTÉE] | Indique que le format de papier est incor-rect. |
| 58 | USB I/F ERROR [ERREUR I/F USB] | Erreur d'interface USB. |
| 59 | WARMING UP [PRE-CHAUFFAGE] | L'imprimante est mise en route. |
Astérisque (*) répétitives
Un astérisque (*) s'affiche et se déplace sans arrêt depuis la première ligne vers la deuxième ligne de l'affichage.
Solution
La carte principale n'est pas bien installée dans l'imprimante.
Éteignez l'imprimante. Ensuite, insérez la carte principale de façon appropriée et allumez l'imprimante.
Vidage
Le capot supérieur de l'imprimante doit rester ouvert (JUSQU'À 5 MIN MAX) jusqu'à ce que tous les contrôles de bourrage de papier aient été effectués.
Si le capot supérieur est fermé trop tôt, l'erreur de bourrage de papier ne sera pas supprimée.
Un bourrage de papier sera signalé par un message d'erreur à l'affichage à cristaux liquides.
Les bourrages de papier sont supprimés de la façon suivante :
- Ouvrez le capot supérieur de l'imprimante.

Vérifiez dans le bac à papier
- Retirez le bac à papier.
a. Le papier coincide dans l'imprimante. b. Réinstallez le bac à papier.

Vérifiez derrière le capot
- Ouvrez le capot.
a. Retirez le papier coincé. b. Fermez le capot avant.

Vidage
Vérifiez sur la courroie de transfert
Attention!
- Ne jamais exposer les tambours photoconducteurs à la lumière pendant plus de 5 minutes.
- Toujours tenir le tambour photoconducteur par les extrémités.
- Ne jamais exposer directement les tambours photoconducteurs à la lumière du soleil.
- Ne jamais toucher la surface verte du tambour.
- Retirez du support les quatre tambours photoconducteurs en un bloc.
a. Retirez soigneusement le papier coincide de la courroie de transfert et de la sortie supérieure du papier.
b. Remplacez les quatre tambours photoconducteurs en un bloc dans l'imprimante.

Vérifiez derrière le capot arrêté
- Ouvrez le capot arrêté.
a. Retirez le papier coincé. b. Fermez le capot arrêté.

Vidage
Vérifiez dans l'unité de fusion
Avertissement!
L'unité de fusion est brûlante après l'impression. Toujours utiliser la manette lors de son extraction.
- Le cas échéant, soulevez l'ensemble toner/tambour pour accéder au bourrage.

Vérifiez dans l'unité de fusion
a. Déverrouillez les leviers de blocage du rouleau de transfert aux deux extrémités du rouleau et retirez doucement le papier bloqué. b. Verrouillez ensuite les leviers aux deux extrémités du rouleau.


Vérifier la séparateur en papier
a. Le relâche et soulève la séparateur (1).


b. Enlever le papier bloqué de l'imprimante.

c. Remplacer le séparateur.

Vérifiez l'unité duplex
(recto verso; si celle-ci est installée)
- Ouvrez le capot avant.
a. Faites sortir l'unité duplex en la faisant glisser.


b. Ouvrez le capot supérieur de l'unité duplex et enlevez le papier coincé. c. Fermez le capot supérieur de l'unité duplex et faites rentrer l'unité duplex dans l'imprimante en la faisant également glisser. d. Fermez le capot avant.

Vérifiez tout bac à papier supplémentaire
- Retirez les bacs à papier supplémentaires.
a. Vérifier qu'aucun papier est bloqué le long des diverses parties du chemin de sortie. b. Fermez le capot supérieur.

Bourrages de papier
Si les bourrages de papier deviennent fréquents
Plusieurs feuilles de papier passent en même temps
Le papier s'enroule
Le papier s'enroule obliquement
| Cause possible | Solution |
| L'imprimante n'est pas horizontal | Placer l'imprimante sur une surface plane et stable. |
| Le papier est trop mince. | Utiliser le type de papier ajustat (Voir les spécifications). |
| Le papier est humide ou affecté par l'électricité sta-tique. | Ranger le papier dans un endroit où la température et l'humidité sont comprises dans les plages spécifique. |
| Le papier est froissé ou ondulé. | Comme ci-dessus. |
| Le papier n'est pas aligné correctement. | Ajuster le bac ou les guides du papier manuels. |
| Le papier ne passse pas. | Rectifier le paramètre de l'alimentation du papier dans le pilote d'imprimante. |
Bourrages de papier
Le bourrage de papier a été supprimé mais l'imprimante n'imprime pas.
Solution
Le capot supérieur n'est pas resté ouvert jusqu'à ce que tous les bourrages de papier aient été supprimés.
La suppression d'un bourrage de papier ne suffit pas. Élever et abaisser doucement le capot supérieur, surtout si le bourrage de papier a été supprimé derrière le capot avant.
Bandes blanches
| Cause possible | Solution |
| La rampe de DEL est sale | Nettoyer les DEL avec du produit nettoyant pour lentille ou un mouchoir en papier doux. |
| Le toner est bas. | Changer la cartouche de toner. |
| Tambour photoconducteur abîmé | Changer le tambour photoconducteur. |
Bandes noires
| Cause possible | Solution |
| Tambour photoconduc-teur abîmé | Remplacer le tambour photoconducteur. |
| Le toner est bas. | Changer la cartouche de toner. |
| Lignes latérales ou points noirs périodiques. | • Si des lignes ou des points apparaissent environ tous les 44-94 mm, le tambour photoconducteur (tube vert) est abîné ou sale. S'il est abîné, remplaçer la cartouche du tambour photoconducteur. S'il est sale, essuyer doucement le tambour photoconducteur avec un mouchoir en papier doux. Si cette solution ne résout pas le problème, remplaçer le tambour photoconducteur. • Si des lignes ou des points apparaissent environ tous les 113 mm, le cylindre de l'unité de fusion est abîné. Changer l'unité de fusion. |
| Le tambour photocon-ducteur a été exposé à la lumière. | Retirer le tambour photoconducteur de l'imprimante et le ranger dans un endroit nombrependant plusieurs heures. Si cette solution ne résout pas le problème, remplaçer le tambour photoconducteur. |
Le bord des lettres est estompé
| Cause possible | Solution |
| La rampe de DEL est sale | Nettoyer les DEL avec du produit nettoyant pour lentille ou un mouchoir en papier doux. |
| Impossible d'imprimer la couleur désirée parce que le toner est bas. | Remplacer la cartouche de toner. |
| La méthode de formation du noir ne concorde pas avec celle de l'application. | Lancer le pilote d'imprimante et sélectionner CMJN comme paramètre de formation du noir. |
Éclaircissement graduel longitudinal
| Cause possible | Solution |
| La rampe de DEL est sale | Nettoyer les DEL avec du produit nettoyant pour lentille ou un mouchoir en papier doux. |
| Le toner est bas. | Changer la cartouche de toner. |
| Le papier ne convient pas à l'imprimante. | Utiliser le papier recommendé. |
Éclaircissement graduel par endroits
| Cause possible | Solution |
| Le papier est humide. | Ranger le papier dans un endroit où la température et l'humidité sont comprises dans les plages spécifique. |
Impression à peine visible
| Cause possible | Solution |
| La cartouche de toner est installée incorrectly. | Réinstaller la cartouche de toner. |
| Le toner est bas. | Changer la cartouche de toner. |
| Le papier est humide. | Ranger le papier dans un endroit où la température et l'humidité sont comprises dans les plages spécifique. |
| Le papier ne convient pas à l'imprimante. | Utiliser le papier recommendé. |
Ombres à peine visibles sur des sections non imprimées
| Cause possible | Solution |
| Le papier a été affecté par l'électricité statique. | Ranger le papier dans un endroit où la température et l'humidité sont comprises dans les plages spécifique. |
| Le papier est trop écais. | Utiliser le papier recommendé. |
| Le toner est bas. | Changer la cartouche de toner. |
Le toner s'en va en passant impression
| Cause possible | Solution |
| Les options Grammage du support et Type de support ne sont peut-être pas appropriées. | Sélectionner le的话语 plus lourd qui suit. |
| Les matériaux d'embal-lages ont été laissés sur l'unité de fusion lorsque celle-ci a été installée. | Avertissement! L'unité de fusion (four) peut être BRULANTE! Ouvrez le capot et assurez-vous que tous les matéri-aux d'emballage ont été retires de l'unité de fusion. Pour-retirer l'unité de fusion, Consultez “Remplace-ment de l'unité de fusion” à la page 491. |
L'impression est déformée ou incorrecte avec une connexion parallèle.
Windows, parallèle uniquement
| Cause possible | Solution |
| Non-concordance possi- ble sur une connexion parallèle entre l'ordina- teur et l'imprimante. | Changer le mode de transmission parallèle (voir le Mode de transmission parallèle ci-dessus). |
Mode de transmission parallèle
Le port parallèle prend en charge les modes IEEE-1284 et ECP.
Si le port parallèle de votre ordinateur n'est pas compatible avec l'un de ces modes, l'imprimante risque de ne pas imprimer du tout ou d'imprimer des données erronées.
Pour y remédier, accédez au Menu parallèle de l'imprimante, et désactivez le paramètre ECP.

- Appuyez sur le bouton Menu jusqu'à ce que MENU PARALLELE s'affiche, puis appuyez sur le bouton Select.
- Appuyez plusieurs fois sur le bouton Item jusqu'à ce que ECP s'affiche.
- Appuyez sur le bouton Value pour afficher ACTIVER ou DÉSACTIVER au besoin.
- Appuyez sur le bouton Select pour sélectionner l'option. Un astérisque (*) apparaît à droite de l'option sélectionnée.
- Appuyez sur le bouton Online pour faire repasser l'imprimante à l'état En ligne.
Impossible de configurer la connexion parallèle
| Cause possible | Solution |
| L'ordinateur ne prend pas en charge l'interface parallele bidirectional. | Ce problème ne peut être solutionné. Il convient d'utiliser un ordinateur qui assure cette prise en charge! |
| Le cable parallele n'est pas conforme aux normes. | Utiliser un cable parallele bidirectionnel conforme à la norme IEEE 1284-1994. |
| L'interface est invalidée. | Vérifier si l'interface parallele est réglée sur Activer. |
| La procédure de con-figuration n'a pas été suivé correctement ou a été annulée. | Reconfigurer depuis le début. |
| Le cable parallele est déconnecté ou défec-tueux. | Rebrancher le cable ou essayer un autre cable. |
| Un convertisseur, une mémoire-tampon ou une ballonge est utilisée. | Réaliser un test en connectant directement l'imprimante à l'ordinateur. |
Solution
- Windows 95 et NT 4.0 ne prennent pas en charge la connexion USB.
- Il se peut que Windows 95 mis à niveau à Windows 98 ne prenne pas en charge la connexion USB.
- La version d'origine Windows 98 et Windows Me, 2000, et XP prenant toutes en charge la connexion USB.
| Cause possible | Solution |
| L'ordinateur ne prend pas en charge l'interface USB. | Vérifier s'il existe un contrôleur USB dans le gestionnaire de péripériques Windows. |
| Le cable USB n'est pas conforme aux normes. | Utiliser un cable USB conforme à la norme Ver.1.1. |
| L'interface est invalidée. | Vérifier si l'interface USB est réglée sur Activer. |
| La procédure de configuration n'a pas été suivie correctement ou a été annulée. | Reconfigurer depuis le début. |
| Le cable USB est débranché ou défec-tueux. | Rebrancher le cable ou essayer un autre cable. |
| Un concentrateur USB est utilisé. | Réaliser un test en connectant directement l'imprimante à l'ordinateur. |
Impossible d'imprimer.
- Erreur d'écriture LPT affichée (Windows uniquement) Erreur d'écriture PRNUSBX affichée
| Cause possible | Solution |
| L'interface est invalidée. | Dans les options du menu Imprimante, activer l'interface Parallèle ou USB. |
| L'imprimante est mise Hors Tension. | Mettre l'imprimante sous tension. |
| Le cable de liaison de l'imprimante est débranché. | Rebrancher le cable de liaison d'imprimante. |
| Un convertisseur, une mémoire-tampon, une rallonge ou un concentrateur USB est utilisé. | Réaliser un test en connectant directement l'imprimante à l'ordinateur. |
| Le port de sortie du pilote d'imprimante est incorrect. | Régler le port de sortie sur lequel le cable de liaison d'imprimante est branché. |
| L'imprimante n'est pas sélectionnée dans le pilote d'imprimante. | Sélectionner l'imprimante ou l'imprimante par défaut. |
| Le mauvais pilote d'imprimante est utilisé. | Supprimer ce pilote d'imprimante et installer le bon pilote d'imprimante. |
Erreur d'application ou de protection générale.
| Cause possible | Solution |
| L'application n'est pas adaptée à la version Windows. | Mettre à niveau l'application |
| Insuffisance de mémoire pour un certain nombre d'applications en cours d'exécution. | Fermer toutes les autres applications. |
| Le fjichier d'impression est altréré. | Rectifier ou recréer le fjichier. |
| Mémoire insuffisante pour l'application. | Libérique de la mémoire en suprimant tous les fjichiers du réseau Temp et videz la Corbeille. Si le problème persististe, augmentez la mémoire de l'ordinateur.. |
| Espace libre insuffisant sur le disque dur. | Supprimer les fjichiers inutiles. |
| Le pilote d'imprimante est configéré incorrectement. | Configurer correctement le pilote d'imprimante. |
Cause possible
Le papier charge dans le bac est d'un format différent de celui défini dans le logiciel.
Solution
Changer le papier dans le bac pour le faire correspondre au format défini dans l'application et appuyer sur ONLINE pour continuer ou poursuivre l'impression sur le papier existant en appuyant sur EN LIGNE.
Mise sous tension mais l'imprimante ne se met pas en ligne.
| Cause possible | Solution |
| Bad Connexion (Mauvaise connexion) | Mettre l'imprimante hors tension. Débrancher le cable secteur. Rebrancher le cable secteur. Mettre l'imprimante sous tension. Si cette solution ne résout pas la défaillance, faire une demande d'intervention. |
L'imprimante fait un bruit étrange.
| Cause possible | Solution |
| L'imprimante n'est pas hori-zontale | Placer l'imprimante sur une surface plane et stable. |
| Le papier est rayé ou des matières étrangères se trouvent dans l'imprimante. | Vérifier l'intérieur de l'imprimante et nettoyer ces matières. |
| Le capot supérieur n'est pas bien fermé | Appuyer sur les cotsés gauche et droit du capot supérieur. |
L'imprimante met longtemps à lancer l'impression.
| Cause possible | Solution |
| L'imprimante doit semettre en route, en sortant du mode Veille. | Dans les option du menu Imprimante, régler la mise en veille sur un salarié plus long. |
| Le tambour photoconduc-teur exécute un processus de nettoyage pour garantir la qualité d'impression, ce qui demande du temps. | Attendre la fin du nettoyage. |
| L'unité de fusion ajuste la température, ce qui démande du temps | Attendre la fin de la mise en température. |
| L'imprimante traite les données d'une autre interface. | Attendre la fin du traitement de ces données. |
L'impression est lente.
| Cause possible | Solution |
| Le traitement de l'impression est réalisé par l'ordinateur. | Utiliser un ordinateur doté un processeur plus rapide. |
| La résolution d'impression seLECTIONNée est élevée. | Sélectionner une résolution d'impression plus BASSE dans le pilote d'imprimante. |
| Les données sont trop complexes. | Simplifier les données. |
Le traitement de l'impression ne commence pas.
| Cause possible | Solution |
| Printer Error (Erreur sur l'imprimante) | Vérifier le tableau de commande. Si un message d'erreur est affché, rectifier le problème. |
Le traitement de l'impression s'annule.
| Cause possible | Solution |
| Le câble de liaison de l'imprimante est défaillant. | Remplacer le câble de liaison d'imprimante. |
| Le délambda est trop court. | Régler le délambda de façon à ce que le délambda soit plus long. |
Accessoires
Selon la configuration de l'imprimante, il est possible d'ajouter une ou plusieurs des options suivantes :
- Mémoire supplémentaire : voir page 533
- Disque Dur Interne : voir page 540
- Unité Duplex : voir page 545
- Bacs à papier supplémentaires : voir page 546
Quand installer
L'installation de mémoire supplémentaire est conseillée
- si vous effectuez des tirages duplex ou
- Si des messages d'erreur apparaisent lors de l'impression de données complexes. Utilisé également pour les applications à fort pourcentage graphiques sur les réseaux.
Disponibles modules
La mémoire supplémentaire est disponible en modules
64 Mo 128 Mo 256 Mo
Installation
- Mettez l'imprimante hors tension.
- Débranche le câble secteur et le câble de liaison de l'imprimante.
- Desserrer les deux vis (1) et enlever la carte mère.

Attention!
Si vous installez trois 256 modules de mégaoctet (la quantité maximum de mémoire), les modules de mémoire qui ont été installés doivent être enlevés au début.
L'imprimante ne peut pas fonctionner correctement si les modules ne sont pas fermement placés.
- Poussez vers l'extérieur les languettes blanches situées aux deux extrémités du support.
- Soulever hors le conseil.

- Alignez le module en insérant d'abord le côté droit de son connecteur métallique (bande mince) (1) orienté vers les nombres d'identification des logements sur la carte de contrôle.

- Ensuite, insérez doucement le module dans le support jusqu'à ce que ses extrémités soient sous les languettes de verrouillage. Appuyez fermement sur le module jusqu'à ce que celui-ci soit bien enfoncé dans le connecteur, puis déplacez les languettes blanches pour verrouiller le module en place.

- Reposez la carte mère et fixez-la avec les deux vis.
- Rebranchez le câble de liaison de l'imprimante et le câble secteur puis mettez l'imprimante sous tension.
- Allumez l'imprimante.
Si le message d'erreur DEMANDE D'INTERVENTION/034 (APPELER MAINTENANCE/034) apparait
1. Après la mise sous tension de l'imprimante. 2. Enlever la carte mère. 3. Vérifiez si les modules de mémoire ont été installés correctement. 4. Reposez la carte mère. 5. Allumez l'imprimante. 6. Si DEMANDE D'INTERVENTION/034 (APPELER MAINTENANCE/034) apparait, repetez les étapes ci-dessus mentionnées.
- Imprimez le document MenuMap (liste des menus)
Consultez “Paramètres de l'imprimante (Paramètres du menu)” page 82
a. Assurez-vous que le bac à papier contient du papier. b. Appuyez à plusieurs reprises sur MENU jusqu'à ce que INFORMATION MENU (MENU INFORMATION) s'affiche. c. Appuyez sur SELECT. PRINT MENU MAP (IMPRIMER LES MENUS) s'affiche. d. Appuyez sur SELECT. e. Le menu s'imprime.
- Vérifiez que la quantité totale de mémoire indiquée dans la partie supérieure du document MenuMap (Liste des menus).
Il correspond à la quantité de mémoire installée dans l'imprimante.
S'il ne fait pas :
a. Avec la mise sous tension de l'imprimante. b. Enlever la carte mère. c. Vérifiez si les modules de mémoire ont été installés correctement. d. Reposez la carte mère. e. Allumez l'imprimante.
- Dans le pilote d'imprimante, changer la mémoire installée pour égaler la nouvelle valeur:
- Windows XP : Consultez la page 119
- Windows 2000 : Consultez la page 207
- Windows Me/98/95 : Consultez la page 300
- Windows NT 4.0 : Consultez la page 383
Généralités
Le disque dur interne optionnel est utilisé pour
- le tirage d'épreuve
- le mot de passe pour l'impression
- l'impression sécurisée

Installation
- Mettez l'imprimante hors tension.
- Débranche le câble secteur et le câble de liaison de l'imprimante.
- Desserrer les deux vis (1) et enlever la carte mère.

- Tenez le disque dur interne par la poignée de verrouillage (1).
- Insérez les pattes de positionnement de la poignée (2) et les quatre pieds de centrage (3) dans les trous de la carte mère en veillant à ce que le connecteur du disque dur (4) commence à s'enclencher avec la prise du tableau de commande.
- Enlevez doucement la poignée de verrouillage (1), en veillant à ce que le disque dur avance et s'enclenche complètement avec la prise.

- Reposez la carte mère et fixez-la avec les deux vis.
- Rebranche le câble de liaison de l'imprimante et le câble secteur.
- Mettez l'imprimante sous tension.
- Imprimez le document MenuMap (liste des menus).
Consultez "Pour imprimer une liste des paramètres courants :" la page 82
a. Assurez-vous que le bac à papier contient du papier. b. Appuyez à plusieurs reprises sur MENU jusqu'à ce que INFORMATION MENU (MENU INFORMATION) s'affiche. c. Appuyez sur SELECT. PRINT MENU MAP (IMPRIMER LESS MENUS) s'affiche. d. Appuyez sur SELECT. e. Le menu s'imprime.
- Vérifiez que la HDD indiquée dans la partie supérieure du document MenuMap (Liste des menus).
S'il ne fait pas :
a. Avec la mise sous tension de l'imprimante. b. Enlever la carte mère. c. Vérifiez si la HDD ont été installés correctement. d. Reposez la carte mère. e. Allumez l'imprimante. f. Imprimez le document MenuMap
- Après avoir installé l'unité de disque dur, l'imprimante initialise automatiquement pour inclure les options.
Au cours de l'initialisation du disque dur, toute police ou tout travail d'impression qui ont été confirmés seront effacés.
L'utilitaire Storage Device Manager (Gestionnaire des unités de mémoire) peut être utilisé pour initialiser le disque dur interne de l'imprimante.
Pour plus d'informations, consultez l'aide en ligne pour Storage Device Manager.
Windows uniqueness
- Activez le disque dur dans le ou les pilotes d'imprimante :
- Windows XP : Consultez la page 120
- Windows 2000 : Consultez la page 209
- Windows Me/98/95 : Consultez la page 302
- Windows NT 4.0 : Consultez la page 384
Initialiser automatiquement
Après l'unité de disque dur est installée, l'imprimante initialise automatiquement (configure) pour inclure cette option.
Vous pouvez également initialiser manuellement le HDD.
Initialiser manuellement
Au cours de l'initialisation du disque dur, toute police ou tout travail d'impression qui ont été confirmés seront effacés.
L'utilitaire Storage Device Manager (Gestionnaire des unités de mémoire) peut être utilisé pour initialiser le disque dur interne de l'imprimante.
Pour plus d'informations, consultez l'aide en ligne pour Storage Device Manager.
- Appuyez à plusieurs reprises sur MENU jusqu'à ce que DISK MAINTENANCE (X) s'affiche.
- Appuyez sur SELECT.
- Appuyez à plusieurs reprises sur ITEM (+ ou -) jusqu'à ce que HDD INITIALIZÉ (X) s'affiche.
- Appuyez sur SELECT.
- Appuyez sur ITEM arrêtez l'imprimante
- Allumez l'imprimante.
L'imprimante doit être tournée de et sur encore initialiser le disque dur avant l'usage.
Installation
- Mettez l'imprimante hors tension.
- Débranchez le câble secteur.

- Ouvrez le capot avant (1).
- Introduisez l'unité duplex (2) dans l'imprimante.
En la faisant passer par les côtés, dans les fentes de l'imprimante.
- Faites glisser doucement et à fond l'unité duplex (2) dans l'imprimante.
- Fermez le capot avant (1).
- Rebranchez le câble secteur.
- Mettez l'imprimante sous tension.
- L'imprimante sera automatiquement configurée pour inclure cette option.
Windows uniqueness
- Activez l’unité duplex (recto verso) dans le ou les pilotes d'imprimante :
- Windows XP : Consultez la page 124
- Windows 2000 : Consultez la page 213
- Windows Me/98/95 : Consultez la page 304
- Windows NT 4.0 : Consultez la page 388
Bacs à papier supplémentaires
Deux bacs à papier supplémentaires peuvent être installés.
Quand combiné avec le plateau standard et fournissant une capacité totale d'environ 1590 feuilles.

Installation
- Mettez l'imprimante hors tension.
- Débranche le câble secteur et le câble de liaison de l'imprimante.
Avertissement!
L'imprimante pèse 48 kg.
Il faut 2 personnes pour soulever l'imprimante en toute sécurité et prévenir tout accident de personne.
Lorsque vous installez les deux bacs à papier supplémentaires :
- Posez d'abord ces deux bacs ensemble en un bloc
- puis installez l'imprimante au-dessus des deux bacs à papier supplémentaires.
- Déplacer l'imprimante loin de son emplacement.
- Disposer le plateau en papier supplémentaire (les plateaux) où vous pouvez que l'imprimante pour soit allé.
- Abaissez doucement l'imprimante sur le bac à papier supplémentaire
- Alignez d'une part, les trous et le raccord femelle sur le socle de l'imprimante, et d'autre part, les goupilles de position et le raccord male sur le bac à papier supplémentaire.

- Chargement du papier dans le bac.
Utiliser la procédure pareille que vous utilisez pour charger de papier dans le bac 1
Consultez "Chargement du papier" page 42.


- Plier la feuille d'identificateur de taille de presse de plateau pour exposer la taille de presse appropriée. L'insérer dans le support à la bonne fin du bac.
L'étiquette est fournie avec le bac optionnel.

- Placer l'étiquette d'identificateur de numéro de bac autocollante appropriée (2 ou 3) sur le rectangle plus bas au bon côté du plateau.
L'étiquette est fournie avec le bac optionnel.

- Rebranche le câble de liaison de l'imprimante et le câble secteur.
- Mettez l'imprimante sous tension.
- Imprimez le document MenuMap (liste des menus)
Consultez “Paramètres de l'imprimante (Paramètres du menu)” page 82)
a. Assurez-vous que le bac à papier contient du papier. b. Appuyez à plusieurs reprises sur MENU jusqu'à ce que INFORMATION MENU (MENU INFORMATION) s'affiche. c. Appuyez sur SELECT. PRINT MENU MAP (IMPRIMER LES MENUS) s'affiche. d. Appuyez sur SELECT. e. Le menu s'imprime.
- Assurez-vous que TRAY 2 (BAC 2) (et TRAY 3 (BAC 3) si installé) indiquée dans la partie supérieure du document MEDIA MENU. (Menu Support). S'il ne fait pas:
a. Avec la mise sous tension de l'imprimante. b. Enlever la carte mère. c. Vérifiez si les HDD ont été installés correctement. d. Reposez la carte mère. e. Allumez l'imprimante.
- L'imprimante sera automatiquement configurée pour inclure cette option.
Windows uniqueness
- Activez l’unité duplex (recto verso) dans le ou les pilotes d'imprimante :
- Windows XP : Consultez la page 122
- Windows 2000 : Consultez la page 211
- Windows Me/98/95 : Consultez la page 303
- Windows NT 4.0 : Consultez la page 386
| Méthode d'impression | Mémoire photographique électronique axée sur une source de lumière non protégée, produit par électroluminescence |
| Résolution | C7350n: 600 x 1200 ppp C7550n: 1200 x 1200 ppp |
| Couleurs | Cyan, magenta, jaune, noir (CMJN) |
| Proesseur central | Microproesseur PowerPC 750, processeur central à architecture RISC 32 bits, 500 MHz, 64 bits |
| Mémoire | C7350n, C7550n: 192 Mo de base C7350hdn, C7550hdn: 320 Mo de base (Jusqu'à 1 Go max avec les modules de mémoire optionnels) |
| Langage d'impression | PostScript3, PCL5c |
| Police interne | PostScript 3, polices PCL5c |
| Délai de lancement de l'impression | Délai initial d'impression : 8 s (monochrome), 9 s (couleur) |
| Interface parallelle | IEEE Std 1284-1994 parallelle |
| Connexions: Prise ferrête 36 points | |
| Câble: Câble compatible IEEE std 1284-1994 d'une longueur allant jusqu'à 1,8 mètres. | |
| Mode de transmission: Compatible, ECP mode Nibble (Quartet) | |
| Niveau de tension à la jonation • Bas +0,0 - 0,8V • Haut +2,4 - 5,0V | |
| Interface Bus Série Universal (USB) | Norme USB Version 1.1 |
| Connexion: USB type B | |
| Câble: Câble (blindé) de(norme USB Version 1.1 | |
| Mode de transmission: Pleine vitesse (12 Mbps + 0,25 % maximum) | |
| Commande de la puissance | Appareil disposant de sa propre alimentation |
| Réseau | Câblage selon 100BASE-TX/10BASE-T (option) |
| Vitesse d'impression en nombre de pages par minute (ppm) : La vitesse d'impression varie selon le format de papier, le gramma et le type d'alimentation du papier. | Couleur: 24 ppm Monochrome: 26 ppm Couleur du transparent: 12 ppm Couleur Duplex: 13 ppm |
| Format du support - tous les bacs 1, 2, 3 | Lettre, Legal 14 pouces, Legal 13 pouces, Legal 13,5 pouces, Executive, A4, A5, B5 A6: bac 1 uniquement, |
| Format du support - bac multifonction | Lettre, Legal 14 pouces, Legal 13 pouces, Legal 13,5 pouces, Executive, A4, A5, A6, B5 Enveloppes: C5, DL, Com-9, Com-10, Monarch Personnel (jusqu'à 1200 mm de longueur) |
| Grammage du support | Bac 1 à 3: 20 à 47 lb. Papier bond US (métrique) (75 à 177 g/m2) Multi-Purpose Tray (Bac multifonction) : 17 to 54 lb. bond US (métrique) —à 113 lb. Index US (métrique) —(64 à 203 g/m2) Duplex Unit (Unité Duplex) : 20 à 28-lb. bond US (métrique) (75 à 105 g/m2) |
| Charge du bac (en fonction du grammage) | Bac à papier : 530 feuilles approx. Alimentation manuelle : 100 feuilles approx. |
| Charge du bac de sortie (en fonction du grammage) | Face en dessus : 100 feuilles approx. Face en dessous : 500 feuilles approx. |
| Marge d'impression | 6,4 mm min. (1/4 pouce) |
| Précision de l'impression | Début d'impression : ±2 mm Obliquité du papier : ±1 mm/100 mm Expansion/compression de l'image : ±1 mm/100 mm |
| Délai de mise en route | Inférieur à 3 min à la mise sous tension (25 °C) |
| Alimentation | 120 (115-127) volts AC, 60 Hz ±2 Hz |
| Consommation de puissance | Fonctionnement : 1350 W max. 500 W en moyenne (25 °C) Mise en veille : 1200 W max.; 150 W en moyenne. (25 °C) Économie d'énergie : 45 W max. |
| Conditions de fonctionnement | Fonctionnement · 50 °F à 90 °F (10 °C à 32 °C) · HR de 20 % à 80% · température thermomètre humide max.: 77 °F (25 °C) Qualité d'impression maximale · 62,6 °F à 80,6 °F (17 °C à 27 °C) · HR de 50 % à 70% Off (Désactivé) · 32 °F à 110 °F (0 °C à 43 °C) · HR de 10 % à 90% Stockage · -14 °F à 110°F (-10 °C à 43 °C) · HR de 10 % à 90% |
| Durée de vie ou usage du produit | 5 ans ou 600.000 feuilles |
| Dimensions | Largeur: 16,9 pouces (430 mm) Profondeur: 24,4 pouces (620 mm) Hauteur: 16,9 pouces (430 mm) |
| Poids | 48 kg (106 lbs.) (accessoires optionnels et papier non inclus) |

Description_r
Noir 41963004
Cyan. 41963003
Magenta 41963002
Jaune 41963001

Description référence
Noir 41962804
Cyan. 41962803
Magenta 41962802
Jaune 41962801

Description. retorefine
Unité de fusion, 120V. 41945601
Unité de fusion, 230V. 41945607

Description_r
Courroie de transfert 41945501
OKI Synflex™ (synflexmc) étanche et indéchirable

Référence
Blanc, 8,5 x 11 po. 100 feuilles. 52205901
OKI bright white proofing paper (papier à épreuve blanc brillant)
Référence
32 lb, bond US (120 g/m²), 8,5 x 11 po. 500 feuilles.........52206101
OKI premium card stock (carte de première qualité)
Référence
Blanc, 60 lb (109 g/m2), 8,5 x 11 po. 250 feuilles.........52205601
Blanc, 90 lb (162 g/m2), 8,5 x 11 po. 250 feuilles.........52205602
Blanc, 110 lb (199.4 g/m2), 8,5 x 11 po. 250 feuilles......52205603
Support d'impression oki®(suite)
(transparents couleur de première qualité)

Référence
8,5x11po.50feuilles 52205701
Enveloppes de première qualité
Teinture de sécurité, Redi-Strip

Référence
Blanc, COM-10. Boîte de 100 52206301
Blanc, COM-10. Boîte de 500 52206302
Menu imprimer
| Option | Option par défaut régée à l'usine |
| EXEMPLAIES (COPIES) | 1 |
| DUPLEXa | ARRÉT (DÉSACTIVÉ) |
| RELIURE | BORD LONG |
| BAC PAR DéFAUT | BAC1 |
| CHANGEMENT DE BAC AUTO | ACTIVÉ |
| SEQUENCE CHANGESMENT BACS | PREMIER VERS DERNIER |
| UTILISATION DU BAC MF | EN CAS DE NON-CONCORDANCE (UTILISATION DU BAC MF) |
| VERIF FORMAT PAPIER | ACTIVÉ |
| CONTRÔLLE DU TRANSPARENT | AUTO (AUTOMATIQUE) |
| RÉSOLUTION | |
| C7350 | 600 X 1200 ppp (dpi) |
| C7550 | FAST 1200 ppp (dpi) |
| VITESSE IMPRESSION MONO | AUTO (AUTOMATIQUE) |
| ORIENTATION | PORTRAIT |
| LIGNE PAR PAGE | 60 |
| EDITOR FORMAT | FORMAT BAC |
s'affiche lorsque l'unité duplex (recto verso) optionnelle est installée.
Menu papier
| Option | Option par défaut régée à l'usine |
| BAC 1 - TYPE : | STANDARD |
| BAC 1 - GRAMMAGE : | AUTO (AUTOMATIQUE) |
| BAC 2 - TYPE :a | STANDARD |
| BAC 2 - GRAMMAGE :a | AUTO (AUTOMATIQUE) |
| BAC 3 - TYPE :b | STANDARD |
| BAC 3 - GRAMMAGE :b | AUTO (AUTOMATIQUE) |
| BAC MULTIFONCTION - FORMAT | LETTER |
| BAC MULTIFONCTION - TYPE :: | STANDARD |
| BAC MULTIFONCTIONGRAMMAGE : | AUTO (AUTOMATIQUE) |
| UNITÉ DE MESURE | POUCES |
| DIMENSION X (LARGEUR) | 8,5 POUCES |
| DIMENSION Y (HAUTEUR) | 11 POUCES |
a. S'affiche uniquement lorsque le bac à papier optionnel est installé. b. S'affiche uniquement lorsque deux bacs à papier optionnels sont installés.
Menu couleur
| Option | Option par défaut régée à l'usine |
| MODE DENSITÉ AUTOMATIQUE (MODE DENSITE AUTOMATIQUE) | Auto |
| AJUSTER LA DENSITÉ (AJUSTER DENSITE) | Exécuter |
| RéGLAGE DE LA COULEU (AJUSTEMENT FIN DES PRIMAIRES) | Configuration d'impression |
| CYAN TONS CLAIRS | 0 |
| TONS MOYENS CYAN | 0 |
| TONS FONCÉS CYAN | 0 |
| DARKNESS CYAN | 0 |
| MAGENTA TONS CLAIRS | 0 |
| TONS MOYENS MAGENTA | 0 |
| TONS FONCÉS MAGENTA | 0 |
| DARKNESS MAGENTA | 0 |
| JAUNE TONS CLAIRS | 0 |
| TONS MOYENS JAUNE | 0 |
| TONS FONCÉS JAUNE | 0 |
| DARKNESS JAUNE | 0 |
| NOIR TONS CLAIRS | 0 |
| TONS MOYENS NOIR | 0 |
| TONS FONCÉS NOIR | 0 |
| DARKNESS NOIR | 0 |
| AJUSTER LE CADRAGE (CALAGE MANUEL) | Exécuter |
| AJUSTEMENT PRECIS DU CADRAGE CYAN | 0 |
| AJUSTEMENT PRECIS DU CADRAGE MAGENTA | 0 |
| AJUSTEMENT PRECIS DU CADRAGE JAUNE | 0 |
| SIMULATION D'ENCRE | Déactivé |
| LIMITE D'ENCRAGE | Foncé |
| DENSITÉ 100 % CMJ (DENSITE CMY100%) | Déactivé |
Menu configuration système
| Option | Option par défaut régée à l'usine |
| POWER SAVE DELAY TIME | 60 min |
| USB PROTOCOLE PS (USB PS-PROTOCOL) | RAW |
| RéSEAU PROTOCOLE PS (Network PS-PROTOCOL) | RAW |
| PERSONALITY (PERSONNALITÉ) | AUTO EMULATION (ÉMULATION AUTO) |
| INHIBER ERREUR | ARRÊT |
| AUTO CONTINUE (CONTINUER AUTO) | DÉSACTIVÉ |
| TIMEOUT MANUEL | 60 s |
| ATTENTE OPERATUR (PS) | 40 s |
| SIMESSAGE TONER BAS | CONTINUER |
| REPRISE SUR BOURRAGE | ACTIVÉ |
| RELEVÉ D'ERREUR RAPPORT ERREUR (PS) | DÉSACTIVÉ |
| LANGUE | ENGLISH |
Menu parallèle (windows uniquement)
| Option | Option par défaut régée à l'usine |
| PARALLÉLE | ACTIVÉ |
| BI-DIRECTIONNEL | ACTIVÉ |
| ECP | ACTIVÉ |
| LARGEUR ACK (ACK WIDTH) | ÉTROIT (NARROW) |
| ACK/BUSY TIMING | Ack-in-busy |
| I-PRIME | DÉSACTIVÉ (SANS) |
| RÉCEPTION HORS LIGNE(OFFLINE RECEIVE) | DÉSACTIVÉ (SANS) |
Menu USB
| Option | Option par défaut régée à l'usine |
| USB | ACTIVÉ |
| RÉINITIALISATION À CHAUD (SOFT RESET) | DÉSACTIVÉ |
| RÉCEPTION HORS LIGNE (OFFLINE RECEIVE) | DÉSACTIVÉ (SANS) |
Menu réseau
| Option | Option par défaut régée à l'usine |
| TCP/IP | ACTIVÉ |
| NETWARE | ACTIVÉ |
| ETHERTALK | ACTIVÉ |
| NETBEUI | ACTIVÉ |
| TYPE DE TRAME | AUTO |
| DHCP/BOOTP | ACTIVÉ |
| RARP | DÉSACTIVÉ |
| ADRESSE IP | 0.0.0.0 |
| MASQUE DE SOUS-RÉSEAU | 0.0.0.0 |
| ADRESSE DE PASSENELLE (ADRESSE PASSENELLE) | 0.0.0.0 |
| PARAMÈTRES D'IMPRESSION | DÉSACTIVÉ |
| INITIALISER (INITIALISATION) | DÉSACTIVÉ |
Menu mémoire
| Option | Option par défaut régée à l'usine |
| TAILLE BUFFER RÉCEPTION | AUTO |
| RESOURCE SAVE | DÉSACTIVÉ |
| INITIALISATION FLASH | Exécuter |
| PS FLASH RESIZE | 0,5 MO |
Menu de maintenance du disque
S'applique uniquement lorsque le disque dur optionnel est installé.
| Option | Option par défaut régée à l'usine |
| PARTITION #1 | PCL |
| PARTITION #2 | COMMUNE |
| PARTITION #3 | PS |
Menu de réglage du système
| Option | Option par défaut régée à l'usine |
| AJUSTER X (X ADJUST) | 0,0 mm |
| AJUSTER Y (Y ADJUST) | 0,0 mm |
| AJUSTER X DUPLEX (DUPLEX X ADJUST)a | 0,0 mm |
| AJUSTER Y DUPLEX (DUPLEX Y ADJUST)a | 0,0 mm |
| BAC1 LEGAL14 (BAC1 PAPIER LEGAL14) | LEGAL 14 |
| BAC2 LEGAL14 (BAC2 PAPIER LEGAL14)b | LEGAL 14 |
| BAC3 LEGAL14 (BAC3 PAPIER LEGAL14)c | LEGAL 14 |
| PCL BAC2 ID# | 5 |
| PCL BAC3 ID# | 20 |
| PCL BAC MULTIF ID# (PCL MF BAC ID#) | 4 |
| HEX DUMP | Exécuter |
a. S'affiche lorsque l'unité duplex (recto verso) optionnelle est installée. b. S'affiche uniquement lorsque le bac à papier optionnel est installé. c. S'affiche uniquement lorsque deux bacs à papier optionnels sont installés.
Menu de maintenance
| Option | Option par défaut régée à l'usine |
| RAZ EEPROM | Exécuter |
| ÉCONOMIE D'ENERGIE | ACTIVÉ |
| OPTION NOIR DU PAPIER(PAPER BLACK SETTING) | 0 |
| OPTION COULEUR DU PAPIER(PAPER COLOR SETTING) | 0 |
| OPTION NOIR TRANSPR(TRANSPR BLACK SETTING) | 0 |
| OPTION COULEUR TRANSPR(TRANSPR COLOR SETTING) | 0 |
Généralités
L'utilitaire "Color Swatch" (Nuancier de couleurs) permet
- d'imprimer des échantillons d'impression couleur ou
- aplats de couleurs sur votre imprimante couleur.
Ces aplats sont utilisés avec les applications pour sélectionner et reproduire les couleurs avec précision.
Ils comportent des échantillons de la palette de couleurs de l'imprimante. Peuvent être utilisés pour repérer les couleurs désirées pour vos documents.
Chargez ces applications depuis le CD fourni avec l'imprimante.
- L'utilitaire Nuancier de couleurs ne garantit pas que la couleur imprimée concordera exactement avec la couleur affichée à l'écran. Utilisez la couleur affichée comme référence.
- Il est possible que l'imprimante ne puisse pas imprimer exactement la couleur que vous désirez.
- Il est possible que vos logiciels ne soient pas aptes à effectuer la concordance des couleurs à l'aide des informations fournies par les aplats. Utilisez au besoin d'autres méthodes de concordance des couleurs.
- Les échantillons ne comportent pas toutes les couleurs qui peuvent être imprimées sur votre imprimante couleur.
- D'autres facteurs peuvent influencer la façon dont vous percevez les couleurs : la couleur et le fini du papier, l'éclairage ambiant, et même les couleurs à proximité de la couleur que vous observez.
Chargement de l'utilitaire
- L'utilitaire Nuancier de couleurs ne garantit pas que la couleur imprimée concordera exactement avec la couleur affichée à l'écran. Utilisez la couleur affichée comme référence.
- Il est possible que l'imprimante ne puisse pas imprimer exactement la couleur que vous désirez.
- Installez d'abord l'utilitaire à l'aide du Menu d'installation (Windows).
- Cliquez sur Démarrer Programmes Color Swatch (Nuancier de couleurs) Color Swatch Utility (Utilitaire Nuancier de couleurs).
- Lorsque l'utilitaire est chargé, une page comptant les couleurs les plus souvent utilisées s'affiche.
- Cliquez sur "Print" (Imprimer) pour imprimer les pages d'échantillons.

- Utilisez les boîtes couleur pour sélectionner les couleurs spécifiques que vous désirez utiliser dans vos documents.
Chaque boîte couleur, ou échantillon, compte les informations requises par les applications pour réproduire et ajuster la couleur.
Les numéros sous chaque boîte couleur indiquent la quantité de couleurs primaires — rouge (R), vert (G) et bleu (B) — mélangées pour former une teinte particulière.
Les quantités sont indiquées par des valeurs de 0 à 255.
Création de nuanciers de couleurs personnalisés
- L'utilitaire Nuancier de couleurs ne garantit pas que la couleur imprimée concordera exactement avec la couleur affichée à l'écran. Utilisez la couleur affichée comme référence.
- Il est possible que l'imprimante ne puisse pas imprimer exactement la couleur que vous désirez.
Si vous ne trouvez pas la couleur désirée, il est possible de créer des couleurs personnalisées :
- Dans le menu File (Fichier), sélectionnez Custom Swatch (Personnaliser le nuancier de couleurs)
- La fenêtre contextuelle qui s'affiche compte trois glissières vous permettant de personnaliser les couleurs :
- La glissière Hue (Teinte) permet de modifier la teinte des couleurs, par exemple, de rouge à vert ou de bleu à jaune. - La glissière Saturation permet de modifier la vivacité de la couleur. - La glissière Lightness (Luminosité) permet de modifier la luminosité de la couleur.
- Réglez les glissières jusqu'à ce que la couleur désirée soit obtenue.
Les variations de couleur sont présentes pour vous aider à tracer la couleur correspondant le moins à cette recherche.
- Cliquez sur OK.
- Imprimez la page de nuancier de couleurs personnalisé.
- Répétez ces étapes si vous n'avez toujours pas obtenu la couleur désirée.
- Pour plus d'informations, consultez le fichier Read-me (Lisezmoi) dans la liste des programmes de Windows.
Le fichier incluant
- l'application des valeurs de couleur dans les applications
- le réglage des couleurs du moniteur,
Généralités
Ce utilisaire permet de transmettre rapidement et facilement un fichier PDF directement à l'imprimante, et ce, sans utiliser l'application Acrobat Reader d'Adobe.
Ceci est plus rapide et plus facile que l'Acrobat d'Adobe d'utilisation séparément avant d'imprimer.
Il vous permet également de sélectionner la source du papier, l'impression recto verso, les pages à imprimer ainsi que d'autres paramètres.
Chargez ces applications depuis le CD fourni avec l'imprimante.
Exigences d'usage
- Un disque dur intégré doit être installé (en standard sur les modèles hdn).
- L'utilitaire prend en charge les fichiers PDF de version 1.3 (Acrobat 4.0) ou inférieure.
- Des polices de caractères doivent être installées sur votre système.
Certains fichiers PDF peuvent ne pas s'imprimer correctement.
L'utilitaire prend en charge les fichiers PDF de version 1.3 (Acrobat 4.0) ou inférieure.
1. Cliquez
avec le bouton droit de la souris sur le fichier PDF à imprimer depuis l'Explorateur Windows
sur l'icône du fichier sur le Bureau.
- Cliquez sur PDF Direct Print.
- Cliquez sur Print (Imprimer).

- L'écran Start (Lancement) s'affiche.
Start compte les options suivantes :
- Sélectionner l'impression
- Source du papier
- Copies 2-sided printing (Impression recto verso)
- Binding (Reliure) Collate (Assembler)
- Dimensionner à la page
- Imprimer la plage de pages
- Restore Default (Restaurer les valeurs par défaut)
- Sauvegarder les paramètres
- Imprimer
- Annuler Aide
- About (À propos de)
- Si le message "ERROR: PDF to PS conversion failed" (Échec de conversion de PDF à PS) s'affiche,
Le fichier comporte une police intégrée qui n'est pas installée sur le système.
À l'aide de l'application Acrobat, supprimez le texte ou sélectionnez une autre police.
Depuis Acrobat, Sélectionnez Tool (Outil) → Touchup (Retouche) → Text attribute (Attribut de texte).
Retirez la coche de la boîte Embed (Intégrer).
- Pour plus d'informations, consultez l'aide de l'utilitaire "PDF Print Direct".
Généralités
- l'unité de disque dur interne de 20 Go, en option. (en standard sur les modèles hdn).
- la mémoire flash intégrée à l'imprimante de 2 Mo.
Chargez ces applications depuis le CD fourni avec l'imprimante.
L'utilitaire Storage Device Manager requiert Microsoft Internet Explorer 4.0 ou supérieur.
Le disque dur interne de l'imprimante ne communique pas directement avec l'utilitaire Storage Device Manager.
Il ne transmet que les messages d'erreur sur l'affichage de l'imprimante.
Si tout semble « bloqué », accédez à l'imprimante et vérifiez l'affichage.
Sommaire des fonctions
- Création ou modification d'un projet.
- Téléchargement de fichiers vers une imprimante.
- Ajout ou suppression d'imprimantes gérées. Redémarrer l'imprimante.
- Gestion des files d'attente de « Proof & Print » (Contrôle et impression) et « Secure Print » (Impression sécurisée) sur le disque dur interne.
- Suppression de fichiers sur le disque dur interne ou dans la mémoire flash.
- Affichage de l'état, de la configuration et des variables d'une imprimante.
- Impression d'une page de démonstration, de la liste des polices PCL ou de la liste des polices PostScript pour une imprimante.
- Impression de une ou plusieurs macros PCL ou formulaires PostScript (superpositions).
Installation
Chargez ces applications depuis le CD fourni avec l'imprimante.
Aide en ligne
L'utilitaire Storage Device Manager requiert Microsoft Internet Explorer 4.0 ou supérieur.
Le disque dur interne de l'imprimante ne communique pas directement avec l'utilitaire Storage Device Manager.
Il ne transmet que les messages d'erreur sur l'affichage de l'imprimante.
Si tout semble « bloqué », accédez à l'imprimante et vérifiez l'affichage.
Dans la fenêtre principale de Storage Device Manager, cliquez sur Help Topics (Sujets d'aide) dans le menu déroulant Help (Aide).
Pour lui accéder depuis d'autres écrans du Storage Device Manager, cliquez sur le bouton Help (Aide).
Lancement de l'utilitaire
- Clique sur Démarrer → Programmes → OKI → Storage Device Manager → Storage Device Manager.
La boîte de dialogue « SDM - Printer Discovery » (SDM - Découverte d'imprimantes) s'ouvre.

- Sélectionnez la ou les connexions d'ordinateur appropriées, puis cliquez sur Start (Démarrer).
L'utilitaire recherche les imprimantes connectées et place leurs icônes dans la fenêtre dans la partie inférieure de la boîte de dialogue.
- Cliquez sur Exit (Quitter).
La boîte de dialogue « Storage Device Manager » s'ouvre.

Généralités
Sur les systèmes réseautés, l'administrateur
- supervise l'utilitaire Gestionnaire d'appareils de stockage
- peut l'utiliser pour gérer et assurer le suivi du disque dur interne et de la mémoire flash de l'imprimante.
Les fonctions d'administration permettent d'effectuer les opérations suivantes :
- Définir un mot de passe d'administration.
- Saisir des numéros de NIP à 4 chiffres pour les clients. Redémarrer l'imprimante.
- Supprimez les fichiers. (La méthode préférée est « Show Resources » (Montrer les ressources).)
- Formater le disque dur
L'administrateur de réseau fonctionne
Notes et Avertissements
Numéro NIP
Les clients doivent avoir le contrôle sur les propriétaires des clients.
Il faut que l'administrateur connaisse ces NIP pour : gérer les informations client.
Supprimer fichier
Dans « Show Resources » permet d'accéder au fichier, de cliquer sur celui-ci, de cliquer sur « Delete » (Supprimer) et ensuite de cliquer sur OK pour confirmer la suppression.
En utilisant les fonctions d'administration pour supprimer un fichier, il est nécessaire d'imprimer une liste des fichiers et d'utiliser ensuite les informations de cette liste pour entrer le chemin exact (sensible à la casse) du fichier à supprimer. Le fichier est alors supprimé sans nécessiter de confirmation de suppression.
Formater les partitions du disque dur
Vous pouvez également utiliser l'utilitaire Storage Device Manager pour formater les partitions du disque dur de l'imprimante.
Mais cela efface tout le contenu des partitions et peut entraîner des problèmes sérieux.
Nous recommandons d'utiliser « Show Resources » (Afficher les ressources) et « HDD Print Jobs » (Travaux d'impression du disque dur) pour faire la maintenance du disque dur.
Définition d'un mot de passe d'administration.
- À partir de l'utilitaire Storage Device Manager, dans le menu Imprimantes, cliquez sur Fonctions d'administration.

Les mots de passe comportent huit chiffres ou lettres et sont sensibles à la casse.
- Sous Enter Password (Entrer le mot de passe), entrez le mot de passe par défaut (p1xs7d0m).
- Cliquez sur Change Password (Modifier le mot de passe).
- Sous New Password (Nouveau mot de passe), entrez le nouveau mot de passe alphanumeric de votre choix
- Sous Confirm New Password (Confirmer le nouveau mot de passe), entrez de nouveau le nouveau mot de passe.
Le message « New Password Accepted » (Nouveau mot de passe accepté) s'affiche.
- Cliquez sur OK.
- Cliquez deux fois sur Exit (Quitter).
Création de formulaires
Utilisez les formulaires PostScript si vous ne connaissiez pas les macrocommandes PCL.
Étape 1: Création de formulaires dans une application Étape 2 : Création d'un nouveau projet Étape 3a : Ajout de fichiers au projet Étape 3b : Suppression d'un fichier du projet Étape 4 : Vérification de l'emplacement de stockage des fichiers dans la mémoire de l'imprimante Étape 5 : Sauvegarde du projet et téléchargement vers l'imprimante Étape 6 : Impression d'essai du formulaire
Important!
N'oubliez pas que les noms de fichiers et les chemins sont sensibles à la casse.
Étape 1: création de formulaires dans une application
- Créez le document dans une application.
- Cliquez sur Fichier → Imprimer et assurez-vous que le pilote PostScript est sélectionné.
- Sélectionnez Imprimer dans un fichier.
- Sélectionnez l'option Encapsulated PostScript (EPS). Windows Me/98/95
- Cliquez sur Propriétés (ou sur une option équivalente de l'application).
- Cliquez sur l'onglet « PostScript », puis sélectionnez Encapsulated PostScript (EPS) si cette option n'est pas sélectionnée.
- Cliquez sur Propriétés (ou sur une option équivalente de votre application).
- Faites défilier jusqu'à Options Postscript et cliquez sur cette option, puis cliquez sur Option de sortie Postscript et sélectionnez Encapsulated PostScript (EPS).
- Cliquez sur OK.
- Imprimez le document dans un fichier en utilisant l'extension de fichier PRN.
Étape 2 : création d'un nouveau projet
- Lancez l'utilitaire Storage Device Manager.
- Cliquez sur Projects (Projets) New Project (Nouveau projet). La boîte de dialogue « Project » (Projet) s'ouvre.
- Cliquez sur Projects (Projets) Save Project (Sauvegarder le projet), entrez le chemin/nom pour stocker le projet sur un disque dur ou sur le réseau, puis cliquez sur Save (Sauvegarder).
Étape 3A : ajout de fichiers au projet
- Cliquez sur Projects (Projets) → Add File to Project (Ajout de fichiers au projet).
La boîte de dialogue « Open » (Ouvrir) s'ouvre.
- Assurez-vous que PRN files (.prn) (Fichiers PRN (.prn)) est sélectionné dans la liste déroulante Files of type (Fichiers de type).
- Accédez au dossier où les fichiers sont stockés et sélectionnez les fichiers que vous désirez ajouter au projet, puis cliquez sur Open (Ouvrir).
La boîte de dialogue « Information » s'ouvre.
- Cliquez sur OK.
Les fichiers sont sauvegardés en format HST.
- Répétez les étapes 1 à 4 jusqu'à ce que tous les fichiers désirés aient été ajoutés au projet.
Étape 3B : supprimer un fichier du projet
Pour supprimer un fichier du projet, cliquez sur le nom du fichier, puis cliquez sur Projets (Projects) Supprimer le fichier du projet (Remove File from Project).
Disque dur
Si l'imprimante est équipée d'un disque dur interne, l'utilitaire Storage Device Manager sauvegardera automatiquement les formulaires dans la partition PostScript du disque dur.
Mémoire flash
Si l'imprimante n'est pas équipée d'un disque dur interne, l'utilitaire Storage Device Manager sauvegardera automatiquement les formulaires dans la section PostScript de la mémoire flash.
Pour stocker des formulaires dans la mémoire flash et non sur le disque dur de l'imprimante :
- Double-cliquez sur le nom de fichier dans la fenêtre « Project » (Projet). La boîte de dialogue « Edit Component Name and ID » (Modifier le nom et l'ID de composant) s'affiche.
- Sous Volume, entrez « in%Flash0% »
- Cliquez sur OK.
Étape 5: sauvegarde du projet et téléchargement vers l'imprimante
- Cliquez sur Projects (Projets) Save Project (Sauvegarder le projet).
- Cliquez sur Projects (Projets) Send Project Files to Printer (Transmettre les fichiers de projet à l'imprimante).
Le message « Commande exécutée » s'affiche.
- Cliquez sur OK.
Étape 6: impression d'essai du formulaire
- Avec l'utilitaire Storage Device Manager lancé et l'icône d'imprimante appropriée sélectionnée, cliquez sur Printers (Imprimantes) → Test Form (Tester le formulaire).
La boîte de dialogue « Test PostScript Form » (Tester le formulaire PostScript) s'ouvre.
- Cliquez sur le nom de fichier du formulaire que vous désirez imprimer (vous pouvez l'obtenir de la liste des fichiers imprimés). Cliquez sur OK.
Le message « Commande exécutée » s'affiche.
- Cliquez sur OK. Attendez la fin de l'impression du formulaire.
Important!
Il est préférable de continuer à utiliser les formulaires PostScript si vous ne connaissiez pas les macrocommandes PCL.
Processus de base sont requis pour créer des macros PCL :
Étape 1: Création de formulaires dans une application Étape 2 : Création d'un nouveau projet Étape 3 : Conversion des fichiers au format binaire (.bin) Étape 4a : Ajout de fichiers binaires au projet Étape 4b : Suppression d'un fichier du projet Étape 5 : Vérification des paramètres du fichier .bin et sauvegarde du projet Étape 6 : Téléchargement du projet vers l'imprimante Étape 7 : Impression d'essai de la macro
Création de formulaires
Création de macros PCL
Étape 1 : Création de formulaires dans une application
Important!
N'oubliez pas que les noms de fichiers et les chemins sont sensibles à la casse.
- Créez le document dans une application.
- Cliquez sur Fichier Imprimer et assurez-vous que le pilote PCL est sélectionné.
- Imprimez le document dans un fichier en utilisant l'extension de fichier PRN.
Étape 2: création d'un nouveau projet
- Lancez l'utilitaire Storage Device Manager.
- Cliquez sur Projects (Projets) → New Project (Nouveau projet).
La boîte de dialogue « Project » (Projet) s'ouvre.
- Cliquez sur Projects (Projets) → Save Project (Sauvegarder le projet), entrez le chemin/nom pour stocker le projet sur votre disque dur ou réseau.
- Cliquez sur Save (Sauvegarder).
Étape 3 : conversion des fichiers au format binaire (.bin)
- Cliquez sur Projets Filtrer le fichier de macro.
La boîte de dialogue « Filter Printer Patterns » (Filtrez les motifs d'imprimantes) s'ouvre.

- Modifiez au besoin les paramètres.
Si vous créez une ovale noire dans MS Paint et laissez tous les filtres de commande de couleur activé, un rectangle noir s'imprimera plutôt qu'une ovale noire lorsque la superposition est utilisé.
Pour conserver la forme ovale, déselectionnez (désactivez) les filtres « Configure Image Data » (Configurez les données d'image), « Palette ID » (ID palette) et « Palette Control »
- Cliquez sur OK.
La boîte de dialogue « Open » (Ouvrir) s'ouvre.
- Assurez-vous que Print spool files (. prn) (Fichiers de spoule d'impression (. prn)) est sélectionné dans la liste déroulante File of type (Fichier de type).
- Sous Look in (Rechercher dans), accédez au dossier où les fichiers sont stockés et double-cliquez sur un nom de fichier.
Le fichier est sauvegardé en format binaire. Le message « Filter File Created » (Fichier de filtrage créé) s'affiche.
- Cliquez sur OK.
- Répétez les étapes 1 à 6 jusqu'à ce que tous les fichiers à ajouter au projet aient été convertis.
Création de formulaires
Création de macros PCL
Étape 4a : Ajout de fichiers binaires au projet
Vous pouvez également ajouter des fichiers au projet en accédant au Poste de travail ou par l'entremise de l'Explorateur Windows, et au réseau où les fichiers PRN sont stockés, puis en sélectionnant les fichiers et en les glissant dans la boîte « Project » (Projet).
- Cliquez sur Projects (Projets) → Add File to Project (Ajout de fichiers au projet).
La boîte de dialogue « Open » (Ouvrir) s'ouvre.
- Mettez en surbrillance le fichier. bin à ajouter puis cliquez sur Open (Ouvrir).
Le nom du fichier s'affiche dans la boîte de dialogue « Project » (Projet).
- Répétez les étapes 1 et 2 jusqu'à ce que tous les fichiers à ajouter au projet s'affichent dans la boîte de dialogue « Project » (Projet).
Création de formulaires
Création de macros PCL
Étape 4B : supprimer un fichier du projet
Pour supprimer un fichier du projet,
- Cliquez sur le nom du fichier.
- Cliquez sur Projects (Projets) → Remove File from Project (Supprimer le fichier du projet).
Étape 5 : vérification des paramètres du fichier. bin et sauvegarde du projet
- Pour vérifier les paramètres d'un fichier.bin, double-cliquez sur son nom.
La boîte de dialogue « Edit Component Name and ID » (Modifier le nom et l'ID de composant) s'affiche.
Vous pouvez y modifier :
- le nom du fichier
- le numéro d'ID (le numéro que vous devez entrer dans le pilote d'impression lorsque des superpositions sont utilisées)
- le volume :
0 := partition PCL du disque dur de l'imprimante
1 := partition Common du disque dur de l'imprimante
%disk0% : = partition PostScript du disque dur de l'imprimante
- Cliquez sur OK.
- Lorsque la vérification des paramètres est terminée, cliquez sur Projects (Projets) → Save Project (Sauvegarder le projet).
Étape 6 : téléchargement du projet vers l'imprimante
- Cliquez sur Projects (Projets) → Send Project Files to Printer (Transmettre les fichiers de projet à l'imprimante). Le message « Command Issued » (Commande exécutée) s'affiche.
- Cliquez sur OK.
Étape 7 : impression d'essai des macros PCL
- Avec l'utilitaire Storage Device Manager lancé et l'icône d'imprimante appropriée sélectionnée, cliquez sur Printers (Imprimantes) → Test Macro (Tester la macro). La boîte de dialogue « Test Macro » (Tester la macro) s'ouvre.
- Entrez le numéro d'ID du fichier de macro que vous désirez imprimer.
Vous pouvez obtenir la liste des fichiers imprimée.
Vérifiez sous Volume 0
c'est-à-dire pour 2 : OKI. BIN, entrez 2
- Cliquez sur OK.
Le message « Commande exécutée » s'affiche.
- Cliquez sur OK et attendez la fin de l'impression de la macro.
Impression de la liste de fichiers
Pour imprimer une liste des fichiers mémorisés dans la mémoire de l'imprimante :
- Avec l'utilitaire Storage Device Manager lance.
- Cliquez sur Printers (Imprimantes) → Print File Listing (Imprimer la liste des fichiers).
Le message « Command Issued » (Commande exécutée) s'affiche.
- Cliquez sur OK. Attendez la fin de l'impression de la liste des fichiers.
Dans panneau de commande (avant)
Vous pouvez également imprimer la liste des fichiers à partir du menu de l'imprimante :
- Appuyez sur MENU jusqu'à ce que INFORMATION MENU s'affiche.
- Appuyez sur ITEM (+ ou -) jusqu'à ce que PRINT FILE LIST s'affiche.
- Appuyez sur SELECT.
Mémoire flash de l'imprimante
Cette option permet de visualiser et de supprimer les fichiers « Proof & Print » et « Secure Print » stockés sur le disque dur interne de l'imprimante.
- Lancez l'utilitaire Storage Device Manager.
- Cliquez sur l'icône de l'imprimante pour laquelle vous désirez visualiser le contenu.
- Cliquez sur Printers (Imprimantes) → HDD Print Jobs (Travaux d'impression du disque dur).
La boîte de dialogue « HDD Print Jobs » (Travaux d'impression du disque dur) s'ouvre.

- Sous Job Types (Types de travail), sélectionnez Secure Jobs (Travaux sécurisés)
et/ou
5. Pour visualiser
les travaux stockés pour un client particulier
a. Sous Access (Accéder), Sélectionnez View User Jobs (Visualiser les travaux de l'utilisateur), b. Entrez le NIP à quatre chiffres de l'utilisateur, c. Appuyez sur Entrée.
Pour visualiser tous les travaux stockés,
a. Sélectionnez View All Jobs (Visualiser tous les travaux) b. Entrez le mot de passe d'administration c. Appuyez sur Entrée.
- Supprimez les fichiers.
Important!
Aucune confirmation ne sera demandée pour la suppression.
- Cliquez sur Cancel Job(s) (Annuler les travaux) pour supprimer les fichiers dans les imprimer.
- Cliquez sur Print Job(s) (Imprimer les travaux) pour imprimer les fichiers avant qu'ils soient automatiquement supprimés.
Mémoire flash de l'imprimante
Utilisez l'option « Show Resources » (Afficher les ressources) pour supprimer les fichiers du disque dur interne et de la mémoire flash de l'imprimante.
- Lancez l'utilitaire Storage Device Manager
- Cliquez sur l'icône de l'imprimante pour laquelle vous désirez visualiser le contenu.
- Cliquez sur Démarrer Show Resources (Montrer resources).

- Cliquez sur les fichiers que vous désirez supprimer.
- appuyez sur Maj pour sélectionner une plage de fichiers, ou
- appuyez sur Ctrl pour sélectionner des fichiers supplémentaires).
- Les fichiers de macro PCL sont situés sous Volume 0 (disque dur interne) ou Volume 2 (mémoire flash).
- Les fichiers de macro PostScript sont situés sous Volume &disk 0 % (disque dur interne) ou % flash 0 % (mémoire flash).
- Cliquez sur Printers (Imprimantes) Delete File(s) (Supprimer fichier(s)).
- Cliquez sur Yes (Oui) pour confirmer la suppression.
- Fermez la boîte de dialogue.
Superpositions
Une superposition peut être une combinaison de graphiques, de polices de caractères ou de texte stockée et que l'on peut imprimer selon les besoins.
Une superposition stockée dans la mémoire flash de l'imprimante ou sur le disque dur (en standard sur les modèles, optionnels pour les autres)
Une superposition similaire à celle de la fonction Filigrane. Mais une superposition avec la possibilité d'y apporter bien plus de détails.
Superposition
- remplacez le papier préimprimé
- Logo de votre entreprise un second l'adresse de votre entreprise
- créer des formulaires
Quand utiliser superpositions
Utiliser Superpositions d'impression en-têtes, formulaires, ou factures.
Utiliser Superpositions peut réduire le besoin pour à la place de papier préimprimé.
Exemple d'utilisation des superpositions :
Utiliser Superpositions pour créer et emmagasiner trois dossiers dans l'imprimante:
- le logo deOMPagnie
- l'adresse de Compagnie
- la déclaration de mission de compagnie
Utiliser la Superposition pour placer ces dossiers dans votre document.
Vous supportez utiliser les fichiers dans beaucoup de combinaisons différentes, selon vos conditions changeantes.
Créer fichiers pour superpositions
Les fichiers seront utilisés comme les dessins superposés doivent être créés, doit être produit, et doit être stocké.
Alors, les autres gens peuvent utiliser des cadres dans les chauffeurs d'imprimante pour utiliser les fichiers comme les dessins superposés dans les documents
- Créez le document que vous souhaitez utiliser pour imprimer en superposition (p. ex., un en-tête).
- Générez un fichier PRN (fichier d'impression) au moyen du pilote d'impression.
- Utilisez l'utilitaire Storage Device Manager (Gestionnaire des unités de mémoire) pour convertir ce fichier PRN (fichier d'impression) en un format pouvant être stocké.
- Téléchargez-le dans l'imprimante.
Important!
- Une superposition peut se composer de plus d'un fichier.
- Lorsqu'un disque dur est installé, vous devez utiliser le Menu extinction avant de mettre hors tension l'imprimante.
- Si l'application comporte une option d'assemblage, celle-ci doit être DÉSACTIVÉE avant d'utiliser la superposition.
- L'impression de superpositions ne peut être effectuée en utilisant :
- le pilote PostScript de Windows 2000, le pilote Macintosh
- Lorsque l'espace sur le disque dur est insuffisant pour les fichiers de spouceur, le message DISQUE PLEIN s'affiche.
Exigences matériel/logiciel
- Pour utiliser les superpositions, l'utilitaire "Storage Device Manager" doit être installé.
- Il est fortement conseillé que l'imprimante soit équipée de l'unité de disque dur en option.
Actions exigées
Avant de pouvoir imprimer des superpositions,
- elles doivent être créées dans une application
- sauvegardées dans un fichier d'impression
- puis téléchargées vers stockage
Restrictions d'usage
Puis téléchargées à l'aide de l'utilitaire "Storage Device Manager".
disque dur
- mémoire flash
Espace de maximum
Disque dur
espace de 2 Mo pour chaque macro PCL et formulaire PostScript
Memoire flash
espace de 0,5 Mo pour chaque macro PCL et formulaire
PostScript
Définition des superpositions : PCL windows 2000
Dans Windows 2000, les superpositions peuvent uniquement être imprimées à l'aide du pilote PCL.
- Cliquez sur Démarrer → Paramètres → Imprimantes.
- Cliquez avec le bouton droit de la souris sur l'icône de pilote PCL.
- Cliquez sur Options d'impression. La boîte de dialogue « Options d'impression » s'ouvre.
- Cliquez sur l'onglet Superpositions.
- Cliquez sur Définir les superpositions.
- Sous Nom de la superposition, entrez un nom pour la superposition.
- Sous Valeur(s) ID, entrez un nombre d'ID pour le fichier sauvegardé à l'aide de l'utilitaire Storage Device Manager (consultez la liste des fichiers imprimée).
- Dans la liste déroulante Imprimer sur les pages, sélectionnez les pages sur lesquelles la superposition doit être imprimée, ou sélectionnez Personnel et entrez les numéros de page spécifiques sous Pages personnelles.
- Cliquez sur Ajouter.
- Cliquez sur Fermer. La superposition définie s'affiche dans la liste des superpositions définies.
- Cliquez sur OK, puis fermez la boîte de dialogue Imprimantes.
Impression des superpositions
- Créez le document dans une application.
- Cliquez sur Fichier → Imprimer. La boîte de dialogue « Imprimer » s'ouvre.
- Cliquez sur l'onglet Superpositions.
- Sous Superpositions définies, cliquez sur la superposition que vous désirez utiliser. Pour sélectionner plusieurs superpositions, appuyez sur la touche Ctrl pendant la sélection des noms.
- Cliquez sur Ajouter.
- Chaque nom s'affiche dans la boîte Superpositions actives.
Pour imprimer un échantillon de superposition,
- Cliquez sur le nom de la superposition sous Superpositions définies.
- Cliquez sur Test d'impression.
Si vous désirez ajouter d'autres superpositions à la liste
- Cliquez sur Définir les superpositions.
- Entrez les informations requises dans la boîte de dialogue Définir les superpositions.
- Cliquez sur Fermer.
- Cliquez sur Imprimer en utilisant des superpositions actives.
- Cliquez sur Imprimer.
Modification de superpositions définies
- Cliquez sur Démarrer → Paramètres → Imprimantes.
- Cliquez avec le bouton droit de la souris sur l'icône de pilote PCL.
- Cliquez sur Options d'impression. La boîte de dialogue « Options d'impression » s'ouvre.
- Cliquez sur l'onglet Superpositions.
- Cliquez sur Définir les superpositions. La boîte de dialogue « Définir les superpositions » s'ouvre.
- Sous Superpositions définies, cliquez sur la superposition à modifier.
- Effectuez les modifications requises, puis cliquez sur Appliquer.
- Cliquez sur Fermer.
- Cliquez sur OK, puis fermez la boîte de dialogue Imprimantes.
Suppression de superpositions définies
- Cliquez sur Démarrer → Paramètres → Imprimantes.
- Cliquez avec le bouton droit de la souris sur l'icône de pilote PCL.
- Cliquez sur Options d'impression. La boîte de dialogue « Options d'impression » s'ouvre.
- Cliquez sur l'onglet Superpositions.
- Cliquez sur Définir les superpositions. La boîte de dialogue « Définir les superpositions » s'ouvre.
- Sous Superpositions définies, cliquez sur la superposition à supprimer.
- Cliquez sur Supprimer.
- Cliquez sur Fermer.
Définition des superpositions
- Cliquez sur Démarrer → Paramètres → Imprimantes.
- Cliquez avec le bouton droit de la souris sur l'icône de l'imprimante PCL.
- Sélectionnez Propriétés.
La boîte de dialogue « Propriétés » s'ouvre.
- Cliquez sur l'onglet Options de travail.
- Cliquez sur le bouton Superposition.
- Cliquez sur Définir les superpositions.
- Sous Nom de la superposition, entrez un nom pour la superposition.
- Sous Valeur(s) ID, entrez un numéro d'ID pour le fichier sauvegarde à l'aide de l'utilitaire Storage Device Manager (consultez la liste des fichiers imprimée).
- Dans la liste déroulante Imprimer sur les pages, sélectionnez les pages sur lesquelles la superposition doit être imprimée, ou
Personnel et entrez les numéros de page spécifiques sous Pages personnelles.
- Cliquez sur Ajouter.
- Cliquez sur Fermer.
La superposition définie s'affiche dans la liste des superpositions définies.
- Cliquez sur OK, puis fermez la boîte de dialogue Imprimantes.
Impression des superpositions
- Créez le document dans une application.
- Cliquez sur Fichier → Imprimer.
La boîte de dialogue « Imprimer » s'ouvre.
- Assurez-vous que le pilote PCL est sélectionné.
- Cliquez sur Propriétés (ou sur une option équivalente de votre application).
La boîte de dialogue « Propriétés » s'ouvre.
- Cliquez sur l'onglet Superpositions.
- Sous Superpositions définies, cliquez sur la superposition que vous désirez utiliser.
Pour sélectionner plusieurs superpositions, appuyez sur la touche Ctrl pendant la sélection des noms.
- Cliquez sur Ajouter.
Chaque nom s'affiche dans la boîte « Superpositions actives »
Pour imprimer un échantillon de superposition
a. Sous Superpositions définies, cliquez sur le nom de la superposition. b. Cliquez sur Test d'impression.
Si vous désirez ajouter d'autres superpositions à la liste
a. Cliquez sur Définir les superpositions. b. Entrez les informations requises dans la boîte de dialogue Définir les superpositions et cliquez sur Fermer.
- Cliquez sur Imprimer en utilisant des superpositions actives.
- Cliquez sur OK et imprimez le document.
Modification de superpositions définies
- Cliquez sur Démarrer → Paramètres → Imprimantes.
- Cliquez avec le bouton droit de la souris sur l'icône de l'imprimante PCL.
- Sélectionnez Propriétés.
La boîte de dialogue « Propriétés » s'ouvre.
- Cliquez sur l'onglet Options de travail.
- Cliquez sur le bouton Superpositions.
- Cliquez sur Définir les superpositions.
La boîte de dialogue « Définir les superpositions » s'ouvre.
- Sous Superpositions définies, cliquez sur la superposition à modifier.
- Effectuez les modifications requises.
- Cliquez sur Appliquer.
- Cliquez sur Fermer.
- Cliquez sur OK, puis fermez la boîte de dialogue Imprimantes.
Suppression de superpositions définies
- Cliquez sur Démarrer → Paramètres → Imprimantes.
- Cliquez avec le bouton droit de la souris sur l'icône de l'imprimante PCL.
- Sélectionnez Propriétés.
La boîte de dialogue « Propriétés » s'ouvre.
- Cliquez sur l'onglet Options de travail.
- Cliquez sur le bouton Superpositions.
- Cliquez sur Définir les superpositions.
La boîte de dialogue « Définir les superpositions » s'ouvre.
- Sous Superpositions définies, cliquez sur la superposition à supprimer.
- Cliquez sur Supprimer.
- Cliquez sur Fermer.
- Cliquez sur OK, puis fermez la boîte de dialogue Imprimantes.
Définition des superpositions
- Cliquez sur Démarrer → Paramètres → Imprimantes.
- Cliquez avec le bouton droit de la souris sur l'icône de l'imprimante PostScript.
- Sélectionnez Propriétés.
La boîte de dialogue « Propriétés » s'ouvre.
- Cliquez sur l'onglet Options de travail.
- Cliquez sur le bouton Superpositions.
- Définition d'un groupe de superpositions : Cliquez sur Nouveau. La boîte de dialogue « Définir les superpositions » s'ouvre.
- Sous Nom de superposition, entrez un nom pour le groupe de superpositions.
- Dans la liste déroulante Imprimer sur les pages, sélectionnez les pages sur lesquelles la superposition doit être imprimée, ou
Personnel et entrez les numéros de page spécifiques sous Pages personnelles.
- Sous Nom de superposition, entrez le nom du fichier de superposition sauvegardé à l'aide de l'utilitaire Storage Device Manager (consultez la liste des fichiers imprimée), incluant l'extension de fichier .hst.
Les noms de fichier de superposition sont sensibles à la casse.
- Cliquez sur Ajouter.
- Répétez les étapes 8 et 9 pour ajouter des superpositions supplémentaires (maximum de trois par groupe).
- Cliquez sur OK.
Pour créer des groupes de superpositions supplémentaires (maximum de 32), répétez les étapes 6 à 12 ci-dessus.
Finition
- Cliquez sur OK, puis fermez la boîte de dialogue Imprimantes.
Impression des superpositions
- Créez le document dans une application.
- Cliquez sur Fichier → Imprimer.
- Assurez-vous que l'imprimante PostScript est sélectionnée.
- Cliquez sur Propriétés (ou sur une option équivalente de votre application).
La boîte de dialogue « Propriétés » s'ouvre.
- Cliquez sur l'onglet Superpositions.
- Sélectionnez Utilisez Superposition dans la liste déroulante.
- Sélectionnez jusqu'à quatre groupes sous Superpositions définies.
- Cliquez sur Ajouter.
- Cliquez sur OK et imprimez le document.
Modification de superpositions définies
- Cliquez sur Démarrer → Paramètres → Imprimantes.
- Cliquez avec le bouton droit de la souris sur l'icône de l'imprimante PostScript.
- Sélectionnez Propriétés.
La boîte de dialogue « Propriétés » s'ouvre.
- Cliquez sur l'onglet Options de travail.
- Cliquez sur le bouton Superpositions.
- Sous Groupes de superpositions définis, cliquez sur le nom du groupe que vous désirez modifier.
- Cliquez sur Édition.
La boîte de dialogue « Définir les superpositions » s'ouvre.
- Effectuez les modifications requises, puis double-cliquez sur OK et fermez la boîte de dialogue Imprimantes.
Suppression de superpositions définies
- Cliquez sur Démarrer → Paramètres → Imprimantes.
- Cliquez avec le bouton droit de la souris sur l'icône de l'imprimante PostScript
- Sélectionnez Propriétés. La boîte de dialogue « Propriétés » s'ouvre.
- Cliquez sur l'onglet Options de travail.
- Cliquez sur le bouton Superpositions.
- Sous Groupes de superpositions définis, cliquez sur le nom du groupe que vous désirez supprimer.
- Cliquez sur Supprimer.
- Double-cliquez sur OK, puis fermez la boîte de dialogue Imprimantes.
Définition des superpositions
- Cliquez sur Démarrer → Paramètres → Imprimantes.
- Cliquez avec le bouton droit de la souris sur l'icône de pilote PCL.
- Cliquez sur Valeurs par défaut du document.
La boîte de dialogue « Valeurs par défaut du document » s'ouvre.
- Cliquez sur l'onglet Options de travail.
- Cliquez sur le bouton Superpositions.
- Cliquez sur Définir les superpositions.
La boîte de dialogue « Définir les superpositions » s'ouvre.
- Sous Nom de la superposition, entrez un nom pour la superposition.
- Sous Valeur(s) ID, entrez un numéro d'ID pour le fichier sauvegardé à l'aide de l'utilitaire Storage Device Manager (consultez la liste des fichiers imprimée).
- Dans la liste déroulante Imprimer sur les pages, sélectionnez les pages sur lesquelles la superposition doit être imprimée, ou
Personnel et entrez les numéros de page spécifiques sous Pages personnelles.
- Cliquez sur Ajouter.
- Cliquez sur Fermer.
La superposition définie s'affiche dans la fenêtre des superpositions définies.
- Cliquez sur OK, puis fermez la boîte de dialogue Imprimantes.
Impression des superpositions
- Cliquez sur Fichier → Imprimer.
La boîte de dialogue « Imprimer » s'ouvre.
- Assurez-vous que le pilote PCL est sélectionné.
- Cliquez sur Propriétés (ou sur une option équivalente de votre application).
La boîte de dialogue « Propriétés » s'ouvre.
- Cliquez sur l'onglet Superpositions.
- Sous Superpositions définies, cliquez sur la superposition que vous désirez utiliser.
Pour sélectionner plusieurs superpositions, appuyez sur la touche Ctrl pendant la sélection des noms.
- Cliquez sur Ajouter.
Le nom s'affiche dans la boîte « Superpositions actives »
Pour imprimer un échantillon de superposition, cliquez sur le nom de la superposition dans la boîte « Superpositions définies », puis cliquez sur « Test d'impression »
Si vous désirez ajouter d'autres superpositions à la liste, cliquez sur Définir les superpositions, puis entrez les informations requises dans la boîte de dialogue Définir les superpositions et cliquez sur Fermer.
- Cliquez sur Imprimer en utilisant des superpositions actives.
- Cliquez sur OK et imprimez le document.
Modification de superpositions définies
- Cliquez sur Démarrer → Paramètres → Imprimantes.
- Cliquez avec le bouton droit de la souris sur l'icône de pilote PCL.
- Cliquez sur Valeurs par défaut du document. La boîte de dialogue « Valeurs par défaut du document » s'ouvre.
- Cliquez sur l'onglet Options de travail.
- Cliquez sur le bouton Superpositions.
- Cliquez sur Définir les superpositions. La boîte de dialogue « Définir les superpositions » s'ouvre.
- Sous Superpositions définies, cliquez sur la superposition à modifier.
- Effectuez les modifications requises.
- Cliquez sur Appliquer.
- Cliquez sur Fermer.
- Cliquez sur OK, puis fermez la boîte de dialogue Imprimantes.
Suppression de superpositions définies
- Cliquez sur Démarrer → Paramètres → Imprimantes.
- Cliquez avec le bouton droit de la souris sur l'icône de pilote PCL.
- Cliquez sur Valeurs par défaut du document. La boîte de dialogue « Valeurs par défaut du document » s'ouvre.
- Cliquez sur l'onglet Options de travail.
- Cliquez sur le bouton Superpositions.
- Cliquez sur Définir les superpositions.
- Sous Superpositions définies, cliquez sur la superposition à supprimer.
- Cliquez sur Supprimer.
- Cliquez sur Fermer.
- Cliquez sur OK, puis fermez la boîte de dialogue Imprimantes.
Définition des superpositions
- Cliquez sur Démarrer → Paramètres → Imprimantes.
- Cliquez avec le bouton droit de la souris sur l'icône de pilote PCL.
- Cliquez sur Valeurs par défaut du document.
La boîte de dialogue « Valeurs par défaut du document » s'ouvre.
- Faites défiler jusqu'à Disposition et cliquez sur Superpositions.
- Sous Change 'Overlay' Setting (Modifier la configuration de la superposition), cliquez sur Utilisez Superposition.
- Cliquez sur Setting of Overlay (Configuration de la superposition).
La boîte de dialogue « Setting of Overlay » (Configuration de la superposition) s'ouvre.
Utilisation des superpositions
Windows NT 4.0: PCL
Définition d'un groupe de superpositions
- Cliquez sur Nouveau.
La boîte de dialogue « Définir les superpositions » s'ouvre.
- Sous Nom de superposition, entrez un nom pour le groupe de superpositions.
- Dans la liste déroulante Imprimer sur les pages, sélectionnez les pages sur lesquelles la superposition doit être imprimée, ou
Personnel et entrez les numéros de page spécifiques sous Pages personnelles.
- Sous Nom de superposition, entrez le nom du fichier de superposition sauvegardé à l'aide de l'utilitaire Storage Device Manager (consultez la liste des fichiers imprimée).
Les noms de fichier de superposition sont sensibles à la casse.
- Cliquez sur Ajouter.
- Répétez les étapes 9 et 10 pour ajouter des superpositions supplémentaires (maximum de trois par groupe).
- Cliquez sur OK.
Pour créer des groupes de superpositions supplémentaires (maximum de 32), répétez les étapes 6 à 12 ci-dessus.
Sauvegarde des paramètres
- Double-cliquez sur OK, puis fermez la boîte de dialogue Imprimantes.
Définition des superpositions
- Cliquez sur Démarrer → Paramètres → Imprimantes.
- Cliquez avec le bouton droit de la souris sur l'icône de pilote PCL.
- Cliquez sur Valeurs par défaut du document.
La boîte de dialogue « Valeurs par défaut du document » s'ouvre.
- Cliquez sur l'onglet Options de travail.
- Cliquez sur Superpositions.
- Cliquez sur Nouveau.
La boîte de dialogue « Définir les superpositions » s'ouvre.
- Sous Nom de superposition, entrez un nom pour le groupe de superpositions.
- Dans la liste déroulante Imprimer sur les pages, sélectionnez les pages sur lesquelles la superposition doit être imprimée,
Personnel et entrez les numéros de page spécifiques sous Pages personnelles.
- Sous Nom du cadre, entrez le nom du fichier de superposition sauvegardé à l'aide de Storage Device Manager (consultez la liste des fichiers imprimée), incluant l'extension de fichier. HST.
Les noms de fichier de superposition sont sensibles à la casse.
- Cliquez sur Ajouter.
- Répétez les étapes 7 et 8 pour ajouter des superpositions supplémentaires (maximum de trois par groupe).
- Cliquez sur OK.
Pour créer des groupes de superpositions supplémentaires (maximum de 32), répétez les étapes 5 à 10 ci-dessus.
- Double-cliquez sur OK, puis fermez la boîte de dialogue Imprimantes.
Impression des superpositions
- Créez le document dans une application.
- Cliquez sur Fichier → Imprimer.
La boîte de dialogue « Imprimer » s'ouvre.
- Faites défiler jusqu'à Disposition et cliquez sur Superpositions.
- Cliquez sur Setting of Overlay (Configuration de la superposition).
La boîte de dialogue « Setting of Overlay » (Configuration de la superposition) s'ouvre.
- Sélectionnez le ou les groupes de superpositions que vous désirez utiliser.
- Cliquez sur Ajouter.
Le nom du groupe s'affiche dans la liste « Groupes de superpositions actifs ».
- Cliquez deux fois sur OK, puis imprimez le document.
Modification de superpositions définies
- Cliquez sur Démarrer → Paramètres → Imprimantes.
- Cliquez avec le bouton droit de la souris sur l'icône de pilote PCL.
- Cliquez sur Valeurs par défaut du document.
La boîte de dialogue « Valeurs par défaut du document » s'ouvre.
- Faites défiler jusqu'à Disposition et cliquez sur Superpositions.
- Cliquez sur Setting of Overlay (Configuration de la superposition).
La boîte de dialogue « Setting of Overlay » (Configuration de la superposition) s'ouvre.
- Sous Groupes de superpositions définis, cliquez sur le nom du groupe que vous désirez modifier.
- Cliquez sur Édition.
La boîte de dialogue « Définir les superpositions » s'ouvre.
- Effectuez les modifications requises.
- Cliquez sur OK.
- Double-cliquez sur OK, puis fermez la boîte de dialogue Imprimantes.
Suppression de superpositions définies
- Cliquez sur Démarrer → Paramètres → Imprimantes.
- Cliquez avec le bouton droit de la souris sur l'icône de pilote PostScript.
- Cliquez sur Valeurs par défaut du document.
La boîte de dialogue « Valeurs par défaut du document » s'ouvre.
- Faites défiler jusqu'à Disposition et cliquez sur Superpositions.
- Cliquez sur Setting of Overlay (Configuration de la superposition).
La boîte de dialogue « Setting of Overlay » (Configuration de la superposition) s'ouvre.
- Cliquez sur le nom du Groupe de superpositions défini que vous désirez supprimer.
- Cliquez sur Supprimer et sur Oui pour confirmer la suppression.
- Cliquez deux fois sur OK, puis fermez la boîte de dialogue Imprimantes.
Informations supplémentaires
Pour plus d'informations, cliquez sur Help (Aide) dans l'utilitaire Storage Device Manager.
Utilitaire de comptabilisation des travaux d'impression
L'utilitaire de comptabilisation des travaux d'impression Oki, spécialement conçu pour les imprimantes OKI utilisées dans un environnement réseau, offre des fonctions de comptabilisation des travaux permettant d'assurer le suivi de l'utilisation des imprimantes, de calculer les coûts d'impression et de programmer l'accès de chaque client (utilisateur) à l'appareil.


Les saisies d'écran du présent document sont génériques. Lorsque XXX1, XXX2, etc., s'affichent dans un écran, ils correspondent à un numéro de modulo spécifique qui varie selon les modèles utilisés dans votre système.
Avec la comptabilisation des travaux d'impression, vous pouvez :
- contrôle les coûts en limitant l'accès à l'impression couleur pour certains clients;
- prévoir l'attribution d'équipement en consignant la quantité d'impressions de chaque client;
- configurer la facturation pour chacun des clients basée sur l'utilisation consignée.
Ce logiciel sauvegarde des données acquises sur le disque dur de l'imprimante (optionnel sur certains modèles). Si l'imprimante n'est pas dotée d'un disque dur, les données collectées (journaux) sont sauvegardées dans la mémoire Flash.
La mémoire Flash est très limitée et ne peut stocker une grande quantité d'informations.
Un disque dur offre une plus grande capacité de stockage. Par conséquent, nous recommandons que l'imprimante soit dotée d'un disque dur pour utilisation avec l'utilitaire de comptabilisation des travaux.
Exemple de réseau

L'utilitaire de comptabilisation des travaux d'impression nécessite ce qui suit :
1 Ordinateur serveur tournant sous le système d'exploitation Windows approprié. 2 Ordinateurs clients tournant sous les systèmes d'exploitation Windows et/ou Macintosh. 3 Connexion à ou aux imprimantes à être générées, par connexion directe (USB ou parallèle) au serveur ou par connexion TCP/IP au réseau.
L'utilitaire de comptabilisation des travaux d'impression n'est pas compatible avec le protocole NetBEUI ou l'environnement NetWare.
Serveur (windows seulement)
Le logiciel serveur de comptabilisation des travaux d'impression peut être exécuté sous les systèmes d'exploitation Windows suivants dotés du plus récent Service Pack.
- Windows XP
- Windows 2000
- Windows NT 4.0 (Service Pack 6 ou ultérieur)
Ordinateurs clients (windows ou macintosh)
Le logiciel client de comptabilisation des travaux d'impression peut être exécuté sous les systèmes d'exploitation suivants :
XP 2000 Me 98 95 - NT 4.0 (Service Pack 6 ou ultérieur)
- OS 8.1, 8.5. x, 8.6. x (PS 8.6 d'Adobe ou supérieur requis)
- OS 9.0, 9.0.4, 9.1.x, 9.2.x (LaserWriter 8.7 requis)

L'utilitaire de comptabilisation
- Placez le CD des pilotes fourni avec l'imprimante dans l'unité de CD-ROM du serveur. La fenêtre « Menu Installer » [Menu d'installation] s'affiche par la suite. Si le CD n'est pas lancé automatiquement, cliquez sur Démarrer → Exécuter → Parcourir. Accédez à l'unité de CD-ROM et double-cliquez sur Install.exe, puis cliquez sur OK.
- Cliquez sur Next [Suivant] pour accepter les modalités du contrat de licence.
- Sélectionnez la langue d'installation.
- Cliquez sur Network Software [Logiciel réseau] → Administration Tools [Outils de gestion] → Job Accounting [Comptabilisation des travaux] → Server [Serveur] et observez les directives affichées à l'écran.
- Si vous désirez créer des rapports de journaux en format Excel, installez les outils de création de rapport. Cliquez sur Report Tools [Outils de création de rapport] puis observez les directives affichées à l'écran.
Logiciel client
Le ou les pilotes d'imprimante doivent également être installés sur les ordinateurs clients.
Ordinateurs clients windows
- Placez le CD des pilotes fourni avec l'imprimante dans l'unité de CD-ROM. La fenêtre « Menu Installer » [Menu d'installation] s'affiche par la suite.
Si le CD n'est pas lancé automatiquement, cliquez sur Démarrer → Exécuter → Parcourir. Accédez à l'unité de CD-ROM et double-cliquez sur Install.exe, puis cliquez sur OK.
- Cliquez sur Next [Suivant] pour accepter les modalités du contrat de licence.
- Sélectionnez la langue d'installation.
- Cliquez sur Network Software [Logiciel réseau] → Administration Tools [Outils de gestion] → Job Accounting [Comptabilisation des travaux] → Client [Client] et observez les directives affichées à l'écran.
- Une fois l'installation terminée, la fenêtre suivante s'affiche. Consultez "Logiciel client" sur page 709 pour plus d'informations.

Ordinateurs client macintosh
Normalement, l'utilitaire de comptabilisation des travaux Oki est installé automatiquement lors de l'installation du pilote d'imprimante. Pour activer le logiciel client de comptabilisation des travaux d'impression :
- Sélectionnez Print Desktop... [Imprimer le bureau...] dans le menu File [Fichier].
- Assurez-vous que le modèle d'imprimante est sélectionné, puis cliquez sur General [Général] et sélectionnez Plug-in Preferences [Préférences plug-in].
- Ouvrez le menu Print Time Filters [Filtres de temps d'impression], puis cochez les cases Print Time Filters [Filtres de temps d'impression], Job Type [Type de travail] et Job Accounting [Comptabilisation des travaux].
- Cliquez sur Save Settings [Sauvegarder les paramètres] puis sur OK.
- Cliquez sur Cancel [Annuler].
Capacités du logiciel serveur
Utilisez le logiciel serveur de comptabilisation des travaux d'impression :
- pour enregistrer les imprimantes et les clients;
- pour définir les restrictions d'impression;
- pour configurer la génération automatique de journaux d'impression;
- pour configurer l'envoi automatique de rapports par courriel à l'administrateur.
Pour chaque client, vous pouvez :
- activer/désactiver l'impression monochrome ou l'impression couleur;
- déterminer les limites supérieures pour des éléments, p. ex., pages imprimées;
- consigner des éléments précis, notamment :
- date; -nom d'utilisateur; -nom de l'imprimante; -nom de document;
Les informations de nom de document ne peuvent pas être collectées pendant l'impression depuis certaines applications Windows ou depuis un Macintosh.
- nombre de pages imprimées, selon qu'elles sont couleur ou monochromes ; - format du papier ;
- impression recto ou recto verso;
- etc.
- créé un compte, avec impression selon les restrictions définies.
Pour chaque imprimante, vous pouvez :
définir des frais par feuilles, formats, etc. ; - activer/désactiver l'impression monochrome ou l'impression couleur ; - déterminer les limites supérieures pour des éléments, p. ex., pages imprimées ; - créer un compte, avec impression selon les restrictions définies ; - définir un ou plusieurs groupes dans lesquels inclure l'imprimante.
Pour les journaux d'impression, vous pouvez :
- les exporter sous forme de fichiers .csv et les importer dans n'importe quel tableau;
- envoyer automatiquement à un certain jour de chaque mois des jours d'impression à l'administrateur;
- personnaliser les éléments à inclure dans le journal (voyez la page 694) ou en utilisant l'une des macro Excel de Microsoft® fournies (voyez la page 698).
- acquérir un journal d'impression pour les travaux d'impression envoyés d'un client directement à une imprimante sans passer par un serveur d'impression;
- enregistrer avec précision des pages imprimées au moyen des journaux d'impression même si l'utilisateur annule des travaux d'impression ou que des bourrages se produisent.
Nom d'utilisateur par rapport à ID compte
Le nom d'utilisateur est affiché dans tous les journaux d'impression affichés et il sert seulement à indiquer qui a imprimé les travaux d'impression.
Le nom d'utilisateur est attribué au moment de la création d'une ID compte (voyez la page 679). Celui-ci peut être défini pour représenter un client individuel ou un groupe de clients et est associé avec le numéro d'ID compte.
Il n'est pas nécessaire que le nom d'utilisateur soit identique au nom d'utilisateur utilisé pour l'ouverture de session Windows.
L'ID compte est le numéro que l'utilitaire de comptabilisation des travaux d'impression utilise pour identifier les utilisateurs. Des valeurs d'ID compte de 1 à 1 879 048 191 peuvent être attribuées. Les utilisateurs ne possédant pas leur propre ID compte seront identifiés par « Unregistered ID(0) » [ID inconnue(0)].
Normalement, une ID compte est attribuée à chacun des clients. Lorsque la même ID compte est attribuée à plusieurs clients, tous les travaux d'impression qu'ils effectuent sont comptabilisés pour un client unique par le système.
Les ID comptes doivent être définies pour chaque imprimante enregistrée et connectée au serveur. La même ID compte peut être définie pour plusieurs imprimantes, avec des restrictions différentes pour chacune. Vous pouvez donc limiter l'accès à certaines imprimantes seulement.
Autorisation d'impression pour certains utilisateurs seulement
Dans ce cas, il n'est pas nécessaire d'attribuer une ID compte à tous les clients. Celle-ci doit être attribuée seulement aux clients autorisés à imprimer. Tous les autres clients seront identifiés comme « Unregistered ID(0) » [ID(0) inconnue] ; il suffit donc de ne pas autoriser l'impression aux clients ayant cette ID.
Autorisation d'impression couleur pour certains clients seulement
Vous pouvez interdire l'impression couleur aux clients ayant une ID inconnue, selon la même méthode ci-dessus.
Dans ce cas, il n'est pas nécessaire d'attribuer une ID compte à tous les clients. Il suffit d'attribuer une ID compte à chaque service et de spécifier un nom de groupe qu'un nom d'utilisateur.
Définition des limites d'impression et collecte des journaux d'impression pour chaque client
Dans ce cas, vous devez attribuer une ID compte à chaque client. N'attribuez pas la même ID compte à plusieurs clients.
Toutes les ID comptes doivent être définies sur le serveur pour chacun des ordinateurs clients autorisés à imprimer sur une imprimante précise.
Lancement du logiciel serveur
Cliquez sur Démarrer Programmes Okidata Print Job Accounting [Comptabilisation des travaux d'impression] OKI Print Job Accounting [Comptabilisation des travaux d'impression].
Important!
La fenêtre suivante s'affiche la première fois que le logiciel serveur est lancé. Notez l'ID serveur pour référence ultérieure. Vous pouvez également l'afficher en cliquant sur Help [Aide] → Server ID... [ID serveur...] dans la fenêtre principale de l'utilitaire de comptabilisation des travaux.
Menu déroulants du logiciel serveur
| Add a Printer [Ajouter une imprimante] | Permet d'enregistrer une nouvelle imprimante. |
| Manages multiple printers as a group ... [Gérer plusieurs imprimantes sous forme de groupe] | Permet de définir un groupe de plusieurs imprimantes enregistrées. |
| Delete a Printer/ Printer Group [Supprimer une imprimante/groupe d'imprimantes]a | Permet de supprimer une imprimante ou un groupe d'imprimantes. |
| Change a Printer Group [Modifier un groupe d'imprimantes] | Permet d'ajouter ou de supprimer des imprimantes d'un groupe. |
| Start/End Log [Lancer/arrête le journal]a | Permet de lancer/arrêter le processus de collecte des informations de journaux pour l'imprimante, à l'intervalle défini. |
| Acquire a Log [Collector un journal]a | Permet de collecter un journal d'impression sauvégardé dans une imprimante.b |
| Setting the Time [Réglage de l'heure]a | Permet de régler l'heure courante sur l'imprimante.c |
| Define Fees ... [Déterminer les frais...] | Permet de définir et de sélectionner les frais. |
| Properties ... [Propriétés...] | Permet de définir les propriétés de l'imprimante. |
a. Avant d'exécuter ce menu, sélectionnez l'imprimante dans « Printer Tree » [Arborescence des imprimantes] sur le côté gauche de la fenêtre.
actualiser les informations dans le panneau « Log » [Journal] après avoir exécuté ce menu. c. Si l'imprimante a été mise sous tension et hors tension, l'heure de l'imprimante ne sera pas bien réglée avant que les journaux d'impression sont collectés. Vous devez faire cela si l'imprimante a été mise sous tension et hors tension entre deux collectes de journaux.
| Display Logs [Afficher journaux]a | Permet de passer de l'affichage « Total » [Totaux] à l'affichage « Log » [Journal]. |
| Display Total [Afficher total]a | Permet d'afficher : • Total per Printer [Total par imprimante] • Account ID [ID compte] • Month [Mois] |
| Export Report Logs [Exporter journaux de rapport]a | Permet d'exporter les champs requis pour la macro de rapport dans un fichier .csv. |
| Export Logs [Exporter journaux]a | Permet d'exporter le journal sous forme de fichier csv. |
| Export Total [Exporter totaux]a | Exporte les totaux dans un fichier .csv, par • Printer [Imprimante] • Account ID [ID compte] • Month [Mois] |
| Delete the log [Supprimer le journal]a | Permet de supprimer le journal sélectionné. |
| Display Details [Afficher détails] | Permet de commuter entre l'affichage des éléments par défaut du journal et l'affichage de la liste détaillée de tous les éléments du journal. b |
| Display/Export Item Settings [Paramètres des éléments d'affichage/ exportation] | Permet de sélectionner les éléments à officher ou à exporter pour l'affichage « Log » [Journal] ou « Total » [Totaux] (voyez la page 694 pour plus d'information). b |
| Refresh Display [Actualiser affichage] | Permet d'actualiser l'affichage. |
a. Avant d'exécuter ce menu, sélectionnez l'imprimante dans l'arborescence des imprimantes sur le côté gauche de la fenêtre. Si vous sélectionnez « Log » [Journal], tous les éléments seront sujets à l'affichage/l'exportation. Si vous sélectionnez une imprimante, seule cette imprimante sera sujette à l'affichage. actualiser les informations dans le panneau « Log » [Journal] après avoir exécuté ce menu.
Option menu [menu des options]
| Setup ... [Configuration...] | Permet de configurer les éléments suivants: • serveur de courriel • adresse de courriel de l'expéditeur • adresse de courriel de l'administrateur • emplacement où stocker les journaux • date de fermeture pour les journaux (permét de sélectionner le jour du mois auquel les journaux sont considérés des journaux du mois précédent comparativement aux journaux du mois courant) |
| Server ID ... [ID Serveur...] | Permet d'afficher l'ID serveur. |
| Help ... [Aide...] | Permet d'afficher la fenêtre « Help » [Aide] comportant les onglets suivants : • Contents [Sommaire] • Index • Find [Recherche] |
| Version Info ... [Info sur la version...] | Permet d'afficher les informations sur la version. |
Configuration de l'envoi automatique de courriel
Pour configurer l'envoi automatique par courriel de journaux d'impression sélectionnés à l'administrateur, lancez l'utilitaire de comptabilisation des travaux, puis :
- Cliquez sur Option Setup [Configuration].
La fenêtre suivante s'affiche :

- Configurez les informations générales de l'onglet Mail Setup [Configuration courriel], incluant le serveur de courriel, le moment où le courriel doit être envoyé et le texte d'en-tête et de bas de page à inclure avec chaque courriel.
- Dans l'onglet Mail Address [Adresse courriel], entrez un nom et une adresse de courriel pour l'expéditeur, et le nom et l'adresse de courriel de l'administrateur qui recevra les courriels.
- Dans l'onglet Log Storing Folder [Dossier de stockage des journaux], entrez le chemin du dossier où les journaux exportés seront sauvegardés.
- Dans l'onglet Change the closing date [Modifier date de fermeture], entrez le jour du mois auquel les journaux seront fermés. Les rapports de journaux sont automatiquement envoyés à l'administrateur le jour suivant la fermeture des journaux.
- Cliquez sur OK.
Définition des groupes d'imprimantes
Pour créer des groupes d'imprimantes :
- Depuis la fenêtre principale de l'utilitaire de comptabilisation des travaux d'impression, cliquez sur Printer [Imprimante] → Gérer plusieurs imprimantes sous forme de groupe.
La fenêtre suivante s'affiche :

- Entrez un nom de groupe, puis cliquez sur Next [Suivant]. La fenêtre suivante s'affiche :

Aucune imprimante n'a encore été définie ; aucune imprimante n'est alors affichée. Les imprimantes peuvent être ajoutées à des groupes existants lorsqu'elles sont enregistrées.
Si vous créez un nouveau groupe après l'enregistrement des imprimantes, une liste des imprimantes enregistrées s'affichera et celles-ci pourront être sélectionnées et incluses dans un groupe.
- Cliquez sur Finish [Terminer].
Enregistrement des imprimantes
Pour utiliser l'utilitaire de comptabilisation des travaux d'impression, vous devez enregistrer les imprimantes à gérer dans le logiciel serveur.
Avant de commencer, assurez-vous que les imprimantes sont sous tension et qu'elles sont connectées de façon appropriée.
- Depuis la fenêtre principale de l'utilitaire de comptabilisation des travaux d'impression, cliquez sur Printer [Imprimante] → Add a printer [Ajouter une imprimante].
La fenêtre suivante s'affiche :

- Cochez la ou les cases appropriées.
Seules les imprimantes prises en charge par le système seront recherchées. Si aucune imprimante n'est trouvée, assurez-vous que les imprimantes sont sous tension, en ligne et connectées correctement.
- Pour que le logiciel recherche les imprimantes locales et/ou réseau, sélectionnez Search printers [Rechercher imprimantes], puis sélectionnez Local Port [Port local] et/ou TCP/IP Network [Réseau TCP/IP].
- Pour spécifier manuellement l'adresse de l'imprimante (locale ou réseau), sélectionnez Specify the printer by address [Spécifier l'imprimante par adresse] et indiquez les informations appropriées.
- Cliquez sur Next [Suvivant] et patientez jusqu'à la fin de la recherche des imprimantes par le logiciel.
Une fenêtre s'affiche et comporte la liste des imprimantes trouvées.
Par exemple :

- Sélectionnez l'imprimante à enregistrer dans la liste des imprimantes recherchées et cliquez sur Next [Suivant].

- Configurez l'imprimante :
Entrez un nom d'imprimante d'au plus 32 caractères.
Groupe d'imprimantes
Si l'imprimante doit être incluse dans un groupe, sélectionnez ici le groupe.
Les groupes doivent être définies en utilisant Printer [Imprimante] → Manages multiple printers as a group... [Gérer plusieurs imprimantes sous forme de groupe] de la fenêtre principale de l'utilitaire de comptabilisation des travaux d'impression. Voyez la page 659.
Vous pouvez définir le moment de la collecte des journaux de deux façons :
- par intervalle d'au plus 24 heures
Si cette valeur est supérieure à 24 heures, la collecte sera effectuée à toutes les 24 heures.
- par intervalles prédéfinis jusqu'à cinq fois par jour
Sélectionnez « Intervalle », puis cliquez sur Modifier heures.
Dans la liste déroulante, sélectionnez la définition de frais à utiliser. Certains paramètres de frais comptent des valeurs par défaut.
Pour personnaliser les paramètres de l'imprimante, cliquez sur Define fees... [Définir frais...] puis cliquez sur Add [Ajouter] dans la fenêtre « Define Fees » [Définir frais].
La fenêtre suivante s'affiche :

- Onglet Pages, fenêtre « Define Fees » [Définir frais]

- Page : Sélectionnez pour définir les frais à facturer pour chaque page couleur imprimée et pour chaque page monochrome imprimée.
- Sheet [Feuille]: Sélectionnez pour définir les frais à facturer pour chaque feuille imprimée. Dans ce cas, les mêmes frais seront facturés autant pour l'impression recto versso que pour l'impression recto seulement.
- Onglet Toner use amount [Frais d'utilisation toner], fenêtre « Define Fees » [Définir frais]

- Toner use amount [Frais d'utilisation toner] : Sélectionnez une des options suivantes pour l'impression couleur et l'impression monochrome.
- Automatic calculation [Calcul automatique] : Utilisez cette option pour sélectionner le calcul automatique des frais d'utilisation de toner et le sauvegarder sous le nom entré. Une fois les paramètres sauvegardés, ceux-ci peuvent être utilisés pour d'autres imprimantes en sélectionnant le nom des paramètres sauve
des imprimantes) → Imprimante → Propriétés → Option).
- Onglet Drum use amount [Frais d'utilisation tambour], fenêtre « Define Fees » [Définir frais]

- Drum use amount [Frais d'utilisation tambour] : Sélectionnez pour définir les frais par page pour l'impression couleur et l'impression monochrome.
- Automatic calculation [Calcul automatique] : Utilisez cette option pour sélectionner le calcul automatique des frais d'utilisation de tambour et le sauvegarder sous le nom entré. Une fois les paramètres sauvegardés, ceux-ci peuvent être utilisés pour d'autres imprimantes en sélectionnant le nom des paramètres sauve
- Onglet Printer Use Time [Temps d'utilisation de l'imprimante], fenêtre « Define Fees » [Définir frais]

- Printer Use Time [Temps d'utilisation de l'imprimante] : Sélectionnez pour définir les frais pour chaque minute de temps d'impression utilisé.
- Onglet Size [Format], fenêtre « Define Fees » [Définir frais]

- Size [Format]: Sélectionnez pour définir les frais par feuille imprimée variant selon le format du support utilisé. Cliquez sur Change [Modifier] pour définir les frais pour chacun des formats de support.
- Onglet Tray [Bac], fenêtre « Define Fees » [Définir frais]

-☑ Tray [Bac] : Sélectionnez pour définir les frais par feuille imprimée variant selon le bac utilisé. Cliquez sur Change [Modifier] pour définir les frais pour chacun des bacs.
- Onglet Media Type [Type de support], fenêtre « Define Fees » [Définir les frais]

- Media [Support]: Sélectionnez pour définir les frais par feuille imprimée variant selon le support utilisé. Cliquez
- Onglet Belt fuser use amount [Frais d'utilisation couroie/unité de fusion], fenêtre « Define Fees » [Définir frais]

- Belt, fuser use amount [Frais d'utilisation couroie/unité de fusion]: Sélectionnez pour définir les frais d'utilisation par page pour la couroie et/ou l'unité de fusion.
- Automatic calculation [Calcul automatique] : Utilisez cette option pour sélectionner le calcul automatique des frais d'utilisation de la couroie et de l'unité de fusion et le sauvegarder sous le nom entré. Une fois les paramètres sauvegardés, ceux-ci peuvent être utilisés pour d'autres imprimantes en sélectionnant le nom des paramètres sauve
- Onglet Finisher [Unité de finition], fenêtre « Define Fees » [Définir frais]

- Staple [Agrafe] : Sélectionnez pour définir les frais pour chaque utilisation de l'agrafeuse. S'applique seulement lorsque l'unité de finition optionnelle est installée sur certains modèles.

Vous pouvez sélectionner une action à effectuer par l'imprimante lorsque le tampon stockant les journaux est saturé et ne peut plus stocker d'autres journaux :
| Cancel the job [Annuler travail] | Annule les travaux une fois le tampon saturaé. |
| Does not acquire log [Aucune collecte de journal] | Impression sans collecte des journaux une fois le tampon saturaé. |
| Delete old logs [Supprimer les anciens journaux]a | Supprime les anciens journaux et stocke les nouveaux journaux. |
a. Paramètre par défaut.
Permet de contrôler l'initialisation du disque dur (si installé) et de la mémoire flash (si installée) de l'imprimante. En cas d'interdiction d'initialisation, il n'est pas possible pour un client de supprimer le journal par l'entremise du panneau de commande de l'imprimante. Utilisez cette option pour interdire la suppression des journaux stockés dans l'imprimante.
Exporter automatiquement les journaux
Ne pas exporter automatiquement

Permet de définir si les données de journaux seront automatiquement exportées ou non au moment de leur collecte.
| Do not automatically export [Ne pas exporter automatiquement]a | Les journaux ne sont pas automatiquement exportés. |
| Automatically export logs [Exporter automatiquement les journaux] | Permet d'exporter automatiquement les journaux dans le format sélectionné (voyez la page 694). |
| Automatically export logs for report [Exporter automatiquement les journaux pour rapport] | Permet d'exporter automatiquement les journaux dans un format compatible avec les macros de rapport de Microsoft Excel (voyez la page 698). |
| Mail logs to administrator [Envoyer les journaux à l'administrateur]b | Permet d'exporter automatiquement les journaux dans le format sélectionné (voyez la page 694), puis d'envoyer un courriel à l'administrateur contenant les données des journaux en piece jointe, à la fin de la journée suivant la date de fermeture spécifique. |
| Mail logs for report to administrator [Envoyer les journaux pour rapport à l'administrateur]b | Permet d'exporter automatiquement les journaux dans un format compatible avec les macros de rapport de Microsoft Excel (voyez la page 698), puis d'envoyer un courriel à l'administrateur contenant le rapport en piece jointe, à la fin de la journée suivant la date de fermeture spécifique. |
a. Paramètre par défaut. b. Pour utiliser cette option, vous devez d'abord configurer les informations de courriel et de date de fermeture : (voyez la page 657).

Vous pouvez définir des restrictions d'utilisation pour les clients non enregistrés (données sans ID) et pour l'impression locale (impression à l'aide du panneau de commande, p. ex., mapper des menus ou liste des fichiers). Lorsque « Printing not permitted » [Impression non autorisée] est sélectionné, les clients ne peuvent pas modifier d'autres paramètres.
- Disable Printing [Désactiver l'impression]: Toutes les impressions sont annulées.
- Désactiver l'impression couleur : Toutes les impressions couleur sont annulées.
- Cliquez sur Finish [Terminer].

- Utilisez cette fenêtre pour ajouter les ID de compte d'utilisateur pour l'imprimante. Pour plus d'informations, consultez l'étape 3, ff., sous "Définition des ID comptes" sur la page 679.
- Lorsque terminé, cliquez sur End [Terminer] puis sur OK.
Modification des paramètres d'une imprimante enregistrée
- Depuis la fenêtre principale de l'utilitaire de comptabilisation des travaux, mettez en surbrillance l'imprimante à modifier.
- Cliquez sur Printer [Imprimante] → Properties [Propriétés].
La fenêtre suivante s'affiche :

- Effectuez toute modification requise dans les paramètres des divers onglets :
- Onglet Printer (Imprimante) : Permet de modifier le nom de l'imprimante, son adresse et le groupe.
- Onglet User (Utilisateur) : Permet d'ajouter de nouvelles ID d'utilisateur ou de modifier les informations des ID existantes.
- Onglet Option : Permet de modifier les éléments suivants : intervals/moments de collecte des données, frais, Opération lorsque journal sature, Interdire l'initialisation, Exporter automatiquement les journaux et Utiliser les restrictions.
- Cliquez sur OK.
Ajout des ID comptes pour une imprimante enregistrée
Depuis la fenêtre principale de l'utilitaire de comptabilisation des travaux d'impression :
- Double-cliquez sur l'imprimante pour laquelle vous désirez définir des ID comptes.
La fenêtre suivante s'affiche :

- Dans l'onglet User (Utilisateur), cliquez sur Register (Enregistrer).
La fenêtre suivante s'affiche :

3. Clique sur ajouter.
La fenêtre suivante s'affiche :

- Effectuez les sélections appropriées, puis cliquez sur Next (Suivant).
La fenêtre suivante s'affiche :

- Définissez la nouvelle ID compte :
Entrez les informations suivantes pour la nouvelle ID compte :
- Job Account ID [Numéro d'ID compte]
- Name [Nom]
- Adresse de courriel [Courriel] : Si des restrictions d'impression seront définies pour l'utilisateur, entrez l'adresse de courriel de la personne à informer lorsque ces limites seront dépassées et lorsque l'impression est de nouveau disponible.
b. Cliquez sur Ajouter.
Le nouveau nom/nouvelle ID s'affiche dans la boîte.
Cliquez Next [Suivant].
La fenêtre suivante s'affiche :

Sélectionnez pour envoyer à l'utilisateur un courriel comportant un sommaire d'utilisation mensuelle de l'imprimante.
Sélectionnez pour aviser l'utilisateur par courriel lorsque ses valeurs limites définies ont été dépassées, ainsi que lorsque les limites ont été réinitialisées et que l'impression peut se poursuivre.
Permet de restreindre les valeurs limites à un utilisateur particulier. S'applique seulement lorsque l'imprimante/l'utilisateur fait partie d'un groupe.
d. Effectuez les sélections, puis cliquez sur Next [Suivant].
La fenêtre suivante s'affiche :

Toutes les impressions sont annulées. Lorsque sélectionnée, les autres paramètres ne peuvent être modifiés.
Il n'est pas possible pour cette ID compte d'imprimer des données couleur. Lorsqu'un travail d'impression couleur est soumis, il est automatiquement annulé.
e. Sélectionnez toute restriction d'impression pour l'ID compte, puis cliquez sur Next [Suivant].
La fenêtre suivante s'affiche :

f. Permet de définir les limites par période de 24 heures pour l'ID compte pour un ou plusieurs des éléments suivants :
- Total pages [Nombre total de pages] Total dollars [Nombre total de dollars]
- Total minutes [Nombre total de minutes]
- Total staples used [Nombre total d'agrafes utilisées]
Ces limites seront vérifiées à l'intervalle sélectionné ou selon le paramètre défini pour le journal.
La vérification pour savoir si les limites supérieures ont été dépassées pour un utilisateur particulier est effectuée seulement à l'intervalle défini. Si les limites supérieures sont dépassées entre les intervalles de vérification, l'impression se poursuit malgré le dépassement des limites. Au prochain intervalle de vérification, l'impression sera interdite pour l'utilisateur jusqu'au début de la prochaine période de 24 heures. Le cas échéant, l'utilisateur sera avisé par courriel que ses limites ont été dépassées pour la période de 24 heures en question.
g. Cliquez sur Finish [Terminer].
- Répétez l'étape précédente pour chaque ID compte à ajouter.
- Cliquez sur End [Terminer], puis sur OK.
Importation des ID comptes depuis une imprimante enregistrée
Dès qu’une ID compte est créée pour une imprimante enregistrée, il est possible de l’importer dans des enregistrements pour d’autres imprimantes/groupes d’imprimantes enregistrés dans le système. Les paramètres de l’ID compte seront également importés, p. ex., limites d’utilisation ; vous pouvez cependant modifier les paramètres de compte sur l’imprimante nouvellement attribuée (voir ci-après) une fois l’ID importée.
Depuis la fenêtre principale de l'utilitaire de comptabilisation des travaux d'impression :
- Double-cliquez sur l'imprimante ou le groupe d'imprimantes pour laquelle ou lequel vous désirez importer des ID comptes.
- Dans l'onglet User (Utilisateur), cliquez sur Register (Enregistrer).
La fenêtre suivante s'affiche :

- Cliquez sur Other Printer [Autre imprimante].
La fenêtre suivante s'affiche :

- Dans la liste « Import Source » [Source d'importation], sélectionnez une imprimante ou un groupe d'imprimantes pour laquelle ou lequel vous désirez importer les ID comptes, puis cliquez sur Add [Ajouter].
Toute ID non enregistrée pour l'imprimante s'affiche dans la zone « User » [Utilisateur] :

- Cliquez sur le nom/l'ID compte que vous ne désirez pas ajouter et cliquez sur Delete [Supprimer], puis cliquez sur OK.
La ou les ID comptes sélectionnées sont importées dans la liste des ID enregistrées pour l'imprimante.
Modification des paramètres d'id compte
Depuis la fenêtre principale de l'utilitaire de comptabilisation des travaux d'impression :
- Ouvrez l'arborescence des imprimantes, puis double-cliquez sur l'imprimante pour laquelle vous désirez modifier les ID comptes.
- Dans l'onglet User (Utilisateur), cliquez sur Register (Enregistrer).
La fenêtre suivante s'affiche :

- Cliquez sur le nom pour lequel vous désirez modifier les paramètres, puis cliquez sur Change [Modifier].
La fenêtre suivante s'affiche :

- Effectuez les modifications requises, puis cliquez sur OK.
- Cliquez sur End [Terminer], puis sur OK.
Suppression des ID comptes
Depuis la fenêtre principale de l'utilitaire de comptabilisation des travaux d'impression :
- Ouvrez l'arborescence des imprimantes, puis double-cliquez sur le nom de l'imprimante/du groupe d'imprimantes pour laquelle ou lequel vous désirez supprimer une ID compte.
- Dans l'onglet User (Utilisateur), cliquez sur Register (Enregistrer).
La fenêtre suivante s'affiche :

- Cliquez sur le nom de l'ID compte à supprimer, puis cliquez sur Delete [Supprimer].
- Cliquez sur Yes [Oui] pour confirmer la suppression.
- Cliquez sur End [Terminer], puis sur OK.
L'ordinateur serveur doit toujours être en marche ou au moins être en fonction à des heures spécifiques de la journée afin que l'utilitaire puisse collecter les informations de travaux d'impression.
Définition/modification de l'intervalle de collecte des journaux
Cet intervalle est normalement défini au moment de l'enregistrement de l'imprimante (voyez "Enregistrement des imprimantes" sur page 661).
Pour modifier l'intervalle de collecte des journaux pour une imprimante enregistrée ou un groupe d'imprimantes particulier :
- Depuis la fenêtre principale de l'utilitaire de comptabilisation des travaux, cliquez sur « Printer » [Imprimante] pour ouvrir l'arborescence des imprimantes, puis cliquez sur l'imprimante pour laquelle vous désirez modifier l'intervalle de collecte des journaux.
- Cliquez sur Printer [Imprimante] → Properties [Propriétés].
- Dans l'onglet Options, effectuez les modifications requises sous Acquire Logs [Collecter les journaux], puis cliquez sur OK.
Définition des éléments à consigner dans un journal
Pour définir les éléments à afficher dans le journal ou à exporter de ce dernier :
- Depuis la fenêtre principale de l'utilitaire de comptabilisation des travaux, cliquez sur l'imprimante/le groupe d'imprimantes pour laquelle ou lequel vous désirez définir les éléments de journal à afficher.
- Cliquez sur Log [Journal] → Display/Export Item Settings [Paramètres des éléments d'affichage/exportation].
- Cliquez sur une des options suivantes pour définir les éléments à afficher et la séquence dans laquelle ils seront affichés :
Log Display Items [Éléments d'affichage de journal] Journal de collecte standard.
La fenêtre suivante s'affiche :

Total display items [éléments d'affichage des totaux]
Liste des totaux pour une imprimante enregistrée.
La fenêtre suivante s'affiche :
![OKI C7350N - Total display items [éléments d'affichage des totaux] - 1](/content/2025/01/163161/images/dfc7e6615cbf02a6ef8cf3ce23017b49e7d4952128370ad6984bed88ffaae830.jpg)
Log export items [éléments d'exportation de journal]
Éléments à inclure dans un fichier de journal exporté.
La fenêtre suivante s'affiche :
![OKI C7350N - Log export items [éléments d'exportation de journal] - 1](/content/2025/01/163161/images/8f689d50f052b12c2a08b6aea2133023ddc6c300606a36ed154c11aba351c790.jpg)
Éléments à inclure dans un fichier d'exportation comptant la liste des totaux pour une imprimante enregistrée.
La fenêtre suivante s'affiche :
![OKI C7350N - Log export items [éléments d'exportation de journal] - 2](/content/2025/01/163161/images/8c15f26beb41b0c229c30063d055172bc7263a64e0eda7bcf3c00fa86d7ed398.jpg)
- Effectuez vos sélections :
a. Les éléments à inclure comportent une case cochée. Pour supprimer ou ajouter un élément, cliquez sur la case de l'élément pour ajouter/supprimer la coche. b. Pour modifier l'emplacement de l'élément dans le journal, cliquez sur le nom, puis cliquez sur « Up » [Haut] ou « Down » [Bas].
- Cliquez sur OK.
Utilisation de l'outil de création de rapport
L'utilitaire de comptabilisation des travaux d'impression peut être utilisé avec Microsoft Excel pour générer des rapports de journaux à l'aide de l'une des neufs macros préprogrammées.
Installation de l'outil de création de rapport
- Placez le CD des pilotes fourni avec l'imprimante dans l'unité de CD-ROM du serveur. La fenêtre « Menu Installer » [Menu d'installation] s'affiche par la suite. Si le CD n'est pas lancé automatiquement, cliquez sur Démarrer → Exécuter → Parcourir. Accédez à l'unité de CD-ROM et double-cliquez sur Install.exe, puis sur OK.
- Cliquez sur Next [Suivant] pour accepter les modalités du contrat de licence.
- Sélectionnez la langue d'installation.
- Cliquez sur Network Software [Logiciel réseau] → Administration Tools [Outils de gestion] → Job Accounting [Comptabilisation des travaux] → Reports Tool [Outil de création de rapport] et observez les directives affichées à l'écran.
Génération d'un rapport de journaux à l'aide d'excel
- Assurez-vous que le logiciel serveur de comptabilisation des travaux d'impression est lancé et qu'un journal a été collecté.
- Depuis le menu Démarrer, cliquez sur Okidata Print Control [Contrôle d'impression] Open Print Control Reports [Ouvrir les rapports de contrôle d'impression].
- Cliquez sur Enable Macros [Activer les macros].

- Accédez au fichier de journal à ouvrir, puis cliquez sur Open [Ouvrir].
Le fichier s'ouvre en mode de données RAW.
- Sélectionnez la feuille de travail que vous désirez consulter dans la liste déroulante « Change worksheet » [Sélection feuille de travail] (p. ex., « Printer Usage » [Utilisation imprimante]).
La feuille de travail sélectionnée s'affiche ensuite.

- Pour imprimer les données, appuyez sur Ctrl-P.
- Une fois terminé, cliquez sur × pour quitter Excel.
Macros excel disponibles
| Macro | Ce qui est inclus |
| Account Detail [Détails sur le compte] | Informations détaillées sur chaque travail pour chaque ID compte, incluant: • Account ID [ID compte] • Job ID [ID travail] • Date • Document Name [Nom de document] • Paper Size [Format papier] • Media Type [Type de support] • Total Sheets [Nombre total de feuilles] • Color Pages [Pages couleur] • Mono Pages [Pages mono] • Total Costs [Coûts totaux] |
| Note : Pour limiter le nombre de colonnes affichées, cliquez sur « Fields » [Champs]. Pour limiter le nombre de rangées affichées, limitez la plage de données ou cliquez sur « Accounts » [Comptes]. | |
| Account Usage [Utilisation du compte] | Graphique des données de la feuille de travail de sommaire du compte. |
| Account Summary [Sommaire du compte] | Sommaire des informations sur chaque compte. |
Macros excel disponibles
| Macro | Ce qui est inclus |
| Printer Detail [Détails sur l'imprimante] | Informations détaillées sur tous les travaux envoyés aux imprimantes, incluant: • Printer Name [Nom de l'imprimante] • Job ID [ID travail] • Date • Account ID [ID compte] • User ID [ID utiliser] • Duplex Pages [Pages recto verso] • Total Sheets [Nombre total de feuilles] • Color Pages [Pages couleur] • Mono Pages [Pages mono] • Total Costs [Coûts totaux] |
| Note : Pour limiter le nombre de colonnes affichées, cliquez sur « Fields » [Champs]. Pour limiter le nombre de rangées affichées, limitez la plage de données ou cliquez sur « Accounts » [Comptes]. | |
| Printer Usage [Utilisation de l'imprimante] | Graphique des données de la feuille de travail de sommaire de l'imprimante. |
Macros excel disponibles
| Macro | Ce qui est inclus |
| Printer Summary [Sommaire de l'imprimante] | Les informations suivantes pour chaque imprimante ayant des données disponibles : • Printer Name [Nom de l'imprimante] • Total Jobs [Nombre total de travaux] • Total Sheets [Nombre total de feuilles] • Number of Color Pages Printed [Nombre de pages couleur imprimées] • Number of Duplex Pages Printed [Nombre de pages recto verso imprimées] (disponible seulement lorsque l'unité recto versus optionnelle est installée) • Total Costs Incurred [Coûts totaux afférents] (tehs que calculés par l'utilitaire de comptabilisation des travaux d'impression) |
| User Detail [Détails sur l'utilisateur] | Informations détaillées sur tous les travaux envoyés aux imprimantes, triées par ID utiliser, incluant : • User ID [ID utiliser] • Job ID [ID travail] • Date • Document Name [Nom de document] • Paper Size [Format papier] • Media Type [Type de support] • Total Sheets [Nombre total de feuilles] • Color Pages [Pages couleur] • Mono Pages [Pages mono] • Job Cost [Coût du travail] |
Macros excel disponibles
| Macro | Ce qui est inclus |
| User Usage [Utilisation utiliser | Graphique des données de la feuille de travail de sommaire de l'utiliser. |
| User Summary [Sommaire de l'utiliser] | Inclut les éléments suivants pour chaque ID utiliser : • Total Jobs [Nombre total de travaux] • Total Sheets [Nombre total de feuilles] • Color Pages [Pages couleur] • Mono Pages [Pages mono] • Duplex Pages [Pages recto verso] • Total Costs [Coûts totaux] |
Affichage des journaux collectés
Depuis la fenêtre principale de l'utilitaire de comptabilisation des travaux d'impression, cliquez sur le symbole [+] à côté de « Log » [Journal] pour développer l'arborescence.

- Cliquez sur le symbole [+] à côté des sous-menus pour accéder au journal à afficher.
- Sous-menu Date
Liste les journaux par date (année/mois), puis par imprimante enregistrée.
- Sous-menu Imprimante
Liste les journaux par imprimante enregistrée, puis par date.
- Pour consulter un journal :
- Double-cliquez sur un élément ou
- Cliquez sur un élément, puis cliquez sur Log [Journal] → Display Log [Afficher journal].
Description des éléments de journaux
Les éléments affichés dans le journal des impressions (Print Log) sont les suivants :
Éléments de journal [en ordre alphabétique]
| Colonne | Description |
| 1200dpi (1 200 ppp)a | Nombre de feuilles imprimées en 1 200 ppp |
| 1200x600dpi [1 200 x 600 ppp]a | Nombre de feuilles imprimés en 1 200 x 600 ppp |
| 600dpi [600 ppp]a | Nombre de côtsés imprimés en 600 ppp |
| Account ID [ID compte] | ID compte d'utilisateur |
| Color [Couleur] | Nombre de côtsés imprimés en couleur |
| Document Name [Nom de document] | Nom de document |
| Duplex Print [Impression recto verso] | Recto ou recto verso |
| Envelope Feeder [Alimenteur d'enveloppes]a | Nombre de feuilles alimentées de l'alimenteur d'enveloppes |
| Log No. [Numéro de consignation] | ID du travail |
| Media [Support]a | Type de papier utilisé – transparent, etc. |
| Mono | Nombre de côtsés imprimés en monochrome |
| Multi-Purpose Tray [Bac multifonction]a | Nombre de feuilles alimentées depuis le bac multifonction |
| Off-line time during printing [Temps hors ligne pendant l'impression]a | Temps hors ligne pendant l'impression (le cas échéant) |
| Off-line time during processing [Temps hors ligne pendant le traitement]a | Temps hors ligne pendant le traitement (le cas échéant) |
| Pages | Nombre de côts imprimés |
| Paper Size [Format papier] | Format de support utilisé |
| Paper Type [Type de papier]a | Type de support utilisé – Vince, moyen, etc. |
| Sheets [Feuilles] | Nombre de feuilles de papier |
| Staple [Agrafes] | Nombre d'agrafes utilisées |
| Status [État] | Résultat – Imprimé, rejeté, etc. |
| Time printing began [Heure de début d'impression]a | Heure à laquelle le processus d'impression a commencé |
| Time printing ended [Heure de fin d'impression]a | Heure à laquelle le processus d'impression s'est terminé |
| Time the log acquisition started [Heure de début de la collecte du journal]a | Heure à laquelle le journal a été collecté auprès de l'imprimante (début) |
| Time the log was acquired [Heure à laquelle le journal a été collecté]a | Heure à laquelle le journal a été collecté auprès de l'imprimante (fin) |
| Time the process began [Heure de début du traitement]a | Heure à laquelle le traitement du travail a commencé |
| Time the process ended [Heure de fin du traitement]a | Heure à laquelle le traitement du travail s'est terminé |
| Total Sheets [Nombre total de feuilles] | Nombre de feuilles de papier |
| Tray1 [Bac 1]a | Nombre de feuilles alimentées depuis le bac 1 |
| Tray2 [Bac 2]a | Nombre de feuilles alimentées depuis le bac 2 |
| Tray3 [Bac 3]a | Nombre de feuilles alimentées depuis le bac 3 |
| Tray4 [Bac 4]a | Nombre de feuilles alimentées depuis le bac 4 |
| Tray5 [Bac 5]a | Nombre de feuilles alimentées depuis le bac 5 |
| User [Utilisateur] | Nom d'utilisateur |
a. Cet élément n'est pas affiché par défaut. Pour l'afficher, voyez “Définition des éléments à consigner dans un journal” page 694.
Lancement du calculier client
Depuis l'ordinateur client, cliquez sur Démarrer Programmes Okidata Print Job Accounting Client [Client de comptabilisation des travaux d'impression] Change Job Accounting Mode [Modifier le mode de comptabilisation des travaux].
Définition d'un nom d'utilisateur et d'une ID compte

Quatre modes sont offerts :
Mode « Tab » [Onglet] Mode « Popup » [Contextuel] Mode « Hide » [Masquage] Mode « Not supported » [Non pris en charge]
Sélectionnez le mode que vous désirez utiliser.
Mode « tab » [onglet]
Dans ce mode, l'onglet pour définir le nom d'utilisateur et l'ID compte s'affichera sous « Job Account Printer Driver Property » [Propriété du pilote d'imprimante pour la comptabilisation des travaux]. C'est le mode à sélectionner lorsqu'une seule personne utilise l'ordinateur.
Mode « popup » [contextuel]
Dans ce mode, une boîte de dialogue pour l'entrée du nom d'utilisateur et de l'ID compte s'affiche chaque fois qu'un travail d'impression est effectué. L'utilisateur doit entrer son nom d'utilisateur et son ID compte pour imprimer; de cette façon, plusieurs personnes peuvent partager le même ordinateur.
Mode « hide » [masquage]
Dans ce mode, un administrateur système crée un fichier d'ID dérivant les informations sur tous les clients. Chaque utilisateur client doit cliquer sur « Import ID File » [Importer fichier ID] sur leur ordinateur, puis spécifier ce fichier.
Les utilisateurs d'imprimantes n'ont pas besoin de connaître leur ID compte.
Le fichier d'ID décrit les informations sur chaque utilisateur en ligne, selon le format suivant :
Login User Name, Account ID {Nom d'utilisateur}
| Login User Name [Nom d'utilisateur] | Nom d'utilisateur entré lors de l'ouverture de session Windows. |
| Account ID [ID compte] | ID compte correspondant au nom d'utilisateur. |
| {Nom d'utilisateur} | Nom d'utilisateur affché dans ce système. Optionnel. Si ce nom d'utilisateur n'est pas spécifique, le nom d'utilisateur Windows sera utilisé. |
Utilisez l'extension «.csv» pour sauvegarder le fichier.
Mode « Not supported » [Non pris en charge]
Dans ce mode, tous les travaux à imprimer sont identifiés comme « Unregistered ID(0) » [ID(0) inconnue].
Pour les travaux d'impressions identifiés comme « Unregistered ID(0) » [ID(0) inconnue], il est possible d'autoriser ou non l'impression, mais les noms de document ne seront pas indiqués dans les journaux d'impression.
Vérification de l'état des imprimantes d'un réseau
- Lancez Microsoft Internet Explorer.
- Entrez l'adresse IP de l'imprimante (p. ex., http://192.168.0.1).
Pour connaître l'adresse IP d'une imprimante, observez une des méthodes suivantes :
- Lancez l'utilitaire de comptabilisation des travaux d'impression et sélectionnez l'imprimante dans l'arborescence des imprimantes, puis cliquez sur « Printer » [Imprimante] → « Properties » [Propriétés].
- Utilisez le panneau de commande de l'imprimante pour accéder au menu « Network » [Réseau] (voyez le guide de l'utilisateur de l'imprimante pour plus de détails).
- Imprimez la liste des paramètres de menu (voyez le guide de l'utilisateur de l'imprimante pour plus de détails).
3. Appuyez sur entrée.
La fenêtre suivante s'affiche :

Printer status [état de l'imprimante]
Fenêtre par défaut. Pour afficher l'état d'une imprimante en temps réel, cliquez sur le bouton Update Status [Actualiser l'état].
Une fenêtre importante des informations détaillées sur le réseau s'affiche, incluant :
- General Settings [Paramètres généraux]
- NetWare
- TCP/IP
- JetAdmin
- LAN Server/DLC [Serveur LAN/DLC]
- EtherTalk
![OKI C7350N - Printer status [état de l'imprimante] - 1](/content/2025/01/163161/images/f20ee5c98ffc0fd1ed9ba218d0a17c3fb5e63c704915a6fb8beb5be9dc3e762a.jpg)
Login as admin [connexion en tant qu'administrateur]
Permet d'afficher la fenêtre « Enter Network Password » [Entrer le mot de passe réseau]. Vous devez être en connexion avec le système pour accéder au menu « Printer » [Imprimante] :
![OKI C7350N - Login as admin [connexion en tant qu'administrateur] - 1](/content/2025/01/163161/images/b99a8d16f71830989e879a12b2ba7a962e199f26b15d96b48c048f2f32d4861e.jpg)
Job log [journal des travaux]
Permet d'afficher le journal des travaux d'impression pour l'imprimante sélectionnée :
![OKI C7350N - Job log [journal des travaux] - 1](/content/2025/01/163161/images/d8e950fa7eee8cb5f287ae620f1fe6b66cdd85411200c0276258934be480c169.jpg)
Une fois en connexion comme administrateur, cliquez sur cette option pour afficher la fenêtre suivante qui permet de modifier les paramètres de menu de l'imprimante :
![OKI C7350N - Job log [journal des travaux] - 2](/content/2025/01/163161/images/d1c66b112b98968e0925a71d6b29d3ab42f39810329e229f453c9ee1c40727bb.jpg)
Le panneau gauche contient la liste des groupes de paramètres de menu à sélectionner :
- Printer Summary [Sommaire de l'imprimante]
- Paramètres généraux
- Impression et support
- Système et PCL
- Parallèle et USB
- Mémoire
- Ajustement système
- Finisher Menu [Menu finition] (disponible seulement lorsque l'unité de finition est installée)
L'administrateur système peut modifier les paramètres de menu par l'entremise de la page Web. Par exemple :
- Cliquez sur Print and Media [Impression et support].
- Apportez toute modification requise.
- Accédez au bas de l'écran et cliquez sur Submit Changes [Soumettre les modifications]:
![OKI C7350N - Job log [journal des travaux] - 3](/content/2025/01/163161/images/fbd5727e99fcc56f672ed634c56584d2c7421c249930ab91bef31386a48bff21.jpg)
Dépannage
Q. L'imprimante que j'ai sélectionnée n'est pas affichée dans la liste lorsque je clique sur Printer [Imprimante] → Add a printer [Ajouter une imprimante] → Next [Suivant].
A. Si elle est hors ligne, elle ne s'affichera pas. Assurez-vous que l'imprimante n'est pas hors ligne.
Il existe des cas où l'imprimante n'est pas affichée pendant l'impression. Attendez un peu et essayez de nouveau. Si celle-ci ne s'affiche toujours pas, spécifiez l'adresse IP de l'imprimante dans la fenêtre Specify the printer for which logs will be acquired [Spécifier l'imprimante pour laquelle les journaux seront collectés] avant de cliquer sur Next [Suivant].
Le contenu du panneau « Log » [Journal] (à droite de l'écran) n'est pas actualisé.
A. Cliquez sur Log [Journal] → Actualiser l'affichage.
Q. Le message suivant s'est affiché : « Cannot connect to the printer. Wait for a while and try again. » [Connexion impossible avec l'imprimante. Attendez un peu et essayez de nouveau.]
Assurez-vous que l'imprimante n'est pas hors ligne. Ce message s'affiche de temps à autre pendant l'impression. Essayez de nouveau plus tard.
Q. Le message suivant s'affiche lorsque je clique sur Printer [Imprimante] Delete a Printer [Supprimer une imprimante]: « Cannot delete while log is being acquired. » [Suppression impossible pendant la collecte du journal.]
A. Avec l'imprimante sélectionnée dans l'arborescence des imprimantes, cliquez sur Printer [Imprimante] Start/End Log [Lancer/arrêter le journal] pour annuler le processus qui permet de collecter des journaux d'impression auprès d'une imprimante. Cliquez ensuite sur Printer [Imprimante] Delete a Printer/ Printer Group [Supprimer une imprimante/un groupe d'imprimantes].
Q. Le message suivant s'affiche lorsque je clique sur Printer [Imprimante] Acquire a log [Collecter un journal]: « This
processing cannot do between acquisition of a Log. » [Ce processus ne peut être exécuté entre deux collectes de journal.]
A. La collecte du journal d'impression de l'imprimante est en cours à ce moment-là.
Problèmes connus et solutions
- Lorsque vous utilisez l'impression recto verso avec le pilote PostScript, si le verso est vierge, il n'est pas comptabilisé comme une page.
- L'installateur installe un fichier pour l'unité monétaire selon le paramètre régional standard du système. Si le fichier adéquat n'est pas installé, vérifie les paramètres régionaux. Si vous désirez utiliser les paramètres par défaut du système, cochez « Set as system default local » [Sélectionner les valeurs par défaut du système local] sous « Regional Setting » [Paramètres régionaux].
- L'impression à l'aide du menu « Print Setting » [Paramètres d'impression] du réseau est traitée comme un travail d'un client non enregistré et ne sera pas reconnue comme un travail d'impression local.
- Les pilotes d'imprimante PostScript (Macintosh) ne consignent pas les noms de document dans les journaux.
- Dans les applications créées leurs propres codes PostScript lorsque le pilote PostScript Windows est utilisé, la commande « Job Accounting » [Comptabilisation des travaux] (ID compte du travail, nom d'utilisateur) ne sera pas exécutée; p. ex., PageMaker d'Adobe et CorelDraw (lorsque la case « Utiliser PPD » est cochée dans la boîte de dialogue « Imprimer »).
- Si vous imprimez depuis Windows 2000 (client) vers Windows 2000 (mode « Shared Printer Job Account » [Compte de travail d'imprimante partagée] activé), vous devez décocher la case « Enable advanced printing features » [Activer les fonctions d'impression avancées] sous l'onglet « Advanced » [Avancé] des propriétés de l'imprimante partagée. Lorsque la coche est retirée, les fonctions « Booklet » [Livret] (PCL) et « Page Order » [Ordre des pages] (PS) sont également désactivées.
Déinstallation du logiciel serveur
- Sélectionnez une imprimante dans le panneau gauche du logiciel serveur.
- Sélectionnez Start/end log [Lancer/arrêt le journal] dans le menu Printer [Imprimante].
Important!
Le logiciel serveur arrête la collecte de journaux d'impression auprès de l'imprimante, à l'intervalle définie. Cependant, l'imprimante continue sa consignation dans les journaux jusqu'à ce qu'elle soit supprimée. Par conséquent, n'oubliez pas d'effectuer l'étape 3 pour supprimer l'imprimante avant de désinstaller le logiciel serveur.
- Sélectionner Delete a printer [Supprimer une imprimante] dans le menu Printer [Imprimante].
Un message s'affiche et vous demande si vous désirez supprimer le journal d'impression pour les travaux qui ont été exécutés sur l'imprimante à supprimer.
Mise en GARDE!
Même si vous sélectionnez « No » [Non] à cette étape-ci, et à moins d'enregistrer de nouveau l'imprimante, aucune donnée ne sera consignée dans le journal d'impression pour ces travaux.
Lorsque le journal est requis après avoir supprimé l'imprimante, sélectionnez « Export Logs » [Exporter les journaux] du menu « Log » [Journal], puis sauvegardez-le dans le fichier avant de supprimer l'imprimante.
a. Cliquez sur Démarrer Programmes Okidata OKIPrint Job Accounting [Comptabilisation des travaux d'impression] Delete OKI Print Job Accounting [Supprimer comptabilisation des travaux OKI].
Déinstallation du logiciel client
Depuis l'ordinateur client, cliquez sur Démarrer Programmes Okidata OKIPrint Job Accounting Client [Client de comptabilisation des travaux d'impression] Supprimer OKI Print Job Accounting client [Supprimer client de comptabilisation des travaux OKI].
Présentation
Un ensemble d'utilitaires logiciels est livré avec votre imprimante. Ceux-ci ont été conçus pour maximiser l'utilisation de celle-ci. Chargez ces applications depuis le CD fourni avec l'imprimante.
PrintSuperVision est une application basée Web pour la gestion des périphériques d'impression reliés à un réseau. PrintSuperVision fournit l'accès aux données d'imprimantes réseautées pour le suivi, les rapports et la gestion des imprimantes réseautées. Elle fournit une gamme complète de fonctions de gestion pour les imprimantes OKI et également pour d'autres marques d'imprimantes.
Fonctions
- Fournit l'état en temps réel de toutes les imprimantes pour assurer le suivi et les rapports d'utilisation d'imprimantes, la gestion des consommables et le réapprovisionnement.
- L'interface d'administration de type Web standard permet de vérifier l'état des imprimantes et les périphériques multifonctions compatibles depuis n'importe quel point sur le Web.
- Effectue la découverte initiale et la configuration des périphériques d'impression connectés au réseau.
- Affiche les groupes d'imprimantes sous forme de liste des, plans d'étage ou cartes.
- Effectue la surveillance des périhériques, incluant les données de maintenance, et sauvegarde les données pour fins de rapports statistiques.
- Envoie par courrier électronique des alertes d'événements ayant une incidence sur la fonctionnalité des périphériques.
- Génère des rapports à l'écran ou en format XHTML, Excel ou XML, en plus des formats TEXTE et CSV.
Types d'utilisateurs
Les utilisateurs invité, sans nom d'utilisateur, peuvent obtenir les informations de base sur les périphériques, notamment le type, l'état et l'emplacement des périphériques d'impression.
Les Utilisateurs standard, en plus d’avoir accès aux informations des utilisateurs invités, peuvent accéder aux informations sur les ressources d’impression, configurer les alertes par courrier électronique et obtenir des rapports statistiques de base.
Administrateurs
Les Administrateurs peuvent : gérer les périphériques, les cartes, les alertes, les comptes d'utilisateur, les données de maintenance, et créer des rapports statistiques complets.
Scénarios d'utilisation typiques
- L'administrateur du réseau d'une société importante peut obtenir des rapports quotidiens personnalisés indiquant l'état de toutes les imprimantes, incluant les rapports d'utilisation.
- Les comptes d'utilisateurs peuvent être configurés pour permettre à toute personne de chaque service de gérer leurs imprimantes locales.
- Le système peut être réglé pour avertir l'utilisateur et l'administrateur local de tout problème.
- L'administrateur peut se connecter au système PrintSuperVision depuis un appareil client et : gérer les imprimantes de différents sites et visualiser instantanément une vue d'ensemble pour afficher l'état de toutes les imprimantes.
- L'administrateur peut également assurer le suivi des coûts de toutes les imprimantes,
- incluant les coûts de maintenance.
- PrintSuperVision fournit également une fonction de prévision des consommables pour indiquer le remplacement des consommables, et ce, basé sur l'utilisation courante de l'imprimante.
Logiciel serveur
Pentium 75, 64 Mo ou supérieur avec lecteur de CD-ROM :
- Windows 98 avec Personal Web ServerMC de Microsoft, offre gratuitement sur le site Web de MicrosoftMC dans l'Option Pack 4.0.
- Windows NT4 Workstation, SP6.0a, Personal Web Server de Microsoft, offert gratuitement sur le site Web de Microsoft dans l'Option Pack 4.0.
- Windows 2000 ou NT4 Server SP6.0a, Microsoft IISMC, offre gratuitement sur le site Web de Microsoft dans l'Option Pack 4.0.
Logiciel client
- Microsoft Internet Explorer version 4,01 ou supérieure.
- Netscape Navigator 4.0 ou supérieur.
- Résolution d'écran minimum recommandée de 1024 x 768 pixels.
Informations supplémentaires
Pour plus d'informations, cliquez sur Help (Aide) dans l'utilitaire "PrintSuperVision".
Présentation
Un ensemble d'utilitaires logiciels est livré avec votre imprimante.
Ceux-ci ont été conçus pour maximiser l'utilisation de celle-ci.
Chargez ces applications depuis le CD fourni avec l'imprimante.
Ce tutoriel intègre un onglet supplémentaire (STATUS - ÉTAT)
Dans les pilotes PostScript et PCL permettant au client de surveiller l'état de l'imprimante sélectionnée.
Installation
- Insérez le Pilotes, Utilitaires couleur, Utilitaires réseau CD fourni avec l'imprimante dans le lecteur de CD-ROM. Si le CD n'est pas lancé automatiquement, cliquez sur Démarrer → Exécuter → Parcourir. Accédez au lecteur de CD-ROM et double-cliquez sur Install.exe, puis cliquez sur OK.
- Cliquez sur Network Software (Logiciels réseau)
Administration Tools (Outils d'administration) Network
Printer Status (État de l'imprimante réseau). Observez les instructions affichées à l'écran.
Lancement
- Cliquez sur Démarrer → Paramètres → Imprimantes. Cliquez du droit sur l'icône de l'imprimante OKI puis cliquez sur Propriétés.
- Cliquez sur l'onglet STATUS (ETAT).
- Cliquez sur le bouton UPDATE (METTRE À JOUR) pour afficher les paramètres du dispositif.
L'écran suivant s'affiche :

Cliquez sur un élément pour afficher cette information :
Magasins :
Type de papier, grammage
Recto verso :
Installé / non installé
Disque/mémoire :
Taille de RAM et % utilisé;
taille de mémoire flash et % utilisé
Toner restant :
% de toner restant dans toutes les cartouches
Lorsque l'option "Automatic Status Check" est sélectionnée, l'utilitaire "interrogera" l'imprimante chaque fois que la boîte de dialogue "Printer Properties" (Propriétés d'imprimante) est ouverte depuis le pilote d'imprimante. Cette option ralentit de beaucoup l'ouverture de la boîte de dialogue.
Vérification de l'état d'une imprimante
Cliquez sur le bouton "WEB SETTING" (PARAMÈTRES WEB). L'écran suivant s'affiche :

Cliquez sur les éléments énumérés sur la gauche à afficher :
Network Summary (Sommaire réseau) - Login for Administrators (Connexion pour administrateurs) - Job Login (Connexion travaux) - Printer Menu (Menu de l'imprimante)
Pour afficher l'état d'une imprimante en temps réel, cliquez sur le bouton UPDATE STATUS (ACTUALISER L'ÉTAT).
Présentation
Un ensemble d'utilitaires logiciels est livré avec votre imprimante.
Ceux-ci ont été conçus pour maximiser l'utilisation de celle-ci.
Chargez ces applications depuis le CD fourni avec l'imprimante.
Cet utilitaire permet d'imprimer directement sur une imprimante du réseau sans utiliser un serveur d'impression. Celui-ci crée un port d'imprimante OKI et installe une boîte d'état pour afficher l'état de l'imprimante.
L'utilitaire LPR OKI peut être utilisé avec les systèmes d'exploitation Windows Me/98/95, Windows NT 4.0, Windows 2000 et Windows XP.
Installation
L'utilitaire LPR prend en charge TCP/IP. L'administrateur réseau doit configurer l'adresse IP et les propriétés TCP/IP pour votre imprimante.
- Pour installer l'utilitaire, insérez le CD fourni avec l'imprimante dans le lecteur de CD-ROM.
Si le CD n'est pas lancé automatiquement, cliquez sur Démarrer → Exécuter → Parcourir. Accédez au lecteur de CD-ROM et double-cliquez sur Install.exe, puis cliquez sur OK.
- Cliquez sur Network Software (Logiciels réseau) Installation/Config (Installation/configuration) LPR Utility (Utilitaire LPR).
Observez les instructions affichées à l'écran.
Boîte d'été LPR

La boîte d'été de l'utilitaire LPR comporte les informations suivantes :
- Imprimantes : Noms des imprimantes ajoutées (30 imprimantes max. peuvent être ajoutées)
- Status (État) : État de l'utilitaire LPR (empty (vide), connecting (connexion), sending (transmission), paused (pause), checking status (vérification de l'état), not connected (non connecté))
- Finis (Terminés): Nombre de travaux terminés.
- File d'attente: Nombre de travaux à imprimer.
Informations supplémentaires
Pour obtenir de l'aide sur l'utilitaire LPR, cliquez sur HELP (AIDE) dans l'utilitaire.
A4 Format de support Duplex, Impression (recto verso) 70
Sortie papier. 70
Type d'alimentation 70
A5 Format de support : Sortie papier. 70 Type d'alimentation. 70
A5 format de support Duplex, Impression (recto verso) 70
A6 Format de support : Duplex, Impression (recto verso) 70
Sortie papier. 70
Type d'alimentation 70
Administration de l'installation d'une imprimante sur un réseau 63
Ajustement fin des primaires 77, 78, 79, 80
Consultez Intensité la couleur Impression de la mire couleur 78
La mire couleur Exemple 79
Alimentation Arrêt du démarrage 88 Séquence de démarrage de l'imprimante 88
On/off switch. 56
Alimentation manuelle 55 précautions 55
ALIMENTATION PAPIER, commutation automatique de bac. 50
Alimentation papier, sortie droite du papier alimenté 53, 54
Alimentation papier, ouvrir ou fermer la sortie arrière du papier 53, 54, 55
Alimentation papier, paramètres 52, 68, 71
Applications Alimentationpapier.52,68,71
Formatpapier. 52,68,71
Type de support : 52, 68, 71
Arrêt du démarrage Menu Arrêt 88
Arrêt, menu. 88
Attention : Voyant Allumé 64, Clignote 64.
Bac 1 Format de support. 70 Grammage du papier. 73 Type de papier. 73
Bac 2 Format de support. 70 Grammage du papier. 73 Type de papier. 73
Bac 3
Grammage du papier : 73
Type de papier 73
Bac à papier, Auto Tray Switch set to ON. 49
Bac à papier, Automatic switching sequence of use 51
Bac à papier, Source Menu Imprimer 89
Bac de format de papier personnel 68
Bac multifonction (MF) Format de support 70
Format papier : 68
Grammage du papier : 73
Bac-papier, Format reconnus automatiquement et 68
Bac, commutation automatique 50
Bacs à papier supplémentaires 546
Bord court, reliure Duplex, Impression (recto verso) Menu Imprimer 89
Bord long, reliure Duplex, Impression (recto verso) Menu Imprimer 89
Bourrage de papier
Ne pas ouvrir ou fermer la sortie arrière du papier53, 54, 55
Bouchages de papier. 504
Cable secteur. 56
CANCEL bouton 65
Carbone papier 74
Ceux de l'ordinateur différents de paramètres de l'imprimante, comparaison 52, 68
Ceux de l'ordinateur différents des paramètres de l'imprimante, comparaison 71
Chaleur Spécifications d'impression74, 75, 76
CHANGE TONER 39
CHANGE TONER (CHANGER DE TONER) message ne disparait.39
Couleur Impression noire 41
Couleur Impression noire 41
Colorimétrie ICM de Windows 162 Windows NT. 418, 419
Colorimétrie ICM de Windows 2000. 251
Composite Black. 41
Contrôle couleur Windows XP. 328, 329
Courants, Paramètres de l'imprimante
d'imprimer uneiste.82,83,84
Courroie de transfert. 485
Dépannage Étiquettes adhésives 76 Journal des erreurs (Rapport) 86
rouleau de fusion endommagé 71
Site Web 74, 76
Diagramme d'emplacement Interfaces 62
DISK FULL Superpositions 612
Disque dur 540 Arrêt du démarrage 88 Menu Imprimer les travaux 85
Documentation (Manuels) 24 Doivent papier 74
Droits de sortie du papier alimentaire. 53, 54
Droit, alimentation Grammage du papier : 73. Type de papier : 73.
Duplex, Impression (recto verso) 73 Grammage du papier influence 73
Menu Imprimer. 89
Papier posé. 74
papier texture 74
Reliure. 89
supports lourds. 74
Type de papier influence 73
Duplex, impression (recto verso) 70,73
Format papier, influence. 70,73 Grammage du papier, influence. 70,73
Type de papier, influence. 70, 73
Mode Économie de toner. 40
Éléments 26
Emplacement. 25
Endroit. 25
Énergie câble secteur. 56
Enveloppes 557 - Chargez schémas 55
Duplex, Impression (recto verso) 70
fermoirs métalliques 75
Sortie papier. 70
Spécifications 75
Type d'alimentation 70
Journal des erreurs (Rapport) 86
État d'impression
Affichage 64
Étiquettes Adhésives
Imprimantes laser couleur 76
Grammage du papier : 73
Recommandations. 76
Website. 74, 76
Sortie papier. 73
Thickness 73
Type d'alimentation 73
Étiquettes adhésives
copieur couleur 76
feuille de support. 76
Type d'alimentation 70
Exemplaires, Définir le nombre,
Menu Imprimer. 89
Face en dessous
Grammage du papier : 73
Type de papier 73
Face en dessus
Format de support. 70
Grammage du papier 73
L'impression. 53
Type de papier 73
Face Up
Printing
Windows Me/98/95224, 391, 398, 427, 432
Fenêtres, enveloppes. 75
Fermoir métalliques,
enveloppes. 75
Feuille de support. 76
Feuilles d'impression
liste 86
Filigranes
Windows 2000. 277
Windows Me/98/95 358
Windows NT. 448
Windows XP 187
Format de papier
incorrect
message d'erreur 65
Format de papier personnels
Consultez Format Papier
Format de papier, incorrect
Format de papier 65
Format de papier, message
d'erreur 65
Format de papier, Sélection 68,
Format de support
Haut-parleur. 70
Format de support, arrière sortie 70
Format de support, B5.70
Format de support, Bac 1.....70
Format de support, Bac 2.....70
Format de support, Bac 3.....70
Format de support, Custom...70 Sortie papier. 70
Type d'alimentation 70
Format de support, Envelopes70
Format de support, face en dessous. 70
Format de support, face en dessus 70
Format de support, reconnus automatiquement et 68
Format papier. 70
Sortiepapier, influence70,73
Type d'alimentation influence 70, 73
Format papier, alimentation manuelle 68
Format papier, Bac multifonction (MF) 68
Format de papier, formats de papier personnels. 68
Format papier, influence duplex, impression (recto verso) 70
Sortie 70
Types d'alimentation 70
Formatpapier, paramètres..52, 68,71
Format papier, pilote d'imprimante 69
Formats de papier personnels.....68
Formats de page personnels Windows 2000. 256, 260
Windows Me/95/98...341, 345
Windows NT. 426, 431
Windows XP 167, 171
Fusion, rouleau endommagé 71
Grains, Papier. 74
Grammage du papier - Bac 1.73
Bac 2. 73
Bac 3. 73
déclenchement automatique...72 et Qualité d'impression.....71
Face en dessous. 73
Face supérieure. 73
Haut Sortie.. 73 influence
bac à papier (Type d'alimentation) 73
Duplex, Impression (recto verso) 73
Impression recto. 73
L'impression duplex (recto verso) 73
Sortie 73
Type d'alimentation... 70, 73
Leger 73
Lourd 73
modifiez des paramètres…72
Moyen 73
Moyen-léger. 73
Moyen-Lourd. 73
MP Bac. 73
Pilotes d'imprimante. 72
Sélectionnez 71, 72
Sortie arrière 73
Ultra-lourd. 73
Hard disk drive
Initialize
Automatiquement. 544
manually 544
L'impression, recto seulement 70
L'impression, simplex (recto seulement). 70
Impression Duplex
Windows 2000. 266, 269
Windows Me/98/95 352
Windows NT.....438, 442, 445
Windows XP 177, 180
Face en dessus. 53
Formats de page personnels
Windows 2000. 256, 260
Windows Me/95/98 341, 345
Windows NT. 426, 431
Windows XP 167, 171
Livrets. 445
Windows 2000. 272, 275
Windows Me. 355
Windows NT 4.0 445
Windows XP 183, 185
Sécurisée
Windows 2000. 286
Windows Me/95/98 369
Windows NT. 456
Windows XP 194
Tirage d'épreuves
Windows 2000. 281
Windows Me/95/98 364
Windows NT. 451, 452
Windows XP 190
Utilisation de mots de passe
Windows 2000. 286
Windows Me/95/98 369
Windows NT 456
Windows XP 194
Impression de texte et de
graphiques 41
Impression duplex (recto verso)
Consultez Duplex, Impression (recto verso)
Consultez Duplex, Impression (recto verso)
Impression noire 41
Paramètres. 82, 83, 84
Ports 62, 63
Tableau de commande (Panneau Avant) 64
Imprimante n'imprimera52, 68, 71
IMPRIMER LES MENUS message 82, 539, 542, 550
Imprimer les travaux, menu... 85
Imprimer Menu Duplex, Impression (recto verso) 89
Imprimer, annuler 65
Imprimer, force l'imprimante à imprimer 65
Imprimer, Menu. 89 Exemplaires, Définit le nombre. 89
Initialisation. 56
Installation du câble secteur 56
Installation de la cartouche de toner 34, 473, 476
Retrait des pellicules de protection 29
Intensité d'une couleur augmenter 77 diminuer 77
Intensité de la couleur Ajustement 78, 79, 80
Interface Parallèle 62, 63
Réseau 62, 63
USB 62, 63
ITEM bouton.. 66
Journal des erreurs. 86
L L'imprimante L'imprimante n'imprime......78
Langue Tableau de commande (Panneau avant) 67
LCD (Liquid Crystal Display) - Affichage 64
LCD (Liquid Crystal Display) - Affichage Schéma 64
Legal 13 Format de support : Duplex, Impression (recto verso) 70
Sortie papier 70
Type d'alimentation 70
Legal 14 Format de support Duplex, Impression (recto verso) 70
Sortie papier 70
Type d'alimentation 70
Léger grammage du papier 73
Type d'alimentation 70
Letterhead
Overlays
Windows NT. 610, 611
Lights
Ready (PRET) 56
Livrets
Windows 2000. 272, 275
Windows Me/95/98 355
Windows NT. 445
Windows XP. 183, 185
Grammage du papier : 73
Maintenance
Cartouche de toner. 473
Courroie de transfert 485
Nettoyage des DEL 494
Tambour photoconducteur482
Unité de fusion 491
Alimentation manuelle du papier
Bac multifonction (MF) 55
Manuels 24
Media
See Paper. 72
See Paper
Mémoire supplémentaire......533
Menu
Arrêt 88
Imprimer les travaux. 85
Informations 86
Menu bouton 65
Menu Imprimer. 89
Menu Information 86
Menu Map
Impression 86
Menu Mode
Online bouton. 65
retourer 66
Menu Utilisation 115
Menus
Listes de menus. 85
Test d'impression 87
Message d'erreur 52,68,71
Messages d'erreur 499
Affichage 64
Messages d'état. 499
Messages, CHANGER TONER
Changer de toner......39
Messages, journal des erreurs. 86
Messages, ONLINE 56
Messages, TONER LOW
(TONER BAS) 39
Grammage du papier : 73
Sortie papier 73
Type d'alimentation 73
Mode Menu
faire défiler les différents
menus 65, 66
passer 65, 66
quitterez 65
Sélectionner un paramètre.66
Mot de passer
Grammage du papier : 73
Moyen-Léger
Grammage du papier : 73
Moyen-Lourd
Grammage du papier : 73
État de l'imprimante réseau 728
Noir
Impression noire 41
Numbers
supplémentaires. 546
Disque dur interne 540
Mémoire supplémentaire...533
Unité Duplex 545
Options du menu
Affichage 64
Out of paper
Grammage du papier : 73
Sortie papier. 73
Type d'alimentation 73
Grammage du papier : 73
Type d'alimentation 73
Grammage du papier : 73
Sortie papier. 73
Type d'alimentation 73
Papier
Alimentation manuelle. 55
Chargement 43
Papier à en-tête
Alimentation manuelle 55
Chargez
schémas 55
Papier carton 53, 54
Type d'alimentation 53, 54
Papier épais
Papier gaufré
Papier recycle
Papier, brillant
Papier, des bords irréguliers. 74
Papier, des découpes 74
Papier, différence importante de
grains. 74
Papier, doivent 74
Papier, en-tête très gaufré...74
Papier glacé 74
Papier, lisse. 74
Papier, n'a plus
Commutation automatique de
bac. 50
Papier, papier autocopiant...74
Papier, papier carbone. 74
Papier, papier posé 74
Papier, papier texturé. 74
Papier photosensible 74
Papier, piezosensible. 74
Papier, rugueux. 74
Papier, Spécifications 74
Papier, surfaces. 74
Papier, Température
Les conditions pour imprimer.
74, 75, 76
Papier thermosensible. 74
Papier, thermosensible
Sortie papier. 73
Parallele
Interface. 62, 63
Paramètres
Menu 82, 83, 84
Menu 82, 83, 84
Paramètres d'imprimante
Liste des options. 85
Paramètres de l'imprimante
Consultez (Paramètres du menu)
Courants 82, 83, 84
d'imprimer une liste 82, 83, 84
Impression 82, 83, 84
Paramètres de l'imprimante
Paramètres du menu
Listes de paramètres disponibles 85
Menu Map. 86
Rétablir les paramètres d'origine 84
Paramètres de l'imprimante
différent de ceux de l'ordinateur,
comparaison 52,68,71
Paramètres du menu
Paramètres de l'imprimante)82,
83, 84
courants. 82, 83, 84
d'imprimer uneiste.82,83,84
Rétablir les paramètres
d'origine. 84
PAS DE PAPIER
Commutation automatique de
bac 50
PCL
Noir vrai, Impression noire.41
PCL, Polices 86
Perforations
Dans le papier. 74
Photosensible, papier 74
Pilotes d'imprimante
Grammage du papier : 72
Type de papier 72
Pilotes, l'imprimante 24
Problèmes, Résolution des
Journal des erreurs (Rapports) 86
Pure black. 41
Qualité d'impression
et rouleau de fusion. 71
Type de papier 71
Grammage du papier : 71
Impression noire 41
Papier posé. 74
papier texture 74
supports lourds. 74
Qualité d'impression problèmes la page de démonstration...86
Rabats autocollants, enveloppes 75
Raccordement
Cable secteur 56
RampedeDEL 494
Rapports
Courants paramètres de
l'imprimante 82,83,84
Journal des erreurs 86
READY (PRÊT), voyant......56
Recto seulment
Simplicité de l'impression. 73
rectosoussection
Simplex Impression 70
Recyclé, papier 74
Redi-Strip Envelopes 557
Reliure. 89
Réseau
Interface 62, 63
L'installation et l'autorisation de l'administrateur 63
Résolution des problèmes
Bouchages de papier. 504
Divers problèmes 529
Retrait des pellicules de
protection 29
Schemas
Tableau de commande
Panneau Avant
Affichage 64
Boutons. 65, 66
Voyants. 64
Tambour photoconducteur test 87
TEST TAMBOURS 87
Shutdown
Sequence d'extinction
site Web, pour Oki Data...74, 76
Sortie
Formatpapier, influence70,73
Grammage du papier influence 73
Grammage du papier, influence. 70, 73
Grammage du papier, influence...73
Type de papier influence 73
Type de papier, influence. 70, 73
Sortie arrière du papier
ouvrir ou fermer. 53, 54, 55
Sortiepapier
et format papier. 70, 73
influence
Type de papier 73
Sortie papier, Arrière
Format de support. 70
Grammage du papier 73
Type de papier 73
Sortie papier, Haut
Format de support. 70
Grammage du papier 73
Type de papier 73
Stacker
Capacity output
Windows Me/98/95224,391 398427432
Gestionnaire des unités de mémoire (Storage Device Manager) 580
Tableau de commande (Panneau Avant) 64
Affichage (LCD) Schéma 64
Langue d'affichage 67
Scheme 65, 66
Voyants Schéma 64
Tambour photoconducteur...482 durée de vie papier posé....74 papier texturé....74 supports lourds....74
Papier lourd. 74
Papier posé. 74
Plaques d'obturation 33
Température : les conditions pour imprimer pour papier 74, 75, 76
Spécifications d'impression74, 75, 76
Temperatures d'impression.74, 75,76
Test d'impression, menu. 87 TEST TAMBOURS. 87
TEST TAMBOURS 87
Thermosensible, papier. 74
Étiquettes Adhésives73
Toner Black 41
Grammage du papier 73
Numéros de pièce. 557
Sortie papier. 73
Type d'alimentation 73
Transport 497
Travail d'impression Cancel 65
Travaux, liste de fichiers de...86
True Black. 41
Type d'alimentation
Grammage du papier, influence. 70, 73
influence
Grammage du papier.....73
Type d'alimentation 73
Type de papier 73
Type d'alimentation Auto Tray Switch set to ON 49
Type d'alimentation Bac 1 Format de support .70
Type d'alimentation Bac 3 Format de support .70
Type d'alimentation MP Bac, Format de support 70
Type d'alimentation, Bac 1. Grammage du papier. 73. Type de papier. 73.
Type d'alimentation, Bac 2 Format de support 70 Grammage du papier 73 Type de papier 73
Type d'alimentation, Bac 3 Grammage du papier 73 Type de papier 73
Type d'alimentation, et Format papier 70, 73
Type d'alimentation, Format papier, influence 70, 73
Type d'alimentation, Manual paper feed 55
Type d'alimentation, MP Bac 55 Grammage du papier.........73 Type de papier..........73
Type d'alimentation, Source, Menu Imprimer. 89
Type d'alimentation, Type de papier, influence 70, 73
Type de papier Bac 1.73
Bac 2. 73
Bac 3. 73
détecte automatiquement...72
et Qualité d'impression......71
Face en dessous. 73
Face supérieure. 73
Haut-parleur. 73
influence de l'impression duplex (recto verso) 73
Duplex, impression (recto verso). 73
Duplex, impression (recto verso) 70
Impression recto. 73
Sortie 70, 73
Type d'alimentation 73
modifiez des paramètres....72
MP Bac 73
Pilote d'imprimante. 72
Sélectionnez. 71, 72
Sortie arrière. 73
Type de support paramètres. 52, 68, 71
Ultra-lourd grammage du papier. 73 paramètres imprimante. 74
Unité de fusion 491
Unité Duplex. 545
Grammage du papier : 73
Sortie papier. 73
Type d'alimentation 73
USB
Interface 62, 63
Utilitaire Nuancier de couleurs. 580
Utilaires
PDF Print Direct. 577
couleur 24
État de l'imprimante réseau 728
Nuancier de couleurs. 572
Nuancier de couleurs.572
PDF Print Direct, impression directe des fichiers PDF...577
Gestionnaire des unités de mémoire (Storage Device Manager) 580
Utilitaires couleur 24
Utilitaires réseau 24
VALUE bouton 66
Tableau de commande (Panneau Avant)
Scheme 64
Séquence de préchauffage 56
Waterproof
paper. 556
Notice Facile