WHEEL - Composants de vélo BONTRAGER - Notice d'utilisation et mode d'emploi gratuit
Retrouvez gratuitement la notice de l'appareil WHEEL BONTRAGER au format PDF.
| Type de vélo | Non précisé |
| Matériau du cadre | Aluminium ou acier |
| Type de frein | Freins à disque ou V-brake |
| Nombre de vitesses | Non précisé |
| Type de transmission | Chaîne |
| Diamètre des roues | 26 à 29 pouces |
| Poids approximatif | 12 à 15 kg |
| Type de guidon | Droit ou courbé |
| Suspension | Avant ou rigide |
| Utilisation recommandée | Route, ville ou tout-terrain |
| Charge maximale | 100 kg |
| Accessoires inclus | Non précisé |
| Couleur | Non précisé |
| Garantie | Non précisé |
FOIRE AUX QUESTIONS - WHEEL BONTRAGER
Questions des utilisateurs sur WHEEL BONTRAGER
0 question sur cet appareil. Repondez a celles que vous connaissez ou posez la votre.
Poser une nouvelle question sur cet appareil
Téléchargez la notice de votre Composants de vélo au format PDF gratuitement ! Retrouvez votre notice WHEEL - BONTRAGER et reprennez votre appareil électronique en main. Sur cette page sont publiés tous les documents nécessaires à l'utilisation de votre appareil WHEEL de la marque BONTRAGER.
MODE D'EMPLOI WHEEL BONTRAGER
Roue Manuel du propriétaire
FRANÇAIS
Bienvenue
Manuel du propriétaire des roues
Important :
À conserver pour référence future
Leprésent manuel décrit comment utiliser votre nouvelle paire de roues en toute sécurité. même si vous faites du vélo depuis plusieurs années, il est important que CHAQUE personne mise ces informations avant d'utiliser cette paire de roues! En sus des informations contenues dans ce manuel, vous devriez également dire le manuel du propriétaire fourni avec votre vélo. Pour obtenir des instructions d'installation et des informations supplémentaires, visitez notre site Web. Certaines tâches d'entretien ne doivent être réalisées que par votre revendeur. Ces tâches sont précisées dans le manuel.
Table des matières
Introduction
Signification des signaux de sécurité et langue. 5
Si you avez des questions. 5
Chapitre 1: Présentation des roues
Instructions speciales. 6
Chapitre 2 :
Guide pour une utilisation sur route et tout-terrain en toute sécurité
Utilisez votre bon sens lorsque vous roulez. 8
Vérifiez vos roues régulièrement. 10
Utilisant de roues avec freins à disque. 12
Utilisation de roues tubulaires (boyaux) 13
Utilisation de jantes en carbone. 14
Utilisation de roues compatibles tubeless (TLR) 15
Utilisation de roues pour piste (pignon fixe) 16
Chapitre 3: Configuration de roues pour montagne
Installation de fond de jante traditionnel. 17
Installation de fond de jante compatible tubeless et de valve. 18
Installation d'un pneu traditionnel et d'une chambre à air. 20
Chapitre 4: Configuration de roues tubulaires
Étirement du pneu. 22
Preparation de la jante tubulaire. 23
Fixation du boyau à la jante. 25
Fin de l'installation tubulaire. 26
Chapitre 5 : Fonctionnement d'un serrage rapide
Test de la fixation. 27
Réglage et fonctionnement 29
Chapitre 6:Réglage
Pression des pneus. 31
Roulements de roue. 31
Chapitre 7: Graissage
Tous les ans. 32
Chapitre 8: Prolongateurs de valve
Types de valves et de prolongateurs 33
Valve externe. 34
Valves en ligne. 35
Garantie limitée Bontrager. 36
Signification des signaux de sécurité et langue
Dans ce manuel, le symbole d'alerte de sécurité, un triangle avec un point d'exclamation, indique une situation dangereuse qui, si elle n'est pas évitée, pourrait causer des blessures :
Le signe « ATTENTION » signale la possibilité de blessure légère ou modérée.
Le signe « AVERTISSEMENT » indique la possibilité d'une blessure grave ou la mort.
Le montage et l'installation des pieces, y compris des pneus et l'installation correcte de certaines pieces, sont essentiels aux performances et à la sécurité. Si vous n'êtes pas familier avec les procédures d'installation, demandez à votre revendeur d'effectuer ce travail. Le montage et le premier réglage de votre paire de roues nécessitant des outils et des compétences spécifiques. Vous pouvez envisager de demander à votre revendeur d'assembler les roues et de les installer sur votre vélo. Si vous préférez faire vous-même le travail, assurez-vous de dire les instructions sur notre site Web avant de commencer.
Si vous avez des questions
Il existe de nombreux modèles de jours de roues dotés d'équipements différents. Par conséquent, ce manuel peutContainir des instructions qui ne s'appliquent pas à votre paire de roues. S'il vous restés des questions après avoir lu ce manuel, contactez vosre revendeur. Si celui-ci n'est pas en mesure de répondre à votre question ou de résoudre libre problème, contactez-nous :
Composants Bontrager
Waterloo, Wisconsin 53594 - États-Unis
Site Web : http://www.bontrager.com
Telephone (aux États-Unis) : 920.478.4678
Chapitre 1 —
Présentation des roues
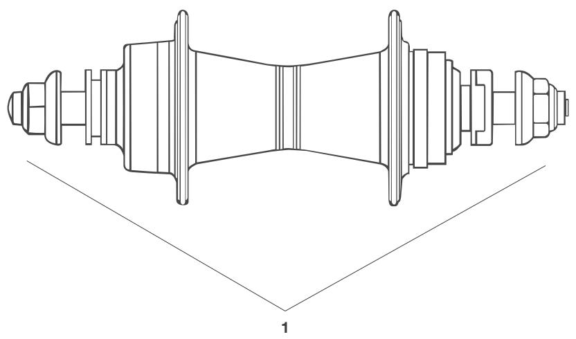
Les roues d'un vélo (Figure 1) permettent que celui-ci roule en douceur sur la route. Sur de nombreux vélos, le mécanisme de serrage rapide (Figure 2) fixe les roues au vélo. En outre, de nombreux vélos utilisent les roues dans le cadre du système de freinage. L'intégrité et la robustesse des roues sont importantes pour votre sécurité. Ces instructions vous décrivent comment utiliser, ajuster etGRAisser les roues d'un vélo.
Instructions spéciales
Certains modèles de roues Bontrager ayant des propriétés particulières, un entretien spécial est donc nécessaire. Si vos roues seront certaines de ces caractéristiques, veuillez dire attentivement ces sections supplémentaires :
- Freins à disque
- Pneus tubulaires (boyaux)
- Jantes en carbone
- Pneus sans chambre
- Moyeux à pignon fixe (piste)

Figure 1. Roues de velo et pieces :
- Jante
- Moyeu
- Rayons

Figure 2. Moyeu et serrage rapide
- Moyeu
- Serrage rapide (pour les éléments
Durée de vie utile des roues
Les roues ne sont pas indestructibles. Comme pour tout élément mécanique, chacune des pieces d'une roue a une durée de vie utile limite en raison des pressions et de l'usure. L'usure fait reference à une faible pression qui, lorsqu'elle est repétée un grand nombre de fois, peut entrainer la rupture d'un matériel. Si vous conduite est dire ou agressive, vous devrez replacer la roue et/ou ses pieces plus souvent que les cyclistes qui roulent en douceur ou avec prudence. Plusieurs facteurs peuvent modifier I'etat de vos roues : poids, vitesse, habileté, terrain, entretien, environnement (humidité, salinité, température, et plus). Dans la mesure où il existe de nombreuses variables, il n'est pas possible de donner un calendrier précis pour le remplacement. Pour des questions de sécurité, replacez les roues ou les pieces plus fréquement. Si vous avez des doutes, demandez conseil à votre revendeur. Des roues et des pieces légères et à haute performances nécessitant de meilleurs soins et des inspections plus féquentes, même si dans certains cas elles ont une durée de vie plus longue que les roues et pieces plus lourdes. Dans le cas des roues, rappelez-vous qu'une jante s'use à mesure que vous utilisez vos freins, de sorte que la jante doit être replacée de temps en temps.
Pour plus d'informations sur les conditions d'utilisation, visitez notre site Web à l'adresse http://www.bontrager.com.
Chapitre 2 —
Guide pour une utilisation sur route et tout-terrain en toute sécurité
Cette section explique quelques-unes des notions de base pour utiliser votre paire de roues en toute sécurité. Lisez également le manuel du propriétaire de votre vélo, qui contient des informations complémentaires de sécurité.
Utilisez votre bon sens lorsque vous roulez
De nombreux accidents de vélo poursaient être évités en faisant preuve de bon sens. Voici quelques exemple :
- Ne roulez pas « sans les mains »
- Ne roulez pas « en duo »
- Ne roulez pas avec des objets pendus au guidon ou à toute autre partie du velo.
- Evitez les objets qui pouraient enter dans les rayons.
- Ne roulez pas en état d'ivresse ou lorsque vous prenez des médicaments pouvant provoquer un état de somnolence.
- Pour les vélos de route, roulez uniquement sur des surfaces pavées.
- Soyez extrémement vigilant lorsque vous faites du tout-terrain. N'empruntez que les chêmins. Évitez les rochers, les branches ou les creux.
- À l'approche d'une descente, réduisez votre vitesse, mettez votre poids vers l'arrière et le bas et utilisez davantage le frein arrière que le frein avant.
- Ne roulez pas de façon abusive.
Ne roulez pas trop vite
Une vitesse excessive engendre des risques accrus et des chocs plus violents en cas d'accident. À des vitesse plus élevées, les roues sont davantage susceptibles de glisser, et une simple bosse peut avoir un impact important sur le cadre, la fourche ou les roues. Gardez le contrôle de votre vélo, à une vitesse raisonnable, en toutes circonstances.
Faites attention aux voitures, aux piétons et autres obstacles
Un cycliste n'est pas très visible et de nombreux automobilistes ne connaissent pas les droits et les considérations spéciales des cyclistes. Roulez prudemment ; faites attention aux voitures, aux piétons et autres utilisateurs des sentiers. Soyez prét à toutes les situations. Évitez les nids-de-poule, bouches d'égout, accotements instables ou bas et autres asperités qui pourrait inférer un choc à vos roues ou les faire glisser. Si vous n'étés pas sur de savoir comment franchir un obstacle, descendez de votre vélo.
N'apportez pas de modifications à la paire de roues
Si vous apportez une modification au jeu de roues, vous annulerez la garantie du fabricant. En outre, ce n'est pas sur. N'installez pas sur cette paire de roues des pieces qui ne sont pas approvées. Les pieces dépOURVues d'approbation peuvent entrainer des dommages au jeu de roues et ne sont pas sures. Si vous n'etes pas sur si une piece dispose d'une approbation, parlez-en à votre revendeur Bontrager.
A VERTISSEMENT
Les pratiques suivantes augmentent le risque de blessure :
- Sauts en velo
- Acrobatics en vélo
- Tout-terrain extremé
- Descente de pentes
+Pratique anormale
Toutes ces pratiques augmentent les pressions subies par chaque pièce du nélo. Les cadres ou les pièces soumis à de fortes pressions peuvent s'user prématurément, entraînant leur rupture ou dysfonctionnement, et augmentant le risque de blessure pour le cycliste. Pour réduire le risque de blessure, évitez ces types de pratiques.
Vérifiez vos roues régulièrement
Vouss pouvez arreter un problème avant qu'il se produit en examinant les roues régulièrement. Si une roue n'est pas dans un état satisfaisant, la puissance des freins et la robustesse de la roue peuvent être grandement diminuées. Si vous changez des pneus ou des boyaux, assurez-vous qu'un fond de jante homologué est au bon endroit pour éviter une crevaison ou une perte d'air soudaine.
Avant chaque sortie
Assurez-vous que vos roues sont correctement fixées à votre vélo. Pour obtenir des instructions sur la façon d'utiliser les serrages rapides de roue, lisze le Chapitre 3 ou parlez-en à votre revendeur Bontrager. Pour les axes, lisze la documentation fournie avec votre fourche à suspension ou cadre. Assurez-vous que vos pneus sont gonflés à la pression indiquée sur le flanc du pneu. Cependant, ne gonflez jamais un pneu pour route sur une jante en carbone à une pression supérieure à 120 psi (8,3 atm) ou un pneu pour montagne sur une jante en carbone à une pression supérieure à 60 psi (4,1 atm). Utilisez un manomètre et une pompe à vélo lorsque possible.
Examinez l'usure de vos pneus et autres dommages. Remplacez le pneu si vous pouvez voir la chambre à air par le biais de coupures ou des séparations qui passent par le pneu. Si vous pouze voir une partie de l'enveloppe du pneu dans la bande de roulement (surface de contact) ou si les moulures du pneu sont usées ou absentes, remplacez le pneu. Assurez-vous que les roues sont circulaires et ne sont pas voilées. Faites tourner la jante. Si la jante se déplace de haut en bas ou d'un côte à l'autre,
AVIS: Ne gonflez pas vos pneus dans les stations-service, car celles-ci utilisent des compresseurs. Un compresseur libre très rapidement la pression et le volume, pouvant ainsi provoquer une explosion de vos pneus.
Toutes les semaines
Vérifiez qu'il n'y a pas de rayons lâches, tordus, usés ou cassés. Si les rayons ne sont pas en bon état, demandez à votre revendeur Bontrager de réparer votre roues.
Tous les mois
Examinez l'usage des jantes. Certaines jantes ont des marques sur la surface de freinage qui montrent l'usage. Les jantes en aluminium ont une bande continue en retrait ou plusieurs petites « bosses » sphériques à des distances régulières autour de la surface de freinage. Si les marques sont usés ou absentes, demandez à votre revendeur de replacer la jante. Les jantes en fibre de carbone ont une couche de canecas, un matériel tissé, sur la surface de freinage de la jante. Sous la couche de canecas, les fibres de carbone sont droites et paralleles. Si vous pouvez voir des fibres droites qui percent la couche de canecas, demandez à votre revendeur de replacer la jante.
AVERAGEMENT
Avec des freins sur jante, les patins de frein enlient de la matière sur la jante lors du freinage. Si trop de matière est retiree, la jante peut se fragiliser et se briser, diminuant votre contrôle, et vous faire chuter. Vérifiez régulierement les jantes. Remplacez-les des qu'elles sont usées.
Vérifiez que les moyaux des roues sont correctement régés. Avec une main, soulevez la roue avant du vélo et essayez de faire bouger latéralement la jante, de gauche à droite. Regardez, touchez et écoutez pour détecter des roulements lâches. Faites tourner la roue et écoutez pour détecter un grincement ou d'autres bruits. Effectuez à nouveau ces procédures pour la roue arrêté. Si un roulement semble lâche ou fait du bruit, demandez à votre revendeur d'ajuster les roulements.
AAVERTISSEMENT
Un roulement incorrectement régle peut vous faire perdre le contrôle du vélo et chuter. Examinez les roulements une fois par mois et corrigez le problème avant d'utiliser le vélo.
Toutes les 100 heures d'utilisation
Demandez un entretien de vos moyex par un revendeur agree Blontrager Wheel Works toutes les 100 heures ou 6 mois d'utilisation. Un entretien plus frquent peut etre nécessaire pour les roues en usage intensif.
Utilisant de roues avec freins à disque
Pour les roues avec freins à disque, assurez-vous que la fixation du rotor du frein (Figure 3 ou Figure 4) est serrée :
- Serrez les boulons de rotor (Figure 3) avec un couple de 5-6,2 N·m.
- Serrez un écrou Centerlock (Figure 4) avec un couple de 40,2 N·m.

Figure 3. Boulons de rotor

Figure 4. Écrou Centerlock
Utilisation de roues tubulaires (boyaux)
Examinez régulierement vos boyaux et gardez-les en bon état. Examinez l'enveloppe et la bande de roulement du pau pour des coupures ou des déchirures à l'enveloppe tubulaire. Assurez-vous que le ruban de base ne présente pas de coupures ou déchirures. Le plus important, assurez-vous que le pau est correctement installé.
A VERTISSEMENT
Un boyau mal installé peut se détacher de la jante, ce qui provoque une perte de contrôle et une chute. Installez les pneus correctement et inspectez régulièrement la fixation et l'objet des pneus.
Nettoyez les pneus avec une solution légèrement savonneuse. N'utilise pas de produits nettoyants qui contiennent des hydrocarbures, diluants ou produits corrosifs. Entreposez les boyaux, sur ou hors des jantes, dans un endroit sec et à l'abri de la lumière, et gonflés à 5-6 bars.
Remarque: Reportez-vous au Chapitre 4 pour obtenir des instructions sur l'installation d'un boyau.
Utilisation de jantes en carbone
Les jantes en carbone sont très légères et résistantes, mais elles nécessit des pièces et des soins spéciaux. Les freins fonctionnent différemment sur des jantes en carbone, particulièrement par temps humide ou lorsqu'elles sont chaudes à la suite d'une longue descente. À faible vitesse, les freins peuvent vibrer. Utilisez uniquement des patins de frein en liège Bontrager Carbon Stop. Les autres patins peuvent ne pas s'arrête aussi bien et peuvent entraîner une surchauffe de la jante, ce qui provoque un décollement de la fibre de carbone. N'utilise pas de chambres à air en latex. Les jantes en carbone peuventvenir chaudes lors d'un freinage et les chambres en latex ne résistant pas bien la chaleur. Les chambres pourrait perdre soudaientement de l'air et vous laisser avec un pneu à plat. N'appliquez pas de force sur les côtsés ou les dessus de jantes aérodynamiques ou de roues à disque. Ne serrez pas une jante aérodynamique ou une roue à disque dans un rack à vélo, un support pour voiture ou un autre mécanisme. Ne suspendez pas le vélo par les jantes aérodynamiques ou roues à disque. De telles forces peuvent endommager une jante aérodynamique ou une roue à disque. Ne nettoyez pas les jantes avec des solvants, produits chimiques ou produits abrasifs qui peuvent endommager celles-ci. Si une solution d'eau et de détergent à vaisselle ne nettoie pas les jantes, utilisez un chiffon doux et propre et une petite quantité d'acétone. Utilisez uniquement des rubans de jante Velox®.
Ne dépassez pas la pression de gonflage maximale pour les jantes en carbone. Un gonflage trop important risque d'endommager la jante.
- Jantes en carbone pour montagne = 60 psi (4,1 atm) maximum.
- Jantes en carbone pour route = 120 psi (8,3 atm) maximum.
- Jantes tubulaires en carbone pour route = voir le pneu pour la pression maximale.
Kilo pour kilo, la fibre de carbone est plus robuste que l'acier, l'aluminium ou le titan. Toutefois, elle se comporte différemment lorsqu'elle est surchargeée dans un accident ou un impact. Une piece métallique surchargeée peut se plier ou se déformer avant de se briser,présentant des signes de la charge. Une piece en fibre de carbone surchargeée ne se tordra pas ou ne se déformera pas, de sorte qu'une piece en carbone endommagée (ayant une résistance réduite en raison des dégats) peut sembler normale, même après la même charge qui a pié la piece métallique. Mais lorsque la somme des forces dépasse finalement la limite de résistance de la fibre de carbone, la piece en fibre de carbone se brise, elle ne pié pas. Examinez vos jantes en carbone avec soin pour détecter des dommages avant et après chaque sortie, ou après une charge importante. Les charges de force élevée incluent les accidents, mais vous n'avez pas à subir un accident pour infilger une charge de force importante à vos jantes. Par exemple, rouler dans un trou profond sur la route ou heurter un obstacle tel qu'un rail de chemin de fer suffisent parfois.
AAVERTISSEMENT
Les pièces en fibre de carbone comptant des dommages peuvent se casser soudainement. En cas de chic ou d'accident, les dommages subis par la fibre de carbone peuvent demeurer invisibles. Si vous soupçonnez que votre vélo a eu un impact ou un accident, arrêtez immédiatement de rouler. Demandez à votre revendeur d'examiner le vélo ou visitez notre site Web pour en savoir plus sur l'inspection de fibre de carbone.
Utilisation de roues compatibles tubeless (TLR)
Vos roues sont équipées de pneus sans,chambre UST ou pneus Bontrager TLR (chacun nécessite un ruban spécial de jante sans,chambre) ou de pneus standard avec,chambre à air. Assurez-vous que les pieces de votre système de pneus fonctionnement ensemble.
| Jante | Pneu | ||
| Tubeless | Compatible tubeless | Standard | |
| Standard | Compatible tubeless | ||
| TubeLess Ready | Compatible | Compatible avec fluide Super Juice ou une chambre à air. | Compatible avec une chambre à air. |
L'installation de pneus tubeless requiert des techniques spéciales. Consultez les instructions sur le site www.bontrager.com.
AAVERTISSEMENT
Le système tubeless nécessite des composants et des techniques d'installation spécifique. Un pneu monté ou installé de manière incorrecte peut perdre soudainement de l'air et vous faire perdre le contrôle et chuter. Si vous n'êtes pas sur que votre système pneumatique soit correctement installé, amenez votre velo chez votre revendeur pour le faire vérifier.
Utilisation de roues pour piste (pignon fixe)
Avec un vélo à pignon fixe, le coureur contrôle sa vitesse en résistant au mouvement des pédales avec les jambes. Cela exige une puissance, des compétences et des réflexes accrus. Tant que vous n'avez pas maîtrisé la technique à pignon fixe, n'utilise pas votre vélo à pignon fixe sans les freins à main. Meme après avoir maîtrisé cette compétence, ne faites pas du vélo à pignon fixe sur les voies publiques ou chemins, sauf si votre vélo est équipé de freins étrier à commande manuelle ; une conduite sans freins ne convient que pour un védrome ou une piste cyclable spéciale. Rouler sans freins à main sur la voie publique peut être illégal.
AVERAGEMENT
Un arrêt brutal du mouvement des pédales sur un vélo à pignon fixe peut entrainer un dérapage ou une perte de traction de la roue arrière ou un soulèvement du coureur par les manivelles vers l'avant au-dessus du guidon, ce qui peut vous faire perdre le contrôle et chuter. Ne faites pas du vélo à pignon fixe à une vitesse élevée ou dans la circulation jusqu'à ce que vous ayez maîtrisé la technique de conduite à pignon fixe et ayez appris les réflexes nécessaires pour contrôler le vélo.
Avant chaque sortie, assurez-vous que les roues sont correctement fixées. Serrez les écrous de l'axe avant (Figure 5) à un couple de 20,3-27,1 N·m et ceux de l'axe arrêté à un couple de 28,2-33,9 N·m.

Figure 5. Moyeu arrête à pignon fixe
1. Écrous de l'axe
Chapitre 3 — Configuration de roues pour montagne
Installation de fond de jante traditionnel
Les étapes suivantes vont préparer une jante Bontrager pour l'installation d'un pau traditionnel et de la chambre.
- Orientez la bande de sorte que, lorsque vous la déroulez, elle traverse le trou de valve et recouvre le trou.
- Fixez l'extrémité initiale de la bande de sorte qu'elle soit centrée entre deux rayons, mais non au niveau du trou de valve (Figure 6).
- À mesure que vous appliquez la bande, centrez-la dans le fond du puits de la jante (Figure 7). Si la bande est correctement centrée, les trous des rayons seront complètement recouverts. Si un trou n'est pas recouvert, il pourrait perforer la chambre à air.
- Coupez la bande de sorte qu'elle ne se chevauche pas elle-même (Figure 8). En cas de chevauchement de la bande, le diamètre effectif de la jante augmentera et l'installation du pneu sera plus difficile.
- Avec un tournevis cruciforme ou un outil similaire, percez un trou de valve à travers le fond de la jante en poussant fermement dans le trou de la valve de jante (Figure 9).
- Suivez la procédure pour installer le pneu.


Figure 6. Démarrez par centre le fond de jante entre les nœuds de rayons.
Figure 7. Centroz le ruban de jante.

Figure 8. Ne faites pas chevaucher les extrémites du fond de jante.

Figure 9. Poussez l'util à travers le fond de jante pour creer un trou de valve.
Installation de ruban de jante compatible tubeless et de valve
Les étapes suivantes sont préparer une jante Bontrager pour l'installation d'un pneu compatible tubeless ou tubeless.
- Vérifiez sur le ruban de jante compatible tubeless l'absence de coupures, trouss ou zones déformées près du trou de valve ou le long de ses bords. Utilisez uniquement un fond de jante compatible tubeless Bontrager qui n'a pas été endommagé.
- Alignez le trou de valve de la jante et le trou de valve du ruban de jante. La forme en U du ruban de jante doit être orientée vers le centre de la jante et les fonds de jante décalés doivent correspondre au décalage dans la jante (Figure 10).

Figure 10. La forme en U de la jante doit être orientée vers le centre de la jante.

Figure 11. Placez la valve compatible tubeless au travers du ruban de jante et de la jante.
- Placez la valve compatible tubeless au travers du trou de valve du ruban de jante et ensuite à travers la jante. Assurez-vous que le joint torique en caoutchouc est situé sur la valve avant de la placer dans la jante (Figure 11). Make sure that the rubber o-ring is on the valve before dropping it into rim (Figure 11).
- Alignez les cotsés plats de la base de la valve avec les parois de la jante (Figures 12 et 13).
- Serrez l'écrou de valve sur le filtage de la valve et serrez manuellement. Ne serrez pas avec un outil.
- Travailliez le ruban de jante dans la jante, en s'éloignant de la tige de valve dans les deux directions en utilisant seulement vos pouces. N'utilisez pas d'outils car ils peuvent endom-mager le ruban de jante.

Figure 12. Alignment correct. Les côts plats de la valve sont alignés avec la paroi de la jante.

Figure 13. Alignment incorrect. Les côtés plats de la valve ne sont pas alignés avec la jante.
Installation d'un pneu traditionnel et d'une chambre à air
Les étapes suivantes sont nécessaires pour une bonne installation d'un pneu traditionnel et d'une chambre sur une roue Bontrager pour montagne.
Un ruban de jante traditionnel devra estre instalé avant de proceder à ces étapes.
- Gonflez la chambre à air jusqu'à ce qu'elle commence à prendre forme.
- Placez la chambre a air dans le pneu.
- Insérez la tige de valve dans le trou de la jante.
- Installes le premier talon dans la jante (Figure 14). Commencez à partir de la tige de valve.
- Poussez sur le pneu et la chambre à air jusqu'à ce que la chambre à air soit à l'intérieur de la jante (Figure 15).
- Poussez le deuxième talon dans la jante. Commencez à partir de la tige de valve. Veillez à ne pas pincer la chambre à air entre la jante et le pneu (Figure 16) lorsque vous installez le pneu.
- Poussez la base de la tige de valve en place dans le pneau de sorte qu'il ne soit pas pris entre le talon du pneau et la jante (Figure 17).

Figure 14. Placez le premier talon de pneu dans la jante.

Figure 15. Poussez le premier talon sur le côte et insérez la chambre à air.

Figure 16. Ne pincez pas la chambre à air entre le pneu et la jante.

Figure 17. Assurez-vous que la chambre a air n'est pas coincée sous les talons de pneu.
- Gonflez le pneu à 20-30 psi (1,5-2 atm).
- Examinez la chambre à air. Appuyez légèrement sur la paroi du pneu et assurez-vous que la,chambre à air n'est pas coincée entre le crochet de jante et le talon de pneu.Continue tout autour de la jante, sur les deux côtes.
- Vérifiez l'engagement correct des talons de pneu dans la jante (Figures 18 et 19). La plupart des pneus ont une ligne de moulage à proximé du talon du pneu à l'emplacement où il engage la jante. Tout autour de la jante, la distance entre la ligne de moulage et le bord supérieur de la jante doit être uniforme et égale. Si la distance n'est pas égale, dégonflez le pneu et répéteze cette procédure.
- Gonflez le pneu à la pression indiquée sur le flanc du pneu. Ne dépassez pas le taux de gonflage maximum de 120 psi (8,3 atm) sur des jantes carbone à pneus de route et 60 psi (4,1 atm) sur des jantes carbone à pneus de montagne.
- Vérifiez à nouveau que l'engagement des talons est correct.

Figure 18. Correct. Assurez-vous que la ligne de moulage du pneau est égale (distance X) tout autour de la jante.
Figure 19. Incorrect. La ligne de moulage du pneu n'est pas égale sur tout le pourtour.
A VERTISSEMENT
Ne surgonflez pas le pneu. Un surgonflage peut endommager la jante. Ne dépassez pas le taux de gonflage maximum de 120 psi (8,3 atm) sur des jantes carbone pour route.
Chapitre 4 —
Configuration de roues tubulaires
Il s'agit d'une procEDURE de plusieurs jours. Le premier jour, vous étirez le pau sans colle.
Les jours suivants, vous appliquez des couches de colle qui doivent complètement secher (en général, chaque couche sèche pendant une journée complète) à mesure que vous préparez la jante et montez le pneu.
Outils nécessaires :
- Stand de montage
- Papier abrasif de grain 120 ou toile émeri
- Brosse pour acide
+Acetone - Chiffons de nettoyage
+Pompe à pied - Couteau ou grattoir
- Gants de protection
- Colle tubulaire - nous recommendons d'utiliser une colle spécifique pour route, et non une colle spécifique à la piste. N'utilise pas de ruban tubulaire ou de colles non spécifique conçues pour une utilisation de roues tubulaires de velo.
A VERTISSEMENT
La collè utilisée dans cette procédure contient des produits chimiques qui sont toxiques et inflammables.
Étreiment du pneu
- Sans colle, montez votre boyau neuf sur la jante sur laquelle vous avez l'intention de coller le pneu.
- Gonflez le pau 以 10-20 psi (1-1,24 atm) à une pression inférieure à la valeur nominale maximale. Cela étirera le pau, le rendant plus facile à installer, et assurez-vous qu'il correspond à la jante. Vous pouvez repeter cette opération pour vous exercer car, une fois la colle sur le pau, vous n'aurez qu'une seule chance!
Préparation de la jante tubulaire
Si vous collez un pneu sur une jante qui a eté préalablement préparée, gratzez autant que possible la colle lâche ou plus ancienne et continuez comme s'il s'agissait d'une jante neuve (Figure 20).
- Retirez le pneu de la jante et mettez-le de cote.
- Placez la roue dans le stand de montage.
- Mettez les gants de protection.
- À partir du trou de valve de la jante, poncez légèrement la surface entière du fond de pneu avec un grain de 120. Le ponçage enlève les résidus de moulure et laisse une texture permettant que la colle prenne.
- Appliquez une petite quantité d'acétone sur un chiffon propre (Figure 21).
- En commençant à partir du trou de valve de la jante, essuyez la surface poncée de la jante. Cela nettoie la jante de sorte qu'elle soit prete pour la colle.

Figure 20. Poncez légèrement la surface du fond de la roue. Nettoyez avec de l'acétone sur un chiffon propre.

Figure 21. Essuyez la zone poncée de la jante avec un chiffon propre et une petite quantité d'acétone et préparez-la pour la colle.
Application de la première couche de colle
Suivez les instructions d'installation du fabricant de la colle pour utiliser sa collie, en particulier les temps de séchage suggérés. La première couche de colle sur la jante doit être très mince et doit secher complètement (après environ 24 heures). Cette première couche est le fondement de la fixation correcte d'un boyau.
- Placez la roue dans le stand de montage.
- Mettez les gants de protection.
- Avec la Brosse pour acide, appliquez une fine couche de colle au fond de pneu de la jante, bord à bord, tout autour de la jante (Figure 22).
- Gonflez le pneu jusqu'à ce qu'il se returne et que le ruban de base soit exposé (Figure 23).
- Appliquez une fine couche de colle sur le ruban de base.
- Laissez la collè secher complètement.
Application de la seconde couche de colle
- Si elle n'y est pas deja, replacez la roue dans le stand de montage.
- Mettez les gants de protection.
- Avec la Brosse pour acide, appliquez une seconde fine couche de colle à la jante.
- Gonflez le pneu jusqu'à ce qu'il se returne et que le ruban de base soit exposé.
- Appliquez une fine couche de colle sur le ruban de base.
- Laissez la collè secher complètement.

Figure 22. Appliquez une fine couche de colle sur le fond de pneu de la jante.

Figure 23. Gonflez le pneu jusqu'à ce que le ruban de base soit exposé. Appliquez une fine couche de colle.
Fixation du boyau à la jante
Serrez l'embout de valve amovible avant de coller le boyau sur la jante. Quand vous roulez, la tige de valve peut faire du bruit dans une jante de section profonde. Pour réduire les risques de bruit, avant de conclure cette procédure, enroulez une couche de ruban isolant autour de la tige de valve ou appliquez une goutte de colle sur le côte de la tige de valve.
Lorsque ce processus est presque terminé, il est important de travailler rapidement avant que la collè sèche.
- Si elle n'y est pas deja, replacez la roue dans le stand de montage.
- Mettez les gants de protection.
- Avec la Brosse pour acide, appliquez une troisième couche de colle à la jante. Laissez la jante reposer pendant quelques minutes. N'appliquez plus de colle sur le pneu.
- Dégonflez le pneu et placez la tige de valve dans l'embout de valve de la jante.
- Avec vos mains à droite et à gauche de la valve, saisissez la bande de roulement et les flancs du pneu et appuyez pendant que vous travailliez le pneu sur la tringle de jante (Figures 24 et 25).
- Continue à travailler vers le bas du pneau, en l'appuyant sur la jante, jusqu'à ce qu'il reste seulement quelques centimètres du pneau à l'extérieur de la tringle de jante (Figure 26).
- Prenez la roue et faites glisser le pneu sur les quelques centimètres restants en poussant avec vos pouces (Figure 27).
- Contrôlez l'alignement du corps de la valve. S'il n'est pas droit, faites glisser le pneu sur la jante jusqu'à ce qu'il le soit.

Figure 24.

Figure 25.
- Centrez rapidement la bande de roulement sur la jante. Placez la roue dans le stand de montage et examinez de pres l'alignement du ruban de base dans la jante. Si le ruban de base n'est pas centré au-dessus de la jante, déplacez le pneu sur le côte de sorte que le ruban de base soit également exposé. Vérifiez également que la bande de roulement se déplace droite.
- Gonflez le pau à un peu moins de la pression recommandée et vérifie à nouveau l'alignement de la bande de roulement du ruban de base. C'est la的最后一 fois fais que vous serez en mesure de déplacer le pau. Lorsque la colle sèche, vous ne serez pas en mesure de le déplacer.


Figure 26.
Figure 27.
Fin de l'installation tubulaire
- Gonflez les pneus au maximum de la pression recommandaee par le fabricant.
- Vérifiez sur la jante l'absence de colle qui pourrait rester sur la surface de freinage ou d'autres zones. En cas de présence de colle, utilisez de l'acétone et un chiffon propre pour nettoyer la jante.
- Laissez la colle sécher pendant environ 24 heures.
- Une fois la colle complètement sèche, testez la force de montage. Avec le pneu dégonflé, faites légèrement tourner la roue pour vérifier que le pneu adhére correctement jusqu'àbord. Vérifiez l'ensemble autour de la jante et sur les deux côtés. Si le pneu sembleprésenter uneadhérence complète, il est prét pour être gonflé.
Remarque : Vous devriez de temps en temps vérifier l'adhérence du pneu sur la jante pour s'assurer que la colle tient toujours.
Chapitre 5 — Fonctionnement d'un système à serrage rapide
Cette section déscrit comment faire fonctionner (ouverture et fermeture) un système à serrage rapide de roue traditionnelle (Figure 28). Pour un fonctionnement et un ajustement corrects et sûrs d'un système à serrage rapide de roue, lisez et suivez attentivement ces instructions.
Test de la fixation : Contrôle rapide
Avant chaque trajet, vérifie la fixation des roues de votre vélo. Si un serrage rapide ne passappe pas un test, réalisez à nouveau les procédures d'ajustement (et tests) ou contactez votre revendeur Bontrager pour réparer votre vélo.
- Test A. Soulevez le vélo et frappez d'un coup sec sur le haut du pneu (Figure 29). La roue ne doit pas se détacher,présenter du jeu ou bouger latéralement.

Figure 29. Soulevez la roue avant du sol et frappez le haut avec votre main pour tester le relâchement.
Figure 28. Moyeu et éléments du serrage rapide :
- Moyeu
- Axe
- Écrou de réglage
- Ressorts (petites extrémités vers l'intérieur)
- Levier
A VERTISSEMENT
Un serrage rapide qui n'est pas correctement fermé peut laisser la roue lâche ou se détacher à un moment non prévu, ce qui peut vous faire perdre le contrôle du vélo et chuter. Fermez le serrage rapide correctement avant d'utiliser le vélo.
- Test B. Assurez-vous que le levier de serrage rapide ne peut pas tourner en cercle (Figure 30).
- Test C. Lorsque le serrage rapide est correctement ajusté et en position fermée, la force de serrage fait des marques sur les surfaces de patte.
- Test D. Évaluation de la force de fermetre du serrage rapide : Si une force supérieure à 200 newtons est nécessaire pour déplacer le levier de serrage rapide sur la position fermée, déplacez le levier sur la position ouverte et desserrez légèrement l'écrou. Si une force inférieure à 53,4 newtons est requise pour commencer à déplacer le levier sur la position ouverte, déplacez le levier sur la position ouverte et serrez légèrement l'écrou. Effectez à nouveau le test. Si nécessaire, réalisez à nouveau le réglage.

Figure 30. Vérifiez que le levier ne tourne pas.
Réglage et fonctionnement
Ces instructions dérivent comment régler et utiliser (ouvrir et fermer) un serrage rapide traditionnel. Lorsque vous déplacez le levier d'un serrage rapide de la position ouverte en position fermée, les extrémités du serrage rapide se déplacent vers l'intérieur, en serrant la roue dans les pointes de fourche. La sécurité du serrage dépend de deux choses : le mouvement correct du levier et l'ajustement correct de l'écrou de réglage.
- Déplacez le levier de serrage rapide en position ouverte (Figure 31, n°3) et placez la roue de manière à ce qu'elle touche complètement l'intérieur des extrémités de la fourche.
- Le levier étant en position de réglage, serrez légèrement l'écrou de réglage (Figure 31 n°2).
- Verrouillez le serrage rapide : en tenant le levier dans la paume de votre main, placez-le en position fermée (Figure 31, n°3).

Figure 31. Positions du levier :
- Verrouille
- Position de réglage
-
Deverrouille
-
Ne tournez pas le levier en cercle pour augmenter la tension du serrage rapide (Figure 32);ILA.
cela ne tiendra pas correctement la roue a son emplacement.

Figure 32. Ne tournez pas le levier en cercle
- Alignez les leviers de manière à ce qu'ils n'entrent pas en contact avec une autre piece du vélo ou un accessoire (porte-vélo, garde-boue, etc.), et qu'aucun obstacle de la trajectorie du vélo ne puisse accrocher les leviers (Figures 33 et 34).
- Si nécessaire, demandez à votre revendeur s'il existe un système de serrage rapide qui severrouille correctement et qui n'entre pas en contact avec le velo.
- Effectuez le contrôle rapide en page 29 pour vous assurer que le serrage rapide est correctement ajusté et verrouillé.

Figure 33. Position du levier avant

Figure 34. Position du levier arrêté
Chapitre 6 — Réglage
Cette section déscrit le réglage de la pression des pneus et des roulements de roue.
Pression des pneus
Gonflez les pneus à la pression recommandée sur leurs flancs. N'ayez pas de pneus trop gonflés ou sous-gonflés. Si un pneu perd de la pression, il présente probablement un trou.
- Pneu standard : répAREZ ou remplacez la chambre à air.
+Boyau: réparez ou remplacez le pneu. - Pneu tubulaire (cousu) : remplaceze le pneu.
Les instructions d'installation des pneus sont disponibles sur le site Web Bontrager.
Roulements de roue
Des outils et des compétences spécifiques étant requises pour ajuster les roulements, seul votre revendeur doit effectuer cette procédure.
Chapitre 7 — Graissage
Cette section déscrit le graissage et les intervalles nécessaires pour votre paire de roues. Elle explique également commentGRAisser un serrage rapide.
Tous les ans
Chaque année, graissez les roulements de roue. Des outils et des compétences spécifiques étant requises pour graisser les roulements, seul votre revendeur doit effectuer cette procédure. Certaines roues Bontrager utilisent des roulements étanches qui ne nécessitant pas de graissage tous les ans. Si vous ne savez pas de quel type de roulements vos roues sont équipées, demandez à votre revendeur.
Graisses les systèmes de serrage rapide des roues une fois par an. Mettez quelques gouttes d'huile légère sur les parties du système de serrage rapide qui se déplacent (Figure35):
- À l'emplacement où le levier de serrage rapide couilisse sur la rondelle concave.
- À l'emplacement où le levier de serrage rapide tourne sur l'extrémité de la broche.

Figure 35. Points de graissage d'un système de serrage rapide
Chaque année, graissez l'axe. Dans la mesure où il existe plusieurs types d'axes, ce manuel ne peut pas tous les couvir. Lisez et suivez les instructions du fabricant fournies avec votre cadre ou fourche à suspension.
Chapitre 8 — Prolongateurs de valve
Sélectionnez le prolongateur correct pour votre valve.
| Valve | Compatibilité de prolongateurs |
| Schrader | Non Compatible |
| Presta sans embout de valve amovible | Externe - vis sur extrémités de valve |
| Presta avec embout de valve amovible | + Requiert une clé de valve Bontrager En ligne - s'insère entre embout de valve et corps de valve |
Pour installer un prolongateur externe
- Tournez la valve dans le sens horsaire. Donnez-lui une touche ferme pour la verrouiller en position entierement ouverte afin de l'empêcher de vigorer en position fermée pendant la conduite (Figure 36).
- Enveloppez quatre couches minces de ruban teflon de plombier autour de l'extrémité de la valve en recouvrant à la fois les filetages étroits et une petite partie de l'ensemble du corps. Avertissement: Ne recouvre pas l'ouverture d'air à l'extrémité de la valve (Figure 37).
- Vissez le prolongateur externe sur la valve dans le sens hora en tournant fermement avec les doigts. Avertissement : Ne serrez pas trop car cela pourrait endommager le prolongateur (Figure 38).

Figure 36. Tournez la valve dans le sens horaire.

Figure 37. Enroulez quatre couches de ruban de plombier autour.

Figure 38. Vissez le prolongateur dans le sens horsaire sur la valve.
Pour installer un prolongateur en ligne
-
Requiert une clé de valve Bontrager
-
Placez la clé de valve Bontrager sur l'embout de la valve Presta en alignant les parties plates de la clé sur les parties plates de la valve (Figure 39).
Tournez la clé dans le sens anti-horaire pour retarder l'embout de la valve. - Vissez le prolongateur de valve en ligne dans la tige de valve dans le sens horsaire (Figure 40).
- Placez l'outil au-dessus du prolongateur.
- Serrez en tournant dans le sens horaire.
- Vissez l'embout de valve dans le prolongateur dans le sens horaire.
- Placez la clé sur l'embout de valve, en alignant les parties plates, et tournez dans le sens horsaire. Remarque: Doit être bien ajusté. Ne serrez pas trop car cela pourrait endommager le prolongateur (Figure 41).

Figure 39. Tournez la clé vers la gauche pour-retirer l'embout.

Figure 40. Vissez l'extension de valve en ligne dans la tige.

Figure 41. Serrez l'embout de la valve avec la clé dans le sens horsaire.
Garantie limite Bontrager
Les pneus et roues Bontrager sont garantis exempts de defaults de matériaux et de fabrication. Pour plus de détails, visitez le site www.bontrager.com ou contactez votre représentant le plus proche.
Notice Facile