SP 100 - Filtration piscine ZODIAC - Notice d'utilisation et mode d'emploi gratuit
Retrouvez gratuitement la notice de l'appareil SP 100 ZODIAC au format PDF.
| Type d'appareil | Filtre à sable |
| Diamètre de connexion | 38 mm |
| Capacité du filtre | Non précisé |
| Débit maximal | Non précisé |
| Pression de fonctionnement | Non précisé |
| Matériau du corps | Plastique renforcé |
| Type de sable | Sable de filtration standard |
| Type de vanne | Multi-voies |
| Alimentation électrique | Non applicable |
| Utilisation | Filtration de piscine |
| Installation | Au sol |
| Entretien | Nettoyage par contre-lavage |
| Poids | Non précisé |
| Dimensions | Non précisé |
| Accessoires inclus | Pompe, tuyaux |
| Garantie | Non précisé |
FOIRE AUX QUESTIONS - SP 100 ZODIAC
Téléchargez la notice de votre Filtration piscine au format PDF gratuitement ! Retrouvez votre notice SP 100 - ZODIAC et reprennez votre appareil électronique en main. Sur cette page sont publiés tous les documents nécessaires à l'utilisation de votre appareil SP 100 de la marque ZODIAC.
MODE D'EMPLOI SP 100 ZODIAC
| ZODIAC | ZODIAC |
| Notice n° 20404 Notice à conserver pour consultation ultérieure Please keep these instructions for further use Bittebewahren Sie\ ces Anleitung für eine spätere Benutzung auf Manual a conservar paraequalier uso posterior Bewaar deze handlei- ding voor latere naslag +notice"Quick Snap" +notice"Plateforme" +notice"Quick Safe" +notice"VAN" | F Notice de montage: épurateur à sable EP 906/166 AMSP GB Sand filtration system EP 906/166 AMSP D Sandfilteranlagen EP 906/166 AMSP E Depurador de arena EP 906/166 AMSP NL Zandreinigingsapparaten EP 906/166 AMSP 38 38 Les coordonnées du fabricant et de ses filiales figurent sur la notice de la garantie du produit. GB The coordinates of the manufacturer and of its subsidiaries can be found on the warranty leaflet of the product D Die Koordinaten des Herstellers und seiner Tochtergesellschaften stehen auf dem Garantie-Heft des Produkts E Los datos de contacto del fabricante y de sus filiales figuran en la informacion sobre la garantia del producto NL De adresgeveens van fabrikant en filialen staan vermeld op het garantiebewijs van het product |
| Généralités Montage Branchement Mise en route Purge de la vanne Nettoyage du panier préfiltre Nettoyage par lavage du sable Fonctions de la vanne 4 voies Hivernage du groupe de filtration Pannes/Causes/ Remèdes Garantie Nomenclature | Notice de montage : épurateur à sable EP 906/166 AMSP Pompe "SP 80" |
| N° notice : P20404 + notice "Quick Snap" + notice "Plateforme" + notice "Quick Safe" + notice "VAN" Notice à conserver pour consultation ultérieure 02.06 C E | 38 38 38 38 38 38 38 38 38 38 38 38 38 38 38 38 38 38 38 38 38 38 38 38 38 38 38 38 38 38 38 38 38 38 Les coordonnées du fabricant et de ses filiales figurent sur la notice de la garantie du produit. |
GÉNÉRALITÉS
Merci de prendre quelques minutes pour lire attentivement cette notice avant de commencer à installerer toute groupe de filtration. Cela vous aidera à en comprendre le fonctionnement et donc d'en obtenir le meilleur rendement. De plus vous évitezrez de creer des dommages non couverts par la garantie.
CHOISSEZ UN EMPLACEMENT PRÉS DU BASSIN QUI RESPECTE LES CONDITIONS SUIVANTES :
a Un endroit sec avec un bon drainage.
b Un endroit accessible pour nettoyer la pompe et manoeuvrer la vanne.
C Prés d'une prise de courant située à au moins 3.50 m du bassin (norme NFC 15-100).
d Un endroit ombragé naturellement ou artificiellement afin d'eviter une surchauffe du moteur. Installez-la sur une surface rigide, plane et horizontale.

Il est recommendé d'utiliser une prise de courant équipée d'un disjoncteur différentiel de 30mA .
Vérifiez la normalisation en vigueur auprès d'un spécialiste.

Le groupe filtration doit être place à au moins 3,50 m du bassin, au plus à 5 m. Installez-le sur un sol solide, par exemple une plaque de béton.
MONTAGE

Votre groupe de filtration a ete partiellement monted a l'usine mais pour eviter de l'endommager, plusieurs pieces n'ont pas ete fixees.
1 CUVE - TUBE - CRÉPINE - BOUCHON
a Prendre la cuve (1), le tube de distribution (2), les crépines (15) et le bouchon de vidange (5) ainsi que son joint (4), schéma 1.
b Placez le tube (2) dans la cuve (1). Fixez les 6 crépines (15) sur l'embase du tube (2), schema 1.
Le joint (4) et le bouchon de vidange (5) sont à installer. Assurez-vous qu'ils sont bien serrés.
- A l'intérieur du trou d'évacuation, un morceau de mousse empêche le sable devoir pendant la vidange de la cuve (à installer).

2 VANNE

Attention, la vanne (3) est prémontée en usine.
- "PUMP": branchement tuyau venant de la pompe.
- "RETURN": branchement tuyau venant de la buse.
- "WASTE": sortie "égout".

-
- voyant : tímoin propre de l'eau dans la cuve.
schéma 2
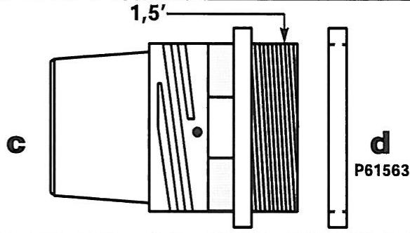
Enroulez du teflon (voir sachet contenant des pieces) dans le sens des aiguilles d'une montre autour du filtage du manomètre (12) en le tenant face à vous (environ une dizaine de tours) et vissez-le sur la vannee, en ayant enlevez, au préalable, la vis de protection (rep. a), schéma 3.
b Sur les orifices A "WASTE" et C "PUMP" de la vanne (3), fixez les raccords* tuyau (17).
**NOTA: si option "VAN" voir page 14/20.
Teflonez chaque filetage et vissez fortement chaque raccord sur la vanne (schema 3).
*NOTA: raccord tuyau (17): voir notice "Quick Snap"
Sur l'orifice C "PUMP," fixez soit le raccord (9) soit le raccord (17) en fonction du tuyau. Voir chapitre tuyau.

3 CUVE
Emboitez l'entonnoir (18) sur l'extrémité du tube de distribution / crépine (2). Cela évitera que le sable ne rentre dans le tube pendant le remplissage de la cuve (1), schéma 4.
b Remplissez la cuve d'environ 45 kg de sable (3 sacs de 15 kg). Les sacs de sable sont fournis avec l'epurateur. Nota :
1) pendant le remplissage de la cuve, maintainez convenablement l'ensemble tube/crepine au fond de cette-ci.
2) la hauteur de sable ne doit pas excéder les 2/3 de la cuve.
Retirez l'entonnoir (18) de l'extrémité du tube de distribution (2).
Vérifier que le joint 6 soit bien sur la vanne 3, placer le joint 14 sous le couvercle de la vanne rep 3, emboitez la vanne rep 3 sur le tube rep 2, fixez l'ensemble à l'aide du collier rep 7 et des vis rep 8.
Pendant le serrage du collier, tapoter légèrement l'extérieur de celui-ci avec un maillet pour assurer son bon emboitement.

Utilisez uniquement du sable spécial pour filtration. Sable de quartz spécial pour filtration bassin.

La hauteur de sable ne doit pas excéder les 2/3 de la hauteur de la cuve.

4 POMPE
a Sur l'orifice (B) placer le joint + le raccord = voir page 11/13 "pompe SP 80"
Reliez la sortie B de la pompe et l'orifice C de la vanne avec le tuyau (10) (environ 1 metre) soit avec les raccords (9) + (16) soit avec le Quick snap rep. 17 en fonction du tuyau
NOTA : utilisez et installez sur le collier (16), le "Quick Safe." Voir notice "Quick Safe."
Sur l'orifice (A) placer le joint + le raccord = voir page 11/13 "pompe SP 80", puis le raccord tuyau (17) quick snap.
fixez la pompe sur la plateforme (11) à l'aide de 2 vis M8 rep. 13 fournies avec la filtration

BRANCHEMENTS
Pour le branchement de la pompe vers la cuve, 2 possibilites en fonction des modetes :
11 Soit en utilisant le tuyau semi-rigide livre avec la filtration ce branchement se fait en utilisant les raccords 38 et les colliers
2 Soit en utilisant un bout du tuyau de 9 m livre séparément à cette filtration.
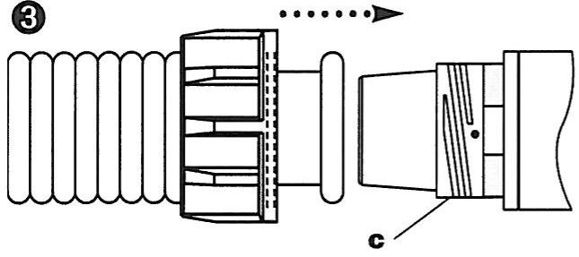
1 TUYAU

Le tuyau d'environ 9 m est toujours livre séparément; ne fait pas partie de cet épurateur.

Coupez un bout de tuyau d'environ 1 mètre de longueur, schéma 6. Mettez les bouts de tuyaux dans de l'eau très chaude pendant 30 secondes, ici aidera à les emboiter et à les tener serrés.
Fixez une extrémité du tuyau sur le raccord sortie vanne marqué "PUMPE" sortie C (schéma 3) sur le Quick Snap (17).
Fixez l'autre extrémité du tuyau sur la sortie (B) de la pompe sur le Quick Snap.

Découpez le reste du tuyau en 2 parties égales au milieu des parties lisses, schéma 6.

Fixez une extrémité d'un tuyau sur le raccord sortie pompe (A) à l'aide d'un raccord quick snap (17).
Fixez une extrémité du second tuyau sur l'orifice B de la vanne "BECKEN POOL" à l'aide du raccord (17) (voir notice Quick Snap).
2 BRANCHEMENT FILTRATION - BASSIN

Avant tout branchement assurez-vous que le groupe de filtration soit bien à au moins 3,50 m du bassin (NFC 15-100).
Votre pompe seule a un débit de 9 m³/h; le débit système complet* est de 6,5 m³/h
Vérifie que l'entrée de la pompe (A) (aspiration) soit bien installée plus bas que le niveau de l'eau (l'eau doit pouvoir couler naturellement vers la pompe).
Dans l'utilisation d'une commande parprogrammateur, assurez-vous qu'il n'y a aucun risque de désamorcage de la pompe.
Une pompe qui tourne à vide peut très rapidement rendre inutilisable votre filtration (exclusion de la garantie).
- débit système = débit mesure à la sortie du refoulement, groupe de filtration en ordre de fonctionnement, branché avec 9 m de tuyau, installé à 3,50 m du bassin et avec son média flitrant propre.
Temps de fonctionnement de la filtration = dépend de votre bassin. Reportez-vous à sa notice.
PURGE DE LA CUVE
A chaque changement de position de la vanne, la cuve se purge.
Pour etre certain que voite ftre fonctionne correctement, you devez periodquement purger voite cuve :
arretez votre filtration (débranchée);
1 mettez la vanne pendant quelques secondes en position "O";
2 remettez la vanne sur la position "I";
3 rebranchez notre filtration.
MISE EN ROUTE
Mettez la vanne sur «FILTER» - position "I."
Branchez la prise de la pompe (230 V).
Effectuez un nettoyage initial du sable (voir chapitre nettoyage du sable).
Pour arrerter : débranchez la prise de la pompe (230 V).

Pour éviter des pertes de charges (débit), installez la pompe le plus pres possible du bassin en respectant les 3,50 m du bord de celui-ci.
NETTOYAGE DU PANIER PRÉFILTRÉ
Le panier préfiltre retient les plus grands débris tels que insectes, feuilles, etc... Il faudra le nettoyer plus frequently que le filtré à sable.
Débranche le moteur
a Vous azez alors 2 possibilites :
Avant de proceder au nettoyage du préfiltre, assurez-vous que vous avez couper les arrivées d'eau du skimmer et de la buse grâce à la vanne d'arrêt rep. 22 et la vanne d'arrêt (A) (en option) (scheme 8).

Si vous système n'est pas pourvu de vanne d'arrêt, mettez votre moteur à une hauteur (H) au dessus du niveau de l'eau de votre bassin (scheme 9).

Pour vous procurer les vannes d'arrêt, renseignez-vous auprès de votre distributeur habitual (vannes non livrées avec cette filtration). Vanne d'arrêt : ref. "Quick Stop"
NETTOYAGE DU PANIER PRÉFILTRRE (suite)

Pour acceder au panier ; tournez le couvercle, retirer le panier. Secouez et nettoyez le panier avant de la remetre en place. ( schema 10)
En cas de collage du couvercle sur le joint, graisser légèrement celui-ci avec uneGRAISSSEsilicone. légèrement celui-ci avec uneGRAISSAu silicone.
- pompe "SP 80" = page 904 P 11/12 - SP80.

Revissez le couvercle. Mettez la vanne sur filtration. (schéma 10).

Purgez votre cuve après quelques minutes d'utilisation de votre filtré (voir chapitre "Purge de la cuve").

NETTOYAGE PAR LAVAGE DU SABLE

Il est recommandé de faire un nettoyage du sable environ 1 à 2 fois par semaine ou lorsque la pression lue sur le manomètre augmente de 0,3 bar par rapport à la valeur de départ (sable propre). Notez ici cette valeur de départ : Levoyant vous indique la propriété de I'eau dans la cuve.

Debranche le moteur.
Vouaves nettoye les paniers prefiltres de suaive groupe de filtration et du skimmer.

Mettez la vanne sur "LAVAGE" - position "2" et mettez le moteur en route pendant 2 minutes. Contrôlez visuèlement par le voyant la propriété de l'eau. Lorsque celle-ci est claire, passez en phase "C" ci-dessous.


Debranchez le moteur et mettez la vanne sur "RINCAGE" - position "3".
Mettez le moteur en route et rincez 30 secondes (l'eau s'évacue à l'égout).
Coupez le moteur.


Mettez la vanne sur "Filtration" - position "1" et rebranche le moteur.
NOTA : Purgez votre cuve après quelques minutes d'utilisation.


Attention: il est impératif de couper l'alimentation de la pompe avant tout changement de position.
Tous les orifices laissent passer l'air de la cuve vers l'extérieur et de l'extérieur vers la cuve. Cette position permet de soulager le joint interne de la vanne.


Nota : vidangez l'eau de la cuve. Rangez les tuyaux et moteur après les avoir bien rincés
Position 1 - "Filtration"

Positionnormaledefiltration.
* Les tuyaux sont toujours branchés.

Position 2 - "Lavage"

L'eau est utilisé pour nettoyer le sable puis évacuée vers l'égout. * Les tuyaux sont toujours branchés.


L'eau est utilisé pour tasser le sable puis évacuée vers l'égout. * Les tuyaux sont toujours branchés.


L'eau est evacuée vers l'égout, sans passer par le sable (pour vider le bassin).
* Les tuyaux sont toujours branchés.

L'eau returne directement vers le bassin sans passer par le sable (utilisé pour mélanger des produits par exemple).
- Les tuyaux sont toujours branchés.

Position 6 - "Fermé"

Aucun passage.

HIVERNAGE DU GROUPE DE FILTRATION
Nota : Avant tout hivemage il faut faire un nettoyage de sable ("Backwash") - voir chapitre "Nettoyage sable".

L'hivemage du groupe de filtration se fait après avoir hiverné le bassin.
Debranchez la prise de la pompe (230 V).
Debranchez les extremités des tuyaux cote bassin (si ceux-ci sont branchés à des accessoires type skimmer et buse), ainsi que les extremités pompe et vanne.
Mettez la vanne (3) sur la position "O - Winter." Cela permet de soulager le joint interieur de la vanne.
Enlevez le bouchon de vidange (5) de la cuve.
Dévissez le bouchon de vidange de la pompe. Laissez l'eau s'écouler.
Retournez la pompe pour evacuer l'eau stagnant dans le corps de la pompe, rincez le corps de la pompe avec de l'eau non chlorée. Verifiez la propre de la turbine.
Laissez secher tous les accessoires.
Stockez tout le matériel dans une piece au sec, à l'abri du gel.

Le sable, pour des raisons d'hygiene, doit être renouveller tous les 2, 3 ans.
PANNES - CAUSES - REMÉDES
| PANNES | CAUSES | REMÈDES |
| ◆ Le moteur ne démarre pas | ◆ Le moteur n'est pas alimenté en 230 V | ◆ Vérifiez que la prise 230 V sur laquelle est branché le moteur est bien alimentée. |
| ◆ Pompe bloquée, moteur défailleant | ◆ Voyez un réparateur spécialisé en moteur pompe. | |
| ◆ Le filtrne ne nettoie pas l'eau correctement | ◆ Taux de chlore et pH non corrects | ◆ Contrôlez votre taux de chlore et pH et ajustez-les. |
| ◆ L'élement filtrant n'est plus correct (voir sable ou cartouche ou mousse) | ◆ Elément filtrant : a) sable : la qualité et la quantité de sable ne sont pas suffisantes. Remplacez ou ajustez b) cartouche : contrôle-la, nettoyez-la ou changez-la c) mousse : contrôle-la, nettoyez-la ou changez-la | |
| ◆ Temps de filtration non suffisant | ◆ Faites fonctionner libre filtration pendant des périodes plus longues. voir : «pompe débit trop faible». | |
| ◆ Débit de la pompe trop faible | ||
| ◆ Débit de la pompe trop faible | ◆ La pompe n'a pas suffisamment été amortisée (en cas de pompe non auto-amorcante) | ◆ Recommencez l'amorcage de la pompe. |
| ◆ Turbine encrassée | ◆ Nettoyez la turbine | |
| ◆ Les tuyaux et les accessoires sont obstrués | ◆ Vérifiez et nettoyez les tuyaux, la crépine, les accessoires de filtration (skimmer et buse) | |
| ◆ Prise d'air à l'aspiration | ◆ Vérifiez la tuyauterie, vérifiez le serrage des colliers et le niveau d'eau. Il est impératif qu'il y ait toujours de l'eau dans le tuyau de l'aspiration. | |
| ◆ L'élement de filtration est sale | ◆ Verifiez et nettoyez l'élement de filtration (sable ou cartouche ou mousse). | |
| ◆ Necessité de nettoyer souvent l'élement de filtration | ◆ Le traitement de l'eau n'est pas ajusté (ex. eau verte) | ◆ Vérifiez le taux de chlore et de pH (renseignez-vous chez un spécialiste pour les produits d'entretien). |

Une pompe dont le moteur ne fonctionne plus, ne peut etre remplacement dans le cadre de la garantie si celle ci a tourné a vide (sans alimentation d'eau).
GARANTIE (voir notice de garantie).

| Rep | Désignation | Nbre de plèces | Code plèces |
| 1 | Cuve (Ø 457 - 18"-166), bleue | 1 | P61740 |
| 2 | Tube de liaison cuve (Ø 457-166) | 1 | P61741 |
| 3 | Vanne 6 voies (Ø 166) | 1 | P61746 |
| 4 | Joint bouchon cuve | 1 | P60514 |
| 5 | Bouchon | 1 | P60515 |
| 6 | Joint vanne 166 | 1 | P61737 |
| 7 - 8 | Collier plastique 166 en deux parties | 1 | P61738 |
| 9 | Raccord 38 avec méplat (livré avec la pompe) | 2 | P61389 |
| 10* | Tuyau rigide pompe-vanne (livré avec la filtration) | 1 | ----- |
| 11 | Plateforme | 1 | P37370 |
| 12 | Manomètre | 1 | P36417 |
| 13 | Vis M8 de fixation (livrés avec la filtration) | 1 | P61742 |
| 14 | Joint de cuve 166 | 1 | P61739 |
| 15 | Crépine (le jeu de 3 pieces) | 6 | P38727 |
| 16 | Collier | 2 | P60020 |
| 17 | Quick Snap | 2 | P36416 |
| 18 | entonnoir en plastique | 1 | P61744 |
| 22° | "VAN" (en option) * | 1 | P34033 |
- le code P36416 est un jeu de 2 Quick Snap.
2 Quick Snap pour la vanne 6 voies
1 Quick Snap pour la pompe
1 Quick Snap pour le Skimmer
-livree separement a cette filtration
* livre en fonction des modeles de filtration
| EP 906 (SP 80) | ||
| Rep sur dessin | Désignation | Code Zodiac |
| ./ | pompe complète sp80 (EP 904) | M61280 |
| ./ | pompe complète sp100 (EP 1166) | ./ |
| ./ | pompe complète sp120 (EP 1366) | ./ |
| 1 | joint côte moteur | M65126 |
| 2 | bride moteur / corps de pompe | M65108 |
| 3 | joint corps de pompe | M65115 |
| 4 | joint interieur pour vis | M65123 |
| 5 | vis fixation moteur / pompe | M65235 |
| 6 | turbine | M65110 |
| 7 | corps de pompe | M65152 |
| 8 | bouchon + joint de vidange | M65130 |
| 9 | joint préfiltre | M65114 |
| 10 | écrou couvercle | M65103 |
| 11 | couvercle préfiltre | M65102 |
| 12 | panier préfiltre | M65242 |
| 13 | écrou raccord entrée / sortie pompe | M65238 |
| 14 | raccord entrée / sortie pompe | M65100 |
| 15 | joint raccord de sortie | M65122 |
| 16 | garniture statique | M65124 |
| 17 | vis fixation bride / pompe | M65233 |
| 18 | cale pour moteur | M65132 |
| 19 | cale pour moteur | M65229 |
| 20 | moteur | M65139 |
Pompe "SP 80 / SP 100 / SP 120"
Le montage de la VAN se fait soit comme "VAN (1)" soit "VAN (2)" et cela en fonction du modele de skimmer :
* skimmer sur paroi bassin : VAN ( 1 )

QUICK SNAP 38 - N°19898-1






OK

NO


NO


NO


1

2

ok

no

3
4


5

6


Schéma de circulation de l'eau en n'utilisant que la pompe (pour entretien ponctuel)
Si vous souhaitez faire un entretien ou une intervention sur votre ensemble (cuve, crépine, sable, joint, collier, vanne) voici un schéma de branchement qui vous permettra pendant le temps de cet entretien de continuer à Traitser libre eau.

PLATEFORME POUR FILTRATION
AVEC MENTION "P"
N^ notice: 19238-4
Ref.: P37070
Notice à conserver pour
consultation ultérieure
12.04

A = passage pour le bouchon de vidange selon le type de cuve
Pour les pompes : PICCO / SP 80 / SP 100 / SP120, elles se fixent à l'aide de 2 vis M8 livrées avec la filtration
Pour les pompes : SP40 / SP60 / SP 70 / IRIS, elles se fixent à l'aide des vis fournies avec cette plateforme (sachet code P19649)

Plateforme pré-percée en fonction du type de pompe (sachez les identifier)
Plateforme (code P37370) en résine de synthese, traitée anti-UV adaptable pour sous toutes les filtrations à sable, hors sol, de fabrication ZODIAC EUROPEAN POOLS

SP60 (NIPER 1) / SP70 (NIPER 2)



SP40 (Basic SP5)

IRIS



PICCO / SP80 / SP100 / SP120

QUICK SAFE (CLAMP)






Notice à conserver pour consultation ultérieure
06.04
VAN



N° notice : 19809 - 1
Ref.: P34033
Notice à conserver pour consultation ultérieure
12.04
Branchement "vanne multi fonctions"

Notice Facile