VP421610 - Four à vapeur GAGGENAU - Notice d'utilisation et mode d'emploi gratuit
Retrouvez gratuitement la notice de l'appareil VP421610 GAGGENAU au format PDF.
| Type d'appareil | Plaque de cuisson Teppan Yaki |
| Dimensions | Non précisé |
| Matériau de la surface | Acier inoxydable |
| Nombre de zones de cuisson | 1 |
| Type d'installation | Encastrable |
| Alimentation | Électrique |
| Puissance | Non précisé |
| Commandes | Non précisées |
| Fonctions spéciales | Surface de cuisson lisse pour grillades Teppan Yaki |
| Sécurité | Non précisé |
| Nettoyage | Facile à nettoyer |
| Couleur | Acier inoxydable |
| Accessoires inclus | Non précisé |
| Garantie | Non précisée |
| Poids | Non précisé |
FOIRE AUX QUESTIONS - VP421610 GAGGENAU
Questions des utilisateurs sur VP421610 GAGGENAU
0 question sur cet appareil. Repondez a celles que vous connaissez ou posez la votre.
Poser une nouvelle question sur cet appareil
Téléchargez la notice de votre Four à vapeur au format PDF gratuitement ! Retrouvez votre notice VP421610 - GAGGENAU et reprennez votre appareil électronique en main. Sur cette page sont publiés tous les documents nécessaires à l'utilisation de votre appareil VP421610 de la marque GAGGENAU.
MODE D'EMPLOI VP421610 GAGGENAU
| Précautions importantes | Page 3 |
| 1. Instructions importantes | Page 4-5 |
| Sécurité | Page 4 |
| Avant la première mise en service | Page 5 |
| Remarques concernant l'utilisation de l'appareil | Page 5 |
| 2. Description | Page 6 |
| Description | Page 6 |
| Accessoires spéciaux | Page 6 |
| Fonctionnement | Page 6 |
| 3. Utilisation | Page 7-10 |
| Mise en marche | Page 7 |
| Arrêt | Page 7 |
| Voyant de chaleur résiduelle | Page 7 |
| Niveau de maintain au chaud | Page 8 |
| Sécurité en cas d'absence prolongée | Page 8 |
| Possibilities de signalisation | Page 9 |
| Tableau de réglage | Page 10 |
| 4. Nettoyage et entretien | Page 11 |
| 5. Maintenance | Page 12 |
| 6. Notice d'installation | Page 13-17 |
| Caracteristicques techniques | Page 13 |
| Instructions importantes concernant l'utilisation | Page 13 |
| Branchement électrique | Page 13 |
| Préparation du meuble | Page 14-15 |
| Pose du pufitre de commande | Page 16 |
| Pose de l'appareil | Page 17 |

Félicitations pour votre nouvel apparéil Vario.
Avant demettre l'appareil en marche, nous vous conseillons de vous familiariser avec lui en lisant la notice d'utilisation dans laquelle vous y trouverez des instructions importantes à propos de la sécurité et d'utilisation de l'appareil. Le but de la notice est d'assurer votre sécurité ainsi que la longevite de la table de cuisson.
Vous trouvrez en page 5 les consignes dont vous ne devez tener compte avant la première mise en service.
Les chapitres Description et utilisation décrivent toutes les possibités offertes par votre nouvelle table de cuisson et la façon de vous en servir correctement.
Les conseils et instructions du chapitre Nettoyage et entretien vous permettront de garder long-temps votre apparéil en bon état et d'en préserver l'esthétique.
Et nous vous souhaitons maintainanteaucoup de plaisir avec votre apparéil !
1. Lisez toutes les instructions.
- Pour éliminer tout risque de brûlures et d'incendie, il est déconseilé d'installer des éléments de rangement au-dessus de l'appareil.
3. Instructions importantes
a) Assurez-vous que l'appareil est correctement installé et mis à la terre par un électricien qualifié.
b) N'utilisez jamais CET appareil pour chauffer une piece.
c) Ne laisses pas les enfants seuls - Il ne faut pas laisser des enfants seuls ou sans surveillance dans une zone où des apparciels sont en service. Il ne faut jamais les laisser s'asseoir ou se tenirABOUT sur une partie quelconque de I'appareil.
d) Portez des vêtements appropriés - Il ne faut jamais porter de vêtements amples ou quipendent quand on utilise l'appareil.
e) Dépannage - Ne répAREZ pas vous-même l'appareil ou ne remplacez pas une pièce quelconque sauf si le manuel le conseille spécifique. Il convient de faire toutes les autres interventions par un technicien qualifié.
f) Rangement dans ou sur l'appareil - Il est deconseilé de ranger des matières inflammables dans un four ou pres des apparêils.
g) Pas d'eau sur les graisses enflammées - Etouffez le feu ou les flammes ou utilisez un extincteur de type à mousse ou produit chimique sec.
h) Utilisez uniquement des maniques sèches - Les maniques humides ou mouillées sur une surface chaude dégagent de la vapeur qui peut provoquer des brûlures. Ne mettez pas les maniques en contact avec la surface chaude de l'appareil. N'utilise ni torchon ni autre linge volumineux.
- NE TOUCHEZ NI LES PLAQUES CHAUFFANTES, NI LES ZONES VOISINES - Les plaques chauffantes peuvent être chaudes même si elles sont redevenues noires. Les zones proches des plaques peuvent avoir chauffé suffisamment pour provoquer des brûlures. Pendant et après l'utilisation, ne touchez ni les plaques ni les zones voisines, et ne laissez pas des tissus ni des matériaux inflammables entrer en contact avec ces zones avant qu'elles n'aient eu le temps de refroidir.
- Ne laissez jamais un grill électrique fonctionner sans surveillance, en particulier à haute température.
- ATTENTION:
Ne rangez pas dans les éléments situés au-dessus d'une table de cuisson des objets susceptibles d'intéresser les enfants. Un enfant grimpant sur la cusinière pour les attraper pourrait se blesser grièvement. - Attention - Ne nettoyez jamais cet apparéil avec un nettoyeur à vapeur ou avec de l'eau sous pression - risque de court-circuit!
- Conserve ces instructions.
1. Instructions importantes
Sécurité
Ne jamais faire fonctionner l'appareil s'il est endommagé.
L'appareil doit être raccordé par un technicien qualifié, dans le respect de toutes les règles et normes en vigueur (règles imposées par le distributeur d'électricité, normes sur les installations électriques, etc.).
Respectez la notice d'installation.
Si des apparèils électriques sont branchés à proximé de l'appareil, faites en sorte que les cordons électriques ne soient pas en contact avec des surfaces très chaudes!
Ne laissez pas l'appareil fonctionner sans surveillance. Faites particulièrement attention si vous cuisinez avec des huiles et graisses. Les huiles et graisses surchauffées s'enflammment facilement!
Attention! L'appareil chauffe fortement!
Maintenez les enfants à distance!
Ne nettoyez pas l'appareil à la vapeur ou au jet d'eau - risque de court-circuit !
Ne conservez pas de substances sensibles à la chaleur ou inflammables (produits de nettoyage, bombes aérosol) dans des tiroirs ou desrangements situés sous l'appareil.
Avant toute intervention de maintenance, veilles à déconnecter l'appareil. À cet effet, débranchez le cordon d'alimentation ou désactivez le fusible qui protège la table.
Afin de garantir la sécurité électricque, les réparations doivent être réalisées par des techniciens/agréés.
L'utilisateur est responsable du bon usage et du maintien en parfait etat de la table. Aucune garantie n'est assumee pour les dommages provoqués par le non-respect de ces instructions.
Remarque :
si vous avez monté le couvercle VD 400-000 (accessoire en option), ne le fermez pas avant refroidissement complet de l'appareil. Ne mettez pas l'appareil en marche en laissant le couvercle fermé. Le dégagement de chaleur peut endom-mager l'appareil et le couvercle. N'utilise pas le couvercle comme desserte ou surface de maintainen au chaud !
Sous réserve de modifications techniques!
Avant la première mise en service
Déballez l'appareil et éliminez les éléments d'emballage selon la réglementation locale.
Remarque : l'emballage contient des accessoires. Ne laissez pas les emballages et films plastiques à la portée des enfants.
Avant l'installation, vérifiez le bon état de l'appareil.
Avant la première utilisation, l'appareil doit être installé et raccordé par un technicien. Avant la mise en service, vérifie que l'installation électrique est correcte.
Vous trouvrez le numéro de série de l'appareil sur la fiche de contrôle jointe à la présente notice. Pour pouvoir bénéficier de la garantie, conservez cette fiche de contrôle avec la notice d'utilisation et d'installation.
Lisez attentivement la notice d'utilisation et d'installation avant la première utilisation.
Nettoyer soigneusement l'appareil et les accessoires avant la première utilisation. Faire ensuite chauffer l'appareil à 240^ pendant quelques minutes pour supprimer d'eventuelles odeurs et salissures.
Remarques concernant l'utilisation de l'appareil
Cet apparéil est conçu pour un usage exclusivement privé et toute autre utilisation est interdite.
Utilisez l'appareil seulement pour préparer des alimentes et directement sur la surface de la plaque, sans casserole ni poèle. L'appareil n'est pas concu pour le chauffage de la pierce où il est installé.
Ne pas utiliser l'appareil comme desserte! Ne posez pas d'objets en plastique ou à poignée en plastique sur la surface très chaude de la plaque.
La surface de la plaque est revêtue d'un chromage dur robuste, lisse et facile à nettoyer. comme une bonne poèle en fonte, elle va peu à peu compter des traces d'usure qui n'affectoront toute fois en rien sa valeur d'utilité. Bien qu'il soit possible de couper avec un couteau sur la surface de la plaque, nous vous le déconseillons, car cela émousse les lames. Ne coupez pas sur la surface de la plaque avec un couteau en céramique. Pour returner les aliments, utilisez les spatules fournies.
Important: ne pas taper sur la surface de la plaque avec les spatules ou la pointe d'un couteau; cela pourrait provoquer des entailles dans la surface.
Arreter l'appareil après son utilisation. Nettoyer l'appareil froid après chaque utilisation.
Une protection thermique intégrée empêche la surchauffe de l'appareil et des meubles environnants.
En cas d'anomalies de fonctionnement, vérifie d'abord les fusibles de l'installation électrique. Si l'alimentation électrique n'est pas en cause, faites appel à votre distributeur ou au service après-vente Gaggenau.
2. Description
Description

Accessoires spéciaux
Fonctionnement
1 Plan de cuisson, chromé dur
2 Manette pour la seLECTION de la zone de chauffage:
- deux zones de cuisson
zone de cuisson avant seulement
zone de cuisson arriere seulement
3 Manette pour le réglage de la température
L'appareil est foumi avec 2 spatules permettant de returner les alimentes.
Vous pouvez commander les accessoires spéciaux suivants ;
VV 400-000 Profilé de jonction
VZ 400-700 Profilé de jonction avec programmeur
VD 400-000 Couvercle
Le teppan yaki permit de griller, rotir et cuire selon une ancienne tradition japonaise. La préparation des alimentes s'effectue sans casserole ni poèle, directement sur la plaque, un plaisir pour les yeux. Pour returner les alimentes, utilisez les spatules fournies qui vous serviront aussi à éliminer les résidus de cuisson. Sur le teppan yaki, vous pouze désirir la température de cuisson la mêux adaptée à chaque mets. La surface lisse à chromage dur du teppan yaki vous permet de préparer des alimentes avec un minimum de graisse ou d'huile, et les alimentés sont faciles à returner. Sur la grande surface disponible, vous pouvez par exemple préparer des viandes, poissons, oeufs, légumes et mets sucrés.
3. Utilisation
Attention!
La cuisson est accompagnée de températures très élevées. Ne pas laisser les enfants s'approcher!
Ne jamais mesure l'appareil en marche avec le couvercle féme (accessoire spécial).

Mise en marche

Arrêt
Mise en marche
Appuyer sur la manette de gauche et seLECTIONner la zone de cuisson souhaitation. Il est possible d'utiliser toute la surface ou de seLECTIONner seulement la partie avant ou la partie arrêté du plan de cuisson.
Appuyer sur la manette de droite et la tournier vers la gauche ou vers la droite pour régler la température souhaïée entre 240-480°F.
L'anneau lumineux derrière la manette de droite clignote tant que l'appareil monte en température. L'anneau lumineux est allumé en continu quand la température souhaitée est atteinte. Tout jours préchauffer l'appareil.
Après préchauffage, enduirez la plaque d'une mince couche homogène d'huile ou de beurre au moyen de la spatule ou d'un pinceau résistant à la chaleur (pinceau silicone par exemple). Posez les alimentés directement sur la plaque, sans casserole ni poèle. Pour les returner, servez-vous de la spatule fournie.
Important : ne tapez pas sur la surface de la plaque avec les spatules, car cela pourrait provoquer des entailles.
Arrêt
Tourner la manette de droite sur la position 0.
Voyant de chaleur résiduelle
L'anneau lumineux derrière la manette de droite clignote après l'arrêt tant que l'appareil n'est pas encore assez froid pour pouvoir être touché sans risque.
Attention! Ne toucher l'appareil qu'aquès que l'indicateur de chaleur résiduelle soit éteint !
Risque de brûlure!
Il ne faut fermer le couvercle de l'appareil (accessoire spécial) qu'aupres que l'appareil soit complètement froid.
Niveau de maintainien au chaud


Niveau de maintainien au chaud
Mettez la manette droite en position « Maintien au chaud ». La manette gauche vous permet de seLECTIONner soit toute la plaque, soit seulement la partie avant ou la partie arrêté.
Grâce au niveau de maintain en chaud, vous pouvez facilement garder au chaud les aliments que vous avez préparés.
Sécurité en cas d'absence prolongée (copure automatique)
Pour des raisons de sécurité, l'appareil est automatiquement arrêté si aucune action n'a lieupendant quatre heures. L'anneau lumineux derrière la manette de croite clignote. Tourner la manette de croite sur 0. L'appareil peut alors être de nouveau allumé de façon tout à fait normale.
Possibilities de signalisation
| Anneau lumi-neux derrière manette gauche | Anneau lumi-neux derrière manette droite | Signification | Cause / remède |
| ○ | ○voyants éteints | appareil ÉTEINT | |
| ● | ●allumage constant | appareil en MARCHE | mode normal |
| ● | ●clignotement lent | appareil en MARCHE chauffe en cours | mode normal |
| ○ | ●clignotement lent | voyant de chaleur résiduelle | Appareil trop chaud pour pouvoir être touché sans risque. |
| ○ | ●clignotement rapide | sécURITY en cas d'absence prolongée | Aucune action faitependant plus de 4 heures. Ramener la manette sur 0, puis la remettre si nécessaire sur la température voulue. |
| ○ | ●clignotement rapide | panne de courant | Après une pannde courant, l'appareil reste éteint pour des raisons de sécurité. Ramener la manette sur 0, puis la remettre si nécessaire sur la température voulue. |
Tableau de réglage
| Aliments | Plage de température | Exemples |
| Viandes, volailles | saisir à 480°F* cuire à 360 - 440°F | steaks, côtelettes, filets, medaillons, viandes éminçées, filets d'agneau, cuisses de poulet, steaks de dinde, viandes sautées à la façon asiatique, brochettes de viande |
| Poisson | saisir à 480°F* cuire à 360 - 440°F | dames d'espadon, steaks de thon, filets de saumon, gambas, calamars, brochettes de poisson |
| Légumes | 440 - 480°F | toutes sortes de juillennes de légumes, par exemple poireau, fenouil, carottes, pommes de terre sautées, championons, chou chinois, gèmes de soja, poivron, haricots, courgettes, aubergines |
| Œufs | 360 - 380°F | oeufs sur le plat, omelettes |
| Desserts | 360 - 480°F | crêpes, bananes enrobées de noix de coco, pommes, ananas, mangues |
* saisir les morceaux épais à 360- 440°F
Faites toujours préchauffer l'appareil. Les valeurs figurant dans le tableau ne sont qu'indicatives puisque l'apport de chaleur nécessaire peut varier selon la nature et la taille des alimentés.
4. Nettoyage et entretien
Attention: ne pas nettoyer la table de cuisson avec un nettoyeur à vapeur ou à l'eau sous pression - risque de court-circuit!
Attention, risque de brûlure! Ne nettoyez pas l'appareil avant qu'il ne soit complètement froid.
Nettoyer l'appareil après chaque utilisation. Il est ainsi évité que des restes brûlent. Des restes ayant brûlé plusieurs fois sont difficilles à enlever.
Nettoyage du plan de cuisson (chromé dur)
Enlevez d'abord les résidus les plus gros au moyen de la spatule. Versez ensuite au maximum 250 ml d'eau de vaisselle chaude sur la surface de l'appareil et laissez tremper quelques minutes. Éliminez l'eau avec une éponge; vous pouvez ensuite nettoyer la surface de la plaque avec une éponge à récuner en plastique. Frottez toujours dans le sens de brossage du métal (perpendicularairement à l'appareil), sinon des traces de frottement pourraient rester visibles sur la plaque.
Important : n'utilisez pas l'éponge à récurer pour nettoyer le cadre en inox, car vous risquez de le rayer. Pour nettoyer la plaque de l'appareil, n'utilisez pas d'ustensiles en métal, laine d'acier, brosses métalliques ou autres, servant habituèlement au nettoyage de casseroles. N'utilisez pas non plus de produits à récurer ou agressifs (produits en bombe pour four, nettoyants chlorés, produits à polir nitrés).
Nettoyage de l'encadrement en acier inoxydable
Nettoyer l'encadrement de l'appareil avec un chiffon humide souple et de l'eau légèrement savonneuse ou avec un produit du commerce pour nettoyer l'accier inoxydable. Ne pas utiliser de produits abrasifs ou chimiquement corrosifs pour le nettoyage!
Nettoyage manettes
Essuyer les manettes avec un chiffon humide. Faire attention à ne pas trop mouiller le chiffon, car de l'eau risque de pénétrer derrière la manette.
Avant toute réparation, séparez impératifement l'appareil du secteur.
En cas d'anomalie de fonctionnement, vérifier d'abord les fusibles.
Si l'alimentation électrique est correcte, mais que l'appareil ne fonctionne pas, aviser le distributeur
Gaggenau qui indiquera l'adresse et le numéro de téléphone de l'agent de service agréé le plus proche ou bien prendre contact avec
Gaggenau USA, tél. (800) 828-9165.
Les réparations doivent être faites uniquement par des spécialistes agréés afin que la suture de l'appareil soit garantie.
Les interventions non conformes entraînant la perte de la garantie!
N'utilisez que des pieces de rechange d'origine.
\section*{Caracteristiques techniques}
Puisance raccordée totale : 1500 W
AC 208/220-240 V / 60 Hz
Instructions importantes concernant l'installation
Cet apparéil peut être associé à tous les apparéils de la série Vario 400 de Gaggenau.
Il peut être installé sans aménagements particuliers dans des éléments de cuisine en bois ou autre matériel inflammable.
L'élement ainsi que le plan de travail dans lesquels est encastré l'appareil doit résister au moins à une température de 200^ / 90^ .
L'appareil doit être installé uniquement par un technicien/agréé, en conformité avec toutes les normes édictées par l'entreprise fournissant l'électricité et les normes sur la construction.
Lors des branchements électriques, veiller à ce que les câbles ne soient pas en contact avec des parties très chaudes du plan de cuisson.
L'installateur est responsable du parfait fonctionnement de l'appareil sur le lieu d'installation. Il doit indiquer à l'utilisateur comment isoler l'appareil du secteur électrique si nécessaire.
Après le déballage, vérifie si l'appareil n'a pas été endommagé pendant le transport et si nécessaire, signalez immédiatement les anomalies à l'entreprise de transport.
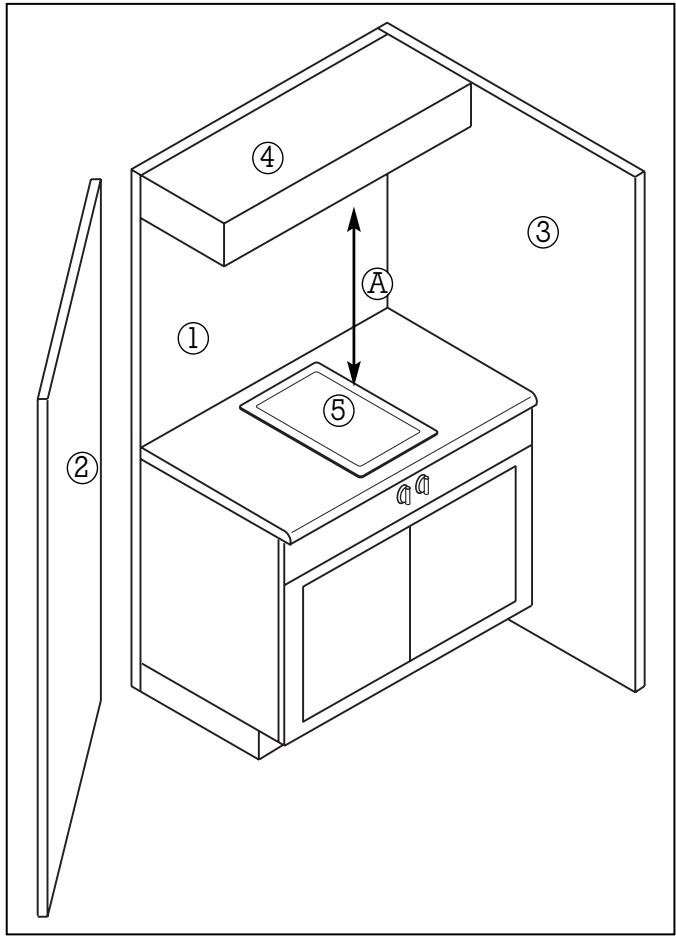
La protection contre les contacts accidentels par dessous doit être garantie par le montage d'un faux fond ne pouvant être enlevé qu'avac un outil. Le bord supérieur du plan de travail doit être distant de 150~mm(6^ ) au moins du bord supérieur du faux fond.
La distance entre les bords croit et gauche de l'appareil et les parois ou parties de meubles doit être d'au moins 40mm (1^9 / 16^ )
S'il n'est pas possible de séparer l'appareil du secteur sur tous les pôles au moyen d'une fiche d'alimentation accessible, il faut prévoir en avant dans l'installation électrique un sectionneur dont les contacts sont écarts d'au moins 3 mm (fusible domestique par exemple).
Les dommages dus au non-respect de cette notice ne pourront etre reconnus. Respectez egalement les « Instructions importantes » figurant en pages 3 et 4.
Sous réserve de modifications techniques.
Branchement électrique
L'appareil doit être raccordé uniquement par un électricien/agréé.
Cet apparéil doit faire l'objet d'un branchement fixe.
Le cordon d'alimentation secteur doit etre au minimum du type SJTO 3x16 AWG 105^ Le cordon d'alimentation secteur doit etre achete aprous d'un specialiste agreé qui doit etgalement se charger du branchement.
L'appareil doit être correctement mis à la terre. Faire attention aux informations figurant sur la plaque signalétique.

Préparation du meuble
Le mur arrrière (1) et les murs latéraux (2 / 3) doivent être constitués d'un matériel non combustible ou être protégés par du carton retardateur de flammes, d'une épaisseur minimale de 14 de pouce, revêtu d'une tôle d'acier non inférieure à la qualité No. 28 MSG, d'accier inoxydable de 0,015 pouce d'épaisseur, d'aluminium de 0,024 pouce d'épaisseur ou de cuivre de 0,020 pouce d'épaisseur.
l mur de fond
2 mur latorial
3 mur latorial
4meuble supérieur
5 surface de cuisson
Préparation du meuble

- Réalisez la découverte pour un ou plusieurs apparreils Vario dans le plan de travail selon le schéma de montage. Ce dernier indique l'encombrement du profilé de jonction à monter entre les apparreils. Vous pouvez aussi poser les apparareils dans des découvertes individuelles en respectant une distance de 50mm ( 2^ ) au minimum entre les apparareils.
- Selon la figure, percer des troughs Ø 35 mm (1³/8") pour fixer les boutons dans la façon du meuble bas.
- Si le bandeau avant a une épaisseur supérieure à 26 mm (1^1 / 32^ ) , il faut le fraiser par l'arrête à la cote de 80 x 310 mm (3^5 / 32^ - 12^13 / 64^ ) de façon que son épaisseur à cet endroit soit inférieure à 26 mm (1^1 / 32^ ) .

Pose du p提供优质 de commande



Remarque :
L'appareil doit être installé uniquement avec le pupitre de commande portant la même désignation de type.
Avant de brancher l'appareil, couper l'alimentation électrique au niveau du fusible du logement!
- Avant montage, enlever les éléments d'emballage en polystyrene se trouvant sur les manettes et decoller le film protecteur se trouvant derrière les anneaux lumineux.
- Tenir la plaque métallique de maintien par l'arrête contre le bandeau avant, enforcer les boutons par l'avant dans les trous, visser les écrous à l'arrête. Bien faire attention à la correspondance des manettes : la manette de seLECTION de la zone de cuisson est à gauche, tandis que la manette de réglage de la température est à droite.
- Visser le p提供优质 à la plaque métallique au moyen des écrous joints.
Pose de l'appareil


- Brancher le cable électrique reliant l'appareil au pupitre de commande (les connecteurs doivent se verrouiller).
- Ecarter les tendeurs sur le côté et introduire l'appareil horizontally dans la découpe, logo Gaggenau à l'avant, puis ajuster.
Remarque: ne pas coller l'appareil au plan de travail avec du silicone.
- Ramener les tendeurs sous le plan de travail et serrer. Ne pas serrer les tendeurs trop fort, faire en sorte qu'il reste tout autour de l'appareil une fente d'étanchéité continue et de largeur régulière.
- Brancher l'appareil et en vérifier le fonctionnement. Si vous n'arrivez pas à allumer l'appareil, vérifiez si le cable reliant l'appareil au pupitre de commande est bien en place.
GAGGENAU
GAGGENAU HAUSGERÄTE GMBH
CARL-WERY-STR. 34·81739 MUNCHEN
GERMANY
(089) 45 90-03
FAX (089) 45 90-23 47
GAGGENAU
5551 McFADDEN AVENUE
HUNTINGTON BEACH, CA 92649
USA
(800) 828-9165·FAX (714) 901-0979
www.gaggenau-usa.com
Notice Facile