VNI 28 - Chaudière gaz DEVILLE - Notice d'utilisation et mode d'emploi gratuit
Retrouvez gratuitement la notice de l'appareil VNI 28 DEVILLE au format PDF.
| Type d'appareil | Chaudière murale à gaz |
| Rendement | Haut rendement |
| Modèles | CNI 24, VNI 24, VNI 28 |
| Usage | Usage domestique |
| Installation | Murale |
| Combustible | Gaz naturel |
| Conformité | Norme CE |
| Type de chauffage | Chauffage central |
| Type de production d'eau chaude | Non précisé |
| Contrôle | Non précisé |
| Dimensions | Non précisé |
| Poids | Non précisé |
| Pression maximale | Non précisé |
| Garantie | Non précisé |
| Utilisateurs cibles | Usager et installateur |
FOIRE AUX QUESTIONS - VNI 28 DEVILLE
Téléchargez la notice de votre Chaudière gaz au format PDF gratuitement ! Retrouvez votre notice VNI 28 - DEVILLE et reprennez votre appareil électronique en main. Sur cette page sont publiés tous les documents nécessaires à l'utilisation de votre appareil VNI 28 de la marque DEVILLE.
MODE D'EMPLOI VNI 28 DEVILLE
NOTICE D'EMPLOI ET D'INSTALLATION DESTINÉE À L'USAGER ET À L'INSTALLATEUR
FR
CE 0051
Cher Client,
Nous sommes heures que vous ayez besoin notre produit.
Les chaudières sont fabriquées dans le souci de vous donner entière satisfaction, en respectant les normes de sécurité les plus strictes ainsi que les normes de qualité les plus sévères.
Afin que vous produit vous apporte le meilleur service, nous vous conseillons de dire attentivement la presente notice avant toute utilisation. Les informations qu'elle contient vous permettront de tirer le meilleur parti de votre chaudière.
Attention:
Les différentes parties de l'emballage doivent etre tenues hors de portee des enfants.
Entretenez régulierement votre installation
L'entretien annuel de votre chaudière est obligatoire aux termes de la législation en vigueur. Il devra etre effectué une fois par an par un professionnel qualifié:
- l'entretien de la chaudière (verification, réglage, nettoyage, remplacement de pieces d'usure normale et détartrage évientuel);
- la vérification de l'étancheité du conduit de la ventouse et du terminal.
Pour toutes les opérations d'entretien de votre chaudière, des formules de contrat d'entretien annuel peuvent vous être proposées par des prestataires de services. Consultez votre installerur ou nos services commerciaux.
La garantie du constructeur, qui couvre les defauts de fabrication, ne doit pas etre confondu avec les operations decrites ci-dessus.
Garantie
La garantie est donnée pour un usage normal des appareils et dans la mesure ou les instructions de la notice d'emploi sont respectées.
Nous ne saurions trop youe conseiller de dire attentivement cette notice aisi que les conditions de garantie ci-dessous.
Nos apparèls doivent être installés par un professionnel qualifié suivant les règles de l'art, normes et réglementations en vigueur.
Nos apparéils sont garantis a dater du jour de la facture pour 2 ans.
Pour bénéficier de la garantie, seule la presentation de la facture d'achat fait foit.
Pendant la période de garantie, DEVILLE garantit tout défaut de matière ou de fabrication et n'est tenu qu'au remplacement gratuite des pieces reconnues défectueuses après contrôle par ses services.
D'une maniere non limitative, la garantie ne couvre pas les effets dus à l'usure normale, ainsi que les déteriorations resultant d'une mauvaise utilisation de l'appareil, d'un défaut d'installation ou d'une insuffisance d'entretien.
Ces dispositions ne sont pas exclusives du bénéfice au profit de l'acheteur de la garantie légale pour défauts ou vices cachés qui s'applique, en tout état de cause, dans les conditions des articles 1641 et suivants du code civil.
En cas de litige, seuis les tribunaux du siège social de la société DEVILLE THERMIQUE sont competents.
Ces modèles de chaudières possèdent le marquage CE conformément aux conditions essentielles des Directives suivantes :
- Directive gaz 90/396/CEE
- Directive Rendements 92/42/CEE
- Directive compatibilité electromagnétique 89/336/CEE
- Directiveasse tension 73/23/CEE
C E
INSTRUCTIONS DESTINÉES À L'UTILISATEUR
- Recommendations avant l'installation 4
- Recommendations avant la mise en marche 4
- Mise en marche de la chaudière 5
- Reglage de la température de l'eau sanitaire 5
- Réglage de la température ambiente 6
- Remplissage installation 6
- Arrêt de la chaudière 6
8.Changement de gaz 6 - Arrêt prolongé de l'installation. Protection contre le gel 6
- Signalisations-Déclenchement des dispositifs de sécurité 7
- Instructions de maintenance reguliere 7
INSTRUCTIONS DESTINÉES À L'INSTALLATEUR
- Recommendations generales 8
- Recommendations avant l'installation 9
- Installation de la chaudiere 10
- Dimensions de la chaudiere 10
- Installation des conduits d'évacuation - aspiration 11
- Raccordement electrique 13
- Installation d'un thermostat d'ambiance 14
- Modalité pour le passage à un autre type de gaz 14
- Visualisation des paramétres sur l'afficheur (fonction "INFO") 16
21.Dispositifs de réglage et de sécurité 17 - Reglages à effectuer sur la carte électronique 18
- Positionnement de I'electrode d'allumage et détction de flamme 19
- Vérification des paramètres de combustion 19
- Caracteristiques débit/hauteur manometrique 19
- Raccordement de la sonde extérieure 20
- Detertrage du circuit sanitaire 21
- Démontage de l'échangeur eau-eau 21
29.Nettoyage du filtré eau froide 21 - Schéma fonctionnel des circuits 22-23
- Schéma de raccordement des connecteurs 24-25
- Caracteristiques techniques 28
1. RECOMMANDATIONS AVANT L'INSTALLATION
Cette chaudière permet de chauffer l'eau à une température inférieure de celle d'ébullition à pression atmosphérique. Elle doit être raccordée à une installation de chauffage et à un réseau de distribution d'eau chaude sanitaire, en compatibilité avec ses performances et sa puissance.
Faire raccorder la chaudiere par un technician professionnellement qualifié, et procédé aux opérations suivantes :
a) Vérifier que la chaudière peut fonctionner avec le type de gaz disponible. Pour cela, il suffit de vérifier la mention sur l'emballage et la plaquette sur l'appareil.
b) Vérifier que le tirage de la cheminée est bon, qu'il ne présente aucun étranglement et qu'il ne compte aucune évacuation d'autres apparèils, sauf si le conduit montant est prévu pour servir plusieurs utilisateurs conformément aux normes et prescriptions spécifiques en vigueur.
c) En cas de raccords sur d'anciens conduits montants, vérifier que ces derniers sont propres pour éviter que les dépôts de suie ne bouchent le passage des fumées en se détachant des parois durant le fonctionnement.
d) Il est également indispensable de prendre les précautions suivantes afin de préserver le fonctionnement et la garantie de l'appareil :
1. Circuit sanitaire :
1.1. Si la durete de l'eau dépasse la valeur de 20^ ( 1^ = 10 mg de carbonate de calcium par litre d'eau), installer un doseur de polyphosphates ou un système similaire conforme aux normes en vigueur.
1.2. Proceder à un nettoyage complet de l'installation après avoir installé l'appareil et avant de l'utiliser.
2. Circuit de chauffage
2.1.nouvelle installation
Avant d'installer la chaudière, nettoyer le circuit afin d'éliminer tout résidu de filtage, soudure et tout solvant avec des produits spécifiques disponibles dans le commerce, non acides et non alcalins, qui n'attaquent pas les métaux, les parties en plastique et le caoutchouc. Les produits recommendés pour le nettoyage sont :
SENTINEL X300 ou X400 et FERNOX Régénérateur pour installations de chauffage. Avant de les utilisier, nous vous invitons à suivre attentivement les instructions fournies avec les produits.
2.2. ancienne installation
Avant d'installer la chaudière, nettoyer le circuit pour éliminer les boues et les contaminants avec des produits spécifiques disponibles dans le commerce et cités au point 2.1.
Pour protégé l'installation des incrustations, utiliser des produits susceptibles tels que SENTINEL X100 et FERNOX Protection des installations de chauffage. Avant de les utilisers, nous vous invitons à suivre attentivement les instructions fournies avec les produits.
La présence de dépôts dans l'installation de chauffage entraine des problèmes de fonctionnement pour la chaudière (surchauffe et échangeur bruyant).
Le non-respect des points précédents annule la garantie
2. RECOMMANDATIONS AVANT LA MISE EN MARCHE
Le premier allumage doit obligatoirement être effectué par Service d'Assistance Technique/agréé qui devra vérifier :
a) Que les données mentionnées sur la plaque correspondant à celles des réseaux d'alimentation (électricité, eau, gaz).
b) Que l'installation est conforme aux normes en vigueur.
c) Que le circuit électrique avec mise à la terre a été effectué correctement.
Le non-respect des points precedents annule la garantie.
Oter la pellicule de protection de la chaudiere avant de la metre en marche. Ne pas utiliser d'outils ni de matériaux abrasifs pour cette opération afin de ne pas endommager les parties peintes.
3. MISE EN MARCHE DE LA CHAUDIÈRE
Pourmettrelachaudiere en marchecorrectement,procederde lafacon suivante:
1) alimenter la chaudière électricquement ;
2) ouvrir le robinet du gaz ;
3) tournier le bouton de selection etmettre la chaudiere sur la position Eté ( ) ou Hiver ( ) (figure 1.1);
4) agir sur les boutons des disposits de réglage de la température du circuit de chauffage (2) et de l'eau chaude sanitaire (1) de sorte à allumer le brûleur principal.
Tournier le bouton dans le sens des aiguilles d'une montre pour augmenter la températe, dans le sens inverse pour la diminuer. En position Été (**) le brûleur principal reste allumé uniquement lorsque l'on se sert de l'eau chaude sa-nitaire.
LEGENDE:

Fonctionnement en mode chauffage
1 Bouton SANITAIRE (E.C.S.)
3 Selecteur (figure 1.1)
2 Bouton CHAUFFAGE
4 Afficheur

Présence flamme (brûleur allumé)

Perte flamme (allumage non réussi)

Fonctionnement en mode sanitaire

Anomalie générique

RESET

Absence d'eau (Pression de l'installation basse)

Signalisation numérique (Température, code anomalie, etc.)

Figure 1
0702_1101 / CG_1894
Avertissement: en phase de première mise en marche, tant que l'air contenu dans la tuyauterie du gaz n'est pas evacué, il est possible que le brûleur ne s'allume pas, ce qui bloque la chaudière.
Dans ce cas, il est conseilé de répéter les opérations d'allumage jusqu'à l'arrivée du gaz au brûleur, en mettant au moins 2 secondes le sélecteur sur la position (R-RESET).
Positions sélecteur (3) Été / Hiver / RESET / OFF

R
RESET


R
Hiver


R
OFF


R
Été

0503_1109/CG1659
Figure 1.1
4. RÉGLAGE DE LA TEMPERATURE DE L'EAU SANITAIRE
La vanne gaz est dotée d'un dispositif de modulation électronique de la flamme en fonction de la position du bouton (1) de réglage de l'eau sanitaire et de la quantité d'eau prélevée.
Ce dispositif électronique permet d'obtenir des températures de l'eau (sur la sortie de la chaudière) constantes même en cas de faibles débits.
Durant un prélèvement, l'afficheur visualise la température de l'eau sanitaire. Tourner le bouton dans le sens des aiguilles d'une montre pour augmenter la température, dans le sens inverse pour la diminuier.
L'installation doit être dotée d'un thermostat d'ambiance pour contrôle la température des locaux.
Sans thermostat d'ambiance, il est possible de controller la temperature ambiente, en se servant du bouton (2), et en modifiant la consigne de temperature de depart d'eau du circuit de chauffage.
Durant le fonctionnement en mode chauffage, l'afficheur visualise la température de départ de l'installation. Tourner le bouton dans le sens des aiguilles d'une montre pour augmenter la température, dans le sens inverse pour la diminuer. La modulation électronique de la flamme permettra à la chaudière d'atteindre la température programmée en ajustant le débit du gaz au brûleur selon les conditions d'échange thermique
6. REMPLISSAGE INSTALLATION
IMPORTANT : Vérifier régulierement que la pression, lue sur le manomètre (Figure 2) varie entre 0,7 - 1,5 bar lorsque le circuit est froid. En cas de surpression, agir sur le robinet de vidange de la chaudière; si elle est inférieure, agir sur le robinet de replissage de la chaudière (figure 2).
Il est conseilé d'ouvoir très lentement ces robinets afin de faciliter la purge de l'air.
Pour procéder à cette opération, la chaudière doit être sur "OFF".
REMARQUE: En cas de chutes de pression fréquentes, demander l'intervention de votre prestataire SAV.
La chaudière est dotée d'un pressostat hydraulique qui, en cas d'absence d'eau, bloque le fonctionnement de la chaudière.

Figure 2
7. ARRET DE LA CHAUDière
Pour eteindre la chaudiere, couper l'alimentation electrique de l'appareil. Si la chaudiere est sur "OFF" (figure 1.1), les circuits electriques restent sous tension.
8. CHANGEMENT DE GAZ
Les chaudières peuvent fonctionner au gaz méthane et au GPL.
S'il s'avere nécessaire de procesder a une transformation, s'adresser a sua re prestataire SAV.
9. ARRÉT PROLONGÉ DE L'INSTALLATION. PROTECTION CONTRÉ LE GEL
Éviter de vider le circuit de chauffage car tout renouvellement d'eau provoque la formation de dépôts de calcaire inutiles et dangereux à l'intérieur de la chaudière et des éléments chauffants. Si le chauffage n'est pas utilisée pendant l'hiver et en cas de risque de gel, il est conseilé de mélanger l'eau du circuit avec des solutions antigel spécifiques (par ex. glycol propylénique associé à des inhibiteurs d'incrustations et corrosions).
La régulation électronique de la chaudière est dotée d'une fonction "antigel" en mode chauffage qui déclenché le brûleur de façon à atteindre une valeur proche de 30^ lorsque la température de départ du circuit est inférieure à 5^ .
Cette fonction se déclenché si :
- la chaudière est sous tension ;
- la chaudière est alimentée en gaz ;
- la pression du circuit est celle prescrite ;
- la chaudière n'est pas en sécurité.
10. SIGNALISATIONS-DECLENCHEMENT DES DISPOSITIFS DE SECURITE
Les anomalies sont visualisées sur l'afficheur et indiquées par un code d'erreur (ex. E 01):

Pour RÉARMER la chaudière,mettre le commutateur (figure 3) sur “R” pendant au moins 2 secondes. Si ce dispositif se déclenché souvent,faire appel au centre d'assistance technique agrée.
Remarque: Il est possible d'effectuer 5 tentatives consécutives de réarmement après quoi la chaudière se bloque. Pour effectuer une nouvelle tentative de réarmement,mettre quelques secondes le commutateur 3 de la figure en position OFF (voir figure 1.1).
| CODE AFFICHE | TYPE DE PANNE | REMÈDE |
| E01 | Alimentation en gaz défectueuse | Mettre le commutateur (3) sur R (figure 2) pendant au moins 2 secondes. Si cette anomalie se produit plusieurs fois, faire appel au centre d'assistance technique agréé. |
| E02 | Déclenchement thermostat de surchauffe | Mettre le commutateur (3) sur R (figure 2) pendant au moins 2 secondes. Si cette anomalie se produit plusieurs fois, faire appel au centre d'assistance technique agréé. |
| E03 | Déclenchement thermostat des fumées / pressostat fumées | Mettre le commutateur (3) sur (figure 2) pendant au moins 2 secondes. Si cette anomalie se produit plusieurs fois, faire appel au centre d'assistance technique agréé. |
| E04 | Erreur de sûreté pour des pertes du signal de flamme très fréquentes | Faire appel au centre d'assistance technique agréé. |
| E05 | Sonde NTC chauffage central en panne | Faire appel au centre d'assistance technique agréé. |
| E06 | Sonde NTC sanitaire en panne | Faire appel au centre d'assistance technique agréé. |
| E10 | Pression d'eau INSUFFISANTE | Vérifier si la pression de l'skeleton est bien celle prescrite. Voir paragraphe 6. Si cette anomalie se produit plusieurs fois, faire appel au centre d'assistance technique agréé. |
| E25 | Dépassement t° max. chaudière (pompe probablement bloquée) | Faire appel au centre d'assistance technique agréé. |
| E05 + E06 : capteur priorité sanitaire cassé | Anomalie présence flâme | Mettre le commutateur (3) sur R (figure 2) pendant au moins 2 secondes. Si cette anomalie se produit plusieurs fois, faire appel au centre d'assistance technique agréé. |
Remarque : quand une anomalie se produit, le fond de l'écran clignote avec le code d'erreur.
11. INSTRUCTIONS DE MAINTENANCE RÉGULIERE
Pour garantir fonctionnement et sécurité totale à la chaudière, la faire contrôle à la fin de l'hiver par le Service d'Assistance Technique agrée.
Un entretien régulier est always synonyme d'économie dans la gestion de l'installation.
Ne pas nettoyer l'habillage de la chaudiere avec des substances abrasives, agressives et/ou facilement inflammables (par ex. essence, alcohol, etc.) ; tous jours proceder au nettoyage lorsque l'appareil est eteint (voir paragraphe 6).
12. RECOMMANDATIONS GÉNÉRALES
Attention: Lorsque le commutateur de la figure 1.1 est sur la position Hiver (), le dispositif qui règle le chauffage (2-figure 1) a besoin de quelques minutes avant de se rallumer.
Cette attente ne concerne pas la fonction sanitaire.
Pour pouvoir le pallumer immédiatement,mettre le commutateur (figure 1.1) sur 0 puis (
Les remarques et instructions techniques ci-après s'adressent aux installateurs pour leur donner la possibilité d'effectuer une installation parfaite. Les instructions concernant l'allumage et l'utilisation de la chaudière sont contenues dans les instructions destinées à l'utilisateur.
L'installation et l'entretien de l'appareil doivent être effectuels par un professionnel qualifié conformément aux textes réglementaires et règes de l'art en vigueur, notamment:
Bâtiments d'habitation
- Arrêté du 2 août 1977: Règles Techniques et de Sécurité applicables aux installations de gaz combustibles et d'hydrocarbures liquifiés situées à l'intérieur desBATiments et de leur dépendances.
- Norme DTU P 45-204 - Installations de gaz (anciennement DTU n° 61- 1- Installations de gaz - Avril 1982 + additif n°1 Juillet 1984).
- Règlement Sanitaire Départemental.
- Norme NF C 15-100 - Installations électriques à basse tension - Règles.
Etablissements recevant du public:
- Règlement de sécurité contre l'incendie et la panique dans les établissements reçvant du public: a) Prescriptions générales pour tous les appareils:
- Articles GZ: Installations aux gaz combustibles et hydrocarbures liquifiés.
- Articles CH: Chauffage, ventilation, réfrigération, conditionnement d'air et production de vapeur et d'eau chaude sanitaire.
b) Prescriptions particulieres à chaque type d'établissements recevant du public (hopitaux, magasins, etc...).
Recommendation:
Si la région est exposée aux risques de foudre (installation isolée en bout de ligne EDF,...) prévoir un parafoudre.
Notre garantie est subordonnée à cette condition.
Protection du réseau d'eau potable
La présence sur l'installation d'une fonction de disconnection du type CB à zones de pressions différentes non contrôables répondant aux exigences fonctionnelles de la norme NF P 43011, destinée à éviter les retours d'eau de chauffage vers le réseau d'eau potable est requise par les articles 16-7 et 16-8 du Règlement Sanitaire Départemental Type.
Un disconnecteur est intégré à la chaudière.
Il faut également tener compte du fait que:
- La chaudière peut être utilisée avec n'importe quel type d'émetteur, alimenté en bitube ou monotube. Les sections du circuit seront de toute manière calculées suivant les méthodes normales, en tenant compte des caractéristiques hydrauliques disponibles et indiquées au paragraphe 25.
- Les différentes parties de l'emballage (sacs en plastique, polystyrene, etc.) ne doivent pas etre laissées à la portée des enfants étant donné quelles constituent une source potentielle de danger.
- Le premier allumage doit être exécuté par le Service d'assistance technique agrée.
Le non-respect de cette préconisation entraine l'annulation immédiate de la garantie.
AVIS: Si dans l'installation la chaudière instantanée est branchée à un système solaire la température maximale de l'eau à l'entrée de la chaudière doit être inférieure à:
- 60^ C avec le limiteur de début eau
13. RECOMMANDATIONS AVANT L'INSTALLATION
Cette chaudière permet de chauffer l'eau à une température inférieure de celle d'ébullition à pression atmosphérique. Elle doit être raccordée à une installation de chauffage et à un réseau de distribution d'eau chaude sanitaire, compatible avec ses performances et sa puissance.
Faire raccorder la chaudiere par un technician professionnellement qualifié, et procéder aux opérations suivantes :
a) Vérifier que la chaudière peut fonctionner avec le type de gaz disponible. Pour cela, il suffit de vérifier la mention sur l'emballage et la plaquette sur l'appareil.
b) Vérifier que le tirage de la cheminée est bon, qu'il ne présenteaucun étranglement et qu'il ne compte aucune éva- cuation d'autres apparèils, sauf si le conduit montant est prévu pour servir plusieurs utilisateurs conformément aux normes et prescriptions spécifiques en vigueur.
c) En cas de raccords sur d'anciens conduits montants, vérifier que ces derniers sont propres pour éviter que les dépôts de suie ne bouchent le passage des fumées en se détachant des parois durant le fonctionnement.
Il est également indispensable de prendre les précautions suivantes afin de préserver le fonctionnement et la garantie de l'appareil :
A. Circuit sanitaire :
a.1. Si la durée de l'eau dépasse la valeur de 20^ ( 1^ = 10 mg de carbonate de calcium par litre d'eau), installer un doseur de polyphosphates ou un système semblable conforme aux normes en viqueur.
a.2. Proceder à un lavage complet de l'installation après avoir installé l'appareil et avant de l'utiliser.
B. Circuit de chauffage
b.1. nouvelle installation
Avant d'installer la chaudière, nettoyer le circuit afin d'éliminer tout résidu de filtage, soudure et tout solvant avec des produits spécifiques disponibles dans le commerce, non acides et non alcalins, qui n'attaquent pas les métaux, les parties en plastique et le caoutchouc. Les produits recommendés pour le nettoyage sont :
SENTINEL X300 ou X400 et FERNOX Régénérateur pour installations de chauffage. Avant de les utiliser, nous vous invitons à suivre attentivement les instructions fournies avec les produits.
b.2. ancienne installation :
Avant d'installer la chaudière, nettoyer le circuit pour éliminer les boues et les contaminants avec des produits spécifiques disponibles dans le commerce et cités au point b.1.
Pour protégé l'installation des incrustations, utiliser des produits susceptibles tels que SENTINEL X100 et FERNOX Protection des installations de chauffage. Avant de les utilisers, nous vous invitons à suivre attentivement les instructions fournies avec les produits.
La présence de dépôts dans l'installation de chauffage entraine des problèmes de fonctionnement pour la chaudière (par ex. surchauffe et échangeur bruyant).
Le non-respect des points précédents annule la garantie.
14. INSTALLATION DE LA CHAUDIERE
Après avoir déterminé l'emplacement pour la chaudière, fixer le gabarit en papier au mur. Proceder à l'installation du circuit en partant de la position des raccords hydrauliques et du gaz prêents dans la traverse inférieure du gabarit. Il est conseilé d'installer, sur le circuit de chauffage, deux robinets d'arrêt (départ et return) G3/4, disponibles sur demande pour permettre, en cas d'interventions importantes, d'opérer sans avoir besoin de vider toute l'installation de chauffage. En cas d'anciennes installations ou de remplacement, il est conseilé, outre la recommendation précédente, de prévoir sur le return à la chaudière et en bas, un vase de décantation destiné à recueillir les dépôts. Fixer la chaudière au mur. En cas d'installation de la chaudière ventouse, proceder au raccordement des conduits d'évacuation et d'aspiration, fournis comme accessoires, en suivant les explications aux paragraphs suivants.
En cas d'installation de la chaudière à tirage naturel, modèle CNI 24, raccorder la cheminée à l'aide d'un tuyau métallique résistant aux sollications mécaniques normales, à la chaleur et à l'action des produits de combustion et à leur condensation eventuelle.

Figure 4
: départ/retour installation de chauffage G 3/4
后:sortie/entreeeauchaude sanitaireG1/2
: entrée gaz à la chaudière G 3/4

0512_0505/CG1769
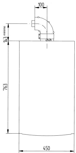
15. DIMENSIONS DE LA CHAUDÈRE

CNI 24

0702_0102

VNI 24 - VNI 28

Figure 5
16. INSTALLATION DES CONDUITS D'EVACUATION - ASPIRATION
Modèles ventouse
La chaudière peut être installée facilement et selon plusieurs possibilités grâce aux accessoires fournis et décrits plus loin.
La chaudière est, à l'origine, conscience pour être raccordée à un conduit d'évacuation - aspiration de type coaxial, vertical ou horizontal. Il est également possible d'utiliser des conduits séparés grâce au séparateur de flux.
Pour l'installation, utiliser exclusivement des accessoires fournis par le fabricant de l'appareil!
AVERTISSEMENT: Pour garantir une sureté de fonctionnement il faut que les conduites de fumées soit bien fixés au mur au moyen des brides de fixation.

... CONDUIT D'ÉVACUATION - ASPIRATION COAXIAL (CONCENTRIQUE)
Ce type de conduit permet d'évacuer les gaz brûlés et d'aspirer l'air comburant aussi bien à l'extérieur du batiment que dans des conduits montants de type 3CE.
Le coude coaxial à 90^ permet de raccorder la chaudière aux conduits d'évacuation-aspiration en toutes directions grâce à la possibilité de rotation à 360^ . Il peut également être utilisé comme coude supplémentaire en association avec le conduit coaxial ou la courbe à 45^ .

En cas d'évacuation à l'extérieur, le conduit d'évacuation-aspiration doit dépasser du mur de 18 mm minimum pour permettre de positionner la rosace en aluminium et son scellement et éviter ainsi toute infiltration d'eau.
La pente minimum vers l'extérieur de ces conduits doit être de 1 cm par mètre de longueur.
- L'insertion d'un coude à 90^ réduit la longueur totale du conduit de 1 metre.
- L'insertion d'un coude à 45^ réduit la longueur totale du conduit de 0,5 mètre.
| Modèle chaudière | Longueur (m) | Utilisation d'un DIAPHRAGME sur L'ASPIRATION B | Utilisation d'un DIAPHRAGME sur l'éVACUATION A |
| VNI 24 | 0 à 1 | Oui | Oui |
| 1 à 2 | Non | ||
| 2 à 5 | Non | Non | |
| VNI 28 | 0 à 1 | Non | Oui |
| 1 à 2 | Oui | Non | |
| 2 à 4 | Non | Non |
Remarque: Le premier coude à 90^ ne reste pas dans le calcul de la longueur maximum disponible.
16.1 EXAMPLES D'INSTALLATION AVEC CONDUITS HORIZONTALAUX
L'installation peut être effectue que le toit soit incliné ou plat en utilisant l'accessoire cheminée et le solin prévu à cet effet avec gaine disponible sur demande.
Pour plus de détails sur les modalités de montage des accessoires, voir les fiches techniques accompagnant ceux-ci.
17. RACCORDEMENT ÉLECTRIQUE
L'appareil doit être correctement mis à la terre - opération effectue conformément aux normes en vigueur en matière de sécurité sur les circuits - pour assurer sa sécurité du point de vue électrique.
Raccorder la chaudière à une ligne d'alimentation électrique 230 V monophasée + terre à l'aide du cable à trois fils fourni et en respectant la polarité PHASE - NEUTRE.
La connexion doit disposer d'un interrupteur bipolaire avec ouverture minimale des contacts de 3 mm.
S'il s'avere nécessaire de remplacer le cable d'alimentation, utiliser un cable homologué “HAR H05 VV-F” 3 × 0,75 ~mm^2 , diamètre maxi 8 mm.
...Accès à la boîte à bornes d'alimentation
- mesure la chaudière hors tension au moyen de l'interrupteur bipolaire ;
- desserrer les deux vis de fixation du panneau de commandes de la chaudière ;
- faire pivoter le panneau de commandes;
- öter le couvercle et acceder à la zone des branchements électriques (Figure 8).
Les fusibles, de type rapide 2A, sont incorpore s dans la boite a bornes d'alimentation (dégager le porte-fusible noir pour les contrcler et/ou les remplacer).
IMPORTANT : respecter la polarité en alimentation L (PHASE) - N (NEUTRE).
(L) = Phase (marron)
(N) = Neutre (bleu ciel)
(1-) = Terre (jaune-vert)
(1) (2) = Contact pour thermostat d'ambiance

AVERTISSEMENT: Si l'appareil est raccordé directement à une installation plancher chauffant il faut prévoir un thermostat de sécurité extérieure à la chaudière pour la protection de l'installation contre le sur chauffage (aquastat de sécurité).
18. INSTALLATION D'UN THERMOSTAT D'AMBIANCE
Pour connecter un thermostat d'ambiance au bornier d'une chaudière, professionnel comme suit :
- acceder au bornier d'alimentation (figure 8);
- retirer le shunt connecter le thermostat d'ambiance aux bornes (1) - (2).
19. MODALITE POUR LE PASSAGE À UN AUTRE TYPE DE GAZ
La chaudière peut être transformée pour fonctionner avec du gaz naturel (G20-G25) ou du gaz liquide (G31): opération réservée à votre prestataire de service.
Proceder, dans l'ordre, aux opérations suivantes :
A) Remplacer des injecteurs;
B) modifier le réglage de la pression minimum et maximum.
A) Remplacement des injecteurs
- dégager le brûleur principal de son logement avec précaution ;
- remplaner les gicleurs du bruleur principal en ayant soin de les bloquer a fond afin d'eviter toute fuite de gaz. Le diametre des injecteurs est indiquedans le tableau 1.
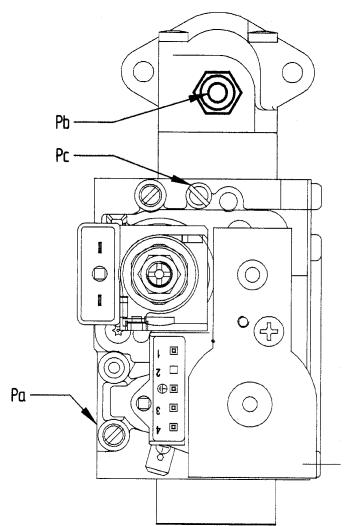
B) Tarage du régulateur de pression
- reli ter prise de pression positve d'un manometre differentiel, si possible a eau, a la pris de pression (Pb) situee sur la bride de sortie de la vanne gaz (figure 9). Brancher la pris negative - des modeles a chambre etanche - du manometre a un "T" afin de reli ter la pris d'equilibrage pression de la chaudiere, la pris d'equilibrage pression de la vanne gaz (Pc) et le manometre. (On obtient le meme résultat en reliant le manometre a la pris de pression (Pb) sans le panneau avant de la chamme etanche);
Mesurer la pression aux brûleurs selon une technique différente de cette désrite pourrait fausser la valeur car elle ne tiendrait pas compte de la dépression que creée le ventilateur dans la chambre étanche.
B1) Reglage à la puissance nominale :
ouvrir le robinet de gaz;
- tournier le commutateur (3) (figure 1) afin demettre la chaudière en position Hiver ();
ouvrir le robinet de prélefvement d'eau sanitaire à un débit minimum de 10 litres/minute ou s'assurer qu'il y a une demande maxi de chaleur ;
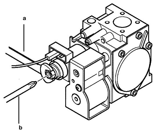
- 0ter le couvercle du modulateur;
- régler la vis en laiton (a) Fig. 10 jusqu'à obtenir les valeurs de pression indiquées dans le tableau 1;
- Vérifier que la pression d'alimentation de la chaudière, mesure à la prise de pression (Pa) de la vanne gaz (Fig. 9) est correct (37 mbar pour le gaz propane, 20 mbar pour le gaz methane ou 25 mbar pour le gaz G25);
B2) Réglage à la puissance réduite
- débrancher le cable d'alimentation du modulateur et desserrer la vis (b) Fig. 10 jusqu'à atteindre la valeur de pression correspondant à la puissance réduite (voir tableau 1);
- rebrancher le cable;
- remetre en place le couvercle du modulator.
B3) Verifications fines
indiquer le type de gaz et le tarage effectué sur la plaquette.

vanneSit mod.SIGMA845
00000000000000000000
Figure 9
vanne Sit
Figure 10

0605 1502
Tableau injecteurs
| CNI 24 | VNI 24 | VNI 28 | |||||||
| type de gaz | G20 | G25 | G31 | G20 | G25 | G31 | G20 | G25 | G31 |
| diamètre giclleurs (mm) | 1,18 | 1,18 | 0,74 | 1,18 | 1,18 | 0,74 | 1,28 | 1,28 | 0,77 |
| Pression brûleur (mbar*)PUISSANCE REDUITE | 1,9 | 2,7 | 4,7 | 2,1 | 3 | 4,9 | 1,9 | 2,7 | 4,9 |
| Pression brûleur (mbar*)PUISSANCE NOMINALE | 10,3 | 13 | 26,0 | 11,9 | 14,9 | 29,4 | 12,9 | 15,6 | 35,5 |
| Diamètre diaphragme gaz (mm) | 4,7 | 4,9 | 5,8 | ||||||
| Nombre de giclleurs | 15 | ||||||||
- 1 mbar = 10,197 mm H₂O
Tableau 1
Tableau 2
| CNI 24 | VNI 24 | VNI 28 | |||||||
| Consummation 15 °C - 1013 mbar | G20 | G25 | G31 | G20 | G25 | G31 | G20 | G25 | G31 |
| Puisance nominale | 2,78 m³/h | 3,23 m³/h | 2,04 kg/h | 2,84 m³/h | 3,31 m³/h | 2,09 kg/h | 3,52 m³/h | 4,10 m³/h | 2,59 kg/h |
| Puisance réduite | 1,12 m³/h | 1,30 m³/h | 0,82 kg/h | 1,12 m³/h | 1,30 m³/h | 0,82 kg/h | 1,26 m³/h | 1,46 m³/h | 0,92 kg/h |
| p.c.i. | 34,02 MJ/m³ | 29,25 MJ/m³ | 46,30 MJ/kg | 34,02 MJ/m³ | 29,25 MJ/m³ | 46,30 MJ/kg | 34,02 MJ/m³ | 29,25 MJ/m³ | 46,30 MJ/kg |
20. VISUALISATION DES PARAMÉTRES SUR L'AFFICHEUR (FONCTION "INFO")
Pour visualiser certaines informations concernant le fonctionnement de la chaudiere sur l'afficheur se trouvant sur le panneau avant de la chaudiere, procesder de la facon suivante:
IMPORTANT: suivre la séquence décrite ci-après (figure 11), le plus rapidement possible (~ 4 secondes) sans marquer de pause pour tournier le bouton:
1) bouton (ill) sur n'importe qu'elle position, le tourner jusqu'à la valeur minimum;
2) le tourner rapidement d'un 1 / 4 de tour dans le sens des aiguilles d'une montre;
3) tourner de nouveau le bouton jusqu'à la valeur minimum;
4) le ramener ensuite sur la position de départ.

Remarque : lorsque la fonction “INFO” est active, l'afficheur (4 - figure 1) visualise “A00” en alternance avec la température d'ECS.
Figure 12

0605_2204 / CG_1808
- Tourner le bouton 1 (figure 1) de l'eau chaude sanitaire pour visualiser instantanément les informations suivantes:
A00: température de l'eau chaude sanitaire (°C);
A01: température extérieure (avec sonde extérieure connectée) sinon -;
A02: courant de modulation (100% = 230 mA METHANE - 100% = 310 mA GPL);
A03: niveau plage de puissance (MAX R) %;
A04: valeur de consigne température chauffage (^)
A05: température de départ chauffage central (°C);
A07: valeur ( A) actuelle du courant de ionisation x 10.
Remarque: les lignes A06, A08 et A09 ne sont pas utilisées.
- Cette fonction reste active pendant 3 minutes. Il est possible d'interrompree à l'avance la fonction "INFO" en repétant la série d'activation décrite aux points 1...4 ou en ontant la tension à la chaudière.
La chaudiere est conque pour répondre à toutes les conditions dictées par les normes européennes de référence, et plus particulièrement, elle est dotée de :
Bouton de réglage du chauffage (
Ce dispositif definit la temperture maxi de I'eau d'amene du circuit de chauffage. Il peut etre programmed'un minimum de 30^ a un maximum de 85^
Pour augmenter la température, tourner le bouton dans le sens des aiguilles d'une montre et vice versa pour la réduire.
Bouton de réglage eau sanitaire (F)
Ce dispositif definit la temperture maxi de I'eau sanitaire. Il peut etre programmed'un minimum de 35^ a un maximum de 60^, selon le debit d'eau prelevé.
Pour augmenter la température, tourner le bouton dans le sens des aiguilles d'une montre et vice versa pour la réduire.
Pressostat air pour modèle à tirageforcé
Ce dispositif permet d'allumer le bruleur uniquement lorsque le circuit d'évacuation des fumées fonctionne parfaitement.
En presence d'une de ces anomalies :
terminal d'évacuation obstrué
- venturi obstrué
ventilateur bloqué
- la connexion entre la carte et le pressostat air est interrompue;
la chaudière reste en attente et signale le code d'erreur E03 (voir paragraphe 10).
- Thermostat conduit pour tirage naturel
Ce dispositif, dont la sonde se trouve a gauche du conduit d'aspiration des fumées, interrompt l'alimentation en gaz au brûleur principal lorsque la cheminée est bouchée et/ou en cas d'absence de tirage.
Dans ces conditions, la chaudière se bloque et signale le code d'erreur E03 (voir paragraphe 10).
Il est interdit demettre ce dispositif de sécurité hors service
Thermostat de sécurité
Grace a la presence d'une sonde de mesure des températures de fumées, ce thermostat interrotp l'alimentation en gaz du bruleur si l'eau contue dans le circuit primaire a subi une surchauffe. Dans un tel cas, la chaudiere est mise en securié et il ne sera possible de la rallumer qu'aupres avoir eliminé la cause de la panne.
Se référer au paragraphe 9 pour rétablier les conditions de fonctionnement normal.
Il est interdit demettre ce dispositif de sécurité hors service
- Détector à ionisation de flamme
L'électrode de détction de flamme, installé à droite du brûleur, garantit la sécurité en cas d'absence de gaz ou d'inter-allumage incomplet du brûleur. Dans ces conditions, la chaudière met en sécurité.
Pour rétablit les conditions de fonctionnement normal, voir paragraphe 10.
Pressostat hydraulique
Ce dispositif permet dallumer le bruleur principal quinquement si la pression d'eau de l'installation est superieure a 0,5 bar.
Post-circulation pompe du circuit de chauffage
La post circulation de la pompe, obtenue eletroniquement, a une durée de 180 secondes, et est actionnée, dans la fonction chauffage, après l'extinction du bruleur suite au déclenchement du thermostat d'ambiance.
Post-circulation pompe du circuit sanitaire
La post-circulation de la pompe, obtenue electroniquement, a une durée de 30 secondes et est actionnée, dans la fonction sanitaire, après l'extinction du bruleur suite au déclenchement de la sonde.
- Dispositif anti-gel (systèmes de chauffage central et d'eau chaude sanitaire)
La régulation électronique de la chaudière intégre, dans le système de chauffage central, une fonction “anti-gel” qui déclenché le brûleur de manière à atteindre une température de 30^ lors que la température de l'écoulement thermique du circuit chute au-deçà de 5^ .
Cette fonction est activée depuis que la chaudière est sous tension, que l'alimentation en gaz est assurée et que la pression de l'installaton est réalisée selon des besoins.
- Absence de circulation d'eau sur le circuit primaire (pompe probabilité bloquée)
En cas d'absence de circulation d'eau ou de circulation insuffisante dans le circuit primaire, la chaudière se met en sécurité et signale le code d'erreur E25 (voir paragraphe 10).
Antiblocage de la pompe
Si aucune chaleur n'est requise, la pompe demarre automatiquement et fonctionne pendant une minute au cours des 24 heures qui suivent.
Cette fonction est disponible si la chaudière est sous tension.
- Anti blocage vanne à trois voies
S'il n'y a pas demande de chaleur pendant 24 heures, la vanne à trois voies effectue une inversion complete.
Cette fonction est disponible si la chaudière est sous tension.
- Soupape de suture hydraulique (circuit de chauffage)
Ce dispositif regle sur 3 bar, est asservi au circuit de chauffage.
Il est conseilé de raccorder la soupape de suture à une évacuation dotée de siphon. Il est interdit de l'utiliser pour l'évacuation du circuit de chauffage.
Remarque: si la sonde NTC du circuit sanitaire tombe en panne, la production d'eau chaude sanitaire est assurée. Dans ce cas, la température est contrôle par la sonde de départ circuite au de chauffage.
22. RÉGLAGES À EFFECTUER SUR LA CARTE ÉLECTRONIQUE
Lorsque les barrettes sont sur OFF (fig. 13a), on a:
MET fonctionnement de l'appareil au gaz naturel
T.Risc plaque de température de la chaudière en mode chauffage de 30 à 85^
T-off temps d'attente en mode chauffage de 150 secon- des.
Lorsque les barrettes sont sur ON (fig. 13b), on a:
GPL fonctionnement de l'appareil au gaz GPL
T.Risc plaque de température de la chaudière en mode chauffage de 30 à 45^
T-off temps d'attente en mode chauffage de 30 secon- des.


NB. Débrancher la chaudière pour procéder aux réglages décrits.
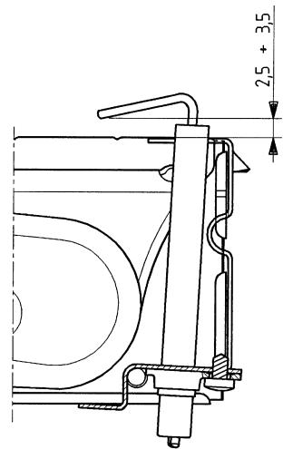
23. POSITIONNEMENT DE L'ÉLECTRODE D'ALLUMAGE ET DÉTECTION DE FLAMME


Figure 14
9912070100
24. VERIFICATION DES PARAMÉTRES DE COMBUSTION
La chaudière est dotée de deux points de connexion spécifique conçus pour permettre aux techniciens de mesurer les performances de combustion une fois l'installation terminée, et de s'assurer que les produits de la combustion ne constituentaucun risque pour la santé.
Une prise est reliée au circuit d'évacuation des fumées et permet de détecter le rendement de combustion et si les produits de la combustion sont hygieniques.
L'autre est reliée au circuit d'aspiration de l'air comburant et permet de vérifier éventuelles le recyclage des produits de la combustion en cas de conduits coaxiaux.
La prise reliée au circuit des fumées permet de relever les paramètres suivants :
- température des produits de la combustion;
- concentration d'oxygène (O_2) ou dioxyde de carbonne (CO_2) ;
- concentration d'oxyde de carbone (CO).
Relever la température de l'air comburant dans la prise reliée au circuit d'aspiration de l'air, en introduisant la sonde de mesure sur 3 cm environ.
Pour les modèles de chaudières à tirage naturel, réalisier un orifice sur le conduit d'évacuation des fumées à une distance de la chaudière correspondant à 2 fois le diamètre interne du conduit.
Il est possible de relever les paramètres suivants à travers cet orifice :
- température des produits de la combustion ;
- concentration d'oxygène (O_2) ou dioxyde de carbonate (CO_2) ;
- concentration d'oxyde de carbone (CO).
Mesurer la température de l'air comburant à proximé de l'arrivée de l'air dans la chaudière.
L'orifice, qui doit être réalisé par le responsable de l'installation à l'occasion de la première mise en marche, doit être fermé pour garantir l'échéité du conduit d'évacuation des produits de combustion durant le fonctionnement normal.
25. CARACTERISTIQUES DÉBIT/HAUTEUR MANOMETRIQUE
La pompe utilise est du type à hauteur manometrique elevée pouvant également être utilisée sur n'importe quel type d'installation de chauffage mono ou bitube. Le purgeur d'air automatique incorpore dans le corps de la pompe permet de purger rapidement l'installation de chauffage.
Graphique 1

0503_1120
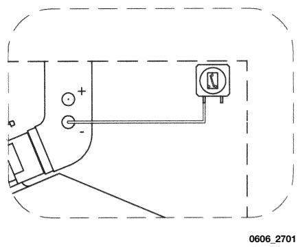
26. RACCORDEMENT DE LA SONDE EXTERIEURE
La chaudière est conçue pour être raccordée à une sonde extérieure fournie comme accessoire. Pour le raccordement, voir la figure ci-dessous et suivre les instructions fournies avec la sonde.

Relier le cable, fourni comme accessoire avec la sonde externe, au connecteur CN10 du circuit électronique de la chaudière, comme illustré dans la figure 15.

Figure 15
Lorsque la sonde extérieure est raccordée, le bouton de réglage de la température du circuit de chauffage (2 - Fig. 1) sert à régler le coefficient de dispersion Kt (figure 16). Les figures ci-dessous mettent en évidence la correspondance entre les positions du bouton et les courbes programmes. Il est également possible de programmer des courbes intermédiaires en plus de celles qui sont représentées ici.
IMPORTANT: la valeur de la température d'amnéée TM dépend de l'emplacement de la barrette ou du switch T.RISC (voir chapitre 22). La température maxi calculable peut en effet correspondre à 85^ ou à 45^ .


TM = Gamme températures refoulement
Te = tempéature extérieure
27. DETARTRAGE DU CIRCUIT SANITAIRE
Il est possible de nettoyer le circuit sanitaire sans déposer l'échangeur eau-eau si la plaque est dotée du robinet (sur demande) installé sur la sortie de l'eau chaude sanitaire.
Pour les opérations de nettoyage, il faudra :
- fermer le robinet d'arrivée de l'eau sanitaire
- vidanger le circuit sanitaire au moyen d'un robinet de service
- fermer le robinet de sortie de l'eau sanitaire
- dévisser les deux bouchons qui se trouvent sur les robinets d'arrêt
- oter les filtres
Si la chaudière ne dispose pas de ce robinet, il faudra démonter l'échangeur eau-eau en suivant les explications du paragraphe suivant pour le nettoyer à part. Il est également conseillé de détartrer le siège et la sonde NTC qui se trouve sur le circuit sanitaire.
Pour nettoyer l'échangeur et/ou le circuit sanitaire, il est conseilé d'utiliser Cillit FFW-AL ou Benckiser HF-AL.
28. DÉMONTAGE DE L'ÉCHANGEUR EAU-EAU
L'échangeur eau-eau du type à plaques en acier inox se démonte facilement à l'aide d'un tournevis en procédant de la façon suivante :
- vidanger le circuit - en se limitant si possible à la chaudière - au moyen du robinet de vidange ;
- vidanger le circuit sanitaire;
- 0ter les deux vis de fixation - visibles à l'avant - de l'échangeur eau-eau et dégager ce dernier de son logement (figure 17).
29. NETTOYAGE DU FILTR D'EAU FROIDE
La chaudière est dotée d'un filtré de l'eau froide installé sur le groupe hydraulique. Pour le nettoyage, procédér de la façon suivante :
- Vidanger le circuit sanitaire.
- Dévisser l'écrou qui se trouve sur le groupe du détecteur de débit (Figure 17);
- Dégager le détecteur de son logement avec son filtré.
- Eliminer éventuelles le impuretés.
Important : en cas de remplacement et/ou de nettoyage des joints toriques du groupe hydraulique, ne pas utiliser d'huile ou de graisse pour la lubrification, utiliser exclusivement Molykote 111.

30. SCHEMA DE PRINCipe DES CIRCUITS
VNI 24 - VNI 28

Figure 18

VNI 28
Legende :
1 Sonde de priorité sanitaire
2 By-pass automatique
3 Pressostat hydraulique
4 Vanne trois voies
5 Sonde NTC sanitaire
6 Détécteur de début avec filtrer et limiteur de début d'eau
7 Moteur vanne trois voies
8 Vanne gaz
9 Vase d'expansion
10 Electrode d'allumage
11 Sonde NTC chauffage
12 Thermostat de sécurité
13 Échangeur eau fumées
14 Aspiration des fumées
15 Ventilateur
16 Prise de pression positive
17 Pressostat air
18 Prise de pression négative
19 Électrode de détction de flamme
20 Brûleur
21 Rampe gaz avec injecteurs
22 Echangeur eau - eau à plaques
23 Purgeur automatique
24 Pompe avec séparateur d'air
25 Robinet de remplissage du circuit
26 Robinet de vidange chaudière
27 Manometre
28 Soupape de sécurité hydraulique

Figure 19
Legende :
1 Sonde de priorité sanitaire
2 By-pass automatique
3 Pressostat hydraulique
4 Vanne trois voies
5 Sonde NTC sanitaire
6 Detecteur de débit avec filtre et limiteur de débit d'eau
7 Moteur vanne trois voies
8 Vanne du gaz
9 Vase d'expansion
10 Électrode d'allumage
11 Sonde NTC chauffage
12 Thermostat de sécurité
13 Échangeur eau fumées
14 Aspiration des fumées
15 Thermostat fumées
16 Électrode de détention de flamme
17 Brûleur
18 Rampe gaz avec injecteurs
19 Échangeur eau - eau à plaques
20 Purgeur automatique
21 Pompe avec séparateur d'air
22 Robinet de remplissage du circuit
23 Robinet de vidange chaudiere
24 Manometre
25 Soupape de suture hydraulique
31. SCHEMA DE CABLAGE DES CONNECTEURS
VNI 24 - VNI 28

Couleur des câbles
C = Bleu ciel
M = Marron
N = Noir
R = Rouge
G/V = Jaune/vert
B = Blanc
V = Vert
LEGENDE
P2: Potentiomètre sanitaire
P3: Commutateur E/H/OFF
P4: Potentiomètre chauffage
P5: Trimmer de réglage puissance en mode chauffage

Couleur des câbles
C = Bleu ciel
M = Marron
N = Noir
R = Rouge
G/V = Jaune/vert
B = Blanc
V = Vert
LEGENDE
P2: Potentiomètre sanitaire
P3: Commutateur E/H/OFF
P4: Potentiomètre chauffage
P5: Trimmer de réglage puissance en mode chauffage
32. CARACTERISTIQUES TECHNIQUES
| chaudière modèle | CNI 24 | VNI 24 | VNI 28 | |
| Catégorie | II2E+3P | II2E+3P | II2E+3P | |
| Débit thermique nominale | kW | 26,3 | 26,9 | 33,3 |
| Débit thermique réduite | kW | 10,6 | 10,6 | 11,9 |
| Puisance utile nominale | kW | 24 | 25 | 31 |
| kcal/h | 20.600 | 21.500 | 26.700 | |
| Puisance utile réduite | kW | 9,3 | 9,3 | 10,4 |
| kcal/h | 8.000 | 8.000 | 8.900 | |
| Rendement conformément à la directive 92/42/CEE | — | ★★ | ★★★ | ★★★ |
| Pression maxi eau circuit thermique | bar | 3 | 3 | 3 |
| Capacité vase d'expansion | I | 8 | 8 | 10 |
| Pression du vase d'expansion | bar | 0,5 | 0,5 | 0,5 |
| Pression maxi eau du circuit sanitaire | bar | 8 | 8 | 8 |
| Pression mini dynamique eau du circuit sanitaire | bar | 0,15 | 0,15 | 0,15 |
| Débit mini eau sanitaire | l/min | 2 | 2 | 2,0 |
| Production eau sanitaire avec ΔT=25 °C | l/min | 13,7 | 14,3 | 17,8 |
| Production eau sanitaire avec ΔT=35 °C | l/min | 9,8 | 10,2 | 12,7 |
| Débit spécifique (*) | l/min | 11,2 | 11,5 | 13,7 |
| Type | — | B11BS | C12 - C32 - C42 - C52 - C82 - B22 | |
| Diamètre conduit d'évacuation concentré | mm | — | 60 | 60 |
| Diamètre conduit d'aspiration concentré | mm | — | 100 | 100 |
| Diamètre conduit d'évacuation double | mm | — | 80 | 80 |
| Diamètre conduit d'aspiration double | mm | — | 80 | 80 |
| Diamètre conduit d'évacuation | mm | 125 | — | — |
| Débit massique maxi des fumées (G20) | kg/s | 0,019 | 0,017 | 0,018 |
| Débit massique mini des fumées (G20) | kg/s | 0,017 | 0,017 | 0,019 |
| Température fumées maxi | °C | 110 | 135 | 145 |
| Température fumées mini | °C | 85 | 100 | 110 |
| Classe NOx | — | 3 | 3 | 3 |
| Type de gaz | — | G20-G25 | G20-G25 | G20-G25 |
| G31 | G31 | G31 | ||
| Pression d'alimentation gaz métahane 2H (G20) | mbar | 20 | 20 | 20 |
| Pression d'alimentation gaz (G25) | mbar | 25 | 25 | 25 |
| Pression d'alimentation gaz propane 3P (G31) | mbar | — | 37 | 37 |
| Tension d'alimentation électrique | V | 230 | 230 | 230 |
| Fréquence d'alimentation électrique | Hz | 50 | 50 | 50 |
| Puisance électrique nominale | W | 80 | 135 | 165 |
| Poids net | kg | 33 | 38 | 40 |
| Dimensions | hauteur | 763 | 763 | 763 |
| largeur | 450 | 450 | 450 | |
| profondeur | 345 | 345 | 345 | |
| Degré de protection contre l'humidité et la pénétration de l'eau (*) | — | IP X4D | IP X4D | IP X4D |
() selon EN 625
(^*) selon EN 60529

Les descriptions et caractéristiques figurant sur ce document sont données à titre d'information et non d'engagement. En effet, soucieux de la qualité de nos produits, nous{nous réservons le droit d'effectuer, sans préavis, toute modification ou amélioration.
***
Notice Facile