8513 - Machine à coudre EUREKA - Notice d'utilisation et mode d'emploi gratuit
Retrouvez gratuitement la notice de l'appareil 8513 EUREKA au format PDF.
| Type d'appareil | Machine à coudre mécanique |
| Alimentation | Électrique |
| Nombre de points | Non précisé |
| Type de points | Droit, zigzag |
| Vitesse de couture | Variable |
| Enfile-aiguille | Manuel |
| Position de l'aiguille | Réglable |
| Type de canette | Classique horizontale |
| Bras libre | Oui |
| Éclairage intégré | Oui |
| Table d'extension | Non précisé |
| Accessoires inclus | Non précisé |
| Poids | Non précisé |
| Dimensions | Non précisé |
| Garantie | Non précisé |
FOIRE AUX QUESTIONS - 8513 EUREKA
Questions des utilisateurs sur 8513 EUREKA
0 question sur cet appareil. Repondez a celles que vous connaissez ou posez la votre.
Poser une nouvelle question sur cet appareil
Téléchargez la notice de votre Machine à coudre au format PDF gratuitement ! Retrouvez votre notice 8513 - EUREKA et reprennez votre appareil électronique en main. Sur cette page sont publiés tous les documents nécessaires à l'utilisation de votre appareil 8513 de la marque EUREKA.
MODE D'EMPLOI 8513 EUREKA
Livret d'instructions
8513 / 8518
Chere CLIENTE,
Vou venez de faire l'acquisition d'une machine a coudre ce pour quoi nous vous felicitons.
Cette machine a eté conque pour coudre tous types de tissus.
Votre machine vous est donc livree avec une aiguille standard et le pied universel monté.
Ce manuel d'instructions vous permettra de connaître toutes les possibilités que vous offre la machine mais aussi d'effectuer une mise en route dans les importantes conditions.
Nous vous invitons notamment à le parcourir dans son INTEGRALITE afin de maîtriser au mieux votre machine en portant unsoon tout particulier au paragraph
Il ne nous reste plus qu'à vous souhaiter beaucoup de理論 et de succès.
EN CAS DE PANNE OU DE PROBLEME DE MISE EN MARCHE, CONTACTEZ-NOUS AU N° INDIGO: 0825398598
CONSIGNES DE SECURITE
Veuillez bien respecter les consignes de sécurité suivantes:
- Ne branche la machine que sur une prise de conrant alternatif. Vérifiez que la tension du secteur corresponde bien à cette indiquée sur la plaquette signalétique.
- Cte t 1t t t t t t t t t t t t t t t t t t t t t t t t t t t t t t t t t t t t t t t t t t t t t t t t t t t 0
- Dés qu'elle est en mouvement, l'aiguille est source de danger (risque de blessure aux doigs). Il convient donc d'observer en permanence l'endetroit ou s'effectue la couture. Toute manipulation dans la zone d'action de l'aiguille ne doit s'effectuer que lorsque l'interrupteur de mise en route sur < 0>
- N'utilisez que de l'huile spéciale machine à coudre. L'utilisation d'huile de cuisine entraine un blocage complet et irréversible du mécanisme interieur.
- De même, il est conseilé pour toutes interventions sur les parties mécaniques de la machine (changement ampoule, nettoyage, crochet...) de retarder la fiche secteur de la machine.
- N'utilisez jamais la machine si le cordon est endommagé. N'essayez pas d'intervenir vous même sur toutes parties électriques (moteur, pédale, cordon...). Toute intervention ou réparation doit être effectué par un technicien spécialisé.
- Ne plongez jamais la machine dans l'eau. Nettoyez la uniquement avec un chiffon sec ou légarement humide, après avoir retirer la fiche secteur.
- Ne tirez jamais la machine par le cordon, éloignez le cordon de toutes sources de chaleur et des huiles, des flammes, de l'eau... N'utilise une rallonge que si elle est en excellent état.
Aucune responsabilité n'est assumee en cas de dommages consecutifs a une utilisation non appropriee ou non-conforme au mode d'emploi, de mauvais entretien ou de reparation inadaptete.
IMPORTANT
Il faut impératifement conserver le carton d'origine ainsi que le polyforme interieur durant toute la durée de garantie.
Aucun échange ou réparation sous garantie, ne seront faits si la machine n'est pas restituee dans son emballage d'origine.
SOMMAIRE
Descriptif de la machine 2/3
Accessoires 4
Branchement de la machine 5
Passage à l'utilisation bras libre 6
Changement de I'ampoule 7
Changement de I'aiguille 8
Levier de pied de biche. 9
Réglage de la pression du pied de biche 9
Changer le pied de biche 10
Changer un pied de biche
Enlever le support de pied de biche
Le guide
Remplissage de la canette 11
Mise en place de la canette 12
Enfilage du fil supérieur 13
Remonter le fil inférieur 14
Tension des fils 15
Tension du fil inférieur dit de canette
Tension du fil supérieur
Marche arrirée 16
Retrait de I'ouvrage 16
Sélectionner un point 17
1. Réglage de la longueur de point 183
Réglage de la largeur de point 197
Conseils importants 20
Tableau de correspondence des aiguilles et fils. 21
Couture au point droit 22
Le simple point droit
Le triple point droit
Couture au point zigzag 23
Le simple zigzag
Le zigzag piqué
Le triple point zigzag
Les ourlets aux points invisibles (pied optionnel) 24
Pose des boutons 25
La boutonniere 26
Couture de fermeture a glissiere 27
Coudre avec le pied ourleur (pied optionnel) 28
Les points decoratifs 29
La pose de cordonnet (pied optionnel) 30
Repriser (pied optionnel) 31
Les points overlock (pied optionnel) 32
Le point nid d'abeille 8518 uniquement 33
Les autres points 34
Les points décoratifs
Entretien de la machine 35
Tableau récapitulatif des points et réglages 36
DESCRIPTIF DE LA MACHINE
- Bouton de réglage de la largeur de point
- Bouton de réglage de tension du fil supérieur
- Guide fil de replissage de la canette
- Bouton de réglage de pression du pied de biche
- Releveur de fil
- Bouton de marche arrêté
- Coupe fil
- Pied de biche
- Plaque à aiguille
- Table de rallonge et boite accessoires
- Butée de replissage de canette
- Bouton de réglage de la longueur de point
- Fenêtre d'affichage

DESCRIPTIF DE LA MACHINE
- Broches à bobines
- Devidoir à canette
- Volant
- Selecteur de points
- Interrupteur de mise en route
- Prise pour le branchement sur le réseau électrique
- 2^b guide fil supérieur pour enfilage de la machine
- 1^ Guide fil supérieur pour enfilage de la machine
- Poignée de transport
- Releveur de pied de biche

Accessoires fournis avec la machine:
a. Pied universel (monté sur la machine)
b. Pied pour fermeture a glissiere
c. Pied à boutonnière
d. Pied pose bouton
e. Tournevis
f. Pinceau/ découvert
g. Huileur
h. 3 aiguilles (l'aiguille se trouvant montée sur la machine est une aiguille jean)
1.3 canette
j. Guide
k. Plaque à reprimer
Accessoires optionnels (vous pouvez en faire l'acquisition auprès de l'établissement vendeur):
I. Pied à broder
m. Pied ourleur
n. Pied pour ourlet invisible
o. Pied pour pose de cordonnet
p. Pied à repriser
q. Pied à overlock
a

006806008
b

006905008
d

006914008
e

9

f

i

j

C

006909008
h

k

1

006804008
m

006800008
n

006812008
0

006810008
p

q

006803008
BRANCHEMENT DE LA MACHINE
Installez votre machine sur une surface bien plane. Voitre machine à coudre a été entièrement huiée par l'usine de fabrication. Il est donc indispensable, avant de commencer à l'utiliser, de bien essuyer la plaque aiguille et ses abords. Faites ensuite un essai sur un échantillon de tissu pour bien éponger l'huile en excès.
Enfencer la fiche < A> dans la machine et la fiche < B> dans la prise murale.
Votre machine est équipée d'un interrupteur unique moteur/lumière. Vous piquez donc constamment avec votre travail éclairé. Pour allumez votre mahice, appuyez sur l'interrupteur < >
IMPORTANT: Voiture machine à condre est un apparéil électrique. Pour cette raison:
- pour remplacer l'ampoule de 15W
- pour l'entretien ou la lubrication
- pour remplaner l'aiguille ou le pied de bianche
-lorsque you cessez toute utilisation
RETIREZ LA FICHE DE LA PRESE DE COURANT.
Cette machine répond aux prescriptions 82/499/CEE.
PEDALE:
Pour actionner la machine, il suffit d'appuyer sur la pédale.
Voussous pouvez régier la vitesse de la machine en appuyant plus ou moins fort sur la pédale.

PASSAGE A L'UTILISATION BRAS LIBRE
Cette machine peut s'utiliser aussi bien sous la forme d'une base plane que celle d'un bras libre.
En conservant la boite à accessoires en place, vous disposez d'une grande table de travail.
En éliminant cette boîte, vous vous trouvez en face d'un bras libre facilitant la contour des vêtements d'enfants, jambes de pantalon, emmanchures...
Pour enclencher la boîte, il suffit de la pousser dans le sens de la flèche jusqu'à ce qu'elle prenne l'encoche. Pour l'enlever, tirer sur la boîte dans le sens contraire.
Vous trouvrez à l'intérieur tous les accessoires standards de votre machine. Il suffit d'ouvrir la porte comme indiqué. Notre machine vous est livrée avec le pied de biche universel est une aiguille standard montés.


CHANGEMENT DE L'AMPOULE
RETIRER LA FICHE SECTEUR DE VOTRE MACHINE.
Lorsque you appuyez sur l'interrupteur de mise en route de la vente machine, la lumière s'allume automatiquement.
Si tel n'est pas le cas, deux causes sont possibles:
- l'ampoule est mal vissee
- l'ampoule est grillée.
Pour remédier à cela, desserrer la vis et enlever le couvercle frontal . Vérifiéez en premier lieu que l'ampoule est correctement visée en la tournant vers la droite. Allumez votre machine. Si l'ampoule ne fonctionne toujours pas alors enlevez cette-ci en la dévissant vers la gauche (voir schéma). Puis la replacer par une neue (max. 15W). Revissez ensuite la couvercle frontal.

PASSAGE A L'UTILISATION BRAS LIBRE
Cette machine peut s'utiliser aussi bien sous la forme d'une base plane que celle d'un bras libre.
En conservant la boite à accessoires en place, vous disposez d'une grande table de travail.
En éliminant cette boîte, vous vous trouvez en face d'un bras libre facilitant la contour des vêtements d'enfants, jambes de pantalon, emmanchures...
Pour enclencher la boîte, il suffit de la pousser dans le sens de la flèche jusqu'à ce qu'elle prenne l'encoche. Pour l'enlever, tirer sur la boîte dans le sens contraire.
Vos trouvrez à l'intérieur tous les accessoires standards de votre machine. Il suffit d'ouvoir la porte comme indiqué. Notre machine vous est livrée avec le pied de biche universel est une aiguille standard montés.


METTRE L'INTERRUPTEUR SUR < 0>
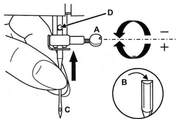
Votre machine est livrée avec une aiguille jean d'origine, montée par l'usine.
Si vous souhaitez condre un autre type de tissu, il faut changer l'aiguille. De même chaque fois que des signes d'usure se manifestent, il faut immédiatement la replacer. Une aiguille dont la pointe n'est pas correcte, comme montré sur le schéma ci-contre, entraînera des problèmes lors de la couture (fils cassent, fil inférieur ne remonte pas...)
Pour remplaçer l'aiguille,procédez comme suit:
- Desserrez la vis située juste au-dessus de l'aiguille.
- Enlevez l'aiguille puis prenez en une autre et place la. Notre aiguille doit être place de manière à ce que le côté plat de l'aiguille soit vers l'arrière de la machine.
- Poussez l'aiguille jusqu'à la butée.
- Enfin revissez la vis.

1

2
Ce levier a deux positions. Il permet quand on le pousse vers le haut, de relever le pied de biche afin de permettre de glisser votre tissu en dessous ou pour au contraire, oter celui-ci une fois votre travail terminé.
Le bouton de réglage se situe au dessus de votre machine à gauche. La pression du pied de biche se règle selon l'épaissur du tissu (ex: jean ou soie). Pour se faire, utilisez une piece de monnaie pour tourner le bouton.
- Pour diminuer la pression, pour condre du jean par exemple, il faut tournier le bouton dans le sens inverse des aiguilles d'une montre.
- Pour augmenter la pression, pour coudre du tissus très fins, il faut tourner le bouton dans le sens des aiguilles d'une montre.


CHANGERLEPIDEDBICHE
Votre machine est équipée d'origine avec le pied universel. Les autres pieds se trouvent dans la boîte d'accessoires et s'utilisent pour des fonctions ou points bien précis. Tout cela vous est expliqué dans les pages suivantes de votre livre.
- Semelle pour pose bouton.
- Semelle à boutonnière.
- Semelle pose fermetre à glissière.
D'autres pieds optionnels sont disponibles auprès de l'établissement vendeur.
CHANGER UN PIED DE BICHE: (1 et 2)
Tous les pieds (excepté le pied optionnel à reprimer) sont des pieds
Image 1: Tout d'abord il faut à l'aide du releveur situé d'errière la machine, relever le pied de biche. Appuyer légarement sur le levier
Image 2: Posez sur la plaque, le nouveau pied que vous souhaitez utiliser, et baisser doucement le support de pied de biche toujours à l'aide du levier situé derrière la machine. La broche
ENLEVER LE SUPPORT DE PIED DE BICHE: (3)
Cette opération est nécessaire pour utiliser le pied optionnel à reprimer. Image 1: Relevez le pied de biche. D'évissez la vis de manière à libérer le support de la barre aiguille . Puis poser le pied à reprimer (voir page).
LEGUIDE:(4)
Ce guide permet d'effectuer des coutures parfaitement paralleles.
Cette méthode est notamment utilisé pour le patchwork.
Image 4: Introduire le guide <g> avec précaution, en procédant comme indiqué sur le schéma.

REMLISSAGE DE LA CANETTE
Votre machine remplie les canettes grâce à une manipulation très simple.
Images 1 et 2:
Mettre tout d'abord une bobine de fil sur l'un des supports situés à l'arrière droit de la machine.
Posez ensuite une canette vide sur la broche du dévidoir, située au-dessus de la machine à droite.
Tirez le fil de votre bobine puis passez le dans le guide fil comme indiqué sur le schéma n°2.
Image 3:
Enroulez le fil de quelques tours autour de la canette dans les sens des aiguilles d'une montre.
Poussez ensuite la canette vers la droite contre la butée.
VOTRE MACHINE SE MET AUTOMATIQUEMENT EN MODE SECURITE: L'AIGUILLE RESTERA IMMOBILE LE TANT QUE VOTRE CANETTE SE REMPLISSE.
POUR COUDRE A NOUVEAU, N'OUBLIEZ PAS REPOUSSER LA BROCHE DU DEVIDOIR A GAUCHE.
Appuyez sur votre pédale doucement, tout en tenant quelques secondes, l'extrémité du fil. Lorsque votre canette est pleine, cessez d'appuyer sur la pédale. Otez la canette eturtout n'oubliez pas de repousser le dévidoir à gauche pour coudre!

MISE EN PLACE DE CANETTE
METTRE L'INTERRUPTEUR SUR < 0> .
- Ouvrir le couvercle donnant accès au boîtier à canette < 1> .
- Saisir le boitier à canette par le loquet pour l'extraire.
- Saisissez la canette de la main droite en ayant pris soin de laisser quelques centimétres de fil dépasser. Il faut prendre la canette de manière à ce que le fil soit enroulé dans le sens des aiguilles d'une montre < 2> .
- Prenez de la main gauche, le boitier de canette puis insérez la canette < 2> .
- Tenez ensuite le tout de la main gauche et saisissez de la main droite, le fil qui dépasse. Il faut le faire passer dans l'encoche située au dessus du boîtier, puis sous la languette et tirez le fil vers le haut < 3> .
- Saisissez le boitier par l'encoche < 4> et inséréz le dans le crochet < 5> .

ENFILAGE DU FIL SUPERIEUR
METTRE L'INTERRUPTEUR SUR < 0> .
- Posez une bobine de fil sur le supports de bobine.
- Passez le fil dans le premier guide , puis dans le guide de droite à gauche.
- Tirez le fil vers vous puis faîtes le descendre jusqu'en bas dans la fente frontale de droite (Image 2).
- Remontez le dans la fente de gauche jusqu'en haut (Image 2).
- Il faut maintainant le passer dans le releveur de fil. Le releveur est cette piece métallique qui apparait dans la fente de gauche en haut. S'il n'est pas visible, il suffit de tournier le volant vers soi de manière à le faire apparaitre. Ensuite, il faut passer le fil dans ce releveur de droite à gauche (Image 3).
- Tirer de nouveau votre fil vers le bas toujours dans la fente de gauche.
- Il faut ensuite le passer dans la petite encoche située au dessus de l'aiguille (Image 4), puis enfin dans le chas de l'aiguille d'avant en arrêté.






REMONTER LE FIL INFERIEUR
METTRE L'INTERRUPTEUR DE VOTRE MACHINE SUR < 0>
Pour réaliser cette opération, vous avez au préalable enfilé le fil supérieur et inférieur (voir pages précédentes).
- Afin de facilititer cette opération, relevez le pied de biche.
- A l'aide de votre main gauche, tenez le fil sortant de l'aiguille. Tournez le volant vers vous de manière à descendre l'aiguille au maximum. Continue à tourner le volant pour faire remonter l'aiguille complètement.
- Le fil inférieur apparait au niveau de la plaque aiguille sous la forme d'une boucle.
- Saisissez la et tirez doucement sur le fil de quelques centimétres.
- Prenez ensuite les deux fils de manière à les faire passer sous le pied de biche et vers l'arrière de la machine.


TENSION DES FILS
TENSION DU FIL INFERIEUR DIT DE CANETTE:
Pour contrôler la tension du fil inférieur, il suffit de suspendre le boitier à canette par le fil.
Si le fil se déroule, quand vous le balancerz légèrement, sur 5 à 10 cm alors la tension est correcte. Dans le cas contraire il faudra procéder comme suit :
- si le boitier se déroule trop vite alors la tension est trop faible. Il faut l'augmenter en tournant la vis du boitier vers la droite.
- si le boitier ne se déroule pas, c'est que la tension est trop facile. Réduisez la en tournant la vis vers la gauche.
Voir lescheme ci contre.
TENSION DU FIL SUPERIEUR :
La tension du fil supérieur se regle grâce à la molette située sur le haut de la machine. Il s'agit de la molettre gauche.
La tension suivée est située entre 6 et 7. Par contre elle s'adapte en fonction du type de tissu que vous allez travailler.
Plus le tissu est écais, plus vous devez relâcher la tension du fil. Inversement, quand le tissu est très fin il faut augmenter la tension.
Pour ce faire, il suffit de tournier la molette et de faire apparaitre le chiffre désiré en sachant que:
- 0 est égale à la tension minimale
- 9 est égale à la tension maximale
En résumé : pour coudre des tissus comme la soie, la tension se rapprochera du 9, et au contraire pour coudre des tissus écais la tension sera plus proche du 0.
Avant de démarrer un travail, il est conseilé de faire un échantillon afin de pouvoir régler la machine (longeur, largeur, tensions...) de manière à atteir un point le plus parfait possible, en adéquation avec le tissu que vous utilisez.



MARCHEARRIERE
Comme indiquedans the recommendations de la page precedente, il est conseilé de faire quelques points en marche arrière à chaque début et fin de travail afin de consolider la couture.
Pour ce faire: lorsque vous débutez un travail, piquez quelques points puis appuyez sur le bouton de marche arrrière quelques secondes. Enfin relâchez celui ci et continuez à coudre normalement.
De même, lorsque vous arriverez à la fin de votre piêtre, appuyez sur le levier quelques secondes et rechez le.
Note: la machine coud en marche arrière tant que vous maintenez le bouton enforcé. Dans que vous le relâchez, la machine repart en avant.
RETRAIT DE L'OUVRAGE
Une fois vous travaill terminé, relevez l'aiguille à sa plus haute position à l'aide du volant.
Relevez ensuite le pied de biche puis tirez doucement votre tissu vers l'arrière en laissant plusieurs centimétres de fil. Coupez les fils.

Selectionner UN POINT
Pour sélectionner le point désiré, il suffit de tourner le bouton de scélection de points qui se trouve sur le côte croite de la machine et de faire apparaitre, dans la petite fenêtre frontale, la dette correspondante.
Tous les points sont représentés sur votre machine avec la dette et le mode correspondants.
-
Une dette peut correspondre à 2 points différents selon le mode> sélectionné. Par exemple, la dette B correspond:
-
en mode normal: au zig zag simple
- en mode S1: au point zigzag triple (point stretch).
Le
- Le
normal: vous devez régler la longueur entre 0 et 4 selon votre choix.. - Le
S1: tournez la molette longueur de points de maniere à faire apparaitre l'inscription .
En mode S1, il n'est donc plus possible de régler soi même la longueur de point. Ce ci est prérgée en usine.
Chaque point est détaillé dans les pages suivantes de votre livre.

REGLAGE DE LA LONGUEUR DE POINT
Le bouton de réglade de la longueur est la molette située au-dessus de la machine à droite.
La longueur de point dépend du rendu de point que l'on souhaite avoir mais aussi en fonction du type de tissu utilisé. Par exemple quand on coud un tissu écais il est recommendé d'utiliser une longueur de point plus importante.
Tout au long de ce livre, la longueur de point vous sera toujours conseillée selon le point sélectionné (hormis pour les points en mode S1 et S2 où la longueur ne peut plus être réglée soi même.).

Longueurs de points droits

Longueurs de points zigzag
REGLAGE DE LA LARGEUR DE POINT
Tous les points exécutes par cette machine, à l'exception des points droits, peuvent être régés en largeur.
La molette de réglage de la largeur est située au dessus de la machine. Il s'agit de la molette centrale.
La largeur est régliable de 0 à 5. Plus le chiffre sur lequel vous positionné la molette est grand, plus large sera le point.
Nous conseillons par contre pour la couture avec une aiguille double, de ne jamais régler la largeur au dela de 2. (Risque de casser l'aiguille).

Largeurs de points droits
n desagrements.
- A p t a i t appuyez sur la pedale, you entende le moteur tourner mais l'aiguille ne pique plus.
- Si la luzere ne s'allume pas lorsque vous enclenchez l'interrupteur, penser a vérifier l'etat de l'ampoule (voir page 7). Le non fonctionnement de la lampe n'implique pasforcément une panne generale de la machine.
- Vérifier que l'aiguille est place correctement et convient pour le tissu à piquer. Elle ne doit être ni émoussée, ni tordue. Vérifiez également que l'aiguille utilisée correspond bien au type de tissu à coudre (par rapport à la texture et à l'épaisseur).
- Avant de placerYOUR tissu sous le pied de biche, amenez les deux fils vers l'arriere. Pour les premiers points, tenez les deux fils en main.
- Piquez tounq quels points sur un echantillon de tissu a utiliser pour verifier que les points se forment bien. Verifie z bon reglage de la tension, largeur et longueur de points.
- L'etoffe doit etre placé sous le pied de biche, la partie la plus importante du tissu a gauche de l'aiguille.
- Piquez à vitesse réduite constante. Vous pouvez augmenter la vitesse en appuyant sur la pédale. Lorsque vous passez une épaissér importante, comme les coutures de jean, piquez à vitesse réduite de manière à factiliter le travail de la machine et ainsi éviter de casser l'aiguille.
- Faites toujours quelques points en marche arriere pour consolider vos coutures en début et fin de travail.
- N'oubliez pas de remonter l'aiguille à l'aide du volant à chaque fin de travail.
- Guidez doucement le tissu de la main, en avant de l'aiguille. Ne retenez jamais le tissu de façon telle que le mouvement d'avancement provoqué par les grilles soit perturbé.
- Toujours tourner le volant vers soi et non le contraire.
- Nettoyez regulierement la partie mecanique de votre machine (crochet). Si des morceaux de fils ou poussiere sont trop presentes, alla entraine un mauvais fonctionnement. Pensez donc a donner un coup de pinceau et a huier le tout après chaque utilisation.
TABLEAU DE CORRESPONDANCE DES AIGUILLES ET FILS
Principe fondamental: plus l'etoffe est lourde, plus le fil devra etre epais et plus laiguille utilisée devra etre résistante.
| Type d'étoffe | Travaux de couture | Système d'iguille 130/750H Sorte de fil sorte d'iguille et grosseur | Sorte de fil |
| Étoffe fines p. ex. batiste, soie | Coutures surpiêres | Aiguille universelle 70 | Fil de coton |
| Étoffes moyennes p. ex. cotin, linge | Coutures surpiêres | Aiguille universelle 80 | Fil de coton Fil synthétique |
| Étoffes épaisses p. ex. velours côtelez, tweed | Coutures Surpiêres | Aiguille universelle 90 | Fil de coton Fil synthétique |
| Étoffes dures et stables Comme les jeans | Coutures surpiêres | Aiguille à jeans 90-110 Aiguille stretch 80-90 | Fil pour jeans Fil synthétique |
| Étoffes elastiques p. ex. jersey, tricot | Coutures surpiêres | Aiguille stretch 80-90 (pointe sphérique) | Fil synthétique |
| Pour tous types d'étoffes | Reprise, Surfilage, Boutonnières, Broderies fines | Aiguille universelle 70-90 | Fil à broder ou à reprimer Fil de coton |
| Pour types d'étoffes Fines à moyennes | Coutures décoratives | Double aiguille 70 | Fil de coton |
| Pour types d'étoffes épaisses | Couture de nervures Coutures décoratives | Double aiguille 80 | Fil à broder Fil de coton Fil synthétique |
| Cuir, similie-cuir | Tous travaux de couture | Aiguille à cuir 80-100 | Fil synthétique Fil pour cuir |
Yououpouzereglerla longueurde point selon l'effetdésire.
Nous vous conseillons cependant de tener compte du type de tissu utilisé. Pour la couture de tissu épais, il est recommendé de coudre de longs points droits. N'oubliez pas de désirir le bon fil et la bonne aiguille!
LE TRIPLE PIONT DROIT:
Le triple point droit, ou encore appelé point stretch, s'obtient en seLECTIONnant la dette < A> et en mettant le bouton de longueur de point sur < S1> . Vous ne pouvez donc pius régler la longueur.
Ce point est utilisé pour coudre des tissus élastiques, ou il s'implement si l'on peut obtenir une couture renforcée.

Pour obtenir un point zig zag, sélectionnez la dette .
Vou puevez régler la largeur et la longueur de ce point, selon l'effet désiré. Mais comme pour le point droit, nous vous conseillons d'utiliser une longueur importante pour la couture de tissus épais, et d'utiliser un fil une aiguille déequates.
LE ZIG ZAG PIQUE:
Sélectionnez la dette <C> . Ce point est utilisé notamment pour surfiler vos travaux. Il se découd aisément à l'aide d'un coupe-fil. Pour facilititer vote tâche, Sélectionnez une largeur et une longueur importantes.
Il est également utilisé pour le raccommodage, la pose d'élastique ou de dentelle. Pour le raccommodage de déchirures, il est conseilé de placer un tissu de renforcement sur l'envers. N'hésitez pas à faire plusieurs passages pour consolider.
LE TRIPLE POINT ZIG ZAG:
Ce point est également appelé stretch et s'utilise dans les mêmes conditions que le triple point droit.
C'est la dette en mode S1. Vous ne pouvez plus régler vous même la longueur de ce point. Cependant, vous pouvez toujours régler la largeur comme vous le désirez.

LES OURLETS AUX POINTS INVISIBLES (pied optionnel)
Cette machine vous offre 3 points différents pour les ourlets invisibles. Ces pions vous permettront de réaliser des oulets
Pliez le tissu comme indique sur le schema. L'envers du tissu se trouve vers le haut (1). En effet, ce point se coude sur l'envers du tissu.
Placez l'ouvrage sous le pied de biche. Tournez le volant vers l'avant jusqu'à la position extreme gauche de l'aiguille.
Celle-ci ne n'est pas le cas, rectifiez la largeur du tissu.(2)
Posez le guide du pied (3) sur le pli du tissu. La molette (4) vous permet de bouger le guide (3).
Durant la couture, il faut guider vous tissu de manière a ce qui'il ne rouge pas par rapport au guide.
Le but de ce point, est que seule la pointe du zigzag vous mettrez le tissu a l'endetroit, on ne voit que de tous petits points apparaitre.
Les deux points invisibles sont les suivants :
E>
F>





POSE DES BOUTONS
Le pied et la plaque sont livrés avec votre machine.
Tout d'abord, placez la plaque à reprimer sur la plaque aiguille et montez le pied de biche, comme indiqué sur le schéma < 1> .
Pour coudre un bouton, il faut utiliser le point zigzag simple, c'est à dire la dette .
Réglez la longueur et la largeur sur < 0>
Posez vous tissu et votre bouton de manière à ce que les trous du bouton soient juste au dessus de la petite fente de la plaque à reprimer (sinon l'aiguille piquera sur la plaque et se brisera).
Faites d'abord quelques points dans le trou de droite.
Ensuite régler la largeur du point sur < 1> et faites bouger l'aiguille manuellement à l'aide du volant, afin de vérifier que l'aiguille tombera bien dans le trou de gauche. Si ce n'est pas le cas refaites l'essay avec la largeur sur < 2> et ainsi de suite de manière à couver la largeur adequate.
Quand vous avez trouve la belle largeur,vous pouvez commencer a coudre lentement. < 2>
Si vous souhaitez consolider la couture du bouton, il est possible de passer un cordonnet. Au moment de coudre votre bouton, il suffit d'apposer une aiguille à plat comme indiqué sur le schéma < 3> .

LA BOUTONNIERE
Gracé à votre machine vous allez pouvoir réaliser des boutonnières régulières et identiques de manière très simple.
La boutonnière se réalise en 4 étapes. Mais tout d'abord, il faut préparer votre machine.
Montez le pied à boutonnère, fournie avec votre machine et laissez le pied de biche en position haute.
Ensuite regler la longueur de point sur le signe: qui symbolise la boutonniere. Ne vous préoccupez pas de la largeur, celle-ci se regle automatiquement des que vous selectionné le point boutonniere.
Il faut maintainant mesurer la longueur de votre boutonnière. Pour ce faire, mesurer votre bouton et ajoutez à la dimension trouvée, 3mm.
Marquez à l'aide d'un crayon à tissu, l'emplacement de vos boutonnieres en les symbolisant par le dessin suivant : I
Posez vous tissu sous le pied.
Ajustez le pied de biche à boutonnière par rapport à votre dessin de boutonnière en faisant coulibser le pied, puis descendre le pied de biche.
L'iguille doit se couver sur la marque supérieure de votre boutonnière :

-
Faites apparaitre dans la fenetre le symbole suivant, à l'aide du bouton de seLECTION de points: Commencez à coudre. Vous effectuerez en premier la lévre de la droite .
-
Une fois l'autre extrémité de la boutonnière atteinte, stoppez la couture. Sélectionnez le symbole suivant: La machine effectuera la levre inférieure < b> . Faites quelques points puis stoppez la couture.
-
Sélectionnez le symbole: Pour effectuer la lèvre de gauche
. Une fois le haut de la boutonnière attéint, stoppez la couture. -
Enfin sélectionné à nouveau le symbole: Pour coudre la lèvre supérieure de la boutonnière
.
Recommencce ces 4 etapes pour chacune des boutonnières à coudre.
Ensuite, à l'aide d'un découvert, coupez l'intérieur de la boutonniere.

Bouton pour la longueur de point

COUTURE DE FERMETURE A GLISSIERE
Pourposer unefermeture,onutiliselepied commeindiqué ci-contret le point droit(reglez la longueur selon les memes conditions expliquées pour couture au point droit).
Selon la position du pied de biche, vous allez coudre le côté gauche ou le côté droit. (schéma 2).





2
3
COUDRE AVEC LE PIED OURLEUR (pied optionnel)
Ce pied s'utilise pour la confection d'ourlet sur tissu très fins (soie, doublure...)
Posez le pied ourleur et seLECTIONnez le point droit. Etant donné qu'il s'agit la de tissus fins, il est commandé d'utiliser une longueur de point faible.
Coupez droit, tant que possible,Vote tissu.
Repliez l'extreme bord du tissu en formant un double pli d'environ 3 mm et le maintainir par 4 ou 5 points. Tirer l'égèrement les fils d'aiguille et de canette vers l'arrière.
Relevez à l'aide du releveur de pied, le pied de biche.
Guidez le bord vif du tissu pour qu'il s'engage dans le cornet de l'ourleur.
Abaissez le pied et commencer à coudre en vérifier tout au long de la couture que le tissu s'enroule toujours dans le cornet de l'ourleur.




2
3
LESPPOINTSDECORATIFS
Votre machine possede 1 point decoratif pour le modele 8513 < K> ..

et 2 points pour le modele 8518: < |> et < K>
Pour obtenir un meilleur résultat, reglez la longueur de points entre 0 et 1. La largeur se règle selon votre Appreciation.
Pour la couture de ces points, vous pouvez utiliser le pied de biche universel.



LA POSE DE CORDONNET (pied optionnel)
La pose de cordonnet s'utilise pour décorer par exemple des coussins, nappes... ou tout simplement pour consolider une couture.
Il faut monter le pied à cordonnet et seLECTIONner le point zigzag simple < B> . Le pied vous permet de coudre 1, 2 ou 3 cordonnets en même temps.
La largeur et la longueur se reglent selon votre Appreciation.
Faites passer le ou les cordonnets dans le ressort au dessus du pied. Ensuite tirer le cordonnet vers l'arrière en le faisant passer sous le pied.
Abaisser le pied et commencez a coudre.

REPRISER (pied optionnel)
Posez la plaque à reprimer et le pied à reprimer selon les explications fournies en page 9. Fixez le pied à la barre aiguille. Le levier < A> doit se couver derrière et au dessus de la vis de fixation de l'aiguille < B> . Avec l'index, appuyez fermement par l'arrière sur le pied à reprimer, puis serrer la vis. < C> (schema 4)
Selectionnez le point droit < A>
Commencez par coudre tout autour du trou pour empêcher les mailles de filer < 5> .
Ensuite faites une première rangée: toujours travailler de gauche à droite.
Tournez l'ouvrage d'un quart et faites une autre rangée.
Pour obtenir un meilleur résultat, nous vous conseillons d'utiliser un tambour à reprimer.

□ LES POINTS OVERLOCK (pied optionnel)
Ces points s'utilisent pour le surfilage des bords de tissus afin d'éviter que ceux ci ne s'effilochent. Ils peuvent aussi être utilisés pour coudre ensemble des ouvrages tricotés.
2 points overlock différents pour le modele 8513 et 3 pour le modele 8518.
SIMPLE OVERLOCK POUR 8513 ET 8518:
$$ F < S 1 > \frac {7}{7} $$
Pour tissus à fines mailles, tricots, encolures, cordures.
DOUBLE OVERLOCK POUR 8518 UNIQUEMENT:
$$ G < S 1 > $$
Pour ouvrages tricotés fins, tricotés à la main.
OVERLOCK STANDARD POUR 8518 UNIQUEMENT:
$$ E < S 1 > \sum_ {n} ^ {1} $$
Surfilage des tissus élastiques.



LE POINT NID D'ABEILLE 8518 UNIQUEMENT
Selectionne la dette C en mode < S1> .
Yououpouvezutiliserlepieddebicheuniversal.
Ce point est en règle général utilisé pour coudre des tissus à mailles élastiques comme par exemple les sous-vêtements, les T-shirt.
Il peut aussi faire office de point décoratif.
Pour coudre des ourlets sur un tissu à mailles élastiques (ex: T-shirt): coudre l'ourlet à environ 1 cm du bord coupé du tissu puis coupez le surplus. (3)




2
3
LES AUTRES POINTS
LES POINTS DECORATIFS:
La lettre H en mode < S1> pour les 8513 et 8518.
Les lettres I en mode < S1> pour les 8518 uniquement.
Pour l'ensemble de ces points, seule la largeur est régliable selon vos souhaits. Ils vous permettront de décorer vos travaux.

ENTRETIEN DE LA MACHINE
Retirer la plaque à aiguille: Mettre l'aiguille en position haute en tournant le volant. Ouvrir le couvercle d'accès. Avec le tournevis, desserrer les 2 vis (1) et enlever la plaque à aiguille.
Nettoyage de la griffe d'entrainement:
Retirer la boite à canette. Nettoyer à fond à l'aide du pinceau (2).
Nettoyage et huiage du crochet: Retirer la boite à canette. Tourner les deux fixation du crochet (3) vers l'extérieur (voir dessin). Enlever l'anneau de la fixation du crochet "4" et le crochet "5" et les nettoyer avec de l'étoffe molle. Mettre 1 ou 2 gouttes d'huile pour machines à coudre "6". Tourner le volant jusqu'à ce que la coursière du crochet "7" soit à gauche. Remettre le croche "5" et l'anneau de la fixation du crochet "3" et fermer à nouveau la fixation du crochet "4". Remettre la boite à canette et la plaque à aiguille.
Remarque importante: enlever de temps en temps la poussière et les déchets de fil susceptibles d'encrasser la machine. Pour maintainir votre machine en parfait état de marche, faites-la reviser régulièrement par notre service après-vente.
Attention:
Débrancher la machine pendant toute opération de nettoyage.

1


TABLEAU RECAPITULATIF DES POINTS ET REGLAGES
| POINT | LETTRE | MODE | DESIGNATION | PIED | LONGUEUR | LARGEUR |
| --- | A | Normal | Point droit | Universal: a | 0.5 à 4 | 0 |
| VV | B | Normal | Point zigzag | Universal: a | 0.5 à 4 | 1 à 5 |
| VV | C | Normal | Zigzag piqué | Universal: a | 0.5 à 4 | 1 à 5 |
| MM | D | Normal | Invisible élastique | *Ourlet invisible | Entre 0.5 et 4 | 1 à 5 |
| Λ...Λ V***V | E et F | Normal | Point ourlets invisibles | Ourlet invisible: n optionnel | 0.5 à 4 | 1 à 5 |
| 8518 | I | Normal | Point décoratif | Universal: a | Entre 0 et 1 | 1 à 5 |
| K | Normal | Point décoratif | Universal: a | Entre 0 et 1 | 1 à 5 | |
| ≡≡≡ | A | S1 | Triple croit | Universal: a | S1 | 0 |
| MM | B | S1 | Triple zigzag | Universal: a | S1 | 1 à 5 |
| 8518 | C | S1 | Point nid d'abeille | Universal: a | S1 | 1 à 5 |
| == | E | S1 | Overlock standard | Overlock: q | S1 | 1 à 5 |
| 7~7~7 | F | S1 | Overlock simple | Overlock: q | S1 | 1 à 5 |
| 8518 | G | S1 | Double overlock | Overlock: q | S1 | 1 à 5 |
| HIJ | S1 | Points décoratifs | Universal: a | S1 | 1 à 5 | |
| Normal | Boutonnière | Boutonnière: c | Entre 0 et 1 | Aucun réglage |
Notice Facile