ZS-HL - Capteur optique OMRON - Notice d'utilisation et mode d'emploi gratuit
Retrouvez gratuitement la notice de l'appareil ZS-HL OMRON au format PDF.
| Type de capteur | Laser 2D CMOS |
| Fonction principale | Détection et comptage |
| Alimentation | Non précisé |
| Interface de communication | Non précisé |
| Plage de détection | Non précisé |
| Précision | Non précisé |
| Affichage | Écran numérique |
| Dimensions | Compact |
| Poids | Non précisé |
| Température de fonctionnement | Non précisé |
| Montage | Fixation standard |
| Utilisation | Industrielle |
| Protection | Non précisé |
| Logiciel inclus | Non précisé |
| Langues supportées | Multilingue |
FOIRE AUX QUESTIONS - ZS-HL OMRON
Questions des utilisateurs sur ZS-HL OMRON
0 question sur cet appareil. Repondez a celles que vous connaissez ou posez la votre.
Poser une nouvelle question sur cet appareil
Téléchargez la notice de votre Capteur optique au format PDF gratuitement ! Retrouvez votre notice ZS-HL - OMRON et reprennez votre appareil électronique en main. Sur cette page sont publiés tous les documents nécessaires à l'utilisation de votre appareil ZS-HL de la marque OMRON.
MODE D'EMPLOI ZS-HL OMRON
Capeur intelligent série ZS-HL
Type laser 2D CMOS
MANUEL DE L'UTILISATEUR

Introduction
Le present manuel donne des informations concernant les fonctions, les performances et les modes de fonctionnement de la série ZS-HL.
Respectez impératifement les consignes suivantes lors de l'utilisation du capteur intelligent ZS-HL :
- Le capteur intelligent ZS-HL doit être commandé par un personnel disposant de connaissances suffisantes en électrotechnique.
- Pour garantir une utilisation correcte, veuillez dire attentivement leprésent manuel afin de compléter vos connaissances sur le produit.
- Veuillez conserve r le manuel dans un endroit sur de sorte a pouvoir le consulter à tout moment.
Comment faire passer l'affichage en anglais
Alimentez l'unité en maintainant la touche MENU enfoncée. Cela permet d'afficher l'écran de sélection de la langue d'affichage.
Select Language
1Japanese
2English
Le contrôle démarre avec les messages affichés en anglais au prochain démarrage.
INTRODUCTION
CONSIDERATIONS SUR L'APPLICATION (à lire)
SECTION 1
FONCTIONNALITÉS
SECTION 2
INSTALLATION ET CONNEXION
SECTION 3
EXAMPLES D'APPLICATION ET DE PARAMETRAGE
SECTION 4
FONCTIONS ET OPÉRATIONS UTILISÉES PENDANT LE FONCTIONNEMENT
SECTION 5
PARAMÉTRES DES FONCTIONS
SECTION 6
E/S
SECTION 7
Manuel de l'utilisateur
Captive intelligent
Type laser 2D CMOS
Série ZS-HL
BIEN LIRE ET COMPRENDRE CE DOCUMENT
Lisez et assurez-vous de comprendre ce document avant d'utiliser les produits. Veuillez consulter votre revendeur Omron si vous avez des questions ou des commentaires.
GARANTIE
Omon garantit ses produits contre les vices de matieresaux, main-d'oeuvre comprise, pendant un an (ou toute autre période specifiée) à partir de la date de vente par Omron.
OMRON NE DONNE AUCUNE GARANTIE NI REPRESENTATION, DE MANIÈRE EXPRESSE OU IMPLICITE, CONCERNANT LA NON-VIOLATION, LA VALEUR COMMERCIALE OU L'ADOQUATION DES PRODUITS À DES UTILISATIONSPARTICULIERÉS. TOUT ACQUÉREUR OU UTILISATEUR RECONNAIT QUE SEUL L'ACQUÉREUR OU L'UTILISATEUR PEUT DÉTERMINER SI LES PRODUITS RÉPONDENT CONVENABLEMENT À L'USAGE AUXQUELS ILS SONT DESTINES. OMRONDéCLINE TOUTE AUTRE GARANTIE, EXPRESSE OU IMPLICITE.
LIMITATIONS DE RESPONSABILITE
OMRON NE PEUT ÉTRE TENU RESPONSABLE DES DOMMAGES SPEÇAUX, INDIRECTS OU CONSÉCUTIFS, DE LA PERTE DE PROFIT OU DE LA PERTE COMMERCIALE LIÉE D'UNE QUELCONQUE FAÇON AUX PRODUITS, QUE LA RÉCLAMATION REPOSE SUR UN CONTRAT, UNE GARANTIE, UNE NÉLGENCE OU UNE STRICTE RESPONSABILITÉ.
Eneldom cas, la responsabilité d'Omron ne saurait exceder le prix de vente unitaire du produit pour lequel la responsabilité est invoquée.
EN AUCUN CAS, OMRON NE PEUT ETRE TENU RESPONSABLE DE LA GARANTIE, DE LA REPARATION OU AUTRE DEMANDE CONCERNANT DES PRODUITS, À MOINS QUE L'ANALYSE D'OMRON NE CONFIRME QU'ILS ONT ETÉ MANIPULÉS, STOCKÉS, INSTALLÉS ET ENTRETENUS CORRECTEMENT ET N'ONT PAS FAIT L'OBJET DE CONTAMINATIONS, D'UNE UTILISATION ANORMALE OU D'une MAUVAISE UTILISATION OU DE MODIFICATIONS OU RÉPARATIONS INAPPROPRIÉES.
CONFORMITE D'UTILISATION
LES PRODUITS INCLUS DANS CE DOCUMENT NE SONT PAS RÉPERTORIÉS DANS UNE CLASSE DE PROTECTION. ILS NE SONT PAS CONÇUS NI CLASSÉS COMME DES PRODUITS GARANTISSANT LA SECURITÉ DES PERSONNES ET NE DOIVENT PAS ÉTRE CONSIDERÉS COMME DES ORGANES DE SECURITÉ OU DES DISPOSITIFS DE PROTECTION À CET EFFET.
Veuillez vous reporter aux différents catalogues pour les produits Omron répertoriés dans une classe de protection.
Omron ne garantit pas la conformité de ses produits avec les normes, codes ou réglementations applicables en fonction de l'utilisation des produits par le client.
À la demande du client, Omron fournir les documents de certification par des tiers établissant les valeurs nominales et les limitations d'utilisation s'appliquant aux produits. Ces informations seules ne sont pas suffisantes pour évaluer entière l'adéquation des produits en combinaison avec le produit final, la machine, le système, une autre application ou un autre usage.
Vous trouvez ci-après quelques exemples d'applications qui doivent faire l'objet d'une attention particulière. Cette liste ne répertorie pas de façon exhaustive tous les usages possibles des produits et n'implique pas que toutes les utilisations indiquées conviendront pour les produits.
- Utilisation en extérieur, utilisation entrainant une contamination chimique potentielle ou des interférences électriques, des conditions ou des utilisations non décrites dans le présente document.
- Systèmes de contrôle de l'énergie nucléaire, systèmes de combustion, systèmes pour l'aviation, équipement Médical, machines de produits, vehicules, équipements de sécurité et installations soumises à des réglementations industrielles ou législations particulières.
- Systèmes, machines et équipement représentant des risques pour les personnes ou le matériel.
Vouve nevez connaitre et observer toutes les interdictions applicables concernant l'utilisation des produits.
N'UTILISEZ JAMAIS LES PRODUITS DANS DES APPLICATIONS PRÉSENTANT DES RISQUES GRAVÉS POUR LA VIE OU POUR DES BIENS SANS VOUS ASSURER QUE LE SYSTEME DANS SON ENSEMBLE A ETÉ CONÇU POUR PRENDRE EN COMPTE CES RISQUES ET QUE LES PRODUITS OMRON SONT CORRECTEMENT ÉTALONNÉS ET INSTALLÉS POUR L'USED PRÉVU DANS L'ÉQUIPEMENT OU LE SYSTEME COMPLÉT.
DONNÉES TECHNIQUES
Les données techniques mentionnées dans le present document sont fournies à titre indicatif pour l'utilisateur, afin de permettre à ce dernier de déterminer l'adéquation des produits à ses besoin, mais elles ne constituent aucune garantie. Elles sont basées sur les tests effectuels par Omron et l'utilisateur doit rapporter ces résultats aux exigences de ses propres applications. Les performances réelles sont soumises aux dispositions de la garantie et des limitations de responsabilité d'Omron.
CHANGES DES CARACTERISTIQUES
Les caractéristiques des produits et les accessoires peuvent changer à tout moment pour motifs d'amélioration des produits ou pour autres raisons.
Nous avons pour habitude de changer les références lorsque les valeurs nominales ou caractéristiques publiées sont modifiées ou en cas de changement significatif au niveau de la construction. Toutefois, certaines caractéristiques du produit peuvent être modifiées sans avis préalable. En cas de doute, des références spéciales peuvent être attribuées sur demande afin de fixer ou d'étabrir des caractéristiques clés pour votre application. Prenez contact avec votre revendeur Omron pour obtenir confirmation des caractéristiques des produits achétés.
DIMENSIONS ET POIDS
Les dimensions et les poids sont nominaux et ne doivent pas etre utilisés à des fins de fabrication, meme si les tolérances sont indiquées.
ERREURS ET OMISSIONS
Les informations continues dans ce document ont ete soigneusement controledes et sont supposees exactes. Omron n'assume cependant aucune responsabilitie pour les erreurs d'ecriture, de typographie ou de relecture ou pour des omissions eventuelles.
Omron ne peut être tenu responsable de la réussite de la programmation de l'utilisateur d'un produit programmable ou de ses conséquences.
Ce document ne peut être copié sans autorisation à des fins commerciales ou marketing.
Ce document est protégé par le droit d'auteur et ne doit être utilisé que conjointement au produit. Veuillez nous avertir de votre intention de copier ou de reproductive ce document de chaque manière que ce soit et à chaque fin que ce soit. Si vous copiez ou transmettez ce document à un tiers, faites-le dans son intégralité.
Signification des averissements
La signalétique suivante est utilisé dans ce document.

AVERTISSEMENT
Indique une situation potentiellement dangereuse qui, si elle n'est pas évité, peut provoquer des blessures plus ou moins graves, voir la mort. De plus, il existe un risque important de dommage matériel.
Signification des symboles d'alerte
Les symboles d'alerte suivants sont utilisés dans ce document.

Indique des interdictions générales pour lesquelles il n'este pas de symbole spécifique.

Indique un risque de rayonnement laser.

Indique une interdiction en cas de risque de blessure légère par électrocution ou autre cause si le produit est démontré.
Instructions associées aux alertes dans ce manuel
Les instructions associées aux alertes suivantes s'appliquent aux produits couverts dans le present manuel. Chaque instruction apparait également aux emplacements appropriés dans le manuel pour attirer votre attention.

AVERTISSEMENT
Ce produit n'est pas仑u ni classe comme un produit garantissant la sécurité des personnes.
Ne l'utilisez pas a cet effet.

Ne regardez jamais en direction du rayon laser. Cela pourrait provoquer des troubles de la vision.

Ne démontez pas le produit. Le non-respect de cette consigne peut cause une fuite du rayonnement laser et entraîner des lésions oculaires.

Précautions pour une utilisation sure
Veuillez respecter les précautions suivantes pour une utilisation en toute sécurité des produits.
(1) Environnement d'installation
- N'utilise pas le produit dans des environnementes où il risque d'être exposé à des gaz inflammables/explosifs.
- Pour assurer la sécurité du fonctionnement et de la maintenance, n'installez pas le produit à proximate d'appareillages haute tension ou de dispositifs électriques.
(2) Alimentation et câblage
- La tension d'alimentation doit être dans la plage nominale (24 Vc.c. ± 10%).
- La connexion inversée de l'alimentation n'est pas autorisée.
- Les sorties collecteur ouvert ne doivent pas'être court-circuitées.
- Utilisez l'alimentation dans la plage nominale.
- Les lignes à haute tension et les lignes d'alimentation doivent être branchées séparément de ce produit. Si vous les raccordez ensemble ou les placez sur un même conduit, le phénomène d'induction risque de provoquer un dysfonctionnement ou des dommages.
(3) Autres
- N'essayez jamais de démonter, de réparer ou de modifier le produit.
- Débarrasssez-vous du produit dans une déchetterie industrielle.
Précautions pour une utilisation correcte
Veuillez observer les précautions suivantes pour éviter les pannes, les dysfonctionnements et les effets indésirables sur les performances du produit.
(1) Emplacement de l'installation
N'installez pas le produit dans les endroits suivants soumis aux conditions suivantes :
- Température ambiente en dehors de la plage nominale
- Variations rapides de la température (provouant de la condensation)
- Humidité relative en dehors de l'intervalle 35 - 85 %
- Présence de gaz corrosifs ou inflammables
- Présence de poussière, de sel ou de particules de fer
- Vibrations ou chocs directs
- Réflexion d'une lumière intense (autres faisceaux laser ou machines de soudage à l'arc)
Lumière directe du soleil ou proximé de sources de chaleur
Eau, huié ou fumées ou pulverisations chimiques - Champ magnétique ou électrique important
(2) Alimentation et câblage
- Si vous utilisez un régulateur à découvert disponible dans le commerce, raccordez la borne de terre à la masse.
- Si des surintensités sont presents dans les lignes électriques, raccordez des parasurtenseurs adaptés à l'environnement d'exploitation.
- Une fois le raccordement effectué, avant demettre l'appareil sous tension, assurez-vous que la tension d'alimentation est correcte, qu'il n'existe aucune connexion incorrecte (par exemple, un court-circuit de charge) et que le courant de charge est approprié. Un câblage incorrect peut entraîner une panne du produit.
- Avant de connecter/déconnecter la tête de détction, assurez-vous que le capteur intelligent est hors tension. Le capteur intelligent risque de tomber en panne si vous connectez ou déconnectez la tête de détction lorsqu'il est sous tension.
-
Utilisez la rallonge (fournie) pour prolonger le cable entre la tete de détction et le contrôleur de capteur. La longueur totale varie selon le type de la rallonge.
-
Câble d'extension : ZS-XC_A : moins de 10 m (y compris le cable de la tête de détction ; la rallonge ne peut pas être connectée en guirlande).
- Câble d'extension : ZS-XC_B(R) : moins de 22 m (y compris la tête de détction ; jusqu'à deux rallonges peuvent être connectées en guirlande).
- Câble de rallonge pour ZS-XC__CR longue distance : moins de 27 m (y compris la tête de détction ; L'égaliseur numérique ZS-XEQ et le cable de connexion de l'égaliseur numérique ZS-XC02D sont nécessaires ; la rallonge ne peut pas être connectée en guirlande).
- Le cable risque de se rompre aux endroits où il forme un coude. Utilisez par conséquent la rallonge de type cable robot (ZS-XC5BR, ZS-XC__CR).
- Utilisez uniquement les combinaisons têtes de détction/contrôleurs de capteur spécifiées dans ce manuel.
(3) Orientation lors de l'installation du contrôleur de capteur
Pour améliorer le rayonnement thermique, installez toujours le contrôleur de capteur en respectant l'orientation ci-dessous.

N'installez pas le contrôleur de capteur dans les orientations suivantes.

(4) Temps de chauffe
Patientez au moins 30 minutes avant d'utiliser le produit après la mise sous tension. Les circuits sont encore instables juste après la mise sous tension et les valeurs mesurées peuvent fluctuer petit à petit.
(5) Maintenance et inspection
N'utilise pas de diluants, de benzine, d'acétone ou de kérosène pour nettoyer la tête de détction ou le contrôleur de capteur. Si de grosses particules de poussière adhérent au filtre avant de la tête de détction, éliminez-les à l'aide d'une sufflette (employée pour nettoyer les objectifs d'appareils photo). Ne soufflez pas sur la poussière. Pour-retirer les petites particules de poussière, utilisez un chiffon doux (pour nettoyer les lentilles) légèrement humidifié avec de l'alcool. Ne frottez pas trop fort pour éliminer les particules. Des rayures sur le filtre peuvent entrainer des erreurs.
(6) Objets à détecter
Parfois, le produit ne peut pas mesurer avec précision les types d'objects suivants : objets transparens, objets avec un facteur de réflexion extrémement bas, objets d'un diamètre inférieur à celui du spot lumineux, objets avec une courbure importante, objets inclinés de façon excessive, etc.
(7) Effets causés par des lumières périphériques
N'installez pas la tête de détction dans un endroit où une lumière force vient frapper la section d'émission/reception laser de la tête. De plus, si un objet présente une surface réfléchissant, la lumière est réfléchie et risque de provoquer un dysfonctionnement. Dans ce cas, évitez toute réflexion en occultant la lumière, par exemple.
Note de l'éditeur
Format des pages

Explication supplémentaire
Les informations utiles concernant le fonctionnement et les pages de reference sont introduites par des symboles.

CHECK!


*Cette page a été créé à des fins d'explications et n'existe pas.
Signification des symboles
Les options de menu affichées sur l'écran LCD du contrôleur de capteur, ainsi que les fenêtres, boîtes de dialogue et autres éléments d'interface graphique (GUI) affichés sur le PC apparaisent entre crochets [ ]
Aides visuelles

Signale les points importants pour assurer un fonctionnement complet du produit (mesures de précaution, procédures des applications, etc.).

Indique les nombres de pages contenant des informations connexes.

Indique des informations utiles pour l'utilisation.
CONTENTS
Signification des averissements 5
Signification des symboles d'alerte 5
Instructions associées aux alertes dans ce manuel 5
Précautions pour une utilisation sure 6
Précautions pour une utilisation correcte 7
Note de l'éditeur 9
Format des pages 0-9
CONTENTS 11
Recherche dans l'arborescence des menus 1-16
Section 1 FONCTIONNALITÉS 1-1
Présentation de la série ZS-HL 1-2
Configuration système 1-3
Nomenclature et fonction des éléments 1-4
Tete de détction 1-4
Contrôleur de capteur 1-5
1-7
Déroulement des réglages 1-8
Section 2 INSTALLATION ET CONNEXION 2-1
À propos de l'installation et de la connexion 2-2
Tete de détction 2-2
Plage de mesure 2-3
Précautions d'installation de base 2-4
Connexion de la tete de détction 2-5
Contrôleur de capteur 2-7
Installation du contrôleur de capteur 2-7
Fils du cable d'E/S 2-10
Schémas des circuits d'E/S 2-12
SmartMonitor ZS 2-14
Environnement de fonctionnement 2-14
Méthode d'installation/désinstallation 2-15
Démarrage et fermetre de SmartMonitor ZS 2-19
Section 3 EXAMPLES D'APPLICATION ET DE PARAMETRAGE 3-1
Mesure de la hauteur (procedure de base) 3-2
Mesure de l'épaissur d'objects transparens 3-4
Mesure du sommet 2 (crête) dans le faisceau linéaire 3-6
Mesure simultanée de plusieurs éléments (multitâche) 3-8
Section 4 FONCTIONS ET OPÉRATIONS UTILISÉES PENDANT LE FONCTIONNEMENT 4-1
Changement de l'affichage de la valeur mesurée 4-2
Listedes fonctions des touches en mode RUN 4-4
Opération de remise à zéro 4-5
Réglage du seuil 4-7
Commutation de banque (changement de configuration du périphérique) 4-10
Section 5 PARAMÉTRES DES FONCTIONS 5-1
Opérations de base du contrôleur de capteur 5-2
Fonctions des affichages et des touches 5-2
Utilisation de la fonction multitâche 5-4
Passage en mode multitâche 5-5
Sélection de tâches 5-5
Réglage des conditions de détention 5-6
Réglage du mode de mesure 5-6
Réglage de GAIN 5-7
Réglage de l'installation de la tête 5-8
Réglage de la quantité de lumière émise 5-8
Définition de l'objet à mesurer 5-9
Réglage de la prévention des interférences mutuelles 5-11
Réglage de la fonction de filtrage 5-12
Réglage de SMOOTH 5-12
Réglage de AVERAGE 5-13
Définition de la différenciation 5-13
Réglage du traitement en sortie des informations de détention 5-14
Réglage de la mise à l'échelle 5-14
Réglages des fonctions de maintainen 5-18
Réglage de la fonction de remise à zéro 5-22
Réglage de la mesure des points caractéristiques 5-24
Réglage du mode d'affichage 5-25
Réglage de l'affichage numérique 5-25
Affichage de I'aide 5-25
Réglage de l'écran LCD 5-26
Configuration de l'environnement du système 5-27
Vérification des informations 5-27
Réglage du verrouillage des touches 5-27
Réglage de la méthode de chargement du capteur 5-28
Réglage de la langue d'affichage 5-28
Modification du mode d'obtention de banques 5-28
Enregistrement des données des paramètres 5-29
Effacement des paramètres 5-29
Initialisation de tous les paramètres 5-29
Effacement de banques 5-29
Section 6 E/S 6-1
Présentation 6-2
Cable d'E/S 6-2
Sortie de bornier 6-2
Paramètres de la sortie linéaire 6-3
Affectation de la sortie linéaire 6-3
Réglage de la mise au point 6-4
Correction des valeurs de sortie linéaire 6-5
Paramètres de la sortie d'évaluation 6-7
Paramètres de fonctionnement sur la sortie d'évaluation 6-7
Affectation de la sortie d'évaluation (multitâche) 6-8
Paramètres de la sortie de bornier 6-9
Carte de sortie parallèle temps réel 6-9
Affectation de la sortie de bornier 6-10
Format de sortie 6-11
Réglage de la mise au point 6-13
Réglage du cycle de mise à jour 6-14
Paramètres de traitement lorsqu'la mesure est impossible 6-15
Connexion du ZS-MDC et du ZS-DSU 6-16
Paramètres des signaux d'entrée 6-17
Paramètres pour la direction active d'un signal d'entrée 6-17
Modification de l'affection des signaux d'entrée 6-17
6-18
Connexion à l'aide d'un cable USB 7-4
Méthode de connexion 7-4
Réglage des caractéristiques de communication 7-4
Connexion à l'aide d'un cable RS-232C 7-5
Méthode de connexion 7-5
Réglage des caractéristiques de communication 7-6
Paramètres de la sortie numérique haute vitesse 7-7
7-8
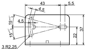
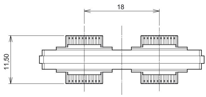
Section 8 CARACTERISTIQUES ET DIMENSIONS EXTERNES 8-1
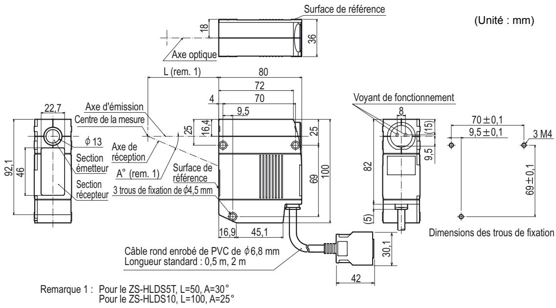
Tete de détction 8-2
8-2
Dimensions externes 8-7
Réglage des interférences mutuelles 8-15
Diametre du spot 8-19
Largeur d'utilisation du faisceau linéaire 8-20
Caracteristiques de linéarité par matériaux 8-21
Contrôleur de capteur 8-39
8-39
Dimensions externes 8-41
Accessoires 8-42
Adaptateur de montage sur panneau 8-42
Rallonge 8-43
Rallonge (modèle couple longue distance) 8-44
Cable RS-232C 8-46
Carte Controller Link 8-47
Carte de sortie parallèle temps réel 8-48
Section 9 ANNEXE 9-1
Dépannage 9-2
Messages d'erreur et solutions 9-3
Précautions de sécurité lors de l'utilisation d'un équipement laser 9-4
Exigences des réglementations et des normes 9-6
Résumé des exigences pour les fabricants 9-6
Résumé des exigences pour l'utilisateur 9-10
Définitions de classification laser 9-13
Mise à jour du firmware 9-15
Processus de mise à jour du firmware 9-15
Index 9-21
Historique des révisions 9-26
Recherche dans l'arborescence des menus
Mode FUN
Mode mono-tâche

| I/O SET | NO MEAS | KEEP, CLAMP* | p.6-15 | |
| JUDGE | HYS | 0 à 999,999 (valeur par défaut : 0,05 % de la plaque de mesure de la tête de détction) | p.6-7 | |
| TIMER | OFF*, OFF-DLY (1 à 5 000 ms), ON-DLY (1 à 5 000 ms), 1SHOT (1 à 5 000 ms) | |||
| ANALOG | FOCUS | OFF*, ON | p.6-3 | |
| ADJUST | OFF*, ON (-999 à 999) | |||
| OUT | OFF, ON* | |||
| CLAMP | (pour sortie de courant) 4'20 mA (tous les 1 mA), MAX*, MIN (pour sortie de tension) -10 V à 10 V (tous les 1 V), MAX*, MIN | p.6-15 | ||
| TERMINAL | FOCUS | OFF*, ON | p.6-9 | |
| CYCLE | 1 à 100 (valeur par défaut : 1) | |||
| OUT | NONE*, MEASURE, JUDGE | |||
| CLAMP | 0 à 65535 (valeur par défaut : 65535) | p.6-15 | ||
| DIGITAL | OFF, ON* | p.7-7 | ||
| CONNECT | OFF, ON* | p.6-16 | ||
| INPUT | ACTIVE | IN0 à IN3 (OFF, ON*) | p.6-17 | |
| MODE | NORMAL*, BANK | |||
| CHANGE | BANK1*, BANK2, BANK3, BANK4 (En mode [THRESH], il est possible de sélectionner jusqu'à BANK32.) | p.4-10 | ||
| MODE | NORMAL*, THRESH | p.5-28 | ||
| CLEAR | (Initialise les paramètres de banque.) | p.5-29 | ||
| SYSTEM | SAVE | (Enregistre les paramètres du contrôleur de capteur.) | p.5-29 | |
| INIT | (Initialise les paramètres du contrôleur de capteur.) | p.5-29 | ||
| INFO | CYCLE (Affiche le cycle d'échantillonnage actuel.) | p.5-27 | ||
| VERSION | (Affiche la version du contrôleur de capteur.) | |||
| COM (RS-232C) | LENGTH | 8 BIT*, 7 BIT | p.7-6 | |
| PARITY | NONE*, ODD, EVEN | |||
| STOP | 1 BIT*, 2 BIT | |||
| BAUDRAT | 9600, 19200, 38400*, 57600, 115200 | |||
| DELIMIT | CR*, LF, CR+LF | |||
| COM | NODE | 0 à 16 (valeur par défaut : 0) | p.7-6 | |
| KEYLOCK | OFF*, ON | p.5-27 | ||
| SenINFO | LOAD*, SAVE | p.5-28 | ||
| ZERORST | OFF*, ON | p.5-23 | ||
| MULTI | OFF*, ON | p.5-5 | ||
| LANGUAGEAG | Japanese*, English | p.5-28 | ||
Mode multitâche
La configuration des menus est changée et plusieurs points caractéristiques peuvent être mesurés et sortis simultanément (jusqu'à quatre points).

Cette section déscrit uniquement les parties qui diffèrent par rapport au mode monotâche.


Mode RUN
En mode RUN, vous pouvez personnaliser les informations qui apparaissent sur les affichages numériques.
Pour appeler le menu de personnelisation de l'affichage, appuyez sur la touche MENU en mode RUN.

Mode TEACH
Ce mode est utilisé pour définir les valeurs de seuil.
| Mode TEACH | Paramètres | Option/Plage | Pages |
| TEACHING | - | p.4-7 | |
| DIRECT IN | - |
Section 1 FONCTIONNALITÉS
Présentation de la série ZS-HL 1-2
Configuration système 1-3
Nomenclature et fonction des éléments 1-4
Tete de détction 1-4
Contrôleur de capteur 1-5
Modes de fonctionnement 1-7
Déroulement des réglages 1-8
Présentation de la série ZS-HL
La série ZS-HLDC est un capteur de déplacement de type laser 2D CMOS. Outre le traitement entiennent numérique du ZS-L, elle optimise les performances de détction grâce à une fonction multitâche.

(1) Gamme améliorée de têtes de détention
Ce capteur de déplacement haut de gamme prend en charge une gamme étendue de têtes de détction. Il est possible de réaliser une mesure stable grâce à une tête de détction adaptée à l'objet, d'un modèle à très haute résolution de 0,001 µm à un modele à très longue portée de 1500 mm.
(2) Contrôleur de capteur intégrant plusieurs fonctions
Pour une condition de détction donnée, le contrôle intégre une fonction multitâche qui peutContainir un maximum de quatre types detraitements de mesure sous la forme de tâches. Tous les points caractéristiques peuvent être mesurés pour chaque tâche. Par conséquent, il est possible de mesurer et d'évaluier simultanément plusieurs points caractéristiques.
Exemple : mesure simultanée de la hauteur et de la fluctuation de surface.

(3) Logiciel de réglage pour ordinateur « SmartMonitor ZS »
Ce logiciel affiche des données et permet de spécifique les régles du contrôleur connecté via SmartMonitor ZS, fourni avec le contrôleur de capteur (ZS-HLDC_1A). Il est possible de vérifier facilement l'état de détention et de spécifique en detail les régles (un contrôleur ne permet pas d'effectuer ces opérations).

CHECK!
Si vous utilisez le logiciel SmartMonitor ZS Professional (disponible séparément), vous pouvez effectuer un enregistrement pour une valeur mesurée.
Configuration système
Outre les opérations liées à la configuration de base, la série ZS-HLDC prend en charge diverses applications de mesure en combinaison avec un nombre important de périphériques.
Configuration de base
Tête de détction
ZS-HLDS_/LD
Detecte un objet.

Contrôleur de capteur
ZS-HLDC
Effectue les mesures et les sorties de résultats.
SmartMonitor ZS
(logiciel de réglage pour ordinateurs)

Ce logiciel de réglage définit les conditions de détention lors de la surveillance de l'état de réception et permet de contrôler la valeur mesurée dans un graphique temporel.
*1: Accessoire pour le contrôleur de capteur ZS-HLDC_1A
Alimentation
24 Vc.c. (± 10%)

Référence recommende
(1) Si le nombre de connexions est égal à 1 : S82K-01524 (24 Vc.c., 0,6 A)
(2) Si le nombre de connexions est égal à 2 ou 3 : S82K-05024 (24 Vc.c., 2,1 A)
(3) Si le nombre de connexions est compris entre 4 et 10 : préparer le nombre nécessaire d'alimentations (1) et (2).

Cable d'extension pour tete de détction

ZS-XC_A(1m,4m,8m)
ZS-XC_B(5 m, 10 m): il est possible de connecter jusqu'à 2 câbles.
ZS-XC5BR (5 m) : il est possible de connecter jusqu'à 2 câbles.
Type cable robot.
Longue extension du cable de tete de détention
- Rallonge pour longue distance (*2)
ZS-XC__CR (15 m, 25 m)

Cable de connexion à l'égaliser nombre ZS-XC02D (*2)


Méthode de connexion d'un cable p.2-6
Égaliseur numérique ZS-XEQ (*2)

*2: Seule la tête de détction ZS-HLDS _ peut être connectée au ZS-XC_CR, ZS-XC02D et ZS-XEQ.
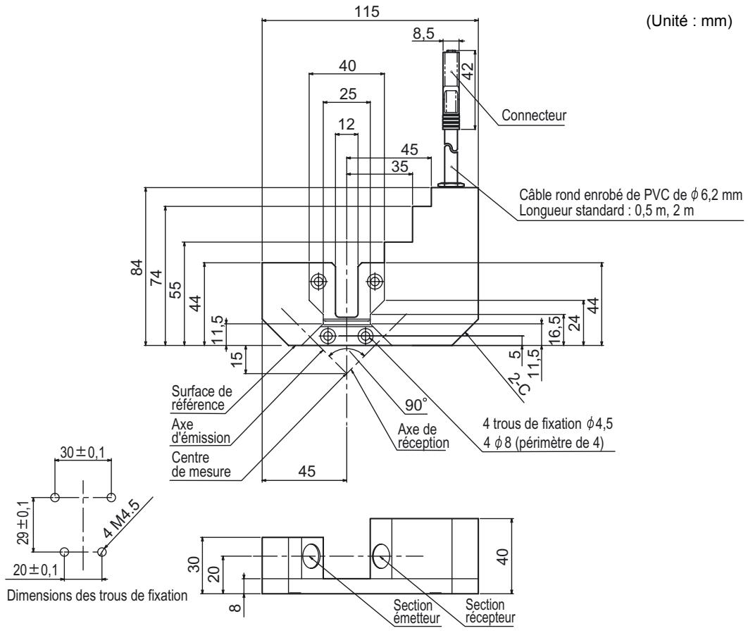
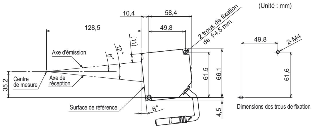
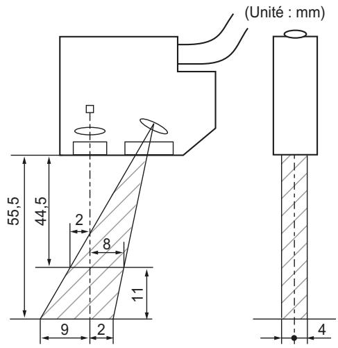
Nomenclature et fonction des éléments
La rubrique suivante présente les noms et les fonctions des éléments du contrôleur de capteur et de la tête de détention.
Tête de détction

[ZS-HLDS2T]

[ZS-HLDS5T/HLDS10]

[ZS-LD10GT/LD15GT]
[ZS-HLDS60/HLDS150]


[ZS-LD___//HLDS2VT]
| Nom | Fonctions |
| (1) Zone Emission/ réception laser | Il s'agit de la zone qui émet le faisceau laser et recoit la lumière réfléchie. |
| (2) Zone émetteur | |
| (3) Zone Section récepteur | |
| (4) Connecteur | À raccarder au contrôleur de capteur |
| (5) Voyant FAR | Ces voyants s'allument comme suit en fonction de la distance entre l'avant de la tête de détention et l'objet. |
| (6) Voyant NEAR | Les deux voyants NEAR/FAR sont allumés :Distance au centre de la mesure ± (plage de mesure × 10 %)Levoyant NEAR est allumé : Côté proche dans la plage de mesureLevoyant FAR est allumé : Côté éloigné dans la plage de mesureLes deux voyants NEAR et FAR clignotent : Détention hors de la plage de mesure Ces voyants font également office de voyants d'alarme du laser.Au moins l'un de ces voyants s'allume ou clignote après la mise sous tension de la tête de détention.Les deux voyants s'éteignent pendant 15 à 25 secondes après la mise sous tension de la tête de détention pour indiquer que le faisceau laser est étéint.L'un de ces voyants s'allume ou clignote pendant l'émission du faisceau laser.Les deux voyants s'éteignent lorsque le faisceau laser est étéint. |
Contrôleur de capteur

| Nom | Fonctions | |
| (1) | Voyant de laser | Levoyant du laser s'allume lorsquela tete de détction émet un faisceau laser. |
| (2) | Voyant RàZ | Levoyant de remise à zéro (RàZ) s'allume lorsquela fonction RàZ est activée. |
| (3) | Voyant ENABLE | Levoyant ENABLE s'allume lorsquelé capteur est prét pour la mesure.II s'éteint lorsquela mesure n'est pas possible (par exemple, si la quantité de lumière reçue est excessive ou insuffisante, si la plage de mesure est dépassée, si la tête de détéction n'est pas connectée ou si la mesure n'est pas réalisée en mode FUN). |
| Nom | Fonctions | |
| (4) | Affichage principal | L'affichage principal indique les valeurs mesurées. |
| (5) | Affichage inférieur | L'affichage inférieur affiche les seuils et des informations complémentaires pendant la mesure. |
| (6) | Écran LCD | Mode RUN : Affiche des informations complémentaires pour l'affichage principal et le menu de configuration pour les informations relatives à l'affichage.Mode TEACH: Affiche le menu de paramétrage des seuils.Mode FUN : Affiche le menu de configuration des conditions de mesure. |
| (7) | Touches de commande | Les touches de commande permettent de paramétrer les conditions de mesure et d'autres informations. Les fonctions affectées aux touches de commande varient selon le mode de fonctionnement.Fonctions des touches p.4-4, p.5-2 |
| (8) | Sélecteur de mode | Le sélecteur de mode permet de SéLECTIONNER le mode de fonctionnement.Mode RUN : SéLECTIONNZ ce mode lorsque vous réaliszer une mesure régulière.Mode TEACH: SéLECTIONNZ ce mode lorsque vous paramétrez les seuils d'évaluation.Mode FUN : SéLECTIONNZ ce mode lorsque vous paramétrez les conditions de mesure. |
| (9) | Sélecteur de seuil | Le sélecteur de seuil permet de SéLECTIONNER le seuil à définir (ou à afficher) : HIGH (supérieur) ou LOW (inférieur). |
| (10) | Voyant LOW | Le voyageant LOW s'allume lorsque la condition "valeur mesurée < seuil LOW" est présente. |
| (11) | Voyant PASS | Le voyageant PASS s'allume lorsque la condition "seuil LOW ≤ valeur mesurée ≤ seuil HIGH" est présente. |
| (12) | Voyant HIGH | Le voyageant HIGH s'allume lorsque la condition "seuil HIGH < valeur mesurée" est présente. |
| (13) | Connecteur de la tête de détention | Ce connecteur permet de raccorder la tête de détention. |
| (14) | Coupleur | Ce connecteur permet de raccorder plusieurs contrôleurs de capteur. Il est liéude de chaque côté du contrôleur de capteur. |
| (15) | Connecteur RS-232C | Raccordez le cable RS-232C lorsque vous connectez le contrôleur de capteur à un API ou à un terminal programmable. Pour le cable RS-232C, veuillez utiliser les produits exclusifs ci-après. L'utilisation d'un cable non répertorié dans les produits exclusifs risque d'entrainer un dysfonctionnement ou une panne.- Pour raccarder un API ou un terminal programmable : ZS-XPT2-Pour raccarder un ordinateur : ZS-XRS2Si vous raccordez le contrôleur de capteur à une carte ZS-RPD, branchez un connecteur pour ZS-RPD. |
| (16) | Commutateur tension/ courant | Le commutateur tension/courant permet de SéLECTIONNER la sortie courant ou la sortie tension.Avant de basculer, veiliez àmettre le contrôleur de capteur hors tension.Assurez-vous également que la charge connectée au "cable de sortie linéaire (coaxial) - cable de masse linéaire" satisfait aux caractéristiques de l'état défini (sortie tension ou courant) avant demettre le contrôleur de capteur sous tension. Sinon, le contrôleur de capteur pourrait être endommagé.Caracteristiques de la charge connectée (schémas des circuits d'E/S) p.2-12 |
| (17) | Cable d'E/S | Le cable d'E/S connecte l'unité d'enregistrement de données à l'alimentation et aux périhériques externes, tels des capteurs de temporisation et des automates programmables. |
| (18) | Port USB | Raccordez le cable USB au port USB pour effectuer la connexion à un PC. |
Modes de fonctionnement
Le capteur ZS-HL dispose des 3 modes de fonctionnement suivants. Passez au mode désiré avant d'utiliser l'appareil.
Selectionnez un mode de fonctionnement à l'aide du sélecteur de mode.

| Mode | Description |
| Mode RUN | Mode de fonctionnement normal |
| Mode TEACH | Ce mode permet de définir les valeurs de seuil d'évaluation. |
| Mode FUN | Mode de définition des conditions de mesure. |

CHECK!
Lorsque vous changez de mode de fonctionnement après avoir modifié les conditions de mesure, vous étés invite à enregistrer les paramètres. Si nécessaire, enregistrez-les. Si vous mettez le contrôleur de capteur hors tension sans enregistrer ces paramètres, les nouvelles conditions de mesures spécifiées seront effacées de la mémoire. Vous pouvez également enregistrer tous les paramètres ultérieurement.

Enregistrement des données des paramètres p.5-29
Déroulement des réglages
Preparation de la mesure
Installation et connexion
Raccordez une tentative de détention selon le matériel avant de l'objet et les fonctions du capteur.

Section 2 INSTALLATION ET CONNEXION
p.2-2

Fonctions pendant le fonctionnement
Exécution de la remise à zéro

p.4-6
Réglage du seuil

p.4-7
Commutation de banque

p.4-10
En cas de mesure non stable
Modification et réglage des conditions de détention

Réglage de la quantité de lumière émise p.5-8
Réglage de la prévention des interférences mutuelles p.5-11
Réglage de la fonction GAIN p.5-7
Réglage de la fonction de filtrage

Réglage de la fonction SMOOTH p.5-12
Réglage de la fonction AVERAGE p.5-13
Réglage de la fonction DIFF p.5-13
Opérations et réglages requis
E/S (JUDGE, LINEAR et OUTPUT pour TERMINAL BLOCK)

Section 6 E/S
p.6-2
Configuration des banques

■Modification du mode p.5-28 d'obtention de banques
■Effacement de banques p.5-29
Réglage du mode d'affichage

Réglage de l'affichage p.5-25
Réglage de l'écran LCD p.5-26
■ HELP p.5-25
Configuration de l'environnement du système

■Initialisation des paramètres p.5-29
■Vérification des informations p.5-27
Réglage des caractéristiques de communication p.7-6
■Verrouillage des touches p.5-27
Réglage de la méthode de chargement du capteur p.5-28
Réglage de la langue d'affichage p 5-28
En cas de problème...

Le capteur intelligent ne fonctionne pas correctement

Dépannage
p.9-2

Affichage d'un message d'erreur

Messages d'erreur et solutions
p.9-3
MÉMO
Section 2
INSTALLATION ET CONNEXION
A propos de l'installation et de la connexion 2-2
Tete de détction 2-2
Plage de mesure 2-3
Précautions d'installation de base 2-4
Connexion de la tete de détction 2-5
Contrôleur de capteur 2-7
Installation du contrôle de capteur 2-7
Fils du cable d'E/S 2-10
Schémas des circuits d'E/S 2-12
SmartMonitor ZS 2-14
Environnement de fonctionnement 2-14
Méthode d'installation/désinstallation 2-15
Démarrage et fermetre de SmartMonitor ZS 2-19
À propos de l'installation et de la connexion
■ Vérification de l'environnement d'installation
Lisez les précautions pour une utilisation sûre au début de ce manuel et vérifie l'environnement d'installation.
■ Vérification du site d'installation
Lisez les précautions pour une utilisation correcte au début de ce manuel et vérifiez le site d'installation.
A propos de l'alimentation
Avant d'instructor et de connecter le contrôleur de capteur, assurez-vous qu'il est hors tension.
Lisez également les précautions pour une utilisation sûre et correcte au début de ce manuel ; vérifie aussi l'alimentation et le câblage.
Tête de détction
AVERTISSEMENT
Ne regardez jamais en direction du rayon laser. Le non-respect de cette consigne peut entraîner des léasons oculaires.
Ne regardez jamais en direction du rayon laser.

Ne démonze pas le produit. Le non-respect de cette consigne peut cause une fuite du rayonnement laser et entraîner des léasons oculaires. Ne démonze pas le produit.

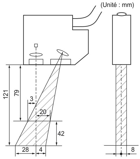
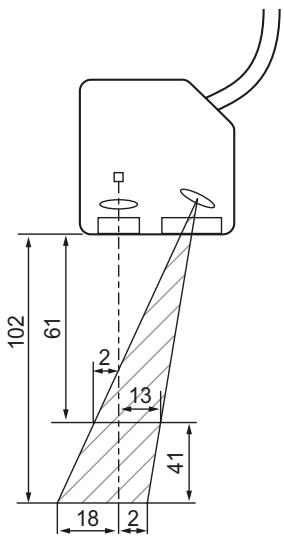
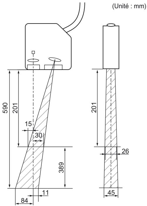
Plage de mesure
La série ZS-HL affiche le signe - (moins) du côté proche (NEAR) et le signe + (plus) du côté éloigné (FAR), la distance au centre de la mesure étant régée sur 0 (zéro).
Exemple : Tête de détction ZS-HLDS2T

- Série ZS-HLDS_ _.
| Réflexion régulière | Réflexion diffuse | |||
| Distance au cent- tre de la mesure | Plage de mesure | Distance au cent- tre de la mesure | Plage de mesure | |
| ZS-HLDS2T | 20 mm | ±1 mm | 5,2 mm | ±1 mm |
| ZS-HLDS2VT | 25 mm | ±2 mm | - | - |
| ZS-HLDS5T | 44 mm | ±4 mm | 50 mm | ±5 mm |
| ZS-HLDS10 | 94 mm | ±16 mm | 100 mm | ±20 mm |
| ZS-HLDS60 | - | - | 600 mm | ±350 mm |
| ZS-HLDS150 | - | - | 1 500 mm | ±500 mm |
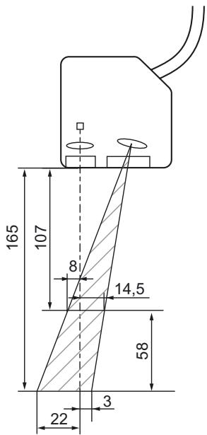
Série ZS-LD_
| Réflexion régulière | Réflexion diffuse | |||
| Distance au centre de la mesure | Plage de mesure | Distance au centre de la mesure | Plage de mesure | |
| ZS-LD10GT | 10 mm | ±0,5 mm | - | - |
| ZS-LD15GT | 15 mm | ±0,75 mm | - | - |
| ZS-LD20T/20ST | 20 mm | ±1 mm | 6,3 mm | ±1 mm |
| ZS-LD40T | 40 mm | ±2,5 mm | 30 mm | ±2 mm |
| ZS-LD50/50S | 47 mm | ±4 mm | 50 mm | ±5 mm |
| ZS-LD80 | 78 mm | ±14 mm | 80 mm | ±15 mm |
| ZS-LD130 | 130 mm | ±12 mm | 130 mm | ±15 mm |
| ZS-LD200 | 200 mm | ±48 mm | 200 mm | ±50 mm |
| ZS-LD350 | - | - | 350 mm | ±135 mm |
Précautions d'installation de base
- Limité entre une surface colorée/brillante

Incorrect

Correct
Installation à proximé d'un mur
Vou puevez réduire les erreurs de mesure en installant la tête de détction de telle sorte que la ligne formée par les axes d'émission et de réception soit parallelle au mur et en recouvrant le mur d'une peinture noire non refléchissante.

Incorrect

Correct
- Mesure dans des rainures étroites


Correct
- Objects en rotation
Lorsque vous mesurez un objet en rotation, vous pouvez minimiser l'influence des vibrations de I'objet qui tourne et du décalage de la position en installing la tete de détction de telle sorte que la ligne formée par les axes d'émission et de réception soit parallele à l'axe de rotation.


- Mesure d'objects en escalier

Incorrect

Correct
- Effets causés par des lumières périphériques
N'installez pas la tete de détction dans un endroit où une lumière force vient frapper la section d'émission/reception laser de la tete. De plus, si un objet présente une surface réfléchissante, la lumière est réfléchie et risque de provoquer un dysfonctionnement. Dans ce cas, évitez toute réflexion en occultant la lumière, par exemple.

Incorrect

Correct
Connexion de la tête de détction
Ce connecteur permet de raccorder la tête de détction au contrôleur.

CHECK!
Avant de connecter/déconnecter la tête de détention, assurez-vous que le capteur intelligent est hors tension. Le contrôleur de capteur risque de tomber en panne s'il est connecté ou déconnecté lorsqu'il est sous tension.
■ Connexion de la tête de détction
Insérez le connecteur de la tête de détction dans le contrôleur de capteur jusqu'à ce qu'il s'enclenche.


CHECK!
Raccordez à l'avance le noyau en ferrite (fourni avec la tête de détction) aux deux extrémités du cable de la tête de détction.
Si le noyau en ferrite se détache du cable, fixez-le à l'aide du dispositif de blocage (fourni).
Déconnexion de la tête de détction
Tirez sur la tête de détction tout en appuyant sur les crochets de chaque côté du connecteur.


CHECK!
- Ne touchez pas aux bornes à l'intérieur du connecteur.
- Tous les réglages du contrôleur de capteur seront effacés si vous remplacez la tête de détction par une tête d'un autre type.
Rallonge
Il est possible de prolonger un cable de trois manières différentes.
- Longueur totale jusqu'à 12 m

- Longueur totale jusqu'à 22 m (branchement de câbles de rallonge)

- Extension longue distance (utilisation d'un répéteur)


- Seul le cable ZS-XC_B(R) permet d'effectuer cette prolongation. Toutefois, il est impossible de prolonger la connexion avec le cable ZS-XC_A.
- Le cable risque de se rompre aux endroits où il forme un coude. Utilisez par conséquent une rallonge de type cable robot (ZS-XC5BR, ZS-XC__CR).
- Il existe des restrictions concernant la tête de détention pouvant se connecter aux ZS-XC__CR, ZS-XC02D et ZS-XEQ. Pour plus de détails, contactez votre revendeur OMRON.
Contrôleur de capteur
Cette rubrique décrit l'installation du contrôleur de capteur et la connexion du cable d'E/S.

CHECK!
Avant de connecter/déconnecter des péripériques, assurez-vous que le contrôleur de capteur est hors tension. Le contrôleur de capteur risque de tomber en panne s'il est connecté ou déconnecté lorsqu'il est sous tension.
Installation du contrôleur de capteur
Installation sur le rail DIN
La procédure suivante explique comment effectuer l'installation sur le rail DIN de 35 mm de large de manière simple et rapide.


CHECK!
Fixez à l'avance le noyau en ferrite (fourni avec le contrôleur de capteur) au cable d'entrée/sortie du contrôleur de capteur.
Procedure d'installation
- Accrochez l'extrémité connecteur du contrôleur de capteur au rail DIN.
- Poussez le contrôleur de capteur vers le bas sur le rail DIN de façon à enclencher le crochet du cable d'E/S.
Applique une pression vers le bas jusqu'à ce qu'il s'encliquette.


CHECK!
Commencez toujours par accrocher l'extrémité connecteur du contrôleur de capteur au rail DIN. Si vous accrochez d'abord l'extrémité cable d'E/S sur le rail DIN, vous risquez d'affector la robustesse de la fixation du rail DIN.
Procedure de démontage
- Tirez le crochet à l'extrémité du cable d'E/S du contrôleur de capteur vers le bas.
- Soulevez le contrôleur de capteur par l'extrémité cable d'E/S, puis retirez-le dur rail DIN.

Montage sur panneau
Les adaptateurs de montage sur panneau en option (ZS-XPM1) permettent d'installer le contrôleur de capteur sur un panneau.
Dimensions des découpes du panneau p.8-42
1. Sortez le contrôle de capteur du panneau en appliquant une pression de l'arrière du panneau vers l'avant.

- Installez les petits adaptateurs de montage dans les quatre trough du contrôleur de capteur.
Adaptateur de montage
sur panneau

- Installez les adaptateurs de montage longs dans les deux trous du petit adaptorateur de montage.
Adaptateur de montage
sur panneau

Adaptateur de montage sur panneau
- ÀpRES avoir fixé les adaptateurs de montage sur panneau, insérez le contrôleur de capteur dans le panneau par l'avant.

Veillez à ne pas pincer le cable d'E/S.

Panneau
- Insérez les deux crochets du dispositif de fixation dans les deux trous des petits adaptateurs sur panneau et serrez les vis.

- Assurez-vous que le contrôle de capteur est solidement fixé au panneau.
Fils du cable d'E/S
La rubrique suivante presente les fils qui constituent le cable d'E/S.

(Longueur du cable: 2 m)
(1) Alimentation
Ce fil raccorde l'alimentation 24 Vc.c. (±10%). Lorsque vous utilisez un contrôleur de capteur avec une sortie PNP, la borne d'alimentation fait également office de borne d'E/S commune pour toutes les E/S, sauf la sortie linéaire.
Utilisez une source d'alimentation c.c. intégrant une procédure de correction (circuit de tension ultra-faible) pour éviter les surtensions.

Bloc d'alimentation recommendé p.1-3
Raccordez l'alimentation séparément des autres périhériques. Si vous les raccordez ensemble ou les placez sur un même conduit, le phénomène d'induction risque de provoquer un dysfonctionnement ou des dommages.
(2) Masse
La borne de masse (GND) est la borne d'alimentation 0 V. Lorsque vous utilisez un contrôleur de capteur avec une sortie NPN, la borne GND fait également office de borne d'E/S commune pour toutes les E/S, sauf la sortie linéaire.
(3) OUT0 (sortie HIGH)
Permet de transmettre les résultats d'évaluation (HIGH).
(4) OUT1 (sortie PASS)
Permet de transmettre les résultats d'évaluation (PASS).
(5) OUT2 (sortie LOW)
Permet de transmettre les résultats d'évaluation (LOW).
(6) OUT3 (sortie ENABLE)
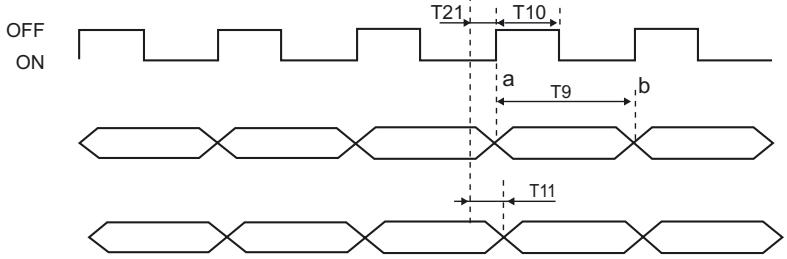
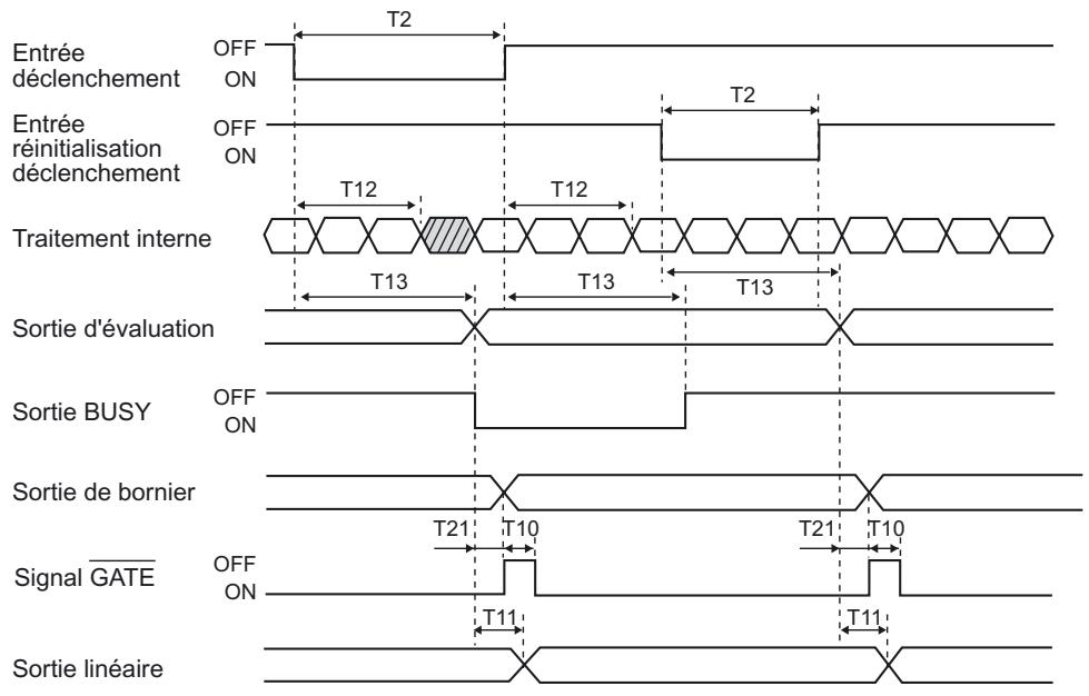
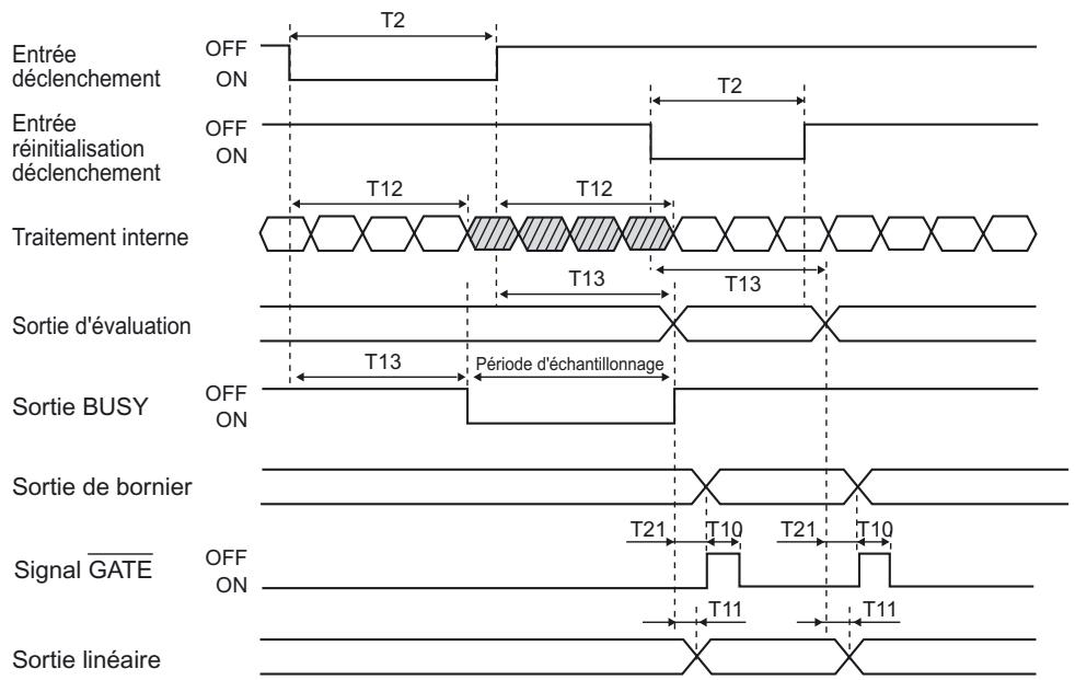
Passes sur ON quand le contrôleur de capteur est prét pour la mesure. Cette sortie est synchrone avec levoyant ENABLE.
(7) OUT4 (sortie BUSY)
Passes sur ON pendant l'échantillonnage lorsque la fonction de maintien est activée.
Cette sortie vous permet de vérifier si l'autodéclenchement fonctionne correctement.
Elle est également ON pendant la commutation de banque.
(8) Sortie linéaire
La sortie linéaire sort un courant ou une tension en fonction de la valeur mesurée.
(9) Masse linéaire
La borne de masse linéaire est la borne 0V de la sortie linéaire.

CHECK!
Raccordez ce fil de masse séparément des autres fils de masse.
Raccordez toujours la borne de sortie linéaire, même si la sortie linéaire n'est pas utilisé.
(10)-(13) IN0 à IN3
Yououpouzeselectionnerlesaffectationssuivantes pour les signauxd'entree.
- Affections des signaux
| Signal | Lorsque [NORMAL] est sélectionné (par défaut) | Lorsque [BANK] est sélectionné |
| IN0 | Entrée déclenchement externe (temporisation) | Entrée banque A |
| IN1 | Entrée réinitialisation | Entrée banque B |
| IN2 | Entrée LD OFF | Entrée LD OFF |
| IN3 | Entrée remise à zéro | Entrée remise à zéro |

Réglage des affectations d'E/S p.6-17
- Fonctions des signaux
| Nom du signal | Description |
| Entrée déclenchement externe (temporisation) | Cette entrée de temporisation est destinée à l'entrée de signaux en provenance de péripériques externes. Utilisez-la pour temporiser la fonction de mainien. |
| Entrée réinitialisation | Cette entrée réinitialise toutes les mesures et sorties en cours d'exécution. Lorsqu'une réinitialisation est entrée, la sortie d'évaluation se conforme au paramètre d'absence de mesure. Si cette entrée de réinitialisation passse sur ON pendant que la fonction de mainien est utilisée, l'état sélectionné avant la fonction de mainien est rétabli.Voyants d'état p.8-40 |
| Entrée LD OFF | Si ce signal LD OFF est activé (ON), le laser cesse d'émettre, provoquent une erreur de quantité de lumière. Lorsque LD OFF est entré, la sortie d'évaluation se conforme au paramètre d'absence de mesure. |
| Entrée remise à zéro | Cette entrée sert à exécuter et effacer une remise à zéro. |
| Entrée de banque A, B | Utilisée pour la commutation de banque. Spécifiez le n° de la banque dans les combinaisons entre A et B. Toutefois, si le mode de banque est activé sur [THRESH], la banque ne peut pas être changée à l'entrée de signal externe, car le nombre de banques augmente à 32. |

Histogramme des E/S externes p.6-18
Schémas des circuits d'E/S

Type NPN (ZS-HLDC11)

Type PNP (ZS-HLDC41)
SmartMonitor ZS
Le capteur ZS-HL est fourni avec le logiciel SmartMonitor ZS. Cet utiliser vous permet de configurer les fonctions de détention et de surviller les signaux résultat des mesures sur un PC.

Contrôle de l'etat de la mesure
Vérifie la valeur mesurée des contrôleurs montés en groupe dans la liste.

Affiche la modification temporelle pour la valeur mesurée sous la forme d'un graphique.

- Prise en charge des fonctions
Définit les conditions de détention en détail tout en contrôlant l'état de réception de la tête de détention (sensibilitité).

Affiche et définit les paramètres du contrôle dans la liste.


CHECK!
Si vous utilisez le logiciel SmartMonitor ZS Professional (disponible séparément), vous pouvez également effectuer les opérations suivantes :
- afficher plusieurs formes d'onde CH à l'aide de plusieurs contrôleurs;
- effectuer l'enregistrement de la valeur mesurée.
Environnement de fonctionnement
La rubrique suivante déscrit l'environnement de fonctionnement pour le logiciel SmartMonitor ZS. Veuillez respecter les conditions mentionnées.
| Élément | Description |
| Système d'exploitation | Windows 98/2000/XP |
| UC | Celeron 500 MHz ou plus |
| Mémoire | 128 Mo min. |
| Affichage | 1024 × 768 points HighColor |
- Windows est une marque de commerce ou une marque déposée de Microsoft Corporation.
- Celeron est une marque de commerce ou une marque déposée de Intel Corporation ou de ses filiales.
Méthode d'installation/désinstallation
La rubrique suivant décrit les opérations à effectuer avant d'utiliser le logiciel SmartMonitor ZS.
■ Installation de SmartMonitor ZS

- Avant d'installer SmartMonitor ZS, fermez tous les autres programmes en cours d'exécution. Si un logiciel antivirus est activé, l'installation peut être longue.
- Ouvrez une session en tant qu'administrateur ou en tant qu'utilisateur muni de droits d'accès au système.
-
Installez SmartMonitor ZS avant le pilote USB.
-
Mettez le PC sous tension et démarrez Windows.
- Insérez le CD-ROM "SmartMonitor ZS" dans le lecteur de CD-DOM du PC.
- L'exécution automatique affiche automatiquement l'écran d'installation. Suivez les instructions affichées à l'écran pour installer SmartMonitor ZS.
■ Désinstallation de SmartMonitor ZS

- Avant de désinstaller SmartMonitor ZS, fermez tous les autres programmes en cours d'exécution. Si un logiciel antivirus est activé, la désinstallation peut être longue.
-
Ouvrez une session en tant qu'administrateur ou en tant qu'utilisateur muni de droits d'accès au système.
-
Mettez le PC sous tension et démarrez Windows.
- Sélectionnez [Paramètres]-[Panneau de configuration] dans le menu [Démarrer] de l'ordinateur.
- Double-cliquez sur [Ajout/Suppression de programmes].
- Sélectionnez [SmartMonitorZS] dans la liste, puis cliquez sur le bouton [Supprimer].
- Cliquez sur [Oui].
■ Installation du pilote USB
Le pilote USB doit être installé sur le PC pour que l'interface USB puisse étabir une connexion entre le PC et le contrôleur de capteur.

CHECK!
- Le pilote USB exclusif doit être installé uniquement lorsque le contrôleur de capteur est raccordé au PC pour la première fois. À partir du deuxième démarrage, le pilote USB est reconnu automatiquement et il n'est pas nécessaire de le réinstaller.
- Pour installer le pilote USB, ouvrez une session en tant qu'administrateur ou en tant qu'utilisateur muni de droits d'accès au système.
- Installez SmartMonitor ZS avant le pilote USB.
- Un message d'erreur signalant l'éché du test permettant d'obtenir le logo Windows s'affiche parfois pendant l'installation du pilote USB. Cliquez sur le bouton [Continuer] pour poursuivre l'installation.
1. Mettez le PC sous tension et démarrez Windows.
2. Raccordez le contrôleur de capteur au PC à l'aide du cable USB.

CHECK!
Raccordez le noyau en ferrite (fourni avec le contrôleur de capteur) au cable USB (fourni avec le contrôleur de capteur).

Noyau en ferrite

Le message "Nouveau matériel détecté" s'affiche dans la barre d'etat système Windows et la boîte de dialogue [Assistant Matériel détecté] s'affiche.

- Cliquez sur le bouton [Suantant >].
- Sélectionnez la case d'options [Rechercheur un pilote approprié pour mon périphérique (récommando)], puis cliquez sur le bouton [Suvant >].

- Cochez la case [Lecteurs de CD-ROM], puis cliquez sur le bouton [Suivant >].


- Si le contrôleur de capteur n'est pas détecté automatiquement Cliquez sur le bouton [Parcourir], puis selectionnez le dossier [USB] sur le CD-ROM.
-
Pour effectuer l'installation sur un ordinateur non équipe d'un lecteur de CD-ROM Sélectionnez [Emplacement spécifique], puis spécifie le dossier [Program Files]-[OMRON]-[SmartMonitorZS]-[usb].
-
Assurez-vous que le meilleur pilote a eté détecté, puis cliquez sur le bouton [Suvant >].
L'installation commence.

Lorsque l'installation est terminée, un message s'affiche.

- Cliquez sur le bouton [Terminer].
L'écran affché à l'étape 2 s'affiche à nouveau. Répétez la procédure ci-dessus. L'installation du pilote USB est à présent terminée.
Démarrage et fermetre de SmartMonitor ZS
Démarrage de SmartMonitor ZS
Une fois l'installation terminée, suivez la procédure ci-dessous pour démarrer Smart-Monitor ZS.
- Assurez-vous que le contrôleur de capteur est raccordé au PC.
- Mettez le contrôleur de capteur sous tension et activez le mode RUN.
- Sélectionnez [Programmes]-[OMRON]-[SmartMonitorZS] dans le menu [Démarrer] de Windows.
■ Si la connexion entre le PC et le contrôleur de capteur ne peut pas'être établie
Vérifiez le n^ de port COM attribué dans le Gestionnaire de périhériques.
- Cliquez avec le bouton droit sur [Poste de travail] sur le bureau Windows, puis cliquez sur [Propriétés].
- Cliquez sur [Gestionnaire de périphériques(G)] sous l'onglet [Matériel].
- Ouvrez [Ports (COM et LPT)] et vérifiez surquel numero COM est defini dans [OMRON Smart Sensor USB COM].
- Spécifiez ce n° de port COM dans l'écran [Communication Settings] de SmartMonitor ZS.

CHECK!
Si "OMRON Smart Sensor USB COM" n'est pas reconnu dans le Gestionnaire de périhériques, réinstallé le pilote USB et redémarrez le PC.
■ Fermetre de SmartMonitor ZS
Suivez la procédure ci-dessous pour quitter SmartMonitor ZS.
- Sélectionnez [File]-[Close] dans la barre de menus de SmartMonitor ZS.
MÉMO
Section 3
EXAMPLES D'APPLICATION ET DE PARAMETRAGE
Mesure de la hauteur (procedure de base) 3-2
Mesure de l'épaissur d'objects transparents 3-4
Mesure du sommet 2 (crête) dans le faisceau linéaire 3-6
Mesure simultanée de plusieurs éléments (multitâche) 3-8
Mesure de la hauteur (procedure de base)
Cette rubrique décrit les procédures de réglage de base à suivre pour mesurer la hauteur.


Nom du contrôleur et code à touches
Réglage des conditions de détention
- Placez le selecteur de mode sur FUN.

- Sélectionnez le mode de mesure dans [SENSING]-[MODE].


[HI-RESO]: Sélectionnez en général cette option. Une mesure stable peut être effectuee tout en minimisant les effets de la face avant de l'objet.
[HI-SENS]: Outre les effets de [HI-RESO], la mesure est stable, même si la quantité de lumière reçue est insuffisante (caoutchouc noir, circuit imprimé, etc.).
- Sélectionnez l' état de montage de la tête dans [SENSING]-[SETTING].


- Sélectionnez le matériel de l'objet dans [SENSING]-[OBJECT].


[NORMAL]: Sélectionnez en général cette option.
[PCB] : Lorsqu'un faisceau laser traverse un objet tel qu'un circuit imprimé et qu'il y a un effet de réflexion diffuse.
[MIRROR]: Pour un miroir.
[GLASS] : Pour du verre.
Enregistrement des paramétres
- Placez le selecteur de mode sur RUN.

- Sélectionnez [YES] et enregistrez les paramètres.

Is change saved?
YES NO
Mesure
- Vérifiez la valeur mesurée.

Mesure de l'épaisseur d'objects transparents
Si vous connaissez déjà l'épaissur du verre, vous pouvez modifier la mise à l'échelle en référence à l'épaissur et mesurer facilement l'épaissur d'un objet transparent.

[Points d'installation]
- Têtes à réflexion régulière (ZS-HLDS2T et ZS-LD20T, par exemple) En plaçant la tête de détction dans une position telle qu'il reste parallelle à l'avant de l'objet, vous pouvez effectuer une mesure haute précision. Lors de l'installation de la tête de détction, il est recommendé de faire correspondre l'avant de l'objet avec la surface de referencia de la tête de détction, puis de soulever la tête à l'horizontal et de l'installer.
![OMRON ZS-HL - [Points d'installation] - 1](/content/2019/10/15042/images/e11ba2d625a4c5f6ab4e0eea1e91189ceaa4aa9f48e9839fa52650b5d9419403.jpg)
- Têtes à réflexion diffuse
Réglez la position de la tête de détction tout en consultant l'affichage de la quantité de lumière émise et reçue. Réglez la position de la tête de détction de sorte que la quantité de lumière émise corresponde au minimum par rapport à la valeur 1 000 de la quantité deelightereçu.
![OMRON ZS-HL - [Points d'installation] - 2](/content/2019/10/15042/images/05130c9d2deeba95d71a42bcd29846084cf660129b39352a610c8488b2482227.jpg)
![OMRON ZS-HL - [Points d'installation] - 3](/content/2019/10/15042/images/991064e6a2bd58a48571aa647b8647894aee0a0b680fe70e7b998757b606dff0.jpg)
Changement de l'affichage de la valeur mesurée p.4-2
Réglage des conditions de détention
- Placez le sélecteur de mode sur FUN.
![OMRON ZS-HL - [Points d'installation] - 4](/content/2019/10/15042/images/f8a1d12911b17e9e1327f54c77d69e57a2e74a8cb818a983d027beb86b915dc6.jpg)
- Sélectionnez [REGULAR] dans [SENSING]-[SETTING].
![OMRON ZS-HL - [Points d'installation] - 5](/content/2019/10/15042/images/7d4ba13ffca202d43995725a893cfc1a72c332eddfba75ace66cc0fc373c50cf.jpg)
![OMRON ZS-HL - [Points d'installation] - 6](/content/2019/10/15042/images/d7b4db3605e7e70ce241914c158169badca84913840aee00cd5c3c19bdfad78f.jpg)
- Sélectionnez [THICK]-[MODE1] dans [SENSING]-[OBJECT].
![OMRON ZS-HL - [Points d'installation] - 7](/content/2019/10/15042/images/635a68da8d0d2afb2e0050fc5521c8e7a6196117879c99756c5b2039f5acd8c6.jpg)
![OMRON ZS-HL - [Points d'installation] - 8](/content/2019/10/15042/images/af3f0dc4db93c516867bd005ab46329f738562bfe62d669c38d9f854f50404a8.jpg)
Réglage de la mise à l'échelle
- Placez l'objet réel dans la plage de mesure.
![OMRON ZS-HL - [Points d'installation] - 9](/content/2019/10/15042/images/a6860c7f462e98616bc7ec460f02a80d14d70dbd28dced315a4362410902be1d.jpg)
- Sélectionnez [OUTPUT]-[SCALING]-[ON]-[AUTO].
![OMRON ZS-HL - [Points d'installation] - 10](/content/2019/10/15042/images/7ba5d1681b248453abfc84d1b82fdb464a166bf11c05361531672416c2ef0ba9.jpg)
1 AUTO
2 MANUAL
![OMRON ZS-HL - [Points d'installation] - 11](/content/2019/10/15042/images/11dc969e52f096d0e92a4f9644c97711a8cbb7af18122b43c31ee5b4ef7b36b0.jpg)
CHECK!
Lorsque vous souhaitez exécuter [SCALING FOR GLASS THICKNESS], placez l'objet dans la plage de mesure. Si une mesure ne peut pas être effectuee, il est impossible de régler la mise à I'échelle (automatique).
- Entrez la valeur réelle de l'épaisseur du verre.
![OMRON ZS-HL - [Points d'installation] - 12](/content/2019/10/15042/images/ad525c6dde1f3b5077269ab660d7337e9b55c5aa6c3d725b4df963f3e477edd0.jpg)
![OMRON ZS-HL - [Points d'installation] - 13](/content/2019/10/15042/images/ce3bb8b5d5747c6b582a7e68268d60757e0c5867faa2956eef1f10cae6308ff9.jpg)
Enregistrement des paramétres
- Placez le selecteur de mode sur RUN.
![OMRON ZS-HL - [Points d'installation] - 14](/content/2019/10/15042/images/5467cfa0aba3e8beec0413b576a74c7e1dabca8c86b70541c2644557d7e043aa.jpg)
- Sélectionnez [YES] et enregistrez les paramètres.
![OMRON ZS-HL - [Points d'installation] - 15](/content/2019/10/15042/images/bc08305a5af3ae4fb0a8040ff2f5ff04f3b6a377f5458ca478edf7c538f8c327.jpg)
Is change saved?
1 YES 2 NO
Mesure
- Vérifiez la valeur mesurée.
![OMRON ZS-HL - [Points d'installation] - 16](/content/2019/10/15042/images/c4c44b4f5ab4cd9b0d3d64a00710d756698a29b39ab499d7dfdfdeaa21823d04.jpg)
![OMRON ZS-HL - [Points d'installation] - 17](/content/2019/10/15042/images/1d84cfccd7424e6f3a51d6dadf683fd3fa5aa3bef21af51b385aff2707284b6c.jpg)
Valeur mesurée
![OMRON ZS-HL - [Points d'installation] - 18](/content/2019/10/15042/images/36f4c2bfb64a4acd477e192f606ecde25bbab9f83a95b7a89a61228e92debb04.jpg)
CHECK!
Si une mesure n'est pas stable
Selectionnez [THICK]-[MODE2] à l'objet 3. La fonction [MODE2] active le mode de mesure sur 2 zones, qui exécute un ajustement en fonction de la quantité de lumière reçue appropriée pour l'avant et l'arrêté du verre, respectivement. Lorsque vous utilise SmartMonitor ZS, vous pouvez régler la zone tout en consultant la quantité deelightere reçue.
![OMRON ZS-HL - [Points d'installation] - 19](/content/2019/10/15042/images/0b75f9e855afc4c5a1820a3883e8f2e96d341421d5879146925f4184b36af86b.jpg)
Définition de l'objet à mesurer p.5-9
Mesure du sommet 2 (crête) dans le faisceau linéaire
La rubrique suivanté décrit la procédure de réglage à suivre pour mesurer un petit sommet (vertex).

- Placez le sélecteur de mode sur FUN.

- Sélectionnez [ON] dans [SYSTEM]-[MULTI-TASK].

Un message de confirmation s'affiche. Sélectionnez [OK].

Réglage de la créée (TASK1)
- Appuyez sur la touche MENU pour afficher le menu principal.


- Appuyez sur la touche ESC pour afficher le menu de selection TASK, puis selectionnez [TASK1].

ESC

1 TASK1 2 TASK2
TASK3 4 TASK4
- Sélectionnez [PEAK] [MEASURE]-[TASKSET].

dans

Enregistrement des paramétres
- Placez le selecteur de mode sur RUN.

- Sélectionnez [YES] et enregistrez les paramètres.

Is change saved?
YES NO
Mesure
- Vérifiez la valeur mesurée.

Valeur mesurée


CHECK!
Vous pouvez mesurer le fond ou le pas en suivant la meme procedure. SeLECTIONnez [BOTTOM] ou [STEP] a I'etape 5.


Mesure simultanée de plusieurs éléments (multitâche)
Grçé à la fonction multitâche, vous pouvez mesurer simultanément la hauteur et la fluctuation de surface. La rubrique suivant décrit la procédure à suivre pour régler la hauteur (TASK1) et la fluctuation de surface (TASK2).

- Placez le sélecteur de mode sur FUN.

- Sélectionnez [ON] dans [SYSTEM]-[MULTI-TASK].

Un message de confirmation s'affiche. Sélectionnez [OK].

Réglage de la hauteur (TASK1)
- Appuyez sur la touche MENU pour afficher le menu principal.

1 SENSING
MEASURE
8 FILTER
←→
- Appuyez sur la touche ESC pour afficher le menu de selection TASK, puis selectionnez [TASK1].



TASK1
2 TASK2
TASK3
4 TASK4
- Sélectionnez [AVERAGE] dans [MEASURE]-[TASKSET].


- Sélectionnez [AVERAGE] dans [OUTPUT]-[HOLD]-[TYPE].

P-P
SAMPLE
2 AVERAGE
←→
- Placez le commutateur de mode sur TEACH.

- Sélectionnez [YES] et enregistrez les paramètres.

Is change saved?
YES NO
- Réglez la valeur de seuil.

Réglage de la fluctuation de surface (TASK2)
- Placez le sélecteur de mode sur FUN.

- Sélectionnez [YES] et enregistrez les paramètres.

Is change saved?
1 YES 2 NO
- Appuyez sur la touche ESC pour afficher le menu de selection TASK, puis selectionnez [TASK2].


- Sélectionnez [AVERAGE] dans [MEASURE]-[TASKSET].

1 TASK1 2 TASK2
8 TASK3 4 TASK4
- Sélectionnez [P-P] [OUTPUT]-[HOLD]-[TYPE].
dans

1 OFF 2 AVERAGE
PEAK
- Réglez la valeur de celui en suivant les étapes 7 à 9.
Mesure
- Placez le selecteur de mode sur RUN.

- Sélectionnez [YES] et enregistrez les paramètres.

Is change saved?
YES NO
- Mesurez l'objet tout en appuyant sur la touche HAUT.

L'échantillonnage est effectué pendant que la touche HAUT est maintenue enfonnée.
- Vérifiez la valeur mesurée.
Vous pouvez vérifier la valeur mesurée pour chaque tâche (TASK) en changeant l'affichage.

Valeur mesurée


Changement de l'affichage de la valeur mesurée p.4-2

CHECK!
En cas de mesure à l'aide de la ligne réelle, le contrôleur de capteur peut démarrer la mesure via une entrée externe ou l'auto-declenchement.

p.5-19
Section 4
FONCTIONS ET OPÉRATIONS UTILISÉES PENDANT LE FONCTIONNEMENT
Changement de l'affichage de la valeur mesurée 4-2
- Lieste des fonctions des touches en mode RUN 4-4
Opération de remise à zéro 4-5
Réglage du seuil 4-7
Commutation de banque (changement de configuration du périphérique) 4-10
Changement de l'affichage de la valeur mesurée
En mode RUN, vous pouvez changer l'affichage principal/inférior aurendant le fonctionnement du capteur. Il est ainsi possible de vérifier la valeur de seuil et la résolution tout en consultant la valeur mesurée en fonction de l'application.

Dans ce mode, les valeurs mesurées apparaissent sur l'affichage principal, les valeurs de seuil et les autres informations sur l'affichage inférieur.


Lorsque [JUDGE] est activé

Lorsque [MEASUREMENT] est activé
1) La valeur TKx sur l'écran LCD indique que la valeur mesurée de la tâche TASKx actuelle apparaît sur l'affichage principal. Pour changer la tâche affichée dans l'affichage principal, utilisez les touches de fonction.
2) Affiche uniquement en mode multitâche. Il est possible d'afficher simultanément deux valeurs mesurées dans l'affichage principal et dans l'affichage inférieur.
Informations affichées sur l'affichage inférieur
| Informations | Description |
| THRESH | Affiche les valeurs de seuil HIGH/LOW en fonction du réglage du/selecteur de seuil. |
| VOLTAGE (CURRENT) | Affiche la tension (le courant) à linéariser. Les informations affichées changent en fonction du réglage du/selecteur de courant/tension. (Les valeurs affichées sont uniquement des valeurs de référence. Ces valeurs diffèrent des valeurs de sortie linéaire réelles). |
| RESOLU | Affiche la largeur de fluctuation (crête à crête) de la valeur mesurée sur une période fixe. |
| BRIGHT | Affiche la quantité de lumière actuellément reçue. La quantité de lumière actuellément émise est également affichée dans la section supérieure de l'écran LCD. Lorsque vous raccordez la tête de détction, réglez sa position de sorte que la quantité de lumière émise soit la plus faible possible par rapport à la quantité de lumière reçue (1000). Dans le contrôleur de capteur, la quantité de lumière émise est automatiquement réalisée dans la plage 0,1 % à 80 % afin que la quantité de lumière reçue attigne la valeur 1000. Meme si la quantité de lumière émise atteint le maximum de 80 % alors que la quantité de lumière reçue n'a pas une valeur proche de 1000, modifiez les réglages afin de passer en mode de mesure HI-SENS ou d'augmenter le gain et la quantité de lumière reçue. |
| DISTANCE | Affiche la distance entre la tête de détction et l'objet. |
| TASK_MEASURE | En mode multitâche, ce menu affiche le résultatat de la mesure pour une autre tâche (TASK). |
| TERMINAL | Affiche la valeur transmise au module ZS-RPD. |
| JUDGMENT RESULT |

3) Les informations affichées varient en fonction de l'option OUTPUT pour TERMINAL BLOCK. Elles ne sont pas visibles si vous sélectionnez [NONE] dans [TERMINAL BLOCK]-[OUTPUT].
4) Les résultats d'évaluation s'affichent pour chaque tâche (P : réussite, E : erreur, H : haut, L : bas). Dans les captures d'écran ci-dessus, la tâche TASK1 est réussie, les tâches TASK2 et TASK3 sont en erreur et la tâche TASK4 est haute.
liste des fonctions des touches en mode RUN
| Touche | Fonction | |
| Touches de fonction | 1 2 3 4 | En mode multitâche, ces touches permettent de changer de tâche. Le numéro de la touche (1 à 4) correspond au numéro de la tâche. |
| ← Touche GAUCHE → Touche DROITE | « » | Modifie le contenu de l'affichage inférieur. |
| ↑ Touche HAUT ↓ Touche BAS | « » | ↑ Touche HAUT: Exécuté l'entrée de déclenchement. ↓ Touche BAS: Exécuté l'entrée de réinitialisation. |
| Touche MENU | MENU | Affiche le menu de personnalisation de l'affichage. |
| Touche SET | SET | Exécute une remise à zéro. |
| Touche ESC | ESC | Maintenez la touche,enforcée pendant au moins deux secondes pour annuler une remise à zéro. |
Opération de remise à zéro
Lorsque vous utilisez la fonction de remise à zéro, la valeur de référence "0" est enregistrée en tant que hauteur et la valeur mesurée peut s'afficher et sortir sous forme d'écart positif ou négatif (tolérance) par rapport à la valeur de référence. En mode RUN, la valeur mesurée peut être remise à 0 à n'importe quel moment pendant la mesure.
Exemple 1 :Utilisation de la hauteur de l'objet à détecter enregistrée en tant que valeur de référence et de la sortie de tolérance en tant que valeur mesurée

Exemple 2 : Utilisation de la hauteur de l'objet à détecter en tant que valeur mesurée avec un décalage configuré à 10

Exemple 3 : Utilisation de la remise à zéro pour mesurer les pas d'un objet à détecter (remise à zéro à chaque mesure)

■ Exécution/Annulation de la remise à zéro
Lorsque vous utilisez la fonction de remise à zéro, vous pouvez redéfinir la valeur mesurée à une valeur de référence de 0 lorsque vous appuyez sur la touche ENT ou qu'un signal externe est entré.
Exécution de la remise à zéro
- Mettez l'objet à détecter de référence en position.


- Appuyez sur la touche SET.
Levoyant de remise à zéro s'allume et la valeur mesurée actuelle est enregistrée en tant que 0 (zéro).


Voyant de remise à zéro

Exécution/Annulation par l'entrée de signal externe p.6-23

CHECK!
Lorsqu'une remise à zéro est executée, la sortie linéaire devient la valeur de tension (ou de courant) au centre des deux points prédéfinis. La sortie linéaire est à peu près égale à 0 V (12 mA) lorsque la mise au point n'est pas définie.
Annulation de la remise à zéro
- Maintenez la touche ESC enforcée pendant au moins 2 secondes.

ESC

Réglage de la fonction de remise à zéro p.5-22
Réglage du seuil
Passez en mode TEACH et réglez la plage afin que la valeur mesurée soit évaluée en tant que PASS (OK).
Les valeurs de seuil HIGH et LOW sont définies. Il existe trois sorties d'évaluation : HIGH, PASS et LOW.

Il est possible de régler la valeur de seuil de deux manières différentes.
| Méthode | Description |
| TEACHING (touche MENU) | Effectue la mesure et se sert de ces résultats pour définir les valeurs de seuil. L'apprentissage de position est utile lorsque les échantillons de seuil, c'est-à-dire avec les limites supérieure et inférieure, peuvent être obtenus à l'avance. |
| DIRECT IN (touches GAUCHE/ DROITE/HAUT/BAS) | Il est possible de définir les valeurs de seuil en entrant directement les valeurs numériques. L'entrée directe est utile lorsque vous connaisssez les dimensions d'une évaluation OK ou lorsque vous souhaitez affiner les valeurs de seuil après apprenticessage. |

CHECK!

- Il est également possible de définir l'hysteresis (largeur d'hysteresis) pour les valeurs de seuil. Définissez l'hysteresis lorsque les évaluations sont instables pour éviter les vibrations.
Réglage de la sortie d'évaluation (HYS) p.6-7
- Si vous définièsez les valeurs de seuil pendant que vous étés encore connecté à un pérophérique externe, réglez l'entrée LD-OFF du contrôleur de capteur sur ON pour que la sortie vers le pérophérique externe ne change pas. Les sorties d'évaluation en mode TEACH sont identiques à celles du mode RUN, c'est-à-dire HIGH, PASS et LOW.
- En mode multitâche, vous pouvez selectionner la tâche à afficher. Les touches de fonction correspondant aux tâches. Appuyez sur la touche de fonction correspondant au nombre de la tâche à afficher.
(La tâche sélectionnée s'affiche sous la forme "TKX" sur l'écran LCD.)

TEACHING
Effectue la mesure et se sert de ces résultats pour définir les valeurs de seuil.
L'apprentissage est utile lorsque les échantillons de seuil, c'est-à-dire avec les limites supérieure et inférieure, peuvent être obtenus à l'avance.




Les paramètres de maintien, de déclenchement et de mise à l'échelle définis avant l'apprentissage sont utilisés dans les mesures d'apprentissage.
La rubrique ci-dessous déscrit la méthode de fonctionnement en utilisant comme exemple la procédure de réglage de la valeur de seuil HIGH.
- Placez le commutateur de mode sur TEACH.
- Placez le commutateur de seuil sur "H" afin de régler la valeur de seuil HIGH.
- Placez I'objet.
- Appuyez sur la touche MENU pour appliquer le paramétrage.
La valeur de seuil appliquée apparaît sur l'affichage inférieur.




MENU
Il est possible de définir les valeurs de seuil en entrant directement les valeurs numériques. L'entrée directe est utile lorsque vous connaissez les dimensions d'une évaluation OK ou lorsque vous souhaitez affiner les valeurs de seuil après apprentice passage.
La rubrique ci-dessous déscrit la méthode de fonctionnement en utilisant comme exemple la procédure de réglage de la valeur de seuil HIGH par entrée directe.
- Placez le commutateur de mode sur TEACH.
- Placez le commutateur de seuil sur "H" afin de régler la valeur de seuil HIGH.
- Entrez la valeur de réglage à modifier.
La valeur mesurée actuelle apparait sur l'affichage principal et la valeur de décalage apparait sur l'affichage inférieur.
: Touches permutant modifier le chiffre
: Touches permettant de modifier la valeur




TEACHMO
: DIRECT IN
- Appuyez sur la touche SET pour appliquer le paramétrage.

CHECK!
Si vous souhaitez annuler la valeur de celui en cours de modification, appuyez sur la touche ESC.

SET

TEACHMODE
: DIRECT IN
Commutation de banque (changement de configuration du périphérique
Les capteurs ZS-HL peuvent conténir jusqu'à quatre ensembles de paramètres, appelés "banques". En cas de modification de la configuration du périphérique, vous pouvez commuter la banque en externe.
- Qu'est-ce qu'une banque?
Les paramètres de mesure
SENSING
OUTPUT
FILTER
I/O SET
Valeur de seuil

dont enregistrés dans une banque
SENSING
FILTER
OUTPUT
I/O SET
Valeur de seuil
BANK
- Exemple de commutation de banque pour les paramètres

Si vous enregistrez des paramètres de classes différentes,

Les tâches TASK1 à TASK4 sont spécifiées dans les paramètres de chaque banque.

CHECK!
Si seule la valeur de seuil diffère dans les paramètres pour une banque, Sélectionnez un autre mode de banque pour augmenter le nombre de banques de 4 à 32.

Selectionner le mode de banque p.5-28
- Commutation de banque à l'aide des touches
Mode FUN-[BANK]-[CHANGE]
1. Sélectionnez le numéro de banque souhaité.
Le numero de la banque actuelle apparaît sur l'affichage principal.

- Commutation de banque par entrée de signal externe
You'vedezmodifierl'affectationdes fonctions pour les signauxd'entree.

- Modification de l'affection des signaux d'entrée p.6-17
- Câblage p.2-10

CHECK!
- Il est également possible de changer de banque à l'aide de CompoWay/F ou en entrant une commande non procédurale dans SmartMonitor ZS.
- Si le mode de banque [JUDGMENT VALUE] est activé, il est impossible de changer de banque par l'entrée de signal externe, car le nombre de banques augmente à 32.
MÉMO
Section 5
PARAMÉTRES DES FONCTIONS
Opérations de base du contrôleur de capteur 5-2
Utilisation de la fonction multitâche 5-4
Réglage des conditions de détention 5-6
Réglage de la fonction de filtrage 5-12
Réglage du traitement en sortie des informations de détéction 5-14
Réglage de la mesure des points caractéristiques 5-24
Réglage du mode d'affichage 5-25
Configuration de l'environnement du système 5-27
Modification du mode d'obtention de banques 5-28
Enregistrement des données des paramètres 5-29
Effacement des paramètres 5-29
Opérations de base du contrôleur de capteur
Fonctions des affichages et des touches
Les paramètres sont essentiellement spécifiés en mode FUN. L'écran LCD affiche les menus de configuration en mode FUN. Le numéro indiqué au début de chaque menu correspond à une touche de fonction.
"←→" apparait en haut à droite de l'écran LCD lorsque le menu de configuration est constitué de plusieurs pages. Pour faire défilier les pages, utilisez les touches GAUCHE ou DROITE.

Caracteres alphabetiques qui apparaissent sur les affichages numériques
Fonctions des touches
| Touche | Fonction | |
| Touches de fonction | 1 2 3 4 | Définit directement le numéroPRECÉdont les options affichées sur l'écran LCD. |
| ← Touche GAUCHE → Touche DROITE | « » | La fonction change en fonction des réglages. - Permet de faire défilier les pages des menus en liste. - Sélectionne un chiffre dans les valeurs numériques. |
| ↑ Touche HAUT ↓ Touche BAS | ↑ | Change les valeurs numériques pendant la saisie. |
| ↓ | ||
| Touche MENU | MENU | Affiche le menu principal. |
| Touche SET | SET | Applique l'option que vous étés en train de configurer. |
| Touche ESC | ESC | Retourne au menuPRECÉdont. |
L'exemple suivant décrit les opérations de base pour selectionner le mode de mesure [HI-RESO].
- Appuyez sur la touche de fonction 1 correspondant à [SENSING].


- Appuyez sur la touche de fonction 1 correspondant à [MODE].


Le numéro actuellément sélectionné clignote.


- Appuyez sur la touche de fonction 2 correspondant à [HI-RESO].
Le message "Complete!" s'affiche.

- Appuyez sur la touche MENU pour revenir au menu principal.
Une pression sur la touche ESC permet de revenir au menu précédent.

MENU

ESC
Utilisation de la fonction multitâche
Avec la série ZS-HLDC, vous pouvez définir un traitement de plusieurs mesures pour une seule condition de détention. Ce traitement est appelé "tâche".
- Exemple d'application : mesure simultanée de la hauteur et de la fluctuation de surface.


Mesure simultanée de plusieurs éléments p.3-8
"Mode monotâche" et "mode multitâche"
Vous pouvez utiliser les deux modes en fonction des informations de mesure souhaitées. Pour une mesure standard, vous pouvez utiliser le mode monotâche, qui peut être facilement paramétré. Utilisez le mode multitâche si vous avez besoin de paramètres détaillés, par exemple, lorsque vous mesurez et évaluiez simultanément plusieurs points caractéristiques. En mode multitâche, quatre tâches sont fournies. Il est possible de mesurer et d'évaluer simultanément plusieurs points caractéristiques, car vous pouvez mesurer le point caractéristique souhaïte, comme la crête, le fond et la moyenne pour chaque tâche.

[Monotâche]
[Multitâche]

* Sortie
Sortie linéaire
Selectionnez une tâche (TASK) à sortir.
Sortie d'évaluation
-
Sélectionnez une tâche (TASK) à sortir.
-Si une carte ZS-RPD est connectée, vous pouvez sortir une évaluation pour 4 tâches (TASK). -
Sortie de bornier
Si une carte ZS-RPD est connectée, vous pouvez sortir des données pour un maximum de 4 tâches.
- Sortie numérique (USB/RS-232C)
Sort en permanence quatre tâches.

CHECK!
Sert à afficher un écran graphique ou à effectuer l'enregistrement avec SmartMonitor ZS ou des périères externes.
Passage en mode multitâche
Selectionnez le mode monotâche lorsque vous effectuez un traitement de mesure pour une détéction et le mode multitâche lorsque vous mesurez et évaluéz simultanément plusieurs points caractéristiques.
Mode FUN-[SYSTEM]-[MULTI-TASK]
| Paramètre | Description |
| OFF | Le mode monotâche est sélectionné (valeur par défaut). |
| ON | Le mode multitâche est sélectionné. |
![OMRON ZS-HL - Mode FUN-[SYSTEM]-[MULTI-TASK] - 1](/content/2019/10/15042/images/3971c95805e3f238336c83cf0faa4819a9ff221ccde955ac678ce9d20b09dff5.jpg)
Différences dans l'arborescence des menus selon le mode p.16
Sélection de tâches
Lorsque vous définisse le paramètre [MULTI-TASK] sur ON, Sélectionnez le numéro de tâche, puis spécifie les différents paramètres. La méthode ci-dessous permet de sélectionner le numéro de tâche.
Mode FUN
- Appuyez sur la touche MENU pour afficher le menu principal.
MENU
1 SENSING
2 MEASURE
- Appuyez sur la touche ESC.
Le menu de selection de tâches affiche.
ESC


1 TASK1
2 TASK2
3 TASK3
4 TASK4
- Sélectionnez le numéro de la tâche souhaitée.
La tâche sélectionnée apparait sur l'affichage inférieur.
Réglage des conditions de détention
Définissez les conditions à utiliser pour la détction des objets par le capteur.
Réglage du mode de mesure
Réglage du mode de mesure
Réglez le mode de mesure en fonction des informations de mesure souhaitées (vitesse de déplacement et point de mesure de l'objet, par exemple).
Selectionnez le mode de mesure en fonction des options (vitesse, précision ou sensibilité) auxquelles vous pouze donner la priorité dans la mesure.
Mode FUN-[SENSING]-[MODE]
| Paramètre | Description |
| STAND | Il s'agit du mode de mesure standard. (Fréquence d'échantillonnage : environ 500 μs.) |
| HI-RESO | Sélectionnez ce mode pour mesurer des objets avec une sensibilité élevée (valeur par défaut). (Fréquence d'échantillonnage : environ 2 ms.) |
| HI-SPEED | Sélectionnez ce mode pour mesurer des objets à grande vitesse. Cette option n'est pas disponible en mode multitâche. (Fréquence d'échantillonnage : vitesse maximale d'environ 110 μs.) |
| HI-SENS | Sélectionnez ce mode pour mesurer des objets avec une sensibilité élevée. Dans ce mode de mesure, la sensibilité à la lumière reçue est nettement meilleure qu'avac le mode haute résolution (HI-RESO), car la période d'échantillonnage est plus longue. (Fréquence d'échantillonnage : environ 4 ms.) |

CHECK!
- En mode haute vitesse (HI-SPEED), le cycle d'échéantillonnage change en fonction des paramétres réels. (Lorsque seul le nombre d'échéantillons pour le calcul de la moyenne est définir, le cycle d'échéantillonnage devient la valeur maximale (environ 110 μs).)
Vérifiez le cycle d'échéantillonnage réel dans [INFO]-[CYCLE] dans le menu principal. - En mode haute vitesse (HI-SPEED), la fonction de lissage est désactivée (OFF). Dans tous les autres modes, cette fonction est activée (ON).
Réglage du mode personnelisé
Utilisez le mode personnelisé si vous ne parvenez pas à effectuer la mesure dans les modes de mesure fournis.
Il est possible de définir des lignes supplémentaires et le temps d'exposition afin de pouvoir effectuer une mesure dans des conditions adaptées à l'état de la surface de l'objet.

CHECK!
Effectuez le réglage dans l'ordre [LINE] [EXPOSE] [SKIP].
Si vous définissez une ligne supplémentaire, le temps d'exposition correspondant est déterminé automatiquement. Si la quantité de luîère est malgré tout insuffisante, réglez le temps d'exposition manuelle. Lorsque la fonction [SKIP] est activée (ON) dans cet état, la largeur de ligne effective est multipliee par deux.
Mode FUN-[SENSING]-[MODE]
| Paramètre | Description | |
| CUSTOM | LINE (nombre de lignes supplé- mentaires) | Définissez cette option pour faire en sorte que l'état de la surface de l'objet ait moins d'influence sur la mesure (en augmentant le nombre de lignes supplé- mentaires) ou pour effectuer la mesure en un seul point identifié sur l'objet (en réduisant le nombre de lignes supplémentaires). Plage: 1 à 200 (Le nombre maximum de lignes change en fonction du réglage du temps d'exposition.) Largeur d'utilisation du faisceau linéaire p.8-20 |
| EXPOSE (temps d'exposition) | Sélectionnéz cette option lorsque l'exposition est insuffisante et que le temps d'exposition doit être rallongé pour augmenter la quantité de lumière reçue. - Mode monotâche Plage: 0,2 à 20 ms - Mode multitâche Plage: 0,5 ms à 20 ms Lorsque le temps de mesure interne est supérieur au réglage du temps d'exposition, le temps d'exposition (= cycle d'échantillonnage) est par- fois supérieur au paramètre. Vérifiez le cycle d'échantillonnage réel dans [SYSTEM]-[INFO]-[CYCLE]. | |
| SKIP | Définissez cette option pour prolonger la largeur de la ligne de mesure sans changer le temps de mesure. La largeur effective de la ligne est multipliée par deux lorsque ce paramètre est activé (ON). Plage: ON, OFF | |
Réglage de GAIN
Vous pouvez régler le gain CMOS qui permet de réaliser des mesures stables, y compris pour les objets où la quantité de lumière reflèchie est très faible ou les objets avec une inclinaison importante.

CHECK!
Il arrive que la résolution des mesures baisse lorsqu'un gain important est défini. En outre, cette fonction augmente le gain du (:oté de réception lumineuse. Par conséquent, notez que la lumière ambiente peut facilement influencer le contrôleur de capteur.
Mode FUN-[[SENSING]-[GAIN]
| Paramètre | Description |
| 1, 2, 3, 4, 5 | Règle le gain interne du capteur d'image CMOS (valeur par défaut : 1).1 (gain faible) → 5 (gain important) |
Réglage de l'installation de la tête
Spécifiez la façon dont la tête de détction est installée.
Ce paramètre est automatiquement spécifique en fonction du type de tête de détction connectée. Toutefois, si la tête est installée à un angle donné, puis que la valeur par défaut et l'angle de réflexion changent, modifier les paramétres selon l'état d'installation de la tête.
Mode FUN-[SENSING]-[SETTING]
| Paramètre | Description |
| DIFFUSE | Sélectionnez cette option lorsque la tête de détction est installée pour détector la réflexion diffuse. |
| REGULAR | Sélectionnez cette option lorsque la tête de détction est installée pour détector la réflexion régulière. |
Réglage de la quantité de lumière émise
Définissez la quantité de lumière émise par la tête de détction en fonction de l'état de la surface de l'objet.

CHECK!
La réponse peut être ralentie si des objets ayant des facteurs de réflexion différents (par exemple, des objets noir et blanc) sont mesurés avec le mode FUN paramétré sur [AUTO]. Dans ce cas, rétrécisser que la plage de réglage en définissant [RANGE]. Si cela n'augmente pas le temps de réponse pour qu'il soit en phase avec la mesure, Sélectionnez [FIXED].
Mode FUN- [SENSING]-[LASER]
| Paramètre | Description | |||
| AUTO | Ajusté automatiquement la quantité de lumière émise en fonction du facteur de réflexion de l'objet. Notez que le temps de réponse varie avec chaque mesure (valeur par défaut). | |||
| RANGE | UPPER LOWER | Définit la plage de réglage pour le paramètre AUTO.Si le temps de réponse ne peut pas suivre la mesure à la valeur par défaut, rétrécisserz la plage.Plage : 0,1 to 80 % (valeur par défaut : LOWER 0,1 %, UPPER 80 %) | ||
| Niveau | Sensibilité | Couleur de l'objet | ||
| 0.1 % | Faible | Claire | ||
| 80 % | Élevée | Sombre | ||
| FIXED | Définit la quantité de lumière émise sur une valeur fixe.Pour les niveaux de référence, voir [RANGE].Plage : 0,1 % à 80 %. | |||
Définition de l'objet à mesurer
Définisse le type de l'objet à mesurer.
En mode multitâche, l'option [THICK] ne s'affiche pas.
Mode FUN-[SENSING]-[OBJECT]
| Paramètre | Description | |
| STAND | En règle générale, Sélectionnez ce paramètre (valeur par défaut). | |
| PCB | Sélectionnez ce paramètre pour les objets à travers lesquels la lumière pénétre, par exemple, les cartes de circuit imprimé. | |
| MIRROR | Sélectionnez ce paramètre pour les objets avec une surface miroir. | |
| Glass | Mode1 | Sélectionnez ce mode pour mesurer du verre à grande vitesse. (En mode multitâche, cette option ne s'affiche pas.) |
| Mode2 | Sélectionnez ce mode pour mesurer du verre de manière stable. Cette option est utile pour mesurer l'épaisseeur d'un verre dont les faces supérieure ① et inférieure ② possèdent des facteurs de réflexion différents (verre avec dépôt sur la face inférieure, par exemple). (En mode multitâche, cette option ne s'affiche pas.) Face supérieure ① Face inférieure ② Par exemple, verre avec dépôt sur face inférieure. Si vous sélectionnez MODE2, deux zones sont mesurées et la valeur mesurée la plus proche de la tête de détction est sortie en tant que résultat de la face supérieure du verre. Si vous sélectionnez MODE2, la zone de mesure est respectivement définie pour les faces supérieure et inférieure du verre, puis un ajustement est effectué pour définir la quantité de lumière reçue appropriée pour chaque zone. Mode 1 Ajuste auto-matiquement la quantité de lumière reçue. Lorsque vous utilisez SmartMonitor ZS, vous pouvez régler la zone tout en consultant la quantité de lumière reçue. Zone de la face supérieure Quantité de lumière reçue sur la face supérieure Quantité de lumière reçue sur la face inférieure Zone de la face inférieure | |
| THICK | Mode1 | Sélectionnez ce mode pour mesurer l'épaisleur d'un verre à haute vitesse. Mesure l'épaisleur entre ① et ②. (En mode multitâche, cette option ne s'affiche pas.) Face supérieure ① Face inférieure ② Verre brut Mesure de l'épaisleur. |
| Mode2 | Sélectionnez ce mode pour mesurer l'épaisleur d'un verre de manière stable. Cette option est utile pour mesurer l'épaisleur d'un verre dont les faces supérieure ① et inférieure ② possèdent des facteurs de réflexion différents (verre avec dépôt sur la face inférieure, par exemple). (En mode multitâche, cette option ne s'affiche pas.) Face supérieure ① Face inférieure ② Verre avec revêlement' L Mesure de l'épaisleur. Par exemple, verre avec dépôt sur face inférieure. Si vous sélectionnez MODE2 la zone de mesure est respectivement définie pour les faces supérieure et inférieure du verre, puis un ajustement est effectué pour définir la quantité de lumière reçue appropriée pour chaque zone. Mode 1 Ajuste automatiquement la quantité de lumière reçue. Lorsque vous utilise SmartMonitor ZS, vous pouvez régler la zone tout en consultant la quantité de lumière reçue. Zone de la face supérieure Quantité de lumière reçue sur la face supérieure Quantité de lumière reçue sur la face inférieure Zone de la face inférieure | |
![OMRON ZS-HL - Mode FUN-[SENSING]-[OBJECT] - 1](/content/2019/10/15042/images/42b4c47aeab0cd7d45692e484af2f4813cf10857ab5156aab6e9904570ada395.jpg)
CHECK!
Lorsque vous sélectionnez GLASS (MODE2) ou THICK (MODE2) pour l'objet à mesurer, les paramètres suivants sont initiaisés.
- SMOOTH
AVERAGE
Réglage de la prévention des interférences mutuelles
Il est possible d'éviter les interférences mutuelles entre deux têtes de détction en décalant la temporisation de l'émission du faisceau laser. Utilisez cette fonction lorsque des têtes de détction doivent être configurées à l'intérieur d'une zone où des interférences mutuelles risquent de se produit ou lorsqu'un object transparent à mesurer se trouve entre deux têtes de détction.
Tete de détction 1
Temporisation A

Tete de détction 2
Temporisation B

| Paramètre | Description | |
| OFF | La fonction de prévention des interférences mutuelles n'est pas utilisée (valeur par défaut). | |
| ON | Timing A | Définit la temporisation de l'émission de lumière sur Timing A. |
| Timing B | Définit la temporisation de l'émission deelightere sur Timing B. | |

CHECK!
La fréquence d'échantillonnage change lorsque le mode de prévention des interférences mutuelles est activé.
- 8 fois en modes standard (STAND), haute résolution (HI-RESO) et haute sensibilité (HI-SENS)
- Environ 15 fais en mode haute vitesse (HI-SPEED)
D'autres paramètres influent également sur le cycle de mesure.
Vérifiez le cycle d'échéantillonnage en mode FUN-[SYSTEM]-[INFO]-[CYCLE].

CHECK!
- Le même mode de détction doit être définir sur chaque contrôleur lorsque le mode de prévention des interférences mutuelles est utilisé. Lorsque vous Sélectionnez le mode de mesure [HI-SPEED] ou [CUSTOM], les mêmes conditions doivent être définies. Sinon, vous obtiennent un cycle d'échantillonnage différent sur chaque contrôleur et les interférences mutuelles ne pourront plus être évitées.
- Si vous sélectionnez GLASS (MODE2) ou THICK (MODE2), la fonction de prévention des interférences mutuelles ne fonctionne pas.
Réglage de la fonction de filtrage
Définissez les conditions pour filtrer les informations obtenues du capteur.

Réglage de SMOOTH
Voussoupiezortiralvaleurintermediairedeplusieresensemblesdedonnéescommerésultatde lamesure.
Cette fonction supprime les valeurs anormales telles que les pics qui survennent lorsque la forme de l'objet change brutalement pendant la mesure.
Exemple : Pour supprimer les pics

Valeurs anormales telles que les pics qui survennent lorsque la forme de l'objet change brutalement pendant la mesure.

La fonction de lissage peut supprimer les pics

Mode FUN-[FILTER]-[SMOOTH]
| Paramètre | Description |
| OFF | La fonction de lissage n'est pas utilisé. |
| ON | La valeur intermédiaire des 15 dernières valeurs mesurées est définie comme résultat de la mesure à chaque cycle d'échantillonnage (valeur par défaut). |

CHECK!
Si "HI-SPEED" est défini en mode de mesure, [OFF] est défini.
Réglage de AVERAGE
La sortie de la moyenne des valeurs mesurées obtenues en fonction du nombre d'échantillons préseLECTIONnés est possible. Sélectionnez ce paramètre lorsque vous souhaitez ignorer les changements soudains dans les valeurs mesurées.
Mode FUN-[FILTER]-[AVERAGE]
| Paramètre | Description |
| 1, 2, 4, 8, 16, 32, 64, 128, 256, 512, 1024, 2048, 4096(En mode HIGH-SPEED, la valeur est comprise entre 1 et 256.) | Définit le nombre d'échantillons pour le calcul de la moyenne (valeur par défaut : 128). |
Définition de la différenciation
Utilisez la fonction de différenciation pour détecter uniquement les changements brusques dans les valeurs mesurées au cours de périodes très courtes.
La fonction de différenciation déetecte les changements entre la valeur actuelle et la valeur mesurée juste avant le pas de comparaison. Le coefficient de ce pas de comparaison est défini comme le cycle de différenciation.
Exemple : Cycle de différenciation = 10 ms


Mode FUN-[FILTER]-[DIFF]
| Paramètre | Description |
| OFF | La fonction de différenciation n'est pas utilisée (valeur par défaut). |
| ON | Définit le cycle (ms) dans lequel doit s'effectuer la différenciation. Plage : 1 à 500 |
Réglage du traitement en sortie des informations de détction
Définissez la façon dont les informations de détction doivent être traitées pour sorting les valeurs requises.
Réglage de la mise à l'échelle
Utilisez ce paramètre pour corriger les erreurs générées en raison de l'etat d'installation de la tête de détction et pour afficher la valeur corrigée sur l'affichage principal.
Placez un objet à détecter réel en position pour la mesure.
Il existe trois modes de réglage : "définition manuelle des valeurs de correction", "mise à l'échelle en un point" et "mise à l'échelle en deux points" (les deux derniers modes définissent automatiquement les valeurs de correction d'un objet à détecter place).
Lorsque vous sélectionnez le mode GLASS pour l'objet à mesurer, seul le menu correspondant à la mise à l'échelle s'affiche.

Mesure de l'épaissur d'objects transparents p.3-4

CHECK!
Les paramètres répertoriés ci-après reconnent les valeurs par défaut lorsque la mise à l'échelle est définie. Définissez ces éléments une fois que le paramétrage de la mise à l'échelle est terminé.
- Remise à zéro
■ Mise à l'échelle en un point
La mesure s'effectue à une position et les valeurs de décalage sont définies pour cette valeur mesurée.
Le décalage et l'inversion de l'incrémentation/décrémentation (inversion de l'affichage) peuvent être configurés.
Exemple : Affichage de la hauteur de l'objet à détecter

Mode FUN-[OUTPUT]-[SCALING]-[ON]-[AUTO]
- Mettez l'objet à détecter en place, puis entrez le paramètre que vous poulez utiliser comme décalage.
La valeur mesurée actuelle apparait sur l'affichage principal et la valeur de décalage apparait sur l'affichage inférieur.

INPUT POINT 1
←→DIG ↑ ↓VAL SET:OK
- Appuyez sur la touche SET pour appliquer le paramétrage.
- Définissez la virgule décimale pour déterminer les chiffres utiles.

La virgule décimale définie ici devient la nouvelle virgule décimale du paramètre de mise à l'échelle. La position de la virgule décimale sur l'affichage dépend du paramètre "DOT" de la configuration de l'affichage en mode RUN.

INPUT DOT POINT
DIG VAL SET:OK
- Appuyez sur la touche SET pour appliquer le paramétrage.
- Appuyez sur la touche SET sans entrée aucune valeur pour le second point.
- [Sélectionnez [FORWARD] ou [INVERS].
- [Sélectionnez [FORWARD] ou [INVERS].
FORWARD: Plus la distance entre la tete de détction et l'objet à détecter est grande, plus la valeur mesurée affichée sur le contrôleur de capteur est grande.
INVERS : Plus la distance entre la tete de détction et l'objet à détecter est grande, plus la valeur mesurée affichée sur le contrôleur de capteur est petite.
■ Mise à l'échelle en deux points
La mesure s'effectue à deux positions et les valeurs de décalage sont définies pour ces valeurs mesurées.
Exemple : Correction des valeurs affichées en fonction des distances réelles


Séparez les deux points spécifiés d'au moins 1 % de la plage de mesure nominale correspondant à la tête de détention connectée.
Exemple : Pour le capteur ZS-LD80 (réflexion diffuse)
Les deux points mesurés doivent être séparés d'au moins 30mm × 0,01 = 0,3mm , car la plage de mesure est 30mm ± 15mm .
Mode FUN-[OUTPUT]-[SCALING]-[ON]-[AUTO]
- Définisse le premier point en suivant les étapes 1 à 4 de la méthode de mise à l'échelle en un point.

INPUT POINT 1
DIG VAL SET:OK
- Placez l'objet à détecter en position (second point) pour effectuer la mise à l'échelle, puis entrez la valeur de décalage voulue (second point).
Appuyez sur la touche GAUCHE. L'affichage inférieur clignote.

INPUT POINT 2
DIG VAL SET:OK
- Appuyez sur la touche SET pour appliquer le paramétrage.
Réglage manuel
Entrez des valeurs numériques pour les valeurs de correction de la mise à l'échelle.
Mode FUN-[OUTPUT]-[SCALING]-[ON]-[MANUAL]
| Paramètre | Description |
| SPAN | Définit l'inclinaison des caractères du capteur sous la forme d'un coefficient. Plage: -2,0 à 2,0 Valeur mesurée (mm) 2,0 Déplacement de l'objet |
| OFFSET | Ajoute/soustrait une valeur fixe à/de la valeur mesurée. Plage: -999,99 à 999,999 Valeur mesurée (mm) 2,0 Déplacement de l'objet |
Réglages des fonctions de maintien
Définissez les conditions de maintien pour les valeurs mesurées. Les fonctions de maintien (HOLD) conservent les valeurs mesurées pendant la période donnée (période d'échantillonnage), par exemple, la valeur maximale ou minimale.
TYPE
Définissez les conditions de maintien pour les valeurs mesurées.
| Paramètre | Description |
| OFF | Pas de mesure de maintain. La valeur mesurée est toujours sortie (valeur par défaut). |
| PEAK | Maintient la valeur maximale pendant la période d'échantillonnage. La sortie change à la fin de la période d'échantillonnage et est maintainue jusqu'à la fin de la période d'échantillonnage suivante.Valeur max.Période d'échantillonnageSortie |
| BOTTOM | Maintient la valeur minimale pendant la période d'échantillonnage. La sortie change à la fin de la période d'échantillonnage et est maintainue jusqu'à la fin de la période d'échantillonnage suivante.Valeur max.Période d'échantillonnageSortie |
| P-P | Maintient la différence entre les valeurs maximale et minimale pendant la période d'échantillonnage. Cette option est surtout sélectionnée pour la détction de vibrations. La sortie change à la fin de la période d'échantillonnage et est maintainue jusqu'à la fin de la période d'échantillonnage suivante.Valeur max.Valeur min.Période d'échantillonnageSortie(valeur max.-valeur min.) |
| AVERAGE | Maintient la valeur moyenne mesurée pendant la période d'échantillonnage. La sortie change à la fin de la période d'échantillonnage et est maintainue jusqu'à la fin de la période d'échantillonnage suivante.Valeur max.Période d'échantillonnageSortie(moyenne) |
| SAMPLE | Maintient la valeur mesurée au début de la période d'échéantillonnage. La sortie change au début de la période d'échéantillonnage et est maintainue jusqu'àu début de la période d'échéantillonnage suivante.Valeur mesurée réelle SortiePériode d'échéantillonnage |
Déclenchements
Selectionnez la méthode d'entrée pour la temporisation du début et de la fin de la période de mesure.
Mode FUN-[OUTPUT]-[HOLD]-[TRIGGER]
| Paramètre | Description |
| EXT | Entrez le déclenchement du début de l'échantillonnage à l'aide de l'entrée de temporisation. La période pendant laquelle le signal de temporisation est activé (ON) est la période d'échantillonnage. (valeur par défaut) Entrée temporisation ON OFF Période d'échantillonnage Lorsqu'un salarié de temporisation est défini, le moment où l'entrée passée à OFF et la fin de la période d'échantillonnage ne sont pas syn-chrones. L'échantillonnage se terminera après l'expiration de la période d'échantillonnage spécifique. |
| SELF-UP | La période d'échantillonnage est celle pendant laquelle la valeur mesurée est supérieure à la valeur d'auto-déclenchement spécifique. La mesure de mainien est possible sans entrée synchronisée. Niveau d'auto-déclenchément Valeur mesurée Lorsque vous sélectionnez SELF-UP, les éléments suivants sont ensuite affichés: • TRG LEVEL Définit le niveau de l'auto-déclenchement voulu. Plage: -999,99 à 999,999 • TRG HYS Définit la largeur d'hystérésis pour l'auto-déclenchement. Plage: 0 à 999,999 En cas de réglage d'un début de temporisation, la temporisation du moment où la valeur mesurée devient inférieure à la valeur d'auto-déclenchement et la fin de la période d'échantillonnage ne seront pas synchrones. L'échantillonnage se terminera après l'expiration de la période d'échantillonnage spécifique. |
| SELF-DN | La période d'échantillonnage est celle pendant laquelle la valeur mesurée est inférieure à la valeur d'auto-déclenchement spécifique. La mesure de maintain est possible sans entrée synchronisée. |
| Valeur mesurée Niveau d'auto-déclenchement Période d'échantillonnage Largeur d'hysteresis (pour auto-déclenchement) Point d'action ○ Point de retard | |
| Lorsque vous sélectionnez SELF-DN, les éléments suivants sont ensuite affichés: · TRG LEVEL Définit le niveau de l'auto-déclenchement voulu. Plage: -999,99 à 999,999 · TRG HYS Définit la largeur d'hystérésis pour l'auto-déclenchement. Plage: 0 à 999,999 | |
| En cas de réglage d'un délié de temporisation, le moment où la valeur mesurée devient supérieure à la valeur d'auto-déclenchement et la fin de la période d'échantillonnage ne seront pas synchrones. L'échantillonnage se terminera après l'expiration de la période d'échantillonnage spécifique. |

CHECK!
Définissez l'hystérisis en fonction des variations des valeurs mesurées autour du niveau de déclenchement. L'hystérisis sera appliquéeès le début de la période d'échantillonnage et empêchera la vibration de l'entrée de temporisation.
DELAY
Le délambda de temporisation défini permet d'ignorer les valeurs mesurées immédiatement après l'entrée de temporisation. Ceci est utile pour éviter d'atteindre les limites au démarrage de l'appareil et de subir l'influence des vibrations de la machine.
Il est possible de définir le début de temporisation (temps écoulé entre l'entrée de temporisation et le début de l'échantillonnage) et la période d'échantillonnage.

Mode FUN-[OUTPUT]-[HOLD]-[DELAY]
| Paramètre | Description |
| OFF | Le délai de temporisation n'est pas définit (valeur par défaut). |
| ON | Définit le délai de temporisation.Lorsque vous sélectionnez ON, les éléments suivants sont ensuite affichés :· T-DELAYDéfinit le délai de temporisation.Plage : 0 à 9000 (ms)· T-TIMEDéfinit la période d'échantillonnage.Plage : 1 à 9000 (ms) |
| Définissez les délais de telle sorte que "délai de temporisation + période d'échantillonnage" soit inférieur à l'intervalle d'activation (ON) de l'entrée de temporisation. Si la prochaine entrée de temporisation pour la mesure est reçue avant l'écoulement d'un délai correspondant à "délai de temporisation + période d'échantillonnage", cette entrée de temporisation sera ignorée et ne sera pas reflêtée dans l'échantillonnage. |
Réglage de la fonction de remise à zéro
TYPE
Définissez la façon dont la remise à zéro doit être exécutée.
Mode FUN-[OUTPUT]-[0RESET]-[TYPE]
| Paramètre | Description |
| REAL | Définit la valeur mesurée lorsqu'une remise à zéro est exécutée à zéro (valeur par défaut). Remise à zéro Référence A Mesure de la hauteur à partir de la surface de référence Référence A |
| HOLD | Définit la valeur mesurée (valeur maintainue) lorsqu'une remise à zéro est exécutée. Ce paramètre est activé lorsque le mainien de la mesure est exécuté. Remise à zéro Sens du mouvement |
OFFSET
Définissez un décalage pour définir la valeur de référence de la remise à zéro sur une valeur autre que 0.
| Paramètre | Description |
| OFFSET | Définit la valeur de référence. Plage : -999,999 à 999,999 (valeur par défaut : 0) |
STATUS
Définissez l'etat valide/non valide pour la fonction de remise à zéro.
| Paramètre | Description |
| ON | Une remise à zéro est exécutée lorsqu'une entrée de RàZ est reçue en externe. (valeur par défaut) |
| OFF | Une remise à zéro n'est pas exécutée, même si une entrée de RàZ est reçue en externe. |

CHECK!
En mode multitâche, réglez la valeur ON/OFF pour chaque tâche.
0RESET MEMORY
Indiquez si le niveau de remise à zéro de la valeur mesurée doit être maintainu lorsque le système est mis hors tension.
Mode FUN-[SYSTEM]-[0RESET]
| Paramètre | Description |
| OFF | La remise à zéro est annulée lorsque l'alimentation est hors tension (valeur par défaut). |
| ON | Le niveau de remise à zéro est enregistré en mémoire, y compris si l'alimentation est coupée. |
Désactive la mémoire de remise à zéro (OFF) si, comme dans l'exemple ci-dessous, le point zéro est réinitialisé pour chaque mesure.
Exemple : Mesure du pas de l'objet à détecter


CHECK!
- Si la mémoire RàZ est activée (ON), les données de niveau RàZ sont écrites dans la mémoire non volatile (EEPROM) du contrôleur de capteur à chaque remise à zéro. Il est possible d'écrite jusqu'à 100 000 fois dans l'EEPROM. L'écriture du niveau de remise à zéro pour chaque mesure peut donc utiliser toute la mémoire et entraîner des dysfonctionnements.
- Mème si la mémoire de remise à zéro est activée, le niveau de remise à zéro est aussi maintainu lors de l'enregistrement. La remise à zéro continue après le démarrage jusqu'à ce que ces fonctions aient été modifiées.
Réglage de la mesure des points caractéristiques
Il est possible de mesurer les points caractéristiques dans la plage de la lumière reçue à l'aide de la fonction multitâche et de caractéristiques du faisceau linéaire. Utilise ce menu lorsque vous mesurez un effet concave et convexe subtil sur l'objet ou l'épaissur d'un objet transparent.
Les paramètres de mesure des points caractéristiques ne sont valides qu'en mode multitâche.
Mode FUN-[MEASURE]-[Valeur mesurée]
| Paramètre | Description | |
| NONE | Ne définit aucun point de mesure. | |
| AVERAGE | Mesure la position moyenne entre les positions haute (crête) etasse (fond) du faisceau linéaire.II est possible de mesurer la distance depuis l'objet (valeur par défaut). | Faisceau linéaireMoyenne |
| PEAK | Mesure la position haute (crête) du faisceau linéaire.II est possible de mesurer la position la plus élevé du faisceau linéaire. | Faisceau linéaireCrête |
| BOTTOM | Mesure la position BASSE (fond) du faisceau linéaire.II est possible de mesurer la position la plus BASSE du faisceau linéaire. | Faisceau linéaireFond |
| THICK | Mesure l'épaissur d'un object transparent tel que du verre. | Épaissur |
| STEP | Mesure l'écart entre la crête et le fond du faisceau linéaire.II est possible de détecter un effet concave et convexe subtil sur l'objet. | Faisceau linéaireCrête/fond |
| K+mX+nY (calcul) | Sélectionnez cet élément pour exécuter des opérations logiques sur X et Y avec un coefficientdéfin librement. Il est également possible d'affector à une tâche la mesure des points caractéristiques définis, ainsi que de mesurer plusieurs points ou d'effectuer des calculs.Plage K : -999999 à 999999.Plage m : -10,0 à 10,0.Plage n : -10,0 à 10,0.Plage X : NONE, TASK1 à TASK4.Plage Y : NONE, TASK1 à TASK4 | |
Réglage du mode d'affichage
Spécifiez les éléments à afficher sur le contrôleur de capteur pendant la mesure en mode RUN.
Pour définiir la méthode d'affichage, passez en mode RUN et affichez le menu principal.
Réglage de l'affichage numérique
Définisse les éléments à afficher en mode RUN.
Nombre de chiffres après la virgule décimale
Définissez le nombre de chiffres visibles sur l'affichage principal et l'affichage inférieur. Si vous choisissez 5 chiffres ou moins, les chiffres sont désactivés en partant du chiffre le plus à droite.
Mode RUN-Touche MENU-[DIGITAL]-[DOT]
| Paramètre | Description |
| 5th, 4th, 3rd, 2nd, 1st, 0 | Définit le nombre de chiffres affichés après la virgule décimale. (Valeur par défaut : varie selon le contrôleur de capteur connecté.) |
Réglage de l'affichage ECO
Définissez la luminosité de l'affichage principal et des affichages inférieurs.
Mode RUN-Touche MENU-[DIGITAL]-[ECO]
| Paramètre | Description |
| NORMAL | Règle l'affichage sur la luminosité normale (valeur par défaut). |
| ECO | Supprime la luminosité en réduisant la consommation de courant pour ascombrir l'affichage. |
| OFF | Désactive l'affichage. |
Affichage de l'aide
Affichez l'aide relative aux fonctions affectees aux touches SET et ESC en mode RUN.
Mode RUN-Touche MENU-[HELP]
Réglage de l'écran LCD
Définissez la façon dont l'écran LCD s'affiche en mode RUN.
■ Activation/désactivation de l'affichage
Activez ou désactivez l'affichage de l'écran LCD.
Mode RUN-Touche MENU-[LCD]-[ON/OFF]
| Paramètre | Description |
| ON | Affiche always l'écran LCD (valeur par défaut). |
| AUTOOFF | Désactive l'écran LCD si aucune opération n'est exécutée pendant une minute. |
| OFF | Désactive l'écran LCD. (Le paramètre n'est valide que pour le mode RUN. Notez cependant que vous pouvez afficher le menu de personnalisation de l'affichage en appuyant sur la touche MENU.) |
■ Activation/désactivation du rétroéclairage
Activez ou désactivez le rétroéclairage de l'écran LCD.
Mode RUN-Touche MENU-[LCD]-[B.LIGHT]
| Paramètre | Description |
| ON | Active en permanence le rétroéclairage de l'écran LCD (valeur par défaut). |
| AUTOOFF | Désactive le rétroéclairage si aucune opération n'est exécutée pendant une minute. |
| OFF | Désactive le rétroéclairage de l'écran LCD. |
■ Personalisation de l'écran LCD
Définissez cette option pour afficher des caractères personalisés sur l'écran LCD.
Mode RUN-Touche MENU-[LCD]-[CUSTOM]
| Paramètre | Description |
| UPPER | Activez cette option (ON) pour afficher les caractères définis sous [U-CUST] dans la section supérieure de l'écran LCD (valeur par défaut : U-OFF). |
| LOWER | Activez cette option (ON) pour afficher les caractères définis sous [L-CUST] dans la section inférieure de l'écran LCD (valeur par défaut : L-OFF). |
| U-CUSTM | Utilisez ce paramètre pour modifier les caractères à afficher sur l'écran LCD (16 chiffres max.). Affichez l'initial de chaque groupe de caractères à l'aide des touches de fonction 1 à 4. 1 : A à Z |
| L-CUSTM | 2 : a à z 3 : KANA (caracteres japonais) 4 : nombres, :, :, <, =, >, ?, @ Pour passer d'un caractère au suivant/précessent, utilisez les touches HAUT et BAS. Pour déplacer les chiffres, utilisez les touches GAUCHE et DROITE. Pour effacer un caractère, Sélectionnez un espace. |
Configuration de l'environnement du système
Configurez l'environnement du système.
Vérification des informations
Affichez le cycle d'échantillonnage et la version du système du contrôleur de capteur.
Mode FUN-[SYSTEMM]-[INFO]
| Paramètre | Description |
| CYCLE | Affiche le cycle d'échantillonnage actuel. |
| VERSION | Affiche la version du système du contrôleur de capteur. |
Réglage du verrouillage des touches
La fonction de verrouillage des touches désactive les touches du contrôleur de capteur. Une fois les touches désactivées, elles ne sont plus prises en compte jusqu'à ce que le verrouillage soit désactivié. Utilisez cette fonction pour éviter des modifications inattendues des réglages.
L'accès au menu de verrouillage des touches et le déplacement dans les arborescences des menus à l'aide des touches MENU et ESC restent possibles lorsque la fonction de verrouillage des touches est activée.
Mode FUN-[SYSTEM]-[KEYLOCK]
| Paramètre | Description |
| OFF | Annule la fonction de verrouillage des touches (valeur par défaut). |
| ON | Active la fonction de verrouillage des touches. |
Réglage de la méthode de chargement du capteur
Spécifiez si les informations doivent être chargées ou non à partir de la tête de détction actuellement connectée au démarrage du contrôleur de capteur.
Mode FUN-[SYSTEM]-[SenINFO]
| Paramètre | Description |
| LOAD | Lit les données actuelles enregistrées sur la tête de détention à chaque démarrage du contrôleur de capteur (valeur par défaut). |
| SAVE | Les données ne sont pas lues à partir de la tête de détention au démarrage du contrôleur de capteur si la tête de détention est la même que celle connectée lors du démarrage précédent.Lorsque la combinaison contrôleur/démarrer/tête de détention est fixe, le démarrage du contrôleur/démarrer est parfois plus stable, suivant l'environnement de fonctionnement, si vous sélectionnez "SAVE". |
Réglage de la langue d'affichage
Définisse la langue d'affichage de l'écran LCD.
Mode FUN-[SYSTEM]-[LANGUAGEAG]
| Paramètre | Description |
| Japanese | Affiche les menus en japonais (valeur par défaut). |
| English | Affiche les menus en anglais. |
Modification du mode d'obtention de banques
Selectionnez le contenu de banque à Brokerir à partir des paramètres ou de la valeur d'évaluation.
Mode FUN-[BANK]-[MODE]
| Paramètre | Description |
| NORMAL | Les paramètres [SENSING] [MEASUREMENT POINT] [FILTER] [OUTPUT] et [I/O SET] définis en mode FUN, et la valeur de seuil définie en mode TEACH sont considérés comme des données de banque. Il peut y avoir quatre banques maximum (valeur par défaut). |
| THRESH | La valeur de seuil définie en mode TEACH est considérée comme des données de banque. Le nombre de banques peut être augmenté jusqu'à 32. |
Enregistrement des données des paramétres
Les paramètres des banques et les paramètres du système sont enregistrés en interne sur le contrôleur de capteur.

CHECK!
- Les paramètres de toutes les banques sont enregistrés independantment du nombre de banque actuelslement sélectionné.
- Àprouvèoou modifié des réglages,veilz à enregistrer les données de configuration. Tous les réglages seront supprimés si vous mettez l'appareil hors tension sans enregistrer les données. Un message vous invitant à enregistrer les données s'affiche si vous changez de mode sans enregistrer les données après avoir modifié les paramétres.
Mode FUN-[SYSTEM]-[SAVE]
| Paramètre | Description |
| OK | Enregistre les données de configuration. |
| CANCEL | N'enregistre pas les données de configuration. |
Effacement des paramètres
Initialisation de tous les paramètres
Rétablissez les valeurs par défaut pour tous les paramètres des banques et du système.

CHECK!
Tous les paramètres de banque et les paramètres système sont initiaisés quel que soit le numéro de banque actuellément sélectionné.
Mode FUN-[SYSTEM]-[INIT]
| Paramètre | Description |
| OK | Initialise les données de configuration. |
| CANCEL | N'initialise pas les données de configuration. |
Effacement de banques
L'effacement initialement les paramètres de la banque actuellement sélectionnée.
Les paramètres sous [SYSTEM] et les paramètres affichés en mode RUN ne sont pas initiaisés.
MÉMO
Section 6 E/S
Présentation 6-2
Cable d'E/S 6-2
Sortie de bornier 6-2
Paramètres de la sortie linéaire 6-3
Affectation de la sortie linéaire 6-3
Réglage de la mise au point 6-4
Correction des valeurs de sortie linéaire 6-5
Paramètres de la sortie d'évaluation 6-7
Paramètres de fonctionnement sur la sortie d'évaluation 6-7
Affectation de la sortie d'évaluation (multitâche) 6-8
Paramètres de la sortie de bornier 6-9
Carte de sortie parallele temps réel 6-9
Affectation de la sortie de bornier 6-10
Format de sortie 6-11
Réglage de la mise au point 6-13
Réglage du cycle de mise à jour 6-14
Paramètres de traitement lorsqu'la mesure est impossible 6-15
Connexion du ZS-MDC et du ZS-DSU 6-16
Paramètres des signaux d'entrée 6-17
Paramètres pour la direction active d'un signal d'entrée 6-17
Modification de l'affection des signaux d'entrée 6-17
Histogrammes 6-18
Présentation
Grâce au cable d'E/S et de la sortie de bornier du contrôleur de capteur, vous pouvez transmettre la valeur mesurée ou le résultat de l'évaluation à des périhériques externes ou receivevoir un signal de contrôle tel que la remise à zéro ou le paramètre LD-OFF d'un périhérique externe. Un signal d'E/S prédéterminé est affecté à chaque ligne de signal pour le cable d'E/S.
Câble d'E/S
Le cable d'E/S permet de transmettre la valeur mesurée ou le résultat de l'évaluation à partir du cable d'E/S du contrôleur, ainsi que de receivevoir un signal de contrôle de mesure ou un signal de remise à zéro.


Cablage p.2-10
Sortie de bornier
Lorsque vous reliez une carte de sortie parallele temps réel, le contrôleur de capteur transmet la valeur mesurée ou le résultat de l'évaluation en parallelle.

Paramètres de la sortie linéaire
Cette rubrique déscrit les paramètres nécessaires pour la sortie linéaire du résultat de mesure actuel.
Affectation de la sortie linéaire
Définissez la sortie pour la ligne de sortie linéaire. La valeur du paramètre varie en fonction du mode de tâche sélectionné.
| Paramètre | Description |
| ON | Sortie linéaire de la valeur mesurée à partir du contrôleur (valeur par défaut). |
| OFF | Pas de sortie linéaire. |
Mode multitäche
| Paramètre | Description |
| TASK1 | Sortie linéaire de la valeur mesurée de la tâche sélectionnée ici à partir du contrôleur. (Valeur par défaut : TASK1.) |
| TASK2 | |
| TASK3 | |
| TASK4 | |
| NONE | Pas de sortie linéaire. |
Réglage de la mise au point
Pour la sortie linéaire, étant donné que la valeur mesurée est convertie en courant de 4 à 20mA ou en tension de -10 +10 avant d'etre transmise, il est possible de définir librement la relation entre la valeur mesurée affichée et la valeur de sortie. Ajustez les paramètres en fonction du périphérique externe connecté.
Entrez les valeurs de sortie de n'importe qu'elle paire de valeurs de courant ou de valeurs de tensions pour définir la plage de sortie (valeur par défaut : OFF).
Example: Reglage de 0 mm à 4 mA et 5 mm à 20 mA (pour sortie de courant)

Courant de sortie
(mA)

Courant de sortie
(mA)

CHECK!
Séparez les deux points spécifiés d'au moins 1 % de la plage de mesure nominale correspondant à la tête de détction connectée ou de 40 μm ou plus.
Example:Capteur ZS-HLDS5T (reflexion diffuse)
Les deux points mesurés doivent être séparés d'au moins 10mm × 0,01 = 0,1mm , car la plage de mesure est ± 5mm (10 mm).
Mode FUN-[I/O SET]-[ANALOG]-[FOCUS]-[ON]
- Réglez la valeur de sortie (tension ou courant) du point 1.
La valeur de sortie s'affiche sur l'affichage principal.

INPUT POINT 1
↑↓CHANGE SET:OK
-
Appuyez sur la touche SET pour appliquer le paramétrage.
-
Réglez la valeur mesurée pour le point 1.
La valeur mesurée s'affiche sur l'affichage inférieur.
-
Appuyez sur la touche SET pour appliquer le paramétrage.
-
Définissez le point 2 de la même façon que le point 1.

INPUT POINT 2
DIG VAL SET:OK

CHECK!
Si les points ne sont pas définis correctement, vérifie les éléments suivants :
- La valeur mesurée paramétrée indiquée sur l'affichage inférieur est-elle comprende dans la plage de mesure (avec prise en compte des paramètres de mise à l'échelle et de calcul, le cas échéant)?
- Le premier et le second points mesurés sont-ils distants d'au moins 1% de la plage de mesure nominale ?
- Les valeurs de courant (ou de tension) des deux points sont-elles identiques?
Correction des valeurs de sortie linéaire
Des divergences peuvent se produit entre les valeurs de courant (ou de tension) de sortie linéaire paramétrées sur le contrôleur de capteur et les valeurs de courant (ou de tension) réelles mesurées du fait des conditions du périhérique externe connecté ou d'autres facteurs. La fonction de correction de sortie linéaire peut corriger ces écarts. Vous pouvez corriger les valeurs de sortie en entrant la valeur de correction des valeurs de courant ou de tension de l'un ou l'autre des deux points (valeur par défaut : OFF).
Plage: -999 à 999

CHECK!
Paramétrz la fonction de mise au point et Sélectionnez à l'avance la sortie courant ou tension. Connectez également la sortie linéaire à un ampèremetre ou un voltmetre externe.
- Définissez la valeur de sortie du point 1. La valeur de sortie s'affiche sur l'affichage principal.
- Appuyez sur la touche SET pour appliquer le paramétrage.

INPUT POINT 1
↑↓CHANGE SET:OK
- Définisse la valeur de correction pour le point 1.
La valeur mesurée s'affiche sur l'affichage inférieur.
Réglez la valeur de correction sur l'affichage inférieur de manière à ce que la valeur mesurée de l'ampèremètre (ou du voltmetre) et la valeur de sortie indiquée sur l'affichage principal soientidentiques.

INPUT POINT 1
DIG ↓VAL SET:OK
- Appuyez sur la touche SET pour appliquer le paramétrage.
- Définissez le point 2 de la même façon que le point 1.

CHECK!
Si les points ne sont pas définis correctement, vérifie si les valeurs de courant (ou de tension) des points 1 et 2 sont identiques.

INPUT POINT 2
DIG VAL SET:OK
Paramètres de la sortie d'évaluation
Cette rubrique décrit les paramètres permettant de transmettre les résultats d'évaluation à l'aide du cable de sortie.
Paramètres de fonctionnement sur la sortie d'évaluation
Réglez la largeur d'hysteresis des limites supérieure et inférieure des évaluations, ainsi que la temporisation de la sortie d'évaluation.

Réglage du seuil p.4-7
Affectation de la sortie d'évaluation (multitâche)
Définissez la tâche à partager.
| Paramètre | Description |
| TASK1 | Le résultat de la tâche sélectionnée est transmis aux lignes de sortie suivantes (valeur par défaut : TASK1). |
| TASK2 | |
| TASK3 | • HIGH |
| TASK4 | • PASS |
| • LOW | |
| • BUSY |

CHECK!
Si vous souhaitez sortir simultanément l'évaluation de plusieurs tâches en mode multitâche, vous doivent désposer d'une carte de sortie parallele temps réel.

Paramètres de la sortie de bornier p.6-9
Paramètres de la sortie de bornier
La rubrique suivante décrit les méthodes à suivre pour relier une carte de sortie parallele temps réel (ZS-RPD_1) et partager la valeur mesurée ou le résultat de l'évaluation à grande vitesse. Avant d'être sortie, la valeur mesurée est convertie en données binaires 16 bits en fonction d'un pas maximum de 65536.
En mode multitâche, vous pouvez sortir simultanément tous les résultats d'évaluation de plusieurs tâches.
Carte de sortie parallèle temps réel
■ Raccordement d'une carte de sortie parallèle temps réel
Fixez le crochet situé à l'arrière de la carte de sortie parallèle temps réel sur le rail DIN. Ensuite, branchez le connecteur du contrôleur de capteur au connecteur RS-232C du capteur ZS-HLDC_1, puis utilisez le contrôleur de capteur.

■ Alignment du bornier

- Caracteristiques du circuit
La configuration de circuit suivante est utilisé pour l'ensemble des 17 sorties, y compris la sortie de données (D0 à D15) et le signal GATE.

- Modèle à sortie ENPN (ZS-RPD11)

- Modèle à sortie EPNP (ZS-RPD41)
Affectation de la sortie de bornier
Définissez le contenu de sortie pour la carte de sortie parallèle temps réel. La valeur du paramètre varie en fonction du mode sélectionné.
Mode FUN-[I/O SET]-[TERMINAL]-[OUT]
Mode monotâche
| Paramètre | Description |
| NONE | Pas de sortie vers la carte de sortie parallelle temps réel. Le cycle d'échantillonnage est court par rapport au cas où la valeur mesurée ou l'évaluation est sortie. (valeur par défaut) |
| MEASURE | Sortie de la valeur mesurée vers la carte de sortie parallelle temps réel. |
| JUDGE | Sortie du résultat de l'évaluation vers la carte de sortie parallelle temps réel. |
Mode multitâche
| Paramètre | Description | |
| NONE | Pas de sortie vers la carte de sortie parallèle temps réel. Le cycle d'échantillonnage est court par rapport au cas où la valeur mesurée ou l'évaluation est sortie. (valeur par défaut) | |
| MEASURE | TASK1 | Sortie de la valeur mesurée de la tâche sélectionnée vers la carte de sortie parallèle temps réel. |
| TASK2 | ||
| TASK3 | ||
| TASK4 | ||
| REPEAT | Sortie permanente des tâches TASK1 à TASK4. | |
| JUDGE | Sortie du résultat de l'évaluation vers la carte de sortie parallèle temps réel. | |
Format de sortie
Lors de la sortie de la valeur mesurée
Avant d'être sortie, la valeur mesurée est convertie en données binaires 16 bits en fonction d'un pas maximum de 65536. Le tableau ci-dessous établit la correspondance entre la valeur mesurée et les données binaires 16 bits.

Dans le tableau ci-dessus
- 1 indique que la sortie collecteur ouvert est activée (type NPN, niveau L et modèle PNP, niveau H).
- 0 indique que la sortie collecteur ouvert est désactivée (type NPN, niveau H et modèle PNP, niveau L).
Sortied'uneseule tache

Données binaires de la valeur mesurée
Lorsque FOCUS est activé, seule la mesure qui reflète le paramètre FOCUS est sortie.
Exemple : Lorsque FOCUS est activé pour le premier point (valeur mesure 0,000 → valeur de sortie 00000) et la seconde valeur (valeur mesure 10,000 → valeur de sortie 20000).
Lorsque le résultat de mesure est égal à 5000, la valeur 10000 est sortie au format binaire.
| b15 | b14 | b13 | b12 | b11 | b10 | b9 | b8 | b7 | b6 | b5 | b4 | b3 | b2 | b1 | b0 |
| 0 | 0 | 1 | 0 | 0 | 1 | 1 | 1 | 0 | 0 | 0 | 1 | 0 | 0 | 0 | 0 |
| Valeur de sortie des donnéesées parallètes | ||||
| Valeur de sortie après FOCUS (format décimal) | Données binaires 16 bits | |||
| 65535 | 1111 | 1111 | 1111 | 1111 |
| 50000 | 1100 | 0011 | 0101 | 0000 |
| 40000 | 1001 | 1100 | 0100 | 0000 |
| 30000 | 0111 | 0101 | 0011 | 0000 |
| 20000 | 0100 | 1110 | 0010 | 0000 |
| 10000 | 0010 | 0111 | 0001 | 0000 |
| 0 | 0000 | 0000 | 0000 | 0000 |
D15-D12 D11-D8 D7-D4 D3-D0
Niveau sorti à partir du bornier 16 bits
- Sortie permanente de plusieurs tâches.
Le numéro de tâche est affecté par les 2 bits inférieurs. Par conséquent, le résultat de la valeur mesurée est transmis en tant que données dans lesquelles 2 bits sont arrondis.

Lorsque FOCUS est activé, seule la mesure qui reflète le paramètre FOCUS est sortie.
Exemple : Lorsque FOCUS est activé pour le premier point (valeur mesurée 0,000 valeur de sortie 00000) et la seconde valeur (valeur mesurée 10,000 valeur de sortie 20000). Lorsque le résultat de mesure est égal à 5000, la valeur 10000 est sortie au format binaire.

- Résultat arrondi à 2 bits (1/4 de la valeur)
Lors de la sortie de l'évaluation
Mode multitâche activé

Mode multitâche désactivé


Le résultat de l'évaluation est expré à l'aide de bits dans l'ordre ERROR, LOW, PASS et HIGH, de gauche à droite.
| Bit | Élément | Informations |
| b0,4,8,12 | HIGH | Activé lorsque résultat d'évaluation = HIGH. |
| b1,5,9,13 | PASS | Activé lorsque résultat d'évaluation = PASS. |
| b2,6,10,14 | LOW | Activé lorsque résultat d'évaluation = LOW. |
| b3,7,11,15 | ERROR | Activé en cas d'erreur de mesure. |
Réglage de la mise au point
Entrez les valeurs mesurées pour deux valeurs de sortie binaires afin de régler la plage de sortie (valeur par défaut : OFF).
Exemple:Réglage de 0 mm à 0 mA et 5 mm à 50000 (ZS-HLDS5 connecté)



CHECK!
Séparez les deux points spécifiés d'au moins 1 % de la plage de mesure nominale correspondant à la tête de détention connectée.
Example: ZS-HLDS5T
Les deux points mesurés doivent être séparés d'au moins 10mm × 0,01 = 0,1mm , car la plage de mesure est ± 5mm (10 mm).
Mode FUN-[I/O SET]-[TERMINAL]-[FOCUS]-[ON]
- Réglez la valeur de sortie binaire du point 1. La valeur de sortie s'affiche sur l'affichage principal.
- Appuyez sur la touche SET pour appliquer le paramétrage.
- Réglez la valeur mesurée pour le point 1. La valeur mesurée s'affiche sur l'affichage inférieur.
- Appuyez sur la touche SET pour appliquer le paramétrage.

INPUT POINT 1
←→ DIG ↑ ↓ VAL SET:OK

INPUT POINT 1
←→ DIG ↑ ↓ VAL SET:OK
- Définissez le point 2 de la même façon que le point 1.

INPUT POINT 2
←→DIG ↑ ↓VAL SET:OK

CHECK!
Si les points ne sont pas définis correctement, vérifie les éléments suivants :
- La valeur mesurée paramétrée indiquée sur l'affichage inférieur est-elle comprend dans la plage de mesure (avec prise en compte des paramètres de mise à l'échelle et de calcul, le cas échéant)?
- Le premier et le second points mesurés sont-ils distants d'au moins 1% de la plage de mesure nominale ?
- Les valeurs de sortie binaires des deux points sont-elles identiques?
Réglage du cycle de mise à jour
Définissez le cycle de sortie pour la carte de sortie parallèle temps réel.
Mode FUN-[I/OSET]-[TERMINAL]-[CYCLE]
| Paramètre | Description |
| 1 à 100 | Définit le cycle de mise à jour (valeur par défaut : 1). Transmet le résultat de la mesure ou de l'évaluation pour chaque valeur "cycle d'échantillonnage × valeur paramétrée pour le cycle de mise à jour". Vérification du cycle d'échantillonnage p.5-27 |
Paramètres de traitement lorsqu'la mesure est impossible
Spécifiez les méthodes de sortie linéaire, d'évaluation et de bornier lorsqu'un état d'absence de mesure survient temporairement, à cause, par exemple, d'une quantité de lumière reçue insuffisante ou de l'état de l'entrée de réinitialisation.
Exemple : Saut de la forme d'onde en raison d'une insuffisance de la quantité de lumière reçue

Sens du mouvement de I'objet

Quantité de déplacement
Lorsque [KEEP] est sélectionné

Quantité de déplacement
Mode FUN-[I/O SET]-[NO_MEAS]
| Paramètre | Sorties | |
| Sortie linéaire/Sortie de bornier | Sortie d'évaluation | |
| KEEP | L'état précédent immédiatement l'arrêt de la mesure est maintainu et sorti. | |
| CLAMP (valeur par défaut) | Sortie de la valeur CLAMP paramétrée (valeur anormale). | Désactivée |
![OMRON ZS-HL - Mode FUN-[I/O SET]-[NO_MEAS] - 1](/content/2019/10/15042/images/02eb0829d95e8cfe986b033c540d523ab6f67c13d104dcc923c9d101651c349b.jpg)
CHECK!
En mode maintien de la mesure, la sortie precedant la première valeur maintainue obtenue est identique à la valeur [CLAMP], même si le paramètre est [KEEP].
Réglage de la valeur de blocage.
Si le paramètre [CLAMP] est sélectionné pour le traitement lorsque la mesure est impossible, réglez la valeur de blocage à partager.
Sortie linéaire
Mode FUN-[I/O SET]-[ANALOG]-[CLAMP]
| Paramètre |
| Sortie de courant : MIN (environ 2 mA), MAX (environ 25 mA, valeur par défaut), 4 à 20 mA (tous les 1 mA) |
| Sortie de tension : MIN (environ -11 V), MAX (environ 11 V, valeur par défaut), -10 à 10 V (tous les 1 V) |
- Sortie de bornier
Mode FUN-[I/O SET]-[TERMINAL]-[CLAMP]
| Paramètre |
| 0 à 65535 (valeur par défaut : 65535) |
Connexion du ZS-MDC et du ZS-DSU
Lorsque vous transférez des données vers le ZS-MDC ou le ZS-DSU, la cible à transférer constitue une seule tâche. Sélectionnez les données de tâche à transférer.
| Paramètre | Description |
| ON | Transfert vers la cible de connexion (valeur par défaut). |
| OFF | Pas de transfert. |
Mode multitäche
| Paramètre | Description |
| TASK1 | Sélectionnez la tâche à transférer vers la cible de connexion. |
| TASK2 | |
| TASK3 | |
| TASK4 |
Paramètres des signaux d'entrée
Cette rubrique décrit les paramètres de contrôle à l'aide de signaux d'entrée externes.
Paramètres pour la direction active d'un signal d'entrée
Sélectionnez la valeur ON ou OFF d'un signal d'entrée externe afin de paramétrel l'état actif pour chacun des fils d'entrée.
| Paramètre | Description | |
| IN0 à IN3 | OFF | Le fil d'entrée est considéré comme actif lorsqu'il est à OFF. |
| ON | Le fil d'entrée est considéré comme actif lorsqu'il est à ON (valeur par défaut). | |
Modification de l'affection des signaux d'entrée
Vouss拨eionner la fonction a affector aux signaux d'entree externes IN0 a IN3 parmi deux modeles.

CHECK!
- Si vous utilisez SmartMonitor ZS, vous pouvez changer les affectations des fonctions de IN2 et IN3 lorsque [BANK] est selectionné. Pour plus d'informations, reportez-vous à l'aide de SmartMonitor ZS.
- Ces paramètres sont stockés dans chaque banque et doivent être définis séparément pour chaque banque.
| Paramètre | Description | |||
| NORMAL | Sélectionnez ce paramètre pour utiliser la fonction d'entrée externe comme dans les applications standard jusqu'à présent (valeur par défaut). | |||
| IN0 | IN1 | IN2 | IN3 | |
| Entrée déclenchement externe (temporisation) | Entrée réinitialisation | Entrée LD OFF | Entrée remise à zéro | |
| BANK | Sélectionnez ce paramètre pour changer de banque avec les entrées externes. | |||
| IN0 | IN1 | IN2 | IN3 | |
| Entrée banque A | Entrée banque B | Entrée LD OFF | Entrée remise à zéro | |
- Combinaison de banques
Grçé à la combinaison des entrées de banque A et B, vous pouvez sélectionner n'importe celle banque.
| Entrée banque A | Entrée banque B | Banque à sélectionner |
| OFF | OFF | BANK1 |
| OFF | ON | BANK2 |
| ON | OFF | BANK3 |
| ON | ON | BANK4 |

CHECK!
- La commutation de banque commence 0,5 seconde après le changement d'etat de l'entrée.
- Elle peut prendre jusqu'à 30 secondes.
- Pendant la commutation de banque, la sortie BUSY passé à ON.
- Si le mode de banque [JUDGMENT VALUE] est activé, il est impossible de changer de banque par l'entrée de signal externe, car le nombre de banques augmente à 32.
Histogrammes
Les informations suivantes montrent des photographes lorsque la communication est établie avec des péripériques.
Les portions dans lesquelles des valeurs spécifiques sont mentionnées dans les photographmes correspondant aux périodes qui ne dépendent pas du cycle d'échantillonnage.
■ Fonctionnement de base
Émission du faisceau laser
Traitement interne
Sortie d'évaluation
Signal GATE
Sortie de bornier
Sortie linéaire


| Élément | Minimum | Moyenne | Maximum | Remarques | |
| T1 | Durée pendant laquelle la valeur mesurée est déterminée à partir de l'émission du faisceau laser | - | - | Cycle d'échantillonnage × 3 | La mesure est réalisée en continu et la quantité de lumière est stable. |
| T8 | Cycle de mise à jour de la sortie d'évaluation | Cycle d'échantillonnage | |||
| T9 | Cycle de mise à jour de la sortie de bornier | Cycle d'échantillonnage × cycle de mise à jour | Le cycle de mise à jour peut être régle dans [I/O SET]-[TERMINAL]-[CYCLE]. | ||
| T10 | Temps OFF du signal GATE | 68 μs | |||
| T21 | Temps de réponse du signal GATE | 320 μs | |||
| T11 | Temps de réponse de la sortie linéaire | - | - | 500 μs | Varie en fonction de la fluctuation de la valeur mesurée. |
NORMAL

| Élément | Minimum | Moyenne | Maximum | Remarques | |
| T2 | Temps minimum d'entrée de déclenchement | Cycle d'échantillon- nage × 4 | - | - | |
| T11 | Temps de réponse de la sortie linéaire | - | - | 500 μs | Varie en fonction de la fluctuation de la valeur mesurée. |
| T12 | Temporisation de début et de fin de la mesure après l'entrée de déclenchement | Cycle d'échantillon- nage × 3 | - | Cycle d'échantillon- nage × 4 | |
| T13 | Temps de réponse de la sortie d'évaluation et de la sortie BUSY | Cycle d'échantillon- nage × 4 | - | Cycle d'échantillon- nage × 5 | |
■ Maintien de l'échantillon
Vous trouvez ci-dessous les historiammes applicables en mode de déclenchement externe.

| Élément | Minimum | Moyen ne | Maximum | Remarques | |
| T2 | Temps minimum d'entrée de déclenchement | Cycle d'échantillonnage × 4 | - | - | |
| T12 | Temporisation de début et de fin de la mesure après l'entrée de déclenchement | Cycle d'échantillonnage × 3 | - | Cycle d'échantillonnage × 4 | |
| T13 | Temps de réponse de la sortie d'évaluation, de la sortie BUSY et de la sortie de bornier | Cycle d'échantillonnage × 4 | - | Cycle d'échantillonnage × 5 | Sortie de bornier dans le cycle de mise à jour 1. |
| T10 | Temps OFF du signal GATE | 68 μs | |||
| T21 | Temps de réponse du signal GATE | 320 μs | |||
| T11 | Temps de réponse de la sortie linéaire | - | - | 500 μs | Varie en fonction de la fluctuation de la valeur mesurée. |

CHECK!
Lorsque vous souhaitez doivent le résultat de sortie du bornier, récapérez-le sur le front descendant du signal GATE.
Le bornier est défini lorsque la sortie de valeur d'évaluation et la sortie d'évaluation TASK1/2/3/4 sont paramétrées.
Si la sortie de la valeur mesurée est continue, elle dépend du cycle d'échantillonnage, pas de l'entrée de déclenchement.
Le résultat à partir est celui traité en fonction de la temporisation trace sur la diagonale.
Vous trouvrez ci-dessous les historiammes applicables en mode de déclenchement externe.
Le résultat traité en fonction de la temporisation tracee sur la diagonale correspond à la cible du maintien. Pour la période d'échantillonnage, consultez les paramètres [HOLD].

Réglages des fonctions de maintien p.5-18

| Élément | Minimum | Moyen-ne | Maximum | Remarques | |
| T2 | Temps minimum d'entrée de déclenchement | Cycle d'échan-tillonnage × 4 | - | - | |
| T12 | Temporisation de début et de fin de la mesure après l'entrée de déclenchement | Cycle d'échan-tillonnage × 3 | - | Cycle d'échan-tillonnage × 4 | |
| T13 | Temps de réponse de la sortie d'évaluation, de la sortie BUSY et de la sortie de bornier | Cycle d'échan-tillonnage × 4 | - | Cycle d'échan-tillonnage × 5 | Sortie de bornier dans le cycle de mise à jour 1. |
| T10 | Temps OFF du signal GATE | 68 μs | |||
| T21 | Temps de réponse du signal GATE | 320 μs | |||
| T11 | Temps de réponse de la sortie linéaire | - | - | 500 μs | Varie en fonction de la fluctuation de la valeur mesurée. |
Commutation de banque
Entree BANK
Traitement interne
Sortie BUSY
Sortie d'évaluation

| Élément | Minimum | Moyenne | Maximum | Remarques | |
| T14 | Temps de réception de l'entrée de commutation de banque | Cycle d'échantillon-nage × 3 | - | Cycle d'échantillon-nage × 4 | |
| T15 | Temps de commutation de banque | Varie en fonction des conditions de mesure (*1) comme suit : • Si les paramètres (1) à (3) sont identiques entre les banques : en 1 s • Si le paramètre (1) n'est pas en mode haute vitesse (HI-SPEED) et si le paramètre (3) est identique entre les banques : en 3 s • Autres cas : en 15 s (*1) Conditions de mesure (1) Mode de mesure (STAND/HI-SPEED/HI-RESO/HI-SENS/CUSTOM) (2) Mise à l'échelle (3) Installation de capteur (réflexion régulière/diffuse) | |||
| T16 | Temps entre la fin de la commutation de banque et la sortie des données valides | Cycle d'échantillon-nage × nombre moyen | - | Cycle d'échantillon-nage × (15 + nombre moyen) | Temps lorsque l'ajustement de la quantité de luminère est automatique |
Laser OFF
| Élément | Minimum | Moyenne | Maximum | Remarques | |
| T4 | Temps de réception de l'entrée laser OFF | 500 ms | - | - | |
| T5 | Temps de réponse de l'entrée laser OFF | - | - | 500 ms | |
| T17 | Temps entre l'annulation de l'entrée laser OFF et la sor-tie des données valides | Cycle d'échantillon-nage × nom-bre moyen | - | Cycle d'échantillon-nage × (15 + nombre moyen) | Temps d'ajustement de la quantité de luzière et du nombre moyen de tampons. |
■ Remise à zéro

| Élément | Minimum | Moyenne | Maximum | Remarques | |
| T6 | Temps de l'entrée de remise à zéro | 50 ms | 0,8 s | ||
| T7 | Temps d'annulation de l'entrée de remise à zéro | 1 s + cycle d'échantillon- nage × 3 | 1 s + cycle d'échantillon- nage × 4 | ||
| T22 | Temps entre l'entrée de remise à zéro et la sortie de données après la remise à zéro | Cycle d'échantillon- nage × 3 | Cycle d'échantillon- nage × 4 | ||
■ Bornier (ZS-RPD)
- Sortie des valeurs d'évaluation et mesurée pour TASK1/2/3/4
Le résultat de la sortie du bornier est obtenue sur le front descendant du signal GATE.

| Élément | Minimum | Moyenne | Maximum | Remarques | |
| T1 | Durée pendant laquelle la valeur mesurée est déterminée à partir de l'émission du faisceau laser | - | - | Cycle d'échan-tillonnage × 3 | Le cycle de mise à jour peut être régli dans [I/O SET]-[TERMINAL BLOCK]-[CYCLE]. |
| T9 | Cycle de mise à jour de la sortie de bornier | Cycle d'échantillonnage × cycle de mise à jour | |||
| T10 | Temps OFF du signal GATE | 68 μs | La mesure est réalisée en continu et la quantité de luminière est stable. | ||
| T21 | Temps de réponse du signal GATE | 320 μs | |||
| T11 | Temps de réponse de la sortie linéaire | - | - | 500 μs | Varie en fonction de la fluctuation de la valeur mesurée. |

Des résultats TASK différents peuvent être transmis pour la sortie linéaire et la sortie de bornier.
- Sortie permanente de la valeur mesurée
Émission du faisceau laser
Traitement interne
Sortie d'évaluation
Signal GATE
Sortie de bornier
Sortie linéaire

| Élément | Minimum | Moyenne | Maximum | Remarques | |
| T1 | Durée pendant laquelle la valeur mesurée est déterminée à partir de l'émission du faisceau laser | - | - | Cycle d'échan-tillonnage × 3 | Le cycle de mise à jour peut être régle dans [I/O SET]-[TERMINAL BLOCK]-[CYCLE]. |
| T9 | Cycle de mise à jour de la sortie de bornier | Cycle d'échantillonnage × cycle de mise à jour | |||
| T10 | Temps OFF du signal GATE | 68 μs | La mesure est réalisée en continu et la quantité de luminière est stable. | ||
| T18 | Cycle de mise à jour de la sortie de bornier 2 | Cycle d'échantillonnage × cycle de mise à jour × (nombre de tâches effectuées) | |||
| T21 | Temps de réponse du signal GATE | 320 μs | |||
| T11 | Temps de réponse de la sortie linéaire | - | - | 500 μs | Varie en fonction de la fluctuation de la valeur mesurée. |

CHECK!
Seul le résultat de la tâche concernée par la mesure est transmis vers le bornier. Vous pouvez déterminer le nombre de la tâche en consultant les 2 bits inférieurs de la valeur de sortie 16 bits.
Le résultat d'une seule tâche sélectionnée est transmis à la sortie linéaire.
■ Opérations en mode FUN et lors du passage du mode FUN vers un autre mode

| Élément | Minimum | Moyenne | Maximum | Remarques | |
| T11 | Temps de réponse de la sortie linéaire | - | - | 500 μs | Varie en fonction de la fluctuation de la valeur mesurée. |
| T19 | Temps de réponse du changement de mode | - | - | Cycle d'échan-tillonnage | |
| T20 | Temps de détermination des données valides après le changement de mode | - | - | Cycle d'échan-tillonnage × (15 + nombre moyen) | |

En mode FUN, la valeur n'est pas sortie vers le bornier (ZS-RPD). Directement après l'activation d'un mode autre que FUN, une valeur de blocage est sortie jusqu'à ce que la valeur mesurée soit déterminée.
Section 7
Présentation 7-2
USB 7-2
RS-232C 7-3
Connexion à l'aide d'un cable USB 7-4
Méthode de connexion 7-4
Réglage des caractéristiques de communication 7-4
Connexion à l'aide d'un cable RS-232C 7-5
Méthode de connexion 7-5
Réglage des caractéristiques de communication 7-6
Paramètres de la sortie numérique haute vitesse 7-7
7-8
Présentation
Grâce au port USB ou au connecteur RS-232C du contrôleur de capteur, vous pouvez établier une communication numérique avec des péripériques externes tels qu'un ordinateur ou un automate programmable. Par rapport à la sortie linéaire, vous pouvez obtenir des données de mesure haute résolution très stables.
La communication avec des périphériques externes qui utilisent USB ou RS-232C est effectue en mode RUN ou TEACH. Il est impossible d'établier la communication en mode FUN. Par ailleurs, en cas d'erreur système, le contrôleur de capteur reçoit une commande en externe, mais n'exécute pas les commandes de paramétrage.
USB
Le contrôleur de capteur peut être relié à un ordinateur et les paramètres peuvent être modifiés sur l'ordinateur à l'aide du logiciel SmartMonitor ZS. En outre, la mesure peut être surveillée sur l'ordinateur.

La communication est également possible avec des commandes non procédurales ou CompoWay/F.
Pour plus d'informations sur les formats des commandes non procédurales et CompoWay/F, reportez-vous au "Manuel de référence des commandes de communication" (fourni séparément).


Paramétres de connexion USB p.7-4
RS-232C
Il est possible d'étabir une connexion vers un automate calculable, un terminal calculable et un ordinateur personnel.
La communication peut être effectue à l'aide de commandes non procédurales ou CompoWay/F.
Pour plus d'informations sur les formats des commandes non procédurales et CompoWay/F, reportez-vous au "Manuel de référence des commandes de communication" (fourni séparément).


Paramètres de connexion RS-232C p.7-5

Il est possible d'étabir une communication avec deux cables provenant du port USB et du connecteur RS-232C. Par exemple, les fonctions de confirmation/analyse de données et de collecte/controlde données avec changement de configuration de péripériques peuvent être effectues simultanément.
Commande par communication CompoWay/F
[Confirmation/analyse de données]
- Vérification de l'écran SENSING
- Vérification de la valeur mesurée
- Enregistrement de la valeur mesurée

Commande par communication non procédurale
[Collecte/contrôle de données, changement de configuration du périhérique]
- Récupération du résultat de mesure
- Exécution de la remise à zéro
- Commutation de banque

Ordinateur


Automate programmable
Notez que les restrictions ci-dessous s'appliquent à l'utilisation simultanée de deux cables pour la communication.
- La première commande entrée est valide et la commande suivante est executée après la fin du traitement de la première commande.
- Des restrictions s'appliquent aux commandes pouvant etre entrees simultanement a partir de lignes RS-232C et USB. Pour plus d'informations, reportez-vous au "Manuel de referece des commandes de communication" (fourni séparation).
Connexion à l'aide d'un cable USB
Méthode de connexion
1. Installé le pilote USB sur un ordinateur.
Le pilote ne doit être installé que lorsque le cable USB est branché pour la première fois.

Installation du pilote USB p.2-16
2. Insérez une extrémité du cable USB dans le connecteur USB du contrôleur.
3. Insérez l'autre extrémité du cable USB dans le connecteur USB du périphérique externe.


Le cable USB est un accessoire du contrôleur
de capteur ZS-HLDC_1A. Placez des noyaux en ferrite aux deux extrémités du cable.

CHECK!
Noyau en ferrite
Réglage des caractéristiques de communication
Réglez les caractéristiques de communication du contrôleur en fonction de celles des péripériques externes.
Mode FUN-[SYSTEM]-[COM]
| Paramètre | Plage | |
| RS-232C | LENGTH | Les paramètres sont ignorés. |
| PARITY | ||
| STOP (STOP BIT) | ||
| BAUDRAT | ||
| DELIMIT | CR, LF, CR+LF (valeur par défaut : CR) | |
| NODE (n° de nœud) | Les paramètres sont ignorés. | |
Connexion à l'aide d'un cable RS-232C
Méthode de connexion
- Insérez une extrémité du cable RS-232C dans le connecteur RS-232C du contrôleur.
- Insérez l'autre extrémité du cable RS-232C dans le connecteur RS-232C du péripérique externe.

Câble RS-232C pour le raccordement d'un automate/terminal programmable
- ZS-XPT2 (longueur du cable: 2 m)



| Nom du signal | N° broche |
| NC | 1 |
| SD(TXD) | 2 |
| RD(RXD) | 3 |
| RS(RTS) | 4 |
| CS(CTS) | 5 |
| NC | 6 |
| NC | 7 |
| NC | 8 |
| SG(GND) | 9 |
| NC | 10 |
| FG | Blindage |
| N° broche | |
| 1 | NC |
| 2 | SD(TXD) |
| 3 | RD(RXD) |
| 4 | RS(RTS) |
| 5 | CS(CTS) |
| 6 | NC |
| 7 | NC |
| 8 | NC |
| 9 | SG(GND) |
| Blindage | FG |
Remarque 1: connecteur maje
Cable RS-232C pour le raccordement à un ordinateur
- ZS-XRS2 (longueur du cable: 2 m)

Remarque: connecteur femelle
Réglage des caractéristiques de communication
Réglez les caractéristiques de communication du contrôleur en fonction de celles des péripériques externes.
Mode FUN-[SYSTEM]-[COM]
| Paramètre | Plage | |
| RS-232C | LENGTH | 8 BIT, 7 BIT (valeur par défaut : 8 BIT) |
| PARITY | NONE, ODD, EVEN (valeur par défaut : NONE) | |
| STOP(STOP BIT) | 1 BIT, 2 BIT (valeur par défaut : 1 BIT) | |
| BAUDRAT | 9600, 19200, 38400, 57600, 115200 (valeur par défaut : 38400) | |
| DELIMIT | CR, LF, CR+LF (valeur par défaut : CR) | |
| NODE (n° de nœud) | 0 à 16 Le n° de nœud fait réference au numéro du groupe de connexion du point de vue du pérophérique hôte (API). Outre le capteur série ZS, plusieurs autres pérophériques sont raccordés à l'API. Le n° affecté aux pérophériques raccordés à un API tel que celui-ci est appelé n° de nœud. | |

CHECK!
Pour plus d'informations sur les commandes de communication, reportez-vous au "Manuel de referencia des commandes de communication" (fourni séparément).
Pour vous procurer ce document, veuillez contacter votre revendeur OMRON.
Paramètres de la sortie numérique haute vitesse
Parmi les commandes de communication CompoWay I/F ou non procédurales, si vous poulez utiliser la commande FlowDATA pour accuperir des données par lots à grande vitesse, activez ce paramètre (ON).
Notez cependant que dans les modes de mesure ([High] ou [Custom]) où le cycle d'échantillonnage est court, le cycle change en fonction du paramétrage de cette sortie numérique.

CHECK!
- Ce paramètre est automatiquement activé (ON) en cas d'utilisation des fonctions d'affichage graphique et d'enregistrement de SmartMonitor ZS. Par exemple, en mode haute vitesse (HI-SPEED), le cycle d'échantillonnage est alors multiplé par 1,5.
- Lorsqu'un mode de mesure autre que [High] ou [Custom] est sélectionné, ce paramètre de sortie numérique ne provoque pas de changement du cycle d'échantillonnage.
| Paramètre | Description |
| ON (valeur par défaut) | Parmi les commandes de communication, la commande (FlowDATA) qui permet d'acquérir les données par lots rapidement est activée. Activez ce paramètre (ON) pour acquérir les données par lots rapidement avec les commandes de communication. Notez cependant que dans les modes de mesure ([High] ou [Custom]) où le cycle d'échantillonnage est court, le cycle est multiplié par 1,5 lorsque ce paramètre est activé (ON). |
| OFF | Parmi les commandes de communication, la commande (FlowDATA) qui permet d'acquérir les données par lots rapidement est désactivée. Lorsque [High] est sélectionné pour le mode de mesure, ce paramètre est automatiquement désactivé (OFF) et le cycle d'échantillonnage devient le cycle le plus rapide. |

CHECK!
En mode multitâche, réglez la valeur ON/OFF pour chaque tâche.
Histogrammes
RS-232C
| Élément | Moyenne | Remarques | ||
| T19 | Durée de transmission de la commande | Communication CompoWay/F | 280/vitesse de transmission | Ces durées varient en fonction des caractéristiques duTRAitément de communication du côte ordinateur. Vous pouvez régler la vitesse de transmission dans [SYS-TEM]-[COM]-[BAUDRAT]. La communication CompoWay/F est unconçue pour les commandes de lecture et d'écriture des zones de paramètres. |
| Communication non procédurale | (nombre de caractères de la commande + 1) × 10/vitesse de transmission | |||
| T20 | Durée de transmission de la réponse | Communication CompoWay/F | 330/vitesse de transmission | |
| Communication non procédurale | (nombre de caractères de la réponse + 1) × 10/vitesse de transmission | |||
La valeur T20 du temps de traitement de la commande varie en fonction de la commande. Le tableau ci-dessous répertorie les commandes non procédurales classiques.
| Commande | Temps de traitement | |
| Liée à la mesure | MEASURE | 10 ms max. |
| DATAGET | 10 ms max. | |
| Liée au réglage | DATASET | Environ 500 ms*Varie en fonction des paramètres. |
USB
| Élément | Moyenne | Remarques | ||
| T19 | Durée de transmission de la commande | Communication CompoWay/F | - | Ces durées varient en fonction des caractéristiques duTRAité-ment de communication du côte ordinateur.La vitesse de transmission varie en fonction de l'état de charge de l'ordinateur.Toute-fois, sa valeur moyenne est de 7 Mbps. |
| Communication non procédurale | (nombre de caractères de la commande + 1) × 10/vitesse de transmission | |||
| T21 | Durée de transmission de la réponse | Communication CompoWay/F | - | |
| Communication non procédurale | (nombre de caractères de la réponse + 1) × 10/vitesse de trans-mission | |||
La valeur T20 du temps de traitement de la commande varie en fonction de la commande. Le tableau ci-dessous repertorie les commandes non procédurales classiques.
| Commande | Temps de traitement | |
| Liée à la mesure | MEASURE | 1 ms max. (autre que mode haute vitesse)3 ms max. (autre que mode haute vitesse) |
| DATAGET | 5 ms max. | |
| Liée au réglage | DATASET | Environ 500 ms*Varie en fonction des paramètres. |
Section 8
CHARACTERISTIQUES ET DIMENSIONS EXTERNES
Tete de détction 8-2
Caracteristiques techniques 8-2
Dimensions externes 8-7
Réglage des interférences mutuelles 8-15
Diametre du spot 8-19
Largeur d'utilisation du faisceau linéaire 8-20
Caracteristiques de linéarité par matériaux 8-21
Contrôleur de capteur 8-39
Caracteristiques techniques 8-39
Dimensions externes 8-41
Accessoires 8-42
Adaptateur de montage sur panneau 8-42
Rallonge 8-43
Rallonge (modèle couple longue distance) 8-44
Cable RS-232C 8-46
Carte Controller Link 8-47
Carte de sortie parallele temps réel 8-48
Tête de détction
Caracteristiques techniques
ZS-HLDS2T/HLDS2VT/HLDS5T/HLDS10/HLDS60/HLDS150
| Élément | ZS-HLDS2T | ZS-HLDS2VT | ZS-HLDS5T | ZS-HLDS10 | ZS-HLDS60 | ZS-HLDS150 | ||||
| Système optique | Réflexion régulière | Réflexion diffuse | Réflexion régulière | Réflexion diffuse | Réflexion régulière | Réflexion diffuse | Réflexion régulière | Réflexion diffuse | Réflexion diffuse | |
| Distance au centre de la mesure | 20 mm | 5,2 mm | 25 mm | 50 mm | 44 mm | 100 mm | 94 mm | 600 mm | 1 500 mm | |
| Plage de mesure | ±1 mm | ±2 mm | ±5 mm | ±4 mm | ±20 mm | ±16 mm | ±350 mm | ±500 mm | ||
| Source lumineuse | Laser à semi-conducteur visible(longueur d'onde 650 nm, 1 mW max., classe 2) | Laser à semi-conducteur visible (longueur d'onde 658 nm, 1 mW max., classe 2) | ||||||||
| Type de faisceau | Faisceau linéaire | |||||||||
| Diamètre du faisceau (*1) | 20 μm × 1,0 mm | 45 μm × 2,2 mm | 30 μm × 1,0 mm | 60 μm × 3,5 mm | 0,3 μm × 16 mm | 1,5 mm × 40 mm | ||||
| Linéarité (*2) | ±0,05 % P.E. | ±0,2 % P.E. | ±0,1 % P.E. | ±0,07 % P.E. (250 mm à 750 mm) ±0,1 % P.E. (750 mm à 950 mm) | ±0,2 % P.E. | |||||
| Résolution (*3) | 0,25 μm(moyenne 256) | 0,6 μm(moyenne 128) | 0,25 μm(moyenne 512) | 1 μm(moyenne 64) | 8 μm(moyenne 64) (à 250 mm) 40 μm(moyenne 64) (à 600 mm) | 500 μm(moyenne 64) | ||||
| Caracteristique de température (*4) | ±0,01 % P.E./°C | ±0,1 % P.E./°C | ±0,01 % P.E./°C | |||||||
| Cycle d'échan-tillonnage | 110 μs (mode haute vitesse), 500 μs (mode standard), 2,2 ms (mode haute résolution), 4,4 ms (mode haute sensibilité) | |||||||||
| Voyants | Voyant NEAR | S'allume à proximé du centre de la mesure et enNeill à l'intérieur de la plaque de mesure.Clignote lorsque la cible de la mesure est en dehors de la plaque de mesure ou lorsque la quantité de lumière reçue est insuffisante. | ||||||||
| Voyant FAR | S'allume à proximé du centre de la mesure et au-delà à l'intérieur de la plaque de mesure.Clignote lorsque la cible de la mesure est en dehors de la plaque de mesure ou lorsque la quantité deelight reçue est insuffisante. | |||||||||
| Élément | ZS-HLDS2T | ZS-HLDS2VT | ZS-HLDS5T | ZS-HLDS10 | ZS-HLDS60 | ZS-HLDS150 |
| Luminosite ambiente de fonctionnement | Luminosite sur la surface qui recoit la lumière 3 000 lx max. (lumière incandescente) | Lumino-sité sur la surface qui recoit la lumière 1 000 lx max. (lumière incandes-cente) | Lumino-sité sur la surface qui recoit la lumière 500 lx max. (lumière incandes-cente) | |||
| Température ambiente | Fonctionnement: 0 à +50°C, stockage: -15 à +60°C (sans givrage ni condensation) | |||||
| Humidité ambiente | Fonctionnement et stockage: 35 à 85 % (sans condensation) | |||||
| Degré de protection | IP64 (IEC60529) | IP67 (IEC60529) | Longueur de câble de 0,5 m : IP66 (IEC60529) Longueur de câble de 2 m : IP67 (IEC60529) | IP66 (IEC60529) (*) | ||
| Résistance aux vibrations (destruction) | 10 à 150 Hz, 0,7 mm amplitude double, 80 mn dans chacune des directions X, Y et Z | |||||
| Résistance aux chocs (destruction) | 150 m/s23 fois dans chacune des six directions (haut/bas, gauche/droite, avant/arrière) | |||||
| Matériaux | Boîtier : aluminium moulé sous pression, capot avant : verre | |||||
| Longueur de câble | 0,5 m, 2 m | 0,5 mm | ||||
| Poids | Environ 350 g | Environ 600 g | Environ 800 g | |||
P.E.: pleine échelle de la mesure
(^1) Défini comme 1 / e^2 (13,5 %) de l'intensité optique du centre dans la distance au centre de la mesure. Les conditions ambiantes de l'objet influent parfois sur le diamètre du faisceau (exemple : fuite de lumière sur le faisceau principal).
(^2) Il s'agit de l'erreur sur la valeur mesurée par rapport à une ligne droite ideale. La courbe linéaire peut changer en fonction de l'objet. Le tableau ci-dessous répertorie les objets.
| Référence | Réflexion diffuse | Réflexion miroir |
| ZS-HLDS2T | Bloc SUS | Verre |
| ZS-HLDS2VT | - | Verre |
| ZS-HLDS5T | Céramique d'alumine blanche | Verre |
| ZS-HLDS10 | Céramique d'alumine blanche | |
| ZS-HLDS60/HLDS150 | Céramique d'alumine blanche | - |
(*) II s'agit de la valeur de conversion de déplacement "crête à crête" de la sortie de déplacement dans la distance du centre de la mesure lorsque le mode haute résolution et le nombre moyen du tableau sont paramétrés (pour ZS-HLDS60, la résolution maximum de 250 mm est également incluse). Le tableau cédssous répertorie les objets.
| Référence | Réflexion diffuse | Réflexion miroir |
| ZS-HLDS2T | Bloc SUS | Verre |
| ZS-HLDS2VT | - | Verre |
| ZS-HLDS5T | Céramique d'alumine blanche | Verre |
| ZS-HLDS10 | Céramique d'alumine blanche | |
| ZS-HLDS60/HLDS150 | Céramique d'alumine blanche | - |
(4) Valeur obtenue lorsque la partie capteur et la partie objet sont fixées par un gabarit en aluminium (exemple courant).
(^5) Veuillez contacter votre revendeur Omron pour les produits IP67.
ZS-LD10GT/LD15GT/LD20T/LD20ST/LD40T
| Élément | ZS-LD10GT | ZS-LD15GT | ZS-LD20T | ZS-LD20ST | ZS-LD40T | ||||
| Système optique | Réflexion régulière | Réflexion régulière | Réflexion régulière | Réflexion diffuse | Réflexion régulière | Réflexion diffuse | Réflexion régulière | Réflexion diffuse | |
| Distance au centre de la mesure | 10 mm | 15 mm | 20 mm | 6,3 mm | 20 mm | 6,3 mm | 40 mm | 30 mm | |
| Plage de mesure | ±0,5 mm | ±0,75 mm | ±1 mm | ±2,5 mm | ±2 mm | ||||
| Source lumineuse | Laser à semi-conducteur visible (longueur d'onde 650 nm, 1 mW max., classe 2) | ||||||||
| Type de faisceau | Faisceau linéaire | Faisceau spot | Faisceau linéaire | ||||||
| Diamètre du faisceau (*1) | 25 × 900 μm | 25 × 900 μm | ø 25 μm | 35 × 2 000 μm | |||||
| Linéarité (*2) | ±0,1 % P.E. | ±0,1 % P.E. | |||||||
| Résolution (*3) | 0,25 μm | 0,4 μm | |||||||
| Caracteristique de température (*4) | 0,04 % P.E./°C | 0,02 % P.E./°C | |||||||
| Cycle d'échantillonnage | 110 μs (mode haute vitesse), 500 μs (mode standard), 2,2 ms (mode haute résolution), 4,4 ms (mode haute sensibilité) | ||||||||
| Voyants | Voyant NEAR | S'allume à proximé de la distance au centre de la mesure et en développé à l'intérieur de la plage de mesure. Clignote lorsque la cible de la mesure est en dehors de la plage de mesure ou lorsque la quantité de lumière reçue est insuffisante. | |||||||
| Voyant FAR | S'allume à proximé de la distance au centre de la mesure et au-delà à l'intérieur de la plage de mesure. Clignote lorsque la cible de la mesure est en dehors de la plage de mesure ou lorsque la quantité deelight reçue est insuffisante. | ||||||||
| Luminosité ambiente de fonctionnement | Luminosité sur la surface qui reçoit la luzère 3 000 lx max. (lumière incandescente) | ||||||||
| Température ambiente | Fonctionnement: 0 à +50°C, stockage: -15 à +60°C (sans givrage ni condensation) | ||||||||
| Humidité ambiente | Fonctionnement et stockage: 35 à 85 % (sans condensation) | ||||||||
| Degré de protection | IP40 (IEC60529) | Longueur de cable 0,5 m: IP66, longueur de cable 2 m: IP67 (IEC60529) | |||||||
| Résistance aux vibrations (destruction) | 10 à 150 Hz, 0,7 mm amplitude double, 80 mn dans chacune des directions X, Y et Z | ||||||||
| Résistance aux chocs (destruction) | 150 m/s² 3 fois dans chacune des six directions (haut/bas, gauche/droite, avant/arrête) | ||||||||
| Matériaux | Boîtier: aluminium moulé sous pression, capot avant: verre | ||||||||
| Longueur de cable | 0,5 m, 2 m | ||||||||
| Poids | Environ 350 g | ||||||||
P.E.: pleine échelle de la mesure
(^1) Défini comme 1 / e^2 (13,5 %) de l'intensité optique du centre dans la distance au centre de la mesure. Les conditions ambiantes de l'objet influent parfois sur le diamètre du faisceau (exampie : fuite de lumière sur le faisceau principal).
(^2) Il s'agit de l'erreur sur la valeur mesurée par rapport à une ligne droite ideale. L'objet standard est en céramique d'alumine blanche (en verre en mode réflexion régulière). La linéarité peut changer en fonction de l'objet.
(*) 11 s'agit de la valeur de conversion de déplacement "crête à crête" de la sortie de déplacement dans la distance au centre de la mesure lorsque le nombre d'échantillons pour le calcul de la moyenne est fixé à 128 et que le mode de mesure est défini sur le mode haute résolution. L'objet est en céramique d'alumine blanche en mode de réflexion diffuse et en verre en mode de réflexion régulière.
(*4) Il s'agit de la valeur obtenu dans la distance au centre de la mesure lorsque le capteur et l'objet sont fixés sur un support en aluminium (exemple courant).
ZS-LD50/LD50S/LD80/LD130
| Éléments | ZS-LD50 | ZS-LD50S | ZS-LD80 | ZS-LD130 | |||||
| Système optique | Réflexion diffuse | Réflexion régulière | Réflexion diffuse | Réflexion régulière | Réflexion diffuse | Réflexion régulière | Réflexion diffuse | Réflexion régulière | |
| Distance au centre de la mesure | 50 mm | 47 mm | 50 mm | 47 mm | 80 mm | 78 mm | 130 mm | ||
| Plage de mesure | ±5 mm | ±4 mm | ±5 mm | ±4 mm | ±15 mm | ±14 mm | ±15 mm | ±12 mm | |
| Source lumineuse | Laser à semi-conducteur visible (longueur d'onde 650 nm, 1 mW max., classe 2) | ||||||||
| Type de faisceau | Faisceau linéaire | Faisceau spot | Faisceau linéaire | ||||||
| Diamètre du faisceau (*1) | 60 × 900 μm | ø 50 μm | 60 × 900 μm | 600 × 70 μm | |||||
| Linéarité (*2) | ±0,1 % P.E. | ±0,25 % P.E. | |||||||
| Résolution (*3) | 0,8 μm | 2 μm | 3 μm | ||||||
| Caracteristique de température (*4) | 0,02 % P.E./°C | 0,01 % P.E./°C | 0,02 % P.E./°C | ||||||
| Cycle d'échantillonnage | 110 μs (mode haute vitesse), 500 μs (mode standard), 2,2 ms (mode haute résolution), 4,4 ms (mode haute sensibilité) | ||||||||
| Voyants | Voyant NEAR | S'allume à proximé de la distance au centre de la mesure et en développé à l'intérieur de la plage de mesure.C lignote lorsque la cible de la mesure est en dehors de la plage de mesure ou lorsque la quantité de luminère reçue est insuffisante. | |||||||
| Voyant FAR | S'allume à proximé de la distance au centre de la mesure et au-delà à l'intérieur de la plage de mesure.C lignote lorsque la cible de la mesure est en dehors de la plage de mesure ou lorsque la quantité de luminère reçue est insuffisante. | ||||||||
| Luminosité ambiente de fonctionnement | Luminosité sur la surface qui reçoit la lumière 3 000 lx max.(lumière incandescente) | Luminosité sur la surface qui reçoit la lumière 2 000 lx max.(lumière incandescente) | |||||||
| Température ambiente | Fonctionnement: 0 à +50°C, stockage: -15 à +60°C (sans givrage ni condensation) | ||||||||
| Humidité ambiente | Fonctionnement et stockage: 35 à 85% (sans condensation) | ||||||||
| Degre de protection | Longueur de cable 0,5 m: IP66, longueur de cable 2 m: IP67 (IEC60529) | ||||||||
| Résistance aux vibrations (destruction) | 10 à 150 Hz, 0,7 mm amplitude double, 80 mn dans chacune des directions X, Y et Z | ||||||||
| Résistance aux chocs (destruction) | 150 m/s² 3 fois dans chacune des six directions (haut/bas, gauche/droite, avant/arière) | ||||||||
| Matériaux | Boîtier: aluminium moulé sous pression, capot avant: verre | ||||||||
| Longueur de cable | 0,5 m, 2 m | ||||||||
| Poids | Environ 350 g | ||||||||
P.E.: pleine échelle de la mesure
()1 Défini comme 1 / e^2 (13,5%) de l'intensité optique du centre dans la distance au centre de la mesure. Les conditions ambiantes de l'objet influent parfois sur le diamètre du faisceau (exampie : fuite de lumière sur le faisceau principal).
(^2) Il s'agit de l'erreur sur la valeur mesurée par rapport à une ligne droite ideale. L'objet standard est en céramique d'alumine blanche (en mode de réflexion régulière sur ZS-LD50/LD50, l'objet standard est en verre). La linéarité peut changer en fonction de l'objet.
(*)3) Il s'agit de la valeur de conversion de déplacement "crite à crête" de la sortie de déplacement dans la distance au centre de la mesure lorsque le nombre d'échantillons pour le calcul de la moyenne est fixé à
128 et que le mode de mesure est défini sur le mode haute résolution. L'objet standard est en céramique d'alumine blanche (en mode de réflexion régulière sur ZS-LD50/LD50, l'objet standard est en verre).
(^*4) Il s'agit de la valeur obtenue dans la distance au centre de la mesure lorsque le capteur et l'objet sont fixés sur un support en aluminium (exemple courant).
ZS-LD200/LD350S
| Élément | ZS-LD200 | ZS-LD350S | ||
| Système optique | Réflexion diffuse | Réflexion régulière | Réflexion diffuse | |
| Distance au centre de la mesure | 200 mm | 200 mm | 350 mm | |
| Plage de mesure | ±50 mm | ±48 mm | ±135 mm | |
| Source lumineuse | Laser à semi-conducteur visible (longueur d'onde 650 nm, 1 mW max., classe 2) | |||
| Type de faisceau | Faisceau linéaire | Faisceau spot | ||
| Diamètre du faisceau (*1) | 100 × 900 μm | Ø 240 μm | ||
| Linéarité (*2) | ±0,1 % P.E. | ±0,25 % P.E. | ±0,1 % P.E. | |
| Résolution (*3) | 5 μm | 20 μm | ||
| Caracteristique de température (*4) | 0,02 % P.E./°C | 0,04 % P.E./°C | ||
| Cycle d'échantillonnage | 110 μs (mode haute vitesse), 500 μs (mode standard), 2,2 ms (mode haute résolution), 4,4 ms (mode haute sensibilité) | |||
| Voyants | Voyant NEAR | S'allume à proximé de la distance au centre de la mesure et endecka à l'intérieur de la plage de mesure.Clignote lorsque la cible de la mesure est en dehors de la plage de mesure ou lorsque la quantité de luminère reçue est insuffisante. | ||
| Voyant FAR | S'allume à proximé de la distance au centre de la mesure et au-delà à l'intérieur de la plage de mesure.Clignote lorsque la cible de la mesure est en dehors de la plage de mesure ou lorsque la quantité de luminère reçue est insuffisante. | |||
| Luminosité ambiente de fonctionnement | Luminosité sur la surface qui reçoit la luminère 3 000 lx max. (lumière incandescente) | |||
| Température ambiente | Fonctionnement: 0 à +50°C, stockage: -15 à +60°C (sans givrage ni condensation) | |||
| Humidité ambiente | Fonctionnement et stockage: 35 à 85 % (sans condensation) | |||
| Degré de protection | Longueur de cable 0,5 m: IP66, longueur de cable 2 m: IP67 (IEC60529) | |||
| Résistance aux vibrations (destruction) | 10 à 150 Hz, 0,7 mm amplitude double, 80 mn dans chacune des directions X, Y et Z | |||
| Résistance aux chocs (destruction) | 150 m/s² 3 fois dans chacune des six directions (haut/bas, gauche/droite, avant/ariège) | |||
| Matériaux | Boîtier : aluminium moulé sous pression, capot avant : verre | |||
| Longueur de cable | 0,5 m, 2 m | |||
| Poids | Environ 350 g | |||
P.E.: pleine échelle de la mesure
(*)1 Défini comme 1 / e^2 (13,5 %) de l'intensité optique du centre dans la distance au centre de la mesure. Les conditions ambiantes de l'objet influent parfois sur le diamètre du faisceau (exampie : fuite de lumière sur le faisceau principal).
(^2) Il s'agit de l'erreur sur la valeur mesurée par rapport à une ligne droite ideale. L'objet standard est en céramique d'alumine blanche. La linéarité peut changer en fonction de l'objet.
() Ⅱ s'agit de la valeur de conversion de déplacement "crête à crête" de la sortie de déplacement dans la distance au centre de la mesure lorsque le nombre d'échantillons pour le calcul de la moyenne est fixé à 128 et que le mode de mesure est défini sur le mode haute résolution. L'objet standard est en céramique d'alumine blanche.
(^*4) Il s'agit de la valeur obtenue dans la distance au centre de la mesure lorsque le capteur et l'objet sont fixés sur un support en aluminium (exemple courant).
Dimensions externes
ZS-HLDS2T

- Utilisation pour la réflexion diffuse (ZS-HLDS2T)


(Unité : mm)
Dimensions des trous de fixation

ZS-HLDS2VT

ZS-HLDS5T/HLDS10
- Utilisation pour réflexion régulière (ZS-HLDS5T)

- Utilisation pour réflexion régulière (ZS-HLDS10)


ZS-HLDS60/HLDS150

ZS-LD10GT

ZS-LD15GT
ZS-LD20T/LD20ST/LD40

- Utilisation pour la réflexion diffuse (ZS-LD20T/LD20ST)


(Unité : mm)
- Utilisation pour la réflexion diffuse (ZS-LD40T)

ZS-LD50/LD50S/LD80/LD130/LD200/LD350S

Remarque 1: Pour le ZS-LD50/LD50S, L=50, A=28°
Pour le ZS-LD80, L=80, A=15°
Pour le ZS-LD130, L=130, A=12°
Pour le ZS-LD200. L=200. A=8°
Pour le ZS-LD350S, L=350, A=5°
Cable rond enrobé de PVC de 6.2mm
Longueur standard: 0,5m,2m

- Utilisation pour réflexion régulière (ZS-LD50/LD50S)
- Utilisation pour réflexion régulière (ZS-LD80)

- Utilisation pour réflexion régulière (ZS-LD130)

- Utilisation pour réflexion régulière (ZS-LD200)

Réglage des interférences mutuelles
Lorsque vous utilisez plusieurs têtes de détction côte à côte, il ne se produit pas d'interférences mutuelles si les autres spots du faisceau sont en dehors des zones ombrées dans les schémas suivants.

-ZS-HLDS2T

(Unité : mm)

-ZS-HLDS5T

-ZS-HLDS2VT

(Unité : mm)

-ZS-HLDS10

-ZS-HLDS60
-ZS-HLDS150

-ZS-LD20T/LD20ST

-ZS-LD40T

-ZS-LD50/LD50S

(Unité : mm)

-ZS-LD80

(Unité : mm)

-ZS-LD130

(Unité : mm)

-ZS-LD200

(Unité : mm)

-ZS-LD350S

Diamètre du spot

Série ZS-HLDS
| Diamètre du faisceau × largeur du faisceau (μm) | ||||||
| HLDS2T | HLDS2VT | HLDS5T | HLDS10 | HLDS60 | HLDS150 | |
| Près | 90 × 1000 | 75 × 2000 | 260 × 1000 | 500 × 3500 | 960 × 13000 | 1700 × 33000 |
| Centre de mesure | 20 × 1000 | 35 × 2000 | 30 × 1000 | 60 × 3500 | 300 × 16000 | 1500 × 40000 |
| Loin | 90 × 1000 | 75 × 2000 | 260 × 1000 | 500 × 3500 | 1600 × 32000 | 5000 × 60000 |
Série ZS-LD (faisceau linéaire)
| Diamètre du faisceau × largeur du faisceau (μm) | ||||||||
| LD10GT | LD15GT | LD20T | LD40T | LD50 | LD80 | LD200 | LD130 | |
| Près | 65 × 900 | 50 × 900 | 60 × 900 | 90 × 2000 | 90 × 900 | 300 × 900 | 430 × 900 | 220 × 620 |
| Centre de mesure | 25 × 900 | 25 × 900 | 25 × 900 | 35 × 2000 | 60 × 900 | 60 × 900 | 100 × 900 | 70 × 600 |
| Loin | 65 × 900 | 50 × 900 | 60 × 900 | 100 × 2000 | 230 × 900 | 330 × 900 | 430 × 900 | 200 × 570 |
- Série ZS-LD (faisceau spot)
| LD20ST | LD50S | LD350S | |
| Près | Ø 50 μm | Ø 110 μm | Ø 370 μm |
| Centre de mesure | Ø 25 μm | Ø 50 μm | Ø 240 μm |
| Loin | Ø 40 μm | Ø 110 μm | Ø 490 μm |
Largeur d'utilisation du faisceau linéaire
La largeur de faisceau utilisée pour la mesure réelle varie en fonction du mode de mesure. Lorsque vous utilisez le menu [CUSTOM], vous pouvez spécifique le paramètre permettant d'effectuer la détéction sur toute la zone du faisceau linéaire.

Largeur du faisceau en utilisation réelle
Série ZS-HLDS
| Largeur du faisceau | |||||||
| HLDS2T | HLDS2VT | HLDS5T | HLDS10 | HLDS60 | HLDS150 | ||
| Largeur totale du faisceau (centre de la mesure) | 1000 μm | 1000 μm | 1000 μm | 3500 μm | 21000 μm | 46000 μm | |
| Largeur du faisceau en utilisation réalisée | Mode haute vitesse (2 lignes) | 10 μm | 40 μm | 25 μm | 70 μm | 525 μm | 1314 μm |
| Mode standard (9 lignes) | 45 μm | 170 μm | 113 μm | 315 μm | 2363 μm | 5914 μm | |
| Mode haute résolution/ haute sensibilité (40 lignes) | 200 μm | 750 μm | 500 μm | 1400 μm | 10500 μm | 26286 μm | |
| Utilisation de la largeur totale du faisceau | Nombre de lignes à définir dans le menu [CUSTOM] | 200 lignes | 150 lignes | 80 lignes | 100 lignes | 80 lignes | 70 lignes |
| EXPOSE | 11,2 ms | 8,4 ms | 4,48 ms | 5,6 ms | 4,48 ms | 3,92 ms |
Série ZS-LD
| Largeur du faisceau | ||||||
| LD10GT | LD15GT | LD20T | LD40T | LD50 | ||
| Largeur totale du faisceau (centre de la mesure) | 900 μm | 900 μm | 900 μm | 2000 μm | 900 μm | |
| Largeur du faisceau en utilisation réalisée | Mode haute vitesse (2 lignes) | 10 μm | 12 μm | 12 μm | 20 μm | 26 μm |
| Mode standard (9 lignes) | 45 μm | 55 μm | 55 μm | 90 μm | 120 μm | |
| Mode haute résolution/ haute sensibilité (40 lignes) | 200 μm | 240 μm | 240 μm | 400 μm | 520 μm | |
| Utilisation de la largeur totale du faisceau | Nombre de lignes à définir dans le menu [CUSTOM] | 200 lignes | 150 lignes | 150 lignes | 200 lignes | 70 lignes |
| Temps d'exposition | 11,2 ms | 8,4 ms | 8,4 ms | 11,2 ms | 3,9 ms |
| Largeur du faisceau | ||||
| LD80 | LD130 | LD200 | ||
| Largeur totale du faisceau (centre de la mesure) | 900 μm | 600 μm | 900 μm | |
| Largeur du faisceau en utilisation réalisée | Mode haute vitesse (2 lignes) | 45 μm | 56 μm | 90 μm |
| Mode standard (9 lignes) | 200 μm | 250 μm | 400 μm | |
| Mode haute résolution/ haute sensibilité (40 lignes*) | 900 μm | 560 μm | 900 μm | |
| Utilisation de la largeur totale du faisceau | Nombre de lignes à définir dans le menu [CUSTOM] | 40 lignes | 22 lignes | 20 lignes |
| Temps d'exposition | 2,2 ms | 1,2 ms | 1,1 ms |
- Pour ZS-LD130/LD200/LD350S, 20 lignes.
Caracteristiques de linéarité par matériaux
■ ZS-HLDS2T (mode haute résolution)
Réflexion régulière






Réflexion diffuse




■ ZS-HLDS2VT (mode haute résolution)
Réflexion régulière









■ ZS-HLDS5T (mode haute résolution)

Reflexion diffuse





Réflexion régulière




■ ZS-HLDS10 (mode haute résolution)
Reflexion diffuse






Réflexion régulière




■ ZS-HLDS60 (mode haute résolution)

Reflexion diffuse




■ ZS-HLDS150 (mode haute résolution)

Réflexion diffuse




Réflexion régulière




Reflexion diffuse





Réflexion régulière




Réflexion diffuse



Réflexion régulière




Reflexion diffuse





Réflexion diffuse




Réflexion régulière



Réflexion régulière




■ ZS-LD80 (mode standard)
Réflexion diffuse




Réflexion régulière




■ ZS-LD130 (mode standard)
Reflexion diffuse




Réflexion régulière




■ ZS-LD200 (mode standard)

Réflexion diffuse




Réflexion régulière




Réflexion diffuse



Contrôleur de capteur
Caracteristiques techniques
| Élément | ZS-HLDC11 | ZS-HLDC41 | ||
| Type d'E/S | NPN | PNP | ||
| Nombre moyen de passages | 1, 2, 4, 8, 16, 32, 64, 128, 256, 512, 1024, 2048 ou 4096 | |||
| Nombre de têtes de détention connectées | 1 par contrôleur de capteur | |||
| I/F extreme | Mode de connexion | Type de connecteur E/S série ou précâblé (longueur de cable standard : 2 m) | ||
| E/S série | USB 2.0 | 1 port, FULL SPEED [12 Mbps], MINI-B | ||
| RS-232C | 1 port, 115200 bps max. | |||
| Sortie | 3 sorties d'évaluation : HIGH/PASS/LOW | NPN collecteur ouvert, 30 Vc.c. 50 mA max., tension résiduelle 1,2 V max. | PNP collecteur ouvert 50 mA max., tension résiduelle 1,2 V max. | |
| Sortie linéaire | Sélection possible entre tension/courant (à l'aide d'un interrupteur à couisse sur la base) • Sortie tension : -10 à +10 V, impédance de sortie : 40 Ω • Sortie courant : 4 à 20 mA, résistance de charge max. : 300 Ω | |||
| Entrée | Entrée LDOFF (LD force à OFF) | ON : Court-circuité avec borne 0 V ou 1,5 V max. OFF :ouverte (courant de fuite : 0,1 mA max.) | ON : Tension d'alimentation court-circuitée ou tension d'alimentation -1,5 V max. OFF :ouverte (courant de fuite : 0,1 mA max.) | |
| Entrée de remise à zéro (exécution ou annulation RàZ) | ||||
| Entrée de temporisation (cycle d'échantillonnage spécifique lorsque la fonction de maintain est activée) | ||||
| Entrée de réinitialisation (réinitialisation de l'état de maintain) | ||||
| Voyants d' état | HIGH (orange), PASS (vert) et LOW (jaune), LDON (vert), ZERO (vert), ENABLE (vert) | |||
| Affichage à segments | Affichage principal | Affichage rouge, 8 segments, 6 chiffres | ||
| Affichage inférieur | Affichage vert, 8 segments, 6 chiffres | |||
| LCD | 16 chiffres × 2 lignes, couleur des caractères : vert, résolution par caractère : matrice 5 × 8 pixels | |||
| Entrée de réglage | Touches de réglage | Touches de direction (HAUT/BAS/GAUCHE/DROITE), touche SET, touche ESC, touche MENU, touches de fonction (1 à 4) | ||
| Interrupteur à couisse | Sélecteur de seuil (2 états H/L) | |||
| Sélecteur de mode (3 états FUN/TEACH/RUN) | ||||
| Tension d'alimentation | 21,6 à 26,4 V (avec ondulation) | |||
| Consommation de courant | 0,5 A max. (tête de détention connectée) | |||
| Résistance d'isoation | À travers tous les fils de sortie et le boîtier du contrôleur : 20 MΩ (par mégohmembre 250 V) | |||
| Rigidity diélectrique | À travers tous les fils de sortie et le boîtier du contrôleur, 1 000 Vc.a., 50/60 Hz, 1 mn | |||
| Degré de protection | IP20 (IEC60529) | |||
| Élément | ZS-HLDC11 | ZS-HLDC41 |
| Isolation contre les interférences | 1 500 V crête à crête, largeur d'impulsion 0,1 μs/1 μs, front montant : impulsion de 1 ns | |
| Résistance aux vibrations (destruction) | 10 à 150 Hz, 0,7 mm amplitude double, 80 mn dans chacune des directions X, Y et Z | |
| Résistance aux chocs (destruction) | 300 m/s² 3 fois dans chacune des six directions (haut/bas, gauche/ droite, avant/arrière) | |
| Température ambiente | Fonctionnement:0 à +50°C Stockage : -15 à +60°C (sans givrage ni condensation) | |
| Humidité ambiente | Fonctionnement et stockage : 35 à 85 % (sans condensation) | |
| Matériaux | Boîtier : polycarbonate (PC), isolation de cable : PVC | |
| Longueur de câble | 2 m | |
| Poids | Environ 280 g (sans compter le matériel d'emballage et les accessoires) | |
Voyants d'etat du contrôleur
| Méthode de mesure | État | Affichage | Sortie | Entrée | RS-232C/USB | ||||
| Affichage 7 segments | Sortie linéaire | Sortie d'évaluation | Sortie de bornier | Déclench./Réinit. déclench./laser OFF | Remise à 0 | ||||
| RUN/TEACH | Mesure normale | Résultat de mesure | Sortie selon le résultat de la mesure | Résultat d'évaluation | Sortie selon le mode (résultat de mesure/évaluation) | OUI | OUI | OUI | |
| Erreur de mesure | Conser-ver | Valeur précédente | NON | ||||||
| Bloquer | ERREUR | Sortie au niveau blocage | ERREUR | Sortie de la valeur mesurée : niveau blocage Sortie d'évaluation : ERREUR | |||||
| Valeur mesurée non déterminée | - | ||||||||
| LDOFF | - | ||||||||
| FUN | - | Affi-chage selon le menu | NON | ||||||
| Erreur système | - | 888.888 clignotant | Tension : sortie de 0 V Courant : sortie de 12 mA | NON | OUIUne commande est reçu, mais non exécutée. | ||||
Les programmes intégrés dans les contrôleurs ZS-HLDC_ _ _ sont considérés comme des technologies par la législation sur le commerce extérieur du Japon. Par conséquent, ils nécessitent une licence pour pouvoir être exportés du Japon.
Toutefois, aucune autorisation pour les transactions de service n'est requise conformément aux dispositions de la directive du ministère du Commerce, clause n^9 , paragraphe 1, sous-paragraphe 10(b).
Dimensions externes
ZS-HLDC11/HLDC41

(Unité : mm)



PVC thermoresistant 5,2
Longueur standard 2m

Accessoires
Adaptateur de montage sur panneau
ZS-XPM1/XPM2
Montage sur panneau

Remarque 1: Les dimensions valent pour une Dimensions des découvertes du panneau épaissieur de panneau de 2,0 mm.

n : nombre de contrôleurs montés en groupe (1 à 10)
| Élément | ZS-XPM1 (pour la 1re unité) | ZS-XPM2 (à partir de la 2e unité) |
| Présentation | ||
| Contrôleur utilisable | Série ZS | |
| Résistance aux vibrations (destruction) | 10 à 150 Hz, 0,7 mm amplitude double, 80 mn dans chacune des directions X, Y et Z | |
| Résistance aux chocs (destruction) | 300 m/s² 3 fois dans chacune des six directions (haut/bas, gauche/droite, avant/arrête) | |
| Matériaux | Polycarbonate (PC), etc. | |
| Poids | Environ 50 g | |
Rallonge
ZS-XC_A/XC_B/XC5BR


Remarque 1: ZS-XC_A: L=1 m, 4 m et 8 m
ZS-XC B:L=5 m et 10 m
Remarque 2: Couleur de la garniture
ZS-XC A: Noir
ZS-XC_B(R) : Argent
| Élément | ZX-XC1A | ZS-XC4A | ZS-XC8A | ZS-XC5B | ZS-XC10B | ZS-XC5BR |
| Contrôleur utilisable | Série ZS | |||||
| Tête de détction à utiliser | Série ZS | |||||
| Température ambiente | Fonctionnement: 0 à +50°C, stockage: -15 à +60°C (sans givrage ni condensation) | |||||
| Humidité ambiente | Fonctionnement et stockage: 35 à 85% (sans condensation) | |||||
| Mode de connexion | Connecteur à double extrémité | |||||
| Matériaux | Boîtier: polycarbonate (PC) | |||||
| Poids | Environ 150 g | Environ 320 g | Environ 550 g | Environ 350 g | Environ 620 g | Environ 350 g |
| Longueur de câble | 1 m | 4 m | 8 m | 5 m | 10 m | 5 m |
Rallonge (modèle couple longue distance)
Rallonge

| Élément | ZS-XC25CR | ZS-XC15CR |
| Longueur de cable | 25 m | 15 m |
| Tête de détction/contrôleur à utiliser | Série ZS (*1) | |
| Température ambiente | Fonctionnement: 0 à +50°C, stockage: -15 à +60°C (sans givrage ni condensation) | |
| Humidité ambiente | Fonctionnement et stockage: 35 à 85 % (sans condensation) | |
| Résistance aux vibrations (destruction) | 10 à 150 Hz, 0,7 mm amplitude double, 80 mn dans chacune des directions X, Y et Z | |
| Résistance aux chocs (destruction) | 300 m/s² 3 fois dans chacune des six directions (haut/bas, gauche/droite, avant/arrrière) | |
| Matériaux | Gaine de cable : PVC | |
| Poids (sans compter le matériel d'emballage et les accessoires) | Environ 1,4 kg | Environ 1,0 kg |
(^*1) Il existe des restrictions concernant la tete de détention et le contrôleur de capteur pouvant etre connectés. Pour plus de détails, contactez votre revendeur Omron.
Cable de raccordement d'un égaliseur numérique

ZS-XC02D
| Élément | ZS-XC02D |
| Tête de détction/contrôleur à utiliser | Série ZS (*1) |
| Température ambiente | Fonctionnement: 0 à +50°C, stockage: -15 à +60°C (sans givrage ni condensation) |
| Humidité ambiente | Fonctionnement et stockage: 35 à 85 % (sans condensation) |
| Résistance aux vibrations (destruction) | 10 à 150 Hz, 0,7 mm amplitude double, 80 mn dans chacune des directions X, Y et Z |
| Résistance aux chocs (destruction) | 300 m/s² 3 fois dans chacune des six directions (haut/bas, gauche/droite, avant/ arrière) |
| Matériaux | Gaine de câble: PVC |
| Poids (sans compter le matériel d'emballage et les accessoires) | Environ 50 g |
(^*1) Il existe des restrictions concernant la tete de détention et le contrôleur de capteur pouvant etre connectés. Pour plus de détails, contactez votre revendeur Omron.
Égaliseur numérique
ZS-XEQ

(Unité : mm)




Éléments de fixation



| Élément | ZS-XEQ |
| Tête de détction/contrôleur à utiliser | Série ZS (*1) |
| Température ambiente | Fonctionnement: 0 à +50°C, stockage: -15 à +60°C (sans givrage ni condensation) |
| Humidité ambiente | Fonctionnement et stockage: 35 à 85 % (sans condensation) |
| Résistance aux vibrations (destruction) | 10 à 150 Hz, 0,7 mm amplitude double, 80 mn dans chacune des directions X, Y et Z |
| Résistance aux chocs (destruction) | 300 m/s² 3 fois dans chacune des six directions (haut/bas, gauche/droite, avant/arrière) |
| Matériaux | Boîtier: Aluminium moulé |
| Degré de protection | IEC60529 IP20 |
| Poids (sans compter le matériel d'emballage et les accessoires) | Environ 120 g |
(^*1) Il existe des restrictions concernant la tete de détention et le contrôleur de capteur pouvant etre connectés. Pour plus de détails, contactez votre revendeur Omron.
Cable RS-232C
ZS-XPT2 (pour le raccordement d'un automate/terminal programmable)

Remarque 1: connecteur maje
ZS-XRS2 (pour le raccordement d'un ordinateur)

Remarque 2: connecteur femelle
| Élément | ZS-XRS2 | ZS-XPT2 |
| Contrôleur utilisable | Série ZS | |
| Température ambiente | Fonctionnement: 0 à +50°C, stockage: -15 à +60°C (sans givrage ni condensation) | |
| Humidité ambiente | Fonctionnement et stockage: 35 à 85 % (sans condensation) | |
| Rigidité diélectrique | 1 000 Vc.a., 50/60 Hz pendant 1 mn | |
| Résistance d'isolement (destruction) | 100 MΩ (par mégohmembre 500 Vc.c.) | |
| Résistance aux vibrations (destruction) | 10 à 150 Hz, 0,7 mm amplitude double, 80 mn dans chacune des directions X, Y et Z | |
| Résistance aux chocs | 300 m/s² 3 fois dans chacune des six directions (haut/bas, gauche/droite, avant/arrière) | |
| Matériaux | Gaine de câble: PVC | |
| Poids | Environ 50 g | |
Carte Controller Link
ZS-XCN

(Unité : mm)


| Élément | ZS-XCN |
| Contrôleur utilisable | Série ZS |
| Température ambiente | Fonctionnement: 0 à +50°C, stockage: -15 à +60°C (sans givrage ni condensation) |
| Humidité ambiente | Fonctionnement et stockage: 35 à 85 % (sans condensation) |
| Résistance aux vibrations (destruction) | 10 à 150 Hz, 0,7 mm amplitude double, 80 mn dans chacune des directions X, Y et Z |
| Résistance aux chocs (destruction) | 300 m/s2 3 fois dans chacune des six directions (haut/bas, gauche/droite, avant/ arrêté) |
| Matériaux | Polycarbonate (PC), etc. |
| Poids | Environ 10 g |
Carte de sortie parallèle temps réel
ZS-RPD11/RPD41
(Unite : mm)



| Élément | ZS-RPD11 | ZS-RPD41 | |
| Type d'E/S | Amplificateur NPN | Amplificateur PNP | |
| Système de sortie des données | Sortie collecteur ouvert parallèle 16 bits | ||
| Format des données | Avant d'être sorties, les données des valeurs de mesure sont converties en 40 000 niveaux de données binaires 16 bits (noms des signaux : D0 à D15) | ||
| Cycle de mise à jour des données | Régable selon les besoin par multiples entiers du cycle d'échantillonnage. Le cycle de mise à jour est déterminé par la formule suivante : • (cycle de mise à jour) = (cycle d'échantillonnage) × (coefficient de mise à jour) Le coefficient de mise à jour peut être réglié par l'utilisateur en tant que valeur entière dans la plage 1 - 100 (p.ex. si le cycle d'échantillonnage est égal à 112 μs, la plage régliable s'étend de 112 μs à 11,2 ms) | ||
| Signal de synchronisation | Signal de synchronisation pour notification de la temporisation de détermination des données (nom du signal : GATE) Sortie collecteur ouvert 1 bit | ||
| Sortie parallele | Nom du signal | • Sortie binaire : nom du signal : D0 à D15 (total de 16 bits) • Sortie porte : nom du signal : GATE (total de 16 bits) | |
| Caracteristiques du circuit | NPN collecteur ouvert, 30 Vc.c. max., 20 mA max., tension résiduelle 1,2 max. Temporisation au changement OFF → ON : 0,5 μs max. (à 24 V, 20 mA) | PNP collecteur ouvert, 20 mA max., tension résiduelle 1,2 V max., temporisation au changement OFF → ON : 0,5 μs max. (à 20 mA) temporisation | |
| RS-232C | 1 port, 115200 bps max. | ||
| Voyants d'état | • Voyant PWR (couleur allumé : vert) → Allumé lorsque le ZS-RPD est sous tension. • Voyant ERR (couleur allumé : rouge) → Allumé lorsqu'un courant d'alimentation de 20 mA min. passer sur 1 bit ou plus de la sortie collecteur ouvert (sortie de données : 16 bits, GATE : 1 bit) | ||
| Tension d'alimentation du circuit interne | 24 Vc.c. et 3,3 Vc.c. Alimentation depuis le ZS-HLDC_1 via connecteur exclusif | ||
| Consommation de courant | 0,5 A max. Valeur totale incluant la consommation de courant du ZS-HLDC_1 | ||
| Résistance d'isolation | Raccordée au ZS-HLDC_1, via tous les fils et le boîtier du contrôleur du ZS-HLDC_1 : 20 MΩ (par mégohmembre 250 V) | ||
| Élément | ZS-RPD11 | ZS-RPD41 |
| Rigidité diélectrique | Raccordée au ZS-HLDC_1, via tous les fils et le boîtier du contrôleur du ZS-HLDC_1 : 1 000 Vc.a., 50/60 Hz pendant 1 mn | |
| Résistance aux vibrations (destruction) | 10 à 150 Hz, 0,7 mm amplitude double, 80 mn dans chacune des directions X, Y et Z | |
| Résistance aux chocs (destruction) | 300 m/s23 fois dans chacune des six directions (haut/bas, gauche/droite, avant/arière) | |
| Température ambiente | Fonctionnement: 0 à +50°C, stockage: -15 à +60°C (sans givrage ni condensation) | |
| Humidité ambiente | Fonctionnement et stockage: 35 à 85 % (sans condensation) | |
| Matériaux | Boîtier : ABS | |
| Poids | Environ 130 g (sans compter le matériel d'emballage et les accessoires) | |
MÉMO
Section 9 ANNEXE
Dépannage 9-2
Messages d'erreur et solutions 9-3
Précautions de sécurité lors de l'utilisation d'un équipement laser 9-4
Exigences des reglementations et des normes 9-6
Résumé des exigences pour les fabricants 9-6
Résumé des exigences pour l'utilisateur 9-10
Définitions de classification laser 9-13
Mise à jour du firmware 9-15
Processus de mise à jour du firmware 9-15
Index 9-21
Dépannage
Cette section déscrit la procédure de résolution des problèmes occasionnels liés au matériel. Commencez par vous reporter à cette section avant de faire réparer le matériel.
| Problème | Cause probable et solution possible | Pages |
| L'appareil redémarre pendant le fonctionnement. | • L'alimentation est-elle correctement branchée? • L'alimentation est-elle conforme aux caractéristiques d'alimentation (tension d'alimentation et consommation de courant)? | p.1-3 |
| Les évaluations ne sont pas envoyées au périphérique externe. | • Les cables sont-ils tous branchés correctement? • La ligne de signal est-elle déconnectée? • Les entrées de remise à zéro sont-elles court-circuitées? • Les paramètres pour l'absence de mesure sont-ils en état de blocage, ce qui rend la mesure impossible? | p.2-10 p.6-15 |
| Pas de réception de signal d'entrée. | • Les cables sont-ils tous branchés correctement? • La ligne de signal est-elle déconnectée? | p.2-10 |
| Absence de communication avec l'ordinateur. | • Le cable USB est-il raccordé correctement? • Le cable RS-232 est-il raccordé correctement? • D'autres applications utilisent-t-elles les ports de l'ordinateur? • Les conditions de communication sont-elles identiques entre l'ordinateur et le contrôleur? • Le pilote USB est-il installé? • Le contrôleur fonctionne-t-il normalement? • L'ordinateur utilisé est-il conforme à l'environnement de fonctionnement? | p.7-2 |
| Niveau de sortie linéaire inhabituels. | • Le commutateur tension/courant au bas du contrôleur de capteur est-il sur la bonne position? • La sélection (tension/courant) est-elle correcte dans les paramètres de mise au point? Les niveaux de sortie linéaire peuvent être régliés. | p.1-5 p.6-4 |
| L'affichage principal demeure sur [{----]}. | • Une entree de temporisation a-t-elle esté envoyée pendant que la fonction de maintainien estait activée et que le type de déclenchement était défini sur [EXT]? • Si la fonction de maintainien est activée et que le type de déclenchement est [SELF-UP] ou [SELF-DN], le niveau d'autodéclenchement a-t-il esté défini sur une valeurADFQuate? | p.5-19 |
| Une distance anormale est affichée lorsque l'objet est nettement en dehors de la plage de mesure. | • Ce problème peut survenir en raison des caractéristiques du capteur. Vérifiez que la distance jusqu'à l'objet à détecter est appropriée. • Vous pouvez parfois résoudre ce problème en réglant la quantité de lumière émise sur une distance fixe. | p.5-8 |
| Les valeurs mesurées sont variables et ne sont pas stables selon le jour et l'heure. | • Ce problème peut être dû à la température. Effectuez régulièrement une remise à zéro à l'aide de l'objet standard pour corriger ce problème. | p.4-6 |
| Pas d'émission du faisceau laser. | • La ligne d'entrée LD_OFF est-elle court-circuitée? | p.2-10 |
Messages d'erreur et solutions
■ [Error] apparait sur l'affichage principal
| Informations | Cause | Solution | |
| Écran LCD(partie supérieure) | Overcurrent | Court-circuit sur une ou plusieurs sorties d'évaluation. | Éliminez le court-circuit de charge. |
| Dark Error | La quantité de luminière reçue est insuffisante. Erreur de mesure de distance. | Pour un objet avec réflexion régulière (verre)Vérifiez l'angle de fixation de la tête de détction.Pour un objet avec réflexion diffuseActivez le mode haute sensibilité.Réglez le gain sur 2 ou plus. | |
| Bright Error | La quantité de luminière reçue de la pièce est saturaée. Erreur de mesure de distance. | Activez le mode haute vitesse.Réglez le gain sur 1. | |
| Measure Error | Lorsque [NORMAL], [PCB] et [MIRROR] sont définis pour l'objet de mesure, le nombre de surfaces actuellesment mesurées est égal ou supérieur à 2.Sinon, si [GLASS] est défini pour l'objet de mesure, le nombre de surfaces actuellesment mesurées est égal ou supérieur à 4. | Pour un objet avec réflexion régulière (verre)Vérifiez l'angle de fixation de la tête de détction.Pour un objet avec réflexion diffuseActivez le mode GLASS.Dans SmartMonitor ZS, réglez la zone de mesure sur la surface à mesurer. | |
Tous les chiffres sur l'affichage principal et sur l'affichage inférieur clignotent
| Informations | Cause | Solution | |
| Écran LCD | SYSTEM ERRORHEAD COM (EEPROM) | La tête de détention estdéconnectée. | Connectez la tête de détention. |
| SYSTEM ERRORBANK DATA | Données de banque erronéesdans le contrôleur de capteur. | Appuyez sur la touche HAUTpendant 3 secondes, puis sur la touche BAS pendant3 secondes.Le capteur est remis sous tension et restauré après l'initialisation du périphérique. | |
| SYSTEM ERRORMAIN COM | Erreur interne. | Remettez le contrôleur sous tension. | |
Autres
| Informations | Cause | Solution | |
| Section supérieure de l'écran LCD | Disp range Error | Le résultat de la mesure dépasse le nombre de chiffres affichés. | Modifiez le nombre de chiffres après la virgule décimale. p.5-25 |
| Affichage principal | —— | Le capteur est en attente de mesure. | Lorsque le mode maintainien est activé, démarrez l'échantillonnage et appliquez la valeur maintainue. |
Précautions de sécurité lors de l'utilisation d'un équipement laser
En ce qui concerne les apparèils laser, les classes qui indiquent les niveaux de danger et les différentes normes de sécurité sont stipulées selon le pays d'utilisation.
Respectez les normes applicables et mettez en œuvre les mesures de sécurité qui s'imposent.
Classification
| Normes et classification (*1) | Sortie maximale du faisceau laser | |
| JIS C 6802 (Japon) EN60825/IEC60825-1 (Europe) | FDA (États-Unis d'Amérique) | |
| Classe 2 | Classe 2 | 1 mW max. |
(*)1 Les normes de sécurité varient d'un pays à l'autre. Par conséquent, lorsque vous utilisez le contrôleur de capteur ailleurs qu'au Japon, qu'en Europe et qu'aux États-Unis, voirlez à respecter la réglementation et les normes de sécurité applicables aux apparèils laser.
Étiquettes d'advertisement
Une étiquette apposée sur la tête désrit l'advertisement en japonais. Si vous utilisez le contrôleur de capteur dans un pays autre que le Japon, remplacez cette étiquette par l'étiquette en Englais fournie avec la tête.
- En cas d'utilisation du contrôleur de capteur aux États-Unis
Ce produit est soumis aux réglementations sur les émissions laser de la FDA (Food and Drug Administration). Il est homologué pour la classe 2 conformément à ces réglementations.
Les capteurs ZS-LD20/LD20S/LD40/LD50/LD50S/LD80/LD130/LD200/LD350S ont déjà fait l'objet d'un enregistrement au CDRH (Center for Devices and Radiological Health).
Les capteurs ZS-LD10G/LD15G/HLDS2/HLDS2VT/HLDS5/HLDS10/HLDS60/ HLDS150 vont faire l'objet d'un enregistrement au CDRH (Center for Devices and Radiological Health).
Les produits concernés par les réglementations de la FDA sont fournis avec des étiquettes conformes à ces réglementations. Si ces produits sont utilisés en dehors des États-Unis, remplacez l'étiquette d'advertisement sur le corps du capteur par les étiquettes FDA fournies (voir illustration ci-après). Veillez à ce que les étiquettes soient apposées aux emplacements corrects, comme indiqué.
Le capteur ZS-HLD_ _ _ est conçu pour être intégré dans un système en tant que périphérique de terminaison. Respectez les normes techniques suivantes lors de l'installation de capteur.
- FDA: 21CFR 1040.10 et 1040.11
Guide de conformité pour les produits laser
Étiquette sur la section d'émission laser
AVOID EXPOSURE
Étiquette d'ajretissement
CAUTION

LASER RADIATION
DO NOT STARE INTO BEAM
PAA 1000MW
1005-100540380000
Etiquette sur la section d'émission laser

Étiquette de certification
- Exportation vers un pays autre que les États-Unis
Pour les pays autres que le Japon et les États-Unis, les étiquettes d'advertisement doivent être remplacées par les étiquettes anglaises (fournies avec le produit).
ZS-LD_/_/HLDS2T/HLDS5T/HLDS10

WARNING

LASER RADIATION
DO NOT STARE INTO BEAM
Exigences des réglementations et des normes
Résumé des exigences pour les fabricants
Europe
EN60825-1 "Sécurité des produits laser, classification des équipements, exigences et guide d'utilisation"
Résumé des exigences du fabricant
| ExigencesSous-conditions | Catégorie | ||||||
| Classe 1 | Class 1M | Classe 2 | Class 2M | Class 3R | Class 3B | Classe 4 | |
| Description de la classe de danger | Fiable dans des conditions normales d'utilisation | Similaire à la classe 1 mais risque de danger si l'utilisateur utilise des optiques | Faible puissance; protection des yeux normale-ment assu-riere par réflexe d'aversion | Similaire à la classe 2 mais risque de danger plus important si l'utilisateur utilise des optiques | Regard directement l'intérieur du faisceau peut être dangereux | Regard directement l'intérieur du faisceau est dangereux | Puisance élevé ; la réflexion peut être dangere-reuse |
| Boîtier de protection | Obligatoire pour tous les produits laser ; il n'autorise que l'accès nécessaire pour exécuter les fonctions des produits | ||||||
| Verrouillage de sécurité dans le boîtier de protection | Destiné à empêcher le retrait du capot tant que les valeurs d'émission sont inférieures à celles de la classe 3R | Destiné à empêcher le retrait du capot tant que les valeurs d'émission sont inférieures à celles de la classe 3R | |||||
| Commande à distance | Non obligatoire | Permet d'ajouter facile-ment un verrou externe dans l'installation laser | |||||
| Commande par clé | Non obligatoire | Le laser ne fonctionne pas si la clé n'est pas insérée | |||||
| Dispositif d'advertissement en cas d'émissions | Non obligatoire | Émet un avertissement audible ou visible lorsque le laser est en marche ou si la batterie de condensateurs de pulsations laser est en cours de charge. Classe 3R uniquement : un rayonnement invisible est émis | |||||
| Attenuateur | Non obligatoire | Permet de bloquer le rayonnement temporaire-ment sans utiliser l'inter-rupteur on/off | |||||
| Commandes de position | Non obligatoire | Commandes placées de manière à eliminer tout risque d'exposition à une AEL au-dessus des classes 1 et 2 lorsque des réglages sont effectuels | |||||
| Optique de détention | Non obligatoire | Les émissions de tous les systèmes de vision doivent être inférieures à l'AEL de classe 1M | |||||
| Balayage | Une défaillance de balayage ne doit pas provoquer de dépassement de classification par le produit | ||||||
| Étiquette de classe | Libellé obligatoire | Libellé obligatoire pour les figures A | |||||
| Étiquette d'ouverture | Non obligatoire | Libellé spécifique obligatoire | |||||
| Étiquette d'accès de service | Obligatoire en fonction de la classe de rayonnement accessible | ||||||
| ExigencesSous-conditions | Catéorie | ||||||
| Classe 1 | Class 1M | Classe 2 | Class 2M | Class 3R | Class 3B | Classe 4 | |
| Étiquette de verroude neutralisation | Obligatoire dans certains cas en fonction de la classe de laser utilisée | ||||||
| Étiquette de plagede longueur d'onde | Obligatoire pour certaines plages de longueur d'onde | ||||||
| Étiquette DEL | Remplacer les libellés pour les produits à DEL | ||||||
| Informationsutilisateurs | Les manuels d'utilisation doivent containir des instructions garantissant une utilisation en toute sécurité. Les exigences supplémentaires s'appliquent aux classes 1M et 2M | ||||||
| Informations d'achat et d'entretien | Les brochures de promotion doivent indiquer les classifications des produits ; les manuels d'entretien doivent containir des informations sur la sécurité | ||||||
Remarques :1. Le tableau ci-dessus a pour objet de fournir un résumé pratique des exigences. Consultez le texte de cette norme pour connaître toutes les exigences.
- La norme IEC 60601-2-22 s'applique pour la sécurité des produits laser à usage Médical.
- AEL: Accessible Emission Limit.
Niveau maximal d'émission pour l'accès autorisé dans une classe particulière. Pour plus d'informations, reportez-vous à la norme ANSI Z136.1-1993, section 2.
Symbole et bordure : noir
Fond : jaune

Figure A Étiquette d'advertissement - Symbole Danger
Légende et bordure : noir
Fond : jaune
États-Unis
FDA (Guide de conformité des produits laser, 1985, selon le paragraphe 21 CFR1040.10)
| Exigences | Classe (voir remarque 1) | |||||
| I | IIa | II | IIIa | IIIb | IV | |
| Performance (tous les produits laser) | ||||||
| Boîtier de protection | O (voir rem. 2) | O (voir rem. 2) | O (voir rem. 2) | O (voir rem. 2) | O (voir rem. 2) | O (voir rem. 2) |
| Verrouillage de sécurité | O(voir rem. 3, 4) | O(voir rem. 3, 4) | O(voir rem. 3, 4) | O(voir rem. 3, 4) | O(voir rem. 3, 4) | O(voir rem. 3, 4) |
| Emplacement des commandes | S/O | O | O | O | O | |
| Optique de détéction | O | O | O | O | O | O |
| Fiabilité de balayage | O | O | O | O | O | O |
| Performance (systèmes laser) | ||||||
| Connecteur de commande à distance | S/O | S/O | S/O | S/O | O | O |
| Commande par clé | S/O | S/O | S/O | S/O | O | O |
| Voyant d'émission | S/O | S/O | O | O | O (voir rem. 10) | O (voir rem. 10) |
| Attenuateur de faisceau | S/O | S/O | O | O | O | O |
| Réinitialisation | S/O | S/O | S/O | S/O | S/O | R (voir rem. 13) |
| Performance (produits à usage spécifique) | ||||||
| Médical | I | I | I | I (voir rem. 8) | I (voir rem. 8) | I (voir rem. 8) |
| Surveillance, équilibrage, alignement | I | I | I | I | NA | NA |
| Démonstration | I | I | I | I | I (voir rem. 11) | (voir rem. 11) |
| Étiquette (tous les produits laser) | ||||||
| Certification et identification | O | O | O | O | O | O |
| Boîtier de protection | V (voir rem. 5) | V (voir rem. 5) | V (voir rem. 5) | V (voir rem. 5) | V (voir rem. 5) | V (voir rem. 5) |
| Ouverture | S/O | S/O | O | O | O | O |
| Avertissement sur la classe | S/O | O (voir rem. 6) | O (voir rem. 7) | O (voir rem. 9) | O (voir rem. 12) | O (voir rem. 12) |
| Information (tous les produits laser) | ||||||
| Informations utilisateurs | O | O | O | O | O | O |
| Documentation du produit | S/O | O | O | O | O | O |
| Information d'entretien | O | O | O | O | O | O |
Abréviations :
O: Obligatoire.
S/O : Sans objet.
I: Exigences identiques à celles des autres produits de cette classe. Voir aussi les remarques.
NA:Non autorisé.
V: Varie en fonction du niveau de rayonnement interne.
Remarques :
Remarque 1: En fonction du niveau d'accès le plus élevé pendant le fonctionnement.
Remarque 2 : Obligatoire partout et des qu'aucun acces par l'utilisateur au rayon laser au-dessus des limites de la classe I n'est requis pour que le produit replissse sa fonction.
Remarque 3 : Obligatoire en cas d'ouverture de boîtiers de protection pendant le fonctionnement ou la maintenance, si l'accès ainsi autorisé n'est pas toujours nécessaire lorsque le boîtier est ouvert.
Remarque 4 : Les exigences de verrouillage variant selon la classe de rayonnement interne.
Remarque 5: Le libellé dépend du niveau et de la longueur d'onde du rayon laser à l'intérieur du boîtier de protection.
Remarque 6: Etiquette d'advertissement.
Remarque 7: Logo ATTENTION.
Remarque 8: Requiert un moyen de mesure du niveau de rayonnement laser devant atteindre l'utiliser.
Remarque 9 : ATTENTION pour 2,5 mW cm² ou moins, DANGER si la valeur est supérieure à 2,5 mW cm⁻².
Remarque 10: Temporisation requise entre l'indication et l'émission.
Remarque 11: Modification obligatoire pour les produits laser de démonstration et de spectacles de lumières appartenant à la classe IIb ou IV.
Remarque 12 : Logo DANGER.
Remarque 13 : Obligatoire depuis le 20 août 1986.
Résumé des exigences pour l'utilisateur
Europe
EN 60825-1
| Sous-exigence | Catégorie | ||||||
| Classe 1 | Class 1M | Classe 2 | Class 2M | Class 3R | Class 3B | Classe 4 | |
| Responsible de la sécurité laser | Non obligatoire, mais recommendé pour les applications dans lesquilles le rayonnement laser est visible directement | Non obligatoire pour les émissions visibles Obligatoire pour les émissions non visibles | Obligatoire | ||||
| Verrouillage à distance | Non obligatoire | Se connecte aux circuits de la pièce ou de la porte | |||||
| Commande par clé | Non obligatoire | Retirer la clé quand le produit n'est pas utilisé | |||||
| Attenuateur de faisceau | Non obligatoire | Évite une exposition involontaire | |||||
| Dispositif indicateur d'émission | Non obligatoire | Indique que le laser est alimenté pour les longueurs d'onde non visibles | Indique que le laser est alimenté | ||||
| Panneaux d'avertissement | Non obligatoire | Suivre les précautions des panneaux d'avertissement | |||||
| Chemin du faisceau | Non obligatoire | Classe 1M et classe 3B (voir rem. 2) | Non obligatoire | Classe 2M et classe 3B (voir rem. 3) | Arrêté le faisceau à la fin du trajet utile | ||
| Réflexion orientée | Aucune exigence | Classe 1M et classe 3B (voir rem. 2) | Aucune exigence | Classe 2M et classe 3B (voir rem. 3) | Empêche des réflexions non souhaitées | ||
| Protection oculaire | Aucune exigence | Non obligatoire pour les émissions visibles Obligatoire pour les émissions non visibles | Obligatoire si les procédures d'utilisation et d'administration ne peuvent pas été effectuées et que l'EMP est dépassé | ||||
| Véttement de protection | Aucune exigence | Obligatoire dans certains cas | Exigences spécifiques | ||||
| Formation | Aucune exigence | Classe 1M et classe 3R (voir rem. 2) | Aucune exigence | Classe 2M et classe 3R (voir rem. 3) | Obligatoire pour tout le personnel responsable de l'exploitation et de la maintenance | ||
Remarques :1. Le tableau ci-dessus a pour objet de fournir un résumé pratique des exigences. Consultez le texte de cette norme pour connaître toutes les précautions à prendre.
- Produits laser de classe 1M ne repondant pas à la condition 1 du tableau 10 de la norme. Non obligatoire pour les produits laser de classe 1M ne repondant pas à la condition 2 du tableau 10 de la norme. Reportez-vous au texte pour plus de détails.
- Produits laser de classe 2M ne-replyant pas à la condition 1 du tableau 10 de la norme. Non obligatoire pour les produits laser de classe 2M ne-replyant pas à la condition 2 du tableau 10. Reportez-vous au texte pour plus de détails.
États-Unis
ANSI Z136.1:1993 « Norme nationale americaine pour la sécurité d'utilisation des lasers », mesures de contrôle pour les quatre classes de laser
| Mesures de contrôle | Classification | |||||
| Contrôles de fonctionnement | 1 | 2a | 2 | 3a | 3b | 4 |
| Boîtier de protection (4.3.1) | X | X | X | X | X | X |
| Sans boîtier de protection (4.3.1.1) | Le responsable de la sécurité laser (voir rem. 2) doitmettre en place d'autres moyens de contrôle | |||||
| Verrouillages sur le boîtier de protection (4.3.2) | ★ | ★ | ★ | ★ | X | X |
| Volet d'accès de service (4.3.3) | ★ | ★ | ★ | ★ | X | X |
| Commande par clé (4.3.4) | --- | --- | --- | --- | • | X |
| Portails de vue (4.3.5.1) | --- | --- | EMP | EMP | EMP | EMP |
| Optique de collecte (4.3.5.2) | EMP | EMP | EMP | EMP | EMP | EMP |
| Chemin du faisceau totalément ouvert (4.3.6.1) | --- | --- | --- | --- | X NHZ | X NHZ |
| Chemin du faisceau ouvert et limité (4.3.6.2) | --- | --- | --- | --- | X NHZ | X NHZ |
| Chemin du faisceau renfermé (4.3.6.3) | Aucun si les conditions 4.3.1 et 4.3.2 sont remplies | |||||
| Connecteur de verrouillage à distance (4.3.7) | --- | --- | --- | --- | • | X |
| Butée ou attenuateur de faisceau (4.3.8) | --- | --- | --- | --- | • | X |
| Systèmes d'ajretissement de mise en marche (4.3.9) | --- | --- | --- | --- | • | X |
| Intervalle d'émission (4.3.9.1) | --- | --- | --- | --- | --- | X |
| Zone laser interieure contrôle (4.3.10) | --- | --- | --- | --- | X NHZ | X NHZ |
| Zone laser classe 3b contrôle (4.3.10.1) | --- | --- | --- | --- | X | --- |
| Zone laser classe 4 contrôle (4.3.10.2) | --- | --- | --- | --- | --- | X |
| Contrôles laser extérieurs (4.3.11) | --- | --- | --- | --- | X NHZ | X NHZ |
| Laser dans l'espace aérien navigable (4.3.11.2) | --- | --- | --- | • | • | • |
| Zone laser contrôleée temporaire (4.3.12) | ★ EMP | ★ EMP | ★ EMP | ★ EMP | --- | --- |
| Mise en route et gestion à distance (4.3.13) | --- | --- | --- | --- | --- | • |
| Étiquettes (4.3.14 et 4.7) | X | X | X | X | X | X |
| Postage de zone (4.3.15) | --- | --- | --- | • | X NHZ | X NHZ |
| Contrôles d'administration et de procédures | 1 | 2a | 2 | 3a | 3b | 4 |
| Directives d'exploitation standard (4.4.1) | --- | --- | --- | --- | • | X |
| Limitations des émissions de sortie (4.4.2) | --- | --- | --- | Détermination du RSL | ||
| Apprentissage et formation (4.4.3) | --- | --- | • | • | X | X |
| Personnel autorisé (4.4.4) | --- | --- | --- | --- | X | X |
| Procedures d'alignement (4.4.5) | --- | --- | X | X | X | X |
| Équipement de protection (4.4.6) | --- | --- | --- | --- | • | X |
| Surveillant (4.4.7) | --- | --- | --- | --- | • | X |
| Personnel d'entretien (4.4.8) | ★ EMP | ★ EMP | ★ EMP | ★ EMP | X | X |
| Démonstration en public (4.5.1) | EMP+ | --- | X | X | X | X |
| Systèmes laser à fibre optique (4.5.2) | EMP | EMP | EMP | EMP | X | X |
| Installations laser robotisées (4.5.3) | --- | --- | --- | --- | X NHZ | X NHZ |
| Protection oculaire (4.6.2) | --- | --- | --- | --- | • EMP | X EMP |
| Glace de protection (4.6.3) | --- | --- | --- | --- | X NHZ | X NHZ |
| Barrières et rideaux de protection (4.6.4) | --- | --- | --- | --- | • | • |
| Protection de la peau (4.6.5) | --- | --- | --- | --- | X EMP | X EMP |
| Autre équipement de protection (4.6.5) | L'utilisation peut être requise | |||||
| Panneaux et étiquettes d'advertissement (4.7) (exigences liées à la conception) | --- | --- | • | • | X NHZ | X NHZ |
| Entretien et réparations (4.8) | Détermination du RSL | |||||
| Modification des systèmes laser (4.9) | Détermination du RSL | |||||
Remarques :1. LÉGENDE
X: Obligatoire
: Recommandé
---: Aucune exigence
Oligatoire si classe 3b ou classe 4 enfermé
EMP : Obligatoire si l'EMP est dépasse
NHZ : Analyse de zone dangereuse nominale requise
+: Applicable uniquely aux lasers UV et IR (4.5.1.2)
- RSL : responsable de la sécurité laser
Une personne doit être nommée Responsible de la sécurité laser avec autorité et la responsabilité de gérer et demettre en application le contrôle des risques liés au laser et de procéder à l'évaluation et au contrôle des risques liés au laser.
Pour plus d'informations, reportez-vous à ANSI Z136.1993, section 1.3.
Définitions de classification laser
Europe
Classifications des produits laser
EN
| Classe | Description |
| Classe 1 | Lasers fiables dans des conditions normales d'utilisation. |
| Classe 2 | Lasers émettant un rayonnement visible dans la plage de longueur d'onde de 400 nm à 700 nm. La protection oculaire est généralement assurée par le réflexe d'aversion, y compris le clignement des yeux. |
| Class 3A | Lasers pouvant être regardés à l'ceil nu en toute sécurité. Pour les lasers dont l'émission se trouve dans la plage de longueur d'onde de 400 nm à 700 nm, la protection est assurée par le réflexe d'aversion, y compris le clignement des yeux. Pour les autres longueurs d'onde, le danger pour un œil nu n'est pas supérieur à la classe 1. Regarder directement l'intérieur d'un faisceau laser de classe 3A avec un instrument oculaire (p. ex., lunettes, téléscope, microscope) peut être dangereux. |
| Class 3B | Regarder directement l'intérieur de ces faisceaux laser est toujours dangereux. Regarder des réflexions diffuses n'est normalément pas dangereux (voir remarque). |
| Classe 4 | Lasers également susceptibles de produit des réflexions diffuses dangereuses. Ils peuvent provoquer des blessuresIRMes etprésenter un risque d'accendie. Leur utilisation requiert une extrème précaution. |
Remarque : Les conditions pour pouvoir regarder en toute sécurité des réflexions diffuses de lasers de classe 3B visibles sont : une distance de vue de 13 cm minimum entre l'écran et la cornée et un temps de vision de 10 s maximum. Les autres conditions nécessitent la comparaison de la réflexion diffuse par rapport à l'EMP.
États-Unis
Comparaison des classifications entre FDA et ANSI
| Classe | Définition FDA | Définition ANSI |
| Classe I/1 | Limites applicables aux apparèils dont les émissions sont comprises dans les spectres ultraviolets, visibles et infrarouges et limites au-dessus desquillesaucun risque biologique n'a été établi. | Un laser de classe 1 est considéré comme incapable de produit des niveaux de radiation nuisibles pendant le fonctionnement et la maintenance et il est par conséquent exempt de toute mesure de contrôle ou autre forme de surveillance. |
| Classe IIa/2a | Limites applicables aux produits dont les émissions visibles ne dépassent pas les limites de la classe I pour des durées d'émission de 1 000 secondes ou moins et qui n'ont pas pour objet d'être regardés. | Les lasers de classe 2 se divisent en deux sous-classes : 2 et 2a. Un laser de classe 2 émet dans la portion visible du spectre (0,4 à 0,7 μm) et la protection oculaire est assurée par le réflexe d'aversion, y compris le clignement des yeux. |
| Classe II/2 | Limites applicables aux produits dont les émissions se trouvent dans le spectre visible (400 à 710 nm) pour des durées supérieures à 0,25 seconde, à condition que ces émissions ne dépassent pas les limites de la classe I pour d'autres durées et/ou longueurs d'onde. Les produits de classe II sont considérés dangereux en cas de longue exposition de l'œil à ces rayons. | |
| Classe IIIa/3a | Limites applicables aux produits dont les émissions se trouvent dans le spectre visible et dont le faisceau ne possède pas un flux radiatif total supérieur à 5 milliwatts. | Les lasers de classe 3 se divisent en deux sous-classes : 3a et 3b. Un laser de classe 3 peut présenter un danger dans des conditions de vue de réflexion directe et orientée, mais la réflexion diffuse n'est généralement pas dangereuse. |
| Classe IIIb/3b | Limites applicables aux apparciels émettant dans les spectres ultraviolets, visibles et infrarouges. Les produits de classe IIIb comprehennent les systèmes laser entre 5 et 500 milliwatts dans le spectre visible. Les niveaux d'émission de la classe IIIbprésentent un danger pour les yeux en cas d'exposition directe dans toutes les plages de cette classe, ainsi que des risques pour la peau aux niveaux supérieurs de la classe. | |
| Classe IV/4 | Cette classe dépasse les limites de la classe IIIb et présente un danger, tant dans le cas d'une réflexion fragmentée que d'une exposition directe. | Un laser de classe 4 présente des risques pour l'œil et la peau dans le cas du faisceau direct et parfois dans le cas d'une réflexion diffuse et il peut égalementprésenter des risques d'accordie. Les lasers de classe 4 peuvent aussi produit des agents gazeux contaminants produits par le laser et des irradiations de plasma dangereuses. |
Mise à jour du firmware
Cette section décrit la procédure à suivre pourmettre à jour le firmware des contrôleurs de la série ZS (ZS-HLDC/ZS-MDC, par exemple).Utilisez Warp Engine ZS pourmettre à jour le firmware.Warp Engine ZS est automatiquement instalé lors de l'installation de SmartMonitor ZS.
Pour obtenir le fichier de mise à jour, veuillez contacter votre revendeur OMRON.

CHECK!
- Lors de la mise à jour, ne coupez pas l'alimentation du contrôleur, sinon il ne demarrera pas normalement.
- Pour installer le pilote USB, ouvrez une session en tant qu'administrateur ou en tant qu'utilisateur muni de droits d'accès au système.
Processus de mise à jour du firmware

Raccordement du contrôleur à un ordinateur
1. Raccordez le contrôle à l'ordinateur à l'aide du cable USB.
Le pilote USB doit être installé lorsque le contrôleur est raccordé à l'ordinateur pour la première fois.
Installation du pilote USB p.2-16

2. Mettez le contrôleur sous tension.

CHECK!
- Assurez-vous que le cable d'alimentation du contrôleur est correctement raccordé. Si l'alimentation est coupée lors de la mise à jour, le contrôleur s'arrête et ne s'exécut pas normalement.
- Veiliez à neMETRE que le contrôleur sous tension (lorsqu'il n'est pas connecté à d'autres contrôleurs).
Warp Engine ZS ne démarre pas si vous connectez plusieurs contrôleurs.
Installation de SmartMonitor ZS
3. Installez SmartMonitor ZS sur un ordinateur.
Warp Engine ZS est installé simultanément. Il sert àmettre à jour le firmware.

Installation de SmartMonitor ZS p.2-15
Démarrage de Warp Engine ZS

CHECK!
- Démarrez Warp Engine ZS uniquement lorsque l'ordinateur a reconnu le contrôleur.
-
Lorsque vous démarrez le ZS-MDC tout seul, une erreur se produit sur le contrôleur. Toutefois, Warp Engine ZS doit être démarré dans cet état.
-
Dans le menu [Démarrer] de Windows, Sélectionnez [Programmes]-[OMRON]-[SmartMonitorZS]-[WarpEngineZS].
L'écran [WarpEngineZS] s'affiche.
En cas d'éché c du démarrage de Warp Engine ZS, l'écran ci-contre s'affiche après un message. Passez à l'étape de définition du port de connexion.


Définition des informations sur le firmware
- Cliquez sur le bouton [Controller information] (Informations du contrôleur), si nécessaire.
Le modele et le numero de version du contrôleur connecté s'affichent.
- Cliquez sur le bouton [Loading file] (Charger un fichier) et selectionnez le fichier à écrire.
Le modele et le numero de version du contrôleur contenus dans le fichier s'affichent.

Exécution de la mise à jour du firmware
- Cliquez sur le bouton [Start upgrade] (Démarrer la mise à niveau) dans l'écran [WarpEngineZS].

Un message signalant le démarrage de la mise à jour s'affiche.

CHECK!
Si un message indiquant que le modele est different s'affiche lorsque vous cliquez sur le bouton [Start upgrade], le modele du contrôleur connecté ne correspond pas aux informations de modele enregistrées dans le fichier. Dans ce cas, n'effectuez pas la mise à jour. Le contrôleur s'arrête alors et ne démarre pas normalement.

8. Lisez le message, puis cliquez sur le bouton [OK].
La mise à jour du firmware démarre.
![OMRON ZS-HL - Lisez le message, puis cliquez sur le bouton [OK]. - 1](/content/2019/10/15042/images/2b2a0a27ec7f051ea21fc21fa43d1bf2a0cc556bcdfc1efcf2d512b3d5d49360.jpg)
L'etat d'avancement s'affiche lors du traitement de la mise à jour. Attendez que le message signalant la fin de la mise à jour s'affiche (la mise à jour peut prendre plusieurs minutes).
![OMRON ZS-HL - Lisez le message, puis cliquez sur le bouton [OK]. - 2](/content/2019/10/15042/images/80b97d4e8399e456f8cb7366b2654de1056c7d476a75e9b7f2f2c756e6c9c085.jpg)
CHECK!
- Si une erreur se produit sur le contrôleur lors de la mise à jour, ignorez-la.
- Si la barre d'avancement s'arrête lors de la mise à jour ou si la mise à jour ne se termine pas après plus de 10 minutes, il est possible que la mise à jour ait échoué.
Dans ce cas, contactez votre revendeur Omron pour connaître la version de firmware avant la mise à jour et celle du fichier écrit.
9. Une fois la mise à jour terminée, le message ci-contre s'affiche. Suivez les instructions affichées à l'écran et exécutez les opérations.


CHECK!
Pour terminer la mise à jour du firmware, vous doivent initialiser le contrôleur. Si le contrôleur ne peut pas être initiaisé à partir de Warp Engine ZS, initiaisez-le manuellement en suivant les étapes 3 et 4. Ces étapes ne s'affichent pas si le contrôleur s'initialise automatiquement.
10. Lisez le message, puis cliquez sur le bouton [OK].
Définition du port de connexion
En cas d'éché du démarrage de Warp Engine ZS, l'écran ci-dessous s'affiche après un message.

- Dans le menu [Démarrer] de l'ordinateur, Sélectionnez [Paramètres]-[Panneau de configuration], puis double-cliquez sur [Système].
La boîte de dialogue [Propriétés système] s'affiche.
- Cliquez sur [Gestionnaire de périphériques] sous l'onglet [Matériel].
La fenêtre [Gestionnaire de périhériques] s'affiche.

- Ouvrez [Ports (COM et LPT)] et vérifie le numéro COM définis dans [OMRON Smart Sensor USB COM Drivers (WDM) (COMxx)].
La portion (COMxx) correspond au port de connexion du contrôleur.
- Sélectionnez le port de connexion du contrôleur dans [Port COM], puis cliquez sur le bouton [Définir].
Warp Engine ZS démarre.
MÉMO
Index
Numerics
0RESET MEMORY 5-23
1SHOT 6-8
A
Adaptateur de montage
sur panneau 8-42
ADJUST 6-5
Affichage inférieur 4-2, 5-2
Affichage numérique CUSTOM 5-25
Affichage principal 5-2
AUTO 5-8
AUTOOFF 5-26
AVERAGE 5-18
FILTER 5-13
MEASURE 5-24
B
Bornier Affichage de l'évaluation 4-2 Affichage de la valeur mesurée 4-2
BOTTOM MEASURE 5-24 Types de maintainien 5-18
BUSY,sortie 2-11
C
CHANGE 4-11
Circuits d'E/S, schémas 2-12
CLAMP 6-15
COM 7-4,7-6
Commande, touches 4-2, 5-2
Commutateur tension/courant 1-6
CONNECT 6-16
Contrôleur de capteur
Caracteristiques
techniques 8-39
Dimensions externes 8-41
Installation 2-7
Nomenclature 1-5
Voyants d'etat 8-40
Controller Link, carte
\section*{CharACTERISTiques et}
dimensions externes 8-47
Coupleur 1-6
Courant,affichage 4-2
CUSTOM 5-7,5-25
CYCLE 5-27,6-14
D
DELAY 5-21
Diametre du spot 8-19
DIFF 5-13
DIFFUSE 5-8
DIGITAL 7-7
DIRECT IN 4-7
Distance absolue, affichage 4-2
DOT 5-25
E
ECO 5-25
Sortie de bornier 6-24
USB 7-8
HOLD
DELAY 5-21
TRIGGER 5-19
TYPE 5-18
Types de remise à zéro 5-22
HYS
6-7
1
IN 6-17
INFO 5-27
INIT 5-29
Interférences mutuelles 8-15
INVERS 5-15
J
JUDGE 6-7
K
K+mX+nY 5-24
KEEP 6-15
KEYLOCK 5-27
L
LANGUAG 5-28
Largeur du faisceau linéaire 8-20
LASER 5-8
LCD 5-26
LD ON 1-5
LINE 5-7
LOW
Sortie 2-10
Voyant 1-6
M
MEASURE 5-24
MIRROR 5-9
Mode 5-6, 5-7
TEACH,mode 4-7
Mode, selecteur 1-7
Monotâche, mode 5-4
Multitâche 5-5
Multitâche, mode 5-4
N
NON-MEAS 6-15
Noyau en ferrite
Contrôleur de capteur 2-7
Tete de détction 2-5
USB 7-4
0
OBJECT 5-9
OFF 5-18
OFFSET Remise à zéro 5-22
SCALING 5-17
ON DELAY 6-8
OUT0 à 4 2-10
OUTPUT Sortie d'évaluation 6-8
Sortie linéaire 6-3
TERMINAL BLOCK 6-10
P
PASS Sortie 2-10
Voyant 1-6
PCB 5-9
PEAK MEASURE 5-24
Types de maintainien 5-18
Plage de mesure 2-3,8-2,8-4,8-5,8-6
Points caractéristiques 5-24
P-P 5-18
Prévention des interférences mutuelles 5-11
Q
Quantité de lumière émise, affichage 4-2
Quantité de lumière reçue, affichage 4-2
R
Rallonge 2-6,8-43,8-44
RANGE 5-8
REGULAR 5-8
Remise à zéro 4-5, 5-22
OFFSET 5-22
STATUS 5-22
TYPE 5-22
Voyant 1-5
Résolution, affichage 4-2
Retroéclairage 5-26
RS-232C
Brochage du cable 7-5, 7-6
Connecteur 1-6
Dimensions externes
du câble 8-46
Paramètres de
communication 7-6
RUN,mode 4-2
s
SAMPLE 5-19
SAVE 5-29
SCALING 5-15
Sélecteur de seuil 1-6
SELF-DOWN 5-20
SELF-UP 5-19
SenINFO 5-28
SENSING 5-6
SETTING 5-8
Signal d'entrée 6-17
SKIP 5-7
SmartMonitor ZS
Démarrage et fermetre 2-19
Déinstallation 2-15
Installation 2-15
SMOOTH 5-12
Sortie numérique 7-7
SPAN 5-17
STATUS 5-22
STEP 5-24
Système 5-27
Système, configuration 1-3
T
Tâche
Commutation 5-5
Sélection 5-5
TEACHING 4-7
Réglage de la position
d'installation 2-4
THICK 5-10, 5-24
TIMER 6-7
Timing A, B 5-11
TRIGGER 5-19
U
USB
Paramètres de
communication 7-4
Pilote 2-16
Port 1-6
V
Valeur de seuil, affichage 4-2
Valeur mesurée, affichage 4-2
VERSION 5-27
Voyant de laser 1-5
Voyant NEAR 1-5
Z
Zéro 1-5
Zone Emetteur 1-4
Historique des révisions
Un code de révision apparaît sous forme de suffixe du numéro du catalogue en bas des première et quatrième de couverture du present manuel.
| Code de révision | Date | Nature de la révision |
| 01 | Nov. 2005 | Version d'origine |
| 02 | Jan. 2007 | Page 1-3 : Remarque 2 modifiée. Page 1-4 : Inversion des légendes pour sections récepteur et émetteur. Page 6-17 : Ajout d'une astuce au milieu de la page. Page 7-6 : Ajout d'une remarque au milieu de la page. Pages 8-3 à 8-6 : Ajout de "exemple courant". Pages 8-7 à 8-9, 8-12, 8-13 et 8-40 : Ajout de la longueur du cable. Page 8-19 : Modification de la valeur du centre de la mesure à cinq endroits. Pages 8-29 à 8-37 : Remplacement de "haute résolution" par "standard". Page 8-29 : Modification de l'échelle dans les quatre premiers historiammes. Page 8-39 : Ajout d'une section sur les règlementations sur le contrôle d'exportation. Page 8-45 : Modification de deux remarques. Page 9-10 : Correction de la cellule Classe 3R pour la protection oculaire. |
| 02A | Jul. 2007 | Page 8-3 : Modification du tableau pour remarque 2. |
| 03 | Mars 2008 | • Ajout d'informations sur la tête de détention ZS-HLDS2VT. • Suppression d'informations sur SmartMonitor. • Modifications mineures. |
Notice Facile