947C - Sonar/GPS pour la pêche HUMMINBIRD - Notice d'utilisation et mode d'emploi gratuit
Retrouvez gratuitement la notice de l'appareil 947C HUMMINBIRD au format PDF.
| Type de produit | Sondeur GPS |
| Caractéristiques techniques principales | Écran couleur de 9 pouces, résolution 800 x 480 pixels |
| Alimentation électrique | 12 V CC |
| Dimensions approximatives | 24,1 x 22,8 x 10,7 cm |
| Poids | 1,5 kg |
| Compatibilités | Compatible avec les cartes SD et les cartes de navigation Humminbird |
| Type de batterie | Non applicable (fonctionne sur alimentation externe) |
| Tension | 12 V |
| Puissance | Consommation d'environ 1,5 A |
| Fonctions principales | Sonar, cartographie, GPS intégré, affichage des profondeurs |
| Entretien et nettoyage | Nettoyer l'écran avec un chiffon doux, éviter les produits abrasifs |
| Pièces détachées et réparabilité | Disponibilité de pièces détachées via le service client Humminbird |
| Sécurité | Ne pas exposer à des températures extrêmes, éviter l'humidité excessive |
| Informations générales utiles | Vérifier la compatibilité avec les accessoires avant l'achat |
FOIRE AUX QUESTIONS - 947C HUMMINBIRD
Questions des utilisateurs sur 947C HUMMINBIRD
0 question sur cet appareil. Repondez a celles que vous connaissez ou posez la votre.
Poser une nouvelle question sur cet appareil
Téléchargez la notice de votre Sonar/GPS pour la pêche au format PDF gratuitement ! Retrouvez votre notice 947C - HUMMINBIRD et reprennez votre appareil électronique en main. Sur cette page sont publiés tous les documents nécessaires à l'utilisation de votre appareil 947C de la marque HUMMINBIRD.
MODE D'EMPLOI 947C HUMMINBIRD
Guide d'installation et d'utilisation
947c
Merci!
Merci d'avoir choisi Humminbird®, le chef de file dans le domaine des détecteurs de poissons aux États-Unis. Humminbird® a bati sa réputation en créant et en fabriquant des équipements marins de haute qualité et très fiables. Notre apparéil Humminbird® a été liéçon pour pouvoir être utilisé sans problèmes, quelles que soient les conditions, même dans les millieux marins les plus hostiles. Dans l'éventualité peu probable où votre apparéil Humminbird® aurait besoin de réparations, nous offrons une politique de service après-venture exclusive sans frais pendant un an suivant l'achat et disponible à un taux raisonnable après la première année. Pour plus de détails, voir la section Garantie de ce guide. Nous vous invitons à dire attentivement ce guide d'installation et d'utilisation afin de profiter pleinement de toutes les fonctions et applications de votre produit Humminbird®.
Vou puez joindre notre Centre de ressources pour la clientèle au 1-800-633-1468 ou visiter notre site Web au www.humminbird.com.
AVERTISSEMENT! Cet apparéil ne devrait enaucn cas être utilisé comme instrument de navigation afin de prévenir les collisions, l'échéage, les dommages au bateau ou les blessures aux passagers. Lorsque le bateau est en mouvement, la profondeur de l'eau peut varier trop rapidement pour vous laisser le temps de réagir. Avancez toujours très lentement si vous soupconnez la présence de bas-fonds ou d'obstacles submerges.
AVERTISSEMENT! La réparation et le démontage de cet apparéil électronique doivent être effectés uniquement par un personnel d'entretien autorisé. Toute modification du nombre de série ou réparation par un personnel non autorisé entraînera l'annulation de la garantie. La manipulation ou le démontage de cet apparéil pourrait entrainer une exposition au plomb sous forme de soudure.
AVERTISSEMENT! Ce produit contient du plomb, un produit chimique reconnu par l'Etat de la Californie comme une cause possible de cancer, de defaults de naissance et d'autres toxicités reproductives.
© 2005 Humminbird®, Eufaula AL, États-Unis. Tous droits réservés.
TABLE DES MATIÈRES
Introduction à la série 900 1
Fonctionnement de la série 900 1
Sonar 3D. 1
Sonar 2D. 1
GPS et cartographie 2
Fente pour carte multimédia (MMC)/SD. 2
Bus d'accessoires 3
Survol del installation 3
Installation de la tete de commande 4
Montage de la tete de commande sur cardan 5
Montage de la tete de commande sur tableau de bord 8
Branchement du cable d'alimentation de la tete de commande au bateau 10
Installation du transducteur 11
Installation du transducteur sur le tableau arriere 11
Installation du transducteur à l'intérieur de la coque 15
Installation du transducteur sur un propulseur électrice 17
Essais et fin de l'installation du transducteur 18
Installation du récepteur GPS 19
Montage sur etrave avec une tige fillette 1^n - 14 existante. 19
Accès sous l'emplacement de montage 20
Pas d'accès sous l'emplacement de montage 20
Terminer d'acheminer le cable et vérifier le fonctionnement du récepteur GPS 21
Installation du capteur de température 21
Essais de I'installation du système 23
Pour commencer - Utilisation de la Série 900 24
Mise en marche de la tete de commande 24
Representations à l'écran 3D 25
Representations à l'écran 2D 26
Fenetre sonar en temps reel (RTS) 27
Representation du fond 27
Touches de fonction 28
Touche Mise en marche et éclairage (POWER/LIGHT) 28
Touche Afficheage (VIEW) 28
Touche Menu (MENU) 28
Commande de curseur à quatre directions 29
Touches Affiche predefini (VIEW PRESET) 29
Touche Quitter (EXIT) 29
Touche Information (INFO) 30
Touches Marquer/Aller à (MARK/GOTO) 31
Touche Zoom (+ / -) 31
31
Modes d'affichage et indicateurs 31
Mode d'affichage Sonar 3D et 2D combiné 31
Mode d'affichage Sonar 2D 33
Mode d'affichage Zoom 2D 34
Mode d'affichage Sonar à six faisceaux 35
Mode d'affichage Aérien 36
Mode d'affichage Cartographique et Aérien combiné 37
Mode d'affichage Cartographique 38
Mode d'affiche Cartographique et Sonar 3D combiné 39
Mode d'affichage Cartographique et Sonar 2D combiné 40
Orientation cartographique 41
Visualisation de la cartographie 41
Navigation 42
Points de cheminement, routes et itinéraires 43
Sauvegarde, édition et suppression d'un point de cheminement 43
Navigation vers un point de cheminement ou une position 44
Ajout d'un point de cheminement ou d'une grille de pêche à la traine 45
Sauvegarde, édition et suppression d'une route 46
Sauvegarde ou suppression de l'itinétaire actuel 47
Édition, suppression ou masquage d'un itinéraire sauvégarde 47

TABLE DES MATIÈRES
Le système de menus 47
Menu Options de démarrage 49
Utilisation en mode Normal 50
Simulator 50
Etat du système 50
Autotest 50
Test des accessoires 51
Mode d'affichage Diagnostic GPS 51
Menu X-Press du sonar 2D 52
Zone d'écran active 52
Écran divisé 52
Sensibilité 53
Liminetopouloiredelechelle de profondeur (modeutilisateurAvance) 53
Liminé inférieure de l'échelle de profondeur 54
Vitesse de défilament 54
Verrouillage sur le fond (exclusif au mode d'affichage Zoom 2D) 54
Échelle du fond (exclusif au mode d'affichage Zoom 2D, lorsque la fonction de verrouillage sur le fond est activée) ...55
Priorite 2D ou 3D 55
Menu X-Press du sonar 3D 56
Zone d'écran active 56
Position divisee 56
Sensibilité du sonar à six faisceaux (en mode d'affichage Sonar à six faisceaux exclusivement) 57
Zoom du fond 3D 57
Liminé inférieure de l'échelle de profondeur 3D. 57
Historique 3D 58
Remise à l'etat initial de l'affiche 3D. 58
Priorite 2D ou 3D 58
Menu X-Press de navigation 59
Zone d'écran active 59
Position divisee 59
Sauvegarde de I'itinétaire actuel 60
Suppression de l'itinétaire actuel. 60
Sauvegarde de la route actuelle (seulement en mode de navigation) 60
Saut du prochain point de cheminement (seulement en mode de navigation) 60
Annulation de la navigation (seulement en mode de navigation) 61
Suppression d'une cible (seulement en mode de navigation) 61
Suppression de la grille (seulement en mode de navigation) 61
Onglet Sonar du menu principal 62
Couleurs du sonar 2D 62
Style de representation du fond en 3D 62
Style de visualisation fil de fer 63
Selection de faisceau 2D 63
Identification de poisson (Fish ID+) 63
Sensibilité de la fonction d'identification de poisson 64
Référence 3D d'identification de poisson 64
Fenetre sonar en temps reel (RTS) 65
Affichage du fond 65
Largeur du zoom (exclusif au mode d'affichage Zoom 2D) 65
Sensibilité du faisceau de 83 kHz (mode utilisateur Avance) 66
Courbes bathymétriques (mode utilisateur Avance) 66
Interférènce de surface (mode utilisateur Avance) 66
Filtre de bruit (mode utiliseur Avance) 67
Profondeur maximale (mode utiliseur Avance) 67
Type d'eau (mode utiliser Avance) 67
Barre de couleurs 68
Courbe de la température (exclusif au mode d'affichage Sonar 2D, avec capteur de température) .... 68
Onglet Navigation du menu principal 68
Itinéaires 69
Points de cheminement 69
Routes 70
Orientation cartographique 70
Référence du nord 70
Rotation de la grille de pêche à la traine 71
Intervalle de temps entre les points d'itinéraire 71
TABLE DES MATIÈRES
Distance min. entre les points d'itinétaire (mode utilisateur Avancé) 71
Système de réference cartographique (mode utilisé Avance) 72
Exportation de toutes les données de navigation (mode utiliseur Avancé) 72
Suppression de toutes les données de navigation (mode utiliser Avance) 72
Onglet Cartographie du menu principal 73
Niveau de détaill de la cartographie 73
Frontières de carte 74
Grille de coordonnées géographiques terrestres 74
Sondages par point 74
Profondeur d'ombrage 74
Établissement d'une position de simulation (mode utilisateur Avance) 75
Réglage de compensation de carte (mode utilisateur Avance) 75
Suppression de compensation de carte (mode utiliseur Avance) 75
Onglet Alarmes du menu principal 76
Alarme de profondeur 76
Alarmed identification of poisson 76
Alarmede source d'alimentation faible 77
Alarme de tempéature 77
Alarmehorscap 77
Alarmedarrivee 78
Alarme de derive 78
Tonalité d'alarme 78
Onglet Réglages du menu principal 79
Unités - Profondeur 79
Unités - Température (exclusif aux modèles internationaux) 79
Unités - Distance 80
Unités - Vitesse 80
Modeutilisateur 80
Langue (exclusif aux modeles internationaux) 80
Remise à zéro du compteur journalier 81
Restitution des réglages par défaut 81
Selection des indicateurs (mode utilisateur Avance) 81
Compensation de la profondeur 83
Compensation de la tempéature (mode utilisateur Avancé) 83
Fuseau horaire local (mode utiliseur Avance) 83
Heure avancée (mode utiliseur Avance) 83
Format de la position (mode utiliser Avance) 84
Format de l'heure (mode utilisateur Avance; exclusif aux modeles internationaux) 84
Format de la date (mode utiliseur Avance; excludif aux modeles internationaux) 84
Sortie NMEA (mode utiliseur Avance) 85
Sonar 85
Onglet Affichages du menu principal 86
Onglet Accessoires du menu principal 86
Dépannage 87
Difficultés àmettre la Série 900 en marche. 87
Mode Simulateur actif malgre la presence d'un transducteur 87
Problèmes d'affichage 88
Determination des causes d'interfERENCE 89
Garantie restreinte d'un (1) an 90
Politique de service de Humminbird 90
Accessoires de la série 900 91
Caracteristiques 92
Annexe A-Gabarit de montage de transducteur (SHS 7W) 93
Pour communiquer avec Humminbird 94
REMARQUE : Les fonctions citées dans la table des matières qui indiquent " exclusif aux modèles internationaux" ne sont offertes qu'avec nos produits en vente hors du Canada et des États-Unis, par nos distributeurs internationaux. Pour obtenir une liste de nos distributeurs internationaux autorisés, veuillez visiter notre site Web www.humminbird.com ou communiquer avec notre Centre de ressources pour la clientèle au 1-800-633-1468 afin de trouver l'emplacement d'un distributeur dans votre région.
INTRODUCTION À LA SÉRIE 900
Votre système de pêche très grand écran de la série 900 est disponible en plusieurs configurations différentes :
- Humminbird® 947c 3D Combo : Système de péche très grand écran avec traceur graphique (cartes), transducteur double fréquence de 455 kHz et 83 kHz et récepteur GPS.
FONCTIONNEMENT DE LA SÉRIE 900
La technologie sonar utilise des ondes sonores dans le but de déterminer la présence et l'emplacement d'objets sous-marins. Le salarié qui s'écoule entre l'émission de l'onde sonore et la réception de cette mêmeonde après qu'elle a été refléchie par un objetquelconque peut servir à déterminer la distance qui sépare cet objet du point d'émission. L'analyse du signal refléchi peut également être utilisée pour déterminer l'emplacement, la talle et la composition des objets sous-marins.
Les produits Humminbird® sont composés de deux composants principaux : le sonar et le transducteur. Le sonar contient un émetteur et un récepteur, ainsi que les commandes pour l'utilisateur et l'écran à cristaux liquides. Le transducteur est monté sous la surface de l'eau et convertit l'énergie électrique de l'émetteur en pulsations mécaniques ou ondes sonores. Le transducteur reçoit aussi les ondes sonores reflèchies et les convertit en signaux électriques qui sont affichés à l'écran du sonar.
Le cycle d'émission et de réception des signaux est très rapide. Une onde sonore peut voyager de la surface jusqu'à 70 m (240 pi) de profondeur et revenir en moins d'un quart de seconde. Il est donc improbable que votre embarcation puisse devancer le signal sonar.
Bon nombre de variables influent sur la nature de l'information dérivée d'un retour de sonar. Les signaux généres à une fréquence plus élevé ont l'avantage d'améliorer considérablement la résolution du sonar, bien que la distance (ou profondeur) que puisse parcourir un signal à haute fréquence soit relativement courte. Un signal en fréquence
basse peut parcourir de grandes distances, mais offre une faible résolution du sonar. La forme du signal sonar émis affecte aussi grandement l'information disponible. Un faisceau large et unique offre une grande couverture, mais une faible résolution des détails. Un faisceau étroit offre d'excellents détails, mais une couverture limitee.

SONAR 3D
Le système de pêche de série 900 utilise un transducteur à six éléments qui transmet des signaux à une fréquence 455kHz pouvant atteindre des profondeurs allant jusqu'à 75m (240 pi). Chacun des faisceaux est symétrique et couvre un angle de 16 degrès. Les six faisceaux sont alignés l'un à côte de l'autre afin de fournir une couverture totale de 53 degrès sur le sens latéral et de 16 degrès sur le sens longitudinal du bateau. L'utilisation conjointe de plusieurs faisceaux étroits permet de couvir une grande étendue pour interpréter le terrain et détecter l'emplacement des poissons, sans qu'il soit nécessaire deacrifier les détails que seul un faisceau étroit peut offrir. Le système de pêche de série 900 regroupe l'information fournie par une série continue de ces retours sonar. Puis, le système interpréte les données afin de former une représentation tridimensionnelle du terrain sous le bateau lorsqu'il navigue sur l'eau.

SONAR 2D
Le système de pêche de série 900 a également la capacité d'afficher les données sonar de façon traditionnelle, en deux dimensions, à partir d'un faisceau de 455kHz ou d'un faisceau de 83kHz . Le faisceau simple de 455kHz a l'avantage d'améliorer la résolution sonar, mais est limité à une profondeur de 75m (240 pi). Le faisceau simple de 83kHz a l'avantage d'offrir des retours sonar jusqu'à 330m (1000 pi), mais la résolution n'est pas aussi bonne qu'avac le faisceau simple de 455kHz .
GPS ET CARTOGRAPHIE
Le système de pêche de série 900 se sert du système de positionnement global et de ses capacités sonar pour déterminer l'emplacement du bateau, l'afficher dans une grille et fournir des renseignements subaquatiques détaillés. Le système de positionnement global (GPS) est un système de navigation par satellite conçu et entretenu par le département de la Défense des États-Unis. Bien qu'il ait été conçu initialement pour des besoin militaires, les civils peuvent bénéficier des avantages qu'offre ce système pour déterminer leur position avec une précision assez élevé, soit ± 10m , selon les conditions. Ceci signifie que le récepteur pourrait déterminer à dix metres pres votre position réelle, 95% du temps. Le récepteur GPS utilise également les données du SAGE (système d'augmentation à grande échelle), du EGNOS (système européen de navigation par recouvrement géostationnaire) et du MSAS (système d'augmentation MTSAT), selon leur disponibilité dans la région.
Le système de positionnement global est constitué de satellites qui émettent continuèlement des signaux radioélectriques vers la Terre. Le récepteur détermine sa position en calculant la distance qui le sépare d'un maximum de 12 satellites, à l'aide des signaux qu'ils émettent. En branchant le récepteur GPS à votre système de série 900, vous
combinez les fonctions de navigation et de tracage graphique FishingGPS facies à utiliser avec les fonctions avancées de détction de poissons de votre échosondeur. Le système de série 900 offre les fonctions GPS suivantes lorsqu'un récepteur GPS y est branché :
- Visualisation de la position actuelle
- Visualisation de l'itinétaire actuel (piste de navigation)
- Visualisation exacte de la vitesse et du cap à partir des données de votre récepteur GPS
- Sauvegarde des itinéraires, des points de cheminement et des routes
- Parcours d'une route et navigation d'un point de cheminement à un autre.
REMARQUE: L'échosondeur de série 900 est compatible avec les systèmes de cartographie marine Navionics® Gold et Navionics® HotMaps™ 2004 Gold pour la pêche en eaux interieures. Il n'est pas compatible avec les cartes Navionics® Classic.
Votre échosondeur de série 900 est muni d'une carte du monde ainsi que d'une carte détaillée de l'Amérique du Nord (modèles nationaux) ou d'une carte détaillée de l'Europe et de l'Asie du Sud-Est, incluant l'Australie et la Nouvelle-Zélande (modèles internationaux).
L'échosondeur de série 900 utilise un récepteur GPS pour déterminer automatiquement l'emplacement du bateau et utilise les niveaux de zoom régles pour une vue particulière afin de sélectionner la meilleure carte à visualiser. Pour obtenir de plus amples renseignements à ce sujet, voir la section Visualisation de la cartographie.

Fente pour carte multimédias (MMC) / SD
FENTE POUR CARTE MULTIMÉDA (MMC)/ SD
Votre échosondeur de série 900 prend en charge la cartographie et est doté de deux fentes pour cartes multimédias (MMC ou SD). Les cartes multimédias de type MMC ou SD, vendues séparément, peuvent contérer des cartes géographiques détaillées supplémentaires. Vous pouze également exporter les données de navigation de votre apparéil vers une carte MMC ou SD (voir l'onglet Navigation du menu principal : Exporter toutes les données de navigation). Si vous insérez une carte multimédia MMC ou SD contenant un besoine carte géographique d'un endroit particulier, votre apparéil recupérera cette carte et l'affichera automatiquement.
Utilisez les cartes multimédias MMC ou SD pourmettre à jour la version logicielle de la tete de commande. Pourmettre à jour le logiciel de la tete de commande,insérez une carte multimédia MMC ou SD contenant le fichier de mise à jour du logiciel.L'appareil le reconnaître et indiquera la version logicielle actuelle de la tete de commande. Il vous demandera ensuite si vous voulezmettre le logiciel d'appareil à jour en utilisant le fichier present sur la carte MMC ou SD. Les mises à jours des logiciels sont disponibles sur le site Web www.humminbird.com.
Consultez l'illustration pour localiser l'emplacement de la fente pour carte multimédia MMC/SD. Retirez ensuite le couvercle, puis insérez une carte MMC et/ou SD dans la ou les fentes - le choix de la fente est sans importance. L'étiquette de la carte doit être orientée vers le bas de façon telle que vous regardiez le dos de la carte. Enforcez la carte jusqu'à ce que vous entendiez un léger déclic indiquant qu'elle est en position, puis replacez le couvercle sur la fente. Replacez ensuite la vis et serrez-la bien. NE serrez PAS trop car, bien que cela n'améliore en rien l'étanchéité, cela pourrait endommager le couvercle.

Bus d'accessoires
BUS D'ACCESSOIRES
Utilisez le bus d'accessoires pour etendre la fonctionnalité de la série 900. Les accessoires se branchent directement dans la série 900 et permettent d'activer des fonctions perfectionnées comme le WeatherSense et la liaison de sonar sans fil SmartCast®. Des angelets et des options de menu supplémentaires s'ajoutent automatiquement au système de menus lorsque vous branchez un accessoire à l'appareil. Il est même possible de brancher plusieurs accessoires en même temps. Consultez la section traitant de l'onglet Accessoires du menu principal et la section Accessoires de la série 900 du present guide, ainsi que le guide d'utilisation de l'accessoire lui-même pour obtenir de plus amples renseignements.
REMARQUE : Les accessoires requis pour activer les fonctionnalités WeatherSense et la liaison sonar sans fil SmartCast® sont vendus séparément. Veuillez visiter notre site Web www.humminbird.com ou communiquer avec notre Centre de ressources pour la clientèle au 1-800-633-1468 pour obtenir de plus amples renseignements.
SURVOL DE L'INSTALLATION
Veuillez tire toutes les instructions relatives à votre configuration avant de commencer la procédure d'installation. Notre ensemble 3D 974c est offert avec un récepteur GPS et un capteur de température, qui devraient être installés avec le transducteur et la tête de commande.

La série 900 offre de nombreuses configurations différentes.

1 Transducteur sonar avec température
Cable en Yoptionnel
NMEA0183
Alimentation secondaire
5 Temp/Vitesse
Vitesse sur I'eel 6
Récepteur GPS
WeatherSense 8
Liaison sonar sans fil SmartCast 9
Les tâches de base à effectuer pour l'installation complément :
Installation de la tete de commande
(montage sur cardan ou sur tableau de bord)
- Installation du transducteur
(montage sur le tableau arrêté, dans la coque, ou sur un propulseur électrique)
Installation du récepteur GPS
- Procedure d'installation du capteur de température
- Essais et blocage du transducteur en position, une fois l'installation complétée.
Le transducteur Humminbird® fournit utilise un support de montage à pivot en deux pieces. Vous dévre en plus installer l'antenne GPS et le capteur de température fournis.
REMARQUE : Certains accessoires sont vendus séparément. Vous pouvez visiter notre site Web www.humminbird.com pour commander ces accessoires en ligne, ou communiquer avec notre Centre de ressources pour la clientèle au 1-800-633-1468.
INSTALLATION DE LA TÉTE DE COMMANDE
Vous pouvez monter la tete de commande de la série 900 de deux façon différentes :
- Montage sur cardan, où vous utilisez un emplacement sur le bateau, comme le tableau de bord, pour monter la tete de commande de sorte à pouvoir l'incliner vers le haut ou vers le bas, ou
- Montage sur tableau de bord, où vous découpez un trou dans le tableau de bord pour y encastrer la tête de commande. La tête ne pourrait être bougée une fois installée.
MONTAGE DE LA TÉTE DE COMMANDE SUR CARDAN
Si vous montez la série Humminbird® 900 sur cardan, vous pouvez assembler l'appareil au préalable afin de déterminer le meilleur emplacement de montage.

1 Rondelle
Mollete de cardan
Support de cardan
4 Port d'extension - à utiliser pour les accessoires futurs
Les pièces et outils spécifiques au montage sur cardan complrennet :
Support de montage sur cardan et vis
- Molette de montage sur cardan et rondelles
- Tournevis à pointe cruciforme (Phillips)
- Clé à douille 5/16" ou tournevis à tête plate
- Perceuse à main avec différents forets
- Agent d'étanchéité à base de silicone de qualité marine.
-
Placez la tete de commande sur le support de cardan. Assurez-vous que le cote croit du bras du cardan soit contre le cote arrriere de la tete de commande.
-
Placez une rondelle noire de 25 mm (1 po) de diamètre sur la molette du cardan et vissez ensuite la molette et la rondelle dans le boitier. Serrez la molette du cardan pour attacher la tête de commande de la série 900 sur le support. Repetez l'objet 2 pour l'autre côté.
Vouss pouvez maintainant placer la tete de commande à différents emplacements et déterminer celui qui convient le mieux. Tournez le support de montage vers le haut de la tete de commande monter cette dernière au plafond. La zone de montage可以选择 doit être suffisamment grande pour permettre l'inclinaison et le pivotement de la tete de commande. On doit également être en mesure d'installer et de démonter l'appareil facilement.
REMARQUE : Vous pouvez pincer le trou de passage des câbles en dessous du support du cardan pour acheminer les câbles via les trou à décocher sur le montage. Toutefois, vous devrez pincer le trou de passage derrière le support de montage si vous ne pouvez le pincer directement en dessous de celui-ci, et monter le couvercle du trou à la place.
REMARQUE : Pour les coques en fibre de verre, il vaut moins commencer avec un ford et un diamètre plus petit et utiliser des forests d'un diamètre plus grand par la suite afin de réduire les chances d'écailler le revêtement extérieur. Comblez tous les trouss avec un agent d'étanchéité à base de silicone de qualité marine.
REMARQUE: Vous doivent avoir accès en dessous de l'emplacement de montage pour acheminer les cables sur la surface de montage. Assurez-vous également que la surface de montage est suffisamment stable pour protéger la tête de commande des vibrations et des chocs excessifs causés par les vagues. L'appareil doit être visible lorsqu'il fonctionne.
- Une fois l'emplacement de montage déterminé, desserrez les molettes et retirez la tête de commande du support du cardan.
REMARQUE: Un positionnement alternatif des trousts est disponible sous le support de montage du cardan et peut correspondre aux trousts existants du bateau. Si vous choisissez d'utiliser ce positionnement de trousts alternatif, perceze les trousts et utiliser les pour monter le support.
- Placez le support du cardan à l'emplacement désiré sur la surface de montage et marquez les emplacements des quatre vis de montage à l'aide d'un crayon ou d'un pointeau.
REMARQUE: Consultez les instructions d'installation correspondant à votre transducteur, votre récepteur GPS Effectuez les installations nécessaires et achemine ensuite les câbles vers l'emplacement de montage de la tête de commande. Ne couze aucun cable (sauf le cable d'alimentation). Si les câbles sont trop courts, vous pouvez vous procurer les rallonges auprès de votre fournisseur local ou en ligne sur le site www.humminbird.com.


Vis de montage
Rondelle
Support de montage du cardan
- Mettez le support du cardan de côte et percez les quatre trough pour les vis de montage à l'aide d'un foret de 4 mm (5/32 po).
6a. Si vous pouvez passer les câbles par un trou situé directement sous le support de montage, marquez son emplacement et percez un trou de 25 mm (1 po), centré entre les quatre trous de montage. Acheminez les câbles dans l'anneau, puis enforcez l'anneau en position autour des câbles et dans le trou de 25 mm (1 po). Passez les câbles à travers le support de montage et sortez-les par l'arrière. À l'aide d'une pince à bec effilé, brisez les languettes à l'arrière de la base de montage. Vous devrez briser autant de languettes que nécessaire pour le nombre de câbles que vous pouvez acheminer vers la tête de commande.
6b. S'il n'est pas possible d'acheminer les cables directement sous le support de montage, marquez et perzez un trou de 25~mm (1 po) qui vous permettra de les passer à proximé de celui-ci. Passez les cables par le trou de 25~mm (1 po), acheminez les cables dans l'anneau, puis enforcez l'anneau en position. Placez la plaque de couverture de trou au-dessus du trou de la surface de montage, puis utilisez-la pour marquer la position des deux vis de montage. Retireze la plaque de couverture de trou, perzez les deux trous de montage avec un ford et 3,5 mm (9/64 po), replisssez-les d'un agent d'étanchéité à base de silicone de qualité marine, replacez la plaque de couverture et fixez-la avec les vis à bois à tête conique Phillips # 8. Serrez à la main seulement. - Placez le support de montage sur la surface de montage, en ligne avec les trous percés et replissez ces trous avec un agent d'étanchéité à base de silicone de qualité marine. Insérez les quatre vis à créèaux n^ 10 à bois dans les trous de montage. Serrez à la main seulement.
REMARQUE: Assurez-vous que les cables passent à travers les fentes situées sur la plaque de couverture de trou ou les languettes du support du cardan. Veillez également à ce qu'il y ait suffisamment de mou dans le cable pour assurer le mouvement de pivotement et d'inclinaison de la tête de commande. Un mou suffisant facilitera également le branchement et le débranchement des cables.

Cables acheminés directement sous le support de montage
Support de cardan
2 Anneau

Cables acheminés à proximé du support de montage
Support de cardan
2 Anneau
3 Plaque de couverture de trou
- Insérez les connecteurs des cables dans les niches appropriées du réceptacle. Les connecteurs des cables sont clavêtes afin de prévenir leur inversion, alors assurez-vous de ne pas forcer les connecteurs dans les mauvaises fentes. Si vous ne disposez pas d'un cable pour chacun des trous du réceptacle, installez des caches pour protégérer la tête de commande contre les conditions météorologiques changeantes.
Alimentation secondaire
Temp/Vitesse
Communications
Transducteur
5 Réceptacle des cables


1 Récéctacle des câbles
2 Vis
Couvercle du receptacle des câbles
4 Languette du réceptacle
Fente sur le couvercle
Brancher l'assemblage du connecteur de cable à l'arrière de la tête de commande

- Tout en maintainant les câbles en position dans le réceptacle, acheminez les câbles à travers les fentes en bas du couvercle du réceptacle. Alignez ensuite le réceptacle et le couvercle, et glissez le couvercle pour lemettre en position sur le réceptacle.
REMARQUE: La languette du receptacle des câbles doit passer dans la fente du couvercle.
- Attachez le réceptacle des cables au couvercle à l'aide des vis Phillips n° 2 fournies.
- Replacez la tete de commande sur le support de montage. Branchez l'assemblage du réceptacle des cables à l'arrière de la tete de commande. Les connecteurs et les prises des cables sont clavétés afin de prévenir leur inversion, alors assurez-vous de ne pas forcer les connecteurs dans les mauvaises prises. Une fois le réceptacle des cables et tous les cables branchés à l'arrière de la tete de commande, sécurise l'assemblage en vissant la vis moletée dans l'insert filtré à l'arrière du boîtier. Réglez la tete de commande en fonction de l'angle de vue désiré et attachez-le solidement en serrant les molettes du cardan.
REMARQUE : il peut s'avérer utile de lier les câbles à l'aide d'un fil de nylon pour les maintainir groupés et Obtener un assemblage organisé.
La tête de commande Humminbird de la série 900 peut maintainer être utilisé.
MONTAGE DE LA TÉTE DE COMMANDE SUR TABLEAU DE BORD
Si vous montez la tete de commande sur le tableau de bord, commencez par placer les composants à l'emplacement où vous envisagez de les installer avant de commencer la procEDURE d'installation. Veillez à ce que les surfaces choisisies offrent une protection adequate contre les chocs causés par les vagues et que tous les câbles sont suffisamment longs pour la tete de commande.
REMARQUE: Si un cable est trop court pour votre application, vous pouvez vous procurer une rallonge. Appelez le centre de soutien à la clientèle Humminbird au 1-800-633-1468 pour plus de renseignements.
Les pièces et outils spécifiques au montage sur tableau de bord complément :
- Support de montage sur tableau de bord et tiges filetées
- Coussins d'étanchéité pour montage sur tableau de bord
Gabarit de montage sur tableau dBord - Scie alternative pour découvert le matériel du tableau de bord
-
Ruban-cache pour maintainir le gabarit de montage en position.
-
Localisez une surface plane adequate du tableau de bord sur laquelle monter la tete de commande. Une profondeur d'au moins 89 mm (3,5 po) est nécessaire pour la tete de commande.
- Collez le gabarit de montage fourni sur tableau de bord à l'emplacement de montage désiré.
- À l'intérieur de la ligne pointillée du gabarit, perché un trou suffisamment grand que pour accueiller la lame de la scie alternative. Commencez à découvert soigneusement en direction de la ligne pointillée, puis suivez cette ligne tout autour du gabarit. Écartez le gabarit une fois la découvert terminée.
- Insérez and serrez les deux tiges filetées dans les inserts filétés situés à l'arrière de la tête de commande. Enlevez la protection des coussins d'étanchéité adhésiFs et place-les à l'arrière de la tête de commande. Veillez à désigner les coussins longs haut/bas des coussins latéraux plus courts.

- Insérez la tête de commande dans le trou de montage en commençant par le côte frontal du tableau de bord. À partir du côte arrêté du tableau de bord, alignez les deux tiges filetées à l'arrière du boîtier avec les deux trous sur le support de montage sur tableau de bord. Placez une rondelle sur chacune des tiges filtées et attachez le support en plaçant un écrou à oreilles sur chaque tige filtée. Serrez ensuite complètement.
- Insérez les connecteurs des cables dans les niches appropriées du réceptacle. Les connecteurs des cables sont clavêtes afin de prévenir leur inversion, alors assurez-vous de ne pas forcer les connecteurs dans les mauvaises fentes. Si vous ne
disposez pas d'un cable pour chacun des troux du receptacle, installez des caches pour proteger l'appareil contre les conditions météorologiques changeantes.
- Tout en Maintenant les cables en position dans le réceptacle, acheminez les cables à travers les fentes en bas du couvercle du réceptacle. Alignez ensuite le réceptacle et le couvercle, et glissez le couvercle pour lemettre en position sur le réceptacle.
REMARQUE: La languette du receptacle des câbles doit passer dans la fente du couvercle
- Attachez le réceptacle des cables au couvercle à l'aide des vis Phillips n^2 fournies.
- Branchez l'assemblage du receptacle des cables à l'arrière de la tête de commande. Les connecteurs et les prises des cables sont clavétés afin de prévenir leur inversion, alors assurez-vous de ne pas forcer les connecteurs dans les mauvaises prises. Une fois le receptacle des cables et tous les cables branchés à l'arrière de la tête de commande, sécurisez l'assemblage en vissant la vis moletée dans l'insert filtré à l'arrière du boitier. (Des colliers de serrage sont fournis pour vous aider à attacher les cables en les acheminant à travers les trouss disponibles dans le support de montage sur tableau de bord).
REMARQUE : Dans une installation sur tableau de bord, il est très important que le réceptacle des câbles soit utilisé et attaché solidement.

Brancher l'assemblage du connecteur de cable à l'arrête de la tête de commande
Alimentation secondaire
Temp/Vitesse
3 Communications
4 Transducteur
5 Récéptacle des cables


BRANCHEMENT DU CABLE D'ALIMENTATION DE LA TÉTE DE COMMANDE AU BATEAU
La tête de commande est offerte avec un cable d'alimentation de 2 m (6 pi). Vous pouvez raccourcir ou rallonger ce cable à l'aide d'un cable multiconducteur en cuivre de calibre 18.
MISE EN GARDE: Certainly bateaux sont munis de systèmes électriques de 24 V ou 36 V, mais la tête de commande DOIT est branchée à un bloc d'alimentation de 12 V c.c.
On peut brancher le cable d'alimentation de la tete de commande au système électrique du bateau à deux endroits : soit au tableau à fusibles, habituement situé pres de la console, soit directement à la batterie.


REMARQUE : Assurez-vous que le cable d'alimentation n'est pas branché à la tête de commande au début de cette procédure.
1a. S'il y a un raccord pour fusible libre, utilisez des connecteurs électriques à sertir (non inclus) qui convennent au raccord du tableau à fusibles. Branchez le fil noir à la masse (-) et le fil rouge à l'alimentation (+) de 12 V c.c.
1b. Si vous devez connecter la tete de commande directement à la batterie, procurez-vous un portefusible et un fusible de 2,5 A à 3 A, et installez-les en série afin de protégger l'appareil. Humminbird® ne garantit pas le produit contre les surtensions et les surintensités.
REMARQUE: Afin de réduire les possibités d'interfERENCE avec d'autres systèmes électroniques marins, il pourrait s'avérer nécessaire d'utiliser une autre source d'alimentation (telle une seconde batterie).
Vous estes maintainant pret à installer le transducteur. Reportez-vous à la section qui traite de l'installation de votre type de transducteur.
INSTALLATION DU TRANSDUCTEUR
Vous pouvez installer votre transducteur de trois façon différentes :
- Montage du transducteur sur le tableau arrêté
- Installation du transducteur à l'intérieur de la coque
- Installation du transducteur sur un propulseur électrique.
Reportez-vous à la section qui déscrit la méthode d'installation choisié.
REMARQUE: Si le transducteur inclus ne convient pas à votre application, et si le matériel est à l'état NEUF et NON ASSEMBLE, avec quincaillerie de montage, il est possible de l'échéanger contre un transducteur approprié. Cet échéange est souvent très peu coûteux, ou sans frais, selon le type de transducteur. Appelez le Centre de ressources pour la clientèle Humminbird au 1-800-633-1468 pour Obtir des détails et des prix, ou visitez le site Internet www.humminbird.com, rubriques Product Support/Transducer Exchange (soutien des produits/échéange de transducteur) pour Obtir de plus amples renseignements.
REMARQUE: En raison de la grande variété de coques, nous ne presentons dans cette notice que des directives d'installation générales. Chaque bateau présente des exigencies particulières qu'il faut évaluer avant l'installation. En plus des pieces fournies, vous aurez besoin d'une perceuse à main et de différents forets, d'une clé à douilles avec douille de 5/16 po, d'un tournevis à pointe Phillips (cruciforme) et d'un agent d'étanchéité à base de silicone de qualité marine.
REMARQUE : Pour les coques en fibre de verre, il vaut moins commencer avec un ford'un diamètre plus petit et utiliser des forots d'un diametre plus grand par la suite afin de réduire les chances d'écailler le revêtement extérieur. Comblez tous les trouss avec un agent d'étanchéité à base de silicone de qualité marine.
MISE EN GARDE: Ne manipulez pas un transducteur actif en cours de fonctionnement, car ceci pourrait causeur un malaise physique comme une iritation du tissu cellulaire. Ne manipulez le transducteur que lorsque l'alimentation à la tete de commande est coupée.
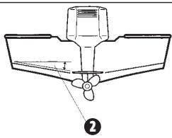
INSTALLATION DU TRANSDUCTEUR SUR LE TABLEAU ARRIÈRE
Utilisez les procédures de cette section pour installer le transducteur sur le tableau arrière.
Vous devrez suivre plusieurs procédures pour installer un transducteur sur le panneau arrière. Procédures :
- Détémination de l'emplacement de montage du transducteur
- Montage du support du transducteur au bateau
Fixation du pivot au transducteur - Montage du transducteur et du pivot sur le support
- Réglage de la position de marche du transducteur
- Acheminement du cable du transducteur
- Essais finaux de l'installation du transducteur sur le panneau arrêté.

0 Rivet

2 Angle de relevé de varangue

Coque à décrochement
Coque 3
Détermination de l'emplacement de montage du transducteur :
REMARQUE: S'il n'est pas possible de monter le transducteur sur le tableau arrêté parque que votre bateau dispose d'une coque à décrochement, ou à cause de bruit de cavitation, l'installation à l'intérieur de la coque demeure une option si cette dernière est formée d'une seule couche de fibre de verre. Pour obtenir de plus amples renseignements, voir la section Installation du transducteur à l'intérieur de la coque.
-
Déterminez en premier lieu le meilleur emplacement pour installer le transducteur sur le tableau arrêté. Tenez compte des facteurs suivants pour déterminer le meilleur emplacement.
-
Il est très important de positionner le transducteur à un endroit relativement libre de turbulences. Un bateau qui se déplace sur l'eau générale une trainée de turbulence causée par son poids et la propulsion de l'hélice (des hélices), peu importe si l'hélice tourne dans le sens horsaire ou antihoraire. Cette trainée de turbulence se limite normalement aux aires situées directement à l'arrière des membrules, virules ou rangiées de rivets sous le bateau, et dans la zone immédiate de l'hélice (des hélices). Les hélices à rotation horsaire créé plus de turbulence à bâbord. Sur les bateaux munis d'un moteur hors-bord ou semi hors-bord, il vaut mieux placer le transducteur à une distance d'au moins 380 mm (15 po) à côte de l'hélice (des hélices).
- La meilleure façon de localiser un emplacement libre de turbulence est de regarder le tableau arrêté lorsque le bateau se déplace. Nous recommendons cette méthode si le fonctionnement optimal à haute vitesse est une haute priorité. Si cela n'est pas possible, désissez une position sur le tableau arrêté où la coque devant cet emplacement est lisse, plate et libre de protubérances ou de membrures.
- La forme hydrodynamique du transducteur lui permet de pointer directement vers le bas, sans qu'on ait à régler l'angle de relevé de varangue.
- Sur les bateaux ayant une coque à décrochement, il est possible de monter le transducteur sur le décrochement. Ne montez pas le transducteur sur le tableau derrière un décrochement, sinon le transducteur pourrait émerger de l'eau à haute vitesse; le transducteur doit rester immergés dans l'eau pour que la tête de commande puisse maintainir le signal sonar.
- Si le tableau arrêté est situé derrière l'hélice (les hélices), il pourrait ne pas y avoir de zone libre de turbulences. Dans ce cas, vous pourriez envisager une technique de montage différente ou un另一种 type de transducteur (voir la section Installation du transducteur à l'intérieur de la coque).
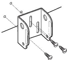
Procedure de montage du support du transducteur au bateau :
- Découpez le gabarit de montage de transducteur de ce manuel (voir Annexe A - Gabarit de montage de transducteur: SHS 7W).

A 380 mm (15 pe) de l'hélice (des hélices)
- Maintenez le gabarit sur le tableau arriere de votre bateau à l'endetroit où vous désirez installer le transducteur. Placez le gabarit à la verticale, en alignant le bord inférieur du tableau arrêté au coin inférieur du gabarit. Si l'hélice tourne dans le sens horsaire lorsque le bateau avance, montez le transducteur à tribord et utilisez le coin inférieur gauche du gabarit. Si l'hélice tourne dans le sens antihoraire lorsque le bateau avance, montez le transducteur à babord et utilisez le coin inférieur droit du gabarit.
-
À l'aide d'un crayon ou d'un poinçon, marquez l'emplacement des trois trous de montage sur le tableau arrêté. Ne marquez ni ne percez aucun autre trou pour le moment.
-
À l'aide d'un forest de 4 mm (5/32 po), perché les trois trous d'une profondeur approximative de 25 mm (1 po). Pour les coques en fibre de verre, il vaut mieux commencer avec un forest d'un diamètre plus petit et utiliser des forests d'un diamètre plus grand par la suite afin de réduire les chances d'écailler le revêtement extérieur. Servez-vous d'un agent d'étanchéité à base de silicone de qualité marine pour replir les trous percés.

Fixation du support
- Alignez le support de montage métallique avec les trous de montage. La fente du centre doit être au-dessus des deux autres fentes. (Ce support, ainsi que toute la quincaillerie fournie, est en acier inoxydable de haute qualité, pour plus de résistance et de protection contre la corrosion.) Placez les trois vis à bois à tête plate de 25 mm (1 po) dans les trous percés, mais ne les serrez pas complètement.
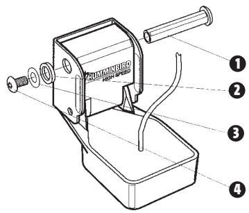
Procedure de fixation du pivot au transducteur :
- Fixez le pivot au corps du transducteur à l'aide des deux vis de mécanique 1/4-20 x 5/8 po (16 mm), de rondelles denteles et d'écrous à quatre pans. Les rondelles denteles doivent être insérées à l'intérieur des oreilles du transducteur, entre le pivot et les oreilles. La rotation des écrous à quatre pans est contrée par la cavité à l'arrête du pivot. Une clé hexagonale de la taille appropriée pour toutes les vis 1/4-20 vous a été fournie, mais ne serrez pas complètement les vis pour l'instant.

Insérez les écrous à quatre pans

Attachezlepivot
Pivot
Rondelle dentée
3 Vis de mécanique
4 Écrou à quatre pans
Montage du transducteur et du pivot sur le support :
- Placez l'ensemble transducteur dans le support métallique, à partir du bas, puis alignez le grand trou au haut du support avec le trou du pivot.
- Insérez la goupille à tête dans les trous de pivot du support et du pivot. Vous pouvez insérer la goupille à tête d'un côté ou de l'autre du support.
- Placez la rondelle de nylon sur l'extrémité opposée de la goupille à tête. Placez la rondelle en acier inoxydable sur les filets de la vis 1/4 - 20 × 5/8 po (16 mm), puis insérez la vis dans l'extrémité opposée de la goupille à tête et serrez à la main seulement. La vis est enduite d'un adhésiif frein-filet pour éviter qu'elle ne se desserre; vous ne devriez pas la serrer complètement avant que les réglages finaux ne soient terminés.

REMARQUE: La position de marche du transducteur est maintainant complètement régliable. Il se pourrait que vous deviez effectuer des réglages subséquents pour rendre l'installation plus précise après les essais à haute vitesse.
Goupille a tete
Rondelle de nylon (passé sur la goupille à tête)
3 Rondelle en acier inoxydable (passe sur les filets de la vis)
4 Vis
Procedure de réglage de la position de marche du transducteur :
Le support de montage permet le réglage de la hauteur et de l'inclinaison du transducteur, tandis que le boulon pivot permet d'en regler l'angle. Ces réglages aident à réduire la cavitation. Pour commencer, ajustez le transducteur tel que déscrit dans les paragraphs suivants. Il se pourrait que vous deviez effectuer des réglages subséquents pour rendre l'installation plus précise après les essais à haute vitesse.

Cavitation normale

Cavitation causant des lectures irregulieres au sonar
REMARQUE: L'apparce de votre transducteur peut etre differente de celle des transducteurs illustrés. Le montage est toutefois exactement le même.
- Premièrement, ajustez l'angle de pivot du corps du transducteur de façon à ce qu'il soit parallèle à la coque du bateau, sur le sens de la longueur.
- Serrez complètement les deux boulons pivots à l'aide de la clé hexagonale fournie. Vous pouvez acceder aux boulons pivots par les trous inférieurs pratiqués dans le côte du support de montage. Il pourrait être nécessaire de resserrer le boulon pivot après usage initial, étant donné que le plastique peut s'ajuster à la pression des rondelles élastiques à dents.
- Réglez la hauteur de l'ensemble de façon à ce que le devant du transducteur soit situé de 3 mm (1/8 po) à 6 mm (1/4 po) sous la partie inférieure du tableau arrêté, puis serrez à fond les trois vis de montage.
- Afin d'acceder aux vis de montage, vous doivent faire pivoter l'ensemble transducteur dans le support vers le haut, comme c'est montré. Prenez garde à ne pas modifier l'angle de marche, étant donné qu'il faut forcer quelque peu pour faire pivoter l'ensemble.

Serrez légerement les boulons pivots

Serrez les vis de montage
- Si vous ne pouvez avoir accès par le trou de montage du haut en raison de la hauteur sélectionnée pour le transducteur, serrez à fond les deux vis du bas, retirez ensuite le boulon pivot et l'ensemble transducteur, serrez la vis du haut, puis remontez le tout.
- Assurez-vous que l'angle du pivot n'a pas ete modifie et que toutes les vis de montage sont serees a fond.
Acheminement du cable du transducteur monté sur le panneau arrêté :
Le cable du transducteur est muni d'un connecteur compact qui doit être acheminé au point de montage de la tête de commande. Il y a plusieurs moyens d'acheminer le cable du transducteur à l'endetroit où sera installée la tête de commande. La procédure la plus courante consiste à acheminer le cable dans le bateau en le passant à travers le tableau arrêté.
REMARQUE : Il se peut que votre bateau soit déjà muni d'une canalisation ou conduite de câblage que vous pourriez utiliser pour acheminer le cable du transducteur.
- Débranche l'autre extrémité du cable du transducteur de la tête de commande. Assurez-vous que le cable est assez long pour le cheminement proposé en le passant par dessus le tableau arrêté.
MISE EN GARDE! Ne coupez pas le cable du transducteur pour le raccourcir et essayez de ne pas endommager le revetement du cable. Gardez le cable le plus a l'ecart possible de tout cable d'antenne de radio VHF ou de cable de tachymètre afin de limiter les possibilités d'interfERENCE. Si le cable est trop court, vous pouvez vous procurer des cables de rallonge pour prolonger le cable du transducteur jusqu'à une longueur totale de 15 m (50 pi). Pour obtenir de l'aide, communiquez avec notre Centre de ressources pour la clientèle sur notre site Internet www.humminbird.com ou au 1-800-633-1468 pour Broker de plus amples renseignements.
REMARQUE: Étant pourrait que le transducteur doit pivoter sur un angle de 90 degrès dans le support au cas où il serait heures par un object, assurez-vous qu'il y ait suffisamment de mou dans le cable pour assurer ce mouvement. Il vaut moins acheminer le cable à côté du transducteur afin que ce dernier ne l'endommage pas dans sa rotation.
- Si vous avez decide de passer le cable à travers le tableau arrrière, perzez un trou de 16 mm (5/8 po) de diamètre au-dessus de la ligne de flottaison. Passez le cable dans ce trou, puis replissez le trou d'un agent d'étanchéité à base de silicone de qualité marine et passez immidiatement à la prochaine étape.
Acheminer le cable

1 Trou de 18 mm (5/8 po)
Plaque d'ecusson
3 Serre-cable
- Placez la plaque d'écusson sur le trou du cable et utilisezla comme guide pour marquer les deux trous de montage de plaque d'écusson. Retirez la plaque, percez deux trous de 3,5 mm (9/64 po), puis replisssez les deux trous d'un agent d'étanchéité à base de silicone de qualite marine. Placez la plaque d'écusson au-dessus du trou du cable et fixez-la a l'aide de deux vis a bois n° 8 x 16 mm (5/8 po).
- Acheminez le cable et attachez-le avec le serre-cable au tableau arriere ; percez un trou de 3,5 mm de diametre x 16 mm de profondeur (9/64 po diam. x 5/8 po prof.), replissiez-le d'un agent d'etanchéité à base de silicone de qualité marine, puis fixez le serre-cable à l'aide d'une vis n° 8 x 16 mm (5/8 po).
- Rebranchez l'autre extrémité du cable du transducteur au socle de connecteur de la tête de commande.
Essais finaux de l'installation du transducteur sur le panneau arrêté :
Après avoir installé le transducteur au tableau arrêté, veuillez effectuer les essais finaux et compléter l'installation (voir la section Essais et fin de l'installation du transducteur).
INSTALLATION DU TRANSDUCTEUR À L'INTÉRIEUR DE LA COQUE
Si vous avez besoin d'installer votre transducteur à l'intérieur de la coque de votre bateau, effectuez les procédures de cette section. L'installation à l'intérieur de la coque donne généralement de bons résultats dans les bateaux à coque de fibre de verre à une seule épaissieur. Humminbird ne peut garantir le rendement en profondeur lorsqu'ell'appareil émet et recoit à travers la coque d'un bateau, car une certaine perte de signal se produit. Le niveau de la perte dépend de la construction et de l'épaissieur de la coque, de même que de l'endetroit où l'appareil est installé.
Cette installation nécessite l'utilisation d'un adhésif époxyde en deux parties, à durissement lent. N'utilise pas de silicone ou un autre adhésif mou pour installer le transducteur, étant donné que ce type de matériel réduit la sensibilité de l'appareil. N'utilise pas d'adhésif époxyde à durissement rapide car il a tendance à durcir avant l'élimination des bulles d'air, ce qui réduit l'intensité du signal.
REMARQUE: L'installation à l'intérieur de la coque requiert que la tête de commande soit installée et fonctionnelle.

Zone de montage de préférence


Rivets/virures

Décrochement
Détermination de l'emplacement de montage du transducteur :
Décïdez àquel endroit installer le transducteur à l'intérieur de la coque. Tenez compte des facteurs suivants pour déterminer le meilleur emplacement.
- Observe l'extérieur de la coque du bateau pour figurer les zones où il y a le moins de turbines. Éviter les membrules et autres protubérances car elles créé des turbines.
- En règle générale, plus votre bateau est rapide, plus vous devrez placer le transducteur vers l'arrière et pres de la ligne d'axe centrale de la coque afin que le transducteur demeure immergé dans l'eau à haute vitesse.
Installation d'essay :
Vous ne pourrait ajuster le montage une fois que le transducteur sera installé à l'intérieur de la coque. Il vaut moins par conséquent effectuer une installation d'essay en premier lieu, comprenant la conduite du bateau à différentes vitesses, afin de déterminer le meilleur emplacement du transducteur avant de l'insteller de façon permanente.
- Branchez le transducteur à la tête de commande, puis mettez la tête de commande en marche. Lorsque la tête de commande détecte un transducteur fonctionnel, elle se met automatiquement en mode de fonctionnement Normal.
- Pour obtenir le meilleur signal sonar, maintenez le transducteur hors du bateau, immergé dans l'eau, de façon à ce qu'il pointe directement vers le bas, au-dessus d'un fond plat connu. Utilisez l'affichage pour évaluer les performances actuelles du sonar, afin de les comparer avec les résultats que vous obtiendarez une fois le transducteur à l'intérieur de la coque.
- Placez le corps du transducteur face vers le bas à l'emplacement de montage identifié dans la coque, avec l'extremité où se trouvent les oreilles de montage dirigée vers la proue.
Montage du transducteur à l'intérieur de la coque

-
Remplissez la coque avec assez d'eau pour submerger le corps du transducteur. Maintenez le transducteur en position à l'aide d'un sac rempli de sable ou d'un autre object lourd. Le transducteur ne peut transmettre dans l'air. L'eau élimine l'air se trouvant entre le transducteur et la coque et remplit les cavités de la surface rugueuse en fibre de verre.
-
Observe z'affichage sonar à l'écran et comparez les résultats avec ceux obtenus à l'étépe 2, en vous assurant que le bateau est au même endroit qu'il était lorsque vous avez effectué les observations à l'étépe 2. Si les résultats sont comparables, passez à l'étépe 6. Sinon, trouvez un autre emplacement à l'intérieur de la coque et repêze les étapes 3 à 5.
-
Observe l'écran de la tête de commande en naviguant à des vitesses et à des profondeurs variees. Si le rendement en profondeur est requis, testez le transducteur dans des eaux de la profondeur désirée. Si le rendement est acceptable, passez à l'etape 7. Sinon, repéze les étapes 3 à 6.
- Lorsque vous aurez déterminé le meilleur emplacement de montage grâce aux étapes ci-dessus, marquez la position du transducteur.
Acheminement du cable :
- ÀpRES avoir déterminé l'emplacement de montage et marqué la position du transducteur, acheminez le cable du transducteur jusqu'à la tête de commande.
Montage permanent du transducteur :
- Assurez-vous que la position du transducteur est marquee.
- Retirez l'eau de l'intérieur de la coque et assechez à fond la surface de montage. Si la zone d'installation est très rugueuse, vous pourriez avoir à la sabler afin d'obtenir une surface de montage lisse.
- Mélangez lentement et complètement une quantité suffisante d'adhésif époxyde en deux parties. Évitez de piéger des bulles d'air dans le mélange.


- Appliquez une couche d'adhesif époxyde sur la face du transducteur et à l'intérieur de la coque.
- Collez le transducteur en position en le tournant légèrement dans le but d'éliminer l'air piége dessous et tout en gardant l'extremité où se trouvent les oreilles de montage dirigée vers la proue.
REMARQUE: Pour que le transducteur fonctionne ajustement, l'extremité où se trouvent les oreilles de montage doit être dirigée vers la proue.
6. Placez un poids sur le transducteur afin qu'il ne puisse se déplacer pendant que l'adhésif durcit.
REMARQUE : Il n'est pas nécessaire d'avoir de l'eau à l'intérieur de la coque lorsque l'adhésif durcit.
- Si vous avez débranché le cable du transducteur au début de cette procédure, rebranchez-le à la tête de commande.
REMARQUE: Ni l'eau, ni l'essence, ni l'huile n'affectoront le rendement du transducteur.
INSTALLATION DU TRANSDUCTEUR SUR UN PROPULSEUR ELECTRIQUE
Suivez la procédure suivante pour installer le transducteur sur un propulseur électrique. Plusieurs styles de transducteur peuvent être montés sur un propulseur électrique. Si vous ave un support pour propulseur électrique, reportez-vous aux directives d'installation jointes avec le support.
REMARQUE : ÀpRES l'installation du transducteur sur un propulseur électricque, veuillez effectuer les essais finaux et compléter l'installation (voir la section Essais et fin de l'installation du transducteur).

Si vous ne disposez pas d'un transducteur pour propulseur électrique, vous avez tout de même plusieurs options :
-
Vous pouvez acheter une trousse d'adaptation pour propulseur électricque qui vous permettra de monter le transducteur sur un propulseur électricque.
-
Vous pouvez aussi échanger votre transducteur NEUF et NON ASSEMBLE (incluant la quincaillerie de montage) contre un transducteur pour propulseur électrique.
Il existe également plusieurs interrupteurs de transducteur qui soutiennent les configurations suivantes :
- deux têtes de commande pour un transducteur;
- deux transducteurs pour une tête de commande.
REMARQUE: Appelez le Centre de ressources pour la clientèle Humminbird au 1-800-633-1468 pour Obtir des détails et des prix, ou visitez le site Internet www.humminbird.com pour Obtir de plus amples renseignements.
ESSAIS ET FIN DE L'INSTALLATION DU TRANSDUCTEUR
Lorsque vous avez terminé l'installation de la tete de commande, du transducteur et des accessoires et que vous avez acheminé tous les cables, vous doivent effectuer un test final avant de bloquer le transducteur en position. Bien que vous puissiez confirmer le fonctionnement de base avec le bateau hors de l'eau, vous devriez effectuer ces essais une fois le bateau à l'eau.
REMARQUE: Si vous avez installe le transducteur à l'intérieur de la coque, cette procédure ne s'applique pas car le transducteur est déjà installe de façon permanente.
- Appuyez sur la touche POWER une fois pourmettre la tete de commande en marche. L'appareil émet un signal sonore lorsqu'you appuyez sur la touche correctement. Si l'appareil ne se met pas en marche, assurez-vous que le socle du connecteur est correctement logé et que le circuit est alimenté.
- Si toutes les connexions sont ajustées et le circuit alimenté, la tête de commande entrae en mode Normal. Si l'appareil ne detecte aucun transducteur (ou si aucun transducteur n'est branché), l'appareil entrae en mode de Simulation ; cet état sera indiqué par le témoin " Simulator " s'affichant à l'écran de la tête de commande.
REMARQUE: Le transducteur doit être submergé dans l'eau pour fonctionner ajustement.
- Si la représentation du fond et une lecture numérique de la profondeur sont visibles à l'écran, c'est que l'appareil fonctionne ajustement. Assurez-vous qu'il y a au moins 60~cm (2 pi) de profondeur d'eau, mais moins que la capacité de sondage de l'appareil, et que le transducteur est totally submerged, car le signal sonar ne se transmet pas dans l'air.
- Si l'appareil fonctionne correctement, augmentez graduellement la vitesse du bateau pour tester le rendement à haute vitesse. Si l'appareil fonctionne ajustement à BASSE vitesse mais que la représentation du fond devient erratique à vitesse plus élevé, il faut déplacer le transducteur. Orientez l'arrêt du transducteur vers le bas et/ou immergez-le plus profundément dans l'eau en vue d'obtenir de更好地 lectures du fond à plus grande vitesse.
REMARQUE: En raison de la grande variété de coques de bateaux, il n'est pas toujours possible d'obtenir des lectures du fond à haute vitesse.
REMARQUE : Il est parfois nécessaire d'effectuer plusieurs réglages incréementaux du transducteur avant d'obtenir le meilleur rendissement à grande vitesse.
Lorsque vous réussirez à obtenir un bon signal sonore constant aux vitesses désirées, vous serez pré à verrouiller les régages du transducteur.
- Marquez au crayon l'emplacement du support du transducteur sur le tableau arrêté, puis soulevez le support pour découvert les vis de montage. Serrez les vis du support de montage en acier inoxydable pour le fixer en place.
Serrez à la main seulement!
INSTALLATION DU RÉCEPTEUR GPS
Pour optimiser la performance du récepteur GPS, installez-le dans une zone complètement exposée à l'air libre. La zone de réception est à 10 degrès au-dessus de l'horizon. La méthode de montage appropriée pour votre récepteur varie en fonction des circonstances.
Si vous avez...
Alors utilisez :
Une antennecavec une tige filetee 1"25 mm)14 existante
Montage sur étrave avec une tige fillette 1" (25 mm) - 14 existante
Accès à l'acheminement du cable sous l'emplacement de montage
Accès sous l'emplacement de montage
Pas d'accès sous l'emplacement de montage
Pas d'accès sous l'emplacement de montage
MONTAGE SUR ÉTRAVE AVEC UNE TIGE FILETÉE 1" - 14 EXISTANTE
Suivez les étapes suivantes pour monter le récepteur GPS sur étrave :
REMARQUE: Si vous avez une etrave existante pour monter le recepteur GPS, passez directement à l'etape 2 de la procédure suivant.
- Déterminez le meilleur emplacement de montage de votre récepteur GPS. Planifiez et testez l'acheminement du cable vers la tête de commande avant de percer ou de découvertes les surfaces de toute bateau. Si vous ave acheté de la quincaillerie pour monter leur récepteur GPS sur étrave, suivez les instructions comprises avec cette quincaillerie pour monter l'étrave (mât d'antenne).
REMARQUE : Des cables de rallonge AS-EC10 de 3 m (10 pi) sont disponibles auprès de Humminbird® si l'acheminement planifie dépasse 6 m (20 pi). La longueur maximale du cable avec les rallonges ne devrait pas dépasser 16 m (50 pi).
REMARQUE : Pensez à calfeutrer ou à sceller les trouss pour les vis et les trouss percés afin de protégger votre bateau contre les dommages causés par l'eau.

-
Commencez par visser la base du récepteur sur l'étrave en vous assurant que le conduit de l'étrave ne dépasse pas de la base du récepteur. Cela fournit une protection supplémentaire du cable en le tirant dans le conduit de l'étrave. En plus de cela, ébavurez les bords du conduit pour réduire l'abrasion du cable.
-
Utilisez un ruban isolant pour attacher la spirale de raccord NMEA au cable, comme c'est indiqué.
REMARQUE : Laissez la spirale de raccord NMEA attachée au cable sauf si elle est nécessaire. Cela facilititera le retrait du récepteur.
Recepteur
Base du récepteur
3 Conduit de I'etrave
- Acheminez le cable du récepteur GPS à travers le conduit et suivez le chemin que vous avez planifié lors de l' étape 1.
- Attachez le récepteur GPS à la base à l'aide des vis n 6 - 7 / 8 incluses.

1 Spirale de raccord NMEA attachée avec le ruban
Cable sorti de la spirale de raccord NMEA

3 Vis de montage
Acheminement du cable
ACCÉS SOUS L'EMPLACEMENT DE MONTAGE
Suivez les étapes suivantes pour monter le récepteur GPS en surface en descendant le cable vers l'emplacement de montage :
- Déterminez le meilleur emplacement et testez ensuite l'acheminement du cable de 6 m (20 pi) de l'emplacement de montage vers la tête de commande.
REMARQUE: Les détails d'installation variant en fonction de la configuration de l'appareil.
- Marquez l'emplacement de montage et percez un trou de 19 mm (3/4 po) pour le cable et la fiche. Acheminez le cable
- Couvrez le trou du cable avec le récepteur. Assurez-vous que le récepteur est bien à plat sur la surface et marquez les deux troughs de montage à l'aide d'un crayon ou d'un pointon.
- Mettez le récepteur sur le côté et percez deux troughs de guidage à l'aide d'un foret de 3,5 mm (9/64 po).
REMARQUE : Pensez à calfeutrer ou à sceller les trouss pour les vis et les trouss percés afin de protégger votre bateau contre les dommages causés par l'eau.
5. Alignez les trouss pour les vis du recepteur GPS avec les trouss de guidage et attachez le recepteur à l'aide des vis cruciformes (Phillips) n^8 - 11 / 4 po. Serrez la vis à la main seulement!
REMARQUE: Si la surface de montage est fine et constituee d'un materiaiu léger, un dispositif de soutien peut s'avérer nécessaire en dessous de la surface de montage.

Accès sous l'emplacement de montage

Pas d'accès sous l'emplacement de montage
PAS D'ACCÉS SOUS L'EMPLACEMENT DE MONTAGE
Suivez les étapes suivantes pour monter le récepteur GPS en surface dans une situation où vous devez acheminer le cable sur le côte en raison du manque d'espace en dessous de la surface de montage.
- Déterminez le meilleur emplacement et testez ensuite l'acheminement du cable de l'emplacement de montage vers la tete de commande.
REMARQUE : Des cables de rallonge AS-EC10 de 3 m (10 pi) sont disponibles auprès de Humminbird® si l'acheminement planifie dépasse 6 m (20 pi). La longueur maximale du cable avec les rallonges ne devrait pas dépasser 16 m (50 pi). - Assurez-vous que la longueur du cable est ajusté et achemine le cable du récepteur à la tête de commande. Si des trous sont nécessaires pour acheminer le cable, ils doivent avoir un diamètre de 19 mm (3/4 po) pour permettre le passage du connecteur. Attachez la spirale de raccord NMEA à l'aide de ruban isolant.
REMARQUE : Pensez à calfeutrer ou à sceller les trouss pour les vis et les trouss percés afin de protégger votre bateau contre les dommages causés par l'eau.
- Le récepteur GPS est doté de deux encoches pour acheminer les fils. Utilisez l'encoche convenant le mieux à l'acheminement planifié du cable.
- Une fois le cable acheminé, positionné le récepteur GPS à l'emplacement de montage prévu et marquez les trous de montage à l'aide d'un crayon ou d'un pointon.
- Mettez le récepteur GPS sur le côté et perceze deux troughs de guidage à l'aide d'un foret de 3,5 mm (9/64 po).
- Alignez les trouss pour les vis du récepteur GPS avec les trouss de guidage et attachez le récepteur à l'aide des vis cruciformes (Phillips) n^8 - 11 / 4 po. Serrez la vis à la main seulement!
TERMINER D'ACHEMINER LE CABLE ET VÉRIFIER LE FONCTIONNEMENT DU RÉCEPTEUR GPS
Après avoir installé un récepteur GPS, vous devriez effectuer la procédure suivante pour terminer l'acheminement du cable GPS vers la tête de commande et vous assurez que la tête de commande fonctionne correctement.
- Attachez le cable tout au long de son trajet vers la tête de commande en utilisant des colliers de serrage.
- Branchez le cable du récepteur GPS sur le port de communication de la tête de commande. Reportez-vous à la section Essais de l'installation du système pour utiliser l'option de démarrage État du système et/ou l'options Mode d'affichage Diagnostic GPS afin de confirmer que l'installation est correcte.
Alimentation secondaire
Temp/Vitesse
Communications
Transducteur
5 Récéptacle des cables

INSTALLATION DU CAPTEUR DE TEMPERATURE

Le capteur de température intégre une sonde thermosensible dans une enveloppe plastique à grande résistance. Le module estçu pour être installé sur le tableau arrêté et fonctionné très bien sur la plupart des bateaux.
En plus des pieces fournies, vous aurez besoin d'une perceuse a main et de différents forests, d'un agent d'etanchete a base de silicone de qualite marine et d'un tournevis a pointe Phillips (cruciforme).
Procedure d'installation du capteur de température :
- Localisez un emplacement sur le panneau arrirée de votre bateau se trouvant à 15-20 cm ou plus du ou des transducteurs. Cet emplacement doit également rester en contact avec l'eau, même à grande vitesse. N'installez pas le capteur directement devant l'hélice ou l'arbre extérieur et assurez-vous qu'il n'y a aucune protubérance comme des membrules, des rangées de rivets ou des transducteurs directement devant l'emplacement de montage. Cela pourrait en effet avoir un impact sur le flux de l'eau sur la roue à aubes.
- Alignez le capteur dans le collier et ensuite sur le tableau arrêté de façon à ce que sa partie inférieure soit au même niveau que la coque du bateau, puis marquez l'emplacement du trou.
- Pour les coques en fibre de verre, il vaut moins commencer avec un foret d'un diamètre plus petit et utiliser des forets d'un diamètre plus grand par la suite afin de réduire les chances d'écailler le revêtement extérieur. Percez un trou de montage de 3 mm (1/8 po) de diamètre et d'environ 19 mm (3/4 po) de profondeur.
- Remplissez les trouès de montage d'un agent d'étanchéité à base de silicone de qualité marine, puis installez le capteur sur le tableau arrêté à l'aide de la vis fournie. Serrez la vis à la main seulement!
Acheminement du cable vers la tete de commande :
- Vous pouvez acheminer le cable par-dessus le tableau arrêté, ou pincer un trou de 16 mm (5/8 po) de diamètre dans le tableau arrêté directement au-dessus du capteur et de la ligne de flottaison afin d'y passer le cable. Utilisez les serre-câbles fournis pour attacher le cable sur le tableau arrêté du bateau. Si vous utilisez un trou débouchant, utilisez également la plaque d'écusson pour surfacer le trou.
REMARQUE : Pour les coques en fibre de verre, il vaut moins commencer avec un ford et un diamètre plus petit et utiliser des forots d'un diamètre plus grand par la suite afin de réduire les chances d'écailler le revêtement extérieur. - Toutes les vis de montage non spécifiées nécessitent un trou de guidage de 3,5 mm (9/64 po) et d'environ 16 mm (5/8 po) de profondeur. Remplissez également tous les trou percés dans le tableau arrêté d'un agent d'étanchéité à base de silicone de qualité marine (non inclus).
- Acheminez le cable vers la tete de commande et inserez le connecteur dans la fente appropriée. Utilisez le connecteur de la tete de commande réservé aux accessoires.
- Si les connexions sont correctes, la tete de commande affichera immidiatement la température de l'eau (à condition que la tête de commande soit en circuit). Si le capteur de température ne fonctionne pas correctement lorsque le bateau se déplace à grande vitesse, ajustez la hauteur du capteur sur le tableau arrière.
ESSAIS DE L'INSTALLATION DU SYSTème
Lorsque l'installation de la tête de commande, du transducteur ou de tout autre accessoire comme le récepteur GPS est terminée et que tous les cables sont connectés, vous doivent tester l'installation avant d'utiliser le système. Bien que vous puissiez confirmer le fonctionnement de base avec le bateau hors de l'eau, vous devriez effectuer des essais approfondis une fois le bateau à l'eau.
Pour tester l'installation :
- Appuyez sur la touche Mise en marche/Éclairage de la tête de commande pour laMETTE en marche. (L'appareil émet un signal sonore pour indiquer que la touche est activée, puis l'écran de démarrage initial s'affiche.) Si l'appareil ne se met pas en marche, assurez-vous que le circuit est alimenté. Lorsque l'écran de démarrage est affché à l'écran, appuyez sur la touche MENU pour afficher le menu Options de démarrage. Utilisez les touches de déplacement du curseur vers le HAUT et vers le BAS pour positionner le curseur, puis utilisez la touche vers la DROITE pour sélectionnement État du système dans le menu Options de démarrage (voir la section Menu Options de démarrage pour plus de détails sur ces options de menu). L'écran d'Autotest de l'état du système s'affiche.
REMARQUE: Si vous attendez trop longtemps, le système reviendra par défaut au mode de menu actuellement en surbrillance et vous devrez recommencer.
- La fonction Autotest affiche les résultats d'une verification interne, dont le numero de série de l'appareil, le numero de série de la carte à circuits imprimés, la version du logiciel, le nombre total d'heures de fonctionnement et la tension de la batterie. Voir Etat du système pour plus de renseignements sur l'autotest.
-
À partir de l'écran État du système, appuyez sur la touche Affichage (View) pour afficher les accessoires connectés. Voir État du système pour plus de renseignements sur le test des accessoires.
-
À partir de l'écran État du système, appuyez sur la touche Affichage (View) pour afficher le mode d'affichage Diagnostic GPS. Le mode d'affichage Diagnostic GPS montre une carte du ciel et des données numériques tirées du récepteur GPS. La carte du ciel montre l'emplacement de chaque satellite visible, le numéro du satellite, ainsi qu'une barre d'intensité du signal. Une barre grise fonçée indique que le satellite sert effectivement à déterminer l'emplacement actuel. Une barre grise pâle indique que le satellite est surveillé, mais qu'il n'est pas encore utilisé. Voir État du système pour plus de renseignements sur le mode d'affichage Diagnostic GPS.
POUR COMMENCER - UTILISATION DE LA SÉRIE 900
L'interface utiliseateur du système de pêche Série 900 est facile à utiliser. La combinaison de touches, les différents modes d'affichage et les menus personnalisables en fonction de la situation vous permettent de contrôler ce que vous voyagez sur l'écran couleur. Référez-vous à l'illustration suivant (et aux sections Touches de fonction, Modes d'affichage et Système de menus) pour plus de détails.

0 Ecran
Fente pour carte multimédia/SD
3 Touche ZOOM (+ / - )
4 Touche Mise en marche et éclairage (POWER/LIGHT)
5 Touche Information (INFO)
6 Touche Marquer/Aller à (MARK/GOTO)
Commande de scourer à quatre directions 7
Touche Menu (MENU) 8
Touche Affichage (VIEW)
Touche Quitter (EXIT) 10
Touches Affiche ① prédéfi ci (VIEW PRESET)
MISE EN MARCHE DE LA TÉTE DE COMMANDE
Pour allumer la tête de commande Série 900, appuyez sur la touche Mise en marche (POWER). Un écran de démarriage s'affiche jusqu'à ce que la tête de commande Série 900 se mette en fonction. La tête de commande Série 900 entraera en mode Normal si elle détecte un transducteur, sinon elle passera en mode Simulateur.

HUMMINBIRD
947c 3D Combo
Press MENU for Startup Options
Écran titre du 947c 3D Combo de série 900
REPRESENTATIONS A L'ECRAN 3D
L'échosondeur de série 900 peut afficher en 3D tout un événail de renseignements utiles au sujet de la zone située sous le bateau et à proximité de celui-ci, notamment :

Fish ID+ - Un symbole de poisson sera affiché à la position dérivée du poisson. Six styles de symboles de poisson seront utilisés pour indiquer le faisceau primaire ayant détecté le poisson. Un symbole de poisson faisant face vers la gauche indique que le poisson se trove à babbord, alors qu'un symbole de poisson faisant face vers la croite indique que le poisson se trove à tribord. Chaque symbole de poisson est disponible dans trois grosseurs différentes. Les icones de poisson plus gros sont utilisées pour représentier des retours plus intenses. Les icones utilisées dans le mode d'affichage Sonar 2D sont identiques à celles utilisées dans le mode d'affichage Sonar 3D.
1 Profil du fond en 3D - Montre un profil du fond en se fondant sur les mesures de profondeur prises par les six faisceaux. Trois styles de représentation du fond sont offerts. Les bords avant du profil du fond sont prononcés afin de creer un point d'ancrage visuel. La largeur de couverture est approximativement égale à la profondeur.
1 Limité supérieure de l'échelle de profondeur
B Limité inférieure de l'échelle de profondeur
14 Fil de fer - Offre une reférence pour les données de representation du fond et d'identification des poissons. Une gamme de styles de visualisation fil de fer sont offerts, de simple à complexe.
Compteur journalier
Profondeur - Profondeur de l'eau. Il est possible de regler une alarme afin de vous avertir lorsque l'eau devient trop peu profonde.
2 Minuterie - Temps ecoulé (avec capteur de vitesse ou récepteur GPS).
3 Distance -Distance parcours (avec capteur de vitesse ou recepteur GPS).
Vitesse moyenne - Indication de la vitesse moyenne (avec capteur de vitesse ou recepteur GPS).
Pression barometrique - Requiert l'achat du système WeatherSense, vendu séparation.
6 Température - Température à la surface de l'eau.
Vitesse - Si un capteur de vitesse ou un récepteur GPS est installé, l'échosondeur de série 900 peut afficher la vitesse du bateau et aussi maintainir le compte des milles nautiques ou terrestes parcours.
Mode d'affichage Sonar 2D - Affichage traditionnel en deux dimensions pour identifier la structure et déterminer la durée du fond.
9 Direction du bateau - Une représentation en 3D solide du bateau est affichée lorsque la limite supérieure de l'échelle de profondeur est à zéro. Une représentation en 3D solide d'une flèche est affichée lorsque la limite supérieure de l'échelle de profondeur est différente de zéro.
REPRESENTATIONS A L'ECRAN 2D
L'échosondeur de série 900 peut afficher en 2D tout un événail de renseignements utiles au sujet de la zone située sous le bateau et à proximité de celui-ci, notamment :

Profondeur - Profondeur de l'eau. Il est possible de regler une alarme afin de vous avertir lorsque l'eau devient trop peu profonde.
2 Minuterie - Temps ecoulé (avec capteur de vitesse ou récepteur GPS).
Distance-Distance parcoursue (avec capteur de vitesse ou recepteur GPS).
Vitesse moyenne - Indication de la vitesse moyenne (avec capteur de vitesse ou récepteur GPS).
Pression barometrique - Requiert l'achat du système WeatherSense®, vendu séparément.
6 Température - Température à la surface de l'eau.
Vitesse - un capteur de vitesse ou un récepteur GPS est installé, l'échosondeur de série 900 peut afficher la vitesse du bateau et aussi maintainir le compte des milles nautiques ou terrestres parcours.
3 Thermoclines - Couches d'eau de température différente situées à des profondeurs differentes, selon la période de l'année. Généralement, une thermocline apparaitre comme une bande continue composée de plusieurs couleurs, se déplacant sur l'écran à la même profondeur.
9 Barde couleurs du sonar - color spectrum indicating low to high sonar intensity returns, where red indicates high intensity and white indicates low intensity.
10 Banc de blanchaille
Fenetre sonar en temps reel (RTS)
Fish ID+ - Un symbole de poisson sera affché à la position dérivée du poisson. Six styles de symboles de poisson seront utilisés pour indiquer le faisceau primaire ayant détecté le poisson. Un symbole de poisson faisant face vers la gauche indicate que le poisson se trouve à babord, alors qu'un symbole de poisson faisant face vers la droite indicate que le poisson se trouve à tribord. Chaque symbole de poisson est disponible dans troisGXsseurs differentes. Les icones de poisson plus gros sont utilisées pour représenter des retours plus intenses.
Compteur journalier
FENÉTRE SONAR EN TEMPS RÉEL (RTS)
Une fenêtre sonar en temps réel (RTS) s'affiche sur le côté droit de l'écran, en mode d'affichage Sonar seulement. La fenêtre RTS se rafraîchit au rythme le plus rapide possible selon la profondeur et montre seulement les retours de la structure du fond et les poissons qui sont à l'intérieur du faisceau du transducteur. Elle indique la profondeur et l'intensité des retours sonar. (Voir le menu Sonar : fenêtre sonar en temps réel (RTS)).
La fenetre sonar en temps réel étroite indique l'intensité sonar au moyen de la couleur. Le rouge indique un return intense et le bleu indique un return faible. La profondeur du return sonar est indiquée par l'emplacement vertical du return sur l'échelle de profondeur de l'écran.


La fenetre sonar en temps reel large indique l'intensité sonar à l'aide d'un diagramme à barres. La longueur des retours reportés fournit une indication quant à l'intensité du retour. La profondeur du retour sonar est indiquée par l'emplacement vertical du retour sur l'échelle de profondeur de l'écran.
REPRESENTATION DU FOND
À mesure que le bateau se déplace, l'appareil enregistre graphiquement les changements de profondeur à l'écran pour creer un profil du fond. Vous pouvez ensuite déterminer le type de fond à partir de la courbe des retours portés à l'écran. Un fond dur, tels des séiments compactés ou du roc plat, apparaitra à l'écran comme une ligne plus mince. Un fond meuble, comme de la boue ou du sable, apparaitra à l'écran comme une ligne plus épaisse. Un fond rocheux a une appearance brisée et inégale.
REMARQUE: Un fond incliné apparaitra à l'écran comme une ligne plus épaissé. Les fonds plus durs seront typiquement représentés en rouge et les fonds meubles en bleu.
Les retours de sonar du fond, des structures et des poissons peuvent être représentés dans les modes suivants : identification de structure (Structure ID) ou ligne blanche (WhiteLine). (Voir le menu Sonar : Affichage du fond, pour obtenir de plus amples détails sur la façon de régler cette fonction.

La fonction Identification de structure (Structure ID) affiche les retours faibles en bleu et les retours intenses en rouge.

La fonction Ligne blanche (WhiteLine) représenté les retours de sonar les plus intenses en blanc, créé ainsi une ligne de contour distincte. L'avantage de cette fonction est qu'elle définit clairément le fond à l'écran.
TOUCHES DE FONCTION
L'interface utilisateur de l'échosondeur de série 900 est constituée d'un ensemble de touches facés à utiliser qui activement des écans et des menus afin de vous fournir souplesse et contrôle sur votre expérience de pêche. La tête de commande est dotée des touches suivantes :
- Touche Mise en marche/Éclairage (POWER/LIGHT)
- Touche Quitter (EXIT)
- Touche Affiche (VIEW)
Commande de curseur a quatre directions - Touche Menu (MENU)
- Touches Affichage prédéfini
- Touche Marquer/Aller à (MARK/GOTO)
- Touche Information (INFO)
- Touche Zoom (+/-)

TOUCHE MISE EN MARCHE ET ÉCLAIRAGE (POWER/LIGHT)
La touche Mise en marche et éclairage (POWER/LIGHT) sert à allumer et étéindre la Série 900 ainsi qu'à regler la fonction de rétroéclairage et la couleur de fond de l'écran. Appuyez momentarily sur la touche Mise en marche et éclairage afin demettre l'unité en circuit. Un écran de démarrage s'affiche jusqu'à ce que la Série 900 s'active.

Pour activer la fonction de rétroéclairage de l'écran ou pour régler la couleur de fond, appuyez sur la touche Mise en marche et éclairage (POWER/LIGHT) pour acceder au menu Éclairage et arrêtre-plan. Utilisez les touches de la commande de curseur à quatre directions pour
selectionner Éclairage et arrêté-plan, puis servez-vous des touches de déplacement du curseur de GAUCHE ou de DROITE pour en modifier les réglages. Appuyez sur la touche Quitter pour sortir du menu Éclairage et arrêté-plan.
Enoncez et maintenez enforcée la touche Mise en marche et éclairage pendant trois secondes pour être indre l'appareil. Un message s'affiche, vous informant du-delai en secondes avant l'arrêt de l'appareil. Vous devriez toujours être libre cette Série 900 en appuyant sur cette touche. Àsi, la procédure d'arrêt de l'appareil s'effectue correctement et les réglages des menus sont sauvégardés.

TOUCHE AFFICHAGE (VIEW)
La touche Affichage sert à parcourir les modes d'affichage disponibles. Appuyez sur la touche Affichage pour passer à l'affichage suivant.
Appuyez sur la touche Affichage à plusieurs reprises pour passer en revue tous les modes d'affichage disponibles. Il est possible de désactiver des modes d'affichage dans le but d'optimiser le système selon vos exigences personnelles de pêche (voir l'onglet Affichage du menu principal).

TOUCHEMENU(MENU)
La touche Menu sert à acceder au système de menus.
Menu Options de démarrage - Appuyez sur la touche Menu au cours de l'initialisation du système pour visualiser le menu des options de démarrage.
Menu X-Press - Appuyez sur la touche MENU une fois pour afficher le menu X-Press. Le menu X-Press vous permet d'acceder aux réglages les plus utilisés sans avoir à naviguer dans tout le système de menus. Lorsque le menu X-Press est affiché, vous pouze utiliser les touches de déplacement du curseur vers le HAUT ou vers le BAS pour sélectionner un élément de menu particulier. Dès que vous modifiez un paramètre (à l'aide des touches de déplacement du curseur de GAUCHE ou de DROITE), le menu X-Press se réduit temporairement et l'écran se rafraîchit s'il est affecté par le réglage que vous venez d'effectuer, de sorte que vous pouvez visualiser immédiatement les effets du changement
apporté. Réactivé le menu X-Press en appuyant sur les touches de déplacement du curseur vers le HAUT ou vers le BAS.
Menu principal - Appuyez sur la touche Menu à deux reprises pour afficher le menu principal à ontlets. Le menu principal est organisé selon des ontlets afin de vous aider à couverrapidement un élément donné. Le système du menu principal est divisé en ontlets : Alarmes, Sonar, Navigation, Reglages et Affichages. Utilisez les touches de GAUCHE et de DROITE de la commande de curseur à quatre directions pour sélectionner un ontlet. Servez-vous ensuite des touches de déplacement du curseur vers le HAUT et vers le BAS pour sélectionner un élément du menu, puis appuyez sur les touches de GAUCHE et de DROITE pour modifier un paramètre.

COMMANDE DE CURSEUR À QUATRE DIRECTIONS
Les multiples fonctions de la commande de scourir à quatre directions changent en fonction du contexte :
Arrêt sur image - Si, en mode d'affichage Sonar, vous appuyez sur l'une des touches de déplacement du curseur, l'image)cesse de défilé à l'écran et un curseur ainsi qu'une boîte de dialogue de curseur s'affichtent. Il est alors possible, en utilisant les touches de déplacement du curseur, de positionner ce dernier.
Curseur actif - En mode d'affichage Aérien, la commande de curseur à quatre directions permet de commander la position du point de vue. En mode d'affichage Cartographique, la commande de curseur à quatre directions couvre toutes les cartes.
REMARQUE : En mode Arrêt sur image ou Curseur actif, vous pouvez également déplacer le curseur en diagonale en appuyant entre deux des flèches de la commande de curseur à quatre directions.
Selection de menu - Servez-vous des touches de déplacement du curseur vers le HAUT ou vers le BAS pour selectionner un élément du menu, puis des touches de GAUCHE ou de DROITE pour modifier les paramètres.
REMARQUE : Les sélections de menu sont exécutées et sauvégardées immédiatement sans qu'aucune autre mesure ne soit nécessaire.
Modification de la perspective 3D - Utilisez n'importe qu'elle touche de déplacement du curseur pour modifier la perspective en mode d'affichage Sonar 3D. Chaque fois que vous appuierez sur une des touches de déplacement par la suite, cela aura pour effet de faire tourner ou d'incliner la représentation 3D.

TOUCHES AFFICHAGE PRÉDÉFINI
Les touches Affichage prédéfini (VIEW PRESET) sont utilisées pour programmer vos trois modes d'affichage préféres de façon à pouvoir les rappelerrapidement. Plutôt que d'utiliser la touche Affichage (VIEW)
pour parcourir tous les modes d'affichage afin de tracer celui qui vous intéressée, vous pouvez programmer les touches Affichage prédéfini pour afficher immédiatement un affichage spécifique. Pour programmer chaque touche Affichage prédéfini, utilisez la touche Affichage pour rechercher le mode d'affichage que vous VOULEZ enregistrer. Enoncez et maintenez enforcée l'une des touches Affichage prédéfini pendant quelques secondes. Vous entendrez alors toute une série de modulations qui vous indiquent que la touche a ete programmée avec le mode d'affichage. Vous pouvez stocker jusqu'à trois modes d'affichage (un mode sur chaque touche).

TOUCHE QITTER (EXIT)
La touche Quitter a de multiples fonctions :
- Si une alarme s'est déclenchée, appuyez sur la touche Quitter pour la désactiver.
-
Si un onglet du menu principal est sélectionné, appuyez sur la touche Quitter pour sortir du mode menu et returner à l'affichage.
-
Si un menu est actif, appuyez sur la touche Quitter pour returner au niveau précédent dans le menu du système.
- En appuyant sur la touche Quitter, vous pouvez aussi parcourir les modes d'affichage disponibles en ordre inverse.
- Si la fonction d'arrêt sur image est activée, appuyez sur la touche Quitter pour revenir au mode de défilament d'écran.
- Si le curseur est actif, appuyez sur Quitter (EXIT) pour-retirer le curseur de l'affichage.

Appuyez sur la touche Info lorsque le système est dans n'importe quel mode d'affichage pour afficher des renseignements sur les objets les plus rapprochés du curseur actif.

Si le curseur n'est pas actif, le menu suivant s'affichera. Utilisez les touches de la commande de curseur à quatre directions pour sélectionner la Station d'observation des marées, la Station de mesure de courants ou le Port le plus rapproché, puis servez-vous de la touche de déplacement du curseur de DROITE pour afficher les données requises.
REMARQUE: La carte UniMap™ intégrée ne contient aucune information sur la position des ports, les marées ou le débit des courants. Ces renseignements ne sont disponibles qu'avac les cartes multimédia/SD vendues séparation.

TOUCHES MARQUER/ALLER A (MARK/GOTO)
Appuyez sur la touche Marquer (Mark), peu importe le mode d'affichage, pour marquer un point de cheminement à l'emplacement actuel du bateau ou, si le curseur est actif, à l'emplacement actuel du curseur.
Si le curseur est actif, appuyez sur la touche Aller à (GOTO), peu importe le mode d'affichage, pour creer un point de cheminement et débuter la navigation vers ce point de cheminement. Si vous appuyez sur la touche Aller à (GOTO) et que le curseur est inactif, cette action aura pour effet d'afficher une liste des points de cheminement, afin que vous puissiez sélectionner celui vers lequel vous désírez naviguer.

TOUCHE ZOOM (+ / - )
Appuyez sur les touches ZOOM - ou + dans l'un des modes d'affichage de navigation ou en mode d'affichage Sonar pour augmenter ou diminuer l'échelle de visualisation.

MODES D'AFFICHAGE
Les modes d'affichage disponibles sur l'échosondeur de série 900 sont les suivants :
Écrans sonar :
Mode d'affichage Sonar 2D
Mode d'affichage Zoom 2D
Mode d'affichage Sonar 3D et 2D combiné
Mode d'affichage Sonar à six faisceaux
Mode d'affichage Autotest
Mode d'affichage Test des accessoires
Écrans de navigation :
Mode d'affiche Aierien
- Mode d'affichage Cartographique et Aérien combiné
Mode d'affichage Cartographique
- Mode d'affichage Cartographique et Sonar 3D combiné
- Mode d'affichage Cartographique et Sonar 2D combiné
Mode d'affichage Diagnostic GPS
Lorsque vous appuyez sur la touche Affichage (VIEW), le système affiche les modes d'affichage disponibles un à un. Lorsque vous appuyez sur la touche Quitter (EXIT), le système affiche les modes d'affichage disponibles un à un, mais en ordre inverse. Tout mode d'affichage peut être ajouté ou supprimé de la rotation d'affichage en effectuant ce besoin à partir de l'onglet Affichages du menu principal.
REMARQUE: Lorsque vous modifiez un réglage du menu qui influe sur les retours sonar, l'écran est rafraichi immédiatement (vous n'avoz donc pas à quitter le menu pour que les modifications s'appliquent à l'écran).
REMARQUE: Pour obtenir de plus amples renseignements sur l'Autotest, le Test des accessoires ou le mode d'affichage Diagnostic GPS, veuillez consulter la section Menu Options de démarrage).
MODES D'AFFICHAGE ET INDICATEURS
Tous les modes d'affichage comportent une barre d'informations sur la gauche de l'écran, constituée d'indicateurs alignés verticalement et changeant d'un mode d'affichage à l'autre. Vous pouvez personnaliser les informations affichées dans les indicateurs pour de nombreux modes d'affichage ; vous pourriez par exemple supprimer un indicateur pour ne plus rien afficher. La capacité de personnaliser les indicateurs dépend du mode d'affichage et de si ou qui non vous naviguez (voir l'onglet Menu Réglages - Sélection des indicateurs pour plus de détails).
MODE D'AFFICHAGE SONAR 3D ET 2D COMBINED
Le mode d'affichage Sonar 3D et 2D combiné offre une représentation tridimensionnelle du fond, adjacent à la représentation sonar traditionnelle en deux dimensions. Ce mode d'affichage est particulièrement utile pour évaluer le fond à partir de la fenêtre 3D tout en visualisant la fenêtre 2D pour obtaining des renseignements sur la structure et la durée du fond. Une flèche verte pointe vers le (:écran actif (voir menu X-Press du sonar : Zone d'écran active pour plus d'informations). Vous pouvez également régler la taille du (:écran gauche d'un écran divisé (voir le menu X-Press du sonar - Écran divisé, pour Obtérir de plus amples renseignements). Zone d'écran active pour plus d'informations).
Le côte 3D de l'affichage utilise une combinaison des retours de chacun des six éléments du transducteur afin de former une représentation tridimensionnelle en fil de fer du fond. La représentation graphique du fond est un outil efficace qui permet de comprendre la forme du terrain sous le bateau. Le symbole de bateau représentée la position relative du bateau à l'information affichée à l'écran.
Les retours les plus récents s'affichent à partir du coin supérieur droit de l'écran et, avec l'apport des nouvelles données, les plus anciennes se déplacent vers le coin inférieur gauche. La largeur de couverture est approximativement égale à la profondeur. L'échelle de profondeur est sélectionnée automatiquement pour garder le fond visible à l'écran. Dans certaines situations, le point de vue sélectionné peut empêcher l'affichage de certains renseignements en raison de la pente du terrain. Il existe une option qui permet de modifier la perspective ou le point de vue, afin de vous laisser voir l'information qui serait autrement masquée par le terrain. Utilisez la commande de curseur à quatre directions pour modifier la perspective. Il est possible de remettre la perspective à son état initial en sélectionnant la fonction Remise à l'état initial de l'affichage à partir du menu X-Press.
Si un retour de sonar satisfait certains criteres, l'un des dix-huit (18) symboles de poisson lui sera assigné. Il existe trois tailles différentes de symboles de poisson permettant d'indiquer l'intensité du return, et chacun des six faisceaux possède un ensemble unique de symboles de poissons (voir la fonction d'identification de poisson [Fish ID+] du menu principal du sonar pour obtenir de plus amples renseignements).
REMARQUE : Voir le mode d'affichage Sonar 2D pour obtenir de plus amples renseignements sur le côte 2D de l'affichage.

Mode d'affichage Sonar 3D et 2D combiné
1 Profondeur l'ence de bateau ou flèche indiquant la direction du bateau 7
Compteur journalier Identification de poisson (Fish ID+)
3 WeatherSense (en option) Profil du fond 3D 9
4 Température à la surface de l'eau Limité supérieure de l'échelle de profondeur 10
Vitesse L imite inferieure de I'echelle de profondeur 11
6 Mode d'affichage Sonar 2D Fil de fer 12
MODE D'AFFICHAGE SONAR 2D
Le mode d'affichage Sonar 2D est une vue bidimensionnelle qui affiche un journal historique des retours de sonar 2D. En mode d'affichage Sonar 2D, l'appareil fonctionne comme un échosondeur ordinaire. Les retours les plus récents s'affichent du côte droit de la fenêtre et, avec l'apport des nouvelles données, les plus anciennes se déplacent vers la gauche. Il existe cependant plusieurs exceptions. Le transducteur à six faisceaux de 53 degrès vous permet de rechercher les poissons dans une zone de couverture bien plus vaste. Seuls les deux faisceaux centraux fournissant les retours sonar pour le profil du fond affché à l'écran. Les symboles de poisson affichés dans le mode d'affichage Sonar 2D sont les mêmes que ceux utilisés dans le mode Sonar 3D; ils fournissant des renseignements sur la position relative du poisson au bateau (voir l'onglet Sonar du menu principal - Fish ID+). Servez-vous du mode d'affichage Sonar 2D pour identifier la structure et déterminer la durée du fond.
REMARQUE: Si l'indicateur de profondeur clignote, cela signifie que l'appareil a des difficultés à localiser le fond. Ceci se produit habituellément lorsque le transducteur est hors de l'eau, lorsque le bateau est en eau trop profonde, lorsqu'il se déplace trop rapidement, ou lors de tout autre événement empêchant l'appareil de recevoir des données continues.
Arrêt sur image - Si, en mode d'affichage Sonar 2D, vous appuyez sur l'une des touches de déplacement du curseur, l'image cesse de défilier à l'écran et un curseur ainsi qu'une boîte de dialogue de curseur s'affichent. Il est alors possible, à l'aide de la commande à quatre directions, de positionner le curseur sur tout retour sonar liéven à l'écran pour en afficher la profondeur. La fenêtre Sonar en temps réel continue d'être rafraîchie, même en mode d'arrêt sur image. De plus, vous pouvez visualiser les effets des modifications apportées aux réglages avec la fonction de mise à jour instantanée de l'image.
Appuyez sur la touche Quitter pour sortir du mode d'arrêt sur image et l'image continuaera à défilier à l'écran. La fonction d'arrêt sur image n'est disponible qu'en mode d'affichage Sonar.

Mode d'affichage Sonar 2D
1 Profondeur Fenetre sonar en temps reel (RTS)
2 Compteur journalier Barre de couleurs du sonar 6
3 Température Lémite inférieure de l'échelle de profondeur 7
Vitesse Limpite supérieure de I'echelle de profondeur 8
MODE D'AFFICHAGE ZOOM 2D
Le mode d'affichage Zoom 2D augmente la résolution de l'écran pour désigner les retours sonar qui sont très prés les uns des autres, par exemple ceux de poissons en suspension près du fond ou dans une structure. En mode d'affichage Zoom 2D, l'écran est divisé en deux, l'échelle complète étant affichée sur la croite et le zoom sur la gauche. La vue à pleine échelle du côte droit contient également une boîte de prévisualisation du zoom, montrant qu'elle plage de l'échelle a été agrandie dans la partie gauche de l'écran. La boîte de prévisualisation du zoom suit le fond dans la vue à pleine échelle.
À mesure que la profondeur change, l'affichage zoom se rafraîchit automatiquement pour afficher une vue agrandie du fond. La boîte de prévisualisation du zoom montre la position de la partie agrandie en relation avec l'échelle complète. Le niveau de zoom ou d'agrandissement est indiqué dans la partie inférieure gauche de l'écran et peut être modifié au besoin selon les conditions (voir Réglages sonar - Menu X-Press). Niveau de zoom Les chiffres de l'échelle de profondeur du zoom indiquent les limites supérieure et inférieure de profondeur de la section d'eau affichée.
Arrêt sur image - Si, en mode d'affichage Zoom 2D, vous appuyez sur l'une des touches de déplacement du curseur, l'image cesse de défilier à l'écran et un curseur ainsi qu'une boîte de dialogue de curseur s'affichtant. Il est alors possible, à l'aide de la commande à quatre directions, de positionner le curseur sur tout retour sonar present à l'écran pour en afficher la profondeur. La fenêtre Sonar en temps réel continue d'être rafraîchie, même en mode d'arrêt sur image. De plus, vous pouvez visualiser les effets des modifications apportées aux réglages avec la fonction de mise à jour instantanée de l'image.
Appuyez sur la touche Quitter pour sortir du mode d'arrêt sur image et l'image continuera à défiler à l'écran.
Mode d'affichage Zoom 2D

1 Profondeur
Compteur journalier
3 Température
Vitesse
5Vue agrandie
6 Niveau de zoom
Liminie supérieure de I'echelle de profondeur, vue a pleine echelle 7
Liminé supérieure de l'échelle de profondeur, mode d'affichage Zoom
Boite de prévisualisation du zoom 9
Vue a pleine echelle 10
Liminé inférieure de l'échelle de profondeur, vue à pleine échelle 1
Liminé inférieure de l'échelle de profondeur, mode d'affchage Zoom 12
MODE D'AFFICHAGE SONAR A SIX FIASCEAUX
Le mode d'affichage Sonar à six faisceaux affiche des données provenant de chacun des six faisceaux de 455kHz en une représentation traditionnelle 2D. Ce mode affiche les retours de sonar brut de chacun des faisceaux utilisés pour former une représentation tridimensionnelle en fil de fer du fond dans le mode d'affichage Sonar 3D. Le mode d'affichage Sonar à six faisceaux peut être utilisé pour identifier la structure au fond et les retours de sonar dans la colonne d'eau. Ce mode fournit aussi de l'information sur la position relative des cibles au bateau. La fenêtre d'extreme droite affiche les cibles du sonar qui sont à l'extreme droite du bateau et la fenêtre d'extreme gauche affiche les cibles du sonar qui sont à l'extreme gauche du bateau. Les autres fenêtes afficient les cibles qui sont successivement plus rapprochées du bateau. La largeur de couverture est approximativement égale à la profondeur actuelle.
Mode d'affichage Sonar à six faisceaux

1 Profondeur
Icne de bateau
3 Limite supérieure de I'echelle de profondeur
Historique du sonar à six faisceaux
Limite inférieure de I'echelle de profondeur 5
MODE D'AFFICHAGE AERIEN
Ce mode d'affichage montre une vue en trois dimensions de l'itinéraire et du profil des terres, à partir d'un point de vue situé au-dessus et à l'arrière du bateau. Si le bateau change de cap, le point de vue demeure dans la même position relativement au bateau, c'est-à-dire qu'il suit le changement. Le mode d'affichage À gros chiffres fournit des données numériques dans un format facile à litre.
Lorsque, en mode d'affichage Aérien, vous appuyez sur l'une des touches de la commande à quatre directions, le point de vue se déplace en fonction de cette commande. Cela vous permet de modifier la position du point de vue afin de voir sur les côtés ou même à l'arrière du bateau. En appuyant sur les touches de GAUCHE ou de DROITE de la commande de curseur à quatre directions, le point de vue se déplace à gauche ou à droite, respectivement; en appuyant sur la touche du HAUT, le point de vue se déplace vers l'avant, et en appuyant sur la touche du BAS, le point de vue se déplace vers l'arrière.
Pour remetre le point de vue à sa position initiale, soit à l'arrière et au-dessus du bateau, il suffit d'appuyer sur la touche Quitter.
Mode d'affichage Aérien

1 Profondeur
HDG: Direction de déplacement du bateau par rapport à la reférence du nord
Latitude et longitude du bateau
Vitesse du bateau 4
Profil de la terre ferme 5
Icione de bateau 6

MODE D'AFFICHAGE CARTOGRAPHIQUE ET AERIEN COMBINÉ
Le mode d'affichage Cartographique et Aérien combiné affiche à la fois l'affichage cartographique et l'affichage aérien dans un écran divisé. Vous pouze effectuer toutes les fonctions de chacun de ces modes d'affichage, mais uniquement lorsque la zone d'écran du mode que vous souhaitez contrôle est active (voir Menu X-Press du sonar : Zone d'écran active ou Menu X-Press Navigation : Zone d'écran active pour plus d'informations). Une flèche verte indique le côte de l'écran qui est actif. Vous pouze également régler la taille du côte gauche d'un écran divisé (voir le menu X-Press du sonar - Écran divisé ou le menu X-Press de navigation - Écran divisé pour obtenir de plus amples renseignements).
REMARQUE : Voir le mode d'affichage Aérien ou le mode d'affichage Cartographique pour obtenir de plus amples renseignements sur chacun de ces modes.

Mode d'affichage Cartographique et Aérien combiné avec scourer actif
1 Profondeur
HDG: Direction de déplacement du bateau par rapport à la ↔équence du nord
3 Fenetre du mode d'affiche Aérien
4 Icione de bateau
5 llineraire (piste de navigation)
LatITUDE et longitude de la position du curseur 6
Distance au curseur 7
Relevement au curseur 3
Cartographie 9
Curseur actif 10
Fenetre du mode d'affiche Cartographique 11
MODE D'AFFICHAGE CARTOGRAPHIQUE
Le mode d'affichage Cartographique montre la cartographie de la fonction UniMap™ intégrée ou d'une carte multimédia (en option) pour la zone avoirinante. Ce mode affiche, sur la carte, l'itinéraire actuel (également appelé position historique ou piste de navigation) qui constitue le chemin emprunté par le bateau, ainsi que les itinéaires sauvégardés, les points de cheminement et la route actuelle (en mode Navigation). Vous pouze utiliser la commande de curseur à quatre directions pour déplacer la fenêtre de visualisation de la carte vers une autre zone. Vous pouze aussi utiliser les touches Zoom (+/-) pour rapprocher ou éloigner le point de vue. En appuyant sur la touche Info, vous obtiendrez des renseignements sur les objets de la carte qui se trouvent à proximité du curseur.
Mode d'affichage Cartographique avec curseur actif

1 Profondeur Distance au curseur 6
2 Icione de bateau Relèvement au curseur 7
3 Itinétaire (piste de navigation) Cartographie 8
4 Echelle de la carte
Latitude et longitude de la position du curseur HDG: Direction de déplacement du bateau par rapport à la référence du nord
MODE D'AFFICHAGE CARTOGRAPHIQUE ET SONAR 3D COMBINED
Le mode d'affichage Cartographique et Sonar 3D combiné affiche à la fois l'affichage cartographique et l'affichage sonar 3D dans un écran divisé. Vous pouze effectuer toutes les fonctions de chacun de ces modes d'affichage, mais uniquement lorsque la zone d'écran du mode que vous souhaitez contrôle est active. Voir Zone d'écran active ou Menu X-Press Navigation : Zone d'écran active pour plus d'informations). Une flèche verte indique le côté de l'écran qui est actif. Vous pouze également régler la taille du côté gauche d'un écran divisé (voir le menu X-Press du sonar 3D - Écran divisé ou le menu X-Press de navigation - Écran divisé pour obtenir de plus amples renseignements).
REMARQUE : Voir le mode d'affichage Sonar 3D et 2D combiné ou le mode d'affichage Cartographique pour obtenir de plus amples renseignements sur chacun de ces modes.

Mode d'affichage Cartographique et Sonar 3D combiné
1 Profondeur L imite supérieure de I'echelle de profondeur 7
HDG: Direction de déplacement du bateau par rapport Lémite inférieure de l'échelle de profondeur
3 Température 10 Point de changement
Vitesse Cartographic
5 Mode d'affichage Sonar 3D échelle de la carte
6 Mode d'affichage Cartographique
MODE D'AFFICHAGE CARTOGRAPHIQUE ET SONAR 2D COMBINED
Le mode d'affichage Cartographique et Sonar 2D combiné affiche à la fois l'affichage cartographique et l'affichage sonar 2D dans un écran divisé. Vous pouze effectuer toutes les fonctions de chacun de ces modes d'affichage, mais uniquement lorsque la zone d'écran du mode que vous souhaitez contrôle est active. Voir Zone d'écran active ou Menu X-Press Navigation : Zone d'écran active pour plus d'informations). Une flèche verte indique le côte de l'écran qui est actif. Vous pouze également régler la taille du côté gauche d'un écran divisé (voir le menu X-Press du sonar 2D - Écran divisé ou le menu X-Press de navigation - Écran divisé pour obtenir de plus amples renseignements).
REMARQUE : Voir le mode d'affichage Sonar 2D ou le mode d'affichage Cartographique pour obtenir de plus amples renseignements sur chacun de ces modes.

Mode d'affichage Cartographique et Sonar 2D combiné
1 Profondeur
Icne de bateau
3 Itineraire (piste de navigation)
4 Echelle de la carte
Latitude et longitude de la position du curseur
6 Distance au curseur
Relèvement au curseur
Cartographie 8
Curseur actif 9
HDG: Direction de déplacement du bateau par rapport à la ↔idence du nord
Fenetre sonar 11
Fenetre du mode d'affichage Cartographique 12
ORIENTATION CARTOGRAPHIQUE
Tous les modes d'affichage cartographiques vous permettent de sélectionner l'orientation de la carte. Lorsque vous sélectionnez Orientation Nord en haut, le Nord ℝa se trouve au haut de l'écran. En d'autres mots, les objets situés au Nord du bateau sont dessinés au-dessus du bateau. Lorsque vous sélectionnez Orientation selon la route suivie, la direction de mouvement du bateau est montré au haut de l'écran. En d'autres mots, les objets situés devant le bateau sont dessinés au-dessus du bateau. Dans les deux modes d'orientation, l'affichage défile automatiquement de façon à ce que le bateau reste toujours centré dans l'écran. Lorsque le bateau est stationnaire, il est représenté comme un cercle. Lorsque le bateau est en mouvement, il est représenté sous la forme d'un bateau pointant dans la direction du mouvement (toujours vers le haut en mode Orientation selon la route suivie). Voir l'Onglet du Menu Navigation : Orientation Cartographique pour plus d'informations.
VISUALISATION DE LA CARTOGRAPHIE
Dans les modes d'affichage Cartographique et Combine, il existe plusieurs fonctions liées à la cartographie que vous pouvez acceder à l'aide de différentes touches.
Panoramaque : Utilisez la commande de curseur à quatre directions pour déplacer la carte dans la direction indiquée par la touche du curseur. Lorsque vous donnez cette commande, un curseur de reférence s'affiche en haut de l'écran. Il est relié au bateau par une ligne jaune, même si le bateau est hors de l'écran. Au même moment, une boîte de dialogue de curseur s'affiche en haut de l'écran indiquant la distance et le relèvement du bateau relativement à la position du curseur, et les coordonnées de latitude et de longitude du curseur. Lorsque le curseur est actif sur l'affichage, vous pouvez également utiliser la commande de curseur à quatre directions pour le déplacer dans le sens de la diagonale.

Mode d'affichage Cartographique avec presence du curseur
Zoom: Utilisez la touche Plus (+) pour faire un zoom avant et la touche Moins (-) pour faire un zoom arrière de la cartographie. L'échelle est indiquée au côte gauche de l'écran. Si vous effectuez un zoom hors des données disponibles de la carte, l'affichage passera en mode de zoom étendu, où les dernières données disponibles de la carte sont amplifiées afin d'afficher l'échelle sélectionnée. Si vous agrandissez l'image à un point tel qu'il n'y a plus de données cartographiques, une grille de coordonnées géographiques terrestres s'affiche plutôt que la carte.
Données de cartographie : Utilisez la touche Info pour obtenir des renseignements détaillés sur la carte. Si le curseur est actif, vous apercevrez l'information au sujet des objets de la carte situés près du curseur. Si le curseur n'est pas actif, le menu d'information de la carte s'affichera. Vous pouvez selectionner la station d'observation des marées, la station de mesure de courants ou le port le plus rapproché pour afficher des renseignements au sujet de ces éléments.
REMARQUE: La carte UniMap™ intégrée ne contient aucune information sur la position des ports, les marées ou le débit des courants. Ces renseignements ne sont disponibles qu'avac les cartes multimédia/SD vendues séparément.
Port le plus rapproché : L'information sur la position et les services pour le port le plus rapproché de votre emplacement actuel seront affichés. Appuyez sur la touche Quitter (EXIT) pour retarder la zone d'information; le curseur de referencia sera centré au-dessus de l'emplacement du port. Les zones d'information du curseur indiquent la distance et le relèvement du port relativement à votre position actuelle.
Stations d'observation des marées la plus rapprochée : L'information sur les marées de la station d'observation des marées la plus rapprochée de votre position actuelle s'afficheront. Cette information comprend l'emplacement de la station et des renseignements sur les heures des marées haute et BASSE à la date actuelle. Une représentation graphique des marées s'affiche également, montrant l'amplitude des marées pour une période de 24 heures englobant cette date. Vous pouvez changer la date pour obtenir des données sur les marées avant ou après la date affichée, en appuyant respectivement sur la touche de déplacement du curseur de GAUCHE ou de DROITE. Appuyez sur la touche Quitter (EXIT) pour retirer la zone d'information; le curseur de référence sera centré au-dessus de l'emplacement de la station d'observation des marées. Les zones d'information du curseur indiquent la distance et le relèvement de la station d'observation des marées relativement à votre position actuelle.
Stations de mesure de courants la plus rapprochée : Station de mesure de courants la plus rapprochée : Permet d'afficher l'information sur la station de mesure de courants la plus rapprochée de votre position actuelle. Cette information comprend l'emplacement de la station et les renseignements sur le début des courants à la date actuelle. Il y a aussi deux graphiques qui s'affichent, indiquant l'heure, la direction et le début des courants pour la période de 24 heures englobant la date du jour. Vous pouvez changer la date pour obtenir des données sur les courants avant ou après la date affichée, en appuyant respectivement sur la touche de déplacement du curseur de GAUCHE ou de DROITE. Appuyez sur la touche Quitter (EXIT) pour retirer la zone d'information; le curseur de referencia sera centré au-dessus de l'emplacement de la station de mesure des courants. Les zones d'information du curseur indiquent la distance et le relèvement de la station de mesure de courants relativement à votre position actuelle.
NAVIGATION
Utilisez la Série 900 pour établier des points de cheminement à des zones d'intérêt et pour naviguer vers ces points de cheminement en suivant une route que vous pouvez sauvegarder (réprésentant la plus courte distance entre deux points de cheminement). Vous pouvez également visualiser et sauvegarder des itinéaires, qui représentent le chemin actuel emprunté par le bateau.
POINTS DE CHEMINEMENT, ROUTES ET ITINÉRAIRES
Les points de cheminement sont des positions enregistrées qui vous permettent de marquer des points d'intérêt ou de navigation. Notre Série 900 peut stocker jusqu'à 3 000 points de cheminement.
HDG: Direction de déplacement du bateau par rapport à la ↔équence du nord
BRC
BRG : Direction vers le point de cheminement dedestination par rapport à la réference du nord.
4 XTL
XTE: Erreur de route. Distance du bateau à la route
5DTC
DTG:Distance a un point de cheminement
TTG: Estimation du temps de voyage jusqu'au point de cheminement
Vitesse du bateau 7
Point de cheminement 8
Route 9
Limits de l'alarme hors cap 10
Échelle de la carte 11
Les routes relient deux points de cheminement ou plus affirm de creer un chemin de navigation; elles seront à planifier un voyage. Vous pouvez relier différents points de cheminement en utilisant la touche Aller à. Une route représentée le chemin de navigation que vous désirez prendre et constitue le chemin le plus court d'un point de cheminement à un autre. Lorsque vous suivez une route, la meilleure façon de vous rendre à destination consiste à rester sur la ligne de route, bien que vous devièez toujours surveiller la présence d'obstacles non indiqués sur la carte. Notre Série 900 peut stocker jusqu'à 50 routes pouvant contenir chacune 50 points de cheminement.
Les itinéaires sont des historiques détaillés des positions; ils paraisent à l'écran sous la forme d'une piste de navigation de points d'itinéaire. L'itinéaire actuel montre l'historique des positions depuis que l'appareil est en marche (affichage maximum de 20 000 points d'itinéaire). Vous pouze supprimer ou sauvegarder l'itinéaire actuel en tout temps. Notre Série 900 peut stocker jusqu'à 50 itinéaires sauvégardés pouvant contenir chacun 20 000 points d'itinéaire. L'itinéaire actuel représenté le chemin que vous avez emprunté jusqu'à présent.
SAUVEGARDE, ÉDITION ET SUPPRESSION D'UN POINT DE CHEMINEMENT
Sauvegarde de la position actuelle du bateau comme un point de cheminement: À partir de n'importe quel mode d'affichage, appuyez sur la touche Marquer (MARK) pour sauvegarder la position actuelle du bateau comme un point de cheminement.
Sauvegarde de la position actuelle du curseur comme un point de cheminement : Dans les modes d'affichage Cartographique ou Combiné, utilisez la touche curseur pour sélectionner la position que vous poulez sauvegarder comme point de cheminement. Appuyez ensuite sur la touche Marquer (MARK) pour sauvegarder la position comme un point de cheminement.
Sauvegarde d'une position de l'historique sonar : Utilisez la touche cursesur pour pointer une caractéristique de l'historique sonar (également appelée la fonction de sauvegerde sonar). Appuyez sur la touche Marquer (MARK) pour creer un point de cheminement à
l'endetroit où cette lecture sonar a eté prise. Avec le nouveau point de cheminement s'enregistre aussi la profondeur à cet emplacement.
REMARQUE: Lorsque vous sauvegardez un point de cheminement selon une de ces méthodes, un nom de point de cheminement numérique est assigné automatiquement. Vous pourrez modifier l'information de ce point de cheminement ultérieurement pour lui assigner un autre nom et seLECTIONner une icone qui le représentera (voir l'option Point de cheminement, sous l'onget Navigation du menu principal).
Affichage du sous-menu Points de cheminement : Affichage du sous-menu Points de cheminement : À partir de n'importequel mode d'affichage, appuyez sur la touche MENU à deux reprises pour afficher le menu principal du système, puis utilisez la touche de déplacement du curseur de DROITE pour sélectionner l'onglet Navigation. Sélectionnez Points de cheminement et appuyez sur la touche de déplacement du curseur de droite pour afficher le sous-menu Points de cheminement.
Programmation d'une position précise comme point de cheminement : Pour creer un point de cheminement qui N'EST PAS l'emplacement actuel, selectionnez l'options de création à partir du sous-menu Points de cheminement, puis appuyez sur la touche de déplacement du curseur de DROITE. Utilisez les touches de déplacement du curseur pour entrer le nom du point de cheminement, la latitude, la longitude et l'icone qui représentera ce point, avant de le sauvegarder.
Édition d'un point de cheminement : À partir du sous-menu Points de cheminement, Sélectionnez Édition et appuyez sur la toucheursor de droite pour afficher une liste des points de cheminement sauvégardés. Sélectionnez le point de cheminement que vous désírez modifier et appuyez sur la touche de déplacement du cursor de DROITE. Utilisez les touches de la commande deursor à quatre directions pour passer d'une zone à une autre, et les touches du HAUT et du BAS pour modifier les valeurs une fois dans la zone. Dans les zones Nom, Latitude et Longitude du point de cheminement, les touches de déplacement du cursor vers le HAUT et vers le BAS permettent de modifier la dette ou le chiffre. Tous les caractères de bas de casse, de même que les chiffres de 0 à 9 et quelques caractères de ponctuation sont disponibles. Dans la zone l'ocne du point de cheminement, les touches de déplacement du cursor du HAUT et du BAS permettent de modifier l'icone
utilisée pour représenter le point de cheminement dans les affichages Combiné et Cartographique. Vous pouvez quitter ces zones en appuyant sur les touches de déplacement du curseur de gauche ou de droite, ou sur la touche Quitter (EXIT). Sélectionnez Sauvegarde et appuyez sur la touche de déplacement du curseur de DROITE pour sauvegander les modifications.
Pour faciliter la sélection d'un point de cheminement, sélectionnez Ordre de classement et appuyez sur les touches de déplacement du curseur de GAUCHE ou de DROITE pour sélectionner un ordre de classement :
- Nom - Pour classer les points de cheminement en ordre alphabetique
- Temps - Pour afficher les points de cheminement en ordre chronologique, en commencer par le plus recent
- Distance - Pour afficher le point de cheminement le plus après d'abord.
Suppression d'un point de cheminement : À partir du sous-menu Points de cheminement, Sélectionnez Suppression et appuyez sur la touche de déplacement du curseur de DROITE pour afficher une liste des points de cheminement. Sélectionnez le point de cheminement que vous désirez supprimer en appuyant sur la touche de déplacement du curseur de DROITE. Le système vous demandera de confirmer la suppression avant de supprimer le point de cheminement pour de bon.
NAVIGATION VERS UN POINT DE CHEMINEMENT OU UNE POSITION
Navigation vers la position du curseur : Dans tous les modes d'affichage cartographiques ou combinés, utilisez la touche curseur pour selectionner une position ou un point de cheminement vers lequel naviguer. Appuyez ensuite sur la touche Aller à (GOTO). La navigation débutera immédiatement.
Navigation vers un point de cheminement précis : Appuyez sur la touche Aller à (GOTO),CHOISSEZ le point parmi la liste de points de cheminement vers lequel vous désirez naviguer, puis appuyez sur la touche de déplacement du curseur de DROITE pour le sélectionner.
REMARQUE: Pour creer une route plus longue à plusieurs segments, vous n'avez qu'à ajouter d'autres points de cheminement en répétant les étapes précédentes.
Saut d'un point de cheminement : À partir du menu X-Press de navigation, Sélectionnez Saut du prochain point de cheminement et appuyez sur la touche de déplacement du curseur de DROITE. S'il n'y a aucun autre point de cheminement où aller, la navigation sera annulée.
Annulation de la navigation Annulation de la navigation : À partir du menu X-Press de navigation, sélectionnze Annulation de la navigation et appuyez sur la touche de déplacement du curseur de DROITE. L'annulation de la navigation supprime la route et tous les points de cheminement créé à l'aide de la touche Aller à, mais n'élimine pas les routes sauvegardées en mémoire. Le système vous demandera de sauvegardier la route actuelle avant d'annuler la navigation.
AJOUT D'UN POINT DE CHEMINEMENT OU D'UNE GRILLE DE PÉCHE À LA TRAîNE
Ajout ou retrait d'une cible de point de cheminement : À partir du sous-menu Points de cheminement (accessible à partir du menu principal de navigation), Sélectionnez Cible et appuyez sur la touche de déplacement du curseur de DROITE pour afficher une liste des points de cheminement. Sélectionnez le point de cheminement où vous désirez vous rendre. Une cible (formée de cercles concentriques centrés sur le point de cheminement sélectionné) s'affichera dans tous les modes d'affichage de navigation; elle indique les différentes plages de distance au point de cheminement cible. Pour-retirer la cible,CHOISSEZ Retrait de cible à partir du menu X-Press de navigation.
REMARQUE: Vous pouvez assigner une cible ou une grille à un seul point de cheminement à la fois. Si vous appliquez une cible ou une grille à un nouveau point de cheminement, le point de cheminement initial perdra sa cible ou sa grille.

Mode d'affchage Cartographique avec cible
Ajout ou retrait d'une grille de pêche à la traine : À partir du sous-menu Points de cheminement (accessible à partir du menu principal de navigation), Sélectionnez Grille et appuyez sur la touche de déplacement du curseur de DROITE pour afficher une liste des points de cheminement. Sélectionnez le point de cheminement où vous désírez ajouter la grille. La grille de pêche à la traine s'affichera dans tous les modes d'affichage de navigation; elle sert de guide lorsque vous pêchez à la traine autour d'un point de cheminement. Vous pouvez faire pivoter la grille et l'orienter selon le cap de votre choix à l'aide de la fonction Rotation de grille du menu principal de navigation. Pour-retirer la grille de pêche à la traine, Sélectionnez l'options Retrait de grille à partir du menu X-Press de navigation.

Mode d'affchage Cartographique avec grille
REMARQUE: Vous pouvez assigner une cible ou une grille à un seul point de cheminement à la fois. Si vous appliquez une cible ou une grille à un nouveau point de cheminement, le point de cheminement initial perdra sa cible ou sa grille.
REMARQUE : L'espacement des cercles de la cible ou des lignes de la grille du point de cheminement est le même que la barre d'échelle située au côte gauche de l'écran. Un zoom avant ou arrêté augmentera ou réduira l'espacement de ces éléments.
SAUVEGARDE, ÉDITION ET SUPPRESSION D'UNE ROUTE
Sauvegarde de la route actuelle : Il est possible, pendant que vous naviguez, de sauvegarder la route actuelle. À partir du menu X-Press de navigation, Sélectionnez Sauvegarde de la route actuelle et appuyez sur la touche de déplacement du curseur de DROITE. La navigation se poursuivra.
Affichage du sous-menu Routes : Affichage du sous-menu Points de cheminement : À partir de n'importe quel mode d'affichage, appuyez sur la touche MENU à deux reprises pour afficher le menu principal du système, puis utilisez la touche de déplacement du curseur de DROITE pour sélectionner l'onglet Navigation. Sélectionnez Routes et appuyez sur la touche curseur de droite pour afficher le sous-menue Routes.
Création d'une route : À partir du sous-menu Routes, Sélectionnez Création et appuyez sur la touche de déplacement du curseur de DROITE. L'écran Édition de route s'affiche avec une route vide. Vous pouvez nommer la route, y ajouter des points en les choisisant à partir de la liste des points de cheminement, puis organiser l'ordre de ces points dans la route à l'aide des touches de déplacement du curseur.
Édition d'une route sauvegardée : À partir du sous-menu Routes, Sélectionnez Édition et appuyez sur la touche de déplacement du curseur de DROITE. L'écran Édition de route s'affiche. Sélectionnez la route que vous désirez modifier et appuyez sur la touche de déplacement du curseur de DROITE. Renommez la route ou modifiez, supprimez ou réorganisez les points de cheminement utilisés dans la route.
Suppression d'une route sauvegardee:À partir du sous-menu Routes,selectionnez Suppression et appuyez sur la touche de déplacement du curseur de DROITE. Selectionnéz la route que vous désirez supprimer et appuyez sur la touche de déplacement du curseur de DROITE.Le système vous demandera de confirmer votre choix en appuyant sur la touche de déplacement du curseur de DROITE à nouveau avant de supprimer la route.
Parcours d'une route sauvegardee : À partir du sous-menu Routes, Sélectionnez Parcours d'une route et appuyez sur la touche de déplacement du curseur de DROITE. Une liste des routes sauvegardees s'affiche. Sélectionnez la route que vous désirez parcourir et appuyez sur la touche de déplacement du curseur de DROITE pour faire de cette route la route actuelle et commencer à naviguer. Vous pouvez suivre la route dans un sens ou dans l'autre.
Information sur une route : À partir du sous-menu Routes, Sélectionnez Information et appuyez sur la touche de déplacement du curseur de DROITE. Une liste des routes sauvegardées s'affiche. Sélectionnez la route pour laquelle vous désirez obtenir de l'information et appuyez sur la touche de déplacement du curseur de DROITE. La liste des
points de cheminement de la route s'affichera, avec la distance et le relièvement de chaque point de cheminement au prochain, de même que la distance et le relièvement de la position courante par rapport au premier point de cheminement dans la route.
EGARDE OU SUPPRESSION DE L'ITINÉRAIRE ACTUEL
Procedure de sauvegarde de l'itinétaire actuel : À partir du menu X-Press de navigation, scélectionnez Sauvegarde de l'itinétaire actuel et appuyez sur la touche de déplacement du curseur de DROITE. L'itinétaire restera affché, mais passera du noir au gris. Pour-retirer complètement l'itinétaire de l'écran, voir les fonctions Édition, Suppression ou Masquage d'un itinétaire sauvégarde.
REMARQUE: Lorsque vous sauvegardez un itinétaire, le système lui assigne automatiquement un nom. Le nom d'itinétaire est constitué de la date et de l'heure, mais il est possible de le renOMmer plus tard (voir Édition, suppression ou masquage d'un itinétaire sauvegarde).
Suppression de l'itinétaire actuel : À partir du menu X-Press de navigation, Sélectionnez Suppression de l'itinétaire actuel et appuyez sur la touche de déplacement du curseur de DROITE. Cette action aura pour effet desteroler l'itinétaire de l'écran et de l'éliminer.
ÉDITION, SUPPRESSION OU MASQUAGE D'UN ITINÉRAIRE SAUVEGARDE
Affichage du sous-menu Itinéaires : Affichage du sous-menu Points de cheminement : À partir de n'importequel mode d'affichage, appuyez sur la touche MENU à deux reprises pour afficher le menu principal du système, puis utilisez la touche de déplacement du curseur de DROITE pour sélectionner l'onglet Navigation. Sélectionnez Itinéaires et appuyez sur la touche de déplacement du curseur de DROITE pour afficher le sous-menue Itinéaires.
Édition d'un itinétaire sauvégarde: À partir du sous-menu Itinéaires, Sélectionnez Édition et appuyez sur la touche de déplacement du curseur de DROITE pour afficher une liste des Itinéaires sauvégardés. Sélectionné l'itinéaire que vous désírez modifier et appuyez sur la touche de déplacement du curseur de DROITE. Lorsque la boîte de dialogue Édition d'un
itinétaire s'affiche, utilisez les touches de déplacement du curseur pour parcourir les zones. Dans la zone Nom d'itinétaire, les touches de déplacement du curseur du haut et du bas modifie lalecture ou le chiffre. Tous les caractères de bas de casse, de même que les chiffres de 0 à 9 et quelques caractères de ponctuation sont disponibles. Vous pouvez quitter la zone Nom d'itinétaire en appuyant sur les touches de déplacement du curseur de gauche ou de croite, ou sur la touche Quitter (EXIT). Sélectionnez Sauvegarde et appuyez sur la touche de déplacement du curseur de DROITE pour sauvegarder les modifications.
Suppression d'un itinétaire sauvégarde : À partir du sous-menu l'inéaires, sélectionnze Suppression et appuyez sur la touche de déplacement du curseur de DROITE pour afficher une liste des itinéaires sauvégardés. Sélectionné l'itinéaire que vous désírez supprimer et appuyez sur la touche de déplacement du curseur de DROITE. Le système vous demandera de confirmer la suppression avant de supprimer l'itinéaire pour de bon.
Masquage ou affichage d'un itinétaire sauvégarde : À partir du sous-menu Itinéaires, Sélectionnez Visibilité et appuyez sur la touche de déplacement du curseur de DROITE pour afficher la liste des itinéaires sauvégards. Sélectionnez l'itinéaire que vous désirez masquer ou afficher et utilisez les touches de déplacement du curseur pour sélectionner Masqué ou Visible. Appuyez sur la touche Quitter (EXIT) pour revenir au sous-menue Itinéaires.
LE SYSTEME DE MENUS
Le système de menus est divisé en modules facies à utiliser. Les composants principaux du système de menus sont :
Menu Options de démarrage: Appuyez sur la touche Menu au cours de l'initialisation du système pour visualiser le menu des options de démarrage. Voir le menu Options de démarrage.

Menu X-Press
Menu X-Press - Le menu X-Press vous permet d'acceder aux réglages modifiés le plus souvent sans devoir naviguer dans tout le système de menus. Appuyez sur la touche Menu une fois pour afficher le menu X-Press. Lorsque vous selectionnez un élément du menu X-Press, ce menu se réduit pour ne laisser que l'élement de menuChoisi à l'écran.
Utilisez les touches de déplacement du curseur vers le HAUT ou vers le BAS pour réactiver le Menu X-Press.
REMARQUE: Les options du menu X-Press variant selon le mode d'affichage actif au moment où vous appuyez sur la touche Menu. Elles varient également en fonction du mode utilisé choisi (Normal ou Avancé). Le menu X-Press Sonar ou Navigation s'affichera, selon le mode d'affichage sélection.
Onglets du menu principal : Les menus utilisés moins fréquèment sont regroupés dans le menu principal. Le menu principal estOrganisé selon des onglets afin de vous aider à trouverrapidement un élémentdonné.Alarmes,Sonar,Navigation, Cartographie,Réglages,Affichages et Accessoires.

Menu principal - Mode utiliseur Normal
Appuyez sur la touche Menu à deux reprises pour afficher le menu principal, puis utilisez les touches de déplacement du curseur vers la GAUCHE ou vers la DROITE pour sélectionner un onglet. Servez-vous ensuite des touches de déplacement du curseur vers le BAS ou vers le HAUT pour sélectionner un élément de menu particulier sous cet onglet, puis appuyez sur les touches de GAUCHE et de DROITE à nouveau pour modifier l'élement de menu choisi. Appuyez sur la touche Quitter pour revenir rapidement au haut de l'onglet. Une flèche pointant vers le bas apparaissant dans la partie inférieure du menu indique qu'il est possible de parcourir d'autres éléments de ce menu à l'aide de la touche de déplacement vers le BAS. Une flèche pointant
vers la droite ou vers la gauche dans une option de menu indique que vous pouvez utiliser les touches de déplacement du curseur vers la GAUCHE ou vers la DROITE pour effectuer des modifications, ou pour visualiser d'autres renseignements.
REMARQUE: Les options du menu principal varient selon le mode utilisateur (Normal ou Avance).
Mode utilisateur (Normal ou Avance): Le mode utilisé Avance a été concu pour les utilisateurs qui désirent un niveau de contrôle élevé sur la Série 900, et le mode utilisé Normal pour les utilisateurs qui préférent plus de simplicité et moins d'options dans les menus. En mode utilisé Avance, plus d'options sont offertes dans le système de menus. Tout changement effectué en mode utilisé Avance demeure en fonction lorsque vous revenez en mode utilisé Normal. Voir l'Onglet Réglages du menu principal: Mode utilisé afin d'obtenir des directives précises sur la façon de passer d'un mode à l'autre.
REMARQUE: Le mode utilisé Avancé est régèle par défaut au démarrage de la Série 900.

Onglet sonar - Mode utiliseur Normal

Onglet sonar - Mode utiliseur Avancé
Mise à jour de l'écran immédiate (Total Screen Update): Lorsque vous modifie une option de menu ayant un effet sur le mode d'affichage Sonar, l'écran est rafraichi immédiatement (vous n'avez donc pas à quitter le menu pour visualiser les modifications à l'écran).
MENU OPTIONS DE DEMARRAGE
Appuyez sur la touche Menu lorsque l'écran titre s'affiche pour acceder au menu des options de démarrage.

Utilisez les touches de déplacement du curseur vers le HAUT et vers le BAS de la commande à quatre directions pour positionner le curseur, puis appuyez sur la touche de DROITE pour sélectionner l'une des options suivantes. Si vous attendez trop longtemps, le système reviendra par défaut au mode de menu actuellément en surbrillance :
Normal
- Simulateur
-État du système.
Consultez les paragraphs suivants pour obtenir de plus amples renseignements au sujet de chacun de ces choix.
UTILISATION EN MODE NORMAL
Passez au mode Normal pour les activités sur l'eau avec transducteur branché. Vote Série 900 dispose également de méthodes perfectionnées pour détecter la présence d'un transducteur. Si un transducteur fonctionnel est branché à l'appareil, le mode utilisateur Normal est lancé automatiquement au démarrage et vous pouvez ainsi utiliser la Série 900 sur l'eau.
You pouvez quitter le mode utilisateur Normal en eteignant l'appareil.
SIMULATEUR
Passez au mode Simulateur pour apprendre comment utiliser la Série 900 avant demettre votre bateau à l'eau. Le mode Simulateur est un outil très puissant qui simulele fonctionnement sur l'eau en rafraichissant l'écran au hasard. Nous vousrecommendons de parcourir ce guide tout en vous pratiquant en mode Simulateur, puisque tous les menus fonctionnent et modifiert l'écran comme si vous utilisiezl'appareil en mode Normal.

Simulator
REMARQUE : Pour profiter de tous les avantages du mode Simulateur, il est important de selectionner ce mode manuellement à partir du menu Options de démarrage, plutôt que de laisser la Série 900 entre en mode Simulateur automatiquement ( comme elle le fera automatiquement à la mise sous tension si aucun transducteur n'est branché). En selectionnant le mode Simulateur manuellement à partir du menu Options de démarrage, vous pouvez configurer à l'avance la Série 900 pour le fonctionnement sur l'eau. Tout modification apportée aux menus sera sauvégardée pour'utilisation ultérieure.
Un message s'affichera à l'écran régulierement pour vous rappeler que l'appareil est en mode Simulateur.
You pouvez quitter le mode Simulateur en eteignant l'appareil.
ETAT DU SYSTÉME
Permet d'afficher les connexions et de lancer un autotest du système. Vous pouvez quitter le mode État du système en éteignant l'appareil.
Les modes d'affichage suivants s'affichent l'un après l'autre à l'écran lorsque vous appuyez sur la touche Affichage en visualisant l'État du système :
- Autotest
Test des accessoirs
Mode d'affichage Diagnostic GPS
AUTOTEST
La fonction Autotest affiche les résultats d'une vérification interne, dont le nombre de série de l'appareil, le numéro de série de la carte à circuits imprimés, la version du logiciel, le nombre total d'heures de fonctionnement et la tension de la batterie.

Écran d'Autotest
TEST DES ACCESSOIRES
Le Test des accessoires fournit la liste des accessoires branchés au système.

Écran du test des accessoires
MODE D'AFFICHAGE DIAGNOSTIC GPS
Le mode d'affichage Diagnostic GPS, disponible uniquement si un récepteur GPS est connecté à votre appareil Série 900, montre une carte du ciel et les données numériques tirées du récepteur GPS. La carte du ciel montre l'emplacement de chaque satellite visible, le numéro du satellite, ainsi qu'une barre d'intensité du signal. Une barre grise fonçée indique que le satellite sert effectivement à déterminer l'emplacement actuel. Une barre grise pâle indique que le satellite est surveillé, mais qu'il n'est pas encore utilisé.
Cette vue affiche également la position actuelle, l'heure et la date locales, ainsi que d'autres données numériques. Le type de point de GPS est indiqué de la façon suivante : Aucun point, Point 2D, Point 3D, ou Amélioré. Un point amélioré est un point augmenté à l'aide des données provenant du SAGE, EGNOS ou MSAS. Pour la navigation, l'utilisation d'un point 3D ou Amélioré est requise. La diminution de précision horizontale (HDOP) est un paramètre du système de positionnement global qui dépend de la configuration actuelle des satellites. Elle permet de calculer l'erreur de position estimée.
Mode d'affichage Diagnostic GPS

1 Cart du ciel
Satellite en utilisation
Latitude et longitude de la position actuelle
Satellite surveille 4

Menu X-Press du sonar 2D
MENU X-PRESS DU SONAR 2D
(exclusif aux modes d'affiche Sonar 2D)
Le menu X-Press du sonar 2D vous donne accès aux réglages utilisés le plus souvent. Appuyez sur la touche Menu une fois, peu importe le mode d'affichage du sonar 2D, pour acceder au menu X-Press du sonar 2D.
REMARQUE : Les options du menu varient selon les paramétres du système. Elles varient, par ex., si l'appareil est en mode utilisateur Avancé, ou si le mode d'affichage 2D ou 3D est en fonction.
Active Side

ZONE D'ECRAN ACTIVE
selectionner quel cote de l'affichage divisé est actif; l'activation des touches affecte uniquement le cote de l'écran qui est actif. Lorsqu'un menu est affché, le cote inactif de l'écran est grisé. Une flèche verte apparait toujours dans la partie active de l'écran. Les affichages combinés montrent généralement le sonar sur la gauche et les cartes ou l'affichage aérien sur la droite. L'option de menu Zone d'écran active n'est accessible que lorsque le mode d'affichage combiné est actif.
Procedure de selection de la zone d'écran active :
- Sélectionnez l'options Zone d'écran active dans le menu X-Press du sonar 2D.
- Utilisez la touche de déplacement du curseur de DROITE pour changer le côte actif (Gaughe, Droite, valeur implicite = Droite).
Split Position 50 Left Right
POSITION DIVISEE
pourcentage de l'écran est utilisé par le côté gauche d'un mode d'affichage combiné; chaque mode d'affichage peut être régé individuellement. Le mode d'affichage doit être actif pour pouvoir modifier la taille d'écran de cet affichage. Le réglage numérique que indique le pourcentage occupé par le côté gauche d'un mode d'affichage combiné. En selectionnant Gauche, vous reglez le côté gauche de l'écran à sa taille la plus petite. L'option de menu Écran divisé n'est accessible que si le mode d'affichage combiné est actif.
Procedure de réglage de la position de séparation d'un écran divisé :
- Sélectionnez l'options Position divisée dans le menu X-Press du sonar 2D.
- Utilisez la touche de déplacement du curseur de DROITE pour changer la taille du côté gauche d'un affichage combiné (Gauge, 30, 40, 50, 60, 70, Droite, valeur implicite = 50).

SENSIBILITE
La commande de sensibilité contrôle le niveau de
détaill affché à l'écran. En augmentant la sensibilité, le détecteur affiche plus de retours sonar de petits poissons d'appat et de débris en suspension dans l'eau; il se pourrait toutefois que l'écran devienne encombré. Lorsque vous pêchez en eau très claire ou très profonde, une augmentation de la sensibilité permet d'afficher des retours plus faibles qui poursaient s'avérer d'un certain intérêt. En réduisant la sensibilité, vous éliminez de l'écran les parasites parfois Presents dans l'eau boueuse ou troublée. Si le réglage de sensibilité est trop bas, il se peut que des retours sonar de poissonns ne s'affichent pas.

Sensibilité réglée à Faible
Procedure de réglage de la sensibilité :
-
Sélectionnez l'option Sensibilité à partir du menu X-Press du sonar 2D.
-
Utilisez les touches de déplacement du curseur de GAUCHE et de DROITE pour modifier à la hausse ou à la baisse le réglage de sensibilité (Faible = 1, Elevée = 20, valeur implicite = 10).

Sensibilité réglée à Moyenne

Sensibilité réglice à Elevée

IMITE SUPÉRIÉTURE DE L'ÉCHèle DE PROFONDEUR
(mode utiliseateur Avance)
La limite supérieure de l'échelle de profondeur permet de régler la limite de la zone la moins profonde qui sera montré à l'écran dans le mode d'affichage Sonar 2D ou Sonar 2D et 3D combiné, lorsque le côté Sonar 2D de l'écran est actif. Cette option de menu n'est accessible qu'en mode utilisateur Avance (voir l'onglet Réglages du menu principal - Mode utilisateur). et n'est disponible qu'en mode affichage Sonar 2D, ou en mode d'affichage Sonar 3D et 2D combiné, lorsque le côté Sonar 2D de l'écran est actif. On règle souvent la limite supérieure de l'échelle de profondeur de pair avec la limite inférieure.
À titre d'exemple, si vous étés intersexé à la zone située entre 6 m et 15 m (20 pi et 50 pi) de profondeur, vous devriez régler la limite supérieure à 6 m (20 pi) et la limite inférieure à 15 m (50 pi). Le mode d'affichage Sonar montrera ensuite la plage de 9 m (30 pi) située entre 6 m (20 pi) et 15 m (50 pi) de profondeur, sans montré la surface ni le fond (en supposant que le fond est plus bas que 15 m [50 pi]), et montrera plus de détails pour ladite zone.
REMARQUE: L'appareil conservera un écart minimum de 3 m (10 pi) entre la limite inférieure et la limite supérieure de l'échelle de profondeur, peu importe les réglages manuels effectués.
Procedure de réglage de la limite supérieure de l'échelle de profondeur :
- Assurez-vous que l'appareil est en mode utilisateur Avancé, puis Sélectionnez Lâte supérieure de l'échelle de profondeur à partir du menu X-Press du sonar 2D.
- Utilisez les touches de déplacement du curseur de GAUCHE ou de DROITE pour modifier à la hausse ou à la baisse la limite supérieure de l'échelle de profondeur (de 0 pi à 990 pi ou de 0 m à 301) [exclusif aux modèles internationaux], valeur implicite = 0).
La limite inférieure de l'échelle de profondeur est la limite de la zone la plus profonde qui sera montré à l'écran. Le mode automatique est régé par défaut. En mode automatique, la limite inférieure de l'échelle de profondeur est régée par l'appareil de façon à suivre le fond. Entrez un réglage spécifique de profondeur pour passer en mode manuel. Réglez manuellement les limites inférieure et supérieure de l'échelle de profondeur lorsque vous recherchez des poissonns ou une structure de fond à une profondeur particulière. Le symbole M s'affichera dans le coin inférieur droit de l'écran lorsque vous commencerez à régler manuellement la limite inférieure de l'échelle de profondeur, pour indiquer le passage en mode manuel.
Par exemple, si vous pêchez dans une eau profonde de 18 m (60 pi), mais que vous n'étés interessed qu'aux premiers 9 m (30 pi), soit de la surface jusqu'à 9 m de profondeur, vous devriez régler la limite inférieure de l'échelle de profondeur à 9 m. L'écran affichera la plage de 0 à 9 m, vous permettant de la visualiser avec plus de détails que s'il représentait les échos sonar jusqu'à fond.
REMARQUE: L'appareil conserveva un écart minimum de 3 m (10 pi) entre la limite inférieure et la limite supérieure de l'échelle de profondeur, peu importe les réglages manuels effectés.
Procedure de réglage de la limite inférieure de l'échelle de profondeur :
- Sélectionnez l'options Limité inférieure de l'échelle de profondeur à partir du menu X-Press du sonar 2D.
- Utilisez les touches de déplacement du curseur de GAUCHE ou de DROITE pour modifier à la hausse ou à la baisse la limite inférieure de l'échelle de profondeur (Automatique, de 10 pi à 1 000 pi, de 3 m à 330 m [pour les modèles internationaux exclusivement], valeur implicite = Automatique).
Chart Speed

5 VITESSE DE DEFILLEMENT
Ultra La vitesse de défilament déterminé la vitesse à
laquelle les données sonar se déplacent à l'écran et, par conséquent, le niveau de détail affché. La plupart des pêcheurs préférent une vitesse plus élevé, montrant plus d'information, bien que les retours sonar se déplacent rapidement à l'écran. En réglant une vitesse plus lente, l'information demeure plus longtemps à l'écran, mais les détails du fond et des poissons deviennent compressés et peuvent être plus difficiles à interpréter. Quelle que soit la vitesse de défilament, la fenêtre sonar en temps réel est mise à jour à la vitesse maximum possible pour les conditions de profondeur. Sélectionnez la vitesse de défilament selon vos préférences.
Procedure de réglage de la vitesse de défilament :
- Sélectionnez l'options Vitesse de défilament à partir du menu X-Press du sonar 2D.
- Utilisez les touches de déplacement du curseur de GAUCHE ou de DROITE pour modifier à la hausse ou à la baisse la vitesse de défilament (1 à 10, où 1 = lent, 10 = la plus grande vitesse, valeur implicite = 5).
Bottom Lock

VERROUILAGE SUR LE FOND
(exclusif au mode d'affichage Zoom 2D)
La fonction Verrouillage sur le fond change le mode de la vue agrandie dans le mode d'affichage Zoom 2D.
Procedure d'activation du verrouillage sur le fond :
- En mode d'affichage Zoom 2D, Sélectionnez l'option Verrouillage sur le fond à partir du menu X-Press du sonar 2D.
- Utilisez les touches de déplacement du curseur de GAUCHE et de DROITE pour modifier le réglage de verrouillage sur le fond (Désactivé, Activé, valeur implicite = Désactivé).

ÉCHELLE DU FOND
(exclusif au mode d'affichage Zoom 2D, lorsque la fonction de verrouillage sur le fond est activée)
La fonction Échelle du fond vous permet de contrôler qu'elle plage de la colonne d'eau, mesurée à partir du fond, sera affichée dans la partie gauche de l'écran en mode d'affichage Zoom 2D. Choisissez une petite valeur pour visualiser une structure peu profonde et les détails du fond. Optez pour une valeur plus grande pour visualiser une structure plus importante dans des eaux plus profondes. Il est possible de régler l'échelle du fond de façon à ce qu'elle excède la profondeur. Dans ce cas, vous pourriez visualiser des interférences de surface dans une bande ondulée qui reflète les changements dans la profondeur.
Procedure de réglage de l'échelle du fond :
- En mode d'affichage Zoom 2D, Sélectionnez l'option Verrouillage sur le fond à partir du X-Press du sonar 2D.
- Utilisez les touches de déplacement du curseur de GAUCHE et de DROITE pour modifier le réglage de verrouillage sur le fond (Désactifé, Activé, valeur implicite = Désactivé).
- Lorsque vous activez la fonction Verrouillage sur le fond, l'option Échelle du fond s'affiche sous le menu X-Press (de 10 à 60 pieds, de 2 à 10 brasses ou de 3 à 20 mètres [exclusif aux modèles internationaux], valeur implicite = 15 pi).

PRIORITE 2D OU 3D
changer la façon dont les six faisceaux du transducteur sont utilisés afin de priorisier et de personneliser l'affichage des données 2D et 3D.
Selectionnez l'option 2D seulement si vous désirez visualiser les affichages 2D et préférez que les données 2D soient mises à jour rapidement (en mode d'affichage Sonar 3D et 2D combiné, la partie 3D de l'écran sera vide et affichera le message "Vue 3D désactivée").
Selectionnez l'option Égale si vous commutez entre les affichages 2D et les affichages 3D et 2D combinés et préférez que les données 2D soient mises à jour moins rapidement tout en maintainant l'affichage des données 3D.
Selectionnez l'option 3D si vous désirez visualiser l'information 3D la plus détaillée; les données 2D seront mises à jour encore moins rapidement en effetuant ce besoin.
Procedure de modification de la priorité 2D ou 3D :
- Sélectionnez l'options Priorité 2D ou 3D à partir du menu X-Press du sonar 2D.
- Utilisez les touches de déplacement du curseur de GAUCHE ou de DROITE pour modifier le réglage de priorité 2D ou 3D (2D seulement, Égale, 3D, valeur implicite = 3D).

Menu X-Press du sonar 3D
MENU X-PRESS DU SONAR 3D
(exclusif aux modes d'affichage Sonar 3D)
Le menu X-Press du sonar 3D vous donne accès aux réglages utilisés le plus souvent. Appuyez sur la touche Menu une fois, peu importe le mode d'affichage 3D en fonction, pour acceder au menu X-Press du sonar 3D.
REMARQUE: Les options du menu varient selon les paramétres du système. Elles varient, par ex., si l'appareil est en mode utilisé Avancé, ou si le mode d'affichage 2D ou 3D est en fonction.

ZONE D'ECRAN ACTIVE
selectionner quel côte de l'affichage divisé est actif; l'activation des touches affecte uniquement le côte de l'écran qui est actif. Lorsqu'un menu est affché, le côte inactif de l'écran est grisé. Une flèche verte apparait toujours dans la partie active de l'écran. Les affichages combinés montrent généralement le sonar sur la gauche et les cartes ou l'affichage aérien sur la droite. L'option de menu Zone d'écran active n'est accessible que lorsque le mode d'affichage combiné est actif.
Procedure de selection de la zone d'écran active :
- Sélectionnez la fonction Zone d'écran active dans le menu X-Press du sonar 3D.
- Utilisez la touche de déplacement du curseur de DROITE pour changer le côte actif (Gaughe, Droite, valeur implicite = Gauche, ou Sonar).

POSITION DIVISEE
Left Right L'option Position divisée vous permet de régler quel pourcentage de l'écran est utilisé par le côté gauche d'un mode d'affichage combiné; chaque mode d'affichage peut être réglé individuellement. Le mode d'affichage doit être actif pour pouvoir modifier la taille d'écran de cet affichage. Le réglage numérique indique le pourcentage occupe par le côté gauche d'un mode d'affichage combiné. En sélectionnant Gauche, vous reglez le côté gauche de l'écran à sa taille la plus petite. L'option de menu Écran divisé n'est accessible que si le mode d'affichage combiné est actif.
Procedure de réglage de la position de séparation d'un écran divisé :
- Sélectionnez l'options Position divisée dans le menu X-Press du sonar 3D.
- Utilisez la touche de déplacement du curseur de DROITE pour changer la taille du côté gauche d'un affichage combiné (Gauge, 30, 40, 50, 60, 70, Droite, valeur implicite = 50).
6-Beam Sensitivity 10 120
SENSIBILITE DU SONAR À SIX FAISCEAUX
(en mode d'affichage Sonar à six faisceaux exclusivement)
La fonction Sensibilité du sonar à six faisceaux permet de contrôler le niveau de détails montré à l'écran. Elle n'est accessible que lorsque l'appareil est dans le mode d'affichage Sonar à six faisceaux. En augmentant la sensibilité, l'échosondeur affiche plus de retours sonar de petits poissons d'appaït et de débris en suspension dans l'eau; il se pourrait toutefois que l'écran devienne encombré. Lorsque vous pêchez en eau très claire ou très profonde, une augmentation de la sensibilité permet d'afficher des retours plus faibles qui poursaient s'avérer d'un certain intérêt. En réduisant la sensibilité, vous éliminez de l'écran les parasites parfois réalisés dans l'eau boueuse ou troublée. Si le réglage de sensibilité est trop bas, il se peut que des retours sonar de poissonns ne s'affichent pas.
Procedure de réglage de la sensibilité du sonar à six faisceaux :
- En mode d'affichage Sonar à six faisceaux, Sélectionnez la fonction Sensibilité du sonar à six faisceaux à partir du menu X-Press.
- Utilisez les touches de déplacement du curseur de GAUCHE et de DROITE pour modifier à la hausse ou à la baisse le réglage de sensibilité. Sensibilité du sonar à six faisceaux (Faible = 1, Élevée = 20, valeur implicite = 10).
3D Bottom Zoom Off
ZOOM DU FOND 3D
La fonction Zoom du fond 3D offre une vue
agrandie du fond et n'est accessible qu'a partir du menu X-Press du sonar 3D, dans les modes d'affichage suivants : Sonar 3D ou Sonar 3D et 2D combiné. Servez-vous de la fonction Zoom du fond en 3D pour obtenir plus de détails sur le fond à l'écran.
Procedure de réglage de la fonction Zoom du fond 3D :
- Sélectionnez l'options Zoom du fond 3D à partir du menu X-Press du sonar 3D.
- Utilisez les touches de déplacement du curseur de GAUCHE et de DROITE pour modifier le réglage Zoom du fond en 3D (Désactifé, 1,5x, 2x, 2,5x, 3x, valeur implicé = Désactivé).
La limite inférieure de l'échelle de profondeur 3D permet de régler la valeur de l'échelle la plus profonde qui sera affichée. Elle n'est accessible que par le menu X-Press du sonar 3D, lorsque l'appareil est dans l'un des modes d'affichage suivants : Sonar 3D, Sonar 3D et 2D combiné ou Sonar à six faisceaux. Le mode automatique est régle par défaut. En mode automatique, la limite inférieure de l'échelle de profondeur est réglée par l'appareil de façon à suivre le fond. Entrez un réglage spécifique de profondeur pour passer en mode manuel.
Par exemple, si vous pêchez dans une eau profonde de 18 m (60 pi), mais que vous n'étés interessed qu'aux premiers 9 m (30 pi), soit de la surface jusqu'à 9 m de profondeur, vous devriez régler la limite inférieure de l'échelle de profondeur à 9 m. L'écran affichera la plage de 0 à 9 m, vous permettant de la visualiser avec plus de détails que s'il représentait les échos sonar jusqu'au fond.
Procedure de réglage de la limite inférieure de l'échelle de profondeur 3D :
- Sélectionnez l'options Limité inférieure de l'échelle de profondeur à partir du menu X-Press du sonar 3D.
- Utilisez les touches de déplacement du curseur de GAUCHE ou de DROITE pour modifier à la hausse ou à la baisse la limite inférieure de l'échelle de profondeur (Automatique, de 10 pi à 240 pi, de 3 m à 75 m [exclusif aux modèles internationaux], valeur implicite = Automatique).

HISTORIQUE 3D
La fonction Historique 3D permet de fixer la vitesse
à laquelle l'information du sonar défile à l'écran et, en conséquence, le volume d'historique affchéé. Cette fonction n'est accessible que par le menu X-Press du sonar 3D, lorsque l'appareil est dans l'un des modes d'affichage suivants : Sonar 3D ou Sonar 3D et 2D combiné. Une vitesse plus grande montre moins d'historique, et c'est ce que préférent la plupart des pêcheurs à la ligne; toutefois, l'information du sonar défile rapidement à l'écran. Une vitesse plus lente garde les informations à l'écran plus longtemps, mais le fond se retrouve compressé et peut être difficile à interpréter. Réglez la fonction Historique 3D selon vos préférences.
Procedure de réglage de l'historique 3D :
- Sélectionnez l'options Historique 3D à partir du menu X-Press du sonar 3D.
- Utilisez les touches de déplacement du curseur de GAUCHE et de DROITE pour modifier à la hausse ou à la baisse le réglage Historique 3D (Plus, 2 à 9, Moins, valeur implicite = 6).
Reset 3D View
REMISE A L'ETAT INITIAL DE L'AFFICHAGE 3D
Cette fonction permet de remettre à leur état initial
l'orientation, la fonction de zoom du fond 3D et la limite inférieure de l'échelle de profondeur 3D. Elle n'est accessible que par le menu X-Press du sonar 3D, lorsque l'appareil est dans les modes d'affichage suivants : Sonar 3D ou Sonar 3D et 2D combiné.
Procedure de remise à l'etat initial de l'affiche 3D :
- Sélectionnez l'options Remise à l'état initial de l'affichage 3D à partir du menu X-Press du sonar 3D.
- Utilisez la touche de déplacement du curseur de DROITE pour remettre l'affichage à l'etat initial.

PRIORITE 2D OU 3D
La fonction Priorite 2D ou 3D vous permet de
changer la façon dont les six faisceaux du transducteur sont utilisés afin de prioriser et de personnelier l'affichage des données 2D et 3D.
Selectionnez l'option 2D seulement si vous désirez visualiser les affichages 2D et préférez que les données 2D soient mises à jour rapidement (en mode d'affichage Sonar 3D et 2D combiné, la partie 3D de l'écran sera vide et affichera le message "Vue 3D désactivée").
Selectionnez l'option Égale si vous commutez entre les affichages 2D et les affichages 3D et 2D combinés et préférez que les données 2D soient mises à jour moins rapidement tout en maintainant l'affichage des données 3D.
Selectionnez l'option 3D si vous désirez visualiser l'information 3D la plus détaillée; les données 2D seront mises à jour encore moins rapidement en effectuant ce besoin.
Procedure de modification de la priorité 2D ou 3D :
- Sélectionnez l'options Priorité 2D ou 3D à partir du menu X-Press du sonar 3D.
- Utilisez les touches de déplacement du curseur de GAUCHE ou de DROITE pour modifier le réglage de priorité 2D ou 3D (2D seulement, Égale, 3D, valeur implicite = 3D).

Menu X-Press de navigation
MENU X-PRESS DE NAVIGATION
Le menu X-Press de navigation donne accès aux réglages utilisés le plus souvent. En mode d'affichage Aérien, Cartographique, Cartographique/Sonar combiné ou Cartographique/Aérien combiné, appuyez une fois sur la touche MENU pour acceder au menu.
REMARQUE : Les options du menu varient selon les réglages du système, par ex., lorsque l'appareil est en mode Navigation.
REMARQUE : Vous devrez changer le réglage Zone d'écran active sur Droite pour voir le menu X'Press de navigation dans un affichage combiné complément une zone sonar.

ZONE D'ECRAN ACTIVE
sLECTIONner quel côte de l'affichage divisé est actif; l'activation des touches affecte uniquement le côte de l'écran qui est actif. Lorsqu'un menu est affché, le côte inactif de l'écran est grisé. Une flèche verte apparait toujours dans la partie active de l'écran. Les affichages combinés montrent généralement le sonar sur la gauche et les cartes ou l'affichage aérien sur la droite. L'option de menu Zone d'écran active n'est accessible que lorsque le mode d'affichage combiné est actif.
Procedure de selection de la zone d'écran active :
- Sélectionnez Zone d'écran active dans le menu X-Press de navigation.
- Utilisez la touche de déplacement du curseur de DROITE pour changer le côte actif (Gaughe, droite, valeur implicite = Gauche).
Split Position 50 Left Right
POSITION DIVISEE
Left Right L'option Position divisée vous permet de régler quel pourcentage de l'écran est utilisé par le côté gauche d'un mode d'affichage combiné; chaque mode d'affichage peut être réglé individuellement. Le mode d'affichage doit être actif pour pouvoir modifier la taille d'écran de cet affichage. Le réglage numérique indique le pourcentage occupé par le côté gauche d'un mode d'affichage combiné. En sélectionnant Gauche, vous reglez le côté gauche de l'écran à sa taille la plus petite. L'option de menu Écran divisé n'est accessible que si le mode d'affichage combiné est actif.
Procedure de réglage de la position de séparation d'un écran divisé :
- Sélectionnez Position divisée dans le menu X-Press de navigation.
- Utilisez la touche de déplacement du curseur de DROITE pour changer la taille du côte gauche d'un écran divisé. (Gauge, 30, 40, 50, 60, 70, Droite, valeur implicite = 50).
Save Current Track
SAUVEGARDE DE L'ITINERAIRE ACTUEL
La fonction Sauvegarde de l'itinétaire actuel
permét de sauvegarder l'itinéraire qui estprésentement affché. Lorsque vous sauvegardez l'itinéraire actuel, un nouvel itinéraire commence.
Procedure de sauvegarde de l'itinéraire actuel :
- Sélectionnez l'options Sauvegarde de l'itinéraire actuel à partir du menu X-Press de navigation.
- Utilisez la touche de déplacement du curseur de DROITE pour lancer la sauvegarde de l'itinétaire actuel.
- La boîte de dialogue de confirmation s'affiche. Pour sauvégarder l'itinéraire actuel, appuyez sur la touche de déplacement du curseur de DROITE à nouveau. Pour annuler la sauvégarde de l'itinéraire actuel, appuyez sur la touche de déplacement du curseur de GAUCHE.
Clear Current Track
SUPPRESSION DE L'ITINÉRAIRE ACTUEL
La fonction Suppression de l'itinétaire actuel
permét de supprimer l'itinéraire qui estprésentement affché et de commencer un nouvel itinéraire à la position actuelle.
Procedure de suppression de l'itinéraire actuel :
- Sélectionnez l'option Suppression de l'itinétaire actuel à partir du menu X-Press de navigation.
- Utilisez la touche de déplacement du curseur de DROITE pour lancer la suppression de l'itinéraire actuel.
- La boîte de dialogue de confirmation s'affiche. Pour supprimer l'itinétaire actuel, appuyez sur la touche de déplacement du curseur de DROITE à nouveau. Pour annuler la suppression de l'itinétaire actuel, appuyez sur la touche de déplacement du curseur de GAUCHE.
Save Current Route
SAUVEGARDE DE LA ROUTE ACTUELLE
(seulement en mode de navigation)
La fonction Sauvegarde de la route actuelle permet de sauvegarder la route actuelle presentement affichée. Cette option de menu est presente seulement lorsque vous naviguez en suivant une route.
Procedure de sauvage de la route actuelle :
- Sélectionnez l'options Sauvegarde de la route actuelle à partir du menu X-Press de navigation.
- Utilisez la touche de déplacement du curseur de DROITE pour lancer la sauvegarde de la route actuelle.
- La boîte de dialogue de confirmation s'affiche. Pour sauvégarder la route actuelle, appuyez sur la touche de déplacement du curseur de DROITE à nouveau. Pour annuler la sauvégarde de la route actuelle, appuyez sur la touche de déplacement du curseur de GAUCHE.
Skip Next Waypoint
SAUT DU PROCHAIN POINT DE CHEMINEMENT
(seulement en mode de navigation)
Le Saut du prochain point de cheminement permet desterolir le prochain point de cheminement de la route actuelle. Cette option de menu est presente seulement lorsque vous naviguez en suivant une route.
Procedure de saut du prochain point de cheminement :
- Sélectionnez l'options Saut du prochain point de cheminement à partir du menu X-Press de navigation.
-
Utilisez la touche de déplacement du curseur de DROITE pour lancer le saut du prochain point de cheminement.
-
La boîte de dialogue de confirmation s'affiche. Pour sauter le prochain point de cheminement, appuyez sur la touche de déplacement du%Hurse du DROITE à nouveau. Pour annuler le saut du prochain point de cheminement, appuyez sur la touche de déplacement du%Hurse du GAUCHE.
Cancel Navigation
ANNULATION DE LA NAVIGATION (seulement en mode de navigation)
La fonction Annulation de la navigation permet d'éliminer la route actuelle et de sortir du mode de navigation. Cette option de menu est présente seulement lorsque vous naviguez en suivant une route. Cette procédure ne permet pas d'éliminer une route sauvégardée au préalable.
Procedure d'annulation de la navigation :
- Sélectionnez l'option Annulation de la navigation à partir du menu X-Press de navigation.
- Utilisez la touche de déplacement du curseur de DROITE pour lancer l'annulation de la navigation.
- La boîte de dialogue de confirmation s'affiche. Pour annuler le mode de navigation, appuyez sur la touche de déplacement du curseur de DROITE à nouveau. Pour arrêter la procédure d'annulation de la navigation, appuyez sur la touche de déplacement du curseur de GAUCHE.
Remove Target
SUPPRESSION D'UNE CIBLE
(seulement si une cible est active)
La fonction Retrait de la cible permet de-retirer la cible du point de cheminement de l'écran. Cette option de menu est presente seulement lorsqu'une cible est déjà appliquée à un point de cheminement.
Procedure de retrait d'une cible :
- Sélectionnez l'option Retrait d'une cible à partir du menu X-Press de navigation.
- Utilisez la touche de déplacement du curseur de DROITE pour-retirer la cible.
Remove Grid
SUPPRESSION DE LA GRILLE
(seulement si une grille est active)
La fonction Retrait d'une grille permet desterolir la grille du point de cheminement de l'écran. Cette option de menu est presente seulement lorsqu'une grille est déjà appliquée à un point de cheminement.
Procedure de retrait d'une grille :
- Sélectionnez l'options Retrait d'une grille à partir du menu X-Press de navigation.
- Utilisez la touche de déplacement du curseur de DROITE pour-retirer la grille.

Menu Sonar
ONGLET SONAR DU MENU PRINCIPAL
Appuyez sur la touche Menu à deux reprises pour acceder au menu principal du système, puis appuyez sur la touche de déplacement du curseur de DROITE afin de selectionner l'onglet Sonar.
REMARQUE: Les options du menu varient selon les paramétres du système. Elles varient, par ex., si l'appareil est en mode utilisé Avancé, ou si le mode d'affichage 2D ou 3D est en fonction.

COULEURS DU SONAR 2D
L'option Couleurs du sonar 2D permet de
sLECTIONner la palette de couleurs a utiliser pour l'affichage.
Procedure de modification des couleurs du sonar 2D :
- Sélectionnez l'options Couleurs du sonar 2D à partir du menu X-Press du sonar 2D.
- Utilisez les touches de déplacement du curseur de GAUCHE ou de DROITE pour sélectionner une autre palette de couleurs (Standard, Grise, Inverse, Verte, valeur implicite = Standard).
3D Bottom Style
Shaded with Grid
STYLE DE REPRESENTATION
DU FOND EN 3D
La fonction Style de représentation du fond en 3D permet de selectionner le style de representation du fond utilisé dans le mode d'affichage Sonar 3D.
Procedure de réglage du style de représentation du fond en 3D :
- Sélectionnez l'option Style de représentation du fond en 3D à partir du menu X-Press du sonar.
- Utilisez les touches de déplacement du curseur de GAUCHE et de DROITE pour modifier le style du fond en 3D (Grille seulement, Ombré avec grille, Ombré, valeur implicite = Ombré avec grille).
3D Frame Style 3 Simple Complex
STYLE DE VISUALISATION FIL DE FER
La fonction Style de visualisation fil de fer
permit de selectionner le style de fil de fer utilisé dans le mode d'affichage Sonar 3D.
Procedure de réglage du style de visualisation fil de fer :
- Sélectionnez l'option Style de visualisation fil de fer à partir du menu principal du sonar.
- Utilisez les touches de déplacement du curseur de GAUCHE et de DROITE pour modifier le style de visualisation fil de fer (Simple, 2, 3, 4, Complexe, valeur implicite = 3).
La fonction Sélection de faisceau 2D permet
de régler quels retours sonar du transducteur s'afficheront à l'écran.
Lorsque le faisceau est reglé à 455 kHz, les retours des faisceaux étroits de 455 kHz apparaissent dans tous les modes d'affichage et la portée verticale maximale de l'appareil est de 75 m (240 pi).
Lorsque vous reglez la fonction à 83 kHz, les retours du faisceau large de 83 kHz s'affichent dans tous les modes d'affichage, à l'exception du mode d'affichage 3D et 2D combiné, qui continue à afficher les retours des deux faisceaux dans leur fenêtre respective. La fenêtre sonar en temps réel ne montre que les retours du faisceau large de 83 kHz.
REMARQUE : Il est important de remettre la fonction Sélection de faisceau 2D à 455 kHz lorsque vous revenez en eau moins profonde que 75 m (240 pi), pour obtenir un meilleur rendement dans les affichages 3D.
Procedure de réglage de la fonction Sélection de faisceau :
- Sélectionnez l'options Sélection de faisceau à partir du menu principal.
- Utilisez les touches de déplacement du curseur de GAUCHE et de DROITE pour sélectionner soit le faisceau de 455kHz , soit celui de 83kHz ( 455kHz, 83kHz , valeur implicite = 455 kHz).
Fish ID + 3D Markers
IDENTIFICATION DE POISSON (FISH ID+)
La fonction Identification de poisson utilise
des algorithmes de traitement de signal perfectionnés afin d'interpréter les retours sonar et d'afficher une icône de poisson lorsque des conditions très ciblées sont remplies. Lorsqu'un poisson est detecté, l'appareil affiche une icône de poisson et un chiffre juste au-dessus de cette icône, indiquant la profondeur du return interprétré comme étant un poisson. Il existe troisGXsures differentes de symboles de poisson permettant d'indiquer l'intensité du return, et chacun des six faisceaux possède un ensemble unique de symboles de poisson, pour un total de dix-huit (18) symboles pouvant être affichés. Le diagramme suivant illustré les différents symboles de la fonction d'identification de poisson (Fish ID+) et indique àquel faisceau chacun est associé. Par exemple, un symbole de poisson vide faisant face à gauche indique que le poisson a été detecté par le faisceau d'extrème gauche, et un symbole de poisson vide faisant face vers la droite indique que le poisson a été detecté par le faisceau d'extrème droite.
Lorsque l'option d'identification des poissons est désactivée et que les retours du faisceau de 83kHz sont affichés, l'échosondeur de série 900 affiche les retours sonar bruts à l'écran.

Procedure de réglage de la fonction d'identification des poissons :
- Sélectionnez l'option d'identification de poisson à partir du menu principal.
- Utilisez les touches de déplacement du curseur de GAUCHE et de DROITE pour modifier le réglage d'identification de poisson (Marqueurs 3D, Symbole seulement, Symbole et profondeur, Désactivée, valeur implicite = Marqueurs 3D).
Fish ID Sensitivity 5 10
SENSIBILITÉ DE LA FONCTION D'IDENTIFICATION DE POISSON
La sensibilité de la fonction d'identification de poisson permet de régler le seuil des algorithmes de détction de la fonction Identification de poisson. Le besoin d'un seuil plus élevé permet aux retours plus faibles d'être affichés comme des poisson. Ceci est utile pour identifier une espèce de poisson plus petite ou des poissons d'appats. Le besoin d'un réglage moins élevé permet d'afficher moins d'icones de poisson provenant des retours de sonar faibles. Ceci est utile pour identifier une espèce de poisson plus grande. La sensibilité de repérage de poisson est utilisé de pair avec la fonction Identification de poisson. Il faut que la fonction Identification de poisson soit activée pour que la sensibilité de repérage de poisson puisse avoir un effet sur les retours de sonar identifiés comme des poisson.
Procedure de réglage de la sensibilité de la fonction Identification de poisson :
- Sélectionnez l'options Sensibilité de la fonction d'identification de poisson à partir du menu principal du sonar.
- Utilisez les touches de déplacement du curseur de GAUCHE et de DROITE pour modifier le réglage de sensibilité de repérage de poisson (Fable = 1, Élevée = 10, valeur implicite = 5).
Fish ID 3D Reference
Bottom
RÉFERENCE 3D D'IDENTIFICATION DE POISSON
La fonction Récurrence 3D d'identification de poisson permet de selectionner la ligne de réference utilisée dans le mode d'affichage Sonar 3D. La référence Haut affichera un trait partant du poisson vers le plan de surface, la référence Bas affichera un trait partant du symbole de poisson jusqu'àu profil du fond, et la référence Haut et bas affichera les deux traits.
Procedure de réglage de la référence 3D d'identification de poisson :
- Sélectionnez l'option Ligne de référence d'identification de poisson à partir du menu principal du sonar.
- Utilisez les touches de déplacement du curseur de GAUCHE et de DROITE pour modifier le réglage de référence 3D d'identification de poisson (Surface, Surface et fond, Fond, valeur implicite = Fond).
RTS Window
Narrow
FENÉTRE SONAR EN TEMPS RÉEL (RTS)
La fonction Fenetre sonar en temps reel
(RTS) permet de régler la largeur de cette fenêtre à Large ou Étroite, ou de la désactiver, dans le mode d'affichage Sonar. Cette fenêtre est toujours rafraîchie le plus rapidement possible et n'affiche que les retours qui sont à l'intérieur du faisceau du transducteur. (Voir Pour commencer - Utilisation de la Série 900 : Fenêtre sonar en temps réel (RTS) pour plus de détails.)

Fenêtre sonar en temps réel (Large)
Réglage de la fenêtre sonar en temps réel :
- Sélectionnez l'option Fenêtre sonar en temps réel à partir du menu principal du sonar.
- Utilisez les touches de déplacement du curseur de GAUCHE et de DROITE pour modifier la largeur de la fenetre sonar en temps reel (Large, étroite, désactivée, valeur implicite = Étroite).

Fenetre sonar en temps réel (Étroîte)

Fenêtre sonar en temps réel (Désactivée)
Bottom View
Structure ID
AFFICHAGE DU FOND
La fonction Affichage du fond permet de
sLECTIONner la méthode utilisée pour représentier le fond et la structure à l'écran. La fonction Identification de structure (Structure ID) affiche les retours faibles en bleu et les retours intenses en rouge. La fonction Ligne blanche (WhiteLine) représenté les retours sonar les plus intenses en blanc, créé ainsi une ligne de contour distincte. L'avantage de cette fonction est qu'elle définit clairément le fond à l'écran. Voir représentation du fond pour plus de détails.
Procedure de réglage de l'affichage du fond :
- Sélectionnez l'options Affichage du fond à partir du menu X-Press du sonar.
- Utilisez les touches de déplacement du curseur de GAUCHE et de DROIT modifier le réglage de profil du fond (Identification de structure [Structure Ligne blanche [WhiteLine], valeur implicite = Identification de str [Structure ID]).
Zoom Width
Narrow
LARGEUR DU ZOOM
(exclusif au mode d'affichage Zoom 2D)
La fonction Largeur du zoom permet de contrôle la largeur de la fenetre sonar agrandie (côté gauche de l'écran) en mode d'affichage Zoom du sonar 2D.
Procedure de réglage de la largeur du zoom :
- Sélectionnez Largeur du zoom dans le menu principal du sonar.
- Utilisez les touches de déplacement du curseur de GAUCHE et de DROITE pour modifier la largeur de la fenetre sonar agrandie. (Étroite, Moyenne, Large, valeur implicite = Étroite).

La fonction Sensibilité du faisceau de 83 kHz permet de modifier la sensibilité du faisceau de 83 kHz. Si vous augmentez la sensibilité du faisceau de 83 kHz, plus de retours faibles s'afficheront à l'écran, et si vous la réduisez, moins de ces retours faibles serontopsisents. L'option de menu Sensibilité du faisceau de 83 kHz n'est disponible qu'en mode utilisateur Avancé (voir l'onget Réglages du menu principal : Mode utilisateur).
Procedure de réglage de la sensibilité du faisceau de 83 kHz :
- Assurez-vous que l'appareil est en mode utiliseur Avancé, puis selectionnez l'options Sensibilité du faisceau de 83 kHz à partir de l'onglet Sonar du menu principal.
- Utilisez les touches de déplacement du curseur de GAUCHE ou de DROITE pour régler la sensibilité du faisceau de 83kHz . (-10 à +10, valeur implicite = 0)
Depth Lines

COURBES BATHYMÉTRIQUES
(mode utiliseaur Avance)
Les courbes bathymétriques divisent l'écran en quatre sections égales, séparées par trois courbes bathymétriques horizontales. La profondeur de chaque courbe est affichée le long de l'échelle de profondeur. Vous pouvez soit activer, soit désactiver les courbes bathymétriques. Cette option de menu n'est accessible qu'en mode utilisateur Avancé (voir l'onglet Réglages du menu principal - Mode utilisateur).

Courbes bathymétriques
Procedure de modification des Courbes bathymétriques :
- Assurez-vous que l'appareil est en mode utilisateur Avance, puis selectionnez Courbes bathymétriques à partir du menu principal du sonar.
- Utilisez les touches de déplacement du curseur de GAUCHE ou de DROITE pour activer ou désactiver les courbes bathymétriques (Activée, Déactivée, valeur implicite = Activée).
Surface Clutter

5 INTERFERENCE DE SURFACE
(mode utiliseaur Avancé)
L'interférence de surface permet d'ajuster le filtré qui élimine les interférences de surface causées par les algues et l'aération. Plus la valeur est faible, moins l'interférence de surface est affichée. Cette option de menu n'est accessible qu'en mode utilisateur Avancé (voir l'onglet Réglages du menu principal - Mode utilisateur).

Interférence de surface
Réglage du niveau d'interférence de surface :
- Assurez-vous que l'appareil est en mode utilisateur Avancé, puis selectionnez l'option Interférence de surface à partir du menu principal du sonar.
- Utilisez les touches de déplacement du curseur de GAUCHE et de DROITE pour modifier le réglage d'interfERENCE de surface (Fable = 1, Élevé = 10, valeur implicite = 5).
Noise Filter
Off
FILTRDEBRUIT
(mode utilisateur Avancé)
La fonction de filtrage du bruit permet de réduire les interférences à l'écran provenant de sources comme le moteur du bateau, la turbulence ou autres dispositifs de sonar. Cette option de menu n'est accessible qu'en mode utilisateur Avancé (voir l'onglet Réglages du menu principal - Mode utilisateur).
REMARQUE : La désactivation élimine complètement le filtre; les réglages Faible, Moyen et Élevé fittrent progressivement les retours du sonar. Dans certaines situations d'eau profonde, un réglage élevé pourrait empêcher la tête de commande de trouver le fond.
Réglage du filtré de bruit :
- Assurez-vous que l'appareil est en mode utilisateur Avancé, puis selectionné z'option Filtré de bruit à partir du menu principal du sonar.
- Utilisez les touches de déplacement du curseur de GAUCHE et de DROITE pour modifier le réglage du filtré de bruit (Désactivé, Faible, Moyen, Élevé, valeur implicite = Désactivé).
Max Depth
Auto
Auto
3000
PROFONDEUR MAXIMALE
(mode utilisateur Avance)
La fonction Profondeur maximale permet de régler la profondeur maximale de sondage de l'appareil. Vous pouvez régler votre échosondeur de série 900 de façon à ce que son rendement soit optimisé pour la profondeur à laquelle vous pêchez. Lorsqu'une profondeur maximale est réglée, l'échosondeur de série 900 necherche pas à acquérir de données des profondeurs sous cette limite et cela améliore son rendement général. En mode automatique, l'appareil prend des lectures du fond au besoin (dans la mesure de ses capacités). Si le fond est plus bas que le réglage de profondeur maximale, l'indicateur numérique de la profondeur se mettra à clignoter, indiquant par ce fait que l'échosondeur de série 900 ne peut le localiser. Cette option de menu n'est accessible qu'en mode utilisateur Avancé (voir l'onglet Réglages du menu principal - Mode utilisateur).
Procedure de réglage de la profondeur maximale :
- Assurez-vous que l'appareil est en mode utilisateur Avancé dans un mode d'affichage 2D, puis sélectionnez l'option Profondeur maximale à partir du menu principal du sonar.
- Utilisez les touches de déplacement du curseur de GAUCHE et de DROITE pour modifier le réglage de profondeur maximale (Automatique, de 10 pi à 1 000 pi, de 3 m à 330 m [pour les modèles internationaux exclusivement], valeur implicite = Automatique).
Water Type
Fresh
TYPE D'EAU
(mode utiliseur Avancé)
L'option Type d'eau sert à configurer l'appareil pour les activités en eau douce ou en eau salée. Cette option de menu n'est accessible qu'en mode utilisateur Avancé (voir l'onglet Réglages du menu principal - Mode utilisateur).
REMARQUE: En eau salée, ce qui serait considéré comme un grand poisson pourrait être de 2 à 10 fois plus grand qu'un poisson d'eau douce (selon le type de poisson que vous recherchez). Le mode Eau salée tient compte d'une plus grande gamme dans l'ajustement de taillè de poissonss pour expliquer ceci. Assurez-vous également de bien régler le type d'eau, particulièrement en eau salée, car ce réglage affecte la précision des lectures de profondeur en eau profonde.
Réglagedutyped'eau:
- Assurez-vous que l'appareil est en mode utilisateur Avancé, puis sélectionnez l'options Type d'eau à partir du menu principal du sonar.
- Utilisez les touches de déplacement du curseur de GAUCHE et de DROITE pour modifier le type d'eau (Douce, Salée, valeur implicite = Douce).
Color Bar

BARRE DE COULEURS
La fonction Barre de couleurs permet d'afficher
ou de masquer la barre de couleurs affichée en mode d'affichage plein écran du sonar.
Réglage de l'affichage de la barre de couleurs :
- Sélectionnez l'options Barre de couleurs dans le menu principal du sonar.
- Utilisez les touches de déplacement du curseur de GAUCHE et de DROITE pour modifier l'affichage de la barre de couleurs. (Activée, Désactivée, valeur implicite = Activée).
Temperature Graph

COURBE DE LA TEMPERATURE
(exclusif au mode d'affichage Sonar 2D, avec capteur de température)
La fonction Courbe de la température permet d'afficher (ou de masquer) la courbe de la température de l'eau dans le mode d'affichage principal Sonar 2D afin de montré les changements de température en synchronisation avec l'historique sonar récente.
Procedure de réglage de l'affichage de la courbe de la température :
- En mode d'affichage Sonar 2D, Sélectionnez l'option Courbe de la température à partir du menu principal du sonar.
- Utilisez les touches de déplacement du curseur de GAUCHE et de DROITE pour modifier l'affichage de la température de l'eau (Activée, Désactivée, valeur implicite = Désactivée).

Menu Navigation
ONGLET NAVIGATION DU MENU PRINCIPAL
Appuyez sur la touche Menu à deux reprises pour acceder au menu principal, puis appuyez sur la touche de déplacement du curseur de DROITE afin de selectionner l'onglet Navigation.
REMARQUE : Les options varient selon les réglages du système.
Tracks
ITINÉRAIRES
La fonction Itinéaires permet de visualiser le sousmenu Itinéaires.
Tracks
Edit
Delete
Visibility
Le sous-menu Itinéaires
Procedure de visualisation du sous-menultinéaires :
-
Sélectionnez l'option Itinéaires à partir de l'onglet Navigation du menu principal.
-
Utilisez la touche de déplacement du curseur de DROITE pour visualiser le sous-menu Itinéaires.
Le sous-menu Itinéaires contient les options de menu suivantes :
L'option Édition permet de sélectionner un itinéraire sauvégarde au préalable et d'en modifier le nom.
L'option Suppression permet de supprimer un itinétaire d'une liste d'itinéaires sauvégardés au préalable.
L'option Visibilité permet d'afficher ou de masquercher chaque itinéraire sauvégarde
Waypoints
POINTS DE CHEMINEMENT
La fonction Points de cheminement permet de visualiser le sous-menu Points de cheminement.
Waypoints
Create
Edit
Delete
Go To
Target
Grid
Procedure de visualisation du sous-menu Points de cheminement :
- Sélectionnez l'option Points de cheminement à partir de l'onglet Navigation du menu principal.
Le sous-menu Points de cheminement
- Utilisez la touche de déplacement du curseur de DROITE pour visualiser le sousmenu Points de cheminement.
Le sous-menu Points de cheminement contient les options de menu suivantes :
L'option Création permet de creator un nouveau point de cheminement et de l'éditer immédiatement. La position actuelle du bateau sera utilisé par défaut, mais vous pouvez régler les coordonnées de toute position valide. Il est possible de changer l'icone servant à représenter le point de cheminement dans les modes d'affichage Cartographique et Combiné.
L'option Édition permet deCHOISIR un point à partir d'une liste de points de cheminement sauvegardés au préalable, d'en éditer le nom, la position (latitude et longitude) et de seLECTIONner l'icone qui sera utilisé pour le représentier dans les affichages Cartographique et Combiné.
L'option Suppression permet de supprimer un point de cheminement d'une liste de points de cheminement sauvégardés au préalable.
L'option "Aller à" permet de Sélectionner un point de cheminement et de commencer la navigation vers ce point de cheminement, ou d'ajouter un point de cheminement au bout de la route actuelle.
L'option Cible permet d'appliquer une cible à un point sélectionné à partir d'une liste de points de cheminement.
L'option Grille permet d'appliquer une grille de pêche à la traine à un point sélectionné à partir d'une liste de points de cheminement.
Routes
ROUTES
La fonction Routes permet de visualiser le sous-menu Routes.

Le sous-menu Routes
Procedure de visualisation du sous-menu Routes :
-
Sélectionnez Routes à partir de l'onglet Navigation du menu principal.
-
Utilisez la touche de déplacement du curseur de DROITE pour visualiser le sous-menu Routes.
Le sous-menu Routes contient les options de menu suivantes :
L'option Création permet de creer une nouvelle route vide et d'y ajouter immédiatement des points de cheminement.
L'option Édition permet de sélectionner une route sauvégardée au préalable et d'en modifier le nom et les points de cheminement.
L'option Suppression permet de supprimer une route d'une liste de routes sauvegardées au préalable.
L'option Parcours d'une route permet de selectionner une route sauvegardée au préalable et de l'utiliser comme la route actuelle; ce réglage lance aussi la navigation sur cette route. Vous pouvez naviguer les routes dans un sens ou dans l'autre, à votrechioix.
L'option Information permet d'afficher l'information au sujet de la route, y compris la distance et le relèvement de chaque point de cheminement au prochain.
Chart Orientation
North-Up
ORIENTATION CARTOGRAPHIQUE
La fonction Orientation cartographique permet
de déterminer si les modes d'affichage des cartes doivent parfaître selon une orientation Nord en haut ou selon la Route suivie.
Procedure de modification de l'orientation cartographique :
- Sélectionnez la fonction Orientation cartographique à partir de l'onglet Navigation du menu principal.
- Utilisez les touches de déplacement du curseur de GAUCHE ou de DROITE pour modifier le réglage d'orientation cartographique. (Nord en haut, Route suivie, valeur implicite = Nord en haut).
REMARQUE: Le réglage d'orientation cartographique ne s'applique pas à la vue aérienne.
North Reference
True
Référencce DU NORD
La fonction Récurrence du nord permet d'afficher
les relièments en fonction de l'une des deux orientations suivantes : nord vrai ou nord magnétique.
Procedure de modification du point de reférence du nord :
- Sélectionnez l'option Récurrence du nord à partir de l'onglet Navigation du menu principal.
- Utilisez les touches de déplacement du curseur de GAUCHE ou de DROITE pour modifier le réglage de reference du nord (Nord vrai, Nord magnétique, valeur implicite = Nord vrai).
Trolling Grid Rotation 0° 089
ROTATION DE LA GRILLE DE PÉCHE À LA TRÂINE
La fonction Rotation de grille de pêche à la traine permet de régler (en degrés) l'orientation de la grille, où un réglage de 0^ indique un alignment standard Nord, Sud, Est ou Ouest. Voir la section Points de cheminement pour obtenir de plus amples renseignements sur la façon d'afficher une grille.
Procedure de rotation de la grille de pêche à la traine :
- Sélectionnez l'option Rotation de grille de pêche à la traine à partir de l'onglet Navigation du menu principal.
- Utilisez les touches de déplacement du curseur de GAUCHE ou de DROITE pour modifier le réglage de rotation de grille de pêche à la traine. (de 0^ à 89^ , valeur implicite = 0^ ).
Trackpoint Interval
15 seconds
INTERVALLE DE TEMPS ENTRE LES
POINTS D'ITINÉAIRE
La fonction Intervalle de temps entre les points d'itinétaire permet de préciser un début temporel entre les points d'itinétaire. L'itinétaire actuel ne peut conténir que 2000 points d'itinétaire donc, si la période de temps est plus longue, l'itinétaire se prolongera dans le temps, mais sera moins détaillé.
REMARQUE : La fonction Intervalle de temps entre les points d'itinétaire est utilisée conjointement avec la fonction Distance min. entre les points d'itinétaire. Les deux conditions doivent être satisfaites avant de pouvoir ajouter un point d'itinétaire à l'itinétaire actuel.
Procedure de modification de l'intervalle de temps entre les points d'itinéraire :
-
Sélectionnez l'option Intervalle de temps entre les points d'itinétaire à partir de l'onglet Navigation du menu principal.
-
Utilisez les touches de déplacement du curseur de GAUCHE ou de DROITE pour modifier le réglage d'intervalle de temps entre les points d'itinéraire (1 s, 5 s, 10 s, 15 s, 30 s, valeur implicite = 15 s).
REMARQUE: Durant un parcours à vitesse lente ou un parcours à la dérive, le fait de régler l'intervalle de temps et la distance minimum entre les points d'itinétaire à de petites valeurs permet d'augmenter la résolution de l'itinétaire.
Track Min Distance 16ft 1 300
DISTANCE MIN. ENTRE LES POINTS D'ITINÉRAIRE
(modeutilisateurAvancé)
La fonction Distance min. entre les points d'itinétaire permet de régler une distance minimum de parcours avant qu'un point d'itinétaire soit ajouté à l'itinétaire.
REMARQUE: La fonction Distance min. entre les points d'itinétaire est utilisé conjointement avec la fonction Intervalle de temps entre les points d'itinétaire. Les deux conditions doivent être satisfaites avant de pouvoir ajouter un point d'itinétaire à l'itinétaire actuel.
Procedure de modification de la distance minimale entre les points d'itinétaire :
- Assurez-vous que l'appareil est en mode utilisé Avancé, puis selectionné l'options Distance min. entre les points d'itinéraire à partir de l'onglet Navigation du menu principal.
- Utilisez les touches de déplacement du curseur de GAUCHE ou de DROITE pour modifier le réglage de distance minimale entre les points d'itinétaire (de 1 pi à 300 pi ou de 1 m à 100 m [exclusif aux modèles internationaux], valeur implicite = 16 pi ou 5 m).
REMARQUE: Durant un parcours à vitesse lente ou un parcours à la dérive, le fait de régler l'intervalle de temps et la distance minimum entre les points d'itinéraire à de petites valeurs permet d'augmenter la résolution de l'itinéraire.
Map Datum
WGS84(Default)
SYSTEME DE RÉFERENCE CARTOGRAPHIQUE
(mode utiliseaur Avance)
La fonction Système de référence cartographique permet de changer le système de coordonnées utilisé par la Série 900 afin qu'il corresponde à celui utilisé sur une carte en papier.
Procedure de modification du système de reférence cartographique :
- Assurez-vous que l'appareil est en mode utilisé Avancé, puis sélectionné l'option Système de ↔reference cartographique à partir de l'onglet Navigation du menu principal.
- Utilisez les touches de déplacement du curseur de GAUCHE ou de DROITE pour modifier le réglage du système de réseau cartographique (valeur implicite = WGS 84).
Export All Nav Data
EXPORTATION DE TOUTES LES DONNÉES DE NAVIGATION
(mode utiliseur Avancé)
La fonction Exporter toutes les données de navigation permet d'exporter tous les itinéaires, tous les points de cheminement et toutes les routes vers une carte multimédia/SD.
Procedure d'exportation de toutes les données de navigation :
- Assurez-vous que l'appareil est en mode utilisateur Avancé et qu'une carte multimédia/SD en option est installée dans la fente, puis sélectionnez Exporter toutes les données de navigation dans le menu principal de navigation.
- Utilisez la touche de déplacement du curseur de DROITE pour exporter toutes les données de navigation.
Delete All Nav Data
SUPPRESSION DE TOUTES LES DONNÉES DE NAVIGATION
(mode utiliseaur Avance)
La fonction Suppression de toutes les données de navigation permet de supprimer tous les itinéaires, tous les points de cheminement et toutes les routes. Utilisez cette option de menu avec prudence!
Procedure de suppression de toutes les données de navigation :
- Assurez-vous que l'appareil est en mode utilisé Avancé, puis sélectionné l'option Suppression de toutes les données de navigation à partir de l'onglet Navigation du menu principal.
- Utilisez la touche de déplacement du curseur de DROITE pour supprimer toutes les données de navigation.

Menu Cartographie
ONGLET CARTOGRAPHIE DU MENU PRINCIPAL
Appuyez sur la touche Menu à deux reprises pour acceder au menu principal du système, puis appuyez sur la touche de déplacement du curseur de DROITE afin de selectionner l'onglet Cartographie.
REMARQUE: Les options du menu varient selon les paramétres du système (par ex., elles varient si l'appareil est en mode utilisé Avance ou non).
Chart Detail Level

NIVEAU DE DÉTAIL DE LA CARTOGRAPHIE
La fonction Niveau de détaill de la cartographie
permet de sélectionner le niveau de détail à afficher dans les écrans de navigation. L'option Base affiche les zones terrestres, les ports, les obstacles et les zones restreintes. L'option Navigation affiche les aides à la navigation, les points de repère, les voies de traversier et les routes de navigation, en plus des données de l'option Base. L'option Subaquatique affiche les courbes bathymétriques, les zones de pêche, les épaves sous-marines, les marées et les courants, en plus des données des options Base et Navigation. L'option Tous affiche les routes, les batiments, les chemins de fer et autres notations, en plus des données des options Base, Navigation et Subaquatique.
Procedure de modification du niveau de détaill de la cartographie :
- Sélectionnez l'option Niveau de détails de la cartographie à partir de l'onglet Navigation du menu principal.
- Utilisez les touches de déplacement du curseur de GAUCHE ou de DROITE pour modifier le niveau de détaill de la cartographie (Base, Navigation, Subaquatique, Tous, valeur implicite = Tous).
REMARQUE: Certains niveaux de détaill ne sont disponibles que sur des cartes multimédias/SD vendues séparation.
Map Borders
Hidden
FRONTIÈRES DE CARTE
La fonction Frontières de carte permet d'afficher
ou de masquer les frontières de la carte. Une frontière de carte indique une zone contenant une carte différente.

Frontières de carte
Procedure de modification des frontières de carte :
- Sélectionnez l'options Frontières de carte à partir de l'onglet Navigation du menu principal.
- Utilisez les touches de déplacement du curseur de GAUCHE ou de DROITE pour modifier le réglage des frontières de carte (Masqués, Visibles, valeur implicite = Masqués).
Lat/Lon Grid
Hidden
GRILLE DE COORDONNÉES GEOGRAPHIQUES TERRESTRES
La fonction Grille de coordonnées géographiques terrestres permet d'afficher ou de masquer une grille représentant les parallètes de latitude et les méridiens de longitude.
Procedure de modification de la grille de coordonnées géographiques terrestres :
- Sélectionnez l'option Grille de coordonnées géographiques terrestres à partir de l'onglet Navigation du menu principal.
- Utilisez les touches de déplacement du curseur de GAUCHE ou de DROITE pour modifier le réglage de la grille de coordonnées géographiques terrestres (Masqués, Visibles, valeur implicite = Masqués).
Spot Soundings
Hidder
SONDAGES PAR POINT
La fonction Sondages par point permet
d'afficher ou de masquer les sondages par point, qui sont des mesures de profondeur affichées sur la carte.
REMARQUE : Les sondages par point ne sont disponibles que sur des cartes multiméias/SD vendues séparation.
Procedure de modification des sondages par point :
- Sélectionnez l'options Sondages par point à partir de l'onglet Navigation du menu principal.
- Utilisez les touches de déplacement du curseur de GAUCHE ou de DROITE pour modifier le réglage des sondages par point (Masqués, Visibles, valeur implicite = Masqués).
La fonction Profondeur d'ombrage vous permet
de modifier la profondeur utilisée pour l'ombrage dans les affichages cartographiques.
Procedure de modification de la profondeur d'ombrage :
- Sélectionnez l'options Profondeur d'ombrage à partir de l'onglet Navigation du menu principal.
- Utilisez les touches de déplacement du curseur de GAUCHE ou de DROITE pour modifier le réglage de profondeur d'ombrage (Désactivée, de 1 pi à 60 pi ou de 1 m à 20 m [exclusif aux modèles internationaux], valeur implicite = 15 pi ou 5 m).
La fonction Établissement d'une position en mode de simulation permet de régler la position du bateau dans le simulator.
Procedure de réglage d'une position en mode de simulation :
- Activez le curseur et déplacez-le vers les coordonnées de départ de la simulation. REMARQUE: Le curseur doit être actif pour que cette procédure fonctionne.
- Assurez-vous que l'appareil est en mode utilisateur Avancé, puis selectionné z'option Établissement d'une position en mode de simulation à partir de l'onglet Navigation du menu principal.
- Utilise la touche de déplacement du curseur de DROITE pour modifier le réglage de position en mode de simulation. Une boîte de dialogue de confirmation apparaitra pour vous permettre de confirmer ou d'annuler votre choix. Si le curseur est inactif avant de commencer cette procédure, un message d'erreur apparaitra. Quittez le menu, activez le curseur et réessayez ensuite.
Set Map Offset
RéGLAGE DE COMPENSATION DE CARTE
(mode utilisateur Avance)
La fonction Réglage de compensation de carte permet de compenser la carte utilisée par la Série 900.
REMARQUE : La compensation s'applique à toutes les cartes, c'est-à-dire qu'elle ne s'applique pas seulement à la carte nécessitant la correction. Vous devriez supprimer la compensation si vous utilisez une autre carte.
Procedure de modification du réglage de compensation de carte :
- Activez le curseur et déplacez-le au point où vous désirez appliquer la compensation de carte.
REMARQUE: Le curseur doit être actif pour que cette procédure fonctionne.
- Assurez-vous que l'appareil est en mode utilisateur Avancé, puis selectionné l'option Réglage de compensation de carte à partir de l'onglet Navigation du menu principal.
- Utilisez la touche de déplacement du curseur de DROITE pour régler la compensation de carte. Une boîte de dialogue de confirmation apparaître pour vous permettre de confirmer ou d'annuler votrechoix. Si le curseur est inactif avant deCOMMencer cette procédure, un message d'erreur apparaître. Quitte le menu, activé le curseur et réessayez ensuite.
Clear Map Offset
SUPPRESSION DE COMPENSATION DE CARTE
Suppression de compensation de carte
La fonction Suppression de la compensation de carte vous permet desterolir la compensation de carte. Cette fonction n'est accessible que s'il y a efectivement une compensation etablie pour une carte.
Procedure de suppression de la compensation de carte :
- Assurez-vous que l'appareil est en mode utilisé Avancé, puis selectionné l'option Suppression de compensation de carte à partir de l'onglet Navigation du menu principal.
- Utilisez la touche de déplacement du curseur de DROITE pour supprimer la compensation de carte.

ONGLET ALARMES DU MENU PRINCIPAL
À partir de n'importequel mode d'affichage, appuyez sur la touche Menu à deux reprises pour acceder au menu principal. L'onglet Alarmes est selectionné par défaut.
REMARQUE : Lorsqu'une alarme se déclenché, vous pouvez appuyer sur n'importe qu'elle touche pour la désactiver. Le signal d'alarme se coupe et l'alarme ne résonnera à nouveau que si un nouvel événement déclenché une alarme.
Depth Alarm

Menu Alarmes
Off ALARME DE PROFONDEUR
L'alarme de profondeur se déclenché lorsque
la profondeur est égale ou inférieure à celle réglée au menu.
Réglage de l'alarme de profondeur :
- Sélectionnez l'option Alarme de profondeur à partir du menu des alarmes.
- Utilisez les touches de déplacement du curseur de GAUCHE et de DROITE pour modifier le réglage de l'alarme de profondeur (Désactivée, de 1 pi à 100 pi ou de 0,5 m à 30 m [pour les modèles internationaux exclusivement], valeur implicite = Désactivée).
Fish ID Alarm

ALARME D'IDENTIFICATION DE POISSON
L'alarme d'identification de poisson se
déclenché lorsque la Série 900 détecte unoisson correspondant au type deoisson choisi. Cette alarmenegative quesilafonctionIdentificationdeoisson(FishID+)estactivée.
Par exemple, si vous avez regle l'alarme d'identification de poisson à Gros poisson, elle ne se déclenchera que lorsque l'appareil détectera un gros poisson.
Réglage de l'alarme d'identification de poisson :
- Sélectionnez l'option Alarme d'identification de poisson à partir du menu des alarmes.
- Utilisez les touches de déplacement du curseur de GAUCHE et de DROITE pour modifier le réglage de l'alarme d'identification de poisson (Désactivée, Tous, Gros ou moyen, Gros, valeur implicite = Désactivée).

La fonction Alarme de source d'alimentation faible se déclenché lorsque la tension de la batterie est égale ou inférieure à celle définie au menu. L'alarme d'alimentation faible se déclenchera seulement pour la batterie qui est connectée à la Série 900. Vous devriez régler l'alarme de source d'alimentation faible de façon à ce qu'elle vous avertisse lorsque la tension de la batterie descend sous la marge de sécurité que vous arez déterminée. Par exemple, si vous utilisez un moteur de pêche à la traine (alimenté par la batterie), vous devriez régler l'alarme de source d'alimentation faible de façon à ce qu'elle vous avertisse avant que la tension de la batterie ne soit trop faible pour lancer votre moteur principal alimenté à l'essence.
Réglage de l'alarme de source d'alimentation faible :
- Sélectionnez l'option Alarme de source d'alimentation faible à partir du menu des alarmes.
- Utilisez les touches de déplacement du curseur de GAUCHE et de DROITE pour modifier le réglage de l'alarme d'alimentation faible (Désactivée, 9 V - 13,5 V, valeur implicite = Désactivée)
Temp. Alarm Off Off 120
ALARMDE TEMPERATURE
L'alarme de température se déclenché
lorsque la température de l'eau détestée par la Série 900 atteint le niveau régèle, soit en degrés Fahrenheit, soit en degrés Celsius (exclusivement pour les modèles internationaux). Par exemple, si l'alarme de température et régèle à 58^ et que la température de l'eau passe de 60^ à 58^ , l'alarme de température se déclenché. Dans le même ordre d'idées, si la température passe de 56^ à 58^ , l'alarme se déclenché à nouveau.
Procedure de réglage de l'alarme de température :
- Sélectionnez l'option Alarme de température à partir du menu principal des alarmes.
- Utilisez les touches de déplacement du curseur de GAUCHE ou de DROITE pour modifier le réglage de l'alarme de température (Désactivée, de 32^ à 120^ , de 0 °C à 50 °C [pour les modèles internationaux exclusivement], valeur implicite = Désactivée)
Off Course Alarm 328ft Off 3000
ALARME HORS CAP
L'alarme hors cap se déclenché lorsque le
bateau, en mode de navigation, a dévié de son cap de plus que la valeur régée au menu. La fonction Alarme hors cap permet de déterminer àquel point le bateau peut changer de cap sans que l'alarme hors cap ne sonne.

Cercle d'alarme d'arrivee
Limits hors cap 2
Procedure de réglage de l'alarme hors cap :
- Sélectionnez l'option Alarme hors cap à partir de l'onglet Alarmes du menu principal.
- Utilisez les touches de déplacement du curseur de GAUCHE ou de DROITE pour modifier le réglage de l'alarme hors cap (Désactivée, de 30 pi à 3 000 pi ou de 10 m à 1 000 m [exclusif aux modèles internationaux], valeur implicite = 300 pi ou 100 m).
Arrival Alarm 164ft Off 3000
ALARME D'ARRIVEE
Off 3000 L'alarme d'arrivée se déclenché lorsque le bateau, en mode de navigation, a dépasse la distance pour se rendre au point de cheminement, ou est entré dans le cercle d'alarme d'arrivée, selon le réglage effectué au menu. La fonction Alarme d'arrivée permet de déterminer àquelle distance le bateau doit être du point de cheminement avant que l'alarme ne sonne.
Procedure de réglage de l'alarme d'arrivée :
- Sélectionnez l'option Alarme d'arrivée à partir de l'onglet Alarmes du menu principal.
- Utilisez les touches de déplacement du curseur de GAUCHE ou de DROITE pour modifier le réglage de l'alarme d'arrivée (Désactivée, de 30 pi à 3 000 pi ou de 10 m à 1 000 m [exclusivement pour les modèles internationaux], valeur implicite = 150 pi ou 50 m).
Drift Alarm

Off ALARME DE DERIVE
L'alarme de dérivé se déclenché lorsque le
bateau a dépasse la distance régée au menu, par rapport à sa position d'ancrage. La fonction Alarme de dérivé permet de régler la taille du périmètre autour de la position d'ancrage du bateau; si le bateau ancre commence à dériver hors de ce périmètre, l'alarme de dérivé sonne.

Procedure de réglage de l'alarme de dérive :
-
Sélectionnez l'option Alarme de dérivé à partir de l'onglet Alarmes du menu principal.
-
Utilisez les touches de déplacement du curseur de GAUCHE ou de DROITE pour modifier le réglage de l'alarme de dérivé (Désactivée, de 30 pi à 3 000 pi ou de 10 m à 1 000 m [pour les modèles internationaux exclusivement], valeur implicite = Déssactivée).
Alarm Tone

TONALITE D'ALARME
Permet de sélectionner la tonalité du son
d'alarme. Une brève tonalité se fera entendre lorsque vous reglerez la tonalité de l'alarme, afin que vous puissiez selectionner cette qui convient le mistréux.
Réglage de la tonalité d'alarme :
- Sélectionnez l'option Tonalité d'alarme à partir du menu des alarmes.
- Utilisez les touches de déplacement du curseur de GAUCHE et de DROITE pour modifier le réglage de tonalité d'alarme (Élevée, Moyenne, Faible, valeur implicite = Moyenne).

Menu Reglages
ONGLET RÉGLAGES DU MENU PRINCIPAL
À partir de n'importequel mode d'affichage, appuyez sur la touche MENU à deux reprises pour acceder aux onglets du menu principal, puis appuyez sur la touche de déplacement du curseur de DROITE le nombre de fois nécessaire pour selectionner l'onglet Reglages.
REMARQUE : Les options de menu varient selon les paramétres du système. Elles varient, par ex, lorsque l'appareil est en mode utilisé Avancé ou en fonction des accessoires branchés à l'appareil.
Units - Depth

UNITÉS - PROFONDEUR
Unités de profondeur permet de Sélectionner
les unités de mesure pour tous les affichages de profondeur.
Réglage des unités de profondeur :
- Sélectionnez Unités - Profondeur à partir de l'onglet Réglages du menu principal.
- Utilisez les touches de déplacement du curseur de GAUCHE et de DROITE pour modifier le réglage des unités de profondeur (Mètres [pour les modèles internationaux exclusivement], Pieds, Brasses; valeur implicite = Mètres [pour les modèles internationaux] ou Pieds [pour les modèles nationaux]).
Units - Temp

UNITÉS - TEMPERATURE
(exclusif aux modèles internationaux)
Unités de température permet de sélectionner les unités de mesure pour tous les affichages de température. Pour les modèles internationaux exclusivement.
Réglage des unités de température :
- Sélectionnez Unités - Température à partir de l'onglet Reglages du menu principal.
- Utilisez les touches de déplacement du curseur de GAUCHE et de DROITE pour modifier le réglage des unités de température (Celsius, Fahrenheit; valeur implicite = Celsius).
Units - Distance
Feet/Statute Miles
UNITS - DISTANCE
Unités de distance permet de sélectionner les
unites de mesure pour tous les affichages de distance.
Réglage des unités de distance :
- Sélectionnez Unités - Distance à partir de l'onglet Reglages du menu principal.
- Utilisez les touches de déplacement du curseur de GAUCHE et de DROITE pour modifier le réglage des unités de distance (modèles nationaux : Milles terrestres, Milles marins, valeur implicite = Milles terrestres; modèles internationaux : Mêtres/kilometres, Mêtres/milles marins, Pieds/milles terrestres, Pieds/milles marins, valeur implicite = Mêtres/kilometres).
Units - Speed
< mph >
UNITS - VITESSE
Unités de vitesse permet de sélectionner les
unités de mesure pour tous les affichages de vitesse.
Modification des unités de vitesse :
- Sélectionnez Unités - Vitesse à partir de l'onglet Réglages du menu principal.
- Utilisez les touches de déplacement du curseur de GAUCHE et de DROITE pour modifier le réglage des unités de vitesse (km/h [pour les modèles internationaux exclusivement], mi/h, noeuds, valeur implicite = km/h pour les modèles internationaux et mi/h pour les modèles nationaux).
User Mode
Advanced
MODE UTILISATEUR
Le mode utilisateur permet de régler le
système de menus au mode Normal ou Avancé. Lorsque le mode est réglé à normal, seules les options de base du menu sont affichées. En mode Avancé (mode implicite), d'autres options de menu sont disponibles.
Modification du mode utilisateur :
- Sélectionnez l'option Mode utilisé à partir de l'onglet Réglages du menu principal.
- Utilisez les touches de déplacement du curseur de GAUCHE et de DROITE pour modifier le mode utilisateur (Normal, Avancé, valeur implicite = Avancé).
Language
English
LANGUE
(exclusif aux modèles internationaux)
La fonction Langue permet de selectionner la langue d'affichage des menus. Pour les modèles internationaux exclusivement.
Réglage du besoin de la langue :
- Sélectionnez l'options Langue à partir du menu Réglages.
- Utilisez les touches de déplacement du curseur de GAUCHE et de DROITE pour modifier le réglage de la langue (valeur implicite = Anglais).
Triplog Reset
REMISE A ZERO DU COMPTEUR JOURNALIER
Remise à zéro du journal permet de remetre le journal de bord à zéro Le compteur journalier compte les données suivantes : minuterie pour le temps écoulé, distance parcourue depuis la première réinitialisation et vitesse moyenne.
Remise à zéro du compteur journalier :
- Sélectionnez l'options Remise à zéro du compteur journalier à partir de l'onglet Réglages du menu principal.
- Utilisez la touche de déplacement du curseur de DROITE pour lancer la remise à zéro.
- La boîte de dialogue de confirmation s'affiche. Pour remettre le compteur journalier à zéro, appuyez sur la touche de déplacement du curseur de DROITE à nouveau. Pour annuler la réinitialisation, appuyez sur la touche de déplacement du curseur de GAUCHE.
Restore Defaults
RESTITUTION DES RÉGLAGES PAR DÉFAUT
La fonction de Réglages par défaut permet de revenir aux réglages par défaut pour TOUS les réglages de menu. Utilisez cette option de menu avec prudence!
Restitution des réglages par défaut :
- Sélectionnez l'options Restitution des réglages par défaut à partir de l'onglet Réglages du menu principal.
- Utilisez la touche de déplacement du curseur de DROITE pour lancer la restitution des réglages par défaut.
- La boîte de dialogue de confirmation s'affiche. Pour restituer les réglages par défaut, appuyez sur la touche de déplacement du curseur de DROITE à nouveau. Pour annuler la restitution, appuyez sur la touche de déplacement du curseur de GAUCHE.
Select Readouts
Readout 1
Depth
Readout 2
Triplog
Readout 3
WeatherSense
Readout 4
Temperature
Readout 5
Speed
Sélection des indicateurs
Select Readouts
SELECTION DES INDICATEURS
(mode utilisateur Avancé)
La fonction Sélection des indicateurs permet de personneliser les informations des indicateurs numériques individuels affichés sur le côte gauche de l'écran dans de nombreux modes d'affichage; vous pourriez par exemple supprimer un indicateur pour ne plus rien afficher. La capacité de personneliser les indicateurs dépend du mode d'affichage et de si vous naviguez ou non. Cette fonction avancée vous permit de désirir les données qui seront affichées dans chacune des cinq fenêtres fixes réparties sur le bord gauche de l'écran dans le mode d'affichage Sonar. Elle permet également de désactiver une fenêtre particulière, qui n'afficherait aucune donnée dans ce cas. La fonction de
s'élection des indicateurs n'est accessible qu'en mode utilisateur Avancé (à partir de l'onglet Réglages du menu principal - Mode utilisateur).
Les fenêtres de données peuvent afficher les indicateurs d'accessoires compatibles comme ceux du capteur de vitesse. Chaque fenêtre de données peut être vide (déactivée), ouContainir l'un des éléments suivants :
Cap
- Température
Profondeur
Heure et date
Position
- Compteur journalier
Tension
Vitesse
Mode d'affichage Sonar uniquement, sans navigation : Les 5 indicateurs sont personnalisables tant que vous ne naviguez pas.
Autres modes d'affichage, sans navigation : Dans tous les modes d'affichage cartographiques et tant que vous ne naviguez pas, deux des cinq indicateurs peuvent etre personnalisés - la deuxième zone indique toujours le cap, et la cinquième la vitesse. Dans le mode d'affichage Aérien et lorsque vous ne naviguez pas, quatre zones d'information sont presents : la profondeur, le cap, la position (latitude/longitude) et la vitesse. Pendant que vous naviguez en mode d'affichage Aérien, deux colonnes contenant chacune quatre zones sont affichées. La première colonne affiche la profondeur, la durée prévue du trajet, la position (latitude/longitude) et la vitesse. La第二种e colonne affiche les erreurs de route, le cap, le relèvement et la distance à un point.
Tous les modes d'affichage, avec navigation : Pendant que vous naviguez et pour tous les modes d'affichages (y compris les écrans divisés avec affichage du sonar), aucun des indicateurs ne peuvent être personnalisé à l'exception de la zone d'information supérieure. Dans n'importe quel mode d'affichage, pendant que vous naviguez : La deuxième zone d'information affiche le cap, la troisième le relièvement, la quatrième affiche à la fois les erreurs de route et la distance à un point, et la cinquième zone affiche à la fois la durée prévue du trajet et la vitesse.

Mode d'affichage Sonar par défaut

Mode d'affichage Sonar adapté
Procedure de selection des indicateurs :
- Assurez-vous que l'appareil est en mode utilisé Avancé, puis désissez l'options Sélection des indicateurs à partir de l'onglet Réglages du menu principal.
- Utilisez la touche de déplacement du curseur de DROITE pour lancer cette procédure.
- Le sous-menu Sélection des indicateurs s'affichera, énumérant tous les indicateurs. Utilisez les touches de déplacement du curseur vers le HAUT ou vers le BAS afin de sélectionner une position précise pour l'indicateur, puis appuyez sur la touche de GAUCHE ou de DROITE pour désir que celle donnée afficher à cet endroit (Cap, Profondeur, Navigation, Position, Déactivée, Vitesse, Température, Heure et date, Compteur journalier, Tension).

COMPENSATION DE LA PROFONDEUR
(mode utiliseaur Avance)
La fonction Compensation de la profondeur permet d'obtenir une lecture de profondeur soit à partir de la surface, soit à partir de la quille. Entrez une mesure verticale positive de la distance entre le transducteur et la ligne de flottaison pour que l'indicateur affiche la profondeur à partir de la ligne de flottaison. Entrez une mesure verticale négative de la distance entre le transducteur et la quille pour que l'indicateur affiche la profondeur à partir de la quille. Cette option de menu n'est accessible qu'en mode utilisateur Avancé (voir l'onget Réglages du menu principal - Mode utilisateur).
Réglage de la compensation de la profondeur :
- Assurez-vous que l'appareil est en mode utilisé Avancé, puis choisissez l'options Compensation de la profondeur à partir de l'onglet Réglages du menu principal.
- Utilisez les touches de déplacement du curseur de GAUCHE et de DROITE pour modifier le réglage de compensation de la profondeur. (de -10,0 pi à +10,0 pi ou de -3 m à 3 m [pour les modèles internationaux exclusivement], valeur implicite = 0).

COMPENSATION DE LA TEMPERATURE
(mode utiliseaur Avance)
La fonction Compensation de la température permet d'ajuster l'indicateur de température du nombre de degrés spécifique. Cette option de menu n'est accessible qu'en mode utilisateur Avancé (voir l'onglet Réglages du menu principal - Mode utilisateur).
Réglage de la compensation de la température :
- Assurez-vous que l'appareil est en mode utilisé Avancé, puis désisissez l'options Compensation de la température à partir de l'onglet Réglages du menu principal.
- Utilisez les touches de déplacement du curseur de GAUCHE et de DROITE pour modifier le réglage de la compensation de la température (de -10,0 degrès à +10,0 degrès, valeur implicite = 0,0 ou désactivée).
Local Time Zone
EST (UTC-5)
(mode utiliseur Avance)
La fonction Fuseau horsere local permit de selectionner un fuseau horsere correspondant à l'heure du récepteur GPS lorsque l'option Heure et date est selectionnée comme indicateur numérique en mode d'affichage Sonar (voir Sélection des indicateurs). Cette option de menu n'est accessible qu'en mode utilisateur Avancé (voir l'onglet Réglages du menu principal - Mode utilisateur).
Procedure de modification du fuseau horsaire local :
- Assurez-vous que l'appareil est en mode utilisé Avancé, puis choisissez l'options Fuseau horsaire local à partir de l'onglet Réglages du menu principal.
- Utilisez les touches de déplacement du curseur de GAUCHE ou de DROITE pour modifier le réglage du fuseau horsaire local (valeur implicite = HNE [TUC-5] - Heure normale de l'Est).
(mode utilisateur Avancé)
La fonction Heure avancée permet d'ajuster l'affichage de l'heure afin de tener compte de l'heure d'été. Sélectionnez Activée pour ajouter une heures à l'affichage de l'heure locale du fuseau horsaire. Sélectionnez Désactivée pour laisser l'affichage de l'heure locale selon le fuseau horsaire. Cette option de menu n'est accessible qu'en mode utilisateur Avancé (voir l'onglet Réglages du menu principal - Mode utilisateur).
Procedure de modification de la fonction d'heure avancée :
- Assurez-vous que l'appareil est en mode utilisé Avancé, puis désisissez l'options Heure avancée à partir de l'onglet Réglages du menu principal.
- Utilisez les touches de déplacement du curseur de GAUCHE ou de DROITE pour activer ou désactiver la fonction d'heure avancée. (Activée, Désactivée, valeur implicite = Désactivée).
Position Format
ddmmmmm
FORMAT DE LA POSITION
(mode utilisateur Avance)
La fonction Format de la position permet de selectionner le format de l'affichage de la latitude et de la longitude. Cette option de menu n'est accessible qu'en mode utilisateur Avancé (voir l'onglet Reglages du menu principal - Mode utilisateur).
Procedure de réglage du format de la position :
- Assurez-vous que l'appareil est en mode utilisateur Avancé, puis désissez l'options Format de la position à partir de l'onglet Réglages du menu principal.
- Utilisez les touches de déplacement du curseur de GAUCHE ou de DROITE pour modifier le réglage du format de la position (dd.ddddd, dd'mmm', ou dd'mm'ss", valeur implicite = dd'mmm').
Time Format
12-Hour
FORMAT DE L'HEURE
(mode utilisateur Avancé; exclusif aux
modèless internationaux)
La fonction Format de l'heure permet de modifier le format utilisé par le système pour afficher l'heure. Cette option de menu n'est accessible qu'en mode utilisateur Avancé (voir l'onglet Réglages du menu principal - Mode utiliser). Exclusif aux modèles internationaux. Mode utiliser Pour les modèles internationaux exclusivement. La fonction Format de l'heure permet de sélectionner le format d'affichage de l'heure en période de 12 ou de 24 heures, lorsque l'option Heure + Date est sélectionnée comme indicateur numérique dans le mode d'affichage Sonar (voir Sélection des indicateurs).
Procedure de modification du format de l'heure :
- Assurez-vous que l'appareil est en mode utilisé Avancé, puis désisseez l'options Format de l'heure à partir de l'onglet Réglages du menu principal.
- Utilisez les touches de déplacement du curseur de GAUCHE ou de DROITE pour modifier le format de l'heure (12 heures, 24 heures, valeur implicite = 12 heures).
Date Format
mm/dd/yy
FORMAT DE LA DATE
(mode utiliseaur Avance; excludif aux
modèlessInternationaux)
La fonction Format de la date permet de modifier le format utilisé par le système pour afficher la date. Cette option de menu n'est accessible qu'en mode utilisateur Avancé (voir l'onglet Réglages du menu principal - Mode utiliser). Exclusif aux modèles internationaux. Mode utiliser Pour les modèles internationaux exclusivement. La fonction Format de la date permet de Sélectionner le format d'affichage de la date lorsque l'options Heure + Date est Sélectionnée comme indicateur numérique dans le mode d'affichage Sonar (voir Sélection des indicateurs).
Procedure de modification du format de la date :
- Assurez-vous que l'appareil est en mode utilisateur Avancé, puis désissez l'options Format de la date à partir de l'onglet Réglages du menu principal.
- Utilisez les touches de déplacement du curseur de GAUCHE ou de DROITE pour modifier le format de la date (mm/jj/aa, jj.mm(aa ou aa.mm.jj, valeur implicite = mm/jj/aa).
NMEA Output
Off
SORTIE NMEA
(mode utiliseaur Avance)
La fonction Sortie NMEA permet d'activer ou de désactiver la sortie NMEA. Cette option de menu n'est accessible qu'en mode utilisateur Avancé (voir l'onglet Réglages du menu principal - Mode utilisateur).
Les énoncés NMEA suivants sont des messages de sortie :
DPT-Profondeur
MTW - Température de l'eau
GLL - Latitude et longitude
GGA -Données de position GPS
RMC - Données GNSS spécifiques minimales recommandées
VTG - Route et vitesse-fond
ZDA - Heure et date
Lorsque le bateau navigue, les énoncés NMEA suivants sont également des messages de sortie :
APB - Message B d'autopilote
BWR - Relèvement et distance du point de cheminement
RMB - Information de navigation minimale recommandaee
Activation et déactivation de la fonction Sortie NMEA :
- Assurez-vous que l'appareil est en mode utilisateur Avancé, puis désissez l'options Sortie NMEA à partir du menu Réglages.
- Utilisez les touches de déplacement du curseur de GAUCHE et de DROITE pour activer ou désactiver la fonction Sortie NMEA (Activée, Déactivée, valeur implicite = Déactivée).
Sonar

SONAR
La fonction Sonar désactive le sonar et retire
les modes d'affichage.
Procedure d'activation et de déactivation de la fonction Sonar :
- Sélectionnez l'option Sonar à partir de l'onglet Réglages du menu principal.
- Utilisez les touches de déplacement du curseur de GAUCHE ou de DROITE pour modifier le réglage d'activation du sonar (Activé, Déactivé, valeur implicite = Activé).

Menu des affichages
ONGLET AFFICHAGES DU MENU PRINCIPAL
À partir de n'importequel mode d'affichage, appuyez sur la touche Menu à deux reprises pour acceder aux ontlets du menu principal, puis appuyez sur la touche de déplacement du curseur de DROITE le nombre de fois nécessaire pour selectionner l'onglet Affichages. Cet onglet du menu principal vous permit de régler les affichages disponibles de façon à ce qu'il socrient visibles ou non dans le cycle de rotation des affichages. Pour retirer un mode d'affichage du cycle de rotation, il suffit d'en régler l'attribut à "cache",sinon il demeurera "visible". Les modes d'affichage suivants sont disponibles :
Mode d'affichage Aérien
Mode d'affage Cartographique et Aérien combiné
Mode d'affichage Cartographique
Mode d'affichage Cartographique et Sonar 3D combiné
Mode d'affichage Cartographique et Sonar 2D combiné
Mode d'affichage Sonar 2D
Mode d'affichage Zoom 2D
Mode d'affiche Sonar 3D et 2D combiné
Mode d'affichage Sonar a six faisceaux
- Autotest
Test des accessoirs
Mode d'affichage Diagnostic GPS (seulement avec recepteur GPS).
Pour modifier I'etat de tout affichage :
- Sélectionnez l'onglet Affichage du menu principal.
- Utilisez les touches de déplacement du curseur vers le HAUT et vers le BAS pour sélectionner un mode d'affichage.
- Utilisez les touches de déplacement du curseur de GAUCHE et de DROITE pour modifier l'etat de l'affichage de " cache" à "visible" ou inversement.
ONGLET ACCESSOIRESDU MENU PRINCIPAL
À partir de n'importequel mode d'affichage,appuyez sur la touche MENU à deux reprises pour acceder aux onglets du menu principal, puis appuyez sur la touche de déplacement du curseur de DROITE le nombre de fois nécessaire pour selectionner l'onglet Accessoires.
Si aucun accessoire n'est branché au bus d'accessoires, il n'y a aucune option sous l'onglet Accessoires du menu principal. Cependant, si vous branchez un accessoire, des options de menu additionnelles s'ajoutent automatiquement pour le commander. Voir le guide d'utilisation de l'accessoire pour obtenir de plus amples renseignements.

Menu des accessoires (aucun accessoire branché)

Menu des accessoires (accessoires branchés)
REMARQUE : Les accessoires nécessaires pour activer les fonctionnalités WeatherSense et Liaison sonar sans fil SmartCast sont vendus séparation. Veuillez visiter notre site Web www.humminbird.com ou communiquer avec notre Centre de ressources pour la clientèle au 1-800-633-1468 pour obtenir de plus amples renseignements.
DEPANNAGE
Veuillez dire la section suivante avant de communiquer avec le Centre de ressources pour la clientèle de Humminbird. Passez en revue ces lignes directrices de dépannage pour vous aider à résoudre un problème de rendement par vos propres moyens afin d'éviter d'envoyer votre apparéil à un centre de réparation.
Difficultés àmettre la Série 900
Si vous ne parvenez pas àmettre vosé Série 900, consultez la notice d'installation fournie avec l'appareil pour obtenir des détails précis, en vous assurant que :
- le cable d'alimentation est bien branché à la tête de commande de la Série 900 ;
- les connexions du cable d'alimentation sont déequates : le fil rouge est branché à la borne positive de la batterie et le fil noir est branché à la borne négative ou à la masse ;
- le fusible est en bon état de fonctionnement ;
- la tension de la batterie au connecteur du cable d'alimentation est d'au moins 10 V.
Corrigez tout problème connu, enlevez aussi la corrosion des bornes et du câblage de la batterie, ou remplacez la batterie si nécessaire.
Mode Simulateur actif malgre la presence d'un transducteur
Une Série 900 à laquelle un transducteur en bon état est branché passera automatiquement en mode de fonctionnement Normal. Si, à la mise sous tension, l'appareil passe automatiquement au mode Simulateur, même si vous y avez branché un transducteur, ici signifie que la tête de commande ne détecte pas le transducteur. Effectuez les procédures de dépannage suivantes:
- En vous reportant à la notice d'installation fournie avec la Série 900, assurez-vous que le cable du transducteur est bien branché à l'appareil. Rebranchez-le au besoin, puis allumez la Série 900 à nouveau pour voir si cela a réglé le problème.
- Si le transducteur ne fonctionne pas, remplacez-le si possible par un autre transducteur que vous savez en bon et mettez à nouveau la tête de commande sous tension.
- Vérifiez le cable du transducteur. Remplacez le transducteur si le cable est endommagé ou corrode.
PROBLEMES D'AFFICHAGE
ll t i t t t t t t t t t t t t t t t t t t t t t t t t t t t t t t t t t t t t t t t t t t t t t t t t t t t t t
Consultez le tableau suivant qui enumeré certains problèmes d'affichage et des solutions possibles à y apporter :
| Problème | Cause possible |
| La tête de commande s'éteint lorsque le bateau se déplace à grande vitesse. | Si la puissance de sortie du moteur de votre bateau n'est pas régulée, il se peut que la tête de commande se protège grâce à un dispositif de protection contre les surtensions. Assurez-vous que la tension d'entrée ne dépasse pas 20 V. |
| Lorsque le bateau se déplace à grande vitesse, le fond disparait de l'écran, l'image s'évanouit ou est interrompue. | La position du transducteur doit probablement être ajustée. Un mélange d'air et d'eau s'écouant autour du transducteur (cavitation) pourrait nuir à l'interprétable des données du sonar. Consultez la notice d'installation pour vous guider dans le repositionnement du transducteur. |
| Le bruit électrique provenant du moteur du bateau pourrait nuir à la réception du sonar. Voir la section D'étermination des causes d'interférence pour obtenir de plus amples renseignements. | |
| L'appareil ne detecte aucun poisson, même si vous savez qu'il y en a sous le bateau, ou les lectures du sonar semble faibles ou faissées. | Si le transducteur est mal positionné (par ex., monté en angle plutôt que pointé directement vers le bas) ou s'il existe des interférences mécaniques, soit partir que le transducteur est monté à l'intérieur d'une coque trop épaissie pour obtenir une bonne transmission des ondes, soit partir que le lien entre le transducteur et la coque n'est pas hermétique, ou encore si le transducteur est sale, le détecteur pourrait avoir de la peine àTRAitter les retours de sonar. Consultez la notice d'installation pour vous guider dans le repositionnement du transducteur et assurez-vous que le transducteur est propre. |
| Il se pourrait que le signal de transmission soit affecté par une batterie faible. | |
| Le bruit électrique provenant du moteur du bateau pourrait nuir à la réception du sonar. Voir la section D'étermination des causes d'interférence pour Broker de plus amples renseignements. |
DÉTERMINATION DES CAUSES D'INTERFÉRENCE
Le bruit électrique afferce habituèlement les indicateurs très sensibles et l'affichage, qui montre des points noirs lorsque le bateau se déplace à grande vitesse. L'une des sources suivantes ou même plusieurs d'entre elles pourrait causer du bruit ou des interfêrences.
| Source possible d'interférence | Isolation |
| Autres apparils électroniques | Fermez tous les dispositifs électriques environnants pour voir si cela résout le problème, puis allumez-les de nouveau, un après l'autre, pour voir si le problème survient de nouveau. |
| Le moteur du bateau | Pour déterminer si le moteur du bateau est la source du bruit, faites augmenter les révolutions du moteur en restant au point mort et en position stationnaire pour voir si le bruit augmente parallèlement avec les révolutions; si le bruit apparaît lorsque vous augmentez les révolutions du moteur, le problème peut provenir des bougiees d'allumage, de l'alternateur ou du câblage du tachymètre. Remplacez les bougiees d'allumage par des bougiees à résistance, installez un filtre pour l'alternateur, ou acheminez les cables du transducteur et d'alimentation de la tête de commande à l'écart du câblage du moteur. |
| Cavitation causée par l'hélice du bateau | La turbulence créée par l'hélice peut causeur du bruit; assurez-vous que le transducteur est monté au moins 38 cm (15 po) à l'écart de l'hélice, et que l'eau s'écoule avec aisance sur la face du transducteur en tout temps. |
GARANTIE RESTREINTE D'UN (1) AN
Nous garantissons à l'acheteur au détail initial que les produits fabriqués par Humminbird® sont exempts de defaults de matière et de fabrication. Cette garantie est en vigueur pour une durée d'un an à partir de la date de l'achat initial. Les produits de Humminbird® qui sont effectivement défectieux et couverts par cette garantie seront replacés ou réparés sans frais, à la discrétion de Humminbird®, et renvoyés au client, fret payé à l'avance. La seule responsabilité de Humminbird® relativement à cette garantie se limite à réparer ou à replacer un produit jugé défectieux par Humminbird®. Humminbird® n'est pas responsable des frais liés à la désinstallation d'un tel produit ni à la réinstallation de la pièce replacée ou réparée.
Cette garantie ne couvre pas un produit qui a ete :
mal installé;
- instalé d'une façon autre que celle recommendée dans la notice d'installation ou le mode d'emploi du produit;
endommagé ou qui a cession de fonctionner par suite d'un accident ou d'une utilisation anormale ;
- réparé ou modifié par une entité autre que Humminbird.
Veuillez conserveur le reçu de caisse original comme preuve de la date d'achat. Il vous sera demandé pour toute réparation effectuee sous garantie.
CETTE GARANTIE EXPRESSSE REMPLACE TOUTE AUTRE GARANTIE, OBLIGATION OU RESPONSABILITÉ DE LA PART DE HUMMINBIRD®, ET CONSTITUÉ LE SEUL RECOURS DU CLIENT, EXCEPTION FAITE DE TOUTE GARANTIE APPLICABLE IMPLICITE EN VERTU D'UNE LOI PROVINCALE (D'ÊTAT), LIMITÉE PAR LA PRESENTÉ À UNE DUREE D'UN AN À PARTIR DE LA DATE D'ACHAT INITIALE. HUMMINBIRD® NE POURRA EN AUCUN CAS ÉTRE TENUE RESPONSABLE DE TOUT DOMMAGE ACCESSOIRE OU CONSÉCUTIF À L'INOBSERVATION D'UNE GARANTIE EXPRESSÉ OU IMPLICITE RELATIVE AUX PRODUITS.
Certains états n'autorisant pas de limitation sur une garantie implicite, ni l'exclusion de dommages accessoires ou consécutifs, les exclusions ci-dessus peuvent ne pas vous concerner. Vous pourriez également bénéficier d'autres droits, qui varient d'une province (d'un État) à une (un) autre.
POLITIQUE DE SERVICE DE HUMMINBIRD
Meme si vous n'aurez probabilité jamais à utiliser notre incroyable politique de service après-vente, il est faisant de savoir que nous soutenons nos produits avec tant de confiance. Nous agissons ainsi parce que nous croyons que vous méritez ce qu'il y a de moins. Nous ferons tout en notre pouvoir pour réparer votre apparéil en dette de trois jours ouvrables, à partir de la date de réception de l' apparéil à notre usine. Ce délambda ne comprend pas la durée du transport jusqu'à notre usine, ni de notre usine jusqu'à vous. Les apparéils reçus le vendredi sont habituèlement returnés le mercredi suivant, les apparéils reçus le lundi sont habituèlement returnés lejeudi, et ainsi de suite.
Toutes les réparations sont effectuées en accord avec les specifications rigoureuses de l'usine, par des techniciens formés en usine. Les appareils réparés en usine sont testés de la même façon et subissant les mêmes contrôle de qualité que les nouvelles unités en production.
À la fin de la période de garantie initiale, une évaluation des frais de service à tarif fixe régulier sera effectue pour chaque apparéil en réparation (dommages physiques et pieces manquantes non compris). Toute réparation effectue après la période de garantie initiale est garantie pendant 90 jours à partir de la date de la réparation par notre technicien en usine. Vous pouvez communiquer avec notre Centre de ressources pour la clientèle ou visiter notre site Web pour vérifier les frais de service à tarif fixe pour votre produit (voir la section de soutien technique sur les produits):
http://www.humminbird.com
Nous nous réservons le droit de considérer un produit irréparable si les pieces de rechange sont discontinuées ou impossibles à obtenir. La politique de service après-vente n'est valide qu'aux États-Unis. Elle ne s'applique qu'aux produits Humminbird®eturnés à notre usine située à Eufaula, Alabama. La politique de service après-vente est modifiable sans préavis.
COMMENT RETOURNER VOTRE APPAREL POUR RÉPARATION
Avant de returner votre apparéil pour réparation, veuillez communiquer avec l'usine, soit par téléphone ou par courrier électronique, afin d'obtenir un numéro d'autorisation de réparation pour votre apparéil. Assurez-vous d'avoir le nom de modèle et le numéro de série de votre produit avant d'appeler l'usine. Si vous communiqués avec l'usine par courrier électronique, veuillez inclure le nom de modèle et le numéro de série de votre produit dans le message et inscrite "Demande de numéro d'autorisation de réparation" dans le sujet du courriel. Par la suite, vous devriez toujours vous reférer à ce numéro d'autorisation de réparation lors de communications subséquentes au sujet de votre apparéil.
Veuillez livre les étapes suivantes pour les réparations à effectuer SOUS GARANTIE :
- Obtenir un numéro d'autorisation de réparation du Centre de ressources à la clientèle de Humminbird®.
- Étiqueter le produit du nom, de l'adresse et du téléphone du client, ainsi que du numéro d'autorisation de réparation.
- Décrire brievement le problème.
- Joindre une copie du reçu ( comme preuve d'achat et de date d'achat).
- Retourner le produit, fret payé à l'avance, à Humminbird®. Assurer l'expédition et demander une preuve de livraison.
Veuillez suivre les étapes suivantes pour les réparations d'appareils N'ÉTANT PLUS SOUS GARANTIE :
- Obtenir un numéro d'autorisation de réparation du Centre de ressources à la clientèle de Humminbird®.
- Joindre le paiement, soit en incluant un nombre de carte de crédit avec date d'expiration, soit en joignant un mandat postal ou bancaire, ou un chèque personnel. Ne pas envoyer d'argent comptant.
- Étiqueter le produit du nom, de l'adresse et du téléphone du client, ainsi que du numéro d'autorisation de réparation.
- Décrire brievement le problème.
- Retourner le produit, fret payé à l'avance, à Humminbird®. Assurer l'expédition et demander une preuve de livraison.
ACCESSIONS DE LA SÉRIE 900
Les accessoires vous permettent de personnelier votre Série 900 et de le maintainir à la fine pointe de la technologie. Lorsque vous branchez un accessoire à la Série 900, des menus et des indicateurs supplémentaires s'ajoutent automatiquement au système de menus. Voici une liste des accessoires disponibles actuellement et compatibles avec votre apparéil :
Système de surveillance des conditions de pêche WeatherSense : Achetez et branchez l'accessoire WeatherSense à votre Série 900 pour obtenir un indicateur de la pression barométrique et des données de tendance en temps réel.
Câble de connexion GPS : Achetez le â cable de connexion GPS pour brancher un apparéil GPS compatible NMEA*, ou autre apparéil portatif déjà en votre possession, à votre Série 900.
*NMEA 0183 est une norme de communication de données définie par la National Marine Electronics Association (l'association nationale d'électronique maritime)
Liaison sonar sans fil : Achetez l'accessoire de liaison sonar sans fil pour receivevoir à distance les signaux sonar d'un capteur sonar SmartCast. La liaison sonar sans fil reçoit les signaux radioélectriques émis par le capteur sonar distant et les retransmet à la Série 900 par le biais du bus d'accessoires.
N'oubliez pas de visitor notre site Internet www.humminbird.com pour découvert de nouveaux accessoires et accroître les fonctionnalités de votre Série 900!
REMARQUE : Les accessoires sont tous vendus séparément. Veuillez visiter notre site Web www.humminbird.com ou communiquer avec notre Centre de ressources pour la clientèle au 1-800-633-1468 pour obtenir de plus amples renseignements.
CHARACTERISTIQUES
Portee vertical
3D 240 ft (75 m)
2D 1000 ft (330 m)
Puisance de sortie. 1000 Watts (valeur efficace), 8000 Watts (crete a crete)
Fréquence de fonctionnement
3D et 2D. 455 kHz et 83 kHz
Zone de couverture 74° à -10 dB avec le faisceau de 83 kHz et 53° à -10 dB avec le faisceau de 455 kHz
Séparation des échos 63,5 mm (2,5 po)
Source d'alimentation 10 a 20V c.c.
Ecran a cristaux liquides 480 V x 854 H
Transducteur SHS 7W
Longueur du cable de transducteur 6 m (20 pi)
REMARQUE: Les caractéristiques et specifications peuvent être modifiées sans préavis.
REMARQUE: Humminbird® vérifie la portée en profondeur maximale spécifiée dans des conditions d'eau salée. Le rendement en profondeur peut toutegois varier en fonction de la façon dont le transducteur a été installé, du type d'eau, des couches thermiques ainsi que de la composition et de l'inclinaison du fond sous-marin.
ANNEXA
Gabarit de montage de transducteur : SHS 7W
Pour communiquer avec Humminbird®
Voici par quels moyens vous pouvez communiquer avec le
Centre de ressources pour la clientèle Humminbird® :
Par telephone,
du lundi au vendredi, de 8 h à 16 h 30 (heure normale du Centre) :
1-800-633-1468
Par courrier électronique
(nous répondons normalement aux courriels en moins de trois jours ouvrables) :
custserv@johnsonoutdoors.com
Adresse d'expédition directe :
Humminbird
Service Department
678 Humminbird Lane
Eufaula, AL 36027 USA

HUMMINBIRD®
Notice Facile