MY LOCK 204D - Machine à coudre surjeteuse JANOME - Notice d'utilisation et mode d'emploi gratuit
Retrouvez gratuitement la notice de l'appareil MY LOCK 204D JANOME au format PDF.
| Intitulé | Valeur / Description |
|---|---|
| Type de produit | Surjeteuse |
| Caractéristiques techniques principales | 4 fils, 2 aiguilles, 1 boucleur supérieur, 1 boucleur inférieur |
| Alimentation électrique | 220-240 V, 50/60 Hz |
| Dimensions approximatives | 30 cm x 25 cm x 30 cm |
| Poids | 6 kg |
| Compatibilités | Tissus légers à épais, y compris jersey, denim et tissus extensibles |
| Fonctions principales | Surjet, ourlet roulotté, couture de finition |
| Entretien et nettoyage | Nettoyage régulier des pièces internes, lubrification des mécanismes |
| Pièces détachées et réparabilité | Disponibilité de pièces de rechange via le service après-vente Janome |
| Sécurité | Équipée d'un couvercle de protection, utilisation recommandée avec des gants de protection |
| Informations générales utiles | Garantie de 2 ans, manuel d'utilisation inclus, formation recommandée pour les débutants |
FOIRE AUX QUESTIONS - MY LOCK 204D JANOME
Téléchargez la notice de votre Machine à coudre surjeteuse au format PDF gratuitement ! Retrouvez votre notice MY LOCK 204D - JANOME et reprennez votre appareil électronique en main. Sur cette page sont publiés tous les documents nécessaires à l'utilisation de votre appareil MY LOCK 204D de la marque JANOME.
MODE D'EMPLOI MY LOCK 204D JANOME
Pour les appareils avec fiche polarisée (une lame plus large que l'autre) : afin de réduire le risque de secousse électrique, cette fiche ne peut être insérée dans une prise polarisée que d'une seule façon.
Si la fiche ne s'insère pas complètement dans la prise, inversez-la.
Si elle ne s'insère toujours pas correctement, contacter un électricien qualifié pour poser une prise appropriée.
Ne modifiez la prise en aucune façon.
Le contrôleur de pied YC-482J ou TJC-150 doit être utilisé avec la machine à coudre MyLock 204D (pour le marché américain seulement).
Cette machine à coudre est conçue et fabriquée uniquement pour un usage DOMESTIQUE.
Lire toutes les instructions avant d'utiliser la machine à coudre.
Danger : pour réduire le risque de secousse électrique :
- Une machine ne devrait jamais être laissée sans surveillance lorsqu'elle est branchée. Débrancher toujours cette machine de la prise immédiatement après l'emploi et avant le nettoyage.
- Toujours débrancher la machine avant de remplacer l'ampoule. La remplacer par une ampoule de 15 watts de même type.
- Ne pas tenter de sortir la machine de l'eau si elle y est tombée. La débrancher immédiatement.
- Ne pas placer la machine à un endroit où elle pourrait tomber dans un évier ou une cuve. Ne pas la placer ni la laisser tomber dans l'eau ou dans tout autre liquide.
Avertissement : pour réduire le risque de brûlures, incendie, secousse électrique ou blessures corporelles.
- Ne pas permettre que cette machine soit utilisée comme un jouet. Il est important de bien surveiller lorsque cette machine est utilisée par des enfants ou près des enfants.
- Utiliser cette machine uniquement pour l'usage prescrit, tel que décrit dans ce manuel. N'utiliser que les accessoires recommandés par le fabricant, tels que décrits dans ce manuel.
- le cordon ou la fiche est endommagé, si elle ne fonctionne pas correctement, si elle a été échappée ou endommagée, ou si elle est tombée dans l'eau. Retourner la machine au commerçant autorisé ou au centre de réparations le plus proche pour un examen, des réparations ou un ajustement électrique ou mécanique.
- une ouverture d'aération est bloquée. Garder les ouvertures d'aération de la machine à coudre et du contrôleur de pied exemptes d'accumulation de charpie, de poussière et de tissus épars.
- Ne jamais enlever ni insérer un objet dans une ouverture.
- Ne pas l'utiliser à l'extérieur.
- Ne pas l'utiliser à des endroits où des produits en aérosol (vaporisateurs) sont utilisés ou où il y a un débit d'oxygène.
- Pour débrancher, placer toutes les commandes à la position "0", retirer la fiche de la prise de courant.
- Ne pas débrancher en tirant sur le cordon. Pour débrancher, saisir la fiche et non le cordon.
- Garder les doigts éloignés de toutes les pièces mobiles. Faire bien attention à l'aiguille et aux couteaux de la machine à coudre.
- Toujours utiliser la plaque d'aiguille appropriée. Une mauvaise plaque pourrait casser l'aiguille.
- Ne pas utiliser d'aiguilles courbées.
- Ne pas tirer ni pousser le tissu lors de la couture. Ceci pourrait faire courber l'aiguille et la casser.
- Éteindre l'interrupteur d'alimentation de la machine à coudre avant de faire des ajustements dans la zone de l'aiguille, comme enfiler l'aiguille, changer l'aiguille, enfiler les boucleurs, changer le pied presseur et ainsi de suite.
- Débrancher toujours la machine à coudre de la prise de courant avant d'enlever les couvercles, de la lubrifier ou de faire d'autres ajustements mentionnés dans ce manuel d'instructions.
Ce qu'il faut faire et ne pas faire
- Faites toujours attention au mouvement de va-et-vient de l'aiguille et soyez très vigilant pendant la couture.
- Lorsque la machine à coudre est laissée sans surveillance, l'interrupteur principal de la machine doit être éteint ou la prise doit être retirée du socle.
- Lors de la réparation de la machine ou lors du retrait des couvercles ou du changement des ampoules, la machine doit être débranché
Lors du changement des ampoules, la machine doit être débranchée du bloc d'alimentation en retirant la prise du socle.
- Ne rien placer sur la pédale de contrôle, sinon la machine risque de coudre par mégarde ou la pédale et le moteur peuvent griller.
- La puissance maximale permise pour l'ampoule de la machine à coudre est de 15 watts.
- Lors des premiers usages de la machine à coudre, placer un vieux tissu sous le pied presseur et faire marcher la machine sans fil pendant quelques minutes. Essuyer toute huile présente, s'il y a lieu.
Préparation
Noms des pièces
Branchement de la machine au bloc d'alimentation
d'alimentation
Contrôle de la vitesse de couture 11
Mesures de sécurité
Comment tourner le volant 13
Ouverture et fermetre du couvercle lateral. 13
Ouverture et fermeture du couvercle latéral.
du boucleur 13
Position de la barre de guide-fil 15
Pose du capuchon du porte-bobine et du fil.
Changement de l'aiguille
Soulèvement ou abaissement du pied presseur.
Retrait du pied presseur
Pose du pied presseur 19
Réglage de la pression du pied presseur 19
Réglage de la longueur des points 21
Réglage du rapport de l'entraînement
Différentiel 21
Désactivation du couteau supérieur 23
Activation du couteau supérieur 23
Réglage de la largeur de coupe 25
Réglage du bouton de r .
plaque à aiguille 27
Enfilage de la machine 29-47
- Enfilage du boucleur inférieur 31
- Enfilage du boucleur supérieur 37
- Comment enfiler le boucleur supérieur seulement 39
- Enfilage de l'aiguille droite 41
- Enfilage de l'aiguille gauche 45
Points d'essai
Commencer à coudre 49 Fin de la couture 49 Couture continue 49 Comment utiliser les lignes-guides 49 Nouer les extrémités 51 Tension des fils (4 fils) 53 La tension du fil du boucleur est déséquilibrée (1)...55 Enfilage de la machine (3 fils) 57 Tension des fils (3 fils) 59 Tableau des fils et des aiguilles 60, 61
Rouleauté, revers à picot et ourlet étroit
Réglage de la machine et fil, tissu et portée du cadran de tension. Tension des fils. Pour obtenir les meilleurs résultats.
Surjet décoratif
Fil et tissu 71. Réglage de la machine 71.
Fil et tissu 71. Réglage de la machine 71.
Nervure
Fil et tissu 73 - Réglage de la machine 73 - Couture 73
Entretien de la machine
Remplacement du couteau supérieur 75 Nettoyage de la zone du couteau supérieur 75 Remplacement de l'ampoule 77 Nettoyage de la griffe d'entraînement 77 Lubrification de la machine 79 Transport de la machine 79 Recherche des pannes 82
PIÈCES FACULTATIVES 85


Préparation
① Cadran de tension du fil de l'aiguille gauche ② Cadran de tension du fil de l'aiguille droite ③ Cadran de tension du fil du boucleur supérieur ④ Cadran de tension du fil du boucleur inférieur ⑤ Couvercle latéral ⑥ Couvercle du boucleur ⑦ Volant ⑧ Interrupteur ⑨ Douille de la machine ⑩ Cadran d'entraînement différentiel ⑪ Cadran de longueur des points ⑫ Support de bobine ⑬ Porte-bobine ⑭ Broche à bobine ⑮ Barre de guide-fil ⑯ Guide-fil ⑰ Vis de détente du pied presseur ⑱ Pied presseur ⑲ Bouton de réglage de la plaque à aiguille ⑳ Coupe-fil ㉑ Releveur du pied presseur ㉒ Plaque à aiguille ㉓ Bouton de dégagement du couteau supérieur ㉔ Cadran de réglage de la largeur de coupe ㉕ Boucleur supérieur ㉖ Boucleur inférieur ㉗ Couteau supérieur ㉘ Couteau inférieur
Accessoires standard
① Tournevis ② Pince ③ Ensemble d'aiguilles

Branchement de la machine au bloc d'alimentation
- Éteindre l'interrupteur et brancher la prise de la machine dans la douille de la machine.
- Brancher la prise du bloc d'alimentation dans le bloc d'alimentation.
- Allumer l'interrupteur.
① Interrupteur. ② Prise de la machine. ③ Douille de la machine. ④ Prise du bloc d'alimentation. ⑤ Bloc d'alimentation. ⑥ Pédale de contrôle.
Contrôle de la vitesse de couture
La vitesse de couture peut être réglée à l'aide de la pédale de contrôle. Plus la pédale de contrôle est enfoncée, plus la machine coud rapidement.
Appuyer sur la pédale de contrôle avec le releveur du pied presseur soulevé et essayer de contrôler la vitesse.
Pédale de contrôle
Mesures de sécurité
- Pendant la couture, garder toujours les yeux sur la zone de couture et ne pas toucher les pièces mobiles comme le levier tendeur de fil, les boucleurs, le volant, l'aiguille ou les couteaux.
- Débrancher la machine du bloc d'alimentation.
- lorsque la machine est laissée sans surveillance.
- lors de la pose ou du retrait des pièces.
- Lors de l'enfilage ou du nettoyage de la machine.
- Ne rien poser sur la pédale de contrôle, sauf pendant l'utilisation de la machine.

Comment tourner le volant
Tournez toujours le volant vers soi (dans le sens antihoraire).
① Volant
Ouverture et fermeture du couvercle de l'étaloir
Pour ouvrir:
Pousser le couvercle latéral vers la gauche.
Pourfermer:
Pousser le couvercle latéral vers la droite et légèrement vers la machine.
Couvercle latéral
Ouverture et fermeture du couvercle du boucleur
Pour ouvrir:
Tirer le couvercle du boucleur vers soi, tout en le poussant à l'aide du pouce vers la droite aussi loin que possible.
Pourfermer:
Soulever le couvercle du boucleur et le pousser vers la machine.
Le couvercle du boucleur s'enclenche en place automatiquement.
Couvercle du boucleur
Toujours fermer le couvercle de l'étal et le couvercle du boucleur lors de l'utilisation de la machine.

Position de la barre de guide-fil
- Tir aussi haut que possible.
- Tourn pour que les guide-fils soient juste au-dessus des broches à bobine.
① Barre de guide-fil ② Guide-fil ③ Butées ④ Broche à bobine
Pose du capuchon du porte-bobine et du filet
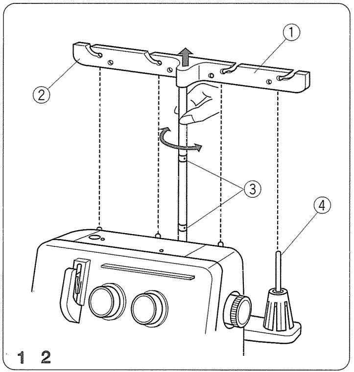
- En cas d'utilisation d'une petite bobine de fil, sortir le porte-bobine de la broche à bobine. Placer la bobine en orientant la fente vers le haut et poser le capuchon de bobine sur la bobine.
① Porte-bobine ② Broche à bobine ③ Capuchon du porte-bobine ④ Fente
- Si le fil glisse vers le bas pendant l'enfilage et/ou la couture, poser un filet sur la bobine comme illustré, afin d'éviter tout blocage.
- Le capuchon du porte-bobine et le filet sont des accessoires facultatifs.
① Filet ② Broche à bobine




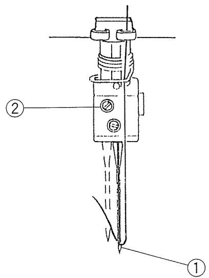
Changement de l'aiguille
Éteindre l'interrupteur et débrancher la machine.
Soulever l'aiguille à sa position la plus haute.
Desserrer la v ou droite de l'aiguille à tirer.
① V ② Vis de pince-aiguille droite
- Utiliser l'aiguille n° 14 HA-1SP ou n° 11.
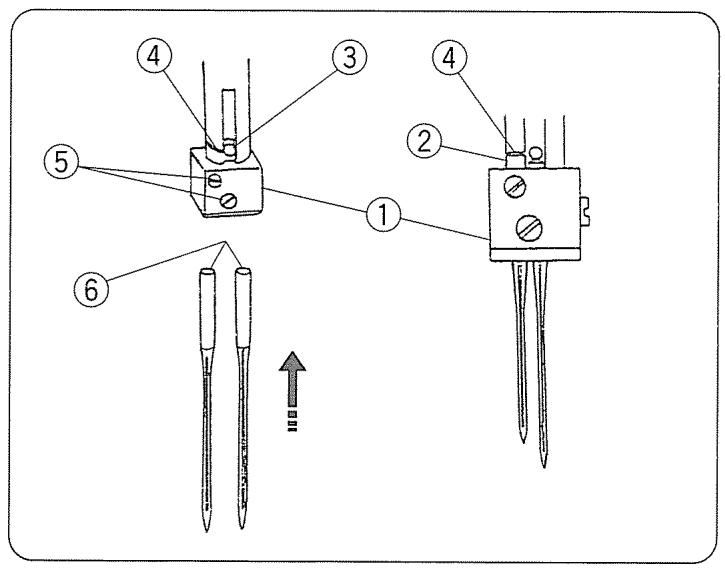
Poser l'aiguille droite
Insérer une aiguille neuve dans le pince-aiguille en orientant le côté plat vers l'arrière jusqu'à ce que le haut de l'aiguille touche la goupille d'arrêt. Desserrer la vis du pince-aiguille droite.
Poser l'aiguille gauche
Insérer une aiguille neuve dans le pince-aiguille en orientant le côté plat vers l'arrière jusqu'à ce que le haut de l'aiguille touche le bord de la barre à aiguille, puis desserrer la vis du pince-aiguille gauche.
- Lorsque les aiguilles sont bien posées, l'aiguille gauche est plus haute que l'aiguille droite.
- Utiliser l'aiguille n° 14 HA-1SP ou n° 11.
① Pince-aiguille ② Aiguille ③ Goupille d'arrêt d'aiguille ④ Bord de la barre à aiguille ⑤ Vis de pince-aiguille ⑥ Côté plat à l'arrière
- Ne pas utiliser d'aiguille courbée ni épointée.
Soulèvement ou abaissement du pied presseur
Lorsque le releveur du pied presseur est soulevé ou abaissé, le pied presseur monte et descend.
- Pendant la couture, gardez le pied presseur abaissé, sauf pour enfiler la machine ou faire des tests sans fil.
La tension du fil ne sera pas relâchée si le pied presseur est soulevé.
① Pied presseur ② Releveur du pied presseur

Retrait du pied presseur
- Éteindre l'interrupteur et débrancher la machine.
- Soulever l'aiguille et le pied presseur.
- Appuyer sur le levier situé à l'arrière du support de pied. Le pied presseur tombera.
① Aiguille ② Releveur de pied presseur ③ Support de pied ④ Levier
Pose du pied presseur
- Éteindre l'interrupteur et débrancher la machine.
- Placer le pied presseur pour que la goupille du pied repose juste sous l'encoche du support de pied.
- Abaisser le support de pied pour bloquer le pied en place.
- Soulever le releveur du pied presseur pour vérifier que le pied presseur est bien fixé.
① Encoche ② Goupille ③ Levier
Réglage de la pression du pied
Il n'est pas nécessaire de régler la pression du pied presseur pour la couture normale.
Lors de la couture de tissus lourds ou légers, tourner la vis de réglage :
- dans le sens horaire pour les tissus lourds. - dans le sens antihoraire pour les tissus légers.
- Pour la couture normale, régler la vis de réglage pour que la tête soit à 2 mm du haut de la machine.
Se référer à l'illustration.
① Diminuer ② Augmenter ③ Vis de réglage (haut de la machine)

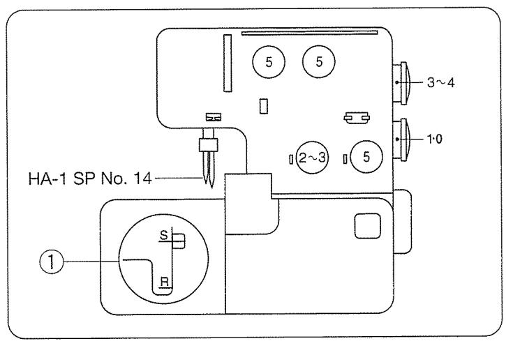
Réglage de la longueur des points
Pour sélectionner la longueur des points, tournez le cadran.
Plus le chiffre est élevé, plus le point est long.
La longueur des points peut être réglée de 1 à 5 mm. Positionner sur “ R ” pour le roulotté et l'ourlet étroit.
① Cadran de longueur des points ② Marque de réglage
Réglage du rapport de l'entraînement différentiel
Le rapport de l'entraînement différentiel peut être modifié en tournant le cadran.
Le nombre sur le cadran indique le rapport entre le mouvement d'avance principal et celui de dessous.
1.0 indique la position neutre.
① Cadran d'entraînement différentiel ② Marque de réglage
Comment régler
- Si le tissu cousu est étir antihoraire (vers 2.2).
- Si le tissu cousu est fronc sens horaire (vers 0.5).
① Étiré ② Froncé
- Lorsque le cadran de longueur des points est réglé entre 1 et 4 fficace est de 2.2.
entre 4 et 5, le rapport de l'entraînement différentiel maximal est automatiquement réglé entre 2.2 et 1.8.

Désactivation du couteau supérieur
- Éteindre l'interrupteur et débrancher la machine.
- Ouvrir le couvercle du boucleur et le couvercle latéral.
- Tourner le bouton de dégagement du couteau supérieur vers soi en le poussant vers la droite et guider le trou du couteau supérieur vers la goupille pour bloquer le couteau supérieur en position basse.
- Fermer le couvercle du boucleur et le couvercle latéral.
① Bouton de dégagement du couteau supérieur ② Goupille d'arrêt ③ Couteau supérieur
Activation du couteau supérieur
- Éteindre l'interrupteur et débrancher la machine.
- Ouvrir le couvercle du boucleur et le couvercle latéral.
- Tourner le bouton de dégagement du couteau supérieur loin de soi en le poussant vers la droite et guider l'encoche du couteau supérieur vers la goupille pour bloquer le couteau supérieur en position haute.
- Fermer le couvercle du boucleur et le couvercle latéral.
① Bouton de dégagement du couteau supérieur ② Goupille d'arrêt




Réglage de la largeur de coupe
Lorsque la largeur de coupe est trop étroite ou trop large par rapport à la largeur de la couture, la régler comme suit.
- Éteindre l'interrupteur et débrancher la machine.
- Ouvrir le couvercle du boucleur et le couvercle latéral.
- Régler le couteau supérieur à la position basse.
- Fixez la coupe supérieure en position haute.
- Fermez le couvercle de l'enfile-aiguille et le couvercle latéral.
- Tourner le cadran de réglage de la largeur de coupe pour obtenir la position désirée du couteau inférieur.
① C ② Couteau inférieur ③ Réglage standard
- La largeur de coupe de ce modèle peut être réglée de 3,0 à 5,0 mm environ à partir de la position de l'aiguille droite selon les besoins de couture ou le tissu utilisé.
La largeur de coupe doit être réglée pour obtenir les mêmes résultats que ceux de l'illustration 3.
(A) Si la largeur de coupe est trop étroite, tourner le cadran de réglage de la largeur de coupe dans le sens horaire.
Le couteau inférieur se déplace vers la droite.
(B) Si la largeur de coupe est trop large, tournez le cadran de réglage de la largeur de coupe dans le sens antihoraire.
Le couteau inférieur se déplace vers la gauche.
- Régler le couteau supérieur à la position haute.
- Fermer le couvercle du broyeur et le couvercle latéral.

(A)
(B)
Réglage du bouton de réglage de la plaque à aiguille (changement pour le surfilage standard ou le rouleauté)
- Éteindre l'interrupteur et débrancher la machine.
- Ouvrir le couvercle du boucleur et le couvercle latéral.
- Désactiver le couteau supérieur.
- Pousser le cadran de réglage de la largeur de coupe vers la droite aussi loin que possible. Déplacer le bouton de réglage de la plaque à aiguille sur la ligne-guide S (pour le surfilage standard) ou R (pour le rouleauté). Lâcher lentement le cadran de réglage de la largeur de coupe vers la gauche.
- Régler le couteau supérieur à la position haute.
- Fermer le couvercle du boucleur et le couvercle latéral.
① Doigt de la semelle du pied presseur ② Ligne-guide ③ Cadran de réglage de la largeur de coupe ④ Couteau supérieur ⑤ Bouton de réglage de la plaque à aiguille
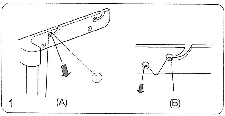
(A) Surfilage standard
- Le doigt de la semelle du pied presseur est situé à côté de la plaque à aiguille, comme illustré au diagramme (A), afin de guider le bord plat du tissu pour la couture à surjet.
(B) Rouleauté
- Le bord du tissu formera un rouleauté, un revers à picot ou un ourlet étroit lorsque le doigt de la semelle du pied presseur sera tiré vers soi à la position “R” sous la plaque à aiguille comme illustré au diagramme (B).




La machine est pré-enfilée pour faciliter l'enfilage. Nouer l'extrémité du nouveau fil à l'un des fils pré-enfilés et le tirer pour faire passer le nouveau fil dans la machine, en suivant les étapes ci-dessous.
- Éteindre l'interrupteur avant d'enfiler la machine.
- Tirer les fils des bobines, les faire passer dans les guide-fils et nouer les extrémités des fils ensemble.
- Soulever le pied presseur, tirer les fils jusqu'à ce que les nœuds sortent à l'arrière du pied presseur.
- Arrêter de tir lorsque les nœuds sont devant le chas des aiguilles. Couper les nœuds et enfiler le chas des aiguilles.
- Avant de commencer la couture, dégag sous le pied presseur pour ne pas les coincer . Tirer les fils vers l'arrière sur environ 10 cm (4") loin du pied presseur. Abaisser le pied presseur, la couture peut commencer.
- Pour renfiler la machine facilement, commencer à partir du boucleur inférieur, du boucleur supérieur, puis des fils des aiguilles droite et gauche. S'assurer de a plaque à aiguille et de les tirer vers l'arrière et sous le pied presseur sur environ 10 cm (4").
① Fil du boucleur inférieur ② Fil du boucleur supérieur ③ Fil de l'aiguille droite ④ Fil de l'aiguille gauche ⑤ Guide-fil ⑥ Plaque guide-fil ⑦ Tableau d'enfilage
- Si l'un des fils est cassé, suivre la procédure de ré-enfilage comme suit:
- Soulever le pied presseur, tirer la chaîne de fils à l'arrièr
- Renfiler le fil de canette.
- Tourner le volant vers soi jusqu'à ce que l'aiguille soit à sa position la plus haute.
- Tirer les fils sous le pied presseur à l'aide d'une pince et tirer les fils des aiguilles au-dessus de la plaque à aiguille. Tirer environ 10 cm (4") de fil loin du pied presseur. (Tirer le fil d'aiguille vers l'arrière).
① Aiguille ② Fil d'aiguille ③ Plaque à aiguille

Enfilage du boucleur inférieur
Ouvrir le couvercle du boucleur et le couvercle latéral. Placer la bobine de fil sur la broche à bobine de droite.
- Les points à enfiler pour le boucleur inférieur sont marqués en vert.
- Un tableau d'enfilage pratique se trouve sur la machine dans le couvercle du boucleur.
- Si le fil sort par la fente du guide-fil, passez-le à travers le trou du guide-fil comme indiqué.
① Guía-hilo
- Passez le fil à travers les trous situés en bas à droite de la plaque guide-fil comme indiqué sur la figure. ② Plaque guide-fil
- Passez le fil du côté droit du guide-fil de l'enfile-aiguille, en glissant le fil de gauche à droite. ③ Guide-fil de l'enfile-aiguille.
- droite, de l'arrière vers l'avant.
- Si le fil sort de l'encoche du guide-fil, enfiler à nouveau le fil dans le trou du guide-fil comme illustré.
① Guide-fil
- Enfiler le fil dans les trous de droite de la plaque guide-fil comme illustré. (2) Plaque guide-fil
- Enfiler le fil dans le guide-fil du boucleur de droite, en glissant le fil de la gauche vers la droite. ③ Guide-fil du boucleur




- és du fil pour l'insérer entre les disques de tension.
- Passer le fil dans le guide-fil du boucleur inférieur (1).
④ Cadran de tension du fil du boucleur inférieur. ⑤ G
- S'assurer que le fil soit entre les disques de tension.
(1) Fil. (2) Disques de tension.
- Passer le fil dans le guide-fil du boucleur inférieur (2).
- Passer le fil dans le levier tendeur de .
- Passer le fil dans le guide-fil du boucleur inférieur (3).
- Passer le fil dans le guide-fil du boucleur inférieur (4).
⑥ G 2) ⑦ Levier tendeur de fil du boucleur inférieur ⑧ G 3) ⑨ G
- Tourner le volant vers soi jusqu'à ce que le boucleur inférieur soit à droite et passer l'enfileur dans le trou du guide-fil du boucleur inférieur (5). Accrocher l'extremité du fil sur l'enfileur.
- L'enfileur de boucleur est facultatif.
- Si la machine n'est pas équipée d'un enfileur de boucleur, t jusqu'à ce que le boucleur inférieur soit en position extrême gauche.
Enfiler le g à partir de la gauche à l'aide d'une pince. T pour déplacer le boucleur inférieur vers la droite.
10. G (1) Fil du boucleur inférieur (2) Enfileur du boucleur


- Tirer l'enfileur pour passer le fil dans le trou du guide-fil du boucleur inférieur (5). Retirer le fil de l'enfileur et tirer le fil dans le trou du boucleur inférieur sur environ 10 cm (4^) ou plus à l'aide d'une pince.
- Pour enfiler sans enfileur de boucleur, faire passer le fil du côte croit du guide-fil du boucleur inférieur (5) à l'aide d'une pince.
- Faire passer le fil dans le trou du boucleur inférieur sur 10 cm (4") ou plus à l'aide d'une pince.
Boucleur inférieur (1) - Enfileur du boucleur (2) - Pince
- L'illustration de gauche montre l'une des façons les plus aisées d'enfiler un fil en nylon/polyester dans le boucleur inférieur.
① Boucleur inférieur ② Fil ordinaire ③ Fil en nylon/polyester




Enfilage du boucleur supérieur
Poser la bobine de fil sur la deuxième broche à bobine à partir de la droite.
- Passez le fil à travers les trous du côté droit de la plaque-guide fils comme indiqué sur la figure. ② Plaque guide-fils
- Passez le fil du côté gauche du guide-fil de l'enfileur, en glissant le fil de droite à gauche. ③ Guide-fil de l'enfileur.
- Passer le fil dans le deuxième guide-fil à partir de la droite, de l'arrière vers l'avant.
- Si le fil sort de l'encoche du guide-fil, enfiler à nouveau le fil dans le trou du guide-fil comme illustré.
① Guide-fil
- Passer le fil dans les trouss de la deuxième rangée à partir de la droite de la plaque guide-fil comme illustré. ② Plaque guide-fil
- Passer le fil dans le côté gauche du guide-fil du boucleur en glissant le fil de la droite vers la gauche.
③ Guide-fil du boucleur

- Insérer le fil entre les disques de tension à partir de la droite. Tirer les deux côtés du fil.
- Passer le fil dans le guide-fil du boucleur supérieur (1).
④ Cadran de tension du 1) ⑤ G
- Passer le fil dans le g (2).
- Passer le fil dans le levier tendeur de .
⑥ Guide-fil du boucleur supérieur (2) ⑦ Levier tendeur de fil du boucleur (supérieur)
- Passer le fil dans le g 6).
- En tenant l'extrémité du fil à l'aide d'une pince, le faire passer dans le trou du boucleur supérieur. Tirer 10 cm (4") ou plus de fil.
⑧ Guide-fil du boucleur supérieur (3) ⑨ Boucleur supérieur
Comment enfiler le boucleur supérieur
Tourner le volant vers soi jusqu'à ce que le boucleur supérieur soit au milieu et décrocher le fil du boucleur inférieur à partir du boucleur supérieur.
Enfiler le boucleur supérieur.
Lors de l'enfilage du boucleur supérieur seulement, afin de ne pas emmêler les fils, tirer les deux fils sur la plaque à aiguille et sous le pied presseur.
① Fil du boucleur inférieur. ② Boucleur supérieur.

Enfilage de l'aiguille droite
Placer la bobine de fil sur la deuxième broche à bobine à partir de la gauche.
- Tirer le fil dans le deuxième guide-fil à partir de la gauche, de l'arrière vers l'avant.
- Si le fil sort de l'encoche du guide-fil, enfiler à nouveau le fil dans le trou du guide-fil comme illustré.
① Guide-fil
- Passer le fil dans les trous de la deuxième rangée à partir de la gauche de la plaque guide-fil comme illustré.
② Plaque guide-fil

③ Cadran de tension du fil de l'aiguille droite
- Tourner le volant vers soi pour amener la barre à aiguille à sa position la plus haute et passer le fil dans le guide-fil de l'aiguille droite et le c .
- 'aiguille en glissant le fil de la gauche vers la droite.
- a barre à aiguille, de la gauche vers la droite.
- Enfiler l'aiguille droite de l'avant vers l'arrière et tirer le fil sur environ 10 cm (4") à partir du chas de l'aiguille vers l'arrière.
⑥ Guide-fil de l'aiguille ⑦ Guide-fil de la barre à aiguille ⑧ Aiguille droite

Enfilage de l'aiguille gauche
Placer la bobine de fil sur la broche à bobine gauche.
- Tirer le fil dans le guide-fil gauche, de l'arrière vers l'avant.
- Si le fil sort de l'encoche du guide-fil, enfiler à nouveau le fil dans le trou du guide-fil comme illustré.
① Guide-fil
- Passer le fil dans les trous de la plaque guide-fil gauche comme illustré.
② Plaque guide-fil

- Insérer le fil entre les disques de tension à partir de la droite. Tirer le fil des deux côtés.
- Tourner le volant vers soi pour amener la barre à aiguille à sa position la plus haute et passer le fil dans le c .
- Passer le fil dans le guide-fil de l'aiguille en glissant le fil
- Le passer dans le guide-fil de la barre à aiguille de la gauche vers la droite.
- Enfiler l'aiguille gauche de l'avant vers l'arrière et tirer le fil sur environ 10 cm (4") à partir du chas de l'aiguille vers l'arrière.
⑤ Guide-fil de l'aiguille ⑥ Guide-fil de la barre à aiguille ⑦ Aiguille gauche
- Tirer délicatement les quatre extrémités des fils vers l'arrière de la machine.
- Passer les fils sous le pied presseur et abaisser le pied presseur.
- Fermer le couvercle de l'étal et le couvercle du boucleur.
- Tourner le volant vers soi pour coudre trois ou quatre points.
La préparation de couture est maintenant terminée.





- Insérer le tissu sous le pied. (Il n'est pas nécessaire de soulever le pied).
- Tourner doucement le volant vers soi une ou deux fois et vérifier la chaîne de fils. Commencer à coudre lentement. Le tissu avancera automatiquement. Guider le tissu dans la direction désirée.
- Pour les tissus épais, soulever le pied presseur et insérer le tissu devant le couteau. Abaisser le pied et coudre.
Fin de la couture
- À la fin de la couture, continuez à coudre lentement pour obtenir une chaîne de fils d'environ 12 cm (5") en tirant légèrement la chaîne de fils vers l'arrière.
- Couper les fils à l'aide du coupe-fil comme illustré, en laissant environ 5 cm (2") de chaîne de fils à l'extrémité du tissu.
Couture continue
Insérer le tissu sous le pied et commencer à coudre. Il n'est pas nécessaire de soulever le pied pour un tissu ordinaire.
- Pour les tissus épais, soulever le pied presseur et insérer le tissu devant le couteau. Abaisser le pied et coudre.
Comment utiliser les lignes-guides
Les lignes-guides se trouvent au haut du couvercle du boîtier, indiquant la distance à partir de la position de l'aiguille.
Les utiliser comme guides de couture.
La marque L gauche.
La marque R droite.
La distance entre le centre de la ligne-guide et la position de l'aiguille est de 5/8 de pouce.



Nouer les extrémités
Pour éviter tout effilochage, il est nécessaire de laisser une chaîne de fils d'environ 5 cm (2") de longueur au début et à la fin de la couture. Pour bien arrêter le début et la fin d'une couture, utilisez l'une des méthodes suivantes.
Au début
A. Séparer l'extrémité des fils et faire un nœud. B. Enfiler la chaîne dans une aiguille à grand chas et faire passer cette chaîne dans les points de surjet du tissu. C. Couper la chaîne au bord du tissu. Appliquer une petite quantité d'adhésif pour couture (Fray Check M/C ou Fray-No-More M/C) à l'extrémité des fils.
D. Points d'arrêt
- Avant de p , coudre une chaîne de fils d'environ 5 cm (2") de longueur derrière l'aiguille.
- P . Surfiler quelques points et arrêter.
- Soulever le pied presseur et amener la chaîne de fils à gauche du pied presseur et sous ce dernier.
- Placer la chaîne de fils entre le pied presseur et le couteau supérieur, la maintenir en place tout en abaissant le pied presseur pour coudre.
- Après avoir cousu sur environ 2,5 cm (1''), déplacer la chaîne à droite du couteau supérieur et sous ce dernier, en coupant la chaîne pendant la couture.
- Utiliser les mêmes méthodes qu'au début pour bien arrêter la couture, sauf la méthode des "points arrêtés", ou utiliser les méthodes ci-dessous.
- Surfiler un point après l'extrémité de la couture.
- Soulever l'aiguille et le pied presseur, et tirer délicatement les fils loin du doigt de la semelle du pied presseur.
- Retourner le tissu pour que l'envers soit sur le dessus.
- Surfiler environ 2,5 cm (1") sur les points et retirer le tissu en faisant un angle.






Bonne tension
L'illustration à gauche montre les résultats de couture avec les bons réglages de tension. Cependant, un réglage de la tension du fil peut être requis selon le tissu et le fil utilisés.
① Envers du tissu ② Endroit du tissu ③ Fil de l'aiguille droite ④ Fil de l'aiguille gauche ⑤ Fil du boucleur supérieur ⑥ Fil du boucleur inférieur
Réglage de la tension des fils
- Régler les quatre cadrans de tension des fils sur "3".
Coudre et vérifier la tension des fils.
Si l'équilibre de tension sur un bout de tissu n'est pas satisfaisant, la tension des fils peut être réglée à l'aide du c .
⑦ C ⑧ Marque de réglage ⑨ Lâche ⑩ Serre
La tension du fil de l'aiguille gauche est trop lâche.
L'illustration montre les résultats de couture lorsque la tension .
Solution:
Resserrer la tension du fil de l'aiguille gauche.
① Cadran de la tension du fil de l'aiguille gauche
La tension du fil de l'aiguille droite est trop lâche.
L'illustration montre les résultats de couture lorsque la tension .
Solution:
Resserrer la tension du fil de l'aiguille droite.
12 Cadran de la tension du fil de l'aiguille droite

La tension du fil du boucleur est déséquilibrée (1)
L'illustration montre les résultats de couture lorsque l inférieur est trop serrée et/ou l supérieur est trop lâche.
Solution:
Desserrer et/ou resserrer la tension du fil du boucleur supérieur.
① Envers du tissu ② Endroit du tissu ③ Fil de l'aiguille droite ④ Fil de l'aiguille gauche ⑤ Fil du boucleur supérieur ⑥ Fil du boucleur inférieur ③ Cadran de ④ Cadran de l inférieur
La tension du fil du boucleur est déséquilibrée (2)
L'illustration montre les résultats de couture lorsque l supérieur est trop serrée et/ou l inférieur est trop lâche.
Solution:
Desserrer et/ou desserrer la tension du fil du boucleur inférieur.
③ Cadran de la tension du fil du boucleur supérieur. 14 Cadran de

Utilisation de l'aiguille droite seulement (pour surfilage régulier à trois fils)
Éteindre l'interrupteur et débrancher la machine.
Retirer l'aiguille et le fil gauche. Resserrer la v pour ne pas perdre la vis.
① Aiguille droite. ② V .
Utilisation de l'aiguille gauche seulement (pour surfilage large à trois fils)
Éteindre l'interrupteur et débrancher la machine.
Retirer l'aiguille et le fil de droite. Resserrer la v pour ne pas perdre la vis.
① Aiguille gauche ② V
Changement des aiguilles courbées ou épointées lors du surfilage à trois fils
Desserrer les deux vis de pince-aiguille et retirer l'aiguille. Insérer la nouvelle aiguille et desserrer correspondante tout en poussant l'aiguille aussi loin que possible.
Resserrer légèrement utre côté pour ne pas perdre la vis.





Bonne tension
L'illustration à gauche montre les résultats de couture avec les bons réglages de tension. Cependant, un réglage de la tension du fil peut être requis selon le tissu et le fil utilisés.
① Envers du tissu ② Endroit du tissu ③ Fil de l'aiguille droite ou gauche ④ Fil du boucleur supérieur ⑤ Fil du boucleur inférieur
Réglage de la tension des fils
- Régler les quatre cadrans de tension des fils sur "3". Coudre et vérifier la tension des fils. Si l'équilibre de tension sur un bout de tissu n'est pas satisfaisant, la tension des fils peut être réglée à l'aide du c .
⑥ C ⑦ Marque de réglage ⑧ Lâche ⑨ Serré
La tension des fils des aiguilles est trop lâche.
L'illustration montre les résultats de couture lorsque l .
Solution:
Resserrer la tension des fils des aiguilles.
⑩ Cadran de la tension du fil de l'aiguille gauche. ① Cadran de la tension du fil de l'aiguille droite.
La tension du fil du boucleur est déséquilibrée (1)
L'illustration montre les résultats de couture lorsque l inférieur est trop serrée et/ou l supérieur est trop lâche.
Solution:
Desserrer et/ou resserrer la tension du fil du boucleur supérieur.
② Cadran de ③ Cadran de l inférieur.
La tension du fil du boucleur est déséquilibrée (2)
L'illustration montre les résultats de couture lorsque l supérieur est trop serrée et/ou l inférieur est trop lâche.
Solution:
Desserrer et/ou desserrer la tension du fil du boucleur inférieur.
② Cadran de la tension du fil du boucleur supérieur. ③ Cadran de
| Type of fabric Tipo de TCLa Type de tissu | Type of thread Hilos Type de fil | |
| Lightweight Peso Liviano Léger | Organdy, Georgette, Lawn, Crepe de chine, Lining. Organdi, crepé georgette, batista, crepé de china, forro Organdi, crépe georgette, batiste, crépe de Chine, doublure. | Cotton: No. 80 - 100 Silk: No. 80 - 100 Synthetic: No. 80 - 100 Algodón: N° 80 - 100 Seda: N° 80 - 100 Sintético: N° 80 - 100 Coton: N° 80 - 100 Soie: N° 80 - 100 Synthétique: N° 80 - 100 |
| Mediumweight Peso Mediano Moyen | Cotton, Linen, Satin, Ordinary fabric. Algodón, lino, satén, tela común Coton, lin, satin, tissu ordinaire. | Cotton: No. 60 - 100 Silk: No. 50 - 100 Synthetic: No. 60 - 100 Algodón: N° 60 - 100 Seda: N° 50 - 100 Sintético: N° 60 - 100 Coton: N° 60 - 100 Soie: N° 50 - 100 Synthétique: N° 60 - 100 |
| Heavyweight Peso Pesado Lourd | Tweed, Coating, Denim, Doeskin, Thick fabric. Tweed, telas para abrigos, mezclilla, napa, tela gruesa Tweed, étoffe, jean, étoffe chamoisée, tissu écais. | Cotton: No. 50 - 60 Silk: No. 50 - 60 Synthetic: No. 50 - 60 Algodón: N° 50 - 60 Seda: N° 50 - 60 Sintético: N° 50 - 60 Coton: N° 50 - 60 Soie: N° 50 - 60 Synthétique: N° 50 - 60 |
| Knits Tejido de punto Tricots | Knitted fabric. Telas de tejido Tricots. | Cotton: No. 60 - 80 Synthetic: No. 60 - 90 Woolly nylon (For looper thread) Woolly polyester (For looper thread) Algodón: N° 60 - 80 Sintético: N° 60 - 90 Lana de nailon (para hilo del enhebrador) Lana de poliéster (para hilo del enhebrador) Coton: N° 60 - 80 Synthétique: N° 60 - 90 Nylon (pour fil de boucleur) Polyester (pour fil de boucleur) |
- Se référer à la page 10 pour le réglage de la longueur des points et du rapport de l'entraîne ).
- Se référer à la page 10 pour le réglage de la longueur des points et du rapport de l'entraînement différentiel. NOTE : Le surjeteur utilise des aiguilles à coudre standard (HA-1 SP, N°11, N°14).
Réglage de la machine et fil, tissu et portée du cadran de tension
Le réglage des cadrans de tension peut varier selon le tissu, l'épaisseur du tissu et le fil utilisés.
| Rouleauté | Revers à picot | Ourlet étroit | ||
| Longueur du point | (R) | (3~4) | (R) | |
| Rapport de l'entrainment différentiel | (1.0) | (1.0) | (1.0) | |
| Bouton de réglage de la plaque à aiguille | (R) | (R) | (R) | |
| Aiguille | Utiliser l'aiguille droite: HA-1 SP n° 11 | |||
| Fil de l'aiguille | Synthétique: N° 80 - 100 | |||
| Fils des boucleurs supérieur et inférieur | Nylon, Polyester, Synthétique: N° 80 - 100 | Synthétique: N° 60 - 100 Soie: N° 50 - 100 | Nylon, Polyester, Synthétique: N° 80 - 100 | |
| Tissu | Tissu léger comme l'organdi, le crépe de Chine, le batiste et le crépe georgette. | |||
| Réglage standard des cadrans de tension | Tension du fil de l'aiguille (L) Tension du fil de l'aiguille (R) Tension du fil du boucleur supérieur Tension du fil du boucleur inférieur | Tension du fil de l'aiguille (L) Tension du fil de l'aiguille (R) Tension du fil du boucleur supérieur Tension du fil du boucleur inférieur | Tension du fil de l'aiguille (L) Tension du fil de l'aiguille (R) Tension du fil du boucleur supérieur Tension du fil du boucleur inférieur | |
| Bonne tension du fil | Envers du tissu Fil du boucleur supérieur Fil de l'aiguille Fil du boucleur supérieur Endroit du tissu Fil du boucleur supérieur | Envers du tissu Fil du boucleur supérieur Fil de l'aiguille Fil du boucleur supérieur Endroit du tissu Fil du boucleur supérieur | Envers du tissu Fil du boucleur supérieur Fil de l'aiguille Endroit du tissu Fil du boucleur supérieur | |
(Blank page)




Bonne tension
L'illustration à gauche montre les résultats de couture avec les bons réglages de tension.
Un réglage de la tension des fils peut être requis selon le tissu et le fil utilisés.
① Envers du tissu ② Endroit du tissu ③ Fil de l'aiguille droite ④ Fil du boucleur supérieur ⑤ Fil du boucleur inférieur
Réglage de la tension des fils
- Régler le cadran de tension comme montré à la page 31.
- Cousez et vérifiez les tensions.
- Si l'équilibre de tension sur un bout de tissu n'est pas satisfaisant, la tension des fils peut être réglée à l'aide du cadran de tension des fils.
La tension des fils des aiguilles est trop lâche.
L'illustration montre les résultats de couture lorsque la tension du fil de l'aiguille est trop lâche.
Solution:
Resserer la tension du fil de l'aiguille droite.
⑥ Cadran de la tension du fil de l'aiguille droite
La tension du fil du boucleur est trop lâche.
L'illustration montre les résultats de couture lorsque l supérieur est trop lâche.
Solution:
Resserer la tension du fil du boucleur supérieur.
⑦ Cadran de la tension du fil du boucleur supérieur
La tension du fil du boucleur est déséquilibrée.
L'illustration montre les résultats de couture lorsque l supérieur est trop serrée et/ou l inférieur est trop lâche.
Solution:
Desserrer et/ou desserrer la tension du fil du boucleur inférieur.
⑦ Cadran de la tension du fil du boucleur supérieur. ⑧ Cadran de

Rouleauté
Tirez l'extrémité de la chaîne de fils légèrement vers l'arrière au début et à la fin de la couture.
① Tissu ② Chaine de fils
Revers à picot
Tirer le tissu légèrement vers l'arrière pendant la couture.
① Tissu
Bonne tension
L'illustration à gauche montre les résultats de couture avec les bons réglages de tension.
① Envers du tissu ② Endroit du tissu ③ Fil de l'aiguille droite ④ Fil du boucleur supérieur ⑤ Fil du boucleur inférieur
- Se référer aux pages 53 à 55 pour le réglage.




Décorative overedging
- Se référer aux pages 26, 27 et 29 pour le réglage de l'équilibre de la tension des fils.
- Pour obtenir les meilleurs résultats, tirer la chaîne de fils légèrement vers l'arrière au début et à la fin de la couture.
① Surjet
Fil et tissu
| Tissu | Fil | |
| Tissu moyen à lourd | Fils d'aiguille | Synthétique: N° 60-80 Soie: N° 50-80 |
| Fil du boucleur supérieur | Aiguillée pour boutonneire Fil de laine léger | |
| Fil du boucleur inférieur | Synthétique: N° 60 - 80 Soie: N° 50 - 80 | |
Réglage de la machine
Bouton de réglage de la plaque à aiguille
- Se référer aux pages 26, 27 et 29 pour le réglage de l'équilibre de la tension des fils.
① Froncis
Fil et tissu
| Tissu | Fil | |
| Tissu léger à moyen | Fils d'aiguille | Synthétique: N° 60-80 Soie: N° 50-80 |
| Fil du boucleur supérieur Fil du boucleur inférieur | Synthétique: N° 60-80 Soie: N° 50-80 | |
Réglage de la machine
Bouton de réglage de la plaque à aiguille




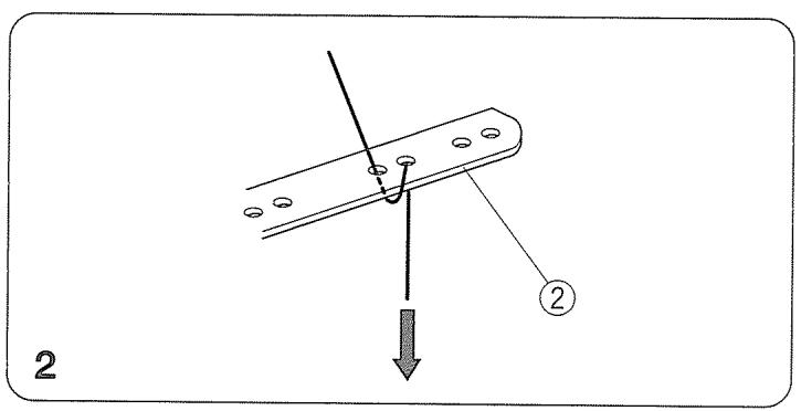
Pin tucking
- Se référer aux pages 31 (ourlet étroit) pour le réglage de l'équilibre de la tension des fils.
① Nervure
Fil et tissu
| Tissu | Fil | |
| Tissu léger à moyen | Fils de l'aiguille droite | Synthétique: N° 60-80 Soie: N° 50-80 |
| Fil du boucleur supérieur | Synthétique: N° 60-100 | |
| Fil du boucleur inférieur | Soie: N° 50-100 | |
Réglage de la machine
① Retirer l'aiguille du côté gauche. ② Bouton de réglage de la plaque à aiguille.
Retirer l'aiguille du côté gauche.
Désactiver le couteau supérieur.
Coudre le bord plié en le guidant le long de la ligne-guide.
① Ligne-guide
Ouvrir le pli à plat et repasser les nervures d'un côté.
- Activer le couteau supérieur.

Remplacement du couteau supérieur
Retrait
- Éteindre l'interrupteur et débrancher la machine.
- Ouvrir le couvercle du boucleur et le couvercle latéral.
- Débloquer le couteau supérieur.
- Retirer le boulon hexagonal et retirer le couteau supérieur.
① Couteau supérieur ② Boulon hexagonal ③ Goupille d'arrêt ④ Couteau inférieur
Pose :
- Insérer le couteau supérieur neuf dans l'encoche du portecouteau et la goupille d'arrêt, puis desserrer légèrement le boulon hexagonal.
- Tourner le portecouteau supérieur à sa position de coupe.
- Tourner le volant vers soi pour que le couteau supérieur soit à sa position la plus basse. Desserrer le boulon hexagonal et régler la position du couteau supérieur pour que le bord du couteau supérieur dépasse de 0,8 à 1,5 mm (3/64'') du bord du couteau inférieur comme illustré. Bien resserrer le boulon hexagonal.
- Fermer le couvercle du boucleur et le couvercle latéral.
Nettoyage de la zone du couteau supérieur
- Éteindre l'interrupteur et débrancher la machine.
- Ouvrir le couvercle du boucleur. Retirer la charpie à l'avant avec unerosse anticharpie.
- Un aspirateur peut être utilisé pour nettoyer la zone du couteau supérieur ou la griffe d'entrainment.
- Le couteau inférieur durera plus d'un an lors d'une utilisation normale. Toutefois, il faudra certainement remplacer les couteaux inférieur et supérieur en même temps si la machine bute sur une épingle ou un objet dur.


Remplacement de l'ampoule
- Éteindre l'interrupteur et débrancher la machine.
- Desserrer la vis de réglage de la plaque frontale et retirer la plaque frontale.
① Plaque frontale ② Vis de réglage
Pousser et tourner vers la gauche.
Pose :
Pousser et tourner vers la droite.
Poser à nouveau la plaque frontale et serrer la vis de réglage de la plaque frontale.
- La machine est conçue pour l'utilisation d'une ampoule de 15 WATTS maximum.
- L'ampoule sera CHAUDE. Se protéger les doigts lors de la manipulation de l'ampoule.
Nettoyage de la griffe d'entraînement
- Éteindre l'interrupteur et débrancher la machine.
- Ouvrir le couvercle du boucleur et le couvercle latéral.
- Retirer les aiguilles et le pied presseur.
- Retirer la v et la plaque à aiguille.
① Plaque à aiguille. ② V .
- Enlever la charpie autour des griffes d'entraînement à l'aide d'une brosse anticharpie ou d'un aspirateur.
- Replacer la plaque à aiguille, le pied presseur et les aiguilles.
Fermer le couvercle du boucleur et le couvercle latéral.




Poser quelques gouttes d'huile de bonne qualité pour machine à coudre sur les sections indiquées par des flèches.
Il est recommandé de lubrifier la machine une fois par an lors d'une utilisation normale et toutes les dix heures lors d'une utilisation continue.
- Ouvrir le couvercle latér
- Ouvrir le couvercle du boucleur et appliquer de l'huile.
Transport de la machine
Mettre les doigts dans l'ouverture du bras arrêté comme illustré.
Recherche des pannes
Recherche des pannes
| Condition | Cause | Référence |
| Le tissu n'est pasentrainé régulièrement. | 1. La griffe d'entrainment est replie de charpie.2. Le pied presseur n'a pas été soulevé. | Se référer à la page 77.Abaisser le pied presseur. |
| L'aiguille se casse. | 1. L'aiguille est mal insérée.2. L'aiguille est courbée ou épointée.3. Le tissu est tiré trop violemment. | Se référer à la page 17.Se référer à la page 17.Tirer légèrement le tissu. |
| Le fil se casse. | 1. La machine n'est pas bien enfilée.2. La tension du fil de l'aiguille ou du boucleur est trop serrée.3. L'aiguille est mal insérée.4. L'aiguille est courbée ou épointée. | Se référer aux pages 29-47 et 57.Se référer aux pages 53-55 et 59, 67.Se référer à la page 17.Se référer à la page 17. |
| Points manqués. | 1. L'aiguille est courbée ou épointée.2. La machine n'est pas bien enfilée.3. L'aiguille est mal insérée. | Se référer à la page 17.Se référer aux pages 29-47 et 57.Se référer à la page 17. |
| La couture est malcousue. | 1. Les tensions du fil de l'aiguille et/ou du boucleur sont mal régliées.2. La machine n'est pas bien enfilée.3. L'aiguille et/ou le fil ne convennent pas au tissucousu.4. Le fil n'est pas entre les disques de tension. | Se référer aux pages 53-55 et 59, 67.Se référer aux pages 29-47 et 57.Se référer aux pages 60-64, 71 et 73.Se référer aux pages 33, 39, 43 et 47. |
| La couture fronce. | 1. La tension du fil de l'aiguille ou du boucleur est trop serrée.2. La machine n'est pas bien enfilée.3. Le cadran de l'entrainment différentiel est mal réglé. | Se référer aux pages 53-55 et 59, 67.Se référer aux pages 29-47 et 57.Se référer à la page 21. |
| La machine nefonctionne pas. | 1. La machine est mal branchée.2. L'interrupteur est étant. | Se référer à la page 11.Se référer à la page 11. |
| Le tissu est mal coupé. | 1. La position du couteau supérieur est mal ajustée.2. Le couteau supérieur est émoussé. | Se référer à la page 75.Remplacer le couteau supérieur.(Se référer à la page 75). |
(Blank page)
Optional parts
| ① | ⑥ |
| ② | ⑦ |
| ⑧ | |
| ③ | ⑨ |
| ⑩ | |
| ④ | ⑪ |
| ⑫ | |
| ⑤ | ⑫ |
| ⑬ |
| 1 | Pied à ourlet invisible | Pour coude des points invisibles sur un revers de pantalon ou une jupe. |
| 2 | Pied à ruban avec dérouleur de ruban | Pour coude un ruban sur une épaule ou une aisselle afin d'empêcher tout élargissement ou décorer. Fonctionne bien avec le pied à ruban ou le pied guide-cordonnet. |
| 3 | Pied guide-cordonnet (1) | Pour coude des gansés décoratifs. |
| 4 | Pied guide-cordonnet (2) | Pour coude des gansés décoratifs. |
| 5 | Accessoire à perler | Pour décorer les tissus, cordons larges, gansés, etc. |
| 6 | Accessoire pour froncis | Pour coude les manches, revers de pantalon, cols, etc. |
| 7 | Accessoire pour froncis élastique | Pour coude les rubans adhésisifs, rubans adhésisfés décoratifs, etc. |
| 8 | Guide-tissu | Se usa para aidera a hacer una costura de margen uniforme y cuando se hace sobrehilado liso y alforzas. |
| 9 | Pied ganseur (1/8") | Pour ganser le bord d'un article de couture, décorer ou renforcer. |
| 10 | Pied ganseur (3/16") | |
| 11 | Enfile-aiguille | Pour enfiler et changer facilement l'aiguille |
| 12 | Pied fronceur | Pour coude les manches, empiècements, volants, etc. |
Notice Facile