LX 810E - Imprimante PRIMERA - Notice d'utilisation et mode d'emploi gratuit
Retrouvez gratuitement la notice de l'appareil LX 810E PRIMERA au format PDF.
| Intitulé | Description |
|---|---|
| Type de produit | Imprimante à jet d'encre couleur |
| Résolution d'impression | 4800 x 1200 dpi |
| Vitesse d'impression | Jusqu'à 4,5 pouces par seconde en couleur |
| Alimentation électrique | 100-240 V AC, 50/60 Hz |
| Dimensions approximatives | 40,6 x 30,5 x 15,2 cm |
| Poids | 3,6 kg |
| Compatibilités | Windows, macOS |
| Type de connectivité | USB 2.0, Ethernet |
| Fonctions principales | Impression de photos, étiquettes et documents |
| Entretien et nettoyage | Nettoyage des têtes d'impression via le logiciel, remplacement des cartouches d'encre |
| Pièces détachées et réparabilité | Disponibilité de cartouches d'encre et pièces de rechange |
| Sécurité | Conforme aux normes de sécurité électrique et environnementale |
| Informations générales | Idéale pour les petites entreprises et les utilisateurs à domicile souhaitant imprimer des documents de haute qualité. |
FOIRE AUX QUESTIONS - LX 810E PRIMERA
Questions des utilisateurs sur LX 810E PRIMERA
0 question sur cet appareil. Repondez a celles que vous connaissez ou posez la votre.
Poser une nouvelle question sur cet appareil
Téléchargez la notice de votre Imprimante au format PDF gratuitement ! Retrouvez votre notice LX 810E - PRIMERA et reprennez votre appareil électronique en main. Sur cette page sont publiés tous les documents nécessaires à l'utilisation de votre appareil LX 810E de la marque PRIMERA.
MODE D'EMPLOI LX 810E PRIMERA
Guide d'installation
Une version en ligne de ce manuel est disponible sur http://primera.eu/europe/manuals.html
© 2010 Tous droits réservés

*après enregistrement de votre produit. Voir www.primerawarranty.com pour les termes et conditions
Notes : Les informations contenues dans ce document sont sujettes à modification sans préavis. AUCUNE GARANTIE D'AUCUNE SORTE N'EST ASSUREE, Y COMPRIS MAIS SANS SE LIMITER AUX GARANTIES IMPLICITES DE QUALITE MARCHANDE OU D'ADAPTATION A UN USAGE SPECIFIQUE. Aucune responsabilité n'est détenue pour les erreurs contenues dans le present document ni pour les dommages accidentels ou consécutifs liés à la fourniture, à la performance ou à l'utilisation de l'appareil. Le present document contient des informations protégées par le droit d'auteur. Tous droits réservés. Aucune partie de ce document ne peut être photocopiee, reproduite ou traduite dans une autre langue sans approbation écrite préalable.
Informations sur les marques déposées : IBM est une marque déposée enregistrée d'International Business Machines Corporation. Windows est une marque déposée de Microsoft Corporation. Toutes les autres marques déposées sont la propriété exclusive de leurs détenteurs respectifs. CandelaColor® Charged by Pictographics est une marque déposée enregistrée de Pictographics International Corporation.
Historique de publication
Edition 4.0, #111510, ©Copyright 2010, Tous droits réservés.
Déclaration de conformité avec le règlement du FCC : Cét appeareil est conforme au point 15 du règlement FCC. Le fonctionnement est soumis aux conditions suivantes : (1) cet appeareil ne peut causeur d'interférences nuisibles et (2) il doit accepter toute interférence reçue, notamment celles pouvant entraîner un disfonnancement.
Pour les utilisateurs aux Etats-Unis : Cet apparéil a été testé et respecte les limitations d'un apparéil numérique de classe B, conformément au point 15 du règlement FCC. Ces limitations sont conçues pour fournir une protection raisonnable contre les interférences nocives dans un environnement domestique. Cet apparéil génére, utilise et peut diffuser des fréquences radio ; dans le cas d'une installation et d'une utilisation non conformes aux instructions, il peut provoquer des interférences nocives avec les communications radio. Cependant, il n'existe aucune garantie qu'aucune interférence ne se produit dans une installation particulière. Si cet apparéil provoque des interférences nocives avec un récepteur radio ou un télévisueur, ce qui peut être détecté en mettant l' apparéil sous et hors tension, l'utiliser peut essayer d'éliminer les interférences en suivant au moins l'une des procédures suivantes :
- Réorienter l'antenne de réception.
- Augmenter la distance entre l'appareil et le récepteur.
- Brancher l'appareil sur une prise appartenant à un circuit différent de celui sur lequel est branché le récepteur.
- Consulter un distributeur ou un technician radio/television qualifié pour obtaining de l'aide
Afin d'assurer la conformité avec le point 15 du règlement FCC relat aux apparciels numériques de classe B, utilisez un cable blinde. Vous étés informés que tout changement ou toute modification non approuvé expressément dans ce manuel peut annuler votre droit relat au fonctionnement et/ou au service de garantie de cet apparéil. Au sein des États-Unis, ce produit doit être alimenté par un bloc d'alimentation à courant continu homologué UL de classe 2 et d'une puissance de 30 Vdc, 830 mA ou 1.0A.
Pour les utilisateurs au Canada: Le present appeareil numérique n'émet pas de bruits radioélectriques dépassant les limites applicables aux apparciels numériques de la classe B prescrites dans le Règlement sur le brouillage radioélectrique édicté par le ministère des Communications du Canada.
AVERTISSEMENT!
POUR EVITER LES RISQUES D'INCENDIE OU DE DECHARGE ELECTRIQUE, N'EXPOSEZ PAS L'APPAREIL A LA PLUIE OU A L'HUMIDITE. POUR REDUIRE LE RISQUE DE DECHARGE ELECTRIQUE, NE RETIREZ PAS LES PANNEAUX EXTERIEURS. AUCUN COMPOSANT UTILISABLE PAR L'UTILISATEUR NE SE TROVÉ A L'INTERIEUR. VEUILLEZ VOUS ADRESSER AU PERSONNEL DE SERVICE QUALIFIE. NE FAITES FONCTIONNER L'APPAREIL QU'en RESPECTANT LES SPECIFICATIONS ELECTRIQUES INSCRITES SUR L'IMPRIMANTE ET L'ADAPTATEUR CA.
ATTENTION.
ELEMENTS MOBILES DANGEREUX. TENEZ VOS DOIGTS ET AUTRES PARTIES DU CORPS ELOIGNES DU DISPOSITIF DE CHARGE DE PAPIER.
ATTENTION.
ELEMENTS MOBILES DANGEREUX. TENEZ VOS DOIGTS ET AUTRES PARTIES DU CORPS ELOIGNES DE LA BARRE DE DECOUPE.
Table des matieres
Section 1 : Pour commencer. 1
A. Choisir un bon emplacement 1
B. Deballage et inspection 2
C. Identifier les parties 3
D. Specifications minimales pour PC 4
E. Specifications minimales pour MAC 4
F. Mise en marche 5
G. Installation du pilote et du calculi 5
Section 2:Réglage du matériel et du pilote. 8
A. Cartouches d'encre et consommables (encre à pigments vs. encre à colorants, papier brillant vs. papier ordinaire)................................8
B.Installer lesétiquettes. 8
C.Installer les cartouches d'encre 13
D. Reglages du pilote d'impression 14
Section 3 : Utilisation de l'imprimante. 23
A. Utiliser Nicelabel 23
B. Créer des codes barres dans NiceLabel 30
C. Imprimer avec Adobe Illustrator sur un Mac 34
D. Creer des codes barres sur un Mac 39
E. Imprimer depuis d'autres applications 39
Section 4: Dépannage et maintenance. 40
A.Nettoyer l'imprimante 40
B.Nettoyer la cartouche d'encre 40
C. Dépannage simple 41
D. Assistance technique 42
Section 5: Spécifications des étiquettes 43
Section 7: Spécifications du port auxiliaire. 47
Index 48
MERCI ....
.... D'voir choses une imprimante couleur pour étiquettes LX810e.
Cette imprimante vous permettra de creer rapidement, simplement et élégament des étiquettes personalisées et toutes en couleurs.
L'imprimante LX810e imprime des codes barres et des textes avec une extrème précision et des couleurs éclatantes ainsi que des photographies d'un réalisme saississant sur des rouleaux d'étiquettes et du papier cartonné. Des opérations simples, une qualité élevée et des images durables et extrémement résistantes aux tâches.
Pour commencer à utiliser l'imprimante, veuillez vous reférer auprésent manuel. Ce manuel d'installation vous guidera étape par étape pour une installation et une impression rapides et facies avec votre nouvelle imprimante couleur pour étiquettes!
A. CHOISIR UN BON EMPLACEMENT
- Placez l'imprimante sur une surface plane dans une piece bien ventilée afin d'empêcher la surchauffe interne.
- Ne placez pas l'imprimante pres d'une source de chaleur comme un radiateur ou une conduite d'air et ne l'exposez pas à la lumière directe du soleil, à la poussière excessive, à des vibrations mécaniques ou à un choc.
- Libérez l'espace devant l'imprimante afin d'empêcher que les étiquettes ne se collent ou se coincent. Un rembobinage automatique est conseilé en cas de production importante.
- Veillez à ce que l'espace situé au-dessus de l'imprimante soit suffisant pour ouvrir la machine afin d'acceder facilement aux étiquettes et aux cartouches.
B. DÉBALLAGE ET INSPECTION
Lorsque vous déballez l'imprimante, assurez-vous que le carton n'a subi aucun chocol lors du transport. Vérifiez que tous les accessoires sont fournis, à savoir :
- Imprimante
- Adaptateur électrique
Cordon d'alimentation séparé - CD d'installation du logiciel
Cartouche d'encre couleur
Cartouche noire base colorant - Rouleau de départ d'étiquettes 6''x4'' Haute Brillance
- Cache de la barre de découvert (il s'agit d'une piece protectrice de plastique blanc attachée à la barre de découvert pour le transport. Il suffit de la retirer de la barre de découvert pour libérer le bord en dents de scie. L'utilisation de cette protection est recommendée en cas d'impression d'étiquettes préperforées)
- Leprésent manuel ainsi Que d'autres documents d'informati

Veillez à conserver le carton et le matériel d'emballage en cas de transporte de l'imprimante.
C. IDENTIFIER LES PARTIES
L'illustration suivante montre la partie avant de l'imprimante comprenant les boutons de contrôle et les voyants DEL.

Le bouton Pause met l'imprimante en pause APRES l'impression en cours afin de permettre le chargement des étiquettes et des cartouches d'encre.
Levoyant DEL Pause est allumé lorsqu'imprimante est en pause. Appuyez sur le bouton Pause pour reprendre l'impression.
LevoyantDELPowerindiqueque l'imprimanteesten marche etpretea traiterdestaches.
Pressez le bouton Load/Feed pour charger les étiquettes depuis l'ordinateur ou directement dans l'imprimante.
Levoyant DEL Ink Low est allumé lorsqu' une cartouche ne contient plus que 10% d'encre ou moins.
Le bouton Unload annulera le chargement des étiquettes installées en les rembobinant à l'envers. Veillez à découvert les étiquettes imprimées avant d'appuyer sur le bouton Unload.
NOTE: Veillez à toujours procéder de la sorte pour décharger les consom-mables. N'ATTENDEZ PAS LA FIN DU ROULEAU POUR REMETTRE DES ETIQUETTES DANS LA MACHINE!
La Barre de découpe est une lame en dents de scie qui vous permet de很好地 découper vos étiquettes sortant de l'imprimante.
ATTENTION: Bord tranchant. Eloignez vos doigs et autres parties du corps de la barre de découpe.
L'illustration suivante montre les ports d'entrée et le bouton marche/arrêt situés à l'arrière de l'imprimante.

D. SPECIFICATIONS MINIMALES POUR PC
Pour une vitesse d'impression optime, vous doivent étreé équipé d'un PC possédant les spécifications minimales suivantes :
- Proceseur Pentium IV
RAM de 512 MB - 5 GB d'espace libre sur le disque dur
E. SPECIFICATIONS MINIMALES POUR MAC
Avant de commencer, il est essentiel de vérifier que votre ordinaire possède le Systeme Minimum requis.
Voici ce dont vous avez besoin pour une impression reussie :
G4 PowerPC 700MHz ou une version OS X 10.2 plus rapide ou encore plus rapide
RAM de 256 MB
- Espace libre sur le disque dur d'au moins 5 GB
- Port USB disposable
- Ne connectez pas l'imprimante à un hub USB ou au port USB de votre clavier. Elle doit être directement branchée à votre ordinateur.
Si vous ordinateur ne possède pas au moins trois spécifications minimales requises, le système ne pourrait fonctionner.
F. MISE EN MARCHE
- Prenez l'adaptateur électrique fourni avec votre imprimante
- Placez une extrémité du cordon dans le port marche/arrêt situé à l'arrière de l'imprimante.
- Branchez l'autre extrémité du cordon dans une prise murale. Une
fois le cordon d'alimentation branché, l'imprimante peut être mise en marche ou arrêtée grâce au bouton marche/arrêt.
G. INSTALLATION DU PILOTE ET DU LOGICIEL
L'imprimante couleur pour étiquette est conçue pour être utilisée avec presque tout système d'exploitation IBM-PC ou version compatible Windows 2000/XP ou un système Macintosh OC 10.2. Ce port est le moyen permettant à l'imprimante de receivevoir les données de votre ordinateur. Pour connecter l'imprimante à votre ordinateur, utilisez le cable USB fourni. L'installation du calculé s'effectue comme suit :
Installation PC
-
- Insérez le CD d'installation dans votre ordinateur. Le programme d'installation devrait automatiquement s'ouvrir. Si ce n'est pas le cas, voici la marche à suivre :
a. Double-cliquez sur l'icone Poste de Travail, puis sur l'icone correspondant au CD d'st installation
b. Double-cliquez sur INSTALL.exe puis cliquez sur le bouton Quick Start Install.
- Suivez les instructions à l'écran. Voici les différentes étapes :
a. Mise sous tension
b. Branchez le cable USB
i. ÀpRESquelques instants,Windows détectera l'imprimante et tentera d'installer le pilote. La boite de dialogue suivante s'affichera.

Cliquez sur « Continue anayway »
ii. Une fois installé, l'icone « Color Label Printer » apparaitra dans le dossier de l'imprimante.

Color Label Printer
0
Ready
- Une fois le pilote de l'imprimante installé, l'application vous invitera à charger les étiquettes et les cartouches. Vous devrez également effectuer la procédure de calibrage des cartouches. Pour cela, suivez les instructions à l'écran. Vous trouverez plus d'informations sur l'installation des étiquettes et des cartouches dans la Section 2 de ce manuel.
- Le logiciel va ensuite installer NiceLabel. NiceLabel est un programme facile à utiliser qui vous permet de créé vos éti-quettes et vos codes barres.
- Cliquez sur Finish pour terminer l'installation.
Note: Pour obtenir une vitesse d'impression optimale, votre PC devra être redémarré après l'installation du logiciel!
Installation Mac
-
- Insérez le CD d'installation dans votre ordinateur. L'icone Color Label Printer apparaitra sur votre bureau.
- Double-cliquez sur I'icone Color Label Printer.
- Pour lancer l'installation, cliquez sur le fichier ColorLabelSeries pkg.
- Suivez les instructions à l'écran pour installer le logiciel.
- Mettez l'imprimante en marche et branchez le cable USB. Attendez la fin de l'initialisation (lorsque les voyants cessent de clignoter) avant de passer à l'étape suivante.
- ÀpRES l'installation du logiciel, vous devrez ajouter l'imprimante. Ouvrez Printer setup Utility dans le dossier Applications - Utilities.

- Cliquez sur Add. Sélectionnez Color Label Printer dans la liste des imprimantes disponibles. Cliquez à nouveau sur Add.

Section 2: Réglage du matériel et du pilote
A. CARTOUCHES D'ENCRE ET CONSOMMABLES (ENCRES À PIGMENTS VS. ENCRES À COLORANTS, PAPIER BRILLANT VS. PAPIER ORDINAIRE)
Pour une impression tout couleur, une cartouche d'encre 3 couleurs est disponible. Cette cartouche contient les couleurs jaune, magenta et cyan, qui, combinées permettent d'obtenir jusqu'à 16,7 millions de couleurs imprimables et fonctionnent à merveille sur toutes les étiquettes.
Deux cartouches d'encre monochrome sont disponibles pour l'imprimante. Premièrement, l'encre noire à pigments monochrome. Les encles à pigments sont à utiliser avec du papier ordinaire. Les étiquettes en papier ordinaireprésentant l'avantage d'être peu couteuses, mais résistant peu à l'eau. Le deuxième type de cartouché noire est l'encre noire à colorants monochrome. Les encles à colorants sont destinées aux étiquettes très brillantes et semi-brillantes.
Compatibilité encre monochrome/étiquettes
| Encre | Etiquettes recommandées |
| Noire monochrome à pigments #53020 | Etiquettes en papier ordinaire |
| Monochrome à colorants | Papier brillant et semi-brillant |
| Noire #53377 | Etiquettes en papier |
NOTE: Si vous imprimez des codes barres sur vos étiquettes, il est recommendé de tester votre combinaison d'étiquettes et de cartouches afin d'être sur que les codes barres seront lisibles, et ceci avant d'engager l'impression de grandes quantités.
B. INSTALLER LES ÉTIQUETTS
Votre imprimante utilise une grande variété d'étiquettes en papier. L'impression n'est possible qu'avac des étiquettes en papier pouvant être imprimées par un jet d'encre et de dimensions ajustées. Primera fournit une grande variété d'étiquettes converties et prêtes à l'utilisation avec votre imprimante.
NOTE: Toutes les étiquettes figurant sur le bon de commande de Primera sont semibrillantes ou brillantes et nécessitent l'utilisation d'encre noire à colorants.
Vous pouvez utiliser d'autres étiquettes si vous le souhaitez. Si vous utilisez du papier ordinaire, vous devrez utiliser l'encre noire à pigments pour réussir vos étiquettes. Il est recommendé de tester vos étiquettes et vos combinaisons d'encre avant d'imprimer en grande quantité.
D'autres étiquettes peuvent également fonctionner si elles répondent aux specifications. Utilisez le tableau suivant pour savoir si une étiquette répond aux specifications :
| Diamètre extérieur maximal du rouleau | Diamètre mandrin | Largeur minimale de l'éti-quette | Largeur maximale de l'éti-quette | Hauteur minimale de l'éti-quette | Hauteur maximale de l'éti-quette | |
| millimètres | 152,4 | 76,2 | 38,1 | 203,2 | 19,05 | 609,6 |
Tableau de compatibilité des étiquettes
L'illustration suivante montre les parties internes que vous devez connaître lorsque vous chargez les étiquettes dans l'imprimante :

Installer lesétiquettes :
Les étapes suivantes vous guideront à travers l'installation de vos étiquettes dans l'imprimante :
Assurez-vous que l'appareil est sous tension et allumé.
- Ouvrez le capot
- Abaissez le guide du porte rouleau et tirez-le vers l'extérieur afin de faire de la place pour votre rouleau
- Tirez le guide de papier mobile vers l'extérieur afin de faire de la place pour votre rouleau

- Enlevez le ruban adhésif collé au rouleau d'étiquettes afin de permettre son bon déroulement et assurez-vous qu'aucune partie adhésive n'est exposée. Veuillez notes que toute surface adhésive exposée peut s'attacher à l'intérieur du mécanisme d'impression et cause de gros dégats.
- Placez votre rouleau d'étiquettes sur le rouleau et poussez-le vers l'intérieur au maximum.
-
Dégagez le guide du porte rouleau et poussez-le vers l'intérieur jusqu'à ce qu'il entre en contact avec le rouleau d'étiquettes (le guide du porte rouleau se déplacera automatiquement légèrement vers l'arrête afin de tracer la bonne position).
-
Placez le début du rouleau d'étiquettes sous le symbole « label stock » situé sur le guide de papier. L'étiquette doit être suffisamment introduite dans le guide de l'imprimante afin de bien positionner le guide de papier mobile sans pour autant la placer entièrement dans la tête d'impression. Le rouleau d'étiquettes doit être place contre le guide de papier fixe.
- Faites glisser le guide de papier mobile vers l'intérieur jusqu'à ce qu'il touche presque le rouleau d'étiquettes. La distance entre les guides doit être légèrement supérieure à la largeur du rouleau d'étiquettes. Si le rouleau d'étiquettes est trop serré, l'impression sera de mauvaise qualité ou bien des problèmes de recharge se produitont.

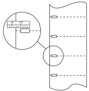
- Faites avancer les étiquettes dans l'imprimante jusqu'à ce que le capteur les charge automatiquement. Si l'imprimante ne parvient pas à charger, pressez le bouton Feed sur le panneau avant tout en continuant à orienter les étiquettes dans l'imprimante. L'imprimante détecte également les étiquettes espacées par des perforations. Si vous utilisez de telles éti
quettes, ajustez le capteur d'ajustement de position (Sensor Position Adjust) pour le placer sur la marque distinctive. La barre du capteur est équipée d'une règle graduée en pouces et en millimétres qui vous permettra de déterminer l'endroit où le capteur doit être aligné sur une marque. Pour ce faire, mesurez la distance entre le centre de la perforation ou de la marque et le bord de l'étiquette. Par exemple, si vous avez un trou de 75m qui commence à 32,5mm du bord de l'étiquette, réglez le guide à 75mm de façon à être sur que le capteur se trouve au centre de la perforation.

bande noir

perforation

Coulisse du capteur d'étiquettes

NOTE: Si vous utilise des étiquettes à bandes noires déetectables, voirlez à le notifies dans le pilote de l'imprimante dans la section sur les réglages du capteur. Veuillez vous reférer à la section D de ce chapitre pour plus d'informations sur les modifications du pilote.
- Vos étiquettes sont maintainant installées. Veuillez tire la section suivante pour savoir comment installer vos cartouches d'encre.
C. INSTALLER LES CARTOUCHES D'ENCRE
Votre imprimante est équipée d'un système interne de détecteur de niveau d'encre qui permet de vous alerter en cas de niveau d'encre faible. Ceci garantit la bonne impression de vos étiquettes et vous permit d'imprimer de grandes quantités d'étiquettes en toute sécurité sans devoir surveiller la marche de l'impression.
Afin de faire fonctionner ce système correctement, les cartouches doivent être changées au moyen de la procédure décrite ci-dessous. Si vous commettez des erreurs au cours de la procédure, cela pourrait fausser la détction du niveau d'encre et amoindrir la qualité de vos impressions.
Si vous utilisez un PC :
- Cliquez sur Demarrer > Imprimantes et fax
- Clic droit sur l'icone de votre imprintante à étiquettes couleur
- Cliquez sur les préférences d'impression dans le menu déroulant.
- Trouvez l'option appelée « Clean/Change Cartridges & Check Ink » (nettoyer / changer les cartouches et vérifier le niveau d'encre) et cliquez sur « Properties » (Propriétés)
- Cliquez sur « Change Cartridges »
Si vous utilisez un Mac :
- Ouvrez le dossier Applications - utilities
- Cliquez sur Printer Setup Utility
- Sélectionnez votre imprimante à étiquettes couleur
- Cliquez sur le bouton Utility dans le menu
- Cliquez sur le bouton « Change cartridge button »
Pour Macintosh et PC :
- Ouvrez le capot de votre imprimante
- Le support de cartouche s'aligne au centre de la zone d'impression
- Pressez le bouton Cratridge Cover Release pour ouvrir le support de cartouche
-
Remplacez/installlez la cartouche
-
Poussez la cartouche jusqu'à entendre le signal d'enclenchement
- Cliquez OK sur l'écran afin d'indiquer que la nouvelle cartouche est bien installée. Une fois cela fait, vous étés invite à aligner la cartouche. L'imprimante va automatiquement aligner pour vous la cartouche de la façon suivante :



a. Pour l'alignement, il faut installer des étiquettes égales ou supérieures à 101,6mm x 101,6 mm. Si vos étiquettes repondent à cette condition, passez à l'étape d.
b. Si les étiquettes que vous avez installées ne sont pas de la taille requisite, otez-les en appuyant sur Unload. L'imprimante va returner le rouleau afin de-retirer les étiquettes de l'imprimante.
c. Chargez une feuille de papier d'une largueur maximale de 209~mm , d'abord en tirant l'avaleuse tout le long, puis en la plaçant dans la zone de recharge, une fois que le capteur l'a détectée, il la met en place automatiquement.

d. Cliquez OK.
e. L'imprimante va imprimer le test d'alignement et le scanner dans la mémoire. Une fois l'alignement terminé, une boîte de dialogue s'affiche à l'écran. Cliquez OK. L'installation des cartouches d'encre a été effectué avec succès.
D. RÉGLAGES DU PILOTE D'IMPRESSION
Une fois le pilote d'impression correctement installé, il faut enregistrer les options d'impression appropriées. Voici les étapes à suivre pour modifier ou vérifier les options de votre pilote d'impression.
Pour trouver les réglages du pilote sur un PC :
- Cliquez sur le bouton Demarrer puis sur Imprimantes et fax. Faites un clic droit sur l'icone de votre imprimante à étiquettes couleur et Sélectionnez les préférences d'impression dans le menu déroulant.

Note sur les réglages PC :
La plupart des applications vous permettent de modifier les mêmes options du pilote d'impression à partir de leurs écrans « Print » et/ou « Printer Setup ». Ceci signifie que vous n'êtes pas obligé d'aller dans la fenêtre principale des réglages d'impression chaque fois que vous souhaitez changer un paramètre ou une option dans le pilote d'impression. Ces applications vous offriront les mêmes besoin et options, mais dans un format légersement différent. La plupart des applications ne sauvégardent pas les modifications relatives à votre pilote d'impression et ne les utiliser que pour la tâche en cours.
Pour trouver les réglages du pilote sur un Mac :
Cliquez sur Print à partir de n'importe qu'elle application d'impression. La fenetre suivante s'affichera :

Cliquez sur Copies and Pages dans le menu déroulant. Sélectionnez Label Printer Settings (réglages de l'imprimante).

Les options suivantes sont disponibles sur les pilotes Mac et PC :
Taille des étiquettes
Cette option est installée par défaut. même si vous pouvez cliquez sur Propriétés et définir vous-mêmes les dimensions de votre étiquette, il vaut mieux vous en remettre au logiciel d'étiquetage. Il est recommendé de laisser la taille de l'étiquette sur « Custom ».
Orientation
Il existe deux possibilités d'orientation : portrait et paysage. Si le texte et les éléments graphiques que vous imprimez se lisent de gauche à droite ou comme montré à l'écran, Sélectionnez le portrait. Si vous souhaitez faire pivoter le texte/l'image de 90^ par rapport à ce que vous Voyez à l'écran, Sélectionnez l'orientation paysage.

portrait

paysage
Qualité de l'impression
Le pilote comprend 6 niveaux de qualité d'impression. Plus la qualité est faible, plus vite l'impression est effectué. La qualité 1 fournit l'impression la plus rapide tandis que la qualité 6 garantit la meilleure qualité photo. Nous vous recommendons de tester les différents niveaux afin de tracer le bon équilibre entre qualité et vitesse d'impression.
Assemblage des couleurs
Le mode Best for Graphics est utilisé pour des images graphiques où une bonne reproduction chromatique n'est pas essentielle. Les images imprimées avec ce mode auront l'air plus vif car une plus grande quantité d'encre est utilisé pour les pro
duire. Néanmoins, si vous imprimez des portraits de personnes, leur teint sera rougeâtre.
Le mode Best for Photos est utilisé pour des images photographiques où le rendu des couleurs est essentiel. Les images imprimées avec ce mode auront l'air plus clair que celles imprimées en mode graphique. Les teints des visages auront notamment l'air plus naturels.
NOTE: L'association exacte des couleurs des étiquettes à l'écran n'est jamais réalisable car les étiquettes sont exposées à d'autres facteurs ne relevant pas du contrôle des pilotes. La surface de l'étiquette réagit avec l'encre de la cartouché pour produit de la couleur. Pour cette raison, lorsque vous imprimez la même image sur deux types d'étiquettes différents avec des surfaces différentes, le résultat imprimé peut être très contrasté.
Saturation d'encre
Cette option contrôle la quantité d'encre utilisée lors de l'impression d'une image. Le réglage par défaut est de 100% , ce qui permettra d'obtenir l'association de couleurs la plus appropriée. Si l'encre ne s'est pas assez rapidement ou si elle bave, vous pouvez réduire la saturation d'encre à une quantité inférieure à celle utilisée pour l'étiquette.
Réglage de la marge de gauche
Cette option est réalisée dans la fabrication de l'appareil. Si un réglage précis doit être effectué, augmenteze ce paramètre pour déplacer l'image à droite sur l'étiquette, diminuez ce paramètre si vous poulez déplacer l'image à gauche. L'unité de mesure est 0,1 mm.
Sur un Mac, les paramètres suivants peuvent être régés en cliquant sur le bouton Config. Utility (outil de configuration).
Alignement de la cartouche
Cette option permet d'aligner la cartouche noire avec la cartouche de couleur. Vous serez automatiquement invite à effectuer cet alignement chaque fois que vous installerez une nouvelle cartouche. Si vous estimez que les objets noirs ne sont pas cor
rectement alignés avec les objets de couleurs figurant sur votre étiquette, vous pouvez lancer la procédure d'alignement depuis le pilote de d'impression. Cliquez sur Cartridge Alignment (alignment de la cartouche) et un bouton Propriétés apparaitra. Cliquez sur ce bouton pour lancer la procédure d'alignement. Vous devrez utiliser des étiquettes de 101,6mm x 101,6mm ou plus. Si l'étiquette chargee ne satisfait pas à cette condition, elle pourra être retiree en pressant le bouton Unload. Insérez une étiquette plus grande ou une feuille de papier (pas plus large que 209mm) dans la zone d'impression et cliquez sur OK pour continuer. L'imprimante effectuera un motif d'alignement puis le scannerer pour le conserver automatiquement dans sa mémoire. Une fois l'opération terminée, une boîte de dialogue apparaitra pour vous indiquer que les valeurs d'alignement ont été sauvégardées.
Nettoyer/changer les cartouches et vérifier les niveaux d'encre
Cliquez sur cette option et un bouton Propriétés apparaitra. Cliquez sur ce bouton Propriétés et vous verrez les niveaux d'encre ainsi que les boutons vous permettant de nettoyer ou de changer vos cartouches d'encre. Si vous avez imprimé une étiquette, une estimation du nombre d'impressions restantes basee sur la derniere d'étiquette vous sera indiquée.

Ce nombre peut également être utilisé pour calculer le nombre total d'étiquettes pouvant être imprimées avec une seule cartouche ainsi que le coût d'encre pour chaque étiquette. Utilisez la formule suivante :
Etiquettes restantes x 100 / Pourcentage d'encre restante = Nombre total d'étiquettes imprimées avec une cartouche pleine
Dans l'exemple ci-dessus 300 × 100 / 83 = 361 étiquettes pouvant être imprimées avec une cartouche pleine. Divisez le coût de la cartouche d'encre par le nombre total d'étiquettes imprimées avec une cartouche pleine pour obtenir le coût par étiquette.
Nettoyer/purger
Si plus de 48 heures se sont écoulées depuis votre derniere impression ou si la qualité d'impression s'est déterminée - apparition de bandes ou de lignes - il est recommendé de nettoyer les cartouches. Cette opération s'effectue en cliquant sur le bouton Nettoyer / Purger. La purge est réalisée comme suit :
a. Vous étés invite à charger des écigarettes de 101,6mmx101,6mm ou plus dans l'imprimante. Si avez des écigarettes de cette taille ou plus grandes, cliquez simplement sur OK.
b. Si ce n'est pas le cas, appuyez sur le bouton Unload situé à l'avant de l'imprimante pour éjecter l'étiquette hors du mécanisme d'impression. Insérez une feuille de
papier d'une largeur maximale de 209 mm en tirant complètement le guide de papier afin de faire de la place, puis insérez une feuille dans la zone de chargement. Une fois que le capteur a détecté le papier, il le mettra automatiquement dans la bonne position et lancera l'impression.

c. L'imprimante imprimera un modele de purge compose de bandes de chaque couleur pour nettoyer les jets de la cartouche. Une série de lignes diagonales sont imprimées dans chaque couleur des deux cartouches. En examinant ce modele, vous pourrez savoir si la cartouche épaise tous les jets ou si elle est sale et nécessite un nettoyage supplémentaire. Les blocs de couleur peuvent ne pas être continus, mais il est important que les lignes diagonales le soient. Repétez la procédure jusqu'à ce que toutes les lignes diagonales apparaissent sans discontinuité.
Changer la/les cartouches(s)
Cliquez sur le bouton Change Cartridge(s) pour placer les cartouches de façon à les changer facilement. Pour plus d'informations sur ce sujet, veuillez vous reférer à la section 2-C. Lorsque vous installerez les cartouches, vous serez invite à les aligner, comme déscritAAParavant dans cette section.
Détails/Compteur d'impression
Le bouton Details vous permet d'obtenir des informations sur les réglages de l'imprimante enregistrés dans l'appareil. La fenêtre des détails comporte également un print counter (compteur d'impression) pour vous aider à compter le nombre d'étiquettes imprimées depuis la première initialisation de l'appareil. Cliquez sur Reset Counter (redémarrer le compteur) pour remettre le compteur à zéro. Le bouton Restore Factory Defaults (restaurer les paramètres par défaut) restaurera les réglages de l'imprimante définis par défaut lors de la fabrication.
Type de capteur
L'option Sensor type (type de capteur) désigne la méthode utilisée par l'imprimante pour centrer l'image imprimée sur l'étiquette. Si vous utilisez des étiquettes découvertes standards ou des étiquettes perforées (chaque étiquette est perforée pour permettre l'alignement), utilisez l'option Thourgh-hole/Die-cut (perforation / découpe). Utilisez l'option Reflective (réflechissement) pour les consommables où une ligne noire pré-imprimée indique l'intervalle entre les étiquettes. Si vous disposez d'étiquettes continues, sans découpe ni marque refléchissante, alors réglez le type de capteur sur Continuous
Mode de rembobinage
Cette option est désactivée par défaut. Si l'option est désactivée, l'imprimante alignera vos étiquettes avec la barre de découvert pour faciliter leur sortie. Ce mode peut être activé lorsque l'imprimante est utilisée avec un rembobineur automatique.
Autoriser l'impression Bi-di
Cette option est activée par défaut pour une impression plus rapide. Lorsque cela sera possible, vous serez invite à effectuer un alignement après avoir installé une nouvelle cartouche. Si vous ne souhaitez pas procéder à l'alignement des cartouches,
désactivez cette option et réglez le type de capteur sur Color. Ainsi, vous ne devrez plus effectuer l'alignement à chaque changement de cartouche.
Offset TOF
TOF signifie Top of Form et cette option vous permet de régler avec précision l'alignement de votre impression sur votre étiquette. Ce paramètre est défini lors de la fabrication. Si un réglage précis est nécessaire, augmentez cette valeur pour placer l'image en bas de l'étiquette. Diminuez cette valeur pour positionner l'image en haute de l'étiquette. L'unité de mesure est 0,1mm.
Réglage de la découverte
Si le mode Rembobinage (décrit précédemment dans cette section) est désactivié, l'imprimante placera vos étiquettes sur la barre de découvert pour une sortie facile. Ce paramètre est régle lors de la fabrication de l'appareil. Si un réglage de précision est nécessaire pour aligner la rupture de votre étiquette avec la barre de découvert, augmentez ce paramètre de façon a partager d'avantage l'étiquette ou bien réduisez ce paramètre pour nevoir qu'une petite surface de l'étiquette. L'unité de mesure est 0,1mm.
Section 3 : Utilisation de l'imprimante
A. UTILISER NICELABEL
Votre imprimante fonctionne avec une version de base du logiciel Niceware's NiceLabel. Ce logiciel simple d'utilisation est conçu pour vous permettre de creer rapidement et simplement des étiquettes toutes en couleurs avec des textes et des codes barres. Voici un tutoriel qui vous guidera à travers les étapes de la création et de l'impression d'un échantillon d'étiquette.
Lancez NiceLabel depuis le menu Demarrer de votre ordinateur.
Prenez un moment afin de vous familiariser avec l'application Windows NiceLabel. Ceci vous aidera à maîtriser les caractéristiques de ce programme.

Fenêtre de l'application principale
Créer une étiquette
- Cliquez sur New Label Icon dans la barre d'outils principale
- Le Label Setup Wizard apparait. Il vous guidera à travers la création de votre étiquette.
a. Définissez les dimensions de votre étiquette ainsi que l'unité de mesure et cliquez sur Next.

b. Sélectionnez l'imprimante couleur à étiquettes. Cliquez sur Finish.

3.
Votre étiquette apparait maintainant dans la fenêtre du document. Vous pouvez commencer à travailler votre étiquette grâce aux outils de la boîte à outils. Utilisons d'abord l'outil Texte.

Curseur Texte

a. Cliquez sur l'icone Text Tool dans la boîte à outils (Toolbox), puis dirigez le curseur dans le document et cliquez sur l'endroit où vous poulez entraîre le texte. Inutile d'être exact car une fois que vous avez tapevez cette texte, il peut facilement être redimensionné et/ou déplace. Enclinuant sur le document, un signal vous indiquera lorsque vous poupez taper votre texte.
b. Lorsque le texte est tapé, cliquez n'importe où dans la fenêtre du document et vous verrez le texte apparaitre dans une boîte avec « edit handles ». Vous pouvez étirer le texte et le redimensionner à n'importe quel endroit de la fenêtre du document. Si vous placez le texte en dehors de la zone d'impression, NiceLabel marquera le texte en rouge pour vous avertir. Ceci ne modifie ni la couleur d'impression ni le moment d'envoi à l'imprimante. Il s'agit seulement d'un averissement pour vous faire savoir que vous n'allez peut-être pas imprimer tout le texte sur votre étiquette.

- Maintenant, insérez un code barre.
Icône Outil code barre Curseur code barre

a. Cliquez sur l'icone Outil code barre dans la boîte à outils. Un cursesur à code barre apparait et peut être positionné n'importe où dans la fenêtre du document. Positionnez le curseur dans la zone où vous souhaitez imprimer le code barre et cliquez afin d'enter les informations de votre code barre. Inutile d'être exact, une fois que vous avez créé votre code barre, il peut facilement être déplaced et/ou redimensionné. Une fois que vous aurez cliué, le Barcode Wizard apparait.
b. Le premier écran du Barcode Wizard vous permet de sélectionner le code barre que vous souhaitez imprimer. Vous pouze également entraïng les données qui seront utilisées dans le code barre. Pour ceci, il suffit simplement de faire un code barre UPC-A. Pour plus d'informations sur les autres types de codes barres, veuillez vous référer à la section 3-B. Créer des codes barres dans NiceLabel.

c. Cliquez sur Define pour modifier le type de code barre ou les options associées à votre code barre. Vous doivent aussi régler Symbol Height (hauteur du symbole) et X Expansion Factor (facteur d'expansion X).

d. Cliquez sur l'onglet Human Readable pour modifier la police située en dessous de votre code barre.

e. Cliquez sur OK puis sur Finish. Your code barre sera place sur l'étiquette. L'option Edit Handles you permit de déplacer et de redimensionner votre code barre.

Icône Outil graphique
Curseur graphique
- Insérez maintainant un graphique. Cliquez sur l'icone Outil graphique dans la boîte à outils. Un cursesur graphique apparait. Positionné le curseur à l'endroit où vous souhaïtez placer l'image et cliquez pour ouvrir une boîte de dialogue. Vous étés invite à parcourir vos dossiers graphiques. NiceLabel accepte les fichiers graphiques aux formats BMP, JPG, TIF, WMF, PNG et beaucoup d'autres.

a. Cliquez sur Open et le graphique sera importé avec Edit Handles pour pouvoir le déplacer et le redimensionner facilement.

b. D'autres outils sont à votre disposition pour aligner l'objet ou ajouter des formes. À droite de l'écran, des outils d'alignement vous permettent d'aligner les objets sur votre étiquette. Sélectionnez les objets en cliquant dessus ou cliquez et selectionnez plusieurs objets grâce au « lasso » ou encore cliquez sur chaque objet en maintainant la touche SHIFT enforcée. Vous pouvez également centrer ces objets en faisant un clic droit sur un objet sélectionné et en choisisant Align dans le menu déroulant. Si vous souhaitez aligner votre objet sur l'étiquette, choisissez l'options d'alignement appropriée et vérifie la boîte de contrôle Align to Label.
c. Vous étés maintainant prét à imprimer votre étiquette.

Cliquez sur File puis sur Print dans le menu principal.
Choisissez le nombre d'impressions puis cliquez OK.
Félicitations! Vous avez créé et imprimé avec succès votre première étiquette. Le reste de cette section vous expliquera plus en détails comment utiliser les étiquettes à codes barres. Vous pouvez également trouver plus de conseils et astuces en cliquant simplement sur Help (Aide), puis Contents (Contenus) dans le menu principal.
B. CRÉER DES CODES BARRES DANS NICELABEL
Icône Outil Code Barre Curseur code barre
a. Cliquez sur l'icone Outil code barre dans la boite à outil.
b. Un curses à code barre apparaît et peut être place n'importe où dans la fenêtre du document. Positionnez votre curse dans la zone où vous souhaitez imprimer votre code barre et cliquez afin de commencer la saisie des informations liées au code barre. Une fois que vous avez cliué, le Barcode Wizard apparaît.
i. Le premier écran du Barcode Wizard vous permet de sélectionner le type de code barre que vous souhaitez imprimer. Vous pouze également entraient les données qui devront être utilisées dans le code barre.

ii. Cliquez sur Define pour modifier le type de code barre.

iii. La fenêtre qui s'ouvre contient 4 onglets : General, Check digits, Human Readable et Details.
iv. L'onglet General (voir page X.) vous permet deCHOISIR le code barre approprié dans Availables barcodes (codes barres disponibles): menu. Vous pouvezCHOISIR des codes barres uni ou bidimensionnels. Veuillez noter que des codes barres différents ont des exigences différentes (certains codes barres ne permettent d'encoder que des chiffres tandis que d'autres permettent l'encodage de lettres). Pour une aide approfondie sur les types de codes barres, veuillez contacter votre fournisseur.
Les codes barres disponibles sont enumeratedres ci-dessous :
| EAN et UPC | EAN-8, EAN-8 + supplément 2 chiffres, EAN-8 + supplément 5 chiffres, EAN-13, EAN-13 + supplément 2 chiffres, EAN-8 + supplément 5 chiffres, EAN-14, DUN-14, UPC code case, UPC-A + supplément 2 chiffres, UPC-A + supplément 5 chiffres, UPC-E, UPC-E + supplément 2 chiffres, UPC-E + supplément 5 chiffres, EAN.UCC 128, SSCC, Bookland, Addon 2, Addon 5 |
| Linear | Code 2 parmi 5 entrelacé, ITF 14, ITF 16, Code 39, Code 39 Tri optic, Code 39 Full ASCII, Code 32, Code 93, CODE 128 (sous-ensembles A, B et C), MSI, Codabar, Postnet-32, Postnet-37, Postnet-52, Postnet-62, Kix, Pharmacode |
| RSS | Symbologies Linear RSS RSS14, RSS14 tronqué, RSS14 empilé, RSS14 empilé omnidirectionnel, RSS limite RSS étendu RSS Composite Symbologies RSS14, RSS14 tronqué, RSS14 empilé, RSS14 empilé omnidirectionnel, RSS limite, RSS étendu, UPC-A, UPC-E, EAN-8, EAN-13, EAN.UCC 128&CC-A/B, EAN.UCC 128&CC |
| Codes barres 2D | Composite RSS Pharmacode 2D, PDF-417, Datamatrix, MaxiCode, Aztec, QR, Micro QR, Codablock F, MicroPDF |
Définissez les dimensions du code barre dans le Barcode Dimensions Field. La hauteur est définié en cm en entrant le chiffre approprié dans le Symbol Height Field (champ de hauteur du symbole). La largeur du code barre est définié dans le X Expansion factor (facteur d'expansion X). Veuillez notes que la largeur ne peut être fixée que dans les étapes standards prédéfi-nies.
Lorsque vous changez les dimensions du code barre directement à l'écran en déplaçant le curseur d'étirement, les dimensions modifiées apparaissent également dans la boîte de dialogue.
Cerains codes barres permettent également de définir l'espace-ment entre les barres. Celui-ci ne peut etre fixe qu'a partir des étapes predefinies dans le menu déroulant -1:2, 1:3 ou 2:5.
La Base element width (largeur de I'elément de base) est calculée automatiquement à partir du facteur d'expansion X.
v. L'onglet Check Digit vous permet d'inclure un système de vérification des chiffres automatisés ou d'entrer vos propres chiffres. Cette option peut être désactivée sur certains codes barres à partir du même onglet.
vi. L'onglet Human Readable vous permet de manipuler le texte lisible par l'homme accompagnant votre code barre. Vous pouvez désactiver l'option Human Readable, sélectionner une position (au-dessus ou en-dessous du code barre), inclure une vérification des chiffres et désirir votre police et votre échelle.
vii. L'onglet Details vous permet de fixer d'autres détails concernant la presentation de votre code barre. Ces paramètres sont énumérés ci-dessous :
Include Quiet Zones permit au logiciel de creer automatiquement l'espace libre nécessaire avant et après le code barre en dessinant une zone tampon non imprimable autour du code barre à l'écran.
Descenders Bars permit pour les codes EAN 13, EAN 8; UPC A et UPC E d'imprimer d'abord les longues barres, puis les moyennes, et enfin les courtes.
Mirror Horizontally permit au code barre d'être imprimé en tant que graphique de façon à se reflérer au-delà de l'axe horizontal.
Mirror Vertically permit au code barre d'être imprimé en tant que graphique de façon à se reflérer au-delà de l'axe vertical.
Intercharacter Gap : certains codes barres you permittent de modifier l'espace entre les caractères du code (par ex. code 39). Le code barre est imprimé en tant que graphique.
Include EAN white space: un caractère spécial est inséré avant et/ou après le code barre. Il indique la largeur du code barre. Si vous placez un objet dans la longueur du code barre, celui-ci sera moins lisible. Cette option ne vaut que pour les codes barres de type EAN.
C. IMPRIMER AVEC ADOBE ILLUSTRATOR SUR UN MAC
- Créée vous document en utilisant la commande File - New (fichier - nouveau). Réglez la largeur et la hauteur correspondant à l'étiquette insérée dans l'imprimante.

- Une fois votre document créé et préts à être imprimé, allez dans File - Print (fichier - imprimer). L'écran suivant s'affichera. Avant de faire quoi ce soit, cliquez sur le bouton Printer pour modifier les paramètres de qualité d'impression. Cliquez ici pour plus d'informations sur les paramètres d'impression.

- Les paramètres d'impression sont régés par défaut sur Copies and Pages. Cliquez sur le menu déroulant pourCHOISIR Label Printer Settings (paramètres de l'imprimante à éti-quettes).

- Modifiez les paramètres de l'imprimante pour obtenir la qualité souhaïée.

- Cliquez sur Print pour revenir à l'écran « aperçu avant impression ». Cliquez maintainant sur Page Setup pour modifier la taille de l'étiquette installée dans le pilote d'impression.

Page Setup
- La taille du papier/ de l'étiquette est régée par défaut sur 4x6 ou sur les dernières dimensions utilisées.
- Cliquez sur le menu dérouulant pour désir une taille d'étiquette prédéfinie ou pour creer des dimensions personalisées en cliquant sur Manage Custom Sizes. Pour l'exemple suivant, il n'este pas d'étiquette prédéfinie en 5,5× 4 L'étape suivante va donc vous montré comment créé des dimensions personalisées.

- Pour creer une dimension personalisée, cliquez sur le signe + en dessous de la liste des dimensions personalisées déjà créées. Modifiez la taille de la page de façon à la faire correspondre à l'étiquette installée dans l'imprimante. Changer Printer Margins pour Color Label Printer ou modifieries en conséquence. Cliquez sur OK.

- Si vous avez créé des dimensions personnalises, vous devrez lesCHOISIR a nouveau en cliquant sur le menu deroulant et en choisisant la taille personalisée de votrechoix.Cliquez sur OK.

- Vous étés maintainant prét à imprimer votre étiquette. Assurez-vous que le nombre de copies est défini. Vérifiez également l'orientation. L'étiquette montré sur l'écran « aperçu avant impression » correspond à l'étiquette que vous allez imprimer. Veillez à ce qu'il n'y ait aucun espace blanc autour de l'étiquette. S'il y a de l'espace autour de votre étiquette, vous devez probablement changer son orientation. Cliquez sur Print pour imprimer votre étiquette.

NOTE: Vous doivent regardier Printer et Page Setup en cliquant sur ces boutons à chaque fois que vous souhaitez imprimer une étiquette. Vous doivent procéder à cette étape à chaque impression, même si ce que vous Voyez sur l'écran « aperçu avant impression » semble correct.
D. CRÉER DES CODES BARRES SUR UN MAC
Il est possible d'intégrer des codes barres dans n'importe qu'elle application fonctionnant avec l'imprimante en utilisant le Mac Barcode Maker. Ce programme est accessible sur le site internet www.barcodeformac.com.
Cette application a été testée sous Adobe Illustrator. Suivez les instructions livrées avec l'application pour l'utiliser avec votre programme. Le site internet offre une version d'essay entière fonctionnelle qui intègre un tampon « EVAL » à tous les codes barres réalisés. L'achat de l'application fait disparaitre ce tampon « EVAL »
D'autres logiciels d'intégration de codes barres existent mais ils n'ont pas été testés en compatibilité avec l'imprimante.
E. IMPRIMER DEPUIS D'AUTRES APPLICATIONS
Etant pourrait que l'imprimante installe par défaut un pilote d'impression Windows ou Macintosh, elle pourrait fonctionner avec toute application Windows 2000/XP ou Macintosh OS 10.x. Il vous suffirait de creer une taille de page personalisée correspondant à la taille de votre étiquette en réglant les marges sur « 0 ». Créez ensuite votre étiquette et cliquez sur Fichier > Imprimer. Sélectionnez Color Label Printer comme imprimante et définissez le nombre de copies. Cliquez sur OK et l'appareil imprimera les étiquettes.
A. NETTOYER L'IMPRIMANTE
Il peut être nécessaire de nettoyer les têtes des cartouches d'encles si vos étiquettes imprimées comportent une bande horizontally ou si vous pensez que l'une des têtes s'est asséchée ou est obstruée.
Veuillez vous reférer à la procédure de nettoyage expliquée dans la description Nettoyage/Purge de la section 2-D afin de nettoyer les têtes de cartouche.
Si de l'encre s'est déposée sur le revêtement de l'imprimante, vous pouvez nettoyer celui-ci avec un produit lavant pour vitres à base d'ammoniaque avec un tissu non peluché.
Avec le temps, l'excedant d'encre peut s'accumuler dans le fond de l'imprimante. L'imprimante est munie d'un système d'évacuation visant à rassembler l'encre sur une série de tampons de saturation. Ces tampons devront être replacés. Veuillez contacter le service technique pour savoir si les tampons doivent être replacés. Un kit de remplacement des tampons est disponible (nummer 074220).
B. NETTOYER LA CARTOUCHE D'ENCRE
Il peut être nécessaire de nettoyer les buses de cartouche si vous remarquez une baise de la qualité d'impression ou si vous pensez qu'une buse de cartouche s'est légèrement asséchée ou obstruée.
- Otez la cartouche d'encre.
- Humidifiez un chiffon sans peluche avec de l'eau.
- Apposez le chiffon contre les buses pendant trois secondes. Ceci permettra « d'éponger » une partie de l'encre superflue sur le chiffon humide.
- Essuyez toujours dans le même sens.
- Répétez l'opération.
C. DÉPANNAGE SIMPLE
Généralement, si un dis fonctionnement ou toute autre anomalie se produit, levoyant PAUSE se met à clignoter et l'impression et la communication entre le PC hôte et l'imprimante seront interrompues.
Après avoir résolu les problèmes, appuyez sur PAUSE pour effacer l'erreur et continuer l'impression. Voici un guide permettant d'eviter certaines erreurs communés :
| Problèmes possibles | Indicateur | Solutions | Remarques |
| Espace manquant | L'imprimante ejecte le consommable ou ne peut pas tracer le début de l'étiquette puis se met en pause et levoyant PAUSE clignote | Vérifier la position du consommable Vérifier la position du capteur | Veuillez vous référer à la section 2-B sur l'installation correcte d'un rouleau d'étiquettes. |
| L'image imprimée n'est pas centré ou est en dehors de l'étiquette | L'étiquette est insérée de travers et les images ont l'air décalé | Vérifier la position du consommable Vérifier le guide de papier et le porte-rou-leau | Veuillez vous référer à la section 2-B sur l'installation correcte d'un rouleau d'étiquettes. |
| Il n'y a plus d'étiquettes | Le voyant PAUSE cli-gnote rapidement | Installer un nouveau rouleau/consom-mable | Veuillez vous référer à la section 2-B sur l'installation correcte d'un rouleau d'étiquettes. |
| Il n'y a plus d'encre | Le voyant LOW INK et PAUSE restent allu-més et/ou mauvaise qualité d'impression | Remplacer les car-touches d'encre Procéder à l'align-ment Procéder au nettoyage | Veuillez vous référer à la section 2-C sur l'installation correcte de cartouches d'encre. |
| Bourrage d'étiquettes/de consommables | L'imprimante cale, les étiquettes sont endom-magées et le voyant PAUSE clignote. | Appuyer sur UNLOAD pour éjec-ter le support Veiller à retarder toute étiquette de l'impi-mante, en particulier dans le chemin d'im-pression Charger un nouveau consommable | Veuillez vous référer à la section 2-B sur l'installation correcte d'un rouleau d'étiquettes. |
D. ASSISTANCE TECHNIQUE
Si vous rencontres des difficultés dans l'utilisation de votre imprimante, le présente manuel devrait résoudre la plupart des problèmes. Si les difficultés persistent, veuilles contacter le support technique de Primera. Vous pouvez joindre ce service par téléphone, fax, e-mail ou courrier aux coordonnées suivantes :
Primera Technology Europe
65187 Wiesbaden/Allemagne
Telephone: +49 (0)611 92777-0
Fax: +49 (0)611 92777-50
E-mail: support@primera.eu
Web: http://primera.eu
L'assistance par téléphone est ouverte du lundi au vendredi, de 9h à 1530h/17h. Une base de réponses à de nombreux problèmes courants est également accessible gratuitement 24h / 24 sur www.primera.com/knowledgebase.html
Section 5 : Spécifications des étiquettes

Note : Voir tableau ci-dessous pour les valeurs minimales et maximales en mm.
| Max | Min | |
| Largeur de l'étiquette | 210 mm | 19 mm |
| Largeur liner / média | 215 mm | 38 mm |
| Hauteur / longueur de l'étiquette | 609,6 mm | 19 mm |
| Espace entre les étiquettes | 253 mm | 2,5 mm |
| Largeur de la perforation | 12,65 mm | 6,325 mm |
| Distance entre le bord du Média et le bord de la perforation | 57 mm | 5,06 mm |
| Largeur de la marque réfléchissante/noire* | N/A | 2,54 mm |
| Diamètre extérieur max. (D.E.) | 152,4 mm | N/A |
| Diamètre intérieur (D.I.) | 76,2 mm | 76,2 mm |
| Épaisseeur totale (Liner + étiquette)** | 7,5 mil | N/A |
| Distance entre le bord du Média et le bord de l'étiquette | Le pilote de l'imprimante l'évalue à 2 mm. Cette distance est régiable via l'offset marge gauche. | |
*La marque refléchissante/ noire doit être opaque à la lumière infrarouge. La marque doit être entre les étiquettes. La fin de la marque doit correspondre au début de l'étiquette.
**Deux facteurs déterminant si l'imprimante acceptera une épaisseur d'étiquette spéciale.
- La possibilité pour l'imprimante de faire passer le papier à travers le bloc d'impression.
- La possibilité pour le capteur de dire à travers le support pour voir si le capteur est en mode découpé.
Si vous imprimez en mode détction d'étiquettes continues ou refléchissantes, le point 2 ne s'applique pas. Le fait que l'imprimaTE doive dire à travers le support en mode découpe limitera l'épaisseur bien plus que la possibilité pour l'imprimaTE de faire passer le papier par le bloc d'impression. Toutefois, si vous ajustez suffisamment le niveau d'opacité du liner pour permettre au capteur de voir l'étiquette, l'épaisseur ne sera limiteque que par la possibilite pour l'imprimaTE de faire passer le papier par le bloc d'impression. Pour ces raisons, le poids ou l'épaisseur du liner est une variable qui n'est pas facilement définitissable. Primera recommende et utilise un liner 40# avec toutes les étiquettes.
Testez toutes les étiquettes avec l'imprimante avant de commander d'importantes quantités!
Spécifications du rouleau

Section 6 : Spécifications techniques
| Mode d'impression | Jet d'encre |
| Résolution d'impression | 4800 x 1200 dpi, 1200 x 1200 dpi, 600 x 600 dpi |
| Vitesse d'impression | Environ 51 mm par seconde pour du noir Environ 38 mm par seconde pour de la couleur et du noir Environ 254 mm par seconde de chargement |
| Cartouches d'encre | Couleur (CMY) #53376 Noir à base de colorants (Kd) #53377 Noir à base de pigments (Kp) #53020 |
| Couleurs | 16,7 millions |
| Types de consommables | Rouseau fed pressure - étiquettes adhésvises - Rouseau fed tags |
| Capteurs de consommables | Capteur amovible pour les étiquettes découpées et réfléchissant pour les étiquettes à marque noire |
| Rouau | Diamètre maximal 152 mm sur 76 mm |
| Alarme niveau d'encre | Calculé le nombre d'impressions restantes sur base de l'utilisation de l'encre dans les impressions en cours (brevet en instance) |
| Voyants indicateurs | Marche/arrêt, pause, encre |
| Contrôles | Pause, charger, décharger |
| Systèmes d'exploitation | Windows XP/Vista/7 |
| Interface | USB 1.1 / 2.0 |
| Système minimum requis | Pentium IV ou moins, 512MB RAM, 5GB espace libre disque dur, port USB 1.1 / 2.0 |
| Logiciel de design d'étiquettes | NiceLabel ME Primera Edition fourni. Peut également être utilisé avec la plupart des autres programmes de design d'étiquettes. |
| Rendement électrique | 12VDC, 3.0A |
| Alimentation | 100-240VAC, 50/60Hz, 60 watts |
| Certifications | UL, UL-C, FCC Classe B |
| Poids | 13,2 kg |
| Dimensions | 432 mmL x 231 mmH x 394 mmP |
| Garantie : | Deux ans après enregistrement du produit sur www.primerawarranty.com (pièces et main d'œuvre). |
Section 7 : Spécifications du port auxiliaire
L'interface auxiliaire minicirculaire 6 broches est utilisé pour relier l'imprimante à un équipement auxiliaire tel qu'un Auto Cutter.
La répartition des broches est la suivante :

Utilise 5v logic@ 5mA - tous les signaux sont actifs en position abaissee.
| Numéro de la broche | Description du signal |
| 2 | Signal de coupe – résultat – couper maintainant |
| 3 | Imprimante occupée – résultat – l'imprimante imprime ou rouge le papier |
| 4 | Position du cutter – entrée – cutter en position normale (prét). En position abaisnée, cette broche empêche l'ap-pareil de lancer la prochaine impression |
| 5 | Reprise pause – entrée – empêche l'appareil de lan-cer la prochaine impression |
Note: le signal cut output est activé lorsque le mode « Present between every label » est actif. Le rembobineur est désactivé dans les préférences du pilote d'impression.
Outil d'alignment 28
Mise en marche 5
Port auxiliaire 45
Types de codes barres disponibles dans NiceLabel 31
Alignment des cartouches 18
Onglet check digit 31
Nettoyer/purger la cartouche d'encre 19
Onglet détails 32
Noire monochrome à pigments. 8
Encre à pigment 8
Onglet general 30
Etiquette brillante/semi-brillante 8
Onglet Human readable 26,32
Importer des graphiques 27
Voyant encre basse 3
Saturation d'encre 18
Installer les cartouches d'encres 13
Installer les étiquettes 8, 10
Installer le pilote et le logiciel 5
Taille de I'étiquette 17
Compatibilité de l'étiquette 9
Barre de découpe 3
Réglage de la marge de gauche 18
Bouton charger 3
Guide de papier mobile 10
Orientation 17
Voyant Pause 3
Encre noire à pigments 8
Encre à pigments 8
Voyant Power 3
Compteur d'impressions 21
Qualité d'impression 17
Réglages du pilote d'impression 15
Imprimer 33, 38
Porte-rouleau 10
Guide du porte-rouleau 10
Réglage de la position du capteur 11
Type de capteur 21
Mode rembobinage 21
Réglage de la découpe 21
Offset TOF 21
Maintenance 40
Bouton Decharger 3
Utiliser NiceLabel 22
Notice Facile