LR 130 - Tondeuse à gazon JONSERED - Notice d'utilisation et mode d'emploi gratuit
Retrouvez gratuitement la notice de l'appareil LR 130 JONSERED au format PDF.
| Type d'appareil | Tondeuse autoportée |
| Moteur | Essence, 1 cylindre |
| Puissance moteur | Non précisé |
| Largeur de coupe | Non précisé |
| Hauteur de coupe | Réglable, plusieurs positions |
| Transmission | Hydrostatique ou mécanique |
| Type de démarrage | Électrique |
| Capacité du réservoir | Non précisé |
| Poids | Non précisé |
| Dimensions (L x l x H) | Non précisé |
| Type de roues | Caoutchouc, adaptées terrain |
| Siège | Confortable, réglable |
| Guidon/Volant | Volant ergonomique |
| Fonction mulching | Non précisé |
| Accessoires inclus | Non précisé |
| Utilisation recommandée | Jardin et pelouse de taille moyenne à grande |
| Manuel d'instructions | Inclus, multilingue |
FOIRE AUX QUESTIONS - LR 130 JONSERED
Questions des utilisateurs sur LR 130 JONSERED
0 question sur cet appareil. Repondez a celles que vous connaissez ou posez la votre.
Poser une nouvelle question sur cet appareil
Téléchargez la notice de votre Tondeuse à gazon au format PDF gratuitement ! Retrouvez votre notice LR 130 - JONSERED et reprennez votre appareil électronique en main. Sur cette page sont publiés tous les documents nécessaires à l'utilisation de votre appareil LR 130 de la marque JONSERED.
MODE D'EMPLOI LR 130 JONSERED
Manuel d'instructions
S'il vous plaît lisez soigneusement et soyez sur de comprende ces instructions avant d'utiliser cette machine.
- Lirez toutes les instructions soigneusement. Familiarisez-vous avec les commandes pour apprendre à utiliser efficacement cette machine.
- N'autorisez jamais que les enfants ou que les personnes pas familiers avec les instructions utilisent cette tondeuse. Les règlements locales peuvent restreindre l'âge de l'opérateur.
- Ne tondez jamaisPENDANT que desgens, specialement des enfants, ou des animaux soient prés.
- Soyez conscient que l'opérateur ou utilisateur est responsable des accidents ou des dommages produit à une autre personne ou à leur propriété.
-
Tous les conducteurs devraient poursuivre et obtenir des instructions professionnelles et pratiques. Ces instructions devront accentuer:
-
le besoin du soleit et l'attention pendant l'utilisation de machines autoportées;
- le contrôle d'une machine autoportée qui glisse sur une pente ne sera pas regagné par l'application du frein.
Les raisons principales pour la perte de contrôle sont.
a) prise de pneu insuffisante;
b) conduite trop vite;
c) freinage imparfait;
d) le type de machine est peu convenable pourça tâche;
e) la manque de conscience de l'effet des conditions du terrain, spécialement les pentes;
f) accrochage et distribution de charge incorrecte.
II. PREPARATION
- Pendant que vous tondez, portez uniquement des chaussures solides et des pantalons long. N'operez pas l'équipement avec les pieds nus ou en portant des sandales.
- Vérifiez systématiquement et soigneusement la superficie à utiliser et enlevez tous les objets qui peuvent être projétés par la machine.
-
ATTENTION - L'essence est très inflammable.
-
Utilisez exclusivement les membres approuvés.
- Remplissez le réservoir d'essence toujours au dehors et ne fumez pas pendant que vous le remplissez.
- Ajoutez de l'essence avant de démarrer le moteur. N'enlevez jamais le bouchon du réservoir d'essence et n'ajoutez jamais de l'essence quand le moteur est en marche oupendant qu'il est chaud.
- Si l'essence est renversée, n'asseyiez pas de démarrer le moteur mais déplacez la machine hors de l'aire de versage et évitez d'avoir aucune source d'ignition jusqu'à ce que les vapeurs soient évaporées.
-
Remettez tous les bouchons des réservoirs d'essence et des recipients en sureté.
-
Remplacez les amortisseurs de bruit.
- Avant d'utiliser, vérifie toujours que les lames, les boulons de lame et l'ensemble de coupage ne soient pas usés ou endommages. Remplacez-les de deux en deux pour conserver le balance.
- Sur les machines de plusieurs lames, faites attention que la rotation d'une lame peut occasionally la rotation d'autres.
III. UTILISATION
- Ne démarrez pas le moteur à l'intérieur d'unBATIMENT ou des vapeurs dangereux de monoxide de carbone peuvent être accumulés.
- Tondez uniquement avec la lumière du jour ou avec une bonne luzière artificielle.
- Débrayez tous les embrayages et mettez la transmission dans la position de point mort avant de démarrer le moteur.
- N'utilisez pas sur des pentes de plus de 14^ .
-
Rappelez-vous qu'il n'existe pas une pente "sauf". Il faut faire très attentionpendant que vous conduisez sur des pentes d'herbeuses. Pour prévenir le renversage de la machine:
-
ne vous arrêtez pas ou ne commencez pas tout à coup pendant que vous montez ou descendez une pente;
- engagez l'embrayage lentement, gardez toujours la machine en marche, spécialement pendant que vous descendez une pente;
- la vitesse de la machine doit restée lente sur les pentes et aussi pendant les tours tropétroites.
- faites attention aux irrégularités du terrain;
-
ne tondez jamais à travers de la façade d'une pente, seulement si la tondeuse est désigner pour cette intention.
-
Faites attention pendant que vous tirez des charges ou pendant que vous utilisez un équipement lourd.
-
Utilisez seulement les points de charnière de la barre d'attelageapprovés.
- Limitez-vous aux charges que vous pouvez contrôlés avec sécurité.
- Ne tournez pas trop rudement. Soyez très prudent pendant que vous allez en la marche arrière.
-
Utilisez des contrepoids ou des poids de roue quand suggérer dans le manuel d'instructions.
-
Faites attention à la circulation quand vous nevez utiliser la machine après d'une route ou quand vous nevez traverser une route.
- Arrêtez les lames pendant que vous traverser des surfaces autres que du gazon.
- Quand vous utiliser aucun accessoires, jamais diriger la décharge du matériel dans l'endetroit ou une personne peut être et aussi ne permettez personne pres de la machine pendant sont fonctionnement.
- N'utilisez pas la tondeuse s'il y à des protecteurs, des déflecteurs avec des défauts ou sans les déflecteurs de décharge en place.
- Ne changez pas le réglage du régulateur du moteur ou faisiez marcher à survitésse le moteur. L'opération du moteur à une vitesse trop vite peut être dangereux.
-
Avant de quitter la position de l'opérateur :
-
désengachez la prise de force (PDF) et baissez les accessoires;
- mettez le levier de changement de vitesse dans la position de point mort et fixez le frein de stationnement;
-
arrêtez le moteur et enlevez les clés.
-
Désengagez l'ensemble d'entrainment aux accessoires, arrêtez le moteur, et débranchez le (s) fil (s) de la bougie d'allumage ou enlevez la clé de contact
-
avant de laver les blocages ou de déboucher la glissière;
-
avant de vérifier, laver ou travailler sur la tondeuse;
-
après que vous heautez un objet. Inspectez la machine pour des dommages et faites les réparation avant demettre en marche et d'opérer l'équipement;
-
si la machine commence à vibrée anormalement (verifiez-la immédiatement).
-
Désengagez l'ensemble d'entrainment au accessoires quand vous transportez ou pendant que qu'il n'est pas utilisé.
- Arrêtez le moteur et désengagez l'ensemble d'entrainment à l'accesoire
- avant du replissage d'essence;
- avant d'enlever le ramasse-herbe;
- avant de faire des réglages de hauteur à moins que les réglages peuvent être faites de la position de l'opérateur.
- Réduisez les réglages du papillon des gaz pendant le temps d'écoulement du moteur, si le moteur est fournit avec une vanne d'arrêt, fermez l'essence quand vous avez finis de tandre.
IV. ENTRETIEN ET ENTREPOSAGE
- Gardez tous les écrous, les boulons, et les vis bien serrés pour être certain que l'équipement est en conditions sur de travaille.
- N'entreposez jamais l'équipement avec de l'essence dans le réversoir dans bâtiment où les vapeurs peuvent semettre en contact avec une flamme ou une étincelle d'allumage.
- Permettez que le moteur se refroidisse avant de l'entreposé dans un espace clos.
Pour réduire le danger d'incendie, gardez les aires du moteur, de l'amortisseur de bruit, du compartment de la batterie et du réservoir d'essence libre d'herbe, de feuilles et de graisse. - Vérifiez le ramasse-herbe souvent pour l'usage où la déteriation.
- Remplacez les pieces usées ou endommagées pour la sécurité.
- Si le réservoir d'essence doit être drainage, ceci doit être fait dehors.
- Sur les machines de plusieurs lames, faites attention que la rotation d'une lame peut occasionally la rotation d'autres.
- Quand la machine doit être garée, entreprises ou pas opérée, mettez le levier de levage de tondeuse dans la position plus BASSE à moins qu'une serrure est utilisé pour l'assurée en position.

ATTENTION: Debranchez toujours le fil de bougie d'allumage et pour prévenir les démarrages accidentels, posez-le de telle façon qu'il ne puisse pas entraer en contact avec la bougie d'allumage lors de l'installation, du transport, des ajustements ou des réparations.
BELANGRIJK: DEZE MAAIMACHINE KAN HANDEN EN VOETEN AMPUTEREN EN VOORWERPEN WEGSLINGEREN. HET NIET OPVOLGEN VAN DEZE VEILIGHEIDSINSTRUCTIES KAN ERNSTIG OF DODELIJK LETSEL TOT GEVOLG HEBBEN.
NL I. TRAINING
Ces symboles peuvent se montrer sur leur tracteur ou dans les publications fournies avec le produit. Apprenez et comprendez la signification des symboles.

- Volant de direction
- Sachet des pieces détachées
-
Siege
-
Enjoliveur du volant de direction
- (2) Clés
- (2) Boulon
- Machon direction
-
Manuel d'utilisation
-
Directive pente 14^
- Rondelle plate grande
- Adaptateur volant de direction
- Arbre de rallonge
- Rondelle frein
- Écrou

- Deballer:
(1) Volant de direction
(1) Sachet des pieces détachées
(1) Siège
Le sachet des pieces détachées contient (le contienu n'est pas représenté à l'échelle)
(1) Enjoliveur du volant
(2) Clés
(2) Boulon
(1) Manchon direction
(1) Manuel d'utilisation
(1) Directives pente
(1) Adaptateur volant de direction
(1) Rondelle plate grande
(1) Arbre de rallonge
(1) Rondelle frein
(1) Écrou
Mise en place de la batterie
REMARQUE: Cicette batterie est mise en service après du mois ou de l'année indiquée sur l'étiquette, chargez la batterie pour un minimum d'une heures à 6-10 amps.

DANGER: Avant d'installer la batterie, prenez la précaution d'enlever gourmette, montre-bracelet, anneau, etc. Leur contact avec la batterie causerait des brûlures.
- Lever la plaque de fixation du siège puis ouvrir la boîte de batterie.

- Plaque de fixation du siège
- Porte de la boîte de batterie
- Câble
- Câble
A. Avant du vehicule
- Carrosserie
- Plots de batterie
- Batterie

1.Zetelbak
2.Accuboxluik
3. Kabel
4. Kabel
A. Voorkant tractor
- Stootwand
- Accuklem
- Accu

- Câble de batterie rouge
- Fil d'allumage coupe-circuité rouge
- Câble noir de batterie
- Mettez de côté le capuchons.

- Rode accukabel
- Rode beveiligide ontstekingskabel
- Zwarte accukabel
- Gooi de doppen weg.


DANGER: La borne positive doit être connectée la première pour éviter des étincelles dues à une mise à la terre accidentelle.
- Enlevez les capuchons de protections des terminales et mettez-les de cote.
- Brancher la cable de batterie rouge et le fil d'allumage coupe-circuité rouge au plot positif (+) de batterie.
- Brancher le cable de terre noir au plot négatif (-) de batterie.
- S'assurer que les connexions sont serrées.
- Fermer la porte de la boîte de batterie

DANGER: Tenir fermée la porte de boîte de batterie sauf en cas d'inspection des plots.
NOTA: Ouvrir la porte de boîte de batterie pour:
- Vérfié l' état de la batterie et des plots
- Effectuer un branchement de secours (au besoin)
- Recharger la batterie (au besoin).

-
Siège
-
Plaque de fixation du siège
- Boulon à épaulement
- Vis de réglage
- Rondelle plate
- Rondelle de blocage

Mise en place du siège
- Fixer le siège à la plaque de fixation comme indiqué sur la figure
Réglage du siècle
- Régler le siège pour avoir une position comfortable
- Serrer à fond la vis de réglage

Zetel installeren
Montage du volant de direction
- Fixer les éléments de montage suivant l'ordre indiqué
- S'assurer que les roues avant sont à l'alignement et que la barre médiane du volant estperpendiculaire au sens de la marche.

Stuur installeren
-
Bouchon carburant
-
Pedale d'embrayage/frein
-
Interrupteur d'éclairage
-
Levier de frein de parcage
-
Démarreur/accelérateur
-
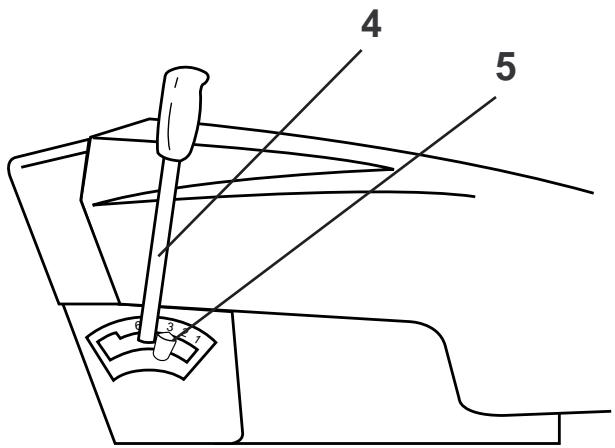
Bouton de réglage en hauteur de tondeuse
-
Levier de rRelevage de tondeuse
-
Levier d'embrayage de tondeuse
-
Levier de changement de vitesse
-
Clé de contact
-
Dop brandstof
-
Koppelings/rempedaal
-
Lichtschakelaar
-
Hendel parkeerrem
-
Smoorklep/gaskelp regeling
-
Regelknop maaihoogte
-
Grasmaier hijshendel
-
Grasmaier koppelingshendel
-
Versnellingshendel
-
Startslot

DANGER: Utiliser la figure pour localiser toutes les commandes. Ne pasmettre en marche à ce stade.
F Commandes
- Clé de contact: Utilisée our méttre en marche le moteur.
- Démarreur/accelerateur: Pousser le levier en avant et à droite pour démarrer. Permet également d'accélérer et de ralentir.
- Pédale d'embrayage/frein: Sert à libérer la transmission et à arrêter le vehicule.
- Levier de changement de vitesse: Enconcer la pédale d'embrayage/frein. Choiser la vitesse. Actionner le levier de changement de vitesse.
- Levier de frein de parcage: Avant de quitter le vehicule, serrer le frein de parcage en,enfantant à fond la pedale d'embrayage/frein. Tenir le levier de frein de parcage en position, puis relâcher la pression. La pedale reste alors en position de freinage.
- Interrupteur d'éclairage: Allume et étant les phares avant.
- Levier d'embrayage de tondeuse: Remonter le levier pour enclencher la tondeuse.
NOTA: On observera une légère hesitation du moteur au moment d'enclencher l'embrayage.
- Levier de releavage de la tondeuse: Permet de relever complètement la tondeuse ou de la remettre en position de travail.
- Bouton de réglage en hauteur: Permet d'ajuster en hauteur la position de travail.
DANGER: Assurez-vous de bien connaître les commandes avant d'aller plus loin.
WAARSCHUWING: Gebruik dit diagram om alle bedieningsorganen te situeren. Probeer nu nog nicht om de tractor te starten.
NL Bedieningsorganen
F 1. Pédale d'embrayage/frein, position "frein"
- Levier d'embrayage de tondeuse en position "débrayée"
- Changement de vitesse
- Frein de parcage
- Accelerateur
- Clé de contact
NL 1. Koppelings/rempedaal "rem" positie 2. Grasmaaier koppelingshendel "ontkoppelde" positie
- Versnellingshendel
- Parkeerrem
- Smoorklepediedening
- Startslot

DANGER: Sachez arrête la machine avant d'essayer de s'en servir.
F Arrêt
- Enconcer à fond la pédale d'embrayage/frein jusqu'à la position "frei".
- Mettre le levier d'embrayage de tondeuse en position "débrayée".
- Tout en maintainant enforcée la pédale d'embrayage/frein,mettre le levier de changement de vitesse en position"point mort".
- Mettre le frein de parcage en position "frein" et lâcher la pédale embrayage/frein. La pédale doit alors rester en position "frein".
- Mettre l'accelerateur en position "S" (ralenti).
- Mettre la clé de contact en position "Off" (arret).
NOTE: Ne jamais utiliser le démarreur pour arrêter le moteur.
F Vérifier le niveau d'huile du moteur
- Ce moteur est déjà fourni en huile de qualité étab.
- Retirer et essuyer la jauge.
- La remetre en place un instant.
- Retirer la jauge aet contrôler le niveau d'huile.
- Remplir au besoin. Capacité: 1,4 l.
- Remetre la jauge en place et serrer à fond.
Remplissage de carburant
- Remplir le réservoir à carburant. Capacité: 5,3 l.
ATTENTION: Utiliser uniquement une essence normale, pure et sans plomb. Ne pas utiliser de gasohol, de méthanole ou de "super" sans plomb. Ces carburants risquent d'endommager la machine.

- Dop brandstof
- Peilstok

F 1. Pédale d'embrayage/frein 2. Levier d'embrayage de tondeuse
3. Accelerateur
4. Clé de contact

- Enconcer à fond du pied gauche la pédale d'embrayage/frein.
- Débrayer la tondeuse etmettre l'engin au point mort.
- Mettre l'accelérer en position "démarre".
- Tourner la clé d'allumage en position "start".
Lacher la clé des que le moteur démarre.
ATTENTION: Ne pas actionner sans arrêt le starter plus de quinze secondes par minute.
Pour couper l'herbe
- Metre en marche le moteur.
- Mettre l'accelerateur en position moyenne entre démarrage et plein régime.

- Koppelings/rempedaal
- Grasmaier koppelingshendel
- Smoorklepediedening
- Startslot

- Pedal de embarque/freno
- Palanca de embrague de corte
- Accelerator
- Interrutor de Ilave

- Pédale d'embrayage/frein en position "embrayée"
- Levier d'embrayage de tondeuse en position "embrayée".
- Accelerateur
- Levier de relevage de tondeuse en position "levée".
- Changement de vitesse
- Bouton de réglage en hauteur de tondeuse.



- Lâcher graduèlement la pédale embrayage/frein et avancer jusqu'à la surface à tandre.
- Arrête l'appareil.
- Enclencher doucement le levier d'embrayage de tondeuse.
- Lacher doucement la pédale d'embrayage/frein.
NOTE: Toujoursmettrele moteur a plein regime pour tondre,afin d'obtenirle meilleur rendement et epargner le materiel.
- Mettre l'accelérateur en position plein régime.
- Observer la hauteur de coupe et réajuster au besoin, à l'aide du bouton de réglage en hauteur.
ATTENTION: Avant d'actionner le levier de changement de vitesse, se mettre à l'arrêt complet. Sinon la boîte de vittesses risque d'être abîmée.

Conseils pour tandre
Assurez-vous que l'engin soit en position correcte (avant-arrrière, et lateralement).
- Utiliser le marche-pied comme un guide. La lame coupe à 2,5 cm à l'extérieur du marche-pied.
- Conduire le vehicule de telle sorte que l'herebe coupée tombe du côte déjà tondu.
- Ne couper que de l'herbe sèche.
NOTA: De l'herbe mouillée risque de boucher la tondeuse et laïssse une trainée des paquets d'herbe.
- Tondre souvent l'herbe. Une herbe coupée courte se décompose plus vite.
- Bien aiguiser les lames. Une lame affuitede coupe mistrs.
- Ralentir dans les tournants. Un tournant sec et rapide risque d'arracher l'herbe.
- Une herbe longue exigera plusieurs passages.
Tondre d'abord à une hauteur supérieure. Vérifier le résultat puis baisser à la hauteur voulue.


Maaitips
- Levier de releavage de tondeuse en position "levée".
- Bouton de réglage en hauteur de tondeuse.

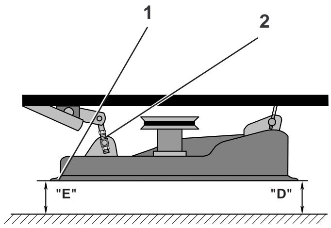
DANGER: Ne jamais conduire en montée ou en descente sur une pente de plus de 14^ , et ne pas conduire transversalement. Voir diagramme.

- Tondeuse "relevée au maximum"
- Bord inférieur du chassinis
- Corps de tondeuse
- Levier de releverage de tondeuse
- Bouton de réglage en hauteur de tondeuse


DANGER: Avant toute intervention: réparation, examen ou mesure d'entretien, débrancher le fil de bougie pour éviter toute mise en marche intempestive.
Réglage de la tondeuse
NOTE: Avant de régler la tondeuse, les pneus doivent être bien gonflés.
Gonfler les pneus avant à 1 bar
Gonfler les pneus arriré à 0,8 bar
Parquer le vehicule sur une surface plane et lisse. Relever la tondeuse en position maximale (transport).
- Mesurer la distance entre le haut du corps de tondeuse et le bord inférieur du chassin (dim. "A"). La dim. "A" doit être de 86-89 mm.
- Pour régler la dim. "A", si besoin est,mettre le tondeuse en position basse maximale. Enlever le clip du tourillon, puis détacher la goupille de la bride. Desserrer l'écrou du tourillon et faire tourner le tourillon dans le sens horaire sur l'articulation de levage pour réduire la dim. "A" et dans le sens anti-horaire pour augmenter celle-ci.
- Resserrer l'écrou du tourillon.
NOTA: Chaque tour de tourillon modifie la dim. "A" de 1,6 mm. Remetre le tourillon dans la bride avec la goupille pointant vers la gauche du vehicule. Reposer le clip de fixation.
Mise à niveau latérale
- Mettre le bouton de réglage en hauteur de tondeuse en position "3". Baisser le levier de releverage de tondeuse jusqu'au bouton de réglage en hauteur.



- Bord inférieur du corps de tondeuse
- Articulation de levage arrêté gauche
- Ecrou de tourillon supérieur
- Tourillon d'articulation de levage arrêté
-
Ecrou de tourillon inférieur
-
Mesurer la distance entre le sol et le bord inférieur du corps de tondeuse, des deux cots de celle-ci (dim. "B" et dim. "C"). Les dim. "B" et "C" doivent être identiques.
- Nivelar la tondeuse laterralement en ajustant l'articulation de levage arrêté gauche. Desserer l'écrou du tourillon supérieur et serrer l'écrou du tourillon inférieur de façon à soulever le côté gauche de l'unité de coupe. Pour abaisser le côté gauche de la tondeuse, desserer l'écrou du tourillon inférieur et serrer l'écrou du tourillon supérieur.
NOTA: Un tour d'écrou du tourillon inférieur est équivalent à environ 3 mm de différence en hauteur. Assurez-vous que, le réglage fait, les deux écrous de tourillon soient bien serrés contre le tourillon.


Mise à niveau avant-arrête
- Pour obtenir le meilleur résultat, l'arrière de la tondeuse doit être plus haute que l'avant de 6-9 mm. Mesurer la distance entre le sol et le bord inférieur du corps de tondeuse à l'avant et à l'arrête du vehicule, côté droit (dim. "D" et "E") à hauteur des roues avant et arrière.
- Lever ou baisser l'unité de coupe à l'arrière en réglient l'articulation de levage arrière droite. On souleve le bord arrrière de l'unité de coupe en serrant l'écrou du tourillon supérieur. On baisse le bord arrière de l'unité de coupe en desserrant l'écrou du tourillon supérieur.

- Bord inférieur du corps de tondeuse
- Articulation de levage arriere droite

NOTA: L'engin doit être périodiquement entretenu afin d'en obtenir un rendement efficace.

DANGER: Avant toute intervention: réparation, examen ou mesure d'entretien, débrancher le fil de bougie pour éviter toute mise en marche intempéstive.
Avant chaque usage:
- Vérifier le niveau d'huile, et lubrifier au besoin les points d'articulation.
- Vérifier que tous le écrous, boulons et goupilles sont en place et solidement fixés.
- Vérifier les la batterie, les plots et le bouchon filtré.
- Recharger au besoin à 6 A.
- Nettoyer le tamis d'aération.
- Enlever du vehicule toute poussière, comme paille et brindilles risquant d'endommager le moteur ou de provoquer un échauffement.
- Vérifier l'etat des freins.

Onderhoud
Compe-rendu d'entretien
Indiquer les dates après chaque mesure d'entretien
| Selon besoins | Toutes les 8 h. | Toutes les 25 h. | Toutes les 50 h. | Toutes les 100 h. | Toutes les 200 h. | |
| Vidange d'huile de moteur | ● | |||||
| Grassage des articulations | ● | |||||
| Vérification des freins | ● | |||||
| Nettoyage du tamis d'aération | ● | |||||
| Nettoyage du filtré à air et du pré-filtre | ● | |||||
| Remplacement de la cartouche du filtré à air | ● | |||||
| Nettoyage des ailettes de refroidissement moteur | ● | |||||
| Remplacement de la bougie | ● | |||||
| Vérification du gonflage des pneus | ● | ● | ||||
| Remplacement du filtré à carburant | ||||||
| Nettoyage des plots et contacts de batterie | ● | |||||
| Vérification du silencieux | ● | |||||
| Graissage des joints à bille | ● | |||||
| Réglage de convergence des roues | ● | |||||
| Réglage du carburateur | ● | |||||
| Tension de couroie trapézoïdale | ● |

- Pédale d'embrayage/frein en position "frein"
-
Frein de parcage
-
Bras activant le frein
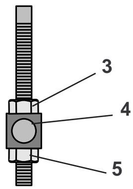
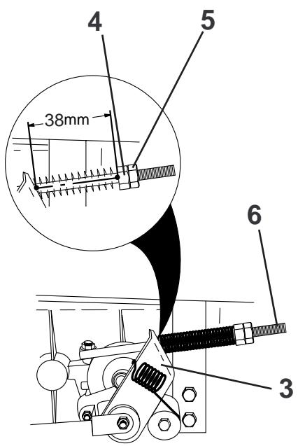
- Ecrou "A"
- Ecrou de blocage
- Tige de frein

- Koppelings/rempedaal "rem" positie
-
Parkeerrem
-
Rembedieningsarm
- Moer "A"
- Stelmoer
- Remstang



DANGER: Si le vehicule a besoin de plus de deux mètres pour s'arrêter en pleine vitesse, on devra régler à nouveaux les freins.

Réglage des freins
NOTA: Désenclencher le frein de parcage etmettre le levier de vitesses au point mort, avant toute intervention.
- Lächer la pedale d'embrayage/frein et serrer le frein de parcage.
- Mesurer la distance entre le bras activant le frein et l'écrou "A" sur la tige de frein.
- Sila distance n'est pas égale à 38 mm, desserrer l'écrou de blocage et tourner l'écrou jusqu'à obtenir l'écart indiqué. Puis resserrer l'écrou de blocage.
- Enclencher le frein et vérifier à nouveau l'écart.
Essayer l'engin sur route pour vérifier si la distance de freinage a bien ete obtenue.

F Schéma de graissage
-
- Pivot d'embrayage
-
- Pivot d'embrayage de tondeuse
-
- Pivot d'embrayage/frein
-
- Plaque d'accélérateur sur moteur
- *** Moteur
- ** Palier de roue avant
-
- Pivot d'essieu
-
- Articulations du capot
-
** Palier de roue avant
-
- Bras de levage de fixation
-
- Levier d'embrayage de fixation
-
- Pivot
-
Huile de moteur SAE 30
Graisse universelle
* Voir les specifications d'huile de moteur dans le manuel d'instruction du moteur
NL Smeerschema
- Frein de parcage
-
Pédale d'embrayage/frein en position "frein"
-
Courroie d'entrainement de I tondeuse
- Poulie de moteur
- Poulie d'entrainment de tondeuse
- Tige de pédale d'embrayage
- Tige de releavage de tondeuse
- Galet d'embrayage
- Guide de courroie (moteur)
- Guide de courroie (chàssis)
- Poulie de transmission axiale



Remplacement de la couroie motrice
- Serrer le frein de parcage.
- Tourner complètement les roues avant à gauche ou à droite.
- Dégager la courroie d'entrainment de tondeuse au niveau de la poulie de moteur.
- Dégager la courroie motrice du galet d'embrayage.
- Dégager la couroie motrice de l'axe de transmission. Faire passer la couroie par dessus de la poulie. Dégager la couroie motrice au niveau du guide de couroie (chassin).
- Dégager la couroie motrice au niveau de la poulie de moteur. Faire passer la couroie motrice sous la poulie d'entrainment de tondeuse, à travers le guide de couroie (moteur), puis sous la poulie de moteur.
- Retire la courroie.
- Poser une nouvelle couroie en inversant la méthode.
- Remetre en place la courroie d'entrainment de tondeuse, au niveau de la poulie de moteur.
- S'assurer que la poulie est bien à l'intérieur des guides.

F 1. Interrupteur d'allumage Rouge R
2. Interrupteur de siège (libre) Noir B
3. Interrupteur d'embrayage de tondeuse (arrêt) Blanc W
4. Interrupteur de pédale (haut) Orange O
5. Allumage Brun
6. Bougie d'allumage
7. Solénoïde de démarreur
8. Moteur de démarreur
9. Généatrice
10. Interrupteur d'éclairage
11. Eclairage
Interrupteur d'allumage
| Position Circuit | Circuit |
| Arrêt | M + G |
| Marche | B + L |
| Start | B + S + L |
- Remplir le réservoir de carburant. Vérifier la conduite et le carburateur (nettoyer au besoin). Remplacer le filtré à carburant. Utiliser une essence neuve.
- Recharger ou remplaçer la batterie
- Vérifier le câblage
- Changer la/les bougie(s) et régler l'écartement
Ne tourne pas
- Mettre la pédale d'embrayage/frein en position frein
- Charger ou remplacer la batterie
- Recharger ou remplaçer la batterie
- Mettre le levier d'embrayage de tondeuse en position "débrayée"
- Remplacer l'interrupteur d'allumage
- Remplacer le(s) interrupteur(s) combiné(s)
- REPLACER LE SOLENOIDE ou le démarreur
- Vérifier ou remplaçer les fusibles
- Vérifier les connexions et les points de mise à la terre
Mateur cliquette mais ne démarre pas
- Nettoyer les plots de batterie
- Remplacer le démarreur ou le solénoïde
- Charger ou remplaçer la batterie
- Vérifier les connexions et les points de mise à la terre
Démarrage difficile
- Mettre l'accelerateur en position "plein régime" et actionner le démarreurs plusieurs fois pour nettoyer l'échéappement
- Enlever le filtré à air et le nettoyer
- Remplacer la/les bougie(s) et régler l'écartement
- Recharger ou remplacer la batterie
- Verifier le câblage
- Purger le réservoir à carburant et le carburateur. Utiliser une essence neuve. Remplacer le filtré à carburant
Faire les réglage nécessaires de carburateur - Remise en état complète du moteur
Manque de puissance
- Rétrograder ou réduire la charge
- Purger le réservoir et le carburateur. Utiliser une essence neuve
- Retirer et nettoyer le filtré à air
- Faire les réglages nécessaires de carburateur
Nettoyer let tamis d'airation - Ajouter de l'huile ou la changer
- Remplacer la ou les bougie(s) et régler l'écartement
- Remplacer le filtré à carburant
- Remise en état complète du moteur
F Surchauffe du moteur
- Rétrograder ou réduire la charge
Nettoyer le tamis d'airation - Ajouter de l'huile ou la changer
- Nettoyer les ailettes de refroidissement du moteur
- Enlever et nettoyer le silencieux ou le remplacer
- Enlever et nettoyer le filtré à air
- Utiliser une essence neue et régler le carburateur
- Purger et remetre de l'huile à la bonne température
Pas d'éclairage
- Vérifier leFuse, l'interrupteur et les raccords de cable.
Remplacer les ampoules de phare - Remplacer l'interrupteur
Pas de charge
- Vérifier les fusions ou les replacer
- Changer la batterie
- Remplacer le pont de diodes
- Remplacer l'alternateur
Pas d'arrêt de moteur quand l'opérateur quitte le siège
- NOTA: Cet engin est muni d'un dispositif de détction de présence de l'opérateur. Toute tentative de l'opérateur de quitter le siège sans avoir coupé le moteur ou débrayé la tondeuse provoquera un arrêt immédiat du moteur.
- Embrayer la tondeuse
- Vérifier toutes les connexions
- Vérifier l'interrupteur de siège
Tonte insuffisante ou irrégulière
- Mettre l'accélérateur en position "régime"
- Vérifier la pression des pneus
- Vérifier la mise à niveau avant-arrête et laterale
- Choisir une vitesse au sol inférieure
- Remplacer les lames de tondeuse
- Reposer les lames de tondeuse avec la partie supérieure en haut
- Nettoyer le dessous du corps de tondeuse
Pas de rotation des lames de tondeuse
- Corriger toute interférence dans le mécanisme d'embrayage
- Poser une nouvelle courroie d'entrainment de le tondeuse
- Remplacer le mandrin grippé
- Remplacer la poulie de galet grippé
Trop de vibrations à la tondeuse
- Remplacer les lames voilées ou déséquilibrées
- Remplacer le mandrin. Remplacer le corps de tondeuse
- Refaire la mise à niveau avant-arrête et latérale
- Remplacer les lames
- Remplacer le(s) mandrin(s) tordu(s)
Notice Facile