LR 12 - Machine à laver JONSERED - Notice d'utilisation et mode d'emploi gratuit
Retrouvez gratuitement la notice de l'appareil LR 12 JONSERED au format PDF.
| Type d'appareil | Perceuse électrique |
| Alimentation | Filaire ou batterie (non précisé) |
| Vitesse variable | Oui |
| Mandrin | Auto-serrant |
| Capacité de perçage bois | Jusqu'à 20 mm |
| Capacité de perçage métal | Jusqu'à 10 mm |
| Fonction percussion | Non précisé |
| Poids | Environ 1.5 kg |
| Longueur du câble | Non précisé |
| Accessoires inclus | Non précisé |
| Protection contre la surcharge | Oui |
| Ergonomie | Poignée antidérapante |
| Mode d'emploi | Multilingue |
| Garantie | Non précisé |
FOIRE AUX QUESTIONS - LR 12 JONSERED
Questions des utilisateurs sur LR 12 JONSERED
0 question sur cet appareil. Repondez a celles que vous connaissez ou posez la votre.
Poser une nouvelle question sur cet appareil
Téléchargez la notice de votre Machine à laver au format PDF gratuitement ! Retrouvez votre notice LR 12 - JONSERED et reprennez votre appareil électronique en main. Sur cette page sont publiés tous les documents nécessaires à l'utilisation de votre appareil LR 12 de la marque JONSERED.
MODE D'EMPLOI LR 12 JONSERED
Manuel d'instructions
S'il vous plaît lisez soigneusement et soyez sur de comprende ces instructions avant d'utiliser cette machine.
Consignes de sécurité
Instructions de montage
Mise en marche et conduite
Starten en rijden
Arranque y manejo 37
Messa in moto e guida
Réglage et entretien
Recherche des pannes
- Lirez toutes les instructions soigneusement. Familiarisez-vous avec les commandes pour apprendre à utiliser efficacement cette machine.
- N'autorisez jamais que les enfants ou que les personnes pas familiers avec les instructions utilisent cette tondeuse. Les règlements locales peuvent restreindre l'âge de l'opérateur.
- Ne tondez jamais pendant que desgens, specialement des enfants, ou des animaux soient prés.
- Soyez conscient que l'opérateur ou utilisateur est responsable des accidents ou des dommages produit à une autre personne ou à leur propriété.
-
Tous les conducteurs devraient poursuivre et obtenir des instructions professionnelles et pratiques. Ces instructions devront accentuer:
-
le besoin du besoin et l'attention pendant l'utilisation de machines autoportées;
- le contrôle d'une machine autoportée qui glisse sur une pente ne sera pas regagné par l'application du frein.
Les raisons principales pour la perte de contrôle sont.
a) prise de pneu insuffisante;
b) conduite trop vite;
c) freinage imparfait;
d) le type de machine est peu convenable pourça tâche;
e) la manque de conscience de l'effet des conditions du terrain, spécialement les pentes;
f) accrochage et distribution de charge incorrecte.
II. PREPARATION
- Pendant que vous tondez, portez uniquement des chaussures solides et des pantalons long. N'operez pas l'équipement avec les pieds nus ou en portant des sandales.
- Vérifiez systématiquement et soigneusement la superficie à utiliser et enlevez tous les objets qui peuvent être projétés par la machine.
-
ATTENTION - L'essence est très inflammable.
-
Utilisez exclusivement les membres approuvés.
- Remplissez le réservoir d'essence toujours au dehors et ne fumez pas pendant que vous le remplissez.
- Ajoutez de l'essence avant de démarrer le moteur. N'enlevez jamais le bouchon du réservoir d'essence et n'ajoutez jamais de l'essence quand le moteur est en marche oupendant qu'il est chaud.
- Si l'essence est renversée, n'asseyiez pas de démarrer le moteur mais déplacez la machine hors de l'aire de versage et évitez d'avoir aucune source d'ignition jusqu'à ce que les vapeurs soient évaporées.
-
Remettez tous les bouchons des réservoirs d'essence et des recipients en sureté.
-
Remplacez les amortisseurs de bruit.
- Avant d'utiliser, vérifie toujours que les lames, les boulons de lame et l'ensemble de coupage ne soient pas usés ou endommages. Remplacez-les de deux en deux pour conserver le balance.
- Sur les machines de plusieurs lames, faites attention que la rotation d'une lame peut occasionallynalrotationd'autres.
III. UTILISATION
- Ne démarrez pas le moteur à l'intérieur d'unBATIMENT ou des vapeurs dangereux de monoxide de carbone peuvent être accumulés.
- Tondez uniquement avec la lumière du jour ou avec une bonne luzière artificielle.
- Débrayez tous les embrayages et mettez la transmission dans la position de point mort avant de démarrer le moteur.
- N'utilisez pas sur des pentes de plus de 14^ .
-
Rappelez-vous qu'il n'existe pas une pente "sauf". Il faut faire très attention pendant que vous conduisez sur des pentes d'herbeuses. Pour prévenir le renversage de la machine:
-
ne vous arrêtez pas ou ne commencez pas tout à coup pendant que vous montez ou descendez une pente;
- engagez l'embrayage lentement, gardez toujours la machine en marche, spécialement pendant que vous descendez une pente;
- la vitesse de la machine doit restée lente sur les pentes et aussi pendant les tours tropétroites.
- faites attention aux irrégularités du terrain;
-
ne tondez jamais à travers de la façade d'une pente, seulement si la tondeuse est désigner pour cette intention.
-
Faites attention pendant que vous tirez des charges oupendant que vous utilisez un équipement lourd.
-
Utilisé seulement les points de charnière de la barre d'attelageapprovés.
- Limitez-vous aux charges que vous pouvez contrôlés avec sécurité.
- Ne tournez pas trop rudement. Soyez très prudent pendant que vous allez en la marche arrière.
-
Utilisez des contrepoids ou des poids de roue quand suggérer dans le manuel d'instructions.
-
Faites attention à la circulation quand vous doivent utiliser la machine après d'une route ou quand vous doivent traverser une route.
- Arrêtez les lames pendant que vous traverser des surfaces autres que du gazon.
- Quand vous utiliser aucun accessoires, jamais diriger la décharge du matériel dans l'endetroit ou une personne peut être et aussi ne permettez personne pres de la machine pendant sont fonctionnement.
- N'utilisez pas la tondeuse s'il y à des protecteurs, des déflecteurs avec des défauts ou sans les déflecteurs de décharge en place.
- Ne changez pas le réglage du régulateur du moteur ou faisiez marcher à survivesse le moteur. L'opération du moteur à une vitesse trop vite peut être dangereux.
-
Avant de quitter la position de l'opérateur :
-
désengachez la prise de force (PDF) et baissez les accessoires;
-
mettez le levier de changement de vitesse dans la position de point mort et fixez le frein de stationnement;
-
arrêtez le moteur et enlevez les clés.
-
Désengagez l'ensemble d'entrainment aux accessoires, arrêtez le moteur, et débranchez le (s) fil (s) de la bougie d'allumage ou enlevez la clé de contact
-
avant de laver les blocages ou de déboucher la glissière;
-
avant de vérifier, laver ou travailler sur la tondeuse;
-
après que vous heautez un objet. Inspectez la machine pour des dommages et faites les réparation avant demettre en marche et d'opérer l'équipement;
-
si la machine commence à vibrée anormalement (verifiez-la immédiatement).
-
Désengagez l'ensemble d'entrainment au accessoires quand vous transportez ou pendant que qu'il n'est pas utilisé.
- Arrêtez le moteur et désengagez l'ensemble d'entrainment à l'accesoire
- avant du replissage d'essence;
- avant d'enlever le ramasse-herbe;
- avant de faire des réglages de hauteur à moins que les réglages peuvent être faites de la position de l'opérateur.
- Réduisez les réglages du papillon des gaz pendant le temps d'écoulement du moteur, si le moteur est fournit avec une vanne d'arrêt, fermez l'essence quand vous avez finis de tandre.
IV. ENTRETIEN ET ENTREPOSAGE
- Gardez tous les écrous, les boulons, et les vis bien serrés pour être certain que l'équipement est en conditions sur de travaille.
- N'entreposez jamais l'équipement avec de l'essence dans le réversoir dans bâtiment où les vapeurs peuvent semettre en contact avec une flamme ou une étincelle d'allumage.
- Permettez que le moteur se refroidisse avant de l'entreposé dans un espace clos.
- Pour réduire le danger d'incendie, gardez les aires du moteur, de l'amortisseur de bruit, du compartmentement de la batterie et du réservoir d'essence libre d'herbe, de feuilles et de graisse.
- Vérifiez le ramasse-herbe souvent pour l'usage où la détiération.
- Remplacez les pieces usées ou endommagées pour la sécurité.
- Si le réservoir d'essence doit être drainage, ceci doit être fait dehors.
- Sur les machines de plusieurs lames, faites attention que la rotation d'une lame peut occasionally la rotation d'autres.
- Quand la machine doit être garée, entreprises ou pas opérée, mettez le levier de levage de tondeuse dans la position plus BASSE à moins qu'une serrure est utilisé pour l'assurée en position.

ATTENTION: Débranche toujours le fil de bougie d'allumage et pour prévenir les démarrages accidentels, posez-le de telle façon qu'il ne puisse pas entraîre en contact avec la bougie d'allumage lors de l'installation, du transport, des ajustements ou des réparations.
BELANGRIJK: DEZE MAAIMACHINE KAN HANDEN EN VOETEN AMPUTEREN EN VOORWERPEN WEGSLINGEREN. HET NIET OPVOLGEN VAN DEZE VEILIGHEIDSINSTRUCTIES KAN ERNSTIG OF DODELIJK LETSEL TOT GEVOLG HEBBEN.
NL I. TRAINING
- Volant de direction
- Sachet des pieces détachées
-
Siege
-
Enjoliveur du volant de direction
- (2) Clés
- (2) Boulon
- Machon direction
-
Manuel d'utilisation
-
Directive pente 14^
-
Rondelle plate grande
- Adaptateur volant de direction
- Arbre de rallonge
- Rondelle frein
- Écrou

- Deballer:
(1) Volant de direction
(1) Sachet des pieces détachées
(1) Siège
Le sachet des pieces détachées contient (le contienu n'est pas représenté à l'échelle)
(1) Enjoliveur du volant
(2) Clés
(2) Boulon
(1) Manchon direction
(1) Manuel d'utilisation
(1) Directives pente
(1) Adaptateur volant de direction
(1) Rondelle plate grande
(1) Arbre de rallonge
(1)Rondelle frein
(1) Écrou
Mise en place de la batterie
REMARQUE: Ci cette batterie est mise en service après du mois ou de l'année indiquée sur l'étiquette, chargez la batterie pour un minimum d'une heures à 6-10 amps.

DANGER: Avant d'installer la batterie, prenez la précaution d'enlever gourmette, montre-bracelet, anneau, etc. Leur contact avec la batterie causerait des brûlures.
- Lever la plaque de fixation du siège puis ouvrir la boîte de batterie.

- Plaque de fixation du siège
- Porte de la boîte de batterie
- Câble
- Câble
A. Avant du vehicule
- Carrosserie
- Plots de batterie
- Batterie

1.Zetelbak
2.Accuboxluik
3. Kabel
4. Kabel
A. Voorkant tractor
- Stootwand
- Accuklem
- Accu

- Câble de batterie rouge
- Fil d'allumage coupe-circuité rouge
- Câble noir de batterie
- Mettez de côté le capuchons.

- Rode accukabel
- Rode beveiligde ontstekingskabel
- Zwarte accukabel
- Gooi de doppen weg.


DANGER: La borne positive doit être connectée la première pour éviter des étincelles dues à une mise à la terre accidentelle.
- Enlevez les capuchons de protections des terminales et mettez-les de cote.
- Brancher la cable de batterie rouge et le fil d'allumage coupe-circuite rouge au plot positif (+) de batterie.
- Brancher le cable de terre noir au plot négatif (-) de batterie.
- S'assurer que les connexions sont serrées.
- Fermer la porte de la boîte de batterie

DANGER: Tenir fermée la porte de boîte de batterie sauf en cas d'inspection des plots.
NOTA: Ouvrir la porte de boîte de batterie pour:
Vérfié l'etat de la batterie et des plots
Effectuer un branchement de secours (au besoin)
- Recharger la batterie (au besoin).

-
Siège
-
Plaque de fixation du siege
- Boulon à épaulement
- Vis de réglage
- Rondelle plate
- Rondelle de blocage

Mise en place du siège
- Fixer le siège à la plaque de fixation comme indiqué sur la figure
Réglage du siècle
- Régler le siege pour avoir une position comfortable
- Serrer à fond la vis de réglage

Zetel installeren
Montage du volant de direction
- Fixer les éléments de montage suivant l'ordre indiqué
- S'assurer que les roues avant sont à l'alignement et que la barre médiane du volant estperpendiculaire au sens de la marche.

Stuur installeren
-
Bouchon carburant
-
Pédale d'embrayage/frein
-
Bloquage et débloquage de roue libre
-
Levier de frein de parcage
-
Démarreur/accelérateur
-
Bouton de réglage en hauteur de tondeuse
-
Levier de rRelevance de tondeuse
-
Levier d'embrayage de tondeuse
-
Levier de changement de vitesse
-
Clé de contact
NL 1. Dop brandstof
DANGER: Utiliser la figure pour localiser toutes les commandes. Ne pasmettre en marche à ce stade.
F Commandes
- Clé de contact: Utilisée our méttre en marche le moteur.
- Démarreur/accéléateur: Pousser le levier en avant et à droite pour démarrer. Permet également d'accélérer et de ralentir.
- Pédale d'embrayage/frein: Sert à libérer la transmission et à arreter le vehicule.
- Levier de changement de vitesse: Enconcer la pédale d'embrayage/frein. Choiser la vitesse. Actionner le levier de changement de vitesse.
- Levier de frein de parcage: Avant de quitter le vehicule, serrer le frein de parcage en,enfantant à fond la pedale d'embrayage/frein. Tenir le levier de frein de parcage en position, puis relâcher la pression. La pedale reste alors en position de freinage.
- Levier d'embrayage de tondeuse: Remonter le levier pour enclencher la tondeuse.
NOTA: On observera une légère hesitation du moteur au moment d'enclencher l'embrayage.
- Levier de relevage de la tondeuse: Permet de relever complètement la tondeuse ou de la remettre en position de travail.
- Bouton de réglage en hauteur: Permet d'ajuster en hauteur la position de travail.
DANGER: Assurez-vous de bien connaître les commandes avant d'aller plus loin.
WAARSCHUWING: Gebruik dit diagram om alle bedieningsorganen te situeren. Probeer nu nog nicht om de tractor te starten.
Bedieningsorganen
F 1. Pédale d'embrayage/frein, position "frein"
- Levier d'embrayage de tondeuse en position "débrayée"
- Changement de vitesse
- Frein de parcage
- Accelerateur
-
Clé de contact
-
Koppelings/rempedaal "rem" positie
-
Grasmaaier koppelingshendel "ontkoppelde" positie
-
Versnellingshendel
- Parkeerrem
- Smoorklepediedening
- Startslot

DANGER: Sachez arrête la machine avant d'essayer de s'en servir.
F Arret
- Enconcer à fond la pédale d'embrayage/frein jusqu'à la position "frei".
- Mettre le levier d'embrayage de tondeuse en position "débrayée".
- Tout en maintainant enforcée la pédale d'embrayage/frein,mettre le levier de changement de vitesse en position"point mort".
- Mettre le frein de parcage en position "frein" et lacher la pédale embrayage/frein. La pédale doit alors rester en position "frein".
- Mettre l'accelerateur en position "S" (ralenti).
- Mettre la clé de contact en position "Off" (arrêt).
NOTE: Ne jamais utiliser le démarreur pour arrêter le moteur.
Commande de la roue libre
Pour remorquer ou déplacer le tracteur sans aide du moteur, le bouton de la commande de la roue libre doit être tiré et bloqué en position avec le ressort d'aiguille.

Control de Rueda Libre
F Vérifier le niveau d'huile du moteur
- Ce moteur est déjà fourni en huile de qualité été.
- Retirer et essuyer la jauge.
- La remetre en place un instant.
- Retirer la jauge aet contrôle le niveau d'huile.
- Remplir au besoin. Capacité: 1,4 l.
- Remetre la jauge en place et serrer à fond.
Remplissage de carburant
- Remplir le réservoir à carburant. Capacité: 5,3 l.
ATTENTION: Utiliser uniquement une essence normale, pure et sans plomb. Ne pas utiliser de gasohol, de méthanole ou de "super" sans plomb. Ces carburants risquent d'endommager la machine.

- Dop brandstof
- Peilstok

- Pédale d'embrayage/frein
- Levier d'embrayage de tondeuse
- Accelerateur
- Clé de contact


Starting the engine
- Enconcer à fond du pied gauche la pédale d'embrayage/frein.
- Débrayer la tondeuse etmettre l'engin au point mort.
- Mettre l'accelérer en position "démarreur".
- Tourner la clé d'allumage en position "start".
Lacher la clé des que le moteur démarre.
ATTENTION: Ne pas actionner sans arrêt le starter plus de quinze secondes par minute.

- Koppelings/rempedaal
- Grasmaier koppelingshendel
- Smoorklepediedening
- Startslot

- Pedal de embrague/freno
- Palanca de embrague de corte
- Accelerator
- Interrutor de llave

Pour assurer l'utilisation correcte et le rendement, il est recommendé que la transmission soit purgé avec d'utiliser le tracteur pour la première fois. Ce procédé enlèvera l'air emprisonné à l'intérieur de la transmission qui se développementait pendant l'expédition de votre tracteur.
IMPORTANT: SI VOTRE TRANSMISSION DEMANDE L'ENLÈVEMENT POUR L'ENTRETIEN OU LE REMPLACEMENT, ELLE DEVRAIT ÉTRE PURGÉE APRES LA REINSTALLATION ET AVANT D'UTILISER LE TRACTEUR.
- Garez le tracteur avec sutureté sur un terrain plat pour qu'il ne roule pas dans aucune direction. Le frein de stationnement doit être dégagé pour le procédé suivant.
- Débrayez la transmission en mettant la commande de roue libre dans la position de la marche à roue libre (Référez-vous à la section de “POUR TRANSPORTER” dans cette section de ce manuel).
- Démarrez le moteur et déplacez la commande des gaz à la position lente. Assurez-vous que le frein de stationnement ne soit pas engagé.
- Déplacez le levier de la commande de mouvement à la position de marche avant complète et tenez-le pendant cinq (5) secondes. Déplacez le levier à la position de marche arrière complète et tenez-le pendant cinq (5) secondes. Répéteze ce procédé trois (3) fois.
- Déplacez le levier de la commande de mouvement à la position point mort (N).
- Arrétez le tracteur en tournant la clé de contact à la position d'arrêt (OFF).
- Embrayez la transmission en déplaçant la commande de roue libre en position de conduire (Référez-vous à la section de “POUR TRANSPORTER” dans cette section de ce manuel).
- Démarrez le moteur et déplacez la commande des gaz à la position lente.
- Conduisez en avant le tracteur pour 150cm (5 pieds) approximativement et ensuite, conduisez en arrête pour 150cm (5 pieds). Répéteze ce procédé de conduirtreis (3) fois.
- Voiture tracteur est maintainant prêt pour l'utilisation normale.
NL TRANSMISSIE ONTLUCHTEN
- Pédale d'embrayage/frein en position "embrayée"
- Levier d'embrayage de tondeuse en position "embrayée".
- Accelerateur
- Levier de releavage de tondeuse en position "levée".
- Changement de vitesse
- Bouton de réglage en hauteur de tondeuse.


(Eng)
Cutting your grass
- Mettre en marche le moteur.
- Mettre l'accelérer en position moyenne entre démarrage et plein régime.
- Lâcher graduèlement la pédale embrayage/frein et avancer jusqu'à la surface à tandre.
- Arrête l'appareil.
- Enclencher doucement le levier d'embrayage de tondeuse.
- Lâcher doucement la pédale d'embrayage/frein. Le levier peut passer progressivement de S à F pour avoir la vitesse désirée.
NOTE: Toujoursmettrele moteur à pleinégime pour tondre,afin d'obtenir le meilleur rendement et épargner le matériel.
- Mettre l'accelerateur en position plein régime.
- Observer la hauteur de coupe et réajuster au besoin, à l'aide du bouton de réglage en hauteur.

Conseils pour tandre
Assurez-vous que l'engin soit en position correcte (avant-arrrière, et lateralement).
- Utiliser le marche-pied comme un guide. La lame coupe à 2,5 cm à l'extérieur du marche-pied.
- Conduire le vehicule de telle sorte que l'herebe coupée tombe du côte déjà tondu.
- Ne couper que de l'herbe sèche.
NOTA: De l'herbe mouillée risque de boucher la tondeuse et laïssse une trainée des paquets d'herbe.
- Tondre souvent l'herbe. Une herbe coupée courte se décompose plus vite.
- Bien aiguiser les lames. Une lame affuitede coupe mistrs.
- Ralentir dans les tournants. Un tournant sec et rapide risque d'arracher l'herbe.
- Une herbe longue exigera plusieurs passages.
Tondre d'abord à une hauteur supérieure. Vérifier le résultat puis baiser à la hauteur voulue.

Maaitips
- Levier de releavage de tondeuse en position "levée".
- Bouton de réglage en hauteur de tondeuse.

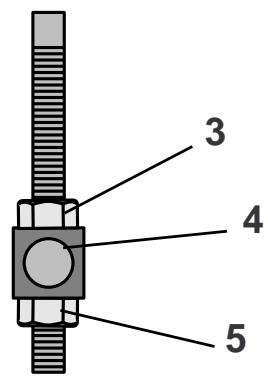
DANGER: Ne jamais conduire en montée ou en descente sur une pente de plus de 14^ , et ne pas conduire transversalement. Voir diagramme.

- Tondeuse "relevée au maximum"
- Bord inférieur du chassin
- Corps de tondeuse
- Levier de releverage de tondeuse
- Bouton de réglage en hauteur de tondeuse


DANGER: Avant toute intervention: réparation, examen ou mesure d'entretien, débrancher le fil de bougie pour éviter toute mise en marche intempestive.
Réglage de la tondeuse
NOTE: Avant de régler la tondeuse, les pneus doivent être bien gonflés.
Gonfler les pneus avant a 1 bar
Gonfler les pneus arriré à 0,8 bar
Parquer le vehicule sur une surface plane et lisse. Relever la tondeuse en position maximale (transport).
- Mesurer la distance entre le haut du corps de tondeuse et le bord inférieur du chassin (dim. "A"). La dim. "A" doit être de 86-89 mm.
- Pour régler la dim. "A", si besoin est,mettre le tondeuse en position basse maximale. Enlever le clip du tourillon, puis détacher la goupille de la bride. Desserrer l'écrou du tourillon et faire tournier le tourillon dans le sens horsaire sur l'articulation de levage pour réduire la dim. "A" et dans le sens anti-horaire pour augmenter celle-ci.
- Resserrer l'écrou du tourillon.
NOTA: Chaque tour de tourillon modifie la dim. "A" de 1,6 mm. Remetre le tourillon dans la bride avec la goupille pointant vers la gauche du vehicule. Reposer le clip de fixation.
Mise à niveau latérale
- Mettre le bouton de réglage en hauteur de tondeuse en position "3". Baisser le levier de relevage de tondeuse jusqu'au bouton de réglage en hauteur.



- Bord inférieur du corps de tondeuse
- Articulation de levage arrêté gauche
- Ecrou de tourillon supérieur
- Tourillon d'articulation de levage arrêté
-
Ecrou de tourillon inférieur
-
Mesurer la distance entre le sol et le bord inférieur du corps de tondeuse, des deux cots de celle-ci (dim. "B" et dim. "C"). Les dim. "B" et "C" doivent être identiques.
- Nivelar la tondeuse laterralement en ajustant l'articulation de levage arrêté gauche. Desserer l'écrou du tourillon supérieur et serrer l'écrou du tourillon inférieur de façon à soulever le côté gauche de l'unité de coupe. Pour abaisser le côté gauche de la tondeuse, desserer l'écrou du tourillon inférieur et serrer l'écrou du tourillon supérieur.
NOTA: Un tour d'écrou du tourillon inférieur est équivalent à environ 3 mm de différence en hauteur. Assurez-vous que, le réglage fait, les deux écrous de tourillon soient bien serrés contre le tourillon.


Mise à niveau avant-arrête
- Pour obtenir le meilleur résultat, l'arrière de la tondeuse doit être plus haute que l'avant de 6-9 mm. Mesurer la distance entre le sol et le bord inférieur du corps de tondeuse à l'avant et à l'arrête du vehicule, côté droit (dim. "D" et "E") à hauteur des roues avant et arrière.
- Lever ou baisser l'unité de coupe à l'arrière en réglient l'articulation de levage arrière droite. On souleve le bord arrêté de l'unité de coupe en serrant l'écrou du tourillon supérieur. On baisse le bord arrêté de l'unité de coupe en desserrant l'écrou du tourillon supérieur.

- Bord inférieur du corps de tondeuse
- Articulation de levage arrière droite

NOTA: L'engin doit être périodiquement entretenu afin d'en obtenir un rendement efficace.
DANGER: Avant toute intervention: réparation, examen ou mesure d'entretien, débrancher le fil de bougie pour éviter toute mise en marche intempestive.
Avant chaque usage:
- Vérifier le niveau d'huile, et lubrifier au besoin les points d'articulation.
- Vérifier que tous le écrous, boulons et goupilles sont en place et solidement fixés.
- Vérifier les la batterie, les plots et le bouchon filtré.
- Recharger au besoin à 6 Å.
- Nettoyer le tamis d'aération.
- Enlever du vehicule toute poussière, vente paille et brindilles risquant d'endommager le moteur ou de provoquer un échauffement.
- Vérifier l'etat des freins.
N L Onderhoud
Compe-rendu d'entretien
Indiquer les dates après chaque mesure d'entretien
| Selon besoins | Toutes les 8 h. | Toutes les 25 h. | Toutes les 50 h. | Toutes les 100 h. | Toutes les 200 h. | |
| Vidange d'huile de moteur | ● | |||||
| Grassage des articulations | ● | |||||
| Vérification des freins | ● | |||||
| Nettoyage du tamis d'aération | ● | |||||
| Nettoyage du filtré à air et du pré-filtre | ● | |||||
| Remplacement de la cartouche du filtré à air | ● | |||||
| Nettoyage des ailettes de refroidissement moteur | ● | |||||
| Remplacement de la bougie | ● | |||||
| Vérification du gonflage des pneus | ● | ● | ||||
| Remplacement du filtré à carburant | ||||||
| Nettoyage des plots et contacts de batterie | ● | |||||
| Vérification du silencieux | ● | |||||
| Graissage des joints à bille | ● | |||||
| Réglage de convergence des roues | ● | |||||
| Réglage du carburateur | ● | |||||
| Tension de courroie trapézoidal | ● |

- Pédale d'embrayage/frein en position "frein"
- Frein de parcage
- Bras activant le frein
- Ecrou "A"
- Ecrou de blocage
- Tige de frein

- Koppelings/rempedaal "rem" positie
- Parkeerrem
- Rembedieningsarm
- Moer "A"
- Stelmoer
- Remstang



DANGER: Si le vehicule a besoin de plus de deux mètres pour s'arrêté en pleine vitesse, on devra régler à nouveaux les freins.

Réglage des freins
Le frein se trouve avant la roue arrière côté droit. La roue doit être déposée pour avoir une bonne accessibilité.
- Enconcer la pédale de débrayage/frein et serrer le frein de stationnement.
- Mesurer la distance entre le levier de frein et l'écrou de réglage.
- La distance doit être de 38 mm.
- Si nécessaire, ajuster la distance en commençant par dévisser l'écrou de verrouillage (2) puis en réglant avec l'écrou (1).
Essayer l'engin sur route pour vérifier si la distance de freinage a bien ete obtenue.

Le levier de la commande de mouvement a ete preréglé à l'usine et le réglage ne devrait pas etre nécessaire.
Si pour aucune raison le levier de la commande de mouvement ne tiendra pas sa positionpendant qu'il soit a une vitessechoisisie,il peutetre regle à l'ensemble de friction qui est situé sur le cote droit de la transmission.
-
Garez le tracteur sur un terrain plat. Arrêtez le tracteur en tournant la clé de contact à la position d'arrêt (OFF) et engagez le frein de stationnement.
-
Réglez le levier de la commande de mouvement en serrant l'écrou frein de réglage un demi (1/2) tour.
REMARQUE: Si pour aucune raison l'effort à déplacer le levier de la commande de mouvement devienne trop excessif, renversez le procédé de réglage ci-dessus en desserrant l'écrou frein de 1/4 à 1/2 tour.
Conduisez le tracteur pour la vérifier et répéteze le procédé si nécessaire.
NLI BIJSTELLEN VAN RIJHENDEL
Le ventilateur et les ailettes de refroidissement de la transmission devraient être conservees propres pour assurer le refroidissement correct.
N'essayez pas de nettoyer le ventilateur ou la transmission pendant que le moteur fonctionné ou pendant que la transmission soit chaude.
- Inspectez le ventilateur de refroidissement pour s'assurer que les lames de ventilateur soient propres et intactes.
- Inspectez les ailettes de refroidissement pour la saleté, l'herbe coupée et les autres matériaux. Pour empêcher l'avarie aux joints d'eutanchéité, n'utilise pas l'air comprimé ou le pulverisateur à haute pression pour nettoyer les ailettes de refroidissement.
FLUIDE DE LA POMPE DE LA TRANSMISSION
La transmission a été scelled à l'usine et l'entretien de fluide n'est pas exigee pour la durabilité de la transmission. Si la transmission devrait avoir une fuite ou demande de la réparation, contactez votre centre d'entretien autorisé le plus proche.

TRANSMISSIEKOELING
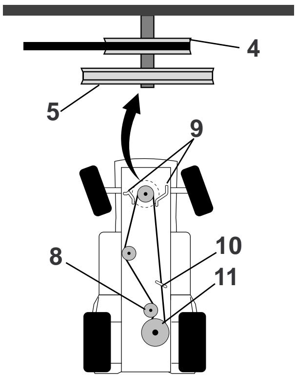
F Schéma de graissage
-
- Pivot d'embrayage
-
- Pivot d'embrayage de tondeuse
-
- Pivot d'embrayage/frein
-
- Plaque d'accélérateur sur moteur
- *** Moteur
- ** Palier de roue avant
-
- Pivot d'essieu
-
- Articulations du capot
-
** Palier de roue avant
-
- Bras de levage de fixation
-
- Levier d'embrayage de fixation
-
Huile de moteur SAE 30
Graisse universelle
* Voir les spécifications d'huile de moteur dans le manuel d'instruction du moteur
NL Smeerschema
- Feststellbremse
-
Kupplungs/Bremspedal
-
Antriebsriemenscheibe
- Mähremenscheibe
- Kupplungsspannad
-
Antriebsriemenführung
-
Rahmenriemenführung
-
Antriebssachsenriemenscheibe
-
Frein de parcage
-
Pédale d'embrayage/frein en position "frein"
- Poulie de moteur
- Poulie d'entrainment de tondeuse
- Galet d'embrayage
- Guide de courroie (moteur)
- Guide de couroie (chassin)
- Poulie de transmission axiale


F Remplacement de la couroie motrice
- Serrer le frein de parcage.
- Tournier complètement les roues avant à gauche ou à droite.
- Dégager la courroie d'entrainment de tondeuse au niveau de la poulie de moteur.
- Dégager la courroie motrice du galet d'embrayage.
- Dégager la couroie motrice au niveau de la poulie de moteur. Faire passer la couroie motrice sous la poulie d'entrainmente de tondeuse, a travers le guide de couroie (moteur), puis sous la poulie de moteur.
- Dégager la couroie motrice de l'axe de transmission.
Faire passer la couroie par dessus de la poulie. - Dégager la courroie motrice au niveau du guide de courroie (chàssis).
Retire la courroie. - Poser une nouvelle courroie en inversant la méthode.
- Remetre en place la courroie d'entrainment de tondeuse, au niveau de la poulie de moteur.
- S'assurer que la poulie est bien à l'intérieur des guides.
-
Interrupteur d'allumage
-
Interrupteur de siege (libre)
- Interrupteur d'embrayage de tondeuse (arret)
- Interrupteur de pédale (haut)
- Allumage
- Bougie d'allumage
- Solenoïde de démarreur
- Moteur de démarreur
- Généatrice
- Interrupteur d'éclairage
- Eclairage
Rouge R
Noir B
Blanc W
Orange O
Brun Br
Interrupteur d'allumage
| Position Circuit | Circuit |
| Arrêt | M + G |
| Marche | B + L |
| Start | B + S + L |
- Remplir le réserve de carburant. Vérifier la conduite et le carburateur (nettoyer au besoin). Remplacer le filtré à carburant. Utiliser une essence neuve.
- Recharger ou remplaçer la batterie
- Vérifier le câblage
- Changer la/les bougie(s) et régler l'écartement
Ne tourne pas
- Mettre la pédale d'embrayage/frein en position frein
- Charger ou remplaçer la batterie
- Recharger ou remplaçer la batterie
- Mettre le levier d'embrayage de tondeuse en position "débrayée"
- Remplacer l'interrupteur d'allumage
- Remplacer le(s) interrupteur(s) combiné(s)
- REPLACER LE SOLENOIDE OU LE DEMARREUR
- Vérifier ou remplaçer les fusions
- Vérifier les connexions et les points de mise à la terre
Mateur cliquette mais ne démarre pas
- Nettoyer les plots de batterie
- Remplacer le démarreur ou le solénoïde
- Charger ou remplaçer la batterie
- Vérifier les connexions et les points de mise à la terre
Démarrage difficile
- Mettre l'accelerateur en position "plein régime" et actionner le démarreurs plusieurs fois pour nettoyer l'échéappement
- Enlever le filtré à air et le nettoyer
- Remplacer la/les bougie(s) et régler l'écartement
- Recharger ou remplacer la batterie
- Vérifier le câblage
- Purger le réservoir à carburant et le carburateur. Utiliser une essence neue. Remplacer le filtré à carburant
- Faire les réglage nécessaires de carburateur
- Remise en état complète du moteur
Manque de puissance
- Rétrograder ou réduire la charge
- Purger le réservoir et le carburateur. Utiliser une essence neuve
- Retirer et nettoyer le filtré à air
- Faire les réglages nécessaires de carburateur
Nettoyer le tamis d'airation - Ajouter de l'huile ou la changer
- Remplacer la ou les bougie(s) et régler l'écartement
- Remplacer le filtré à carburant
- Remise en état complète du moteur
F Surchauffedumoteur
- Rétrograder ou réduire la charge
Nettoyer le tamis d'airation - Ajouter de l'huile ou la changer
- Nettoyer les ailettes de refroidissement du moteur
- Enlever et nettoyer le silencieux ou le remplacer
- Enlever et nettoyer le filtré à air
Utiliser une essence neue et regler le carburateur - Purger et remetre de l'huile à la bonne température
Pas d'éclairage
- Vérifier le fusible, l'interrupteur et les raccords de cable. Remplacer les ampoules de phare
- Remplacer l'interrupteur
Pas de charge
- Vérifier les fusions ou les replacer
- Changer la batterie
- Remplacer le pont de diodes
- Remplacer l'alternateur
Pas d'arrêt de moteur quand l'opérateur quitte le siège
- NOTA: Cét engin est muni d'un dispositif de détction de présence de l'opérateur. Toute tentative de l'opérateur de quitter le siège sans avoir coupé le moteur ou débrayé la tondeuse provoquera un arrêt immédiat du moteur.
- Embrayer la tondeuse
- Vérifier toutes les connexions
- Vérifier l'interrupteur de siège
Tonte insuffisante ou irregulière
- Mettre l'accelérer en position "régone"
- Vérifier la pression des pneus
- Vérifier la mise à niveau avant-arrête et laterale
- Choisir une vitesse au sol inférieure
- Remplacer les lames de tondeuse
- Reposer les lames de tondeuse avec la partie supérieure en haut
- Nettoyer le dessous du corps de tondeuse
Pas de rotation des lames de tondeuse
- Corriger toute interférence dans le mécanisme d'embrayage
- Poser une nouvelle couroie d'entrainment de le tondeuse
- Remplacer le mandrin grippé
- Remplacer la poulie de galet grippé
Trop de vibrations à la tondeuse
- Remplacer les lames voilées ou déséquilibrées
- Remplacer le mandrin. Remplacer le corps de tondeuse
Tonte irregulière ou arrachage
- Refaire la mise à niveau avant-arrête et laterale
- Remplacer les lames
- Remplacer le(s) mandrin(s) tordu(s)

Notice Facile