ICT 17 A - Tracteur JONSERED - Notice d'utilisation et mode d'emploi gratuit
Retrouvez gratuitement la notice de l'appareil ICT 17 A JONSERED au format PDF.
| Type d'appareil | Tracteur agricole |
| Moteur | Diesel, 4 cylindres |
| Puissance | Non précisé |
| Transmission | Mécanique ou hydrostatique |
| Nombre de vitesses | Non précisé |
| Capacité du réservoir | Non précisé |
| Poids | Non précisé |
| Dimensions (L x l x H) | Non précisé |
| Type de roues | Standard agricole |
| Freins | Hydrauliques |
| Système de direction | Hydraulique |
| Capacité de levage | Non précisé |
| Équipements additionnels | Non précisé |
| Poids maximal tractable | Non précisé |
| Consommation de carburant | Non précisé |
| Normes environnementales | Non précisé |
FOIRE AUX QUESTIONS - ICT 17 A JONSERED
Questions des utilisateurs sur ICT 17 A JONSERED
0 question sur cet appareil. Repondez a celles que vous connaissez ou posez la votre.
Poser une nouvelle question sur cet appareil
Téléchargez la notice de votre Tracteur au format PDF gratuitement ! Retrouvez votre notice ICT 17 A - JONSERED et reprennez votre appareil électronique en main. Sur cette page sont publiés tous les documents nécessaires à l'utilisation de votre appareil ICT 17 A de la marque JONSERED.
MODE D'EMPLOI ICT 17 A JONSERED
Manuel d'instructions
Merci de dire très attentivement le manuel d'instructions. Assurez-vous d'avoir tout compris avant d'utiliser ce tracteur.
Nosusns reservons le droit d'apporter des modifications sans vis prealable.
- Lisez toutes les instructions soigneusement. Familiarisez-vous avec les commandes pour apprendre à utiliser efficacement cette machine.
- N'autorisez jamais les enfants ou les personnes qui ne connaissent pas le manuel d'instructions à utiliser cette tondeuse. La reglementation locale peut de plus interdire l'utilisation de la tondeuse à partir d'un certain âge.
- Ne tondez jamais à proximé de personnes, enfants ou animaux.
- N'oubliez pas que tout utilisateur est responsable des accidents ou dommages causés à une autre personne ou aux objets de sa propriété.
-
Tous les utilisateurs doivent rechercher et obtenir une formation personnelle sérieuse et pratique qui devra insister sur:
-
la nécessité absolue d'être attentif et concentré lorsqu'on utilise une autoportée,
- le fait qu'une autoportée glissant sur une pente ne s'arrête pas lorsqu'on appuie sur la pédale de frein.
Les raison principales d'une panne sont:
a) l'adherence insuffisante des pneus,
b) une conduite trop rapide,
c) un freinage insufficient,
d) une tondeuse non adaptée aux conditions d'utilisation,
e) une mauvaise appréciation des contraintes résultat du type de terrain à entretenir et, tout particulièrement de la présence de pentes sur ce terrain,
f) l'accrochage incorrect d'une remorque et la mauvaise répartition du poids.
II. PREPARATION
- Pendant que vous tondez, portez uniquement des chaussures solides et des pantalons longs. Ne tondez jamais pieds nous ou en sandales.
-
Contrôlez systématiquement et soigneusement l'état de la surface à tondre et enlevez tous les objets susceptibles de devenir des projectiles lors du passage de la machine.
-
ATTENTION - L'essence est très inflammable.
-
Utilisez exclusivement les recipientsapprovés.
- Remplissez toujours le réservoir à essence à l'air libre et ne fumez pas pendant que vous le remplissez.
- Remplissez le réservoir d'essence avant de démarrer le moteur. N'enlevez jamais le bouchon du réservoir d'essence et ne rajoutez jamais d'essence quand le moteur est en marche ou pendant qu'il est chaud.
-
Si vous avez renversé de l'essence, poussez la tondeuse hors du lieu ou l'essence a été renversée avant de démarrer le moteur. Ne démarrezaucun outil à où l'essence a été renversée avant qu'elle ne s'évapore.
-
Remplacez les pots d'échéancement défectueux.
- Avant d'utiliser votre Autoportée, vérifie toujours que les lames, les boulons de lame et l'unité de coupe ne soient pas usés ou endommages. Toujours replacer les deux lames Ensemble de façon à éviter tout problème d'équilibrage.
- Avant d'intervenir sur le carter de coupe, vérifietz always que les lames sont toutes à l'arrêt.
III. UTILISATION
- Ne démarrez jamais le moteur à l'intérieur d'unBATIMENT ou des vapeurs dangereuses de monoxyde de carbone pourraient s'être accumulées.
- Tondez uniquement à la lumière du jour ou avec une bonne lumière artificielle.
- Avant de démarrer le moteur, assurez-vous que toutes les commandes du tracteur sont bien au point mort, notamment l'embrayage des lames et le levier de boîte de vitesses.
- N'utilisez pas votre tracteur sur des pentes de plus de 10 degrés.
-
Rappelez-vous qu'il n'existe pas de pente "sûre". Il faut faire très attention quand vous conduissez votre tracteur sur des pentes herbeuses. Pour éviter tout risque de retournement du tracteur, suivez avec soin les consignes suivantes:
-
ne vous arrêtez pas ou ne démarrez pas brutalement dans une pente,
- embrayez doucement et n'arrêtez jamais votre tracteur dans une pente, spécialement quand vous la descendez,
- conduizez toujours lentement dans les pentes, tout comme dans les virages étroits,
- faites attention aux irrégularités du terrain,
-
ne tondez jamais en travers d'une pente, à moins que la tondeuse n'ait eté spécialement conque a cet effet.
-
Faites attention quand vous tirez des charges ou lorsque vous utilisez un équipement lourd.
-
N'utilise que les points de charnière de la barre d'attelage approuvés.
- Limitez-vous aux charges que vous pouvez contrôler avec sécurité.
- Ne tournez pas trop brutalement. Soyez très prudent quand vous conduisez en marche arrière.
-
N'utilise que les masses de roues ou contrepoids qui vous sont conseillés dans le manuel d'instructions.
-
Faitez attention à la circulation quand vous nevez utiliser le tracteur pres d'une route ou quand vous nevez traverser une route.
- Arrêtez toujours les lames quand vous devez traverser une surface autre que du gazon.
- Quand vous montez des accessoires, ne les utilisez et déposez jamais à proximé de celuiqu'un.
- N'utilisez jamais le tracteur avec un bac, déflecteur ou insert broyeur défectueux ou encore sans bac ou déflecteur. Pour tandre, même en fonction broyage, il faut impérativement pour votre sécurité que, soit le bac, soit le déflecteur (option), soient positionnés à l'arrête du tracteur.
-
Ne modifies pas la vitesse de rotation du moteur et ne le faites pas fonctionner au dessus de son régime normal car celui peut être dangereux.
Avant de quitter le siege : -
débrayez les lames et abaissez le carter de coupe,
- mettez le levier de vitesse au point mort et enclenchez le frein de parking,
-
arrêtez le moteur et enlevez les clés,
-
Débrayez les lames, arrêtez le moteur, et débranchez le (s) fil (s) de la bougie d'allumage ou enlevez la clef de contact:
-
avant de.xxerirer l'insert broyeur ou avant de.xxerir la goulotte d'éjection pour la nettoyer,
- avant de contrôle, nettoyer ou travailler sur l'unité de coupe,
- avant de prisoner un objet coincide dans la tondeuse. Dans ce cas inspectez aussilot la machine pour vous assurer qu'elle n'est pas endommagée et, si nécessaire, faites ou faites faire impérativement les réparations avant de la remettre en marche et de la faire fonctionner.
-
si la machine commence à vigorer anormalement. Dans ce cas vérifie immédiatement l'unitéde coupe.
-
Débrayez systématiquement les lames quand le tracteur n'est pas utilisé ou quand vous doivent le transporter.
-
Débrayez les lames puis arrêtez le moteur:
-
avant de faire le plein d'essence,
- avant d'enlever le collecteur,
-
avant de régler la hauteur de coupe à moins que ce réglage ne puisse s'effectuer du poste de conduite.
-
Une fois le démarriage effectué, réduisez les gaz grâce à la commande correspondante et positionnez cette commande dans l'encôche correspondant à la position de tonte. Quand vous avez fini de tandre, abaiser la commande de gaz au minimum avant de couper le moteur.
Si le moteur est fourni avec une vanne d'arrêt, fermez l'arrivée d'essence quand vous avez fini de tandre.
IV. ENTRETIEN ET ENTREPOSAGE
Assurez-vous que tous les écrous, boulons et vis sont bien serrés pour être certain que l'équipement est pré à refonctionner dans de bonnes conditions.
- N'entreposez jamais le tracteur avec de l'essence dans le réservoir, dans un bâtiment où les vapeurs pouraient s'enflammer au contact d'une flamme ou d'une étincelle d'allumage.
- Attendez le refroidissement du moteur avant d'entreposer le tracteur dans un espace clos.
Pour supprimer les risques d'incendie assurez-vous que le moteur, le pot d'échévement, le logement de la batterie et du réservoir d'essence ne sont pas encrassés par l'herbe, les feuilles ou laGRAisse.
- Vérifiez souvent le collecteur pour vous assurer qu'il est propre et qu'il n'est pas déterminé.
- Pour votre sécurité, remplacez systématiquement les pieces usées ou détiérées.
- Si le réservoir d'essence doit être vidange, procédez à cette opération à l'extérieur.
- Sur les tondeuses multi-lames, n'oubliez pas que la rotation d'une lame peut entraîner celle des autres.
- Quand le tracteur est garé, entreprises ou tout simplement non utilisé, reglez la hauteur de coupe dans la position la plus)basse.

ATTENTION: Débranchetzoudjoursle filde bougie d'allumage et pour prévenir les démarrages accidentels,posez-le detelle sortequ'il ne puisse enaucun cas entrercn contact avec la bougie d'allumage lors du montage,du transport,des réglages et des réparations.
IMPORTANTE: ESTA MAQUINA CORTADA ES CAPAZ DE AMPUTAR LAS MANOS Y LOS PIES Y DE LANZAR OBJECTOS. SI NO SE OBSERVAN LAS INSTRUCCIONES DE SEGURIDAD SIGUIENTES SE PUEDEN PRODUCIR LESIONES GRAVES O LA MUERTE.

I. I. INSTRUCCION
Ces symboles peuvent figurer sur tracteur ou dans les publications fournies avec le produit. Apprenez à comprendre la signification de ces symboles.

- Monter la rallonge d'arbre de direction sur les orifices souhaités puis installer la vis hexagonale et l'écrou frein, bien serrer le tout.
- Positionner le cache sur la colonne de direction. S'assurer que les ergots du cache colonne de direction sont bien clipsés dans les quatre orifices du tableau de bord.
- Enlevez le manchon de direction du volant de direction et glissez le manchon sur l'arbre de rallonge. Vérifier que les roues avant sont bien alignées droit vers l'avant et positionner le volant sur le moyeu.
- Positionner la grande rondelle plate et écrou 1/2. Visser fortement.
- Encliqueter le cache volant dans le volant de direction.
1. ARBRE D'EXTENSION
Enlevez le bouton de réglage et la rondelle plate qui fixent le siège à l'emballage de carton et mettez-les de côté pour l'assemblage du siège au tracteur.
Pivotez le siège vers le haut et enlevez-le de l'emballage de carton. Débarrasssez-vous de l'emballage de carton.
Placez le siège sur sa cuvette pour positionner le boulon à épaulement sur le gros orifice fendu placé dans la cuvette.
Poussez sur la siège pour accrocher le boulon à épaulement dans le trou oblong et tirez la siège vers l'arrière du tracteur.
Le siège peut être ajusté individuellement par rapport à la pédale de frein et d'embrayage. Ajuster le siège pour avoir une position assisté correcte en le déplacant vers l'avant ou vers l'arrière. Serrer à fond la vis de réglage (2).

Asiento
Vérifier que le cordon est correctement branché à l'interrupteur de sécurité (3) sur le support du siège.

NOTA!
F Mise en place de la batterie
REMARQUE: Si la batterie est en service après le mois et l'année indiqués sur l'étiquette, charger la batterie durant une heures au moins à 6-10 ampères.
A TENTION: Avant d'installer la batterie, prenez la précaution d'enlever gourmette, montre bracelet, bague, etc... Leur contact avec la batterie pourrait cause des brûlures.
Enlever le cache batterie
A TENTION: La borne positive doit etre connectee la premiere pour eviter les etincelles dues a une mise a la masse accidentelle.
Enlever les capuchons de protections des bornes et lesmettre de cote. Positionner la batterie dans son logement. Les polarités de la batterie doivent être tournées versl'extérieur. Commencer par brancher le cable rouge aupole positif puis le cable noir de la masse au pole negatif.Fixer les deux cables à l'aide des vis et des écrous.Lubrifier les bornes de la batterie avec de la graisse résistante à l'eau Remetre de nouveau le cache batterie.

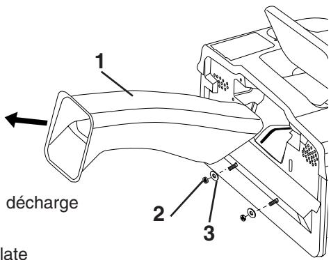
F Assemblage des composants du collecteur

- Manché de décharge
- 3/8 Écrou
-
Rondelle Plate
-
Retirer la goulotte d'éjection d'herbe. Pour ce faire, libérer les deux attaches à l'arrière du tracteur et tirer la goulotte d'éjection hors de son logement.
- Enlever les deux écrous de 3/8 et les rondelles plates, des boulons placés sur la plaque arrêté du tracteur.

- Contre Écrou
- Rondelle plate
-
Tube de support
-
A l'aide des écrous et des rondelles plates qui ont été enlevés de la plaque arrêté du tracteur, installer le tube de soutien du dispositif d'écolte de l'herbe sur la plaque postérieure, comme le montre la figure.

- Console de support
- Boulon de support 3/8
- Contre-écrou 3/8
- Boulon à tête hexasionale 3/8 × 63,5
-
Rondelle plate 10,3 (13/32")
-
Installez les deux supports de soutien supérieures à travers de la plaque arrière au chassin, à l'aide des boulons de chariot de 10 × 19 ~mm ( 3/8'' × 3/4'' ), et les contre-écrous fournis. Serrer à fond.
- Assembler les deux étriers de support sur l'extérieur du tube de soutien du dispositif de récolte de l'herde, à l'aide de deux boulons diamètre intérieur de 13/32" et des contre-crous de 3/8 × 63.5mm des côtés du sachet.

- Crochets
- Manche de décharge
-
Fente de la plaque arriere
-
Replacer la goulotte d'éjection d'herbe dans son logement. La fixer avec les deux attaches.
REMARQUE: le crochet de courroie doit passer par le trou de la glissière de déchargement. Ne laissez pas le que crochet s'encrocha l'intérieur de la fente de la plaque arrière du tracteu. Ceci permettra que la glissière de déchargement flotteavec le carter de tondeuse pendante la tonte d'un terrain inégal.

- Tube antérior
- Tube inférieur d'ensacheur
- Boulons 1/4 × 50,8
- Contre écrous 1/4

- Tube antréieur
- Boulons 1/4 × 50,8
- Contre écrous 1/4
- Revêtement en vinyl
- Tube de la poignée décharge
- Ressort de fixation
-
Goupille de fixation
-
Les surfaces supérieures nivellée
- Support de reglage horizontal
- Support reglage vertical


- Poignée de l'insert broyeur
- Goupille de fixation
- Axe
- Tete de l'insert broyeur
F Pour assembler le collecteur
REMARQUE: Pour faciliter l'assemblage, vous pouvez obtenir l'aide d'une autre personne en remontant le ramasseherbe.
- Les troussanterieur dans le tube du ramasse herbe sont sous un angle. Placez le tube anterieur du rammasse herbe contre le tube inférieur et vérifie l'alignement des trouss approprié avant d'assembler les boulons.
- Assemblée les tubes d'avant et inférieurs de ramassehere en utilisant les quatre (4) 1/4 × 50,8mm boulons de chariot et écrous frien fournis. Serrez solidement
- Gillessez l'assemblage d'avant et inférieur du tube à l'intérieur du ramasse-herbe.
- Assembliez les tubes d'avant et supérieurs du ramasseherbe en utilisant les quatre (4) 1/4 × 50,8mm boulons de chariot et écrous frein fournis. Serrez solidement.
- Metteztous les revêtemnts en vinyl sur les tubes d'ensacheur.
- Insèrez la poignée pour la décharge d'ensacheur dans l'ouverture de la partie supérieure d'ensacheur, assemblez la goupille de fixation et fixez-la avec le dessort de fixation.
REMARQUE: Pour une utilisation ultérieure, la goupille de fixation peut être enlevée de manière que la poignée pourrait être utilisée pour la décharge de la manche au cas ou celle-ci est bouchée.
Adjustement du collecteur
Pour un bel aspect et un fonctionnement optimisé du collecteur, il faut l'ajuster. Il doit y avoir un jeu de 6 mm (1/4") - 9 mm (3/8") entre le collecteur et la partie arrêté du tracteur, et le capot du collecteur doit se situer au même niveau que le capot arrêté du tracteur.
Réglage horizontal
- Desserrez légèrement les écrus qui fixent les supports du côté droit et du côté gauche du réglage horizontal. Desserrez qu'assez pour que les supports gardent leur position, mais permettez-leur d'être déplacés.
- Déplacez les supports en avant ou vers l'arrière à la quantité que vous désirez que l'ensemble du ramasse herbe peut se déplacer. Bien reisserrez les écrous.
Réglage vertical
- Desserrez légèrement les écrous qui fixent les supports du réglage vertical. Desserrez qu'assez pour que les supports gardent leur position, mais permettez-leur d'être déplacés.
- Déplacez les supports vers l'haut ou vers le bas à la quantité que vous désirez que l'ensemble du ramasse herbe peut se déplacer. Bien reisserrez les écrous.
- Positionner le bac sur les plaques d'accrochage afin d'en vérifier l'ajustement. Si le résultat n'est pas conforme aux instructions, repeter l'opération jusqu'à obtenir un ajustement parfait.
Pour optimiser les fonctions ramassage, broyage ou éjection, se reporter au (chapitre 5) du manuel d'utilisation.
Pour assembler l'insert broyeur
Enlever l'arrêt-ressort et le pivot de lapaignée.
- Insérer la tête de l'insert dans la poignée. Vérifier si les lettres (A) et (B) sont du même côté sur la tête de l'insert et sur la poignée, et si elles sont visibles du dessus une fois l'insert posé sur le sol..
- Insérer l'axe et le fixer avec la goupille réservée à cet effet. Pour installer l'insert se reporter (pour passer d'une fonction à l'autre) figurant au (chapitre 5) du précédent manuel.

Les supports de roue sont bien régés quand ils se trouvent un peut hors du terrain pendant que la tondeuse soit dans la position de hauteur de coupe désirée.
- Réglez les supports de roue quand le tracteur est sur un terrain plat.
- Réglez la tondeuse à la hauteur de coupe désirée.
- Quand la tondeuse est à la position désirée pour la hauteur de coupe, les supports de roue devraient être montés afin qu'ils soient un peu de la terre. Installee le support de roue dans le trou approprié avec un boulon à épaulement, une rondelle 3/8 et un écrou frein 3/8-16 et serrez à fond.
- Répétez pour l'autre côte. Installez le support de roue dans le même trou régiable.


PARA AJUSTARLAS RUEDASCALIBRADORAS
3. Description du fonctionnement.
F Emplacement des commandes
- Interrupteur des phares.
- Commande de gaz.
- Pedale de frein et d'embrayage.
- Embrayage et débrayage de la boîte de vitesses.
- Embrayage et débrayage de l'une de coupe.
- Abaisissement et relevage du plate au de coupe.
- Serrure de contact.
- Frein de parking.
- Bloquage et débloquage de roue libre.
- Réglage de la hauteur de coupe.
- Starter.
F 2. Commande de gaz
La commande de gaz permet de régler le régime moteur et donc la vitesse de rotation des lames.
= Position de gaz Tmaxale
= Position de ralenti
Esp 2. Accelerador
3. Pédale de frein et d'embrayage
En enforcant cette pédale, on freine et en même temps on débraye la transmission.

3. Pedal de freno y de embrague
F 4. Embrayage et débrayage de la boîte de vitesse
Le levier peut être améné à quatre positions différentes:
N = Positionneutre (pas d'entraînement)
S = Conduite lente
F = Conduite rapide
R - Marche arrrière
Le levier peut passer progressivement de S à F pour avoir la vitesse désirée.
- Embrayage et débrayage de l'unité de coupe

6. Abaisissement et releavage du plate au de coupe
Tirer le levier vers l'arrière pour relever rapidement le carter de coupe quand il passse sur une surface accidentee. Pour le transport, le carter de coupe doit etre dans sa position la plus haute (releve au maximum). Pour cela, tirer le levier vers I'arriere jusqu'a ce qu'il se bloque. Pour abaiser le carter de coupe, tirer tout d'abord le levier vers I'arriere (1), puis enforcer le bouton pouvoir positionné au dessus du levier (2), et enfin ramener le levier vers I'avant (3).

F 7. Serrure de contact
La clé de contact peut être à trois positions :
OFF Le courant électrique est coupé
ON Le courant électrique est branché
START Le démarreur est en circuit
ATTENTION!
Quand la machine reste sans surveillance, ne jamais laisser la clef de contact dans le contacteur.

Pour enclencher le frein de parking :
- Enfoncer à fond la pédale de frein/embrayage,
- En même temps, relever vers le haut le levier du frein de parking et le maintainir dans cette position,
- Relacher la pedale de frein,
Pour déserrer le frein de parking, il suffit ensuite d'enconcer à nouveau la pédale de frein/embrayage.


9. Bloquage et Débloquage de Roue Libre
Pour remorquer ou déplacer le tracteur sans aide du moteur, le bouton de la commande de la roue libre doit être tiré et bloqué en position avec le dessort d'iguille.

9. Acoplamento y Desacoplamento de Rueda Libre
F 10. Réglage de la hauteur de coupe
La hauteur de coupe désirée est réglée avec le bouton. En tournant le bouton dans le sens d'horloge, la hauteur de coupe augmente. Le bouton peut être tourné plus facilement si, en même temps, le levier pour élever/baisserrapidement le groupe de coupe est retire vers l'arrière.
Esp 10. Ajuste de la alta de corte
Lorsque le moteur est froid,steroler le starter avant d'essayer de demarrer.Lorsque le moteur a demarré et tourne régulierement enforcer le starter.
Esp 11.Estrangulador
4. Avant de démarrer. 4. Antes del arranque.
Utiliser de l'essence pure (pas de melange d'huile) sans plomb. Faire le plein d'essence jusqu'àu bord inférieur de l'orifice de replissage, pas au dela
ATTENTION!
L'essence est un produit inflatable. Prendre les précautions nécessaires et faire le plein à l'extérieur. Ne pas fumer à proximé et ne pas faire le plein lorsque le moteur est chaud. Ne pas trop replir le réservoir, penser à l'expansion de l'essence qui risquerait de déborder. Conserver l'essence dans un endroit frais et dans un réservoir spécifique concu à cet usage. Vérifier le réservoir d'essence et le circuit de distribution du carburant.
L'orifice de replissage d'huile, qui contient aussi la jauge, est accessible après avoir fait basculer le capot moteur vers l'avant. Le niveau d'huile dans le moteur doit être vérifié à chaque'utilisation. S'assurer que la machine est bien sur terrain plat. Dévisser le bouchon,steroler la jauge d'huile et l'essuyer. Remetre la jauge, la visser. L'enlever de nouveau et relever le niveau d'huile sur la jauge.


Nivel de aceite
Le niveau d'huile doit se couver entre les deux repères sur la jauge. Sinon, faire l'appoint avec de l'huile moteur SAE 30 jusqu'àu repère maxi (FULL). En hiver (au-dessous de 0^ ), il faut utiliser de l'huile moteur SAE 5 W-30.

F Pression de gonflage des pneus
Vérifier régulièrement la pression de gonflage des pneus. La pression d'air dans les pneus doit être de 1 bar à l'avant et de 0,8 bar à l'arrête.
S'assurer que le carter de coupe est en position de transport (en position supérieure) et que le levier pour l'embrayage/ débrayage du carte de coupe est en position de débrayage.
Esp Arranque del motor
Ne pas faire tournier le démarreur pendant plus de 5 secondes à la fois. Si le moteur ne démarre pas, attendre une dizaine de secondes avant de refaire un essai de démarrage.
Pour assurer l'utilisation correcte et le rendement, il est recommandé que la transmission soit purgé avant d'utiliser le tracteur pour la première fois. Ce procédé enlèvera l'air emprisonné à l'intérieur de la transmission pourrait s'être développé pendant l'expédition de votre tracteur.
ATTENTION: SI VOTRE TRANSMISSION DEMANDE L'ENLÈVEMENT POUR L'ENTRETIEN OU LE REMPLACEMENT, ELLE DEVRAIT ÉTRE PURGÉE APRès LA REINSTALLATION ET AVANT D'UTILISER LE TRACTEUR.
Garez le tracteur avec suturet sur un terrain plat pour qu'il ne roule pas dans aucune direction. Le frein de stationnement doit etre dégagé pour le procédé suivant.
- Débrayez la transmission en mettant la commande de roue libre dans la position de la marche à roue libre (Référez-vous à la section de “POUR TRANSPORTER” dans cette section de ce manuel).
- Démarrez le moteur et déplacez la commande des gaz à la position lente. Assurez-vous que le frein de stationnement ne soit pas engagé.
- Déplacez le levier de la commande de mouvement à la position de marche avant complète et tenez-le pendant cinq (5) secondes. Déplacez le levier à la position de marche arrrière complète et tenez-le pendant cinq (5) secondes. Répétez ce procédé trois (3) fois.
- Déplacez le levier de la commande de mouvement à la position point mort (N).
- Arrêtez le tracteur en tournant la clé de contact à la position d'arrêt (OFF).
- Embrayez la transmission en déplaçant la commande de roue libre en position de conduire (Référez-vous à la section de “POUR TRANSPORTER” dans cette section de ce manuel).
- Démarrez le moteur et déplacez la commande des gaz à la position lente.
- Conduisez en avant le tracteur pour 150 cm (5 pieds) approximativement et ensuite, conduisez en arrêté pour 150 cm (5 pieds). Répétez ce procédé de conduire trois (3) fois.
- Notre tracteur est maintainant prét pour l'utilisation normale.
Esp PURGAR LATRANSMISSION
La machine est équipée d'un interrupteur de sécurité qui arrête immidiatement le moteur si celui-ci tourne encore lorsque le conducteur quitte son siège. Notre carter de coupe est équipé d'une sécurité qui empêche d'embrayer les lames lorsque le collecteur ou le déflecteur ne sont pas correctement montés à l'arrière du tracteur.

NOTA!
Abaisser le carter de coupe en ramenant le levier vers l'avant. Relâcher doucement la pédale de frein/embrayage. Embrayer les lames et amener le levier de vitesses à la position désirée. Bien vérifier, pendant la tonte, que la commande de gaz se trouve bien dans l'encoche correspondant au régime moteur optimal pour la tonte

Conducción
- Enlever les pierres et autres objets se trouvant sur la pelouse et risquant devenir des projectiles au contact des lames.
- Localiser les pierres et autres obstacles à éviter pendant le parcours.
- Commencer par tandre haut puis diminuér progressivement la hauteur de coupe jusqu'à obtenir le résultat对你.
- Le meilleur résultat s'obtient au régime moteur maxi (les lames tournent vite) et à petite vitesse. Si l'herbe n'est pas trop haute, ni trop dure, la vitesse de tonte peut-être augmentée sans modifier notablement la qualité de coupe.
- Les plus belles pelouses sont les pelouses régulièrement tondues. La coupe est plus régulière tout comme la répartition de l'herbe. Le temps passé à tondre n'est pas nécessairement plus important puisque la vitesse de conduite peut-être augmentée sans que l'aspect de la pelouse ne s'en dessente.
- Eviter de tandre une pelouse mouillée. La pelouse ne peuttre tandue correctement car les roues du tracteur s'enforcent dans le sol.
- Nettoyer le carter de coupe après chaque utilisation, de préférence avec une raclette pour décoller l'herbe fraîche restée dans le carter et la goulotte d'éjection.
F Pour vider le bac:
Votre tracteur est équipé d'une alarme sonore qui vous avertit lorsque le bac est plein. Pour arrêter l'alarme, débrayer les lames.
- Amener le tracteur là ou vous souhaitez le décharger.
- Mettre le levier de boîte de vitesses au point mort et tirer le frein à main.
- Tirer le leiver de vidange du bac vers le haut puis vers l'avant afin d'ouvrir le bac et vider l'herbe coupée.
- Remetre ensuite le levier dans sa position initiale. Vérifier que le collecteur est bien reféré et qu'il se trouve dans la bonne position avant de réembrayer les lames.
Pour passer d'une fonction à l'autre:
Les fonctions (broyage) et (ejection arrêté) requiennent la mise en place de dispositifs appropriés.
Pour broyer
- Régler le carter sur la position de coupe la plus haute,
- Déposer le collecteur ou le déflecteur (option),
- Décrocher les deux attaches et tirer la goulotte d'éjection hors de son logement:
- Insérer l'insert broyeur tout entier dans la trappe d'éjection et vérifier que la tête vient bien fermer le carter de coupe,
- Une fois l'insert est collé, l'immobiliser en accrochant les deux attaches situées de part et d'autre de la poignée dans les points d'ancrage prévus à cet effet de part et d'autre de la trappe d'éjection,
- Replacer le collecteur ou le déflecteur (option) à sa place à l'arrière du tracteur. Ceci est indispensable pour tandre du fait du contacteur de sécurité situé à l'arrière du tracteur.
Pour éjecter
- Régler le carter sur la positon de coupe la plus haute,
Déposer le collecteur ou l'insert broyeur, - Réinstaller la goulotte d'éjection dans le tracteur,
Accrocher la goulotte d'éjection de part et d'autre de la trappe d'éjection avec les attaches réservées à cet effet, - Installer le déflecteur à l'arrêt du tracteur en vissant les quatre écrous-papillons dans les orifices filetés.
- Bien desser les écrous-papillons.
Pour Ramasser
- Régler le carter sur la position de coupe la plus haute,
Déposer le déflecteur ou l'install broyeur, - Réinstaller la goulotte d'éjection dans le tracteur
Accrocher la goulotte d'éjection de part et d'autre de la trappe d'éjection avec les attaches réservées à cet affet, - Installer le bac à l'arriere du tracteur.

- Ne pas conduire sur un terrain incliné de plus de 10^ . Le risque de se renverser est très important.
- Ne jamais conduire le tracteur parallèlement à la pente à cause du risque de se renverser. Toujours conduire le tracteur perpendicular à la pente, pour monter comme pour descendre.
- Ne jamais arrêté ou démarrer le tracteur sur une pente.

ADVERTENCIA!
Amener la commande de gaz en position (ralenti), vers le bas "
Débrayer les lames, Relever le carter de coupe, Laisser le moteur tourner au ralenti pendant 1 à 2 minutes pour qu'il refroidisse avant de l'arrête après un travail pénible, puis tourner la clef de contact en position (off).
Esp Parada del motor
Ne jamais laisser la clé de contact sur la machine lorsqu'elle reste sans surveillance afin d'éviter que des enfants ou autres personnes non autorisées ne puissant démarrer l'outil.

ADVERTENCIA!
Avant toute intervention sur le moteur ou l'unité de coupe suivre les instructions ci-après:
- Enconcer la pédale de frein/embrayage pourmettre le frein de parking.
- Mettre le levier de vitesses sur la position neutre.
- Débrayer les lames.
- Arrête le moteur.
- Débrancher le cable d'allumage de la bougie.


- Soulever le capot.
- Déconnecter les phares,
- Se placer devant le tracteur, prendre le capot par les côtés, l'incliner à l'avant, puis le soulever pour le libérer des encoches qui le fixent au chassin,
Pour réinstaller le capot, repositionner les ergots du capot dans les encoches réservées à cet effet,
Rebrancher la connexion des phares et refermer le capot.
REMARQUE: Le tracteur doit être périodiquement entreten afin d'obtenir un rendement efficace.
ATTENTION: Avant toute intervention: réparation, examen ou mesure d'entretien, débrancher le fil de bougie pour éviter toute mise en marche intempéstive.
Avant cheque usage:
- Vérifier le niveau d'huile, et lubrifier au besoin les points d'articulation,
- Vérifier que tous les écrous, boulons et goupilles sont en place et solidement fixés,
- Vérifier la batterie, les polarités et l'objet.
Recharger au besoin à 6 A, - Nettoyer le grille de ventilation du moteur,
Nettoyer le filtré à air - Retirer du tracteur la poussière et les brindilles qui risqueraient d'endommager le moteur ou de provoquer un échauffement,
Vérifier l'etat des freins.
Esp Mantenimiento
Afin de réaliser l'entretien du moteur
Se référer au mode d'emploi du moteur.
Soupape de vidange de I'huile
- Enlever le bouchon et introduire le tube de vidange.
- Afin d'ouvrir la soupape, appuyer légèrement, tourner en sens contraire aux aiguilles d'une montre et enlever.
-
Afin de fermer la soupape, appuyer et tourner en sens des aiguilles d'une montre.
Enlever le tube de vidange et visser le bouchon. -
Bouchon
- Tube de vidange

| Selon besoins | Toutes les 8 h. | Toutes les 25 h. | Toutes les 50 h. | Toutes les 100 h. | Toutes les 200 h. | |
| Vidange d'huile moteur | ● | |||||
| Graissage des articulations | ● | |||||
| Vérification des freins | ● | |||||
| Nettoyage de la grille d'aération | ● | |||||
| Nettoyage du filtré à air et du pré-filtre | ● | |||||
| Remplacement de la cartouche du filtré à air | ● | |||||
| Nettoyage des ailettes de refroidissement moteur | ● | |||||
| Remplacement de la bougie | ● | |||||
| Vérification du gonflage des pneus | ● | |||||
| Remplacement du filtré à carburant | ● | |||||
| Nettoyage des polarités et connexions de la batterie | ● | |||||
| Vérification du pot d'échéppement | ● | |||||
| Graissage des joints | ● | |||||
| Réglage du parallélisme | ● | |||||
| Réglage du carburateur | ● |

INFORME DE SERVICIO
ANOTE LAS FECHAS CUANDO HA HECHO EL SERVICIO NORMAL
Les lames doivent être bien affuétées pour avoir une belle coupe. L'affutage peut se faire avec une lime ou avec une meule.
REMARQUE!
Il est très important d'affuter en même temps et de façon identique les deux extrémités de la lame pour éviter tout déséquilibrage.

2.
1.
(Eng) 5-Star pattern blade w/ right hand threaded bolt
D Messerbohrung mit füne-ckeckiger Aussparung, Gewin- debolzen mit Rechtsgewinde.
F Lame avec orifice de fixation central (étoile à cinq branches) avec pas de vis à droite
(Esp) Filo cortador de orificio- estrella se cinco+puntas y un tornillo dextrogiro
Lama affettata con aperture stella cinque (5) punte e bollone filettato a destra
NL Mes met 5-hoeleige ster enrechtsgangig schroefdraad
(Eng) 6-Star pattern blade w/ left hand threaded bolt
D Messerbohrung mit sechseckiger Aussparung, Gewindebolzen mit Linksgewinde
F Lame avec orifice de fixation central (etoile à 6 six branches) avec pas de vis à gauche
(Esp) Filo cortador de orificio-estrella de seis punatas y un tornillo levogiro
Lama affettata con aperture stella a sei (6) punte e bollone filettato a sinistra
NL Mes met 6-hoeleige ster en linksgangig schroefdraad

Cuchillas
ATTENTION: Les deux lames de la tondeuse sont différentes et chacune d'entre elles doit être installée à sa place dans le carter de coupe. Il est vivement conseilé de travailler sur une lame à la fois pour s'assurer du bon assemblage des composants.

F 1. Boulon de type hexagonal avec filtaga a droite
F 1. Boulon de type hexagonal avec filtage a gauche
2. Circlips
3. Rondelle plate
4. Lame
F Lame avec orifice de fixation central (étoil à cinq branches):
Cette lame est fixée au moyen par un boulon avec filage à droite. On desserre le boulon en le faisant tourner dans le jeu inverse des aiguilles d'une montre et on le resserre en le faisant tourner dans le sens des aiguilles d'une montre.
6 Star pattern blade
F Lame avec orifice de fixation central (étoile à six branches):
Cette lame est fixée au moyen par un boulon avec filetage à gauche. On déserre le boulon en le faisant tourner dans le sens des aiguilles d'une montre et on le resserre en le faisant tourner dans le sens inverse.

F Pour avoir une bonne qualite de coupe, il est indispensable d'avoir des lames bien affuutes. Changer les lames defectueuse ou tordues.
POUR RETIRER LES LAMES.
- Relevez la machine sa position la plus haute pour avoir accès aux lames coupantes.
- Desserrer le boulon à tête hexagonale, le circlip et la rondelle plate fixant la lame sur le moyeu.
- Installer une nouvelle lame ou la lame d'origine réaffutée avec le tranchant tourné vers le haut du carter comme indiqué sur le dessin
ATTENTION: Pour que la lame soit bien montée, l'orifice central en forme d'étoile de la lame doit être parfaitement emboité sur l'étoile du moyeu.
- Remonter le boulon à tête hexagonale, le circlip et la rondelle plate dans l'ordre exact, comme indiqué.
- Resserer le boulon avec un couple de serrage de 3,7 à 4,9 mKg.
ATTENTION: Le boulon de lame a ete traite thermiquement -classe 8. Bien respecter le couple de serrage.
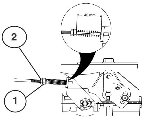
Le frein se situe à l'avant de la roue arrrière côté droit. La roue doit être déposée pour avoir une bonne accessibilité.
- Avant toute intervention enforcer la pédale de frein/ embrayage et engager le frein de parking.

Freno
Ne pas oublier de serrer l'écrou de verrouillage après le réglage.


- Mesurer la distance entre le levier de frein et l'écrou de réglage.
- La distance doit être de 43 mm.
- Si nécessaire, ajuster la distance en commençant par dévisser l'écrou de verrouillage (2) puis en réglient avec l'écrou (1).

F Depose du Carter de Coupe
Travailler à partir du côté croit du tracteur.
- Déposer ensuite la courroie de la poulie du moteur (1).
- Enlever les deux ressorts arrirée en forme d'épingle à cheveux (2) et chasser les axes avec un marteau.
F 3. Enlever les ressorts en forme d'épingle à cheveux (3), (4), (5) et les axes respectifs.
- Tirer le levier pour lever/abaisser le groupe de coupe vers l'arrière.
- Retirer le groupe de coupe de la machine.
F Montage du groupe de coupe
Pousser le groupe de coupe sous la machine.
Le montage se fait dans l'ordre inverse au démontage.
Changement de la courroie d'entrainment du carter de coupe
- Déposer le carter de coupe (voir chapitre précédent).
- Retirer la courroie en partant de la poulie gauche du carter de coupe, puis des autres pouilies.
- Retirer ensuite la courroie de l'unité de coupe.
- Monter la couroie neuve dans l'ordre inverse. Vérifier que la couroie est correctement positionné devant tous les guides.

Pour avoir le meilleur résultat de coupe, le bord avant du carter de coupe (B) doit être de 10mm en dessous du bord arrrière (A). Pour relever le bord arrrière, procéder de la façon suivante:
- Dévisser l'écrou (1) sur les supports avant gauche et droit du carter de coupe.
- Visser exactement de la même façon les écrous (2) sur les supports avant du carter de coupe
- Lorsque la distance (A) est correcte, bloquer le réglage avec l'écrou (1).

Réglage du carter de coupe
A. Reglage lateral
- Vérifier que la pression est correct dans les quatre pneus.
- S'assurer que la machine est sur un terrain plat.
- Relever le carter de coupe dans la position la plus haute.
- Mesurer les distances A et B.

(1) Fond du bord de la tondeuse
(2) Écrou de réglage du raccord de levage

Relever le carter de coupe dans sa position la plus haute.
- Calculer la distance au sol à partir des millieux des bords extérieurs gauche et droite du carter de coupe.
- La distance A doit être la mène des deux cots à 6 mm après.
- Si le réglage est nécessaire, ne régler qu'un seul des deux côtés par rapport à l'autre.
- Soulever ou baiser un côté de la tondeuse en ajustant l'écrou de réglage sur ce côte.
REMARQUE: Chaque trois tour de l'écrou de réglage changera la hauteur de la tondeuse environ 0,3 cm (1/8").
- Reverifier la distance au sol après le réglage.

F Echange de la courroie d'entrainment moteurboite
- Déposer le carter de coupe du tracteur.
- Débrancher la connexion du cable d'embrayage electromagnétique (1).
- Déposer le limiteur de déplacement pour l'embrayage (2).
- Serrer le frein de stationnement et enlever la courroie de la poulie de guidage, puis de la poulie d'embrayage.
- Faire passer la couroie entre les deux palettes du ventilateur et faire tourner le ventilateur dans le sens inverse des aiguilles d'une montre pour dégager la couroie (5).
- Déposer ensuite la courroie de la poule du moteur (6).
F 1. Levier De Controle Du Mouvement
- Point Mort Vanne De Fermeture
- Boulon De Reglage
Eng TRANSAXLE MOTION CONTROL LEVER NEUTRAL ADJUSTMENT
Le levier de contrôle du mouvement de la boîte de vitesses est régèle au moment de la fabrication et n'a donc pas besoin d'autres réglages.
- Desserrer légèrement le boulon de réglage sur la partie antérieure de la roue postérieure droite;
- Faire démarrer le moteur et déplacer le levier de contrôle du mouvement de la boîte de vitesses mécanique jusqu'à l'amener dans une position dans laquelle il ne puisse être déplace ni vers l'avant ni vers l'arrière;
Garder le levier de contrôle du mouvement de la boite de vittesses dans cette position et eteindre le moteur;
Garder le levier dans la position susdite, desserrer le boulon de réglage; - Déplacer le levier de contrôle du mouvement en position de point mort (N) (vanne de fermeture),
- Visser à fond le boulon de réglage.
REMARQUE: déplacer le niveau de travail du plateau de coupe de la faucheuse dans la position la plus BASSE pour augmenter le jeu afin d'acceder au boulon de réglage.
Si le tracteur continue à glisser progressivement en avant ou en arrêté après ce réglage et avec le levier au point mort, effectuer les opérations décrites ci dessous:
- Desserrer le boulon de réglage
- Déplacer le levier de contrôle du mouvement de 1/4 ou 1/2 pouce dans la direction du glissement;
Visser à fond le boulon de réglage,
Faire demarrer le moteur et l'essayer. - Si le tracteur continue à glisser, repeter les opérations susdites jusqu'à atteindre les résultats désirés.

(Esp) 1. Palanca de Control Del Movimento
Le ventilateur et les ailettes de refroidissement de la transmission devraient etreuvees propres pour assurer le refroidissement correct.
N'essayez pas de nettoyer le ventilateur ou la transmission pendant que le moteur fonctionne ou pendant que la transmission est chaude.
- Inspectez le ventilateur de refroidissement pour s'assurer que les lames de ventilateur soient propres et intactes.
- Inspectez les ailettes de refroidissement pour la saleté, l'herbe coupée et les autres matériaux. Pour empêcher l'avarie aux joints d'etanchéité, n'utilise pas l'air compré ou le nettoyeur à haute pression pour nettoyer les ailettes de refroidissement.
FLUIDE DE LA POMPE DE LA TRANSMISSION
La transmission a été scelled à l'usine et l'entretien de fluide n'est pas exigée pour la durabilité de la transmission. Si la transmission devrait avoir une fuite ou demande de la réparation, contactez notre centre d'entretien autorisé le plus-Proche.
Esp ENFRIAMIENTO DEL TRANSEJE
F Le moteur ne démarre pas
- Manque d'essence dans le réservoir.
- Bougie d'allumage défectueuse.
- Raccord de bougie défectueux.
- Impuretés dans le carburateur ou la canalisation de carburant.
Le démarre n'entraine pas le moteur
- La batterie est decharge.
- Mauvais contact entre le cable et la polarité de la batterie.
- Le levier d'embrayage/débrayage n'est pas en bonne position.
- Le fusible principal est endommagé.
- Le contacteur est endommagé.
- Le contact de sécurité pour la pédale de frein/embrayage est endommagé.
- La pédale de frein/embrayage n'est pas enforcée.
Le moteur ne tourne pas régulièrement
- Trop grande vitesse enclenchée.
- La bougie est défectueuse.
- Le carburateur est mal régle.
- Le filtré à air est colmaté.
- L'airation du réservoir de carburant est colmatée.
- Le réglage de l'allumage est incorrect.
- Il y a des impuretés dans la canalisation de carburant.
Le moteur manque de puissance
- Le filtré à air est colmaté.
- La bougie d'allumage est defectueuse.
- Il y a des impuretés dan la canalisation de carburant.
- Le carburateur est mal régle.
Le moteurchauffe
- Le moteur est surcharge.
- La prise d'air ou les ailettes de refroidissement sont colmatées.
- Le ventilateur est endommagé.
- Il y a trop peu ou pas d'huile dans le moteur.
- L'avance à l'allumage est défectueuse.
- La bougie d'allumage est defectueuse ou inadaptee.
La batterie ne charge pas
- Le fusible est endommagé.
- Une ou plusieurs cellules sont endommagées.
- Il y a un mauvais contact entre les polarités de batterie et les câbles.
L'éclairage ne fonctionne pas
- Les ampoules sont grillées.
- L'interrupteur est défectueux.
- Il y a un court circuit dans le fil.
La machine vitre
- Les lames sont mal fixées.
- Le moteur est mal fixe.
- Il y a un déséquilibrage de l'une ou des deux lames par suite de dégats ou d'un mauvais équilibrage après l'affutage.
Coupeirreguliere
- Les lames ne sont pas bien affuitedes.
- Le carter de coupe n'est pas droit.
- L'herbe est longue et mouillée.
- L'herbe s'est accumulée dans le carter.
- La pression de gonflage des pneus n'est pas la même du côté gauche et du côté droit.
- La vitesse enclenchée est trop grande.
- La courroie d'entrainmente moteur/lames patine.
Esp El motor no arranca
Suivre la procédure suivante une fois la saisson terminée:
- Nettoyer toute la machine, spécialement l'intérieur du carter de coupe. Faire les retouches de peinture nécessaires pour éviter la rouille.
Fair la vidange moteur.
Vider le réserve d'essence. Mettre le moteur en route et le laisser tourner jusqu'à ce que le carburateur soit vide. - Déposer la bougie et verser une cuillère à soupe d'huile dans le moteur. Faire tourné le moteur à la main pour répartir l'huile et remettre la bougie en place.
- Démoner la batterie. La dette dans un endroit frais après l'avoir chargée. La protéger du grand froid.
Ranger la machine au sec et a l'abri.
ATTENTION!
Ne jamais utiliser d'essence pour le nettoyage. L'essence contient du plomb et du benzène. Utiliser un autre produit de dégraissage et de l'eau chaude.
Entretien et réparations
Indiquer le nom, l'année d'achat, l'année de fabrication, le modele et le numero de série de la machine lors de lacommande de pieces détachedes. Prendre contact avecvoi tre revendeur le plus proche pour les revisions sousgarantie et pour les réparations. Toujours utiliser des pieces détachedes d'origine.

Notice Facile