FR 2216 FA - Machine à laver JONSERED - Notice d'utilisation et mode d'emploi gratuit
Retrouvez gratuitement la notice de l'appareil FR 2216 FA JONSERED au format PDF.
| Type d'appareil | Machine à laver |
| Capacité de lavage | Non précisé |
| Type de chargement | Non précisé |
| Vitesse d'essorage | Non précisé |
| Consommation d'énergie | Non précisé |
| Consommation d'eau | Non précisé |
| Programmes de lavage | Non précisé |
| Affichage | Non précisé |
| Type de commande | Manuelle |
| Dimensions (HxLxP) | Non précisé |
| Poids | Non précisé |
| Niveau sonore | Non précisé |
| Fonction vapeur | Non précisé |
| Départ différé | Non précisé |
| Système de sécurité | Non précisé |
| Type d'alimentation | Électrique |
FOIRE AUX QUESTIONS - FR 2216 FA JONSERED
Questions des utilisateurs sur FR 2216 FA JONSERED
0 question sur cet appareil. Repondez a celles que vous connaissez ou posez la votre.
Poser une nouvelle question sur cet appareil
Téléchargez la notice de votre Machine à laver au format PDF gratuitement ! Retrouvez votre notice FR 2216 FA - JONSERED et reprennez votre appareil électronique en main. Sur cette page sont publiés tous les documents nécessaires à l'utilisation de votre appareil FR 2216 FA de la marque JONSERED.
MODE D'EMPLOI FR 2216 FA JONSERED
Manuel d'utilisation

Lire attentivement et bien assimiler le manuel d'utilisation avant d'utiliser la machine.
SOMMAIRE
Sommaire
SOMMAIRE
Sommaire 2
INTRODUCTION
Cher client, 3
Conduite et transport sur la voie publique 3
Remorquage 3
Utilisation 3
Service professionnel 3
Journal d'entretien
Service de livraison 4
Aprés les 8 premières heures, 4
EXPLICATION DES SYMBOLES
Symboles 5
QUELS SONT LES COMPOSANTS?
Emplacement des commandes 7
INSTRUCTIONS DE SECURITE
Instructions de sécurité 8
Conduite dans les pentes 9
Enfants 10
Entretien 10
Transport 11
PRÉSENTATION
Présentation 12
Commandedaccelerationetdustarter 12
Pédales d'accélérateur 12
Frein de stationnement 12
Unité de coupe 12
Levier de levage de l'unité de coupe 12
Levier de réglage de la hauteur de coupe 13
Siège 13
Remplissage de carburant 13
Commandede débrayage 13
Conduite
Avant le démarrage 14
Demarrer le moteur 14
Demarrage d'un moteur avec batterie faible 15
Conduite de la tondeuse autoportee 15
Conseils pratiques pour tandre 16
Arrêt du moteur 16
Entretien
Scheme d'entretien 17
Nettoyage 18
Démontage des carters et des ailes de la tondeuse autoportée 18
Silencieux 18
Contrôle et réglage des câbles de direction 19
Réglage du frein de stationnement 19
Réglage du cable d'accelération 20
Changement de I'huile moteur 20
Changement du filtré à air 20
Contrôle du filtré à air de la pompe d'alimentation 21
Système d'allumage 21
Contrôle du système de sécurité 22
Vérification de la pression des pneus 23
Vérification de la prise d'air de refroidissement du moteur 23
Contrôle et réglage de la pression au sol de l'unité de coupe 23
Contrôle du parallélisme de l'unité de coupe 24
Réglage du paralléisme de l'unité de coupe 24
Position d'entretien du groupe de coupe 24
Contrôle des couteaux 25
Retrait du bouchon Mulching 26
Graissage
Contrôle du niveau d'huile du moteur 27
Remplacement de I'huile moteur 27
Contrôle du niveau d'huile de la transmission 27
Graissage du tendeur de courroie 28
Graissage general 28
Graissage des paliers des roues avant 28
Plan de recherche de pannes
Remisage
Remisage hivernal 30
Protection 30
Service 30
CHARACTERISTIQUES TECHNIQUES
Assurance de conformité UE 33
Assurance de conformité UE 33
INTRODUCTION
Cher client,
Nos you remercions d'avoir choisi une tondeuse Jonsered Frontrider. Fabriquees selon un concept unique, les Frontriders Jonsered sont dotées d'un groupe de coupe frontal et de roues arriere avec direction brevetée. La FrontRider fait preuve de la plus haute efficacité, même dans des endroits restreints et difficiles d'accès. Les commandes de réglage regroupées et la boîte de vitesses hydrostatique réglée à l'aide des pédales contribuient également à faire de la Rider une machine hautement performante.
Ce mode d'emploi est précieux. En assimilant et en respectant son contenu (utilisation, entretien, etc.), vous contribuez à prolonger la durée de vie de la machine et aussi à augmenter son prix d'occasion.
Si vous vendez votre Frontrider, n'oubliez pas de remettre son mode d'emploi à son nouveau propriétaire.
Le dernier chapitre du mode d'emploi est un journal d'entretien. Assurez-vous de le gardar à jour et d'y inscrite tous les travaux d'entretien et de réparation. Vous contribuerez ainsi à réduire les coûts liés à l'entretien saissonnier de la machine et à augmenter son prix d'occasion. Munissez-vous de ce mode d'emploi lorsque vous déposez la Frontrider à l'atelier pour des travaux d'entretien.
Conduite et transport sur la voie publique
Contrer les regles de circulation en vigueur avant toute conduite ou transport sur la voie publique. En cas de transport, toujours utiliser les dispositifs de tension agreeés et vérifier que la machine est bien attachée.
Remorquage
Si vous machine est equipée d'un hydrostat, vous ne pouze la remorquer que sur des distances extrémement courtes et à basse vitesse, et ce afin de ne pas endommager l'hydrostat.
Le transfert de la puissance doit être déconnecté en cas de remorquage, voir les instructions du chapitre Commande de débrayage.
Utilisation
La tondeuse autoportée est conçue pour tondre l'herbe sur des surfaces extérieures et horizontales. Le fabricant recommendé également de nombreux accessoires pour élargir le domaine d'application. Pour davantage d'informations sur les accessoires disponibles, contactez votre revendeur. La machine ne doit être utilisée qu'avac les équipements recommends par le fabricant. Toute autre utilisation est incorrecte. Tout autre utilisation est considérée comme contraire à l'utilisation prévue. On respectsera fidèlement les conditions d'exploitation, d'entretien et de réparation indiquées par le fabricant.
Cette machine ne doit être utilisée, entretenue et réparée que par des personnes averties de ses caractéristiques et connaissant les mesures de sécurité appropriées.
On respectera en permanence les mesures de prévention d'accidents et toutes les autres réglementations en matière de sécurité et de medecine du travail, ainsi que toutes les règles relatives à la circulation routière.
Toute modification arbitraire apportée à cette machine annule la responsabilité du fabricant vis-à-vis des dommages ou blessures pouvant en résultat.
Service professionnel
Les produits Jonsereds sont vendus partout dans le monde et vous assurent à vous, le client, de receiveoir une aide et un service de qualite optimale. Et ce, afin que nos clients beneficient en permanence des meilleurs conditions de service et de conseils qui soient. Ainsi, avant sa livraison, sua machine aura ete controllée et mise au point par sua revendeur. Reportez-vous au certificat apparaissant dans le journal d'entretien de ce mode d'emploi.
Pour tout besoin de pieces de rechange ou de conseils concernant l'entretien, la garantie, etc., adressez-vous à:
| Ce Manuel d'utilisation occappe à la machine dont le nombre de série est: | Moteur | Transmission |
Les informations suivantes figurent sur la plaque signalétique de la machine :
La désignation du type de machine.
Le numero du fabricant.
Le numero de série de la machine.
Indiquez always la designation de type et le numero de série lors d'une commande de pieces de rechange.
Journal d'entretien
Service de livraison
1 Charger la batterie pendant 4 heures à 3 amp. max.
2 Monter le volant, le siège et, selon les cas, le reste des pieces.
3 Vérifier et régler la pression des pneus (60 kPa, 0,6 bar, 9 PSI).
4 Régler le groupe de coupe:
Régler les ressorts de levage (le poids du groupe de coupe doit être situé entre 12 et 15kg / 26.5-33 lb).
Régler le groupe pour que la hauteur du bord arrête soit de 2 à 4 mm / 1/8" supérieure à celle du bord avant.
Ajustez la hauteur de coupe de l'unité de coupe de façon à ce que la tige de raccordement soit tendue à la hauteur de coupe la plus)basse.
5 Contrôler que le moteur contient une quantité correcte d'huile.
6 Contröler que le réservoir d'huile de la transmission est bien rempli d'huile.
7 Brancher la batterie.
8 Remplir le réservoir etmettre le moteur en marche.
9 Vérifier que la machine est immobile en position neutre.
10 Vérifier:
La marche avant.
La marche arriere.
La mise en marche des couteaux.
L'interrupteur de sécurité du siège.
L'interrupteur de sécurité du levier de levage.
Interrupteur de sécurité des pédales de la transmission hydrostatique.
11 Contrôler le régime du moteur Voir le chapitre Caracteristiques techniques.
12 Vérifier que les roues avant et arrière sont synchrones. (Machines 4x4 uniquement) Voir le manuel d'atelier.
13 Aviser le client concernant les points suivants:
Nécessité et avantages de suivre le schéma d'entretien.
L'impact de l'entretien et de la tenue d'un journal d'entretien sur le prix d'occasion de la machine.
Domaine d'utilisation du groupe de coupe Mulching.
Remplir le certificat de vente, etc.
Service de livraison effectué. Aucune annotation restante. Certifié:
Date, décompte d'heures, tampon, signature
Après les 8 premières heures,
1 Vidanger l'huile moteur
2 Remplacer l'huile de la boîte de vitesse. (Machines 4x4 uniquement)
3 Vérifier que les roues avant et arrière sont synchrones. (Machines 4x4 uniquement)
Symboles
Ces symboles se retrouvent sur la tondeuse autoportée et dans le mode d'emploi.
AVERTISSEMENT! Une utilisation erronée ou négligente peut occasionner des blessures graves, voire mortelles pour l'utilisateur ou d'autres personnes.
Lire attentivement et bien assimiler le manuel d'utilisation avant d'utiliser la machine.
Toujoursutiliser:
- Protecteurs d'oreilles homologués
Ce produit est conforme aux directives CE en vigueur.
Rapide
Lent
Arrêt du moteur.
Starter
Carburant
Niveau d'huile
Hauteur de coupe
Marche arrête
Marche avant
Allumage
Roule libre hydrostatique
Frein de stationnement

Émissions sonores dans l'environnement selon la directive de la Communauté française. Les émissions de la machine sont indiquées au chapitre Caracteristiques techniques et sur les autocollants.
Embrayage
Débrayage
Avertissement : pièces en rotation. Gardez les mains et les pieds éloignés.
Couteaux rotatifs Evitez d'introduire les pieds ou les mains sous le carter pendant que le moteur tourne
Ne conduisez jamais transversalement sur un terrain en pente
N'utilisez jamais la tondeuse autoportée en présence de personnes, surtout s'il s'agit d'enfants ou d'animaux domestiques
Ne prenez jamais des passagers sur la tondeuse autoportée ou sur les équipements
Conduisez très lentement sans le groupe de coupe
Frein
Instruction de démarrage


EXPLICATION DES SYMBOLES
Vérifiez le niveau d'huile du moteur
Contrôler le niveau d'huile de la transmission
Soulevez le groupe de coupe
Mettre en place le frein de stationnement.
Si le moteur est froid, utilisez le starter
Enlevez le frein de stationnement avant de commencer à rouler







Emplacement des commandes
1 Commande du starter/comande d'accelération
2 Verrouillage de l'allumage
3 Levier de réglage de la hauteur de coupe
4 Levier de levage de l'unité de coupe
5 Pédale d'accélérateur pour la marche arrière
6 Pédale d'accélérateur pour la marche avant
7 Frein de stationnement
8 Bouton de blocage pour le frein de stationnement
9 Plaque de numero de série et de produit
10 Reglage du siège.
11 Levier de débrayage de l'arbre d'entrainment avant FR 2218FA 4X4
12 Bouchon du réservoir de carburant
13 Verrouillage du carter
14 Batterie
15 Levier de débrayage de l'arbre d'entrainmente arriere
Instructions de sécurité
Ces instructions ont pour but de garantir votre sécurité. Lisez les attentivement.
Assurer la tondeuse autoportée
- Contrôler l'assurance de la nouvelle tondeuse autoportée.
- Contacter la compétie d'assurance
L'assurance doit être complète et couvrir circulation, incendie, dommages, vol et responsabilité civile
Utilisation générale
- Lire toutes les instructions de ce manuel d'utilisation et celles situées sur la machine avant de démarrer la machine. S'assurer que les instructions ont été comprises et les suivre fidèlement.


AVERTISSEMENT! Cette machine génére un champ électromagnétique en fonctionnement. Ce champ peut dans certaines circonstances perturber le fonctionnement d'implants Médicaux actifs ou passifs. Pour réduire le risque de blessures graves ou mortelles, les personnes portant des implants Médicaux doivent consulter leur médecin et le fabricant de leur implant avant d'utiliser cette machine.
- Apprendre à utiliser la machine et ses commandes de manière sure et apprendre à arrêter rapidement la machine. Apprendre également à reconnaître les autocollants de sécurité.
- La machine ne doit être utilisée que par des adultes en possédant une bonne connaissance.
- Veiller à ce que personne ne se trouve à proximité de la machine lors du démarrage du moteur, de l'embrayage ou durant la conduite.
- Débarrasser la zone de tout objet tel que pierres, jouets, fils, etc. pouvant être happés et projétés par les couteaux.

- Arrête le moteur et éviter tout démarrage du moteur avant de nettoyer la chute d'évacuation.
- Attention à l'éjecteur évitez de l'orienter vers des personnes.
- Arrête le moteur et empêcher tout démarrage du moteur avant de nettoyer l'unité de coupe.
- Ne pas oublier que le conducteur est responsable des dangers et accidents.
- Ne jamais prendre de passagers. La machine est destinée à une utilisation purement individuelle.

- Toujours regarder vers le bas et vers l'arrière avant et pendant une marche arrêté. Garder un œil sur les obstacles, petits et grands.
- Ralentir avant de tourner.
- Arrête les lames quand la machine ne tOND pas.
- Observer la plus grande prudence en cas de contournement d'un objet fixe afin d'eviter que les couteaux ne heurtent l'objet en question. Ne jamais passer sur des corps étrangers avec la machine.

AVERTISSEMENT! Cette machine peut sectionner les mains, les pieds et projeter des objets. Le non-respect des consignes de sécurité peut entraîner des blessures graves.

AVERTISSEMENT! L'intérieur du silencieux contient des produits chimiques pouvant être cancérigènes. Eviter tout contact avec ces éléments si le silencieux est endommagé.

AVERTISSEMENT! Le moteur émet du monoxyde de carbone. Il s'agit d'un gaz incolore et toxique. Ne pas utiliser la machine dans des espaces clos.
- N'utiliser la machine qu'à la lumière du jour ou dans de bonnes conditions en matière de luminosité. Maintenir la machine à une distance de sécurité suffisante des trous et des autres irrégularités du terrain. Penser aux autres risques possibles.
-
Ne jamais utiliser la machine en cas de fatigue, d'ingestion d'alcool, de drogues ou de certains médicaments pouvant agir sur la vision, la capacité de jugement ou la coordination.
-
Prendre garde à la circulation en cas de travail après une route ou de traversée d'une route.
- Ne jamais laisser la machine sans surveillance avec le moteur en marche. Toujours arrêté les couteaux, serrer le frein de stationnement, arrêté le moteur et retarder la clé avant d'abandonner la machine.
- Ne jamais permettre à des enfants ou à des personnes ne possédant pas la formation nécessaire d'utiliser ou d'entretenir la machine. L'âge minimum pour l'utilisation de la machine peut varier en fonction des directives locales.


AVERTISSEMENT! Un équipement de protection personnelle homologué doit impératifement être utilisé lors de tout travail avec la machine. L'équipement de protection personnelle n'élimine pas les risques mais réduit la gravité des blessures en cas d'accident. Demander conseil au concessionnaire afin de désirir un équipement ajustat.
Utiliser des protecteurs d'oreilles pour réduire le risque de lésions auditives.

- Ne jamais porter des vêtements lâches pouvant s'accrocher dans les éléments mobiles.
- Ne jamais utiliser la machine pieds nus. Toujours porter des chaussures ou des bottes de sécurité, de préférence avec une coquille en acier.

- Veiller à toujours disposer d'une trousse de premiers secours à portée de la main lorsque vous utilisez la machine.

Conduite dans les pentes
La conduite dans les pentes est une des opérations comportant le plus grand risque de perte de contrôle ou de retournement de la machine, ce qui peut entraîner des blessures graves voire la mort. Toutes les pentes exigent la plus grande prudence. Si le conducteur ne peut pas monter la pente en marche arrêté ou s'il ne se sent pas en sécurité, il doit renoncer à tandre.
INFORMATION IMPORTANTE
Ne pas descendre une pente avec l'unité relevée.
Proceder de la maniere suivante
- Retirer les obstacles tels que les pierres, les branches d'arbres, etc.
Tondre vers le haut et le bas, pas en travers de la pente.

- Ne jamais utiliser la machine sur des terrains dont l'inclinaison est supérieure à 10^ .
- Observer la plus grande prudence lors de l'utilisation d'accessoires pouvant modifier la stabilité de la machine.
- Éviter de démarrer ou d'arrêté la machine dans une pente. Si les pneus commencent à glisser, arrêté les couteaux et descendre prudemment la pente.
- Toujours conduire lentement et de manière régulière dans les pentes.
- Ne pas effectuer de changements soudains de vitesse et de direction.
- Éviter les virages inutilles dans les pentes et, s'il est nécessaire de tourner, tourner prudiment et petit à petit, si possible en descendant la pente. Conduire prudiment. Faire de petits mouvements de volant.
- Faire attention et éviter de passer sur des sillons, des fondrières et des surélevations. La machine peut basculer facilement sur des terrains irréguliers. L'herbe haute peut dissimuler des obstacles.

- Ne pas tondre pres des bords, des fossés ou des remblais. La machine peut se returner brusquement si une roue monte sur le bord d'une ornière ou d'un fossé ou si un bord s'effondre.
- Ne pas tondre de l'herbe mouillée. L'herbe mouillée est glissante, les pneus risquent de mal adhérer et la machine risque de glisser.
- Ne pas essayer de stabiliser la machine en posant un pied sur le sol.
- Lors du nettoyage du chassin, la machine ne doit jamais être placée pres d'un bord ou d'un fossé.
Lors de la tonte, garder à distance des buissons et autres éléments. - Suivre les recommendations du fabricant concernant les masses de roues et les contrepoids pour augmenter la stabilité de la machine.
INFORMATION IMPORTANTE
Il est recommandé de monter des masses sur les roues arrrière lors de la conduite dans des pentes pour une conduite plus sure et une meilleure traction. Demander conseil au revendeur en cas de doutes sur l'utilisation des masses de roues. Les masses de roue ne peuvent pas'être utilisées sur les machines AWD. Utiliser des contrepoids.
Enfants
- Prétez la plus grande attention aux enfants situés à proximé de la machine. Sinon, des accidents graves peuvent se produit. Les enfants sont souvent attirés par la machine et l'unité de coupe. Ne jamais penser que les enfants sont capables de rester en place très longtemps.
- Maintainir les enfants loin de la zone de travail et sous la surveillance attentive d'un autre adulte.
- Rester sur ses gardes et arrêter la machine si des enfants pénétre dans la zone de travail.
- Regarder devant et derrière pour repérer les petits enfants avant et durant une marche arrêté.
- Ne jamais laisser les enfants accompagner le conducteur sur la machine. Ils risquent de tomber et de se blesser gravement ou de générer une'utilisation sure de la machine.
- Ne jamais laisser des enfants mançuemrer la machine.

- Observer la plus grande prudence à proximé descoins, des bosquets, des arbres ou de tout autre object bloquant la vue.
Entretien
- Arrêt du moteur. Empêcher tout démarrage en débranchant le cable d'allumage de la bougie ou en retardant la clé de démarrage avant d'effectuer des réglages ou de procédé à des travaux d'entretien.
- Ne jamais faire le plein de carburant à l'intérieur.

- L'essence et les vapeurs d'essence sont toxiques et très inflammables. Observer la plus grande prudence lors de la manipulation de l'essence dans la mesure où une manipulation négligente peut entraîner des blessures personnelles et des incendies.
- Conserver le carburant uniquement dans des recipients prévus à cette fin.
- Ne jamais retiret le bouchon du réservoir de carburant et ne jamais replir le réservoir de carburant quand le moteur est en marche.
- Laisser refroidir le moteur avant de replir de carburant. Eviter de fumer. Ne pas effectuer le replissage d'essence à proximé d'étinçelles ou d'un feu ouvert.
- Manipuler l'huile, le filtré à huile, le carburant et la batterie prudèment et dans le respect de l'environnement. Suivre les directives locales en matière de recyclage.
- Les chocs électriques peuvent provoquer des blessures. Ne jamais toucher quelque cable que ce soit lorsque le moteur est en marche. Ne pas tester le système d'allumage avec les doigs.

AVERTISSEMENT! Le moteur et le système d'échévement deviennent très chauds durant le fonctionnement. Risque de brûlures en cas de contact. Lors de la tonte, garder à distance des buissons et autres éléments afin d'éviter un effet thermique.
- Si une fuite s'est produit dans le système de carburant, ne pas démarrer le moteur tant qu'il n'y a pas été remédé.
- Conserver la machine et le carburant à l'abri de manière à éliminer tout risque de dommage dû à une fuite ou à des vapeurs de carburant.
-
Contrôler le niveau de carburant avant chaque utilisation et laisser de la place pour que le carburant puisse se dilater; autrement la chaleur dégagée par le moteur et celle du soleil risquérait, en dilatant le carburant, de provoquer un débordement.
-
Éviter de trop replir. Si de l'essence a été répandue sur la machine, l'essuyer et attendre qu'elle se soit complètement evaporée avant demettre en marche le moteur. Si de l'essence a été répandue sur les vêtements, les changer.
- Laisser refroidir la machine avant d'effectuer des interventions dans l'espace moteur.
- Observer la plus grande prudence lors de l'entretien de la batterie. Du gaz explosif se forme dans la batterie. En conséquence, ne jamais effectuer l'entretien de la batterie en fumant ou à proximé d'un feu ouvert ou d'étinçelles. La batterie peut alors explodeer et provoquer des blessures graves.

- Vérifier que les boulons et les écrous sont correctement serrés et que l'équipment est en bon état.
- Ne jamais modifier les dispositifs de sécurité. Contrôler régulièrement qu'ils fonctionnent. La machine ne doit pas être utilisée en cas d'absence ou d'avarie des plaques de protection, des capots de protection, des interrupteurs de sécurité ou de tout autre dispositif de sécurité.
- Tenir compte du risque de blessures par les éléments mobiles ou chauds en cas de mise en marche du moteur quand son capot est ouvert ou lorsque les carters de protection ont été retires.
- Ne pas modifier les réglages du régulateur et éviter de faire tournier le moteur à un régime trop élevé. La machine risque d'être endommagée si le moteur tourne à un régime trop élevé.
- Ne jamais utiliser la machine à l'intérieur ou dans des locaux sans aération. Les gaz d'échéppement contiennent du monoxyde de carbone, un gaz inodore, toxique et mortel.

- Arrête et inspector l'équipement si la machine est passée sur un objet. Réparer, si nécessaire, avant de démarrer.
- Ne jamais effectuer de réglages avec le moteur en marche.
-
La machine est testée et agrée unequément avec l'équipement livre ou commande par le fabricant.
-
Les lames des couteaux sont très tranchantes et peuvent provoquer des coupures. Envelopper les couteaux ou utiliser des gants de protection pour les manipuler.
- Contrôler régulierement le fonctionnement du frein de stationnement. Régler et entretenir en fonction des besoin.
- Réduire le risque d'incendie en-retirant lesherbes,les feuilles et les autres débris qui se sont bloqués dans la machine.Laisser la machine refroidir avant de la ranger dans la remise.

Transport
INFORMATION IMPORTANTE
Le frein de stationnement ne suffit pas pour bloquer la machine durant le transport. Veiller à attacher la machine solidement sur le vehicule de transport.
- La machine est lourde et peut cause des blessures graves par écrasement. Observer la plus grande prudence lors du chargement ou du déchargement à partir d'une voiture ou d'une remorque.
Utiliser une remorque agrée pour transporter la machine. - Pour sécuriser la machine sur la remorque, utilisez deux courroies de tension agréées et quatre sabots d'arrêt en forme de coin.
Enclenchez le frein de stationnement et tendez les courroies de tension autour des parties fixes de la machine, comme le cadre ou le wagon arrêté. Sécurisez la machine en tendant les courroies vers l'arrière et l'avant de la machine respectivement.
Placez les sabots d'arrêt devant et derrière les roues arrrière.
- Vérifier et suivre les règles du code de la route avant de transporter ou de conduire la machine sur une voie publique.
Présentation
Félicitations pour ceCHOix d'un produit d'une remarquable qualité qui vous donnera toute satisfaction pendant de nombreuses années. FR 2218 FA 4X4 est à entrainement sur les quatre roues.
La transmission de puissance du moteur est assurée par une boîte de vitesses hydrostatique qui permet une variation progressive de la vitesse à l'aide de pédales.
Commande d'accelération et du starter
La commande des gaz règle le régime moteur et, par la même, la vitesses de rotation des couteaux.
La commande sert également à actionner la fonction de starter. Lors de la connexion du starter, un mélange carburant/air plus riches est envoyé au moteur afin de faciliter le démarrage à froid.

Pédales d'accéléateur
La vitesse de la machine se regle progressivement avec deux pédales: la pédale (1) pour la marche avant et la (2) pour la marche arrêté. Pour la marche avant, utilisez la pédale (1) et pour la marche arrêté la pédale (2).


AVERTISSEMENT! Veillez à empêcher les branches d'influer sur les pédales lors de la tonte sous des buissons. Risque de manoeuvre non souhaitée.
Frein de stationnement
Pour serrer le frein de stationnement,

1 Enfoncer la pédale du frein de stationnement.
2 Enfencer le bouton de verrouillage sur la colonne de direction.
3 Relacher la pedale de frein tout en maintainant le bouton de verrouillage enforcé.
Le blocage du frein de stationnement disparaît automatiquement lorsque l'on appuie sur la pédale de frein.
Unité de coupe
FR 2216FA et FR 2218FA 4x4 peuvent être équipés de deux différentes unités de coupe.
JC103
JC112

- L'unité Combi, avec bouchon Mulching monté, coupe plusieurs fois l'herbe pour la broyer avant de la rejeter sur la pelouse où elle se transforme en engrais. Sans le bouchon Mulching, l'unité fonctionne de la même manière que l'unité à éjection arrêté.
Levier de levage de l'unité de coupe
Le levier est utilisé pourmettrele groupe de coupe en position de transport ou de coupe.
Si le levier est tiré vers l'arrière, l'unité est alors relevée et les couteaux s'arrêtent automatiquement de tourner (position de transport).

Si le bouton de verrouillage est enforcé et si le levier est pousse vers l'avant, l'unité est abaissée et les couteaux commencent automatiquement à tourner (position de coupe).

Le levier peut également être utilisé pour régler provisoirement la hauteur de la coupe, par exemple dans le cas d'un léger renflement de la pelouse.
PRÉSENTATION
Levier de réglage de la hauteur de coupe
Avec ce levier, il est possible de définir 7 hauteurs de coupe différentes.
Unité Combi 40-90 mm (1 9/16" - 3 9/16")

Siège
Le siège est monté sur une fixation articulée à l'avant et peut se rabattre en avant.
Le siège peut également être ajusté longitudinalement.
Desserrer les manettes sous le siège et le régler vers l'avant ou l'arrête sur la position souhaïée.

Remplissage de carburant
Le moteur doit être utilisé avec une essence sans plomb d'au moins 85 octanes (pas de mélange essence-huile). De l'essence d'alkylat, respecteuse de l'environnement, est recommandée. Ne pas utiliser d'essence contenant du methanol.
Ne pas replir complètement le réservoir laisser au moins 2,5 cm (1") pour la dilatation.


AVERTISSEMENT! L'essence est très inflammable. Observe la plus grande prudence et faîtes le plein à l'extérieur (voir les consignes de sécurité).
IMPORTANT!
Ne pas utiliser le réservoir de carburant comme surface de pose.
Commande de débrayage
Pour pouvoir déplacer la tondeuse autoportée avec le moteur à l'arrêt, il faut désenclercher la commande de débrayage.
Si l'onessaie de conduire la machine avec la commande de débrayage sortie, elle ne se déplace pas. Si une des commandes est sortie, l'entrainment de l'essieu correspondant est perdu.
Pousser les commandes sur leurs positions d'extrémité. Ne pas utiliser les positions intermédiaires.
Commande de débrayage FR 2218FA 4X4
FR 2218 FA 4X4 comporte une commande pour l'arbre d'entrainment avant et une pour l'arbre d'entrainment arriere.
IMPORTANT! Toujours conduire la machine avec les deux commandes de débrayage enforcées.

Commande de débrayage, arbre d'entrainment arrêté
-Commande tirée, système d'entrainment débrayé.
-Commandepoussee, système d'entrainement embrayé.
Commande de débrayage, arbre d'entrainment avant La commande est placée sur la face interieure de la roue avant gauche.

- Commande vers l'arrière (sortie), système d'entrainment débrayé.
-Commande vers l'avant (poussée), système d'entrainment embrayé.
Commande de débrayage FR 2216 FA

- Tirer la commande pour débrayer le système d'entrainment.
- Pousser la commande pour embrayer le système d'entrainment.
Conduite
Avant le démarrage
INFORMATION IMPORTANTE La grille de la prise d'air du capot de moteur située derrière le siege du conducteur ne doit jamais être obstruée par, notamment, des vêtements, des feuilles, de l'herbe ou de la saleté. Cela diminuerait le refroidissement du moteur. Risque d'avaries graves du moteur.

- Lire les consignes de sécurité et les informations sur l'emplacement et les fonctions des commandes avant le démarrage.
- Effectuer l'entretien journalier avant la mise en marche selon le Schéma d'entretien.
Réglez le siège à la position désirée.
Démarrer le moteur
Vérifier que la commande de débrayage est enforcée. FR 2218 FA 4X4 compte une commande pour l'arbre d'entrainment avant et une pour l'arbre d'entrainment arriere.


4 Soulever le groupe de coupe en tirant le levier vers l'arrière, jusqu'à la position de blocage (position de transport) et serrez le frein de stationnement.

5 Serrer le frein de stationnement. Proceder de la maniere suivante:

-
Appuyez sur la pédale de frein.
-
Enfoncer le bouton de verrouillage sur la colonne de direction.
- Relâchéz la pédale de frein tout en maintainant le bouton de verrouillage,enforcé.
Le blocage du frein de stationnement disparaît automatiquement lorsque l'on appuie sur la pédale de frein.
6 Moteur froid:
Pousser la commande d'accelération sur la position 3 (position starter). Sur cette position, le moteur recoit un mélange plus rien qui lui permet de démarrer plus facilement.

7 Moteur chaud:
Placer la commande d'accelération entre les positions 1 et 2.

8 Placer la clé de contact en position de démarrage.

INFORMATION IMPORTANTE Eviter de faire tournier le démarreurs sans interruption pendant plus de 5 secondes environ. Si le moteur ne démarre pas, attendre environ 10 secondes avant de réessayer.
9 Lorsque le moteur démarre, relâcher immédiatement la clé de contact en position neutre.

Laisser tourner le moteur à un régime moyen pendant 3 à 5 minutes avant d'augmenter la charge. Lors de la tonte, utiliser entre 3/4 du plein régime et le plein régime.

AVERTISSEMENT! Ne laisses jamais le moteur tourner à l'intérieur, dans des endroits fermés ou mal aérés. Les gaz d'échévement du moteur contiennent du dioxyde de carbone toxique.
Démarrage d'un moteur avec batterie faible


AVERTISSEMENT! Les batteries plombacide générent des gaz explosifs. Éviter les étincelles, les feuux ouverts et de fumer presdes batteries.Toujours porter des lunettesde protection à proximé des batteries.
Si les batteries sont trop faibles pour démarrer le moteur, elles doivent être rechargées.
Si des cables sont utilisés pour un démarrage d'urgence, procéder comme suit:
INFORMATION IMPORTANTE La tondeuse est équipée d'un système de 12 volts avec terre négative. L'autre vehicule doit aussi composer un système de 12 volts avec terre négative. Ne pas utiliser la batterie de la tondeuse pour démarrer d'autres vehicules.
Raccordement des câbles de démarrage

- Brancher chaque extrémité du cable rouge à la borne POSITIVE (+) de chaque batterie en veillant à ne pas court-circuiter une extrémité contre le chassin.
- Brancher une extrémité du cable noir à la borne NÉGATIVE (-) de la batterie complètement chargée.
- Brancher l'autre extrémité du cable noir à un bon CHÂSSIS DE TERRE àonne distance du réservoir de carburant et de la batterie.
Retirer les câbles dans l'ordre inverse.
- Commencer par débrancher le cable NOIR du chassin puis de la batterie complètement chargée.
- Débrancher ensuite le cable ROUGE des deux batteries.
Conduite de la tondeuse autoportée
1 Libérer le frein de stationnement en appuyant d'abord sur la pédale du frein de stationnement puis en la relâchant.

2 Appuyez doucement sur une des pédales pour obtenir la vitesse désirée. Pour la marche avant, utilisez la pédale (1) et pour la marche arrêté la pédale (2).

Conduite
3 A l'aide du levier de réglage de la hauteur de coupe, désir la hauteur désirée (1-7).

Pour obtenir une hauteur de coupe homogène, il est important que la pression soit identique dans les deux roues avant 60kPa / 0,6 bar/8,5 PSI.
4 Enfoncer le bouton de verrouillage sur le levier de levage et abaiser l'unité de coupe.

INFORMATION IMPORTANTE
La durée de vie des courroies d'entrainment est considérablement prolongée si le moteur tourne à un faisle régime au moment de l'embrayage des couteaux. Il convient donc de n'accélérez à fond qu'une fois l'unité de coupe descendue en position de coupe.
Conseils pratiques pour tandre

- Repérez et marquez les pierres et les autres objets fixes pour éviter de passer dessus.
- Commencez par une hauteur de coupe importante puis diminuez-la jusqu'à obtenir le résultat lié séRé.
- L'on obtient lesassageurs résultats de coupe avec le régime moteur le plus elevé, voir les données techniques (les couteaux tournent rapidement) et une faible vitesse (la tondeuse se déplace lentement). Si l'herbe n'est ni trop haute ni trop drue, la vitesse peut être augmentée sans altération notable du résultat de coupe.
La plus belle pelouse est celle que l'on tond souvent. La coupe devient plus uniforme et l'herbe coupée est répartie de manière plus régulière sur la surface. Vous ne perdez pas de temps puisque vous pouvez conduire plus vite tout en conservant un bon résultat. - Evitez de tandre une pelouse mouillée. Le résultat s'en dessent puisque les roues s'enforcent dans la pelouse.
-
Nettoyez le dessous du groupe de coupe au jet d'eau après chaque utilisation. Ne pas utiliser de jet haute pression. L'unité de coupe doit alors être placée sur sa position d'entretien.
-
Quand une unité Mulching est utilisé, il est particulièrement important que les intervalles de toute ne soient pas trop longs.

AVERTISSEMENT! Nettoyez la pelouse pour enlever les pierres et les autres objets susceptibles d'être ejectés par les couteaux.

AVERTISSEMENT! Ne jamais utiliser la machine sur des terrains dont l'inclinaison est supérieure à 10^ . Tondez les pentes en montant et en descendant, jamais transversalement. Evitez les changements de direction brusques.

Arrêt du moteur
Laisser de préférence le moteur tourné au ralenti pendant une minute avant de l'arrête.
1 Lever l'unité de coupe en tirant le levier vers l'arrière jusqu'à la position de verrouillage.

1 Repousser la commande d'accelération et tourner la clé de démarriage sur la position "STOP".

2 Quand la tondeuse est immobile, maintainir enforcé le frein de stationnement et appuyer sur le bouton de verrouillage du frein.
Entretien
Scheme d'entretien
Voici une liste des travaux d'entretiens qui doivent être effectuels sur la tondeuse autoportée. Pour les points qui ne sont pas décrits dans ce manuel d'utilisation, consulter un atelier de réparation autorisé.
| Entretien | Entretienjournalier avant le démarrage | Au minimum chaque année | Périodicité d'entretien en heures | |||
| 25 | 50 | 100 | 200 | |||
| Nettoyage | X | |||||
| Vérifiez le niveau d'huile du moteur | X | |||||
| Contrôler les prises d'air de refroidissement du moteur | X | |||||
| Vérifier le filtré à air de la pompe à carburant | X | |||||
| Contrôler les câbles de direction | X | |||||
| Contrôler les freins | X | |||||
| Contrôler la batterie | X | |||||
| Contrôler le système de sécurité | X | |||||
| Contrôler les vis et les écrous | O | |||||
| Vérifier les fuites évientuelles d'essence et d'huile | O | |||||
| Nettoyer autour du silencieux | O | |||||
| Contrôler le silencieux | X | |||||
| Changer l'huile moteur1) | X | X | ||||
| Remplacer le préfiltre du filtré à air2) | X | |||||
| Contrôler l'unité de coupe | X | |||||
| Contrôler la pression des pneus 60 kPa/8,5 PSI | X | |||||
| Graisser le tendeur de couroie3) | X | |||||
| Graisser les articulations et les arbres3) | X | |||||
| Contrôler les courroies trapézoïdales | O | |||||
| Contrôler les brides de refroidissement de la transmission | O | |||||
| Contrôler le niveau d'huile de la transmission | X | |||||
| Vérifier/régler le frein de stationnement | X | |||||
| Contrôle et réglage du cable d'accélérateur | X | |||||
| Nettoyer les brides de refroidissement du moteur et de la transmission2,4) | O | |||||
| Remplacer le préfiltre du filtré à air et le filtré en papier2) | X | |||||
| Remplacer le filtré à carburant | X | |||||
| Remplacer la bougie d'allumage. | X | |||||
| Contrôler s'il est nécessaire de changer l'huile4,5) dans la boîte de vitesses/le système hydraulique | O | O | ||||
| Vérifier le tuyau à carburant. Le remplaçer si nécessaire.4) | O | |||||
1)Premier changement après 8 heures. 2) Dans un environnement poussiereux, le nettoyage et le remplacement auront lieu plus souvent. 3) Si la tondeuse est utilisée tous les jours, le graissage doit être effectué deux fois par semaine. 4) Doit être effectué par un atelier de service/agree. 5) Premier changement après 8 heures. (Machines 4x4 uniquement)
X = Ce mode d'emploi contient la description en question
O = Ce mode d'emploi ne contient pas la description en question

AVERTISSEMENT! Aucune intervention ne doit être effectuee sur le moteur ou sur le groupe de coupe si:
Le moteur n'est pas arrêté.
La clé de contact n'est pas enlevée.
Le cable d'allumage a ete debranché de la bougie.
Le frein de stationnement n'est pas serré.
Le groupe de coupe n'est pas débrayé.
Nettoyage
Nettoyer la machine immédiatement après l'avoir utilisé. Il est beaucoup plus facile de rincer les restes d'herbe avant qu'ils ne sèchent.

Les dépôts d'huile peuvent être éliminés avec un produit de dégraissage froid. En passer une fine couche.
Rincer à une pression d'eau normale.
Ne pas diriger le jet vers les composants électriques ou les paliers.
Ne pas arroser les surfaces chaudes telles que le moteur et le système d'échéppement.
Après le nettoyage, il est recommandé de démarrer le moteur et de faire tournier l'unité de coupependant un moment afin que l'eau restante soit évacuée.
Si nécessaire, graisser la machine après le nettoyage. Un graissage supplémentaire est recommendé quand les paliers ont été exposés à un produit de dégraissage ou au jet d'eau.
IMPORTANT! Éviter de rincer avec de l'eau sous haute pression ou de la vapeur.
L'eau risque de pénétrer dans les paliers et dans les raccords électriques. Une corrosion peut attaquer ces composants et donner lieu à des perturbations du fonctionnement. L'ajout d'un produit de nettoyage aggravé les dommages.
Démontage des carters et des ailes de la tondeuse autoportée
Capot de moteur
Pour effectuer l'entretien du moteur, rabattre le capot du moteur.
Rabattez le siège vers l'avant, desserrez le verrou d'accrochage sous le siège et rabattez le couvercle vers l'arrière.


Capot avant
Desserrez l'agrafe qui retient le carter avant et déposez le carter.

Aile droite
Retirer le bouton de la commande de vitesse (1), les vis (2) et soulever l'aile pour la retarder.

Aile gauche
Desserrer les vis du capot de l'aile (2 unités) et retarder le capot.

Silencieux
Contrôler régulièrement que le silencieux est entier et qu'il est attaché correctement.

Les variations de températures et les vibrations peuvent desserrer les vis. Pour garantir que les vis sont serrées au couple correct, contrôle les vis lors de chaque mesure d'entretien. Le couple de serrage doit être d'environ 10 Nm. Ne jamais utiliser une machine dont le silencieux est défectueux.

AVERTISSEMENT! Durant l'utilisation et un certain temps après, le silencieux est très chaud. Ne pas toucher le silencieux s'il est chaud! Afin d'eviter les brûlures, ne pas toucher les surfaces chaudes telles que le silencieux, le cylindre, etc. Attention au risque d'incendie.
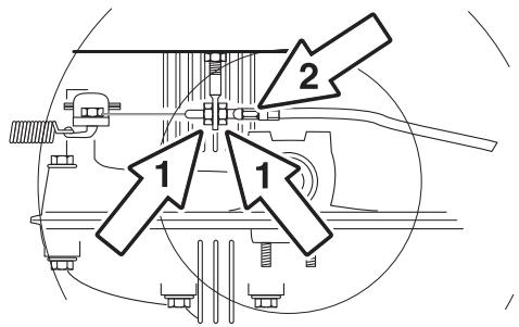
Contrôle et réglage des cables de direction
La direction est commande par des câbles.
Après un certain temps de conduite, ces câbles peuvent se détendre et donc modifier le réglage de la direction.
Pour contrôle et régler la direction, procédez ainsi:
1 Retirer la tôle du cadre en desserrant les vis (2 unités) et retarder la tôle au niveau du bord arrêté.

2 Vérifier la tension des câbles en les pinctant ensemble (au niveau des flèches). La distance entre les deux câbles doit pouvoir diminuer de moitié sans trop forcer en pinctant.

3 Si nécessaire, les cables peuvent être tendus en serrant les écrous de réglage de chaque côté de la couronne de commande.
4 Ne pas trop serrer les câbles, ils doivent juste serrer contre la couronne de direction.

Tenir le cable, avec une clé à molette par exemple, pour éviter qu'il se torde. Si le réglage est effectué d'un seul côté, la position Médiane du volant est modifiée.
Une fois le réglage effectué, contrôlez la tension des cables conformément au point 2.
Réglage du frein de stationnement
Contrôler que le frein de stationnement est bien régle en plaçant la machine sur une pente avec les arbres d'entrainment avant et arrêté débrayés.
Appliqueur et verrouiller le frein de stationnement.
Si la machine ne reste pas immobile, le frein doit être régle de la manière suivante:
FR 2218FA 4X4
1 Retirer l'aille gauche.
2 Dévisser les écrous de blocage (1).

3 Tendre le cable avec de la vis de réglage (2) pour éliminer totallyment tout jeu au niveau du cable.
4 Serrer les écrous de blocage (1).
5 Une fois le réglage terminé, contrôler de nouveau le frein.
6 Remetre en place l'aile gauche.

AVERTISSEMENT! Un frein mal régle peut diminuer la puissance de freinage.
FR 2216 FA
Si la machine ne reste pas immobile, le frein de stationnement doit être régle de la manière suivante:

- Dévisser les écrous de blocage (1).
- Tendre le cable avec de la vis de réglage (2) pour éliminer totalement tout jeu au niveau du cable.
- Serrer les contre-écrous (1) après le réglage.
- Une fois le réglage terminé, contrôle de nouveau le frein de stationnement.
Réglage du cable d'accelération
Si le moteur ne réagit pas comme il le doit à une accélération, s'il émet de la fumée noire ou si le régime maximal n'est pas atteint, un réglage du cable d'accélération peut s'avérer nécessaire.
1 Desserrer la pince de la gaine extérieure du cable et pousser la commande d'accelération sur le plein régime.

2 Tirer la gaine extérieure du cable de starter à fond vers la droite et serrer la vis de fixation.

3 Repousser la commande d'accelération sur la position pleins gaz et contrôle que le starter n'est plus sollicité.

Changement de l'huile moteur
Remplacer le filtré à carburant monté sur le conduit toutes les 100 heures (une fois par saison) ou plus frequentlyment s'il est colmaté.

Remplacer le filtr de la maniere suivante:
1 Soulever le capot du moteur.
2 Enlever les colliers de serrage du filtré. Utiliser une pince plate.
3 Retirer le filtr des extrémites du conduit.
4 Enconcer le nouveau filtré dans les extrémités des flexibles. Si nécessaire, appliquer une solution savonnexe sur les extrémités du filtré pour faciliter son montage.
5 Replacer les colliers contre le filtré.
Changement du filtré à air
Si le moteur manque de puissance ou s'il tourne irrégulièrement, il se peut que le filtré à air soit colmaté. C'est pourquoit il est important de replacer le filtré à air à intervalles réguliers (voir Entretien / Schéma d'entretien pour les intervalles d'entretien corrects).
Le remplacement du filtré à air s'effectue de la manière suivante:
1 Soulever le capot du moteur.
2 Sortir la poignée du couvercle du filtre à air, la décrocher et la tourner vers le moteur.

3 Retirer le couvercle du filtré à air.
4 Retirer la cartouche du filtré à air du carter du ventilateur Remplacer la cartouche du filtré à air si elle est colmatée par la poussière.

INFORMATION IMPORTANTE
Ne pas utiliser d'air compré pour nettoyer le filtré en papier. Les filtrés ne doivent pas être huiliés. Ils doivent être montés à sec.
Entretien
5 Retirer prudemment le filtr du carter du ventilateur. Nettoyer prudemment le carter du ventilateur afin que les saletés ne risquent pas de tomber dans le carburateur.

6 Monter un nouveau filtré et une nouvelle cartouche de filtré à air dans le carter du ventilateur.
7 Relever les languettes sur le capot contre les fentes du carter et remetre en place le couvercle du filtre à air.

8 Tirer la poignée vers l'extérieur. Accrocher la poignée dans le couvercle du filtre à air et fermer le couvercle d'une pression vers l'intérieur.

Contrôle du filtré à air de la pompé d'alimentation
Vérifier régulièrement que le filtré à air de la pompe d'alimentation ne contient pas des impuretés.
Si nécessaire, le filtré peut être nettoyé avec un pinceau.

Système d'allumage
Le moteur est équipé d'un système d'allumagelectronique. Seule la bougie requiert des mesures d'entretien.
Bougie recommandée, voir les Caracteristiques techniques.
INFORMATION IMPORTANTE Un type de bougie incorrect peut endommager le moteur.
Remplacement de la bougie
1 Desserrer la casse du cable d'allumage et nettoyer autour de la bougie.
2 Retirer la bougie avec une clé à douille pour bougie de 5/8" (16 mm).
3 Contrôler l' état de la bougie. Changer la bougie si les électrodes doivent un dépôt arrondi ou si l'isolant est fendu ou endommagé. En cas de réutilisation, nettoyer la bougie avec une Brosse en acier.
4 Mesurer la distance entre les electrodes avec une jauge Birmingham. La distance correcte est de 0,75 mm (0,030"). Régler au besoin la distance en courbant l'electrode latérale.
5 Revisser la bougie à la main pour éviter d'endommager les filetages.
INFORMATION IMPORTANTE
Une bougie mal visse peut entraîner une surchauffe et endommager le moteur. Une bougie trop serrée peut endommager les filetages de la tête de cylindre.
6 Une fois que la bougie touche le fond, la serrer avec la clé à bougie.
Serrer la bougie de manière à presser la rondelle.
En cas de réutilisation, une bougie doit être serrée de 1/8 de tour après son assise. Une bougie neuve doit être serrée de 1/4 tour après son assise.
7 Remetre en place la cosse du cable d'allumage.
INFORMATION IMPORTANTE
Ne pas faire tournier le moteur quand la bougie ou le cable d'allumage ont ete retirés.
Entretien
Contrôle du système de sécurité
La tondeuse autoportée est équipée d'un système de sécurité qui empêche le démarrage ou la conduite dans les conditions suivantes.
Le moteur ne doit pouvoir être mis en marche que si le groupe de coupe est en position relevant et que si le levier des vitesses ou les pédales de la transmission hydrostatique sont sur la position neutre.
Le conducteur n'a pas besoin de s'asseoir sur le siège.
Contrôler tous les jours que le système de sécurité fonctionné correctement en essayant de mettre en marche le moteur quand une de ces conditions n'est pas complie. Changer les conditions et essayer de nouveau.
Contrôler que le moteur s'arrête lorsque le corps est légèrement soulevé du siège du siège quand le groupe de coupe est descendu ou quand le levier des vitesses/les pédales de la transmission hydrostatique ne sont pas sur la position neutre.
Moteur de démarrage
Système d'allumage
Fonctionne
Ne fonctionne pas


Fusible principal
Le fusible principal se trouve dans un porte-fusible autonome sous le couvercle du boitier de la batterie, devant celle-ci.
Type: Type sabre, 15 A.

Eviter d'utiliser un autre type de fusible lors du remplacement.
Un étrier brûlé indique que leFuse ble sauté.Sortir le fusible du portefusible pour le remplacer.
Le fusible a pour fonction de protégger le système électrique. S'il se déclenché à nouveau peu de temps après avoir été remplaced, il s'agit d'un court-circuit qui doit être corrigé avant de remettre en marche la machine.
Vérification de la pression des pneus
La pression des pneus doit etre de 60 kPa (0,6 bar / 9 PSI) pour toutes les roues.
Pour faciliter la conduite, la pression des pneus arrêté peut être réduite à 40 kPa (0,4 bar/5,6 PSI).
La pression maximale permise est de 100kPa (1,0 bar/14 PSI).

INFORMATION IMPORTANTE
Si les pneus avant n'ont pas la même pression, les couteaux couperont l'herbe à des hauteurs inégales.
Vérification de la prise d'air de refroidissement du moteur
Nettoyer la grille de la prise d'air du carter de moteur située derrière le siège du conducteur.

Soulever le capot du moteur.
Vérifier que la prise d'air de refroidissement du moteur ne contient ni feuilles, ni herbe, ni saletés.

Contrôler le conduit d'air situé sous le capot du moteur. Il doit être propre et ne pas frotter contre la prise d'air de refroidissement.
Si la grille de la prise d'air, le conduit d'air ou la prise d'air de refroidissement sont bouchés, le refroidissement du moteur en pâtit, avec les dommages éventuels que cela peut entraîner.

AVERTISSEMENT! La prise d'air de refroidissement tourne quand le moteur est en marche. Attention aux doigts.
Contrôle et réglage de la pression au sol de l'unité de coupe
Pour obtenir le meilleur résultat de toute possible, l'unité de coupe doit suivre le sol sans trop appuyer.
La pression est régée à l'aide d'une vis et d'un ressort de chaque côté de la tondeuse autoportée.
1 Contrôler la pression des pneus qui doit être de 60 kPa/ 0,6 kp/cm^2 /8,5 PSI.
Entretien
2 Placer une balance de salle de bain sous le cadre de l'unité de coupe (sous le bord avant) de façon à ce que l'unité repose sur la balance. Au besoin, placer une cale entre le cadre et la balance pour éviter que les roulettes ne portent.

3 Régler la pression au sol de l'unité en vissant ou en dévissant les vis de réglage placées derrière les roues avant de chaque côte de la tondeuse autoportée.
La pression au sol doit se situer entre 12 et 15kg (26.5-33 lb).

Contrôle du parallélisme de l'unité de coupe
Contrôler le parallélisme de l'unité de coupe de la manière suivante:
1 Contrôler la pression des pneus qui doit être de 60 kPa/ 0,6 kp/cm^2 /8,5 PSI.
2 Placer la tondeuse autoportée sur une surface plane.
3 Mesurer la distance entre le sol et le bord de l'unité, à l'avant du capot.
L'unité doit partager une légère inclinaison, le bord arrrière se situant de 2 à 4 mm (1/8") plus haut que le bord avant.

Réglage du parallélisme de l'unité de coupe
1 Contrôler la pression des pneus qui doit être de 60 kPa/ 0,6 kp/cm^2 /8,5 PSI.
2 Demonter le capot avant et l'aile droite.
3 Desserrer les écrous de la barre de parallélisme.

4 Dévisser (allonger) la barre pour relever le bord arrêté de l'unité.
Visser (racourcir) la barre pour abaiser le bord arrêté de l'unité.

5 Serrer les écrous les uns contre les autres après le réglage.
6 Une fois le réglage terminé, contrôle à nouveau le parallelélisme de l'unité de coupe.
7 Monter l'aile droite et le capot avant.
Position d'entretien du groupe de coupe
Pour faciliter le nettoyage, la réparation et l'entretien du groupe, il est conseilé de le placer en position d'entretien. La position d'entretien implique que le groupe soit rabattu vers le haut et entreposé en position verticale.
Mise en position d'entretien
1 Placer la machine en position horizontale. Serrer le frein de stationnement. Régler la commande de la hauteur de coupe sur la position la plus BASSE et lever l'unité de coupe.

2 Retirer le capot avant en desserrant la clavette.


AVERTISSEMENT! Porter des lunettes de protection lors du démontage de l'unité de coupe. Le dessort qui tend la courroie peut se rompre et provoquer des blessures personnelles.
Entretien
3 Desserrer le ressort du tendeur de courroie d'entrainment.

4 Dégager l' étai de hauteur de coupe et le placer dans le support.


AVERTISSEMENT! Faire très attention à ne pas se coincer la main.
5 Decrochez la courroie et placez-la dans le support de courroie.

6 Saisir le bord avant de l'unité et tirer à fond.

7 Saisir le bord avant du groupe de coupe, tirer et relever le groupe en position d'entretien.

8 Lever l'unité à fond jusqu'à obtention d'un clic. L'unité est automatiquement bloquée en position verticale.

Retour en position normale
1 Saisir le bord avant de l'unité et dégager le verrouillage avant de rabattre et de repousser l'unité. Remetre en place l'étai de hauteur de coupe et la courroie.

2 Tendre la courroie à l'aide du tendeur de courroie.

Metre le capot avant en place.
Contrôle des couteaux
Pour un résultat de coupe optimum, il est important de veiller à ce que les couteaux soient en bon état et bien aiguisés.
Vérifier que les vis de fixation des couteaux sont bien serrées.

INFORMATION IMPORTANTE Le remplacement ou l'aiguisage des couteaux devra etre effectue par un atelier d'entretien agreé.
Après tout aiguisage, il faudra vérifier l'équilibrage des couteaux.
Si vous passez sur un obstacle, changez les couteaux en cas d'avarie. Confiez à l'atelier d'entretien le soin de déterminer si le couteau peut être réparé ou aiguisé, ou bien s'il faut s'en débarasser.
Retrait du bouchon Mulching
Pour faire passer un groupe Combi de la fonction Mulching à celle de groupe de coupe avec éjection arrêté, il faut enlever le bouchon Mulchingitué sous le groupe et fixé à l'aide de trois vis.
JC 103, JC 112
1 Placer le groupe en position d'entretien, voir Mise en position d'entretien.
2 Démonter les trois vis de fixation du bouchon Mulching et retarder le bouchon.

3 Conseil: Monter trois vis filétées M8x15 mm dans les trouss ainsi libérés afin de protéger les filetages.
4 Remetre le groupe en position normale.
Contrôle du niveau d'huile du moteur
Contrôler le niveau d'huile dans le moteur quand la tondeuse autoportée est bien horizontal avec le moteur à l'arrêt.
Soulever le capot du moteur.
Desserrer la jauge, la retiret et la secher.

La jauge doit être visée à fond.
Retirer la jauge et dire le niveau d'huile.
Le niveau d'huile doit se couver entre les repères de la jauge. Si le niveau se rapproche du repère ADD, replir d'huile jusqu'àu repère FULL de la jauge.

Le replissage d'huile s'effectue dans le trou de la jauge.
Remplir d'huile lentement. Visser correctement la jauge avant demettre le moteur en marche.Demarrer et faire tournier le moteur au ralenti pendant environ 30 secondes.Arreter le moteur.Atendre 30 secondes et contrcler le niveau d'huile. Si nécessaire, effectuer un replissage d'appoint pour que le niveau de l'huile attigne le repere FULL sur la jauge.
Utiliser en premier lieu l'huile moteur synthétique de classe SJ-CF 5W/30 ou 10W/30 pour toutes les plages de température. L'huile minérale SAE30, classe SF-CC, peut être utilisée à des températures > + 5^ (40^)
Ne pas mélanger différents types d'huile.
Remplacement de l'huile moteur
L'huile moteur doit être remplaçaée pour la première fois après 8 heures d'utilisation. Elle doit ensuite être changée toutes les 50 heures d'utilisation.
En cas de sollicitation importante ou de températures ambientes élevées, replacer toutes les 25 heures.

AVERTISSEMENT! L'huile moteur peut etre très chaude si elle est vidangée directement après l'arrêt. Laisser donc le moteur refroidirquelque peu avant.
1 Placer un écipient sous le bouchon de vidange gauche du moteur.
2 Retirer la jauge. Retirer le bouchon de vidange sur le côte gauche du moteur.

3 Laisser couler l'huile dans le recipient.
4 Remetre le bouchon de vidange et le serrer.
5 Remplir d'huile jusqu'au repère FULL sur la jauge. Le remplissage d'huile s'effectue dans le trou de la jauge. Voir les instructions de remplissage au chapitre Contrôle du niveau d'huile du moteur.
Le moteur contient 1,5 litre (1,6 USqt) quand le filtré d'huile n'est pas remplaced et 1,7 litre (1,8 USqt) d'huile après remplacement du filtré à huile.
6 Faire tournier le moteur pour le chauffer et controller qu'il n'y a pas de fuite d'huile au niveau du bouchon.
INFORMATION IMPORTANTE
L'utilisation de l'huile moteur presente des dangers pour la santé et elle ne doit pas etre versée sur le sol ou rejetee dans la nature mais ramenée a un atelier ou un centre de traitement agréé. Eviter le contact avec la peau, se laver avec du savon dans le cas contraire.
Contrôle du niveau d'huile de la transmission
1 Retirer le carter de la transmission. Desserrez les deux vis (une de chaque côté) et retirez le carter de transmission.

2 Contrôler que le réservoir d'huile de la transmission est bien rempli d'huile.

FR 2216FA Remplir, si nécessaire, avec de l'huile moteur SAE 10W/40 ( classe SF-CC).
FR 2218FA 4X4 Si besoin est, replisssez avec de l'huile moteur entièrement synthétique 10W/50.
Le remplacement de l'huile et du filtre doit être effectué par un atelier de réparation autorisé et est précrit dans le Manuel d'atelier.
Toute intervention dans le système compte des exigences spécifiques en matière de propre et le système doit être purgé avant la mise en service de la machine.
Graissage du tendeur de courroie
- Le tendeur de courroie doit êtreGRAISSÉ régulièrement avec de la graisse au disulfure de molybdène de bonne qualité*.
- Graisser à l'aide d'une seringue le graissur depuis la droite sous la poulie inférieure du moteur jusqu'à ce que laGRAISSSE PENETRE.

Si la machine est utilisé tous les jours, le graissage doit être effectué deux fois par semaine.
Graissage général
Toutes les articulations et tous les paliers sont, lors de la fabrication, graissés à laGRAISSÉ au disulfure de molybdène. Graisser de nouveau avec le même type deGRAISSÉ*. Graisser les câbles de commande et les câbles des commandes avec de l'huile moteur.
Effectuer ce graissage régulierement; si la machine est utilisée tous les jours, le graissage doit être effectué deux fois par semaine.
*Les graisses de marques connues (station d'essence, etc.) sont généralement de bonne qualité. Le plus important est que la graisse offre une bonne protection contre la corrosion.
Graissage des paliers des roues avant
Sur les Rider avec éjection arrrière, le capot avant et des ailes doivent être retirés afin que l'étrier puisse être sorti et la roue déposée.
1 Retirer le carter en plastique qui recouvre le centre de la roue.

2 Retirer la bague de blocage et la rondelle sur l'arbre de la roue avant.
3 Retirer la roue.
4 Graisser le pivot de l'arbre avec de laGRAISSÉ au disulfure de molybdène*.
5 Le montage s'effectue dans l'ordre inverse.
INFORMATION IMPORTANTE
Contrôle que la bague de blocage se place correctement dans la rainure.
*Les graisses de marques connues (station d'essence, etc.) sont généralement de bonne qualité. Le plus important est que laGRAISSÉ OFFRE une belle protection contre la corrosion.
Plan de recherche de pannes
| Problème | Origine |
| Le moteur ne démarre pas | Manque de carburant dans le réservoirBougie d'allumage défectueuseLa connexion de la bougie est erronée ou les câbles ont été inversésSaleté dans le carburateur ou le circuit de carburantSaleté dans le carburateur ou le circuit de carburant |
| Le démarreur n'entraine pas le moteur | Batterie en surchargeMauvais contact entre le cable et la borne de la batterieLevier de levage du groupe de coupe en mauvaise positionFusible principal défectueux.Lé fusible est placé avant la batterie, sous le carter de batterie.Dispositif d'allumage défectueuxPédales de la transmission hydrostatique pas en position neutre |
| Le moteur tourne de façon irrégulière | Bougie défectueuse.Carburateur mal régèleFiltre à air colmatéPrise d'air du réservoir d'essence bouchéeMauvais réglage d'allumageSaleté dans le carburateur ou le circuit de carburantÉtouffement ou cable d'accélération mal régèle |
| Le moteur manque de puissance | Filtre à air colmatéBougie défectueuse.Saleté dans le carburateur ou le circuit de carburantCarburateur mal régèleÉtouffement ou cable d'accélération mal régèle |
| Surchauffe du moteur | Surcharge moteurPrise d'air ou ailettes de refroidissement bouchéesVentilateur défectueuxPas assez ou pas d'huile dans le moteurAllumage défectueuxBougie défectueuse. |
| La batterie ne charge pas | Une ou plusieurs cellules défectueuses dans la batterieMauvais contact des cables au niveau des bornes de la batterie |
| La tondeuse vibre | Couteaux desserrésMoteur desserréUn ou plusieurs couteaux mal équilibrés suite à un endommagement ou à un aiguisage |
| Tonte irrégulière | Couteaux au reposGroupe de coupe mal régèleHerbe longue ou mouilléeAccumulation d'herbe sous le carterPression d'air dans les pneus différente à gauche et à droiteVitesse de conduite trop élevéPatinage de la couroie d'entrainment |
Remisage hivernal
A la fin de la salle, il faut immédiatement prévoir le remisage de la tondeuse autoportée, même si celui-ci ne doit durer qu'une trentaine de jours. L'essence qui stagne pendant une longue période (30 jours ou plus) peut provoquer des dépôts collants qui risquent de boucher le carburateur et de perturber le fonctionnement du moteur.
Un produit stabilisateur de carburant est une solution possible pour éviter des dépôts collants pendant le remisage. En cas d'utilisation d'essence alkyle, l'avout d'un stabilisateur n'est pas nécessaire puisque ce carburant est déjà stable. Par contre, il faut éviter de passer d'une essence ordinaire à une essence alkyle car cela peut provoquer le durissement des pièces sensibles en caoutchouc. Ajouter du stabilisateur dans le réservoir ou dans le bidon d'essence. Utiliser toujours les proportions indiquées par le fabricant du stabilisateur. Faire tournier le moteur pendant au moins 10 minutes après avoir ajouté le stabilisateur, pour que le produit attigne le carburateur. Ne pas vid Danger le réservoir d'essence ni le carburateur après ajusté de stabilisateur.

AVERTISSEMENT! Ne jamaisMETTRE un moteur contenant de I'essence a l'intérieur ou dans un endroit mal aere, ou les vapeurs d essence peuvent enter en contact avec du feu, des etincelles ou une flamme de veille comme dans une chaudiere, un chauffe-eau, un sechoir a linge, etc. Manipuler I'essence avec beaucoup de precautions. Elle est très inflammable et une mauvaise manipulation peut entrainer des degats corporels et matériels très importants. Vidanger I'essence a l'extérieur et loin de tout foyer, dans un recipient approprié. Ne jamais utiliser de I'essence pour le nettoyage. Utiliser plout du produit de dégraissage ou de I'eau chaude.
Pour préparer la tondeuse autoportée à le remisage, respecter les étapes suivantes:
1 Nettoyer minutieusement la tondeuse auto-portee, surtout sous le groupe de coupe. Réparer les dégats de peinture pour éviter la corrosion.
2 Vérifier la tondeuse autoportée en matière d'usure ou de défaut de pieces et reserrer les vis et les écrous si nécessaire.
3 Vidanger l'huile du moteur, recupérer l'huile de vidange.
4 Vidanger le réservoir d'essence. Demarrer le moteur et le laisser tournier jusqu'à ce que le carburateur soit vide.
5 Enlever les bougies d'allumage et verser un peu d'huile moteur dans chaque cylindre (environ une cuillerée à soupe). Faire tournier le moteur pour répartir l'huile et desserrer les bougies d'allumage.
6 Graisser tous les graisseurs, les articulations et les axes.
7 Enlever la batterie. La nettoyer, la charger et la conserver dans un endroit frais.
8 Maintenir la tondeuse autoportée au sec et à l'écart de la poussière et la recouvrir d'une protection supplémentaire.
Protection
Une bâche est disponible pour protéger la machine lors du remisage ou du transport. Contacter le revendeur pour une démonstration
Service
La salle saisson est le meilleur moment pour effectuer la révision et l'entretien de la machine afin d'assurer un très bon fonctionnement pendant la haute saisson.
Indiquer l'année d'achat, le modele, le type et le numero de série pour toute commande de pieces de rechange.
Utiliser toujours des pieces de rechange d'origine.
Une révision annuelle ou un réglage général par un atelier/agreeé vous assure un bon fonctionnement de votre tondeuse autoportée pour la prochaine saison.

CARACTERISTIQUES TECHNIQUES
| FR 2216 FA | FR 2218FA 4X4 | |
| Dimensions | ||
| Longueur hors groupe de coupe, mm/ft | 2020/6,61 | 2020/6,61 |
| Largeur hors groupe de coupe, mm/ft | 890/2,92 | 890/2,92 |
| Hauteur, mm/ft | 1150/3,77 | 1150/3,77 |
| Poids avec unité de coupe, kg/lb | 271-274/597-604 | 292-295/644-650 |
| Distance entre les axes, mm/ft | 887/2,9 | 887/2,9 |
| Empattement avant, mm/ft | 712/2,34 | 712/2,34 |
| Empattement arrêté, mm/ft | 627/2,06 | 627/2,06 |
| Dimension des pneus | 16 x 7,5 x 8 | 16 x 7,5 x 8 |
| Pression des pneus arrêté - avant, kPa / bar / PSI | 60 (0,6/8,5) | 60 (0,6/8,5) |
| Inclinaison maximum autorisée | 10° | 10° |
| Moteur | ||
| Marque / Modèle | Briggs & Stratton/31A6 | Briggs & stratton/31G7 |
| Puisance nominale moteur, en kW (voir remarque 1) | 9,8 | 9,7 |
| Volume, cm3/cu.in | 502 | 502 |
| Carburant, indice d'octane minimum, sans plomb | 85 | 85 |
| Volume du réservoir, litre/USqt | 10/10.6 | 10/10.6 |
| Huile synthétique, classe SJ-CF | SAE 5W/30 ou SAE 10W/30 | SAE 5W/30 ou SAE 10W/30 |
| Contenance du réservoir d'huile, litres/USqt | 1,4/1,5 | 1,4/1,5 |
| Démarrage | Démarrage électrique | Démarrage électrique |
| Régime max. du moteur, tr/min | 2900 ± 100 | 2900 ± 100 |
| Système électrique | ||
| Type | 12 V, moins à la terre | 12 V, moins à la terre |
| Batterie | 12 V, 24 Ah | 12 V, 24 Ah |
| Fusible principal | Type sabre, 7,5 A | Type sabre, 15 A. |
| Bougie | Champion QC12YC | Bougie platine |
| Distance entre les electrodes, mm/inch | 0,75/0,030 | 0,75/0,030 |
| Émissions sonores et largeur de coupe | ||
| (voir remarque 2) | ||
| Niveau de puissance sonore mesuré dB(A) | 98-98 | 98-97 |
| Niveau de puissance sonore garanti LWA dB(A) | 99-98 | 99-98 |
| Largeur de coupe, cm/inch | 103-112/41-44 | 103-112/41-44 |
| Niveau de puissance sonore | ||
| (voir remarque 3) | ||
| Niveau de pression acoustique au niveau des oreilles de l'utilisateur, dB(A) | 84-84 | 84-83 |
| Niveau de vibrations | ||
| (voir remarque 4) | ||
| Niveau de vibrations du volant mesuré, m/s2 | 2,5 | 2,5 |
| Niveau de vibrations du siège, m/s2 | 0,7 | 0,7 |
| Transmission | ||
| Marque | Tuff Torq K46 | K 574 KTM 10L |
| Huile, classe SF-CC | SAE 10W/40 | Entièrement synthétique SAE 10W/50 |
| Vitesse marche avant, km/h | 0-9 | 0-9 |
| Vitesse marche arrière, km/h | 0-6 | 0-6 |
| Unité de coupe | ||
| Type | JC 103 | JC 103 |
| JC 112 | JC 112 | |
Remarque 1: La puissance nominale du moteur indiquée est la puissance nette moyenne (à un régime en tr/min spécifique) d'un moteur de production typique pour le modele de moteur mesure selon la norme SAE J1349/ISO1585. Cette valeur peut différer pour les moteurs de production de masse. La puissance effective du moteur installé sur la machine finale dépendra de la vitesse de fonctionnement, des conditions environnementales et d'autres valeurs.
Remarque 2: Émission sonore dans l'environnement mesurée comme puissance acoustique (Lw) selon la directive UE 2000/14/CE. Si la machine peut être équipe de différentes unités de coupe, les émissions sonores sont indiquées dans l'ordre, en commençant par l'unité de coupe avec l'épaisseur de coupe la plus petite.
Remarque 3: Niveau de pression sonore conformément a EN 836. Les données reportees pour le niveau de pression sonore montrent une dispersion statistique typique (déviation standard) de 1,2 dB (A). Si la machine peut etre equipee de differentes unites de coupe, les niveaux de pression sonore sont indiqués dans l'ordre, en commenchant par I'unite de coupe avec I'epaiseur de coupe la plus petite.
Remarque 4: Niveau de vibrations conformément à EN 836. Les données reportées pour le niveau de vibrations montrent une dispersion statistique typique (déviation standard) de 0,2m / s^2 (volant) et de 0,8m / s^2 (siège).
CARACTERISTIQUES TECHNIQUES
Unité de coupe
JC 103
JC 112
Largeur de coupe, mm/inch
1030 / 41
1120/44.1
Hauteurs de coupe, 7 positions, mm/inch
25-75/0.98-2.95
25-75/0.98-2.95
Diametre de couteau, mm/inch
388/15.28
420/16,5
INFORMATION IMPORTANTE Une fois le produit use et inutilisable, il doit etre rapporte au revendeur ou a un autre organisme pour recyclage.
INFORMATION IMPORTANTE Dans un souci d'amélioration constante, les caractéristiques techniques et la presentation peuvent être modifiées sans préavis. Veuillez notez que les informations fournies dans ce mode d'emploi ne sauraient donner lieu à aucune réclamation légale. N'utilise que des pieces d'origine pour les réparations. La garantie perd toute validité dans le cas contraire.
CARACTERISTIQUES TECHNIQUES
Assurance de conformité UE (Concerne seulement l'Europe)
Husqvarna AB, SE-561 82 Huskvarna, Suède, tel: +46-36-146500, ci-devant le fabricant, déclare par la présente que les tondeuses autoportées Jonsered FR 2216 FA et FR 2218 FA 4X4 à compter des numérios de série de l'année de fabrication 2010 et ultérieurs (l'année est indiquée en clair sur la plaque d'identification et suivie du numéro de série) sont conformes aux dispositions de la DIRECTIVE GOUVERNEMENTALE:
du 17 mai 2006 "directive machines" 2006/42/CE
du 15 décembre 2004 "compatibilité electromagnétique" 2004/108/CEE.
du 8 mai 2000 "emissions sonores dans l'environnement" 2000/14/CE.
Informations sur les émissions sonores et la largeur de coupe, se reporter au chapitre "Caracteristiques techniques"
Les normes harmonisées suivantes ont été appliquées: EN ISO 12100-2, EN-836.
0404, SMP Svensk Maskinprovning AB, Fyrisborgsgatan 3, SE-754 50 Uppsala, a etabli un rapport d'évaluation de conformité, selon l'annexe VI de la DIRECTIVE 2000/14/CE DU CONSEIL du 8 mai 2000 concernant les émissions sonores dans l'environnement.
Les certificates ont les numérios: 01/901/092, 01/901/093, 01/901/097, 01/901/098
Huskvarna, le 29 décembre 2009

Claes Losdahl, Directeur du développement/Produits pour le jardin (Representant autorisé d'Husqvarna AB et responsable de la documentation technique.)
Assurance de conformité UE (Concerne seulement l'Europe)
Nous, Husqvarna AB, SE-561 82 Huskvarna, Suède, tél : +46-36-146500, déclarons par la présente que le FR2218 FA 4x4 et le FR2216 FA Jonsered à partir des numérios de série de l'année de fabrication 2010 et ultérieurement (l'année est clairment indiquée sur la plaque d'identification et suivie du numéro de série) sont conformes aux dispositions de la DIRECTIVE DU CONSEIL :
du 22 juin 1998 "directive machines" 98/37/CE, annexe IIA.
du 15 décembre 2004 "compatibilité electromagnétique" 2004/108/CEE.
du 8 mai 2000 "emissions sonores dans l'environnement" 2000/14/CE.
Informations sur les émissions sonores et la largeur de coupe, se reporter au chapitre "Caracteristiques techniques"
Les normes harmonisées suivantes ont été appliquées: EN ISO 12100-2, EN-836.
L'organisme Noticesé:
0404, SMP Svensk Maskinprovning AB, Fyrisborgsgatan 3, SE-754 50 Uppsala, a etabli un rapport d'évaluation de conformité, selon l'annexe VI de la DIRECTIVE 2000/14/CE DU CONSEIL du 8 mai 2000 concernant les émissions sonores dans l'environnement.
Les certificates ont les numérios: 01/901/092, 01/901/093, 01/901/097, 01/901/098
Huskvarna, le 13 octobre 2009

Claes Losdahl, Directeur du développement/Produits pour le jardin (Representant autorisé d'Husqvarna AB et responsable de la documentation technique.)

Jonsered
Instructions d'origine
1153120-31
Notice Facile