SMLE 129 - Machine à laver SCHOLTES - Notice d'utilisation et mode d'emploi gratuit
Retrouvez gratuitement la notice de l'appareil SMLE 129 SCHOLTES au format PDF.
| Type d'appareil | Machine à laver |
| Capacité de lavage | Non précisé |
| Vitesse d'essorage | Non précisé |
| Consommation d'eau | Non précisé |
| Consommation électrique | Non précisé |
| Nombre de programmes | Non précisé |
| Fonctions spéciales | Équilibrage de charge, cycles spéciaux |
| Type de chargement | Non précisé |
| Affichage | Oui |
| Distributeur de détergent | Tiroir distributeur |
| Sécurité | Sécurité générale |
| Entretien | Nettoyage tambour, pompe, tiroir distributeur |
| Installation | Déballage et mise à niveau |
| Manuel d'utilisation | Disponible en plusieurs langues |
| Ouverture porte | Manuelle |
FOIRE AUX QUESTIONS - SMLE 129 SCHOLTES
Téléchargez la notice de votre Machine à laver au format PDF gratuitement ! Retrouvez votre notice SMLE 129 - SCHOLTES et reprennez votre appareil électronique en main. Sur cette page sont publiés tous les documents nécessaires à l'utilisation de votre appareil SMLE 129 de la marque SCHOLTES.
MODE D'EMPLOI SMLE 129 SCHOLTES
Déballage et mise à niveau
Raccordements eau et électricité
Premier cycle de lavage
\section*{Caracteristiques techniques}
Instructions pour l'installateur
Description du lave-linge, 20-21
Bandeau de commandes
Écran
SMLE 129
Comment faire un cycle de lavage, 22
Programmes et fonctions, 23
Tableau des programmes
Fonctions de lavage
Produits lessiviels et linge, 24
Tiroir à produits lessiviels
Triage du linge
Programmes spéciaux
Système d'équilibrage de la charge
Précautions et conseils, 25
Sécurité générale
Mise au rebut
Ouverture manuelle de la porte hublot
Entretienetsoin,26
Coupure de l'arrivée d'eau et du courant
Nettoyage du lave-linge
Nettoyage du tiroir à produits lessiviels.
Entretien du hublot et du tambour
Nettoyage de la pompe
Contrôle du tuyau d'arrivée de l'eau
Anomalies et remèdes, 27
Assistance, 28

Scholtès
FR
! Conserver ce mode d'emploi pour pouvoir le consulter à tout moment. En cas de vente, de cession ou de déménagement, veiller à ce qu'il suive toujours le lave-linge pour que son nouveau propriétaire soit informé sur son mode de fonctionnement et puisse profiter des conseils correspondants.
! Lire attentivement les instructions: elles fournissent des conseils importants sur l'installation, l'utilisation et la sécurité de l'appareil.
Déballage et mise à niveau
Déballage
- Deballer le lave-linge.
- Contrôler que le lave-linge n'a pas été endommagé pendant le transport. S'il est abîné, ne pas le raccorder et contacter le vendeur.

-
Enlever les 4 vis de protection servant au transport, le caoutchouc et la cale, places dans la partie arrête (voir figure).
-
Boucher les trouss à l'aide des bouchons plastique fournis.
- Conserver toutes ces pièces: il faudra les remonter en cas de transport du lave-linge.
! Les pieces d'emballage ne sont pas des jouets pour enfants.
Mise à niveau
- Installer le lave-linge sur un sol plat et rigide, sans l'appuyer contre des murs, des meubles ou autre.

- Si le sol n'est pas parfaitement horizontal, visser ou dévisser les pieds de réglage avant (voir figure) pour niveler l'appareil; son angle d'inclinaison, mesure sur le plan de travail, ne doit pas dépasser 2^ .
Une bonne mise à niveau garantit la stabilité de l'appareil et évite qu'il y ait des vibrations, du bruit et des déplacements en cours de fonctionnement. Si la machine est posée sur de la moquette ou un tapis, régler les pieds de manière à ce qu'il y ait suffisamment d'espace pour assurer une bonne ventilation.
Raccordements eau et électricité
Raccordement du tuyau d'arrivée de l'eau

- Reliez le tuyau d'alimentation en le vissant à un robinet d'eau froide à embout fileté 3/4 gaz (voir figure).
Faire couler l'eau jusqu'à ce qu'elle soit limpide et sans impuretés avant de raccorder.

-
Raccorder le tuyau d'arrivée de l'eau au lave-linge en le vissant à la prise d'eau prévue, dans la partie arrrière en haut à droite (voir figure).
-
Attention à ce que le tuyau ne soit pas pié ou écrasé.
! La pression de l'eau doit être comprise entre les valeurs indiquées dans le tableau des Caracteristiques techniques (voir page ci-contre).
! Si la longueur du tuyau d'alimentation ne suffit pas, s'adresser à un magasin spécialisé ou à un technicien agréé.
! N'utiliser que des tuyaux neufs.
Utiliser certains qui sont fournis avec l'appareil.
Raccordement du tuyau de vidange

Raccorder le tuyau d'évacuation, sans le plier, à un conduit d'évacuation ou à une évacuation murale placés à une distance du sol comprise entre 65 et 100 cm;

ou bien l'accrocher à un évier ou à une baignoire, dans ce cas, fixer le support en plastique fourni avec l'appareil au robinet (voir figure). L'extrémité libre du tuyau d'évacuation ne doit pas être plongée dans l'eau.
! L'utilisation d'un tuyau de rallonge est absolument déconseillée mais si on ne peut faire autrement, il faut absolument qu'il ait le même diamètre que le tuyau original et sa longueur ne doit pas dépasser 150 cm.
Branchement électrique
Avant de brancher la fiche dans la prise de courant, s'assurer que:
- la prise est bien reliée à la terre et est conforme aux réglementations en vigueur;
- la prise est bien apte à supporter la puissance maximale de l'appareil indiquée dans le tableau des Caracteristiques techniques (voir ci-contre);
- la tension d'alimentation est bien comprise entre les valeurs figurant dans le tableau des Caracteristiques techniques (voir ci-contre);
- la prise est bien compatible avec la fiche du lavelinge. Autrement, replacer la prise ou la fiche.
! Le lave-linge ne doit pas etre installe dehors, meme a l'abri, car il est tres dangereux de le laisser exposé à la pluie et aux orages.
!Aprèsinstallation du lave-linge,la prise de courant doit etre facilement accessible.
!N'tutiliser ni rallonges ni prises multiples.
! Le cable ne doit être ni plié ni trop écrasé.
! Le cable d'alimentation ne doit être remplaced que par des techniciens agreés.
Attention! Nous déclinons toute responsabilité en cas de non-respect des normes énumérées ci-dessus.
Premier cycle de lavage
Avant la première mise en service de l'appareil, effectuer un cycle de lavage avec un produit lessiviel mais sans linge et selectionner le programme l
| Caracteristiques techniques | |
| Modèle | SMLE 129 |
| Dimensions | largeur 59,5 cm hauteur 81,5 cm profondeur 54,5 cm |
| Capacité | de 1 à 7 kg |
| Raccordements électriques | Voir la plaque signalétique appliquée sur la machine |
| Raccordements hydrauliques | pression maximale 1 MPa (10 bar) pression minimale 0,05 MPa (0,5 bar) capacité du tambour 52 litres |
| Vitesse d'essorage | jusqu'à 1200 tours minute |
| Programmes de contrôle selon la norme EN 60456 | programme (1° pression de la touche); température 60°C; effectué avec une charge de 7 kg. |
| CE | Cet apparéil est conforme aux Directives Communautaires suivantes: - 2004/108/CE (Compatible électromagnétique) - 2002/96/CE - 2006/95/CE (Basse Tension) |
Instructions pour l'installateur
Application du panneau d'habillage en bois sur la porte et montage du machine à laver à l'intérieur des éléments:
Au cas où, après le montage du panneau en bois, il faudrait expédier la machine pour son installation finale, nous vous conseillons de la laisser dans son emballage d'origine. L'emballage a été justement réalisé de manière à permettre le montage du panneau en bois sur la machine sans déballer complètement le produit (voir figures ci-dessous). Le panneau en bois couvrant la façade ne doit pas avoir plus de 18 mm d'épaissieur, il peut être articulé tant à droite qu'à gauche. Pour plus de facilité d'emploi, nous conseillons d'adopter le même sens d'ouverture que pour le hublot dont les charnières sont montées sur le côté gauche.

A

B

C

D

E

Accessoires montage porte (Fig.1-2-3-4-5).
Fig. 1

Fig. 2

Fig. 3

Fig. 4

Fig. 5

Fig. 4/B
- 6 vis autotaraudeuses l = 13 mm "type A ".
- 2 vis métriques à tête évasée l = 25 mm "type B"; pour fixation du butoir aimant au meuble.
- 4 vis métriques I = 15 mm "type C"; pour montage des supports charnière au meuble.
- 4 vis métriques l = 7 mm "type D"; pour montage des charnières aux supports.
Montage des pieces sur la façade de la machine.
- Montez les supports de la charnière sur la façade, en positionnant le trou indiqué par une flèche dans la fig. 1 vers l'intérieur de la façade et interposez une cale (fig. 4/B). Utilisez les vis type C.
- Montez le butoir aimant du côté opposé en haut et interposez deux cales (fig. 4/B). Utilisez les deux vis type B.
Utilisation du gabarit de forage.
- Pour marquer l'emplacement des trous sur le côte du panneau, alignez le gabarit de perçage avec le côte supérieur gauche du panneau en vous servant des lignes tracées aux extrémites.
- Pour marquer l'emplacement des trous sur le côté droit du panneau, alignez le gabarit de perçage avec le côté supérieur droit du panneau.
- Réalisez à l'aide d'une fraise appropriée les quatre emplacement-ments où devront trouver place les deux charnières, la cheville en caoutchouc et l'aimant.
Montage des pièces sur le panneau en bois (Porte).
- Montez les charnières aux emplacements prévus (la partie mobile de la charnière doit se trouver vers l'extérieur du panneau) et fixez-les à l'aide de 4 vis type A.
- Montez l'aimant à son emplacement en haut, à l'opposer des charnières et fixez-le au moyen de deux vis type B.
- Montez la cheville en caoutchouc à sa place en bas.
Le panneau est à présent prêt, vous pouvez le monter sur la machine.
Montage du panneau sur la machine.
Introduisez l'ergot de la charnière indiqué par la flèche fig. 2 dans le logement du support charnière, poussez le panneau vers la façade de la machine et fixez les deux charnières à l'aide des deux vis type D.
Fixation du support de la base.
Si la machine est installée à une extrémité de la cuisine intégrée, montez une ou les deux glissières du socle comme illustré fig. 8 en réglant leur profondeur en fonction de la position du socle et, au besoin, fixez-le à ces dernières fig. 9. Pour monter le support de la base, procédez comme suit (fig. 8): Fixez l'équerre P à l'aide de la vis R, insérez le support de la base Q dans la fente prévue et après l'avoir dûment positionné bloquez-le à l'aide de l'équerre d'assemblage P et de la vis R.
Montage de la machine à l'intérieur des éléments.
- Poussez la machine à travers l'ouverture en l'alignant aux autres meubles (fig. 6).
- Servez-vous des pieds de réglage pour amener la machine à la hauteur désirée.
- Pour régler la position du panneau en bois à la verticale et à l'horizontal, servez-vous des vis C et D comme illustré fig. 7.
Important: fermez la partie inférieure de la façade, la base touchant au sol.

Fig. 6

Fig. 7

Fig. 8

Fig. 9
Accessoires fournis pour le réglage de la hauteur.
Vous trouverez à l'intérieur du couvercle en polystyrene (fig. 10): 2 traverses (G); 1 listel (M);

et al'intérieur du tambour :
4 pieds supplémentaires (H),
4 vis (I),
4 vis (R),
4écrous (L),
2 supports pour la base (Q)
Fig. 10
Réglage de la machine en hauteur.
La machine peut être réglée en hauteur (de 815 mm à 835 mm) à l'aide de ses 4 pieds.
Si vous souhaitez l'amener à une hauteur supérieure à celle qui est indiquée plus haut, c'est à dire jusqu'à 870 mm, utilisez les accessoires suivants :
les 2 traverses (G) ; les 4 pieds (H) ; les 4 vis (I) ; les 4 écrous (L) puis procédez comme suit (fig. 11):
démontez les 4 pieds originaux, positionnez une traverse G dans la partie avant de la machine, fixez-la à l'aide des vis I (en les vissant dans les trou s ou etaient fixes les pieds originaux) puis montez les nouveaux pieds H.
Procedez de même dans la partie arrêté de la machine.
Vou puez alors regler les pieds H pour elever ou abaiser la machine de 835 mm à 870 mm.
Après avoir atteint la hauteur désirée, bloquez les écrous L à la traverse G.
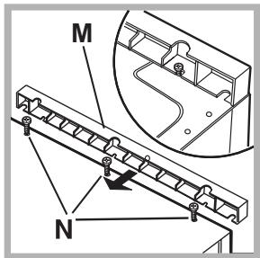
Pour régler la machine à une hauteur comprende entre 870 mm et 900 mm, montez le listel M et réglez les pieds H jusqu'à la hauteur souhaitée.
Pour monter le listel, procedez comme suit:
desserrez les trois vis N situées dans la partie avant du couvercle, montez le listel M comme illustré fig. 12 et serrez les vis N .

Fig. 11

Fig. 12
Description du lave-linge

Bandeau de commandes
Tiroir à produits lessiviels: pour charger les produits lessiviels et les additifs (voir "Produits lessiviels et linge").
Tasto MARCHE/ARRÉT Ⓞ: appuyer brievement sur la touche pour allumer ou éteindre l'appareil. Levoyant vert MISE EN MARCHE/PAUSE clignotant lentement indique que la machine est allumée. Pour éteindre le lave-linge en cours de lavage, appuyer sur la touche pendant au moins 2 secondes de suite ; une pression brève ou accidentelle n'entraîne pas l'arrêt de l'appareil. L'arrêt de l'appareil pendant un lavage annule le lavage en cours.
Touches SELLECTEUR PROGRAMMES: pour selectionner le programme désiré (voir "Tableau des programmes").
Touche MEMO: prendre la touche enfoncée pour mémoriser un cycle et les personnalisations préférentes. Pour returner à un cycle précédemment mémorisé, appuyer sur la touche MEMO.
Touches FONCTION: appuyer sur la touche pour sélectionner la fonction désirée. Levoyant correspondant s'affiche à l'écran.
Touches ESSORAGE: appuyer sur cette touche pour diminuer la vitesse de l'essorage ou pour les supprimer complètement - la valeur correspondante s'affiche à l'écran.
Touché TEMPERATURE: appuyer pour diminuer la température : la valeur correspondante est affichée à l'écran.
Touches VERROUILLAGE TOUCHES: pour activer le verrouillage des commandes, garder la touche enforcée pendant environ 2 secondes. Le symbole allumé indique que le bandeau de commandes est verrouillé. Ceci permet d'eviter toute modification involontaire des programmes,URTout s'il y a des enfants à la maison. Pour désactiver le verrouillage des commandes, garder la touche enforcée pendant environ 2 secondes.
Touché DÉPART DIFFÉRÉ: appuyer sur cette touche pour sélectionner un départ différé pour le programme choisi. Le retard est affché à l'écran.
Touché avec voyant MISE EN MARCHE/PAUSE: quand le voyageant vert clignote lentement, appuyer sur la touche pour démarrer un lavage. Une fois le cycle lancé, le voyageant passée à l'allumage fixe. Pour activer une pause de lavage, appuyer à nouveau sur la touche; le voyageant passée à l'orange et se met à clignoter. Si le symbole n'est pas allumé, il est possible d'ouvrir le hublot. Pour faire redémarrer le lavage exactement à l'endroit de l'arrêt, appuyer une nouvelle fois sur la touche.
Stand-by
Ce lave-linge, conformément aux nouvelles normes en vigueur dans le domaine de l'économie d'énergie, est équipée d'un système d'extinction automatique (veille) activé après environ 30 minutes d'inutilisation. Appuyez brievement sur la touche MARCHE/ARRÉT et attendre que la machine soit réactivée.
Écran

L'écran est utile pour programmer la machine et fournit de multiples renseignements.
Les deux chaînes supérieures A et B affichent : le programme de lavage sélectionné, la phase de lavage en cours et toutes les indications relatives au déroulement du programme.
La chaîne C affiche le temps restant à la fin du cycle de lavage en cours et si un DéPART DIFFÉRÉ a été sélectionné, le temps restant avant le démarrage du programme sélectionné.
La chaîne D affiche la valeur maximum de la vitesse d'essorage que la machine peut effectuer en fonction du programme sélectionné ; si le programme ne prévoit pas d'essorage, la chaîne reste éteinte.
La chaîne E affiche la valeur maximale de la température qui peut être sélectionnée en fonction du programme choisi ; si le programme ne prévoit pas la sélection de la température, la chaîne reste éteinte.
Les voyageants F correspondent aux fonctions et s'allument quand la fonction programmée est compatible avec le programme sélectionné.
Symbole verrouillage hublot O
Le symbole allumé indique que le hublot est verrouillé pour éviter toute ouverture accidentelle. Pour éviter d'abîmer l'appareil, attendre que le symbole s'éteigne avant d'ouvrir le hublot.
N.B.: si la fonction DÉPART DIFFÉRÉ est active, le hublot reste verrouillé, pour l'ouvrirmettre la machine en pause en appuyant sur la touche MISE EN MARCHE/PAUSE.
À la première mise en service, un message s'affiche demandant de selectionner la langue et l'écran entre automatiquement dans le menu de selection de la langue.
Pour désir la langue désirée, appuyer sur les touches X et Y; pour confirmer la sélection, appuyer sur la touche Z. Pour changer de langue, éteindre l'appareil, appuyer simultanément sur les trois touches indiquées par la reférence L de la figure jusqu'au signal sonore. Rallumer l'appareil, le menu de sélection de la langue s'affiche.
Comment faire un cycle de lavage
1. METTRE L'APPAREIL SOUS TENSION.
Appuyer sur la touche 們 , l'inscription BIENVENU s'affiche a I'ecran ; le voyant de MISE EN MARCHE/PAUSEppe au vert et clignote lentement.
2. CHARGER LE LINGE. Ouvrir la porte hublot.
Charger le linge en faisant attention à ne pas dépasser la quantité indiquée dans le tableau des programmes de la page suivante.
- DOSER LE PRODUIT LESSIVIEL. Sortir le tiroir et placer le produit lessiviel dans les bacs correspondants comme indiqué au paragraphe "Detersifs et linge".
4. FERMER LE HUBLOT.
- CHOISIR LE PROGRAMME. Appuyer sur l'une des touches du SELECTIONTEUR PROGRAMMES pour sélectionner le programme désiré ; le nom du programme est affché à l'écran avec attribution d'une température et d'une vitesse d'essorage qui peuvent être modifiées. La durée du cycle s'affiche sur l'écran.
6. PERSONNALISER LE CYCLE DE LAVAGE.
Appuyer sur les touches correspondantes :
Modifier la température et/ou la vitesse d'essorage. L'appareil sélectionne automatiquement la température et la vitesse d'essorage maximes prévues pour le programme sélectionné qui ne peuvent par conséquent pas être augmentées. Par pression sur la touche (on peut diminuer progressivement la température de lavage jusqu'à un lavage à froid "OFF". Par pression sur la touche (on peut diminuer progressivement la vitesse d'essorage jusqu'à sa suppression totale "OFF". Une autre pression sur les touches ramènera les valeurs aux maximales prévues.
Sélectionner un départ différé.
Pour programmer le départ différé d'un programme sélectionné, appuyer sur la touche correspondante jusqu'à ce que le retard désiré soit atteint. Quand cette option est active, le symbole s'affiche à l'écran. Pour annuler le départ différé, appuyer sur la touche jusqu'à ce que l'inscription OFF s'affiche à l'écran.
Modifier les caractéristiques du cycle.
- Appuyer sur la touche pour activer la fonction; le voyant correspondant à la touche s'allume.
- Appuyer de nouveau sur la touche pour désactiver la fonction ; le voyant s'éteint.
! Si la fonction sélectionnée est incompatible avec le programme sélectionné, le voyant se met à clignoter et la fonction n'est pas activée.
! Si la fonction sélectionnée est incompatible avec une autre fonction précédemment sélectionnée, le voyant correspondant à la première fonction se met à clignoter et seule la deuxième fonction est activée alors que le voyageant de la fonction activée s'allume.
! Les fonctions permettent de modifier le chargement conseillé et/ou la durée du cycle de lavage.
- DEMARRER LE PROGRAMME. Appuyer sur la touche MISE EN MARCHE/PAUSE. Levoyant correspondant s'allume en vert fixe et le hublot est verrouillé (symbole HUBLOT VERROUILLE = allumé). Pendant le lavage, le nom de la phase en cours s'affiche à l'écran. Pour modifier un programme lorsqu'un cycle est en cours,mettre le lave-linge en pause en appuyant sur la touche MISE EN MARCHE/PAUSE (le voyant MISE EN MARCHE/PAUSE passa à l'orange et clignote lentement) ; sélectionner le cycle désiré et appuyer de nouveau sur la touche MISE EN MARCHE/ PAUSE.
Pour ouvrir la porte tandis qu'un cycle est en cours, appuyer sur la touche MISE EN MARCHE/ PAUSE ; si le symbole HUBLOT VERROUILLE est eteint, on peut ouvrir le hublot. Pour faire redemarrer le programme exactement a l'endetroit de I'arrêt, appuyer une nouvelle fois sur la touche MISE EN MARCHE/PAUSE.
- FIN DU PROGRAMME. Elle est signalée par l'inscription "FIN DE CYCLE" qui s'affiche à l'écran; quand le symbole HUBLOT VERROUILLE =0 s'éteint, on peut ouvr le hublot. Ouvrir le hublot, vider le lave-linge et éteindre l'appareil.
!Une pression prolongée sur la touche permet d'annuler un cycle déjà lance. Le cycle est interrompu et la machine s'eteint.
Tableau des programmes
| Programmes | Description du Programme | Temp. maxi. (°C) | Vitesse maxi(tours minute) | Produits lessiviels | Charge maxi(Kg) | Charge maxi(Kg) | Durée cycle | |||
| Pré-lavage | Javel | Lavage | Assou-plissant | Normal | Charge mini | |||||
| Programmes pour tous les jours | La durée des programmes de lavage est contable | |||||||||
| 1 | Coton (*) (1° pression de la touche): blancs extrémement sales. | 90° | 1200 | ● | ● | ● | ● | 7 | 3 | |
| 2 | Coton (2° pression de la touche): blancs et couleurs résistantes très sales. | 60° | 1200 | ● | ● | ● | ● | 7 | 3 | |
| 3 | Coton (3° pression de la touche): blancs et couleurs délices très sales. | 40° | 1200 | ● | ● | ● | ● | 7 | 3 | |
| 4 | Synthétique (1° pression de la touche): couleurs résistantes très sales. | 60° | 800 | ● | ● | ● | ● | 3 | 1,5 | |
| 5 | Synthétique (2° pression de la touche): couleurs résistantes peu sales. | 40° | 800 | ● | ● | ● | ● | 3 | 1,5 | |
| 6 | Mix 30' (1° pression de la touche): pour rafraîchir rapidement du linge peu sale(ne convient pas pour la laine, la soie et le linge à laver à la main). | 30° | 800 | - | - | ● | ● | 3 | - | |
| 7 | Mix 15' (2° pression de la touche): pour rafraîchir rapidement du linge peu sale(ne convient pas pour la laine, la soie et le linge à laver à la main). | 30° | 800 | - | - | ● | ● | 1,5 | - | |
| Programmes Spéciaux/ Memo | ||||||||||
| 8 | Cycle Bebe: couleurs délicates très sales. | 40° | 800 | - | ● | ● | ● | 2 | 1 | |
| 9 | Memo: permet de mémoriser un cycle de lavage qualconque. | |||||||||
| 10 | Soie/Rideaux: pour linge en soie, viscose, lingerie. | 30° | 0 | - | - | ● | ● | 1 | 1 | |
| 11 | Laine: pour laine, cachemire, etc. | 40° | 600 | - | - | ● | ● | 1,5 | 1 | |
| Programmes partiaux | ||||||||||
| 12 | Essorage rapide (1° pression de la touche) | - | 1200 | - | - | - | - | 7 | - | |
| 13 | Essorage délicat (2° pression de la touche) | - | 800 | - | - | - | - | 3 | - | |
| 14 | Rinçage resistant (1° pression de la touche) | - | 1200 | - | ● | - | ● | 7 | 3 | |
| 15 | Vidange (2° pression de la touche) | - | 0 | - | - | - | - | 7 | - | |
Pour tous les instituts qui effectuent ces tests :
*Programme de contrôle selon la norme EN 60456 : selectionner le programme coton a 60^
Fonctions de lavage
Anti-taches
Cette fonction est très utile pour éliminer les taches les plus résistantes.

Monter le bac supplémentaire 4 fourni avec l'appareil à l'intérieur du bac 1. Au moment de verser I'eau de Javel, attention à ne pas dépasser le niveau "max" indiqué sur le pivot central (voir figure). Pour n'effectuer qu'un blanchissage, verser I'eau de Javel dans le bac supplémentaire 4,
s'électionner le programme "Rinçage" et activer la fonction "Anti-taches". Pour blanchir en cours de lavage, verser le produit lessiviel et les additifs, sélectionner le programme souhaité et activer la fonction "Anti-taches".
L'utilisation du bac supplémentaire 4 exclut le prélavage.
!Cette fonction n'est pas activable avec les programmes
Cette fonction est très utile pour éliminer les taches les plus résistantes.
! Cette fonction n'est pas activable avec les programmes
,,,,,
Super Rincage
La sélection de cette option permet d'augmenter l'efficacité du rincege et d'éliminer totalement toute trace de dessive.
Elle est très utile pour les peaux particulièrement sensibles.
!Cette fonction n'est pas activable avec les programmes 念 , 9, et "Vidange".
一 Repassage facile
En cas de selection de cette fonction, le lavage et l'essorage seront dûment modifiés pour réduire la formation de plis. À la fin du cycle de lavage, le lava-linge fait tourner le tambour lentement; le voyant de la fonction REPASSAGE FACILE et celui de MISE EN MARCHE/PAUSE se mettent à clignoter (orange), l'inscription "FIN DE CYCLE" s'affiche à l'écran. Pour compléter le cycle, il faut appuyer sur la touche MISE EN MARCHE/PAUSE ou sur la touche REPASSAGE FACILE.
Pour le programme "Soie" l'appareil arrive au bout du cycle en laissant le linge tremper, le voyant REPASSAGE FACILE clignote et celui de MISE EN MARCHE/PAUSE se mettent à clignoter (orange), l'inscription "ARRET CUVE PLEINE" s'affiche à l'écran. Pour vidanger l'eau et partager le linge, appuyer sur la touche MISE EN MARCHE/PAUSE ou sur la touche REPASSAGE FACILE.
! Cette option n'est pas activable avec les programmes 1, , , , et "Vidange".
Charge mini
Cette fonction est conseillée quand la charge de linge est inférieure ou égale à la moitié de la charge max. conseillée (voir tableau des programmes).
!Cette fonction n'est pas activable avec les programmes
, , et "Vidange".
Tiroir à produits lessiviels
Un bon résultat de lavage dépend aussi d'un bon dosage de produit lessiviel: un excès de dessive ne lave pas moins, il incruste l'intérieur du lave-linge et pollue l'environnement.
! Ne pas utiliser de lessives pour lavage à la main, elles moussent trop.

Sortir le tiroir à produits lessiviels et verser la lessive ou l'additif comme suit.
bac 1: Lessive prélavage (en poudre)
Avant d'introduire la lessive, s'assurer que le bac supplémentaire 4 n'est pas present.
bac 2: Lessive lavage (en poudre ou liquide)
Verser la lessive liquide juste avant la mise en marche.
L'assouplissant ne doit pas déborder de la grille.
bac supplémentaire 4: Produit javelisé
Triage du linge
-
Trier correctement le linge d'après:
-
le type de textile / le symbole sur l'étiquette.
-
les couleurs: séparer le linge coloré du blanc.
Vider les poches et controller les boutons.
- Ne pas dépasser les valeurs indiquées correspondant au poids de linge sec :
Textiles résistants: 7kg max.
Textiles synthétiques: 3 kg max.
Textiles délicats: 2 kg max.
Laine: 1,5 kg max.
Soie: 1 kg max.
Combien pèse le linge ?
1 drap 400-500 g
1 taie d'oreiller 150-200 g
1 nappe 400-500 g
1 peignoir 900-1200 g
1 serviette éponge 150-250 g
Programmes spéciaux
Mix 30': spécialement concu pour laver du linge peu sale en un rien de temps: il ne dure que 30 minutes et permet ainsi de faire des économies d'énergie et de temps. La sélection de ce programme (à 30^ ) permet de laver ensemble des textiles différents (sauf laine et soie) en ne dépassant pas 3 kg de charge.
Mix 15': spécialement concu pour laver du linge peu sale en un rien de temps: il ne dure que 15 minutes et permet ainsi de faire des économies d'énergie et de temps. La sélection de ce programme (♂ à 30^ ) permet de laver ensemble des textiles différents (sauf laine et soie) en ne dépassant pas 1,5 kg de charge.
Babè: programme spécial, idéal pour le lavage des vêtements d'enfants souvent très sales, il élimine toute trace de dessive du linge pour protéger leur peu délicate et éviter tout risque d'allergie. Spécialement concu pour diminuer la charge bacteriienne, ce cycle utilise une plus grande quantité d'eau et optimise l'effet des additifs désinfectants spécifiques ajoutés à la dessive.
En fin de lavage, l'appareil fait tourner le tambour lentement pour éviter de froisser le linge. Pour compléter le cycle appuyer sur la touche MISE EN MARCHE/PAUSE.
Soie: selectionner le programme de lavage spécial pour vêtements en soie. Il est conseillé d'utiliser une lessive spéciale pour linge délicat.
Rideaux: nous recommendons de les plier et de lesmettre dans le sachet fourni avec la machine.
Selectionner le programme
Laine: Scholtès est le seul lave-linge à avoir obtenu le prestigieux label Woolmark Platinum Care (M.0508) délivré par The Woolmark Company qui garantit le lavage à la machine de tous les vêtements en laine, y compris ceux qui portent l'étiquette "lavage à la main uniquement". Grace au programme on peut donc laver à la machine, en toute tranquilité, tous les vêtements en laine (max.
1,5 kg) avec des performances de lavage optimales.
Système d'équilibrage de la charge
Avant tout essorage, pour éviter toute vibration excessive et répartir le linge de façon uniforme, le lave-linge fait tourner le tambour à une vitesse légèrement supérieure à la vitesse de lavage. Si au bout de plusieurs tentatives, la charge n'est toujours pas correctement équilibrée, l'appareil procédé à un essorage à une vitesse inférieure à la vitesse normalement prévue. En cas de déséquilibre excessif, le lave-linge préférite procédé à la répartition du linge只想 qu'à son essorage. Pour une meilleure répartition de la charge et un bon équilibrage, nous conseillons de mélanger de grandes et petites pieces de linge.
! Ce lave-linge a eté concu et fabriqué conformément aux normes internationales de sécurité. Ces consignes sont fournies pour des raisons de sécurité, il faut les dire attentivement.
Sécurité générale
- Cet apparéil est concu pour un usage domestique.
- Cet apparéil n'est pas destiné à être utilisé par des personnes (enfants compris) dont les capacité physiques, sensorielles ou mentales sont réduites ou qui ne disposent pas des connaissances ou de l'expérience nécessaires, à moins qu'elles n'aient été formées et encadrées pour l'utilisation de cet apparéil par une personne responsable de leur sécurité. Surveiller les enfants pour s'assurer qu'ils ne jouent pas avec l' apparéil.
- Ne jamais toucher l'appareil si l'on est pieds nus et si les mains sont mouillées ou humides.
- Ne jamais tirer sur le cable pour débrancher la fiche de la prise de courant.
- Ne pas ouvrir le tiroir à produits lessiviels si la machine est branchée.
- Ne pas toucher à l'eau de vidange, elle peut atteindre des températures très élevées.
- Ne pas forcer pour ouvrir le hublot: le verrouillage de sécurité qui protège contre les ouvertures accidentelles pourrait s'endommager.
- En cas de panne, éviter à tout prix d'acceder aux mécanismes internes pour tenter une réparation.
- Veiller à ce que les enfants ne s'approchant pas de l'appareil pendant son fonctionnement.
- Pendant le lavage, le hublot a tendance à se réchauffer.
- Deux ou trois personnes sont nécessaires pour déplacer l'appareil avec toutes les précautions nécessaires. Ne jamais le déplacer tout seul car il est très lourd.
- Avant d'introduire le linge, s'assurer que le tambour est bien vide.
Mise au rebut
- Mise au rebut du matériel d'emballage: se conformer aux réglementations locales de manière à ce que les emballages poussent être recyclés.
- La Directive Européenne 2002/96/EC sur les Déchets des Equipements Electriques et Electroniques, exige que les apparciels menagers usages ne soient pas jetés dans le flux normal des déchets municipaux. Les apparciels usages doivent être collectés séparément afin d'optimiser le taux de récapération et le recyclage des matérieliaux qui les composent et réduire l'impact sur la santé humaine
et l'environnement. Le symbole de la "poubelle barrée" est apposée sur tous les produits pour rappeler les obligations de collecte séparée. Les consommateurs devront contacter les autorités locales ou leur revendeur concernant la démarche à suivre pour l'enlèvement de leur vieil apparéil.
Ouverture manuelle de la porte hublot
A défaut de pouvoir ouvrir la portehublot à cause d'une panne de courant pour étendre le linge, procéder comme suit:
- débrancher la fiche de la prise de courant.
- s'assurer que le niveau de l'eau à l'intérieur de l'appareil se trouve bien au-dessous de l'ouverture du hublot, si ce n'est pas le cas vider l'eau en excès à travers le tuyau de vidange dans unseau.
- se servir de la languette indiquée, tirer vers soi jusqu'à ce que le tirant en plastique se dégage de son cran d'arrêt; tirer ensuite vers le bas et ouvrir la porte en même temps.


Coupure de l'arrivée d'eau et du courant
- Fermer le robinet de l'eau après chaque lavage. Cela réduit l'usure de l'installation hydraulique du lave-linge et évite tout danger de fuites.
- Débrancher la fiche de la prise de courant lors de tout nettoyage du lave-linge et pendant tous les travaux d'entretien.
Nettoyage du lave-linge
Pour nettoyer l'extérieur et les parties en caoutchouc, utiliser un chiffon imbibé d'eau tiède et de savon. N'utiliser ni solvants ni abrasifs.
Nettoyage du tiroir à produits lessiviels.

Soulever le tiroir et le tirer vers soi pour le sortir de son logement (voir figure).
Le laver à l'eau courante; effectuer cette opération assez souvent.
Entretien du hublot et du tambour
- Il faut toujours laisser le hublot entrouvert pour éviter la formation de mauvaise odeurs.
Nettoyage de la pompe
Le lave-linge est équipé d'une pompe
autonettoyante qui n'exige aucune opération
d'entretien. Il peut toutefois arriver que de menus
objets (pièces de monnaie, boutons) tombent dans
la préchambre qui protège la pompe, place en bas
de cette dernière.
S'assurer que le cycle de lavage est bien terminé et débrancher la fiche.
Pour acceder à cette préchambre:

-
dévisser le couvercle en le tournant dans les sens inverse des aiguilles d'une montre (voir figure): il est normal qu'un peu d'eau s'écoule;
-
nettoyer soigneusement l'intérieur;
- revisser le couvercle;
Contrôle du tuyau d'arrivée de l'eau
Contrôler le tuyau d'alimentation au moins une fois par an. Proceder à son remplacement en cas de craquèlements et de fissures: car les fortes pressions subies pendant le lavage pourraient provoquer des cassures.
! N'utiliser que des tuyaux neufs.
Il peut arriver que le lave-linge ne fonctionne pas bien. Avant d'appeler le Service de dépannage (voir "Assistance"), contrôle s'il ne s'agit pas par hasard d'un problème facile à résoudre à l'aide de la liste suivante.
Anomalies:
Le lave-linge ne s'allume pas.
Le cycle de lavage ne démarre pas.
Il n'y a pas d'arrivée d'eau (le message "Pas d'eau, ouvrir robinet" s'affiche à l'écran).
Le lave-linge prend I'eau et vidange continuellement.
Le lave-linge ne vidange pas et n'essore pas.
Le lave-linge vibre beaucouppendant I'essorage.
Le lave-linge a des fuites.
L'appareil est bloqué, l'écran clignote et affiche un code d'analyse (par ex.: F-01, F...).
Il y a un excès de mousse.
- La fiche n'est pas branchée dans la prise de courant ou mal branchée.
- Il y a une panne de courant.
Le hublot n'est pas bien fermé.
- La touche MARCHE/ARRÉT n'a pas été enforcée.
- La touche MISE EN MARCHE/PAUSE n'a pas été enforcée.
- Le robinet de l'eau n'est pas ouvert.
- Un départ différé a été sélectionné (voir "Comment faire un cycle de lavage").
- Le tuyau d'arrivée de l'eau n'est pas raccordé au robinet.
- Le tuyau est plié.
- Le robinet de l'eau n'est pas ouvert.
- Il y a une coupure d'eau.
- La pression n'est pas suffisante.
-
La touche MISE EN MARCHE/PAUSE n'a pas été enforcée.
-
Le tuyau de vidange n'est pas installé à une distance du sol comprise entre 65 et 100 cm (voir "Installation").
- L'extrémité du tuyau de vidange est plongée dans l'eau (voir "Installation").
- L'évacuation murale n'a pas d'event.
Si après ces vérifications, le problème persiste, fermer le robinet de l'eau, éteindre la machine et appeler le service Assistance. Si l'appointement est situé en étage dans un immeuble, il peut y avoir des phénomènes de siphonnage qui font que le lave-linge prend et évacue l'eau continulement. Pour supprimer cet inconvenient, on trouve dans le commerce des soupapes spéciales anti-siphonnage.
- Le programme ne prévoit pas de vidange: pour certains programmes, il faut la faire partir manuellement ("Programmes et fonctions").
- La fonction REPASSAGE FACILE est activée: pour compléter le programme, appuyer sur la touche MISE EN MARCHE/PAUSE ("Programmes et fonctions").
- Le tuyau de vidange est plie (voir "Installation").
-
La conduite d'évacuation est bouchée.
-
Le tambour n'a pas eté débloqué comme il faut lors de l'installation du lave-linge (voir "Installation").
- Le lave-linge n'est pas posé à plat (voir "Installation").
-
Le lave-linge est coincé entre des meubles et le mur (voir "Installation").
-
Le tuyau d'arrivée de l'eau n'est pas bien visse (voir "Installation").
- Le tiroir à produits lessiviels est bouché (pour le nettoyer voir "Entretien et soin").
-
Le tuyau de vidange n'est pas bien fixé (voir "Installation").
-
Eteindre l'appareil et débrancher la fiche de la prise de courant, attendre 1 minute environ avant de rallumer.
Si I'anomalie persiste, appeler le service d'assistance.
- Le produit de lavage utilisé n'est pas une lessive spéciale machine (il faut qu'il y ait l'inscription "pour lave-linge", "main et machine", ou autresemblable).
- La quantité utilisée est excessive.
Avant d'appeler le service après-vente:
- Vérifier si on ne peut pas résoudre l'anomalie par ses propres moyens (voir "Anomalies et Remèdes");
- Remetre le programme en marche pour contrôler si l'inconvénient a disparu;
- Autrement, contacter le Centre d'Assistance technique agréé au numéro de téléphone indiqué sur le certificat de garantie.
! Ne jamais s'adresser à des techniciens non agrêés.
Communique:
- le type de panne;
- le modele de l'appareil (Mod.);
- son numéro de série (S/N).
Ces informations se trouvent sur la plaque signalétique apposée à l'arrière du lave-linge et à l'avant quand on ouvre la porte hublot.

Espanol
Notice Facile