FRONTIER 2004 - Pickup NISSAN - Notice d'utilisation et mode d'emploi gratuit
Retrouvez gratuitement la notice de l'appareil FRONTIER 2004 NISSAN au format PDF.
| Intitulé | Détails |
|---|---|
| Type de véhicule | Pick-up |
| Année de modèle | 2004 |
| Moteur | 4.0 L V6 |
| Puissance maximale | 265 ch |
| Transmission | Manuelle ou automatique à 5 vitesses |
| Type de carburant | Essence |
| Consommation de carburant | Environ 12 L/100 km en ville, 9 L/100 km sur autoroute |
| Dimensions (L x l x H) | 5 200 mm x 1 800 mm x 1 800 mm |
| Poids à vide | 1 800 kg |
| Capacité de remorquage | Jusqu'à 3 500 kg |
| Capacité du réservoir de carburant | 80 L |
| Système de sécurité | Airbags frontaux, ABS, contrôle de traction |
| Entretien recommandé | Changement d'huile tous les 5 000 km, vérification des freins tous les 10 000 km |
| Pièces détachées disponibles | Large disponibilité sur le marché, pièces d'origine et compatibles |
| Garantie | Généralement 3 ans ou 100 000 km, selon le concessionnaire |
| Compatibilité avec accessoires | Compatible avec de nombreux accessoires de pick-up, tels que barres de toit et attelages |
FOIRE AUX QUESTIONS - FRONTIER 2004 NISSAN
Téléchargez la notice de votre Pickup au format PDF gratuitement ! Retrouvez votre notice FRONTIER 2004 - NISSAN et reprennez votre appareil électronique en main. Sur cette page sont publiés tous les documents nécessaires à l'utilisation de votre appareil FRONTIER 2004 de la marque NISSAN.
MODE D'EMPLOI FRONTIER 2004 NISSAN
NISSAN a le plaisir de vous accueillir parmi ses clients toujours plus nombreux. Nous vous livrons ce vehicule en toute confiance. En effet, il a eté construit selon les méthodes de fabrication les plus modernes et les normes de qualité les plus strictes.
Ce manuel a été concu pour vous aider à comprendre le fonctionnement et l'entretien de votre vehicule afin que vous puissiez profiter d'une conduite/agréable sur de nombreux kilomètres (milles). Veuillez lore attentivement ce manuel avant de conduire votre vehicule pour la première fois.
Les détails relatifs aux garanties de votre vehicule sont stipulés dans un Livret de garantie distinct. Le « Guide du service et de l'entretien NISSAN » explique en detail les programmes d'entretien et de réparation de votre vehicule. De plus, le livret « Customer Care/Lemon Law » fourni séparément (États-Unis uniquement) vous expliquera comment résoudre tous les problèmes susceptibles de se produit avec votre vehicule, et vous explique vos droits en ce qui concerne la loi en vigueur dans votre État sur les vehicules défectueux.
Votre concessionnaire NISSAN est celui qui connait le mieux votre vehicule. En cas de besoin, ou pour toute question, le personnel se fera unPLAIN de vous aider et demettre àvoitréservice les ressources disponibles.
Avant de prendre la route au volant de votre vehicule pour la première fois, nous vous recom-mandons de dire attentivement le present Manuel du conducteur. Il vous permettra de vous famili-riser avec les commandes et les exigences d'entretien de votre vehicule et vous aidera a profiter de ce dernier en toute sécurité.
AVERAGEMENT
RENSEIGNEMENTS IMPORTANTS EN MATIÈRE DE SÉCURITÉ - RAPPELS DE SÉCURITÉ!
Respectez ces régles élémentaires de conduite afin d'assurer votre sécurité et votre comfort de même que ceux de vos passagers!
- Ne conduisez JAMAIS sous l'influence de l'alcool ou de drogues.
-
Respectez TOUJOURS les limites de vitesse indiquées et ne roulez jamais plusrapidement que ne le permettent lesconditions de conduite.
Utilisez TOUJOURS les ceintures de sécurité et des dispositifs de retenue pour enfant appropriés. Les enfants de moins de douze ans doivent être assis sur le siège arrêté. -
Indique TOUJOURS aux occupants du vehicule comment utiliser correctement les différents dispositifs de sécurité.
- Lisez TOUJOURS les consignes primordiales de sécurité fournies dans le present manuel du conducteur.
La marque 4x4 est inscrite au début des chapitres/rubriques correspondant aux descriptions spécifiques applicables aux modeles à quatre roues motrices.
Comme dans le cas de tout autre vehicule ayant des fonctions destinées à la conduite hors route, une conduite inappropriée de votre vehicule à quatre roues motrices peut entrainer une perte de maitrise ou un accident. Assurez-vous de dire la rubrique « Mesures de sécurité de conduite » du chapitre « Demarrage et conduite » du present manuel.
LORS DE LA LECTURE DE CE MANUEL
CONDUITE HORS ROUTE ET SUR CHAUSSÉES PAVÉES
Le centre de gravité de votre vehicule est plus élevé que celui des voitures de tourisme ordinaires afin de répondre à des besoin de conduite hors route; son comportement routier est donc différent. comme dans le cas de tout autre vehicule de ce type, une conduite inappropriée peut mener à une perte de maitrise ou à un accident.
Assurez-vous de dire les rubriques « Précautions de conduite sur route et hors route», « Pour éviter les collisions et les renversements » et « Mesures de sécurité de conduite » du chapitre « Démarriage et conduite » duprésent manuel.
MODIFICATION DE VOTRE VÉHICULE
Ce vehicule ne doit pas etre modifie. Toute modification peut comprometteres performances, sa securite ou sa durabilité,voire enfreindre les reglementations gouvernementales.De plus,les dommages ou problemes de rendement resultant de telles modifications ne sont pas couverts par les garanties NISSAN.
Le préSENT manuel du conducteur contient des renseignements qui s'appliquent à toutes les options disponibles pour ce modèle. Par conséquent, certains de ces renseignements peuvent ne pas s'appliquer à votre vehicule.
Toute l'information ainsi que toutes les spécifications et les illustrations contenues dans leprésent manuel étaient exactes au moment demettre sous presse. NiSSAN se reserve le droit de modifier les specifications ou la conception du vehicule, sans préavis ni obligation de sa part.
Plusieurs symboles sont utilisés dans ce manuel.
Ils ont les significations suivantes :

AVENTISSEMENT
Ce terme est utilisé pour indiquer la présence d'un risque qui pourrait cause la mort ou des blessures graves. Pour éviter ou réduire ce risque, les directives fournies doivent être suivies à la dette.

ATTENTION
Ce terme est utilisé pour indiquer l'existence d'un risque de blessures légères ou moyennement graves, ou de dommages au vehicule. Pour éviter ou réduire ce risque, les directives fournies doivent être soigneusement suivies.

APD1005
Ce symbole signifie « Ne faites pas ceci » ou « Ne laissez pas ceci se produit »


Si you想念 un de ces symboles dans une illustration, cela signifie que la flèche pointe vers l'avant du vehicule.




Les flèches d'une illustration similaires à celles-ci indiquent un mouvement ou une action.




Les flèches d'une illustration similaires à celles-ci sont destinées à attirer l'attention du lecteur sur un élément de l'illustration.
MISE EN GARDE CONCERNANT LA PROPOSITION 65 DE LA CALIFORNIE

AVENTISSEMENT
L'Etat de la Californie reconnait que les gaz d'échéppement des vehicules, certains de leurs constituents et certains composants du vehicule contiennent ou émettent des substances chimiques pouvant causer le cancer de même que des malformations congenitales ou d'autres léasons de l'appareil reproducteur. De plus, l'Etat de la Californie reconnait que certains liquides contenus dans le vehicule et certains produits provenant de l'usure des composants contiennent ou émettent des substances chimiques pouvant causer le cancer de même que des malformations congenitales ou d'autres léasons de l'appareil reproducteur.
© 2003 NISSAN NORTH AMERICA, INC. GARDENA, CALIFORNIA
Tous droits réservés. Aucune partie de ce manuel du conducteur ne peut être reproduite ou mise en mémoire dans un système de saisie de données, ou transmise sousquelque forme ou parquelque moyen que ce soit, électronique, mécanique, photocopie, enregistrement ou autre, sans l'autorisation écrite préalable de Nissan North America, Inc., Gardena, Californie, États-Unis.
NISSAN VOUS SOUHAITE LA BIENVENUE

NISSAN TECHNICAL CENTER NORTH AMERICA, INC.
Farmington Hills, Michigan

NISSAN MANUFACTURING FACILITY Smyrna, Tennessee, E.-U.
WFW0002
Votre nouveau vehicule NISSAN est le fruit de nos efforts incessants pour produit les vehicules les plus securitaires, les plus fiables et les plus économiques qui soient. Il a ete construit par une societe de renommee internationale qui fabrique des voitures et des vehicules utilaitaires dans plus de 17 pays et les distribue dans 170 nations.
Les vehicules NISSAN sont concus et fabriqués par Nissan Motor Co., Ltd., fondée en 1933 à Tokyo au Japon, et par ses filiales dans le monde. La croissance collective de cette société et de ses filiales en a fait le cinquième constructeur automobile mondial. Outre les voitures de tourisme, les vehicules utilisaires et les camions, NISSAN fabrique des chariots élévateurs, des moteurs marins, des bateaux et autres produits diversifiés.
NISSAN a investi de maniere substantielle et continue en Amérique du Nord. L'engagement de NiSSAN se chiffre a plus de 6 milliards de dollars en investissement de capitaux dans des installations du
continent. Ces installations englobent les usines de fabrication de Canton au Mississippi et de Smyrna au Tennessee, le centre de conception de vehicules Nissan Design International à San Diego en Californie ainsi que le centre d'étude technique Nissan Technical Center North America à Farmington Hills dans le Michigan. En outre, NiSSAN employe pres de 19 000 personnes au Canada, aux États-Unis et au Mexique, sans compter les 60 000 personnes qui travaillant pour les 1 250 concessionnaires NiSSAN et INFINITI en Amérique du Nord.
NISSAN contribue aussi considérablement à l'économie canadienne. NISSAN Canada Inc., ses fournisseurs et plus de 150 concessionnaires employent environ 4 500 personnes. Ce chiffre comprend les employés de la société et le personnel des concessionnaires NISSAN partout au Canada. Un grand nombre de Canadiens travaillant aussi pour des entreprises qui fournissent à NISSAN et à ses concessionnaires des salariés et des services allant de l'exploitation des
installations portuaires et des services de transport à la fourniture de lubrifiants, de pieces et d'accessoires.
NISSAN a été un pionnier dans l'utilisation de l'électronique et des ordinateurs en automobile. NISSAN a conduit l'industrie à améliorer à la fois les performances et l'économie en carburant grâce à une nouvelle conception des moteurs et à l'adoption de matérielaux synthétiques pour réduire le poids des vehicules. La société a aussi mis au point des moyens d'incorporer la qualité dans ses vehicules à chaque étape du processus de production, à la fois en recourant à l'utilisation intensive de l'automation et, plus important encore, en prénant conscience du role primordial que jouent les employés en matière de contrôle de la qualité.
Du moment où les pieces nous sont livrées par nos fournisseurs jusqu'à ce que vous preniez livraison de votre nouveau vehicule NISSAN, des douzaines de vérifications ont été effectuees pour garantir que chacune des étapes de la fabrication et de la livraison de votre vehicule a été parfaitement executée. NISSAN met un soin particulier à faire en sorte que, chaque fois que vous confiez votre vehicule NISSAN à un concessionnaire en vue d'un entretien, le technicien qualifié exécuté son travail conformément aux normes de qualité établies par NISSAN.
La sécurité est également une caractéristique importante de votre vehicule NISSAN. Vous n'étés pas sans savoir que les ceintures de sécurité font partie intégrante des systèmes de sécurité qui protégérer tous les occupants du vehicule en cas de freinage brusque ou d'accident. Nous vous conseillons d'utiliser les ceintures de sécurité chaque fois que vous conduissez le vehicule.
La croissance et les accomplissements de NISSAN refletent notre but principal : celui de vous offrir un vehicule de qualite supérieure et d'execution raffinee. En d'autres termes, un produit que nous fabriquons avec fierte et que vous serez fier de posseder.
PROGRAMME D'ASSISTANCE À LA CLIENTÉLE NISSAN
NISSAN S'EN SOUCIE...
NISSAN et votre concessionnaire NISSAN se sont engagements à vous servir et vous assister, quels que soient vos besoin en matière d'automobile. Notre principale préoccupation est la satisfaction que vous tirerez de votre vehicule et de leur concessionnaire NISSAN. Notre concessionnaire NISSAN est toujours disponible pour vous aider, aussi bien lors de la vente que lors des services d'entretien.
Toutefois, si vous concessionnaire ne peut répondre à vos questions ou si vous souhaitez adresservossignezauxosquestionsdirectementàNISSAN,n'hésitezpasappeler,sans frais,notreservice de la protection du consommateur(NISSAN)auxnumerosdetelephone suivants:
Pour les clients aux États-Unis et en Alaska
1 800 NiSSAN-1
(1 800 647-7261)
Pour les clients d'Hawaii
1 808 836-0888 (numéro d'Oahu)
Pour les clients du Canada 1800387-0122
Le Service de la protection du consommateur vous demandera les renseignements suivants :
- vos nom, adresse et numéro de téléphone
- le numéro d'identification du vehicule (indiqué sur le dessus de la planche de bord, côté conducteur)
- la date d'achat
- le relevé du compteur kilométrique
- le nom de votre concessionnaire NISSAN
- vos commentaires ou questions OU
Vous pouvez écrire à NISSAN en incluant ces renseignements à :
Pour les clients aux États-Unis et en Alaska Nissan North America Inc.
Gardena, Californie, Etats-Unis 90248-0191
Pour les clients d'Hawaii
Nissan Motor Corporation in Hawaii 2880 Kilihau St.
Honolulu, Hawaii, États-Unis 96819
Pour les clients au Canada
Nissan Canada Inc.
5290 Orbitor Drive
Mississauga (Ontario) L4W 4Z5
Table des matières
Table des matieres illustrée
Sécurité — sièges, ceintures de sécurité et coussins gonflables
Commandes et instruments
Vérifications et réglages avant le démarrage
Appareil de chauffage et climatisationur et chaine stéréophonique
Démarrage et conduite
En cas d'urgence
Aspect et entretien
Entretien et interventions du propriétaire
Données techniques et information au consommateur
Index
0
1
2
3
4
5
6
7
8
9
10
0 Table des matières illustrée
Coussins gonflables, ceintures de sécurité et dispositifs de retenue pour infant 0-2
Avantextérieur 0-3
Arriere extérieur 0-4
Habitacle 0-5
Planche de bord. 0-6
Emplacements du compartmente moteur. 0-8
Témoins 0-11
COUSSINS GONFLABLES, CEINTURES DE SECURITE ET DISPOSITIFS DE RETENUE POUR ENFANT

0-2 Table des matieres illustrée
- Ceintures de sécurité de la deuxième rangée (p. 1-21)
- Ceintures de sécurité avant (p. 1-21)
- Coussins gonflables avant (p.1-12)
- Sièges (p. 1-2)
- Prétendeurs de ceintures de sécurité (p. 1-14)
- Système LATCH (points d'ancrage inférieurs et sangle d'ancrage pour siège d'enfant) (p. 1-43)
- Sangle d'ancrage supérieure (p. 1-45)
Voyez les nombres de page indiqués entre parentheses pour connaître les détails de fonctionnement.

LI0035
- Capot moteur (p. 8-8)
- Commande de lave-glace et d'essuie-glace de pare-brise (p. 2-21)
- Pare-brise (p. 8-30)
- Porte-bagages (p.2-33)
- Glaces electriques (selon l'equipement du vehicule) 2-35)
- Serrures de portières, telecommande, clés (p. 3-2, 3-5, 3-2)
- Rétroviseurs (p. 3-14)
- Pression des pneus (p. 8-42)
- Pneu à plat (p. 6-2)
- Chaines antidérapantes (p. 5-36)
- Interrupteur des phares et des clignotants (p. 2-23); Remplacement des ampôules (p. 8-36)
- Interrupteur des phares antibrouillard (selon l'equipement du vehicule) (p. 2-25)
Voyez les nombres de page indiqués entre parentheses pour connaître les détails de fonctionnement.

0-4 Table des matieres illustrée
- Chargement du vehicule (p. 9-14)
- Caisse, hayon (p.3-16)
- Porte-bagages (p.2-33)
- Glace coulissantarriere(selon l'equipement du vehicule) (p.2-37)
- Serrure de portiere arrriere à dispositif de sécurité pour enfant (version à cabine double seulement) (p.3-5)
- Bouchon de replissage de carburant, recommendations concernant le carburant (p. 3-11, p. 9-3)
- Remplacement des ampoules (p. 8-36)
Voyez les numéroes de page indiqués entre parentheses pour connaître les détails de fonctionnement.

- Lampes de lecture (p. 2-38)
- Pare-soleil (p. 3-14)
- Rétroviseur interieur (p.3-14)
- Bouches d'air (p.4-2)
- Boite à gants (p. 2-31)
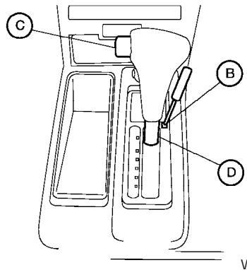
- Levier selecteur (boite automatique seulement, selon l'equipement du vehicule) (p.5-12)
- Portetasses (p. 2-30)
- Sièges avant (p. 1-2)
- Compartiment de rangement de la console (p.2-31)
- Sièges arrêté (p.1-5)
- Pneu à plat (p.6-2)
Voyez les nombres de page indiqués entre parentheses pour connaître les détails de fonctionnement.

- Interrupteur des phares et des clignotants (p. 2-23)
- Instruments et indicateurs de bord (p. 2-3)
- Commande de lave-glace et d'essuie-glace de pare-brise (p. 2-21)
- Prise d'alimentation (p. 2-27)
- Système de chauffage et de climatisation (p. 4-2)
- Témoin de l'interrupteur de neutralisation du coussin gonflable côté passager (selon l'équipement du vehicule) (p. 1-16)
- Interrupteur de neutralisation du coussin gonflable cote passager (selon l'équipement du vehicule) (p. 1-16)
- Coussin gonflable avant côté passager (p. 1-7)
- Boite à gants (p. 2-30)
- Chaine audio (p. 4-10)
- Interrupteur des faux de détresse (p. 2-25)
- Levier sélecteur de la boîte de vitesses automatique et manuelle (p. 5-12)
-
Levier selecteur de la boite de transfert (selon l'equipement du vehicule) (p. 5-25)
-
Levier de déblocage du frein de stationnement (p. 5-21)
- Commande principale/de réglage du régulateur de vitesse (selon l'équipement du vehicule) (p. 5-22)
- Coussin gonflable avant côté conducteur/avertisseur sonore (p. 1-7, p. 2-26)
- Commandes du système audio du volant de direction (selon l'équipement du vehicule) (p. 4-32)
- Interrupteur de neutralisation du système de contrôle dynamique du vehicule (selon l'équipement du vehicule) (p. 2-26)
- Commande de luminosité du tableau de bord (P. 2-24)
- Interrupteur d'éclairage de l'aire de chargement (p. 2-26)
Voyez les nombres de page indiqués entre parentheses pour connaître les détails de fonctionnement.

Moteur KA24DE
- Réservoir de liquide de direction assistée (p. 8-19)
- Jauge d'huile de la boite de vitesses automatique (modèles avec boite de vitesses automatique) (p. 8-17)
- Filtre a air (p. 8-26)
- Bouchon de remplissage d'huile moteur (p. 8-12)
- Jauge d'huile moteur (p. 8-12)
- Réservoir de liquide de frein (p. 8-20)
- Réservoir de liquide d'embrayage (modèles avec boîte de vitesses manuelle) (p.8-20)
- Réservoir de liquide de lave-glace de pare-brise (p. 8-21)
- Bouchon du radiateur (p. 8-11)
- Réservoir de liquide de refroidissement (p. 8-11)
- Batterie (p. 8-22)
Voyez les numéroes de page indiqués entre parentheses pour connaître les détails de fonctionnement.

Moteur VG33E
- Boite à fusibles/fils-fusibles (p. 8-34)
- Réservoir de liquide de direction assistée (p. 8-19)
- Jauge d'huile de la boite de vitesses automatique (modèles avec boite de vitesses automatique) (p. 8-17)
- Réservoir de liquide de frein (p. 8-20)
- Réservoir de liquide d'embrayage (modèles avec boîte de vitesses manuelle) (p.8-20)
- Filtre à air (p. 8-26)
- Réservoir de liquide de lave-glace de pare-brise (p. 8-21)
- Jauge d'huile moteur (p. 8-12)
- Bouchon du radiateur (p. 8-11)
- Bouchon de remplissage d'huile moteur (p. 8-12)
- Réservoir de liquide de refroidissement (p. 8-11)
- Batterie (p. 8-22)

Moteur VG33ER
- Boite à fusibles/fils-fusibles (p. 8-34)
- Réservoir de liquide de direction assistée (p. 8-19)
- Jauge d'huile de la boite de vitesses automatique (modèles avec boite de vitesses automatique) (p. 8-17)
- Compresseur volumétrique
- Réservoir de liquide de frein (p. 8-20)
- Filtre à air (p. 8-26)
- Réservoir de liquide de lave-glace de pare-brise (p. 8-21)
- Jauge d'huile moteur (p. 8-12)
- Bouchon du radiateur (p. 8-11)
- Bouchon de remplissage d'huile moteur (p. 8-12)
- Réservoir de liquide de refroidissement (p. 8-11)
- Batterie (p. 8-22)
| Témoin | Nom | Page |
| ABS ou (ABS) | Témoin des freins antiblo-cage | 2-11 |
| A/T OIL TEMP | Témoin de temp-perature d'huile de la boîte de vitesses automatique (modè-les 4x4) | 2-11 |
| ATP | Témoin de posi-tion de station-nement de la boîte de vitesses automatique (modèles 4x4) | 2-11 |
| BRAKE ou (D) | Témoin de frein | 2-11 |
| Témoin | Nom | Page |
| Témoin de charge | 2-12 | |
| Témoin de por-tière ouverte | 2-12 | |
| Témoin de pres-sion d'huile mo-teur | 2-12 | |
| Témoin de ni-veau de carbu-rant bas | 2-13 | |
| Témoin d'avertissement de basse pression des pneus (selon l'équipement du vehicule) | 2-13 |
| Témoin | Nom | Page |
| Témoin de bas niveau de liquide de lave-glace (selon l'équipement du vehicule) | 2-14 | |
| Témoin de neutralisation du coussin gonflable côte passager (sauf modèles à cabine double) | 2-14 | |
| Témoin et ca-rillon des ceintu-res de sécurité | 2-14 | |
| Témoin du cous-sin gonflable | 2-15 | |
| CRUISE | Témoin de com-mande princi-pale du régula-teur de vitesse (CRUISE) (se-lon l'équipement du vehicule) | 2-15 |
| SET | Témoin de com-mande princi-pale de réglage (SET) du régula-tateur du vitesse (selon l'équipement du vehicule) | 2-15 |
| Témoin | Nom | Page |
| Témoin des quatre roues motrices ( selon l'équipement du vehicule) | 2-15 | |
| Témoin de fais-ceaux route (bleu) | 2-15 | |
| SERVICE ENGINE SOON | Témoin d'anomalie (MIL) | 2-16 |
| O/D OFF | Témoin de neu-ralisation de la surmultiplication (boîte de vitesses automatique seulement) | 2-16 |
| Témoin | Nom | Page |
| SLIP | Témoin SLIP (dérapage) (se-lon l'équipement du vehicule) | 2-16 |
| ←→ | Témoins des clignotants et des frais de dé-tresse | 2-17 |
| VDC OFF | Témoin de neutralisation du système de contrôle dynamique du vehicule (se-lon l'équipement du vehicule) | 2-17 |
1 Sécurité — sièges, ceintures de sécurité et coussins gonflables
Sièges 1-2
Réglage manuel du siège avant 1-2
Inclinaison de la banquette arriere
(modules à cabine double seulement). 1-5
Strapontin (selon l'équipement du vehicule) 1-6
Réglage de l'appuie-tête 1-6
Dispositif de protection complémentaire. 1-7
Précautions concerning le dispositif de
protection complémentaire 1-7
Commutateur marche/arrêt et témoin du
coussin gonflable cote passager
(sauf pour les modeles à cabine double) 1-16
Étiquettes d'rapidissement concernant les
coussins gonflables. 1-19
Témoin du coussin gonflable 1-19
Ceintures de sécurité 1-21
Précautions concernant l'utilisation des
ceintures de sécurité. 1-21
Sécurité des enfants 1-24
Femmes enceintes. 1-26
Personnes blessées 1-26
Ceinture de sécurité à trois points avec
enrouleur 1-26
Ceinture de sécurité à deux points sans
enrouleur (strapontin des modèles King Cab
et au centre de la banquette arriere des
modèles à cabine double) 1-29
Rallonges de ceinture de sécurité 1-31
Entretien des ceintures de sécurité 1-32
Dispositifs de retenue pour enfant 1-32
Précautions concerning les dispositifs de
retenue pour enfant 1-32
Installation au centre de la banquette arrière
(modules à cabine double seulement). 1-34
Installation aux places laterales de la ban
quette arrière (modèles à cabine double
seulement). 1-37
Système LATCH (points d'ancrage inférieurs
et sangle d'ancrage pour siège d'enfant) 1-43
Dispositif de retenue pour enfant avec
sangle d'ancrage supérieure 1-45
Installation sur le siège du passager avant. 1-46

A VERTISSEMENT
-
Ne prenez pas place dans un vehicule si le dossier de votre siège est incliné. Ceci peut s'avérer très dangereux. Dans cette position, le baudrier de la ceinture de sécurité n'est pas appuyé contre votre corps. En cas d'accident, vous pourriez être projeté contre le baudrier et subir des blessures graves au cou ou à une autre partie de votre corps. Vous pourriez également glisser sous la ceinture sous-abdominale et subir des blessures internes graves.
-
Lorsque le vehicule roule, le dossier de votre siège devrait être en position verticale, de façon à vous offrir la meilleure protection possible. Asseyez-vous toujours au fond du siège et voirlez à ce que votre ceinture de sécurité soit bien ajustée. Consultez la rubrique « Précautions concernant l'utilisation des ceintures de sécurité » plus loin dans le present chapitre.
RéGLAGE MANUEL DU SIEGE AVANT
AVERAGEMENT
- La conduite d'un vehicule exige toute voire attention : ne reglez donc pas votre siègependant que le vehicule roule. Le siège pourrait se déplacer brusquement et vous pourriez perdre la maïtrise du vehicule.
- Àprouve le réglage, faites balancer doucement le siège vers l'avant et vers l'arrière pour vous assurer qu'il est bien verrouillé en place.

Réglage longitudinal
Tirez le levier vers le haut et maintenez-le dans cette position tout en faisant glisser le siège vers l'avant ou vers l'arrière jusqu'à la position désirée. Relâchez le levier pour verrouiller le siège.

Inclinaison du dossier
Pour incliner le dossier du siècle vers l'arrière, tirez le levier vers le haut, puis adossez-vous contre le dossier. Pour redresser le dossier du siècle, tirez le levier vers le haut, puis penchez-vous vers l'avant. Relâchéz le levier pour verruiller le dossier du siècle.
La fonction d'inclinaison permet le réglage du dossier pour des occupants de taillles différentes, ce qui facilitate le réglage de la ceinture de sécurité (consultez la rubrique « Précautions concernant l'utilisation des ceintures de sécurité » plus loin dans ce chapitre). De plus, le dossier peut être
incliné pour permettre aux occupants de se reposer lorsque le vehicule est arrêté.

AVERTISSEMENT
Après le réglage, faites balancer douce-ment le siège vers l'avant et vers l'arrière pour vous assurer qu'il est bien verrouillé en place.

AVERAGEMENT
Après le réglage, faites balancer douce-ment le siège vers l'avant et vers l'arrière pour vous assurer qu'il est bien verrouillé en place.
Siège du passager, version King Cab tableau
Fonction d'accès aux sièges arrêté
Le siège du passager avant peut s'incliner et s'avancer pour faciliter l'accès des passagers aux strapontins.
Pour activer la fonction d'accès aux sièges arrrière, tirez le levier d'inclinaison vers le haut ou poussez le levier d'accès vers le bas. Le siège avance automatiquement.
Pour remettre le siège à sa position originale, poussez le siège au complet vers l'arrière, puis relevez le dossier du siège jusqu'à ce qu'il se verrouille.

Dispositif d'élévation du siège (siège du conducteur, selon l'équipement du vehicule)
Tournez les deux commandes pour régler l'angle et la hauteur du coussin du siège à la position désirée.
1-4 Sécurité - sièges, ceintures de sécurité et coussins gonflables

Support lombaire (siège du conducteur, selon l'équipement du vehicule)
Le siège du conducteur est équipé d'un support lombaire. Déplacez le levier vers l'avant ou vers l'arrière pour régler le support lombaire.

INCLINAISON DE LA BANQUETTE ARRIÈRE (modèles à cabine double seulement)
La banquette arrrière peut s'incliner pour faciliter l'accès aux outils et au cric de l'espace de rangement.
Pour incliner le dossier du siècle, tirez la sangle vers le haut ① et inclinez ② le dossier vers l'avant.

AVERTISSEMENT
Ne laïsez personne prendre place dans l'aire de chargement ni sur le siège arrière lorsque ce dernier est rabattu. Les personnes se trouvant dans ces espaces dépourvus de dispositifs de retenue ajustats pourraient ettre blessées grièvement en cas d'accident ou d'arrêt brusque.

STRAPONTIN (selon l'equipement du vehicule)

AVERTISSEMENT
- N'installez pas de dispositif de retenue pour enfant sur les strapontins (versions King Cab). Ces sièges ne sont pas conçus pour l'installation de tels dispositifs.
- Lorsque vous remontez le strapontin, prenez soin de ne pas vous pincer les doigts entre le coussin du siècle et la carrosserie.
1-6 Sécurité — sièges, ceintures de sécurité et coussins gonflables

RéGLAGE DE L'APPUIE-TÊTE
Pour rehauser l'appuie-tête, tirez-le vers le haut. Pour l'abaisser, maintenez le bouton de verrouillage enforcé, puis poussez l'appuie-tête vers le bas.

AVERTISSEMENT
Les appuié-tête doivent être régles correctement car ils peuvent assurer une protection non négligeable contre les blessures en cas d'accident. Ne les retirez pas. Vérifiéz le réglage de votre appuié-tête si une autre personne a utilisé le siège avant vous.
DISPOSITIF DE PROTECTION COMPLEMENTAIRE

Réglez la hauteur de l'appuie-tête pour que son centre soit au niveau du milieu de l'oreille.
PRECAUTIONS CONCERNANT LE DISPOSITIONIF DE PROTECTION COMPLEMENTAIRE
Ce chapitre sur le dispositif de protection complémentaire (SRS) contient des renseignements importants au sujet des coussins gonflables avant des côtes conducteur et passager et des ceintures de sécurité à prétenueur.
Coussins gonflables avant : ils aient à amortir le chic transmis à la tête et au thorax du conducteur et du passager avant lors de certains types de collisions frontales.
Les coussins gonflables sont conçus pour compléter la protection fournie par les ceintures de sécurité du conducteur et du passager avant en cas d'accident; ils ne sont enaucun cas destinés à les remplacer. Les ceintures de sécurité doivent toujours être portées correctement. De plus, le conducteur et le passager avant doivent être assis suffisamment loin du volant de direction et de la planche de bord. (Reportez-vous à la rubrique « Ceintures de sécurité » plus loin dans ce chapitre pour connaître les directives et les précautions concernant l'utilisation des ceintures de sécurité.)
Les coussins gonflables ne peuvent se déployer que si la clé de contact est à la position ON (marche) ou START (démarriage).
Le témoin du coussin gonflable s'allume une fois la clé de contact tournée à la position ON (marche). Si le dispositif est opérationnel, le témoin du coussin gonflable s'eteint après environ sept secondes.


WRS0031
A VERTISSEMENT
-
Les coussins gonflables avant ne se déploient habituèlement pas en cas d'impact lâral, d'impact arrêté, de capotage ou de collision frontale mineure. Bouclez toujours votre ceinture de sécurité afin de réduire les risques de blessures et la gravité de celles-ci en cas d'accident.
-
Les ceintures de sécurité et les coussins gonflables avant sont plus efficaces lorsque les occupants du vehicule sont aussi bien droit au fond de leur siège. Les coussins gonflables avant se déploient avec beaucoup de puissance. Si vous n'êtes pas correctement retenu, si vous étés penché vers l'avant, tourné de côté ou assis dans toute autre position inadéquate, vous augmentez les risques de blessures graves ou mortelles en cas d'accident. Le coussin gonflable avant peut également vous infilger des blessures graves ou mortelles si vous étés
appuyé sur son compartmentement lorsqu'il se déploie. Assurez-vous d'avoir le dos bien appuyé contre le dossier de votre siège et de régler ce dernier aussi loin que possible du volant ou de la planche de bord, sans que cela ne nuise à votre comport en conduisant. Bouclez plusieurs yours cette ceinture de sécurité.
-
Les boucles des ceintures de sécurité du conducteur et du passager avant sont équipées de capteurs qui permettent de détecter si les ceintures de sécurité sont bouclées ou non. Lors d'une collision, le dispositif des coussins gonflables détecte la gravité de l'impact et active le déploiement des sacs en fonction de l'utilisation des ceintures de sécurité. Lors d'un accident, les risques de blessures et la gravité de celles-ci sont accrus lorsque les occupants n'ont pas boucé correctement leur ceinture.
-
Tenez le volant par son pourtour extérieur. Si vous mettez vos mains à l'intérieur du cercle du volant, vous augmentez les risques qu'elles soient blessées en cas de déploiement de votre coussin gonflable.



AVERTISSEMENT
Assurez-vous que les enfants sont toutes correctement retenus pendant que le vehicule roule, et ne les laissez jamais soit sortir les mains ou la tête par la fenêtre. Ne voyagez jamais en tenant un enfant sur vos genoux ou dans vos bras. Quelques exemples de positions dangereuses à ne pas adopter dans un vehicule en mouvement sont illustrés ici.





- N'installez jamais de dispositif de retenue pour enfant orienté vers l'arrière sur le siège du passager avant d'un vehicule équipé d'un commutateur marche/arrêt de coussin gonflable, à moins d'avoir préalablement désactivé le coussin gonflable. L'impact d'un coussin gonflable qui se déploie peut infilger des blessures graves ou mortilles à votre enfant. Consultez la rubrique « Dispositifs de retenue pour enfant » plus loin dans leprésent chapitre pour obtenir des détails.
AVERAGEMENT
- S'ils ne sont pas correctement retenus, les enfants peuvent etre sérieusement blesses voire tués lorsque les coussins gonflables avant se déploient. Les enfants ages de moins de douze ans doivent etre correctement retenus sur un siège arriere, lorsque le vehcle en est équipé.

WRS0214
- Unité de capteur de diagnostic
- Enrouleurs des pretendeurs des ceintures de sécurité
- Modules des coussins gonflables avant
-
Commutateur marche/arrêt du coussin gonflable côte passager
-
Témoin de mise hors fonction du cousin gonflable côté passager
Coussins gonflables avant
Le coussin gonflable avant du conducteur est situé au centre du volant de direction. Le coussin
gonfable avant du passager est monté dans la planche de bord, au-dessus de la boite à gants.
Ces dispositifs ont ete concus pour repondre aux conditions d'homologation optionnelles établies conformément a la reglementation en vigueur aux Etats-Unis. Leur utilisation est egalament autorise au Canada. L'homologation optionnelle autorise la conception de coussins gonflables avant dont le deploiement est moins puissant que celui des coussins qui equipaient les modeles anterieurs. Toutefois, les renseignements, precautions et avertissements stipulés dans ce manuel s'appliquent always et doivent etre suivis.
Les coussins gonflables avant sont conçus pour se déployer lors d'une collision frontale de forte intensité; leur déploiation est toute fois possible si les forces provoquées par un autre type de collision s'assimilant à celles d'une collision frontale grave. Il est possible qu'ils ne se déployent pas lors de certains types de collisions frontales. Les dommages au vehicule (ou l'absence de dommages) ne constituent pas nécessairement un indice du bon fonctionnement des coussins gonflables avant.
Les modèles King Cab (cabine allongée) sont équipés d'un commutateur marche/arrêt de coussin gonflable côte passager avant. Ce commutateur est conçu précisément pour les modè
les dépourvus d'un siège arrêté où un dispositif de retenue pour enfant orienté vers l'arrête pour rait être installé. Ainsi, vous pouvez désactiver le coussin gonflable côte passager et utiliser un tel dispositif de retenue pour enfant sur le siège du passager avant. Consultez la rubrique « Commutateur marche/arrêt et tímein du coussin gonflable côte passager » plus loin dans ce chapitre.
Les modèles à cabine double ne sont pas équi-pés d'un commutateur marche/arrêt de coussin gonflable côte passager puisqu'ils possèdent un siège arrrière sur lequel un dispositif de retenue pour enfant peut être installé. De plus, dans le cas des modèles à cabine double, le dispositif de coussins gonflables est équipé de gonfleurs adaptatifs aux sièges du conducteur et du passager. Le dispositif surveille l'information fournie par le capteur de zone de collision, l'unité du capteur de diagnostic et les capteurs des bou-cles des ceintures de sécurité qui déetects si les ceintures de sécurité sont bouclées. Les gon-fleurs s'activent ou non en fonction de la gravité de la collision et de l'utilisation des ceintures de sécurité. Il est donc possible qu'un seul coussin gonflable avant se déploie lors d'une collision; une telle situation dépend de la gravité de l'impact et du fait que les passagers avant portaient ou non leur ceinture de sécurité. Cette situation n'indique pas un fonctionnement inadéquat du dispositif. Veuillez communiquer avec
votre concessionnaire NISSAN si vous avez des questions concernant le fonctionnement du dispositif de coussins gonflables de votre vehicule.
Le déploiement des coussins gonflables avant est accompagné d'un bruit fort, suivi d'une émission de fumée. Cette fumée n'est pas nocive et n'indique pas la présence d'un incendie. Il est cependant recommandé d'éviter de l'inhaler, car elle peut cause une irritation de la gorge et une sensation d'étouffement. Les personnes qui souffrent de problèmes respiratoires doivent respirer de l'air frais aussitôt que possible.
Les coussins gonflables avant, lorsqu'ils sont combinés au port des ceintures de sécurité, aident à amortir le choc transmis au visage et au thorax des occupants des sièges avant. Ils peuvent contributor à sauver des vies et à réduire les risques de blessures graves. Cependant, le déploiation d'un coussin gonflable avant peut cause des éraflures au visage ou d'autres blessures. Les coussins gonflables avant n'offrent aucune protection à la partie inférieure du corps.
Les ceintures de sécurité doivent toujours être portées correctement; de plus, le conducteur et le passager avant doivent être assis avec le dos-sier de siège relevé à la verticale, et positionner leur siège aussi loin que possible du volant de direction et de la planche de bord. Les coussins gonflables avant se déploient rapidement pour
protégé les occupants des sièges avant. De ce fait, le risque de blessures occasionnées par la puissance du déploiement des coussins gonflables avant peut être accru si l'occupant se trouve trop pres du module du coussin gonflable avant, ou encore, s'il est appuyé contre le module au moment du déploiement.
Une fois déployés, les coussins gonflables avant se dégonflent rapidement.
Les coussins gonflables avant ne peuvent se déployer que si la clé de contact est à la position ON (marche) ou START (démarriage).
Le témoin du coussin gonflable s'allume une fois la clé de contact tournée à la position ON (marche). Si le dispositif est opérationnel, le témoin du coussin gonflable s'éteint après environ sept secondes.
A VERTISSEMENT
- Ne déposez pas d'objets sur le coussin du volant de direction ou sur la planche de bord. Ne déposez pas non plus d'objets entre les occupants et le volant ou la planche de bord. De tels objets pouraient se transformer en de dangereux projectiles et provoquer des blessures en cas de déploement du coussin gonflable avant.
- Plusieurs éléments des coussins gonflables avant seront chauds dans les instantssuivant le déploiemementdes coussins.Ne les touche pas,souspeine de vous inflige der graves brûlures.
- Il ne faut faire aucune modification non approuvée aux composants ou au cablage des coussins gonflables. Ceci vise à empêcher que les coussins gonflables se déploient de façon fortuite ou que leur circuit soit endommagé.
-
N'apportez aucune modification non autorisée au circuit électrique, à la suspension ou à la structure avant de votre vehicule. Une telle action pourrait comprometter le fonctionnement des coussins gonflables avant.
-
Toute modification des coussins gonflables avant peut entrainer de graves blessures. Ces modifications comprend les modifications apportées au volant de direction et à la planche de bord, notamment l'installation d'équipement ou d'accessoires sur le rembourse du volant de direction et sur la planche de bord, ou encore l'ajout de garnitures supplémentaires autour des coussins gonflables.
-
Toute intervention sur les coussins gonflables avant ou à proximé de ces disposits doit être effectuee par un concessionnaire NISSAN. L'installation de tout équipement electrique doit également être effectuee par un concessionnaire NISSAN. Le câblage du dispositif de protection complémentaire (SRS) ne doit pasetre modifié ni débranché. N'utilise pas d'instruments de contrôle electriques ni d'appareils non autorisés pour sonder les connexions des coussins gonflables.
-
Un pare-brise fissure doit être remplaced dans les plus brefs décidés dans un atelier de réparation qualifié. En effet, une telle condition du pare-brise peut nuire au déploiement des coussins gonflables.
- Les connecteurs du faisceau électrique du dispositif de protection complémentaire (SRS) sont facilement identifiables par leurs couleurs jaune et orange.
Si vous revendez votre vehicule, nous vous demandons d'informer l'acheteur de la presence du dispositif de coussins gonflables avant et de lui indiquer les chapitres s'y rapportant dans le present Manuel du conducteur.
Ceintures de sécurité à prétendeur (pour les sièges avant)
A VERTISSEMENT
-
La ceinture de sécurité à prétenueur ne peut pas être réutilisée après avoir été activée. Elle doit être replacée au complet, l'enrouleur et la boucle y compris.
-
Si le vehicule est impliqué dans une collision frontale et que le prétendeur de ceinture de sécurité ne s'est pas activé, faites vérifier le prétendeur et, au besoin, faites-le replacer par toute concessionnaire NiSSAN.
- Il ne faut faire aucune modification non approuvée aux composants ou au cablage des ceintures de sécurité à prétendeur. Ceci vise à empêcher que les ceintures de sécurité à prétendeur soient activées de façon fortuite, ou que leur fonctionnement soit alteré. L'alteration du dispositif des ceintures de sécurité à prétendeur peut entraîner des blessures graves.
-
Seul un concessionnaire NiSSAN peut effectuer une intervention sur le préten-deur des ceintures de sécurité ou a proximé du prétendeur. L'installation de tout équipement électrique doit également être effectuee par un concessionnaire NiSSAN. N'utilise pas d'équipment d'essayé elektrique ni d'appareils non homologues pour sonder les connexions du système de ceintures de sécurité à prétendeur.
-
Si vous devezmettre au rebut un pretendeur de ceinture de sécurité ou envoyer le vehicule à la ferraille, adressez-vous à un concessionnaire NISSAN. Les méthodes correctes de mise au rebut d'un pretendeur de ceinture de sécurité sont indiquées dans le manuel de réparation NISSAN approprié. Une méthode incorrecte de mise au rebut peut entraîner de graves blessures.
Les ceintures de sécurité à prétenueur des sièges avant s'activent en même temps que les coussins et rideaux gonflables. Utilisées conjointement avec l'enrouleur, elles se tendent lorsque le vehicule subit certains types de collisions, aidant ainsi à retenir les passagers des sièges avant.
Le pretendeur est intégré au boitier de l'enrouleur de la ceinture de sécurité. Ces ceintures de sécurité sont utilisées de la même façon que les ceintures conventionnelles.
Lorsque la ceinture de sécurité à préteneur se déclenché, de la fumée est produit et un bruit puissant peut se faire entendre. Cette fumée n'est pas nocive et n'indique pas la présence d'un incendie. Il est cependant recommendé d'éviter de l'inhaler, car elle peut cause une irritation de la gorge et une sensation d'étouffement. Les personnes qui souffrent de
problèmes respiratoires doivent respirer de l'air frais aussiôt que possible.
Lorsque la clé de contact est tournée à la position ON (marche) ou START (démarriage), le témoin du coussin gonflable clignote par intermittence si une anomalie est détectée dans le système des pretendeurs. Le cas échéant, les ceintures de sécurité à pretendeur ne fonctionneront pas correctement. Elles doivent être vérifiées et réparées au besoin. le concessionnaire NISSAN le plus proche.
Si vous revendez votre vehicule, nous vous demandons d'informer l'acheteur de la presence des ceintures de sécurité à prétenueur et de lui indiquer les chapitres s'y rapportant dans le present Manuel du conducteur.

COMMUTATEUR MARCHE/ARRÉT ET TÉMOIN DU COUSSIN
GONFLABLE CÔTE PASSAGER (sauf pour les modèles à cabine double)

AVERTISSEMENT
Les coussins gonflables et les ceintures de sécurité sont concus pour fonctionner en complémentarité. Ne mettez pas le coussin gonflable hors fonction, sauf si vous répondez aux critères de neutralisation du coussin gonflable exigés en vertu des normes fédérales. La mise hors fonction du coussin gonflable augmente les risques de blessures graves ou mortelles en cas de collision au cours de laquelle le coussin gonflable se serait normalement déployé.
Dans de très rares cas, des passagers risquent de subir des blessures graves causées par les coussins gonflables qui se déploient, et plus particulièrement s'ils ne sont pas correctement attachés. Les gouvernements américain et canadien identifient un nombre limite de circonstances dans lesquelles un coussin gonflable pourrait réduire la sécurité. Dès lors, il est permitted d'installer un commutateur marche/arrêt du coussin gonflable côte passager dans les modé
les de vehicules sans siège arrière de taille normale. Cependant, étant donné que les coussins gonflablesprésentent de grands avantages, leur désactivation, dans la plupart des cas, est contre-indiquée, à moins que des critères gouvernementaux spéciaux ne s'appliquent à cet effet.
Le commutateur de neutralisation du coussin gonflable cote passager estitué sous les commandes de climatisation. Il est utilisé pour désactiver le coussin gonflable cote passager.
Le commutateur marche/arrêt doit être utilisé UNIQUEMENT pour désactiver le coussin gonflable selon les critères gouvernementaux suivants:
- les jeunes enfants (de moins d'un an) maintainus dans des dispositifs de retenue orientés vers l'arrière DOIVENT se trouver sur le siège du passager avant;
- les enfants âgés d'un à douze ans DOIVENT voyager sur le siège du passager avant;
Le passager souffre d'une condition medicale qui, selon un medecin, fait que le coussin gonflable presente un risque particulier au point que les blessures possibles causées par le coussin gonflable sont plus graves que cette potentiellement causées suite à la désactivation du coussin gonflable.
Les ceintures de sécurité et les dispositifs de retenue pour enfants doivent toujours être utilisés correctement. Consultez les rubriques « Précautions concernant l'utilisation des ceintures de sécurité » et « Dispositifs de retenue pour enfants » plus loin dans leprésent chapitre pour obtenir des détails.
Pour désactiver le coussin gonflable côté passagér, insérez la clé de contact dans le commutateur marche/arrêt du coussin gonflable côté passager et tournez le commutateur dans le sens des aiguilles d'une montre jusqu'à la position OFF. Retirez ensuite la clé. Lorsque le contacteur d'allumage est tourné à la position ON (marche) ou START (démarriage), le témoin du coussin gonflable côté passager hors fonction s'allume pour indiquer que le coussin gonflable est désactivé. Pour activer le coussin gonflable côté passager, insérez la clé de contact dans le commutateur marche/arrêt du coussin gonflable côté passager et tournez le commutateur dans le sens inverse des aiguilles d'une montre jusqu'à la position ON. Retirez ensuite la clé. Lorsque le contacteur d'allumage est tourné à la position ON ou START, le témoin de neutralisation du coussin gonflable côté passager s'allume pendant sept secondes pour indiquer que le système fonctionne correctement, puis s'éteint pour indiquer que le coussin gonflable côté passager est fonctionnel.
- N'actionnez pas le commutateur marche/arrêt du coussin gonflable côté passagerpendant quelecontactestmis.
- Tournez le commutateur marche/arrêt du coussin gonflable côte passager complètement vers la position ON ou OFF.
- Retirez toujours la clé de contact après l'avoir utilisé dans le commutateur marche/arrêt du coussin gonflable côté passager.
- Le témoin du coussin gonflable côté passag-ger hors fonction doit s'allumer pendant sept secondes lorsque le contacteur d'allumage est tourné à la position ON ou START. Si ce n'est pas le cas, le vehicule doit être inspecté par un concessionnaire NISSAN.
Les points 2 et 3 ci-dessus visent particulièrement à éviter une utilisation incorrecte de la clé de contact.
Lorsque le commutateur est mis à la position ON, le coussin gonflable côté passager est fonctionnel et peut se déployer en cas de collision frontale. Lorsque le commutateur est mis à la position OFF, le coussin gonflable côté passager n'est pas fonctionnel et ne se déploiera pas en cas de collision frontale. Le témoin du coussin gonflable côté passager hors fonction s'allume au tableau de bord lorsque le commutateur marche/arrêt du
coussin gonflable côté passager est mis à la position OFF. Le coussin gonflable côté conduc-. teur resté toujours fonctionnel et son déploiement n'est en aucun cas compromis par le commutateur marche/arrêt du coussin gonflable côté passager.
Le témoin du coussin gonflable côté passager affiche la mention « OFF » au centre de la planche de bord pour indiquer la position du commutateur marche/arrêt du coussin gonflable côté passager. Lorsque le contacteur d'allumage est tourné à la position ON ou START, le témoin s'allume pendant sept secondes environ, puis s'éteint si le commutateur marche/arrêt du coussin gonflable est à la position ON, ou reste allumé si le commutateur marche/arrêt du coussin gonflable côté passager est à la position OFF.
AVERAGEMENT
- Ne mettez pas le coussin gonflable hors fonction, sauf si vous répondez aux critères de neutralisation du coussin gonflable exigés en vertu des normes fédérales décrites précédemment. Ce vehicule (sauf s'il s'agit d'une version à cabine double) est équipé de ceintures de sécurité dotées d'un dispositif « limiteur d'effort ». Les ceintures de sécurité sont conçues pour fonctionner en complémentarité avec les coussins gonflables afin de réduire les risques de blessures en cas de collision. Elles sont également conçues pour détendre davantage la sangle de la ceinture lors de certaines collisions afin de réduire la force exercée sur la poitrine de l'occupant au moment de l'impact. Si une collision survient alors que le coussin gonflable est désactivié, la ceinture de sécurité pourrait permettre un mouvement longitudinal du corps de l'occupant suffisant pour que ce dernier subisse des blessures graves ou mortelles.
Assurez-vous que le commutateur marche/arrêt du coussin gonflable côté passager est activé, sauf si le siege est occupé par un dispositif de retenue pour enfant orienté vers l'arrière, un enfant de moins de douze ans ou un passager souffrant d'un problème Médical qui, selon l'avis d'un medecin, implique des risques de blessures en cas de déploiement du coussin gonflable (criteres du gouvernement fédéral). Si le commutateur est désactiver, le coussin gonflable ne se déployera pas tel qu'il est concu pour le faire en cas de collision, ce qui priverait le passager de la protection supplémentaire fournie par le coussin gonflable.
Assurez-vous de désactiver le coussin gonflable du passager avant si vous installez un dispositif de retenue pour infant orienté vers l'arrière sur le siège avant. S'il n'est pas désactivé, le coussin gonflable peut se déployer en cas d'accident. La puissance et la rapidité de déploiation du coussin peuvent cause des blessures graves, voire mortelles, à un infant assis dans le dispositif de retenue. Le déploiation d'un coussin gonflable présente également un risque de blessures aux enfants de 1 à 12 ans et aux personnes souffrant de conditions Médicales particulières.
- Si le témoin des coussins gonflables,itué sur le tableau de bord à côté de l'indicateur de vitesse, s'allume en même temps que le témoin de désactivation du coussin gonflable côté passager, cela peut indiquer un problème dans le dispositif du coussin gonflable. Les bébés, les enfants de moins de douze ans ou les personnes souffrant de conditions Médicales spéciales ne doivent pas s'asseoir sur le siège du passager avant tant que le dispositif du coussin gonflable n'a pas fait l'objet d'une vérification par votre concessionnaire NISSAN.

ÉTIQUETTES D'AVERTISSEMENT CONCERNANT LES COUSSINS GONFLABLES
Les étiquettes d'advertisement concernant les coussins gonflables avant sont placées dans le vehicule aux endroits illustrés.

TÉMOIN DU COUSSIN GONFLABLE
Le témoin de coussin gonflable, identifié par le pictogramme sur la planche de bord, sur-veille les circuits des dispositifs de coussins gonflables et de ceintures de sécurité à prétendeur. Les circuits contrôlés par le témoin des coussins gonflables sont ceux du module de détention et diagnostic, des capteurs de chic, des modules des coussins gonflables, des prétendeurs de ceintures de sécurité et des faisceaux de câblage connexes.
Lorsque la clé de contact est tournée à la position ON (marche) ou START (démarriage), le tímein du coussin gonflable s'allume pendant environ
sept secondes puis s'eteint. Ceci indique que le dispositif est opérationnel.
Les dispositifs de coussins gonflables et de ceintures de sécurité à prétendeur doivent être répârés si l'une des situations suivantes se produit :
- le témoin du coussin gonflable reste allumé après la période initiale d'environ sept secondes;
- le témoin du coussin gonflable clignote par intermittence;
- le témoin du coussin gonflable ne s'allume pas du tout.
Dans ces conditions, il est possible que le dispositif de protection complémentaire (coussins gonflables avant et ceintures de sécurité à prétendeur) ne fonctionne pas correctement. Faites vérifier et réparer ces dispositifs au besoin en vous rendant chez le concessionnaire NISSAN le plus proche.
AVERAGEMENT
L'activation du témoin des coussins gonflables peut indiquer que les coussins gonflables avant ou les ceintures de sécurité à prétenduer ne fonctionneront pas en cas d'accident.
Méthode de réparation et de remplacement
Les coussins gonflables avant et les ceintures de sécurité à pretendeur sont concus pour n'être activés qu'une seule fois. En guise de rappel, à moins qu'il ne soit endommagé, le témoin du coussin gonflable reste allumé après l'activation de l'un ou l'autre de ces systèmes. La réparation et le remplacement d'un des éléments du dispositif de protection complémentaire ne doivent être confiés qu'à un concessionnaire NISSAN.
Assurez-vous que toute personne chargee d'effectuer un entretien sur le vehicule est informee de la presence de coussins gonflables avant, de ceintures de sécurité a pretender et des pioces connexes a ces dispositifs. La clé de contact doit alwaysetre gardée a la position LOCK (verrouillage) lors de toute intervention effectue dans le compartment moteur ou dans l'habitacle.
A VERTISSEMENT
-
Une fois qu'un coussin gonflable avant s'est déployé, le module de coussin gonflable ne fonctionne plus et doit être remplaced. Si l'un des coussins gonflables avant se déploie, les ceintures de sécurité à prétendeur doivent également être remplacées. Le module du coussin gonflable et le dispositif des ceintures de sécurité à prétendeur qui ont été activées doivent être remplacés par un concessionnaire NISSAN. Le module du coussin gonflable et le dispositif des ceintures de sécurité à prétendeur ne sont pas réparables.
-
En cas de dommages à la partie avant du vehicule, les coussins gonflables avant et les ceintures de sécurité à prétendeur doivent être inspectés par un concessionnaire NISSAN.
CEINTURES DE SECURITE
- Si vous doivent acceder un coussin gonflable, un pretendeur de ceinture de sécurité ou envoyer le vehicule à la ferraille, adressez-vous à un concessionnaire NISSAN. Les méthodes correctes de mise au rebut d'un coussin gonflable et d'un pretendeur de ceinture de sécurité sont indiquées dans le manuel de réparation NISSAN approprié. Une méthode incorrecte de mise au rebut peut entraîner de graves blessures.

S'asseoir droit et bien au fond du siege.

Le port de la ceinture de sécurité pendant la conduite est obligatoire presque partout au Canada et aux États-Unis.
PRECAUTIONS CONCERNANT L'UTILISATION DES CEINTURES DE SECURITE
Les probabilités de blessures ou de mort en cas d'accident et la séverité des blessures peuvent être considérablement réduites lorsque vous étés bien positionné et bien adossé au dossier de siège, et que votre ceinture de sécurité est correctement ajustée. NISSAN conseille vivement à tous les occupants du vehicule de boucler leur ceinture de sécurité en tout temps pendant la conduite, même si la place qu'ils occupent est équipée d'un coussin gonflable.

A VERTISSEMENT
- Tous les occupants du vehicule doivent toujours boucler leur ceinture de sécurité. Àpres avoir pris place sur la banque arrière (modèles à cabine double), les enfants doivent être correctement attachés et, si nécessaire, installés dans un dispositif de retenue pour infant.

AVERAGEMENT
- La ceinture de sécurité doit être serrée correctement. Le fait de ne pas respecter cette consigne peut réduire l'efficacité de tout le dispositif de protection et accroître les risques de blessures et la gravité de celles-ci en cas d'accident. Le port incorrect d'une ceinture de sécurité peut entrainer des blessures graves voire mortelles.

A VERTISSEMENT
-
Faites toujours passer le baudrier sur votre épaulé et en travers de votre poitrine. Ne faites jamais passer la ceinture de sécurité derrière votre dos, sous votre bras ou sur votre cou. La ceinture de sécurité ne doit pas reposer sur votre visage ni sur votre cou et elle ne doit pas tomber de leur épaulé.
-
Placez la ceinture sous-abdominale aussi bas et aussi serrer que possible AUTOUR DES HANCHES, ET NON AU NIVEAU DE LA TAILLE. Une ceinture sous-abdominale placée trop haut peut augmenter les risques de blessures internes en cas d'accident.
Assurez-vous que la languette de la ceinture de sécurité est solidement attachée à la boucle appropriée. - Ne portez pas une ceinture de sécurité bouclée à l'envers ou dont la sangle estvrillée car elle ne pourrait pas vous protégérer aussi efficacement.
- Ne permette pas à plus d'une personne de s'attacher à la même ceinture de sécurité.
- Le nombre de passagers à bord du vehicule ne doit jamais dépasser le nombre de ceintures de sécurité.
-
Une fois que la ceinture de sécurité à pretendeur a été activée, elle ne peut pas être réutilisée et doit être replacée, dans son ensemble, avec l'enrouleur. Consultez votre concessionnaire NISSAN.
-
Ne laïsez jamais personne prendre place dans l'aire de chargement ni dans une cellule de camping ou tout autre type de caisse amovible pour aire de chargement. Ces espaces ne sont pas équipés de ceintures de sécurité et ne sont pas concus pour recevoir des passagers. En cas d'arrêt brusque ou de collision, les personnes s'y trouvant pourrait être blessées.
- Si le témoin des ceintures de sécurité reste allumé alors que le moteur tourne, que toutes les portes sont fermées et que toutes les ceintures de sécurité sont bouclées, il est possible que le circuit soit défectueux. Faites-le vérifier par un concessionnaire NISSAN.
-
Le retrait et l'installation des composants du dispositif des ceintures de sécurité à prétenduur doivent être effectués par un concessionnaire NISSAN.
-
Àprouse une collision, toutes les ceintures de sécurité, y compris les enrouleurs et le matériel de fixation, doivent être inspectées par un concessionnaire NISSAN. NISSAN recommande de replacer toutes les ceintures de sécurité qui étaient en service au moment d'une collision, à moins que celle-ci n'ait été mineure, que les ceintures n'aient subi notamment dommage apparent et quelles fonctionnent encore correctement. Les ceintures de sécurité inutilisées au moment d'une collision doivent également être inspectées et replacées si des dommages ou un mauvais fonctionnement ont été décelés.
- Tous les dispositifs de retenue pour enfant et le matériel de fixation doivent être inspectés après une collision. Respectez toujours les directives d'inspection et de remplacement fournies par le fabricant du dispositif de retenue pour enfant que vous utilisez dans votre vehicule. Le dispositif de retenue pour enfant doit être replacé s'il est endommagé.
SECURITE DES ENFANTS
La contribution des adultes est nécessaire à la protection des enfants. Ceux-ci doivent être retenus ajustement.
Le dispositif de retenue adequat varie en fonction de la taille de l'enfant. En règle générale, les bébés âgés d'un an ou moins environ et pesant moins de 9 kg (20 lb) doivent être placés dans un dispositif de retenue pour infant orienté vers l'arrière. Des dispositifs de retenue pour infant orientés vers l'avant sont disponibles pour les enfants qui sont trop grands pour les dispositifs orientés vers l'arrière.

AVERTISSEMENT
- Sur les vehicules équipés d'un commutateur marche/arrêt de coussin gonflable côté passager, assurez-vous de désactiver le coussin gonflable du passager avant si vous installez un dispositif de retenue pour enfant orienté vers l'arrière sur le siège avant. S'il n'est pas désactivé, le coussin gonflable peut se déployer en cas d'accident. La puissance et la rapidité de déploiement du coussin peuvent causeurs des blessures graves, voire mortelles, à un enfant assis dans le dispositif de retenue. Consultez la rubrique « Commutateur marche/arrêt et témoin du coussin gonflable du passager » plus haut dans ce chapitre.
-
N'installez jamais de dispositif de retenue pour enfant orienté vers l'arrière sur le siège du passager avant d'un modulo à cabine double. Notre enfant pourrait être blessé grièvement ou mortellement lors du déploiement du cousin gonflable. Les dispositifs de retenue pour enfant orientés vers l'arrière ne doivent être installées que sur le siège arrière.
-
N'installez pas de dispositif de retenue pour enfant sur les strapontins (versions King Cab). Ces sièges ne sont pas conçus pour l'installation de tels dispositifs.
- Les bébés et les enfants requirement une protection particulière. Les ceintures de sécurité du vehicule peuvent ne pas s'adapter correctement à leur petite taille. Le baudrier peut passer trop pres de leur visage ou de leur cou. La ceinture sous-abdominale peut ne pas s'adapter à leurs hanches. En cas d'accident, une ceinture de sécurité mal ajustée peut être la cause de blessures graves ou mortelles. Utilisez toujours des dispositifs de retenue pour infant appropriés.
L'utilisation de dispositifs de retenue homologues est obligatoire pour les bébés et les jeunes enfants, et ce, dans toutes les provinces ou territoires au Canada et dans tous les États américain. Reportez-vous à la rubrique « Dispositifs de retenue pour enfant » plus loin dans ce chapitre.
De plus, un des nombreux types de dispositifs de retenue concus pour des enfants plus grands doit être utilisé pour une protection maximale.
NISSAN recommande, dans la mesure du possible, de faire asseoir tous les enfants de moins de douze ans sur un siège arrière muni d'une ceinture de sécurité (modèles à cabine double seulement). Selon les statistiques sur les accidents, les enfants sont plus en sécurité s'ils sont correctement retenus sur un siège arrière que sur le siège avant. Cette consigne est particulièrement importante, du fait que votre vehicule est équipé d'un dispositif de protection complémentaire (coussins gonflables) pour le siège du passager avant. Reportez-vous à la rubrique « Dispositif de protection complémentaire » plus haut dans ce chapitre. Consultez également la rubrique « Commutateur marche/arrêt et témoin du coussin gonflable côté passager » plus haut dans ce chapitre.
Bébes et jeunes enfants
NISSAN recommende d'installer les bébés et les jeunes enfants dans un dispositif de retenue pour enfant conforme aux normes de sécurité des vehicules automobiles canadiens (au Canada) ou aux normes du Federal Motor Vehicle Safety Standards (aux États-Unis). Choisissez un dispositif de retenue pour enfant adapté à votre vehicule et suivez toujours les directives du fabri-cant concernant son installation et son utilisation.
Enfants plus âgés
Les enfants qui sont trop grands pour prendre place dans un dispositif de retenue pour enfant doivent etreassis sur le siege et retenus par les ceintures de sécurité du vehicule.
Si le baudrier du siècle sur lequel l'enfant prend place passé sur son visage ou son cou, l'utilisation d'un rehausseur (disponible sur le marché) peut remédier à cette situation. Le rehausseur doit élever l'enfant de sorte que le baudrier repose au centre de l'épaule. La ceinture sous-abdominale doit être placee bas sur les hanches. Le rehausseur doit etre adapté au siège du vehicule et porter une etiquette certifiant son homologation aux normes de sécurité des vehicules automobiles canadiens (au Canada) ou aux normes du Federal Motor Vehicle Safety Standards (aux États-Unis). Lorsque l'enfant a grandi et que le baudrier ne passse plus sur ou pres de son visage et son cou, l'utilisation du rehausseur n'est plus nécessaire.
A VERTISSEMENT
Ne laïsez jamais les enfants voyager debout ou à genoux sur un siège, et ne leur permettez jamais l'accès à l'aire de chargement lorsque le vehicule est en mouvement. En cas d'accident ou d'arrêt brusque, les enfants pouraient subir des blessures graves et même mortelles.
FEMMES ENCEINTES
NISSAN recommende aux femmes enceintes de porter leur ceinture de sécurité. Ajustez bien toute ceinture de sécurité et voirlez à ce que la portion sous-abdominale soit placee aussi bas que possible sur vos hanches, et non sur notre taille. Placez le baudrier sur votre epaule et en travers de cette poitrine. Ne faites jamais passer la ceinture a trois points sur votre abdomen. Toute autre recommendation particuliere peut vous etre fournie par�que medecin.
PERSONNES BLESSEES
NISSAN recommende aux personnes blessées de porter leur ceinture de sécurité. Veuillez consultier votre médecin pour toute autre Recommendation particulière.
CEINTURE DE SECURITE A TROIS POINTS AVEC ENROLLEUR
AVERAGEMENT
- Tous les occupants du vehicule doivent toujours boucler leur ceinture de sécurité.
- Ne prenez pas place dans un vehicule si le dossier de votre siège est incliné. Ceci peut s'avérer très dangereux. Dans cette position, le baudrier de la ceinture de sécurité n'est pas appuyé contre votre corps. En cas d'accident, vous pourriez être projeté contre le baudrier et subir des blessures graves au cou ou à une autre partie de votre corps. Vous pourriez également glisser sous la ceinture sous-abdominale et subir des blessures internes graves.
- Lorsque le vehicule roule, le dossier de votre siège devrait être en position verticale, de façon à vous offrir la(Meilleure) protection possible. Asseyez-vous tousjours au fond du siège et voirlez a ce que votre ceinture de sécurité soit bien ajustée.

Siège avant à réglage manuel illustré Bouclage des ceintures de sécurité
① Réglez le siège. Consultez la rubrique « Sièges » plus haut dans ce chapitre.

② Tirez lentement la ceinture de sécurité hors de l'enrouleur et insérez la languette dans la boucle jusqu'à ce que vous entendiez un déclic et que vous sentiez la languette se verrouiller.
L'enrouleur est concu pour se bloquer en cas de freinage brusque ou de collision. Si elle est tirée lentement, la ceinture de sécurité peut etre déroulée et procurer une certaine liberté de mouvement lorsque vous etes assis sur le siège.

③ Placez la ceinture sous-abdominale bas sur les hanches et bien ajustée, tel qu'illustré.
④ Ramenez le baudrier vers l'enrouleur pour éliminer le jeu de la ceinture. Assurez-vous que le baudrier passse sur votre épaulé et sur votre poitrine.
La ceinture de sécurité du passager avant et les ceintures de sécurité à trois points arrrière (modèles à cabine double seulement) sont équipées d'un mécanisme de verrouillage pour l'installation d'un dispositif de retenue pour infant. Ce mécanisme est appelé « mode de blocage automatique »
Lorsque le mode de blocage automatique est activé, la ceinture de sécurité ne peut plus être tirée, à moins que la languette de la ceinture de sécurité ne soit détachée de la boucle et que la ceinture ne soit complètement rétractée. Une fois rétractée, la ceinture de sécurité revient au mode de blocage d'urgence. Pour de plus amples renseignements, reportez-vous à la rubrique « Dispositifs de retenue pour infant » plus loin dans ce chapitre.
Le mode de blocage automatique ne doit être utilisé que pour l'installation d'un dispositif de retenue pour enfant. Lors de l'utilisation normale de la ceinture de sécurité par un passager, le mode de blocage automatique ne doit pas être activé. Dans le cas contraire, la tension de la ceinture de sécurité pourrait être inoffordable pour le passager qui la porte.

AVERTISSEMENT
Les dossiers de siège doivent être complètement verrouillés lorsque les occu-pants du vehicule attachent leur ceinture. Ceux-ci pourraient etre blesses en cas d'accident ou d'arrêt soudain.

WRS0139
Débouclage des ceintures de sécurité
① Pour déboucler la ceinture de sécurité, appuyez sur le bouton de la boucle. La ceinture de sécurité se rétracte automatiquement.
Vérification du fonctionnement des ceintures de sécurité
Les enrouleurs des ceintures de sécurité sont concus pour bloquer la ceinture de sécurité dans les deux cas suivants :
- lorsque la ceinture de sécurité est tirée rapi-dement hors de l'enrouleur;
- lorsque le vehicule ralentit brusquement.
Pour vous assurer du bon fonctionnement des ceintures de sécurité, vérifie-les de la façon suivante.
- Saisissez le baudrier et tirez-le rapidement vers l'avant. L'enrouleur doit se verrouiller et bloquer la ceinture de sécurité.
Si l'enrouleur ne se verrouille pas durant cette verification ou si vous avez des questions au sujet du fonctionnement des ceintures de sécurité, adressez-vous à un concessionnaire NISSAN.

Réglage de la hauteur du baudrier (pour les sièges avant)
La hauteur de l'ancrage du baudrier doit être réglée à la position convenant le mieux à la talle de l'occupant du siècle. (Reportez-vous à la rubrique « Précautions concernant l'utilisation des ceintures de sécurité » figurant plus haut dans ce chapitre. Pour procéder au réglage, tirez le bouton de réglage ① et déplacez l'ancrage du baudrier jusqu'à la position désirée ②, de façon à ce que la sangle passée au centre de l'épaule. La ceinture de sécurité ne doit pas reposer sur votre visage ni sur votre cou et elle ne doit pas tomber de votre épaule. Relâchez le bouton de réglage pour verrouiller l'ancrage du baudrier en place.

AVERTISSEMENT
- Àprous le réglage,relâchez le bouton de réglage et essayez de déplacer l'ancrage du baudrier vers le haut et vers le bas pour vous assurer qu'il est bien bloqué.
- La hauteur de l'ancrage du baudrier doit être réglée à la position qui vous convient le mistroux. Le fait de ne pas respecter cette consigne peut réduire l'efficacité de tout le dispositif de protection et accroître les risques de blessures et la gravité de celles-ci en cas d'accident.

- Vous pourriez subir des blessures graves voire mortelles.
CEINTURE DE SECURITE À DEUX POINTS SANS ENROULEUR
(strapontin des modèles King Cab et au centre de la banquette arrière des modèles à cabine double)

AVERTISSEMENT
- N'installez pas de dispositif de retenue pour enfant sur les strapontins (versions King Cab). Ces sièges ne sont pas concus pour l'installation de tels dispositifs.

Bouclage des ceintures
- Insérez la languette dans la boucle jusqu'à ce que vous entendiez et dessentiez son enclenchement.

- Serrez la ceinture en tirant la portion libre de la ceinture à l'écart de la languette.

- Placez la ceinture sous-abdominale bas sur les hanches et bien ajustee, tel qu'illustré.

4. Desserrez la ceinture en maintainant la langueue en angle droit par rapport à la ceinture, puis en tirant sur la ceinture.

Débouclage des ceintures de sécurité
Pour déboucler une ceinture de sécurité, appuyez sur le bouton de la boucle.
RALLONGES DE CEINTURE DE SÉCURITÉ
Si la corpulence de la personne ou si la position de conduite rendent le port normal de la ceinture de sécurité impossible, une rallonge de ceinture de sécurité peut être utilisée. La rallonge de ceinture de sécurité allunge la ceinture d'environ 20~cm (8 po) et peutetreutiliséeaussibien par le conducteur que par le passager avant. Si vous
avez besoin d'une rallonge de ceinture de secu-rité, adressez-vous à un concessionnaire NISSAN.

AVERTISSEMENT
- Seules les rallonges de ceintures de sécurité NISSAN, fabriquées par la même compétie qui a concu les ceintures de sécurité d'origine, doivent être utilisées sur les ceintures de sécurité NISSAN.
- Les adultes et les enfants qui peuvent utiliser la ceinture de sécurité standard ne doivent pas utiliser de rallonge car son'utilisation superflue pourrait entraîner des blessures graves en cas d'accident.
- N'utilisez jamais de rallonge de ceinture de sécurité pour installer un dispositif de retenue pour enfant. Si le dispositif n'est pas correctement attaché, l'enfant pourrait être blessé grièvement en cas de collision ou d'arrêt brusque.
DISPOSITIONS DE RETENUE POUR ENFANT
ENTRETIEN DES CEINTURES DE SECURITE
- Pour nettoyer les sangles des ceintures de sécurité, utilisez une solution de savoir deux ou toute solution recommende pour le nettoyage des revêtements de siège ou des carpettes. Essuyez-les ensuite avec un chiffon et laïsez-les secher à l'ombre. Ne laïsez pas les ceintures de sécurité re-tracter avant qu'elle soient complètement séches.
- Si de la saleté s'accumule dans le guide du baudrier des ancrages de ceinture de sécurité, celle-ci pourrait se rétracter plus lentement. Essuyez le guide du baudrier avec un chiffon propre et sec.
- Vérifiez régulièrement le bon fonctionnement des ceintures de sécurité et des pièces métalliques, telles que les bouches, les languettes, les enrouleurs, les cables flexibles et les ancrages. Si vous constaté la présence de pièces desserrées ou de sangles usées, entailles ou autrement endommagées, vous nevez procéder au remplacement complet de l'ensemble de ceinture de sécurité.

ARS1098
PRECAUTIONS CONCERNANT LES DISPOSITIFS DE RETENUE POUR ENFANT
A VERTISSEMENT
- Les bébés et les jeunes enfants doivent toujours être assist dans un dispositif de retenue pour infant ajustat lors de trajets en voiture. Un enfant qui n'est pas correctement installé dans un dispositif de retenue peut être blessé grièvement ou être tué.

WRS0256
AVERAGEMENT
-
Ne voyagez jamais avec un bébé ou un jeune enfant sur les genoux. Meme l'adulte le plus fort n'est pas en mesure de lutter contre les forces en jeu lors d'un impact sérieux. L'enfant pourrait être écrasé entre l'adulte et les parois interieures du vehicule. N'utilise jamais la même ceinture de sécurité pour vous-même et votre enfant.
-
N'installez jamais de dispositif de retenue pour enfant orienté vers l'arrière sur le siège du passager avant d'un modulo à cabine double. Notre enfant pourrait être blessé grièvement ou mortellement lors du déploiement du cousin gonflable. Les dispositifs de retenue pour enfant orientés vers l'arrière ne doivent être installées que sur le siège arrière.
- N'installez jamais de dispositif de retenue pour enfant orienté vers l'arrière sur le siège du passager avant d'un vehicule équipé d'un commutateur marche/arrêt de coussin gonflable, à moins d'avoir préalablement désactivé le coussin gonflable. L'impact d'un coussin gonflable qui se déploie peut infilger des blessures graves à votre enfant et même le tuer. Consultez la rubrique « Commutateur marche/arrêt et tímoin du coussin gonflable côté passager » figurant plus haut dans le present chapitre.
-
Un dispositif de retenue pour enfant mal installé peut entrainer de graves blessures ou la mort de l'enfant en cas d'accident.
-
NISSAN recommende que les disposits de retenue pour enfant soient installés sur le siège arrêté. Les statistiques démontré que les enfants sont plus en sécurité correctement retenus sur le siège arrêté que sur le siège avant.
En règle générale, les dispositifs de retenue pour enfant sont concus pour être installés au moyen de la ceinture sous-abdominale ou de la portion sous-abdominale de la ceinture de sécurité à trois points. De plus, ce vehicule est équipé d'un système d'ancrage inférieur universel pour disposits de retenue pour enfant, appelé « système LATCH » (points d'ancrage inférieurs et sangle d'ancrage pour siege d'enfant). Certains disposits de retenue pour enfant incluent deux fixations rigides ou montées sur une sangle qui peuvent être attachées à ces points d'ancrage inférieurs. Pour obtenir plus de détails à ce sujet, reportez-vous à la rubrique « Système LATCH (points d'ancrage inférieurs et sangle d'ancrage pour siege d'enfant) » plus loin dans ce chapitre.
Plusieurs fabricants offrent des dispositifs de retenue pour bébés et pour jeunes enfants de différentes tailles. Lorsque vous désisissez un dispositif de retenue pour enfant, il est essentiel de tener compte des points suivants :
ne choisissez qu'un dispositif de retenue pour enfant portant une etiquette certifiant son homologation à la norme de sécurité 213 des vehicules automobiles canadiens (au Canada) ou à la norme de sécurité 213 des Federal Motor Vehicle Safety Standards (aux États-Unis);
- vérifie que le dispositif de retenue pour enfant s'adapte correctement à votre vehicule et qu'il est compatible avec le siège et le système de ceinture de sécurité;
- si le dispositif de retenue pour enfant est compatible avec votre vehicule, placez votre enfant dans le dispositif et vérifiez-en les divers réglages pour vous assurer qu'il est bien adapté à la taille de votre enfant. Respectez toujours toutes les directives fournies.
L'utilisation de dispositifs de retenue homologues est obligatoire pour les bébés et les jeunes enfants, et ce, dans toutes les provinces et territoires du Canada ainsi que partout aux États-Unis.
A VERTISSEMENT
- N'installez pas de dispositif de retenue pour enfant sur les strapontins (versions King Cab). Ces sièges ne sont pas concus pour l'installation de tels dispositifs.
- Une mauvaise utilisation du dispositif de retenue pour enfant accroit les risques que l'enfant et les autres occupants du vehicule soient blessés, de même que la gravité des blessures subies.
- Respectez toutes les instructions fournies par le fabricant concernant l'installation et l'utilisation du dispositif de retenue pour infant. Lors de l'achat d'un tel dispositif, assurez-vous qu'il est adapté à votre infant et au vehicule. Il est possible que certains types de dispositif de retenue pour infant ne convennent pas à votre vehicule.
-
Si le dispositif de retenue pour enfant n'est pas fixé correctement, les risques que l'enfant soit blessé en cas d'accident ou d'arrêt brusque sont beaucoup plus élevés.
-
Les dossiers de siège doivent être régles pour s'adapter au dispositif de retenue pour infant dans une position la plus proche de la verticale.
- Àprouvá avoir fixé le dispositif de retenue pour enfant, vérifiez-le avant d'y asseoir un enfant. Inclinez-le d'un côté et de l'autre. Essayez de le tirer vers l'avant et assurez-vous que la ceinture de sécurité le maintient en place correctement. Le dispositif de retenue ne doit pas se déplacer de plus de 2,5 cm. S'il est mal fixé, desserrez la ceinture de sécurité au besoin, ou installez le dispositif sur un autre siège puis vérifiez-le de nouveau.
-
Si le dispositif de retenue pour enfant orienté vers l'avant est installé sur un siège équipé d'une ceinture de sécurité à trois points, assurez-vous que le baudrier ne passée pas sur le visage ou sur le cou de l'enfant. Si c'est le cas, faites passer le baudrier derrière le dispositif. Si vous devez installer un dispositif de retenue pour enfant orienté vers l'avant sur le siège avant, consultez la rubrique « Installation sur le siège du passager avant » plus loin dans leprésent chapitre.
-
Lorsqu'il n'est pas utilisé, assurez-vous que le dispositif de retenue pour infant installé dans votre vehicule est retenu par une ceinture de sécurité afin d'eviter qu'il soit projeté en cas d'arrêt soudain ou d'accident.
ATTENTION
Rappelez-vous qu'un dispositif de retenue pour enfant laissé dans un vehicule fermé peut devenir très chaud. Vérifiez la surface et les boucles du siège avant d'y déposer votre enfant.
INSTALLATION AU CENTRE DE LA BANQUETTE ARRÊIRE (modèles à cabine double seulement)

Dispositif de retenue à orienter vers l'avant - étape 1
Dispositif de retenue à orienter vers l'avant
Lorsque vous installez un dispositif de retenue pour enfant à la place centrale arrêté, suivez les étapes décrites ci-dessous :
- Placez le dispositif de retenue pour enfant sur le siege, tel qu'illustré. Respectez toujours toutes les directives fournies par le fabricant du dispositif.

Dispositif de retenue à orienter vers l'avant - étape 2
- Faites passer la languette de la ceinture de sécurité au travers du dispositif de retenue pour enfant et insérez-la dans la boucle jusqu'à ce que vous entendiez un déclic et que vous sentiez la languette se verrouiller.
Assurez-vous de suivre les directives du fabricant pour savoir comment faire passer la ceinture de sécurité derrière le dispositif de retenue.

Dispositif de retenue à orienter vers l'avant - étape 3
- Tirez fermement sur la commande de réglage de la ceinture sous-abdominale pour éliminer le mou et obtenir un ajustement serré.

Dispositif de retenue à orienter vers l'avant - étape 4
- Avant de placer l'enfant dans le dispositif, essayez de faire basculer ce dernier vers la droite et vers la gauche, puis tirez-le vers l'avant pour vous assurer qu'il est correctement fixé. Il ne doit pas se déplacer sur plus de 2,5 cm (1 po).
- Essayez de serrer la ceinture de nouveau ou déplacez le siège à une autre position s'il n'est pas fixé solidement.
- Assurez-vous que le dispositif est fixé soliderment chaque fois que vous prévoyez l'utiliser.

Dispositif de retenue à orienter vers l'arrête — étape 1
Dispositif de retenue à orienter vers l'arrière
Lorsque vous installez un dispositif de retenue pour enfant à la place centrale arrêté, suivez les étapes décrites ci-dessous :
- Placez le dispositif de retenue pour enfant sur le siege, tel qu'illustré. Respectez toujours toutes les directives fournies par le fabricant du dispositif.

Dispositif de retenue à orienter vers l'arrête — étape 2
- Faites passer la languette de la ceinture de sécurité au travers du dispositif de retenue pour enfant et insérez-la dans la boucle jusqu'à ce que vous entendiez un déclic et que vous sentiez la languette se verrouiller.
Assurez-vous de suivre les directives du fabricant pour savoir comment faire passer la ceinture de sécurité derrière le dispositif de retenue.

Dispositif de retenue à orienter vers l'arrête — étape 3
- Tirez fermement sur la commande de réglage de la ceinture sous-abdominale pour éliminer le mou et obtenir un ajustement serré.

Dispositif de retenue à orienter vers l'arrête — étape 4
-
Avant de placer l'enfant dans le dispositif, essayez de faire basculer ce dernier vers la droite et vers la gauche, puis tirez-le vers l'avant pour vous assurer qu'il est correctement fixé. Il ne doit pas se déplacer sur plus de 2,5 cm (1 po).
-
Essayez de serrer la ceinture de nouveau ou déplacez le siège à une autre position s'il n'est pas fixé solidement.
-
Assurez-vous que le dispositif est fixé soliderment chaque fois que vous prévoyez l'utiliser.
INSTALLATION AUX PLACES LATERALES DE LA BANQUETTE ARRÈRE (modèles à cabine double seulement)

AVERTISSEMENT
- La ceinture de sécurité à trois points de votre vehicule est équipée d'un enrouleur à mode de blocage que vous doivent utiliser lorsque vous installez un dispositif de retenue pour infant.
- Le dispositif de retenue pour enfant ne peut pas etre fixe solidement si le mode de blocage de I'enrouleur n'est pas utilise. Le dispositif de retenue risque de se renverser ou de se detacher en cas d'arrêt brusque ou d'accident, et l'enfant pourrait alors etre blessé.

Dispositif de retenue orienté vers l'avant - étape 1
Dispositif de retenue orienté vers l'avant
Lorsque vous installez un dispositif de retenue pour enfant aux positions extérieures du siège arrrière, suivez les étapes décrites ci-dessous :
- Placez le dispositif de retenue pour infant sur le siège. Respectez toujours toutes les directives fournies par le fabricant du dispositif.

Dispositif de retenue orienté vers l'avant — étape 2
- Faites passer la languette de la ceinture de sécurité au travers du dispositif de retenue pour enfant et insérez-la dans la boucle jusqu'à ce que vous entendiez un déclic et que vous sentiez la languette se verrouiller.
Assurez-vous de suivre les directives du fabricant pour savoir comment faire passer la ceinture de sécurité derrière le dispositif de retenue.

Dispositif de retenue orienté vers l'avant — étape 3
- Tirez sur le baudrier jusqu'à ce que la ceinture soit complètement sortie. L'enrouleur de la ceinture de sécurité passée alors en mode de blocage automatique (mode pour dispositif de retenue pour infant). Une fois la ceinture de sécurité complètement rétractée, elle returne au mode de blocage d'urgence.

Dispositif de retenue orienté vers l'avant — étape 4
- Laissez la ceinture de sécurité se rétractor. Tirez sur le baudrier pour éliminer tout jeu de la sangle.
Si nécessaire, tirez le baudrier à travers la languette de la ceinture de sécurité jusqu'à dépasser la couture de la ceinture pour vous assurer que le dispositif de retenue pour infant est solidement fixé.
Une fois que la ceinture de sécurité est totalement rétractée et que le dispositif de retenue est enlevé du siècle, la couture du baudrier peut être repassée par la languette de la ceinture de sécu
rìte. La couture place la languette de la ceinture de sécurité près du dessus du dossier de siège pour facilititer l'accès des passagers au siège arrêté.

Dispositif de retenue orienté vers l'avant — étape 5
- Avant de placer l'enfant dans le dispositif, essayez de faire basculer ce dernier vers la droite et vers la gauche, puis tirez-le vers l'avant pour vous assurer qu'il est correctement fixé. Il ne doit pas se déplacer sur plus de 2,5 cm (1 po).
-
Vérifiez que l'enrouleur est bien en mode de blocage automatique en essayant de tirer la ceinture de sécurité hors de l'enrouleur. Si vous ne pouvez tirer davantage de sangle hors de l'enrouleur, ce dernier est en mode de blocage automatique.
-
Assurez-vous que le dispositif est fixé solidement chaque fois que vous prévoyez l'utiliser. Si la ceinture n'est pas verrouillée, repêze les étapes 3 à 6.
Lorsque le dispositif de retenue pour enfant est retire du vehicule et que la ceinture de sécurité se rétracte complètement dans l'enrouleur, le mode de blocage automatique (mode pour dispositif de retenue pour enfant) est désactivé.

Dispositif de retenue orienté vers l'arrière - étape 1
Dispositif de retenue orienté vers l'arrière
Lorsque you installez un dispositif de retenue pour enfant aux positions extérieures du siège arrriere, suivez les etapes décrites ci-dessous :
- Placez le dispositif de retenue pour infant sur le siège. Respectez toujours toutes les directives fournies par le fabricant du dispositif.

Dispositif de retenue orienté vers l'arrière - étape 2
- Faites passer la languette de la ceinture de sécurité dans le dispositif de retenue pour enfant et inserez-la dans la boucle jusqu'à ce que vous entendiez un déclic et que vous sentiez la languette se verrouiller.
Assurez-vous de suivre les directives du fabricant pour savoir comment faire passer la ceinture de sécurité derrière le dispositif de retenue.

Dispositif de retenue orienté vers l'arrière - étape 3
- Tirez sur le baudrier jusqu'à ce que la ceinture soit complètement sortie. L'enrouleur de la ceinture de sécurité passée alors en mode de blocage automatique (mode pour dispositif de retenue pour enfant). Une fois la ceinture de sécurité complètement rétractée, elle returne au mode de blocage d'urgence.

Dispositif de retenue orienté vers l'arrière - étape 4
- Laissez la ceinture de sécurité se rétractor. Tirez sur le baudrier pour éliminer tout jeu de la sangle.
Si nécessaire, tirez le baudrier par la languette de la ceinture de sécurité qui se trouve derrière la couture de la ceinture pour vous assurer que le dispositif de retenue pour infant est solidement fixé.
Une fois que la ceinture de sécurité est totalement rétractée et que le dispositif de retenue est enlevé du siècle, la couture du baudrier peut être retiree par la languette de la ceinture de sécurité.
La couture place la languette de la ceinture de sécurité près du dessus du dossier de siège pour faciliter l'accès des passagers au siège arrêté.

Dispositif de retenue orienté vers l'arrière - étape 5
- Avant de placer l'enfant dans le dispositif, essayez de faire basculer ce dernier vers la droite et vers la gauche, puis tirez-le vers l'avant pour vous assurer qu'il est correctement fixé. Il ne doit pas se déplacer sur plus de 2,5 cm (1 po).
-
Vérifiez que l'enrouleur est bien en mode de blocage automatique en essayant de tirer la ceinture de sécurité hors de l'enrouleur. Si vous ne pouvez tirer davantage de sangle hors de l'enrouleur, ce dernier est en mode de blocage automatique.
-
Assurez-vous que le dispositif est fixé solidement chaque fois que vous prévoyez l'utiliser. Si la ceinture n'est pas verrouillée, repêze les étapes 3 à 6.
Lorsque le dispositif de retenue pour enfant est rétré du vehicule et que la ceinture de sécurité se rétracte complètement dans l'enrouleur, le mode de blocage automatique (mode pour dispositif de retenue pour enfant) est désactivé.

Siège du passager - modèle King Cab

Banquette arrriere - version à cabine double
SYSTÉME LATCH (points d'ancrage inférieurs et sangle d'ancrage pour siège d'enfant)

AVERTISSEMENT
- N'attachez les dispositifs de retenue pour enfant compatibles avec le système de points d'ancrage inférieurs pour sièges d'enfant (LATCH) qu'aux emplacements indiqués. Si un dispositif de retenue pour enfant n'est pas fixé correctement, votre enfant pourrait être sérieusement blessé, voire tué en cas d'accident.
- Ne fixez pas un dispositif de retenue pour enfant au centre de la banquette arrrière (modèles à cabine double) en utilisant les points d'ancrage inférieurs pour siège d'enfant (LATCH). Le dispositif de retenue pour enfant n'y serait pas fixé ajustement.
-
Observe toutes les autres directives générées dans ce manuel concernant l'installation correcte des dispositifs de retenue pour infant et l'utilisation des commutateurs marche/arrêt des coussins gonflables (selon l'équipement du vehicule).
-
Le système de points d'ancrage inférieurs (LATCH) a été créé pour résister uniquement aux charges imposées par des dispositifs de retenue pour infant installés correctement. Les points d'ancrage inférieurs ne doivent enaucun cas être utilisés avec des ceintures de sécurité ou des baudriers pouradultes.
Certain disposittifs de retenue pour enfant in-. cluent deux fixations rigides ou montees sur une sangle qui peuvent etre attachees a deux points d'ancrage inférieurs se trouvant a certaines places dans le vehicule. Ce systeme est connu sous le nom de système LATCH (points d'ancrage inférieurs et sangle d'ancrage pour siege d'enfant).Ce système est aussi designé sous les noms d'ISOFIX ou de système conforme à la norme ISOFIX.Grace a ce système, il n'est pas nécessaire d'utiliser une ceinture de sécurité du vehicule pour fixer le dispositif de retenue pour enfant.Votre vehicule est équipé de points d'ancrage spéciaux concus spécialement pour les dispositifs de retenue pour enfant compatibles avec le système LATCH. Verifiez si votre dispositif de retenue pour enfant compte une etiquette indiquant qu'il est compatible avec le système LATCH.Cette information peut aussi etre fournie dans le manuel accompagnant le dispositif de retenue pour enfant. Si vous possé
dez un tel dispositif de retenue pour enfant, reférez-vous à l'illustration pour connaître l'emplacement des points d'ancrage inférieurs aux positions de siege qui peuvent être utilisés pour fixer le dispositif.
Les ancrages du système LATCH sont situés derrière le coussin de siège, après du dossier du siège. Une étiquette indiquant la position des ancrages du système LATCH est apposée sur le dossier du siège.
Les dispositifs de retenue pour infant compatibles avec le système LATCH requirement en général l'utilisation d'une sangle d'ancrage supérieur. Reportez-vous à la rubrique « Dispositif de retenue pour infant avec sangle d'ancrage supérieur » plus loin dans ce chapitre pour connaître les directives d'installation.
Lorsque you installez un dispositif de retenue pour enfant, lisez et suivez les directives expliquées dans ce manuel, de même que celles fournies avec le dispositif de retenue pour enfant.
Lorsque vous fixez un dispositif de retenue pour enfant compatible avec le système LATCH aux points d'ancrage inférieurs, suivez les étapes décrites ci-après :
AVERAGEMENT
Inspectez les ancrages inférieurs en insérant vos doigs dans la zone de l'ancrage inférieur pour vous assurer que le système à points d'ancrage inférieurs (LATCH) n'est pas obstrué par une sangle de ceinture de sécurité ou par le matériel du coussin de siège. Le dispositif de retenue pour infant ne sera pas fixé solidement si les ancrages du système à points d'ancrage inférieurs sont obstrués.
-
Pour fixer le dispositif de retenue pour infant compatible avec le système LATCH, insérez les fixations du système LATCH du dispositif de retenue dans les points d'ancrage du siège. Si le dispositif est équipé d'une sangle d'ancrage supérieure, reportez-vous à la rubrique « Dispositif de retenue pour infant avec sangle d'ancrage supérieure » plus loin dans ce chapitre pour connaître les directives d'installation.
-
Avant de placer l'enfant dans le dispositif, essayez de faire basculer ce dernier vers la droite et vers la gauche, puis tirez-le vers l'avant pour vous assurer qu'il est correctement fixe. Il ne doit pas se déplacer sur plus de 2,5 cm (1 po).
-
Assurez-vous que le dispositif est fixé solidement chaque fois que vous prévoyez l'utiliser.

À trois points, avec enrouleur
- Crochets
- Support d'ancrage
- Sangle supérieure
DISPOSITIONIF DE RETENUE POUR ENFANT AVEC SANGLE D'ANCRAGE SUPERIEURE
Si vous disposif de retenue pour infant est equipope d'une sangle d'ancrage supérieure, elle doit etre fixe e au point d'ancrage fourni. Fixez le disposif de retenue pour infant au moyen de la ceinture de securite. Fixez solidement la sangle d'ancrage superieure au support d'ancrage qui
assure l'installation la plus droite possible de celle-ci. Resserrez la sangle, conformément aux directives du fabricant.
AVERAGEMENT
Les points d'ancrage pour dispositifs de retenue pour infant ne sont prevus que pour résister aux charges appliquées par des dispositifs de retenue pour infant correctement installés. En aucun cas ils ne doivent être utilisés avec les ceintures de sécurité ou les baudriers pouradultes.

Modèle King Cab
Emplacements des points d'ancrage
Les points d'ancrage sont situés sous la lunette arrrière. Les modèles King Cab n'ont qu'un seul point d'ancrage létal. Les modèles à cabine double sont dotées de trois points d'ancrage.
Si vous avez des questions concernant l'installation d'un dispositif de retenue pour enfant avec sangle d'ancrage supérieur sur le siège arrière, adressez-vous à votre concessionnaire NISSAN.

Modèle à cabine double

Des découvertes sont prévues dans le tapis pour un accès facile aux points d'ancrage et sont identifiées tel qu'illustré (modèles King Cab seulement).

INSTALLATION SUR LE SIÉGE DU PASSAGER AVANT
Dispositif de retenue orienté vers l'avant (ceinture de sécurité de type à trois points avec enrouleur)

AVERTISSEMENT
- Si le vehicule est équipé d'un coussin gonflable côte passager, le commutateur marche/arrêt du dispositif doit rester activé, à moins qu'un dispositif de retenue pour infant orienté vers l'arrière ne soit installé sur le siège avant. Si le commutateur est désactivié, le coussin gonflable ne se déploiera pas tel que prévu en cas d'accident.
-
NISSAN recommende que les disposits de retenue pour enfant soient installés sur le siege arrière (modeles à cabine double). Toutefois, si vous nevez absolument installer un dispositif de retenue pour enfant orienté vers l'avant sur le siege du passager avant, reculez le siege le plus loin possible vers l'arrière.
-
N'installez jamais de dispositif de retenue pour enfant orienté vers l'arrière sur le siège avant des modèles à cabine double. Installez le dispositif sur le siège arrière seulement. L'impact d'un coussin gonflable avant qui se déploie peut blesser grièvement et même tuer un enfant assis dans le dispositif de retenue.
- La ceinture de sécurité à trois points de votre vehicule est équipée d'un enrouleur à mode de blocage automatique que vous doivent utiliser lorsque vous installez un dispositif de retenue pour infant.
-
Le dispositif de retenue pour infant ne peut pas etre fixe solidement si le mode de blocage de I'enrouleur n'est pas utilise. Le dispositif de retenue risque de se renverser ou de se detacher en cas d'arrêt brusque ou d'accident, et l'enfant pourrait alors etre blessé.
-
Si le témoin des coussins gonflables,itué sur le tableau de bord à côté de l'indicateur de vitesse, s'allume en même temps que le témoin de désactivation du coussin gonflable côté passager, cela peut indiquer un problème dans le dispositif du coussin gonflable. N'utilise pas de dispositif de retenue pour enfant sur le siège du passager avant tant que le dispositif du coussin gonflable n'a pas fait l'objet d'une verification par votre concessionnaire NISSAN.

Dispositif de retenue orienté vers l'avant — étape 1
Si vous decide d'installer un dispositif de retenue pour enfant sur le siège avant, suivez les étapes décrites ci-dessous:
- Placez le dispositif de retenue pour enfant sur le siège du passager avant. Reculez le siège au maximum. Reglez l'appuie-tête à sa hauteur maximale. Respectez toujours toutes les directives fournies par le fabricant du dispositif.

Dispositif de retenue orienté vers l'avant — étape 2
- Faites passer la languette de la ceinture de sécurité au travers du dispositif de retenue pour enfant et insérez-la dans la boucle jusqu'à ce que vous entendiez un déclic et que vous sentiez la languette se verrouiller.
Assurez-vous de suivre les directives du fabricant pour savoir comment faire passer la ceinture de sécurité derrière le dispositif de retenue.

Dispositif de retenue orienté vers l'avant — étape 3
- Tirez sur le baudrier jusqu'à ce que la ceinture soit complètement sortie. L'enrouleur de la ceinture de sécurité passée alors en mode de blocage automatique (mode pour dispositif de retenue pour infant). Une fois la ceinture de sécurité complètement rétractée, elle returne en mode de blocage d'urgence.

Dispositif de retenue orienté vers l'avant — étape 4
- Laissez la ceinture de sécurité se rétracter légèrement. Tirez sur le baudrier pour éliminer tout jeu de la sangle.
Si nécessaire, tirez le baudrier par la languette de la ceinture de sécurité qui se trouve derrière la couture de la ceinture pour vous assurer que le dispositif de retenue pour infant est solidement fixé.
Une fois que la ceinture de sécurité est totalement retractee et que le dispositif de retenue est enlevé du siège, la couture du baudrier peut être retiree par la languette de la ceinture de sécurité.
La couture place la languette de la ceinture de sécurité pres du dessus du dossier de siège pour faciliter l'accès des passagers au siège arrêté.

Dispositif de retenue orienté vers l'avant — étape 5
- Avant de placer l'enfant dans le dispositif de retenue, essayez de faire basculer ce dernier vers la droite et vers la gauche, puis tirez-le vers l'avant pour vous assurer qu'il est correctement fixe. Il ne doit pas se déplacer sur plus de 2,5 cm (1 po).
-
Vérifiez que l'enrouleur est bien en mode de blocage automatique en essayant de tirer la ceinture de sécurité hors de l'enrouleur. Si vous ne pouvez tirer davantage de sangle, la ceinture de sécurité est en mode de blocage automatique.
-
Assurez-vous que le dispositif est fixé solidement chaque fois que vous prévoyez l'utiliser. Si la ceinture de sécurité n'est pas verrouillée, repêze les étapes 3 à 6.
Lorsque le dispositif de retenue pour enfant est retire du vehicule et que la ceinture de sécurité se rétracte complètement dans l'enrouleur, le mode de blocage automatique (mode pour dispositif de retenue pour enfant) est désactivé.
Dispositif de retenue orienté vers l'arrière (ceinture de sécurité de type à trois points avec enrouleur, sauf pour les modèles à cabine double)

AVENTISSEMENT
-
N'installez jamais de dispositif de retenue pour enfant orienté vers l'arrière sur le siège avant des modèles à cabine double. Installez le dispositif sur le siège arrêté seulement. L'impact d'un coussin gonflable avant qui se déploie peut blesser grièvement et même tuer un enfant assis dans le dispositif de retenue.
-
Si le vehicule est équipé d'un coussin gonflable côte passager, le commutateur marche/arrêt du dispositif doit rester activé, à moins qu'un dispositif de retenue pour infant orienté vers l'arrière ne soit installé sur le siège avant. Si le commutateur est désactivié, le coussin gonflable ne se déploiera pas tel que prévu en cas d'accident.
Assurez-vous de désactiver le coussin gonflable du passager avant si vous installez un dispositif de retenue pour infant orienté vers l'arrière sur le siege avant. S'il n'est pas désactivé, le coussin gonflable peut se déployer en cas d'accident. La puissance et la rapidité de déploiement du coussin peuvent cause des blessures graves, voire mortelles, à un enfant aussi dans le dispositif de retenue. Consultez la rubrique « Commutateur marche/arrêt et tepoin du coussin gonflable du passager » plus haut dans ce chapitre. -
Si le témoin des coussins gonflables,itué sur le tableau de bord à côté de l'indicateur de vitesse, s'allume en même temps que le témoin de désactivatior du coussin gonflable côté passager, cela peut indiquer un problème dans le dispositif du coussin gonflable. N'utilise pas de dispositif de retenue pour enfant sur le siege du passager avant tant que le dispositif du coussin gonflable n'a pas fait l'objet d'une verification par votre concessionnaire NISSAN.
- La ceinture de sécurité à trois points du passager est équipée d'un enrouleur à mode de blocage automatique qui doit être utilisé lorsque vous installez un dispositif de retenue pour infant.
- Le dispositif de retenue pour infant ne peut pas etre fixe solidement si le mode de blocage automatique n'est pas utilise. Le dispositif risque de se renverser ou de se detacher en cas d'arrêt brusque ou d'accident, et l'enfant pourrait alors etre blessé.

Dispositif de retenue orienté vers l'arrière - étape 1
Si vous decide d'installer un dispositif de retenue pour infant sur le siège avant, suivez les étapes décrites ci-dessous:
- Placez le dispositif de retenue pour enfant sur le siège du passager avant. Reculez le siège au maximum. Respectez toujours toutes les directives fournies par le fabricant du dispositif de retenue pour enfant.

Dispositif de retenue orienté vers l'arrière - étape 2
- Faites passer la languette de la ceinture de sécurité au travers du dispositif de retenue pour enfant et insérez-la dans la boucle jusqu'à ce que vous entendiez un déclic et que vous sentiez la languette se verrouiller.
Assurez-vous de suivre les directives du fabricant pour savoir comment faire passer la ceinture de sécurité derrière le dispositif de retenue.

Dispositif de retenue orienté vers l'arrière - étape 3
- Tirez sur le baudrier jusqu'à ce que la ceinture soit complètement sortie. L'enrouleur de la ceinture de sécurité passée alors en mode de blocage automatique (mode pour dispositif de retenue pour infant). Une fois la ceinture de sécurité complètement rétractée, elle returne en mode de blocage d'urgence.

Dispositif de retenue orienté vers l'arrière - étape 4
- Laissez la ceinture de sécurité se rétracter. Tirez sur la ceinture de sécurité pour éliminer le mou de la sangle.

Dispositif de retenue orienté vers l'arrière - étape 5
- Avant de placer l'enfant dans le dispositif, essayez de faire basculer ce dernier vers la droite et vers la gauche, puis tirez-le vers l'avant pour vous assurer qu'il est correctement fixé. Il ne doit pas se déplacer sur plus de 2,5 cm (1 po).
-
Assurez-vous que l'enrouleur est bien en mode de blocage automatique en essayant de tirer la ceinture de sécurité hors de l'enrouleur. Si vous ne pouvez tirer davantage de sangle hors de l'enrouleur, ce dernier est en mode de blocage automatique.
-
Assurez-vous que le dispositif est fixé solidement chaque fois que vous prévoyez l'utiliser. Si la ceinture sous-abdominale n'est pas verrouillée, repêze les étapes 3 à 6.
Lorsque le dispositif de retenue pour enfant est retire du vehicule et que la ceinture de sécurité se rétracte complètement dans l'enrouleur, le mode de blocage automatique (mode pour dispositif de retenue pour enfant) est désactivé.
MÉMENTO
2 Commandes et instruments
Planche de bord. 2-2
Instruments et indicateurs de bord. 2-3
Indicateur de vitesse et compteur
kilométrique. 2-4
Compte-tours 2-6
Indicateur de température du liquide de
refroidissement. 2-6
Indicateur de carburant. 2-7
Affichage de la température extérieure et de la
boussole (selon l'équipement du vehicule). 2-7
Affichage de la température extérieure 2-8
Affichage de la boussole 2-8
Témoins et carillons de rappel sonore.
Vérification des ampôules 2-10
Témoins d'alerte 2-11
Témoins 2-15
Rappels sonores 2-17
Système de sécurité (selon l'équipement) ....
Système de sécurité du vehicule
Commande d'essuie-glace et de lave-glace de
pare-brise 2-21
Fonctionnement de l'interrupteur 2-21
Interrupteur de désembueur de lunette arrête
(modules à cabine double seulement). 2-22
Interrupteur des phares et des clignotants. 2-23
Interrupteur des phares 2-23
Phares de jour (Canada seulement). 2-24
Commande de luminosité du tableau de
bord 2-24
Interrupteur des phares antibrouillard (selon l'équipement du vehicule) 2-25
Interrupteur des feu de détresse. 2-25
Interrupteur de lampe d'aire de chargement 2-26
Avertisseur sonore. 2-26
Commutateur d'arrêt de la régulation dynamique du vehicule (VDC) (selon l'équipement du vehicule) ..... 2-26
Prise d'alimentation 2-27
Prises de courant double 12 volts
(selon l'equipement du vehicule) 2-28
Rangement 2-29
Bac de rangement 2-29
Plateau de rangement (selon l'équipement du vehicule). 2-29
Portetasses 2-30
Boite a gants. 2-30
Compartment de rangement de la console. 2-31
Crocchets à sacs d'épicerie (modèles King Cab seulement) 2-32
Porte-bagages tubulaire (selon l'equipement du vehicule). 2-33
Glaces 2-35
Glaces électriques (selon l'équipement du vehicule) 2-35
Glaces manuelles 2-37
Glace coulissante arriere (selon l'equipement du vehicule) 2-37
Éclairage interieur 2-38
Lampes de lecture (selon l'equipement du vehicule) .2-39

- Interrupteur des phares et des clignotants (p. 2-23)
- Instruments et indicateurs de bord (p. 2-3)
- Commande de lave-glace et d'essuie-glace de pare-brise (p. 2-21)
- Prise d'alimentation (p. 2-27)
- Système de chauffage et climatisation (p. 4-2)
- Témoin de l'interrupteur de neutralisation du coussin gonflable côté passager (selon l'équipement du vehicule) (p. 1-16)
- Interrupteur de neutralisation du cousin gonflable cotoe passager (selon l'equipement du vehicule) (p. 1-16)
- Coussin gonflable avant côté passager (p. 1-7)
- Boite à gants (p. 2-30)
- Chaine audio (p. 4-10)
- Interrupteur des faux de détresse (p. 2-25)
- Levier sélecteur de la boîte de vitesses automatique/manuelle (p. 5-12)
- Levier selecteur de la boite de transfert (selon l'equipement du vehicule) (p. 5-25)
INSTRUMENTS ET INDICATEURS DE BORD
- Levier de déblocage du frein de stationnement (p. 5-21)
- Commande principale et de réglage du régulateur de vitesse (selon l'équipment du vehicule) (p. 5-22)
- Coussin gonflable avant côté conduc-
teur et averâtisseur sonore (p. 1-7, p. 2-26) - Commandes du système audio du volant de direction (selon l'équipement du vehicule) (p. 4-32)
- Interrupteur de neutralisation du système de contrôle dynamique du vehicule (selon l'équipement du vehicule) (p. 2-26)
- Commande de luminosité du tableau de bord (p. 2-24)
- Interrupteur d'éclairage de l'aire de chargement (p. 2-26)

LIC0631
- Compte-tours
- Témoins d'avertissement/de fonctionnement
- Indicateur de vitesse
-
Indicateur de température du liquide de refroidissement
-
Indicateur de carburant
- Compteur kilométrique/compteur journalier double
- Touche de modification

Compteur kilométrique/compteur journalier double
Le compteur kilométrique indique la distance totale parcourue par le vehicule.
- Indicateur de vitesse
- Compteur kilométrique
- Bouton de réinitialisation
Indicateur de vitesse
L'indicateur de vitesse affiche la vitesse du vehicule en kilometres à l'heure (km/h) et en milles à l'heure (mi/h).
Appuyer sur le bouton de remise à zéro pour changer l'affichage.

AIC1120
Le compteur journalier permet d'enregistrer la distance parcourue lors d'un trajet particulier. Réinitialisez le compteur journalier avant chaque trajet.
Appuyez sur le bouton de réinitialisation pour modifier l'affichage de la façon suivante :
ODO (compteur kilométrique) TRIP A (trajet A) TRIP B (trajet B) ODO.
Appuyez sur le bouton de réinitialisation et maintenez-le enforcé pendant plus d'une seconde pour réinitialiser les deux compteurs journaliers.

WIC0358
COMPTE-TOURS
Le compte-tours indique le régime du moteur en tours par minute (tr/min). La zone rouge ① est indiquée dans l'illustration.

ATTENTION
Lorsque l'aiguille du compte-tours (ré-gime du moteur) s'approche de la plage rouge, passez à un rapport supérieur. Vous pouvez causer de graves dommages au moteur si vous persistez à le faire tourner lorsque l'aiguille se trouve dans la plage rouge.

INDICATEUR DE TEMPERATURE DU LIQUIDE DE REFROIDISSEMENT
Cet indicateur affiche la température du liquide de refroidissement du moteur. La température du liquide de refroidissement est dans la plage normale lorsque l'aiguille de l'indicateur se trouve entre C et H.
La température du liquide de refroidissement varie selon la température extérieure et les conditions de conduite.

ATTENTION
Si l'indicateur de bord affiche une tempé rature du liquide de refroidissement du moteur au-dessus de la plage normale, arrêtez le vehiculeès qu'il est possible de le faire en toute sécurité. Si vous continuez de rouler alors que le moteur surchauffe, vous risquez d'endommager sérieusement le moteur. Consultez la rubrique « En cas de surchauffe de votre vehicule » du chapitre « En cas d'urgence » pour connaître les mesures à prendre immédiatement.

INDICATEUR DE CARBURANT
L'indicateur de carburant indique le niveau de carburant approximatif dans le réservoir.
Les freinages, les virages, les accélérations ainsi que la conduite dans une pente peuvent faire bouger légrement l'aiguille de l'indicateur.
L'aiguille de l'indicateur descend jusqu'au repère E (vide) lorsque la clé de contact est tournée à la position OFF (arrêt).
Le témoin de bas niveau de carburant s'allume lorsque le réservoir ne contient plus qu'une faible quantité de carburant.
Remplissez le réservoir de carburant de votre vehicule avant que l'iguille de l'indicateur n'atteigne le repere E (vide).
Le pictogramme indique que la trappe du réservoir de carburant du vehicule se trouve du cotoe passager.

ATTENTION
- En cas de panne sèche, le témoin d'anomalie ENGINE peut s'allumer. Faites le plein des que possible. Le témoin devrait s'eteindre après quelques cycles de conduite. Si le témoin ENGINE SOON reste allumé même après plusieurs cycles de conduite, faites vérifier le vehicule par un concessionnaire NISSAN.
- Pour plus de détails, consultez la rubrique « Témoin d'anomalie (MIL) » plus loin dans leprésent chapitre.
AFFICHAGE DE LA TEMPERATURE EXTERIEURE ET DE LA BOUSSOLE (selon l'équipement du vehicule)
Ce dispositif offre les fonctions suivantes :
- mesure du magnétisme terrestre et indication du cap directionnel du vehicule;
- indication de la température de l'air extérieur.

WIC0324
AFFICHAGE DE LA TEMPERATUREEXTÉRIEURE
Appuyez sur la touche MODE ① lorsque la clé de contact se trouve à la position ON (marche). La température extérieure s'affiche ② en °F.
- Appuyez sur la touche MODE pour passer des °F aux °C.
- L'affichage indique 55^ C ( 130^ F ) lorsque la température extérieure se situe entre 55^ C ( 130^ F ) et 70^ C ( 158^ F ).
L'affichage indique seulement - - - lorsque la température extérieure est inférieure à -40^ (-40°F) ou supé
rieure à 70^ (158°F). Cette condition est normale.
Le capteur de température extérieure est situé à l'avant du radiateur. L'état de la route, la chaleur du moteur, la direction du vent et d'autres conditions de conduite peuvent avoir un impact sur le fonctionnement du capteur. Celui-ci peut donc indiquer une température différente de la température extérieure réelle ou de celle affichée sur divers panneaux.
- L'affichage de la température est mis à jour seulement lorsque le vehicule se déplace à plus de 20 km/h (12 mi/h) ou que le contacteur d'allumage est tourné à la position OFF (arrêt) pendant quatre heures.
AFFICHAGE DE LA BOUSSOLE
Appuyez sur la touche MODE ① lorsque la clé de contact se trouve à la position ON (marche). La direction s'affiche ②.
Procedure de modification de la déclinaison
La différence entre le nord magnétique et le nord géographique est connue sous le nom de declination. Dans certaines régions, cette différence
peut être suffisamment élevé pour entraîner des lectures de boussole erronées. Suivez ces directives pour régler la declinaison de cette zone, le cas échéant.
- Determininez votre emplacement sur la carte des zones.Reportez-vous à l'illustration. Notez le numero de�te zone.
- Tournez le contacteur d'allumage à la position ON (marche).
- Appuyez sur la touche MODE pendant cinq secondes jusqu'à ce que le nombre d'entrée de la zone courante et l'icone « VAR » s'affichent.
- Appuyez ensuite sur la touche MODE à plusieurs reprises jusqu'à ce que le numero d'entrée de la zone désirée s'affiche.
Relâchez la touche MODE une fois que le nombre de zone désirée est affché; la direction de la boussole réapparait au bout de quelques secondes.
REMARQUE :
Utilisez le numero de zone 5 pour Hwaii.

L'affichage de la boussole peut indiquer une direction erronée si un aimant est situé pres de la boussole ou que le vehicule est conduit dans des zones où le magnétisme terrestre est perturbé.
- La correction de la direction s'effectue automatiquement dans les zones où le magnétisme terrestre est perturbé.
Fonctions de correction d'affichage de la boussole
L'affichage de la boussole est équipé d'une fonction de correction automatique. Suivez la procédure de correction manuelle stipulée ci-dessous si l'affichage de la direction est erroné.
Procedure de correction manuelle
- Appuyez sur la touche MODE pendant environ dix secondes. L'icone « CAL » s'affiche.
- Dans une aire ouverte et sécurité, conduisez le vehicule en decrivant lentement un cercle. La procedure de correction initiale est complétée une fois que le vehicule a effectué un ou deux cercles complets.
Dans les zones où le magnétisme terrestre est perturbé, il est possible que le processus de correction s'enclenche de lui-même.
TÉMOINS ET CARILLONS DE RAPPEL SONORE

VÉRIFICATION DES AMPOULES
Alors que toutes les portières sont fermées, serrez le frein de stationnement et tournez la clé de contact à la position ON (marche) sans faire démarrer le moteur. Les témoins suivants s'allument :

BRAKE





A/T OIL TEMP
Le témoin ne s'allume pas si la ceinture de sécurité du conducteur est bouclée avant que la clé de contact soit tournée à la position ON (marche).
Les témoins suivants s'allument brivement, puis s'éteignent :
ABS VDC [OFF]










Si un des témoins mentionnés ne s'allume pas, il est possible que son ampoule soit grillée ou qu'un des circuits électriques de votre vehicule soit ouvert. Faites réparer le système électrique de votre vehicule le plus rapidement possible.
TEMOINS D'ALERTE

Témoin de freins antiblocage
L'activation de ce témoin pendant que le moteur tourne peut indiquer une anomalie du système antiblocage de votre vehicule. Rendez-vous chez un concessionnaire NISSAN pour faire vérifier le système.
En presence d'une anomalie du système, la fonction antiblocage des freins est inopérante mais le système de freinage standard de votre vehicule demeure fonctionnel.
Si le témoin s'allume pendant que vous conduisez, communiquez avec un concessionnaire NISSAN pour demander que les réparations nécessaires soient effectuees.

Témoin de température d'huile pour boîte de vitesses automatique (modèles 4x4)
Ce témoin s'allume lorsque la température de l'huile pour boîte de vitesses automatique est excessive. Si le témoin s'allume pendant la conduite, réduisez la vitesse du vehicule aussitôt qu'il est possible et prudent de le faire, et ce, jusqu'à ce que le témoin s'éteigne.
ATTENTION
Le fait de continuer à conduire le vehicule lorsque le témoin de température d'huile de la boîte de vitesses automatique est allumé peut endomager la boîte de vitesses automatique.

Témoin de stationnement de boîte de vitesses automatique (modèles 4x4)
Ce témoin indique que la boîte de vitesses automatique n'est pas en fonction de stationnement. Un déplacement inopiné de votre vehicule peut survenir si le levier sélecteur de la boîte de transfert n'est pas placé dans une position de marche avant alors que le levier de la boîte de vitesses automatique est en position P (stationnement).
Si le témoin s'allume, déplacez le levier sélecteur de la boîte de transfert en position 2H, 4H ou 4L.
Lorsque you stationnez voire vehicule, assurez-vous que le levier selecteur de la boite de transfert est en position 2H, 4H ou 4L et que le frein de stationnement est serré.
- Si le témoin ATP est allumé, cela signifie que la position de stationnement (P) de la boîte de vitesses automatique ne fonctionnera pas et que le levier sélecteur de boîte de transfert est en position de point mort (N).
- Si le levier sélecteur de la boîte de transfert n'est pas place à la position 2H, 4H ou 4L, le vehicule risque de se déplacer de façon inopinée, entraînant ainsi de graves blessures ou des dommages matériels importants.
ATTENTION
Si le témoin ATP est allumé, cela signifie que la position de stationnement (P) de la boîte de vitesses automatique ne fonctionnera pas et que le levier sélecteur de boîte de transfert est en position de point mort (N).


Témoin de frein
Les systèmes de frein de stationnement et de frein de conduite sont tous deux reliés à ce témoin.
Lorsque la clé de contact est tournée à la position ON (marche), ce témoin s'allume pour indiquer que le frein de stationnement est serré ou que le niveau de liquide de frein est bas. S'il s'allume alors que le moteur tourne et que le frein de stationnement n'est pas serré, immobilisez votre vehicule et suivez les procédures décrites cïddssous :
- Vérifiez le niveau de liquide de frein. Ajoutez la quantité de liquide de frein requise. Reportez-vous à la rubrique « Liquide de frein et d'embrayage » du chapitre « Entretien et interventions du propriétaire » du present manuel.
- Si le niveau du liquide de frein est correct, rendez-vous chez un concessionnaire NiSSAN pour faire vérifier le circuit de freinage de votre vehicule.

AVERTISSEMENT
- Si le témoin de frein est allumé, esta peut indiquer une défaillance du circuit de freinage. Il peut alors être dangereux de conduire votre vehicule. Si vous jugez que vous pouze poursuivre toute route sans danger, conduisez prudiment jusqu'à la station-service la plus proche pour y faire effectuer les réparations nécessaires. Sinon, faites remorquer votre vehicule.
-
Le fait d'enforcer la pédale de frein lorsque le moteur est à l'arrêt ou que le niveau de liquide de frein est bas peut entrainer une augmentation de la distance de freinage, de la course de la pédale et des efforts requis pour freiner.
-
Si le niveau du liquide de frein se situe sous le repere MINIMUM ou MIN du réservoir de liquide de frein, ne conduisez pas le vehicule tant que le circuit de freinage n'a pas fait l'objet d'une verification par un concessionnaire NISSAN.

Témoin de charge
L'activation de ce témoin pendant que le moteur tourne peut indiquer une anomalie du système de charge de votre vehicule. Coupez le contact et vérifie la courroie de l'alternateur de votre vehicule. Si la courroie est desserrée, brisée ou manquante, ou si le témoin demeure allumé, rendez-vous immédiatement chez un concessionnaire NISSAN.

ATTENTION
Ne conduisez pas votre vehicule si la courroie de l'alternateur est desserrée, rompue ou manquante.

Témoin de portière ouverte
Ce témoin s'allume lorsqu'une des portières du vehicule est mal fermée alors que la clé de contact est tournée à la position ON (marche).

Témoin de pression d'huile moteur
Ce témoin s'allume lorsque la pression d'huile moteur du vehicule est BASSE. Si ce témoin clignote ou s'allume en présence de conditions de conduite normales, immobilisez votre vehicule dans un endroit sur en bordure de la route, coupez le contact immédiatement et appelez un concessionnaire NiSSAN ou un autre atelier de réparation/agree.
Le témoin de pression d'huile moteur n'est pas conscience pour indiquer un bas niveau d'huile. Utilisez la jauge pour vérifier le niveau d'huile. Consultez la rubrique « Huile moteur » du chapitre « Entretien et interventions du propretaire » duprésent manuel.

ATTENTION
Le fait de laisser le moteur tourner alors que le témoin de pression d'huile moteur est allumé peut très rapidement provoquer de graves dommages au moteur. De tels dommages ne sont pas couverts par la garantie. Mettez le moteur à l'arrêt des qu'il vous est possible de le faire en toute sécurité.

Témoin de bas niveau de carburant
Ce témoin s'allume lorsque le réservoir de carburant de votre vehicule ne contient plus qu'une faible quantité de carburant. Vous devez procédér au ravitationnement de votre vehicule dés que possible et, de préférence, avant que l'aiguille de la jauge de carburant n'atteigne le repère E (vide). Lorsque l'aiguille de la jauge atteint le repère E (vide), le réservoir de carburant de votre vehicule ne contient plus qu'une petite réserve de carburant.

Témoin d'rapidissement de basse pression des pneus (selon l'équipement du vehicule)
Ce témoin s'allume lorsque la pression des pneus est basse.
Le système d'ajretissement de basse pression des pneus de NISSAN est un système de surveillance de la pression des pneus. Il surveille la pression de tous les pneus, à l'exception du pneu de la roue de secours. Lorsque le témoin de basse pression des pneus est allumé, un ou plusieurs de vos pneus sont insuffisamment gonflés. Vous doivent vous arrêter et vérifier vos pneus lors que possible, et les gonfler à la pression appropriée indiquée sur l'étiquette d'information
des pneus du vehicule. La conduite sur un pneus sensiblement degonflé fait surchauffer le pneu, ce qui peut entraîner une défaillance du pneu. Un pneu insuffisamment gonflé réduit aussi l'économie de carburant et la durée de vie de la bande de roulement du pneu, et peut avoir des conséquences négatives sur le comportement routier et le freinage. Chaque pneu, incluant celui de la roue de secours, devrait être vérifiée une fois par mois à froid et gonflé à la pression recommendée spécifiée sur l'étiquette du vehicule et dans le manuel du conducteur.
Système d'rapidissement de basse pression
Si le vehicule est conduit avec une pression de gonflage de pneu très BASSE (inférieure à 193 kPa [28 lb/ po^2 ]), le témoin s'allume et le carillon retentit pendant environ dix secondes.
Pour obtenir de plus amples renseignements, consultez la rubrique « Système d'ajretissement de masse pression des pneus » du chapitre « Dé-marrage et conduite » et la rubrique « Système d'ajretissement de masse pression des pneus » du chapitre « En cas d'urgence »

AVERTISSEMENT
- Faites vérifier votre vehicule par un concessionnaire NiSSAN aussitôt que possible si le témoin ne s'allume pas lorsque le contacteur d'allumage est tourné à la position ON (marche).
-
Si le témoin s'allume pendant la conduite, évitez les manoeuvres de direction soudaines ou les freinages brusques, réduisez votre vitesse, rangez-vous en bordure de la route dans un endroit sécuritaire et immobilisez le vehicule des que possible. Your vehicule pourrait subir des dommages importants et vous pourriez avoir un accident entrainant des blessures graves. Vérifiez la pression de tous les pneus. Effectuez un réglage de pression À FROID, tel que spécifique sur l'étiquette des pneus pour ainsi désactiver le témoin d'advertissement de basse pression. Si le témoin s'allume encore pendant la conduite après le réglage de pression des pneus, il se peut qu'un des pneus soit creve. Si un pneu est à plat, remplacez-le par un pneu de secours lors que possible.
-
Lorsqu'une roue de secours est instalée ou qu'une roue est remplacée, la pression des pneus ne s'affiche pas et le système d'advertissement de basse pression des pneus ne fonctionne pas. Communique avec votre concessionnaire NiSSAN aussitot que possible pour proceder au remplacement des pneus ou à la réinitialisation du système.

ATTENTION
- Le système d'advertissement de basse pression des pneus ne remplace pas la vérification régulière de la pression de vos pneus. Verifiez régulièrement la pression des pneus de votre vehicule.
- Il se peut que le système d'advertissement de basse pression des pneus ne fonctionne pas correctement lorsque le vehicule est conduit à une vitesse inférieure à 32 km/h (20 mi/h).
Assurez-que des pneus de la taille spécifiée sont installés correctement aux quatre roues de votre vehicule.

Témoin de bas niveau de li- quide de lave-glace (selon l'équipement du vehicule)
Ce témoin s'allume lorsque le niveau de liquide de lave-glace de pare-brise de votre vehicule est bas. Ajoutez la quantité de liquide de lave-glace de pare-brise requise. Consultez le chapitre « Entretien et interventions du propriétaire » du pré-sent manuel.

Témoin du coussin gonflable côte passager hors fonction (sauf sur les modèles à cabine double)
Le coussin gonflable côté passager est muni d'un commutateur marche/arrêt. Le commutateur est situé au centre de la planche de bord. Lorsque le commutateur est mis à la position ON, le coussin gonflable côté passager peut se déployer en cas de collision frontale. Lorsque le commutateur est mis à la position OFF, le coussin gonflable côté passager ne se déploiera pas en cas de collision frontale. Le témoin du coussin gonflable côté passager hors fonction s'allume au tableau de bord lorsque le commutateur marche/arrêt du coussin gonflable côté passager est mis à la position OFF. Le coussin gonflable côté conduc-teur reste toujours actif et son déploiement n'est enaucun cas compromis par le commutateur marche/arrêt du coussin gonflable côté passa
ger. La clé du commutateur marche/arrêt du coussin gonflable côté passager ne doit pas être laissée dans le commutateur. Retirez la clé après avoir mis le commutateur à la position désirée. Ne laisserze pas de clé dans le commutateur. Reportez-vous à la rubrique « Commutateur marche/arrêt et témoin du coussin gonflable côté passager » du chapitre « Sièges, dispositifs de retenue pour infant et coussins gonflables » pour obtenir plus de renseignements.

Témoin et carillon des ceintures de sécurité
Ce témoin et ce carillon s'activent pour rappeler aux occupants du vehicule de boucler leur ceinture. Le témoin s'allume dés que la clé de contact est tournée à la position ON (marche) ou START (démarriage) et reste allumé jusqu'à ce que le conducteur boucle sa ceinture. Le carillon retient au même moment pendant environ sept secondes, à moins que le conducteur n'ait boute sa ceinture de façon adequate.
Consultez la rubrique « Ceintures de sécurité » du chapitre « Sécurité — Sièges, ceintures de sécurité et coussins gonflables » pour connaître les précautions relatives à l'utilisation des ceintures de sécurité.

Témoin du coussin gonflable
Lorsque la clé de contact est tournée à la position ON (marche) ou START (démarriage), le tímoin du coussin gonflable s'allume pendant environ sept secondes, puis s'éteint. Ceci indique que le dispositif est opérationnel.
En présence d'une des conditions suivantes, rendez-vous chez un concessionnaire NISSAN pour y faire réparer le dispositif des coussins gonflables ou des ceintures de sécurité à préten-deur de votre vehicule :
- le témoin du coussin gonflable reste allumé après la période initiale d'environ sept secondes;
- le témoin du coussin gonflable clignote par intermittence;
le témoin du coussin gonflable ne s'allume pas du tout.
Le dispositif de retenue complémentaire (sacs gonflables) et les ceintures de sécurité à préten-deur risquènt de mal fonctionner s'ils n'ont pas été vérifiés et réparés. Pour obtenir de plus amples renseignements à ce sujet, consultez la rubrique « Dispositif de protection supplémentaire » du chapitre « Sièges, dispositifs de retenue pour infant et coussins gonflables » du réseau manuel.
AVERAGEMENT
L'activation du témoin des coussins gonflables peut indiquer que les coussins gonflables avant ou les ceintures de sécurité à prétenduer ne fonctionneront pas en cas d'accident.
TÉMOINS
CRUISE Témoin d'interrupteur principal du régulateur de vitesse
(CRUISE) (selon l'équipement du vehicule)
Ce témoin s'allume lorsque l'interrupteur principal du régulateur de vitesse est enforcé. Il s'éteint lorsque l'interrupteur principal est enforcé de nouveau. L'activation de ce témoin indicate que le régulateur de vitesse est en état de marche.
SET Témoin d'interrupteur de ré-glage du régulateur de vitesse (SET) (selon l'équipement du vehicule)
Ce témoin s'allume lorsque la vitesse du vehicule est commandée par le régulateur de vitesse. Si le témoin clignote pendant que le moteur de votre vehicule tourne, cela peut indiquer une anomalie
du régulateur de vitesse. Rendez-vous chez un concessionnaire NISSAN pour faire vérifier le système.
Témoin des quatre roues mo-trices (selon l'équipement du vehicule)
Ce témoin s'allume lorsque le levier sélecteur de la boîte de transfert se trouve à la position 4H ou 4L.
AVERAGEMENT
- Lorsque vous stationnez votre vehicule, assurez-vous que le levier de commande de transfert est à la position 2H, 4H ou 4L et que le frein de stationnement est serré.
- Si le levier de commande de transfert n'est pas place à l'une des positions 2H, 4H ou 4L, le vehicule risque de se déplacer de façon inopinée et d'entraîner des blessures graves ou des dommages matériels importants.
Témoin de faisceaux route (bleu)
Ce témoin bleu s'allume lorsque les feu de faisceau route sont allumés et s'éteint lorsque les feu des croisements sont sélectionnés.
Le témoin de faisceau route s'allume également lorsque le signal de dépassement est activé.
SERVICE ENGINE SOON
Témoin d'anomalie
Un témoin d'anomalie qui s'allume et reste allumé ou clignote pendant que le moteur tourne peut indiquer une anomalie du dispositif antipollution.
Ce même témoin peut également s'allumer et rester allumé si le bouchon de replissage du réservoir de carburant est desserré ou manquant, ou si le réservoir de carburant de votre vehicule est presque vide. Assurez-vous que le bouchon de replissage du réservoir de carburant de votre vehicule a été installé et serré fermement et que le réservoir de carburant contient au moins onze litres (trois gallons US) de carburant.
Le témoin SVICE doit s'éteindre après quelques cycles de conduite s'il n'existe aucune autre anomalie du dispositif antipollution.
Fonctionnement
Le témoin d'anomalie s'allume lorsque l'une des situations suivantes se produit :
- le témoin d'anomalie reste allumé – une défectuosité du dispositif antipollution a été décelée. Vérifiez le bouchon de replissage du réservoir de carburant. Si le bouchon de replissage du réservoir de carburant est
desserré ou manquant, serrez-le ou installez-le et poursuivez votre route. Le témoin ENGINE doit s'éteindre après quelques cycles de conduite. Si le témoin ENGINE reste allumé après quelques cycles de conduite, rendez-vous chez un concessionnaire NISSAN pour y faire inspecter votre vehicule. Il n'est pas nécessaire de faire remorquer votre vehicule pour vous rendre chez le concessionnaire.
-
le témoin d'anomalie clignote - un raté du moteur susceptible d'endommager le dispositif antipollution de votre vehicule a été décelé. Pour éviter les dommages au dispositif antipollution de votre vehicule ou pour réduire la gravité de ceux-ci:
-
ne conduisez pas à des vitesses supérieures à 72 km/h (45 mi/h);
- évitez les accelérations et les décelerations brusques;
- evitez les pentes très raides;
- dans la mesure du possible, réduisez la charge transportée ou remorquée par votre vehicule.
Il est possible que le témoin d'anomalie cesse de clignoter et demeure allumé. Rendez-vous chez un concessionnaire NISSAN pour faire inspectorer votre véhi
cule. Il n'est pas nécessaire de faire remorquer votre vehicule pour vous rendre chez le concessionnaire.
ATTENTION
Le fait de continuer à conduire le vehicule en omettant de faire inspector ou réparer (au besoin) le dispositif antipollution, peut compromètre sa maniabilité et sa consommation de carburant, et accroître les risques de dommages au dispositif antipollution.
O/D OFF
Témoin d'annulation de la surmultiplée (boîte de vitesses automatique seulement)
Ce témoin s'allume lorsque la surmultiplée est hors fonction.
L'interrupteur de surmultipliee commande la fonction de surmultipliee de la boite de vitesses automatique.
Consultez la rubrique « Conduite du vehicule » du chapitre « Démarrage et conduite » du present manuel.
SLIP
Témoin SLIP (dérapage) (se-lon l'équipement du vehicule)
Ce témoin clignote lorsque le système d'antipatinage à l'accelération limite le patinage des roues. Le clignotement de ce témoin peut
indiquer des conditions de dérapage. Le cas échéant, adaptez votre conduite en conséquence.
Il s'allume également lorsque vous tournez le contacteur d'allumage à la position ON (marche). Il s'eteint après deux secondes si le système est en fonction. Si le témoin ne s'allume pas ou s'eteint, rendez-vous chez un concessionnaire NISSAN pour faire vérifier le système d'antipatinage à l'accélération de votre vehicule.
Le système fonctionne dans toutes les positions du levier selecteur de la boîte de vitesses, mais il peut effectuer une montée de vitesses seulement jusqu'à la position la plus élevée indiquée par le levier selecteur.

Témoins des clignotants et des feu de détresse
Le témoin gauche ou droit (selon le cas) clignote lorsqu'la commande de clignotant est activée.
Les deux tímoins clignotent lorsqu l'interrupteur des feuels de détresse est enforcé.

Témoin de neutralisation du système de contrôle dynamique du vehicule (selon l'équipement du vehicule)
Ce témoin s'allume lorsque l'interrupteur de neutralisation du système de contrôle dynamique du vehicule est enforcé à la position OFF (hors fonction) pour indiquer que le système de contrôle dynamique du vehicule ne fonctionne pas.
Pour rétablit le fonctionnement normal du système, appuyez de nouveau sur l'interrupteur de neutralisation du système de contrôle dynamique du vehicule ou faites redémarrer le moteur. Consultez la rubrique « Système de contrôle dynamique du vehicule » du chapitre « Demarrage et conduite » du présence manuel.
Le témoin du système de contrôle dynamique du vehicule s'allume également lorsque vous tournez le contacteur d'allumage à la position ON (marche). Il s'éteint après deux secondes si le système est en fonction. Si le témoin reste allumé ou qu'il s'allume en même temps que le témoin SLIP (indicateur de dérapage) pendant la conduite, faites vérifier le système de contrôle dynamique de votre vehicule chez un concessionnaire NISSAN.
Il est possible que le fonctionnement du système de contrôle dynamique du vehicule entraine une légere vibration ou des bruits lorsque vous démarrez le vehicule ou que vous accélèrez; il s'agit là d'une condition normale.
RAPPELS SONORES
Signal d'avertissement des indicateurs d'usure de plaquettes de freins
Les indicateurs d'usure de plaquettes de freins peuvent émettre un signal d'advertissement. Lorsqu'une plaquette de frein doit être replacée, l'indicateur correspondant émet un raclement aigu lorsque le vehicule roule et ce, que la pédale de frein soit enforcée ou non. Faites vérifier les freins de votre vehicule le plus+tôt possible si les indicateurs d'usure des freins émettent un tel bruit.
Carillon de rappel de clé dans le contacteur d'allumage
Un carillon retentit si vous ouvrez la portiere du conducteur alors que la clé se trouve dans le contacteur d'allumage. Retirez la clé du contacteur d'allumage avant de quitter votre vehicule.
Carillon de rappel des phares allumés
Si les phares ou les feuels de stationnement du vehicule sont allumés, et que le contacteur est tourné à la position OFF (arrêt), un carillon retentit lorsque vous ouvrez la portière du conducteur.
Éteignez les phares avant de quitter votre vehicule.
SYSTÉME DE SECURITÉ (selon l'équipement)

SYSTÉME DE SÉCURITÉ DU VÉHICULE
Le système de sécurité du vehicule émet des signaux d'alarme visuels et sonores lorsque celui un ou quelque chose entre en contact avec les pieces du vehicule.

Témoin de sécurité
Ce témoin indique l'etat du système de sécurité du vehicule.
Il s'allume lorsque le contacteur d'allumage se trouve à la position LOCK (verrouillage), OFF (arrêt) ou ACC (accessoires).
Le fonctionnement du système de sécurité du vehicule compte quatre phases. Le fonctionnement du témoin de sécurité différent selon chacune de ces phases.

Comment armer le système de sécurité de votre vehicule
-
Fermez toutes les glaces de votre vehicule. (Le système peut être mis en voir même si les glaces sont ouvertes).
-
Retirez la clé du contacteur d'allumage.
- Fermez le capot et toutes les portières. Verrouillez toutes les portières. Les portières peuvent être verrouillées au moyen de la clé, de l'interrupteur de verrouillage électrique des portières ou de la télécommande.
Fonctionnement de la télécommande :
- enonceze le bouton de la télécommande. Toutes les portieres se verrouillent. Les faux de détresse clignotent deux fois et l'avertisseur sonore émet un bip pour confirmer le verrouillage de toutes les portières;
- si la touche est enforcée alors que les portières sont déjà toutes verrouillées, leselseif de détresse clignotent deux fois et l'advertisseur sonore émet un bip pour indiquer que les portières sont déjà verrouillées.
L'avertisseur sonore peut émettre un bip ou rester silencieux. Consultez la rubrique « Mise au silence de l'avertisseur sonore » plus loin dans ce chapitre.
Si une portiere est ouverte et que vous appuyez sur le bouton 1, les portieres se verrouillent mais l'avertisseur sonore ne retentit pas brievement et les feuves de detresse ne clignotent pas.
- Assurez-vous que le témoin de sécurité s'allume. Ce témoin demeure allumé pendant environ 30 secondes. Cela indique que le système de sécurité du vehicule est préarmé. Le système passée automatiquement en phase armée après environ 30 secondes. Le témoin de sécurité commence alors à clignoter une fois toutes les trois secondes. Si, pendant la période de 30 secondes au cours de laquelle le système est préarmé, une portière est déverrouillée au moyen de la clé ou de la télécommande ou si le contacteur d'allumage est tourné à la position ACC (accessoires) ou ON (marche), le système ne pourrait pas s'armer.
- Il est possible que le système ne s'arme pas si la clé est tournée lentement lors du verrouillage de la portière. De plus, si la clé est tournée à fond en position de déverrouillage, il est possible que le système se désarme lorsque vous retirez la clé. Si le témoin n'est pas resté allumé pendant 30 secondes, déverrouille la portière et verrouille-la de nouveau.
- Mème lorsque le conducteur et des passagers se trouvent dans le vehicule, le système s'arme si toutes les portières et le capot sont fermés et verrouillés, et que le contacteur d'allu
mage est à la position d'arrêt. Tournez le contacteur d'allumage à la position Accessoires ou Marche pour désactiver le système de sécurité.
Activation du système de sécurité du vehicule
L'alarme déclenchée par le système de sécurité du vehicule implique les éléments suivants :
- les phares clignotent et l'avertisseur sonore retentit par intermittence; De plus, le moteur du démarreur ne fonctionne pas.
- l'alarme s'eteint automatiquement après 50 secondes. Par contre, si quelque chose ou quelqu'un entre en contact avec le vehicule, elle s'active de nouveau. L'alarme est neutralisée si vous déverrouillez une des portières avec la clé du vehicule ou si vous appuyez sur le bouton de la télécommande.
L'alarme s'active si :
- une portière est ouverte sans utiliser la clé ou la télécommande (meme si la portière est déverrouillée à l'aide de la commande de verrouillage interieure);
- le capot est ouvert.
Comment neutraliser l'alarme
L'alarme ne s'arrête que si vous ouvrez une des portières avec la clé du vehicule ou que vous appuyez sur le bouton de la télécommande.
Si le contacteur d'allumage est tourné à la position ACC (accessoires) ou ON (marche), l'alarme ne peut pas être neutralisée.

WIC0325
Mise au silence de l'avertisseur sonore
Vou puez neutraliser la fonction de signal sonore émis par l'advertisseur au moyen de la télécommande si vous le désirez.
Pour neutraliser cette fonction : appuyez simultanement sur les boutons et et maintenez-les enforcés pendant au moins deux secondes.
Les feu de détresse clignotent alors trois fois rapidement pour confirmer la neutralisation du signal sonoremis par I'avertisseur.
Pour rétablit cette fonction: appuyez simultanément sur les boutons et et
maintenez-les enforcés pendant au moins deux secondes encore une fois.
Les faux de détresse clignotent rapidement une fois et l'avertisseur sonore retentit une fois pour confirmer le rétablissement de cette fonction.
La neutralisation de cette fonction n'entraîne pas la mise au silence de l'avertisseur sonore en cas de déclenchement de l'alarme.
Si le fonctionnement du système de votre vehicule ne correspond pas à la description fournie ci-dessus, rendez-vous chez un concessionnaire NISSAN pour le faire vérifier.
COMMANDE D'ESSUIE-GLACE ET DE LAVE-GLACE DE PARE-BRISE

Type A
FONCTIONNEMENT DE L'INTERRUPTEUR
Les essuie-glaces et le lave-glace de pare-brise fonctionnent lorsque le contacteur d'allumage est à la position ON (marche).
Poussez le levier vers le bas pour actionner les essuie-glaces aux réglages suivants :
1 Intermittent - le fonctionnement intermittent se règle en tournant le bouton vers (cycles plus longs) ou (cycles plus courts).
② Faible vitesse – fonctionnement continu des essuie-glaces à faible vitesse

Type B
③ Grande vitesse - fonctionnement continu des essuie-glaces à grande vitesse
Tirez le levier vers vous ④ pour actionner le lave-glace. Les essuie-glaces executeront égallement plusieurs cycles de balayage.

AVERTISSEMENT
Lorsque la température est inférieure à 0^ (32^) , le liquide de lave-glace risque de geler sur le pare-brise et de vous obstruer la vue, ce qui peut entrainer un accident. Faites fonctionner le dégivreur pour réchauffer le pare-brise avant de le nettoyer.

ATTENTION
- N'actionnez pas le lave-glace pendant plus de 30 secondes.
- N'actionnez pas le lave-glace si le réservoir de liquide de lave-glace est vide.
-
Ne replisssez pas le réservoir de liquide de lave-glace avec des concentrates non dilués. Les éclaboussures de certains concentrates de liquide de lave-glace au methanol peuvent tacher la calandre de façon permanente lors du replissage du réservoir de liquide de lave-glace.
-
Mélangez le concentré de liquide de lave-glace avec de l'eau conformément aux recommendations du fabricant avant de verser le mélange dans le réservoir de liquide de lave-glace de votre vehicule. N'effectuez pas ce mélange dans le réservoir même.
INTERRUPTEUR DE DÉSEMBUEUR DE LUNETTE ARRIÈRE (modèles à cabine double seulement)

WIC0327
Pour dégivrer la lunette arrrière, démarrez le moteur de votre vehicule et activez l'interrupteur de dégivrage de lunette arrrière. Le témoin de dégivreur de lunette arrrière se trouvant sur l'interrupteur s'allume. Appuyez de nouveau sur l'interrupteur pourmettre le dégivreur hors fonction.
Le dégivre du lunette arrirée s'eteint automatiquement environ 15 minutes après son activation.
ATTENTION
Lors du nettoyage de la paroi interieure de la lunette arriere, prenez soit de ne pas égratigner ni endommager le dégivreur.
REMARQUE :
Les quelques rangiées de fils de la portion supérieure de la lunette arrêté ne font pas partie du système de dégivreur de lunette arrêté. Ces fils constituent l'antenne de la chaine audio.
INTERRUPTEUR DES PHARES ET DES CLIGNOTANTS

Type A

Type B
INTERRUPTEUR DES PHARES
Éclairage
① Les feu des stationnement avant, les feu arrière, l'éclairage de la plaque d'immatriculation et l'éclairage de la planche de bord s'allument lorsque l'interrupteur est placé à la position DQ.
② Les phares s'allument et les autres feu desmeurent allumés lorsque l'interrupteur estplace à la position

Sélection de la fonction de faisceaux route
1 Pour selectionner la fonction de faisceaux route, poussez le levier vers l'avant. Les faisceaux route et le témoin s'allument.
② Ramenez le levier vers l'arrière pour selec-tionner les feuels de croissement.
③ Les faisceaux route sont actifs et désactifs lorsque vous tirez puis relâchéze le levier.
PHARES DE JOUR (Canada tableau)
Les phares s'allument automatiquement à intensité réduite si le frein de stationnement est desseré lors du démarriage du moteur. Les phares de jour fonctionnement lorsque l'interrupteur des phares se trouve à la position OFF (hors fonction) ou à la position Dae. Tournez l'interrupteur des phares à la position pour obtenir une intensité d'éclairage maximal destinée à la conduite de nuit.
Les phares de jour ne s'allument pas lors du démarrage du moteur si le frein de stationnement est serré. Ilis s'allument lorsque le frein de stationnement est desserré. Ces phares restent allumés jusqu'à ce que le contacteur d'allumage soit tourné à la position OFF (arrêt).

AVENTISSEMENT
Les feuux arrêté de votre vehicule sont hors fonction lorsquè les phares de jour sont allumés. Vous devez allumer les phares de votre vehicule à la brunante. Le fait de ne pas respecter cette directive peut entrainer un accident causant des blessures à vous-même et à autreui.

WIC0328
COMMANDE DE LUMINOSITE DU TABLEAU DE BORD
La commande de luminosité du tableau de bord fonctionne lorsque l'interrupteur des phares se trouve à la position équ'ou
Tournez cette commande pour régler l'intensité d'éclairage du tableau de bord.

COMMANDE DES CLIGNOTANTS
Clignotants
① Déplacez le levier de la commande des clignotants vers le haut ou vers le bas pour indiquer la direction du virage. Les clignotants s'arrêtent automatiquement lorsque vous complètez votre virage.
Signal de changement de voie
Pour signaler votre intention de changer de voie, déplacez le levier vers le haut ou vers le bas jusqu'à ce que le clignotant s'active, mais sans enclencher le levier.
INTERRUPTEUR DES FEUX DE DÉTRESSE

INTERRUPTEUR DES PHARES ANTIBROUILLARD (selon
l'équipement du vehicule)
Pour allumer les phares antibrouillard avant, tournez l'interrupteur à la position
Tournez l'interrupteur à la position OFF (arrêt) pour les éteindre.
Pour que les phares antibrouillard puissant fonctionner, l'interrupteur des phares doit se couver à la position (feux de croissement allumés). Les phares antibrouillard s'éteignent automatiquement des que la fonction de faisceau route est activée.

Si, en raison d'une urgence, vous devez immobiliser ou stationner votre vehicule, appuyez sur cet interrupteur pour signaler libre intention aux conducteurs des autres voitures. Tous les clignotants de leur vehicule seront ainsi activés.
AVERAGEMENT
-
Déplacez votre vehicule à l'écart de la route s'il est tombé en panne s'est ou si avez d'u'arrête d'urgence.
-
N'actionnez pas les feuels de détresse lorsque vous roulez sur l'autoroute, à moins que des circonstances inhabituelles ne vous forcent à conduire votre vehicule à une vitesse très lente qui pourrait s'avérer dangereuse pour les autres automobilistes.
- Les clignotants ne fonctionnent pas lorsque les yeux de détresse sont actifs.
Les yeux de détresse de votre vehicule fonctionnement et ce, qu'elle que soit la position du contacteur d'allumage.
L'utilisation des feuels de détresse pendant la conduite est prohibée dans certains États.
INTERRUPTEUR DE LAMPE D'AIRE DE CHARGEMENT

LIC0428
Pour éclairer la soute, appuyez sur l'interrupteur alors que le contacteur d'allumage est en position ACC (accessoires), ON (marche) ou START (démarriage). Le témoin de l'interrupteur activé s'allume.
L'éclairage de la caisse s'eteint si l'interrupteur est de nouveau enforcé ou si le contacteur d'allumage est tourné en position LOCK (verrouillage).
VERTISSEUR SONORE

WIC0249
Pour actionner l'avertisseur sonore de votre vehicule, appuyez sur le rembourse central du volant de direction.
AVERAGEMENT
Ne tentez pas de démonter l'avertisseur sonore. Une telle action pourrait comprometer le fonctionnement du coussin gonflable avant. Toute modification au dispositif du coussin gonflable avant peut avoir pour conséquence des blessures graves en cas d'accident.
COMMUTATEUR D'ARRÉT DE LA RÉGULATION DYNAMIQUE DU VÉHICULE (VDC) (selon l'équipement du vehicule)

WIC0534
Le vehicule doit etre conduit avec le systeme de contrrole dynamique du vehicule activé dans la plupart des conditions de conduite.
Si le vehicule est enlisé dans de la boue ou la neige, le système de contrôle dynamique du vehicule réduit la puissance du moteur afin de réduire le patinage des roues. Le régime du moteur restera bas, même si l'accéléateur est complètement enforcé. Si une puissance maximale est requise pour libérer un vehicule embourbé, désactivez le système de contrôle dynamique du vehicule.
PRISE D'ALIMENTATION
Pour désactiver le système de contrôle dynamique du vehicule, appuyez sur l'interrupteur VDC OFF. Le témoin [OFF] s'allume alors.
Pour reactiver le système, appuyez de nouveau sur la touche « VDC OFF » ou faites redémarrer le moteur. Consultez la rubrique « Système de contrôle dynamique du vehicule » du chapitre « Démarriage et conduite »

Avant
Les prises de courant de votre vehicule seront à brancher des accessoires électriques tels que les téléphones cellulaires. La puissance nominale de ces prises de 12 V est de 120 W (10 A).
ATTENTION
- La prise et la fiche peuvent devenir chaudes pendant ou immédiatement après l'utilisation.
- Cette prise d'alimentation n'a pas eté concue pour y brancher un allume-cigare.

Console (selon l'équipment du vehicule)
- N'utilisez pas d'accessoires dont la puissance est supérieure à 12 V, 120 W (10 A). N'utilisez pas d'adaptateurs doubles et ne branchez pas plus d'un accessoire électrique sur la même prise.
Utilisez cette prise de courant lorsque le moteur tourne. (La batterie peut se décharger si la prise est utilisée lorsque le moteur est arrêté.) - Évitez d'utiliser la prise de courant lorsque le climatiseur, les phares ou le dégivreur de lunette arrêtè sont allumés.

Arrière (selon l'équipement du vehicule)
- Avant de brancher ou de débrancher une prise, assurez-vous que l'accessoire électrique utilisé est étant.
- Enforcez la prise le plus loin possible. Si un contact ajustat n'est pas établi, la prise peut surchauffer ou le fuse de température interne peut griller.
Assurez-vous que le bouchon est fermé lorsqu'elles ne l'utilise pas. Évitez tout contact de la prise avec de l'eau.
PRISES DE COURANT DOUBLE 12 VOLTS (selon l'équipement du vehicule)

LIC0598
Les prises de courant de 12 volts double peuvent etre utilisées pour alimenter des apparciels électriques additionnels en option.
Pour acceder aux prises de courant de 12 volts double, poussez la languette ① , puis retirez le couvercle ②
Leur puissance nominale maximale est de 12 V, 240 W (20 A).

ATTENTION
- N'utilisez pas d'accessoires dont les caractéristiques de tension et de consommation sont supérieures à 12 V, 240 W (20 A). N'utilisez pas d'adaptateurs doubles et ne branchez pas plus d'un accessoire électrique sur la même prise
Utilisez cette prise de courant lorsque le moteur tourne. (La batterie peut se décharger si la prise est utilisée lorsque le moteur est arrêté.) - Évitez d'utiliser la prise de courant lorsque le climatiseur, les phares ou le dégivreur de lunette arrêtè sont allumés.
RANGEMENT

BAC DE RANGEMENT
Un compartment de rangement est situé dans la partie inférieure centrale de la planche de bord.

Vehicules Equipés d'une boîte de vitesses automatique
PLATEAU DE RANGEMENT (selon l'équipement du vehicule)

Vehicules Equipés d'une boîte de vitesses manuelle

Avant

PORTE-TASSES
AVERTISSEMENT
La conduite du vehicule exige toute votre attention : n'utilisez donc pas le portetasse en conduisant.

ATTENTION
- Évitez de démarrer ou de freiner brusquement lorsque le porte-tasse est utilisé, car le liquide pourrait se renverser. Si le liquide est chaud, votre passager et vous pourriez être brûlés.

Arrière du vehicule - modele à cabine double seulement
- Ne déposez que des tasses faites de matérieliaux couples dans le porte-tasse. Des objets durs pourraient vous infliger des blessures en cas d'accident.
Les portes-tasses avant comportent une piece de caoutchouc qui peut etre retiree aux fins de nettoyage ou pour permettre le depot de tasses de plus grandeaille.
Pour ouvrir le porte-tasse arriere (modèles à cabine double seulement), sortez-le complètement de son logement. Pour le reférer, poussez-le jusqu'au fond de son logement.

BOITE A GANTS
Pour ouvrir la boite à gants, tirez sur la poignée. Utilisez la clé principale pour verrouiller ① ou déverrouiller ② la boite à gants.

AVERTISSEMENT
Pour prévenir les blessures en cas d'accident ou d'arrêt brusque, la boite à gants devrait toujours être fermée lorsque le vehicule est en mouvement.
COMPARTIMENT DE RANGEMENT DE LA CONSOLE

AVERTISSEMENT
La conduite du vehicule exige toute votre attention : n'utilisez donc pas le compartment de la console centrale en conduisant.

ATTENTION
- Cette prise d'alimentation n'a pas eté concue pour y brancher un allume-cigare.
- N'utilisez pas d'accessoires dont la puissance est supérieure à 12 V, 120 W (10 A). N'utilisez pas d'adaptateurs doubles et ne branchez pas plus d'un accessoire électrique sur la même prise.

WIC0339
Moitié supérieure
Pour ouvrir la partie supérieure de la boite de la console, tirez le levier vers le haut. Le tapis de caoutchouc peut être retireur pour le nettoyage.
La partie supérieure de la boîte de la console peut être utilisée pour ranger un téléphone cellulaire. Le fond de la partie supérieure de la boîte de la console contient un trou d'accès qui permet d'acheminer le fil du téléphone vers la prise d'alimentation.
Pour acheminer le fil du téléphone vers la prise d'alimentation :
- Ouvrez la partie supérieure de la boîte de la console.
- Retirez le tapis de caoutchouc, puis retirez la portion découverte du tapis.
- Retirez le couvercle du trou d'accès.
- Remettez le tapis de caoutchouc en place.
- Faites passer le fil du téléphone par le trou d'accès, puis branchez-le dans la prise d'alimentation.

Partie inférieure
Pour ouvrir la partie inférieure de la boite de la console, tirez le levier vers le haut. La boite de la console contient une prise d'alimentation ainsi qu'un espace de rangement pour les disques compacts.

CROCHETS À SACS D'ÉPICERIE (modèles King Cab seulement)
Les crochets à sacs d'épicerie permettent d'accrocher côte à côte deux sacs d'épicerie en plastique de taille normale.
N'appliquez pas une charge totale de plus de 25 kg (55 lb) à un crochet à sacs d'épicerie.

WPD0171
PORTE-BAGAGES TUBULAIRE (selon l'équipement du vehicule)
La charge du porte-bagages tubulaire doit tous jours etre répartie uniformément.Lorsqu'elle est répartie uniformément sur le portebagages,la charge totale maximale est de
57 kg (125 lb). Assurez-vous que votre vehicule ne dépasse pas le poids nominal brut du vehicule (PNBV) ou le poids technique maximal combiné (PTMC avant et arrière). Les specifications relatives au PNBV et au PTMC sont stipulées sur l'étiquette d'homologation (située sur le pied de montant de portière du conducteur). Pour obtenir
des renseignements à propos des PNBV et PTMC, reportez-vous au chapitre « Données techniques et information au consommateur » du present manuel.

AVERTISSEMENT
Fixez solidement tous les bagages à l'aide de cordes ou de sangles afin d'eviter qu'ils glissant ou se déplacent. En cas d'arrêt brusque ou de collision, les objets non retenus sont susceptibles de se transformer en projectiles et pouraient cause des blessures.

ATTENTION
Soyez prudent en installer des articles sur la galerie de toit ou en les enlevant. Si vous ne pouvez soulever sans effort les articles et les déposer sur la galerie de toit, utilisez une échelle ou un tabouret.

Réglage des traverses du portebagages tubulaire
Les traverses avant et arrière peuvent être réglées vers l'avant, vers l'arrière, et elles peuvent également être retirees. Utilisez le tournevis Torx
compris dans la trousse à outils pour desserrer les deux vis de réglage des traverses.
Pour le réglage :
-
Desserrez les vis de réglage à l'aide du tournevis Torx en tournant dans le sens contraire des aiguilles d'une montre.
-
Lorsque les brides de fixation sont desserrées, déplacez les traverses de sorte que les bagages puissant y être déposés.
- Serrez les vis de réglage à l'aide du tournevis Torx en tournant dans le sens des aiguilles d'une montre.
- Attachez solidement les bagages à l'aide d'une corde.
- Vérifiez toujours si les vis de réglage des traverses sont suffisamment serrées.
Pour le retrait :
- Desserrez les vis de réglage à l'aide du tournevis Torx en tournant dans le sens contraire des aiguilles d'une montre.
- Faites tourner les brides de fixation.
- Retirez les traverses.
- Aux fins d'installation, suivez cette procEDURE dans l'ordre inverse.
- Vérifiez toujours si les vis de réglage des traverses sont suffisamment serrées.
Réglez les traverses du porte-bagages à la position maximale arrêté si vous entendez un sifflement provenant du porte-bagages pendant la conduite.
GLACES ÉLECTRIQUES (selon l'équipement du vehicule)

AVERTISSEMENT
Assurez-vous que tous vos passagers ont les mains, les bras, etc. à l'intérieur du vehicule lorsqu'il est en mouvement et avant de relever les glaces. Servez-vous du commutateur de verrouillage des glaces pour empêcher l'utilisation imprévue des lève-glaces électriques.
- Ne laisses pas d'enfants sans surveillance dans un vehicule. Ils pourraient actionner par mégarde les commutateurs ou les commandes de l'éveglace et se retrouver coincés dans l'ouverture d'une des glaces. Des enfants laissés sans surveillance dans un vehicule pouraient être victimes d'un grave accident.

- Bouton de verrouillage/déverrouillage des portières
- Bouton de verrouillage des glaces
- Côté passager avant
- Place du passager arrirere droit (modules a cabine double seulement)
- Place du passager arrirere gauche (modetes à cabine double seulement)
- Interrupteur automatique côte conduc-teur
Commande des glaces électriques du côté conducteur
Le bloc de commande côte conducteur est équipé d'interrupteurs qui permettent d'ouvrir ou de fermer toutes les glaces du vehicule.
Les glaces électriques peuvent être activées lorsque le contacteur d'allumage est tourné à la position ON (marche) ou dans les 45 secondes suivant la coupure du contact (position OFF). L'alimentation des glaces électriques est toute fois neutralisée si la portière du conducteur ou du passager est ouverte durant cette période d'environ 45 secondes. Appuyez sur un des interrupteurs et tenez-le enforcé pour ourir une glace. Poussez l'interrupteur vers le haut pour reférer la glace. Pour interromper l'ouverture ou la fermeture d'une glace, relâchéz simplement l'interrupteur.

Commande de glace électric du côté passager avant
Seule la glace électric du passager avant peut être activée au moyen de cette commande. Pour ouvrir la glace, appuyez sur l'interrupteur et tenez-le enforcé ①. Tirez l'interrupteur vers le haut pour referrer la glace ②.

Commande des glaces électriques arrrière (modèles à cabine double seulment)
Les commandes des glaces électriques arrêtere permettent d'ouvrir ou de fermer la glace électrique du passager correspondante. Pour ouvrir la glace, appuyez sur l'interrupteur et tenez-le enforcé ①. Poussez l'interrupteur vers le haut pour refermer la glace ②.
Verrouillage des glaces des passagers
Seule la glace côté conducteur peut être ouverte ou fermée lorsque le bouton de verrouillage des glaces est enforcé. Pour désactiver la fonction de verrouillage des glaces, enforcez de nouveau ce bouton.

Fonctionnement automatique
Pour ouvrir complètement la glace du conducteur, enforcez l'interrupteur correspondant jusqu'à la seconde butée, puis relâchez-le; vous n'avez pas besoin de le maintainir enforcé. La glace du conducteur s'ouvre complètement. Pour interrompre l'ouverture de la glace, tirez l'interrupteur vers le haut.

GLACES MANUELLES
Les glaces laterales peuvent etre ouvertes et fermées en tournant la poignée sur chacune des portieres.

GLACE COULISSANTE ARRIÈRE (selon l'équipement du vehicule)
Serrez les poignées du levier ①, puis faites couilisser la glace en position ouverte ②.

Plafonnier - type A

Plafonnier - type B
L'éclairage interieur est commandé par un interrupteur à trois positions. L'éclairage fonctionne et ce, qu'elle que soit la position de la clé de contact dans le contacteur d'allumage.
Lorsque l'interrupteur est mis en fonction ①, l'éclairage interieur s'allume, qu'elle que soit la position des portières. L'éclairage s'estint après environ 30 minutes, à moins que le contacteur d'allumage ne soit tourné à la position ACC (accessoires) ou ON (marche).
Lorsque l'interrupteur se trouve à la position de fonctionnement normale (2), l'éclairage interieur
reste allumé pendant environ 30 secondes dans les conditions suivantes :
- les portières sont déverrouillées à l'aide de la télécommande, de l'interrupteur de verrouillage électrique des portières, ou d'une clé (si le vehicule est équipé d'un système de sécurité), lorsque toutes les portières sont fermées et que le contacteur d'allumage est en position LOCK (verrouillage) ou OFF (arrêt).
- la portière du conducteur est ouverte puis reférmée sans que la clé se trouve dans le contacteur d'allumage;
- la clé est retiree du contacteur d'allumage alors que toutes les portières sont fermées.
L'éclairage s'esteint pendant la temporisation de 30 secondes si :
- la portière du conducteur est verrouillée au moyen de la télécommande, de l'interrupteur de verrouillage électrique des portières, ou d'une clé (si le vehicule est équipé d'un système de sécurité);
- le contacteur d'allumage est tourné à la position ON (marche).
Lorsque l'interrupteur est en position eteinte ③ I'eclairage interieur ne s'allume pas et ce, peu importe si les portieres sont ouvertes ou non.
Lorsque les portieres sont ouvertes, l'éclairage s'éteint automatiquement dans un début de 30 minutes pour éviter d'épuiser la batterie.

ATTENTION
Ne l'utilise pas pendant de longues périodes lorsque le moteur est arrêté car la batterie pourrait se décharger.
LAMPES DE LECTURE (selon l'équipement du vehicule)

Pour allumer les lampes de lecture, enonceze les interrupteurs correspondants. Enforcez les interrupteurs de nouveau pour eteindre ces lampes.

ATTENTION
Ne l'utilise pas pendant de longues périodes lorsque le moteur est arrêté car la batterie pourrait se décharger.
MÉMENTO
3 Vérifications et réglages avant le démarrage
Clés 3-2
Portieres 3-2
Verrouillage au moyen d'une clé 3-3
Verrouillage au moyen de la commande de verrouillage interieure 3-4
Verrouillage au moyen de l'interrupteur de verrouillage électrique des portières (selon l'équipement du vehicule) 3-4
Serrure de portiere arrirée à dispositif de sécurité pour enfant (modeles Crew Cab seulement). 3-5
Système d'entrée sans clé à télécommande (selon l'équipement du vehicule) 3-5
Comment utiliser le système de verrouillage/ déverrouillage sans clé à télécommande 3-6
Remplacement de la pile 3-8
Capot. 3-10
Marchepied tubulaire (selon l'equipement du vehicule) 3-11
Trappe du réservoir de carburant 3-11
Bouchon de replissage de carburant. 3-11
Volant de direction. 3-13
Fonctionnement du dispositif d'inclinaison du volant (selon l'équipement du vehicule). 3-13
Pare-soleil 3-14
Miroir de courtoisie (selon l'equipement du vehicule) 3-14
Retroviseurs 3-14
Rétroviseur interieur 3-14
Rétroviseurs extérieurs 3-14
Commande à distance des rétroviseurs
extérieurs (selon l'équipment du vehicule) 3-15
Caisse 3-16
Hayon. 3-16
Crochets d'arrimage 3-18

- Deux clés principales (noires) avec symbole chromé NISSAN sur l'une des faces
- Plaque avec numero de clé
Lorsque vous prenez possession des clés de votre vehicule, vous receivez également une plaque portant le numero de votre clé. Prenez le numero de clé de la plaque en note sur un papier et conserveze ce dernier dans un endroit sur ( comme votre portefeuille), et non dans votre vehicule. Si vous perdez vos clés, rendez-vous chez un concessionnaire NISSAN avec ce numero pour obtenir des copies de la clé. Il est très important que vous conserviez le numero de clé
apparaissant sur la plaque puisque NISSAN ne conserve pas de registres des numéroes de clés de ses vehicules.
Vous n'aurez besoin de ce numero que si vous égarez toutes les clés de votre vehicule et qu'il n'est plus possible de se servir d'une de vos clés pour en faire des copies. Si vous possédez plusieurs une clé, il vous est possible d'en obtenir une copie en vous rendant chez un concessionnaire NISSAN ou chez un serrurier.

AVERTISSEMENT
- Gardez toujours les portières verrouillées pendant que vous conduisez. Utilisé en combinaison avec les ceintures de sécurité, le verrouillage des portières offre une sécurité accrue en cas d'accident en empêchant l'éjection des passagers hors du vehicule. Cette précaution a aussi pour but de prévenir l'ouverture accidentelle des portières par des enfants ou d'autres personnes et d'empêcher toute intrusion indésirable dans le vehicule.
- Avant d'ouvrir une portière, observerz la circulation routière et tenez-vous loin des vehicules qui s'approchent.
- Ne laisses pas d'enfants sans surveillance dans un vehicule. Ils pourraient actionner les commutateurs ou les commandes par megarde. Des enfants laissés sans surveillance dans un vehicule poursaient etre victimes d'un grave accident.
3-2 Vérifications et réglages avant le démarrage

Côté conducteur
VERROUILAGE AU MOYEN D'UNE CLÉ
Réglage manuel
Pour verrouiller la portiere du conducteur ou celle du passager, tournez la clé vers l'avant du vehicule ①. Tournez la clé vers l'arrière ② pour la déverrouiller.

Côté conducteur
Verrouillage electrique (selon l'équipement du vehicule)
Si vous vécique est équipé du système de sécurité, la serrure de portière vous permet de verrouiller ou de déverrouiller toutes les portières simultanément.
Pour verrouiller toutes les portières, tournez la clé vers l'avant ① du vehicule.
Pour déverrouiller une portière, tournez la clé dans la serrure de cette portière vers l'arrière ② du vehicule une fois. Pour déverrouiller toutes les portières, ramenez la clé à la position de point mort ③ (la position d'ou la clé peut être retiree et
insérée) à partir de la position précédente et tournez-la de nouveau vers l'arrière ④ dans un décai de cinq secondes.

Verrouillage de l'intérieur VERROUILLAGE AU MOYEN DE LA COMMANDE DE VERROUILAGE INTÉRIEURE
Pour verrouiller la portiere sans utiliser la clé, déplacez la commande de verrouillage interieure à la position de verrouillage ①, puis fermez la portière.
Déplacez la commande interieure à la position de déverrouillage pour déverrouiller la portière sans utiliser la clé ②.

Côté conducteur
VERROUILLAGE AU MOYEN DE L'INTERRUPTEUR DE VERROUILLAGE ÉLECTRIQUE DES PORTIÈRES ( selon l'équipement du vehicule)
Pour verrouiller toutes les portières sans utiliser la clé, poussez l'interrupteur de verrouillage électrique des portières (côté conducteur ou passager avant) à la position de verrouillage ①, puis reférer que votre portière. Assurez-vous de ne pas laisser vos clés dans le vehicule lorsque vous utilisez cette méthode pour verrouiller les portières.
Pour déverrouiller toutes les portières sans utilise la clé, poussez l'interrupteur de verrouillage électrique des portières (côté conducteur ou passager avant) à la position de déverrouillage ②.
Protection de verrouillage
Lorsque you placez l'interrupteur de verrouillage electrique des portieres (cote conducteur ou passager avant) en position de verrouillage alors que la clé se trouve dans le contacteur d'allumage et qu'une portière est ouverte, toutes les portieres se verrouillent puis se déverrouillent automatiquement. Ceci permet d'éviter que les clés soient oublées à l'intérieur du vehicule lors du verrouillage.

WPD0037
SERRURE DE PORTIÈRE ARRÊRÉ À DISPOSITIF DE SECURITÉ POUR ENFANT (modèles Crew Cab seulement)
Le dispositif de sécurité pour infant empêche l'ouverture accidentelle des portières arrêté, plus particulièrement lorsque de jeunes enfants ont pris place dans le vehicule.
Les leviers de verrouillage du dispositif de sécurité pour enfant sont situés sur le rebord des portières arrêté.
Les portières arrirée ne peuvent être ouvertes que de l'extérieur lorsque les leviers sont en position de verrouillage.
SYSTÉME D'ENTRÉE SANS CLÉ À TÉLECOMMANDE (selon l'équipement du vehicule)
La télécommande vous permet de verrouiller et de déverrouiller toutes les portières, d'allumer l'éclairage interieur et d'activer l'alarme de détresse à partir de l'extérieur du vehicule.
Assurez-vous de ne pas laisser vos clés dans le vehicule avant de verrouiller les portières.
La télécommande peut fonctionner à environ 10 m (33 pi) du vehicule. Toutefois, cette distance peut varier en fonction des conditions environnantes du vehicule.
Voupeuvezutiliserjusqu'àquatretelecommandes pour un vehicule.Pourobtenirdes renseignementsrelatif à l'achat et à l'utilisation detelecommandes supplémentaires,communiquez avec un concessionnaire NISSAN.
La télécommande ne fonctionnera pas si :
- la pile est décharge;
- la distance entre le vehicule et la télécommande est supérieure à 10 m (33 pi).

ATTENTION
Les conditions et les circonstances susceptibles d'endommager la télécommande sont enumeratedes ci-dessous:
- La télécommande ne doit pas entrer en contact avec de l'eau.
- Ne laisses pas tomber la télécommande.
- Ne frappez pas la télécommande brusquement sur un autre objet.
- Ne laissez pas la télécommande longtemps dans un endroit où la temperature est supérieure à 60^ (140°F).

WPD0157
COMMENT UTILISER LE SYSTÉME DE VERROUILAGE/ DéVERROUILAGE SANS CLÉ À TELECOMMANDE
Verrouillage des portières
- Fermez toutes les glaces de votre vehicule.
- Retirez la clé du contacteur d'allumage.
-
Fermez le capot et toutes les portières.
-
Enforcez le bouton 1 de la télécommande. Toutes les portieres se verrouillent. Les feu des detresse clignotent deux fois et l'avetisseur sonore emet un bip pour confirmer le verrouillage de toutes les portieres.
-
Si le bouton est enforcé alors que les portières sont déjà toutes verrouillées, les frais de détresse clignotent deux fois et l'avertisseur sonore émet un bip pour indiquer que les portières sont déjà verrouillées.
L'avertisseur sonore peut émettre un bip ou rester silencieux. Consultez la rubrique « Mise au silence de l'avertisseur sonore » plus loin dans ce chapitre pour obtenir des détails à ce sujet.
- Si une portière est ouverte et que vous appuyez sur le bouton ① , les portières se verrouillent mais l'avertisseur sonore ne retentit pas brièvement et les feu de détresse ne clignotent pas.

Déverrouillage des portières
Enoncez le bouton de la télécommande une fois.
- Seule la portiere du conducteur se déverrouille.
L'éclairage interieur s'allume pendant 30 secondes si l'interrupteur se trouve à la position de fonctionnement normal.
Enoncez de nouveau le bouton de la télé-commande dans les cinq secondes qui seront.
- Toutes les portières se déverrouillent.
Voupez eteindre l'éclairage interieur sans attendre le délambda de 30 secondes en inserant la clé dans le contacteur d'allumage et en la tournant à la position ON (marche) ou START (démarriage), en verrouillant les portières au moyen de la télécommande ou en mettant hors fonction l'interrupteur de l'éclairage interieur.
Dispositif de reverrouillage automatique
Lorsque le bouton de la télécommande est enforcé, toutes les portières se verrouillent automatiquement dans un-delai de cinq minutes, a moins qu'une des opérations suivantes soit effectuee:
- une portière est ouverte;
- une clé est insérée dans le contacteur d'allumage et tournée de la position OFF à la position ON.

WPD0159
Utilisation de l'alarme de détresse
Si vous vous trouvez à proximé de votre vehicule et que vous croyez être en danger, vous pouvez activer l'alarme de détresse en,enfantant le bouton de la télécommande pendant plus d'une demi-seconde.
L'alarme de détresse et les phares s'activent alors pendant 30 secondes environ.
L'alarme de détresse est neutralisée lorsque :
elle a retenti pendant 30 secondes environ ou
le bouton ou de la télécommande est enforcé.

WIC0325
Mise au silence de l'avertisseur sonore
Voussupportezneutraliserla fonctionde signalsonore émispar l'avertisseur au moyen de latélécommandesisiyouseledésirez.
Pour neutraliser cette fonction : appuyez simultanement sur les boutons et et maintenez-les enforcés pendant au moins deux secondes.
Les feu de détresse clignotent alors trois fois pour confirmer que la fonction de signal sonore a eté neutralisée.
Pour activer cette fonction: appuyez sur les boutons 1 et 2 et maintenez-les en foncés une fois de plus pendant au moins deux secondes.
Les feu des detresse clignotent une fois et l'avertisseur sonore émet un bip pour confirmer le rétablissement de cette fonction.
La neutralisation de la fonction de signal sonore n'entraine pas la mise au silence de l'avertisseur en cas de déclenchement de l'alarme.

REEMPLACEMENT DE LA PILE
Pour remplacer la pile de la télécommande, procedez comme suit :
① Ouvrez le couvercle de la telecommande a l'aide d'une piece de monnaie.
② Retirez la pile usagée.
③ Installez la pile neuve en plaçant le côte marqué d'un « + » vers le bas.
Pile recommende : Toshiba CR2025 ou l'équivalent.
④ Refermez solidement le couvercle de la télé-commande.
5. Appuyez sur le bouton 1 , puis sur le bouton 2 deux ou trois fois pour vous assurer que la télécommande fonctionne.
Si la pile est retiree de la telecommande pour toute autre raison que pour la replacer, repetez I'etape 5.
- Les piles mises au rebut de façon inadéquate peuvent avoir des effets néfastes sur l'environnement. Consultez toujours les règlements en vigueur dans votre localité concernant l'élimination des piles.
- La télécommande est concise pour résister à l'eau; toute fois, si elle entre en contact avec de l'eau, sechez-la immédiatement en l'essayant.
- La portée opérationnelle de la télécommande est d'environ 10 m (33 pi) à partir du vehicule. La portée de la télécommande peut varier en fonction des conditions environnantes du vehicule.
Avis de la FCC :
Toute modification non conforme aux normes du fabricant peut annuler le droit de l'utilisateur de disposeur d'un tel équipement.
Ce dispositif est conforme à l'article 15 des règlements de la FCC et au règlement RSS-210 d'Industrie Canada.
L'utilisation de ce dispositif est soumise aux conditions suivantes : (1) ce dispositif ne doit cause aucune interference nuisible, et (2) il doit pouvoir supporter toutes les interférences, y compris celles qui peuvent l'activer de façon inopinée.


AVERTISSEMENT
Assurez-vous que le capot de votre vehicule est bien fermé et correctement verrouillé avant de prendre la route. Si cette vérification n'est pas faite, le capot pourrait s'ouvrir et cause un accident.
- Si vous voyagez de la vapeur ou de la fumée s'échapper du compartment moteur, n'ouvre pas le capot car vous pourriez subir des blessures.
WPD0172
- Tirez la poignée de déverrouillage de la serrure du capot (A) située sous la planche de bord, du côté conducteur; le capot dégagé se soulève légarement.
- Du bout des doigts, relevez le levier B situé à l'avant du capot et soulevez ce dernier.
- Retirez la bequille de la bride.
-
Insérez l'extrémité de la béquille de capot © dans la fente se trouvant dans le rebord avant du capot.
-
Pour fermer le capot, remettez la béquille en place, abaissez le capot jusqu'à une distance d'environ 30 cm (12 po) au-dessus du loquet et laissez-le retomber. Vous vous assurez ainsi que le loquet du capot est bien engagé.
MARCHEPIED TUBULAIRE (selon l'équipement du vehicule)

WPD0173
- Marchepied tubulaire
- Marchepied de passager avant
- Marchepied de passager arrête
Le marchepied tubulaire est équipé d'une marche avant et d'une marche arrêté qui facilité l'entrée et la sortie des passagers du vehicule.
TRAPPE DU RÉSERVOIR DE CARBURANT

BOUCHON DE REMPLISSAGE DE CARBURANT
Le bouchon de replissage de carburant est de type à cliquet. Pour enlever le bouchon, tournez-le dans le sens contraire des aiguilles d'une montre. Pour le serrer, tournez-le dans le sens des aiguilles d'une montre jusqu'à ce qu'il émette des déclics.
Placez le bouchon de replissage de carburant dans le support de bouchon pendant que vous faites le plein.

A VERTISSEMENT
- L'essence est une substance extrémenment inflammable qui peut aussi être hautement explosive dans certaines conditions. Vous pourriez subir des brûlures ou des léasons graves en cas d'utilisation ou de manipulation incorrecte. Lorsque vous faites le plein d'essence, arrêtez toujours le moteur, ne fumez pas et tenez toute flamme ouétincelle loin du vehicule.
Le carburant peut etre sous pression. Devissez le bouchon d'un tiers de tour et s'il y a un sifflement,attendez qu'il s'arrete avant de continuer;;cela vous evitera d'être atteint et blessé par du carburant qui pourrait gicler. Retirez ensuite le bouchon.
- Ne tentez pas de continuer à replir le réservoir de carburant lorsque le pistolet du distributeur d'essence s'éteint automatiquement. Le surrémplissage pourrait faire déborder le réservoir, faire giclér le carburant et provoquer un incendie.
- Remplacez toujours un bouchon de replissage de carburant par un bouchon de même type que le bouchon d'origine. En effet, celui-ci est muni d'une soupape de sureté intégrée nécessaire au fonctionnement ajustat du circuit d'alimentation et au dispositif antipollution. L'utilisation d'un bouchon non ajustat peut entrainer une défaillance importante ainsi que des blessures. Une telle utilisation peut également provoquer l'activation du méoin d'anomalie.
- Ne versez jamais de carburant dans le corps de papillon pour tenter de démarrer votre vehicule.
-
Ne replissez pas un contenant à carburant portatif sur le plateau d'un camion, sur une carbette de plateau de camion en caoutchouc, ni sur tout autre matérieliau isolant car l'électricité statique pourrait provoquer une explosion des liquides, vapeurs ou gaz inflammables dans un vehicule ou une remorque. Pour réduire les risques de blessures graves ou mortelles lors du replissage de carburant d'un contenant portatif :
-
Placez toujours le contenant sur le sol pour le replir.
- N'utilise pas de dispositifs électroniques pendant le remplissage.
- Gardez le pistolet du distributeur d'essence en contact avec le contenant pendant le replissage.
- Utilisez uniquement un contenant à carburant portatif pour liquide inflammable homologué.
VOLANT DE DIRECTION
ATTENTION
- Si du carburant a été renversé sur la carrosserie du vehicule, rincez-le immédiatement avec de l'eau pour éviter des dégats à la peinture.
- Serrez jusqu'à ce que le bouchon du réservoir de carburant fasse entendre un déclic. Le tímoin d'anomalie ENGINE SOON peut s'allumer si le bouchon du réservoir est mal visse. Si tel est le cas ou si vous avez oublie de remettre le bouchon en place, serrez ou installez le bouchon et poursuivez votre route. Leervice témoin ENGINE devrait s'eteindre après quelques cycles de conduite. Si leservice témoin ENGINE reste allumé, faites inspector le vehicule par un concessionnaire NISSAN.
Pour plus de détails, consultez la rubrique « Témoin d'anomalie (MIL) » du chapitre « Commandes et instruments » dans leprésent manuel.

WPD0167
FONCTIONNEMENT DU DISPOSITIF D'INCLINAISON DU VOLANT (selon l'équipement du vehicule)
Tirez le levier de verrouillage vers le bas et reglez le volant de direction en le rehaussant ou en l'abaissant jusqu'à la position désirée.
Poussez fermement le levier vers le haut pour verrouiller le volant de direction en position.
A VERTISSEMENT
Ne reglez pas le volant de direction pendant que vous conduisez. Vous pourriez perdre la maitrise de votre vehicule et causer un accident.

MIROIR DE COURTOISIE (selon l'équipement du vehicule)
Un miroir de courtoisie est situé à l'arrière du pare-soileil du côté passager.

RÉTROVISEUR INTÉRIEUR
Pour réduire l'éblouissement provoqué par les phares des vehicules qui vous seront lorsque vous conduisez la nuit, utilisez la position de nuit ①
Pour la conduite de jour, utilisez la position de jour ②

AVENTISSEMENT
N'utilise la position nuit qu'en cas de besoin car elle réduit la visibilité arrêté.

Type A
RETROVISEURS EXTERIEURS
Vou puez orienter les retroviseurs extérieurs de votre vehicule dans la direction voulue pour bénéficier d'une meilleure visibilité arrête.
Type A: réglez le rétroviseur à la position désirée en déplaçant l'ensemble du boitier qui le compose.
Type B: réglez le rétroviseur à la position désirée en appuyant sur la surface du miroir.

Type B

Rétroviseurs extérieurs rabattables
Poussez les rétroviseurs vers l'arrière pour les rabattre.

COMMANDE À DISTANCE DES RÉTROVISEURS EXTERIEURS (selon l'équipement du vehicule)
La commande des rétroviseurs extérieurs à distance ne fonctionne que lorsque le contacteur d'allumage se trouve à la position ACC (accessoires) ou ON (marche).
Tournez le bouton de commande pour selectionner le retroviseur de gauche ou de droite. Reglez le retroviseur besoin à la position désirée en actionnant le bouton de commande.
CAISSE

AVENTISSEMENT
Les objets qui apparaissent dans le rétroviseur extérieur du côte passager sont plus proches qu'ils ne le semble. Soyez prudent lorsqu vous vous déplacez vers la droite. L'utilisation exclusive de ce rétroviseur pourrait cause un accident. Servez-vous du rétroviseur interieur ou jetez un coup d'œil par-dessus votre épaulafin d'évaluerrcorrectement la distance qui vous sépare des objets.

HAYON
Ouverture du hayon
Tirez la poignée du hayon vers le haut, puis abaissez le hayon. Les câbles de soutien maintainent le hayon en position ouverte.
Lors de la fermetre du hayon, assurez-vous que les loquets sont bien verrouillés.

Pour ouvrir le hayon à la position la plus BASSE, soulevez le hayon à un angle de 45 degrès, puis dégagez les câbles de soutien.
Ne conduisiez pas le vehicule avec le hayon abaisse, a moins que vous vehicule ne soit équipé de la rallonge de caisse Nissan (accessoire) et que cette-ci soit en position déployée.
Pour vous assurer de charger correctement la caisse du camion, reportez-vous au paragraphe « Conseils pour le chargement » de la rubrique « Information relative au chargement du vehicule», du chapitre « Données techniques et information au consommateur » de ce manuel.
A VERTISSEMENT
- Il est extrémement dangereux de prendre place dans l'aire de chargement d'un vehicule lorsque celui-ci est en marche. En cas d'accident, les personnes qui s'y trouveraient seraient beaucoup plus susceptibles de subir des blessures graves et d'être tuées.
- Ne laïsez jamais un passager s'asseoir à une place autre qu'un siège muni d'une ceinture de sécurité.
Assurez-vous que tous les occupants de votre vehicule ont pris place sur un siège et qu'ils portent correctement leur ceinture de sécurité.

Retrait du hayon
- Dégagez les câbles de soutien du hayon.
- Maintenez le hayon à un angle de 45 degrès.
- Tirez le hayon pour le sortir de la charnière côte gauche.
- Sortez le hayon de la charnière côte droit.
ATTENTION
Le hayon est lourd. Faites attention de ne pas l'échapper au moment du retrait.
Installation du hayon
- Insérez le hayon dans la charnière du côte d'orit.
- Maintenez le hayon à un angle de 45 degrès et insérez-le dans la charnière du côté gauche.
- Continuez de tener le hayon à un angle de 45 degrés et attachez les câbles de soutien du hayon.
- Refermez le hayon solidement.

Verrouillage du hayon
Pour verrouiller le hayon, tournez la clé du côté passager du vehicule ①. Pour le déverrouiller, tournez la clé du côté conducteur ②.

CROCHETS D'ARRIMAGE
Des crochets d'arrimage pratiques sont situés à chaque coin de la caisse du camion. Ils peuvent être utilisés pour fixer toute charge dans la caisse du camion.
- Le poids de la charge doit être réparti également sur les essieux avant et arrière.
Toute charge doit être solidement arrimée à l'aide de cordes ou de courroies afin d'eviter qu'elle se déplace ou glisse dans la caisse.

AVERTISSEMENT
Fixez solidement tous les bagages à l'aide de cordes ou de sangles afin d'eviter qu'ils glissent ou se déplacent. En cas d'arrêt brusque ou de collision, les objets non retenus sont susceptibles de se transformer en projectiles et pourrait cause des blessures.
- Veiliez à ce que la charge transporte dans votre vehicule ne dépasse pas la hauteur des dossiers de sièges. En cas d'arrêt soudain ou de collision, les objets non retenus pourraient être projétés et cause des blessures.
4 Appareil de chauffage et climatisationur et chaine stéréophonique
Bouches d'air 4-2
Appareil de chauffage et climatisationur (a commande manuelle) 4-2
Commandes 4-3
Fonctionnement du dispositif de chauffage 4-4
Fonctionnement du climatiseur (selon l'équipement du vehicule) 4-5
Tableaux de direction de l'air 4-7
Entretien du climatiseur 4-10
Chaine stéréophonique 4-10
Radio 4-10
Réception radio FM. 4-10
Réception radio AM 4-11
Précautions concernant l'utilisation de la chaine audio 4-11
Radio AM/FM avec lecteur de disques compacts (selon l'équipement du vehicule) 4-13
Radio AM/FM avec changeur de disques compacts (selon l'equipement du vehicule) 4-19
Entretien et nettoyage des disques compacts 4-32
Interrupteur de commande audio sur le volant de direction (selon l'équipement du vehicule) 4-32
Antenne 4-33
Telephone de voiture ou radio BP 4-33

Réglez la direction de l'air sortant par les bouches d'air du côte conducteur ①, par les bouches centrales ② et par les bouches du côte passager ③ en déplacant le curseur de la bouché d'air ou les ailettes des bouches d'air.
APPAREIL DE CHAUFFAGE ET CLIMATISEUR (à commande manuelle)

AVERTISSEMENT
- La fonction de refroidissement du climatiseur ne peut etre activee que lorsque le moteur tourne.
- Ne laisses pas d'enfants, d'adultes handicapés ou d'animaux seuls dans votre vehicule. Ils pourraient se blesser ou blesser quelqu'un accidentellement en mettant le vehicule en marche par inadvertance. De plus, par temps chaud et ensoleillé, la température de l'habitacle peutrapidement s'élever au point de provoquer des léssions graves voire mortelles à une personne ou à un animal enfermé dans le vehicule.
- N'utilisez pas le mode de recirculation d'air pendant de longues périodes puisque l'air de l'habitacle pourraitvenir vicié et les glaces pourraient s'embauer.
- Évitez de déplacer les commandes du chauffage ou de la climatisation lorsque vous conduisez et ce, afin de porter toute votre attention à la conduite.

- Commande du ventilateur
- Commande de température
- Interrupteur de dégivreur de lunette arrière (selon l'équipement du vehicule)
- Commande de la direction de l'air
- Bouton du climatiseur (selon l'équipement du vehicule)
- Bouton de recirculation de l'air (selon l'équipement du vehicule)
COMMANDES
Commande du ventilateur
La commande du ventilateur sert àmettre le ventilateur en fonction et à l'arrête, ainsi qu'a en régler la vitesse.
Commande de la direction de l'air
La commande de la direction de l'air vous permet de désir les bouches d'air par lesquelles l'air circulera dans l'habitacle.

L'air circule par les bouches d'air centrales et extérieures de la planche de bord.

L'air circule par les bouches d'air centrales et laterales de même que par les sorties d'air avant et arrriere du plancher.

L'air circule principalement par les sorties d'air avant et arrêté du plancher.

L'air circule par les sorties d'air du dégivreur et les sorties d'air avant et arrêté du plancher.

L'air circule principalement par les bouches d'air du degivreur.
La commande de direction de l'air peut être également placée à des positions intermédiaires entre les positions illustrées.
Commande de la température
La commande de température vous permet de régler la température de l'air qui circule par les bouches d'air.

Bouton de recirculation de l'air (selon l'équipement du vehicule)
REMARQUE :
La fonction de recirculation de l'air n'est disponible que sur les vehicules équipés de la climatisation.
Recirculation de l'air en fonction (témoin allumé):
I'air recircule dans I'habitacle.
Appuyez sur pourmettre la recirculation de l'air en fonction :
- lorsque vous conduisez sur une route pous-sièreuse;
-
pour empêcher les gaz d'échéppement (lorsque vous conduisez en circulation dense) de pénétrer dans l'habitacle;
-
pour obtenir un refroidissement maximal de l'habitacle lorsque le climatiseur fonctionne.
Recirculation de l'air hors fonction (témoin éteint):
l'air extérieur pénétre dans l'habitacle et circule par la bouche d'air sélectionnée.
Mettez la recirculation de l'air hors fonction lorsque vous utilisez le chauffage ou la climatisation en conditions normales.

Bouton du climatiseur (selon l'équipement du vehicule)
Ce bouton n'existe que sur les vehicules équipés d'un climatisationur.
Démarrez le moteur, réglez la commande du ventilateur à la vitesse désirée (1 à 4), puis appuyez sur le bouton A/C pourmettreleclimatiseur en fonction. Le témoin s'allume pour indiquer que le climatiseur fonctionne. Pour éteindre le climatiseur, appuyez de nouveau sur le bouton A/C
La fonction de refroidissement du climatiseur ne peut etre activee que lorsque le moteur tourne.
Interrupteur de dégivre du lunette arrière (selon l'équipement du vehicule)
Pour plus de renseignements au sujet de l'interrupteur du dégivre de lunette arrière, reportez-vous à la rubrique « Interrupteur de dégivre de lunette arrière » du chapitre « Commandes et instruments »
FONCTIONNEMENT DU DISPOSITIF DE CHAUFFAGE
Chauffage
Dans ce mode, l'air rechauffe sort par les bouches d'air du plancher. Une petite quantite d'air sort également par les bouches de dégivrage.
- Pour réchauffer l'habitacle, appuyez sur (selon l'équipement du vehicule) pourmettre la recirculation de l'air hors fonction.
- Reglez la commande de la direction de l'air à
-
Tournez la commande du ventilateur à la vitesse désirée.
-
Tournez la commande de la température à la position désirée entre les positions de chauffage modéré et maximal.
Ventilation
Dans ce mode, l'air extérieur circule par les bouches d'air extérieures et centrales de la planche de bord.
- Appuyez sur (selon l'equipement du vehicule) pourmettre la recirculation de I'air hors fonction.
- Reglez la commande de la direction de l'air à
- Tournez la commande du ventilateur à la vitesse désirée.
- Tournez la commande de la température à la position désirée.
Dégivrage ou désembuage
Dans ce mode, l'air sort par les bouches de dégivrage afin de dégivrer ou désmbuer les glaces.
- Reglez la commande de la direction de l'air à
-
Tournez la commande du ventilateur à la vitesse désirée.
-
Tournez la commande de la température à la position désirée entre les positions de chauffage modéré et maximal.
-
Pour dégivrer ou désembuer rapidement les glaces, réglez la commande du ventilateur sur 4 et la commande de la température à la position de chauffage maximal.
-
Lorsque la commande est régée sur le climatiseur se met en marche automatiquement (bien que le témoin ne s'allume pas) si la température extérieure est supérieure à 2°C (36°F). Le climatiseur continue de fonctionner jusqu'à ce que la commande soit tournée à la position OFF (arret) ou que le contact soit coupé, même si la commande de la direction de l'air est à une position autre que L'air est alors déshumidifié pour empêcher la formation de buee sur le pare-brise. La recirculation de l'air (C) est automatiquement désactivée, ce qui permet à l'air extérieur de pénétrer dans l'habitacle pour accélérer le désembuage.
Chauffage à deux niveaux
Dans ce mode, l'air frais circule par les bouches d'air extérieures et centrales de la planche de bord alors que l'air chaud circule par les bouches d'air du plancher. Lorsque la commande de tempérapure est tournée à la position de chauffage maximal ou de refroidissement maximal, la tem
pérature de l'air qui circule par les bouches d'air extérieures et centrales de la planche de bord est identique à celle de l'air qui sort par les bouches d'air du plancher.
- Appuyez sur (selon l'equipement du vehicule) pourmettre la recirculation de I'air hors fonction.
- Reglez la commande de la direction de l'air à
- Tournez la commande du ventilateur à la vitesse désirée.
- Tournez la commande de la température à la position désirée.
Chauffage et désembuage
Ce mode est utilisé pour rechauffer l'habitacle et désembuer le pare-brise.
- Reglez la commande de la direction de l'air à
- Tournez la commande du ventilateur à la vitesse désirée.
- Tournez la commande de la température à la position désirée entre les positions de chauffage modéré et maximal.
Lorsque la commande est reglee sur le climatiseur se met en marche automatiquement (bien que le témoin ne s'allume
pas) si la température extérieure est supérieure à 2^ (36^) . Le climatiseur continue de fonctionner jusqu'à ce que la commande soit tournée à la position OFF (arrêt) ou que le contact soit coupé, même si la commande de la direction de l'air est à une position autre que L'air est alors déshumidifié pour empêcher la formation de buée sur le pare-brise. La recirculation de l'air (selon l'équipement du vehicule) est automatiquement désactivée, ce qui permet à l'air extérieur de pénétrer dans l'habitacle pour accélérer le désembUAGE.
Conseils concernant l'utilisation
Retirez la neige et la glace des balais d'essuie-glace de même que des entrées d'air situées à l'avant du pare-brise. Le fonctionnement du chauffage s'en trouvera amélioré.
FONCTIONNEMENT DU
CLIMATISEUR (selon l'équipement du vehicule)
Demarrez le moteur, reglez la commande du ventilateur à la vitesse désirée (1 à 4), puis appuyez sur pourmettreleclimatiseurenfonction. Lorsqueleclimatiseureestactivé,lesdispositifde chauffage dispose également des fonctions de refroidissement et de déshumidification.
La fonction de refroidissement du climatiseur ne peut etre activee que lorsque le moteur tourne.
Refroidissement
Dans ce mode, l'air est refroidi et déshumidifié.
- Appuyez sur le bouton pourmettre la recirculation de l'air hors fonction.
- Reglez la commande de la direction de l'air à
- Tournez la commande du ventilateur à la vitesse désirée.
- Appuyez sur le bouton A/C . Le témoin s'allume.
- Tournez la commande de la température à la position désirée.
- Par temps très chaud, vous pouvez refroidir l'habitacle rapidement en appuyant sur pourmettre la recirculation de l'air en fonction (son témoin s'allume). Appuyez de nouveau sur le bouton pour returner au mode de refroidissement normal.
Chauffage déshumidifié
Dans ce mode, l'air est rechauffé et déshumidifié.
-
Appuyez sur le bouton G pourmettre la recirculation de l'air hors fonction.
-
Reglez la commande de la direction de l'air à
- Tournez la commande du ventilateur à la vitesse désirée.
- Appuyez sur le bouton ^A/C . Le témoin s'allume.
- Tournez la commande de la température à la position désirée.
Désembuage déshumidifié
Ce mode est utilisé pour désembuer les glaces et déshumidifier l'air.
- Reglez la commande de la direction de l'air à
- Tournez la commande du ventilateur à la vitesse désirée.
- Appuyez sur le bouton A/C . Le témoin s'allume.
Lorsque ou toute autre position intermédiaire est selectionnée, le climatiseur se met automatiquement en marche (bien que le témoin ne s'allume pas), si la température extérieure est supérieure à 2 °C (36 °F). Le climatiseur continue de fonctionner jusqu'à ce que la commande soit tournée à la position OFF (arrêt) ou que le contact soit coupé, même si la commande de la direction de l'air est à une position
autre que . L'air est alors déshumidifié pour empêcher la formation de buée sur le pare-brise. La recirculation de l'air (G) est automatique-ment désactivée, ce qui permet a l'air extérieur de penetrer dans l'habitacle pour accelerer le désembuage.
- Tournez la commande de la température à la position désirée.
Conseils concernant l'utilisation
Lorsque le climatiseur est en fonction, gar-dez les glaces fermées.
- Si le vehicule a ete stationne au soleil, roulez pendant deux ou trois minutes avec toutes les glaces ouvertes pour evacuer l'air chaud de l'habitacle. Remontez ensuite les glaces. Le climatiseur pourra alors refroidir l'habitacle plus rapidement.
- Le climatiseur doit fonctionner pendant environ dix minutes d'affilée au moins une fois par mois. Le dispositif reste ainsi lubrifié pour prévenir une éventuelle défaillance du climatiseur.
- Si l'indicateur de température du liquide de refroidissement se trouve au-dessus de la plage de température normale, éteignez le climatiseur. Consultez la rubrique « Si le moteur surchauffe » du chapitre « En cas d'urgence »
4-6 Appareil de chauffage et climatiseur et chaîne stéréophonique
TABLEAUX DE DIRECTION DE L'AIR
Les tableaux suivants indiquent les positions des boutons et des commandes pour réchauffer ou refroidir l'habitacle et dégiverre les glaces de facon OPTIMALE ET RAPIDE. La recirculation de l'air doit toujours être mise hors fonction si vous activez les dispositifs de chauffage et de dégivrage.
DEGIVRAGE/ DESEMBUAGE

: Air circulant dans le radiateur
Commande
Commande
du ventilateur
de température
Interrupteur de dégivre
de lunette arriere
(selon l'équipement du vehicule)

Commande
de la direction
de l'air
Bouton de recirculation d'air ( selon l'équipement du vehicule)
Bouton du climatiseur
(selon l'équipement
du vehicule)
| Bouton du climatiseur (selon l'équipement du vehicule) | Bouton de recirculation d'air (selon l'équipement du vehicule) | Commande de la direction de l'air | Commande de température | Commande du ventilateur |
| ARRÊT (s'allume automatiquement) | ARRÊT (s'arrête automatiquement) | CHAUD (DROIT) | 4 |
LHA0420

CHAUFFAGE A DEUX NIVEAUX
Commande
Commande
Interrupteur de dégivre
de lunette arriere
du ventilateur
de température
(selon l'équipement du vehicule)

Bouton de recirculation d'air (selon l'équipement du vehicule)
Bouton du climatiseur
(selon I'equipement
du vehicule)
| Bouton du climatiseur (selon l'équipement du vehicule) | Bouton de recirculation d'air (selon l'équipement du vehicule) | Commande de la direction de l'air | Commande de température | Commande du ventilateur |
| ARRÊT | ARRÊT | ↓ | CHAUD (DROIT) | 4 |
LHA0421

CHAUFFAGE
Commande
Commande
de lunette arrête
du ventilateur
de température
(selon l'équipement du vehicule)

Bouton de recirculation
d'air (selon l'équipement
du vehicule)
Bouton du climatiseur
(selon I'équipement
du vehicule)
| Bouton du climatiseur (selon l'équipement du vehicule) | Bouton de recirculation d'air (selon l'équipement du vehicule) | Commande de la direction de l'air | Commande de température | Commande du ventilateur |
| ARRÊT | ARRÊT | CHAUD (DROIT) | 4 |
LHA0422
CHAUFFAGE ET DÉGIVRAGE/ DESEMBUAGE

Commandedu ventilated
Commandedetemperature
Interrupteur de dégivreur de lunette arrête (selon l'équipment du vehicule)

Bouton de recirculation d'air (salon l'équipement du vehicule)
Bouton du climatiseur (selon l'équipement du vehicule)
Commande de la direction de l'air
| Bouton du climatiseur (selon l'équipement du vehicule) | Bouton de recirculation d'air (selon l'équipement du vehicule) | Commande de la direction de l'air | Commande de température | Commande du ventilateur |
| ARRÊT (s'allume automatiquement) | ARRÊT (s'arrête automatiquement) | 4 | CHAUD (DROIT) | 4 |
LHA0423
CHAUFFAGE ET DÉGIVRAGE/ DESEMBUAGE

Commandede température
Interrupteur de dégivreur de lunette arrête (selon l'équipement du vehicule)
Commandedu ventilateur

Bouton de recirculation d'air (salon l'équipement du vehicule)
Bouton du climatiseur (selon l'équipement du vehicule)
Commande de la direction de l'air
| Bouton du climatiseur (selon l'équipement du vehicule) | Bouton de recirculation d'air (selon l'équipement du vehicule) | Commande de la direction de l'air | Commande de température | Commande du ventilateur |
| ARRÊT (s'allume automatiquement) | ARRÊT (s'arrête automatiquement) | 4 | CHAUD (DROIT) | 4 |
LHA0424
ENTRETIEN DU CLIMATISEUR
CHAINE STÉRÉOPHONIQUE
Le climatiseur de votre vehicule NISSAN est rempli d'un frigorigène ecologique.
Ce type de frigorigène n'est pas nocif pour la couche d' ozone.
L'entretien du climatiseur de votre vehicule NISSAN nécessite l'utilisation d'équipement de replissage et d'un lubrifiant spéciaux. L'utilisation de frigorigènes ou de lubricants non adequats endommagera sérieusement libre climatiseur. Consultez la rubrique « Recommandations relatives au frigorigène et à la lubrification du climatiseur » du chapitre « Données techniques et information au consommateur »
Votre concessionnaire NiSSAN possede l'expertise requise pour effectuer l'entretien du climatiseur « ecologique » de voitre vehicule.

AVERTISSEMENT
Le climatiseur contient du frigorigène haute pression. Afin d'eviter les blessures, il est essentiel que toute intervention faite sur le climatiseur soit effectuee par un technicien qualifie qui dispose de I'equipement adequat.
RADIO
Tournez la clé de contact à la position ACC (accessoires) ou ON (marche) et appuyez sur le bouton PWR/VOL (marche-arrêt/volume) pour allumer la radio. Tournez la clé de contact à la position ACC si vous souhaitez écouter la radio lorsque le moteur est arrêté.
La qualité de la réception radio varie selon la puissance du signal émis, la distance de l'émetteur radio, la présence d'immeubles, de ponts, de montagnes ou de tout autre facteur externe. Les variations occasionnelles de la qualité de réception sont en général causées par de tels facteurs.
L'utilisation d'un téléphone cellulaire dans ou à proximé du vehicule peut promètomme la qualité de la réception radio.
Réception radio
La radio de votre vehicule NISSAN est équipée de circuits électroniques d'avant-garde qui améliorent la qualité de la réception radio. Ces cir-cuits sont conçus pour accroître la plage de réception de même que la qualité de celle-ci.
Cependant, certaines caractéristiques générales propres aux fréquences radio AM et FM peuvent compromètre la qualité de la réception radio dans un vehicule qui roule et ce, peu importe la
qualité de l'équipement utilisé. Ces caractéristiques sont normales dans une zone de réception donnée et n'indiquent pas un problème de fonctionnement de la radio de votre vehicule NISSAN.
Les conditions de réception radio changent constamment du fait que votre vehicule se déplace. Les immeubles, les montagnes, la distance de la source du signal et l'interfERENCE causée par les autres vehicules peuvent compromètre la qualité de la réception. Vous trouvez cédous une description des facteurs qui peuvent compromètre la réception radio dans votre vehicule.
RéCEPTION RADIO FM
Portée : en mode FM monophonique (un seul canal), la portée de la bande FM se situe généralement entre 40 et 48 kilomètres (25 à 30 milles) et est légèrement supérieure à la portée offerte par le mode FM stéreo. Des facteurs externes peuvent parfois nuir à la réception du signal émis par une station FM, et ce, même si celle-ci se trouve à moins de 40 kilomètres (25 milles). La puissance du signal FM est directement proportionnelle à la distance entre l'émetteur et le récepteur. Les signaux FM suivant une trajectory en ligne droite etprésentent des caractéristiquessemblables à celles de la lumière. Par exemple, ils seront reflèchis par des objets.
Affaiblissement et dérive : lorsque la distance qui sépare votre vehicule de l'émetteur de la station s'accroît, les signaux auront tendance à s'affaïblir ou à dériver.
Parasites and battement : lorsqu'il y a interfERENCE du signal causée par des immeubles, des montagnes ou par la position de l'antenne (cette situation se produit généralement à une plus grande distance de l'émetteur de la station), des parasites ou des battements peuvent être percus. Vous pouvez atténuer ces bruits en réglant le bouton des aiguus pour réduire ces derniers.
Réception par trajets multiples : en raison des caractéristiques de réflexion des signaux FM, des signaux directs et reflèchis atteignent le récep-teur en même temps. Les signaux peuvent se neutraliser mutuellement et causer un battement ou une perte momentanée du son.
RéCEPTION RADIO AM
Les signaux AM, du fait de leurasse fréquence, peuvent contourner des objets et rebondir sur le sol. De plus, les signaux rebondissent sur l'ionosphere et reviennent vers la terre. Ces caractéristiques font que les signaux AM sont aussi sujets à des interférences lors de leur trajet de l'émetteur au récepteur.
Baisse d'intensité : ce phénomène se produit lorsqu'le vehicule passée sous un viaduc ou dans
des zones comportant beaucoup d'immeubles élevés. Il peut également se produit pendant plusieurs secondes lors de turbulences ionosphériques, et ce, même dans des endroits dépourvus d'obstacles.
Parasites : ils sont causés par les orages, les lignes d'alimentation électrique, les enseignes électriques et même les frais de circulation.

PRECAUTIONS CONCERNANT L'UTILISATION DE LA CHAINE AUDIO
Lecteur de disque compact
- N'utilise que des disques compacts ronds de haute qualité, d'un diamètre de 12 cm (4,7 pouces) et identifiés par le logo « COMPACT disc DIGITAL AUDIO » (sur le disque ou l'emballage).
- Par temps froid ou pluvieux, le lecteur peut mal fonctionner en raison de l'humidité ambiente. Si tel est le cas, retirez le disque compact du lecteur et déshumidifiez ou aéréz ce dernier.
- Le lecteur peut sauter des pistes lorsque vous conduisez sur une route cahoteuse.
- Il est possible que le lecteur de disque compact ne fonctionne pas lorsque la température de son compartment est très élevé. Laissez refroidir le compartment pour en abaisser la température avant d'utiliser le lecteur.
- N'exposez pas le disque compact directement aux rayons du soleil.
-
Les disques compacts en mauvais état, sales, rayés ou couverts de traces de doigts peuvent ne pas fonctionner correctement.
-
Les disques compacts suivants peuvent ne pas fonctionner ajustement:
disques compacts de contrôle par duplication (CCCD);
disques compacts inscriptibles (CDR);
disques compacts réinscriptibles (CD-RW).
- N'utilise pas les disques compacts suivants, car ils peuvent provoquer un mauvais fonctionnement du lecteur de disque compact :
disques de 8 centmétres (3,1 pouces) avec un adaptateur;
disques compacts qui ne sont pas ronds;
disques compacts portant une éti- quette en papier;
disques compacts déformés, rayés ou dont les rebords ne sont pas réguliers.

LHA0117
- Touche PRESET A-B-C (préselections)
- Écran d'affichage
- Bouton du lecteur de disque compact
- Bouton d'éjection du disque compact
- Fente de chargement de disque compact
- Touche MENU
- Touche AUDIO
- Touches de seLECTION des stations
- Touche SEEK/TRACK (recherche/piste)
- Bouton PWR/VOL (marche-arrêt/volume)
- Touche BAND (sèlection de bande de fréquences)
RADIO AM/FM AVEC LECTEUR DE DISQUES COMPACTS (selon l'equipement du vehicule)
Bouton PWR/VOL (marche-arrêt/volume)
Tournez la clé de contact à la position ACC (accessoires) ou ON (marche), puis appuyez sur le bouton de marche-arrêt/volume. Tournez la clé de contact à la position ACC (accessoires) si vous écoutez la radio lorsque le moteur est arrêté. La chaine stéreo se remet en fonction dans le mode qui avait été sélectionnéAAParavant.
Si aucun disque compact ne se trouve dans le lecteur, la radio s'allume. Pour eteindre la chaine stereo, appuyez de nouveau sur le bouton de marche-arrêt/volume.
Tournez le bouton de marche-arrêt/volume vers la droite pour augmenter le volume sonore et vers la gauche pour le diminuer.

Réglage de la qualité du son et de l'équilibrage des haut-parleurs
Appuyez sur la touche AUDIO et utilisez la touche SEEK/TRACK (recherche/piste) pour regler les niveaux des graves, des aigus, d'équilibrage avant-arrête et de balance gauche-droite de la
chaîne audio. Appuyez sur la touche AUDIO une fois pour les graves (BASS), deux fois pour les aigus (TREB), trois fois pour l'équilibre avant-àrrière (FAD) et quatre fois pour la balance gauche-droite (BAL). L'affichage revient au mode radio ou lecteur de disque compact après sept secondes lorsque le réglage des niveaux de la châîne audio est terminé; vous pouvez également appuyer de nouveau sur la touche AUDIO dans les sept secondes pour effectuer le réglage du niveau de châîne audio suivant. L'affichage revient au mode radio ou lecteur de disque compact lorsque la touche AUDIO est enforcée une cinquième fois.
L'équilibreur avant/arrière ajusté le niveau sonore entre les haut-parleurs avant et arrière alors que la balance gauche/droite règle le niveau du son entre les haut-parleurs droit et.gauche.
Réglage de la montre
- Appuyez sur la touche MENU et maintenez-la enforcée jusqu'à ce qu'un bip se fasse entendre (plus de 2 secondes).
- Le chiffre des heures clignote. Appuyez sur la touche SEEK/TRACK (recherche/piste) ( ou ) pour régler les heures.
-
Appuyez de nouveau sur la touche MENU jusqu'à ce que la radio émette un bip pour passer au réglage des minutes.
-
Le chiffre des minutes clignote. Appuyez sur la touche SEEK/TRACK (recherche/piste) ( ±b ou ±b ) pour régler les minutes.
- Appuyez de nouveau sur la touche MENU pour quitter le mode de réglage de la montre.
L'affichage régulier de la radio doit se rétabir après sept secondes; sinon, vous pouvez enforcer la touche MENU de nouveau pour y revenir.
Fonctionnement de la radio AM/FM
BAND
Sélection de la bande AM/FM
Appuyez sur la touche BAND pour passer d'une réception sur la bande AM à une réception sur la bande FM.
L'indicateur de bande FM stéreo (ST) est allumé pendant la réception FM stéreo. Lorsque le signal d'émission stéreo faiblit, la radio passa automatique d'une réception stéreo à une réception monophonique.


Syntonisation manuelle/par recherche/par balayage
Lorsque la touche MENU est enforcée pendant que la radio est en marche, les modes de syntonisation alternent entre :
syntonisation par recherche syntonisation manuelle syntonisation par balayage
Les mentions « TUNE » et « SCAN » s'affichent à l'écran pour chaque mode. Aucune icône ne s'affiche pour le mode SEEK.
A VERTISSEMENT
La conduite du vehicule exige toute votre attention : ne tentez donc pas de syntoniser une station radio en conduisant.
Syntonisation par recherche
Appuyez sur la touche SEEK/TRACK (recherche/piste) (空 ou 空) pendant moins d'une seconde et demie. La syntonisation par recherche s'effectue dans un ordre croissant ou decroissant de fréquences, selon le bouton qui a été enforcé, et s'arrête sur la station de radiodiffusion suivante. Lorsque la station de radiodiffusion ayant la fréquence la plus élevé est atteinte avec la touche 空 , le mode de recherche se poursuit à partir de la station ayant la fréquence la plus BASSE. Lorsque la station de radiodiffusion ayant la fréquence la plus BASSE est atteinte avec la touche 空 , le mode de recherche se poursuit à partir de la station ayant la fréquence la plus BASSE.
Syntonisation manuelle
Utilisez les boutons et pour synto-niser les stations manuellement. Pour vous déplacer rapidement d'une station à l'autre, mainte-nez les touches enfoncées.
Syntonisation par balayage
Appuyez sur la touche SEEK/TRACK (recherche/piste) (X ou Y) et maintenez-la enforcée pendant plus d'une seconde et demie.
La mention SCAN s'affiche à l'écran et l'indicatif de la station de radio clignote. La syntonisation par balayage s'effectue dans un ordre croissant ou décroissant des fréquences, selon le bouton qui a été enforcé. La syntonisation par balayage s'arrête sur chaque station de radiodiffusion pendant cinq secondes. La mention SCAN demeure allumée et l'indicatif de la radio clignote pendant le balayage. La mention SCAN clignote et l'indicatif de la station demeure allumé lorsque le balayage s'arrête temporairement sur une station. Appuyez de nouveau sur le bouton pendant cette période de cinq secondes pour arrêtier le balayage; la radio restera à cette station.
1 SELECTIONNER


2 METTRE EN MÉMOIRE

MAINTENIR
le pouvoir
enforcé pendant
plus de
1,5 seconde
3 CONFIRMER

L'indicateur s'allume, et le son reprend lorsque la mise en mémoire est terminée.
LHA0119
Opérations de mise en mémoire de stations
Chaque mode de préseLECTIONs (A, B ou C) contient six préselections qui peuvent correspondre à n'importe qu'elle combinaison de stations AM ou FM.
Pour alterner entre les présélections, appuyez sur la touche PRESET A-B-C (présélections).
A→B→C
L'icène A, B ou C s'affiche pour indiquer le groupe de presélections qui est en cours.
Pourmettreune station de radio en mémoire dans une préselection:
- Appuyez sur PRESET A-B-C (présections) pour désirer le mode de présections désiré.
- Syntonisez la station désirée.
- Appuyez plus de trois secondes sur la touche de seLECTION à laquelle vous voulez assigner la station désirée. Par exemple, sur l'illustration, une station est assignée à la touche 5. La radio est mise en sourdinependant que la touche de selection est enfonnée.
- La mise en mémoire est complétée lorsque l'indicateur s'allume à l'écran et que le son revient.
- D'autres stations peuvent être mises en mémoire (en les assignant à d'autres boutons de seLECTION) en procédant de la même manière.
Si la batterie est débranchée, ou si le fusible de la radio grille, la mémoire de la radio s'efface. Si tel est le cas, repêtez la procédure de mise en mémoire des stations désirées.
Fonctionnement du lecteur de disques compacts
Tournez la clé de contact à la position ACC ou ON, puis insérez le disque compact avec soin dans la fente; l'étiquette doit être orientée vers le haut. Le disque compact est charge automatiquement et la lecture commence.
Si la radio est déjà allumée, elle s'est automatiquement pour permettre la lecture du disque compact.

ATTENTION
N'insérez pas de force un disque compact dans la fente du lecteur ou du changeur de disques compacts. Vous pourriez endomager le disque compact ou le changeur/lecteur.
CD
Bouton du lecteur de disque compact
Lorsque le bouton du lecteur de disque compact est enforcé alors qu'un disque compact est
charge et que la radio est allumée, la radio s'eteint et la lecture du disque compact commence.


Touches de piste suivante/precedente et FF/REV (avance rapide/ rebobinage)
Touche de piste suivante/précédente
Une pression sur le bouton à pendant la lecture d'un disque compact fait passer le lecteur à la piste suivante du disque. Appuyez sur le bouton plusieurs fois pour sauter plusieurs pistes. La lecture du disque compact passé à la piste suivante chaque fois que la touche est enforcée. Le numéro de la piste s'affiche à l'écran. (Après avoir atteint la dernière piste du disque compact, la lecture reprend à la première piste.)
Une pression sur le bouton V fait reprendre la lecture au début de la piste en cours. Appuyez sur le bouton V plusieurs fois pour sauter de plusieurs pistes vers l'arrière. Chaque fois que le bouton est enforcé, la lecture du disque compact passée à la piste précédente.
Si la chaîne audio se trouve en mode MIX (aléatoire) lorsquela touche ±b ou ±b est enforcée,
la lecture aléatoire passée à une autre piste, toujours可以选择 de façon aléatoire.
Touche FF/REV (avance rapide/rembobinage)
En maintainant le bouton X ou le bouton Y enforcé pendant la lecture d'un disque compact, vous faites passer le lecteur en vitesse accélérée vers l'avant ou vers l'arrière. Lorsque le bouton est relachué, la lecture du disque compact reprend à la vitesse normale.
MENU
Touche MENU
Une pression sur le bouton MENU pendant la lecture du disque compact modifie le mode de lecture de la façon suivante :
Touche RPT (répetition): la lecture de la plage en cours est répetée.
Touché MIX (lecture aléatoire) : les pistes sont lues dans un ordre aléatoire (sans suivre l'ordre sur le disque compact). La même piste peut être repétée deux fois. Si la touche ±b est enforcée en mode MIX, les pistes sont lues dans un ordre aléatoire.
Normal (pas de symbole): toutes les pistes du disque compact sont lues dans l'ordre.
Lorsqu'un autre disque compact est inséré, la lecture de tous les disques est activée automatiquement.

Bouton d'éjection de disque compact
Enonceze le bouton lorsqu'un disque compact est chargé pour éjecter ce dernier.
Lorsque le bouton est enforcé pendant la lecture du disque compact, ce dernier est éjecté et le lecteur s'eteint.

Témoin DISC (disque compact)
Le témoin s'allume lorsqu'un disque compact est chargé dans le lecteur.

WHA0134
- Touche LOAD (chargement des disques)
- Touche SEEK/TRACK (recherche/piste)
- Touche CD (selection du lecteur de disques compacts)
- Touches de selection de bande de fréquences
- Fente de chargement de disque compact
- Bouton d'éjection du disque compact
- Touches TUNE/FF - REV (syntonisation manuelle de la radio)
- Touche RPT MIX/PTY (répetition aléatoire/type de programmation)
- Touche CLOCK (montre)
- Touche AUDIO
- Touche TRAVEL PRESET (mise en mémoire de préseLECTIONs en fonction de la région)
- Touches de seLECTION des stations
- Touche RDS (radiocommunication de données)
- Touche SCAN (balayage)
- Touche PRESET SCAN (balayage de présélections)
- Bouton PWR/VOL (marche-arrêt/volume)
- Touche PRESET A-B-C (préselections)
RADIO AM/FM AVEC CHANGEUR DE DISQUES COMPACTS (selon l'équipement du vehicule)
Bouton PWR/VOL (marche-arrêt/volume)
Tournez la clé de contact à la position ACC (accessoires) ou ON (marche), puis appuyez sur le bouton de marche-arrêt/volume. Tournez la clé de contact à la position ACC (accessoires) si vous écoutez la radio lorsque le moteur est arrêté. La chaine stéreo se remet en fonction dans le mode qui avait été sélectionnéAAParavant.
Si aucun disque compact ne se trouve dans le lecteur, la radio s'allume. Pour eteindre la chaine stereo, appuyez de nouveau sur le bouton de marche-arrêt/volume.
Tournez le bouton de marche-arrêt/volume vers la droite pour augmenter le volume sonore et vers la gauche pour le diminuer.

Réglage de la qualité du son et de la balance des haut-parleurs
Appuyez sur la touche AUDIO pour entrer en mode de réglage audio :
BASS (graves) MID (médiums) TREB (aigus) FADE (équilibre avant/arrête) BAL (balance)
Appuyez sur la touche TUNE/FF-REV (syntonisation - avance rapide - rebobinage) (ou ) ou sur la touche SEEK/TRACK (recherche/piste) (ou ) pour régler les niveaux désirés. L'affichage régulier de la radio doit se rétablier après sept secondes; sinon, vous pouvez enforcer la touche AUDIO de nouveau pour y revenir.
Fonctionnement de la montre
L'affichage de la montre s'active lorsque la touche CLOCK (montre) est enforcée, que la radio soit en marche ou non. Pour désactiver l'affichage de la montre, appuyez de nouveau sur la touche CLOCK.
Réglage de la montre
-
Appuyez sur la touche CLOCK (montre) et maintenez-la enforcée jusqu'à ce qu'un bip se fasse entendre (>2 secondes).
-
Le chiffre des heures clignote. Appuyez sur la touche TUNE/FF-REV (syntonisation - avance rapide - rebobinage) (A ou ) ou sur la touche SEEK/TRACK (recherche/piste) (A ou ) pour régler les heures.
- Appuyez sur la touche CLOCK pour passer au réglage des minutes.
- Appuyez sur la touche TUNE/FF-REV (syn
tonisation - avance rapide - rebobinage) (ou ) ou sur la touche
SEEK/TRACK (recherche/piste) (ou ) pour regler les minutes. - Appuyez de nouveau sur la touche CLOCK pour quitter le mode de réglage de la montre.
L'affichage régulier de la radio doit se rétabir après sept secondes; sinon, vous pouvez enforcer la touche CLOCK de nouveau pour y revenir.
Fonctionnement de la radio AM/FM
Sélection de la bande AM/FM
Appuyez sur la touche AM ou FM pour passer d'une bande à l'autre.
L'indicateur de bande FM stéreo (ST) est allumé pendant la réception FM stéreo. Lorsque le signal
d'émission stéreo faiblit, la radio passe automatique d'une réception stéreo à une réception monophonique.
Touches TUNE/FF-REV (syntonisation/avance rapide - rebobinage)
A VERTISSEMENT
La conduite du vehicule exige toute votre attention : ne tentez donc pas de syntoniser une station radio en conduisant.
Utilisez les boutons et pour synto-niser les stations manuellement. Pour vous déplacer rapidement d'une station à l'autre, mainte-nez les touches enfoncées.
A Y Syntonisation par recherche
Appuyez sur la touche SEEK/TRACK (recherche/piste) (空 ou x ). La symtonisation par recherche s'effectue dans un ordre croissant ou décroissant de fréquences, selon le bouton qui a été enforcé, et s'arrête sur la station de radiodiffusion suivante. Lorsque la station de radiodiffusion ayant la fréquence la plus élevé est atteinte avec la touche de recherche croissantante, le mode de recherche se poursuit à partir de la station ayant la fréquence la plus BASSE. Lorsque la station de radiodiffusion ayant la fréquence la
plusasse estatteine avec la touche de recherche decroissante,le mode de recherche se poursuit a partir de la station ayant la frquence la plus elevée.
Syntonisation par balayage
Appuyez sur la touche SCAN (balayage). La mention « SCAN » s'affiche. Le balayage des stations débute à partir des basses fréquences. Il s'arrête, pour une période de cinq secondes, à chaque station de radiodiffusion dont l'intensité du signal est suffisamment puissant. Tout au long du balayage, la mention « SCAN » s'affiche. Appuyez sur la touche SCAN (balayage) de nouveau pendant cette période de cinq secondes pour arreter la symponisation par balayage; la radio restera symponiée sur la station en cours.

Fonction de mise en mémoire d'une station - Fonction TRAVEL (mise en mémoire de préseLECTIONs en fonction de la région) désactivée
Chaque mode de mise en mémoire de préseLECTIONs (A, B ou C) contient six présections qui peuvent correspondir à des stations AM, FM et FM RDS.
Pour alterner entre les présélections, appuyez sur la touche PRESET A-B-C (présélections).
A→B→C
L'icène A, B ou C s'affiche pour indiquer le groupe de presélections qui est en cours.

Pourmettreune station de radio en mémoire dans une préselection:
-
Syntonisez la station désirée.
-
Appuyez sur la touche de seLECTION des stations (plus de 2 secondes). Par exemple, dans l'illustration, une station est assignée au bouton 3.
- Lorsque le témoin de la touche de seLECTION des stations s'allume, un bip est émis pour confirmer que la mémorisation a été complétée. Le témoin s'allume en vert dans le cas des stations FM et en jaune amber dans le cas des stations AM.
- D'autres stations peuvent être mises en mémoire (en les assignant à d'autres boutons de sélection) en procédant de la même manière.
Si la batterie est debranchee, ou si le fusible de la radio grille, la memoire de la radio s'efface. Si tel est le cas, repetez la procedure de mise en memoire des stations desires.

Activation de la mise en mémoire de préseLECTIONs en fonction de la région
-
Appuyez sur la touche TRAVEL PRESET (mise en mémoire de préseLECTIONs en fonction de la région) (<1,5 seconde). Le tímein vert TRAVEL PRESET (mise en mémoire des préseLECTIONs en fonction de la région) s'allume.
-
La radio désits les stations de la région qui ont l'intensité de signal la plus puissant et les met en mémoire dans les préseLECTIONs A, B et C. Les préseLECTIONs contennent par défaut douze stations FM et six stations AM. Pour modifier les paramètres par défaut, reportez-vous à la rubrique « Modifi-cation des préseLECTIONs mises en mémoire en fonction de la région » plus loin dans ce chapitre.
- Une fois la mémorisation des stations de radio terminée, la radio symponise la première station selectionnée et mise en mémoire en fonction de la région du groupe de préselections A.
- Si la radio n'arrive pas à symponiser une station, la mention « NO STATION » (aucune station) s'affiche à l'écran et la chaîne stéréophonique est mise en sourdine.
- Si la radio ne peut entrer toutes les stations selectionnées, les stations additionnelles sont mises en mémoire à la fréquence 87,9 dans le cas de la bande FM et à la fréquence 600 dans le cas de la bande AM.
Les fonctions TUNE (syntonisatio), SCAN (ballayage), SEEK (recherche) de même que la fonction de mise en mémoire de préseLECTIONs sont
disponibles lorsque le mode de seLECTION en fonction de la région est activé.
Annulation des préselections mises en mémoire en fonction de la région
Pour effacer les préseLECTIONs mises en mémoire en fonction de la région, appuyez sur la touche TRAVEL PRESET (mise en mémoire de préselections en fonction de la région) (<1,5 seconde). Le tímoin vert s'éteint. La radio revient à la première préselection du groupe A, B ou C, de la mémoire permanente, qui a été utilisée.

Modification des présélections mises en mémoire en fonction de la région
- Pour entrer en mode de modification, appuyez sur la touche TRAVEL PRESET et maintenez-la enforcée (>3 secondes) jusqu'à ce que la radio émette un bip. Le témoin vert TRAVEL PRESET clignote lorsque la châine audio est en mode de modification des présélections mises en mémoire en fonction de la région.
- La radio affiche la mention « TRAVEL EDIT » (modification des préseLECTIONs mises en mémoire en fonction de la région) pendant deux secondes, suivie de la mention « SET A-* »
- Appuyez sur la touche TUNE/FF-REV (syn
tonisation - avance rapide - rebobinage) (ou ) pour selectionner un
mode. - Appuyez sur la touche TRAVEL PRESET pour enregistrer ce mode.
- L'affichage est remplaced par la mention « SET B-»; repêze les étapes 3 et 4.
-
L'affichage est replacé par la mention « SET C-»; répétez l'objet 3.
-
Enforcez de nouveau la touche TRAVEL PRESET pour quitter le mode de modification et revenir au mode normal.
*:AM,FM,FMRDS,ROCK,CLASSIC ROCK (rock classique),SOFT ROCK (rock léger), TOP 40 (palmarès),COUNTRY,JAZZ,CLASSICAL (classique),OLDIES (vieux succès),NEWS (nouvelles),SPORTS,TALK (causerie).
Mise en mémoire de préseLECTIONs en fonction de la région dans la mémoire permanente
- En mode de mise en mémoire de préseLECTIONs en fonction de la région, appuyez sur la touche TRAVEL PRESET et maintenez-la enforcée jusqu'à ce qu'un bip se fasse entendre (>3 secondes).
- Les préseLECTIONs sont transférées de la mémoire des préseLECTIONs en fonction de la région vers la mémoire de préseLECTIONs permanente pour les modes A, B et C. La mention « PRESETS LOADED » (préselections mises en mémoire) s'affiche.
- Le témoin TRAVEL PRESET (mise en mémoire des préseLECTIONs en fonction de la région) s'eteint.

Balayage des présélections
Lorsqu'elle est enfoncée (<1,5 seconde), la touche PRESET SCAN (balayage des présélections) permet à l'utilisateur d'effectuer un balayage de la mémoire de présélections permanente sélectionnée (A,B ou C) de 1 à 6, à raison de cinq secondes d'écoute par station. Si la fonction de mise en mémoire en fonction de la région est activée, les présélections de 1 à 6 mises en mémoire en fonction de la région (A, B ou C) sont balayées pendant cinq secondes.

Balayage de toutes les préseLECTIONs
Lorsqu'elle est enfoncée (>1,5 seconde), la touche PRESET SCAN (balayage des présélections) permet a l'utilisateur d'effectuer un balayage de toutes les présélections (A,B et C) de la mémoire permanente, des stations 1 à 6, à raison de cinq secondes d'écoute par station. Toutes les présélections 1 à 6 mises en mémoire en fonction de la région (A,B et C) sont balayées pendant cinq secondes lorsque cette fonction est activée.
Annulation du mode de balayage des pré-sélections
Le mode de balayage des présélections est interrompu lorsque toute touche autre que CLOCK (montre), EJECT (ejection) et PTY (type de programme) est enforcée.
Système RDS (système de radiocommunication de données)
Le système RDS est un service de données encodées à l'intérieur d'une programmation radiophonique et qui est offert par certaines stations de la bande FM (non disponible sur la bande AM). Actuellement, la plupart des stations RDS se trouvent dans les grandes villes, mais plusieurs stations envisagent maintainant de diffuser des données RDS.
Le système RDS peut afficher :
- l'indicatif d'applé de la station, par exemple, « WHFR 98,3 »;
- le nom de la station, par exemple, « Le Groove »;
- le type de musique ou de programmation, par exemple, « Classique», « Country», « Rock » ou
- les rapportes de circulation routière concernant les retards et les travaux routiers.
Si une station diffuse de l'information RDS, I'icone RDS s'affiche. L'information RDS s'affiche selon l'option可以选择 dans le mode de configuration RDS (FM & RDS est la valeur qui s'affiche par défaut). Pour afficher la fréquence pendant trois secondes, enforcez la touche RDS de nouveau. La radio revient alors à l'affichage normal. Si la station ne diffuse pas d'information RDS, I'icone RDS n'apparait pas à l'affichage.
Configuration du mode RDS
Appuyez sur la touche RDS (>3 secondes) jusqu'à ce que la mention « RDS SET MODE » (mode de réglage RDS) s'affiche. Cette mention demeure affichée pendant deux secondes, puis elle est remplacede par la mention « TRAFFIC OFF » (mode de circulation routière RDS hors fonction). Appuyez sur la touche TUNE/FF-REV (syntonisation - avance rapide - rebobinage) (✔ ou ) pourmettre le mode de circulation routiere RDS en fonction. Appuyez de nouveau sur la touche RDS pour établier votre sélection de mode de circulation routiere RDS.
L'affichage est remplaced par la mention « SHOW » (affichage) pour la seconde partie de la sélection du mode RDS. Appuyez sur la touche TUNE/FF-REV (syntonisation - avance
rapide - rebobinage) ( √ ou ∧ ) pour altermer entre les modes d'affichage RDS suivants :
- « FM & RDS » : la fréquence de diffusion et l'indicatif d'appeL de la station apparaissent à l'affichage de la radio;
- « RDS ONLY » (RDS seulement) : seul le nom de la station s'affiche de la radio;
- « RDS TEMP » (RDS temporaire) : l'indicatif d'applé de la station s'affiche pendant cinq secondes puis est remplace par la fréquence de diffusion.
PTY (type de programmation)
La touche PTY (type de programmation) permet de rechercher un type de programmation. Le nombre de stations pouvant transmettre de l'information RDS est limite dans certaines religions. Plusieurs stations ne transmettent que les individats d'appeel et les fréquences. Les résultats d'une recherche ou d'un balayage par type de programmation peuvent alors etre limites.
-
Appuyez sur la touche PTY (type de programmation). L'affichage passé de la mention « RDS PTY SEARCH » (recherche de type de programmation RDS) à la mention « SELECT BY TUNE » (sélection par symtonisation manuelle).
-
Appuyez sur la touche TUNE/FF-REV (syn
tonisation - avance rapide - rebobinage)
vers le haut ou vers le bas ( √ ou ∧ )
pour désir un type de programmation spécifique :
ROCK, CLASSIC ROCK (rock classique), SOFT ROCK (rock léger), TOP 40 (palma-rés), COUNTRY, JAZZ, CLASSICAL (classique), OLDIES (vieux succès), NEWS (nouvelles), SPORTS, TALK (causerie), ANY (aucune catégorie spécifique)
- Appuyez sur la touche SEEK (recherche) ou SCAN (balayage) pour rechercher la prochaine station correspondant au type de programmation selectionné. L'icone SCAN clignote à l'affichage lorsque la touche SCAN (balayage) est enforcée. La recherche ou le balayage de la radio se poursuit jusqu'à ce qu'une station diffusant le type de programmation selectionné soit trouvée.
- Appuyez de nouveau sur la touche PTY pour quitter le mode de besoin d'un type de programmation.
Fonctionnement du lecteur de disques compacts
Tournez la clé de contact à la position ACC (accessoires) ou ON (marche).
ATTENTION
- N'insérez pas de force un disque compact dans la fente du lecteur ou du changeur de disques compacts. Vous pourriez endommager le disque compact ou le changeur/lecteur.
- Ne tentez pas d'insérer un disque compact lorsque le volet de chargement est fermé, car vous pourriez endommager le disque ou le changeur de disques compacts.
CD
Bouton du lecteur de disque compact
Lorsque la touche de disque compact est enfoncée alors qu'un disque compact est chargeé et que la radio est allumée, la radio s'eteint et la lecture du disque compact commence.


Chargement des disques compacts
Appuyez sur la touche LOAD (chargement) pour entrer en mode de chargement des disques compacts.
La série suivante se produit :
-
Le témoin vert de la plus BASSE touche de sélection de disque disponible clignote ( comme le fait la touche de mise en mémoire des présections). La mention « PLEASE WAIT » (veuillez attendre) s'affiche à l'écran.
-
L'affichage passé à la mention « IN- SERT DISC » (insérer un disque) pendant 15 secondes au plus.
- Insérez le disque pendant cet intervalle de 15 secondes. La mention « LOADING DISC » (chargement du disque) s'affiche à l'écran.
- La lecture du disque commence une fois que ce dernier se trouve dans la position appropriée.
- Le témoin vert cesse de clignoter et démeure allumé, et l'icone du numéro de disque, le numéro du disque, le numéro de piste et le temps écoué apparaisent à l'affichage.
Chargement de tous les disques
- Appuyez sur la touche LOAD (chargement) et maintenez-la enforcée jusqu'à ce qu'un bip se fasse entendre (> 1,5 seconde).
-
Le témoin vert de la plus basse touche de sélection de disque disponible clignote ( comme le fait la touche de mise en mémoire des présections). La mention « PLEASE WAIT » (veuillez attendre) s'affiche à l'écran.
-
L'affichage passé à la mention « IN- SERT DISC » (insérer un disque) pendant 15 secondes au plus.
- Insérez le disque pendant cet intervalle. La mention « LOADING DISC » (chargement du disque) s'affiche à l'écran.
- Le témoin vert cesse de clignoter et demeure allumé.
- L'icone du numero de disque apparait.
- Répétez les étapes 2 à 5 jusqu'à ce que tous les disques soient charges. Une fois ce processus complètié, la lecture du dernier disque charge comme. Le nombre du disque, le nombre de piste et le temps écoué apparaisent à l'affichage.
Chargement d'un disque sélectionné
- Enforcez la commande de selection d'un disque disponible dont le témoin est étéint. La mention « PLEASE WAIT » (veuillez attendre) s'affiche à l'écran.
- Le témoin vert se met à clignoter et la mention « INSERT DISC » (insérer un disque) s'affiche à l'écran pendant 15 secondes.
-
Insérez le disque compact. La mention « LOADING DISC » (chargement du disque) s'affiche à l'écran.
-
La lecture du disque commence une fois que ce dernier se trouve dans la position appropriée.
- Le témoin vert cesse de clignoter et démeure allumé, et l'icone de disque, le numéro du disque, le numéro de piste et le temps écoulé apparaisent à l'affichage.
La séquence de chargement en entier sera annulée si un disque n'est pas inséré dans un délais de 15 secondes ou que la touche de chargement est enforcée pendant la séquence.
Lecture de disque
Appuyez sur la touche CD (disque compact). Si un disque est chargé et que la radio est en marche, cette dernière s'eteint et la lecture du dernier disque charge commence.

Lecture d'un disque sélectionné
- Appuyez sur la touche de seLECTION du disque dont l'icone est affichée.
- Le témoin vert clignote pendant le changement et la mention « CHANGING DISC » (changement de disque) s'affiche à l'écran.
-
La lecture du disque commence une fois que ce dernier se trouve dans la position appropriée.
-
Le témoin vert cette de clignoter et démeure allumé, et le numéro du disque, le numéro de piste et le temps écoulé appraissant à l'affichage.

Touches FF (avance rapide) REW (rembobinage)
Lorsque la touche TUNE/FF-REV (syntonisation - avance rapide - rebobinage) (ou ) est enforcée pendant la lecture du disque compact, celle-ci se fait a une vitesse accélérée vers l'avant ou vers l'arrière. Lorsque le bouton est relaché, la lecture du disque compact reprend à vitesse normale.

ToucheseeK/TRACK (recherche/piste)
Si la touche ±b est enforcée pendant la lecture du disque compact, la lecture de la piste suivante commence. Appuyez plusieurs fois sur la touche ±b pour avancer de plusieurs pistes. La lecture du disque compact passée à la piste suivante chaque fois que la touche est enforcée. Le numero de la piste s'affiche. (Apuès avoir atteint la dernière piste du disque compact, la lecture reprend à la première piste.)
Si la touche v est enforcée, la lecture reprend au début de la piste qui est en cours de lecture. Appuyez plusieurs fois sur la touche pour
revenir en arrière de plusieurs pistes. Chaque fois que la touche est enforcée, la lecture du disque compact passée à la piste précédente. Si la chaine stéreo se trouve en mode MIX (aléatoire) lorsque la touche est enforcée, la lecture aléatoire passée à une autre piste.
1 123
Repeat Track

MIX 123
Mix Tracks

MIX 123
Mix All Tracks

123
Normal Play

LHA0077
RPT MIX
Touche Repeat/Mix (répétition/lecture aléatoire)
Appuyez sur la touche RPT MIX (répetition/lecture aléatoire) pour vous déplacer parmi les modes de lecture de disque compact suivants:
Repeat (répetition) Mix (lecture aléatoire) All Mix (lecture aléatoire de toutes les pistes) Normal Play (lecture normale)
Répartition
Appuyez sur la touche RPT MIX (répetition/lecture aléatoire) une fois (<1,5 seconde) pour répéter la piste qui est en cours de
lecture. L'icone « 1 » s'allume et la mention « Repeat Track » (répartition de la piste) s'affiche à l'écran pendant deux secondes. La chaine revient des lors à l'affichage habitual du nombre de piste et du temps écoulé.
Lecture aléatoire
Appuyez sur la touche RPT MIX (<1,5 seconde) de nouveau pour commencer la lecture aléatoire du disque courant. L'icône « MIX » s'allume et la mention « Mix Tracks » (lecture aléatoire des pistes) s'affiche à l'écran pendant deux secondes. La chaine revientès lors à l'affichage habituel du numéro de piste et du temps écoulé.
Lecture aléatoire de tous les disques
Appuyez sur la touche RPT MIX (répartition/lecture aléatoire) de nouveau (<1,5 seconde) pour commencer la lecture aléatoire de tous les disques. L'icône « MIX » s'allume et la mention « Mix All Tracks » (lecture aléatoire de tous les disques) s'affiche à l'écran pendant deux secondes. La chaine revient des lors à l'affichage habituel du nombre de piste et du temps écoulé. De plus, les témoins des disques charges sont allumés et de couleur amber. (Le témoin du disque qui est en cours de lecture est vert).
Lecture normale
Appuyez de nouveau sur la touche RPT MIX (répetition/lecture aléatoire) (<1,5 seconde) pour revenir au mode de lecture normale. L'icône « MIX » et les témoin s'eteignent. La mention « NORMAL PLAY » (lecture normale) s'affiche à l'écran pendant deux secondes. La châne revientès lors à l'affichage habituel du nombre de piste et du temps écoulé.

Balayage des disques compacts
Un disque - Toutes les pistes
Appuyez sur la touche SCAN (balayage) (<1,5 seconde) pour balayer toutes les pistes du disque, à raison de sept secondes d'écoute par piste. La mention « DISC SCAN » (balayage du disque) s'affiche à l'écran pendant deux secondes et la chaine revient lors à l'affichage habituel du numéro de piste et du temps de lecture écoulé. En mode de balayage, la mention SCAN clignote à l'affichage.
Le mode de balayage est interrompu une fois que toutes les pistes du disque ont ete balayees ou si
la touche SCAN (balayage) est enfoncée pendant le mode de balayage.
Tous les disques - Une piste
Appuyez sur la touche SCAN (balayage) et maintenez-la enforcée (<1,5 seconde) pour balayer la première piste de tous les disques charges, à raison de sept secondes d'écoute par piste. La mention « ALL DISC SCAN » (balayage de tous les disques) s'affiche à l'écranpendant deux secondes et la chaine revient des lors à l'affichage habituel du numéro de piste et du temps de lecture écoulé. En mode de balayage, la mention SCAN clignote à l'affichage.
Le mode de balayage est interrompu une fois que tous les disques charges ont ete balayes ou si la touche SCAN (balayage) est enfoncée pendant le mode de balayage.


Éjection des disques compacts
Disque en cours de lecture
- Appuyez sur la touche

-
Le témoin vert se met à clignoter et la mention « DISC EJECT » (éjection du disque) s'affiche à l'écran pendant deux secondes. L'affichage passe ensuite à la mention « EJECTING DISC » (éjection du disque).
-
Le disque sort du lecteur. Retirez le disque. (Le disque est charge de nouveau s'il n'est pas retiree au cours des 15 secondes qui suiveNT son ejection.)
-
Le témoin et l'icone qui correspondent au disque compact disparaisent de l'affichage.
Selection d'un disque
- Appuyez sur la touche correspondant au disque besoini, puis appuyez sur la touche
- Le témoin vert se met à clignoter et la mention « DISC EJECT » (éjection du disque) s'affiche à l'écran pendant deux secondes. L'affichage passe ensuite à la mention « EJECTING DISC » (éjection du disque).
- Le disque sort du lecteur. Retirez le disque. (Le disque est charge de nouveau s'il n'est pas retiree au cours des 15 secondes qui suiveNT son ejection.)
- Le témoin et l'icone qui correspondent au disque compact disparaisent de l'affichage.

Tous les disques
-
Appuyez sur la touche et maintenez-la enforcée jusqu'à ce qu'un bip se fasse entendre (>1,5 seconde).
-
Le témoin vert correspondant au numéro le plus bas du dernier disque utilisé clignote et la mention « ALL DISC EJECT » (éjection de tous les disques) s'affiche à l'écran pendant deux secondes. L'affichage passée ensuite à la mention « EJECTING DISC » (éjection du disque).
- Lorsqu'un disque est retire, le témoin et l'icone qui correspondent à celui-ci s'éteignent, le disque suivant est éjecté, et ainsi de suite.
- L'affichage est désactifé lorsque tous les disques sont éjectés et retirees.
La séquence d'éjection en entier sera annulée si un disque n'est pas retired dans un délambda de 15 se-
condes ou si la touche est enforcée de
nouveau pendant la séquence.

LHA0049
ENTRETIEN ET NETTOYAGE DES DISQUES COMPACTS
- Tenez un disque compact par ses rebords. Ne pliez pas le disque compact et n'en touchez jamais la surface.
- Lorsqu'ils ne sont pas utilisés, gardez toujours les disques compacts dans leur boîtier de rangement.
-
Pour nettoyer un disque compact, essuyez sa surface avec un chiffon propre et doux, en allant du centre vers le rebord extérieur du disque. N'essuyez pas le disque compact par un mouvement circulaire.
-
N'utilise pas de nettoyeur à disque conventionnel ou d'alcool destiné à une utilisation industrielle.
- Un disque compact neuf peut désenter des rebords interieur et extérieur irréguliers. Attenuez ces irrégularités en passant le bord d'un stylo ou d'un crayon sur les rebords interieur et extérieur du disque compact, comme illustré.

- Touche SEEK (recherche) vers le haut
- Touche de mode
- Touche SEEK (recherche) vers le bas
- Commande du volume
INTERRUPTEUR DE COMMANDER AUDIO SUR LE VOLANT DE DIRECTION (salon l'équipement du vehicule)
Les commandes du système audio du volant de direction se trouvent du côté gauche du volant de direction.
Appuyez sur la touche MODE pour allumer la radio ou, si la radio est déjà en marche, pour
alterner entre les présélections de la radio (A, B ou C) et le mode lecteur de disque compact.
A B C Mode lecteur de disque compact
La lecture du dernier disque compact charge commence lorsqu vous passez en mode lecteur de disque compact. Le chargeur de disques compacts entre en mode de chargement des disques si aucun disque ne s'y trouve.
En mode de présélections de stations A, B ou C:
- appuyez sur ≈ ou sur (<<1,5 seconde) pour passer à la station mise en mémoire suivante/précédente;
- maintenez la touche ≈ ou « enforcée (>1,5 seconde). Une recherche vers le haut ou vers le bas de la bande de fréquences est effectué.
En mode lecteur de disque compact :
- appuyez sur ≫ ou sur ≫ (<1,5 se-conde) pour passer à la piste suivante/précédente du disque compact;
- maintenez la touche ≈ ou « enforcée (>1,5 seconde) pour passer au disque suivant/precédent.
La commande du volume est située sur le côté du contacteur de commande de la chaine audio. Appuyez sur la portion supérieure de la com
mande pour augmenter le volume. Appuyez sur la portion inférieure de la commande pour réduire le volume.
ANTENNE
L'antenne ne peut pas etre escamotée mais elle peut etre retiree. Si vous nevez retirer l'antenne, tournez la tige de I'antenne dans le sens inverse des aiguilles d'une montre.
Pour installer la tige de l'antenne, tournez-la dans le sens des aiguilles d'une montre. Serrez la tige au couple spécifique au moyen d'un outil approprié, comme une clé à fourche. Le couple de serrage spécifique pour l'antenne est de 3,4 à 3,6 N·m (30 à 32 lb-po). N'utilise pas de pinces pour serrer la tige de l'antenne en place car elles risquent d'y baisser des marques. Il n'est pas possible de serrer manuellement la tige de l'antenne au couple préconisé.
ATTENTION
Serrez toujours fermement la tige de l'antenne lors de son installation, sinon elle risque de se casser pendant que vous conduisez le vehicule.
TELEPHONE DE VOITURE OU RADIO BP
Lors de l'installation d'une radio BP ou d'un téléphone de voiture dans votre vehicule NISSAN, assurez-vous de respecter les précautions suivantes pour éviter que de tels accessoires ne compromètent le fonctionnement du circuit d'injection électronique multipoint et d'autres composants électroniques.

AVERTISSEMENT
- La conduite d'un vehicule exige toute l'attention du conducteur: ce dernier ne devrait donc pas utiliser son téléphone cellulaire lorsqu'il est au volant. Les loi de certaines régions interdisent l'utilisation d'un téléphone cellulaire en conduisant.
- Si vous devez téléphoner en conduitsant, il est vivement recommendé d'utiliser le mode « mains libres » de leur téléphone cellulaire (selon l'équipement du vehicule). Faites preuve d'une grande prudence en tout temps et concentrez-vous sur la conduite du vehicule.
- Si vous tenez une conversation pendant que vous conduisez et que vous avez besoin de prendre des notes, quitter la route et arrêtez votre vehicule dans un lieu sur avant de le faire.

ATTENTION
- L'antenne doit être placée aussi loin que possible du module de commande du moteur.
Veiliez a ce qu'il y ait au moins 20 cm (8 po) entre le fil de l'antenne et le faisceau d'injection electronique multipoint. Faites passer le fil de l'antenne loin de tout faisceau. - Procedez au réglage du rapport d'onde stationnaire de l'antenne conformément aux directives du fabricant.
- Branchez le fil de masse du chassin de radio BP à la carrosserie.
- Pour plus de détails à ce sujet, consul-
tez un concessionnaire NISSAN.
MÉMENTO
5 Demarrage et conduite
Précautions pour le démarrage et la conduite. 5-2
Gaz d'échéppement (monoxyde de carbone) 5-2
Catalyseur à trois voies. 5-3
Système d'ajretissement de basse pression des pneus 5-3
Précautions de conduite sur route et hors route. 5-5
Pour éviter les collisions et les renversements 5-5
Consommation d'alcool/de drogues et conduite. 5-6
Consignes de sécurité pour la conduite 5-6
Contacteur d'allumage 5-8
Boite de vitesses automatique 5-8
Boite de vitesses manuelle 5-9
Positions de la clé de contact. 5-10
Avant de démarrer le moteur 5-10
Demarrage du moteur. 5-11
Conduite du vehicule 5-12
Boite de vitesses automatique (selon l'équipement du vehicule) 5-12
Boite de vitesses manuelle 5-19
Frein de stationnement 5-21
Régulateur de vitesse (selon l'équipment du vehicule) 5-22
Précautions relatives à l'utilisation du régulateur de vitesse 5-22
Fonctionnement du régulateur de vitesse 5-23
Période de rodage. 5-24
Réduction de la consommation de carburant 5-25
4x4 Utilisation du mode quatre roues motrices ..5-25
Procedures de changement de position de la boite de transfert 5-25
4x4 Moyeux a roule libre 5-27
Techniques de stationnement 5-30
Direction assistée 5-31
Circuit de freinage. 5-32
Précautions relatives au freinage 5-32
Système antiblocage (ABS) 5-32
Système de contrôle dynamiques du vehicule (VDC) (son l'équipement du vehicule) 5-34
Conduite partempstfroid. 5-36
Déblocage d'une serrure de portière gelée 5-36
Antigel 5-36
Batterie 5-36
Vidange du circuit de refroidissement. 5-36
Pneus. 5-36
Équipment hivernal 5-37
Conduite sur la neige ou sur la glace 5-37
Chauffe-moteur (selon l'équipement du vehicule) 5-38
PRECAUTIONS POUR LE DEMARRAGE ET LA CONDUITE
A VERTISSEMENT
- Ne laisses pas d'enfants, d'adultes handicapés ou d'animaux seuls dans votre vehicule. Ils pourraient se blesser ou blesser quelqu'un accidentellement en mettant le vehicule en marche par inadvertance. De plus, par temps chaud et ensoleillé, la température de l'habitacle peutrapidement s'élever au point de provoquer des léssions graves voire mortelles à une personne ou à un animal enfermé dans le vehicule.
Fixez solidement tous les bagages à l'aide de cordes ou de sangles afin d'eviter qu'ils glissent ou se déplacent. N'empirez pas les bagages plus haut que la hauteur des dossiers de siège. En cas d'arrêt brusque ou de collision, les objets non retenus sont susceptibles de se transformer en projectiles et pouraient cause des blessures.
GAZ D'ÉCHAPPEMENT (monoxyde de carbone)
AVERAGEMENT
- Évitez d'inhaler les gaz d'échéppement, car ils contiennent de l'oxyde de carbone, une substance incolore et inodore. L'oxyde de carbone est un produit dangereux qui peut cause des événouissements, voire entrainer la mort.
- Si vous pensez que des gaz d'échéppement pénétrent dans le vehicule, conduisez avec toutes les fenêtres complètement ouvertes et faites vérifier le vehicule dans les plus brefs déliés.
- Ne faites pas tourner le moteur dans un endroit fermé tel qu'un garage.
-
Ne stationnez jamais votre vehicule en laissant le moteur en marche, et ce, peu importe la durée de votre absence.
-
Si vous équiperez votre vehicule d'une carrosserie spéciale, d'une campeuse amovible ou de tout autre matériel destiné à des fins récreatives ou autres, suivez les recommendations du fabricant sur les précautions à prendre pour éviter la pénetration d'oxyde de carbonate dans le vehicule. Ne prenez pas place dans ces espaces lorsque le moteur est en marche, même si le vehicule est stationné. Les appeareils tels que réchauds, réfrigerateurs, radiateurs dont sont équipés certains vehicules de camping peuvent également dégager de l'oxyde de carbone.
- Une vérification du système d'échévement et de la carrosserie doit être effectuee par un mecanicien qualifié lorsque :
a. Le vehicule est soulevé pour l'entretien.
b. Vous croyez que des vapeurs d'échévement pénétre dans l'habitacle.
c. Vous avez noté un changement au niveau du bruit émis par le système d'échéppement.
d. À la suite d'un accident, le système d'échévement, le soubassement ou l'arrière du vehicule ont subi des dommages.
CATALYSEURÀTROIS VOIES
Le système d'échémpement de votre vehicule contient un dispositif antipollution appelé catalyseur à trois voies. Afin de favoriser la réduction des polluants contenus dans les gaz d'échémpement, ces derniers sont brûlés dans le catalyseur à trois voies à des températures très élevées.

AVERTISSEMENT
- Les gaz d'échéppement et le système d'échéppement sont très chauds. Eloiignez les personnes, les animaux et les matières inflammables des composants du système d'échéppement.
- N'immobilisez pas et ne stationnez pas votre vehicule sur une surface recouverte de matieres inflammables comme du gazon sec, deieux papiers ou des chiffons. Ces matieres pourraient s'enflammer et provoquer un incendie.
ATTENTION
- N'utilisez pas d'essence au plomb. Les dépôts généres par l'essence au plomb promonttent considérablement la capacité du catalyseur trifonctionnel à réduire les émissions polluantes.
- Faites effectuer régulièrement des mises au point de votre moteur. Des défectuosités au niveau de l'allumage, de l'injection de carburant ou des circuits électriques peuvent laisser pénétrometer du carburant trop riches dans le catalyseur trifonctionnel et faire surchauffer celuici. Il ne faut pas continuer à conduire votre vehicule si le moteur a des ratés ou si vous remarque une nette perte de rendement ou d'autres anomalies de fonctionnement. Faites vérifier toute vehicule le plus tot possible chez un concessionnaire NISSAN.
- Évitez de conduire le vehicule lorsque le niveau de carburant est très bas. Une panne sèche peut provoquer des ratios du moteur et endommager le catalyseur trifonctionnel.
-
Ne faites pas tournier le moteur de votre vehicule à un régime trop élevé pendant qu'il se rechauffe.
-
Ne tentez pas de faire demarrer le moteur de votre vehicule en poussant ce dernier ou en le remorquant.
SYSTEME D'AVERTISSEMENT DE BASSE PRESSION DES PNEUS
Le système d'ajretissement de basse pression des pneus surveille la pression de gonflage de tous les pneus (sauf celle de la roue de secours).
Le système d'avertissement de basse pression des pneus ne s'active que si la vitesse du vehicule est supérieure a 32km / h (20 mi/h). De plus, ce système peut ne pas détecter la chute soudaine de la pression d'un pneu (par exemple, la crevaison d'un pneu pendant la conduite).
La pression des pneus augmente ou diminue en fonction de la chaleur engendree par les conditions de fonctionnement du vehicule et par la temperture exterieure. Une temperature exterieureasse peut refroidir l'air a I'intérieur dupneu,ce qui peut causer une diminution de la pression de gonflage du pneu.Cela peut faire s'allumer le témoin d'avertissement de basse pression des pneus.
Si le témoin s'allume lorsque la température ambiante est BASSE, comme indiqué ci-dessus, vérifie la pression des pneus des quatre roues. Effectuez un réglage de pression A FROID, tel
que spécifié sur l'étiquette des pneus pour ainsi désactiver le témoin d'advertissement de basse pression.
Vérifiez la pression de gonflage des pneus fréquemment et réglez la pression des pneus au niveau spécifique.
Témoin de basse pression des pneus
Si le vehicule est conduit avec une pression de gonflage de pneu très BASSE (inférieure à 193kPa [28 lb/po²]), le témoin d'rapidissement de basse pression des pneus s'allume et le carillon retentit pendant environ dix secondes.
Consultez la rubrique « Témoins/indicateurs et rappels sonores » du chapitre « Commandes et instruments » pour plus d'information sur ce système.
AVERAGEMENT
-
Si le témoin d'advertissement de basse pression des pneus clignote pendant la conduite, évitez de braquer ou de freiner énergiquement, réduisez votre vitesse, dirigeez-vous vers un endroit sécuritaire sur l'accotement et immobilisez votre vehicule des que possible. Your vehicule pourrait subir des dommages importants et vous pourriez avoir un accident entrainant des blessures graves. Vérifiez la pression de tous les pneus. Effectuez un réglage de pression à FROID, tel que spécifique sur l'étiquette des pneus pour ainsi désactiver le témoin d'advertissement de basse pression. Si vous avez creve, montez la roue de secours des que possible. (Pour plus de détails sur le remplacement d'une roue, consultez la rubrique « Pneu à plat», du chapitre « En cas d'urgence »).
-
Lorsqu'une roue de secours est installee ou qu'une roue est remplacee, la pression des pneus ne s'affiche pas et le systeme d'advertisement de basse pression des pneus ne fonctionne pas. Communiquez avec votre concessionnaire NiSSAN aussitot que possible pour proceder au remplacement des pneus ou a la reinitialisation du systeme.
-
N'injectezaucunproduittétanchéité pourpneu,liquideouenáerosol,dans lespneus;lefonctionnementdes capteurs de pression despneus poursirt s'entrouvercompromis.
ATTENTION
N'installez pas de pellicule métallisée ou d'autre piece en métal (antenne, etc.) sur les glaces. Cela pourrait cause une mauvaise réception des signaux des capteurs de pression des pneus, et le système d'avertissement de basse pression des pneus ne fonctionnerait pas correctement.
Avis de la FCC :
Le droit de l'utilisateur de disposer d'un tel équipement pourrait être révoqué si des modifications non conformes à ce qui a été approvée par le fabricant sont apportées.
Ce dispositif est conforme à l'article 15 des règlements de la FCC et au règlement RSS-210 d'Industrie Canada.
L'utilisation de ce dispositif est soumise aux conditions suivantes : (1) ce dispositif ne doit cause aucune interférence nuisible, et (2) il doit accepter toutes les interférences, y compris celles qui pourrait l'activer de façon inopinée.
PRECAUTIONS DE CONDUITE SUR ROUTE ET HORS ROUTE
Le taux de renversement des vehicules utilaitaires est beaucoup plus élevé que celui des autres vehicules.
Gráce à leur garde au sol plus élevé que celle des voitures de tourisme, les vehicules utilisaires peuvent effectuer une grande variété d'applications sur route et hors route. Par le fait même, ils ont un centre de gravité plus élevé que celui des vehicules ordinaires. Un des avantages que procure la garde au sol plus élevé de ces vehicules est une meilleure visibilité de la route
permettant d'anticiper les problèmes. Par contre, les vehicules utilisaires ne sont pas conçus pour prendre les virages aussi rapidement que les vehicules à deux roues motrices conventionnels; pas plus d'ailleurs que les voitures sport surbaissées sont conçues pour faire face avec succès aux conditions hors route. Dans la mesure du possible, évitez les virages brusques à grande vitesse. Comme dans le cas de tout autre vehicule de ce type, une conduite inappropriée peut mener à une perte de maîtrise et à un rensevement. En cas de rensevement, les risques de blessures mortelles sont accrus pour les personnes qui n'ont pas boucé leur ceinture.
Assurez-vous de dire toutes les consignes de sécurité stipulées plus loin dans le present chapitre.
POUR ÉVITER LES COLLISIONS ET LES RENVERSEMENTS
AVERAGEMENT
Si ce vehicule n'est pas manoeuvre de façon prudente et sécurité, une perte de maitrise du vehicule ou un accident peut en résultat.
Faites preuve de vigilance et conduisez prudement en tout temps. Respectez le code de la route. Évitez les habitudes de conduite dange
reuses, telles que les vitesses excessives, les virages à haute vitesse et les coups de volant, puisqu'elles pourraient vous faire perdre la maitrise de votre vehicule. Comme c'est le cas pour tout autre vehicule, la perte de la maitrise de votre vehicule peut entrainer une collision avec des objets ou d'autres vehicules. Le vehicule peut également se renverser, particulièrement si la perte de maitrise entraine un dérapage létalé. Évitez de conduire lorsque vous étés fatigué et restez attentif en tout temps. Ne conduisez jamais si vous étés sous l'influence de l'alcool ou de drogues (incluant les médicaments avec ou sans ordonnance qui causent de la somnolence). Bouclez toujours votre ceinture de sécurité, tel que stipulé dans le chapitre « Sécurité – Sièges, ceintures de sécurité et coussins gonflables » du present manuel, et exigez des autres passagers de votre vehicule de faire de même.
Les ceintures de sécurité contribuent à réduire les risques de blessures en cas de collision ou de renversement. En cas de renversement, les risques de blessures ou de mort sont accrus pour les personnes n'ayant pas bouclé leur ceinture ou l'avant bouclée incorrectement.
Ne conduisez jamais lorsque vous étés sous l'influence de l'alcool ou de la drogue. La présence d'alcool dans le sang réduit la coordination des mouvements, augmente le temps de réaction et fausse le jugement. Si vous conduisez après avoir consommé de l'alcool, vous augmentez vos risques d'être impliqué dans un accident avec blessures. De plus, l'alcool pourrait accroître la gravité de vos blessures en cas d'accident.
NISSAN s'engage à construire des vehicules sécuritaires. Toutefois, même le vehicule le plus sécuritaire peut représenter un danger si son conducteur a consommé de l'alcool avant de prendre la route. Chaque année, des milliers de personnes sont blessées ou tuées dans des accidents impliquant des conducteurs qui ont consommé de l'alcool. Meme si les lois relatives aux quantités d'alcool pouvant être consommées différènt selon les territorioires, il est évident que l'alcool a des effets différents d'une personne à l'autre, effets sous-estimés par la plupart desgens.
Rappelez-vous que l'alcool et la conduite ne font pas bon menage. Cela s'applique également aux drogues (médicaments avec ou sans ordnance et drogues illégales). Ne prenez jamais le volant si vos capacities de conduite sont compromises par l'alcool, les drogues ou par toute condition physique susceptible de modifier votre comportement au volant.
CONSIGNES DE SECURITE POUR LA CONDUITE
La conception de votre vehicule NISSAN vous permet d'utiliser celui-ci sur la route ou hors route. Cependant, contrairement aux vehicules hors route conventionnels, votre vehicule NISSAN est conçu principalement pour une utilisation dans le cadre des loisirs; évitez donc de traverser des nappes d'eau ou de boue profondes.
Rappelez-vous qu'il est plus difficile de rouler sur de mauvaises routes ou de se dégager de la neige ou de la boue profonde avec un vehicule à deux roues motrices qu'avac un vehicule à quatre roues motrices.
Veuillez suivre les consignes suivantes :

AVERTISSEMENT
- Lorsque vous roulez hors route, conduisez prudemment et évitez les zones dangereuses. Chaque occupant du vehicule doit être correctement assis et porter sa ceinture de sécurité. De cette façon, vos passagers et vous serez bien retenus lorsque le vehicule roule en terrain accidenté.
- Ne conduisez pas perpendiculairement à une pente raide. Montez ou descendez-la ploutot de front. Les vehicules tout-terrain peuvent se renverser plus facilement sur les côtes que vers l'avant ou vers l'arrière.
- Certaines pentes peuvent s'avérer trop raides pour votre vehicule. Si vous tentez de les monter, le moteur de votre vehicule risque de caler. Si vous tentez de les descendre, il se peut que vous ne soyez pas en mesure de contrôle Your vitesse. Si vous tentez de les traverser perpendicularlement, votre vehicule risque de se renverser.
-
Ne passes pas d'un rapport à un autre lorsque vous descendez une pente car vous pourriez perdre la maitrise de votre vehicule.
-
Faites preuve de vigilance lorsque vous conduisiez jusqu'au sommet d'une pente. L'autre versant peut être très abrupt ouprésenter d'autres dangers qui risquent de causeur un accident.
Si le moteur cale dans une côte abrupte ou si vous ne pouvez pas vous rendre jusqu'en haut, n'essayez jamais de faire demi-tour. Voitre vehicule risque de se renverser. Reculez en ligne droite, en position de marche arrriere (R). Ne reculez jamais en position de point mort (N) ou avec la pédale d'embrayage enforcée (dans le cas d'un vehicule avec boîte de vitesses manuelle) en n'utilisant que le frein; vous pourriez perdre la maitrise du vehicule. -
Si vous freinez de façon intensive en descente, les freins peuvent finir par s'échauffer et s'évanouir, ce qui peut contributor à vous faire perdre la maitrise du vehicule et avoir un accident. Servez-vous des freins avec modération et utilisez plutôt un rapport de vitesse inférieur pour ralentir le vehicule.
-
Des bagages mal fixés peuvent être projétés lors de la conduite en terrain accidenté. Fixez fermement tous les bagages charges et ce, afin d'éviter qu'ils ne soient projétés vers l'avant et que vos passagers et vous ne subissiez des blessures.
- Afin d'éviter de rehauser excessivement le centre de gravité du vehicule, ne dépassez pas la capacité de charge prévue du porte-bagages (selon l'équipment du vehicule) et répartissez la charge uniformément. Installez les bagages lourds dans l'aire de chargement en les poussant vers l'avant du vehicule et en évitant le plus possible de les empiler. N'équipez pas votre vehicule de pneus plus larges que ceux recommends dans ce manuel, car des pneus trop larges pourraient provoquer un capotage de votre vehicule.
-
Ne tenez pas votre volant de direction par son rebord interieur ou par ses branches lorsque vous conduisez hors route. Le volant de direction pourrait bouger soudainement et vous blesser les mains. Tenez-le plout par son rebord extérieur.
-
Avant de démarrer le vehicule, assurez-vous que le conducteur et tous les passagers ont boucé leur ceinture de sécurité.
- Laissez toujours les carpettes en place lorsqu'youe conduisez car le plancher peut devenir chaud.
- Réduisez votre vitesse en présence de forts vents latéraux. Étant donné que votre vehicule NiSSAN a un centre de gravité plus élevé, il est plus susceptible de réagir à de tels vents. En conduitant moins vite, vous conservez une meilleure maitrise de votre vehicule.
- Ne conduisez pas dans des conditions qui exigent de dépasser la capacité nominale des pneus et ce, même lorsque le mode quatre roues motrices est engagé.
L'accelération rapide, les virages serrés ou les freinages brusques peuvent vous faire perdre la maitrise de votre vehicule.
CONTACTEUR D'ALLUMAGE
-
Dans la mesure du possible, évitez les virages brusques, en particulier à grande vitesse. Voiture vehicule NISSAN à quatre roues motrices possède un centre de gravité plus élevé qu'un vehicule à deux roues motrices. Il n'est donc pas conscience pour prendre des virages à la même vitesse qu'un vehicule classique à deux roues motrices. Si vous ne tenez pas compte de cette différence, vous pourriez perdre la maitrise du vehicule qui pourrait alors se returner.
Utilisez toujours des pneus des mêmes type, dimensions, marque, construction (à carasse diagonale, à carasse diagonale ceinturée ou à carasse radiale) et dessin de bande de roulement sur les quatre roues. Installez des chaînes antidérappantes sur les roues arrêté lorsque vous roulez sur des routes glissantes, et conduisez prudemment.
Assurez-vous de vérifier les freins juste après avoir conduit dans la boue ou dans l'eau. Pour en savoir davantage sur les freins mouillés, consultez la rubrique « Circuit de freinage » plus loin dans ce chapitre. -
Évitez de stationner votre vehicule sur des côtes abruptes. Si vous sortez du vehicule et que celui-ci roule vers l'avant, vers l'arrière ou de côté, vous pourriez être blessé.
- Si du sable, de la boue ou de l'eau atteint la hauteur des moyex des roues de votre vehicule en conduite hors route, des entretiens plus fréquents seront nécessaires. Consultez la rubrique « Carnet d'entretien périodique » du « Guide du service et de l'entretien NISSAN »

BOITE DE VITESSES
AUTOMATIQUE
Le verrouillage de l'allumage des vehicules équipés d'une boîte de vitesses automatique est consçu pour éviter que la clé de contact soit tournée à la position LOCK (verrouillage) et rétrieve avant que le levier sélecteur soit place en position P (stationnement).
Assurez-vous que le levier sélecteur de votre vehicule est à la position P (stationnement) avant de-retirer votre clé du contacteur d'allumage.
S'il vous est impossible de tourner la clé de contact à la position LOCK (verrouillage), procédez aux étapes suivantes pour la retirer du contacteur.
- Déplacez le levier sélecteur à la position P (stationnement).
- Tournez la clé de contact légèrement vers la position ON (marche).
- Placez-la ensuite à la position LOCK (verrouillage).
- Retirez la clé.
Vous ne pouvez pas déplacer le levier sélecteur de la position de stationnement (P) vers une autre position lorsque la clé de contact est à la position OFF (arrêt) ou lorsqu'elle est retiree du contacteur.
Voussouspuez déplacer le levier sélecteur si le contacteur d'allumage est à la position ACC (accessoires). Ceci vous permet de déplacer le vehicule en cas de décharge de la batterie. Voussouspuez également déplacer le levier sélecteur si la pédale de frein est enforcée alors que le contacteur d'allumage se trouve à la position ON (marche).
Entre les positions LOCK (verrouillage) et ACC (accessoires) se trouve une position OFF (arrêt). La position d'arrêt est indiquée
par le chiffre 1 sur le barillet du contacteur. Le volant n'est pas verrouillé lorsque le contacteur est à la position OFF (arrêt).
Le volant doit être tourné d'un huitité de tour dans le sens des aiguilles d'une montre à partir de la position verticale pour être verrouillé.
Tournez la clé à la position LOCK (verrouillage) pour verrouiller le volant de direction. Retirez la clé. Pour le déverrouiller, insérez la clé et tournez-la doucement tout en déplaçant légèrement le volant.
AVERAGEMENT
Il ne faut jamais-retirer la clé ni la tournier à la position de verrouillage (LOCK) lorsque le vehicule est en mouvement, car cela aurait pour effet de bloquer le volant de direction. Vous risqueriez alors de perdre la maitrise de votre vehicule et de vous infilger des blessures graves, en plus de causer des dommages au vehicule.

BOITE DE VITESSES MANUELLE
Le contacteur d'allumage incorpore un dispositif de sécurité qui empêche la clé de contact d'être retiree lorsque le vehicule roule.
Vou ne pouvez-retirer la clé du contacteur que lorsque ce dernier se trouve à la position LOCK (verrouillage).
Pour tourner la clé de contact à la position LOCK (verrouillage) à partir de la position ACC (accessoires) ou ON (marche) dans un vehicule équipé d'une boîte de vitesses manuelle, tournez la clé à la position OFF (arrêt), enoncez-la dans le barillet, puis tournez-la à la position LOCK (verrouillage).
AVANT DE DÉMARRER LE MOTEUR
Le volant doit être tourné d'un huitieme de tour dans le sens des aiguilles d'une montre à partir de la position verticale pour être verrouillé.
Tournez la clé à la position LOCK (verrouillage) pour verrouiller le volant de direction. Retirez la clé. Pour le déverrouiller, insérez la clé et tournez-la doucement tout en déplaçant légèrement le volant.

AVERTISSEMENT
Il ne faut jamais-retirer la clé ni la tournier à la position de verrouillage (LOCK) lorsque le vehicule est en mouvement, car cela aurait pour effet de bloquer le volant de direction. Vous risqueriez alors de perdre la maitrise de votre vehicule et de vous infilger des blessures graves, en plus de causer des dommages au vehicule.
POSITIONS DE LA CLÉ DE CONTACT
LOCK (verrouillage) : position de stationnement normale (0)
Position OFF (arrêt) : (modèles avec boîte de vitesses manuelle) (1)
Le moteur peut être atteint sans que le volant de direction soit verrouillé.
ACC:(accessoires) (2)
Dans cette position, les accessoires, comme la radio, peuvent etre actives meme si le moteur ne tourne pas.
Position ON (en fonction) : position de fonctionnement normale (3)
Dans cette position, le système d'allumage et les accessoires électriques sont mis en fonction.
START (démarrage) : (4)
Cette position lance le moteur. Relâchez la clé dés que le moteur démarre. La clé de contact revient automatiquement à la position ON (marche).
Assurez-vous que rien ni personne ne se trouve a proximite de votre vehicule.
- Vérifiez les niveaux de l'huile moteur, du liquide de refroidissement, des liquides de frein et d'embrayage ainsi que du liquide de lave-glace aussi féquement que possible ou, au minimum, à chaque ravitationnement.
- Vérifiez la propriété de toutes les glaces et de tous les phares.
- Vérifiez l'aspect et la condition des pneus en procédant à une inspection visuelle. Assurez-vous également que la pression de gonflage est ajustée.
- Verrouillez toutes les portières,
- Placez les sièges et réglez les appuie-tête.
- Ajustez les rétroviseurs interieur et extérieurs.
- Bouclez votre ceinture de sécurité et demandez à tous les autres occupants du vehicule de faire de même.
- En tournant la clé de contact à la position ON (marche) (3), vérifie le fonctionnement des témoins. Reportez-vous à la rubrique « Témoins et carillons de rappel sonore » du chapitre « Commandes et instruments » duprésent manuel.
DÉMARRAGE DU MOTEUR
- Serrez le frein de stationnement.
- Boîte de vitesses automatique :
Déplacez le levier sélecteur à la position P (stationnement) ou N (point mort). La position de stationnement est recommende.
Vou ne pouvez pas déplacer le levier sélecteur de votre vehicule de la position P (stationnement) vers une autre position lorsque la clé de contact est à la position OFF (arrêt) ou lorsqu'elle est retiree du contacteur.
Le démarreur est concu de telle sorte qu'il ne peut être activé lorsque le levier sélecteur est engagé dans un ou l'autre des rapportés de conduite.
Boite de vitesses manuelle :
Déplacez le levier sélecteur à la position N (point mort). Appuyez à fond sur la pédale d'embrayage tout en langant le moteur.
Le démarreur est concu pour fonctionner seulement lorsque la pédale d'embrayage est complètement enforcée.
-
Pour démarrer le moteur, tournez la clé de contact à la position START (démarriage), et ce, sans appuyer sur la pedale d'accéléateur. Relâchez la clé lorsque le moteur démarre. Si le moteur démarre, mais refuse de tourner, repêtez la procédure décrite ci-dessus.
-
Lorsque le démarrage de votre moteur est très difficile par temps très froid ou lors du redémarrage, enforcez légèrement la pedale d'accélérateur (environ au tiers de sa course) et maintenez-la dans cette position, puis lancez le moteur. Relâchez la clé et la pedale d'accélérateurès que le moteur démarre.
- S'il est très difficile de démarrer le moteur parce que vous l'avez noyé, appuyez sur la pedale d'accéléateur à fond et maintenez-la enfonnée. Lancez le moteur pendant cinq à six secondes. Relâchez la pedale d'accéléateur. Pour démarrer le moteur, tournez la clé de contact à la position START (démarrage), et ce, sans appuyer sur la pedale d'accéléateur. Relâchez la clé lorsque le moteur démarre. Si le moteur démarre, mais refuse de tourner, repêzez la procédure décrite ci-dessus.
ATTENTION
N'actionnez pas le démarreur pendant plus de 15 secondes à la fois. Si le moteur ne démarre pas, foupez le contact et attende zix secondes avant de tenter un nouveau démarriage; sinon, vous pourriez endommager le démarreur.
- Àpres le démarrage, laissez le moteur tourner au ralenti pendant au moins 30 secondes. Ne faites pas tourner le moteur de votre vehicule à un régime trop élevé pendant qu'il se réchauffe. Conduisez d'abord à vitesse moderation sur une courte distance, plus particulièrement s'il fait froid.
Par temps froid, laissez le moteur tourner de deux à trois minutes au moins avant de l'arrêt. Le démarriage et l'arrêt du moteur sur une courte période peuvent rendre le vehicule plus difficile à démarrer.
CONDUITE DU VÉHICULE
BOITE DE VITESSES
AUTOMATIQUE (selon l'équipement du vehicule)
AVERAGEMENT
- N'enforcez pas la pédale d'accéléateur lors du passage de la position de stationnement (P) ou du point mort (N) en position de marche arrrière (R), marche avant (D), deuxieme imposée (2) ou première imposée (1). Enforcez toujours la pédale de frein et maintenez-la enforcée jusqu'à ce que le passage des vitesses soit complétée. Le fait de ne pas respecter ces directives peut entrainer une perte de maïtrise du vehicule et causer un accident.
- Le régime de ralenti d'un moteur froid est élevé : faites preuve de prudence lorsque vous engagez une vitesse en marche avant ou en marche arrière avant que le moteur ne se soit rechauffé.
- Ne déplacez jamais le levier en position de stationnement (P) ou de marche arrière (R) lorsque le vehicule est en mouvement. Ceci pourrait cause un accident.
ATTENTION
- Lorsque vous arrêtez le vehicule en côte, ne retenez pas le vehicule en position en,enfantant la pedale d'accéléateur. Utilisez只不过 la pedale de frein.
- Ne rétrogradez pas lorsque vous conduissez sur des routes glissantes. Vous pourriez alors perdre la maîtrise de votre vehicule.
La boite de vitesses automatique du vehicule est commandee electroniquement, ce qui garantit son bon fonctionnement et un rendement maximal.
Voutrouverezauxpageesuivanteslesproceduresdefonctionnementrecommendees pour ce type deboite de vitesses.Pourobtenirunrendement maximaldevotrevehiculeetprofiterau maximumde saconduite,suivecescscopédures.
Démarriage du vehicule
- Enoncez complètement la pédale de frein avant de tenter de déplacer le levier sélecteur de la position P (stationnement) après le démarrage du moteur.
-
En gardant la pédale de frein enforcée, déplacez le levier sélecteur dans une position de conduite.
-
Relâchez la pédale de frein, puis laïssez le vehicule entamer graduèlement son déplacement.
La conception de la boîte de vitesses automatique de votre vehicule exige que la pédale de frein SOIT enforcée avant de permettre le déplacement du levier de la position P (stationnement) vers un rapport de conduite lorsque le contacteur d'allumage se trouve à la position ON (marche).
Vous ne pouvez pas déplacer le levier sélecteur de la position P (stationnement) vers un autre rapport lorsque la clé de contact est à la position LOCK (verrouillage) ou lorsqu'elle est retiree du contacteur.
Vous pouvez déplacer le levier sélecteur si le contacteur d'allumage est à la position ACC (accessoires). Ceci vous permet de déplacer le vehicule en cas de décharge de la batterie. Vous pouvez également déplacer le levier sélecteur si la pédale de frein est enforcée alors que le contacteur d'allumage se trouve à la position ON (marche).

Pour déplacer le levier sélecteur :
: tirez le levier vers vous pour changer de vitesse;
: changez de vitesse sans tirer le levier.
Changement des vitesses (moteur KA24DE)
Tirez le levier selecteur pour passer à la position P (stationnement) ou R (marche arrêté), ou de la position D (marche avant) à la position 2 ou 1.
AVERAGEMENT
Serrez le frein de stationnement si le levier sélecteur est en prise alors que le moteur ne tourne pas. Sinon, le vehicule risque de se déplacer ou de rouler inopinément et entrainer de graves blessures ou des dommages matériels importants.
P (stationnement)
Cette position du levier sélecteur est utilisé lors du stationnement ou du démarrage du vehicule. Assurez-vous que le vehicule est complètement immobilisé. La pédale de frein et le bouton du levier sélecteur doivent être enforcés pour qu'il soit possible de déplacer le levier à la position P (stationnement) à partir de la position N (point mort) ou de toute autre position. Serrez le frein de stationnement. Lorsque vous vous stationnez dans une pente, serrez le frein de stationnement avant de déplacer le levier sélecteur à la position P (stationnement).
Passage de la position P (stationnement) vers une autre position
Si le levier selecteur ne peut etre deplacé à la position P (stationnement) alors que le contacteur d'allumage est en position de marche et que la pedale de frein est enforcée, suive ces directives :
- Tournez la clé de contact à la position LOCK (verrouillage).
- Serrez le frein de stationnement.
- Insérez la clé de contact de nouveau et tournez-la à la position ACC (accessoires).
- Enforcez la pédale de frein et déplacez le levier sélecteur à la position N (point mort).
- Démarrez le moteur.
Ces directives de démarrage du moteur en position N (point mort) ne doivent être utilisées que lorsque des réparations peuvent être effectuées chez un concessionnaire NISSAN.
R (marche arrière)
ATTENTION
Choisissez cette position uniquement lorsque le vehicule est stationné.
Cette position est utilisée pour reculer. Assurez-vous que votre vehicule est totalement immobilisé avant de déplacer le levier sélection à la position R (marche arrière). La pédale de frein et le bouton du levier sélection doivent être enforcés pour déplacer ce dernier de la position N (point mort), P (stationnement) ou toute autre position à la position R (marche arrière).
Il ne s'agit pas d'une position de marche avant ou de marche arrrière. Vous pouvez toute fois démarrer le moteur de votre vehicule dans cette position. Si le moteur de votre vehicule cale pendant que vous roulez, vous pouvez déplacer le levier sélecteur de ce dernier à la position N (point mort), puis redémarrer.
Position D (marche avant)
Cette position est utilisé pour la conduite normale en marche avant.
Position 2 (deuxieme vitesse)
Cette position est utilisée pour gravir des pentes raides ou à titre de frein moteur lors de descentes abruptes.
Ne passez pas en deuxieme si vous roulez a des vitesses supérieures à 92 km/h (58 mi/h). Ne dépassez pas une vitesse de 92 km/h (58 mi/h) lorsque le levier sélecteur de votre vehicule est place en deuxieme.
Position 1 (première vitesse)
Cette position est utilisé pour la conduite à basse vitesse dans des pentes très raides, dans la neige, le sable ou la boue, ou pour obtenir un frein moteur maximal dans des descentes abruptes.
Ne déplacez pas le levier sélecteur de votre vehicule à la position 1 si vous roulez à des vitesses supérieures à 48~km / h (30 mi/h). N'excédez pas des vitesses de 48~km / h (30 mi/h) lorsque le levier sélecteur de votre vehicule se trouve à la position 1.

Pour déplacer le levier sélecteur :
enoncez le bouton du levier pour déplacer ce dernier;
: déplacez le levier sans enforcer le bouton.
Changement des vitesses (moteur VG33E ou VG33ER)
Enoncez le bouton du levier selecteur pour déplacer ce dernier en position P (stationnement) ou R (marche arrêté), ou encore de la position D (marche avant) vers la position 2. Vous pouvez engager le levier selecteur dans tous les autres rapportés sans enforcer le bouton.
5-14 Demarrage et conduite
A VERTISSEMENT
Serrez le frein de stationnement si le levier sélecteur est en prise alors que le moteur ne tourne pas. Sinon, le vehicule risque de se déplacer ou de rouler inopinément et entrainer de graves blessures ou des dommages matériels importants.
P (stationnement)
Cette position du levier sélecteur est utilisé lors du stationnement ou du démarrage du vehicule. Assurez-vous que le vehicule est complètement immobilisé. La pédale de frein et le bouton du levier sélecteur doivent être enforcés pour qu'il soit possible de déplacer le levier à la position P (stationnement) à partir de la position N (point mort) ou de toute autre position. Serrez le frein de stationnement. Lorsque vous vous stationnez dans une pente, serrez le frein de stationnement avant de déplacer le levier sélecteur à la position P (stationnement).
Passage de la position P (stationnement) vers une autre position
Si le levier sélecteur ne peut être déplaced à la position P (stationnement) alors que le contacteur d'allumage est en position de marche et que la pédale de frein est enforcée, suive ces directives :
- Tournez la clé de contact à la position LOCK (verrouillage).
- Serrez le frein de stationnement.
- Insérez la clé de contact de nouveau et tournez-la à la position ACC (accessoires).
- Enoncez la pédale de frein et déplacez le levier sélecteur à la position N (point mort).
- Démarrez le moteur.
Ces directives de démarrage du moteur en position N (point mort) ne doivent être utilisées que lorsque des réparations peuvent être effectuees chez un concessionnaire NISSAN.
R (marche arrière)
ATTENTION
Choisissez cette position uniquement lorsque le vehicule est stationné.
Cette position est utilisée pour reculer. Assurez-vous que votre vehicule est totalement immobilisé avant de déplacer le levier sélection à la position R (marche arrière). La pédale de frein et le bouton du levier sélection doivent être enforcés pour déplacer ce dernier de la position N (point mort), P (stationnement) ou toute autre position à la position R (marche arrière).
Il ne s'agit pas d'une position de marche avant ou de marche arrrière. Vous pouvez toutefois demarrer le moteur de votre vehicule dans cette position. Si le moteur de votre vehicule cale pendant que vous roulez, vous pouvez deplacer le levier selecteur de ce dernier à la position N (point mort), puis redemarrer.
Position D (marche avant)
Cette position est utilisé pour la conduite normale en marche avant.
Deuxieme vitesse (2)
Cette position est utilisé pour gravir une pente ou pour augmenter le frein moteur en descente. Ne place pas le levier selecteur à la position 2 si vous roulez à une vitesse supérieure à 96 km/h (60 mi/h). Ne dépassez pas 96 km/h (60 mi/h) avec le levier selecteur à la position 2.
Première vitesse (1)
Cette position est utilisé pour gravir une pente très raide à basse vitesse, pour conduire dans la neige, le sable ou la boue, ou pour obtaining un frein moteur maximal en descente abrupte.
Ne place pas le levier selecteur à la position 1 si vous roulez à une vitesse supérieure à 50 km km/h (31 mi/h). Ne dépassez pas 50 km km/h (31 mi/h) avec le levier selecteur à la position 1.


WSD0062
Déverrouillage du levier de vitesse
Vous ne pouvez pas déplacer le levier sélecteur de la position P (stationnement) vers une autre position si la batterie de votre vehicule est décharge, et ce, même si la pédale de frein et le bouton du levier sélecteur sont enforcés.
Pour déplacer le levier sélecteur, déverrouillez-le et enforcez le bouton. Vous pouvez déplacer le levier sélecteur en position N (point mort). Toutefois, le volant de direction demeure verrouillé jusqu'à ce que le contacteur d'allumage soit déplaced à la position ON (marche).
Pour déverrouiller le levier, suivez les procédures décrites ci-dessous:
- Tournez le contacteur d'allumage à la position LOCK (verrouillage) et retirez la clé.
- Serrez le frein de stationnement.
- retirez le couvercle de la commande de verrouillage du levier (A);
- insérez un petit tournevis dans la fente de verrouillage du levier et poussez-le vers le bas B;
-
enonceze le bouton du levier selecteur et deplacez ce dernier a la position N (point mort) D tout en maintainant la commande de verrouillage du levier vers le bas;
-
tournez la clé de contact à la position ON (marche) pour déverrouiller le volant de direction. Le vehicule peut maintainer être conduit normalement.
S'il vous est impossible de dégager le levier sélecteur de la position P (stationnement), rendez-vous le plus tout possible chez un concessionnaire NiSSAN pour y faire inspector la boîte de vitesses automatique.
Retrogradation à l'aide de la pedale d'accéléateur
-en position D (marche avant)
Enoncez la pédale d'accélérateur au plancher si vous doivent effectuer un dépassement ou gravir une pente raide. La boîte de vitesses rétrograda dans un rapport inférieur correspondant à la vitesse du vehicule.

Interrupteur de surmultipliee (moteur KA24DE type A)
Position pour la conduite normale, déplace ON (en cez l'interrupteur de surmulti-function): pliee à la position ON (en
pour la conduite normale, déplacez l'interrupteur de surmultiplée à la position ON (en fonction) – alors que le levier sélecteur se trouve en position D (marche avant). La boîte de vitesses passée en mode de surmultiplée lorsque la vitesse du vehicule augmente.
Le moteur du vehicule doit atteindre sa température normale de fonctionnement pour que la surmultiplie soit engagée.
Position : lorsque vous conduisez sur de longues routes abruptes qui nécessitant l'utilisation du frein moteur, déplacez l'interrupteur de surmultiplée à la position OFF (hors fonction) . Le tímoin de surmultiplée du tableau de bord s'allume. Des à-coups désagréables, provoqués par les passages de vitesse répétés entre la troisième vitesse et la surmultiplée, peuvent être ressentsi si vous conduisez à faible vitesse ou montez une pente douce. Dans ce cas, déplacez l'interrupteur de surmultiplée à la position OFF (hors fonction) .
Lorsque les conditions de conduite changent, activez a nouveau la surmultipliee en déplaçant l'interrupteur à la position ON (en fonction) . Le témoin de la surmultipliee s'éteint.
Rappelez-vous que vous ne devez pas conduire à des vitesses élevées sur une période prolongée lorsque l'interrupteur de surmultiplie est à la position OFF (hors fonction) . La mise en fonction de la surmultiplie réduit la consommation de carburant lorsque vous conduisez à des vitesses élevées.

WSD0070
Interrupteur de surmultipliee (moteur KA24DE type B)
À chaque démarriage, la boîte de vitesses de votre vehicule se réinitialise et entraîne la mise en fonction de la surmultiplée.
Position l'interrupteur de surmultiplie est ON (en en fonction pour la conduite
fonction):normale.La boite de vitesses passée en mode de surmultiplie lorsque la vitesse du vehicule augmente.
Le moteur du vehicule doit atteindre sa température normale de fonctionnement pour que la surmultiplée puisse s'engager.
Position : l'soque yous condusez sur de longues pentes qui neccessitant fonction) : l'utilisation du frein moteur, appuyez une fois sur I'interrupteur de surmultipliee. Le temoin d'annulation de la surmultipliee (O/D OFF) s'allume.
Des à-coups désagréables, provoqués par les passages de vitesse répetés entre la troisième vitesse et la surmultiplie, peuvent être ressentis si vous conduisez à faible vitesse ou montez une pente douce. Dans ce cas, appuyez sur l'interrupteur de surmultiplie.
Lorsque les conditions de conduite changent, enforcez l'interrupteur de surmultipliee pour remetre celle-ci en fonction. Le témoin d'annulation de la surmultipliee (O/D OFF) s'eteint.
Rappelez-vous que vous ne devez pas conduire à des vitesses élevées sur une période prolongée si le témoin d'annulation de la surmultiplie est allumé. La mise en fonction de la surmultiplie réduit la consommation de carburant lorsque vous conduisez à des vitesses élevées.

Interrupteur de surmultipliee (moteur VG33E ou VG33ER)
À chaque démarrage, la boîte de vitesses est réinitialisée et la surmultiplée est automatique-ment remise en fonction.
En fonction : Lorsque le moteur est en marche et que la vitesse de votre vehicule augmente, la boite de vitesse passée en mode de surmultiplie si le levier selecteur se trouve à la position D (marche avant).
Le moteur du vehicule doit atteindre sa température normale de fonctionnement avant que la surmultiplée puisse entre en fonction.
Hors Lorsque you roulez, en montée fonction: ou en descente, dans une pente prolongée nécessitant plus de frein moteur, appuyez sur l'interrupteur de surmultiplie pourmettre cette-ci hors fonction.Le témoin d'annulation de la surmultiplie (O/D OFF) de la planche de bord s'allume alors.
Des passages de vitesse repétés entre la troisième vitesse et la surmultiplie qui provoquent des à-coupes désagréables peuvent survenir si vous conduisez à faible vitesse ou montez une pente douce. Si une telle situation survient, enforcez l'interrupteur de la surmultiplie pour la mesure hors fonction. Le tímoin d'annulation de la surmultiplie (O/D OFF) de la planche de bord s'allume alors.
Lorsque les conditions de conduite changent, enforcez de nouveau l'interrupteur de surmultipliee pour la remetre en fonction.
Rappelez-vous que vous ne devez pas conduire à des vitesses élevées pendant de longues péri-
des si la fonction de surmultipliee de votre vehicule n'est pas activee. La mise en fonction de la surmultipliee reduit la consommation de carburant lorsque vous conducisez a des vitesses elevées.
BOITE DE VOTESSES MANUELLE
AVERAGEMENT
- Ne rétrogradez pas brusquement sur une chaussée glissante. Vous pourriez alors perdre la maitrise de votre vehicule.
- Ne faites pas tournier le moteur en survivesse lorsque vous rétrogradez. Vous pourriez perdre la maitrise de votre vehicule ou en endommager le moteur.
ATTENTION
- Ne laïsez pas votre pied reposer sur la pédale d'embrayage pendant que vous conduisiez car vous pourriez endomgar l'embrayage.
-
Enforcez totallyment la pédale d'embrayage avant de changer de vitesses pour éviter d'endommager la boîte de vitesses.
-
Immobilisiez complètement votre vehicule avant de passer en marche arrêté (R).
- Lorsque le vehicule est immobilisé et que le moteur tourne (par exemple, à un feu de signalisation), déplacez le levier de vitesse au point mort et relâchez la pédale d'embrayage en vous assurant d'appuyer sur la pédale de frein.


WSD0064
Changement des vitesses
Pour changer de rapport, lors d'un passage en vitesse supérieure ou d'une retrogradation, enoncez complètement la pedale d'embrayage, engagez le rapport adequat et relâchez la pedale d'embrayage lentement et en douceur.
Pour changer les rapports en douceur, assurez-vous de bien enforcer la pédale d'embrayage avant de déplacer le levier de vitesses. Si vous n'avez pas bien enforcé la pédale d'embrayage avant de passer les rapports, vous risquez d'entendre un bruit provenant des pignons. Vous pourriez endommager la boîte de vitesses.
Mettez le vehicule en mouvement en première vitesse, puis passez en deuxieme, en troisieme, en quatreieme et jusqu'à la cinquième vitesse dans l'ordre, selon la vitesse du vehicule.
Vou ne pouvez pas passer directement de la 5e vitesse à la position R (marche arrrière). Passez d'abord au point mort, puis à la position R (marche arrrière).
Si le passage à la position R (marche arrière) ou à la position 1 (première) est difficile, passez au point mort, puis relâchez la pedale d'embrayage. Enforcez la pedale d'embrayage de nouveau et passez à la position R (marche arrière) ou à la position 1 (première).
Si vous possédez un vehicule à quatre roues motrices, consultez la rubrique « Procedures de changement de position de la boîte de transfert » plus loin dans ce chapitre.
Vitesses suggerées pour les passages vers des rapports supérieur
Voutrouvezez ci-après des suggestions de vitesses pour les passages vers des rapportes supérieur. Ces suggestions sont établies en fonction de la consommation de carburant et du rendement de votre vehicule. Les vitesses de passage vers des rapportes supérieur varient selon l'etat de la route, la température et les habitudes de conduite individuelles.
- Modèles à deux et à quatre roues motrices (positions 2H et 4H):
| CHANGEMENT DE RAP-PORT | km/h (mi/h) |
| 1re à 2e | 24 (15) |
| 2e à 3e | 40 (25) |
| 3e à 4e | 64 (40) |
| 4e à 5e | 72 (45) |
- Modèles à quatre roues motrices (position 4L):
| CHANGEMENT DE RAP-PORT | km/h (mi/h) |
| 1re à 2e | 13 (8) |
| 2e à 3e | 19 (12) |
| 3e à 4e | 32 (20) |
| 4e à 5e | 35 (22) |
Vitesse maximale sugérée pour chaque rapport
Si le moteur ne tourne pas en douceur ou qu'une acceleration est requise, passez à un rapport inférieur.
N'excédez pas la vitesse maximale suggérée (mentionnée ci-dessous) dans quelques rapport que ce soit. Utilisez le rapport le plus élevé sugéré pour cette vitesse si vous conduisiez sur une
route plane. Afin d'assurer votre sécurité, respectez les panneaux de limitation de vitesse et tenez compte de l'état de la route lorsque vous conduisez. Lors du passage vers un rapport inférieur, ne faites pas tourner votre moteur en survivesse sous peine d'endommager votre moteur et de perdre la maitrise de votre vehicule.
Vitesse maximale permise pour chaque rapport :
Modèles à deux roues motrices
Modèles à quatre roues motrices
Assurez-vous que le frein de stationnement est complètement desseré avant de démarrer. Sinon, cela risque de causeur une défaillance des freins et d'entrainer un accident.
- Ne desserrez pas le frein de stationnement de l'extérieur du vehicule.
- N'utilisez pas le levier de vitesses comme frein de stationnement pour garder le vehicule immobile. Lorsque vous stationnez votre vehicule, assurez-vous que le frein de stationnement est bien serré.
- Ne laisses pas d'enfants sans surveillance dans un vehicule. Ils pourraient desserrer le frein de stationnement et provoquer un accident.

Pour le serrer : enoncez fermement le frein de stationnement A.
Pour le relacher :
- Serrez le frein de conduite fermement.
- Véhicules équipés d'une boîte de vitesse manuelle :
Déplacez le levier sélecteur à la position N (point mort).
Véhicules équipés d'une boîte de vitesses automatique :
Déplacez le levier sélecteur à la position P (stationnement).
RÉGULATEUR DE VITESSE (selon l'équipement du vehicule)
- Tirez le levier de déblocage du frein de stationnement (B).
- Assurez-vous que le témoin de frein est étéint avant de prendre la route.

- Interrupteur principal du régulateur de vitesse
- Interrupteur RES/ACCEL (reprise/ acceleration)
- Interrupteur CANCEL (annulation)
- Interrupteur COAST/SET (vitesse/ réglage de croisière)
PRECAUTIONS RELATIVES À L'UTILISATION DU RÉGULATEUR DE VITESSE
Le régulateur de vitesse cesse de fonctionner automatiquement s'il est defectueux. Le témoin de réglage (SET) du tableau de bord
clignote pour signaler la défectuosité au conducteur.
- Si le témoin de réglage (SET) clignote, dé-sactivez l'interrupteur principal du régulateur de vitesse et faites vérifier le dispositif chez un concessionnaire NISSAN.
- Si l'interrupteur principal du régulateur de vitesse est activé et que vous enforcez l'un des interrupteurs RES/ACCEL (reprise/acceleration), COAST/SET (vitesse/réglage de croisière) ou CANCEL (annulation) (situés sur le volant), il est possible que le témoin SET (réglage) se mette à clignoter. Suivez les procédures décrites cédssous pour régler le régulateur de vitesse ajustement.

AVERTISSEMENT
N'utilise pas le régulateur de vitesse dans les conditions suivantes :
- Lorsqu'il est impossible de maintainir la vitesse programmée.
Lorsque la circulation est dense ou que sa vitesse varie. -
Sur les routes montagneuses ou sinueuses.
-
Sur les routes glissantes (pluie, neige, glace, etc.).
- Dans des endroits très venteux.
Vous pourriez ainsi perdre la maitrise de voitre vehicule et avoir un accident.

ATTENTION
Sur un vehicule équipé d'une boite de vitesses manuelle, lorsque le régulateur de vitesse est en fonction, ne déplacez pas le levier de vitesses en position de point mort (N) sans enforcer la pedale d'embrayage. Si une telle situation se produit, enforcez la pedale d'embrayage et tournez immidiatement le commutateur principal à la position d'arrêt. Ceci visse à empêcher que le moteur ne subisse des dommages.
FONCTIONNEMENT DU RÉGULATEUR DE VITESSE
Lorsque le régulateur de vitesse est mis en fonction, vous pouvez conduire à des vitesses se situant entre 40 et 144km / h (25 et 90mi / h ) sans avoir à laisser votre pied sur l'accelérateur.
Pour activer le régulateur de vitesse, appuyez sur l'interrupteur principal. Le témoin du régulateur (CRUISE) du tableau de bord s'allume alors.
Pour étabrir une vitesse de croisière, accélère à la vitesse désirée, appuyez sur l'interrupteur COAST/SET (vitesse de croisière/réglage) et relâchez-le. Le témoin de réglage (SET) du tableau de bord s'allume alors. Relâchez la pédale d'accéléateur. Le vehicule continue à rouler à la vitesse可以选择.
- Si vous doivent dépasser un autre vehicule, appuyez sur l'accéléateur. Le vehicule revient à la vitesse prérégée dés que vous relâchez la pedale.
- Lorsque vous montez ou descendez une pente raide, il est possible que le vehicule ne puisse pas maintainir la vitesse régée. Ne mettez pas le régulateur en fonction si vous doivent conduire dans une telle situation.
Pour annuler le réglage d'une vitesse, utilise une des trois méthodes suivantes :
- enforcez le bouton CANCEL (annulation) - le témoin de réglage (SET) du tableau de bord s'étéint;
- appuyez sur la pédale de frein - le tímoin de réglage (SET) du tableau s'eteint;
PERIODE DE RODAGE
- mettez l'interrupteur principal du régulateur de vitesse hors fonction. Les témoins du régulateur (CRUISE) et de réglage (SET) du tableau de bord s'éteignent.
Le régulateur de vitesse cesse de fonctionner automatiquement et le témoin SET du tableau de bord s'eteint si :
- vous enforcez la pédale de frein ou d'embrayage tout en appuyant sur l'interrupteur RES/ACCEL (reprise/acceleration) ou COAST/SET (vitesse de croisière/réglage). La vitesse pré-réglée est supprimée de la mémoire;
- la vitesse du vehicule est réduite de plus de 13 km/h (8 mi/h) par rapport à la vitesse régée;
- vous enforcez la pédale d'embrayage (boîte manuelle) ou déplacez le levier sélecteur à la position N (point mort) (boîte automatique).
Pour étabir une vitesse de croisière plus rapide, utilisez une des trois méthodes suivantes :
- appuyez sur l'accélérateur. Enforcez l'interrupteur COAST/SET (vitesse de croisière/réglage) et relâchéze-le une fois que le vehicule a atteint la vitesse désirée;
- enforcez l'interrupteur RES/ACCEL (reprise/accelération) et maintenez-le en
foncé. Relâchéz-le lorsque le vehicule atteint la vitesse désirée;
- appuyez sur l'interrupteur RES/ACCEL (reprise/acceleration) et relâchéz-le. La vitesse de votre vehicule augmente d'environ 1,6 km/h (1 mi/h) chaque fois que vous appuyez sur ce bouton.
Pour étabir une vitesse de croisière plus lente, utilisez une des trois méthodes suivantes :
- appuyez légèrement sur la pédale de frein. enforcez l'interrupteur COAST/SET(vitésse de croisière/réglage) et relâchéze-le une fois que le vehicule a atteint la vitesse désirée;
- enoncez l'interrupteur COAST/SET (vitesse de croisière/reglage) et maintenez-le enforce. Relâchez l'interrupteur une fois que le vehicule a ralenti jusqu'à la vitesse désïrée;
- appuyez sur l'interrupteur COAST/SET(vitesse de croisière/réglage) et relâchéz-le. La vitesse de votre vehicule diminue d'environ 1,6 km/h (1 mi/h) chaque fois que vous appuyez sur ce bouton.
Pour rétablit une vitesse régée antérieurement, appuyez sur l'interrupteur RES/ACCEL (reprise/accelération) et relâchéze-le. Dès que la vitesse du vehicule dépasse 40 km/h (25 mi/h), la dernière vitesse de croisière régée est rétablie.
ATTENTION
Afin d'obtenir un rendement maximal de votre moteur, d'en assurer la fiabilité et de lui permettre la(Meilleure consommation d essence possible, suivez les recommendations ci-apres pendant les premiers 2000km 1200 mi).Si vous ne suivez pas ces recommandations, vous risquez de réduire la durée de vie utile de leur moteur ainsi que ses performances.
- Évitez de conduire à des vitesses constantes (rapides ou lentes) sur une période prolongée et ne faites pas tournier le moteur de votre vehicule à plus de 4000 tr/min.
- N'effectuez pas d'accélération à plein régime dans quelles rapport que ce soit.
- Évitez les démarrages rapides.
- Évitez les freinages brusques dans la mesure du possible.
- Ne tractez pas de remorque pendant les premiers 800km (500 mi) de conduite de votre vehicule. Vous pourriez endommager le moteur, les essieux ou d'autres pieces de votre vehicule.
RéDUCTION DE LA CONSOMMATION DE CARBURANT
- Accélérez progressivement et sans à-coups. Maintenez votre vitesse de croisière en conservant une position de pédaule d'accéléateur constante.
Conduisez à des vitesses modérées sur l'autoroute. La conduite à haute vitesse augmente la consommation de carburant. - Évitez les arrêts et les freinages inutiles.
Conserve une distance sécuritaire entre vous et les autres vehicules.
Assurez-vous que la gamme de vitesses可以选择 correspond bien aux conditions de la route. Sur les routes planes, passerez aux rapportes supérieuraussirapidementque possible. - Évitez de laisser le moteur de votre vehicule tourner inutillement au ralenti.
- Faites régulièrement effectuer des mises au point de votre moteur.
- Suivez le programme d'entretien périodique recommandé.
Assurez-vous que les pneus sont gonflés à la pression appropriée. Des pneus dont la pression de gonflage est insuffisante s'usent plus rapidement et augmentant la consommation de carburant.
Assurez-vous que le réglage de la géométrie des roues avant est ajustat. Un mauvais réglage de la géométrie des roues entraine une réduction de la durée de vie des pneus et une augmentation de la consommation de carburant.
- L'utilisation du climatiseur entraine une augmentation de la consommation de carburant. Utilisez le climatiseur seulement lorsque cela s'avere nécessaire.
- Il est plus économique demettreleclimaitseur en fonction et de laisser les glaces fermées pour diminuer la résistance lorsquecouven conduitez à des vitesses élevées.
- Utilisez la position 4H ou 4L seulement lorsque cela s'avere nécessaire. Le fonctionnement en mode quatre roues mo-trices augmente la consommation de carburant.
4x4 UTILISATION DU MODE QUATRE ROUES MOTRICES

Pour déplacer le levier sélecteur de la boîte de transfert :
: poussez le levier vers le bas pour chan- ger de position;
: déplacez le levier sans le pousser vers le bas.
PROCÉDURES DE CHANGEMENT DE POSITION DE LA BOITE DE TRANSFERT
AVERAGEMENT
- Lorsque vous stationnez vos véchicule, assurez-vous que le levier de commande de transfert est à la position 2H, 4H ou 4L et que le frein de stationnement est serré.
- Ne laïsez pas le levier sélecteur de boîte de transfert au point mort (N). Le vehicule pourrait se déplacer de façon inopinée, même si la boîte de vitesses se trouvait dans n'importequelle position dans le cas d'une boîte manuelle, ou à la position de stationnement (P) dans le cas d'une boîte automatique. Cette situation pourrait provquer des blessures ou des dommages matériels graves.
- Si le levier de commande de transfert n'est pas place à l'une des positions 2H, 4H ou 4L, le vehicule risque de se déplacer de façon inopinée et d'entraîner des blessures graves ou des dommages matériels importants.
ATTENTION
Ne conduisez pas sur des chaussées sèches en mode quatre roues motrices. La conduite du vehicule sur des surfaces sèches dans les modes 4H ou 4L est plus bruyante et peut entrainer une usure prematurée des pneus en plus d'accroitre la consommation de carburant. NISSAN recommande d'utiliser le mode 2H dans de telles conditions.
2H - (deux roues motrices, gamme haute) Seules les roues arrriere sont entrainées. Utilisez cette position dans des conditions standards ou lors de contrôles d'inspection et d'entretien à l'aide d'un dynamomètre.
4H - (quatre roues motrices, gamme haute) Les quatre roues sont entrainées. Utilisez cette position lorsque la conduite en position 2H s'avere difficile (p. ex., conduite à une vitesse normale sur route enneigée, verglacée, mouillée ou recouverte de boue ou de sable).
La position 4H procure plus de puissance et de traction. Evitez de rouler trop vite, car cela accroit la consommation de carburant et la temperture de l'huile, en plus de risquer d'endommager les composants de la transmission. Il est recommandé de ne pas dépasser une vitesse de 80~km / h (50 mi/h) en mode 4H.
4L - (quatre roues motrices, gamme basse) Les quatre roues sont entrainées. Utilisez cette position pour gravir ou descendre des pentes raides ou dans des conditions de conduite très difficiles (par ex., dans le sable, la boue ou la neige profonde). La position 4L procure un maximum de puissance et de traction. Toutefois, évitez de rouler trop vite dans cette position de gamme, et n'excédez pas la vitesse maximale recommendée d'environ 50~km / h (30mi / h)
N — Aucune roue n'est entrainée. Ne placez jamais le levier de commande de transfert en position N (point mort). Déplacez le levier rapidement et en douceur lorsque vous passez par la position N (point mort) alors que le vehicule est immobile.

4x4 MOYEUX A ROU LIBRE
Les moyex à roue libre sont concus pour permetre l'enclenchement des quatre roues motrices lorsque le levier de vitesses est déplaced vers la position 4H ou 4L. Suivez ces consignes d'utilisation :
ATTENTION
-
Les moyaux à verrouillage automatique émettent unclistquetis lors de leur embrayage ou débrayage. Ceci est normal.
-
Lors du passage du mode deux roues motrices au mode quatre roues motrices, l'accelération rapide du vehicule après un arrêt peut empêcher le débrayage des moyaux à roue libre, ce qui peut causer un bruit metallique. Si tel est le cas, relâchez la pédale d'accelérer afin de réduire le régime du moteur ou arrêtez le vehicule. L'utilisation prolongée du vehicule en présence d'un tel bruit peut endomgar le dispositif de blocage des moyieux.
-
Si les moyeu x roue libre émettent un bruit metallique après le passage du mode quatre roues motrices au mode deux roues motrices, arrêtez le vehicule, puis reculez en ligne droite sur une distance d'environ 2 à 3 m (7 à 10 pi).
-
Par temps extrémement froid (températures inférieures à -15 °C [5 °F]), les arbres de roue avant peuvent tournier, même si le levier sélecteur de la boite de transfert est place à la position 2H. Si une telle situation se produit, les moyeu à roue libre peuvent émettre un bruit metallique. Pour éviter ceci, conduizez tout d'abord en mode quatre roues motrices pour rechauffer le vehicule et l'huile du mecanisme de différentiel. Passez ensuite au mode deux roues motrices.
-
Par temps froid, il peut être nécessaire de réduire votre vitesse ou d'arrêter le vehicule pour passer du mode deux roues motrices au mode quatre roues motrices.
-
Lorsque vous passsez en mode quatre roues motrices ou lorsque vous le quittez, déplacez le levier au bout de sa course. Un déplacement incomplet du levier peut générer des bruits métalliques en provenance des moyaux à roue libre. Vous pourriez endommager les moyux à roue libre si vous poursuivez votre route dans de telles conditions. Conduisez en mode quatre roues motrices pour faire cesser le bruit. Passez en mode deux roues motrices tel que décrit.
Vehicules équipés d'une boîte de vitesses automatique :
Voudevez tousjondéplacerelvierrapidementlorsqueyoupassezparla positionN(point mort)a partirdespositions4Hou4Lversles positions4Lou4H.Siyoudéplacezelevier lentement,lerégime deralentiudmoteurpermét l'accelérationdespignons,provoquantalser le grincementdeceux-ci.
Ne déplacez pas le levier de la boîte de transfert des positions 4H ou 4L vers les positions 4L ou 4H ou de la position 2H vers la position 4L ou
vice-versa lorsque le moteur est à l'arrêt. Le déplacement du levier de la boîte de transfert à la position désirée pourrait alors s'avérer difficile.
Ne laisses pas le levier de la boite de transfert à la position N (point mort) pendant que le moteur tourne. Un grincement des pignons peut survenir si le vehicule est arrêté avec le levier de la boite de transfert à la position N (point mort) et qu'une autre position est ensuite sélectionnée. Vous pouvez éviter de telles situations en déplaçant le levier de la boite de transfert rapidement et en douceur.
| POUR DÉPLACER LE LEVIER DE LA BOITE DE TRANSFERT | PROCÉTURE DE CHANGESMENT DE POSITION POUR LES MOYEUX À ROU LIBRE - VERROUILAGE AUTOMATIQUE |
| De la position 2H à la position 4H | Déplacez le levier de la boîte de transfert à la position 4H lorsque vous roulez à une vitesse inférieure à 40 km/h (25 mi/h). Il n'est pas nécessaire d'enforcer la pédale d'embryage. Procédez à cette manœuvre lorsque vous conduisuez en droite ligne et non dans une courbe. |
| De la position 4H à la position 2H | 1. Déplacez le levier sélecteur de la boîte de transfert à la position 2H. La vitesse à laquelle vous roulez à ce moment n'a pas d'importance et il n'est pas nécessaire d'enforcer la pédale d'embryage lors de cette manœuvre. Procédez à cette manœuvre lorsque vous conduisuez en ligne droite et non dans une courbe.2. Dégagez les moyaux à roule libre à verrouillage automatique en suivant la méthode indiquée ci-dessous.RemARQUE: Le témoin des quatre roues notices peut ne pas s'éteindre immeditatément dans certaines conditions de conduite, par exemple lorsque le vehicule gravit une pente raide. Cette situation est normale, et le témoin s'éteindra une fois que le vehicule aura surmonté la difficulté.DÉGAGEMENT DES MOYEUX À ROU LIBRE À VERROUILAGE AUTOMATIQUE (MODE LIBRE)Les moyux à roule libre à verrouillage automatique ne peuvent être dégagées avant que le vehicule ne soit complètement immobilisé, puis déplace en droite ligne sur une distance de 2 à 3 m (7 à 10 pi) dans la direction opposée à celle du trajet. Par exemple:si vous conduisiez en marche avant, vous doivent arrêters puis déplacez le vehicule sur une distance de 2 à 3 m (7 à 10 pi) en marche arrière.Si vous conduisiez en marche arrière, arrêtez, puis déplacez le vehicule sur une distance d'environ 2 à 3 m (7 à 10 pi) vers l'avant.Il n'est pas nécessaire de revenir immeditatement au mode libre des moyux à roule libre à verrouillage automatique lorsque vous passerez de la position 4H à la position 2H. Vous pouvez conduire votre vehicule dans des conditions normales en mode 2H, même si les moyux à roule libre à verrouillage automatique sont enclenchés. Toutfoits, la consommation de carburant, les bruits et l'usure des composants sont accrus lorsque les moyux à roule libre demeurent enclenchés. Il peut s'avérer souhaitable de laisser les moyux à roule libre enclenchés pour pouvoir passer facilement de la position 2H à la position 4H à une vitesse supé-rieure à 40 km/h (25 mi/h). |
| De la position 4H à la position 4L et vice-versa | 1. Arrêtez le vehicule.Laissez le moteur tourner.2. Enforcez la pédale d'embrayage, ou mettez le levier sélecteur de la boîte de vitesse en position N (point mort).3. Appuyez sur le levier sélecteur de la boîte de transfert et mettez-le à la position 4L ou 4H. Déplacez le levier de la boîte de transfert rapidement et en douceur. |
| De la position 2H à la position 4L | 1. Arrêtez le vehicule.Laissez le moteur tourner.2. Enforcez la pédale d'embrayage, ou mettez le levier sélecteur de la boîte de vitesse en position N (point mort).3. Appuyez sur le levier sélecteur de la boîte de transfert et mettez-le à la position 4L. Déplacez le levier de la boîte de transfert rapidement et en douceur. |
| De la position 4L à la position 2H | 1. Arrêtez le vehicule.Laissez le moteur tourner.2. Enforcez la pédale d'embrayage, ou mettez le levier sélecteur de la boîte de vitesse en position N (point mort).3. Appuyez sur le levier sélecteur de la boîte de transfert et mettez-le à la position 2H. Déplacez le levier de la boîte de transfert rapidement et en douceur.4. Dégagez les moyux à roule libre à verrouillage automatique en suivant la méthode indiquée ci-dessus. |


AVENTISSEMENT
- N'immobilisez pas et ne stationnez pas votre vehicule sur une surface recouverte de matieres inflammables comme du gazon sec, deieux papiers ou des chiffons. Ces matieres pourraient s'enflammer et provoquer un incendie.
-
Placez le levier de commande de transfert dans la position 2H, 4H ou 4L et serrez le frein de stationnement pour éviter tout déplacement inopiné du vehicule.
-
Ne placez jamais le levier de commande de transfert en position de point mort (N). Le vehicule pourrait se déplacer de façon imprévue, même si la boîte de vittesses est en prise (dans le cas d'une boîte manuelle) ou à la position de stationnement (P) (dans le cas d'une boîte automatique), ce qui pourrait cause des blessures graves ou des dommages matériels.
-
Les procédures de stationnement sécuritaire exigent que le frein de stationnement soit serré et que le levier selecteur soit place en position de stationnement (P) (dans le cas des modèles équipés d'une boîte de vitesses automatique) ou que le levier de vitesses soit place à la position ajustée (dans le cas des modèles équipés d'une boîte de vitesses manuelle). Le fait de ne pas respecter ces directives peut causer un déplacement inopiné du vehicule et entrainer un accident. Assurez-vous que le levier de vitesses a été pousse aussi loin que possible vers l'avant et qu'il ne peut pas être déplace à moins d'enforcer la pédale de frein.
-
Ne laïsez jamais votre vehicule sans surveillance lorsqu'le moteur tourne.
-
Ne laisses pas d'enfants sans surveillance dans un vehicule. Ils pourraient actionner les commutateurs ou les commandes par megarde. Des enfants laissés sans surveillance dans un vehicule pourraient être victimes d'un grave accident.
-
Si le témoin ATP est allumé, cela signifie que la position de stationnement (P) de la boîte de vitesses automatique ne fonctionnera pas et que le levier sélecteur de boîte de transfert est en position de point mort (N). Si le levier de commande de transfert n'est pas placé à l'une des positions 2H, 4H ou 4L, le vehicule risque de se déplacer de façon inopinée, ce qui peut entrainer de graves blessures ou des dommages matériels importants.
-
Serrez fermement le frein de stationnement.
- Vehicules Equipés d'une boite de vitesses manuelle :
Déplacez le levier sélecteur à la position R (marche arrrière). Placez le levier sélecteur à la position 1 (première vitesse) si vous stationné dans une pente.
Véhicules équipés d'une boîte de vitesses automatique :
Déplacez le levier sélecteur à la position P (stationnement).
- En cas de stationnement en pente, les suggestions de positionnement des roues illustrées ci contre peuvent s'avérer très utiles pour éviter que votre vehicule se déplace dans une voie de circulation.
DIRECTION ASSISTÉE
- DESCENTE ABRUPTE AVEC TROTTOIR : ①
Tournez les roues vers le trottoir et déplacez le vehicule vers l'avant jusqu'à ce que la roue se trouvant du côté du trottoir effleure celui ci.
PENTE RAIDE AVEC TROTTOIR: ②
Tournez les roues dans le sens contraire du trottoir et déplacez le vehicule vers l'arrière jusqu'à ce que la roue se trouvant du côte du trottoir effleure celui-ci.
- DESCENTE OU PENTE RAIDE SANS TROTTOIR:③
Tournez les roues vers le bord de la route de maniere à ce que le vehicule s'éloigne du centre de la route s'il se déplace.
- Tournez le contacteur d'allumage à la position LOCK (verrouillage) et retirez la clé.
La direction assistée facilité la maniabilité de votre vehicule par le biais d'une pompé hydraulique entrainée par le moteur.
Elle vous permet de conserver la maitrise de votre vehicule advenant l'arrêt du moteur ou le bris de la courroie d'entrainment. Toutefois, la direction assistée exige des efforts plus importantes dans les virages serrés et à basse vitesse.

AVERTISSEMENT
Si le moteur ne tourne pas ou s'il est coupé pendant la conduite, l'assistance à la direction ne fonctionnera pas. Il sera donc beaucoup plus difficile de tourner le volant.
CIRCUIT DE FREINAGE
Le circuit de freinage de votre vehicule compte des deux circuits hydrauliques distincts. En cas de défectuosité d'un des circuits, deux des roues conservent leur capacité de freinage.
Freins assistés par dépression
La dépression du moteur est utilisé par le servôfrein pour faciliter le freinage. Vous pouvez immobiliser le vehicule à l'aide de la pédale de frein en cas d'arrêt du moteur. Toutefois, la distance de freinage sera plus longue et vous devrez appliquer une pression plus importante sur la pédale de frein.
Utilisation des freins
Ne laisses pas votre pied reposer sur la pédale de frein en conduisant. Cette situation pourrait entraîner la surchauffe des freins, l'usage prématurée des garnitures et des plaquettes de freins ainsi qu'une réduction de la distance pouvant être parcourue par litre (gallon) d'essence.
Réduisez votre vitesse et rétrogradez avant de descendre une pente raide ou longue pour éviter l'usure prematurée et la surchauffe des freins. Le rendement des freins pourrait être compromises s'ils surchauffent et vous pourriez ainsi perdre la maitrise de votre vehicule.
AVERAGEMENT
- Soyez prudent en freinant, en accélérant ou en rétrogradant sur chaussée glissante. Les freinages ou accélérations brusques pourraient faire patiner les roues et entraîner un accident.
- Si le moteur ne tourne pas ou s'il est coupé pendant la conduite, l'assistance au freinage ne fonctionnera pas. Il sera donc plus difficile de freiner.
Freins mouillés
Les freins peuvent etre mouillés lors du nettoyage du vehicule ou si vous roulez dans l'eau. La distance de freinage sera plus longue et il est possible que votre vehicule tire d'un cote de la route lors du serrage des freins.
Conduisez votre vehicule à une vitesse sécuritaire tout en,enfonçant légèrement la pedale de frein pour faire secher les freins. Continuez jusqu'à ce que les freins fonctionnent normalement.Evitez de conduire votre vehicule à des vitesses élevées si le fonctionnement des freins n'est pas satisfaisant.
SYSTEME ANTIBLOCAGE (ABS)
Le fonctionnement des freins est regi par le système antiblocage des roues. Ceci permet d'eviter le blocage des roues en cas de freinage brusque ou de freinage sur une chaussée glissante. Le système fait varier la pression du liquide de frein selon la vitesse de rotation de chaque roue décelée afin d'eviter leur blocage et leur patinage. En empêchant les roues de se bloquer, le système aide le conducteur à conserver la maitrise de son vehicule et contribue à réduire au minimum les risques de dérapage et de patinage sur chaussée glissante.
Utilisation du dispositif antiblocage aux quatre roues
Enoncez la pédale de frein et maintenez-la en- fonnée.
AVERAGEMENT
Ne pompez pas la pédale de frein. Cette manoeuvre pourrait avoir pour résultat d'accroître les distances de freinage.
Fonctionnement normal
Le système antiblocage ne fonctionne pas si la vitesse de votre vehicule est inférieure à 5 à 10km / h (3 à 6 mi/h). (La vitesse varie selon l'etat de la route.)
Le système antiblocage contrôle la réaction des roues pendant que vous conduisez afin d'éviter qu'elles se bloquent en cas de freinage brusque ou de freinage sur une chaussée glissante. Les problèmes liés à une direction ardue et au dérapage du vehicule causés par le blocage des roues sont ainsi réduits. Le système commandelectroniquement la pression appliquée à chacun des freins selon le taux de rotation décelé au niveau des roues. Le fonctionnement du système antiblocage entraîne généralement une légère vibration de la pédale de frein ainsi que des bruits. En cas de freinage brusque, cette vibration et ces bruits confirment le bon fonctionnement du système; vous nedez pas vous en inquieter. Toutefois, une sensation de pulsation peut indiquer que les conditions routières sont dangereuses et que la conduite requiert une attention particulière.
Fonction d'autodiagnostic
Le système antiblocage comprend des capteurs électroniques et des solénoïdes hydrauliques contrôls par un ordinateur. Une fonction de diagnostic intégrée à cet ordinateur met le système à l'essay chaque fois que vous démarrez le moteur et que vous roulez à basse vitesse en marche avant ou en marche arrière. Il est possible qu'un bruitsemblable à un « bloc » se fasse entendre et que vous dessentiez une pulsation au niveau de la pédale de frein au moment de
l'exécution de l'autodiagnostic. Cette condition est normale et n'est enaucun cas la manifestation d'une défectuosité. L'ordinateur met le système antiblocage hors fonction et allume le témoin des freins antiblocage sur la planche de bord lorsqu'il décéle la presence d'une défectuosité. Le fonctionnement du système antiblocage est alors neutralisé et votre vehicule utilise le circuit de freinage standard.
Meme si une défectuosité du système antiblocage se présente et que ce dernier cesse de fonctionner, vous pouvez toujours utiliser le freinage standard de votre vehicule. En cas de défectuosité du système antiblocage, le témoin des freins antiblocage s'allume.
Rendez-vous chez un concessionnaire NISSAN pour faire réparer le système antiblocage de votre vehicule si ce témoin s'allume pendant l'autodiagnostic ou la conduite.

AVERTISSEMENT
- Le système antiblocage est un dispositif sophistique, mais il ne peut toutefois pas prévenir les accidents provoqués par une conduite imprudente ou dangereuse. Il peut vous aider à conserver la maïtrise du vehicule lors d'un freinage sur chaussée glissante. Néanmoins, même si votre vehicule est équipé de ce dispositif, vousdezvezvousrappeler que la distance de freinage est plus longue sur chaussée glissante que sur une surface normale. Les distances de freinage peuvent également être plus longues sur des routes cahoteuses, recouvertes de gravier ou enneigées, ou encore, lorsque vousutilizezdeschaines antidérapantes.Le type et l'état des pneus de votre vehicule peuvent égalément nuire à l'efficacité du freinage. Conservez toujours une distance sécuritaire entre votre vehicule et celui qui le precede.En bout de ligne,le conducteur est toujours responsable de sa propre sécurité ainsi que de celle d'autrui.
Le type et l'etat des pneus de votre vehicule peuvent également nuire à l'efficacité du freinage.
- Lorsque vous remplacez vos pneus, installez des pneus de la taille spécifiée aux quatre roues.
Assurez-vous d'installer une roue de secours qui correspond aux specifications de taillie et de type figurant sur l'étiquette des pneus. Pour obtenir des renseignements concernant l'emplacement de l'étiquette des pneus, consultez la rubrique « Étiquette des pneus » du chapitre « Données techniques et information au consommateur » de ce manuel. - Consultez la rubrique « Roues et pneus » du chapitre « Entretien et interventions du propriétaire » de ce manuel.
SYTÉME DE CONTRÔLE DYNAMIQUES DU VÉHICULE (VDC) (selon l'équipement du vehicule)
Lorsque vous accélérez ou que vous conduisiez sur des surfaces glissantes, les pneus peuvent patiner ou glisser. Les capteurs du système de contrôle dynamique du vehicule détectent ces mouvements et reglent la force de freinage de même que le couple du moteur pour améliorer la stabilité du vehicule.
- Le témoin SLIP (indicateur de dérapage) du tableau de bord clignote lorsque le système de contrôle dynamique du vehicule (VDC) est activé.
- Le témoin SLIP clignote aussi lorsque seul le dispositif antipatinage du système de contrôle dynamique du vehicule (TCS) est activé.
- Si ce témoin clignote, ceci indique que les conditions de route sont glissantes. Assurez-vous d'adapter votre vitesse et la conduite à ces conditions. Consultez les rubriques « Témoin SLIP » et « Témoin de neutralisation du système de contrôle dynamique du vehicule » du chapitre « Instruments et commandes »
Témoin Si une anomalie survient dans le système, les témoins SLIP et vDC s'allument au tableau de bord. Tant que ces témoins sont allumés, la fonction antipatinage est annulée.
Le système de contrôle dynamique du vehicule utilise un système de différentiel à glissement limité à frein pour améliorer la traction du vehicule. Le système de différentiel à glissement limité à frein fonctionne lorsqu'une des roues motrices patine sur une surface glissante. Le système de différentiel à glissement limité à frein freine la roue qui patine, ce qui transmet la puissance d'entrainment à l'autre roue motrice. Si le système de contrôle dynamique du vehicule est désactivé, toutes les fonctions du système de contrôle dynamique du vehicule et du dispositif antipatinage sont neutralisées. Le système de différentiel à glissement limité à frein et le système de freins antiblocage fonctionnement même si le système de contrôle dynamique du vehicule est désactivé. Si le système de différentiel à glissement limité à frein ou le système de freins antiblocage sont activés, le témoin SLIP (indicateur de dérapage) clignote et un bruit sourd peut être entendu ou une pulsation peut être remsertie dans la pédale de frein. Ceci est normal.
Pendant que le système de contrôle dynamique du vehicule fonctionne, une pulsation peut etre dessentie dans la pedale de frein et il est possible que vous entendiez une vibration ou un bruit provenant du compartment moteur. Ceci est normal et indique que le système de contrôle dynamique du vehicule fonctionne correctement.
Une fonction de diagnostic intégrée à l'ordinateur met le système à l'essay chaque fois que vous démarrez le moteur et que vous roulez à basse vitesse en marche avant ou en marche arrière. Lorsque l'autodiagnostic est en cours d'exécution, un bruit sourd peut être entendu ou une pulsation peut être dessentie dans la pédale de frein. Ceci est normal et n'est pas un signe de défectuosité.

AVERTISSEMENT
Le système de contrôle dynamique du vehicule a ete concu pour ameliorer la tenue de route du vehicule mais il ne peut emperecher les accidents causés par des manoeuvres brusques de la direction a vitesse elevée ou par une conduite imprudente et dangereuse. Reduissez voitre vitesse et soyez particulierement prudent lorsque vous conduisiez ou virez sur chaussée glissante. Conduisez prudemment en tout temps.
- Si les pieces associées aux freins, telles que les plaquettes de freins, les disques et les étriers, ne sont pas des modèles standard ou si elles sont extrémement déteriorées, le système de contrôle dynamique du vehicule ne fonctionnera pas de façon ajustée et le témoin de désactivation du système s'allumera.
-
Si les pièces associées à la suspension, telles que les amortisseurs, les jambes, les reissorts ou les manchons, ne sont pas des modèles standard ou si elles sont extrémement déteriorées, le système de contrôle dynamique du vehicule ne fonctionnera pas de façon adéquate et le témoin de désactivation du système s'allumera
Le système de contrôle dynamique du vehicule peut ne pas fonctionner ajustement ou son tepoin peut s'allumer lorsque vous conduisez sur une surface très inclinee, par exemple dans un virage relevé. Ne conduisez pas sur ce type de route. -
Si vous montez des roues ou des pneus autres que ceux recommendés, le système de contrôle dynamique du vehicule ne fonctionnera pas correctement et le témoin de désactivation du système s'allumera.
- Sur des routes enneigées, le système de contrôle dynamique du vehicule ne remplace pas l'utilisation de pneus d'hiver ni de chaînes antidérapantes.
Applique du dégivreur dans les trous de serrure des portières pour éviter le gel des serrures. En cas de gel d'une des serrures, chauffez la clé avant de l'insérer dans le trou de la serrure.
ANTIGEL
En hiver, procédez à une vérification de l'antigel de votre vehicule lorsque des températures inférieures à 0 °C (32 °F) sont prévues, et ce, afin d'assurer une protection adequate. Pour plus de détails, consultez la rubrique « Circuit de refroidissement du moteur » du chapitre « Entretien et interventions du propriétaire » du现行 manuel.
BATTERIE
Si la batterie n'est pas complètement chargée, le liquide qu'elle contient peut geler par temps extrémement froid et endommager la batterie. La batterie doit faire l'objet de vérifications régulières pour que son rendement soit maintainu au niveau maximal. Pour plus de détails, consultez la rubrique « Batterie » du chapitre « Entretien et interventions du propriétaire » du present manuel.
VIDANGE DU CIRCUIT DE REFROIDISSEMENT
Si vous vécuicide est demeure à l'extérieur sans antigel, le circuit de refroidissement, incluant le bloc-moteur, doit être vidange. Remplissez le vase d'expansion avant de reprendre la route. Pour obtenir des détails, consultez la rubrique « Vidange du liquide de refroidissement » du chapitre « Entretien et interventions du propretaire » duprésent manuel.
PNEUS
-
Les bandes de roulement des pneus d'ETÉ sont conçues pour offrir un rendement supérieur sur les chaussées sèches. Toutfootis, la neige et la glace nuisent considérablement à leur rendement. Si vous possédez un vehicule quatre roues motrices, NISSAN vous recommende d'utiliser des pneus BOUE - NEIGE ou des pneus TOUTES SAISONS si vous doivent conduire sur des chaussées enneigées ou glacées. Vous pouvez obtenir des renseignements relatifs aux types, aux tailles, aux cotes de vitesse et à la disponibilité des pneus auprès d'un concessionnaire NISSAN.
-
Des pneus cloutes peuvent etre utilisés pour bénéficier d'une adherence accrue sur chaussée glacée.Toutefois,l'utilisation de tels pneus est prohibée dans certains Etats americains de meme que dans certaines provinces du Canada.Consultez les reglements en vigueur dans votre localite, dans l'Etat ou la province ou vous residez avant d'insteller ce type de pneu sur toute vehicule.
Sur chaussée sèche ou mouillée, les capacités de patinage et d'adhérence d'un pau d'hiver cloute peuvent être inférieures à celles d'un pau d'hiver qui ne l'est pas.
- Vous pouvez également utiliser des chaînes antidéraptantes.
L'utilisation de chaînes antidérapantes peut être prohibée dans certaines localités. Consultez les règlements en vigueur dans votre localité avant d'installer des chaînes antidérapantes sur les pneus de votre vehicule. Si vous installez des chaînes antidérapantes, assurez-vous qu'elles sont de la dimension appropriée et suivez les directives stipulées par leur fabricant. N'utilise que des chaînes de catégorie « S » SAE. Les chaînes de catégorie S sont destinées aux vehicules dont l'espace des passages de roue est limité. Les vehicules sur lesquels les chaînes
de type « S » peuvent être installées répondent au débutement minimal requis (entre l'organe de suspension du vehicule ou de la caisse le plus proche du pneu) pour permettre l'installation d'un dispositif antidérapant pour l'hiver (chaînes antidérapantes ou cables). Le débutement minimal requis est déterminé en fonction des pneus d'origine posés à l'usine. L'utilisation de chaînes d'une autre catégorie peut endommager votre vehicule. Lorsque recommends par le fabricant, utilisez des tendeurs de chaînes pour vous assurer que les chaînes tiennent bien en place. Les maillons inutilisés de la chaire doivent être solidement fixés ou retirés afin d'éviter qu'ils heures les ailes ou le soubassment et qu'ils les endommagent. Si possible, évitez de charger votre vehicule à sa capacité maximale lorsque vous utilise des chaînes antidérapantes et conduisez plus lentement. Sinon, les chaînes peuvent endommager leur vehicule et compromètre sa tenue de route et son rendement.
N'installez jamais de telles chaînes sur des roues de secours. Les chaînes antidérapantes ne doivent pas être utilisées sur chausse sèche.
ÉQUIPEMENT HIVERNAL
Nous vous recommendons de placer les articles suivants dans votre vehicule durant l'hiver.
- Un gratoir et une Brosse à poils raides pour retarder la glace et la neige se trouvant sur les glaces et les essuie-glaces de votre vehicule.
- Un panneau plat et robuste que vous pouvez déposer sous le cric de votre vehicule pour lui donner un soutien ferme.
- Une pelle pour dégager votre vehicule d'un banc de neige.
- Un contenant de liquide de lave-glace supplémentaire.
CONDUITE SUR LA NEIGE OU SUR LA GLACE

AVERTISSEMENT
- La présence de verglas (0^[32^]) et de pluie verglaçante, de neige très froide ou de glace peut rendre la route glissante et la conduite difficile. Dans ces conditions, l'adhérence du vehicule à la route sera réduite. Évitez de rouler sur une route verglacée avant que du sable ou du sel de voirie ait est répandu.
- Peu imports les conditions, conduises prudemment. Accélérez et ralentissez en douceur. Les accélérations et décalérations brusques n'auront pour effet que de réduire davantage l'adhérence des roues motrices.
- Dans ces conditions, prévoyez une distance d'arrêt plus longue et commencer à freiner plus tout que sur une chausse sèche.
-
Sur des chaussées glissantes, maintenance une plus grande distance entre vous-véhicule et celui qui le précède.
-
Faites preuve de vigilance lorsque vous conduissez sur une route couverte de plaques de glace refléchissante. Meme les routes qui semble dégagées peuvent être parsemées de plaques de glace aux endroits ombragés. Si tel est le cas, freinez avant de rouler sur la plaque. Ne freinez pas sur la glace et évitez les coupes de volant.
- N'utilisez pas le régulateur de vitesse lorsque le vehicule roule sur une chaussee glissante.
- La neige peut emprisonner des gaz d'échéppement nocifs sous votre vehicule. Dégagez la neige accumulée autour du tuyau d'échéppement et autour du vehicule.
AVERAGEMENT
N'utilisez pas votre dispositif de chauffage sur un circuit electrique qui n'est pas mis à la terre ou s'il est branché à un adaptateur à deux broches (prises voleuses). Vous pourriez subir un choc electrique si vous utilisez une connexion qui n'est pas mise à la terre.
CHAUFFE-MOTEUR (selon
I'equipement du vehicule)
Vous pouvez vous procurar un chauffe-moteur, concu pour faciliter le demarrage par temps extrémement froid, auprès d'un concessionnaire NiSSAN.
6 En cas d'urgence
Trousse de premiers soins (selon l'équipement du vehicule) 6-2
Pneu à plat 6-2
Système d'ajretissement de basse pression des pneus (selon l'équipement du vehicule) 6-2
Remplacement d'un pneu à plat. 6-3
Demarrage-secours. 6-10
Demarrage en poussant. 6-12
Si le moteur surchauffe. 6-12
Remorquage de votre vehicule 6-14
Méthodes de remorquage recommendées par NiSSAN 6-14
Dégagement d'un vehicule immobilisé 6-17
TROUSSE DE PREMIERS SOINS (selon l'équipement du vehicule)
PNEU A PLAT

Une trousse de premiers soins se trouve derrière le siège du conducteur. Pour retarder la trousse de premiers soins :
① Pincez les boutons de verrouillage.
② Séparez les deux sangles pour dégager la trousse.
SYSTÉME D'AVERTISSEMENT DE BASSE PRESSION DES PNEUS (selon l'équipement du vehicule)
Le système d'ajretissement de basse pression des pneus surveille la pression de gonflage de tous les pneus (sauf celle de la roue de secours). Si le vehicule est conduit avec un pneu creve ou une pression de gonflage de pneu basse (inférieure à 193 kPa [28 lb/po²]), le système d'ajretissement de basse pression des pneus s'active et vous en avertit par le biais du témoin d'ajretissement de basse pression des pneus. Le système ne s'active que si la vitesse du vehicule dépasse 32 km/h (20 mi/h). Pour de plus amples renseignements à ce sujet, consultez la rubrique « Témoins/indicateurs et rappels sonores » du chapitre « Commandes et instruments » et la rubrique « Système d'ajretissement de basse pression des pneus » du chapitre « Démarriage et conduite »

AVERTISSEMENT
- Si le témoin d'advertissement de basse pression des pneus clignote pendant la conduite, évitez de braquer ou de freiner énergiquement, réduisez votre vitesse, dirigeez-vous vers un endroit sécuritaire sur l'accotement et immobilisez votre vehicule des que possible. Your vehicule pourrait subir des dommages importants et vous pourriez avoir un accident entrainant des blessures graves. Vérifiez la pression de tous les pneus. Effectuez un réglage de pression À FROID, tel que spécifique sur l'étiquette des pneus pour ainsi désactiver le témoin d'advertissement de basse pression. Si vous avez creve, montez la roue de secours lors que possible.
-
Lorsqu'une roue de secours est installee ou qu'une roue est remplacede, la pression des pneus ne s'affiche pas et le systeme d'advertisement de basse pression des pneus ne fonctionne pas. Communiquez avec votre concessionnaire NiSSAN aussitot que possible pour proceder au remplacement des pneus ou a la reinitialisation du systeme.
-
N'injectezaucnProuddetanchete pourpneu,liquideouen aerosol,dans lespneus;lefonctionnementdes capteurs de pression despneus poursraitt s'entrouvercompromis.
REEMPLACEMENT D'UN PNEU À PLAT
Si l'un de vos pneus est à plat, procédez aux étapes décrites ci-dessous:
Immobilisation du vehicule
- Déplacez votre vehicule en bordure de la route lorsqu'il s'avere prudent de le faire et immobilisez-le aussi loin que possible de la circulation.
-
Allumez les yeux de détresse de votre vehicule.
-
Stationnez votre vehicule sur une surface plane et serrez le frein de stationnement. Placez le levier selecteur de votre vehicule en marche arriere (R) si ce dernier est équipé d'une boîte de vitesses manuelle ou en position de stationnement (P) s'il est équipé d'une boîte de vitesses automatique.
AVERAGEMENT
Le levier de commande de transfert doit etre dans la position 2H, 4H ou 4L.
- Ne laïsez pas le levier sélecteur de boîte de transfert au point mort (N). Le vehicule pourrait se déplacer de façon inopinée, même si la boîte de vitesses se trouvait dans n'importequelle position dans le cas d'une boîte manuelle, ou à la position de stationnement (P) dans le cas d'une boîte automatique. Cette situation pourrait provoquer des blessures ou des dommages matériels graves.
4. Coupez le contact.
5. Ouvrez le capot pour signaler votre présence aux autres conducteurs et indiquer au service de dépannage que vous avez besoin d'aide.
- Demandez à tous les occupants de descendre du vehicule et de se tener dans un endroit sur, à l'écart de la circulation et du vehicule.
A VERTISSEMENT
Assurez-vous que le frein de stationnement est correctement serré et que la boîte de vitesses manuelle est à la position de marche arrière (R) ou que la boîte de vitesses automatique est à la position de stationnement (P).
- Ne tentez jamais de changer un pneau si votre vehicule est stationné dans une pente ou sur une surface glacée ou glissante. Ceci est très dangereux.
- Ne tentez jamais de changer un pneau si votre vehicule se trouve à proximité de la circulation. Attendez qu'on viennent vous dépanner.
- Si la roue de secours est montée sur le vehicule ou qu'une roue est remplacée, le système d'advertissement de basse pression des pneus ne fonctionnera pas. Communiquez avec votre concessionnaire NiSSAN aussitot que possible pour proceder au remplacement des pneus ou à la réinitialisation du système. (Pour les modèles équipés d'un système d'advertissement de basse pression des pneus.)

Blocage des roues
Pour empêcher le vehicule de se déplacer lorsqu'il est mis sur cric, placez des butées de la taille appropriée ① à l'avant et à l'arrière de la roue diagonalement opposée à celle dont le pneu est à plat ②.

AVERTISSEMENT
Assurez-vous de bloquer la roue car le vehicule peut se déplacer et cause des blessures.

Type A

Type B
Retrait de la roue de secours et des outils du coffre
Pour les modèles King Cab :
- déplacez le dossier du siècle du conducteur complètement vers l'avant;
retirez le cric et le demonte-roue de la boite à outils située derriere le siège du conduc-. teur;
retirez la tige du cric située derriere le siège du conducteur.

Pour les modèles Crew Cab :
- inclinez la banquette arrêté vers l'avant;
retirez le cric, la tige du cric et la boite à outils situés derrière la banquette arrière.
Tous les modèles :
- Insérez l'extrémité carrée de la tige du cric dans le trou carré du démonte-roue afin de former une poignée.
- Repérez l'ouverture ovale dans la partie centrale inférieure du hayon. Passez l'extrémité en T de la tige du cric par l'ouverture et dirigez-la vers le treuil de la roue de secours situé directement au-dessus de cette-ci.

-
Insérez l'extrémité en T de la tige du cric dans l'ouverture en T du treuil de la roue de secours. Appliquez une pression afin de dévelopir la tige du cric dans le treuil de la roue de secours et tournez-la dans le sens inverse des aiguilles d'une montre pour abaisser la roue de secours;
-
Une fois la roue de secours totalement abaissée, retirez la chaine de retenue du dessous du vehicule et glissez la roue de secours sous l'arrière du vehicule

Type A
Retrait de l'enjoliveur de roue
ATTENTION
N'écartez pas les chapeaux ou les enjolivleurs de roues avec vos mains. Vous pourriez vous blesser.
Retirez l'enjoliveur de roue tel que décrit cidesous.
Assurez-vous ne pas égratigner l'enjolivre ou la surface de la roue.

Type B
Type A :
Agrippez fermement le chapeau de roue central et tournez-le dans le sens normal ou inverse des aiguilles d'une montre.
Type B:
- Enveloppez d'un linge l'extrémité d'un tournevis.
- Écartez le chapeau de roue central en exerçant un effet de levier sur la poignée du tournevis dans la direction illustrée.

WCE0061
Avant
Mise sur cric du vehicule et retrait du pneu endommagé

AVERTISSEMENT
-
Ne vous glissez jamais sous un vehicule si ce dernier n'est soutenu que par un cric.
Utilisez seulement le cric fourni avec votre vehicule pour soulever ce dernier. Ne l'utilisez pas pour soulever un autre vehicule. Ce cric a ete concu exclusivement pour soulever votre vehicule lorsque vous devez remplacer une roue. -
N'utilisez que les points de levage identifiés. N'utilisez aucune autre partie de votre vehicule comme point de levage.
- Ne soulevez jamais le vehicule plus que nécessaire.
- N'installez jamais de bloc sur ou sous le cric.
- Ne faites pas démarrer ou tournier le moteur alors que le vehicule est sur le cric. Le vehicule pourrait se déplacer. Cette consigne s'applique particulièrement aux vehicules équipés d'un différentiel à glissement limité.
- Ne mettez jamais un vehicule sur cric si des passagers se trouvent encore à l'intérieur.
- Ne démarrez jamais le moteur d'un vehicule dont une ou plusieurs roues ne touchent pas le sol. Le vehicule pourrait alors se déplacer.

Arrière du vehicule (modèles à quatre roues motrices)

Arrière du vehicule (modèles à deux roues motrices)
Prenez soit de tousjours vous referrer aux illustrations appropriées pour les points de mise en place et de levage correspondant à votre modele de vehicule et au type de cric utilisé.
Lisez attentivement l'étiquette d'avertissement fixée au cric et les directives suivantes :
- Au moyen du démonte-roue, desserrez chaque écrou de roue d'un tour ou deux dans le sens contraire des aiguilles d'une montre. Attende que le pneu ne touche plus le sol pour-retirer les écrous de roue.

Arrière (autre point de levage pour les vehicules équipés de roues de 15 pouces)
- Placez le cric directement sous le point de levage, tel qu'illustré, de manière à ce que le contact entre le dessus du cric et le vehicule se fasse au point de levage.
Dans certaines conditions, la garde au sol ne sera pas suffisante pour utiliser le point de levage principal à l'arrière sur les vehicules équipés de roues de 15 pouces. Si votre vehicule est équipé de telles roues, utilisez le deuxième point de levage (1). Lorsque vous utiliser ce point de levage, placez le cric sur l'essieu aussi pres que possible de la roue qui doit être remplaçaè.
Le cric devrait reposer sur une surface ferme et plane.
- Tenez fermement le levier et la tige du cric pour soulever le vehicule. Soulevez prudement le vehicule jusqu'à ce que le pneu endommagé ne touche plus le sol.
Lorsque you utilisez le deuxieme point de levage a l'arriere pour les vehicules Equipes de roues de 15 pouces, il ne faut pas que le pneu soit a plus de 50~mm (2 po) du sol.
- Retirez les écrous de roue, puis la roue.

WCE0063
Installation de la roue de secours
La roue de secours est conçue pour être utilisée en cas d'urgence seulement. Consultez les directives spécifiques de la rubrique « Roues et pneus » du chapitre « Entretien et interventions du propriétaire » duprésent manuel.
- Nettoyez toute trace de boue ou de saleté de la surface se trouvant entre la roue et le moyeu.
-
Installez soigneusement la roue de secours et serrez les écrous de la roue à la main.
-
Au moyen du démonte-roue, serrez les écrous de la roue en alternance et uniformément, tel qu'illustré, jusqu'à ce qu'ils soient solidement fixés en place.
- Abaissez lentement le vehicule jusqu'à ce que le pneu touche le sol. Serrez ensuite les écrous de roue fermement au moyen du démonthe-roue, selon la séquence illustrée. Abaissez le vehicule complètement.
AVERAGEMENT
- Si des écrous de roue inappropriés sont utilisés ou si les écrous sont mal serrés, la roue pourrait se desserrer ou se détacher, ce qui pourrait cause un accident.
- N'applique pas d'huile ni deGRAISSESUR les goujons ou les écrous de rouce carils pourraient se desserrer.
Resserrez les écrous de roues après avoir parcouru environ 1 000 km (600 mi), ou après une crevaison, etc. Au moyen d'une clé dynamométrique, serrez les écrous de roue au couple spécifique dés que possible.
Couple de serrage des écrous de roues :
133 N·m (98 lb-pi)
Les écrous de roue doivent être serrés au couple spécifique en tout temps. Il est conseilé de serrer les écrous de roue au couple spécifique chaque fois qu'une lubrification est requise.
Réglez la pression de gonflage de vos pneus À FROID.
Les pneus de votre vehicule sont considérés FROIDS si votre vehicule est stationné depuis trois heures ou plus ou qu'il a été conduit sur une distance de moins de 1,6 km (1 mi).
Les pressions des pneus A FROID sont stipulées sur l'étiquette des pneus apposaee a I'intérieur du couvercle de la boite a gants.
- Rangez la roue dont le pneu est creve et l'équipement de levage dans votre vehicule de façon sécuritaire.
A VERTISSEMENT
Assurez-vous que la roue de secours et le cric sont toujours correctementrangés après leur utilisation. Ces articles peuvent se transformer en projectiles dangereux en cas d'accident ou lors d'un freinage brusque.
DÉMARRAGE-SECOURS
- La roue de secours ne doit être utilisée qu'en cas d'urgence. Consultez les directives spécifiques de la rubrique « Roues et pneus » du chapitre « Entretien et interventions du propriétaire » de ce manuel.

ATTENTION
Assurez-vous de centerer la plaque de suspension de la roue de secours sur la jante avant de soulever la roue de secours.
Les directives et précautions ci-dessous doivent être lues attentivement lorsque vous utilisez une batterie d'appoint pour faire demarrer le moteur de votre vehicule.

AVERTISSEMENT
- Un démarrage-secours mal effectué peut faire sauter la batterie et cause des blessures graves ou la mort. Voitre vehicule pourrait également être endommagé.
- La batterie dégage en permanence de l'hydrogène qui est un gaz explosif. N'approche pas d'étincelles ni de flamme de la batterie.
- Évitez tout contact d'électrolyte avec les yeux, la peau, les vêtements ou les surfaces peintes. L'électrolyte est une solution d'acide sulfurique corrosive qui peut cause de graves brûlures. Si de l'électrolyte entre en contact avec un des éléments mentionnés précédemment, rincez immidiatement à l'eau la zone affectée.
-
Gardez la batterie hors de la portée des enfants.
-
La batterie d'appoint doit être calibrée à 12 volts. L'utilisation d'une batterie mal calibrée peut endommager votre vehicule.
- Portez toujours des lunettes de sécurité (par exemple, des lunettes de travail à coques ou des lunettes de protection industrielles) et enlevez vos bagues, bracelets métalliques et tout autre bijou lorsque vous effectuez une intervention sur la batterie ou à proximité de celle-ci. Ne vous penchez pas audressus de la batterie lors d'un démarrage-secours.
- Ne tentez pas d'effectuer un démarrage secs lorsque votre batterie est gelée. Celle-ci pourrait explodeer et causer de graves blessures.
- Voiture vehicule est équipé d'un ventilateur de refroidissement du moteur automatique qui peut s'activer à n'importe quel moment. Éloignez-en vos mains ainsi que tout autre objet.


AVERTISSEMENT
Suivez toujours les instructions suivantes.
Sinon, vous risque d'endommager le circuit de charge et de causeur de graves blessures.
- Si la batterie d'appoint se trouve dans un autre vehicule, placez les deux vehicules de maniere à ce que leurs batteries respectives soient à proximite l'une de l'autre.
Veillez toutefois à ce que les vehicules ne se touchent pas.
- Serrez le frein de stationnement. Déplacez le levier sélecteur au point mort (boîte de vitesses manuelle) ou à la position de stationnement (P) (boîte de vitesses automatique). Éteignez tous les circuits électriques non essentiels (éclairage, chauffage, climatisation, etc.).
- Retirez les bouchons d'aération de la batterie (selon l'équipement du vehicule). Couvrez les orifices ainsi exposés d'un nouveaux chiffon pour réduire les risques d'explosion.
- En respectant la série illustrée, branchez les cables volants (A, B, C, D).

ATTENTION
Assurez-vous de tousjours brancher la borne positive (+) à la borne positive (+) , et la borne négative (-) à un point de masse de la carrosserie (par exemple, à un boulon de fixation de jambe, à un support de levage du moteur, etc.) et non pas à la borne négative de la batterie.
Assurez-vous que les câbles volants n'entrent pas en contact avec des pièces mobiles du compartment moteur et que les cosses des câbles ne touchent aucune autre pièce métallique.
- Faites démarrer le moteur du vehicule d'appoint et laïsez-le tourner pendant quelques minutes.
- Maintenez le régime moteur du vehicule d'appoint à environ 2000 tr/min et faites demarrer le moteur du vehicule en panne.

ATTENTION
N'actionnez pas le démarreur pendant plus de dix secondes. Si le moteur ne démarre pas au premier essai, coupez le contact et attendez de trois à quatre secondes avant de réessayer.
DÉMARRAGE EN POUSSANT
- Une fois le moteur en marche, débranchez prudemment le cable négatif, puis le cable positif de la batterie.
- Remettez les bouchons d'aération en place (selon l'équipement du vehicule). Jetez le因为他们 chiffon utilisé pour couvir la batterie puisqu'il peut avoir été contaminé par de l'électrolyte corrosif.
AVERAGEMENT
- Les vehicules équipés d'une boite de vitesses automatique ne peuvent pas etre démarrés en les poussant ou en les remorquant, car l'une ou l'autre manoeuvre risquerait d'endommager la boite de vitesses ou le vehicule.
- Ne tentez pas de démarrer par poussaee un vehicule équipé d'un catalyeur trifonctionnel. Vous risquez d'endommager ce dernier.
- Ne tentez jamais de démarrer le vehiculependant un remorquage. Le déplacement vers l'avant causé par le démarriage du moteur pourrait provoquer une collision entre votre vehicule et le vehicule de remorquage.
SI LE MOTEUR SURCHAUFFE
En cas de surchauffe de votre vehicule (la lecture de l'indicateur de température sera extrémement élevé) ou si vous décelez la présence d'une perte de puissance du moteur de votre vehicule ou de bruits inhabituels, etc., procédez aux étapes suivantes.
AVERAGEMENT
- Arrêtez votre vehicule si le moteur surchauffe. En effet, une surchauffe prolongée pourrait endommager le moteur ou y provoquer un incendie.
- Ne retirez jamais le bouchon de radiateur de votre vehicule lorsque le moteur est chaud car vous pourriez vous brûler. En effet, dans une telle situation, de l'eau chaude sous pression jaillit et peut causer de graves blessures.
-
N'ouvre pas le capot si de la vapeur s'en échappe.
-
Déplacez votre vehicule en cordure de la route dans un endroit sur, serrez le frein de stationnement et déplacez le levier sélecteur au point mort (boîte de vitesses manuelle) ou à la position P (stationnement) (boîte de vitesses automatique).
Ne coupez pas le contact.
- Mettez le climatiseur hors fonction (selon l'équipement du vehicule). Ouvrez toutes les glaces, déplacez la commande du chauffage ou du climatiseur à la chaleur maximale et la commande du ventilateur à la vitesse maxi-male.
- Si la surchauffe du moteur est causée par la montée d'une longue pente en présence de températures chaudes, faites tourner le moteur à une vitesse de ralenti plus élevée (environ 1 500 tr/min) jusqu'à ce que l'indicateur de température revienne à la normale.
- Sortez du vehicule. Avant d'ouvrir le capot, vérifiez, visuellement et en cherchant à déceler des bruits, si de la vapeur ou du liquide de refroidissement s'échappe du radiateur. Ne pas ouvrir le capot davantage tant que de la vapeur ou du liquide de refroidissement est visible.
- Ouvrez le capot.
A VERTISSEMENT
Si de la vapeur ou de l'eau s'échappe du moteur, tenez-vous à l'écart pour éviter tout risque de brûture.
- Procedez à une inspection visuelle des courroies d'entrainment pour vérifier si elles sont endommagées ou desserrées. Assurez-vous également que le ventilateur de refroidissement fonctionne. Il ne doit y avoir aucune fuite d'eau provenant des durites de radiateur et du radiateur. Coupez le contact si vous remarquez une fuite de liquide de refroidissement, l'absence ou le relachement de la courroie de la pompe à eau ou si le ventilateur de refroidissement n'est pas en marche.
AVERAGEMENT
Faites preuve de prudence lorsque vous vous penchez sur un moteur en marche pour éviter que vos mains, cheveux, bijoux ou vêtements ne soient happés par les courroies ou les pales du ventilateur de refroidissement du moteur. Le ventilateur de refroidissement du moteur peut semettre en marche à n'importe quel moment lorsque la température du liquide de refroidissement est élevé.
- Une fois le moteur refroidi mais toujours en marche, vérifie le niveau de liquide de refroidissement du réservoir. Au besoin, ajoutez du liquide de refroidissement dans le réservoir. Rendez-vous chez un concessionnaire NISSAN pour y faire réparer votre vehicule.
REMORQUAGE DE VOTRE VEHICULE
Les règlements en vigueur dans la localité, la province ou le territoire (de l'Etat, aux États-Unis) où vous vivez doivent être respectés lors du remorquage de votre vehicule. L'utilisation d'équipement de remorquage inadéquat pourrait endommager libre vehicule. Vous pouvez obtenir des directives relatives au remorquage auprès de cette concessionnaire NISSAN. Généralement, le personnel des services de remorquage locaux connait bien les lois et les procédures relatives au remorquage. NISSAN vous recommende donc de faire appel à un service de remorquage pour vous assurer que le remorquage est effectué adequatement et pour éviter d'endommager toute vehicule. Il peut s'avérer utile de demander au responsable du service de remorquage de dire attentionment les précautions suivantes:

AVERTISSEMENT
- Ne voyagez jamais dans un vehicule qui est remorqué.
- Ne vous glissez jamais sous un vehicule soulevé par une dépanneuse.
ATTENTION
- Lors du remorquage, assurez-vous que la boîte de vitesses, les essieux, la direction et le groupe motopropulseur fonctionnent bien. Si une de ces unités est endommagée, vous nevez utiliser des chariots de remorquage.
- Installez toujours des chaînes de sécurité avant le remorquage.
Pour obtenir plus de détails concernant le remorquage de votre vehicule derrière un vehicule réçréatif, consultez la rubrique « Remorquage à plat » du chapitre « Données techniques et information au consommateur » duprésent manuel.

MÉTHODES DE REMORQUAGE RECOMMANDÉES PAR NISSAN
Modèles deux roues hypnotes
NISSAN recommende de faire remorquer votre vehicule avec les roues motrices arriere soulevées ou sur un camion-plateau (remorquage intégral), tel qu'illustré.

ATTENTION
- Ne remorquez jamais un vehicule équipé d'une boite de vitesses automatique avec les roues arrêté ou les quatre roues au sol (que le vehicule soit remorqué par l'avant ou par l'arrière), car les dommages à la boite de vitesses qui pourrait en résultat nécessiteraient des réparations courteuses. Si un remorquage du vehicule avec les roues avant soulevées est nécessaire, prenez toujours soin d'installer des chariots de remorquage sous les roues arrêté.
-
Lors du remorquage d'un vehicule équipé d'une boîte de vitesses automatique ou manuelle avec les roues avant au sol ou sur des chariots de remorquage :
-
Tournez le contacteur d'allumage à la position OFF et redressez le volant de direction au moyen d'une corde ou d'un accessoire similaire. Ne bloquez jamais le volant de direction en tournant la clé de contact à la position de verrouillage. Vous risqueriez d'endommager le mecanisme de blocage de la direction.
-
Si vous devez remorquer un vehicule équipé d'une boite de vitesses manuelle avec les roues arrêté au sol (si vous n'utilise pas de chariot de remorquage) ou avec les quatre roues au sol :
-
Desserrez toujours le frein de stationnement.
- Déplacez le levier de la boite de vittesses à la position de point mort (N).
- Respectez les vitesses et distances de remorquage suivantes (ces consignes s'appliquent aux vehicules équipés d'une boite de vitesses manuelle seulement):
Vitesse : inférieure à 97 km/h (60 mi/h)
Distance : moins de 805 km (500 milles)
Si la vitesse ou la distance à parcourir doivent absolument dépasser ces limites, retirez l'arbre de transmission avant le remorquage pour ne pas endommager la boîte de vittesses.

Modèles quatre roues motrices
NISSAN recommende de faire remorquer votre vehicule à l'aide de chariots porte-roues ou sur un camion-plateau (remorquage intégral), tel qu'illustré.
ATTENTION
-
Ne remorquez jamais un vehicule equipope d'une boite de vitesses automatique avec les roues arrirée ou les quatre roues au sol, car les dommages à la boite de vitesses qui pourrait en résultat necessiteraient des réparations couteuses. Si un remorquage du vehicule avec les roues avant soulevées est nécessaire, prenez toujours soin dinstaller des chariots de remorquage sous les roues arrirée.
-
Lors du remorquage d'un vehicule équipé d'une boîte de vitesses automatique ou manuelle avec les roues avant au sol ou sur des chariots de remorquage :
Pour obtenir des détails sur le débrayage des moyeu à roue libre, consultez le chapitre « Démarrage et conduite »
- Déplacez le levier sélecteur de boite de transfert à la position 2H.
-
Tournez le contacteur d'allumage à la position OFF et redressez le volant de direction au moyen d'une corde ou d'un accessoire similaire. Ne bloquez jamais le volant de direction en tournant la clé de contact à la position de verrouillage. Vous risqueriez d'endommager le mecanisme de blocage de la direction.
-
Si vous devez remorquer un vehicule équipé d'une boite de vitesses manuelle avec les roues arrêté au sol (si vous n'utilise pas de chariot de remorquage) ou avec les quatre roues au sol :
Pour obtenir des détails sur le débrayage des moyex à roue libre, consultez le chapitre « Démarrage et conduite »
- Déplacez le levier sélecteur de boite de transfert à la position 2H.
- Déplacez le levier de la boite de vittesses à la position de point mort (N).
- Desserrez toujours le frein de stationnement.
- Respectez les vitesses et distances de remorquage suivantes (ces consignes s'appliquent aux vehicules équipés d'une boîte de vitesses manuelle seulement):
Vitesse : inférieure à 97 km/h (60 mi/h)
Distance : moins de 805 km (500 milles)
Si la vitesse ou la distance à parcourir doivent absolument dépasser ces limites, retirez l'arbre de transmission avant le remorquage pour ne pas endommager la boîte de vitesses.
DEGAGEMENT D'UN VÉHICULE IMMOBILISÉ

AVERTISSEMENT
- Lorsque vous dégagez un vehicule immobilisé, tenez-vous à l'écart de ce dernier.
- Ne faites pas patiner vos pneus à vitesse élevée. Ils pourraient exploser et causer de graves blessures. Des pieces de votre vehicule poursraient également surchauffer et être endommagées.

ATTENTION
- Vous ne pouvez installer des chaînes ou des cables de remorquage que sur les éléments de la structure principale de votre vehicule.
- Les dispositifs de traction doivent être installés de manière à ce qu'ils ne touchent aucune piece de la suspension, de la direction, du circuit de freinage ou du circuit de refroidissement.
- Tirez toujours les cables à partir de l'avant ou de l'arrière du vehicule. Tirez toujours le vehicule en ligne droite.
- L'utilisation de dispositifs de traction tels que des cordes ou des sangles en toile est déconseillée pour remorquer ou dégager un vehicule immobilisé.
MÉMENTO
7 Aspect et entretien
Nettoyage des surfaces extérieures du vehicule. 7-2
Lavage 7-2
Cirage 7-2
Pour faire disparaitre les taches 7-3
Soubassement 7-3
Vitres 7-3
Roues en alliage d'aluminium 7-3
Pièces chromées 7-3
Nettoyage des surfaces interieures du vehicule . 7-4
Tapis. 7-4
Ceintures de sécurité 7-5
Protection contre la corrosion. 7-5
Facteurs les plus courants contribuant à la corrosion d'un vehicule. 7-5
Facteurs environnementaux influencant la corrosion 7-5
Pour protégger notre vehicule contre la corrosion 7-5
NETTOYAGE DES SURFACESEXTÉRIÉURES DU VÉHICULE
Pour conserver l'aspect neuf de votre vehicule, vous doivent en assurer l'entretien de façon appropriée.
Pour protégger les surfaces peintes, veuillez laver.
votre vehicule ds que possible :
- après une averse pour éviter des dommages potentiels causés par les pluies acides;
- après avoir conduit le long de la mer;
- lorsque des substances comme de la suie, des fuentes d'oiseau, de la sève d'arbre, des particules métalliques ou des insectes se déposent sur les surfaces peintes;
- lorsque de la poussière ou de la boue s'accumulent sur la carrosserie.
Dans la mesure du possible, stationnez votre vehicule dans un garage ou un endroit couvert.
Si le vehicule doit etre stationné à l'extérieur, laissiez-le à l'ombre ou recouvre-les d'une housse pour le protégger.
Prenez soit de ne pas rayer les surfaces peintes en installant ou en retardant la housse.
LAVAGE
Lavez le vehicule à grande eau avec une éponge humide. Lavez le vehicule soigneusement avec une solution d'eau propre et tiège (ja mais chaude) et de savon doux, de savon spécial pour automobile ou de détergent liquide pour la vaisse à usage domestique.
ATTENTION
- Ne lavez pas votre vehicule avec des produits d'entretien menager puisants, des détergents chimiques forts, de l'essence ou des solvants.
- Ne lavez pas votre vehicule en plein soleil ou lorsque la carrosserie est chaude car en sechant, l'eau pourrait en tacher la surface.
- Évitez d'utiliser des chiffons à tissage serré ou rugueux, tels que les gants de lavage. Enlevez avec soin les plaques de boue ou autres corps étrangers pour éviter de rayer ou d'abimer les surfaces pointes du vehicule.
Rincez abondament le vehicule avec de l'eau propre.
Le sel d'épandage affecte particulièrement les re-bords interieurs, les joints et les replis des portières, les charnières et le capot. Par conséquent, ces
endroits doivent être lavés régulièrement. Assurez-vous que les orifices d'écoulement du bord inférieur des portières ne sont pas obstrués. Lavez au jet d'eau le dessous de la carrosserie et les passages de roue pour détacher les accumulations de boue et éliminer toute trace de sel d'épandage.
Une peau de chamois humide peut etre utilise pour essuyer la carrosserie et eviter la formation de taches d'eau.
CIRAGE
Un cirage régulier protège les surfaces peintes et conserve l'aspect neuf du vehicule. Àpres le ci- rage, il est recommendé de polir les surfaces afin d'éliminer toute accumulation résiduelle de cire et pour donner un aspect lustré à la carrosserie.
Un concessionnaire NISSAN peut vous aider à désirer le produit approprié.
- Ne cirez votre vehicule qu'après l'avoir bien lavé. Suivez les directives fournies sur le contenant de cire.
- N'utilise pas de cire contenant des substances et composés abrasifs ou des agents nettoyants qui risquent d'endommager le fini de votre vehicule.
- Si la carrosserie est difficile à polir, utilisez un produit pour enlever les dépôts de goudron, puis cirez le vehicule de nouveau.
7-2 Aspect et entretien
Un polissage à la machine ou un polissage trop prolongé sur un fini de peinture transparent peut ternir le fini ou y laisser des marques spiralées.
POUR FAIRE DISPARAÎTRE LES TACHES
Les taches de goudron et d'huile, la poussière industrielle, les insectes et la sève d'arbre peuvent provoquer des dommages irréversibles sur les surfaces peintes ou y laisser des traces indélébiles; voirlez à les nettoyerès que possible. Des produits de nettoyage spéciaux sont disponibles chez toute concessionnaire NISSAN ou dans tout magasin d'accessoires automobiles.
SOUBASSEMENT
Dans les régions où du sel d'épandage est utilisé pendant l'hiver, il est nécessaire de laver le sou-bassement régulierement. Les accumulations de saletés et de sel qui s'y forment peuvent cause sa corrosion ainsi que celle de la suspension. Avant le début de l'hiver et au printemps, vérifie la couche de protection inférieure et, au besoin, appliquez-en de nouveau.
VITRES
Utilisez du nettoie-vitres pour enlever la pellicule de saleté et de poussière qui s'est formée sur les vitres. Il est normal qu'une pellicule se forme lorsque le vehicule est stationné directement au soleil. L'utilisation de nettoie-vitres avec un chiffon doux éliminera rapidement cette pellicule.
ATTENTION
N'utilisiez jamais d'outils acérés, de nettoyants abrasifs ou de désinfectants à base de chlore pour nettoyer la paroi interieure des glaces. Ils pourraient endomager les conducteurs électriques, les éléments de l'antenne radio ou ceux du dégivreur de lunette arrière.
ROUES EN ALLIAGE D'ALUMINIUM
Lavez les roues régulierement, particulièrement en hiver, si vous habitez dans une région où du sel d'epandage est utilisé. S'ils ne sont pas enlevés, les dépôts de sel d'épandage peuvent décolorer les roues.
PIECES CHROMÉES
Nettoyez régulierement toutes les pieces chromées avec un produit à polir pour chrome non-abrasif pour préserver leur fin lustré.
NETTOYAGE DES SURFACES INTÉRIÉURES DU VÉHICULE
De temps à autre, utilisez un aspirateur ou une Brosse douce pour dépoussierer les garnitures interieures, les pieces en plastique et les sièges. Essuyez les surfaces en vinyle et en cuir avec un chiffon propre et préalablement humecté dans une solution de savon doux, puis essuyez-les avec un linge sec. Avant d'utiliser unquelconque produit protecteur pour tissus, lisez les recommendations du fabricant. Certains protecteurs pour tissus contiennent des produits chimiques qui peuvent tacher ou décolorer le tissu des sièges.
Utilisez un chiffon humecté uniquement d'eau pour nettoyer le verre de protection de la jauge et des indicateurs de bord.

ATTENTION
- N'utilisez jamais de benzine, de solvant ni aucun produit semblable.
-
Les petites particules de saleté peuvent s'avérer abrasives et endommager les surfaces en cuir; elles doivent donc être retiréesrapidement. N'utilise pas de savon pour le cuir, de produits à polir, d'huiles, de nettoyants liquides, de solvants, de déterments ou de nettoyants à base d'ammoniaque puisqu'ils peuvent endommager le fini naturel du cuir.
-
N'utilisez jamais de produits destinés à protéger les tissus, à moins que leur utilisation ne soit recommandée par le fabricant.
- N'utilisez pas de produits nettoyants pour le verre ou le plastique sur le verre protecteur des indicateurs et instruments de bord. Ces produits pouraient endommager le verre protecteur.
TAPIS
L'utilisation de tapis d'origine NISSAN peut contributor à dévelopir la moquette de votre vehicule en bon état et à faciliter le nettoyage de l'habitacle. Quel que soit le type de tapis utilisé, assurez-vous que ceux-ci sont adaptés à votre vehicule et qu'ils sont correctement placés pour éviter qu'ils interféré avec le jeu des pédales. Les tapis doivent être nettoyés régulièrement et replacés en cas d'utilité excessive.

Crocket de positionnement de tapis (côté conducteur uniquement)
Ce vehicule est équipé d'un crochet de fixation avant qui sert à placer le tapis. Les tapis NiSSAN ont été spécialement conçus pour votre modèle de vehicule. Le tapis du côte conducteur est muni d'un trou d'eellet. Installez le tapis en insérant le crochet de fixation dans le trou de l'eellet correspondant et en le centrant dans l'espace pour les jambes, sur le plancher du vehicule.
Vérifiez régulierement les tapis pour vous assurer qu'ils sont bien placés.
PROTECTION CONTRE LA CORROSION
CEINTURES DE SECURITE
Les ceintures de sécurité peuvent être nettoyées en les essuyant avec une éponge préalablement humectée dans une solution de savon doux. Laissez les ceintures de sécurité secher complètement à l'objet avant de les utiliser. Consultez la rubrique « Entretien des ceintures de sécurité » du chapitre « Sécurité - Sièges, ceintures de sécurité et coussins gonflables » de ce manuel.

AVERTISSEMENT
Ne laïsez pas les ceintures de sécurité se rétractor dans l'enrouleur si elles sont mouillées. N'applique JAMAIS d'agent de blanchiment, de teinture ou de solvant chimique en guise de nettoyant sur les ceintures de sécurité puisque ces produits pouraient affaibir considérablement les sangles.
FACTEURS LES PLUS COURANTS CONTRIBUANT À LA CORROSION D'UN VÉHICULE
- Accumulation de boue et de débris humides sur des sections des panneaux de la carrosserie, dans des cavités ainsi qu'à d'autres endroits du vehicule.
- Dommages à la peinture et aux autres enduits protecteurs causés par du gravier et des éclats de caillou ou des dommages consécutifs à des accrochages mineurs.
FACTEURS ENVIRONNEMENTAUX INFLUENÇANT LA CORROSION
Humidité
L'accumulation de sable, de boue et d'eau sur le soubassement du vehicule peut accelerer le processus de corrosion. Les revêtements de plancher humides ne secheront pas complètement s'ils sont laissés dans le vehicule; ils doivent donc être retirés pour facilitier leur séchage et éviter la formation de corrosion sur le plancher.
Humidité relative
La corrosion est accelérée :
-
dans les régions où l'humidité relative est élevé;
-
dans les régions où les températures restent au-dessus du point de congélation;
- dans les régions où il y a de la pollution atmosphérique;
- dans les régions où du sel d'épandage est utilisé.
Température
Les températures élevées accélèrent la corrosion des pièces qui ne sont pas bien aérées.
Pollution atmosphérique
La pollution industrielle, la presence de sel dans l'air dans des régions côtières et l'utilisation massive de sel d'épandage accéléré le processus de corrosion. Le sel d'épandage accélère aussi la désagrogation des surfaces peintes.
POUR PROTÉGER VOTRE VÉHICULE CONTRE LA CORROSION
- Lavez et cirez fréquement votre vehicule pour le garder propre.
-
Examine tous le vehicule pour déceler tout dommage mineur à la peinture et effectuez les réparations nécessairesès que possible.
-
Évitez toute accumulation d'eau dans les ouvertures en vous assurant que les trous d'écoulement du bord inférieur des portières et du hayon ne sont pas obstrués.
- Vérifiez le soubassement et l'intérieur de la caisse. S'il y a une accumulation de sable, de boue ou de sel, lavez-les à l'eau dés que possible.
ATTENTION
- Ne vous servez JAMAIS d'un boyau d'arrosage pour enlever la poussière, le sable ou d'autres résidus de l'habitacle. Utilisez plutôt un aspirateur ou un balai.
- Ne laisses pas les composants électroniques situés à l'intérieur du vehicule entre en contact avec de l'eau ou d'autres liquides risquant de les endommager.
Les produits chimiques utilisés pour déglacer les routes sont extrémement corrosifs. Ils accélèrent la corrosion et la détérioration des composants du soubassement, comme le système d'échéppement, les canalisations de carburant et de frein, les câbles de frein, le plancher et les ailes.
En hiver, le soubassement doit etre laveregulierement.
Dans certaines régions, une protection additionnelle contre la rouille et la corrosion peut s'avérer nécessaire; consultez un concessionnaire NiSSAN pour obtenir plus d'information à ce sujet.
MÉMENTO
8 Entretien et interventions du propriétaire
Exigences d'entretien 8-2
Entretien general 8-3
Explication des points d'intervention relatifs à l'entretien général 8-3
Précautions d'entretien. 8-6
Points de vérification dans le compartment mateur . . . 8-8
Circuit de refroidissement du moteur 8-11
Vérification du niveau de liquide de refroidissement 8-11
Vidange du liquide de refroidissement 8-12
Huile moteur 8-12
Vérification du niveau d'huile moteur 8-12
Vidange d'huile moteur 8-14
Remplacement du filtré à huile 8-16
Huile pour boite de vitesses automatique 8-17 Conditions de température lors des vérifications. 8-17
Liquide de direction assistee. 8-19
Liquide de frein et d'embrayage 8-20 Liquide de frein. 8-20 Liquide d'embrayage. 8-20
Liquide de lave-glace 8-21
Réservoir de liquide de lave-glace 8-21
Batterie 8-22
Demarrage-secours. 8-23
Courroies d'entrainment. 8-23
Bougies d'allumage. 8-25
Remplacement des bougiees d'allumage. 8-25
Filtre à air. 8-26 Microfiltre à air de l'habitacle (selon l'équipement du vehicule) 8-27
Balais d'essuie-glace du pare-brise. 8-30
Nettoyage. 8-30
Remplacement. 8-30
Frein de stationnement et pédale de frein. 8-31
Vérification du frein de stationnement. 8-31
Vérification de la pédale de frein. 8-32
Servofrein. 8-33
Fusibles 8-34 Habitacle 8-34 Remplacement de la pile de la télécommande 8-35
Éclairage 8-36
Phares 8-36
Phares antibrouillard (selon l'équipement du vehicule) 8-38
Éclairage extérieur et interieur 8-39
Roues et pneus 8-42
Pressure des pneus. 8-42
Types de pneus 8-43
Chaines antidérappantes 8-44
Remplacement des roues et des pneus 8-45
EXIGENCES D'ENTRETIEN
De par sa conception, votre nouveau vehicule NISSAN ne requiert qu'un entretien minimal à des intervalles éloignés, ce qui vous permet de gagner du temps et d'économiser de l'argent. Toutefois, certaines vérifications au jour le jour et régulières sont nécessaires pourmaintenir vosere vehicule NISSAN en bon état mécanique et assurer un rendement optimal du dispositif antipollution.
Vouaves la responsabilité,à titre de propriétaire du vehicule,de youss assurer que I'entretien genereal et I'entretien periodique de voirc vehicule sont effectués.
En tant que propriétaire, vous étés la seule personne en mesure de vous assurer qu'un entretien approprié de votre vehicule est effectué. Vous jouez donc un role crucial dans le processus d'entretien.
Entretien periodique
Vous trouvrez une liste pratique des points d'intervention facultatifs et obligatoires ainsi qu'une description de l'opération d'entretien correspondante dans votre exemplaire du « Guide du service et de l'entretien NISSAN ». Vous doivent consulter ce guide pour vous assurer que les vérifications nécessaires au bon fonctionnement de votre vehicule NISSAN sont effectuees à intervenles réguliers.
Entretiengénéral
L'entretien général comprend les points d'intervention relatifs à l'entretien quotidien. Il sont essentiels au bon fonctionnement du vehicule. Vous doivent effectuer ces opérations d'entretien régulierement, tel que prescrit.
Des connaissances sommaires en mécanique et l'utilisation de quelques outils de mécanique automobile suffisent pour effectuer les vérifications d'entretien général.
Vou puez effectuer ces vérifications ou inspections vous-meme, consulter un technician qualifie ou vous rendre chez un concessionnaire NISSAN.
Où aller lorsque des réparations sont nécessaires
Si vous véchicule requiert un entretien ou s'il fonctionne mal, rendez-vous chez un concessionnaire NiSSAN qui procédera à une vérification et à une mise au point des systèmes et dispositifs de votre vehicule.
Les techniciens NISSAN sont des spécialistes qui recoivent une formation solide. Ils bénéficient en outre d'une formation continue par le biais de bulletins techniques, de conseils et de programmes de perfectionnement offerts par les concessionnaires. Ils sont pleinement qualifiés pour procéder à des interventions sur les vehicules
NISSAN et possèdent toutes les compétences nécessaires pour réparer votre vehicule.
Vous pouvez faire appel aux membres du personnel du service technique des concessionnaires NISSAN en toute confiance; ils travailleront de la façon la plus efficace et economique possible tout en respectant les exigences d'entretien de votre vehicule.
8-2 Entretien et interventions du propriétaire
ENTRETIERGENÉRAL
Tel que prescrit dans ce chapitre, un entretien général de votre vehicule doit etre effectue reguIerlement lorsque vous l'utilise normalement. Si vous décelez des bruits, des vibrations ou des odeurs inhabituels, recherchez la source du probleme ou rendez-vous chez un concessionnaire NISSAN pour y faire vérifier votre vehicule dans les plus brefs délais. De plus, si vous croyez que votre vehicule doit faire I'objet d'une réparation, assurez-vous d'en aviser le personnel d'un établissement concessionnaire NISSAN.
Conformez-vous aux « Précautions d'entretien » dans ce chapitre lorsque vous doivent effectuer des vérifications ou des interventions sur votre vehicule.
EXPLICATION DES POINTS D'INTERVENTION RELATIFS À L'ENTRETIEN GÉNÉRAL
Des détails supplémentaires sur les points d'intervention marqués d'un astérisque (*) sont fournis plus loin dans ce chapitre.
À l'extérieur du vehicule
Les points d'intervention numérés ici doivent être vérifiés de temps à autre, à moins d'indication contraire.
Portières, capot et hayon Assurez-vous qu'ils fonctionnent bien. Assurez-vous également que
toutes les serrures se verrouillent correctement. Lubrifiez les charnières, les verrous, les goupilles de verrouillage, les rouleaux et les biellettes au besoin. Assurez-vous que le loquet secondaire maintient le capot fermé lorsque le loquet principal est dégagé.
Vérifiez féquèmment la lubrification de ces éléments si vous conduisez sur des routes sur lesquelles du sel et d'autres matières corrosives ont été repandus.
Phares* Nettoyez les phares régulierement. Assurez-vous que les phares, deux d'arrêt, deux arrrière, clignotants et autres deux feu fonctionnent correctement et qu'ils sont fixés solidement. Verifiéz également le réglage des phares.
Écrous de roue* Assurez-vous que tous les écrous sont en place et qu'ils sont bien serrrés lors de la verification des pneus. Serrez-les au besoin.
Permutation des pneus* Une permutation des pneus doit être effectuee tous les 12 000 kilometres (7 500 milles).
Pneus* Vérifiez souvent la pression de gonflage des pneus de votre vehicule au moyen d'un manometre et vérifiez-la toujours avant tout long trajet. Au besoin, reglez la pression des pneus, y compris celle de la roue de secours, au niveau
spécífie. Vérifiez les pneus avec soin pour y dé-celer toute trace de dommages, de coupures ou d'usure excessive.
Réglage de la géométrie et équilibrage des roues Si vous avez l'impression que votre vehicule tire d'un côté lorsque vous conduisez sur une route droite et sans relief, ou si vous notez une usure inégale ou excessive des pneus de votre vehicule, un réglage de la géométrie des roues peut s'avérer nécessaire. Si vous sentez des vibrations au niveau du volant de direction ou du siège de votre vehicule lorsque vous conduisez à vitesse normale sur l'autoroute, un équilibrage des roues peut s'avérer nécessaire.
- Consultez la rubrique « Renseignements importants concernant la sécurité des pneus » du Livret de renseignements sur la garantie pour plus d'information.
Pare-brise Le pare-brise doit être nettoyé régulierement. Vérifiez au moins tous les six mois s'il y a des fissures ou d'autres dommages. Si le pare-brise est endommagé, faites-le réparer dans un atelier de réparation qualifié.
Balais d'essuie-glace de pare-brise* Si vous constatiez que les balais d'essuie-glace fonctionnement mal, vérifie s'ils sont fissures ou usés.
À l'intérieur du vehicule
Les points d'intervention enumeratedes ci-dessous doivent faire l'objet de vérifications régulières, par exemple, lors des opérations d'entretien périodique, du nettoyage du vehicule, etc.
Des détails supplémentaires sur les points d'intervention marqués d'un astérisque sont fournis plus loin dans ce chapitre.
Pédale d'accélérateur Assurez-vous que la pédale d'accélérateur s'enforce en douceur, librement et sans effort. Gardez la carbette loin de la pédale.
Mécanisme de la position P (stationnement) de la boite de vitesses automatique Assurez-vous que le bouton de déblocage du levier sélection functorne ajustement et librement. Assurez-vous que votre vehicule reste immobile dans une pente raide lorsque le levier sélection se trouve à la position de stationnement et ce, sans serrer les freins.
Pédale de frein et servofrein* Assurez-vous que la pédale de frein fonctionne librement et que la distance qui la sépare du plancher est adéquate lorsqu'on l'enforce complètement. Vérifiez le fonctionnement du servofrein. Assurez-vous de maintainir la carbette à l'écart de la pédale.
Freins Assurez-vous que le vehicule ne derives pas lorsque les freins sont serrés.
Pédale d'embrayage* Assurez-vous que la pédale s'enforce en douceur et que sa course libre est ajustée.
Frein de stationnement* Assurez-vous que la course de la pédale est ajustée et que le frein de stationnement fonctionne bien. Pour ce faire, immobilisez le vehicule dans une pente raide et serrez seulement le frein de stationnement pourmaintenir le vehicule en position.
Sièges Vérifiez les commandes de position des sièges comme les dispositifs de réglage des sièges et d'inclinaison des dossiers, etc. pour vous assurer qu'ils fonctionnent bien et qu'ils se verrouillent correctement dans toutes les positions. Assurez-vous que les appuie-tête se déplacent librement vers le haut et vers le bas et qu'ils sebloquentcorrectement (selon l'équipment du vehicule) dans toutes les positions de verrouillage.
Ceintures de sécurité Assurez-vous que toutes les pieces des ceintures de sécurité (p. ex., les boucles, les ancrages, les regleurs et les enrouleurs) fonctionnent correctement et librement et qu'elles sont bien installées. Vérifiez les sangles des ceintures de sécurité pour vous assurer qu'elles ne sont pas coupées, effilochées, usées ou endommagées.
Volant de direction Prenez note de tout changement dans le fonctionnement de la direction : par exemple, une course morte du volant excessive, une direction rigide ou des bruits inusités.
Témoins et carillons Assurez-vous que tous les temoins et carillons fonctionnent bien.
Essuie-glaces et lave-glace de pare-brise* Assurez-vous que les essuie-glaces et le laveglace fonctionnent bien et que les essuie-glaces ne laissent pas de traces sur le pare-brise.
Dégivreur de pare-brise Assurez-vous que l'air circule librement par les bouches de dégiavage et que le débit d'air est ajustat lorsque le chauffage ou la climatisation est en fonction.
Sous le capot et sous le vehicule
Les points d'intervention enumerated ci-dessous doivent etre verifiés regulierement (p.ex.,chaque fois que vous vérifie I'huile moteur ou que vous faites le plein de carburant).
Niveau d'huile de la boite de vitesses automatique* Déplacez le levier selecteur en position de stationnement (P) et laissez le moteur tourner au ralenti à la température de fonctionnement avant de vérifier le niveau d'huile.
Batterie* Vérifiez le niveau d'électrolyte dans chacun des éléments de la batterie. Il doit setrouver entre les repères MAX et MIN. Vérifiez
8-4 Entretien et interventions du propriétaire
féquemment le niveau d'électrolyte de la batterie si vous conduisez votre vehicule par temps très chaud ou dans des conditions difficiles.
Niveau des liquides de frein et d'embrayage* Assurez-vous que le niveau des liquides de frein et d'embrayage se trouve entre les repères MIN et MAX de leur réserve respectif.
Niveau de liquide de refroidissement* Attendeze que le moteur soit froid pour vérifier le niveau de liquide de refroidissement.
Courroies d'entrainment du moteur* Assurez-vous que les courroies d'entrainment du moteur ne sont pas éraillées, usées, fendillées ou huileuses.
Niveau d'huile moteur* Vérifiez le niveau d'huile moteur lorsque votre vehicule est immobilisé sur une surface plane et que le moteur est à l'arrêt. Attendez que l'huile se dépose dans le carter d'huile (plus de dix minutes).
Système d'échévement Assurez-vous que les supports du système d'échévement ne sont pas desserrés et que ce dernier n'est pas fissuré ou perforé. Si le système d'échévement de votre vehicule émet un son inhabituel ou dégage une odeur de gaz d'échéament, rendez-vous immédiatement chez un concessionnaire NISSAN pour le faire vérifier. Consultez
l'ajretissement relat à l'oxyde de carbone dans le chapitre « Démarrage et conduite » duprésent manuel.
Fuites de liquide Immobilisez votre vehicule et, après un certain temps, vérifie la presence de fuites de carburant, d'huile, d'eau ou autres liquides. Il est normal que de l'eau s'égoutte du climatiseur après son utilisation. Si vous décelez des fuites ou des vapeurs d'essence, recherche la source du problème et faites réparer votre vehicule immidiatement.
Niveau de liquide de direction assistée* et canalisations Coupez le contact et attendez que le liquide de direction assistée refroidisse avant d'en vérifier le niveau. Assurez-vous que les canalisations sont bien raccordées et qu'elles sont exemples de fuites, de fissures, etc.
Radiateur et durites Verifiez l'avant du radiateur et retirez-en la saleté, les insectes, les feuilles, etc. qui s'y sont accumulés. Assurez-vous que les durites du radiateur ne sont pas fissureres, déformées, pourries ou desserrées.
Soubasement Le soubasement de votre vehicule entre fréquemment en contact avec des substances corrosives comme celles qui sont répandues sur une chaussée glacée ou utilisées pour contrôler la poussière. Il est très important de retarder ces substances du soubassement; si non le plancher, le chassis, les canalisations de
carburant et le système d'échéappement pourraient rouiller. À la fin de l'hiver, rincez le soubassement soigneusement avec de l'eau pour décoller les plaques de boue et de saleté accumulées. Consultez le chapitre « Aspect et entretien » duprésent manuel.
Liquide de lave-glace de pare-brise*
Assurez-vous qu'il y a suffisamment de liquide de lave-glace dans le réservoir.
PRECAUTIONS D'ENTRETIEN
Faites toujours preuve de prudence lorsque vous procédez à une inspection ou à un entretien de votre vehicule afin d'éviter de subir de graves blessures ou d'endommager votre vehicule. Les précautions générales suivantes doivent être respectées à la lecture.

AVERTISSEMENT
- Stationnez le vehicule sur une surface plane, serrez le frein de stationnement et bloquez les roues pour empêcher le vehicule de se déplacer. Dans le cas des modèles équipés d'une boite de vitesses manuelle, déplacez le levier selecteur à la position de point mort (N). Dans le cas des modèles équipés d'une boite de vitesses automatique, déplacez le levier de vitesses à la position de stationnement (P).
Assurez-vous que la clé de contact est à la position OFF ou LOCK avant de procédé à tout remplacement ou réparation de pieces. -
Ne laïsez jamais le moteur ou les faisceaux des composants associés à la boîte de vitesses automatique débranchés lorsqu'elle commutateur d'allumage est tourné à la position de marche (ON).
-
Ne branchez ou débranchez jamais la batterie ni,aucun autre composant transistorisé lorsqu'elle commutateur d'allumage est à la position de marche (ON).
- Si vous devez travailler sur un moteur en marche, n'approche pas vos mains, vos vêtements, vos cheveux ni vos outils des ventilateursurs, courroies et autres pièces mobiles.
- Il est recommendé d'enlever ou de fixer en place tout vêtement ample avant de travailler sur votre vehicule. Retirez aussi votre montre, vos bagues et vos autres bijoux.
- Lorsque vous travailliez sur votre vehicule, portez toujours des lunettes de protection.
- Si vous doivent fournir le moteur dans un espace clos comme un garage, assurez-vous que l'endetroit est correctement ventilé et que les gaz d'échéppement peuvent s'évacuer.
-
Ne vous glissez jamais sous un vehicule si ce dernier n'est soutenu que par un cric. Si une intervention sous le vehicule s'avere nécessaire, utilisez des trêaux pour le soutenir.
-
Tenez loin du réservoir de carburant et de la batterie les cigarettes ou cigares allumés, de même que toute flamme ou source d'étincelles.
L'entretien du filtré à carburant et des canalisations de carburant des modèles à essence équipés du système d'injection electronique multipoint doit être effectué par un concessionnaire NiSSAN car les canalisations de carburant sont sous haute pression, même lorsque le moteur est à l'arrêt.

ATTENTION
- Ne procédez à aucune intervention sous le capot lorsque le moteur est chaud. Arrêtez le moteur et attendez qu'il refroidisse.
- Evitez tout contact avec de l'huile moteur ou du liquide de refroidissement usés. La mise au rebut inadéquate d'huile moteur, de liquide de refroidissement du moteur ou de tout autre liquide utilisé dans un vehicule peut nuire à l'environnement. Respectez toujours la reglementation locale en ce qui concerne la mise au rebut de liquides utilisés dans un vehicule.
Le present chapitre fournit des directives relatives aux interventions qui peuvent etre aisement effectuees par le proprieteire.
Voupeuze égarlement vous procurer un Manuel de réparation NiSSAN. Consultez la rubrique « Pour commander le Manuel du conducteur ou le Manuel de réparation » du chapitre « Données techniques et information au consommateur » de ce manuel.
Rappelez-vous que des interventions incomplètes ou inadéquates peuvent engendrer des problèmes de fonctionnement ou des émissions d'échémpement excessives et promuttre la couverture de garantie de votre vehicule. Dans le doute, rendez-vous chez un concessionnaire NISSAN pour y faire réparer votre vehicule.
POINTS DE VÉRIFICATION DANS LE COMPARTIMENT MOTEUR

Moteur KA24DE
- Réservoir de liquide de direction assistée
- Jauge d'huile pour boite de vitesses (modeles avec boite de vitesses automatique)
- Filtre a air
- Bouchon de remplissage d'huile moteur
- Jauge d'huile moteur
- Réservoir de liquide de frein
- Réservoir de liquide d'embrayage (modèles avec boîte de vitesses manuelle)
- Réservoir de liquide de lave-glace de pare-brise
- Bouchon du radiateur
- Réservoir de liquide de refroidissement
- Batterie

Moteur VG33E
- Portefusibles/fils-fusibles
- Réservoir de liquide de direction assistée
- Jauge d'huile pour boite de vitesses (modeles avec boite de vitesses automatique)
- Réservoir de liquide de frein
- Réservoir de liquide d'embrayage (modèles avec boîte de vitesses manuelle)
- Filtre à air
- Réservoir de liquide de lave-glace de pare-brise
- Jauge d'huile moteur
- Bouchon du radiateur
- Bouchon de replissage d'huile moteur
- Réservoir de liquide de refroidissement
- Batterie

Moteur VG33ER
- Porte-fusibles/fils-fusibles
- Réservoir de liquide de direction assistée
- Jauge d'huile pour boite de vitesses (modeles avec boite de vitesses automatique)
- Compresseur volumétrique
- Réservoir de liquide de frein
- Filtre à air
- Réservoir de liquide de lave-glace de pare-brise
- Jauge d'huile moteur
- Bouchon du radiateur
- Bouchon de replissage d'huile moteur
- Réservoir de liquide de refroidissement
- Batterie
CIRCUIT DE REFROIDISSEMENT DU MOTEUR
Le circuit de refroidissement du moteur a eté rempli à l'usine d'une solution d'antigel toutes saisons de haute qualité. L'ajout d'additifs dans le circuit de refroidissement est inutile puisque cette solution d'antigel contient des inhibiteurs de rouille et de corrosion.

AVERTISSEMENT
- Ne retirez jamais le bouchon du radiateur lorsque le moteur est chaud. Attende que le moteur et le radiateur refroidient. Du liquide à haute pression pourrait s'échapper du radiateur et provoquer des brûlures graves. Pour des détails sur les précautions à prendre, consultez la rubrique « En cas de surchauffe de votre vehicule » du chapitre « En cas d'urgence » de ce manuel.
- Le radiateur est équipé d'un bouchon taré. Pour éviter d'endommager le moteur, utilisez uniquement un bouchon de radiateur d'origine NISSAN.
| Température extérieure jusqu'à | Antigel d'origine NISSAN longue du-lée ou l'équivalent | Eau démi-néralisée ou distillée | |
| °C | °F | ||
| -35 | -30 | 50 % | 50 % |

ATTENTION
Lorsque vous remplacez l'antigel ou que vous en ajoutez, assurez-vous d'utiliser l'antigel longue durée d'origine NiSSAN (de couleur verte) ou un antigel équivalent dont le mélange contient 50% d'antigel et 50% d'eau déminéralisée ou distillée. L'utilisation de solutions antigel d'autres types ou couleurs, comme l'antigel orange, peut endomager le circuit de refroidissement du moteur de votre vehicule.

VÉRIFICATION DU NIVEAU DE LIQUIDE DE REFROIDISSEMENT
Attendez que le moteur soit froid pour vérifier le niveau de liquide de refroidissement dans le réservoir. Si le niveau est inférieur au repère MIN, ajoutez du liquide jusqu'à ce qu'il attigne le repère MAX. Si le réservoir est vide, attendez que le moteur soit froid et vérifie le niveau de liquide de refroidissement dans le radiateur. Si la quantité de liquide de refroidissement dans le radiateur est insuffisante, replisssez ce dernier jusqu'à l'orifice de replissage et ajoutez égallement du liquide dans le réservoir jusqu'à au repère MAX.
HUILE MOTEUR
Faites vérifier le circuit de refroidissement de votre vehicule chez un concessionnaire NISSAN si vousdezuyajouter fréquement du liquide de refroidissement.
VIDANGE DU LIQUIDE DE REFROIDISSEMENT
Vous pouvez faire appel à un concessionnaire NISSAN pour procéder à la vidange du liquide de refroidissement du moteur de votre vehicule. Cette procédure d'entretien est désrite dans le Manuel de réparation NISSAN.
Des procédures d'entretien inadéquates peuvent compromètre le rendement du dispositif de chauffage et entrainer une surchauffe du moteur.

AVERTISSEMENT
- Ne remplacez jamais le liquide de refroidissement de votre vehicule lorsque le moteur est chaud car vous pourriez vous brûler.
-
Ne retirez jamais le bouchon du radiateur lorsque le moteur est chaud. Du liquide à haute pression pourrait s'échapper du radiateur et provoquer des brûlures graves.
-
Évitez tout contact direct du liquide de refroidissement usé sur la peau. Si tel est le cas, lavez immédiatement l'endetroit affecté avec du savon ou du détergent pour les mains.
- Gardez le liquide de refroidissement hors de la portée des enfants et des animaux.
Le liquide de refroidissement doit être mis au rebut de façon ajustée. Consultez les règlements en vigueur dans votre localité.

Moteur KA24DE
VERIFICATION DU NIVEAU D'HUIL MOTEUR
- Stationnez votre vehicule sur une surface plane et serrez le frein de stationnement.
- Demarrez le moteur et laissez-le tournier au ralenti jusqu'à ce qu'ilatteigne sa température de fonctionnement.

Moteur VG33E/VG33ER
- Coupe le contact. Attendez que l'huile se dépose dans le carter d'huile (plus de dix minutes).
-
Retirez laJAuge et essuyez-la.Inserez-la ensuite dans son tube jusqu'au fond.
-
Retirez-la de nouveau et vérifie le niveau d'huile. Celui-ci doit se couver entre les repères H (élevé) et L (bas). Il s'agit du niveau d'huile normal. Si le niveau d'huile est inférieur au repère L (bas), retirez le bouchon de replissage d'huile et versez de l'huile dans l'orifice. Le niveau d'huile ne doit jamais dépasser le repère H (élevé).

Moteur KA24DE
- Vérifiez de nouveau le niveau d'huile au moyen de la jauge.
L'ajout d'huile entre les opérations d'entretien périodique ou pendant la période de rodage est normal si vous conduisez votre vehicule dans des conditions difficiles.

ATTENTION
Le niveau d'huile doit être vérifié périodiquement. Le fait de laisser le moteur tourner lorsque la quantité d'huile est insuffisante peut entraîner des dommages au moteur qui ne seraient pas couverts par la garantie.

Moteur VG33E/VG33ER

Moteur KA24DE
VIDANGE D'HUILE MOTEUR
- Stationnez votre vehicule sur une surface plane et serrez le frein de stationnement.
- Demarrez le moteur et laissez-le tournier au ralenti jusqu'à ce qu'il atteigne sa température de fonctionnement, puis coupeze le contact.
- Tournez le bouchon de replissage d'huile dans le sens contraire des aiguilles d'une montre pour le prisoner.
- Déposez un grand bac de vidange sous le bouchon de vidange.

Moteur VG33E/VG33ER
- Retirez le bouchon de vidange à l'aide d'une clé en le tournant dans le sens contraire des aiguilles d'une montre et vidangez l'huile complètement.
Si le filtré à huile doit être changé, retirez-le et remplacez-le maintainant. Consultez la rubrique « Remplacement du filtré à huile » plus loin dans ce chapitre.
A AVENTISSEMENT
-
Des contacts prolongés et répétés avec de l'huile moteur usagée peuvent entraîner le cancer de la peau.
-
Évitez tout contact direct de la peau avec de l'huile usageé. Le cas échéant, lavez soigneusement la zone affectée avec du savon ou avec un détergent pour les mains aussitôt que possible.
- Gardez l'huile moteur usagée hors de la portée des enfants.
ATTENTION
Prenez soit de ne pas vous brûler car l'huile moteur peut être brûlante.
L'huile usagée doit être mise au rebut de façon ajuste.
- Consultez les règlements en vigueur dans votre localité.
6. Nettoyez et réinstallé le bouchon de vidange ainsi qu'une nouvelle rondelle. Au moyen d'une clé, vissez fermement le bouchon de vidange. N'utilise pas une force excessive.
Couple de serrage du bouchon de vidange :
29 à 39 N·m (22 à 29 Ib·pi)
- Ajoutez l'huile moteur recommendée par l'orifice de replissage d'huile, puis replaces le bouchon de replissage d'huile en le serrant fermement.
Reportez-vous à la rubrique « Contenances, carburant et lubrifiants recommends » du chapitre « Données techniques et information au consommateur » de ce manuel pour connaître les contenances de vidange et de replissage.
Ces contenances varient selon la tempéra-ture de l'huile et la durée de vidange. Utilisez ces spécifications à titre de référence seul. Utilisez toujours la jauge pour déterminer le bon niveau d'huile dans le réservoir.
- Demarrez le moteur. Vérifiez qu'il n'y a aucune fuite autour du bouchon de vidange et du filtré à huile. Dans le cas contraire, réparez la fuite.
- Coupez le contact et attendez plus de dix minutes. Vérifiez de nouveau le niveau d'huile au moyen de la jauge. Ajoutez de l'huile moteur au besoin.

Moteur KA24DE
REEMPLACEMENT DU FILTRE À HUILE
- Stationnez votre vehicule sur une surface plane et serrez le frein de stationnement.
- Coupe le contact.
-
Retirez l'écran pare-boue.
-
Retirez les six agrafes.
-
Retirez les six boulons et l'écran pare-boue.
-
Déposez un grand bac de vidange sous le filtré à huile.

Moteur VG33E/VG33ER
ATTENTION
Prenoz soit de ne pas vous brûler car l'huile moteur peut être brûlante.
- Desserrez le filtré à huile au moyen d'une clé pour filtré à huile. Retirez ensuite le filtré en le tournant à la main.
- Essuyez la surface de montage du filtre à huile avec un chiffon propre.
Assurez-vous d'enlever tout reste de joint d'étanchéité usé de la surface de montage du moteur.
- Enduisez le joint du nouveau filtré d'huile moteur propre.
- Serrez le filtré à huile jusqu'à ce qu'une faible résistance soit perché, puis serrez-le de deux tiers de tour.
- Demarrez le moteur et vérifie qu'il n'y a aucune fuite autour du filtré à huile. Dans le cas contraire, réperez la fuite.
- Coupe le contact et attendez plus de dix minutes. Vérifiez le niveau d'huile. Ajoutez de l'huile moteur au besoin.
- Installez l'écran pare-boue.
HUILE POUR BOITE DE VOTESSES AUTOMATIQUE

AVERTISSEMENT
- Lorsque le moteur tourne, écartz vos mains, vos bijoux et vos vêtements des pieces mobiles telles que le ventilateur de refroidissement et les courroies d'entrainment.
L'huile pour boite de vitesses automatique est toxique et elle doit donc être conservée dans un contenant bien identifié, hors de la portée des enfants.

Moteur KA24DE
CONDITIONS DE TEMPERATURE LORS DES VERIFICATIONS
- Le niveau de liquide doit être vérifié en utilisant la plage de températures élevées (HOT) de la jauge une fois que les conditions suivantes sont réunies :
- le moteur doit être rechauffé et avoir atteint sa température de fonctionnement;
- le vehicule doit avoir eté conduit pendant au moins cinq minutes;
- la température de l'huile de la boite de vitesses automatique doit se situer entre

Moteur VG33E/VG33ER
50 et 80^ (122 et 176 F).
Le niveau peut etre verifie lorsque la temperature de I'huile se situe entre 30 et 50^ (86 et 122^) enutilisant la plaque de temperatures froides (COLD) de la jauge une fois que le moteur a atteint sa temperature de fonctionnement et avant de prendre la route. Toutefois, le niveau doit etre verifie a nouveau en utilisant la plaque de temperatures elevées (HOT) de la jauge.
-
Stationnez votre vehicule sur une surface plane et serrez le frein de stationnement.
-
Demarrez le moteur et deplacez le levier selecteur dans chaque gamme de vitesses en terminant par la position de stationnement (P).
- Vérifiez le niveau d'huile lorsque le moteur tourne au ralenti.

- Retirez la jauge et essuyez-la avec un essuie-tout non pelucheux.
- Insérez la jauge à fond dans son tube.
- Retirez la jauge et notez la valeur relevante. Si le niveau d'huile de la boite de vitesses automatique se trouve dans la plage de fonctionnement normal (B), il n'est pas nécessaire d'ajouter de l'huile. Si le niveau d'huile est bas (A), ajoutez de l'huile dans le tube de la jauge.

ATTENTION
NE REMPLISSEZ PAS LE RÉSEROVIR AU-DELÀ DE SA CAPACITÉ. Utilisez UNIQUEMENT de l'huile pour boîte de vitesses automatique NiSSAN Matic D ATF d'origine (zone continentale des États-Unis et Alaska) ou de l'huile pour boîte de vitesses NiSSAN du Canada. Les huiles DexronMC III/MerconMC ou un produit équivalent peuvent également être utilisées. Si vous étés à l'extérieur de la zone continentale des États-Unis ou de l'Alaska, communique avec un concessionnaire NiSSAN pour obtenir des renseignements concernant les huiles à utiliser, y compris les marques recommandées d'huiles pour boîte de vitesses automatique DexronMC III/MerconMC.
LIQUIDE DE DIRECTION ASSISTÉE
REMARQUE :
Il est impossible de relever une lecture précise du niveau d'huile si le vehicule a ete conduit a vitesse elevée pendant une longue période ou en circulation dense partemps chaud, ou lorsqu'il a ete utilise pour tracter une remorque. Vous nevez laisser l'huile refroidir (environ 30 minutes) avant d'en vérifier le niveau.

Le niveau de liquide de direction assistée doit être vérifié en utilisant la plage de températures élevées maximales (HOT MAX) du réservoir lorsqu'la température du liquide se situe entre 50 et 80^ (122 et 176^ ) ou encore, en utilisant la plage de températures froides maximales (COLD MAX) du réservoir lorsqu'la température du liquide se situe entre 0 et 30^ (32 et 86^ )
Si le niveau de liquide est inférieur au repere MIN, ajoutez du liquide d'origine NISSAN PSF. Pour ce faire, retirez le bouchon et versez le liquide dans l'orifice.
ATTENTION
- NE REMPLISSEZ PAS LE RÉSERVOIR AU-DELÀ DE SA CAPACITÉ.
Utilisez l'huile recommendée NISSAN PSF d'origine ou I'équivalent.
LIQUIDE DE FREIN ET D'EMBRAYAGE
Pour obtenir de plus amples renseignements concernant les specifications de liquides de frein et d'embrayage, consultez la rubrique « Contenances, carburant et lubrifiants recommends » du chapitre « Données techniques et information au consommateur » duprésent manuel.

AVERTISSEMENT
N'utilise que du liquide frais provenant d'un contenant scelled. L'utilisation de liquide usage, de qualite inférieure ou contaminé pourrait endommager le circuit de freinage et le système d'embrayage. L'utilisation de liquides inadquats peut endommager le circuit de freinage et comprometter la capacité de freinage du vehicule.

ATTENTION
Ne renversez pas ce liquide sur les surfaces peintes. Il endommagera la peinture. Si du liquide est renversé, nettoyez immeditatement la surface avec de l'eau.

WDI0283
LIQUIDE DE FREIN
Vérifiez le niveau de liquide de frein dans le réservoir. Si le niveau de liquide est inférieur au repère MIN ou si le témoin de frein s'allume, ajoutez du liquide de frein d'origine NISSAN ou du liquide DOT 3 équivalent jusqu'au repère MAX. Faites vérifier le circuit d'embrayage de votre vehicule chez un concessionnaire NISSAN si vous nevez y ajouter féquement du liquide d'embrayage.

LIQUIDE D'EMBRAYAGE
Vérifiez le niveau de liquide d'embrayage dans le réservoir (boîte de vitesses manuelle seulement). Si le niveau de liquide est inférieur au repère MIN, ajoutez du liquide de frein d'origine NiSSAN de très haute tenue ou du liquide DOT 3 équivalent jusqu'àr repère MAX. Faites vérifier le circuit d'embrayage de votre vehicule chez un concessionnaire NiSSAN si vous nevez y ajouter féquèment du liquide d'embrayage.
Pour obtenir de plus amples renseignements concernant les specifications de liquides de frein et d'embrayage, consultez la rubrique « Contenances, carburant et lubrifiants recommandés »
LIQUIDE DE LAVE-GLACE
du chapitre « Données techniques et information au consommateur » duprésent manuel.

AVERTISSEMENT
N'utilise que du liquide frais provenant d'un contenant scelled. L'utilisation de liquide usage, de qualite inférieure ou contaminé pourrait endommager le circuit de freinage et le système d'embrayage. L'utilisation de liquides inadquats peut endommager le circuit de freinage et comprometter la capacité de freinage du vehicule.

ATTENTION
Ne renversez pas ce liquide sur les surfaces peintes. Il endommagera la peinture. Si du liquide est renversé, nettoyez immeditatement la surface avec de l'eau.

RÉSERVOIR DE LIQUIDE DE LAVE-GLACE
Remplissez le réservoir de liquide de lave-glace périodiquement. Ajoutez du liquide de lave-glace lorsque le témoin s'allume (selon l'équipement du vehicule).
Pour replir le réservoir de liquide de lave-glace, retirez le bouchon du réservoir et versez le liquide de lave-glace dans l'orifice du réservoir.
Ajoutez un solvant pour lave-glace pour obtenir de plusieurs résultats de nettoyage. En hiver, ajoutez un antigel pour lave-glace. Suivez les directives du fabricant concernant les proportions du mélange.
Remplissez le réserve plus souvent lorsque les conditions de conduite exigent d'utiliser une grande quantité de liquide de lave-glace.
Du liquide de lave-glace concentré nettoyant NiSSAN d'origine avec antigel ou l'équivalent est recommendé.

ATTENTION
- Ne remplacez pas l'antigel du moteur par une solution de liquide de laveglace. Ceci pourrait endommager les surfaces peintes du vehicule.
- Ne replisssez pas le réservoir de liquide de lave-glace avec des concentrates non dilués. Les éclaboussures de certains concentrates de liquide de lave-glace au methanol peuvent tacher la calandre de façon permanente lors du replissage du réservoir de liquide de lave-glace.
- Mélangez le concentré de liquide de lave-glace avec de l'eau conformément aux recommendations du fabricant avant de verser le mélange dans le réservoir de liquide de lave-glace de votre vehicule. N'effectuez pas ce mélange dans le réservoir même.
BATTERIE
Assurez-vous que la surface de la batterie est propre et sèche en tout temps. Nettoyez toute trace de corrosion au moyen d'une solution de bicarbonate de soude et d'eau.
Assurez-vous que les raccordements des bornes sont propres et bien serrés.
- Si vous prévoyez ne pas utiliser votre vehicule pendant une période de 30 jours ou plus, débranchez le cable négatif de la borne de la batterie pour empêcher cette dernière de se décharger.
A VERTISSEMENT
-
N'exposez pas la batterie à une flamme ou à des étincelles. L'hydrogène générale par la batterie est un gaz explosif. Évitez tout contact de l'électrolyte avec vos yeux, votre peau, vos vêtements ou les surfaces peintes du vehicule. Évitez de vous frottier les yeux si vous avez manipulé une batterie ou un bouchon de batterie. Lavez-vous soignement les mains. En cas de contact de l'électrolyte avec vos yeux, votre peau ou vos vêtements, rincez immeditament à l'eau la zone affectée pendant au moins 15 minutes et consultez un médecin.
-
Ne conduisez pas votre vehicule si le niveau d'électrolyte est bas. Un bas nièveau d'électrolyte peut augmenter la charge exercée sur la batterie et ainsi générer de la chaleur, réduire la durée utile de la batterie et, dans certains cas, provoquer une explosion.
- Portez toujours des lunettes de sécurité et enlevez tous vos bijoux lorsqu'elles you effectuez une intervention sur la batterie ou à proximé de cette-ci.
- Les cosses et bornes de la batterie ainsi que les accessoires connexes contiennent du plomb et des composés de plomb. Lavez-vous les mains après les avoir manipulés.
- Gardez la batterie hors de la portée des enfants.

1. Retirez les bouchons de la batterie au moyen d'un tournevis, tel qu'illustré. Servez-vous d'un chiffon pour protégger le boîtier de la batterie.

- Vérifiez le niveau de liquide de chaque éléments; si vous neces ajouter du liquide, ne versez que de l'eau distilled pour élever le niveau jusqu'àau bas de l'orifice de replissage. Ne dépassez pas ce niveau.
Vérifiez fréquèment le niveau d'électrolyte de la batterie si vous conduisez votre vehicule partemps très chaud ou dans des conditions difficilles.
DÉMARRAGE-SECOURS
Si un démarrage-secours est requis, consultez la rubrique « Démarrage-secours » du chapitre « En cas d'urgence » de ce manuel. Si le moteur refuse de démarrer après avoir utilisé cette méthode, il est peut-être nécessaire de replacer la batterie. Communique avec un concessionnaire NiSSAN.

Moteur KA24DE
1 Vilebreguin
2 Pompe a eau
3 Alternatneur
4 Compresseur de climatisationur
5 Pompe de liquide de direction assistee

: Points de vérification de tension

AVERTISSEMENT
Assurez-vous que la clé de contact est à la position OFF ou LOCK. Sinon, le moteur peut semettre inopinément en marche.
- Procedez à une inspection visuelle des courroies pour vous assurer qu'elles ne sont pas usées, coupées, effilochées ou desserrées. Si les courroies sont en mauvais état ou si elles sont lâches, faites-les replacer ou régler chez un concessionnaire NISSAN.
- Faites vérifier l'etat et la tension des courroies de votre vehicule aux intervalles pres-crits dans le « Guide du service et de l'entretien NISSAN »

Moteur VG33E
1 Vilebrequin
2 Pompe a eau
3 Alternatneur
4 Compresseur de climatisationur
5 Pompe de liquide de direction assistee

: Points de vérification de tension

Moteur VG33ER
1 Vilebrequin
2 Pompe a eau
3 Alternatneur
4 Compresseur de climatisationur
5 Pompe de direction assistée
6 Compresseur volumétrique
7 Poulie tendeur

: Points de vérification de tension

WD10005
Bougies à electrodes au platine
Comme les bougies à electrodes au platine dur- rent plus longtemps que les bougies conventionnelles,elles n'ont pas besoin d'être remplacées aussi fréquemment.Suivez le programme d'entretien,mais ne réutilisez jamais des bougies usées qui ont ete nettoyées ou reglées a nouveau.
- Remplacez toujours les bougies de votre vehicule par des bougies recommandées ou équivalentes.
AVERAGEMENT
Assurez-vous que le moteur est arrêté, que le contact est coupé à l'allumage et que le frein de stationnement est bien serré.
ATTENTION
Assurez-vous d'utiliser la bonne douille pour retarder les bougies d'allumage. Une douille inadéquate peut endommager les bougies d'allumage.

WDI0193
Moteur KA24DE
Excepté le compréseur volumétrique
- Débranche les câbles des bougies.
Tenez toujours les gains des bougies et non les cables lors du débranchement. Marquez tous les cables afin d'identifier leur emplacement initial.
- Retirez les bougies d'allumage au moyen d'une douille à bougie.
La douille à bougie possède un joint de caoutchouc qui retient la bougie pour l'empêcher de tomber lorsqu'elle est retiree. Assurez-vous que chaque bougie d'allumage est bien ajustée dans la douille.

WDI0289
FILTRE A AIR
- Insérez les nouvelles bougies une à une dans la douille à bougie et mettez-les en place. N'utilisez que le type de bougie d'allumage spécifique. Tournez chaque bougie à la main de plusieurs tours complets, puis serrez-la au coupleADFQUAT au moyen de la douille. Ne serrez pas trop.
Couple de serrage des bougies d'allumage :
20 à 29 N·m (14 à 22 lb·pi)
- Branchez de nouveau les cables des bougies à leur emplacement initial.
Avec compréseur volumétrique
Consultez votre concessionnaire NISSAN pour obtenir de l'aide si un remplacement doit être effectué.

Le filtrte à air ne doit pas être nettoyé et réutilisé. Vous doivent remplaçer le filtrte à air de votre vehicule selon les intervalles d'entretien stipulés dans le « Guide du service et de l'entretien NISSAN » Lorsque vous doivent remplacez le filtrte, essuyez l'intérieur du boîtier et le couvercle du filtrte à air avec un chiffon humide.
Moteur VG33E/VG33ER

A VERTISSEMENT
-
En faisant fonctionner le moteur lorsqu'le filtrte à air est retire, vous risquez de vous brûler ou de brûler d'autres personnes. Le filtrte à air ne nettoie pas seulement l'air, il permet également d'arrêter les flammes en cas de ratés du moteur. Si le filtrte à air est retire et que le moteur a des ratés, vous risquez des brûlures. Ne conduisez pas votre vehicule lorsqu'le filtrte à air est retire et soyez prudent lorsqu'vous devez effctuer des interventions sur le moteur dépourvu de filtrte à air.
-
Il ne faut jamais verser de carburant dans le corps de papillon ni tenter de faire demarrer le moteur lorsque le filtré à air est retire, car vous pourriez vous infliger des blessures graves.
MICROFILTRE À AIR DE
L'HABITACLE (selon l'équipement du vehicule)
Le microfiltr de l'habitacle retient la poussière en suspension et les particules de pollen et il réduit également la pénetration de certaines odeurs indésirables dans l'habitacle. Le filtré est situé derrière la boîte à gants. Consultez le « Guide du service et de l'entretien Nissan » pour connaître les intervalles de remplacement de ce filtré.
Suivez la procEDURE suivante pour remplacer le contrôle:

- Pivots
- Boîte à gants
- Retirez les deux pivots de la boite à gants. Retirez la boite à gants.
ATTENTION
Ne touchez pas au module de coussin gonflable avant.

- Panneau der renfort
- Dispositif de refroidissement
- Vis
- Attache
- Retirez les sept vis et l'attache du cadre de la boite à gants. Retirez le cadre de la boite à gants.

- Dispositif de refroidissement
- Attache
- Retirez l'attache fixant les filtres dans le dispos-itif d'admission d'air.

- Dispositif de refroidissement
- Filtre
- Retirez les filtres.
REMARQUE :
Les filtres doivent être alignés avec le crochet en plastique inférieur.
- Insérez le premier filtré à la position inférieure. Faites-le glisser en position supérieure, puis insérez le deuxième filtré à la position inférieure.
- Fixez le filtré à l'aide de l'attache.
- Installez le cadre de la boite a gants.
- Remettez la boite à gants en place.

- Boîte à gants
- Étiquette (petite)
- Étiquette (grande)
- Complétez l'information de date sur la petite étiquette. Fixez les deux étiquettes au couvercle de la boîte à gants.
BALAIS D'ESSUIE-GLACE DU PARE-BRISE

NETTOYAGE
Si le lava-glace ne réussit pas à nettoyer le pare-brise de votre vehicule ou si un des balais d'essuie-glace fonctionne mal, des dépôts de cire ou d'autres matières se sont peut-être accumulés sur le balai d'essuie-glace ou sur le pare-brise.
Nettoyez l'extérieur du pare-brise avec une solution de lave-glace ou du détergent doux. Le pare-brise est propre si l'eau n'y-perle pas lorsque vous le rincez à l'eau claire.
Nettoyez chaque balai d'essuie-glace avec un chiffon trempe dans une solution de lave-glace ou dans du détergent doux. Rincez ensuite les
balais d'essuie-glace avec de l'eau propre. Si la propriété de votre pare-brise n'est toujours pas satisfaisante après avoir nettoyé les balais et utilisé les essuie-glaces, remplacez les balais.
ATTENTION
Des balais d'essuie-glace usés peuvent endommager le pare-brise et nuire à la visibilité du conducteur.
8-30 Entretien et interventions du propriétaire
REEMPLACEMENT
Remplacez les balais d'essuie-glace lorsqu'ils sont usés.
① Écartez du pare-brise le bras d'un des essuie-glaces.
② Poussez la languette de déblocage, puis tirez le balai vers le bas, parallèlement au bras d'essuie-glace, pour l'enlever.
③ Retirez le balai d'essuie-glace.
4. Insérez le nouveau balai d'essuie-glace sur le bras jusqu'à ce qu'il s'enclença.
FREIN DE STATIONNEMENT ET PÉDALE DE FREIN

ATTENTION
- Àprouv avoir remplace les balais, remet- tez les bras d'essuie-glace à leur position d'origine; sinon, vous pourriez les endommager en ouvrant le capot.
Assurez-vous que les balais d'essuie-glace sont en contact avec la glace; si ce n'était pas le cas, les bras des essuie-glaces risqueraient d'être endommégés par la pression du vent.

Si vous cirez la surface du capot, assurez-vous que la cire ne pénétre pas dans les giclleurs de lave-glace ①. Un colmatage ou un mauvais fonctionnement du lave-glace de pare-brise pourrait en résultat. Si de la cire pénétre dans le giclreur, retirez-la au moyen d'une aiguille ou d'une petite épingle ②.

VÉRIFICATION DU FREIN DE STATIONNEMENT
Poussez fermement le frein de stationnement vers le bas en partant de la position de déblocage. Si le nombre de déclics émis par le levier ne correspond pas aux spécifications stipulées, rendez-vous chez un concessionnaire NISSAN.
- De 6 à 7 déclics doivent être émis sous une pression de 196 N (44 lb).

WDI0197
VÉRIFICATION DE LA PÉDALE DE FREIN
Vérifiez la distance A entre la surface supérieure de la pédale et le plancher de métal pendant que le moteur tourne. Si la distance constatée excède l'intervalle spécifique, consultez un concessionnaire NiSSAN.
Distance A : sous une pression de 110 lb (490 N)
| Boîte de vitesses automatique | Boîte de vitesses manuelle |
| 110 mm (41/4 po) | 100 mm (4 po) |
Freins auto-regables
Les freins à disque avant se reglent automatiquement chaque fois que vous enforcez la pédale de frein. Les freins à tambour arrêté des vehicules à deux roues motrices se reglent également automatiquement chaque fois que vous enforcez la pédale de frein. Les freins à tambour arrêté des vehicules à quatre roues motrices se reglent également automatiquement chaque fois que vous enforcez la pédale de frein. Si la pédale de frein s'enforce plus loin que la normale, il se peut que les freins à tambour arrêté soient mal régliés. Serrez le frein de stationnement à plusieurs reprises.

AVERTISSEMENT
Si la pédale de frein ne revient pas à sa position normale, faites-la vérifier par un concessionnaire NISSAN.
Indicateurs d'usure de plaquettes de frein
Les plaquettes des freins à disque de votre vehicule sont équipées d'indicateurs d'usure sonores. Si une plaquette de frein doit être remplacée, l'indicateur d'usure émet un bruit de raclage ou un crissement aigu lorsque le vehicule roule. Le
bruit se fait entendre, que la pédale de frein soit enforcée ou non. Si les indicateurs d'usure des freins émettent un son, faites vérifier les freins de votre vehicule le plus tout possible.
Des crissements, des sifflements ou d'autres bruits occasionnels provenant des freins peuvent se faire entendre dans certaines conditions de conduite ou climatiques. Il est normal d'entendre à l'occasion des bruits de frein lors de freinages légers à modérés; cette condition ne compromet en rien le fonctionnement ou le rendement du circuit de freinage de votre vehicule.
Les freins à tambour arrirée (selon l'équipment du vehicule) ne possèdent pas d'indicateurs d'usure sonores. Si les freins à tambour arrirée émettent des bruits forts inhabituels, rendez-vous le plus tout possible chez un concessionnaire NiSSAN pour les faire vérifier.
Une inspection adequate des freins doit etre effectuee aux intervalles prescrits. Pour obtenir plus de renseignements sur les intervalles d'inspection des freins, consultez l'information qui s'y rapporte dans le « Guide du service et de I'entretien NISSAN »
SERVOFREIN
Vérifiez le fonctionnement du servifrein comme suit :
- Avec le moteur à l'arrêt, enoncez et relâchez la pédale de frein plusieurs fois. Lorsque le mouvement de la pédale (course) est le même d'un serrage à l'autre, passez à l'étape suivante.
- Tout en,enfantant la pedale de frein,demarreze le moteur.La pedale devrait s'abaisserlegement.
- Avec la pédale de frein enforcée, foupez le contact. Gardez la pédale enforcée pendant environ 30 secondes. La hauteur de la pédale ne devrait pas changer.
- Laissez le moteur tourner pendant une minute sans enforcer la pédale de frein, puis coupez le contact. Enforcez la pédale de frein plusieurs fois. Chaque pression exerçée sur la pédale réduit graduèlement sa course à mesure que la dépression s'échappe du servofrein.
Si les freins de votre vehicule ne fonctionnent pas correctement, rendez-vous chez un concessionnaire NISSAN pour les faire vérifier.



WDI0304
- Boîte à fusibles
- Fusibles de rechange
- Extracteur de fusible
HABITACLE

ATTENTION
N'utilissez jamais un fusible d'une intensité nominale supérieure ou inférieure à cette qui est spécifiée sur le couvercle de la boite à fusibles. Ceci pourrait endomager le circuit électrique ou cause un incendie.
Lorsqu'un des accessoires électriques de votre vehicule ne fonctionne pas, vérifie si le fusible correspondant est grillé.
- Assurez-vous que le contacteur d'allumage et l'interrupteur des phares sont à la position d'arrêt (OFF).
- Tirez le couvercle de la boite à fusibles pour le retirer A
- Au moyen de l'extracteur deFuseible,retirez le fusible ()
REEMPLACEMENT DE LA PILE DE LA TÉLECOMMANDE


WDI0200
- Si le fusible est grillé, remplacez-le par un fusible neuf.
- Appuyez sur le couvercle de la boîte à fusibles pour le réinstaller.
- Si le fusible neuf grille aussi, rendez-vous chez un concessionnaire NISSAN pour faire vérifier et réparer le circuit électrique de votre vehicule.



WPD0160
Pour remplacer la pile de la télécommande, pro-cedez comme suit :
① Ouvrez le couvercle de la telecommande a l'aide d'une piece de monnaie.
② Retirez la pile usagée.
③ Installez la pile neuve en plaçant le côte marqué d'un « + » vers le bas.
Pile recommende : Toshiba CR2025 ou l'équivalent.
④ Refermez solidement le couvercle de la télé-commande.
ECLAIRAGE
- Appuyez sur le bouton 1 , puis sur le bouton 2 deux ou trois fois pour vous assurer que la télécommande fonctionne.
Si la pile est retiree de la telecommande pour toute autre raison que pour la replacer, repetez I'etape 5.
- Les piles mises au rebut de façon inadéquate peuvent avoir des effets néfastes sur l'environnement. Consultez toujours les règlements en vigueur dans votre localité concernant l'élimination des piles.
- La télécommande est concise pour résister à l'eau; toutefois, si elle entre en contact avec de l'eau, sechez-la immédiatement en l'essayant.
- La portée opérationnelle de la télécommande est d'environ 10 m (33 pi) à partir du vehicule. La portée de la télécommande peut varier en fonction des conditions environnantes du vehicule.
Avis de la FCC :
Toute modification non conforme aux normes du fabricant peut annuler le droit de l'utilisateur de disposeur d'un tel équipement.
Ce dispositif est conforme à l'article 15 des règlements de la FCC et au règlement RSS-210 d'Industrie Canada.
L'utilisation de ce dispositif est soumise aux conditions suivantes : (1) ce dispositif ne doit cause aucune interférence nuisible, et (2) il doit pouvoir supporter toutes les interférences, y compris celles qui peuvent l'activer de façon inopinée.
PHARES
Le phare est de type à bloc optique semi-étanche et utilise une ampoule de phare replacable (halogène). Il est possible de replacer une ampoule à partir du compartment moteur sans avoir à夕阳 le phare.

ATTENTION
L'ampoule halogène contient du gaz halogène sous haute pression. L'ampoule risque de se briser si vous la laissez tomber par terre ou si vous rayez son enveloppe de verre.
- Ne touchez pas l'enveloppe de verre de l'ampoule lorsque vous la manipulez.
- NE TOUCHEZ PAS À L'AMPOULE.
- L'ampoule de rechange doit porter le même numéro et avoir la même puissance que l'ampoule d'origine.
Puisance 65/55 No° de l'ampoule HB5/9007*
*: Consultez toujours le service des pieces d'un concessionnaire NISSAN pour obtenir l'information la plus recente concernant les pieces de rechange.
- Ne laïsez pas un reflecteur de phare sans ampoule pendant une longue période puisque la poussière, l'humidité et la fumée pourraient pénétrer dans le bloc optique et ALTERER le rendement du phare.
- Il n'est pas nécessaire de régler la convergence des phares après avoir remplatzé une des ampoules. Si le réglage de la convergence des phares s'avère nécessaire, adressez-vous à un concessionnaire NISSAN.

Retrait de l'ampoule du phare
- Ouvrez le capot.
- Debranchez le cable négatif (-) de la batterie.
- Debranchez le connecteur électrique de l'extrémité arrêté de l'ampoule.
- Tournez la bague de retenue de l'ampoule dans le sens contraire des aiguilles d'une montre jusqu'à ce qu'elle se dégage du reflecteur de phare, puis retirez-la (A).
- Retirez delicatement l'ampoule du phare. Ne secouez pas et ne tournez pas l'ampoule en la retardant (B).
Installation de l'ampoule du phare
- Insérez l'ampoule.
NE TOUCHEZ PAS L'AMPOULE.
- Installez le dispositif de retenue de l'ampoule et serrez-le.
Assurez-vous que la lèvre de la douille d'ampoule entre en contact avec le boîtier du phare.
3. Poussez le connecteur électrique dans la base de plastique de l'ampoule jusqu'à ce qu'il s'enclenche et se bloque.
- Branchez le cable négatif (-) de la batterie.
- Fermez le capot.
Réglage de la convergence des phares
Si la convergence des phares doit être régée, consultez un concessionnaire NISSAN.
PHARES ANTIBROUILLARD (selon l'équipement du vehicule)
Remplacement d'une ampoule de phare antibrouillard

ATTENTION
L'ampoule halogène contient du gaz halogène sous haute pression. L'ampoule risque de se briser si vous la laissez tomber par terre ou si vous rayez son enveloppe de verre.
- Ne touchez pas l'enveloppe de verre de l'ampoule lorsque vous la manipulez.
- Debranchez le cable négatif (-) de la batterie.

- Debranchez le connecteur de l'ampoule.
- Faites tourner le couvercle de l'ampoule dans le sens inverse des aiguilles d'une montre, puis retirez-le.
- Retirez l'ampoule du phare antibrouillard sans la tourner. Ne secouze pas et ne tournez pas l'ampoule en la retardant. Ne touche jamais l'enveloppe de verre.
- Le remontage s'effectue dans l'ordre inverse du démontage.
ÉCLAIRAGE EXTERIEUR ET INTÉRIEUR
| Élément | Wattage (W) | No d'ampoule* |
| Feu combiné avant | ||
| Phare | 65/55 | 9007(HB5) |
| Clignotant | 28,5 | 3456k |
| Feu de stationnement latéral avant | 5 | 168 |
| Feu de position latéral | 5 | 168 |
| Feu combiné arrêté | ||
| Clignotants | 27 | 3157NAK |
| Feu d'accès/feu arrêté | 27/7 | 3157k |
| Phare de recul | 27 | 3156k |
| Éclairage de la plaque d'immatriculation | 3,8 | 194 |
| Phare antibrouillard | 37,5 | 899 |
| Plafonnier type A | 8 | 83 |
| Plafonnier type B | 8 | — |
| Éclairage de l'aire de chargement | 10 | — |
| Lampe de lecture | 5 | 168 |
| Feu d'accès surélevé | Consultez un concessionnaireNISSAN pour obtenir de l'aide. |
*: Consultez toujours le service des pieces d'un concessionnaire NISSAN pour obtenir l'information la plus récente concernant les pieces de rechange.

Procedures de remplacement
Tous les autres feu, phares ou lampes sont de type A, B, C ou D. Lorsque vous nevez replacer une ampoule, retirez d'abord la vitre de protection ou le couvercle.


: indique le retrait de l'ampoule
: indique l'installation de l'ampoule

Lampe de lecture

Plafonnier et lampe d'aire de chargement

Lampe de lecture/boussole

Lampe d'aire de chargement - Modèle à cabine double
Consultez un concessionnaire NISSAN pour obtenir de l'aide.

Feu combiné arrête
ROUES ET PNEUS

Éclairage de la plaque d'immatriculation

En cas de crevaison, consultez le chapitre « En cas d'urgence » du present manuel.
PRESSION DES PNEUS
Pression de gonflage maximale
N'excedez jamais les pressions de gonflage maximales stipulées sur le flanc des pneus ①.
Pression de gonflage des pneus
Vérifiéz la pression des pneus de votre vehicule (sans oublier le pneu de secours) au moins une fois par mois et avant un long trajet. Une pression inadéquate des pneus peut réduire leur durée de vie et nuir à la tenue de route de votre
vehicule. Les pneus doivent etre FROIDS lorsque vous en verifiez la pression. Les pneus sont considere s FROIDS si sua vehicule est stationne depuis trois heures ou plus ou s'il a parcouru moins de 1,6 kilometre (1 mille) a vitesse modere. Les pressions des pneus A FROID sont stipulées sur l'etiquette des pneus apposoee a I'intérieur du couvercle de la boite a gants.

AVERTISSEMENT
-
Des pneus mal gonflés peuvent éclater et causer un accident.
L'indice de charge du vehicule est indiquedur l'étiquette d'homologation F.M.V.S.S. Ne chargez pas votre vehicule au-delà de sa capacité. La surcharge de votre vehicule peut réduire la durée de vie des pneus, compromètement le fonctionnement sur du vehicule par une défaillance prématurée des pneus ou par un comprotement routier défavorable et provoquer des accidents graves. Une charge dépassant la capacité spécifiée peut également entrainer une défaillance des autres composants du vehicule. -
Avant d'entrepreneure un long trajet ou chaque fois que le vehicule est lourdement chargé, vérifie la pression de gonflage des pneus au moyen d'un manomètre pour vous assurer qu'elle correspond à la Specification préconisée.
- Ne conduisez pas votre vehicule à des vitesses supérieures à 137 km/h (85 mi/h) s'il n'est pas équipé de pneus haute performances. En effet, une défaillance des pneus pourrait se produit, ce qui entraîrerait une perte de maïtrise du vehicule et des blessures.
- Pour plus d'information relatives aux pneus, consultez la rubrique « Renseignements importants concernant la sécurité des pneus » ou « Renseignements concernant la sécurité des pneus » du Livret de renseignements sur la garantie.
TYPES DE PNEUS
AVERAGEMENT
- Lorsque vous remplacez ou changez les pneus, assurez-vous que les quatre pneus de votre vehicule sont du même type (par exemple, des pneus d'été, des pneus toutes saisons ou des pneus d'hiver) et de la même construction. Vous pouze obtenir des renseignements relatifs aux types, aux tailles, aux cotes de vitesse et à la disponibilité des pneus auprès d'un concessionnaire NiSSAN. Les pneus de rechange peuvent avoir une cote de vitesse inférieure à celle des pneus installés en usine et par conséquent, ne pas pouvoir s'/adapter à la vitesse maximale pouvant être atteinte par votre vehicule. Ne dépassez jamais la cote de vitesse maxi-male d'un pneu.
- Pour plus d'information relatives aux pneus, consultez la rubrique « Renseignements importants concernant la sécurité des pneus » ou « Renseignements concernant la sécurité des pneus » du Livret de renseignements sur la garantie.
Pneus toutes saisons
Certains modèles de vehicules NISSAN sont équipés de pneus toutes saisons; ces pneus offrent un bon rendement tout au long de l'année, même sur une chaussée enneigée ou glacée. Les mots ALL SEASON ou les lettres « M&S » que l'on retrouve sur le flanc des pneus identifient ce type de pneu. Les pneus d'hiver offrent une meilleure adhérence dans la neige que les pneus toutes saisons et ils peuvent être moins adaptés au climat de certaines régions.
Pneus d'été
Certaines modèles de vehicules NISSAN sont équipés de pneus d'été; ceux-ci offrent un rendement supérieur sur chaussée sèche. La neige et la glace nuisent considérablement au rendement des pneus d'été. L'indice d'adhérence identifié par les lettres « M&S » n'apparait pas sur le flanc des pneus d'été.
Si vous possédez un vehicule quatre roues mo-trices, NISSAN vous recommende d'utiliser des pneus d'HIVER ou des pneus TOUTES SAL-SONS si vous doivent conduire sur une chaussée enneigée ou glacée.
Pneus d'hiver
Si vous installez des pneus d'hiver sur votre vehicule, assurez-vous que leur dimension et la
charge maximale qu'ils peuvent porter sont les mêmes que celles des pneus d'origine. Sinon, les caractéristiques de sécurité et la tenue de route de votre vehicule pourrait être compromises.
Les pneus d'hiver ont généralement une cote de vitesse inférieure à celle des pneus installés en usine et ils risquent de ne pas s'adapter à la vitesse maximale que peut atteindre votre vehicule. Ne dépassez jamais la cote de vitesse maxi-male d'un pneu.
Si vous installez des pneus d'hiver sur votre vehicule, la dimension, la marque, la construction et le dessin de la bande de roulement doivent être identiques sur les quatre pneus.
Des pneus cloutés peuvent être utilisés pour bénéficier d'une adherence accrue sur chaussée glacée. Toutefois, l'utilisation de tels pneus est prohibée dans certains États americains de même que dans certaines provinces du Canada. Consultez les règlements en vigueur dans votre localité, dans l'État ou la province où vous résiduez avant d'installer ce type de pneu sur votre vehicule. Surchaussée seche ou mouillée, les capacités de patinage et d'adherence d'un pau d'hiver clouté peuvent être inférieures à celles d'un pau d'hiver qui ne l'est pas.
CHAîNES ANTIDÉRAPANTES
L'utilisation de chaînes antidérapantes peut être prohibée dans certaines localités. Consultez les règlements en vigueur dans votre localité avant d'installer des chaînes antidérapantes sur les pneus de votre vehicule. Si vous installez des chaînes antidérapantes, assurez-vous qu'elles sont de la bonne dimension pour vos pneus et suivez les directives d'installation fournies par le fabricant des chaînes. N'utilise que des chaînes de catégorie « S » SAE. Les chaînes de catégorie S sont destinées aux vehicules dont l'espace des passages de roue est limite. Les vehicules sur lesquels les chaînes de type « S » peuvent être installées repondent au débutment minimal requis (entre l'organe de suspension du vehicule ou de la caisse le plus proche du pneu) pour permettre l'installation d'un dispositif antidérapant pour l'hiver (chaînes antidérapantes ou cables). Le débutment minimal requis est déterminé en fonction des pneus d'origine posés à l'usine. L'utilisation de chaînes d'une autre catégorie peut endommager votre vehicule. Lorsque recommends par le fabricant, utilisez des tendeurs de chaînes pour vous assurer que les chaînes tiennent bien en place. Les maillons inutilisés de la chaine doivent être solidement fixés ou retirés afin d'éviter qu'ils heurtent les ailes ou le soubassement et qu'ils les endommagent. Si possible, évitez de charger votre vehicule à sa
capacité maximale lorsque vous utilisez des chaînes antidérapantes et conduisez plus lentement. Sinon, les chaînes peuvent endommager leur vehicule et compromètre sa tenue de route et son rendement.
N'installez les chaînes antidérapantes que sur les roues arrirè; de telles chaînes ne doivent jamais être installées sur les roues avant.
N'installé jamais une chaîne antidérapante sur une roue de secours À USAGE TEMPORAIRE SEULEMENT.
Les chaînes antidérapantes ne doivent pas être utilisées sur chaussée sèche. Les contraintes excessives engendrées par la conduite d'un vehicule dans de telles conditions peuvent cause des dommages aux divers mécanismes du vehicule.
Seul le mode deux roues motrices doit etre utilisé sur des routes pavees sèches.

WDI0258
REEMPLACEMENT DES ROUES ET DES PNEUS
Permutation des pneus
NISSAN recommende de permuter les pneus tous les 12 000 km (7 500 mi).
Consultez la rubrique « Pneu à plat » du chapitre « En cas d'urgence » duprésent manuel pour connaître les procédures de remplacement des pneus.
Au moyen d'une clé dynamométrique, serrez les écrous de roue au couple spécifique des que possible.
Couple de serrage des écrous de roues :
133 N·m (98 lb-pi)
Les écrous de roue doivent être serrés au couple spécifique en tout temps. Nous recommendons le serrage des écrous de roue au couple spécifique à chaque permutation des pneus.

AVENTISSEMENT
- Àprouv avoir procédé à la permutation des pneus, vérifie et réglez la pression de gonflage des pneus.
- Resserrez les écrous des roues du vehicule après avoir parcouru une distance de 1 000 km (600 mi), après une crevaison, etc.
- La roue de secours ne fait pas partie des roues à permuter.
- Pour plus d'information relatives aux pneus, consultez la rubrique « Rensignements importants concernant la sécurité des pneus » ou « Rensignements concernant la sécurité des pneus » du Livret de renseignements sur la garantie.

WDI0259
- Indicateur d'usure
- Repère
Usure et endommagement des pneus

AVERTISSEMENT
-
Les pneus de votre vehicule doivent être vérifiés périodiquement pour y dé-celer la présence d'usure, de fissures, de gonflement ou d'objets coincés entre les sculptures. En présence d'une usure importante, de fissures, de gonflement ou de coupures profundes, le ou les pneus doivent être replacés.
-
Les pneus d'origine sont munis d'indicateurs d'usure incorporens dans les bandes de roulement. Lorsqu'ils deviennent visibles, les pneus doivent etre replacés.
- Une réparation incorrecte de la roue de secours peut entrainer de graves blessures. Si la roue de secours a besoin d'être réparée, adressez-vous à un concessionnaire NISSAN.
- Pour plus d'information relatives aux pneus, consultez la rubrique « Rensignements importants concernant la sécurité des pneus » ou « Rensignements concernant la sécurité des pneus » du Livret de renseignements sur la garantie.
Remplacement des roues et des pneus
Lorsque you remplacez un pneu, utilisez un pneu dont la dimension, le dessin de bande de roulement, la cote de vitesse et la capacité de charge sont similaires à ceux du pneu d'origine. Les types et les dimensions de pneus recommandés sont indiqués sous la rubrique « Roues et pneus » du chapitre « Données techniques et information au consommateur » duprésent manuel.
AVERAGEMENT
L'utilisation de pneus autres que ceux qui sont recommandés ou l'utilisation mixte de pneus de marque ou de construction (diagonale, ceinturée, radiale) diverses, ou dont les sculptures de bandes de roulement différent, peut nuir à la conduite, au freinage, au comportement routier, à la garde au sol, au jeu entre la carroserie et les pneus, au jeu des chaînes antidérapantes, à l'étalonnage de l'indicateur de vitesse, à la convergence des phares ainsi qu'à la hauteur du pare-chocs. Certains de ces effets peuvent cause des accidents et entrainer des blessures graves.
- Si les roues doivent être changées pour chaque raison que ce soit, remplacez les toujours par des roues au déport identique. Des roues au déport différent peuvent entraîner une usure prématurée des pneus, promètement les caractéristiques du comportement routier et/ou interférer avec les disques et tambours de frein. Cette interférence peut
réduire l'efficacité du freinage ou entrainer une usure prematurée des plaquettes et segments de freins. Consultez la rubrique « Roues et pneus » du chapitre « Données techniques et information au consommateur » duprésent manuel pour connaître les dimensions de déport des roues.
- Si la roue de secours est montée sur le vehicule ou qu'une roue est remplaee, le systeme d'advertisement de basse pression des pneus ne fonctionnera pas. Communiquez avec Your concessionaire NISSAN aussitot que possible pour proceder au replACEMENT des pneus ou à la reinitialisation du systeme (pour des modeles qui sont équipés d'un systeme d'advertisement de basse pression des pneus).
-
N'installez pas de roues ou de pneus déformés sur votre vehicule, même s'il ont été réparés car ceux-ci peuvent presenter des dommages structurels et entraîner une défaillance soudaine.
L'utilisation de pneus rechapés est déconseillée. -
Pour plus d'information relatives aux pneus, consultez la rubrique « Rensignements importants concernant la sécurité des pneus » ou « Rensignements concernant la sécurité des pneus » du Livret de renseignements sur la garantie.
4x4 Modèles à quatre roues motrices

ATTENTION
Utilisez toujours des pneus des mêmes type, dimensions, marque, construction (à carcasse diagonale, à carcasse diagonale ceinturée ou à carcasse radiale) et dessin de bande de roulement sur les quatre roues. Déroger à cette directive peut entrainer une différence de circonférence entre les pneus aux essieux avant et arrière, ce qui causera une usure excessive des pneus et pourrait endomager la boîte de vitesses, la boîte de transfert et les pignons du différentiel.
Si une usure excessive des pneus est décelée, il est recommandé de replacer les pneus des quatre roues par des pneus des mêmes taillie, marque et construction, et ayant le même dessin de bande de roulement. La pression des pneus et le réglage de la géométrie des roues doivent être
égarlement vérifiés et corrigés, le cas échéant.
Communiquez avec un concessionnaire NiSSAN.
Équilibrage des roues
Des roues mal équilibrées peuvent nuire à la tenue de route du vehicule et réduire la durée de vie des pneus. Un balourd des roues peut se produit, même si le vehicule est utilisé régulièrement. C'est pourquoit les roues doivent être équilibrées tel que recommendé.
Les roues doivent etre retirees du vehicule pour effectuer I'equilibrage. Sinon, le vehicule pourrait subir des dommages mecaniques.
- Consultez la rubrique « Renseignements importants concernant la sécurité des pneus » du Livret de renseignements sur la garantie pour plus d'information.
Soin des pneus
- Pour que les roues conservent un bel aspect, lavez-les lorsque vous lavez votre vehicule.
-
Nettoyez la face interieure des roues lorsqu'elles sont retirees ou lorsque vous nettoyez le soubassement du vehicule.
-
Ne lavez pas les roues avec des nettoyants abrasifs.
- Inspectez régulièrement les jantes des roues pour y déceler des traces d'enfencements ou de corrosion. De telles conditions pourraient entraîner une perte de pression ou une mauvaise étanchée au niveau des talons de pneu.
- Si vous conduisiez dans des régions où du sel est repandu sur les routes durant l'hiver, NISSAN vous recommende de cirer les roues de votre vehicule.
Roue de secours (À USAGE TEMPO-RAIRE SEULEMENT)
Votre vehicule peut etre equipe d'une roue de secours a usage temporaire identifie « TEMPORARY SPARE USE ONLY »
Respectez les précautions suivantes lorsqu'une roue de secours À USAGE TEMPORAIRE SEULEMENT est installée sur votre vehicule; sinon, votre vehicule pourrait être endommagé ou cause un accident.
A VERTISSEMENT
La roue de secours ne doit etre utiliser qu'en cas d'urgence. Elle doit etre remplacementes que possible par une roue standard pour eviter des dommages a la roue ou au differentiel.
Conduisez prudemment lorsqu'une roue de secours à USAGE TEMPO-RAIRE SEULEMENT est installée sur vo-. titre vehicule. Evitez les virages serrés et les freinages brusques.
- Vérifiez régulièrement la pression de gonflage du pneau de la roue de secours. Assurez-vous que la pression du pneau de la roue de secours À USAGE TEMPO-RAIRE SEULEMENT est toujours de 60 Ib/por2 (420 kPa, 4,2 bars).
- Ne conduisez pas à des vitesses supérieures à 80 km/h (50 mi/h) lorsqu'une roue de secours À USAGE TEMPO-RAIRE SEULEMENT est installée sur voitre vehicule.
- Lorsque vous conduisiez sur des routes enneigées ou glacées, la roue de secours À USAGE TEMPORAIRE SEULEMENT doit être installée à l'avant et les roues arrrière doivent être des roues d'origine (roues motrices). Les chaînes antidérapantes ne doivent être installées que sur les deux roues arrrière d'origine.
La bande de roulement du pneu de la roue de secours A USAGE TEMPO-RAIRE SEULEMENT s'use plus rapidement que celle d'un pneu standard. Remplacez la roue de secours des que les indicateurs d'usure apparaisent. - N'installez pas votre roue de secours sur d'autres vehicules.
- N'installez pas plus d'une roue de se-cours sur le vehicule.
- Ne tractez pas de remorque si une roude de secours À USAGE TEMPORAIRE SEULEMENT est installée sur votre vehicule.
ATTENTION
Lorsqu'une roue de secours est installee sur votre vehicule, placez le levier de commande de transfert dans la position 2H pour eviter tout dommage a la boite de transfert et aux mecanismes du differentiel.
- N'installez pas de chaînes antidérapantes sur une roue de secours À USAGE TEMPORAIRE SEULEMENT. Les chaînes antidérapantes ne s'ajustent pas correctement à ce type de roue et elles pourraient endommager leur vehicule.
- Etant donné que la roue de secours À USAGE TEMPORAIRE SEULEMENT est plus petite que la roue originale, la garde au sol s'en trouve réduite. Pour éviter d'endommager le vehicule, ne passez pas sur des obstacles. De plus, n'allez pas dans un lave-auto automatique avec votre vehicule car celui-ci risque de rester coince.
MÉMENTO
9 Données techniques et information au consommateur
Contenances, carburants et lubrifiants
recommendés. 9-2
Recommendations relatives au carburant. 9-3
Recommendations relatives à l'huile moteur et au filtré à huile 9-5
Indice de viscosité SAE commande 9-7
Recommandations relatives au frigorigène et à la lubrification du climatiseur 9-7
Spécifications 9-8
Moteur 9-8
Roues et pneus 9-9
Dimensions et poids 9-10
Voyages ou immatriculation du vehicule à l'étranger ..9-11
Identification du vehicule 9-11
Plaque du numero d'identification du
vehicule (NIV) .9-11
Numéro d'identification du vehicule (numéro du chassis) 9-11
Numéro de série du moteur 9-12
Étiquette d'homologation FMVSS 9-12
Étiquette de contrôle des émissions 9-13
Étiquette des pneus 9-13
Étiquette des caractéristiques du climatiseur.......9-13
Installation de la plaque d'immatriculation avant . .9-14
Information concerning le chargement du vehicule.... 9-14 Expressions. 9-14
Determination de la capacité de charge du vehicule 9-15
Arrimage de la charge. 9-15
Conseils pour le chargement . 9-16
Information concernant le chargement de l'autocaravane séparable 9-16
Modèle sa cabine double. 9-16
Modèle King Cab. 9-16
Vehicules à carrosserie spéciale. 9-16
Emplacement du centre de gravité. 9-17
Capacité de charge du vehicule 9-18
Mesure des poids 9-20
Traction d'une remorque. 9-20
Limits maximales de charge. 9-20
Tableau des caractéristiques/charges de remorquage. 9-22
Sécurité du remorquage. 9-23 Remorquage à plat. 9-25
Classification uniforme de qualite de pneus. 9-26
Garantie relative au dispositif antipollution. 9-27
Défauts compromettant la sécurité (É.-U. seulement) 9-28
Préparation aux contrôles d'inspection et d'entretien 9-28
Essai de dynamomètre pour les contrôles d'inspection et d'entretien (É.-U. seulement). 9-29
Pour commandier le manuel du conducteur ou le manuel de réparation. 9-30
En cas de collision. 9-31
CONTENANCES, CARBURANTS ET LUBRIFIANTS RECOMMANDÉS
Les contenances indiquées ci-après sont approximatives. Les contenances de replissage réelles peuvent varier légèrement. Au moment du replissage, suivez la méthode décrite dans le chapitre « Entretien et interventions du propriétaire » afin de déterminer les contenances adéquates.
| Contenance (approximative) | Liquides, huiles et lubrifiants recommendés | |||||
| Mesures américaines | Mesures impériques | Litres | ||||
| Carburant | KA24DE (4 cylindres)VG33E (6 cylindres)VG33ER (6 cylindres avec compresseur volumétrique) | 15 7/8 gallons | 13 1/4 gallons | 60,2 | Essence sans plomb dont l'indice d'octane est 87 (IOR 91) ou plus *1 | |
| 19 3/8 gallons | 16 1/8 gallons | 73,5 | Essence sans plomb dont l'indice d'octane est d'au moins 91 (IOR 96)*1 | |||
| 19 3/8 gallons | 16 1/8 gallons | 73,5 | ||||
| Huile moteurVidange et remplissage | KA24DE | Avec filtre à huile | 3 3/4 pintes | 3 1/8 pintes | 3,5 | • Marque d'homologation API *2 |
| Sans filtre à huile | 3 1/2 pintes | 2 7/8 pintes | 3,3 | • catégory API SG/SH, À haut rendement I et II ou catégory API SJ ou SL, À haut rendement *2 | ||
| VG33E/VG33ER | Avec filtre à huile | 3 1/2 pintes | 2 7/8 pintes | 3,3 | • catégories ILSAC GF-1, GF-II et GF-III | |
| Sans filtre à huile | 3 1/8 pintes | 2 5/8 pintes | 3,0 | |||
| Circuit de refroidissement (avec chauffage et réservoir) | KA24DE | Boite de vitesses manuelle | 4X2 | 7 3/4 pintes | 6 3/8 pintes | 50 % d'antigel longue durée d'origine NISSAN ou l'équivalent |
| Boite de vitesses automatique et boite de vitesses manuelle | 11 5/8 pintes | 9 5/8 pintes | 50 % d'eau déminéralisée ou distilée | |||
| VG33E/VG33ER | Boite de vitesses automatique et boite de vitesses manuelle | 11 5/8 pintes | 9 5/8 pintes | 50 % d'eau déminéralisée ou distilée | ||
| Huile pour boîte de vitesses manuelle | KA24DE | 4X2 | 4 1/4 chopines | 3 1/2 chopines | 2,0 | |
| VG33E/VG33ER | 4X2 | 5 7/8 chopines | 4 7/8 chopines | 2,8 | ||
| 4X4 | 10 3/4 chopines | 9 chopines | 5,1 | |||
| Huile pour couple final | KA24DE | 4X2 | Boîte de vitesses manuelle | 2 3/4 chopines | 2 1/4 chopines | 1,3 |
| VG33E/VG33ER | 4X4 | Avant | 3 3/4 chopines | 3 1/8 chopines | 1,75 | |
| Arrière | 5 7/8 chopines | 4 7/8 chopines | 2,8 | |||
| Liquide de boîte de transfert | 2 3/8 pintes | 2 pintes | 2,2 | |||
| Huile de transmission automatique API GL-4, viscosité SAE 75W-85, 75W-90 ou NISSAN Matic « D » d'origine (zone continentale des États-Unis et Alaska) ou hui à transmission automatique NISSAN (Canada). *3 | ||||||
| Huile pour transmission automatique | Remplissez jusqu'à niveau adéquat selon les directives du chapitre « Entretien et interventions du propriétaire ». | Huile pour transmission automatique NISSAN Matic « D » d'origine (zone continentale des États-Unis et Alaska) ou hui pour transmission automatique NISSAN (Canada) *3 | ||||
| Fluide de servodirection (PSF) | Fluide se servodirection d'origine NISSAN ou l'équivalent. *6 | |||||
| Liquide de frein et d'embrayage | Liquide de frein d'origine NISSAN de très haute tenue *4 ou l'équivalent DOT 3 (n° 116 FMVSS US) | |||||
| Graissie universelle | — | — | NLGI n° 2 (complexe de lithium) | |||
| Frigorigène du système de climatisation | lb (kg) | 1.32 – 1.54 (0.60 – 0.70) | HFC-134a (R-134a) *5 | |||
| Lubriffant du climatisateur | 6,8 oz | 7,0 oz | 200 ml | |||
| Liquide de lavage-glace | — | — | Liquide de lavage-glace concentré et antigel NISSAN d'origine ou l'équivalent | |||
1: Sous des climats chauds, une viscosité SAE 90 convient à des températures ambiantes de plus de 0^ (32°F).
2 : Communiquez avec votre concessionnaire NISSAN pour obtenir une liste des huiles approvées.
3* 15 est as possible d'utilier de l'huile Dexron MC III, Mercon MC ou l'équivalent. A l'extérieur de la zone continentale des États-Unis et de l'Alaska, adresses-vous à un concessionnaire NISSAN autorisé pour obtaining plus d'information relatives aux huelles appropriées, y compris les marques repondances du vehule du portation automatique Dexron MC III et Mercon MC.
4: Disponible dans la zone continentale des États-Unis chez un concessionnaire NISSAN autorisé.
5: Pour obtenir plus de détails à ce sujet, consultez la rubrique « Étiquette des caractéristiques du climatiseur »
6: Au Canada, il est aussi possible d'utiliser du liquide pour transmission automatique d'origine NISSAN, du liquide DexronMC III, MerconMC ou l'équivalent.
9-2 Données techniques et information au consommateur
Pour les moteurs 2.4L/3.3L
Utilisez une essence ordinaire sans plomb avec un indice d'octane de 87 ou plus (indice d'octane recherche de 91).
Pour le compresseur volumétrique 3.3L
Utilisez un supercarburant sans plomb avec un indice d'octane de 91 ou plus (indice d'octane recherche de 96).
S'il vous impossible de vous procurer du supercarburant sans plomb, vous pouvez utiliser de l'essence ordinaire sans plomb avec un indice d'octane de 87 ou plus (recherche d'indice d'octane de 91) en tenant compte toute fois des précautions suivantes :
ne replissiez le réservoir que partiellement avec de l'essence ordinaire sans plomb, puis ajoutez-y du supercarburant sans plomb des que possible;
- évitez la conduite à pleins gaz et les accéléations brusques.
Meme si de l'essence ordinaire sans plomb peut etre utilise dans certains cas, l'utilisation d'un supercarburant sans
plomb est recommende pour obtenir un rendement maximal du vehicule.
ATTENTION
L'utilisation de carburant autre que celui qui est prescrit pourrait nuire au fonctionnement du dispositif antipollution et avoir une incidence sur la couverture offerte par la garantie.
N'utilise en aucune circumstance de l'essence au plomb dans votre vehicule car vous pourriez endommager le catalyseur trifonctionnel.
Essence reformulée
Certains fournisseurs de carburant produit des essences reformulées. Celles-ci sont spécialement conçues pour réduire l'émission de gaz d'échéppement polluants par les vehicules. NISSAN encourage les initiatives visant à réduire la pollution et vous recommende l'utilisation de ces essences, si celles-ci sont disponibles dans votre région.
Essence contenant des substances oxygénées
Certaines stations-services vendent de l'essence contenant des substances oxygénées telles que l'éthanol, le MTBE (methyl-tert
butyléther) et le methanol, bien que leur présence dans le carburant ne soit pas toujours clairément indiquée. NiSSAN déconseille l'utilisation de carburants dont la teneur en substances oxygénées et la compatibilité avec votre vehicule NiSSAN ne peuvent pas être facilement déterminées. En cas de doute, adressé-vous au gérant de la station-service.
Si vous utilisez une essence contenant des substances oxygénées, veuillez prendre les précautions énoncées ci-dessous, car l'utilisation de ce type de carburant peut compromètre le rendement du vehicule ou cause des dommages au circuit d'alimentation :
- l'essence doit être du carburant sans plomb avec un indice d'octane égal ou supérieur à celui recommendé pour l'essence sans plomb;
- si une essence oxygénée est utilisée, sa teneur en substances oxygénées ne doit pas dépasser 10% (sauf les mélanges de methanol). Le MTBE peut cependant atteindre une teneur de 15% ;
- si un mélange contenant du methanol est utilisé, sa teneur ne doit pas dépasser 5 % de methanol (alcohol méthylique, alcohol de bois). Ce mélange doit aussi/countir une quantité suffisante
de cosolvents et d'inhibiteurs de corrosion adequats. Une concentration inadéquate de ces ingréductents peut entrainer des dommages au circuit d'alimentation ou compromètement le rendement du vehicule. Pour l'instant, nous ne disposons pas de suffisamment de données pour nous assurer que tous les mélanges de methanol convenennent aux vehicules NiSSAN.
Si des problèmes surgissant (calage du moteur ou démarrage difficile lorsque le moteur est chaud) après avoir utilisé des melanges oxygénées, utilisez alors une essence ne contenant pas de substances oxygénées ou à faible teneur en MTBE.
Prenoz soit de ne pas renverser d'essence lorsque vous faites le plein. L'essence contenant des substances oxygénées peut endommager la peinture.
Additifs de carburant
NISSAN déconseille l'utilisation de tout additif de carburant (p. ex., nettoyant d'injecteur de carburant, renforçateur d'octane, suppresseur de dépôt de soupape d'admission, etc.) vendu sur le marché. La majorité de ces additifs concus pour éliminer les dépôts degomme, de vernis ou autres peuventContainir des solvants actifs ou
des ingrédents similaires qui peuvent nuire au circuit d'alimentation et au moteur.
A propos de l'indice d'octane
Dans la plupart des régions d'Amérique du Nord, vous doivent utiliser de l'essence sans plomb avec un indice d'octane de 87 (sauf pour les vehicules avec comprisseur volumétrique) ou de 91 (vehicules avec comprisseur volumétrique) ou plus. Cependant, vous pouvez aussi utiliser de l'essence sans plomb avec un indice d'octane aussi bas que 85 dans des régions en haute altitude (plus de 1 219 m [4 000 pi]) comme le Colorado, le Montana, le Nouveau-Mexique, l'Utah, le Wyoming, le nord-est du Nevada, le sud de l'Idaho, l'ouest du Dakota du Sud, l'ouest du Nebraska et les régions du Texas situées directement au sud du Nouveau-Mexique.
L'utilisation d'une essence dont l'indice d'octane est inférieur à celui qui est mentionné précédemment peut entrainer des « cognements » forts et persistants (le « cognement » est un bruit de cliquetis métallique). S'il est de forte intense, ce cognement peut finir par endommager le moteur. Si un cognement persistent est audible, et ce, en dépit de l'utilisation d'essence à l'indice d'octane spécifique, ou si un cognement régulier est perçu à vitesse constante sur une route plane, faites corriger le pro
blème par un concessionnaire NISSAN. Le fait de ne pas corriger cette condition constitue un usage abusif du vehicule pour lequel NISSAN se dégage de toute responsabilité.
Un calage incorrect de l'allumage peut causeur un cognement, l'auto-allumage ou une surchauffe du moteur qui, a leur tour, peuvent accroître la consommation de carburant ou endommager le moteur. Si vous notez la presence de l'un de ces symptomes, faites vérifier votre vehicule par un concessionnaire NISSAN.
Cependant, un léger cognement peut être brievement perçu à l'accelération ou dans les montées. Cette situation est normale, car sous condition de charge élevé du moteur, vous obtenez un meilleur rendissement du carburant lorsqu'il y a brievement un léger cognement.

Repère d'homologation API

Symbole API service
WTI0033
RECOMMANDATIONS RELATIVES À L'HUILÉ MOTEUR ET AU FILTRE À HUILÉ
Sélection de l'huile moteur appropriée
Le choix d'une huile moteur de qualité et de viscosité correctes est essentiel pour assurer la durabilité et le rendement du moteur. NISSAN recommende l'utilisation d'une huile à faible friction (économiseur d'huile) qui réduit la consommation de carburant et economise l'énergie. N'utilise qu'une huile identifiée par le label de qualité spécifique; l'utilisation d'une huile non homologué pourrait endomager le moteur.
N'utilisez que des huiles moteur homologuees par l'API (American Petroleum Institute). Ce type d'huile remplace les catégories API SG, SH ou SJ et a economie d'énergie II.
Si aucune huile moteur portant la MARQUE D'HOMOLOGATION DE L'API n'est disponible, utilisez alors une huile moteur API de catégorie SG/SH, Économiseur d'énergie I et II, ou API de catégorie SJ ou SL, Économiseur d'énergie. Vous pouvez également utiliser une huile moteur avec une désignation unique, SG ou SH, ou combinée à d'autres catégories (SG/CC ou SG/CD, par exemple). Une huile moteur ILSAC de catégorie GF-I, GF-II et GF-III peut aussi être utilisée.
NISSAN recommende l'utilisation d'huiles minérales. Cependant, ces huiles doivent être conformes aux indices de qualité API et de viscosité SAE préconisés pour votre vehicule.
Additifs d'huile
NISSAN déconseille l'utilisation d'additifs d'huile. L'utilisation d'un additif d'huile est superflue lorsque le bon type d'huile est utilisé et que la périodicité d'entretien est respectée.
N'utilisez jamais une huile usagee ou susceptible deContainir des corps etrangers.
Viscosité de l'huile
La viscosité ou l'épaissur de l'huile moteur varie selon la température. Il est donc important de sélectionner la viscosité de l'huile moteur en fonction des Températures auxquelles le vehicule sera utilisé, et ce, jusqu'à la prochaine vidange d'huile. Le tableau « Indice de viscosité SAE recommandé » indique les viscosités d'huile moteur recommandées en fonction des Températures ambiantes prévues. Le choix d'une huile moteur à la viscosité autre que cette recommandée peut cause deravés dommages au moteur.
Choix du bon filtrre à huile
Votre vehicule NISSAN neuf est équipé d'un filtre à huile NISSAN d'origine de qualité supérieure. Lors du remplacement, utilisez un filtre NISSAN d'origine ou l'équivalent pour les motifs stipulés dans « Intervalles de changement »
Intervalles de changement
Les intervalles de changement d'huile moteur et de filtré à huile pour votre moteur sont déterminés en fonction de l'utilisation d'huiles et de filtres de la qualité spécifique. Le fait d'utiliser une huile moteur et un filtré de moindre qualité ou de dépasser les intervalles de changement peut réduire la vie utile du moteur. Tout dommage au moteur cause par un entretien incorrect ou par l'utilisation d'une huile de viscosité inadéquate, ou d'un filtré de mauvaise qualité, n'est pas couvert par la garantie de vehicule neuf NISSAN.
Votre moteur a ete rempli a l'usine d'une huile moteur de qualite supereue. Il n'est pas necessaire de vidanger I'huile moteur avant le premier intervalle recommande. Les intervalles de vidange d'huile moteur et de remplacement du filtre varient selon I'utilisation que vous faites du vehicule.
Si vous utilisez votre vehicule dans les conditions suivantes, vous devrez vidanger l'huile moteur et replacer le filtre plus fréquement :
- trajets repétés sur de courtes distances par temps froid;
- conduite sur des routes poussièresuses;
periodes de ralenti prolongées; - traction d'une remorque.
Température ambiente anticipée avant la vidange suivante

HUILE POUR MOTEUR À ESSENCE
ATI1028
INDICE DE VISCOSITE SAE RECOMMANDÉ
L'huile de viscosité SAE 5W-30 est préféable pour toutes les températures. Les huiles de viscosité SAE 10W-30 ou SAE 10W-40 peuvent être utilisées si la
température ambiente est supérieure à -18 °C (0 °F).
RECOMMANDATIONS RELATIVES AU FRIGORIGENE ET À LA LUBRIFICATION DU CLIMATISEUR
Le climatiseur de votre vehicule NISSAN utilise du frigorigène HFC-134a (R-134a) et du lubricifant « Huile de climatiseur NISSAN » de type R, ou des produits strictement équivalents.

ATTENTION
L'utilisation de tout autre frigorigène ou lubrifiant causera des dommages graves au système de climatisation. Tous les composants de ce dernier devront alors être replacés.
Le frigorigène HFC-134a (R-134a) ne nuit pas à la couche d' ozone. Bien que ce frigorigène n'ait pas d'impact sur l'atmosphère, la récapuration et le recyclage du frigorigène lors de l'entretien d'un climatiseur automobile sont obligatoires en vertu de certains règlements gouvernementaux. Un concessionnaire NISSAN dispose des techniciens qualifiés et de l'équipement nécessaire pour recuperer et recycler le frigorigène de votre climatiseur.
Pour proceder à l'entretien de votre climatisationur, adressez-vous à un concessionnaire NISSAN.
MOTEUR
| Modèle | KA24DE | VG33E/VG33ER | ||
| Type | Essence, 4 cycles | Essence, 4 cycles | ||
| Disposition des cylindres | 4 cylindres en ligne | 6 cylindres, bloc en V, incliné à 60° | ||
| Alésage x course | po (mm) | 3,504 x 3,78 (89 x 96) | 3,602 x 3,268 (91,5 x 83,0) | |
| Cylindrée | po3 (cm3) | 145,78 (2,389) | 199,84 (3,275) | |
| Séquence d'allumage | 1-3-4-2 | 1-2-3-4-5-6 | ||
| Régime de ralenti | tr/min | |||
| Dégré de calage de l'allumage (avant PMH) au régime de ralenti | degrès / tr/min | Consultez l'étiquette d'information du dispositif antipollution apposée sous le capot. | ||
| Pourcentage de CO au régime de ralenti | [Sans air] % | |||
| Bougie d'allumage | PFR5G-11 (standard) *1 | Sans compresseur volumétrique | Compresseur volumétrique | |
| PFR6G-11 (froid) *1 | PFR5G-11 (standard) *1 | PFR6G-11 (standard) *1 | ||
| PFR6G-11 (froid) *1 | PFR7G-11 (froid) *1 | |||
| PFR4G-11 (chaud) *1 | PFR5G-11 (chaud) *1 | |||
| Écartement des bougie d'allumage (nominal) | po (mm) | 0.043 (1,1) | 0.043 (1,1) | |
| Commande de l'arbre à cames | Chaîne de distribution | Courroie de distribution *2 | ||
| Dimensions de courroie de généatrice | ||||
| Largeur x longueur | po (mm) | 0,413 x 35,63 (10,5 x 905) | 17,8 x 805 (0,701 x 31,69) | |
1 : Consultez toujours le service des pieces d'un concessionnaire NiSSAN pour obtenir l'information la plus récente relative aux pieces de rechange.
2: Il est nécessaire d'effectuer un entretien périodique. Reportez-vous à la rubrique « Programme d'entretien périodique » du « Guide du service et de l'entretien Nissan »
L'allumage commande de ce vehicule est conforme aux exigences du Reglement sur le matériel brouilleur du Canada.
ROUES ET PNEUS
| Roue/déport - mm (po) | Pneus | Dimensions de la roue de secours | ||
| 4X2 | Modèle King Cab : | XE | 15X6JJ/30 (1,18) en acier | P225/70R15 T135/90D16 |
| 15X7JJ/20 (0,79) en alliage | P225/70R15 T135/90D16 | |||
| 15X7JJ/30 (1,18) en acier* | P265/70R15* P265/70R15* | |||
| 15X7JJ/40 (1,57) en alliage* | P265/70R15* P265/70R15* | |||
| SC | 17X7JJ/40 (1,57) en alliage | P265/55R17 P265/55R17 | ||
| Modèle à cabine double : | XE | 15X7JJ/30 (1,18) en alliage | P265/70R15 P265/70R15 | |
| 15X7JJ/40 (1,57) en alliage | P265/70R15 P265/70R15 | |||
| SC | 17X7JJ/40 (1,57) en alliage | P265/55R17 P265/55R17 | ||
| 4X4 | Modèle King Cab : | XE | 15X7JJ/30 (1,18) en acier | P265/70R15 P265/70R15 |
| 15X7JJ/40 (1,57) en alliage | P265/70R15 P265/70R15 | |||
| SC | 16X7JJ/40 (1,57) en alliage | P265/70R16 P265/70R16 | ||
| 17X7JJ/ 40 (1,57) en alliage | P265/65R17 P265/55R17 | |||
| Modèle à cabine double : | XE | 15X7JJ/30 (1,18) en alliage | P265/70R15 P265/70R15 | |
| 15X7JJ/40 (1,57) en alliage | P265/70 R15 P265/70R15 | |||
| SC | 16X7JJ/40 (1,57) en alliage | P265/70R16 P265/70R16 | ||
| 17X7JJ/ 40 (1,57) en alliage | P265/65R17 P265/70R17 |
*Non disponibleses sur les vehicules avec moteur KA24DE.
DIMENSIONS ET POIDS
Unité: mm (po)
| Type d'entrainment | Deux roues motrices | Quatre roues motri-ces | |||||
| Carrosserie | Modèle King Cab | Modèle à cabine double | Modèle à cabine double | Modèle King Cab | Modèle à cabine double | Modèle à cabine dou-ble | |
| Empattement | Long | Court | Long | Long | Court | Long | |
| Longueur hors tout*1 | 5 153 (202,9) | 5 077 (199,9) | 5 532 (217,8) | 5 153 (202,9) | 5 077 (199,9) | 5 532 (217,8) | |
| Largeur hors tout | 1 808 (71,2)*4 | 1 808 (71,2)*4 | 1 808 (71,2)*4 | 1 808 (71,2)*4 | 1 808 (71,2)*4 | 1 808 (71,2)*4 | |
| Hauteur hors tout | 1 605 (63,2)*21 694 (66,7)*31 687 (66,4)*5 | 1 694 (66,7)*31 687 (66,4)*5 | 1 694 (66,7)*31 687 (66,4)*5 | 1 694 (66,7)*31 687 (66,4)*5 | 1 687 (66,4) | 1 687 (66,4) | |
| Voie avant | 1 395 (54,9)*21 525 (60) | 1 525 (60) | 1 525 (60) | 1 525 (60) | 1 525 (60) | 1 525 (60) | |
| Voie arrêté | 1 390 (54,7)*21 507 (59,3) | 1 507 (59,3) | 1 507 (59,3) | 1 507 (59,3) | 1 507 (59,3) | 1 507 (59,3) | |
| Empattement | 2 950 (116,1) | 2 950 (116,1) | 3 329,9 (131,1) | 2 950 (116,1) | 2 950 (116,1) | 3 329,9 (131,1) | |
| Poids nominal brut du vehiculekg (lb) | Consultez l'étiquette d'homologation FMVSS appossée sur le pied de montant de la portière du côte conducteur. | ||||||
| Poids technique maximal sous essieu (PTME) | |||||||
| Avantkg (lb) | |||||||
| Arrièrekg (lb) | |||||||
1: Compend le pare-chocs arrêté à marchepied.
2 : XE avec moteur KA24DE.
3 : XE avec moteur VG33E et modèles SE.
4: Avec élargisseur de cage de roue.
*5: SC avec moteur VG33ER.
VOYAGES OU IMMATICULATION DU VEHICULE À L'ÉTRANGER
Si vous prévoyez conduire votre vehicule NISSAN dans un autre pays, assurez-vous d'abord que vous y trouvrez du carburant convenant au moteur de votre vehicule.
L'utilisation d'un carburant à l'indice d'octane trop bas peut endommager le moteur. Tous les vehicules à essence doivent utiliser de l'essence sans plomb. Évitez donc de conduirer votre vehicule dans des régions ou des pays où le carburant ajustat n'est pas disponible.
Il peut être nécessaire de modifier votre vehicule afin de le rendre conforme aux lois et réglementations locales s'il doit être immatriculé dans un autre pays, province, État ou district.
Les lois et reglementations régissant le contrôle des émissions du vehicule et les normes de sécurité des vehicules varient selon le pays, la province, l'Etat ou le district. Par conséquent, les specifications requises pour un vehicule peuvent être différentes.
Lorsqu'un vehicule doit'être immatriculé dans un autre pays, province, État ou district, les frais de modification, de transport et d'immatriculation sont à la charge du propriétaire. NISSAN décline toute responsabilité à cet égard.
IDENTIFICATION DU VÉHICULE

PLAQUE DU NUMERO D'IDENTIFICATION DU VEHICULE (NIV)
La plaque du numero d'identification du vehicule (NIV) est fixée à l'endetroit illustré. Ce numero identifie votre vehicule et il est requis lors de l'immatriculation du vehicule.

NUMERO D'IDENTIFICATION DU VEHICULE (numéro du chassin)
Le numero d'identification du vehicule (NIV) est situé à l'endroit illustré.

Moteur KA24DE
NUMERO DE SÉRIE DU MOTEUR
Le numero est grave sur le moteur à l'endroit illustré.

Moteur VG33E/VG33ER

ÉTIQUETTE D'HOMOLOGATION FMVSS
L'étiquette d'homologation FMVSS (Federal Motor Vehicle Safety Standard) is apposée à l'endetroit illustré. Elle présente des renseignements importants relatifs au vehicule, tels que: le poids nominal brut du vehicule (PNBV), le poids technique maximal sous essieu (PTME), le mois et l'année de fabrication, le nombre d'identification du vehicule (NIV), etc. Lisez attentionivement cette étiquette.

ÉTIQUETTE DE CONTROLE DES ÉMISSIONS
L'étiquette de contrôle des émissions est appos-see à l'endetroit illustré.

ÉTIQUETTE DES PNEUS
La pression de gonflage à froid des pneus est indiquée sur l'étiquette des pneus. L'étiquette des pneus est apposée à l'endetroit illustré.

ÉTIQUETTE DES CARACTERISTIQUES DU CLIMATISEUR
L'étiquette des caractéristiques du climatiseur est apposée à l'endetroit illustré.
INSTALLATION DE LA PLAQUE D'IMMATICULATION AVANT

Pour installer la plaque d'immatriculation avant, suivez les étapes décrites ci-dessous :
- Retirez les deux oeillets de vis de la boite a gants.
- Percez delicatement un trou à l'aide d'une mèche de 10 mm (0,39 po) sur chaque marque d'emplacement (légère dépression) du carénage de pare-chocs A.
- Insérez un œillet dans chaque trou (B).
- Insérez un petit tournevis dans l'eellet pour faire tournier le prisoner de plastique.
- Installez la plaque d'immatriculation à l'aide de deux boulons M5 x 25 mm (C).
INFORMATION CONCERNANT LE CHARGEMENT DU VEHICULE

AVERTISSEMENT
- Il est extrémement dangereux de prendre place dans l'aire de chargement d'un vehicule lorsque celui-ci est en marche. En cas d'accident, les personnes qui s'y trouveraient seraient beaucoup plus susceptibles de subir des blessures graves et d'être tuées.
- Ne laïsez jamais un passager s'asseoir à une place autre qu'un siège muni d'une ceinture de sécurité.
Assurez-vous que tous les occupants de votre vehicule ont pris place sur un siège et qu'ils portent correctement leur ceinture de sécurité.
EXPRESSIONS
Avant de charger votre vehicule, il est important de vous familiariser avec la terminologie suivante:
-
poids à vide (poids réel du vehicule) - poids du vehicule complenant : l'équipement standard et offert en option, les liquides, les outils de secours et la roue de secours. Ce poids ne comprend pas les passagers et les bagages.
-
PTAC (poids total autorisé en charge) - poids à vide du vehicule plus le poids combiné des passagers et des bagages.
- PNBV (poids nominal brut du vehicule) - poids total maximal (vehicule charge) spécifié pour le vehicule.
- PTME (poids technique maximal sous essieu) - poids maximal (vehicule charge) spécifique pour l'essieu avant ou arrêté.
DÉTERMINATION DE LA CAPACITÉ DE CHARGE DU VÉHICULE
La capacité de charge de ce vehicule est déterminée par le poids, et non par l'espace disponible pour les bagages. Par exemple, l'installation d'un porte-bagages, d'un support à velos ou de tout autre équipement similaire n'augmente pas la capacité de charge du vehicule.
Pour déterminer la capacité de charge du vehicule:
Le poids du vehicule peut etre déterminé au moyen d'une balance commerciale disponible dans certains endroits comme les reliats routiers, les carrières de gravier, les silos à grains ou les cours de recyclage de ferraille.
- Determine le poids à vide de votre vehicule.
- La différence entre le poids à vide et le PNBV spécifique pour votre vehicule déterminé la charge qu'il peut transporter.
- ÀpRES avoir charge le vehicule (bagages et passagers), pesez-le de nouveau pour déterminer si le PNBV ou le PTME ont été dépassés. Si le PNBV a été dépassé, retirez des bagages au besoin. Si le PTME avant ou arrrière a été dépassé, déplacez la charge ou retirez des bagages au besoin.

ARRIMAGE DE LA CHARGE
Des crochets d'arrimage pratiques sont situés à chaque coin de la caisse du camion. Ils peuvent être utilisés pour fixer toute charge dans la caisse du camion.
A VERTISSEMENT
Fixez solidement tous les bagages à l'aide de cordes ou de sangles afin d'eviter qu'ils glissent ou se déplacent. N'empirez pas les bagages plus haut que la hauteur des dossiers de siege. En cas d'arrêt brusque ou de collision, les objets non retenus sont susceptibles de se transformer en projectiles et pourraient cause des blessures.
Veiliez a ne pas dépasser le PNBV (poids nominal brut du vehicule) ou le PTME (poids technique maximal sous essieu) avant et arrêté lorsque vous chargez vos vécicule. Si vous dépassez ces specifications, des pieces peuvent se briser, les pneus peuvent s'user prematurément et la tenue de route peut être compromise au point de vous faire perdre la maitrise de votre vehicule et causer des blessures.
CONSEILS POUR LE CHARGEMENT
Le PTAC ne doit pas dépasser le PNBV ou le PTME spécifiés sur l'étiquette d'homologation FMVSS.
- Ne chargez pas les essieux avant et arrêté jusqu'à la limite du PTME. Le PNBV serait alors dépasse.
- La charge doit être répartie uniformément et les bagages doivent être solididement retenus. Les objets pesants ou de grande taille doivent être placés vers l'avant de la caisse du camion afin d'éviter qu'ils se déplacent.
AVERAGEMENT
La surcharge peut non seulement diminuier la durée de vie du vehicule et des pneus mais elle peut aussi rendre le vehicule dangereux et allonger la distance de freinage. Ceci peut occasionner une défaillance prematurée des pneus et causer ainsi un accident grave et des blessures. Les défaillances résultat de surcharges ne sont pas couvertes par la garantie de votre vehicule.
INFORMATION CONCERNANT LE CHARGEMENT DE L'AUTOCARAVANE SEPARABLE
MODELESÀ CABINEDOUBLE
Les modèles à cabine double ne doivent pas être utilisés pour y installer une campeuse amovible.
MODELES KING CAB
Les renseignements fournis ci-dessous indi- quent comment installer correctement une campeuse amovible conformément aux reglementations de la National Highway Traffic Safety Administration des États-Unis. Avant d'installer l'autocaravane, nous vous recommendons de dire attentivement l'information suivante et de vous assurer que l'autocaravane est conforme aux spécifications.
Cette information peut ne pas s'appliquer à certains modèles de vehicules offerts au Canada.
VÉHICULES À CARROSSERIE SPÉCIALE
Certains vehicules sont équipés de carrosseries commerciales ou d'autocaravane. Cependant, ce manuel du conducteur ne couvre pas ces options. Pour obtenir d'information à ce sujet, reportez-vous au manuel de directives du fabri-cant de carrosserie.

EMPLACEMENT DU CENTRE DE GRAVITÉ
L'illustration indique la zone d'emplacement recommandee du centre de gravite.
Modèle King Cab :
L1 = 960,1 mm (37,8 po), L2 = 1 087,1 mm (42,8 po)
AVERAGEMENT
Une répartition incorpore de la charge peut être dangereuse. Une charge concentrée vers l'arrière peut affecter le comportement du vehicule, tandis qu'une charge concentrée vers l'avant risque de trop peser sur l'essieu avant.

Lorsque le camion est utilisé pour transporter une campeuse amovible, la charge totale du camion correspond au poids indiqué par le fabricant de l'autocaravane, plus :
- le poids de tout équipement additionnel installé sur l'autocaravane et non inclus dans le poids indiqué par le fabricant de l'autocaravane;
- le poids de la charge de l'autocaravane;
le poids des occupants de I'autocaravane.
La charge totale ne doit pas dépasser la charge utile nominale du camion et le centre de gravité de l'autocaravane doit se situer dans la zone d'emplacement recommendée du centre de gravité du camion, une fois l'autocaravane installée.

AVENTISSEMENT
Surcharger le vehicule ou le charger de façon inadéquate peut avoir des conséquences négatives sur le comportement routier, sur le freinage et sur le rendement de votre vehicule, pouvant cause ainsi des accidents.
CAPACITE DE CHARGE DU VEHICULE
La capacité de charge utile nominale indiquée dans les tableaux suivants correspond au poids total maximal des passagers, de l'équipment en option (climatiseur, attelage de remorque, etc.) et de la charge que votre vehicule peut transporter.
Avant de conduire un vehicule charge, assurez-vous qu'il n'excède pas le poids nominal brut (PNBV) ou le poids technique maximal sous essieu (PTME) spécifiés. Pour plus de renseignements, reportez-vous à la rubrique « Information relative au chargement du vehicule » plus haut dans ce chapitre.
Assurez-vous également que la pression de gonflage des pneus est adequate. Reportez-vous à l'étiquette des pneus.
| Capacité de charge du vehicule (moteur KA24DE) | ||||
| Deux roues motrices | ||||
| Modèle King Cab | ||||
| Boîte de vitesses manuelle | Boîte de vitesses automatique | |||
| XE | XE | |||
| lb | kg | lb | kg | |
| États-Unis | 1312 | 595 | 1312 | 595 |
| Californie | 1312 | 595 | 1312 | 595 |
| Canada | 1312 | 595 | 1312 | 595 |
| Capacité de charge du vehicule (moteur VG33E) | ||||||||||||
| Deux roues motrices | Quatre roues motrices | |||||||||||
| K/C | C/C C/C | C/C C/L | K/C | C/C C/C | C/C C/L | |||||||
| lb | kg | lb | kg | lb | kg | lb | kg | lb | kg | lb | kg | |
| États-Unis | 1 191 | 540 | 1 036 | 470 | 1 103 | 500 | 1 147 | 520 | 970 | 440 | 1 080 | 490 |
| Californie | 1 191 | 540 | 1 036 | 470 | 1 103 | 500 | 1 147 | 520 | 970 | 440 | 1 080 | 490 |
| Canada | 1 191 | 540 | S.O. | S.O. | 1 103 | 500 | 1 147 | 520 | S.O. | S.O. | 1 080 | 490 |
| Capacité de charge du vehicule (moteur VG33ER) | ||||||||||||
| Deux roues motrices | Quatre roues motrices | |||||||||||
| K/C | C/C C/C | C/C C/L | K/C | C/C C/C | C/C C/L | |||||||
| lb | kg | lb | kg | lb | kg | lb | kg | lb | kg | lb | kg | |
| États-Unis | 1 169 | 530 | 1 014 | 460 | 1 080 | 490 | 1 080 | 490 | 915 | 415 | 1 025 | 465 |
| Californie | 1 169 | 530 | 1 014 | 460 | 1 080 | 490 | 1 080 | 490 | 915 | 415 | 1 025 | 465 |
| Canada | S.O. | S.O. | S.O. | S.O. | 1 080 | 490 | S.O. | S.O. | S.O. | S.O. | 1 025 | 465 |
TRACTION D'UNE REMORQUE
MESURE DES POIDS
Fixez solidement les articles susceptibles de se déplacer afin d'éviter des changements de poids qui pourrait nuir à l'équilibre de votre vehicule. Arrêtez-vous dans un endroit qui possède une balance lorsque votre vehicule est charge et faites-y peser les roues avant et arrrière séparément afin de déterminer la charge sur les essieux. La charge sur les essieux avant ou arrrière ne doit pas excéder le poids technique maximal combiné (PTMC). La charge totale sur les essieux ne doit pas excéder le poids nominal brut du vehicule (PNBV). Ces mesures de poids sont indiquées sur l'étiquette d'homologation de votre vehicule. Si les charges de votre vehicule excédent ces mesures, déplacez ou retirez des bagages pour que leur poids se situe en quoi des limites de charge préconisées.
Votre vehicule a ete concu principalement pour le transport de passagers et de bagages. La traction d'une remorque impose des contraintes additionnelles au moteur, à la transmission, à la direction, au circuit de freinage ainsi qu'aux autres systèmes du vehicule.
Le guide de remorquage NISSAN Trailer Towing Guide est disponible chez tout concessionnaire NISSAN (aux États-Unis uniquement). Ce guide fournit l'information nécessaire sur la capacité et l'équipment spécial de remorquage requis.
LIMITES MAXIMALES DE CHARGE
Charges maximales de remorque
Assurez-vous que la charge totale de la remorque de votre vehicule n'excède jamais la valeur spécifique dans le tableau des caractéristiques/charges de remorquage représenté plus loin dans ce chapitre. La charge de la remorque correspond au propre poids de la remorque additionné au poids de la charge qu'on y dépose.
- Une remorque équipée d'un circuit de freinage DOIT est utilisé pour remorquer des charges de 454 kg (1 000 lb) et plus.
Le poids technique maximal combiné (PTMC) ne doit pas dépasser la valeur spécifique dans le
tableau des caractéristiques/charges de remorquageprésenté plus loin dans ce chapitre.
Le poids technique maximal combiné (PTMC) correspond au poids combiné du vehicule qui tire la remorque (incluant les passagers et les bagages) et de la charge totale de la remorque. Une charge de remorquage supérieure à la limite spécifique ou l'utilisation d'un équipement de traction de remorque inadéquat peut comprometer le comportement routier, le freinage et le rendement du vehicule.
La capacité de remorquage n'est pas seulement liée aux charges maximales de la remorque; elle dépend aussi des endroits où vous projetez tracter une remorque. Des charges de remorque acceptables pour la conduite sur autoroute peuvent devoir être réduites sur des routes de montagne ou dans des situations où l'adhérence est réduite (par exemple, sur des rampses de mise à l'eau glissantes).
Les conditions de température peuvent également affecter le remorquage. Par exemple, la traction d'une remorque lourde par temps chaud sur des montées peut afferter le rendement du moteur et cause une surchauffe. Le mode de protection du moteur, qui aide à réduire les risques de dommages au moteur, pourrait s'activer et réduire automatiquement la puissance du moteur. La vitesse du vehicule peut diminuer lorsque
la charge est élevé. Planifiez votre voyage soignement, enPNANT compte de la charge du vehicule et de la remorque, ainsi que les conditions de tempereature et de la route.

AVERTISSEMENT
Une surchauffe peut entrainer une réduction de la puissance du moteur et de la vitesse du vehicule. Une vitesse inférieure à celle de la circulation fait augmenter les risques de collision. Soyez particulièrement prudent pendant la conduite. Dirigez votre vehicule vers un emplacement sécuritaire de l'accotement. Laissez le moteur revenir à sa température normale de fonctionnement. Consultez la rubrique « En cas de surchauffe » de la section « En cas d'urgence » duprésent manuel.

ATTENTION
Les dommages causés par des méthodes de remorquage inadéquates ne sont pas couverts par les garanties NISSAN. Un guide de remorquage NISSAN (pour les États-Unis seulement) contenant des renseignements relatifs aux capacités de remorquage et à l'équipement spécial requis est disponible auprès des concessionnaires NISSAN.

Charge sur le timon
Le timon doit porter entre neuf et once pour cent de la charge totale de la remorque, tout en respectant les limites maximales de charge sur le timon indiquées dans le Tableau des caractéristiques/charges de remorquage cédssous. Si la charge sur le timon est trop élevé, déplacez la charge dans la remorque.

Poids total autorisé en charge/poids technique maximal sous essieu
Le poids total autorisé en charge du vehicule ne doit pas dépasser le poids nominal brut du vehicule (PNBV)indiquésur l'étiquette d'homologation FMVSS. Le poids total autorisé en charge est égal au poids total du vehicule vide, des passagers, des bagages, de l'attelage, de la charge sur le timon et de tout autre équipement en option. De plus, le poids technique maximal sous essieu avant ou arrière (PTME) ne doit pas dépasser le PTME indiquésur l'étiquette d'homologation FMVSS.
TABLEAU DES CHARACTERISTIQUES/CHARGES DE REMORQUAGE
Unite: kg (lb)
| Modèle | Deux roues motrices | Quatre roues motrices | ||||
| Poids | BVM (4 cylindres) | BVA (4 cylindres) | BVM (V6) | BVA (V6) | BVM (V6) | BVA (V6) |
| Poids maximal de la remorque*1 | 3 001 (1 361) | 2 000 (907) | Sauf avec compresseur volumétrique1 588 (3 500) | Sauf avec comprasseur volumétrique2 268 (5 000) | Sauf avec C/V C/C C/L1 588 (3 500) | Sauf avec C/V C/C C/L2 268 (5 000) |
| Avec compresseur vo-lumétrique1 542 (3 400) | Avec compresseur volumétrique2 223 (4 902) | Avec C/V C/C C/L1 542 (3 400) | Avec C/V C/C C/L2 223 (4 902) | |||
| Charge maximale sur le timon | 300 (136) | 200 (91) | Sauf avec compresseur volumétrique159 (350) | Sauf avec comprasseur volumétrique227 (500) | 350 (159) | Sauf avec C/V C/C C/L227 (500) |
| Avec compresseur volumétrique154 (340) | Avec comprasseur volumétrique222 (490) | C/V C/C C/L154 (340) | C/V C/C C/L222 (490) | |||
| Poids technique maxi-mal combiné (PTMC) | 7 000 (3 175) | 6 000 (2 721) | 8 002 (3 629) | 9 500 (4 309) | 8 002 (3 629) | 9 500 (4 309) |
| Équipment recommendé*2 | Dispositif de contrôle de roulis | - | Dispositif de contrôle de roulis | Dispositif de contrôle de roulis | Dispositif de contrôle de roulis | Dispositif de contrôle de roulis |
*1: toute charge supérieure à 454 kg (1 000 lb) requiert l'utilisation d'une remorque équipée d'un circuit de freinage. NISSAN recommends l'utilisation d'une remorque à essieu tandem pour supporter des charges de plus de 1 361 kg (3 000 lb).
*2: l'utilisation d'un dispositif de contrôle de roulis est recommendee lors du remorquage de charges supierues a 907 kg (2 000 lb). NISSAN n'offre pas de disposits de controle de roulis. Rendez-vous chez un fournisseur professionnel de remorques et d'attelages pour vous procurer un dispositif de contrôle de roulis qui s'adapte adequatement a sua remorque.
M/T = Boite de vitesses manuelle
C/C = Modèle à cabine double (Crew Cab)
A / T = Boite de vitesses automatique
C/L = Caisse longue
2WD = 2 roues motrices
C/V = Compresseur volumétrique
4WD = 4 roues motrices
9-22 Données techniques et information au consommateur
SECURITE DU REMORQUAGE Attelage de remorque
Vérifiez la capacité de remorquage de l'attelage du pare-chocs de votre vehicule ou de l'attelage de type récepteur monté sur le cadre. Choisissez un attelage convenant aussi bien à votre vehicule qu'à la remorque. Les attelages de remorque NISSAN d'origine sont disponibles auprès de votre concessionnaire NISSAN. Assurez-vous que l'attelage de remorque est solidement fixé au vehicule pour éviter qu'un balancement inopiné de la remorque, provoqué par des vents lateraux, des routes à la surface irrégulière ou l'air déplace par les camions, cause des blessures ou des dommages matériels.
ATTENTION
-
Des attelages spéciaux comptant des renforts de cadre doivent être utilisés pour tirer une charge dont le poids excède 907 kg (2 000 lb). Des attelages d'origine NiSSAN concus expressesment pour les camions légers et les vehicules utilisaires sport sont disponibles auprès de votre concessionnaire NiSSAN.
L'attelage ne doit pas etre fixe au parechocs amortisseur ni de telle sorte qu'ilnuise au fonctionnement de ce dernier. -
N'utilisez pas d'attelages montés sur l'essieu.
- Ne modifies pas le système d'échévement, le circuit de freinage ni:aucun autre système de votre vehicule lors de l'installation d'un attelage de remorque.
- Afin de réduire les risques de dommages supplémentaires à votre vehicule en cas de collision arrière, retirez, dans la mesure du possible, l'attelage et le récepteur lorsque vous ne les utilissez pas.
- Àprouv avoir retire l'attelage, scellez les trous des boulons pour empêcher que les gaz d'échévement, l'eau ou la poussière ne pénétre dans l'habitacle.
- Vérifiez périodiquement les boulons de montage de l'attelage de remorque pour vous assurer qu'ils sont installés correctement.
Pression de gonflage des pneus
- Lorsque vous tractez une remorque, gonflez les pneus du vehicule à la pression à froid recommandée sur l'étiquette des pneus.
L'etat des pneus de la remorque, les dimensions, la charge nominale et la pression de gonflage doivent etre conformes aux specifications du fabricant de la remorque et des pneus.
Chaines de sécurité
Installez toujours des chaînes de sécurité adéquates entre votre vehicule et la remorque. Les chaînes doivent être croisées et attachées à l'attelage, et non au pare-chocs ou à l'essieu du vehicule. Laissez suffisamment de jeu pour permettre au vehicule de prendre les virages.
Éclairage de remorque
Les feuels de la remorque doivent être conformes aux réglementations fédérales, provinciales et locales. Pour obtenir de l'aide en ce qui a trait à l'installation des feuels de remorque, communiquez avec un concessionnaire NISSAN.
Freins de remorque
Si vous remorque est équipée d'un circuit de freinage, assurez-vous qu'il est conforme aux réglementations féderales, provinciales et locales et qu'il est installé correctement.
AVERAGEMENT
Ne fixez jamais un circuit de freinage de remorque directement sur le circuit de freinage de votre vehicule.
Conseils préalables à la traction d'une remorque
Assurez-vous que votre vehicule reste de niveau après qu'une remorque chargée ou déchargée a été fixée au timon. Ne prenez pas la route si votre vehicule est anormalement incliné vers l'avant ou vers l'arrière. Vérifiez les points suivants : charge portée sur le timon, surcharge de la remorque, Usure de la suspension ou toute autre cause possible.
- Attachez toujours les objets dans la remorque pour éviter qu'ils se déplacent pendant la conduite.
Assurez-vous que vos rétroviseurs sont conformes à toutes les réglementations fédérales, provinciales et locales. S'ils ne le sont pas, installez les rétroviseurs exigés pour la traction de remorque avant de prendre la route.
Conseils sur la traction d'une remorque
Pour vous habituer à conduire avec une remorque et comprendre le comportement du vehicule dans une telle situation, entrainez-vous à prendre des virages, à freiner et à reculer dans un endroit dégagé. La traction d'une remorque affecte légersrement la stabilité de la direction et le rendement des freins.
- Attachez toujours les objets dans la remorque pour éviter qu'ils se déplacent pendant la conduite.
- Evitez les démarrages, les accelerations ou les arrêts brusques.
- Évitez de prendre un virage serré ou de changer brusquement de voie.
Conduisez toujours le vehicule à une vitesse moderation. - Lorsque vous vous stationnez, calez toujours les roues du vehicule et de la remorque. Évitez de stationner le vehicule sur une pente; cependant, si cela est absolument nécessaire, et si votre vehicule est équipé d'une boîte de vitesses automatique, calez d'abord les roues, serrez le frein de stationnement, puisengagez le levier sélecteur en position P (stationnement). Si le levier sélec
teur est mis à la position P (stationnement) avant de bloquer les roues et de serrer le frein de stationnement, la boîte de vitesses peut subir des dommages.
Lorsque you descendez une cote, retrograde à un rapport inférieur et utilisez le frein moteur. Lorsque you montez une longue cote, retrograde la boite de vitesses à un rapport inférieur et ralentissez afin de réduire les risques de surcharge ou de surchauffe du moteur. Cependant, en descendant de longues pentes raides, ne restez pas en première ou en deuxieme vitesse si vous roulez à plus de 56~km / h (35 mi/h).
- Si la température du liquide de refroidissement est trop élevé pendant que le climatiseur fonctionne, éteignez le climatiseur. Pour dissiper la chaleur du liquide de refroidissement plus rapidement, ouvre les glaces du vehicule, placez la commande du ventilateur à la vitesse maximale et réglez la commande de température à la position de chauffage maximal.
- La traction d'une remorque augmente la consommation de carburant.
- Évitez de tracter une remorque pendant les premiers 805km (500 mi) de votre vehicule.
- Faites faire l'entretien périodique de votre vehicule plus fréquement qu'aux intervalles spécifiés dans le « Guide d'entretien et de réparation NISSAN »
- Dans un virage, les roues de la remorque sont plus proches de l'intérieur du virage que celles du vehicule. Pour compenser, prenez les virages plus larges.
- Les vents latéraux et les routes à la surface irrégulière ont un impact sur la maniabilité d'un vehicule avec remorque, et peuvent causer un balancement du vehicule. Lorsque des camions vous dépassent, le vehicule peut être déstabilisé par des changements soudains des vents latéraux. Si le vehicule se met à balancer latéralement, tenez fermement le volant de direction, gardez la direction droit devant et ralentissez immidiatement (mais graduèlement). Cette manoeuvre aidera à stabiliser le vehicule. N'augmentez jamais la vitesse.
-
Faites preuve de prudence lorsque vous dépassez un vehicule. La distance de dépas-. sement d'un vehicule est considérablement plus longue lorsque vous tractez une remorque. N'oubliez que que la longueur de la remorque doit également dépasser l'autre vehicule avant que vous puissiez changer de voie en toute sécurité.
-
Pourmaintenirun freinage moteur efficace et la capacité de chargeelectrique,n'utilisez pas la cinquieme vitesse (boite de vitesses manuelle) ni la surmultipliee (boite de vitesses automatique).
- Évitez de freiner trop longtemps ou trop féquement. Les freins pourraient surchauffer, réduisant ainsi leur efficacité.
Lors de la traction d'une remorque, l'huile de la boite de vitesses doit être vidangée plus fréquement. Consultez le chapitre « Entretien et interventions du propriétaire » du present manuel pour obtenir de plus amples renseignements.
REMORQUAGEÀPLAT
Le remorquage de votre vehicule avec les quatre roues au sol est parfois appelé « remorquage à plat ». Cette méthode est quelles utilisée pour remorquer un vehicule derrière un vehicule de présence, comme une autocaravane.
ATTENTION
-
Si vous ne respectez pas ces directives, vous pourriez endommager gravement la boîte de vitesses.
-
Lorsque vous remorquez votre vehicule à plat, tirez-le vers l'avant, jamais vers l'arrière.
- NE remorquez JAMAIS un vehicule equipope d'une boite de vitesses automatique avec les quatre roues au sol (remorquage à plat). Une telle action ENDOMMAGERAIT les organes de la boite de vitesses, car celle-ci ne serait pas lubrifiée ajustement.
- Pour obtenir des renseignements relatifs aux procédures de remorquage d'urgence, consultez la rubrique « Méthodes de remorquage recommandées par NiSSAN » de la section « En cas d'urgence » de ce manuel.
Boîte de vitesses automatique
Pour remorquer un vehicule équipé d'une boîte de vitesses automatique, vous DEVEZ utiliser un diabolo ajustat sous les roues motrices. Suivez toujours les commandations du fabricant du diabolo utilisé.
CLASSIFICATION UNIFORME DE QUALITE DE PNEUS
Boîte de vitesses manuelle
- Les vehicules équipés d'une boîte de vitesses manuelle doivent toujours être remorqués avec le levier de vitesses au point mort.
- Sur les vehicules à quatre roues motrices, mettez le transfert en gamme 2H, sinon le groupe motopropulseur risque de gripper.
- Àprous avoir remorqué le vehicule sur une distance de 805 km (500 milles), démarrez le moteur en laissant la boîte de vitesses au point mort et laissez-le tourner au ralenti pendant deux minutes. Si vous ne faites pas tourner le moteur au ralenti à tous les 805 km, les organes internes de la boîte de vitesses pourrait être endommages.
Indices de qualité du DOT (Department of Transportation): En plus des classifications enumeratedes ci-dessous, tous les pneus des voitures de tourisme doivent se conformer aux exigences fédérales relatives à la sécurité.
Selon le cas, l'indice de qualite est indiqued sur le flanc du pau, entre I'epaulement de la bande de roulement et la largeur de section maximale du pau. Par exemple :
Usure de la bande de roulement
L'indice d'usure de la bande de roulement est une estimation comparative établie en fonction du taux d'usure du pau testé dans des conditions contrôlées, sur des parcours d'essay conformes aux normes gouvernementales. Par exemple, un pau dont l'indice est 150 aura une résistance à l'usure une fois et demie (1 1/2) supérieure, sur la piste d'essay gouvernementale, à un pau dont l'indice est 100. Cependant, cet indice est tout a fait relatif : la performance du pau dépend des conditions de conduite réelles et peut varier considérablement selon les habitudes de conduite, les pratiques en matière d'entretien, l'état de la route et les conditions climatiques.
TractionssAA,A,B et C
Les indices d'adherence, du plus élevé au plus bas, sont AA, A, B et C. Ces indices représentent
la capacité du paue de s'arreter sur une chaussee mouillée dans des conditions contrôlées sur des surfaces d'essay d'asphalte et de béton. Un paue portant l'indice C peut avoir une adherence médiocre.
AVERAGEMENT
L'indice d'adhérence des pneus de votre vehicule a été établi à partir d'essais d'adhérence lors d'un freinage en ligne droite et il ne comprend pas les caractéristiques d'accélération, de virage, d'aquplanage ou d'adhérence de pointe.
Temperature A, B et C
Les indices de température sont A (la plus élevée), B et C. Ils représentent la résistance d'un pneu à la chaleur et sa capacité à dissiper la chaleur lorsque mis à l'essay dans des conditions spécifiques contrôlées en laboratoire. Des températures élevées constantes peuvent cause une dégradation du matériel du pneu et réduire la durée de vie du pneu. Des températures trop élevées peuvent entraîner une crevaison. L'indice C correspond au rendement minimal des pneus de voitures de tourisme exigé, conformément à la norme federale no 109 concernant la sécurité des vehicules automobiles. Les indices
A et B représentent un rendement plus élevé que le minimum exigé par la loi, lors d'essais réalisés en laboratoire.

AVERTISSEMENT
L'indice de température pour ce type de pneus est établi en fonction d'un pneu correctement gonfle et sans surcharge. Des conditions extrêmes telles que des vitesses excessives du vehicule, un sousgonflage des pneus ou une charge excessive, prises séparément ou combinées, peuvent provoquer l'échauffement et la défaillance des pneus.
Votre vehicule NISSAN est couvert par les garanties du dispositif antipollution suivantes :
Aux États-Unis
- Garantie contre les défauts du dispositif antipollution
- Garantie de fonctionnement du dispositif antipollution
Les détails de ces garanties, ainsi que les autres garanties applicables au vehicule, sont fournis dans le Livret d'information sur la garantie livre avec votre vehicule NISSAN. Si vous n'avez pas reçu ce livre ou si vous l'avez perdu, écrire à l'adresse suivante pour enutenir un :
- Nissan North America, Inc.
Consumer Affairs Department
P.O. Box 191
Gardena, California, ETATS-UNIS 90248-0191
Au Canada
Garantie du système antipollution
Les détails de ces garanties, ainsi que les autres garanties applicables au vehicule, sont fournis dans le Livret d'information sur la garantie livre avec votre vehicule NISSAN. Si vous n'avez pas reçu ce livre ou si vous l'avez perdu, écrire à l'adresse suivante pour enutenir un :
- Nissan Canada Inc.
5290 Orbitor Drive
Mississauga (Ontario) L4W 4Z5
DEFAUTS COMPROMETTANT LA SÉCURITÉ (E.-U. seulement)
Si vous craignez qu'une défectuosité de votre vehicule puisse entraîner un accident, des blessures ou la mort, informez-en immédiatement la National Highway Traffic Safety Administration (NHTSA) et NiSSAN.
Si la NHTSA recoit des plaintes similaires, elle peut ouvrir une enquête, au terme de laquelle elle peut ordonner le lancement d'une campagne de rappel et de service, si elle détermine qu'un défaut compromettant la sécurité touche un groupe de vehicules. Toutefois, la NHTSA ne peut pas intervenir dans le cas d'un différend entre le client, son concessionnaire ou NiSSAN.
Pour communiquer avec la NHTSA,appelez sans frais la ligne directe sur la sécurité automobile au 1 888 327-4236, ou ecrivez à l'adresse suivante:NHTSA,U.S. Department of Transportation,Washington,D.C.,ETATS-UNIS 20590.Laligne directe permet egalement d'obtenir d'autres renseignements relatifs a la sécurité automobile.
Vous pouvez avertir NISSAN de tout probleme
concernant votre vehicule en communiquant
avec le Service de la protection du consommateur, sans frais, au 1 800 NISSAN-1.
A Hawai, composez le 1 808 836-0888.
PREPARATION AUX CONTROLES D'INSPECTION ET D'ENTRETIEN
La réglementation de certaines provinces canadiennes et de certains États américain exige que votre vehicule soit en condition « prét » pour les contrôles d'inspection et d'entretien du dispositif antipollution.
Le vehicule est en condition « prét » après avoir effectué certains types de cycle de conduite. En général, la condition « prét » est obtenue lors de l'utilisation normale du vehicule.
Si un composant du groupe motopropulseur est réparé ou si la batterie est débranchée, le vehicule peut être réinitialisé à une condition « non prét ». Avant le contrôle d'inspection et d'entretien, conduisez le vehicule comme suit pour vous assurer qu'il est en condition « prét ». Si vous ne pouvez pas ou ne foulez pas le faire, un concessionnaire NISSAN peut le faire pour vous.
AVERAGEMENT
Conduisez toujours d'une façon sécuritaire et prudente selon la circulation routière et respectez en tout temps les règlements du code de la route.
-
Demarrez le moteur lorsque l'aiguille de l'indicateur de températe du liquide de refroidissement est sur C. Laissez le moteur tourner au ralenti jusqu'à ce que l'aiguille de l'indicateur soit entre C et H (température normale de fonctionnement).
-
Accélérez jusqu'à 88 km/h (55 mi/h), puis relâchéz la pedale d'accéléateur rapidement et complètement; n'appuyez pas sur la pedale pendant au moins six secondes.
- Appuyez rapidement sur la pedale d'accéléateur pendant un moment, puis conduisez le vehicule à une vitesse de 85 à 97 km/h (53 à 60 mi/h) pendant au moins cinq minutes.
- Arretez le vehicule.
- Accélérez jusqu'à 55 km/h (35 mi/h) et maintenez cette vitesse pendant 20 secondes.
- Répétez les étapes 4 et 5 au moins trois fois.
- Accélérez jusqu'à 88 km/h (55 mi/h) et maintenez cette vitesse pendant au moins trois minutes.
- Coupe le moteur.
- Repétez les étapes 1 à 8 au moins une fois de plus.
S'il y a eu une interruption entre les étapes 1 à 7, repêze l' étape précédant l'interruption. Tout mode de conduite sécuritaire est acceptable entre les étapes. N' arrêtez pas le moteur tant que l' étape 7 n'est pas complétée. Si vous ne pouvez pas ou ne pouvez pas le faire, un concessionnaire NiSSAN peut le faire pour vous.
ESSAI DE DYNAMOMÉTURE POUR LES CONTROLES D'INSPECTION ET D'ENTRETIEN (É.-U. seulement)
Selon les exigences juridiques de certains États ou de certaines régions, votre vehicule doit peut être faire l'objet d'essais de gaz d'échémpement effectuels à l'aide d'un dynamomètre. Pour procéder à des contrôle d'inspection et d'entretien sur un dynamomètre à deux roues, le levier de commande de transfert (selon l'équipement du vehicule) DOIT se trouver à la position 2H.

AVERTISSEMENT
- Si le levier de commande de transfert n'est pas en position 2H pendant l'essay de vérification et d'entretien sur le dynamomètre, le vehicule peut sourir du dynamomètre et entrainer de graves blessures corporelles ou des dommages importants à la carrosserie du vehicule.
- La transmission à quatre roues motrices subira des dommages importantes si le levier de commande de transfert ne se trouve pas à la position 2H.
Manuels de réparation d'origine Nissan

UNE SOURCE DE RENSEIGNEMENTS SURE
POUR COMMANDER LE MANUEL DU CONDUCTEUR OU LE MANUEL DE REPARATION
Un manuel de réparation NISSAN d'origine est la meilleure source d'information pour l'entretien et la réparation de votre vehicule. Le manuel contient les schémas électriques, les illustrations et toutes les étapes détaillées des procédés de diagnostic et de réglage. Ce manuel est également utilisé par les techniciens formés en usine qui travaillent chez votre concessionnaire NISSAN. Des manuels du conducteur d'origine NISSAN ainsi que des manuels de réparation et du conducteur d'origine NISSAN pour des vehicules NISSAN plus anciens sont également disponibles.
Aux États-Unis
Pour connaître les prix courants et la disponibilité des manuels de réparation NiSSAN d'origine à partir de l'année-modèle 2000, communiquez avec :
Tweddle Litho Company 1800639-8841
www.nissan-techninfo.com
Pour connaître les prix courants et la disponibilité des manuels de réparation NiSSAN d'origine pour les années-modèles 1999 et antérieures, adressez-vous à un concessionnaire NiSSAN ou communiquez avec :
DDS Distribution Service, Ltd.
20770 Westwood Road
Strongsville, OH, ETATS-UNIS 44136
1800247-5321
Pour obtenir les prix actuels et la disponibilité des
Manuels du conducteur NISSAN d'origine
pour l'année-modele 2004 et les modèles antérieurs, consultez un concessionnaire NISSAN ou
communiquez avec :
DDS Distribution Service, Ltd.
20770 Westwood Road
Strongsville, OH, ETATS-UNIS 44136
1800247-5321
Au Canada
Pour acheter un manuel de réparation ou un manuel du conducteur NISSAN d'origine, adressé-vous à votre concessionnaire NISSAN. Pour connaître le numéro de téléphone et l'adresse d'un concessionnaire NISSAN local, veuillez appeler le Centre d'information Nissan au 1 800 387-0122; un représentant NISSAN bilingue pourrait vous renseigner.
Des manuels de réparation et du conducteur NISSAN d'origine pour des vehicules NISSAN plus ancients sont également disponibles.
EN CAS DE COLLISION
Des accidents peuvent se produit. Dans cette éventualité peu probable, il y a certains renseignements importants que vous doivent.
Plusieurs compagnies d'assurance autorisent automatiquement l'utilisation de pieces de réparation autres que des pieces d'origine et ce, afin de réduire les coûts.
Insistez sur la nécessite d'utiliser des pieces de réparation NiSSAN d'origine!
Si vous foulez que votre vehicule soit réparé avec des pièces d'origine fabriquées selon les spécifications rigoureuses de NiSSAN, et si vous foulez que leur vehicule dure et garde sa valeur de revente, la solution est simple. Demandez à votre compagnie d'assurance et à votre atelier de réparation de n'utiliser que des pièces de réparation NiSSAN d'origine. Nissan ne garantit que les pièces NiSSAN d'origine, et la garantie NiSSAN ne s'applique pas aux dommages causés par des pièces autres que les pièces NiSSAN d'origine.
L'utilisation de pieces NiSSAN d'origine contribue à garantir votre sécurité, à préserver la couverture de votre garantie et à maintainir la valeur de revente de votre vehicule. De même, si vous louez votre vehicule à bail, l'utilisation de pieces
NISSAN d'origine peut limiter les frais d'usure inutiles à la fin de votre contrat.
NISSAN conçoit ses capots avec des zones de déformation pour éviter que le capot défonce le pare-brise en cas d'accident. Les pieces qui ne sont pas d'origine (imitations) risquent de ne pas assurer ces protections intégrées. De plus, les pieces qui ne sont pas d'origine affichent souvent des signes d'usure, de rouille et de corrosion prematurées.
Pourquoi prendre des risques?
Dans plus de 40 États américain, la loi exige que vous soyez informé si des pieces autres que des pieces d'origine sont utilisées pour réparer votre vehicule. Certains États ont même adopté des lois limitant l'utilisation, par les compagnies d'assurance, de pieces qui ne sont pas d'origine lors de la réparation d'un vehicule sous garantie. Ces lois visent à vous protégger et vous pouvez donc y avoir recours.
C'est-vous droit!
Pour obtenir plus d'information à ce sujet, visitez notre site Internet: www.nissanusa.com.
MÉMENTO
10 Index
A
Alimentation
Prise d'alimentation. 2-27
Antenne 4-33
Appuie-tete. 1-6
Assistée
Direction assistée. .5-31
Liquide de direction assistée. . . . . . .8-19
Automatique
Conduite avec une boite de vitesses automatique. .5-12
Déverrouillage du levier sélecteur de boîte de vitesses . . . . . . . . . . . . . . . . . . . . . . . . . . . . . . . . . . . . . . . . . . . . . . . . . . . . . . . . . . . . . . . . . . . . . . . . . . . . . . . . . . . .
Huile pour boite de vitesses automatique. .8-17
Interrupteur automatique de glace
electrique 2-37
Avant de demarrer le moteur. . . . . . . . .5-10
Avertissement
Témoin de bas niveau de carburant . . . .2-13
Témoin de bassé pression de l'huile moteur/de température élevée du liquide de refroidissement du moteur. 2-12
Témoin de charge de la batterie . . . . . .2-12
Témoin de faible pression des pneus . . .2-13
Témoin de frein 2-11
Témoin de frein antiblocage 2-11
Témoin de niveau de lave-glace bas. 2-14
Témoin de portemal fermée. .2-12
Témoin des ceintures de sécurité . . . . .2-14
Avertisseur sonore 2-26
B
Bagages (reportez-vous à Information
concernant le chargement du vehicule). . . .9-14
Batterie 8-22
Témoin de charge. 2-12
Boite a gants .2-30
Boite de vitesses
Conduite avec une boite de vitesses automatique. .5-12
Conduite avec une boite de vitesses manuelle. .5-19
Déverrouillage du levier sélecteur . . . . .5-16
Huile pour boite de vitesses automatique. .8-17
Bon de commande du manuel de
réparation. 9-30
Bon de commande du manuel du
conducteur .9-30
Bouches d'air. 4-2
Bouchon de carburant. .3-11
C
Carburant
Bouchon de replissage de carburant. .3-11
Contenances, carburants et lubricifants recommandés. .9-2
Economie de carburant. .5-25
Jauge de carburant. 2-7
Indice d'octane du carburant 9-4
Recommendations concernant le carburant 9-3
Trappe du réservoir de carburant . . . . .3-11
Trappe du réservoir de carburant et bouchon de replissage de carburant . .3- 11
Carillons, rappels sonores 2-17
Casier de console 2-31
Catalyseur trifonctionnel. .5-3
Ceintures de sécurité
A deux points, sans enrouleur 1-29
A deux points, sans enrouleur
(ceinture sous-abdominale de place centrale arrriere). 1-29
A trois points, avec enrouleur 1-26
Bébes et jeunes enants 1-25
Ceintures de sécurité. 1-21
Enfants plus aiges. 1-25
Entretien des ceintures de sécurité . . . .1-32
Femmes enceintes 1-26
Personnes blessées 1-26
Précautions concernant l'utilisation des ceintures de sécurité . 1-21
Rallonges de ceinture de sécurité. 1-31
Réglage de la hauteur du baudrier. 1-28
Chaine stéreophonique. 4-10
Interrupteur de commande de la chaine stéréo du volant de direction 4-32
Lecteur de disques compacts. . . . . . .4-16
Radio 4-10
Radio AM/FM avec changeur de disques compacts .4-19
Radio AM/FM avec lecteur de disques compacts .4-13
Changement des vitesses Boite de vitesses automatique . . .5- 13, 5- 14
Boite de vitesses manuelle. .5-20
Charge (reportez-vous à Information concernant le chargement du vehicule). . . .9-14
Chargement d'autocaravane séparable. . . .9-16
Chauffage Commandes du chauffage et du climatiseur. .4-2
Fonctionnement du chauffage. 4-4
Classification uniforme de qualite depneus .9-26
Clé. 3-2
Climatiseur Commandes du chauffage et du climatiseur. .4-2
Étiquette des caractéristiques du climatiseur. .9-13
Entretien du climatiseur. .4-10
Recommendations concerning le frigorigène et la lubrication du climatiseur. .9-7
Utilisation du climatiseur. 4-5
Commande Commande d'essuie-glace et de lave-glace de pare-brise. .2-21
Commande de lave-glace Commande de lave-glace et d'essuie-glace de pare-brise. 2-21
Commande deluminosité Planche de bord .2-24
Commande de luminosité du tableau de bord .2-24
Commande des clignotants (reportez-vous à Interrupteur des phares et commande des clignotants) . . . . .2-23, 2-24
Commandedesretroviseurs extérieurs. .3-14,3-15
Commande d'essuie-glace et de lave-glacedepare-brise .2-21
Commandes Commandes de la chaîne stéreo (volant de direction). .4-32 Commandes du chauffage et du climatiseur. .4-2
Commutateur d'éclairage de l'aire de chargement 2-26
Commutateur marche/arrêt et témoin du coussin gonflable côté passager 1-16
Comptes-tours. 2-6
Compteur kilométrique. 2-4
Conduite Conduite avec une boite de vitesses automatique. .5-12
Conduite avec une boite de vitesses manuelle. .5-19
Conduite par temps froid. .5-36
Moyeux a roue libre. .5-27
Précautions à prendre lors du démarrage et de la conduite . . . . . . . . . . . . . . . . . . . . . . . . . . . . . . . . . . . . . . . . . . . . . . . . . . . . . . . . . . . . . . . . . . . . . . . . . . . . . . . . . . . . .
Conduite par temps froid. .5-36
Contacteur d'allumage. .5-8
Contenances, carburants et lubriciants
recommendés. .9-2
Courroies d'entrainment 8-23
Courroies (reportez-vous à Courroies d'entrainment) .8-23
Coussin gonflable
Commutateur marche/arrêt et témoin du coussin gonflable côté passager . . . . .1-16
Coussin gonflable
(reportez-vous à Dispositif de protection complémentaire) 1-7
Crochet de placement de carbette . . . . . . .7-4
Crochets d'arrimage 3-18
D
Défauts compromettant la sécurité (É.-U.) .9-28
Dégagement d'un vehicule immobilisé . . . .6-17
Demarrage
Avant de démarrer le moteur. .5-10
Demarrage du moteur .5-11
Demarrage en poussant . .6-12
Demarrage-secours. .6-10
Précautions à prendre pour le démarrage et la conduite . . . . . . . . . . . . . . . . . . . . . . . . . . . . . . . . . . . . . . . . . . . . . . . . . . . . . . . . . . . . . . . . . . . . . . . . . . . . . . . . . . . . . .
Demarrage en poussant .6-12
Demarrage-secours. .6-10
Detresse
Étiquettes d'advertissement (pour SRS) .1-19
Interrupteur de deux de détresse. 2-25
Système de sécurité du vehicule 2-18
Témoin de coussin gonflable . . .1-19, 2-15
Témoins et rappels sonores 2-10
Déverrouillage du capot 3-10
Déverrouillage du levier de vitesse 5-16
Diagrammes des bouches d'air 4-7
Dimensions des roues et des pneus 9-9
Dimensions et poids .9-10
Dimensions et poids du vehicule 9-10
Direction Direction assistee. .5-31 Liquide de direction assistee. .8-19 Volant inclinable. .3-13
Dispositif de protection complémentaire Précautions a propos du dispositif de protection complémentaire 1-7
Dispositif de protection complémentaire (coussins gonflables). 1-7
Dispositif de retenue pour enfant avec sangle d'ancrage supérieure. 1-45
Dispositifs de retenue pour infant .1-25, 1-32, 1-43
Emplacements des points d'ancrage pour la sangle d'ancrage supérieur 1-45
Précautions relatives aux dispositifs de retenue pour infant. 1-32
Dispositifs de retenue pour enfant ISOFIX . .1-43
E
Éclairage Ampoules . .8-36
Commutateur marche/arrêt et témoin du coussin gonflable côté passager . . . . .1-16
Eclairage interieur. 2-38
Feu de freinage (reportez-vous à Feu d'arrêt). . . . . . . .8-39
Interrupteur des phares et commandedes clignotants. .2-23
Lampes de lecture 2-39
Phares. .8-36
Projecteurs (reportez-vous à Lampe de lecture) 2-39
Réglage de la convergence des phares. .8-38
Remplacement d'ampoule . . . . . . . .8-39
Témoin de charge. 2-12
Témoin de niveau de lave-glace bas. 2-14
Témoins et rappels sonores 2-10
Vérification d'ampoule/tableau de bord. .2-10
Glaces electriques .2-35
Verrouillage electrique des portes. 3-4
Eclairage interieur. 2-38
Economie de carburant. .5-25
Électrique Glaces arrêté électriques 2-36
Étiquette d'avertissement de SRS. 1-19
Étiquette de renseignements importants sur le vehicule. .9-12
Étiquette d'homologation FMVSS . . . . . . .9-12
Étiquette d'information du dispositif antipollution . . . . . . . . . . . . . . . . . . . . . . . . . . . . . . . . . . . . . . . . . . . . . . . . . . . . . . . . . . . . . . . . . . . . . . . . . . . . . . . . . . . . . . . .
Étiquettes Étiquette des caractéristiques du climatiseur. .9-13
Étiquette d'homologation F.M.V.S.S. 9-12
Étiquette d'information du dispositif antipollution . . . . . . . . . . . . . . . . . . . . . . . . . . . . . . . . . . . . . . . . . . . . . . . . . . . . . . . . . . . . . . . . . . . . . . . . . . . . . . . . . . . . . . . . . . . . .
Étiquettes d'advertissement (pour SRS) . .1-19
Numéro de série du moteur 9-12
Plaque de numero d'identification du vehicule (NIV) .9-11
Embrayage Liquide d'embrayage. .8-20
Emplacement des points d'ancrage. 1-45
Entretien A l'extérieur du vehicule . . . . . . . . . . . . . . . . . . . . . . . . . . . . . . . . . . . . . . . . . . . . . . . . . . . . . . . . . . . . . . . . . . . . . . . . .
A l'intérieur du vehicule 8-4
Entretien des ceintures de sécurité . . . .1-32
Entretien general. .8-3
Précautions d'entretien 8-6
Sous le capot et sous le vehicule . . . . . .8-4
Entretien du climatiseur. .4-10
Entretien et nettoyage des disques
compacts .4-32
Entretien general. 8-3
Essuie-glaces Balais d'essuie-glace. .8-30
Commandedesssue-glace et de lave-glacedare-brise.2-21
F
Feud'arrêt. .8-39
Feux de détresse (reportez-vous à Interrupteur des yeux de détresse). 2-25
Filtre de boitier de filtrer a air . . . . . . . . . .8-26
Fonctions dynamiques du vehicule (VDV). .5-34 Freins
Circuit de freinage 5-32
Feu de freinage (reportez-vous à Feu d'arrêt). . . . . . . .8-39
Freins auto-reglables. .8-32
Indicateurs d'usure de frein. 2-17, 8-32
Liquide de frein .8-20
Pedale de frein .8-32
Servofrein .8-33
Système antiblocage (ABS) 5-32
Témoin de frein 2-11
Utilisation du frein de stationnement. . . .5-21
Vérification du frein de stationnement. . .8-31
Freins auto-reglables. .8-32
Fusibles .8-34
G
Garantie relative au dispositif antipollution. .9-27
Gaz d'échévement (Oxyde de carbone) . . .5-2
Glace coulissante arriere. 2-37
Glaces
Glace coulissante arrere. 2-37
Glaces arriere electriques 2-36
Glaces electriques 2-35
Glaces manuelles. .2-37
Verrouillage des glaces cote passagers. .2-36
Glaces arriere electriques . 2-36
Glaces manuelles. 2-37
H
Huile
Changement du filtré à huile .8-16
Contenances, carburants et lubricifants recommandés. .9-2
Huile moteur. .8-12
Recommendations concerning l'huile moteur et le filtré à huile 9-5
Témoin de basse pression de l'huile
moteur/de température élevé du liquide
de refroidissement du moteur 2-12
Vérification du niveau d'huile moteur . . .8-12
Vidange d'huile moteur. .8-14
Viscosité de l'huile moteur. .9-5
1
Identification du vehicule. .9-11
Immatriculation du vehicule à l'étranger. . . .9-11
Indicateur de température
Indicateur de températe du liquide de refroidissement. 2-6
Indicateur de vitesse 2-4
Indicateurs
Comptes-tours. 2-6
Compteur kilométrique. 2-4
Indicateur de températe du liquide de refroidissement. .2-6
Indicateur de vitesse 2-4
Niveau de carburant 2-7
Indicateurs de températe
Témoin de basse pression de l'huile
moteur/de température élevée du liquide
de refroidissement du moteur 2-12
Indice d'octane (reportez-vous à Indice
d'octane du carburant). 9-4
Information concernant le chargement du
vehicule 9-14
Instruments et jauges 2-3
Instruments et indicateurs de bord Commande de luminosite du tableau de bord. .2-24
Interrupteur
Interrupteur de neutralisation de contrôle dynamique du vehicule. .2-26
Interrupteur de verrouillage électrique des portières 3-4
Interrupteur des phares antibrouillard . . .2-25
Interrupteur des phares et commandedes clignotants 2-23
Interrupteur de commande du système audio du volant de direction. .4-32
Interrupteur de désembueur
Interrupteur de désembueur de lunette arrête 2-22
Interrupteur de désembueur de lunette arrête 2-22
Interrupteur de feuels de détresse. 2-25
Interrupteur de neutralisation de contrôle dynamique du vehicule. .2-26
Interrupteur de surmultipliee 5-17, 5-18
Interrupteur des phares antibrouillard . . . . .2-25
Interrupteur des phares et commande des clignotants. 2-23
Interrupteurs
Commutateur marche/arrêt et témoin du coussin gonflable côte passager 1-16
Contacteur d'allumage. .5-8
Interrupteur automatique de glace
electrique 2-37
Interrupteur de désembueur de lunette arrête 2-22
Interrupteur de feu des detresse. 2-25
Interrupteur de surmultiplée 5-17, 5-18
L
Lampes de lecture 2-39
Lecteur de disques compacts. 4-16
Lecteur de disques compacts
(Voir Chaine stéreophonique) 4-16
Liquide de refroidissement
Changement du liquide de refroidissement . . . . . . . . . . . . . . . . . . . . . . . . . . . . . . . . . . . . . . . . . . . . . . . . . . . . . . . . . . . . . . . . . . . . . . . . . . . . . . . . . . .
Contenances, carburants et lubricifants recommandés. .9-2
Indicateur de température du liquide de
refroidissement. 2-6
Vérification du niveau de liquide de
refroidissement . .8-11
Liquides
Contenances, carburants et lubricifants
recommendés. .9-2
Huile moteur. .8-12
Huile pour boite de vitesse
automatique. .8-17
Liquide de refroidissement. .8-11
Liquide d'embrayage . 8-20
Loquet du hayon 3-16
M
Marchepied .3-11
Microfiltre d'habitacle. .8-27
Miroir de courtoisie. .3-14
Miroirs
Miroir de courtoisie. .3-14
Montre 4-14, 4-20
Moteur
Avant de démarrer le moteur. .5-10
Changement du filtré à huile. .8-16
Changement du liquide de
refroidissement . .8-12
Circuit de refroidissement du moteur . . .8-11
Contenances, carburants et lubricifants
recommendés. 9-2
Demarrage du moteur .5-11
Huile moteur. .8-12
Indicateur de températe du liquide de
refroidissement. 2-6
Numéro de série du moteur 9-12
Points de vérification du compartment
moteur. .8-11
Recommendations concernant l'huile
mateur et le filtré à huile 9-5
Specifications du moteur 9-8
Vérification du niveau de liquide de
refroidissement . .8-11
Vérification du niveau d'huile moteur . . .8-12
Vidange d'huile moteur. .8-14
Viscosité de l'huile moteur. 9-5
Moyeux
Moyeux a roue libre. .5-27
Moyeux à roue libre. .5-27
N
Nettoyage de l'intérieur et de l'extérieur du
vehicule .7-2
Numero d'identification du vehicule (NIV)
Numéro du châtessis). .9-11
P
Période de rodage 5-24
Phares. .8-36
Interrupteur des phares antibrouillard . . .2-25
Phares de jour (Canada seulement). 2-24
Plaque de numero d'identification du
vécicule (NIV). 9-11
Plaque d'immatriculation
Installation de la plaque
d'immatriculation 9-14
Pneu à plat .6-2
Pneus
Chaines antiderapantes .8-44
Classification uniforme de qualités de
pneus .9-26
Dimensions des roues et des pneus . . . .9-9
Étiquette des pneus 9-13
Permutation des pneus. .8-45
Pneu à plat . .6-2
Pneu
Pneus sur vehicule a quatre roues
motrices 8-47
Pneus
Pression des pneus. .8-42
Roude de secours .6-5,8-47
Roues et pneus. .8-42
Types de pneus. .8-43
Poids
(reportez-vous à Dimensions et poids) . . . .9-10
Porte-bagages 2-33
Porte-bagages
(reports-ous à Porte-bagages de toit) 2-33
Portetasses. 2-30
Pour commander le manuel du conducteur
ou le manuel de réparation. .9-30
Precautions
Précautions à prendre pour le démarrage
et la conduite. .5-2
Précautions à propos du dispositif de
protection complémentaire 1-7
Précautions concernant l'utilisation des
ceintures de sécurité 1-21
Précautions de conduite sur route et hors
route. .5-5
Précautions d'entretien 8-6
Précautions relatives aux dispositifs de
retenue pour enfant. 1-32
Préparation aux contrôles d'inspection et
d'entretien. .9-28
Pression des pneus
Témoin de basse pression des pneus. .2-13
Projecteurs
(reportez-vous à Lampe de lecture) 2-39
Protection contre la corrosion. 7-5
R
Radio
Interrupteur de commande de la chaine
stéreo du volant de direction 4-32
Radio AM/FM avec changeur de disques
compacts 4-19
Radio AM/FM avec lecteur de disques
compacts 4-13
Telephone de voiture ou radio BP . . . . .4-33
Rangement 2-29
Rappels sonores 2-17
Réduction de la consommation de
carburant .5-25
Réglage de la convergence des phares. . . .8-38
Réglage de la hauteur du baudrier. 1-28
Réglage des sièges
Réglage des sièges avant à réglage
manuel. 1-2
Réglage électrique
Prises de courant double 12 volts. . . . .2-28
Réglage manuel des sièges avant. 1-2
Regulateur de vitesse. .5-22
Rétroviseur interieur 3-14
Retroviseurs
Commande des rétroviseurs extérieurs. .3-14, 3-15
Retroviseur interieur .3-14
Rétroviseurs extérieurs 3-14
Rétroviseurs extérieurs .3-14
Modèles à deux roues motrices 6-15
Modèles à quatre roues motrices . . . . .6-16
Remorquage à l'aide d'une
depanneuse. .6-14
Remorquage du vehicule avec les quatre
roues. .9-25
Remorquage d'une remorque 9-20
Tableau des caractéristiques/charges
de remorquage 9-22
Remplacement d'ampoule .8-39
Remplacement de la pile
verrouillage/déverrouillage sans clé à
telecommande) .3-8,8-35
Remplacement des bougies d'allumage 8-25
Roues et pneus. .8-42
s
Sécurité
Défauts compromettant la sécurité (É.-U.) .9-28
Verrouillage de portiere arrirée à dispositif de sécurité pour enfant 3-5
Serrure de boite a gants. 2-30
Serrures
Serrure de boite a gants . 2-30
Serrures de portiere 3-2, 3-3
Verrouillage de portière arrêté à dispositif
de sécurité pour enfant 3-5
Verrouillage electrique des portes. 3-4
Serrures de portiere 3-2, 3-3
Sièges
Réglage 1-2
Réglage manuel des sièges avant. 1-2
Sièges avant 1-2
Sièges séparés .8-47
Strapontin. 1-6
Sièges avant 1-2
Stationnement
Stationnement/stationnement en pente . .5- 30
Utilisation du frein de stationnement. . . .5-21
Vérification du frein de stationnement. . .8-31
Strapontin. 1-6
Surchauffe
Si voire vehicule surchauffe . . . . . . .6-12
Système LATCH (ancrages et fixations inférieures pour siège d'enfant) 1-43
Système antiblocage (ABS) 5-32
Système d'alarme (reportez-vous à Système de sécurité du vehicule) 2-18
Système d'ajretissement de faible pression des pneus. .5-3
Système de sécurité du vehicule 2-18
Système de verrouillage/ déverrouillage sans clé à télécommande 3-5
Système de verrouillage/déverrouillage sans clé à télécommande (reportez-vous à Système d'entrée sans clé à télécommande). . . . . . .3-5
T
Tableau de bord 2-2
Télécommande multiple (reportez-vous à
Système de verrouillage/déverrouillage sans
clé à télécommande). 3-5
Telephone de voiture ou radio BP. . . . . . .4-33
Témoin
Témoin de coussin gonflable 1-19, 2-15
Témoin de faible pression des pneus . . .2-13
Témoin d'anomalie du moteur
(reportez-vous à Témoin d'anomalie) 2-16
Témoin d'anomalie (MIL) 2-16
Témoin de bas niveau de carburant. 2-13
Témoin de basse pression de l'huile
mateur/de température élevée du liquide de
refroidissement du moteur 2-12
Témoin de coussin gonflable 1-19, 2-15
Témoin de faible pression des pneus . . . .2-13
Témoin de niveau de lave-glace bas. 2-14
Témoin de portière ouverte. 2-12
Témoin des ceintures de sécurité . . . . . . .2-14
Témoin des freins antiblocage 2-11
Témoin du coussin gonflable 1-19, 2-15
Témoins d'alerte. 2-10
Témoins et rappels sonores
(reportez-vous à Témoins et rappels
sonores). 2-10
Transfert. .5-25
Trousse de premiers soins. .6-2
V
Vérification d'ampoule/tableau de bord. 2-10
Verrouillage de portiere arrriere a disposif de
sécurities pour enfant 3-5
Volant inclinable. .3-13
Voyages ou immatriculation du vehicule à
l'etranger 9-11
Voyages (reportez-vous à Immatriculation de
votrecvhiculea letranger).9-11
MÉMENTO
INFORMATION POUR STATIONS- SERVICE
CARBURANT RECOMMANDÉ :
Pour les moteurs 2.4L/3.3L
Utilisez une essence ordinaire sans plomb à indice d'octane de 87 ou plus (indice d'octane recherche de 91).
Pour le compresseur volumétrique 3.3L
Utilisez du super sans plomb à indice d'octane de 91 ou plus (indice d'octane recherche de 96).
S'il vous est impossible de vous procurer du supercarburant, vous pouvez utiliser de l'essence ordinaire sans plomb à indice d'octane de 87 ou plus (recherche d'indice d'octane de 91) en tenant compte toute fois des précautions suivantes :
ne replissee le réservoir que partiellement avec de l'essence ordinaire sans plomb, puis ajoutez-y du super sans plomb ds que possible;
- évitez la conduite à pleins gaz et les accéléations brusques.
Meme si de l'essence ordinaire sans plomb peut etre utilise dans certains cas, l'utilisation d'un supercarburant sans plomb est recommendee pour obtenir un rendement maximal du vehicule.
ATTENTION
L'utilisation de carburant autre que celui qui est prescrit pourrait nuir au fonctionnement du dispositif antipollution et avoir une incidence sur la couverture offerte par la garantie.
- N'utilisez en aucune circunstance de l'essence au plomb dans votre vehicule car vous pourriez endommager le catalyseur trifonctionnel.
Consultez la rubrique « Contenances et carburants/lubrifiants recommends » du chapitre « Données techniques et information au consommateur » pour obtenir plus de détails à ce sujeit.
HUILE MOTEUR RECOMMANDÉE
- Marque d'homologation API
- API catégorie SG/SH Économie d'énergie I et II ou API catégorie SJ ou SL Économie d'énergie
- ILSAC catégorie GF-I, GF-II et GF-III
5W-30 de viscosité recommende
Consultez la rubrique « Recommendations relatives à l'huile moteur et au filtré à huile » du chapitre « Données techniques et information au consommateur » dans leprésent manuel.
PRESSION DE GONFLAGE DES PNEUS À FROID
Reportez-vous à l'étiquette des pneus.
MÉTHODE DE RODAGE RECOMMANDÉE POUR UN VÉHICULE NEUF
Pendant les premiers 2000 km (1 200 mi) d'utilisation du vehicule, suivez les recommendations décrites sous la rubrique « Période de rorage » du chapitre « Démarriage et conduite » dans le present manuel. Ces recommandations assureront la fiabilité et l'économie d'utilisation de votre vehicule neuf. Si vous ne suivez pas ces recommandations, vous pourriez provoquer des dommages à votre vehicule ou réduire la vie utile de votre moteur.
QUICK REFERENCE

WGS0018
- Liquide de refroidissement 8-11
- Batterie 8-22
- Liquide de direction assistée 8-19
- Huile pour boite de vitesses automatique 8-17
- Chauffage et climatisationur 4-2; chaine stéréophonique 4-10
- Coussin gonflable côte passager1-7
- Contacteur de neutralisation du coussingonflable cote passager 1-16
- Bouchon de replissage de carburant 3-11; recommendations concernant le carburant 9-3
- Roude secours 6-2
- Ceintures de sécurité 1-21
- Serrures de portière 3-2
- Coussin gonflable du conducteur 1-7
- Déverrouillage du capot 3-10
- Instruments et indicateurs de bord 2-3
- Liquide d'embrayage 8-20
- Liquide de frein 8-20
- Huile moteur 8-12
- Liquide de lave-glace 8-21
Notice Facile