PLANOS - Appareil électroménager DELONGHI - Notice d'utilisation et mode d'emploi gratuit
Retrouvez gratuitement la notice de l'appareil PLANOS DELONGHI au format PDF.
| Type d'appareil | Climatiseur split |
| Fonction | Climatisation et pompe à chaleur |
| Mode de fonctionnement | On-Off et Inverter |
| Type de gaz réfrigérant | R410A eco |
| Installation | Murale |
| Commande | Télécommande |
| Nombre d'unités | Unité intérieure et extérieure |
| Type de raccordement | Raccords rapides |
| Technologie inverter | Oui |
| Économie d'énergie | Oui, grâce à l'inverter |
| Utilisation | Résidentielle ou petits locaux |
| Niveau sonore | Non précisé |
| Puissance frigorifique | Non précisé |
| Puissance calorifique | Non précisé |
| Dimensions unité intérieure | Non précisé |
| Dimensions unité extérieure | Non précisé |
FOIRE AUX QUESTIONS - PLANOS DELONGHI
Questions des utilisateurs sur PLANOS DELONGHI
0 question sur cet appareil. Repondez a celles que vous connaissez ou posez la votre.
Poser une nouvelle question sur cet appareil
Téléchargez la notice de votre Appareil électroménager au format PDF gratuitement ! Retrouvez votre notice PLANOS - DELONGHI et reprennez votre appareil électronique en main. Sur cette page sont publiés tous les documents nécessaires à l'utilisation de votre appareil PLANOS de la marque DELONGHI.
MODE D'EMPLOI PLANOS DELONGHI
Nous vous remercions de la préférence accordée à un conditionneur d'air
PLA705 DeLonghi, un produit innovateur
et de haute qualité qui vous garantira un bien-être absolu.
Ce livret d'instructions,
contient d'importantes
indications et suggestions que nous vous demandons de respecter afin
d'obtenir les valeurs résultats de votre conditionneur d'air.
Nous vous remercions à nouveau.
De'Longhi Group
Compte tenu de la politique de l'entreprise visant le perfectionnement continu des produits, les caractéristiques esthétiques et dimensionnelles, les données techniques et les accessoires de cet appareil peuvent être modifiés sans préavis.
Informations générales
Conformité et gamme
Normes de sécurité et avertissements. 2
Règles de sécurité et interdictions 3
Identification des parties 3
Données techniques. 4
Fonctionnement et afficheur ECC
(Electronic Climate Control) 5
Télécommande. 5
Modes de fonctionnement 7
Mode REFROIDISSEMENT 8
Mode CHAUFFAGE 8
Mode SMART 8
ModeTIMER 9
Mode DRY 9
Mode FAN 9
Mode SLEEP 10
Fonction TURBO POWER 10
Fonction I COMFORT 10
Fonction LIGHT. 10
Installateur
Manutention 1
Installation de l'unité interne.
Installation de l'unité externe 13
Entretien 16
Erreurs possibles 17
Analyse des éventuelles anomalies. 17
Elimination 18
Information environnementale. 18
Informations utiles 18
Informations générales
Le conditionneur d'air que vous avez acheté est conforme aux Directives Européennes suivantes :
- Basse tension 73/23/CEE
- Compatibilité électromagnétique 89/336/CEE
Code 5717310011, Rév. 00 (07/2007), pages : 19
Lire le présent manuel avant d'installer et utiliser l'appareil. Vérifier que de l'air n'entre pas dans le système réfrigérant et qu'il n'y a pas de fuites de réfrigérant quand le conditionneur d'air est déplacé. Exécuter un cycle d'essai après l'installation du conditionneur d'air et enregistrer les données de fonctionnement. Les valeurs nominales du fusible installé dans l'unité interne de commande sont les suivantes : 2,5 A, T, 250V. L'utilisateur doit s'assurer que l'unité dans son ensemble est bien protégée par un fusible d'une capacité appropriée en fonction du courant maximal en entrée ou par un autre dispositif de protection contre les surintensités. L'utilisateur est responsable et tenu de confier l'installation de l'appareil à un technicien qualifié, qui devra vérifier que la mise à la terre est exécutée conformément à la Législation en vigueur, et insérer un interrupteur magnétothermique omnipolaire de protection ayant une ouverture des contacts d'au moins 3,5 mm. Vérifier si la tension d'alimentation correspond bien à celle indiquée sur la plaquette signalétique. Veiller à maintenir propre l'interrupteur ou la fiche d'alimentation. Connecter le câ Vérifier si la prise est bien du type approprié à la fiche, dans le cas contraire faire remplacer la prise. S'assurer que la base de l'unité externe est installée fermement. Ne pas installer l'appareil à une distance inférieure à 50 cm de toutes substances inflammables (alcool, etc.) ou de tous récipients sous pression (par ex. sprays). Si l'appareil est utilisé dans des zones sans possibilité de renouvellement d'air, il faut prendre toutes les précautions nécessaires afin d'éviter que des fuites éventuelles de gaz réfrigérant ne puissent stagner dans la pièce et créer un danger d'accident. Les matériaux utilisés pour l'emballage sont recyclables. Il est conseillé, par conséquent, de les déposer dans les conteneurs spécifiques pour la collecte différentiée. À la fin de sa vie utile, confier le conditionneur d'air aux centres de collecte spécialisés. Utilisez le conditionneur d'air uniquement comme indiqué dans ce manuel. Ces instructions n'entendent pas couvrir toutes les conditions et situations possibles pouvant se présenter. Comme pour tout autre appareil électroménager électrique, il faut toujours avoir recours au bon sens et à la prudence pour exécuter l'installation, le fonctionnement et l'entretien.
L'appareil doit être installé conformément aux règlementations nationales en vigueur en la matière. Avant d'accéder aux bornes, tous les circuits d'alimentation doivent être déconnectés de l'alimentation électrique. Vérifier si la tension d'alimentation correspond bien à celle indiquée sur la plaquette signalétique. Veiller à maintenir propre l'interrupteur ou la fiche d'alimentation. Connecter le câ Ne pas tirer sur la fiche pour éteindre l'appareil quand il est en fonction. Ce comportement pourrait en effet provoquer une étincelle et causer un incendie, etc. L'exposition prolongée à l'air froid est nuisible pour la santé. En cas de dégagement de fumée ou odeur de brûlé, couper immédiatement le courant et contacter le Service Technique Après-Vente. Pour toutes réparations, s'adresser exclusivement aux Centres d'Assistance Technique agréés du Constructeur. Une réparation erronée pourrait provoquer une décharge électrique, etc. S'assurer de débrancher l'alimentation électrique quand on n'utilise pas l'appareil pendant une longue période de temps et avant d'exécuter toute opération de nettoyage ou d'entretien. Cet appareil doit être utilisé exclusivement par des adultes ; ne pas permettre son utilisation de la part d'enfants ou de personnes présentant des capacités psycho-physiques-sensorielles réduites. ! La sélection de la température la plus appropriée peut prévenir des dommages à l'appareil. La direction du flux d'air doit être réglée correctement. Les ailettes doivent être orientées vers le bas dans le Mode Chauffage et vers le haut dans le Mode Refroidissement. Cet appareil a été construit pour le conditionnement d'air des locaux domestiques et ne doit pas être utilisé dans d'autres buts, tels que pour sécher des vêtements, refroidir des aliments, etc. ! Les opérations de nettoyage ou d'entretien doivent être exécutées par un personnel technique spécialisé. En tout cas, déconnecter la machine du réseau électrique d'alimentation avant d'exécuter le nettoyage ou l'entretien de l'appareil.

Ne pas plier, tirer ou presser le câble d'alimentation, étant donné que cela pourrait l'endommager. Les événements cas de décharge électrique ou incendie sont probablement déterminés par un câble d'alimentation endommagé. En cas de détérioration, le câble d'alimentation doit être remplacé exclusivement par un personnel technique spécialisé.

Ne pas utiliser de rallonges, ni de prises multiples.

Ne pas toucher l'appareil quand on est pieds nus ou avec des parties du corps mouillées.

Ne pas obstruer l'entrée ou la sortie de l'air de l'unité interne et de l'unité externe.

Ne pas modifier ni altérer en aucune façon les caractéristiques de l'appareil.

Ne pas installer l'appareil dans des locaux où l'air peut contenir gaz, huile, soufre ou près de sources de
chaleur.

Ne pas monter sur l'appareil ni y déposer un objet lourd ou chaud.

Ne pas laisser des portes et fenêtres ouvertes pendant une longue période de temps quand le conditionneur d'air est en fonction.

Ne jamais diriger le flux d'air directement vers des plantes ou des animaux.

Ne pas vaporiser de l'eau sur le conditionneur d'air.

Ne pas monter sur l'unité externe, ni y déposer d'objets.

Ne jamais introduire un bâton ou tout instrument similaire dans l'appareil. Cela pourrait provoquer des lésions.

Il est interdit de laisser utiliser l'appareil aux enfants et aux personnes incapables sans surveillance.
Informations générales
UNITE INTERNE
| N. | Description |
| 1 | Panneau frontal |
| 2 | Filtre à air |
| 3 | Filtre ions d'argent antibactéries (siprésent) |
| 4 | Filtre électrostatique biologique désodoriseur (siprésent) |
| 5 | Panneau couvre-bornier |
| 6 | Touche Reset |
| 7 | Afficheur à DELs ECC |
| 8 | Récepteur de signal |
| 9 | Ailettes déflectrices flux d'air |
| 10 | Connecteur rapide électrique |
| 11 | Gaine flexible préchargeée d'une longueur de 4 m (3 m utilisables) |
| 12 | Connecteur rapide connexions frigorifiques |
| 13 | Télécommande intelligente |
| 14 | Niveau à bulle (fourni avec l'appareil) |

UNITE EXTERNE
| N. | Descrizione |
| 15 | Grille de sortie de l'air |
| 16 | Poignée |
| 17 | Connecteur rapide mâle pour connexions frigorifiques |
| 18 | Couvre-raccords |

Remarque : Les figures illustrées ci-dessus constituent uniquement une simple représentation de l'appareil et pourraient ne pas correspondre à l'aspect esthétique des unités que vous avez effectivement achetées.
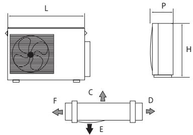
Dimensions et espacements

| L | 1000 | mm |
| H | 290 | mm |
| P | 155 | mm |
| A | 150 | mm |
| B | 150 | mm |
| C | 2500 | mm |
| D | 150 | mm |
| E | 300 | mm |
| L | 763 | mm |
| P | 258 | mm |
| H | 515 | mm |
| C | 500 | mm |
| D | 300 | mm |
| F | 300 | mm |
| E | 2000 | mm |
Limites de fonctionnement (modèles ON-OFF 7K - 9K et 12K)
| Partie interne bulbe sec °C | Partie externe bulbe sec °C | |
| Refroidissement (Max ; Min) | 36 ; 16 | 45 ; +18 |
| Chauffage (Max ; Min) | 30 ; 27 | 16 ; -10 |
| Limites de fonctionnement (modèles DC INVERTER 9K e 12K) | ||
| Partie interne bulbe sec °C | Partie externe bulbe sec °C | |
| Refroidissement (Max ; Min) | 36 ; 16 | 45 ; -10 |
| Chauffage (Max ; Min) | 30 ; 16 | 27 ; -15 |
Zone pour
1 Touche Reset
et Récepteur de
signal

| Voyant lumineux/ touche | Fonction | |
| ※ | COOL | Refroidissement |
| △ | DRY | Déshumidification |
| SS | FAN | Ventilation |
| ℃ | HEAT | Chauffage |
| II , II | FAN SPEED | Vitesse ventilateur élevé Vitesse ventilateur moyenne Vitesse ventilateur basse |
| 88 | DISPLAY (temp) | Indique la température en °C |

La forme et la position des interrupteurs et des indicateurs peut varier en fonction du modèle, mais leur fonctionnement reste identique.

Présence de tension avec la grille ouverte.

En cas de perte de la télécommande, procéder comme suit :
| Voyant lumineux/ touche | Fonction | |
| I | I COMFORT | Mode I COMFORT |
| TURBO POWER | Fonction TURBO | |
| TIMER | Indique l'activation du temporisateur | |
| SLEEP | Fonction nocturne | |
| ON (led) | Indique la mise en fonction de la machine | |
- Quand l'unité est éteinte, appuyer sur la touche RESET présente sur l'unité pour mettre en marche le conditionneur d'air dans la modalité SMART. Le conditionneur d'air sélectionnera automatiquement le mode Refroidissement, Déshumidification ou Chauffage en fonction des conditions ambiantes, pour garantir un confort maximal.
- Pour éteindre l'unité, appuyez à nouveau sur la touche RESET.
Telecommande
Pour régler l'heure actuelle, procéder de la manière suivante :
- Appuyer sur la touche CLOCK (①).
- Sélectionner l'heure en utilisant les touches (▲) et (▼). Remarque: pour faire défiler rapidement l'heure, appuyer sur ces touches pendant plus de 2 secondes.
| N. | Touche | Fonction |
| MODE | MODE | Sélection des modes de fonction-nement |
| I | I/O | Mise en fonction/Arrêt |
| © | SMART | Mise en marche de la fonction automatique |
| ▼ | Temp/Time | Diminution de la température ou du temps d'l unité |
| ▲ | Temp/Time | Augmentation de la température ou du temps d'l unité |
| ©ON | TIMER ON | Pour définitir la mise en fonction automatique |
| ◎ | CLOCK | Pour régler l'horloge |
| ©OFF | TIMER OFF | Pour définitir l'arrêt automatique |
| © | TURBO POWER | Mise en marche de la fonction TURBO |
| ◎ | I COM-FORT | Mise en fonction de la modalité I COMFORT |
| ◎ | FAN | Sélection de la vitesse du ventilateur |
| ◎ | LIGHT | Pour illuminer/obscürcir l'afficheur à DELs ECC de l'unité interne |
| ☆ | SLEEP | Mise en marche de la fonction noc-turnne |
| □ | SWING | Pour régler la position des ailettes |
| ● | RESET | Pour rétablier les programmes initiales |
- Appuyer à nouveau sur la touche CLOCK pour confirmer. Remarque: si cette touche n'est pas utilisée dans les 10 secondes successives, l'horloge reviendra au réglage original.

Symboles des indicateurs sur l'afficheur à cristaux liquides :
| AUTO | Indicateur fonctionnement mode automatique |
| Vitesse ventilateur basse | |
| Vitesse ventilateur moyenne | |
| Vitesse ventilateur élevé | |
| * | Indicateur Refroidissement |
| ○ | Indicateur Déshumidification |
| # | Indicateur fonctionnement seulement ventilateur |
| ※ | Indicateur Chauffage |
| ☆ | Indicateur SLEEP |
| © | Indicateur oscillation ailettes |
| Indicateur TURBO | |
| Indicateur I COMFORT |

L'afficheur de la télécommande reste actif même quand l'unité n'est pas en fonction.
Comment introduire les piles
- Extraire le couvercle du compartiment des piles dans la direction indiquée par la flèche.
- Introduire les nouvelles piles en veillant à associer correctement les signes (+) et (-) de la pile.
- Remettre en place le couvercle en le faisant glisser dans la bonne position.

Utiliser 2 piles R03 AAA (1,5 V). Ne pas utiliser de piles rechargeables.
Remplacer les piles usées par des nouvelles piles du même type quand l'affichage n'est plus lisible.
Les piles de la télécommande doivent être éliminées de manière appropriée conformément aux lois en vigueur dans les différents pays.
Comment utiliser la télécommande
Pour permettre l'enfonctionnement du conditionneur d'air, diriger la télécommande vers le récepteur de signal. La télécommande fonctionne
jusqu'à une distance maximale de 8 mètres par rapport à l'unité interne.

Placer la télécommande à une distance d'au moins 1 m par rapport au téléviseur ou à d'autres appareils électriques.



| Mode de fonctionnement | ||
| I | I/O | Mise en fonction/Arrêt/Stand-By |
| FAN (Mode venti-lateur) | Chaque fais que la touche FAN est utilisée, la vitesse change selon la série suivante : AUTO - LOW - MEDIUM - HIGH. La télécommande, en outre, memorise la vitesse configurée dans le mode de fonctionnement précédent. | |
| SWING | Réglage du flux d'air. En appuyant sur la touche "SWING" les ailettes de réglage du flux d'air commencant à oscillator automatiquement ; en appuyant à nouveau sur la touche "SWING" les ailettes s'arrêtent. Le démarriage de cette fonction, si activée dans le mode Chauffage - HEAT, sera volontairement retardé de quelques secondes pour assurer le flux immédiat d'air chaud pour garantir tout de suite des conditions de température agréables (fonction Hot-Start) | |
| MODE | MODE | Sélection dumode defonctionnement. Chaque fais que la touche MODE est utilisée, le mode de fonctionnement change selon la série suivante : COOLING - DRY - FAN - HEATING. |
| Tape | Touches (+) et (-) | Sélection de la température. Appuyer une fois pour augmenter (+C°) ou diminuer (-C°) la température configurable d'I °C. Gamoie de réglages de température disponibles : CHAUFFAGE 16°C ~ 30°C REFROIDISSEMENT 16°C ~ 30°C DÉSHUMIDIFICATION 16°C ~ 30°C VENTILATEUR 16°C ~ 30°C |
Réglage du flux d'air horizontal (manuel)
Pour modifier l'orientation du flux d'air, tournez les curseurs de réglage des ailettes pour l'orientation horizontale de l'air comme illustré.
Remarque : l'unité illustrée ici peut être différente du conditionneur d'air que vous avez acheté.

Cette opération doit être effectuée avec l'appareil éteint.

Remarque : Lors de la mise en fonction, l'appareil entrera dans le dernier mode de fonctionnement sélectionné avant l'arrêt.

Ne pas tourner manuellement les ailettes pour l'orientation verticale de l'air, étant donné que cela pourrait provoquer un mauvais fonctionnement. Si cela avait eu lieu, éteindre avant tout l'appareil, puis le déconnecter et le reconnecter à l'alimentation électrique.

La fonction Refroidissement permet la mise en marche et l'utilisation du conditionneur d'air comme producteur d'air froid.
Pour activer la fonction Refroidissement (COOL), appuyer sur la touche MODE de manière à visualiser le symbole (*) sur l'afficheur.
Pour modifier la valeur de la température, agir sur les touches (▼ et ▲). À chaque pression des touches, la valeur de la température configurée augmente ou diminue de 1°C.

Mode chauffage
La fonction Chauffage permet la mise en fonction et l'utilisation du conditionneur d'air comme producteur d'air chaud.
Pour activer la fonction Chauffage (HEAT), appuyer sur la touche MODE de manière à visualiser le symbole (♀) sur l'afficheur.
Pour modifier la valeur de la température, agir sur les touches (▼ et ▲). À chaque pression des touches, la valeur de la température configurée augmente ou diminue de 1°C.
La machine est munie de la Fonction Hot Start. Cette fonction retarde de quelques secondes la mise en marche de l'appareil pour assurer une sortie immédiate d'air chaud.

Mode automatique
Pour activer la fonction SMART, appuyer sur la touche (©) sur la télécommande. Sur l'afficheur de l'unité apparaitra l'inscription AU (AUTO).
Dans le mode SMART, la vitesse du ventilateur et la température seront sélectionnées automatiquement en fonction de la température ambiantepour assurer des conditions de bien-être.
| Température ambiente | Mode |
| 23°C ~ 26°C | SEULEMENT VENTILATEUR |
| Supérieure à 26°C | REFROIDISSEMENT |
| Inférieure à 23°C | CHAUFFAGE |
Remarque: Après avoir déactivé la fonction SMART, le conditionneur d'air redémarrera avec les configurations des modes de fonctionnement précédemment sélectionnés.


Avant de régler le temporisateur, s'assurer que l'heure sur la télécommande est correcte. Dans le cas contraire, se référer aux instructions indiquées à la page 5.
Mise en fonction automatique
Pour sélectionner la mise en fonction automatique du conditionneur d'air, procéder comme indiqué ci-après :
- Avec l'appareil éteint, appuyer sur la touche TIMER ON (ON).
- Sélectionner l'heure de mise en fonction automatique par l'intermédiaire des touches (+) et (-).
- Appuyer dans les 10 secondes successives sur la touche TIMER ON pour confirmer, sinon la fonction quittera la mise au point de l'heure.
Remarque : Pour éliminer la fonction, appuyer à nouveau sur la touche TIMER ON.
Arrêt automatique
Pour sélectionner l'horaires d'arrêt automatique, procédez de la manière suivante :
- Appuyer sur la touche TIMER OFF (LFF).
- Régler l'heure d'arrêt automatique par l'intermédiaire des touches (+) et (-).
- Appuyer dans les 10 secondes successives sur la touche TIMER OFF pour confirmer, sinon la fonction quittera la mise au point de l'heure.
Remarque : Pour éliminer la fonction, appuyer à nouveau sur la touche TIMER OFF.



Remarque : Il est possible en outre de sélectionner l'heure de mise en fonction et d'arrêt de l'appareil de manière à définir une durée spécifique de fonctionnement.
Remarque : Lors de la mise en fonction, l'appareil entre dans le dernier mode de fonctionnement sélectionné avant l'arrêt.
Mode déshumidification
Appuyer sur la touche MODE de manière à visualiser le symbole DRY ().
L'appareil se met en marche en fonction de la température ambiante et de celle configurée :
- Si la température ambiente est plus BASSE de 2°C par rapport à la température configurée, le compresseur et l'unité externe s'arrêtent, tandis que le ventilateur de l'unité interne fonctionne à la basse vitesse.
- Si la température ambiente est supérieure de 2°C par rapport à la température configurée, l'appareil entre automatiquement en fonction Déshumidification en actionnant le ventilateur à la basse vitesse.




Mode de ventilation
Appuyer sur la touche MODE de manière à visualiser le symbole FAN ().
Chaque fois que la touche FAN est pressée, la vitesse est modifiée dans l'ordre suivant : AUTO - LOW - MEDIUM - HIGH. La télécommande, en outre, mémorise la vitesse sélectionnée dans le mode de fonctionnement précédent.
Dans la modalité AUTO, le conditionneur d'air désigne automatiquement la vitesse de ventilation et le mode de fonctionnement (REFROIDISSEMENT ou CHAUFFAGE).




Fonction nocturne
Pour mettre en marche la fonction nocturne dans les modes de fonctionnement COOL, DRY et HEAT, appuyer sur la touche SLEEP (). Sur l'afficheur apparaitra l'icone
Pour désactiver la fonction nocturne, appuyer à nouveau sur la touche SLEEP (☆).
Pendant le fonctionnement dans le mode nocturne, la température configurée augmente d'1 °C pendant la première heure de fonctionnement et d'1 autre °C pendant l'heure suivante, en maintenant cette augmentation de 2°C dans les heures successives.
En sélectionnant la fonction nocturne en mode Chauffage, la température configurée diminue d'1 °C pendant la première heure de fonctionnement et d'1 autre °C pendant l'heure suivante, en maintenant cette diminution de 2°C dans les heures successives, avec le fonctionnement du ventilateur à la basse vitesse.

Fonction TURBO POWER
Pour actionner la FONCTION TURBO POWER, appuyer sur la touche, sur l'afficheur apparaitra le symbole. Dans le mode de fonctionnement COOL ou HEAT, le conditionneur d'air fonctionnera automatiquement à la puissance maximale.
Pour désactiver cette fonction, il suffit de varier la vitesse de ventilation ou bien d'appuyer à nouveau sur la touche.

Appuyer sur la touche I COMFORT ( ), sur l'afficheur apparaît le symbole .
Cette fonction permet d'obtenir le climat souhaité au point exact où la télécommande est placée.
La température de référence est celle mesurée par le capteur présent dans la télécommande, en bypassant la sonde de température à l'intérieur du conditionneur d'air.

La télécommande doit toujours être dirigée vers l'unité.

Si, aucun signal n'est reçu de la part de la télécommande pendant I1 minutes, l'unité se réferera de nouveau à sa sonde interieure.

Fonction LIGHT
Appuyer sur la touche LIGHT ( ), sur l'afficheur apparaît le symbole.
En activant cette fonction, les DELs de l'afficheur de l'unité interne s'éteignent tandis que le fonctionnement du conditionneur d'air reste inchangé.
Grâce à cette fonction, l'éclairage de l'afficheur ne génère pas pendant la nuit.
Remarque : toutes les fonctions individuelles ci-dessus ne sont pas présentes sur tous les modèles de conditionneur d'air.


Enlever avec précaution les bandes autocollantes générées sur l'appareil.

Après avoir enlevé l'emballage, s'assurer que tous les composants sont bien intacts et complets.

L'unité externe doit être maintenue toujours en position verticale.

La manutention doit être effectuée par un personnel technique qualifié adéquatement équipée et disposant de moyens appropriés au poids de l'appareil.
Installation
Avant de commencer l'installation, établir le point de positionnement de l'unité interne et externe en tenant compte des espacements requis des unités (voir tableau des données techniques).

Installer l'unité interne dans la pièce à climatiser en évitant l'installation dans des couloirs ou zones communes.

S'assurer qu'une prise de courant est présente tout près de l'unité interne pour son alimentation électrique.

Installer l'unité interne à une hauteur minimale de 2,5 m du sol.
Positionnement de l'unite interne

L'unité interne doit être installée au mur.

Sa position doit permettre la circulation de l'air traité dans toute la pièce.
Pour installer l'unité interne, procéder comme suit :
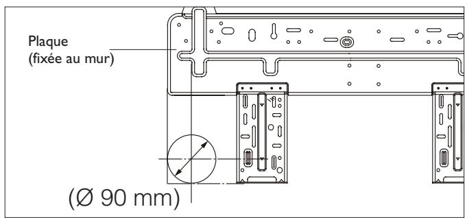
Installation de la plaque de fixation
- Dévisser les vis de la plaque située à l'arrière de l'unité;
- Décrocher la plaque;
- Placer la plaque à l'endroit de l'installation en s'assurant qu'elle est bien horizontale au moyen d'un niveau à bulle (fourni avec l'appareil) et en respectant les espacements minimaux nécessaires indiqués à la figure;
- Tracer sur le mur la position des orifices pour les chevilles à l'aide d'un crayon;
- Percer des orifices de 32 mm de profondeur dans le mur pour la fixation de la plaque; insérer les chevilles en plastique dans l'orifice;
- fixer la plaque de fixation avec les vis tarabiscotées fournies;
- Contrôler si la plaque de fixation est fixée correctement;
- Contrôler à nouveau la mise à niveau;
Percer un orifice dans le mur pour la tuyauterie.
- Décider où percer l'orifice dans le mur pour la tuyauterie en fonction de la position de la plaque de fixation (voir figure);
- Tracer, à l'aide d'un compas, la circonférence (Ø 90 mm) de l'orifice de passage des connexions. L'orifice doit être praticé dans la partie gauche de l'unité, en correspondance de la sortie des connexions frigorifiques.
Espacements minimaux requis

Remarque: La plaque de fixation, au moment de la réception du produit, se trouve accrochée à la partie arrière de l'unité interne. Elle peut avoir une forme différente de celle illustrée ci-dessus, mais la méthode d'installation est similaire.



Avant d'installer l'unité interne, monter les filtres aux ions d'argent et les filtres électrostatiques biologiques (si présents).
Pour l'installation des filtres:
- Extraire les filtres à treillis;
- Accrocher les filtres aux ions d'argent et les filtres électrostatiques biologiques (si présents);
- Remettre en place les filtres dans l'unité interne en procédant en sens inverse;
- Pratiquer l'orifice pour le passage des connexions frigorifiques au moyen d'une fraise carotteuse pour mur (non fournie avec l'appareil).
N. B.: Si l'on ne dispose pas d'une fraise carotteuse, il est possible de pratiquer l'orifice en exécutant de nombreux orifices rapprochés avec une perceuse en suivant l'évolution de la circonférence tracée.

L'orifice doit être légèrement incliné vers le bas et dirigé vers l'extérieur.
Raccordement du tuyau d'évacuation des condensats
L'unité interne est équipée d'un tuyau d'évacuation des condensats auquel doit être raccordé un conduit de drainage à diriger vers un lieu approprié à l'écoulement.
- Raccorder un conduit de drainage isolé (Ø interne 16 mm) au raccord du tuyau d'évacuation avec un collier serre-tube ou du ruban adhésif.
- Vérifier le bon écoulement des condensats.

Le tuyau de drainage doit avoir une inclinaison minimale de 3% vers le lieu d'évacuation.

S'assurer de la bonne étanchéité de toutes les junctions afin d'éviter les fuites d'eau.

Appliqueur de l'isolant thermique sur les points de jonction.

Éviter les segments à contre-pente.
Passage des connexions
- Faire passer le tuyau d’évacuation des condensats et la gaine flexible des connexions frigorifiques à travers l’orifice précédemment exécuté.
- Positionner l'unité interne en l'accrochant à la plaque de fixation et en faisant passer la tuyauterie à travers l'orifice précédemment exécuté.

Pour éviter d'endommager les raccords, avant de faire passer la gaine à travers l'orifice du mur, il est conseillé de protéger l'extrémité des raccords rapides avec les bouchons fournis à cet effet ou avec du ruban de papier autocollant.






Positionnement de l'unité externe

L'unité externe peut être posée au sol ou bien fixée au mur à condition que soit garantie le soutien et soit évitée la transmission de vibrations aux pièces adjacentes.
Il est conseillé d'éviter :

L'installation dans des cavités et/ou gueules de loup.

Que des obstacles ou barrières provoquent la recirculation de l'air d'expulsion.

L'installation dans des lieux avec présence d'atmosphères agressives

L'installation dans des endroits étroits où le niveau sonore de l'appareil puisse être exalté par des réverbérations ou des résonances.

L'installation dans des coins où se déposent habituellement les poussières, feuilles ou autres éléments pouvant réduire l'efficacité de l'appareil en obstruant le passage de l'air.
Installation au sol
L'installation au sol ou sur sol plat n'exige pas de fixation à terre des petits pieds, mais il faut prévoir des supports ( 90 ÷ 100 ~mm) pour permettre l'application de l'évacuation des condensats.
Positionner des supports antivibrations (non fournis avec l'appareil) entre les petits pieds et la base d'appui.
Fixation murale
La fixation murale doit respecter les espacements minimaux indiqués et un kit de support à commander séparément doit être utilisé.
Vérifier soigneusement la structure et la capacité du mur de support.

Veiller à respecter les espacements minimaux nécessaires indiqués dans le tableau "Données Techniques".

Le fabricant décline toute responsabilité pour tous dommages causés par l'absence de mise à la terre ou par le non-respect des indications contenues dans les avertissements.

Que l'expulsion de l'air de l'appareil puisse pénétrer dans les pièces habitées à travers les portes ou fenêtres, en provoquant des situations de gène aux personnes.

Que l'expulsion de l'air de l'appareil soit contrariée par le vent contraire.

Que le rayonnement solaire frappe directement l'appareil.

Avant de commencer l'installation, établir le positionnement de l'unité interne et de l'unité externe en considérant les espaces techniques minimaux, la longueur maximale des lignes frigorifiques et la dénivelée entre les appareils.

- Dévisser la vis de fixation indiquée par la flèche.
- Pousser la poignée vers le bas et extraire le panneau de protection des bornes pour la connexion électrique.
- Avant l'installation, l'utilisateur devra enlever les dispositifs de sécurité indiqués à la figure.
- Enlever la plaque de fixation sur le connecteur rapide (mâle).
- Tirer la bague vers l'intérieur comme indiqué par la flèche.

Avant d'effectuer la connexion, enlever le couvercle de protection des raccords en faisant glisser vers l'arrière le bloc coulissant.
- Insérer le connecteur rapide (mâle) dans le raccord femelle et remettre en place le câble de fixation en même temps.

La fiche d'orientation doit être positionnée vers le bas.






Tourner la plaque de fixation et la pousser vers le fond.

Il est difficile de pousser la plaque de fixation vers le fond si le cable de fixation n'est pas complètement remis en place.
- Appliquer la fermeture du raccord rapide, insérer la fiche de sécurité dans l'orifice correspondant indiqué à la figure Raccorder le terminal du câble. Fixer le câble à la machine au moyen du dispositif de serrage lié.
- Monter la grande manette.
Raccordement du tuyau d'évacuation des condensats
- Raccorder un conduit de drainage isolé (Ø interne 16 mm) au raccord du tuyau d'évacuation et le diriger vers un lieu approprié à l'écoulement.
- Vérifier le bon écoulement des condensats.

S'assurer de la bonne étanchéité de toutes les junctions afin d'éviter les fuites d'eau.

Applique de l'isolant thermique sur les points de jonction.

Éviter les segments à contre-pente.
Une fois terminée l'installation de tous les composants, fournir l'alimentation électrique à l'installation en branchant la fiche de l'unité interne à une prise de courant.







L'entretien périodique est fondamental pour conserver toute l'efficacité de votre conditionneur d'air.

Avant d'exécuter toute opération d'entretien, débrancher l'alimentation électrique en positionnant l'interrupteur général du système sur la position "éteint".
Enlèvement et nettoyage du filtre
- Ouvrir le panneau frontal en suivant la direction de la flèche (1);
- Faire glisser vers le haut le panneau frontal;
- Ouvrir le panneau en suivant le sens de la flèche (2);
- En tenant avec une main le panneau frontal soulevé, extraire le filtre à air avec l'autre main;
- Nettoyer le filtre avec de l'eau; si le filtre est sale d'huile, il peut être lavé avec de l'eau chaude (à une température ne dépassant pas 45°C). Le laisser ensuite sécher dans un lieu frais et sec.
Installation du contrôle
- En tenant avec une main le panneau frontal soulevé, remettre en place le filtre à air avec l'autre main (voir fig.);
- Insérer le filtre à air;
- Faire glisser vers le bas le panneau frontal et s'assurer que les trois crochets (A, B et C) sont bien insérés dans leur logement;
- Fermer;

Le filtre antibactéries aux ions d'argent et le filtre dé-sodorisant electrostatique biologique (si présents) ne peuvent pas être lavés ou régénérés. Ils doivent être remplacés par de nouveaux filtres tous les 6 mois. Pour le remplacement, se référer au chapitre "Installation".
UNITE Externe

Utiliser des instruments adaptés au réfrigérant R410A.

Ne pas utiliser un réfrigérant différent du R410A.

Pour le nettoyage de l'unité, ne pas utiliser d'huiles minérales.


Remarque: Les figures représentées ci-dessus pourraient ne pas correspondre à l'aspect esthétique des unités que vous avez effectivement achetées.


| Code | Erreur |
| E1 (*) | Protection haute pression |
| E2 (*) | Protection dégivrage |
| E3 (*) | Protection basses pressions |
| E4 (*) | Protection échévement compréseur |
| E5 (*) | Protection surcharge courant |
| E6 (*) | Dysfonctionnement communication |
| E7 (*) | Conflit MODE |
| Code | Erreur |
| E8 (*) | Protection haute températures |
| E9 (*) | Protection contre air froid |
| F1 | Capteur ambient unité interne débranché |
| F2 | Capteur tuyau unité interne débranché |
| F3 (*) | Capteur ambient unité externe débranché |
| F4 (*) | Capteur tuyau unité externe débranché |
| F5 (*) | Capteur refoulement de l'unité externe en court-circuit ou débranché |
Codes d'alarme valables seulement pour modèle DC INVERTER
Installation
| Anomalie de fonctionnement | Causes possibles |
| • L'appareil ne fonctionne pas | Absence d'alimentation électrique / Fiche débranchée |
| Moteur ventilateur unité interne/externe endommagé | |
| Interrupteur magnétothermie compresseur défectueux | |
| Le dispositif de protection ou les fusibles sont en panne. | |
| Les connexions sont desserrées ou la fiche débranchée. | |
| Il arrêté parfois de fonctionner pour protégier l'appareil. | |
| La tension est plus haute que 244V ou plus BASSE que 206V | |
| La fonction TIMER-ON est active | |
| Carte électronique de contrôle endommagée | |
| • Odeur étrange | Le filtre à air est sale |
| • Bruit d'eau courante | Reflux du liquide dans le circuit frigorifique |
| • Jets d'eau nébulisée provenant de la sortie air | Cela se produit quand l'air du local devient très froid rapidement, par exemple dans le mode “REFROIDISSEMENT” ou “DÉSHUMIDIFICATION”. |
| • Présence d'un bruit étrange | Ce bruit est produit par l'expansion ou contraction du panneau frontal dues aux variations thermiques et n'indique pas un problème. |
| • Flux d'air insuffistant, froid ou chaud | La température n'est pas réglée adéquatement. |
| Les entrées et les sorties du conditionner d'air sont obstruées. | |
| Le filtre à air est sale. | |
| La vitesse du ventilateur est réglée au minimum. | |
| Il y a d'autres sources de chaleur dans la pièce. | |
| Absence de réfrigérant. | |
| • L'appareil ne répond pas aux commandes | La télécommande n'est pas assez près de l'unité interne. |
| Les piles de la télécommande sont déchargées. | |
| Il y a des obstacles entre la télécommande et le récepteur de signal sur l'unité interne. | |
| • L'afficheur du tableau de commande est étéeint | Fonction LIGHT activée. |
| Absence d'alimentation électrique. | |
| Tableau de commande défectueux. | |
| Carte électronique de contrôle défectueuse. | |
| • Éteindre immédiatement le conditionneur d'air et débrancher l'alimentation en cas de : | Bruits étranges pendant le fonctionnement. |
| Fusibles ou interrupteurs en panne. | |
| Jets d'eau ou objets à l'intérieur de l'appareil. | |
| Câbles ou fiches surchauffés. | |
| Odeurs très fortes provenant de l'appareil. |
Recommandations pour l'elimination correcte du produit aux TERMES de la directive europeenne 2002/96/EC.
À la fin de sa vie utile, le produit ne doit pas être éliminé avec les déchets urbains.
Il peut être confié à des centres spécifiques de tri sélectif prédisposés par les administrations communales, ou bien à des revendeurs qui fournissent ce service.
L'élimination séparée d'un appareil électroménager permet d'éviter les éventuelles conséquences négatives pour l'environnement et pour la santé dérivant d'une élimination inadéquate. Cela permet en outre de récupérer les matériaux dont il se compose afin d'obtenir un important gain d'énergie et de ressources.
Pour permettre en évidence l'obligation d'éliminer séparément les appareils électroménagers, le produit porte le symbole de la poubelle à roulettes barrée.

Installation
Cette unité contient des gaz fluorés à effet de serre couverts par le Protocole de Kyoto. Les opérations d'entretien et d'élimination doivent être exécutées exclusivement par un personnel qualifié.
Gaz réfrigérant R410A, GWP=1975.
Informations UTILES
Pour toutes informations relatives à l'assistance technique et à la fourniture des pièces de rechange, vous pouvez contacter :
UFFICIO ASSISTENZA TECHNICA (BUREAU D'ASSISTANCE TECHNIQUE) GRUPPO DE'LONGHI
Via L. Seitz, 47 - 31100 Treviso (ITALY)
Compte tenu de la politique de l’entreprise visant le perfectionnement continu des produits, les caractéristiques esthétiques et dimensionnelles, les données techniques et les accessoires de cet appareil peuvent être modifiés sans préavis.
Notice Facile