EHS3920HOW - Induction Cooktop AEG-ELECTROLUX - Notice d'utilisation et mode d'emploi gratuit
Retrouvez gratuitement la notice de l'appareil EHS3920HOW AEG-ELECTROLUX au format PDF.
| Intitulé | Valeur / Description |
|---|---|
| Type de produit | Table de cuisson à induction |
| Nombre de zones de cuisson | 4 zones de cuisson à induction |
| Alimentation électrique | 230 V, 50 Hz |
| Dimensions approximatives | 60 x 52 cm |
| Poids | 10 kg |
| Puissance totale | 7400 W |
| Fonctions principales | Boost, minuterie, détection de casserole |
| Entretien et nettoyage | Surface en vitrocéramique, nettoyage facile avec un chiffon humide |
| Sécurité | Verrouillage de sécurité, arrêt automatique, indicateur de chaleur résiduelle |
| Garantie | 2 ans |
FOIRE AUX QUESTIONS - EHS3920HOW AEG-ELECTROLUX
Questions des utilisateurs sur EHS3920HOW AEG-ELECTROLUX
0 question sur cet appareil. Repondez a celles que vous connaissez ou posez la votre.
Poser une nouvelle question sur cet appareil
Téléchargez la notice de votre Induction Cooktop au format PDF gratuitement ! Retrouvez votre notice EHS3920HOW - AEG-ELECTROLUX et reprennez votre appareil électronique en main. Sur cette page sont publiés tous les documents nécessaires à l'utilisation de votre appareil EHS3920HOW de la marque AEG-ELECTROLUX.
MODE D'EMPLOI EHS3920HOW AEG-ELECTROLUX
Merci d'avoir besoin ce produit Electrolux. Avec ce produit, vous bénéficiaz de dizaines d'années d'expérience professionnelle et d'innovation. Ingénieux et élégant, il a été concu sur mesure pour vous. Grace à cet apparéil, vous savez que chaque utilisation vous apportera satisfaction.
Bienvenue chez Electrolux.
Visitez notre site Internet pour :

Obtenir des conseils d'utilisation, des brochures, de l'aide, des informations : www.electrolux.com

Enregistrer votre produit pour obtenir un meilleur service : www.electrolux.com/productregistration

Acheter des accessoires, consommables et pieces de rechange d'origine pour votre apparéil : www.electrolux.com/shop
SERVICE APRÉS-VENTE
N'utilisez que des pieces de rechange d'origine.
Avant de contacter le service, assurez-vous de dispose des informations suivantes :
Voutrouverez ces informations sur la plaque signalétique. Modèle, PNC, numéro de série.

Avertissement/Attention : consignes de sécurité.
Informations generales et conseils
Informations ecologiques
Sous réserve de modifications.

CONSIGNES DE SECURITÉ
Avant d'installer et d'utiliser cet apparéil, li-sez soigneusement les instructions fournies. Le fabricant ne peut être tenu pour responsable des dommages et blessures liés à une mauvaise installation ou utilisation. Conservez toujours cette notice avec votre apparéil pour vous y référer ultérieurement.
SECURITE DES ENFANTS ET DES PERSONNES VULNERABLES

AVERTISSEMENT
Risque d'asphyxie, de blessure ou d'invalidité permanente.
- Cet apparéil n'est pas destiné à être utilisé par des enfants ou des personnes dont les capacité physiques, sensorielles ou mentales, ou le manque d'expérience et de reconnaissance les empêchent d'utiliser l' apparéil sans risque lorsqu'ils sont sans surveillance à moins qu'une personne responsable de leur sécurité ne les supervise ou leur donne des instructions sur la manière de l'utiliser.
- Ne laissez pas les enfants jouer avec l'appareil.
- Ne laissez pas les emballages à la portée des enfants.
Tenez les enfants et les animaux éloiagnés de l'appareil lorsqu'il est en cours de fonctionnement ou lorsqu'il refroidit. Les parties accessibles sont chaudes. - Si l'appareil est équipé d'un dispositif de sécurité enfants, nous vous recommendons de l'activer.
INSTALLATION

AVERTISSEMENT
L'appareil doit être installé uniquement par un professionnelnel qualifié.
- Retirez l'intégralité de l'emballage.
- N'installez pas et ne branchez pas un apparéil endommagé.
- Suivez scrupleusement les instructions d'installation fournies avec l'appareil.
- Respectez l'espacement minimal requis par rapport aux autres appareils.
L'appareil est lourd, prenez toujours des précautions lorsque vous le déplacez. Portez toujours des gants de sécurité.
- Isolez les surfaces découpées à l'aide d'un matériel d'étanchéité pour éviter que la moissure ne provoque de gonflements.
- Protégez la partie inférieure de l'appareil de la vapeur et de l'humidité.
- N'installez pas l'appareil pres d'une porte ou sous une fenetre. Les recipients chauds risqueraient de tomber de l'appareil lors de l'ouverture de celles-ci.
- Si l'appareil est installé au-dessus de ti-roirs, assurez-vous qu'il y a suffisamment d'espace entre le fond de l'appareil et le tiroir supérieur pour que l'air puisse circuler.
- Le dessous de l'appareil peut doivent très chaud. Nous vous recommendons d'installer un panneau de séparation ignifuge sous l'appareil pour en bloquer l'accès.
Branchement électrique

AVERTISSEMENT
Risque d'incendie ou d'électrocution.
L'ensemble des branchements électriques doit être effectué par un technicien qualifié.
- Avant chaque raccordement, assurez-vous que la borne principale de l'appareil est hors tension.
Assurez-vous que l'appareil est bien installe. Des connexions desserrées ou incorrectes peuvent etre a I'origine d'une surchauffe des bornes.
Assurez-vous qu'une protection anticchocs est installee.
- Contrôlez que les cables d'alimentation n'entrent pas en contact avec les surfaces brûlantes de l'appareil ou les éléments brûlants lorsque vous branchez l'appareil électrique à des prises ELECTriques situées à proximité.
- Ne laïsez pas les connexions s'emme-ler.
Utilisez une pince pour detendre le cable.
- Utilisez le cable d'alimentation approprié.
- Veillez à ne pas endommager la fiche secteur ni le cable d'alimentation. Contactez le service après-vente ou un électricien pour replacer le cable d'alimentation s'il est endommagé.
L'installation electrique doit être équipée d'un dispositif d'isolement à coupure omnipolaire. Le dispositif d'isolement doit partager une distance d'ouverture des contacts d'au moins 3 mm. - N'utilisez que des systèmes d'iso1ation appropriés : des coupe-circuits, des fusibles (les fusibles à visser doivent être rétiérés du support), un disjoncteur différentiel et des contacteurs.
UTILISATION

AVERTISSEMENT
Risque de blessures, de brûlures ou d'électrocution.
Utilisez cet apparéil dans un environnement domestique.
- Ne modifies pas les caractéristiques de cet apparéil.
- Ne faites pas fonctionner l'appareil avec un minuteur externe ou un système de commande à distance.
- Ne laissez jamais l'appareil sans surveillancependant son fonctionnement.
- N'utilisez jamais cet apparéil avec les mains mouillées ou lorsqu'il est en contact avec de l'eau.
- Ne posez pas de couverts ni de couvercles sur la table de cuisson à plaque électrique. Ils deviennent chauds.
- Éteignez les zones de cuisson après chaque utilisation.
- N'utilisez jamais l'appareil comme plan de travail ni comme plan de stockage.

AVERTISSEMENT
Risque d'explosion ou d'incendie.
- Les graisses et l'huile chaudes peuvent dégager des vapeurs inflammables. Te nez les flammes ou les objets chauds éloignés des graisses et de l'huile lorsqu'on vous vous en servez pour cuisiner.
- Les vapeurs dégagées par l'huile très chaude peuvent provoquer une combustion spontanée.
L'huile qui a servi contient des restes d'aliments qui peuvent provoquer un incendie à température plus faible que l'huile n'ayant jamais servi.
- Ne placez pas de produits inflammables ou d' éléments imbibés de produits inflammables à l'intérieur, à proximé ou sur l'appareil.
- Ne tentez pas d'eteindre un incendie avec de l'eau. Débranchez l'appareil et couvrez les flammes à l'aide d'un couvercle ou d'une couverture à incendie.

AVERTISSEMENT
Risque de dommage de l'appareil.
- Ne laïsez pas de recipients chauds sur le bandeau de commande.
- Ne laïsez pas le contenu des recipients de cuisson s'évaporer.
- Ne laisses pas de recipients chauds refroidir sur la plaque.
- Ne faites jamais fonctionner les zones de cuisson avec des recipients de cuisson vides ou sans aucun recipient de cuisson.
- Ne placez jamais de papier aluminium sur l'appareil.
- Ne laïsez pas de liquides acides, tels que du vinaigre, du jus de citron ou du produit détartrant, entraer en contact avec la table de cuisson. Cela peut provoquer l' apparition de taches mates.
ENTRETIEN ET NETTOYAGE

AVERTISSEMENT
Risque de dommage de l'appareil.
Nettoyez régulierement l'appareil afin de maintenir le revêtement en bon état.
- Ne pulverizez pas d'eau ni de vapeur pour nettoyer l'appareil.
- Nettoyez l'appareil avec un chiffon doux humide. Utilisez uniquement des produits de lavage neutres. N'utilise pas de produits abrasifs, de tampons à récurer, de solvants ou d'objets metalliques.
MISE AU REBUT

AVERTISSEMENT
Risque de blessure ou d'asphyxie.
-
Débranchez l'appareil de l'alimentation électrique.
-
Coupe le cable d'alimentation au ras de l'appareil et mettez-le au rebut.
DESCRIPTION DE L'APPAREIL
AGENCEMENT DE LA SURFACE DE CUISSON

Zone de cuisson arrête 1500 W
Zone de cuisson avant 1500 W
3 Voyant de fonctionnement
4 Manettes de commande
5 Minuteur
MANETTES DE COMMANDES DES ZONES DE CUISSON ÉLECTRIQUES
| Symbole | Fonction |
| 0 | position arrêt |
| 1 | température mini-mum |
| 6 | température maxi-mum |
UTILISATION QUOTIDIENNE

AVERTISSEMENT
Reportez-vous au chapitre « Consignes de sécurité »
Pourmettre en fonctionnement la zone de cuisson et augmenter le niveau de cuisson, tournez la manette dans le sens des aiguilles d'une montre. Pour diminuer la temperature, tournez la manette dans le sens des aiguilles d'une montre. Pourmettre à l'arrêt la zone de cuisson, positionnez la manette sur 0.
Levoyant defonctionnement s'allume dés l'activation de l'une des zones de cuisson, et reste allumé jusqu'à ce que les zones de cuisson soient mises à l'arrêt.
PROGRAMMATEUR DE LA MINUTERIE
Utilisez-le pour regler l'heure de fin de cuisson pour une table de cuisson.
- Réglez le niveau de cuisson sur la position nécessaire.
- Tournez la manette de la minuterie (reportez-vous au chapitre « Description de l'appareil ») sur la position maxima-le. Ensuite, tournez-la sur la durée nécessaire.
- Une fois que cette durée s'est écoulée, un signal sonore retentit et l'appareil se met à l'arrêt.
AVANT LA PREMIÈRE UTILISATION
Placez un récipient de cuisson contenant de l'eau sur chaque zone de cuisson, réglez sur la position maximum et laissez l'appareil fonctionner pendant 10 minutes. Ceci afin de d'éliminer les résidus dans l'appareil. Ensuite, faites fonctionner l'appareil sur la position minimum pendant 20 minutes. Pendant cette période, il peut qu'une odeur et de la fumée apparaisent. Ce phénomène est normal. Vérifie que la ventilation environnante est suffisante.
Après cette opération, nettoyez l'appareil à l'aide d'un chiffon doux humidifié à l'eau tiède.
PLAQUE DE CUISSON RAPIDE
Un point rouge au milieu de la plaque montre une plaque à chauffage rapide. Une plaque à chauffage rapide chauffe plus vite que les plaques classiques.
Le point rouge est peint sur la surface et peut disparaitre après quelque temps. Cela n'afecte pas le fonctionnement de l'appareil.
La plaque à chauffage rapide peut fumer et produit une odeur quand on l'utilise pour la première fois. La fumée et l'odeur se dissiperont après quelques temps.
CONSEILS UTILES

AVERTISSEMENT
Reportez-vous au chapitre « Consignes de sécurité »
ÉCONOMIE D'ENERGIE

- Si possible, couvrez toujours les recipients de cuisson avec un couvercle pendant la cuisson.
- Déposez toujours le bénépant sur la zone de cuisson avant demettre celle-ci en fonctionnement.
- Mettez à l'arrêt les zones de cuisson avant la fin du temps de cuisson pour utiliser la chaleur résiduelle.
Pour obtenir des résultats satisfaisants, le fond des casseroles doit être du même diamètre (ou légarement plus grand) que celui des plaques de cuisson. N'utilise pas des casseroles plus petites.
RECIPIENT DE CUISSON

- Le fond du récipient de cuisson doit être lisse, propre et sec, aussi plat et écais que possible avant chaque utilisation.

AVERTISSEMENT
Les reçipients ne doivent pas entre en contact avec les commandes.

Utilisez des recipients dont le fond correspond à la dimension du brû-leur.
| Zone de cuisson | Diamètres des récipients |
| Avant | max. 145 mm |
| Arrière | max. 180 mm |
EXAMPLES DE CUISSON
| Niveau de ré-glage : | Utilisation : |
| 1 | Maintien au chaud |
| 2 | Faire mijoter doucement |
| 3 | Faire mijoter |
| 4 | Faire frire / gratiner |
| 5 | Porte à ébullition |
| 6 | Bouillir / Saisir / Frite |
ENTRETIEN ET NETTOYAGE

AVERTISSEMENT
Reportez-vous au chapitre « Consignes de sécurité »
Nettoyez l'appareil après chaque utilisation. Utilisez toujours des recipients de cuisson dont le fond est propre et sec, lisse et plat.

AVERTISSEMENT
Avant toute opération d'entretien ou de nettoyage, vous devez impératifement débrancher électriclement la table de cuisson.

Il est préférible de nettoyer la table de cuisson lorsqu'elle est encore chaude. Éliminer les taches incrustées est en effet plus facile lorsque les zones sont encore chaudes que lorsqu'elles sont froides.

AVERTISSEMENT
Les objets tranchants et les produits de nettoyage agressifs ou abrasifs endommagent l'appareil. Par mesure de sécurité, il est interd it de nettoyer la table de cuisson avec un appeareil à jet de vapeur ou à haute pression.
L'acier inoxydable peut ternir s'il est trop chauffé. Gardez à l'esprit que vous ne dévez pas cuisiner avec des plats en terre cuite ou en fonte. N'utilise pas de papier aluminium pour ne pas endommager la partie supérieure durant le fonctionnement. Lavez les éléments en acier inoxydable à l'eau, puis sechez-les à l'aide d'un chiffon doux.

Les égratignures ou les taches sombres n'ont aucune influence sur le fonctionnement de l'appareil.
Nettoyage des salissures :
- Utilisez une poudre fine à récurer ou un tampon à récurer pour enlever les salissures.
- Nettoyez l'appareil à l'aide d'un chiffon humide légèrement imbibé de détergent.
- Allumez la plaque à faible température et laissez sécher.
- Afin de maintainir les plaques de cuisson en bon etat, frottez-les de temps a
autre avec un peu d'huile pour machi-ne à coudre, puis nettoyez avec un papier absorbant.

Pour les bords en inox de la table de cuisson, utilisez un produit de nettoyage pour acier inoxydable.

Le bord en inox de la zone de cuisson peut etre légèrement décorer en raison de la charge thermique.
EN CAS D'ANOMALIE DE FONCTIONNEMENT
| Problème | Cause et solution possibles |
| L'appareil ne fonctionne pas du tout. | Vérifiez le fusible du système électrique de l'habitation dans la boîte à fusibles. Si les fusibles grillent de manière répétée, faites appel à unElectricien agréé. |
| La zone de cuisson ne chauffe pas. | Vérifiez que l'appareil est bien branché et allumé. Assurez-vous d'avoir utilisé la bonne manette de commande. Vérifiez le fusible du système électrique de l'habitation dans la boîte à fusibles. Si les fusibles grillent de maniere répétée, faites appel à unElectricien agréé. |
| L'efficacité de la table de cuisson n'est pas satisfaisante. | Assurez-vous que la table de cuisson est propre et sèche. Assurez-vous que le diamètre du réseau de cuisson utilisé est ajusté à la zone de cuisson. Assurez-vous que le fond du réseau de cuisson utilisé est parfaitement plat. Assurez-vous que le niveau de cuisson utilisé est ajusté au type de préparation. |
Certaines anomalies de fonctionnement peuvent dépendre d'opérations d'entretien non correctes ou d'oubli et peuvent être résolues à l'aide des indications fournies dans le tableau, sans faire appel à un service après-vente. Si l'anomalie persististe, contactez votre magasin vendeur ou votre service après-vente.

Si un problème résultat d'une mauvaise utilisation ou si l'installation de l'appareil n'a pas eté réalisée par un professionnelnel qualifié, le déplacement du technicien du service après vente ou du revendeur peut être facturé même en cours de garantie.
Ces informations sont nécessaires pour pouvoir vous offrir une aide rapi-
de et adaptée. Ces données figurent sur la plaque signalétique fournie.
Description du modele
- Référence produit (PNC)
- Numéro de série (S.N.) ....
Utilisez exclusivement des pieces d'origine certifiées constructeur. Elles sont disponibles auprès de votre service après-vente.
ÉTIQUETTES FOURNIES AVEC LE SAC D'ACCESSOIRES
Collez les étiquettes adhéSES comme indiqué ci-dessous :

1 Collez-la sur la carte de garantie et envoyez cette partie
2 Collez-la sur la carte de garantie et conservez cette partie
3 Collez-la sur la notice d'utilisation
INSTALLATION

AVERTISSEMENT
Reportez-vous au chapitre « Consignes de sécurité »
INSTALLATION

AVERTISSEMENT
Veuillez dire attentivement les instructions et les suivre scrupuleusement. Vous risqueriez de vous bleisser ou d'endommager l'appareil.
- Vérifie que l'appareil n'a pas eté endommagé pendant le transport. Ne branchez pas un apparéil endommagé. Si nécessaire, contactez votre magasin vendeur.
- L'installation et le raccordement de l'appareil à l'alimentation électrique doivent uniquement être effectuels par un professionnelnel qualifié.
- N'utilise des appareils encastrables qu'après les avoir installés dans des meubles d'encastrement appropriés répondant aux normes en vigueur.
- Ne modifies pas les caractéristiques de cet apparéil. Vous risquieriez de vous blesser ou d'endommager l' apparéil.
- Respectez la législation, la règlementation, les directives et les normes en vigueur dans le pays où vous utiliserez l'appareil (réglementations relatives à la sécurité, au recyclage, régles de sécurité des apparèils électriques, etc.).
- Respectez l'espacement minimal requis par rapport aux autres appareils.
- Installez une protection contre les chocs, par exemple, n'installez des tiroirs que si un panneau de protection se trouve directement sous l'appareil.
- Si la patte de scellement se trouve à proximé du répartiteur, vérifietz toujours que le cable d'alimentation n'entre pas en contact avec le bord de la patte.
- Pour les protégéger de l'humidité, mettez du mastic (joint) adapté sur les surfaces de découpe du plan de travail.
-
Scellez l'appareil au plan de travail sans laisser d'espace à l'aide du mastic approprié.
-
Protégez le bas de l'appareil de la vapeur et de l'humidité provenant par exemple d'un lave-vaiselle ou d'un four.
- N'installez pas l'appareil pres d'une porte ou sous une fenetre. Les recipients chauds sur la table de cuisson pourraient se renverser à leur ouverture.
- Avant tout nettoyage ou intervention technique, débranchez la prise électronique de l'appareil.

AVERTISSEMENT
Risque de chic électric. Respectez soigneusement les instructions pour le branchement électric.
- La borne d'alimentation est sous tension.
- Mettez la borne d'alimentation hors tension.
Assurez une protection contre les contacts électriques pour une installation conforme. - Des connexions desserrées ou incorporetés peuvent être à l'origine d'une surchauffe des bornes.
L'installation et le raccordement electrique de votre apparéil ne doivent être effectués que par un professionnelnel qualifié.
Utilisez une pince pour détendre le cable. - Utilisez le cable d'alimentation approprié et remplacez-le par un cable spécialement adapté s'il est endommagé. L'appareil doit-disposer d'une installation électricque vous permettant de le débrancher de l'alimentation principale à tous les pôles, avec une largeur d'ouverture de contact d'au moins 3 mm. Les dispositifs d'isolement appropriés comprend : des coupe-circuits, des fusibles (les fusibles à visser doivent être reliés du support), un disjoncteur différentiel et des contacteurs.
La responsabilité du fabricant ne peut être mise en cause pour tout préjudice corporel affectant des personnes ou des animaux ou tout préjudice matériel du au non-respect de ces conditions.
BRANCHEMENT ÉLECTRIQUE
L'appareil doit être relié à la terre en respectant bien les précautions de sécurité.
- Vérifiez que la tension nominale et le type d'alimentation figurant sur la plaque signaletique correspondant aux valeurs d'alimentation locales.
- Cet apparéil est alimenté à l'aide d'un cable principal. Une fiche appropriée doit être adaptée au cordon d'alimentation (reportez-vous à la charge électrique spécifique sur la plaque signalétique). La fiche doit être insérée dans une prise murale appropriée.
- Pour toute intervention sur votre apparéil, faites appel au service après-venture de votre magasin vendeur.
- Utilisez toujours une prise antichoc correctement installée.
Assurez-vous que la prise principale est accessible après installation. - Ne tirez jamais sur le cable d'alimentation électrique pour débrancher l'appareil. Tirez toujours sur la prise de courant.
L'appareil ne doit pas etre raccorde a I'aide d'un prolongateur, d'un raccordement multiple ou d'une prise multiple (risque d'incendie).Verifiez que la prise de terre est conforme aux reglements en vigueur. - Le cable d'alimentation doit être placé de manière à ce qu'il n'entre pas en contact avec une surface chaude.
- Raccordez l'appareil au secteur à l'aide d'un système permettant le débranchement de l'apparéil à tous les pôles, avec une largeur d'ouverture de contact d'au moins 3 mm., par exemple, un disjoncteur automatique de protection, des déclencheurs de perte à la terre ou un fusible.
- Aucune partie du cordon d'alimentation ne doit afficher une température supérieure à 90^ . Le cable neutre bleu doit être raccordé à la borne « N » de la plaque à bornes. Le cable de phase marron (ou noir) (partant de la borne « L » de la plaque à bornes doit toujours être relié à la phase sous tension.
REEMPLACEMENT DU CÂBLE D'ALIMENTATION
Ne remplacez le cable de raccordement qu'vec un cable de type H05V2V2-F T90. Assurez-vous que la section du cable convient à la tension et à la température de fonctionnement. Le cable de terre jaune/
vert doit être plus long d'environ 2 cm que le cable de phase marron (ou noir).
ENCASTREMENT

Si plusieurs tables de 30 cm doivent être installées côte à côte sur la même découvert, un kit de montage est disponible auprès de votre service après-vente. Le kit contient une équerre laterale de support, des joints supplémentaires et les consignes d'installation.
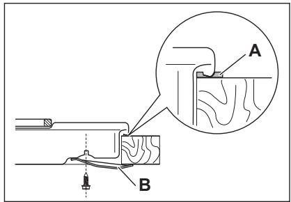
Placez les joints fournis avec la table de cuisson sur les bords de la découverte. Assurez-vous que les extrémités correspondant sans se chevaucher.

A) Joint fourni
B) Équres fournies
POSSIBILÉS D'INSERTION
Élement de cuisine avec porte
Le panneau installé sous la table de cuisson doit être facilement amovible et facile d'accès au cas où une intervention technique serait nécessaire.

A) Panneau amovible
B) Espace pour les branchements
l'element de cuisine doit être équipé d'aérations pour assurer un apport d'air continu. Les branchements électriques de la table de cuisson et du four doivent être installées séparément pour des raisons de sécurité et pour permettre un retrait facile du four de l'ensemble.

Élement de cuisine avec four
Les dimensions de la niche d'encastrement doivent être conformes aux indications et
CHARACTERISTIQUES TECHNIQUES
Dimensions de la table de cuisson
| Largeur : | 290 mm |
| Longueur : | 510 mm |
Dimensions de la niche d'encastrement de la table de cuisson
| Largeur : | 270 mm |
| Longueur : | 490 mm |
Puisance des zones de cuisson
| Zone de cuisson arrêté 180 mm | 1.5 kW |
| Zone de cuisson avant 145 mm | 1.5 kW |
| Puisance totale | 3.0 kW |
| Alimentation élec-trique | 230 V ~ 50 Hz |
EN MATIÈRE DE PROTECTION DE L'ENVIRONNEMENT
Recyclez les matériaux portant le symbole
. Deposez les emballages dans les
conteneurs prévus à cet effet.
Contribuez à la protection de
I'environnement et a votre sécurité,
recyclez vos produits électriques et
électroniques. Ne jetez pas les apparèils portant le symbole avec les ordures menagères. Emmenez un tel produit dans votre centre local de recyclage ou contactez vos services municipaux.

Notice Facile