BL16536RBHK - Tondeuse à gazon tractée AEG-ELECTROLUX - Notice d'utilisation et mode d'emploi gratuit
Retrouvez gratuitement la notice de l'appareil BL16536RBHK AEG-ELECTROLUX au format PDF.
| Type d'appareil | Tondeuse autoportée |
| Alimentation | Essence |
| Largeur de coupe | Non précisé |
| Hauteur de coupe | Réglable, plusieurs positions |
| Capacité du bac de ramassage | Non précisé |
| Transmission | Hydrostatique ou mécanique |
| Nombre de roues | 4 |
| Type de moteur | 4 temps |
| Poids | Non précisé |
| Dimensions (L x l x H) | Non précisé |
| Siège | Confortable avec dossier |
| Guidon/Volant | Volant ergonomique |
| Accessoires inclus | Bac de ramassage |
| Utilisation recommandée | Jardin de taille moyenne à grande |
| Normes | CE |
FOIRE AUX QUESTIONS - BL16536RBHK AEG-ELECTROLUX
Questions des utilisateurs sur BL16536RBHK AEG-ELECTROLUX
0 question sur cet appareil. Repondez a celles que vous connaissez ou posez la votre.
Poser une nouvelle question sur cet appareil
Téléchargez la notice de votre Tondeuse à gazon tractée au format PDF gratuitement ! Retrouvez votre notice BL16536RBHK - AEG-ELECTROLUX et reprennez votre appareil électronique en main. Sur cette page sont publiés tous les documents nécessaires à l'utilisation de votre appareil BL16536RBHK de la marque AEG-ELECTROLUX.
MODE D'EMPLOI BL16536RBHK AEG-ELECTROLUX
Manuel d'instructions
Merci de lire très attentivement le manuel d'instructions. Assurez-vous d'avoir tout compris avant d'utiliser ce tracteur.
Règles de sécurité.
Règles de sécurité. Normes antinfortunistiche. Règles de sécurité. 3
Montage. Montaggio. Monterning. 18
Assembly. Zusammenbau. Montage.
Nous nous réservons le droit d'apporter des modifications sans avis préalable.
- Lisez toutes les instructions soigneusement. Familiarisez-vous avec les commandes pour apprendre à utiliser efficacement cette machine.
- Ne jamais autoriser les enfants ou les personnes qui n’auraient pas lu ce manuel d'utilisation à utiliser ce tracteur de pelouse. La réglementation locale peut de plus interdire l'utilisation de telle machine au-dessous d’un certain âge.
- Ne jamais tondre à proximité de personnes, d'enfants ou d'animaux.
- Ne pas oublier que tout utilisateur ou propriétaire d'un tracteur de pelouse est responsable des accidents ou dommages causés à une personne ou à ses biens.
- Ne transportez pas de passagers.
- Tous les utilisateurs doivent rechercher et obtenir une formation personnelle sérieuse et pratique qui devra insister :
- sur la nécessité absolue d'être attentif et concentré lorsqu'on utilise un tracteur de pelouse,
- le fait qu'un tracteur de pelouse glissant sur une pente ne pourra pas être arrêté en appuyant simplement sur la pédale de frein.
Les raisons principales de cette perte de contrôle sont :
a) l'adhérence insuffisante des pneus, b) une conduite trop rapide, c) un freinage insuffisant, d) un tracteur de pelouse inadapté aux conditions d'utilisation, e) une mauvaise appréciation des contraintes résultant de la nature du terrain à entretenir et, tout particulièrement de la présence de pentes sur ce terrain, f) l'attelage incorrect d'une remorque et la mauvaise répartition des masses.
II. PREPARATION
- Pendant la tonte, ne porter que des chaussures solides et des pantalons longs. Ne jamais tondre pieds nus ou chaussedes sandales.
- Contrôlez systématiquement et soigneusement l'état de la surface à tondre et éliminez tous les objets susceptibles de devenir des projectiles lors du passage de la machine.
- ATTENTION - Le carburant est très inflammable.
- Pour transporter ou stocker le carburant, n'utiliser exclusivement que des récipients conçus et approuvés pour ces usages.
- Toujours remplir le réservoir de carburant à l'air libre et ne pas fumer pendant le remplissage.
- Remplir le réservoir de carburant avant de démarrer le moteur. Ne jamais retirer le bouchon du réservoir et ne jamais rajouter de carburant tant que le moteur est en fonctionnement ou qu'il est encore chaud.
- Si du carburant a été renversé, ne pas tenter de démarrer le tracteur, mais le pousser hors de la zone où le carburant a été renversé et éviter de créer une quelconque source de chaleur avant que les vapeurs de carburant ne se soient dissipées.
- Refermer avec précaution les bouchons des réservoirs ou des récipients contenant du carburant pour garantir la sécurité.
- Remplacer les pots d'échappement défectueux.
- Avant d'utiliser un tracteur de pelouse, toujours vérifier que les lames, les boulons de lame et le carter de coupe ne sont pas usés ou endommagés. Toujours replacer les lames et les boulons simultanément de façon à éviter tout problème d'équilibrage.
- Sur les tracteurs de pelouse multi-lames, ne pas oublier que la rotation d'une lame peut entraîner celle des autres.
III. Utilisation
- Ne jamais démarrer un moteur à l'intérieur dans un espace confiné ou des émanations dangereuses de monoxyde de carbone pourraient s'accumuler. Tondre uniquement à la lumière du jour ou avec une bonne lumière artificielle.
- Avant de tenter de démarrer le moteur, s'assurer que les lames sont débrayées et que la boîte de vitesses est au point mort.
- Ne jamais utiliser un tracteur de pelouse sur des pentes supérieures à.
- Se souvenir qu’il n’est ’éviter tout risque de retournement du tracteur, appliquer avec soin les consignes suivantes :
- ne pas s'arrêter ou démarrer brusquement dans une pente,
- embrayer doucement et ne jamais arrêter le tracteur de pelouse dans une pente, et plus particulièrement dans le sens de la descente.
- conduire toujours lentement dans les pentes, tout comme dans les virages serrés,
- faire attention aux irrégularités du terrain,
- ne jamais tondre en travers d'une pente, à moins que le tracteur de pelouse n'ait eté spécialement concu à cet effet.
- Faire attention lors de la traction de charges ou lors de l'utilisation d'équipements lourds.
- N'utiliser que des points d'attelage approvés.
- Limiter les charges à celles qu'il est possible de contrôler avec sécurité.
- Ne pas tourner trop brusquement. Rester très prudent lors des conduites en marche arrière.
- Utiliser les masses de roues ou les contrepoids lorsqu'ils sont conseillés dans ce manuel d'utilisation.
- Faire attention à la circulation lorsque l'on doit utiliser le tracteur près d'une route ou lorsqu'on doit traverser une route.
- Toujours stopper la rotation des lames lorsqu'on doit traverser une surface autre que du gazon.
- Lors de l'utilisation d'accessoires, ne jamais les utiliser ou les déposer à proximité de celui-ci.
- Ne jamais utiliser le tracteur de pelouse avec un bac, un déflecteur (option) ou un insert broyeur défectueux ou encore, sans qu'un bac ou un déflecteur ne soit monté sur le tracteur. Pourtant, même en fonction broyage, il faut impérativement, pour la sécurité de l'utilisateur que, soit le bac, soit le déflecteur (option), soient placés à l'arrêt du tracteur.
- Conserver le régime de rotation du moteur et ne jamais le faire fonctionner au-dessus de son régime nominal car cela peut être dangereux.
Avant de quitter le siège :
- débrayer les lames et abaisser le carter de coupe, -mettre le levier de vitesse au point mort et enclencher le frein de parking,
- arrête le moteur et retire les clés,
- Débrayer les lames, arrêter de contact :
- avant de retirer l'insert broyeur ou avant de retirer la goulotte d'éjection pour la nettoyer.
- avant de contrôler, nettoyer ou travailler sur le carter de coupe,
- avant de prisoner un objet coincide dans le tracteur de pelouse.
Dans ce cas, inspecter aussitôt la machine pour s'assurer qu'elle n'est pas endommagée et, si nécessaire, faire ou faire faire impérativement les réparations avant de la remettre en marche et de la faire fonctionner à nouveau.
- si la machine commence à vibrer anormalement.
Dans ce cas vérifier immédiatement le carter de coupe.
- é. Débrayer les lames puis arrêter le moteur :
- avant de faire le plein d'essence,
- avant d'enlever le collecteur,
- avant de régler la hauteur de coupe à moins que ce réglage ne puisse s'effectuer du poste de conduite.
- d'un robinet d'arrêt du carburant, fermer celui-ci.
Entretien et entreposage
- S'assurer que tous les écrous, boulons et vis sont bien serrés pour être certain que l'équipement est prêt à fonctionner de nouveau, dans de bonnes conditions.
- Ne jamais entreposer le tracteur de pelouse avec du carburant dans le réservoir, dans un bâtiment où les vapeurs pourraient s'enflammer au contact d'une flamme ou d'une étincelle de l'allumage.
- Attendre le refroidissement du moteur avant d'entreposer la tondeuse autoportée dans un espace fermé.
- Pour supprimer les risques d'incendie, s'assurer que le moteur, le pot d'échappement, le logement de la batterie et du réservoir de carburant ne sont pas encrassés par de l'herbe, des feuilles ou des surplus de graisse.
- Vérifier souvent le bac ou le collecteur pour vous assurer qu'il est propre et qu'il n'est pas endommagé.
- Pour plus de sécurité, remplacer systématiquement les pièces usées ou détériorées.
- Si le réservoir de carburant doit être vidangé, procéder à cette opération à l'extérieur.
- Sur les tracteurs de pelouse multi-lames, ne pas oublier que la rotation d'une lame peut entraîner celle des autres.
- Quand le tracteur de pelouse est garé, éteint ou tout simplement inutilisé, régler la hauteur de coupe dans sa position la plus basse.

ATTENTION: Toujours débrancher le fil de la bougie d'allumage et le placer de telle sorte qu'il ne puisse, en aucun cas, entrer en contact avec la bougie afin de prévenir les démarages accidentels, lors du montage, du transport, des réglages ou des réparations.
- Monter la rallonge de l'arbre de direction (1) en alignant bien les trous. Bien serrer la vis et l'écrou.
- Positionner le carénage sur la colonne de direction. S'assurer que les ergots du carénage sont bien placés dans les trous correspondants du tableau de bord.
- Retirer l'adaptateur cranté du volant et le glisser sur l'arbre de direction. Vérifier que les roues avant sont bien alignées selon l'axe d'avancement et positionner le volant sur l'adaptateur. La traverse du volant doit être perpendiculaire à l'axe d'avancement.
- Mettre en place la grande rondelle plate, la rondelle frein et la vis ou l'écrou hexagonal. Serrer fortement.
- Encliqueter l'enjoliveur de volant dans le centre du volant.
1. Rallonge de l'arbre de direction

Retirer le bouton de réglage et la rondelle plate qui fixent le siège à l'emballage de carton, le conserver pour le montage du siège sur le tracteur.
Basculer le siège vers le haut et le sortir de l'emballage de carton. Se débarrasser ensuite de l'emballage.
Placer le siège sur son embase de façon que la tête de la vis à épaulement se place dans le trou à l'extrémité de la large fente de l'embase (1).
Pousser le siège vers le bas pour engager la vis à épaulement dans la fente puis repousser le siège vers l'arrière du tracteur.
La position du siège seul, par rapport à la position de la pédale de frein et d’embrayage, est réglable. Rechercher une position correcte en déplaçant le siège vers l’avant ou vers l’arrière. Serrer ensuite à fond la vis de réglage (2).
Vérifier que le câble électrique est bien connecté sur le contacteur de sécurité (3) placé sous l'embase du siège.
Fermeture de batterie
- Câble (+)
- Cable (-)
- Carrosserie
- Borne de la batterie
- Batterie
Mise en place de la batterie
REMARQUE: Si la batterie est mise en service au-delà de l'année et du mois indiqués sur l'étiquette, recharger la batterie pendant une heure au moins, à 6-10 A.
ATTENTION: Avant de mettre en place la batterie, prendre la précaution de retirer gourmette, montre-bracelet, anneau, etc. Leur contact avec la batterie pouvant entraîner des brûlures.
- Retirer le capotage de la batterie
ATTENTION: La borne positive doit être connectée la première fois, en cas d'éviter les étincelles qui peuvent se produire à la suite d'une mise à la masse accidentelle.
Retirer les capuchons de protection des bornes et les mettre côte à côte. Placer la batterie dans son logement, les bornes du côté extérieur. Raccorder en premier le câble rouge (+) à la borne positive de la batterie puis le câble noir (-) à la borne négative. Fixer les deux câbles à l'aide des vis et des écrous fournis. Graisser les bornes de la batterie avec une graisse résistante à l'humidité (vaseline) afin d'éviter la corrosion. Replacer le capot de la batterie.

Les roulettes de jauge sont correctement réglées lorsqu'elles se trouvent légèrement au-dessus du sol pendant la tonte, le carter de coupe étant à la hauteur désirée pour la coupe.
- Régler les roulettes de jauge lorsque le tracteur se trouve sur un terrain plat.
- Régler le carter de coupe à la hauteur de coupe désirée. Lorsque le carter de coupe est à la hauteur souhaitée, la roulette de jauge doit être placée légèrement au-dessus du sol. Fixer la roulette de jauge dans le trou approprié du support situé sur le carter de coupe à l'aide de la vis, de la rondelle plate 3/8 et de l'écrou frein 3/8-16. Serrer à fond.
- Répéter cette opération pour l'autre côté en plaçant la seconde roulette dans le trou correspondant à celui utilisé pour la première roulette de jauge.
Assemblage des composants du collecteur
- Goulotte d'éjection
- Ecrou 3/8
- Rondelle plate
- Retirer la goulotte d’éjection (1). Pour cela, libérer les deux attaches élastiques à l’arrière du tracteur et tirer la goulotte d’éjection hors du tracteur.
- Dévisser et retirer les deux écrous ainsi que les deux rondelles plates des vis situées sur le panneau arrière du tracteur (Voir figure).

- Écrou frein diam. 3.8
- Rondelle plate
- Chassis porteur.
- A l'aide des écrous et des rondelles plates qui ont été retirés précédemment du panneau arrière du tracteur, assembler le châssis porteur du collecteur sur le panneau arrière comme indiqué sur la figure.

- Bras support supérieur
- Boulon poêlier 3/8
- Écrou frein 3/8
- Vis H 3/8 x 63,5
- Rondelle plate diam. 10,3 mm (13/32")
- âssis à l'aide des boulons filetés de 3/8 × 3/4 et des écrous fournis. Serrer à fond.
- Assembler chacun des deux bras supports à la face extérieure des tubes verticaux du chassin porteur du collecteur à l'aide des deux vis à tête hexagonale 3/8 x 63,5 mm, des deux rondelles plates 13/32" et des deux écrous frein 3/8 contenus dans la pochette de pièces détachées. Serrer à fond.

- Crochet
- Goulotte d'éjection
- Trou dans le panneau arrêté du tracteur
- Replacer la goulotte d'éjection dans son logement au travers de la trappe d'éjection du panneau arrêté. Immobiliser la goulotte avec les deux attaches élastiques (Voir figure).
REMARQUE: Les crochets des attaches élastiques doivent être accrochés uniquement aux trous prévus à cet effet dans la goulotte d'éjection (2) (Voir figure). Ne pas laisser les crochets pénétrer dans les trous du panneau arrêté du tracteur (3) (Voir figure). Ce qui empêcherait la goulotte d'éjection de flotter avec le carter de coupe lorsque le tracteur se déplace sur un terrain irrégulier.

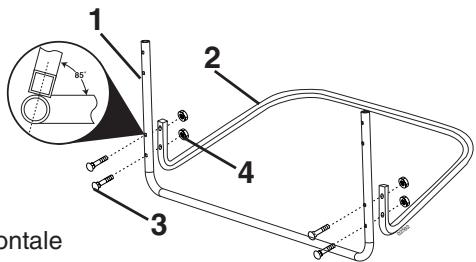
- Armature frontale
- Armature inférieure
- Boulon poelier 1/4 × 50,8 mm
- Écrous freins 1/4

- Armature frontale
- Boulon poelier 1/4 x 50,8 mm
- Écrous freins 1/4
- Bande d'étanchéité en vinyle
- Lever de vidage du collecteur
- Cheville de fixation
- Epingle
- Chapeau

- Le capotage du collecteur doit être aligné sur le capotage des ailes arrière du tracteur
- Crochet régable pour la fixation du collecteur
- Etrier de réglage de la position du collecteur

Pour assembler le collecteur
REMARQUE: Nous vous recommandons, pour plus de facilité, de vous faire aider d'une autre personne pour effectuer le montage du collecteur.
- Les trous dans l'armature frontale du collecteur sont percés avec un angle prédéterminé. Lorsque vous mettez l'armature frontale en position d'assemblage contre l'armature inférieure (voir dessin ci-contre), vérifiez le bon alignement des trous avant de placer les boulons.
- Assembler l'armature frontale et l'armature inférieure à l'aide des 4 boulons poelier 1/4 × 50,8 mm et des 4 écrous frein fournis. Serrer fermement.
- Faire glisser l'ensemble de la structure composée par les deux armatures préalablement assemblées à l'intérieur du collecteur.
- Assembler les armatures frontale et supérieure du collecteur à l'aide des 4 boulons poelier 1/4 × 50,8 mm et des 4 écrous frein fournis. Serrer fermement.
- Mettre en place les bandes d'étanchéité en vinyle sur les armatures du collecteur.
- Insérer le levier de vidage du collecteur dans le trou prévu à cet effet sur le capotage supérieur du collecteur, puis insérer la cheville et la bloquer à l'aide de l'épingle.
- Poussez le chapeau au-dessus de l'extrémité de la poignée de décharge du sac.
REMARQUE : ultérieurement, la cheville et l'épingle pourront être retirées de façon à permettre l'utilisation du levier de vidage pour débourrer, si besoin est, le canal d'éjection du tracteur.
Positionnement du collecteur
Pour optimiser le fonctionnement du collecteur et son apparence, il est nécessaire de le positionner correctement. Il doit y avoir un jeu de 6 à 9 mm entre le collecteur et la partie arrière du tracteur. La surface supérieure du capotage du collecteur doit se situer exactement dans l'alignement de la surface supérieure du capotage des ailes arrière du tracteur.
Réglage de la position horizontale
- Desserrer les écrous de fixation des crochets d'attelage du collecteur sur les étriers de réglage droit et gauche. Desserrer au minimum afin que les éléments gardent leur position mais puissent néanmoins être déplacés légèrement.
- Déplacer les crochets en avant ou en arrière, juste de ce qu'il faut pour obtenir la bonne position du collecteur dans le plan horizontal. Bien serrer les écrous.
Réglage de la position verticale
- Desserrer les écrous de fixation des étriers de réglage du collecteur permettant le réglage dans le plan vertical. Desserrer au minimum afin que les éléments gardent leur position mais puissent néanmoins être déplacés légèrement.
- Déplacer les étriers vers le haut ou vers le bas, juste de ce qu'il faut pour obtenir la bonne position du collecteur dans le plan vertical. Bien resserrer les écrous.
- Repositionner le collecteur sur ses crochets d'attelage afin d'en vérifier l'ajustement. Si le résultat n'est pas conforme aux instructions, répéter les opérations ci-dessus jusqu'à obtention d'un ajustage parfait.
Pour optimiser les fonctions ramassage, broyage ou éjection, se reporter au chapitre 5 de ce manuel d'utilisation.

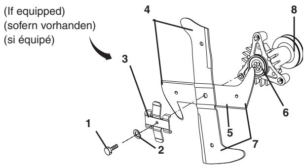
Pour assembler l'insert broyeur (si équipée)
- Retirer l'épingle et l'axe de fixation.
- Insérer la tête de l'insert dans la poignée. Vérifier que les lettres A et B, moulées sur chacune des parties, se trouvent bien du même côté sur la tête et sur la poignée de l'insert, et si elles sont visibles du dessus lorsque l'insert est posé sur le sol.
- Insérer ensuite l'axe de fixation à travers les trous prévus à cet effet dans les deux parties de l'insert et le bloquer à l'aide de l'épingle. Pour mettre en place l'insert (et pour passer de la fonction broyage à la fonction éjection arrière), se reporter au chapitre 5 de ce manuel.

- Handle
- Retainer Spring
- Pin
- Plug

- Mango
- Resort fixateur
- Clavija
- Tapon o tapa

- Poignée de l'insert
- Epingle
- Axe de fixation
- Tête de l'insert

- Hendel
- Sluitveer
- Pen
- Plug

- Interrupteur de commande des phares.
- Commande des gaz (Accélérateur).
- Pédale d'embrayage et de frein.
- Lever de commande de la transmission hydrostatique.
- Embrayage/débrayage du carter de coupe.
- Relevage et abaissement du carter de coupe.
- Clé de contact/démarrage.
- Frein de parking.
- Blocage/déblocage de la roue libre.
- Starter.
- Interrupteur des phares (si équipé)

La commande des gaz permet de faire varier le régime du moteur et donc la vitesse de rotation des lames.

= Régime rapide

= Ralenti

FR 3. Pédale d'embrayage et de frein
En appuyant sur cette pédale, la transmission se débraye et le frein entre en action simultanément.
ES 3. Pédale de frein et de débrayage
4. Levier de commande de la transmission hydrostatique
Le levier peut être placé dans quatre positions différentes :
N = Position neutre
S = Vitesse lente
F = Vitesse rapide
R = Marche arrêté
Le levier peut être déplacé progressivement de S à F afin d'obtenir la vitesse désirée.

5. Commande d'embrayage et de débrayage du carter de coupe
Pousser le levier vers l'avant et le verrouiller pour embrayer le carter de coupe. Les courroies d'entraînement seront alors en tension et les lames commenceront à tourner. Ramener le levier vers l'arrière pour débrayer le carter de coupe, les lames seront alors freinées par le frottement des patins de frein sur les poulies d'entraînement.

6. Relevage et abaissement du carter de coupe
Tirer sur le levier vers l'arrière (1) pour relever rapidement le carter de coupe lors du passage sur une surface accidentée. Pour le transport, le carter de coupe doit être dans sa position la plus élevée (relevé au maximum). Pour cela, tirer le levier vers l'arrière jusqu'à sa butée. Pour abaisser le carter de coupe, tirer légèrement le levier vers l'arrière (1) puis enfoncer le bouton-poussoir (2) situé sur le dessus du levier, ramener ensuite le levier vers l'avant (3) en maintenant la pression sur le bouton-poussoir.

Clé de contact et de démarrage
La clé de contact possède trois positions :
OFF Le circuit électrique est coupé (éteint)
ON Le circuit électrique est fermé (allumé)
START Le démarreur du moteur est alimenté (Dés le démarrage du moteur, relâcher la clé qui revienda automatiquement sur la position "ON")
Attention!
Lorsque la machine doit rester sans surveillance, même pour un court instant, toujours arrêter le moteur, mettre le levier de commande de vitesse au point mort (Neutre) et retirer la clé de contact.
8. Frein de stationnement
Pour enclencher le frein de stationnement :
- Enfoncer à fond la pédale d'embrayage/frein.
- Relever vers le haut le levier du frein de stationnement et le maintenir dans cette position.
- Relâcher la pédale d'embrayage/frein. Relâcher le levier du frein de stationnement qui restera dans sa position verrouillée (en haut).
Pour desserrer le frein de parking, il suffit d'enclencher la pédale d'embrayage/frein pour que le levier du frein de parking soit déverrouillé et qu'il revienne automatiquement dans sa position de repos.

9. Blocage et déblocage de la roue libre
Pour remorquer ou déplacer le tracteur sans l'aide du moteur, la commande de roue libre, qui se trouve sur le tablier arrière du châssis du tracteur, doit être tirée vers l'extérieur et bloquée dans cette position.

Lorsque le moteur est froid, tirer le bouton de commande du starter avant d'essayer de démarrer. Dès que le moteur a démarré et tourne régulièrement, repousser le bouton de commande.
4. Avant de démarrer.
Utiliser de l'essence pure (sans ajouter d'huile) sans plomb. Remplir le réservoir jusqu'au bord inférieur de l'orifice de remplissage, jamais plus haut.
Attention!
L'essence est un produit inflammable. Prendre les précautions nécessaires et faire le plein en extérieur. Ne jamais fumer lors du remplissage du réservoir, ou à proximité, et ne pas refaire le plein tant que le moteur est encore chaud. Ne pas trop remplir le réservoir, penser à l'expansion de l'essence à la chaleur ce qui risquerait d'entraîner le débordement du réservoir. Toujours s'assurer, après le plein, que le bouchon du réservoir est correctement visser et serré. Conserver l'essence dans un récipient spécialement consacré à cet effet et dans un local frais et aéré. Vérifier régulièrement le réservoir et le circuit d'alimentation en carburant.
Répositionnement de combustible
L'orifice de remplissage avec son bouchon/jauge est accessible après basculement du capot moteur vers l'avant. Le niveau d'huile du moteur doit être contrôlé avant chaque utilisation. S'assurer que le tracteur se trouve bien à plat, dévisser le bouchon avec sa jauge, essuyer cette dernière. Remettre en place le bouchon/jauge et le revisser. Attendre quelques secondes et retirer à nouveau la jauge. Contrôler le niveau de l'huile sur la jauge.

Pression de gonflage des pneus
Vérifier régulièrement la pression de gonflage des pneus. La pression de l'air dans les pneus doit être de 1 bar pour les roues avant et de 0,8 bar pour les roues arrière.
Démarrage du moteur
S'assurer préalablement que le carter de coupe est en position de transport (c'est-à-dire : relevé au maximum) et que le levier d'embrayage et de débrayage du carter de coupe est en position "débrayée" (voir figure).
Amener la clé de contact sur la position "Démarrage" ("START").
Remarque!
Ne pas laisser tourner le démarreur plus de 5 secondes à chaque fois. Si le moteur ne démarre pas immédiatement, attendre une dizaine de secondes avant d'effectuer une nouvelle tentative.
Pour assurer un fonctionnement et un rendement corrects, il est recommandé de purger la transmission avant d'utiliser le tracteur pour la première fois. Cette opération supprimera l'air emprisonné à l'intérieur de la transmission pendant le transport du tracteur.
ATTENTION! SI LA TRANSMISSION A ETE DEPOSE POURSON ENTRETIEN OU SON REMPLACEMENT, ELLE DEVRA ETRE PURGEE APRES SON REMONTAGE ET AVANT REUTILISATION DU TRACTEUR..
- Placer le tracteur sur une surface plane afin qu'il ne puisse pas rouler dans aucune direction. Le frein de stationnement doit être desserré pour effectuer les opérations suivantes.
- Débrayer la transmission en plaçant la commande de roue libre sur sa position de marche en roue libre (Se référer à la section "TRANSPORT" de ce livre).
- Démarrer le moteur et mettre la commande des gaz en position de ralenti. S'assurer que le frein de stationnement n'est pas serré.
- Déplacer à fond le levier de commande d'avancement en position de marche avant et le maintenir ainsi pendant 5 secondes. Déplacer ensuite à fond le levier en position de marche arrière et le maintenir ainsi pendant 5 secondes. Répéter ces opérations 3 fois de suite.
- Déplacer le levier de commande d'avancement en position de point mort (N).
- Arrêtez le moteur du tracteur en amenant la clé de contact sur sa position d'arrêt (OFF).
- Embrayer à nouveau la transmission en replaçant la commande de roue libre dans sa position "embrayée" (Voir section "TRANSPORT" de ce manuel).
- Redémarrer le moteur et placer la commande des gaz en position de ralenti.
- Faire avancer le tracteur de 1 à 2 mètres en marche avant, puis de la même distance en marche arrière. Répéter cette opération 3 fois de suite.
- Le tracteur est maintenant prêt pour une utilisation normale.
La machine est équipée d'un dispositif de sécurité qui arrête le moteur immédiatement, s'il est encore en fonctionnement, lorsque le conducteur quitte le siège. Le carter de coupe est également muni d'un dispositif de sécurité qui empêche l'embrayage des lames tant que le collecteur ou le déflecteur (en option) ne sont pas correctement mis en place à l'arrêt du tracteur.


Abaisser le carter de coupe en amenant le levier vers l'avant. Embrayer les lames. Choisir la vitesse d'avancement en fonction du terrain et de la qualité de tonte désirée (Généralement, la position optimale correspond à l'encoche prévue à cet effet au niveau de la commande des gaz). Relâcher doucement la pédale d'embrayage/frein.

Conseils pour la tonte
- Retirer de la pelouse, les pierres et autres objets qui pourraient être propulsés par les lames et doivent ainsi des projectiles dangereux.
- Localiser et marquer les pierres et autres obstacles fixes afin d'éviter une éventuelle collision pendant la tonte.
- Commencer par couper assez haut, puis réduire progressivement cette hauteur de coupe jusqu'à l'obtention du résultat souhaité.
- Le meilleur résultat de coupe sera obtenu avec un régime de rotation du moteur élevé (Les lames tournent très vite) et une vitesse d'avancement réduite (Le tracteur avance lentement). Si l'herbe n'est pas trop haute, ni trop dense, la vitesse d'avancement du tracteur peut être augmentée, en choisissant le rapport de boîte de vitesses supérieur ou en réduisant le régime du moteur, sans affecter la qualité de la coupe.
- Les plus belles pelouses sont celles qui sont tondues souvent. La coupe est plus régulière et l'herbe est mieux répartie sur la surface. Le temps passé pour effectuer la tonte ne sera pas nécessairement plus important, car la vitesse d'avancement pourra être plus élevée sans que l'aspect de la pelouse n'en soit affecté.
- Eviter de to ncement des roues du tracteur dans le sol.
- Nettoyer le carter de coupe, et en particulier le fond, au jet ou au nettoyeur à haute pression, après chaque utilisation. Une raclette peut être utile pour décoller l'herbe fraîche du carter ou de la goulotte d'éjection.
Votre tracteur est équipé d'une alarme sonore qui vous avertit lorsque le bac est plein. Pour arrêter l'alarme, débrayez les lames.
- Amener le tracteur là où vous souhaitez le décharger.
- Mettre le levier de boîte de vitesses au point mort et tirer le frein à main.
- Tirer le levier de vidange du bac vers le haut puis vers l'avant afin d'ouvrir le bac et vider l'herbe coupée.
- Remettre ensuite le levier dans sa position initiale. Vérifier que le collecteur est bien refermé et qu'il se trouve dans la bonne position avant de réembrancher les lames.
Pour passer d'une fonction à une autre :
Les fonctions "broyage" et "éjection arrêté" requièrent la mise en place de dispositifs appropriés.
Pour broyer
- Placer le carter de coupe en position haute.
- Retirer le collecteur ou le déflecteur arrêté (en option).
- Décrocher les deux attaches élastiques et retirer la goulotte d'éjection.
- Mettre en place l'ensemble de l'insert de broyage avec sa poignée dans la trappe d'éjection du panneau arrêté et vérifier que l'insert obture bien le conduit du carter de coupe.
- Immobiliser les deux côtés de la poignée de l'insert en fixant les crochets des deux attaches élastiques dans les trous d'ancrage prévus à cet effet de part et d'autre de la trappe d'éjection.
- Remettre en place le collecteur ou le déflecteur optionnel à l'arrière du tracteur. Ceci est indispensable pour le contacteur de sécurité situé au niveau du panneau arrière.
Pour ejecter à l'arrière
- Mettre le carter de coupe en position haute. Déposer le collecteur ou l'insert broyeur.
- Remettre en place la goulotte au travers de la trappe d'éjection sur le panneau arrière du tracteur.
- Immobiliser la goulotte d'éjection en fixant les deux attaches élastiques dans les trous prévus à cet effet de part et d'autre de la trappe d'éjection.
- Mettre en place le déflecteur, en option, contre le panneau arrêté du tracteur en vissant les quatre vis papillons dans les inserts filetés correspondants qui se trouvent sur le panneau.
- Bien serrer les quatre vis papillons.
Pour ramasser
- Mettre le carter de coupe en position haute. Déposer le déflecteur en option ou l'insert broyeur.
- Remettre en place la goulotte au travers de la trappe d'éjection sur le panneau arrière du tracteur.
- Immobiliser la goulotte d'éjection en fixant les deux attaches élastiques dans les trous prévus à cet effet de part et d'autre de la trappe d'éjection.
- Ne jamais utiliser un tracteur sur des pentes excédant. Les risques de renversement étant alors très importants.
- Ne jamais rouler parallèlement à la pente du fait des risques de renversement. Toujours rouler perpendiculairement à la pente, aussi bien en montant qu'en descendant.
- Ne jamais arrêter ou démarrer un tracteur en pente.
Amener la commande des gaz vers le bas en position de ralenti "". Débrayer les lames en abaissant le levier de commande d'embrayage des lames. Relever le carter de coupe et amener la clé de contact sur la position "OFF". Après des travaux difficiles, laisser le moteur tourner au ralenti pendant 1 à 2 minutes pour qu'il refroidisse avant de l'arrêter.

Ne jamais laisser la clé de contact sur la machine lorsqu'elle reste sans surveillance afin d’éviter que des enfants ou autres personnes non autorisées ne puissent démarrer le moteur.

Avant toute intervention sur le moteur ou le carter de coupe, suivre les instructions ci-dessous :
- Enfoncer la pédale d'embrayage/frein pour verrouiller le frein de stationnement.
- Amener le levier de vitesse en position "Neutre" (point mort). Débrayer les lames.
- Arrête le moteur.
- Débrancher le câble d'allumage de la bougie.
Relever le capot, - Débrancher les phares, - Après s'être placé devant le tracteur, prendre le capot par les côtés, le faire basculer vers l'avant puis le soulever pour le libérer des encoches qui le retiennent au chassis. Pour le remettre en place, repositionner les ergots du capot dans les encoches du chassis. Rebrancher les phares et refermer le capot.
REMARQUE: Le tracteur doit être entretenu régulièrement afin de maintenir ses performances.
ATTENTION! Toujours débrancher le fil de la bougie, afin d'éviter tout démarriage accidentel, lors d'une réparation, d'une inspection ou d'une opération de maintenance.
Avant chaque utilisation :
- Contrôler le niveau d'huile et lubrifier, si nécessaire, les points d'articulation,
- Vérifier que tous les boulons, écrous et épingle sont en place et solidement fixés,
- Contrôler la batterie, ses cosses et sa mise à l'air libre. La recharger doucement à 6 ampères, si nécessaire. Nettoyer la grille de ventilation du moteur. Nettoyer le filtre à air.
- Nettoyer le tracteur afin d'évacuer la poussière et les brindilles qui risqueraient d'endommager le moteur ou de provoquer un échauffement anormal. Vérifier le fonctionnement du frein.
Nettoyage
N'utilisez pas de nettoyeur haute pression pour le lavage. L'eau pourrait s'infiltrer dans le moteur et abréger ainsi la durée de vie de l'appareil.

Pour assurer l'entretien du moteur
Se référer au manuel d'utilisation du moteur.
Vidange de l'huile du moteur
Retirer le bouchon (1) et placer le tuyau de vidange (2). Pour ouvrir la soupape de vidange, repousser légèrement la soupape en la faisant tourner dans le sens contraire des aiguilles d'une montre pour sortir du cran, puis tirer sur la soupape pour libérer l'huile. Pour refermer la soupape de vidange, repousser la soupape et la faire tourner légèrement dans le sens des aiguilles d'une montre jusqu'au verrouillage du cran et relâcher la soupape. - Retirer le tuyau de vidange et replacer le bouchon.
- Bouchon
- Tuyau de vidange

Consignez les dates d'intervention après chaque opération d'entretien.
| Selon les besoins | Toutes les 8 H | Toutes les 25 H | Toutes les 50 H | Toutes les 100 H | Toutes les 200 H | |
| Vidange de l'huile moteur(sans filtré à huile) | ● | |||||
| Vidange de l'huile moteur(avec filtré à huile) | ● | |||||
| Graissage des articulations | ● | |||||
| Vérification des freins | ||||||
| Nettoyage de la grille d'aération | ● | |||||
| Nettoyage du filtré à air et du pré-filtre | ● | |||||
| Remplacement de la cartouche du filtré à air | ● | |||||
| Nettoyage des ailettes defroidissement moteur | ● | |||||
| Remplacement de la bougie | ● | |||||
| Vérification du gonflage des pneus | ||||||
| Remplacement du filtré à carburant | ● | |||||
| Nettoyage des cosses de la batterie et des connexions | ● | |||||
| Vérification du pot d'échévement | ● | |||||
| Graissage des joints | ● | |||||
| Réglage du parallélisme | ||||||
| Réglage du carburateur |

GB 5-Star pattern blade w/ right hand threaded bolt DE Messerbohrung mit fünfeckiger Aussparung, Gewindebolzen mit Rechtsgewinde. FR Lame avec orifice de fixation central (étoile à cinq branches) avec pas de vis à droite (ES) Filo cortador de orificio-estrella de cinco+puntas y un tornillo dextrogiro Lama affettata con aperture stella cinque (5) punte e bollone filettato a destra NL Mes met 5-hoekige ster en rechtsgangig schroefdraad
GB 6-Star pattern blade w/ left hand threaded bolt DE Messerbohrung mit sechseckiger Aussparung, Gewindebolzen mit Linksgewinde FR Lame avec orifice de fixation central (étoile à 6 six branches) avec pas de vis à gauche ES Filo cortador de orificioestrella de seks+puntas y un tornillo levogiro Lama affettata con apertura stella a sei (6) punte e bollone filettato a sinistra NL Mes met 6- hoeleige ster en linksgangig schroefdraad
Les lames doivent être parfaitement affûtées pour obtenir une belle coupe. L'affûtage peut être réalisé à l'aide d'une lime ou d'une meule.
REMARQUE: Il est très important d'affûter les deux extrémités de la lame de façon identique afin d'éviter tout déséquilibre.
ATTENTION: Les deux lames de la tondeuse sont différentes et chacune d'entre elles doit être installée à sa place dans le carter de coupe. Il est vivement conseillé de travailler sur une lame à la fois pour s'assurer du bon assemblage des composants.
FR1. Boulon de type hexagonal avec filtage à droite
- Circlips
- Rondelle plate
- Lame
- Orifice de fixation central (étoile) à cinq branches.
- Moyeu
- Volute
- Support de lame

Lame avec orifice de fixation central (étoile à cinq branches):
Cette lame est fixée au moyen d’un boulon avec filetage à droite. On desserre le boulon en le faisant tourner dans le sens inverse des aiguilles d’une montre et on le resserre en le faisant tourner dans le sens des aiguilles d’une montre.

GB 6 Star pattern blade
FR Lame avec orifice de fixation central (étoile à six branches):
Cette lame est fixée au moyen d’un boulon avec filetage et gauche. On déserre le boulon en le faisant tourner dans le sens des aiguilles d’une montre et on le resserre en le faisant tourner dans le sens inverse.


Pour avoir une bonne qualité de coupe, il est indispensable que les lames soient bien affûtées. Remplacer immédiatement les lames endommagées ou tordues.
Pour remplacer les LAMES :
- Relever le carter de coupe au maximum afin d'avoir accès aux lames.
- Dévisser la vis à tête hexagonale avec la rondelle frein et la rondelle plate qui fixent la lame sur le moyeu.
- Mettre en place la nouvelle lame, ou la lame d'origine réaffutée, avec le tranchant tourné vers le haut comme indiqué.
ATTENTION : Pour que la lame soit bien montée, l'alésage central en forme d'étoile de la lame doit être parfaitement emboîté sur l'étoile du moyeu.
- Revisser la vis à tête hexagonale avec sa rondelle frein et sa rondelle plate en respectant l'ordre prescrit.
- Serrer la vis avec un couple de serrage de 3,7 à 4,9 mkg.
ATTENTION : La vis de fixation de la lame a été traitée thermiquement en classe 8, bien respecter le couple de serrage.
Le frein se trouve à l'avant de la roue arrière côté droit. La roue doit être déposée pour obtenir une bonne accessibilité.
- Avant toute intervention, enfoncer la pédale d'embrayage / frein et verrouiller le frein de parking.
Ne pas oublier de desserrer le contre-écrou (2) après avoir effectué le réglage.
1. Mesurer la distance entre le levier de frein et l'écrou de réglage (X).
- Ressort jaune - La distance doit être de 43mm. Ressort vert - La distance doit être de 40mm.
- Si nécessaire, ajuster la distance en commençant par dévisser le contre-écrou (2) puis en réglant la position de l'écrou (1).
Effectuer l'intervention à partir du côté droit du tracteur.
- Sortir la courroie d'entraînement de la gorge de la poulie motrice (1).
- Retirer les deux épingle fixant les bras de suspension arrière et sortir les bras en tapotant sur leur axe à l'aide d'un marteau.
3. Retirer les épingles (3), (4) et (5) et leur cheville respective.
- Tirer vers l'arrière le levier de commande de releavage du carter de coupe.
- Sortir le carter de coupe de sous le tracteur.
Mise en place du carter de coupe
- Pousser le carter de coupe sous le tracteur. Le déflecteur du canal d’éjection doit se trouver du côté droit.
- La mise en place se fait dans l'ordre inverse de celui de la dépose.
- Déposer le carter de coupe (voir chapitre précédent).
- Sortir la courroie d'entraînement des gorges de poulie en commençant par la poulie du côté gauche du carter de coupe, puis par les autres poulies.
- Retirer ensuite entièrement la courroie du carter de coupe.
- Pour la mise en place de la nouvelle courroie, procéder dans l'ordre inverse. Vérifier que la courroie est correctement positionnée devant tous les guides de courroie.
- Vérifier que la pression dans les quatre pneus est correcte.
- S'assurer que le tracteur est placé sur une surface plane.
- Relever au maximum le carter de coupe.
- Mesurer les distances A et B.
Pour obtenir la coupe la meilleure, le bord avant du carter de coupe (B) doit être situé à 10 mm au-dessous du plan du bord arrière (A). Pour régler la position du bord arrière, procéder de la manière suivante:
- Desserrer l'écrou (1) sur les biellettes de suspension avant, droite et gauche, du carter de coupe.
- Visser les écrous (2) exactement de la même façon sur les biellettes de suspension avant, droite et gauche.
- Lorsque la distance (A) est correcte, verrouiller ce réglage en desserrant l'écrou (1).
Relever le carter de coupe au maximum. - À partir du milieu de chaque extrémités latérales du carter de coupe, mesurer la distance du bord du carter par rapport au sol. La distance (A) doit être la même des deux côtés à 6 mm près. Si un réglage est nécessaire, ne l'effectuer que d'un seul côté en se référant à l'autre côté. - Abaisser ou soulever un côté du carter de coupe en ajustant la position de l'écrou de réglage de ce côté.
REMARQUE: Trois tours complets de l'écrou de réglage correspondent à une variation de la hauteur au-dessus du sol, du carter de coupe, de 0,3 cm.
- Contrôler à nouveau la distance au sol après chaque opération de réglage.
- Désaccoupler le carter de coupe du tracteur comme indiqué précédemment. (Chapitre 6.6).
- Démonter le limiteur de débutement de l'embrayage (1).
- Serrer le frein de stationnement et retirer la courroie d'entraînement de la poulie de guidage (2), puis de la poulie de tension (3).
- À l'arrière, faire passer la courroie entre deux pales du ventilateur (4) et faire tourner à la main le ventilateur dans le sens inverse des aiguilles d'une montre pour dégager la courroie.
- Enfin, dégager la courroie de la poulie motrice (5).
- Lever de la commande d'avancement
- Encoche de position neutre (N) (point mort)
- Vis de réglage

Le levier de la commande d'avancement est réglé en usine et ne nécessite donc pas d'autres réglages. Pour un réglage eventuel, procéder de la façon suivante :
- Desserrer la vis de réglage (3) située à l'avant de la roue arrière droite, et la resserrer légèrement.
- Démarrer le moteur et manoeuvrer le levier de la commande d'avancement afin de tracer la position neutre où le tracteur n'avance plus et ne recule plus.
- Maintenir le levier dans cette position et arrêter le moteur.
- Tout en maintenant le levier en place, desserrer la vis de réglage.
- Amener le levier dans l'encoche de position neutre (N) (point mort).
- Serrer à fond la vis de réglage.
REMARQUE: Mettre le carter de coupe en position basse afin de dégager un peu plus d'espace pour effectuer ce réglage.
Après avoir effectué le réglage ci-dessus, si le tracteur peut encore rouler en avant ou en arrêt alors que le levier de la commande d'avancement est au point mort, effectuer les opérations ci-après :
- Desserrer la vis de réglage (3).
- Déplacer le levier de 1/4 à 1/2" (de 5 à 15 mm) dans la direction du déplacement du tracteur.
- Resserer à fond la vis de réglage. Faire démarrer le moteur et l'essayer.
- Si le tracteur continue à rouler, répéter les opérations ci-dessus jusqu'à obtention du résultat souhaité.


Le ventilateur et les ailettes de refroidissement du carter de transmission doivent être maintenus propres pour assurer un refroidissement correct.
Ne pas essayer de nettoyer le ventilateur ou la transmission tant que le moteur est en fonctionnement ou que la transmission est chaude.
- Vérifier le ventilateur de refroidissement afin de s'assurer que ses pales sont en bon état et propres.
- Vérifier l'état des ailettes de refroidissement du carter de transmission qui ne doivent pas être couvertes de poussière, de résidus de coupe ou d'autres matériaux. Afin d'éviter des fuites eventuelles au niveau des joints, ne pas utiliser d'air comprimé ou de nettoyeur à haute pression pour nettoyer les ailettes.
FLUIDE de la POMPE hydraulique
La transmission est scellée en usine et il n'est donc pas nécessaire de contrôle ou de parfaire le niveau du fluide. Dans le cas où la transmission présenterait une fuite ou nécessiterait une intervention, contacter un réparateur/agréé de la marque de la transmission.
- Manque de carburant dans le réservoir.
- Bougie d'allumage défectueuse.
- Le câblage de la bougie d'allumage est défectueux.
- Il y a des impuretés dans le carburateur ou dans le circuit du carburant.
Le démarreur n'entraîne pas le moteur
- La batterie est déchargée.
- Mauvais contact entre les cosses des câbles de batterie et les bornes de la batterie.
- Le levier de commande d'embrayage/débrayage n'est pas en bonne position.
- Le fusible principal est hors d'usage.
- Le contacteur de démarrage est endommagé.
- Le contacteur de sécurité sur la pédale d'embrayage/frein est défectueux ou endommagé.
- La pédale d'embrayage/frein n'est pas suffisamment enfoncée.
Le moteur ne tourne pas régulièrement
- Un rapport de vitesse trop élevé est enclenché.
- La bougie est défectueuse.
- Le carburateur est mal réglé.
- Le filtre à air est colmaté.
- La mise à l'air libre du réservoir est bouchée.
- Le réglage de l'allumage est incorrect.
- Il y a des impuretés dans le circuit de carburant.
Le moteur manque de puissance
- Le filtre à air est colmaté.
- La bougie d'allumage est déficiente
- Il y a des impuretés dans le circuit de carburant.
- Le carburateur est mal réglé.
Le moteur chauffe
- Le moteur est en surcharge.
- La prise d'air ou les ailettes de refroidissement sont colmatées.
- La turbine de refroidissement est endommagée.
- Le niveau d'huile est trop bas ou il n'y a pas d'huile dans le moteur.
- Le réglage de l'allumage est incorrect.
- La bougie d'allumage est défective.
La batterie ne charge pas
- Le fusible est hors d'usage.
- Une ou plusieurs cellules sont endommagées.
- Mauvais contact entre les bornes de la batterie et les cosses des câbles de batterie.
L'éclairage ne fonctionne pas
- Les ampoules sont grillées.
- L'interrupteur de commande est défectueux.
- Il y a un court-circuit dans le faisceau de raccordement.
Le tracteur vibre
- Les lames de coupe sont mal fixées ou mal positionnées.
- Le moteur est mal fixé.
- Un déséquilibre est apparu à la suite de l'endommagement d'une ou de plusieurs lames de coupe ou à la suite d'un mauvais affûtage.
Coupe irrégulière
- Mauvais affûtage des lames de coupe.
- Le carter de coupe n'est pas à l'horizontal.
- L'herbe est haute et humide.
- L'herbe est accumulée sous le carter de coupe.
- La pression de gonflage des pneumatiques n'est pas identique du côté droit et du côté gauche.
- Le rapport de vitesse enclenché est trop élevé.
- La courroie d'entraînement du carter de coupe patine.
Suivre la procédure suivante une fois la saison terminée:
En fin de saison, suivre la procédure suivante pour le remisage. N'utilisez pas de nettoyeur haute pression pour le lavage. L'eau pourrait s'infiltrer dans le moteur et abréger ainsi la durée de vie de l'appareil.
Nettoyer l'ensemble de la machine et plus particulièrement l'intérieur du carter de coupe.
Effectuer les retouches de peinture qui s'avéreraient nécessaires afin d'éviter la corrosion.
Vidanger le moteur.
Retirer la bougie d'allumage et verser une cuillère à soupe d'huile dans le moteur. Faire tourner le moteur à la main pour répartir l'huile et remettre la bougie en place.
Déposer la batterie et la remiser dans un endroit frais après l'avoir rechargée. La protéger des grands froids.
Remiser la machine à l'abri dans un endroit sec et protégé de la poussière.
Attention!
Ne jamais utiliser d'essence pour effectuer le nettoyage. Utiliser un détergent du commerce et de l'eau chaude.
Entretien et réparations
Pour commander des pièces de rechange, indiquer le nom du modèle, sa version, l’année d’achat, l’année de fabrication et le numéro de série de la machine. Prendre contact avec le revendeur local pour les révisions sous garantie et pour les réparations. Toujours utiliser des pièces de rechange d’origine.

Notice Facile