GALEO 7100 - Fax FRANCE TELECOM - Notice d'utilisation et mode d'emploi gratuit
Retrouvez gratuitement la notice de l'appareil GALEO 7100 FRANCE TELECOM au format PDF.
| Type d'appareil | Fax |
| Alimentation | Secteur |
| Affichage | Écran LCD |
| Clavier | Clavier numérique |
| Vitesse de transmission | Non précisé |
| Résolution d'impression | Non précisé |
| Capacité du chargeur automatique | Non précisé |
| Fonction télécopie | Oui |
| Fonction téléphone | Oui |
| Connectivité | Standard ligne téléphonique |
| Dimensions | Non précisé |
| Poids | Non précisé |
| Langues supportées | Français |
| Fonction mémoire | Oui |
| Impression | Thermique |
| Utilisation | Usage domestique ou bureau |
FOIRE AUX QUESTIONS - GALEO 7100 FRANCE TELECOM
Questions des utilisateurs sur GALEO 7100 FRANCE TELECOM
0 question sur cet appareil. Repondez a celles que vous connaissez ou posez la votre.
Poser une nouvelle question sur cet appareil
Téléchargez la notice de votre Fax au format PDF gratuitement ! Retrouvez votre notice GALEO 7100 - FRANCE TELECOM et reprennez votre appareil électronique en main. Sur cette page sont publiés tous les documents nécessaires à l'utilisation de votre appareil GALEO 7100 de la marque FRANCE TELECOM.
MODE D'EMPLOI GALEO 7100 FRANCE TELECOM
Notice d'utilisation
Galeo 7100

CARTE DE GARANTIE
Votre apparéil est couvert, à partir de sa date d'achat, par une garantie de 36 mois échange à domicile en France métropolitaine.
En cas de nécessité ou dysfonctionnement, vous pouvez contacter la ligne d'assistance dédiée au 39 00 pour les résidents, 39 01 pour les professionnels.
Dans le cas d'un début de fonctionnement et si cela est jugé nécessaire, le téléconseiller pourra proposer l'échange de votre Fax, en toute ou partie.
Pour l'échange, vous voudrez bien préparer votre apparéil, emballé dans son emballage et protections d'origine. Seul le corps de l' apparéil et le combiné téléphonique** seront susceptibles d'être échangés.
Conservez tous les accessoires (Mode d'emploi, supports papier, cable D'alimentation, cable USB et connecteur au réseau téléphonique, cartouches, CD rom ...).
Si vous désirez sauvegarder votre configuration personnelle et votre réseau, nous vous invitons à vous reférer à votre mode d'emploi.
Un transporteur se presentatera alors à l'adresse que vous aurez indiquée lors de la prise de rendezvous. Notre apparéil si il est défectueux, sera remplaced par un matériel aux fonctionnalités et aux performances au moins équivalentes.
- A compter du 1er Juin 2008, le temps d'attente est gratuite, puis prix d'une communication locale depuis une ligne fixe analogique France Telecom (1). Côtut variable selon opérateur. »
(1) Le prix d'une communication locale depuis une ligne fixe analogique France Télecom en métropole ou depuis le service de téléphone par internet Orange est de 0,078 €TTC par appel, puis 0,028€TTC par minute du lundi au vendredi de 8h à 19h hors jours fériés, et de 0,078 €TTC par appel, puis 0,014€TTC par minute le reste du temps. Si l'appeil est passé depuis une ligne d'un autre opérateur, consultez ses tarifs.
** Peut varier selon modèles


LIMITES ET RESTRICTIONS A L'EXÉCUTION DE LA PRESTATION
- Le Client ne pourrait prétendre bénéficier des services prévus dans le cadre de l'échange sur site France Télécom à la suite d'incidents provoqués par l'emploi de fournitures non conformes aux normes et specifications de France Télécom.
- Le présent contrat d'extension de garantie ne comprend pas :
a) La fourniture des consommables et accessoires.
b) La fourniture, le contrôle et le maintain de l'environnement du matériel.
c) Les pieces d'usure liée à une utilisation normale.
d) La peinture et le ravivage du matériel
e) La fourniture de service concernant les logiciels du système et applications du Client ou tout élément connexe ou similaire.
- Le present contrat de garantie sera annulé dans l'hypothèse d'une ou plusieurs interventions consécutives à :
a) Un défaut de fournitures même provisoire d'un environnement prescrit par France Télocom, tel que la défaillance de l'énergie électricque, du conditionnement d'air, du contrôle hygrométrique et de température.
b) Le remplacement de pieces ou fournitures resultant de modifications de matériels (connexions mécaniques ou électriques) effectuees sans l'acceptation préalable de France Télecom.
c) La remise en état du matériel, dans l'hypothèse d'une réparation, transformation ou exécution par des personnes extérieures à la Société France Télécom ou ses mandataires.
d) Des travaux électriques extérieurs à l'équipment initial.
CLAUSE DE TERRITORIALITE
Ce contrat est valable uniquement en France Métropolitaine et Corse.

Imprimé en Chine.
Code du manuel d'utilisation : 382224Z
Date de publication : juin 2008.
Le constructeur se reserve le droit d'apporter des modifications au produit décrit dans cette documentation à tout moment et sans préavis.
Cet équipement a reçu l'agrément, conformément à la décision 482/98/CE du Conseil, concernant la connexion paneuropeenne de terminal unique aux réseaux téléphoniques publics commutes (RTPC). Toutefois, comme il existe des différences d'un pays à l'autre entre les RTPC, l'agrément en soi ne constitue pas une garantie absolue de fonctionnement optimal à chaque point de terminaison du réseau RTPC. En cas de problème, contactez en premier lieu le fournisseur du produit.
Le fabricant déclare, sous sa responsabilité exclusive, que ce produit est conforme à la directive 1999/05/CE (la déclaration complète est disponible à la fin de ce manuel).
La conformité est garantie par le label Cé appliqué sur le produit même.
Déclaration de compatibilité réseau
Nous déclarons que ce produit a été concu pour fonctionner au sein de tous les reseaux des pays de la Communauté Européenne, de la Suisse et de la Norvège.
Dans chaque pays, la pleine compatibilité réseau pourrait dépendre de la prédisposition adéquate des interrupteurs logiciels nationaux. En cas de problème concernant la connexion à des réseaux autres que les réseaux RTPC CE, contactez votre centre d'assistance technique national.
Nous attirons votre attention sur les actions suivantes qui peuvent compromètre la conformité attestée ci-dessus et les caractéristiques du produit :
Alimentation electrolyque erronee.
- Installation ou utilisation erronée ou non conforme aux indications exposées dans le manuel d'utilisation fourni avec le produit.
- Remplacement de composants ou d'accessoires originaux par des pieces non approuvees par le constructeur, ou effectué par du personnel non autorisé.
La prise doit être facilement accessible et doit se couver à proximé du fax. Pour déconnecter l'appareil du réseau électrique, débranchez la fiche du cable d'alimentation.
SOMMAIRE
1 AVANT L'UTILISATION 1-1
REMARQUES CONCERNANT LE RECYCLAGE 1-2
POUR LES PAYS DE L'UNION EUROPEENNE (UE) 1-2
POUR LES AUTRES PAYS (NON UE) 1-2
PRECAUTIONS CONCERNANT LA SECURITE 1-2
RISQUES DE DÉCHARGE ÉLECTRIQUE 1-2
RISQUES D'ETOUFFEMENT 1-3
RISQUES D'INCENDIE 1-3
RISQUES D'ACCIDENT 1-3
PRECAUTIONS CONCERNANT L'UTILISATION 1-3
UTILISATION CONFORME 1-4
PARAMÉTRES D'INSTALLATION ET DE CONFIGURATION 1-4
2 APERCU DU TELECOPIEUR 2-1
TABLEAU DE BORD 2-2
COMPOSANTS EXTERNES 2-5
COMPOSANTS INTERNES 2-6
3 INSTRUCTIONS D'INSTALLATION 3-1
CONTENU DE L'EMBALLAGE 3-2
ENVIRONNEMENT D'INSTALLATION 3-2
CONNEXION AU RÉSEAU TÉLÉPHONIQUE ET AU SECTEUR ÉLECTRIQUE 3-2
CONNEXION DU TELÉCOPIEUR AU RÉSEAU TÉLÉPHONIQUE 3-2
CONNEXION DU COMBINÉ TÉLÉPHONIQUE 3-3
CONNEXION DU TELÉCOPIEUR AU SECTEUR ÉLECTRIQUE 3-4
DEFINITION DE PARAMÉTRES INDISPENSABLES 3-4
DEFINITION DE LA LANGUE ET DU PAYS DE DESTINATION 3-4
MODIFICATION DE LA LANGUE ET DU PAYS DE DESTINATION . . . . . 3-5
MODIFICATION DU PAYS UNIQUEMENT 3-5
MODIFICATION DE LA LANGUAGE UNIQUEMENT 3-5
PREMIÈRE DÉFINITION DE LA DATE ET DE L'HEURE 3-6
MODIFICATION DE LA DATE ET DE L'HEURE 3-7
PASSAGE D'UNE LIGNE PUBLIQUE À UNE LIGNE PRIVÉE (PBX) . . . . 3-8
DEFINITION DU NOM ET DU NUMERO DE FAX 3-9
PREPARATION POUR L'UTILISATION 3-11
CHARGEMENT DU PAPIER D'IMPRESSION 3-11
INSERTION DE LA CARTOUCHE D'IMPRESSION 3-12
IMPRESSION DU MENU ET DE SES FONCTIONS 3-15
4 OPÉRATIONS POUR L'ÉMISSION ET LA RECEPTION DE TÉLECOPIES 4-1
ÉMISSION D'UN ORIGINAL 4-2
LES ORIGINAUX QUE VOUS POUVEZ UTILISER 4-2
INSERTION DE L'ORIGINAL DANS LE DISPOSITIF D'INTRODUCTION AUTOMATIQUE (ADF) 4-2
RéGLAGE DU CONTRASTE ET DE LA RÉSOLUTION 4-3
ÉMISSION D'UN ORIGINAL 4-4
ÉMISSION D'UN ORIGINAL AVEC ÉCOUTE DES TONALITÉS DE LIGNE 4-5
ÉMISSION D'UN ORIGINAL AVEC DÉCROCHEMENT DU COMBINÉ TÉLÉPHONIQUE 4-5
RAPPEL AUTOMATIQUE 4-5
ÉMISSION D'UN ORIGINAL À PLUSIEURS DESTINATAIRES 4-6
ÉMISSION D'UN ORIGINAL DEPUIS LA MéMOIRE 4-6
MODIFICATION/REPÉTITION/ANNULATION D'UNE ÉMISSION DEPUIS LA MÉMOIRE DEJÀ PROGRAMMÈE 4-7
Réception D'UN ORIGINAL 4-7
CHOIX DU MODE DE RECEPTION 4-8
FONCTIONNEMENT DES DIFFÉRÊNTS MODES DE RÉCEPTION 4-8
RéCEPTION D'UN ORIGINAL PAR RELÉVE (POLLING) 4-9
LA RELÉVE (POLLING) 4-9
PROGRAMMATION DE LA REQUête D'ÉMISSION (RéCEPTION PAR RELÈVE) 4-9
MODIFICATION D'UNE RECEPTION PAR RELÉVE DÉJA PROGRAMMÈE 4-10
ANNULATION D'UNÉ RÉCEPTION PAR RELÉVE DEJÀ PROGRAMMÈE 4-10
5 MES CONTACTS 5-1
MES CONTACTS 5-2
PROGRAMMATION DES CONTACTS 5-2
MODIFICATION D'UN NUMERO DES CONTACTS 5-3
SUPPRESSION D'UN NUMERO DES CONTACTS 5-3
IMPRESSION DES DONNÉES DES CONTACTS 5-4
ÉMISSION D'UN ORIGINAL APRES RECHERCHE DANS MES CONTACTS 5-4
ÉMISSION D'UN ORIGINAL À L'AIDE DE LA MÉTHODE LA PLUS RAPIDE 5-5
6 UTILISATION DU TÉLÉPHONE 6-1
UTILISATION DU TÉLÉPHONE 6-2
TELEPHONER APRES CONSULTATION DES CONTACTS 6-2
TELEPHONER A L'AIDE DE LA METHODE LA PLUS RAPIDE 6-3
RAPPELER L'UN DES 20 DERNIERS NUMÉROS ENTRANTS OU L'UN DES 10 DERNIERS NUMÉROS SORTANTS 6-3
7 COPIE 7-1
COPIE 7-2
LES ORIGINAUX QUE VOUS POUVEZ COPIER 7-2
EXECUTION D'UNE COPIE 7-2
8 OPÉRATIONS PLUS SOPHISTIQUÉES 8-1
Définitions SUPPLEMENTAIRES CONCERNANT LA RECEPTION 8-2
RéDUCTION DE LA ZONE D'UN DOCUMENT EN RÉCEPTION 8-2
Réception D'UN DOCUMENT PLUS LONG QUE LE FORMAT DE PAPIER UTILISÉ 8-2
ACTIVATION/DÉSACTIVATION DE LA RÉCEPTION SILENCIEUSE . . . . . . 8-3
VISUALISATION DE L'IDENTIFICATION DE LA PERSONNE QI VOUS APPELLE 8-3
MODIFICATION DU NOMBRE DE SONNERIES 8-4
MODIFICATION DU VOLUME DES SONNERIES 8-5
MODIFICATION DU CODE DE COMMANDE À DISTANCE 8-5
PROGRAMMATION DE LA LISTE DES NUMÉROS EXCLUS 8-6
MODIFICATION DE LA LISTE DES NUMÉROS EXCLUS 8-7
EFFACEMENT DE LA LISTE DES NUMÉROS EXCLUS 8-7
IMPRESSION DE LA LISTE DES NUMÉROS EXCLUS 8-8
DéfinitionS SUPPLEMENTAIRES CONCERNANT L'ÉMISSION . . . 8-8
MODIFICATION DE LA POSITION DU NOM ET DU NUMERO DE FAX 8-8
ÉCOUTE DES SIGNAUX DE PRESE DE LIGNE 8-9
RéGLAGE DU VOLUME DU HAUT-PARLEUR 8-9
RéGLAGE DU VOLUME DES SIGNAUX SONORES 8-9
ACTIVATION/DÉSACTIVATION DE LA FONCTION FLASH 8-10
ACTIVATION/DÉSACTIVATION DU MODE ECM 8-11
9 IMPRESSION DES RAPPORTS ET DES LISTES 9-1
IMPRESSION DES RAPPORTS 9-2
INTERPRETATION DES RAPPORTS 9-2
ACTIVATION/DÉSACTIVATION DE L'IMPRESSION AUTOMATIQUE DES RAPPORTS D'ÉMISSION ET DE NON ÉMISSION 9-3
IMPRESSION SUR DEMANDE DU RAPPORT D'ÉMISSION, DU JOURNAL D'ACTIVITÉS, DU RAPPORT DE MULTIDIFFUSION ET DU RAPPORT D'IDENTIFICATION DES APPELANTS 9-4
IMPRESSION DES LISTES 9-4
IMPRESSION DE LA LISTE DES PARAMÉTRES D'INSTALLATION 9-4
IMPRESSION DE LA LISTE DES PARAMÉTRES DE CONFIGURATION . . . 9-4
IMPRESSION DE LA LISTE DES PARAMÉTRES DE CONFIGURATION DE LA RÉCEPTION 9-5
IMPRESSION DE LA LISTE DES NUMÉROS EXCLUS 9-5
IMPRESSION DES DONNÉES MÉMORISÉES DANS LES CONTACTS 9-5
LES CODES D'ERREUR 10-5
SIGNALISATIONS ET MESSAGES 10-6
SIGNALISATIONS SONORES D'ERREUR 10-7
AUTRES SIGNALISATIONS SONORES 10-7
11 OPÉRATIONS D'ENTRETIEN 11-1
REEMPLACEMENT DE LA CARTOUCHE D'IMPRESSION 11-2
Réétablissement DE LA CARTOUCHE D'IMPRESSION ET CONTROLE DES BUSES 11-5
NETTOYAGE DES CONTACTS ÉLECTRIQUES DE LA CARTOUCHÉ D'IMPRESSION 11-6
NETTOYAGE DU LECTEUR OPTIQUE 11-8
NETTOYAGE DE LA CARROSSERIE 11-11
Page volontairement blanche.
1 AVANT L'UTILISATION
REMARQUES CONCERNANT LE RECYCLAGE
PRECAUTIONS CONCERNANT LA SECURITE
PARAMÉTRES D'INSTALLATION ET DE CONFIGURATION
La boîte en carton, le plastique contenu dans l'emballage et les parties composant le télécopieur peuvent être recyclés, conformément aux normes en vigueur dans votre pays.
Informations sur la Directive 2002/96/CE sur le traitement, la collecte, le recyclage et la mise au rebut des équipements électriques et électroniques et de leurs composants.
POUR LES PAYS DE L'UNION EUROPEENNE (UE)
Il est interdit demettre au rebut tout équipement électrique ou électronique avec les déchets municipaux non triés : leur collecte séparée doit être effectuee.
L'abandon de ces équipements dans des aires non appropriées et non autorisées peut nuire gravement à l'environnement et à la santé.
Les transgesseurs s'exposent aux sanctions et aux dispositions prévues par la loi.
Pourmettre correctement nos équipements au rebut,vous pouvezeffectuer l'une des opérations suivantes:
a) Adressez-vous aux autorités locales, qui vous fourniront des indications et des informations pratiques sur la gestion correcte des déchets (emplacement et hora des déchetteries, etc.).
b) À l'achat d'un de nos équipements, remettez à notre revendeur un équipement usageé, analogue à celui acheté.
Le symbole du conteneur barre, indiqué sur l'équipement, à la signification suivante :

- Au terme de sa durée de vie, l'équipement doit être remis à un centre de collecte approprié, et doit être traité séparément des déchets municipaux non triés.
- L'activation des procédures de traitement, de collecte, de recyclage et de mise au rebut de l'équipement est garantie conformément à la Directive 2002/96/CE (et modifications successives).
POUR LES AUTRES PAYS (NON UE)
Le traitement, la collecte, le recyclage et la mise au rebut des équipements électriques et électroniques doivent être effectuels conformément à la loi en vigueur dans chaque pays.
PRECAUTIONS CONCERNANT LA SÉCURITÉ
RISQUES DE DÉCHARGE ÉLECTRIQUE
- Ne réparez jamais le télécopieur personnellement : le retrait de la carrosserie vous expose à des risques de décharges électriques ou d'autre nature. Contactez toujours un technicien qualifié.
-
En cas d'orage, déconnectez l'appareil de la prise secteur et de la prise téléphonique, pour éviter tout endommagement du télécopieur.
-
Ne verseuz aucun liquide sur le telercopieur, et ne l'exposez jamais à l'humidité.
Si un liquide pénétre à l'intérieur de l'appareil, déconnectez-le immédiatement de la prise secteur et de la prise téléphonique. Avant de le réutiliser, faites-le réparer par un technicien qualifié.
N'exposez jamais le télécopier aux intempérières.
Raccordez le télécopier à une prise électrique murale, uniquement si celle-ci est conforme aux normes en vigueur.
Pour débrancher l'appareil du secteur électrique, tirez la fiche, et jamais le cable d'alimentation. - Ne touchez jamais le cable ou la fiche d'alimentation si vos mains sont humides.
- Ne pliez ou n'écrasez jamais le cable d'alimentation électrique. Eloignez-le également des sources de chaleur.
- Avant d'effectuer toute opération de nettoyage, déconnectez l'appareil du secteur électrique.
- Avant d'utiliser le télécopier, vérifie qu'il n'est pas endommagé et qu'il n'a subiaucun chocol. Le cas échéant, faites-le contrôle par un technicien qualifié.
Le télécopieur et ses accessoires sont emballés dans un film plastique. Ne laissez jamais des enfants sans surveillance jouer avec le matériel d'emballage.
RISQUES D'INCENDIE
- Si vous n'utilise pas le télécopieur pendant une longue période, déconnectez-le de la prise d'alimentation : vous éviterez ainsi que des interférences ou des coupures de secteur puissant l'endommager.
RISQUES D'ACCIDENT
- Placez le télécopier sur une surface stable et horizontally, afin d'eviter des chutes qui pouraient blesser des personnes ou endommager le produit.
- Placez le cable d'alimentation de façon à ce qu'il ne puisse pas être piétiné et qu'il ne puisse pas provoquer de chute.
- Ne laissez jamais des enfants sans surveillance utiliser ou jouer avec le télécopieur.
PRECAUTIONS CONCERNANT L'UTILISATION
- Evitez que le télécopier entre en contact avec des liquides ou de la vapeur. Ne l'installez pas à proximé de sources de chaleur ou dans des lieux poussièreux. Ne l'exposez pas à la lumière directe du soleil.
- Ménagez un espace libre suffisant autour du télécopieur pour autoriser une bonne ventilation.
- Les conditions d'utilisation ideales prévoient une température de 5^ à 35^ et un taux d'humidité compris entre 15% et 85% .
- Eloignez également le télécopier d'autres dispositifs électriques oulectroniques pouvant générer des interférences (appareils de radio, de télévision, etc.).
-
En cas de coupure de courant ou d'interruption de l'alimentation, vous ne pouvez ni effectuer ni receivevoir un appel téléphonique, car le pavé numérique est désactivié.
-
En cas d'urgence, si vous devez absolument effectuer un appel, vous pouvez utiliser un téléphone homologué par le gérant du réseau. Raccordez ce téléphone au télécopieur (dans les pays prévoyant ce type de connexion), ou raccordez-le directement à la prise murale du réseau téléphonique.
- Ménagez un espace suffisant devant la fente d'expulsion des originaux émis et copiés, afin que ceux-ci ne tombent pas au sol.
UTILISATION CONFORME
L'appareil a eté concu uniquement pour émettre, receiveoir et photocopier des documents originaux. Vous pouvez également l'utiliser en tant que téléphone. Tout autre usage est considéré comme non conforme, en particulier la connexion directe à une ligne ISDN (RNIS). Toute utilisation non conforme entraine l'annulation de la garantie.
PARAMÉTRES D'INSTALLATION ET DE CONFIGURATION
Les valeurs prédéfinies pour les paramètres nationaux d'installation et de configuration peuvent varier en fonction des exigences d'homologation ou des nécessités de certains utilisateurs. Par conséquent, ces valeurs ne correspondent pas obligatoirement à celles mentionnées dans ce manuel, et nous vous conseillons d'imprimer ces valeurs avant de les modifier (consultez le chapitre "Impression des rapports et des listes").
2APERCU DU TELÉCOPIEUR
TABLEEAU DE BORD
COMPOSANTS EXTERNES
COMPOSANTS INTERNES

Réf. Description
1 Afficheur à cristaux liquides, formé de deux lignes de 16 caractères chacune. Affichage de messages d'aide et de messages d'erreur.
2 Réglage de la résolution des originaux à émettre et à copier (uniquement si l'original est inséré dans le dispositif d'introduction automatique, ADF).
- Durant une conversation téléphonique, placement de la ligne en état d'attente (avec le combiné téléphonique décroché).
3 Acces aux contacts.
4 Effacement des definiptions erronées sur l'afficheur.
Durant la programmation des fonctions, retour à la fonction précédente.
- Visualisation de la liste des 10 derniers numérores de fax ou de téléphone composés (appels sortants) ou des 20 derniers numérores qui ont appelé et auxquels vous n'avez pas répondu (appels entrants), indépendamment de la présence ou non de l'original dans le dispositif d'introduction automatique (ADF).
5 Accès au menu et aux fonctions correspondantes.
- Insertion d'une pause durant la composition directe du numéro de téléphone ou de fax.
Réf. Description
6 Acces aux services France Telecom.
- Réglage cyclique du volume du haut-parleur, après avoir appuyé sur la touche 0 .
7 Témoin lumineux "erreur": indication d'une anomalie de fonctionnement survenue durant une émission ou une réception.
8 Clignotant : la mémoire contient des documents non encore imprimés.
Eteint : la mémoire ne contient�除 un document.
9 Composition du numero de fax ou de téléphone.
- Si vous appuyez sur l'une de ces touches pendant plus d'une seconde, vous sélectionnez automatiquement (si vous avez effectué la programmation) le numéro de téléphone ou de fax qui lui est associé.
- Définition de n'importe qu'elle donnée numérique.
- Sélection des chiffres et des caractères alphanumériques, durant la définition des nombres et des noms.
10 Dans la numérotation multifréquence, envoi d'une tonalité pour les services spéciaux du réseau.
- Sélection "en arrêté" et "en avant" des caractères et des symboles spéciaux, durant la définition des noms.
11 Avant la composition d'un numero, permet de passer de la numérotation à impulsions à la numérotation multifréquence.
12 Lorsque le combiné est décroché, accès aux fonctions spéciales offertes par l'administrateur du réseau : ces fonctions sont généralement appelées REGISTER RECALL (fonction R).
Si le télécopieur est connecté à un central privé :
Si vous appuyez sur cette touche avant de composer un numéro de téléphone ou de fax, vous accédez au réseau public (si la modalité de sortie est Flash et si le télécopieur a étéprogramme de façon ajustate).
13 Défilament cyclique, de la première à la dernière, et vice versa, des différentes fonctions et des paramètres correspondants au sein du
- Déplacement du curseur vers la "gauche" et vers la "droite", durant la définition des numérios et des noms.
14 Sélection d'un numéro de téléphone ou de fax sans décrocher le combiné téléphonique.
Réf. Description
15 Dans les modes de réception "MANUELLE" et "TEL./FAX", lancement de la réception.
- Àprous avoir composé le numéro de fax, lancement de l'émission (uniquement si l'original est inséré dans le dispositif d'introduction automatique, ADF).
- Confirmation de la sélection des menus, sous-menus, paramètres et valeurs correspondantes, et passage à l' étape suivante.
- Lancement de la copie (uniquement si l'original est inséré dans le dispositif d'introduction automatique, ADF).
16 Ejection d'un original se trouvant dans le dispositif d'introduction automatique (ADF).
Extinction du témoin lumineux " ERREUR".
- Retour du télécopieur à l'état d'attente.
- Interruption de la programmation, de l'émission, de la réception ou de la copie en cours.

Réf. Description
1 Extension du support papier.
2 Bac d'alimentation pour papier ordinaire (ASF). Capacité maximale : 40 feuilles de 80~g / m^2
3 Dispositif d'introduction automatique des documents originaux à émettre ou à copier (ADF). Capacité maximal : 5 feuilles A4 de 80~g / m^2
4 Tableau de bord.
5 Afficheur composé de deux lignes de 16 caractères chacune. Il visualise la date et l'heure, les options des menus, les messages d'erreur et les valeurs de résolution et de contraste.
6 Sortie des originaux et des documents reçus ou copiés.
Réf. Description
7 Combiné téléphonique intégré.
8 Haut-parleur.
9 Prises de connexion.
COMPOSANTS INTERNES

Réf. Description
1 Plaqette d'identification de l'appareil (sous le télécopieur).
2 Logement de la cartouche d'impression.
3 Lecteur optique.
3INSTRUCTIONS D'INSTALLATION
CONTENU DE L'EMBALLAGE
ENVIRONNEMENT D'INSTALLATION
CONNEXION AU RÉSEAU TÉLÉPHONIQUE ET AU SECTEUR ÉLECTRIQUE
DéFInITION DE PARAMÉTRES INDISPENSABLES
PREPARATION POUR L'UTILISATION
IMPRESSION DU MENU ET DE SES FONCTIONS
CONTENU DE L'EMBALLAGE
Outre l'appareil et le present manuel, l'emballage contient les éléments suivants :
L'extension du support papier.
Le cable de connexion à la ligne téléphonique.
Le cable de connexion au secteur électrique.
La fiche téléphonique (dans certains pays).
La confection contenant une cartouche d'impression monochrome gratuite fournie avec l'appareil.
Le combiné téléphonique.
Des informations sur l'assistance après-vente.

Attention: L'utilisation de cartouches d'impression non originales ou recharges provenque l'annulation de la garantie du produit.
ENVIRONNEMENT D'INSTALLATION
Placez le télécopier sur une surface stable. Laissez un espace libre suffisant autour de l'appareil, pour garantir une bonne circulation de l'air. Eloignez le télécopier des sources de chaleur, et ne l'installez pas dans un endroit poussièreux ou humide. N'expose pas l'appareil à la lumière directe du soleil.
CONNEXION AU RÉSEAU TÉLÉPHONIQUE ET AU SECTEUR ÉLECTRIQUE
CONNEXION DU TÉLÉCOPIEUR AU RÉSEAU TÉLEPHONIQUE
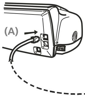
- Insérez le connecteur "miniature" (transparent) du cable de connexion à la ligne téléphonique dans la prise "LINE" située sur le côté arrêté du télécopieur (A).
- Insérez l'autre extrémité du cable dans la fiche téléphonique fournie (si prévue), et insérez ensuite cette fiche dans la prise murale de connexion à la ligne téléphonique (B).



CONNEXION DU COMBINED TELLEPHONIQUE
- Insérez le connecteur du cable du combiné dans la prise correspondante du télécopieur (caracterisé par le symbole ).

- Placez le combiné sur son logement.

CONNEXION DU TELÉCOPIEUR AU SECTEUR ÉLECTRIQUE
- Raccordez la fiche située à une extrémité du cable d'alimentation électrique au connecteur placé sur le côte arrêté de l'appareil (A).
Insérez ensuite la fiche située à l'autre extrémité du cable dans la prise murale du réseau d'alimentation électrique (B).

Remarque: La fiche du cable d'alimentation peut varier en fonction du pays.
DéFInITION DE PARAMÉTRES INDISPENSABLES
Après la connexion au secteur électrique, le télécopieur effectue automatiquement un bref test de contrôle du fonctionnement de ses composants, et l'afficheur visualise les informations suivantes :
La langue d'affichage des messages.
ou bien
Le message AUTOMAT., et les messages DEF. DATE/HEURE et VERIF. CARTOUCHE, en alternance, sur la ligne inférieure.
Dans le premier cas, pour permettre au télécopieur de fonctionner correctement, vous doivent définir la langue et le pays de destination (consultez la procEDURE suivante). En revanche, dans le second cas, passes directement à la définition de la date et de l'heure.
Définition DE LA LANGUE ET DU PAYS DE DESTINATION
- Pour selectionner la langue désirée, appuyez sur les touches (口)
- Pour confirmer la définition, appuyez sur la touche 4_E^面 .
- Pour selectionner le pays desirede, appuyez sur les touches 7 / 4
Pour selectionner un autre pays, consultez le tableau suivant :
| Pays | Pays à seLECTIONner |
| Allemagne | DEUTSCHLAND |
| Danemark | DANMARK |
| Espagne | ESPÔNÀ |
| France | FRANCE Cont. |
| Hollande | NEDERLAND |
| Irlande | U.K./IRELAND |
| Italie | ITALIA |
| Portugal | PORTUGAL |
| Royaume-Uni | U.K./IRELAND |
| Suède | SVERIGE |
- Pour confirmer la définition, appuyez sur la touche _^即 .
Le fax returne automatiquement à l'etat d'atte initial.
Remarque: Le télécopier pourrait ne pas être commercialisé dans certains des pays susmentionnés.
MODIFICATION DE LA LANGUAGE ET DU PAYS DE DESTINATION
Appuyez sur les touches M + 1, repétez la procédure "Définition de la langue et du pays de destination" depuis le début, et confirmez les paramétrages effectuels à l'aide de la touche ①
MODIFICATION DU PAYS UNIQUEMENT
- Appuyez sur la touche M. MENU.
- Appuyez sur les touches (号) / (号) jusqu'à ce que l'afficheur visualise INSTALLATION.
- Appuyez sur la touche
- Appuyez sur les touches / jusqu'à ce que l'afficheur visualise CONFIG.PRYS.
- Appuyez sur la touche 1日 . L'afficheur visualise le pays prédéfini.
- Pour visualiser les autres pays disponibles, appuyez sur les touches (口)
- Pour confirmer votrechoix,appuyez sur la touche
- Pour replacer le fax dans l'etat d'attente initial, appuyez sur la touche (品)
- En revanche, pour revenir à la fonction précédente, appuyez sur la touche c
MODIFICATION DE LA LANGUAGE UNIQUEMENT
- Appuyez sur la touche M.
- Appuyez sur les touches 空 / 空 jusqu'à ce que l'afficheur visualise INSTALLATION.
- Appuyez sur la touche 4号
- Appuyez sur les touches / jusqu'à ce que l'afficheur visualise LINGUE.
-
Appuyez sur la touche L'afficheur visualise la langue prédéfinie.
-
Pour visualiser les autres langues disponibles, appuyez sur les touches (口)
- Pour confirmer votrechoix,appuyez sur la touche 1日
- Pour replacer le fax dans l'etat d'attente initial, appuyez sur la touche 0 .
- En revanche, pour revenir à la fonction précédente, appuyez sur la touche c
PREMIÈRE DÉFINITION DE LA DATE ET DE L'HEURE
La première fois que vous connectez le télécopier au réseau d'alimentation, et à chaque coupure de courant, vous doivent définir la date et l'heure de la façon suivante.
La date et l'heure sont imprimées dans la marge supérieure de tous les documents émis, et sont également visualisées sur l'afficheur, lorsque le télécopieur se trouve dans l'état d'attente initial.
Après avoir été définies, la date et l'heure peuvent être modifiées à tout moment. Vous pouvez également modifier leur format d'affichage (consultez le paragraphe "Modification de la date et de l'heure").
L'afficheur visualise les messages suivants : AUTONAT. sur la ligne supérieure et DEF. DATE/HEURE sur la ligne inférieure.
- Appuyez sur la touche M.
- Appuyez sur la touche 10 . L'afficheur visualise DEF. DATE/HEURE. Le message XX-XX-XX XX:XX
XX-XX-XX XX:XX indique la date et l'heure visualisées pour la première fois sur l'afficheur, après avoir connecté le télécopieur au réseau électrique.
- Pour entrer la nouvelle date et la nouvelle heures (par exemple 10-06-08 et 12:25), appuyez sur les touches (0) - (9^m) . Dès qu'un chiffre est introduit, le curseur passé au chiffre suivant.
- Pour ne déplacer le curseur que sur les chiffres à modifier, appuyez sur les touches / .
- Ensuite, entrez les chiffres corrects à l'aide des touches 0-9
- Pour confirmer la définition, appuyez sur la touche 1 . Le fax returne automatiquement à l'etat d'atte initial.
Remarque : L'etat d'atte (appele également "stand-by") indique la condition d'inactivité dans laquelle se trouve le fax : il s'agit de l'etat dans lequel vous pouvez effectuer les programmes. L'etat d'atte est visualisé sur l'afficheur de la façon suivante :
- Si dernier document original n'est inséré dans l'ADF.
AUTOMAT.
10-SEP-08 12:25
Si un document original est inséré dans l'ADF. DOCUMENT PRET NORMAL
MODIFICATION DE LA DATE ET DE L'HEURE
Si la date et l'heure visualisées sur l'afficheur sont erronées, vous pouvez les modifier à tout moment.
Souvenez-vous toute fois que si vous disposez du service de visualisation de l'identification de la personne qui vous appelle, la date et l'heure seront automatiquement mises à jour à chaque appel reçu.
- Appuyez sur la touche M
- Appuyez sur les touches /A jusqu'à ce que l'afficheur visualise CONFIG.FAX.
- Appuyez sur la touche 1
- Appuyez sur la touche 1品 pour sélectionner DATE ET HEURE.
- À ce niveau, vous pouvezCHOISIR l'une des options suivantes : DEF.DATE/HEURE-Pour modifier la date et l'heure définies precedemment. FORMAT DATE-PourCHOISIR le format d'affichage de la date. FORMAT HEURE-PourCHOISIR le format d'affichage de l'heure.
- Appuyez sur la touche _B^圆 . L'afficheur visualise DEF. DATE/HEURE. Le message XX-XX-XX XX:XX XX-XX-XX XX:XX indique la date et l'heure courantes.
- Pour afficher l'une des options ci-dessus, appuyez sur les touches (口)
- Pour confirmer la définition, appuyez sur la touche
- Si vous avez commis une erreur, ou si vous souhaitez interrompre la procédure, appuyez sur la touche l .
OPTION DEF. DATE/HEURE
Si vous avez besoin l'option DEF. DATE/HEURE,procededez de la façon suivante :
- Frappez la nouvelle date et la nouvelle heures (par exemple 13-06-08 et 18:00) en appuyant sur les touches 0 - 9^m + n .
Dés qu'un chiffre est introduit, le curseur passe au chiffre suivant. - Pour ne déplacer le curseur que sur les chiffres à modifier, appuyez sur les touches / .
- Ensuite, entrez les chiffres corrects à l'aide des touches (0) - (9).
- Pour confirmer la définition, appuyez sur la touche
- Pour replacer le fax dans l'etat d'attente initial, appuyez sur la touche
- En revanche, pour revenir à la fonction précédente, appuyez sur la touche c OPTION FORMAT DATE
Si vous avez besoin l'option FOrmat DArte,procededez de la façon suivante :
- L'afficheur visualise FORMAT DATE et JJ/MM/RA
-
PourCHOISIR un format different du format visualisé, appuyez sur les touches 值 /区
-
Pour confirmer la définition, appuyez sur la touche 1_^圆
- Pour REPLACER le fax dans l'etat d'attente initial, appuyez sur la touche 2 .
- En revanche, pour revenir à la fonction précédente, appuyez sur la touche
OPTION FORMAT HEURE
Si vous avez besoin l'option FOrmat HEURE , procedez de la façon suivante :
- L'afficheur visualise FOrmat HEURE et 24 HEURES.
- PourCHOISIR un format different du format visualisé,appuyez sur les touches (巧) / (巧)
- Pour confirmer la définition, appuyez sur la touche _^圆 .
- Pour replacer le fax dans l'etat d'attente initial, appuyez sur la touche
- En revanche, pour revenir à la fonction précédente, appuyez sur la touche c
Remarque: Si vous avez besoin le format sur 12 heures, la lecture "p" (post meridiem) ou "a" (ante meridiem) apparait sur l'afficheur. Pour passer de l'une à l'autre, procédez de la façon suivante:
1 Répétez la procédure jusqu'à ce que l'afficheur visualise DATE ET HEURE - DEF. DATE/HEURE, et appuyez ensuite sur la touche
2 À l'aide des touches ©/©, placez le curseur sous la dette à modifier.
3 Appuyez sur les touches 7 / 4 .
PASSAGE D'UNE LIGNE PUBLIQUE À UNE LIGNE PRIVÉE (PBX)
Le télécopieur est prédisposé pour être raccordé au réseau téléphonique public, mais vous pouvez le raccorder à une ligne privée, et l'utiliser également sur le réseau public. Pour cela, effectuez les opérations suivantes :
- Sélectionnéz le paramètre PRIVEE (PBX).
- Adaptez le type de numération (multifréquence ou à impulsions) à celui utilisé par le central téléphonique privé (standard) gérant la ligne à laquelle le fax est connecté. En cas de doute, informez-vous auprès de l'administrateur du réseau téléphonique privé.
Passage de la ligne publique à la ligne privée :
- Appuyez sur la touche M.
- Appuyez sur les touches //A jusqu'à ce que l'afficheur visualise INSTALLATION
- Appuyez sur la touche _E^圆
- Appuyez sur les touches 0 jusqu'à ce que l'afficheur visualise CONF.LIGNE TEL...
- Appuyez sur la touche _E^圆 .
- Appuyez sur la touche pour selectionner TYPE DE LIGNE
-
Pour visualiser les options disponibles, TYPE DE LIGNE - PUBLIQUE(PSTN) et TYPE DE LIGNE - PRIVEE (PBX), appuyez sur les touches ()/() .
-
Pour confirmer la définition, appuyez sur la touche
- Pour replacer le fax dans l'etat d'attente initial, appuyez sur la touche 7 .
- En revanche, pour revenir à la fonction précédente, appuyez sur la touche c
Adaptation du type de numérotation (cette fonction n'est activée que dans certains pays):
- Appuyez sur la touche M.
- Appuyez sur les touches //A jusqu'à ce que l'affcheur visualise INSTALLATION
- Appuyez sur la touche _^圆 .
- Appuyez sur les touches / jusqu'à ce que l'afficheur visualise CONF.LIGNE TEL..
- Appuyez sur la touche _^即 .
- Appuyez sur les touches / jusqu'à ce que l'afficheur visualise MODE NUMEROT.
- Appuyez sur la touche _^圆 .
- Pour visualiser les options disponibles, MODE NUMEROT. - IMPULSIONS et MODE NUMEROT.- MULTIFREQUENCY, appuyez sur les touches () / () .
- Pour confirmer la définition, appuyez sur la touche _^面
- Pour replacer le fax dans l'etat d'attente initial, appuyez sur la touche 口 口
- En revanche, pour revenir à la fonction précédente, appuyez sur la touche c
Définition DU NOM ET DU NUMÉRO DE FAX
Après avoir été définis, le nom (16 caractères au maximum) et le nombre de fax (20 caractères au maximum) resteront valables jusqu'à ce que vous les modifiez, et seront imprimés sur toutes les pages reçues par le fax de votre correspondant.
Définition du nom :
- Appuyez sur la touche M.
- Appuyez sur les touches //4 jusqu'à ce que l'afficheur visualise INSTALLATION
- Appuyez sur la touche _^圆 .
- Appuyez sur la touche 1串 pour selectionner NOM ENETTEUR
You pouvez effectuer les opérations suivantes :
- Pour sélectionner de façon cyclique les caractères de chaque touche, appuyez sur les touches 2_ABC - 9^8 × 2 .
- Pour insérer un espace, appuyez sur les touches / .
-
Pour déplacer le curseur sous le premier caractère du nom, appuyez sur la touche
-
Pour déplacer le curseur après le dernier caractère du nom, appuyez sur la touche
- Pour introduire dans votre nom des symboles spéciaux, par exemple &, appuyez sur les touches () - (#) .
-
Pour ajouter un caractère à l'intérieur du nom, placez le curseur sur la position d'insertion du nouveau caractère, en appuyant sur les touches : ensuite, frappez le nouveau caractère. Pour effacer un caractère erroné, placez le curseur à droite du caractère en question, en appuyant sur les touches : ensuite, appuyez sur la touche .
Pour effacer complètement le nom, maintenez enfoncée la touche -
Pour confirmer le nom, appuyez sur la touche _^圆
Définition du numéro de fax :
- Appuyez sur la touche M.
- Appuyez sur les touches / jusqu'à ce que l'afficheur visualise INSTALLATION
- Appuyez sur la touche _E^圆 .
- Appuyez sur les touches ()/() jusqu'à ce que l'afficheur visualise NUMERO EMETTEUR.
- Appuyez sur la touche
- Pour entrer votre numero de fax, appuyez sur les touches (0) - (9^m + 1)
- Pour insérer un espace, appuyez sur les touches / .
Si vous avez commis une erreur, suivez la même procEDURE que pour la définition du nom.
Si vous désirez entra un indicatif de pays, appuyez, au lieu des zéros, sur la touche ; le symbole "+" apparaît sur l'afficheur.
- Pour confirmer le numero de fax, appuyez sur la touche
- Pour replacer le fax dans l'etat d'attente initial, appuyez sur la touche
- En revanche, pour revenir à la fonction précédente, appuyez sur la touche c
Position du nom et du numéro de fax :
Les informations constituent l'en-tête de l'original à émettre (nom, numéro de fax, date et heures et nombre de pages) peuvent être reçues par le fax de votre correspondant dans les zones suivantes :
- À l'extérieur de la zone de texte (juste au-dessous du bord supérieur de la feuille), ou bien
- À l'intérieur de la zone de texte (légèrement plus bas que dans le cas précédent).
Le fax est prédisposé pour envoyer ces informations à l'intérieur de la zone de texte.
Modification de la position :
- Appuyez sur la touche M
- Appuyez sur les touches / jusqu'à ce que l'afficheur visualise CONFIG. FRX.
- Appuyez sur la touche
- Appuyez sur les touches / jusqu'à ce que l'afficheur visualise AUTRES PARAM.
- Appuyez sur la touche 1_B^面 .
- Appuyez sur les touches jusqu'à ce que l'afficheur visualise EN-TETE FRX.
- Appuyez sur la touche
- Pour sélectionner le paramètre INTERNE ou EXTERNE, appuyez sur les touches / .
- Pour confirmer la définition, appuyez sur la touche 1品
- Pour replacer le fax dans l'etat d'attente initial, appuyez sur la touche 7 .
- En revanche, pour revenir à la fonction précédente, appuyez sur la touche c
PREPARATION POUR L'UTILISATION
CHARGEMENT DU PAPIER D'IMPRESSION
- Insérez le support pour le papier d'impression dans la fente correspondante, et poussez-le jusqu'à ce qu'il s'enclenche en position.

- Prenez les feuilles par le bord supérieur, et introduisez-les en les faisant "tomber" dans le bac (ASF), sans les plier et sans forcer.

Remarque: Si vous ajoutez des feuilles (40 au maximum) dans le bac papier (ASF), veillez à les introduire sous et non pas sur les feuilles générées dans le bac. Grâce à la mémoire dont il est doté, le télécopieur peut recevoir jusqu'à un maximum de 50 pages, même si le bac ne contient aucune feuille.
INSERTION DE LA CARTOUCHE D'IMPRESSION

Attention: Le télécopier est fourni avec une cartouche gratuite de première dotation. Vous ne pouvez pas utiliser plus d'une fois cette cartouche de première dotation : si vous tentez de la réinsérer après la signalisation d'encre épuisée, l'afficheur visualise le message suivant :
ATTENTION I CARTOUCHE DEJA UTILISEE I LA CARTOUCHE NE PEUT ETRE UTILISEE QU'UNE SEULE FOIS
Souvenez-vous de n'utiliser que des cartouches d'impression originales (voir le code indiqué à la fin du manuel). L'utilisation de cartouches d'impression non originales ou recharges n'est pas autorisée. Dans tous les cas, l'utilisation de ce type de cartouches provoque l'annulation de la garantie du produit.
Si après avoir inséré la cartouche, le message VERIF. CARTOUCHE apparait de nouveau sur l'afficheur, retirez la cartouche, et essayez de la réintroduire en appuyant plus fermement. Si le message ne disparait pas, retirez la cartouche d'impression, et nettoyez les contacts électriques de la cartouche et du chariot porte-tête (consultez le paragraphe "Nettoyage des contacts électriques de la cartouche d'impression", du chapitre "Opérations d'entretien").
- Decrochez le combiné téléphonique, et place-le sur une surface stable.

- Débloquez et soulevez le tableau de bord, comme indiqué par les flèches.

- Saisissez la cartouche par ses deux côts, sortez-la de son emballage, et enlevez le film de protection des buses.

- Insérez la cartouche dans le logement, avec les contacts électriques orientés vers le bas.

- Poussez la cartouche jusqu'à ce que vous entendiez un déclic qui confirme sa correcte insertion.

Remarque: La cartouche gratuite fournie avec l'appareil vous permet d'imprimer jusqu'à 60 pages. En revanche, les cartouches d'impression que vous achetez par la suite, d'une plus grande capacité, vous permettront d'imprimer jusqu'à 300 pages. *Format Test Chart ITU-TS n.1 (couverture du noir de 3,8%).
Après avoir inséré la cartouche d'impression, fermé le tableau de bord et place le combiné téléphonique sur son logement, le fax exécute la procédure de rétablissement et de contrôle des buses. Lorsque l'afficheur visualise DEF. DATE/HEURE : XX-XX-XX XX:XX
-
Frappez la nouvelle date et la nouvelle heures (par exemple 13-06-08 et 18:00) en appuyant sur les touches 0 - 9^100% , et appuyez ensuite sur la touche _P^B .
-
Lorsque l'afficheur visualise CONFIRMER D/H, appuyez sur la touche (1) pour confirmer les données insérées ou appuyez sur la touche (2) pour les modifier. Cette procédure se termine par :
L'impression, sur la feuille automatiquement inseree, d'un résultat diagnostic. Cette impression contient :
- Une échelle graduée permettant de contrôler le flux d'encre et les circuits électriques des buses de la cartouche d'impression.
-
De la graphique et du texte permettant d'évaluer la qualité d'impression.
-
La visualisation sur l'afficheur du message suivant : VERIF.IMPRESSION , 1=QUIT. 0=REPET..
Examinez l'impression du résultat diagnostic de la façon suivante :
- Contrôlez que l'échelle graduée ne présente aucune interruption, et que les zones noires neprésentent aucune ligne blanche horizontal: si tel est le cas, cela signifie que la cartouche d'impression est parfaitement insérée et qu'elle fonctionne correctement. Dans ce cas, Sélectionnez l'options 1. Le fax returne à l'état d'atte initial, et est prét à être utiliser. L'afficheur visualise le message AUTOMAT. sur la ligne supérieure, et la date et l'heure courantes sur la ligne inférieure.
- En revanche, si vous remarquez des interruptions ou des lignes blanches, sélectionné l'option 0 pour répéter le nettoyage des buses : si la qualité de la nouvelle impression ne vous satisfait toujours pas, répétez encore une fois la procédure. Ensuite, procédez de la façon suivante :
- Si la qualité d'impression est toujours insuffisante, nettoyez les contacts électriques (consultez le paragraphe "Nettoyage des contacts électriques de la cartouche d'impression", du chapitre "Opérations d'entretien").
- En revanche, si la qualité d'impression est satisfaisante, Sélectionnez l'option 1. Le fax returne à l'état d'atteinte initial, et est prét à être utiliser.

Attention :
Lorsque l'encre de la cartouche d'impression est presque épuisée, l'afficheur visualise le message CART. EN EPUISEN. Le télécopieur imprime également, sur une feuille automatiquement insérée, un message vous informant que l'encre est presque épuisée. En revanche, lorsque l'encre est épuisée, l'afficheur visualise le message CHANG. CARTOUCHE. Pour replacer la cartouche d'impression, consultez le chapitre "Opérations d'entretien". Pour accérir de nouvelles cartouches d'impression, consultez le code indiqué à la fin du manuel.
IMPRESSIOn DU MENU ET DE SES FONCTIONS
Avoir toujours à disposition une impression de la structure du menu et des fonctions de ce dernier pourrait vous être utile : par conséquent, nous vous conseillons de l'imprimer.
- Appuyez sur la touche M.
- Appuyez sur les touches / jusqu'à ce que l'afficheur visualise l'P.L.FONCTIONS.
- Pour confirmer la définition, appuyez sur la touche _B . Au terme de l'impression, le fax returne automatiquement à l'etat d'atte initial.
Page volontairement blanche.
4 OPÉRATIONS POUR L'ÉMISSION ET LA RECEPTION DE TÉLECOPIES
ÉMISSION D'UN ORIGINAL
RéCEPTION D'UN ORIGINAL
RéCEPTION D'UN ORIGINAL PAR RELÉVE (POLLING)
LES ORIGINAUX QUE VOUS POUVEZ UTILISER
Dimensions
Largeur 210 mm.
Longueur min. 105mm -max. 600~mm
- Grammage 70 - 90 g/m² (5 feuilles au maximum).
Pour les originaux dont les dimensions diffèrent par rapport aux caractéristiques ci-dessus, photocopiez les originaux sur des feuilles de format A4 ou de dimensions consenties, et envoyez ensuite ces photocopies.
N'UTILISEZ JAMAIS
Du papier roulé.
Du papier trop fin.
Du papier déchiré.
Du papier mouillé ou humide.
Du papier trop petit.
Du papier froissé.
Du papier carbone.
En outre, pour éviter des dommages qui poursaientmettrevotrefax hors-service et qui annuleraient sa garantie,n'utilisez jamais d'originauxpresentant:
Des agrafes métalliques.
- Des trombones.
Du ruban adhesif.
- De la colle ou du correcteur liquide non sec.
Dans ces cas, copiez l'original et envoyez la copie.
INSERTION DE L'ORIGINAL DANS LE DISPOSITIF D'INTRODUCTION AUTOMATIQUE (ADF)
- Insérez l'original dans le dispositif d'introduction, avec le côté à émettre orienté vers le bas (A).
Placez l'original contre le bord croit du dispositif d'introduction (B) : consultez l'indication sur la carrosserie du télécopieur.

- ÀpRES avoir inséré l'original dans le dispositif d'introduction, l'afficheur visualise le message suivant sur la ligne supérieure : DOCUMENT PRET . Sur la ligne inférieure, l'afficheur visualise la valeur initiale du type de contraste : NORMAL .
Remarque: ÀpRES avoir inséré l'original dans le dispositif d'introduction, si vous n'effectuez aucune opération dans les deux minutes suivantes, le télécopieur ejecte automatiquement l'original du dispositif.
RéGLAGE DU CONTRASTE ET DE LA RÉSOLUTION
Avant d'émettre un original, vous pouvez effectuer des réglages afin d'optimiser la qualité de l'impression.
RéGLAGE DU CONTRASTE
- Appuyez sur la touche M
- Appuyez sur les touches jusqu'à ce que l'afficheur visualise CONFIG.FAX.
- Appuyez sur la touche 1日
- Appuyez sur les touches / jusqu'à ce que l'afficheur visualise RUTRES PARRM.
- Appuyez sur la touche 1_图.
- Appuyez sur les touches ⑦/④ jusqu'à ce que l'afficheur visualise CONTRASTE.
- Appuyez sur la touche 1_^即
- Pour visualiser les autres valeurs disponibles, CONTRASTE - NORMAL, CONTRASTE - FONCE et CONTRASTE - CLAIR, appuyez sur les touches () / () .
- Pour confirmer votrechoix,appuyez sur la touche
- Pour replacer le fax dans l'etat d'attente initial, appuyez sur la touche 口 口
- En revanche, pour revenir à la fonction précédente, appuyez sur la touche c
Le contraste doit être choisi en fonction des critères suivants :
NORMAL, si l'original n'est ni trop clair ni trop foncé.
CLAIR, si l'original est particulièrement foncé.
FONCE, si l'original est particulièrement clair.
RéGLAGE DE LA RÉSOLUTION
L'original doit être inséré dans le dispositif d'introduction automatique (ADF).
- Appuyez sur la touche Rssolutionjusqu'acce que I'afficheur visualise la valeur derésolution désirée.
La résolution doit êtrecision en fonction des critères suivants :
STANDARD, si I'original contient des caractères facilement lisibles. La ligne
inférieure de l'afficheur visualise "une flèche" en regard du symbole imprimé sur le tableau de bord.
FIN, si l'original contient des caractères très petits ou des dessins. La ligne
inférieure de l'afficheur visualise "une flèche" en regard du symbole imprimé sur le tableau de bord.
- DEMI-TONS, si l'original contient des zones grises. La ligne inférieure de l'afficheur
visualise "deux flèches" en regard des symboles et imprimés sur le tableau de bord.
ÉMISSION D'UN ORIGINAL
- Insérez l'original dans le dispositif d'introduction automatique (ADF). Sur la ligne inférieure, l'afficheur visualise la valeur initiale du type de contraste.
La valeur initiale du type de résolution est la suivante : (Standard).
Si vous le souhaitez, modifiez les valeurs de contraste et de résolution, en suivant les procédures décrites précédemment.
-
Pour composer le nombre du fax du destinataire, appuyez sur les touches (0) - (9^**)
-
Pour lancer l'émission, appuyez sur la touche
Au terme de l'émission, si celle-ci s'est bien déroulée, l'afficheur visualisependant un instant le message EMI. TERMINE.
Remarque: Pour effacer un chiffre erroné, placez le curseur, à l'aide des touches ©/©, à droite du chiffre en question, et appuyez sur la touche En revanche, pour effacer complètement le numéro, maintenez la touche enfoncée pendant quelques secondes.
Remarque: Si vous le souhaitez, vous pouvez composer le numéro du correspondant à l'aide des contacts : consultez les paragraphs "Programmation des contacts" et "Émission d'un original à l'aide de la méthode la plus rapide".
Remarque: Si vous désirez interrompre l'émission en cours, appuyez sur la touche : le fax éjecte l'original de l'ADF, et returne à l'état d'attente initial. Si l'original à retarder est composé de plusieurs feuilles, avant d'appuyer sur la touche pour éjecter la première feuille, retirez manuellement toutes les autres.
ÉMISSION D'UN ORIGINAL AVEC ÉCOUTE DES TONALITÉS DE LIGNE
- Insérez l'original dans le dispositif d'introduction automatique (ADF). Sur la ligne supérieure, l'afficheur visualise le message DOCUMENT PRET. Sur la ligne inférieure, l'afficheur visualise la valeur initiale du type de contraste : NORMAL. La valeur initiale du type de résolution est la suivante : (Standard). Si vous le souhaitez, modifiez les valeurs de contraste et de résolution, en suivant les procédures décrites précédemment.
- Pour écouter les tonalités de ligne, appuyez sur la touche 8_t . L'afficheur visualise EN LIGNE. Dans l'angle supérieur droit, l'afficheur visualise également la durée de l'émission (exprimée en minutes et secondes).
- Pour composer le numero du fax du destinataire, appuyez sur les touches (0) - (9).
- Dés que vous entendez la tonalité du fax, appuyez sur la touche ①_E . L'émission démarre. Au terme de l'émission, si celle-ci s'est bien déroulée, l'afficheur visualisependant un instant le message éMI. TERMINER .
ÉMISSION D'UN ORIGINAL AVEC DÉCROCHEMENT DU COMBINÉ TÉLÉPHONIQUE
- Insérez l'original dans le dispositif d'introduction automatique (ADF). Sur la ligne supérieure, l'afficheur visualise le message DOCUMENT PRET. Sur la ligne inférieure, l'afficheur visualise la valeur initiale du type de contraste : NORMAL .
La valeur initiale du type de résolution est la suivante : (Standard).
Si vous le souhaitez, modifiez les valeurs de contraste et de résolution, en suivant les procédures décrites précédemment.
- Decrochez le combiné pour prendre la ligne ( ). L'afficheur visualise EN LIGNE . Dans l'angle supérieur droit, l'afficheur visualise également la durée de l'émission (exprimée en minutes et secondes).
- Pour composer le nombre du fax du destinataire, appuyez sur les touches (0) - (9). Si le fax du destinataire est prédisposé pour la réception automatique, vous entendrez la tonalité du fax.
En revanche, si le fax est prédisposé pour la réception manuelle, le destinataire décrochera le combiné, vous l'invitez à appuyer sur la touche d'envoi de son fax, et vous entendrez ensuite la tonalité du fax.
- Pour lancer l'émission, appuyez sur la touche ①_E . Au terme de l'émission, si celle-ci s'est bien déroulée, l'afficheur visualise pendant un instant le message EHI. TERMINER.
RAPPEL AUTOMATIQUE
Si la connexion a échoué à cause d'une anomalie de ligne ou parce que le nombre du correspondant est occupé, le fax repête automatiquement le nombre, le nombre de fois prévu par les normes de votre pays.
ÉMISSION D'UN ORIGINAL À PLUSIEURS DESTINATAIRES
Votre fax est doté d'une mémoire qui vous permet d'émettre un original à une heures prédéfinie (émission différée), et d'émettre un original à plusieurs destinataires (multidiffusion, à 10 destinataires au maximum). Consultez le paragraphe ci-dessous, "Émission d'un original depuis la mémoire".
ÉMISSION D'UN ORIGINAL DEPUIS LA MÉMOIRE
- Insérez l'original dans le dispositif d'introduction automatique (ADF). Sur la ligne supérieure, l'afficheur visualise le message DOCUMENT PRET. Sur la ligne inférieure, l'afficheur visualise la valeur initiale du type de contraste : NORMAL. La valeur initiale du type de résolution est la suivante : (Standard).
Si vous le souhaitez, modifierez les valeurs de contraste et de résolution, en suivant les procédures décrites précédemment.
- Appuyez sur la touche M. MENU
- Appuyez sur les touches 空 / 空 jusqu'à ce que l'afficheur visualise ENL.DEPUIS MEL.
- Appuyez sur la touche 1_^面
- Appuyez sur la touche [4] pour Sélectionner PROGRAMMER. Le fax commence à memoriser l'original.
- Lorsque le fax vous le demande, frappez l'heure à laquelle vous souhaitez effectuer l'émission, par exemple "16:50", en appuyant sur les touches (0) - (9).
- Pour confirmer l'heure courante ou l'heure définie au point 6, appuyez sur la touche 1_E .
- Composez le numéro du destinataire directement sur le pavé numérique du fax, en appuyant sur les touches (0) - (9).
- Si vous le souhaitez, vous pouvez rechercher le numéro du destinataire dans les contacts (consultez "Programmation des contacts"). Pour cela, effectuez les opérations suivantes:
1 Appuyez sur la touche ABREGb.
2 Appuyez sur les touches / pour rechercher le numero désiré. ou bien
1 Appuyez sur la touche de la dette initiale du nom que vous recherchez. Le télécopieur effectue la recherche du nom dans l'ordre alphabetique.
- Appuyez sur la touche 4号 . Le fax vous invite à introduire un autre numéro. Si vous désirez émettre l'original à plusieurs destinataires, repêze les deux points précédents pour chaque destinataire. En revanche, si vous ne désirez émettre l'original qu'à un seul destinataire, passes directement au point suivant sans introduire d'ultérieurs numéro.
-
Appuyez sur la touche
-
Pour visualiser l'une des options disponibles, IMPRIMER PROG. - OUI ou IMPRIMER PROG. - NON, appuyez sur les touches () / () .
- Pour confirmer votrechoix,appuyez sur la touche
- Pour visualiser l'une des options disponibles, CONFIRMER PARAM. - NON ou CONFIRMER PARAM. - OUI, appuyez sur les touches ()/() .
- Pour confirmer votrechoix,appuyez sur la touche
Si vous avez choisi CONFIRMER PARAM. - OUI, le fax termine la procEDURE, et l'afficheur visualise le message AUTOMAT. sur la ligne supérieure et le message EMI.DEPUIS MEN sur la ligne inférieure.
Si vous avez choisi CONFIRNER PARAM. - NON, le fax vous permet de modifier les paramétres précédément définis (numéro du correspondant, heures d'émission, etc.).
Remarque: En cas de coupure de courant, l'émission depuis la mémoire programmée est annulée.
MODIFICATION/REPÉTITION/ANNULATION D'UNE ÉMISSION DEPUIS LA MéMOIRE ΔÉJA PROGRAMMÈE
- Appuyez sur la touche M.
- Appuyez sur les touches 心 / 心 jusqu'à ce que l'afficheur visualise EPI.DEPUIS MEM.
- Appuyez sur la touche
- Appuyez sur les touches 1 / 2 jusqu'à ce que l'afficheur visualise modifier
You pouvez désirir l'une des options suivantes :
EPI. DEPUIS MEN. - MODIFIER - Pour modifier le numéro du destinataire ou l'heure d'exécution de l'émission.
EIL DEPUIS MEN. - IMPRIMER PROG. - Pour imprimer les paramètres relatifs à l'émission depuis la mémoire.
Au terme de l'impression, le fax returne automatiquement à l'etat d'attente initial. EILL.DEPUIS MEN. - ANNULER - Pour annuler la programmation. Le fax returne à l'etat d'attente initial.
- Pour visualiser l'une des options disponibles, appuyez sur les touches (口)
- Pour confirmer votrechoix,appuyez sur la touche
Si vous avez besoin EPI. DEPUIS MEN. - MODIFIER, suivez la procEDURE "Émission d'un original depuis la mémoire" à partir du point 6.
RéCEPTION D'UN ORIGINAL
Sur votre fax, vous pouvez programmertrois modes distincts de réception des documents:
-
Réception manuelle : ce mode de réception est indiqué lorsque vous étés présente et que vous pouvez répondre personnellement aux appeals.
-
Réception automatique: ce mode de réception convient si vous étés absent, mais que vous désírez tout de même receivevoir des documents. Il s'agit du mode de réception prédéfini sur le fax.
Réception automatique avec reconnaissance du type d'appoint : dans ce mode de réception, après un certain nombre de sonneries (la valeur prédéfinie est 2 sonneries), le fax se connecte à la ligne téléphonique et peut reconnaître si l'appoint provient d'un fax ou d'un téléphone.
CHOIX DU MODE DE RÉCEPTION
- Appuyez sur la touche M.
- Appuyez sur les touches / jusqu'à ce que l'afficheur visualise CONF. RECEPTION
- Appuyez sur la touche 4日
- Appuyez sur la touche _g^图^ pour selectionner MODE RECEPTION
- Pour visualiser l'une des options disponibles, MODE RECEPTION - AUTOMAT., MODE RECEPTION - MANUELLE ou MODE RECEPTION - TEL./FAX, appuyez sur les touches
- Pour confirmer votrechoix,appuyez sur la touche
- Pour replacer le fax dans l'etat d'attente initial, appuyez sur la touche
- En revanche, pour revenir à la fonction précédente, appuyez sur la touche
FONCTIONNEMENT DES DIFFÉRENTS MODES DE RÉCEPTION
RéCEPTION MANUELLE
- Dès que le téléphone sonne, décrochez le combiné pour prendre la ligne ( ).
- Lorsque vous entendez la tonalité du fax ou lorsque l'interlocuteur vous invite à receivevoir, appuyez sur la touche 4日
- Raccrochez le combiné (). Le fax commence à receivevoir, et l'afficheur visualise des informations sur la réception en cours, comme le numéro du fax de l'interlocuteur ou, s'il a étéprogrammé, son nom.
Au terme de la réception, l'afficheur visualise pendant quelques secondes le message REC. TERMINER, et il visualise ensuite l'etat d'attente initial.
RéCEPTION AUTOMATIQUE
Après deux sonneries, le fax se prépare à receivevoir. La réception se déroule comme indiqué pour la réception manuelle.
RéCEPTION AUTOMATIQUE AVEC RECONNAISSANCE DU TYPE D'APPEL
Dans ce mode de réception, le comportement du fax dépend de la provenance de l'appel :
- Si l'appeil provient d'un autre fax, après deux sonneries, votre fax se prépare automatiquement à receivevoir.
- Si l'appeil provient d'un téléphone, après deux sonneries, votre fax émet un signal sonore pendant 20 secondes et l'afficheur visualise DECR. COMBINE. Si vous ne décrochez pas le combiné dans les 20 secondes, votre fax se prépare automatiquement à receiveoir.
Si vous décrochez le combiné avant que le fax ne se connecte à la ligne téléphonique, et si vous entendez les tonalités de ligne, effectuez les opérations suivantes :
- Appuyez sur la touche ^面
- Raccrochez le combiné ().
Remarque: Pour interrompre une réception en cours (quel que soit son type), appuyez sur la touche 0 . Le fax returne à l'objet d'attente initial.
RéCEPTION D'UN ORIGINAL PAR RELÉVE (POLLING)
LA RELÈVE (POLLING)
La fonction relève permet à un fax de demander à un apparéil distant de lui envoyer automatiquement un document.
Les caractéristiques fondamentales de cette méthode de communication sont au nombre de deux :
- C'est le destinataire qui demande l'émission du document. En effet, vous pouvez vous connecter à un autre fax et faire en sorte que celui-ci vous envoie automatiquement un document (préparé au préalable), même en l'absence de votre correspondant.
- La transaction est à la charge de la personne qui invite à émettre (c'est-à-dire du destinataire), et non pas à la charge de la personne qui émet le document.
PROGRAMMATION DE LA REQUête D'ÉMISSION (RéCEPTION PAR RELÈVE)
Convenez avec votre correspondant de l'heure de l'appoint, pour qu'il "dépose" le document à émettre dans son fax. Ensuite, programmez votre fax pour la réception du document, en définissant le type de numérorotation à utiliser pour appeler le fax distant, et l'heure à laquelle vous désirez receivevoir le document.
- Appuyez sur la touche M
- Appuyez sur les touches / jusqu'à ce que l'afficheur visualise REC. RELEVE
- Appuyez sur la touche _^即 .
-
Appuyez sur la touche ① pour selectionner PROGRAMMER.À ce niveau, vous pouvez soit confirmer l'heure courante, soit frapper l'heure désirée.
-
Pour frapper l'heure désirée, appuyez sur les touches (0) - (9^w_w)
- Pour confirmer l'heure courante ou la nouvelle heures, appuyez sur la touche
- Composez le numéro du correspondant directement sur le pavé numérique du fax. Pour cela, appuyez sur les touches 0 - 9.
- Si vous le souhaitez, vous pouvez rechercher le numero du destinataire dans les contacts (consultez "Programmation des contacts"). Pour cela, effectuez les opérations suivantes:
1 Appuyez sur la touche ABREs
2 Appuyez sur les touches / pour rechercher le numero désiré. ou bien
1 Appuyez sur la touche de la dette initiale du nom que vous recherchez. Le télécopieur effectue la recherche du nom dans l'ordre alphabetique.
2 Pour confirmer la programmation, appuyez sur la touche _B^图 .
Le fax visualise pendant quelques secondes le message DEP./REL. DEFINIE, et il returne ensuite automatiquement à l'état d'attente initial.
La seconde ligne de l'afficheur visualise REC.REL. 18:20.
MODIFICATION D'UNE RECEPTION PAR RELÈVE DEJÀ PROGRAMMÉE
- Appuyez sur la touche M.
- Appuyez sur les touches / jusqu'à ce que l'afficheur visualise REC. RELEVÉ .
- Appuyez sur la touche 1
- Appuyez sur les touches //A jusqu'à ce que l'afficheur visualise MODIFIER.
- Appuyez sur la touche 1_^圆
- Suivez ensuite la procédure "Programmation de la requête d'émission (réception par relève)" à partir du point 5.
ANNULATION D'UNÉ RÉCEPTION PAR RELÈVE DEJÀ PROGRAMMÈE
- Appuyez sur la touche M.
- Appuyez sur les touches / jusqu'à ce que l'afficheur visualise REC. RELEVÉ .
- Appuyez sur la touche 1
- Appuyez sur les touches ⑦/④ jusqu'à ce que l'afficheur visualise RINNULER.
- Appuyez sur la touche 1 _ 电 ^ 电
-
Pour visualiser l'une des options disponibles, EFFACER P - OUI ou NON, appuyez sur les touches / .
-
Pour confirmer votrechoix,appuyez sur la touche
La réception par relève est automatiquement annulée, et le fax returne automatiquement à l'etat d'atte initial.
Page volontairement blanche.
5MES CONTACTS
Le fax est en mesure de mémoriser 100 numérios, associés à des noms, en créant ainsi un veritable agenda électronique, qui non seulement vous permet d'accelérer les procédures, mais également d'éliminer les risques d'erreur durant l'introduction des numérios.
En outre, le numéro de téléphone ou de fax associé à chacune des 10 touches numériques (0-9) peut être sélectionné rapidement, en appuyant pendant plus d'une seconde sur la touche correspondante.
À chaque numéro des contacts, vous pouvez associier l'une des 4 sonneries disponibles, pour facilititer ultérieurement l'identification de la personne qui vous appelle (pour tous les nouveaux nombres insérés, la sonnerie par défaut est la numéro 1).
PROGRAMMATION DES CONTACTS
- Appuyez sur la touche M.
- Appuyez sur les touches jusqu'à ce que l'afficheur visualise MES CONTRACTS .
- Appuyez sur la touche
- Appuyez sur la touche ①_ pour selectionner NOUVERU NUMERO
- Choisissez la position de mémorisation du numéro de téléphone ou de fax (par exemple 01). Pour cela, appuyez sur les touches (0) - (9^(m + 2)) .
- Pour confirmer votrechoix,appuyez sur la touche
- Composez le numéro de téléphone ou de fax. Pour cela, appuyez sur les touches 0 -9
- Pour laisser un espace, corriger une erreur de frappe ou insérer un caractère ou un symbole spécial, procédez comme expliqué au paragraphe "Définition du nom et du numéro de fax".
- Pour confirmer votrechoix,appuyez sur la touche
- Entrez le nom du correspondant (16 caractères au maximum): la procédure est identique à celle d'introduction de votre propre nom (consultez le paragraphe "Définition du nom et du numéro de fax").
- Pour confirmer votrechoix,appuyez sur la touche
- Pour visualiser les sonneries disponibles, SONN.TYPE 1, SONN.TYPE 2, SONN.TYPE 3 ou SONN.TYPE 4, appuyez sur les touches () / () .
Lorsque vous passez d'une sonnerie à l'autre, le télécopieur émet la mélodie correspondante pendant quelques secondes.
- Pour confirmer votrechoix,appuyez sur la touche
À ce niveau, vous pouvez soit interrompre la procédure, soit programmer un autre numéro.
-
Pour interrompre la procédure, appuyez sur la touche 0 .
-
Pour programmer un autre numéro, répéteze la méthode à partir du point 4.
- En revanche, pour revenir à la fonction précédente, appuyez sur la touche c
MODIFICATION D'UN NUMÉRO DES CONTACTS
- Appuyez sur la touche (M).
- Appuyez sur les touches 1 / 4 jusqu'à ce que l'afficheur visualise MES CONTRACTS.
- Appuyez sur la touche 1_^即
- Appuyez sur les touches /△ jusqu'à ce que l'afficheur visualise modifier
- Pour confirmer votre choix, appuyez sur la touche _m^图 . L'afficheur visualise le numéro, et évienttement le nom, associé à la première des 100 positions disponibles (00-99), précédemment mémorisées.
- Pour rechercher le nombre de téléphone ou le nom à modifier, effectuez les opérations suivantes :
1 Appuyez sur les touches / jusqu'à ce que le nombre ou le nom désiré soit visualisé sur l'afficheur. ou bien
2 Appuyez sur la touche de la dette initiale du nom que vous recherchez. Le télécopieur effectue la recherche du nom dans l'ordre alphabetique.
- Pour confirmer votrechoix,appuyez sur la touche
À ce niveau, pour modifier le numéro, répétez la procédure "Programmation des contacts" à partir du point 7.
SUPPRESSION D'UN NUMERO DES CONTACTS
- Appuyez sur la touche M.
- Appuyez sur les touches / jusqu'à ce que l'afficheur visualise mes contracts.
- Appuyez sur la touche 1
- Appuyez sur les touches (口) jusqu'à ce que l'afficheur visualise EFFRCSR.
- Pour confirmer votrechoix,appuyez sur la touche
L'afficheur visualise le numero, et eventuèlement le nom, associé à la première des 100 positions disponibles (00-99), précédemment mémorisées.
- Pour rechercher le numéro de téléphone ou le nom à supprimer, effectuez les opérations suivantes :
1 Appuyez sur les touches / jusqu'à ce que le nombre ou le nom déséré soit visualisé sur l'afficheur. ou bien
2 Appuyez sur la touche de la dette initiale du nom que vous recherchez. Le télécopieur effectue la recherche du nom dans l'ordre alphabetique.
-
Appuyez sur la touche 1
-
Pour visualiser l'une des options disponibles, EFFACER P - QUI ou NON, appuyez sur les touches / .
- Pour confirmer votrechoix et supprimer le numero,appuyez sur la touche ①
A ce niveau,vous pouvez soit interrompre la procedure,soit supprimer un autre
numéro. - Pour interrompre la procédure, appuyez sur la touche 空 空
- Pour supprimer un autre numero, repeteze la procedure à partir du point 5.
- En revanche, pour revenir à la fonction précédente, appuyez sur la touche c
IMPRESSION DES DONNÉES DES CONTACTS
- Appuyez sur la touche M.
- Appuyez sur les touches 7 / 4 jusqu'à ce que l'afficheur visualise MES CONTRACTS.
- Appuyez sur la touche
- Appuyez sur les touches / jusqu'à ce que l'afficheur visualise I'P. CARNET RD.
- Pour confirmer votrechoix,appuyez sur la touche 1 Au terme de l'impression,le fax returne automatiquement aI'etat d'atte initial.
ÉMISSION D'UN ORIGINAL APRES RECHERCHE DANS MES CONTACTS
Si vous ne vous souvenez plus de la position associée à un numéro donné, vous pouvez tout de même lancer une émission, en consultant les contacts de la façon suivante :
- Insérez l'original dans le dispositif d'introduction automatique (ADF). Sur la ligne supérieure, l'afficheur visualise le message DOCUMENT PRET. Sur la ligne inférieure, l'afficheur visualise la valeur initiale du type de contraste : NORMAL .
La valeur initiale du type de résolution est la suivante : (Standard). Si vous le souhaitez, modifier les valeurs de contraste et de résolution, en suivant les procédures décrites précédemment.
- Appuyez sur la touche ABREG
L'afficheur visualise le numéro de fax ou de téléphone, et évientuellesment le nom, associé à la première des 100 positions disponibles (00-99), précédemment mémorisées.
- Pour rechercher le numéro de fax ou le nom du correspondant auquel vous désirez émettre l'original, effectuez les opérations suivantes :
1 Appuyez sur les touches / jusqu'à ce que le nombre ou le nom déséré soit visualisé sur l'afficheur. ou bien
2 Appuyez sur la touche de la dette initiale du nom que vous recherchez. Le télécopieur effectue la recherche du nom dans l'ordre alphabetique.
- Pour lancer l'émission, appuyez sur la touche
ÉMISSION D'UN ORIGINAL À L'AIDE DE LA MÉTHODE LA PLUS RAPIDE
- Insérez l'original dans le dispositif d'introduction automatique (ADF). Sur la ligne supérieure, l'afficheur visualise le message DOCUMENT PRET. Sur la ligne inférieure, l'afficheur visualise la valeur initiale du type de contraste : NORMAL .
La valeur initiale du type de résolution est la suivante : (Standard).
Si vous le souhaitez, modifiez les valeurs de contraste et de résolution, en suivant les procédures décrites précédemment.
- Appuyez, pendant plus d'une seconde, sur la touche numérique ( - ^n_172) associée au nombre de fax auquel vous désirez émettre l'original (par exemple 4).
L'afficheur visualise le numero de fax associé à cette touche (consultez le paragraphe "Programmation des contacts"). Si vous avez également programmes un nom, l'afficheur le visualise.
- Au terme de la numérotation, l'émission est exécutée normalement.
Page volontairement blanche.
6 UTILISATION DU TÉLÉPHONE
UTILISATION DU TÉLÉPHONE
Lorsque vous prenez la ligne en décrochant le combiné ( ), vous pouvez bénéficier de toutes les fonctions communes aux apparciels téléphoniques traditionnels disponibles sur le marché.
Parmi ces fonctions, nous pouvons mentionner la fonction R (REGISTER RECALL, activée à l'aide de la touche () ): cette fonction vous permet d'acceder aux services spéciaux offerts par l'administrateur du réseau téléphonique.
You pouvez également bénéficier des fonctions suivantes :
Appeler un correspondant à l'aide des contacts (consultez les paragraphs "Téléphoner après consultation des contacts" et "Téléphoner à l'aide de la méthode la plus rapide").
- Suspendre momentanémment une conversation téléphonique en appuyant sur la touche ^ . Pour reprendre la conversation, appuyez de nouveau sur cette touche.
TELEPHONER APRES CONSULTATION DES CONTACTS
N'insérez aucun original dans le dispositif d'introduction automatique (ADF).
- Décrochez le combiné pour prendre la ligne ( ). Dans l'angle supérieur droit, l'afficheur visualise également la durée de la conversation (exprimée en minutes et secondes).
- Appuyez sur la touche L'afficheur visualise le numero de fax ou de téléphone, et eventuellement le nom, associé à la première des 100 positions disponibles (00-99) précédemment méorisées (consultez le paragraphe "Programmation des contacts", du chapitre "Mes contacts").
- Pour rechercher le numéro de téléphone ou le nom du correspondant auquel vous désirez téléphoner, effectuez les opérations suivantes :
1 Appuyez sur les touches / jusqu'à ce que le nombre ou le nom désiré soit visualisé sur l'afficheur. ou bien
2 Appuyez sur la touche de la dette initiale du nom que vous recherchez. Le télécopieur effectue la recherche du nom dans l'ordre alphabetique.
- Pour lancer la numérotation, appuyez sur la touche _^面 .
Au terme de la numérotation, si le correspondant est libre, vous pouvez commencer à converser.
TELEPHONER À L'AIDE DE LA MÉTHODE LA PLUS RAPIDE
N'insérez:aucun original dans le dispositif d'introduction automatique (ADF).
- Appuyez, pendant plus d'une seconde, sur la touche numérique ( - ^m_e) sous laquelle vous avez precedemment méorisé le numéro de téléphone que vous souhaitez appeler (par exemple 4^D e ). L'afficheur visualise le numéro de téléphone associé à cette touche (consultez le paragraphe "Programmation des contacts", du chapitre "Mes contacts"). Si vous avez également programmé un nom, l'afficheur le visualise.
- Au terme de la numérotation, si le correspondant est libre, décrochez le combiné pour converser ( ). Dans l'angle supérieur droit, l'afficheur visualise également la durée de la conversation (exprimée en minutes et secondes).
RAPPELER L'UN DES 20 DERNIERS NUMÉROS ENTRANTS OU L'UN DES 10 DERNIERS NUMÉROS SORTANTS
N'insérez:aucun original dans le disposif d'introduction automatique (ADF).
- Decrochez le combiné pour prendre la ligne ( ). Dans l'angle supérieur droit, l'afficheur visualise également la durée de la conversation (exprimée en minutes et secondes).
- Appuyez sur la touche C
- Pour selectionner la liste des appels entrants, appuyez sur la touche () .
- Pour selectionner la liste des appel sortants, appuyez sur la touche _j
- Pour rechercher, dans la liste des 20 derniers appel entrants auxquels vous n'avez pas répondu, ou dans la liste des 10 derniers appel sortants, le numéro de téléphone ou le nom du correspondant auquel vous désirez téléphoner, appuyez sur les touches
- Pour lancer la numérotation, appuyez sur la touche _^甲 . Au terme de la numérotation, si le correspondant est libre, vous pouvez commencer à converser.
Page volontairement blanche.
7 COPIE
LES ORIGINAUX QUE VOUS POUVEZ COPIER
Comme pour l'émission, la copie est subordonnée à l'insertion préalable de l'original dans le dispositif d'introduction automatique des documents originaux (ADF). Par conséquent, avant d'effectuer une copie, assurez-vous que l'original est bien inséré dans le dispositif d'introduction, et qu'il respecte les caractéristiques indiquées précédemment dans la section "Émission d'un original". Souvenez-vous également que pour effectuer la fonction de copie, vous ne pouvez insérer, dans le dispositif d'introduction automatique (ADF), qu'un seul original à la fois. En outre, si vous n'effectuez aucune copie dans les deux minutes suivantes environ, le télécopieur ejecte automatiquement l'original et returnne à l'état d'atte initial.
EXECUTION D'UNE COPIE
Vous pouvez utiliser votre fax comme un photocopieur. La qualité de la reproduction obtenue dépend du type de copie désiré, "Copie normale" ou "Copie de haute qualité", et des valeurs de contraste et de résolution sélectionnées avant l'exécution de la copie.
- Le type de contraste doit être choisi en fonction des critères suivants :
NORMAL, si I'original n'est ni trop clair ni trop foncé.
- CLAIR, si l'original est particulièrement foncé.
FONCE, si I'original est particulièrement clair.
-
Le type de résolution doit être choisi en fonction des critères suivants :
-
TEXTE, si l'original contient du texte facilement lisible ou des graphiques simples.
-
PHOTO, si l'original contient des zones grises.
-
Insérez l'original dans le dispositif d'introduction automatique (ADF). Sur la ligne supérieure, l'afficheur visualise le message DOCUMENT PRET. Sur la ligne inférieure, l'afficheur visualise la valeur initiale du type de contraste : NORMAL .
- Appuyez sur la touche 1品 . L'afficheur visualise les valeurs initiales de la reproduction, du contraste et de la résolution : respectivement, 100 % NORMAL et TEXTE . L'afficheur visualise également le nombre de copies programme (1).
- Pour confirmer ces valeurs, appuyez sur la touche _^即 . Sinon, passez directement au point 6.
- Appuyez sur la touche M
- Pour visualiser l'une des options disponibles, QUALITE - NORMALE ou HAUTE, appuyez sur les touches () / (A)
- Pour confirmer votrechoix,appuyez sur la touche
- Pour désir les autres valeurs de reproduction disponibles (ZOOM), 200% , 140% , 100% , 70% ou 50% , appuyez sur les touches ()/() .
-
Pour confirmer votrechoix,appuyez sur la touche
-
Pour visualiser les autres types de contraste disponibles, CONTRASTE - CLAIR, CONTRASTE - NORMAL ou CONTRASTE - FONCE, appuyez sur les touches / .
- Pour confirmer votrechoix,appuyez sur la touche
L'afficheur visualise les valeurs que vous venez de selectionner. Vous devez encore désirir le type de résolution et le nombre de copies à effectuer.
- PourCHOISIRLETPIDRESOLUDedsire,TEXTEouPHOTOPappuyez sur la touche

- Si vous souhaitez effectuer plusieurs copies (9 au maximum), frappez le nombre de copies désiré, en appuyant sur les touches 2^ABC - 9^XYZ .
- Pour n'effectuer qu'une seule copie, passez directement au point suivant.
- Pour effectuer la copie, appuyez sur la touche
Le télécopier commences à memoriser l'original. Au terme de la mémorisation, la copie démarre.
Remarque: Pour interrompre la copie en cours, appuyez sur la touche l . Le télécopieur interrupt la copie, ejecte l'original de l'ADF, et returne à l'état d'attente en visualisant le message COPIE INTERRORP. Pour effacer le message, appuyez sur la touche l .
Remarque : Pour réaliser des agrandissements ou des réductions, souvenez-vous de placer l'original contre le bord droit du dispositif d'introduction (consultez l'indication sur la carroserie du télécopieur). La largeur maximale d'impression est de 210 mm, et la longueur maximale d'impression est de 282 mm. Les marges maximales non imprimables sont les suivantes : 4 mm à droite et à gauche, 3 mm dans la partie supérieure et 14 mm dans la partie inférieure.
Page volontairement blanche.
8 OPÉRATIONS PLUS SOPHISTIQUÉES
DéfinitionS SUPPLEMENTAIRES CONCERNANT LA RECEPTION DéfinitionS SUPPLEMENTAIRES CONCERNANT L'ÉMISSION
RéDUCTION DE LA ZONE D'UN DOCUMENT EN RÉCEPTION
- Appuyez sur la touche M.
- Appuyez sur les touches 空 / 空 jusqu'à ce que l'afficheur visualise CONFIG. FRX.
- Appuyez sur la touche 1_图.
- Appuyez sur les touches /A jusqu'à ce que l'afficheur visualise PARR. I'PRESSION
- Appuyez sur la touche
- Appuyez sur la touche pour sélectionner REDUCTION.
- Pour sélectionner l'une des valeurs de réduction disponibles, 94% , 80% , 75% , 70% ou NON, appuyez sur les touches ()/() .
- Pour confirmer votrechoix,appuyez sur la touche
- Pour replacer le fax dans l'etat d'attente initial, appuyez sur la touche
- En revanche, pour revenir à la fonction précédente, appuyez sur la touche c
Réception D'UN DOCUMENT PLUS LONG QUE LE FORMAT DE PAPIER UTILISÉ
Si vous receivez un document plus long que le format de papier utilisé, vous pouvez programmer le fax afin qu'il imprime le texte en excédent sur une autre feuille.
- Appuyez sur la touche M
- Appuyez sur les touches 心 / 心 jusqu'à ce que l'afficheur visualise CONFIG. FRX.
- Appuyez sur la touche
- Appuyez sur les touches /A jusqu'à ce que l'afficheur visualise PAR. I'PRESSION
- Appuyez sur la touche 4
- Appuyez sur les touches / jusqu'à ce que l'afficheur visualise EXCEDENT.
- Appuyez sur la touche 口 日
- Pour visualiser l'une des options disponibles, EXCEDENT - NON, EXCEDENT - OUI ou EXCEDENT - AUTOMATIQUE, appuyez sur les touches () / () .
- Pour confirmer votrechoix,appuyez sur la touche
- Pour replacer le fax dans l'etat d'attente initial, appuyez sur la touche
- En revanche, pour revenir à la fonction précédente, appuyez sur la touche
Remarque: Si vous sélectionnez le paramètre EXCEDENT - AUTOMATIQUE, le fax imprimera le texte en excédent sur une autre feuille, à condition que l'excedent dépasse 8 mm. Si vous sélectionnez le paramètre EXCEDENT - OUI, le fax imprimera toujours le texte en excédent sur une autre feuille. Si vous sélectionnez le paramètre EXCEDENT - NON, le fax n'imprimera pas le texte en excédent.
ACTIVATION/DÉSACTIVATION DE LA RÉCEPTION SILENCIEUSE
Dans les modes de réception "AUTOMAT." et "TEL./FAX", vous pouvez programmermer le fax de façon à ce qu'il recoive les documents sans émettre aucune sonnerie à l'arrivée des appels. Lorsque cette fonction est activée, le comportement du fax dépend du mode de réception sélectionné et de la provenance de l'appoint :
- Dans le mode "AUTOMAT.", le fax ne sonne jamais à l'arrivée d'un appel.
-
Dans le mode "TEL./FAX", à l'arrivée d'un appel, le fax n'émet aucune sonnerie uniquement si l'appel provient d'un autre fax. S'il s'agit d'un appel téléphonique, le fax émet un signal sonore au lieu des sonneries, pour vous inviter à décrocher le combiné.
-
Appuyez sur la touche M
- Appuyez sur les touches () / () jusqu'à ce que l'afficheur visualise CONF. RECEPTION.
- Appuyez sur la touche
- Appuyez sur les touches () / () jusqu'à ce que l'afficheur visualise REC.SILENCIEUSE.
- Appuyez sur la touche [1] jusqu'à ce que l'afficheur visualise NON.
- Pour visualiser l'une des options disponibles, REC.SILENCIEUSE - QUOTIDIENNE ou REC.SILENCIEUSE - OUI, appuyez sur les touches () / () .
- Pour confirmer votrechoix,appuyez sur la touche
- Pour REPLACER le fax dans l'etat d'attente initial, appuyez sur la touche 0 .
- En revanche, pour revenir à la fonction précédente, appuyez sur la touche c
Remarque: Si vous sélectionnez le paramètre REC.SILENCIEUSE - QUOTIDIENNE, le fax vous demande de préciser l'heure de commencement et de conclusion de la réception silencieuse. ÀpRES avoir défini cet hora, appuyez de nouveau sur la touche ①_E pour confirmer.
Remarque: En cas de coupure de courant, la programmation de la réception silencieuse quotidienne (REC.SILENCIEUSE - QUOTIDIENNE) est annulée.
VISUALISATION DE L'IDENTIFICATION DE LA PERSONNE QUI VOUS APPELLE
Cette fonction, qui peut être activée sur votre demande par l'administrateur du réseau téléphonique, n'est disponible que dans certains pays, et respecte la Norme ETSI ETS 300 778-1.
Cette fonction vous permet d'identifier immédiatement la personne qui vous appelle : ainsi, vous pouvez decide de répondre ou non à l'appoint.
Grçá à cette fonction, lorsque le fax se trouve en état d'attente, à l'arrivée d'un appel, il visualise toujours et de façon automatique l'une des informations suivantes:
- Numéro ou nom du correspondant qui vous appelle.
- SECRET: si le correspondant a besoin de ne pas révêler son identité.
- INDISPONIBLE: si le correspondant est connecté à un central téléphonique qui ne dispose pas de ce service.
En revanche, si vous étés en train de programmer le fax, et si vous désirez, à l'arrivée d'un appel, visualiser le numéro ou le nom de l'aggellant, vous devez
appuyer sur la touche 2 , avant de répondre.
Si vous étés connecté à un central téléphonique particulier, le nombre de la personne qui vous appelle pourrait ne pas être visualisé sur le fax. Si tel est le cas, contactez le centre d'assistance technique de votre pays.
Le fax est déjà prédisposé pour visualiser l'identification de l'emploi. Pour désactiver cette fonction, procédez de la façon suivante :
- Appuyez sur la touche M NENU
- Appuyez sur les touches 0 / jusqu'à ce que l'afficheur visualise INSTALLATION.
- Appuyez sur la touche 1_电 .
- Appuyez sur les touches 心 / 心 jusqu'à ce que l'afficheur visualise CONF.LIGNE TEL.
- Appuyez sur la touche 4
- Appuyez sur les touches /4 jusqu'à ce que l'afficheur visualise IDENT. RPPELANT.
- Appuyez sur la touche
- Pour visualiser l'une des options disponibles, IDENT.APPELANT - OUI ou NON, appuyez sur les touches () / (口)
- Pour confirmer votrechoix,appuyez sur la touche
- Pour replacer le fax dans l'etat d'attente initial, appuyez sur la touche
- En revanche, pour revenir à la fonction précédente, appuyez sur la touche c
Remarque : Lorsque cette fonction est activée, la date et l'heure sont mises à jour à chaque appel reçu.
MODIFICATION DU NOME DE SONNERIES
Cette fonction n'est activée que dans certains pays.
Si le fax est prédisposé pour le mode de réception "AUTOMAT." ou "TEL./FAX", il répond automatiquement aux appeals après un certain nombre de sonneries.
Si vous le désirez, vous pouvez modifier le nombre de sonneries de la façon suivante :
- Appuyez sur la touche M. MENU
-
Appuyez sur les touches ⑦/④ jusqu'à ce que l'afficheur visualise CONF. RECEPTION
-
Appuyez sur la touche
- Appuyez sur les touches / jusqu'à ce que l'afficheur visualise NBR. SONNIERIES.
- Appuyez sur la touche
- Pour visualiser l'une des valeurs disponibles, NBR. SONNERIES - 1, NBR. SONNERIES - 2, NBR. SONNERIES - 3, NBR. SONNERIES - 4, NBR. SONNERIES - 5, NBR. SONNERIES - 6, NBR. SONNERIES - 7 ou NBR. SONNERIES - 8, appuyez sur les touches 口 / 口 .
- Pour confirmer votrechoix,appuyez sur la touche
- Pour replacer le fax dans l'etat d'attente initial, appuyez sur la touche
- En revanche, pour revenir à la fonction précédente, appuyez sur la touche c
MODIFICATION DU VOLUME DES SONNERIES
- Appuyez sur la touche M. MENU
- Appuyez sur les touches ⑦/④ jusqu'à ce que l'afficheur visualise CONF. RECEPTION
- Appuyez sur la touche
- Appuyez sur les touches / jusqu'à ce que l'afficheur visualise VOL. SONNERIES.
- Appuyez sur la touche _g^圆 . L'afficheur visualise le niveau de volume prédéfiñ.
- Pour augmenter ou diminuer le volume, appuyez sur les touches () / () .
- Pour confirmer votrechoix,appuyez sur la touche
- Pour replacer le fax dans l'etat d'attente initial, appuyez sur la touche
- En revanche, pour revenir à la fonction précédente, appuyez sur la touche
MODIFICATION DU CODE DE COMMANDE À DISTANCE
Si le fax est connecté à un téléphone dérivé fonctionnant en multifréquence et est prédisposé pour la réception manuelle, à chaque fois qu'un correspondant souhaitant vous envoyer un document vous appelle, vous pouvez prédisposer le fax à la réception en frappant le code * * sur le téléphone dérivé. Cette opération équivaut à la pression de la touche ① sur le fax.
Dans ce code, vous pouvez remplaner le second "astérisque" par un chiffre de 0 à 9.
- Appuyez sur la touche M.
- Appuyez sur les touches 心 / 心 jusqu'à ce que l'afficheur visualise INSTALLATION.
- Appuyez sur la touche
- Appuyez sur les touches 心 / 心 jusqu'à ce que l'afficheur visualise CONF.LIGNE TEL.
-
Appuyez sur la touche
-
Appuyez sur les touches ⑦/④ jusqu'à ce que l'afficheur visualise CONT.R DISTANCE.
- Appuyez sur la touche 1
- Appuyez sur les touches / jusqu'à ce que l'afficheur visualise qui.
- Appuyez sur la touche 10 . L'afficheur visualise le code précédement programme.
- Pour frapper le nouveau code, appuyez sur les touches (0) - (9 ^ 一 )
- Pour confirmer le nouveau code, appuyez sur la touche _^d .
- Pour REPLACER le fax dans l'etat d'attente initial, appuyez sur la touche 2 .
- En revanche, pour revenir à la fonction précédente, appuyez sur la touche c
Remarque: Si vous souhaitez désactiver cette fonction, après le point 7, appuyez sur les touches 口 pour visualiser CONT. R DISTANCE - NON. Ensuite, appuyez sur la touche 口 pour confirmer votre choix, et sur la touche 口 pour replacement le fax dans l'etat d'atte initial.
PROGRAMMATION DE LA LISTE DES NUMÉROS EXCLUS
Comme indiqué précédemment, vous pouvez memoriser dans une liste une série de numérios non désirés (10 au maximum): ainsi, vous ne receivez aucun document en provenance des correspondants appartenant à cette liste.
- Appuyez sur la touche M NENU
- Appuyez sur les touches ⑦/④ jusqu'à ce que l'afficheur visualise CONF. RECEPTION.
- Appuyez sur la touche 4
- Appuyez sur les touches ⑦/④ jusqu'à ce que l'afficheur visualise NUMEROS EXCLUS.
- Appuyez sur la touche ^圆
- Appuyez sur la touche (1) pour selectionner NOUVERU NUMERO
- Composez le numero de fax que vous souhaitez inclure dans la liste.
Pour cela, appuyez sur les touches 0 - ^m
- Pour laisser un espace, corriger une erreur de frappe ou insérer un symbole spécial, procédez comme indiqué au paragraphe "Définition du nom et du numéro de fax".
- Pour confirmer la programmation, appuyez sur la touche
À ce niveau, vous pouvez soit interrompre la procédure, soit inclure un autre numéro dans la liste.
- Pour interrompree la procedure, appuyez sur la touche
- Pour inclure un autre numero dans la liste, repeteze la procEDURE à partir du point 5.
MODIFICATION DE LA LISTE DES NUMÉROS EXCLUS
- Appuyez sur la touche M
- Appuyez sur les touches ⑦/④ jusqu'à ce que l'afficheur visualise CONF. RECEPTION.
- Appuyez sur la touche _^即 .
- Appuyez sur les touches 7 / 4 jusqu'à ce que l'afficheur visualise NUMEROS EXCLUS
- Appuyez sur la touche
- Appuyez sur les touches () / () jusqu'à ce que l'afficheur visualise MODIFIER NUMERO.
- Pour confirmer la programmation, appuyez sur la touche 10 . L'afficheur visualise le premier numéro de la liste des numérios excl
- Pour rechercher le numéro que vous souhaitez modifier, appuyez sur les touches / .
- Pour confirmier la programmation, appuyez sur la touche
Pour modifier le numéro, suivez la procédure "Programmation de la liste des númeroos exclus" à partir du point 6.
EFFACEMENT DE LA LISTE DES NUMÉROS EXCLUS
- Appuyez sur la touche M
- Appuyez sur les touches ⑦/④ jusqu'à ce que l'afficheur visualise CONF. RECEPTION
- Appuyez sur la touche _^即 .
- Appuyez sur les touches /A jusqu'à ce que l'afficheur visualise NUMEROS EXCLUS
- Appuyez sur la touche _^即 .
- Appuyez sur les touches (口) / (口) jusqu'à ce que l'afficheur visualise EFFACER NUMERO
- Pour confirmer la programmation, appuyez sur la touche 10 . L'afficheur visualise le premier numéro de la liste des numérios excl
- Pour rechercher le numéro que vous souhaitez effacer, appuyez sur les touches / .
- Pour confirmer la programmation, appuyez sur la touche
- Pour visualiser l'une des options disponibles, EFFACER P - OU ou NON, appuyez sur les touches / .
- Pour confirmer la programmation, appuyez sur la touche
- Pour effacer d'autres numérores de la liste, repêtez la procédure à partir du point 6.
IMPRESSION DE LA LISTE DES NUMÉROS EXCLUS
- Appuyez sur la touche M.
- Appuyez sur les touches ⑦/④ jusqu'à ce que l'afficheur visualise CONF. RECEPTION
- Appuyez sur la touche _^即 .
- Appuyez sur les touches / jusqu'à ce que l'afficheur visualise NUMEROS EXCLUs.
- Appuyez sur la touche 1_题 .
- Appuyez sur les touches / jusqu'à ce que l'afficheur visualise INPRIMER LISTE.
- Pour confirmer la programmation, appuyez sur la touche 1 . Au terme de l'impression, le fax returne automatiquement à l'etat d'atte initial.
DéfinitionS SUPPLEMENTAIRES CONCERNANT L'ÉMISSION
MODIFICATION DE LA POSITION DU NOM ET DU NUMÉR DE FAX
Les informations constituant l'en-tête de l'original à émettre (nom, numéro de fax, date et heures et nombre de pages) peuvent être reçues par le fax de votre correspondant à l'extérieur de la zone de texte (juste au-dessous du bord supérieur de la feuille) ou à l'intérieur de la zone de texte (légèrement plus bas que dans le cas précédent).
Le fax est prédisposé pour envoyer ces informations à l'intérieur de la zone de texte.
Modification de la position :
- Appuyez sur la touche M. NENU
- Appuyez sur les touches 空 / 空 jusqu'à ce que l'afficheur visualise CONFIG. FRX.
- Appuyez sur la touche
- Appuyez sur les touches 空 / 空 jusqu'à ce que l'afficheur visualise RUTRES PARRM.
- Appuyez sur la touche
- Appuyez sur les touches /A jusqu'à ce que l'afficheur visualise EN-TETE FAX.
- Appuyez sur la touche
- Pour sélectionner le paramètre alternatif, appuyez sur les touches () / () jusqu'à ce que l'afficheur visualise EXTERNE ou INTERNE.
- Pour confirmer la programmation, appuyez sur la touche
- Pour REPLACER le fax dans l'etat d'attente initial, appuyez sur la touche
- En revanche, pour revenir à la fonction précédente, appuyez sur la touche c
ÉCOUTE DES SIGNAUX DE PRISE DE LIGNE
Le fax est prédisposé pour l'écoute des tonalités de ligne au cours de la numération, et pour l'écoute des signaux de prise de ligne échangés entre votre fax et celui de votre correspondant. Si tel n'est pas le cas, programmez le fax de la façon suivante :
- Appuyez sur la touche M
- Appuyez sur les touches / jusqu'à ce que l'afficheur visualise INSTALLATION.
- Appuyez sur la touche _^即 .
- Appuyez sur les touches / jusqu'à ce que l'afficheur visualise CONF.LIGNE TEL.
- Appuyez sur la touche _^圆 .
- Appuyez sur les touches / jusqu'à ce que l'afficheur visualise ECOUTE LIGNE.
- Appuyez sur la touche _^圆 .
- Pour visualiser l'une des options disponibles, ECOUTE LIGNE - OUI ou NON, appuyez sur les touches ()/() .
- Pour confirmier la programmation, appuyez sur la touche
- Pour replacer le fax dans l'etat d'attente initial, appuyez sur la touche
- En revanche, pour revenir à la fonction précédente, appuyez sur la touche c
RéGLAGE DU VOLUME DU HAUT-PARLEUR
Si le volume des tonalités de ligne et des signaux de prise de ligne vous semble trop faible ou trop fort, réglez-le à l'aide de la touche (8).
- Appuyez sur la touche _
- Pour diminuer ou augmenter le volume du haut-parleur, appuyez sur la touche (\&) . Sur la ligne supérieure, l'afficheur visualise le niveau du volume.
- Pour replacer le fax dans l'etat d'attente initial, appuyez sur la touche
RéGLAGE DU VOLUME DES SIGNAUX SONORES
Les signaux sonores indiquent aussi bien des conditions de fonctionnement particuliers du fax, que d'eventuelles erreurs ou anomalies.
Le volume des signaux sonores peut être régle sur huit niveaux, ou peut être complètement désactivé.
- Appuyez sur la touche M.
- Appuyez sur les touches 心 / 心 jusqu'à ce que l'afficheur visualise CONFIG. FRX
- Appuyez sur la touche _^圆 .
-
Appuyez sur les touches / jusqu'à ce que l'afficheur visualise RUTRES PARRM.
-
Appuyez sur la touche 1日
- Appuyez sur les touches /4 jusqu'à ce que l'afficheur visualise VOLUME RPERT.
- Appuyez sur la touche _^圆 .
L'afficheur visualise le niveau de volume prédéfini.
- Pour augmenter ou diminuier le volume, appuyez sur les touches (口)
- Pour confirmer votrechoix,appuyez sur la touche
- Pour replacer le fax dans l'etat d'attente initial, appuyez sur la touche
- En revanche, pour revenir à la fonction précédente, appuyez sur la touche c
ACTIVATION/DÉSACTIVATION DE LA FONCTION FLASH
Si le fax est connecté à un central privé (PBX) avec gestion de l'impulsion Flash, l'activation de cette fonction permet d'acceder directement au réseau public.
- Appuyez sur la touche M.
- Appuyez sur les touches / jusqu'à ce que l'afficheur visualise INSTALLATION.
- Appuyez sur la touche
- Appuyez sur les touches / jusqu'à ce que l'afficheur visualise CONF.LIGNE TEL...
- Appuyez sur la touche 10
- Appuyez sur les touches / jusqu'à ce que l'afficheur visualise FLASH SUR PBX.
- Appuyez sur la touche 1_^圆
- Pour visualiser l'une des options disponibles, FLASH SUR PBX - OUU ou NON, appuyez sur les touches / .
- Pour confirmer votrechoix,appuyez sur la touche 1
- Pour replacer le fax dans l'etat d'attente initial, appuyez sur la touche 口 口
- En revanche, pour revenir à la fonction précédente, appuyez sur la touche c
Remarque: Àprous avoir activé la fonction Flash, pour acceder directement au réseau public depuis le central privé (PBX), appuyez sur la touche R avant de composer le numéro de téléphone ou de fax (la dette "E" est visualisée sur l'afficheur).
ACTIVATION/DÉSACTIVATION DU MODE ECM
Le mode ECM (Mode de correction des erreurs) est un système qui permet de corriger les erreurs provoquées par les perturbations de la ligne téléphonique. Pour bénéficier de ses avantages, cette fonction doit être activée aussi bien sur votre fax que sur celui de votre correspondant. La lecture "E" visualisée sur l'afficheur indique l'activation de la fonction.
Votre fax est prédisposé pour émettre avec le mode ECM. Pour le programmer de façon à ce qu'il émette normalement, suivez la procédure décrite ci-dessous :
- Appuyez sur la touche M MENU
- Appuyez sur les touches / jusqu'à ce que l'afficheur visualise CONFIG. FRX.
- Appuyez sur la touche
- Appuyez sur les touches 心 / 心 jusqu'à ce que l'afficheur visualise RUTRES PARRM.
- Appuyez sur la touche _^即
- Appuyez sur la touche _^即 pour selectionner ECII
- Pour visualiser l'une des options disponibles, ECN - OU ou NON, appuyez sur les touches () / () .
- Pour confirmer votrechoix,appuyez sur la touche
- Pour replacer le fax dans l'etat d'attente initial, appuyez sur la touche
- En revanche, pour revenir à la fonction précédente, appuyez sur la touche c
Page volontairement blanche.
9IMPRESSION DES RAPPORTS ET DES LISTES
IMPRESSION DES RAPPORTS
IMPRESSION DES LISTES
Les rapports imprimés par le fax vous offrent la possibilité de vérifier le résultat de toutes les opérations effectuees (emissions et receptions) et le volume des documents gérés, et vous fournissant d'autres informations utiles.
Le fax imprime les rapportés suivants :
- Rapport de coupure de secteur : ce rapport est toujours imprimé de façon automatique, et si la mémoire contient des documents, à la suite d'une coupure de secteur.
Au rétablissement des conditions de fonctionnement, le fax imprime automatiquement un rapport indiquant le nombre des pages perdues (c'est-à-dire les pages qui étaient contenues dans la mémoire avant la coupure de secteur). Dans ce cas, nous vous conseillons d'imprimer le journal d'activités, pour identifier le numéro ou le nom de la personne qui vous a envoyé les documents perdus.
Journal d'activités : ce rapport contient des informations sur les 42 dernières opérations effectuees (émissions et réceptions). Le fax conserve ces informations en mémoire, et les imprime soit automatiquement après la trente-deuxieme opération, soit sur votre demande.
- Rapport de dernieré émission : ce rapport contient des informations concernant la dernière émission, et peut être imprimé, par l'intermédiaire d'une programmation adéquate, soit automatiquement au terme de chaque émission, soit uniquement sur votre demande.
- Rapport de non émission : ce rapport contient des informations sur la dernière émission, mais il n'est imprimé de façon automatique que si l'émission a échoué. Le fax est prédisposé pour l'impression automatique de ce type de rapport. Pour désactiver cette impression, consultez le paragraphe correspondant.
- Rapport de dernierie multidiffusion : ce rapport contient des informations concernant la derniere multidiffusion, et peut etre imprimé soit automatiquement au terme de chaque multidiffusion, soit uniquement sur votre demande.
INTERPRETATION DES RAPPORTS
| Option | Description |
| Act.n° | Numéro progressif des transactions effectuées (émissions et réceptions). |
| Type | Type d'activité : EMISSION ou EMISSION ECM pour l'émission. RECEPTION, RECEPTION ECM ou REC. RELEVÉ pour la réception. |
| N°doc. | Numéro de référence du document ménorisé (ce numéro est assigné directement par le télécopieur). |
| Numéro sélectionné | Numéro du fax du correspondant. |
| Nom | Nom du correspondant que vous avez appelé. Ce nom n'est imprimé que si vous l'avez ménorisé dans les contacts. Ce champ n'apparaît pas dans le journal d'activités. |
| Identification reçue | Nombre (et évientuèlement nom) du correspondant. Ce nombre correspond au nombre que vous avez composé uniquement si le destinataire a programmé correctement son nombre de fax. Dans le cas contraire, le nombre peut être différent ou peut même ne pas être imprimé. |
| Date/heure | Date et heures auxquelles la transaction a été effectué. |
| Durée | Durée de la transaction (en minutes et secondes). |
| Pages | Nombre total des pages émises/reçues. |
| Résul. | Résultat de la transaction : • OK : si la transaction a réussi. • CODE D'ERREUR XX : si l'opération a échoué à cause du problème indiqué par le code d'erreur (consultez le paragraphe "Les codes d'erreur", du chapitre "Problèmes et solutions"). |
ACTIVATION/DÉSACTIVATION DE L'IMPRESSION AUTOMATIQUE DES RAPPORTS D'ÉMISSION ET DE NON ÉMISSION
- Appuyez sur la touche M
- Appuyez sur les touches 心 / 心 jusqu'à ce que l'afficheur visualise CONFIG. FRX.
- Appuyez sur la touche 10
- Appuyez sur les touches / jusqu'à ce que l'afficheur visualise RUTRES PARRM..
- Appuyez sur la touche 1_^即
- Appuyez sur les touches / jusqu'à ce que l'afficheur visualise RAPPORT EML.
- Appuyez sur la touche 1
Vou pouve désisir l'une des options suivantes : RAPPORT ENI . - ENISS . ECHOUEERAPPORT ENI . - TOUJOURS ou RAPPORT ENI . - NON .
RAPPORT EMI. - EMISS. ECHOUEE - Le fax n'imprimera automatiquement un rapport qu'après chaque émission échouée.
RRPORT Eml. - Toulouse - Le fax imprimera automatique un rapport au terme de chaque émission (independamment de son résultat).
RAPPORT ENI. NON -Le fax n'imprimera;aún rapport.
- Pour visualiser l'une des options disponibles, appuyez sur les touches 口
- Pour confirmer votrechoix,appuyez sur la touche
- Pour replacer le fax dans l'etat d'attente initial, appuyez sur la touche 口 口
- En revanche, pour revenir à la fonction précédente, appuyez sur la touche c
IMPRESSION SUR DEMANDE DU RAPPORT D'ÉMISSION, DU JOURNAL D'ACTIVITÉS, DU RAPPORT DE MULTIDIFFUSION ET DU RAPPORT D'IDENTIFICATION DES APPELANTS
- Appuyez sur la touche M.
- Appuyez sur les touches ⑦/④ jusqu'à ce que l'afficheur visualise IMP.RAPPORTS5.
- Appuyez sur la touche _^圆
Vou puez besoinir l'une des options suivantes : IMP.RAPPORTS - RAP. DERN. ENI, IMP.RAPPORTS - DERN.MULTIDIFF, IMP.RAPPORTS - JOURN.ACTIVITES ou IMP.RAPPORTS - LISTE APPELANTS .
- Pour visualiser l'une des options disponibles, appuyez sur les touches (7) / (4) .
- Pour confirmer votrechoix,appuyez sur la touche
Au terme de l'impression, le fax returne automatiquement à l'etat d'atte initial.
IMPRESSION DES LISTES
Vous pouvez à tout moment obtenir une impression des listedes complètes des paramètres d'installation, des paramètres de configuration et des numéroros exclus, ainsi qu'une impression des données mémorisées dans les contacts.
L'impression des listes des paramètres d'installation et de configuration vous permet d'obtenir un compte rendu mis à jour des valeurs prédéfinies et des valeurs que vous avez programmesées pour adapter le fax à vos exigencies.
IMPRESSION DE LA LISTE DES PARAMÉTRES D'INSTALLATION
- Appuyez sur la touche M.
- Appuyez sur les touches //4 jusqu'à ce que l'afficheur visualise INSTALLATION.
- Appuyez sur la touche _E^圆 .
- Appuyez sur les touches / jusqu'à ce que l'afficheur visualise INP. INSTALL...
- Pour confirmer votrechoix,appuyez sur la touche .Au terme de l'impression,le fax returne automatiquement à l'etat d'atte initial.
IMPRESSION DE LA LISTE DES PARAMÉTRES DE CONFIGURATION
- Appuyez sur la touche M. NENU
- Appuyez sur les touches /A jusqu'à ce que l'afficheur visualise CONFIG. FRX
- Appuyez sur la touche _^圆 .
- Appuyez sur les touches / / à jusqu'à ce que l'afficheur visualise INPRIMER CONF .
- Pour confirmer votrechoix,appuyez sur la touche _E^日 .Au terme de l'impression,le faxretourne automatiquementaI'etat d'atteinte initial.
IMPRESSION DE LA LISTE DES PARAMÉTRES DE CONFIGURATION DE LA RECEPTION
- Appuyez sur la touche M
- Appuyez sur les touches ⑦/④ jusqu'à ce que l'afficheur visualise CONF. RECEPTION
- Appuyez sur la touche 1
- Appuyez sur les touches / jusqu'à ce que l'afficheur visualise INPRIMER CONF..
- Pour confirmer votrechoix,appuyez sur la touche _E^B .Au terme de l'impression,le faxretourne automatiquementaI'etat d'atteinte initial.
IMPRESSION DE LA LISTE DES NUMÉROS EXCLUS
Le fax, après une programmation adequate (consultez le paragraphe "Programmation de la liste des numéroes exclus", du chapitre "Opérations plus sophistiquées"), est en mesure d'effectuer une restriction sur une série de correspondants, desquels vous ne souhaitez receivevoir aucun document. Grâce à cette fonction, vous pourrez éviter de receivevoir des documents non désirés : publicités, documents de propaganda, etc. Pour bénéficier de cette fonction, vous devez<memoriser les numéroes non désirés dans une liste : ainsi, vous ne receivevez aucundocument en provenance des correspondants inclus dans cette liste (consultez le paragraphe "Impression de la liste des numéroes exclus", du chapitre"Opérations plus sophistiquées").
IMPRESSION DES DONNÉES MÉMORISÉES DANS LES CONTACTS
Comme décrit précédemment, vous pouvez imprimer la liste des numéries de téléphone et de fax mémorisés dans les contacts (consultez les paragraphs "Programmation des contacts" et "Impression des données des contacts").
Page volontairement blanche.
| Problème | Comportement du fax |
| En cas de coupure de secteur. | En cas de coupure de courant, le fax conserve toujours en mémoire les informations suivantes : les numérosprogrammés dans les contacts et les rapport. En revanche, les documents contenus dans la mémoire sont perdus. La date et l'heure sont également perdues : par conséquent, vous devrez les redéfinir à l'aide de la procédure "Première définition de la date et de l'heure", du chapitre "Instructions d'installation". |
| En cas d'épuspacement du papier ou de l'encre. | Si au cours de la réception le papier se termine ou se coince, l'encre s'épuise ou le tableau de bord est soulevé, l'impression s'interrrompt, le message correspondant est visualisé sur l'afficheur, et le document que vous étés en train de recevoir est temporairement enregistré dans la mémoire. Le fax reprend l'impression lors que l'anomalie est éliminée. |
| Si l'émission échoue. | Si l'émission échoue à cause d'un problème sur la ligne ou d'une défaillance du fax, le tímoin lumineux d'erreur " ERREUR " s'allume, et le fax émet un bref signal sonore : dans ce cas, le fax imprime automatiquement le rapport d'émission (consultez le chapitre "Impression des rapportets et des.listes"). Dans ce rapport, un code d'erreur indique la cause de l'anomalie (consultez la liste des codes d'erreur plus loin dans ce chapitre). |
Problème
Comportement du fax
Si you insérez un original dans le dispositif d'introduction alors que le fax est en train d'imprimer.
Si vous insérez un original dans le dispositif d'introduction pour documents originaux, alors que le fax est en train d'effectuer une copie, d'imprimer un rapport ou d'imprimer un document en réception, l'appareil se compte de la façon suivante :
- Si le fax est en train d'effectuer une copie, il interrupt l'impression, et des messages visualisés sur l'afficheur vous indiquent comment returner à l'état d'attente initial.
- Si le fax est en train d'imprimer un rapport, il interrupt l'impression, et des messages visualisés sur l'afficheur vous indiquent comment returner à l'etat d'attente initial.
Si le fax est en train de receivevoir un document :
- Le fax interrupt l'impression et commence à mémoriser le document reçu. L'afficheur visualise le message REC. EN MÉPOIRE.
- Au terme de la mémorisation, l'afficheur visualise le message DOC. EN MEMOIRE. À ce niveau, le télécopieur vous indique comment retarder l'original du dispositif d'introduction : ensuite, le fax imprime le document mémorisé.
La liste ci-dessous vous aidera à résoudre certains problèmes de fonctionnement.
| Problème | Solution |
| Le fax ne visualiseaucun message. | Assurez-vous qu'il est connecté au secteur électrique et aureseau téléphonique. |
| L'original ne peutpas être insérécorrectement. | Assurez-vous que l'original respecte les recommendations duparagraphe "Les originaux que vous pouvez utiliser", duchapitre "Opérations pour l'émission et la réception de télécopies". |
| Le fax ne parlantpas à émettre. | Assurez-vous que l'original n'est pas coincide.La ligne est occupée : attendez qu'elle se libère, et repêzez laprocédure d'émission. |
| Le fax ne recoit pasde façonautomatique. | Vous l'avez prédisposed pour la réception manuelle :programmez-le pour la réception automatique. |
| Le fax ne parlient nià copier nià receivevoir. | Assurez-vous que l'original ou le papier d'alimentation n'est pascoincé.Vous utilisez un type de papier non adéquat : contrôlelez lescaracteristiques du papier, dans la section "Donnéestechniques", du chapitre "Annexe". |
| Le fax imprime descopiescomplètementblanches. | Placez correctement l'original, avec le côte à copier tourné versle bas. |
Remarque: Le fonctionnement défectueux du fax durant l'émission ou la réception peut également dépendre de causes différentes de celles mentionnées dans le tableau. Ces problèmes sont signalés par un code d'erreur imprimé dans le "Rapport d'émission" et dans le "Journal d'activités" (consultez le chapitre "Impression des rapports et des listes").
Les codes d'erreur imprimés dans le rapport d'émission et dans le journal d'activités sont composés de deux chiffres indiquant la cause de l'erreur. Par manque d'espace, le code est imprimé dans le journal d'activités sans aucun message.
| Code | Message | Cause de l'erreur | Intervention |
| OK | OK | Résultat positif. | Aucune intervention. |
| 02 | CONNECTION IMPOSSIBLE | La tonalité de ligne n'est pas détectée ou les signalisations sont irrégulières. | Vérifiez que le fax est correctement connecté à la ligne téléphonique et que le combiné est raccroché. Ensuite, retentez la connexion. |
| VERIFIER AVEC CORRESP. | |||
| 03 | PAS DE REPNSE | Votre correspondant ne répond pas à l'appel ou il ne s'agit pas d'un fax. | Contrôlez l'exactitude du numéro du correspondant. |
| 04 | ERREUR D'EMISSION RENVOYER DEPUIS PAGE : | Anomalie d'émission. | Répétez l'émission à partir de la page indiquée dans le rapport. |
| 05 | ERREUR D'EMISSION RENVOYER LES PAGES : | Le fax du correspondant a détecté des erreurs durant la réception. | Répétez l'émission des pages indiquées dans le rapport. |
| 06 | LIGNE OCCUPEE | Détection de la tonalité "occupyée". | Retentez la connexion. |
| 07 | DOCUMENT TROP LONG | L'original à émettre est trop long. Le temps d'émission dépasse les valeurs admises. | Divisez le document et émettez-le en plusieurs opérations. |
| 01 et 08 | CONTROLLER LE DOCUMENT | Le lecteur optique ne parvient pas à dire l'original. | Retirez l'original de l'ADF et réintroduisez-le avant de retenter l'émission. |
| 09 | TOUCHE STOP APPUYEE | You'veicz interrompu l'émission. | Aucune intervention. |
| 10 | ERREUR DE RECEPTION VERIFIER AVEC CORRESP. | Le fax a détecté une anomalie durant la réception. | Contactez votre correspondant et demandez-lui de renvoyer le document. |
| 11 | RECEPTION IMPOSSIBLE MEMOIRE PLEINE | Au cours de la réception, une défaillance de l'imprimante s'est produit. La réception a été mémorisée, mais la mémoire s'est remplie avant la fin de la transaction. | Eliminez la cause de la défaillance, et attendez la fin de l'impression du document mémisé. |
| OK | OK? | Le document a été reçu mais la qualité d'impression n'est pas satisfaisante. | Contactez votre correspondant. |
| 13 | ERREUR RELEVÈVE/ DEPOSE VERIFIER AVEC CORRESP. | Le correspondant n'a pas introduit d'original dans l'ADF et n'a pas prédisposé son fax pour l'émission par dépose. | Contactez votre correspondant. |
| 76 | ERREUR CARTOUCHE 76. REMPLACEZ LA CARTOUCHE ! | Défaillance de la cartouche d'impression. | Remplacez la cartouche d'impression. |
SIGNALISATIONS ET MESSAGES
Les éventuelles anomalies pouvant survenir sont généralement indiquées par des signalisations sonores (parfois arrivagnées de signalisations visuelles : tímoin
lumineux d'erreur " ERREUR " allumé) ou par des messages d'erreur visualisés sur l'afficheur).
En outre, certaines signalisations sonores du fax et certains messages visualisés sur l'afficheur n'indiquent pas une condition d'erreur.
Signalisation brève de 1 seconde
- Vous avez appuyé sur une touche erronée durant une phase opérationnelle.
Signalisation prolongée de 3 secondes et tepoin lumineux d'erreur allumé
Transaction échouée.
Signalisation continue
-若您 devez raccrocher le combiné.
Remarque: Pour éteindre le tímoin lumineux d'erreur " ERREUR", appuyez sur la touche.
AUTRES SIGNALISATIONS SONORES
Signalisation brève de 1 Seconde
Transaction terminée correctement.
Signalisation intermittente d'une durée de 20 secondes
Décrochez le combiné pour répondre à un appel téléphonique.
Page volontairement blanche.
11OPÉRATIONS D'ENTRETIEN
REEMPLACEMENT DE LA CARTOUCHE D'IMPRESSION
RéSTABLISSEMENT DE LA CARTOUCHE D'IMPRESSION ET CONTRÔLE DES BUSES
NETTOYAGE DES CONTACTS ÉLECTRIQUES DE LA CARTOUCHE D'IMPRESSION
NETTOYAGE DU LECTEUR OPTIQUE
NETTOYAGE DE LA CARROSSERIE
Si l'encre s'épuise ou si vous remarquez une déterioration de la qualité d'impression, vous doivent remplaner la cartouche d'impression (les cartouches d'impression épuisées ne peuvent pas être réutilisées).
Au moment de l'insertion, la cartouche utilisée est associée de façon univoque au télécopieur. L'échange des cartouches entre télécopieurs ne permet pas de garantir une gestion correcte de l'impression des documents en réception : par conséquent, n'effectuez jamais cette opération.
Dans le premier cas, le fax imprime automatiquement un message vous informant que l'encre de la cartouche est presque épuisée et que vous devez replacer cette dernière.
- Decrochez le combiné téléphonique, et place-le sur une surface stable.

- Debloquez et soulevez le tableau de bord, comme indiqué par les flèches.

- Debloquez la cartouche d'impression en agissant sur le levier, comme indiqué par la flèche.

- Extrayez la cartouche d'impression épuisée de son logement.

- Saisissez la cartouche neuve par ses deux côtes, sortez-la de son emballage, et enlevez le film de protection des buses.




Attention: Evitez de toucher les contacts électriques et les buses.
- Insérez la cartouche neue dans le logement, avec les contacts électriques orientés vers le bas.

- Poussez la cartouche jusqu'à ce que vous entendiez un déclic qui confirme sa correcte insertion.

- Ensuite, fermez le tableau de bord, et placez le combiné téléphonique sur son logement.
Remarque: Si vous avez remplace la cartouche d'impression à la suite de l'épusement de l'encre, dés que vous fermez le tableau de bord, le fax détece automatiquement le Replacement, et l'afficheur visualise le message DEF. DATE/HEURE XX-XX-XX XX-XX
1 Frappez la nouvelle date et la nouvelle heures (par exemple 13-06-08 et 18:00) en appuyant sur les touches ① - ⑨^w_W , et appuyez ensuite sur la touche ① .
2 Lorsque l'afficheur visualise le message CONFIRMER D/H, appuyez sur la touche pour confirmer les données insérées, ou appuyez sur la touche pour apporter d'eventuelles modifications.
Ensuite, le fax exécute automatiquement la procédure de rétablissement de la cartouche d'impression et le contrôle des buses : au terme de ces opérations, sur une feuille insérée automatiquement, le fax imprime une échelle graduée et un texte qui vous indiquent que la cartouche a été remplaçée correctement.
RéTABILSSEMENT DE LA CARTOUCHE D'IMPRESSION ET CONTROôle DES BUSES
Si la qualité d'impression se détière, vous pouvez effectuer une opération rapide qui rétablira la cartouche d'impression et contrôleles les buses, tout en vous fournissant l'impression du résultat du test.
- Appuyez sur la touche M
- Appuyez sur les touches 7/4 jusqu'à ce que l'afficheur visualise NETT. CARTOUCHE.
- Pour confirmer votrechoix,appuyez sur la touche
- Pour visualiser les options disponibles, NETT. CARTOUCHE - OUI ou NON, appuyez sur les touches / .
- Appuyez sur la touche
Le fax exécute la procédure de rétablissement de la cartouche d'impression et le contrôle des buses : au terme de ces opérations, le fax imprime leur résultat di diagnostic. Examinez ce résultat : pour cela, consultez le paragraphe "Insertion de la cartouche d'impression", du chapitre "Instructions d'installation".
Remarque: Pour interrompre à tout moment la procédure, appuyez sur la touche.
Remarque: Au terme de la procédure de rétablissement, si le résultat diagnostic n'est toujours pas satisfaisant, effectuez les opérations suivantes dans l'ordre indiqué, jusqu'à ce que vous obtieniez un résultat acceptable :
- Effectuez sur le fax la copie d'un document représentant le type de graphique ou de texte désiré, et évalué la qualité de cette copie.
- Changez le type de papier (le papier utilisé pourrait être particulièrement poreux), et repêze encore une fois la méthode.
- Retirez et réinsérez la cartouche d'impression.
- Retirez la cartouche et vérifie si un corps étranger se trouve sur les buses d'impression : si la réponse est affirmative, éliminece ce corps avec précaution, en évitant de toucher les contacts électriques. Ensuite réinsérez la cartouche d'impression.
- Retirez la cartouche d'impression, et nettoyez les contacts électriques de la cartouche et du chariot porte-cartouche (consultez le paragraphe "Nettoyage des contacts électriques de la cartouche d'impression" ci-dessous).
- Réinsérez la cartouche d'impression.
- Contactez le service d'assistance technique.
NETTOYAGE DES CONTACTS ÉLECTRIQUES DE LA CARTOUCHE D'IMPRESSION

Attention: Avant d'effectuer la procédure, déconnectez le fax de la prise secteur.
- Decrochez le combiné téléphonique, et place-le sur une surface stable.

- Debloquez et soulevez le tableau de bord, comme indiqué par les flèches.

- Debloquez la cartouche d'impression en agissant sur le levier, comme indiqué par la flèche.

- Extrayez la cartouche d'impression de son logement.

- Nettoyez les contacts électriques à l'aide d'un chiffon légèrement humide.

Attention: Ne touchez pas les buses!

- Nettoyez également avec un chiffon légèrement humide les contacts électriques du chariot porte-cartouche.

- Réinsérez la cartouche d'impression dans le logement, avec les contacts électriques orientés vers le bas.
-
Poussez la cartouche jusqu'à ce que vous entendiez un déclic qui confirme sa correcte insertion.
-
Ensuite, fermez le tableau de bord, et placez le combiné téléphonique sur son logement.
NETTOYAGE DU LECTEUR OPTIQUE
L'accumulation de poussière sur le miroir du lecteur optique peut entraver la lecture des documents. Pour éviter cet inconvenient, nettoyez le miroir de temps à autre de la façon suivante :

Attention: Avant d'effectuer la procédure, déconnectez le fax de la prise secteur.
- Decrochez le combiné téléphonique, et place-le sur une surface stable.

- Debloquez et soulevez le tableau de bord, comme indiqué par les flèches.

- Déplacez le chariot porte-cartouche contre le bord gauche du télécopieur.

- Debloquez le rouleau d'entrainment du papier en agissant sur le levier, comme indiqué par la flèche.

- Extrayez le rouleau de son logement.

- Nettoyez le miroir du lecteur optique avec un chiffon imbibé d'un produit de nettoyage pour les vitres, puis essuyez-le soignement.

Attention: Évitez de vaporiser ou de verser le produit directement sur le miroir.

- Placez une extrémité du rouleau sur le pivot situé sur la gauche du télécopieur, comme indiqué par la flèche.

- Bloquez le rouleau en agissant sur le levier, comme indiqué par la flèche.

- Ensuite, fermez le tableau de bord, et placez le combiné téléphonique sur son logement.
Remarque : Pour vérifier si le lecteur optique est propre, faites la copie d'une page blanche. Si des lignes verticales apparaisent sur la copie alors que le lecteur optique de votre apparéil est propre, contactez le service d'assistance technique.
NETTOYAGE DE LA CARROSSEIRE
- Déconnectez le fax du secteur électrique et du réseau téléphonique.
- Utilisez uniquement un chiffon doux, sans peluches et imbibé d'un produit de nettoyage neutre dilué dans de l'eau.
Lors de l'émission ou de la copie, il est possible qu'un document original se coince. Cette situation est signalée sur l'afficheur par le message ENLEVER DOCUMENT, APPUYER (S). Essayez d'éjecter l'original en appuyant sur la touche l . Si l'original n'est pas éjecté automatiquement, retirez-le manuellement de la façon suivante :
- Tirez l'original vers le haut (faites attention à ne pas le déchirer).

ou bien
- Tirez l'original vers le bas (faites attention à ne pas le déchirer).

Remarque: N'utilisez jamais d'objets pointus pour retarder les originaux coincés.
Si le papier utilisé pour l'impression des documents reçus ou la copie des originaux cause un bourrage (cette situation est signalée sur l'afficheur par le message ERREUR PAPIER, APPLICER [S]), essayez d'éjecter la feuille de papier en appuyant sur la
touche _ . Si la feuille de papier n'est pas ejectee automatique, retirez-la manuellement de la façon suivante :
- Tirez la feuille vers le haut (faites attention à ne pas la déchirer).

ou bien
- Tirez la feuille vers le bas (faites attention à ne pas la déchirer).

Remarque: N'utilisez jamais d'objets pointus pour retarder les feuilles coincées.
Remarque : Si, après avoir effectué les opérations décrites ci-dessus, vous ne parvenez toujours pas à-retirer l'original coince ou la feuille de papier coincée, cela signifie que ces derniers pourraient être bloqués à l'intérieur du télécopieur. Si tel est le cas, effectuez la procédure suivante :
- Decrochez le combiné téléphonique, et place-le sur une surface stable (voir la figure 1 de la procédure "Nettoyage du lecteur optique").
-
Débloquez et soulevez le tableau de bord (voir la figure 2 de la procédure "Nettoyage du lecteur optique").
-
Déplacez le chariot porte-cartouche contre le bord gauche du télécopieur (voir la figure 3 de la procédure "Nettoyage du lecteur optique").
- Debloquez le rouleau d'entrainment du papier en agissant sur le levier (voir la figure 4 de la procédure "Nettoyage du lecteur optique").
- Extrayez le rouleau de son logement (voir la figure 5 de la procédure "Nettoyage du lecteur optique").
- Retirez l'original coincide ou la feuille de papier coincidee.
- Placez une extrémité du rouleau sur le pivot situé sur la gauche du télécopieur (voir la figure 7 de la procédure "Nettoyage du lecteur optique").
- Bloquez le rouleau en agissant sur le levier (voir la figure 8 de la procédure "Nettoyage du lecteur optique").
- Ensuite, fermez le tableau de bord, et placez le combiné téléphonique sur son logement.
ANNEXE
ASSISTANCE
GARANTIE
DONNÉES TECHNIQUES
ASSISTANCE
Si le télécopieur ne fonctionne pas correctement, ou si vous souhaitez poser des questions, appelez le :
3900 si vous âtes un particulier
3901 si vous âtes un professionnel
GARANTIE
Pour obtenir des informations sur la garantie du produit, consultez la Carte de garantie au début de ce manuel.
DONNÉES TECHNIQUES
CHARACTERISTIQUES GENÉRALES
Modèle Télécopieur de table.
Afficheur. A cristaux liquides (LCD), 16 + 16 caractères.
Capacité mémoire 50 pages au maximum.
Dimensions
Largeur 340 mm.
Profondeur 220 mm - 235 mm ( )
Hauteur. 133 mm - 272 mm ( )
Poids 2,5 kg environ.
CHARACTERISTIQUES DE COMMUNICATION
Réseau téléphonique....... Public/private.
Compatibilité ITU.
Vitesse de communication.... 14400 - 9600 - 7200 - 4800 - 2400
(avec "fall back" automatique).
Compression données.. MH, MR, MMR.
CHARACTERISTIQUES ELECTRIQUES
Tension 220-240 VCA ou 110-240 VCA
(voir la plaquette située sous le fax).
Fréquence 50-60 Hz (voir la plaquette située sous le fax).
Puisance absorbee:
- Attente < 4W
- Puissance maximale. 25 W au maximum.
CONDITIONS AMBIANTES
Température. De +5^ à +35^ (fonctionnement).
De -15°C à +45°C (transport).
De 0^ à +45^ (stockage et entreprisesage).
Humidité relative 15%-85% (fonctionnement, stockage et entreprisesage).
5%-95% (transport).
CHARACTERISTIQUES DU LECTEUR
Méthode d'analyse CIS.
Résolution de lecture :
- Horizontale. 8 points/mm.
- Verticale STANDARD 3,85 lignes/mm.
- Verticale FINE 7,7 lignes/mm.
CHARACTERISTIQUES D'ÉMISSION
Temps d'émission. 7 s environ (14400 bps) (^*)
Capacité du dispositif
d'introduction des originaux.....Automatique (ADF) :
5 feuilles A4 (70 - 90 g/m²).
CHARACTERISTIQUES DE RÉCEPTION
Système d'impression ............Sur papier ordinaire avec imprimante à jet d'encre.
Largeur max. d'impression 204 mm.
Longueur max. d'impression.....282 mm.
Papier d'impression. A4 (210 x 297 mm).
Alimentation papier.......Bac pour papier ordinaire (40 feuilles de 80~g / m^2 au maximum).
CHARACTERISTIQUES DU TELLEPHONE
4 sonneries disponibles pouvant etre associées à un numero des contacts.
Contacts pouvant contenir 100 numérios.
Fonction de "teléphonie mains libres".
Fonction d'identification de la personne qui vous appelle.
(^*) = Test Sheet Slerexe Letter en résolution standard et compression MMR.
(^^) = Avec l'extension du support du papier.


THE SLEREXE COMPANY LIMITED
SAPORS LANE·BOOLE·DORSET·BH 25 8 ER
TELEPHONE NUMBER (94513) 51617-TELEX 123456
Page volontairement blanche.
Déclaration de conformité CE
Paris, le 10/07/2008.
Nom: FRANCE TELECOM S.A
(fabricant, mandataires ou personne responsable de la mise sur le marché de l'équipement)
Siège social :
Telephone: 01.44.44.22.22
Adresse: 6 place d'Alleray
Télécopie :
Localité : PARIS CEDEX 15
Code postal : 75505
Identification du produit :
- Nature: Télécopieur
- Types: jet d'encre
- Référence commerciale : Galéo 7100
- Autres informations : SMS
Nous déclarons que le produit mentionné ci-dessus est conforme aux directives et aux normes harmonisées européennes suivantes:
- Directive 1999/5/EC du Parlement européen et du conseil du 09 mars 1999 concernant les équipements radio et terminals de télécommunications, incluant la reconnaissance mutuelle de leur conformité.
- Directive Basse Tension 73/23/CEE du 19 février 1973 concernant le rapprochement des législations des États Membres relatives au matériel électrique destiné à être employé dans certaines limites de tension ;
- Directive CEM 89/336/CEE du 3 mai 1989 concernant le rapprochement des législations des États membres relatives à la compatibilité electromagnétique, modifiée par la Directive 92/31/CEE du 28 avril 1992.
Article 3.1 a:
Sécurité :
EN 60950-1/A11:2004
Article 3.1 b:
Compatibilité électromagnétique :
EN 55022:/ 2006 class B
EN 55024/A2 : 2003
EN 61000-3-2:2007
EN 61000-3-3/A2 : 2006
Article 3.2:
ETSI TBR 38:1998
ETSI ES 203 021 : 2006
Le produit est marqué du symbole « CE » en application des directives citées ci-dessus.
1 JUIL. 2008
Date :
Signature et titre de la personne autorisée
Page volontairement blanche.

Cartouche noir série 7000
Référence : 8020334302672
Pour commander :
Partel.:1016
Par fax : 0 800 24 69 96
(N° vert fax. Appel gratuite depuis un fixe)
Page volontairement blanche.
« Voitre télécopieur Galéo 100% remboursé sur l'achat de 15 cartouches d'encre Galéo dans les 12 mois qui suivent l'achat » (Voir modalités)
Comment bénéficier de l'offre de remboursement de votre télécopieur Galéo :
- Achetez entre le 1/10/2008 et le 30/11/2009 un télécopieur Galéo (réfs : 7000, 7055, ou 7100) porteur de l'offre.
- Achetez 15 Cartouches d'encre de la reférence Galéo 7000 dans un décai de 12 mois après la date de votre achat d'un télécopieur Galéo (réfs : 7000, 7055, ou 7100) et au plus tard le 31/12/2010.
-
Envoyez avant le 31/12/2010 (cachet de la poste faisant foi) sous enveloppe suffisamment affranchie :
-
Cette étiquette autocollante porteuse de l'offre « Voiture télécopieur Galéo 100% rembourse »
Le code barres découvert de votre télécopieur Galéo
L'original de vos tickets de caisse sur lequel vous aurez entoure le libellé et le montant de vos achats d'un télécopieur et de 15 cartouches d'encre Galéo
Vos coordonnées complètes (nom, prénom, adresse) sur papier libre - Notre RIB ou RIP-IBAN à l'adresse suivante :
Galéo 100% rembourse
Opération ScanOp n°OL 38
13766 Aix-en-Provence Cedex 3
Offre limitée à la France métropolitaine, Corse comprende et à un seul remboursement par courrier et par foyer (meme nom, même adresse, même RIB/RIP-IBAN). Timbre remboursé au tarif lent en vigueur (20g) sur simple demande à l'adresse de l'offre. Vous receivez votre remboursement sous 4 à 6 semaines. Toutte demande illisible, erronée ou envoyée après la date limite sera considérée comme nulle. Conformément à la loi Informatique et Liberté du 06/01/1978, vous disposez d'un droit d'accès, de rectification et de retrait des données nominatives vous concernant en écrivant à l'adresse de l'opération.

France Telecom SA.
Service de Communication Résidentiels
6, place d'Alleray
75 505 Paris cedex 15
SA au capital de 10 412 239 188 €
380 129 866 RCS Paris.

Notice Facile