KG 1050 W - Cuisinière BRANDT - Notice d'utilisation et mode d'emploi gratuit
Retrouvez gratuitement la notice de l'appareil KG 1050 W BRANDT au format PDF.
| Type d'appareil | Cuisinière tout gaz |
| Nombre de foyers | 4 |
| Type de gaz | Gaz naturel ou propane |
| Allumage | Allumage manuel ou électronique |
| Four | Four à gaz |
| Puissance totale | Non précisé |
| Dimensions (HxLxP) | Non précisé |
| Matériau principal | Acier inoxydable |
| Sécurité | Thermocouple de sécurité |
| Type de commandes | Manettes rotatives |
| Consommation gaz | Non précisé |
| Installation | Encastrable ou pose libre |
| Accessoires inclus | Grille et lèchefrite |
| Entretien | Nettoyage facile |
| Normes | Conforme aux normes de sécurité |
FOIRE AUX QUESTIONS - KG 1050 W BRANDT
Téléchargez la notice de votre Cuisinière au format PDF gratuitement ! Retrouvez votre notice KG 1050 W - BRANDT et reprennez votre appareil électronique en main. Sur cette page sont publiés tous les documents nécessaires à l'utilisation de votre appareil KG 1050 W de la marque BRANDT.
MODE D'EMPLOI KG 1050 W BRANDT
Cuisinière Tout gaz

99640271_A_FR guide 60.qxp 04/09/2006 15:06 Page 2
SOMMAIRE
1/ CONSIGNES DE SECURITE 4
- Respect de l'environnement 4
2 / INSTALLATION DE VOTRE APPAREIL
- Conditions réglementaires d'installation 5
- Encastrement 6
Raccordement electrique 6
Raccordement gaz 7 - Changement de gaz 8
3 / UTILISATION DE VOTRE APPAREIL
Utilisation des brûleurs de table 13
Utilisation du four 16
- Accessoires 18
4/ENTRETIEN ET NETTOYAGE DE VOTRE APPAREIL 20
- Remplacement des parois catalytiques 22
- Pieds réglables 23
- Remplacement de la lampe du four 23
6/EN CAS D'ANOMALIES DE FONCTIONNEMENT 24
7/ SERVICE APRES-VENTE 28
1 / CONSIGNES DE SECURITE
- CONSULTEZ LA NOTICE AVANT D'INSTALLER ET D'UTILISER CET APPAREIL.
- Nous avons concu votre cusinière pour une utilisation par des particuliers dans un lieu d'habitation.
- Cette cuisineire, destinée exclusivement à la cuisson des boissons et denrées alimentaires, ne contientaucumposant à base d'amiente.
- Les cuissons doivent être réalisées sous voiture surveillance.
- Notre cuisine doit être déconnectée de l'alimentation électrique avant toute intervention.
- En branchant des apparciels électriques sur une prise de courant située à proximité, assurez-vous que le cable d'alimentation ne soit pas en contact avec les zones chaudes.
- Ne laïsez personne s'appuyer ou s'asseoir sur la porte du four ouverte.
- Lorsqu'une manette devient difficile à tourner, NE FORCEZ PAS. Demandez d'urgence l'intervention de l'installateur.
- Lors de son utilisation, l'appareil devient chaud. Faire attention à ne pas toucher les éléments chauffants situés à l'intérieur du four.
- les surfaces interieures peuvent devenir chaudes.
-L'intérieur du tiroir de stockage peut devenir chaud en usage normal.

Conseil
Pour être assure d'avoir une installation conforme, n'hésitez pas à faire appel à un spécialiste electroménager.
MISE EN GARDE: Les parties accessibles peuvent devenir chaudes au cours de l'utilisation. Il est recommendé d'éloigner les jeunes enfants.
- Lors de son utilisation, ne prenez pas à main\ nue la casserolerie (grille, tournebroche,\ l'echefrite, berceau de tournebroche...),\ utilisez une manique ou un tissu isolant.
- Ne pas utiliser d'appareil de nettoyage à la vapeur.
- La marque de conformité CE est apposée sur cette cuisine.
- RESPECT DE L'ENVIRONNEMENT
- Les matériaux d'emballage de cet apparéil sont recyclables. Participez à leur recyclage et contribuez ainsi à la protection de l'environnement en les déposant dans les conteneurs municipaux prévus à cet effet.

- Voiture appleil contient également de nombreux matériaux recyclables. Il est donc marqué de ce logo afin de vous indiquer que les appleils usages ne doivent pas être mélangés avec d'autres déchets. Le recyclage des appleils qu'organise votre
fabricant sera ainsi réalisé dans les mêilles conditions, conformément à la directive européenne 2002/96/CE sur les déchets d'équipements électriques et électroniques. Adressez vous à votre mairie ou à votre revendeur pour connaître les points de collecte des apparciels usagés les plus proches de votre domicile.
- Nous vous remercions pour votre collaboration à la protection de l'environnement.
2 / INSTALLATION DE VOTRE APPAREIL
CONDITIONS REGLEMENTAIRESD INSTALLATION
- Cet apparéil doit être installé conformément aux réglementations en vigueur, et utilisé seulement dans un endroit bien aéré. Consultez les notices avant d'installer et d'utiliser cet apparéil.
- Avant l'installation, assurez-vous que les conditions de distribution locale (nature du gaz et pression) et le réglage de l'appareil sont compatibles.
- Les conditions de réglage de cet apparéil sont inscrites sur l'étiquette de la pochette.
- Cet apparéil n'est pas raccordé à un dispositif d'évacuation des produits de la combustion. Il doit être installé et raccordé conformément aux règles d'installation en vigueur et une attention particulière sera accordée aux dispositions en matière de ventilation.
- L'utilisation d'un appeareil de cuisson au gaz conduit à la production de chaleur et d'humiidity dans le local où il est installé. Veillez à assurer une bonne aération de votre cuisine : maintenez ouverts les orifices d'aération naturelle, ou installez un dispositif mécanique (hotte de ventilation mécanique) : un débit de 2m^3/h par kW de puissance gaz est nécessaire.
- Les échauffements produits par son fonctionnement classent cette cusinière en classe 1 (appareil isolé) ou en classe 2 - sous classe 1 (incorporable ou non incorporable, fig.1), se-lon norme gaz : EN 30-1-1.
- RACCORDEMENT GAZ :
Le raccordement gaz s'effectue à l'arrière de l'appareil, de façon que le tuyau ne soit jamais en contact avec l'arrière de l'appareil, qu'il ne se trouve pas dans un endroit susceptible d'être encompassé et qu'il ne puisse pas être en contact avec une partie mobile.
Quel que soit le type ou la classe de la cuisine nière et qu'elle soit gaz, mixte ou électrique, les parois (arrière et adjacentes) doivent être en matière résistante à la chaleur ou revêtres d'une telle matière.
Les tubes souples ou tuyaux flexibles doivent être vis它们 sur toute la longueur, remplacés avant leur date limite d'utilisation (marquee sur le tuyau), et avoir une longueur de 2 m maximum.
Le raccordement au moyen d'un tuyau flexible monté sur un about est interdit si l'installation gaz est neue ou modifiée (changement du robinet d'alimentation).
2 / INSTALLATION DE VOTRE APPAREIL
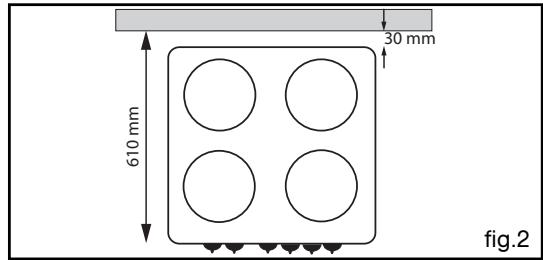
- ENCASTREMENT
Vous nevez respecter les cotes d'encastrement suivantes (fig.1 et 2):
- 10 mm entre les cotsés de l'appareil et les murs ou les meubles.
- 30 mm entre le mur et l'arrière de l'appareil, couvercle fermé.
- Cote de profondeur d'encastrement entre le mur à l'arrière et l'avant de l'appareil : 610 mm (voir fig. 2, vue de dessus).
Attention Ne pas ins
socle.
RACCORDEMENT ELECTRIQUE
La cuisine doit etre raccordee au reseau 220-240 V monophasé et le fil de protection (vert/jaune) doit etre relié à la borne de terre 12 de l'installation.
Les apparèils sont livrés avec un cable d'alimentation et une fiche de prise de courant (selon modulo). S'il est nécessaire de changer ce cable d'alimentation ou si le cable d'alimentation est endommagé, il doit être remplaced par le fabricant, son service après-vente ou des personnes de qualification similaire afin d'évier un danger. Le cable doit être de type H 05 VVF à 3 conducteurs de 1,5mm^2
Le cable d'alimentation des appeareils de la classe I doivent composer un conducteur vert/jaune relié à la borne de terre ① de l'appareil et au contact de terre ② de la fiche de prise de courant.
L'appareil doit être raccordé au réseau par l'intémediaire d'une fiche de prise de courant 2P+T normalisée CE160083 ou d'un interrupteur à coupure omnipolaire conforme aux règles d'installation en vigueur.
Dans le cas d'un branchement par prise de courant, celle-ci doit rester accessible après l'installation.

3 TYPES D'ENCASTREMENT POSSIBLES

Attention
Notre responsabilité ne saurait etregée en cas d'accident consecutif amise à la terre inexistante ou recte.
2 / INSTALLATION DE VOTRE APPAREIL
RACCORDEMENT GAZ
Attention
L'installation est normalement réservée aux installateurs et techniciens qualifiés.
L'appareil est livre pré-regle en gaz de réseau (gaz naturel).
Conseil
Vouspouvezyouprocurerlestuayx flexiblesavecemboutsmecaniquesaupres duSAVconstructeur(coordonnées obtenuesaupresduService Consommateursurdarmarque).
- Tous types d'appareils:
incorporables ou non incorporables.
- Pour les gaz distribués par une canalisation (gaz naturel), le raccordement s'effectue (fig.1):
- soit par tuyau flexible avec embouts mécaniques filétés (fig. 1).
- soit par un raccord rigide (tuyauterie en cuivre) (fig. 2).
- Pour le butane-propane distribué par bouteille ou réservoir, le raccordement s'effectue :
- soit par tuyau flexible avec embouts mécaniques filétés (fig. 1).
- soit par un raccord rigide (tuyauterie en cuivre) (fig. 2).
Attention
7:1 Comme indiqué fig. 3, il est interdit de raccorder un tuyau couple avec un about.



2 / INSTALLATION DE VOTRE APPAREIL
CHANGEMENT DE GAZ
Cette cuisine est livrée pré-réglée pour le gaz de réseau (gaz naturel).

PASSAGE DU GAZ DE RESEAU EN GAZ BUTANE/PROPANE
Attention
Pour tout changement de gaz, vous nevez impératifement effectuer les trois opérations suivantes :
-Adaptez le raccordement gaz,
- Changez les injecteurs,
- Reglez les ralentis sur les robinets.
- Les injecteurs nécessaires à l'adaptation au butane/propane sont dans la pochette contenant la notice.

ET
- En France, cette cusinière est également adaptable à l'air propané/butané. Le sachet d'adaptation est fourni, sur demande, par votre Service après-Vente.
Lors de la commande du sachet d'adaptation, précisez bien le type de cuisineire.
- A chaque changement de gaz, cochez le nouveau réglage sur l'étiquette dans la pochette.
- Adaptation du raccordement gaz
Reportez-vous à la page précédente.

PASSAGE DU GAZ BUTANE/PROPANE AU GAZ DE RESEAU
2 / INSTALLATION DE VOTRE APPAREIL
- CHANGEMENT DE GAZ
- Changement des injecteurs
Chaque injecteur est identifié par un numérograve dessus.
Changez les injecteurs avec une clé à angle, en procédant comme suit :
- Retirez les grilles, les chapeaux et les têtes de tous les brûleurs (fig. 1).
- Dévissez à l'aide de la clé fournie les injecteurs situés dans le fond de chaque pot et otez-les (fig. 2).
- Montez à la place les injecteurs fournis dans la pochette, conformément au tableau des caractéristiques gaz liént dans la notice d'utilisation ; pour cela :
- Vissez-les d'abord manuellement jusqu'au blocage de l'injecteur.
- Engagez la clé sur l'injecteur.
- Serrez suivant les consignes ci-dessous.
Pour un serrage idéal :
- Tracez une ligne sur la plaque d'etre à l'aide d'un crayon de papier à l'endroit indiqué (fig. 3).
-Tournez la clé dans le sens des aiguilles d'une montre jusqu'à ce que la ligne apparaisse de l'autre cotoé de la clé (fig. 4).

A Chapeau de brûleur
B Tête de brûleur
Bougie d'allumage
D Thermocouple (selon modele)
E Injecteur



2 / INSTALLATION DE VOTRE APPAREIL
- CHANGEMENT DE GAZ
- Changement de l'injecteur du four et grilloir (suivant modèle)
Changez les injecteurs en procédant comme suit : - Enlevez le déflecteur en devissant les 2 vis le maintainant (fig.1)
- Enlevez le capot arrête en dévissant les 11 vis de maintainien (fig.1)
- Déclipez l'attache métallique située à la base de chaque brûleur (sole et grilloir) (fig.2) à l'aide d'un petit tournevis.
- Retirez l'injecteur qui coiffe le tube.
- Vérifiez que le joint est bien en place sur le tube aluminium, sinon retirez-le de l'injecteur sans l'abîmer etengagez-le sur le tube.
- Coiffez le tube avec le nouvel injecteur en s'assurant que son repère correspond au tableau des caractéristiques gaz.
-Replacezle tube et clipez l'attache métallique. - Revissez le capot arrêté et le déflecteur.



Attention
Vousdezimperativementreplacer
le joint sur le tube aluminium avant de placer le nouvel injecteur.
2 / INSTALLATION DE VOTRE APPAREIL
- CHANGEMENT DE GAZ
- Réglage du ralenti des robinets des brûleurs de table (il n'y a pas de réglage du ralenti à effectuer sur le grilloir)
Gaz de réseau (gaz naturel ou air protoné / air butané) Gaz butane / propane
- Retirez les manettes.
- Avec un petit tournevis, vissez à fond la vis en laiton de chaque robinet (dessus et four). (voir page suivante)
- Remettez les manettes, allumez brûleur par brûleur et tournez doucement en position mini.
- Executeur plusieurs manoeuvres de passage de plein début au début réduit pour vérifier que le réglage est correct.
Gaz butane / propane Gaz de réseau (gaz naturel ou air propané / air butané)
- Retirez les manettes.
- Avec un petit tournevis, dévissez environ d'un tour la vis en laiton de chaque robinet (dessus et four) (voir page suivante)
- Remettez les manettes, allumez brûleur par brûleur et tournez doucement en position mini.
- Vérifiez que vous obtenez une flamme stable et exécutez plusieurs manoeuvres de passage de plein début au début réduit pour vérifier que le réglage est correct.
Gaz naturel Gaz air propané / air butané
- Retirez les manettes.
- Avec un petit tournevis, dévissez environ d'un tour la vis en laiton de chaque robinet (dessus et four) (voir page suivante)
- Remettez les manettes, allumez brûleur par brûleur et tournez doucement en position mini.
- Vérifiez que vous obtenez une flamme stable et exécutez plusieurs manoeuvres de passage de plein début au début réduit pour vérifier que le réglage est correct.
2 / INSTALLATION DE VOTRE APPAREIL
- CHANGEMENT DE GAZ
| Gaz air proposé / air butané ⇒ Gaz naturel |
| - Retirez les manettes. |
| - Avec un petit tournevis, vissez environ d'un tour ↓ la vis en laiton de chaque robinet (dessus et four) (voir ci-dessous) |
| - Remettez les manettes, allumez brûleur par brûleur et tournez doucement en position mini. |
| - Vérifiez que vous obtenez une flamme stable et exécutez plusieurs manoeuvres de passage de plein début au début réduit pour vérifier que le réglage est correct. |
Nota : après réglage, lors du passage en débit réduit, la flamme des brûleurs ne doit pas s'éteindre. Le brûleur de four ne doit pas s'éteindre à la suite de la fermeture de la porte du four. Evitez néanmoins la fermeture trop brute de la porte, et vérifie par le trou d'allumage la présence de la flamme. Si la flamme s'éteint, dévissez légèrement la vis en laiton.


3 / UTILISATION DE VOTRE APPAREIL
- UTILISATION DES BRULEURS DE TABLE
Le réglage vers un débit plus réduit s'effectue entre le symbole "grande flamme" et le symbole "petite flamme". Le point correspond à la fermetre du robinet.
- Allumage sans sécurité gaz
(suivant modele)
- Allumage manuel (modèle sans allumage électronique):
- Ouvrez votre robinet en position "grande flamme" et
-
Approchez une allumette du brûleur.
-
Allumage électronique :
-Tournez la manette du bruleur vers la position "grande flamme".
- Actionnez le bouton d'allumage électronique (appuyez et relâchez).
-
Allumage intégré aux manettes :
-
Appuyez sur la manette et tournez dans les sens jusqu'à vers la position "grande flamme".
- Maintenez la manette appuyée pour déclencher une série d'étincelles jusqu'à l'allumage du brûleur.
Attention - En cas de
-
En cas de panne de courant, il est toujours possible d'allumer la flamme en approchant une allumette du brûleur, tout en maintainant la manette du robinet correspondant ouverte en débit maximum.
-
En cas d'extinction accidentelle de la flamme, il suffit de réallumer normalement en suivant les instructions de l'allumage.
- Allumage avec sécurité gaz
(suivant modele)
Chaque brûleur est contrôle par un robinet avec un verrouillage de sécurité qui, en cas d'extinction accidentelle de la flamme (débordement, courant d'air...) coupe très rapidement l'arrivée de gaz et empêche celui-ci de s'échapper.
La sécurité des brûleurs est matérialisée par une tige métallique (thermocouple), située directement au voisinage de la flamme.
Attention Mainten
quelles secondes après l' apparition de la flamme pour enclencher le système de sécurité.
- Allumage manuel (modèle sans allumage électronique):
- Ouvrez votre robinet en position "grande flamme" et
-
Approchez une allumette du brûleur.
-
Allumage électronique :
-Tournez la manette du bruleur vers la position "grande flamme".
- Actionnez le bouton d'allumage électronique (appuyez et relâchez).
-
Allumage intégré aux manettes :
-
Appuyez sur la manette et tournez dans les sens jusqu'à vers la position "grande flamme".
-
Maintenez la manette appuyée pour déclencher une série d'étincelles jusqu'à l'allumage du brûleur.
3 / UTILISATION DE VOTRE APPAREIL
- UTILISATION DES BRULEURS DE TABLE
- Conseils pour utiliser les brûleurs de table
-
Lorsque vous préparation arrivè à ébullition, il est inutile de laisser bouillir à gros bouillons; les alimentés ne cuisent pas plus vite. Ils ci-dessont moins sur un peux doux qui maintain une légère ébullition.
-
Reglez la couronne de flammes de façon que celles-ci ne débordent pas du récipient. Vos récipients doivent être suffisamment larges pour que la flamme s'étale sur le fond sans déborder sur les parois, sinon vous risquez de déterminer la poignée du récipient posé dessus.
-
N'employez pas de recipients avec un fond bombé, ou d'un diamètre inférieur à 12 cm en début réduit.

- Certains apparèls sont équipés d'une petite grille support, amovible, pour petite casserolle. Celle-ci peut-être utiliser sur tous les foyers gaz de l'appareil.
Nos recommandons l'emploi des recipients suivants :
| PETIT BRULEUR (SEMI-RAPIDE) | BRULEUR MOYEN (RAPIDE) | GRAND BRULEUR (ULTRA-RAPIDE) | BRULEUR AUXILIAIRE |
| Récipients de 18 cm de diamètre et plus : | Récipients de 24 cm de diamètre et plus : | Récipients de 28 cm de diamètre et plus : | Récipients de 8 à 16 cm de diamètre et plus |
| SAUCES, RÉCHAUFFAGE | ALIMENTS A SAISIR | FRITURES, ÉBULLITION | SAUCES, MIJOTAGES, TENUES AU CHAUD |
En cas de mijotage en début réduit, ces dimensions peuvent être ramenées respectivement à 12, 14 et 16 cm.
Attention Cuisinières
Si la surface est fêlée, déconnectez l'appareil de l'alimentation pour éviter un risque de chic électrique. Avertissez votre installerateur. N'utilisez plus la table avant réparation.

Appareils avec couvercle verre (suivant modèle): le couvercle en verre peut éclater lorsqu'ils est chauffé. Veuiliez étèindre tous les brûleurs avant de fermer le couvercle.
3 / UTILISATION DE VOTRE APPAREIL
- UTILISATION DES BRULEURS DE TABLE
- Conseils pour utiliser les brûleurs de table
Pour obtenir un allumage correct de vos brûleurs, nous vous conseillons :
- de veiller régulierement au parfait état de propre des bougies et au bon fonctionnement des éléments qui composent les brûleurs,
- de vous assurer, avant allumage, de la bonne mise en place des têtes de brûleurs et des chapeaux,
- de poser vos récipiens sur la grille avant d'al-lumer avec le bouton pouvoir.
Il est recommandé de ne pas utiliser l'allumage électronique si les brûleurs ne sont pas tous en place.
- Les flammes du brûleur sont plus petites au niveau de doigts de grille pour protégger l'émail de la grille.
-L'apparition de pointes jaunes est due à la qualité du gaz utilisé mais ne dégrade en rien les performances des brûleurs. - Le bruit géné par les brûleurs est lié à leur puissance, ce qui n'altère en rien les performance de votre table de cuisson.
- Pour faire passer vos récipiens d'un brûleur à un autre, ne les faites pas glisser mais soulee-zes afin d'eviter de déplacer les grilles.

A Chapeau de brûleur
B Tête de brûleur
Bougie d'allumage
D Thermocouple (selon modele)
Injecteur
Attention - Veuillez
- Veuillez éviter tout débordement excessif lors de l'utilisation des foyers. Celui-ci peut provoquer des infiltrations de liquide par les aérations supérieures de la porte et entrainer ainsi l'encrassement des glaces interieures, sans incidence sur le fonctionnement de votre apparéil.
3 / UTILISATION DE VOTRE APPAREIL
- UTILISATION DU FOUR

Attention
Viete four possede soit un allumage
electronique, soit un allumage manuel.
Verifiez le modele de votre appareil.
Le four de votre cuisine est équipe d'un dispositif de sécurité de flamme permettant de couper automatiquement l'arrivee du gaz en cas d'extinction accidentelle de la flamme. Lors de l'allumage de votre four, ce dispositif nécessite de suivre les instructions suivantes:
- Allumage de la sole gaz (brûleur inférieur du four)
- Ouvrez le robinet du gaz alimentant votre cuisine.
- Enoncez et tournez la manette du four vers la gauche jusqu'en position maxi.
-
Maintenez la manette du four enfoncé.
-
Allumage manuel (modèle sans allumage électronique):
Approchez une allumette du bruleur.
- Allumage électronique :
Actionnez le bouton d'allumage électronique (appuyez et relâchez).
- Allumage intégré aux manettes :
Appuyez sur la manette et tournez dans le sens ↓ jusqu'à vers la position maximum Grande Flamme.
- Dès l' apparition de la flamme, continuez à十年er la manette du four enforcée pendant 5 à 10 secondes, le temps que la sécurité soit activée. Relâchez la manette et vérifie que le brûleur reste allumé.
Evitez de fermer violemment la porte de la cuisine, vous risqueriez d'eteindre les flammes lorsque vous four fonctionne en allure réduite. - Reglez la manette du four sur la position de cuisson désirée.
Allumage du grilloir gaz (suivant modele)
(brôleur supérieur du four)
-
Enfonce et tournez la manette du four vers la droite jusqu'à la position grilloir.
-
Maintenez la manette enfoncée.
-
Allumage manuel (modèle sans allumage électronique):
Approchez une allumette du brûleur. - Allumage électronique :
Actionnez le bouton d'allumage électronique (appuyez et relâchez). - Allumage intégré aux manettes :
Appuyez sur la manette et tournez dans le sens jusqu'vers la position maximum Grande Flamme.
- Dès l' apparition de la flamme, continue à maintenir la manette du four enforcée pendant 5 à 10 secondes, le temps que la sécurité soit activée. Relâchez la manette et vérifie que le brûleur reste allumé.
REMARQUE
Le dispositif d'allumage ne doit pas etre actionné pendant plus de 15 secondes. Si à l'issue de ces 15 secondes le brûleur ne s'est pas allumé, cessez d'agir sur le dispositif, ouvrez la porte de l'enceinte et attendez au moins une minute avant toute nouvelle tentative d'allumage du brûleur.
En cas d'extinction accidentelle des flammes du brûleur, fermez la manette de commande du brûleur et n'essayez pas de rallumer le brûleur pendant au moins une minute.
Une utilisation intensive et prolongée de l'appareil peut nécessiter une aération supplémentaire, par exemple en ouvrant une fenêtre, ou une aération plus efficace, par exemple en augmentant la puissance de la ventilation mécanique si elle existe.
3 / UTILISATION DE VOTRE APPAREIL
- UTILISATION DU FOUR
- Conseils pour utiliser le four
- Première utilisation : avant d'utiliser votre four pour la première fois, laissez-le chauffer à vide, porte fermée, pendant 15 minutes environ sur la position maxi. L'isolant qui entoure la cavité du four peut dégager, au début, une odeur particulière due à sa composition. De même, vous constaterez peut-être un dégagement de fumée à la première chauffe du four. Tout ici est normal.
- Avant d'effectuer une cuisson, consultez la notice d'utilisation pourCHOISIR I'ALLURE de chauffe la plus appropriee, et le niveau des gradins autiliser pour la casserolerie.
- Le guide de cuisson de votre apparéil donne les indications nécessaires à la réalisation d'un certain nombre de mets choisis parmi les plus courants.
- Sur le guide de cuisson, les positions de réglage du thermostat du four sont données à titre indicatif. Aussi, afin d'eviter une production anormale de fumées pouvant résultat d'une température excessive de cuisson, il est préféable de réduire la puissance du four.
- En arrêtant le four 5 à 10 minutes avant la fin de la cuisson, vous bénéficierez de la chaleur accumulée et réaliserez ainsi des économies d'énergie.
Attention
Assurez-vous que votre portede four est bien fermée; ceci afin que le joint d'etanchete remplisse correctement sa fonction.
- Les cuissons au four et au grilloir doivent être effectuees couvercle de la cusiniere ouvert pour faciliter I'evacuation des gaz chauds a l'arriere de la table de travail.
- Ne garnissez pas votre four de feuilles en aluminium. Sinon, il en résultatait une accumulation de chaleur qui influencerait désvantageusement le résultat de la cuisson et du rotissage et endommagerait l'email.
- En fonctionnement, ne laissez pas la porte du four ouverte plus de 3 minutes afin d'éviter une température trop élevé des manettes.
- Lors de son utilisation, l'appareil devient chaud. Faire attention à ne pas toucher les éléments chauffants situés à l'intérieur du four
3 / UTILISATION DE VOTRE APPAREIL
- ACCESSORIES
(suivant modele)
Grille sécurité anti-basculement fig.1
La grille peut être utilisée pour supporter tous les plats et moules contenant des alimentés à cuir ou à gratiner.
Elle sera utiliser pour les grillades (à poser directement dessus).
Grille plate fig.2
La grille plate peut être utilisé pour supporter tous les plats et moulés contenant des aliments à cuire ou à gratiner, ainsi que les grillades.
- Plat lèchefrite fig.3
Inséré dans les gradins sous la grille, il recueille les jus et les graisses des grillades, il peut être utilisé à demi rempli d'eau pour des cuissons au bain-marie.
Evitez demettre dans la letchefrite des rots ou des viandes car vous aurez systematiquement d'importantes projections sur les parois du four.
Ne jamais poser ce plat directement sur la sole, sauf en position GRIL.
- Plat sortant sur système coulissant fig.4
Equipé d'un plat à gâteaux, il permet de sortir complètement le plat de l'enceinte du four de manière à pouvoir intervenir aisément en cours de cuisson.
Ce système possède une sécurité anti-basculément lui permettant de supporter une charge de 5 kg uniformément répartie.
- Plaque à pâtisserie fig.5
Posée sur la grille, elle s'utilise pour la cuisson de pâtisseries telles que choux à la crème, meringues, madeleines, pâtes feuilletées...





3 / UTILISATION DE VOTRE APPAREIL
- ACCESSOIRES (suivant modele)
- Plat creux fig.6
Il sert à recueillir le jus et les graisses de cuisson réalisées en grill fort et en grill pulsé (selon modele).
Il peut être utilisé comme plat de cuisson en appropriant la taille du morceau à cuire (ex : une volaille avec les légumes autour, à température modérée).
Evitez d'ymettre des roits ou des viandes de petite taille et cuisant a temperture elevated car vous aurez automatiquement d'importantes projections sur les parois du four.
Ne jamais poser ce plat directement sur la sole.
Tournebroche (suivant modele) fig.7
La cuisson au tournebroche est très pratique et permet d'obtenir, en particulier, des viandes savoureuses et régulièrement cuites. Pour l'utiliser :
- engagez le berceau de la broche au 3e gradin à partir du bas (verifiez le sens)
- enfilez une des fourchettes sur la broche, embrochez la pierce à rôtir; enfilez la deuxième fourchette, centrez et serrez en vissant les deux fourchettes,
- placez la broche sur son berceau,
- poussez légèrement pour engager la pointe de la broche dans le carré d'entrainment si-tué au fond du four,
-disposez le plat lèchefrite multi-usages au gradin inférieur pour recueillir le jus de cuisson.
Attention Dans la c a
Dans le cas où la broche comporte une poignée isolante, retirez-la en la dévisant avant de fermer la porte.



Attention Sens du be
Sens du berceau : placez le berceau de façon à ce que le trou prévu pour le tourne-broche soit totalement apparent.

4 / ENTRETIEN ET NETTOYAGE DE VOTRE APPAREIL
COMMENT PROCEDER?
| Carosserie | - Utilisez une épponge humidifiée d'eau savonneuse, pour le dessus. Si nécessaire, après débordements, utilisez une crème à récurer du commerce, non abrasive, pour émail. Faites briller avec un linge sec, ou mieux avec une peu de chamois. Ne laissez pas séjourner sur l'émail des liquides acides (juste de citron, vinaigre...). - Il convient d'enlever du couvercle tous les produits dus à un débordement avant de l'ouvrir et de laisser refroidir le plan de cuisson avant de fermer le couvercle. - Pour les surfaces métalliques polies, utilisez les produits du commerce prévus pour l'entretien des métaux polis. |
| Vitre de ported four | - Àprouse une cuisson ayant provoqué des salissures, il est conseilé de nettoyer la vitre interieure avec une épponge humidifiée d'eau savonneuse. |
| Manettes de commandes | - Utilisez une épponge humidifiée d'eau savonneuse. |
| Brûleurs à gaz | - L'injecteur gaz se trouve au centre du brûleur. Veillez à ne pas l'obstruer lors du nettoyage, ce qui perturberait les performances de votre table. Pour nettoyer les chapeaux de brûleurs, utilisez de l'eau savonneuse. Dans le cas de taches persistantes, vous pouvez utiliser une noisette de crème non abrasive sur une épponge, puis rincez à l'eau claire. Essuyez soignement les chapeaux de brûleurs avant de réutiliser votre table de cuisson. En cas d'obstruction des fentes des brûleurs ou d'encrassement des bougies, nettoyez-les à l'aide d'une Brosse à poils durs. |
| Grilles support de casseroles | - Utilisez une épponge humidifiée d'eau savonneuse exclusivement ; jamais d'objets tranchants. |

Attention
Avant de procéder au nettoyage, laissez refroidir l'appareil et vérifie que toutes les manettes sont sur la position ARRET.
- Ne pas utiliser de produits d'entretien abrasifs ou de grattoirs métalliques durs pour nettoyer la porte en verre du four, ce qui pourrait érafler la surface et entrainer l'éclatement du verre.

Attention
- Lors du nettoyage de la vitre de la porte, veuilles protégger contre toute infiltration de liquide, les aérations situées en haut de la porte.

Attention
-
Ne pas utiliser d'appareil de nettoyage à la vapeur.
-
Ne pas asperger d'eau la cuisineire
4 / ENTRETIEN ET NETTOYAGE DE VOTRE APPAREIL
FOUR A EMAIL NORMAL
- Nettoyez les parois avec un chiffon humidifié d'eau savonneuse très chaude, afin d'enlever les taches deGRAisse. Nous vous recommandons d'effectuer ce nettoyage fréquemment.
- Lors d'un débordement important, essuyezle avec une éponge humide ou une brosse douce. Sinon, à l'aide d'une éponge ou d'un chiffon fortement imbibé d'eau chaude savonneuse ou d'un produit à récurer non abrasif (pour émail ou inox) couvrez les taches produits. Laissez séjourner pendant la nuit, les dépôts s'enleveront ensuite très facilement.
Conseil
- Ne pas gratter ces parois avec une Brosse métallique, des instruments pointus ou tranchants.
- Ne pas essayer de les nettoyer avec des produits à récuer.
- Lors de la cuisson de grillades, des projections grasses importantes ont lieu sur les parois dont la température n'est pas toujours suffisante pour que leur élimination s'effectue complètement pendant la cuisson. Dans ce cas, après cuisson, prolongez le chiffage du four pendant 20 à 30 minutes, à puissance maxi. S'il reste des traces, elles s'attenueront lors des cuissons suivantes et l'on évite ainsi la production excessive de fumée.
FOUR A EMAIL CATALYTIQUE (autodégraissant)
- Ce four, à nettoyage continu, est constitué de 3 parois recouvertes d'un émail spécial microporeux qui lui confère ses qualités autodégraissantes. Dès leur apparition, les souillures s'étalent et se diffusent largement sur la face de contact microporeuse. Elles se trouvent oxydées sur les deux faces et disparaisent progressivement. L'émail autodégraissant est rundout adapté aux corps gras, mais pas du tout aux sucres; c'est pourquoi la sole, plus sujette aux débordements de sucre, n'est pas revêtue.
Pour préserver votre apparéil, nous vous recommendons d'utiliser les produits d'entretien Clearit.

L'expertise des professionnelles au service des particuliers
Clearit yous propose des produits professionnels et des solutions adaptees pour l'entretien quotidien de vos appareils electroménagers et de vos cuisines.
Vous les trouverez en vente chez votre revendeur habitual, ainsi que toute une ligne de produits accessoires et consommables.
Danger
-
Dans ces conditions de nettoyage, les surfaces peuvent开发商 plus chaudes qu'en usage normal. Il est recommendé d'éloigner les jeunes enfants.
-
Quel que soit le type de four, n'entreposez jamais de produits inflammables (chiffons, papiers, produits d'entretien, notices, etc...) dans le coffre à casserolerie de votre cuisine; vous risqueriez de provoquer un incendie dont nous ne saurions, en aucun cas, être tenus pour responsables.
Avant de procéder au démontage, laissez refroidir l'appareil et vérifie que le sélecteur de cuisson est sur la position ARRET.
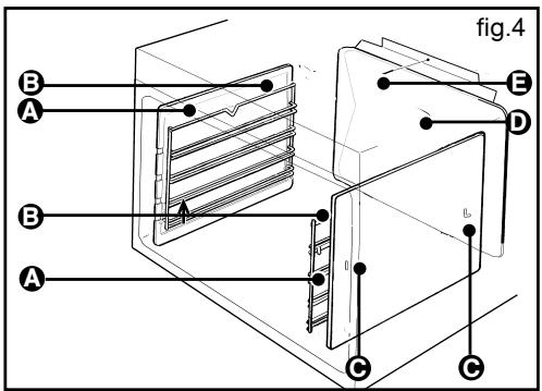
- Parois latérales avec gradins emboutis :
Tournez la vis d'un quart de tour afin d'enlever les parois catalytiques embouties (Fig.1).
La basculer vers l'avant afin de dégager les 2 pattes insérées dans le moule (Fig.2).
- Parois latérales avec gradins fils :
Décrochez le gradin fil (B Fig.4) à l'avant en le soulevant (scheme A Fig.3). Tirez vers soi l'ensemble du gradin, le soulever afin de décrocher l'attache de fixation arrière (scheme B Fig.3). Le sortir des 2 trous (C Fig.4) de la paroi catalytique et du moule du four. Retirez ensuite la paroi catalytique (A Fig.4). Replacez les nouveaux éléments (parois et/ou gradins) en effectuant les opérations inverses.
- Remplacement de la paroi du fond
Dévissez complètement la vis (E Fig.4) située en haut de la paroi du fond (D Fig.4). Inclinez la paroi vers l'avant afin de la retireur du moufle. Replacez la nouvelle paroi en effectuant les opérations inverses.

fig.1

fig.2


5/REGLAGE DE VOTRE APPAREIL
PIEDSREGLABLES
(suivant modele) fig.1
Certains apparèils possèdent des pieds réglables à l'avant, qui permettent d'obtenir une assise correcte quel que soit le sol, par vissaège ou dévissage.

- REMPLACEMENT DE LA LAMPE DU FOUR

Danger
S'assurer que l'appareil est déconnecté de l'alimentation avant de replacer la lampe pour éviter tout risque de chocolélectrique.
Intervenez lorsque l'appareil est refroidi.
La lampe est accessible:
A l'intérieur du four (fig. 2):
L'ampoule se situe au plafond de la cavity de votre four.
- Tournez le hublot vers la gauche d'un quart de tour,
- Dévissez l'ampoule dans le même sens.
Caracteristiques de l'ampoule :
-15W,
-220-240V - 300^
-culot E14 a vis. - Changez l'ampoule puis remontez le hublot et rebranchez votre four.


Conseil
Pour dévisser le hublot et la lampe, utilisez un gant de cahoutchouc qui facilitera le demontage.
6 / EN CAS D'ANOMALIES DE FONCTIONNEMENT
ALLUMAGE DES BRULEURS A SECURITE GAZ
(suivant modulo)
Tournez la manette en position grande flamme et allumez le brûleur en maintainant la manette appuyée fortement (Fig.1).
- Approchez une allumette (si votre produit n'a pas d'allumagelectronique).
- Actionnez le bouton d'allumage (si vous produit a un allumage électronique).
- Attendez l'allumage (si vous produit a un allumage électronique intégré aux manettes).

Tournez en appuyant fortement
A l' apparition de la flamme maintenez toujours la manette appuyée fortement durant quelques secondes (Fig.2).

Maintenez appuyé fortement
Relâchéz ensuite la manette, la flamme persiste (Fig.3),
La Sécurité Gaz est en fonction.
(Si votre brûleur s'est étéint, renouvelez l'opération en maintainant appuyé fortement plus longtemps.)

Relâchez
6 / EN CAS D'ANOMALIES DE FONCTIONNEMENT
Vouaves un doute sur le bon fonctionnement de votre cuisine; ceci ne signifie pasforcement qu'il y a une panne. Dans tous les cas, vérifie les points suivants:
| VOUS CONSTATEZ QUE... | LES CAUSES POSSIBLES | QUE FAUT-IL FAIRE? |
| Votre four ne chauffe pas | - La bouteille de gaz est vide. - Le raccordement électrique est défectueux. - Le sélecteur de température (thermostat) est en position 0. | → Vérifiez le raccordement gaz et électrique. → Positionnez votre thermostat sur la température de cuisson désirée. → Vérifiez que le minuteur ou le pro-formmateur (suivant modèle) est sur la position manuelle (voir notice). |
| Votre four fume excessivement lors des cus-sons ou vous consta- tez un dégagement d'odeurs important | - C'est normal lors de la 1ère chauffe. - Températures de cuisson trop élevées. - Degré de salissures impor- tant. - Produit de nettoyage sur les parois du four. | → Baissez les températures de cuissons de votre thermostat, indiquées sur le guide de cuissons. → Procédez au nettoyage de votre four en rincrant le produit de nettoyage avec de l'eau. Note : il est=rappelé qu'ilne faut pas utiliser cette plat l'échefrite multi-usages comme plat à rôtir. |
| L'allumage electro- nique des brûleurs (suivant modèle) ne fonctionne pas correc- tement | - Les bougies sont en- crassées. - Mauvaise'utilisation du système. - Appui trop faible sur la ma- nette. | → Attendez plusieurs étincelles avec le gaz. → Suivez les conseils de l'allumage de la notice. → Vérifiez la propreté des bouygues. → Vérifiez le bon positionnement du chapeau sur la tête de brûleur. → Maintenez l'appui fortément quelques secondes après l' apparition de la flamme. |
| Buées sur les vitres | - Plats humides ou très froids. | → Pour des cuisson très humides (ex : TOMATES farcies), il est conseilé de procéder à un préchauffage afin de chauffer les surfaces vitrées. |

Conseil
Dans tous les cas, si votre intervention n'est pas suffisante, contactez sans attendre le ce après-vente.
6 / EN CAS D'ANOMALIES DE FONCTIONNEMENT
Vous avez un doute sur le bon fonctionnement de votre cuisinière ; ceci ne signifie pasforcément qu'il y a une panne. Dans tous les cas, vérifie les points suivants :
| VOUS CONSTATEZ QUE... | LES CAUSES POSSIBLES | QUE FAUT-IL FAIRE? |
| La longueur des flammes du brûleur inférieur du four varie en cours de fonctionnement | - Ceci est dû à la régulation de la température du thermostat de four. | → C'est normal |
| Les flammes se décol-lent des brûleurs | - Les fentes des têtes de brûleurs sont bouchées. - Mauvaise position du chapeau de brûleur. | → Effectuez le nettoyage des fentes des têtes de brûleurs. → Vérifiez la pression du gaz. → Vérifiez la position des chapeaux de brûleur. → Vérifiez que vous avez les bons in-jecteurs, vérifiez le gaz utilisé, le rac-cordement gaz, le réglage du débit. |
| Le ralenti gaz est trop fort ou les flammes s'éteignent | - Suite à changement de gaz | → Vérifiez dans la notice “Change-ment de gaz” que vous avez bien efféctué toutes les opérations nécess-saires : changement des injecteurs, réglage de la vis de débit réduit. |
| Votre apparil neuf fait disjoncter | - Mauvais branchement - Plusieurs appareils élec-troménagers sont en fon-tionnement simultanément. | → Mettez hors tension les autres ap-pareils. → Vérifiez le raccordement élec-trique. |
| Les flammes sont trop petites | - Suite à un nettoyage, l'in-jecteur est bouché. | → Débouchez l'injecteur avec une ai-guille. |
NOTES
7 / SERVICE APRÉS-VENTE
- INTERVENTIONS
Les évventuelles interventions sur votre apparéil doivent être effectuées par un professionnelnel qualifié dépositaire de la marque. Lors de votre appel, mentionnez la référence complète de votre apparéil (modèle, type, numéro de série). Ces renseignements figurent sur la plaque signalétique située dans le coffre de l' apparéil (ouvrez la sous-porte ou tirez le tiroir).

PIÉÇES D'ORIGINE
Lors d'une intervention d'entretien, demandez l'utilisation exclusive de pieces détachées certifiées d'origine.

Brandt Appliances - société par actions simplifiée au capital de 10.000.000 euros RCS Nanterre 440 302 347.
9964-0271-09/06
Notice Facile