MODE D'EMPLOI 24F501HB1T05, 32F501HB1C01, 40F501HB01T62, 40F501HB1T62, 49F501HK2W64, 55F501HK2W64, 65F501HZ2W69 HITACHI
Merci d'avoir acheté ce téléviseur à plasma HITACHI.
Veuillez tire attentivement ce mode d'emploi avant d'utiliser cet apparéil.
Pour assurer un fonctionnement correct, veuillez dire et suivre TOUTES les instructions, et plus particulièrement les "INSTRUCTIONS IMPORTANTES DE SECURITÉ" et les "PRECAUTIONS DE SECURITÉ".
Veuillez conserve r ce mode d'emploi à titre de referece.
TABLE DES MATIÈRES
INSTRUCTIONS IMPORTANTES DE SÉCURITÉ 2
INTRODUCTION 3
À propos de ce mode d'emploi 3
Marques déposées 3
A propos du logiciel 3
Informations pour l'utilisateur applicables dans les pays de l'Union europeenne 3
PRECAUTIONS DE SECURITE 4
A propos des symboles 4
Nettoyage et entretien 7
À PROPOS DU PANNEAU DE L'ÉCRAN À PLASMA 8
Rémanence de l'image du panneau de l'écran à plasma. 8
Phenomenes commun des panneaux d'écran à plasma. 8
CHARACTERISTIQUES 9
Appareil 10
Télécommande 11
PREPARATION 12
Mise en place des piles dans la télécommande 12
Utilisation de la télécommande 12
Précautions à prendre pour le déplacement de l'appareil 12
Précautions de sécurité sur l'installation de l'appareil 13
Mesures anti-basculement 13
CONNEXIONS 14
Positions des prises 14
Procedure de connexion 14
OPÉRATIONS DE BASE 20
Mise sous/hors tension 20
Prérogages facies 21
Réglage du volume (Haut/Bas) 22
Sourdine 22
Commutation de l'entrée sur TV/AV1-5, HDMI et RGB 23
Ecran du signal d'entrée 23
RéGLAGE DU TÉLEVISEUR. 24
Comment utiliser le système d'affichage sur l'écran (OSD) 24
Menu des langues 24
Menu Reg. Init. (mode TV) 25
Menu Reg. Init. (mode AV) 27
Menu Reg. Init. (mode RGB) 28
Menu Fonction 30
Menu Image (mode TV/AV) 32
Menu Image (mode RGB) 35
Menu Audio 37
Menu Minuterie 38
Télétexte analogue 39
OPERATIONS DE LA TELEVISION NUMÉRIQUE TERRESTRE (DTT) 40
Comment utiliser le système d'affichage sur l'écran (OSD) 40
Changement des preréglages 41
Selection des chaînes 42
Tri des chaînes 43
Modification des chaînes 43
Utilisation de l'outil d'informations 44
Programmation de la minuterie 46
Configuration des réglages 47
l'interface commune 50
Menu TV Setup 50
FONCTION 51
Rotation motorisée 51
Changement de laaille 52
Mode multi images 56
Gel de l'image 60
Fonction d'entrée photo 61
Changement du son 67
Mode d'Economie d'énergie 68
Selection d'un lecteur de DVD/boftier adaptateur 69
GUIDE DE DÉPANNAGE 70
Quand les messages suivants apparaisent sur I'ecran 70
Symptômes et liste des vérifications 70
SPECIFICATIONS DE L'APPAREIL 73
Entree des signaux. 74
Listedesignauxrecommendés. 75
INSTRUCTIONS IMPORTANTES DE SECURITE
- Lisez ces instructions complètement.
- Conservez ces instructions à titre de réference future.
- Respectez tous les avertissements et toutes les précautions pour éviter tout danger.
- Suivez toutes les instructions. Une manipulation incorrecte peut entraîner des blessures personnelles et/ou des sérieux dommages à l'appareil qui peuvent réduire sa durée de vie.
- Ne bloquez,aún orifice de ventilation.
- Installez l'appareil en respectant les instructions du fabricant.
- Avant d'appeler le soutien technique ou un réparateur, lisez la section "GUIDE DE DÉPANNAGE" (70 - 72) pour déterminer les symptômes quand un problème se produit pendant l'installation ou le fonctionnement du produit.
- Si un problème sérieux se produit (si, par exemple, de la fumée ou une odeur non naturelle sort de l'appareil), mettez l'appareil hors tension, débranchez le cordon d'alimentation et contactez votre revendeur local, immédiatement.
INTRODUCTION
Merci d'avoir acheté ce téléviseur à plasma HITACHI. Nous espérons que vous approucierez les grandes performances de cet apparéil.
Ce téléviseur à plasma a été créé pour respecter les standards internationaux. Cependant, il peut entraîner des blessures personnelles et des dommages matériels s'il est utilisé incorrectement. Afin d'éviter tous danger potentiel et de profiter au maximum de votre apparéil, veuillez respecter les instructions suivantes lors de l'installation, de l'utilisation et de l'entretien de l' apparéil.
Conserve ce manuel à titre de référence future et inscritez le numéro de série de votre apparéil dans l'espace fourni à cet effet sur la couverture de ce mode d'emploi.
À propos de ce mode d'emploi
- Les informations continues dans ce mode d'emploi sont sujettes à changement sans notification.
- Ce mode d'emploi a ete creec avec beaucoup de soins. Si yous avez cependant des commentaires ou des questions à son propos, veuillez contacter vous revendeur ou notre centre de service clientèle.
- Avant d'utiliser cet apparéil, veuillez bien prendre connaissance des conditions d'utilisation préalables telles que les spécifications et les restrictions matérielles et logicielles. Nous ne pouvons être tenu responsable pour toute perte, dommage ou blessure résultat d'une mauvaise utilisation de l' apparéil.
- La reproduction, copie, utilisation, modification et/ou transmission en totalité ou en partie de ce mode d'emploi est interdite sans autorisation écrite préalable.
- Tous les autres noms de produit et de compétie utilisés dans ce mode d'emploi sont des marques de commerce ou des marques déposées de leur propriété respectif.
Marques déposées
VGA et XGA sont des marques de commerce de International Business Machines Corporation.
- APPLE et Macintosh sont des marques déposées d'Apple Computer Inc.
- VESA est une marque déposée de Video Electronics Standard Association.
- Sous licence de BBE Sound, Inc. USP5510752 et 5736897.
BBE et le symbole BBE sont des marques déposées de BBE Sound, Inc.
Fabriqué sous licence de BBE Sound, Inc.
- WOW, SRS et le symbole () sont des marques de commerce de SRS Labs, Inc. La technologie WOW est intégrée sous licence de SRS Labs, Inc.
- Le logo SD est une marque de commerce.
- HDMI, le logo HDMI et High-Definition Multimedia Interface sont des marques de commerce ou des marques déposées de HDMI Licensing LLC.
DVB est une marque déposée de DVB Project. Ce logo indique que ce produit est compatible avec la diffusion videoo numérique.
- FREEVIEW et le logo FREEVIEW son des marques de commerce de DTV Services Ltd., et sont utilisés sous licence. FREEVIEW Logo © DTV Services Ltd., 2002. Ce logo indique que ce produit est prét pour la télévisuer numérique terrestre.
- Le logo Digital est une marque d'homologation. Ce logo indique que ce produit fonctionnera après le passage au tout numérique.
- Le logo "HD ready" est une marque de commerce de EICTA.
Meme si aucune notification spéciale n'a ete faite pour certaines compagnies ou marques de commerce de produits, ces marques de commerce ont ete complètement respectees.
À propos du logiciel
Vou ne pouze pas modifier, decompiler, désassembler, decrypter ou faire de l'ingénierie inverse avec le logiciel installé dans ce produit. C'est interdit par la loi.


Ce symbole sur le produit et sur son emballage signifie que votre apparéil électrique et électronique doit être mis au rebut à la fin de sa vie de façon séparée de vos ordures menagères. Il existe des systèmes de ramassage séparé pour le recyclage en UE.
Pour en savoir plus, veuillez contacter les autorités locales ou le revendeur auprès duquel vous avez acheté cet apparéil.
PRECAUTIONS DE SECURITE
Pour toute sécurité, veuilles dire attentivement les précautions suivantes avant d'utiliser cet apparéil. Une utilisation incorrecte peut entraîner des blessures personnelles sérieues et/ou des dommages de vos biens ou de cet apparéil.
À propos des symboles
Nous vous presentons ci-dessous les symboles utilisés utilisez dans ce manuel et attachés à l'appareil lui-même. Veuillez bien comprendre la signification des ces symboles avant de dire les instructions de cette section.
| AVERTISSEMENT | N'ignorez jamais ces instructions. Il y a des risques de blessures sérieues ou de mort de l'utilisateur. |
| PRÉCAUTION | N'ignorez pas ces instructions. Il y a des possibilités de blessures personnelles et/ou de dommages matériels. |
| Autres symboles |
| Le triangle avec l'illustration a pour but d'attirer l'attention de l'utiliseur sur les possibilités d'accordie, de brûture ou de haute température si l'appareil n'est pas utilisé correctement.
Chaque illustration à l'intérieur du triangle spécifique le contenu en détail. (La figure ci-à gauche est un exemple d'illustration.) |
| Le cercle avec une barre diagonale et l'illustration ont pour but d'interdire à l'utiliseur de réaliser les actions indiquées lors de l'utilisation de cet apparéil.
Chaque illustration à l'intérieur de ce symbole spécifique le contenu en détail. (La figure ci-à gauche est un exemple d'illustration.) |
| Le cercle noirci avec l'illustration a pour but d'obliger l'utiliseur à suivre les actions indiquées lors de l'utilisation de cet apparéil. Chaque illustration à l'intérieur de ce symbole spécifique le contenu en détail. (La figure ci-à gauche est un exemple d'illustration.) |
| AVERTISSEMENT |
| Il y a un risque d'accordance, de choc électrique ou de blessure sérieuse. |
| Débranche le cordon d'alimentation immédiatement si un problème sérieux se produit.
Un problème sérieux tel que
• De la fumée, une odeur ou un son annormal sort de l'appareil.
• Aucune image ni son, ou une image déformée apparait sur l'écran.
• Un corps étranger (tel que de l'eau, un métal, etc.) est entré à l'intérieur de l'appareil.
Ne continuez pas d'utiliser l'appareil dans ces conditions anormales.
Mettez l'appareil hors tension, débranche le cordon d'alimentation et contactez votre revendeur immédiatement.
Pour toute sécurité, n'essayez jamais de réparer l'appareil vous-même. |
| N'insérez pas de liquides ou d'objets étrangers (teils que des objets en métal ou inflammable) à l'intérieur de l'appareil.
• Si cela se produit, mettez l'appareil hors tension, débranchez le cordon d'alimentation et contacter votre revendeur immédiatement.
• Faites particulièrement attention quand de jeunes enfants se trouvent à proximité de l'appareil. |
| Ne retirez pas le couvercle ni ne modifies l'appareil.
• Des composants sous haute tension se trouve à l'intérieur de l'appareil. Retirez les couvercles peut vous exposer à des chocs électriques haute tension et à d'autres dangers.
• Contactez votre revendeur pour réaliser toute opération telle qu'un contrôle, un ajustement ou une réparation. |
| AVERTISSEMENT |
| Il y a un risque d'accordance, de chic électric ou de blessure sérieuse. |
| ■ Ne placez aucun objet sur l'appareil.
Des objets tels que
· Un recipient de liquide (vase, aquarium, pot de fleur, glacé de cosmétique ou de médicament).
· Si de l'eau ou un autre liquide coule sur l'appareil, cela peut causeur un court-circuit et entrainer un incendie ou un choc électric.
· Si cela se produit, mettez l'appareil hors tension, débranchez le cordon d'alimentation et contacter votre revendeur immédiatement.
· Ne placez aucun objet lourd sur l'appareil.
· Ne grimpez pas ni ne vous pendez à l'appareil.
· Ne laïsez pas vos animaux domestiques monter sur l'appareil. |
| ■ N'exposez pas cet appareil à la pluie ou à l'humidité.
· N'utilise jamais cet appareil dans une salle de bains ou deouches.
· Faites très attention si vous utilisez cet appareil à l'extérieur, et plus particulièrement dans des climats pluvieux ou neigeux, ainsi que sur la plage ou sur une rive.
· Si l'apparéil est mouillé, cela peut entrainer un incendie ou un choc électric. |
| ■ Débranchez cet appareil pendant un orage.
· Pour réduire les risques de chic électric, ne touche pas l'appareil après le début d'un orage. | Déconnectez la fiche de la prise secteur murale. |
| ■ Ne faites rien qui puisse endommager le cordon d'alimentation.
· N'endommagez pas, ne modifies pas, ne tordez pas, ne pièz pas en force, ne chauffez pas ni ne tirez excessivement sur le cordon d'alimentation.
· Ne placez pas d'objets lourds (y compris l'appareil lui-même) sur le cordon d'alimentation.
· Si le cordon d'alimentation est endommagé, contactez votre revendeur pour le faire réparer ou échanger. |
| ■ Utiliserez uniquement l'alimentation secteur indiquée.
· Pour éviter tout risque d'accordance ou de chic électric, faites fonctionner cet appareil uniquement avec l'alimentation secteur indiquée sur l'appareil. | ! |
| ■ Faites attention de ne pas faire tomber ni de frapper l'appareil.
· Faites très attention lors du déplacement de l'appareil.
· Le panneau de l'écran à plasma est fait en verre. S'il se casse, vous risquez de vous blesser avec les morceaux de verre casé.
· Si vous faites tomber l'appareil ou si le boitier est endommagé, mettez l'appareil hors tension, débranchez le cordon d'alimentation secteur et contactez votre revendeur local immédiatement.
· Continuer d'utiliser l'appareil dans les conditions ci-dessus peut entrainer un incendie ou un choc électric. |
| ■ Nettoyez régulièrement la poussière ou les métaux sur et autour des broches de la fiche d'alimentation.
· Continuer d'utiliser l'appareil dans ces conditions peut entrainer un incendie ou un choc électric.
· Débranchez toujours d'abord le cordon d'alimentation et nettoyez les broches avec un chiffon sec. | ! |
| ■ Ne placez pas l'appareil sur une surface instable.
Une surface instable telle que
· Une surface penchée ou une étagère, une table, un stand ou un chariot brantant.
· Si l'appareil tombe, il peut entrainer des blessures personnelles. | ! |
| PRECAUTIONS |
| ■ Ne placez pas l'appareil dans un endroit poussiêreux.
Cela peut entraîner un mauvais fonctionnement. | |
| ■ Ne recouvre pas ni ne bloquez les orifices de ventilation de l'appareil.
Le moniteur pourrait surchauffer et entraîner un incendie ou être endommagé, réduisant ainsi sa durée de vie.
• Installé l'appareil en respectant les instructions de ce mode d'emploi.
• Ne placez pas l'appareil avec la face de ventilation dirigeée vers le bas.
• Ninstallé pas l'appareil sur un tapis ou une couverture.
• Ne recouvre pas l'appareil avec une nappe, etc. | |
| ■ Assurez-vous de brancher l'appareil à la terre correctement.
• Et plus spécialement si vous utilisez un adaptateur de cordon d'alimentation, assurez-vous de connecter le cable de terre sur la prise de terre. Une connexion incorrecte peut entraîner un incendie ou un choc électrique.
• Pour votre sécurité, assurez-vous toujours de débrancher le cordon d'alimentation avant de connecter ou de déconnecter le cable de terre. | Connectez le cable de mise à la terre solidement. |
| ■ Suivez les mesures anti-basculement de ce mode d'emploi.
• Si l'appareil BASCULE, il y a des risques de blessures personnels et de mort. De plus, l'appareil risque d'être endommagé sérieusement. | |
| ■ N'installé pas ce produit près d'appareils médicaux.
• Pour éviter tout mauvais fonctionnement d'appareils Médicaux, n'utilise pas cet apparéil et des apparéils Médicaux dans la même pièce. | |
| ■ Ne placez pas un télévisérur à tube cathodique près des enceintes de l'écran à plasma.
• Cela pourrait provoquer une décoloration partielle ou un flou de l'image du télévisérur à tube cathodique.
Veuillez l'instructor à l'écart des enceintes de cet apparéil. | |
| ■ Déconnectez tous les cables de connexion extérieurs et détachez les mesures anti-bascullement avant de déplacer l'appareil.
• Sinon, cela pourrait entraîner un incendie, un choc électrique ou des blessures personnelles. | |
| ■ Connectez solidement la fiche d'alimentation.
• Une mauvais connexion peut causeur une surchauffe et entraîner un incendie.
• Ne touchez pas les broches de la fiche lors de la connexion à la prise murale. Cela pourrait causeur un choc électrique.
• Si la fiche ne peut pas être insérée dans la prise murale, contactez votre revendeur pour la faire replacer. | |
| ■ Ne manipuler pas le cordon d'alimentation avec les mains mouillées.
• Cela pourrait entraîner un choc électrique. | |
| ■ Ne tirez pas sur le cordon proprement pour débranchez le cordon d'alimentation.
• Cela pourrait endommager le cordon et entraîner un incendie ou un choc électrique.
• Tenez la fiche pour déconnector le cordon. | |
| ■ Débranchez le cordon d'alimentation si vous n'avez pas l'intention d'utiliser l'appareil pendant une période prolongée. | |
| ■ Manipuez les piles correctement.
• Une utilisation incorrecte des piles peut entraîner une corrosion ou une fuite des piles, qui peut causeur un incendie, des blessures personnelles ou des dommages matériels.
• Utilisez unquivalent les types de piles indiquées dans ce mode d'emploi.
• N'installé pas des piles neuves avec des piles usées.
• Installé les piles correctement en respectant les indications de polarités (+ et-) du logement des piles.
• Ne mettez pas les piles au rebut avec les ordures ménagères. Mettez-les au rebut en respectant les régulations locales. | |
PRECAUTIONS
N'installez pas l'appareil dans un endroit trop chaud.
Cela pourrait endommager le boitier ou des pieces de l'appareil.
- Ne l'installé pas pris d'une source de chaleur telle qu'un radiateur, une bouche de chaleur, une cuisinière ou d'autres apparèils qui produit de la chaleur.
- Tenez l'appareil à l'écart de la lumière directe du soleil. Cela pourrait augmenter la température de l'appareil et cause un mauvais fonctionnement.

Conseils de visiennentement
- La lumière de l'environnement dans lequel l'appareil est utilisé doit être approprié. Des environnementés trop lumineux ou tropsons ne sont pas bons pour les yeux.
- Prenez le temps de reposer vos yeux de temps en temps.
Lors de l'utilisation de cet apparéel, éloignez-vous de l'appareil d'une distance de 3 à 7 fois la longueur verticale du panneau. C'est la meilleure distance de vue qui permet de protégger vos yeux contre la fatigue.
- Ajustez le volume à un niveau approprié, et plus particulièrement pendant la nuit.
Transport de cet apparéil:
- Si cet apparéil doit être déplacez à cause d'un déménagement ou une réparation, utilisez le carton et les matériaux d'emballage d'origine.
- Ne transportez pas cet apparéil posé sur le côte. Cela pourrait endommager le verre du panneau ou dégrader les phosphores du panneau.

Tenez les radios à l'écran de cet apparéil pendant son utilisation.
Cet appeareil est conçu pour respecter les standards internationaux EMI pour éviter les interférences radio. Cependant, cet appeareil peut générer du bruit dans la radio.
- Si du bruit est entendu dans la radio, veuillez essayer les actions suivantes.
- Ajustez la direction de l'antenne radio afin de plus receivevoir les interférences de cet apparéil.
- Eloignez la radio de cet apparéil.
- Utilisez un cable coaxial pour l'antenne.

A propos des apparéil de communication infrarouge:
- Les apparèils de communication infrarouge tels que des microphones ou des casques d'écoute dans fil peuvent ne pas fonctionner correctement à proximé de cet apparèil. Cela provient d'un éché de communication. Veuillez noter que ce n'est pas un mauvais fonctionnement.
Lors de la mise au rebut de cet apparéil à la fin de sa vie, suivez les régulations de votre zone résidentielle.
Pour en savoir plus, veuillez contacter les autorités locales ou le revendeur auprès duquel vous avez acheté cet apparéil.
Nettoyage et entretien
Veuillez you assurer de débrancher le cordon d'alimentation avant de nettoyer l'appareil.
- La surface du panneau est traitée spécialement pour réduire les réflexions et protéger contre les radiations infrarouges; par conséquent, essuyez le panneau avec un chiffon non pelucheux et sec pour éviter d'endommager le revêtement.
- N'utilisez pas de chiffon ou de nettoyant chimique. En fonction des ingrédients, cela pourrait cause une décoloration et endommager le revêtement.
N'essuyez pas avec un chiffon dur ni ne frottez trop fort. Cela pourrait endommager le revêtement.
- Dans le cas de saletés grasses telles que des empreintes de doigs, frottez avec un chiffon non peluchex humidifié avec une solution détergente neutre diluée, puis essuyez avec un chiffon doux et sec.
- N'utilisez pas de nettoyant sous la forme de vaporisateur. Cela pourrait rester le revetement ou cause un mauvais fonctionnement en penetrant dans l'appareil.
Rémanence de l'image du panneau de l'écran à plasma
Les caractéristiques du panneau de l'écran à plasma peuvent entraîner une rémanence de l'image en fonction de la façon dont l'écran à plasma est utilisé. Voici les cas les plus commons et les utilisations efficaces en ce qui concerne la rémanence d'image.
a r c t e r i s t i q u e s d e l a r é m a n e n c e d'image
-
La rémanence d'image est causée par la dégradation partielle des phosphores provenant de l'affichage partiel de caractères ou de figures.
-
Par exemple, quand les caractères montrés sur la Fig. A sont affichés de façon continue pendant une longue période de temps, les phosphores (rouges/verts/bleus) affichant les caractères se dégradient. Par conséquent, lors de l'affichage d'une image toute blanche replissant tout l'écran, comme montré sur la Fig. a, des marques de couleur différente restent sur l'écran à l'endroit où se trouvaient les caractères; notez que ce ne sont pas des restes de brûlures des phosphores.

[Fig. A]


[Fig. a]
-
Le degré de rémanence d'image est proportionnel à la luminosité et à la durée d'affichage des caractères et/ou des figures.
-
Plus les caractères et les figures sont lumineux, plus les phosphores seront dégradés. comme montré sur la Fig. B, dans le cas d'affichage d'images de luminosité différente pendant une durée prolongée, plus l'image est lumineuse, plus elle temps à rester sur l'écran de la Fig. b.

[Fig. B]


[Fig. b]
- Les illustrations sont des exemples pour expliquer la rémanence d'image. Les images de rémanence réelles peuvent varier en fonction des conditions, telles que la durée de fonctionnement et la luminosité.
Méthode de réduction de la rémanence d'image
- Utilisez les fonctions "Volet" ou "Optimiser Luminance" de l'affichage qui sont accessible à partir du menu Fonction. (Reportez-vous à la page 30.)
Après l'affichage de certaines images telles que des images fixes pendant une période prolongée, la fonction "Volet" peut être utilisé pour réduire la rémanence d'image en affichtant un écran complètement blanc pendant environ 1 ou 2 heures. De plus, la fonction "Optimiser Luminance" peut être utilisée lors de l'affichage d/images telles que des logos ou des horloges dans les coins de l'écran.
- Utilisez ces fonctions en combinaison avec des images animées.
Comme tout l'écran a une dégradation relativement régulière des phosphores avec les images animées, elles peuvent empêcher la rémanence d'images partielles. Nous recommendons d'utiliser ces fonctions en même temps que des images animées telles que celles de DVD.
- Faites attention que l'utilisation du mode à 2 images pendant une période prolongée peut causeer une rémanence d'image.
Certaines émissions de télévision contiennent des images coupées à droite/gauche ou en haut/bas et certaines autres ont des logos d'identification de la station ou des horloges affichées pendant une longue période de temps dans la même position. Sachez que cela peut cause une rémanence d'image.
La rémanence d'image peut être réduite en utilisant la fonction "Mode Eco" du menu Fonction. 30
Phénomenes commun des panneaux d'écran à plasma
Voici les caractéristiques commun des panneaux d'écran à plasma causées par des raisons structurelles. Veuillez notes que ce ne sont pas des mauvais fonctionnements.
- Image résiduelle
Quand une image fixe ou un menu est affiché pendant un courte période (environ une minute) puis qu'une autre image est affichée, une image consécutive de l'image fixe ou du menu peut rester sur l'écran.
L'imageresiduelledisparaitdelle même.
- Surface du panneau
L'écran à plasma affiche les images en générant des décharges internes. Cela peut augmenter la température de la surface de l'affichage.
De plus, ne frappez pas avec force sur la surface du panneau car le panneau de l'écran à plasma est en verre fin même s'il est renforcé par un filtre avant fait en verre trempe.
- Pixels défectueux sur le panneau
L'écran à plasma est fabriqué avec une technologie de haute précision. Cependant, certains pixels peuvent ne pas s'allumer ou être plus lumineux que les autres, ou encore d'une couleur différente, etc.
CHARACTERISTIQUES
Appreciez non seulement la beauté et la grande qualité des images sur l'écran, mais aussi diverses sortes de fonction qui vous faciliteront la vie de tous les jours!
- Panneau d'écran à plasma de format large et haute définition
- Proesseur de signal numérique amélioré
- Son de grande qualité avec des tonalités graves plus profondes, plus riches et plus dynamiques
Diverses fonctions telles que la télévision numérique terrestre (plus de chaînes de télévision, EPG, etc.)
- 3 prises péritel installées.
- Accepte plus de périphériques d'entrée numérique avec deux prises HDMI
- Grande diversité de prises de connexion pour couvirir une grande plage d'appareil audiovisuels
- Affichez l'image de votre ordinateur sur un écran à plasma large et haute définition.
- Nouvelle fonction d'entrée photo avec sélection possible de la musique de fond.
Fente pour carte SD installee.
- Système d'affichage sur l'écran facile à utiliser et commandable à partir de la télécommande.
- Faible consommation d'énergie avec la fonction d'économie d'énergie
- Fonction de rotation motorisée de l'écran
1200 pages de téléxte
ACCESSIONS FOURNIS
Vérifiez les accessoires fournis avant l'installation.
Siquelque chosemanquait ou etait endommagé,contactez le revendeur immEDIatement.

Mode d'emploi

Télécommande

2 piles de taille AA

Cordon d'alimentation
Royaume-Uni uniquement

Sauf pour le Royaume-Uni
-
Le type de fiche d'alimentation des différents en fonction du modele.
-
Pour l'installation du socle pour le 55PD9700U/C, veuillez vous reporter au mode d'emploi fourni dans le carton du socle.
Appareil

Panneau avant
(1) Enceinte
(2) Panneau
③ Interrupteur d'alimentation principal (sur le dessous de l'appareil)
④ Capteur de telecommande
(5) Témoin indicateur
⑥ Socle de bureau

Panneau arrête
① Poignées (uniquement pour le 42PD9700U/C)
② Entrée latérale
③ Plaque de connexion (connexion des apparéils extérieurs)
(4) Prise du cordon d'alimentation
⑤ Panneau de commande (voir ci-dessous pour les détails)
Veuillez vous reférer à 14 - 19 pour les informations détaillées sur les connexions.

Panneau de commande (compronant la fente pour carte)
① Fente pour carte mémoire SD
② Touche d'alimentation secondaire
③ Touche de chaîne HAUT/▲
④ Touche de chaîne BAS/
⑤ Touche de Volume HAUT + /
⑥ Touche de Volume BAS /
⑦ Touche de sélecteur d'entrée/OK
⑧ Touche de Menu/Retour
Télécommande

① Alimentation secondaire
(2) Sélecteur de fonction (TV/DVD/SAT)
Appuyez sur cette touche pour désir le mode de fonction indiqué par le témoin DEL. Normalement,CHOISSEZ "TV".
③ Sélecteur d'entrée/commande DVD/commande d'entrée photo
Appuyez sur cette touche pour changer le mode d'entrée. De plus, vous pouvez utiliser ces touches pendant la commande du lecteur de DVD de la marque可以选择 ou de la fonction d'entrée photo.
(4) Menu
⑤Curseurs
(6) OK
⑦ Mode sonore
Le mode sonore change dans l'ordre suivant chaque fois que vous appuyez sur la touche. Film Musique Discours Préfééré
(8) CHI/II
Exclusivement pour le mode audio TV A2/NICAM.
Volume Haut/Bas
10 Sélecteurs de programme
Appuyez sur ces touches pour désir directement un programme de télévision.
⑪ Arret sur image/mode multi [maintenir]
Appuyez sur cette touche pour geler l'image. Appuyez de nouveau sur la touche pour revenir à une image normale. De plus, pendant le mode multi images, chaque fois que vous appuyez sur cette touche, l'image change en mode multi 2, 4 et 12. (De plus, elle permet de maintainir la page en mode de texte.)
⑫ [Coleur (rouge, vert, jaune, bleu)]
[Index]
Heure [Annuler]
Appuyer sur cette touche permet d'afficher l'heure sur l'écran lors de la réception d'un programme sur l'écran.
⑤ Television/Texte [TV\L*Texte]
Permet de commuter entre le mode télévision et le mode télétexte.
16 Zoom [Texte TV+Texte]
Appuyez sur cette touche pour changer la taille de l'image.
17 Rappel
Appuyez sur cette touche pour afficher l'etat du signal d'entrée.
18 Retour
Vous pouvez utiliser cette touche pour returner au menu précédent.
19 Mode d'image
Le mode d'image change dans l'ordre suivant chaque fois que vous appuyez sur la touche. Dynamique Naturel Cinéma
② Chaine Haut/Bas
21 Sourdine
2 Multi images
Appuyez sur cette touche pour changer le mode multi images. Appuyez de nouveau sur la touche pour revenir à une image normale.
② Entre photo (Photo/rotation/diaporama)
Ces touches permettent d'afficher et de commander les images d'un apparéil photo numérique ou d'un lecteur de carte USB.
24 Rotation (avec le socle de bureau)
Cette fonction permet la rotation du téléviseur. Choisissez le degré de rotation avec les touches de curseur.
Mise en place des piles dans la télécommande
Cette télécommande fonctionne sur 2 piles "AA".
1. Ouvrez le couvercle du logement des piles.
- Faites glisser le couvercle du logement des piles situé à l'arrête de la télécommande dans la direction de la flèche pour ouvrir le logement.

2. Insérez les piles.
- Insérez 2 piles "AA" (fournies) en vous assurant que les polarités respectent les indications du logement.

3. Refermez le couvercle du logement des piles.
Pour referrer le couvercle du logement des piles, faites-le glisser dans la direction de la flèche jusqu'à ce qu'il s'emboîte.

Utilisation de la télécommande
Utilisez la télécommande à moins de 5 m de l'avant du capteur de télécommande de l'appareil et avec un angle de moins de 30 degrés des deux cots.


ATTENTION
Cela peut cause une corrosion ou une fuite d'électrolyte et cela peut entrainer des blessures physiques ou matérielles, y compris un incendie.
- Ne mélangez jamais une pile usée et une pile neue dans la télécommande.
- Remplacez toutes les piles de la télécommande en même temps.
- Retirez les piles de la télécommande si vous n'avez pas l'intention d'utiliser celle-ci pendant une période prolongée.
Pour éviter toute erreur possible, lisez les instructions suivantes et manipuez la télécommande correctement.
- Ne faites pas tomber ni ne frappez la télécommande.
- Ne faites pas couleur d'eau ou un autre liquide sur la télécommande.
- Ne placez pas la télécommande sur un objet humide.
- Ne placez pas la télécommande à la lumière directe du soleil ou pres d'une source de chaleur excessive.
Précautions à prendre pour le déplacement de l'appareil
Cet apparéil est lourd. Deux personnes sont nécessaires pour le déplacer en toute sécurité.
42PD9700U/C
Si vous souhaitez déplacer l'appareil, soulevez-le bien droit en utilisant les deux poignées situées au dos, puis maintenez-le aussi à la base des deux côts pour plus de stabilité.

55PD9700U/C
Lors du transport de cet apparéil, tenez-le par les deux côtés supérieur et inférieur.

Précautions de sécurité sur l'installation de l'appareil
Lisez attentivement les PRECAUTIONS DE SECURITE (pages 4 à 7) en plus de cette page.
- Le socle de bureau a été utilisé pour les illustrations de ce mode d'emploi.
Lors de l'installation de l'appareil, assurez-vous d'utiliser les supports de montage spécifiés afin d'obtenir les最好的 performances et de préserver la sécurité.
Nous ne pouvons etre tenu responsable pour toute blessure personelle ou dommage materiel cause par l'utilisation d'autres supports de montage ou d'une installation incorrecte.
Pour les instructions d'installation, veuillez tire les modes d'emploi des supports de montage: pour l'installation sur un bureau, un montage au mur et un montage au plafond.
Dans le cas d'un montage au mur ou au plafond, contactez votre revendeur local et demandez qu'un installateur spécialisé procède à l'installation. N'essayez jamais de faire l'installation vous-même. Cela pourrait cause des blessures ou des dommages.
Veuillez laisser suffisamment d'espace autour de l'appareil avant d'éviter toute augmentation de la température et de permettre d'utiliser la fonction de rotation en toute sécurité. Assurez-vous de ne pas bloquer les orifices de ventilation. N'installez pas l'appareil dans un espace étroit tel que sur une étagère, dans une meuble ou une boîte.
Laissez au moins 10 cm d'espace de chaque côté du moniteur et 30 cm entre le dessus du moniteur et le mur. Sans la fonction de rotation: Laissez au moins 10 cm d'espace derrière l'appareil.
Avec la fonction de rotation: Laissez suffisamment d'espace (10 cm ou plus) pour permettre les importantes performances de la fonction de rotation.
(42PD9700U/C: 31 cm, 55PD9700U/C: 42 cm)
Reportez-vous à la page [51] pour la fonction de Rotation.


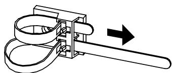
Mesures anti-basculement
Installez l'appareil sur une surface stable et prenez des mesures de sécurité contre le basculement.
Fixation sur un bureau
Utilisez deux vis à bois pour fixer l'appareil solidement en place en les insérant dans les deux trous percés à l'arrière du socle comme montré sur l'illustration. Les vis à bois sont fournies avec le socle.

Fixation sur un mur ou un pilier
Utilisez un cordon, une chaine et une attache en ventedans le commerce pour fixer l'appareil au mur ou surun pilier.

Fixation au plafond
Utilisez un cordon, une chaîne et une attache en vente dans le commerce pour fixer l'appareil au plafond.
REMARQUE
- Pour en savoir plus sur le montage de l'appareil, veuillez contacter votre revendeur.
- Laissez suffisamment de mou au cordon ou à la chaine si vous utilisez la fonction de rotation motorisée pour éviter toute blessure physique.
Positions des prises

Arrière
(1) Prise du cordon d'alimentation
(2) Prise de l'antenne
(3) AV1
(4) AV2
⑤ AV3
(6)AV4
⑦ Sortie de moniteur et de caisson de grave
(8) Pour maintenance uniquement
(9) Prise de rotation motorisée (voir page 51)
10 Prises de connexion de l'ordinateur (D-sub 15 broches et stéreo mini pour le son)
⑪ HDMI1, 2 et stéreo mini pour le son
Fente d'interface commune
Côté
13 AV5
14 Prise de casque d'écoute
15 Prise d'entrée photo
Fente pour carte mémoire SD
Procedure de connexion
Cet apparéil est prét pour divers types de connexions. Résilisez une connexion à l'aide des étapes suivantes. Assurez-vous de couper l'interrupteur d'alimentation principal avant de connecter des appareils extérieurs.
- Connectez le cordon d'alimentation sur le panneau arrêté.
- Connectez le cable d'antenne.
- Connectez vos apparèils extérieur à ce apparéil, s'il y en a.
- Connectez la fiche d'alimentation à une prise secteur murale.
1. Connexion du cordon d'alimentation sur le panneau arrêté.
Connectez le cordon d'alimentation sur le moniteur.
- Assurez-vous de ne pas connecter la fiche d'alimentation à la prise secteur murale avant que toutes les connexions soient terminées.
2. Connexion du cable d'antenne.
Il y a deux façon de connecter le cable d'antenne.
- Quand vous n'avez pas d'autre apparéil extérieur: Connectez le cable d'antenna directement à la prise du panneau arrière.
- Quand vous avez un ou plusieurs apparciels extérieurs à connecter:
- Utilisez un cable HD pour raccorder chaque apparéil et l'antenne.
- Connectez le cable d'antenne à la prise d'entrée (IN) du premier apparéil.
3 Connectez un cable HD entre la prise de sortie (OUT) du premier apparéil à la prise d'entrée (In) de l' apparéil suivant.
- Puis, connectez la prise de sortie (OUT) du dernier apparéil à la prise marquee "ANT" sur l'écran à plasma.
REMARQUE
- Si les signaux de diffusion analogiques et numériques proviennent de cables (antennes) séparés, utilisez un mélangeur et un cable HD pour connecter les prises d'antenne afin de recevoir les deux signaux.
Précautions concernant l'antenne
- Veuillez utiliser un cable coaxial sans interférences pour connecter l'antenne. Évitez d'utiliser un cordon parallele plat car les interférences peuvent se produit, nuire à la stabilité de la réception et faire apparaitre des bandes de bruit sur l'écran.
- Éviter d'utiliser une antenné interieure car elle peut être affectée par des interférences. Veuillez utiliser une connexion par cable ou une antenné extérieure.
- Si du bruit apparait sur l'image d'un canal de bande VHF inférieur, veuillez utilisez un cable HD à double blinding (non fourni) pour réduire le bruit.


[Exemple: Connexion de l'antenne à travers un boîtier adaptateur et d'une magnétoscope]
Procedure de connexion (suite)
3. Connexion d'un apparéil extérieur
- Prises à l'arrière
AV1 peut être connecté à un apparéil muni d'une entrée composite/S-video/ audio et d'une sortie composite/audio. Le signal de sortie peut prendre en charge non seulement les signaux analogique mais aussi les signaux numériques.
Composite/S-video/Audio

INPUT

[Example]
Magnétoscope

Lecteur de DVD

Boitier adaptateur
Si le boitier adaptateur (STB) est connectez à AV1 en France, il désembrouille les images de certaines télévision payante en renvoyant le signal (entree/sortie).
Composite/Audio

OUTPUT

[Example]
Magnétoscope (Appareil d'enregistrement)
Si vous regardez une émission de téléviseur ou DTT par la prise AV1, vous pouvez passer sur les autres prises avec le réglage "Sortie péritel" du menu Rég, Init. Par exemple, pendant que vous regardez la téléviseur, vous pouze enregistrer un programme DTT. Reportez-vous aux pages 26, 27 à propos de "Sortie péritel" du menu Rég. Init.
AV2 et 3 peut être connecté à un apparéil muni d'une entrée composite/RGB/ audio et d'une sortie composite/audio.
Composite/RGB/Audio

INPUT

[Example]

Lecteur de DVD

Boitier adaptateur
OUTPUT
Composite/Audio


[Example]
Magnétoscope (Appareil d'enregistrement)
Procedure de connexion (suite)
AV4 peut être connecté à un apparéil muni d'une sortie en composantes ou d'une composite. Selon que le type d'entrée Y/VIDEO de l' apparéil désisie est un signal Y ou un signal video, l'entrée est automatiquement considérée comme entraee en composantes ou composite. Lors de l'utilisation de l'entrée composite, ne connectez rien aux prises P_B et PR .

Si vous appeareil extérieur a une prise en composantes, nous recommendons l'utilisation de la connexion en composantes pour obtenir une meilleure qualite d'image.
Monitor Out peut être utilisé pour affichage la même image que cet apparéil sur un autre moniteur.
Quand cette prise de sortie est connectée à un moniteur extérieur avec une prise 75 ohms, la même image que le signal composite (AV1-5) ou HD peut être affichée sur le moniteur extérieur.

La prise Sub Woofer peut permettre d'obtenir des graves profonds a partir d'une enceinte exterieure.

Procedure de connexion (suite)
Les prises PC (D-sub 15 broches + audio) peuvent être connectées à un ordinateur sortant un signal RGB analogue.



Les prises HDMI1/2 peuvent être connectées à des apparciels munis d'une sortie HDMI, ou si l'appareil extérieur a une sortie DVI, c'est aussi possible en utilisant un cable de conversion HDMI-DVI. Dans le cas de l'utilisation d'une connexion HDMI-DVI, connectez la prise audio sous HDMI.



HDMI (High Definition Multimedia Interface) est l'interface E/S multimédia de la prochaine génération. Un seul cable est utilisé pour transmettre tous les signaux video/ audio/ commande, ce qui facilitate beaucoup les connexions. De plus, ces signaux numériques peuvent produit des données de grande qualité sans aucune dégradation. Les deux prises HDMI fournies sur cet apparéil sont une de ses plus remarquables caractéristiques.

Si vous appeareil extérieur est muni d'une prise HDMI, nous recommendons l'utilisation de la connexion HDMI pour obtenir une:1ille qualite d'image et de son.
REMARQUE
- Si les deux prises HDMI1 et HDMI2 sont connectées toutes les deux à des apparciels extérieurs par un cable de conversion HDMI-DVI, HDMI2 a la priorité pour la prise audio.
La fente d'interface commune (COMMON INTERFACE) vous permet de receivevoir des services de télévision payante accessible par des modules détachables.
Avant d'insérer le module, assurez-vous de couper l'alimentation principale de l'appareil, de retarder le couvercle du logement de la fente de la façon indiquée, puis d'insérer le module à fond dans la fente. Reportez-vous à la page 50 pour les détails.

Retirez le couvercle du logement de la fente
Poussez en haut du couvercle du logement de la fente pour le déverrouiller et soulevez-le dans la direction indiquée.

Procedure de connexion (suite)
- Prises sur le côté
Comme les prises suivantes sont situées sur le côté, elles sont très pratiques pour connecter temporairement un apparéil supplémentaire après avoir terminé les connexions sur le panneau arrière.
AV5 peut être connecté à un apparéil muni d'une sortie S-video et d'une sortie composite.



Si vous appeareil extérieur est muni d'une prise S-video, nous recommendons l'utilisation de la connexion S-video pour obtenir une meilleure qualite d'image.
Casque d'ecoute Les reglages détaillées peuvent être réalisés à partir du Menu Audio à la page 38.


Le son des enceintes est coupé quand un casque d'écoute est connecté à cette prise.
La prise PHOTO INPUT (entree photo) peut etre connectee a un appareil photo numerie ou a un lecteur de carte USB muni d'un cable USB. Pour en savoir plus, reportez-vous a la fonction d'entree photo decrite aux pages 61 a 66



[Example]
REMARQUE
Cette prise d'entrée photo ne prend pas en charge es apparèils USB ordinaires tels que les mémoires USB. Veuillez ne pas connecter ce type d'appareil.

La fente de carte mémoire SD (SD MEMORY CARD) peut être utilisé pour la fonction d'entrée photo avec des cartes mémoire SD (ou MMC) contenant des images. Pour en savoir plus, reportez-vous à la fonction d'entrée photo déscribe aux pages 61 à 66.

Procedure de connexion (suite)
4. Connexion de la fiche sur une prise secteur murale
Connectez le cordon d'alimentation après avoir terminé toutes les autres connexions. (Le type de fiche est différent de celui représenté sur l'illustration pour certains pays.)

ATTENTION
- Utilisez uniquement le cordon d'alimentation fourni.
- N'utilisez pas une alimentation électrique différente que celle indiquée (secteur 100-240V, 50/60Hz). Cela pourrait cause un incendie ou un choc电量.
- Pour le télévisuer à plasma, cable tripolaire est utilisé avec une prise de terre pour une protection efficace. Assurez-vous toujours de connecter le cordon d'alimentation à une prise tripolaire avec mise à la terre et assurez-vous que le cordon est correctement mis à la terre. Si vous utilisez un convertisseur de fiche d'alimentation, utilisez une prise murale avec une borne de terre et visez la ligne de terre.
Assurez-vous que les deux extrémites du cordon d'alimentation sont facilement accessibles.
- Si vous changez le cordon d'alimentation, utilisez un cordon d'alimentation certifié conforme aux standards de sécurité de votre région.
Après avoir connecté tous les câbles aux prises, fixez-les avec le serre-câbles.
Quand vous fixez les cables, faites attention de ne pas serrer trop fort.


Tirez sur la bande dans la direction de la flèche.

Desserrez la bande en poussant sur le bouton dans la direction de la flèche.
Mise sous/hors tension
Maintenant mettez l'appareil sous tension. Assurez-vous que le cordon d'alimentation est branché sur une prise secteur murale.
- Pourmettre l'appareil sous tension
- Appuyez sur l'interrupteur d'alimentation principal de l'appareil.
- Le témoin indicateur s'allume en rouge (mode de veille).
- Appuyez sur la touche d'alimentation secondaire sur le panneau de commande ou la télécommande.
- La couleur du tímoin indicateur devient verte, et l'image est affichée sur l'écran.


- Pourmettre l'appareil hors tension
- Appuyez sur la touche d'alimentation secondaire sur le panneau de commande ou la télécommande.
- L'imag disparait de I'ecran et le temoin indicateur devient rouge (mode de veille).
- Appuyez sur l'interrupteur d'alimentation principal pour couper complètement l'alimentation de cet apparéil.

Signification de l'etat du témoin indicateur
| État du tétoin indicateur | État de l'alimentation | État de l'interrupteur d'alimentation |
| Coupée | Coupée | Alimentation principale → coupée |
| Rouge | Mode de veille | Alimentation principale → branchée
Touche d'alimentation secondaire → coupée |
| Clignote en rouge | Mode de veille | Mode de veille comme ci-dessus
Pendant la mise à niveau de la version DTT et de l'utilisation de la programmation de la minuterie sur une chaîne numérique. |
| Vert | Sous tension | Alimentation principale → branchée
Touche d'alimentation secondaire → branchée |
| Orange | Mode d'Économie d'énergie* | Alimentation principale → branchée
Touche d'alimentation secondaire → branchée |
| Clignote en orange | Mode d'Économie d'énergie | Mode d'Économie d'énergie comme ci-dessus
Pendant la mise à niveau de la version DTT et de l'utilisation de la programmation de la minuterie sur une chaîne numérique. |
*À propos du mode d'économie d'énergie, reportez-vous à "Mode d'Économie d'énergie" et "Quand les messages suivants apparaissent sur l'écran" aux pages 68 et 70 pour les détails.
REMARQUE
- Si l'image n'apparaît pas du tout sur l'écran, ou en cas d'autre problème, reportez-vous au GUIDE DE DÉPANNAGE aux pages 70 à 72. Il peut vous aider à résoudre le problème.
- Vous pouvezmettre l'appareil sous tension en appuyant uniquement sur la touche d'alimentation secondaire pendant le mode de veille.
- Ne mettez pas l'appareil Sous/Hors tension repétitivement pendant une courte période de temps. Cela peut cause un mauvais fonctionnement.
- Pour éviter les surtension transitoire quand l'appareil est remis sous tension, coupez l'alimentation principale de l'appareil avant de partir si il y a eu une coupure de courant pendant l'utilisation de l'appareil.
OPÉRATIONS DE BASE (suite)
Préroglages faciles
Quand vous mettez le téléviseur sous tension pour la première fois, votre téléviseur affiche automatiquement les réglages de "Langue", "Pays" et "Réglage Auto". (Reportez-vous aussi au Guide rapide fourni.)
- Instructions
- Le premier écran qui apparaît vous demande de désir la langue de l'affichage de votre téléviseur analogique.
- En utilisant la touche ,CHOisissez la langue que vous préferez dans la liste et appuyez sur la touche OK
- Puis, en utilisant la touche , désisissez votre pays de résidence et appuyez sur la touche OK.
- L'écran de réglage automatique apparait et votre téléviseur recherche les canaux analogiques parmi toutes les fréquences en les mémorisant dans l'ordre.
En fonction de votre pays de résidence, il ne passse pas au réglage automatique DTT (5-8).
Le processus du réglage automatique DTT varie en fonction du modele.
Si vous avez le modele 42/55PD9700U:
- Une boîte de dialogue apparaît vous demandant si vous souhaïez accorder les canaux DTT. Choisissez "Oui" de façon que le téléviseur commence à rechercher les canaux DTT.
Si vous avez le modele 42/55PD9700C:
- La boîte de dialogue apparait vous demandant de désir la langue pour le réglage automatique DTT.
- En utilisant la touche ,CHOisissez la langue sur la liste et appuyez sur la touche OK
- Puis, en utilisant la touche , désissez votre pays de résidence et appuyez sur la touche OK.
- Une boîte de dialogue apparait vous demandant si vous souhaitez accorder les canaux DTT. Choisissez "Oui" de façon que le téléviseur commence à rechercher les canaux DTT.
REMARQUE
-
Si vous souhaitez changer le réglage après la fin de préréglage facile, appuyez sur la touche MENU et faite les régages manuellement.
-
Reportez-vous aux pages 24, 25 pour le réglage analogique.
- Reportez-vous à la page 41 pour le réglage DTT.

C'est un exemple du modele pour le 42/55PD9700U.



Réglage du volume (Haut/Bas)
- Pour augmenter le volume sonore, appuyez sur la touche + sur la télécommande ou sur la touche Volume Haut sur le panneau de commande.
L'indicateur de volume sur I'ecran se déplace vers la droite.
- Pour diminuer le volume sonore, appuyez sur la touche sur la télécommande ou sur la touche Volume Bas sur le panneau de commande.
L'indicateur de volume sur I'écran se déplace vers la gauche.
Touché de volume Haut/Bas

Touchede sourdine
Sourdine
-
Pourmettrele son en sourdine,appuyez sur la touche 忍 sur la telecommande.
-
Le son de l'appareil est coupé temporairement.
-
La couleur de l'indicateur de volume devient magenta pendant que le volume est coupé.
-
Pour rétablit le son, appuyez de nouveau sur la touche x ou sur la touche Volume Haut sur le panneau de commande ou sur la télécommande.
- La couleur de l'indicateur de volume redevient verte.
Touche de Volume Haut.

Touch de Volume Bas
REMARQUE
- Vous pouvez diminuer le volume en appuyant sur la touche pendant que le volume est coupé.
Volume 15
Indicateur de volume
Commutation de l'entrée sur TV/AV1-5, HDMI et RGB
En appuyant sur la touche de selection d'entrée vous pouvez change l'entrée.
- Pour voir une émission diffusée actuelles, appuyez sur la touche de seLECTION d'entrée sur le panneau de commande, sur les touches numérique ou la touche Chaine Haut/Bas sur la télécommande.
-
Pour afficher les images sorties par les apparèils extérieurs connectés à chaque prise (DTT/TV, AV1-5, HDMI1/2 et RGB), désissez le mode correspondant.
-
Appuyez sur les touches de selector d'entrée sur la télécommande.
- Le mode d'entrée peut aussi être changeé en utilisant la touche de sélecteur d'entrée sur le panneau de commande.
Chaque VOIS que vous appuyez sur cette touche, l'affichage du mode correspondant apparait sur l'écran dans l'ordre suivant.

- Pour returner directement au mode de télévision, appuyez sur les touches Chaine Haut/Bas sur la télécommande ou le panneau de commande.
Vous pouze aussi utiliser les touches numériques sur la télécommande.


Écran du signal d'entrée
L'etat du signal d'entrée peut être affiché sur l'écran en appuyant sur la touche © sur la télécommande.
- L'écran apparaît aussi en mode DTT lors du changement des chaînes et disparaît après environ 3 secondes. Reportez-vous à la page à propos de la bannière d'informations.
- L'écran du mode TV/Video/RGB disparaît après environ 6 secondes.





Avec le système d'affichage sur l'écran, vous pouvez acceder à diverses caractéristiques et fonction de cet apparil.
- Opérations de base
MENU
- Appuyez sur la touche ( ) sur la télécommande ou sur la touche Menu le panneau de commande de l'appareil. Le Menu principal apparaît sur l'écran comme montré ci-à-droite.
- PourCHOISIR un article,appuyez sur les touches L'articlechoisi est mis en valeur en jaune.
- Appuyez sur la touche OK pour valider votre choix. La page du menuCHOsi apparaft sur I'ecran.
- Utilisez les touches pourCHOIR un article sur la page MENU. Appuyez sur la touche OK pour regler les chaines choisies.
- Utilisez les touches pour ajuster les valeurs de l'article choisi ou les options choses. Appuyez sur la touche pour valider votrechoix.
- Pour quitter le menu, appuyez sur la touche
REMARQUE
- L'écran de menu sur l'écran disparaît automatiquement quand aucune opération n'est réalisée pendant environ une minute.
- Il y a un autre menu principal pour les réglages DTT comme montré.
Reportez-vous à la page 40 pour le Menu Principal DTT.