Supreme Gound Level 366cm - Trampoline EXIT - Gratis gebruiksaanwijzing en handleiding
Vind de handleiding van het apparaat gratis Supreme Gound Level 366cm EXIT in PDF-formaat.
Gebruikersvragen over Supreme Gound Level 366cm EXIT
0 vraag over dit apparaat. Beantwoord die u kent of stel uw eigen vraag.
Stel een nieuwe vraag over dit apparaat
Download de handleiding voor uw Trampoline in PDF-formaat gratis! Vind uw handleiding Supreme Gound Level 366cm - EXIT en neem uw elektronisch apparaat weer in handen. Op deze pagina staan alle documenten die nodig zijn voor het gebruik van uw apparaat. Supreme Gound Level 366cm van het merk EXIT.
GEBRUIKSAANWIJZING Supreme Gound Level 366cm EXIT
Gefeliciteerd met uw Supreme Trampoline van EXIT Toys!
Pret make, actief leven en buiten spelen.....
Dat is once motivatie om innovatief en kwalitatief spelgoed te ontwikkelen voor coole kinderen.
We doen er alles aan om producten te ontwikken die veilig+zijn voor kinderen. Aangezien onsne producten worden geclassifiedeerd als spelgoed, voldoen we aan de strengste normen op het vlak van consumentveiligheid. Voordat we een product op de markt brengen, lately we onafhankelijk tests uitvoeren voor de vereiste certificaten. We voeren ook voortdurend controlesuitijdens de productie en we latent regelmatig neue onafhankelijk tests uitvoeren als extra controle. Enkel de producten die voldoen aan de strengste normen van EXIT Toys krijgen het EXIT Toys merk.
Wij stellen het zeer op prijs dat u bij ons klant bent en danken u voor het vertrouwen in dit product. We zijn er zeker van dat uw kinderen evenveel van dit product zullen genieten als wijijdens de ontwikkeling ervan. Omdat we open staan voor uw mening,+zijn uw opmerkingen en ideeen steeds welkom zodat we once producten nog kunnen verbeteren en neue kunnen ontwikken. Neem waarom gerust contact op via info@exittoys.com.
Bezoek de wereld van EXIT Toys op www.exittoys.com en ontdek ook unsere andere stoere en weitere buitenspeel producten.
Het team van EXIT Toys
2.0 Richtlijnen voor veilig gebruik
Als u de instructies voor de trampoline correct opvolgt,kest u nagenoeg alle risico's vermijden. Houd er wel rekening mee dat kinderen van nature graag spelen en dat dit tot onvoorziene gevaarlijke situatuies kan leiden waarvoord fabrikant nicht verantwoordelijk is. Leer uw kinderen hoe ze het product要去en gebruiken en wijs hen op de mogelijkke bevaren.
Lees en volg deutsche algemene waarschuwingen voordat u het product monteert en gezruikt:

WAARSCHUWING
Om ernstige verwondingente vermijden

Lees en begrijp de handleiding voor gebruik.
- Waarschuwing! Dit product is uitsluitend bedoeld voor thuisgebruik en gebruik voor buiten.
Waarschuwing! VERSTIKKINGSGEVAAR! - Kleine onderdelen.
Niet voor kinderenjonger dan 3aar.
-
Bescherm kinderen
-
Voorkom valpartijen en beknelling
-
Waarschuwing! Laat nooit meer dan 1 persoon tegelijk op de trampoline.
Waarschuwing! Maak geen salto's of andere moeilijke prongen!
Waarschuwing! Leeg uw zakken voordat u de trampoline gebruikt!
Steeds gebruiken onder toezicht van een volwassene.
- Waarschuwing! De trampoline要去 door een volwassene volgens de montageinstructies worden gemonteerd en voor gebruik worden gecontroleerd.
Waarschuwing! Het is verboden te eten tijdens het springen.
Dit product moet voor gebruik worden gemonteerd door een volwassene.
- Neem in geval van ontbrekende of kapotte onderdelen contact op met het verkooppunt voor assistentie.
Wijzigingen door de consument doergevoerd aan de trampoline (bv. het toevoegen van accessoires)要去 worden uitgevoerd volgens de instructies van de fabrikant.
- Waarschuwing: Wijল Niet aansprakelijk voor enig letsel dat kan ontstaan tijdens het gebruik van de trampoline.
Maximum gewicht van gebruiker: 10ft: 100kg
12ft: 110kg.
14ft: 120 kg.
2.1 Waarschuwingen voor een veilig gebruiks
Lees de informatatie in deze handleiding en zorg ervoor dat u deze begrijpt. Zoals bij alle fysieke sporten en activités bestaat het risico dat deelnemers letsel oplopen. Neem de van toepassing+zijnde veiligheidsregels en -tips in acht zodat u van het toestel kunt genieten en letsel worden voorkomen.
- Bewaar deze handleiding voor toekomstig gebruik; bevat belangrijke informatatie.
Houd 1,5 m breed zacht materiala rond de trampoline
- RAADPLEEG ALTIJD EEN DOKTER / ARTS VOORDAT U FYSIEKE INSPANNINGEN GAAT LEVEREN.
- CONTROLEER DE TRAMPOLINE ALTIJD VOOR GEBRUIK. LET DAARBIJ SPECIFIEK OP ALLE BOUTEN, DE SPRINGMAT EN DE POSITIE VAN DE RANDKUSSENS. GEBRUIK DE TRAMPOLINE NIET ALS ER ONDERDELEN ONTBREKEN OF ALS DEZE TEKENEN VAN SLIJTAGE VERTONEN.
- ZORG ER ALTIJD VOOR DAT DE TRAMPOLINE DOOR SLECHTS 1 PERSOON TEGELIJK WORDT GEBRUIKT. Botsingsgevaar!
- ZORG ER ALTIJD VOOR DAT DE TRAMPOLINE ONDER TOEZICT WORDT GEBRUIKT (BIJ IEDEREEN EN BIJ ELK VAARDIGHEIDSNIVEAU).
- Stop onmiddelijk met springen als u zich onwel voelt of als u pijn in uw gewrichten en spieren krijgt. Duizeligheid is een teken van vermoeidheid. Stop met springen en ga op de grond liggen als u zich duizelig voelt.
- Zorg ervoor dat u geschikte kleding draagt wanner u deze trampoline gebrukt, bij voorkeur sportkleding en Sokken. DRAAG NOOIT SCHOENEN OP DE MAT.
- Waarschuwing: de trampoline is voorzien van veren waardoor de gebruiker veel hoger kan springen dan gewoon vanaf de grond. Houd hier rekening mee en zorg ervoor dat u zich zeker voelt bij het springen vankleine hoogtes.
- Deze handleiding bevat informatatie over de juiste montage, zorg en onderhoud van het product, veiligheidstips, waarschuwingen en juiste technieken voor het springen op uw trampoline, zowel voor uw veiligheid als voor een langere levensduur van het product. Alle gebruikers en toezichtholders dienen zich.daarom deze instructies eigente makeen. Iedereen die ervoor kiest om de trampoline te gebruiken, moet zich bewust zich van zich/haar eigen beperkingen in verband met het uitvoeren van oefingen op deze trampoline.
- De trampoline opstellen op gras of op door veiligheidsinstanties goedgekeurde veiligheidsmatten. Nooit op betonnen, asphalt of enige andere harde ondergrond plaatsen noch in de nabijheid van andere installations (bijv kinderbaden, schommels, glijbanen, klimrekken)
- Dit product is uitsluitend bedoeld voor.THuisgebruik.
- VERPLAATSEN VAN DE TRAMPOLINE. Wonneer de trampoline verplaatst moet worden, zijn hiervoor minimal 2 personen nodig. Til de trampoline iets op en houdt de trampoline bij het verplaatsen in horizontale positie. Indienoodzakelijk is het möglichk de trampoline uit elkaar te halen. Volg hierbij de montagehandleiding in omgeekerde volgorde.
2.2 GEBRUK VAN DE TRAMPOLINE
EERST dient u vertrouwd te raken met de trampoline en dient u te ervaren hoeveel vering elke spreng verooorzaakt. De aandacht dient hierbij vooral te liggen op delichaamshouding en de techniek totdat elke oefening gemakkelijk en gecontroleerd kan worden uitgevoerd.

VOORDAT U PROBEERT HOOG TE SPRINGEN dient u de stoptechniek te leren odomat u daarmee letsel kurz voorkomen als u voelt dat u de sprengen nicht meer onder controle hebt.
- Bij het landen op de mat要去en de knieën gebogen zichn zodate ze de vering van de mat stoppen en absorberen. De positie is links aangegeven. De armen worden gestrekt gehonden voor een beter evenwicht.
- Deze vaardigheid worden gebruikt wanner de trampolinegebruiker wil stoppen met springen vanwege vermoeidheid, controverlies, etc.

SALTO'S: MAAK GEEN salto's (achterover of voorover) op deze trampoline. Als u bij het uitvoeren van een salto een fout maakt, kurz u op uw hoofd of nek terecht komen. Hierdoor vergroot u de kans dat u uw nek of rug breekt, waardoor u kurz overlijden of verlamd kurz raken.

VREEMDE VOORWERPEN: Gebruik de trampoline nicht als er zich huisdieren, andere mensen of voorwerpen onder de trampoline bevinden. Hierdoor worden de kans op letsel vergroot. Houdt GEEN voorwerpen in de hand enplaats GEEN voorwerpen op de trampoline als deze worden gebruikt. Plaats de trampoline NIET onder overhangende voorwerpen Zoals boomtakken, draden, etc. waar dat deze de kans op letsel verhogen.

SLECHT ONDERHOUD VAN DE TRAMPOLINE: Een trampoline in slechte staat vergroot de kans op letsel. Inspecteer de trampoline voor elk gebruik op verbogen stalen buizen, scheuren in de mat, losse of gebroken veren en de algehele stabiliteit van de trampoline.

WEERSOMSTANDIGHEDEN: Let op, gebruik de trampoline nichtijdens harde wind en veranker de trampoline. Als het te hard waait, kan de gebruiker de contrôle verliezen. Houd bij gebruik van de trampoline rekening met de weersomstandigheden. Gebruik de trampoline Niet wonneer deze nat is.

TOEGANG BEPERKEN: Berg het trapje algijd op een veiligeplaats op wonneer de trampoline nicht worden gebruikt, om te voorkomen dat kinderen zonder toezicht op de trampoline können spelen.
2.3 TIPS OM HET RISICO OP ONGEVALLEN TE VERLAGEN



Om het risico op ongevallen te verlagen, dient de 'TRAMPOLINEGEBRUIKER':
-+zijn/haar sprengen en lichaamshouding alkijd onder controle te honden;
- nied proberen oefingen uit te voeren die zichn/haar vaardigheidsniveau te boven gaan;
- de spreng te lezen en te begrijpen door af te zetten en te landen in het midden van de trampoline;
-+zijn/haar sprengen algijd onder controle te houden door af te zetten en te landen in het midden van de trampoline;
- Let op, spring.altijd in het midden van de mat. Altijd verticaal te springen en nicht in de richting van de veren;
-.altijd een officieel gediplomeerd trampoline-instructeur te raadplegen wanner hij/zij oefingen wil proberen die de basistechnieken te boven gaan.
Om het risico op ongevallen te verlagen dient de 'TOEZICHTHOUDER':
- alle veiligheidsregels en -richtlijnen volledig te begrijpen en toe te zien op de naleving waarvan;
- de trampolinegebruiker te adviseren en aan te gehen wat hij/zij goed en fout doet om de veiligheid van de trampolinegebruiker te waarborgen;
- op de hoogte te zijn van alle veiligheidswaarschuwingen en de trampolinegebruiker waarop te attenderen.
- Verlaat de tramoline Niet met een spreng!
BELANGRIJK: Als er geen toezicht bij de trampoline möglichk is, moet er een methode zijn om het toestel te beveiliggen en te voorkomen dat het door iemand gebruikt worden totdat toezicht beschikbaar is.
2.4 VEILIGHEIDSINSTRUCTIES VOOR DE TRAMPOLINE
AANBEVOLEN VOORZORGSGMAATREGELEN TIJDENS HET GEBRUK VAN DE TRAMPOLINE

- Gebruik de trampoline Niet als u alcohol of verdovende middelen hebt gebruikt.
- Klim de trampoline op en af op een gecontrolerde en behoedzame manier. Spring nooit op of van de trampoline af en gebruik de trampoline nooit als een hulpmiddel om op of in een ander object te springen.
Leer altijd de basissprong en zorg ervoor dat u elk soort spreong onder de knie krijgt voordat u moeilijkere soorten spreongen probeert. Raadpleeg het hoofdstuk over de basisvaardigheden om de grondbeginselen te leren. - Als u wilt stoppen met springen, buigt u de knieën wonneer u op uw voeten landt.
- Zorg dat u.altijd controle houdt wonneer u op de trampoline springt. Bij een gecontroleerde spreong komt u neer op hetzelfde punt als vanwaar u zich hebt afgezet. Als u op enig moment voelt dat u het springen nicht meer onder controle hebt, stop dan onmiddelijk.
- Spring nicht te lang en maak nicht teveel hoge sprengen ache ter elkaar. Houd uwogen op de mat gericht om controle te houden. Als u dat nicht doet, kurz u uit balans raken.
- Laat nooit meer dan 1 persoon tegelijk op de trampoline wegens botsingsgevaar.
Aanbevolen voorzorgsmaatregelen voor toezicht op de trampoline
BELANGRIJK: Maak uzelf vertrouwd met de basissprongen en de veiligheidsregels. Zorg ervoor dat alle veiligheidsregels worden nageleefd en dat neue gebruikers de basissprongen leren voordat ze gezorderde technieken gaan proberen. Dit om het risico op letsel te voorkomen en verlagen.
Bij ALLE GEBRUIKERS is toezicht vereist, ongeacht vaardigheidsniveau of leeftijd.
- Gebruik de trampoline nooit wonneer deze nat, beschadigd, vuil of versleten is. De trampoline dient voorafgaand aan gebruik te worden geinspecteerd.
- Houd alle voorwerpen die tijdens het gebruik van de trampoline een belemmering kannen vormen te allen tijde uit de buurt van het toestel. Wees u bewust van wat zich boven, onder en rond de trampoline bevindt.
- Om gezruik zonder toezicht en toestemming te voorkomen, dient de trampoline te allen tijde te worden beveiligd.
2.5 ONGEVALSCLASSIFICATIE EN -IDENTIFICATIE

GEBRUK VAN ALCOHOL OF DRUGS:
Drink GEEN alcohol en gebruik geen drugs (of geneesmiddelen die het.Coordinatievermogen van de gebruiker kuren beinvloeden) wonneer u deze trampoline gebruikt. Dit is zeer gevaarlijk aangezien deze middelen een nadelig effect hebben op uw inschattingsvermogen, reactiesnelheid en algehele fysieke coordinatie.

MEERDEREGEBRUIKERS:
Laat nooit meer dan 1 persoon tegelijk op de trampoline.

IN AANRAKING KOMEN MET FRAME EN VEREN:
BLIJF in het midden van de trampolinemat wanner u op het toestel springt. Hierdoor verlaagt u het risico op letsel doordat u op het frame of de verenterecht komt. Zorg ervoor dat de randkussens het trampolineframe altijd bedekken. Spring of stap NIETrechtstreeks op het randkussen. Dit is nicht geschikt om het gewicht van een persoon te dragen.

CONTROLEVERLIES:
Probeer GEEN moeilijke bewegingen totdat u de grondbeginselen onder de knie hebt. Als u zich Niet aan deze richtlijnen houdt, vergroot u de kans dat iemand gewond raakt.
Ga rechtep staan met de voeten op schouderbreedte uit elkaar en de ogen op de springmat gericht.
Zwaai de Armenaarvonen/omhoog boven het hoofd incirkelvorm.beweging up above head in a circular motion.
- Breng uw benen en voeten bij elkaar in de 'luchtpositie' en richt uw tenen maar beneden.
- Kom waar op de mat neer met de voeten op schouderbreedte uit elkaar (zoals de startpositie).
Ga pas door met de volgende oefening als u vertrouwd bent met deze beweging en deze goed kunt uitvoeren.
- Begin met de lage basissprong (zoals bij BASISVAARDIGHEID) 1).
- Land op de knieën (houd deze op schouderbreedteuit elkaar), terwijl u de rugrecht houdt, lichaam gespannen en armen gestrektaar voren of opzij voor balans.
- Springteringnaardebasisprongdoordevaart van de vering te gebruiken en de armen omhoog te gooien.
- Wanner dit goed lukt op deze hoogte kunt u proberen iets hoger te springen. VergeetECHTER Niet de hoogte altijd onder controle te houden.

BASISVAARDIGHEID 3: de zitsprong

- Begin met een lage basissprong (BASISVAARDIGHEID 1) in de normale positie.
- Land met uw benenrecht voor uuit gestrekt, de handen aan weerszijden van uw heupen, de rugrecht en het lichaam gespannen.
- Gebruik de vaart van de vering samen met een duw van de handen om terug te keren in eenrechtstandige positie.
- Als dit goed lukt op deze hoogte,kest u proberen iets hoger te springen. VergeetECHTER Niet de hoogte te controleren.
BELANGRIJK: Raadpleeg een getrainde trampoline-instructeur voordat u moeilijkere oefingen gaat proberen om er zeker van te zijn dat de verilgheid zoveel möglichk worden gewaarborgd.
GEVORDERDE VAARDIGHEDEN
GEVORDERDE VAARDIGHEID 1: de basissprong

- Begin met lage basissprong (BASISVAARDIGHEID 1) in normale positie position.
- Land op handen en knieën tegelijk. Zorg er waar bij voor dat u de rug horizontally houdt ten opzichte van de springmat en dat u handen en benen op schouderbreedte uit elkaar houdt.
- Gebruik de vaart van de vering en duw af met uw handen om in rechte positie overeind te komen.
- Wanneer dit goed lukt op deze hoogte,kest u proberen iets hoger te springen. VergeetECHTERNiet de hoogte altijd onder controle te houden.
Probeer de volgende vaardigheid pas als u vertrouwd bent met deze beweging en deze goed kurzuitvoeren.
GEVORDERDE VAARDIGHEID 2: de hand- en kniesprongaar buiksprong
- Land op handen en knieën tegelijk. Zorg ervoor dat u de rug horizontal houdt ten opzichte van de springmat en dat u de handen en benen op schouderbreedte uit elkaar houdt.
- Houd het lichaam gespannen met de rug horizontally ten opzichte van de mat, strek uw benen awhile uuit en vouw uw armen in de lustucht voor uw gezicht,kaar om in liggende houding neer te komen op de mat.
- Zorg ervoor dat het lichaam de mat bij het neerkomen in een koer raakt.
- Druk uzelf met de handen op en kom terug in staande houding. hands and recover the standing position.
- Als dit goed lukt op deze hoogte,kest u proberen iets hoger te springen. VergeetECHter Niet de hoogte altijd onder controle te houden.Ga pas door met de volgende vaardigheid als u vertrouwd bent met.dequeue beweging en deze goed kunt uitvoeren.

GEVORDERDE VAARDIGHEID 2: de buiksprong

- Begin met de lage basissprong (BASISVAARDIGHEID 1) in normale positie.
- Houd het lichaam gespannen met de rug horizontal ten opzichte van de mat, strek uw benen anschter uuit en vouw uw armen in de lucht voor uw gezicht,kaar om in liggende houding neer te komen op de mat.
- Zorg ervoor dat het lichaam de mat bij het neerkomen in een keer raakt.
- Druk uzelf met de handen op en kom terug in staande houding.
- Als dit goed lukt op deze hoogte,kest u proberen ieits hoger te springen. Vergeet darüber nicht de hoogte altijd onder controle te houden.
BELANGRIJK: Raadpleeg een gediplomeerd en geregisteerd instructeur als u zich verder wilt bekwamen en meer gezorderde trampolinetechnieken 48 wilt leren.
4.0 ALGEMENE INFORMATIE
- Zelfvergrendelende moeren en schroeven zijn alleen geschikt voor eenmalige opstelling en dieren na het afbreken van de trampoline en/of het verilgheidsnet te worden verrangen.
- We adviseren om de trampoline op een plat en vlak oppervlak teplaatsen met minimaal 3m afstand tot andere bovenbouw of barrières, bijv. hek, garage, lui, boomtakken, waslijnen of elektriciteitskabels.
- Plaats de trampoline Niet op een hard oppervlak als asfait, beton, enz.
- Vervang defecte onderdelen volgens de aanwijzingen van de leverancier.
- Aanpassingen aan de trampoline (bijv. toevoeging van een accessoire) dient te geschieden volgens de aanwijzingen van de leverancier.
- Zorg ervoor dat de haak-en-lus bevestigingsmiddelen goed bevestigd zijnijdens het gebruik van de trampoline.
5.0 MONTAGE VAN DE TRAMPOLINE
Mag uitsluitend worden gemonteerd door volwassenen.
Voor het monteren van deze trampoline hebt u alleen onsze speciale verenspanner nodig die worden meegeleverd met dit product. Tijdens perioden waarin de trampoline Niet worden gebruikt kan deze trampoline gemakkelijk worden gedemonsteerd en opgeslagen. Lees de montage-instructies voordat u begint met het monteren van het product.
Raadpleeg de tabel voor de beschrijving en nummering van onderdelen. In de montage-instructie worden maar deze beschrijvingen en nummers verwezen.
Controller of u alle aangegeven onderdelen hebt. Neem contact op met het verkooppunt als u onderdelen mist.
Gebruik handschoenen om uw handen tijdens montage te beschemmen gegen beknelling. Als u klaar bent om te beginnen, dient u ervoor te zorgen dat u genoeg ruimte hebt en dat deze ruimte droog en schoon is.
ONDERDELENLIJST
| Ond. Nr. | Omschrijving 10ft 12ft 14ft | |||
| 1 Bovenbuis met T-aansluiting 8 8 8 | ||||
| 2 Poot A 4 4 4 | ||||
| 3 Poot B 4 4 4 | ||||
| 4 Springmat 1 1 1 | ||||
| 5 | Veer | 72 80 | 88 | |
| 6 Metalen montageplaat 8 8 8 | ||||
| 7 Randkussen 1 1 1 | ||||
| 8 Schuim 32 32 32 | ||||
| 9 Plasticplaat 8 8 8 | ||||
| 10 Bout | 16 16 | 16 | ||
| 11 Sluitring | 8 8 8 | |||
| 12 Moer | 32 32 | 32 | ||
| 13 Zelftapschroef | 16 16 | 16 | ||
| 14 Meetlint | 1 1 1 | |||
| # | Gereedschap |
Bijgevoegt zijn de actuelle specifiees en producteigenschappen op het moment van printen. De apparatuur, beschikbaarheid, specifieatien eigenschappen kunnen echter zonder aankondiging veranderen.

(1)

(2)

(3)

(4)

(5)

(6)

(7)

(8)

(10)

(11)

(12)

(9)

(13)

(14)



STAP 1
Graaf voor het assembleren van de trampoline een put. Raadpleeg tabel 1 voor overige informatie.
Leg het meetlint (14) op de grond. Draai de meetlat rond het midden om de diameter van put 1, put 2 en put 3 te markeren.

| Afmeting D1 | D2 | Kuil 1 | Kuil 2 | Kuil 3 | |||
| ∅10ft (∅305cm) | ∅317cm | ∅307cm | ∅277cm | 100cm | 17cm | 3cm | |
| ∅12ft (∅366cm) | ∅378cm | ∅368cm | ∅338cm | 100cm | 17cm | 3cm | |
| ∅14ft (∅427cm) | ∅439cm | ∅429cm | ∅399cm | 100cm | 17cm | 3cm |
STAP 2
Leg twee bovenbuizen met T-aansluiting (1) op de grond zoals weergegeven. Zorg ervoor dat de bovenbuizen zo liggen dat dekleine gaten (veergaten)aar boven+zijn gericht.
Steek het uiteinde van een bovenbuis met T-aansluiting (1) in een uiteinde van een andere bovenbuis met T-aansluiting zoals weergegeven.

STAP 3
Steek poot A (2) in de T-aansluiting zoals weergegeven.
Herhaal stap 2 - 3 nog drie keer om de resterende poten A (2) en bovenbuizen met T-aansluiting (1) te assembleren.

STAP 4
Let op: voor deze stap zijn twee Personen nodig. In deze stap gaat u de vier gemonteerde poten op elkaar aansluiten.
Zet twee poten recktop en houd ze in de positie zoals weergegeven. Steek dekleine uiteinden in de grote uiteinden.

STAP 5
Leg de poten B (3) op de poten A (2) zoals weergegeven.
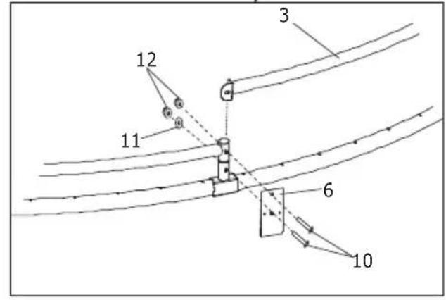
Plaatservolgens de twee ijzeren platen (6) op de poten B (3) zoals weergegeven.
Bevestig de ijzeren platen (6) aan de poten B (3) met telkens een bout (10), een ring (11) en een moer (12) zoals weergegeven.


STAP 6
Leg het springkussen (3) op de grond in het frame.
Leg het springkussen neer met de城县kant maar boven.
Waarschuwing: het is verstandig lederen handschoenen te dragen wonneer u de veren bevestigt. Let goed op waar u uw handen plaatst, omdat uw vingers anders klem+kennen raken tussen de veren of de aansluitingen van het frame.

Volg de onderstaande stappen om het springkussen aan het frame te bevestigen.
Bevestig de veren (5) als volgt.
- Haak een uiteinde van een veer (5) in een V-ring die aan het springkussen is genaaid.
- Steek de veerhaak in het vrije uiteinde van de veer (5). Trek de veer met de veerhaak maar het frame.
- Duw het uiteinde van de veer in een gat in het frame.
- Maak de veerhaak los. De veer zit nu vast.
a. Plaats als eerste 8 V-ringen die met wit়n gemarkeerd afzonderlijk aan beiden zijden van de T-aansluiting en bevestig 2 veren bij #1 aan zowel het springkussen als het frame.
b. Bevestig verwolgens opdezelfdemanier 2 veren bij,veren bij #3 en 2 veren bij #4 totdat u 8 veren hebt bevestigd.Let op: tel de gaten in het frame en de V-ringen aan het springkussen, zodat de veren in het juiste gat worden gestoken.
c. Bevestig opdezelfde manier 2 veren bij #5,#6,#7 en #8 totdat de tweede set van 8 veren zijn bevestigd.Leg steeds de juiste ring in het springkussen op het juiste framegat.Nadat deze veren zijn aangebracht, kunt u de resterende veren in elke willekeurige volgorde aan het springkussen en het frame


| #1 | #2 | #3 | #4 | #5 | #6 | #7 | #8 | |||
| 1 32 | 16 | 48 | 8 24 | 40 | 56 | 10ft | ||||
| 12ft | 1 36 | 18 | 54 | 9 27 | 45 | 63 | ||||
| 14ft | 1 44 | 22 | 66 | 11 33 | 55 | 77 |
Let op: de veer heeft een große haak die aan het frame worden bevestigd en eenkleine haak die in de ring in het springkussen worden gestoken.
Veiligheidsmelding: tel de V-ringen en de framegaten bij het bevestigen van de veren. Als er een V-ring of gat is overgeslagen, bevestig de veer dan opnieuw op de juisteplaats.

WAARSCHUWING!!: Pas op waar u uw handen of andere lichaamsdelen staat omdat deze:tussen de verbindingspunten en veerbevestigingen bekneld+kennenraken.
STAP7
Draai de trampoline om zodat de bovenkantaarbovenisgericht, zoalsweergegeven.


STAP 8
Steek het schuim (8) in het randkussen (7) zoals weergegeven.

STAP 9
Leg het randkussen (7) op de trampoline.
Kijk vanaf de onderkant van het randkussen. Dan moet de veer door de rand van het net aan het springkussen bevestigd worden, zoals weergegeven in de ingezette tekeningen A en B.
Bevestig het springkussen aan het frame met de elastieken lussen met bobbels eraan zoals weergegeven in tekening C.


A

B

C
STAP 10
Bevestig de plasticplaat (9) aan het frame met de zelftapschroeven (13).

STAP 11
Plaats de trampoline in de put en zorg ervoor dat het midden van het springkussen boven het midden van de put ligt.
Vul tot slot de ruimte tussen de trampoline en de grond met zand.

Gefeliciteerd! De trampoline is nu klaar voor gebruik.

6.0 ZORG EN ONDERHOUD
Deze trampoline is ontworpen en vervaardigd met kwaliteitsmaterialen en vakmanschap. Bij de juiste zorg en het juiste onderhoud zullen alle gebruikers hier jarenlang met veel plezier op kunnen springen en za ook het risico op letsel worden verlaagd. Volg de onderstaande richtlijnen:
Deze trampoline is ontworpen om een bepaalde hoeveelheid gewicht en gebruik aan te konnen. Zorg ervoor dat slechts een persoon tegelijk de trampoline gebruikt. Springers dienen dokken / turnschoenen te dragen of blootsvoets te zich wanner zich de trampoline gebruiken. Let er op dat schoenen voor op staat of tennisschoenen NIET mogen worden gedragenijdens het gebruik van de trampoline. Om te voorkomen dat de trampolinemat gescheurd of beschadigd raakt zich huisdieren op de mat Niet toegestaan. Springers dienen tevens alle scherpe voorwerpen af te doe den voordat ze de trampoline gebruiken. Alle scherpe of gespunte voorwerpen dienen van de trampolinemat te worden gez Holden.
Onderhoudsinstructies
Zorg voor controles en onderhoud van de belangrijkke onderdelen (frame, ophanging, mat, vulling, en de behuizing) aan het begin van elk seizoen en regelmatig tijdens het gebruik. Als deze controles Niet worden uitgevoerd, kan de trampoline gevaarlijk worden!
- U dient te controleren of alle moeren en bouten nog goed vast zitten; draai ze indien nodig aan.
- U dient te controleren dat alle veergeladen aansluitingen (vergrendelingspen) onbeschadigd zich en Niet bewegen tijdens het gebruik van de trampoline.
- U dient de afdekschroeven en scherpe randen te controleren en indien nodig te verrangen.
- Bewaar de onderhoudshandleiding voor later gebruik.
Inspecteer de trampoline alteijd voor gebruik op versleten, verkeerd gebruekte of ontbrekende onderdelen. Door een aantal omstandigheden kan uw kans op letsel toenemen. Pas op met:
- Doorboringen, gaten of scheuren in de trampolinemat
- Een doorzakkende trampolinemat
- Loszittend stiksels of elke vorm van slijtage van de mat
- Gebogen of gebroken frame-onderdelen, zoals de poten
- Gebroken, ontbrekende of beschadigde veren
- Een beschadigd, ontbrekend of Niet goed bevestigd framekussen
- Uitsteeksels (met name als ze scherp়) op het frame, de veren of de mat
ALS U EEN VAN DE BOVENSTAANDE PUNTEN OF IETS ANDERS DAT VOLGENS U LETSEL BUJ EEN GEBRUIKER KAN VEROORZAKEN OPMERKT, DIENT DE TRAMPOLINE TE WORDEN GEDEMONTEERD OF TEGEN GEBRUIK TE WORDEN BEVEILIGD TOTDAT DE KWESTIE IS VERHOLPEN.
WINDERIGE OMSTANDIGHEDEN
Bij hevige wind kan de trampoline van zichnplaats worden geblazen. Als u winderige weersomstandigheden verwacht, dient de trampoline waar een beschutte plek te worden verplaatst of te worden gedemonteerd. Een andere optie is om het ronde, buitenste gedeelte (bovenframe) van de trampoline aan de grond vast te maken met behulp van touwen en paaltjes. Voor de veiligheid dienen ten minste drie (3) vastzetpunten te worden gebruikt.
DE TRAMPOLINE VERPLAATSEN
Als u de trampoline要去 verplaatsen, zich hiervoor twee mensen nodig. Alle verbindingspunten dienen stevig te worden omwikkeld met weersbestendige tape, zoals duct tape. Hierdoor blijft het frameijdens de verplaatsing heel en wordt voorkomen dat de verbindingspunten van hun plaats raken en van elkaar worden geschieren. Licht de trampoline bij het verplaatsen enigszins van de grond en houdt deze horizontaal ten opzichte van de grond. Voor elke andere soort verplaatsing dient u de trampoline te demonteren.
WINTER
In sommige landen tijdens de winterperiode kan de sneeuwbelasting en zeer lage temperaturen de trampoline beschadigen. Het worden aanbevolen om de sneeuw te verwijderen en afdekrand, springmat en veiligheidsnet binnenschuis te bewaren.
7.0 Garantie
-
De eigenaar van de EXIT Toys Supreme Trampoline heeft na de datum van de aankoopnota:
-
5aar garantie op het frame
- 5aar garantie op de veren
- 5aar garantie op de beschemrand
-
2aar garantie op het springdoek.
-
De garantie geldt uitsluitend voor materiaal- en constructiefouten ten aanzien van dit product of onderdelen waarvan.
-
De garantie vvert als:
- Dit product onjuist en/of onzorgvuldig gebruikt is en gebruikt worden dat nicht overeenkomstig bestemming is.
- Dit product nicht conform het instructieboekje geassembleerd en onderhonden is.
- Technische reparations aan dit product Niet op vakkundige wijze verricht zijn.
- Naderhand gemonteerde onderdelen nicht overeenkomen met de technische specificaties van het betreffende product, of onjuist gemonteerd zijn.
- Gebreken als gevolg van klimatologische invloeden, zoals roest, UV-straling of normale verwering.
- Het product worden gezruikt voor verhuur of op andere wijze aan meerere ongespecificeerde personen ter beschikking staat.
- Gedurende de garantieperiode zullen alle door EXIT Toys vastgestelde materiaalof constructiefouten ter keuze van EXIT Toys worden gerepareerd, danwel worden verrangen.
- De eigenaar van de EXIT Trampoline kan slechts aanspraak make op de garantie door het product ter inspectie aan te bieden bij een EXIT Toys dealer. Hierbij dient de originele aankoopnota aan de EXIT Toys dealer te worden overhandigd.
- In geval van door EXIT Toys vastgestelde materiaal- of constructiefouten, zal het product of zullen onderdelen waarvan gedurende de in articikel 1 genoemde garantieperiode ter keuze van EXIT Toys gratis worden gerepareerd, danwel Gratis worden verrangen.
- Indien de garantieaanvraag nichtterecht is, zich alle gemaakte kosten voor rekening van de eigenaar.
- De garantie is nicht overdraagbaar aan derden.
- Het is nicht toegestaan de trampoline te verhuren of teplaatsen op openbare plaatsen zoals scholen en kinderdagverblijven. Bij verhuur of gebruik op openbare plaatsen vervalt iedere garantie of verrallen andere aansprakelijkheden.
1.0 Introduction
Edisonstraat 83, 7006RB Doetinchem
the Netherlands
info@exittoys.com
www.exitfoys.com
SimpelGids