IKE64471FB - Fornuis AEG - Gratis gebruiksaanwijzing en handleiding
Vind de handleiding van het apparaat gratis IKE64471FB AEG in PDF-formaat.
Veelgestelde vragen - IKE64471FB AEG
Gebruikersvragen over IKE64471FB AEG
0 vraag over dit apparaat. Beantwoord die u kent of stel uw eigen vraag.
Stel een nieuwe vraag over dit apparaat
Download de handleiding voor uw Fornuis in PDF-formaat gratis! Vind uw handleiding IKE64471FB - AEG en neem uw elektronisch apparaat weer in handen. Op deze pagina staan alle documenten die nodig zijn voor het gebruik van uw apparaat. IKE64471FB van het merk AEG.
GEBRUIKSAANWIJZING IKE64471FB AEG
NL Gebruiksaanwijzing 95
ET Kasutusjuhend 118
Bedankt dat je voor dit AEG-product hebt gekozen. We hebben het gecreëerd om jarenlang onberispelijke prestaties te leveren, met innovatieve technologieën die het leven eenvoudiger maken – functies die je wellicht niet op gewone apparaten aantreft. Neem een paar minuten de tijd om het beste uit het apparaat te halen.
Ga naar onze website voor:

Advies over gebruik, brochures, het oplossen van problemen, service- en reparatie-informatie:
www.aeg.com/support
Registreer je product voor een betere service:
www.registeraeg.com


Koop accessoires, verbruiksartikelen en originele reserveonderdelen voor je apparaat:
www.aeg.com/shop
KLANTENSERVICE EN SERVICE
Gebruik altijd originele onderdelen.
Als u contact opneemt met onze erkende servicedienst, zorg er dan voor dat u de volgende gegevens tot uw beschikking hebt: Model, PNC, serienummer.
De informatie vindt u op het typeplaatje.
⚠ Waarschuwingen en veiligheidsinformatie
i Algemene informatie en tips
Milieu-informatie
Wijzigingen voorbehouden.
INHOUDSOPGAVE
- VEILIGHEIDSINFORMATIE....95
- VEILIGHEIDSVOORSCHRIFTEN....98
- INSTALLATIE....100
- BESCHRIJVING VAN HET PRODUCT.... 101
- DAGELIJKS GEBRUIK.... 103
- FLEXIBELE INDUCTIEKOOKZONE....107
- AANWIJZINGEN EN TIPS....111
- ONDERHOUD EN REINIGING....113
- PROBLEEMOPLOSSING.... 114
- TECHNISCHE GEGEVENS....116
- ENERGIEZUINIGHEID.... 116
- MILIEUBESCHERMING....117
1. ⚠️VEILIGHEIDSINFORMATIE
Lees zorgvuldig de meegeleverde instructies voor installatie en gebruik van het apparaat. De fabrikant is niet
verantwoordelijk voor verwondingen of schade die voortvloeit uit de onjuiste installatie of het onjuiste gebruik. Bewaar de instructies altijd op een veilige, toegankelijke plek voor toekomstig gebruik.
1.1 Veiligheid van kinderen en kwetsbare personen
- Dit apparaat kan worden gebruikt door kinderen van 8 jaar en ouder en door mensen met een beperkt lichamelijk, zintuiglijk of verstandelijk vermogen of een gebrek aan ervaring en kennis, indien zij onder toezicht staan of instructies hebben gekregen over het veilig gebruiken van het apparaat en indien zij de gevaren begrijpen. Kinderen jonger dan 8 jaar en personen met zware en complexe beperkingen dienen altijd uit de buurt van het apparaat te worden gehouden, tenzij ze voortdurend onder toezicht staan.
- Houd toezicht op kinderen om te voorkomen dat zij met het apparaat gaan spelen..
- Houd alle verpakking uit de buurt van kinderen en gooi het op passende wijze weg.
- WAARSCHUWING: Houd kinderen en huisdieren uit de buurt van het apparaat als die in werking is of afkoelt. Makkelijk toegankelijke onderdelen worden heet tijdens het gebruik.
- Als het apparaat is voorzien van een kinderslot, dient dit te worden geactiveerd.
- Kinderen mogen zonder toezicht geen reinigings- en onderhoudswerkzaamheden aan het apparaat uitvoeren.
1.2 Algemene veiligheid
- WAARSCHUWING: Het apparaat en de toegankelijke onderdelen ervan worden heet tijdens het gebruik. U dient te voorkomen de verwarmingselementen aan te raken.
- WAARSCHUWING: Onbewaakt koken op een kookplaat met vet of olie kan gevaarlijk zijn en tot brand leiden.
- Probeer NOOIT om een brand te blussen met water. Schakel het apparaat uit en bedek vervolgens de vlam, bv. met een deksel of een vuurdeken.
- WAARSCHUWING: Het apparaat mag niet van stroom worden voorzien door een extern schakelapparaat, zoals een tijdklok, of aangesloten worden op een circuit dat door het elektriciteitsbedrijf regelmatig aan en uit wordt geschakeld.
- LET OP: Het kookproces moet bewaakt worden. Een kort kookproces moet voortdurend bewaakt worden.
- WAARSCHUWING: Brandgevaar: Bewaar geen voorwerpen op de kookoppervlakken.
- Metalen voorwerpen, zoals messen, vorken, lepels en deksels mogen niet op het oppervlak van de kookplaat worden geplaatst, aangezien ze heet kunnen worden.
- Gebruik het apparaat niet voordat u het in de ingebouwde constructie installeert.
- Gebruik geen stoomreiniger om het apparaat schoon te maken.
- Schakel het kookplaatelement na elk gebruik uit met de bedieningstoetsen. Vertrouw niet op de pandetector.
- Als de glaskeramische / glazen oppervlakte gebarsten is, schakel het apparaat dan uit en trek de stekker uit het stopcontact. In het geval het apparaat rechtstreeks op de stroom is aangesloten met een aansluitdoos, verwijdert u de zekering om het apparaat van de stroom te halen. Neem altijd contact op met de erkende servicedienst.
- Indien het netsnoer beschadigd is, moet het worden vervangen door de fabrikant, een erkende service of vergelijkbaar gekwalificeerde personen om gevaar te voorkomen.
- WAARSCHUWING: Gebruik alleen kookplaatbeschermers die door de fabrikant van het kookapparaat zijn ontworpen of door de fabrikant van het apparaat in de gebruiksinstructies als geschikt zijn aangegeven of kookplaatbeschermers die in het apparaat zijn
geïntegreerd. Het gebruik van ongeschikte kookplaatbeschermers kan ongelukken veroorzaken.
2. VEILIGHEIDSVOORSCHRIFTEN
2.1 Installatie

WAARSCHUWING!
Alleen een erkende installatietechnicus mag het apparaat installeren.

WAARSCHUWING!
Gevaar voor letsel of schade aan het apparaat.
- Verwijder alle verpakkingsmaterialen.
- Installeer en gebruik geen beschadigd apparaat.
- Volg de installatie-instructies die zijn meegeleverd met het apparaat.
- Houd de minimumafstand naar andere apparaten en units in acht.
- Pas altijd op bij verplaatsing van het apparaat, want het is zwaar. Gebruik altijd veiligheidshandschoenen en gesloten schoeisel.
- Dicht de oppervlakken af met kit om te voorkomen dat ze gaan opzetten door vocht.
- Bescherm de bodem van het apparaat tegen stoom en vocht.
- Installeer het apparaat niet naast een deur of onder een raam. Dit voorkomt dat heet kookgerei van het apparaat valt als de deur of het raam wordt geopend.
- Elk apparaat heeft koelventilatoren op de bodem.
- Als het apparaat gemonteerd wordt boven een lade:
– Leg geen kleine dingen of papier dewelke kunnen binnengezogen worden, omdat ze de koelventilatoren kunnen beschadigen of het koelsysteem kunnen belemmeren. - Houd een minimumafstand van 2 cm tussen de bodem van het apparaat en de zaken die u in de lade bewaart.
- Verwijder de afscheidingspanelen die in de kast onder het apparaat zijn geïnstalleerd.
2.2 Elektrische aansluiting

WAARSCHUWING!
Gevaar voor brand en elektrische schokken.
- Alle elektrische aansluitingen moeten door een gediplomeerd elektromonteur worden gemaakt.
- Dit apparaat moet worden aangesloten op een geaard stopcontact.
- Verzeker jezelf ervan dat de stekker uit het stopcontact is getrokken, voordat je welke werkzaamheden dan ook uitvoert.
- Zorg ervoor dat de parameters op het vermogensplaatje overeenkomen met elektrische vermogen van de netstroom.
- Controleer of het apparaat correct geïnstalleerd is. Losse en onjuiste stroomkabels of stekkers (indien van toepassing) kunnen ertoe leiden dat de contactklem te heet wordt.
- Gebruik het juiste elektriciteitssnoer.
- Zorg dat de stroomkabel niet verstrikt raakt.
- Zorg ervoor dat er een schokbescherming is geïnstalleerd.
- Zorg ervoor dat het snoer niet wordt belast door trekken.
- Zorg ervoor dat de stroomkabel of stekker (indien van toepassing) het hete apparaat of heet kookgerei niet aanraakt als je het apparaat op een nabijgelegen contactdoos aansluit.
- Gebruik geen adapters met meerdere stekkers en verlengkabels.
- Zorg ervoor dat je de stekker (indien van toepassing) of het netsnoer niet beschadigt. Neem contact op met ons erkende servicecentrum of een elektricien om een beschadigde stroomkabel te vervangen.
- De schokbescherming van delen onder stroom en geïsoleerde delen moet op zo'n manier worden bevestigd dat het niet zonder gereedschap kan worden verplaatst.
- Steek de stekker pas in het stopcontact als de installatie is voltooid. Zorg ervoor dat het netsnoer na installatie bereikbaar is.
- Als het stopcontact los zit, mag u de stekker niet in het stopcontact steken.
- Trek niet aan het netsnoer om het apparaat los te koppelen. Trek altijd aan de stekker.
- Gebruik enkel correcte isolatievoorzieningen: stroomonderbrekers, zekeringen (schroefzekeringen moeten uit de houder worden verwijderd), aardlekschakelaars en contactgevers.
- De elektrische installatie moet een isolatieapparaat bevatten waardoor het apparaat volledig van het lichtnet afgesloten kan worden. Het isolatieapparaat moet een contactopening hebben met een minimale breedte van 3 mm.
2.3 Gebruik

WAARSCHUWING!
Gevaar voor letsel, brandwonden of elektrische schokken.
- Verwijder vóór het eerste gebruik alle verpakking, etikettering en beschermfolie (indien van toepassing).
- Dit apparaat is uitsluitend bestemd voor (binnenshuis) huishoudelijk gebruik.
- De specificatie van dit apparaat niet wijzigen.
- Zorg ervoor dat de ventilatieopeningen niet geblokkeerd worden.
- Laat het apparaat tijdens de werking niet onbeheerd achter.
- Zet de kookzone op "uit" na ieder gebruik.
- Plaats geen bestek of deksels van steelpannen op de kookzones. Ze kunnen heet worden.
- Gebruik het apparaat niet met natte handen of als het contact maakt met water.
- Gebruik het apparaat niet als werkblad of als opslagoppervlak.
-
Als het oppervlak van het apparaat gebarsten is, haal dan onmiddellijk de stekker uit het stopcontact. Dit voorkomt elektrische schokken.
-
Gebruikers met een pacemaker moeten een afstand van minimaal 30 cm bewaren van de inductiekookzones als het apparaat in werking is.
- Als u voedsel in hete olie plaatst, kan het spatten.

WAARSCHUWING!
Risico op brand en explosie
- Wanneer ze verwarmd worden, kunnen vetten en oliën ontvlambare dampen afgeven. Houd vlammen of verwarmde voorwerpen uit de buurt van vetten en oliën als u ermee kookt.
- De dampen die erg hete olie vrijkomen, kunnen spontane ontbranding veroorzaken.
- Gebruikte olie die voedselresten kan bevatten, kan brand veroorzaken bij een lagere temperatuur dan olie die voor de eerste keer wordt gebruikt.
- Plaats geen ontvlambare producten of artikelen die vochtig zijn met ontvlambare producten in, bij of op het apparaat.

WAARSCHUWING!
Risico op schade aan het apparaat.
- Laat geen heet kookgerei op het bedieningspaneel staan.
- Leg geen hete deksel op het glazen oppervlak van de kookplaat.
- Laat kookgerei niet droogkoken.
- Zorg ervoor dat je geen voorwerpen of kookgerei op het apparaat laat vallen. Het oppervlak kan beschadigd raken.
- Schakel de kookzones niet in met leeg kookgerei of zonder kookgerei.
- Plaats geen aluminiumfolie op het apparaat.
- Kookgerei gemaakt van gietijzer, aluminium of met een beschadigde bodem kan krassen op het glas/glaskeramiek veroorzaken. Til deze voorwerpen altijd op als je ze op de kookplaat moet verplaatsen.
- Dit apparaat is uitsluitend bestemd om mee te koken. Het mag niet worden gebruikt voor andere doeleinden, bijvoorbeeld het verwarmen van de ruimte.
2.4 Onderhoud en reiniging
- Reinig het apparaat regelmatig om te voorkomen dat het materiaal van het oppervlak achteruitgaat.
- Schakel het apparaat uit en laat het afkoelen voordat u het schoonmaakt.
- Gebruik geen waterstralen en stoom om het apparaat te reinigen.
- Maak het apparaat schoon met een vochtige zachte doek. Gebruik alleen neutrale schoonmaakmiddelen. Gebruik geen schuurmiddelen, schuursponsjes, oplosmiddelen of metalen voorwerpen.
2.5 Service
- Neem contact op met de erkende servicedienst voor reparatie van het apparaat. Gebruik alleen originele reserveonderdelen.
- Met betrekking tot de lamp(en) in dit product en reservelampen die afzonderlijk
worden verkocht: Deze lampen zijn bedoeld om bestand te zijn tegen extreme fysieke omstandigheden in huishoudelijke apparaten, zoals temperatuur, trillingen, vochtigheid, of zijn bedoeld om informatie te geven over de operationele status van het apparaat. Ze zijn niet bedoeld voor gebruik in andere toepassingen en zijn niet geschikt voor verlichting in huishoudelijke ruimten.
2.6 Verwijdering

WAARSCHUWING!
Gevaar voor letsel of verstikking.
- Neem contact op met uw plaatselijke overheid voor informatie over het afvoeren van het apparaat.
- Haal de stekker uit het stopcontact.
- Snijd het netsnoer vlak bij het apparaat af en gooi het weg.
3. INSTALLATIE

WAARSCHUWING!
Raadpleeg de hoofdstukken Veiligheid.
3.1 Voor montage
Voordat u de kookplaat installeert, dient u de onderstaande informatie van het typeplaatje te noteren. Het typeplaatje bevindt zich onderop de kookplaat.
Serienummer ....
3.2 Ingebouwde kookplaten
Inbouwkookplaten mogen alleen worden gebruikt nadat zij ingebouwd zijn in geschikte inbouwunits of werkbladen die aan de normen voldoen.
3.3 Aansluitsnoer
- De kookplaat wordt geleverd met een aansluitkabel.
- Gebruik als vervanging van het beschadigde netsnoer het volgende snoertype: H05V2V2-F dat bestand is tegen een temperatuur van 90 °C of
hoger. Neem contact op met een erkend servicecentrum. Het aansluitsnoer mag alleen worden vervangen door een gekwalificeerde elektricien.
3.4 Montage
Als je de kookplaat onder een kap installeert, raadpleeg je de installatie-instructies van de afzuigkap voor de minimumafstand tussen de apparaten.

Als het apparaat boven een lade wordt geïnstalleerd, kan de ventilatie van de kookplaat de artikelen die zich in de lade bevinden tijdens het bereidingsproces opwarmen.

Zoek de videotutorial "Hoe installeert u uw AEG inductiekookplaat - installatie op het aanrecht" door de volledige naam die in de onderstaande afbeelding staat in te typen.

YouTube
www.youtube.com/electrolux www.youtube.com/aeg
1 Inductiekookzone
2 Bedieningspaneel
3 Flexibele inductiekookzone die bestaat uit vier secties
4.2 Indeling Bedieningspaneel

text_image
1 2 $ 4 5 6 7 8 14 0 1 3 5 8 10 14 P :99: 0 1 3 5 8 10 14 P 14 - + 0 1 3 5 8 10 14 P 12 11 9Gebruik de tiptoetsen om het apparaat te bedienen. De displays, indicatielampjes en geluiden tonen welke functies worden gebruikt.
| Tip-toets | Functie Opmerking | ||
| 1 | ➊ | AAN / UIT De kookplaat in- en uitschakelen. | |
| 2 | ➎ | Blokkering / Kinderbeveiligingsin- richting | Het bedieningspaneel vergrendelen/ontgrendelen. |
| 3 | ➎ | PowerSlide De functie in- en uitschakelen. | |
| 4 | ➎➎ | FlexiBridge Om over te schakelen tussen drie modi van de functie. | |
| 5 | - Kookstanddisplay De kookstand weergeven. | ||
| 6 | - Timerindicatie voor de kookzones Geeft aan voor welke zone u de tijd instelt. | ||
| 7 | - Timerdisplay De tijd in minuten weergeven. | ||
| 8 | ➎➎ | Hob ^2 Hood De handmatige modus van functie in- en uitschakelen. | |
| 9 | P | PowerBoost | De functie in- en uitschakelen. |
| 10 | - Bedieningsstrip | Het instellen van de kookstand. | |
| 11 | ➎ | - | Om de kookzone te selecteren. |
| 12 | +/- | - | De tijd verlengen of verkorten. |
| 13 | - Bedieningsstrip | Het instellen van de warmteinstelling voor de flexibele in- ductiekookzone. | |
4.3 Kookstanddisplays
| Scherm | Beschrijving |
| 0 | De kookzone is uitgeschakeld. |
| 1 - 14 | De kookzone wordt gebruikt. |
| Scherm Beschrijving | |
| A | Automatisch opwarmen werkt. |
| P | PowerBoost werkt. |
| E + cijfer | Er is een storing. |
| ≡ / ∅ □ | OptiHeat Control (3-staps restwarmte-indicator): doorgaan met koken / warmhoud-stand / restwarmte. |
| L | Blokkering / Kinderbeveiligingsinrichting werkt. |
| F | Het kookgerei is niet geschikt of te klein, of er is geen kookgerei op de kookzone ge-plaatst. |
| - | Automatische uitschakeling werkt. |
| I_ / I^- | PowerSlide werkt. |
Zelang het indicatielampje aanstaat, bestaat er een risico op brandwonden door restwarmte.
De inductiekookzones creëren de voor het kookproces benodigde warmte rechtstreeks in de bodem van het kookgerei. Het glaskeramiek wordt verwarmd door de warmte van het kookgerei.
De indicatielampjes ☐ / ☑ verschijnen als een kookzone heet is. De aanduidingen
tonen het niveau van de restwarmte voor de kookzones die je momenteel gebruikt.
Het indicatielampje kan ook verschijnen:
• voor de aangrenzende kookzones, zelfs als je ze niet gebruikt,
- als er heet kookgerei op de koude kookzone wordt geplaatst,
- als de kookplaat is uitgeschakeld, maar de kookzone nog heet is.
Het indicatielampje verdwijnt als de kookzone is afgekoeld.
5. DAGELIJKS GEBRUIK

WAARSCHUWING!
Raadpleeg de hoofdstukken Veiligheid.
5.1 In- of uitschakelen
Raak Ⓤ seconde aan om de kookplaat in- of uit te schakelen.
5.2 Automatische uitschakeling
De functie schakelt de kookplaat automatisch uit als:
- alle kookzones zijn uitgeschakeld,
- u de kookstand niet instelt nadat u de kookplaat hebt ingeschakeld,
- u iets hebt gemorst of iets langer dan 10 seconden op het bedieningspaneel hebt gelegd (een pan, doek, etc.). Er klinkt een geluidssignaal en de kookplaat wordt
uitgeschakeld. Verwijder het voorwerp of reinig het bedieningspaneel.
- De kookplaat te heet wordt (bijvoorbeeld als een steelpan droog kookt). De kookzone moet afgekoeld zijn voordat u de kookplaat weer kunt gebruiken.
- u ongeschikte pannen gebruikt. Het symbool gaat branden en na 2 minuten schakelt de kookzone automatisch uit.
- u een kookzone niet uitschakelt of de kookstand verandert. Na een tijdje gaat aan en schakelt de kookplaat uit.
De verhouding tussen kookstand en de tijd waarna de kookplaat uitschakelt:
Warmte-instelling De kookplaat wordt uitgeschakeld na

6 uur
4 - 7 5 uur
8 - 9 4 uur
10 - 14 1,5 uur
5.3 De kookstand
Voor het instellen of wijzigen van de kookstand:
Raak de bedieningsstrip aan bij de juiste kookstand of beweeg uw vinger langs de bedieningsstrip totdat u de jusite kookstand heeft bereikt.

text_image
14 0 1 3 8 10 14 P5.4 Het gebruik van de kookzones
Plaats het kookgerei in het midden van de gekozen kookzone. Inductiekookzones passen zich tot op zekere hoogte automatisch aan de afmeting van het kookgerei aan.
Activeer deze functie om in een kortere tijd een gewenste kookstand te krijgen. Als het aan staat, werkt de zone in het begin op de hoogste kookstand en gaat daarna verder met koken op de gewenste kookstand.

Om de functie in werking te stellen moet de kookzone koud zijn.
Om de functie voor een kookzone in te schakelen: raak P aan ( gaat aan). Raak meteen de gewenste kookstand aan. Na 3 seconden gaat □ branden.
De functie uitschakelen: wijzig de kookstand.
5.6 PowerBoost
Deze functie maakt meer vermogen beschikbaar voor de inductiekookzones. De functie kan voor een beperkte tijdsduur voor uitsluitend de inductiekookzone worden geactiveerd. Daarna wordt de inductiekookzone automatisch teruggeschakeld naar de hoogste kookstand.

Zie het hoofdstuk 'Technische gegevens'.
Om de functie voor een kookzone in te schakelen: raak Paan. gaat aan.
De functie uitschakelen: wijzig de kookstand.
5.7 Timer
- Timer met aftelfunctie
U kunt deze functie gebruiken om de lengte van één kooksessie in te stellen.
Stel eerst de warmtestand voor de kookzone in en dan de functie.
Om de kookzone in te stellen: tik
herhaaldelijk op totdat het lampje van een kookzone verschijnt.
Om de functie te activeren: tik op van de timer om de tijd in te stellen (00 - 99 minuten). Als het lampje van de kookzone gaat knipperen, wordt de tijd afgeteld.
Om de resterende tijd te zien: tik op om de kookzone in te stellen. Het indicatielampje van de kookzone begint te knipperen. Op het
display wordt de resterende tijd weergegeven.
Om de tijd te wijzigen: tik op ⏻ om de kookzone in te stellen. Tik op + of . —
Om de functie te deactiveren: tik op ⏻ om de kookzone in te stellen en tik vervolgens op . De resterende tijd telt terug tot 00. Het indicatielampje van de kookzone verdwijnt.

Als de aftelling beeindigd is, klinkt er een geluidssignaal en knippert 00. De kookzone wordt uitgeschakeld.
Om de functie te stoppen: tik op ⚙️
- CountUp Timer
Gebruik deze functie om in de gaten te houden hoe lang de kookzone werkt.
Om de kookzone in te stellen: tik
herhaaldelijk op ① totdat het lampje van een kookzone verschijnt.
Om de functie te activeren: tik op — van de timer. UP verschijnt. Als het lampje van de kookzone gaat knipperen, wordt de tijd opgeteld. Het display schakelt tussen UP en de getelde tijd (in minuten).
Om in de gaten te houden hoelang de kookzone werkt: tik op om de kookzone in te stellen. Het indicatielampje van de kookzone begint te knipperen. De display geeft aan hoe lang de zone werkt.
Om de functie te deactiveren: tik op ⚙ en tik vervolgens op + of . Het indicatielampje van de kookzone verdwijnt.
• Kookwekker
U kunt deze functie gebruiken wanneer de kookplaat is ingeschakeld maar de kookzones niet werken. De warmtestand op het display toont
Om de functie te activeren: tik op en tik vervolgens op of van de timer om de tijd in te stellen. Als de tijd verstreken is, klinkt er een geluidssignaal en knippert 00.
Om de functie te stoppen: tik op ⚠

De functie heeft geen invloed op de werking van de kookzones.
5.8 Blokkering
U kunt het bedieningspaneel vergrendelen terwijl de kookzones in werking zijn. Hiermee wordt voorkomen dat de kookstand per ongeluk wordt veranderd.
Stel eerst de kookstand in.
De functie inschakelen: raak 📋 aan. L gaat gedurende 4 seconden aan. De timer blijft aan.
De functie uitschakelen: Raak 📁 aan. De vorige kookstand gaat aan.

Als u de kookplaat uitzet, stopt u deze functie ook.
5.9 Kinderbeveiligingsinrichting
Deze functie voorkomt dat de kookplaat onbedoeld wordt gebruikt.
Om de functie te activeren: activeer de kookplaat met Ⓕ. Stel geen warmteinstelling in. Raak ➤ seconden aan. gaat aan. Schakel de kookplaat uit met Ⓕ
Om de functie te deactiveren: activeer de kookplaat met ① Stel geen warmteinstelling in. Raak ② seconden aan. gaat aan. Schakel de kookplaat uit met ①
Om de functie voor slechts één kooksessie te onderdrukken: activeer de kookplaat met ① gaat aan. Raak 4 seconden aan. Stel de kookstand in binnen 10 seconden. U kunt de kookplaat bedienen. Als u de kookplaat uitschakelt met ② treedt de functie weer in werking.
5.10 OffSound Control (De geluiden in- en uitschakelen)
Schakel de kookplaat uit. Raak 13 seconden aan. Het display gaat aan en uit. Raak 13 seconden aan. of gaat
branden. Raak van de timer aan om één van het volgende te kiezen:
- de signalen zijn uit
- de signalen zijn aan
Om uw keuze te bevestigen moet u wachten tot de kookplaat automatisch uitschakelt.
Als de functie op b1 staat, kunt u de geluiden alleen horen als:
• u aanraakt
• Kookwekker naar beneden komt
- Timer met aftelfunctie naar beneden komt
- u iets op het bedieningspaneel plaatst.
Als er meerdere zones actief zijn en het verbruikte vermogen de limiet van de stroomtoevoer overschrijdt, verdeelt deze functie het beschikbare vermogen tussen alle kookzones. De kookplaat regelt de warmte-instellingen om de zekeringen van de installatie in het huis te beschermen.
- Kookzones zijn gegroepeerd volgens de locatie en het aantal fasen van de kookplaat. Elke fase heeft een maximale elektriciteitslading van 3700 W. Als de kookplaat de limiet van het maximaal beschikbare vermogen bereikt binnen een fase, wordt het vermogen van de kookzones automatisch verlaagd.
- De warmte-instelling van de gekozen kookzone heeft altijd prioriteit. Het resterende vermogen zal tussen de eerder geactiveerde kookzones worden verdeeld, in omgekeerde volgorde van selectie.
- De weergave van de warmte-instelling van de verlaagde zones wisselt tussen de aanvankelijk gekozen warmte-instelling en de verlaagde warmte-instelling.
- Wacht totdat het display stopt met knipperen of verlaag de kookstand van de laatst geselecteerde kookzone. De kookzones blijven werken met de verlaagde warmte-instelling. Wijzig indien nodig handmatig de warmte-instellingen van de kookzones.
Zie de afbeelding voor mogelijke combinaties waarin vermogen over de kookzones kan worden verdeeld.

Het is een geavanceerde automatische functie die de kookplaat op een speciale afzuigkap aansluit. Zowel de kookplaat als de afzuigkap heeft een infraroodontvanger. De snelheid van de ventilator wordt automatisch bepaald op basis van de modusinstelling en de temperatuur van de heetste pan op de kookplaat. U kunt de ventilator van de kookplaat handmatig bedienen.
Voor de meeste afzuigkappen wordt het afstandsbedieningssysteem uitgeschakeld. Inschakelen voordat u de functie gebruikt. Zie voor meer informatie de gebruikershandleiding van de afzuigkap.
De functie automatisch bedienen
Stel de automatische modus in op H1 – H6 om de functie automatisch te bedienen. De kookplaat wordt oorspronkelijk ingesteld op H5.De afzuigkap reageert als u de kookplaat in gebruik neemt. De kookplaat herkent de temperatuur van de pannen automatisch en stelt de snelheid van de ventilator erop af.
Automatische modi
| Modus H1 Aan Uit Uit | ||
| Modus H2 3) | Aan Ventilator-snelheid 1 | Ventilator-snelheid 1 |
| Modus H3 Aan Uit Ventilator- | snelheid 1 | |
| Modus H4 Aan Ventilator- | snelheid 1 | Ventilator-snelheid 1 |
| Modus H5 Aan Ventilator- | snelheid 1 | Ventilator-snelheid 2 |
| Modus H6 Aan Ventilator- | snelheid 2 | Ventilator-snelheid 3 |
1) De kookplaat detecteert het kookproces en activeert de ventilatorsnelheid overeenkomstig de automatische modus.
2) De kookplaat detecteert het bakproces en activeert de ventilatorsnelheid overeenkomstig de automatische modus.
3) Deze modus activeert de ventilator en de verlichting en reageert niet op de temperatuur.
De automatische modus veranderen
- Schakel het apparaat uit.
- Raak 3 seconden aan. Het display gaat aan en uit.
- Raak 3 seconden aan.
- Raak een paar keer aan tot aan gaat.
- Raak van de timer aan om een automatische modus te selecteren.

Schakel de automatische modus van de functie uit om de kookplaat direct te bedienen op het kookplaatpaneel.
Als u stopt met koken en de kookplaat uitschakelt, kan de ventilator nog even blijven werken. Daarna schakelt het systeem de ventilator automatisch uit en wordt voorkomen dat u de ventilator per ongeluk de komende 30 seconden activeert.
De ventilatorsnelheid handmatig bedienen U kunt de functie ook handmatig bedienen.
Raak daartoe aan als de kookplaat actief is. Dit schakelt de automatische bediening van de functie uit zodat u de ventilatorsnelheid handmatig kunt veranderen. Als u op drukt, wordt de ventilatorsnelheid met één verhoogd. Als u een intensief niveau bereikt en weer op drukt, stelt u de ventilatorsnelheid in op 0 waardoor de afzuigkapventilator uitschakelt. Om de ventilator weer te starten met ventilatorsnelheid 1, raakt u aan.

Schakel de kookplaat uit en weer aan om de automatische bediening van de functie te activeren.
De verlichting activeren
U kunt de kookplaat instellen om de verlichting automatisch te activeren als u de kookplaat aan zet. Zet daarvoor de automatische modus op H1 – H6.

De verlichting van de afzuigkap gaat uit 2 minuten nadat u de kookplaat heeft uitgeschakeld.
6. FLEXIBELE INDUCTIEKOOKZONE

WAARSCHUWING!
Raadpleeg de hoofdstukken Veiligheid.
6.1 FlexiBridge -functie
De flexibele inductiekookzone bestaat uit vier gedeelten. De gedeelten kunnen worden gecombineerd in twee kookzones met
verschillende maten, of in één grote kookzone. U kiest de combinatie van de zones door de modus te kiezen die van toepassing is op het formaat van het kookgerei dat u wilt gebruiken. Er bestaan drie modi: Standaard (automatisch geactiveerd als u de kookplaat aanzet), Big Bridge (grote overbrugging) en Max Bridge (maximale overbrugging).

Gebruik de twee regelbalken aan de linkerkant om de kookstand in te stellen.
Schakelen tussen de modi
Gebruik de tiptoets om tussen de modi te schakelen:

flowchart
graph TD
A["Start"] --> B["Process Step"]
B --> C["Grid Block 1"]
B --> D["Grid Block 2"]
B --> E["Grid Block 3"]
C --> F["End"]
D --> F
E --> F

Als u tussen de modi schakelt dan wordt de warmte-instelling teruggezet op 0.
Diameter en positie van het kookgerei
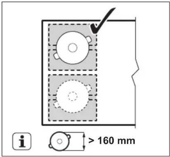
Kies de modus die aansluit op de afmeting en de vorm van het kookgerei. Het kookgerei moet de geselecteerde zone zoveel mogelijk bedekken. Plaats het kookgerei in het midden van de geselecteerde zone!
Plaats kookgerei met een bodemdiameter die kleiner is dan 160 mm op het midden van een enkel gedeelte.

Plaats het kookgerei met een bodemdiameter die groter is dan 160 mm in het midden van twee gedeelten.

text_image
i > 160 mm6.2 FlexiBridge Standaardmodus
Deze modus wordt geactiveerd als u de kookplaat aanzet. Het brengt de gedeelten samen in twee afzonderlijke kookzones. U kunt de warmte-instelling voor iedere zone apart instellen. Gebruik de twee regelbalken aan de linkerkant.

Juiste positie voor kookgerei:

Om de modus te activeren, drukt u op totdat u het lampje van de juiste modus ziet. Deze modus brengt drie achterste gedeelten samen in één kookzone. Het voorste gedeelte is niet verbonden en blijft werken als afzonderlijke kookzone. U kunt de warmte-instelling voor elke zone afzonderlijk instellen. Gebruik twee regelbalken aan de linker zijkant.

Juiste positie voor kookgerei:
Om deze modus te gebruiken moet u het kookgerei op de drie samengebrachte gedeelten plaatsen. Als u kookgerei gebruikt dat kleiner is dan twee gedeelten, geeft het display weer en schakelt de zone na 2 minuten uit.

Om de modus te activeren, drukt u op totdat u het lampje van de juiste modus ziet. Deze modus brengt alle gedeelten samen in één kookzone. Gebruik een van de twee regelbalken links om de warmte-instelling te bedienen.

Juiste positie voor kookgerei:
Om deze modus te gebruiken moet u het kookgerei op de vier samengebrachte gedeelten plaatsen. Als u kookgerei gebruikt dat kleiner is dan drie gedeelten, geeft het display weer en schakelt de zone na 2 minuten uit.

Deze functie maakt het u mogelijk de temperatuur aan te passen door het kookgerei naar een andere positie op de inductiekookzone te bewegen.
De functie verdeelt de inductiekookzone in drie zones met verschillende warmte-instellingen. De kookplaat neemt de positie van het kookgerei weer en past de warmte-instelling aan op de positie. U kunt het kookgerei in de voorste, de middelste of de achterste positie zetten. Als u het kookgerei in de voorste positie plaatst, krijgt u de hoogste kookstand. Om het te verminderen, verplaatst u het kookgerei naar de middelste of achterste positie.

Gebruik maar één pot als u met deze functie werkt.

Algemene informatie:
- de minimale bodemdiameter van het kookgerei moet voor deze functie 160 mm zijn.
- Het display van de warmte-instelling voor de bedieningsstrip linksachter geeft de positie van het kookgerei op de inductiekookzone weer. Voor 1_, midden 1_, achter 1\~

text_image
14 0 1 3 5 8 10 14 P 14 0 1 3 5 8 10 14 P- Display van de warmte-instelling voor de bedieningsstrip linksachter geeft de warme-instelling weer. Gebruik de bedieningsstrip linksvoor om de warmte-instelling te wijzigen.
- Als u de functie voor het eerst activeert, krijgt u een warmte-instelling voor de voorste positie, voor de middelste positie en voor de achterste positie.

U kunt de warmte-instelling voor elke positie afzonderlijk wijzigen. De kookplaat
zal uw warmte-instellingen onthouden voor de volgende keer dat u de functie activeert.
De functie inschakelen
Plaats om de functie te activeren het kookgerei in de juiste positie op de kookzone. Tik op Het lampje boven het symbool gaat aan. Als u geen kookgerei op de kookzone plaatst, gaat aan en na 2
minuten wordt de flexibele inductiekookzone ingesteld op
De functie uitschakelen
Druk op ⚙ om de functie uit te schakelen of zet de warmte-instelling op ☐ Het lampje boven het symbool 🌈 gaat uit.
7. AANWIJZINGEN EN TIPS

WAARSCHUWING!
Raadpleeg de hoofdstukken Veiligheid.
7.1 Pannen

Voor inductiekookzones creëert een sterk elektromagnetisch veld de hitte in de pannen zeer snel.
Gebruik de inductiekookzones met geschikte pannen.
- De bodem van de pannen moet zo dik en vlak mogelijk zijn.
- Zorg ervoor dat bodems schoon en droog zijn voordat de pannen op de kookplaat worden gezet.
- Schuif of wrijf de pan niet over het keramische glas, om krassen te voorkomen.
Panmaterialen
- goed: gietijzer, staal, geëmailleerd staal, roestvrij staal, meerlaagse bodem (aangemerkt als geschikt door de fabrikant).
- niet goed: aluminium, koper, messing, glas, keramiek, porselein.
Een pan is geschikt voor een inductiekookplaat als:
- water op de hoogste kookstand binnen korte tijd wordt verwarmd,
- een magneet op de onderkant van het kookgerei plakt.
Afmetingen van pannen
- Inductiekookzones passen zich tot op zekere hoogte automatisch aan de afmetingen van pannen aan.
- De efficiëntie van de kookzone hangt samen met de diameter van de pan. Pannen met een diameter kleiner dan het minimum ontvangen slechts een deel van het vermogen dat door de kookzone wordt gegenereerd.
- Gebruik zowel om veiligheidsredenen als voor optimale kookresultaten geen pannen groter dan aangegeven in de kookzonespecificaties. Zorg ervoor dat pannen tijdens het koken niet dicht bij het bedieningspaneel blijven. Dit kan invloed hebben op de werking van het bedieningspaneel of onbedoeld de kookplaatfuncties activeren.

Raadpleeg de technische gegevens.
7.2 Lawaai tijdens gebruik
Als u dit hoort:
- kraakgeluid: de pan is gemaakt van verschillende materialen (een sandwich-constructie).
- fluitend geluid: bij gebruik van een kookzone met een hoge kookstand en als het kookgerei is gemaakt van verschillende materialen (een sandwich-constructie).
- zoemend geluid: als u hoge kookstanden gebruikt.
- klikken: er treedt elektrische schakeling op.
- sissend, brommend: de ventilator werkt.
Deze geluiden zijn normaal en hebben niets met een defect te maken.
Om energie te besparen schakelt het verwarmingselement van de kookzone eerder uit dan het signaal van de timer met aftelfunctie klinkt. Het verschil in werkingstijd hangt af van het niveau van de kookstand en de tijd dat u kookt.
7.4 Voorbeelden van kooktoepassingen
De correlatie tussen de kookstand en het stroomverbruik van de kookzone is niet
lineair. Wanneer u de kookstand verhoogt, is dit niet proportioneel met de toename in stroomverbruik van de kookzone. Het betekent dat een kookzone op de medium kookstand minder dan de helft van het vermogen gebruikt.

De gegevens in de tabel dienen alleen als richtlijn.
| Warmte-instel-ling | Gebruik om het volgende te doen: | Tijd (min) | Aanwijzingen |
| u-1 | Houd gekookt voedsel warm. indien no-dig | Doe een deksel op het kookgerei. | |
| 1 - 3 Hollandaisesaus, smelten: boter, cho-colade, gelatine. | 5 - 25 Van tijd tot tijd mengen. | ||
| 1 - 3 Harden: pluizige omeletten, gebakken eieren. | 10 - 40 Kook met een deksel erop. | ||
| 3 - 5 Zachtjes aan de kook brengen van rijst en gerechten op melkbasis, reeds be-reide gerechten opwarmen. | 25 - 50 Voeg minimaal twee keer zo veel vocht toe als rijst en roer gerechten op melkbasis halverwege de procedure door. | ||
| 5 - 7 Stoom groenten, vis, vlees. 20 - 45 Voeg een paar eetlepels vocht toe. | |||
| 7 - 9 Stoom aardappelen. 20 - 60 Gebruik max. 1⁄4 l water voor 750 g aardappelen. | |||
| 7 - 9 Bereid grotere hoeveelheden voedsel, stoofschotels en soepen. | 60 - 150 Tot 3 liter vloeistof plus ingrediënten. | ||
| 9 - 12 Zachtjes bakken: escalope, kalfsvlees cordon bleu, cutlets, rissoles, worstjes, lever, roux, eieren, pannenkoeken, do-nuts. | indien no-dig Halverwege de bereidingstijd omdraai-en. | ||
| 12 - 13 Zware friet, hash browns, lenden-steaks, steaks. | 5 - 15 Halverwege de bereidingstijd omdraai-en. | ||
| 14 Kook water, kook pasta, braadvlees (goulash, stoofvlees), frietjes bakken. | |||
| P | Grote hoeveelheden water koken. PowerBoost is ingeschakeld. | ||
7.5 Praktische tips voor Hob²Hood
Wanneer je de kookplaat gebruikt met de functie:
- Bescherm het paneel van de afzuigkap tegen direct zonlicht.
- Plaats geen halogeenlicht op het paneel van de afzuigkap.
- Dek het bedieningspaneel van de afzuigkap niet af.
- Onderbreek het signaal tussen de kookplaat en de afzuigkap niet (bijvoorbeeld met een hand, een
handgreep van een pan of een grote pan).
Zie de afbeelding.
De afzuigkap in de afbeelding is slechts een voorbeeld.

Andere op afstand bediende apparaten kunnen het signaal hinderen. Gebruik dergelijke apparaten niet in de buurt van de kookplaat terwijl Hob²Hood ingeschakeld is.
Afzuigkappen met de Hob²Hood-functie
Voor het volledige assortiment afzuigkappen dat met deze functie werkt, raadpleeg je onze website van de consument. De AEG-afzuigkappen die met deze functie werken moeten het symbool hebben
8. ONDERHOUD EN REINIGING

WAARSCHUWING!
Raadpleeg de hoofdstukken Veiligheid.
8.1 Algemene informatie
- Reinig de kookplaat na elk gebruik.
- Gebruik altijd kookgerei met een schone bodem.
- Krassen of donkere vlekken op het oppervlak hebben geen invloed op de werking van de kookplaat.
- Gebruik een specifiek schoonmaakmiddel voor het oppervlak van de kookplaat.
- Gebruik een speciale schraper voor het glas.

De afdruk op de flexibele inductiekookzone kan vies worden of van kleur veranderen door het schuiven van kookgerei. Je kunt het gebied op een standaardmanier reinigen.
8.2 De kookplaat schoonmaken
- Verwijder direct: gesmolten kunststof, plastic folie, suiker en suikerhoudend voedsel, anders kan dit schade aan de kookplaat veroorzaken. Doe voorzichtig om brandwonden te voorkomen. Gebruik de speciale schraper op de glazen plaat en verwijder resten door het blad over het oppervlak te schuiven.
- Verwijder nadat de kookplaat voldoende is afgekoeld: kalk- en waterkringen, vetspatten en metaalachtig glanzende verkleuringen. Reinig de kookplaat met een vochtige doek en een beetje niet-schurend reinigingsmiddel. Droog de kookplaat na reiniging af met een zachte doek.
- Verkleuring glanzende metalen verwijderen: reinig het glazen oppervlak met een doek en een oplossing van water met azijn.
Raadpleeg de hoofdstukken
Veiligheid.
9.1 Wat moet je doen als ...
| Probleem Mogelijke oorzaak Oplossing | ||
| Je kunt de kookplaat niet inschakelen of bedienen. | De kookplaat is niet aangesloten op een stopcontact of niet goed geïnstalleerd. | Controleer of de kookplaat goed aan-gesloten is op het lichtnet. |
| De zekering is doorgeslagen. Verzeker je ervan dat de zekering de kookstand in. | oorzaak van de storing is. Als de zeker-ingen keer op keer doorslaan, neem je contact op met een erkende installa-teur. | |
| Stel gedurende 10 seconden geen kookstand in. | Schakel de kookplaat opnieuw in en stel de kookstand binnen 10 seconden in. | |
| Je hebt 2 of meer sensorvelden te-gelijkertijd aangeraakt. | Raak slechts één sensorveld aan. | |
| Water of vetvlekken op het bedie-ningspaneel. | Reinig het bedieningspaneel. | |
| Er klinkt een geluidssignaal en de kookplaat wordt uitgeschakeld. Als de kookplaat wordt uitge-schakeld, klinkt er een geluids-signaal. | Je hebt iets op een of meer sensor-velden geplaatst. | Verwijder het voorwerp van de sensor-velden. |
| De kookplaat wordt uitgescha-keld. | Je hebt iets op het sensorveld ge-plaatst ➊ | Verwijder het voorwerp van het sen-sorveld. |
| De restwarmte-indicator gaat niet aan. | De zone is niet heet omdat deze slechts kortstondig is gebruikt, of de sensor is beschadigd. | Als de zone voldoende lang gebruikt is om heet te zijn, neem je contact op met een erkende servicedienst. |
| Hob2Hood werkt niet. Je hebt het bedieningspaneel afge-dekt. | Verwijder het voorwerp van het bedie-ningspaneel. | |
| Je maakt gebruik van een hele hoge pan die het signaal blokkeert. | Gebruik een kleinere pan, verander van kookzone of bedien de afzuigkap handmatig. | |
| Automatisch opwarmen werkt niet. | De zone is heet. Laat de zone voldoende afkoelen. | |
| De hoogste kookstand is ingesteld. De hoogste kookstand heeft hetzelfde vermogen als de functie. | ||
| De kookstand schakelt tussen twee niveaus. | Stroommanagement is in werking. Raadpleeg ‘Dagelijks gebruik’. | |
Probleem Mogelijke oorzaak Oplossing
| De sensorvelden worden heet. De pan is te groot of je plaatst deze te dicht bij de bedieningsknoppen. | Plaats grotere pannen indien mogelijk op de achterste kookzones. | |
| Er klinkt geen geluidsignaal wan- neer je de tiptoetsen van het be- dieningspaneel aanraakt. | De signalen zijn uit. Schakel de geluiden in. Raadpleeg ‘Dagelijks gebruik’. | |
| De flexibele inductiekookzone verwarmt de pan niet. | De pan staat op een verkeerde plek op de flexibele inductiekookzone. | Plaats de pan op de juiste plek op de flexibele inductiekookzone. De plaats van de pan is afhankelijk van de inges- schakelde functie of modus. Zie ‘Flexi- bele inductiekookruimte’. |
| De diameter van de panbodem is verkeerd voor de ingeschakelde functie of functiemodus. | Gebruik alleen pannen met een diame- ter die geschikt is voor de ingeschakel- de functie of functiemodus. Zie ‘Flexi- bele inductiekookruimte’. | |
| Lgaat aan. | Kinderbeveiligingsinrichting of Blok- kering werkt. | Raadpleeg ‘Dagelijks gebruik’. |
| Fgaat aan. | Er staat geen pan op de zone. Plaats een pan op de zone. | |
| De pan is niet geschikt. Gebruik geschikte pannen. Zie 'Aan- wijzingen en tips’. | ||
| De diameter van de bodem van de pan is te klein voor de zone. | Gebruik pannen met de juiste afmetin- gen. Raadpleeg de technische gege- vens. | |
| FlexiBridge (Flexible Bridge) werkt. Eén of meerdere delen van de wer- kende functiemodus niet afgedekt door de pan. | Plaats de pan op het juiste aantal ge- deelten van de functiemodus die in werking is of wijzig de functiemodus. Zie ‘Flexibele inductiekookruimte’. | |
| PowerSlide werkt. Er zijn twee pan- nen op de flexibele inductiekookzo- ne geplaatst. | Gebruik slechts één pan. Zie ‘Flexibele inductiekookruimte’. | |
| Een een getal gaan branden. | Er is een fout opgetreden in de kookplaat. | Schakel de kookplaat uit en schakel deze na 30 seconden weer in. Wan- neer weer verschijnt, trek je de stekker van de kookplaat uit het stop- contact. Steek de stekker van de kook- plaat er na 30 seconden weer in. Als het probleem zich blijft voordoen, neem je contact op met een erkende servicedienst. |
| Je kunt een constant piepgeluid horen. | De elektrische aansluiting is ver- keerd. | Trek de stekker van de kookplaat uit het stopcontact. Laat de installatie controleren door een erkende elektri- cien. |
9.2 Als je geen oplossing kunt vinden...
Als je niet zelf het probleem kunt verhelpen, neem dan contact op met je verkoper of een
erkende serviceafdeling. Geef de gegevens op het typeplaatje. Geef ook de driecijferige code voor het glaskeramiek (bevindt zich in de hoek van het glazen oppervlak) en een foutmelding die gaat branden. Zorg ervoor
dat je de kookplaat correct gebruikt. Als dit niet het geval is, is het onderhoud van een servicemonteur of dealer niet gratis, ook tijdens de garantieperiode. De informatie
over garantieperiode en geautoriseerde servicecentra vind je in het garantieboekje.
Inductie 7.35 kW Gemaakt in Duitsland
Serienr. 7.35 kW
AEG

10.2 Specificatie kookzones
| Kookzone Nominaal vermogen (maxwarmte-instelling) [W] | PowerBoost [W] | PowerBoost maximale duur [min] | Diameter van het kookgerei [mm] |
| Rechtsvoor 1400 2500 4 125 - 145 | |||
| Rechtsachter 1800 2800 10 145 - 180 | |||
| Flexibele inductie-kookzone | 2300 3200 10 minimum 100 | ||
| Het vermogen van de kookzones kan enigszins afwijken van de gegevens in de tabel. Het verandert met het materiaal en de afmetingen van het kookgerei. | Gebruik voor optimale kookresultaten alleen kookgerei met een diameter niet groter dan vermeld in de tabel. | ||
11. ENERGIEZUINIGHEID
11.1 Productinformatie
* Voor Europese Unie volgens EU 66/2014. Voor Belarus volgens STB 2477-2017, Annex A. Voor Oekraïne volgens 742/2019.
EN 60350-2 - Huishoudelijke elektrische kookapparaten - deel 2: Kookplaten - Methoden voor het meten van prestaties
Modelnummer IKE64471FB
| Type kookplaat Inbouwkookplaat | ||
| Aantal kookzones 2 | ||
| Aantal kookgebieden 1 | ||
| Verwarmingstechnologie | Inductie | |
| Diameter van ronde kookzones (∅) | Rechtsvoor | 14,5 cm |
| Rechtsachter | 18,0 cm | |
| Lengte (L) en breedte (W) van het kookgebied Links L 45,9 cm | W 21,4 cm | |
| Energieverbruik per kookzone (EC electric cooking) Rechtsvoor | 180,4 Wh / kg | |
| Rechtsachter | 175,3 Wh / kg | |
| Energieverbruik van het kookgebied (EC electric cooking) | Links 182,6 Wh / kg | |
| Energieverbruik van de kookplaat (EC electric hob) 180,7 Wh / kg | ||
11.2 Energiebesparing
U kunt elke dag energie besparen tijdens het koken door de onderstaande tips te volgen.
- Warm alleen de hoeveelheid water op die u nodig heeft.
- Doe indien mogelijk altijd een deksel op de pan.
-
Zet uw kookgerei op de kookzone voordat u deze activeert.
-
Zet kleiner kookgerei op kleinere kookzones.
- Plaats het kookgerei precies in het midden van de kookzone.
- Gebruik de restwarmte om het eten warm te houden of te smelten.
12. MILIEUBESCHERMING
Recycleer de materialen met het symbool 📊. Gooi de verpakking in een geschikte afvalcontainer om het te recycleren. Bescherm het milieu en de volksgezondheid en recycleer op een correcte manier het afval van elektrische en elektronische apparaten.
Gooi apparaten gemarkeerd met het symbool niet weg met het huishoudelijk afval. Breng het product naar het milieustation bij u in de buurt of neem contact op met de gemeente.
SimpelGids