SB351 - Koelkast Scancool - Gratis gebruiksaanwijzing en handleiding
Vind de handleiding van het apparaat gratis SB351 Scancool in PDF-formaat.
Download de handleiding voor uw Koelkast in PDF-formaat gratis! Vind uw handleiding SB351 - Scancool en neem uw elektronisch apparaat weer in handen. Op deze pagina staan alle documenten die nodig zijn voor het gebruik van uw apparaat. SB351 van het merk Scancool.
GEBRUIKSAANWIJZING SB351 Scancool
Gebruiksaanwijzing Mode d'emploi
Modellen:
SB106
SB175
SB201
SB300
SB351
SB451
SB551
SB650
NL/F
Inhoudsopgave
Beschrijving apparatus 4
Elektrische aansluiting 5
Installatie en adviezen 5
Beschrijving bedieningspaneel 7-8
De eerste keer 9
Invriezen 9-10
Ontdooien 10-11
Adviezen 12
Storingen en mogelijkke oorzaken 13-14
Geachte gebruiker,
Onze gelukwens met uw keuze van deze diepvrieskist. BedenkECHter, dat een apparaat u alleen goede diensten kan leveren mits goed geinstalleerd en bediend. Wij raden u aan,voor het in gebruik nemen van het apparaat, zorgvuldig alle aanwijzingen, adviezen en voorschriften in dit boekje te lezen en op te volgen.
Belangrijk
Nadat de diepvrieskist is uitgepaknt en geinstalleerd, dient\ deze nog 24 uur stil te staan met het deksel open, om de\ koelvloeisteof tot rust te lately komen. De stekkerijdens deze\ periode Niet in het stopcontact steken!
De leverancier aanvaardt geen aansprakelijkheid voor schade aan personen of zaken bij het Niet in acht nemen van de voorschriften.
Attentle
Als deze diepvrieskist een oud model met veerslot verwangent, is het raadzaam dit slot te verwijderen of onklaar te makeen. Zo voorkomt u, dat kinderenijdens het spelen in het oude apparaat hun kruipen enaar bij möglichk hun leven op het spel zetten. Zet uw oude apparaat Niet zomaar op de stoep of bij het grofluil, maar LAST het ophalen voor milieubewust hergebruik. Laat u informeren over de te volgen procedure bij deplaatselijke milieudienst.
Alle kunststof onderdelen zijn voorzien van internationaal gehenteerde codes. Door deze codering en gesorteerd schoon afval is een goede recycling möglichk.
Technische gegevens
| SB106 | SB175 | SB201 | SB300 | SB351 | SB451 | SB551 | SB650 | |
| hoogte cm | 84 | 84 | 84 | 84 | 84 | 84 | ||
| breedte cm | 54,5 | 89,5 | 89,5 | 127 | 103 | 127 | 153 | 180 |
| diepe cm | 59 | 59 | 59 | 75 | 75 | 75 | 75 | 75 |
| Netto inhoud Itr | 98 | 153 | 197 | 305 | 283 | 368 | 458 | 554 |
| Invriescap. Kg/24h | 5 | 10 | 10 | 16 | 13 | 20 | 24 | |
| Aantal sterren | 4 | 4 | 4 | 4 | 4 | 4 | 4 | 4 |
| Energie p/jaar kW | 168 | 138 | 219 | 197 | 262 | 306 | 463 | 532 |
| Energie kWh/24h | 0,46 | 0,39 | 0,6 | 0,54 | 0,72 | 0,84 | 1,27 | 1,46 |
| Spanning 230V/50Hz ja | ja | ja | ja | ja | ja | ja | ja | |
Tenminste zekeren met 10 Amp.
- Dit aparaat voldoet aan de EMC en LVD richtlijn 82/499/EEC en CE-standardaard.
Let op: dit apparaatClient door middel van een randaarde contactstop op een randaarde wandcontactdoos te worden aangesloten. - Toepassing en plaatsing in ruimetles met een omgeveingsttemperatuur van +16^ tot +32^ .
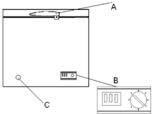
Beschrijving van het apparatus
A. Dekselhandgreep
B. Controlepaneel
C. Dooiwater afvoer

fig.1
Elektrische aansluiting
- Voor aansluiting van het apparaat dient gecontroleerd te worden of de spanning overeenkomt met de netspanning aangegeven op het typeplaatie van de diepvrieskist.
- De aansluiting dient te geschieden volgens de geldende voorschriften van hetplaatselijke elektrificiteitsbedrijf.
- Reparatie en plaatsing van elektrische apparaten mag alleén worden uitgevoerd door erkende vakmensen.
- Als dit nicht het geval is, loopt de gebruiker grote risico's.
- Naplaatsing van het apparaat nog 24aar wachten alvorens het apparaat in werkig te stellen of de stekker in het stopcontact te steken, met het deksel open.
- Het apparaat dient met een randaarde stekker op een randaarde wandcontactdoos aangesloten te worden.
- Bij schoonmaakwerkzaamheden aan het apparaat algijd eerst de stekker uit het stopcontact halen.
- Het gebruik van verlengsnoeren raden wij sterk af.
Installatie en adviezen
- Stel de vrieskist stabel en waterpas op.
- Het apparatus kan pas optimaal functioneren bij een omgevingstempoatuur+tussen +16^ en +32^ .
- Afhankelijk van het model kanijdens het vriesproces de wanden van de vriezer warm worden (warmewand constructie).
- Zorg er voor dat rondon het apparaat 10 cm ruimte overblijft voor een goede luchtcirculatie en warmteafvoer.
-
Plaats de vriezer zo, dat hij Niet worden blootgesteld aan direct zonlicht en andere warmtebronnen zoals ovens, fornuizen, radiatoren enz.
-
Plaats het apparaat ook Niet in een te koele ruimte, dit medeuit energiebesparings overwegingen.
- De buitenkant kan gereinigd worden met een milde, nicht agressieve lauwarme zeepoplossing.
- De binnenkant kurz u reinigen met lauwarm water waaraan wat azijn is toegevoegd. Doe dit om de typische "nieuwe" geur weg te nemen.
- Ontdoe vanijd totijd de condensor (het zwarte vlechtwerk aan dechterzijde) van stof met behulp van een borstel of stofzuiger. Een verruilde condensor doet het energieverbruik toenemen.
- Indien de vrieskist in een onverwarmde garage, ruimte of bijgebouw is geplaatst, kan bij koud waar condensvorming op de buitenkant van de kast optreden. Dit is Niet te wijten aan een slechte werking van de vriezer en za gewoonlijk vanzelf verdwijnen met warmer weer.
- U kunt soms een gorgelend geluid horen in de vrieskist. Dit wordenveroorzaakt door het circuleren van de koelvloeistof door de buizen van het koelsysteme.
Bedieningspaneel
A. Groen controleampje "Power"
B. Geel controleampje "invriezen"(wipschakelaar)
C. Rood controlelampje "Alarm"
D. Thermostat

fig. 2
A. Groen controelample "Power"
C. Rood controlampje "Alarm"
Het groene controleampje (fig. 2:A) gaat branden als de stekker van het apparaat in het stopcontact wordt gestopt. Dit lampje gaat alleenuit bij een onderbreking van de spanning (bijv. een stroomstoring).
B. Geel controelampje "invriezen"(wanneer van toepassing) Het gele controelampje (fig. 2:B) gaat branden als de invriesschakelaar (fig. 2:B) is omgezet (wipschakelaar) om producten in te vriezen.
Dit gaat branden indien de temperatuur in de kist te hoog is voor het bewaren van levensmiddelen. Dit lampje gaat ook branden bij het in gebruik nemen en als de deksel per ongeluk is blijven openstaan. Dit lampje gaat uit als de ingestelde bewaartemperatureur is bereikt. (fig 2:C)
Pagina 7
D. Thermostat
Dethermostat (fig.2:D) zorgt voor de juiste temperatuur in het apparaat. De knop van de thermostat (7-standen).
stand 0 = de stroomaar de compressor is onderbroken,
haar het groene controleampje brandt wel.
stand 1 = de laagste stand ("warmste" temperatuur)
stand 7 = de hoogste stand ("koudste" temperatuur)
Let op: De instelling van de thermostat is onder andere afhankelijk van:
- de omgevingstemperatuur
- de ruimte waarin het apparaat worden geplaatst
- hoe vaak het deksel worden geopend
- de hoeveelheid bewaarde producten
Bij een omgevingstemporatuur:tussen +20^ C. en +25^ C. kunt u de thermostaat het beste op stand 4-5 zetten om de juiste temperatuur te verkrijgen voor het bewaren van reeds bevroen voedsel.
Attentie: Onder bepaalde omstandigheden kan het nodig zich een hogere- of lagere thermostaattinstelling te kiezen.
Let op:
Bij een omgevingstemperatuur lager dan +12^ ,zal het apparaat gaan ontdoolen!
De eerste keer.....
- Zet, als u het apparatusaat voor de eerste keer in gebruik
- neemt, dethermostat op positie 7 (fig.2:D).
- Laat het apparaat de eerste keer 4 uur ongevuld op
- temperatuur komen voor u reeds bevroren producten in
- de vriezer plaatst en zet dethermostat (fig. 2:D)
- daarna tussen stand 4 - 5.(het rode lampje fig. 2:C dooft).
-Verdeel nog in te vriezen voedsel (zeker de eerste keer) - zodanig, dat het zoveel möglich in direct contact komt
- met de wanden van de vriezer.
- Bij het voor de eerste keer vullen en invriezen van vers
- voedsel de invriesschakelaar 12uur van te voren aanzetten,
- wipschakelaar (fig.2:B) het gele lampje gaat branden.
- Bij het invriezen van vers voedsel na 24uur de invries
- Schakelaar uitzetten.
- Wanneer de diepvrieskist Niet uitergerust is met een
-invriesschakelaar dan bij het voor de eerste keer vullen
-van de kist (of iedere keer dat u grotere hoeveelheden - (vers) voedsel wilt invriezen)dethermostatat (fig. 2:D)
- minstens 12 uur van te voren op positie 7 instellen en
- daarna op de stand 4-5 zetten (bij verse levensmiddelen
- pas na 24 uur) als het voedsel ingevroren is.
Invriezen van vers voedsel
De 4 sterren **** betekenen, dat in dit apparaat vers voedsel kan worden ingevroen en reeds diepgevroen producten enige maanden bewaard+kennen worden. Raadpleeg ook de aanwijzingen van de fabrikant op de verpakking van de producten i.v.m. de max. bewaarduur.
- Verse levensmiddlesen algid gedurende eenperiode van 24eur invriezen
- Na het invriezen de invriesschakelaar uitzetten, het gele
- controlelampje staatuit. Dit is belangrijk om onnodig
energieeverbruik te voorkomen. (fig.2:B) - Waanneer de diepvrieskist zich uitgerust is met een
- invriesschekelaar dan na het invriezen dethermostat terug zietenussen stand 4 - 5 om onnodig energieverbruik te voorkomen.
- Voorkom zo möglichk direct contactussen nieuw, nog in te vriezen voedsel en al erder ingevroren producten.
- Als u reeds bevroren producten in de vriezerplaatst is het Nietoodzakelijkde invriesschakelaar aan te zetten.
Let op: bij het invriezen de max. invriescapaciteit per 24 pauit zichrijden!
Ontdoolen
De rijp- of ijsvorming in vrieskist verwijden als deze een dikte van ongeveer 5 mm heeft bereikt, anders neemt het koelvermogen af en het energieverbruik toe.
Gebruik geen scherpe- of metalen voorwerpen om de rijp te verwijderen, maak gebruik van de kunststof schraper.
Bedek de producten met bijv. een schone doek en houd een bakje gegen de binnenkant van de kist om de weggeschraapte rijp in op te vangen.
Als de rijpvorming Nieteerweg geschraapt kan worden of als ijs het opbergen van producten bemoeilijkt, moet u de vrieskist volledig ontdooien. Kies waaroor een tijdstip dat de kist bijna leeg is en ga als volgt te werk:
- Zet de invriesschakelaar aan (fig.2:B) 12aar voor het ontdoijen.
-
Zet de invriesschakelaar na die 12 uur waar UIT.
-
Haal de stekker uit het stopcontact enaar het deksel van de vrieskist openstaan;
- De bevroren productenuit de vriezer halen, in bijv. enige lagen krantenpapier of een deken wikkelen en tijdelijk in een koel/vrieskast of op een andere koele plaats bewaren
- Een temperatuurstijging van de diepvriesproducten, tijdens het ontdooien, kan de bewaartijd verkorten;
- Plaats een bakje onder de ontdooiwaterafvoer (fig.1:C) en neem de stop eruit, zodat het dooiwater hier in kan lopen.
- Gebruik de kunststof schraper om zoveel möglich rijp weg te schrapen enplaats een bakje onderin de kist om de wegeschraapte rijp in op te vangen;
- Het ontdooien kan versneld worden door bijv. hete doeken gegen de binnenwanden te houden;
- Als de kast ijsvrij is, maar dan de binnenNZijde met bijv. een handdoek schoon en goed droog, sluit daarna het deksel;
- Steek de stekker in het stopcontact, waarna het groene lampje (fig. 2:A) gaat branden.
- Dethermostat op stand 7 instellen.
- Laat de vrieskist 1aarongevuld op temperatuur komen enplaats pas daarna de bevroen producten wee terug in het apparaat. Laat de thermostaat (fig. 2:D) nog gedurende tenminste 2aar op stand 7.
- Zet daarna de thermostat aan weeer tussen stand 4 en 5.
- Doe het deksel Niet onnodig open en zich. Als het deksel moeilijk open gaat, wacht dan even. Mogelijk is er door herhaald openen een onderdruk in de kist is ontstaan.
Attentie:
Als ontdooien regelmatig plaats vindt kan dit makkelijk binnen 2 uur gebeuren. Als het ontdooien langer duurt dan 2 uur, hunnen sommige producten beginnen te ontdooien.
Adviezen
- Het is raadzaam om in te vriezen producten in Kleinere porties te verdelen, het invriezen gaat dan sneller.
- Verpak producten luchtdicht in waaroor geschikt materiaal en voorzie ze van een etiket met inhoud en invriesdatum.
- De max. invriescapaciteit per 24研究员 not anderschrijden!
- Bewaar geen koolzuurhoudende dranken in de vriezer.
- Nog warm voedsel en dranken lately afkoelen (kamertemperatuur) alvorens het in de vriezer te plaatsen.
- IJslollies of ijsblokjes nooit direct uit de vriezer nuttigen, door de zeker lage temperatuur können deze producten bevriezingsverschijnselen verroorzaken. Doe in geval van een (stroom) storing het volgende:
- Als de storing Niet langer dan ca. 12'eur duur, zullen de ingevroren producten nog Niet ontdooit zich, als het deksel van de vriezerijdens de storing maar ongeopend blijft!
- Als de storing langer duurt, de nog bevroren producten in bijv. kranten of dekens wikkelen en direct overplaatsen.
- Eenmaal ontdooide producten onmiddelijk consumeren en in geen geval opnieuw invriezen.
- Als het apparaat langerearendiet in gebruik is,maak dan de kist leeg,haal de stekker uithet stopcontact en ontdooi het apparaat.Goed schoonmaken en de klep openlatenstaan,zodateergen schimmelofonaangenamegeurenkunnenontstaan.
- De normale bewaartemperatuur in de vrieskist moet -18^ . Zijn om kant enCLAar gekocht diepvriesproducten tot ca. 3 maanden (zie houdhaarheidsdatum op de verpakking) enzfingvroren levensmiddelen tot 1aar te konnen bewaren.
Energiebesparende tips:
- pak het apparaat Niet te vol;
- sluit het deksel direct, vooral bij warm en vochtig wee;
- verpakte producten droog (condensvrij) in de vriezer zetten.
- let op dat de invriesschakelaar Niet aan is als u geen producten invriest, gele lampje (fig.2:B)要去uit+zijn.
Storingen en möglichke oorzaken
Reparaties aan once apparaten mogen alleen worden uitgevoerd door once eigenein monteurs. Reparaties door derden of uzelf konnen leiden tot het opheffen van de lopende garantietermijn. Een aantal möglichke storingsoorzaken kunt u城县 zonder probleem zich verhelpen. Als er een dergelijkste storing optreedt, ga dan eerst even de volgende punten na voor u de Service Dienst belt:
Ongewone geluiden:
- het apparaat is nicht juist opgesteld;
- het apparaat staat Niet waterpas;
- een onderdeel van dechterwand (condensor) raakt bijv.
een muur of wand.
De vriescapaciteit worden minder:
- het deksel is te vaak geopend;
- de instelling van dethermostat is Niet juist;
- te große hoeveelheden producten opgeslagen;
- te grote hoeveelheid ingevrøren;
- te veel ijs/rijp in het apparaat;
- de omgevingstemperatuur is te laag.
Te hoge temperatuur:
- het deksel is te vaak geopend;
- dethermostatinstelling is Niet juist.
Het apparatus doet niets:
- de stekker zich Niet of zich goed in het stopcontact;
- een zekering in de meterkast is defect of zit los.
Het groene controleampje brandt Niet:
- de stekker zich nicht of zich goed in het stopcontact;
- dethermostat staat nog op de 0-stand.
Is geen van de genoemde zaken de mogelijkke oorzaak van de storing, neem dan contact op met unsere Technische Dienst.
Recycling
Dit apparaat is voorzien van het merkteken volgens de Europese richtlijn 2002/96/EG inzake Afgedankte elektrische en elektronische apparaten (AEEA). Door ervoor te zorgen dat dit product op de juiste manier als afval wordt verwerkt, helpt u mogelijk negatieve consequenties voor het milieu en de menselijke gezondheid te voorkomen die anders zouden+kunnen wordenverooraakt door onjuiste verworking van dit product als afval.
Het symbol op het product of op bijbehorende documentationie geeft aan dat dit product Niet als huishoudelijk afval mag worden behandeld. In plaats waarvan moet het worden afgegeven bij een verzamelpunt voor recycling van elektrische en elektronische apparaten. Afdanking moet worden uitgevoerd in overeenstemming met deplaatselijke milieuvoorschriften voor afvalverwerking. Voor nadere info rmatie over behandeling, terugwinning en recycling van dit product worden ut verzocht contact op te nemen met het stadskantoor in uw woonplaat, uw afvalophaaldienst of de winkel waar u het product haeft aangeschaft.
GARANTIEBEPALINGEN
- Ondergetekeende verkaart dat dit apparaat voor het verlaten van de fabiek nauwkeuring is gecontroleerd en aan alle normale gisen van bruikbaarheid, betrouwbaarheid en levensduur voldoet.
2.Bij normaal huishoudelijk gekruik en onderhoud worden het apparaat gedurende 24 maanden na aankoop gegarandeertegen materiaal- en/of fabricagefoulen. De garante geld nicht voor lakeworken en voor onderdonen van glas, rubber, kunststoffen en vertiching. De garantietermiin is beperkt tot 6 kaanden,indent het toestel industrieel of in gemeinschappelijk ruimten worden gekruikt.
3.De in punct 2 genoemde garantie houdt in, dat optredende storingen gedurende 24 maanden op vertoon van het garantiebewijs met aankoopectuur worden gerepareerd zonder berekening van arbeidssoon en eventuele te verrangen onderdeni die eigendom worden van ondergetekende.
4.Aanspraak op garantie verwalt wanneer het defectaarnt het oordeel van ondergetekende het gevolg is van onoordeekundig gebruik of mbrui, zoals aansluitig op een verkeerde (net)spanning,Kennelijk ruwe behandlung derverwaarizing respecteelijk Niet-inachnemng van de Gebruilsaanwijzing. Evenmin kan aanspraak op garantie worden gemaatk indien aan het apparataar veranderingen aanangbacht of hieraan reparaties onsuiutgevoedzonder toestemming van ondergetekende
- Wonneer door ormandigheden het apparataal, of onderden daarvan, ter keurig of reparatie moeten worden verzonden, dient dit na voorafgaand overieg FRANCO te geschieden met bijvoeging van het garantiebewiens en aankoopfaactuur.
6.Indien binnen de garantietermiin reparatives worden verricht of het apparaat omgeruild, dan wordt de oorspronkelijkke garantietermiin Niet verlangd.
- Voor daden of verzuiemen van ondergeschitken, die te wijten zich aan grove schuld of opzet, behalve voor zover die daden of verzuiim schade aan het betrokken apparaat ten gevolge hebden, is ondergetekende niet verantwoordelijk.
8.Voor (een) aangevraagd en tevoren aangekondig(d) bezoek(en), waar bij de aanvrager(st) Niet thus wordt getroffen, worden voormrijkosten in rekening gebracht.
Er berust copywrite op deze gebruksaanwijzing, niets mag geduplicateerd worden zonder vooraf contact met Coolsteel, www.coolsteel.eu.
Table des matieres
Er berust copywrite op deze gebruksaanwijzing, niets mag geduplicateerd worden zonder vooraf contact met Coolsteel, www.coolsteel.eu.
SimpelGids