RS6GA8521B1 - Koelkast SAMSUNG - Gratis gebruiksaanwijzing en handleiding
Vind de handleiding van het apparaat gratis RS6GA8521B1 SAMSUNG in PDF-formaat.
Gebruikersvragen over RS6GA8521B1 SAMSUNG
0 vraag over dit apparaat. Beantwoord die u kent of stel uw eigen vraag.
Stel een nieuwe vraag over dit apparaat
Download de handleiding voor uw Koelkast in PDF-formaat gratis! Vind uw handleiding RS6GA8521B1 - SAMSUNG en neem uw elektronisch apparaat weer in handen. Op deze pagina staan alle documenten die nodig zijn voor het gebruik van uw apparaat. RS6GA8521B1 van het merk SAMSUNG.
GEBRUIKSAANWIJZING RS6GA8521B1 SAMSUNG
Veiligheidsinformatie 4
Belangrijke informatatie over de veiligheidswaarschuwingen 4
Belangrijke veiligheidssymbolen en voorzorgsmaatregelen: 6
Belangrijkeveiligheidsvoorschriften 7
Belangrijke waarschuwingssymbolen voor transport en op locatie 10
Belangrijke waarschuwingen met betrekking tot de installmente 10
Let op bij de installatione 13
Belangrijke waarschuwingen met betrekking tot het gebruik 14
Let op bij het gebruik 19
Waarschuwingen voor het schoonmaken 21
Belangrijke waarschuwingen met betrekking tot het verwijderen 23
Aanvullende tips voor correct gebruik 24
Instructies over de AEEA-richtlijn 25
Installatie 26
Overzicht van de koelkast 26
Stapsgewijze installment 28
Deur verwijderen voor verplaatsing 40
Bediening 45
Functietoetsen 45
De ijsmaker in- of uitschakelen 48
Het alarm voor verranging van het waterfilter resetten of negeren 48
Dispenserpanelle (alleen bepaalde modellen) 49
Speciale functies 50
Onderhoud 57
Behandeleng en onderhoud 57
Reinigen 59
Vervanging 60
Problemen oplossen 61
Algemeen 61
Hoort u een abnormaal geluiduit de koelkast? 65
2 Nederlands
Bijlage 67
Veiligheidsinstructie 67
Installatieinstructie 67
Temperatuurinstructie 68
Informatie over het model en het bestellen van reserveonderdelen 72
Veiligheidsinformatie
Lees deze handleiding aandachtig door voordat u uw nieuwe Samsung-koelkast in gebruik neemt, zodat u weet hoe u op veilige en efficiente wijze gebruikmaakt van de möglichkheden en functies van uw nieuwe apparaat.
Belangrijke informatatie over de veiligheidswaarschuwingen
- In de waarschuwingen en veiligheidsvoorschriften in deze handleiding worden Niet alle möglichke omstandigheden en situatuies besproken.
Het is uw verantwoordelijkheid om uw gezonde verstand te gebruiken en voorzichtig te zijn bij het installereren, onderhouden en bedieren van uw apparaat. - Aangezien deze gebruiksinstructies gelden voor meerere modellen,:kunnen de eigenschappen van de koelkast verschillen van de beschrijving in deze handleiding. Als u vragen of opmerkingen hebt,dient u contact op te nemen met het dichtstbijzijnde servicecentrum.U kunt ook hulp en informatie online verkrijgen op www.samsung.com.
- R-600a of R-134a worden gebrukt als koelmiddel. Raadpleeg het compressorlabel anschter op het apparaat of het typeplaatje binnen in de koelkast om te controlleden welk koelmiddel er in uw apparaat worden gebrukt. Als dit product brandhaar gas bevat (koelmiddel R-600a), neemt u contact op met deplaatselijkke autoriteiten met betrekking tot het veilig afvoeren van dit product.
- Als u het vormen van een brandaar gas-luchtmensel wilt vermijden bij eenlek in het koelcircuit, dient u rekening te houden met de grootte van deruimte waarin het apparaat staat en met de hoeveelheid koelmiddel die worden gebruikt.
- Zet nooit een apparaat aan dat tekenen van schade vertoont. Neem bij twijfel contact op met uw dealer. De ruimte要去 1m^3 groot voor elke 8 g aan R-600a-koelmiddel in het apparaat.
De hoeveelheid koelmiddel in uw specifieke apparaat worden aangegeven op het identificatieplaatje binnen in het apparaat.
- Als er koelmiddel uit de leidingen spuit, kan dit ontbranden of oogletsel veroorzaken. Als er koelmiddel uit de leiding lekt, dient u open vuur te vermijden, verwijdert u alle ontvlambare items uit de buurt van het product en moet u de ruimte meteen ventileren.
- Als u dit nicht doet, kan dit leiden tot brand of een explosie.
- Ter voorkoming van besmetting van etenswaren要去 het volgende in acht worden genomen:
- Als de deur te lang geopend is, kan de temperatuur in de koelkastkompartimenten aanzienlijk stijgen.
- Oppervlakken die in contact komen met etenswaren en bereikbare afvoersystemen要去en regelmatig worden gereinigd.
- Wonneer watertanks gedurende 48 uur nicht+zijn gebruikt, dient u deze te reinigen. Als er 5agation lang geen water is gebruikt, dient u het watersysteme te spoelen door het aan te sluiten op een watertoevoer.
- Bewaar rauw vlees en rauwe vis in de koelkast in geschikte bakken, zodate dit Niet in contact kan komen met andere etenswaren en geen vocht kan lekken op andere etenswaren.
- Vrieskompartimenten met twee sterren zicht voor het bewaren van ingevroren etenswaren, voor het bewaren of maken van ijs en voor het make n van ijsblokjes.
- Compartimenten met eén, twee en drie sterren zichn nicht geschikt voor het invriezen van verse etenswaren.
- Als de koelkast langerearend leeg is, moet u deze uitschakelen, ontdooien, reinigen, droogmaken en de deur open staan om te voorkomen dat er schimmelvorming in de koelkast ontstaat.
Veiligheidsinformatie
Belangrijke veiligheidssymbolen en voorzorgsmaatregelen:
Volg alle verilgheidsinstructies in denen handleiding. In denen handleiding worden de volgende verilgheidssymbolen gebrukt.
WAARSCHUWING
Risico's of onveiligie situations die kuren leiden tot ernstig lichamelijk letsel, materièle schade en/of de dood.
LET OP
Risico's of onveiligie situations die kuren leiden tot ernstig lichamelijk letsel en/of schade aan eigendommen.
OPMERKING
Nuttige informatatie voor gebruikers voor begrip en profijt van de koelkast.
Deze waarschuwingstekens zijn bestemd om te voorkomen dat u zichzelf of anderen verwondt.
Neem ze nauwgezet in acht.
Lees dit onderdeel door en bewaar het op een veiligeplaats voor toekomstige referentie.
Belangrijke veiligheidsvoorschriften

Waarschuwing; brandevaar/brandbare materialen

WAARSCHUWING
- Zorg bij hetplaatsen van het apparaat dat de voedingskabel nicht wordenbekneld of beschadigd.
- Plaats nicht meerere verlengsnoeren of stekkerdozen anschter het apparaat.
Alleen met drinkwater vullen. - Alleen aansluiten op watertoevoer voor drinkwater.
- Houd de ventilatieopeningen in de kast of ombouw van het apparaat vrij.
- Gebruik geen mechanische apparaten of andere middelen om het ontdooien te bespoedigen, tenzij deze door de fabrikant worden aanbevolen.
- Beschadig het koelcircuit Niet.
- Gebruik geen elektrische apparaten in de compartimenten voor voedingsmiddelen, tenzij ze van het typeংn dat door de fabrikant worden aanbevolen.
- Dit apparaat is nicht bedoeld voor Personen (waaronder kinderen) met een verminderd fysiek, zintuiglijk of mentala vermogen of met onvoldoende ervaring en kennis, tenzij ze onder toezicht staan of instructies hebben gekregen met betrekking tot het gebruik van het apparaat van een persoon die verantwoordelijk is voor hun verilgheid.
Veiligheidsinformatie
- Dit apparaat kan door kinderen vanaf 8aar en door personen met een verminderd fysiek, zintuiglijk of mentala vermogen of gebrek aan ervaring en kennis worden gebruikt. In dat geval dient er toezicht teijken of dienen aan deze personen instructies teijken geveven omtrent veilig gebruik van het apparaat en moeten deze Personen begrijpen welke bevaren het gebruik met zich meebrengt. Kinderen mogen Niet met het apparaat spelen. Reinigung en gebruikersonderhoud mogen nicht zonder toezicht door kinderen worden uitgevoerd. Kinderen van 3 t/m 8aar mogen koelkasten vullen en leeghalen.
- Als het netsnoer is beschadigd,要去 dit door de fabrikant, een door de fabrikant aangewezen servicebedrijf of een vergelijkbaar gekwalificeerd persoon worden verrangen om schade te voorkomen.
-
Zorg dat het stopcontact goed toegankelijk is zodate u de stekker van het apparaat snel=kunt lostrekken bij een noodgeval.
-
Het stopcontact mag zich nicht darüber het apparaat bevinden.
-
Bewaar in dit apparaat geen explosieve stoffen zoals spuitbussen met een brandhaar vrijfgas.
-
Als het product is uitgerust met LED-lampjes, neem de kapjes dan nicht zich van de lampjes en demonteer de LED-lampjes zich zich.
-
Neem contact op met een Samsung- onderhoudscentrum.
-
Gebruik uitsluitend de LED-lampjes die door de fabrikant of door deservicebedrijven zijn geleverd.
-
Gebruik de neue slangensets die bij het apparaat worden geleverd. Oude slangensets mooten nicht worden hergebnibt.
- De watertoevoer maar deze koelkast mag alleen worden aangesloten op een watertoevoer met drinkwater. Voor het goed functioneren van de ijsmaker is een waterdruk van 206-861 kPa (30-125 psi) vereist.
- Voor het efficiëntste energiegebruik dient u alle onderdelen zoals bakken, laden en leggers op deplaats te houden waar deze door de fabrikant zich geleverd.
- Voor een optimale energia-efficienteIkLaat u alle schappen, laden en manden op de oorspronkelijke positie.
Stroomverbruik verminderen
- Installer het apparaat in een koele, droge ruimte met voldoende ventilatie.
-
Zorg dat het apparaat Niet is blootgesteld aan direct zonlicht enplaats het nooit in de buurt van een bron van directe warmte (bijvoorbeeld een radiator).
-
Zorg ervoor dat ventilatieopengen of roosters Niet worden geblokkeerd, zodate het apparaat Niet onnodig veel stroom verbruikt.
- Laat het voedsel afkoelen alvorens het in de koelkast tezetten.
- Zet bevroren voedsel in de koelkast om het te lately ontdooien. U(Int) Iage temperaturen van bevroren producten gebruiken om voedsel in de koelkast af te koelen.
- Houd de deur van het apparaat Niet te lang open terwijl u er etenswaren inzet of uitneemt.
- Hoe korter de deur open is, hoe minder ijsvorming er in de vriezer plaatsvindt.
- Reinig de weiterkant van de koelkast regelmatig. Stof doeit het energieverbruik toenemen.
- Stel geen koudere temperatuur in dan nodig is.
- Zorg voor voldoende luchtafvoer aan de onderzijde en dechterwand van de koelkast. Sluit geen luchtopeningen af.
- Plaats het apparaat zo dat er genoeg ruimte is aan de rechtser-, linker-, ), ), en bovenzijde. Het stroomverbruik neemt hierdoor af, wat kosten bespaart.
Dit apparaat is bedoeld om te worden gezruikt in huishoudens en soortgelijke toepassingen, zoals
- personelskantines in winkels, kantoren en andere bedrijfsomgevingen;
- pensions, en door klanten in hotels, motels en andere accommodations;
- bed & breakfast-achtige omgevingen;
Veiligheidsinformatie
- catering en soortgelijkekleinhandelstoepassingen.
Belangrijke waarschuwingssymbolen voor transport en op locatie
WAARSCHUWING
-
Bij het transporteren en installereren van het apparaat要去 u ervoor zorgen dat er geen onderdelen van het koelcircuit beschadigd raken.
-
Koelmiddel dat uit de pijn lekt, kan ontbranden of oogletselveroorzaken. Als een lek worden ontdekt,要去 open vuur of maybeontstekingsbronnen vermijden en de ruimte waar in het apparaat staat, enkele minuten ventileren.
-
Dit apparaat bevat eenkleine hoeveelheid isobutaan (R-600a), een naturuurlijk, milieuvriendelijk gas, datECHTER zeer brandhaar is. Bij het transporteren en installereren van het apparaat moet u ervoor zorgen dat er geen onderdelen van het koelcircuit beschadigd raken.
-
Raak de waterslang aan deijkenzijde van de koelkast Niet aanijdens het transport of de installment.
-
Dit kan leiden tot beschadiging van de koelkast, met als gevolg dat de waterdispenser Niet kan worden gezruikt.
Belangrijke waarschuwingen met betrekking tot de installmentie
WAARSCHUWING
-
Installer de koelkast Niet in een vochtige omgeving of op eenplaats waar deze in contact kankommen met water.
-
Verslechterde isolatie van elektrische onderdelen kan leiden tot een elektrische schok of brand.
-
Plaats deze koelkast Niet in direct zonlicht en stel het apparaat Niet bloot aan warmte van fornuizen, radiatoren of andere apparaten.
-
Vermijd het aansluiten van meerdere apparaten op een stekkerdoos. De koelkast要去 algid een eigen individuel stopcontact hebben met een voltag dat overeenkomt met het voltage van het typeplaatje van de koelkast.
-
Dit zorgt ervoor dat het apparaat optimaal presteert en voorkomt overbelasting van de elektrische bekabeling in uwuis, die zou hun leiden tot brand door oververhitting van de elektriciteitskabels.
-
Steek de stekker Niet in het stopcontact als dit los zit.
-
Er bestaat gevaar op elektrische schokken of brand.
-
Gebruik geen netsnoer dat over de lenghte of aan de uiteinden is gebarsten of versleten.
-
Buig het netsnoer Niet te veel enplaats er geen zware voorwerpen op.
-
Trek nicht te hard aan het netsnoer en buig het nicht overmatig.
-
Draai het netsnoer nicht en leg er geen knoop in.
Haak het netsnoer Niet over een metalen object,plaats geen zwaar voorwerp op het netsnoer en steek het snoer Niet:tussen voorwerpen door of druk het Niet op+zijn plaats awhile het apparaat.
-
Zorg dat u bij het verplaatsen van de koelkast Niet met de koelkast over het netsnoer rolt of dit beschadigt.
-
Elektrische schokken en brand können het gevolg zijn.
-
Trek nooit aan het netsnoer wanner u de koelkast loskoppelt. Neem.altijd de stekker stevig beet en trek deze recht uit het stopcontact.
-
Schade aan het snoer kan kortsluiting, brand of elektrische schokken veroorzaken.
-
Gebruik geen spuitbussen in de buurt van de koelkast.
-
Spuitbussen die in de buurt van de koelkast worden gezruikt, können leiden tot een explosie of brand.
-
Installeer het apparaat Niet in de buurt van een verwarming of ontvlambaar materiaal.
-
Plaats het apparaat Niet op een locatie waar gas kan vrijkomen.
-
Elektrische schokken en brand können het gevolg+zijn.
Veiligheidsinformatie
- Deze koelkast dient voor gebruik op de juiste wijze, zoals beschreiben in deze handleiding, geplaatst en geinstalleerd te worden.
-
Sluit de stekker aan in de juiste positie met het snoer maar beneden.
-
Als u de stekker ondersteboven in het stopcontact steekt, kan de draad afgeklemd raken en brand of elektrische schokken veroorzaken.
-
Zorg dat het netsnoer Niet geplet of beschadigd worden door deijkenkant van de koelkast.
-
Houd het verpakkingsmateriaaluit de buurt van kinderen.
-
Er is gevaar van dodelijk letsel door verstikking als kinderen het verpakkingsmaterial over hun hoofd trekken.
-
Installee dit apparaat Niet in een omgeving met veel vocht, olie of stof, of op een locatie waar het worden blootgesteld aan direct zonlicht en water (regendruppels).
-
Verslechterde isolatie van elektrische onderdelen kan leiden tot een elektrische schok of brand.
-
Als er zich stof of water in uw koelkast bevindt, haalt u de stekkeruit het stopcontact en neemt u contact op met het servicecentrum van Samsung Electronics.
-
Anders bestaat het risico op brand.
-
Ga Niet op het apparaat staan enplaats geen objecten (zoals wasgoed, brandende kaarsen, aangestoken sigaretten, de vaatwas, chemicalien, metalen objecten enz.) op het apparaat.
-
Dit kan resulteren in elektrische schokken, brand, problemen met het product of letsel.
-
Verwijder eerst alle beschemende plastic folie voordat u de stekker in het stopcontact doet.
-
Kinderen要去en onder toezicht staan om te voorkomen dat ze met de borgingen voor het afstellen van de deur, of met de waterslangklemmen gaan spelen.
-
Er is gevaar van dodelijk letsel door verstikking als kinderen een borgring of waterslangklem inslikken. Houd de borgingen en waterslangklemmen buiten het bereik van kinderen.
-
De koelkast moet veilig worden geaard.
-
Controller altijd of u de koelkast hebt geaard voordat u een onderdeel van het apparaat onderzoekt of herstelt. Stroomlekken konnen ernstige elektrische schokken veroorzaken.
-
Gebruik nooit gasleidingen, telefoonkabels of andere potentielle blikksemafleiders als aarding.
-
U dient de koelkast te aarden om stroomlekken of elektrische schokken te voorkomen die veroorzaakt worden door stroomlekkage van de koelkast.
-
Even elektrische schok, brand, explosie of problemen met het product zouden het gevolg können zijn.
-
Steek de stekker stevig in het stopcontact. Gebruik geen beschadigde stekker, beschadigde voedingskabel of los stopcontact.
-
Elektrische schokken en brand können het gevolg+zijn.
-
De zekering op de koelkast moet worden verrangen door een gekwalificeerde monteur of een gekwalificeerd servicebedrijf.
-
Als u dit nalaat, kan dat leiden tot elektrische schokken of lichamelijk letsel.
Let op bij de installmentie
LET OP
-
Zorg voor voldoende ruimte rond de koelkast en installer deze op een vlak oppervlak.
-
Als de koelkast Niet waterpas staat, können de koelingsefficiëntie enduurzaamheid afnemen.
Veiligheidsinformatie
- Laat het apparaat gedurende 2-3 uur na de installmentie staan alvorens etenswaren in de koelkast te leggen en de koelkast in te schakelen.
-
Wij adviseren u met klem de koelkast door een gekwalificierde monteur of onderhoudsbedrijf te lately installeren.
-
Als u dit nalaat, kan dat leiden tot elektrische schokken, brand, een explosie, problemen met het product of lichamelijk letsel.
Belangrijke waarschuwingen met betrekking tot het gebruik

WAARSCHUWING
- Steek de stekker nicht met natte handen in het stopcontact.
- Als u dit wel doet, loopt u het risico op een elektrische schok.
-
Bewaar geen voorwerpen boven op het apparaat.
-
Als u de deur opent of sluit, können deze voorwerpen vallen en persoonlijk letsel en/of materiaanse schade veroorzaken.
-
Steek uw handen, voeten of metalen objecten (zoals stokjes) nicht onder of darüber de koelkast.
-
Elektrische schokken en lichamelijk letsel konnen het gevolg+zijn.
-
Scherpe randen können lichamelijk letsel veroorzaken.
-
Raak de binnenwanden van de vriezer of producten die in de vriezer liggen Niet met natte handen aan.
-
Dit kan bevriezing van de handen veroorzaken.
-
Plaats geen voorwerpen op de koelkast die zich genvuld met water.
-
Als deze omvallen, bestaat het risico op een elektrische schok of brand.
-
Bewaar geen vluchtige of brandbare voorwerpen of stoffen (zoals wasbenzine, thinner, propaangas, alcohol, ether, LP-gas en dergelijkke producten) in de koelkast.
-
Deze koelkast is uitsluitend bestemd om voedsel in te bewaren.
-
Dit kan brand of een explosie veroorzaken.
-
Kinderen mogen het apparaat uitsluitend onder toezicht gebruiken om te voorkomen dat ze ermee gaan spelen.
-
Houd uw vingers uit de buurt van gebieden waar ze afgekneld konnen worden. Ruimtes:tussen de deuren en de kast zichnoodzakelijkkerwijze nauw. Wees voorzichtig wonneer u de deuren opent als er kinderen aanwezigল.
-
Voorkom dat uw vingers of de vingers van uw kinderen:tussen de deur komen.
-
Houd vingers uit de weg van de linker- enrechtterdeuropingen. Wees voorzichtig wanner u de deuren opent verwijl uw vingersussen de deuren� geplaatst.
-
Laat kinderen nicht aan de deur of de deurbakken hangen. Dit kan leiden tot ernstig letsel.
- Zorg dat kinderen nicht in de koelkast{kennen komen. Ze kennen worden opgesloten.
-
Steek uw hand Niet in het onderste deel onder het apparaat.
-
Scherpe randen können lichamelijk letsel veroorzaken.
-
Bewaar geen pharmaceutische producten, wetenschappelijk materiaal of temperatuurgevoelige producten in de koelkast.
- Producten met strenge temperatuurvereistenogensniet in de koelkast worden bewaard.
- Als het apparaat een brandlucht verspreidt of als er rook uit het apparaat komt, trekt u de onmiddelijk de stekker uit het stopcontact en neemt u contact op met het servicecenter van Samsung Electronics.
- Als er zich stof of water in uw koelkast bevindt, trekt u de stekker UIT het stopcontact en neemt u contact op met het servicecentrum van Samsung Electronics.
- Anders bestaat het risico op brand.
- Laat kinderen nicht op een lade staan.
- De lade kan breken waardoor ze uit+kunnen glijden.
Veiligheidsinformatie
-
Laat de deuren van de koelkast Niet open staan als er niemand in de buurt is en LAST kinderen Niet binnen in de koelkast.
Zorg dat baby's of kinderen nicht in de lade gaan liggen. -
Dit kan leiden tot verstikking als kinderen blijven vastzitten, of tot lichamelijk letsel.
Zorg dat er nicht te veel voedsel in de koelkast ligt.
-
Als u de deur opent, kan er een item uitallen en persoonlijk letsel of materiele schade veroorzaken.
-
Spuit geen vluchtig materiaal zoals insectenverdelger op het oppervlak van het apparaat.
-
Dit is nicht alleen gevaarlijk voor mensen, maar kan ook leiden tot elektrische schokken, brand of problemen met het product.
-
Plaats uw vingers of andere voorwerpen nooit in de opening van de waterdispenser, ijskoker en ijsemmer.
-
Dit kan lichamelijk letsel of materiële schade veroorzaken.
-
Gebruik of bewaar geen temperatuurgevoelige stoffen in de buurt van of in de koelkast, zoals brandbare sprays, brandbare voorwerpen, droog ijs, medicijnen of chemicaliën.
-
Gebruik geen fohn om de binnenkant van de koelkast te drogen. Plaats geen aangestoken kaars in de koelkast om nare geurtjes te verwijderen.
-
Elektrische schokken en brand können het gevolg+zijn.
Vul de watertank, de ijslade en het ijsblokjesbakje uitsluitend met drinkwater (mineraalwater of gezuiverd water).
-
Vul de tank nicht met thee, sap of sportdranken. Hierdoor kan de koelkast beschadigd raken.
-
Ga Niet op het apparaat staan enplaats geen objecten (zoals wasgoed, brandende kaarsen, aangestoken sigaretten, de vaatwas, chemicaliën, metalen objecten enz.) op het apparaat. Dit kan resulteren in elektrische schokken, brand, problemen met het product of letsel. Plaats geen voorwerpen op het apparaat die zich genvuld met water.
-
Als deze omvallen, bestaat het risico op een elektrische schok of brand.
-
Kijk nooit gedurende langerearendrechtstreeks in de UV LED-lamp.
-
Door de ultraviolet straling=kunt u last van uw ogen krijgen.
-
Plaats de glasplaat Niet ondersteboven. Mogelijk werkdt de stopper van het legplateau dan Niet.
-
Dit kan leiden tot persoonlijk letsel of materiële schade.
-
Houd uw vingers uit de buurt van gebieden waar ze afgekneld konnen worden. Ruimtes:tussen de deuren en de kast+zijnoodzakelijkkerwijze nauw. Wees voorzichtig wonneer u de deuren opent als er kinderen aanwezig zich.
-
Als een gaslek worden ontdekt, dient u open vuur of möglichke ontstekingsbronnen te vermijden en de ruimte waar in het apparaat staat enkele minuten lang te luchten.
-
Raak het apparaat of netsnoer nicht aan.
- Gebruik geen ventilator.
-
Een vonkje kan een explosie of brand veroorzaken.
-
Flessen要去en zich naast elkaar worden bewaard, zodate er nicht uityallen.
- Dit product is uitsluitend bestemd voor het bewaren van voedsel in een huishoudelijk omgeving.
-
Plaats uw vingers of andere voorwerpen nooit in de opening van de waterdispenser, ijskoker en ijsemmer.
-
Dit kan lichamelijk letsel of materiële schade veroorzaken.
Probeer de koelkast nicht zich te repareren, te demonteren of aan te passen.
- Gebruik geen andere zekering (zoals koper, staaldraad, enz.) dan een standaardzekering.
Veiligheidsinformatie
-
Neem contact op met het dichtst bijzijnde servicecentrum wanner de koelkast要去 worden gerepareerd of opnieuw要去 worden geinstalleerd.
-
Als u dit nalaat, kan dat leiden tot elektrische schokken, brand, problemen met het product of lichamelijk letsel.
-
Als u een brandlucht of rook uit de koelkast waarneemt, trekt u onmiddelijk de stekker van de koelkast uit het stopcontact en neemt u contact op met het servicecentrum van Samsung Electronics.
-
Als u dit nicht doet, kan dat leiden tot brand of elektrische schokken.
-
Trek de stekker uit het stopcontact voordat u het lampje in de koelkast verwangt.
-
Anders loopt u het risico op een elektrische schok.
-
Als u problemen ondvindt bij het verrangen van een Niet-LED-lampje, dient u contact op te nemen met het Samsung-servicebedrijf.
- Steek de stekker stevig in het stopcontact.
-
Gebruik geen beschadigde stekker, beschadigd netsnoer of een loszittend stopcontact.
-
Elektrische schokken en brand können het gevolg zich.
Let op bij het gebruik
LET OP
-
Vries ontdooide etenswaren nicht opniew in.
-
Schadelijke bacteriën können zich in ingevroen en ontdooide etenswaren sneller ontwikkelen dan in verse etenswaren.
-
Wonneer etenswaren een tweede keer worden ontdooid, worden nog meer cellen afgebrozen, waardoor er vochtuit worden onttrokken en de integritieit van het product verandert.
-
Laat vleeswaren nicht bij kamertemperatuur ontdooien.
-
De veiligheid is afhankelijk van of het rauwe product op de juiste manier is verwerkt.
-
Plaats geen glazen flessen of koolzuurhoudende dranken in de vriezer.
-
Het voorwerp kan bevriezen en breken, wat kan leiden tot letsel.
-
Gebruik uitsluitend de ijsmaker die bij de koelkast is geleverd.
-
Als u een lange tijd van huis bent (bv. opvakantie) en de water- of ijsdispensers langere tijd Niet gebruikt,kest u het Beste de waterklep sluiten.
-
Anders gaat het water möglich lekken.
-
Als u de koelkast een zeer langeijd (3 weken of meer) Niet gebruikt, haal de koelkast en de ijsemmer dan leeg, haal de stekker uit het stopcontact, sluit de waterklep, verwijder het overtollige vocht aan de binnenkant en LAST de deuren open om geurtjes en schimmel te voorkomen.
Ga als volgt te werk om ervoor te zorgen dat uw product optimaal presteert: -
Plaats geen etenswaren te:dicht bij de luchtgaten achefter in de koelkast, aangezien dit de vrije luchtcirculatie in het koelkastkompartiment kan belemmeren.
- Dek de etenswaren goed af of plaats deze in luchtdichte bakjes voordat u de etenswaren in de koelkastzet.
- Houd de maximalebewaartijd en houdbaarheidsdatum van bevroen voedsel goed in de gaten.
Veiligheidsinformatie
-
De koelkast hoeft nicht van de stroomvoorziening te worden verwijderd als u korter dan drie weken afwezig bent. Als u darüber langer dan drie weken afwezig bent, verwijder dan alle etenswaren en het ijsuit de ijsemmer, haal de stekkeruit het stopcontact, sluit de waterklep, verwijder het overtollige vocht aan de binnenkant en LAST de deuren open om geurtjes en schimmel te voorkomen.
-
Garantie en wijzigingen.
-
Wijzigingen of aanpassingen die door derden zijn verricht aan dit kant-enklare apparaat worden nicht gedekt door de garantieservice van Samsung. Samsung is tevens Niet verantwoordelijk voor verilgheidskwesties die resultedenuit aanpassingen door derden.
Zorg dat de luchtopeningen in de koelkast nicht worden geblokkeerd.
-
Als de luchtopeningen geblokkeerd zich, vooral door een plastic zak, kan de koelkast te zeer afkoelen. Als dit te lang duurt, kan het waterfilter breken en een waterlek veroorzaken.
-
Gebruik uitsluitend de ijsmaker die bij de koelkast is geleverd.
- Verwijder het overtollige vocht aan de binnenkant en LAST de deuren open.
- Anders können er geurtjes en schimmels ontstaan.
- Als de stekker van de koelkast uit het stopcontact is gehaald, hoort u ten minste vrij这段时间 wachten voordat u deze wee aansluit.
- Als de koelkast nat is geworden door water, trekt u de stekkeruit het stopcontact en neemt u contact op met het servicecenter van Samsung Electronics.
-
Pas geen schokken of sterke krachten toe op glazen oppervlakken.
-
Gebroken glas kan leiden tot lichamelijk letsel en/of eigendomsschade.
Vul de watertank en ijsblokjesbakjes uitsluitend met drinkwater (kraanwater, mineraalwater of gezuiverd water).
-
Vul de tank nicht met thee of sportdranken. Hierdoor kan de koelkast beschadigd raken.
-
Pas op dat uw vingers nicht bekneld raken.
-
Als de koelkast overstroomt, neemt u contact op met het dichtst bijzijnde servicecentrum.
-
Er bestaat het risico op een elektrische schok of brand.
-
Bewaar geen plantaardige olie in de deurbakken van de koelkast. De olie kan hard worden, waardoor deze vies gaat smaken en lastig te gebruiken is. Bovendien kan de open bak lekken en de geleekte olie kan de deurbak doenscheuren. Nadat een olieverpakking is geopend, kut u deze het best op een koele, donkere plek bewaren, zoals een voorraadkast.
-
Voorbeelden van plantaardige olie: olijfolie, zonnebloemolie, raapzaadolie etc.
Waarschuwingen voor het schoonmaken
LET OP
- Sproei geen waterrechtstreeks op de binnen- of buitenkant van de koelkast.
-
Er bestaat een risico op brand of een elektrische schok.
-
Gebruik geen fohn om de binnenkant van de koelkast te drogen.
-
Plaats geen aangestoken kaars in de koelkast om vierze geurtjes te verwijderen.
-
Elektrische schokken en brand können het gevolg zijn.
-
Spuit geen reinigingsproductenrechtstreeks op het display.
-
De letters op het display können loslaten.
-
Neem de stekkeruit het stopcontact en neem contact op met uw dichtst bijzijnde servicecentrum als er vreemde voorwerpen of vloeistoffen zoals water in het apparaatterecht zichn gekomen.
-
Als u dit nicht doet, kan dit leiden tot een elektrische schok of brand.
-
Gebruik een schone, droge doek om vreemd materiaal of stof van de bladen van de stekker te verwijderen. Gebruik geen natte of vochtige doek bij het reinigen van de stekker.
-
Anders bestaat het risico op een elektrische schok of brand.
Veiligheidsinformatie
Maak het product Niet schoon doorrechtstreeks water op het product te sproeien.
- Gebruik geen wasbenzine, verdunner of chloorhoudende producten om het apparaat te reinigen.
-
Deze können het oppervlak van het apparaat beschadigen en brand verooorzaken.
-
Plaats uw vingers of andere voorwerpen nooit in de opening van de dispenser.
-
Dit kan lichamelijk letsel of materiële schade veroorzaken.
-
Haal de stekker van het apparaat uit het stopcontact voordat u het apparaat reinigt of onderhoudswerkzaamheden verricht.
-
Als u dit nicht doet, kan dit leiden tot een elektrische schok of brand.
-
Gebruik een schone spons of zachte doek en een mild schoonmaakmiddel met warm water om de koelkast schoon te make.
-
Gebruik geen schurende of scherpe schoonmaakmiddelen, zoals glasreiniger, schuursponsjes, brandbare vloeistoffen, zoutzuur, schoonmaakwas, geconcentreerde wasmiddelen, bleek of schoonmaakmiddelen op basis van petroleum op de buitenste oppervlakken (deur en kast), plastic onderdelen, deur- en interieurbekleding en pakkingen.
-
Deze können het materiaal krassen of beschaden.
-
Reinig de glazen planken of deksels nicht met warm water wanner ze koud zich. Glazen planken en deksels können breken als ze worden blootgesteld aan plotselinge temperatuurwisselingen of stoten/vallen.
Belangrijke waarschuwingen met betrekking tot het verwijderen

WAARSCHUWING
- Gooi het verpakkingsmateriaal van dit product op een milieuvriendelijk manier weg.
- Controller of de leidingen aan de achterkant van de koelkast Niet beschadigd,,...,...,...,...,...,..., ... zijn voordat u het apparaat afvoert.
- R-600a of R-134a worden gebrukt als koelmiddel. Raadpleeg het compressorlabel anschter op het apparaat of het typeplaatje binnen in de koelkast om te controlleden welk koelmiddel er in uw koelkast worden gebrukt. Als deze koelkast brandhaar gas bevat (koelmiddel R-600a), neemt u contact op met deplaatselijkke autoriteiten met betrekking tot het veilig afvoeren van dit product.
- Bij het afvoeren van deze koelkast, dient u de deur/deurafdichtingen en deurklink te verwijderen, zodatekleine kinderen of dieren er nicht in kuren worden opgesloten. Kinderen might het apparaat uitsluitend onder toezicht gebruiken om te voorkomen dat ze ermee gaan spelen. Als een kind in een koelkast opgesloten komt te zitten, kan het letsel oplopen of stikken.
- Als een kind in een koelkast opgesloten kommt te zitten, kan het stikken.
- Cyclopentaan worden gezruikt in de isolatie. De gassen in het isolatiematerialial vereisen een speciale verwijderingsprocedure. Neem contact op met deplaatselijke autoriteiten met betrekking tot het milieuvriendelijk verwijderen van dit product.
- Houd al het verpakkingsmaterialaal ver buiten het bereik van kinderen, aangezien verpakkingsmaterialaal gevaarlijk kan zichn voor kinderen.
- Als een kind een zak over het hoofd trekt, kan het kind stikken.
Veiligheidsinformatie
Aanvullende tips voor correct gebruik
-
Bel bij een stroomstoring met de lokale vestiging van uw elektriciteitsbedrijf en vraag hoe lang de storing gaat duren.
-
De meeste stroomstoringen die binnen een uur of twee zijn verholpen, hebben geen gevolgen voor de temperatuur in uw koelkast. Probeer de deurenECHTER zo weinig möglichk open te doen tijdens een stroomstoring.
-
Als de stroomstoring langer dan 24 uwr duurt, verwijdert u al het ingevroren voedsel en gooit u het weg.
-
De koelkast kan möglichn nicht consistent koelen (bevroren inhoud kan ontdooien of de temperatuur in de vriezer worden te hoog) als deze langereijd op een plek staat waar de omgevingstemperatuur constant lager is dan de temperatuur waar voor de koelkast is ontworpen.
- Koeling kan een nadelig effect op de conservering van bepaalde etenswaren hebben.
- Uw apparaat is vorstvrij. Dit betekent dat u uw apparaat nicht zich hoeft te ontdooien. Dit worden automatisch gedaan.
- Een temperatuurstijging tijdens het ontdooien voldoet aan ISO-vereisten. Als u wilt voorkomen dat het bevroren voedsel te warm worden tijdens het ontdooien van het apparaat, moet u het bevroren voedsel in meerere lagen krantenpapier wikkelen.
Vries voedsel dat al volledig is ontdooid, nicht opniew in. - De temperatuur in een vriesvak met twee sterren of een compartment met een tweesterrensymbol (★) ligt enigszins hoger dan in andere vriesvakken. De vriesvakken ofpartmenten met twee sterren zijn gebaseerd op de instructie en/of toestand bij aflevering.
Instructies over de AEEA-richtlijn

Correcte verwijdering van dit product (elektrische & elektronische afvalapparatuur)
(Van toepassing in landen waar afval geschaden worden ingezameld)
Dit merkteken op het product, de accessoires of het informatiemateriaal duidt erop dat het product en+zijn elektronische accessoires (bv. lader, headset, USB-kabel) Niet met ander huishoudelijk afval verwijderd mogen worden aan het einde van hun gebruiksduur. Om möglichke schade aan het milieu of de menselijk gezondheid door ongecontroleerde afvalverwijdering te voorkomen, moet u deze artikelen van andere soorten afval scheiden en op een verantwoorde manier recyclen, zodat het duurzame hergebruik van materiaalbronnen worden bevorderd.
Huishoudelijk gebruikers要去 contact opnemen met de winkel waar ze dit product hebben gekocht of met de gemeente waar ze waren om te vernemen waar en hoe ze deze artikelen milieuvriendelijk kannen lately recyclen.
Zakelijkge gebruikers要去en contact opnemen met hun leverancier en de algemene voorwaarden van de koopovereenkomst nalezen. Dit producten zich elektronische accessoires mogen Niet met ander bedrijfsafval voor verwijdering worden gemengd.
Ga voor informatie over de milieuafspraken en productspecifieke wettelijkke verplichtingen van Samsung, zoals REACH, AEEA en m.b.t. accu's, maar onze duurzaamheidspagina via www.samsung.com
(Geldt alleen voor producten die worden verkocht in Europese landen en in het VK)
Installatie
Volg vór gebruik deze instructies zorgvuldig op om een goede installmentie van deze koelkast te garanderen en om ongelukken te voorkomen.
WAARSCHUWING
- Gebruik de koelkast alleen voor de doeleinden waar voor deze is ontworpen, zoals beschreiben in deze handledeiding.
Eventuele reparatiewerkzaamheden moeten worden verricht door een gekwalificeerde monteur. - Voer het verpakkingsmateriaal van het product in overeenstemming met deplaatselijke regelgeving af.
- Haal voor onderhoud of verranging de stekker uit het stopcontact om elektrische schokken te voorkomen.
Overzicht van de koelkast
Het werkelijk je uiterlijk van uw koelkast kan afwijknen, afhankelijk van het model en het land.
Normale modellen

Modellen met dispenser

01 Leggers in de vriezer
04 Vriezerbak
07 Multifunctionele lade
10 Wijnrek
02 Multifunctionele vriezerbak
05 Leggers in de koelkast
08IJsemmer
11 Onderste vriezerbak
03 Bewaarlade voor gedroogd eten en vlees
06 Groentelade
09 Watertank *
12 Onderste koelkastbak
- Alleen voor bepalde modellen
** Alleen voor modellen met dispenser
Installatie
OPMERKING
Het ontwerp van het eiercompartment kan per model verschillen.
1 LET OP
Wijzig bij normale modellen Niet de positie van de leggers in de vriezer. De leggers in de vriezer verschillen in lenght, en als u de positie ervan wijzigt,kest u het product beschaden gen wonneer u de deur sluit.
Stapsgewijze installment
STAP 1 Een locatie selecteren
Vereisten voor locatie:
Zorg voor een solide, vlakke ondergrond zonder vloerbedekking of andere ventilatiebelemmeringen
- Geen direct zonlicht
Voldoende ruimte voor het openen en sluiten van de deur
Niet in de buurt van een warmtebron
Ruiimte voor onderhoud en service
- Temperatuurbereik::tussen 5^ en 43^
Vrijruimte
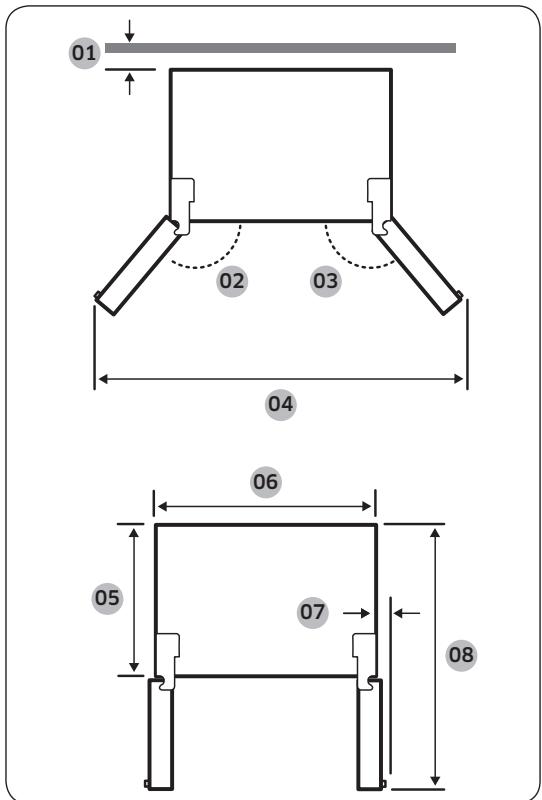
Zie de Foto's en tabel hieronder voor de benodigde ruimte voor de installmentie.

| Diepte 'A' | 716 |
| Breedte 'B' | 912 |
| Hoogte 'C' | 1746 |
| Algemene hoogte 'D' | 1780 |
(eenheid: mm)

| Model | RS67A8* RS66A8* RS6JA8* RS6KA8* | RS68A8* RS6GA8* |
| 01 | meer dan 50 mm aanbevolen | |
| 02 | 165° | |
| 03 | 170° | |
| 04 | 1739 mm | 1730 mm |
| 05 | 610 mm | |
| 06 | 912 mm | |
| 07 | 30 mm | |
| 08 | 1165 mm | |

OPMERKING
De metingen in de bovenstaande babel konnen afwijken, afhankelijk van de meetmethode.
STAP 2 Tussenafstand (alleen van toepassing voor bepaalde modellen)

- Open de deur en Zoek het meegeleverde tussenstuk.
- Pak het tussenstukuit en bevestig het zoals weergegeven aan de achterkant van de koelkast. Dit helpt de lucht te ventileren aan dechterwand en energia te besparen.
STAP 3 Ondergrond

- Het installmentieoppervlak van de koelkast要去en volledig bevulde koelkast hunnen dragen.
- Als u de vloer wilt beschermen, legt u een groot stuk karton onder elke stelpoot van de koelkast.
- Verplaats de koelkast Niet更是 wanner deze op de definitieve positie staat, tenzij het noodzakelijk is om de vloer te beschermen. Gebruik in dat geval dik papier of een kleed zoals een oud tapijt op het pad waarlangs u de koelkast verplaatst.
OPMERKING
Als de koelkast vanwege zijn omvang Niet door de ingang kan, raadpleeg dan het gedeelte Deur verwijderen voor verplaatsing in het hoofdstuk Installatie.
STAP 4 Pas de stelpoten aan
LETOP
- De koelkast要去 waterpas staan op een vlakke, stevige ondergrond. Wanner u dit Niet doet, kan dit leiden tot schade aan de koelkast of lichamelijk letsel.
- De koelkast要去 leeg zich wanner u deze waterpas stelt. Zorg dat er geen etenswaren in de koelkast hinterblijven.
Stel om veiligheidsredenen de voorkant een beetje hoger af dan de achterkant.
De koelkast kan met behulp van de speciale schroef (regelaar) van de voorste stelpoten waterpas worden gesteld. Gebruik een platte schroevendraaier voor het waterpas stellen.


De hoogte van deijke van de vriezer afstellen: Steek een platte schroevendraier in de regelaar van de voorste stelpoot aan deijke van de vriezer. Draai de regelaar maar rechts om de koelkast hoger en linksom om deze lager te zetten.
De hoogte van deijke van de koelkast afstellen: Steek een platte schroevendraaier in de regelaar van de voorste stelpoot aan deijke van de koelkast. Draai de regelaaraar rechts om de koelkast hoger en linksom om deze lager te zetten.
Installatie
STAP 5 De deurhoogte en de deuropening afstellen
De hoogte van een deur afstellen
De hoogte van een deur kan worden afgesteld met behulp van de spanmoer en de stelmoer onder aan de voorzijde van elke deur.

- Als u de deur opent die u wilt afstellen, vindt u deze twee moeren (A) en (B) onder aan de voorzijde van de deur.

-
Draai de spanmoer (A) maar rechts los met een moersleutel van 19 mm (meegeleverd). Open verwolgens de deur en voer dan de volgende handeling uit aan de binnenzijde.
-
Als u de deur hoger wilt afstellen, draait u de stelmoer (B) maar links.
- Als u de deur lager wilt afstellen, draait u de stelmoer (B) maar rechts.

- Als u klaar bent, zet u de spanmoer (A) vast door deze linksom te draaien.
STAP 6 De slang voor de waterdispenser aansluiten (alleen van toepassing voor bepaalde modellen)
Vereiste onderdelen en gereedschap

Houder en schroeven voor waterslang

Borgklem waterfilter

Koppelstuk (24 mm)

Waterfilter

Waterslang

Controlekrep
Installatie (external slang voor dispenser)

- Monteer met behulp van koppelstukken de slang van de waterleiding.
- Sluit de hoofdwatertoevoer af en sluit dan de waterkraan af.
- Sluit het koppelstuk aan op de koudwaterkraan.

LET OP
- Controller goed of u het koppelstuk op de koudwaterkraan aansluit. Als u het op de warmwaterkraan aansluit, kan het waterfilter verstoapt raken en nicht meer normal werken.
- De garantie van uw koelkast heeft geen betrekking op de installmentie van de waterleiding. U draagt de kosten voor de installmentie van de waterleiding tenzij de installmentiekosten zijn inbegren in de prijs van de detailhandelaar.
Samsung neemt geen verantwoordelijkheid voor de installmentie van de waterleiding. Neem contact op met de installateur van de waterleiding als er water lekt. - De waterleiding要去 worden hersteld door een erkende deskundige. Als u een waterlek gegenkomt, dient u contact op te nemen met eenplaatselijk servicecentrum van Samsung of de installerur van de waterleiding.
STAP 7 Aansluiten op een waterbron (alleen bepaalde modellen)
LET OP
- De waterleiding moet door een gekwalificeerde monteur worden aangesloten.
- De garantie van uw koelkast heeft geen betrekking op de installmentie van de waterleiding. U draagt de kosten voor de installmentie van de waterleiding tenzij de installmentiekosten zijn inbegrepen in de prijs van de detailhandelaar.
Samsung neemt geen verantwoordelijkheid voor de installmentie van de waterleiding. Neem contact op met de installateur van de waterleiding als er water lekt.
De koudwaterleiding aansluiten op de waterfilterslang
LET OP
- Zorg dat de waterfilterslang op een koude drinkwaterbron worden aangesloten. Als deze worden aangesloten op de warmwaterleiding, kan dit tot storingen in het waterfilter leiden.

A. Sluit de hoofdwatertoevoer
B. Geen opening

- Sluit de watertoevoer af door de hoofdkraan af te sluiten.
- Zoek de koude drinkwaterleiding (1).
- Volg de installmentie van de waterleiding om de waterleiding aan te sluiten.
OPMERKING
Gebruik de neue slangensets die bij het apparaat worden geleverd. Oude slangensets mogen nicht worden hergebruikt.
De waterfilterslang aansluiten op de waterleiding




A. Waterslang van apparatus
B. Waterslang van kit


- Draai de drukmoer (a) los, verwijder.Deze uit de waterleiding van de koelkast en doe deze in de waterfilterslang.
- Haal de drukmoer (a) aan om de waterfilterslang en de waterleiding aan te sluiten.
- Open de hoofdkraan en controllerer op eventuele lekkage.
- Als er geen lekkage is, maar dan ongeveer 10 liter of 6-7 minutes lang water lopen voordatu de koelkast werkelijk gaat gebruiken om onzuiverheden in het waterfiltersystem te verwijderen.
- Bevestig de waterleiding aan een wasbak of muur met gebruik van een klem.

LET OP
Haal de waterslang nicht overmatig aan. Zorg dat de waterslang nicht worden geknikt, bekneld of geplet.
- Monteer de waterleiding Niet op een onderdeel van de koelkast. Hierdoor kan de koelkast beschadigd raken.

OPMERKING
Als u de koelkast na het aansluiten van de waterleiding要去 verplaatsen, zorg er dan voor dat het aingesloten gedeelte van de waterleidingrecht is.
De waterleiding reparen

LET OP
De waterleiding要去en hersteld door een erkende deskundige. Als u een waterlek gegenkommen, dient u contact op te nemen met eenplaatselijk servicecentrum van Samsung of de installmenter van de waterleiding.
Installatie
Waterfiltratiesystem met omgekeerde osmose
De druk van de watertoevoer maar een waterfiltrationsystem met omgekeerde osmose要去ussen de 241 kPa en 827 kPa�.
De waterdruk van het waterfiltratiesystem met omgekeerde osmose waar de koudwaterleiding van de koelkast要去 ten minste 276kPa 着眼. Als de waterdruk hieronder ligt:
- Controller of het sedimentfilter in het omgekeerde-osmosystem is geblokkeerd. Vervang het filter indien nodig.
Vul de watertank in het omgeekerde-osmosesystem bij met water. - Als uw koelkast een waterfilter heeft, kan dit de waterdruk nog verder reduceren als het worden gezruikt in combinatie met een omgekeerde-osmosesystem. Verwijder het waterfilter.
Neem contact op met een erkende loodgieter voor meer informatie of onderhoud.

OPMERKING
ER MOET EEN WATERFILTER GEINSTALLEERD ZIJN.
Zorg ervoor dat er een waterfilter is geinstalleerd.
- Als er geen waterfilter geinstalleerd is, können fijn de vreeimde deeltjes (zand, kalk) in het water voortdurend de watertoevoerleiding binnenkomen en möglichk defecten in het watertoevoersystem verroorzaken.
Een niew filter bestellen
Als u een新模式 waterfilter (onderdeeltype: HAFEX/EXP) wilt aanschaffen, neemt u contact op met hetplaatselijkke servicecentrum van Samsung.
Het waterfilter monteren


- Bevestig de borgklemen (x2) op de juiste plekken, bijvoorbeeld onder de afvoer. Zet de borgklemen verrolgens stevig met schroeven vast.
- Doe het waterfilter in de juiste richting in de bovenste en onderste klemmen. Controller de verticale richting van het waterfilter.
OPMERKING
Indien het filter horizontaal worden geplaatst, kan er water achechterblijven in het filter. Daarom worden verticale plaatsing aanbevolen.
A LET OP
Monteer het waterfilter Niet op een onderdeel van de koelkast. Hierdoor kan de koelkast beschadigd raken.
Vervanging waterfilter (alleen bepaalde modellen)
A LET OP
- Gebruik geen waterfilters van derden. Gebruik alleen filters die door Samsung zijn geleverd of goedgekeurd.
- Niet-goedgekeurde filters können gaan lekken en de koelkast beschadigen wat elektrische schokken kan veroorzaken. Samsung is Niet aansprakelijk voor eventuele schade die kan ontstaan uit het gebruik van waterfilters van derden.
- De indicator voor verwanging van het waterfilter () knippert als hetijd is om het waterfilter te verwangen.
Installatie



- Zet de hoofdwatertoevoer UIT.
- Sluit de watertoevoerleiding aan op het uiteinde van de inlaatzijde van het filter.
-
Sluit de dispenserleiding aan op de uitlaatzijde van het filter.
-
Controller of er een eventuel lek is. Zet de leidingen vast met de klemmen als dat nicht het geval is.
- Plaats het waterfilter en bevestig het met de klemmen.
- Reset het alarm voor verranging van het waterfilter. (Raadpleeg het gedeelte 'Het alarm voor verranging van het waterfilter resetten of negeren' op pagina 48 voor uitgebreide instructies.)
- Wanner u de verranging hebt geplaatst, spoelt u 10 liter water (of的那一 water 6-7 minutes lopen) om onzuiverheden uit de waterleiding te verwijderen.
LET OP
Wanner u de lenghte van de waterslangen aanpast, zorg dan dat u het snijvlak in een rechte hoek gladstrijkt. Hiermee voorkomt u waterlekken.
OPMERKING
- Even nieuw geplaatst filter kan ervoor zorgen dat het water korteijd versneld uit de waterdispenser vrijkomt. Dit is,ondat er lucht in de waterleiding is gekomen.
- Tijdens het vervoen kan er water UIT de koelkast op de vloer druppelen. Als dit gebeurt, veeg het dan op met droge doeken.
STAP 8 Eersteinstalling
Als u de volgende stappen uitvoert, is de koelkast volledig gebruikskaar.
- Steek de stekker in het stopcontact om de koelkast in te schakelen.
- Open de deur en controllerer of de binnenverlichting aan gaat.
- Zet de temperatuur op de koudste temperatuur en wacht ongeveer een uur. De vriezer worden dan langzamerhand koud en de motor draait gelijkmatig.
- Wacht totdat de koelkast de ingestelde temperatuur heeft bereikt. De koelkast is nu klaar voor gebruik.
STAP 9 Eindcontrole
- De stekker van de koelkast in een goed geaard stopcontact zit.
- De koelkast op een vlakke en eigale ondergrond is geinstalleerd met een redelijkke afstand tot de muur of de kast.
- De koelkast waterpas en stevig staat.
- De deur makkelijk open en dicht gaat, en of de binnenverlichting automatisch aan gaat als u de deur opent.
Installatie
Deur verwijderen voor verplaatsing
Als de koelkast vanwege zijn omvang Niet door de ingang kan, volg dan deze instructies:
Vereiste gereedschap (niet meegeleverd)
Dit gereedschap worden gebruikt voor het verwijderen van de deuren.

Kruiskopschroevendraier

Platte schroevendraier

Dopsleutel (10 mm)

Inbussleutel (5 mm)
Ontkoppel de waterslang


- Trek de waterslang onder aan de blijde van de koelkast maar voren.

OPMERKING
De waterslang van de koelkast is een watercirculatieleiding die de verbinding vormtussen de waterleiding van de waterbron ende slangen van het waterfiltersystem van de koelkast.
- Als u de slangen wilt ontkoppelen, houdt u de spontang (A) ingedrukt en haalt u de waterslang (B) los.

LET OP
Oefen geen buitensporige kracht op het koppelstuk uit. Deze kan breken.
De deuren verwijderen
1 LET OP
De deur kanijdens een van deze stappen eraf vallen of omvallen, en beschadigd raken. Wees uiterst voorzichtig bij het uitvoeren van deze stappen om een ongeluk te voorkomen.




- Schroef de scharnierafdekkingen (A) boven op elke deur los met een kruskopschroevendraier.
- Open de deuren om de scharnieren los te make en de scharnierafdekkingen te verwijderen. Wanner u de afdekkingen hebt verwijderd, sluit u de deuren.
-
Ontkoppel de kabelboom.
-
Til de klem voorzichtig op.
OPMERKING
Til de klem Niet met kracht op om schade aan de klem of verwondingen te voorkomen.
- Til de klem op om deze te verwijderen.
Installatie

- Open de deur 90 graden. Houd de deur vast en verwijder het scharnier.
LET OP
Als u het scharnier verwijdert zonder de deur vast te houden, kan de deur vallen en verwondingenveroorzaken.
De waterslangen opnieuw aansluten
Sluit de waterslangen opnieuw aan zodra de koelkast door de ingang is gekomen.

A. Het midden van de transparante koppeling
LET OP
Zorg bij het aansluiten ervoor dat de kleuren van de waterslangen overeenkomen.
- Elke waterslang moet volledig in het midden van het transparante koppelstuk worden geplaatst om waterlekker te voorkomen.
- Nadat u de waterslangen opniew hebtaangesloten, duwt u ze onder de omkasting enplaatst u ze op de haak.
De deuren weeber bevestigen
LET OP
Voordat u de deuren opniew bevestigt, zorg dat alle elektrische aansluitingen goed+zijn aangesloten.
Eerst moet de deur van de vriezer opnieuw worden bevestigd.
Wees voorzichtig bij het verwijderen van de deur om te voorkomen dat deze op u valt.
- Kijkuitdatu geenkrassenaanbrengt.



- Houd de deur van de vriezer vast en haak\ deze aan het scharnier onder aan de koelkast.
- Plaats het scharnier op+zijnplaats en steek het dan in het gat van de deur.
- Schuif de klem in de richting van de pijl.
Installatie



- Druk zoals op de afbeelding op de klem.
- Sluit de kabelboom aan.
- Plaats de scharnierafdekkingen met de voorkant als eerste en haal de schroeven aan. Gebruik hiervoor een kruiskopschroevendraaier.
Functietoetsen

Type 1

Type 2

Type 3
| 01 Vriezerindicator | • Geeft de huidige of gewenste temperatuur van de vriezer wee. • geegt aan dat de functie Snelvriezen ingeschakeld is. • geeft aan dat de vriezer in de modus Koelkast werkt. • Off geeft aan de vriezer is uitgeschakeld. |
| 02 Koelkastindicator | • Geeft de huidige of gewenste temperatuur van de koelkast wee. • geegt aan dat de functie Snelkoelen ingeschakeld is. • geeft aan dat de functie Vakantie ingeschakeld is. |
| 03 Indicator Deur open | Deze indicator knippert met een alarm als de deur meer dan 2 minutes open worden gelaten. |
| 04 Indicator voor ijsmaker | • Geeft de status van de ijsmaker wee. • Als u ijs wilt make, moet u de ijsmaker inschakelen. |
| 05 Waterfilter-indicator | • geegt aan dat het waterfilter要去 worden verrangen. • Wanner u het pictogram ziet,(Int sunt u het waterfilter verwangen en het alarm voor verranging van het waterfilter resetten,of het alarm negeren en het filter later verrangen.(Zie het gedeelte 'Het alarm voor verranging van het waterfilter resetten of negeren' op pagina 48 voormeer informatie.) |
Bediening
| 06 Toetsen | • Als het display uitgeschakeld is,(Intuis)kunt u het activeren door op een willekeurige toets te tikken. • Gebruik ○ om de koelkast of vriezer te selecteren en < of > om de gewenste temperatuur of functie voor het geseleterde compartment te selecteren. |
OPMERKING
- Het bedieningspaneel is ontworpen om uitgeschakeld te blijven wanner de koelkast Niet in gebruik is. Het worden alleen actief en verlicht wanner u de deur opent of op de toetsen tikt.
- Als de deur 5 Minutes open staat, knippert het interne Licht gedurende 5 Minutes en gaat verwolgensuit. Zo krijgen slechthorenden een waarschuwing dat er een deur open staat. Dit is een normale functie.
De gewenste temperatuur of functie instellen
-
Tik op een toets (<, O of >) om het display te activeren.
-
Deze stap is op sommige modellen möglichn nicht van toepassing.
-
Tik op O om de koelkast of vriezer te selecteren.
-
De indicator van het geseleerde compartment knippert.
-
Het symbolism voor graden Celsius (°C) knippert zich.
-
Tik op < of > om de gewenste temperatuur of functie te selecteren.
- Raadpleeg de tabel voor de beschikbare selectie voor elk compartment.
| Fridge (Koelkast) | • Beschikbare selectie: Ⓒ (Snelkoelen) ↔ 1 °C ↔ 2 °C ↔ 3 °C ↔ 4 °C ↔ 5 °C ↔ 6 °C ↔ 7 °C ↔ Ⓞ (Vakantie) • Met Snelkoelen worden het koelproces op maximale ventilatorsnelheid versneld. De koelkast blijft twee en een half eer op规模最大 snelheid draaien en keert verzolgens terug maar de vorige temperatuur. • Gebruik de functie Vakantie als u opvakantie of op zakenreis gaat, of van plan bent om de koelkast een langearendiet te gebruiken. De temperatuur van de koelkast worden onder de 17 °C gezchoolen, maar de vriezer blijft actief volgens de eerdere instelleningen. |
| Freezer(Vriezer) | • Beschikbare selectie: (Snelvriezen) ↔ -23 °C ↔ -22 °C ↔ -21 °C ↔ -20 °C ↔ -19 °C ↔ -18 °C ↔ -17 °C ↔ -16 °C ↔ -15 °C ↔ (Koelkast) ↔ Off • Met Snelvriezen worden het vriesproces op maximale ventilatorsnelheid versneld. De vriezer blijft 50 uur opemaxile snelheid draaien en keertervolgens terug maar de vorige temperatuur. Als u een grote hoeveelheid voedingsmiddelen wilt invriezen, activeer Snelvriezen dan ten minste 20 uur voordat u voedsel in de vriezer plaatst. • Als u (Koelkast) selecteert, werkt de vriezer als een koelkast en worden de temperatuurinstelling gewijzigd in 3 °C. • Als u Off selecteert, worden de vriezer uitgeschakeld. • Leeg de ijsemmer voordat u (Koelkast) of Off selecteert. 15 seconden nadat u (Koelkast) of Off hebt geselecteerd, begint de ijsmaker al het resterende ijs in de ijsemmer te deponeren. WAARSCHUWING • Plaats geen glazen flessen met vloeistof in de vriezer wanner deze in de modus Fridge (Koelkast) staat. Wanner u de modus Koelkast uitschakelt en de vriezer waar aan de vriesmodus overgaat, za de vloeistof in de glazen flessen bevriezen en zullen de glazen flessen breken of barsten in de vriezer. • Zorg dat u bevroren etenswaren uit de vriezer verwijdert voordat u de modus Koelkast inschakelt. Bevroren etenswaren zullen ontdooven en bederven wanner de temperatuur stigt. • Zorg ervoor dat u alle etenswaren verwijdert die u Niet wilt invriezen voordat u de modus Koelkast uitschakelt en de vriezer gebruikt om te vriezen. OPMERKING • Wanner u de functie Snelvriezen gebruikt, neemt het energieverbruik van de koelkast toe. Zet deze functie uit als u deze nicht nodig hebt en zeit de vriezer waar op de oorspronkelijke temperatuurinstelling. • Wanner de vriezer in de modus Off (Uit) worden gezet, worden de temperatuur in de vriezer onder 17 °C gehonden, maar de koelkast blijft werkken zoals eerder ingesteld. • Bewaar geen voedsel of dranken in de koelkast wanner de vriezer is ingesteld op Off. • Als u de vriezer in de vriesmodus gebruikt, raden we u ten zeerste aan om plastic containers te gebruiken voor het bewaren van etenswaren, met name groenten. |
-
Wacht 5 seconden om je selectie te bevestigen.
-
De indicator van het geseleerde compartment stopt met knipperen.

OPMERKING
Het gebruik van Snelkoelen of Snelvriezen leidt tot een hoger stroomverbruik.

Bediening
De ijsmaker in- of uitschakelen
U kurz de automatische ijsmaker in de vriezer in- of uitschakelen.
- Tik op een toets (<, of > ) om het display te activeren.
- Deze stap is op sommige modellen möglichn nicht van toepassing.
- Tik op O tot het indicatielampje van de ijsmaker knippert.
- Tik op < of > om de ijsmaker in of UIT te schakelen.
Tik op < om deutsche in tschakelen.
- Tik op > om deze uit te schakelen.
-
Wacht 5 seconden of tik op O om uw selectie te bevestigen.
-
De IJsmaker-indicator stopt met knipperen.
Het alarm voor verranging van het waterfilter resetten of negeren
De indicator voor verranging van het waterfilter ( ) knippert als hetijd is om het waterfilter te verrangen. U(Intjk welldijk verwangen en het alarm voor verranging van het waterfilter resetten, of het alarm negeren als u het waterfilter op een later moment wilt verwangen.
- Tik op een toets (<, O of >) om het display te activeren.
- Deze stap is op sommige modellen möglichn nicht van toepassing.
- Tik op O tot de Waterfilter-indicator knippert.
-
Tik op < of > om Reset (Resetten) of Later te selecteren.
-
Als u het waterfilter hebt verrangen, tikt u op < om het alarm voor verranging van het waterfilter te resetten.
-
Als u het waterfilter op een later moment wilt verrangen en het alarm negeren, tikt u op >.
-
Wacht 5 seconden of tik op O om uw selectie te bevestigen.
-
De Waterfilter-indicator stopt met knipperen.
Dispenserpanel (alleen bepaalde modellen)

01 Water / Lock (Vergrendelen)
02 Cubed Ice (IJsblokjes)
03 Crushed Ice (Gemalen ijs)
01 Water / Vergrendelen (3 sec)
| Water | Als u gekoeld water UIT de dispenser wilt latentkommen, drukt u op Water. Het correspondende individielampje gaat dan branden. |
| Lock (Vergrendelen) Dispenserpannel/ dispenserhendel) | Als u ervoor wilt zorgen dat de toets van het dispenserpaneel en de dispenserhendel Niet;kuren worden gezruikt, houdt u Watereer dan 3 seconden ingedrukt. Als u de toets nog.ecn toen dan 3 seconden ingedrukt houdt, worden de dispenser ontgrendeld. OPMERKING De knop Lock (Vergrendelen) op het dispenserpaneel heeft geen invloed op de bedieningselementen van het hoofdpaneel. Als u het hoofdpaneel wilt vergrendelen, gezruikt u de functie Bedieningsvergrendeling op het hoofdpaneel. |
02 IJsblokjes
Cubed Ice (IJsblokjes)
Druk op Cubed Ice (IJsblokjes) om ijsblokjes uit de dispenser teCTX komen. De correspondende indicator gaat branden.
03 Gemalen ijs
Crushed Ice (Gemalen ijs)
Druk op Crushed Ice (Gemalen ijs) om gemalen ijs uit de dispenser te lien komen. De correspondende indicator gaat branden.
Speciale functies
De koelkast is voorzien van gebruikersgerichte apparaten waar u van=kunt profiteren.
Water-/ijsdispenser (alleen bepaalde modellen)
Met de dispenser kurz u water met of zonder ijs krijgen.
De waterdispenser besteht 3 opties: gekoeld water, ijsblokjes en gemalen ijs. Als u gekoeld water UIT de dispenser wilt latenten komen, drukt u op Water op het dispenserpaneel. Plaats een glas onder de dispenser en druk voorzichtig gegen de dispenserhendel.
Water met ijsuit de dispenser laden komen

- Druk verwijl de ijsmaker is ingeschakeld, op Cubed Ice (IJsblokjes) of Crushed Ice (Gemalen ijs) om het type ijs te selecteren.
- Plaats een glas onder de dispenser en druk voorzichtig met het glas gegen de dispenserhendel. Er komt ij's uit de dispenser.
- Druk op Water om water te selecteren.
- Druk met het glas op de dispenserhendel. Er komt water uit de dispenser.
OPMERKING
- Als u de dispenserhendel ongeveer 1 minuut ingedrukt houdt, stopt de dispenser. Als umeer water wilt, LAST de hendel dan los en druk er weeop.
Houd het glasrecht onder de dispenser om te voorkomen dat u water morst. - Als u de waterdispenser 2-3ragen Niet gebruikt, is het möglichk dat het water vreemd smaakt of ruikt. Dit is geen defect aan het systeme. Gooi de eerste 1-2 glazen water weg.
IJsmaker (alleen bepaalde modellen)
De koelkast heeft een ingebouwde ijsmaker waarmee u automatisch ijs krijgt zodat u kurz genieten van gefilterd water met ijsblokjes of gemalen ijs.
IJsmaken
Nadat u uw koelkast hebt geinstalleerd en aangesloten, volgt u deze instructies om er zeker van te zich dat u maar behoren ijs=kunt make n en dat de ijsemmer vol met ijs blijft:
- Zorg dat de koelkast ten minste 24 uur werkt voor een optimale prestatie.
- Vul een glas met de eerste 4 tot 6 ijsblokjes.
- Wacht nog eens 8aar en haal nog eens 4 tot 6 ijsblokjes uit de dispenser.
- Wacht verwolgens nog eens 16 uu er laat een glas vollopen met ijsblokjes.

OPMERKING
- Als u al het ijrs in een keer gebruikt, moet u 8 eerwachten voordat u de eerste 4 tot 6 ijsblokjes uit de dispenser haalt. Dit zorgt ervoor dat de ijsemmer op de juiste wijze met ijrs worden gevuld.
- IJsblokjes die snel worden gemaatk, kuren er wit uitzien. Dit is normala.
LET OP
Neem een geschikte hoeveelheid ij's voor de maat van de beker.
- Wonneer u te veel ijs UIT de dispenser LAST komen, kan het op de grond vallen, wat persoonlijk letsel tot gevolg kan hebben.
Er kan zich ijs ophopen waardoor de ijskoker verstopt kan raken.
De watertank vullen met drinkwater (alleen bepaalde modellen)



Wanner u de watertank voor het eerst gebruikt, reinigt u de binnenkant en droogt u deze.
- Pak beiden handgrepen aan de voorkant van de tank en schuif deze uit zoals weergegeven.
- Open de voorste klep (A) van de afdekking of het volledige deksel (B) en vul de tank met max. 5 liter water.
LETOP
- De marketing max. mag nicht worden overschreten. Anders loopt het water over.
Alleen met drinkwater vullen. - Plaats de watertank terug in het dispenserermechanisme. Zorg dat de voorkant (met de voorste klep) van de tank waar voren is gericht.
LET OP
- Controller of de watertank in de legger past. Anders werkt de watertank möglichk Niet goed.
- Gebruik de koelkast Niet zonder de watertank. Hierdoor zouden de koelprestaties konnen afnemen.
Vul de tank alleen met drinkwater, zoals als mineraalwater of gezuiverd water. Gebruik geen andere vloeistof.
Bediening
- Wees voorzichtig runaway u een gemulde tank verplaatst. Als de tank valt, kan dit lichamelijk letselveroorzaken.
- Probeer de interne pomp Niet zich te demonteren. Als de interne pomp is beschadigd of losgekoppeld van de watertank, werkt de dispenser Niet.
Voor het eerste gebruik
Druk 10 seconden op de dispenserhendel om de slangen van het watersysteme te ontluchten.
Gooi de eerste zes glazen water weg om onzuiverheden uit het watersysteme te verwijderen.
IJsblokjes (alleen bepaalde modellen)
De koelkast haeft een ingebouwde ijsmaker waarmee u automatisch ijs krijgt zodat u maar wens kunt genieten van gefilterd water met ijsblokjes of gemalen ijs.


Als er geen ijnsuit de dispenser kommt, controlleren dan eerst of de ijsmaker goed functioneert en ijns maakt.
De ijsmaker controlleren
- Houd de ijsemmer (B) met beiden handen vast en neem de emmer uit de ijskoker (A).
-
Controller of de ijsemmer voldoende ijs bevat.
-
Druk op toets (C) aan de onderkant van de ijsmaker. De gong (ding-dong) klinkt wanneer u op de knop drukt.
- Er klinkt nog een gong als de ijsmaker goed werk.
OPMERKING
Als dit symptom aanhoudt, neemt u contact op met de installer van de waterleiding of een lokaal servicecentrum van Samsung.
1 LET OP
- Druk Niet herhaaldelijk op de knop als de lade bevuld is met ijs of water. Hierdoor kan het water overstromen of het ijs vast raken.
-
Als de koelkast na een stroomstoring werk worden ingeschakeld, kan de ijsemmer een meldsel van gesmolten en vastgelopen ijsblokjes bevatten. De dispenser zal hierdoor nicht meer werken. U kunt dit voorkomen door de ijsemmer leeg te gooien voordat u de koelkast geleukt.
-
Wonneer u de ijsemmerplaatst of wegneemt uit de ijskoker kurz u dit het Beste met beiden handen doen om te voorkomen dat de emmer valt.
- Laat kinderen Niet aan de ijsmaker hangen of ermee spelen. Dit geldt ook wat betreft de ijsemmer. Kinderen zonden zich können bezeren.
- Plaats geen vingers of andere voorwerpen in de opening van de dispenser of de ijskoker. Als u dit wel doet, kan dit lichamelijk letsel of schade aan eigendommen veroorzaken.

OPMERKING
- Als u de ijsemmer verwijdert, zar het indicatielampje IJsmaker ON (AAN) gaan knipperen.
- Als u de ijsemmer verwijdert, heeft dit geen invloed op de thermische en mechanische prestaties van de koelkast.
- De aangegeven vriezercapaciteit is gemeten met vriezergeleider en de onderste legger, na het verwijderen van de ijsmaker en de bovenste en onderste lade.
Meer opslagruimte creeren (alleen bepaalde modellen)

Als u de ijsmaker nicht gebrukt en meer opslagcapaciteit wilt creeren, kurz u de ijsemmer (A) verwijderen. U kurz cervolgens de vriezergeleider (optioneel) (B) installereren op de plek van de ijsemmer.

Als umeer ruihte wilt make, verwijdert u de bovenste lade (C), de onderste lade (D) en de afdekking van de onderste lade (E). Plaats cervolgens de geleverde bodemplaat (F).
OPMERKING
- Het verwijderen van de laden heeft geen invloed op de temperatuur of het gebruik van de vriezer.
- De aangegeven vriezercapaciteit is gemeten met de bodemplaat, na het verwijderen van de bovenste lade, de onderste lade en de afdekking van de onderste lade.

Voor nog meer ruimte verwijdert u de watertank en gebruikt u de vrijgekomen ruimte voor het opslaan van nog meer producten.
IJsemmer



Als u een langerearend geen ijs produeert, kan het ijs gaan klonteren in de ijsemmer. Als dit gebeurt, dient u alle ijsblokjes te verwijderen en de emmer leeg te make.
- Als u de ijsemmer wilt verwijderen, tilt u deutsche voorzichtig op en trekt u de emmer er langzaamuit. Houd waar bij de handgrepen met beiden handen vast.
- Verwijder de emmer en maak deze leeg.
- Als u klaar bent, draait u de hendel aan dechterzijde van de emmer 90^ en plaatst u de emmer wee terug. Zorg dat de emmer stevig op+zijn plaats zit door deze vast te drukken tot u een klikgeluid hoor.

LET OP
- Oefen geen buitensporige kracht uit op de klep van de emmer. De klep kan afbreken.
- Gebruik Niet te veel kracht bij het sluiten van de deur. Er kan water in de ijsmaker komen.
- Om letsel te voorkomen,要去 al het ijsl water dat op de grond terecht is gekommen direct opruimen.
- Laat kinderen Niet spelen met de waterdispenser of de ijsmaker om ongelukken of letsel te voorkomen.
- Steek geen handen of voorwerpen in de ijskoker. Dit kan lichamelijk letsel of schade aan het product veroorzaken.

OPMERKING
- Als het indicatielampje IJsmaker ON (AAN) knippert, dient u de ijsemmer weg te nemen en nervolgens terug teplaatsen. Zorg dat de emmer op de juiste manier terug is geplaatst.
- Het is normal dat de ijsmaker tijdens het ijs makeen geluid produeert.
Bediening
- Als de leur open is, werkden de ijsmaker en de waterdispenser allebei Niet.
Waterdruk
U kontt aan de hand van de volgende stappen controlleren hoeveel water in de ijslade stroomt.

- Verwijder de ijsemmer.
- Druk op toets (A) aan de onderkant van de ijsmaker. Normaal gesproken worden de ijslade binnen enkele(AP) minuten gemvuld met water.
- Als het waterpeil lager is dan verwacht, controlleren dan de waterdruk van de watertoevoer. Dit is geen defect aan het systemeem.
LETOP
- Niet herhaaldelijk op de toets aan de onderkant van de ijsmaker drukken wanner de lade is gezuld met water. Hierdoor kan het water overstromen of het ijs vast raken.
Zorg dat de emmer op de juiste manier is geplaatst. Als dat Niet het geval is, zal de ijsmaker nicht werkken. - Verwijder bij een stroomstoring de ijslade. Er kan water uit stromen.
Behandeling en onderhoud
Leggers (koelkast/vriezer)/wijnrek (alleen bepaalde modellen)


Deurbakken

- Trek de legger (of wijnrek) een stukje waar voren. Trek hem dan�n buiten terwijl u dechterkant optilt.
- Draai de legger (of het wijnrek) schuin om te verwijderen.
LET OP
- De legger要去 goed worden geplaatst. Plaats deze Niet ondersteboven.
- Glazen accessoires können het oppervlak van de glazen leggers beschaden.
- Plaats geen legger in het wijnrek. Hierdoor kan de koelkast beschadigd raken. (alleen bepaalde modellen)
Als u een deurbak wilt verwijderen, houd dan de voorzijden van de bak vast en til deze voorzichtig op om te verwijderen.
Onderhoud
Laden

Til de Voorkant van de lade voorzichtig op en schuif deze eruit.
Bewaarlade voor groente en gedroogd eten en vlees

Als u de groentelade uit de koelkast of de drooglade uit de vriezer wilt verwijderen.
- Verwijder zo nodig eerst de omringende multifunctionele lades.

- Als de lade voor groente en gedroogde producten van uw koelkast is voorzien van een afdekking (A), verwijder deze door middel van de volgende methode.
a. Trek de lade half maar buiten.
b. Trek aan de afdekking verwijl u de achechterkant indrukt (zoals aangegeven in de afbeeling).
- Trek daarna de groentelade/drooglade voorzichtig uit de koelkast.
IJsemmer
Zie het gedeelte IJsemmer op pagina 55 als u de ijsemmer wilt verwijdenen.
Reinigen
Binnenkant en buitenkant

WAARSCHUWING
- Gebruik geen wasbenzine, thinner of huis-/autoreinigingsmiddelen als bleekmiddel om de koelkast schoon te make. Deze können het oppervlak van de koelkast beschadigen en brand veroorzaken.
- Spuit geen water op de koelkast. Er können elektrische schokken ontstaan.
- Plaats uw vingers of andere voorwerpen Niet in de opening van de dispenser.
Verwijder alle vreemde stoffen als stof en water regelmatig met een droge doek uit de klemmen en contactpunten van de stekker.
- Ontkoppel het netsnoer.
- Gebruik een vochtige, zachte, pluisvrijde doek of keukenpapier om de koelkast van binnen en buiten schoon te make.
- Als u klaar bent, gebruik dan een droge doeck of keukenpapier om alles goed te drogen.
- Steek het netsnoer in het stopcontact.
IJs-/waterdispenser (alleen bepaalde modellen)

OPMERKING
Reinig om hygienische redenen regelmatig het dispenserergedeelte.

LET OP
Wanner u gemalen ijs selecteert, kan er wat ijsschaafsel in de ijskoker achechterblijven. Om dit voorkomen verwijdert u resterend ijs uit de ijskoker met een schone zachte doeck.
Als de rubber affdichtingen van een deur vuil worden, kan de deur möglichniet goed gesloten worden, waardoor de prestaties en efficicntie van de koelkast awhile gaan. Gebruik een mild schoonmaakmiddel en een vochtige doek om de rubber affdichtingen schoon te make. Vervolgens goed droog maken met een doek.

Onderhoud
Panel aan dechterzijde

Maak het paneel een of twee keer per Jaar met een stofzuiger schoon om ervoor te zorgen dat kabels en blootliggende delen van het paneel aan dechterzijde schoon blijven.
1 LET OP
De kap van het paneel aan deijkenzijde Niet verwijdenen. Er kan een elektrische schok plaatsvinden.
Vervanging
Lampjes
De lampjes können nicht door de gebruiker worden verrangen. Neem contact op met een lokaal servicecentrum van Samsung als u de lampjes van de koelkast wilt verrangen.
Problemen oplossen
Bekijk de onderstaande punten voordat u met de klantenservice belt. Alle gesprekken met de klantenservice die over normale situatives gaan (d.w.z. geen defecten), worden bij de gebruiker in rekening gebracht.
Algemeen
Temperatuur
| Symptom | Mogelijk zoorzaken | Oplossing |
| Koelkast/vriezer doet het Niet.Temperatuur van de koelkast/vriezer is te hoog. | ·Netsnoor is Niet goed aangesloten. | ·Steen het netsnoor goed in het stopcontact. |
| ·Temperatuur is Niet goed ingesteld. | ·Stel de temperatuur lager in. | |
| ·Koelkast bevindt zich in de buurt van een warmtebron of in direct zonlicht. | ·Houd de koelkast uit de buurt van direct zonlicht en warmtebronnen. | |
| ·Onvoldoende ruimte:tussen koelkast en wanden of kasten in de buurt. | ·We raden aan meer dan 50 mm ruimte:tussen de koelkast en de omringende muren (of kasten) te latent. | |
| ·De koelkast is te vol. Etenswaren blokkeren de luchtcirculatie in de koelkast. | ·Doe de koelkast Niet te vol.Zorg ervoor dat etenswaren de luchtgaten in de koelkast nicht kunnen blokkeren. | |
| Koelkast/vriezer is te koud. | ·Temperatuur is Niet goed ingesteld. | ·Stel de temperatuur hoger in. |
| De binnenwand van de koelkast is het. | ·De koelkast heeft hittebestendige pijpen in de binnenwand. | ·De koelkast heeft warmtebestendige leidingen in de hoeken aan de voorzijde om condensvorming te voorkomen. Als de omgevingsttemperatuur stijgt, werkde这一切 appearatuur möglichk Niet goed. Dit is geen defect aan het systeme. |
Problemen oplossen
Vreemde lucht
| Symptom | Mogelijk oorzaken | Oplossing |
| Koelkast heeft een vreeimde lucht. | Bedorven etenswaren. | Maak de koelkast schoon en verwijder de bedorven etenswaren. |
| Etenswaren met een sterke lucht. | Zorg dat etenswaren met een sterke lucht luckdticht zich verpakt. |
Aanvriezing
| Symptom | Mogelijk oorzaken | Oplossing |
| Aanvriezing rond de luchtopeningen. | • Etenswaren blokkeren de luchtopeningen. | • Zorg dat etenswaren de luchtopeningen nicht{kunnenblokkeren. |
| Aanvriezing aan de binnenwanden. | • Deur is Niet goed gesloten. | • Zorg dat etenswaren de deur nichtblokkeren. Maak de deurpakking schoon. |
Condensatie
| Symptom | Mogelijk oorzaken | Oplossing |
| Er zit condensatie op de binnenwanden. | • Als de deur wordt opengelaten, komt er vocht de koelkast in. | • Verwijder het vocht en LAST een deur Niet langeijd openstaan. |
| • Etenswaren met een hoch vochtigkeit. | • Zorg dat etenswaren luckdtucht着眼 ingepakt. |
Water-/ijs (alleen dispensermodellen)
| Symptoom | Mogelijkke oorzaken | Oplossing |
| De waterstroom is zwakker dan normal. | • De waterdruk is te laag. | • Zorg ervoor dat de waterdruk:tussen 30 en 125 psi is. |
| De ijsmaker maakt een zoemend geluid. | • De ijsmaakfunctie is geactiveerd, maar de watertoevoer maar de koelkast is Niet aangesloten. | • Schakel de ijsblokjesmaker UIT. |
| Symptom | Mogelijk oorzaken | Oplossing |
| De ijsmaker�ucht geen ijs. | • De ijsmaker is zojuist geinstalleer. | • U要去 12aar wachten voordat de koelkast ijs kan make. |
| • De temperatuur van de vriezer is te hoog. | • Stel de temperatuur van de vriezer in op -18 °C (0 °F) of -20 °C (-4 °F) in warme omgevingslucht. | |
| • De vergrendeling van het dispenserpaneel is geactiveerd. | • Schakel de vergrendeling van het dispenserpaneel uit. | |
| • IJsmaker is uit. | • Schakel de ijsmaker in. | |
| Er komt geen ijs uit de ijsdispenser. | • Er kan een blokkering ontstaan als de ijsmaker langearend Niet worden gezruikt (ca. 3 weken). | • Als u de koelkast langearend Niet gezruikt, kaak dan de ijsemmer leeg en schakel de ijsmaker uit. |
| • De ijsemmer is nicht juist geplaatst. | • Zorg ervoor dat de ijsemmer correct is ingezet. | |
| • De waterleiding is Niet juist aangesloten of de watertoevoer is Niet ingeschakeld. | • Controller of de waterleiding is aangesloten. Controller of de kraan van de waterleiding open staat. |
Problemen oplossen
| Symptom | Mogelijk oorzaken | Oplossing |
| Er kommt geen water UIT de ijds dispenser. | • De waterleiding is Niet just aangesloten of de watertoevoer is Niet ingeschakeld. | • Controller of de waterleiding is aangesloten. Controller of de kraan van de waterleiding open staat. |
| • De vergrendeling van het dispenserpaneel is geactiveerd. | • Schakel de vergrendeling van het dispenserpaneel UIT. | |
| • Er is een waterfilter van een derde partij geinstalleerd. | • Gebruik alleen filters die door Samsung+zijn geleverd of goedgekeurd. • Niet-goedgekeurde filters+kennen gaan lekken en de koelkast beschadigen. |
Hoort u een abnormaal geluid uit de koelkast?
Bekijk de onderstaande punten voordat u met de klantenservice belt. Alle gesprekken met de klantenservice die over normale geluiden.gaan, worden bij de gebruiker in rekening gebracht.
Deze geluiden zijn normal.
- Aan het begin en het einde van een koelcyclus kan de koelkast geluiden make n die lijken op de ontbranding van een motor. Dit geluid neemt gaandeweg af.

- Terwijl de ventilator draait,kest u deze geluiden horen. Wanneer de koelkast de ingestelde temperatuur bereikt,hoort u de ventilator nicht meer.

- Tijdens een ontdoolingscylus kan er water op de ontdoolingsverwarming druppelen, waardoor er een sissend geluid hoorbaar kan zich.

Problemen oplossen
- Wanner de koelkast koelt of vriest, gaan er koelgassen door de afgesloten buizen, waardoor u een bubbelend geluid kurz horen.

Borrelen!

- Wanner de koelkasttemperatuur toeneemt of afneemt, zetten plastic onderdelen uit of krimpen ze, waardoor u kloppende geluiden kurz horen. Deze geluiden treden opijdens de ontdooingscylus of wanner elektronica in de koelkast aan het werk is.

Kraken!

- Voor modellen met een ijsblokjesmaker: wanner de waterklep open gaat om de ijsblokjesmaker te vullen, kut u een zoemend geluid horen.
- Doordat de druk verandert bij het openen en sluiten van de koelkastdeur,kest u een sissend geluid horen.
Bijlage
Veiligheidsinstructie
- Voor het efficiëntste energiegebruik dient u alle onderdelen zoals bakken, laden, leggers en de ijsblokjestray op deplaats te honden waar deze door de fabrikant zich geleverd.
- Dit koelapparaat is Niet bedoeld voor gebruik als inbouwapparaat.
Installatieinstructie
Voor koelapparaten met klimaatklasse
Afhankelijk van de klimaatklassie is dit koelapparaat bedoeld voor gebruik binnen het omgevingstemperatuurbereik dat is aangegeven in onderstaande tabel.
De klimaatklasse is aangegeven op het typeplaatje. Het product werkt möglichst Niet maar behoren bij temperaturen buiten het aangegeven bereik.
U=knt de klimaatklasse vinden op het etiket aan de binnenzijde van de koelkast
Effectief temperatuurbereik
De koelkast is ontworpen voor normalaal gebruik in het temperatuurbereik dat vermeld staat bij de classificatie.
| Klasse | Symbool | Bereik van de omgevingstemperatuur (°C) | |
| IEC 62552 (ISO 15502) | ISO 8561 | ||
| Hoog temperatuurbereik | SN | +10 tot +32 | +10 tot +32 |
| Gematigd | N | +16 tot +32 | +16 tot +32 |
| Subtropisch | ST | +16 tot +38 | +18 tot +38 |
| Tropisch | T | +16 tot +43 | +18 tot +43 |
OPMERKING
De koelprestaties en het energieverbruik van de koelkast kutnen worden beinvloed door de omgevingstemperatuur, de regelmaat waarmee de deur worden geopend en deplaats van de koelkast. Het worden aanbevolen om waar nodig de temperatuurinstelleningen te wijzigen.
Temperatuurinstructie
Aanbevolen temperatuur
De optimale temperatuur voor het bewaren van voedsel:
Koelkast: 3^
Vriezer: -19 °C
- Koelkast of Vriezer omschakelen: 3^ C
OPMERKING
De optimale temperatuurinstelling voor elk compartment is afhankelijk van de omgevingstemperatuur. De hierboven vermelde optimale temperatuur is gebaseerd op een omgevingstemperatuur van 25^ .
Snelkoelen
Met Snelkoelen worden het koelproces op maximale ventilatorsnelheid versneld. De koelkast blijft twee een half eer op maximale snelheid draaien en keert verzolgenstering nuar de vorige temperatuur.
Snelvriezen
Met Snelvriezen worden het vriesproces tot maximale ventilatorsnelheid versnelt. De vriezer blijft 50 uur opemax slelheid draaien en keertervolgens terug maar de vorige temperatuur. Als u een grote hoeveelheid voedingsmiddelen wilt invriezen, activeer Snelvriezen dan ten minste 20 uur voordat u voedsel in de vriezer plaatst.
OPMERKING
Wanner u deze functie gebruikt, neemt het energieverbruik van de koelkast toe. Zet deze functie uit als u deze Niet nodig hebts en zet de vriezer waar op de oorspronkelijke temperatuurinstelling.
De Beste conservering van bewaarde etenswaren (alleen van toepassing voor bepaalde modellen)
Dek etenswaren af om vochtverlies en het overnemen van geurtjes van andere voedingsmiddelen te beperken. Een große pan met etenswaren als soep of stoofpot kurz u better in Kleinere porties verdelen en in ondiepe bakjes doe den voordat u deze in de koelkast zeit. Een groot stuk vlees of helekip kan better in Kleinere stukken worden verdeeld of in ondiepe bakjes worden gedaan voordat u dit in de koelkast zeit.
Plaatsing van etenswaren
| Leggers | Leggers dien aangepast te kunnen worden omplaats te bieden aan verschillende verpakkingen. |
| Speciale compartmenten (alleen van toepassing voor bepaalde modellen) | Afgesloten groenteladen bieden een optimale bewaaromgeving voor groenten en fruit. Groenten hebben een hogere vochtigheidsgraad nodig, fruit een lagere. Groenteladen zich uitgerust met een bediening om de luchtvochtigheid te regelen. (*Afhankelijk van model en opties) In een vleeslade metaanpasbare temperatuur kunnen vlees en kaas het langst worden bewaard. |
| In de deur bewaard | Bewaar bederfelijk voedsel Niet in de deur. Eieren kutu het Beste in hun doos op een legger bewaren. De temperatuur van de opbergvakken in de deur wisselt sterker dan de temperatuur in de koelkast zelf. Houd de deur zoveel möglichk gesloten. |
| Vriesvak | In het vriesvak kutu diepvriesproducten bewaren, ijsblokjes maken en vers voedsel invriezen. |

OPMERKING
Vries alleen verse etenswaren in onbeschadigde staat in. Houd etenswaren die u wilt invriezen uit de buurt van etenswaren die al bevroren zich. Bewaar etenswaren luchtdicht verpakt om te voorkomen dat het zichernaak verliest of uitdroogt.
Bijlage
Bewaartabel voor koelkast en vriezer
Hoe lang een product vers blijft, hangt af van de temperatuur en bloatstelling aan vocht. Omdat de houdbaarheidsdatum op de verpakking geen richtlijn voor het veilig gebruik van een product,kest u deze tabel raadplegen en de tips opvolgen.
Melkproducten
| Product | Koelkast | Vriezer |
| Melk | 1 week | 1 maand |
| Boter | 2 weken | 12 maanden |
| IJs | - | 2-3 weken |
| Kaas | 1 maand | 4-6 maanden |
| Roomkaas | 2 weken | Niet aangeraden |
| Yoghurt | 1 maand | - |
Vlees
| Product | Koelkast | Vriezer |
| Verse rollades, biefstukken en koteletten | 3-4ragen | 2-3maanden |
| Vers gehakt, stoovflees | 1-2ragen | 3-4maanden |
| Spek | 7ragen | 1 maand |
| Verse worst van varken, rund of kalkoen | 1-2ragen | 1-2maanden |
Gevogelte/eieren
| Product | Koelkast | Vriezer |
| Vers gezogelte | 2agen | 6-8 maanden |
| Salade met gezogelte | 1 dag | - |
| Verse eieren (in de schaal) | 2-4 weken | Niet aangeraden |
Vis/zeegruchten
| Product | Koelkast | Vriezer |
| Verse vis | 1-2 dagen | 3-6 maanden |
| Gekookte/gebakken vis | 3-4 dagen | 1 maand |
| Vissalade | 1 dag | Niet aangeraden |
| Gedroogde of ingemaakte vis | 3-4 weken | - |
Fruit
| Product | Koelkast | Vriezer |
| Appels | 1 maand | - |
| Perziken | 2-3 weken | - |
| Ananas | 1 week | - |
| Ander vers fruit | 3-5 dagen | 9-12 maanden |
Groenten
| Product | Koelkast | Vriezer |
| Asperges | 2-3ragen | - |
| Broccoli, spruitjes, dooperwten en championnons | 3-5ragen | - |
| Kool, bloemkool, bleekselderij, komkommers en sla | 1week | - |
| Wortels, bietjes en radijsjes | 2weken | - |
Informatie over het model en het bestellen van reserveonderdelen
Modelinformatie
Voor toegang tot de EPREL-Registraratie van het model:
- ga waar https://eprel.ec.europa.eu
- Kijk voor het model-ID op het energielabel van het product en typ dit in hetzoekveld
- De energiaabelgegevens van het model worden weergegeven
Onderdeelinformatie
-
De minimumperiode dat reserveonderdelen, dieoodzakelijk zijn voor reparatie van het apparaat, beschikkaarং
-
7aarthermostaten,temperatuursensoren,printplaten enlichtbronnen,deurgrepen, deurscharnieren,trays,manden(dozenof laden)
-
10aar deurafdichtingen
-
De minimale garantiepiode voor het koelapparaat die worden door de fabrikant 24 maanden.
- Relevante informatatie voor het bestellen van reserveonderdelen,rechtstreeks of via andere door defabrikant, importeur of erkende vertegenwoordiger geboden kanalen
- U kurz professionel reparatie-informatie vinden op http://samsung.com/support.
- U kurz de onderhoudshandleiding voor gebruikers vinden op http://samsung.com/support.
Notities
Notities
Notities
Contact Samsung wereldwijd
Wanner u suggesties of vragen heeft met betrekking tot Samsung producten, verzoeken wij u contact op te nemen met de consumenten service- en informatie Dienst van Samsung.
| Land | Contactcentreum | Website |
| LUXEMBURG | 261 03 710 | www.samsung.com/be_fr/support |
| NETHERLANDS | 088 90 90 100 | www.samsung.com/nl/support |
| BELGIUM | 02-201-24-18 | www.samsung.com/be/support (Dutch) www.samsung.com/be_fr/support (French) |
SimpelGids