7600 666 - Cucina Foster - Manuale utente e istruzioni gratuiti
Trova gratuitamente il manuale del dispositivo 7600 666 Foster in formato PDF.
Questions des utilisateurs sur 7600 666 Foster
0 question sur cet appareil. Repondez a celles que vous connaissez ou posez la votre.
Poser une nouvelle question sur cet appareil
Scarica le istruzioni per il tuo Cucina in formato PDF gratuitamente! Trova il tuo manuale 7600 666 - Foster e riprendi in mano il tuo dispositivo elettronico. In questa pagina sono pubblicati tutti i documenti necessari per l'utilizzo del tuo dispositivo. 7600 666 del marchio Foster.
MANUALE UTENTE 7600 666 Foster
La ringraziamo per aver scelto un piano cottura Foster.
La Sus preferenza è per moi motivo di orgoglio e di soddisfazione.
Nel presente documento abbiamo raccolto i consigli e le istruzioni grazie alle quali potravutilizzare al meglio il piano cottura acquistato e garantirne la migliorhe conservazione nel tempo. Le chiediamo pochi minuti di attenzione per salvaguardare l'efficienza del prodotto e la sua soddisfazione.
Distincti saluti
Foster spa
#

AVVERTENZE GENERALI
I consigli generali da consultare prima dell'installazione e dell'uso del piano cottura acquistato.
- Avvertenze per l'uso 3
- Avvertenze per la sicurezza 4
- Avvertenze per lo smaltimento 4
- Conoscete il vosto apparecchio 5

ISTRUZIONI PER L'INSTALLATORE
Sono destinate al tecnico qualificato che deve eseguire l'installazione, la messa in servizio ed il collaudo dell'apparecchio.
- Prima dell'installazione 6
- Posizionamento nel top di lavoro 6
- Fissaggio del piano cottura al mobile 8
- Collegamento del piano cottura alla rete gas 11
- Ventilazione dei locali 12
- Scarico dei prodotti della combustione (aspirazione). 13
- Adattamento ai diversi tipi di gas 13
- Regolazione del minimo 15
- Collegamento elettrico del piano cottura 15

ISTRUZIONI PER L'UTENTE
Indicano i consigli d'uso, la descrizione dei comandi e le corrette operazioni di pulizia e manutenzione dell'apparecchio.
- Uso del piano cottura 16
- Pulizia e manutenzione 19
Riepilogopiani cottura a gas 213
1. Avvertenze per l'uso

Questo manuale costituisce parte integrante dell'apparecchio. Occorre conservarlo integro e a portata di mano per tutto il ciclo di vita del piano. Consigliamo una attentalettura deldocumento e di tutte leindicazioni inessocontainute prima diutilizzare l'apparecchio.
L'installazione dovrá essere eseguita da personale qualificato e nel rispetto delle norme vigenti. Questo apparecchio è previsto per un impiego di tipo domestico, ed è conforme alle direttive CE attualmente in vigore:2009/142/CE (apparecchi a gas), 2006/95/CE (bassa tensione), 2004/108/CE (compatibilità elettramagnetica).

L'apparecchio è costruito per svolgere la segunte funzione: COTTURA E RISCAL-DAMENTO DI CIBI; OGNI ALTRO USO VA CONSIDERATO IMPROPrio.
Il costrutto declina agli responsabilità per utilizzi diversi da quelli indicati.
- Mai usare quello apparecchio per il riscaldamento di ambienti.
Non lasciare i residui dell'imballo incustoditi nell'ambiente domestico. - Separare i vari materiali di scarto provenienti dall'imballo e consegnarli al più vicino centro di raccolta differenziate.

Questo apparecchio dispone di contrassegno ai sensi della direttiva europea 2002/96/ CE in materia di rifiuti, di apparecchi elettrici ed elettronici (waste electrical and electronic equipment - WEEE). Questa direttiva definisce le norme per la raccolta e il riciclaggio degli apparecchi dismessi valide su tutto il territorio dell'Unione Europea.

La targhetto di identificazione, con i dati tecnici, il numero di matricola e la marcatura è visibilmente posizionata sulla carter [Fig.1].
LA TARGHETTA NON DEVE MAI ESSERE RIMOSSA.

Fig.1: posizione della targhetta di identificazione
Le condizioni di regolazione dell'apparecchio sono riportate nella targa dati.
2. Avvertenze per la sicurezza

Nel vosto interesse e per la vostra sicurezza, è stabilito per legge che l'installazione e l'assistenza di tutti gli appearecchi elettrici o a gas vengano effettuate da personale qualificato nel rispetto delle norme vigenti e dei requisiti delle aziende locali erogatrici del gas e dell'energia elettrica.
Gli apparecchi a gas o elettrici devono sempre essere disinseriti da persone competenti.
- La spina da collegare al cavo di alimentazione e la relativa presa dovranno essere dello stesso tipo e in conformità alle norme in vigore.
La presa dovrà essere accessibile ad apparecchio incassato.
Non staccare mai la spina tirandone il cavo.
- E' obblatorio il collegamento di terra secondo le modalità previste dalle norme di sicurezza dell'impianto elettrico.
Non ostruire le aperture, le fessure di ventilazione e di smaltimento del calorie.

Subito dopo l'installazione effettuare un breve collaudio dell'apparecchio seguito le istruzioni riportate più avanti. In caso di mancato funzionamento, scollegare l'apparecchio alla rete elettrica ed interpellare il più vicino centro di assistenza tecnica: NON TENTARE MAI DI RIPARARE L'APPARECCHIO.
Durante l'utilizzo l'apparecchio diventa molto caldo. Per qualsiasi operazione è consigliabile l'utilizzo di apposti guanti termici. Questo apparecchio non è destinato all'uso da parte di persona (inclusi i bambini) con ridotte capacità psichiche o motorie, o con mancanza di espertienza e conoscenza, a meno che ci sia una supervisione o struzione sull'uso dell'apparecchio da parte di una persona responsable per la loro sicurezza. I BAMBINI DEVONO ESSERE SORVEGLIATI PER ASSICURARSI CHE NON GIOCHINO CON L'APPARECCHIO.

Il costruttore declina agli responsabilità per dani subiti da persone e cose, causati dall'inosservanza delle suddette prescrizioni o derivanti alla manomissione anche di una singola parte dell'apparecchio e dall'utilizzo di ricambi non originali.
3. Avverenze per lo smaltimento
NOSTRA CURA DELL'AMBIENTE
Per l'imballo dei nostri prodotti vengono utilizzati materiali non inquinanti, pertanto compatibili con l'ambiente e riciclabili. Vi preghiamo di collaborare provedendo con un corretto smaltimento dell'imballaggio. Informatevi presso il vostro rivenditore o presso le organizzazioni competenti di zona in meritoagli indirizzi dei centri di raccolta, riciclaggio, smaltimento.

NON ABBANDONATE L'IMBALLAGGIO O PARTI DI ESSO. QUESTI POSSONO RAPPARENTARE UN PERICOLO DI SOFFOCAMENTO PER I BABBINI, IN PARTICULAR MODO I SACCHETTI DI PLASTICA.
Anche per il vostro vecchio appearecchio è necessario procedere attraverso un corretto smaltimento, contribuendo ad evitare consequences negative per l'ambiente e la salute, che altrimenti si verifiche-rebbero in caso di smaltimento inappropriato.

IMPORTANTE: quello apparecchio non può essere trattato come rifiuto domestico. Consegnare il vecchio apparecchio all'azienda di zona, autorizzata per la raccolta degli elettrodomestici in disuso. Uno smaltimento corretto permette un intelligente recuperero di materiali pregiati. è necessario inoltre tagliare il cavo di collegamento alla rete elettrica e rimuoverlo insieme alla spina.
4. Conoscete il vosto apparecchio
Nella parte conclusiva del presente manuale, Riepilogo piani cottura a gas [Pag.213], sono raccolti tutti i disegni relativi ai piani cottura Foster agli in produzione.
Le chiediamo di riconoscere il disegno del piano cottura da Lei acquistato per familiarizzare con le principali caratteristiche tecnico-funzionali.
Per praticità di ricerca i piani cottura sono distincti in due macro-famiglia:
- Piani cottura con incasso tradizionale: "bordo 8 mm", "bordo Q4" e "bordo semifilo";
Piani cottura con incasso a filo: bordo "filotop".
Il primo gruppo independentemente dal tipo di bordo ha un semplice foro da incasso tradizionale. I piani cottura con bordo "filotop" hanno un disegno più dettagliato per permettere la realizazione del foro "su misura", ovvero avente uno scalino necessario per l'alloggiamento del bordo del piano cottura in modo che questo risulti "a filo" con il piano di lavoro.
In tutti i disegni sono presenti dei numero in corrispondenza dei brucitori. Tali numero identificano il tipo di bruciatore. Per conoscere le potenze dei brucitori del piano cottura a gas da Lei acquistato, si rimanda allagettura della tabella delle potenze in funzione del tipo di gas utilizzato [Pag.213].
5. Prima dell'installazione

Non lasciare i residui dell'imballo incustoditi nell'ambiente domestico. Separare i vari materiali di scarto dell'imballo e depositarli presso il centro di raccolta differenziata più vicino.
Al fine di rimuovere tutti i residui di fabbricazione è consigliabile pulire l'apparecchio.
Per maggiori informazioni sulla pulizia vedere il Capitolo 15 [Pag.19].
6. Posizionamento nel top di lavoro
Questopiano cottura da incasso è di classe 3.

I seguenti interventi richiedono un'opera muraria e/o di falegnameria e devono essere pertanto eseguiti da un technician competente. L'installazione è realizzabile su materiali diversi, quali muratura, metallo, legno di massello e legno rivestito di laminati plastici, perché resistenti al calore (T 100^ ).
6.1 Installazione alla struttura di sostegno (piano di lavoro) di un piano cottura a incasso tradizione (bordo 8 mm, bordo Q4, bordo semifilo)

Praticare un'apertura nel piano top del mobile con le dimensioni e nella posizione di seguito indicate e rappresentate nel disegno [Fig.2].
Le dimensioni del foro da incasso sono riportate nella sezione Riepilogo Piani cottura a gas - modelli con incasso tradizionale [Pag.213], incorrispondenza del disegno del piano cottura da Lei acquistato.

Fig.2: realizzazione del foro da incasso

- La distance del piano cottura dal bordo posteriore deve essere di almeno 50~mm ;
- La distanza del piano cottura delle pareti che superano in altezza il piano di lavoro deve essere di almeno 100mm ;
- Qualora venga installata una cappa sopra il piano di cottura, consultare le istruzioni di montaggio della cappa nelle quali è riportata la distanza corretta da rispetto.

Fig.3: distance del piano di cottura

- Posizione accuratamente la guarnizione isolante in dotazione sul perimetro esterno del foro praticato nel piano top, cercando di farlaaderire su tutte la sua superficie con una leggera pressione delle mani [Fig.4].
- Una volta eseguite queste operazioni, utilizzate le staffette fornite in dotazione per fissare il piano alla struttura. Fare riferimento al paragrafo "Fissaggio del piano cottura al mobile" [Pag.8].

Fig.4: posizionamento della guarnizione isolante
6.2 Installazione alla struttura di sostegno (piano di lavoro) di un piano cotura con incasso a filo (bordo filotop)

Questo tipo di apparecchio necessita di una fresatura sul piano di lavoro di profondità 1,5 mm le cui misure sono indicate nel disegno del piano identificabile nella sezione Riepilogo Piani cottura a gas - modelli con incasso a "filo" [Pag.213]. Lo scalino è necessario per l'alloggamento del bordo del piano di cottura in modo che questo risultati "a filo" con il piano di lavoro.

Pulire accuramente la fresatura.
- Prima di posizionare il piano occorre stendere su tutte la superficie della fresatura la guarnizione sigillante fornita in dotazione [Fig.5].
- Eseguite queste operazioni, utilizzare le staffette fornite in dotazione per fissare il piano alla struttura. Fare riferimento al paragrafo "Fissaggio del piano cottura al mobile" [Pag.8]

Fig.5: posizionamento della guarnizione isolante

Tra le dimensioni esterne del pianalino inox e quale interne del ribasso è prevista una luce costante di almeno 0,5 mm che deve essere rispetto durante il montaggio. Le temperature che si sviluppano durante l'utilizzo del piano cottura inducono sul pianalino inox un lievissimo allungamento e pertanto la luce prevista consente di evitare eventuali interferenze. Per quanto concerne il piano di lavoro della cucina, le temperature indotte dal piano cottura - sia nella sezione che sul piano di contatto - sono molto contente. Si consiglia vivamente di montare i piani cottura con bordo filotop su materiali assolutamente idrorepellenti.
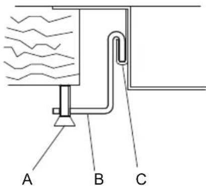
7. Fissaggio del piano cottura al mobile

Fissare i ganci in dotazione sulle staffe sotto all'apparecchio come illustrato di seguito. I ganci in dotazione consentono il fissaggio a top di spessore compreso tra 30 e 40 mm.

IMPORTANT:
- Per il fissaggio di quello prodotto alla struttura di sostegno, si consiglia di non utilizzare avvitatori meccanici e elettrici e di esercitare una moderata pressione a mano sugli organi di fissaggio.
- Il piano sottostante all'apparecchio deve trovarsi ad almeno 5mm dal fondo del medesimo e deve aver un'apertura di passaggio per le condutture del gas ed elettriche di almeno 50× 50mm .
- Se questo prodotto viene installato sopra unorno, quello delve essere re dotato di ventilatore di raffreddamento.
7.1 Ganci fissi
Permettono il fissaggio di piani cottura con squadrette di fissaggio predispose in punti fissi.


Bordo standard (8 mm)



Bordo Q4 (4 mm)



Bordo semifilo (3 mm)



Bordo filotop



Incastrare il gancio B nella squadretta A sdata sul piano, avendo cura di bloccarla negli apposti fori in funzione dello spessore del top (per top con spessore 30~mm bloccare il gancio nel foro più in alto della squadretta; per top con spessore 40~mm bloccare il gancio nel foro più in basso della squadretta).
Ruotare la linguetta C sino a posicionarla除去 il top, quando serrare la vite D.


7.2 Ganci scorrevoli
Permettono il fissaggio di piani cottura alla puniti di fissaggio predisisti.


Bordo standard (8 mm)



Bordo filotop - Q4 (solo per serie S4000)

Inserire il gancio B nella guida scorrevole C. Bloccare manualmente il gancio mediente la vite
7.3 Staffette fisse
Permettono il fissaggio di piani cottura in punti di fissaggio predispositi.


Bordo standard (8 mm)

Inserire la staffetta B nell'apposita sede del piano. Bloccare manualmente la staffetta mediate la vite A.
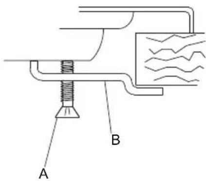
8. Collegamento del piano cottura alla rete gas

E' necessario che l'impianto di alimentazione a gas sia conforme alle norme locali in vigore.
E' necessario verificare che le condizioni locali di distribuzione (natura e pressione del gas) e lo stato di regolazione dell'apparecchio siano compatibili.
IMPORTANT: Se l'apparecchio viene installato su un forno bisogna evitare di fare passare il tubo del gas sul retro del forno al fine di prevenir surriscaldamenti.

Il collegamento alla rete del gas cui essere effettuato con un tubo rigido in rame o con un tubo flessibile in acciaio a parete continua e nel rispetto delle prescrizioni stabilite alla norma in vigore [Fig.6]. In agli caso agli tubo che si collega alla rete gas deve essere dotato di un rubinetto di intercettazione di sicurezza.

Fig.6: collegamento alla rete del gas

IMPORTANT: Interporre sempre la guarnizione tra il raccordo presente sul piano ed il tubo di collegamento.

- Se si utilizes un tubo flessibile in acciaio inox, quello dovrè essere installato in maniera tale che non possa entrare in contatto con una parte del mobile, ma passi in un punto libero da ingombri e possa essere ispezionato su tutte la lunghezza. Il tubo flessibile dovrè ave una lunghezza inferiore ai 2 metri di estensione massima.
Il raccordo gas è del tipo con filettatura 1 / 2 gas ISO R7 conica.

Dopo aver raccordato l'apparecchio alla rete del gas verificare sempre la tenuta dei raccordi utilizzando una soluzione saponosa.
E' ASSOLUTAMENTE VIETATO VERIFICARE LA TENUTA IMPIEGANDO FIAMME LIBERE.

Il piano di cottura è collaudato a gas metano G20 (2H) alla pressione di 20 mbar. Per l'alimentazione con altri tipi di gas, vedere la tabella Adattamento ai diversi tipi di gas [Pag.13].
8.1 Allaccimento al gas liquido

Utilizzare un regolatore di pressione e realizzare il collegamento sulla bombola nel rispetto delle prescrizioni stabilite dalle norme vigenti.
Assicurarsi che la pressione di alimentazione rispetti i valori indicati nella tabella Adattamento ai diversi tipi di gas [Pag.13]. Anche in quello caso l'allciamento deve essere effettuato con un tubo rigido in rame o con un tubo flessibile in acciaio a parete continua.
9. Ventilazione dei locali

IMPORTANT: L'apparecchio può essere installato solo in locali permanentemente ventilati, come previsto dalle norme in vigore.
10. Scarico dei prodotti della combustione (aspirazione)

Questo appearecchio non è collegato ad unsystema di evacuatione dei prodotti della combustione. Deve essere installato in accordo con i regolamenti vigenti. Prestare particolare attenzione ai relativi requisiti riguardo la ventilazione.

Lo scarico dei prodotti della combustione deve essere assicuratotramite cappe collegate ad un camino a tiraggio naturale di sicura efficienza, oppure, mediante aspirazione forzata. Un efficiente sistema di aspirazione richiede un'accurata progettazione da parte di uno specialistaabilitato ad eseguirlo, rispettoando le posizioni e le distance indicate dalne norme.

IMPORTANTE: Al termine dell'intervento l'installatore dovra rilasciare il certificato di conformità.
11. Adattamento ai diversi tipi di gas
| Tipodi gas | Bruciatore | Potenza nominale(KW) | Consumo nominale(g/h) | Iniettore(ø mm) | Potenza nominale min.(KW) | ||
| Serie N. Rif. | |||||||
| GAS GPL G30/G31 28-30/37 mbar | II | 2 Ausiliario 1,00 73 | 0,50 0,52 | ||||
| 3 Semirapido 1,75 1 | 27 0,65 0,52 | ||||||
| 4 Rapido 2,70 196 0,80 0,90 | |||||||
| 5 Tripla corona | 3,50 254 0,95 1,80 | ||||||
| 10 Dual | 4,50 | 328 | i 0,46 / e 0,66 | i 0,30 / e 1,40 | |||
| III | 6 Ausiliario 1,10 80 | 0,52 0,52 | |||||
| 7 Semirapido 1,75 1 | 27 0,65 0,52 | ||||||
| 8 Rapido 3,00 218 0,85 0,90 | |||||||
| 9 Tripla corona | 3,80 276 0,98 1,80 | ||||||
| AE | 11 Ausiliario 1,00 73 0,50 0,52 | ||||||
| 12 Semirapido 1,75 127 0,65 0,52 | |||||||
| 13 Rapido | 3,00 218 0,85 0,90 | ||||||
| 14 Doppia corona | 5,00 | 364 | i 0,46 / e 0,95 | i 0,40 / e 1,70 | |||
| Tipodi gas | Bruciatore | Potenza nominale(KW) | Consumo nominale(I/h) | Iniettore(ø mm) | Potenza nominale min.(KW) | ||
| Serie N. Rif. | |||||||
| GAS METANO G20 20 mbar | II | 2 Ausiliario 1,00 95 | 0,72 0,52 | ||||
| 3 Semirapido 1,75 1 | 67 0,97 0,52 | ||||||
| 4 Rapido 2,70 257 1 | 08 0,90 | ||||||
| 5 Tripla corona | 3,50 333 1,35 1,80 | ||||||
| 10 Dual | 4,50 | 429 | i 0,72 / e 1,02 | i 0,30 / e 1,40 | |||
| III | 6 Ausiliario 1,10 105 | 0,73 0,52 | |||||
| 7 Semirapido 1,75 1 | 67 0,98 0,52 | ||||||
| 8 Rapido 3,00 285 1 | 26 0,90 | ||||||
| 9 Tripla corona | 3,80 362 1,35 1,80 | ||||||
| AE | 11 Ausiliario 1,00 | 0 95 0,72 0,52 | |||||
| 12 Semirapido 1,75 167 0,97 | 0,52 | ||||||
| 13 Rapido 3,00 285 1,32 0,90 | |||||||
| 14 Doppia corona | 5,00 | 476 | i 0,75 / e 1,51 | i 0,40 / e 1,70 | |||

L'apparecchio è collaudato a gas metano G20 (2H) alla pressione di 20 mbar. Nel caso di funzionamento con altri tipi di gas occorre sostituire gli ugelli sui brucatori, e regolare la fiamma minima sui rubinetti gas. Per la sostituzione degli ugelli, occorre procedere come descrizione nei paragrafi seguenti.
11.1 Sostituzione ugelli piano di cottura

IMPORTANT: Prima di eseguire le seguenti operazioni assicurarsi sempre che l'apparecchio sia scollegato alla rete elettrica.

- Estrarre le griglie, rimuovere tutti i cappellotti e le corone spartifiamma.
- Con una chiave a tubo da 7mm svitare gli ugelli dei bruciatori [Fig.7].
- Procedere alla sostuzione degli ugelli dei bruciatori secondo il gas da impiegare (tabella "Adattamento ai diversi tipi di gas" [Pag.13]).
- Riposizionare correttamente i bruciatori nelle sedi appropriate.

Fig.7: sostituzione degli ugelli

IMPORTANTE: D再也没有 un gas diverso da quello di collaudo, sostituitare l'etichetta posta sul carter dell'apparecchio con quella corrispondente al nuovo gas.
12. Regolazione del minimo

Istruzioni per gas città e metano
- Accendere il bruciatore e portarlo sulla posizione minima.
- Estrarre la manopola del rubinetto gas e agire sulla vite di regolazione [Fig.8] all'interno o a lato dell'astina del rubinetto (a seconda dei modelli), fino ad ottenere una fiamma minima regolare. In presenza di rubinetto gas a 2 vie [Fig. 12-13] sono 2 viti di regolazione del minimo.
- Rimontare la manopola e verificare la stabilità della fiamma del bruciatore (ruotando rapidamente la manopola alla posizione di massimo a quale di minimo la fiamma non dovrà spegner-si).
- Ripetere l'opération su tutti i rubinetti gas.

Fig.8: regolazione del minimo

Istruzioni per gas liquido (GPL)
Avvitare completeness in senso orario la vite alloggiata all'interno o a lato dell'astina del rubinetto (a seconda dei modelli).
13. Collegamento elettrico del piano cottura

IMPORTANT: Prima di eseguire le seguenti operazioni assicurarsi sempre che il voltaggio e il dimensionamento della linea di alimentazione corrispondano alle caratteristiche indicate sulla targhetto posta sotto il carter dell'apparecchio. Questa targhetto non deve mai essere rimossa.

È obblatorio il collegamento di terra secondo le modalità previste dalle norme di sicurezza dell'impiano elettrico.
- Per il collegamento diretto alla rete, è necessario prevedere un disposativo che assicuri la disconnessione dalla rete, con una distance di apertura dei contatti che consenta la disconnessione completa nelle condizioni della categoria di sovratensione III, conformmente alle regole di installatione.
- Se si utilizes un collegamento con spina e presa verificare che queste siano dello stesso tipo. Evitare l'utilizzo di riduzioni, adattatori o derivatori in quanto potrebbero provocare riscaldamenti o bruciature.

IMPORTANTE: Il costruttore declina agli responsabilità per danni subiti da persone e cose, causati dall'inosservanza delle suddette prescrizioni o derivanti alla manomissione ancche di una singola parte dell'apparecchio.

In caso di sostituzione del cavo di alimentazione si dovrà utilizzato un cavo del tipo H05RR-F di sezione 3 × 0,75 ~mm^2 .



marrone

blu

giallo-verde
14. Uso del piano cottura
14.1 Accensione dei bruciatori

Prima di accendere i brucitori del piano assicurarsi che le corone spartifiamma siano posizionate nelle proprie sedi con i rispetti cappellotti.




Fig.9: posizione delle corone

Su alcuni piani di cottura sono montati i nuovi brucatori denominati "III serie". Il systemabloccante tra coperchio (B) e spartifiamma (A) garantisce il perfetto posizionamento e gran- de praticità nella pulizia.

Fig.10: posizionamento del bruciatore III serie
Il coperchio superiore (B) dei bruciatori deve essere collocato nell'apposita sede con le due tacche di inserimento in corrispondenza dei due cilindretti sottostanti (C) ed avvitato in senso orario.

In corrispondenza di anni manopola è indicato il bruciatore associato. L'apparecchio è dotato di un dispositivo di accensione elettrica. É sufficiente premere e ruotare in senso antiorario la manopola sul symbolo di fiamma massima, fino ad accensione avvenuta. Se non si accende nei primi 15 secondi, portare la manopola su [chiuso] e non tentare la riaccensione per 60 secondi.
Ad accensione avvenuta, Maintainere premuta la manopola per quale secondo per consentire alla termocoppia di riscaldarsi. Puo accadere che il bruciatore si spenga al momento del rilascio della manopola: significa che la termocoppia non si è riscaldata a sufficientia. Attendere quale istante e ripetere l'operazione mantenendo premuta la manopola più a lungo. Una volta acceso il bruciatore si cui regolare la fiamma a seconda delle necessità.

Fig.11: manopola bruciatore standard

Fig.12: manopola bruciatore dual (S4000) / dopbia corona

Al termine di agli utilizzato del piano, verificare sempre che le manopole di lavoro siano in posizione chiuso].
Se i bruciatori dovessero spegneri accidentally, dopo un intervallo di circa 20 secondi interverra un dispositivo di sicurezza a bloccare l'uscita del gas,anche a rubinetto aperto. In quello caso riportare la manopola in posizione di [chiuso] e non tentare la riaccensione del bruciatore per almeno 60 secondi.

Fig.13: manopola bruciatore dual (GIOTTO/VULCANO)
14.2 Consigli pratici per l'uso dei bruciatori

Per un miglior rendimento dei bruciatori e un consumo minimo di gas occorre usare recipienti a fondo piatto e regolare, provvisti di coperchio e proportionati al bruciatore, onde evitare che la fiamma vada a lambirne i lati (vedere paragrafo "Diametro dei recipienti"
[Pag.18]). Al momento dell'ebolizione ridurre la fiamma quanto basta ad impedire la tracimazione del liquido.

Fig.14: uso dei recipienti

Durante la cottura,anche per evitare scottature o danni al piano per eccessivo calore, tutti i recipienti o le bistecchiere non devono superare le misure indicate nel paragrafo "Diametro dei recipienti" [Pag.18]).Non riscaldare pentole o padelle vuote, in quanto si potrebbero surriscaldare.

Utilizzato grassi od olii, porre la massima attenzione in quanto gli stessi, surriscaldandosi, possono infiammarsi. Se una pentola contente grassi o olio s'infiamma, non versarvi sopra acqua perché potrebbe causare ustioni; spegnere il fuoco coprendo la pentola con un panno bagnato e scollegare l'apparecchio alla rete elettrica.
14.3 Diametro dei recipienti
Bruciatore ausiliario: da 6 a 14 cm
Bruciatore semirapido: da 15 a 20 cm
Bruciatore rapido: da 21 a 26 cm
Bruciatori doppia corona, tripla corona, dual: da 24 a 28 cm

Durante il funzionamento, il piano di cottura genera calore e umidità nella stanza in cui è estallato. Assicurarsi che la cucina sia ben arieggiata. L'utilizzo prolongato dell'apparecchio con alcuni o tutti i brucatori più richiedere una ventilazione aggiuntiva come l'apertura di una finestra e/o una magiore potenza di aspirazione da parte della cappa aspirante.
15. Pulizia e manutenzione

Nonutilizzare un getto di vapore per pulire l'apparecchio.
Prima di anni intervento occorre disinserire l'alimentazione elettrica all'apparecchio.
Evitare di lasciare sull'acciaio, sulle griglie e sulle altre parti dell'apparecchio, sostanze acide o alcaline (aceto, succo di limone, sale, succo di pomodoro, ...)
15.1 Pulizia dell'acciaio inox
Per una buona conservazione dell'acciaio inox occorre pulirlo regolarmente al termine di agli uso, dopo averlo lasciato raffreddare.
15.1.1 Pulizia ordinaria giornaliera
Per pulire e conservare le superfici d'acciaio inox usare solo prodotti specifici che non contengano abrasivi o sostanze acide a base di cloro.
Modo d'uso: versare il prodotto su un panno umido e passare sulla superficie. Asportare infine complemente il prodotto con un panno umido pulito.
15.1.2 Macchie di cibo o residui

Evitare nel modo più assoluto l'uso di spugne metalliche e raschietti taglienti per non danneggiare le superfici. Usare i normali prodotti per acciaio, non abrasivi, servendosi eventualmente di utensili di legno o materiale plastico. Risciacquare accuramente e asciugare con uno straccio morbido o con una pelle di daino.
Come prodotto per la pulizia dell'acciaio si consiglia Foster Steel Clean; per informazioni sulla sua reperibilità rivolgersi al centro di assistenza tecnica.
Non serviri di detergenti chimici come spray perorno o smacchiatori.
15.2 Pulizia dei componenti gas
Le griglie, i cappellotti, le corone spartifiamma sono estraibili per facilitare la pulizia: lavarli in acqua calda e detersivo non abrasivo avendo cura di toglierere agli incrostazione ed asciugarli immediamente con un panno. Rimontare i cappellotti sulle relative corone. I componenti in ghisa, come le griglie, e i brucatori non vanno messi in lavastoviglia.
Per un buon funzionamento le candelette d'accensione e le termocoppie devono essere sempre ben pulite. Controllarle frequentemente e se necessario pulirle con uno straccio umido e poi asciugarle. Eventuali residui secchi vanno rimossi con uno stecchino di legno o un ago.
Pulire regolarmente i cappellotti e le corone spartifiamma al termine di anni uso. Per lo sporco meno ostinato e per la lucidatura dello spartifiamma utilizzare crema Foster Steel Clean con panno in microfibia lungo la direzione della finitura.
15.3 Pulizia dei pianalini smaltati
Per una Buona conservazione del pianalino smaltato è necessario pulirlo regolarmente al termine di anni uso, dopo averlo lasciato raffreddare.
Per pulire e conservare lo smalto usare sempre e solo un panno in microfibra inumidito e con sapone neutro. Non usare prodotti che contengano abrasivi o sostanje acide a base di cloro.
Evitare nel modo più assoluto l'uso di spugne metalliche e raschietti taglienti per non danneggiare le superfici.
15.4 Pulizia delle manopole
Le manopole vanno pulite con un panno morbido, inumidito con acqua tiepida ed asciugate accuramente. Per facilitare la pulizia è possibile estrarre le manopole tirandole verso l'alto.
Nonutilizzare prodotti aggressivi contenti alcohol,cloruri o prodotti abrasivi.
15.5 Serigrafia pianalino
Fare particolare attenzione a non usare alcun prodotto abrasivo o chimico sopra la serigrafia del pianalino. Usare solamente un panno in microfiba inumidito.

Foster S.P.A. non risponde delle possibili inesattezze imputabili a errorsi di stampa o di trascrizione, conte- nute nel presente opuscolo. Si riserva di apportare ai propri prodotti nelle modifiche che ritenesse necessarie o utili,anche nell'interesse dell'utenza,enza pregiudicare le caratteristiche di funzionalità e sicurezza.
Dear Customer,

Abb. 3: Distanze del piano cottura

Riepilogo piani cottura a gas
| Legenda | ||
| Serie N. Bruciatore Potenza (W) | ||
| 1 Manopola di lavoro | ||
| II | 2 Ausiliario 1.000 | |
| 3 Semirapido 1.750 | ||
| 4 Rapido 2.700 | ||
| 5 Tripla corona 3.500 | ||
| 10 Dual 4.500 | ||
| III | 6 Ausiliario 1.100 | |
| 7 Semirapido 1.750 | ||
| 8 Rapido 3.000 | ||
| 9 Tripla corona 3.800 | ||
| AE | 11 Ausiliario 1.000 | |
| 12 Semirapido 1.750 | ||
| 13 | Rapidò 3.000 | |
| 14 | Doppia corona | |
| Tipodi bordo |
| Bordo standard (8 mm) STD Bordo Q4 (4 mm) Q4 Bordo semifilo (3 mm) SF Bordo filotop FT |

Gas cooker hobs summary
| Key | |||
| Series | No. | Burner Power (W) | |
| 1 Control knob | |||
| II | 2 | Auxiliary | 1.000 |
| 3 Semi-quick 1.750 | |||
| 4 | Quick | 2.700 | |
| 5 Triple crown | 3.500 | ||
| 10 Dual 4.500 | |||
| III | 6 | Auxiliary | 1.100 |
| 7 Semi-quick 1.750 | |||
| 8 | Quick | 3.000 | |
| 9 Triple crown | 3.800 | ||
| AE | 11 | Auxiliary | 1.000 |
| 12 Semi-quick 1.750 | |||
| 13 Quick | 3.000 | ||
| 14 Dual gear 5.000 | |||
| Edge type |
| Standard edge (8 mm) STD |
| Q4 edge (4 mm) Q4 |
| Semi-flush edge (3 mm) SF |
| Flush-mount edge FT |

Riferimento ai metodi di misurazione e di calcolo utilizzati per stabilire la conformità ai limiti di prestazione di efficienza energetica
L'efficienza energetica del piano cottura gas per uso domestico è calculata in base al regolamento UE n. 66/2014: i valori per i singoli brucatori vengono determinati con test secondo la norma EN 30-2-1. Sono escludi i brucatori Ausiliari, in quanto hanno una potenza nominale inferiore a 1,16 kW.
Si deve considerare nel processo di montaggio e installmente le segunte prescrizione:
- Direttive gas della SSIGA G1
-guida CFSL N° 1942: Gas liquefatti, parte 2
(CFSL: Commissione Federale di coordinamento per la Sicurezza sul Lavoro)
- direttive dell'Associazione degli Istituti Cantonali di Assicurazione Antincendio (AICAA)
ManualeFacile