SG214N10 - Congelatore AEG-ELECTROLUX - Manuale utente e istruzioni gratuiti
Trova gratuitamente il manuale del dispositivo SG214N10 AEG-ELECTROLUX in formato PDF.
Scarica le istruzioni per il tuo Congelatore in formato PDF gratuitamente! Trova il tuo manuale SG214N10 - AEG-ELECTROLUX e riprendi in mano il tuo dispositivo elettronico. In questa pagina sono pubblicati tutti i documenti necessari per l'utilizzo del tuo dispositivo. SG214N10 del marchio AEG-ELECTROLUX.
MANUALE UTENTE SG214N10 AEG-ELECTROLUX
Grazie per aver acquistato un'apparecchiatura Electrolux. Avete scelto un prodotto che ha alle spalle decenni di esperienza professionale e innovazione. Ingegnoso ed elegante, è stato progettato pensando a voi. Quindi, in qualsiaso momento desiderate utilizzato, potete esser certi di ottenere sempre i migliorori risultati.
Benvenuti in Electrolux.
Visitate il nostro site web per:

ricevere consigli, scaricare i nostri opuscoli, eliminare eventuali anomalie, ottenere informazioni sull'assistenza.
www.electrolux.com

Registrarilevastro prodottoereceiveunservizioagliore:
acquistare accessori, materiali di consumo e ricambi originali per la vostra apparecchiatura:
www.electrolux.com/shop
SERVIZIO CLIENTI E MANUTENZIONE
Consiglio sempre l'impiego di ricambi originali.
Quando si contatta l'Assistenza, accertarsi di disporre dei seguenti dati.
Le informazioni si trovano sulla targhetta di identificazione. Modello, numero dell'apparecchio
(PNC), numero di serie.

Awertenza / Attenzione - Importanti Informazioni di Sicurezza

Informazioni e consigli generali

Informazioni in materia di sicurezza ambientale
Con riserva di modifiche.
1. ISTRUZIONI DI SICUREZZA
Per garantire un impiego corretto e sicuro dell'apparecchio, prima dell'installazione e del primo utilizzato leggere con attenzione il librettto struzioni, inclusi i suggerimenti e le avventenze. Per evitare errors e incidenti, è importante garantire che tutte le persone che utilizzano l'apparecchio ne conoscano il funzionamento e le caratteristiche di sicurezza. Conservare queste istruzioni e accertarsi che rimangano unite all'apparecchio in caso di vendita o trasloco, in modo che chiunque lo utilizzi sa correttamente informato sull'uso e sulle norme di sicurezza.
Per la sicurezza delle persone e delle cose osservare le precauzioni indicate nelle presenti istruzioni per l'utente, il produtto non è responsabile dei danni provocati da eventuali omissioni.
1.1 Sicurezza dei bambini e delle persone fragili
- Questo apparecchio non deve essere usato da persona, bambini inclusi, con ridotte energia fisiche, sensoriali o psichiche, oppure privile di conoscenza e esperienza, a meno che non siano state astruite all'uso dell'apparecchio da parte dei responsabili della loro sicurezza, oppure sostutto vigilanza di questi.
I bambini devono essere sorvegliati per assicurarsi che non giochino con l'apparecchio. - Tenere i materiali di imballaggio al di fuori della portata dei bambini. Alcuni materiali sono creare rischi di soffocamento.
- Qualora l'apparecchio venga demolito, estrarre la spina dalla presa, tagliare il cavo di collegamento (il più vicino possibile all'apparecchio) e smontare lo sportello per evitare che i bambini giocando possano subire scosse elettriche o chiudersi dentro l'apparecchio.
- Se questo nuovo apparecchio, che è dotato di guarnizioni magnetiche dello sportello, va a sostituirne uno più vecchio avente sportello o coperchio con chiusure a molla, si deve renderere inutilizzabili tali chiusure prima di eliminare l'apprecchio sostituito, per evitare che
diventi una trappola mortale per i bambini.
1.2 Norme di sicurezza generali

AVVERTENZA!
Verificare che le aperture di ventilazione,
sia sull'apparecchiatura che nella struttura
da incasso, siano libero da ostruzioni.
L'apparecchiatura è progettata per la conservazione domestica di alimenti e/ o bevande e usi affini:
- cucine di negozi, uffici e altri ambienti di lavoro;
- fattorie e clienti di hotel, motel e altri ambienti residenziali;
- bed and breakfast;
- catering e usi simili non di vendita.
Non utilizzare dispositi vi meccanici o altri mezzi artificiali per accelerare lo sbramento.
Non utilizzato altre apparecchiature elettriche (per esempio gelatiere) all'in-terno del frigorifero, salvo quella approvate per tale scopo dal produttore.
Non danneggiare il circuito refrigerante.
- Il circuito refrigerante dell'apparecchia-tura contiene isobutano (R600a), un gas naturale con un elevato livello di compatibilità ambientale che, tuttavia, è inflammabile.
Durante il trasporto e l'installazione dell'apparecchiatura, assicurarsi che nessuno dei componenti del circuito refrigerante venga danneggiato.
In caso di danneggiamento del circuito refrigerante:
- evitare fiamme libere e scintille
-
aerare bene il locale in cui si trovava l'apparecchiatura
-
É pericoloso cancellare le specifiche o modificare il prodotto in qualunque modo. Un danneggiamento del cavo pottrebbe provocare cortocircuiti, incendi e/o scosse elettriche.
!
AVVERTENZA!
Tutti i componenti elettrici (cavo di alimentazione, spina, compressore) devono essere sostituita da un tecnico certificato o da personale d'assistenza qualificato al fine di evitare di correre rischi.
- Non collegare prolonghe al cavo di alimentazione.
- Evitare che il lato posteriori dell'apparecchiatura possa schiacciare o danneggiare la spina, causandone il surriscaldamento con un seguente rischio di incendio.
- La spina dell'apparecchiatura deve trovarsi in una posizione accessibi-le.
- Evitare di tirare il cavo di alimentazione.
- Se la presa elettrica non è perfettamente stabile, non insere la spina. Il collegamento potrebbe provocare scosse elettriche o create un rischio di incendio.
-
L'apparecchiatura non deve essere messa in funzione perché il coprilampada interno (se previsto).
-
Questa apparecchiatura è pesante. Procedere con cautela durante gli spostamenti.
- Evitare di estrarre o di toccare gli alimenti riposti nel vano congelatore con le mani bagnate o umide; il contatto pottrebbe provocare abrasioni o uszioni da freddo.
- Evitare un'esposizione prolongata dell'apparecchiatura alla luce solare diretta.
- Le lampadine utilizzato in questa apparecchiatura (se previste) sono lampadine speciali selezionate esclusivamente per elettrodomestici. Non sono adatte per l'illuminazione degli ambienti.
1.3 Uso quotidiano
Non collocare pentole calde sulle parti in plastica dell'apparecchio.
Non collocare gas e liquidi inflammabili nell'apparecchio, perché potrebbero esplodere.
- Evitare di appoggiare gli alimenti contro la presa d'aria situata nella parete po
steriore (per le apparecchiature di tipo no-frost)
Gli alimenti congelati non devono essere ricongelati una volta scongelati.
- Riporre gli alimenti surgelati preconfezionati secondo le istruzioni del produttore dell'alimento surgelato.
- Osservare rigorosamente i consiglio per la conservazione degli alimenti del produttore dell'apparecchio. Vedere le relative istruzioni.
Non collocare bevande gassate o friz-zanti nella scomparto congelatore perché creano pressione sul recipiente che cui esplodere danneggiando l'appa-recchio.
I ghiaccioli possono provocare bruciataure da gelo se consumati immediamente dopo averli tolti dall'apparecchio.
1.4 Pulizia e cura
- Prima di eseguire qualunjue intervento di manutenzione, spegnere l'apparecchiatura ed estrarre la spina alla presa.
Non pulire l'apparecchiatura con oggett i metallici. - Non usare oggetti appuntiti per sbrinare l'apparecchiatura. Usare un raschietto di plastica.
Non utilizzare mai asciugacapelli o altri apparentecchi riscaldanti per accelerare lo sbrinamento. Un calore excessivo vuo danneggiare le parti in plastica interne e l'umidità vuo penetrare nelsysteme elettrico rendendolo sotto tensione.
1.5 Installazione
!
Per il collegamento elettrico, seguire attendamente le istruzioni dei paragrafi correspondenti.
- Disimballare l'apparecchio e assicurarsi che non presenti danni. Non collegare l'apparecchio se è danneggiato. Segnalare immediamente gli eventuali danni al negotio in cui è stato acquistato. In quello caso conservare l'imbal-laggio.
-
Si consiglia di attendere almeno due ore prima di collegare l'apparecchio per consentire all'olio di arrivare nel compressore.
-
Attorno all'apparecchio vi deve essere un'adeguata circolazione dell'aria, altrimenti si può surriscaldare. Per ottenera una ventilazione sufficiente seguire le istruzioni di installmente.
- Se possibile il retro dell'apparecchio dovrebbe essere posizionato contro una parete per evitare di toccare le parti calde o di rimanervi impigliati (compressore, condensatore), evitando così possibili scottature.
- L'apparecchio non deve essere più vicino a radiatori o piani di cottura a gas.
- Installare l'apparecchio in modo che la presa rimanga accessibile.
- Collegare solo a sorgenti d'accua potabile (se è previsto un collegamento alla rete idrica).
1.6 Assistenza tecnica
Gli interventi elettrici sull'appareciattura devono essere eseguite escludamente da elettriciisti qualificati o da personale competente.
- Gli interventi di assistenza devono essere eseguite esclusivamente da tecnici autorizzati e utilizzato solo ricambi originali.
1.7 Tutela ambientale

Questo apparecchio non contiene gas che potrebbero danneggiare lo strato di ozono nel circuito refrigerante o nei materiali isolanti. L'apparecchio non deve essere smaltito assieme ai rifiuti urbani e alla spazzatura. La schiuma dell'i-solamento contiene gas inflammabili: lo smaltimento dell'apparecchio va eseguito secondo le prescrizioni vigenti da richiedere alle autorità locali. Evitare di danneggiare il gruppo refrigerante, specialmente nella parte posteriore vicino allo scambiatore di calore. I materiali usati su quello apparecchio contrassegnati dal simbolo sono riciclabili.
2. PANNELLO DEI COMANDI

1 Display
2 Tasto Temperatura più calda
3 Tasto Temperatura più fresca
4 Tasto OK
5 Tasto Mode
6 Tasto ON/OFF
E possible modificare le impostazioni audio predefinite dei tasti e impostarle con un volume più alto, premendo contemporaneously il tasto Mode e il tasto temperature più fresca per alcuni secondi. La modifica è reversible.
2.1 Display/Indicatore

A) Spia timer
B) Funzione FROSTMATIC
C) Indicatore della temperatura
D) Spia allarme
E) Funzione Sicurezza bambini
F) Funzione Minute Minder
2.2 Accensione
Per accendere l'apparecchiatura procedere come segue:
- Inserire la spina nella presa di alimentazione.
- Premere il tasting ON/OFF se il display è spento.
- Il segnale acustico d'allarme potrebbe attivarsi molto近些i secondi.
Per resettare l'allarme, consultare la sezione "Allarme di alta temperatura".
- Se "dEMo" appeare sul display, l'apparecchiatura si trova in modalità dimostrazione. Fare riferimento al paragrafo "Cosa fare se...".
- Gli indicatori di temperatura visualizzano la temperatura impostata predefinita.
Per selezionare una temperatura diversa, consultare la sezione "Regolazione della temperatura".

Se la porta resta aperta per alcuni minuti, la spia si spegnerà automaticamente. Per resettare la spia chiudere e après la porta.
2.3 Spagnimento
Per spegnere l'apparecchiatura, procedere come segue:
- Premere il tasting ON/OFF per alcuni secondi.
- Il display si spegne.
- Per scollegare l'apparecchiatura nella corrente elettrica, staccare la spina nella presa di alimentazione.
2.4 Regolazione della temperatura
É possibile regolare la temperatura impostata del congelatore premendo il tasto temperatura.
Impostare la temperatura predefinita:
- 18^ C per il congelatore
Gli indicatori della temperatura visualizzano la temperatura impostata.
La temperatura impostata verrà raggiunta entro 24 ore.

Dopo un'interruzione di corrente la temperature impostata rimane in memoria.
2.5 FROSTMATIC funzione
Per attivare la funzione:
- Premere il tasto Mode finché non appare l'icona corrispondente.
L'indicatore FROSTMATIC lampeggia.
- Premere il tasting OK per confirmare.
La spia FROSTMATIC viene visualizzata.
Questa funzione si interrompe in modo automatico dopo 52 ore.
Per disattivare la funzione prima dello spegnimento automatico:
- Premere il tasto Mode fino a quando la spia FROSTMATIC lampeggia.
- Premere il tasting OK per confirmare.
- La spia FROSTMATIC si spegne.

La funzione si disattiva selezionando un'impostazione di temperatura per il congelatore diversa.
2.6 funzioneMinute Minder
La funzione Minute Minder deve essere usata per impostare un segnale acustico in un preciso momento, utile per esempio quando una pietanza richiede il raffreddamento per un corto periodo di tempo o quando è necessario un promemoria per non dimenticare le bottiglie messe in congelatore per un raffreddamento rapido.
Per attivare la funzione:
- Premere il tasting Mode finché non appare l'icona corrispondente.
L'indicatore Minute Minder lampeggia.
Il timer visualizza il valore impostato (30 minuti) per alcuni secondi. - Premere il tastingo Temperatura più fredda o Temperatura più calda per modificare il valore preimpostato del timer da 1 a 90 minuti.
- Premere il tasting OK per conformare.
La spia Minute Minder viene visualizzata.
ll Timer inizia a lampeggiare (min).
Al terme del conta alla rovescia la spia
Minute Minder lampeggia e viene emesso
un segnale acustico:
-
Estrarre le eventuali bevande dal vano congelatore.
-
Premere il tasting OK per speggnerile segnale acustico e porre fine alla funzione.
È possibile disattivare la funzione in qual-siasi momento durante il conta alla rovescia:
- Premere il tasto Mode fino a quando la spia Minute Minder lampeggia.
- Premere il tasting OK per confirmare.
- La spia Minute Minder si spegne.
È possibile modificare l'ora in qualsiasi段时间e prima della fine premendo il tasto Raffreddamento Temperatura ed il tasto Riscaldamento Temperatura.
2.7 Funzione Sicurezza Bambini
Per evitare che i tasti vengano premuti accidentalmente, selezionare la funzione Sicurezza Bambini.
Per attivare la funzione:
- Premere il tasto Mode dato a quando non appeare l'icona corrispondente.
- L'indicatore Sicurezza Bambini lampeggia.
- Premere il tasting OK per confirmare. Viene visualizzato l'indicatore Sicurezza Bambini.
Per disattivare la funzione:
- Premere il tasto Mode dato a quando l'indicatore Sicurezza Bambini non lampeggia.
- Premere il tasting OK per confirmare.
- L'indicatore Sicurezza Bambini si spagne.
2.8 Allarme di alta temperatura
L'aumento della temperatura all'interno del vano congelatore (ad esempio in se
3. UTILIZZO QUOTIDIANO
3.1 Congelamento di alimenti freschi
Lo scomparto congelatore è adatto al congelamento di alimenti freschi e alla conservazione a lungo termine di alimenti congelati e surgelati.
guito ad un'interruzione della corrente elettrica o all'apertura della porta) viene indicato nei seguenti modi:
- lampeggiamento degli indicatori di allarme e della temperatura del congelatore
- Emissione di un segnale acustico.
Per resettare l'llarme:
- Premere un taste qualsiasi.
- Il segnale acustico si spegne.
- L'indicatore della temperatura del congelatore visualizza per alcuni secondi la temperature più alta raggiunta, quando viene nuovamente visualizzata la temperature impostata.
- L'indicatore di allarme continua a lampegliare fino al ripristino delle condi-zioni normali.
2.9 Allarme porta aperta
Se la porta è lasciata aperta per alcuni minuti, viene emesso un segnale acustico.
Le condizioni di allarme della porta aperta sono indicate da:
- indicatore allarme lampeggiante
- segnale acustico.
Al ripristino delle condizioni normali (porta chiusa), l'allarme si interrompe.
Durante la fase di allarme, il segnale acustico più essere disattivato premendo qualsiasi tanto.
Per congelare piccole quantità di cibi freshi non è necessario modificare l'impostazione corrente.
Per congelare alimenti freschi, attivare la funzione FROSTMATIC almeno 24 ore prima di introdurli nelle scomparto congelatore.
È possibile disporre gli alimenti freschi da congelare in tutti i vani ad eccezione di quello più basso.
La quantità massima di alimenti congelabili in 24 ore è riportata sulla targhetta dei dati, un'etichetta presente sulle pareti interne dell'apparecchiatura.
Ilprocessodicongelamento dura24ore: nonaggiungerealtil alimenti da congelare per tutta la durata delprocesso.
3.2 Conservazione dei surgelati
Al primo avvio o dopo un periodo di inutilizzato si consiglia di lasciare in funzione l'apparecchiatura per almeno 2 ore, prima di introdurre gli alimenti nel vano.
I cestelli del congelatore consentono di individuare rapidamente e lavoramente la confecione di alimenti desiderata. Se occorre conservare granì quantità di cibo, si consiglia di rimuovere tutti i cassetti ad eccezione del cestello inferiore, la cui presenza è necessaria per assicurare la buona circolazione dell'aria. Su tutti i ripiani, eccezion fatta per quello superiore, è possibile posizionale alimenti fino a una spor-genza massima di 15 mm dalla porta.

In caso di sbrinamento accidentale, per esempio a causa di un'interruzione dell'alimentazione elettrica, se l'alimentazione manca per un periodo superiore al valore indicato nella tabella dei dati专业技术e "Tempo di risalita", il cibo scongelato deve essere consumato rapidamente o cucinato immediatamente e quindi ricongelato (dopo il raffreddamento).
3.3 Scongelamento
Prima dell'utilizzo, i cibi surgelati o conge-lati possono essere scongelati nel vano frigorifero o a temperature ambiente, in funzione del tempo disponibile per esta operazione.
I pezzi piccoli possono addirittura essere cucinati ancora congelati, direttamente dal congelatore: in quello caso la cottura durera più a lungo.
3.4 Accumatori di freddo
Il congelatore dispone di uno o più accumulatori di freddo che prolungano la durata di conservazione degli alimenti in caso di guasto o interruzione dell'energia elettrica.
3.5 Rimozione dei cestelli e dei ripiani a filo dal congelatore

Alcuni dei cestelli del congelatore sono provvisti di un fermo che ne impedisce la caduta o la rimozione accidentale. Per estrarre un cestello dal vano congelatore, tirarlo in avanti e, al raggiungimento del fermo, inclinare verso l'alto la parte anteriore
Per reinserire il cestello, sollevarlo leggermente sul lato anteriore e introdurlo nel congelatore.
Una volta superato il fermo, spingere il cestello nella posizione originaria.

I ripiani a filo corredati di rulli di espansione sono bloccati dai perni di arresto.
Per rimuoverli, procedere nel segunte modo:
- Allentare i perni di arresto su agli latodi dei rulli di espansione. Se necessario, serviri di un cacciavite.
- Quindi estrarre entrambi i perni di arresto (1).
- Poi tirare il ripiano a filo verso l'esterno (2).
3.6 Pulizia dell'interno

Prima di utilizzare l'apparecchiatura per la prima volta, lavare l'interno e gli accessori con acqua tiepida e sapone neutro per eliminare il tipico odore dei prodotti nuovi, quando asciugare accuramente.

Non usare detergenti corrosivi o pulveri abrasive che possano daneggiare la finitura.
Controllare che il tubo di di scarico postosul retro del mobile scarichi nella vaschettata di raccolta
4. SUGGERIMENTI E CONSIGLI UTILI
4.1 Consigli per il congelamento
Per un processo di congenamento ottimale, ecco alcuni consigli importanti:
- la quantità massima di cibo che può essere congelata in 24 h è riportata sulla targhetto;
- il processo di congelamento dura 24 ore. In quello periodo nonaggiungere altri cibo da congelare;
- congelare solo alimenti freschi, di ottima qualità e accuratamente puliti;
- preparare il cibo in piccole porzioni per consentire un congelamento rapido e completinge e per scongalore in seguito solo la quantità necessaria;
- avvolgere il cibo in pellicole di alluminio o in politene e verificare che i pacchetti siano ermetici;
non lasciare che cibo fresco non congelato entri in contatto con quello più congelato, per evitare un aumento della temperature in quest'ultimo; - i cibi magri si conservano meglio e più a lungo di quelli grassi; il sale riduce il periodo di conservazione del cibo;
- i ghiaccioli, se consumati immediamente dopo la rimozione dal vano con
gelatore, possono causare ustioni da congelamento della pelle;
- si consiglia di riportare la data di conge-lamento su agli singolo pacchetto per riuscire a tenere traccia del tempo di conservazione;
4.2 Consigli per la conservazione dei surgelati
Per ottener risultati ottimali
- Controllare che i surgelati esposti nei punti vendita non presentino segni di interruzione della catena del freddo
- Il tempo di trasferimento dei surgelati dal punto vendita al congelatore domestico deve essere il più breve possibile;
- Non aprirere frequentlymente la porta e limitarare il più possibile i tempi di aperture;
- Una volta scongelati, gli alimenti si deterrorano rapidamente e non sono essere ricongelati;
Non superare la durata di conservazione indicata sulla confezione.
5. PULIZIA E CURA

ATTENZIONE
Staccare la spina dell'apparecchio prima di eseguire lavori di manutenzione.

Questo appearecchio contiene idrocarburi nell'unità di raffreddamento; la manutenzione e la ricarica devono pertanto essere effettuate esclusivamente da tecnici autorizzati.
5.1 Pulizia periodica
L'apparecchiatura deve essere pulito regolamente:
-
Lavare l'interno e gli accessori con acqua calda e sapone neutro.
-
Ispezionare regolarmente le guarnizioni dello sportello ed eliminare con un panno umido lo sporco e i residui.
- Risciacquare e asciugare accuramente.

Evitare di tirare, spostare o danneggiare tubi e/o cavi all'interno dell'apparecchio Per la pulizia delle parti interne, non usare mai detergenti, polveri abrasive, prodotti con forti profumazioni o cere lucidanti, che po-trebbero danneggiare la superficie e lasciare un odore intense.
Pulire il condensatore (griglia nera) e il compressore sul retro dell'apparecchiatura con una spazzola. Questa operazione
migliorerà le prestazioni dell'apparecchia-tura riducendone i consumi di energia.

Prestare attenuation a non danneggiare ilsystema refrigerante.

Quando si sposta l'apparecchiatura, sollevarla per il bordo anteriore, cosi da non graffiare il pavimento.
Molti detergenti per cucina contengono agenti chimici che possono intaccare/ danneggiare le parti in plastica di questa apparecchiatura. Per quello motivo, usare un panno morbido inumidito con acqua calda e un'emulsione di sapone neutro per la pulizia delle superfici esterne.

Non usare detergenti corrosivi o paste abrasive che possono daneggiare la vernice o il rivestimento anti-impronte in acciaio inossidabile.
Dopo la pulizia, ricollegare l'apparecchio alla rete di alimentazione.
5.2 Sbrinamento del vano congelatore
Il vano congelatore in quello modello è di tipo "no frost", perché non forma ghiaccio
5.4 Pulizia della griglia di ventilazione

sulle pareti interne e sugli alimenti durante il funzionamento.
L'assenza di ghiaccio è dovuta alla circolazione continua di aria fredda prodotta al'l'interno del vano da una ventola azionata automaticamente.
5.3 Periodi di inutilizzato
Se l'apparecchiatura non viene'utilizzata per un lungo periodo, adottare le seguenti precauzioni:
- Scollegare l'apparecchio alla rete elettrica
- Togliere tutti gli alimenti
- Pulire l'apparecchiatura e tutti gli accessori
- Lasciare lo sportello/gli sportelli socchiuso/i per evitare la formazione di odori sgradevoli

Se l'apparecchiatura rimane accesa, farlo controllare periodicamente per evitare che gli alimenti si deteriorino in caso di interruzione della corrente elettrica.
Épossible rimuovere la griglia di ventilazione per lavarla.
Accertarsi che la porta sia aperta e:
- Allentare il bordo superiore della griglia tirando verso l'esterno/il basso.
- Tirare la griglia versus l'esterno per estrarla.
Passare l'aspirapolvere除去 mobile.
6. COSA FARE SE...
Durante l'utilizzo dell'apparecchiatura si possono verificare piccoli problemi, risolvibilienza l'intervento di un technician. Seguendo leindicazioni della tabella segunte sareapproxibileevitarecostidiassistenza non necessari.

Determinati rumori causati dal funzionamento dell'apparecchiatura (come quelli del compressore e del circuito refrigerante) sono da considerarsi normali e non segnallano anomalie.

Il funzionamento dell'apparecchiatura è discontinuo, perché l'arresto del compressore non segnala un'interruzione della corrente elettrica. Non toccare i componenti elettrici dell'apparecchiatura alla aver prima interrotto il circuito.
| Problema | Cause possible | Soluzione |
| L'apparecchiatura è rumorosa. | L'apparecchio non è ap-poggiato in modo corretto. | Controllare che l'apparec-chiatura sia appoggiata in modo stabile (tutti i piedini e ruote devono essere a con-tatto con il pavimento). Fare riferimento alla sezione "Li-vellamento". |
| Viene emesso un se-gnale acustico. Il simbolo di Allarme lampeggia. | La temperature nel vano congelatore è troppo alta. | Fare riferimento alla sezione "Allarme di alta temperatu-ral". |
| la porta non è chiusa cor-rettamente. | Fare riferimento alla sezione "Allarme porta aperta". | |
| \sul display della temperature è visua-lizzato un quadrato superiore o inferio-re. | Si è verificato un erre度过 la misurazione della temperature. | Contattare il servizio asi-stenza (ilsystema refrigeran-te continuerà a tenere gli alimenti freddi, ma non sare possibile regolare la tempe- ratura). |
| Nel display compare "dEMo". | L'apparecchiatura è in modalità dimostrazione. | Tenere il tasto OK premuto per circa 10 sec., finché non si sente un suono pro-lungato provenire dal cicali-no ed il display si spegne per un tempo brevissimo: l'apparecchiatura inizia a funzionare regolarmente. |
| Il compressore fun-ziona ininterrotta-mente. | Il regolatore di temperature potrebbe non essere im-postato correttamente. | Impostare una temperature superiore. |
| la porta non è chiusa cor-rettamente. | Consultare la sezione "Chiusura della porta". | |
| la porta viene aperta trop-po frequentlymente. | Limitare il più possibile il tempo di aperture della por-ta. | |
| La temperature degli ali-menti è troppo alta. | Prima di introduire gli ali-menti, lasciarli raffreddare a temperatura ambiente. | |
| La temperature ambiente è troppo alta | Abbassare la temperature ambiente | |
| Presenza di brina eccessiva. | la porta non è chiusa correttamente. | Consultare la sezione "Chiusura della porta". |
| La guarnizione della porta è deformata o sporca. | Consultare la sezione "Chiusura della porta". | |
| La temperature al-l'interno dell'appa-recchiatura è troppo fredda. | Il regolatore di temperatura potrebbe non essere im-postato correttamente. | Impostare una temperatura superiore. |
| La temperature al-l'interno dell'appa-recchiatura è troppo calda. | Il regolatore di temperatura potrebbe non essere im-postato correttamente. | Impostare una temperatura inferiore. |
| la porta non è chiusa correttamente. | Consultare la sezione "Chiusura della porta". | |
| La temperature degli ali-menti è troppo alta. | Prima di introdurre gli ali-menti, lasciarli raffreddare a temperatura ambiente. | |
| La temperature al-l'interno del freezer è troppo alta. | I surgelati sono troppo vi-cini tra loro. | Disporre i surgelati in modo da consentire una corretta circolazione dell'aria fredda. |
| Sono stati introdotti insie-me molti alimenti da sur-gelare. | Introdurre contemporanea-mente quantità ridotte di ali-menti. | |
| L'apparecchio non funziona. | L'apparecchio è spento. | Accendere l'apparecchiatu-ra. |
| La spina non è inserita correttamente nella presa di alimentazione. | Inserire correttamente la spina nella presa di alimentazione. | |
| L'apparecchio non riceve corrente. Assenza di ten-sione nella presa di ali-mentazione. | Collegare alla presa un altro apparecchio elettrico. Con-trollare il fusibile. Rivolgersi ad un elettricista qualificato. | |
| La lampadina non si accende. | La lampada è difettosa. | Fare riferimento alla sezione "Sostituzione della lampadi-na". |
| La porta è rimasta aperta troppo a lungo. | Chiudere la porta. | |
| la porta interferisce con la griglia di ven-tilazione. | L'apparecchiatura non è correttamente livellata. | Fare riferimento alla sezione "Livellamento". |
| Porta non allineata. | L'apparecchiatura non è correttamente livellata. | Fare riferimento alla sezione "Livellamento". |
6.1 Sostituzione della lampadina
L'apparecchiatura è dotata di una lampadina a LED a lunga durata.
Solo al servizio assistenza è permesso so-stituire l'impianto d'illuminazione. Contattare il Centro di Assistenza locale.
6.2 Chiusura della porta
-
Pulire le guamizioni della porta.
-
Se necessario, regolare la porta. Vedere "Installazione".
- Se necessario, sostituire le guarnizioni della porta difettose. Contattare il Centro di assistenza locale.
7. INSTALLAZIONE

AVVERTENZA!
Leggere con attenzione le "Informazioni per la sicurezza" per la vostra sicurezza e per il corretto funzionamento dell'apparecchio prima di procedere all'installazione.
7.1 Posizionamento
Installare quello appearecchio in un punto in cui la temperature ambiente corrisponda alla classe climaticaindicata sulla sua targhetto:
| Classe climata | Temperatura ambiente |
| SN | da + 10°C a + 32°C |
| N | da + 16°C a + 32°C |
| ST | da + 16°C a + 38°C |
| T | da + 16°C a + 43°C |
7.2 Posizione

Per ottenere prestazioni ottimali, se l'apparecchiatura è installata sotto a un pensile si raccomanda di mantenere una distanza minima di 40 mm tra quest'ultimo e lo spigolo superiore dell'apparecchiatura. Se possible, tuttavia, evitare di INSTALLARE l'apparecchiatura quello pensile. Lo spazio per la ventilazione può essere:
- direttamente sopra l'apparecchiatura
- dietro e soprà il mobile superiore.
In tal caso, lo spazio dietro il mobile superiore deve ave una profundità di almeno 50 mm.
7.3 Collegamento elettrico
Prima di insere la spina, verificare che la tensione e la frequenza riportate sulla targhetta corrispondano ai valori della rete elettrica domestica.
L'apparecchio deve essere collegato a massa. La spina del cavo di alimentazione
è dotata di un contatto a tale scopo. Se la presa della rete elettrica domestica non è collegata a massa, collegare l'apparecchio ad una massa separata in conformità alle norme relative alla corrente, consul-tando un elettricista qualificato.
Il fabbricante declina qualsiasi responsabilità se le precauzioni suddette non sono rispecttate.
Il presente apparecchio è conforme alle dirattive CEE.
7.4 Rimozione del supporto per il trasporto

L'apparecchiatura è dotata di un supporto per il trasporto, per mantenere chiusa la porta durante il trasporto. Per togliere il supporto procedere come segue:
- Aprire la porta.
- Togliere il supporto per il trasporto dai lati della porta.
- Togliere il supporto per il trasporto alla cerniera inferiore (alcuni modelli).

Alcuni modelli sono dotati di un cuscinetto di silenziamento tutto il mobile. Non togliere il cuscinetto.
7.5 Distanziatori

Installare i distanziatori inclusi nel sacchetto degli accessori come indicate nelle figure.
Quando si sistemasono due apparecchiatura uno accanto all'altra, aplicare i distanziatori adesivi tra le apparecchiaure.

Installare i distanziatori sul retro del pannello.
7.6 Livellamento

L'apparecchiatura deve trovarsi perfettamente in piano. Se necessario, regolare i piedini per mezzo della chiave di regolazione in dotazione.
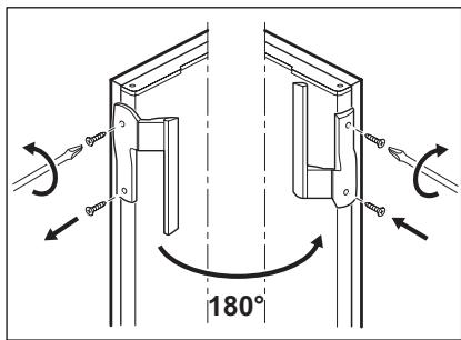
7.7 Possibilità di invertire la porta

Per modificare il senso di aperture della porta, procedere come segue:
- Staccare la spina alla presa.
- Estrarre la griglia di ventilazione. Estrarre e installare sul lato opposto della griglia.
- Appoggiare l'apparecchiatura capovolta su un supporto in legno.
- Svitare la cerniera inferiore.
- Estrarre il disposativo di chiusura della porta alla cerniera e spostare il perno sull'alto lato. Riavvitare il disposativo di chiusura della porta sul lato opposto servendosi della sicca accessori in do-tazione.




AVVERTENZA!
Ripositionare l'apparecchiatura, livellarla, attendere almeno quattro ore e insere la spina nella presa.
Eseguire un controlo finale per accertarsi che:
- Tutte le viti siano serrate.
Gli spigoli delle porte siano paralleli a quelli dell'apparecchiatura. -
La guarnizione magnetica aderisca al-l'apparecchiatura.
-
Estrarre il disposativo di chiusura della porta dalla stessa.
- Riavvitare il dispositorio di chiusura della porta sul lato opposto servendosi della sicca accessori in dotazione.
Rimuovere la porta.
- Svitare e spostare il perno sul lato opposto.
Reinserire la porta.
- Riawitare la cerniera inferiore.
- Sollevare l'apparecchiatura e installare la griglia di ventilazione.
- Svitare la maniglia. Sul lato opposto, estrarre i copriforo servendosi di una spina da 3 - 4 mm oppure di un trapano.
- Installare la maniglia. Adattare la maniglia sul lato opposto ruotandola di mezzo giro.
-
Installare i coprifo ro in dotazione con la sicca degli accessori.
Rimettere l'apparecchiatura al suo posto. -
La porta si apra e si chiuda correttamente.

AVVERTENZA!
Se la temperatura ambiente è Bassa (ad esempio in inverno), è possibile che la guarnizione non aderisca perfettamente all'apparecchiatura. In tal caso, attendere che aderisca naturalmente.
8. RUMORI
Durante I'uso, alcuni rumori di funzionamento (come quelli del compressore o del
circuito refrigerante) sono da considerarsi normali.




9. DATI TECHNICI
| SG214N10 | SG255N10 | ||
| Dimensioni | |||
| Altezza | 1650 mm | 1850 mm | |
| Larghezza | 660 mm | 660 mm | |
| Profondità | 680 mm | 680 mm | |
| Tempo di risalita | 16 h | 16 h | |
| Tensione | 230 V | 230 V | |
| Frequenza | 50 Hz | 50 Hz |
I dati tecnici sono riportati sulla targhetto del modello, applicata sul dato sinistro in-
terno dell'apparecchiatura, e sull'etichetta dei valori energetici
10. CONSIDERAZIONI AMBIENTALI
Riciclare i materiali con il symbolo
Buttare I'imballaggio negli apposti contentitori per il riciclaggio.
Aiutare a proteggere l'ambiente e la salute umana e a riciclare rifui di derivanti da apparecchiature elettriche ed elettroniche.
Non smaltire le apparecchiature che riportano il symbolo insieme ai normali
rifiuti domestici. Portare il prodotto al punto di riciclaggio più vicino o contattare il comune di residenza.
Informazioni: Dove portare gli appearecchi fuori uso? In qualsiasi negozio che vende appearecchi nuovi oppure si restituiscono ai centri di raccolta ufficiali della SENS oppure ai riciclatori ufficiali della SENS. La lista dei centri di raccolta ufficiali della SENS è visible nel sito www.sens.ch.
CONTENTS
- SAFETY INSTRUCTIONS 58
2.CONTROL PANEL 60
3.DAILYUSE 62 - HELPFUL HINTS AND TIPS 64
5.CARE AND CLEANING 64 - WHAT TO DO IF 65
- INSTALLATION 67
8.NOISES 71 - TECHNICAL DATA 72
ManualeFacile